просто и понятно о том, как определяется давление

Содержание:
Давление – очень важная физическая величина, играющая огромную роль, как в окружающей природе, так и жизни человека. Внешне незаметное человеческому глазу давление может очень хорошо ощущаться каждым из нас. Особенно хорошо это усвоили люди в возрасте, часто страдающие от повышенного давления (или наоборот от пониженного). Но в нашей статье мы больше поговорим именно о давлении в физике, о том, как оно измеряется и рассчитывается, какие есть формулы для расчетов давления разных субстанций: воздуха, жидкости или твердого тела.
Определение давления в физике
Под давлением в физике понимается термодинамическая величина, выраженная соотношением перпендикулярной силы давления на площадь поверхности, на которую она воздействует. При этом согласно закону Паскаля если система находится в состоянии равновесия, то давление на нее будет одинаковым для всех точек системы.
В физике, как впрочем и химии, давление обозначают большой буквой Р, идущей от латинского слова «pressura» – давление. (В английском языке давление так и осталось почти без изменения – pressure).
Общая формула давления
Из классического определения того, что такое давление можно вывести общую формулу для его расчета. Выглядеть она будет таким образом:
P = F/S
Где F – это сила давления, а S – площадь поверхности на которую она действует. То есть иными словами формула нахождения давления – это сила, воздействующая на определенную поверхность, разделенная на площадь этой самой поверхности.
Как видно из формулы, при расчете давления всегда действует следующий принцип: чем меньше пространство, на которое влияет сила, тем большее количество давящей силы на него приходится и наоборот.
Это можно проиллюстрировать простым жизненным примером: хлеб легче всего порезать острым ножом, потому что у острого ножа заточенное лезвие, то есть площадь поверхности S из формулы у него минимальна, а значит, давление ножа на хлеб будет максимально равно приложенной силе F того кто держит нож. А вот тупым ножом порезать хлеб уже сложнее, так как у его лезвия большая площадь поверхности S, и давление ножа на хлеб будет меньшим, и значит, чтобы отрезать себе кусок хлеба нужно приложить большее количество силы F.

Общая формула давления, по сути, отлично описывает формулу давления твердого тела.
Единицы давления
Согласно стандартам Международной метрической системы давление измеряется в паскалях. Один паскаль из классической формулы равен одному Ньютону (Как мы знаем, Ньютон у нас единица измерения силы) разделенному на один квадратный метр.
Но увы на практике паскаль оказывается очень маленькой единицей и использовать его для измерения давления не всегда удобно, поэтому часто для измерения давления применяют другие единицы:
- Бары – один бар равен 105 паскалей
- Миллиметры водяного столпа
- Метры водяного столпа
- Технические и физические атмосферы
Формула гидростатического давления
Как мы знаем, разные агрегатные состояния вещества, имеют разные физические свойства. Жидкости своими свойствами отличаются от твердых тел, а газы в свою очередь отличаются от них всех. Поэтому вполне логично, что способы определения давления для жидкостей, твердых тел и газов также будут разными. Так, например, формула давления воды (или гидростатического давления) будет иметь следующий вид:
P = p*g*h
Где маленькая p – плотность вещества, g – ускорение свободного падения, h – высота.
В частности эта формула объясняет, почему при погружении водолазов (или батискафа или подводной лодки) на глубину все больше возрастает давление окружающей воды. Также из этой формулы понятно, почему на предмет, погруженный в какой-нибудь кисель, будет воздействовать большее давление, чем на предмет, погруженный просто в воду, так как плотность киселя (p) выше, чем у воды, а чем выше плотность жидкости, тем выше ее гидростатическое давление.
Приведенная нами формула гидростатического давления справедлива не только для жидкостей, но и для газов. Поэтому поднимаясь высоко в горы (где воздух более разрежен, а значит меньшее давление), как и спускаясь в подводные глубины, человек, водолаз или альпинист должен пройти специальную адаптацию, привыкнуть к тому, что на него будет воздействовать другое давление.
Резкая смена давления может привести к кессоной болезни (в случае с водолазами) или к «горной» болезни (в случае с альпинистами). И «кесонка» и «горняшка», как их сленгово называют водолазы и альпинисты, вызвана резкой сменной давления окружающей среды. То есть, если не подготовленный человек начнет вдруг подниматься на Эверест, то он быстро словит «горняшку», а если этот же человек начнет опускаться на дно Мариинской впадины, то гарантировано получит «кесонку». В первом случае причиной будет не адаптация организма к пониженному давлению, а во втором – к повышенному.

Американские водолазы в декомпрессионой камере, призванной подготовить их к глубоководным погружениям и адаптировать организм к высокому давлению океанских глубин.
Парциальное давление и его формула
Хотя формула гидростатического давления применима для газов, но давления для них удобнее вычислять по другой формуле, формуле парциального давления.
Дело в том, что в природе редко встречаются абсолютно чистые вещества, причем это касается как жидкостей, так и газов. Обычно на практике в окружающем мире преобладают различные смеси, и логично, что каждый из компонентов такой смеси может оказывать разное давление, такое разное давление и называют парциальным. Определить парциальное давление просто – оно равно суме давлений каждого компонента рассматриваемой смеси. Отсюда формула парциального давления будет иметь следующий вид:
P = P1+P2+P3
Где P1, P2 и P3 – давления каждого из компонентов газовой смеси, так званный «идеальный газ».
К примеру, чтобы определить давления воздуха обычной формулы гидростатического давления проделанной только с кислородом недостаточно, так как воздух в реальности представляет собой смесь разных газов, где помимо основного компонента кислорода, которым мы все дышим, есть и другие: азот, аргон и т. д.
Такие расчеты нужно проделывать при помощи формулы парциального давления.
Формула давления идеального газа
Также стоит заметить, что давление идеального газа, то есть каждого отдельного из компонентов газовой смеси удобно посчитать по формуле молекулярно-кинетической теории.
P = n*k*T
Где n – концентрация молекул газа, T – абсолютная температура газа, k – постоянная Больцмана (указывает на взаимосвязь между кинетической энергией частицы газа и ее абсолютной температурой), она равна 1,38*10-23 Дж/К.
Приборы для измерения давления
Разумеется, человечество изобрело многие приборы, позволяющие быстро и удобно измерять уровень давления. Для измерения давления окружающей среды, оно же атмосферное давление используют такой прибор как манометр или барометр.

Так выглядит классический барометр для измерения атмосферного давления.
Чтобы узнать артериальное давление у человека, часто служащее причиной недомоганий используется прибор известный большинству под названием неинвазивный тонометр. Таких приборов существует множество разновидностей.
Также биологи в своих исследованиях занимаются расчетами осмотического давления – это давление внутри и снаружи клетки. А метеорологи, в частности по перепадам давления в окружающей среде предсказывают нам погоду.
Рекомендованная литература и полезные ссылки
- Кузнецов В. Н. Давление. Большая Российская Энциклопедия. Дата обращения 27 августа 2016.
- E.R. Cohen et al, «Quantities, Units and Symbols in Physical Chemistry», IUPAC Green Book, 3rd Edition, 2nd Printing, IUPAC & RSC Publishing, Cambridge (2008). — p. 14.
Расчет давления жидкости на дно и стенки сосуда, видео
Давление (физика) — это… Что такое Давление (физика)?
- Давление (физика)
Давле́ние (P) — физическая величина, характеризующая состояние сплошной среды и численно равная силе
, действующей на единицу площади поверхности
перпендикулярно этой поверхности. В простейшем случае анизотропной равновесной неподвижной среды (гидростатическое давление) или идеальной (не имеющей внутреннего трения и анизотропной) движущейся среды давление не зависит от ориентации поверхности. В данной точке давление определяется как отношение нормальной составляющей силы, действующей на малый элемент поверхности, к его площади:
.
Среднее давление по всей поверхности есть отношение силы к площади поверхности:
Давление является интенсивной физической величиной. Давление в системе СИ измеряется в паскалях; применяются также следующие единицы:
Единицы давления Паскаль
(Pa, Па)Бар
(bar, бар)Техническая атмосфера
(at, ат)Физическая атмосфера
(atm, атм)Миллиметр ртутного столба
(мм рт.ст.,mmHg, torr, торр)Метр водяного столба
(м вод. ст.,m H2O)Фунт-сила
на кв. дюйм
(psi)1 Па 1 Н/м2 10−5 10,197×10−6 9,8692×10−6 7,5006×10−3 1,0197×10−4 145,04×10−6 1 бар 105 1 ×106дин/см2 1,0197 0,98692 750,06 10,197 14,504 1 ат 98066,5 0,980665 1 кгс/см2 0,96784 735,56 10 14,223 1 атм 101325 1,01325 1,033 1 атм 760 10,33 14,696 1 мм рт.ст. 133,322 1,3332×10−3 1,3595×10−3 1,3158×10−3 1 мм рт.ст. 13,595×10−3 19,337×10−3 1 м вод. ст. 9806,65 9,80665×10−2 0,1 0,096784 73,556 1 м вод. ст. 1,4223 1 psi 6894,76 68,948×10−3 70,307×10−3 68,046×10−3 51,715 0,70307 1 lbf/in2
Измерение давления газов и жидкостей выполняется с помощью манометров, дифманометров, вакуумметров, атмосферного давления — барометрами, артериального давления — тонометрами.См. также

Физический портал — обзорные статьи по истории и разделам физики и биографии известных учёных.
Wikimedia Foundation. 2010.
- Давление (кровяное)
- Давлекановский район
Смотреть что такое «Давление (физика)» в других словарях:
ФИЗИКА. — ФИЗИКА. 1. Предмет и структура физики Ф. наука, изучающая простейшие и вместе с тем наиб. общие свойства и законы движения окружающих нас объектов материального мира. Вследствие этой общности не существует явлений природы, не имеющих физ. свойств … Физическая энциклопедия
ФИЗИКА — наука, изучающая простейшие и вместе с тем наиболее общие закономерности явлений природы, св ва и строение материи и законы её движения. Понятия Ф. и её законы лежат в основе всего естествознания. Ф. относится к точным наукам и изучает количеств … Физическая энциклопедия
ФИЗИКА — ФИЗИКА, наука, изучающая совместно с химией общие законы превращения энергии и материи. В основе обеих наук лежат два основных закона естествознания закон сохранения массы (закон Ломоносова, Лавуазье) и закон сохранения энергии (Р. Майер, Джауль… … Большая медицинская энциклопедия
Физика звёзд — Физика звезд одна из отраслей астрофизики, изучающая физическую сторону звезд (масса, плотность, …). Содержание 1 Размеры, массы, плотность, светимость звезд 1.1 Масса звёзд … Википедия
Физика — I. Предмет и структура физики Ф. – наука, изучающая простейшие и вместе с тем наиболее общие закономерности явлений природы, свойства и строение материи и законы её движения. Поэтому понятия Ф. и сё законы лежат в основе всего… … Большая советская энциклопедия
Давление высокое — в широком смысле давление, превышающее атмосферное; в конкретных технических и научных задачах давление, превышающее характерное для каждой задачи значение. Столь же условно встречающееся в литературе подразделение Д. в. на высокие и… … Большая советская энциклопедия
ФИЗИКА — (от древнегреч. physis природа). Древние называли физикой любое исследование окружающего мира и явлений природы. Такое понимание термина физика сохранилось до конца 17 в. Позднее появился ряд специальных дисциплин: химия, исследующая свойства… … Энциклопедия Кольера
ФИЗИКА ВЫСОКИХ ДАВЛЕНИЙ — исследование влияния, оказываемого на вещество очень высокими давлениями, а также создание методов получения и измерения таких давлений. История развития физики высоких давлений удивительный пример необычайно быстрого прогресса в науке,… … Энциклопедия Кольера
Физика твёрдого тела — Физика твёрдого тела раздел физики конденсированного состояния, задачей которого является описание физических свойств твёрдых тел с точки зрения их атомарного строения. Интенсивно развивалась в XX веке после открытия квантовой механики.… … Википедия
Физика низких температур — Содержание 1 Методы получения 1.1 Испарение жидкостей … Википедия
dic.academic.ru
Гидростатическое давление: определение, формула и свойства.
Содержание
Гидростатикой называется раздел гидравлики, в котором изучаются законы равновесия жидкостей и рассматривается практическое приложение этих законов. Для того, чтобы понять гидростатику необходимо определиться в некоторых понятиях и определениях.
Закон Паскаля для гидростатики.
В 1653 году французским ученым Б. Паскалем был открыт закон, который принято называть основным законом гидростатики.
Звучит он так:
Давление на поверхность жидкости, произведенное внешними силами, передается в жидкости одинаково во всех направлениях.
Закон Паскаля легко понимается если взглянуть на молекулярное строение вещества. В жидкостях и газах молекулы обладают относительной свободой, они способны перемещаться друг относительно друга, в отличии от твердых тел. В твердых телах молекулы собраны в кристаллические решетки.
Относительная свобода, которой обладают молекулы жидкостей и газов, позволяет передавать давление производимое на жидкость или газ не только в направлении действия силы, но и во всех других направлениях.
Закон Паскаля для гидростатики нашел широкое распространение в промышленности. На этом законе основана работа гидроавтоматики, управляющей станками с ЧПУ, автомобилями и самолетами и многих других гидравлических машин.
Определение и формула гидростатического давления
Из описанного выше закона Паскаля вытекает, что:
Гидростатическое давление – это давление, производимое на жидкость силой тяжести.
Величина гидростатического давления не зависит от формы сосуда, в котором находится жидкость и определяется произведением
P = ρgh , где
ρ – плотность жидкости
g – ускорение свободного падения
h – глубина, на которой определяется давление.
Для иллюстрации этой формулы посмотрим на 3 сосуда разной формы.
Во всех трёх случаях давление жидкости на дно сосуда одинаково.
Полное давление жидкости в сосуде равно
P = P0 + ρgh, где
P0 – давление на поверхности жидкости. В большинстве случаев принимается равным атмосферному.
Сила гидростатического давления
Выделим в жидкости, находящейся в равновесии, некоторый объем, затем рассечем его произвольной плоскостью АВ на две части и мысленно отбросим одну из этих частей, например верхнюю. При этом мы должны приложить к плоскости АВ силы, действие которых будет эквивалентно действию отброшенной верхней части объема на оставшуюся нижнюю его часть.
Рассмотрим в плоскости сечения АВ замкнутый контур площадью ΔF, включающий в себя некоторую произвольную точку a. Пусть на эту площадь воздействует сила ΔP.
Тогда гидростатическое давление формула которого выглядит как
Рср = ΔP / ΔF
представлет собой силу, действующую на единицу площади, будет называться средним гидростатическим давлением или средним напряжением гидростатического давления по площади ΔF.
Истинное давление в разных точках этой площади может быть разным: в одних точках оно может быть больше, в других – меньше среднего гидростатического давления. Очевидно, что в общем случае среднее давление Рср будет тем меньше отличаться от истинного давления в точке а, чем меньше будет площадь ΔF, и в пределе среднее давление совпадет с истинным давлением в точке а.
Для жидкостей, находящихся в равновесии, гидростатическое давление жидкости аналогично напряжению сжатия в твердых телах.
Единицей измерения давления в системе СИ является ньютон на квадратный метр (Н/м2) – её называют паскалем (Па). Поскольку величина паскаля очень мала, часто применяют укрупненные единицы:
килоньютон на квадратный метр – 1кН/м2 = 1*103 Н/м2
меганьютон на квадратный метр – 1МН/м2 = 1*106 Н/м2
Давление равное 1*105 Н/м2 называется баром (бар).
В физической системе единицей намерения давления является дина на квадратный сантиметр (дина/м2), в технической системе – килограмм-сила на квадратный метр (кгс/м2). Практически давление жидкости обычно измеряют в кгс/см2, а давление равное 1 кгс/см2 называется технической атмосферой (ат).
Между всеми этими единицами существует следующее соотношение:
1ат = 1 кгс/см2 = 0,98 бар = 0,98 * 105 Па = 0,98 * 106дин = 104 кгс/м2
Следует помнить что между технической атмосферой (ат) и атмосферой физической (Ат) существует разница. 1 Ат = 1,033 кгс/см2 и представляет собой нормальное давление на уровне моря. Атмосферное давление зависит от высоты расположения места над уровнем моря.
Измерение гидростатического давления
На практике применяют различные способы учета величины гидростатического давления. Если при определении гидростатического давления принимается во внимание и атмосферное давление, действующее на свободную поверхность жидкости, его называют полным или абсолютным. В этом случае величина давления обычно измеряется в технических атмосферах, называемых абсолютными (ата).
Часто при учете давления атмосферное давление на свободной поверхности не принимают во внимание, определяя так называемое избыточное гидростатическое давление, или манометрическое давление, т.е. давление сверх атмосферного.
Манометрическое давление определяют как разность между абсолютным давлением в жидкости и давлением атмосферным.
Рман = Рабс – Ратм
и измеряют также в технических атмосферах, называемых в этом случае избыточными.
Случается, что гидростатическое давление в жидкости оказывается меньше атмосферного. В этом случае говорят, что в жидкости имеется вакуум. Величина вакуума равняется разнице между атмосферным и и абсолютным давлением в жидкости
Рвак = Ратм – Рабс
и измеряется в пределах от нуля до атмосферы.
Свойства гидростатического давления
Гидростатическое давление воды обладает двумя основными свойствами:
Оно направлено по внутренней нормали к площади, на которую действует;
Величина давления в данной точке не зависит от направления (т.е. от ориентированности в пространстве площадки, на которой находится точка).
Первое свойство является простым следствием того положения, что в покоящейся жидкости отсутствуют касательные и растягивающие усилия.
Предположим, что гидростатическое давление направлено не по нормали, т.е. не перпендикулярно, а под некоторым углом к площадке. Тогда его можно разложить на две составляющие – нормальную и касательную. Наличие касательной составляющей из-за отсутствия в покоящейся жидкости сил сопротивления сдвигающим усилиям неизбежно привело бы к движению жидкости вдоль площадки, т.е. нарушило бы её равновесие.
Поэтому единственным возможным направлением гидростатического давления является его направление по нормали к площадке.
Если предположить что гидростатическое давление направлено не по внутренней, а по внешней нормали, т.е. не внутрь рассматриваемого объекта а наружу от него, то вследствие того, что жидкость не оказывает сопротивления растягивающим усилиям – частицы жидкости пришли бы в движение и её равновесие было бы нарушено.
Следовательно, гидростатическое давление воды всегда направлено по внутренней нормали и представляет собой сжимающее давление.
Из этого же правило следует, что если измениться давление в какой-то точке, то на такую же величину измениться давление в любой другой точке этой жидкости. В этом заключается закон Паскаля, который формулируется следующим образом: Давление производимое на жидкость, передается внутри жидкости во все стороны с одинаковой силой.
На применение этого закона основываются действие машин, работающих под гидростатическим давлением.
Видео по темеЕщё одним фактором влияющим на величину давления является вязкость жидкости, которой до недавнего времени приято было пренебрегать. С появлением агрегатов работающих на высоком давлении вязкость пришлось так же учитывать. Оказалось, что при изменении давления, вязкость некоторых жидкостей, таких как масла, может изменяться в несколько раз. А это уже определяет возможность использовать такие жидкости в качестве рабочей среды.
www.nektonnasos.ru
ДАВЛЕНИЕ — это… Что такое ДАВЛЕНИЕ?
давление — См. бремя, влияние, иго, насилие оказывать давление, производить давление… Словарь русских синонимов и сходных по смыслу выражений. под. ред. Н. Абрамова, М.: Русские словари, 1999. давление бремя, влияние, иго, насилие, нажим, гнет, напор,… … Словарь синонимов
давление — падает • изменение, субъект, мало давление поднялось • изменение, субъект, много измерять давление • оценка, измерение оказать давление • действие оказывать давление • действие поднялось давление • изменение, субъект, много подскочило давление •… … Глагольной сочетаемости непредметных имён
ДАВЛЕНИЕ — ДАВЛЕНИЕ, действие силы, приложенной к определенной поверхности. Действие силы на твердое тело в направлении, перпендикулярном к поверхности, производит нормальное давление на поверхность тела. Поверхность твердого тела находится под Д.… … Большая медицинская энциклопедия
ДАВЛЕНИЕ — ДАВЛЕНИЕ, давления, ср. (книжн.). 1. Действие по гл. давить в 1 и 7 знач. 2. Степень упругости (газов и жидкостей; физ. тех.). Давление воды. Паровой котел высокого давления. Атмосферное давление. 3. перен. Моральное принуждение, насильственное… … Толковый словарь Ушакова
ДАВЛЕНИЕ — ДАВЛЕНИЕ, я, ср. 1. см. давить. 2. Сила действия одного тела на поверхность другого (спец.). Д. жидкости на стенки сосуда. Д. воды. Атмосферное д. Кровяное д. (давление крови в сосудах). 3. То же, что кровяное давление (разг.). Повышенное,… … Толковый словарь Ожегова
ДАВЛЕНИЕ — (Pressure) равнодействующая внешних сил, приложенных к поверхности. Единица давления в абсолютной системе мер бария, равна дине/см2, техническая единица давления атмосфера или бар = 1 000 000 бариям. В системе МТС пьеза или стэн/м2 = 10 000… … Морской словарь
ДАВЛЕНИЕ — ДАВЛЕНИЕ, физическая величина, характеризующая интенсивность нормальных (перпендикулярных к поверхности) сил F, с которыми одно тело действует на поверхность S другого (например, фундамент здания на грунт, жидкость на стенки сосуда и т.п.). Если… … Современная энциклопедия
ДАВЛЕНИЕ — физическая величина, характеризующая интенсивность нормальных (перпендикулярных к поверхности) сил F, с которыми одно тело действует на поверхность S другого (напр., фундамент здания на грунт, жидкость на стенки сосуда и т. п.). Если силы… … Большой Энциклопедический словарь
ДАВЛЕНИЕ — физ. величина, характеризующая интенсивность нормальных (перпендикулярных к поверхности) сил, с к рыми одно тело действует на поверхность другого (напр., фундамент здания на грунт, жидкость на стенки сосуда, газ в цилиндре двигателя на поршень).… … Физическая энциклопедия
Давление — ДАВЛЕНИЕ, физическая величина, характеризующая интенсивность нормальных (перпендикулярных к поверхности) сил F, с которыми одно тело действует на поверхность S другого (например, фундамент здания на грунт, жидкость на стенки сосуда и т.п.). Если… … Иллюстрированный энциклопедический словарь
Давление — Давление. В механике и математической физике под давлением накакое либо тело подразумевается совокупность сил, сплошным образомприложенных к поверхности тела и направленных по нормалям ее внутрьтела; таковы, напр., Д. газов и жидкостей на стенки… … Энциклопедия Брокгауза и Ефрона
dic.academic.ru
Определение давления
До сих пор мы изучали случаи, когда сила, действующая на тело, была приложена к нему в одной точке. Мы так и говорили про неё: «точка приложения силы» . Настало время ситуаций, когда сила приложена к телу во множестве точек, то есть действует на некоторую площадь поверхности. В каждом из таких случаев говорят не только о самой силе, но и о создаваемом ею давлении.
![]() |
Как приятна зимняя прогулка на лыжах! Однако стоит выйти на снег без них, как ноги будут глубоко проваливаться при каждом шаге, идти будет трудно, и удовольствие будет испорчено.
На этом рисунке вес лыжника примерно равен весу «пешехода». Поэтому силы, с которыми мальчики давят на снег, будем считать равными. Но заметьте: они действуют не на одну точку, а «распределяются» по некоторым поверхностям. У лыжника – по площади касания снега и лыж, а у пешехода – снега и подошв.
Понятно, что Sлыж > Sподошв. Поэтому и результат действия лыжника на снег проявляется в меньшей степени – лыжник проваливается на меньшую глубину.
Распределение силы по площади её приложения характеризуют особой физической величиной – давлением. Отношение силы F к площади поверхности S, при условии, что сила действует перпендикулярно поверхности, называют давлением. Это определение давления, и его можно записать в виде формулы:
![]() | p – давление, Па. F^ – перпендикулярно приложенная сила, Н. S – площадь поверхности, м2 |
Единица давления – 1 паскаль (обозначается: 1 Па). Из формулы-определения видно, что 1 Па = 1 Н/м2
Числовое значение давления показывает силу, приходящуюся на единицу площади её приложения. Например, при давлении 5 паскалей на каждый 1 м2 будет действовать сила 5 ньютонов.
Вернёмся к примеру с мальчиками. На рисунке не указаны числовые значения F и S. Значит, мы не можем количественно сравнить давления, которое оказывают мальчики (с лыжами и без лыж) на снег. Однако мы можем сравнить их качественно, используя слова «больше» и «меньше». Сделаем это.
Сначала запишем исходные данные: силы, с которыми мальчики давят на снег, равны, и площадь лыж больше площади подошв (см. столбик слева):
![]() |
После знака «Ю», который значит «следовательно», мы составили две дроби. Обратите внимание: знак «больше», присутствовавший в исходных данных, изменился на знак «меньше». Почему? Поскольку знаменатель левой дроби больше знаменателя правой, значит, согласно свойству дроби, сама левая дробь меньше правой. Вспомнив, что каждая дробь в этом неравенстве является давлением, получим: давление лыжника меньше давления пешехода. Этим и объясняется то, что лыжник меньше проваливается в снег, чем пешеход.
Формула-определение давления подсказывает нам, как его можно изменять: чтобы увеличить давление, нужно увеличить силу или уменьшать площадь её приложения. И наоборот: чтобы уменьшить давление, нужно уменьшить силу или увеличить площадь, на которую эта сила действует.
questions-physics.ru
что такое верхнее и нижнее артериальное давление, как измерять

Артериальное давление являет собой индивидуальный физиологический показатель, который определяет силу сдавливания крови на стенки кровеносных сосудов.
Во многом АД зависит от того, как работает сердце человека и сколько ударов в минуту оно может сделать.
Нормальное давление человека являет собой показатель, который может меняться в зависимости от физической нагрузки на организм.
Таким образом, при активных тренировках либо сильных эмоциональных переживаниях нормальное давление человека может повышаться и выходить за рамки нормы.
По этой причине измерять показатели АД рекомендуется утром, когда человек не переживал и не перенапрягался физически.
Идеальным в состоянии покоя считается показатель давления 110\70. Пониженное давление начинается с 100\60. Повышенное (гипертония) — с 140\90.
Критическим (максимальным) показателем считается 200/100 и больше.
Нормальное давление человека также может изменяться и после физической активности. Если сердце при этом справляется со своими функциями, то изменение АД не является отклонением. Таким образом, после спортивных нагрузок у человека может повыситься давление до 130\85.
Выделяют такие факторы, которые оказывают существенное влияние на нормальное давление (в том числе внутриглазное, внутрибрюшное и т.п.) человека:
- Возраст человека и его общее состояние здоровья. При этом важно знать, что уже имеющиеся болезни (особенно хронические патологии почек, сердца, венерические или вирусные болезни) способны существенно повышать АД.
- Наличие болезней, способных сгущать кровь (сахарный диабет).
- Наличие прогрессирующих отклонений в давлении (гипертония, гипотония).
- Состояние сердца и наличие болезней у него.
- Атмосферное давление.
- Уровень гормонов щитовидной железы и менопауза у женщин.
- Гормональные сбои в организме, которые сужают артерии и сосуды.
- Общая эластичность сосудистых стенок. У людей пожилого возраста сосуды изнашиваются и становятся ломкими.
- Наличие атеросклероза.
- Вредные привычки (курение, употребление спиртного).
- Эмоциональное состояние человека (частые стрессы и переживания негативно отображаются на нормальном давлении человека).
Нормальное кровяное давление имеет некоторые отличия у женщин, взрослых мужчин и детей.
В том случае, если у человека наблюдаются сбои в данном показателе и проблемы со скачками АД, ему требуется срочная врачебная помощь и медицинское лечение.
Помимо этого, немало важную роль играет и пульсовой показатель, так как кровяной пульс неразрывно связан с венозным давлением.
Нормальное артериальное давление у человека: верхнее и нижнее давление
Перед тем, как рассмотреть, что такое верхнее и нижнее артериальное давление, приведем классификацию АД по ВОЗ.
Выделяют такие стадии повышенного АД по ВОЗ:
- Первая стадия сопровождается стабильным протеканием гипертонии, без ухудшения работы внутренних органов.
- Вторая стадия предусматривает развитие патологий в одном или двух органах.
- Третья стадия затрагивает не только органы, но и также системы организма. Помимо этого, выделяют такие степени АД:
- Пограничное состояние, при котором показатели не больше 159/99.
- Вторая степень — умеренная гипертония (179/109 и больше).
Нормальное артериальное давление у человека — это понятие относительное, так как для каждого индивидуального (отдельного) организма существуют определенные нормовые показатели тонометра.
Перед тем, как понять, какое нормальное артериальное давление у человека, важно выяснить, что такое верхнее и нижнее артериальное давление.
Не все знают, что такое верхнее и нижнее артериальное давление, и часто его путают. Говоря простыми словами, верхнее или систолическое давление — это показатель, который зависит от частоты сокращения и силы ритма миокарда.
Нижнее или диастолическое давление — это показатель, выявляющий минимальное давление во время спадания нагрузки (расслабления) мышцы сердца.
Какое должно быть артериальное давление по возрастам и половой принадлежности?
У мужчин нормами считаются:
- В 20 лет — 123/76.
- В 30 лет — 130/80.
- В 50-60 лет — 145/85.
- Более 70 лет — 150/80.
У женщин нормальные показатели давления такие:
- В 20 лет −115/70.
- В 30 лет — 120/80.
- В 40 лет — 130/85.
- В 50-60 лет — 150/80.
- Более 70 лет — 160/85.
Как можно заметить, показатели АД с возрастом увеличиваются как у мужчин, так и у женщин.
Нормальное артериальное давление у человека неразрывно связано с его пульсом, который также может свидетельствовать о различных заболеваниях и патологиях в организме (особенно в почках и кровеносных сосудах).
Сам по себе пульс — это не что иное, как периодические сокращения, которые связаны с колебанием сосудов при их наполнении кровью. При пониженном сосудистом давлении пульс также будет слабым.
В норме в состоянии покоя пульс человека должен быть 60-70 ударов в минуту.
Выделяют разные нормы пульса для людей разных возрастных категорий:
- У детей от одного до двух лет — 120 ударов в минуту.
- У детей от трех до семи лет — 95 ударов.
- У детей от восьми до 14 лет — 80 ударов.
- У подростков и молодых людей— 70 ударов.
- У людей пожилого возраста — 65 ударов.
Нормальное давление у человека при беременности не сбивается вплоть до шестого месяца вынашивания ребенка. После этого из-за влияния гормонов АД может повышаться.
В том случае, если беременность протекает с отклонения или патологиями, то скачки АД могут быть более заметными. В таком состоянии у женщины может наблюдаться стойкое повышение показателей давления. При этом ей рекомендуется ставать на учет к терапевту и ложиться в больницу под наблюдение врача.
В каких единицах измеряют артериальное давление: советы по измерению АД
Перед тем, как рассмотреть, в каких единицах измеряют артериальное давление, следует разобраться в правилах самой процедуры по установлению показателей АД.
Выделяют такие врачебные рекомендации по измерению давления:
- Человек должен занять сидячее положение с опорой на спину.
- Перед измерением давления не рекомендуется физически перенапрягаться, курить, кушать, а также принимать спиртные напитки.
- Нужно использовать только рабочий механический прибор для изменения АД, который будет иметь нормированную шкалу.
- Рука человека должна быть на уровне его груди.
- Во время процедуры нельзя говорить либо двигаться.
- В измерении величины давления обеих рук нужно делать перерыв в десять минут.
- Измерять давление должен врач либо медсестра. Самостоятельно человек не сможет точно определить свое давление.
Не все знают, в каких единицах измеряют артериальное давление и что значат показатели «мм рт. ст.». На самом деле все просто: данные единицы измерения артериального давления означают миллиметры ртутного столба. Они показывают на приборе, насколько высоко или низко АД.
После того, как мы разобрались, в каких единицах измеряют артериальное давление, приведем основные причины отклонений от нормы.
Нарушения давления в организме может развиваться по самым разным причинам. Это может быть физическое переутомление, голодание или простой стресс, который сильно повлиял на состояние человека. Обычно в таком состоянии показатели сами стабилизируются, когда организм придет в норму, человек поест, отдохнет и хорошо поспит.
Более серьезной причиной повышенного давления могут стать прогрессирующие болезни, такие как атеросклероз сосудов, сахарный диабет, острые вирусные или инфекционные заболевания. В таком состоянии человек может страдать от резких скачков АД, а также явных признаков гипертонии.
Еще одной частой причиной сбоя в АД является резкое сужение сосудов, возникшее по причине гормонального влияния, а также эмоциональных перенапряжений.
Прием некоторых препаратов, болезни сердца, нарушение свертываемости крови и чрезмерные физические нагрузки тоже могут повлиять на сбой в данном показателе.
Неправильное питание и сбой в функционировании эндокринной системы обычно плохо сказывается на АД как у молодых, так и у пожилых людей.
Разница между систолическим и диастолическим давлением: норма и отклонение
Артериальное давление имеет два основных показателя:
- Систолическое.
- Диастолическое.
Существует весомая разница между систолическим и диастолическим давлением. Норма верхнего (систолического давления) определяется уровнем давления в крови человека в миг самого сильного (предельного) сокращения сердца.
Таким образом, норма систолического давления напрямую зависит от частоты ударов сердца и количества его сокращений.
Выделяют такие факторы, которые влияют на норму систолического давления:
- Объем правого желудочка.
- Частота колебаний сердечной мышцы.
- Мера растяжения стенок в аорте.
Норма систолического давления составляет 120 мм. рт. ст. Иногда оно называется «сердечным», однако это не совсем правильно, ведь в процессе перекачивания крови участвует не только данный орган, но и также сосуды.
Норма диастолического давления зависит от уровня давления крови в миг максимального расслабления сердца. Таким образом, норма диастолического давления составляет 80 мм.рт.ст.
По этому, есть довольно весомая разница между систолическим и диастолическим давлением.
Норма же при этом все равно индивидуальна для каждого человека, в зависимости от состояния здоровья, возраста и пола.
Повышенное артериальное давление или гипертония (гипертензия) обычно выявляется у пожилых людей. Данное заболевание считается очень опасным, поскольку оно способно привести к инсульту, то есть, разрыву сосуда в мозге.
Такое отклонение может развиться по следующим причинам:
- Лишний вес человека (ожирение).
- Сильное нервное перенапряжение, частые стрессы и психоэмоциональная нестабильность.
- Хронические заболевания внутренних органов.
- Малоподвижный образ жизни.
- Сахарный диабет.
- Употребление спиртных напитков.
- Курение.
- Неправильное питание.
- Генетическая предрасположенность человека к данному заболеванию.
Во время гипертонии человек страдает от жутких головных болей, слабости, отдышки, сухости во рту, болей в сердце и слабости.
В таком состоянии больному нужно оказывать срочную помощь и обращаться к врачу, пока заболевание не вызвало опасных осложнений. Также при этом важно выявить первопричину гипертонии, и совместно с высоким давлением лечить и тот фактор, который спровоцировал его появление.
Гипертонический криз — это очень опасное состояние, при котором резко повышается АД. В таком состоянии у человека поражается нервная система и внутренние органы. Есть высокий риск инсульта и инфаркта.
Выявить гипертонический криз можно по эхокардиографии и измерению АД. Его причинами могут стать прием спиртного, сильная физическая нагрузка, прием некоторых препаратов, а также прогрессирование болезней внутренних органов или систем. Для купирования приступа назначается препарат Прогликем.
Гипотония — это состояние, при котором у человека наблюдается пониженное давление. При этом больной будет ощущать сильную слабость, тошноту, головокружение.
Вызвать такое состояние могут:
- Анемия.
- ВСД.
- Инфаркт.
- Длительное голодание.
- Болезни надпочечников.
med88.ru
Билет № 13
Билет №13
1.Давление, виды давлений и единицы его измерения.
2.Термомагнитный газоанализатор на кислород.
3.Нарисовать схему регулирования давления и выбрать приборы.
4.Классификация электрических датчиков давления.
1. Давление, виды давлений, единицы его измерения.
Давление — один из важнейших параметров технологических процессов. Давлением называется отношение силы, действующей на площадь, к величине площади.
,
где F – сила;
S – площадь.
Различают давления:
барометрическое (атмосферное) — Ратм;
абсолютное — Рабс;
избыточное — Ризб;
вакуум (разрежение) — Рвак
Барометрическое давление — это давление атмосферы, окружающей земной шар.
Абсолютное давление — это полное давление, под которым находятся жидкость, газ или пар.
Рабс = Ризб + Ратм
Избыточное давление — это давление сверх атмосферного.
Ризб = Рабс — Ратм
Если из закрытого сосуда откачать часть воздуха, то абсолютное давление внутри сосуда понизится и станет меньше, чем атмосферное. Такое давление внутри сосуда называется вакуумом.
Вакуум — это недостаток давления до атмосферного.
Рвак = Ратм — Рабс
Остаточное давление определяется по формуле:
Рост = Ратм – Рвак ,
где Ратм = 760 мм рт.ст.
Единицы измерения давления
Единица измерения давления в системе СИ — Паскаль (Па).
Паскаль — это давление с силой 1 Н на площадь 1 м2.

Внесистемные единицы: кгс/см2; мм вод.ст.; мм рт. ст; бар, атм.
Соотношение между единицами измерения:
1 кгс/см2 = 98066,5 Па
1 мм вод.ст. = 9,80665 Па
1 мм рт.ст. = 133,322 Па
1 бар = 105 Па
1 атм = 9,8* 104 Па
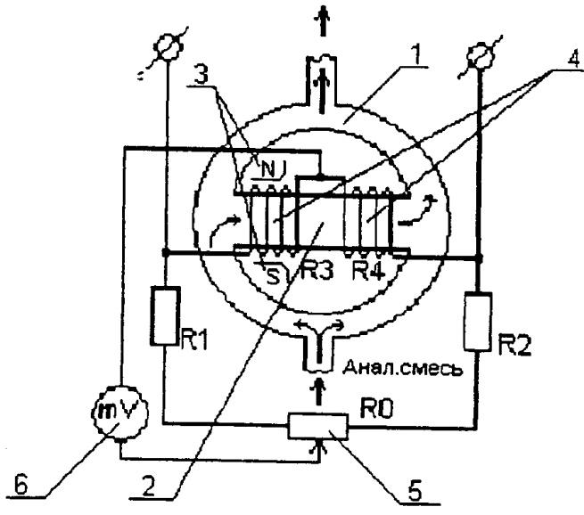
2.Термомагнитный газоанализатор на кислород
Термомагнитный газоанализатор служит для определения концентрации кислорода в газовой смеси.
Принцип действия основан на свойстве кислорода притягиваться магнитным полем. Это свойство называется магнитной восприимчивостью.

1) кольцевая камера;
2) стеклянная трубка;
3) постоянный магнит;
4) спираль из платиновой проволоки;
5) реостат стандартизации тока;
6) милливольтметр;
R1, R2 – постоянные сопротивления из манганина;
R1, R2, R3, R4 – плечи моста.
Анализатор состоит из кольцевой камеры 1, по диаметру которой установлена тонкостенная стеклянная трубка 2 со спиралью 4, нагреваемой током. Спираль состоит из двух секций, которые образуют два смежных плеча неуравновешенного моста (R3,R4). Двумя другими плечами служат два постоянных сопротивления из манганина (R1, R2). Левая секция спирали R3 находится в поле постоянного магнита 3.
Работа
При наличии в газовой смеси кислорода часть потока ответвляется в стеклянную трубку, где образуется течение газа в направлении слева направо. Образующийся поток газа переносит тепло от обмотки R3 к R4, поэтому температура секций изменяется (R3 охлаждается, R4 нагревается), и изменяются их сопротивления. Мост выходит из равновесия. Измерительный мост питается постоянным током от ИПСа. R0 — служит для установки силы тока питания моста. Шкала милливольтметра градуируется в % кислорода.
Пределы измерения: 0- 5; 0-10; 0- 21; 20- 35% кислорода.
3.Нарисовать схему регулирования давления и выбрать приборы.
Поз.800
– Давление верха колонны регулируется,
клапан стоит на линии выхода паров
дистиллята из колонны.
Поз.800 -1 интеллектуальный датчик избыточного давления Метран -100 ДИ
Поз.800 -2 барьер искробезопасности входной
Поз.800 -3 барьер искробезопасности выходной
Поз.800 -4–электропневматический позиционер
Поз.800 -5– регулирующий клапан.
4.Классификация электрических датчиков давления
В данных приборах измеряемое давление, оказывая воздействия на чувствительный элемент, изменяет его собственные электрические пара- метры: сопротивление, ёмкость или заряд, которые становятся мерой этого давления. Подавляющее большинство современных общепромышленных ИПД реализовано на основе трех основных принципов:
1) емкостные – используют упругий чувствительный элемент в виде конденсатора с переменным зазором: смещение или прогиб под действием прилагаемого давления подвижного электрода-мембраны относительно неподвижного изменяет его ёмкость;
2) пьезоэлектрические – основаны на зависимости поляризованного заряда или резонансной частоты пьезокристаллов: кварца, турмалина и других от прилагаемого к ним давления;
3) тензорезисторные – используют зависимость активного сопро-
тивления проводника или полупроводника от степени его деформации.
В последние годы получили развитие и другие принципы работы ИПД: волоконно-оптические, индукционные, гальваномагнитные, объем- ного сжатия, акустические, диффузионные и т.д.
На сегодняшний день самыми популярными в России являются тензорезисторные ИПД.
studfile.net

, действующей на единицу площади поверхности
перпендикулярно этой поверхности. В простейшем случае анизотропной равновесной неподвижной среды (гидростатическое давление) или идеальной (не имеющей внутреннего трения и анизотропной) движущейся среды давление не зависит от ориентации поверхности. В данной точке давление определяется как отношение нормальной составляющей силы, действующей на малый элемент поверхности, к его площади:
.



