Системы судового дизельного двигателя в яхтинге.
В предыдущей статье мы рассмотрели топливную систему судового двигателя. Но она не является единственной. Судовому дизельному двигателю внутреннего сгорания необходимо быть в меру разогретым. Во-первых, эффективная работа двигателя обеспечивается температурными зазорами его частей, рассчитанными для горячего состояния. Во-вторых, нагретое смазочное масло становится более текучим и лучше выполняет свои функции.Конечно, речь идет только о рабочем диапазоне температуры судового дизельного двигателя, который должен поддерживаться исправной работой системы охлаждения. Перегрев двигателя может привести к тяжелым последствиям в яхтинге. Нет ничего удивительно в том, что яхтенные моторы охлаждаются забортной водой.
Система охлаждения судового двигателя.
В редких случаях эта вода подается прямо в блок цилиндров, после чего сбрасывается за борт. Такая система охлаждения называется одноконтурной, ее простота имеет свои положительные и отрицательные стороны.
Практически все современные судовые дизельные двигатели на парусных и моторных яхтах оснащены двухконтурной системой охлаждения.
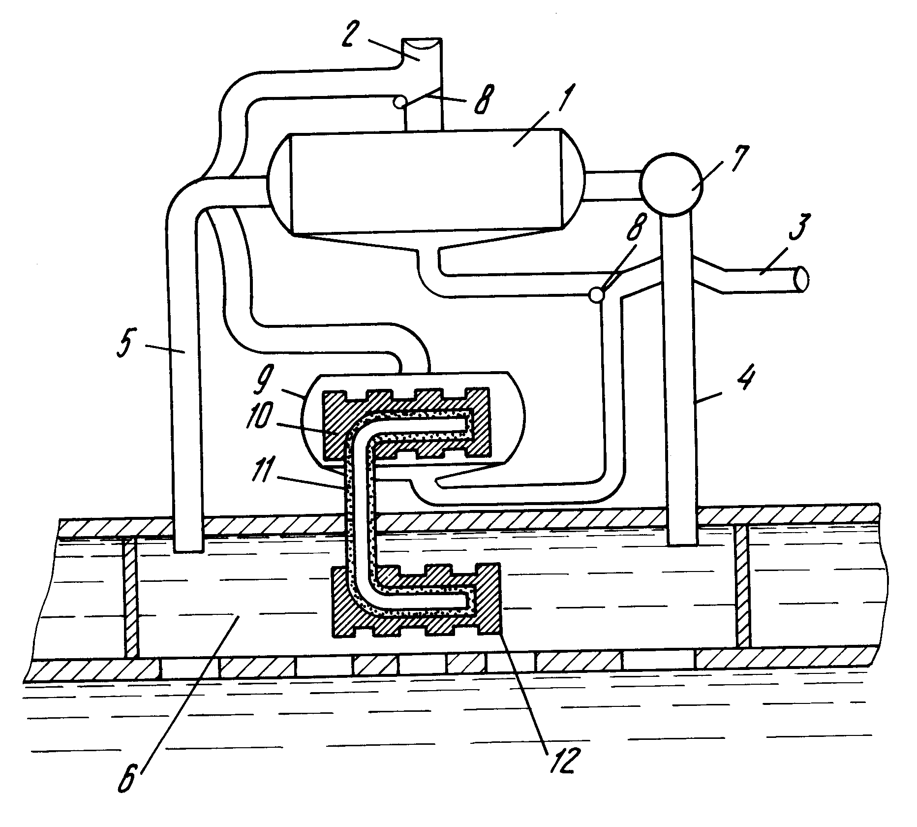
Через вентиль (1) забортная вода поступает на фильтр (2). Прокачка забортной воды производится помпой (3), которая подает эту воду в теплообменник (5), после чего происходит сброс ее в выхлопную трубу судового дизельного двигателя (7). Насос внутреннего контура (4) прокачивает через теплообменник антифриз, циркулирующий внутри блока цилиндров с целью их непосредственного охлаждения. Если выпускной коллектор двигателя расположен ниже ватерлинии, для предотвращения попадания в него забортной воды через выхлопную трубу остановленного двигателя, на трубопроводе сброса забортной воды устанавливается сифонный клапан (6).
Такова принципиальная схема системы охлаждения судового дизельного двигателя. На практике она дополняется необходимыми элементами, в число которых могут входить:
• датчик температуры внутреннего контура охлаждения, обеспечивающий показания стрелочного прибора и включающий звуковую и световую сигнализацию в случае перегрева;
• термостат, подключающий циркуляцию забортной воды в теплообменнике только после того, как температура внутреннего контура достигнет рабочих параметров;
• в некоторых случаях — сигнализатор превышения температуры выхлопных газов, который в первую очередь должен предупредить о неисправности в системе подачи забортной воды на охлаждение судового дизельного двигателя.
Несмотря на относительную сложность конструкции, эта система имеет существенные преимущества: в судовом дизельном двигателе циркулирует не морская вода, агрессивная по отношению к конструкционным материалам, а специальная охлаждающая жидкость — смесь пресной воды и хладагента, не вызывающая коррозию металла и засорения осадками и накипью очень тонких каналов системы охлаждения. Кроме того, охлаждающая жидкость не замерзает при минусовых температурах, что также увеличивает срок службы и надежность судового двигателя.
Сиcтемы воздухозабора и выхлопа судового двигателя.
Если открытие входа в моторный отсек сопровождается повышением оборотов судового двигателя (и такое бывает!) — ему не хватает воздуха. Свободный приток воздуха из салона к мотору даже способствует ускоренной вентиляции помещений, т.к. работающий судовой двигатель в этом случае играет роль мощной вытяжки.
Стерильность морского воздуха не только полезна для здоровья, но и позволяет не усложнять системы воздухозабора и очистки его на входе в дизель.
Воздушный фильтр (air filter) (1) обычно выполнен из поролона, который периодически просто промывается и сушится.
Через впускной коллектор (2) воздух поступает к впускным клапанам цилиндров (3), обеспечивая сгорание топлива.
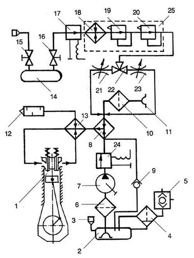
Система электрооборудования судового дизельного двигателя.
На всех яхтах запуск судового дизельного двигателя производится электроэнергией аккумулятора (1), предназначенного исключительно для этой цели, не допуская возможности его разрядки на любых других потребителях. При неработающем судовом двигателе размыкатель (2) обрывает случайные токи утечки. Реле электромотора стартера срабатывает поворотом ключа в замке зажигания (4) и приводит в действие стартер (3). Работающий судовой двигатель вращает навешенный на него генератор (5), который производит зарядку стартерного аккумулятора и батарей бытовых потребителей через выход (6) в систему электрооборудования самой яхты.
Для повышения надежности в бортовой системе постоянного тока предусмотрена возможность подключения батарей бытовых потребителей в режим запуска двигателя, на случай, если со стартерным аккумулятором произошла неприятность. Все современные моторы снабжены приборами контроля рабочих параметров: число оборотов, температура, давление. Иногда и управление судовым дизельным двигателем производится посредством электроники.
На этом обзор систем судового дизельного двигателя закончим. А в следующей статье поговорим еще об одном неотъемлемом элементе современной яхты. О гребном винте.
Схемы охлаждения ДВС
Категория:
Дизельные двигатели
Публикация:
Схемы охлаждения ДВС
Читать далее:
Схемы охлаждения ДВС
В двигателях внутреннего сгорания при сжигании топлива температура газов достигает 1800 °С. Тепло газов передается цилиндрам, поршням, клапанам и другим деталям.
Поддержание определенной температуры цилиндров и их крышек во время работы дизеля обеспечивает система охлаждения. Однако и чрезмерное охлаждение дизеля может вызвать ряд вредных явлений, ухудшающих его работу. Так, при переохлаждении дизеля увеличиваются потери тепла. Вследствие этого в механическую работу превращается меньшая часть тепла, выделившегося при сгорании топлива в цилиндрах дизеля, и ухудшается процесс сгорания топлива. Все это снижает мощность и экономичность дизеля. Кроме того, в результате переохлаждения двигателя возможно заедание поршня.
Двигатели оборудуют водяной проточной, циркуляционной либо воздушной системами охлаждения.
Рекламные предложения на основе ваших интересов:
Проточная система охлаждения применяется чаще всего на судовых двигателях. Вода поступает из-за борта судна и, проходя через зарубашечное пространство двигателя, уносит с собой избыточное тепло.
Циркуляционное двухконтурное охлаждение дизеля осуществляется водой, которая циркулирует по замкнутому контуру и, в свою очередь, охлаждается в охладителе вторым контуром (проточной водой или воздухом от вентилятора). Эта система охлаждения обеспечивает устойчивый тепловой режим работы дизеля. Примером такой системы может быть система охлаждения судового дизеля. В нее входят: водозабортный ящик, фильтр, насос забортной воды, холодильник для охлаждения масла, холодильник для охлаждения воды, цистерна пресной воды, насос пресной воды и трубопроводы. Водяные поршневые насосы, расположенные в передней части дизеля, приводятся в действие шестеренчатой передачей от коленчатого вала.
На последних моделях этого типа двигателей, с целью снижения веса, поршневые насосы заменены самовсасывающими реверсивными центробежными насосами. Пресная вода из цистерны забирается водяным насосом и через общую трубу, расположенную вдоль дизеля, нагнетается в водяную рубашку каждого цилиндра. Вода, ох-если при заглушённом двигателе через них спускать воду, то она замерзнет раньше, чем вытечет из системы.
Воздушное охлаждение обеспечивается за счет обдувания внешней поверхности цилиндров и их головок воздухом. Для увеличения охлаждаемой поверхности, через которую отводится тепло, она выполняется ребристой.
Рис. 1. Схема водяного охлаждения дизеля
Потом она направляется в водонапорную цистерну. Расход воды регулируется при помощи кранов подводящей магистрали отдельно для каждого цилиндра в зависимости от ее температурь;, которая контролируется установленными на цилиндрах термометрами.
Холодильник охлаждается проточной забортной водой, движущейся в системе охлаждения под действием насоса забортной воды. Из водозабортного ящика через фильтр забортная вода всасывается насосом и нагнетается по параллельным трубопроводам в холодильник. В холодильнике забортная вода соприкасается со стенками трубок и нагревается. Затем она выходит за борт и на ее место засасываются новые порции холодной воды.
Система охлаждения должна быть несложной, надежной в эксплуатации, обладать малым весом и размерами. Температура выходящей из двигателя воды должна находиться в заданном диапазоне при всех скоростных и нагрузочных режимах работы двигателя. При этом расход мощности на привод насосов должен быть минимальным. Система должна допускать быстрый и беспрепятственный выпуск охлаждающей жидкости при неработающем двигателе.
Циркуляционный насос предназначен для подачи в двигатель охлаждающей воды. При движении поршня вправо в рабочей полости насоса создается разрежение, и вода по трубе поступает в нее через всасывающий клапан.
Обратным движением поршня вода выталкивается через нагнетательный клапан в полость нагнетания и далее по трубе — в систему охлаждения.
Производительность насоса в два раза превышает потребность двигателя в охлаждающей воде, поэтому на теплоходах один насос может подавать воду на два двигателя, что предусматривается соответствующей системой трубопроводов.
Производительность насоса регулируется клапаном (сапунком) путем впуска воздуха в рабочую полость. При этом уменьшается вакуум, а следовательно, снижается производительность.
Для обеспечения равномерности подачи воды в нагнетательную магистраль и уменьшения ударов воды в начале нагнетательного хода поршня установлен буферный воздушный колпак. Давление в системе охлаждения регулируется редукционным клапаном путем соответствующего натяжения пружины.
Для предохранения деталей насоса от разъедания солями воды установлен цинковый протектор.
Надежность работы насоса зависит преимущественно от нормальной работы всасывающего и нагнетательного клапанов.
Поэтому предусмотрен быстрый и легкий доступ к ним для осмотра и устранения недостатков их работы, а также смены в случае поломки.
Рекламные предложения:
Читать далее: Циркуляционные насосы ДВС
Категория: — Дизельные двигатели
Главная → Справочник → Статьи → Форум
ДизельЗипСервис предлагает Судовые дизель-генераторы
1. Питание потребителей электроэнергии речных и морских судов трехфазным переменным током с линейным напряжением 380 или 220 В и частотой 50 Гц.
2. Мощностной ряд:
1) Вспомогательные дизель-генераторы
-
С Сертификатом Речного Регистра (с двухконтурной системой охлаждения) 16, 30, 50, 60, 75, 100, 150, 200 кВт.
-
С Сертификатом Речного Регистра (воздушного охлаждения) 12, 16, 20, 30 кВт
-
С Сертификатом Российского Морского Регистра 30, 50, 60, 75, 100 кВт
-
С Сертификатом Российского Морского Регистра в утепленном блок-модуле с радиаторной системой охлаждения 30, 50, 60, 75, 100 кВт
2) Аварийные дизель-генераторы
-
С Сертификатом Речного Регистра 16, 30, 50, 60, 75, 100 кВт
-
С Сертификатом Российского Морского Регистра 30, 50, 60, 75, 100 кВт
3) Силовые модули — дизельный двигатель с полной обвязкой масляной системы и системы охлаждения, с водоводяным, водомасляным охладителями, насосом забортной воды, двухпроводным электрооборудованием, с автоматикой на строганной раме, с соединительной муфтой
-
С Сертификатом Речного Регистра 16, 30, 50, 60, 75, 100 кВт
-
С Сертификатом Российского Морского Регистра 30, 50, 60, 75, 100 кВт
3.
Работа в режиме постоянного, резервного или аварийного источника электроэнергии.
4. Способность нормально работать в условиях повышенной температуры воздуха в машинном отделении (до +50°С) и при значительных углах наклона судна (кратковременный крен до 45 градусос С, при бортовой качке — до 22,5 градусов С).
5. Система охлаждения двигателя у вспомогательных дизельгенераторов — жидкостная двухконтурная циркуляционная с использованием забортной воды (высота всасывания насосом забортной воды — 1,5 м). У аварийных дизель-генераторов система охлаждения жидкостная радиаторная.
6. Автоматическая стабилизация напряжения генератора и его частоты с погрешностью не более ±1% в установившемся режиме.
7. Возможность управления и контроля параметров работы двигателя и генератора с двух постов управления: местного (МПУ) и выносного (ВПУ). МПУ — основной пост — содержит микропроцессорный контроллер и устанавливается непосредственно на дизельгенераторе или не далее 25 м от него в машинном отделении.
8. Автоматическая защита путем останова двигателя при аварийных ситуациях (с сигнализацией на оба поста управления).
9. Система низковольтного электрооборудования — двухпроводная, напряжением 24 В постоянного тока.
10. Система электроподогрева двигателя питается однофазным переменным током.
11. Автоматизация по 1 и 2 степени (для вспомогательных дизель-генераторов):
— 1 степень: ручное управление дизельгенератором, автоматическая стабилизация напряжения и его частоты, защита генератора от перегрузки и токов короткого замыкания, защита дизеля от перегрева и при низком давлении масла, автоматический подзаряд АБ, контроль состояния дизель-генератора;
— 2 степень: все функции 1-ой степени, электроподогрев, автоматический запуск генератора, прием нагрузки, отключение нагрузки, останов генератора.
Для судовых ДГ 1ая степень от 2ой отличается только наличием электроподогрева. Есть три варианта запуска судового ДГ:
-
С местного пульта управления
-
С выносного пульта управления
-
По команде с ГРЩ
Все дизель-генераторы фланцевого исполнения, что исключает необходимость проверки центровки после монтажа на судне и в процессе эксплуатации.
Дизель и силовой генератор смонтированы на раме через амортизирующие крепления. Дизель-генераторы имеют двухконтурную систему охлаждения, все узлы которой (насос забортной воды, водо-водяной и водо-масляный охладители) смонтированы на дизель-генераторе. Все дизель-генераторы комплектуются местным и выносным пультами управления. На дизель-генераторах 2ой степени автоматизации устанавливается система электроподогрева (подогреватель охлаждающей жидкости) для поддержания дизеля в режиме «горячего» резерва. Система низковольтного электрооборудования двухпроводная, напряжением 24В постоянного тока, система электроподогрева питается однофазным переменным током 220В. Местный пульт управления смонтирован на дизель-генераторе. Выхлопные коллекторы теплоизолированы.
Мощность, кВт/л.с. | 15.5/21 | Комплект поставки |
Число цилиндров | 3 | Комплект фильтров, приборная панель с кабелем 4 м, ремень генератора, шланг 25 мм 1. |
Базовый блок | KUBOTA |
|
Тип впрыска топлива | Вихревой | Дополнительное оборудование |
Тип охлаждения | Двухконтурное | Выхлопная система |
Тип установки | На амортизаторах | Глушитель, шланг выхлопной 50 мм, патрубок выхлопа |
Диаметр поршня,мм | 78 | Система охлаждения |
Ход поршня, мм | 78.4 | Сетчатый фильтр, антисифонный клапан, шланг 25 мм, заборник воды 25 мм, шаровой кран 25 мм, комплект хомутов |
Объем, куб. см | 1123 | |
Компрессия | 22:1 | Топливная система |
Максимальные обороты, об./мин | 3000 | Топливный танк 80 л. |
Максимальный крутящий момент, Нм | 56 | |
Обороты при максимальном крутящем моменте, об./мин | 1820 | Винто-валовая группа |
Удельный расход топлива, г/кВт*ч | 255 | Вал 25 мм L=1000-2500 мм, дейдвудная труба L=500-2000 мм, внутренний подшипник с сальником, винты, гибкая муфта |
Применяемое масло | 15W40 |
|
Объем масляной системы, л. | 2.5 |
|
Стартер | 12В/2 кВт |
|
Генератор | 14 В/600 Вт |
|
Аккумуляторная батарея, А*ч | 90 |
|
Полный вес, кг | 155 |
|
Максимальный угол установки, град. | 20 |
|
Реверс-редуктор | Baysan M30 |
|
Передаточное отношение | 2:1 |
|
Применяемое масло | ATF |
|
Объем масла, л. | 0,35 |
|
Судовые дизели Weichai
Судовые дизели Weichai
Судовые дизели Deutz 226B
Преимущества этих двигателей – широкий диапазон мощностей, надежность, компактность и легкость, удобство установки. Он может служить как главным двигателем, так и вспомогательным. Двигатель Deutz 226B изготовлен с применением передовых международных технологий, поэтому значительно отличается от других двигателей китайского производства материалами и внешним видом.
Двигатели этой серии созданы в соответствии с современными требованиями и стандартами.
Преимущества этих двигателей – широкий диапазон мощностей, надежность, компактность и легкость, удобство установки. Он может служить как главным двигателем, так и вспомогательным (для привода генератора в судовом дизель-генераторе)
Двигатель Deutz 226B изготовлен с применением передовых международных технологий, поэтому значительно отличается от других двигателей китайского производства материалами и внешним видом.
Особенности устройства:
— Отбираемая с коленчатого вала мощность оптимальна для работы насоса забортной воды, генератора, стального шестеренного насоса, подъемника для сетей и т. д.
— Лопастной вал насоса забортной воды изготовлен из коррозийно-стойкой стали; крыльчатка и кольцо уплотнения изготовлено из латуни, что значительно продлит срок их службы.
— Двигатели оснащаются датчиками контроля ED211A5G или FV5K5F4 для автоматического измерения и отображения температуры воды и масла.
— Система охлаждения базируется на настройке температуры в зависимости от внешних условий (тропики, субтропики, зона умеренного пояса и т.
д.). Возможен выбор 55℃ , 65℃ и 85℃, включения/отключения температурного контроля, а также возможность пустить воду сразу по большому кругу, тем самым охладить ее до 80℃. Трубы системы охлаждения сделаны из латуни.
— Система впуска и выпуска приспособлена специально для судов с тягой для рыболовецких сетей. Выхлопная труба и турбонаддув обработаны специальным термостойким материалом, благодаря чему в машинном отделении поддерживается низкая температура. От воздействия высокой температуры также защищает стальная крышка выхлопной трубы.
Судовые дизели WD615C и WD618C
Мощный, экономичный, компактный и при этом надежный двигатель – идеально подходит для прогулочных и рыболовецких судов. Двигатели этой серии имеют превосходную систему контроля и в случае превышения установленных ограничений скорости, давления, температуры воды или масла сигнализирует об этом или останавливает двигатель.
Данный двигатель агрегатируется с реверс-редукторами моделей : 120C, 135, 300 с передаточным числом 2:1 – 7:1.
Особенности данного типа двигателей :
— Специальный вид применяемых подшипников придает прочность блоку цилиндра и уменьшает вибрацию.
— Каждый цилиндр имеет отделенную головку блока цилиндра, что облегчает обслуживание двигателя.
— Используется метод двойного охлаждения двигателя водой внутри и снаружи: внутри двигатель охлаждается пресной водой, снаружи охлаждение происходит пресной водой с помощью теплообменника. — — Маховики двигателей WD615C и WD618C имеют одинаковый размер и могут быть взаимозаменяемыми.
Фильтрация топлива происходит посредством прохождения через два последовательно соединенных бумажных элемента топливного фильтра, что повышает эффективность процесса.
— Качественное равномерное распыление топлива.
— Улучшенная система охлаждения масла.
— Перед коленчатым валом находятся желобки шкива и соединительный фланец, взаимодействующие с механизмом отбора мощности.
— Двигатели этой серии имеют превосходную систему контроля и в случае превышения установленных ограничений скорости, давления, температуры воды или масла сигнализирует об этом или останавливает двигатель. Возможно также удаленное управление системой контроля.
Судовые дизели серии 6160/R6160
Новое поколение двигателей серии 6160 объединило в себе современные мировые разработки: широкий диапазон мощностей, низкий расход топлива и превосходные показатели уровня выхлопов (в соответствие с международным стандартом EIAPP). Двигатель, применяемые на одном судне, могут быть правого или левого вращения.
Особенности данного типа двигателей :
— Увеличенная прочность, жесткость и износостойкость коленчатого вала. Диаметр шеек увеличился на 5 мм. и составляет 130 мм.
— Наличие поддона «мокрого» масляного картера избавляет от использования дополнительного резервуара. Благодаря этому установка обслуживание и ремонт стали более удобными.
— При помощи электрического стартера реализуется дистанционный запуск двигателя.
— Исключена необходимость перекачки топлива вручную при запуске двигателя. Теперь это делается при момощи электрического насоса.
— Система охлаждения — двухконтурная с насосом забортной води и теплообменниками
— Система контроля позволяет следить за частотой вращения двигателя. Когда параметры достигают допустимого предела, система оповещает об этом или останавливает двигатель автоматически. Данная защитная система может быть установлена в машинном отделении или непосредственно в рубке.
Технические характеристики судовых двигателей серии 6160
|
Тип |
Группа |
6160A-1 |
6160A-121 |
6160A-12 |
6160A-123 |
6160A-125 |
6160A-13 |
6160A-13G |
6160A-17 |
X6160ZC |
X6160ZC2 |
X6160ZC5 |
X6160ZC6 |
|
Число цилиндров |
— — |
6 |
6 |
6 |
6 |
6 |
6 |
6 |
6 |
6 |
6 |
6 |
6 |
|
Диаметр цилиндра / ход поршня |
мм |
160/225 |
160/225 |
160/225 |
160/225 |
160/225 |
160/225 |
160/225 |
160/225 |
160/225 |
160/225 |
160/225 |
160/225 |
|
Рабочий объем |
л |
27,14 |
27,14 |
27,14 |
27,14 |
27,14 |
27,14 |
27,14 |
27,14 |
27,14 |
27,14 |
27,14 |
27,14 |
|
Номинальная мощность |
кВт |
90 |
110 |
124 |
136 |
147 |
164 |
184 |
202 |
220 |
255 |
220 |
255 |
|
Номинальная скорость вращения |
об/мин |
750 |
850 |
750 |
850 |
850 |
1000 |
1000 |
1000 |
1000 |
1000 |
1000 |
1000 |
|
Метод запуска |
— — |
Сжатым воздухом |
Пневматический |
||||||||||
|
Межремонтный ресурс |
часы |
12000 |
12000 |
12000 |
12000 |
1200 |
12000 |
12000 |
12000 |
12000 |
12000 |
12000 |
12000 |
|
Масса нетто |
кг |
2400 |
2400 |
2450 |
2450 |
2450 |
2450 |
2450 |
2500 |
2500 |
2650 |
2650 |
2650 |
|
Габариты (ДхШхВ) |
мм |
2291×905×1345 |
2367×905×1425 |
2581 × 905 |
2595 × 905 |
2544×923 |
2602×967×1461 |
||||||
|
×1424 |
×1454 |
×1458 |
|||||||||||
Технические характеристики судовых двигателей серии R6160
|
Тип |
Группа |
R6160A-2 |
R6160A-4 |
R6160A-6 |
R6160ZC |
R6160ZC4 |
R6160ZC2 |
R6160ZC380 |
R6160ZC408 |
R6160ZC450 |
|
Число цилиндров |
— — |
6 |
6 |
6 |
6 |
6 |
6 |
6 |
6 |
6 |
|
Диаметр цилиндра / ход поршня |
мм |
160/225 |
160/225 |
160/225 |
160/225 |
160/225 |
160/225 |
160/225 |
160/225 |
160/225 |
|
Рабочий объем |
л |
27,14 |
27,14 |
27,14 |
27,14 |
27,14 |
27,14 |
27,14 |
27,14 |
27,14 |
|
Номинальная мощность |
кВт |
164 |
184 |
202 |
255 |
220 |
255 |
280 |
300 |
330 |
|
Номинальная скорость вращения |
об / мин |
1000 |
1000 |
1000 |
1000 |
1000 |
1000 |
1000 |
1000 |
1000 |
|
Метод запуска |
— — |
Электрический |
Пневмо |
Электрический |
||||||
|
Межремонтный ресурс |
часы |
≥12000 |
≥12000 |
≥12000 |
≥12000 |
≥12000 |
≥12000 |
≥12000 |
≥12000 |
≥12000 |
|
Масса нетто |
кг |
3350 |
3350 |
3400 |
3400 |
3400 |
3400 |
3400 |
3400 |
3400 |
|
Габаритные размеры (ДхШхВ) |
мм |
2435 × 967 |
2435 × 967 |
2562 × 967 |
2644 × 967 |
2644 × 967 |
2644 × 967 |
2644 × 967 |
2644 × 967 |
2644 × 967 |
|
×1579 |
×1579 |
×1579 |
×1579 |
×1579 |
×1579 |
×1579 |
×1579 |
×1579 |
||
Судовые дизели серии X170ZC
Широкий диапазон мощностей, низкий расход топлива и уровень выбросов, быстрый запуск — преимущества двигателя X170ZC.
Данная модель может быть широко использована для различных видов судов.
X170ZC — это модернизированный вариант двигателей серии 170Z, в котором были усовершенствованы блок цилиндров, система выпуска, гильза цилиндра и масляный картер, благодаря чему двигатель стал более надежным, а его эксплуатация и техническое обслуживание — более удобными. Также существенной доработки подверглись турбокомпрессор, топливный насос высокого давления, форсунки, система впуска, камера сгорания.
Данная модель может быть широко использована для различных видов судов
Особенности устройства:
Коленчатый вал выполнен из чугуна высокой плотности и прошел нитроцементацию, что повышает его износостойкость и контактную прочность. 12 противовесов коленвала значительно снижают нагрузку на коренные подшипники. Шатун выкован из легированной стали – более прочной и устойчивой к коррозии. «Мокрая гильза» (рубашка охлаждения) цилиндра отлита из сплава хрома, молибдена, меди и никеля.
Охлаждение поршня обеспечивается впрыскиванием масла, что снижает истирание цилиндра и увеличивает его срок службы.
Технические характеристики двигателей серии X170ZC :
|
Тип |
Четырехтактный, рядный, с прямым впрыском топлива, с турбонаддувом с промежуточным охлаждением |
|
Число цилиндров |
6/8 |
|
Мощность (кВт) |
258-601 |
|
Частота вращения (об/мин) |
1000-1500 |
|
Диаметр цилиндра/ход поршня (мм) |
170/200 |
|
Потребление масла (г/кВт. |
≤1.0 |
|
Расход топлива, минимум (г/кВт.ч) |
≤197 |
|
Метод запуска |
Электрический, сжатым воздухом, совмещенный |
|
Рабочий объем (л) |
27.24/36.32 |
|
Уровень шума (дБ) |
≤116 |
|
Смазка |
Принудительная |
|
Направление вращения коленчатого вала |
Против часовой стрелки |
|
Масса (кг) |
3100/3800 |
Модельный ряд судовых дизелей серии X170ZC :
|
Модель |
X6170 ZC350 |
X6170 ZC-05 |
X6170 ZC-09 |
X6170 ZC-13 |
X6170 ZCA |
X6170 ZC-1 |
X6170 ZC-3 |
X6170 Z-22 |
|
Номинальная мощность(кВт) |
258 |
300 |
330 |
330 |
330 |
382 |
426 |
456 |
|
Номинальная частота вращения(об/мин) |
1000 |
1000 |
1000 |
1200 |
1000 |
1200 |
1350 |
1500 |
|
Модель |
8170ZC |
8170ZC-1 |
8170ZC-3 |
8170ZCA |
8170ZCA-1 |
8170ZCA-3 |
|
Номинальная мощность(кВт) |
441 |
530 |
601 |
441 |
530 |
601 |
|
Номинальная частота вращения(об/мин) |
1000 |
1200 |
1350 |
1000 |
1200 |
1350 |
Судовые дизели серии LandKing WP12C
Для этих двигателей характерна экономичность, оптимальное соотношение мощности и экономичности, подходящее для небольшого рыболовецкого или служебного судна.
Обладает широким диапазоном мощностей, большим крутящим моментом на низкой скорости, хорошим ускорением. Особая форма и особенности маслосборника уменьшают шумовые показатели этого двигателя. Двигатель наносит минимальный вред окружающей среде.
Особенности устройства:
— Современная топливная система Комон рейл (Сommon rail) с прямым впрыском топлива под высоким давлением, разработанная совместно с австрийской компанией AVL.
— Двигатель эксплуатируется с фланцевым насосом PZ8500.
— Турбонаддув может устанавливаться в центре или позади двигателя, теплообменники устанавливаются по обеим сторонам двигателя.
— Экономичность двигателя обеспечена сочетанием четырехклапанной структуры, рациональной впускной системы и системы сгорания.
— Обладает широким диапазоном мощностей, большим крутящим моментом на низкой скорости, хорошим ускорением.
— Особая форма и особенности маслосборника уменьшают шумовые показатели этого двигателя.
— Отличные экологические показатели по выхлопам: менее 1 Rb при полной нагрузке двигателя.
|
Модель |
WP12C450 |
WP12C400 |
WP12C350 |
|
Тип |
Четырехтактный, рядный, с прямым впрыском топлива, с турбонаддувом с промежуточным охлаждением |
||
|
Рабочий объем (л) |
11,596 |
||
|
Диаметр цилиндра / ход поршня (мм) |
126/155 |
||
|
Число цилиндров |
6 |
||
|
Число клапанов на цилиндр |
4 |
||
|
Номинальная мощность, л. |
450 / 330 |
400 / 294 |
350 / 267 |
|
Номинальная частота вращения, об/мин |
2100 |
1800 |
1500 |
|
Среднее эффективное давление (МПа) |
1,626 |
1,69 |
1,766 |
|
Коэффициэнт сжатия |
17:01 |
||
|
Угол опережения впрыска |
14 |
10 |
10 |
|
Давление в цилиндре (МПа) |
≤16 |
||
|
Расход топлива (г/кВт. |
≤192 |
||
|
Частота оборотов холостого хода (об/мин) |
600±50 |
||
|
Температура выхлопных газов (℃) |
≤600 |
||
|
Уровень выхлопов (Rb) |
≤1.0 |
||
|
Направление вращения коленчатого вала |
Против часовой стрелки |
||
|
Масса (кг) |
1200 |
||
|
Габаритные размеры (мм) |
1717×836×1274 |
||
Судовые дизели серии CW200
Это оптимальный двигатель для пассажирского лайнера, рыболовного судна, контейнеровозов разных габаритов.
Уровень выбросов соответствует требованиям Международной конвенции по предотвращению загрязнения с судов (МАРПОЛ 73/78) и одобрен китайским квалификационным обществом (CCS).
Созданию двигателей серии CW200ZC/XCW200ZC предшествовало изучение работы двигателей со средней скоростью вращения. Для двигателей этой серии характерна высокая производительность, надежность, легкость в обслуживании.
Двигатели успешно прошли освидетельствование Китайского классификационного общества и внесены в официальный реестр рыболовных судов КНР, прошли сертификацию системы менеджмента качества ISO9001:2000.
Уровень выбросов соответствует требованиям Международной конвенции по предотвращению загрязнения с судов (МАРПОЛ 73/78) и одобрен китайским квалификационным обществом (CCS).
Система турбонаддува и двухступенчатое охлаждение надувочного воздуха, используемая в работе двигателя, обеспечивает светлый цвет выхлопных газов.
Объем содержания вредных веществ в выхлопе меньше допустимой нормы по экологическому стандарту Евро 2.![]()
Особенности устройства:
— Коленчатый вал, изготовленный из высококачественной стали методом ковки с использованием непрерывного волокна гарантирует гораздо большую прочность и стойкость к искривлению, чем литой.
— Коленвал подвергся процедуре азотирования, что также значительно повысило его прочность и устойчивость к коррозии.
— Передаточные механизмы распределительного вала изготовлены из легированной стали.
— Гильза цилиндра сделана из противоэрозийного и изнсостойкого материала. Срок службы гильзы – более 6 тыс. часов. Система принудительного охлаждения поддерживает эффективность смазочного — материала и защищает от эрозии. Испытания в течении 800 часов доказали, что межремонтный срок службы гильзы превышает 300 часов.
— Поршень при охлаждении принимает овальную форму в поперечном сечении, при нагревании расширяется до цилиндрической формы.
— Большая головка шатуна разрезана по горизонтали и закреплена 4-мя болтами.
Была значительно увеличена пропускная способность головки.
— Головка цилиндра и клапанное коромысло плотно соединены. Такая простая конструкция делает эксплуатацию двигателя более удобной.
— Внутренний диаметр выпускного коллектора – более 350 мм. Поворот сифона составляет 90℃. Количество сифонов не превышает трех.
— Выхлопная труба защищена глушителем и турбонаддувом.
— Двухступенчатая система охлаждения обеспечивает снижение температуры на входе, уменьшение объема потребления топлива и полное его сгорание.
Технические характеристики судовых дизелей серии CW200ZC/XCW200ZC:
|
Дизель |
CW6200ZC/XCW6200ZC |
CW8200ZC/XCW8200ZC |
CW12V200ZC |
||||||||||
|
Тип |
Четырехтактный, рядный, с прямым впрыском топлива, с турбонаддувом с промежуточным охлаждением |
Четырехтактный, V-образный, с прямым впрыском топлива, с турбонаддувом с промежуточным охлаждением |
|||||||||||
|
Число цилиндров |
6 |
8 |
12 |
||||||||||
|
Диаметр цилиндра/ход поршня (мм) |
200/270 |
200/270 |
200/270 |
||||||||||
|
Частота вращения (об/мин) |
750 |
900 |
1000 |
1000 |
1000 |
750 |
900 |
1000 |
1000 |
750 |
900 |
1000 |
|
|
Мощность (кВт/л. |
450/612 |
540/734 |
600/816 |
698/950 |
828/1126 |
600/816 |
720/979 |
800/1088 |
926/1260 |
900/1224 |
1080/1469 |
1200/1632 |
|
|
Минимально устойчивая частота вращения |
400 |
||||||||||||
|
Расход топлива |
≤200 |
||||||||||||
|
Расход масла |
≤1 |
||||||||||||
|
Метод запуска |
Воздушный пуск |
||||||||||||
|
Охлаждение |
Двухконтурное с насосом забортной воды |
||||||||||||
|
Метод смазки |
Принудительная |
||||||||||||
|
Габаритные размеры (мм) |
2900*1480*2100 |
2871*1258*2085 |
3226*1527*2100 |
3933*1700*2600 |
|||||||||
|
Масса (кг) |
6500 |
7800 |
11800 |
||||||||||
Подробную информацию по ценам, условиям поставки, техническим характеристикам, сервисному обслуживанию Вы сможете получить, позвонив в офис: (4852) 58-09-01, отправив запрос по электронной почте: E-mail: Этот адрес электронной почты защищен от спам-ботов.
У вас должен быть включен JavaScript для просмотра.
| Модель дизель-генератора | ДГР 250/1000-РД 2000 |
| Мощность дизель-генератора номинальная, кВт | 250 |
| Модель генератора | Siemens |
| Напряжение, В | 400 |
| Род тока | трёхфазный, переменный |
| Модель двигателя | RD36 |
| Тип двигателя | 4-х тактный, с водяным охлаждением, турбонаддувом и промежуточным охлаждением наддувачного воздуха, с прямым впрыском топлива |
| Частота вращения двигателя, об/мин | 1000 |
| Мощность двигателя, кВт | 295 |
| Диаметр поршня, мм | 190 |
| Ход поршня, мм | 210 |
| Число и расположение цилиндров | 6-и цилиндровый, рядный |
| Пуск двигателя | воздушный или электрический стартер |
| Система охлаждения | водо-водяная |
| Марка топлива по ГОСТ 305-82 | Л-0,2; Л-0,5; З-0,2; З-0,5 |
| Марка масла: по ГОСТ 174791-85 по SAE |
М14Г2 40CD, 15W/40CD или 15W/40CC |
Удельный расход топлива, г. /кВтхч. |
204 |
| Удельный расход масла, г./кВтхч. | 1,2 |
| Модель системы АПС и защиты двигателя | Иртыш 7СУ6-32 |
| Параметры срабатывания сигнализации двигателя | по протечке топлива, по максимальной частоте вращения, по минимальному давлению масла, по максимальной температуре воды, по максимальной температуре масла |
| Параметры срабатывания защиты двигателя | по максимальной частоте вращения, по минимальному давлению масла |
| Габаритные размеры агрегата, ДхШхВ, мм | 4250х1730х1915 |
| Масса агрегата,кг | 7500 |
| Наработка до среднего ремонта, час | 20000 |
| Наработка до капитального ремонта, час | 60000 |
| Гарантийный период | 12 месяцев с момента ввода ДГ в эксплуатацию, но не более 15 месяцев с даты поставки |
Вспомогательные судовые дизели 15/18 (Д6, Д12) производства ОАО ХК «Барнаултрансмаш»
Вспомогательные судовые дизели предназначены для привода генераторов в вспомогательных и аварийных судовых установках, а также для привода насосов в пожарных судовых системах.
Указанные дизели высокооборотные, четырехтактные с непосредственным впрыском топлива. Типа Д6 — шестицилиндровые с рядным расположением, а типа Д12 — двенадцатицилиндровые с V образным расположением цилиндров и развалом блоков 600.
Система охлаждения — жидкостная, циркуляционная с охлаждением воды и масла в водо-водяном и водо-масляном охладителях. Дизели типа 7Д6 и 7Д12 укомплектованы насосом забортной воды.
Система смазки — циркуляционная, под давлением с «сухим» картером, с электронасосом для предпусковой прокачки системы.
Пуск дизелей осуществляется электростартером или сжатым воздухом. Для зарядки аккумуляторных батарей дизели оборудованы генератором переменного тока со встроенными выпрямителем, регулятором напряжения и устройством подавления помех радиоприему.
Данные дизели могут быть оборудованы дополнительным валом отбора мощности (до 30 л.с.) .
Дизели 7Д6-150 и 7Д12 могут быть укомплектованы механизмом дистанционного подрегулирования частоты вращения в диапазоне 1300 — 1500 об/мин при введении дизель-генераторов в параллельную работу.
Скорость изменения частоты вращения составляет 15 об/мин за секунду. Механизм приводится от электродвигателя переменного тока, напряжением 220/127 В.
Все дизели удовлетворяют требованиям Правил Российского Морского Регистра Судоходства и Российского Речного Регистра .
Основные характеристики дизелей 15/18 (Д6, Д12)
| Характеристики | 7Д6-150 | 7Д6-150АФ | 7Д12 | 7Д12А-1 | 1Д12В-300КС2-301 |
|---|---|---|---|---|---|
| Номинальная (длительная) мощность (для Г17Д6АФ С2-полная), л.с. | 150 | 150 | 300 | 300 | 300 |
| Максимальная (в течении 2 часов) мощность, л.с. | 165 | 165 | 330 | 330 | 330 |
| Частота вращения, соответствующая номинальной (полной) мощности , об/мин | 1477 | 1477 | 1477 | 1477 | 1500 |
| Основной наклон регуляторной характеристики, % | 3 | 3 | 3 | 3 | 3 |
| Пределы изменения наклона регуляторной характеристики , «/ч | 2-6 | 2-6 | 2-6 | 2-6 | 2-6 |
| Высота всасывания насосом забортной воды (НЗВ), м | 1,5 | 1,5 | 1,5 | 1,5 | |
| или | или | или | или | ||
| 5 | 5 | 5 | 5 | ||
Удельный расход топлива, г/л. с.ч. | 175+9 | 175+9 | 172+9 | 172+9 | 166+9 |
| Удельный расход масла на угар, г/л.с.ч. | 1,2…1,5 | 1,2…1,5 | 1,2…1,5 | 1,2…1,5 | 1,2.-.1,5 |
| Масса , кг | 1290 | 1155 | 1420 | 1405 | 1600 |
| Габаритные размеры, мм : | |||||
| — длина | 1745 | 1786 | 1926 | 1786 | 1688 |
| — ширина | 792 | 835 | 1052 | 1052 | 1052 |
| — высота | 1115 | 1115 | 1160 | 1060 | 1276 |
| Ресурс до 1-й переборки (гарантийная наработка), ч | 4000 | 3500 | 3500 | 3500 | 7000 |
| Назначенный ресурс до капитального ремонта, ч | 12000 | 8000 | 7500 | 7500 | — |
| или срок службы, лет | 25 | ||||
Назначение дизелей
7Д6-150 для замены выработавших ресурс в ранее выпускавшихся судовых дизель-генераторах мощностью 100 кВт ДГ-100/1 (У07) переменного тока и ДГ-100 (У11) постоянного тока.
7Д6-150АФ для автоматизированных судовых дизель-генераторов мощностью 100 кВт, ДГР2А-100/1500П (У11А), типа ДГФ2А-100/1500 (У39, У39М) и аварийных дизель-генераторов типа АДГФ-100/1500К-ОМ4 (У43К, У43КМ) с двухконтурной системой охлаждения.
7Д12 для привода генераторов 200 кВт в неавтоматизированных судовых дизель-генераторах ДГР-200/1500 (У30), ДГФ-200/1500М (У30М) и для замены выработавших ресурс в ранее выпускавшихся дизель-генераторах ДГ-200/1 (У08).
7Д12А-1 для автоматизированных судовых дизель-генераторов ДГР2А-200/1500 (У30А), ДГФ2А-200/1500 (У30АМ), мощностью 200 кВт.
1Д12В-300КС2-301 для привода генератора 200 кВт в аварийных судовых дизель-генераторах типа АДГР-200/1500-ОМ4 (У38С1), ДГРФ-200/1500М-ОМ4 (У38М) с радиаторной системой охлаждения.
Примечания :1. Высота всасывания насоса забортной воды, наличие вала отбора мощности и механизма дистанционного управления, а также Сертификата Регистра Морского или Речного Судоходства оговаривается при оформлении договора (заказа).
2. При заказе дизелей 7Д12, 7Д12А-1 и 7Д12А-2, для замены выработавших ресурс в дизель-генераторах типа У30, У30А и У08 необходимо в заказе (договоре) указать марку генератора (типа МСК или ГС или МС), с которым будет соединяться дизель, т.к. в зависимости от типа генератора в дизелях применяются разные коленчатые валы с маховиками.
Комплект поставки :
1. Комплект принадлежностей не установленных на дизеле.
2. Одиночный (индивидуальный) комплект запчастей.
3. Комплект инструмента.
4. Комплект эксплуатационной документации.
| Discover Boating
Наш последний конкурс заключался в выборе порядка действий для проверки при поиске неисправностей перегрева двигателя с системой охлаждения «сырой водой». Некоторые из наших зрителей попросили меня объяснить, что такое система сырой воды и как она работает. Под сырой водой понимается вода, в которой плавает лодка.
Не имеет значения, соленая она или пресная, обе используются для охлаждения двигателя. Процесс начинается с забора воды в двигатель через штуцер забортного клапана и ее прокачки через водяную рубашку двигателя и отверстия с помощью механического водяного насоса.В системе с неочищенной водой вода всасывается через забортный клапан водяным насосом. Вода проходит через двигатель и напрямую выходит из выхлопной трубы. Эта более прохладная вода поглощает тепло от двигателя, помогая ему оставаться прохладным. В большинстве новейших судовых двигателей используется закрытая система охлаждения. Это означает, что в верхней части двигателя есть небольшой резервуар, в котором используется смесь пресной воды и охлаждающей жидкости. Эта пресная вода циркулирует через двигатель и через теплообменник. Пресная вода в этой системе поглощает тепло двигателя.Неочищенная вода по-прежнему всасывается через забортный клапан, но течет только через рубашку теплообменника. Эта холодная неочищенная вода поглощает тепло от пресной воды через рубашку теплообменника и затем откачивается через выхлопные газы.
Преимущества закрытой системы по сравнению с системой неочищенной воды огромны, особенно если вы работаете в соленой воде. Соленая вода имеет тенденцию к образованию коррозионных отложений, когда двигатель работает при температуре выше 140 °. В системе неочищенной воды эта накипь накапливается внутри водяной рубашки и портов двигателя.Когда накипь достигает точки, в которой поток воды ограничивается, двигатель начинает перегреваться. На этом этапе вы, вероятно, собираетесь заменить двигатель.
В закрытой системе вода, протекающая через водяную рубашку и отверстия двигателя, представляет собой пресную воду и охлаждающую жидкость. Единственная часть, через которую проходит сырая вода, — это теплообменник. Однако происходит то же масштабирование. Когда поток воды ограничен и двигатель начинает перегреваться, вы можете «вскипятить кислоту» из теплообменника и продолжить его использование.В худшем случае вам придется заменить теплообменник. Это будет намного дешевле, чем замена двигателя.
Другими компонентами системы охлаждения, будь то сырая вода или закрытая, являются забортный клапан, морской фильтр, шланги и зажимы, ремни и рабочее колесо водяного насоса.
Заборный клапан — это проходное через корпус устройство, которое позволяет воде попадать в корпус снаружи. У этого устройства есть ручка, которая позволяет перекрыть поток воды, если у вас есть проблема, например, ослабленный хомут для шланга или треснувший шланг.Вам следует ежемесячно проверять запорные клапаны забортных клапанов, чтобы убедиться в их работоспособности. В качестве дополнительной меры безопасности вы должны иметь мягкую коническую деревянную заглушку (называемую пробкой) размером с забортный клапан, привязанную к забортному клапану. В случае, если шланг частичен, и вы не можете включить отсечку, вы можете вставить пробку в забортный клапан, чтобы остановить поток воды.
Следующей частью системы охлаждения двигателя является морской фильтр. Это устройство, через которое протекает неочищенная вода, предназначенное для фильтрации мусора, песка, листьев и т.
Д.прежде, чем он попадет в двигатель. Это устройство работает как скиммер для бассейна. Существует несколько видов сетчатых фильтров, но все они имеют съемный фильтр или сетку, которые необходимо регулярно проверять, очищать или заменять.
Шланги, зажимы и ремни жизненно важны для системы охлаждения, и их также следует периодически проверять. Каждый раз при проверке масла, что следует делать перед каждым запуском, необходимо визуально проверять шланги, хомуты и ремни на предмет износа. Все шланги, находящиеся ниже ватерлинии, должны иметь двойной зажим.Это поможет предотвратить попадание воды в трюм в случае выхода из строя одного из зажимов. Если вы обнаружите заржавевший хомут, защемленный или потрескавшийся шланг или ремень, их следует немедленно заменить. Обязательно заменяйте шланги с такими же требованиями к диаметру, длине и температуре, которые рекомендованы производителем.
Насос сырой воды, который приводится в движение ремнем двигателя, содержит крыльчатку, которая приводит в действие насос.
Обычно достаточно легко получить доступ к крыльчатке, чтобы осмотреть или заменить ее.
В замкнутую систему следует добавить коммерческую охлаждающую жидкость (антифриз). Это предотвратит замерзание пресной воды и повреждение двигателя в холодном климате, а также поможет предотвратить накопление коррозии в системе пресной воды. Обычно вы используете охлаждающую жидкость и пресную воду в соотношении 50/50. В более холодном климате вы можете увеличить процент охлаждающей жидкости.
Таким образом, прямая система неочищенной воды обеспечивает циркуляцию воды через водяную рубашку двигателя, которая проходит через блок, головку, коллектор и т. Д.Эта вода поглощает тепло двигателя и выходит за борт.
Закрытая система обеспечивает циркуляцию пресной воды и охлаждающей жидкости через водяную рубашку двигателя и через теплообменник. Эта пресная вода поглощает тепло двигателя. Неочищенная вода также прокачивается через теплообменник, где она поглощает часть тепла пресной воды и снова выбрасывается за борт.
Источник:
Boatsafe.com
Системы охлаждения на лодках — что вам нужно знать
Как охлаждаются судовые двигатели и какое обслуживание необходимо проводить для систем охлаждения? Мы все и раньше теряли хладнокровие … но когда это происходит в море, вы можете оказаться в настоящей беде.В отличие от автомобильного двигателя, лодочные двигатели используют воду из-под судна для охлаждения. Большинство мест в Австралии, где люди ходят на лодках, имеют соленую воду. Это означает, что соленая вода под вашей лодкой всасывается и проходит через ваш двигатель, чтобы охладить его во время работы.
Две основные системы охлажденияЕсть два основных способа, которыми производители двигателей проектируют систему охлаждения на лодке:
1. Система охлаждения сырой водой s Этот стиль всасывает соленую воду прямо из океана через сетчатый фильтр (фильтр), а затем пропускает ее через блок двигателя.
Затем вода обычно выходит через выхлопную трубу в заднюю часть или под лодку.
Существует несколько различных способов настройки системы охлаждения — наполовину замкнутый контур или полный замкнутый контур. Обычно это означает, что соленая вода всасывается и проходит через ряд теплообменников. С одной стороны теплообменника у вас соленая вода, а с другой — «охлаждающая жидкость». Охлаждающая жидкость проходит через двигатель, предотвращая протекание соленой воды через блок.
Мощность двигателяЧем выше мощность двигателя, тем больше тепла он производит. Это означает, что тем больше и эффективнее должна быть система охлаждения. Неограниченный запас прохладной воды (океана) — очень удобный и эффективный способ охлаждения двигателя при отсутствии засоров .
Как бы вы получили засор? Со временем, когда соленая вода течет по проходам, она оставляет «накипь», которая блокирует проходы.
Систему необходимо снять и промыть кислотой, чтобы удалить накипь. Пломбы тоже нужно будет заменить.
К сожалению, у этого удивительного запаса безграничной прохладной воды есть недостатки. Поскольку теплообменники работают при таких высоких температурах, металлы постоянно расширяются и сжимаются. Это означает, что поверхности не служат вечно, и уплотнительные кольца и уплотнения необходимо будет регулярно менять.
Люди не используют лодку так же регулярно, как машину, и часто пропускают плановое обслуживание, «потому что она не использовалась».Это не оправдано в соляной среде. Как только вы обнаружите протекающее уплотнительное кольцо, вы попали соленую воду на внешнюю поверхность вашего двигателя. Медленно, но верно он начинает разъедать все на своем пути и даже повреждает уплотнительные поверхности охлаждающего компонента. Это означает, что при обслуживании компонентов вы начнете находить одноразовые предметы, а не только уплотнительные кольца, требующие замены.
Последнее соображение — это расходуемые аноды — если двигатели не обслуживаются, аноды точно не меняют.Проще говоря, аноды в системе охлаждения спроектированы так, чтобы разъедать (жертвовать) раньше любого из более дорогих компонентов.
А как насчет выпускных коллекторов и стояков? Коллекторы и стояки — это термин, используемый производителями двигателей для компонентов выхлопной системы с водяным охлаждением. «Выхлопные коллекторы» прикручиваются к двигателю с помощью «стояков», установленных сверху, чтобы увеличить расстояние между уровнем воды и местом выхода выхлопных газов.Если уровень воды выше уровня выхлопа, вы рискуете обратным просачиванием соленой воды через выхлоп в ваш двигатель.
Выхлопные коллекторы и стояки могут прослужить от 3 до 7 лет, в зависимости от того, пропускают ли через них охлаждающую жидкость или соленую воду. Как только они заблокируются, вы не сможете их очистить, так как они заржавели и корродировали внутри.
Это делает невозможным доступ к участкам коррозии. Единственный вариант, предлагаемый производителями, — это заменить их, сделав их одноразовым предметом обслуживания.
При взгляде на бензиновые двигатели Mercruiser еще одним показателем является заводская наклейка на выбросы, которая находится на коллекторах и стояках OEM от новых. Если вы обнаружите, что эта наклейка все еще прикреплена, и лодке более 5 лет — коллекторы не менялись.
Оригинальная наклейка на коллектор Mercruiser — мертвая распродажа оригинала Выхлопные патрубки (дизельные двигатели)Выхлопные патрубки часто встречаются на дизельных двигателях, где в патрубок вводится охлаждающая вода, прежде чем она выйдет за борт для охлаждения выхлопа.Это еще одно популярное место, где можно «забить». Поэтому рекомендуется регулярно проверять выпускные патрубки.
Дополнительный охладитель (дизельные двигатели) Доохладители из сплава распространены на более новых двигателях.
Обычно они встречаются только на двигателях, где более высокая мощность достигается за счет небольшого блока. Идея заключается в том, что доохладитель охлаждает воздух до того, как он попадает во впускное отверстие, делая его более плотным, что позволяет сжигать больше воздуха и топлива за меньшее количество циклов двигателя.Обратной стороной доохладителей является то, что они нуждаются в регулярном обслуживании, чтобы избежать поломки уплотнительного кольца и корпуса. Как правило, каждые 3 года вам необходимо снимать, проверять, очищать, смазывать и повторно устанавливать охладители, чтобы обеспечить их оптимальную работу. Доохладители известны тем, что протекают, если их не трогать, даже при незначительном использовании. Как только соль прошла через них, они медленно разъедают. Уплотнительные кольца могут протекать или охладители могут выйти из строя, и вы не заметите, пока не станет слишком поздно и ваш двигатель не будет заполнен соленой водой.
comТак как же избежать проблем с системой охлаждения?
БензиновыйСнимите, осмотрите и замените компоненты системы охлаждения в соответствии с рекомендациями производителя двигателя. Обычно выпускные коллекторы и стояки заменяются каждые 3-7 лет, а теплообменники проверяются каждые 3-5 лет.
- Вести журнал, когда были сделаны выпускные коллекторы и стояки
- Вести журнал, когда были сделаны теплообменники и маслоохладители
- Убедитесь, что у вас есть замена анода
Снимите, осмотрите и замените компоненты системы охлаждения в соответствии с рекомендациями производителя двигателя.Обычно вытяжные патрубки заменяются каждые 3-7 лет, а теплообменники, доохладители и маслоохладители проверяются каждые 3-5 лет.
- Вести журнал последней службы в соленой воде
- Вести журнал последней проверки выпускного патрубка
- Убедитесь, что у вас есть замена анода
Аноды заменяются ежегодно, и обычно обслуживание в соленой воде завершается каждые 3-5 лет.
Если вы держите лодку на трейлере, всегда промывайте мотор пресной водой после выходного дня.
При покупке есть пара контрольных признаков. Если история обслуживания системы охлаждения отсутствует, а возраст катера более 5 лет — вам придется ожидать, что этого не делали, и, вероятно, потребуется. Чтобы получить все, что вам нужно знать об истории обслуживания, загрузите наше руководство, Основы истории обслуживания. При тестовом запуске судна важно, чтобы оно работало на полном дросселе в течение определенного периода времени, чтобы температура не повышалась.Если температура повышается выше 92 градусов Цельсия или более, вероятно, у вас заблокирована система охлаждения.
Как долго прослужат коллекторы и стояки?
Обычно коллекторы и стояки с мокрым соединением необходимо проверять через 3 года, а в соленой воде они могут прослужить до 5 лет. Коллекторы и стояки с сухим соединением служат примерно 8 лет и имеют гораздо меньшую вероятность попадания воды в двигатель.Всегда лучше сразу снять и осмотреть коллекторы и стояки, если обнаруживается внешняя утечка.
Как часто мне нужно чистить теплообменник?
Как правило, большинство производителей рекомендуют каждые 3 года, хотя лучше искать его в руководстве по эксплуатации для конкретной модели.
Почему мне нужно чистить морской теплообменник?
В зависимости от типа вашего судового теплообменника необходимо проводить регулярное техническое обслуживание, чтобы избежать загрязнения и гальванической коррозии из-за разнородных металлов.
Что такое морской дополнительный охладитель?
Морской доохладитель — это тип теплообменника, предназначенный для охлаждения сжатого воздуха перед его поступлением в двигатель, чтобы увеличить мощность, которую может выдавать двигатель малого рабочего объема.
Как часто мне нужно чистить морской дополнительный охладитель?
Как правило, большинство производителей рекомендуют каждые 3 года, хотя лучше искать его в руководстве по эксплуатации для конкретной модели. Очень важно обслуживать дополнительный охладитель, так как в случае утечки вода может попасть в двигатель и вызвать серьезные повреждения.
Зачем мне чистить морской дополнительный охладитель?
В зависимости от типа вашего морского доохладителя необходимо проводить регулярное техническое обслуживание, чтобы избежать загрязнения и гальванической коррозии из-за разнородных металлов. Крайне важно регулярно обслуживать доохладитель, иначе вы рискуете вызвать утечку воды из ядра и попадание в двигатель.
Судовые системы охлаждения и теплообменники
Судовые двигатели, как и автомобильные двигатели, охлаждаются циркулирующей водой через блок цилиндров.Судовые двигатели уникальны тем, что существуют два разных типа систем охлаждения. Стандартная система сырой воды и система охлаждения пресной водой.
Системы охлаждения сырой воды забирают воду извне лодки (морская вода или вода из озера). Вода перекачивается из источника в блок двигателя, затем циркуляционный насос двигателя проталкивает неочищенную воду через блок двигателя, и вода вытесняется через выхлоп. Системы охлаждения сырой водой относительно просты и являются стандартной системой охлаждения большинства судовых двигателей.Насос сырой воды в большинстве случаев находится внутри выносного привода. На более мощных двигателях и бортовых двигателях насос забортной воды расположен внутри лодки и приводится в движение клиновым ремнем или непосредственно от коленчатого вала. Существуют скрытые опасности, которые могут накапливаться со временем, заставляя вас тратить большие деньги на ремонт. Опасность заключается в использовании соленой воды в качестве охлаждающей жидкости в вашем двигателе. Соленая вода может вызывать сильную коррозию. Пропуск соленой воды через блок цилиндров и выпускные коллекторы приведет к разрушительной коррозии, невидимой до выхода из строя двигателя или выпускных коллекторов.
Вообще говоря, судовые двигатели, охлаждаемые неочищенной водой, особенно те, которые используют соленую воду, имеют меньший срок службы, чем судовые двигатели, охлаждаемые закрытой системой охлаждения.
Системы пресной воды с теплообменниками и системы килевого охлаждения
Системы охлаждения пресной водой, также известные как закрытые системы охлаждения, бывают нескольких разновидностей. В наиболее распространенном типе используется теплообменник, который работает так же, как радиатор в вашем автомобиле. Охлаждающая жидкость (антифриз) циркулирует через одну сторону теплообменника, где она охлаждается неочищенной водой, которая проходит через другую сторону теплообменника.Затем охлаждающая жидкость возвращается в двигатель. Неочищенная вода выбрасывается из лодки через выхлоп. Другой распространенный тип закрытых систем охлаждения известен как килевой охладитель. Это достигается за счет отказа от теплообменника. Вместо закачки сырой воды в теплообменник судна, где она охлаждает хладагент, хладагент перекачивается через трубы или алюминиевые профили на внешней стороне корпуса, где окружающая вода (вода озера или океана) охлаждает хладагент перед его перекачкой обратно в двигатель.Использование килевых охладителей устраняет необходимость в теплообменнике, насосе сырой воды и других компонентах, необходимых для перекачивания сырой воды в теплообменник.
Судовая вспомогательная система охлаждения дизельного двигателя
Судовая вспомогательная система охлаждения дизельного двигателяДомашняя страница || Вспомогательная сила ||
Судовая вспомогательная система охлаждения дизельного двигателя
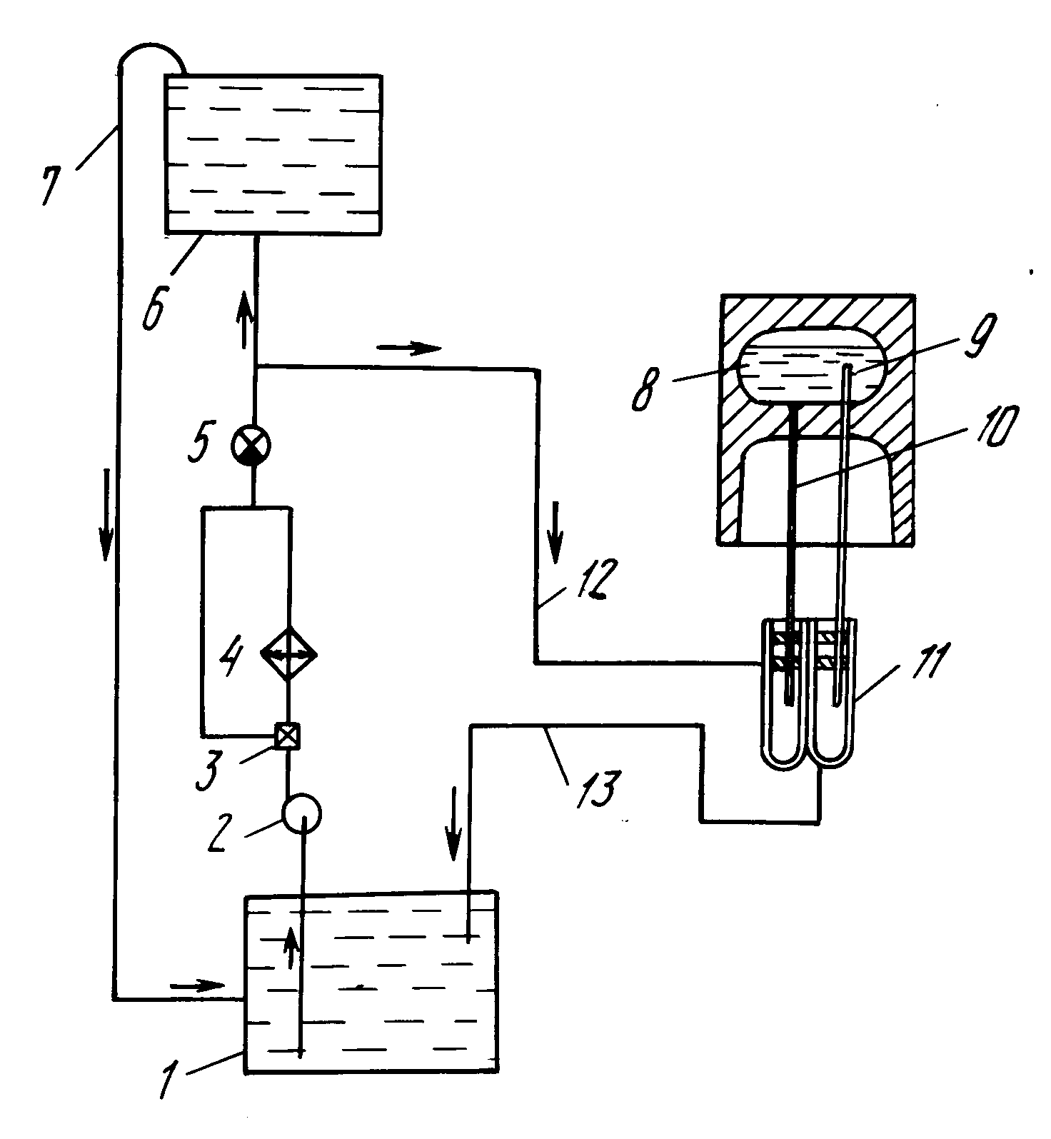
Для судовых вспомогательных двигателей могут применяться различные системы охлаждения, но наиболее часто используется простая замкнутая система (рисунок 7.5). Море вода проходит через промежуточный охладитель, маслоохладитель, а затем через воду рубашки охлаждения. охладитель в последовательном потоке. Циркуляционные насосы пресной воды с приводом от двигателя установлен, но насос забортной воды может быть как независимым агрегатом, так и двигателем. приводится в действие в паре с насосом пресной воды. Система охлаждения может быть устроен так, чтобы в аварийной ситуации морская вода могла циркулировать через кожухи двигателя после удаления некоторых установленных в трубопроводе заглушек.
На судах с главными дизельными двигателями перекрестные соединения между Основные и вспомогательные водяные системы рубашки двигателя являются общими.Это позволяет основной двигатель должен быть в тепле в порту от тепла в рубашке вспомогательного двигателя вода. Чтобы вспомогательный двигатель работал в сухом доке, обычно устроить подключение от двойного дна или пикового бака.
Рисунок 7.5 Система охлаждения с замкнутым контуром
Ниже приведены некоторые основные процедуры вспомогательного морского оборудования :
- Общая конструкция вспомогательного двигателя
- Турбина противодавления вспомогательного двигателя
- Топливный насос вспомогательного двигателя
- Общая топливная форсунка вспомогательного двигателя
- Вспомогательная система охлаждения двигателя
- Гидравлический регулятор вспомогательного двигателя
- Вспомогательная система управления частотой вращения двигателя
- Вспомогательный двигатель, отслеживающий неисправности
- Генераторы, приводимые в движение от главной силовой установки
- Котлы для выхлопных газов
- Вспомогательный двигатель Конструкция турбогенератора
- Топливная система двигателя Caterpillar
На больших тихоходных двигателях возникли серьезные проблемы. двигатели с некоторыми из бункеров низкого качества, например, с бункерами, содержащими каталитическая мелочь.Топливо должно соответствовать спецификации, указанной в инструкции. книга по двигателю. ……
Многие суда использовали вспомогательную паровую турбину в качестве ступени понижения первичного давления перед подачей пара к другим вспомогательным агрегатам, требующим пар при значительно более низком давлении, чем имеющееся. Такое расположение обеспечивает гораздо более благоприятный тепловой баланс, чем при использовании редукционного клапана ……
Наиболее распространенным топливным насосом, используемым на вспомогательных дизельных двигателях, является насос Bosch. тип. Это поршневой насос с кулачковым приводом и спиральной канавкой на плунжере для контролировать отсечку подачи топлива и, следовательно, количество топлива, подаваемого в цилиндр для сгорания. ……
Топливо подается в кольцевое пространство в форсунке через просверленное отверстие корпус форсунки от входа.Клапан форсунки выталкивается из своего гнезда в корпус форсунки за счет давления топлива от насоса, воздействующего на заплечик игольчатый клапан. ……
Для судовых вспомогательных двигателей могут применяться различные системы охлаждения, но наиболее часто используется простая система с замкнутым контуром. Море вода проходит через промежуточный охладитель, маслоохладитель, а затем через воду рубашки охлаждения. охладитель в последовательном потоке. ……
При использовании для выработки электроэнергии переменного тока дизельный двигатель обычно оснащается гидравлическим регулятором. Он включает в себя устройство измерения центробежной скорости (подпружиненные грузики), управляющее сервоцилиндром с подходящим демпфированием с масляным приводом через пилотный клапан. ……
В отличие от силовых турбин, турбины генератора работают с постоянной частотой вращения и должны регулироваться соответствующим образом.Правила классификационного общества требуют, чтобы при внезапном снятии или включении полной нагрузки было только 10% кратковременное и 6% постоянное изменение скорости. ……
Отказ двигателя при запуске или проблемы во время работы могут быть связаны с неисправности системы впрыска топлива или другие возможные причины. Инструкция руководство по поиску неисправностей и их устранению будет включать некоторые из типичных проблемы ……
Генераторы могут приводиться в действие от карданного вала, через коробку передач или путем установки на самом двигателе. ……
Изначально котлы для выхлопных газов или экономайзеры имели простую конструкцию и производили очень умеренное количество пара из двигателей малой мощности того времени. По мере увеличения мощности низкооборотного двигателя большее количество пара, которое могло бы быть произведено из-за потери энергии выхлопных газов в противном случае, ……
Конструкция турбогенератора — Для выработки электроэнергии турбины обычно представляют собой машины с горизонтальным осевым потоком и импульсной реакцией. Они могут выходить либо во встроенный конденсатор (всегда под подвешенным), либо в отдельный центральный вспомогательный конденсатор или главный конденсатор судна. ……
В ряду более крупных двигателей Caterpillar используются топливные насосы спирального типа с приводом от раздельный распредвал…….
Домашняя страница || Охлаждение || Машины || Услуги || Клапаны || Насосы || Вспомогательная сила || Карданный вал || Рулевые механизмы || Судовые стабилизаторы || Холодильное оборудование | || Дизайн корабля || Главная ||
General Cargo Ship.com предоставляет информацию о различных системах оборудования грузовых судов — процедурах обращения, мерах безопасности на борту и некоторые базовые знания о грузовых судах, которые могут быть полезны людям, работающим на борту, и тем, кто работает в терминале.По любым замечаниям, пожалуйста
Свяжитесь с нами
Copyright © 2010-2016 General Cargo Ship.com Все права защищены.
Условия использования
Прочтите нашу политику конфиденциальности || Домашняя страница ||
Система охлаждения — Volvo Penta
Система охлаждения является чрезвычайно важной частью двигателя. Правильная рабочая температура способствует увеличению срока службы двигателя и снижению расхода топлива. Это также важно с точки зрения безопасности.При правильно подобранной и правильно установленной системе охлаждения можно избежать перегрева двигателя, ненужных остановок и дорогостоящего ремонта из-за отказа двигателя.
Системы охлаждения могут быть двух типов:
— Охлаждение морской водой (прямое охлаждение), при котором морская вода напрямую закачивается в систему охлаждения двигателя и затем отводится через выхлопную систему (мокрые выхлопные системы) или через отдельную точку слива охлаждающей воды (для сухих выхлопных систем) .
— с пресным водяным охлаждением (непрямое охлаждение), где двигатель имеет собственную систему охлаждения с замкнутым контуром, аналогичную системе охлаждения легкового автомобиля. Температура охлаждающей жидкости двигателя снижается за счет ее прохождения через теплообменник, который сам охлаждается за счет подачи непрерывно перекачиваемой морской воды. Морская вода выводится либо через выхлоп, если используется с мокрой выхлопной системой, либо через отдельный выход, когда используется с сухой выхлопной системой.
Охлаждение пресной водой имеет ряд преимуществ по сравнению с охлаждением морской водой, а именно:
— Лучший комфорт, i.е. наличие ГВС и бортового отопления. Более широкое использование.
— Содержащиеся в охлаждающей жидкости антифризы и антикоррозионные средства позволяют работать круглый год. Если потребуется полностью вывести двигатель из эксплуатации, каналы охлаждающей жидкости можно просто заполнить ингибиторами.
— Уменьшение износа двигателя в результате более высоких рабочих температур.
— Увеличенный срок службы двигателя за счет лучшей защиты от коррозии.
Установка системы охлаждения пресной водой на двигатель с морской водой — относительно простая операция.
Охлаждение забортной водой
1. Выпускной патрубок мокрого типа
2. Галереи охлаждения двигателя
3. Вакуумный клапан
4. Насос забортной воды
5. Фильтр забортной воды
6. Забор охлаждающей воды
7. Шланг
Охлаждение пресной водой
1. Колено выхлопное, мокрого типа
2. Галереи охлаждения двигателя
3. Вакуумный клапан
4. Насос забортной воды
5. Фильтр забортной воды
6.Забор охлаждающей воды
7. Шланг
8. Теплообменник
9. Расширительный бачок
10. Выпуск горячей воды
11. Водонагреватель
| ||
Охлаждение двигателя — обзор
5.1.2 Формулы анализа характеристик автомобиля
Тяжелые грузовики обычно имеют передний и задний привод, чтобы обеспечить эффективное охлаждение двигателя и лучшее тяговое усилие во время ускорения и подъема на подъем. .Чтобы транспортное средство могло двигаться, тяговое усилие, создаваемое двигателем и трансмиссией, должно быть больше, чем сумма всех сил статического сопротивления. Однако максимальная сила тяги, действующая на ведущие колеса транспортного средства, ограничена силой сцепления шины с дорогой, даже если двигатель и трансмиссия могут создавать более высокое тяговое усилие.
Баланс сил транспортного средства в любом установившемся или переходном состоянии можно записать как
5.1Ft + Fer + Fbr + Frf + Fa + Fi + Fgl + Fdr = 0
Когда транспортное средство движется с постоянной скоростью, сила инерции F i = 0.Если F i не равно нулю, транспортное средство либо ускоряется, либо замедляется в переходных процессах. F t — тяговое усилие, действующее на колеса транспортного средства, которое создается при включении двигателя. Обратите внимание, что тяговое усилие, вызванное запуском двигателя, определяется как положительное значение, а все силы сопротивления определяются как отрицательные значения. Во время запуска двигателя тормозная сила моторного тормоза F er = 0. F согласно — это эквивалентная сила сопротивления транспортного средства, действующая на колеса и вызываемая дополнительными нагрузками, такими как охлаждающий вентилятор, кондиционер и усилитель руля.Если водитель не использует рабочий тормоз (колесный тормоз), усилие рабочего тормоза F br = 0. F rf — это сила трения шины по дороге при качении. F a — сила аэродинамического сопротивления. F gl — сила тяжести на градиенте. F dr — сила сопротивления замедлителей трансмиссии, таких как гидродинамический или электромагнитный замедлитель. Во время работы двигателя без торможения колес или торможения ретардером трансмиссии сила тяги, действующая на колеса транспортного средства, равна
5.2Ft = −Frf + Fa + Fi + Fgl.
С другой стороны, максимально допустимая сила тяги ограничена силой сцепления шины с дорогой, которая равна нормальной нагрузке, умноженной на коэффициент сцепления с дорогой. Сила сцепления определяется нагрузкой на ось, состоянием дорожного покрытия и шинами. Например, обледенелая дорога имеет очень низкую силу сцепления, и колеса транспортного средства могут скользить по льду. Следует отметить, что каждый член в уравнении 5.1 баланса сил транспортного средства относится к общей массе транспортного средства м V (включая прицепы, если таковые имеются).
Сила тяжести определяется как F gl = м V g sin θ , а уклон дороги определяется как G r = tan θ , где θ — угол наклона дороги (положительный для спуска, отрицательный для подъема), а g — ускорение свободного падения. Сопротивление трения качения рассчитывается по формуле F rf = — м V g · f rf cos θ , если аэродинамическая подъемная сила не учитывается в чистой нормальной нагрузке.Коэффициент трения качения шины f rf увеличивается, когда увеличивается скорость транспортного средства, тяговое усилие или угол наклона шины. Коэффициент трения уменьшается при повышении давления в шинах или температуры в шинах. На коэффициент трения качения шины также влияют конструкция шины, материал шины и состояние дорожного покрытия. Коэффициент трения не зависит от вертикальной нагрузки. Обычно значения коэффициента трения качения составляют от 0,005 до 0.01 на бетонном дорожном покрытии. Более того, для грузовой шины с радиальным кордом, когда N V <100 км / час, предыдущие экспериментальные данные дали f rf = 0,006 + 0,23 (0,001 N V ) 2 , где N V — скорость автомобиля; а для диагональной грузовой шины f rf = 0,007 + 0,45 (0,001 N V ) 2 (Wong, 1993).
Сила аэродинамического сопротивления рассчитывается по формуле F a = — 0.5 ρ AMB f a A V N Vw 2 , где ρ AMB — плотность окружающего воздуха, f a — коэффициент аэродинамического сопротивления, A V — площадь проекции лобовой части транспортного средства в направлении движения, а N Vw — скорость транспортного средства относительно ветра.
Переходная сила инерции определяется как F i = — ξm V a V , , где м V — полная эффективная масса транспортного средства, включая полезную нагрузку, а a V — линейное ускорение автомобиля. ξ — это коэффициент вращательной массы, который определяется как отношение полной силы инерции транспортного средства к линейной силе инерции. Общая сумма относится к сумме силы инерции, вызванной как линейным движением массы транспортного средства, так и эквивалентной силой инерции, вызванной всеми вращающимися массами. ξ может быть получено следующим образом:
[5,3] ξ = 1 + IdrivemVrtire2 + IECtrigr2iax2ηtmVrtire2 + IECtrigriax2ηtNVmVrtire2aVdigrdt
, где r
, где r соответствует общей массе шины
, соответствует динамическому радиусу шины
, соответствует динамическому радиусу шины
905 момент инерции всех компонентов трансмиссии, включая колеса автомобиля, I E — момент инерции вращающихся компонентов двигателя, связанных с трансмиссией, таких как маховик, i gr — передаточное число трансмиссии, i ax — общее передаточное число ведущей оси, t — время, а η t — эффективность трансмиссии, представляющая потери мощности на трение всей трансмиссии (от коленчатого вала двигателя до колес транспортного средства, включая сцепление или гидротрансформатор, трансмиссия, универсальные шарниры, дифференциал, ведущие мосты, шестерня главной передачи и т. д.). Обратите внимание, что мощность вспомогательного оборудования транспортного средства определяется как сила сопротивления, а не потеря мощности на трение.
КПД трансмиссии механических коробок передач может составлять около 95% на более низких передачах и 97–98% на высших передачах с прямой трансмиссией 1: 1. КПД автоматических трансмиссий примерно на 10% ниже. Общая эффективность трансмиссии тяжелых грузовиков и автобусов обычно достигает 80–90%. Эффективность широко варьируется в зависимости от частоты вращения двигателя, нагрузки и числа передач (Kluger and Greenbaum, 1993). C tr в уравнении 5.3 — это передаточное число преобразователя крутящего момента, используемого с автоматической коробкой передач (для механических коробок передач без преобразователя крутящего момента C tr можно установить на 1). КПД гидротрансформатора составляет η TV = C sr C tr , где передаточное число C sr определяется как выходная скорость, деленная на входную скорость, а передаточное отношение крутящего момента C tr определяется как выходной крутящий момент, деленный на входной крутящий момент.При блокировке без гидравлической муфты КПД гидротрансформатора достигает максимального значения. C sr и C tr получены из диаграммы характеристик гидротрансформатора, когда известен коэффициент входной емкости c TV . Обратите внимание, что c TV = N TV / J TV 0,5 , где N TV — скорость, а J TV — крутящий момент. .Коэффициент мощности на входе гидротрансформатора c TV равен коэффициенту мощности двигателя c E , , который рассчитывается с использованием cE = NE / JE0,5, где N E — частота вращения двигателя и J E — крутящий момент двигателя. В последнем члене уравнения 5.3 переходное изменение передаточного числа d i gr / d t может создавать значительную силу инерции сопротивления для бесступенчатых трансмиссий. ξ может быть аппроксимировано эмпирической формулой ξ = 1 + 0,04 + 0,0025 i gr 2 i ax 2 , (Wong, 1993). ξ в уравнении 5.3 — очень важный параметр, который включает момент инерции двигателя. На основе уравнения 5.3 уравнение 5.20 для переходной трансмиссии будет выведено позже.
Сила тяги транспортного средства, действующая на колеса F t , , тяговый момент Дж t и крутящий момент моторного тормоза Дж E связаны следующим соотношением:
5.4Ft = Jtrtire = JE + JV, accCtrigriaxηtrtire
Тормозной момент зажигания двигателя на коленчатом валу можно рассчитать по формуле
5.5JE = −Frf + Fa + Fi + FglrtireCtrigriaxηt − JV, acc
Скорость двигателя можно рассчитать по
5 6NE = NVigriax2πrtireCsr1 − fslip
, где N E — частота вращения двигателя (обороты в секунду), f пробуксовка — пробуксовка ходовой части автомобиля, f пробуксовка = 2– 5% (Wong, 1993), C sr — передаточное число преобразователя крутящего момента, используемого с автоматической коробкой передач (для механических коробок передач без преобразователя крутящего момента C sr можно установить на 1).Мощность торможения двигателем можно рассчитать по формуле
5,7W˙E = JENE
Обратите внимание, что термин «тормозная мощность» происходит от динамометрического стенда двигателя, который поглощает мощность за счет действия тормоза (например, фрикционного тормоза). «Тормозная мощность» двигателя относится к полезной мощности коленчатого вала, из которой вычитается мощность вспомогательного оборудования транспортного средства, а оставшаяся выходная мощность является входом в трансмиссию транспортного средства при пуске или торможении, и это не то же самое, что и двигатель. тормозное усилие или тормозное усилие »при работе моторного тормоза.На рисунке 5.1 показаны характеристики тягового усилия автомобиля с семиступенчатой коробкой передач.
5.1. Характеристики тягового усилия автомобиля.
Обозначение t как время, ускорение автомобиля a V рассчитывается по формуле:
5,8aV = dNVdt = 1ξmVFt + Frf + Fa + Fgl
Скорость автомобиля рассчитывается по
5,9NV, t2 = NV , t1 + ∫t1t2aVdt
Расстояние движения автомобиля определяется как
5,10 лВ, t2 = lV, t1 + ∫t1t2NVdt
Время разгона автомобиля рассчитывается как
5.11Δtac = ∫t1t2dt = ∫NV1NV21aVdNV = ∫NV1NV2ξ⋅mVFt + Frf + Fa + FgldNV
, где F t — переходное тяговое усилие транспортного средства, возникающее в результате доступного переходного крутящего момента двигателя во время ускорения на каждой передаче. Следует отметить, что при одинаковой скорости подачи топлива переходный крутящий момент двигателя обычно ниже, чем крутящий момент двигателя в установившемся режиме из-за потерь при сгорании, насосных потерь, запаздывания турбонагнетателя и тепловой инерции. В некоторых случаях переходная мощность может быть на 5–8% ниже установившейся мощности.Замечено, что время разгона транспортного средства от скорости N V 1 до N V 2 представляет собой площадь под кривой «обратной зависимости ускорения от скорости транспортного средства», плюс время переключения передач (обычно 0,2–0,6 с на каждое переключение передачи). Площадь под кривой зависит от того, где переключена передача трансмиссии. На рисунке 5.2 показаны характеристики ускорения транспортного средства с кривой крутящего момента двигателя при полной нагрузке для семиступенчатой коробки передач, рассчитанные с использованием уравнения 5.8.
5.2. Разгонные характеристики автомобиля.
Динамика автомобиля также может быть выражена балансом мощности следующим образом:
5,12 Вт˙t = −Wrf + W˙a + W˙i + W˙gl
, где
5,13 Вт˙t = W˙ E + W˙V, accηt
5,14W˙t = FtNV
Вт˙V, в соответствии с дополнительной мощностью транспортного средства, вызванной дополнительными нагрузками, такими как охлаждающий вентилятор, кондиционер и гидроусилитель руля. Основываясь на уравнениях 5.13 и 5.14, мощность торможения двигателем можно рассчитать по
5.15W˙E = −Frf + Fa + Fi + FglNVηt − W˙V, согласно
На рисунке 5.3 показаны характеристики тягового усилия автомобиля с шестиступенчатой коробкой передач. В отличие от расчета крутящего момента расчет требуемой мощности двигателя в уравнении 5.

5 м,
, крышка танка, датчик уровня топлива, указатель уровня топлива, фильтр-сепаратор, топливный шланг 10 мм и 8 мм, заливная горловина 38 мм, заливной шланг 38 мм, шланг вентиляции 19 мм, вентиляционная головка 19 мм, фильтр вентиляции 19 мм, комплект хомутов.
ч)
с. / кВт
ч)
с.)
/кВтхч.
с.ч.