Устройство электробензонасоса — как он качает бензин?
Представьте себе такую ситуацию: вы проспали, спешите на работу или дети опаздывают в школу. Итак, вы быстро допиваете еще очень горячий кофе, впопыхах берете ключи и плащ и мчитесь к автомобилю чтобы его прогреть. Пробуете его завести, а он никак не реагирует на ваши действия. Вы стараетесь еще раз, и еще, собираете всю волю в кулак, и пробуете в «последний третий раз», но вскоре понимаете, что сегодня таки не ваш день. Вот это и называется законом подлости, или, возможно, неисправностью электробензонасоса?
Как так? Присмотритесь к одометру в вашем автомобиле: если он показывает 80 000 км, а тем более 170 000 км, причина того, что ваш автомобиль не заводится очевидна. Скорее всего, в бензонасос больше не проводится транспортировка горючего под достаточными показателями давления. Также, очень часто водители жалуются на то, что автомобиль постоянно глохнет на пол пути, или же уровень мощности двигателя при эксплуатации желает лучшего.
Как ни крути, но такая, казалось бы небольшая деталь как бензонасос, способна предугадать ход работы целого двигателя. Поэтому, каждому автолюбителю необходимо знать из чего он собственно состоит и по какому принципу он работает. Так как наука и технологии стремительно идут вперед, и наряду с механическими бензонасосами, на сегодня, повсеместно в топливные баки устанавливают бензонасосы с электроприводом, мы тоже не будем отставать и расскажем о конструкции и принципе работы именно электробензонасоса. Итак, что это и «с чем его едят»? Давайте посмотрим.
1. Назначение электробензонасоса
Ни для кого не секрет, что на сегодня весь современный автомобильный транспорт комплектуется двумя видами насосов: механическим и электрическим. Главным отличием первого от второго является сфера использования бензонасоса. Так, механический топливный насос принято использовать в автомобилях карбюраторного типа.
Если говорить в целом, электробензонасос является достаточно сложным по конструкции и функциям узел автомобиля. Его функции идентичны работе диафрагменного или плунжерного насоса. Что же он делает? Электробензонасос используется для подачи топлива к форсункам по топливопроводам. Как известно каждому автолюбителю, нормальная работа форсунок в автомобиле напрямую зависит от создания в топливной системе определенного давления. Исходя из этого, конструкторы автомобилей успели предусмотреть работу электробензонасоса еще до запуска двигателя.
Если кратко говорить о построении электробензонасоса, то можно сказать, что он состоит из электрического двигателя и, конечно же, механического насоса (может быть разный: роликовый, вихревой, шестеренчатый, а также турбинный).
Сам электробензонасос не имеет отдельной системы смазки, так как он и без того постоянно находится в топливе, поэтому топливо самостоятельно является для такого вида бензонасоса и охлаждающей жидкостью и жидкостью для смазки узла. Местонахождение электробензонасоса определяется маркой автомобиля.
Бензонасос на электрической тяге может быть установлен как внутри бака, так и снаружи бака прямиком возле него. Если говорить о работоспособности электробензонасоса, следует отметить, что, в среднем, он может прокачать где-то 1-2 литра в минуту. Такая работа возможна при давлении в 2,5-5 атмосфер. Выравнивание рабочего давления до необходимого продуктивного показателя можно воспользовавшись специальным регулятором в топливной реке.
Если говорить о поломках, то можно сказать что они бывают двух типов: механические и электрические. Как показывает практика, последние случаются довольно редко. Если пробег вашего автомобиля равен 150 тысячам, единственное что может выйти из строя так это щетка или коллектор электромотора.
Как правило, электрические насосы, в отличии от механических, которые крепят с внешней стороны топливного бака, устанавливаются на внутренней его стороне. Бывают и такие модели автомобилей, которые используют и два бензонасоса. Один выполняет свои функции на довольно больших объемах под малым давлением, непосредственно внутри бака, а другой эксплуатируется на незначительных объемах под большим давлением, на самом двигателе или вовсе около него. Как правило, под малым давлением работают именно механические бензонасосы. Теперь давайте поподробнее рассмотрим принцип работы электрического бензонасоса.
2. Как работает электробензонасос
Если говорить в общем, электрический бензонасос проделывает проталкивание бензина в двигатель. Если брать во внимание старинные автомобили, на таковых бензонасос работает с неизменимой скоростью. Напротив, скорость работы топливного насоса в современных автомобилях напрямую зависит от требований двигателя.
Как правило, контроль над всей работой электрического бензонасоса производится электронной системой автомобиля, которая помимо положения дросселя и содержания выхлопов принимает во внимание и соотношение воздуха к горючему.
Исходя из того факта, что электробензонасосы предназначены для работы под давлением, они склонны быстро нагреваться и издавать шум. Собственно поэтому их и помещают в топливный бак, так как бензин способен охладить топливный насос и , к тому же, заглушить все существующие шумы.
Как правило, электрический бензонасос от того и электрический, что его запускают с помощью электродвигателя. В то время как вы включаете зажигание поворачивая замок на включение, именно в этот момент из бортового компьютера исходит сигнал на запуск бензонасоса. Затем к топливному насосу поступает электрический заряд. Движок, который находится внутри насоса на протяжении нескольких секунд вращается и при этом работает над созданием в топливной системе нужного давления. Важным является тот факт, что если в компьютер на протяжении двух секунд не поступает сигнал о работе двигателя, в таком случае насос производит автоматическое выключения. Данная операция проводится с целью безопасности.
Именно в эти первые секунды после того, как двигатель запустился можно услышать как же работает топливный насос.
Работа топливного насоса напрямую зависит от работы двигателя, поэтому если двигатель не работает, не будет работать и электробензонасос. Как мы уже говорили, неисправности электрического характера случаются довольно редко. Намного чаще можно наблюдать износ нагнетающей части. Как показывает практика, причиной такой поломки являются присутствующие в горючем разнообразные механические примеси, которые могут абразивно действовать на трущиеся поверхности насоса. Такие примеси могут более всего навредить в том случае, когда топливный бак почти пуст. На значительную потерю давления может повлиять загрязнение сетки топливоприемника, а также несвоевременная замена фильтра тонкой очистки топлива.
Важно помнить, что если вы хотите заменить топливный фильтр, вам нужно помнить, что замена должна производиться непосредственно перед самой проверкой, для того, чтобы предотвратить возможные искажения в показаниях манометра. Если вы обнаружили, что отметка показывает низкое давление, специалисты советуют провести проверку, а возможно и очистку сетки топливоприемника.
Если после проделанных операций давление будет по-прежнему ниже двух атмосфер, вам нужно провести замену электробензонасоса. Полностью проделать такую операцию в домашних условиях и без участия специалистов невозможно. Единственное что вы сможете сделать, так это проверить электрическую часть насоса. Как правило, исправно работающий электродвигатель издает звуки, похожие на жужжание при включенном зажигании.
Не лишним было бы отметить, что именно при работе механической части электробензонасоса и достигается давление в системе.
Важно помнить, что неисправный электробензонасос по сути не подлежит ремонту на СТО, техцентры могут произвести разве что его замену. Все же, некоторым сервисам удается успешно отреставрировать топливный насос. К слову, цена на новый насос составляет одну третью всего узла.
Многие задаются вопросом, как же продлить работоспособность топливного насоса. Во-первых, нужно всегда следить, чтобы в баке постоянно было топливо нормального качества и, желательно, заполняло бак на не менее две трети объема. Конечно, в идеале бак должен всегда быть полным. На сегодня, современные автомобили используют плоские баки, поэтому даже 10-15 литров при маневрах могут оголить насос в значительной степени. Это грозит насосу тем, что он будет захватывать воздух, а в процессе эксплуатации это крайне нежелательно. Если же в зимнюю пору, бак будет недостаточно наполнен, то по большое вероятности в нем образуется конденсат. Специалисты советуют особенно тщательно подойти к этой проблеме, которая может доставить много неудобств.
Наиболее распространенными «вредителями» электробензонасоса являются, как мы уже говорили, механические примеси. Бороться с ними можно и нужно. Во-первых, можно заправляться на АЗС в канистру, а уже после этого заливать топливо в бак, используя дополнительный фильтр. Данный способ борьбы с механическими примесями является достаточно эффективным, но крайне неудобным.
Также можно использовать специальные насадки, в основу которых идут различные спирты, которые могут выводить из бака воду. Но как ни крути, механические способы на сегодня являются наиболее эффективными и надежными.
3. Из чего состоит электробензонасос
Если говорить в общем о конструкции любого электробензонасоса, можно сказать что он состоит из двух очень важных узлов, а именно из электродвигателя постоянного тока, а также гидронагнетателя. Оба узла объедены в одном корпусе и соединённые между собой механически. Узел гидронагнетателя включает в себя предохранительный клапан для сброса лишнего давления, а также обратный клапан, который находится на выходе самого бензонасоса (возможно и размещение и за его пределами).
Последний способен воспрепятствовать сливу топлива из магистрали в бензиновый бак. Также за его участия происходит сохранение давления в магистрали при выключении данного бензонасоса. Сам гидронагнетатель по принципу действия принято делить на центробежный и объёмный. Первый бывает турбинным, нагнетающая деталь которого напоминает крыльчатку с большим количеством лопастей, а второй бывает шестеренчатым и роликовым.
Поскольку электробензонасос представляет собой начало подачи топливной системы, как правило, на его работу воздействуют все предшествующие узлы, посредством которых он систематически прокачивает топливо. Исходя из этого, при какой-либо диагностике бензонасоса вам нужно будет принять во внимание все особенности схемы построения топливоподачи, а также воздействие отдельных узлов на всю работу электробензонасоса.
Итак, система подачи топлива может строиться исходя из двух схем. Первой является «короткое» топливное кольцо (возврат топлива в бак от начала топливной системы), вторая идет по «длинному» кольцу (возврат неиспользованного топлива форсунками в бак от места их установки).
Подписывайтесь на наши ленты в таких социальных сетях как, Facebook, Вконтакте, Instagram, Pinterest, Yandex Zen, Twitter и Telegram: все самые интересные автомобильные события собранные в одном месте.
Устройство и принцип работы автомобильного электрического бензонасоса
Любая система впрыска топлива, которая устанавливается на современном автомобильном двигателе внутреннего сгорания, снабжена бензонасосом с приводом от электродвигателя постоянного тока. Электрический бензонасос может быть расположен как внутри бензобака, где, в таком случае, он будет погружен в бензин, так и рядом с ним под днищем кузова автомобиля.
В качестве примера рассмотрим устройство и принцип работы погружного электробензонасоса производства BOSCH серии 0580254, который используется во всех модификациях системы впрыска топлива «К-Jetronic».
Рис. 1. Конструкция автомобильного электробензонасоса
1 — выходной штуцер; 2 — обратный клапан; 3 — электроклемма; 4 — коллектор; 5 — щеткодержатель с пружиной и щеткой; 6 — статорный постоянный магнит; 7 неподвижная ось для якоря электродвигателя и для ротора насоса; 8 — якорь электродвигателя; 9 — сцепная вилочка; 10 — центробежный ролик; 11 — крышка нагнетателя с выпускной щелью; 12 — статор нагнетателя с эксцентрической цилиндрической полостью; 13 — ротор нагнетателя с пятью центробежными роликами; 14- донце нагнетателя с входной щелью; 15 — входное отверстие; 16 — сетка фильтра грубой очистки топлива; 17 — выпускное отверстие; 18 — клапан сброса; 19 — выемка в днище бензобака.
На рис. 1 приведено схематическое изображение конструкции электробензонасоса. Его приводной частью является электродвигатель постоянного тока с двумя постоянными магнитами 6, расположенными на статоре, и с двенадцатисекционной рабочей обмоткой, намотанной на 12-пазном якоре 8.
Якорь барабанного типа. Якорная обмотка петлевая, короткозамкнутая, по отношению к внешней электрической цепи, — разделена щетками на две параллельные ветви. Всего в обмотке 288 витков медного провода диаметром 0.6 мм, по 24 витка в каждой секции. Два статорных магнита создают постоянное магнитное поле В’ с полюсами N и S, которое пронизывает магнитные массы и витки якоря электродвигателя. Коллектор 4 имеет 12 ламелей, которые попарно соединены с бортовой электрической сетью напряжением 12 Вольт посредством подпружиненных щеток 5 и двух внешних электроклемм 3. Щетки к клеммам подсоединены многожильным гибким медным проводом. Клеммы выведены за пределы корпуса бензонасоса (обозначены соответственно «+» и «-») и имеют герметическое уплотнение.
Электробензонасос устанавливается на переходную площадку, посредством которой он крепится к бензобаку. При этом приемный торец электробензонасоса с сетчатым фильтром 16 грубой очистки топлива опускается точно в выемку 19 днища бензобака.
Рабочее положение электробензонасоса БОШ-0580254 вертикальное.
Электродвигатель рассчитан на рабочее напряжение 12 В и в нагруженном режиме потребляет.ток до 6 А. Мощность электродвигателя примерно 80 Вт.
Принцип работы электродвигателя можно объяснить с помощью рис. 2.
На клеммы +М и -М подается напряжение 12 В от бортовой сети автомобиля через схему управления электробензонасосом. Эта схема включает электродвигатель бензонасоса в момент пуска двигателя внутреннего сгорания на 3…5 с, а во время работы двигателя автомобиля удерживает его постоянно включенным. Если двигатель внутреннего сгорания заглохнет при включенном зажигании, схема управления отключает электробензонасос от бортовой сети до следующего пуска двигателя автомобиля.
Под действием бортового напряжения 12 В по виткам рамки R якоря электродвигателя начинает протекать пусковой ток Iя. Этот ток, согласно закону Ома равный UcRя (где Uc — напряжение бортовой сети, Rя — омическое сопротивление обмотки якоря), вступает в электромагнитное взаимодействие с магнитным полем В’ постоянного магнита статора.
Как следствие, на рамку R начинают действовать две механические силы F1 и F2, каждая из которых согласно закону электромагнитной индукции определяется по формуле: F=BLI cosα, где L — суммарная активная длина витков рамки R; В — индукция магнитного поля; α — угол поворота рамки R относительно направления поля В7. Направление действия силы F легко определяется по правилу левой руки.
Силы F1 и F2, приложенные в противоположных направлениях к оси вращения якоря, образуют вращающий момент Мя, который посредством сцепной вилочки (рис. 1, 9) передается ротору шиберного бензонасоса. Момент определяется по формуле: Мя=(F1+F2)r, где r — приведенный радиус якоря.
Следует заметить, что сцепная вилочка выполнена из жесткой, но ломкой пластмассы и при заклинивании ротора бензонасоса (например, при замерзании зимой случайно попавшей в бензобак влаги) должна сломаться, предотвращая тем самым короткое замыкание электродвигателя насоса.
После пуска электродвигателя ток якоря Iя значительно уменьшается.
Это явление имеет место потому, что, во-первых, якорь сам становится вращающимся постоянным магнитом и силой этого магнита ослабляет магнитное поле В’ статора электродвигателя (реакция якоря), во-вторых, ток Iя при работе электродвигателя ослабляется противоэлектродвижущей силой и постоянно переключается по виткам якоря коллекторно щеточным механизмом, за счет чего его среднее значение становится меньше тока заторможенного якоря.
Частота вращения якоря электродвигателя, а следовательно, и ротора насоса, не регулируется, так как зависит только от приложенного к клеммам электродвигателя напряжения и в незначительной степени от механической нагрузки на ось. Новый электробензонасос BOSCH — 0580254 при напряжении 12В может развивать давление на заглушенном выходном штуцере (рис. 1, 1) до 7,8 бар. Клапан сброса (рис. 1, 18) отторирован на 6,8 бар. При этом электродвигатель насоса вращается с частотой до 100 об/с. Производительность насоса около 1,8 дм3/мин, что значительно выше потребления топлива двигателем внутреннего сгорания в форсированном режиме.
Для поддержания требуемого давления в системе и для сброса излишнего бензина обратно в бензобак все системы питания современных двигателей внутреннего сгорания оборудованы обратным бензопроводом и регулятором давления в рабочей топливной магистрали, благодаря чему давление, развиваемое бензонасосом, поддерживается постоянным (для Bosch-0580254 около 6 бар).
Бензоподающим устройством электробензонасоса является шиберный гидронагнетатель (рис. 1, 10—18), который работает по принципу проталкивания отдельных порций бензина центробежными роликами через эксцентрическую насосную полость.
Рис.3 Составные части шиберного бензонасоса.
Основные составные части шиберного бензонасоса (рис. 3) следующие: ротор R с роликами Р, статор С с эксцентрической насосной полостью S, донце А с впускным отверстием L и крышка В с выпускным отверстием М.
В собранном виде центробежный насос представляет собой трехслойный пакет, в средней части которого между крышкой В и донцем А образована главная насосная полость S, эксцентрично сдвинутая относительно центра вращения ротора R, в которой и вращается ротор R с роликами Р.
Работает центробежный гидронагнетатель следующим образом. Ротор нагнетателя приводится во вращение вышеописанным способом. Под действием центробежных сил все ролики нагнетателя плотно прижимаются к стенке эксцентрической статорной полости и начинают кататься по стенке. Эта полость является главной насосной полостью нагнетателя. Там, где ротор нагнетателя вплотную подходит к стенке насосной полости (рис. 3, б, Р1), ролики почти полностью утапливаются в направляющие пазы. Там, где зазор между ротором и статором нагнетателя максимален (рис. 3, б, Р2), центробежные ролики выступают из пазов почти на половину своего диаметра. Таким образом через впускную щель (рис. 3, а, L) насосной полости S происходит захват очередной порции бензина очередным набежавшим роликом. Эта порция интенсивно проталкивается в выпускное отверстие (рис. 3, в, М) крышки нагнетателя и оттуда вверх, через все детали электродвигателя, к выходному штуцеру электробензонасоса (рис. 1, 1).
Бензин не проводит электрический ток, но беспрепятственно пропускает магнитные силовые линии.
Поэтому на электромагнитные процессы в электродвигателе бензин никакого влияния не оказывает. Вязкость бензина очень низкая, и поэтому гидромеханическое сопротивление слоев бензина, протекающих через рабочий «воздушный» зазор электродвигателя, также незначительно.
Прокачка бензина через «внутренности» электродвигателя повышает его надежность. Имеет место постоянная и эффективная промывка коллекторно щеточного механизма и смазка проточным бензином оси вращения, на которой вращаются ротор нагнетателя и якорь электродвигателя.
В конструкции электробензонасоса нет подшипников качения. А втулки скольжения с плотной посадкой на ось лучше работают с жидкой смазкой, которой в данном случае является бензин. Помимо сказанного, бензин интенсивно охлаждает электродвигатель, который никогда не перегревается. Как следствие, электробензонасосы с прокачкой бензина через внутреннюю полость электродвигателя обеспечивают работу двигателя автомобиля до 200 тыс. км пробега.
Следует заметить, что расположение электродвигателя бензонасоса в бензобаке на первый взгляд вызывает недоумение.
Действительно, хорошо известно, что в коллекторно щеточном механизме электродвигателя может возникать интенсивное искрение. Это может стать причиной взрыва бензобака, когда он пустой, а концентрация паров бензина соответствующая. Однако фирма BOSCH выпускает погружные электробензонасосы более 30 лет и случаев взрывов бензобака не зарегистрировано. Объясняется этот феномен так: электроконтактная пара «щетка-ламель» не искрит, так как, во-первых, работает в режиме переключателя малых энергий, во-вторых, ее компоненты изготовлены из специально подобранных электропроводных материалов, и, в-третьих, в электродвигателе с короткозамкнутой петлевой обмоткой на якоре искрение в коллекторно щеточном механизме ограничено встречно-параллельным соединением рабочих ветвей якорной обмотки на щетках. Кроме этого, бензонасос и его электродвигатель при работе постоянно наполнены бензином, искрение в котором практически невозможно. За счет герметичности в системе топливного питания, в бензонасосе бензин или его чрезмерно богатая смесь присутствует даже тогда, когда бензобак пустой.
Таким образом, вероятность взрыва бензобака от присутствия в нем электробензонасоса практически сведена к нулю.
На сайте Времонт.su публиковаться материалы по ремонту и сервисному обслуживанию классического электрооборудования, автомобильной электроники, а также по устройству, принципу действия и ремонту новейших автоэлектронных устройств, таких как автомобильных стартеров, впрыска топлива, автомобильные свечи зажигания, антиблокировки тормозов, cистемы зажигания в мотоциклах и цифрового зажигания , простые схемы противоугонных систем автомобиля и т. п.
Приглашаем к сотрудничеству всех заинтересованных лиц, имеющих желание разместить рекламу на сайте, владеющих информацией по указанным темам и желающих поделиться ею на страницах интернет-журнала. По интересующим вопросам пишите на наш Email Этот e-mail адрес защищен от спам-ботов, для его просмотра у Вас должен быть включен Javascript .
Что такое бензонасос для автомобиля
Бензонасос автомобиля предназначен для поступления топлива из бака к двигателю.
Расскажем что это такое, как работает и узнаем разницу между механическим и электрическим устройством.
Что это такое
Бензонасос подает топливо в двигатель. Он нужен потому, что мотор и бензобак находятся в противоположных концах автомобиля. В современных авто устанавливаются два типа: механические и электрические. Механические бензонасосы применяются в машинах карбюраторного типа, при этом топливо в карбюратор подается под низким давлением, а электрические — в топливных системах инжекторного типа с подачей топлива под давлением. Механические бензонасосы крепятся снаружи топливного бака, а электрические — внутри. В некоторых двигателях устанавливаются два бензонасоса: один, работающий на больших объемах под низким давлением, внутри топливного бака. Другой — работающий на малых объемах под высоким давлением, на двигателе или около него. Механические бензонасосы работают по принципу засасывания топлива из бака в двигатель. Расстояние между карбюратором и насосом небольшое, поэтому могут работать под низким давлением.
Электрические бензонасосы «проталкивают» топливо в двигатель. Их работа контролируется электронной системой автомобиля, которая принимает в расчет положение дросселя, соотношение воздуха к топливу и содержание выхлопов.
Бензонасосы работают под давлением, они довольно шумные и быстро нагреваются. Поэтому их размещают в топливном баке — топливо охлаждает и глушит шумы.
Как работает
Бензонасосы запускаются при помощи электродвигателя. Когда поворачиваете замок зажигания авто на включение, бортовой компьютер дает сигнал на запуск. В этот момент на устройство подаётся электрический заряд. Мотор внутри начинает вращаться и в течение нескольких секунд создает давление в топливной системе.Если через две секунды компьютер не получает сигнал, что мотор включён, бензонасос автоматически отключается в целях безопасности. Именно в первые две секунды после запуска двигателя можно слышать его работу.
Далее топливо засасывается в бензонасос через трубочку и выходит через односторонний клапан.
Через топливный фильтр задерживается грязь и мусор. Далее бензин поступает в двигатель. Бензонасос работает, пока двигатель заведён.Как узнать — исправен или нет
Надо перевести ключ зажигания машины во второе положение (должны загореться контрольные лампочки на панели), но мотор не запускать. Если слышен звук — работает, ничего не слышно — значит есть проблемы.Чаще всего бензонасос преждевременно ломается по двум причинам: грязные топливные фильтры и привычка ездить на пустом баке. В обоих случаях трудится на пределе, вырабатывая ресурс быстрее, чем было предусмотрено изготовителем. Поэтому не ленитесь чаще менять топливные фильтры, особенно если качество топлива оставляет желать лучшего.
Электробензонасос – устройство и диагностика » Автомобили и тюнинг
Конструкция и назначение:
Электробензонасос (ЭБ) достаточно сложный узел автомобиля. Его функциональная обязанность, также как и плунжерного или диафрагменного насоса – подача топлива по системе к форсункам.
Но работать форсунки будут нормально при условии наличия в системе определенного давления. Для этого ЭБ начинает свою работу еще до запуска двигателя.
ЭБ состоит из непосредственно механического насоса (может быть турбинный, вихревой, шестеренчатый или роликовый) и электрического двигателя. В связи с постоянным погружением всего насоса в топливе, отдельной системы его смазки нет. Само топливо является смазкой и охлаждающей жидкостью. На различных марках автомобилей ЭБ могут устанавливаться как в баке, так и снаружи возле него. В среднем, насос прокачивает 1-2 л/мин. при создаваемом давлении 2,5-5 атм. Специальный регулятор в топливной рейке выравнивает рабочее давление до необходимого показателя.
Причины поломок:
Все возможные поломки условно делятся на электрические и механические. Электрические неисправности возникают крайне редко, да и то, после 150 тыс. пробега – из строя выходят коллектор электромотора или щетки. А вот износ нагнетающей части бывает чаще. Этому способствуют механические примеси в топливе.
Они абразивно действуют на трущиеся поверхности насоса. Особенно сильно примеси «вредят» при минимальном количестве топлива в баке. А при несвоевременной замене фильтра тонкой очистки топлива или загрязнении сетки топливоприемника происходит значительная потеря давления в системе.
Диагностика:
Самый доступный способ диагностирования – проверка при помощи манометра давления в топливной системе при заведенном двигателе. Проверке, для избежания искажений в показаниях манометра, должна предшествовать замена топливного фильтра. Если давление остается достаточно низким, надо проверить и, при необходимости, очистить сетку топливоприемника. Ничего не происходит и давление остается ниже 2 атмосфер – требуется замена ЭБ. Без привлечения специалистов, дома, можно проверить только электрическую часть насоса – при включенном зажигании исправный электродвигатель издает короткое «жужжание». Но само давление в системе создается его механической частью.
Ремонт:
В целом, ЭБ не подлежат ремонту и на СТО просто производится его замена.
Но некоторые мастерские его успешно реставрируют. Для наглядности, стоимость самого насоса составляет 1/3 стоимости всего узла.
Продление работы ресурса:
В баке постоянно должно быть топливо хорошего качества (в наших условиях – это лучшее из худшего), желательно не менее 2/3 объема бака. А в идеале – всегда полный бак. Во-первых, в современных автомобилях все баки очень плоские, в результате, даже 10-15 литров при маневрах могут оголять насос и он будет захватывать воздух. Для него это, в работающем состоянии, не желательно. Во-вторых, в холодное время года, чем больше в баке будет свободного от бензина пространства, тем будет больше в нем образовываться конденсата. Это очень важный момент, который большинство автовладельцев игнорирует. Как сказано ранее, главный враг ЭБ, да и всей топливной системы, — это механические примеси. Бороться с этим можно. Способ неудобный, но очень эффективный – заправляться на АЗС в канистру, потом заливать в бак через дополнительный фильтр.
Для этого лучше раздобыть сетку из латуни, которую применяют в фильтрах в авиации. Такая сетка даже воду не пропускает. Или найти старую фетровую шляпу, вложить ее в воронку лейки и через нее заливать топливо. Можно еще применять специальные присадки на основе различных спиртов, которые выводят из бака попавшую воду. Но механические способы надежнее и результативнее.
механический, электрический. Устройство, принцип действия, неполадки.
Бензонасос — элемент топливной системы автомобиля который осуществляет подачу топлива к системе дозирования (карбюратор/форсунка). Необходимость такой детали в топливной системе возникает через техническое расположение двигателя и бензобака относительно друг-друга. В автомобилях устанавливаются один из двух типов бензонасосов: механический, электрический.
Механические применяются в карбюраторных машинах (подача топлива под низким давлением).
Электрические — в автомобилях инжекторного типа (подача топлива происходит под высоким давлением).
Механический бензонасос
Приводной рычаг механического бензонасоса постоянно двигается вверх-вниз, но сдвигает диафрагму вниз только при необходимости заполнить камеру насоса. Возвратная пружина сдвигает диафрагму обратно вверх, чтобы подать топливо в карбюратор. Строение механического бензонасоса:
Пример механического бензонасоса
- камера;
- впускной, выпускной клапан;
- диафрагма;
- возвратная пружина;
- приводной рычаг;
- кулачек;
- распредвал.
Электрический бензонасос
Электробензонасос снабжен схожим механизмом: он работает за счет сердечника, который втягивается в электромагнитный клапан, пока не открываются контакты, отключающие подачу электрического тока. Строение электрического бензонасоса:
Пример электрического бензонасоса
- камера;
- впускной, выпускной клапан;
- диафрагма;
- возвратная пружина;
- электромагнитный клапан;
- сердечник;
- контакты.

Принцип действия бензонасоса
Приводится в действие диафрагмой которая ходит вверх-вниз, поскольку над диафрагмой создается разряжение (при ходе вниз), открывается всасывающий клапан через который бензин поступает через фильтр в наддиафрагменное углубление. При обратном ходе диафрагмы (вверх), когда создается давление, оно закрывает всасывающий клапан, а открывает нагнетающий, что и способствует движение бензина по системе.
Основные неисправности бензонасоса
В основном бензонасос выходит из строя по 2 причинам:
- загрязненный топливный фильтр;
- езда на пустом баке.
И первом, и втором случае, бензонасос работает на пределе, а это способствует быстрому истечению предусмотренного ресурса. Чтобы самостоятельно продиагностировать и выяснить причину неисправности топливного насоса читайте статью о шагах проверки.
Проверка бензонасоса
Проверить работу бензонасоса можно в 5 или 7 этапов.
Для этого нужно сначала начать с предохранителя и заканчивая проверкой давления. Имея мультиметр, манометр и АКБ с проводком
Подробнее
Спрашивайте в комментариях. Ответим обязательно!
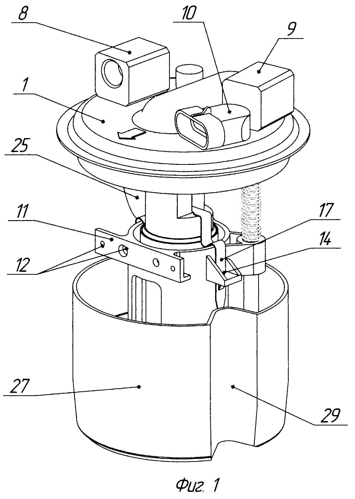
Модуль погружного электробензонасоса 505.1139, бензонасос 50.1139
Модуль погружного электробензонасоса 505.1139 предназначен для создания давления в топливной магистрали и обеспечения контроля уровня топлива в топливном баке автомобиля. Модуль погружного электробензонасоса установлен внутри топливного бака.
Модуль погружного электробензонасоса 505.1139 и электробензонасос 50.1139, устройство и характеристики.
Модуль погружного электробензонасоса 505.1139 применяется в системе питания топливом автомобилей повышенной проходимости ГАЗель с колесной формулой 4х4 — автофургона ГАЗ-27057 с цельнометаллическим кузовом и с трех или семиместной кабиной, пассажирских ГАЗ-32217 на 8 или 9 мест, ГАЗ-322173 на 12 или 13 пассажирских мест, автомобиле скорой медицинской помощи ГАЗ-322174.
Модуль погружного электробензонасоса 505.1139 состоит из центобежного роликового насоса 50.1139 с приводом от электродвигателя и датчика уровня топлива, состоящего из поплавка, соединенного с реостатом. В зависимости от количества топлива в бензобаке на электромагнитный указатель уровня топлива в комбинации приборов подается ток, который определяется величиной сопротивления реостата.
Общие размеры модуля погружного электробензонасоса 505.1139.
Основные характеристики модуля погружного электробензонасоса 505.1139.
— Номинальное напряжение, В : 12+-0,3
— Потребляемый ток :
при работе в системе, не более, А : 6,5
при работе на холостом ходу, допускается только кратковременное включение, А : 2
— Производительность :
при напряжении питания 13,5 Вольт, л/час : 110
при напряжении питания 10,8 Вольт, л/час : 68
— Рабочее давление на выходе, кгс/см2, не менее : 3
— Максимальное давление, кгс/см2 : 4,5-7,0
— Уровень звукового давления модуля на расстоянии 0,5 метра от места установки, ДБА, не более : 55
— Рабочее тело : все марки товарных бензинов
— Гарантийная наработка модуля :
моточасы : 2000
пробег автомобиля, тыс.
км : 80
Схема электрическая принципиальная модуля погружного электробензонасоса 505.1139.
Расположение контактов выходного разъема X1 модуля погружного электробензонасоса 505.1139.
Ответная часть выходного электрического разъема X1 модуля 505.1139 – AMP 282088-1.
Соответствие контактов разъема X1 модуля погружного электробензонасоса 505.1139 электрическим цепям автомобиля.
Величины сопротивлений реостата датчика уровня топлива модуля погружного электробензонасоса 505.1139 в зависимости от положения поплавка.
При достижении в топливном баке резервного остатка топлива, менее 10 литров, сопротивление реостата составляет 230+-10 Ом, включается сигнальная лампа резервного остатка топлива в комбинации приборов. Датчик уровня топлива является не ремонтируемым и не обслуживаемым изделием. Гарантийная наработка датчика уровня топлива составляет около 120 000 циклов.
Устройство и принцип работы электрического бензонасоса 50.
1139.Электродвигатель и роликовый насос смонтированы в одном герметичном корпусе. Бензин прокачивается насосом через весь электродвигатель, охлаждая его. Центробежный роликовый насос состоит из неподвижного статора, внутренняя поверхность которого смещена на 1,5 мм относительно оси якоря электродвигателя, цилиндрического сепаратора соединенного с якорем электродвигателя и роликов расположенных в пазах сепаратора.
Располагается насос в пространстве между основанием и крышкой. Бензин через входной штуцер и входной канал в основании насоса поступает в сегментное пространство, между внутренней поверхностью основания и сепаратором, образуемое за счет их эксцентриситета и, при вращении сепаратора, переносится роликами в более узкое пространство через выходные каналы — в полость электродвигателя и затем через обратный клапан и выходной штуцер в топливную магистраль.
Обратный клапан служит для исключения слива бензина из магистрали и образования воздушных пробок после выключения бензонасоса.
Предохранительный клапан служит для ограничения давления топлива выше допустимой нормы.
Включается электробензонасос блоком управления двигателем через промежуточное реле при включении зажигания. Если через 3-5 секунд стартер не включился, то блок управления отключает бензонасос. Последующее включение бензонасоса произойдет при запуске двигателя стартером. Проверить работу электробензонасоса 50.1139 можно на специальном стенде. При выходе из строя электробензонасос подлежит ремонту или замене.
Замена модуля погружного электробензонасоса 505.1139.
При замене неисправного модуля погружного электробензонасоса необходимо после вскрытия упаковки осмотреть новый модуль на отсутствие повреждений на корпусе, входном и выходном штуцерах, а также на целостность и легкость перемещения рычага датчика уровня топлива с поплавком.
Установить модуль в топливный бак автомобиля, закрепить фланец модуля, обеспечив герметичность топливного бака. Соединить модуль со шлангами топливной системы, обеспечив правильность установки шлангов топливопроводов высокого давления и магистрали обратного сброса топлива.
Соединение должно быть надежным с учетом избыточного давления до 7 кгс/см2 на выходе модуля.
Подключить модуль к бортовой сети автомобиля с помощью разъема. Запрещается эксплуатация электробензонасоса при отсутствии бензина в баке более 3-5 секунд.
Похожие статьи:
- Датчики комплексной микропроцессорной системы управления двигателем УМЗ-А274 EvoTech 2.7 на автомобиле Газель и Соболь, назначение, принцип действия, расположение.
- Катушки зажигания 406.3705, 406.3705000-20, 3012.3705, 40904.3705000, 407.3705000 для ЗМЗ-40522, ЗМЗ-40524, ЗМЗ-40525 на ГАЗель и Соболь, устройство и характеристики.
- Проверка компрессии в цилиндрах двигателя Cummins ISF2.8 на Газель NEXT, нормальные значения, выяснение причин недостаточной компрессии в цилиндрах двигателя.
- Дизельный двигатель Cummins ISF2.
8 на Газель NEXT, устройство, конструкция блока цилиндров, коленчатого и распределительного вала, поршней, шатунов и маховика. - Двигатель ЗМЗ-40522 на ГАЗель ГАЗ-3302 и ГАЗ-2705, отличия от базового двигателя ЗМЗ-4062 и от ЗМЗ-4061 и ЗМЗ-4063, модификации и особенности конструкции.
- Система управления двигателями ЗМЗ-40522 и ЗМЗ-40524 на ГАЗель ГАЗ-3302 и ГАЗ-2705, схемы, коды ошибок и неисправностей, особенности системы управления и зажигания.
Электробензонасос для карбюратора низкого давления
Наверное, каждый мужчина знает, что карбюратор – это главный механический узел системы обеспечения топлива бензиновому двигателю. А главной его задачей является изменение состава начальной топливно-воздушной смеси до нужного состава, к тому же он выполняет еще одну важную функцию – дозирование нужного количества готового топлива для поступления в двигатель.
Важно! Современные ученые и инженеры разработали замену карбюраторному впрыску, который имел ряд значительных недостатков. Они создали специальные электронные инжекторные системы. Однако, эту изобретение еще не получило огромного развития, поэтому на дорогах по-прежнему остаются еще множество машин, использующих карбюратор. Наиболее продвинутые хозяева таких транспортных средств самостоятельно изменяют некоторые узлы или же дорабатывают отдельные их элементы.
Как правило, такие усовершенствования были в заимствованы из современных разработок. К примеру, на многих автомобилях можно заметить электронное зажигание или бензонасос, работающий на электрической энергии. В этой статье мы подробно разобрали все вопросы, связанные с установкой и повседневным использованием такого электробензонасоса.
Содержание статьи
Электрический насос на мотор с карбюратором
Такой насос в инжекторных автомобилях находится в бензобаке, там он осуществляет набор топлива и переправляет его под давлением к форсункам.
Результат такого новшества – более стабильная работа двигателя вне зависимости от нагрузки.
Обычно на заводах авто снабжают механическим бензонасосом, который располагается под капотом около карбюратора, и приводится в действие при помощи двигателя. Причем, работа такого агрегата менее стабильна по сравнению с более современными версиями, да и выходит из строя он намного чаще из-за низкой прочности мембран.
При этом в обоих случаях насос транспортирует горючее в некие дозировочные системы, из этого следует, что электрический насос, в отличие от механического собрата, гарантирует стабильную работу карбюратора и своевременную подачу бензина. Но при всем этом электробензонасос может работать лишь с низким давлением, иначе неизбежны переливы топлива.
Процесс установки электробензонасоса
Стоит заранее уяснить, что установить электронный насос на карбюраторный двигатель – процесс достаточно сложный, поэтому без минимальных знаний и умений в механике и работе авто здесь не обойтись.
Для начала необходимо подобрать насос, подходящий под ваш тип ДВС и карбюратор. Помимо насоса необходимо будет приобрести 5-метровый шланг с диаметром около 8 миллиметров, дополнительное реле, сверлильный наконечник (3-4 миллиметра), топливный фильтр из инжекторных систем, топливный карбюраторный фильтр, 25-сантиметровая стальная трубка (стенка=0,8 диаметр=12), топливный шланг, переходной штуцер.
После того, как вы приобретете все вышеперечисленные детали, можно приступать непосредственно к самому процессу установки. Для начала демонтируем счетчик уровня топлива, затем на крышке этого датчика просверливаем небольшое отверстие. После этого, используя паяльник, впаиваем в подготовленное отверстие трубку, при этом необходимо подогнуть конец трубки. Теперь подошла очередь установить в бак демонтированный датчик вместе с заборником и обраткой.
Далее конец шланга длиной 5 метров надеваем на топливозаборный штуцер, зачет крепим этот шланг к металлической трубе при помощи хомутов или других приспособлений.
Электробензонасос прикрепляем в вертикальном положении к моторному щитку. Крепление делаем именно на кронштейне и устанавливаем небольшие прокладки из резины, которые должны продаваться вместе с насосом. Немаловажно при установке нового оборудования, соблюдать правильность установки, то есть топливо должно поступать со стороны расширяющегося бочка, а подаваться оно должно в двигатель. Сразу после установки надеваем топливный фильтр на резиновый шланг, на второй штуцер также одеваем шланг, но только длиной 5 сантиметров, в дальнейшем его надо будет закрепить в вертикальном положении.
Электробензонасос присоединяем к бензобаку при помощи шланга (диаметр=12 миллиметров), для этого рекомендуется применить переходник из стали. В принципе, на этом этапе заканчиваются основные работы по установке нового вида насоса, однако не стоит забывать, что электронный насос не сможет работать с высоким давлением, поэтому наша работа еще не завершена.
Для решения данной проблемы потребуется ряд несложных дополнительных операций.
Сначала снимаем защитную крышку с насоса, выкручиваем подающий штуцер и снимаем сетку. Затем просверливаем отверстие сверлом (диаметр=3миллиметра). Осталось лишь окончательно завершить сборку, подключив бензонасос к шлангу.
Питаться наш электронасос будет от купленного реле. Подключаем его к контакту, находящемуся на катушке.
Плюсы и минусы электробензонасоса
К положительным чертам можно отнести легкий запуск двигателя, значительно снижается нагрузка на аккамулятор и стартер. Также можно заметить, как в салоне станет меньше пахнуть бензином, это потому что его расход становится более экономичным.
Единственные недостатки такого оборудования заключаются в сложности процесса установки, а также необходимы некоторые финансовые средства на приобретение нужных комплектующих.
Некоторые относят сюда и необходимость поддержания высокого заряда в АКБ, однако опытный водитель вряд ли столкнется с данной проблемой.
Рекомендации по установке и использованию
Перед покупкой необходимого бензонасоса, следует тщательно проанализировать все его характеристики. Стоит помнить, что к определенным карбюраторам нужно подбирать специальный насос, удовлетворяющий ему по производительности и давлению.
Желательно, перед походом в магазин, поинтересоваться у других автолюбителей: может кто-то уже устанавливал на похожий карбюратор электробензонасос. Для этого можно посетить тематические форумы или группы автолюбителей.
После проделывания вышеописанной операции по установке насоса, на автолюбителя ложится одна обязанность – внимательно следить за чистотой и порядком в топливных фильтрах. Любой мусор может отрицательно повлиять на работоспособность системы. Дело вот в чем: при чрезмерном загрязнении фильтров повышается нагрузка на элементы насоса, в результате чего повышается температура детали.
Подводим итоги
Если вы все-таки решитесь на шаг по замене механического насоса на электрический, то при окончании работ вы почувствуете значительные изменения: двигатель машины будет запускать в относительно короткий период времени, к тому же уменьшится потребление топлива. И уже через пару вы сполна окупите стоимость всех закупленных для этой процедуры компонентов. Итак, электробензонасос установлен уже на многих автомобилях, установите его и на свой, следуя нашей несложной инструкции, и вы сразу же почувствуйте результат!
Лучший электрический топливный насос (обзор и руководство по покупке) в 2021 году
Подача топлива необходима для запуска двигателя. Неважно, пытаетесь ли вы вдохнуть новую жизнь в большой карбюраторный блок или привести в движение газонокосилку, двигателю требуется постоянная подача топлива, и именно для этого нужен топливный насос. Если вы имеете дело с большинством классических конструкций, у вас будет возможность работать с механическим или электрическим насосом.
Есть много причин, по которым стоит придерживаться механического насоса, и они выходят за рамки простого сохранения транспортного средства в том виде, в котором он был, когда он скатился с пола выставочного зала.Но это руководство посвящено электронасосам, которые помогут вам выбрать насос для вашего приложения. Мы перечисляем некоторые из наших фаворитов, чтобы все было как можно проще.
Преимущества электрических топливных насосов- Доступность. Не секрет, что детали выходят из строя. Если вы работаете с транспортным средством, на которое полагаетесь, разумно выбрать наиболее доступный для вас стиль помпы. Одним из способов решения этой проблемы является инвестирование в запасные части, но во многих случаях гораздо больше шансов найти универсальный насос в местном магазине запчастей.
- Более высокая скорость потока. Если вы имеете дело с высокими уровнями мощности или сменой впрыска топлива, более высокий расход топлива имеет важное значение.
Существуют механические насосы, которые могут подавать необходимый поток топлива, но электронасосы той же мощности часто проще в установке и более доступны. - Безопасность. Заводское расположение топливного насоса может вызывать беспокойство. Они почти есть возле выпускного коллектора или коллектора. Остаточное тепло может вызвать паровую пробку или вскипание топлива в системе, что может привести к возгоранию.Одним из способов решения этих проблем является использование электрического насоса.
- Эффективность. Электрические топливные насосы имеют преимущество с точки зрения эффективности, потому что они решают некоторые проблемы, с которыми борется механический насос. При этом они не повышают эффективность двигателя, а помогают создать оптимизированную систему подачи топлива. Если вы хотите узнать больше о доставке топлива, ознакомьтесь с нашими обзорами «Самые экономичные автомобили» и «Что такое гибкое топливо», чтобы быть в курсе последних событий.

Типы электрических топливных насосов
Встроенный
Встроенный топливный насос — это тип, который существует в топливных магистралях между двигателем и топливным баком.Одним из преимуществ насоса такого типа является простота установки и обслуживания. Но поскольку они предназначены для того, чтобы толкать, а не тянуть, вам нужно найти или изготовить место для установки насоса, чтобы не пришлось слишком много работать, чтобы вытащить топливо из бака. Идеально расположить его как можно ниже и ближе, так как он будет использовать гравитацию в своих интересах.
In-Tank
Насосы In-Tank — это именно топливные насосы, которые находятся внутри топливного бака или топливного элемента. Они более дорогостоящие, чем встроенный насос, но делают многое лучше.Во-первых, они не создают проблем с поиском подходящего места для установки, но вам может потребоваться обновить ваш резервуар, чтобы принять его. Они также не будут голодать так быстро при ускорении или низком уровне топлива.
Эти насосы, как правило, намного более мощные и предназначены для работы с системами впрыска топлива. И поскольку они существуют внутри резервуара, они делают конечный продукт намного лучше. В нашем руководстве по топливным насосам особое внимание уделяется насосам данной конфигурации в стиле оригинального оборудования, и его стоит прочитать тем, кому нужен новый топливный насос для более поздних моделей.
Ведущие бренды
Holley Performance
Холли базируется в Боулинг-Грин, штат Кентукки, и работает с 1903 года. Если вы что-нибудь знаете о классических американских автомобилях, то знаете, что Холли — мастер доставки топлива. Марка прославилась карбюраторами, но топливный насос Holley (12427) является отличным примером других его предложений.
AEM Electronics
Компания AEM Electronics со штаб-квартирой в Хоторне, Калифорния, является известным поставщиком гоночных решений.Компания занимается поставкой гоночных компонентов с 1987 года. Она стремится превзойти конкурентов любым возможным способом.
Топливный насос в баке AEM 50-1200 E85 — лишь один из примеров того, на что он способен.
Carter
С 1909 года компания Carter активно занимается разработкой решений для доставки топлива. На протяжении многих лет она была ведущим поставщиком компонентов для систем подачи топлива. Компания со штаб-квартирой в Рочестер-Хиллз, штат Мичиган, производит топливные насосы всех форм и размеров.И хотя нам очень нравится встроенный электрический топливный насос Carter P4070, это еще не все, что он может предложить.
Цены на электрический топливный насос
- 10–50 долларов США: Универсальные линейные насосы преобладают в этом ценовом диапазоне. Чем выше вы продвигаетесь в ценах, тем выше будет качество.
- 50–100 долларов США: В этом ценовом диапазоне вы можете найти как линейные, так и внутрибаковые насосы. В зависимости от типа насоса вы можете ожидать колебания качества и производительности.
- 100 $ и выше: Насосы премиум-класса в баке преобладают в этом ценовом диапазоне.
В зависимости от производительности и характеристик вы можете ожидать, что эти насосы поднимутся намного выше отметки в 100 долларов.
Основные характеристики
Тип крепления
Это может показаться очевидным, но одной из наиболее важных особенностей электрического топливного насоса является предполагаемая конфигурация установки. Независимо от того, хотите ли вы установить что-то в резервуаре или за его пределами, все зависит от баланса требований к производительности и личных предпочтений. Насколько мощно приложение, есть ли у него карбюратор или впрыск топлива, и ваш бюджет — все это играет важную роль при принятии решения о том, что установить и запустить.
Расход
Скорость, с которой насос подает топливо, значительна. Насколько подходит, зависит от выходной мощности и типа системы подачи топлива, с которой вы работаете. Во всех случаях карбюраторная система требует насоса низкого давления, в отличие от системы впрыска топлива, которая зависит от высокой скорости потока топлива.
Вам необходимо выбрать насос с расходом, который соответствует потребностям вашего двигателя.
Прочие соображения
- Совместимость топлива. Бензин — не единственное, на чем может работать двигатель.Несмотря на то, что наше руководство больше предназначено для тех, кто работает с относительно небольшими запасами топлива в умеренных условиях, разные типы топлива по-прежнему вызывают беспокойство. Например, если вы собираетесь использовать E85 в своем приложении, вам необходимо убедиться, что топливный насос позволяет это. В противном случае вы можете его повредить.
Лучшие электрические топливные насосы Обзоры и рекомендации 2021
Советы
- Если вы используете встроенный насос, имейте в виду, что он предназначен для подачи топлива. Важно установить его как можно ближе к бензобаку и как можно ниже, чтобы не повредить его.
- Если вы используете электронасос с карбюратором, вам следует установить регулятор давления.
Таким образом поддерживается идеальное давление топлива и предотвращается его перегрузка или затопление. - Электрический топливный насос использует топливо для смазки и охлаждения внутренних механизмов. Следовательно, вы никогда не хотите, чтобы он иссяк. Электрический топливный насос использует топливо для смазки и охлаждения внутренних механизмов. Следовательно, вы никогда не хотите, чтобы он иссяк. Прочтите наше руководство по симптомам неисправного топливного насоса, чтобы подготовиться к тому, что топливная система действительно начнет выходить из строя.
Часто задаваемые вопросы
В: Электрический топливный насос лучше механического?
Электронасос действительно решает несколько проблем, которые не могут решить насос с кулачковым приводом, и он необходим для многих приложений. Но механический насос может предложить достаточный поток топлива и лучшую надежность, чем электрический насос по аналогичной цене.
Q: Можно ли использовать электрический топливный насос с карбюратором?
Совершенно верно.
Многие электронасосы предназначены для работы с карбюраторами. Вам просто нужно убедиться, что это так, и согласовать расход топлива с требованиями карбюратора.
Q: Где лучше всего установить электрический топливный насос?
Вы должны установить линейный насос как можно ближе к топливному баку и как можно ниже. Эти конструкции предназначены для выталкивания топлива. Таким образом, важно избегать как можно большего расстояния до источника топлива, позволяя гравитации способствовать подаче топлива к насосу.
Последние мысли
Опять же, наш лучший выбор — топливный насос AEM 50-1000 High Flow In-Tank. Сложно описать все, что нам нравится в нем, всего в нескольких словах, но в конечном итоге это идеальный вариант почти для любого, кто переходит с карбюратора на впрыск топлива.Электрический топливный насос JDMSpeed Universal 12V Heavy-Duty находится в совершенно другой лиге, но это по-прежнему лучший насос, который вы можете получить по самой низкой цене. Сообщите нам, каковы ваши настройки и какой насос вы собираетесь запустить!
Где я могу найти автомобильный топливный насос?
Определение топливного насоса
Топливный насос — это устройство, которое перекачивает газ из топливного бака в двигатель.
Топливные баки обычно надежно спрятаны в задней части автомобиля, подальше от двигателя.Обычно карбюратора, использующего воздушный вакуум, достаточно для подачи топлива в двигатель. Однако топливный насос выполняет свою работу более эффективно и может помочь карбюратору лучше выполнять свою работу. Сегодня в некоторых автомобилях отказались от карбюратора в пользу топливного насоса.
Глоссарий по топливным насосам
Прежде чем узнавать о типах топливных насосов и принципах их работы, владельцам транспортных средств было бы лучше выучить различные технические термины, связанные с автомобильными двигателями и топливными насосами. В таблице ниже приведены некоторые часто используемые термины:
Термин: Карбюратор
Описание: Деталь автомобильного двигателя, которая смешивает воздух и топливо для подготовки его к двигателю.
Термин: Система впрыска топлива
Описание: Система, которая непосредственно распыляет тщательно отмеренное количество топлива в двигатель для сгорания
Обозначение: Двигатель внутреннего сгорания
Описание: Тип двигателя, который преобразует химическую энергию в кинетическую энергию посредством небольших контролируемых взрывов
Обозначение: Распредвал
Описание: Деталь двигателя, регулирующая открытие клапанов
Термин: обратный клапан
Описание: устройство, контролирующее поток жидкости в одном направлении.
Термин: электронный блок управления (ЭБУ)
Описание: Тип встроенной системы, используемой для управления электрической системой; в случае топливных насосов это устройство включает и выключает насос.
Это лишь некоторые из важных терминов, которые владельцы транспортных средств должны знать, когда речь идет о автомобильных двигателях и топливных насосах.Некоторые производители или эксперты могут использовать несколько иные термины, поэтому по любым вопросам лучше проконсультироваться с ними.
Поиск топливного насоса
Чтобы найти топливный насос, владельцу необходимо знать, какой тип топливного насоса установлен в автомобиле. Если это механический топливный насос, то его можно найти сбоку от двигателя. Если в автомобиле есть электрический топливный насос, то он обычно находится внутри самого бензобака.
Снятие электрического топливного насоса
Людям, которые ищут свои топливные насосы, скорее всего, потребуется заменить их из-за неисправности.
Если машина глохнет или не заводится, а в баке определенно есть бензин, это может быть проблема с топливным насосом. Возможно, перегорел предохранитель или двигатель перегрелся. Если машина вообще не заводится, то, скорее всего, первое. Если машина внезапно останавливается, но снова может работать примерно через 30 минут, то, вероятно, это перегрев насоса. Насос необходимо будет снять и отремонтировать или заменить. Тем, у кого есть необходимое оборудование, снять электрический топливный насос можно без помощи профессионалов.Чтобы снять топливный насос с бензобака, выполните следующие действия:
Слейте бензин из автомобиля или начните с пустым баком. Поднимите автомобиль с помощью домкрата или автомобильного подъемника до тех пор, пока не появится легкий доступ к бензобаку.
Снимите заливную горловину, проводку и хомуты. Осторожно снимите топливопровод с помощью плоскогубцев или гаечного ключа. Используйте другой домкрат или какую-либо опору, чтобы подпереть бензобак, и снимите с него болты и ремни.
Удалите всю грязь с узла топливного насоса, а затем снимите фиксатор узла насоса.Снимите все остальные гайки или болты, крепящие насос к резервуару. Удалите всю жидкость, которая может остаться внутри сборки.
Проверьте насос в сборе на наличие повреждений или попросите специалиста проверить его, можно ли его отремонтировать или заменить.
Заключение
Двигатель внутреннего сгорания является неотъемлемой частью любого транспортного средства, работающего на газе, а топливный насос — лишь одна из частей, добавленных с момента его изобретения, которое улучшило его работу. Топливный насос отвечает за перекачку топлива из бензобака в двигатель.Эта деталь необходима, потому что бак обычно находится очень далеко от самого двигателя. Существует два основных типа топливных насосов, а именно механический топливный насос и электрический топливный насос. Механический топливный насос используется в двигателях с карбюратором, а электрический топливный насос используется в двигателях с системами впрыска топлива.
Механические топливные насосы можно найти рядом с двигателем, а электрические топливные насосы находятся внутри бензобака.
Топливный насос отступника | ДВИГАТЕЛЬ
В мартовском выпуске журнала Motor за 2018 год я писал о пикапе Ford F-250, у которого периодически возникала проблема с неработающим стартером.Что ж, у этого же грузовика была другая, возможно, более интересная проблема.
Когда владелец высадил грузовик из-за проблемы с проворачиванием, он мимоходом упомянул, что мне нужно не забыть отсоединить аккумулятор, иначе он разрядится в течение нескольких часов. Перед тем, как отсоединить аккумулятор, я быстро проверил, нет ли сильноточных устройств, которые работали с выключенным ключом. Конечно, я слышал гудение работающего топливного насоса, когда прислушивался к отверстию заливной горловины. (Этот грузовик имеет два топливных бака и селекторный переключатель.Гул работающего насоса поменял баки селекторным переключателем.)
Многие из нас имели дело с электрическими топливными насосами, которые выходили из строя сразу, периодически выходили из строя или были временно восстановлены из-за удачного удара по дну бака.
Но я готов поспорить, что немногим из нас приходилось иметь дело с насосом, который не выключается, когда должен.
Электрические топливные насосы были сравнительно редкими в серийных отечественных легковых автомобилях, когда я начал заниматься этим бизнесом в середине 60-х годов.Действительно, Chevy Vega, дебютировавшая примерно через семь лет после того, как я начал, хотя и с карбюратором, была первым серийным отечественным автомобилем, который, как я помню, имел заводской электрический топливный насос в баке. По совпадению, мой хотрод получил электрический топливный насос примерно в то же время.
До появления электрического топливного насоса, который получил широкое распространение в 1980-х годах, когда впрыск топлива заменил карбюраторы, подавляющее большинство отечественных автомобилей оснащалось диафрагменным топливным насосом с приводом от двигателя.Эти насосы отлично справлялись с всасыванием бензина из бака в моторный отсек. Они были недорогими, продуманной конструкции, относительно надежными и легко обеспечивали давление в несколько фунтов на квадратный дюйм, необходимое для карбюратора.
Преимущество традиционных топливных насосов с приводом от двигателя заключается в том, что они перекачивают топливо только тогда, когда двигатель запускается или работает, а объем подаваемого топлива увеличивается с увеличением числа оборотов двигателя. Кроме того, механические насосы не потребляют электроэнергию, которая может быть использована для чего-то другого.Прежде чем генераторы стали стандартным оборудованием в 1960-х годах, это было соображением проектирования. Насосы мембранного типа обеспечивают пульсирующий поток топлива при низких оборотах двигателя, но для карбюратора с его поплавковой чашей это не проблема.
Однако для систем впрыска топлива с портом и дроссельной заслонкой требуется относительно постоянное давление топлива, которое выше, чем у традиционных топливных насосов диафрагменного типа. (В последних автомобилях с непосредственным впрыском бензина [GDI] используется топливный насос высокого давления с приводом от двигателя, но он другой конструкции.
) Недостатком электрических топливных насосов является то, что помимо потребления электроэнергии они требуют некоторых средств управления для подачи топлива во время запуска и остановки насоса при остановке двигателя.
На рис. 1 слева показана простая схема, удовлетворяющая обоим требованиям. При выключенном двигателе и отсутствии давления масла насос не будет работать при включенном зажигании. Когда стартер находится под напряжением, топливный насос тоже. Когда двигатель запускается и давление масла устанавливается, реле давления масла меняет состояние, и насос будет работать, пока зажигание остается включенным, а двигатель продолжает работать и поддерживает давление масла выше нескольких фунтов на квадратный дюйм, необходимых для поддержания тока, протекающего к насосу. .Если двигатель глохнет, но зажигание остается включенным, насос останавливается. В цепи нет компьютера управления двигателем (ЭСУД) или реле, как у Vega. Обратите внимание, что ток топливного насоса подается через замок зажигания.
Также обратите внимание на то, что топливная система не прокачивается перед запуском. По крайней мере, в линии к насосу есть предохранитель. (Спасибо коллеге-члену iATN Роберту Кенни за предоставление схемы соединений Vega для справки.)
Более сложная схема управления топливным насосом показана на рис.2 на стр. 32. В этой цепи реле топливного насоса и, следовательно, насос, управляются контроллером ЭСУД. Контроллер ЭСУД определяет, когда двигатель проворачивается, либо по сигналу от стартера, либо по сигналу оборотов двигателя, и заземляет катушку реле топливного насоса. В некоторых приложениях, когда ECM определяет, что зажигание было включено, он запускает топливный насос на секунду или около того, чтобы заполнить топливную рампу, не дожидаясь включения стартера или вращения двигателя.
VW Jetta моей жены 2004 года выпуска использует, как мне кажется, странную стратегию прокачки топливной рампы: когда дверь водителя открывается после того, как двигатель был выключен какое-то время, топливный насос включается на секунду.
Затем, когда ключ вставлен и повернут в положение «Вкл.», Топливный насос снова заработает на секунду. Мне это кажется немного избыточным, но схема на рис. 2 могла бы легко выполнить это с помощью ввода последовательной шины (не показан) от модуля двери водителя. Преимущество этой схемы состоит в том, что ток топливного насоса подается от шины аккумуляторной батареи, а не от переключателя зажигания.
Две схемы, которые только что обсуждались, предназначены для топливных насосов с постоянной скоростью, подобных тем, что в нашей проблеме F-250. Многие автомобили с безвозвратной топливной системой используют насосы с регулируемой скоростью.Эти насосы обычно имеют модуль управления топливным насосом, который получает запрос топливного насоса от блока управления двигателем через последовательную шину. Модуль запускает насос с желаемой скоростью.
На рис. 3 ниже показаны основные элементы цепи топливного насоса для нашего пикапа F-250 1991 года выпуска. Обратите внимание, что хотя эта схема похожа на схему насоса, управляемую контроллером ЭСУД на рис.
2, есть некоторые отличия:
- Реле питания контроллера ЭСУД подает питание на управляющую сторону (катушку) реле топливного насоса.
- Катушка реле питания контроллера ЭСУД должна находиться под напряжением, только когда ключ зажигания находится в положении «Вкл» или «Пуск».
- Селекторный переключатель топливного насоса определяет, какой из двух топливных насосов будет работать.
- Цепь питания топливного насоса имеет плавкую вставку вместо предохранителя.
- Имеется ударный выключатель, который размыкает и прерывает подачу питания на выбранный топливный насос в случае столкновения, независимо от состояния реле топливного насоса.
Учитывая подтвержденный симптом — топливный насос, который иногда продолжает работать при выключенном зажигании независимо от положения селекторного переключателя, — где в первую очередь мы могли бы искать причину проблемы? Рассмотрим следующее:
- Учитывая, что положение селекторного переключателя топливного насоса не влияет на проблему, проблема, вероятно, находится «выше по потоку» в цепи — т.
е.е., ближе к реле бензонасоса. - Ни на селекторный переключатель топливного насоса, ни на ударный выключатель не поступает никакая энергия, кроме той, которая подается от реле топливного насоса. Таким образом, ни одно из этих устройств не может работать со сбоями и подавать питание на топливные насосы.
- Если контакты реле контроллера ЭСУД застряли в замкнутом положении, обеспечивая постоянное питание катушки реле топливного насоса, произошла бы дополнительная неисправность — привод в контроллере ЭСУД или замыкание на массу между катушкой реле топливного насоса. заземление и блок управления двигателем — топливный насос работал при выключенном зажигании.Более того, сбои драйверов обычно не носят периодический характер.
- Плохое заземление на G100 и / или G104 вряд ли вызовет симптом. Обратите внимание, что любой из насосов работает нормально, и оба насоса используют G100 совместно с силовым реле контроллера ЭСУД.
- Если бы произошло короткое замыкание на питание в любом месте между выводом 2 селекторного переключателя и выводом 87 на реле топливного насоса, насос работал бы непрерывно независимо от положения переключателя зажигания и от того, было ли подано напряжение на реле топливного насоса.
Учитывая, что этот грузовик живет за пределами сельской местности, вероятно повреждение жгута проводов грызунами. - Если контакты реле топливного насоса заедают замкнутыми, насос будет работать непрерывно независимо от положения переключателя зажигания. Обратите внимание, что клемма 30 реле топливного насоса получает питание от шины аккумуляторной батареи, а не от шины зажигания или реле ECM.
- Если бы выключатель зажигания был неисправен, питание на реле питания контроллера ЭСУД сохраняется независимо от положения переключателя, все равно должен быть отказ драйвера реле топливного насоса ЕСМ, чтобы топливный насос продолжал работать при выключенном двигателе.
Рассмотрев вышесказанное и проверив применимые TSB (их не было), я почувствовал, что следующим простым шагом было отключить реле топливного насоса, пока насос работал с выключенным зажиганием.О чудо, насос остановился! Повторное подключение реле привело к тому, что насос снова заработал, поэтому маловероятно, что проблема была связана с коротким замыканием на источник питания.
Проверка целостности цепи между клеммами 30 и 87 отключенного реле топливного насоса подтвердила, что контакты реле оставались замкнутыми, когда катушка реле была обесточена.
Замена заведомо исправного реле вернула оба топливных насоса к нормальной работе, к большому облегчению пострадавшей аккумуляторной батареи Ford и ее владельца. Перед заменой реле я проверил, что предполагаемое тестовое реле имеет тот же номер детали, что и подозрительное реле.Поверьте мне: просто потому, что два реле выглядят одинаково, одного цвета и имеют одинаковое расположение контактов, это не гарантирует, что они взаимозаменяемы.
Вы могли подумать, черт возьми, я бы сэкономил время, просто установив заведомо исправное реле. И в этом случае вы были бы правы. Однако что, если отключение реле топливного насоса не остановило работу насоса?
Оглядываясь назад на схему на рис. 3 и зная, что изменение положения селекторного переключателя не влияет на симптом, мы можем сделать следующий вывод:
- Проблема, скорее всего, не на стороне управления (катушки) реле топливного насоса, потому что при отключении реле из цепи удаляются как сторона питания реле, так и сторона управления.

- Вероятно короткое замыкание на питание где-то между клеммой 87 реле топливного насоса и переключателем. Если бы между селекторным переключателем и насосами произошло короткое замыкание на питание, вполне вероятно, что один насос будет работать нормально, а другой — постоянно, в зависимости от положения переключателя.
Следующим шагом в диагностике будет установка цифрового мультиметра (DVOM) на постоянное напряжение и подключение его отрицательного вывода к отрицательной клемме аккумулятора. Затем я бы проверил клемму 87 гнезда реле топливного насоса (реле отключено, топливный насос все еще работает) с положительным проводом DVOM, чтобы убедиться, что действительно есть короткое замыкание на питание между реле топливного насоса и селекторным переключателем (см. Рис. .4 выше).
Следующее наиболее легкое для доступа место в цепи — это инерционный выключатель, который находится под левой стороной приборной панели. Я бы отключил переключатель и исследовал каждое гнездо его разъема положительным проводом DVOM.
Если бы я получил напряжение аккумулятора на красно-желтом проводе, я бы знал, что короткое замыкание на питание произошло между инерционным переключателем и селекторным переключателем. Если бы я получил напряжение аккумулятора на темно-зеленом / желтом проводе, я бы знал, что короткое замыкание на питание произошло между реле топливного насоса и переключателем инерции.В этом последнем случае я бы отключил ECM, чтобы устранить внутреннее короткое замыкание в ECM, питающее цепь питания топливного насоса. Я считаю это крайне маловероятным, но его легко устранить.
Если отключение контроллера ЭСУД не привело к исчезновению напряжения аккумуляторной батареи, измеренного на темно-зеленом / желтом проводе отключенного инерционного переключателя, я бы отключил разъем C202 на межсетевом экране и проверил оба конца темно-зеленого / желтого провода на наличие напряжения аккумуляторной батареи.
Если бы я получил напряжение аккумулятора на красно-желтом проводе при отключенном инерционном переключателе, я бы знал, что короткое замыкание на питание произошло между инерционным переключателем и селекторным переключателем.
Затем я отключал разъем C206 под приборной панелью возле рулевой колонки и проверял оба красно-желтых провода в разъеме C206, и по этому я мог определить, произошло ли короткое замыкание на питание на стороне инерционного переключателя C206 или на стороне со стороны селекторного переключателя. С этого момента я бы знал, где проверить жгут проводов на предмет короткого замыкания на питание.
Итак, замена реле топливного насоса устранила проблему на пикапе F-250, но было ли неисправное реле основной причиной? Что могло привести к тому, что контакты реле топливного насоса оставались замкнутыми, когда катушка реле не была под напряжением? Как насчет чрезмерного потребления тока, вызванного одним или обоими топливными насосами?
Для проведения ремонта на профессиональном уровне я проверил потребляемый ток на обоих топливных насосах.На многих автомобилях самый простой способ получить доступ к цепи топливного насоса — это временно заменить предохранитель топливного насоса с помощью испытательного контура с предохранителями.
Однако вы помните из схемы топливного насоса, что Ford использует плавкую вставку, а не плавкий предохранитель, для защиты цепи. Вместо того, чтобы копаться в плавких перемычках, пытаясь найти перемычку W, я поместил свой индуктивный токовый зонд вокруг клеммы 30 подачи желтого провода на реле топливного насоса. При работающем двигателе я измерил приемлемый ток топливного насоса около 5А для каждого насоса.Итак, я пришел к выводу, что проблема с топливным насосом постоянной работы была связана с неисправным реле, и отправил F-250.
Регулятор электрического топливного насоса высокого давления Патенты и заявки на патенты (класс 123/357)
Номер патента: 10247116
Резюме: Система управления выбросами в результате испарения (EVAP) для транспортного средства включает в себя продувочный насос, сконфигурированный для перекачивания паров топлива в двигатель транспортного средства через паропровод и продувочный клапан.
Система включает в себя датчик углеводородов (HC), расположенный в паропроводе и сконфигурированный для измерения количества углеводородов в парах топлива, перекачиваемых продувочным насосом в двигатель через паропровод. Контроллер сконфигурирован для: обнаружения неизбежного холодного запуска двигателя и, в ответ на обнаружение, выполнения холодного запуска двигателя путем управления по меньшей мере одним из продувочного насоса и продувочного клапана на основе измеренного количества углеводородов. , чтобы доставить желаемое количество паров топлива к двигателю, что снижает выбросы углеводородов двигателем.
Тип: Грант
Подано: 25 мая 2016 г.
Дата патента: 2 апреля 2019 г.
,
Цессионарий: FCA US LLC
Изобретателей: Джозеф Декар, Роджер С. Сэджер, Джеймс Дж. Дейли, Уильям Б. Бломквист, Джеффри П. Ваттке, Рассел Дж. Уэйкман, Адам Флейшман, Рональд А. Яннон-младший., Луис Дель Рио, Марк Лотт, Эдвард Бейкер, Майкл Т. Винсент, Вей-Цзюнь Ян, Айкатерини Цахалу
Типы авиационных топливных насосов
Некоторые старые самолеты с поршневым двигателем были оснащены ручными топливными насосами.
Они используются для поддержки насоса с приводом от двигателя и для перекачки топлива из бака в бак. Качающиеся насосы, как их называют, представляют собой насосы двойного действия, которые подают топливо при каждом движении рукоятки насоса.По сути, это насосы лопастного типа, в которых просверлены каналы в центре насоса, что позволяет перекачивать топливо возвратно-поступательным движением, а не совершать полный оборот лопастей, как это обычно бывает в лопастях с электрическим или моторным приводом. тип насосов.
Рис. 1. Ручной качающийся насос, используемый для запуска двигателя и перекачки топлива на самолетах более старой транспортной категории |
Центробежные нагнетательные насосы
Наиболее распространенным типом вспомогательного топливного насоса, используемого на самолетах, особенно больших и высокопроизводительных самолетах, является центробежный насос.Он приводится в действие электродвигателем и чаще всего погружается в топливный бак или располагается сразу за пределами дна бака, при этом входное отверстие насоса выходит в бак. Если насос установлен вне бака, обычно устанавливается клапан для снятия насоса, поэтому насос можно снимать без слива топлива из бака. [Рисунок 3]
Рис. 3. Центробежный подкачивающий топливный насос может быть погружен в топливный бак (A) или может быть прикреплен к внешней стороне бака с впускным и выпускным патрубками, проходящими в бак (B).Ручка клапана снятия насоса выступает под панелью зазора сигнального флажка, указывая на то, что впускной канал насоса закрыт |
Центробежный подкачивающий насос — это насос переменной производительности. Он забирает топливо в центре крыльчатки и выбрасывает его наружу, когда крыльчатка вращается. [Рис. 4] Выпускной обратный клапан предотвращает обратный поток топлива через насос. К выпускному отверстию насоса подсоединяется магистраль подачи топлива. В системе подачи топлива может быть установлен перепускной клапан, позволяющий насосу с приводом от двигателя откачивать топливо из бака, если подкачивающий насос не работает.Центробежный подкачивающий насос используется для питания топливного насоса с приводом от двигателя, резервного питания топливного насоса с приводом от двигателя и перекачки топлива из бака в бак, если самолет сконструирован таким образом.
Рисунок 4. Внутренняя работа центробежного топливного насоса. Топливо всасывается в центр крыльчатки через сетку. Он перемещается за пределы корпуса крыльчаткой и выходит из выпускной топливной трубки |
Некоторые центробежные топливные насосы работают с более чем одной скоростью, выбранной пилотом, в зависимости от фазы эксплуатации самолета.Односкоростные топливные насосы также распространены. Центробежные топливные насосы, расположенные в топливных баках, обеспечивают положительное давление во всей топливной системе независимо от температуры, высоты или положения в полете, предотвращая образование паров. Погружные насосы имеют топливонепроницаемые крышки для электродвигателя, поскольку электродвигатель находится в топливе. Центробежные насосы, установленные снаружи бака, этого не требуют, но имеют какой-то входной патрубок, расположенный в топливе. Это может быть трубка, в которой расположен запорный клапан, поэтому насос можно заменять без опорожнения резервуара.Входное отверстие центробежных насосов обоих типов закрыто сеткой для предотвращения попадания посторонних предметов. [Рисунок 5]
Пульсирующие электрические насосы
В самолетах авиации общего назначения часто используются менее дорогие вспомогательные топливные насосы меньшего размера. Пульсирующий электронасос или плунжерный топливный насос является обычным явлением. Обычно он используется так же, как центробежный топливный насос на более крупных самолетах, за исключением того, что он расположен ниже по потоку от выпускных отверстий топливного бака. Пульсирующий электрический топливный насос подсоединен параллельно насосу с приводом от двигателя.Во время запуска он обеспечивает подачу топлива до того, как топливный насос с приводом от двигателя наберет нужную скорость, и его можно использовать во время взлета в качестве резервного. Его также можно использовать на больших высотах, чтобы предотвратить образование паров.
Пульсирующий электрический насос использует плунжер для всасывания и выталкивания топлива из насоса. Он приводится в действие соленоидом, который чередуется между включением и отключением питания, который перемещает плунжер вперед и назад в пульсирующем движении. На рисунке 7 показано внутреннее устройство насоса. При включении ток проходит через катушки соленоида, которые опускают стальной поршень между катушками.Любое топливо в камере C проталкивается через небольшой обратный клапан в центре плунжера в камеру D. Когда плунжер расположен между соленоидом, плунжер находится достаточно далеко от магнита, чтобы он больше не притягивал его, а шарнир позволяет контакты для открытия. Это прерывает ток к соленоиду. Калиброванная пружина, показанная под поршнем, достаточно сильна, чтобы вытолкнуть поршень вверх между катушками соленоида. Когда плунжер поднимается, он выталкивает топливо в камеру D из выпускного отверстия насоса.Также, когда плунжер поднимается, он втягивает топливо в камеру C и через обратный клапан в камеру C. Когда плунжер поднимается, магнит притягивается к нему, и движение вверх закрывает точки. Это позволяет току течь к катушкам соленоида, и процесс начинается снова, когда плунжер опускается между катушками, магнит отпускается, а острия открываются.
Рис. 7. Пульсирующий электрический вспомогательный топливный насос используется на многих легких самолетов с поршневым двигателем.На рисунке A насос показан с включенной соленоидной катушкой, которая втягивает плунжер вниз между катушкой. Это открывает точки прерывания, позволяя калиброванной пружине толкать плунжер вверх, тем самым выкачивая топливо из выпускного отверстия B. Этот цикл повторяется со скоростью, зависящей от повышения давления топлива на выходе насоса |
Пульсирующий электрический топливный насос одностороннего действия реагирует на давление топлива на выходе. Когда требуется топливо, насос работает быстро с небольшим давлением на выходе из насоса.По мере роста давления топлива насос замедляется, потому что откалиброванная пружина встречает это сопротивление, пытаясь подтолкнуть поршень вверх. Пружина в центре поршня гасит его движение. Диафрагма между топливной камерой D и воздушным пространством в верхней части насоса гасит выходные топливные импульсы.
Топливные насосы лопастные
Топливные насосы лопастного типа являются наиболее распространенными типами топливных насосов на самолетах с поршневым двигателем. Они используются как в качестве первичных топливных насосов с приводом от двигателя, так и в качестве вспомогательных или подкачивающих насосов.Тем не менее, пластинчатый насос представляет собой насос постоянного объема, который перемещает постоянный объем топлива при каждом обороте насоса. При использовании в качестве вспомогательного насоса электродвигатель вращает вал насоса. В системах с приводом от двигателя лопастной насос обычно приводится в действие дополнительной коробкой передач.
Как и во всех пластинчатых насосах, эксцентриковый ротор приводится в действие внутри цилиндра. Прорези на роторе позволяют лопаткам входить и выходить и удерживаться у стенки цилиндра с помощью центрального плавающего распорного штифта.Когда лопатки вращаются вместе с эксцентриковым ротором, объемное пространство, создаваемое стенкой цилиндра, ротором и лопатками, увеличивается, а затем уменьшается. Впускной порт расположен там, где лопатки создают увеличивающееся объемное пространство, и топливо всасывается в насос. При дальнейшем вращении создаваемое пространство становится меньше. Расположенный там выпускной порт заставляет топливо вытесняться из цилиндра. [Рисунок 8]
Рисунок 8. Основной механизм лопастного топливного насоса |
Устройство дозирования топлива для двигателя подает больше топлива, чем необходимо для работы.Однако постоянный объем лопастного насоса может быть чрезмерным. Для регулирования потока большинство пластинчатых насосов имеют регулируемую функцию сброса давления. Он использует давление, создаваемое на выходе из насоса, чтобы поднять клапан с седла, который возвращает излишки топлива на входную сторону насоса. На рисунке 9 показан типичный топливный насос лопастного типа с этой регулируемой функцией сброса давления. Путем установки разгрузки на определенное давление выше давления воздуха на впуске устройства дозирования топлива двигателя, правильный объем топлива доставляется.Давление сброса устанавливается с помощью винта регулировки давления, который натягивает пружину клапана сброса.
Рисунок 9. Клапан сброса давления в лопастном топливном насосе |
Во время запуска двигателя или если лопастной насос не работает, топливо должно проходить через насос к дозатору топлива. Это достигается за счет использования перепускного клапана внутри насоса. Слегка подпружиненная пластина под предохранительным клапаном преодолевает давление пружины всякий раз, когда давление топлива на входе в насос превышает давление топлива на выходе.Пластина перемещается вниз, и топливо может течь через насос. [Рисунок 10]
Рис. 10. Функция байпаса в лопастном топливном насосе позволяет топливу течь через насос во время запуска или когда насос не работает |
Компенсированные лопастные топливные насосы используются, когда лопастной насос является первичным топливным насосом с приводом от двигателя. Настройка предохранительного клапана изменяется автоматически, чтобы обеспечить правильную подачу топлива, поскольку давление воздуха на входе в дозатор топлива изменяется из-за высоты над уровнем моря или давления на выходе турбокомпрессора.Вентиляционная камера над диафрагмой, прикрепленной к разгрузочному механизму, соединена с источником давления входящего воздуха. При изменении давления воздуха диафрагма поддерживает или противодействует давлению пружины предохранительного клапана, что приводит к правильной подаче топлива в соответствии с условиями на устройстве дозирования топлива. [Рисунок 11]
Рисунок 11. Компенсированный лопастной насос используется в системах с приводом от двигателя. Давление воздуха на входе в дозатор топлива связано с вентиляционной камерой в насосе.Мембрана поддерживает или противодействует механизму предохранительного клапана в зависимости от давления, измеряемого в этой камере |
СВЯЗАННЫЕ ЗАПИСИ
Компоненты топливной системы
Типы топливных баков
Типы топливных клапанов
Фильтры и сетчатые фильтры
Индикаторы топливной системы
Механический или электрический топливный насос в моей машине? — Aceon Bright
11 сентября 2017
Первый шаг к определению того, есть ли у вашего автомобиля механический или электрический топливный насос, — это узнать разницу между ними.Независимо от того, к какой категории они относятся, топливные насосы используются для перекачки топлива из бака и подачи его в камеру сгорания двигателя; Он есть в каждой машине, и они абсолютно необходимы для его управления.
Механический топливный насос чаще встречается на старых автомобилях, в то время как новые автомобили, которые имеют большую мощность и поэтому требуют подачи топлива под высоким давлением, обычно используют электрические топливные насосы. Для электрических топливных насосов компьютерная система используется для регулирования расхода и высокого давления, обеспечивая подачу в двигатель точно нужного количества топлива.
Между механическими и электрическими топливными насосами существует ряд различий. Механические топливные насосы обычно устанавливаются сбоку от двигателя и работают за счет откачки топлива из нижней части бака с помощью процесса всасывания. Мембрана создает всасывание, а клапан предотвращает обратный поток топлива в бак после заполнения насоса. Собранное топливо затем попадает в автомобиль Burnett или через второй клапан. Этот процесс непрерывно повторяется по мере движения автомобиля, и для привода насоса используется рычаг, увеличивающийся с увеличением числа оборотов в минуту.Это означает, что в двигатель поступает достаточно топлива даже на более высоких оборотах, когда требуется больше.
Электрические топливные насосы в баке работают по-другому. Обычно они доступны через верх топливного бака, иногда через пол багажника или отверстие под одним из сидений. Насос обычно устанавливается на кронштейне в корпусе, который находится внутри топливного бака. Эти насосы не полагаются на механические системы для всасывания топлива, а вместо этого предназначены для постоянного погружения в топливо.Как только в насос подается электричество, включается двигатель и начинает подавать топливо по трубопроводам к двигателю. Электроника может определять скорость, с которой необходимо топливо, и соответственно увеличивать или уменьшать скорость насоса.
Самая большая разница между двумя насосами заключается в том, что механические насосы обычно зависят от движущихся частей, которые вытягивают топливо из бака в двигатель, тогда как электрические используют электричество и компьютерную мощность для подачи топлива в двигатель. Механические насосы обычно предназначены для работы в сухих условиях и не будут повреждены при работе без топлива.Из-за более высокого давления, под которым должны работать толкающие насосы, электрические должны быть полностью погружены в топливо, чтобы обеспечить их охлаждение и смазку. Полное отсутствие топлива в автомобиле с электрическим насосом может привести к поломке. Выявление некоторых ключевых различий между ними может помочь вам определить, какой у вашего автомобиля, скорее всего, будет и как он работает, чтобы ваш автомобиль работал бесперебойно.
Базовая система топливного насоса
Топливная система с гравитационным потоком не работает во многих конструкциях самолетов, особенно в большинстве типов с низкорасположенным крылом.Как вы знаете, система топливного насоса должна использоваться всякий раз, когда топливные баки не могут быть установлены достаточно высоко над уровнем карбюратора, чтобы воспользоваться преимуществом силы тяжести и простой, эффективной системой потока самотеком.
Означает ли это, что система топливного насоса сложнее, чем система самотечного потока? Да, действительно, к сожалению.
Мы знаем, что человеческие усилия никогда не могут сравниться с простотой и эффективностью природы. Поэтому неудивительно, что кажущееся простое решение добавления топливного насоса лишь частично справляется с проблемой подачи топлива в двигатель без помощи силы тяжести.Гравитация никогда не подводит, в отличие от топливных насосов. Итак, чтобы защитить себя от такой возможности, вам придется добавить какой-то резервный насос.
Теперь у вас есть два насоса — но как узнать, насколько хорошо они работают? Правильно, вы также должны установить датчик давления топлива или расходомер топлива (который на самом деле является не чем иным, как датчиком давления топлива), чтобы предоставить вам эту информацию.
Вот и все — лишь намек на дополнительную сложность, которая отличает базовую систему топливного насоса от системы подачи топлива самотеком.
Основные компоненты топливной системы
Во всех отношениях система топливного насоса очень похожа на систему самотечного потока. Обе системы начинаются с топливных баков.
Подача топлива начинается, когда топливо проходит через защищенный от пальцев выпускной патрубок в нижней части топливного бака. Из бака топливо течет по алюминиевой магистрали (диаметром не менее 3/8 дюйма) к удобно расположенному клапану переключения топлива в кабине экипажа.
Пройдя через селекторный клапан бака, топливо попадает в главный фильтр, более известный как «газоочиститель».«
Газораспределитель обычно располагается на брандмауэре и должен быть самым нижним элементом топливной системы. Он всегда оснащен клапаном быстрого слива, так что в этот момент можно слить всю топливную систему. Газоколонка также представляет собой удобное средство для слива топлива для проверки наличия воды во время предполетного осмотра. Быстрый слив должен быть легко доступен без необходимости снимать кожух или крышки.
Кстати, приходило ли вам в голову, что когда вы сливаете топливо из бензоколонки для проверки наличия воды, вы проверяете только бак, на который установлен селектор? Если вы хотите проверить какой-либо другой бак, вы должны изменить положение селектора и слить еще немного топлива.Верно?
После того, как отфильтрованное топливо проходит через газоохладитель, оно поступает в резервный насос или в обход него. Этот агрегат обычно представляет собой электрический насос, но также может быть ручным качающимся насосом.
Наконец, топливо попадает в самое сердце системы топливного насоса — насос с приводом от двигателя. Этот насос с механическим приводом от двигателя прикреплен болтами непосредственно к вспомогательной подушке на картере двигателя, откуда он подает топливо под давлением в топливную форсунку или карбюратор.
ПРИМЕЧАНИЕ. Важно знать, что, хотя насос с приводом от двигателя является основным источником давления топлива, резервный вспомогательный топливный насос является обязательной установкой для самолетов, изготовленных по Сертификату одобренного типа.Конечно, и ваш самолет любительской постройки тоже должен быть оборудован.
Поскольку эти топливные насосы должны обеспечивать давление, достаточное для перемещения топлива из баков в карбюратор или топливную форсунку, очевидно, что у вас должен быть какой-то способ узнать, что создается необходимое давление. Как уже указывалось, эта мелочь решается установкой манометра топлива.
Дополнительная сложность системы топливного насоса по сравнению с системой самотечного потока станет для вас более очевидной после того, как вы начнете установку.Посмотрим, в чем дело.
Установка манометра топлива
Манометр, который вы устанавливаете, должен быть откалиброван для соответствия диапазону давления топлива вашей системы. Например, топливная форсунка работает с нормальным давлением топлива около 24 фунтов на квадратный дюйм, в то время как карбюратор высокого давления не требует более 15 фунтов на квадратный дюйм. Обычный карбюратор поплавкового типа требует еще меньшего давления для эффективной работы. . . около 5 фунтов на квадратный дюйм. Итак, вы видите, вы должны установить датчик, который будет показывать достаточно высокое значение для вашей установки.С другой стороны, манометр давления топлива, способный регистрировать гораздо более высокое давление, чем необходимое для вашей установки, может быть не таким точным, как манометр, откалиброванный для меньшего диапазона давления топлива.
Есть еще одно соображение. Типичный индивидуальный датчик давления топлива будет иметь диаметр 2-1 / 4 дюйма или 2-1 / 16 дюйма (автомобильного типа). Лучше проверьте свой размер перед тем, как вырезать это отверстие в приборной панели. Манометры давления топлива также доступны как часть «комбинации приборов».«Они довольно популярны и используются большинством производителей самолетов. Выбор за вами.
Установить манометр топлива довольно просто. После установки манометра на приборной панели или в другом более удобном месте, если это необходимо, прибор подключается к карбюратору или топливной форсунке с помощью алюминиевой трубки с использованием стандартных фитингов AN. Поскольку трубопровод будет заполнен неочищенным топливом на всем пути от карбюратора до панели кабины, было бы разумно использовать трубки меньшего диаметра, чем те, которые используются для ваших основных топливопроводов.В конце концов, измеряется только давление, и это не имеет ничего общего с подачей топлива в двигатель. Следовательно, будет достаточно алюминиевой лески дюйма или даже 3/16 дюйма. Подсоедините трубопровод давления топлива с помощью фитинга ограничительного типа к отверстию в топливной форсунке или корпусе карбюратора, предназначенном для этой цели.
В то время как вы обычно используете алюминиевый трубопровод от манометра до фитинга перегородки брандмауэра, трубопровод давления топлива внутри моторного отсека (от брандмауэра до топливной форсунки или карбюратора) должен быть гибким авиационным шлангом, изготовленным со стандартными металлическими фитингами. (см. рисунки 2, 3 и 4 ниже ).
На мой взгляд, пластиковые шланги и накидные фитинги, закрепленные хомутами или скрученными проволокой, не имеют места в первичной топливной или масляной системе, особенно внутри моторного отсека.
Ваш топливный насос с приводом от двигателя
Во время нормальной работы двигателя топливный насос с приводом от двигателя (механический) автоматически подает топливо с надлежащим давлением непосредственно в ближайший топливный инжектор или карбюратор, в зависимости от обстоятельств.
Хорошо известный авиационный топливный насос с диафрагмой переменного тока считается отраслевым стандартом для большинства небольших авиационных двигателей.Это самовсасывающий насос со специально разработанными диафрагмами, на которые в наши дни не влияют различные экзотические химические свойства топлива (см. , рис. 1 ).
Не так много лун назад люди из AC решили отменить производство своих комплектов для ремонта топливных насосов, потому что слишком много топливных насосов ремонтировалось ненадлежащим образом. Они посчитали, что разница в стоимости между ремонтом старого насоса и установкой нового не стоит возникших проблем.Так что забудьте о ремонте вашего старого топливного насоса с приводом от двигателя переменного тока.
Ремкомплектов больше нет в наличии.
Есть еще кое-что о насосе двигателя переменного тока. Насосы более поздних моделей получили новые номера Lycoming и AC, которые заменяют старые номера насосов. . . но это не все.
При замене вышедшего из строя старого насоса на новый, я обнаружил, что мои старые фитинги впускного и выпускного порта не подходят к новому насосу. Какое удивление узнать, что 30-минутная установка растянулась на недельный поиск подходящей арматуры.
В конце концов, чтобы внести изменения, у меня был нежелательный выбор — приобрести специальные детали насоса Weatherhead или Lycoming с уплотнительными кольцами (см. , рис. 1 ).
Когда установлен правильный топливный насос с приводом от двигателя, он будет откачивать (перекачивать) больше топлива, чем требуется вашему двигателю. . . Фактически насос должен обеспечивать минимальный расход топлива 125% от необходимого для максимальной взлетной мощности. Эта избыточная мощность не будет проблемой при работе вашего двигателя, поскольку внутренний предохранительный клапан, настроенный на заводе для подачи топлива с правильным давлением для конкретного карбюратора или топливной форсунки, предотвращает развитие чрезмерного давления топлива на входе топлива. .
Мне известен случай, когда строитель не мог поддерживать мощность маршевого двигателя, если его электрический подкачивающий насос не был включен и не работал. Многие умные люди были озадачены этой проблемой, пока кто-то не обнаружил очевидное — насос с приводом от двигателя был не того типа и недостаточно велик, чтобы питать этот двигатель с впрыском топлива без помощи вспомогательного насоса.
При покупке нового насоса убедитесь, что у него правильный номер детали для вашего двигателя. Также проверьте, какой тип фитингов вам понадобится.Их обычно трудно найти.
Топливные насосы с приводом от двигателя достигли рекордных показателей надежности, но они терпят неудачу. Чаще всего происходит разрыв диафрагмы, и топливо выливается из сливной линии. Я считаю, что такая неудача чаще всего является результатом возраста, а не материальной нехватки.
Если ваш двигатель хорошо используется, и в журнале его работы не упоминается топливный насос с приводом от двигателя, считайте, что топливный насос работает в течение определенного времени и требует замены.
Просто имейте это в виду. Неисправный топливный насос с приводом от двигателя может создать серьезную опасность возгорания, если диафрагма разорвется и если вентиляционное отверстие не подключено к линии, проложенной от горячих выхлопных труб к безопасному месту за бортом. Кроме того, двигатель больше не запускается. . . не обошлось и без резервного топливного насоса.
Такой вспомогательный насос может поддерживать работу вашего двигателя даже при отказавшем насосе с приводом от двигателя. Это возможно, потому что топливные насосы с приводом от двигателя переменного тока (а также насосы Томпсона и Ромека) имеют внутренний перепускной клапан, который позволяет топливу течь через насос с приводом от двигателя даже после того, как он вышел из строя.Без этого условия установка и использование резервного насоса были бы очень сложными.
Опции резервного насоса
Резервный насос под любым другим названием может быть вспомогательным насосом, подкачивающим насосом, электронасосом или даже качающимся насосом. Все они служат одной цели — помочь насосу с приводом от двигателя или, в крайнем случае, полностью взять на себя его функцию.
Вспомогательный топливный насос обычно приводится в действие автономным электродвигателем, который управляется переключателем на приборной панели.
Вспомогательный или подкачивающий насос может использоваться для ряда важных функций, например:
1. Прокачка двигателя с впрыском топлива перед запуском.
2. Восстановление подачи топлива в двигатель каждый раз, когда насос с приводом от двигателя выходит из строя или не может поддерживать достаточный поток топлива.
3. Используется для подавления склонности к парообразованию, особенно на высоте более 10 000 футов.
4. Помощь в перезапуске двигателя после того, как парень, управляющий вашим самолетом, позволил одному из ваших топливных баков иссякнуть.
5. Использование подкачивающего насоса в качестве меры предосторожности при взлете и посадке.
Резервный насос, если он установлен, обычно устанавливается в линию (последовательно) с насосом с приводом от двигателя (см. , рис. 4 ).
А теперь послушайте это, амиго. Для такой установки подкачивающий насос ДОЛЖЕН иметь внутренний перепускной клапан, который позволит топливу проходить через подкачивающий насос независимо от того, включен он или нет.
Если вы установите электрический подкачивающий насос без внутреннего перепускного клапана последовательно с насосом, приводимым в действие двигателем, каждый раз, когда вы выключаете этот подкачивающий насос, весь поток топлива к насосу с приводом от двигателя будет заблокирован.Другими словами, двигатель остановится, потому что топливо не может проходить через подкачивающий насос этого типа, если вы не оставите его включенным.
Многие небольшие электронасосы низкого давления, используемые строителями для двигателей с карбюратором, не имеют внутренних перепускных клапанов. Эти насосы, если они установлены в дополнение к насосу с приводом от двигателя, должны устанавливаться параллельно с насосом двигателя. В зависимости от установки, параллельная система может также потребовать включения одного или нескольких обратных клапанов с обратным ходом, чтобы гарантировать, что топливо течет только к двигателю и не утекает обратно в бак при работающем электронасосе.В любом случае параллельная система всегда будет сложнее, чем инсталляция в линию (см. , рис. 2 ).
Качающийся насос
Пилоты спортивного пилотажа предпочитают свой резервный топливный насос классическим качающимся насосом. Его основные функции, такие как помощь в запуске двигателя и поддержание давления топлива по запросу, аналогичны вспомогательному электрическому насосу, за исключением того, что он управляется вручную пилотом. . . и не требует никакой электрической системы.
Качающийся насос устанавливается так же, как и любой другой подкачивающий насос с внутренним байпасом. То есть его тоже можно установить последовательно в главный топливопровод к двигателю (см. , рис. 3 ).
Старые излишки вихревых насосов серии D времен Второй мировой войны становятся дефицитными, и их заменяет новый превосходный ручной топливный насос Christen.
Установка ручного топливного насоса Christen намного легче и содержит топливный клапан, топливный фильтр и топливный насос, упакованные в единый компактный блок.Если вы снаряжаете свой самолет для фигур высшего пилотажа, несомненно, это лучший вариант.
Проблемы с паром
Защитите свою топливную систему от чрезмерного воздействия тепла двигателя, и вы в значительной степени снизите вероятность возникновения проблем с паровыми пробками.
Это нелегко сделать, потому что моторный отсек, в котором находится большинство компонентов вашей топливной системы, мало чем отличается от горячего ящика или печи. Кроме того, насос с приводом от двигателя забирает дополнительное тепло от своего физического крепления к двигателю.Как следствие, топливный насос может стать достаточно горячим для просачивания топлива.
Некоторые производители, а также многие строители значительно уменьшают нагрев, заключая топливный насос с приводом от двигателя в алюминиевый кожух, открытый снизу. Воздуховод от задней перегородки двигателя охлаждает воздух в отверстие в кожухе для охлаждения насоса.
Другие меры, которые могут быть предприняты, включают закрытие всех гибких трубопроводов «пожарными рукавами», не столько для защиты мелких частиц от пожара в моторном отсеке, сколько для их некоторой защиты от тепла в моторном отсеке.По той же причине часто устанавливают и газосборник с металлическим кожухом вокруг него.
В зависимости от типа установленного оборудования, линия возврата паров обратно в топливные баки) может использоваться с системой топливных форсунок с непрерывным потоком (см. Рисунок 3 ).
Для двигателей с меньшим впрыском топлива основным средством борьбы с тенденцией к образованию паровых пробок является включение подкачивающего насоса для обеспечения положительного потока холодного топлива через систему.


8 на Газель NEXT, устройство, конструкция блока цилиндров, коленчатого и распределительного вала, поршней, шатунов и маховика.
Существуют механические насосы, которые могут подавать необходимый поток топлива, но электронасосы той же мощности часто проще в установке и более доступны.
В зависимости от производительности и характеристик вы можете ожидать, что эти насосы поднимутся намного выше отметки в 100 долларов.
Таким образом поддерживается идеальное давление топлива и предотвращается его перегрузка или затопление.
е.е., ближе к реле бензонасоса.
Учитывая, что этот грузовик живет за пределами сельской местности, вероятно повреждение жгута проводов грызунами.