Как определить межвитковое замыкание электродвигателя
До 40 процентов случаев проблем с электродвигателем связано с межвитковым замыканием. Как правило, оно возникает в катушке обмотки возбуждения. Основные причины:
- Перегрузка двигателя из-за неправильной его эксплуатации либо механических повреждений. Вследствие этого происходит перегрев обмоток статора и повреждение или разрушение их изоляционного слоя. В результате уменьшается сопротивление цепи, и контакт витков катушки ведет к замыканию и выходу двигателя из строя.
- «Сухие» или заклинившие подшипники.
- Заводской брак обмоток (либо их неудачная перемотка).
- Попадание влаги внутрь агрегата из-за несоблюдения условий его хранения (например, во влажном месте).
Итак, причины более или менее понятны, теперь мы попытаемся разобраться: как определить межвитковое замыкание электродвигателя?
Способы определения межвиткового замыкания двигателя
Если какая-либо часть статора сильно нагревается, стоит прекратить работу и провести диагностику агрегата.
- Токовые клещи. Измеряется нагрузка на каждую фазу, и, если на какой-либо из них она значительно увеличена, то это признак межвиткового замыкания. Однако чтобы избежать ошибки из-за, например, перекоса фаз на подстанции, стоит также измерить приходящее напряжение вольтметром.
- Прозвон обмоток тестером. Прозванивается каждая обмотка в отдельности, затем полученные результаты сопротивления сверяются. Но следует учесть, что этот способ может оказаться неэффективным при замыкании 2-3 витков, т.к. в этом случае расхождение будет небольшим.
- Измерения мегомметром. Чтобы обнаружить замыкание на корпус, один щуп прикладывается к корпусу двигателя, второй – к выходу обмоток в борно.
- Проверить межвитковое замыкание электродвигателя также можно визуально. Агрегат разбирается и тщательно осматривается на предмет наличия сгоревшей части обмотки.
- Проверка с помощью понижающего трехфазного трансформатора и шарика от подшипника или пластинки от трансформаторного железа.
Этот способ считается самым надежным. Предупреждение: ни в коем случае не используйте данный алгоритм при напряжении в 380 вольт, это опасно для жизни! Последовательность действий такова: три фазы с понижающего трансформатора подаются на статор предварительно разобранного двигателя. Туда кидается шарик. Если он движется внутри статора по кругу – аппарат в рабочем состоянии. Если через несколько оборотов он «залипает» на одном месте – именно там и находится замыкание. Пластинка прикладывается к железу внутри статора. Если она «примагничивается», причин для беспокойства нет, а ее дребезжание указывает на межвитковое замыкание.
Следует также отметить, что все перечисленные выше способы проверки производятся исключительно с заземленным двигателем.
Таким образом, зная, как проверить обмотку электродвигателя на межвитковое замыкание, вы сможете самостоятельно выявить причину неисправности и принять решение о ее своевременном устранении.
Межвитковое замыкание.
Как проверить различные замыкание витковЭлектродвигатели часто выходят из строя, и основной причиной для этого является межвитковое замыкание. Оно составляет около 40% всех поломок моторов. От чего возникает замыкание между витками? Для этого есть несколько причин.
Основная причина – излишняя нагрузка на электродвигатель, которая выше установленной нормы. Статорные обмотки нагреваются, разрушают изоляцию, происходит замыкание между витками обмоток. Неправильно эксплуатируя электрическую машину, работник создает чрезмерную нагрузку на электродвигатель.
Нормальную нагрузку можно узнать из паспорта на оборудование, либо на табличке мотора. Лишняя нагрузка может возникнуть из-за поломки механической части электромотора. Подшипники качения могут послужить этой причиной. Они могут заклинить от износа или отсутствия смазки, в результате этого возникнет замыкание витков катушки якоря.
Замыкание витков возникает и в процессе ремонта или изготовления двигателя, в результате брака, если двигатель изготавливали или ремонтировали в неприспособленной мастерской.
Хранить и эксплуатировать электромотор необходимо по определенным правилам, иначе внутрь мотора может проникнуть влага, обмотки отсыреют, как следствие возникнет витковое замыкание.
С витковым замыканием электродвигатель работает неполноценно и недолго. Если вовремя не выявить межвитковое замыкание, то скоро придется покупать новый электродвигатель или полностью новую электрическую машину, например, электродрель.
При замыкании витков обмотки двигателя повышается ток возбуждения, обмотка перегревается, разрушает изоляцию, происходит замыкание других витков обмотки. Вследствие повышения тока может послужить причиной выхода из строя регулятора напряжения. Витковое замыкание выясняется сравнением обмоточного сопротивления с нормой по техусловиям. Если оно снизилось, обмотка подлежит перемотке, замене.
Как найти межвитковое замыкание
Замыкание витков легко определить, для этого есть несколько методов. Во время работы электродвигателя обратите внимание на неравномерный нагрев статора.
Если одна его часть нагрелась больше, чем корпус двигателя, то необходимо остановить работу и провести точную диагностику мотора.
Существуют приборы для диагностики замыкания витков, можно проверить токовыми клещами. Нужно измерить нагрузку каждой фазы по очереди. При разнице нагрузок на фазах надо задуматься о наличии межвиткового замыкания. Можно перепутать витковое замыкание с перекосом фаз сети питания. Чтобы избежать неправильной диагностики, надо измерить приходящее напряжение питания.
Обмотки проверяют мультиметром путем прозвонки. Каждую обмотку проверяем прибором отдельно, сравниваем результаты. Если замкнуты оказались всего 2-3 витка, то разница будет незаметна, замыкание не выявится. С помощью мегомметра можно прозвонить электромотор, выявив наличие замыкания на корпус. Один контакт прибора соединяем с корпусом мотора, второй к выводам каждой обмотки.
Если нет уверенности в исправности двигателя, то необходимо произвести разборку мотора. При разборе нужно осмотреть обмотки ротора, статора, наверняка будет видно место замыкания.
Наиболее точным методом проверки замыкания между витками обмоток является проверка понижающим трансформатором на трех фазах с шариком подшипника. Подключаем на статор электромотора в разобранном виде три фазы от трансформатора с пониженным напряжением. Кидаем шарик подшипника внутрь статора. Шарик бегает по кругу – это нормально, а если он примагнитился к одному месту, то в этом месте замыкание.
Можно вместо шарика применить пластинку от сердечника трансформатора. Ее также проводим внутри статора. В месте замыкания витков, она будет дребезжать, а где замыкания нет, она просто притянется к железу. При таких проверках нельзя забывать про заземление корпуса двигателя, трансформатор должен быть низковольтным. Опыты с пластинкой и шариком при 380 вольт запрещаются, это опасно для жизни.
Самодельный прибор для определения виткового замыкания
Сделаем дроссель своими руками для проверки межвиткового замыкания в обмотке двигателя. Нам понадобится П-образное трансформаторное железо.
Его можно взять, например, от старого вибрационного насоса «Ручеек», «Малыш». Разбираем его нижнюю часть, хорошо нагреваем ее. Там имеются катушки, залитые эпоксидной смолой.
Эпоксидку разогреваем и выбиваем катушки с сердечником. С помощью наждака или болгарки срезаем губки сердечника.
Намотаны эти катушки как раз на П-образном трансформаторном железе.
Не нужно соблюдать углы. Нужно сделать место, в которое легко ляжет маленький и большой якорь.
При обработке необходимо учесть, что железо слоеное. Нельзя обрабатывать его так, чтобы камень его задирал. Нужно обрабатывать в таком направлении, чтобы слои лежали друг к другу, чтобы не было задиров. После обработки снимите все фаски и заусенцы, так как придется работать с эмалированным проводом, нежелательно его поцарапать.
Теперь нам надо сделать две катушки для этого сердечника, которые разместим с обеих сторон. Замеряем толщину и ширину сердечника в самых широких местах, по заклепкам.
Берем плотный картон, размечаем его по размерам сердечника. Учитываем размер паза в сердечнике между катушками. Проводим неострым краем ножниц по местам сгиба, чтобы удобнее было сгибать картон. Вырезаем заготовку для каркаса катушек. Сгибаем по линиям сгиба. Получается каркас катушки.
Теперь делаем четыре крышки для каждой стороны катушек. Получаем два картонных каркаса для катушек.
Рассчитываем количество витков катушек по формуле для трансформаторов.
13200 делим на сечение сердечника в см2. Сечение нашего сердечника:
3,6 см х 2,1 см = 7,56 см2.
13200 : 7,56 = 1746 витков на две катушки. Это число не обязательное, отклонение 10% в обе стороны никакой роли не сыграет. Округляем в большую сторону, 1800 : 2 = 900 витков нужно намотать на каждую катушку. У нас есть провод 0,16 мм, он вполне подойдет для наших катушек. Наматывать можно как угодно. По 900 витков можно намотать и вручную. Если ошибетесь на 20-30 витков, то ничего страшного не будет.
Лучше намотать больше. Перед намоткой шилом делаем отверстия по краям каркаса для вывода провода катушек.
На конец провода надеваем термоусадочный кембрик. Конец провода вставляем в отверстие, загибаем, и начинаем намотку катушки.
Заполнение получилось малым, поэтому можно мотать и проводом толще. На второй конец припаиваем проводок с кембриком и вставляем в отверстие. Не заматываем катушку, пока не провели испытание.
Обе катушки намотаны. Надеваем их на сердечник таким образом, чтобы провода шли вниз и были с одной стороны. Катушки абсолютно одинаково намотаны, направление витков в одну сторону, концы выведены одинаково. Теперь необходимо один конец с одной катушки и один с другой соединить, а на оставшиеся два конца подать напряжение 220 вольт. Главное не запутаться и соединить правильные провода. Чтобы понять порядок соединения, нужно мысленно разогнуть наш П-образный сердечник в одну линию, чтобы витки в катушках располагались в одном направлении, переходили от одной катушки во вторую.
Сравним дроссель фабричный и самодельный.
Проверяем заводской дроссель металлической пластинкой на вибрацию места витковых замыканий якоря двигателя и отмечаем их маркером. Теперь то же самое делаем на нашем самодельном дросселе. Результаты получились идентичные. Наш новый дроссель работает нормально.
Снимаем наши катушки с сердечника, обмотки фиксируем изолентой. Пайку также изолируем лентой. Одеваем готовые катушки на сердечник, припаиваем к концам проводов питание 220 В. Дроссель готов к эксплуатации.
Межвитковое замыкание якоря
Для проверки якоря воспользуемся специальным прибором, который представляет трансформатор с вырезанным сердечником. Когда мы кладем якорь в этот зазор, его обмотка начинает работать как вторичная обмотка трансформатора. При этом, если на якоре имеется межвитковое замыкание, от местного перенасыщения железом металлическая пластинка, которая будет находиться сверху якоря, будет вибрировать, либо примагничиваться к корпусу якоря.
Включаем прибор. Для наглядности мы специально замкнули две ламели на коллекторе, чтобы показать каким образом производится диагностика. Помещаем пластинку на якорь и сразу видим результат. Наша пластинка примагнитилась и начала вибрировать. Поворачиваем якорь, витки смещаются, и пластинка перестает вибрировать.
Теперь удалим замыкание ламелей для проверки. Повторяем проверку и видим, что обмотка якоря исправна, пластинка не вибрирует ни в каких местах.
Способ №2 проверки якоря на витковое замыкание
Этот способ подходит для тех, кто не занимается профессиональным ремонтом электроинструмента. Для точной диагностики межвиткового замыкания требуется скоба с катушкой.
Мультиметром можно выяснить лишь обрыв катушки якоря. Лучше для этой цели применять аналоговый тестер. Между каждыми двумя ламелями замеряем сопротивление.
Сопротивление должно быть везде одинаковое. Бывают случаи, когда обмотки не сгорели, коллектор нормальный. Тогда замыкание витков определяют только с помощью прибора со скобой от трансформатора.
Теперь устанавливаем мультиметр на 200 кОм, один щуп замыкаем на массу, а другим касаемся каждой ламели коллектора, при условии, что нет обрыва катушек.
Если якорь не прозванивается на массу, то он исправный, либо может быть межвитковое замыкание.
Межвитковое замыкание трансформатора
У трансформаторов есть распространенная неисправность – замыкание витков между собой. Мультиметром не всегда можно выявить этот дефект. Необходимо внимательно осмотреть трансформатор. Провод обмоток имеет лаковую изоляцию, при ее пробое между витками обмотки есть сопротивление, которое не равно нулю. Оно и приводит к разогреву обмотки.
При осмотре трансформатора на нем не должно быть гари, обуглившейся бумаги, вздутия заливки, почернений. Если известен тип и марка трансформатора, можно узнать, какое должно быть сопротивление обмоток. Мультиметр переключают в режим сопротивления. Сравнивают измеренное сопротивление со справочными данными. Если отличие составляет больше 50%, то обмотки неисправны.
Если данные сопротивления не удалось найти в справочнике, то наверняка известно количество витков, тип и сечение провода, можно вычислить сопротивление по формулам.
Чтобы проверить трансформатор блока питания с выходом низкого напряжения, подключаем к первичной обмотке напряжение 220 В. Если появился дым, запах, то сразу отключаем, обмотка неисправна. Если таких признаков нет, то измеряем напряжение тестером на вторичной обмотке. При заниженном на 20% напряжении есть риск выхода из строя вторичной обмотки.
Если есть второй исправный трансформатор, то путем сравнения сопротивлений выясняют исправность обмоток. Чтобы проверить более подробно, применяют осциллограф и генератор.
Межвитковое замыкание статора
Часто на неисправном двигателе имеется межвитковое замыкание. Сначала проверяют обмотку статора на сопротивление. Это ненадежный метод, так как мультиметр не всегда может точно показать результат замера. Это зависит и от технологии перемотки двигателя, от старости железа.
Клещами тоже можно измерить сопротивление и ток. Иногда проверяют по звуку работающего мотора, при условии, что подшипники исправны, смазаны, редуктор привода исправен. Еще проверяют межвитковое замыкание осциллографом, но они имеют большую стоимость, не у каждого имеется этот прибор.
Внешне осматривают двигатель. Не должно быть следов масла, подтеков, запаха. Измеренный по фазам ток, должен быть одинаковый. Хорошим тестером проверяют обмотки на сопротивление. При разнице в замерах более 10% есть вероятность замыкания витков обмоток.
Пишите комментарии, дополнения к статье, может я что-то пропустил. Загляните на карту сайта, буду рад если вы найдете на моем сайте еще что-нибудь полезное.
ПохожееКак проверить статор на межвитковое замыкание мультиметром
В бытовых приборах и оборудовании установлены различные типы электродвигателей. Эти различия зависят от условий эксплуатации, назначения и выполняемых ими функций. Например, в электродрелях, миксерах, кухонных комбайнах, пылесосах, стиральных машинах и других устройствах с частым изменением скорости вращения вала применяются коллекторные двигатели.
Если требуется обеспечить долговременный стабильный режим работы, то в таком оборудовании используются уже асинхронные электродвигатели, наиболее подходящие для небольших самодельных станков. Тем не менее, во всех случаях часто приходится решать вопрос, как проверить якорь электродвигателя в домашних условиях. Современные сервисные услуги достаточно дороги, поэтому очень многие пытаются самостоятельно обнаружить неисправность и выполнить ремонт.
Коллекторные двигатели и основные неисправности якоря
Коллекторные электродвигатели рассчитаны на работу от бытовых сетей, напряжением 220В. Практически все они являются синхронными агрегатами. В отличие от асинхронных электродвигателей, коллекторные устройства состоят из неподвижного статора и вращающейся обмотки на валу – якоря. Напряжение на них подается с помощью щеточно-графитного устройства, которое и есть коллектор.
Основная причина, требующая проверки якоря и других деталей, состоит в появлении искр. Активное искрение свидетельствует об износе щеток и коллекторного узла или нарушении контактов. Кроме того, искры могут появиться в результате межвиткового замыкания, то есть, замыкания обмоток в коллекторе. Появление таких нарушений требует качественной диагностики, начиная с визуального осмотра и заканчивая проверкой мультиметром.
Первоначальный осмотр позволяет выявить оборванные или выгоревшие обмотки, а также выгорание в точках их подключения. Поэтому, в первую очередь следует обращать внимание на состояние обмоток и целостность витков. Если обмотки почернели полностью или частично, это уже указывает на определенные проблемы с якорем. Иногда изоляцию достаточно просто понюхать, чтобы определить характерный запах гари.
Более точную информацию можно получить путем проверки якоря мультиметром. Прозвонка выполняется поэтапно, захватывая все элементы двигателя:
- Вначале прозваниваются попарные выводы обмоток статора к ламелям. Сопротивления на каждом из них должны иметь одинаковое значение.
- Далее проверяется сопротивление между ламелями и корпусом якоря. В норме оно должно быть бесконечным.
- Целостность обмотки проверяется путем прозвонки выводов.
- После этого проверяется состояние цепи между корпусом статора и выводами якорной обмотки. При наличии пробоя на корпус, бытовое устройство категорически запрещается подключать к напряжению. В этом случае требуется обязательный ремонт или полная замена неисправных деталей.
После ремонта коллекторного электродвигателя нужно соединить все элементы между собой и подключить устройство к питанию 220В. Если агрегат работает нормально, значит ремонт выполнен правильно.
Проверка асинхронного электродвигателя
Кроме коллекторных, в быту можно встретить и асинхронные двигатели, устанавливаемые в некоторых моделях стиральных машин или в компрессорах холодильников. Гораздо чаще они используются в компрессорах, насосах, различных станках и другом оборудовании. Несмотря на высокую надежность, данные электродвигатели также подвержены поломкам и неисправностям. В этих конструкциях роль якоря выполняют обмотки статора, поэтому визуальный осмотр нужно начинать именно с них.
Часто обмотки перестают работать, когда они отсырели или, произошел обрыв витков. Поэтому если двигатель очень долго не эксплуатировался, необходимо выполнить проверку сопротивления изоляции с помощью мегомметра. При отсутствии мгаомметра, агрегат в целях профилактики рекомендуется разобрать и сушить обмотки статора в течение нескольких суток.
Вполне возможно, что причина неисправности кроется не в самом электродвигателе, а связана с какими-либо другими факторами. Поэтому, прежде чем начинать ремонтировать сам агрегат, следует убедиться в наличии напряжения, проверить магнитные пускатели, кабели подключения, тепловое реле. Если в схеме имеется конденсатор, его тоже нужно проверить. При исправности всех перечисленных элементов, можно приступать к разборке двигателя для первичного осмотра. Проверка должна проводиться при полном отсутствии электропитания. Необходимо предотвратить самопроизвольное или ошибочное включение агрегата.
В процессе осмотра, кроме других деталей, особенно тщательно проверяются обмотки статора. Они должны быть целыми, без торчащих или оторванных проводков. Особое внимание следует обращать на черные пятна, указывающие на возможное подгорание проводов. В исправном состоянии проводники имеют темно-красный цвет. Почернение наступает при выгорании электроизоляционного лака, наносимого на их поверхность. При осмотре может быть выявлено полное или частичное выгорание обмотки и межвитковое замыкание. При частичном выгорании двигатель будет работать и быстро нагреваться. Поэтому обмотка в любом случае перематывается полностью.
Если внешний осмотр не дал результатов, дальнейшую диагностику нужно проводить с помощью измерительных приборов. Чаще всего для этих целей используется мультиметр, позволяющий определить целостность обмотки, наличие или отсутствие пробоя на корпус.
В двигателях на 220В прозваниваются пусковая и рабочая обмотки. Сопротивление пусковой должно быть в 1,5 выше, чем у рабочей. В электродвигателях на 380В, подключаемых звездой или треугольником, схема разбирается, после чего поочередно прозванивается каждая обмотка. Сопротивление на каждой из них должно быть одинаковым, с отклонением не более чем на 5%. Также все обмотки обязательно прозваниваются между собой и на корпус. Если значение сопротивления не бесконечно, это свидетельствует о наличии пробоя обмоток на корпус или между собой. В этом случае требуется их полная перемотка.
Отдельно проверяется сопротивление изоляции обмоток двигателя. В этом случае мультиметр не поможет, потребуется мегомметр на 1000В, подключаемый к отдельному источнику питания. При выполнении измерений один провод прибора касается корпуса двигателя в неокрашенном месте, а другой провод поочередно соединяется с каждым выводом обмотки. Если сопротивление изоляции составляет менее 0,5 Мом, значит двигатель требует просушки. При выполнении измерений нужно соблюдать осторожность и не касаться измерительных проводов. Измеряемое оборудование должно быть обесточено, продолжительность измерений составляет не менее 2-3 минут.
Наибольшую сложность представляет поиск межвиткового замыкания. Его невозможно выявить при визуальном осмотре. Для трехфазных двигателей применяются специальные измерители индуктивности, которые в норме показывают одинаковое значение на всех обмотках. При наличии повреждения, индуктивность у такой обмотки будет наиболее низкой.
Во время эксплуатации любого оборудования периодически возникают поломки разного характера, которые требуют качественного ремонта. Распространенные сегодня электродвигатели не являются тому исключением. Такие агрегаты могут выходить из строя в результате межвиткового замыкания. В такой ситуации может сгореть исправный, на первый взгляд, двигатель. Именно поэтому специалисты стараются своевременно определить замыкание межвиткового типа, чтобы качественно устранить причину неисправности.
Описание
Сложное межвитковое замыкание может возникнуть по причине нарушения изоляционного слоя ответственных элементов в многофункциональных электротехнических агрегатах. В классическом двигателе, кроме распространенного замыкания на корпус, часто присутствуют и другие проблемы. Чаще всего это может быть спровоцировано выходом из строя обмотки ротора или же статора. Специалистам удалось установить, что классическое межвитковое замыкание возникает в результате перегрева мотора. Когда на устройство воздействует повышенная температура, то сложно избежать разрушения нанесенного производителем лака, который выполняет роль надежной оболочки. Из-за этого витки оголяются и начинают постепенно взаимодействовать друг с другом, вызывая тем самым короткое замыкание. Даже если это точечная проблема, двигатель все равно не будет функционировать как раньше. Ликвидировать поломку можно только при помощи качественной перемотки.
Элементарная проверка
Первым делом необходимо аккуратно установить индуктор на платформе тормозного изделия и включить его в сеть. Переключатель следует перевести в положение 4. Якорь аккуратно укладывают на полюса индуктора, после чего закрепляют на валу приспособление для проворачивания якоря. Можно включить стенд. Мастеру предстоит аккуратно прижать щупы контактного агрегата к двум соседним коллекторам якоря. Немного проворачивая механизм, нужно отыскать положение, при котором показания механизма будут находиться на максимальной отметке. При помощи резистора устанавливают стрелку устройства на максимально удобную отметку шкалы. Необходимо постепенно проворачивать якорь, не меняя при этом пространственного положения щупов. Мастеру остается только считать показания прибора.
Важные нюансы
Экспертами был разработан универсальный прибор для проверки межвиткового замыкания. Но первым делом нужно точно установить факт отсутствия дополнительной нагрузки на мотор. Проблема может возникнуть по причине засорения воздушной системы или заедания механического отдела. Чтобы безошибочно определить межвитковое замыкание, необходимо некоторое время понаблюдать за работающим двигателем. В такой ситуации мастер заметит интенсивное круговое искрение. Может ощущаться неприятный запах горелой изоляции. Чтобы ликвидировать проблему, нужно ее своевременно определить. При стандартном визуальном осмотре, обмотки якоря не должны быть вспученными или почерневшими. Указывать на проблему может запах горелого. Мастер должен убедиться в том, что между пластинами коллектора нет замыкания.
Универсальный агрегат
При помощи многофункционального прибора для проверки межвиткового замыкания можно безошибочно измерить сопротивление между обмоткой и корпусом. В рабочем состоянии разница полученных данных остается незначительной. Если полученный показатель превышает отметку 11 процентов, то качественного ремонта не избежать. Мастеру придется заменить всю обмотку, которая будет иметь меньшее сопротивление. Основные ремонтные работы должны быть направлены на перематывание неисправных деталей. Такие манипуляции доступны только в специальных условиях. Работу можно доверить исключительно специалистам.
Помощь мультиметра
Универсальность этого устройства позволяет выполнить проверку межвиткового замыкания, чтобы своевременно устранить имеющуюся поломку. Любые ремонтные работы должны начинаться с разборки якоря электродвигателя. Причины могут возникнуть по следующим причинам:
- Износ и поломка щеток.
- Замыкание между пластинами.
- Отсутствие контакта на клеммах.
- Плохая изоляция.
- Слишком высокая температура для пластин коллектора.
Многолетний опыт экспертов свидетельствует о том, что сломанный стартер издает характерный звук гула, появляются искры, меняется интенсивность вращения якоря, образуются вибрации во время работы.
Самостоятельный ремонт
Чтобы проверить межвитковое замыкание на якоре, нужно аккуратно приложить к пластине коллектора стартер лампы. Нужно посмотреть, загорится лампочка либо нет. Если лампочка сработала, тогда мастеру нужно подумать о замене обмотки или всего ротора. Но если реакции нет, проверку нужно выполнить омметром. Сопротивление должно быть максимально низким, не более 9 кОм. Если замыкание межвитковое, тогда пригодится определенный прибор для проверки якоря стартера. Устранить эту проблему можно в том случае, если выровнять все провода и очистить их от лишнего мусора. Если все перечисленные рекомендации не подействовали, остается только выполнить перемотку якоря. При распайке коллекторных выводов необходимо демонтировать ротор и тщательно зачистить поверхность при помощи бормашины. Определить сгоревший аккумулятор можно только с помощью аккумулятора.
Вариант для профессионалов
Специалисты привыкли использовать качественный прибор для межвиткового замыкания. Такой агрегат предназначен исключительно для профессионального ремонта электрооборудования. Для работы понадобится катушка со скобой. Классическим мультиметром можно определить только обрыв на якоре. Для более качественной диагностики лучше использовать аналоговый тестер. Между всеми ламелями обязательно замеряют сопротивление. Во всех случаях показатели должны быть идентичными. В некоторых случаях обмотки могут не сгореть, да и коллектор остается невредимым. Определить замыкание межвиткового типа можно с помощью прибора с прочной скобой от трансформатора. Мультиметр устанавливают на отметку 180 кОм. Щуп аккуратно замыкают на массу, а второй поочередно прикладывают к каждой ламели коллектора. Если якорь по-прежнему не прозванивается на массу, то он абсолютно исправен.
Замыкание классического статора
Даже такое изделие подвержено межвитковому замыканию. Первым делом специалист обязательно проверяет обмотку статора на факт сопротивления. Но это не самый надежный метод. Многие факторы влияют на мультиметр, из-за чего он может отображать ошибочные данные. Итоговый результат во многом зависит от перемотки двигателя, а также от старости самого железа. Обычными клещами можно измерить ток и сопротивление. Если у мастера есть необходимый опыт, то он может определить поломку даже по звуку работающего двигателя. Но в этом случае обязательно должны быть рабочие подшипники, которые качественно смазаны. При желании мастер может задействовать осциллограф, но такой агрегат отличается большой стоимостью. Из-за этого приобрести агрегат могут далеко не все. На двигателе не должно быть следов масла, подтеков. Недопустимо наличие посторонних запахов. Качественным тестером проверяют обмотки на факт сопротивления. Если результаты отличаются друг от друга более чем на 11%, то причина поломки может крыться в замыкании.
Самодельное приспособление
Устранить межвитковое замыкание электродвигателя можно при помощи агрегата, сооруженного в домашних условиях. Для сборки нужно подготовить транзисторы КТ209 и КТ315, переменные резисторы на 47 кОм и 1 кОм. Питание изделия можно обеспечить при помощи батареи, а также высококачественного стабилизатора. Дополнительно нужно установить зеленый светодиод, который будет сигнализировать о включении агрегата, а оранжевый – контрольный. Последовательно с этими элементами включают резистор на 30 Ом. Стоит отметить, что рабочая плата имеет компактные размеры, за счет чего легко поместится в небольшой корпус.
Причины неисправностей
Межвитковое замыкание электродвигателя не является редкой проблемой. Такая неисправность встречается в 50% всех случаев поломок. Ситуация может возникнуть из-за повышенной нагрузки на электроустановку. Неправильная эксплуатация агрегата часто влечет за собой преждевременные поломки. Номинальную нагрузку можно определить по паспорту установки. Перегрузка может быть спровоцирована механическим повреждением самого мотора. Сухие либо заклинившие подшипники часто вызывают замыкание. Не исключен факт заводского брака. Если электродвигатель хранится в ненадлежащих условиях, то это всегда чревато тем, что обмотка просто отсыреет.
Изменение сопротивления
Определение межвитковое замыкание позволяет существенно упростить ремонтные работы. Чтобы качественно проверить мотор на факт сопротивления изоляции, опытные электрики активно используют мегометр с напряжением 500 В. Таким приспособлением можно безошибочно измерить сопротивление изоляции обмоток двигателя. Если электродвигатели обладают напряжением 12 В или 24 В, то без помощи тестера просто не обойтись. Изоляция таких обмоток не рассчитана на испытание под максимальным напряжением. Производитель всегда в паспорте к агрегату указывает оптимальное значение. Если тестирование показало, что сопротивление изоляции гораздо меньше оптимальных 20 Мом, то обмотки обязательно разъединяют и тщательно проверяют каждую по отдельности. Для собранного мотора показатель не должен быть ниже положенных 21 Мом. Если изделие долгое время пролежало в сыром месте, то перед эксплуатацией его обязательно просушивают в течение нескольких часов накальной лампой.
Неисправности трансформатора
Опытные специалисты привыкли в работе использовать универсальный индикатор межвиткового замыкания, который существенно упрощает поиск возникших поломок. Но даже профессионалы должны помнить о том, что выбор наиболее подходящего источника питания и его местоположения напрямую зависит от количества питаемых изделий и типа подключения. У трансформатора есть довольно распространенная неисправность – непредвиденное замыкание витков между собой.
Эту проблему не всегда можно определить при помощи классического мультиметра. Агрегат нужно тщательно осмотреть на предмет наличия визуальных дефектов. Провод обмоток обладает лаковой изоляцией. В случае ее пробоя между витками возникает сопротивление, которые выше 0. В такой ситуации может возникнуть перегрев оснащения. При визуальном осмотре на трансформаторе не должно быть следов копоти, обуглившихся частиц, вздутия заводской заливки, почернений. Мастер может узнать номинальное напряжение из прилагаемой к агрегату документации. Если отличие показателей составляет 45% и больше, то обмотка вышла из строя. Чтобы не усугубить ситуацию, ремонт столь ответственного элемента лучше доверить специалистам, которые обладают всеми необходимыми навыками.
В идеале чтобы была произведена проверка обмоток электродвигателя, необходимо иметь специальные приборы, предназначенные для этого, которые стоят немалых денег. Наверняка не у каждого в доме они есть. Поэтому проще для таких целей научиться пользоваться тестером, имеющим другое название мультиметр. Такой прибор имеется практически у каждого уважающего себя хозяина дома.
Электродвигатели изготавливают в различных вариантах и модификациях, их неисправности также бывают самыми разными. Конечно, не любую неисправность можно диагностировать простым мультиметром, но наиболее часто проверка обмоток электродвигателя таким простым прибором вполне возможна.
Любой вид ремонта всегда начинают с осмотра устройства: наличие влаги, не сломаны ли детали, наличие запаха гари от изоляции и другие явные признаки неисправностей. Чаще всего сгоревшую обмотку видно. Тогда не нужны никакие проверки и измерения. Такое оборудование сразу отправляется на ремонт. Но бывают случаи, когда отсутствуют внешние признаки поломки, и требуется тщательная проверка обмоток электродвигателя.
Виды обмотокЕсли не вникать в подробности, то обмотку двигателя можно представить в виде куска проводника, который намотан определенным образом в корпусе мотора, и вроде бы в ней ничего не должно ломаться.
Однако, дело обстоит гораздо сложнее, так как обмотка электродвигателя выполнена со своими особенностями:
- Материал провода обмотки должен быть однородным по всей длине.
- Форма и площадь поперечного сечения провода должны иметь определенную точность.
- На проволоку, предназначенную для обмотки, в обязательном порядке в промышленных условиях наносится слой изоляции в виде лака, который должен обладать определенными свойствами: прочностью, эластичностью, хорошими диэлектрическими свойствами и т.д.
- Провод обмотки должен обеспечивать прочный контакт при соединении.
Если имеется какое-либо нарушение этих требований, то электрический ток будет проходить уже в совершенно других условиях, а электрический мотор ухудшит свои эксплуатационные качества, то есть, снизится мощность, обороты, а может и вообще не работать.
Проверка обмоток электродвигателя 3-фазного мотора . Прежде всего, отключить ее от цепи. Основная часть существующих электродвигателей имеет обмотки, соединенные по схемам, соответствующим звезде или треугольнику.
Концы этих обмоток подключают обычно на колодки с клеммами, которые имеют соответствующие маркировки: «К» — конец, «Н» — начало. Бывают варианты соединений внутреннего исполнения, узлы находятся внутри корпуса мотора, а на выводах применяется другая маркировка (цифрами).
На статоре 3-фазного электродвигателя применяются обмотки, имеющие равные характеристики и свойства, одинаковые сопротивления. При замере мультиметром сопротивлений обмоток может оказаться, что у них разные значения. Это уже дает возможность предположить о неисправности, имеющейся в электродвигателе.
Возможные неисправностиВизуально не всегда можно определить состояние обмоток, так как доступ к ним ограничен особенностями конструкции двигателя. Практически проверить обмотку электродвигателя можно по электрическим характеристикам, так как все поломки мотора в основном выявляются:
• Обрывом, когда провод разорван, либо отгорел, ток по нему проходить не будет.
• Коротким замыканием, возникшим из-за повреждения изоляции между витками входа и выхода.
• Замыкание между витками, при этом изоляция повреждается между соседними витками. Вследствие этого поврежденные витки самоисключаются из работы. Электрический ток идет по обмотке, в которой не задействованы поврежденные витки, которые не работают.
• Пробиванием изоляции между корпусом статора и обмоткой.
Это самый простой вид проверки. Неисправность диагностируется простым измерением значения сопротивления провода. Если мультиметр показывает очень большое сопротивление, то это означает, что имеется обрыв провода с образованием воздушного пространства.
Проверка обмоток электродвигателя на короткое замыканиеПри коротком замыкании в моторе отключится его питание установленной защитой от замыкания. Это происходит за очень короткое время. Однако даже за такой незначительный промежуток времени может возникнуть видимый дефект в обмотке в виде нагара и оплавления металла.
Если измерять приборами сопротивление обмотки, то получается малое его значение, которое приближается к нулю, так как из измерения исключается кусок обмотки из-за замыкания.
Проверка обмоток электродвигателя на межвитковое замыканиеЭто самая трудная задача по определению и выявлению неисправности. Чтобы проверить обмотку электродвигателя, пользуются несколькими способами измерений и диагностик.
Проверка обмоток электродвигателя способом омметраЭтот прибор действует от постоянного тока, измеряет активное сопротивление. Во время работы обмотка образует кроме активного сопротивления, значительную индуктивную величину сопротивления.
Если будет замкнут один виток, то активное сопротивление практически не изменится, и определить омметром его сложно. Конечно, можно произвести точную калибровку прибора, скрупулезно замерять все обмотки на сопротивление, сравнивать их. Однако, даже в таком случае очень трудно выявить замыкание витков.
Результаты гораздо точнее выдает мостовой метод, с помощью которого измеряется активное сопротивление. Этим методом пользуются в условиях лаборатории, поэтому обычные электромонтеры им не пользуются.
Измерение тока в каждой фазеСоотношение токов по фазам изменится, если произойдет замыкание между витками, статор будет нагреваться. Если двигатель полностью исправен, то на всех фазах ток потребления одинаков. Поэтому измерив эти токи под нагрузкой, можно с уверенностью сказать о реальном техническом состоянии электродвигателя.
Проверка обмоток электродвигателя переменным токомНе всегда можно измерить общее сопротивление обмотки, и при этом учесть индуктивное сопротивление. У неисправного двигателя проверить обмотку можно переменным током. Для этого применяют амперметр, вольтметр и понижающий трансформатор. Для ограничения тока в схему вставляют резистор, либо реостат.
Чтобы проверить обмотку электродвигателя, применяется низкое напряжение, проверяется значение тока, которое не должно быть выше значений по номиналу. Измеренное падение напряжения на обмотке делится на ток, в итоге получается полное сопротивление. Его значение сравнивают с другими обмотками.
Такая же схема дает возможность определить вольтамперные свойства обмоток. Для этого необходимо сделать измерения на различных значениях тока, затем записать их в таблицу, либо начертить график. Во время сравнения с другими обмотками не должно быть больших отклонений. В противном случае имеется межвитковое замыкание.
Проверка обмоток электродвигателя шарикомЭтот метод основывается на образовании электромагнитного поля с вращающимся эффектом, если обмотки исправны. На них подключается симметричное напряжение с тремя фазами, низкого значения. Для таких проверок используют три понижающих трансформатора с одинаковыми данными. Их подключают отдельно на каждую фазу.
Чтобы ограничить нагрузки, опыт проводят за короткий промежуток времени.
Подают напряжение на обмотки статора, и сразу вводят маленький стальной шарик в магнитное поле. При исправных обмотках шарик крутится синхронно внутри магнитопровода.
Если имеется замыкание между витками в какой-либо обмотке, то шарик сразу остановится там, где есть замыкание. При проведении проверки нельзя допускать превышения тока выше номинального значения, так как шарик может вылететь из статора с большой скоростью, что является опасно для человека.
Определение полярности обмоток электрическим методомУ обмоток статора имеется маркировка выводов, которой иногда может не быть по разным причинам. Это создает сложности при проведении сборки. Чтобы определить маркировку, применяют некоторые способы:
Статор выступает в роли магнитопровода с обмотками, действующими по принципу трансформатора.
Определение маркировки выводов обмотки амперметром и батарейкойНа наружной поверхности статора имеется шесть проводов от трех обмоток, концы которых не промаркированы, и подлежат определению по их принадлежности.
Применяя омметр, находят выводы для каждой обмотки, и отмечают цифрами. Далее, делают маркировку одной из обмоток конца и начала, произвольно. К одной из оставшихся двух обмоток присоединяют стрелочный амперметр, чтобы стрелка находилась на середине шкалы, для определения направления тока.
Минусовой вывод батарейки соединяют с концом выбранной обмотки, а выводом плюса кратковременно касаются ее начала.
Импульс в первой обмотке трансформируется во вторую цепь, которая замкнута амперметром, при этом повторяет исходную форму. Если полярность обмоток совпала с правильным расположением, то стрелка прибора в начале импульса пойдет вправо, а при размыкании цепи стрелка отойдет влево.
Если показания прибора совсем другие, то полярность выводов обмотки меняют местами и маркируют. Остальные обмотки проверяются подобным образом.
Определение полярности вольтметром и понижающим трансформаторомПервый этап аналогичен предыдущему способу: определяют принадлежность выводов обмоткам.
Далее, произвольным образом маркируют выводы первой любой обмотки для соединения их с понижающим трансформатором (12 вольт).
Две другие обмотки соединяют двумя выводами в одной точке случайным образом, оставшуюся пару соединяют с вольтметром и включают питание. Напряжение выхода трансформируется в другие обмотки с таким же значением, так как у них одинаковое количество витков.
Посредством последовательной схемы подключения 2-й и 3-й обмоток вектора напряжения суммируются, а результат покажет вольтметр. Далее маркируют остальные концы обмоток и проводят контрольные измерения.
Как определить витковое замыкание в обмотках
Проверка обмотки возбуждения на межвитковое замыкание.
Межвитковое замыкание вызывает увеличение силы тока возбуждения. Из-за перегрева обмотки разрушается изоляция и еще большее число витков замыкают между собой. Увеличение тока возбуждения может повлечь выход из строя регулятора напряжения. Эту неисправность определяют сравнением измеренного сопротивления обмотки возбуждения с техническими условиями. Если сопротивление обмотки уменьшилось, то ее перематывают или заменяют.
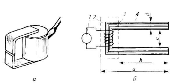
Межвитковое замыкание в катушке обмотки возбуждения определяют измерением сопротивления катушки возбуждения при помощи омметра, имеющегося на стендах Э211, 532-2М, 532-М и др., отдельного переносного омметра (см. рис. 14, в), или по показаниям амперметра и вольтметра при питании обмотки от аккумуляторной батареи (см. рис. 14, г). Плавкий предохранитель защищает амперметр и батарею при случайном коротком замыкании цепи. К контактным кольцам ротора подключают щупы и делением величины измеренного напряжения на силу тока определяют сопротивление и сравнивают его с техническими условиями (см. табл. 2).
Рис. 14. Проверка обмотки возбуждения:
а—на обрыв; б—на замыкание с валом и полюсом; в — омметром на обрыв и межвитковое замыкание; г — — подключение приборов для определения сопротивления.
Проверка обмотки статора на обрыв.Проверка обмотки ста тора на обрыв производится при помощи контрольной лампы или омметра. Лампу и источник питания поочередно подключают к концам двух фаз по cxeме рис. 15, а. При обрыве в одной из катушек лампа гореть не будет. Омметр, подключенный к этой фазе, покажет «бесконечность При подключении к двум другим фазам он покажет сопротивление этих двух фаз.
Проверка обмотки статора на замыкание с сердечником.При такой неисправности значительно снижается мощность генератора или генератор не работает, увеличивается его нагрев. Аккумуляторная батарея не заряжается. Проверка производится контрольной лампой напряжение 220 В. Лампу подключают к сердечнику и любому выводу обмотки по схеме рис. 15, б. При наличии замыкания лампа будет гореть.
Проверка обмотки статора на межвитковое замыкание.Межвитковое замыкание в катушках обмотки статора определяется измерением сопротивления катушек фаз отдельным омметром (см. рис. 15, в), на стендах Э211, 532-2М, 532-М и других, или по схеме, приведенной на рис. 15, г. Если сопротивление двух обмоток (замеренное или подсчитанное) меньше указанного в табл. 2, то обмотка статора имеет межвитковое замыкание. Эту неисправность можно обнаружить, используя нулевую точку обмотки статора. Для этого необходимо замерить или подсчитать сопротивление каждой фазы в отдельности и, сравнивая сопротивленияРис. 15. Проверка обмотки статора:
а — на обрыв; б — на замыкание с сердечником; в — на межвитковое замыкание и обрыв
омметром; г — подключение приборов для определения сопротивления обмотки статора
всех трех фаз, определить, какая из них имеет межвитковое замыкание. Обмотка фазы, имеющая межвитковое замыкание, будет иметь меньшее сопротивление, чем другие. Дефектную обмотку заменяют.
Исправность обмоток статора можно проверить на контрольно-испытательных стендах на симметричность фаз. При этой проверке замеряется переменное напряжение между фазами обмотки статора до выпрямительного блока при одинаковой (постоянной) частоте вращения ротора генератора. Если напряжение, наводимое (индуктируемое) в обмотках статора, неодинаковое, то это указывает на неисправность обмотки статора.
Для измерения напряжения двух фаз проводами вольтметра стенда через окна крышки генератора поочередно касаются двух радиаторов выпрямительного блока (для генераторов с выпрямительными блоками типа ВБГ) или головок винтов, соединяющих обмотку статора и выпрямительный блок (для генераторов с выпрямительными блоками типа БПВ).
Не нашли то, что искали? Воспользуйтесь поиском:
Лучшие изречения: Студент — человек, постоянно откладывающий неизбежность. 10824 —
| 7386 — или читать все.188.64.169.166 © studopedia.ru Не является автором материалов, которые размещены. Но предоставляет возможность бесплатного использования. Есть нарушение авторского права? Напишите нам | Обратная связь.
Отключите adBlock!
и обновите страницу (F5)
очень нужно
Межвитковое замыкание: причины, способы проверки и методы ремонта
Во время эксплуатации любого оборудования периодически возникают поломки разного характера, которые требуют качественного ремонта. Распространенные сегодня электродвигатели не являются тому исключением. Такие агрегаты могут выходить из строя в результате межвиткового замыкания. В такой ситуации может сгореть исправный, на первый взгляд, двигатель. Именно поэтому специалисты стараются своевременно определить замыкание межвиткового типа, чтобы качественно устранить причину неисправности.
Описание
Сложное межвитковое замыкание может возникнуть по причине нарушения изоляционного слоя ответственных элементов в многофункциональных электротехнических агрегатах. В классическом двигателе, кроме распространенного замыкания на корпус, часто присутствуют и другие проблемы. Чаще всего это может быть спровоцировано выходом из строя обмотки ротора или же статора. Специалистам удалось установить, что классическое межвитковое замыкание возникает в результате перегрева мотора. Когда на устройство воздействует повышенная температура, то сложно избежать разрушения нанесенного производителем лака, который выполняет роль надежной оболочки. Из-за этого витки оголяются и начинают постепенно взаимодействовать друг с другом, вызывая тем самым короткое замыкание. Даже если это точечная проблема, двигатель все равно не будет функционировать как раньше. Ликвидировать поломку можно только при помощи качественной перемотки.
Элементарная проверка
Первым делом необходимо аккуратно установить индуктор на платформе тормозного изделия и включить его в сеть. Переключатель следует перевести в положение 4. Якорь аккуратно укладывают на полюса индуктора, после чего закрепляют на валу приспособление для проворачивания якоря. Можно включить стенд. Мастеру предстоит аккуратно прижать щупы контактного агрегата к двум соседним коллекторам якоря. Немного проворачивая механизм, нужно отыскать положение, при котором показания механизма будут находиться на максимальной отметке. При помощи резистора устанавливают стрелку устройства на максимально удобную отметку шкалы. Необходимо постепенно проворачивать якорь, не меняя при этом пространственного положения щупов. Мастеру остается только считать показания прибора.
Важные нюансы
Экспертами был разработан универсальный прибор для проверки межвиткового замыкания. Но первым делом нужно точно установить факт отсутствия дополнительной нагрузки на мотор. Проблема может возникнуть по причине засорения воздушной системы или заедания механического отдела. Чтобы безошибочно определить межвитковое замыкание, необходимо некоторое время понаблюдать за работающим двигателем. В такой ситуации мастер заметит интенсивное круговое искрение. Может ощущаться неприятный запах горелой изоляции. Чтобы ликвидировать проблему, нужно ее своевременно определить. При стандартном визуальном осмотре, обмотки якоря не должны быть вспученными или почерневшими. Указывать на проблему может запах горелого. Мастер должен убедиться в том, что между пластинами коллектора нет замыкания.
Универсальный агрегат
При помощи многофункционального прибора для проверки межвиткового замыкания можно безошибочно измерить сопротивление между обмоткой и корпусом. В рабочем состоянии разница полученных данных остается незначительной. Если полученный показатель превышает отметку 11 процентов, то качественного ремонта не избежать. Мастеру придется заменить всю обмотку, которая будет иметь меньшее сопротивление. Основные ремонтные работы должны быть направлены на перематывание неисправных деталей. Такие манипуляции доступны только в специальных условиях. Работу можно доверить исключительно специалистам.
Помощь мультиметра
Универсальность этого устройства позволяет выполнить проверку межвиткового замыкания, чтобы своевременно устранить имеющуюся поломку. Любые ремонтные работы должны начинаться с разборки якоря электродвигателя. Причины могут возникнуть по следующим причинам:
- Износ и поломка щеток.
- Замыкание между пластинами.
- Отсутствие контакта на клеммах.
- Плохая изоляция.
- Слишком высокая температура для пластин коллектора.
Многолетний опыт экспертов свидетельствует о том, что сломанный стартер издает характерный звук гула, появляются искры, меняется интенсивность вращения якоря, образуются вибрации во время работы.
Самостоятельный ремонт
Чтобы проверить межвитковое замыкание на якоре, нужно аккуратно приложить к пластине коллектора стартер лампы. Нужно посмотреть, загорится лампочка либо нет. Если лампочка сработала, тогда мастеру нужно подумать о замене обмотки или всего ротора. Но если реакции нет, проверку нужно выполнить омметром. Сопротивление должно быть максимально низким, не более 9 кОм. Если замыкание межвитковое, тогда пригодится определенный прибор для проверки якоря стартера. Устранить эту проблему можно в том случае, если выровнять все провода и очистить их от лишнего мусора. Если все перечисленные рекомендации не подействовали, остается только выполнить перемотку якоря. При распайке коллекторных выводов необходимо демонтировать ротор и тщательно зачистить поверхность при помощи бормашины. Определить сгоревший аккумулятор можно только с помощью аккумулятора.
Вариант для профессионалов
Специалисты привыкли использовать качественный прибор для межвиткового замыкания. Такой агрегат предназначен исключительно для профессионального ремонта электрооборудования. Для работы понадобится катушка со скобой. Классическим мультиметром можно определить только обрыв на якоре. Для более качественной диагностики лучше использовать аналоговый тестер. Между всеми ламелями обязательно замеряют сопротивление. Во всех случаях показатели должны быть идентичными. В некоторых случаях обмотки могут не сгореть, да и коллектор остается невредимым. Определить замыкание межвиткового типа можно с помощью прибора с прочной скобой от трансформатора. Мультиметр устанавливают на отметку 180 кОм. Щуп аккуратно замыкают на массу, а второй поочередно прикладывают к каждой ламели коллектора. Если якорь по-прежнему не прозванивается на массу, то он абсолютно исправен.
Замыкание классического статора
Даже такое изделие подвержено межвитковому замыканию. Первым делом специалист обязательно проверяет обмотку статора на факт сопротивления. Но это не самый надежный метод. Многие факторы влияют на мультиметр, из-за чего он может отображать ошибочные данные. Итоговый результат во многом зависит от перемотки двигателя, а также от старости самого железа. Обычными клещами можно измерить ток и сопротивление. Если у мастера есть необходимый опыт, то он может определить поломку даже по звуку работающего двигателя. Но в этом случае обязательно должны быть рабочие подшипники, которые качественно смазаны. При желании мастер может задействовать осциллограф, но такой агрегат отличается большой стоимостью. Из-за этого приобрести агрегат могут далеко не все. На двигателе не должно быть следов масла, подтеков. Недопустимо наличие посторонних запахов. Качественным тестером проверяют обмотки на факт сопротивления. Если результаты отличаются друг от друга более чем на 11%, то причина поломки может крыться в замыкании.
Самодельное приспособление
Устранить межвитковое замыкание электродвигателя можно при помощи агрегата, сооруженного в домашних условиях. Для сборки нужно подготовить транзисторы КТ209 и КТ315, переменные резисторы на 47 кОм и 1 кОм. Питание изделия можно обеспечить при помощи батареи, а также высококачественного стабилизатора. Дополнительно нужно установить зеленый светодиод, который будет сигнализировать о включении агрегата, а оранжевый – контрольный. Последовательно с этими элементами включают резистор на 30 Ом. Стоит отметить, что рабочая плата имеет компактные размеры, за счет чего легко поместится в небольшой корпус.
Причины неисправностей
Межвитковое замыкание электродвигателя не является редкой проблемой. Такая неисправность встречается в 50% всех случаев поломок. Ситуация может возникнуть из-за повышенной нагрузки на электроустановку. Неправильная эксплуатация агрегата часто влечет за собой преждевременные поломки. Номинальную нагрузку можно определить по паспорту установки. Перегрузка может быть спровоцирована механическим повреждением самого мотора. Сухие либо заклинившие подшипники часто вызывают замыкание. Не исключен факт заводского брака. Если электродвигатель хранится в ненадлежащих условиях, то это всегда чревато тем, что обмотка просто отсыреет.
Изменение сопротивления
Определение межвитковое замыкание позволяет существенно упростить ремонтные работы. Чтобы качественно проверить мотор на факт сопротивления изоляции, опытные электрики активно используют мегометр с напряжением 500 В. Таким приспособлением можно безошибочно измерить сопротивление изоляции обмоток двигателя. Если электродвигатели обладают напряжением 12 В или 24 В, то без помощи тестера просто не обойтись. Изоляция таких обмоток не рассчитана на испытание под максимальным напряжением. Производитель всегда в паспорте к агрегату указывает оптимальное значение. Если тестирование показало, что сопротивление изоляции гораздо меньше оптимальных 20 Мом, то обмотки обязательно разъединяют и тщательно проверяют каждую по отдельности. Для собранного мотора показатель не должен быть ниже положенных 21 Мом. Если изделие долгое время пролежало в сыром месте, то перед эксплуатацией его обязательно просушивают в течение нескольких часов накальной лампой.
Неисправности трансформатора
Опытные специалисты привыкли в работе использовать универсальный индикатор межвиткового замыкания, который существенно упрощает поиск возникших поломок. Но даже профессионалы должны помнить о том, что выбор наиболее подходящего источника питания и его местоположения напрямую зависит от количества питаемых изделий и типа подключения. У трансформатора есть довольно распространенная неисправность – непредвиденное замыкание витков между собой.
Эту проблему не всегда можно определить при помощи классического мультиметра. Агрегат нужно тщательно осмотреть на предмет наличия визуальных дефектов. Провод обмоток обладает лаковой изоляцией. В случае ее пробоя между витками возникает сопротивление, которые выше 0. В такой ситуации может возникнуть перегрев оснащения. При визуальном осмотре на трансформаторе не должно быть следов копоти, обуглившихся частиц, вздутия заводской заливки, почернений. Мастер может узнать номинальное напряжение из прилагаемой к агрегату документации. Если отличие показателей составляет 45% и больше, то обмотка вышла из строя. Чтобы не усугубить ситуацию, ремонт столь ответственного элемента лучше доверить специалистам, которые обладают всеми необходимыми навыками.
Как определить межвитковое замыкание в двигателе
Добрая половина всех случаев неисправностей электродвигателей приходится на межвитковое замыкание. Межвитковым замыканием называется короткое замыкание между разными витками одной катушки или секции обмотки электрической машины. Причин межвитковых замыканий может быть несколько.
Причины межвитковых замыканий
Одна из причин межвиткового замыкания — перегрузка электродвигателя по току, когда нагрузка на двигатель в течение значительного промежутка времени превышает номинальную. В этом случае обмотка статора разогревается от чрезмерного тока настолько сильно, что изоляция в каком-то ее месте может разрушиться и способствовать короткому замыканию между соседними витками. Нормальный ток статора под нагрузкой всегда можно посмотреть в паспорте двигателя либо на информационном шильдике на его корпусе.
Перегрузка может случиться, например, из-за нештатного режима эксплуатации оборудования, приводимого в действие данным двигателем. Кроме того причиной токовой перегрузки может стать механическое повреждение непосредственно двигателя: заклинивание ротора, стопорение подшипников и т. д.
Не исключен также заводской брак обмотки, либо нарушение целостности изоляции во время ручной перемотки статора в кустарных условиях. При несоблюдении условий хранения или эксплуатации электродвигателя, случайно попавшая внутрь влага способна навредить изоляции и привести к межвитковому замыканию.
Так или иначе, какой бы ни оказалась причина межвиткового замыкания, с ним пострадавший двигатель нормально работать уже точно не сможет, либо проработает, но недолго. Поэтому при обнаружении симптомов межвиткового замыкания, следует незамедлительно начать его поиск с целью скорейшего устранения.
Как выявить межвитковое замыкание
Существует несколько простых проверенных способов выявить наличие межвиткового замыкания. Симптомом обычно является перегрев одной части статора по отношению ко всем остальным его частям. Если данное явление наблюдается, то двигатель необходимо остановить, если надо — снять с оборудования, и подвергнуть точной диагностике.
Прежде всего можно воспользоваться токовыми клещами. Достаточно по очереди измерить токи каждой из фаз обмотки статора, и если в одной из них ток существенно больше чем в остальных, то это — явный признак того, что место замыкания находится в соответствующей части обмотки. Предварительно необходимо убедиться, что напряжение на все выводы (между каждой парой из трех фаз) подается одинаковое, то есть проверить отсутствие перекоса фаз. Для этого пользуются вольтметром, поочередно измеряют напряжения на трех фазах.
Три части трехфазной обмотки следует прозвонить омметром. Сопротивления всех трех обмоток по-отдельности должны быть одинаковыми. Используемый прибор должен обладать достаточно высокой точностью, ведь если имеет место замыкание всего между двумя витками, то различие в сопротивлениях будет минимальным, и его невозможно будет различить если обмотка выполнена толстым проводом.
Наличие замыкания на корпус можно проверить при помощи мегаомметра. Для этого один щуп прибора прикладывается к корпусу двигателя, второй — поочередно к каждому из выводов обмоток. В исправном двигателе сопротивление на каждой из фаз должно быть значительным (смотрите — Как правильно пользоваться мегаомметром ).
Не будет лишним визуально рассмотреть обмотку статора. Чтобы это сделать, нужно будет снять с двигателя крышки, вытащить ротор и внимательно рассмотреть всю обмотку секция за секцией. Если замыкание есть, то подгоревшее место наверняка будет видно сразу.
Если у вас под рукой есть понижающий трехфазный трансформатор на напряжение в районе 40 вольт, то используйте его для проверки целостности статора. Выньте ротор, подключите трансформатор, включите его в сеть. Возьмите железный шарик от подшипника и запустите его в статор, немного ускорив щелчком пальца, так чтобы шарик начал бегать по кругу вслед за вращающимся магнитным полем, имитируя вращение ротора. В случае если шарик остановился и застрял на одном месте статора — значит в этом месте межвитковое замыкание.
Если нет шарика, возьмите пластину трансформаторной стали или железную линейку, приложите ее внутри к статору и перемещайте по кругу. В том месте где пластинка начнет заметно дребезжать — есть межвитковое замыкание. Если межвиткового замыкания нет, то пластинка будет везде примагничиваться к статору. Прежде чем использовать способ с шариком или с пластинкой, убедитесь, что двигатель питается от понижающего трансформатора, иначе можно получить поражение электрическим током.
Если в Вашей школе физику преподавали хорошо, то, наверняка, Вам запомнился опыт, наглядно объяснявший явление электромагнитной индукции.Внешне это выглядело примерно так: учитель приходил в класс, дежурные приносили какие-то приборы и расставляли на столе. После объяснения теоретического материала начинался показ опытов, наглядно иллюстрирующий рассказ.
Электромагнитная индукция
Для демонстрации явления электромагнитной индукции требовались катушка индуктивности весьма значительных размеров, мощный прямой магнит, соединительные провода и прибор под названием гальванометр.
Гальванометр внешним видом представлял собой плоский ящик размером чуть побольше стандартного листа формата А4, а за передней стенкой, закрытой стеклом помещалась шкала с нулем посередине. За этим же стеклом можно было увидеть толстую черную стрелку. Все это было достаточно различимо даже с самых последних парт.
Выводы гальванометра с помощью проводов соединялись с катушкой, после чего внутри катушки просто рукой перемещался вверх – вниз магнит. В такт перемещениям магнита из стороны в сторону перемещалась стрелка гальванометра, что свидетельствовало о том, что через катушку протекает ток. Правда, уже после окончания школы, один знакомый учитель физики рассказывал, что на задней стенке гальванометра имелась потайная ручка, которой от руки приводилась в движение стрелка, если опыт не удавался.
Сейчас такие опыты кажутся простыми и почти не заслуживающими внимания. Но электромагнитная индукция теперь применяется во многих электрических машинах и приборах. В 1831 году ее изучением занимался Майкл Фарадей.В то время еще не было достаточно чувствительных и точных приборов, поэтому ушло немало лет на то, чтобы догадаться, что магнит должен ДВИГАТЬСЯ внутри катушки. Пробовались различной формы и силы магниты, намоточные данные катушек также менялись, магнит к катушке прикладывался по-разному, но только переменный магнитный поток, достигнутый движением магнита, привел к положительным результатам.
Исследованиями Фарадея было доказано, что электродвижущая сила, возникающая в замкнутой цепи, (катушка и гальванометр в нашем опыте) зависит от скорости изменения магнитного потока, ограниченного внутренним диаметром катушки. При этом абсолютно безразлично, каким образом происходит изменение магнитного потока: то ли за счет изменения магнитного поля, то ли за счет перемещения катушки в постоянном магнитном поле.
Самоиндукция, ЭДС самоиндукции
Самое интересное в том, что катушка находится в собственном магнитном поле, созданном протекающим через нее током. Если в рассматриваемом контуре (катушка и внешние цепи) ток будет по каким-либо причинам изменяться, то будет изменяться и магнитный поток, вызывающий ЭДС.
Подобная ЭДС носит название ЭДС самоиндукции. Изучением данного явления занимался замечательный русский ученый Э.Х. Ленц. В 1833 году он открыл закон взаимодействия магнитных полей в катушке, приводящий к самоиндукции. Этот закон известен теперь как закон Ленца. (Не путать с законом Джоуля – Ленца)!Закон Ленца говорит о том, что направление индукционного тока, возникающего в проводящем замкнутом контуре таково, что он создает магнитное поле, противодействующее изменению того магнитного потока, которое вызвало появление индукционного тока.
При этом катушка находится в собственном магнитном потоке, который прямо пропорционален силе тока: Ф = L*I.
В этой формуле присутствует коэффициент пропорциональности L, также называемый индуктивностью или коэффициентом самоиндукции катушки. В системе СИ единица измерения индуктивности называется генри (Гн). Если при силе постоянного тока 1А катушка создает собственный магнитный поток 1Вб, то такая катушка обладает индуктивностью в 1Гн.
Подобно заряженному конденсатору, имеющему запас электрической энергии, катушка, через которую протекает ток, обладает запасом магнитной энергии. За счет явления самоиндукции, если катушка включена в цепь с источником ЭДС, при замыкании цепи ток устанавливается с задержкой.
В точности так же он не сразу прекращается при отключении. При этом на выводах катушки действует ЭДС самоиндукции, значение которой значительно (в десятки раз) превышает ЭДС источника питания. Например, подобное явление используется в катушках зажигания автомобилей, в строчных развертках телевизоров, а также в стандартной схеме включения люминесцентных ламп. Это все полезные проявления ЭДС самоиндукции.
В некоторых случаях ЭДС самоиндукции носит вредный характер: если транзисторный ключ нагружен обмоткой катушки реле или электромагнита, то для защиты от ЭДС самоиндукции параллельно обмотке устанавливают защитный диод полярностью обратной ЭДС источника питания. Это включение показано на рисунке 1.
Рисунок 1. Защита транзисторного ключа от ЭДС самоиндукции.
Как обнаружить короткозамкнутые витки
Часто возникают сомнения, а нет ли в трансформаторе или обмотках двигателя короткозамкнутых витков? Для подобных проверок используются различные приборы, например, RLC – мосты либо самодельные приборы — пробники. Однако, проверить наличие короткозамкнутых витков можно при помощи простой неоновой лампы. Лампа может подойти любая – даже от неисправного электрочайника китайского производства.
Для проведения измерения лампу без ограничительного резистора необходимо подключить к исследуемой обмотке. Обмотка должна иметь наибольшую индуктивность; если это сетевой трансформатор, то подключайте лампу к сетевой обмотке. После этого через обмотку следует пропустить ток силой в несколько миллиампер. Для этой цели можно воспользоваться источником питания с последовательно включенным резистором, как показано на рисунке 2.
В качестве источника питания можно использовать батарейки. Если в момент размыкания питающей цепи наблюдается вспышка лампы, то катушка исправна, короткозамкнутых витков нет. (Чтобы последовательность действий была понятней на рисунке 2 показан выключатель).
Подобные измерения можно проводить, используя в качестве батареек стрелочный авометр, такой как ТЛ-4 в режиме измерения сопротивления *1 Ом. В этом режиме указанный прибор дает ток около полутора миллиампер, что вполне достаточно для проведения описанных измерений. Цифровой мультиметр для этих целей использовать нельзя – его тока не хватает для создания необходимой силы магнитного поля.
Подобные измерения можно провести в точности также, если неоновую лампу заменить собственными пальцами: для повышения разрешающей способности «измерительного прибора» пальцы следует слегка послюнить. При исправной катушке Вы почувствуете достаточно сильный удар током, конечно не смертельный, но и не очень приятный.
Рисунок 2. Обнаружение короткозамкнутых витков с помощью неоновой лампы.
Межвитковое замыкание электродвигателя
Межвитковое замыкание электродвигателя
Причины межвиткового замыкания
Если вы читали предыдущие статьи, то знаете что межвитковое замыкание электродвигателя составляет 40% неисправностей электродвигателей. Причин для межвиткового замыкания может быть несколько.
Перегруз электродвигателя — нагрузка на электроустановку превышает норму вследствие чего обмотки статора нагреваются и изоляция обмоток разрушается что приводит к межвитковому замыканию. Нагрузка может возникнуть из за неправильной эксплуатации оборудования. Номинальную нагрузку можно определить по паспорту электроустановки или прочитать на табличке электродвигателя. Также перегруз может возникнуть из за механических повреждений самого электродвигателя. Заклинившие или сухие подшипники тоже могут стать причиной межвиткового «коротыша».
Не исключена возможность заводского брака обмоток, и если электродвигатель перематывался в кустарной мастерской, то большая вероятность что «межвитняк» уже стучится в ваши двери.
Также неправильная эксплуатация и хранение электродвигателя может стать причиной попадания влаги внутрь двигателя отсыревшие обмотки тоже весьма распространенная причина межвиткового замыкания.
Как правило с таким замыканием электродвигатель уже не жилец, и работать будет весьма непродолжительное время. Я думаю хватит разбирать причины давайте перейдем к вопросу « как определить межвитковое замыкание».
Поиск межвиткового замыкания.
Определить межвитковое замыкание не слишком сложно, и для это есть несколько подручных способов.
Если при работе электромотора какая то часть статора нагрелась больше чем весь двигатель, то вам стоит подумать об остановке и точной диагностике.
Также помогут определить замыкание обыкновенные токовые клещи, меряем по очереди нагрузку на каждую фазу и если на одной из них она больше чем на других то это признак того что возможно есть межвитняк обмотки. Но следует учитывать что может быть перекос фаз на подстанции для того что бы убедится мереям вольтметром приходящие напряжение.
Можно прозвонить обмотки тестером. Для этого прозваниваем каждую обмотку в отдельности и сверяем полученные результаты сопротивления. Этот способ может и не сработать если замыкают всего пару витков, то расхождение будет минимальным.
Не будет лишним брякнуть электродвигатель мегомметром в поиске замыкания на корпус, один щуп прикладываем к корпусу электродвигателя, а второй к по очереди к выходу обмоток в борно.
Если у вас остались еще сомнения, то вам придется разобрать электромотор. Сняв крышки и ротор, визуально рассматриваем обмотки. Вполне вероятно, что вы увидите сгоревшую часть.
Ну и самый точный способ проверки межвиткового замыкания это проверка при помощи трехфазного понижающего трансформатора (36-42 вольта) и шарика от подшипника.
На стартер разобранного электродвигателя подаем три фазы с понижающего трансформатора. С маленьким разгоном кидаем туда шарик, если шарик начинает бегать по кругу внутри статора то все в порядке. Если он, сделав пару оборотов прилип к одному месту, то значит там межвитковое замыкание.
Вместо шарика можно использовать пластинку от трансформаторного железа, прикладываем внутри статора к железу и в том месте где межвитковое она начнет дребезжать, а там где все в порядке пластина будет примагничиваться.
Обязательно используйте все выше перечисленные способы с заземленным электродвигателем и строго при помощи понижающего трансформатора.
Проверка шариком и пластинкой при напряжении в 380 вольт запрещена и очень опасна для вашей жизни.
| < Немного об электродвигателях | Центровка электродвигателей > |
|---|
| < Предыдущая | Следующая > |
|---|
Межвитковое замыкание обмотки статора генератора
Часто в генераторе автомобиля возникают проблемы с обмоткой статора. Ответвление проводника, образование зазоров и другие недостатки обычно приводят к замыканию детали или всего устройства. Однако определить наличие такое проблемы получается не сразу. Чтобы выявить неисправность, необходимо проверить обмотку мультиметром. Проверка выполняется быстро, однако владельцу потребуется разобрать агрегат. Если вы не хотите тратить время и имеете малый опыт, обратитесь в наш автосервис. ООО «ГС» быстро проведет диагностику многофункциональными инструментами или стендами, точно определит наличие неполадок и предложит выгодный способ ремонта в Санкт-Петербурге. Для записи на прием звоните по телефонам: +7 (812) 940-43-99, +7 (812) 917-37-67.Записаться на ремонт
Мы перезвоним вам на указанный телефон и подтвердим записьКак проверить обмотку статора на замыкание?
Не у всех имеется мультиметр. Однако для точного выполнения работ потребуется измеритель сопротивления. Он показывает количество Ом в конкретной части обмотки. При отсутствии возможности использовать специальные приборы, потребуется выполнить более сложные операции. Процесс проверки выполняется в следующем порядке:- демонтируйте генератор и разберите его до изъятия статора;
- замкните лампочку на фазах АКБ;
- поочередно подсоедините обмотку к фазам аккумулятора.
Как устранить неисправность?
Чтобы избавиться от проблемы, не обязательно покупать ротор или якорь в сборе. Электрический двигатель автомобиля изготавливается из составных деталей, поэтому можно выполнить замену только статора. Однако это не самое выгодное решение. Дешевле перемотать деталь. Правда, такая процедура требует опыта и знаний, поэтому стоит доверить работу профессионалам. Процесс происходит поэтапно. Особое внимание уделяется изоляции проводника. При этом обмотка должна иметь выводы в соответствии с конструктивными особенностями генератора.Ремонт обмотки в ООО «ГС»
Наша компания выполняет перемотку статора с применением специальных инструментов. При этом вся работа проводится с постоянной проверкой диагностическим оборудованием путем пропускания тока через обмотку. Мы обеспечим:- кратчайшие сроки восстановления статора;
- выгодные цены на услуги;
- гарантийные сроки на отремонтированную деталь;
- удобные способы оплаты и многое другое.
Проверка обмоток электродвигателя. неисправности и методы
Как проверить подшипники электродвигателя?
После осмотра прибора можно начинать его проверять и делать это нужно начиная с подшипников двигателя. Очень часто неисправности электродвигателя происходят вследствие их поломки. Они нужны для того, чтобы ротор плавно и свободно двигался в статоре. Расположены подшипники с обоих концов ротора в специальных нишах.
Для электродвигателей чаще всего используются такие типы подшипников, как:
Некоторые нуждаются в оснащении смазочными фитингами. а некоторые уже смазаны в процессе производства.
Проверять подшипники нужно следующим образом:
- разместите двигатель на твердой поверхности и положите одну руку на его верхнюю часть;
- второй рукой проверните ротор;
- постарайтесь услышать царапающие звуки, трение и неравномерность движения – всего это сигнализирует о неисправности прибора. Исправный ротор двигается спокойно и равномерно;
- проверяем продольный люфт ротора, для этого его нужно потолкать за ось из статора. Допускается люфт максимум до 3 мм, но не больше.
Если есть проблемы с подшипниками, то электродвигатель работает шумно, сами они перегреваются, что может привести к выходу прибора из строя.
Особенности ремонта коллекторных приводов
У данного типа электромашин чаще возникают механические неисправности. Например, стирание щеток или засорение контактов коллектора. В таких ситуациях ремонт сводится к чистке контактного механизма или замене графитовых щеток.
Тестирование электрической части сводится к проверке сопротивления обмотки якоря. В этом случае щупы прибора двум соседним контактам (ламелям) коллектора, после снятия показаний производится измерение далее по кругу.
Проверка обмотки якоря коллекторного электродвигателя
Отображенное сопротивление должно быть примерно одинаковым (с учетом погрешности прибора). Если наблюдается серьезное отклонение, то это говорит, что имеет место быть межвитковое КЗ или обрыв, следовательно, необходима перемотка.
Как прозвонить электродвигатель на обрыв обмоток и межвитковое замыкание
Межвитковое замыкание в обмотках можно проверить мультиметром на омах. Если имеется три обмотки, тогда достаточно сравнить их сопротивление. Отличие в сопротивлении одной обмотки указывает на межвитковое замыкание. Межвитковое замыкание однофазных двигателей определить труднее, так как имеются только разные обмотки — это пусковая и рабочая обмотка, которая имеет меньшее сопротивление.
Сравнивать их нет возможности. Выявить межвитковое замыкание обмоток трехфазных и однофазных двигателей можно измерительными клещами, сравнивая токи обмоток с их паспортными данными. При межвитковом замыкании в обмотках, их номинальный ток возрастает, а величина пускового момента уменьшается, двигатель с трудом запускается или совсем не запускается, а только гудит.
Проверка электродвигателя на обрыв и межвитковое замыкание обмоток
Измерять сопротивление обмоток мощных электродвигателей мультиметром не получится, потому что сечение проводов велико и сопротивление обмоток находится в пределах десятых долей ома. Определить разницу сопротивлений, при таких значениях мультиметром, не представляется возможным. В этом случае исправность электродвигателя лучше проверять токоизмерительными клещами.
Если нет возможности подключить электродвигатель к сети, сопротивление обмоток можно найти косвенным методом. Собирают последовательную цепь из аккумулятора на напряжение 12В с реостатом на 20 ом. С помощью мультиметра (амперметра) выставляют реостатом ток 0,5 — 1 А. Собранное приспособление подключают к проверяемой обмотке и замеряют падение напряжения.
Прозвонка электродвигателя на обрыв и сопротивление изоляции
Меньшее падение напряжения на катушке укажет на межвитковое замыкание. Если требуется знать сопротивление обмотки, его рассчитывают по формуле R = U/I. Неисправность электродвигателя можно также определить визуально, на разобранном статоре или по запаху горелой изоляции. Если визуально обнаружено место обрыва, его можно устранить, припаять перемычку, хорошо изолировать и уложить.
Замер сопротивлений обмоток трехфазных двигателей проводят без снятия перемычек на схемах соединений обмоток “звезда” и “треугольник”. Сопротивление катушек коллекторных электродвигаталей постоянного и переменного напряжения также проверяют мультиметром. А при большой их мощности проверка ведется с помощью приспособления аккумулятор — реостат, как указано выше.
Сопротивление обмоток этих двигателей проверяют отдельно на статоре и роторе. На роторе лучше проверять сопротивление непосредственно на щетках, прокручивая ротор. В этом случае можно определить неплотное прилегание щеток к ламелям ротора. Устраняют нагар и неровности на ламелях коллектора, их шлифовкой на токарном станке.
Вручную эту операцию сделать трудно, можно не устранить эту неисправность, а искрение щеток только увеличится. Пазы между ламелями также прочищают. В обмотках электродвигателей может быть установлен плавкий предохранитель, тепловое реле. При наличии теплового реле проверяют его контакты и при необходимости чистят их.
Как прозвонить коллекторный двигатель
Коллекторный агрегат также можно прозвонить мультиметром. Данный тип электродвигателей используется в цепи постоянного тока.
Коллекторные двигатели переменного тока встречаются реже, например в различных электроинструментах. Наиболее качественно прозванивать такие изделия можно в том случае, если полностью разобрать электрический двигатель.
Проверить якорь электродвигателя, а также прозвонить обмотку статора можно будет с помощью мультиметра, который должен быть переведён в режим измерения сопротивления до 200 Ом.
Наиболее часто статор коллекторного агрегата состоит из двух независимых обмоток, которые и требуется прозвонить мультиметром для определения их исправности.
Точное значение данного показателя, можно узнать в документации к электродвигателю, но о работоспособности обмотки можно судить в том случае, если прибор покажет небольшое значение сопротивления.
В мощных двигателях постоянного тока электрооборудования автомобиля, значение сопротивления статора будет настолько малым, что его отличие от короткозамкнутого проводника, может составлять десятые доли Ома. Менее мощные устройства имеют сопротивление обмотки статора в пределах 5 — 30 Ом.
Для того чтобы прозвонить мультиметром обмотки статора коллекторного электродвигателя, необходимо соединить щупы измерительного прибора с выводами данных обмоток. Если в процессе диагностических мероприятий будет выявлено отсутствие сопротивления даже в одном контуре, дальнейшая эксплуатация агрегата не осуществляется.
Ротор коллекторного электродвигателя состоит из значительно большего количества обмоток, но проверка якоря не займёт много времени.
Для того чтобы прозвонить эту деталь, необходимо включить мультиметр в режим измерения сопротивления до 200 Ом и расположить щупы мультиметра на коллекторе таким образом, чтобы они находились на максимальном удалении друг от друга.
Таким образом щупы займут место щёток двигателя и одну из нескольких обмоток якоря можно будет прозвонить. Если мультиметр покажет какое-либо значение, то не снимая щупов измерительного устройства с коллектора, следует провернуть слегка ротор, до момента соединения следующей обмотки со щупами устройства.
Таким образом проверить обмотку можно без особых усилий. Если мультиметр покажет примерно одинаковое значение сопротивления каждого контура, то это будет означать, что якорь устройства абсолютно исправен.
Это нарушение может привести не только к выходу из строя электродвигателя, но и к увеличению вероятности получения электротравмы. Проверить якорь и статор коллекторного двигателя на пробой не составит большого труда, для этого необходимо включить режим измерения сопротивления до 2 000 кОм. Для проверки статора достаточно подключить одну клемму к корпусу, а вторую к одной из обмоток.
Чтобы прозвонить эту часть электродвигателя правильно, во время выполнения данной операции запрещается прикасаться руками к металлической части щупов мультиметра, или к корпусу статора и проводки измеряемого контура.
Если не придерживаться этого правила, то можно получить ложноположительные результаты, так как через тело человека будет проходить достаточный электрический потенциал. В этом случае мультиметр покажет сопротивление человека, а не «пробой» между корпусом статора и обмоткой.
Аналогичным образом измеряется и возможная утечка электротока на корпус якоря электродвигателя.
Чтобы прозвонить отсутствие «пробоя» на массу устройства, необходимо поочерёдно присоединять щупы мультиметра к корпусу и различным обмоткам ротора электромотора.
Для того чтобы прозвонить различные типы электродвигателей с помощью мультиметра, необходимо приобрести мультиметр, который имеет режим измерения сопротивления.
Сверхточность, при осуществлении подобных действий, не требуется, поэтому можно с успехом использовать дешёвые китайские устройства. Прежде чем прозвонить обмотки двигателя мультиметром, необходимо убедиться в его исправности.
Следует также иметь в виду, что неисправность электродвигателя может иметь различные признаки. Даже в том случае если электрический прибор находится в рабочем состоянии, но обороты двигателя не достигают максимального значения, следует незамедлительно прозвонить возможные повреждения обмоток.
При осуществлении любых электромонтажных или диагностических работ, необходимо полностью отсоединить прибор от сети 220 В. или трёхфазного тока.
{SOURCE}
Особенности проверки электромоторов с дополнительными элементами
Дополнительными элементами, электродвигатели оснащаются с целью оптимизации работы или защиты.
- Термопредохранители: отключают двигатель от электропитания по достижении температуры, опасной для изоляционных материалов. Располагаются на корпусе (крепятся скобой) или под изоляцией обмотки. Во втором случае проверку выполнить проще, поскольку выводы легкодоступны. Определить, с какими разъемными ножками связана защитная схема, можно при помощи мультиметра или индикатора фазы (похож на отвертку с лампочкой). В норме сопротивление между выводами термопредохранителя весьма мало (короткое замыкание).
- Термореле: часто применяются вместо термопредохранителей. Обычно бывают нормально замкнутыми, но встречаются и разомкнутые. Для диагностики по нанесенной на корпус реле маркировке, в справочниках или Интернете, находят сопротивление его компонентов, затем проверяют мультиметром их фактическое значение. Для поиска в Сети, в строке набирают марку реле и следом «Data Sheet» («даташит»). Если термореле сгорело, по его параметрам подбирают аналог.
- Трехвыводные датчики оборотов двигателя. Устанавливаются в стиральных машинах. Основной элемент датчика — металлическая пластина, на которой при пропускании через нее токов малой величины формируется разность потенциалов.
Запитывается датчик через два крайних вывода. Если коснуться их щупами мультиметра в режиме омметра, в норме он отобразит мизерное сопротивление.
Проверка третьего вывода возможна только в рабочем режиме, когда присутствует магнитное поле. Попытка прозвонить датчик на ходу, то есть при включенной стиральной машине, может привести к травме. Рабочий режим безопаснее сымитировать, демонтировав двигатель и запитав датчик отдельно. Импульсы на выходе датчика формируют путем поворота ротора.
Мультиметр позволяет выявить пусть не все, но многие поломки электродвигателя. В основном при помощи прозвонки выявляются обрывы и короткие замыкания. Полную диагностику проводят на специальных стендах, для измерения сопротивления изоляции требуется мегомметр.
Коллекторные двигатели и основные неисправности якоря
Коллекторные электродвигатели рассчитаны на работу от бытовых сетей, напряжением 220В. Практически все они являются синхронными агрегатами. В отличие от асинхронных электродвигателей, коллекторные устройства состоят из неподвижного статора и вращающейся обмотки на валу – якоря. Напряжение на них подается с помощью щеточно-графитного устройства, которое и есть коллектор.
Основная причина, требующая проверки якоря и других деталей, состоит в появлении искр. Активное искрение свидетельствует об износе щеток и коллекторного узла или нарушении контактов. Кроме того, искры могут появиться в результате межвиткового замыкания, то есть, замыкания обмоток в коллекторе. Появление таких нарушений требует качественной диагностики, начиная с визуального осмотра и заканчивая проверкой мультиметром.
Первоначальный осмотр позволяет выявить оборванные или выгоревшие обмотки, а также выгорание в точках их подключения
Поэтому, в первую очередь следует обращать внимание на состояние обмоток и целостность витков. Если обмотки почернели полностью или частично, это уже указывает на определенные проблемы с якорем
Иногда изоляцию достаточно просто понюхать, чтобы определить характерный запах гари.
Более точную информацию можно получить путем проверки якоря мультиметром. Прозвонка выполняется поэтапно, захватывая все элементы двигателя:
- Вначале прозваниваются попарные выводы обмоток статора к ламелям. Сопротивления на каждом из них должны иметь одинаковое значение.
- Далее проверяется сопротивление между ламелями и корпусом якоря. В норме оно должно быть бесконечным.
- Целостность обмотки проверяется путем прозвонки выводов.
- После этого проверяется состояние цепи между корпусом статора и выводами якорной обмотки. При наличии пробоя на корпус, бытовое устройство категорически запрещается подключать к напряжению. В этом случае требуется обязательный ремонт или полная замена неисправных деталей.
После ремонта коллекторного электродвигателя нужно соединить все элементы между собой и подключить устройство к питанию 220В. Если агрегат работает нормально, значит ремонт выполнен правильно.
Какие электромоторы можно проверить мультиметром
Если в двигателе нет механических повреждений, что обычно определяется визуально, то его неисправность в большинстве случаев обусловлена следующим:
- произошел обрыв внутренней цепи;
- случилось замыкание, то есть появился контакт там, где его не должно быть.
Оба дефекта выявляются мультиметром. Сложности возникают только при проверке двигателей постоянного тока: у большинства из них обмотка имеет почти нулевое сопротивление и его приходится замерять косвенным методом, для чего понадобится собрать несложную схему.
- Трехфазные асинхронные двигатели работают и при однофазном питании.
- Асинхронные одно- и двухфазные с короткозамкнутым ротором конденсаторные. К этому типу относится большинство двигателей бытовых приборов.
- Асинхронные с фазным ротором. Такой ротор имеет трехфазную обмотку. Двигатели с фазным ротором применяются там, где требуется регулировка частоты вращения и понижение пускового тока: в крановом оборудовании, станках и пр.
- Коллекторные. Применяются в ручном электроинструменте.
- Асинхронные трехфазные с короткозамкнутым ротором.
Популярность моторов последнего типа объясняется рядом достоинств:
- простота конструкции;
- прочность;
- надежность;
- низкая стоимость;
- неприхотливость (не требует ухода).
Все электродвигатели состоят из двух частей: неподвижной и вращающейся. Первая у моторов переменного тока называется статором, у постоянного — индуктором; вторая – соответственно ротором и якорем.
Советы по выбору электродвигателя
Главное при выборе электродвигателя – это подбор его в соответствии с теми условиями, где он будет использоваться. Например, для влажной среды следует выбирать брызгозащитные приборы, а приборы открытого типа категорически нельзя подвергать воздействию жидкости. Помните следующее:
- двигатели брызгозащитного типа можно применять во влажных и сырых местах. Их конструкция такая, что жидкость не может попасть внутрь прибора под давлением силы тяжести или потока воды;
- открытый двигатель предполагает, что все его детали будут находиться на виду. С торцов приборы имеют огромные отверстия и хорошо видны обмотки статора. Эти отверстия категорически нельзя блокировать. а сами электродвигатели подобного типа нельзя использовать во влажных помещениях, а также грязных и пыльных;
- двигатели типа TEFC можно использовать везде, за исключением тех условий, на которые они не рассчитаны, о чем можно прочесть в руководстве пользователя к устройству.
Итак, мы перечислили наиболее распространенные проблемы, которые могут произойти с бытовыми электродвигателями. Практически всех их можно распознать и принять те или иные меры посредством проверки прибора
А как правильно его проверять и на какие детали при этом стоит обращать внимание прежде всего, мы и рассмотрели выше
Осмотр электродвигателя
Сначала проверка начинается с тщательного осмотра. При наличии тех или иных дефектов прибора, он может выйти из строя гораздо раньше установленного срока. Дефекты могут появиться вследствие неправильной эксплуатации двигателя или его перегрузкой. К их числу относят следующее:
- сломанные подставки или монтажные отверстия;
- краска посередине двигателя потемнела вследствие перегрева;
- наличие грязи и других посторонних частиц внутри электродвигателя.
Также осмотр включает в себя проверку маркировки на электродвигателе. Она нанесена на металлический шильдик. который прикреплен снаружи двигателя. Табличка с маркировкой содержит важную информацию о технических характеристиках данного прибора. Как правило, это такие параметры, как:
- сведения о компании-производителей двигателя;
- название модели;
- серийный номер;
- количество оборотов ротора в минуту;
- мощность прибора;
- схема подключения двигателя к тем или иным напряжениям;
- схема получения той или иной скорости и направления движения;
- напряжение – требования в плане напряжения и фазы;
- ток;
- размеры и тип корпуса;
- описание типа статора.
Статор на электродвигателе может быть:
- закрытым;
- обдуваемым посредством вентилятора;
- брызгозащитным и прочих типов.
Ремонт асинхронных двигателей
Наиболее распространены асинхронные силовые агрегаты на две и на три фазы. Порядок их диагностики не совсем одинаков, поэтому следует остановиться на этом более подробно.
Трехфазный мотор
Существует два вида неисправностей электрических агрегатов, причем независимо от их сложности: наличие контакта в неположенном месте или его отсутствие.
В состав трехфазного мотора, работающего от переменного тока, входит три катушки, которые могут быть соединены в форме треугольника или звезды. Имеется три фактора, определяющих работоспособность этой силовой установки:
- Правильность намотки.
- Качество изоляции.
- Надежность контактов.
Замыкание на корпус обычно проверяется при помощи мегомметра, но если его нет, можно обойтись обычным тестером, выставив на нем максимальное значение сопротивлений – мегаомы. Говорить о высокой точности измерений в этом случае не приходится, но получить приблизительные данные возможно.
Перед тем, как измерить сопротивление, убедитесь, что двигатель не подключен к электросети, иначе мультиметр придет в негодность. Затем нужно произвести калибровку, поставив стрелку на ноль (щупы при этом должны быть замкнуты). Проверять исправность тестера и правильность настроек, кратковременно касаясь одним щупом другого, необходимо каждый раз перед измерением величины сопротивление.
Приложите один щуп к корпусу электромотора и убедитесь, что контакт имеется. После этого снимите показания прибора, касаясь двигателя вторым щупом. Если данные в пределах нормы, соединяйте второй щуп с выводом каждой фазы поочередно. Высокий показатель сопротивления (500-1000 и более МОм) свидетельствует о хорошей изоляции.
Как проверить изоляцию обмоток показано в этом видео:
Затем необходимо убедиться, что все три обмотки целы. Проверить это можно, прозвонив концы, которые выходят в коробку выводов электродвигателя. Если обнаружен обрыв какой-либо обмотки, диагностику следует прекратить до устранения неисправности.
Следующий пункт проверки – определение короткозамкнутых витков. Довольно часто это можно увидеть при визуальном осмотре, но если внешне обмотки выглядят нормально, то установить факт короткого замыкания можно по неодинаковому потреблению электротока.
Двухфазный электрический двигатель
Диагностика силовых агрегатов этого типа несколько отличается от вышеописанной процедуры. При проверке мотора, оснащенного двумя катушками и запитывающегося от обычной электросети, его обмотки нужно прозвонить при помощи омметра. Показатель сопротивления рабочей обмотки должен быть на 50% меньше, чем у пусковой.
Обязательно должно измеряться сопротивление на корпус – в норме оно должно быть очень большим, как и в предыдущем случае. Низкий показатель сопротивления говорит о необходимости перемотки статора. Конечно, для получения точных данных такие измерения лучше проводить при помощи мегомметра, но такая возможность в домашних условиях имеется редко.
Проверка коллекторных электромоторов
Разобравшись с диагностикой асинхронных моторов, перейдем к вопросу о том, как прозвонить электродвигатель мультиметром, если силовой агрегат относится к коллекторному типу, и каковы особенности таких проверок.
Чтобы правильно проверить работоспособность этих двигателей при помощи мультиметра, нужно действовать в следующем порядке:
- Включить тестер на Ом и попарно замерить сопротивление коллекторных ламелей. В норме эти данные различаться не должны.
- Измерить показатель сопротивления, приложив один щуп прибора к корпусу якоря, а другой – к коллектору. Этот показатель должен быть очень высоким, стремиться к бесконечности.
- Проверить статор на целостность обмотки.
- Измерить сопротивление, прикладывая один щуп к корпусу статора, а другой – к выводам. Чем выше будет полученный показатель, тем лучше.
Проверить электродвигатель при помощи мультиметра на межвитковое замыкание не получится. Для этого используется специальный аппарат, с помощью которого производится проверка якоря.
Подробно проверка двигателей электроинструмента показана в этом видео:
Проверка коллекторного электродвигателя
Теперь перейдем к вышеупомянутым нюансам, ведь двигатели бывают разных видов. Как прозвонить коллекторный электродвигатель мультиметром? Схема его проверки выглядит следующим образом:
- Включите прибор на единицы Ом и измерьте попарно сопротивление ламелей коллектора.
- Затем измерьте сопротивление между корпусом якоря и коллектором.
- Проверьте обмотки статора.
- Измерьте сопротивление между корпусом и выводами статора.
Межвитковое замыкание определяется только специальным прибором. Существует способ измерения сопротивления якоря. Снимите с него щетки и подведите к пластинам напряжение до 6в, измерьте падение напряжения между ними.
Для проверки однофазного двигателя прозвоните рабочую и пусковую обмотки. Сопротивление первой должно быть в полтора раза ниже, чем второй.
Для примера возьмем однофазный мотор с тремя выводами, использующийся в стиральных машинах (чаще старого образца). Если между концами очень большое сопротивление, значит катушки соединены последовательно. Остается найти среднюю точку и таким образом определить концы каждой из них в отдельности.
Поскольку электродвигатели встречаются в каждом доме в бытовых приборах – это и холодильник, и пылесос, и многое другое – и они периодически ломаются, знать, как проверить однофазный электродвигатель мультиметром, просто необходимо. Если поломка не слишком серьезная, нести прибор в ремонтную мастерскую нецелесообразно. И у вас появится возможность набраться опыта и получить навыки, работая с двигателями разных типов и модификаций.
Какие электромоторы можно проверить мультиметром?
Существуют разные модификации электрических двигателей, и перечень их возможных неисправностей достаточно велик. Большинство неполадок можно диагностировать, воспользовавшись обычным мультиметром, даже если вы не специалист в этой области.
Современные электродвигатели разделяются на несколько видов, которые перечислены ниже:
- Асинхронный, на три фазы, с короткозамкнутым ротором. Этот тип электрических силовых агрегатов является самым популярным благодаря простому устройству, которое обеспечивает легкую диагностику.
- Асинхронный конденсаторный, с одной или двумя фазами и короткозамкнутым ротором. Такой силовой установкой обычно оснащается бытовая техника, запитывающаяся от обычной сети на 220В, наиболее распространенной в современных домах.
- Асинхронный, оснащенный фазным ротором. Это оборудование имеет более мощный стартовый момент, чем моторы с короткозамкнутым ротором, в связи с чем его используют как привод в крупных силовых устройствах (подъемники, краны, электростанки).
- Коллекторный, постоянного тока. Такие двигатели широко используются в автомобилях, где они играют роль привода вентиляторов и насосов, а также стеклоподъемников и дворников.
- Коллекторный, переменного тока. Этими моторами оснащается ручной электроинструмент.
Первый этап любой диагностики – визуальный осмотр. Если даже невооруженным взглядом видны сгоревшие обмотки или отломанные части мотора, понятно, что дальнейшая проверка бессмысленна, и агрегат нужно везти в мастерскую. Но зачастую осмотра недостаточно, чтобы выявить неполадки, и тогда необходима более тщательная проверка.
Различные схемы подключения асинхронных двигателей к сети 380 вольт
Для того чтобы заставить работать двигатель существует несколько различных схем подключения, наиболее используемые среди них — звезда и треугольник.
Как правильно подключить трехфазный двигатель «звездой»
Такой способ подключения применяется в основном в трехфазных сетях с линейным напряжением 380 вольт. Концы всех обмоток: C4, C5, C6 (U2, V2, W2), — соединяются в одной точке. К началам обмоток: C1, C2, C3 (U1, V1, W1), — через аппаратуру коммутации подключаются фазные проводники A, B, C (L1, L2, L3). При этом напряжение между началами обмоток будет 380 вольт, а между местом подключения фазного проводника и местом соединения обмоток буде составлять 220 вольт.
На табличке электродвигателя указывается возможность подключения по способу «звезда» в виде символа Y, а также может указываться и можно ли подключить по другой схеме. Соединение по такой схеме может быть с нейтралью, которая подключается к точке соединения всех обмоток.
Такой подход позволяет эффективно защитить электродвигатель от перегрузок при помощи четырехполюсного автоматического выключателя.
Соединение «звездой» не позволяет электродвигателю, приспособленному для сетей 380 вольт развить полную мощность в силу того, что на каждой отдельной обмотке будет напряжение в 220 вольт. Однако, такое соединение позволяет не допустить перегрузки по току, старт электродвигателя происходит плавно.
В клеммной коробке будет сразу видно, когда электродвигатель соединен по схеме «звезда». Если есть перемычка между тремя выводами обмоток, то это однозначно говорит о том, что применяется именно эта схема. В любых других случаях применяется другая схема.
Выполняем соединение по схеме «треугольник»
Для того чтобы трехфазный двигатель мог развить свою максимальную паспортную мощность используют подключение, которое получило название «треугольник». При этом конец каждой обмотки соединяют с началом последующей, что в действительности образует на принципиальной схеме треугольник.
Выводы обмоток соединяют следующим образом: C4 соединяют с C2, С5 с C3, а С6 с C1. При новой маркировке это выглядит так: U2 соединяется с V1, V2 с W1, а W2 cU1.
В трехфазных сетях между выводами обмоток будет линейное напряжение 380 вольт, а соединение с нейтралью (рабочим нулем) не требуется. Такая схема имеет особенность еще и в том, что возникают большие пусковые токи, которые может не выдержать проводка.
На практике иногда применяют комбинированное подключение, когда на этапе запуска и разгона используется подключение «звездой», а в рабочем режиме специальные контакторы переключают обмотки на схему «треугольник».
В клеммной коробке подключение треугольником определяется наличием трех перемычек между клеммами обмоток. На табличке двигателя возможность подключения треугольником обозначается символом Δ, а также может указываться мощность, развиваемая при схеме «звезда» и «треугольник».
Трехфазные асинхронные двигатели занимают значительную часть среди потребителей электроэнергии благодаря своим очевидным достоинствам.
Особенности проверки электромоторов с дополнительными элементами
Зачастую электрические силовые установки оснащаются дополнительными компонентами, предназначенными для защиты оборудования или оптимизации его работы. Наиболее распространенными элементами, встраивающимися в мотор, являются:
- Термопредохранители. Они настроены на срабатывание при определенной температуре таким образом, чтобы избежать сгорания и разрушения изолирующего материала. Предохранитель убирается под изоляцию обмоток или фиксируется к корпусу электрического мотора стальной дужкой. В первом случае доступ к выводам не затруднен, и их без проблем можно проверить с помощью тестера. Также можно мультиметром или простой индикаторной отверткой определить, к каким разъемным ножкам выходит защитная схема. Если температурный предохранитель находится в нормальном состоянии, то он должен показывать при измерении короткое замыкание.
- Термопредохранители могут быть с успехом заменены температурными реле, которые бывают как нормально разомкнутыми, так и замкнутыми (второй тип более распространен). Марка элемента проставляется на его корпусе. Реле для различных типов двигателей выбирается в соответствии с техническими параметрами, ознакомиться с которыми можно, прочитав эксплуатационные документы или найдя нужную информацию в интернете.
- Датчики оборотов двигателя на три вывода. Обычно ими комплектуются моторы стиральных машин. Основой принципа работы этих элементов является изменение разности потенциалов в пластинке, через которую проходит слабый ток. Питание подается по двум крайним выводам, которые обладают небольшим сопротивлением и при проверке должны показывать короткое замыкание. Третий вывод проверяется только в рабочем режиме, когда на него действует магнитное поле. Не следует измерять величину электропитания датчика при включенном двигателе. Лучше всего вообще снять силовой агрегат и подать ток отдельно на датчик. Для возникновения импульсов на выходе датчика покрутите ось. Если ротор не оснащен постоянным магнитом, придется на время проверки установить его, сняв предварительно сенсор.
Обычного мультиметра, как правило, достаточно для диагностики большинства неполадок, которые могут возникать в электромоторах. Если установить причину неисправности этим прибором не представляется возможным, проверка производится с помощью высокоточных и дорогостоящих аппаратов, которые имеются только у специалистов.
В этом материале содержится вся необходимая информация о том, как правильно проверить электродвигатель мультиметром в бытовых условиях. При выходе любой электротехники из строя самое главное – прозвонить обмотку мотора, чтобы исключить его неисправность, поскольку силовая установка имеет наиболее высокую стоимость по сравнению с другими элементами.
Типы электродвигателей и особенности ремонта
Данные устройства производятся в разных конструктивных исполнениях. Выход из строя обмотки в промышленности ремонтируется отправкой двигателя в ремонтный цех, где двигатели разбирают, чистят, ревизируют.
Потом неисправные обмотки перематывать стараются на специальных намоточных установках
. После этого собирают и проверяют двигатели на рабочих оборотах с измерением тока холостого хода и под предполагаемой нагрузкой.
Электродвигатели подразделяются на два типа:
- с короткозамкнутым ротором моторы представляют собой простоту изготовления, дешевизну и имеют высокий коэффициент полезного;
- с фазным ротором, используют такое конструктивное решение при недостаточном напряжении питающей сети, если этого питания не хватает для запуска устройства.
Неисправность таких устройств в быту устраняется совместно с сервисной службой или сдачей этого мотора в мастерскую. Но, что же делать если поблизости нет сервиса и нет возможности отдать в ремонт профессионалам?
Единственный вариант попробовать разобрать в домашних условиях и обеспечить перемотку самостоятельными силами. Перематывать обмотки может человек, обладающий минимальными знаниями
о способе проведения перемотки.
Разборка электродвигателя
Перед разборкой необходимо обработать мотор влажной чисткой, затем очистить ветошью. Откручиваем крышку вентилятора
, снимаем последовательно все болты. После этого спрессовываем вентилятор, предварительно открутив его фиксирующий болт.
Откручиваем крепления подставки
и крепление фланцев. Отсоединяем борно электродвигателя с клеммником. Все крепления и болты надо складывать отдельно, чтобы не было проблем в дальнейшем со сборкой. Откручиваем передний фланец вместе с ротором и вытаскиваем.
Разное устройство электродвигателей заставляет предварительно задумываться: «Какая из обмоток вышла из строя роторная или статорная». С помощью приборов омметра и мегоомметра
проводим проверку обмоток.
Прозваниваем двигатель омметром между тремя фазными выводами на одинаковость сопротивления. Проверяем омметром каждую фазу на землю, сопротивление должно быть порядка нескольких мегоОм и выше. Затем берём мегоомметр и проверяем сопротивление изоляции
каждой обмотки на корпус.
Определились с неисправной обмоткой, в нашем случае неисправна обмотка статора
, а ротор имеет неразборную конструкцию. Демонтаж статора не совсем простая задача, как казалось бы на первый взгляд.
Если обмотка оплавилась очень сильно и электродвигатель вышел из строя от перегрева, то выбивать её не понадобится, она достаточно легко снимется
со своих мест крепления. Случилось так, что обмотка подгорела немного или она в обрыве, то лак очень хорошо будет держать, и даже попытки сбить зубилом не приведут к полному удалению старых частей.
Как вариант, можно развести костёр и нагреть корпус статора
чтобы весь лак внутри выгорел. После таких действий старые отложения высыпятся сами.
Необходимо дать остыть корпусу на воздухе, не прибегая к жидкостному охлаждению, в противном случае корпус не выдержит разности температур
и треснет. Зачистка внутренней поверхности требуется до состояния блеска. Не должно остаться окалин от оплавленного лака и меди.
Потребуется подсчёт количества витков и параметры провода. Подбираем для перемотки именно обмоточный провод
. Эта проводка имеет особенные свойства. По форме бывают округлые и прямоугольного сечения.
Проводка обладает очень малым сопротивлением изоляции
. В мастерских по ремонту имеются механические устройства намотки обмоток, провода берутся с повышенной прочностью изоляции, в маркировке добавляется буква М. Мы проводим перемотку своими руками, поэтому возьмём провод с обычной изоляцией с параметрами соответствующими предыдущей.
Обнаружение межвиткового короткого замыкания при запуске асинхронной машины на основе анализа крутящего момента
В последнее время наблюдается интерес к новым методам диагностики в области индукционных машин. Представленные в статье исследования показывают диагностику асинхронной машины по пульсации крутящего момента, при межвитковых коротких замыканиях, при пуске машины. В статье использовались три численных метода: анализ методом конечных элементов, анализ сигналов и искусственные нейронные сети (ИНС).Разработанная численная модель неисправной машины состоит из уравнений поля, цепи и движения. Источник питания, возбуждаемый напряжением, позволял определять форму кривой крутящего момента при запуске. Межвитковое короткое замыкание трактовалось как гальваническое соединение между двумя точками обмотки статора. Формы сигналов были рассчитаны для разного количества закороченных витков от 0 до 55. Из-за нестационарных форм сигналов для анализа крутящего момента использовалось разложение вейвлет-пакета. Полученные результаты анализа были использованы в качестве входного вектора для ИНС.Реакцией нейронной сети было количество закороченных витков в обмотке статора. Особое внимание было уделено сравнению отклика нейронной сети общей регрессии (GRNN) и многослойной нейронной сети персептрона (MLP). По результатам исследования можно сделать вывод об эффективности разработанного алгоритма.
1 Введение
Одним из наиболее распространенных требований в современных промышленных приложениях является минимизация затрат, связанных с ремонтом и эксплуатацией.В последнее время в промышленных процессах в качестве приводных систем чаще всего используются асинхронные двигатели. Следовательно, обеспечение их непрерывной и безотказной работы тесно связано с вышеупомянутой минимизацией затрат. Развитие электроники, а также низкая стоимость производства увеличат количество асинхронных двигателей, которые используются в промышленности [1]. Использование полупроводниковых устройств для управления асинхронными двигателями упрощает настройку системы и, таким образом, значительно повышает ее гибкость.Благодаря разнообразию использования асинхронных двигателей важность диагностики неисправностей также возрастает. Диагностика неисправностей должна обеспечивать надежную и непрерывную работу двигателей [2]. Одним из наиболее частых повреждений асинхронных двигателей является повреждение цепи статора. На повреждение контура статора приходится около 36% повреждений [3, 4]. Повреждение цепи статора очень часто вызывается межвитковыми короткими замыканиями [3, 5]. Межвитковые короткие замыкания вызваны повреждением изоляции между отдельными обмотками катушки, и это может привести к распространению короткого замыкания на всю катушку и даже между соседними катушками.Повреждение изоляции может быть связано с механическим воздействием, перегрузкой по току или тепловым воздействием. Кроме того, межвитковые короткие замыкания могут вызвать асимметрию магнитного поля, что может привести к генерации вибрации и появлению высших гармоник в форме волны крутящего момента, что может значительно повлиять на снижение производительности системы. В результате описанного выше процесса можно остановить двигатель, что может повлечь за собой большие затраты на производственный процесс.
Современные тенденции в области диагностики электрических машин фокусируются на раннем и неинвазивном обнаружении отказов.В наиболее распространенных неинвазивных диагностических методах используются такие методы, как дискретное вариационное преобразование (ДПФ) или быстрое преобразование Фурье (БПФ). Входным сигналом для вышеупомянутых методов обычно является ток, пульсации крутящего момента или вибрации машины. Один из самых популярных методов — анализ сигнатуры тока двигателя (MCSA). Метод MCSA позволяет контролировать состояние машины без использования дополнительных датчиков и при этом не мешает ее работе [2, 6]. Другим примером метода диагностики, относящегося к межвитковому короткому замыканию, является метод, аналогичный методу MCSA, который включает анализ противоэлектродвижущей силы (ЭДС) в частотной области.Более подробно этот метод описан в [7]. Вышеупомянутые методы, помимо многочисленных преимуществ, имеют и недостатки, частотный анализ можно использовать только для стационарных сигналов. Для анализа непериодических сигналов, которые возникают, например, при запуске двигателя, необходимо использовать другой метод, который позволяет анализировать нестационарные сигналы, такой метод основан на вейвлет-преобразовании. Кроме того, современные диагностические системы используют искусственные нейронные сети в качестве систем поддержки принятия решений для автоматизации диагностического процесса [8, 9, 10].
В статье использовались метод конечных элементов (МКЭ), который, среди прочего, показан в статье [11, 12, 13, 14, 15], и модель полевой цепи. Использование модели силовой цепи машины отличает ее от схемной модели учет таких электромагнитных явлений, как, например, вихревые токи или насыщение магнитопровода. Для модели полевой цепи были сформулированы уравнения движения, системы питания и магнитного поля. Эти уравнения позволяют описать распределение магнитных полей, а также описание связи статора с источником питания.Как упоминалось ранее, использовался метод конечных элементов. МКЭ — один из самых популярных методов, используемых при анализе электрических машин. Преимущество FEM заключается в возможности простого определения механических и электрических параметров или реакции двигателя. Дополнительным аргументом в пользу использования МКЭ была простота, которую он дает при моделировании неисправностей двигателя. К другим методам относятся, например: теория функции обмотки (WFT), эквивалентная магнитная цепь (MEC) или метод преобразования dq0 [16].
Статья посвящена анализу пульсации крутящего момента асинхронного двигателя. Представленные результаты относятся к двум случаям: в первом случае машина разгружена, а во втором — при нагрузке 15 Нм. Кроме того, в статье описывается влияние межвиткового короткого замыкания на пульсации крутящего момента в переходном состоянии. Кроме того, были представлены результаты процесса обучения двух типов нейронных сетей: первой GRNN и второй MLP. Эта статья представляет собой расширение методов, описанных в статье [17].
2 Моделирование межвиткового КЗ
Результатом межвиткового короткого замыкания в фазной обмотке является разделение фазной обмотки на две части (рисунок 1).
Рисунок 1
Схема обмотки статора с учетом межвитковых коротких замыканий
На рисунке 1 фазные обмотки статора выделены следующим образом: фаза A выделена красным, фаза B зеленым, а фаза C синим.Однако закороченная часть обмотки фазы А имеет желтый цвет. Красной частью обозначена неисправная фазная обмотка с числом витков, равным N, Af , сопротивлением R, Af и индуктивностью L, Af . Желтая часть представляет закороченные витки с количеством витков, равным Н, f , сопротивлением R, f и индуктивностью L, f . Короткое замыкание рассматривалось как соединение металл-металл.Следовательно, в замкнутой цепи отсутствует дополнительное сопротивление.
3 Вейвлет-анализ кривых крутящего момента
3.1 Форма кривой крутящего момента при запуске машины
Расчеты выполнены для индукционной машины с короткозамкнутым ротором. Его номинальные параметры: мощность 2,2 кВт, частота вращения 1410 об / мин, напряжение питания 400 В (обмотки статора соединены звездой), частота системы питания 50 Гц. Машина имела 24 паза статора и 22 паза ротора.Количество витков на фазную обмотку — 4, количество витков на обмотку — 220. Обойма ротора изготовлена из алюминия. Учитывалась нелинейная кривая B-H статора и сердечника ротора. Перекос ротора был включен в модель цепи возбуждения. Предполагалось, что напряжение питания синусоидально, симметрично и взаимно смещено на угол 2/3 π . На основании технической документации испытанной машины была разработана МКЭ-модель машины.
Моделирование проводилось для двух случаев: первое испытание на холостом ходу (T L = 0 Нм) и второе при номинальной нагрузке (T L = 15 Нм). На первом этапе были рассчитаны кривые крутящего момента для исправного двигателя. На втором этапе были рассчитаны кривые крутящего момента для неисправного двигателя. Расчеты проводились для набора выбранного количества закороченных витков от N f = 0 витков до N f = 55 витков.Полученные осциллограммы как результаты расчетов для случая T L = 0 Нм и T L = 15 Нм представлены на рисунках 2a и 2b соответственно. Амплитуды кривых крутящего момента представлены в таблице 1. Расчеты проводились в компьютерной программе Maxwell.
Рисунок 2
Кривые крутящего момента неисправного двигателя: а) на холостом ходу (T L = 0 Нм), б) при номинальном крутящем моменте (T L = 15 Нм)
Таблица 1Амплитуды крутящего момента при пуске.
| N f | T L = 0 Нм | T L = 15 Нм |
|---|---|---|
| 55 | 90,589 | 99,471 |
| 50 | 90,365 | 99,702 |
| 40 | 89.148 | 99,567 |
| 30 | 87,410 | 98,583 |
| 20 | 91,727 | 96,986 |
| 10 | 92,689 | 95,689 |
| 3 | 91,938 | 97.009 |
| 2 | 92.076 | 97.286 |
| 1 | 92,220 | 97,599 |
| 0 | 92.305 | 97,974 |
3.2 Вейвлет-анализ сигналов крутящего момента
Полученные кривые крутящего момента были проанализированы с помощью вейвлет-преобразования. В этом анализе использовалось дискретное вейвлет-преобразование с использованием вейвлета Добеши «db3» [18]. Анализ основан на процессе разложения, который разбивает сигнал (кривую крутящего момента) на приблизительные и подробные.Расчеты проводились до 5-го уровня дерева декомпозиции (рисунок 3). Результаты декомпозиции, то есть аппроксимация «A» и деталь «D», для количества закороченных витков, равного 55 при холостом ходе и номинальной нагрузке, представлены на рисунках 4 и 5, соответственно.
Рисунок 3
Пятиуровневое дерево декомпозиции
Рисунок 4
Результаты разложения формы кривой крутящего момента в случае N f = 55 оборотов на холостом ходу: а) аппроксимация формы кривой крутящего момента, б) детали формы кривой крутящего момента
Рисунок 5
Результаты разложения формы кривой крутящего момента в случае N f = 55 оборотов при номинальном крутящем моменте: а) аппроксимация формы кривой крутящего момента, б) детали формы кривой крутящего момента
4 Реализация нейронной сети обобщенной регрессии
Численный метод анализа сигналов, задач классификации и дедукции — сложная задача.Искусственная нейронная сеть может быть очень полезной и заменить эту задачу.
В этой статье была разработана обобщенная регрессионная нейронная сеть (GRNN). GRNN состоит из двух уровней и двух типов функций активации (рис. 6а). Радиальная базисная функция использовалась в качестве функции активации для нейронов первого слоя сети. Нейроны во втором слое были активированы с использованием линейной функции. Радиальная базисная функция нейронов первого слоя определяется как:
ϕ ( Икс , c я ) знак равно ϕ ( ‖ Икс — c я ‖ ) знак равно е — ‖ Икс — c я ‖ 2 2 σ я 2 (1)
, где c i — центр, а σ i — спред.
Рисунок 6
Структура ИНС: а) обобщенная регрессия (GRNN) б) многослойный персептрон (MLP)
Проблема, связанная с классификацией неисправностей в машине по количеству закороченных витков в нейронной сети, была основана на сумме радиальных базисных функций, которые можно описать следующей формулой:
ж ( Икс ) знак равно ∑ я знак равно 1 п ш я ϕ ( ‖ Икс — c я ‖ ) (2)
, где φ — функция активации, а w i — вес.
Ожидаемое значение количества закороченных витков, а также ответ GRNN и MLP в случаях T L = 0 Нм и T L = 15 Нм показаны на рисунке 7. Многослойная сеть персептронов (MLP) был выбран в качестве эталона для выполнения GRNN. Структура MLP была следующей: десять нейронов с сигмовидной функцией активации в первом слое и один нейрон с линейной функцией активации во втором слое сети (рис. 6b).Разработанная сеть MLP обучалась с использованием алгоритма Левенберга-Марквардта.
Процесс обучения искусственной нейронной сети заключается в изменении параметров сети, таких как веса и смещения. Процесс обучения заканчивается, когда целевая функция достигает минимального значения. Целевая функция может быть описана следующей формулой:
E знак равно ∑ я знак равно 1 п [ ∑ j знак равно 1 п ш j ϕ ( ‖ Икс — c я ‖ ) — d я ] 2 (3)
, где d i — целевое значение.
Производительность ИНС (GRNN, MLP) определялась ошибкой ответа. Ошибка рассчитывалась как относительная разница между ответом ИНС и ожидаемым значением в следующей форме:
ε знак равно N ж — N А N N N ж 100 % (4)
, где N f — ожидаемое значение, N ANN — ответ ANN (GRNN, MLP).
Эта ошибка указывает, насколько хорошо была обучена ИНС. Цель тренировочного процесса — получить наименьшее значение ошибки. Результаты тренировочного процесса представлены на рисунке 8.
Одним из параметров GRNN, который может быть изменен, является разброс σ (1). Поэтому результаты ошибки ответа GRNN представлены как функция разброса в случае выбранного количества закороченных витков (рисунок 9).
5 Сводка
В статье показан анализ крутящего момента асинхронного двигателя с короткозамкнутым ротором с использованием ДПФ и ИНС.Кривые крутящего момента были получены из анализа методом конечных элементов для двух случаев: первый, когда асинхронный двигатель был нагружен номинальным крутящим моментом, равным 15 Нм, и второй, для нагрузки, равной 0 Нм. Вейвлет-разложение кривых крутящего момента производилось до уровня 5 -го дерева разложения. Результаты, представленные на Рисунке 7. То есть ответ ИНС относительно ожидаемого значения, показывают преимущество GRNN над MLP. Следует отметить, что в случае, когда двигатель нагружен номинальным крутящим моментом, погрешность MLP ниже, чем в случае ненагруженного двигателя.Более того, можно заметить, что самая большая ошибка ответа возникает в случае короткого замыкания нескольких витков при номинальном крутящем моменте. Независимо от нагрузки двигателя MLP генерирует большие ошибки, чем GRNN, что показано на рисунке 8. Более того, следует отметить, что для GRNN влияние разброса на среднеквадратичную ошибку (mse) значимо только для небольшого количества закороченных витков. Увеличение количества закороченных витков снижает влияние параметра разброса на mse.
Рисунок 7
Ожидаемое значение, ответ GRNN и ответ MLP: а) T L = 0 Нм, б) T L = 15 Нм
Рисунок 8
Ошибка ответа ИНС (GRNN, MLP), при Т L = 0 Нм и Т L = 15 Нм
Рисунок 9
Ошибка GRNN для выбранного количества закороченных витков как функция разброса
Список литературы
[1] Туми Д., Boucherit MS, Таджин М., Диагностика неисправностей на основе наблюдателя и отказоустойчивое управление асинхронным двигателем с межвитковым замыканием статора, Архив электротехники, 2012, 61 (2), 165-188 Поиск в Google Scholar
[2] Ци Ю., Зафарани М., Акин Б., Федиган С.Е., Анализ и обнаружение межвиткового короткого замыкания посредством расширенного самостоятельного ввода в эксплуатацию, Транзакции IEEE в отраслевых приложениях, 2017, 53 (3), 2730 — 2739 Поиск в Google Scholar
[3] Волькевич М., Tarchała G., Kowalski CT, Диагностика состояния обмоток статора асинхронного двигателя с питанием от инвертора в разомкнутой и замкнутой системе управления, Архив электротехники, 2015, 64 (1), 67-79 Искать в Google Scholar
[ 4] Берзой А., Мохамед А.А.С., Мохаммед О., Влияние местоположения межвиткового короткого замыкания на параметры индукционных машин посредством вычислений FE, IEEE Transactions on Magnetics, 2017, 53 (6), 1-4 Поиск в Google Scholar
[5] Грубич С., Аллер Дж. М., Лу Б., Хабетлер Т.Г., Обзор методов испытаний и мониторинга систем изоляции статора индукционных машин низкого напряжения с упором на проблемы изоляции витков, IEEE Transactions on Industrial Electronics, 2008, 55 (12), 4127-4136 Поиск в Google Scholar
[6] Cusido J., Romeral L., Ortega JA, Rosero JA, Espinosa AG, Обнаружение неисправностей в индукционных машинах с использованием спектральной плотности мощности в вейвлет-разложении, Transactions on Industrial Electronics., 2008, 55 (2), 633- 643 Искать в Google Scholar
[7] Сарихани А., Мохаммед О.А., Обнаружение межвитковых неисправностей в синхронных машинах с постоянным магнитом на основе физики оценки обратной электродвижущей силы, IEEE Transactions on Industrial Electronics., 2013, 60 (8), 3472-3484 Поиск в Google Scholar
[8] Деменко А. ., Новак Л., Пьетровски В., Расчет характеристики намагничивания машины с короткозамкнутым ротором с использованием метода краевых элементов, COMPEL: Международный журнал вычислений и математики в электротехнике и электронике, 2004 г., 23 (4), 1110-1118 Search в Google Scholar
[9] Петровски В., Применение радиальной базовой нейронной сети для диагностики неисправностей статора асинхронного двигателя с использованием осевого потока, Przegląd Elektrotechniczny, 2011, 87 (6), 190-192 Искать в Google Scholar
[10] Родригес П., Джовер В., Арккио А. ., Обнаружение повреждения обмотки статора в асинхронном двигателе с использованием нечеткой логики, Applied Soft Computing, 2008, 8 (2), 1112-1120 Поиск в Google Scholar
[11] Надери П., Обнаружение межвитковых коротких замыканий в Асинхронный двигатель с короткозамкнутым ротором с насыщаемым ротором с использованием модели эквивалентной магнитной схемы, COMPEL: Международный журнал вычислений и математики в электротехнике и электронике, 2016 г., 35 (1), 245-269 Искать в Google Scholar
[12] Хунбо К., Вэньфэй Ю., Шуай Ю., Бинся Т., Цуньсян Ю., Влияние межвиткового короткого замыкания с учетом тока контура на электромагнитное поле синхронного двигателя с постоянными магнитами. и электронная инженерия, 2017, 36 (4), 1028-1042 Поиск в Google Scholar
[13] Любин Т., Хамити Т., Разик Х., Реззуг А., Сравнение анализа конечных элементов и теории функций обмотки для Расчет индуктивностей и крутящего момента синхронной машины сопротивления, IEEE Transactions on Magnetics, 2007, 43 (8), 3406-3410 Поиск в Google Scholar
[14] Smith A.К., Уильямсон С., Смит Дж. Р., Переходные токи и крутящие моменты в асинхронных двигателях с фазным ротором с использованием метода конечных элементов, Proc. Inst. Избрать. Eng. – Elect. Power Appl., 1990, 137 (3), 160–173. Поиск в Google Scholar
[15] Фаиз Дж., Эбрахими Б.М., Акин Б., Тольят Х.А., Анализ переходных процессов с помощью конечных элементов в асинхронных двигателях при смешанном эксцентриситете. IEEE Transactions on Magnetics, 2008, 44 (1), 66–74. Поиск в Google Scholar
[16] Надери П., Шири А., Обнаружение межвиткового короткого замыкания ротора / статора для индукционной машины с насыщаемым ротором, автор: Модифицированный подход магнитного эквивалента, IEEE Transactions on Magnetics, 2017, 53 (7), 1-13 Поиск в Google Scholar
[17] Pietrowski W., Горни К., Вейвлет-анализ крутящего момента и нейронная сеть в обнаружении межвиткового короткого замыкания асинхронного двигателя, Труды 18-го Международного симпозиума по электромагнитным полям в мехатронике, электротехнике и электронной технике, 2017, 1-2 Поиск в Google Scholar
[18] Киа С.Х., Энао Х., Каполино Г.А., Диагностика неисправности излома стержня в индукционных машинах с использованием дискретного вейвлет-преобразования без оценки скольжения, IEEE Transactions on Industry Applications, 2009, 45 (4), 1395-1404 Поиск в Google Scholar
Поступила: -2.11.2017
Принято: 12.11.2017
Опубликовано в сети: 29.12.2017
© 2017 Войцех Петровский и Конрад Горни
Эта работа находится под лицензией Creative Commons Attribution-NonCommercial-NoDerivatives 4.0 Лицензия.
Базовое руководство по проектированию электродвигателейИнженеры-проектировщики должны учитывать каждый компонент, который будет занимать ограниченное пространство паза статора. Это означает измерение площади поперечного сечения каждого элемента, умножение этой площади на количество раз, которое элемент помещается в слот (например, количество витков медной катушки), добавление общей площади всех элементов и деление полученного результата. по доступной площади в слоте.
Формулу можно выразить следующим образом:
Общее заполнение щели включает площадь поперечного сечения всех материалов, входящих в щель: проволоки, вкладышей, клиньев и т. Д.Чтобы рассчитать общее заполнение слота, инженер начнет с определения общей площади пустого слота. CAD-модель ламинации или геометрии прорези иногда может обеспечить это измерение.
Чтобы определить максимальный уровень заполнения слота, инженер должен решить, где закрыть отверстие слота. Часто это точка, в которой ножка зуба начинает выходить из самого зуба. Площадь фактического открытия слота обычно не включается; здесь клин будет перекрывать отверстие. Клин удерживается на месте основанием зуба, чтобы проволока удерживалась в прорези.
- Площадь поперечного сечения незащищенного паза:
После того, как известна площадь неизолированного паза, инженер определяет площадь всех изоляционных материалов, добавляя площадь поперечного сечения каждого куска материала. Для изоляторов, таких как ламинат Nomex или Nomex Kapton, это можно рассчитать, исходя из длины и номинальной толщины материала. Для порошковой изоляции можно использовать толщину, указанную производителем. Это может варьироваться в зависимости от геометрии ламелей, материала покрытия и размера детали.
Поскольку точные размеры трудно измерить, производители склонны делать консервативные оценки. Например, при оценке размера разделителя фаз при изготовлении двигателей по индивидуальному заказу инженеры хотят убедиться, что разделитель фаз полностью разделяет две фазы, которые разделяют один и тот же слот, но размещение границы между катушками будет зависеть от прокладки провода. Если размер материала слишком велик для обеспечения полного покрытия, он также занимает большую площадь прорези.
- Площадь поперечного сечения всех изоляционных материалов:
Последнее, что нужно измерить, — это площадь магнитного провода.Это включает в себя толщину изоляции провода, что означает, что общая площадь магнитного провода будет больше, чем площадь медного провода. Также при расчетах необходимо будет учесть зазоры, оставленные между витками круглой проволоки.
Начиная с площади одного провода с изоляцией, которую можно найти в каталоге или справочнике магнитных проводов, инженер умножит площадь этого провода на количество параллельных проводов и количество витков катушки, чтобы получить общее площадь катушки. Предполагая, что площадь катушки круглая (что маловероятно из-за неоднородности слоев), инженер может возвести диаметр в квадрат для более консервативной оценки площади катушки.Если возможно, эта расчетная площадь катушки затем умножается на количество катушек на слот.
Общая площадь магнитопровода:
- Рассчитайте площадь одного провода, включая изоляцию
- Умножьте площадь провода на количество параллельных проводов и количество витков на катушку, чтобы получить общую площадь катушки
- Преобразовать общую площадь катушки в диаметр
- Возвести в квадрат диаметр, чтобы получить расчетную площадь катушки
- Умножьте расчетную площадь катушки на общее количество катушек на слот
- Площадь магнитопровода:
Обмотка испытание на сопротивление двигателей
2 августа 2019 г., Публикуется в статьях: EE Publishers, статьях: Energize, статьях: Vector.
Информация от Megger
Измерение сопротивления обмотки позволяет выявлять различные неисправности в двигателях и трансформаторах: короткое замыкание витков, неплотные соединения, обрывы жил и неисправные механизмы РПН.
Измерение сопротивления обмотки позволяет выявить в двигателях проблемы, которые другие тесты могут не обнаружить. Эти проблемы включают частичное или полное замыкание катушек, плохие обжимы или соединения, дисбаланс между фазами (неправильное включение фаз) и неправильные соединения катушек (фазировка). Исследования, проведенные IEEE и Исследовательским институтом электроэнергетики (EPRI) по отказам электрического вращающегося оборудования, показывают, что 48% отказов двигателей происходят из-за сбоев в электросети.
Обмотка vs.сопротивление изоляции
Как и трансформаторы, двигатель или генератор разбивается на два основных компонента: изоляционный и механический. Механическое состояние и конструкция ротора или статора влияют на сопротивление обмотки. Измерители сопротивления обмотки подают известный постоянный ток через обмотки, измеряют результирующее падение напряжения на обмотке и вычисляют сопротивление. Не следует применять более 10% номинального тока обмотки, так как это нагреет обмотку и приведет к изменению значения сопротивления по мере нагрева меди или алюминия.
Для электроизоляционного компонента используется прибор сопротивления изоляции (IR) для проверки состояния обмотки относительно земли (внешний корпус обмотки статора). Измерители сопротивления изоляции подают высокое постоянное напряжение, которое вызывает небольшой ток через тестируемую изоляцию. Затем тестер выдает показания сопротивления. Хорошая изоляция должна иметь высокое сопротивление, а типичные значения находятся в диапазоне МОм или ГОм. При подаче испытательного напряжения постоянного тока никогда не следует превышать номинальное напряжение проверяемой обмотки двигателя.
Требования к тестерам
Для наиболее распространенных измерений сопротивления можно использовать обычный мультиметр, настроенный на шкалу Ом (Ом). Однако обмотки в больших двигателях имеют низкое сопротивление и очень индуктивны. Поэтому тестер должен безопасно подавать достаточный испытательный ток при более значительном испытательном напряжении для безопасного и своевременного измерения обмотки статора.
Рис. 1: Измерение межфазного сопротивления.
Более высокое испытательное напряжение быстрее преодолеет индуктивность (до 50 раз быстрее, чем у обычного измерителя низкого сопротивления).Обычный мультиметр не может измерить сопротивление обмотки. MTO106 Megger обеспечивает испытательный ток до 6 А и напряжение холостого хода 48 В.
В тестере сопротивления обмотки используется четырехпроводное измерение с набором выводов Кельвина для повышения точности измерения. Это исключает сопротивление набора проводов при измерении, обеспечивая точность.
Безопасность — важный фактор при проверке сопротивления обмотки. Обмотки двигателя или генератора могут накапливать большое количество энергии, когда в них подается постоянный ток во время испытания (это называется индуктивной зарядкой).Эта энергия должна безопасно отводиться от обмотки после прекращения испытательного тока.
MTO106 будет автоматически безопасно разряжать эту энергию после завершения теста. Функция разряда является пассивной и обеспечивает автоматический разряд в случае непреднамеренного отключения питания или случайного отключения измерительных проводов. Устройство также имеет визуальный и звуковой индикатор разряда при возникновении условий разряда.
Зачем нужны испытания на сопротивление обмоток?
Хотя обнаружение проблем в жизненно важных двигателях или генераторах важно, очень важно их обнаружение до того, как они приведут к катастрофическому отказу.Программы прогнозирующего и профилактического обслуживания, которые включают регулярное тестирование, могут помочь обнаружить проблемы с обмоткой на раннем этапе. Проверка сопротивления обмотки дает информацию о состоянии обмоток.
Анализ результатов испытаний
Показания сопротивления обмотки можно сравнить с заводскими значениями. Распространенный метод диагностики — сравнение с предыдущими показаниями. Поскольку сопротивление обмотки зависит от температуры, важно использовать температурные поправочные коэффициенты, когда это применимо.Результаты испытания сопротивления обмотки сравниваются между тремя фазами (на трехфазном двигателе).
Ряд стандартов обеспечивает максимальные проценты отклонения, но типичные пределы составляют от 1 до 3% между средним значением для трех обмоток. Чрезмерная разница в показаниях сопротивления между фазами может указывать на возможную проблему внутри двигателя. Сопротивление обмотки также используется для измерения потерь в обмотке I 2 R .
На самом деле сопротивление есть всегда, даже если оно небольшое.Это вызывает электрические потери, которые рассеиваются в виде тепла. Информация в этой статье относится к испытаниям обмотки статора двигателя. Испытания сопротивления ротора обычно можно проводить с помощью омметра с низким сопротивлением.
Заключение
Поддержание работы двигателей имеет решающее значение во многих отраслях промышленности. Знание состояния обмоток — одна из важных составляющих обеспечения надлежащей работы двигателей.
Связаться с Corola Argiro, Megger, [email protected]
Статьи по теме
Испытание на скачок напряжения — Испытание на высокое напряжение
Обзор испытаний на скачок напряжения Почему так важны импульсные испытанияИспытания на импульсные перенапряжения имеют решающее значение, потому что они являются единственным испытанием, которое обнаруживает слабые места в изоляции между витками.Эти недостатки начинаются при напряжениях, превышающих рабочее напряжение двигателя, и являются предвестниками серьезных отказов и останова двигателя. Испытания на импульсные перенапряжения также используются для обнаружения жестких замыканий и ряда других ошибок в обмотках и катушках.
Три почти одинаковых волны от трехфазного двигателя.
Большинство отказов обмоток, включая замыкание на землю, начинаются со слабой межвитковой изоляции. Как только слабое место вызывает дуги между поворотами, создается электрический замкнутый контур. Из-за действия трансформатора в контуре начинает течь ток.Этот ток рассеивается в виде тепла и создает горячую точку. Больше получается из-за горячей точки, и, следовательно, создается больше тепла. В конце концов обмотка замыкается на землю.
Испытания на скачки напряжения также известны как испытания на сравнение скачков напряжения, потому что результат для катушки или фазы сравнивается с результатом для другой катушки или фазы. Катушки спроектированы так, чтобы быть идентичными, поэтому результаты импульсных испытаний должны быть почти идентичными. Когда обмотки или фазы не идентичны или не с чем сравнивать, операторы используют импульсный импульсный тест.
Что можно проверить с помощью импульсного тестера?Подходит для тестирования любой тип катушки — от крошечных датчиков, антенн и исполнительных катушек в реле или соленоидах до самых больших электродвигателей и генераторов. Импульсное испытание зависит от нагрузки, поэтому операторы должны учитывать стандарты испытательного напряжения.
Какие типичные отказы можно и нельзя обнаружить с помощью импульсного теста?
Какие проблемы обнаруживаются только при импульсном тесте?Испытание импульсным напряжением — единственное испытание, которое обнаруживает слабую межвитковую изоляцию.Это связано с тем, что при испытаниях импульсным перенапряжением используются более высокие напряжения. Испытания при низком напряжении не подвергают изоляцию нагрузке, и, следовательно, диэлектрические дефекты не обнаруживаются.
Испытание импульсным напряжением — единственное испытание, которое обнаруживает слабую изоляцию между катушкой и фазой. Иногда используется высокоскоростной тест, если катушки и фазы проверяются индивидуально по сравнению с другими катушками и фазами, но это нецелесообразно.
Наконец, некоторые ошибки подключения обнаруживаются только с помощью импульсного теста. Иногда используется проверка индуктивности, но только при правильном сопротивлении.
Новый подход к чувствительному обнаружению межвитковых неисправностей в асинхронных двигателях в различных условиях эксплуатации
Bonnett, A.H .; Соукуп Г.К .: Причина и анализ отказов статора и ротора в трехфазных асинхронных двигателях с короткозамкнутым ротором. IEEE Trans. Ind. Appl. 28 (2), 921–937 (2005)
Google Scholar
Siddique, A .; и др.: Обзор методов контроля неисправностей статора асинхронных двигателей.IEEE Trans. Energy Convers. 20 (1), 106–114 (2005)
Статья Google Scholar
Ojaghi, M .; и др .: Методы диагностики неисправностей обмотки статора в трехфазных асинхронных двигателях с короткозамкнутым ротором. Int. Пер. Электр. Energy Syst. 24 , 891–912 (2014)
Статья Google Scholar
Бенбузид, M.E.H .: Обзор сигнатурного анализа асинхронных двигателей как средства обнаружения неисправностей.IEEE Trans. Ind. Electr. 47 (5), 984–993 (2000)
Артикул Google Scholar
Gandhi, A .; и др.: Последние достижения в моделировании и онлайн-обнаружении межвитковых замыканий статора в электродвигателях. IEEE Trans. Ind. Electr. 58 (5), 1564–1575 (2011)
Статья Google Scholar
Риера-Гуасп, М .: Достижения в области контроля состояния электрических машин, силовой электроники и приводов и обнаружения неисправностей: современное состояние.IEEE Trans. Ind. Electr. 62 (3), 1746–1759 (2015)
Статья Google Scholar
Cheng, S .; и др.: Подход к идентификации импеданса для чувствительного обнаружения и локализации межвитковых замыканий статора в многодвигательном приводе с замкнутым контуром. IEEE Trans. Ind. Electr. 58 (5), 1545–1554 (2011)
Статья Google Scholar
Бузид, М.B.K .; Шампенуа, Г .: Новые выражения симметричных компонентов асинхронного двигателя при неисправностях статора. IEEE Trans. Ind. Electr. 60 (9), 4093–4102 (2013)
Статья Google Scholar
Cardoso, A .; и др .: Диагностика межвитковых неисправностей обмотки статора в трехфазных асинхронных двигателях с помощью векторного подхода Park. IEEE Trans. Energy Convers. 14 (3), 595–598 (1999)
Статья Google Scholar
Cruz, S .; Кардосо, А .: Диагностика неисправностей обмотки статора в трехфазных синхронных и асинхронных двигателях с помощью расширенного векторного подхода Парка. IEEE Trans. Ind. Appl. 37 (5), 1227–1233 (2001)
Артикул Google Scholar
Sonje, D.M .; Chowdhury, A .; Кунду, П .: Диагностика неисправностей асинхронного двигателя с использованием векторного подхода Парка. В: Достижения в электротехнике Труды международной конференции в Веллоре, Индия, 2014 г., конференция IEEE India, стр.1–4 (2014)
Sarkar, S .; и др .: Мониторинг межвиткового нарушения изоляции в асинхронном двигателе с использованием передовых инструментов обработки сигналов и данных. IEEE Trans. Dielectr. Электр. Insul. 18 (5), 1599–1608 (2011)
Статья Google Scholar
Das, S .; и др.: Характеристики невосприимчивого к нагрузке классификатора для надежной идентификации мелких неисправностей в обмотке статора асинхронного двигателя. IEEE Trans.Dielectr. Электр. Insul. 21 (1), 33–44 (2014)
Статья Google Scholar
Estima, J. O .; и др .: Последние достижения в диагностике неисправностей с помощью векторного подхода Парка. В: Материалы семинара IEEE по контролю и диагностике проектирования электрических машин, Париж, Франция, стр. 279–288 (2013)
Гифтакис К.Н .; Кардосо А.Дж.М .: Новый пространственно-векторный подход к обнаружению неисправностей статора в асинхронных двигателях.В: Proceedings of IEEE Workshop on Electrical Machines Design Control and Diagnosis, Nottingham, UK, pp. 232–237 (2017)
Moon, S .; и др .: Обнаружение и классификация размагничивания и межвитковых коротких замыканий IPMSM. IEEE Trans. Ind. Electr. 64 (12), 9433–9441 (2017)
Статья Google Scholar
Kazzaz, S.A .; Сингх, Г.К .: Экспериментальные исследования по мониторингу состояния асинхронных машин и диагностике неисправностей с использованием методов цифровой обработки сигналов.Электроэнергетическая система. Res. 65 , 197–222 (2003)
Статья Google Scholar
Peng, Z.K .; Чу, Ф.Л .: Применение вейвлет-преобразования в мониторинге состояния машин и диагностике неисправностей, обзор с библиографией. Мех. Syst. Сигнальный процесс. 18 , 199–221 (2004)
Статья Google Scholar
Krause, P.C .; и другие.: Анализ электрических машин и приводных систем. Уайли, Нью-Йорк (2002)
Книга Google Scholar
Поликар, Р .: Полное руководство для инженера по вейвлет-анализу (2006). http://engineering.rowan.edu/polikar/wavelets/wttutorial.html
Cusidó, J .; и др .: Обнаружение неисправностей в индукционных машинах с использованием спектральной плотности мощности в вейвлет-разложении. IEEE Trans. Ind. Electr. 55 (2), 633–643 (2008)
Статья Google Scholar
Antonino-Daviu, J .; и др .: Обнаружение комбинированных повреждений в асинхронных машинах с параллельными ветвями статора через DWT пускового тока. Мех. Syst. Сигнальный процесс. 23 , 2336–2351 (2009)
Статья Google Scholar
Kia, S.H .; и др .: Диагностика неисправности обрыва стержня в асинхронных машинах с использованием дискретного вейвлет-преобразования без оценки скольжения.IEEE Trans. Ind. Appl. 45 (4), 1395–1404 (2009)
Статья Google Scholar
Tsoumas, I.P .; и др .: Метод диагностики неисправностей ротора асинхронных машин с использованием сложных вейвлетов. IEEE Trans. Energy Convers. 23 (2), 444–459 (2008)
Статья Google Scholar
Лал, У. и др .: Анализ межвиткового короткого замыкания в 2.3-фазный асинхронный двигатель мощностью 5 л.с. В: Международная конференция по контролю, измерениям и контрольно-измерительным приборам в Индии, 2016 г., Конференция IEEE в Индии, стр. 381–385 (2016)
Bessam, Besma; и др .: Вейвлет-преобразование и нейронные сети для диагностики и определения местоположения межвиткового короткого замыкания в асинхронном двигателе. Int. J. Syst. Ассур. Англ. Manag. 8 (1), 478–488 (2017)
Статья Google Scholar
Siddiqui, K.M .; и др .: Ранний; диагностика межвиткового замыкания статора в асинхронном двигателе с инверторным приводом с помощью вейвлет-преобразования. В кн .: Международная конференция по силовой электронике. В: Конференция IEEE по интеллектуальным системам управления и энергетики, Индия, стр. 1–5 (2016)
Рошанфекр, Р. и др .: Индекс на основе вейвлетов для различения незначительного межвиткового короткого замыкания и резистивные симметричные замыкания в обмотках статора индукционных генераторов с двойным питанием: исследование с помощью моделирования.IET Gener, Transm & Distrib, стр. 1–8 (2015)
Rama Devi, N .; и др .: Диагностика и классификация дефектов изоляции обмотки статора трехфазного асинхронного двигателя с использованием вейвлетов и MNN. IEEE Trans. Dielectr. Электр. Insul. 23 (5), 2543–2555 (2016)
Статья Google Scholar
Цзин-Инь, Л .: Влияние несимметричного напряжения на рабочие характеристики трехфазного асинхронного двигателя.IEEE Trans. Energy Convers. 14 (2), 202–208 (1999)
Статья Google Scholar
Однофазные двигатели переменного тока (часть 1)
ЦЕЛЕЙ:
- перечисляет различные типы двигателей с расщепленной фазой.
- обсуждают работу электродвигателей с расщепленной фазой.
- меняет направление вращения двигателя с расщепленной фазой.
- обсуждает работу многоскоростных электродвигателей с расщепленной фазой.
- обсуждает работу двигателей с расщепленными полюсами.
- обсуждают работу двигателей отталкивающего типа.
- обсуждают работу шаговых двигателей.
- обсуждают работу универсальных двигателей.
ГЛОССАРИЙ ТЕРМИНОВ ОДНОФАЗНЫХ ДВИГАТЕЛЕЙ
- центробежный выключатель — выключатель, служащий для отключения пусковых обмоток в электродвигателе с расщепленной фазой после того, как электродвигатель разогнался примерно до 75% номинальной скорости 904 10 Компенсирующая обмотка
- — обмотка, используемая в универсальных двигателях для противодействия индуктивное сопротивление в обмотках якоря
- компенсация проводимости — достигается путем подключения компенсирующего обмотка универсального двигателя последовательно с обмоткой возбуждения
- Двигатель Хольца — тип однофазного синхронного двигателя, который работает при скорости 1200 об / мин
- индуктивная компенсация — достигается замыканием компенсирующего обмотка выводит вместе и позволяет индуцированному напряжению подавать ток к обмотке
- многоскоростные однофазные двигатели — двигатели, рассчитанные на чем одна скорость полной нагрузки
- нейтральная плоскость — точка, в которой в якоре не возникает напряжения. обмотка
- run обмотка — одна из обмоток в двухфазном двигателе
- асинхронный двигатель с расщепленными полюсами — однофазный двигатель, который производит вращающееся магнитное поле путем затенения одной стороны каждого полюсного наконечника; затенение достигается путем размещения петли из большого медного провода вокруг одной стороны затеняющей катушки полюсного наконечника петля из большого провода, используемая для формирования затененный полюс
- Двухфазный двигатель — тип однофазного двигателя, который разделяет ток. поток через две отдельные обмотки для создания вращающегося магнитного поля
- пусковая обмотка одной из обмоток, используемых в электродвигателе с расщепленной фазой Синхронные двигатели
- — двигатели, которые работают с постоянной скоростью от нагрузка до полной нагрузки синхронная скорость скорость вращающегося магнитного поле асинхронного двигателя переменного тока
- двухфазный — система питания, вырабатывающая два отдельных фазных напряжения. Универсальный двигатель с разнесением на 90 ° Тип однофазного двигателя, который может работать на постоянном или переменном токе
- Двигатель Уоррена — тип однофазного синхронного двигателя, который работает при скорости 3600 об / мин
Хотя большинство крупных двигателей, используемых в промышленности, являются трехфазными, на раз необходимо использовать однофазные двигатели.Однофазные двигатели используются практически исключительно для эксплуатации бытовой техники, такой как кондиционеры, холодильники, колодезные насосы и вентиляторы. Обычно они рассчитаны на работу от 120 В или 240 В. Они имеют размер от долей до нескольких лошадиных сил, в зависимости от приложения.
РАЗДЕЛЬНЫЕ ДВИГАТЕЛИ
Электродвигатели с разделенной фазой делятся на три основные категории:
- Асинхронный двигатель с резистивным пуском.
- Асинхронный двигатель с конденсаторным пуском.
- Конденсаторный двигатель с конденсаторным пуском.
Хотя эти двигатели имеют разные рабочие характеристики, они похожи по конструкции и используют одинаковый принцип работы. Сплит-фаза моторы получили свое название из-за того, как они работают по принципу вращающееся магнитное поле. Однако вращающееся магнитное поле не может быть производится только с одной фазой. Электродвигатели с расщепленной фазой, таким образом, разделяют протекание тока через две отдельные обмотки для имитации двухфазного питания система.Вращающееся магнитное поле может быть создано двухфазной системой.
FGR. 1 Двухфазный генератор вырабатывает напряжения, сдвинутые по фазе на 90 °.
друг с другом.
ДВУХФАЗНАЯ СИСТЕМА
В некоторых частях мира вырабатывается двухфазное питание. Двухфазный Система состоит из генератора с двумя намотанными катушками. 90 ° друг от друга (FGR. 1). Следовательно, напряжения двухфазной системы равны 90 ° сдвинуты по фазе друг к другу.Эти два сдвинутых по фазе напряжения могут создать вращающееся магнитное поле. Потому что должно быть два напряжения или токи в противофазе друг с другом для создания вращающегося магнитного поля, в двигателях с расщепленной фазой используются две отдельные обмотки для создания разности фаз между токами в двух обмотках. Эти моторы буквально раскалываются одна фаза и производят вторую фазу, отсюда и название двигателя с расщепленной фазой.
==
FGR. 2A Обмотка статора используется с асинхронными двигателями с резистивным пуском.
==
Статор электродвигателя с расщепленной фазой содержит две отдельные обмотки: намотка начала и намотка хода.
Пусковая обмотка сделана из проволоки небольшого размера и размещена в верхней части сердечник статора. Обмотка прогона сделана из проволоки относительно большого диаметра и размещается в нижней части сердечника статора. Fgrs. -2A и 2B показывают фотографии двух статоров с расщепленной фазой. Статор в A используется для запуска с сопротивлением. асинхронный двигатель или конденсаторный асинхронный двигатель.
Статор в B используется для конденсаторного двигателя с конденсаторным запуском. Оба статоры содержат четыре полюса, а пусковая обмотка расположена под углом 90 ° от ходовой обмотки.
Обратите внимание на разницу в размере и положении двух обмоток статор показан на FGR. 2А.
Пусковая обмотка сделана из небольшого провода и размещена в верхней части сердечник статора. Это приводит к тому, что она имеет более высокое сопротивление, чем обмотка хода.
Пусковая обмотка располагается между полюсами ходовой обмотки.В ходовая обмотка сделана из проволоки большего диаметра и размещена в нижней части основной. Это дает ему более высокое индуктивное сопротивление и меньшее сопротивление, чем у пусковая обмотка. Эти две обмотки подключены параллельно каждой прочее (FGR. 3).
При подаче питания на статор ток течет через обе обмотки. Поскольку пусковая обмотка более резистивная, через нее протекает ток. будет больше совпадать по фазе с приложенным напряжением, чем будет течь ток через ходовую обмотку.
Ток, протекающий через рабочую обмотку, будет отставать от приложенного напряжения. из-за индуктивного сопротивления.
Эти два противофазных тока создают вращающееся магнитное поле в статор. Скорость этого вращающегося магнитного поля называется синхронной. скорость и определяется двумя факторами:
- количество полюсов статора
- частота приложенного напряжения.
Скорость вращающегося магнитного поля можно определить по формуле:
S = 120 F / P
Где:
S =
об / минF = частота в герцах
P = Количество полюсов статора
ПРИМЕР
Однофазный двигатель содержит шесть полюсов статора и подключен к сети 60 Гц. линия.Какая скорость вращающегося магнитного поля?
S = 120 _ 60 6
S = 1200 об / мин
Частота линии электропередачи на всей территории США составляет 60 Гц. Таблица 19-1 перечислены обороты в минуту (об / мин) для двигателей с разными номерами. полюсов статора.
===
Табл. 1 об / мин при 60 Гц
Полюса статора —
об / мин- 2 — 3600
- 4 — 1800
- 6–1200
- 8–900
===
==
FGR.2B Обмотка статора, используемая с конденсаторными двигателями с конденсаторным пуском.
==
FGR. 3 Пусковая и рабочая обмотки подключаются параллельно каждой
Другие.
==
СОПРОТИВЛЕНИЕ-ПУСК ИНДУКЦИОННО-РАБОЧИЕ ДВИГАТЕЛИ
Асинхронный двигатель с резистивным пуском назван так потому, что состояние между пуском и работой обмотки тока вызвано пуском обмотка имеет большее сопротивление, чем обмотка хода.
Определяется пусковой крутящий момент, создаваемый двигателем с расщепленной фазой. по трем факторам:
1. Напряженность магнитного поля статора.
2. Напряженность магнитного поля ротора.
3. Разность фазового угла между током в пусковой обмотке и ток в обмотке хода. (Максимальный крутящий момент создается, когда эти два токи сдвинуты по фазе на 90 °.)
Хотя эти два тока не совпадают по фазе друг с другом, они не совпадают по фазе на 90 °.В Обмотка запуска более индуктивна, чем обмотка запуска, но у нее есть некоторое сопротивление, которое предотвращает смещение по фазе тока на 90 ° с напряжением. Пусковая обмотка более резистивная, чем ходовая, но у него есть индуктивное сопротивление, предотвращающее ток от находится в фазе с приложенным напряжением. Следовательно, разность фаз от 35 ° до 40 ° возникает между этими двумя токами, что приводит к довольно слабый пусковой крутящий момент (FGR.4).
===
FGR. 4 Рабочий ток и пусковой ток не совпадают по фазе на 35-40 °.
друг с другом.
===
FGR. 5 Центробежный выключатель используется для отключения пусковой обмотки от
схема.
===
FGR. 6 Центробежный выключатель замкнут, когда ротор не вращается.
===
ОТКЛЮЧЕНИЕ ПУСКОВОЙ ОБМОТКИ
Вращающееся магнитное поле статора необходимо только для запуска ротора. превращение.Как только ротор разгонится примерно до 75% от номинальной скорости, пусковую обмотку можно отключить от цепи, и двигатель будет продолжать работу только с включенной обмоткой хода. Двигатели, которые не герметично закрыты (большинство компрессоров холодильных систем и кондиционеров) герметично закрыты) используйте центробежный выключатель, чтобы отключить пуск обмотки из схемы. Контакты центробежного выключателя соединены последовательно с пусковой обмоткой (FGR.5). Центробежный переключатель содержит набор подпружиненных грузов. Когда вал не вращается, пружины удерживайте фибровую шайбу в контакте с подвижным контактом переключателя (FGR. 6). Волоконная шайба заставляет подвижный контакт замкнуть цепь с стационарный контакт.
Когда ротор ускоряется примерно до 75% от номинальной скорости, центробежная сила заставляет веса преодолевать силу пружин. Фибровая шайба втягивается и позволяет контактам размыкать и отключать пусковую обмотку из схемы (FGR.7). Пусковая обмотка этого типа двигателя предназначена быть под напряжением только в течение периода времени, в течение которого двигатель фактически начиная. Если не отсоединить пусковую обмотку, она выйдет из строя. чрезмерным током.
==
FGR. 7 Контакт размыкается, когда ротор достигает примерно 75% номинальной скорости.
==
FGR. 8 Подключение реле горячего провода.
==
FGR. 9 Пусковое реле термоэлектрического типа.
==
ПУСКОВОЕ РЕЛЕ
Асинхронные двигатели с резистивным пуском и индукционные двигатели с конденсаторным пуском иногда герметично закрыты, например, в системах кондиционирования и охлаждения. компрессоры. Когда они герметично закрыты, центробежный переключатель не может использоваться для отключения пусковой обмотки. Устройство, которое можно установить снаружи нужен для отключения пусковых обмоток от цепи. Пусковые реле выполнить эту функцию.
Есть три основных типа пусковых реле, используемых с пусковым сопротивлением. и электродвигателей конденсаторного пуска:
1 Реле горячего провода.
2 Реле тока.
3 Твердотельное пусковое реле.
Реле горячего провода работает как пусковое реле, так и как реле защиты от перегрузки. реле. В схеме, показанной в FGR. 8 предполагается, что термостат контролирует работу мотора. Когда термостат закрывается, ток протекает через резистивный провод и через два нормально замкнутых контакта подключен к пусковой и пусковой обмоткам двигателя.Высокий старт ток двигателя быстро нагревает резистивный провод, вызывая его расширение. Расширение провода вызывает подпружиненный контакт пусковой обмотки. размыкать и отключать пусковую обмотку от цепи, уменьшая двигатель Текущий. Если двигатель не перегружен, резистивный провод никогда не выходит из строя. достаточно горячий, чтобы вызвать размыкание контакта перегрузки, и двигатель продолжает работать. бежать. Однако при перегрузке двигателя резистивный провод расширяется. Достаточно разомкнуть контакт перегрузки и отключить двигатель от сети.Фотография пускового реле с нагревом приведена на FGR. 9.
Реле тока также работает, определяя величину протекающего тока. в цепи. Этот тип реле работает по принципу магнитного поле вместо расширяющегося металла. Реле тока содержит катушку с несколько витков большого провода и набор нормально разомкнутых контактов FGR. 10. Катушка реле подключена последовательно с ходовой обмоткой электродвигатель, а контакты соединены последовательно с пусковой обмоткой, как показано в FGR.11. Когда контакт термостата замыкается, подается питание. к обмотке двигателя. Поскольку пусковая обмотка разомкнута, двигатель не запускается, что приводит к протеканию высокого тока в цепи рабочей обмотки. Этот сильный ток создает сильное магнитное поле в катушке реле, в результате чего нормально разомкнутые контакты замыкаются и подключают начать намотку на схему.
При запуске двигателя ток рабочей обмотки значительно снижается, что позволяет пусковые контакты снова разомкнуть и отсоединить пусковую обмотку от схема.
===
FGR. 10 Текущий тип пускового реле.
===
FGR. 11 Подключение реле тока.
===
FGR. 12 Пусковое твердотельное реле.
===
FGR. 13 Подключение твердотельного пускового реле.
===
Пусковое твердотельное реле, FGR. 12, выполняет ту же основную функцию как текущее реле и во многих случаях заменяет как текущее реле и центробежный переключатель.Пусковое твердотельное реле обычно надежнее и дешевле, чем реле тока или центробежный выключатель. Пусковое твердотельное реле на самом деле является электронным компонентом. известный как термистор. Термистор — это устройство, которое демонстрирует изменение сопротивления при изменении температуры. Этот конкретный термистор имеет положительный температурный коэффициент, что означает, что при его температуре увеличивается, увеличивается и его сопротивление. Принципиальная схема в FGR.13 показано подключение твердотельного пускового реле. Термистор включен последовательно с пусковой обмоткой двигателя. Когда мотор не работает, термистор имеет низкую температуру и его сопротивление низкий, обычно 3 или 4 Ом.
Когда контакт термостата замыкается, ток течет как в рабочий, так и в пусковые обмотки двигателя. Ток, протекающий через термистор вызывает повышение температуры. Эта повышенная температура вызывает сопротивление термистора внезапному изменению до высокого значения в несколько ты и ом.Изменение температуры настолько внезапно, что эффект размыкания набора контактов.
Хотя пусковая обмотка никогда полностью не отключается от источника питания линии, величина тока, протекающего через нее, очень мала, обычно 0,03 до 0,05 ампера, и не влияет на работу мотора. Этот маленький величина тока утечки поддерживает температуру термистора и предотвращает его возврат к низкому значению сопротивления.
После отключения двигателя от сети время охлаждения Необходимо подождать 2–3 минуты, чтобы термистор вернулся в нормальное состояние. низкое сопротивление перед перезапуском двигателя.
ВЗАИМОСВЯЗЬ ПОЛЕЙ СТАТОРА И РОТОРА
Двигатель с расщепленной фазой содержит ротор с короткозамкнутым ротором (FGR. 14). Когда питание подключено к обмоткам статора, вращающееся магнитное поле индуцирует напряжение на стержнях ротора с короткозамкнутым ротором. Индуцированная напряжение заставляет ток течь в роторе, и создается магнитное поле вокруг стержней ротора. Магнитное поле ротора притягивается к поле статора, и ротор начинает вращаться в направлении вращающееся магнитное поле.После размыкания центробежного выключателя только бег обмотка индуцирует напряжение в роторе. Это индуцированное напряжение синфазно. с током статора.
Индуктивное реактивное сопротивление ротора высокое, что вызывает ток ротора. быть почти на 90 ° не совпадающим по фазе с наведенным напряжением. Это вызывает пульсирующее магнитное поле ротора, чтобы отставать от пульсирующего магнитного поля статора на 90 °. Магнитные полюса, расположенные посередине между статором. полюса, создаются в роторе (FGR.15). Эти два пульсирующих магнитных поля создают собственное вращающееся магнитное поле, и ротор продолжает работать. вращать.
===
FGR. 14 Ротор с короткозамкнутым ротором, используемый в двигателе с расщепленной фазой.
===
FGR. 15 Вращающееся магнитное поле создается статором и ротором.
поток.
===
FGR. 16 Электролитический конденсатор переменного тока соединен последовательно с пусковым
обмотка.
===
FGR. 17 Ток в обмотке и ток в пусковой обмотке не совпадают по фазе на 90 °.
друг с другом.
===
FGR. 18 Асинхронный двигатель с конденсаторным пуском.
===
НАПРАВЛЕНИЕ ВРАЩЕНИЯ
Направление вращения двигателя определяется направлением вращения вращающегося магнитного поля, создаваемого бегом и пуском обмоток при первом запуске двигателя.Направление вращения мотора можно изменить, изменив подключение любой пусковой обмотки. или обмотка хода, но не то и другое одновременно. Если пусковая обмотка отключена, двигатель может работать в любом направлении, вручную вращая ротор вал в желаемом направлении вращения.
КОНДЕНСАТОРНО-ПУСКОВЫЕ ДВИГАТЕЛИ
Асинхронный двигатель с конденсаторным пуском очень похож по конструкции. и работа асинхронного двигателя с резистивным пуском.Конденсатор пусковой асинхронный двигатель, однако, имеет подключенный электролитический конденсатор переменного тока последовательно с центробежным переключателем и пусковой обмоткой (FGR. 16).
Хотя рабочие характеристики индукционного запуска конденсатора двигатель и асинхронный двигатель с резистивным пуском идентичны, пусковой характеристики нет. Конденсаторный пуск асинхронного двигателя производит пусковой момент, который существенно выше, чем при пуске с сопротивлением асинхронный двигатель.Напомним, что один из факторов, определяющих пусковой момент для двигателя с расщепленной фазой — это разность фаз между начать ток обмотки и запустить ток обмотки. Пусковой момент Асинхронный двигатель с резистивным запуском имеет низкое значение, поскольку разность фаз между этими двумя токами составляет всего около 40 ° (FGR. 16).
Когда конденсатор надлежащего размера включен последовательно с пусковым обмотки, это заставляет ток в пусковой обмотке опережать приложенное напряжение.Этот опережающий ток вызывает сдвиг фазы на 90 ° между током рабочей обмотки. и пусковой ток обмотки (FGR.17). Максимальный пусковой крутящий момент развивается с этой точки зрения.
Хотя индукционный двигатель с конденсаторным пуском имеет высокий пусковой момент, двигатель не следует запускать чаще восьми раз в час.
Частый запуск может привести к повреждению пускового конденсатора из-за перегрева. Если конденсатор необходимо заменить, следует соблюдать осторожность при использовании конденсатора правильного рейтинга микрофарад.Если конденсатор слишком малой емкости используется, пусковой ток будет меньше 90 ° по фазе с рабочий ток, и пусковой крутящий момент будет уменьшен. Если емкость значение слишком велико, пусковой ток будет не совпадать по фазе более чем на 90 ° с рабочим током, и пусковой момент снова будет уменьшен. Асинхронный двигатель с конденсаторным пуском показан на FGR. 18.
ДВУХНАПРЯЖНЫЕ ДВИГАТЕЛИ С РАЗДЕЛЕНИЕМ НАПРЯЖЕНИЯ
==
FGR.19 Обмотки двойного напряжения для двигателя с расщепленной фазой.
==
FGR. 20 Высоковольтное соединение для двигателя с расщепленной фазой на два хода
и две пусковые обмотки. СТАРТОВЫЕ ОБМОТКИ
==
FGR. 21 Низковольтное соединение для двигателя с расщепленной фазой с двухпозиционным и
две пусковые обмотки.
==
FGR. 22 Двигатель с двойным напряжением и одной пусковой обмоткой, обозначенной T5 и T6.
==
FGR.23 Двигатель с двойным напряжением и одной пусковой обмоткой, обозначенной T5 и T8.
==
FGR. 24 Высоковольтное соединение с одной пусковой обмоткой.
==
FGR. 25 Низковольтное соединение для двигателя с расщепленной фазой с одним пуском
обмотка.
==
Многие электродвигатели с расщепленной фазой рассчитаны на работу от 120 или 240 В. FGR. 19 показана принципиальная схема двигателя с расщепленной фазой, рассчитанного на два напряжения. операция.Этот конкретный двигатель содержит две рабочие обмотки и две пусковые обмотки. обмотки.
Номера выводов однофазных двигателей нумеруются стандартным образом. Одна из обмоток хода имеет номера выводов Т1 и Т2. Другая обмотка его выводы пронумерованы T3 и T4. В этом двигателе используются два разных набора начать наматывать выводы. Один набор помечен T5 и T6, а другой набор помечены как Т7 и Т8.
Если двигатель должен быть подключен для работы от высокого напряжения, рабочие обмотки и пусковые обмотки будут подключены последовательно, как показано на FGR.20.
Затем пусковые обмотки подключаются параллельно ходовым обмоткам. Если желательно противоположное направление вращения, T5 и T8 будут изменены.
Для работы от низкого напряжения обмотки должны быть соединены параллельно. как показано в FGR. 21.
Это соединение выполняется путем предварительного параллельного соединения обмоток хода. соединяя Т1 и Т3 вместе, а Т2 и Т4 вместе. Пусковые обмотки соединяются параллельно, соединяя T5 и T7 вместе, а T6 и T8 вместе.Затем пусковые обмотки подключаются параллельно ходовым обмоткам. Если требуется противоположное направление вращения, следует поменять местами T5 и T6. вместе с Т7 и Т8.
Не все однофазные двигатели с двойным напряжением содержат два набора пусковых обмоток. FGR. 22 показана принципиальная схема двигателя, содержащего два комплекта ходовые обмотки и только одна пусковая обмотка.
На этом рисунке пусковая обмотка обозначена T5 и T6. Некоторые моторы, тем не менее, идентифицируйте пусковую обмотку, обозначив ее T5 и T8, как показано на FGR.23.
Независимо от того, какой метод используется для маркировки клемм начать намотку, соединение будет таким же. Если двигатель должен быть подключен для работы с высоким напряжением рабочие обмотки будут подключены последовательно и пусковая обмотка будет подключена параллельно одному из прогонов обмотки, как показано в FGR. 24. В этом типе двигателя каждая обмотка рассчитана на при 120 В. Если рабочие обмотки соединены последовательно через 240 В, каждая обмотка будет иметь падение напряжения 120 В.Подключив пусковую обмотку параллельно только через одну обмотку, он получит только 120 В, когда на двигатель подается питание. Если противоположное направление вращения желательно, следует изменить Т5 и Т8.
Если двигатель должен работать от низкого напряжения, обмотки подключаются. параллельно, как показано в FGR. 25. Поскольку все обмотки соединены параллельно, каждый из них получит 120 В при подаче питания на двигатель.
(продолжение в части 2)
Шесть частей серии по выявлению дефектов двигателя
Ноа П.Вефиль
Корпорация PdMA
5909C Hampton Oaks ParkwayTampa, FL 33610 Тел .: 813-621-6463 / Факс: 813-620-0206 www.pdma.com [email protected]
Аннотация
Одна из самых больших проблем, с которыми сталкивается при анализе электрического оборудования, — это определение истинной проблемы. Следует использовать анализ зоны разлома, чтобы убедиться, что обнаруживается реальная проблема, а не просто вторичная проблема, вызванная реальной проблемой.В этой статье будет обсуждаться процесс диагностики электродвигателей и выделены шесть конкретных зон неисправности, на которые следует обратить внимание, включая силовую цепь, состояние изоляции, состояние статора, состояние ротора, воздушный зазор и качество электроэнергии.
Введение
Персоналпо обслуживанию электрооборудования в течение многих лет ограничивался поиском и устранением неисправностей, используя не более чем мультиметр и мегомметр. К сожалению, это не дает достаточно информации, чтобы позволить большинству технических специалистов быть полностью уверенными в определении наличия электрической проблемы или ее отсутствия.Механический оператор однажды сказал: «Если проблема существует с частью оборудования, и в пределах пятнадцати футов от него есть электрический кабель, то это, должно быть, проблема с электричеством!» Если вы занимаетесь обслуживанием электрооборудования, вы, вероятно, слышали в какой-то момент своей карьеры: «Это, должно быть, двигатель». Если вы занимаетесь техобслуживанием механических устройств, вы, вероятно, слышали: «Вероятно, это насос. Давай разъединим его.
Это была непрерывная битва, и до недавнего времени технология в основном разрабатывалась для механической стороны.Вибрация показывает двукратный всплеск линейной частоты (2FL), и это должно означать, что она электрическая. Верно? …. Неправильный!!!! Сегодня существует так много переменных, которые приводят к возникновению 2FL, что вывод двигателя из эксплуатации для ремонта электрической части только из-за высокого 2FL является ошибкой, возможно, дорогостоящей. Лучшее, на что вы могли надеяться, — это то, что ремонтная мастерская перезвонит и спросит: «Что вы хотите сделать с этим идеальным двигателем?» В последнее время поле битвы переместилось от двигателя к насосу к двигателю против привода.Похоже, что как только технология будет решена для разрешения спора, возникнут новые споры, продвигающие технологии еще дальше.
«Устойчивость к наземным испытаниям — это все, что нам нужно». Мне трудно поверить в это утверждение. Сколько раз мы нервничали при перезапуске отключившегося мотора после того, как проверили с помощью нашего надежного мегомметра, что «мотор в порядке». На самом деле, может существовать множество причин, вызывающих отключение двигателя, которое не будет обнаружено мегомметром, например, межвитковое замыкание.Пробой изоляции между отдельными витками обмотки может происходить внутри паза статора или в конце витка и быть полностью изолированным от земли. Таким же образом могут возникать межфазные короткие замыкания. Если оставить эти неисправности без внимания, они могут привести к быстрому износу обмоток, что может привести к полной замене двигателя. Перезапуск отключившегося двигателя следует рассматривать только после устранения этих неисправностей.
Поиск и устранение неисправностей электродвигателя, у которого есть подозрение на электрическую проблему, не должно приводить к утверждению: «Двигатель в порядке.«Хотя кто-то с многолетним опытом и огромным авторитетом может обойтись без такого простого утверждения, большинство технических специалистов не найдут такой же положительной реакции от своего руководителя, инженера или руководителя завода. Чтобы достоверно сообщить об электрическом состоянии двигателя и убедиться, что к вашей рекомендации серьезно относятся, существует шесть областей интереса, известных как зоны неисправности, на которые следует обратить внимание во время поиска и устранения неисправностей. Отсутствие какой-либо из этих зон может привести к тому, что вы не заметите проблему и потеряете доверие к своим навыкам устранения неполадок.
Качество электроэнергии
Качество электроэнергии недавно привлекло всеобщее внимание из-за высокого спроса со стороны коммунальных служб и популярности приводов переменного и постоянного тока. В связи с высоким спросом возросла озабоченность по поводу штрафов за коэффициент мощности и платы за потребление. Приводы с регулируемой частотой (VFD) и другие нелинейные нагрузки могут значительно увеличить уровни искажений напряжения и тока. Как можно минимизировать это искажение? Какое оборудование требуется, и является ли проблема чисто финансовой или оборудование находится под угрозой?
В первой части этой серии из шести частей мы обсудим реальное значение проблем с качеством электроэнергии, связанных с исправностью двигателя.Мы обсудим гармонические искажения напряжения и тока, скачки напряжения, несимметрию напряжения, коэффициент мощности и основной принцип, связывающий их все вместе… НАГРЕВ.
Силовая цепь
Под силовой цепью понимаются все проводники и соединения, которые существуют от точки, в которой начинается испытание, до соединений на двигателе. Это могут быть автоматические выключатели, предохранители, контакторы, перегрузки, разъединители и наконечники. Демонстрационный проект по промышленным системам распределения электроэнергии в 1994 году показал, что соединители и проводники были источником 46% неисправностей, снижающих КПД двигателя.Во второй части этой серии из шести частей мы обсудим влияние проблем силовой цепи на состояние двигателя.
Состояние изоляции
Это относится к изоляции между обмотками и землей. Высокие температуры, возраст, влажность и загрязнение приводят к сокращению срока службы изоляции. Было сказано, что, если бы заводы просто использовали имеющиеся обогреватели, чтобы изоляция оставалась сухой, то удвоение срока службы наших двигателей не исключалось бы. В части 3 этой серии из шести частей мы обсудим стандарты, регулирующие состояние изоляции, и способы их наилучшего применения для обеспечения максимально возможного срока службы изоляции заземления наших двигателей.
Состояние статора
Когда мы упоминаем статор, мы имеем в виду обмотки постоянного или трехфазного переменного тока, изоляцию между витками обмотки, паяные соединения между катушками и сердечник статора или пластинки. Эта зона разлома вызывает много споров о причине и частоте отказов. В части 4 этой серии из шести частей мы обсудим различные основные причины неисправностей статора и способы определения условий, способствующих неисправностям статора, чтобы их можно было исправить.
Состояние ротора
Это относится к стержням ротора, пластинам ротора и концевым кольцам ротора.В 1980-х годах совместные усилия EPRI и General Electric показали, что 10% отказов двигателей происходят из-за ротора. Ротор, хотя и составляет небольшой процент проблем с двигателем, может повлиять на выход из строя других зон неисправности. В Части 5 этой серии из шести частей мы обсудим различные механизмы отказов ротора, влияние на состояние двигателя и серьезность отказов ротора в зависимости от конструкции ротора.
Воздушный зазор
Это соотношение относится к воздушному зазору между ротором и статором.Если этот воздушный зазор неравномерно распределен вокруг двигателя на 360 градусов, могут возникнуть неравномерные магнитные поля. Эти магнитные дисбалансы могут вызвать движение обмоток статора, что приведет к повреждению обмотки, и электрически индуцированные вибрации, что приведет к выходу из строя подшипников. В Части 6 этой серии из шести частей мы обсудим различные типы эксцентриситета, их причины и способы выявления аномалий воздушного зазора с использованием методов статических и динамических испытаний.
Заключение
В заключение, выражения « Мотор в порядке, » недостаточно для того, чтобы к нам относились серьезно и чтобы была проведена истинная оценка состояния мотора.Если решение о том, что делать в случае устранения неполадок или диагностики, зависит от вас, посмотрите на всю картину. По возможности не принимайте быстрых решений. Разбейте систему на отдельные зоны разлома, полностью протестируйте каждую зону разлома с помощью всех доступных вам технологий и, наконец, дайте свои рекомендации, письменно или устно, используя терминологию, используемую при анализе зон разлома, чтобы выразить вашу уверенность и возможности.
Часть 1: Качество электроэнергии
Разработав методический пошаговый процесс, результаты теста EMAX Power Analysis можно быстро использовать для оценки трех из шести зон неисправности.Эти зоны неисправности получены из наиболее распространенных отказов электродвигателей, связанных с электричеством, в промышленной среде. В этой статье основное внимание уделяется зоне нарушения качества электроэнергии, за которой следует рекомендуемый процесс оценки данных, записанных во время захвата анализа мощности (PA).
Качество электроэнергии относится к состоянию сигналов напряжения и тока. Механизмы, которые могут вызвать низкое качество электроэнергии, включают одно- и трехфазные нелинейные нагрузки, частотно-регулируемые приводы, запуск и останов ближайшего оборудования, скачки напряжения и многое другое.Эти влияния могут вызвать чрезмерные гармоники в системе распределения, что может привести к перегреву системы изоляции.
Качество электроэнергии = Качество напряжения
Общий термин — качество электроэнергии, но на самом деле мы оцениваем качество напряжения, подаваемого в цепь двигателя. Система электроснабжения может контролировать только качество напряжения; он не контролирует токи, которые может потреблять конкретная нагрузка.
ТестPdMA EMAX Power Analysis позволяет технику сделать снимок качества электроэнергии, чтобы увидеть состояние сигнала напряжения и оценить его влияние на двигатель.Фактическое время выборки для одновременного измерения трех фаз напряжения и тока составляет 0,17 секунды. На этом снимке технический специалист сосредотачивается в первую очередь на трех фазных напряжениях, которые питают двигатель, и определяет, какое влияние они оказывают на характеристики двигателя.
Данные, используемые для оценки качества электроэнергии, находятся в разделе междуфазного напряжения на странице результатов (рис. 1). Фундаментальное среднеквадратичное значение, полное среднеквадратичное значение, пик-фактор (CF) и полное гармоническое искажение (THD) указаны для каждого из фазных напряжений.Также указаны среднее напряжение и процент дисбаланса. Кроме того, указаны рекомендуемые коэффициенты снижения номинальных характеристик NEMA как для межфазного дисбаланса напряжений, так и для коэффициента гармонического напряжения (HVF).
Дисбаланс межфазных напряжений
Когда линейные напряжения, приложенные к асинхронному двигателю, не равны, токи обратной последовательности вводятся в обмотки двигателя. Эти токи обратной последовательности создают магнитный поток в воздушном зазоре, вращающийся против вращения двигателя.Это снижает крутящий момент двигателя, влияя на его работу и повышая температуру двигателя.
NEMA обеспечивает рекомендуемый коэффициент снижения номинальных характеристик, основанный на процентном дисбалансе напряжений (рисунок 2). Не запускайте двигатель, если дисбаланс напряжений превышает пять процентов (согласно NEMA MG-1). При несимметричном межфазном напряжении номинальную мощность асинхронного двигателя в лошадиных силах следует умножить на коэффициент снижения номинальных характеристик. Если нагрузка на двигатель превышает это пониженное значение, примите меры для исправления дисбаланса.Работа двигателя с несимметричным напряжением приведет к чрезмерному повышению температуры обмоток и повреждению изоляции.
Напряжение на клеммах
Напряжение на клеммах сильно влияет на характеристики двигателя. Влияние низкого напряжения на электродвигатели хорошо известно и понятно; однако влияние высокого напряжения на двигатели часто понимают неправильно. В следующих параграфах мы рассмотрим влияние низкого и высокого напряжения на клеммах.
Низкое напряжениеКогда двигатель работает при напряжении ниже номинального, указанного на паспортной табличке, некоторые характеристики двигателя изменяются незначительно, а другие характеристики изменяются более резко.Чтобы управлять фиксированной механической нагрузкой, двигатель должен потреблять фиксированное количество энергии из цепи. Сумма мощности составляет примерно относительно напряжения, умноженного на ток. Таким образом, при более низком напряжении будет возрастать ток для поддержания требуемой мощности. Само по себе это не вызывает беспокойства, если только увеличение тока не превышает номинальный ток двигателя, указанный на паспортной табличке. Когда это произойдет, накопление тепла внутри двигателя приведет к повреждению системы изоляции.
Помимо возможности перегрева и сокращения срока службы изоляции, необходимо понимать другие важные факторы, влияющие на характеристики двигателя.Пусковой, подтягивающий и отводящий крутящие моменты асинхронных двигателей изменяются в зависимости от приложенного напряжения в квадрате . Таким образом, 10% -ное снижение напряжения, указанного на паспортной табличке (от 100% до 90%, от 480 до 432 вольт), снизит пусковой момент, крутящий момент и крутящий момент отрыва в 0,9 x 0,9 раза. Полученные значения составят 81% от значений полного напряжения. При напряжении 80% результатом будет 64% значений полного напряжения. Понятно, что в таких условиях будет сложно запустить эти непростые нагрузки. Точно так же крутящий момент двигателя будет намного ниже, чем при нормальном напряжении.
Высокое напряжениеРаспространенное заблуждение состоит в том, что высокое напряжение имеет тенденцию уменьшать ток, потребляемый двигателем, поскольку низкое напряжение увеличивает ток. Это не всегда так. Высокое напряжение на двигателе приводит к насыщению магнитной части двигателя. Это заставляет двигатель потреблять чрезмерный ток, пытаясь намагнитить утюг сверх точки, до которой его можно легко намагнитить. Как правило, двигатели допускают определенные изменения напряжения, превышающие указанные на паспортной табличке; однако крайние значения выше этого значения вызовут увеличение силы тока с соответствующим увеличением нагрева и сокращением срока службы двигателя.Например, более старые двигатели были рассчитаны на 220/440 и имели диапазон допуска +/- 10%. Таким образом, диапазон напряжения для двигателя на 440 вольт будет от 396 до 484. Даже если это так называемый диапазон допуска, наилучшие характеристики будут при номинальном напряжении. Работа на концах этого диапазона приведет к ненужной нагрузке на двигатель.
Эти диапазоны допусков существуют не для того, чтобы установить стандарт, который можно использовать постоянно, а для того, чтобы установить диапазон, который можно использовать для приспосабливания к нормальным межчасовым колебаниям напряжения на заводе.Непрерывная работа на нижнем или верхнем конце диапазона сокращает срок службы двигателя.
График, показанный на Рисунке 3, широко используется для иллюстрации общего влияния высокого и низкого напряжения на характеристики двигателей с Т-образной рамой. Показывать общие эффекты — это нормально, но помните, что эти эффекты будут немного меняться от одного двигателя к другому .
На старых установках, возможно, придется пойти на некоторые компромиссы из-за различий в стандартах для старых двигателей (220/440) и новых стандартов Т-образной рамы (230/460), но напряжение в середине этих диапазонов обычно будет приводят к лучшей общей производительности.Высокое напряжение всегда приводит к снижению коэффициента мощности и увеличению потерь в системе, что приводит к более высоким эксплуатационным расходам на оборудование и систему.
Для помощи в оценке напряжения в цепи двигателя приведены следующие рекомендации:
- Маленькие двигатели более чувствительны к перенапряжению и насыщению, чем большие двигатели Двигатели
- с U-образной рамой менее чувствительны к перенапряжению, чем с T-образной рамой
- Двигатели Premium / Высокоэффективные менее чувствительны к перенапряжению, чем двигатели со стандартным КПД
- Перенапряжение может привести к увеличению силы тока и температуры даже на слегка нагруженных двигателях; таким образом, срок службы двигателя может быть сокращен за счет высокого напряжения
- КПД при полной нагрузке падает как при высоком, так и при низком напряжении
- Коэффициент мощности увеличивается при более низком напряжении и резко падает при высоком напряжении
- Пусковой ток увеличивается с повышением напряжения
Проще говоря, наилучший срок службы и наиболее эффективная работа электродвигателей происходит, когда электродвигатели работают при напряжении, максимально приближенном к номинальному значению, указанному на паспортной табличке.
Гармоники
Снижение номинальных характеристик по NEMA для содержания гармоник, коэффициент гармонического напряжения (HVF)
Наличие гармонических искажений в подаваемом на двигатель напряжении увеличивает электрические потери и снижает КПД. Эти потери увеличивают температуру двигателя, что приводит к еще большим потерям. Чтобы помочь технику оценить влияние гармонических составляющих напряжения на характеристики двигателя, EMAX предоставляет HVF и рекомендуемый коэффициент снижения номинальных характеристик.
Гармоники — это синусоидальные искажающие сигналы, кратные основной частоте. Эти гармоники генерируются нелинейными нагрузками.
Линейные нагрузки — это устройства с электрической нагрузкой, которые в установившемся режиме работы обеспечивают практически постоянное сопротивление источнику питания в течение всего цикла приложенного напряжения. Примером линейной нагрузки является асинхронный двигатель. Обратите внимание, как ток пропорционален напряжению во всей синусоиде (рис. 4).
Нелинейные нагрузки — это электрические нагрузки, которые непрерывно потребляют ток или сопротивление которых изменяется в течение цикла синусоиды входного переменного напряжения. Примерами нелинейных нагрузок в промышленной распределительной системе являются дуговое зажигание, источники питания преобразователя для частотно-регулируемых приводов (6 и 12 импульсов) и источники питания постоянного тока. Пример прерывистого потребления тока показан на рисунке 5, фаза напряжения и тока, питающих частотно-регулируемый привод.
Высокие гармоники могут привести к повышению температуры двигателя.NEMA рассмотрел этот рост температуры во время работы и необходимость снижения номинальных характеристик двигателя из-за гармонических искажений сигнала напряжения. В публикации стандартов NEMA номер MG-1 представлена кривая снижения коэффициента гармонического напряжения (HVF), чтобы помочь техническому специалисту оценить серьезность проблемы.
При выполнении PA-тестирования цепей двигателя EMAX производит выборку сигнала приложенного напряжения. Он анализирует форму волны напряжения, определяет основную частоту и все присутствующие гармоники, а также их процент в форме волны.На основе этой информации рассчитывается HVF и, при необходимости, предоставляется рекомендуемое снижение номинальных характеристик в соответствии с директивами NEMA. Кривая снижения номинальных характеристик HVF показана на Рисунке 6.
ПРИМЕЧАНИЕ: Кривая не применяется, когда двигатель работает с частотой, отличной от номинальной, или при работе от источника переменного напряжения или частоты (VFD).
Обычно нет необходимости снижать номинальные характеристики двигателей, если искажение напряжения остается в пределах стандарта 519-1992 Института инженеров по электротехнике и электронике (IEEE): 5% общих гармонических искажений (THD) и 3% для любой отдельной гармоники.Проблемы с чрезмерным нагревом начинаются, когда искажение напряжения достигает 8-10% и выше. Такое искажение следует исправить, чтобы продлить срок службы двигателя.
Заключение
Тест MCEMAX Power Analysis предоставляет множество подробной информации для определения качества электроэнергии в вашей распределительной системе. Кроме того, это простое в выполнении испытание также предоставляет данные, необходимые для детальной оценки цепей двигателя, в которых используются частотно-регулируемые приводы. Междуфазное напряжение, гармонические искажения, напряжение на шине и общие гармонические искажения — все это влияет на характеристики и состояние двигателя.Тесты MCEMAX предоставят вам все необходимое для принятия обоснованных решений, которые приведут к успешному плану управления моторикой.
Часть 2: Цепь питания
При оценке состояния любой зоны разлома рекомендуется использовать как можно больше технологий. Основное внимание в этой статье уделяется описанию силовой цепи и разработке методик выявления аномалий в силовой цепи.
Цепь питанияотносится ко всем проводникам и соединениям, которые существуют от шины питания до соединений на двигателе.Это могут быть автоматические выключатели, предохранители, контакторы, перегрузки, разъединители и наконечники. Исследование промышленных систем распределения электроэнергии в 1994 году показало, что соединители и проводники были источником 46% неисправностей, снижающих КПД двигателя. Часто двигатель, изначально находящийся в отличном состоянии, подключается к неисправной силовой цепи. Это вызывает такие проблемы, как дисбаланс напряжения, дисбаланс тока и т. Д. По мере того, как эти проблемы становятся более серьезными, для обеспечения той же выходной мощности двигателя требуется больший ток, что приводит к повышению температуры и повреждению изоляции.
Один тест, предоставляемый MCEMAX для помощи в анализе силовой цепи, — это тест Power Analysis. Тест Power Analysis выполняется на асинхронных двигателях переменного тока, синхронных двигателях переменного тока, двигателях с фазным ротором и двигателях, питаемых от частотно-регулируемого привода. Тест Power Analysis указывает на аномалии в силовой цепи, качество электроэнергии и зоны повреждения статора. В центре внимания данной статьи — зоны повреждения силовой цепи.
Соединения с высоким сопротивлением в силовой цепи приводят к несимметричным напряжениям на клеммах двигателя.Последствиями несимметричного напряжения на клеммах являются: перегрев компонентов, прилегающих к высокоомному соединению, потеря крутящего момента, другие фазы, потребляющие дополнительный ток для компенсации, перегрев системы изоляции и снижение КПД двигателя. Неуравновешенность напряжений заставит двигатель потреблять больший ток для выполнения необходимой работы. Следовательно, заказчик не только сталкивается с преждевременным сгоранием двигателя (или однофазным), но также может заплатить за дополнительные киловатт-часы и, возможно, штраф за спрос.
Еще одним результатом дисбаланса напряжений является образование токов обратной последовательности. Эти токи называются «обратной последовательностью» из-за развития магнитного поля, противоположного вращению двигателя. Эта дополнительная нагрузка требует, чтобы двигатель потреблял больше тока для питания управляемой нагрузки. Долгосрочный эффект заключается в сокращении срока службы изоляции из-за дополнительных тепловых нагрузок.
Значения теста Power Analysis, которые используются для оценки состояния силовой цепи, включают: межфазное напряжение, межфазный ток и их соответствующие дисбалансы.Эти измеренные значения записываются и сравниваются с отраслевыми стандартами. Из-за отрицательного влияния несимметричного напряжения на шине NEMA MG-1 рекомендует не запускать двигатель, если дисбаланс напряжений достигает 5%. NEMA предоставляет кривую снижения номинальных характеристик, которая показывает фактор снижения мощности двигателя в лошадиных силах из-за дисбаланса напряжений, испытываемого двигателем.
Несбалансированная подача мощности не только вызывает дисбаланс напряжений, но также вызывает гораздо более высокий процент дисбаланса тока. Некоторые практические правила, которые следует применять при поиске и устранении неисправностей в силовой цепи:
- Согласно данным Ассоциации обслуживания электрооборудования (EASA), асимметрия напряжения 1% может привести к дисбалансу тока 6-7%.
- А 3.По данным Исследовательского института электроэнергетики (EPRI) , дисбаланс напряжения 5% может повысить температуру обмоток на 25%.
- Повышение температуры обмотки на 10 ° Цельсия (указанное выше) может привести к сокращению срока службы двигателя на 50%.
Несимметрия фазных напряжений приводит к тому, что трехфазные двигатели работают при температурах, превышающих указанные номинальные значения. Этот чрезмерный нагрев происходит в основном из-за токов обратной последовательности, которые пытаются заставить двигатель вращаться в направлении, противоположном его нормальному вращению.Эти более высокие температуры вскоре приводят к ухудшению изоляции двигателя и сокращению срока его службы. Процент повышения температуры обмотки с наибольшим током примерно в два раза больше квадрата дисбаланса напряжений. Например, несимметрия напряжения 3% вызовет повышение температуры примерно на 18% (32 x 2 = 18).
Чем больше дисбаланс, тем выше температура обмотки двигателя и тем быстрее выйдет из строя изоляция. Стандарты NEMA рекомендуют максимальный дисбаланс напряжений 1% без ухудшения характеристик двигателя.Мощность двигателя может быть снижена до 75% при небалансе напряжений не более 5%. Если несимметрия напряжения превышает 5%, рекомендуется не эксплуатировать двигатель.
Теперь, когда были обсуждены негативные эффекты несбалансированного напряжения и тока из-за аномалий силовой цепи, как тестер MCEMAX выявляет эти аномалии? Самый простой способ проверить силовую цепь — использовать тест Power Analysis, когда двигатель работает в нормальных условиях.
Несимметрия тока может указывать на высокое сопротивление соединения.Тем не менее, дисбаланс напряжения, а также токовый дисбаланс — лучший индикатор. То, что определяет наличие обоих дисбалансов в случае подключения с высоким сопротивлением, — это место проведения испытания.
Неуравновешенность напряжения и тока не является обязательным требованием в случае неисправности в силовой цепи. Соединение с высоким сопротивлением, отказ компонента силовой цепи или дисбаланс, указывающий на другую зону повреждения, могут выглядеть по-разному.
Анализ аномалий силовой цепи наиболее эффективен при одинаковых нагрузках.Более высокие нагрузки могут привести к тому, что неисправность станет более очевидной из-за того, что напряжения будут больше при более высоких нагрузках. Самый простой способ проверить ток, потребляемый двигателем, — это посмотреть на% FLA в разделе Current на странице результатов (рисунок 7).
Здесь неоценимое значение имеет умение специалиста по правильному устранению неисправностей в силовой цепи. Как упоминалось ранее, дисбаланс тока является возможным индикатором аномалии силовой цепи. Это связано с тем, что расположение аномалии относительно измерительных проводов напряжения EMAX будет показывать разные дисбалансы.
Однако измеренные значения тока неизменны независимо от места проведения испытания. На рисунке 8 показано, как могут изменяться показания напряжения в зависимости от места проведения испытания.
Если испытание выполняется перед аномалией, то будет только дисбаланс тока, а если испытание выполняется ниже по потоку, будет дисбаланс как по току, так и по напряжению. Если техник не может безопасно приблизиться к двигателю для повторной проверки, дальнейшее устранение неисправностей с помощью стандартного теста MCE должно выполняться при обесточенном двигателе.
Нагрузки, использующие трехфазные источники питания, подвержены потере одной из трех фаз в системе распределения электроэнергии. Это состояние известно как однофазное. Потеря одной фазы или ветви трехфазной линии вызывает серьезные проблемы для асинхронных двигателей. Обмотки двигателя перегреваются, главным образом, из-за протекания тока обратной последовательности, состояния, которое существует всегда, когда возникает дисбаланс фазного напряжения. Потеря фазы также снижает способность двигателя работать с номинальной мощностью в лошадиных силах.
Заключение
В заключение, соединение с высоким сопротивлением приводит к дисбалансу напряжения и тока, что значительно снижает номинальную мощность в лошадиных силах. Когда исправный двигатель подключается к неисправной силовой цепи, это вызывает проблемы с дисбалансом мощности, а также с токами обратной последовательности. По мере того, как проблемы становятся более серьезными, номинальная мощность двигателя падает, вызывая повышение температуры, что приводит к перегреву соседних компонентов, повреждению ротора, статора, изоляции, сокращению срока службы двигателя, снижению эффективности двигателя, отказу двигателя или возгоранию.Хотя повреждение ротора, статора или изоляции может быть симптомом проблемы, основная причина по-прежнему кроется в силовой цепи. Замена двигателя без фиксации высокоомного соединения приводит к повторному запуску цикла отказа.
Часть 3: Изоляция
Важность систем звуковой электрической изоляции признавалась с первых дней появления электричества. Шли годы, и электрическая промышленность расширялась, потребность в улучшенных испытаниях систем электрической изоляции стала еще более значительной.Конструкции и области применения электрического оборудования практически бесконечны по своему разнообразию, но все блоки имеют одну общую характеристику. Для правильной работы электрического оборудования одной из наиболее важных характеристик является то, что поток электричества проходит по четко определенным путям или цепям. Эти пути обычно ограничиваются проводниками, внутренними или внешними по отношению к электрическому компоненту. Важно, чтобы ток был ограничен; не просачиваться с одного пути на другой через материал, не предназначенный для использования в качестве проводящего пути.
Износ систем изоляции может создать опасную ситуацию для персонала, подверженного току утечки. Обеспечение того, чтобы система изоляции ограничивала прохождение электрического тока по намеченному проводящему пути, гарантирует, что персонал, вступающий в контакт с изоляцией, не рискует стать проводником с более низким сопротивлением для ток-заземления, чем предполагаемый путь.
Так же, как стенки трубы сдерживают поток жидкости, изоляция, окружающая проводник, ограничивает прохождение электрического тока.Стенки трубы могут иметь загрязнения, трещины или другие дефекты, которые ограничивают ее способность выдерживать давление жидкости. Изоляция может образовывать загрязнения, трещины или другие дефекты, которые ограничивают ее способность противостоять электрическому потенциалу, который представляет собой силу или напряжение, управляющее потоком электронов (током) через электрическую цепь.
Несмотря на большие успехи в проектировании электрооборудования в последние годы, слабым звеном в цепи по-прежнему остается система изоляции. Когда электрическое оборудование выходит из строя, чаще всего причиной неисправности является дефект изоляции.Несмотря на то, что электродвигатель правильно спроектирован и испытан перед установкой, не может быть никаких гарантий, что повреждение изоляции не произойдет когда-нибудь в будущем.
Многие внешние воздействия влияют на срок службы систем электрической изоляции. К внешним воздействиям относятся загрязнение изоляционных поверхностей химическими веществами из окружающей атмосферы, которые атакуют и разрушают его молекулярную структуру, физическое повреждение из-за неправильного обращения или случайного удара, вибрации и чрезмерного нагрева от близлежащих промышленных процессов.Переходные процессы напряжения в проводниках внутри изоляции, такие как скачки или скачки напряжения, вызванные частотно-регулируемыми приводами, могут снизить электрическую прочность изоляции до точки отказа. Ухудшение происходит по-разному и во многих местах одновременно. Например, по мере того, как химические вещества и / или тепло изменяют молекулярную структуру изоляционных материалов, они становятся проводящими, позволяя протекать через них большему току под действием напряжения, что приводит к току утечки.
Правильно проведенное испытание системы изоляции, анализ собранных данных и соответствующие корректирующие действия могут минимизировать вероятность отказов.Поэтому важность понимания испытаний систем изоляции как никогда важна.
Безопасность
IEEE 43-2000 гласит, что перед проведением любых испытаний изоляции необходимо обратить внимание на безопасность. Небезопасно начинать тестирование до тех пор, пока разрядный ток не станет незначительным и не исчезнет заметное обратное напряжение. После удаления заземления обратное напряжение должно быть менее 20 В. Тестер MCE (Motor Circuit Evaluation) проверяет это напряжение перед тем, как разрешить тестирование.Чтобы начать тестирование, перед началом тестирования должно быть меньше 15 В напряжения между фазой и нейтралью (рисунок 9).
Кроме того, для тестирования при напряжении 5000 В провод между тестером и обмоткой должен быть надлежащим образом изолирован и отделен от земли. В противном случае поверхностные токи утечки и потери на коронный разряд могут привести к ошибкам в данных испытаний.
Определения
По определению, сопротивление изоляции складывается из приложенного постоянного напряжения через изоляцию, деленного на общий результирующий ток.Полный ток складывается из четырех различных токов: поверхностной утечки, геометрической емкости, проводимости и поглощения.
Поверхностный ток утечки постоянен во времени. Влага или какой-либо другой тип частично проводящего загрязнения, присутствующий в машине, вызывает высокий поверхностный ток утечки, то есть низкое сопротивление изоляции.
Геометрическая емкость , ток — это обратимая составляющая измеренного тока при зарядке или разряде, обусловленная геометрической емкостью.То есть емкость, измеренная при переменном токе мощности или более высоких частотах. При постоянном напряжении этот ток имеет очень короткую постоянную времени и не влияет на обычные измерения.
Ток проводимости в хорошо связанных полиэфирных и эпоксидно-слюдяных изоляционных системах практически равен нулю, если изоляция не пропиталась влагой. Более старые изоляционные системы, такие как асфальтовая слюда или шеллак слюда-фолий, могут иметь естественную и более высокую проводимость из-за проводимости лент, используемых на обратной стороне слюды.
Ток поглощения состоит из двух компонентов — поляризации изоляционного материала и постепенного дрейфа электронов и ионов через изоляционный материал. Поляризационный ток вызван переориентацией изоляционного материала. Этот материал, обычно эпоксидная смола, полиэфир или асфальт, имеет тенденцию изменять ориентацию своих молекул в присутствии постоянного электрического поля. Обычно требуется несколько минут приложенного напряжения, чтобы молекулы переориентировались и, таким образом, подаваемая током поляризующая энергия снизилась почти до нуля.Ток поглощения, который является второй составляющей, представляет собой постепенный дрейф электронов и ионов через изолирующий материал. Эти электроны и ионы дрейфуют до тех пор, пока не будут захвачены поверхностями слюды, которые обычно встречаются во вращающихся изоляционных системах (рис. 10).
В сечении А на Рисунке 10 показана случайная ориентация молекул изоляции. Когда через тестер MCE подается постоянное напряжение, молекулы начинают поляризоваться и выравниваться (см. Раздел B на рисунке 10). Энергия, необходимая для выравнивания молекул и последующего уменьшения количества убегающих молекул, известна как ток поглощения.
Поскольку ток поглощения является свойством изоляционного материала и температуры обмотки, конкретный ток поглощения не является ни хорошим, ни плохим. Поглощающие токи будут различаться для разных изоляционных материалов. До 1970 года использовались более старые термопластические материалы, как правило, асфальт или шеллак, которые имели более высокий ток поглощения. После 1970 года был сделан переход на термоотверждающийся полиэфирный или эпоксидный изоляционный материал, который значительно снизил ток поглощения.Тем не менее, это не означает, что более современные изоляционные материалы лучше, потому что они имеют меньший ток поглощения.
Тестер MCE измеряет сумму всех токов, также называемых общим током, и вычисляет значения сопротивления земли.
Величина приложенного напряжения должна соответствовать напряжению, указанному на паспортной табличке, и основным условиям изоляции. Это особенно важно в небольших низковольтных машинах, где имеется только один слой изоляции.Если испытательные напряжения слишком высоки, приложенное напряжение может вызвать чрезмерную нагрузку на изоляцию. Тестер MCEMAX имеет слаботочный выход. Максимальный выходной ток составляет 1 миллиампер или 1000 микроампер, но обычно тестер выдает только в диапазоне микроампер. Это ограничивает вероятность повреждения изоляции. См. Таблицу 1 для рекомендованного напряжения.
Последствия загрязнения
На сопротивление изоляции может влиять множество факторов. Ток поверхностной утечки зависит от посторонних веществ, таких как масло и углеродная пыль, на поверхностях обмотки за пределами паза статора.Ток поверхностной утечки может быть значительно выше на роторах больших турбогенераторов и машинах постоянного тока, которые имеют относительно большие открытые поверхности трещин.
Пыль и соли на изоляционных поверхностях, которые обычно не проводят ток в сухом состоянии, могут стать частично проводящими при воздействии влаги или масла, и это приведет к увеличению поверхностного тока утечки и снижению сопротивления изоляции.
Причина, по которой емкость двигателя увеличивается из-за загрязнения, заключается в том, как работает конденсатор.Любые два проводящих материала, называемые пластинами, отделенные друг от друга диэлектрическим материалом, образуют конденсатор. Диэлектрический материал — это все, что не может проводить постоянный электрический ток. Обмотка кабеля или двигателя, окруженная изоляцией, представляет собой один проводник и диэлектрический материал. Вторая пластина образована сердечником статора и стальным корпусом двигателя. Именно эта вторая пластина увеличивается в размере по мере накопления загрязнения (Рисунки 11 и 12).
Влияние температуры
Более высокая температура влияет на сопротивление как изоляции, так и проводника.Существует термин, называемый температурным коэффициентом (K T ) . Материал имеет положительное или отрицательное значение K T . Если материал имеет положительное значение K T , то с добавлением тепла показания сопротивления увеличиваются. И наоборот, если материал имеет отрицательное значение K T , то показания сопротивления будут уменьшаться с повышением температуры. В металлах, то есть в магнитном проводе статора, более высокая температура вызывает большее тепловое возбуждение и уменьшает движение свободных электронов.Из-за этого уменьшения свободного движения показания сопротивления увеличиваются с добавлением тепла, и, следовательно, проводник имеет положительное значение K T . Однако в изоляции добавленное тепло обеспечивает тепловую энергию, которая высвобождает дополнительные носители заряда и снижает показание сопротивления. Следовательно, повышение температуры изоляции снижает сопротивление и, как говорят, имеет отрицательное значение K T . Эта более высокая температура влияет на все токи, кроме геометрического емкостного тока.
Рекомендуемый метод получения данных для зависимости сопротивления изоляции от температуры обмотки заключается в проведении измерений при нескольких температурах обмотки, все выше точки росы, и нанесении результатов на график в полулогарифмическом масштабе. Полулогарифмическая шкала — это тот же тип шкалы, который используется для отслеживания землетрясений, и называется шкалой Рихтера. Поведение землетрясений необходимо изобразить так, чтобы небольшие толчки силой 9 баллов по-прежнему были видны на карте. Тем не менее, результаты должны быть построены по прямой линии.
Поскольку этот тип построения графиков температурных коэффициентов обычно невозможен, IEEE разработал корректирующее практическое правило. В этом стандарте говорится, что во избежание влияния температуры при анализе тенденций последующие испытания следует проводить, когда температура обмотки близка к той же температуре, что и в предыдущем испытании. В противном случае значения испытаний изоляции корректируются до общей базовой температуры 40 ° C.
Следовательно, показания сопротивления заземления (RTG) должны корректироваться на температуру для целей анализа тенденций и сравнения.Требуется температурная коррекция показаний, поскольку температура тестируемой системы изоляции может варьироваться в зависимости от рабочих условий до тестирования, атмосферных условий или температуры окружающей среды. Изоляционный материал имеет отрицательный температурный коэффициент, что означает, что характеристики сопротивления изменяются обратно пропорционально температуре.
На экране настройки стандартного теста вычисляется температура обмоток. Затем измеренное значение МОм корректируется с поправкой на температуру 40 ° C.Результатом является Скорректированный Мом (рис. 13).
РИТЭГ Чтение
Для точного изменения графика RTG для одного двигателя с течением времени поддерживайте постоянное испытательное напряжение и продолжительность приложенного напряжения. Единственный другой фактор, который повлияет на показания RTG, — это температура, поэтому необходимо скорректировать температуру на экране настройки теста.
Рекомендуемые IEEE значения приложенного напряжения приведены в таблице 2.
Показания мегомов с поправкой на температуру должны быть записаны и нанесены на график для сравнения с течением времени.Если наблюдается тенденция к снижению, ищите грязь или влагу. Одно показание не будет иметь большого значения для общего состояния системы изоляции; значение 5 МОм может быть приемлемым, если оно относится к низковольтному приложению. См. Таблицу 3 для получения рекомендованного минимального сопротивления изоляции.
CTG чтение
Во время измерения КТГ тестер MCE подает потенциал переменного тока между фазой 1 и заземляющим проводом. Измеряется емкость цепи системы изоляции.Это значение емкости отражает чистоту обмоток и кабелей. Накопление загрязнений на поверхности обмоток и кабелей приводит к более высоким показаниям емкости.
Из-за загрязнения поверхности изоляции грязные обмотки и кабели дают более высокие значения емкости, чем чистые. Со временем значения CTG неуклонно увеличиваются, указывая на накопление грязи и необходимость очистки. Это может быть связано с более низкими значениями RTG и более высокими значениями CTG.
Это важно, поскольку грязь и загрязнения снижают способность двигателя рассеивать тепло, выделяемое при его работе, что приводит к преждевременному старению системы изоляции. Общее практическое правило состоит в том, что срок службы двигателя уменьшается на 50% на каждые 10 ° C повышения рабочей температуры выше расчетной температуры системы изоляции. Тепло увеличивает сопротивление материалов проводника и разрушает изоляцию. Эти факторы ускоряют развитие трещин в изоляции, создавая пути для прохождения нежелательного тока на землю.Влияние температуры на сопротивление изоляции показано на Рисунке 14.
Индекс поляризации и диэлектрическое поглощение
Индекс поляризации (PI) и диэлектрическая абсорбция (DA) — это тесты, выполняемые MCE на обесточенном двигателе. Во время тестов PI и DA тестер MCE применяет потенциал постоянного тока между фазой 1 и заземляющими выводами в течение заранее определенного периода времени: десять минут для теста PI и 30 секунд для теста DA. Во время теста показания РИТЭГа снимаются каждую секунду.Каждые пять секунд на дисплее RTG (МОм) отображается среднее значение предыдущих пяти показаний в зависимости от времени (секунды).
Нет необходимости выполнять тест DA, если вы выполняете тест PI. Когда вы выполняете тест PI, WinVis автоматически сохраняет первую минуту как тест DA, а все десять минут как тест PI. По завершении теста рассчитываются отношения для PI и DA.
Если снять показания РИТЭГа за десять минут и разделить его на минутное показание РИТЭГа, рассчитывается коэффициент PI.Если снять показания РИТЭГа за одну минуту и разделить его на 30-секундное показание, рассчитывается коэффициент DA.
Коэффициент PI = 10 мин / 1 мин
Коэффициент DA = 1 мин / 30 сек
Цель теста PI — определить, пригодна ли система изоляции двигателя для работы. Тест PI не ограничивается только асинхронными двигателями переменного тока. Это также применимо к двигателям с фазным ротором, машинам с явнополюсными контактами и определенным полям постоянного тока. Поле постоянного тока должно иметь проводники, полностью залитые изоляцией.Таким образом, тест PI может оказаться полезным тестом для машин разных типов.
Коррекция индекса поляризации
При выполнении теста PI нет необходимости корректировать температуру. Поскольку температура машины не меняется заметно между минутными и десятиминутными показаниями, влияние температуры на индекс PI обычно невелико. Однако, если двигатель недавно отключился и был проведен PI-тест, это может привести к значительному увеличению сопротивления изоляции.Это приведет к необычно высокому значению PI, после чего следует провести дополнительные испытания после охлаждения обмоток до 40 ° C или ниже.
Интерпретация данных для PI и DA
В разделе «Управление двигателями» Ричард Найлен, P.E., предлагает следующие рекомендации, показанные в таблице 4, для интерпретации соотношений PI и DA.
Превосходные результаты должны содержать коэффициент PI 2–4, достигать уровня RTG выше минимального и не должен быть спорадическим повышением показаний мегомов (Рисунок 15).
Неустойчивые значения RTG, возникающие в любой момент во время испытания, указывают на кратковременные переходные процессы по току. Это может быть связано с загрязнением или влажностью. Важным аспектом в этой ситуации является то, до какого уровня упали показатели РИТЭГа. Минимальное значение РТГ IEEE составляет 100 МОм для катушек с формованной намоткой. Значения РИТЭГов опускаются ниже рекомендованного минимума на Рисунке 16.
В соответствии с Принципами больших электродвигателей переменного тока EASA, в нем указывается, что коэффициент PI> или = 5 следует рассматривать как результат сухой или хрупкой изоляции.Это может быть связано с возрастом изоляции или работой двигателя при более высоких, чем расчетные, температурах (Рисунок 17).
ИспытанияPI и DA могут использоваться как единое целое, основываясь на минимальных показаниях RTG, установленных IEEE 43-2000.
Заключение
Сравните результаты различных тестов MCE друг с другом и с другими технологиями. Чем больше информации у вас будет для принятия решения о техническом обслуживании, тем больше вы будете уверены в своем решении. Используйте все технологии, чтобы максимизировать усилия по устранению неполадок.Поскольку другие технологии указывают на неисправности, используйте MCE для отслеживания изменений в состоянии двигателя.
Часть 4: Статор
Зона повреждения статора часто считается одной из самых спорных зон повреждения из-за серьезной проблемы с ранним обнаружением неисправности и предотвращением выхода из строя двигателя, окружающего обмотки статора. Эта проблема еще более усугубляется в машинах с более высоким напряжением, где время от отказа до отказа становится намного короче. Зона повреждения статора определяется как состояние и качество изоляции между витками и фазами отдельных витков и катушек внутри двигателя.
Механизмы отказа
Вероятными механизмами повреждения обмотки статора являются межвитковое, межфазное или межфазное замыкание. Межвитковое замыкание определяется как замыкание одной или нескольких обмоток в катушке. Это может превратиться в проволочную петлю с очень низким сопротивлением, которая действует как закороченная вторичная обмотка трансформатора тока. Это приводит к чрезмерному протеканию тока через замкнутый контур, вызывая сильное нагревание и повреждение изоляции.
Из-за характера конструкции с произвольной обмоткой закороченный виток может произойти с гораздо более высоким импедансом, позволяя двигателю работать в течение продолжительных периодов времени, прежде чем в конечном итоге разрушить катушку с помощью высоких токов.В результате нет ничего необычного в том, что электродвигатели с произвольной обмоткой все еще работают с плохими обмотками статора. Однако витые катушки не обладают высоким импедансом витков и поэтому быстро нагреваются при наличии межвиткового замыкания. Междуфазное замыкание определяется как замыкание одной или нескольких фаз на другую фазу. Эта неисправность может быть очень опасной из-за возможности наличия очень большого потенциала напряжения между фазами в месте короткого замыкания.
Анализ
Большой спор вокруг зоны повреждения статора заключается в том, может ли технология дать достаточное предупреждение о надвигающемся отказе обмотки статора.Большая проблема в этом обсуждении часто заключается в формулировках. «Найдет ли MCEMAX короткое замыкание от поворота к повороту?» часто как об этом спрашивают. Настоящий вопрос должен заключаться в том, может ли технология предотвратить короткое замыкание от одной очереди к другой. Если вы держите двигатель достаточно долго, в нем разовьется межвитковое, межфазное замыкание или короткое замыкание на землю. Цель любой технологии, когда она сталкивается с такой долгосрочной уверенностью, состоит в том, чтобы выявить любые условия, которые могут способствовать этим сбоям, чтобы их можно было исправить. Если устранить условия, способствующие возникновению неисправностей, можно ожидать увеличения срока службы двигателя.Если произошло межвитковое короткое замыкание, нет лучшего инструмента, чем MCE, который быстро проверит этот механизм неисправности. Предотвращение повторного запуска двигателя может быть лучшим решением на данном этапе поиска и устранения неисправностей. Опять же, если вы ждете, пока не произойдет межвитковое короткое замыкание, прежде чем тестировать двигатель, вы ждали слишком долго.
Анализ MCE
MCE подает высокочастотный сигнал переменного тока и сигнал низкого напряжения постоянного тока на обмотки статора для выполнения анализа статора.По этим сигналам проводятся измерения индуктивности и сопротивления для сравнения подобных катушек с историческими данными. Если вы тестируете трехфазный асинхронный двигатель переменного тока, сравнение трех фаз — ваш самый мощный инструмент. Если вы тестируете двигатель постоянного тока, тогда существует только одна фаза, и сравнение с историческими данными испытаний или идентичными двигателями будет эффективным. Индуктивность — очень чувствительный параметр, на который влияют многие переменные в двигателе. Состояние ротора, магнитный поток в воздушном зазоре, конструкция рамы (железо или алюминий) и состояние обмотки — вот лишь некоторые из переменных.Наиболее влиятельной переменной на показание индуктивности является состояние обмотки. В частности, количество витков представляет собой квадрат значения в уравнении общей индуктивности, как показано ниже:
Хотя наша цель — предотвратить межвитковое короткое замыкание, вы можете видеть, что потеря одного витка в обмотке статора будет иметь сильное влияние на общую индуктивность одной или нескольких фаз в зависимости от катушки. конфигурация. Пытаясь определить условия, способствующие возникновению межвиткового замыкания, мы можем использовать другие переменные в уравнении для выявления аномалий, которые могут создать проблемы статора.
Неисправности статора часто заканчиваются межвитковым замыканием, но начинаются как-то иначе. Примером может служить двигатель с чрезмерной вибрацией, которая приводит к перемещению обмотки, трению и, в конечном итоге, к износу изоляции между витками обмотки. Другой пример — дефекты ротора, которые вызывают сильное нагревание поверхности обмотки и в конечном итоге приводят к ослаблению изоляции витков или даже к замыканию на землю. Дефекты сердечника железа, такие как закороченные пластинки, также будут создавать дополнительное тепло, возмущение воздушного потока и повышенную вибрацию из-за несбалансированных магнитных полей и потока в воздушном зазоре.Какое влияние эти ситуации оказывают на индуктивность статора? Помимо вибрации, дефекты ротора и аномалии магнитного потока в воздушном зазоре напрямую влияют на проницаемость (µ) обмоток статора. Изменения µ из-за дефекта сердечника статора вызовут изменения индуктивности, связанные с определенной группой катушек, расположенных рядом с дефектом. Изменения µ из-за дефектов ротора будут по-разному влиять на индуктивность статора при изменении положения ротора. Быстрое сравнение значений индуктивности и индуктивного дисбаланса между тремя фазами или с историческими данными укажет на изменения этих переменных и подскажет дальнейшие действия или испытания, которые необходимо выполнить, чтобы предотвратить межвитковое замыкание.
Анализ EMAX
Анализ статора с использованием технологии EMAX выполняется путем оценки соотношения фаз напряжения и тока для каждой из трех фаз асинхронного двигателя переменного тока. Эти значения используются для определения импеданса каждой фазы и отображения их как дисбаланса импеданса. Аварийные сигналы показывают, если дисбаланс импеданса превышает заданное значение. Любое изменение в реальном или реактивном компоненте одной фазы, которое не дублируется на другой фазе, будет указывать на изменение, которое необходимо исследовать.
Одним из препятствий, связанных с этим типом испытаний, является получение этих динамических данных при нагрузке, достаточно существенной, чтобы на эти значения могло влиять состояние обмоток, а не конструкция. Ненагруженный двигатель может работать с дисбалансом тока. Это создает изменения в фазном импедансе, что дублирует индикацию неисправности статора. Следовательно, важно иметь нагрузку примерно 70% или более, чтобы исключить влияние конструкции на эти значения. Тестирование не должно останавливаться при нагрузке <70%, но вы должны использовать тестовые данные только в качестве значений для сравнения.Сегодняшний тест при нагрузке 50–60% по сравнению с тестом в прошлом квартале при нагрузке 50–60% по-прежнему является очень информативным. Чем больше контрольных точек вы наберете, тем больше у вас будет уверенности в состоянии обмоток статора.
Еще одно применение технологии EMAX — это возможность сбора данных о токе в течение цикла запуска двигателя. Двигатель испытывает наибольшую нагрузку во время запуска и может указывать на наличие или развитие проблем. Дефекты статора, такие как обрыв или короткое замыкание витков, будут идентифицированы как изменение амплитуды пускового тока.Пусковой ток — это максимальная амплитуда тока, наблюдаемая при запуске, и возникает сразу после подачи питания на двигатель. Это происходит из-за эффективного состояния блокировки ротора, в котором двигатель находится при запуске. Без движения ротора не существует противодействующей электродвижущей силы, создаваемой ротором для уменьшения протекания тока в статоре. Фактически, пусковой ток сразу после запуска двигателя не зависит от нагрузки.
Будь то при полной нагрузке или без нагрузки во время пуска, пусковой ток будет одинаковым.Только линейное напряжение и полное сопротивление цепи будут влиять на пусковой ток. Однако ток, который существует после начального броска, сильно зависит от нагрузки. Если только линейное напряжение и импеданс цепи будут влиять на значение пускового тока, и мы обычно ожидаем, что линейное напряжение будет таким же, мы должны полагаться на импеданс цепи как на индикатор состояния статора. Повышенный пусковой ток является результатом более низкого импеданса цепи, а уменьшение пускового тока — результатом увеличения импеданса цепи.Более низкий импеданс цепи может быть вызван ослаблением изоляции витков или коротким замыканием витков. Открытая обмотка, соединение с высоким сопротивлением или даже неправильные характеристики ремонта могут привести к более высокому импедансу цепи. Это закон Ома. Помните, что значительные колебания температуры от одного теста к другому также будут влиять на полное сопротивление цепи и должны учитываться при оценке данных запуска.
Заключение
Наконец, важно помнить, что дефекты статора не существуют очень долго, прежде чем они могут стать катастрофическими.Используйте все имеющиеся у вас инструменты, знайте обстоятельства и действуйте быстро, чтобы отклонить или подтвердить индикацию неисправности статора. Помните, что цель любой технологии в анализе статора — выявить любое условие, которое может способствовать межвитковому замыканию, чтобы это условие можно было исправить до того, как произойдет межвитковое замыкание.
Часть 5: Ротор
Запуск двигателя со сломанной или треснувшей штангой ротора вызывает чрезмерное нагревание вблизи сломанной штанги. Это может распространиться на другие стержни ротора и разрушить изоляцию вокруг соседних пластин.Это также может повлиять на другие части двигателя. Что мы находим всего в нескольких миллиметрах от ротора? Статор! Изоляция статора не выдерживает сильного нагрева, выделяемого сломанной штангой ротора, и в конечном итоге выйдет из строя. К сожалению, во многих случаях сломанные стержни ротора нелегко увидеть без технологий, и их можно не заметить как первопричину поломки. Это может привести к перемотке двигателя и замене подшипников, но не к ремонту ротора. Когда двигатель возвращается в эксплуатацию, он снова сталкивается с той же проблемой, только с новой изоляцией, которую необходимо разрушить.
Конструкция ротора
Конструкция ротора играет важную роль в серьезности выявленной неисправности ротора. Если ротор представляет собой конструкцию с закрытым стержнем (рис. 18), серьезность будет низкой из-за того, что железо ротора удерживает сломанный стержень ротора на месте. Однако, если ротор представляет собой конструкцию с открытым стержнем (рис. 19), серьезность значительно возрастает при выявлении дефекта ротора. Эта повышенная проблема возникает из-за возможности выдавливания стержня ротора из паза ротора и контакта со статором.
Методы испытаний
Проверка влияния ротораОдним из методов проверки состояния ротора является проверка влияния ротора (RIC). Что такое RIC? RIC — это испытание, выполняемое MCE на асинхронных двигателях переменного тока, синхронных двигателях и двигателях с фазным ротором, которое демонстрирует магнитную связь между ротором и статором. Это соотношение указывает на состояние ротора и воздушного зазора внутри двигателя.
RIC выполняется при вращении ротора с определенными приращениями (определяемыми числом полюсов) над однополюсной группой и записью изменений в измерениях индуктивности для каждой фазы трехфазного двигателя.Для надлежащего разрешения рекомендуется 18 измерений индуктивности на группу полюсов. Чтобы определить количество полюсов в двигателе, используйте следующее уравнение:
F = NP / 120
F = частота сети (обычно 60 Гц в США)
N = скорость двигателя в об / мин
P = количество полюсов
Пересчитано: P = 7200 / об / мин
Пример: Сколько полюсов будет у двигателя с паспортной табличкой RPM = 1780?
P = 7200/1780
= 4 полюса
Без исторических данных необходимо выполнить RIC для получения любой информации о стандартном индукционном роторе с короткозамкнутым ротором.Такие неисправности, как сломанные стержни ротора или поврежденные пластины, могут существовать даже при низком балансе индуктивности. Если вы основываете решение выполнить RIC только на том, насколько высок баланс индуктивности на базовом тесте, вы можете упустить из виду поздние стадии дефекта стержня ротора.
На рисунке 20 показаны ожидаемые изменения индуктивности для ротора с сломанными стержнями ротора. Обратите внимание на неустойчивые значения индуктивности на пике синусоидальных волн для каждой фазы. Сломанные стержни ротора вызывают перекос магнитного поля, создаваемого стержнями ротора и вокруг них.У нормального ротора не будет перекоса или беспорядочного рисунка индуктивности, как показано на Рисунке 21.
Существует множество методов оценки ротора при работающем двигателе. Испытательное оборудование EMAX, использующее пиковые, временные, спектральные и демодулированные формы текущего сигнала, предлагает широкий подход к анализу ротора.
Быстрый запуск / запускОдним из методов оценки состояния ротора является ускорение / запуск. Сломанные стержни ротора создают более высокое сопротивление ротора, что приводит к более высокому отраженному сопротивлению статора, уменьшающему ток и крутящий момент.Это можно увидеть в примерах до и после In-Rush на Рисунке 22.
(Fp) Боковые полосыДругой метод — это определение тенденции амплитуды частоты боковой полосы пропускания полюса (Fp). Увеличение амплитуды боковой полосы Fp указывает на модулирующий линейный ток, связанный со скольжением ротора. Эта модуляция часто возникает из-за неисправности обоймы ротора. Анализ тенденций амплитуды боковой полосы Fp и определение дифференциальной амплитуды по сравнению с амплитудой линейной частоты позволяет заранее задавать сигнал тревоги на основе хорошо известных и принятых отраслевых стандартов.На рисунке 23 показан повышенный пик боковой полосы Fp выше дифференциала 36 дБ от частоты линии.
5-я гармоникаТретий метод оценки состояния ротора с помощью EMAX — это высокочастотный спектральный анализ, который иногда называют эффектом завихрения. Сломанные или треснувшие стержни ротора создают фазовый сдвиг потока в воздушном зазоре, что приводит к появлению нескольких боковых полос Fp ниже конца 5-й гармоники. На рисунке 24 показаны повышенные боковые полосы ниже пятой гармоники.
Демодуляция токаЧетвертый метод оценки состояния ротора с помощью EMAX — это демодулированный спектр тока. При удалении из спектра составляющих линейной частоты минимальный уровень шума снижается до значения, позволяющего видеть обычно невидимые пики. Что касается состояния ротора, он также позволяет отфильтровать Fp в форме демодулированного спектра. На рис. 25 показано, что повышенный пик Fp превышает заданное значение срабатывания сигнализации.Этот пик был связан с поломкой стержня ротора в большом двухполюсном двигателе.
Заключение
В исследовании, финансируемом Исследовательским институтом электроэнергетики, 10% отказов двигателей были вызваны аномалией ротора. Это составляет большое количество двигателей даже на заводе среднего размера. Важно знать конструкцию ротора, использовать широкий спектр методов тестирования, описанных выше, для корреляции и подтверждения и продления срока службы двигателя, устраняя причину, а не симптом.
Часть 6: Воздушный зазор
Зона повреждения воздушного зазора описывает измеряемое расстояние между ротором и статором внутри двигателя. Эксцентриситет воздушного зазора — это состояние, которое возникает при неоднородности воздушного зазора между ротором и статором. Когда в воздушном зазоре есть эксцентриситет, изменяющийся магнитный поток внутри воздушного зазора создает дисбаланс в протекании тока, который можно идентифицировать по спектру тока. Эта неравномерность в пространстве между ротором и статором повлияет на выравнивание результатов проверки влияния ротора (RIC).
- Статический эксцентриситет возникает, когда центральная линия вала находится на постоянном смещении от средней линии статора. Примером может служить смещение концевого звонка.
- Динамический эксцентриситет возникает, когда центральная линия вала находится на переменном смещении от средней линии статора, например, при протирании подшипника.
Механизмы отказа
По определению, эксцентриситет воздушного зазора — это механическая неисправность двигателя. Существует несколько возможных причин различий в расстоянии между ротором и статором.Возможны пять основных типов эксцентриситета воздушного зазора:
- Внешний диаметр ротора эксцентричен относительно оси вращения
- Отверстие статора эксцентричное
- Ротор и статор круглые, но не имеют одинаковой оси вращения
- Ротор и вал круглые, но не имеют одинаковой оси
- Любая комбинация вышеперечисленного
Ниже приведены лишь некоторые из возможных причин эксцентриситета воздушного зазора:
Неправильная установка двигателя на фундаментной плите может привести к деформации воздушного зазора.Ослабленный или отсутствующий болт позволяет сместить опору двигателя при тепловом расширении рамы. Это смещение со временем могло привести к деформации рамы и возможному эксцентриситету статора. Обычный термин для неправильно установленного двигателя — «мягкая лапа».
При изготовлении двигателя овальность ротора или статора приведет к эксцентриситету воздушного зазора. Отраслевые стандарты рекомендуют проводить измерения общей указанной округлости (TIR) в разных местах по длине каждого из этих компонентов.Сопоставьте эти измерения с окружностями каждого компонента, и, в зависимости от скорости и размера двигателя, рекомендуемые допуски изменения воздушного зазора составляют от 5 до 20 процентов.
Эксцентриситет может возникнуть из-за неправильного натяжения приводных ремней, соединенных с двигателем. Один клиент, работавший с сотрудниками службы технической поддержки PdMA, прокомментировал, что, снимая натяжение одного комплекта ремней, они измеряли прогиб вала двигателя. Вал сместился более чем на 1/8 дюйма! Неправильная центровка также может привести к ситуации, подобной этой, когда оба варианта приводят к изгибу ротора во время работы.
Искривленные концевые раструбы, взведенные подшипники или изогнутый вал — все это вызывает эксцентриситет воздушного зазора. Во время изготовления ротора неравномерные механические напряжения могут возникать в клетке и ламинированном пакете, что приводит к изгибу готового ротора.
Эксцентриситет воздушного зазора приводит к повышенному уровню вибрации из-за неравномерного магнитного притяжения, которое он создает между окружностью ротора и отверстием статора. Со временем эти повышенные уровни вибрации могут привести к чрезмерному перемещению обмотки статора, что может привести к увеличению трения и, в конечном итоге, к межвитковому, межвитковому или замыканию на землю.Кроме того, эта вибрация может ускорить выход подшипника из строя, что может привести к заеданию вала и перегреву обмоток или к дополнительному перемещению вала, что приведет к трению ротора / статора. Неравномерные магнитные напряжения, приложенные к ротору, в сочетании с повышенной вибрацией также будут способствовать возникновению механической рыхлости в роторе. Любой из этих случаев может привести к катастрофическому отказу двигателя, что может потребовать полной перемотки и возможной повторной укладки утюга.
Анализ
Самая простая часть анализа двигателя на эксцентриситет — это сбор данных.Самая сложная часть — это подтвердить то, что показывают данные, и решить, что с этим делать. Это может быть справедливо для многих зон разлома, но не существует абсолютного стандарта того, какой эксцентриситет, указанный на спектре тока, является слишком большим, за исключением фактического измерения физического воздушного зазора. Однако, как только количество стержней ротора подтверждено, PdMA установила руководящие принципы и уставки сигналов тревоги, чтобы помочь вам принять правильное решение. То же самое можно сказать и о результатах проверки влияния ротора (RIC).График показывает наличие эксцентриситета воздушного зазора, но без исторических результатов для сравнения вы действительно не можете понять, насколько эксцентриситет развился и ухудшается ли он со временем.
Анализ MCE
Анализ эксцентриситетас использованием MCE выполняется с использованием теста RIC и будет наиболее успешно применяться при поиске и устранении неисправностей, если доступны уже существующие данные RIC. Однако даже без базового теста тест RIC даст вам четкие указания на существующий эксцентриситет.
Анализ RIC выполняется путем оценки графика межфазной индуктивности для следующего:
| Масштаб : синусоидальный да / нет? | Характеристики : Повреждение ротора |
| Центровка : эксцентриситет | Пиковая индуктивность : эксцентриситет или статор |
Междуфазное или межвитковое замыкание вызовет разделение трехфазного синусоидального графика RIC.В результате получается паттерн «два вверх / один вниз» или «один вверх / два вниз». Схема зависит от того, намотаны ли обмотки статора звездой или треугольником.
Эксцентриситет воздушного зазора влияет на выравнивание графика и значения амплитудной индуктивности отдельных фаз. Размах колебаний происходит на каждой фазе или между фазами, в зависимости от типа эксцентриситета. Если это статический эксцентриситет, вы можете получить одинаковые пики от группы полюсов к группе полюсов на одной и той же фазе, но пиковая амплитуда будет сильно отличаться между группами полюсов разных фаз.Проще говоря, график выглядит смещенным по графику. Если существует динамический эксцентриситет, то пики от группы полюсов к группе полюсов в одной и той же фазе будут разными. В 4-полюсном двигателе ротор расположен под углом 90 градусов для охвата одной группы полюсов. При выполнении RIC программное обеспечение WinVis будет использовать данные паспортной таблички двигателя, чтобы определить количество полюсов, а затем сообщить оператору, на сколько градусов необходимо установить ротор, чтобы охватить первую группу полюсов.
Концентрическая и коленчатая рана
Важным фактором при оценке данных RIC для индикации эксцентриситета является то, является ли двигатель концентрическим или намотанным внахлест.Если двигатель имеет концентрическую обмотку, он построен с уже существующим смещением между обмотками статора и ротором.
Двигатель с концентрической обмоткой, показанный на Рисунке 26, имеет обмотки статора, вставленные в пазы статора в форме корзины или штабелированной конфигурации. Обычно все группы полюсов для фазы A закладываются в пазы, затем все группы полюсов для фазы B, затем, наконец, все группы полюсов для фазы C. Это приводит к большему расстоянию между ротором и фазой. Катушки, чем существует между ротором и катушками фазы C.Это приводит к естественному ступенчатому отображению значений междуфазных фаз, показанных на Рисунке 27.
Двигатели с концентрической обмоткой по своей конструкции создают результаты RIC, которые выглядят так, как будто между ротором и статором может быть эксцентриситет. Результаты RIC, выполненного на случайном двигателе с концентрической обмоткой, можно увидеть на рисунке 27. Обратите внимание, что пиковые амплитуды от одной группы полюсов к другой в основном одинаковы, но отличаются от двух других фаз. Одна фаза всегда немного ниже, а другая всегда немного выше.
В случае выявления или подозрения на электродвигатели с концентрической обмоткой необходимо выполнить RIC по двум фазам полюсов. Проведите наблюдение за двигателем и подтвердите любой предполагаемый эксцентриситет с помощью соответствующих данных, таких как анализ эксцентриситета EMAX или анализ вибрации.
На рисунке 28 показан пример динамического эксцентриситета. Обратите внимание, как пиковые амплитуды синей фазы меняются от группы полюсов к группе полюсов при вращении ротора. Это происходит на каждой из трех фаз.Динамический эксцентриситет — это более серьезный тип эксцентриситета из-за повышенного риска трения ротора / статора.
Анализ EMAXАнализ эксцентриситета с использованием технологии EMAX выполняется по высокочастотному спектру текущего сигнала. Когда в двигателе существует эксцентриситет воздушного зазора, поток воздушного зазора будет нарушен, что приведет к наведению различных уровней напряжения на ротор. Это приводит к неравномерному протеканию тока по ротору и различным уровням противодействующей электродвижущей силы, которая ощущается статором.Эти различные силы, действующие на обмотки статора, вызывают изменения амплитуды тока, аналогичные изменению нагрузки. Отображая ток в формате спектра, модуляции можно рассматривать как активность боковой полосы вокруг местоположения, известного как частота эксцентриситета (FECC). FECC — это количество стержней ротора, умноженное на частоту вала (об / мин / 60) двигателя. Модуляции тока видны как пики на спектре, которые будут первой и третьей боковыми полосами частоты сети, питающей двигатель.В системе с частотой 60 Гц эти пики будут отображаться в виде 4 пиков с разницей в 120 Гц и несинхронизированы с частотой сети. Пики видны на рисунке 29.
Большие крестики обозначают пики, связанные с эксцентриситетом. Меньшие x указывают гармоники частоты сети. Линия курсора, расположенная на частоте 1180 Гц, представляет собой FECC, который равен количеству стержней ротора, умноженному на скорость вала.
Одним из преимуществ EMAX является то, что технический специалист может использовать контрольные точки срабатывания сигнализации для оценки степени эксцентриситета и действовать соответствующим образом.Однако информация о скорости и стержне ротора необходима технику, чтобы подтвердить, что пики, идентифицированные на спектре, действительно связаны с эксцентриситетом. Если количество стержней ротора и скорость известны, программное обеспечение WinVis автоматически помещает красный крестик в четырех точках пика, которые определяют эксцентриситет. Получить скорость с помощью программного обеспечения для демодуляции тока Advanced Spectral Analysis (ASA), теста ротора с низким / высоким разрешением или с помощью стробоскопа — несложно. А вот количество стержней ротора — другое дело.Во-первых, при первой возможности вы должны убедиться, что количество стержней ротора существует в каждой из спецификаций ремонта вашего двигателя. В отчете, который вы получите из магазина, должно быть указано, сколько стержней ротора и пазов статора имеется в двигателе. Во-вторых, используйте отдел вибрации для подсчета стержней ротора. Они могли ранее идентифицировать количество стержней ротора с помощью спектрального анализа сигнала вибрации.
Заключение
Эксцентриситет в воздушном зазоре создает неравномерное магнитное притяжение между статором и ротором во время работы.Это неравномерное магнитное притяжение приведет к повышенной вибрации, механическому износу и, возможно, приведет к трению ротора / статора. Важно иметь оборудование, которое предоставит вам необходимую информацию для принятия обоснованных решений по техническому обслуживанию, касающихся серьезности эксцентриситета воздушного зазора. MCEMAX предоставляет один простой в использовании пакет для оценки эксцентриситета воздушного зазора во время работы или когда двигатель закреплен. Предоставляя вам возможность выполнять испытание RIC и анализ эксцентриситета по высокочастотному спектру токового сигнала, MCEMAX использует комбинацию статических и динамических испытаний для обеспечения наиболее полного анализа зоны повреждения воздушного зазора.

Этот способ считается самым надежным. Предупреждение: ни в коем случае не используйте данный алгоритм при напряжении в 380 вольт, это опасно для жизни! Последовательность действий такова: три фазы с понижающего трансформатора подаются на статор предварительно разобранного двигателя. Туда кидается шарик. Если он движется внутри статора по кругу – аппарат в рабочем состоянии. Если через несколько оборотов он «залипает» на одном месте – именно там и находится замыкание. Пластинка прикладывается к железу внутри статора. Если она «примагничивается», причин для беспокойства нет, а ее дребезжание указывает на межвитковое замыкание.