Помогите пожалуйста — Электрооборудование и электроника
2сказали спасибо
- Топ
- Все
- Эта страница
- 1 сообщение от ПалБорисыч
- 1 сообщение от Bonpirr
-
01.04.2017, 15:44 #1
Здравствуйте была проблема с приборной панелью, не работал тахометр спидометр часы задний ход бензобак не показывал но лампы горели! все решили. Сгорел предохранитель f13-20а. поменяли) все заработало ) НО теперь не заряжаеться акамулятор, но когда я отключаю предахронитель f13 и снова завожу, идёт зарядка акамулятора в чем может быть проблема ? обратно втыкаю пердохранитель f13 заважу и опять не идёт зарядка на акамулятор! Помогите пожалуйста! Сразу говорю обьясняйте русским языком я просто 0 почти из электрикти авто, немного понимаю чё к чему, поэтому если можно то поподробнее ))) Я правда буду очень благодарен!
-
-
01.
04.2017, 15:56
#2
Вообще то очень странное у Вас дело и загадочное. Сначала у Вас:
Сообщение от Kostya bre
предохранитель
, потомСообщение от Kostya bre
предахронитель
, а затем и вовсе Сообщение от Kostya breпердохранитель
Вы уж определитесь что там сгорает)))) -
01.04.2017, 15:58 #3
Я же описал проблеиу)
-
01.
04.2017, 18:54
#4
Сообщение от Kostya bre
опять не идёт зарядка на акамулятор!
Какое напряжение на АКБ с предохранителем f13 и без него при работающем двигателе? -
01.04.2017, 21:05 #5
Сообщение от Kostya bre
обьясняйте русским языком
Скажу самым русским из всех русских языков — езжай на автосервис! -
02.04.2017, 11:28 #6
Сообщение от Bonpirr
Какое напряжение на АКБ с предохранителем f13 и без него при работающем двигателе?
14.
8 напряжение без предохранителя, а с предохранителем 11.3 11.7 где то так (но зарядка не идет)
-
02.04.2017, 22:20 #7
Какого года автомобиль, и менялся ли генератор или реле-регулятор генератора? Судя по схемам, без этого предохранителя зарядка идти не должна в принципе. Либо короткое замыкание в проводке, либо дохлый реле-регулятор генератора. 14,8 Вольт — это много, скорее РР сдох и спалил предохранитель.
Последний раз редактировалось Bonpirr; 02.04.2017 в 22:49.
-
03.04.2017, 14:55 #8
Сообщение от Bonpirr
Какого года автомобиль, и менялся ли генератор или реле-регулятор генератора? Судя по схемам, без этого предохранителя зарядка идти не должна в принципе.
97 года машина насчет менял не знаю ток купил с месяц назад) какой придахронитель ? мог сгореть?
Либо короткое замыкание в проводке, либо дохлый реле-регулятор генератора. 14,8 Вольт — это много, скорее РР сдох и спалил предохранитель. -
03.04.2017, 19:07 #9
Через предохранитель F13 идут почти все лампы приборки, и на ранних версиях запитан вывод F генератора. Без него не будет зарядки при исправном реле регуляторе. Проверь без предохранителя F13 (чтобы зарядка была), какое напряжение на АКБ на холостых оборотах и какое на повышенных. При исправном реле-регуляторе напряжение не должно превышать 14,6 вольт, если напряжение на повышенных оборотах двигателя становится больше 15-ти вольт — неисправен реле-регулятор.
Если напряжение не повышается на высоких оборотах двигателя можно попробовать отключить провод вывода F генератора, чтобы на него не подавался плюс с замка зажигания и проверить есть зарядка или нет с предохранителем F13.
На генератор должно приходить три провода (ранние версии): плюс на аккум — толстый красный провод, крепится под болт и два провода на колодку: коричневый (L) на лампу зарядки и оранжево-белый (F) — на предохранитель F13. В новых версиях всего два — плюс и лампа зарядки. В новых версиях вывод F генератора не используется, поэтому если его подключить на плюс, зарядки не будет и может сгореть реле регулятор, ну или предохранитель F13. -
08.04.2017, 21:19 #10
Kostya bre, разобрался с электрикой?
Руководство по ремонту Daewoo Nexia (Дэу Нексия) 94+ г.в. 7.14 Диагностика неисправностей генератора CS-121
7.14 Диагностика неисправностей генератора CS-121
6.
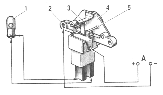
14. Диагностика неисправностей генератора CS-121| ОБЩИЕ СВЕДЕНИЯ |
Электрическая схема для проверки генератора на автомобиле
| 1. УГОЛЬНЫЙ ШУНТ 2. ВОЛЬТМЕТР 3. СОПРОТИВЛЕНИЕ 4. АМПЕРМЕТР 5. ГЕНЕРАТОР 6. БАТАРЕЯ 7. СОПРОТИВЛЕНИЕ НА КЛЕММЕ ПОЛОЖИТЕЛЬНОГО ПРОВОДА |
Электрическая схема генератора
При исправном генераторе сигнализатор разряда батареи должен загораться при включении
зажигания и гаснуть после пуска двигателя.
Если сигнализатор указывает на ненормальную
работу генератора или аккумуляторная батарея не заряжается, следует провести диагностику
неисправности. Необходимо также иметь ввиду, что часто причиной разряда батареи
является продолжительная работа потребителей электроэнергии при выключенном двигателе.
Одной из причин разряда может быть неисправность выключателей ламп, например,
освещения багажника или перчаточного ящика. В этом случае при закрывании крышек
лампы не выключаются, а остаются включенными и разряжают батарею.
1) Визуально проверить состояние ремня и проводов.
2) При включенном зажигании и неработаю щем двигателе сигнализатор разряда должен гореть. Если он не горит, отсоединить электрические провода от генератора и соединить клемму провода L с «массой» через удлинительный провод с плавким предохра нителем на 5 А.
2а. Если сигнализатор включился, заменить генератор.
2б. Если сигнализатор по-прежнему не горит, то в цепи от замка зажигания до
клеммы провода имеется разрыв.
3) При включенном зажигании и работающем на небольшой скорости двигателе сигнализатор разряда должен быть выключен. Если он горит, отсоединить электрические провода от генератора.
3а. Если сигнализатор погас, следует заменить генератор.
3б. Если сигнализатор продолжает гореть, в цепи от клеммы провода до лампы сигнализатора имеется замыкание на «массу».
Предупреждение
Следует проверить работу генератора в соответствии с п. 4 перед тем, как делать вывод об отказе регулятора напряжения.
4) Проверить работу генератора.
Предупреждение
Для корректности проверки необходимо, чтобы аккумуляторная батарея была полностью заряжена.
4а.
Собрать электрическую схему, показанную на рис.
Электрическая схема для проверки генератора на автомобиле. Убедиться в том, что
угольный шунт выключен.
4б. При выключенном зажигании измерить и записать напряжение батареи.
4в. Снять клеммы проводов с генератора.
4г. Включить зажигание (двигатель не должен работать) и измерить цифровым тестером напряжение на клемме L-провода. Это напряжение должно быть примерно равно напряжение на выводах батареи. Если напряжение на клемме L сильно отличается от напряжения батареи, следует проверить электрическую цепь от сигнализатора до клеммы L на наличие разрыва или замыкания на «массу». Устранить обнаруженные неисправности.
4д. Подсоединить провода к генератору.
4е. Запустить двигатель и измерить напряжение на выводах батареи при небольшой
скорости вращения коленчатого вала. Это напряжение должно быть выше напряжения,
измеренного в операции 4г, но не должно превышать 16 В.
В противном случае необходимо
заменить генератор.
4ж. Измерить силу тока генератора при небольшой скорости вращения коленчатого вала двигателя на холостом ходу. С помощью регулировки угольного шунта добиться получения максимального тока генератора при напряжении на выводах батареи не менее 13 В. Если измеренная сила тока отличается от номинального значения не более, чем на 15 А, генератор исправен. В противном случае следует заменить генератор.
4з. На генераторе, работающем в максимальном режиме, измерить вольтметром напряжение между корпусом генератора и отрицательным выводом батареи. Падение напряжения не должно превышать 0,5 В. Если падение напряжения превышает 0,5 В, проверить электрическую цепь между корпусом генератора и батареей и выявить причину. Очистить и подтянуть соединения проводов с «массой».
Не заводится Дэу Нексия: причины, как исправить
Пожалуй, каждому автовладельцу, вне зависимости от марки и модели его транспортного средства, знакомо неприятное чувство разочарования, когда машина отказывается заводиться.
Это ощущение хорошо известно многочисленным владельцам Daewoo Nexia. Обычно симптомы такие – запуск мотора весьма затруднен, приходится долго крутить стартером, схватывает плохо или заводится через раз. Разберемся во всем этом подробнее.
Допустим, стартер крутит, но мотор все равно не заводится. Подобное бывает часто, также, как и диаметральная ситуация – когда стартер вообще не срабатывает. Что из двух ситуаций хуже – это отдельная история, но, если возникла подобная проблема, первое, что необходимо сделать – проверить свечи зажигания и есть ли искра. Попробуйте поменять свечи и возможно, автомобиль заведется как новый!
«Сердце» Daewoo Nexia первого поколения – силовая установка G15MF в подкапотном пространстве
СОВЕТ!Если двигатель начал работать, желательно убедиться в отсутствии течей жидкостей и наличия посторонних звуков в подкапотном пространстве.
Если проблема не исчезла, далее можно смотреть фильтр, проверять дроссельную заслонку, а также аккумуляторную батарею (на надежность подключения к ней клемм).
Также с плохим запуском могут быть связаны старые высоковольтные провода, и еще как вариант – катушка зажигания, ведь чтобы любой силовой агрегат завелся, ему необходимы четыре составляющие:
- наличие искры;
- кислород;
- цикл сжатия;
- топливо.
Трамблер
Содержание
- Трамблер
- Нет искры
- Воздушный фильтр
- Топливная система
- Проверка бензонасоса
- Вывод
Иногда, совсем внезапно, Нексия отказывается заводиться с ключа. При этом «с толкача» мотор быстро запускается. Такое поведение силовой установки напрямую свидетельствует о неисправностях в системе зажигания. Причину проблем с запуском с ключа в дорестайлинговых моделях обычно стоит искать в трамблере.
Трамблер Daewoo Nexia 1.5 (8 клапанов)
Специалисты южнокорейской компании Daewoo долго думали, как бы решить проблему буквально рассыпающегося со временем трамблера, и в итоге не только кардинально изменили систему зажигания 8 клапанного ДВС, но и системы впрыска топлива и охлаждения.
Модернизация привела к тому, что вместо трамблера в системе зажигания появился электронный модуль.
Нет искры
ПРЕДУПРЕЖДЕНИЕ! Все работы при включенном зажигании должны проводится исключительно в диэлектрических перчатках или при помощи пассатижей с изолированными ручками! Крепить ВВ провода следует особенно надежно, так как если они случайно упадут на массу, корпус или открытый участок тела – произойдет удар током!
Отсутствие искры может говорить о проблемах в модуле зажигания, или в датчиках положений коленвала или распредвалов. Протестировать их работу можно даже в домашних условиях при помощи диагностического сканера. Также следует проверить электронный блок управления и реле предохранителей.
Катушка зажигания на Daewoo Nexia
Самый распространенный вариант отсутствия искры – выход из строя ВВ проводов или свечей зажигания. Если же они исправны, то далее следует проверять катушку или модуль зажигания.
Воздушный фильтр
Для удачного старта двигателя, ему необходимо достаточное количество кислорода.
Фильтр убирает посторонние примеси из воздуха, повышая стабильность работы силового агрегата, и обычно на 1 л топлива средний ДВС потребляет 13-15 кг воздуха, забор которого происходит вне транспортного средства, а также вне зависимости от погодных условий.
Если элемент воздухоочистителя Дэу Нексия забился, его следует поменять, чтобы возобновить нормальное поступление воздуха. Обычно ресурс фильтра составляет порядка 10 тыс. км пробега автомобиля. Заодно, кстати, рекомендуется проверять воздухозаборники и воздуховоды, ведь они тоже могут оказаться забитыми посторонними предметами.
Топливная система
В случае появления проблем с подачей горючего, машина никогда не заведется, ведь данная система состоит из множества элементов, предназначенных для транспортировки, фильтрации, учета, подготовки и отвода топлива.
Для начала можно попробовать протестировать работу топливной системы известным многим автовладельцам способом – при помощи обычного шприца с бензином, который впрыскивается в дроссельную заслонку.
Далее, пробуем запустить двигатель, и если он «молчит», то читаем далее.
Бензонасос на Daewoo Nexia
В случаях, когда Нексия не заводится, и есть вероятность неполадок в топливной системе, необходимо продиагностировать работоспособность бензонасоса и регулятора давления, ведь они чаще всего выходят из строя в этом автомобиле. Рассмотрим подробнее, как проверить топливный насос.
Проверка бензонасоса
Проверить работу топливного насоса можно самостоятельно, сделать это не сложно. После получения доступа к бензонасосу, можно приступать к его диагностике. По команде, помощник включает зажигание (на пару-тройку секунд), после чего должен появиться звук, свидетельствующий, что насос работает.
Если топливный насос не издает «признаков жизни», то либо он вышел из строя, либо требует полной замены. Бывают ситуации, когда и насос, и стартер, оба функционируют, но двигатель не заводится. Тогда при помощи мультиметра надо убедиться, приходит ли напряжение на погружной элемент.
Делается это следующим образом. После поворота ключа зажигания, его необходимо подержать три секунды во включенном положении, и, если ток поступает к насосу, то тестер обязательно покажет это.
Кроме того, необходимо будет проверить сопротивление элемента подачи топлива в двигатель. Если в момент запуска мотора не слышно признаков его работы, делать это нужно обязательно. Для этого мультиметр подключается к контактам питания бензонасоса. После диагностики, замеры сопротивления необходимо сравнить с данными завода-изготовителя. Если полученные цифры сильно отличаются от спецификаций производителя, то скорее всего, бензонасос полностью вышел из строя.
Вывод
В большинстве случаев, когда стартер не схватывает, это свидетельствует о разряженной АКБ. Даже если аккумулятор еще новый, его стоит проверять в первую очередь. Сделать это можно при помощи обычного тестера. Также не лишним будет убедиться в исправности реле. При запуске данный элемент обязательно должен издавать щелчки.
После, можно осмотреть и «послушать» сам стартер. Если в процессе работы устройство издает посторонние шумы, то его придется заменить.
Кстати, если глохнет 16 клапанная Нексия, или она плохо заводится на морозе, то это очень странно и вероятнее всего – случилось что–то серьезное, ведь проблем с запуском на холодную у этого автомобиля практически не бывает.
Очевидно, что проблем с запуском Дэу Нексия бывает весьма много. Здесь кстати, стоит учитывать один важный момент, что при узбекской сборке, машины оснащаются недостаточно качественной электропроводкой, с которой часто бывают проблемы. Однако если учитывать ценники на эти автомобили, то на многое, как говорится, можно закрыть глаза.
Почему не работает на Daewoo Nexia. Слабые стороны и недостатки Daewoo Nexia
При перебоях двигатель работает на холостом ходу неравномерно, не развивает достаточной мощности, потребляет больше бензина. Перебои, как правило, объясняются неисправностью форсунок или электрического бензонасоса, подробнее см.
«Электронная система управления двигателем (система впрыска топлива)» , неисправность свечи зажигания одного из цилиндров, подсос воздуха в один из цилиндров. Необходимо найти неисправность и по возможности устранить ее.
1. Запустите двигатель и дайте ему поработать на холостом ходу. Подойдите к выхлопной трубе и прислушайтесь к звуку выхлопа. Звук должен быть ровным, «мягким», одного тона. Хлопки из выхлопной трубы через равные промежутки времени свидетельствуют о том, что один цилиндр не работает из-за выхода из строя свечи зажигания, отсутствия искры на ней, выхода из строя форсунки, сильного подсоса воздуха в один цилиндр или значительного снижения при сжатии в нем. Нерегулярные хлопки вызваны грязными форсунками, сильным износом или грязными свечами зажигания. Если хлопки возникают с неравномерной периодичностью, можно попробовать заменить весь комплект свечей самостоятельно, вне зависимости от пробега и внешнего вида, но лучше это сделать после обращения в автосервис для диагностики и ремонта системы управления двигателем.
2. Если хлопки появляются регулярно, заглушите двигатель и откройте капот. Проверьте состояние проводов зажигания. Изоляция высоковольтных проводов не должна иметь повреждений, а концы проводов не должны быть окислены. При обнаружении повреждений замените неисправный провод.
3. Снять наконечники высоковольтных проводов и свечным ключом выкрутить свечи.
4. Внимательно осмотрите свечи и сравните их внешний вид с фотографиями ниже (см. «Диагностика состояния двигателя по внешнему виду свечей зажигания» ). Зазор между электродами свечи зажигания должен быть 0,70–0,85 мм. Если свеча черная и влажная, ее можно выбросить.
5. Если все разъемы в порядке, переустановите их и подсоедините высоковольтные провода. Порядок работы цилиндров 1–3–4–2, нумерация цилиндров (1, 2, 3, 4) осуществляется от шкива коленчатого вала двигателя.
6. Возьмите запасную свечу зажигания. Закрепите его на двигателе любым способом.
Надежный контакт корпуса или резьбовой части свечи зажигания с массой не обязателен, но желателен.
Подсоедините высоковольтный провод от 1-го цилиндра к запасной свече зажигания. Запустите двигатель. Если перебои в работе двигателя не увеличились, замените свечу зажигания в 1-м цилиндре на заведомо исправную. Наденьте высоковольтный провод и запустите двигатель. При усилении перебоев повторите эту процедуру последовательно со всеми цилиндрами, чтобы выявить неисправную свечу зажигания.
7. Если в результате проведенных мероприятий перебои в работе двигателя не устранены, обратитесь в автосервис для диагностики системы зажигания на стенде или для диагностики двигателя — замерьте компрессию. Нормальная компрессия более 1,1 МПа (11 кгс/см 2 ), разница более 0,1 МПа (1 кгс/см 2) в одном цилиндре свидетельствует о необходимости ремонта двигателя.
Казалось бы, когда машина Нексия не заводится, в этом нет ничего удивительного. Это вполне типично для данного класса автомобилей. Но тогда вспомним старую рекламу этой машины, где основным лейтмотивом была фраза «Я люблю узбеков за то, что зимой они хорошо заводятся».
Это правда или обычный пиар-ход? Как показало время — хитрость, ведь проблемы с заводом у этой машины были всегда, а особенно зимой. А теперь попробуем разобраться, почему так происходит, какие причины были для этого раньше, до рестайлинга, а что доставляет неудобства сейчас.
До 2007 года основной причиной, по которой Нексия не заводилась, был трамблер, а точнее катушка распределителя зажигания, которая буквально разваливалась после определенного периода эксплуатации. Не то чтобы проблема случалась слишком часто, но была. Причем и летом, и зимой (теперь верю рекламе). То есть с машиной вроде бы все в порядке, вчера она работала отлично, а утром вдруг не заводится.
Подобная проблема решалась не очень оригинальным и очень привычным способом — небольшой толчок и двигатель автомобиля заработал с точностью швейцарских часов. В 2007 году проблема была решена радикальным образом – двигатель был серьезно модернизирован, а вместо трамблера установлен электронный блок, отвечающий за зажигание.
Почему Нексия сейчас не заводится?
Замена трамблера на электронный модуль частично решила проблему. Но в современных моделях он продолжает проявляться. Причин несколько:
- Нет искры;
- Засорен воздушный фильтр;
- Проблемы с топливной системой;
- Неисправный стартер.
Нет искры
Основными причинами отсутствия искры в свечах зажигания могут быть проблемы, связанные с модулем зажигания или датчиками положения коленвала и распредвала. Если у вас есть под рукой диагностический сканер, таким прибором оснащены все современные модели, то протестируйте эти детали и, получив информацию об одной из ошибок, отремонтируйте ее.
Если это не так, то проверьте предохранитель реле. Если в этой части автомобиля проблем нет, приступайте к проверке работоспособности свечей зажигания. Здесь все в порядке? Тогда ищите проблему в катушке зажигания — отключите ее от проводов и включите зажигание. Если по проводам идет ток, то неисправна именно катушка, и ее необходимо заменить.
Проверьте воздушный фильтр
Если искра есть, но двигатель не заводится, проверьте воздушный фильтр. При засорении фильтра кислород в мотор не поступает, и его работа идет не по сценарию. В целом ресурс воздушного фильтра составляет 10 тыс. км, поэтому, даже не снимая его, можно определить, требуется ли замена. Также проверьте воздухозаборники и очистите их от мусора.
Топливная система
Итак, искра в свечах есть, воздушный фильтр чистый, но машина все равно не заводится. Возможно проблема кроется в топливной системе. Проверить его работу можно следующим образом – набрать в шприц бензин и впрыснуть его на дроссельную заслонку. Затем поверните ключ зажигания. Работающий двигатель свидетельствует о проблемах в топливной системе. То есть двигатель просто недополучает топлива, без которого, к сожалению, работать не может.
Сначала проверьте топливный фильтр и форсунки на наличие забитых утечек топлива. Если все в порядке, то проверить бензонасос.
Это нетрудно сделать. Один человек подходит к левому заднему сиденью, где находится топливный насос, и внимательно слушает. Второй поворачивает ключ в замке зажигания. Топливный насос запустился? Значит проблема не в нем. В противном случае он вышел из строя и нуждается в замене или ремонте.
Еще один способ проверить топливный насос — мультиметром. Измеряют ток и сопротивление погружного элемента и сравнивают фактические значения с паспортными. Если они сильно отличаются, то, скорее всего, сломался бензонасос.
Не работает стартер
Когда не крутится стартер, причин его поломки может быть несколько, и основная из них — разряженный аккумулятор. Даже если он не выработал свой ресурс, проверьте его мультиметром. Осмотрите клеммы и провода на наличие возможных повреждений и ржавчины. Если с аккумулятором все в порядке, идем и проверяем реле. Для этого поверните ключ в замке зажигания и прислушайтесь к щелчкам. Их наличие свидетельствует о нормальной работе этой детали.
Перейдем к стартеру. Легкий удар по корпусу и последующий шум при работе свидетельствует о неисправности стартера, который подлежит замене.
В ситуации, когда двигатель глохнет после начала работы, причин неисправностей может быть гораздо больше. Сломанный иммобилайзер, забитые клапана, некачественное топливо или масло – это лишь малая часть того, что могло произойти.
Как видите, проблем с Daewoo Nexia может быть достаточно, но бюджетная цена и простота обслуживания заставляют закрывать глаза на эти недостатки.
Резюме: Что еще проверить, если двигатель не заводится?
Часто проблема связана с предохранителем, поэтому при неисправности двигателя проверьте, не перегорел ли он. Предохранитель отвечает за работу системы зажигания. Опознать прогоревшую деталь можно по почерневшей/частично, почти полностью оплавленной поверхности. Можно обойтись заменой поврежденной детали.
Стоит проверить замок зажигания — особенно это важно в случаях, когда стартер «не крутит» при включении зажигания.
Для диагностики поверните ключ в замке в первое положение и посмотрите, загорается ли лампочка на приборной панели.
О чем нужно знать?
Иногда причиной поломки является просто изношенная деталь, изношенный узел. В этом случае диагностика быстро выявит причины неисправности, и ремонт можно будет осуществить своими силами. Сначала проверьте аккумулятор – аккумулятор должен быть достаточно заряжен. Если работает нормально, переходим к проводам — возможно они окислились.
Недостаток заряда батареи является проблемой? Завести автомобиль «с толкача» или с помощью «прикуривания» с другого автомобиля. Эти действия быстро приносят результат, но если они не помогают, нужно осмотреть клеммы аккумулятора – если есть окисление, нужно зачистить контакты. Это помогает, как правило, ненадолго. Со временем нужно сделать полную смену. Действовать с осторожностью.
Как избежать неприятностей?
Daewoo Nexia, как и любой другой автомобиль, требует соблюдения правил эксплуатации – элементарного следования советам производителя.
Если заранее обратить пристальное внимание на работу двигателя, можно надолго продлить срок службы и избавить себя от частых ремонтов и соответствующей траты денег. Рассмотрим самые важные правила, которые необходимо помнить водителям.
Первое: Вовремя меняйте масло
Регулярно выполняйте эту простую, но важную процедуру для повышения работоспособности техники, она помогает даже на Daewoo Nexia. Попробуйте сравнить уже отслужившее свой срок масло и новое — поймете, в чем дело.
Замену нужно производить через полгода (через десять тысяч километров) — конечно, чаще по сравнению с другими моделями, и неудобно, зато вы будете уверены, что продлите жизнь автомобилю и добьетесь долгой службы срок службы его основных компонентов.
Двигатель просто не может выполнять свои функции без качественного масла, в худшем случае узлы будут постепенно деформироваться, срок службы станет короче — необходимо обращать внимание на качество жидкости.
Второе: не забудьте про систему охлаждения
Узбекско-корейский продукт, к сожалению, оказался не очень выносливым, особенно, так проявляется в зимнее время(впрочем, легко может перестать работать даже в жаркое время года).
По этой причине ко всем рабочим частям, включая систему охлаждения, нужно относиться серьезно. Включает в себя:
- радиатор;
- термостат; водяной насос
- ; охлаждающая жидкость
- .
Основной задачей системы охлаждения является защита от перегрева. Для выполнения этой функции нужно следить за тем, чтобы охлаждающая жидкость находилась в допустимых пределах: не ниже минимального показателя и не выше максимального.
Третье: дать автомобилю дышать
Как и многим другим устройствам (например, материнской плате компьютера), машине необходимо «дышать», получать своевременный приток воздуха, задача которого стоит на втором месте по важности (после топлива). Он должен поступать в систему постоянно.
При этом в воздушных массах не должно быть мусора, мелкой грязи и другого мусора, пагубно влияющего на двигатель. За это отвечает воздушный фильтр. Если вы хотите, чтобы проблемы и различные поломки беспокоили вас реже, меняйте его чаще.
Все, от чего фильтр защищает автомобиль: листья, мелкие насекомые, частицы пыли – накапливается в нем постепенно.
Четвертое: следите за тем, чтобы бензобак не оставался пустым
Опытный автовладелец знает: бензин содержит определенную долю примесей, веществ, которые остаются в нижней части бензобака в виде осадка. Постепенно вещества собираются в приличное количество мусора — двигатель защищен от угара благодаря топливному фильтру. Однако если завести машину с почти пустым баком, содержимое через топливный фильтр втянется в двигатель. От этого «Дэу Нексия» быстро «заболеет» — старайтесь держать бак хотя бы наполовину полным.
Пятое: не игнорируйте «кровеносные сосуды» машины — приводные ремни
Они предназначены для выполнения задачи: задействовать все элементы двигателя, от генератора до водяного насоса. Работа у них сложная, с ней не надо разбираться. Просто, если вы заметили какие-либо дефекты: трещины или износ материала, лучше внести изменения и доверить эту работу мастерам.
А чтобы знать, в каком состоянии ремни, периодически их осматривайте (под капотом автомобиля).
Приобретая эту модель по доступной цене, по сравнению с другими иномарками, вы должны компенсировать стоимость уходом и обслуживанием. Особое внимание обратите на аккумулятор и электрооборудование в целом:
- клеммы;
- контактов;
- наконечники и т. д.
Должны содержаться в чистоте, проникновение влаги недопустимо. Старайтесь держать их сухими: грязная, промасленная изоляция однажды прорвется, а сгоревший или окислившийся контакт приведет к выходу из строя системы зажигания и может стать причиной пожара.
Обратите особое внимание на двигатель, когда он работает нормально. Старайтесь не выключать его каждый раз при непродолжительной остановке – аккумулятор из-за чрезмерного использования стартера быстро изнашивается, приходя в негодность.
Серьезно отнеситесь к выбору новых запчастей – при покупке некачественной продукции «Железный Конь» быстро пинает копыта.
Лучше покупайте сертифицированные детали в проверенных магазинах/вызывайте на помощь специалистов.
И последнее, если у вас возможность обратиться за помощью в автосервис, обязательно воспользуйтесь ею — сэкономите силы, нервы и время.
Публикация в блоге
А если вам понравилась наша статья и вы готовы получать больше интересной информации, то подпишитесь на , от которой вы сможете почерпнуть много полезных советов и историй из мира автомобилестроения.
Указатели поворота на легковом автомобиле Daewoo Nexia, как и на других автомобилях, играют важную роль в обеспечении безопасности движения. Ведь если они не сработают, то выполнение различных маневров на проезжей части будет неожиданным для остальных участников движения. Конечно, ориентируясь на Правила дорожного движения, вы можете подавать сигналы о поворотах рукой, но поймут ли их все наши водители, так как даже в автошколах на учебных автомобилях эти действия не практикуются.
В электрическую цепь указателей поворота Daewoo Nexia входят: лампы с правой и левой стороны автомобиля; реле, работающее и на сигнализацию; Подрулевой переключатель; двадцатиамперный предохранитель F8 и провода, соединяющие эти устройства.
Чаще всего в данной электрической цепи на автомобиле Daewoo Nexia выходит из строя трехвыводное реле указателей поворотов, которое маркируется следующим образом: 96312545U. Контрольная лампа на панели приборов предупредит о том, что она вышла из строя, а ее щелчка слышно не будет, так как она находится в салоне в монтажном блоке (верхняя левая сторона), расположенном на передней панели в районе, где ваше левое колено.
В этом случае лампы поворотников просто загорятся, не моргая. Обычно реле перед тем, как окончательно выйти из строя, начинает работать с аритмией, включается на пару секунд, потом выключается и водителю приходится несколько раз за время маневра перевести подрулевой переключатель в нейтральное положение, а затем снова включите указатели поворота.
Как только эта аритмия началась, реле необходимо заменить. Стандартное реле достаточно дорогое, аналогичное реле от BOSCH еще дороже, поэтому для тех водителей, у которых с деньгами туго, целесообразно приобрести реле производства корейской фирмы POMAX, оно более чем в два раза дешевле оригинального.
обычный. Также можно попробовать поставить трехвыводное реле от отечественной «восьмерки», имеющее такие же присоединительные размеры, как и штатное реле.
При перегорании желтого предохранителя F8 (20А), который находится вторым слева в среднем ряду монтажного блока, не будут гореть не только лампы поворотников, но и стоп-сигналы. Это значит, что при торможении водителей позади движущегося транспорта будет не о чем предупреждать. Если у вас на автомобиле Daewoo Nexia установлена антиблокировочная тормозная система (ABS), она тоже не будет работать. Это связано с тем, что все они получают питание через предохранитель F8.
Небольшой вентилятор иногда доставляет хлопоты. Во время его работы могут появляться посторонние звуки или он внезапно перестает работать. Причин, приводящих к неисправностям, несколько. Но для начала лучше понять, что такое вентилятор и зачем он нужен.
Для чего нужен вентилятор печки?
Автомобиль сконструирован таким образом, что воздух поступает в салон автомобиля через или через систему отопления.
Радиатор может быть холодным или горячим, в зависимости от того, как тосол или антифриз прогрелись. Если охлаждающая жидкость прогрелась до рабочего уровня в девяносто градусов, радиатор прогревается и в салоне становится тепло. Вентилятор печки Дэу Нексия необходим для того, чтобы всасывать окружающий воздух, пропускать его направленным потоком через радиатор, где воздух нагревается.
Новички, мало разбирающиеся в устройстве машины, часто спрашивают, где находится реле вентилятора печки Дэу Нексия. Реле найти несложно: оно находится под лобовым стеклом справа. Кстати, расположенный рядом с салонным фильтр необходимо менять по мере его засорения. Исправный салонный фильтр очищает поступающий от печки воздух, собирает пыль, не пропускает выхлопные газы.
Какие факторы приводят к отказу вентилятора
Специалисты выделяют несколько основных причин, приводящих к выходу из строя вентилятора, рассмотрим некоторые из них:
- Перегорел предохранитель.
На первый взгляд, это не повод для беспокойства, его изменение не требует особых усилий. На самом деле все не так просто, это достаточно неприятная ситуация и дело не в сложности замены предохранителя. А дело в том, что перегоревший предохранитель означает короткое замыкание и вам придется найти его источник, перебрав всю электрическую цепь. - Следующий фактор заключается в окислении контакта монтажного блока. Для его выявления достаточно сдвинуть или слегка покачать блок жгутов, которые идут к монтажному блоку, нужный вам находится внутри. Если двигатель вентилятора заработал, выключите его, снимите блок и зачистите необходимые контакты.
- Если печка работает только при хорошо прогретом автомобиле, то источник проблемы кроется в реле зажигания и подлежит замене. Его легко найти, даже если вы не знаете, где находится реле вентилятора печки Дэу Нексия. Он расположен под приборной панелью.
- Неисправный вспомогательный регистр приводит к тому, что печка работает только на третьей скорости.
На первых двух скоростях электрический ток подается к двигателю от добавочного резистора, а на третьей он поступает непосредственно на вентилятор. Чтобы устранить проблему, вам придется заменить этот резистор. - Наличие неисправного переключателя отопителя. Чтобы убедиться в этом, нужно взять двенадцативольтовый габаритный фонарь с двумя припаянными проводами. Затем минусовой (минусовой) провод замкните на корпус, а второй по очереди приложите к трем контактам резистора. Лампочка выключена? Значит в цепи был обрыв или этот предохранитель перегорел (выбил).
- Чаще всего проблема кроется в поломке, которая выходит из строя из-за предохранителя. В этом случае замените неисправный предохранитель на новый. Также важно устранить неисправность, приведшую к короткому замыканию, кроме того, есть вероятность повреждения кабеля.
Рассмотрены основные причины/варианты вызывающие поломку, но не работает вентилятор печки на Дэу Нексия? Важный! Есть еще несколько моментов, влияющих на правильную работу электродвигателя печки.
Это может быть сгоревший моторчик или у него недостаточно хороший контакт с массой машины, кроме того, могло быть «залипание» щеток моторчика отопителя Daewoo Nexia
Иногда вентилятор работает на трех скоростях и не реагирует на четвертую. Отказ в работе может быть вызван тем, что у максимальной скорости есть свой предохранитель, заменив его, вы обеспечите рабочий процесс на всех четырех скоростях. Если предохранитель исправен, то реле не работает.
В корпус вентилятора могут попасть листья, из-за чего этого не происходит. Решение простое: нужно разобрать и почистить вентилятор, а заодно и смазать электродвигатель печки Нексия.
В каких случаях производится замена моторчика
Вентилятор меняют при невозможности ремонта: перестал работать мотор отопителя Дэу Нексия и не включается при переключении ручки регулятора печки. Симптомами плохой работы вентилятора также являются посторонние шумы и свист.
Замена мотора начинается с разборки передней части консоли, снятия магнитолы и бардачка.
Для удобства работы некоторые автолюбители снимают переднее сиденье. После этого остается открутить винты, вытащить моторчик отопителя и поставить новый, прикрутить и все остальное.
Послесловие
Мы рассмотрели основные вопросы, связанные с неисправностями вентилятора печки Дэу Нексия, и рассказали, где находится моторчик печки Нексия. Надеемся, что советы профессионалов помогут вам справиться с подобными проблемами самостоятельно.
И по традиции приглашаем вас подписаться на наши статьи! Напишите нам, расскажите о своем опыте ремонта мотора и способах устранения неполадок. Пусть наши читатели воспользуются новыми советами!
Наверное, каждому автовладельцу, вне зависимости от того, какая у него машина, знакомо то чувство бессильного разочарования в ситуации, когда машина отказывается заводиться. Владельцам автомобилей Daewoo-Nexia тоже знакомо это чувство. Не заводится двигатель — знакомая тема для этих автомобилей. Разберем основные причины таких сбоев и способы их устранения.
Покупая такие автомобили, будущий владелец должен четко осознавать, что это бюджетный автомобиль и не более того. Когда-то по телевидению была мощная рекламная кампания дорестайлинговых моделей — «люблю узбеков, зимой заводятся хорошо». Вскоре эта фраза стала известной и быстро вошла в народ. И как оказалось, в этом есть доля правды. Если Дэу-Нексия не заводится после стоянки на морозе, значит, что-то точно произошло. Автомобиль не имеет проблем с запуском в холодную погоду. Но тут тоже есть один небольшой нюанс.
«Daewoo-Nexia»
Родоначальником этого автомобиля является Opel-Cadet E, который собирался в Германии с 1984 по 1991 год. Первые автомобили, выпускавшиеся до сих пор по лицензии Opel, сошли с конвейера в 1986 году. Nexia продавалась в Канаде и США под брендом Cileo. В других странах модель была известна и покупалась как Daewoo Racer. За основу был взят «кадетский» двигатель. Однако его доработали и модернизировали. Этот мотор отличается высокой надежностью.
Трамблер и Daewoo-Nexia
Огромное количество владельцев дорестайлинговых моделей легко может оспорить мнение угонщика из рекламы о том, что различные проблемы, связанные с запуском в морозы, не являются неожиданностью. Но «Дэу-Нексия» не заводится не только в мороз. Иногда, просто так, без серьезной причины, вдруг отказывается заводиться с ключа. Более того, если машину толкнуть, двигатель заводится и работает легко, с точностью швейцарских часов.
Такое поведение мотора напрямую сообщает владельцам о неисправностях с системой зажигания. В случае с «Нексией» этот диагноз также подтверждается — проблемы с запуском от ключа в трамблере, а если поломка диагностируется еще точнее, то в индукционной катушке
Со временем эта деталь может буквально рассыпаться в прах. Производитель долго думал, как решить эту проблему, и нашел выход. Компания радикально избавилась от системы зажигания вместе с распределителем. Автомеханики рассказывают, что в 2007 году 1,5-литровый двигатель был модернизирован – унифицирован с двигателем от родственного бюджетного автомобиля «Ланос».
Помимо основных конструктивных изменений, эта модернизация привела к тому, что в двигателе внутреннего сгорания пропал трамблер. Вместо него установлен электронный модуль, отвечающий за зажигание.
Типичные причины
Стартер крутит, но Дэу-Нексия не заводится? Это случается довольно часто. Возникает и обратная ситуация – стартер не крутит. Какой из них хуже, выяснить сложно даже опытным автовладельцам. При возникновении такой проблемы необходимо проверить наиболее вероятные элементы автомобиля, которые могли спровоцировать данную неисправность. Вы можете сделать это самостоятельно.
Если проблема со стартером, сначала проверьте, есть ли искра. Затем смотрят фильтр, аккумулятор и его клеммы. Дроссельную заслонку проверить не помешало. Для запуска двигателя необходимы четыре элемента: искра, воздух, сжатие и топливо. Если Дэу-Нексия не заводится, первым делом нужно посмотреть свечи.
Почему нет искры?
Причин отсутствия искры на ДВС много.
Например, это может свидетельствовать о проблемах в неисправностях катушки трамблера в дорестайлинговых моделях, либо в датчике положения распредвала, либо в датчике положения распредвала. Проверить элементы чтения можно своими руками, если к ним есть свободный доступ. Специалисты рекомендуют использовать диагностический сканер — последние Нексии оснащены ЭБУ, способным сообщать владельцу об ошибках.
Далее проверьте блок предохранителей и реле. Это гарантирует, что искра не пропала по этой причине. Самый распространенный вариант – выход из строя свечей зажигания или высоковольтных проводов. Это популярная проблема, которая может быть легко решена. Но если свечи и провода полностью исправны, следует проверить катушку и модуль зажигания на работоспособность.
Первый можно диагностировать, отсоединив его от провода. Затем кто-то должен повернуть ключ. Далее следует понаблюдать, идет ли электрический ток на катушку. Если пойдет, то катушку нужно заменить.
Воздушный фильтр
Если Дэу-Нексия не заводится, стартер крутит, то проверьте воздушный фильтр.
Для того чтобы двигатель успешно запустился, ему необходимо определенное количество кислорода. Если воздушный фильтр забит, кислороду может быть трудно нормально поступать. Ресурс элемента составляет 10 тысяч километров. Вместе с очистителем рекомендуется проверить как воздухозаборники, так и воздуховоды. Они могут забиваться мусором и листьями.
Топливная система
Если искра есть, воздух подается в достаточном количестве, и при этом автомобиль Дэу-Нексия не заводится, не стоит ругать производителя. Топливная система может быть просто неисправна. Даже неопытные автовладельцы знают, что без топлива двигатель не заведется.
В случае неисправности топливной системы автомобиль никогда не заведется. Некоторые автовладельцы проверяют работу этой системы с помощью шприца. Он заполняется бензином, а затем смесь впрыскивается в дроссельную заслонку. Далее поверните ключ в замке зажигания.
Почему не подается топливо в двигатель?
Если двигатель не получает требуемый объем топливной смеси, то стоит продиагностировать бензонасос и регулятор давления.
Если Дэу-Нексия не заводится, причины могут быть в утечках топлива, забитом топливном фильтре и форсунках. Но чаще всего это погружной насос. Ниже мы рассмотрим, как это проверить.
Проверка насоса
Проверить исправность насоса можно своими руками – это несложно. Первым делом определяемся с местом его установки в машине (слева под пассажирским диваном). Когда у вас есть доступ к элементу, вы можете перейти к диагностике. Кто-то по команде должен включить зажигание на несколько секунд. Когда стартер начнет работать, будет слышен звук топливного насоса. Это говорит о его исправности. Если звука нет, значит питание на погружной насос не подается. Или он вышел из строя и требует замены.
Бывает так, что помпа работает, Дэу-Нексия не заводится, стартер работает нормально. Затем стоит убедиться, поступает ли напряжение на погружной элемент. Делается это мультиметром. Ключ зажигания поворачивается и удерживается в положении «ON» в течение трех секунд. Если ток течет, мультиметр покажет это.
Затем проверяется сопротивление элемента. Для этого к контактам питания насоса подключается мультиметр. Это необходимо сделать в обязательном порядке, если на момент пуска двигателя признаков работы механизма нет. Замеры сравниваются с паспортными данными. Если полученные цифры сильно отличаются, скорее всего, сгорел бензонасос.
Если стартер не крутит
В большинстве случаев этот симптом указывает на разряженную аккумуляторную батарею. И если аккумулятор был заменен на новый несколько месяцев назад, проверить его все же стоит. Диагностику можно провести с помощью мультиметра. Не лишним будет убедиться в их исправности, а клеммы не подвержены коррозии. Далее нужно рассмотреть неисправность Она находится в распределительном блоке автомобиля. При включении зажигания элемент должен щелкнуть. Затем можно проверить сам стартер. Сначала достаточно слегка чем-нибудь ударить по корпусу, затем запустить двигатель и прислушаться. Если устройство шумит во время работы, то его следует заменить.
Двигатель заводится и глохнет
Если Дэу-Нексия заводится и глохнет, то причин может быть гораздо больше. Это неисправности иммобилайзера. Засорение не исключено Возможно, в машину был залит плохой бензин, а в двигатель залито некачественное масло.
Заключение
Итак, как видите проблем с этим узбекско-корейским автомобилем много. Также стоит учесть, что при узбекской сборке автомобиль комплектуется некачественной проводкой. А с ней у владельцев проблемы на ровном месте. Но если учесть цену этих машин, то на все эти нюансы можно закрыть глаза. Машины можно легко отремонтировать в гараже своими руками.
Аварийка не работает на Daewoo Nexia. Почему Дэу Нексия узбек не работают поворотники, не работают мигалки
Привет кадабра. Пришло время порадовать вас новой головоломкой по узбекским средствам перемещения пятой точки системы «дэу нексия».
(под катом крутая история и немного фото)
Дело в том, что несколько дней назад при включении аварийки или поворотника перестали периодически мигать лампочки.
Они просто погасли, и не начинали мигать, пока не выключишь и не включишь рычажком. Сначала это проявлялось раз в день, потом раз в час, а вчера, после того, как проблема стала проявляться каждую минуту, машина решила, что впредь мне вообще не нужны указатели поворотов и перестала их светить в принципе.
«Зачем, мол они тебе,» — решила Нексия, — «поворотники нормальные Потсоны не устраивают, пусть окружающие учатся читать маневры». Кстати, самое смешное, что поломка произошла на территории незабвенного Купчино.
Так как отрубилось сразу все — и поворотники и аварийка — это предложило искать проблему в блоке предохранителей и реле. Предохранитель оказался целым, а вот с реле (на фото оно вверху слева) случилась странность: при нажатии аварийной кнопки или включении поворотника оно издавало один «щелчок» — и все. Это. В этом случае лампочки не загорелись.
В блоке реле поворотников оказался затемнён один из контактов. Для верности я его немного подогнул, хотя реле уже достаточно плотно в него влезло.
Это не решило проблему
Было решено попробовать заменить реле, так как рядом на ул. Салов. Но вам все равно нужно добраться туда через несколько кварталов и оживленных перекрестков. Правила дорожного движения гласят, что при отсутствии указателей поворота остальные участники дорожного движения должны быть оповещены жестами рук в окно. Впрочем, — подумал я, — не все помнят, ЧТО означает рука, торчащая из окна по ПДД, — мало ли что-то не так считают — люди сейчас нервничают. Опять же — Купчино. Объясните потом замучаетесь, что средний палец не поднят на торчащей руке и приподнят в локте (для обозначения правого поворота).
Так что я просто перемыкнул контакты 49 и 49а, которые размыкают цепь освещения, вставил реле и отправился в путь. Поворотниками теперь можно пользоваться как и раньше, за исключением того, что они не моргали при включении, а горели постоянно.
Абсолютно не ориентируюсь на Саловском авторынке и был там второй раз в жизни, да и времени было в обрез, поэтому приличных магазинов с автоэлектроникой не нашел и воспользовался услугами барыг, продающих все от подносы — от синих букв до КПП с двигателями в сборе.
Взял с собой собственное реле для пробы
Полностью идентичных реле у барыг почему-то не нашлось. Все были с более коротким телом. Тем не менее, логично было предположить, что это все равно сработает.
Однако ничего подобного нет. После установки нового реле (укороченного) ситуация не изменилась. Все то же самое: нажимаем кнопку или поворотник, реле щелкает один раз — и тишина. Насторожило только то, что новое реле щелкает вообще еле слышно. Вернул реле, побежал к другому барыге, снова взял у него укороченное реле — поставил — все равно опять.
Теперь, внимание, вопрос. Взаимозаменяемы ли длинная и короткая версии реле поворотников? А где в Питере можно раздобыть годное родное Нексиевское реле?
К сожалению, забыл сфотографировать короткую статью о реле, но, кажется, это 07.3747. Артикул оригинала 495.3747-01.
Nexia – один из самых распространенных и доступных автомобилей марки Daewoo. Хорошие динамические качества для автомобиля такого класса, простота обслуживания и сравнительно невысокая цена на новые и подержанные модели сделали свое дело.
Сейчас их много на дорогах. Нексии используются в основном в качестве такси, а также в качестве арендованных и личных автомобилей.
Узбекская сборка электродеталей во многих моделях не так надежна, как хотелось бы. Часто выходят из строя многие устройства, в частности предохранители и реле Дэу нексия а, а контактная группа в замке зажигания – это «больное место» автомобиля.
При выходе из строя электроприбора первое, что нужно сделать, это проверить его предохранитель. Недостаточно визуально осмотреть его, щель может быть не видна глазу. Хорошо, если под рукой есть тестер. Если нет тестера, вместо проверки предохранителя можно сразу заменить его на заведомо исправный. Поэтому всегда носите с собой комплект новых резервных предохранителей. Это сэкономит ваши нервы и время во многих случаях.
Обнаружив перегоревший предохранитель, не спешите его менять. В противном случае новый предохранитель также может быть поврежден. Поймите, из-за чего он сгорел. Убедитесь в отсутствии короткого замыкания в цепи, которую он защищает, а также в целостности всех проводов.
Бывает, что один из проводов перегибается или пережимается и начинает при случае замыкаться на кузов автомобиля.
Всегда старайтесь доводить работу с электрикой до конца, проверяйте как можно больше причин поломки, иначе любое короткое замыкание может стать причиной пожара или аварии. Если у вас есть схема автомобиля, используйте ее, если можете. Если нет опыта ремонта и знаний, лучше обратиться в автосервис к любому электрику.
В моделях Daewoo Nexia до 2008 года монтажный блок имел обозначение N100, в моделях после 2008 года — N150. Нумерация и функция в блоках предохранителей и реле Daewoo Nexia одинаковы.
Блок крепления салона
Блок крепления в салоне Нексии расположен слева от руля в нижней части приборной панели, под кнопками открытия багажника и бензобака. Чтобы добраться до него, нужно открыть крышку. Предохранители и реле на нем расположены с двух сторон — на лицевой стороне, обращенной к водителю, и на нижней стороне, обращенной к педалям. Чтобы поменять реле и один из двух передних предохранителей на нижней стороне, может понадобиться снять весь монтажный блок или повернуть его.
Предохранители в монтажном блоке салона
F1 (10 А) — электронный блок управления двигателем (ЭБУ) .
F2 (10 А) — габаритные огни .
Если габариты вам не подходят, проверьте ручку переключателя света и поворотников, она могла выйти из строя или повредиться контакты/провода в ее основании. Цена нового выключателя света около 700-1000 рублей. Также проверьте контакты этого предохранителя, бывает что подгорели, зачистите их и добейтесь хорошего контакта предохранителя в розетке. Причина может быть и в реле М и его контактах. Также возможно, что перегорели дорожки в монтажном блоке.
Если предохранитель перегорает очень часто, значит где-то короткое замыкание. Проверьте разъемы в каждой фаре, а также провода, особенно те, что идут в жгутах по днищу автомобиля. Они могут быть переданы или отрезаны. Общая схема проводки и разъемы в конце этой статьи. Не забудьте проверить и сами лампы габаритных огней, бывает, что перегорают все они одновременно или одна за другой.
F3 — резерв .
F4 (20 А) — дальний свет фар .
Для включения дальнего света необходимо переместить левую ручку под рулем в более дальнее от себя положение. Чтобы моргнуть, потяните на себя.
Если у вас не работает дальний свет, проверьте исправность ламп (могли перегореть сразу обе), исправность реле L, H и их контактов, контакты в гнезде предохранителя. Подрулевой переключатель также может быть одной из причин. Если вышесказанное верно, скорее всего дело в проводке или контактах в разъёмах фары.
F5 (10 А) — ближний свет, электрокорректор левой фары .
F6 (10 А) — ближний свет, электрокорректор правой фары .
Если дальний свет работает, а ближний нет, скорее всего дело в подрулевом переключателе света, проверьте его контакты и провода, прочность разъемов. Можно снять переключатель, аккуратно разобрать его и проверить пластины на предмет короткого замыкания, а также пластиковый переключатель, надежно ли он размыкает контакты.
Не забудьте проверить исправность ламп в фарах, даже если не работают оба ближнего света, а также контакты в разъёмах и проводах. Причина отсутствия света может быть в контактной группе замка зажигания. Если вы не разбираетесь в электрике, то лучше обратиться в сервис.
F7 (30 А) — ТНВД, форсунки .
Если перестал работать топливный насос, проверьте контакты в блоке предохранителей, а также реле С и его контакты. Если они окислились или есть следы подгорания, замените реле. Может отсутствовать контакт в замке зажигания или контактной группе. Если есть перебои в работе бензонасоса, двигатель заводится, то нет, скорее всего реле, а возможно дело в замене топливного фильтра.
При низких температурах и их перепадах может помочь испаритель конденсата, который заливается в бак вместе с бензином. Также из-за некачественного бензина может выйти из строя сам насос. Проверить можно, подав на него напряжение 12 В напрямую, либо подключив опущенный в емкость шланг вместо топливопровода.
Топливный насос также может не работать из-за проводки в кабине внизу слева от водителя, возле левого переднего крыла. Чтобы добраться до проводов, нужно снять накладку слева от педали сцепления. Увидев блок разъемов, проверьте все провода и соединения, идущие от него. Желто-коричневый или бело-коричневый провод отвечает за работу бензонасоса. Также проверьте, чтобы провода не были перебиты возможными саморезами, вкрученными в корпус.
Если ничего из вышеперечисленного не помогло и в контактной группе замка зажигания установлено разгрузочное реле, проверьте его и при необходимости замените.
F8 (20 А) — поворотники, сигнализация, стоп-сигналы .
Если перестали работать указатели поворотов, в первую очередь проверьте этот предохранитель и реле-прерыватель А, а также его контакты. Если поворотники работают с перебоями, дело скорее всего в том же реле А, в проводке или в коротком замыкании в разъемах поворотников. Если при включении указателей поворотов не работают ни поворотники, ни контрольные лампы на приборной панели, скорее всего, дело в подрулевом переключателе, его контактах или реле.
Если «аварийка» не срабатывает, скорее всего дело еще и в реле, в самой кнопке и ее контактах, либо в проводке от кнопки до предохранителя/реле.
Не забудьте также проверить сами лампочки поворотников.
F9 (30 А) — стеклоочиститель, шайба .
Если «дворники» не работают, смотри реле F и его контакты. Проверить, исправен ли сам мотор-редуктор, подав на него напряжение 12 В, туго ли затянуты гайки на валах держателей стеклоочистителей, исправен ли трапецеидальный механизм. Проверьте исправность правого подрулевого переключателя, контактов и проводов в его разъеме. Еще одной причиной некорректной работы мотора очистителя может быть плохой контакт с массой. Попробуйте напрямую соединить провод между кузовом автомобиля и корпусом мотора и проверить его работу.
Если на улице низкая температура, проверьте, не примерз ли механизм стеклоочистителя, особенно валы с гайками, при необходимости очистите его ото льда и влаги.
F10 (10 А) — электропривод замка крышки бензобака .
F11 (10 А) — реле компрессора кондиционера .
Для правильной работы кондиционера после зимы рекомендуется время от времени включать его зимой в теплом месте (гараж, бокс, автомойка) для смазки уплотнительных соединений. В противном случае их придется менять весной. При низких температурах из-за отсутствия давления кондиционер не включится.
Если перестал работать кондиционер, проверьте кроме этого предохранителя еще и реле J. Возможно, в системе закончился фреон. Проверить можно, открутив крышку сбоку ресивера, расположенную возле аккумулятора. При нажатии на вентиль фреон должен с шипением выйти из отверстия, значит давление и газ есть.
Если давления нет, проверьте датчик давления, установленный на трубке возле воздушного фильтра. При замыкании контактов в двухконтактном разъеме датчика давления кондиционер должен включиться. Заполните систему фреоном, предварительно проверив систему на герметичность. Возможны утечки в соединениях, трубках и радиаторе кондиционера.
Дело может быть и в муфте, которая при включении кондиционера должна двигаться (будет слышен щелчок), если не работает, проверьте ее разъем, также можно проверить, подав напряжение 12 В к нему, доступ к контактам только снизу, удобнее всего добираться из смотровой ямы. Так же может быть неисправен компрессор или порвался его ремень, проверьте наличие целого и натянутого нижнего ремня в перед двигателем (под верхним ремнем генератора).
Если воздух из системы кондиционирования поступает в салон плохо или недостаточно холодный, проверьте салонный фильтр и замените его. Испаритель также может быть засорен, проверьте и очистите его.
F12 (30 А) — работа вентилятора охлаждения радиатора на малой скорости .
Если вентилятор работает только на повышенных оборотах, проверьте этот предохранитель, контакты в его гнезде и реле В и К.
F13 (20 А) — приборная панель, часы, прикуриватель, зуммер, лампы заднего хода, генератор, обогрев зад окно.
F14 (30 А) — звуковой сигнал, работа вентилятора охлаждения радиатора на высоких оборотах .
Если звуковой сигнал не работает, проверьте предохранитель и контакты в его гнезде, а также реле I. Если частота сигнала изменилась или сигнал пропал вовсе, скорее всего, дело в проводке к одному из звуковых сигналов . 2 сигнала — 2 тона. Проверьте контакты и провода на рогах, сняв решетку радиатора, они обычно гниют от влаги. Также проверьте подрулевой контакт кнопки звукового сигнала и его механизм.
Если при высоких температурах перестает включаться вентилятор радиатора, проверьте исправность реле В, Е, К и их контактов. Проверьте датчик вентилятора, отсоедините от него контакты и замкните их, вентилятор должен включиться. Либо подать напряжение 12 В напрямую на разъем вентилятора, проверив тем самым исправность его электродвигателя, проверить этот разъем на предмет подключения проводов к вентилятору на предмет окисления контактов.
Если двигатель вентилятора работает, это может быть предохранитель и реле, проводка, термостат и датчик температуры охлаждающей жидкости.
Если проверить проводку, от датчика температуры до ЭБУ, от ЭБУ до реле.
F15 (20 А) — свет в салоне, свет в багажнике, электроантенна .
Если не работает свет в плафоне возле зеркала заднего вида только в положении «Авто», проверьте концевые выключатели в дверях и проводке, а также сам переключатель режимов освещения. Проводка от концевиков проложена в пороге водительской двери или под сиденьем водителя, проверьте целостность всех проводов.
Если свет не работает ни в одном из режимов, проверьте исправность светильника и выключателя в плафоне.
Если не работает освещение багажника, проверьте лампу с левой стороны багажника, контакты освещения и проводку.
F16 (30 А) — электрические стеклоподъемники .
Если у вас перестали работать стеклоподъемники, скорее всего, дело в проводке. Проверьте провода, идущие к дверям, не оборваны ли они в местах сгибов (в гофрированных резинках), стандартная болезнь многих моделей Nexia. Также проверьте работоспособность моторов, подав на них напряжение 12 В и состояние щеток в них.
Если не работает один стеклоподъемник, дело также может быть в проводке двери или в кнопке управления стеклоподъемником, проверьте ее контакты и исправность.
Также проверьте сам механизм в двери на наличие дефектов и заеданий, состояние шестерни и троса. Причина может быть в блоке управления стеклоподъемниками со стороны водителя. Проверьте его на короткое замыкание.
Если стекло начинает коробиться, из-за чего стеклоподъемник не справляется с этим, попробуйте полностью опустить стекло и смазать уплотнительные резиновые полоски жидкостью WD-40 или силиконом.
F17 (10 А) — питание магнитолы от замка зажигания .
Обычно магнитола подключена так, что работает только при включенном зажигании. Если вы хотите, чтобы магнитола работала постоянно, найдите место ее подключения в контактной группе замка зажигания и подключите ее к постоянному питанию 12 В через предохранитель. Если магнитола перестала работать, проверьте замок зажигания, контакты в нем, контактную группу и проводку.
F18 (30 А) — питание магнитолы от аккумулятора, обогрев заднего стекла, электрозамок багажника, центральный замок.
Обогрев заднего стекла в Нексии автоматически отключается. Если он у вас не работает, проверьте этот предохранитель, F13 и контакты в своих гнездах, а также реле G и его контакты. Реле таймера обогрева можно установить не в монтажный блок, а под приборную панель, чуть выше педального узла. Также проверьте саму кнопку и ее контакты. Причина может быть в проводке от кнопки к заднему стеклу, она могла передаваться на днище автомобиля. Проверьте клеммы нагревательных элементов задних стоек по краям стекла и отсутствие оборванной резьбы на стекле. Если найдете обрыв, заклейте его специальным клеем, содержащим металл.
Если не работает центральный замок и не закрывается какая-то дверь, снимите с нее кожух и проверьте правильность работы привода замка и исправность тяги. Если замок 5-контактный, проверьте исправность всех его контактов и проводки. Также проверьте провода в гофре на сгибе при открытии двери.
Это может быть и реле. центральный замок, расположенный за электронным блоком управления (ECU), со стороны пассажира на центральной консоли.
Ф19- резерв .
F20 (30 А) — вентилятор кондиционера .
F21 (30 А) — противотуманные фары .
Если перестали гореть «противотуманки», проверьте предохранитель, контакты его гнезда, исправность ламп в фарах, кнопку включения в салоне, проводку, реле D и его контакты.
Реле в монтажном блоке салона
А — реле прерывателя поворотников, сигнализация .
См. информацию о F8.
B — высокая скорость вентилятора охлаждения радиатора .
См. информацию о F14.
С — топливный насос .
См. информацию о F7.
D — противотуманные фары .
См. информацию о F21.
E — максимальная скорость вентилятора кондиционера .
F — стеклоочиститель, прерывистый режим .
G — реле-таймер обогрева заднего стекла с автоотключением .
См. информацию о F18.
H — фары ближнего света (при включении дальнего света) .
См. информацию о F5, F6.
В новых моделях после 2008 года это реле при включении дальнего света не выключает ближний свет и не включает дальний.
И-звуковой сигнал .
См. информацию о F14.
J — компрессор кондиционера .
См. информацию о F11.
K — низкая скорость вентилятора охлаждения радиатора .
L-фары .
М — наружное освещение .
N-зуммер .
Схемы подключения
С помощью следующей схемы подключения можно определить расположение разъемов и контактов на массу, что может вызвать перебои в работе устройств при их ослаблении.
Электрические разъемы обозначены желтым цветом и начинаются с буквы X.
Провод заземления, контакты заземления корпуса отмечены синими точками, пронумерованы.
Контакты заземления
1 — в центральной части рулевой колонки
2 — возле аккумулятора
3 — не используется
4 — на верхней части блока цилиндров
5 — в багажнике
6 — под сиденьем водителя
Б — непосредственный контакт корпуса агрегата с кузовом автомобиля.
Ни один из водителей не застрахован на 100% от попадания в дорожную ситуацию, когда нужно включить сигнализацию, а если она не срабатывает, то приходится ставить знак аварийной остановки. Но современным автовладельцам, в том числе Daewoo Nexia, приятнее пользоваться аварийной сигнализацией, нажимаешь кнопку и твоя машина уже отмечена на проезжей части. Поэтому водители обычно следят за тем, чтобы он был в рабочем состоянии.
А где искать неисправность, если сигнализация вдруг вышла из строя? Как всегда, начинают с проверки предохранителя, который находится в монтажном блоке. Этот блок на Daewoo Nexia находится в левой части передней панели. К сожалению, на всех схемах, выложенных в интернете, указано, что за «аварийку» отвечает предохранитель F8, но автовладельцы, столкнувшиеся с этой проблемой, утверждают, что это электрическая цепь, а также цепь часов, потолка фары и освещение багажника защищены 20-амперным желтым предохранителем F15.
В монтажных блоках (до 2008 года N100, а с 2008 года стали ставить N150) Daewoo Nexia, есть одна болячка, со временем ослабевают контакты куда вставляются предохранители, что приводит к нарушениям в работе защищаемых им электрических цепей .
Поэтому при проверке предохранителя F15 необходимо обязательно вынуть его, осмотреть визуально на предмет перегорания, подтянуть контакты в местах его вставки и, если он исправен, поставить обратно. Затем проверьте работу сигнализации.
Целостность предохранителя F15 проверять включением лампы в салоне не корректно, так как при слабых контактах она может пропускать небольшой ток, а при включенной аварийке ток около 7 требуется ампер, который не проходит через такое слабое соединение. Иногда предохранитель перегорает так, что визуально его не видно, и чтобы убедиться в исправности F15, его нужно прозвонить.
Мигание ламп указателей поворотов, которые не должны перегорать, при включении сигнализации обеспечивается реле, расположенным в монтажном блоке слева вверху (на схемах обозначено буквой А) . Если она выйдет из строя, то ее щелчки водитель не услышит после нажатия «аварийной» кнопки. А если реле и предохранитель исправны, то придется проверить проводку, начиная с вывода 30 замка зажигания.
Да и сама кнопка включения может прийти в негодность.
13.7.1. Передние и задние указатели поворотов
13.7.2. Боковые повторители указателей поворота
Если нажать красный выключатель аварийной сигнализации при выключенном зажигании, все четыре указателя поворота и прозрачная кнопка самого выключателя будут мигать в едином ритме.
Для проверки указателей поворота необходимо включить зажигание и выключить аварийную сигнализацию, так как они перекрывают указатели поворотов. При перемещении рычага рулевой колонки в соответствующее положение указатели поворотов с одной стороны и зеленая контрольная лампа в комбинации приборов должны начать загораться через равные промежутки времени. Работа сигнализатора организована таким образом, что в соответствии с установленными нормами сигнализация работает даже при выключенном зажигании, — напряжение на выключатель подается непосредственно от аккумуляторной батареи. Электропитание указателей поворотов осуществляется только при включенном зажигании, через установленный предохранитель.
В случае сбоя системы могут быть полезны следующие рекомендации:
Если контрольная лампа перестает работать в штатном режиме или мигает, как правило, неисправна одна из системных ламп;
Если лампы перестали мигать и горят постоянно, реле прибора неисправно;
Если лампы мигают быстрее или медленнее, а проводка, в том числе и провод массы, не повреждена, реле подлежит замене;
Если указатели поворотов не работают при включении, но начинают действовать при включении сигнализации, перегорел предохранитель, неисправен переключатель указателей поворота или его проводка;
Если не работают ни указатели поворота, ни сигнализация, то неисправно реле. Помимо контрольной лампы, которая мигает в одном ритме с контрольными лампами, включение системы подтверждается еще и акустическим сигналом – щелчками, которые издает реле в панели приборов. При выходе из строя приходится разбирать приборную панель, что довольно трудоемко.
Указатели поворота на легковом автомобиле Daewoo Nexia, как и на других автомобилях, играют важную роль в обеспечении безопасности движения.
Ведь если они не сработают, то выполнение различных маневров на проезжей части будет неожиданным для остальных участников движения. Конечно, ориентируясь на Правила дорожного движения, можно подавать сигналы о поворотах рукой, но поймут ли их все наши водители, так как даже в автошколах на учебных автомобилях эти действия не практикуются.
В электрическую цепь указателей поворота Daewoo Nexia входят: лампы с правой и левой стороны автомобиля; реле, работающее и на сигнализацию; Подрулевой переключатель; двадцатиамперный предохранитель F8 и провода, соединяющие эти устройства.
Чаще всего на этой схеме электрооборудования на автомобиле Daewoo Nexia выходит из строя трехвыводное реле указателей поворотов, которое маркируется следующим образом: 96312545U. Контрольная лампа на панели приборов предупредит о том, что она вышла из строя, а ее щелчка слышно не будет, так как она находится в салоне в монтажном блоке (верхняя левая сторона), расположенном на передней панели в районе, где ваше левое колено.
В этом случае лампы поворотников просто загорятся, не моргая. Обычно реле перед тем, как окончательно выйти из строя, начинает работать с аритмией, включается на пару секунд, потом выключается и водителю приходится несколько раз за время маневра перевести подрулевой переключатель в нейтральное положение, а затем снова включите указатели поворота.
Как только эта аритмия началась, реле необходимо заменить. Штатное реле довольно дорогое, аналогичное реле от BOSCH еще дороже, поэтому для тех водителей, у которых с деньгами туго, целесообразно приобрести реле производства корейской фирмы POMAX, оно более чем в два раза дешевле, чем обычное. обычный. Также можно попробовать поставить трехвыводное реле от отечественной «восьмерки», имеющее такие же присоединительные размеры, как и штатное реле.
При перегорании желтого предохранителя F8 (20А), который второй слева в монтажном блоке среднего ряда, не загорятся не только лампы поворотников, но и стоп-сигналы. Это значит, что при торможении водителей позади движущегося транспорта будет не о чем предупреждать.
Если у вас на автомобиле Daewoo Nexia установлена антиблокировочная система тормозов (ABS), она тоже работать не будет. Это связано с тем, что все они получают питание через предохранитель F8.
Нексия не работает. Не работает панель приборов на Дэу Нексия
Казалось бы, когда машина Нексия не заводится, в этом нет ничего удивительного. Это вполне типично для данного класса автомобилей. Но тогда вспомним старую рекламу этой машины, где основным лейтмотивом была фраза «Я люблю узбеков, потому что зимой они хорошо заводятся». Это реальность или обычный пиар-ход? Как показало время — хитрость, ведь проблемы с заводом у этой машины были всегда, особенно зимой. Теперь попробуем разобраться, почему так происходит, какие причины этому были раньше, до рестайлинга, а что доставляет неудобства сейчас.
До 2007 года основной причиной, по которой Нексия не заводилась, был трамблер, а точнее катушка распределителя зажигания, которая буквально разваливалась после определенного периода эксплуатации.
Не то чтобы проблема случалась слишком часто, но была. Причем и летом, и зимой (теперь верю рекламе). То есть с машиной вроде бы все в порядке, вчера она работала отлично, а утром вдруг не заводится.
Подобная проблема решалась не очень оригинальным и очень привычным способом — небольшой толчок и двигатель автомобиля заработал с точностью швейцарских часов. В 2007 году проблема была решена радикальным образом – двигатель был серьезно модернизирован, а вместо трамблера установлен электронный блок, отвечающий за зажигание.
Почему Нексия сейчас не заводится?
Замена трамблера на электронный модуль частично решила проблему. Но в современных моделях он продолжает проявляться. Причин несколько:
- Нет искры;
- Засорен воздушный фильтр;
- Проблемы с топливной системой;
- Неисправный стартер.
Нет искры
Основными причинами отсутствия искры в свечах зажигания могут быть проблемы, связанные с модулем зажигания или датчиками положения коленвала и распредвала.
Если у вас есть под рукой диагностический сканер, таким прибором оснащены все современные модели, то протестируйте эти детали и, получив информацию об одной из ошибок, отремонтируйте ее.
Если это не так, то проверьте предохранитель реле. Если в этой части автомобиля проблем нет, приступайте к проверке работоспособности свечей зажигания. Здесь все в порядке? Тогда ищите проблему в катушке зажигания — отключите ее от проводов и включите зажигание. Если по проводам идет ток, то неисправна именно катушка, и ее необходимо заменить.
Проверьте воздушный фильтр
Если искра есть, но двигатель не заводится, проверьте воздушный фильтр. При засорении фильтра кислород в мотор не поступает, и его работа идет не по сценарию. В целом срок службы воздушного фильтра составляет 10 тыс. км, поэтому, даже не снимая его, можно определить, требуется ли замена. Также проверьте воздухозаборники и очистите их от мусора.
Топливная система
Итак, искра в свечах есть, воздушный фильтр чистый, но машина все равно не заводится.
Возможно проблема кроется в топливной системе. Проверить его работу можно следующим образом – набрать в шприц бензин и впрыснуть его на дроссельную заслонку. Затем поверните ключ зажигания. Работающий двигатель свидетельствует о проблемах в топливной системе. То есть двигатель просто недополучает топлива, без которого, к сожалению, работать не может.
Сначала проверьте топливный фильтр и форсунки на наличие забитых утечек топлива. Если все в порядке, то проверить бензонасос. Это нетрудно сделать. Один человек подходит к левому заднему сиденью, где находится бензонасос, и внимательно слушает. Второй поворачивает ключ в замке зажигания. Топливный насос запустился? Значит проблема не в нем. В противном случае он вышел из строя и нуждается в замене или ремонте.
Еще один способ проверить топливный насос — мультиметром. Измеряют ток и сопротивление погружного элемента и сравнивают фактические значения с паспортными. Если они сильно отличаются, то, скорее всего, сломался бензонасос.
Не работает стартер
Когда не крутится стартер, причин его поломки может быть несколько, и основная из них — разряженный аккумулятор. Даже если он не выработал свой ресурс, проверьте его мультиметром. Осмотрите клеммы и провода на наличие возможных повреждений и ржавчины. Если с аккумулятором все в порядке, идем и проверяем реле. Для этого поверните ключ в замке зажигания и прислушайтесь к щелчкам. Их наличие свидетельствует о нормальной работе этой детали. Переходим к стартеру. Легкий удар по корпусу и последующий шум при работе свидетельствует о неисправности стартера, который подлежит замене.
В ситуации, когда двигатель глохнет после начала работы, причин неисправностей может быть гораздо больше. Сломанный иммобилайзер, забитые клапана, некачественное топливо или масло – это лишь малая часть того, что могло произойти.
Как видите, проблем с Daewoo Nexia может быть достаточно, но бюджетная цена и простота обслуживания заставляют закрывать глаза на эти недостатки.
Резюме: Что еще проверить, если двигатель не заводится?
Часто проблема заключается в предохранителе, поэтому, если двигатель неисправен, проверьте, не перегорел ли он. Предохранитель отвечает за работу системы зажигания. Опознать прогоревшую деталь можно по почерневшей/частично, почти полностью оплавленной поверхности. Можно обойтись заменой поврежденной детали.
Стоит проверить замок зажигания — особенно это важно в случаях, когда стартер «не крутит» при включении зажигания. Для диагностики поверните ключ в замке в первое положение и посмотрите, загорается ли лампочка на приборной панели.
О чем нужно знать?
Иногда причиной поломки является просто изношенная деталь, поврежденный узел. В этом случае диагностика быстро выявит причины неисправности, и вы сможете отремонтировать ее самостоятельно. Сначала проверьте аккумулятор – аккумулятор должен быть достаточно заряжен. Если работает нормально, переходим к проводам — возможно они окислились.
Недостаток заряда батареи является проблемой? Завести автомобиль «с толкача» или с помощью «прикуривания» с другого автомобиля. Эти действия быстро приносят результат, но если они не помогают, нужно осмотреть клеммы аккумулятора – если есть окисление, нужно зачистить контакты. Обычно это помогает ненадолго. Со временем нужно сделать полную смену. Действовать с осторожностью.
Как избежать неприятностей?
«Дэу Нексия», как и любой другой автомобиль, требует соблюдения правил эксплуатации — элементарного соблюдения рекомендаций производителя. Если заранее обратить пристальное внимание на работу двигателя, можно надолго продлить срок службы и избавить себя от частых ремонтов и соответствующей траты денег. Давайте рассмотрим самые важные правила, о которых следует помнить водителям.
Первое: Вовремя меняйте масло
Регулярно выполняйте эту простую, но важную процедуру для повышения работоспособности техники, она помогает даже на Daewoo Nexia. Попробуйте сравнить уже отслужившее свой срок масло и новое — поймете, в чем дело.
Замену нужно производить через полгода (через десять тысяч километров) — конечно, чаще по сравнению с другими моделями, и неудобно, зато вы будете уверены, что продлите жизнь автомобилю и добьетесь долгой службы срок службы его основных компонентов.
Двигатель просто не может выполнять свои функции без качественного масла, в худшем случае узлы будут постепенно деформироваться, срок службы станет короче — необходимо обращать внимание на качество жидкости.
Второе: не забудьте про систему охлаждения
Узбекско-корейский продукт, к сожалению, оказался не очень живучим, особенно, так проявляется зимой (впрочем, легко может перестать работать даже в жару времена года). По этой причине ко всем рабочим частям, включая систему охлаждения, нужно относиться серьезно. Включает в себя:
- радиатор;
- термостат; водяной насос
- ; охлаждающая жидкость
- .
Основной задачей системы охлаждения является защита от перегрева.
Для выполнения этой функции необходимо следить за тем, чтобы охлаждающая жидкость находилась в допустимых пределах: не ниже минимального показателя и не выше максимального.
Третье: дать автомобилю дышать
Как и многим другим устройствам (например, материнской плате компьютера), машине необходимо «дышать», получать своевременный приток воздуха, задача которого является второй по важности (после топлива). Он должен поступать в систему постоянно.
При этом в воздушных массах не должно быть мусора, мелкой грязи и другого мусора, пагубно влияющего на двигатель. За это отвечает воздушный фильтр. Если вы хотите, чтобы проблемы и различные поломки беспокоили вас реже, меняйте его чаще. Все, от чего фильтр защищает автомобиль: листья, мелкие насекомые, частички пыли – постепенно накапливается в нем самом.
Четвертое: следите за тем, чтобы бензобак не оставался пустым
Опытный автовладелец знает: бензин содержит определенную долю примесей, веществ, которые остаются в нижней части бензобака в виде осадка.
Постепенно вещества собираются в приличное количество мусора — двигатель защищен от угара благодаря топливному фильтру. Однако если завести машину с почти пустым баком, содержимое через топливный фильтр втянется в двигатель. От этого «Дэу Нексия» быстро «заболеет» — старайтесь держать бак хотя бы наполовину полным.
Пятое: не оставляйте без внимания «кровеносные сосуды» машины — приводные ремни
Они предназначены для выполнения задачи: задействовать все элементы двигателя, от генератора до водяного насоса. Работа у них сложная, с ней не надо разбираться. Просто если вы заметили какие-либо дефекты: трещины или износ материала, лучше произвести замену и доверить эту работу мастерам. А чтобы знать, в каком состоянии ремни, периодически их осматривайте (под капотом автомобиля).
Приобретая данную модель по доступной цене, по сравнению с другими иномарками, вы должны компенсировать стоимость уходом и обслуживанием. Обратите особое внимание на аккумулятор и электрооборудование в целом: клеммы
- ;
- контактов;
- наконечники и т.
д.
Должны содержаться в чистоте, проникновение влаги недопустимо. Старайтесь держать их сухими: грязная, промасленная изоляция однажды прорвется, а сгоревший или окислившийся контакт приведет к выходу из строя системы зажигания и может стать причиной пожара.
Обратите особое внимание на двигатель, когда он работает нормально. Старайтесь не выключать его каждый раз при непродолжительной остановке — аккумулятор из-за слишком интенсивного использования стартера быстро изнашивается, приходя в негодность.
Серьезно отнеситесь к выбору новых деталей — если вы купите некачественную продукцию, «железный конь» быстро даст отпор. Лучше покупайте сертифицированные запчасти в проверенных магазинах/вызывайте на помощь специалистов.
И напоследок, если у вас есть возможность обратиться за помощью в автосервис, обязательно воспользуйтесь ею — вы сэкономите силы, нервы и время.
Публикация в блоге
А если вам понравилась наша статья и вы готовы получить много интересной информации, то подпишитесь на , от которой вы сможете почерпнуть много полезных советов и историй из мира автомобилестроения.
Здравствуйте! Благодаря своим немецким корням Nexia получилась довольно надежной машиной.
По сути, это не что иное, как глубокий рестайлинг модели Opel Kadett E — родом из 80-х годов. Кстати, в конце 80-х (еще до появления Нексии) корейцы уже выпускали Кадет по лицензии и под своим именем — Daewoo Racer.Правда, с надежностью Нексии Опелю достались и некоторые болезни. В частности, сгорающая из-за повышенной нагрузки контактная группа лечится ее заменой на новую с установкой дополнительного реле на разгрузку, а также неудачной конструкцией передних суппортов, что в какой-то момент приводит к их подклинивание, а также появление стуков. Решается установкой более современных суппортов от Ланоса или Нексии последнего поколения Н-150. Еще одним слабым местом можно считать задние пружины, если собираетесь ездить с хорошей загрузкой — родные пружины лучше сразу заменить на усиленные, т.к. штатные могут просто лопнуть.
С моторами и коробками особых проблем нет, вполне надежны, т.к. Нексия досталась от Опеля. Не забывайте, что только старый восьмиклапанный G15MF объемом 1,5 литра и мощностью 75 л.
с. не гнет клапана. Стоит отметить конструктивную особенность коробки, со второй передачи на первую можно перейти только полностью остановившись. В зависимости от пробега может быть проблема с течью сальника рулевой рейки (на автомобилях с ГУР), а также стуки в рейке. Стоит отметить, что рулевая рейка – одна из самых дорогих деталей в этом автомобиле, стоимость оригинальной новой (с ГУР) составит 18 000 – 20 000 рублей. Китайскую рейку можно найти от 7000, но вопрос надежности и ресурса такого аналога остается открытым. Впрочем, на какое-то время похоже.Отдельно стоит остановиться на качестве лакокрасочного покрытия – прямо скажем, низком. Причем на машинах более нового поколения h250 эта проблема стоит особенно остро – они начинают достаточно быстро ржаветь. У первой Нексии самые «грустные места» как правило, низ дверей и задние арки. В общем, по современным меркам кузов у Нексии слабоват, а судя по краш-тесту от Авторевю уровень безопасности хуже, чем у вазовской девятки, удара Нексия не выдержала.
Хотя по уровню комфорта при езде, на мой взгляд, машина опережает своих одноклассников от ВАЗ. А учитывая, что даже в старом кузове можно взять машину с ГУР, электропакетом и кондиционером, то в этом плане она заметно вырывается вперед. Тем более, что, несмотря на мелкие недостатки, с надежностью все в порядке.
Владею Нексией больше года, машина 2011 года с пробегом 61000 км. И я вполне могу написать о типичных проблемах этой модели, которые, как я выяснил, возникают и у многих других Нексий.
1) коррозия или грибки, которые часто образуются из-за сколов. Это не так страшно, поэтому следует как можно скорее отшлифовать этот участок, либо протереть его спиртом, бензином, и закрасить маленькой кисточкой и своим цветом.
2) металл Нексии очень тонкий и не оцинкованный, от чего не только образуется ржавчина, но и зимой долго нагревается салон машины. Тем более, что многие жалуются на печку, но я такой проблемы не замечал, просто из-за дешевизны металла, больших щелей, она быстро остывает и в салоне становится холодно. Есть вариант поставить вторую печку, тогда будет топиться в два раза быстрее соответственно.
3) Проверка двигателя. Никогда не думал, что у многих Нексий чеки вылетают даже из-за того, что, например, на бронепровод попала вода. Но он есть не у всех, потому что, например, у двигателя 1.
6 такой проблемы практически не найти. Но часто выходят из строя датчики всякие, а если не сам датчик, то его контакт. Многие владельцы, с которыми я разговаривал, говорят, что у них горят чеки, иногда не горят, это обычное дело. Если двигатель работает исправно, не вибрирует, нормально тянет, не расходует много топлива, то все в порядке.
4) Нексия с двигателем 1.5 имеет бронепровода, и поэтому часто подгорает контакт одного из проводов и получается что двигатель работает на трех цилиндрах. У меня такое было, и замена бронепровода решает проблему. Стоимость около 600 рублей.
Самый продвинутый двигатель — 1.6 16 клапанов — с ним лучше брать машину.
5) Двери, багажник проблема частая, даже естественная. Зимой багажник просто не открывается, из-за того, что он промерзает и на него падает снег. А летом они легко открываются, но закрываются не с первого раза. Для зимней проблемы советую обработать замки WD-40 или силиконовой смазкой, очень аккуратно. Бывало даже так, что замок замерзает, и дверь можно открыть, но закрыть невозможно, пока не прогреешь салон.
6) Свист ремня генератора, навесного оборудования. Весной была такая проблема — что-то начало свистеть под капотом. Сняли ремень генератора, свист не пропал. Так и не выяснили что именно, но пришлось менять ремень ГРМ, ролик и помпу. Хотя позже другие мастера говорили, что помпу можно было и не менять. Кстати, советую посетить настоящих специалистов по Нексии, а не тех, кто занимается всеми машинами.
7) Реле поворотников. Часто перегорает по неизвестной причине. Я менял два раза за три месяца. Первый раз вместо сгоревшего оригинала поставил неоригинал, он через 2 месяца сгорел! потом купил ВАЗовское реле, и проблем нет.
Больше проблем за год владения автомобилем не видел. В целом надежная машина, несмотря на мелкие недостатки. Например, у Ваз, особенно 2010-2011 годов, проблем больше, например, нужно отрегулировать клапана, у Нексии есть гидрокомпенсаторы и они решают этот момент.
Daewoo Nexia GNJ › Бортжурнал › Перестала работать 4 скорость вентилятора печки
Перестала работать 4 скорость вентилятора печки, и какой-то щелчок с левой стороны при включении, может предохранитель поможет ? где их посмотреть, или подскажите в чем может быть проблема)
Daewoo Nexia 2013, 109 лс с. — самостоятельный ремонт
13
Четвертая скорость подключена через реле, видимо реле срабатывает, но контакты не сходятся. Попробуйте поменять местами любое рабочее реле, станет ясно, что реле не рабочее или еще что-то.
Удачи на дорогах!))
Уже давно сделал) сгорел предохранитель
и где этот предохранитель?) Он отдельно на 4 скорость идет? У меня такая же проблема
Смотри сюда, там видно где находится предохранитель 4 скорости!
отдельное реле идет на четвертую скорость.
Спасибо за совет)
поэтому я и говорил о своем специалисте по ручному обслуживанию. парень был мною проверен и вот уже несколько лет я доверяю машину только ему и это знают и получатель и директор сервиса. Просто я их мозги в свое время выносил, причем на их же языке (на узбекском). дело в том, что я родом из Узбекистана, вырос там, получил образование и поэтому проблем с узбекским языком нет. вот я их и заткнул этим.)))))
Не работает печка Дэу Нексия не крутит вентилятор
одна из причин почему не работает не одна скорость на печках вк добавить))
Не работает печка Дэу Нексия.
Почему в Daewoo Nexia не работает печка … Авто.
не ленись, гони в сервис. пусть смотрят и делают все по гарантии. У меня этого не было.
мой вам совет заезжайте в сервис пораньше, на часик так в 6-30 утра и занимайте очередь в регистратуру на сервис, т.к туда приезжает очень много машин, потому что это единственный сервис в Алматы.
Сама работа по замене масла и все такое не занимает много времени. больше времени уходит на раскачку лиц со службы. кстати, они любят играть в футбол, используя вместо мяча хозяина машины. иди туда, звони тому, покупай… в общем немного терпения и все будет хорошо. а вообще лучше скинтуйся там с кем нибудь и будет у тебя практически сам себе хозяин -))))) лично у меня такой. Я до сих пор езжу к нему на машине сестры. У нее матизик
Да вот только время на первое ТО это только одно и я скажу что бы сделали, и сколько вообще будут менять масло? а машину там оставить? или можно подождать
Когда будете привозить к ним машину на ТО, то мой вам совет оставайтесь там и посмотрите как они с вами поступят. там не долго около часа! Я всегда присматриваю за ними на службе, им нельзя доверять, мой вам искренний совет!
Небольшой вентилятор иногда доставляет хлопоты. Во время его работы могут появиться посторонние звуки или он внезапно перестанет работать. Причин, приводящих к неисправностям, несколько.
Но для начала лучше понять, что такое вентилятор и зачем он нужен.
Для чего нужен вентилятор печки?
Автомобиль сконструирован таким образом, что воздух поступает в салон автомобиля через или через систему отопления. Радиатор может быть холодным или горячим, в зависимости от того, как тосол или антифриз прогрелись. Если охлаждающая жидкость прогревается до рабочего уровня в девяносто градусов, прогревается радиатор и в салоне становится тепло. Вентилятор печки Дэу Нексия необходим для того, чтобы всасывать окружающий воздух, пропускать его направленным потоком через радиатор, где воздух нагревается.
Новички, мало разбирающиеся в устройстве машины, часто спрашивают, где находится реле вентилятора печки Дэу Нексия. Реле найти несложно: оно находится под лобовым стеклом справа. Кстати салонный фильтр рядом надо менять по мере засорения. Исправный салонный фильтр очищает поступающий от печки воздух, собирает пыль, не пропускает выхлопные газы.
Какие факторы приводят к отказу вентилятора
Специалисты выделяют несколько основных причин, приводящих к выходу из строя вентилятора, рассмотрим некоторые из них:
- Перегорел предохранитель.
На первый взгляд, это не повод для беспокойства, его изменение не требует особых усилий. На самом деле все не так просто, это довольно неприятная ситуация и дело не в сложности замены предохранителя. А дело в том, что перегоревший предохранитель означает короткое замыкание и вам придется найти его источник, перебрав всю электрическую цепь. - Следующий фактор заключается в окислении контакта монтажного блока. Для его выявления достаточно сдвинуть или слегка покачать блок жгутов, которые идут к монтажному блоку, нужный вам находится внутри. Если двигатель вентилятора заработал, выключите его, снимите блок и зачистите необходимые контакты.
- Если печка работает только при хорошо прогретом автомобиле, то источник проблемы кроется в реле зажигания и подлежит замене. Его легко найти, даже если вы не знаете, где находится реле вентилятора печки Дэу Нексия. Он расположен под приборной панелью.
- Неисправный вспомогательный регистр приводит к тому, что печка работает только на третьей скорости.
На первых двух скоростях электрический ток подается к двигателю от добавочного резистора, а на третьей он поступает непосредственно на вентилятор. Чтобы устранить проблему, вам придется заменить этот резистор. - Наличие неисправного переключателя отопителя. Чтобы убедиться в этом, нужно взять двенадцативольтовый габаритный фонарь с двумя припаянными проводами. Затем минусовой (минусовой) провод замкните на корпус, а второй по очереди приложите к трем контактам резистора. Лампочка горит? Значит, был обнаружен обрыв цепи или перегорел этот предохранитель (его выбили).
- Чаще всего проблема кроется в поломке, которая выходит из строя из-за предохранителя. В этом случае замените неисправный предохранитель на новый. Также важно устранить неисправность, приведшую к короткому замыканию, кроме того, есть вероятность повреждения кабеля.
Рассмотрены основные причины/варианты вызывающие поломку, но не работает вентилятор печки на Daewoo Nexia? Важный! Есть еще несколько моментов, влияющих на правильную работу электродвигателя печки.
Это может быть сгоревший моторчик или у него недостаточно хороший контакт с массой машины, кроме того, могло быть «залипание» щеток мотора отопителя Дэу Нексия
Иногда вентилятор работает на трех скоростях и не не отвечайте на четвертый. Отказ в работе может быть вызван тем, что у максимальной скорости есть свой предохранитель, заменив его, вы обеспечите рабочий процесс на всех четырех скоростях. Если предохранитель исправен, то реле не работает.
В корпус вентилятора могут попасть листья, из-за чего этого не происходит. Решение простое: нужно разобрать и почистить вентилятор, а заодно и смазать электродвигатель печки Нексия.
В каких случаях замена моторчика
Вентилятор меняют при невозможности ремонта: перестал работать моторчик отопителя Daewoo Nexia и не включается при переключении ручки регулятора печки. Посторонний шум и свист также являются симптомами плохой работы вентилятора.
Замена мотора начинается с разборки передней части консоли, снятия магнитолы и бардачка.
Для удобства некоторые автолюбители снимают переднее сиденье. После этого осталось открутить винты, вытащить моторчик отопителя и поставить новый, прикрутить и все остальное.
Послесловие
Мы разобрали основные вопросы, связанные с неисправностями в вентиляторе печки Daewoo Nexia, и рассказали, где находится моторчик печки Nexia. Надеемся, что советы профессионалов помогут вам справиться с подобными проблемами самостоятельно.
И по традиции приглашаем вас подписаться на наши статьи! Напишите нам, расскажите о своем опыте ремонта мотора и способах устранения неполадок. Пусть наши читатели воспользуются новыми советами!
Daewoo Nexia – популярный автомобиль и в какой-то степени легендарный для российского автолюбителя. И дело как раз в цене, и в том, что за относительно небольшие деньги можно купить автомобиль, характеристики которого не слишком уступают средней иномарке. И уж точно намного лучше некоторых современных ВАЗов.
Однако и не самая высокая цена дает о себе знать, в первую очередь выражающаяся в «начинке» и надежности некоторых деталей.
Поэтому перед совершением такой покупки необходимо тщательно изучить все недостатки Daewoo Nexia, и определить, стоят ли все возможные поломки комфортный и достаточно мощный (для города) автомобиль.
Слабые стороны Daewoo Nexia:
- Различные датчики, которые после нескольких лет эксплуатации могут показывать неверную информацию, либо вообще перестать ее показывать;
- Высокий износ амортизаторов, которые совершенно не подходят для наших дорог;
- Глушитель с феноменально малым сроком службы;
- Коробка передач, хотя, это проблема многих автомобилей, но на «Нексии» за ней следует начинать следить уже на пробеге в 150 000 километров.
- Тумблеры указателей поворота, которые просто ломаются, внезапно, без особых причин;
- Коррозия, которая, как уже говорилось, может естественным образом «съесть» вашу машину, если за ней не следить.
Пожалуй, один из главных недостатков Daewoo Nexia в том, что она не оправдывает ожиданий.
Автомобиль выглядит очень солидно, что подкупает неопытных владельцев, а в дальнейшем их просто разочаровывает. Ведь ждут какую-то премиальную машину, а на деле получается только хорошая иномарка последнего десятилетия.
Качество металла
Одним из самых слабых мест Daewoo Nexia является качество металла, которое однозначно должно быть лучше. По этой причине даже новый автомобиль следует тщательно обрабатывать различными составами, призванными помочь в борьбе с коррозией. Особенно это актуально в крупных городах, где дороги посыпаны различными вредными составами.
Также следует следить за различными электроприборами. В этих автомобилях очень сильно развит быстрый износ проводов, и они очень плохо выдерживают различные внешние воздействия. Даже такие узлы, как, например, замок зажигания, могут выйти из строя из-за внешних факторов. И, кстати, на все это очень негативно влияют лютые российские морозы и тот же порошок на дороге. А более «открытые» детали, такие как сцепление, могут сделать вас частым гостем на СТО, ведь такую поломку трудно назвать мелкой, и этот ремонт нужно будет делать немедленно.
Шасси
Отдельно хотелось бы выделить амортизаторы, как больное место Daewoo Nexia. Дело в том, что хоть машина и создавалась в основном для плохих российских дорог, надежной в этом плане ее назвать сложно. По этой причине подвеска, амортизаторы и все остальные узлы этого плана очень быстро выходят из строя, подставляя водителя в самый неожиданный момент. В частности, заводские пружины уже после 50 000-60 000 километров пробега начинают «сыпаться», и если упустить этот момент и не произвести ремонт, то дальнейшая поломка будет намного сложнее и дороже.
Проблемы с ржавчиной и краской
При покупке Daewoo Nexia особое внимание следует уделить кузову. Потому что он не способен бороться с солью, которую сыплют на дорогу. А проблемы начинаются еще с краской, после нескольких лет эксплуатации. Удивительно, но при выборе автомобиля есть возможность обезопасить себя, причем весьма необычным способом – нужно выбрать цвет «металлик».
Видимо, из-за особенностей краски она способна выдержать гораздо больше, чем другой тип окраски.
Недостатки Daewoo Nexia:
- Дверные замки;
- Электроприборы;
- Противотуманные фары;
- Оборудование.
Дверные замки
Помимо проблем с краской, стоит приготовиться к тому, что вас будет «мучить» износ личинок дверных замков, вплоть до их полного выхода из строя. Особенно это будет ощущаться на замке багажника.
Да и лобовое стекло сложно назвать надежным, мелкие камешки из-под колес встречных машин через три-четыре года придадут ему не совсем товарный вид, и даже могут повлиять на обзор в машине.
Сложная электрика
Электрика в машине хоть и работает исправно, но ненадолго. Особенно это касается панели приборов, которая в один момент может просто выйти из строя из-за обрыва провода.
Да и вообще все элементы автомобиля, использующие электричество, достаточно быстро выходят из строя, в том числе и такие ключевые, как генератор или стартер.
И оставаться с открытым окном просто потому, что мотор не может его поднять, тоже может быть очень обидно.
Противотуманные фары
Отдельным пунктом хотелось бы выделить противотуманные фары, которые специалисты вообще советуют не включать в сырость — они просто лопаются от неожиданного попадания холодной воды. Немного странно, если учесть, что туман появляется именно в сырую погоду.
Простота сборки
Выбор комплектации этого автомобиля, наверное, требует особого внимания. И если характеристика меняется не слишком сильно, то разнообразие вариантов поражает.
В самой дешевой комплектации автомобиль будет комплектоваться только магнитолой и сигнализацией. Никаких функций, которые сейчас являются стандартными, таких как электрические подъемники, гидроусилитель руля или кондиционер, здесь нет. Даже тахометра не будет. Хотя, как более дорогая «начинка», они все равно появятся в машине.
Таким образом, в максимальной комплектации будут все «плюшки» хорошей иномарки — электроподъемники всех стекол, кондиционер, подогрев сидений, гидроусилитель руля, противотуманки и многое другое. Конечно, за все это придется доплачивать, и не самую маленькую сумму.
С другой стороны, если посмотреть на «соперников» Нексии, а чаще всего в качестве противовеса ставят отечественный ВАЗ — у него вообще нет некоторых функций, даже в дорогих комплектациях. А покупать машину с набором опций или без — решение каждого.
Сборка авто может производиться:
- в Корее, на родном заводе автомобиля. И хотя автомобили оттуда мастерятся давно, популярность они начали набирать только после того, как цена на авто резко упала. Причина была не в изменении характеристик или еще в чем-то, а в том, что машины разбирали на границе, а потом разбирали уже на территории России. Таким образом, удалось сэкономить на пошлинах, а как следствие – снизить конечную цену.
- в Ростове, на заводе Красный Аксай.
И хотя принято думать, что автомобили российской сборки страдают качеством, это явно не так. Особенность в том, что такие автомобили полностью собираются из деталей, присланных из Кореи. Это означает, что их качество одинаково. - Еще вариант сборки в Узбекистане. И что удивительно, именно здесь собираются самые качественные автомобили, в то же время более дешевые по цене. Секрет в том, что многие детали производятся там же, на месте, а сборка осуществляется серийным производством, а не «отверточной сборкой». Хотя, собранные там автомобили старого поколения действительно могут быть хуже по качеству, обладая, как выражаются автомеханики, «детскими болезнями».
Определить место, куда ехала именно ваша машина, довольно просто — по VIN-коду, который есть на любом автомобиле, а также по дополнительным меткам. Для автомобилей Ростова это «Завод « Красный Аксай »», а для Узбекистана — надпись « УЛВ » в VIN-коде автомобиля.
Заключение.
![]()
Подводя итог, то, несмотря на все плюсы и минусы, можно смело сказать — есть смысл покупать такой автомобиль.
Одной из ключевых особенностей автомобиля при покупке является достаточно качественная сборка за дешевую цену. Альтернатив машине среди новых просто нет, не считая ВАЗа, а вот Daewoo Nexia она просто проигрывает по всем параметрам. Но, так же как и с ВАЗами, нужно быть готовым к периодическим ремонтам и замене деталей. С другой стороны, если использовать качественные детали, то повторные поломки появятся нескоро.
Сами детали очень дешевые, и найти их не составит проблем, ведь большинство из них производится в России, а благодаря популярности автомобиля ключевые «расходники» всегда будут в наличии в автосалонах и станции технического обслуживания.
Итак, если вы готовы к тому, что за автомобилем нужно будет следить, а иногда и ремонтировать, а уязвимые стороны вас не пугают — выбирайте Daewoo Nexia и наслаждайтесь владением.

04.2017, 18:54
#4
8 напряжение без предохранителя, а с предохранителем 11.3 11.7 где то так (но зарядка не идет)
Либо короткое замыкание в проводке, либо дохлый реле-регулятор генератора. 14,8 Вольт — это много, скорее РР сдох и спалил предохранитель.
На генератор должно приходить три провода (ранние версии): плюс на аккум — толстый красный провод, крепится под болт и два провода на колодку: коричневый (L) на лампу зарядки и оранжево-белый (F) — на предохранитель F13. В новых версиях всего два — плюс и лампа зарядки.
Делается это следующим образом. После поворота ключа зажигания, его необходимо подержать три секунды во включенном положении, и, если ток поступает к насосу, то тестер обязательно покажет это.
На первый взгляд, это не повод для беспокойства, его изменение не требует особых усилий. На самом деле все не так просто, это достаточно неприятная ситуация и дело не в сложности замены предохранителя. А дело в том, что перегоревший предохранитель означает короткое замыкание и вам придется найти его источник, перебрав всю электрическую цепь.
На первых двух скоростях электрический ток подается к двигателю от добавочного резистора, а на третьей он поступает непосредственно на вентилятор. Чтобы устранить проблему, вам придется заменить этот резистор.
д.
По сути, это не что иное, как глубокий рестайлинг модели Opel Kadett E — родом из 80-х годов. Кстати, в конце 80-х (еще до появления Нексии) корейцы уже выпускали Кадет по лицензии и под своим именем — Daewoo Racer.
с. не гнет клапана. Стоит отметить конструктивную особенность коробки, со второй передачи на первую можно перейти только полностью остановившись. В зависимости от пробега может быть проблема с течью сальника рулевой рейки (на автомобилях с ГУР), а также стуки в рейке. Стоит отметить, что рулевая рейка – одна из самых дорогих деталей в этом автомобиле, стоимость оригинальной новой (с ГУР) составит 18 000 – 20 000 рублей. Китайскую рейку можно найти от 7000, но вопрос надежности и ресурса такого аналога остается открытым. Впрочем, на какое-то время похоже.
Хотя по уровню комфорта при езде, на мой взгляд, машина опережает своих одноклассников от ВАЗ. А учитывая, что даже в старом кузове можно взять машину с ГУР, электропакетом и кондиционером, то в этом плане она заметно вырывается вперед. Тем более, что, несмотря на мелкие недостатки, с надежностью все в порядке.
На первый взгляд, это не повод для беспокойства, его изменение не требует особых усилий. На самом деле все не так просто, это довольно неприятная ситуация и дело не в сложности замены предохранителя. А дело в том, что перегоревший предохранитель означает короткое замыкание и вам придется найти его источник, перебрав всю электрическую цепь.
На первых двух скоростях электрический ток подается к двигателю от добавочного резистора, а на третьей он поступает непосредственно на вентилятор. Чтобы устранить проблему, вам придется заменить этот резистор.
И хотя принято думать, что автомобили российской сборки страдают качеством, это явно не так. Особенность в том, что такие автомобили полностью собираются из деталей, присланных из Кореи. Это означает, что их качество одинаково.