Двухпоточные сцепления
Рассмотрим принципиальные кинематические схемы двухпоточных ФС. На рис. 3.14 представлены схемы одинарных двухпоточных ФС. На рис. 3.14,а поток мощности от двигателя в трансмиссию передается через ведомый диск 2, а на привод ВОМ — через кожух 6 и шестеренный привод ВОМ. На рис. 3.14,6 поток мощности на привод ВОМ передается от маховика / двигателя. По данной схеме выполнены ФС тракторов Т-150/150К. На современных тракторах более широко используется схема, представленная на рис. 3.14,а (тракторы МТЗ-80/82, МТЗ-100/102).
Современные конструкции одинарных двухпоточных ФС выполняются как с тарельчатыми, так и с цилиндрическими нажимными пружинами.
Двойные ФС в зависимости от способа управления разделяются на ФС с последовательным и раздельным управлением. ФС с последовательным управлением применяют в случае использования частично независимого ВОМ, а с раздельным — при наличии полностью независимого ВОМ.
Двойные ФС с последовательным управлением (рис.
Усилие сжатия на поверхностях трения главного ФС создается нажимными пружинами 13, передающими усилие через нажимной диск 8, ведомый диск 5 ФС ВОМ, средний ведущий диск 4 на ведомый диск 2 главного ФС. Усилие нажатия на поверхностях трения ФС привода ВОМ может иметь два значения в зависимости от выключенного или включенного положения главного ФС. При полностью включенном главном ФС на поверхности трения ведомого диска 5 ФС ВОМ кроме усилия нажимных пружин 13 дополнительно передается сжимающее усилие от пружин пружинной тяги 14. При выключенном главном ФС усилие сжатия на поверхностях трения ведомого диска 5 ФС ВОМ создается только пружинами пружинной тяги 14. Следовательно, момент трения ФС привода ВОМ при движущемся тракторе всегда больше, чем при остановленном.
Рис. 3.14. Схемы одинарных двухпоточных ФС: 1 — маховик, 2 — ведомый диск; 3 — нажимной диск; 4 — вал ФС; 5 — отводка, 6 — кожух ФС, 7 — полый вал привода ВОМ; 8 — шестеренный привод ВОМ; 9 — ват привода ВОМ
Рис.
3.15. Двойное ФС с последовательным управлением:
а — схема ФС, б — характеристика роста усилия на педали управления, 1 — маховик, 2 — ведомый диск главного ФС, 3 — вал главного ФС, 4 — средний ведущий диск, 5 — ведо¬мый диск ФС ВОМ; б — кожух; 7 — регулируемый упор отвода среднего ведущего диска, 8 — нажимной диск; 9 — отводка ФС, 10 — полый вал ФС ВОМ; 11 — шестеренный привод ВОМ; 12 — ват ВОМ; 13 — нажимные пружины главного ФС; 14 — пружинная тяга ФС ВОМ
Рассмотрим характер изменения усилия на педали управления при выключении двойного ФС с последовательным управлением (рис. 3.15,б). Педаль управления через систему тяг и рычагов связана с отводкой 9. При нажатии на педаль управления ФС отводка 9, перемещая нажимной диск 8 от маховика 1 двигателя, сжимает нажимные пружины 13. Вместе с нажимным диском с помощью пружинной тяги 14 перемещаются средний ведущий диск 4 и ведомый диск 5 ФС ВОМ. В результате ведомый диск 2 главного ФС освобождается (главное ФС выключается) и момент от двигателя передается через ведомый диск 5 на привод ВОМ.
Ход педали управления ФС на рис. 3.15,б для данного случая соответствует величине S1. Перемещение среднего ведущего диска ограничивается упором 7, который служит для регулировки зазоров между накладками ведомого диска 2 и поверхностями трения маховика 1 двигателя и среднего ведущего диска 4 при выключенном главном ФС. При величине хода педали S1, в работу вступают пружины тяги 14.
Поскольку пружины находятся в предварительно поджатом состоянии, то на педали управления происходит резкий скачек усилия и в интервале перемещения S2 оно возрастает более интенсивно. При освобождении ведомого диска 5 крутящий момент от двигателя на привод ВОМ не передается. Включение двойного ФС осуществляется в обратной последовательности (сначала включается ФС ВОМ, а затем главное ФС).
Двойное ФС с независимым управлением (рис. 3.16) применяют в случае полностью независимого ВОМ (тракторы Т-40 и Т-40 А). Управление таким ФС осуществляется с помощью двух педалей. Одна педаль управляет главным ФС, а другая — ФС привода ВОМ.
Характерной особенностью ФС, помимо раздельного управления и наличия двух самостоятельных приводов управления 9 и 14, является наличие двух независимых друг от друга комплектов фрикционных дисков:
Рис. 3.16. Схема двойного ФС с независимым управлением: 1 — маховик; 2 — ведомый диск главного ФС, 3 — вал главного ФС, 4 — кожух ФС; 5 — нажимной диск главного ФС, 6 — на¬жимные пружины; 7 — нажимной диск ФС ВОМ, 8 — ведомый диск ФС ВОМ; 9 — привод выключения главного ФС; 10 — упорный диск ФС ВОМ, 11- полый вал ФС ВОМ, 12 — шестеренный привод ВОМ; 13 — вал ВОМ; 14 — привод выклю¬чения ФС ВОМ
для главного ФС — торцовая поверхность маховика 1 двигателя, ведомый диск 2 и нажимной диск 5;
для ФС привода ВОМ — нажимной диск 7, ведомый диск 8 и торцовая поверхность упорного диска 10.
Нажимные диски 5 и 7 подвижно соединены с маховиком 1 (на схеме не показано). Нажимное усилие на поверхностях трения ФС создается пружинами б, которые могут быть винтовыми цилиндрическими (вариант А) или тарельчатыми (вариант Б).
Выключение главного ФС производится с помощью привода 9, который воздействуя на нажимной диск 5 отводит его от маховика 1 двигателя. ФС ВОМ выключается приводом 14, который перемещает нажимной диск 7 в сторону маховика 1. Таким образом, в рассматриваемой схеме оба ФС автономны и нагружены одним и тем же нажимным усилием пружин 6. При выключении одного из ФС за счет поджатия пружин б момент, передаваемый другим ФС, несколько возрастает. Это в ряде случаев имеет положительное значение при выполнении трактором тяжелых работ, когда буксование ФС существенно возрастает.
Устройство сцепления автомобиля
Сцепление — это механизм, который передает крутящий момент от двигателя к коробке передач посредством трения. Это также позволяет быстро отсоединить двигатель от коробки передач и беспрепятственно восстановить соединение. Есть много видов сцеплений. Они различаются количеством дисков, которыми управляют (однодисковые, двух- или многодисковые), типом операционной среды (сухая или влажная) и типом привода.
Различные типы сцепления имеют соответствующие преимущества и недостатки, но однодисковое сухое сцепление с механическим или гидравлическим приводом чаще всего используется в современных автомобилях.
Компоненты сцепления
Стандартное сцепление на большинстве автомобилей с механической коробкой передач включает следующие основные компоненты:
- Маховик двигателя — Ведущий диск.
- Диск сцепления.
- Корзина сцепления — нажимной диск.
- Выжимной подшипник сцепления.
- выжимная муфта.
- Вилка сцепления.
- Привод сцепления.
Фрикционные накладки установлены с обеих сторон диска сцепления. Его функция — передача крутящего момента за счет трения. Подпружиненный гаситель крутильных колебаний, встроенный в корпус диска, смягчает соединение с маховиком и гасит вибрации и нагрузки, возникающие в результате неравномерной работы двигателя.
Нажимной диск и диафрагменная пружина, действующая на диск сцепления, объединены в один узел, называемый «корзиной сцепления».
Диск сцепления расположен между корзиной и маховиком и соединен шлицами с входным валом коробки передач, по которым он может перемещаться.
Пружина корзины (диафрагменная) может быть нажимной или вытяжной. Разница заключается в направлении приложения силы от привода сцепления: либо к маховику, либо от маховика. Конструкция вытяжной пружины позволяет использовать корзину, толщина которой намного меньше. Это делает сборку максимально компактной.
Муфта: что это такое, и зачем нужна
Главная цель системы сцепления базируется на обеспечении плавного сопряжения маховика с валом коробки в процессе изменения скорости и в начале движения. Благодаря механизму, можно аккуратно прекратить процесс передачи крутящего момента, при этом не будет необходимости заглушать мотор. Устройство является сложным, и один из важнейших его элементов – муфта сцепления.
Функции этого элемента:
- обеспечение рассоединения двигателя с КПП, что происходит очень быстро;
- возможность плавного и последовательно переключения передач в ходе движения автомобиля;
- возможность трогания с места без рывка и без пробуксовок.

Независимо от типа двигателя внутреннего сгорания муфта сцепления способствует плавному и мягкому движению с места, при этом в процессе движения имеется возможность переключения передачи. То есть, когда водитель нажимает педаль, рассматриваемый нами элемент вступает в работу и отвечает за то, чтобы прекратилось плотное прилегание обоих дисков – ведомого и ведущего.
Благодаря такому принципу, коробка передач находится в нейтральном положении.
Как работает сцепление
Принцип действия сцепления основан на жестком соединении диска сцепления и маховика двигателя за счет силы трения, создаваемой силой, создаваемой диафрагменной пружиной. Муфта имеет два режима: «включено» и «выключено». В большинстве случаев ведомый диск прижимается к маховику. Крутящий момент от маховика передается на ведомый диск, а затем через шлицевое соединение на первичный вал коробки передач.
Чтобы выключить сцепление, водитель нажимает на педаль, которая механически или гидравлически связана с вилкой.
Вилка перемещает выжимной подшипник, который, нажимая на концы лепестков диафрагменной пружины, прекращает свое воздействие на нажимную пластину, которая, в свою очередь, освобождает ведомый диск. На этом этапе двигатель отсоединяется от коробки передач.
Когда в коробке передач выбрана соответствующая передача, водитель отпускает педаль сцепления, вилка перестает действовать на выжимной подшипник и пружину. Нажимной диск прижимает ведомый диск к маховику. Двигатель связан с коробкой передач.
Из чего состоит сцепление
Чтоб не ломать сцепление, нужно знать не только как оно работает поверхностно и какие его функции, но и с каких деталей оно состоит. К основным составляющим частям относят ведомую и ведущую части, механизм отключения и нажимную систему.
Момент вращения двигателя передается от маховика на детали ведущей части, последние в свою очередь передают крутящий момент на ведущий вал КПП. Момент трения обеспечивается благодаря нажимному механизму, который благодаря плотному сцеплению ведомой и ведущей части, дает долгожданный результат движения.
Немаловажным считается выключение сцепления. Так один диск, на котором расположены периферическим образом пружины, расположено в чугунном картере, тот в свою очередь располагается в блок-картере двигателя.
В ведущую часть входит кожух сцепления и маховик, последний в свою очередь крепится к маховику коленчатого вала за счет шести специальных болтов. Нажимной диск размещается в средней части кожуха. Вращающий момент нажимного диска передается от маховика через три выступления, которые имеются в диске и входят в окна кожуха. Ведомый диск, ступица, ведущий вал коробки смены передач являются основными и обязательными составными ведомой части сцепления.
По обе стороны ведомого диска размещены фрикционные накладки, изготовлены из медно-асбестового состава (или же иного металлоасбестового состава), которые выдерживают необычайно высокую температуру и известны своими фрикционными свойствами. Со ступицей ведомый диск соединен заклепками либо же через пружины. Эти пружины являются составной частью пружинно-фрикционного гасителя вращающихся колебаний (то есть демпфера)
МЕХАНИЗМ СЦЕПЛЕНИЯ
Механизм сцепления
представляет собой устройство, в котором происходит передача крутящего момента за счет работы сил трения.
Механизм сцепления позволяет кратковременно разъединять двигатель и коробку передач, а затем плавно их соединять. Элементы механизма заключены в картер сцепления, который крепится к картеру двигателя.
Механизм сцепления состоит из
:
- картера и кожуха,
- ведущего диска (которым является маховик двигателя),
- нажимного диска с пружинами,
- ведомого диска с износостойкими накладками.
Ведомый диск постоянно прижат к маховику нажимным диском под воздействием сильных пружин. За счет огромных сил трения между маховиком, ведомым и нажимным дисками, все это вместе вращается при работе двигателя. Но только тогда, когда водитель не трогает педаль сцепления, независимо от того едет ли или стоит на месте автомобиль.
Для начала движения машины, необходимо прижать ведомый диск, связанный с ведущими колесами к вращающемуся маховику, то есть — включить сцепление. И это сложная задача, так как угловая скорость вращения маховика составляет 20 — 25 оборотов в секунду, а скорость вращения ведущих колес – ноль.
Сцепление включено
На первом этапе
работы по включению сцепления — приотпускаем педаль, т.е. даем возможность пружинам нажимного диска подвести ведомый диск к маховику до их легкого соприкосновения. За счет сил трения диск, проскальзывая некоторое время относительно маховика, тоже начнет вращаться, а автомобиль потихоньку ползти.
На втором этапе
– удерживаем ведомый диск от какого-либо перемещения, т.е. на две — три секунды удерживаем педаль сцепления в средней позиции для того, чтобы скорость вращения маховика и диска уравнялись. Машина при этом увеличивает скорость движения.
На третьем этапе
— маховик вместе с нажимным и ведомым дисками уже вращаются вместе без проскальзывания и с одинаковой скоростью, 100%-но передавая крутящий момент к коробке передач и далее на ведущие колеса автомобиля. Это соответствует состоянию механизма сцепления – включено, автомобиль едет. Теперь остается только полностью отпустить педаль сцепления и убрать с нее ногу.
Если при начале движения педаль сцепления резко бросить, то автомобиль «прыгнет» вперед, а двигатель заглохнет.
Для выключения сцепления
водитель нажимает на педаль, при этом нажимной диск отходит от маховика и освобождает ведомый диск, прерывая передачу крутящего момента от двигателя к коробке передач. Нажимать на педаль сцепления следует достаточно быстрым, но не резким, спокойным движением до конца хода педали.
Сцепление выключено
освоив работу с педалью сцепления в три этапа
Разновидности муфты
Сухое сцепление
Принцип действия этого типа сцепления основан на силе трения, создаваемой взаимодействием сухих поверхностей: ведущих, ведомых и нажимных дисков. Это обеспечивает жесткое соединение двигателя и трансмиссии. Сухое однодисковое сцепление является наиболее распространенным типом на большинстве автомобилей с механической коробкой передач.
Мокрое сцепление
Муфты этого типа действуют в масляной ванне на трущихся поверхностях.
По сравнению с сухой, такая схема обеспечивает более плавный контакт диска; агрегат охлаждается более эффективно благодаря циркуляции жидкости и может передавать больший крутящий момент на коробку передач.
Мокрая конструкция широко используется в современных автоматических трансмиссиях с двойным сцеплением. Особенность работы такой муфты заключается в том, что на четную и нечетную передачи коробки передач крутящий момент подается с отдельных ведомых дисков. Привод сцепления — гидравлический, с электронным управлением. Передачи переключаются с постоянной передачей крутящего момента на трансмиссию без прерывания потока мощности. Такая конструкция дороже и сложнее в изготовлении.
Двухдисковое сухое сцепление
Двухдисковое сухое сцепление имеет два ведомых диска и промежуточную проставку между ними. Такая конструкция способна передавать больший крутящий момент при том же размере муфты. Саму по себе его легче изготовить, чем мокрый вид. Обычно используется в грузовиках и легковых автомобилях с особенно мощными двигателями.
Муфта с двухмассовым маховиком
Двухмассовый маховик состоит из двух частей. Одна из них связана с двигателем, другая — с ведомым диском. Оба элемента маховика имеют небольшой люфт по отношению друг к другу в плоскости вращения и связаны между собой пружинами.
Особенностью двухмассовой муфты маховика является отсутствие гасителя крутильных колебаний в ведомом диске. В конструкции маховика используется функция гашения вибрации. Помимо передачи крутящего момента, он эффективно снижает вибрации и нагрузки, возникающие из-за неравномерной работы двигателя.
Виды сцеплений
Сухое и мокрое сцепление
В настоящее время наиболее распространены следующие виды сцеплений:
- сухое однодисковое;
- мокрое;
- сухое двухдисковое;
- двухмассового маховика.
Разберем каждую разновидность более детально.
Сухое сцепление
Наиболее распространенная разновидность механизма. Сохранилась практически неизменной с конца XIX века, когда была изобретена Карлом Бенцем.
Общее устройство и схема работы этого типа сцепления описаны выше.
Свое название конструкция получила в силу того, что в основе ее действия лежит действие сухого трения, препятствующего скольжению. Именно оно обеспечивает передачу вращения.
В силу относительно простоты конструкции изготовление сухого сцепления обходится недорого. Благодаря этому оно получило широкое распространение и встречается чаще всего.
Имеет ряд недостатков. Основных – 2. Во-первых, из-за постоянного трения диски довольно быстро изнашиваются. Во-вторых, во время работы они могут нагреваться и расширяться за счет повышения температуры. Это может неблагоприятно отразиться на функционировании механизма.
Мокрое сцепление
Мокрым называют сцепление, диски которого работают в специальной масляной ванне. Ее наличие обеспечивается включением в конструкцию картера, в который заключены все остальные конструктивные элементы механизма.
Благодаря использованию масла удалось решить основную проблему сухих механизмов – быстрый износ.
Некоторые модели заходя еще дальше и обеспечивают циркуляцию жидкости и ее охлаждение. Благодаря этому удалось существенно уменьшить перегрев дисков и тем самым стабилизировать их работу.
Еще одно достоинство этого варианта заключается в том, что он способен лучше передавать крутящий момент.
В силу более сложного устройства мокрое сцепление стоит дороже. Кроме того, его сложно обслуживать, часто возникают неисправности, связанные с утечкой масла.
Чаще всего эту разновидность механизма применяют на современных транспортных средствах, которые оснащены роботизированным узлом. Его особенность в том, что вращение передается с разных дисков, а при смене скорости его передача не прекращается полностью. Это предотвращает потерю мощности. Все действия механизма управляются ЭБУ, а составные части узла приводятся в движение с использованием гидравлики. Этот вариант стоит еще дороже, однако обеспечивает наиболее эффективную работу и плавное торможение, переключение передач.
Сухое двухдисковое сцепление
Эта разновидность конструкции предполагает наличие сразу 2 ведомых дисков, между которыми находится специальная проставка.
Благодаря тому, что при таком подходе увеличивается общая поверхность, на которой происходит трение, удается передать больший крутящий момент. Кроме того, подобная разновидность узла отличается более высокой прочностью и более продолжительным сроком эксплуатации.По сути, сухое двухдисковое сцепление представляет собой компромиссный вариант между мокрым и однодисковым. Оно дешевле первого, но работает гораздо эффективнее последнего. Этот вариант конструкции чаще всего используется на грузовиках, а также легковых транспортных средствах с мощным мотором (например, внедорожниках).
Сцепление двухмассового маховика
Система подобного сцепления отличается от традиционного. Деталь состоит из 2 элементов, которые связаны системой пружин. Именно они поглощают рывки, вибрацию и другие нарушения вращения. В подобных конструкциях роль сцепления выполняет внутренний вал. Нажимной вал присоединяют к коленвалу, а ведомый – к механической КПП.
Ресурс работы этой разновидности узла несколько меньше, чем у более простых вариантов.
Он составляет до 100 000 километров. Конечно, такой срок службы возможен только при условии эксплуатации транспортного средства в благоприятных условиях. Иными словами, чтобы механизм проработал максимально долго, надо ездить только по ровной дороге и не перегружать его.
Срок службы муфты сцепления
Срок службы сцепления зависит в основном от условий эксплуатации автомобиля, а также от стиля вождения водителя. В среднем срок службы сцепления может достигать 100-150 тысяч километров. В результате естественного износа, возникающего при контакте дисков, поверхности трения подвержены износу и требуют замены. Основная причина — проскальзывание диска.
Двухдисковое сцепление имеет длительный срок службы за счет увеличенного количества рабочих поверхностей. Выжимной подшипник сцепления включается каждый раз при разрыве соединения двигатель / КПП. Со временем вся смазка вырабатывается в подшипнике и теряет свои свойства, в результате чего он перегревается и выходит из строя.
Характеристики керамической муфты
Срок службы муфты и ее максимальная производительность определяются свойствами материала зацепления.
Стандартный состав дисков сцепления на большинстве автомобилей — это спрессованная смесь стеклянных и металлических волокон, смолы и резины. Поскольку принцип действия сцепления основан на силе трения, фрикционные накладки ведомого диска приспособлены для работы при высоких температурах, до 300-400 градусов Цельсия.
У мощных спортивных автомобилей сцепление испытывает большие нагрузки, чем обычно. Для некоторых передач можно использовать керамическое или металлокерамическое сцепление. Материал этих накладок включает керамику и кевлар. Металлокерамический фрикционный материал менее подвержен износу и выдерживает нагрев до 600 градусов без потери своих свойств.
Производители используют разные конструкции сцепления, оптимальные для конкретного автомобиля, в зависимости от его предполагаемого использования и стоимости. Сухое однодисковое сцепление остается довольно эффективной и недорогой конструкцией. Эта схема широко используется на бюджетных и средних автомобилях, а также на внедорожниках и грузовиках.
Муфты сцепления трактора
Муфты сцепления трактора
Муфта сцепления позволяет кратковременно отключать двигатель от силовой передачи при переключении передач, обеспечивать плавное трогание с места, сглаживать резкие изменения динамических нагрузок на детали силовой передачи.
К муфтам сцепления предъявляют ряд эксплуатационных требований.
Муфта сцепления должна быть рассчитана на передачу максимального крутящего момента двигателя с определенным запасом.
Рекламные предложения на основе ваших интересов:
Дополнительные материалы по теме:
Выключение муфты сцепления должно быть чистым, а включение плавным.
Для безударного переключения шестерен в коробке передач ведомая часть муфты сцепления должна иметь небольшой момент инерции или тормозное устройство, останавливающее ведомую часть при выключении муфты сцепления.
Муфта сцепления должна быть простой и надежной в эксплуатации, а также легкой в управлении.
По принципу действия муфты сцепления подразделяются на фрикционные, гидродинамические и электромагнитные.
В фрикционных муфтах сцепления передача крутящего момента осуществляется за счет сил трения, возникающих при сжатии ведущих и ведомых дисков.
Гидромеханическая муфта сцепления состоит из двух рабочих колес с лопатками: насосного и турбинного; насосное колесо связано с валом двигателя, турбинное — с ведущим валом коробки-передач. Рабочие колеса гидромуфт заключены в изолированный картер с рабочей жидкостью. При вращении насосного колеса рабочая жидкость отбрасывается на лопатки турбинного колеса и вследствие динамического воздействия вращает его. Таким образом, при работе гидромуфты связь между ведущей и ведомой частями осуществляется через жидкость; при этом ведомое турбинное колесо может свободно проскальзывать относительно ведущего насосного.
Гидромеханическая муфта отличается от гидротрансформатора отсутствием реактора.
Основным преимуществом гидромуфты является исключительно плавная передача крутящего момента (свойство демпфирования).
При наличии в силовой передаче гидромуфты обеспечивается высокая плавность трогания с места и разгона, движение с пониженной скоростью на любой передаче, остановка без выключения передачи.
Вместе с тем гидромуфта не позволяет полностью объединять силовую передачу от вала двигателя и имеет внутренние потери энергии при циркуляции жидкости.
Гидромуфты применяются в сочетании с фрикционными муфтами.
Работа электромагнитных муфт сцепления основана на использовании для соединения ведущей и ведомой частей электромагнитных сил. Такие муфты обладают плавным безударным включением и четким выключением, они хорошо гасят крутильные колебания, ограничивают перегрузку двигателя, просты и удобны в управлении.
Рис. 1. Принципиальная схема механической фрикционной муфты сцепления: 1 — ведущий диск; 2 — ведомый диск; 3 — нажимный подшипник; 4 — ведомый вал
Однако электромагнитные муфты имеют и существенные недостатки: значительный момент инерции ведомых частей (электромагнитов), сравнительно низкий к.
п. д. из-за потерь энергии на возбуждение, зависимость от источника тока, затраты цветных металлов.
Электромагнитные муфты применяются на отдельных марках тракторов малой мощности.
В настоящее время преимущественное распространение на тракторах получили фрикционные муфты сцепления. Такие муфты состоят из ведущей части, связанной с маховиком двигателя; ведомой части, связанной с коробкой передач; нажимного механизма, сжимающего диски муфты, и механизма выключения, снимающего усилие сжатия дисков.
Для надежной работы муфты сцепления развиваемый ею момент трения Мм должен превышать максимальный крутящий момент двигателя Мдтах.
Классифицируются фрикционные муфты сцепления по таким признакам:
— по типу нажимного механизма — постоянно замкнутые с нажимными пружинами и непостоянно замкнутые с рычажным нажимным механизмом;
— по числу ведомых дисков — однодисковые, двухдисковые и многодисковые;
— по виду трения дисков — сухие и мокрые; по количеству независимо действующих муфт, соединенных в одном механизме, — одинарные и двойные; одинарная муфта служит для отключения силовой передачи от двигателя, двойная представляет собой сочетание двух независимо действующих муфт, одна из которых отключает силовую передачу от двигателя, а вторая предназначена для управления валом отбора мощности.
Принципиальная схема постоянно замкнутой муфты сцепления изображена на рисунке 2, а. Ведущая часть этой муфты состоит из кожуха муфты и нажимного диска, связанных с маховиком.
Ведомую часть муфты составляют ведомый диск и вал муфты сцепления. При этом ведомый диск посажен на шлицы вала муфты.
Нажимный механизм пружинного типа, нажимные пружины размещены в кожухе и постоянно действуют на нажимный диск.
Механизм выключения на схеме представлен педалью с приводом на выжимную муфту и через нее на нажимный диск.
Рис. 2. Схемы фрикционных муфт сцепления: а — постоянно замкнутой одноднсковой; б — непостоянно замкнутой двухдисковой; в — постоянно замкнутой двухдисковой; г — постоянно замкнутой двойной (двухпоточной) одноднсковой; 1 — маховик; 2 — ведомый диск; 3 — нажимный диск; 4 — отжимный рычажок; 5 — выжимная муфта; 6 — педаль (рычаг) управления муфтой; 7 — вал муфты сцепления; 8 — нажимные пружины; 9 — кожух муфты сцепления; 10 — отжимные пружины промежуточного диска; 11 — промежуточный диск; 12 — болт регулировки перемещения промежуточного диска; 13 — тормозок; 14 — отводка; 15 — сережки; 16 — крестовина; 17 — нажимные кулачки; 18 — упорный штифт; 19 — болт регулировки перемещения ведущего диска главной муфты; 20 — шестерня привода вала отбора мощности; 21 — оттяжные пружины ведущего диска главной муфты; 22 — ведущий нажимный диск дополнительной муфты; 23 — ведомый диск дополнительной муфты
Постоянно замкнутая муфта сцепления работает так.
Пока к педали усилие не приложено, нажимные пружины перемещают нажимный и ведомый диски к маховику и плотно прижимают друг к другу трущиеся поверхности дисков и маховика. Крутящий момент от маховика передается на зажатый ведомый диск 2 и от него через шлицевое соединение на ведомый вал.
При выключении муфты сцепления к педали прикладывается усилие, которое передается на нажимный диск. Под действием этого усилия нажимный диск отводится назад, преодолевая сопротивление пружин. В этом случае ведомый диск оказывается свободным и постепенно останавливается. Для увеличения силы трения на дисках, а следовательно, передаваемого муфтой момента на ведомые диски наклепывают или приклеивают специальные фрикционные накладки с высоким коэффициентом трения.
Непостоянно замкнутая муфта сцепления, принципиальная схема которой показана на рисунке 2, б, состоит из ведущей части (промежуточный диск, связанный с маховиком через шлицы или ведущие пальцы с поводками), ведомой части (передний ведомый диск, нажимный диск и вал муфты сцепления), нажимного механизма рычажно-кулачкового типа (кулачки, крестовина, сережки) и механизма выключения (отводка с рычажным приводом и тормозок).
При помощи рычага эту муфту можно установить в одно из двух положений: постоянно включенное или постоянно выключенное.
При перемещении отводки влево усилие от нее через сережки передается на кулачки. Нажимная часть кулачков упирается в диск и перемещает его вдоль шлицев вала в сторону ведущего диска. Последний зажимается между передним ведомым диском и нажимным диском. Крутящий момент двигателя передается от маховика на ведущий диск, а от него на ведомые передний и нажимный и далее на вал муфты сцепления.
Перемещением отводки вправо усилие нажатия кулачков на диск ослабляется, а затем и совсем снимается. Сила трения между рабочими поверхностями дисков, уменьшается до минимума, и передача крутящего момента от ведущего диска к ведомым дискам прекращается. Дальнейшим перемещением отводки вправо включается тормозок, и ведомая часть муфты сцепления быстро останавливается.
Непостоянно замкнутые муфты сцепления применяют в основном на некоторых гусеничных тракторах.
Двухдисковая постоянно замкнутая муфта сцепления, схема которой изображена на рисунке 2, в, отличается от аналогичной однодисковой муфты способностью передавать повышенный крутящий момент.
Достигается это за счет увеличения числа поверхностей трения с двух до четырех.
Диски этой муфты сжимаются нажимными пружинами. Передача крутящего момента идет от маховика через кожух муфты сцепления, ведущие диски, ведомые диски и вал.
Перемещением выжимной муфты влево рычажки отводят нажимный диск влево, преодолевая сопротивление пружин. При этом освобождается задний ведомый диск. Отжимные пружины отводят промежуточный ведущий диск вправо и тем самым освобождают и левый ведомый диск. Таким образом, муфта сцепления оказывается выключенной.
Чтобы промежуточный диск, перемещаясь вправо, не прижимал правый ведомый диск к ведущему нажимному, ход диска ограничивается упорным болтом. Этим обеспечивается чистое выключение двухдисковой муфты.
Двухдисковая постоянно замкнутая муфта сцепления применяется на грузовых автомобилях и тракторах, когда требуется передавать значительный крутящий момент и иметь повышенный запас расчетного момента муфты сцепления.
Многодисковые муфты сцепления применяют в тех случаях, когда при ограничении размеров муфты требуется передача повышенного крутящего момента (например, муфты управления гусеничными тракторами) или когда муфта должна работать в условиях картера с разбрызгиваемым маслом (например, муфты в картере редукторной части силовой передачи для переключения шестерен).
Муфты сцепления, у которых диски работают в условиях сухого трения, называются сухими. Они обладают способностью передавать повышенный крутящий момент при ограниченных размерах дисков (за счет повышенного коэффициента трения между дисками). Однако рабочие диски этих муфт вследствие сухого трения изнашиваются довольно интенсивно.
Муфты сцепления, диски которых работают в условиях неограничиваемого попадания масла на трущиеся поверхности, называются мокрыми. Такие муфты имеют сравнительно небольшой износ дисков, но и ограничиваемый передаваемый момент (за счет пониженного коэффициента трения).
На некоторых тракторах, оборудованных валом отбора мощности (ВОМ), применяют двойные (двухпоточные) муфты сцепления. Такая муфта состоит из двух независимо работающих муфт сцепления, одна из которых является главной муфтой сцепления, а вторая служит для управления ВОМ. Управление такими муфтами может осуществляться раздельными педалями или при помощи одной педали. На рисунке 2, г.
представлена схема двойной одноднсковой постоянно замкнутой муфты сцепления, которая управляется одной педалью. Работает такая муфта следующим образом.
При первой половине рабочего хода педали выжимная муфта, воздействуя на отжимные рычаги, отводит ведущий нажимный диск муфты ВОМ вправо. Тогда ведущий нажимный диск главной муфты также под действием оттяжных пружин отходит вправо. Ведомый диск главной муфты освобождается, а муфта ВОМ остается включенной, так как ее ведомый диск оказывается зажатым между ведущими дисками и силой пружин.
Для выключения муфты ВОМ необходим полный рабочий ход педали. При этом левый нажимный диск И отходит вправо до упора своими штифтами в регулировочные болты и останавливается. В это же время нажимный диск продолжает перемещаться вправо, преодолевая сопротивление нажимных пружин. Ведомый диск муфты ВОМ при этом освобождается, и передача крутящего момента на ВОМ прекращается.
Фрикционные муфты сцепления работают в условиях больших перегрузок крутящим моментом, высоких частот вращения, неустановившегося движения и постоянного пробуксовывания дисков.
Вследствие этого фрикционные накладки подвергаются значительному нагреванию и износу. Систематически изнашиваются также отжимные рычажки и выжимная муфта (рис. 2, а, б и б), нажимные кулачки и отводка (рис. 2, б). Нагревающиеся в процессе работы нажимные пружины (рис. 2, а, в и г) постепенно теряют свою упругость. Все это приводит к нарушению нормальной работы муфты сцепления.
Основными неисправностями фрикционных муфт сцепления являются пробуксовка дисков под нагрузкой и недостаточная чистота выключения (муфта ведет).
Если муфта сцепления не обеспечивает передачу полного крутящего момента (буксует), то причинами этого могут быть: замасливание трущихся поверхностей, ослабление силы воздействия нажимного механизма на диски вследствие износа дисков (фрикционных накладок), ослабление нажимных пружин, отсутствие свободного хода педали муфты, износ деталей рычажно-кулачкового нажимного механизма.
Муфта сцепления не обеспечивает чистоты выключения из-за увеличенного свободного хода педали, коробления дисков, недостаточного свободного хода промежуточного диска, нарушения регулировки рычажно-кулачкового нажимного механизма.
Для устранения неисправностей муфту сцепления регулируют, ремонтируют.
В постоянно замкнутых муфтах сцепления в процессе эксплуатации регулируют свободный ход педали, свободный ход промежуточного диска и момент включения тормоз ка.
Свободный ход педали (обычно 35…45 мм) регулируют для обеспечения максимальной силы сжатия дисков под действием нажимных пружин. Правильная регулировка свободного хода педали должна обеспечивать зазор между рабочим торцом выжимной муфты (рис. 2, а) и внутренними концами отжимных рычажков 4 от 2 до 4 мм. При отсутствии такого зазора выжимная муфта упирается в рычажки, которые удерживают нажимный диск 3 и тем самым ограничивают его давление на ведомый диск.
Зазор между внутренними концами отжимных рычажков и торцом выжимной муфты регулируют изменением длины тяги педали муфты сцепления.
Свободный ход промежуточного диска в двухдисковой муфте сцепления регулируют с целью чистого выключения муфты сцепления. Если свободный ход промежуточного диска недостаточен, то передний ведомый диск при выключении муфты полностью не освобождается и, следовательно, продолжает вращаться.
При избыточном свободном ходе промежуточный диск касается заднего ведомого диска и ведет его.
Регулируется свободный ход промежуточного диска при помощи упорного болта.
Для быстрой остановки ведомой части муфты сцепления и ведущего вала коробки передач с целью четкого и бесшумного переключения передач регулируется момент включения тормоз к а. Тормозок ведомой части должен включаться в момент полного выключения муфты сцепления. Регулируется тормозок изменением длины тяги его управления.
В непостоянно замкнутых муфтах сцепления регулируют усилие сжатия дисков рычажно-кулачковым нажимным механизмом. При нормальном сжатии дисков муфта не пробуксовывает и не ведет, а усилие на рычаге управления составляет 100…150 Н. Сила сжатия дисков муфты регулируется изменением положения кулачков относительно нажимного диска путем перемещения крестовины по резьбе ступицы переднего ведомого диска.
—
Муфта сцепления позволяет быстро отсоединить двигатель от силовой передачи (при переключении передач или кратковременной остановке) и плавного соединения их, что обеспечивает медленное троганье трактора с места и постепенное увеличение нагрузки на детали трансмиссии.
Эти муфты сцепления называют главными в отличие от муфт сцепления, применяемых в некоторых узлах и механизмах трактора. Главные муфты размещаются между двигателем и коробкой передач.
Каждая муфта сцепления состоит из ведущей и ведомой частей, механизма управления и корпуса. В зависимости от того, как ведущая часть связывается с ведомой, муфты подразделяются на электромагнитные, гидравлические и механические фрикционные.
Наибольшее распространение на тракторах получили фрикционные муфты сцепления. И хотя принцип действия их один и тот же, их конструкция весьма разнообразна.
По роду трения муфты делят на сухие и мокрые, работающие в масле. На отечественных тракторах главные муфты выполняются сухими, а мокрые используются в передаточных механизмах пусковых двигателей, приводе вала отбора мощности и в коробках передач с переключением на ходу у тракторов К-701, Т-150К, Т-150.
По количеству ведомых дисков различают однодисковые, Двухдисковые и многодисковые муфты.
По действию нажимного устройства муфты разделяют на постоянно замкнутые и непостоянно замкнутые. В постоянно замкнутых муфтах диски сжимаются пружинами, и поэтому, когда тракторист не воздействует на педаль муфты, диски находятся в сжатом состоянии. В непостоянно замкнутых муфтах сжатие Дисков осуществляется при помощи рычажно-кулачкового механизма, и используются они на тракторах Т-100М. На ряде тракторов (МТЗ-80, ЮМЗ-6Л, Т-40М) мощность двигателя разделяется муфтой на два потока — на привод ходовых колес и привод вала отбора мощности. Такие муфты называют двухпо-точными.
Рис. 3. Схема постоянно замкнутых муфт сцепления с пружинным нажимным механизмом:
а — однодисковая; б — двухдисковая; 1 — коленчатый вал двигателя; 2 — маховик; 3 — ведомый диск с фрикционными накладками; 4 — нажимной диск; 5 — картер муфты сцепления; 6 — кожух муфты сцепления; 7 — отжимной болт; S — стойка рычага; 9 — отжимной рычаг; 10 — отводка; 11 — вал муфты сцепления; 12 — педаль; 13 — тяга; 14 — вилка выключения; 15 — оттяжная пружина; 16 — нажимная пружина; 17 и 23 — направляющие пальцы; 18 — роликоподшипник; 19 — отжимная пружина промежуточного диска; 20 — регулировочный болт промежуточного диска; 21 — нажимной (ведущий) диск; 22 — задний ведомый диск; 24 — промежуточный (ведущий) диск; 25 — передний ведомый диск
Рассмотрим схему и устройство фрикционных муфт сцепления.
Однодисковая постоянно замкнутая муфта сцепления состоит из ведущих частей, вращающихся с маховиком двигателя, ведомых частей, связанных с силовой передачей, и механизма управления.
Ведущими частями муфты являются обработанные поверхности маховика и нажимного диска. Диск связан с помощью пальцев с кожухом, который привернут к маховику, и поэтому при вращении маховика кожух и нажимной диск вращаются как одно целое. Однако диск может в то же время перемещаться вдоль оси.
Ведомой частью является диск с фрикционными накладками, который установлен на шлицах вала муфты. Шлицевое соединение диска и вала обеспечивает их совместное вращение и позволяет диску перемещаться в осевом направлении. Ведомый диск устанавливается между плоскостью маховика и нажимным ведущим диском. На ведущий диск постоянно давят пружины, установленные в стаканах кожуха, и они зажимают ведомый диск между маховиком и прижимным диском. Это позволяет за счет трения между дисками передавать крутящий момент от двигателя на силовую передачу.
Чтобы выключить муфту сцепления, необходимо разъединить ведущий и ведомый диски. Это осуществляется с помощью механизма управления муфтой, который состоит из отжимных двуплечих рычагов, установленных на стойках, прикрепленных неподвижно к кожуху. Короткие верхние плечи рычагов с помощью болтов связаны с прижимным диском.
На валу муфты свободно сидит отводка, которая может перемещаться вдоль вала и воздействовать на внутренние плечи выжимных рычагов. Отводка перемещается вдоль вала с помощью двуплечей вилки, соединенной тягой с педалью.
При нажатии на педаль вилка перемещает отводку влево и она давит на внутренние концы рычагов. Эти рычаги, вращаясь вокруг шарниров стоек, оттягивают болты и диск вправо, при этом пружины еще больше сжимаются, а ведомый диск освобождается и муфта сцепления выключается. При отпускании педали муфта под действием сжатых пружин вновь включится, а педаль под действием пружины вернется в исходное положение.
Для обеспечения надежного трения между дисками ведущие диски изготавливаются из чугуна или пластмасс, а ведомые — из листовой стали (чтобы их масса и момент энерции были невелики) и облицовываются фрикционными материалами — асбокартоном, асбокаучуком, асбобакелитом, феррадо, металлокерамическими накладками.
При передаче большого крутящего момента используются двухдисковые и многодисковые муфты сцепления.
Двухдисковые постоянно замкнутые муфты с пружинным нажимным механизмом. В данной муфте два ведущих и два ведомых диска установлены поочередно. В остальном устройство и действие двухдисковой муфты сцепления такие же, как и у однодисковой, с той лишь разницей, что при выключении муфты специальные пружины отодвигают от маховика промежуточный ведущий диск, освобождая ведомый диск. Ход промежуточного Диска ограничивается регулировочным болтом, правильная регулировка которого обеспечивает освобождение и второго ведомого диска.
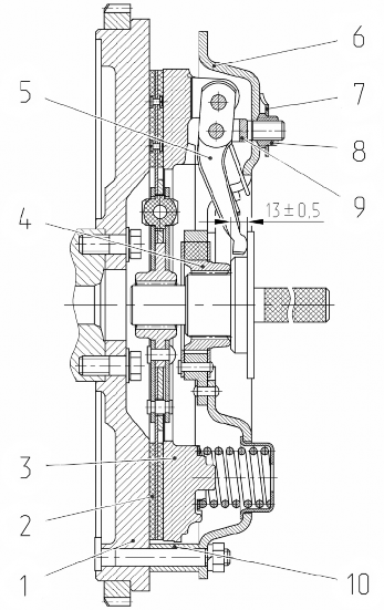
Устройство тракторных муфт сцепления. На тракторах МТЗ-80/82 установлена сухая однодисковая муфта сцепления постоянного замкнутого типа. Находится она в сухом отсеке корпуса, соединяющего двигатель и коробку передачи, здесь же размещены привод заднего вала отбора мощности и понижающий редуктор коробки передач.
Ведущими частями муфты служат маховик двигателя, нажимной диск и опорный диск.
Опорный штампованный диск соединен с маховиком с помощью болтов и дистанционных втулок. Нажимной диск имеет три ушка, проходящих через прорези в опорном диске, к которым присоединяются отжимные рычаги. Между опорным и нажимным дисками установлено двенадцать пружин.
Ведомый диск изготовлен из листовой стали и облицован фрикционными накладками, связан со ступицей через демпферные пружины.
Таким образом, ведомый диск соединен со ступицей не жестко, а через пружинное устройство, что способствует мягкому включению муфты и снижению динамических нагрузок в трансмиссии. Под фрикционные накладки ведомого диска со стороны нажимного диска подложены упругие пластины, способствующие плавному и «мягкому» включению муфты.
Муфта снабжена тормозом, который при выключении сцепления обеспечивает остановку вала муфты и первичного вала коробки передач. Это облегчает переключение передач и повышает срок службы шестерен.
Муфта сцепления выключается при нажатии выжимного подшипника на концы отжимных рычагов, которые, опираясь регулировочными винтами в штифты опорного диска, поворачиваются и отводят нажимной диск от ведомого, выключая муфту.
Включается муфта под действием пружин.
Выжимной подшипник насажен на отводку и вместе с ней перемещается вдоль хвостовика кронштейна при проворачивании вилки и вала выключения.
Управление муфтой и тормозком сблокировано и осуществляется одной педалью. При выключении муфты одновременно поворачивается вилка и отводка перемещается к диску. За счет трения дисков осуществляется затормаживание диска и вала муфты сцепления.
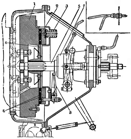
Рис. 4. Механизм управления муфтой сцепления и тормозком:
1 — палец; 2 — рычаг педали; 3 — пружина сервоустройства; 4 — упорный болт; 5 — болт; 6 — кронштейн; 7 — тяга муфты сцепления; 8 — резьбовая муфта; 9 — рычаг; 10 — пружина; 11 — тяга тормозка; 12 — рычаг тормозка; 13 — педаль
Привод управления снабжен усилителем-сервопружиной, облегчающей водителю управление муфтой. Сервопружина одним концом упирается в упорный болт неподвижного кронштейна, а вторым — соединена с верхним плечом рычага, поворачивающегося на пальце. Нижнее плечо рычага соединено тягой с рычагом валика вилки отводки.
Когда муфта включена (как показано на рисунке), геометрическая ось пружины проходит выше продольной оси пальца трехплечего рычага, и сервопружина удерживает педаль в неподвижном состоянии. Если на педаль будет приложено усилие ноги и рычаг повернется, плечо рычага с пружиной также повернется вниз против часовой стрелки относительно пальца, причем пружина будет сжиматься, пока не дойдет до нейтральной линии. Как только ось пружины окажется ниже оси пальца, пружина, разжимаясь, создаст усилие, облегчающее выключение муфты сцепления.
От рычага педали усилие передается через тягу к рычагу вала выключения, вилкам отводки и выжимному подшипнику.
Рычаг вала выключения муфты связан подпружиненной тягой с рычагом управления тормозком. Этим и обеспечивается блокировка муфты, и тормозка, и их управление одной педалью. Пружина тяги способствует плавному включению тормозка.
Сервопружины привода управления муфтой сцепления установлены на некоторых других тракторах (ДТ-75М, Т-54В, Т-40М).
Обслуживание муфты сцепления заключается в периодической смазке, проверке и подтяжке резьбовых соединений, проведении регулировок и устранении неисправностей. Через каждые 60 ч работы смазывают солидолом выжимной подшипник и через 240 ч — ступицу рычага педали.
Основным показателем правильности регулировки муфты сцепления и тормозка является свободный ход педали. Свободный ход подушки педали должен составлять 40—45 мм, что соответствует зазору между выжимным подшипником и отжимными рычагами — 3 мм.
По мере износа фрикционных накладок свободный ход педали уменьшается, поэтому через каждые 240 ч работы его проверяют.
Регулируют свободный ход и длину блокировочной тяги тормозка одновременно в следующей последовательности:
а) отъединяют тягу тормозка от рычага;
б) освобождают педаль от пружины сервоустройства, для чего завертывают болт в кронштейн и отпускают болт крепления кронштейна;
в) изменяя длину тяги, устанавливают свободный ход подушки педали в пределах 40—45 мм;
г) поворачивая кронштейн против часовой стрелки вокруг оси, перемещают его до упора в болт и затягивают болты крепления кронштейна;
д) выворачивая упорный болт из кронштейна, возвращают педаль в исходное положение.
Длину тяги тормозка регулируют повернув рычаг тормозка против часовой стрелки до упора и в этом положении изменяют длину тяги, соединяя ее с рычагом. Замерив длину тяги, отсоединяют ее, укорачивают на 7 мм и ставят на место.
Рис. 5. Муфта сцепления:
1 — маховик; 2, 15 — масленки; 3 — промежуточный диск; 4 — нажимной диск; 5 —отжимная пружина; 6 — ведомые диски; 7 — кожух; 8 — отжимной рычаг; 9 — вилка; 10 — стопорный болт пружины; 11 — стопорная пружина; 12 — регулировочная гайка; 13 — отжимная пружина рычага; 14 — упорное кольцо; 16 — упор подшипника; 17 — корпус; 18 — стакан выжимного подшипника; 19 — вал муфты сцепления; 20 — тормозная колодка; 21 — пружина; 22 — серьга; 23 — стакан пружины; 24 — муфта серьги; 25 — вилка выключения; 26 — валик выключения; 27 — подшипник механизма выключения; 28 — нажимная пружина; 29 — подшипник вала муфты сцепления
Перед окончательной установкой тяги проверяют длину пружины, она должна составлять 35 мм.
При сборке муфты отжимные рычаги регулируют так, чтобы расстояние от места контакта рычагов с выжимным подшипником до торца опорного диска было 12±0,5 мм.
Отклонение от этого размера для отдельных рычагов не должно превышать 0,3 мм.
Однодисковая постоянно замкнутая муфта устанавливается также на тракторах Т-25А1.
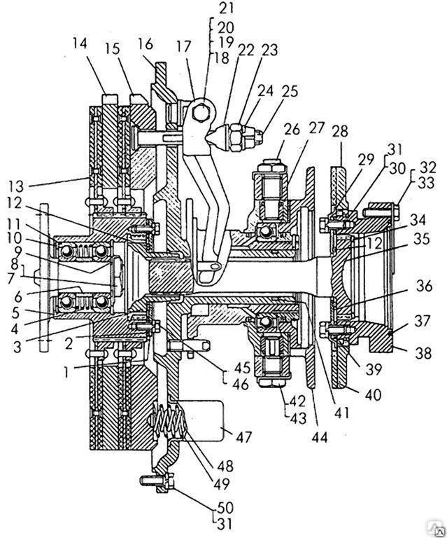
На тракторах Т-150, Т-150К установлена сухая двухдисковая постоянно замкнутая муфта сцепления.
Ведущими частями муфты являются маховик двигателя, имеющий четыре паза. В эти пазы свободно входят шипы промежуточного и нажимного ведущих дисков. На нажимном диске установлены отжимные рычаги, соединенные с кожухом через вилки. Для установки рычагов в одной плоскости и восстановления их положения при износе накладо предусмотрены регулировочные гайки.
В каждом ведомом диске установлен гаситель крутильных колебаний. Упругим элементом гасителя являются восемь равномерно расположенных по окружности пружин. Ведомые диски зажаты между торцевыми поверхностями маховика и ведущих дисков усилием двадцати пружин. С обеих сторон промежуточного диска установлены отжимные пружины, которые при выключении муфты перемещают промежуточный диск в среднее положение между маховиком и нажимным диском.
Механизм выключения муфты сцепления состоит из корпуса с установленным в нем радиально-упорным шарикоподшипником, упора, вилки и валика, четырех отжимных рычагов с упорным кольцом.
Для безударного переключения шестерен раздаточной коробки в корпусе муфты установлен колодочный тормозок. Плавное торможение ведомой части муфты и первичного вала коробки передач создается за счет эластичной связи колодки с валиком через пружину. Управление муфтой сцепления производится при помощи педали, которая тягой через следящее устройство пневматического сервомеханизма соединена с правым поворотным рычагом валика, вилки отвода корпуса выжимного подшипника. Следящее устройство соединено шлангом с пневматической камерой, шток которой соединен с левым поворотным рычагом валика.
Рис. 6. Привод выключения главной муфты сцепления:
1 — оттяжная пружина; 2 — вилка тяги; 3 — рычаг; 4 — педаль; 5 — удлинитель; 6 — тяга; 7 —следящее устройство; 8, 29 — шланги; 9 — задний стакан; 10 — корпус выжимного подшипника: U — регулировочная гайка; 12 — стопорная пластина: 13 — болт; 14 — вилка; 15 — ось; 16 — кожух муфты; 17 — отжимной рычаг; 18 — нажимной диск; 19 — промежуточный диск; 20 — ведомый диск: 21 — маховик; 22 — упор подшипника; 23 — нажимное кольцо; 24, 26 — поворотные рычаги; 25 — валик выключения; 27 — кронштейн пневмокамеры; 28 — пневмокамера; 30 — рычаг тормоза; 31 — стопорный болт; 32 — ось рычагов; 33 — кронштейн
При нажатии на педаль муфты сцепления сжатый воздух из пневматической системы трактора через шланг, клапан с цедящего устройства и шланг поступает в пневматическую камеру сервомеханизма и шток, выдвигаясь, поворачивает рычаг валика выключения и выключает муфту.
При включении муфты происходит выпуск воздуха из пневматической камеры через следящее устройство, а диафрагма пневмокамеры под действием своей пружины возвращается в исходное положении.
Обслуживание муфты сцепления. Для нормальной работы муфты между упором выжимного подшипника и кольцом отжимных рычагов должен быть зазор 3,5—4,0 Мм, что способствует свободному ходу педали 30—40 мм.
По мере износа трущихся поверхностей дисков зазор уменьшается, уменьшая свободный ход педали. Отсутствие зазора или свободного хода педали вызывает буксование муфты сцепления и повышенный износ дисков и выжимного подшипника.
При слишком большом свободном ходе педали муфта сцепления «ведет», то есть не полностью выключается.
Регулировка требуемого зазора между упором выжимного подшипника и кольцом отжимных рычагов может быть осуществлена двумя видами: изменением длины тяги (для увеличения зазора тягу укорачивают — ввертывают, для уменьшения — удлиняют) или при значительном износе накладок дисков восстановлением первоначального положения отжимных рычагов, для чего:
а) отпускают болты прикрепления стопорных пластин и отвертывают на пол-оборота каждую регулировочную гайку.
При этом зазор между упором подшипника и кольцом отжимных рычагов увеличивается до 11 — 13 мм;
б) увеличивая длину тяги, регулируют свободный ход корпуса выжимного подшипника (зазор 3,5—4 мм) и стопорят гайки пластинами, затянув болты
в) проверяют равномерность зазора и одновременность касания отжимных рычагов, кольца при выключении муфты сцепления;
г) проверяют величину хода корпуса выжимного подшипника, который должен быть в пределах 21—22 мм при ходе педали 150—160 мм. Одновременно с регулировкой муфты сцепления проверяют и при необходимости регулируют тормозок.
Работу привода управления муфтой сцепления проверяют при давлении воздуха в пневматической системе не менее 5 кгс/см2. Через каждые 240 ч работы смазывают подшипник вала муфты сцепления и подшипник механизма выключения через масленку на маховике двигателя и масленку — на корпусе подшипника.
Во время работы двигателя не следует держать ногу на педали муфты сцепления. Это приводит к выходу из строя нажимного подшипника и износу накладок дисков.
Муфта сцепления и двигатель сбалансированы в сборе. Поэтому для сохранения балансировки при разборке муфты необходимо устанавливать нажимной диск с кожухом муфты по меткам в первоначальное положение, в котором они находились до разборки. Двухдисковые, постоянно замкнутые муфты сцепления устанавливаются и на тракторах ДТ-75М, Т-4А. Конструктивно они отличаются от описанной выше муфты сцепления отсутствием гасителя крутильных колебаний, иным расположением отжимных пружин промежуточного ведущего диска и наличием болтов, регулирующих ход промежуточного диска при выключении муфты, а также отсутствием пневматического сервомеханизма. На тракторе ДТ-75М для облегчения выжима муфты установлены сервопружины
принцип работы, устройство, виды (мокрое и сухое)
Элементы трансмиссии любого автомобиля призваны обеспечивать передачу крутящего момента двигателя на ведущие колеса. На заре автомобилестроения, устройства, обеспечивающие подобную функцию, не отличались высокой эффективностью ввиду простоты конструкции.
Модернизация представленных узлов привела к тому, что удалось добиться плавного переключения передач без потери мощности и динамических характеристик автомобиля.
Ключевую роль в передачи крутящего момента играет сцепление. Этот сложный узел претерпевал целый ряд изменений, прежде чем стать таковым, каким мы привыкли его видеть сейчас.
Многие из доработок, которые нашли своё применение в гражданском автомобилестроении, были заимствованы у гоночных автомобилей. К одной из них можно отнести и так называемое двойное сцепление, о котором и поговорим в этой статье.
Чем отличается КПП с двойным сцеплением от АКПП и МКПП
Попробуем разобраться, что же представляет из себя это диковинное творение инженерной мысли. Само понятие двойное сцепление наводит на мысль о том, что подобная конструкция предусматривает наличие 2-ух составных частей.
Так и есть, такой вид сцепления отличается наличием двух ведомых фрикционных дисков, но не всё так просто, как может показаться на первый взгляд.
Представленный тип механизма работает в паре с роботизированными коробками передач. В данном случае речь идет о спаренных КПП, которые отвечают за включение определенного набора скоростей. Одна отвечает за нечетные передачи, другая же за четные.
DSG-7 DQ200 с «сухими» сцеплением
Этот агрегат представили в 2006 году, когда конструктор узла в лице компании LuK заявил о начале производства 7-ступенчатого преселектива. В VAG приняли решение все малолитражные модели авто оснастить именно этой коробкой. Причин на это было немало – гораздо меньший вес агрегата в сборе (разница в 20 килограмм), способность «переваривать» 250 Нм крутящего момента. В преселективной DSG-7 DQ200 контур мехатроника и коробки не связан между собой. То есть, здесь две рабочие технические жидкости – одна циркулирует по коробке, другая по мехатронику. Вот почему в картер агрегата достаточно залить 1.7 л масла для нормальной работы. Сама коробка – чистая механика, в которой нет «мозгов». Что отличает DSG-7 DQ200 от «собрата», так это полностью другая конструкция.
Здесь блок с шестеренками, вилками, дифференциалом и прочими механизмами находится в отдельности от мехатроника. Сцепление дисковое, как на механике.
Наиболее проблемное место 7-ступенчатого преселектива – мехатроник. В DSG-7 DQ200 он крепится к блоку коробки и подсоединяется через разъемы. Его поломка или окончательный выход из строя ведет к серьёзным проблемам
Внутри установлен насос и гидроаккумулятор. Рабочее давление – примерно 60 бар (для сравнения «шестерка» работает под давление 7-8 бар в сумме). Блок с помощью электронных соленоидов способен открывать, закрывать и перемещать вилки, выжимать сцепление за счет давления, сосредоточенного в гидроаккумуляторе. Основные неисправности с агрегатом возникают в тот момент, когда через отверстия или уплотнители начинает просачиваться масло. В таком случае насос начинает постоянно работать, причем на износ.
Как результат – перегревается плата, выгорает дорожка или физически ломается соленоид.
Все эти проблемы свойственны исключительно DSG-7 DQ200 и никакого отношения к DSG-6 DQ250 не имеют. Еще одно отличие – «сухое» сцепление. Здесь нет как таковой масляной ванны, как в 6-ступенчатом агрегате, но это не значит, что коробка совсем не требует смазочного материала. Нет, масло следует изредка менять, хотя надежность и продолжительность работы DSG-7 DQ200 в меньше мере зависит от качества технической жидкости.
Принцип работы
Познакомившись с некоторыми конструктивными особенностями представленного узла, попробуем понять принцип его работы.
Если не вникать в технические тонкости, то алгоритм работы можно разбить на несколько этапов:
- После начала движения на первой передаче, система готовится к включению следующей;
- Достигнув определенного момента, соответствующего установленным скоростным характеристикам, происходит отключение первого сцепления;
- В работу вступает второе сцепление, обеспечивающее автоматическое зацепление шестерни второй передачи;
- Анализируя процесс увеличения оборотов двигателя, исполнительные устройства, выполняющие команды, поступающие с модуля управления, готовятся к включению третьей передачи.

Последующее включение скоростей происходит по тому же принципу. Стоит отметить, что система датчиков, установленных в представленном виде КПП позволяет производить анализ самых различных параметров, среди которых: частота вращения колес, расположение рычага КПП, интенсивность нажатия на педаль акселератора/тормоза.
Анализируя полученные данные, автоматика и производит выбор режима, оптимального для конкретной ситуации.
Помимо всего прочего, стоит отметить, что при наличии подобной системы, педаль сцепления попросту отсутствует. Выбор передач осуществляется автоматически, а при необходимости и вручную при помощи вмонтированных в руль управляющих кнопок.
Преимущества DSG с «мокрым» сцеплением
Еще на заре производства DSG-6 DQ250 автовладельцы часто жаловались на ранний выход из строя дифференциала, на образующуюся в процессе эксплуатации транспортного средства стружку, способную «убить» коробку. Но с 2007-2008 года эти проблемы полностью устранены и на практике встречаются за редким исключением.
Преимущества «шестерки» на фоне «семерки» очевидны. Во-первых, это более надежная конструкция сцепления. Даже несмотря на то, что фрикционы со временем изнашиваются, появляется «пыль», одним словом – продукт выработки, спустя 150-200 тыс. км пробега они остаются пригодными, нужно всего лишь заменить масло. Во-вторых, гораздо больший ресурс за счет конструктивной простоты: известны случаи прохождения автомобилем 250-300 тыс. км с DSG-6 DQ250 фактически без единой серьёзной поломки. В тоже время, производитель заверил ресурс 7-ступенчатого преселектива, равный 300 тыс. км, вот только на практике нужно постараться проехать хотя бы 100-150 тыс. км, чтобы не сломался соленоид или не вышел из строя мехатроник.
Злейший враг DSG-6 DQ250 – чип-тюнинг двигателя. Если вы делаете основной акцент на надежности и ресурсе агрегата, стоит отказаться вообще от любых видов тюнинга мотора. На заводе VAG настраивают программное обеспечение преселектива таким образом, что передаточные числа всегда соответствуют заявленным показателям мощности и крутящего момента ДВС.
От возможности «прокачать» движок машины отказывается малая часть автолюбителей, а все потому, что преселектив с «мокрым» сцеплением предназначен для моделей с мощным и, как правило, турбированным движком. Диапазон колоссальный – от 1.4-литровых турбированных агрегатов на 140 сил до 250-сильных V-образных шестерок. Благодаря тюнингу можно с легкостью увеличить мощность на 40-60 лошадей, но даже этого достаточно для того, чтобы уже спустя 40-50 тыс. км пробега коробка DSG-6 DQ250 начала медленно «умирать».
Устройство механизма
Чтобы более детально ознакомится с представленным узлом необходимо изучить устройство самого механизма, обеспечивающего плавное переключение передач.
В отличие от всех остальных типов сцепления, данная разновидность отличается наличием целого ряда уникальных узлов и элементов.
Итак, данная система включает в себя следующие ключевые компоненты:
- пакет фрикционных дисков;
- корпус с сухим или масляным картером;
- мехатроник.

Если два первых узла достаточно знакомы автолюбителям, то третий производит впечатление чего-то доселе неизвестного.
Итак, мехатроник, это высокотехнологичный узел сцепления, позволяющий преобразовывать электрические сигналы в механическую работу исполнительных узлов.
Статья по теме: Лямбда-зонд, что это, признаки неисправности и способы проверки
Мехатроник современного автомобиля, как правило, включает в себя два составных элемента: электромагнитный блок и управляющую плату.
Первый представляет собой набор электромагнитных клапанов, так называемых соленоидов. Ранее, вместо соленоидов использовались гидрораспределительные механизмы, так называемые гидроблоки. Но ввиду их низкой производительности, им на смену пришли более совершенные электромагнитные устройства.
Рассмотрим принципиальные особенности мокрого и сухого сцепления.
«Мокрое» двойное
Если проводить экскурс в историю рассматриваемого узла, то прародителем двойного принято считать так называемый «мокрый тип».
Оно представляет из себя набор двух секций дисков «феродо», погруженных в масляную ванну в корпусе кожуха сцепления.
В данном случае, принято различать две разновидности «мокрой муфты» в зависимости от типа привода автомобиля. Так для переднеприводных авто используется сцепление с концентрическим расположением дисков «феродо». У обладателей заднеприводных машин, особенность этого устройства проявляется в параллельном расположении ведомых дисков.
Это интересно: 5 самых хороших автомобильных колонок для качественного звука
Составные части обеих разновидностей «мокрого сцепления» одинаковы. К ним относятся:
- входной фланец;
- главный фланец;
- ведущий диск;
- пакет фрикционных дисков первого и второго порядка;
- пружина диафрагмы, вспомогательная пружина;
- плунжер;
- гидравлические цилиндры;
- первичный вал первого и второго порядка.
«Сухое» двойное
Помимо «мокрого» сцепления существует и так называемое «сухое».
Нельзя сказать, что оно хуже или лучше предыдущего. В данном случае будет уместно подчеркнуть, что каждое из них эффективно применяется в предусмотренных для них условиях эксплуатации.
В отличие от предыдущего типа, особенность конструкции «сухого» сцепления не предусматривают использования смазочных материалов. Ведомые диски находятся непосредственно в зацеплении с первичными валами каждой из КПП.
К сведению: Как сделать пеногенератор для автомойки из подручных вещей своими руками
К рабочим элементам такого механизма можно отнести:
- первичные валы;
- выжимные подшипники;
- фрикционные диски;
- ведущий диск;
- два вспомогательных диска;
- маховик;
- пружины диафрагмы.
Указанная конструкция рассчитана на передачу меньшего (в отличие от «мокрого») крутящего момента, ввиду низкого коэффициента теплоотдачи.
Тем не менее, из-за отсутствия необходимости использования масляного насоса, что неминуемо приводит к потерям мощности, эффективности данного типа муфты существенно превосходит ранее рассмотренную разновидность.
Делаем выводы
Принимая решение о покупке автомобиля с двойным сцеплением, подумайте о плюсах и минусах и решите, какие аспекты являются для вас приоритетными. Для вас так важны динамика, комфорт и плавность хода, отсутствие рывков при переключении передач и расход топлива? Или вы не готовы платить за дорогостоящее обслуживание и ремонт из-за сложности конструкции и конкретного режима эксплуатации. Также не так много профессиональных автомастерских, которые обслуживают трансмиссии этого типа.
По поводу мокрого и сухого сцепления, здесь ответ, что лучше, тоже не будет однозначным. Все зависит от индивидуальных характеристик транспортного средства, а также от мощности его двигателя.
История появления
Создателем по праву считается, конструктор Адольф Кегрессом, именно он впервые в 1939 году изложил принцип двойного сцепления. Позже его разработку в штучных вариантах стали использовать на гоночных треках, на отдельных машинах. Но в широком применении все так и осталось на бумаге.
И лишь только в 1980 году, компания Porsche, по новой взялась за эти разработки.
Именно этот производитель показал, что возможно переключать передачи под нагрузкой, то есть обороты двигателя практически не сбрасывались. Эта разработка была поистине революционной, потому как она позволяла снижать эффект турбоямы, что для турбированных моторов является огромной проблемой. Сейчас же переключения происходили без рывков и провалов, а поэтому крутящий момент передается без потерь.
Неисправности и проблемы характерны для DSG
Несмотря на дату разработки первого зарегистрированного патента (который скоро перевалит за 90 лет), система по-прежнему несовершенна и выдает проблемы в некоторых режимах работы. Так как DSG устанавливают чаще всего на последние «заряженные» модели автомобилей вроде Volkswagen, Audi, Porsche и т.д.
Основной причиной подобного явления называют сухой тип работы. Этот тип вызывает скорый износ деталей, и в следствии появление рывков, скрипов, лязга и скрежета.
Виновата во всем некорректная работа электронного блока, который ответственен за сцепление.
«Мокрое» двойное
Различают два вида сцепления, сухое и мокрое (оно же многодисковое в масле). Так называемое «мокрое» имеет лучшее охлаждение. Чаще всего ставится на коробки передач, крутящий момент которых от 250 Нм и выше. Примером может быть автомобиль Bugatti Veyron, крутящий момент которого достигает 1250 Нм.
Вторая набор дисков закреплен на отдельных ступицах, которые находятся на первичном вале соответственного ряда передач. В нормальном положении механизм будет разомкнутым. Что касается замыкания, то производится это благодаря гидроцилиндрам под управлением модуля электрогидравлики. Исходное положение диски принимают за счет пружин.
Зависимо от конструкции двойного сцепления, пакеты фрикционных дисков могут располагаться по-разному, концентрически или параллельно. Концентрически когда муфты будут расположены в одной плоскости и перпендикулярны первичному валу.
В таком положении муфты более компактны. Обычно применяют в кпп с передним приводом колес и поперечным расположением двигателя.
Как правило, внутренняя муфта отвечает за переключение четных передач, а внешняя за нечетные передачи. Становится ясно, что такой набор рассчитан на передачу большого крутящего момента.
Параллельное – когда муфты располагаются друг за другом. Как правило, такое расположение используют для заднеприводных автомобилей.
Назначение сцепления, основные виды
Одним из составных частей трансмиссии является сцепление, выступающее связующим звеном между мотором и основным узлом трансмиссии — КПП.
Коробка передач обеспечивает изменение передаточного числа вращательного движения, и состоит она из набора шестерен, посаженных на валы.
Смена передаточного числа обеспечивается за счет ввода в зацепление определенных шестеренок, но в условиях постоянно поступающего от мотора вращения вывести из зацепления одни шестерни и ввести другие – невозможно.
Чтобы это сделать, необходимо прервать передачу вращения на трансмиссию, и делается это при помощи механизма сцепления.
Причем разрыв передачи вращения осуществляется в двух режимах. При движении на скорости, поскольку и двигатель, и составные части трансмиссии уже вращаются, смена передаточного числа не требует плавного разъединения и возобновление передачи вращения.
Но при старте с места, для исключения рывков и снижения нагрузки на мотор и КПП необходимо плавное наращивание передачи вращения. И это тоже обеспечивает сцепление.
В общем, сцепление в конструкции авто обеспечивает кратковременный разрыв передачи вращения от силовой установки на трансмиссию с возможностью плавного его восстановления.
С момента появления транспортной и специализированной техники, оснащающейся двигателями внутреннего сгорания, было придумано несколько вариаций этого узла.
Основное разделение между ними ведется по тому, за счет чего ведется передача.
Здесь виды сцепления делятся на:
- Фрикционные;
- Гидравлические.

Еще есть и электромагнитные, но по сути, они являются лишь разновидностью фрикционного типа.
Электромагнитный тип
Отдельным видом фрикционной муфты можно считать электромагнитную.
Конструктивно он очень похож на обычное однодисковое «сухое» сцепление. Но не хватает элементов, удерживающих направляющий диск: пружин.
Вместо этого этот диск был соединен с электромагнитом и в его корпусе был установлен якорь.
Суть работы муфты этого типа заключается в следующем: при подаче напряжения на электромагнит образуется магнитное поле, притягивающее магнит к якорю. И будучи жестко связанным с приводным диском, это притяжение сопровождается перемещением последнего и блокировкой ведомого элемента.
Муфта этого типа имеет так называемый непостоянно замкнутый режим зацепления. То есть, в отличие от обычных типов, у которых ведомые диски постоянно заблокированы, здесь он находится в свободном состоянии и блокируется только после подачи напряжения на электромагнит.
Устройство и принцип работы сцепления автомобиля
Сцеплением называется механизм трансмиссии, передающий крутящий момент от двигателя к коробке передач за счет силы трения. Также оно позволяет кратковременно отсоединить двигатель от трансмиссии и вновь их плавно соединить. Существует достаточно много разновидностей муфт сцепления. Они различаются по количеству ведомых дисков (однодисковое, двухдисковое или многодисковое), по типу рабочей среды (сухое или мокрое) и по типу привода. Разные виды сцеплений имеют соответствующие преимущества и недостатки, но наибольшее распространение на современных автомобилях получило однодисковое сухое сцепление либо с механическим, либо гидравлическим приводом.
Как установит диска сцепления на двигателе а 41
Содержание
- Как установит диска сцепления на двигателе а 41
- Схема и принцип действия муфты сцепления А-41 (корзина)
- Регулировка свободного хода педали сцепления
- Корзина сцепления трактора ДТ-75 с дизелем А-41:
- Как отрегулировать сцепление дт 75
- Какой стороной ставить диск сцепления к двигателю? Как правильно?
- Надежно и быстро: как поставить диск сцепления — инструкция
- Какой стороной ставить сцепление на ДТ 75?
- Похожие посты
- На ЮМЗ сцепление поменял.
Почему передача не включается? регулировка норм. - Почему, когда на новом мтз 82.1 на нейтралку поставишь, сцепление отпускаешь начинается вибрация обратно нажимаешь на сцепление перестает?
- Т 25. Почему при креплении двигателя (не родного) к сухому Картеру, двигатель начинает с трудом крутиться? Корзина сцепления родная.
- Чтобы сделать гусеничный ход на мтз 80 ставят раму под задний мост и за место колеса звезду от дт 75. 2 ленивца. Как будет влиять на трактор?
- Какая компрессия должна быть в двигателе А-41 дт 75?
- Почему может начать сапунить двигатель А41на дт 75? Пробил поддон, было залито масло полусинтетика, залил минералку и начал сапунить.
- Почему на мтз 82.1 на 9 передаче, выжимаешь сцепление, стоит грохот? Крестовины целые, флянцы нигде не болтаются!
- Стал заводить трактор, задняя передача включена и не выключается Снял рычаг, выключил вручную, завел запахло сцеплением. юмз 60л Что делать?
- Сборка сцепления а 41
- Корзина сцепления трактора ДТ-75 с дизелем А-41:
- Как поставить диск сцепления правильно – важные нюансы
- Как поставить диск сцепления: пошаговая инструкция
- Как правильно поставить диск сцепления: мнение автомобилистов
- Видео
Как установит диска сцепления на двигателе а 41
Схема и принцип действия муфты сцепления А-41 (корзина)
На тракторах ДТ-75 установлена двухдисковая одинарная муфта сцепления, тип – постоянно закрытая.
Подобные муфты также используются на моделях тракторов Т-4 и Т-74. Действие муфты осуществляется при помощи возникающих сил трения между ведомым, нажимным и промежуточным дисками и маховиком. Диски размещены в цилиндрической внутренней полости маховика; нажимной и промежуточный диски через ведущие пальцы соединяются с маховиком. Особенностью конструкции муфты является наличие тормозка, который обеспечивает быструю остановку после выключения ведомых частей.
Через каждые 240 часов работы агрегата производят проверку зазора между отводкой и рычагами (2,5-3,5 мм), для чего устанавливают рычаг управления в заднее положение, снимают крышку и проворачивают коленвал, подводя по очереди к люку рычаги, делают замеры, разница которых для разных рычагов не должна быть выше показателя 0,3 мм. При регулировке тормозка муфта сцепления полностью выключается, откручивается регулировочный болт (на рисунке поз. 27) до положения, при котором рука может плотно прижать к шкиву колодку. Затем болт закручивают до его касания пружинного упора и после этого делают дополнительно 2,5 оборота, застопорив контргайкой.
При необходимости на корзине сцепления А-41 А52.22.000-10 регулируют механизм блокировки путем изменения длины тяги, которая соединяет конец рычага (нижний) и рычажок валика в механизме блокировки коробки передач. Рычаг муфты при этом ставят до соприкосновения его короткого плеча с упором, к которому он прижат пружиной. Рычаг управления муфты (нижний конец) и рычажок валика соединяют до отклонения верхнего рычага управления от вертикали на 12-15 градусов. Рычажок валика поворачивают до упора в прилив крышки и соединяют с нижним концом рычага управления муфты, при этом производя регулировку длины тяги.
Регулировка свободного хода педали сцепления
При работе трактора вследствие износа фрикционных накладок постепенно уменьшается свободный ход педали сцепления, который следует проверять через каждые 125 часов работы.
Ход рычага 5 на радиусе расположения пальца 6 должен быть 6. 7 мм, что соответствует свободному ходу 40. 50 мм педали сцепления 1. Регулировку управления сцеплением выполняйте в следующей последовательности:
После регулировки механизма управления муфтой сцепления затяните контргайку и зашплинтуйте палец.
Провисание гусеничной цепи можно также проверить масштабной линейкой и рейкой. Для этого кладут рейку на наиболее выступающие почвозацепы звеньев, расположенных над поддерживающими роликами, и измеряют расстояние от рейки до поч-возацена наиболее провисшего звена. Если провисание гусеничных цепей трактора Т-4А превышает 50 мм (номинальное значение — 20. 30 мм), а тракторов Т-150, Г-130, Т-100М, ДТ-75В, ДТ-75 MB, ДТ-75М, ДТ-75Н, Т-70С, Т-70В — 70 мм (номинальное значение 40. 50 мм), то необходимо натянуть их следующим образом.
У тракторов Т-150 и Т-130 нагнетают в рабочую полость цилиндра гидравлического механизма натяжения пластичный смазочный материал до достижения номинального провисания гусеничной цепи.
У тракторов Т-4А и Т-100МЗ ослабляют зажимные гайки на вилке натяжного колеса и, вращая ключом регулировочный винт, добиваются требуемого натяжения.
У тракторов ДТ-75В, ДТ-75МВ, ДТ-75М, ДТ-75Н, отвернув контргайку и вращая регулировочную гайку, перемещают натяжной болт и вместе с ним натяжное колесо вперед.
У тракторов Т-70С и Т-70В, отвернув контргайку и вращая корпус амортизатора за приваренные к нему скобы, добиваются требуемого провисания гусеничной цепи.
Рисунок 6.4 – Натяжение гусениц
Проверка и регулировка подшипников передних колес универсально-пропашных тракторов.
Затормозите задние колеса трактора стояночным (горным) тормозом и поднимите переднее колесо домкратом настолько, чтобы оно не касалось почвы.
Закрепите на цапфе переднего колеса головку индикатора так. чтобы его стержень, соприкоснулся с поверхностью ступицы колеса, и установите ноль шкалы против стрелки. Перемешая руками колесо вдоль оси цапфы, определите зазор в подшипниках.
Предельно допускаемый зазор в подшипниках составляет 0,25 мм. Если нет индикатора, то проверьте зазор покачиванием колеса руками так. как это показано на рисунке. Если установлено, что в подшипниках повышен зазор, то следует их отрегулировать.
Регулировка подшипников колес трактора с колесной формулой 4К2
. Снимите колпак с прокладкой, после чего проверьте легкость вращения колеса. Если при вращении обнаружите заедания, то найдите и устраните причину, вызвавшую нх.
Расшплинтуйте гайку и, поворачивая колесо (для правильного размещения роликов в обоймах), затягивайте ее до тех пор, пока усилие для вращения колеса за протектор не окажется около 45 Н (не более).
Зашплинтуйте гайку, смажте подшипники и поставьте на место колпак, опустите колесо н уберите домкрат.
В такой же последовательности проверьте и при необходимости отрегулируйте подшнпннкн второго переднего колеса трактора.
Если после подтяжки винтов в зазор в подшипниках будет превышать 0,2 мм, то вновь снимите крышку с ведомой шестерней и регулировочные кольца, прошлифуйте наждачной бумагой торец одного из них до нужного значения.
После сборки проверьте зазор, зафиксируйте винты отгибной пластиной и залейте масло в редуктор.
Регулировка подшипников колес трактора с колесной формулой 4К4
(на примере трактора МТЗ-82). При правильной регулировке и эксплуатации трактора осевой зазор более 0,3 мм появляется в подшипниках после 5. 6 тыс. ч работы, и его устраняют при ремонте трактора. Тем не менее если при проверке до указанного срока будет обнаружен зазор, превышающий норму, то устраните его в такой последовательности.
Рисунок 6.5 – регулировка подшипников колес трактора с колесной формулой 4х4
Состав отчета и порядок выполнения работы:
4. Проверить внешним осмотром состояние трактора и установить необходимый перечень по выполнению работ второго технического обслуживания
5. Выполнить работы по ТО-2 трактора (перечень выполняемых работ и применяемое оборудование занести в таблицу 1.1).
6. Сделать заключение.
Таблица 1.1 – Перечень выполненных работ по ТО-2 трактора и применяемое оборудование
Корзина сцепления трактора ДТ-75 с дизелем А-41:
1 — корпус муфты; 2 и 4 — масленки; 3 — крышка люка; 5 — отводка; 6 — регулировочная гайка; 7 — кронштейн отводки; 8 — отжимной рычаг; 9 — отжимной болт; 10 — упорный диск: 11 — нажимной диск; 12 — промежуточный диск; 13 — ведомые диски; 14 — маховик; 15 — коленчатый вал; 16 — шлицевая втулка привода ВОМ; 17 — роликовый подшипник; 18 — вал муфты сцепления; 19 и 34 — пружины; 20 — стакан; 21 — отжимная тяга; 22 — пружина отжимной тяги; 23 — рычаг; 24 — поперечный валик; 25 — вилка; 26 — рычаг тормозка; 27 — регулировочный болт; 28 — колодка; 29 — шкив тормозка; 30 — передняя вилка передней соединительной муфты; 31 — внутренний вал привода ВОМ; 32 — задняя вилка передней соединительной муфты; 33 — задняя соединительная муфта; 35 и 36 — втулки; 37 — соединительный болт; 38 — обойма соединительной муфты; 39 — упорный винт.
Как отрегулировать сцепление дт 75
Основная неисправность муфты сцепления — её пробуксовывание — приводит к заметному снижению силы тяги трактора и выходу из строя муфты.
Пробуксовывание муфты можно обнаружить по специфическому запаху, нагреву корпусов, шуму при включении передач.
Основными причинами пробуксовывания муфт сцепления являются: нарушение регулировки, замасливание дисков, износ фрикционных накладок ведомых дисков, ослабление нажимных пружин.
Рекламные предложения на основе ваших интересов:
При уходе за муфтой сцепления смазывают подшипники, проверяют и регулируют ее, промывают ведомые диски.
Показателем правильности регулировки муфт сцепления служит величина свободного хода педали (рычага) или сила нажатия на рычаг управления (трактор Т-100М). Величину свободного хода замеряют с помощью линейки от крайнего заднего положения подушки педали или рычага до положения педали или рычага, соответствующего началу выключения муфты.
Какой стороной ставить диск сцепления к двигателю? Как правильно?
Какой стороной ставить диск сцепления к двигателю? Как правильно?
Имею собственный, печальный опыт, неправильной установки диска маховика, когда всё собрал и при первом пуске сцепление напрочь отсутствовало, да ещё и звуки скрежета были слышны.
Пришлось заново снимать коробку и менять стороной диск. Технически произошло вот что:
Ступица диска упёрлась в опорный подшипник маховика, а демпферные пружины в болты крепления маховика. Из-за этого между диском и маховиком образовался зазор в несколько миллиметров (правильно — рабочая часть диска сцепления должна плотно прилегать к рабочей поверхности маховика)
Надежно и быстро: как поставить диск сцепления — инструкция
Сцепление выполняет важнейшую функцию — обеспечивает мягкость переключения передач, благодаря чему машина трогается плавно, трансмиссия и двигатель функционируют правильно и не выходят из строя раньше положенного времени.
По той причине, что сцепление испытывает на себе повышенные нагрузки, менять его приходится достаточно часто, каждые 100 000 километров пробега. Как понять, что пришло время поставить новый диск сцепления?
О том, что данный элемент пришел в негодность, свидетельствуют следующие признаки: появляются пробуксовки, сцепление выключается не полностью, передачи переключаются с трудом, педаль сцепления становится чересчур тугой либо проваливается, у машины пропадает тяга.
Не каждый автовладелец хорошо разбирается в том, как правильно выполнить замену данного элемента. Что будет, если неправильно поставить диск сцепления? Результатом такого ремонта окажется следующее: вам придется снова разбирать узел, ведь диск не сможет функционировать надлежащим образом, станет сбоить.
Чаще всего устанавливается также новая корзина сцепления, но бывают ситуации, когда можно обойтись заменой одного диска. Хотя это в целом не очень сложная процедура, многие автовладельцы не знают, как правильно поставить диск сцепления. Существует 2 метода выполнения данной операции:
Конечно, второй способ намного проще. Кстати, если машина заднеприводная, то с данной работой справится даже новичок. Поставить сцепление, если у авто передний привод, будет непросто, но если приложить должное усилие, сделать это получится самостоятельно. Разбираемся, как правильно поставить сцепление поэтапно.
Источник
Какой стороной ставить сцепление на ДТ 75?
Ребят подскажите, какой стороной ставить сцепление на ДТ 75? Стоит двойное
КОММЕНТАРИЕВ (13)
Похожие посты
Всем привет! У меня такой вопрос: как отремонтировать фрикционы на ДТ 75, когда работаешь лопатой едешь на горку трактор встаёт.
Зазор сцепления 4мм. фрикционы новые. Поворочивает нормально.
На ЮМЗ сцепление поменял. Почему передача не включается? регулировка норм.
Здравствуйте. Подскажите, пожалуйста, на ЮМЗ сцепления поменял. Ну почему передача не включается? регулировка норм
Почему, когда на новом мтз 82.1 на нейтралку поставишь, сцепление отпускаешь начинается вибрация обратно нажимаешь на сцепление перестает?
Добрый день. Ребята. подскажите, пожалуйста На новом мтз 82.1 на нейтралку поставишь, сцепление отпускаешь начинается вибрация обратно нажимаешь на сцеплению перестает. От чего так?
Т 25. Почему при креплении двигателя (не родного) к сухому Картеру, двигатель начинает с трудом крутиться? Корзина сцепления родная.
Т 25 при креплении двигателя (не родного) к сухому Картеру, двигатель начинает с трудом крутиться. Корзина сцепления родная, какая может быть причина?
Чтобы сделать гусеничный ход на мтз 80 ставят раму под задний мост и за место колеса звезду от дт 75.
2 ленивца. Как будет влиять на трактор?Вопрос: [id121673056|Максим Голубцов] Доброго времени суток! Сейчас делают гусеничный ход на мтз 80. Ставят раму под задний мост и за место колеса звезду от дт 75. 2 ленивца, 1ну тележку между ленивцами и натягивают гусеницу. Как это будет влиять на трактор? Порвем трактор ил это будет нормально для него?
Какая компрессия должна быть в двигателе А-41 дт 75?
Мужики, всем привет,. Какая компрессия должна быть в двигателе А-41 дт 75? Подскажите
Почему может начать сапунить двигатель А41на дт 75? Пробил поддон, было залито масло полусинтетика, залил минералку и начал сапунить.
Добрый день. Мужики, подскажите, почему может начать сапунить двигатель А41на дт 75.пробил поддон было залито масло полусинтетика залил минералку и начал сапунить не сильно, слил опять залил новую полусинтетику и все равно сапунит Давление 4,Посторонних стуков нет.
Почему на мтз 82.1 на 9 передаче, выжимаешь сцепление, стоит грохот? Крестовины целые, флянцы нигде не болтаются!
Всем здорова!такая вот беда на мтз 82.
1 на 9 передаче выжимаешь сцепление стоит грохот Криставины целые!флянцы нигде не болтаются!
Стал заводить трактор, задняя передача включена и не выключается Снял рычаг, выключил вручную, завел запахло сцеплением. юмз 60л Что делать?
Источник
Сборка сцепления а 41
МУФТА СЦЕПЛЕНИЯ ДИЗЕЛЕЙ А-01, А-01М и А-41
Разборка и сборка муфты сцепления дизелей А-01, А-01М и А-41
Для снятия муфты сцепления с двигателя отъединяют крышку муфты сцепления от картера маховика и снимают ее вместе со стаканом подшипника и валом муфты сцепления.
Отвертывают болты крепления кожуха муфты сцепления к маховику (для муфт двигателя А-01М гайки шпилек), ослабляя их постепенно один за другим, чтобы не повредить резьбу.
Сняв кожух вместе с крайним ведущим диском, свободно снимают средний ведущий и два ведомых диска.
Кожух с крайним ведущим диском разбирают на приспособлении. Кожух крайним диском устанавливают на плиту приспособления и, нажав на корпус через шайбу, сжимают пружины.
Затем расконтривают и отвертывают гайки отжимных болтов, снимают упорные шайбы и отжимные болты. Постепенно отворачивая рычаг приспособления, освобождают силовые нажимные, пружины.
Рычаги отжимных болтов снимают после расшплинтовки и выбивания пальцев.
Вал муфты сцепления выпрессовывают из стакана подшипника ударом по торцу со стороны хвостовика под подшипник маховика. Подшипник снимают с вала муфты сцепления съемником.
При разборке муфты сцепления может нарушиться соосность расточки под стакан подшипника в крышке муфты с осью коренных опор коленчатого вала.
В случае превышения величины несоосности до 0,5 мм может наблюдаться заедание вала сцепления в подшипниках, преждевременный выход их из строя и усиленный износ шлиц вала под ступицы ведомых дисков.
Поэтому при сборке муфты сцепления рекомендуется проверить величину несоосности и, если необходимо, отцентрировать, после чего совместно обработать отверстия в картере маховика и крышке муфты под центрирующие штифты.
Кожух с крайним диском и другими деталями узла (пружинами, рычагами, болтами отжимных рычагов) собирают в обратной последовательности.
При сборке необходимо совмещать метки «Б», выбитые на кожухе и на ведущих дисках, чтобы не нарушить балансировку узла.
После сборки кожуха при установке его на маховик завертывают на отжимных болтах корончатые гайки до отказа.
Затем устанавливают средний ведущий и ведомые диски и привертывают кожух в сборе к маховику. Рекомендуется привертывать кожух, используя технологический вал муфты сцепления (можно применить вал муфты, если нет технологического), вставляемый шлицами в ступицы ведомых дисков.
После окончательной затяжки болтов крепления кожуха к маховику ослабляют затяжку корончатых гаек до тех пор, пока отжимные рычаги не займут примерно вертикальное положение. Собирают вал муфты сцепления со стаканом подшипника и крышкой муфты (если применялся не технологический вал) и, вставляя вал в ступицы ведомых дисков, привертывают крышку муфты к картеру маховика и забивают центрирующие штифты.
При этом вал должен плавно и безударно попадать в подшипник и сальник, установленные в маховике.
После сборки муфту следует отрегулировать.
На тракторах ДТ-75 установлена двухдисковая одинарная муфта сцепления, тип – постоянно закрытая. Подобные муфты также используются на моделях тракторов Т-4 и Т-74. Действие муфты осуществляется при помощи возникающих сил трения между ведомым, нажимным и промежуточным дисками и маховиком. Диски размещены в цилиндрической внутренней полости маховика; нажимной и промежуточный диски через ведущие пальцы соединяются с маховиком. Особенностью конструкции муфты является наличие тормозка, который обеспечивает быструю остановку после выключения ведомых частей.
Через каждые 240 часов работы агрегата производят проверку зазора между отводкой и рычагами (2,5-3,5 мм), для чего устанавливают рычаг управления в заднее положение, снимают крышку и проворачивают коленвал, подводя по очереди к люку рычаги, делают замеры, разница которых для разных рычагов не должна быть выше показателя 0,3 мм.
При регулировке тормозка муфта сцепления полностью выключается, откручивается регулировочный болт (на рисунке поз. 27) до положения, при котором рука может плотно прижать к шкиву колодку. Затем болт закручивают до его касания пружинного упора и после этого делают дополнительно 2,5 оборота, застопорив контргайкой.
При необходимости на корзине сцепления А-41 А52.22.000-10 регулируют механизм блокировки путем изменения длины тяги, которая соединяет конец рычага (нижний) и рычажок валика в механизме блокировки коробки передач. Рычаг муфты при этом ставят до соприкосновения его короткого плеча с упором, к которому он прижат пружиной. Рычаг управления муфты (нижний конец) и рычажок валика соединяют до отклонения верхнего рычага управления от вертикали на 12-15 градусов. Рычажок валика поворачивают до упора в прилив крышки и соединяют с нижним концом рычага управления муфты, при этом производя регулировку длины тяги.
Корзина сцепления трактора ДТ-75 с дизелем А-41:
1 — корпус муфты; 2 и 4 — масленки; 3 — крышка люка; 5 — отводка; 6 — регулировочная гайка; 7 — кронштейн отводки; 8 — отжимной рычаг; 9 — отжимной болт; 10 — упорный диск: 11 — нажимной диск; 12 — промежуточный диск; 13 — ведомые диски; 14 — маховик; 15 — коленчатый вал; 16 — шлицевая втулка привода ВОМ; 17 — роликовый подшипник; 18 — вал муфты сцепления; 19 и 34 — пружины; 20 — стакан; 21 — отжимная тяга; 22 — пружина отжимной тяги; 23 — рычаг; 24 — поперечный валик; 25 — вилка; 26 — рычаг тормозка; 27 — регулировочный болт; 28 — колодка; 29 — шкив тормозка; 30 — передняя вилка передней соединительной муфты; 31 — внутренний вал привода ВОМ; 32 — задняя вилка передней соединительной муфты; 33 — задняя соединительная муфта; 35 и 36 — втулки; 37 — соединительный болт; 38 — обойма соединительной муфты; 39 — упорный винт.
Техническое обслуживание главной муфты сцепления трактора ДТ-75М включает в себя следующие операции:
– Периодическую смазку подшипников;
– Регулировку зазора между головками длинных плеч отжимных рычагов (19) и упором нажимного подшипника (17). Величина указанного зазора уменьшается по мере износа фрикционных накладок ведомых дисков [рис. 1];
– Регулировку хода промежуточного диска;
– Своевременную замену изношенных фрикционных накладок.
Регулировка и смазывание главной муфты сцепления производится согласно правил техобслуживания и смазки.
Рис. 1. Главная муфта сцепления трактора ДТ-75М.
1) – Роликовый подшипник;
3) – Отжимная пружина;
4) – Регулировочный винт;
6) – Нажимная пружина;
7) – Маслоотражательная шайба;
8) – Корпус муфты выключения;
10) – Шариковый подшипник;
11) – Корпус подшипника;
14) – Самоподжимной сальник;
15) – Шариковый подшипник;
16) – Вилка муфты выключения;
17) – Упор нажимного подшипника;
18) – Крышка муфты сцепления;
20) – Болт отжимного рычага;
21) – Ведущий нажимной диск;
25) – Ведущий промежуточный диск;
26) – Крышка подшипника;
27) – Самоподжимной сальник;
Порядок регулировки главной муфты сцепления трактора ДТ-75М:
1) – Установить в нейтральное положение рычаг переключения передач,
2) – Включить главную муфту сцепления,
3) – Снять правую боковину капота и штампованную крышку люка,
4) – Включить механизм декомпрессии и (проворачивая рукояткой коленчатый вал основного двигателя) щупом проверить зазор между концом каждого отжимного рычага и упором нажимного подшипника.
Величина зазора должна составлять 3,5-4,5 мм. Разница в зазоре для отдельных рычагов одной муфты не должна превышать 0,5 мм. Если величина зазора не соответствует допустимому значению, следует расшплинтовать корончатые гайки болта отжимного рычага и установить требуемую величину зазора путём их навинчивания/отвинчивания. По окончании необходимо вновь зашплинтовать корончатые гайки.
5) – Между каждым регулировочным винтом (4) и промежуточным диском устанавливается зазор величиной 1,5 мм. С этой целью следует отвернуть контргайку винта (4), завернуть винт до соприкосновения с промежуточным диском, затем отвернуть его на один оборот и законтрить. У правильно отрегулированной, выключенной муфты вал (28) легко проворачивается от руки.
Если главная муфта сцепления трактора ДТ-75М пробуксовывает по причине замасливания либо разрушения фрикционных накладок ведомых дисков, то её следует разобрать, промыть в керосине или заменить изношенные фрикционные диски.
Запрещается при разборке муфты сцепления снимать балансировочные болты, ввёрнутые со стороны внешнего торца в упорный диск (5) во избежание нарушения балансировки дисков муфты.
При сборке муфты сцепления промежуточный диск и нажимной диск необходимо установить относительно упорного диска в то же положение, в котором они находились до разборки. Метки, нанесённые на наружные поверхности нажимного и промежуточного дисков, должны совпасть с меткой, нанесённой на торцевую поверхность упорного диска.
Включение и выключение муфты сцепления должно производиться плавно и достаточно быстро, что позволит предотвратить возникновение ударных нагрузок. Это даст возможность обеспечить более продолжительную работу деталей муфты, силовой передачи, двигателя. Нельзя оставлять муфту в недовключённом и выключенном положении длительное время во избежание быстрого изнашивания накладок ведомых дисков.
Источник
Как поставить диск сцепления правильно – важные нюансы
Вопросы, рассмотренные в материале:
Как известно, механическая коробка передач отличается достаточно высокой надежностью и неприхотливостью. Как правило, даже у аккуратного водителя, который умеет ездить на МКПП, сцепление в среднем выхаживает 100–120 тыс.
км. В дальнейшем из строя выходит выжимной подшипник, могут возникать проблемы с диском и корзиной сцепления. Если же машина эксплуатируется активно и агрессивно, тогда сцепление можно подпалить и вывести из строя намного раньше. И возникает разумный вопрос: как поставить диск сцепления?
Сама замена сцепления не является крайне сложной процедурой, однако требует наличия определенных навыков и инструментов. Также в процессе установки некоторые владельцы не знают, как правильно поставить сцепление. Далее мы рассмотрим такой нюанс, как поставить диск сцепления при его замене.
Как поставить диск сцепления: пошаговая инструкция
Сцепление выполняет важнейшую функцию — обеспечивает мягкость переключения передач, благодаря чему машина трогается плавно, трансмиссия и двигатель функционируют правильно и не выходят из строя раньше положенного времени.
По той причине, что сцепление испытывает на себе повышенные нагрузки, менять его приходится достаточно часто, каждые 100 000 километров пробега.
Как понять, что пришло время поставить новый диск сцепления?
О том, что данный элемент пришел в негодность, свидетельствуют следующие признаки: появляются пробуксовки, сцепление выключается не полностью, передачи переключаются с трудом, педаль сцепления становится чересчур тугой либо проваливается, у машины пропадает тяга.
Не каждый автовладелец хорошо разбирается в том, как правильно выполнить замену данного элемента. Что будет, если неправильно поставить диск сцепления? Результатом такого ремонта окажется следующее: вам придется снова разбирать узел, ведь диск не сможет функционировать надлежащим образом, станет сбоить.
Чаще всего устанавливается также новая корзина сцепления, но бывают ситуации, когда можно обойтись заменой одного диска. Хотя это в целом не очень сложная процедура, многие автовладельцы не знают, как правильно поставить диск сцепления. Существует 2 метода выполнения данной операции:
Конечно, второй способ намного проще. Кстати, если машина заднеприводная, то с данной работой справится даже новичок.
Поставить сцепление, если у авто передний привод, будет непросто, но если приложить должное усилие, сделать это получится самостоятельно. Разбираемся, как правильно поставить сцепление поэтапно.
Чтобы поставить сцепление своими руками, автомобиль загоняют на эстакаду либо яму в гараже. До того как вы приступите к демонтажу, следует под каждое колесо подложить специальную упору, чтобы автомобиль не откатывался.
Можно ли поставить диск сцепления наоборот? Какой стороной он должен располагаться? Его необходимо установить так, чтобы выступающая часть была обращена к корзине. При этом следует предварительно нанести на кожух и маховик отметки. В последующем они должны быть совмещены, только так сцепление получится поставить правильно.
Рекомендуем
При проведении данной процедуры следует отцентровать ведомый диск относительно оси коленвала. Для этого используйте правило, оно будет играть роль шлицевой части первичного вала. По завершении установки правило должно легко выниматься.
Болты, с помощью которых крепится кожух, следует закручивать по очереди с одинаковым усилием, в противном случае он сдвинется с места. Сбоку у кожуха есть выемки прямоугольной формы, которые равномерно распределены по всей поверхности.
В эти выемки должны войти три ступицы нажимного диска. Такая конструкция позволяет передавать крутящий момент на диск максимально эффективно, при этом его можно смещать относительно оси, когда сцепление включено.
Между кожухом и нажимным диском попарно расположены 18 пружин. У них есть витки, они сделаны в разные стороны. Благодаря такому решению механизм никогда не заклинивает. Чтобы не допустить перекоса рабочего диска и достичь нужного усилия, все устанавливаемые пружины должны быть из одной группы.
Чтобы не допустить перегрев пружин при пробуксовке сцепления, используются шайбы. Они сделаны из прессованного асбеста, данный материал не боится высоких температур и эффективно отводит тепло.
Кроме того, на концах хвостовых вилок расположены сферические гайки, а также пружины в форме конуса.
В результате этого появляется качение механизма, оно необходимо для нивелирования промежутка между осями, когда отводится диск.
Итак, мы разобрали, как правильно поставить диск и корзину сцепления. Данную процедуру сможет выполнить любой автомобилист, если у него есть небольшой опыт проведения ремонтных работ. Сложнее всего будет добраться непосредственно до сцепления, особенно когда у вас переднеприводная машина.
Чтобы при замене данного механизма не запутаться в том, как поставить ведомый диск сцепления, запомните: его ставят к корзине той стороной, где выступают пружины демпфера.
Как правильно поставить диск сцепления: мнение автомобилистов
«Что будет, если поставить диск сцепления наоборот? Я узнал это на своем опыте. После сборки стал тестировать работу авто, так сцепления просто не было, при этом появились посторонние звуки, в механизме все скрежетало. В результате снова демонтировал КПП, чтобы поставить элемент другой стороной. Расскажу, что будет, когда сцепление установлено неправильно.
Ступица диска упрется в опорный подшипник маховика, демпферные пружины – в болты, с помощью которых крепится маховик. В результате появится зазор между диском и маховиком размером в 2-3 мм. А ведь рабочая область диска должна полностью соприкасаться с поверхностью маховика.
С обратной стороны корзина будет давить на диск, в итоге он окажется зажат между корзиной и маховиком. Если нажать сцепление, выжимной подшипник не сможет выполнить свою функцию. Диск будет зажат, при этом передача крутящего момента станет проходить от ДВС через зажатую ступицу и корпус демпферных пружин.
Рекомендуем
Как правильно поставить сцепление? Существует 3 методики.
Метод первый. Часть дисков с завода маркируется с обеих сторон, чтобы было понятно, куда и какая должна быть обращена. При этом есть и отметки на демпферных пружинах. Надписи будут выполнены на языке страны, в которой были изготовлены детали, на этот момент также стоит обратить внимание.
Например, на стороне коробки передач можно встретить следующие надписи: «GEARBOX SIDE», «PP», «Getriebeseite», «GB SIDE», «TRANS SIDE», «T/M SIDE».
А на стороне двигателя может быть написано: «COTE VOLANT», «FLYWHEEL SIDE», «ENGINE SIDE», «MOTOR SIDE», «FW SIDE», «SCHWUNGRAD-SEITE».
Метод второй. Берем диск и прикладываем его к маховику сначала одной стороной, потом другой. Если все правильно, он должен идеально прилегать к поверхности, ничего не должно цеплять. Однако здесь можно ошибиться, ведь на многих дисках вынос ступицы почти идентичный, не важно, какой стороной вы его приложите, ничего цепляться не будет.
Метод третий. Это оптимальный вариант, чтобы определить, как правильно поставить сцепление, если на нем ничего не написано. Просто проведите визуальный осмотр элемента, вооружившись штангенциркулем.
Сторона, которая обращена к коробке, будет плотно прилегать к корзине, при этом ступица с этой стороны станет выпирать.
В корзине есть проем под корпус демпферных пружин, кроме того, пружинки также на 75 % вынесены в сторону корзины.
С той стороны, которая прилегает к двигателю, пружины практически не будут выпирать, максимум на 25 %.
Корпус расположен заподлицо с рабочей областью. Ступица также будет установлена правильно».
«Понятно, что если диск сцепления поставить другой стороной, то ничего хорошего не будет. Установил то я его правильно, поэтому и был уверен, что все в порядке. Однако сложности все же возникли.
На что обратить внимание, чтобы поставить сцепление правильно?
Во-первых, когда демонтируете КПП, а также сцепление полностью, следует выполнить дефектовку. Прежде чем поставить диск, посмотрите на него, если он изношен неравномерно, к примеру, его края тонкие, а середина толстая, то корзина и маховик будут также с неровной рабочей поверхностью.
Во-вторых, необходимо помнить не только о том, какой поставить диск сцепления, но и о корзине и маховике также не забывать. Например, вы заменили диск, а корзину и маховик не трогали. При этом площадь прижима не будет полноценной. По истечении некоторого времени придется заново демонтировать КПП.
Запомните! В ходе ремонта поставить нужно не только новый диск, но и корзину, выжимной подшипник.
Из-за того, что приобрести маховик бывает непросто (высокая стоимость, нет в наличии), рекомендую отвезти его токарю, чтобы мастер проточил элемент. Однако когда у маховика рабочая поверхность выступает, протачивают только нерабочую область. С нее стачивают столько, сколько с рабочей поверхности. Данная процедура необходима для того, чтобы демпфер корзины прижимался должным образом.
Нет возможности поставить весь комплект сцепления? Тогда протачиваем корзину. Если все плоскости будут сделаны правильно, механизм станет работать исправно в течение многих лет.
Проведите визуальный осмотр корзины, чтобы выявить неравномерный выход лепестков. В случае, когда в невыжатом положении лепестки расположены неровно, корзину следует заменить, ведь демпфер не будет достаточно прижиматься. Нужно поставить новую корзину также и в том случае, когда лепестки изношены из-за выжимного подшипника.
Лепестки в порядке? Тогда, прежде чем поставить сцепление, сделайте продувку корзины изнутри.
Так все отработавшие элементы будут удалены, она станет работать исправно. Данную процедуру можно выполнить под давлением или же сделать устройство для выжима самостоятельно.
Рекомендуем
В-третьих, обязательно поставьте новые сальники.
Один уплотнительный манжет расположен на первичном валу КПП, второй — коренной. Обычно сальник первичного вала расположен в съемной крышке, однако в некоторых случаях необходимо разобрать половину КПП для его замены. Например, я с этим сталкивался на «Тойота Рав-4» 1997 г. выпуска. Сальник был запрессован изнутри корпуса. Если у вас «Жигули», придется демонтировать колокол, чтобы установить новый сальник.
Кроме того, следует в обязательном порядке переклеить заднюю крышку двигателя, заглушки, скрывающие колокол КПП, крышки на коробке при их наличии. Поставить новое сцепление, а затем выяснить, что протекает масло, — не лучший вариант. Возможно, к вашему мотору крышка идет вместе с сальником. Если у вас Subaru, то из-за конструктивных особенностей мотора крышки не бывает.
Однако будет множество заглушек, их также придется переклеивать.
Что касается выжимного и опорного подшипников, их также следует заменить, тем более что стоимость их небольшая. Если же их не поменять, потратить на ремонт придется гораздо большую сумму.
В-четвертых, важно не только правильно поставить сцепление, но и отцентровать его.
Так вы облегчите себе установку КПП. В противном случае демпфер диска будет поврежден, он может растрескаться. Обратите внимание на то, что болты корзины следует тянуть в диагональ, постепенно. Если затянуть их сразу до конца, демпфер корзины лопнет.
На зубцы первичного вала, а также лапки выжимной вилки в области их соприкосновения с выжимным подшипником необходимо нанести смазку. Место, где выжимной подшипник будет ходить при выжиме, а также обратную сторону вилки, где она фиксируется на упорном штоке, тоже нужно смазать».
Источник
Видео
ДТ-75, ремонт сцепления! Всё заржавело, лопнули клёпки…
Ремонт сцепления ДТ 75.
Обзор конструкции , особенности , нюансы .
Корзина сцепления ДТ75 муфта А-41 нового образца две плиты
ДТ-75. Регулировка сцепления на А-41
Как правильно ставить диск сцепления
Подробная регулировка сцепления, ТДТ 55 и ТЛТ 100.
Выставляем сцепление по инструкции! Часть 2. Замена тормозного шкива, кардана, и флянца. ДТ-75 А41
ТТ-4 двиг. А-01 Обзор и ремонт корзины сцепления.
Установка дисков сцепления
Трактор ДТ-75. Ремонт и регулировка сцепления. Часть 1. Разбираю по болтам и вникаем в устройство
Колесный трактор RN904/RN1104 Zoomlion
Колесный трактор RN1104 ZoomlionКолёсный трактор серии Zoomlion RN904 и RN1104 – это экономичный трактор, разработанный для международного рынка, который может применяться как на рисовых, так и на неорошаемых полях. Трактор обладает превосходными характеристиками, разработан специально для выполнения различных сельскохозяйственных работ с навесными, полунавесными и прицепными орудиями, для фермерских и животноводческих хозяйств, коммунальных служб, а также для различных вспомогательных и транспортных работ.
Содержание
- Двигатель и система охлаждения
- Сцепление двойного действия
- Кабина водителя
- Удобное управление
- Улучшенный передний мост
- Шасси с высокой проходимостью
- Шины для не орошаемых полей
- ВОМ
- Гидровыходы
- Навесная система
- Буксировочно-прицепное приспособление
- Подъёмный механизм
- Передний и задний противовес
- Высокая защита
- Фары
- Размеры трактора RN904
- Технические характеристики трактора RN904
- Размеры трактора RN1104
- Технические характеристики трактора RN1104
Двигатель и система охлаждения
Трактор оснащен четырехцилиндровым двигателем Yuchai с системой впрыска топлива Common Rail , который соответствует стандартам выбросов III КНР, имея рабочий объем 4,837 л.
Усовершенствованная технология турбонаддува и прямого впрыска с системой впрыска Bosch с электронным управлением точно контролирует подачу топлива в различных условиях работы двигателя и быстро реагирует на них, обеспечивая лучшую экономию топлива и большую выходную мощность, более эффективное использование топлива и более высокую экономичность.
Преимущество с двойным масляным баком обеспечивается непрерывной работы в течение всего дня, что эффективно увеличивает время работы.
ТРАКТОР оснащен аккумулятором высокой мощности, потеря емкости аккумулятора минимальны даже в условиях низких температур, что обеспечивает уверенный запуск двигателя.
Радиатор имеет устройство противотока горячего воздуха для повышения надежности отвода тепла, а высокоэффективная трубка отвода тепла в сердечнике может дополнительно обеспечить лучший эффект отвода тепла.
Система охлаждения оснащена устройством изоляции от пыли, которое эффективно блокирует попадание пыли и мусора в машину. Данное устройство может быть извлечено вручную c верху., что облегчает очистку от пыли, мусора и прочих
примесей.
Как система шасси, так и гидравлическое рабочее устройство используют масло с 2 независимыми отверстиями для заливки гидравлического масла, что может гарантировать, что гидравлическое масло будет чище, увеличить цикл использования гидравлического масла и увеличить способность охлаждения гидравлической системы.
Боковые рычаги управления установлены с правой стороны водителя для более удобного управления. С целью комфортного управления, переключение коробки
передач осуществляется плавно и быстро. Для переключения передач 16 F +8R используется рычаг управления главной и вспомогательной коробки переключения
передач с понижающей передачей.
Управление главное и вспомогательной передачами осуществляется раздельно с помощью двух рычагов управления, соответственно, 16 передних и 8 задних передач, с диапазоном скоростей передней передачи 1,57-33,40 км/ч, и диапазоном скоростей задней передачи 1,96-28,13 км/ч, что позволяет удовлетворить Ваши потребности при проведении различных полевых операций на различных скоростях.
Колесный трактор RN1104 ZoomlionСцепление двойного действия
При помощи двойного сцепления сухого типа можно управлять ходовой системой и ВОМ Эксплуатационная надежность высокая. Рычаг выключения сцепления имеет пыленепроницаемую и водонепроницаемую конструкцию, которая может эффективно предотвращать выход из строя сцепления и подшипника выключения сцепления из-за попадания воды в полость.
Кабина водителя
Комфортная кабина с системой кондиционирования и превосходным обзором, с системой безопасности ROPS, для защиты оператора и предотвращения машины от
опрокидывания.
- Двухдверная кабина с эвакуационной дверью на правой стороне и большим внутренним пространством.
- Кабина с системой кондиционирования (охлаждение/обогрев) имеет несколько
вентиляционных отверстий, охлаждение и обогрев происходит быстро и хорошо. - Хороший эффект демпфирования: соединение между шасси и кабиной содержит
резиновые демпфирующие прокладки. - Имеются четыре передних и задних места демпфирования, которые могут значительно снизить вибрацию от шасси до кабины, а также значительно снизить шум и вибрацию
кабины.
Благодаря эстетически приятному виду приборной панели Вам будет удобно наблюдать за визуальными параметрами вождения.
На приборной панели отображается температура воды, скорость, воздушный тормоз и другое рабочее состояние, за которым удобно наблюдать водителю.
Удобное управление
Система рулевого управления с гидравлическим приводом позволяет своевременно корректировать положение корпуса в различных условиях работы и на различных скоростях, а рулевое колесо обладает повышенным удобством для удержания и идеально лежит в руках.
Расположение элементов управления было тщательно продумано и рассчитано таким образом, чтобы быть в пределах досягаемости водителя, что позволяет осуществлять своевременный контроль и быстрое реагирование даже в интенсивных условиях работы.
Улучшенный передний мост
Механизм оснащен водонепроницаемым передним мостом специального типа для заливных полей. Такой мост предотвращает попадание грязной воды в механизм.
Эксплуатационная надежность при проведении рабочих операций на заливных полях является высокой. В сочетании с приводными колесами, мост обеспечивает стабильное движение механизма во время проведения рабочих операций на заливных полях, тем самым повышая рабочую производительность.
Для цилиндра рулевого механизма используется конструкция уплотнения с углом конуса 24° , которая имеет лучшие характеристики уплотнения.
Шасси с высокой проходимостью
Материал шасси изготовлен из высокопрочной стали (высокопрочный чугун), которая имеет высокий предел прочности на разрыв.
Опционально возможно установить передний мост с увеличенным клиренсом до 485 мм, для уверенного передвижения по заливным полям, для предотвращения повреждения при выполнении полевых работ.
Для вала отбора мощности, приводного вала применяются высококачественные комбинированные импортные сальники NOK, которые улучшают характеристики
уплотнения и предотвращают загрязнение, адаптируются к среде работы на рисовых полях со сложными рабочими условиями и имеют более стабильную работу.
Шины для болотной местности и заливных полей
В качестве стандартной комплектации используются шины для рисовых полей 11.2-24/16.9-34
Можно выбрать по желанию шины для рисовых полей 12.
4-28/13.6-38
Ширина колеи
Нормальная колея передних и задних колес составляет 1655/1620mm.
Колею передних колес можно регулировать пошагово, изменяя положение соединения колесного диска и обода:
- Используются шины для рисовых полей 11.2-24,
- Четыре состояния – ширина колеи 559/1655/1781/1877 мм.
- Используются шины для рисовых полей 12.4-28,
- Четыре состояния – ширина колеи 1684/1770/1890/1974 мм.
- Расстояние между задними шинами можно регулировать по
уровням. - Пять состояний – 1620/1720/ 1820/1920/2020 мм.
Шины для не орошаемых полей
В качества стандартной комплектации используются шины для не орошаемых полей 12.4-24/16.9-34
Ширина колеи
Нормальная колея передних и задних колес составляет 1655/1620 мм,
Колею передних колес можно регулировать пошагово, изменяя положение соединения колесного диска и обода:
- Используются шины для неорошаемых полей 12.4-24,
- Три состояния – 1655/1781/1877 мм.

- Расстояние между задними шинами можно регулировать по уровням.
- Пять состояний – 1620/1720/ 1820/1920/2020мм
ВОМ
Скорость вращения устройства отбора мощности ВОМ составляет 540/1000 об/мин. Вал отбора мощности имеет секционную конструкцию, может быстро переключаться между 6 шлицами (стандартными), 8 и 21 шлицам, что значительно повышает удобство обслуживания, значительно сокращает время обслуживания и снижает затраты на обслуживание.
Основание приводного вала усилено, что может эффективно уменьшить поломку вала отбора мощности, вызванную неправильной работой пользователя, а технология масляного уплотнения коробчатого типа используется для улучшения характеристик уплотнения.
Гидровыходы
Многофункциональная цифровая приборная панель обеспечивает возможность визуального наблюдения за параметрами вождения, мониторинга всей работы транспортного средства, а также диагностики неполадок в режиме реального времени;
Одноканальный гидравлический поток может достигать 55 л/мин, что соответствует требованиям, предъявляемым к гидравлической производительности различных сельскохозяйственных машин.
Навесная система
Заднее трехточечное подвесное устройство типа II приспособлено для регулировки положения и плавающего управления, и его можно использовать с различными сельскохозяйственными машинами и орудиями.
Подъемная штанга нижней подвески содержит ступенчато регулируемое положение отверстия, с помощью которого можно увеличивать или уменьшать расстояние между нижними штангами подвески по мере необходимости.
Буксировочно-прицепное приспособление
Для удовлетворения требований прицепа стационарного и маятникового типа, высоту прицепа стационарного типа можно регулировать в несколько этапов, что позволяет проводит ь работы с разнообразной сельскохозяйственной техникой
Подъёмный механизм
Механизм навески раздельноагрегатный тип, оснащен двумя цилиндрами двойного действия и грузоподъемностью 2551 кг, водитель может регулировать высоту нижнего тягового стержня, регулируя ручку управления, при этом глубину сильного давления в
почву можно регулировать вручную, чтобы обеспечить однородность глубины погружения в почву;
Устройство ограничения высоты механизма навески, ограничительное устройство может быть выдвинуто, когда нижняя подъемная штанга будет поднята в наивысшую точку, а подъемная ручка будет ограничена и не может выполнять операции подъема.
Передний и задний противовес
С передними и задними противовесами, также за счет продуманной компоновки
колесной базы и колеи, трактор может работать при перевозке больших грузов и
агрегатировании с тяжелыми устройствами.
Высокая защита
Капот двигателя обладает хорошей герметичностью. Внутренняя проводка и маслопровод оптимизированы и располагаются недалеко друг от друга, что
обеспечивает удобство при проведении технического обслуживания.
Фары
Система освещения включает в себя фары ближнего света, фары дальнего света, дополнительные фары дальнего света, рабочее освещение, габаритные огни и т. д.
Большое количество сверхъярких светодиодных LED фар обеспечивает эффективную работу машины в темное время суток.
Размеры трактора RN904
Размеры трактора RN904
Технические характеристики трактора RN904
Технические характеристики трактора RN904Размеры трактора RN1104
Размеры трактора RN904Технические характеристики трактора RN1104
Технические характеристики трактора RN1104 youtube.com/embed/BhQTJSiyP7c» title=»YouTube video player» frameborder=»0″ allow=»accelerometer; autoplay; clipboard-write; encrypted-media; gyroscope; picture-in-picture» allowfullscreen=»»/>Оцените, пожалуйста!
[Всего: 22 Среднее: 4]
Понимание бесступенчатой трансмиссии и трансмиссии Powershift при покупке трактора
Тракторные трансмиссии прошли долгий путь со времен двойного сцепления и хруста между тремя или четырьмя передачами базовой несинхронизированной коробки передач.
Благодаря внедрению дополнительных диапазонов и синхронизации операторы получили больше вариантов скорости переднего и заднего хода для различных работ и условий, а переключение между передачами и направлениями стало плавным и без напряжения.
Тем не менее, коробки передач, которые подходят для современных трансмиссий тракторов, поднимают эти желательные характеристики на новый уровень, более эффективно управляя мощностью и намного проще в использовании, даже если вы не знакомы с конкретной маркой.
Для большинства новых тракторов мощностью более 100 л.с. покупатель, скорее всего, столкнется с выбором между коробкой передач с переключением под нагрузкой или вариатором (бесступенчатая трансмиссия), и у каждой из них есть свои плюсы и минусы.
Как работает Powershift?
Как и любая другая обычная коробка передач, коробка передач Powershift эффективно использует фрикционные диски для передачи мощности двигателя на ведущие оси трактора.
Умная часть заключается в возможности переключения большого количества передач без использования сцепления, что достигается за счет использования нескольких многодисковых пакетов мокрого сцепления.
Каждый пакет сцепления состоит из нескольких дисков, которые сжимаются вместе с помощью гидравлического поршня и освобождаются пружиной при сбросе гидравлического давления или наоборот, в зависимости от конструкции.
Для переключения между передачами гидравлическое давление подается через электронный или механический клапан для включения правой муфты соответствующей передачи, расположенной на главном вращающемся валу.
При частичном переключении под нагрузкой оператор должен включать сцепление между диапазонами, но не на каждой передаче в пределах диапазона, в то время как при полном переключении под нагрузкой сцепление не требуется на всех диапазонах и передачах. Вам также не нужно использовать сцепление, чтобы изменить направление.
Эта концепция позволила производителям предложить несколько диапазонов и скоростей. Обычная конфигурация последних моделей тракторов будет состоять из четырех диапазонов, каждый из которых имеет шесть скоростей, всего 24 передачи.
В лучших конфигурациях оператор может переключаться от 1 до 24 одним нажатием кнопки, а некоторые предлагают все 24 скорости в обратном направлении.
После установки частоты вращения двигателя оператор может переключать передачи вверх и вниз по мере изменения нагрузки или необходимости изменения скорости.
Большинство современных коробок передач с переключением под нагрузкой также имеют полностью автоматическую функцию, при которой соответствующая передача выбирается самой машиной на основе заранее заданных параметров, таких как скорость движения вперед, что обеспечивает почти такую же простоту переключения, как и вариатор.
Бесступенчатая коробка передач ZF позволяет повысить эффективность использования топлива более чем на 10 % за счет работы на более низких оборотах
Как работает вариатор?
Автомобиль, поднятый на одну сторону, представляет собой полезную аналогию для объяснения основного принципа работы коробки передач CVT.
Если бы вы включили первую передачу и отпустили сцепление, дифференциал на оси передал бы привод по пути наименьшего сопротивления, в результате чего колесо в воздухе быстро прокрутилось бы, а колесо на земле остается совершенно неподвижным.
Однако, если вы приложите сопротивление к колесу в воздухе, энергия будет передана на другую сторону, и автомобиль сорвется с домкрата.
Бесступенчатая трансмиссия, по сути, воссоздает этот процесс, используя комбинацию гидравлического и механического приводов, связанных через планетарную систему передач, включающую солнечную шестерню, планетарные шестерни и зубчатый венец вокруг них снаружи.
Центральная солнечная шестерня уподобляется колесу на земле, так как она механически связана с двигателем и задней и передней осями, поэтому изначально является путем наибольшего сопротивления.
Бесступенчатая трансмиссия ZF cPower CVT на погрузчике обеспечивает значительную экономию топлива по сравнению с обычной трансмиссией с переключением под нагрузкой
Зубчатый венец уподобляется колесу в воздухе, так как имеет наименьшее сопротивление. Он приводит в действие гидравлический насос, который, в свою очередь, питает гидравлический двигатель, который также напрямую связан с передней и задней осями.
При включении двигателя мощность передается по пути наименьшего сопротивления, вращая гидравлический насос. Но когда оператор выбирает ускорение, гидростатический насос поворачивается и постепенно увеличивает подачу масла к двигателю, который, в свою очередь, приводит трактор в движение почти полностью гидравлически.
По мере того, как трактор продолжает разгоняться, насос постепенно достигает максимального угла поворота, пока его производительность не достигнет максимальной производительности.
Затем гидравлический двигатель меняет направление потока масла обратно к насосу, замедляя зубчатый венец и постепенно передавая путь наименьшего сопротивления солнечной шестерне, поэтому при достижении максимальной скорости трактор приводится в движение на 100 % механически.
Для включения заднего хода гидростатический насос поворачивается в противоположном направлении, поэтому сторона всасывания переключается, и трактор приводится в движение задним ходом с помощью гидравлики. Челночное сцепление помогает этому переходу.
Весь процесс полностью бесступенчатый, от старта с места до максимальной скорости движения, при этом оператору не нужно включать сцепление или переключаться между передним и задним ходом.
Некоторые производители, такие как John Deere, New Holland и Case IH, теперь имеют трансмиссии CVT, в которых используются электронные муфты для беспрепятственного переключения между несколькими диапазонами.
Powershift и вариатор — в чем плюсы и минусы?
Таким образом, вместо постепенного перехода от 100 % гидравлического к 100 % механическому во всем диапазоне скоростей или в нескольких диапазонах, как в трансмиссии Fendt Vario, они колеблются между двумя в четырех диапазонах для повышения эффективности.
Повышение эффективности достигается за счет того, что трансмиссия тратит меньше времени, полагаясь на энергоемкую гидравлику для движения машины вперед.
| Плюсы Powershift | Минусы Powershift |
| Меньшие первоначальные затраты и затраты на обслуживание | Потеря эффективности при переключении передач |
| Простота обслуживания на ферме | Более короткий срок службы |
| Более эффективное использование энергии за счет механического привода | |
| Лучше для дорожных работ |
Возьмем, к примеру, вариатор John Deere Autopowr. Он работает с гидравлическим приводом не более 40 %, поэтому на оси всегда приходится не менее 60 % механического привода.
Наилучшие значения 100% механического привода в каждом из четырех диапазонов находятся на скорости 3,5 км/ч, 11 км/ч, 22,5 км/ч и 47 км/ч на модели 6R, при этом общий коэффициент полезного действия двигателя на дышле составляет 87 %, что недостижимо. только с одним или двумя диапазонами.
| Плюсы вариатора | Минусы вариатора |
| Более экономичный | Более высокая начальная стоимость |
| Более высокая производительность | Требуется специалист для обслуживания/ремонта |
| Более точный контроль скорости | |
| Простота в эксплуатации | |
| Долговечный | |
| Лучшая стоимость при перепродаже |
Технология перехода
Для любого оператора, который управлял современным трактором в течение последних 15 лет, вполне вероятно, что где-то в трансмиссии этой машины один из основных компонентов был поставлен немецким производителем ZF со своей базы в Пассау, к востоку от Мюнхена.
Гэвин Донохью из компании сообщил Farmers Weekly, что коробки передач Powershift стали популярными для тракторов из-за повышения эффективности по сравнению с более ранними конструкциями синхронизаторов, а также долговечности, относительной простоты и исторически более низкой стоимости.
По сравнению с вариатором более низкие затраты были обусловлены как концепцией конструкции, так и эффектом масштаба, при этом число переключений под нагрузкой превышает число вариаторов в отраслях с высокой мощностью, включая строительство, погрузочно-разгрузочные работы и сельское хозяйство.
Эта унификация также означает, что существует доступ к широкому спектру запасных частей и услуг, поэтому техническое обслуживание и ремонт блоков переключения передач экономически выгодны и могут выполняться опытными техниками в полевых условиях.
«Powershift был популярным выбором, но он постепенно изменился за последние 10-15 лет с активным появлением CVT, особенно на развитых рынках [таких как Европа]», — говорит г-н Донохью.
Повышенная эффективность
Внедрение гидротрансформаторов с блокировочными муфтами, которые обходят гидравлический привод гидротрансформатора, обеспечивая в определенных условиях 100% механический привод, уменьшило потери энергии через трансмиссию с переключением под нагрузкой во время работы.
Несмотря на эти улучшения, бесступенчатые трансмиссии по-прежнему считаются гораздо более эффективным способом передачи мощности трактора на землю, поскольку, в отличие от переключателей под нагрузкой, им не нужно включать и выключать передачи с дисками сцепления для переключения вверх или вниз.
Новейшие бесступенчатые трансмиссии обеспечивают значительный прирост производительности и топливной эффективности до 25%. Для сельскохозяйственных машин в различных задачах и условиях этот прирост может быть не таким выраженным, но с комфортом превысит 10%.
Это достигается за счет возможности запуска двигателей при более низких и более постоянных оборотах и в очень узком и эффективном диапазоне мощности — или «наилучшей зоне» — во время работы, при этом коробка вариатора заботится о любых требуемых увеличениях или уменьшениях мощности. скорость.
В новейшей бесступенчатой коробке передач Fendt высокой мощности используются гидравлические двигатели
Растущая доля рынка
Именно благодаря повышению производительности, сокращению расходов на топливо и простоте эксплуатации бесступенчатые трансмиссии становятся все более популярными как в строительстве, так и в сельском хозяйстве.
производители тракторов предлагают бесступенчатые коробки передач в качестве опции для тракторов мощностью от 100 л.с.
Это подтверждается статистикой John Deere, которая показывает, что технология бесступенчатой трансмиссии в настоящее время используется примерно в одной трети продаж автомобилей среднего размера серии 6R в Великобритании, и эта тенденция к росту, похоже, сохранится.
Для высокотехнологичных и более мощных тракторов доля вариаторов еще выше и теперь склоняется в их пользу, поскольку экономия по сравнению с более прожорливыми дизельными машинами, вероятно, будет намного больше.
«Модели премиум-класса, особенно в диапазонах высокой мощности, теперь основаны исключительно на вариаторе, и даже некоторые модели начального и среднего класса начинают интегрировать вариатор», — объясняет г-н Донохью.
Он добавляет, что только на рынках тракторов, чувствительных к стоимости, по-прежнему доминирует коробка передач с переключением под нагрузкой, или для небольших базовых моделей тракторов, используемых для простых задач в развитых регионах.
Специалист John Deere по тракторам Кристиан Найтингейл соглашается с этим и говорит, что при рассмотрении вариантов мощностью 80-130 л.с., которые предлагает фирма, подавляющее большинство из них продается с механической коробкой передач PowerQuad или AutoQuad.
Однако при переходе на мощность около 130 л.с. вариаторная коробка Autopowr набирает популярность, и он говорит, что как только покупатель вложился в немного более дорогую трансмиссию, он почти неизбежно выберет ее снова при замене трактора.
Г-н Найтингейл объясняет, что с практической точки зрения главным достоинством бесступенчатой трансмиссии является значительно улучшенная управляемость для операторов, но есть и другие факторы, которые способствуют ее внедрению.
«Работа на малых скоростях — это то, где бесступенчатая трансмиссия вступает в свои права, поскольку мы можем снизить скорость наших тракторов до 50 м/ч. При работе с карданным валом при предпосевной подготовке картофеля и овощей вы не всегда можете достичь такой скорости с механической коробкой передач без установки коробки для ползунков».
Есть и практические причины для выбора Powershift, добавляет он. «Там, где вы в основном выполняете перевозки с минимальными полевыми работами, мы всегда советуем клиентам выбирать механическую трансмиссию, поскольку она обеспечивает лучшую энергоэффективность на дороге».
Коробка передач New Holland с переключением под нагрузкой с двойным сцеплением доступна на всех автомобилях T6 и Case Maxxum. подвержен износу.
Сравнивать их в сельском хозяйстве сложно, так как трактор можно использовать для различных целей, вызывающих разные уровни нагрузки на трансмиссию, поэтому строительство является подходящим примером.
На большом экскаваторе, выполняющем одну задачу около 1500 часов в год, компания ZF убедилась, что ее трансмиссии CVT имеют увеличенный срок службы по сравнению с переключением под нагрузкой в той же ситуации и, как известно, служат до 30 000 часов. За это время было проведено два капитальных ремонта двигателя.
Тем не менее, производители тракторов теперь предлагают или имеют легкий доступ к готовым переработанным блокам CVT по постоянно снижающейся цене из-за растущей популярности технологии.
Это делает продление срока службы машины, как это делали многие пользователи Powershift в прошлом, больше не может быть и речи, потому что, когда вариатор выходит из строя, дилер может быстро и легко заменить его и даже добавить дополнительную гарантию.
Единственным недостатком является то, что любые работы, выполняемые с вариатором, обычно требуют специалиста из-за компонентов гидравлического насоса и двигателя.
Как насчет стоимости?
Хотя первоначальные затраты на бесступенчатую трансмиссию могут быть больше, экономия топлива и потенциально более низкие затраты на техническое обслуживание могут сделать «общую стоимость владения» при долгосрочных инвестициях более выгодной, чем трансмиссия с переключением под нагрузкой.
Однако, если покупатель держит трактор только в течение короткого периода времени, он должен задаться вопросом, получит ли он достаточную экономию, чтобы оправдать дополнительную стоимость вариатора в его спецификации.
Серия Vestrum | Универсальный трактор | Case IH
Назад
Главная | Продукты | Тракторы |
- Скачать брошюру
- Посмотреть характеристики
Эффективные и экономичные двигатели
Мощный двигатель в сочетании с инновационной трансмиссией CVXDrive или трансмиссией ActiveDrive 8 гарантирует непревзойденную мощность и превосходное качество езды.
Автоматическое управление производительностью (APM) обеспечивает идеальное сочетание двигателя и трансмиссии, что дает вам экономичную машину. 4,5-литровый двигатель имеет 16 клапанов для лучшего газообмена, а его интервал обслуживания 600 часов означает, что ваш трактор проводит меньше времени в сервисном отсеке и снижает общую стоимость владения.
Выбор трансмиссии для вашей работы
Тракторы серии Vestrum доступны с двумя трансмиссиями: трансмиссией с двойным сцеплением ActiveDrive 8 и бесступенчатой трансмиссией CVXDrive. Узнайте, какая трансмиссия подходит для вашей работы.
Коробка передач ActiveDrive 8 с двойным сцеплением
Коробка передачActiveDrive 8 обеспечивает непрерывный крутящий момент за счет увеличения рабочих скоростей, более быстрого переключения передач и упрощенного переключения. Эта 24-ступенчатая трансмиссия имеет восемь скоростей переключения под нагрузкой в трех диапазонах с электронным переключением.

- Автоматическое переключение передач — два режима автоматического переключения передач: дорожный режим и полевой режим. Когда эти режимы активны, трансмиссия будет переключаться автоматически либо путем перемещения многофункциональной ручки, либо нажатием педали газа.
- ActiveClutch II — Позволяет замедлять или останавливать трактор без использования сцепления. Это идеальная функция для работы с погрузчиком, движения по дорогам, уборки сена или любой другой операции, требующей частых остановок.
- Memory Shuttle — Запоминает последнюю передачу, на которую вы переключились в каждом направлении, и автоматически возвращается к этой передаче каждый раз, когда вы переключаетесь вперед или назад. Идеально подходит для любой операции, требующей многократного изменения направления
- Плавное переключение — Автоматически регулирует обороты двигателя при переключении для компенсации нагрузки.
Это уменьшает удары трансмиссии и повышает комфорт. - Интеллектуальное переключение диапазонов — позволяет переключать диапазоны в любое время и с любой передачи нажатием двух кнопок на многофункциональной рукоятке — нет необходимости переключать каждую передачу или использовать сцепление. Ваш трактор выберет правильную передачу в следующем диапазоне в зависимости от скорости движения.
Бесступенчатая трансмиссия CVXDrive
Удобная бесступенчатая трансмиссия CVXDrive (CVT) обеспечивает плавное и плавное изменение скорости в различных условиях. Благодаря той же технологии, что и в наших мощных тракторах серий Maxxum®, Puma®, Optum™, Magnum® и Steiger®, CVXDrive постоянно регулирует скорость для поддержания желаемой скорости при любой нагрузке. Это идеальная трансмиссия для работы погрузчиком, прессования сена или движения по дорогам.
- Стандартный блок управления раздельным дросселем CVXDrive — Простая в настройке и использовании конструкция раздельного дросселя позволяет экономить топливо при снижении энергопотребления.
Просто установите рабочую скорость и диапазон оборотов, и вариатор автоматически выберет наиболее эффективное передаточное число для желаемой скорости и нагрузки — ручное сцепление или переключение передач не требуется. - Easy Start и Active Stop — Обеспечивает активную нейтраль, которая предотвращает движение трактора даже с полностью загруженными прицепами на крутых склонах. Эта функция также полезна при прикреплении навесного оборудования к сцепке.
- Стандартный блок управления раздельным дросселем CVXDrive — Простая в настройке и использовании конструкция раздельного дросселя позволяет экономить топливо при снижении энергопотребления.
Зона комфорта премиум-класса
С трактором Vestrum компания Case IH предлагает вам комфорт премиум-класса, к которому вы привыкли, начиная с более крупных моделей и заканчивая 4-цилиндровым двигателем среднего класса. Шагните на рабочее место, где вы можете просто чувствовать себя комфортно. Удобный вход с обеих сторон кабины и панорамная панель крыши с хорошим обзором. Дополнительная подвесная кабина обеспечивает плавность хода в течение всего дня.
Все в пределах досягаемости
Vestrum имеет такое же расположение органов управления с подлокотником MultiControl, которое доступно на тракторах Case IH от Steiger ® до Puma ® . Если вы уже работаете с моделями Case IH, возможно, вы уже знакомы с этими элементами управления.
Подлокотник MultiControl
Управление наиболее распространенными функциями осуществляется с эргономически оптимизированного подлокотника MultiControl и встроенной панели управления. Этот эксклюзивный подлокотник Case IH имеет широкий спектр функций, которые всегда у вас под рукой, обеспечивая комфорт и эффективность. Оба элемента интегрированы в рычаг управления, который также доступен в виде электрически регулируемого блока. С помощью ручек под крышкой подлокотника можно настроить ряд параметров, таких как скорость потока и контроль времени, а также управление подъемом передней навески.

Электронный джойстик
Электронный джойстик — ваш лучший выбор для любой работы, связанной с фронтальным погрузчиком, и предлагает множество премиальных функций, которые делают вас более эффективными и продуктивными, включая изменение диапазона скоростей и передач, а также возможность управления гидравлическими функциями.
Стандартный и расширенный джойстик — Для трактора Vestrum доступны два варианта джойстика. Усовершенствованный джойстик может переключать все 24 передачи трансмиссии ActiveDrive 8. В трансмиссии CVXDrive усовершенствованный джойстик используется для переключения между предустановленными скоростями. Вам не нужно переключаться на рукоятку MultiControl при переключении передач или заданных диапазонов скоростей.
Рукоятка MultiControl
С помощью рукоятки MultiControl можно управлять следующими функциями:
- Челночное переключение вперед/назад
- Изменение диапазона скоростей
- Подъем/опускание задней гидравлики
- Управление управлением на разворотной полосе
- Установка заданной скорости6
Максимальная гибкость
Трактор Vestrum достигает максимальной мощности двигателя при 1900 об/мин.
Если вам нужно выполнить менее сложную работу, вы можете использовать более экономичные скорости ВОМ.
Гидравлика
Гидравлический насос на 28,5 галлонов в минуту обеспечивает больший поток при более низких оборотах двигателя, а системы компенсации давления-расхода (PFC) лучше всего подходят для операций, требующих большего потока или непрерывного потока, что позволяет трактору Vestrum выполнять множество задач.
ВОМ
Доступные конфигурации ВОМ, предназначенные для всех основных работ на ферме и вокруг нее, отражают эту потребность в гибкости. Vestrum стандартно поставляется с тремя скоростями заднего ВОМ. Доступные скорости: 540/540E/1000.
Сцепка
Передняя трехточечная навеска, способная выдерживать большие нагрузки, позволяет устанавливать навесное оборудование в передней части трактора для обработки большего количества акров в час. Задняя 3-точечная сцепка с грузоподъемностью до 6700 фунтов обеспечивает гибкость для удовлетворения потребностей многих областей применения.

Технология точного земледелия
Совместимые с опциональными передовыми сельскохозяйственными системами (AFS) и технологиями ISOBUS, тракторы серии Vestrum можно настроить для конкретной операции.
Ознакомьтесь с предложениями AFS
Погрузчики серии L10
Навесное оборудование погрузчика
Технические характеристики погрузчика L103
- Совместимость с тракторами Vestrum
- Грузоподъемность Макс. высота при поворотных пальцах: 2866–3836 фунтов (1300–1740 кг)
- Усилие отрыва стрелы на шарнирных пальцах: 3792–4982 фунта (1720–2260 кг)
- Время подъема: 2,2–5,1 секунды
Узнайте больше о погрузчике L103
Особенности погрузчиков серии L10
- Быстрое соединение без инструментов
- Скошенная и рельефная конструкция рычага повышает прочность
- Изогнутая рука, низкое колено и поперечная конструкция для увеличения поля зрения
- Оптимизированная гидравлика для сокращения времени подъема и меньшего выделения тепла
Навесное оборудование для погрузчика
Case IH предлагает полную линейку навесного оборудования для погрузчика для различных операций с материалами.
Предлагая все, от обработки поддонов до захватов для тюков, чтобы удовлетворить ваши потребности.
Навесное оборудование для погрузчиков >
Навесное оборудование для трактора
Навесное оборудование и навесное оборудование доступны для всех ваших работ по скашиванию, озеленению и уборке.
Веструм ® 100
Веструм ® 130
Брошюра серии Vestrum (1,79 МБ)
Делиться Скачать
Только оригинальные детали Case IH были изготовлены специально для вашей машины и рассчитаны на максимальную производительность.
В магазине запчастей Case IH вы найдете все, что вам нужно, от фильтров, жидкостей, продуктов и оборудования для обеспечения безопасности до руководств по эксплуатации, схем деталей, красок и аккумуляторов.
Посетите магазин запасных частей Case IHЗагрузите или закажите руководства оператора
Анализ динамических характеристик и испытание сцепления HMCVT в тракторе большой мощности
На этой странице
РезюмеВведениеВыводыДоступность данныхКонфликты интересовБлагодарностиСсылкиАвторское правоСтатьи по теме
подходит для мощных тракторов. Динамические характеристики могут повлиять на срок службы трактора, особенно на мощном тракторе. Мокрое сцепление является важнейшим компонентом HMCVT, обеспечивающим плавную и мягкую передачу мощности. Поэтому важно изучить динамические характеристики и провести испытание мокрого сцепления HMCVT.
В этой статье AMESim используется для создания виртуальных моделей коробки передач, системы гидравлического двигателя с насосным управлением и гидравлической системы переключения передач. Затем проводится имитационное исследование работы трактора в рабочем состоянии. Анализируются внутренние и внешние силы зацепления планетарного ряда. Наконец, процесс включения мокрого сцепления HMCVT в мощном тракторе проверяется для проверки давления масла. Результаты моделирования показывают, что значения внутренней и внешней силы зацепления увеличиваются по мере увеличения открытия дроссельной заслонки. В момент переключения передач большое влияние оказывают силы зацепления планетарной передачи. Испытание сцепления показывает, что тренд кривой наполнения маслом, полученный в ходе стендовых испытаний, аналогичен тренду, полученному из теоретической кривой, что подтверждает результаты моделирования.1. Введение
Основным назначением трактора является использование в сочетании с различными тяговыми и приводными машинами для выполнения сельскохозяйственных полевых работ, земляных инженерных работ, транспортных работ и стационарных работ [1].
Характеристики трансмиссии коробки передач оказывают большое влияние на трактор и его систему трансмиссии. Гидромеханическая бесступенчатая трансмиссия (ГБКП) в последние годы привлекает большое внимание [2–5]. Чтобы удовлетворить требования тракторов, работающих в различных условиях, в настоящее время коробки передач мощных тракторов комплектуются большим количеством передач. Увеличение числа передач в коробках передач не только усложняет их конструкцию и подвержено ошибкам в работе, но и затрудняет обеспечение динамических характеристик трактора [6].
Ученые провели множество исследований HMCVT. Немецкая компания ZF [7] выпустила серию гидромеханических трансмиссий S-Matic, в которых впервые для выдачи мощности использовалось двухрядное планетарно-рядное слияние. Японская компания Komatsu [8] успешно разработала устройство бесступенчатого переключения скоростей, подходящее для строительной техники, и применила его на бульдозере D155AX-3 и погрузчике WA380-3. В последние годы различные известные производители редукторов запустили HMCVT с независимыми правами интеллектуальной собственности, такие как John Deere, Caterpillar из США и Valtra из Финляндии [9].
]. Типичная модель HMCVT показана на рисунке 1.
Что касается анализа механических характеристик HMCVT, Xia et al. В работе [10] предложен оптимизированный метод проектирования по выбору конструктивных параметров ПЧМЦВТ для обеспечения грамотной работы в целом. Чжэн и Сунь [11] использовали AMESim для создания физической модели HMCVT, а также смоделировали и проанализировали характеристики регулирования скорости, характеристики выходного крутящего момента и характеристики ускорения его чисто гидравлической части. Zhang [12] и He et al. [13] соответственно оптимизировали конструкцию гидромеханического бесступенчатого редуктора. Ли и др. [14] проанализировали принцип работы HMCVT и успешно разработали гидромеханическую бесступенчатую коробку передач, подходящую для мощных тракторов как для воды, так и для засухи. Чжай и др. [15] представил двухступенчатое планетарно-рядное устройство главной передачи колесного трактора, компактное по конструкции, надежное в работе и простое в установке.
Ван и др. [16] предложили новый тип составной планетарно-рядной передачи, новую схему гидромеханической бесступенчатой передачи на основе традиционной однорядной планетарной и двухрядной планетарной передачи. Гуо и др. В работе [17] установлены условия синхронного переключения многокаскадного ВГПТ и подтверждены его высокие КПД. Ван и др. [18] использовали основные принципы динамики для создания динамической модели трактора и проверили его хорошие динамические характеристики в условиях вспашки. Сяо и др. [19, 20] исследованы динамические характеристики гидравлического контура ГМКВТ и предложен метод быстрой идентификации системы. Ченг и др. [21–26] улучшили генетический алгоритм для реализации оптимизации параметров HMCVT , и новая предложенная модель может эффективно и гибко улучшить передачу HMCVT.
Из приведенного выше анализа видно, что исследования ученых в области HMCVT сосредоточены на характеристиках конструкции или стратегии переключения, но мало исследований динамических характеристик и включения сцепления.
В данной работе были предложены схема и имитационная модель HMCVT, рассчитаны динамические усилия зацепления и протестированы характеристики включения мокрого сцепления для трактора большой мощности.
2. Моделирование
2.1. Динамическая модель редуктора
В этом документе предлагается схема HMCVT, показанная на рис. 2. Эта схема трансмиссии представляет собой тип сходящейся скорости с разделенным моментом и постоянным передаточным числом. Мощность двигателя делится на две передачи мощности через пару передач с фиксированной оси I 1 или I 2 I 3 ( I 2 ( I 2 ( I 2 ( I 2 ( I 2 ( I 2 ( I 2 . шестерня переднего хода) и шестеренчатая пара гидрораспределения мощности и р . Одна мощность передается на общие валы солнечных шестерен планетарных рядов К 1 и К 2 через регулируемый насосно-поворотный двигатель, представляющий собой гидравлический поток, а другая мощность передается на водило K 1 и зубчатый венец K 2 через пару шестерен с неподвижным валом (водило K 1 и зубчатый венец K 2 прочно соединены), что является механическим потоком.
Гидравлический поток и механический поток сходятся в планетарных рядах К 1 и К 2 , а затем объединенная сила потока передается на зубчатый венец К 1 или водило планетарной передачи К 2 . Наконец, путем раздельного управления включением мокрых сцеплений C 1 , C 2 и C 3 , мощность может передаваться на выходной вал. В этом процессе бесступенчатое регулирование скорости может быть реализовано в каждой секции путем управления коэффициентом рабочего объема регулируемого насоса.
AMESim широко используется в аэрокосмической, автомобильной, строительной технике, кораблях и других междисциплинарных областях и стал платформой для моделирования и имитации сложных систем, таких как жидкостный, механический, электрический, электромагнитный, термический анализ и управление. Программное обеспечение AMESim все шире используется для моделирования, имитации и анализа сложных систем.
В этой статье AMESim применяется к процессу моделирования HMCVT.
Модель механизма планетарной передачи показана на рис. 3(а), а ее математическая модель представлена следующим образом [27]: где – скорость вращения порта 1А, – скорость вращения порта 2А, – скорость вращения Порт 4B, скорость вращения водила, Rad 1 номер солнечной шестерни, Rad 2 номер зубчатого венца, T 2 a и T 2 b — входной и выходной крутящий момент зубчатого венца, а T ca и T cb — входной и выходной крутящий момент водила.
Модель регулируемого насоса (PU003 C) выбирается из библиотеки гидравлических систем, как показано на рис. 3(b). Диапазон открытия модели регулируемого насоса составляет −1≤ перекос ≤1. При повороте вперед порт 3 является выходом масла; при повороте назад порт 3 является впускным отверстием для масла. Математическая модель регулируемого насоса представлена следующим образом: где q p – подача регулируемого насоса, e – рабочий объем насоса, swash – открытие дросселя насоса, T p – крутящий момент на валу насоса, p AP и p BP — давление масла на входе и выходе.
Количественная модель двигателя (M0001 C) выбирается из библиотеки гидравлических систем, а математическая модель представлена следующим образом:где q m is the flow of motor, is the motor speed, T m is the torque of the motor, and p Am and p Bm are the давление масла на входе и выходе двигателя.
На основе моделей различных деталей, таких как мокрое сцепление, масляный контур, соответствующие элементы управления сигналами и элементы выходного крутящего момента, можно получить имитационную модель гидравлической системы переключения передач, как показано на рисунке 3(c). ).
В соответствии с моделью коробки передач, гидростатической схемой, моделью системы переключения передач и моделью трактора получается имитационная модель HMCVT, как показано на рисунке 4.
3. Анализ моделирования трактора в рабочих условиях
Рисунок 5 и таблица 1 показано изменение внутренних и внешних сил зацепления планетарного ряда в рабочем состоянии.
Как видно из рис. 5(а) и 5(б), внутренние и внешние силы зацепления планетарного ряда оказывают большое влияние в момент изменения открытия дроссельной заслонки двигателя. Максимальное и минимальное значения внутренней силы зацепления составляют 3,33 × 10 6 N и 2,00 × 10 7 N соответственно. Максимальное и минимальное значения внешней силы зацепления составляют 2,20 × 10 7 Н и 7,33 × 10 6 Н соответственно.
Все они увеличиваются по мере увеличения открытия дроссельной заслонки. В момент переключения внутренние и внешние силы зацепления планетарной передачи оказывают большое влияние на 2,5-3,5 с. Затем величины изменения силы зацепления уменьшаются, и тенденция становится стабильной.
4. Характеристика включения сцепления HMCVT
4.1. Модуль силового привода
Двигатель DEUTZ TCD2013L062 V был выбран для испытаний. Система управления акселератором представляет собой систему контура управления с двумя датчиками, которая в основном состоит из датчика смещения, датчика тока, педали акселератора и шагового двигателя.
Тест отправил электрический сигнал регулировки скорости на двигатель путем изменения угла наклона педали акселератора. После того, как ЭБУ получил управляющий сигнал, а затем шаговый двигатель мог управляться выходным током, открытие дроссельной заслонки можно изменить.
Открытие дроссельной заслонки двигателя регистрировалось датчиками смещения, а выходной ток ЭБУ регистрировался датчиками тока. Сигналы сравнивались с исходным значением на входе контроллера и осуществлялась быстрая подстройка регулятора оборотов двигателя согласно алгоритму управления.
Этот испытательный стенд HMCVT выбрал и спроектировал педаль акселератора в соответствии с типом двигателя и ЭБУ, как показано на рисунке 6. положения педали акселератора. Соответствующая линия шкалы была проведена на болте прямо пропорционально частоте вращения двигателя.
4.2. Модуль нагрузки HMCVT
Динамометр нагружает коробку передач, выдавая различные величины, и может имитировать рабочее состояние автомобиля в различных условиях работы.
На испытательном стенде был выбран вихретоковый динамометр Lanlin DW250 (рис. 7), соответствующий скорости вращения и мощности двигателя.
4.3. Датчик давления масла
Для испытательного стенда был выбран датчик давления JM-801 с керамическим сердечником. Когда к керамической мембране прикладывается давление, поверхность мембраны подвергается незначительной деформации.
Сопротивление напечатано на задней стороне керамической диафрагмы, и можно сформировать мост Уитстона. Мост Уитстона будет генерировать сигнал напряжения из-за эффекта чувствительности к напряжению. Сигнал пропорционален давлению и току возбуждения. Значение давления масла C0, C1, C2 и главного маслопровода смазки на платформе можно прочитать непосредственно в таблице индикаторов давления (Рисунок 8).
4.4. Испытательный стенд
Общая структурная схема испытательного стенда представлена на рисунке 9.. Испытательный стенд в основном состоял из дизельного двигателя, повышающей трансмиссии и вспомогательного устройства.
В качестве источника энергии на испытательном стенде использовался дизельный двигатель.
4.5. Тест заполнения маслом сцепления
Структура C0, C1 и C2 была в основном одинаковой, и в этой статье C0 был взят в качестве примера для проведения стендовых испытаний процесса заполнения маслом. Этапы испытаний были следующими.
Сначала был запущен двигатель для регулировки педали акселератора и стабилизации выходной скорости двигателя до 1295 об/мин.
Во-вторых, на измерительной платформе была нажата кнопка включения C0. Давление масла в главном масляном предохранительном клапане было установлено на уровне 2,8 МПа.
Получив электрический сигнал, пропорциональный ходовой клапан С0 откачал отфильтрованное масло из бака и направил его на сцепление. Процесс заполнения маслом С0 показан на рисунке 10.
4.5.1. 0-a Секция
Эта секция в основном предназначалась для устранения зазора между фрикционными дисками. Давление масла быстро повышалось с 0 МПа до 0,03 МПа.
Наклон вариации кривой на этом участке равен 0,6.
4.5.2. a-b Участок
Наклон вариации кривой на этом участке равен 0,52. На этом этапе поршень сжимал пружину под действием давления масла, а давление масла возрастало при сжатии возвратной пружины. Давление масла pf C0 медленно увеличивалось с 0,03 МПа до 0,42 МПа. Изменение давления масла было связано с крутящим моментом, передаваемым сцеплением, и ходом поршня.
4.5.3. b-c Участок
Наклон вариации кривой на этом участке равен 7,8. На этом этапе давление масла С0 быстро возрастало с 0,42 МПа до 2,8 МПа, которое устанавливалось предохранительным клапаном для обеспечения крутящего момента.
4.5.4. c-d Секция
Эта секция представляла собой ступень поддержания давления. Давление масла C0 поддерживали на уровне 2,8 МПа.
4.6. Обсуждение испытаний
Процесс заливки масла можно разделить в зависимости от наклона изменения давления масла в каждой секции. Время заливки масла было коротким и составляло 0–0,5 с, а диапазон изменения давления масла составлял 0,03 МПа.
Этот участок был этапом быстрой заливки масла.
Продолжительность заливки масла 0,05–0,8 с составила 0,75 с, что составляет 68% от общего времени заливки масла. И диапазон изменения давления масла составил 0,39.МПа, что составляет 14 % от установленного давления наполнения маслом. Следовательно, этот этап был медленным ускорителем.
Продолжительность заливки масла 0,8–1,1 с составила 0,3 с, что составляет 27% от общего времени заливки масла. А диапазон изменения давления масла составил 2,38 МПа, что составляет 85% от заданного давления наполнения маслом. Через короткое время давление масла показало ступенчатый рост. Таким образом, ступень была ступенью ступенчатого ускорителя.
В течение 1,1–1,4 с давление наполнения маслом достигло заданного значения 2,8 МПа и оставалось таким. Таким образом, стадия была стадией удержания давления.
Согласно анализу, кривая заполнения маслом, полученная на испытательном стенде, имела тенденцию, аналогичную теоретической кривой.
Он проверил характеристики заполнения маслом мокрого сцепления и подтвердил точность испытательного стенда HMCVT.
5. Выводы
В данной работе были проанализированы динамические характеристики HMCVT. Были протестированы характеристики включения мокрого сцепления. Анализ может быть опорным для проектирования мощного трактора. Можно сделать следующие выводы: (1) Значения внутренней и внешней силы зацепления увеличиваются по мере увеличения открытия дроссельной заслонки. (2) В момент переключения большое влияние оказывают силы зацепления планетарной передачи (3). ) Значения изменения силы зацепления уменьшаются, и после изменения переключения эта тенденция остается стабильной. (4) Испытание сцепления показывает, что тенденция заполнения маслом аналогична теоретической кривой. Имитационная модель надежна.
Доступность данных
Данные, использованные для поддержки результатов этого исследования, можно получить у соответствующего автора по запросу.
Конфликт интересов
Авторы заявляют об отсутствии конфликта интересов в связи с публикацией данной статьи.
Благодарности
Работа, описанная в этом документе, была полностью поддержана Национальной ключевой научно-технической лабораторией вертолетной передачи (HTL-O-20G02), Jiangsu Planned Projects for Postdoctoral Research Funds (2020Z108) и China Postdoctoral Science Foundation. (2020M671516).
Ссылки
С. Ю. Ли, «Классификация тракторов и анализ производительности», Сельскохозяйственная наука, технологии и оборудование, , том. 9, стр. 27–29, 2016.
Просмотр по адресу:
Google Scholar
Р. Антонио и М. Аларико, «Многоцелевая оптимизация гидромеханических трансмиссий с разделением мощности», Механизм и теория машин , том. 62, стр. 112–128, 2013.
Посмотреть по адресу:
Google Scholar
М. Аларико и Р. Антонио, «Снижение расхода топлива в городских автобусах за счет использования трансмиссии с разделением мощности», Energy Conversion and Management , vol.
71, стр. 159–171, 2013.Посмотреть по адресу:
Google Scholar
Р. Пфиффнер, Л. Гуззелла и С. Х. Ондер, «Оптимальное использование топлива для силовых агрегатов CVT», Control Engineering Practice , том. 11, нет. 3, стр. 329–336, 2003 г.
Посмотреть по адресу:
Сайт издателя | Академия Google
Z. Farkas и G. Kerényi, «Потоки мощности и анализ эффективности IVT с выходом и входом», Periodica Polytechnica Machine Engineering , vol. 53, нет. 2, стр. 61–68, 2009 г.
Посмотреть по адресу:
Сайт издателя | Google Scholar
Ван Г. М., Чжан Х., Чжай Ю. X. и др., «Экономический анализ бесступенчатой трансмиссии с разделенной мощностью стального ремня трактора», Журнал исследований механизации сельского хозяйства , том.
42, нет. 01, стр. 241–248, 2020.Просмотр по адресу:
Google Scholar
Дж. Ферейдон, Х. Тунг-мин и С. Кейт, «Динамическое имитационное моделирование для разработки управления автоматической коробкой передач для тяжелых условий эксплуатации», SAE International Journal of Engines , vol. . 101, стр. 704–715, 1992.
Просмотр по адресу:
Google Scholar
Н. Л. Фэн, Исследования по моделированию динамических характеристик и нечеткому управлению комплексным переключением передач , Пекинский технологический институт, Китай , 2001.
Ву К. Ф., «Краткое введение в разработку технологий бесступенчатых тракторов крупных зарубежных компаний», Farm Machinery , vol. 25, стр. 90–94, 2012.
Просмотр по адресу:
Google Scholar
Ю.
Ся, Д. Сун, Д. Цинь и X. Чжоу, «Оптимизация гидромеханического параметры в бесступенчатой трансмиссии, предназначенной для сельскохозяйственных тракторов», Biosystems Engineering , vol. 193, стр. 12–24, 2020 г.Посмотреть по адресу:
Сайт издателя | Google Scholar
X. Z. Zheng and W. Sun, «Моделирование и имитация гидромеханической бесступенчатой трансмиссии на основе AMESim», Modern Machinery , vol. 5, стр. 31–34, 2017.
Просмотр по адресу:
Google Scholar
Х. Дж. Чжан, К. Ф. Ван, М. Х. Сяо и др., «Конструкция и анализ характеристик трансмиссии гидромеханического вариатора с промежуточным валом », Журнал машиностроения , вып. 32, стр. 44–49, 2015.
Просмотр по адресу:
Google Scholar
C.
K. He, PF Lang, M. Kang et al., «Конструкция трансмиссии и анализ силы HMCVT для трактора большой мощности», Журнал механических трансмиссий , том. 42, стр. 54–59, 2018.Просмотр по адресу:
Google Scholar
Дж. Л. Ли, Л. Т. Лю, М. Х. Сяо и др., «Исследование динамических характеристик гидромеханической бесступенчатой трансмиссии», Журнал механической прочности , том. 39, стр. 14–19, 2017.
Просмотр по адресу:
Google Scholar
Ю. Чжай, Дж. В. Чжан, К. Джу и др., «Двухступенчатое планетарное устройство для главной передачи колесного трактора, Трактор и сельскохозяйственный транспортер , том. 43, pp. 65–66, 2016.
Просмотр по адресу:
Google Scholar
Т. Т. Ван, М. З. Чжан и М.
М. Цуй, «Характеристики трансмиссии новой гидравлической механической бесступенчатой трансмиссии», стр. 9.0473 Журнал естественных наук Хэйлунцзянского университета , том. 34, стр. 724–731, 2017.Просмотр по адресу:
Google Scholar
Р. Го, М. З. Чжан, К. Чен и др., «Анализ характеристик многодиапазонных гидромеханических бесступенчатых трансмиссия в тракторах», Журнал китайской сельскохозяйственной механизации , том. 35, pp. 118–121, 2014.
Просмотр по адресу:
Google Scholar
К. С. Ван, М. З. Чжан, Д. Ю. Бай и др., «Динамическое моделирование трактора, оснащенного многодиапазонным гидромеханическим вариатором во время вспашка», Журнал исследований по механизации сельского хозяйства , том. 39, стр. 232–236, 2017.
Просмотр по адресу:
Google Scholar
М.
Сяо, Ю. Дж. Чжао и Дж. Ф. Канъян, «Исследование идентификации системы на основе гидравлического насоса-двигателя HMCVT», Инженерия в сельском хозяйстве, окружающей среде и продовольствии , том. 12, нет. 4, стр. 420–426, 2019.Посмотреть по адресу:
Сайт издателя | Google Scholar
М. Чжан, Ф. Цзоу, Х. Дж. Чжан и др., «Исследование вибрации редуктора гидромеханической бесступенчатой трансмиссии на основе метода среднего фильтра», Международный журнал сельскохозяйственной инженерии , том. 26, стр. 82–87, 2017.
Просмотр по адресу:
Google Scholar
Z Cheng, Z. X. Lu и J. Qian, «Новый негеометрический метод оптимизации параметров передачи для HMCVT на основе улучшенного GA и максимальная эффективность передачи», Компьютеры и электроника в сельском хозяйстве , том. 167, стр.
1–14, 2019 г.Посмотреть по адресу:
Сайт издателя | Академия Google
Z Cheng, ZX Lu и F. Dai, «Исследование модели эффективности HMCVT на основе улучшенного алгоритма SA», Mathematical Problems in Engineering , vol. 2019 г., идентификатор статьи 2856908, 10 страниц, 2019 г.
Посмотреть по адресу:
Сайт издателя | Google Scholar
Z Cheng и Z. X. Lu, «Новый эффективный метод уменьшения размерности признаков и его применение в технике», Complexity , vol. 2018, ID статьи 2879640, 14 страниц, 2018.
Посмотреть по адресу:
Сайт издателя | Google Scholar
З. Ченг и З. Лу, «Полуэмпирическая модель проходимости эластичных шин и методы быстрого определения связанных с ней параметров», Biosystems Engineering , vol.
174, стр. 204–218, 2018.Посмотреть по адресу:
Сайт издателя | Google Scholar
Z. Cheng и Z. Lu, «Исследование ПИД-управления системой ESP трактора на основе улучшенной AFSA и улучшенной SA», Компьютеры и электроника в сельском хозяйстве , vol. 148, стр. 142–147, 2018.
Посмотреть по адресу:
Сайт издателя | Google Scholar
З. Ченг и З. Лу, «Нелинейное исследование и идентификация эффективных параметров модели шины по волшебной формуле», Математические проблемы в технике, , том. 2017 г., идентификатор статьи 6924506, 9 страниц, 2017 г.
Посмотреть по адресу:
Сайт издателя | Google Scholar
X. H. Li, Исследование конструкции и динамических характеристик гидромеханической бесступенчатой трансмиссии трактора , Нанкинский сельскохозяйственный университет, Нанкин, Китай, 2017.

Авторское право
Авторское право © 2021 Yuan Chen et al. Это статья с открытым доступом, распространяемая в соответствии с лицензией Creative Commons Attribution License, которая разрешает неограниченное использование, распространение и воспроизведение на любом носителе при условии надлежащего цитирования оригинальной работы.
Полиимидные прямоугольные кольцаDuPont Vespel обеспечивают надежное уплотнение для новой новаторской трансмиссии John Deere для тракторов с двойным сцеплением
DuPont и John Deere тесно сотрудничали, чтобы выбрать сорт материала и адаптировать размеры канавки и прямоугольное поперечное сечение колец
Женева, Швейцария (PRWEB) — John Deere, Мангейм /Германия использует превосходные характеристики трения и износа уплотнительных колец, изготовленных из DuPont™ Vespel®, в своей новаторской трансмиссии DirectDrive с двойным сцеплением (DDT) с восемью скоростями переключения под нагрузкой. Эти кольца обеспечивают герметичность при давлении масла до 20 бар при температуре масла от -30 °C до 80 °C с кратковременными пиками до 110 °C в течение всего срока службы трансмиссии.
John Deere, один из крупнейших в мире производителей сельскохозяйственной техники, предлагает эту особенно эффективную и энергосберегающую систему DDT, которая обеспечивает прямое переключение передач без прерывания тяги, для своих шестицилиндровых тракторов серии 6R.
В трансмиссиях John Deere DirectDrive прямоугольные уплотнительные кольца Vespel® расположены в точках передачи масла под давлением мокрого сцепления на валах двух вспомогательных трансмиссий. Как поясняет специалист отдела разработки силовых агрегатов John Deere: «Когда муфты приводятся в действие гидравлически, кольца обеспечивают надежное уплотнение этих точек передачи масла под давлением. При этом условия в точках уплотнения меняются. кольца подвергаются воздействию низких относительных скоростей между валом из закаленного и отшлифованного сплава 20MnCr5 и корпусом сцепления без давления.Когда сцепление включено, относительная скорость равна нулю, а перепад давлений максимален.В обоих случаях очень низкое трение материала и очень низкий износ помогают обеспечить работу трансмиссии с минимальными затратами на техническое обслуживание.
Кроме того, рекомендуемая DuPont конструкция кольца сводит к минимуму утечку».
Компании DuPont и John Deere тесно сотрудничали, чтобы выбрать сорт материала и подобрать размеры канавки и прямоугольное поперечное сечение колец. Команда разработчиков DuPont выбрала марку Vespel® с низким коэффициентом теплового расширения, чтобы обеспечить стабильно высокое уплотняющее действие во всем диапазоне температур. Благодаря очень высокому сопротивлению ползучести и превосходным характеристикам трения и износа оно способствует особенно малому обслуживанию коробки передач.
Питер Бергманн, руководитель европейского сегмента транспортного рынка, DuPont™ Vespel® & Kalrez®, добавляет: «Это успешное сотрудничество с John Deere является еще одной демонстрацией того, как компании могут извлечь выгоду из того, что DuPont является универсальным магазином, способным не только производить основного материала Vespel®, но и для массового производства высококачественных деталей.В результате мы особенно гибко реагируем на конкретные требования клиентов и рекомендуем наиболее подходящий материал из нашего ассортимента марок, специально предназначенных для динамических применений.
После того, как материал выбран, мы можем относительно быстро предоставить образцы для тестирования заказчиком и для исследования компонентов в нашем Центре передового опыта по износу и трению со смазкой, что помогает сократить время разработки».
DuPont производит уплотнительные кольца с очень жесткими допусками, используя собственный процесс прямого формования. Конструкция геометрии стыкового соединения обеспечивает малую утечку в широком рабочем диапазоне и облегчает сборку. Без ущерба для надежности кольца такого типа помогают сэкономить на затратах, пространстве для установки и весе по сравнению с металлическими компонентами в многочисленных трансмиссиях.
Общие сведения: коробки передач с двойным сцеплением
в основном состоят из двух независимых вспомогательных трансмиссий, каждая из которых соединена с двигателем через муфту. Одна подпередача содержит нечетные скорости (1, 3, 5 и т. д.), а другая содержит четные скорости (2, 4, 6 и т. д.). При переключении следующая скорость в пассивной вспомогательной коробке передач сначала предварительно выбирается через синхронизированные точки переключения, а затем нагрузка распределяется между двумя сцеплениями.
Это происходит очень быстро, без прерывания тяги, что означает, что соответствующие скорости можно переключать под нагрузкой. Муфты, в принципе, также могут использоваться в качестве пусковых элементов.
Компания DuPont Performance Materials (DPM) является ведущим новатором в области термопластов, эластомеров, полимеров из возобновляемых источников, высококачественных деталей и форм, а также смол, которые действуют как клеи, герметики и модификаторы. DPM поддерживает глобальную сеть региональных экспертов по разработке приложений, которые работают с клиентами на протяжении всей цепочки создания стоимости для разработки инновационных решений в автомобильной, упаковочной, строительной, потребительской, электротехнической/электронной и других отраслях. Дополнительную информацию о материалах DuPont Performance можно найти на сайте Plastics.duPont.com.
DuPont (NYSE: DD) выводит науку и технику мирового уровня на мировой рынок в виде инновационных продуктов, материалов и услуг с 1802 года.
Компания считает, что, сотрудничая с клиентами, правительствами, неправительственными организациями и лидеров, мы можем помочь найти решения таких глобальных проблем, как обеспечение достаточного количества здоровой пищи для людей во всем мире, снижение зависимости от ископаемого топлива и защита жизни и окружающей среды. Для получения дополнительной информации о компании DuPont и ее приверженности инклюзивным инновациям посетите веб-сайт http://www.dupont.com.
Овальный логотип DuPont, DuPont™ и все продукты, обозначенные знаком ®, являются товарными знаками или зарегистрированными товарными знаками E.I. du Pont de Nemours and Company или ее филиалы.
Тракторные трансмиссии. Преимущества различных систем
Тракторы являются частью повседневной жизни многих садоводов и садоводов. Они вьючные животные: загружают прицепы, буксируют прицепы, опрокидывают грузы, буксируют косилки и навесное оборудование, такое как аэраторы и опрыскиватели.
С момента изобретения современного трактора (сэром Гарри Фергюсоном в 1930-х годах), конечно, произошло много изменений в размерах, мощности и комфорте трактора.
Если вы сравните старое стальное панорамное сиденье на листовой рессоре с современным сиденьем с полной подвеской, возможно, в кабине с кондиционером современных машин, легко увидеть, насколько далеко продвинулись тракторы.
Одно из основных изменений коснулось систем трансмиссии, доступных на современном тракторе, и выбора, с которым сталкивается потенциальный покупатель при покупке новой машины. В этой статье мы рассмотрим текущие предложения и попытаемся установить преимущества каждого типа трансмиссии.
Механические коробки передач
Первоначальная система привода основывалась на работе сцепления для переключения передач, диапазона и включения/отключения привода ВОМ с помощью двухступенчатой муфты, при которой полное нажатие останавливало все приводы, а частичное нажатие отключало только коробку передач.
Все современные приводы ВОМ являются независимыми, что устраняет необходимость в двухступенчатой муфте.
Изначально рычаги переключения передач располагались между ног водителя, над коробкой передач (как и в автомобилях).
Было два рычага, один для переключения передач, а второй рычаг для переключения диапазонов, что позволяло широкий диапазон передних скоростей и полную мощность двигателя. Была отдельная задняя передача, прямо как у автомобиля.
Рычаги переключения передач были перенесены либо на боковую консоль, либо на рулевую колонку, поскольку они значительно усложняли посадку или высадку из трактора. Перемещение рычагов и усовершенствование конструкции кабины, позволившее сделать пол ровным, обеспечили легкий доступ, который сегодня мы считаем само собой разумеющимся.
Челночное переключение: сегодня нет отдельной передачи заднего хода. Вместо этого у нас есть рычаги переднего и заднего хода, позволяющие менять направление без необходимости переключения передачи, на которой находится трактор. Итак, если у нас есть двенадцать передач, у нас есть двенадцать передних и двенадцать задних передач!
Примечание. Пока вы находитесь на той же передаче, ваш трактор будет двигаться медленнее задним ходом (из соображений безопасности).
Основные современные механические трансмиссии по-прежнему требуют работы сцепления для изменения направления рычага переключения передач и переключения передач. В более продвинутых версиях есть челнок прямого и обратного хода с гидравлическим приводом, который позволяет менять направление без использования сцепления. Добавление прогрессивного управления включением теперь позволяет водителю устанавливать скорость, с которой реагирует трактор, что позволяет ему двигаться вообще без использования сцепления.
Интеллектуальные трансмиссии: Новейшие механические трансмиссии теперь позволяют водителю переключать передачи и менять направление движения без использования сцепления. Электронное переключение передач осуществляется нажатием кнопки вверх или вниз на рычаге переключения передач, а выбор направления вперед-назад осуществляется с помощью рычага-челнока (обычно рядом с рулевым колесом). Челнок дает дополнительную нейтраль, облегчая водителю безопасную работу.
Сцепление необходимо использовать только для выбора диапазона скоростей, в котором будет работать трактор.
Итак, с точки зрения эксплуатации, современная МКПП прошла долгий путь. Работа почти без сцепления и полуавтоматическое переключение передач позволяют водителю выбирать правильную скорость и выходную мощность в соответствии с задачей. Преимущества положительной передачи заключаются в фиксированной скорости движения вперед, что имеет решающее значение для точного опрыскивания, внесения удобрений и, конечно же, для такой важной задачи по уходу за газоном, как аэрация.
HST (гидростатическая трансмиссия)
Гидростатические трансмиссии существуют уже давно, и с годами они также стали намного более эффективными и экономичными. Основным преимуществом трансмиссии HST всегда было вождение без передач; никаких сцеплений или передач для переключения, просто нажмите на педаль и поехали! Это автоматическая трансмиссия для тракторов, и когда менее опытный персонал или несколько сотрудников используют ее, трансмиссия HST может стать настоящим благословением.
Тракторы HST всегда отлично подходили для погрузки во дворе или для перевозки бригад; это когда мгновенная функция вперед и назад действительно вступает в свои права. Однако ахиллесовой пятой всегда было требование фиксированной скорости движения при использовании аэратора или опрыскивателя. До недавнего времени трактор HST не обеспечивал постоянства, необходимого для равномерного распределения отверстий. Теперь это изменилось с введением электронного круиз-контроля на тракторах. Круиз обеспечивает постоянную скорость движения вперед, а функция возобновления позволяет тракторам возвращаться к заданной скорости после поворота, а это означает, что расстояние между отверстиями остается постоянным.
Автоматический дроссель: Другим предыдущим недостатком трансмиссии HST было то, что двигатель все время работал на высокой скорости, чтобы обеспечить мощность, когда это было необходимо, или, если это было слишком шумно, то постоянное изменение настройки ручного дросселя.
попытаться достичь компромисса. Появление системы автоматического управления дроссельной заслонкой, при которой частота вращения двигателя увеличивается при нажатии педали, привело к тому, что на тракторе появилась почти полностью автоматическая трансмиссия. Это особенно полезно при буксировке прицепа и вождении по дорогам, так как двигатель начинает работать, когда коробка передач возвращается в нейтральное положение. Это снижает шум и вибрацию, снижает расход топлива и, следовательно, выбросы двигателя.
Таким образом, с точки зрения эксплуатации простота вождения всегда была главной привлекательностью системы HST. Теперь разработка автоматической дроссельной заслонки и добавление круиз-контроля устранили многие недостатки, связанные с тракторами с трансмиссией HST.
CVT (бесступенчатая трансмиссия)
Последней тенденцией в трансмиссиях тракторов стал переход на трансмиссии CVT. Бесступенчатые трансмиссии существуют уже несколько лет, и многие мопеды, скутеры, автомобили для гольфа и грузовые автомобили используют простую трансмиссию CVT с ременным приводом.
В трансмиссиях тракторов используется гидравлический двигатель для обеспечения мгновенного движения вперед и назад, а затем механическая трансмиссия для обеспечения необходимой эффективности и мощности.
На тракторах большей мощности трансмиссии стали чрезвычайно сложными (подумайте о 24-ступенчатой коробке передач!) и, следовательно, очень дорогими. Трансмиссия CVT менее сложна и позволяет трансмиссии легко соответствовать требуемой мощности двигателя.
Без предустановленных передач обороты двигателя могут варьироваться в зависимости от потребности в мощности, в то время как скорость движения может оставаться постоянной. Это облегчает вождение и позволяет экономить топливо.
Трансмиссия CVT также имеет функцию «автоматической остановки». Когда привод возвращается в нейтральное положение, коробка передач эффективно блокируется. Никакого качения или движения не будет до тех пор, пока рычаг управления не будет перемещен, и система не вернется к прямому или обратному приводу.
Таким образом, вариатор может показать некоторые хорошие характеристики безопасности.
Несмотря на то, что бесступенчатая трансмиссия хорошо зарекомендовала себя на сельскохозяйственном рынке, она еще не зарекомендовала себя в секторе ухода за землей. В настоящее время доступны модели мощностью 40 и 50 лошадиных сил, что может заинтересовать некоторых клиентов. В будущем мы, вероятно, увидим больше доступных моделей CVT.
Выводы
Итак, какая система подходит именно вам? Простая механическая коробка передач прослужит долгие годы и всегда будет самым дешевым вариантом. Переход на интеллектуальную трансмиссию обеспечит работу почти без сцепления, плавное переключение передач и более плавное вождение.
Машины HST по-прежнему будут популярны для кошения травы — со средней декой они очень хороши, — а версии с автоматическим дросселем доставляют удовольствие от вождения. Добавьте круиз-контроль, и выбирать между ними особо нечего.
Если у вас есть случайные или менее опытные водители тракторов, они — очевидный выбор.
Более новые системы CVT еще не полностью внедрены, но они потенциально предлагают реальное сочетание лучших характеристик других систем, переменной скорости и мгновенного движения вперед и назад HST, а также механической эффективности механической коробки передач.
Все зависит от вашего приложения и ситуации; получить демонстрацию каждого типа системы передачи, чтобы вы могли сами увидеть, как они могут удовлетворить ваши потребности.
Прямо. Надежный. Связано. Встречайте новую линейку тракторов высокой мощности Massey Ferguson серии MF 8S
Разработанная фермерами для фермеров, после семи лет испытаний по всему миру и обширных консультаций с клиентами, серия MF 8S обеспечивает именно то, что нужно операторам. Обладая превосходными характеристиками, он в то же время предлагает исключительное соотношение цены и качества, гарантируя, что владельцы будут платить только за то, что им нужно.
«Наша дальновидная концепция MF NEXT, впервые представленная на выставке Agritechnica в 2019 году, теперь стала реальностью, — говорит Тьерри Лотте, вице-президент и управляющий директор Massey Ferguson, Европа и Ближний Восток. «В ноябре прошлого года мы отмечали 50-летие высадки на Луну, благодаря которой невозможное стало возможным. Теперь пришло время доставить это видение на землю. Мы запускаем не просто трактор, но и отмечаем новую эру для нашего бренда».
Представлены 4 совершенно новые модели тракторов серии MF 8S, отличающиеся уникальной установкой кабины/двигателя «Protect-U» и радикальным «нео-ретро» дизайном. Имея колесную базу 3,05 м, они обеспечивают максимальную мощность от 205 до 265 л.с., плюс дополнительные 20 л.с. благодаря системе управления мощностью двигателя (EPM).
В то же время Massey Ferguson вводит новую, простую нумерацию. Возьмем в качестве примера модель MF 8S.265: 8 обозначает серию, S обозначает уровень спецификации, а последние три цифры обозначают максимальную мощность.
Больше, чем просто трактор
Запуск серии MF 8S знаменует собой совершенно новую эру для Massey Ferguson, представляя расширенный пользовательский опыт, включая преимущества подключения и технологий интеллектуального земледелия.
Чтобы удовлетворить потребности современного устойчивого сельского хозяйства, Massey Ferguson сочетает современное оборудование с широким спектром полностью подключенных услуг, чтобы помочь клиентам более эффективно управлять своим бизнесом.
Финансы, расширенная гарантия и бесплатные машины могут быть полностью интегрированы в пакет. С помощью телеметрии MF Connect и нового клиентского портала MyMF (в зависимости от страны) пользователи могут управлять своим автопарком с помощью облачных решений MF.
«Этот совершенно новый дизайн обеспечивает следующий уровень простых и надежных тракторов, о которых просили операторы», — говорит г-н Лхотте. «Они сказали нам, что им нужен удобный трактор с непревзойденным обзором, эффективный, простой в использовании и умный.
Massey Ferguson отреагировала прямо на вопрос, представив MF 8S и сопутствующие услуги».
Технические характеристики серии Massey Ferguson MF 8S
| МФ 8S.205 | МФ 8S.225 | МФ 8 С.245 | МФ 8S.265 | |
| Двигатель | AGCO Power — Stage V — технология «все в одном» | |||
| Объем двигателя | 6-цилиндровый, 7,4 л | |||
| Трансмиссии | Новое двойное сцепление Dyna E-Power или Dyna-7 Semi-Powershift | |||
| Макс. мощность при 1850 об/мин | 205 л.с. | 225 л.с. | 245 л.с. | 265 л.с. |
| Макс. мощность ЭПМ | 225 л.с. | 245 л.с. | 265 л.с. | 285 л.с. |
| Максимальный крутящий момент при 1000 ÷ 1500 об/мин | 900 Н·м | 1000 Н·м | 1100 Н·м | 1200 Н·м |
Серия MF 8S – открытие новой эры
- Совершенно новая кабина объемом 3,4 м³.
Уникальная форма и конструкция с четырьмя стойками обеспечивают непревзойденную обзорность этой кабины. Он предлагает новый уровень пространства, комфорта, управления и возможностей подключения. - Благодаря уникальной конструкции «Protect-U» он снижает шум, нагрев и вибрацию, а также обеспечивает подачу чистого и прохладного воздуха сзади к воздушному фильтру двигателя. Эта кабина позиционируется как одна из лучших на рынке по уровню шума.
- Оптимальное управление и возможности интеллектуального земледелия обеспечиваются цифровой и интуитивно понятной приборной панелью «MF vDisplay», терминалом Datatronic 5 и новым комплексным рычагом управления MultiPad с подлокотником «Центр управления».
- Серия MF 8S предлагает на выбор две совершенно новые и эффективные трансмиссии, передающие максимальную мощность на землю при одновременном снижении потерь мощности на 26 % и снижении расхода топлива до 10 %.
- Новая коробка передач Dyna E-Power с двойным сцеплением сочетает в себе преимущества доступных сегодня технологий: ощущение вариатора и эффективность трансмиссии с прямым механическим приводом.
В качестве альтернативы новая суперэффективная коробка передач Dyna-7 Semi-Powershift теперь предлагает 28 скоростей вперед и назад. - Новая задняя ось в сочетании с увеличенным потоком масла повышает эффективность и универсальность. Благодаря увеличенной на 10 % тяговой мощности и увеличенному на 20 % потоку он позволяет использовать более широкие и производительные орудия и машины для повышения производительности и снижения затрат.
- Комплексное предложение по подключению для повышения рентабельности и устойчивого ведения сельского хозяйства. В стандартной комплектации MF 8S поставляется с телеметрией MF Connect и дополнительным программным обеспечением для передачи данных MF Task Doc, позволяющим пользователям принимать управленческие решения для максимальной эффективности и производительности.
- Выбор пакетов спецификаций и опций Exclusive или Efficient позволяет пользователям адаптировать свои тракторы в соответствии с их конкретными потребностями.
- * MF Always Running бесплатное обслуживание парка тракторов, включенное в стандартную комплектацию, предлагает лучший в отрасли сервис для максимального увеличения времени безотказной работы.
* на участвующих рынках
Кабина повышенной комфортности – сочетание комфорта, обзора и возможностей подключения
Благодаря кабине шириной 24 см. зазор, отделяющий кабину от двигателя, концепция «Protect-U» полностью изолирует кабину от шума, тепла и вибраций. Уровень шума всего 68 дБ делает его одним из самых тихих на рынке, а с внутренним объемом 3,4 м³ он также является одним из самых просторных.
Благодаря остеклению площадью 6,6 м² это светлое и воздушное рабочее место отличается непревзойденным пространством и обзорностью. Замена приборной панели новым цифровым терминалом «MF vDisplay», установленным на правой стойке, оставляет перед водителем только рулевое колесо и рычаг управления мощностью, обеспечивая исключительный обзор вперед из-за тонкого капота со сверхтонкой осиной талией.
В кабине операторы почувствуют эксклюзивную обстановку благодаря натуральной коже на сиденье (опция), кожаной отделке рулевого колеса и отделке салона (опция).
Новое высококачественное сиденье с автоматической пневмоподвеской, подогревом, вентиляцией и боковой амортизацией. Есть, конечно же, эффективный автоматический кондиционер, который питается через 14 розеток. Механическая активная подвеска кабины еще больше повышает комфорт на моделях Exclusive.
На цифровой приборной панели «MF vDisplay» сразу отображается вся информация о тракторе. Легко читаемый и интуитивно понятный, его четкий дисплей можно персонализировать и изменять, просто прокручивая настройки с помощью поворотной ручки на рулевом колесе.
Новый подлокотник Control Center, оснащенный новейшим простым в использовании рычагом MultiPad, обеспечивает полное управление кончиками пальцев. Этот совместимый с ISOBUS рычаг управляет всеми функциями трактора и включает в себя встроенный микроджойстик для управления двумя золотниковыми клапанами.
Обновленный Datatronic 5 (новое «глянцевое» переднее стекло и пользовательский интерфейс) установлен на регулируемом кронштейне.
Этот 9-дюймовый терминал с сенсорным экраном так же прост и интуитивно понятен в использовании, как любой мобильный телефон или планшет. Это система с одним экраном для управления функциями трактора и управления всеми технологиями MF, такими как MF Guide, MF Section и Rate Control, а также сбором и передачей данных MF Task Doc.
Высокая производительность и эффективность
Новейшая модель Stage V 6-цилиндровые двигатели AGCO Power объемом 7,4 л обеспечивают большую мощность, крутящий момент и производительность при низких оборотах, снижая эксплуатационные расходы. Простая технология комплексной обработки выхлопных газов Massey Ferguson вместе с гидравлической регулировкой толкателя, которая не требует технического обслуживания, помогает снизить эксплуатационные расходы.
Эти надежные двигатели развивают мощность от 205 до 265 л.с., а система управления мощностью двигателя (EPM) обеспечивает дополнительные 20 л.с. для транспорта, ВОМ и гидравлических приложений.
Максимальная мощность генерируется уже при 1000 об/мин и постоянна до 1500 об/мин, обеспечивая высокую производительность при низких оборотах двигателя, что снижает расход топлива на 10% и уровень шума до 6 дБ.
All-In-One интегрированная селективная каталитическая нейтрализация (SCR) с сажевым катализатором (SC) представляет собой полностью интегрированную систему, которая не требует использования дизельного сажевого фильтра (DPF) или сложного турбонагнетателя с изменяемой геометрией. Это компактное устройство, рассчитанное на весь срок службы трактора, устанавливается снаружи трактора и обеспечивает полную видимость, а выхлопная труба стала еще тоньше, чем раньше.
Уникальный инкапсулированный двигатель
Характерный дизайн «Protec-U» с длиной 24 см. зазор между кабиной и установкой двигателя отличает серию MF 8S от всех других тракторов. Помимо снижения тепла, шума и вибраций, передаваемых в кабину, уникальное расположение двигателя в закрытом корпусе улучшает охлаждение и производительность.
Воздух, всасываемый из середины трактора за двигателем, чище, чем в стандартном положении. Этот чистый воздух помогает снизить нагрузку на главный воздушный фильтр, оптимизируя работу двигателя.
Этот инновационный дизайн также значительно упрощает доступ для очистки радиаторов. Упрощение регулярного технического обслуживания повысит надежность и сократит время простоя.
Новые высокоэффективные и простые в использовании трансмиссии
С выпуском серии MF 8S компания Massey Ferguson представляет новый уровень высокоэффективной технологии трансмиссии.
Разработанная и разработанная собственными экспертами, коробка передач Dyna E-Power с двойным сцеплением сочетает в себе преимущества бесступенчатой трансмиссии (CVT) с возможностью передачи мощности так же эффективно, как механическая трансмиссия. Этот новый блок еще больше снижает потери мощности по сравнению с предыдущим MF 7700 S Dyna-6, до 26% на более высоких скоростях, обеспечивая экономию топлива до 10%!
Dyna E-Power обеспечивает больше, чем полное переключение под нагрузкой, используя технологию Dual Clutch для переключения диапазонов, позволяющую предугадывать и плавно переключаться.
Он предлагает четыре диапазона с семью передачами с полуперекрытием, идеально разработанными для достижения максимальной производительности в поле и на дороге.
Работая полностью автоматически или вручную с помощью кнопок на MultiPad или рычаге управления питанием, также можно настроить скорость и скорость полностью автоматических изменений в соответствии с работой и условиями.
Передачи переключаются плавно, плавно и эффективно, с разницей в передаточном числе всего 9% между скоростями в полевых условиях от 5 км/ч до 20 км/ч.
Для дальнейшего повышения эффективности использования топлива, снижения уровня шума и повышения комфорта максимальные скорости достигаются при очень низких оборотах двигателя. 50 км/ч (там, где разрешено) достигаются при 1500 об/мин, а для 40 км/ч достаточно 1200 об/мин.
В качестве альтернативы пользователи могут выбрать новую полуавтоматизированную коробку передач Dyna-7, которая является последней разработкой известной и надежной Dyna-6, с таким же простым управлением.
Это обеспечивает не только одну дополнительную передачу под нагрузкой и более плавное переключение, но также на 10% эффективнее, чем у Dyna-6, при той же мощности двигателя в полевых условиях.
Dyna-7 предлагает простое и эффективное управление 28 скоростями вперед и назад в четырех диапазонах и семью плавными передачами. Эта экономичная трансмиссия обеспечивает плавную и интуитивно понятную работу в ручном режиме или даже в полностью автоматическом режиме.
Для тех, кому требуется комфорт и контроль от бесступенчатой трансмиссии (CVT), в будущем для серии MF 8S будет доступна система MF Dyna-VT.
Высокая производительность и эффективность
Тракторы Massey Ferguson серии MF 8S оснащены колесной базой 3,05 м, которая обеспечивает устойчивость и улучшает тягу при работе с широкими и требовательными орудиями, предлагая почти на 10 % большую тяговую мощность.
Мощность эффективно передается на землю через новый чрезвычайно прочный задний мост с фланцевыми, короткими или длинными стержнями на выбор для выполнения любых операций.
Новые спецификации колес теперь включают возможность установки задних шин диаметром до 2,05 м, включая совершенно новую опцию VF650/75 R42 Trelleborg TM1000 PT.
В тракторах сохранена хорошо зарекомендовавшая себя стандартная передняя ось с подвеской. Предлагает узкий радиус поворота 5,7 м. Теперь он оснащен блокировкой подвески, а также тормозами для тракторов, оснащенных всеми 50-километровыми трансмиссиями.
Грузоподъемность трехточечной навески увеличена на 7% до 10 000 кг, а благодаря новой мощной гидравлике эти тракторы работают с большими и широкими орудиями. Чувствительная к нагрузке гидравлическая система с закрытым центром и производительностью 150 л/мин входит в стандартную комплектацию и обеспечивает на 36 % больший поток по сравнению с предыдущей системой. Поток 205 л/мин является опцией, которая также может поставляться в версии ECO, генерируя расход при 1650 об/мин (230 л/мин при максимальной частоте вращения двигателя). Можно указать до пяти электронных задних золотниковых клапанов.
Все модели в стандартной комплектации поставляются с четырехступенчатым ВОМ, что позволяет выбирать между 540, 540ECO, 1000 или 1000ECO, что означает, что операторы всегда могут выбрать правильную скорость для повышения мощности или экономичности.
Новая передняя навеска грузоподъемностью 4800 кг, полностью интегрированная в трактор, поставляется с разъемом ISOBUS.
100% Connected
Возможности подключения являются стандартом для серии MF 8S, которая поставляется с телеметрией MF Connect, включая трехлетнюю лицензию на подписку. При этом мобильные данные используются для передачи информации в MF Connect Cloud, обеспечивая легкий доступ к полезной информации для управления на машинах.
Помимо регистрации положения и данных машины, он также может отправлять пользователям и дилерам (с разрешения) сообщения об ошибках и предупреждения о необходимости обслуживания.
Это полностью интегрировано в клиентский портал MyMF, где пользователи могут просматривать и управлять информацией и данными в режиме реального времени удаленно с любого устройства с доступом в Интернет.
(MyMF скоро будет доступен в Великобритании, Ирландии, Франции и Германии, а позже появится и в других странах).
Все тракторы серии MF 8S также могут быть оснащены полным набором технологий устойчивого земледелия.
Сердцем системы является интуитивно понятный терминал Datatronic 5 с сенсорным экраном, который не только управляет функциями трактора, но и обеспечивает полный контроль над всеми совместимыми с ISOBUS орудиями.
Новая антенная рейка, расположенная в передней части кабины, позволяет легко устанавливать различные приемники GPS с точностью до RTK. В целях безопасности и предотвращения риска антенна стандартно запирается на ключ.
Дополнительный терминал Fieldstar 5 можно использовать для управления всеми технологиями MF, включая MF Guide, а MF Section and Rate Control теперь может обрабатывать до 36 секций и пять продуктов. Теперь он также записывает границы поля и обеспечивает автоматическое обнаружение поля.
MF Task Doc и Task Doc Pro автоматически записывают и передают по беспроводной сети собранную информацию и данные.
Это быстрый, простой и безопасный способ создания точной документации, помогающей операторам соблюдать правила и хранить полезную информацию.
MF Task Doc Pro также создает планы внесения и полностью синхронизируется с программным обеспечением для управления фермой. С помощью NEXT Machine Management данные можно просто и безопасно передавать по беспроводной сети через Agrirouter Cloud.
Лучший по дизайну
В новой серии MF 8S радикальный дизайн сочетается с практичностью. Яркий «нео-ретро» дизайн отдает дань уважения наследию бренда, о чем свидетельствует новая интерпретация культовой серой полосы MF в виде сабли сбоку и мотив лошадиной головы на воротнике капота, восходящий к серии MF 100.
Превосходные технические характеристики
Серия MF 8S Модели с эксклюзивными техническими характеристиками уже доступны. Эти мощные предложения будут расширены за счет выпуска версий Efficient в начале 2021 г., а также варианта трансмиссии Dyna-VT (CVT) для всех моделей позднее в 2021 г.





Почему передача не включается? регулировка норм.

Это уменьшает удары трансмиссии и повышает комфорт.
Просто установите рабочую скорость и диапазон оборотов, и вариатор автоматически выберет наиболее эффективное передаточное число для желаемой скорости и нагрузки — ручное сцепление или переключение передач не требуется.

71, стр. 159–171, 2013.
42, нет. 01, стр. 241–248, 2020.
Ся, Д. Сун, Д. Цинь и X. Чжоу, «Оптимизация гидромеханического параметры в бесступенчатой трансмиссии, предназначенной для сельскохозяйственных тракторов», Biosystems Engineering , vol. 193, стр. 12–24, 2020 г.
K. He, PF Lang, M. Kang et al., «Конструкция трансмиссии и анализ силы HMCVT для трактора большой мощности», Журнал механических трансмиссий , том. 42, стр. 54–59, 2018.
М. Цуй, «Характеристики трансмиссии новой гидравлической механической бесступенчатой трансмиссии», стр. 9.0473 Журнал естественных наук Хэйлунцзянского университета , том. 34, стр. 724–731, 2017.
Сяо, Ю. Дж. Чжао и Дж. Ф. Канъян, «Исследование идентификации системы на основе гидравлического насоса-двигателя HMCVT», Инженерия в сельском хозяйстве, окружающей среде и продовольствии , том. 12, нет. 4, стр. 420–426, 2019.
1–14, 2019 г.
174, стр. 204–218, 2018.
Уникальная форма и конструкция с четырьмя стойками обеспечивают непревзойденную обзорность этой кабины. Он предлагает новый уровень пространства, комфорта, управления и возможностей подключения.
В качестве альтернативы новая суперэффективная коробка передач Dyna-7 Semi-Powershift теперь предлагает 28 скоростей вперед и назад.
* на участвующих рынках