Регулятор напряжения генератора — схема, проверка
Электрооборудование любого автомобиля включает в себя генератор — устройство, преобразующее механическую энергию, получаемую от двигателя, в электрическую. Вместе с регулятором напряжения он называется генераторной установкой.
На современные автомобили устанавливаются генераторы переменного тока. Они в наибольшей степени отвечают предъявляемым требованиям.
Регулятор напряжения поддерживает напряжение бортовой сети в заданных пределах во всех режимах работы при изменении частоты вращения ротора генератора, электрической нагрузки, температуры окружающей среды. Кроме того, он может выполнять дополнительные функции — защищать элементы генераторной установки от аварийных режимов и перегрузки, автоматически включать в бортовую сеть цепь обмотки возбуждения или систему сигнализации аварийной работы генераторной установки.
В настоящее время все генераторные установки оснащаются полупроводниковыми электронными регуляторами напряжения, как правило, встроенными внутрь генератора.
Напряжение генератора без регулятора зависит от частоты вращения его ротора, магнитного потока, создаваемого обмоткой возбуждения, а, следовательно, от силы тока в этой обмотке и величины тока, отдаваемого генератором потребителям. Чем больше частота вращения и сила тока возбуждения, тем больше напряжение генератора, чем больше сила тока его нагрузки — тем меньше это напряжение.
Функцией регулятора напряжения является стабилизация напряжения при изменении частоты вращения и нагрузки за счет воздействия на ток возбуждения. Конечно можно изменять ток в цепи возбуждения введением в эту цепь дополнительного резистора, как это делалось в прежних вибрационных регуляторах напряжения, но этот способ связан с потерей мощности в этом резисторе и в электронных регуляторах не применяется.
Электронные регуляторы изменяют ток возбуждения путем включения и отключения обмотки возбуждения от питающей сети, при этом меняется относительная продолжительность времени включения обмотки возбуждения.
Прежде чем проверить регулятор напряжения генератора, нужно убедиться, что проблема кроется именно в нём, а не в других элементах генератора (слабо натянут ремень, окислилась масса и т.д.), для этого нужно проверить сам генератор (Как проверить генератор?). После этого вам нужно снять регулятор напряжения. Процесс демонтажа регулятора описан в статье «как снять регулятор напряжения?».
В двух словах скажу, что сначала нужно снять минусовую клемму, снять все провода с генератора, снять пластиковый кожух с генератора, затем открутить и вынуть регулятор напряжения в сборе вместе с щётками.
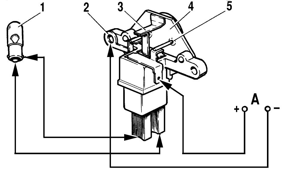
Давайте перейдём непосредственно к проверке регулятора напряжения. Проверять регулятор напряжения нужно обязательно в сборе с щёткодержателями – т.к. в случае обрыва цепи щёток и регулятора напряжения, мы сразу это заметим. Перед проверкой, обратите внимание на состояние щёток: если они обломаны или их длина короче 5мм, неподвижны и не пружинят, – то их нужно заменить.
Для проверки нам понадобится:
- провода;
- аккумулятор автомобильный;
- лампочка на 12в 1-3Вт;
- две обычные пальчиковые батарейки.
Чтобы проверить регулятор напряжения, нам нужно будет построить две схемы: К щёткам подключаем лампочку, К выводам Б и В подключаем «+» от аккумулятора, «-» аккумулятора закрепляем на массу регулятора. Делаем ту же схему, но добавляем последовательно две пальчиковые батарейки. Вывод из всего вышесказанного таков.
Исправный регулятор напряжения генератора: в первой схеме лампа горит, во второй схеме лампа не горит, т.к. напряжение выше 14,7в и подача напряжения на щётки должна быть прекращена. Неисправный регулятор напряжения: в обоих случая лампа горит, значит в регуляторе пробой. Лампа не горит вообще – значит, отсутствует контакт между щётками и регулятором или обрыв цепи в регуляторе.
Сначала узнаем, для чего нужен этот регулятор. Автомобильный генератор во время движения и работы двигателя должен подпитывать аккумуляторную батарею.
Тем самым восстанавливается ёмкость аккумулятора, когда он разряжается во время стоянки. Если мы ездим каждый день, то аккумулятор почти не разряжается, если он в исправном состоянии.
Хуже приходиться аккумулятору, когда машина долго стоит без движения, ведь его энергия постепенно уходит на поддержание работы авто сигнализации. Ещё хуже дела обстоят зимой, когда при отрицательных температурах аккумуляторная батарея разряжается очень быстро.
А если вы ездите помалу и не часто, то аккумулятор не заряжается полностью во время движения и может полностью разрядится как-то утром.
Справиться с вышеуказанной проблемой, призван трехуровневый регулятор напряжения. У него три положения работы: это максимальное (выдаёт напряжение на генераторе 14,0-14,2 В), нормальное (13,6-13,8 В) и минимальное (13,0-13,2 В). Как мы знаем из статьи про проверку работоспособности аккумулятора, нормальное напряжение при заведённом двигателе должно быть от 13,2-13,6 В. Это означает, что генератор работает в нормальном режиме и АКБ заряжается в полном объёме.
Это соответствует среднему (нормальному) положению регулятора напряжения. А вот зимой, желательно повысить напряжение до 13,8-14,0 В, т.к. аккумулятор быстрее разряжается при отрицательных температурах. Это делается простым переводом рычажка на регуляторе напряжения. Так будет обеспечена лучшая зарядка АКБ зимой при работающем двигателе.
Летом, особенно когда жара превышает +25 градусов и выше — желательно понизить напряжение генератора до 13,0-13,2 В. Зарядка от этого не пострадает, но генератор не будет “выкипать”, т.е. не будет терять свою номинальную ёмкость и не сокращать ресурс.
Перед заменой регулятора напряжения, обязательно проверьте генератор в целом. Регулятор напряжения нужно менять, если напряжение под нагрузкой бортовой сети (включены дальний, обогрев зеркал, печка) меньше 13в. Так же регулятор напряжения может стать причиной высокого напряжения (выше 14,7в).
Но, как писалось выше, перед снятием регулятора нужно проверить сам генератор, ознакомиться с другими возможными неисправностями (например слабо натянут ремень генератора), и только потом приступать к замене регулятора напряжения.
Итак, как же снять регулятор напряжения? Открываем капот, снимаем минусовую клемму аккумулятора, находим генератор, отсоединяем колодку проводов «D»:
- снимаем защитный резиновый колпачок с наконечников проводов вывода «+». Откручиваем гайку крепления этих проводов, снимаем их с блока генератора;
- далее нам нужно снять сам пластиковый блок генератора (чаще всего он черного цвета). Для этого нужно отсоединить три пружинных фиксатора, расположенных по периметру блока;
- находим регулятор напряжения, и крестовой отверткой откручиваем его крепления;
- вынимаем регулятор напряжения в сборе с щётками, и отключаем от него колодку проводов;
- далее нам нужно проверить регулятор напряжения, дабы убедиться в его неисправности.
Устанавливаем регулятор напряжения строго в обратной последовательности.
Стоит отметить, что в последнее время, многие автолюбители стали пользоваться трёхуровневым регулятором напряжения генератора, для того, чтобы избавиться от просадок напряжения в бортовой сети.
Устройство регулятора напряжения генератора
Реле-регулятор напряжения генератора — это неотъемлемая часть системы электрооборудования любого автомобиля. С его помощью производится поддержка напряжения в определенном диапазоне значений. В данной статье вы узнаете о том, какие конструкции регуляторов существуют на данный момент, в том числе будут рассмотрены механизмы, давно не используемые.
Основные процессы автоматического регулирования
Совершенно неважно, какой тип генераторной установки используется в автомобиле. В любом случае он имеет в своей конструкции регулятор. Система автоматического регулирования напряжения позволяет поддерживать определенное значение параметра, независимо от того, с какой частотой вращается ротор генератора. На рисунке представлен реле-регулятор напряжения генератора, схема его и внешний вид.
Анализируя физические основы, с использованием которых работает генераторная установка, можно прийти к выводу, что напряжение на выходе увеличивается, если скорость вращения ротора становится выше. Также можно сделать вывод о том, что регулирование напряжения осуществляется путем уменьшения силы тока, подаваемого на обмотку ротора, при повышении скорости вращения.
Что такое генератор
Любой автомобильный генератор состоит из нескольких частей:
1. Ротор с обмоткой возбуждения, вокруг которой при работе создается электромагнитное поле.
2. Статор с тремя обмотками, соединенными по схеме «звезда» (с них снимается переменное напряжение в интервале от 12 до 30 Вольт).
3. Кроме того, в конструкции присутствует трехфазный выпрямитель, состоящий из шести полупроводниковых диодов. Стоит заметить, что реле-регулятор напряжения генератора ВАЗ 2107 (инжектор или карбюратор в системе впрыска) одинаков.
Но работать генератор без устройства регулирования напряжения не сможет.
Причина тому — изменение напряжения в очень большом диапазоне. Поэтому необходимо использовать систему автоматического регулирования. Она состоит из устройства сравнения, управления, исполнительного, задающего и специального датчика. Основной элемент — это орган регулирования. Он может быть как электрическим, так и механическим.
Работа генератора
Когда начинается вращение ротора, на выходе генератора появляется некоторое напряжение. А подается оно на обмотку возбуждения посредством органа регулировки. Стоит также отметить, что выход генераторной установки соединен напрямую с аккумуляторной батареей. Поэтому на обмотке возбуждения напряжение присутствует постоянно. Когда увеличивается скорость ротора, начинает изменяться напряжение на выходе генераторной установки. Подключается реле-регулятор напряжения генератора Valeo или любого другого производителя к выходу генератора.
При этом датчик улавливает изменение, подает сигнал на сравнивающее устройство, которое анализирует его, сопоставляя с заданным параметром.
Далее сигнал идет к устройству управления, от которого производится подача на исполнительный механизм. Регулирующий орган способен уменьшить значение силы тока, который поступает к обмотке ротора. Вследствие этого на выходе генераторной установки производится уменьшение напряжения. Аналогичным образом производится повышение упомянутого параметра в случае снижения скорости ротора.
Двухуровневые регуляторы
Двухуровневая система автоматического регулирования состоит из генератора, выпрямительного элемента, аккумуляторной батареи. В основе лежит электрический магнит, его обмотка соединена с датчиком. Задающие устройства в таких типах механизмов очень простые. Это обычные пружины. В качестве сравнивающего устройства применяется небольшой рычаг. Он подвижен и производит коммутацию. Исполнительным устройством является контактная группа. Орган регулировки — это постоянное сопротивление. Такой реле-регулятор напряжения генератора, схема которого приведена в статье, очень часто используется в технике, хоть и является морально устаревшим.
Работа двухуровневого регулятора
При работе генератора на выходе появляется напряжение, которое поступает на обмотку электромагнитного реле. При этом возникает магнитное поле, с его помощью притягивается плечо рычага. На последний действует пружина, она используется как сравнивающее устройство. Если напряжение становится выше, чем положено, контакты электромагнитного реле размыкаются. При этом в цепь включается постоянное сопротивление. На обмотку возбуждения подается меньший ток. По подобному принципу работает реле-регулятор напряжения генератора ВАЗ 21099 и других автомобилей отечественного и импортного производства. Если же на выходе уменьшается напряжение, то производится замыкание контактов, при этом изменяется сила тока в большую сторону.
Электронный регулятор
У двухуровневых механических регуляторов напряжения имеется большой недостаток — чрезмерный износ элементов. По этой причине вместо электромагнитного реле стали использовать полупроводниковые элементы, работающие в ключевом режиме.
Принцип работы аналогичен, только механические элементы заменены электронными. Чувствительный элемент выполнен на делителе напряжения, который состоит из постоянных резисторов. В качестве задающего устройства используется стабилитрон.
Современный реле-регулятор напряжения генератора ВАЗ 21099 является более совершенным устройством, надежным и долговечным. На транзисторах функционирует исполнительная часть устройства управления. По мере того как изменяется напряжение на выходе генератора, электронный ключ замыкает или размыкает цепь, при необходимости подключают добавочное сопротивление. Стоит отметить, что двухуровневые регуляторы являются несовершенными устройствами. Вместо них лучше использовать более современные разработки.
Трехуровневая система регулирования
Качество регулирования у таких конструкций намного выше, нежели у рассмотренных ранее. Ранее использовались механические конструкции, но сегодня чаще встречаются бесконтактные устройства. Все элементы, используемые в данной системе, такие же, как и у рассмотренных выше.
Но отличается немного принцип работы. Сначала подается напряжение посредством делителя на специальную схему, в которой происходит обработка информации. Установить такой реле-регулятор напряжения генератора («Форд Сиерра» также может оснащаться подобным оборудованием) допустимо на любой автомобиль, если знать устройство и схему подключения.
Здесь происходит сравнение действительного значения с минимальным и максимальным. Если напряжение отклоняется от того значения, которое задано, то появляется определенный сигнал. Называется он сигналом рассогласования. С его помощью производится регулирование силы тока, поступающего на обмотку возбуждения. Отличие от двухуровневой системы в том, что имеется несколько добавочных сопротивлений.
Современные системы регулирования напряжения
Если реле-регулятор напряжения генератора китайского скутера двухуровневый, то на дорогих автомобилях используются более совершенные устройства. Многоуровневые системы управления могут содержать 3, 4, 5 и более добавочных сопротивлений.
Существуют также следящие системы автоматического регулирования. В некоторых конструкциях можно отказаться от использования добавочных сопротивлений.
Вместо них увеличивается частота срабатывания электронного ключа. Использовать схемы с электромагнитным реле попросту невозможно в следящих системах управления. Одна из последних разработок — это многоуровневая система управления, которая использует частотную модуляцию. В таких конструкциях необходимы добавочные сопротивления, которые служат для управления логическими элементами.
Как снимать реле-регулятор
Снять реле-регулятор напряжения генератора («Ланос» или отечественная «девятка» у вас – не суть важно) довольно просто. Стоит заметить, что при замене регулятора напряжения потребуется всего один инструмент — плоская или крестовая отвертка. Снимать генератор или ремень и его привод не нужно. Большинство устройств находится на задней крышке генератора, причем объединены в единый узел с щеточным механизмом. Наиболее частые поломки происходят в нескольких случаях.
Во-первых, при полном стирании графитовых щёток. Во-вторых, при пробое полупроводникового элемента. О том, как провести проверку регулятора, будет рассказано ниже. При снятии вам потребуется отключить аккумуляторную батарею. Отсоедините провод, который соединяет регулятор напряжения с выходом генератора. Выкрутив оба крепежных болта, можно вытянуть корпус устройства. А вот реле-регулятор напряжения генератора ВАЗ 2101 имеет устаревшую конструкцию – он монтируется в подкапотном пространстве, отдельно от щеточного узла.
Проверка устройства
Проверяется реле-регулятор напряжения генератора ВАЗ 2106, «копеек», иномарок одинаково. Как только произведете снятие, посмотрите на щетки – у них должна быть длина более 5 миллиметров. В том случае, если этот параметр отличается, нужно проводить замену устройства. Чтобы осуществить диагностику, потребуется источник постоянного напряжения. Желательно, чтобы можно было изменить выходную характеристику. В качестве источника питания можно использовать аккумулятор и пару пальчиковых батареек.
Еще вам необходима лампа, она должна работать от 12 Вольт. Вместо нее можно использовать вольтметр. Подключаете плюс от питания к разъему регулятора напряжения.
Соответственно, минусовой контакт соединяете с общей пластиной устройства. Лампочку или вольтметр соединяете со щетками. В таком состоянии между щетками должно присутствовать напряжение, если на вход подается 12-13 Вольт. Но если вы будете подавать на вход больше, чем 15 Вольт, между щетками напряжения не должно быть. Это признак исправности устройства. И совершенно не имеет значения, диагностируется реле-регулятор напряжения генератора ВАЗ 2107 или другого автомобиля. Если же контрольная лампа горит при любом значении напряжения или вовсе не загорается, значит, присутствует неисправность узла.
Выводы
В системе электрооборудования автомобиля реле-регулятор напряжения генератора «Бош» (как, впрочем, и любой иной фирмы) играет очень большую роль. Как можно чаще следите за его состоянием, проверяйте на наличие повреждений и дефектов.
Случаи выхода из строя такого устройства нередки. При этом в лучшем случае разрядится аккумуляторная батарея. А в худшем может повыситься напряжение питания в бортовой сети. Это приведет к выходу из строя большей части потребителей электроэнергии. Кроме того, может выйти из строя и сам генератор. А его ремонт обойдется в кругленькую сумму, а если учесть, что АКБ очень быстро выйдет из строя, расходы и вовсе космические. Стоит также отметить, что реле-регулятор напряжения генератора Bosch является одним из лидеров по продажам. У него высокая надежность и долговечность, а характеристики максимально стабильны.
Многие знают о таком устройстве, как регулятор напряжения генератора, но не каждый способен сказать, какие принципы лежат в основе его работы и как можно осуществить диагностику. Стоит отметить, что этот прибор крайне важен, ведь с его помощью происходит стабилизация напряжения на выходе генератора. Представьте, как работает двигатель в процессе движения. Обороты его постоянно изменяются, причем в широком диапазоне, начиная от 700-900 об/мин, а заканчивая пятью, семью либо даже десятью тысячами.
Как следствие – частота вращения ротора генератора также изменяется в широком диапазоне. И при любом значении оборотов должно поддерживаться стабильное напряжение, которого будет достаточно для зарядки аккумуляторной батареи. Если имеются какие-либо дефекты, то требуется тщательная проверка регулятора напряжения генератора.
Механические регуляторы напряжения
История автомобилестроения насчитывает уже более сотни лет, за это время было изобретено и внедрено множество конструкций, которые улучшают показатели всех агрегатов. Среди них и реле-регулятор, так как современная машина не сможет без него нормально работать. Изначально использовались механические устройства, в основе которых лежало электромагнитное реле. Например, регулятор напряжения генератора ВАЗ первых моделей был именно таким.
У него, как оказалось позднее, нет никаких плюсов, сплошь и рядом недостатки. Причем основной минус – это низкая надежность вследствие того, что присутствуют подвижные контакты.
Они со временем стираются, так как прибор работает постоянно, без остановок. Кроме того, иногда требуется проводить регулировочные работы, что не очень хорошо сказывается на эксплуатации автомобиля. Современность диктует правило, по которому машина должна проходить техобслуживание своевременно в сервисных центрах. И водитель не должен уметь проводить сложный ремонт, от него требуется только умение управлять автомобилем и менять колесо (это максимум).
Электронные реле-регуляторы
По причинам, указанным выше, широкое распространение получили регуляторы напряжения электронного типа. Прогресс не стоит на одном месте, поэтому на смену электромагнитным реле пришли ключевые транзисторы, симисторы, тиристоры. У них очень высокая надежность, так как отсутствуют механические контакты, вместо которых имеется кристалл полупроводника. Конечно, технология производства таких устройств должна быть продумана. В противном случае возможен выход из строя полупроводника. Осуществляется проверка регулятора напряжения генератора такого типа достаточно просто, нужно только учесть его особенности.
Если сравнивать с предыдущим, механическим типом реле-регуляторов, можно увидеть одну особенность – электронные выпускаются в одном корпусе с щетками. Это позволяет сэкономить место, а самое главное – облегчить процедуру замены и диагностики. Особая черта электронных типов – это точность регулирования напряжения. Свойства полупроводника не изменяются в процессе работы. Поэтому напряжение на выходе генератора всегда будет одинаковым. Но стоит поговорить и о способе регулирования, о том, как происходит весь процесс. А он достаточно интересный, придется рассмотреть в общих чертах конструкцию генератора.
Из каких элементов состоит автомобильный генератор
Основа – это корпус, иначе он называется статором. Это неподвижная часть любой электрической машины. В статоре имеется обмотка. В автомобильных генераторах она состоит из трех частей. Все дело в том, что на выходе генерируется трехфазное переменное напряжение, значение его – около 30 Вольт. Причина использования такой конструкции – уменьшение пульсаций, так как фазы перекрывают друг друга, в результате появляется после выпрямителя постоянный ток.
Для преобразования напряжения используются шесть полупроводниковых диодов. Они имеют одностороннюю проводимость. Если произойдет пробой, то определить это при помощи тестера достаточно просто.
Но не будет на выходе статорной обмотки напряжения, если не учесть одно условие – необходимо магнитное поле, причем движущееся. Сделать его несложно, достаточно на металлическом якоре намотать обмотку и подать на нее питание. Но теперь возникает вопрос о стабилизации напряжения. Делать это на выходе нет смысла, так как элементы потребуются очень мощные, ведь токи большие. Но тут приходит на помощь конструкторам одна особенность электрических машин – если на роторную обмотку подать стабилизированное напряжение, то магнитное поле не будет изменяться. Следовательно, на выходе генератора также стабилизируется напряжение. Так же работает и генератор ВАЗ 2107, регулятор напряжения которого функционирует на тех же принципах, что и у «десяток».
Компоненты регулятора напряжения
Современные автомобили оснащаются довольно простыми конструкциями.
Они неразборные, совмещены в одном корпусе два элемента – непосредственно регулятор и графитовые щетки, передающие напряжение питания на роторную обмотку генератора. Причем электронные типы устройств могут быть двух видов. Например, регулятор напряжения генератора ВАЗ-2110 выпуска конца 90-х годов был изготовлен на монтажной плате небольшого размера. Современные же устройства делаются с использованием одного кристалла полупроводника, в котором находятся все элементы. Можно даже сказать, что это небольшая микросхема.
Графитовые щетки подключаются к выводам монтажной платы или полупроводникового элемента. Напряжение к ним подается от аккумуляторной батареи через лампу, которая необходима для диагностики генератора. Обратите внимание на то, что нельзя ставить вместо нее светодиодные элементы, так как у них нет внутреннего сопротивления. Грубо говоря, лампа накаливания работает и в качестве предохранителя. Если нить перегорает, то прекращается подача напряжения на роторную обмотку, генератор перестает работать.
Если же загорается лампа, то имеется поломка. Либо щетки стерлись, либо ремень порвался, но иногда случается и так, что выходят из строя полупроводниковые диоды в выпрямителе. В таком случае необходима замена регулятора напряжения генератора на новый.
Как снять регулятор
Если неисправность только лишь в регуляторе напряжения, то работ по его замене немного. Инструмента тоже особого потребуется – хватит одной отвертки. Полностью разбирать генератор не нужно, так как щетки с регулятором напряжения находятся на задней его крышке.
Не потребуется даже ослаблять ремень. Снимать регулятор напряжения генератора 2110 нужно в двух случаях:
- Стерлись полностью щетки.
- В полупроводнике произошел пробой.
Варианты проверки прибора будут представлены ниже. Для начала отключите аккумуляторную батарею. Дело в том, что от нее идет к генератору силовой провод, на нем нет никакой защиты, потому как с его помощью происходит зарядка АКБ. А ток потребления этой цепи очень высокий.
Диагностика регулятора напряжения
Первым делом обратите внимание на состояние щеток – если их длина меньше 0,5 см, то необходимо менять узел в сборе. Не стоит заниматься изобретением велосипеда. Припаивать новые щетки нет смысла, так как надежность от этого только пострадает. Так как проверить регулятор напряжения генератора можно несколькими способами, начать стоит с самого сложного – со снятием прибора. Для диагностики вам потребуется блок питания, на выходе которого напряжение можно изменять в пределах 10-18 Вольт.
Также вам необходима лампа накаливания. Ее электрические параметры следующие: напряжение питания – 12 Вольт, мощность – 2-3 Ватта. Подаете питание следующим образом:
- Плюсовой вывод на разъем в корпусе регулятора (он на новых образцах единственный).

- Минус на общую пластину.
Лампа накаливания включается между двумя щетками. Порядок действий следующий:
- При подаче напряжения 12-12,5 Вольт лампа накаливания должна гореть.
- При напряжении свыше 15 Вольт она должна гаснуть.
Если она горит при любом напряжении питания, либо не горит ни в одном из этих случаев, то имеется поломка регулятора и его требуется заменить.
Как сделать диагностику без снятия?
Не рекомендуется проводить такую проверку, так как нет возможности оценить состояние щеточного узла. Но случаи бывают разные, поэтому даже такая диагностика может дать свои плоды. Для работы вам потребуется мультиметр или, если такового нет, лампа накаливания. Для вас главное – это провести замер напряжения в бортовой сети автомобиля, определить, нет ли скачков. Но их можно заметить и при езде. Например, мигание света при изменении оборотов коленчатого вала двигателя.
Но точнее окажутся измерения, проведенные с использованием мультиметра или вольтметра с растянутой шкалой.
Заведите двигатель и включите ближний свет. Подключите мультиметр к клеммам аккумуляторной батареи. Напряжение не должно превышать 14,8 Вольт. Но и нельзя, чтобы оно опускалось ниже 12. Если оно находится не в дозволенном интервале, то имеется поломка регулятора напряжения. Не исключено, что нарушены контакты в местах соединения прибора с генератором, либо окислены контакты проводов.
Модернизация схемы регулятора
То, насколько полной будет зарядка аккумулятора, напрямую зависит от регулятора напряжения. К сожалению, простые конструкции, описанные выше, имеют большой разброс параметров. Поэтому, купив в одном магазине три экземпляра одинаковых устройств, вы получите различное напряжение на выходе. И это факт, никто и спорить не будет. Если не хватает аккумулятору зарядки, то он будет за короткое время терять свою емкость. И завести двигатель не сможет. Потребуется его восстанавливать только стационарным зарядным устройством.
Но ведь можно установить регулятор напряжения генератора трехуровневый, который позволяет изменять характеристики простым переключением тумблера.
В его схеме находятся два полупроводника, у которых характеристики немного отличаются. За счет этого появляется возможность регулировки выходного напряжения. При включении одного полупроводника на выходе появляется 14,5 Вольт, а если другой пустить в цепь, то будет несколько выше. Использование такого устройства актуально в зимний период времени, когда емкость АКБ снижается и требуется дополнительная зарядка.
Как установить трехуровневый регулятор?
Для этой процедуры вам потребуется небольшой набор инструментов. Нужна отвертка, термоусадочная изоляция, саморезы, возможно, что необходима будет дрель со сверлом 2-4 мм. Итак, все по порядку. Первым делом нужно выкрутить два болта, которыми крепится щеточный узел и регулятор. На его место нужно поставить новый, который идет в комплекте. Отличие его от простого в том, что там только стоят щетки, полупроводники расположены в отдельном блоке. Второй узел вам нужно расположить недалеко от генератора, на кузове автомобиля.
Для этого сделайте небольшие отверстия для крепления.
Стоит заметить, что блок с полупроводниками нуждается в дополнительном охлаждении. Поэтому потребуется его устанавливать на радиатор из алюминия, только после этого производить крепеж к элементам кузова. Если не обеспечить достаточное охлаждение, то возможен выход из строя прибора, а также нарушение его работы – регулирование будет происходить неправильно. После окончания крепежных работ соединяете два узла проводами, проводите изоляцию. Желательно соединительные провода крепить с помощью хомутов-стяжек к имеющимся жгутам.
Можно ли самостоятельно изготовить трехуровневый регулятор?
Если вы знакомы с радиотехникой, можете найти на диоде катод и анод, то для вас не составит труда самому сделать такое устройство. Вопрос в том, есть ли в этом смысл. Вам потребуется для изготовления два диода Шоттки. Если они у вас имеются, то цена конструкции окажется мизерной. Но если же их придется покупать (причем неизвестно, по какой цене), то можно сравнить затраты со стоимостью готового трехуровневого регулятора.
Схема регулятора напряжения генератора трехуровневого типа несложная, повторить ее сможет любой человек, который умеет обращаться с паяльником.
Для реализации вашей задумки потребуется еще пластиковый корпус. Можно использовать и алюминий, это даже будет лучше, так как охлаждение будет происходить эффективнее. Только желательно покрыть все поверхности слоем изоляции, чтобы при езде не произошло замыкание контактов на корпус. Также вам потребуется установить переключатель, который будет коммутировать полупроводниковые элементы. Работы по установке прибора на автомобиль аналогичны тем, что были описаны в прошлом пункте. Стоит также заметить, что вам необходимо все равно приобретать щеточный узел.
Выводы
Не нужно пренебрегать таким прибором, как регулятор напряжения автомобильного генератора. От его качества и состояния зависит срок службы аккумуляторной батареи. И если имеются какие-либо дефекты в приборе, то его необходимо заменить. Следите за состоянием этого элемента, при необходимости зачищайте контакты, чтобы не появлялись сбои.
Генератор находится в нижней части моторного отсека, а если нет грязезащитного щитка, то на него попадает очень много воды и грязи в плохую погоду. А это приводит к появлению дефектов, причем не только в регуляторе напряжения, но даже в обмотках статора и ротора. Поэтому для нормального функционирования всех систем необходим уход за автомобилем. И перед тем как проверить регулятор напряжения генератора, проведите тщательный осмотр и очистите от загрязнений все элементы конструкции.
Создано реле регулятор напряжения генератора для корректировки выдаваемого в бортовую сеть и на клеммы аккумулятора «вольтажа» в заданном диапазоне 13,8 – 14,5 В (реже до 14,8 В). Кроме того, регулятор корректирует напряжение на обмотке самовозбуждения генератора.
Назначение реле регулятора напряжения
Независимо от стажа и стиля вождения владелец авто не может обеспечить одинаковые обороты двигателя в разные моменты времени. То есть, коленвал ДВС, передающий крутящий момент генератору, вращается с разной скоростью.
Поэтому замена реле регулятора генератора должна производится при недозаряде и перезаряде аккумулятора, горящей лампочке, мигании фар и прочих перебоях электроснабжения бортовой сети.
Взаимосвязь источников тока авто
В транспортном средстве находится минимум два источника электроэнергии:
- аккумулятор – необходим в момент запуска ДВС и первичного возбуждения обмотки генератора, энергию не создает, а только расходует и накапливает в момент подзарядки
- генератор – питает бортовую сеть на любых оборотах и подпитывает АКБ только на высоких оборотах
В бортовую сеть необходимо подключение обоих указанных источников для корректной работы двигателя и прочих потребителей электричества. При поломке генератора АКБ «протянет» максимум 2 часа, а без аккумулятора не заведется двигатель, приводящий в движение ротор генератора.
Существуют исключения – например, а счет остаточной намагниченности обмотки возбуждения штатный генератор ГАЗ-21 запускается самостоятельно при условии постоянной эксплуатации машины. Можно завести авто « с толкача», если в нем установлен генератор постоянного тока, с прибором переменного тока такой трюк невозможен.
Задачи регулятора напряжения
Из школьного курса физики каждый автолюбитель должен помнить принцип работы генератора:
- при взаимном перемещении рамки и окружающего ее магнитного поля в ней возникает электродвижущая сила
- электромагнитом генераторов постоянного тока служат статоры, ЭДС, соответственно возникает в якоре, ток снимается с коллекторных колец
- в генераторе переменного тока намагничивается якорь, электроэнергия возникает в обмотках статора
Упрощенно можно представить, что на величину выходящего с генератора напряжения влияет значение магнитной силы и скорость вращения поля. Основная проблема генераторов постоянного тока – пригорание и залипание щеток при съеме с якоря токов большой величины – решена переходом на генераторы переменного тока.
Ток возбуждения, подающийся на ротор для возбуждения магнитной индукции, на порядок ниже, снимать электроэнергию с неподвижного статора гораздо легче.
Однако вместо постоянно расположенных в пространстве клемм «–» и «+» производители авто получили постоянное изменение плюса и минуса. Подзарядка аккумулятора переменным током не возможна в принципе, поэтому диодным мостиком его предварительно выпрямляют.
Из этих нюансов плавно вытекают задачи, решаемые реле генератора:
- подстройка тока в обмотке возбуждения
- выдерживание диапазона 13,5 – 14,5 В в бортовой сети и на клеммах аккумулятора
- отсечение питания обмотки возбуждения от АКБ при заглушенном двигателе
Поэтому называют регулятор напряжения еще и реле зарядки, а на панель выведена сигнальная лампа процесса подзарядки АКБ. В конструкцию генераторов переменного тока функция отсечения обратного тока заложена по умолчанию.
Разновидности реле регуляторов
Прежде, чем произвести самостоятельный ремонт устройства регулирования напряжения, необходимо учесть, что существует несколько типов регуляторов:
- внешние – повышают ремонтопригодность генератора
- встраиваемые – в пластину выпрямителя или щеточный узел
- регулирующие по минусу – появляется дополнительный провод
- регулирующие по плюсу – экономичная схема подключения
- для генераторов переменного тока – нет функции ограничения напряжения на обмотку возбуждения, так как она заложена в самом генераторе
- для генераторов постоянного тока – дополнительная опция отсечения АКБ при неработающем ДВС
- двухуровневые – морально устарели, применяются редко, регулировка пружинами и небольшим рычагом
- трехуровневые – дополнены специальной платой сравнивающего устройства и сигнализатором согласования
- многоуровневые – в схеме имеются 3 – 5 добавочных резисторов и система слежения
- транзисторные – в современных авто не используются
- релейные – улучшенная обратная связь
- релейно-транзисторные – универсальная схема
- микропроцессорные – небольшие габариты, плавные регулировки нижнего/верхнего порога срабатывания
- интегральные – встраиваются в щеткодержатели, поэтому заменяются после истирания щеток
Внимание: Без доработки схемы «плюсовой» и «минусовой» регулятор напряжения являются не взаимозаменяемыми приборами.
Реле генераторов постоянного тока
Таким образом, схема подключения регулятора напряжения при эксплуатации генератора постоянного тока сложнее. Поскольку в стояночном режиме авто, когда ДВС заглушен, необходимо отключить генератор от АКБ.
При диагностике проверка реле происходит на выполнение трех его функций:
- отсечка аккумулятора во время стоянки машины
- ограничение максимального тока на выходе генератора
- регулировка напряжения для обмотки возбуждения
При любой неисправности требуется ремонт.
Реле генераторов переменного тока
В отличие от предыдущего случая диагностика своими руками регулятора генератора переменного тока немного проще. В конструкцию «автомобильной электростанции» уже заложена функция отсечки питания во время стоянки от АКБ. Остается проверить лишь напряжение на обмотке возбуждения и на выходе с генератора.
Если в машине стоит генератор тока переменного, его невозможно завести разгоном с горки.
Так как остаточного намагничивания на возбуждающей обмотке здесь нет по умолчанию.
Встроенные и внешние регуляторы
Для автолюбителя важно знать, что измеряют и начинают регулировать напряжение реле в конкретном месте их установки. Поэтому встроенные модификации воздействуют непосредственно на генератор, а выносные «не знают» о его наличии в машине.
Например, если выносное реле подключено к катушке зажигания, его работа будет направлена на регулировку напряжения лишь на этом участке бортовой сети. Поэтому, прежде чем узнать, как проверить реле выносного типа, следует убедиться, что оно подключено правильно.
Управление по «+» и «–»
В принципе схемы управления по «минусу» и «плюсу» отличаются лишь схемой подключения:
- при монтаже реле в разрыв «+» одна щетка подключается к «массе», другая к клемме регулятора
- если же подключить реле в разрыв «–», то одну щетку нужно подключить к «плюсу», другую к регулятору
Однако в последнем случае появится еще один провод, поскольку реле напряжения является устройством активного типа.
Для него необходимо индивидуальное питание, поэтому «+» нужно подвести отдельно.
Двухуровневые
На начальном этапе в машинах устанавливались механические двухуровневые регуляторы напряжения с простым принципом действия:
- через реле проходит электрический ток
- возникающее магнитное поле притягивает рычаг
- сравнивающим устройством служит пружина с заданным усилием
- при увеличении напряжения контакты размыкаются
- на возбуждающую обмотку поступает меньший ток
Использовались механические двухуровневые реле в автомобилях ВАЗ 21099. Основным минусом являлась работа с повышенным износом механических элементов. Поэтому на смену этим приборам пришли электронные (бесконтактные) реле напряжения:
- делитель напряжения собран из резисторов
- стабилитрон является задающим устройством
Сложная схема соединения и недостаточно эффективный контроль напряжения привели к снижению спроса на эти приборы.
Трехуровневые
Однако двухуровневые регуляторы, в свою очередь, так же уступили позиции более совершенным трехуровневым и многоуровневым приборам:
- напряжение выходит с генератора на специальную схему через делитель
- информация обрабатывается, действительное напряжение сравнивается с минимальным и максимальным пороговым значением
- сигнал рассогласования регулирует силу тока, поступающего на возбуждающую обмотку
Более совершенными считаются реле с частотной модуляцией – в них нет привычных сопротивлений, зато увеличена частота срабатывания ключа электронного. Управление осуществляется логическими схемами.
Принцип работы реле регулятора
Благодаря встроенным резисторам и специальным схемам реле получает возможность сравнивать величину вырабатываемого генератором напряжения. После чего, слишком высокое значение приводит к отключению реле, чтобы не перезарядить аккумулятор и не испортить электроприборы, подключенные в бортовую сеть.
Любые неисправности приводят именно к этим последствиям, приходит в неисправность батарея АКБ или резко увеличивается эксплуатационный бюджет.
Переключатель лето/зима
Вне зависимости от сезона и температуры воздуха работа генератора всегда стабильна. Как только его шкив начинает вращаться, электроток вырабатывается по умолчанию. Однако зимой внутренности аккумулятора замерзают, он восполняет заряд значительно хуже, чем летом.
Переключатели лето/зима находятся либо на корпусе регулятора напряжения, либо этим обозначением подписаны соответствующие разъемы, которые нужно найти и подсоединить к ним проводку в зависимости от сезона.
Ничего необычного в этом переключателе нет, это лишь грубые настройки реле регулятора, позволяющие повысить до 15 В напряжение на клеммах аккумулятора.
Подключение в бортовую сеть генератора
Если при замене генератора вы подключаете новый прибор самостоятельно, необходимо учесть нюансы:
- вначале следует проверить целостность и надежность контакта провода от кузова машины к корпусу генератора
- затем можно подсоединять клемму Б реле регулятора с «+» генератора
- вместо «скруток», начинающих греться через 1 – 2 года эксплуатации, лучше использовать пайку проводов
- заводской провод нужно заменить кабелем сечения 6 мм2 минимум, если вместо штатного генератора монтируется электроприбор, рассчитанный на ток больше 60 А
- амперметр в цепи генератор/аккумулятор показывает, мощность какого источника электроснабжения в данный момент выше в бортовой сети
Амперметры – нужные приборы, с помощью которых можно определить заряд АКБ и работоспособность генератора.
Без особых причин не рекомендуется убирать их из схемы.
Схемы подключения регулятора выносного
Монтируется выносное реле регулятора напряжения генератора только после выяснения, в разрыв какого провода оно должно быть подключено. Например:
- на старых РАФ, Газелях и «Бычках» используются реле 13.3702 в полимерном или стальном корпусе с двумя контактами и двумя щетками, монтируются в «–» разрыв цепи, клеммы всегда промаркированы, «+» обычно берется с катушки зажигания (Б-ВК клемма), контакт Ш регулятора соединяется со свободной клеммой щеточного узла
- в «жигулях» применяются реле регуляторы 121.3702 белого и черного цвета, существуют двойные модификации, в которых при выходе из строя одного прибора работа второго устройства продолжается простым переключением на него, монтируется в разрыв «+» клеммой 15 к выводу катушки зажигания Б-ВК, к щеточному узлу крепится проводом клемма 67
Встраиваемые реле-регуляторы автолюбители называют «шоколадками», маркированными Я112.
Они монтируются в специальные щеткодержатели, прижимаются винтами и защищаются дополнительно крышкой.
На автомобилях ВАЗ реле обычно встроены в щеточный узел, полная маркировка Я212А11, подключаются к замку зажигания.
Если владелец меняет штатный генератор на старом отечественном ВАЗ на устройство переменного тока от иномарки или современной Лады, подключение производится по другой схеме:
- вопрос крепления корпуса автолюбитель решает самостоятельно
- аналогом клеммы «плюс» здесь служит контакт В или В+, его включают в бортовую сеть через амперметр
- выносные реле регуляторы здесь обычно не используются, а встраиваемые уже интегрированы в щеточный узел, из них выходит единственный провод с маркировкой D либо D+, который подсоединяется к замку зажигания (к клемме катушки Б-ВК)
Для дизельных ДВС в генераторах может присутствовать клемма W, которая присоединяется к тахометру, ее игнорируют при установке на авто с бензиновым мотором.
Проверка подключения
После установки трехуровневого или иного реле-регулятора необходима проверка работоспособности:
- двигатель заводится
- напряжение в бортовой сети контролируется на разных оборотах
После установки генератора переменного тока и подключения его по вышеприведенной схеме владельца может ожидать «сюрприз»:
- при включении ДВС запускается генератор, измеряется напряжение на средних, больших и малых оборотах
- после выключения зажигания ключом …. двигатель продолжает работать
В этом случае заглушить ДВС можно либо сняв провод возбуждения, либо отпустив сцепление с одновременным нажатием тормоза. Все дело в наличии остаточной намагниченности и постоянном самовозбуждении обмотки генератора. Проблема решается установкой в разрыв возбуждающего провода лампочки:
- она горит при незапущенном генераторе
- гаснет после его запуска
- проходящий через лампу ток недостаточен, чтобы возбудить обмотку генератора
Эта лампа автоматически становится индикатором наличия зарядки АКБ.
Диагностика реле регулятора
Определить поломки регулятора напряжения можно по признакам косвенным. Прежде всего, это некорректная зарядка АКБ:
- перезаряд – выкипает электролит, раствор кислоты попадает на детали кузова
- недозаряд – ДВС не запускается, лампы горят в пол накала
Однако предпочтительнее диагностика приборами – вольтметром или тестером. Любое отклонение от максимального значения напряжения 14,5 В (в некоторых авто бортовая сеть рассчитана на 14,8 В) на больших оборотах или минимального значения 12,8 В на малых оборотах становится причиной замены/ремонта реле регулятора.
Встроенного
Чаще всего регулятор напряжения интегрирован в щетки генератора, поэтому необходимо уровневое обследование этого узла:
- после снятия защитной крышки и ослабления винтов щеточный узел извлекается наружу
- при износе щеток (осталось меньше 5 мм их длины) замена должна производится в обязательном порядке
- диагностика генератора мультиметром производится в комплекте с аккумулятором или зарядным устройством
- «минусовой» провод от источника тока замыкается на соответствующую пластину регулятора
- «плюсовой» провод от ЗУ или АКБ подключается к аналогичному разъему реле
- тестер устанавливается в режим вольтметра 0 – 20 В, щупы накладываются на щетки
- в диапазоне 12,8 – 14,5 В между щетками должно быть напряжение
- при увеличении напряжения больше 14,5 В стрелка вольтметра должна быть на нуле
В данном случае вместо вольтметра можно использовать лампу, которая должна гореть в указанном интервале напряжения, гаснуть при увеличении этой характеристики больше этого значения.
Провод, управляющий тахометром (маркировка W только на реле для дизелей) прозванивается мультиметром в режиме тестера. На нем должно быть сопротивление около 10 Ом. При снижении этого значения провод «пробит», его следует заменить новым.
Выносного
Никаких отличий в диагностике для выносного реле не существует, зато его не нужно демонтировать из корпуса генератора. Проверить реле регулятор напряжения генератора можно при работающем двигателе, изменяя обороты с низких на средние, затем высокие. Одновременно с увеличением оборотов нужно включить дальний свет (как минимум), кондиционер, монитор и прочие потребители (как максимум).
Таким образом, при необходимости владелец транспортного средства может заменить штатное реле регулятор напряжения на более современную модификацию встраиваемого или выносного типа. Диагностика работоспособности доступна собственными силами при наличии обычной автомобильной лампы.
Автоматические регуляторы напряжения генераторов | Информация об оборудовании ЛитЭнерго
Каталог
Бренды
Главная » Помощь покупателю » Автоматические регуляторы напряжения генераторов
Дата публикации: 19 апреля 2021
Автоматические регуляторы напряжения (AVR) – устройства, предназначенные для обеспечения стабильных показателей выходного напряжения при изменяющихся нагрузках и условиях эксплуатации.
Они надежно защищают потребителей электроэнергии от скачков напряжения, которые происходят при изменении частоты вращения ротора генератора, температуры окружающей среды, количества потребителей. Регуляторы напряжения всегда присутствуют в конструкциях бесщеточных генераторов.
Назначение
Щеточные генераторы отличаются сложной конструкцией, в которой имеются статор, ротор, угольные щетки. В мощных генераторных установках в основном используются бесщеточные синхронные генераторы (СГ), в которых для запитывания обмотки возбуждения (ОВ) и стабилизации вырабатываемого напряжения ранее применялись различные устройства. Сегодня наиболее популярны электронные автоматические регуляторы.
Автоматический регулятор адаптивно регулирует ток, направляемый в обмотку возбуждения синхронного генератора, благодаря чему на выходе генераторной установки (ГУ) выдается напряжение со стабильными параметрами. Регуляторы AVR также защищают генераторы от перегрузок и минимально допустимого снижения частоты.
Электронные регуляторы позволяют совместно эксплуатировать несколько СГ сходной мощности, соединяемых между собой параллельно.
Автоматический регулятор напряжения AVR в бесщеточных генераторах является одним из наиболее важных компонентов, от качества функционирования которого зависит качество работы всей системы.
Принцип действия AVR
AVR – конструктивно сложный блок, подключаемый к обмотке возбуждения и основной обмотке статора, который обеспечивает качественное функционирование ГУ и запитанных от нее электроприборов, благодаря:
- контролю частоты выходного тока;
- при критически низкой частоте – снижению или полному выключению подачи напряжения на обмотку возбуждения;
- при плановой или аварийной остановке генератора – обесточиванию ОВ.
Критически низким порогом частоты, при котором прекращается питание обмотки возбуждения, в заводских настройках обычно устанавливается значение в 45 Гц.
Нормальное отклонение выходного напряжения от номинального значения – до 5 %.
Автоматический регулятор работает следующим образом – он адаптивно изменяет значение тока (увеличивает его или уменьшает) в обмотке возбуждения, что позволяет:
- стабилизировать величину напряжения на выходе до требуемой величины;
- свести к минимуму колебания параметров тока, вырабатываемого генераторной установкой в рабочем режиме;
- оперативно достигнуть требуемых характеристик тока после запуска генератора;
- перевести генераторную установку с одного рабочего режима на другой с плавным изменением напряжения;
- корректно отключить генератор в нештатной ситуации;
- подключить параллельно к генератору другое энергетическое оборудование.
При сходном принципе работы автоматические регуляторы напряжения, выпущенные разными производителями, существенно отличаются друг от друга внешним и схемотехническим решением.
AVR производят для работы с определенными моделями генераторов или они могут иметь универсальное исполнение. Ранее регуляторы представляли собой автономные устройства, помещаемые в корпус. Сегодня чаще всего их выпускают в виде платы, которая устанавливается в блок возбуждения генератора. Вся электросхема на регуляторе при этом заливается специальной смолой – компаундом, что защищает АРН от выхода из строя от вибрации, а так же защищает его детали от воздействий повышенной влажности и пыли.
Техническая реализация
По своей конструкции AVR разделяют на следующие типы:
- Аналоговые
- Цифровые
Параметры выбора AVR
От правильности выбора модели AVR зависит сохранность электрооборудования, запитанного от генератора, и самой ГУ. При покупке подходящего автоматического регулятора напряжения для конкретной области применения учитывают:
- по числу контролируемых фаз – однофазные и трехфазные.

- максимальное значение тока.
- эксплуатационные условия.
- По напряжению на входе питания.
- По напряжению на выходе возбуждения.
Популярные модели AVR и области их применения
Производители предлагают широкий перечень моделей AVR и их модификаций, используемых в различных областях. Наиболее популярные: — SX460 — SX440 — R438 — R450 — M16FA655A — DSR — BL4U И другие
Что такое автоматический регулятор напряжения?
Что такое автоматический регулятор напряжения (АРН)?
Автоматический регулятор напряжения (АРН) — это устройство, используемое в генераторах с целью автоматического регулирования напряжения, что означает преобразование колеблющихся уровней напряжения в постоянные уровни напряжения. Автоматические регуляторы напряжения (АРН) работают, стабилизируя выходное напряжение генераторов при переменных нагрузках, но также могут делить реактивную нагрузку между генераторами, работающими параллельно (падение напряжения), и помогают генератору реагировать на перегрузки.
Проще говоря, автоматические регуляторы напряжения (АРН) непрерывно берут входные переменные диапазоны напряжения и поддерживают постоянное выходное напряжение при фиксированном напряжении.
Просмотреть бывшие в употреблении генераторы
Почему автоматические регуляторы напряжения (АРН) важны для генераторов?
Нерегулируемые генераторы, т. е. генераторы без автоматического регулятора напряжения (АРН), как правило, не в состоянии в достаточной мере удовлетворить потребности и потребности в электроэнергии для каждого элемента оборудования или устройства, подключенного к генератору. Это связано с тем, что некоторые нерегулируемые генераторы не могут контролировать или регулировать напряжение, поэтому напряжение на клеммах всегда будет продолжать снижаться по мере увеличения требований к нагрузке.
Если напряжение генератора не поддерживается на постоянном фиксированном уровне, это может отрицательно повлиять на общую производительность генератора, и нерегулируемый генератор также может негативно повлиять на любые коммунальные услуги, оборудование или механизмы, которые питаются от генератора.
.
Автоматический регулятор напряжения (АРН) напрямую связан с производительностью и долговечностью вашего генератора, а также с элементами, на которые генератор подает питание, и гарантирует, что выходное напряжение будет соответствовать току нагрузки, даже если колебания были происходить на заднем плане. Это помогает смягчить и даже устранить ущерб, который любые колебания могут нанести приборам, машинам, устройствам и оборудованию.
Каковы функции автоматического регулятора напряжения (АРН)?
Наиболее важной функцией автоматических регуляторов напряжения (АРН) является автоматическое управление напряжением генератора и поддержание постоянной выходной мощности в соответствующем диапазоне уровней напряжения для вашего генератора независимо от тока, потребляемого нагрузкой.
АРН не только помогают отрегулировать напряжение до безопасного уровня, но также могут обеспечить защиту от скачков напряжения, скачков напряжения и перегрузки генератора.
Как уже упоминалось, автоматические регуляторы напряжения (АРН) также помогают генератору реагировать на перегрузки и справляться с ними, чтобы предотвратить короткое замыкание, а также могут распределять реактивную нагрузку между генераторами, работающими параллельно.
Если вы ищете генератор для вашего бизнеса, промышленного применения, таких объектов, как центры обработки данных, больницы, коммерческая недвижимость, промышленная недвижимость или бизнес-недвижимость, обратитесь к нам в Woodstock Power Company!
Позвоните нам или отправьте письмо по электронной почте: 610-658-3242 или по адресу [email protected]
Кроме того, вы можете заполнить нашу контактную форму с любыми вопросами или запросами, и наши представители свяжутся с вами.
Опыт энергетической компании Вудстока
У нас есть отраслевые эксперты, специализирующиеся на коммерческих генераторных установках резервного питания, обладающие глубокими отраслевыми знаниями, которые помогут вам выбрать правильный генератор, соответствующий вашим потребностям.
Мы поставляем генераторы в объекты коммерческой недвижимости, объекты промышленной недвижимости, центры обработки данных, больницы, коммерческие объекты и многое другое!
Наши специалисты готовы помочь вам ответить на любые вопросы, которые могут у вас возникнуть о генераторных установках, чтобы помочь вам найти лучший выбор в нашем ассортименте на основе:
- Требования к пиковой и средней мощности
- Предпочтительное топливо (природный газ или дизельное топливо)
- Портативный и стационарный источник питания
- Требования к основному и резервному генератору
- Доступное пространство и ограничения по выхлопу
Наши специалисты также могут помочь вам обучить вас основным, непрерывным и резервным генераторам электроэнергии, а также найти лучший избыточный, новый или подержанный коммерческий генератор, который наилучшим образом соответствует вашим требованиям.
Мы продаем только самые лучшие новые, бывшие в употреблении и избыточные генераторные установки для продажи, предоставляя вам отличный генератор, который будет соответствовать вашему бюджету.
Наши генераторы прошли тщательную проверку, обслуживание и проверку, что гарантирует, что вы приобретете качественный генератор, на который можно положиться. Если генератор не соответствует отраслевым стандартам, мы производим все необходимые ремонтные работы или модификации и полностью тестируем каждый генератор перед продажей. Это гарантирует полный генератор «под ключ», готовый к запуску и работе!
Благодаря широкому выбору генераторных установок мы уверены, что сможем найти модель, которая наилучшим образом соответствует вашим эксплуатационным потребностям.
Мы также покупаем бывшие в употреблении генераторы хорошего качества, если вы уже модернизировали и хотите продать свою старую модель.
Не стесняйтесь обращаться к нам с любыми вопросами, проблемами или запросами, чтобы узнать больше об опыте Woodstock Power Company и уровне качества продуктов и услуг, которые мы предоставляем.
Подпишитесь на нас в LinkedIn, YouTube, Facebook и Twitter, чтобы узнать больше о коммерческих генераторах!
Поделиться с
АВТОМАТИЧЕСКИЙ РЕГУЛЯТОР НАПРЯЖЕНИЯ | Marine Inbox
Внезапные скачки тока нагрузки (например, из-за запуска двигателя) на генераторе вызывают
соответствующее изменение его выходного напряжения.
Это происходит из-за внутреннего падения напряжения в
обмотка генератора и эффект называется провалом напряжения. Точно так же сброс нагрузки вызовет перенапряжение на шине.
АРН необходим для регулирования/быстрой коррекции таких изменений напряжения. АРН определяет выходное напряжение генератора и изменяет ток возбуждения для поддержания заданного значения напряжения.
АВР поддерживает выходное напряжение генератора + или – 2,5% от его набора значение в диапазоне нагрузки. AVR определяет и изменяет ток возбуждения. Ручной/ручной триммер Регулятор установлен на панели управления генератора для установки уровня напряжения. схема управления современным АРН состоит из трансформаторов, выпрямители, стабилитроны, транзисторы и тиристоры. Они установлены в одной или нескольких цепях либо на распределительном щите, либо на панели генератора.
датчик напряжения
преобразует вниз, выпрямляет и сглаживает выходное напряжение генератора. Это создает низкое напряжение постоянного тока.
сигнализировать о том, что
пропорциональна а.с. напряжение генератора Это фактическое напряжение постоянного тока. сигнал сравнивается с заданным значением постоянного тока.
значение, полученное по ссылке
схема стабилитрона и резисторов.
Затем сигнал ошибки, выдаваемый компаратором, усиливается и становится пригодным для управления тиристорами, регулирующими ток возбуждения. Тиристоры — это устройства, которые выпрямляют и регулируют ток возбуждения генератора.
Статический автоматический регулятор напряжения
- Наличие преобразователя а выпрямленное питание от выхода генератора позволяет сопоставление его непосредственно с электронным эталоном в статическом AVR.
- Постоянный ток, полученный от выход генератора подается на мост, который имеет фиксированное сопротивление на двух плечах и переменные сопротивления на двух других.
- Стабилитрон работает в обратном направлении
режим пробоя, изготовленный с напряжением пробоя стабилитрона очень
низкое значение.
Напряжение остается постоянным после того, как произошел пробой, независимо от
изменение тока. - Это подразумевает изменение применяемого напряжение, хотя и не влияет на напряжение на диоде, вызовет изменение сопротивление, допускающее изменение тока.
- Дисбаланс сопротивлений в Мост Уитстона изменяет схему потока и создает в напряжении измерительный мост сигнал ошибки.
- Сигнал ошибки может быть усилен и используется для управления возбуждением генератора несколькими способами.
- Может управлять углом стрельбы тиристоров через схему запуска, чтобы дать желаемое напряжение в бесщеточный генератор.
- Может использоваться в статических возбужденный генератор для подключения малых ошибок через магнитный усилитель договоренность. Сигнал ошибки также может быть усилен транзисторами в серии, для контроля возбуждения.
Предохранители АРН
- Предохранитель в цепи диода для предотвращения короткого замыкания между фазами при отказе диода.

- Шунтирующий резистор между катушками возбуждения для предотвращения обратного тока.
- Некоторые средства отключения автоматического выключателя в случае короткого замыкания трехфазной конденсаторной батареи.
Назначение AVR
- Лучшее распределение нагрузки стабильность при параллельной работе.
- Быстрое время отклика с стабильность напряжения.
- Повышенное/пониженное напряжение срабатывает сигнализация напряжения.
- АВР определяет выходное напряжение генератора и действует изменить возбуждение так что напряжение генератора поддерживается в пределах + или – 2,5% от его заявленной стоимости.
- Переходный период падение напряжения должно быть в пределах 15% и должно быть восстанавливается в течение 1,5 сек.
- Тип AVR — Ошибка
Функциональный тип
Процесс нарастания напряжения (самостоятельный возбужденный шунтовой генератор)
Напряжение
нарастание – постепенное
повышение напряжения генератора до его макс.
значение после запуска генератора
от отдыха.
Шунтовой генератор работает по принципу самовозбуждения. Если система поля имеет остаточный магнетизм, то вращение якоря будет генерировать небольшую ЭДС. Эта ЭДС вызовет ток возбуждения, который создаст больший поток, который, в свою очередь, вызовет большую ЭДС. Следовательно, больший ток возбуждения, больший поток и ЭДС обеспечивают условия непрерывного нарастания. Напряжение непрерывно растет и становится устойчивым, когда возникает падение напряжения, когда поле становится равным напряжению на клеммах.
Ток возбуждения должен проходить через катушку возбуждения в правильном направлении, чтобы способствовать нарастанию напряжения против остаточного потока.
Состояние необходимое для себя возбуждение
Остаточный магнетизм должен быть достаточным для создания небольшой ЭДС когда якорь вращался с правильной скоростью.
Шунт
Цепь возбуждения должна быть непрерывной и подсоединена таким образом, чтобы ток
вызывают накопление потока, чтобы помочь первоначальному остаточному потоку.
Сопротивление цепи шунтирующего возбуждения должно быть меньше критического сопротивления, определяемого по характеристикам разомкнутой цепи при работе машины на определенной скорости.
Что такое автоматический регулятор напряжения (АРН) для генератора? – PortablePowerGuides
Генераторы часто сильно повреждаются во время скачков напряжения и перегрузок. Кроме того, они подают на автоматические выключатели напряжение, превышающее желаемое, что иногда приводит к повреждению любого используемого оборудования и приборов. Чтобы контролировать такие условия и обеспечить защиту от любых электрических или пожарных опасностей, вам необходимо убедиться, что автоматический регулятор напряжения (АРН) вашего генератора находится в хорошем рабочем состоянии.
АРН — это электронное устройство, которое присутствует в нескольких приборах для предотвращения скачков напряжения. Он также присутствует в генераторе переменного тока. Будучи твердотельным устройством, он регулирует выходное напряжение.
Он устанавливает напряжение на выходных клеммах на фиксированном уровне. АРН срабатывает при изменении нагрузки на генератор и влияет на выходное напряжение.
Каковы функции AVR?
Интересно, что АРН генератора не только регулирует напряжение, но и выполняет различные другие функции.
Генератор переменного тока преобразует механическую энергию в электрическую. Он работает по принципу электромагнитной индукции. Поскольку он производит переменный ток, электрическая энергия не является фиксированной. Таким образом, это может привести к помехам и повреждению проводов, электроприборов и генератора.
Вот где на помощь приходит автоматический регулятор напряжения (АРН)! Он устанавливает выходное напряжение на фиксированное значение, чтобы не было такого повреждения. Вот основные функции АРН в генераторе переменного тока:
Регулирует выходное напряжение
Как уже говорилось, АРН помогает регулировать выходное напряжение, принимая статическое значение, чтобы исключить влияние перегрузки на выходное напряжение.
Таким образом, ваш генератор, проводка и электрическое оборудование остаются в безопасности и защищены от любых электрических или пожарных опасностей.
Регулирует падение напряжения в параллельных генераторах
Помимо регулирования выходного напряжения, АРН также отвечает за поддержание падения напряжения в параллельных/синхронных генераторах.
Обычно параллельно работающий генератор имеет одинаковое напряжение между его параллельными генераторами. Если есть скачок напряжения, может произойти падение выходного напряжения генератора. Это приводит к тому, что один генератор несет большую нагрузку, чем другой.
В результате возникает дисбаланс нагрузки. Генератор, который несет большой ток, скорее всего, отключится.
При наличии АРН вероятность и риск перегрузки сведены к минимуму. Поскольку AVR определяет падение напряжения, это помогает поддерживать выходное напряжение каждого генератора. Таким образом, несмотря на скачки напряжения или внезапные нагрузки, каждый генератор будет оставаться стабильным и выдавать оптимальное напряжение.
Для обнаружения падения напряжения АРН поставляется с комплектом для определения падения напряжения, который известен как ТТ с падением напряжения. Комплект дропа не обязательно имеет фиксированную точку крепления — вы можете прикрепить его к датчику нагрузки, выходному кабелю или амперметру, проходящему через основной кабельный барабан.
Если вы ищете свой комплект дропа, убедитесь, что вы проверили его во всех возможных местах.
Действует как система защиты от напряжения, перегрузки и перегрузки по току
Поскольку генератор является электрическим устройством, он может испытывать различные помехи, такие как высокое напряжение, перегрузка или перегрузка по току.
К счастью, АРН поставляется с защитным возбудителем максимального тока . Когда силовая нагрузка превышает предел генератора, АРН посылает дополнительное напряжение на эту катушку возбудителя перегрузки по току.
Если ток, подаваемый на возбудитель, превышает фиксированную величину АРН, это приводит к отключению электрической цепи АРН и катушки возбудителя.
Таким образом, генератор не будет создавать избыточное напряжение, и вы будете защищены от серьезных повреждений.
Как отрегулировать напряжение генератора с помощью АРН?
Как упоминалось выше, можно отрегулировать напряжение генератора с помощью АРН, чтобы получить необходимое напряжение питания. АРН регулирует выходное напряжение, управляя генератором возбуждения, вырабатываемым в катушке возбудителя.
АРН может использоваться для средней частоты 60/50 Гц для одиночных или параллельных генераторов, а также генераторов, работающих на более высокой частоте 400 Гц. Он позволяет вам регулировать напряжение, но вы должны следовать правильным шагам:
- Осторожно снимите крышку генератора.
- В направлении на 7 часов вы увидите устройство в форме почки; это АВР. Он должен быть закреплен на месте с помощью болтов, поэтому вам нужно будет удалить болты.
- Не прикасайтесь к проводке и не отсоединяйте ее при откручивании болтов.
Переверните ресивер задней стороной к себе. - Скорее всего, оторвется круглый элемент, известный как конденсатор. Вы сможете найти небольшую прямоугольную коробку, удерживаемую ювелирным винтом; это винт регулировки напряжения AVR.
- Возьмите отвертку с плоской головкой. Поверните винт по часовой стрелке, чтобы уменьшить выходное напряжение. Продолжайте смотреть на вольтметр, чтобы узнать, когда вы достигнете желаемого выходного напряжения.
- Если у вас генератор большей мощности, скажем, 5000 Вт+, отрегулируйте винт на 250 вольт. Однако для небольших блоков напряжение должно быть установлено на 120 вольт.
Если вы по-прежнему не можете отрегулировать выходное напряжение, это, скорее всего, связано с отсутствием опыта с вашей стороны или неисправен ваш AVR. В этом случае вам нужно нанять специалиста, который разберется в этом вопросе.
Меры предосторожности
Помните, что регулировка напряжения несложная, но необходимо соблюдать меры предосторожности, такие как:
- Прочтите руководство по эксплуатации, чтобы узнать, где находится АРН и как получить к нему доступ.

- Всегда останавливайте двигатель и отсоединяйте провод свечи зажигания перед выполнением каких-либо регулировок.
- Убедитесь, что двигатель полностью остыл, чтобы не обжечься.
- Держите подальше любые горящие предметы, например, сигареты.
Каков принцип работы AVR?
Принцип работы АРН зависит от типа системы возбуждения генератора.
Как правило, существует два типа систем возбуждения:
- С самовозбуждением
- С возбуждением от PMG (генератор на постоянных магнитах)
постоянные магниты, тогда как самовозбуждающаяся система — нет.
Генераторная система с возбуждением от PMG лучше, чем система с самовозбуждением, поскольку она обеспечивает относительно стабильное напряжение на катушке возбудителя.
Генераторная система с самовозбуждением
Принцип работы АРН для генераторной системы с самовозбуждением описан ниже:
- АРН получает выходное напряжение от основной катушки и посылает его на катушку возбудителя в качестве источника питания.
В то же время АРН также получает напряжение от основного валка и использует его в качестве датчика того, какое напряжение нужно генерировать. - Величина напряжения на валке возбудителя затем регулируется в соответствии с выходным напряжением, которое генератор AVR получает от основного вала.
- Если выходное напряжение меньше требуемого напряжения, АРН подает большее напряжение на катушку возбудителя. Когда напряжение в основной катушке достигает требуемой величины, АРН ограничивает подачу напряжения на вал возбудителя.
Таким образом, чем выше напряжение в катушке возбудителя, тем выше мощность генератора .
Генераторная система с возбуждением от PMG
Генераторная система с возбуждением от PMG работает по тому же принципу, что и генераторная система с самовозбуждением. Единственное отличие состоит в том, что система с возбуждением от ГПМ состоит из двух частей:
- Ротор ГПМ
- Статор ГПМ
Итак, вот как это работает:
- катушка возбуждения.
Здесь величина напряжения либо фиксирована, либо зависит от скорости вращения генератора. - В то время как генератор с самовозбуждением вырабатывает собственное электричество с помощью катушки возбудителя для подачи на ротор, генераторы с возбуждением от PMG используют PMG для подачи напряжения.
Чаще всего генераторы переменного тока оснащены защитой от сбоя возбуждения. При отказе АРН срабатывает эта защита, и генератор отключается, не вызывая повреждений.
Если АРН выходит из строя или отключается, генератор продолжает получать реактивную мощность и продолжает работать, хотя и на более высокой скорости, чем его синхронная скорость — это может привести к серьезному повреждению.
В этом случае имеются двукратные задержки:
- Если сбой в выработке напряжения связан с меньшей подачей полученного напряжения, АРН не может поддерживать напряжение, и поэтому генератор сразу отключается.
- Если АРН неисправен и нет пониженного или повышенного напряжения, будет задержка от 1 до 2 секунд.
В большинстве случаев AVR восстанавливается после сбоя.
Как обнаружить неисправный AVR в генераторе?
Все АРН поставляются с регулировочным винтом, который можно использовать для установки предела напряжения и регулировки выходного напряжения.
Эксперты используют процесс исключения, чтобы выяснить, не виноват ли AVR. Вот как это происходит:
- Проверьте главный автоматический выключатель генератора
- Если выключатели работают нормально, проверьте проводку в электрическом щите и проводку, соединяющую выключатель со статором.
- Если провода исправны, следует заглянуть в регулировочный винт АРН. Убедитесь, что он установлен в правильном положении/пределе.
- Если установлен правильный выход, перейти к роторным щеткам. Они должны соприкасаться с ротором и нормально работать.
- Далее проверьте статор. Если статор не производит энергию, ваш AVR не неисправен.
Однако, если он производит питание, возможно, ваш AVR вышел из строя и, следовательно, нуждается в замене.
Как заменить АРН генератора?
Замена АРН генератора — единственное решение, если он выйдет из строя. Это небольшое устройство, расположенное рядом с угольными щетками в левом нижнем углу головки вашего генератора.
Чтобы заменить АРН вашего генератора, выполните следующие действия:
Найдите угольные щетки
Осторожно снимите крышку. В центре этого отсека вы найдете держатель угольной щетки. Отсоедините положительный и отрицательный провода от клемм. Вы также можете удалить винты, чтобы выяснить, связана ли проблема с угольными щетками или регулятором.
Если угольные щетки подверглись коррозии и застряли в одном и том же положении (вероятно, вниз), то, вероятно, проблема связана с угольными щетками. Однако, если они в хорошем рабочем состоянии, переходите к следующему шагу.
Открутите регулятор напряжения
Найдя регулятор напряжения, открутите его винты. Отсоедините быстроразъемный разъем с правой стороны, чтобы освободить регулятор.
Прикрепите новый регулятор
На следующем шаге прикрепите новый регулятор к быстроразъемному разъему. Прикрутите его на место и соедините положительный и отрицательный провода угольных щеток. Помните, позитив всегда идет налево. Следуйте за ним, завинчивая головку крышки.
Готово!
Заменить АРН вашего генератора очень просто. Тем не менее, убедитесь, что вы делаете правильные шаги. Обычно все генераторы, независимо от их формы и размера, имеют одинаковый процесс сборки. Все же лучше заглянуть в руководство пользователя, чтобы ознакомиться с нужным расположением.
Предлагаем посмотреть обучающее видео, чтобы лучше понять, где находится регулятор, как отсоединить быстроразъемный разъем и вставить новый регулятор.
Что ж, не о чем беспокоиться, если ваш AVR выйдет из строя.




Напряжение остается постоянным после того, как произошел пробой, независимо от
изменение тока.
Переверните ресивер задней стороной к себе.
В то же время АРН также получает напряжение от основного валка и использует его в качестве датчика того, какое напряжение нужно генерировать.
Здесь величина напряжения либо фиксирована, либо зависит от скорости вращения генератора.
В большинстве случаев AVR восстанавливается после сбоя.
Однако, если он производит питание, возможно, ваш AVR вышел из строя и, следовательно, нуждается в замене.