Π Π΅ΠΌΠΎΠ½Ρ ΠΈ ΠΈΡΠΏΡΡΠ°Π½ΠΈΠ΅ ΡΠΎΡΠΌΠΎΠ·Π½ΠΎΠ³ΠΎ ΠΎΠ±ΠΎΡΡΠ΄ΠΎΠ²Π°Π½ΠΈΡ
- ΠΠΎΠ΄ΡΠΎΠ±Π½ΠΎΡΡΠΈ
- ΠΠ°ΡΠ΅Π³ΠΎΡΠΈΡ: ΠΠΎΠ΄Π²ΠΈΠΆΠ½ΠΎΠΉ ΡΠΎΡΡΠ°Π²
- ΡΠ΅ΠΌΠΎΠ½Ρ
- ΡΠΎΡΠΌΠΎΠ·Π°
Π‘ΠΎΠ΄Π΅ΡΠΆΠ°Π½ΠΈΠ΅ ΠΌΠ°ΡΠ΅ΡΠΈΠ°Π»Π°
- Π Π΅ΠΌΠΎΠ½Ρ ΠΈ ΠΈΡΠΏΡΡΠ°Π½ΠΈΠ΅ ΡΠΎΡΠΌΠΎΠ·Π½ΠΎΠ³ΠΎ ΠΎΠ±ΠΎΡΡΠ΄ΠΎΠ²Π°Π½ΠΈΡ
- ΠΡΠΏΡΡΠ°Π½ΠΈΠ΅ ΡΠΎΡΠΌΠΎΠ·Π½ΠΎΠ³ΠΎ ΠΎΠ±ΠΎΡΡΠ΄ΠΎΠ²Π°Π½ΠΈΡ ΠΏΠΎΡΠ»Π΅ ΡΠ΅ΠΌΠΎΠ½ΡΠ°
Π‘ΡΡΠ°Π½ΠΈΡΠ° 1 ΠΈΠ· 2
ΠΠΈΠ΄Ρ ΠΈ ΡΡΠΎΠΊΠΈ ΡΠ΅ΠΌΠΎΠ½ΡΠΎΠ²
ΠΠ»Ρ ΡΡΡΡΠ°Π½Π΅Π½ΠΈΡ Π½Π°Π½ΠΎΡΠΎΠ² ΡΡΡΡΠΈΡ
ΡΡ ΠΏΠ°Ρ, ΠΏΡΠ΅Π΄ΡΠΏΡΠ΅ΠΆΠ΄Π΅Π½ΠΈΡ Π²ΠΎΠ·ΠΌΠΎΠΆΠ½ΠΎΠ³ΠΎ ΠΎΡΠΊΠ°Π·Π° ΠΏΡΠΈΠ±ΠΎΡΠΎΠ² Π² ΡΠ°Π±ΠΎΡΠ΅ ΠΈ ΠΎΠ±Π΅ΡΠΏΠ΅ΡΠ΅Π½ΠΈΡ Π½Π°Π΄Π΅ΠΆΠ½ΠΎΠΉ ΠΈ Π±Π΅Π·ΠΎΡΠΊΠ°Π·Π½ΠΎΠΉ ΠΈΡ
ΡΠ°Π±ΠΎΡΡ Π² ΡΠΊΡΠΏΠ»ΡΠ°ΡΠ°ΡΠΈΠΈ Π² ΡΠ΅ΡΠ΅Π½ΠΈΠ΅ ΡΡΡΠ°Π½ΠΎΠ²Π»Π΅Π½Π½ΠΎΠ³ΠΎ ΡΡΠΎΠΊΠ° ΠΏΡΠΈΠ½ΡΡΠ° ΡΠΈΡΡΠ΅ΠΌΠ° ΠΏΠ»Π°Π½ΠΎΠ²ΠΎ ΠΏΡΠ΅Π΄ΡΠΏΡΠ΅Π΄ΠΈΡΠ΅Π»ΡΠ½ΠΎΠ³ΠΎ ΡΠ΅ΠΌΠΎΠ½ΡΠ° ΡΠΎΡΠΌΠΎΠ·Π½ΠΎΠ³ΠΎ ΠΎΠ±ΠΎΡΡΠ΄ΠΎΠ²Π°Π½ΠΈΡ Π Π΅ΠΌΠΎΠ½Ρ ΡΠΎΡΠΌΠΎΠ·Π½ΠΎΠ³ΠΎ ΠΎΠ±ΠΎΡΡΠ΄ΠΎΠ²Π°Π½ΠΈΡ ΠΏΡΠΎΠΈΠ·Π²ΠΎΠ΄ΡΡ ΠΏΡΠΈ Π²ΡΠ΅Ρ
Π²ΠΈΠ΄Π°Ρ
ΠΏΠ»Π°Π½ΠΎΠ²ΠΎΠ³ΠΎ ΡΠ΅ΠΌΠΎΠ½ΡΠ° ΠΏΠΎΠ΄Π²ΠΈΠΆΠ½ΠΎΠ³ΠΎ ΡΠΎΡΡΠ°Π²Π°
ΠΠ΅ΠΉΡΡΠ²ΡΡΡΠΈΠ΅ ΡΠ΅Ρ
Π½ΠΈΡΠ΅ΡΠΊΠΈΠ΅ ΡΡΠ»ΠΎΠ²ΠΈΡ ΠΈ ΡΡΠ°Π½Π΄Π°ΡΡΡ Π½Π° ΠΏΡΠΈΠ±ΠΎΡΡ Π°Π²ΡΠΎΠΌΠ°ΡΠΈΡΠ΅ΡΠΊΠΈΡ
ΡΠΎΡΠΌΠΎΠ·ΠΎΠ² ΠΈ ΡΡΠ΅Π½Π΄ΠΎΠ² Π΄Π»Ρ ΠΈΡ
ΠΈΡΠΏΡΡΠ°Π½ΠΈΡ ΠΏΡΠΈΠ²Π΅Π΄Π΅Π½Ρ Π² ΠΏΡΠΈΠ»ΠΎΠΆΠ΅Π½ΠΈΡΡ
3 ΠΈ 4
Π’Π°Π±Π»ΠΈΡΠ° 215. Π Π΅ΠΌΠΎΠ½Ρ ΡΠΎΡΠΌΠΎΠ·Π½ΠΎΠ³ΠΎ ΠΎΠ±ΠΎΡΡΠ΄ΠΎΠ²Π°Π½ΠΈΡ Π²Π°Π³ΠΎΠ½ΠΎΠ²
ΠΠΈΠ΄ ΡΠ΅ΠΌΠΎΠ½ΡΠ° | ΠΠ΄Π΅ ΠΈ ΠΊΠΎΠ³Π΄Π° ΠΏΡΠΎΠΈΠ·Π²ΠΎΠ΄ΠΈΡΡΡ ΡΠ΅ΠΌΠΎΠ½Ρ | Π’Π΅Ρ Π½ΠΈΡΠ΅ΡΠΊΠΈΠ΅ ΡΡΠ΅Π±ΠΎΠ²Π°Π½ΠΈΡ |
Π’Π΅Ρ Π½ΠΈΡΠ΅ΡΠΊΠΎΠ΅ ΠΎΠ±ΡΠ»ΡΠΆΠΈΠ²Π°Π½ΠΈΠ΅ | Π ΡΠΎΡΡΠ°Π²Π°Ρ Π² ΡΡΠ»ΠΎΠ²ΠΈΡΡ ΡΠΊΡΠΏΠ»ΡΠ°ΡΠ°ΡΠΈΠΈ Π½Π° ΠΏΡΠ½ΠΊΡΠ°Ρ ΡΠ΅Ρ Π½ΠΈΡΠ΅ΡΠΊΠΎΠ³ΠΎ ΠΎΠ±ΡΠ»ΡΠΆΠΈΠ²Π°Π½ΠΈΡ (ΠΠ’Π) ΠΏΡΠΈ ΠΏΠΎΠ΄Π³ΠΎΡΠΎΠ²ΠΊΠ΅ Π²Π°Π³ΠΎΠ½ΠΎΠ² ΠΊ ΡΠ΅ΠΉΡΡ, Π½Π° ΠΌΠ΅Ρ Π°Π½ΠΈΠ·ΠΈΡΠΎΠ²Π°Π½Π½ΡΡ ΠΏΡΠ½ΠΊΡΠ°Ρ ΠΈ ΡΠΏΠ΅ΡΠΈΠ°Π»ΡΠ½ΠΎ Π²ΡΠ΄Π΅Π»Π΅Π½Π½ΡΡ ΠΏΡΡΡΡ | Π ΡΠΎΠΎΡΠ²Π΅ΡΡΡΠ²ΠΈΠΈ Ρ ΠΠ½ΡΡΡΡΠΊΡΠΈΠ΅ΠΉ ΠΏΠΎ ΡΠΊΡΠΏΠ»ΡΠ°ΡΠ°ΡΠΈΠΈ ΡΠΎΡΠΌΠΎΠ·ΠΎΠ² ΠΈ Π’Π΅Ρ Π½ΠΈΡΠ΅ΡΠΊΠΎΠΌΡ ΡΠΊΠ°Π·Π°Π½ΠΈΡ ΠΏΠΎ ΠΎΠ·Π΄ΠΎΡΠΎΠ²ΠΈΡΠ΅Π»ΡΠ½ΠΎΠΌΡ ΡΠ΅ΠΌΠΎΠ½ΡΡ |
Π’Π΅ΠΊΡΡΠΈΠΉ (Π³ΡΡΠ·ΠΎΠ²ΡΠ΅ ΠΈ | ΠΡΠΈ ΠΎΡΡΠ΅ΠΏΠΊΠ΅ Π²Π°Π³ΠΎΠ½Π° ΠΎΡ ΠΏΠΎΠ΅Π·Π΄Π° Π½Π΅Π·Π°Π²ΠΈΡΠΈΠΌΠΎ ΠΎΡ ΠΏΡΠΈΡΠΈΠ½ ΠΎΡΡΠ΅ΠΏΠΊΠΈ | ΠΠ±ΡΠ΅ΠΌ ΡΠ΅ΠΌΠΎΠ½ΡΠ° Π² ΡΠΎΠΎΡΠ²Π΅ΡΡΡΠ²ΠΈΠΈ Ρ ΠΠ½ΡΡΡΡΠΊΡΠΈΠ΅ΠΉ Π¦Π/4024 |
Π Π΅Π²ΠΈΠ·ΠΈΡ (ΡΠΎΠ»ΡΠΊΠΎ ΠΏΠ°ΡΡΠ°ΠΆΠΈΡΡΠΊΠΈΠ΅ Π²Π°Π³ΠΎΠ½Ρ) | ΠΡΠΈ Π΅Π΄ΠΈΠ½ΠΎΠΉ ΡΠ΅Ρ
Π½ΠΈΡΠ΅ΡΠΊΠΎΠΉ | ΠΠ±ΡΠ΅ΠΌ ΡΠ°Π±ΠΎΡ Π² ΡΠΎΠΎΡΠ²Π΅ΡΡΡΠ²ΠΈΠΈ Ρ ΠΠ½ΡΡΡΡΠΊΡΠΈΠ΅ΠΉ Π¦Π/4024 Π Π΅Π·ΡΠ»ΡΡΠ°ΡΡ ΡΠ΅Π²ΠΈΠ·ΠΈΠΈ Π·Π°ΠΏΠΈΡΡΠ²Π°ΡΡ Π² ΠΊΠ½ΠΈΠ³Ρ ΡΠΎΡΠΌΡ ΠΠ£-68 |
ΠΠ΅ΠΏΠΎΠ²ΡΠΊΠΎΠΉ, ΠΊΠ°ΠΏΠΈΡΠ°Π»ΡΠ½ΡΠ΅ ΠΠ -1 ΠΈ ΠΠ -2 | ΠΠ° Π·Π°Π²ΠΎΠ΄Π°Ρ , Π² Π΄Π΅ΠΏΠΎ | Π ΡΠΎΠΎΡΠ²Π΅ΡΡΡΠ²ΠΈΠΈ Ρ ΠΠ½ΡΡΡΡΠΊΡΠΈΠ΅ΠΉ Π¦Π/4024 |
Π’Π°Π±Π»ΠΈΡΠ° 216.
Π Π΅ΠΌΠΎΠ½Ρ ΡΠΎΡΠΌΠΎΠ·Π½ΠΎΠ³ΠΎ ΠΎΠ±ΠΎΡΡΠ΄ΠΎΠ²Π°Π½ΠΈΡ Π»ΠΎΠΊΠΎΠΌΠΎΡΠΈΠ²ΠΎΠ² ΠΈ ΠΌΠΎΡΠΎΡΠ²Π°Π³ΠΎΠ½Π½ΠΎΠ³ΠΎ ΠΏΠΎΠ΄Π²ΠΈΠΆΠ½ΠΎΠ³ΠΎ ΡΠΎΡΡΠ°Π²Π°
ΠΠ½Π΄ ΡΠ΅ΠΌΠΎΠ½ΡΠ° | ΠΠ΄Π΅ ΠΈ ΠΊΠΎΠ³Π΄Π° ΠΏΡΠΎΠΈΠ·Π²ΠΎΠ΄ΠΈΡΡΡ ΡΠ΅ΠΌΠΎΠ½Ρ | Π’Π΅Ρ Π½ΠΈΡΠ΅ΡΠΊΠΈΠ΅ ΡΡΠ΅Π±ΠΎΠ²Π°Π½ΠΈΡ |
Π’Π΅Ρ Π½ΠΈΡΠ΅ΡΠΊΠΎΠ΅ ΠΎΠ±ΡΠ»ΡΠΆΠΈΠ²Π°Π½ΠΈΠ΅ | ΠΡΠΈ ΡΠ΅Ρ Π½ΠΈΡΠ΅ΡΠΊΠΈΡ ΠΎΠ±ΡΠ»ΡΠΆΠΈΠ²Π°Π½ΠΈΡΡ Π’Π-1, Π’Π-2, Π’Π-3 Π»ΠΎΠΊΠΎΠΌΠΎΡΠΈΠ²ΠΎΠ² ΠΈ ΠΌΠΎΡΠΎΡΠ²Π°Π³ΠΎΠ½Π½ΠΎΠ³ΠΎ ΠΏΠΎΠ΄Π²ΠΈΠΆΠ½ΠΎΠ³ΠΎ ΡΠΎΡΡΠ°Π²Π°. ΠΡΠΈ Π’Π-1 Π²ΡΠΏΠΎΠ»Π½ΡΠ΅ΡΡΡ Π»ΠΎΠΊΠΎΠΌΠΎΡΠΈΠ²Π½ΡΠΌΠΈ Π±ΡΠΈΠ³Π°Π΄Π°ΠΌΠΈ, ΠΏΡΠΈ Π’Π-2 β ΡΠ»Π΅ΡΠ°ΡΡΠΌΠΈ Π² ΠΠ’Π Π»ΠΎΠΊΠΎΠΌΠΎΡΠΈΠ²ΠΎΠ², ΠΏΡΠΈ Π’Π-3 β ΡΠ»Π΅ΡΠ°ΡΡΠΌΠΈ Π² Π»ΠΎΠΊΠΎΠΌΠΎΡΠΈΠ²Π½ΡΡ Π΄Π΅ΠΏΠΎ | ΠΡΠΌΠΎΡΡ ΡΠΎΡΡΠΎΡΠ½ΠΈΡ, ΡΠ΅Π³ΡΠ»ΠΈΡΠΎΠ²ΠΊΠ° ΠΈ ΠΈΡΠΏΡΡΠ°Π½ΠΈΠ΅ ΡΠΎΡΠΌΠΎΠ·Π½ΠΎΠ³ΠΎ ΠΎΠ±ΠΎΡΡΠ΄ΠΎΠ²Π°Π½ΠΈΡ, Π³Π°ΡΠ°Π½ΡΠΈΡΡΡΡΠ΅Π΅ Π΅Π³ΠΎ ΡΠ°Π±ΠΎΡΠΎΡΠΏΠΎΡΠΎΠ±Π½ΠΎΡΡΡ ΠΌΠ΅ΠΆΠ΄Ρ ΡΠΎΠΎΡΠ²Π΅ΡΡΡΠ²ΡΡΡΠΈΠΌΠΈ Π²ΠΈΠ΄Π°ΠΌΠΈ Π’Π ΠΠ±ΡΠ΅ΠΌ ΡΠ°Π±ΠΎΡ Π² ΡΠΎΠΎΡΠ²Π΅ΡΡΡΠ²ΠΈΠΈ Ρ ΠΠ½ΡΡΡΡΠΊΡΠΈΠ΅ΠΉ Π¦Π’-3549 |
Π’Π΅ΠΊΡΡΠΈΠΉ | ΠΡΠΈ ΡΠ΅ΠΊΡΡΠΈΡ ΡΠ΅ΠΌΠΎΠ½ΡΠ°Ρ Π’Π -1, Π’Π -2, Π’Π -3 Π»ΠΎΠΊΠΎΠΌΠΎΡΠΈΠ²ΠΎΠ² ΠΈ ΠΌΠΎΡΠΎΡΠ²Π°Π³ΠΎΠ½Π½ΠΎΠ³ΠΎ ΠΏΠΎΠ΄Π²ΠΈΠΆΠ½ΠΎΠ³ΠΎ ΡΠΎΡΡΠ°Π²Π° ΠΡΠΏΠΎΠ»Π½ΡΠ΅ΡΡΡ ΡΠ»Π΅ΡΠ°ΡΡΠΌΠΈ Π² Π»ΠΎΠΊΠΎΠΌΠΎΡΠΈΠ²Π½ΡΡ Π΄Π΅ΠΏΠΎ | Π Π΅Π²ΠΈΠ·ΠΈΡ ΡΠΎΡΠΌΠΎΠ·Π½ΠΎΠ³ΠΎ ΠΎΠ±ΠΎΡΡΠ΄ΠΎΠ²Π°Π½ΠΈΡ, Π·Π°ΠΌΠ΅Π½Π° ΠΈΠ»ΠΈ Π²ΠΎΡΡΡΠ°Π½ΠΎΠ²Π»Π΅Π½ΠΈΠ΅ ΡΠ·Π»ΠΎΠ² ΠΈ Π΄Π΅ΡΠ°Π»Π΅ΠΉ ΠΏΠΎ ΡΠ΅ΠΌΠΎΠ½ΡΠ½ΡΠΌ Π½ΠΎΡΠΌΠ°ΠΌ ΠΈ Π΄ΠΎΠΏΡΡΠΊΠ°ΠΌ, ΠΈΡΠΏΡΡΠ°Π½ΠΈΠ΅ ΠΈ ΡΠ΅Π³ΡΠ»ΠΈΡΠΎΠ²ΠΊΠ° Π² ΠΎΠ±ΡΠ΅ΠΌΠ΅, ΡΡΡΠ°Π½ΠΎΠ²Π»Π΅Π½Π½ΠΎΠΌ ΠΠ½ΡΡΡΡΠΊΡΠΈΠ΅ΠΉ Π¦Π’/3549 |
ΠΠ°ΠΏΠΈΡΠ°Π»ΡΠ½ΡΠΉ | ΠΡΠΈ ΠΊΠ°ΠΏΠΈΡΠ°Π»ΡΠ½ΡΡ ΡΠ΅ΠΌΠΎΠ½ΡΠ°Ρ ΠΠ -1 ΠΈ ΠΠ -2 Π»ΠΎΠΊΠΎΠΌΠΎΡΠΈΠ²ΠΎΠ² ΠΈ ΠΌΠΎΡΠΎΡΠ²Π°Π³ΠΎΠ½Π½ΠΎΠ³ΠΎ ΠΏΠΎΠ΄Π²ΠΈΠΆΠ½ΠΎΠ³ΠΎ ΡΠΎΡΡΠ°Π²Π° Π½Π° Π»ΠΎΠΊΠΎΠΌΠΎΡΠΈΠ²ΠΎ-ΡΠ΅ΠΌΠΎΠ½ΡΠ½ΡΡ Π·Π°Π²ΠΎΠ΄Π°Ρ | ΠΠ°ΠΌΠ΅Π½Π° ΠΏΠΎΠ²ΡΠ΅ΠΆΠ΄Π΅Π½Π½ΡΡ ΠΈ ΠΈΠ·Π½ΠΎΡΠ΅Π½Π½ΡΡ ΡΠ·Π»ΠΎΠ² ΠΈ Π΄Π΅ΡΠ°Π»Π΅ΠΉ ΡΠΎΡΠΌΠΎΠ·Π½ΠΎΠ³ΠΎ ΠΎΠ±ΠΎΡΡΠ΄ΠΎΠ²Π°Π½ΠΈΡ Π½ΠΎΠ²ΡΠΌΠΈ, Π²ΠΎΡΡΡΠ°Π½ΠΎΠ²Π»Π΅Π½ΠΈΠ΅ Π΄Π΅ΡΠ°Π»Π΅ΠΉ Π² ΡΠΎΠΎΡΠ²Π΅ΡΡΡΠ²ΠΈΠΈ Ρ ΡΠ΅Ρ Π½ΠΈΡΠ΅ΡΠΊΠΈΠΌΠΈ ΡΡΠ΅Π±ΠΎΠ²Π°Π½ΠΈΡΠΌΠΈ ΡΠ΅ΡΡΠ΅ΠΆΠ΅ΠΉ Π Π΅ΠΌΠΎΠ½Ρ Π΄Π»Ρ Π²ΠΎΡΡΡΠ°Π½ΠΎΠ²Π»Π΅Π½ΠΈΡ ΠΏΠΎΠ»Π½ΠΎΠ³ΠΎ ΠΈΠ»ΠΈ Π±Π»ΠΈΠ·ΠΊΠΎΠ³ΠΎ ΠΊ ΠΏΠΎΠ»Π½ΠΎΠΌΡ ΡΠ΅ΡΡΡΡΡ |
- ΠΠΏΠ΅ΡΡΠ΄
- ΠΠ°Π·Π°Π΄
- ΠΠΏΠ΅ΡΡΠ΄
ΠΠ»ΠΈΠ·ΠΊΠΈΠ΅ ΠΏΡΠ±Π»ΠΈΠΊΠ°ΡΠΈΠΈ:
- ΠΠ°ΠΏΠ°ΡΠ½ΡΠ΅ ΡΠ°ΡΡΠΈ Π΄Π»Ρ ΡΠ΅ΠΌΠΎΠ½ΡΠ° ΡΠΎΡΠΌΠΎΠ·Π½ΠΎΠ³ΠΎ ΠΎΠ±ΠΎΡΡΠ΄ΠΎΠ²Π°Π½ΠΈΡ
- ΠΠ²ΡΠΎΠΌΠ°ΡΠΈΡΠ΅ΡΠΊΠΈΠ΅ ΡΠ΅Π³ΡΠ»ΡΡΠΎΡΡ ΡΠΎΡΠΌΠΎΠ·Π½ΠΎΠΉ ΠΏΠ΅ΡΠ΅Π΄Π°ΡΠΈ
- ΠΠ²ΡΠΎΡΠ΅Π³ΡΠ»ΡΡΠΎΡΡ ΠΎΠ΄Π½ΠΎΡΡΠΎΡΠΎΠ½Π½Π΅Π³ΠΎ Π΄Π΅ΠΉΡΡΠ²ΠΈΡ
- Wabtec ΠΏΠΎΠ»ΡΡΠΈΠ»Π° ΡΠ΅ΡΡΠΈΡΠΈΠΊΠ°Ρ Π½Π° ΡΠ΅Ρ Π½ΠΎΠ»ΠΎΠ³ΠΈΡ Π°Π΄Π°ΠΏΡΠΈΠ²Π½ΠΎΠΉ Π·Π°ΡΠΈΡΡ ΠΊΠΎΠ»Π΅Ρ ΠΎΡ ΠΏΡΠΎΡΠΊΠ°Π»ΡΠ·ΡΠ²Π°Π½ΠΈΡ
- ΠΠ°Π³ΠΎΠ½Π½ΡΠ΅ Π΄Π΅ΠΏΠΎ Π΄Π»Ρ Π³ΡΡΠ·ΠΎΠ²ΡΡ Π²Π°Π³ΠΎΠ½ΠΎΠ²
Β© 2009-2023 — lokomo.
ru, ΠΆΠ΅Π»Π΅Π·Π½ΡΠ΅ Π΄ΠΎΡΠΎΠ³ΠΈ.
Π Π΅ΠΌΠΎΠ½Ρ ΡΠΎΡΠΌΠΎΠ·Π½ΠΎΠ³ΠΎ ΡΠΈΠ»ΠΈΠ½Π΄ΡΠ° Π³ΡΡΠ·ΠΎΠ²ΠΎΠ³ΠΎ Π²Π°Π³ΠΎΠ½Π°, ΡΠ΅Ρ ΠΏΡΠΎΡΠ΅ΡΡ Π½Π° Vagonmaster
Π’ΠΎΡΠΌΠΎΠ·Π½Π°Ρ ΡΠΈΡΡΠ΅ΠΌΠ° Π³ΡΡΠ·ΠΎΠ²ΡΡ Π²Π°Π³ΠΎΠ½ΠΎΠ² Π΄ΠΎΠ»ΠΆΠ½Π° Π±ΡΡΡ ΡΡΡΠ΅ΠΊΡΠΈΠ²Π½ΠΎΠΉ, ΡΡΠΎΠ±Ρ ΠΎΠ±Π΅ΡΠΏΠ΅ΡΠΈΠ²Π°ΡΡ ΠΎΡΡΠ°Π½ΠΎΠ²ΠΊΡ ΠΏΠΎΠ΅Π·Π΄Π° Π² ΠΏΡΠ΅Π΄Π΅Π»Π°Ρ Π½ΠΎΡΠΌΠ°ΡΠΈΠ²Π½ΠΎΠ³ΠΎ ΡΠΎΡΠΌΠΎΠ·Π½ΠΎΠ³ΠΎ ΠΏΡΡΠΈ. ΠΠ΄Π½Π°ΠΊΠΎ ΠΏΡΠΈ ΠΈΠ½ΡΠ΅Π½ΡΠΈΠ²Π½ΠΎΠΉ ΡΠΊΡΠΏΠ»ΡΠ°ΡΠ°ΡΠΈΠΈ ΠΆΠ΅Π»Π΅Π·Π½ΠΎΠ΄ΠΎΡΠΎΠΆΠ½ΡΡ Π²Π°Π³ΠΎΠ½ΠΎΠ² Π½Π°Π±Π»ΡΠ΄Π°Π΅ΡΡΡ ΠΈΠ·Π½ΠΎΡ ΡΠΎΡΠΌΠΎΠ·Π½ΡΡ ΠΌΠ΅Ρ Π°Π½ΠΈΠ·ΠΌΠΎΠ², ΠΏΠΎΡΡΠΎΠΌΡ ΠΎΠ½ΠΈ Π½ΡΠΆΠ΄Π°ΡΡΡΡ Π² ΡΠ΅ΠΌΠΎΠ½ΡΠ΅. ΠΡΠΈ ΡΡΠΎΠΌ Π³Π»Π°Π²Π½Π°Ρ Π·Π°Π΄Π°ΡΠ° β ΡΡΡΡΠ°Π½ΠΈΡΡ ΠΈΠ·Π½ΠΎΡΠΈΠ²ΡΠΈΠ΅ΡΡ ΡΡΡΡΠΈΠ΅ΡΡ ΠΏΠ°ΡΡ Π² Π²Π°Π³ΠΎΠ½Π°Ρ , Π° ΡΠ°ΠΊΠΆΠ΅ ΠΏΡΠ΅Π΄ΡΠΏΡΠ΅Π΄ΠΈΡΡ Π²ΠΎΠ·ΠΌΠΎΠΆΠ½ΠΎΡΡΡ ΠΏΠΎΠ»ΠΎΠΌΠΊΠΈ ΡΠΎΡΠΌΠΎΠ·Π½ΡΡ ΡΡΡΡΠΎΠΉΡΡΠ² Π²ΠΎ Π²ΡΠ΅ΠΌΡ ΡΠ°Π±ΠΎΡΡ. ΠΠ»Π°Π³ΠΎΠ΄Π°ΡΡ ΡΡΠΎΠΌΡ ΠΌΠΎΠΆΠ½ΠΎ Π½Π°Π»Π°Π΄ΠΈΡΡ Π±Π΅ΡΠΏΠ΅ΡΠ΅Π±ΠΎΠΉΠ½ΡΡ ΠΈ Π±Π΅Π·Π°Π²Π°ΡΠΈΠΉΠ½ΡΡ ΡΠ°Π±ΠΎΡΡ Π²ΡΠ΅Ρ ΡΠ»Π΅ΠΌΠ΅Π½ΡΠΎΠ² Π² ΡΠ΅ΡΠ΅Π½ΠΈΠ΅ ΠΎΠΏΡΠ΅Π΄Π΅Π»Π΅Π½Π½ΠΎΠ³ΠΎ ΡΡΠΎΠΊΠ°.
Π Π΅ΠΌΠΎΠ½Ρ ΡΠΎΡΠΌΠΎΠ·Π½ΠΎΠ³ΠΎ ΡΠΈΠ»ΠΈΠ½Π΄ΡΠ°
Π’ΠΎΡΠΌΠΎΠ·Π½ΠΎΠΉ ΡΠΈΠ»ΠΈΠ½Π΄Ρ β ΠΎΠ΄ΠΈΠ½ ΠΈΠ· Π²Π°ΠΆΠ½ΡΡ
ΠΊΠΎΠΌΠΏΠΎΠ½Π΅Π½ΡΠΎΠ² ΡΠΈΡΡΠ΅ΠΌΡ, Π³Π΄Π΅ ΡΠ½Π΅ΡΠ³ΠΈΡ ΡΠΆΠ°ΡΠΎΠ³ΠΎ Π²ΠΎΠ·Π΄ΡΡ
Π° ΠΏΡΠ΅ΠΎΠ±ΡΠ°Π·ΠΎΠ²ΡΠ²Π°Π΅ΡΡΡ Π² ΠΌΠ΅Ρ
Π°Π½ΠΈΡΠ΅ΡΠΊΡΡ. ΠΠ°ΡΠ΅ΠΌ ΠΎΠ½Π° ΠΏΠ΅ΡΠ΅Π΄Π°Π΅ΡΡΡ Ρ ΠΏΠΎΠΌΠΎΡΡΡ ΡΠΎΡΠΌΠΎΠ·Π½ΠΎΠΉ ΡΡΡΠ°ΠΆΠ½ΠΎΠΉ ΠΏΠ΅ΡΠ΅Π΄Π°ΡΠΈ Π½Π° ΠΊΠΎΠ»ΠΎΠ΄ΠΊΠΈ, ΠΏΡΠΈΠΆΠΈΠΌΠ°Ρ ΠΈΡ
ΠΊ ΠΎΠ±ΠΎΠ΄Ρ ΠΊΠΎΠ»Π΅ΡΠ°. Π’ΠΎΡΠΌΠΎΠ·Π½ΡΠ΅ ΡΠΈΠ»ΠΈΠ½Π΄ΡΡ ΠΎΠ±Π΅ΡΠΏΠ΅ΡΠΈΠ²Π°ΡΡ ΡΠ°Π±ΠΎΡΠΎΡΠΏΠΎΡΠΎΠ±Π½ΠΎΡΡΡ ΠΏΡΠΈ ΡΠ΅ΠΌΠΏΠ΅ΡΠ°ΡΡΡΠ΅ Β±55 Β°Π‘. ΠΠΎΡΠΏΡΡ ΡΠΎΡΠΌΠΎΠ·Π½ΡΡ
ΡΠΈΠ»ΠΈΠ½Π΄ΡΠΎΠ² Π²ΡΠΏΠΎΠ»Π½Π΅Π½ ΠΈΠ· Π½Π°Π΄Π΅ΠΆΠ½ΡΡ
ΠΈ Π΄ΠΎΠ»Π³ΠΎΠ²Π΅ΡΠ½ΡΡ
ΠΌΠ°ΡΠ΅ΡΠΈΠ°Π»ΠΎΠ² β ΡΡΠ³ΡΠ½Π° Π»ΠΈΠ±ΠΎ ΡΡΠ°Π»ΠΈ.
ΠΠ°ΡΠ°Π½ΡΠΈΠΉΠ½ΡΠΉ ΡΡΠΎΠΊ ΡΠ°Π±ΠΎΡΡ ΡΠΎΡΠΌΠΎΠ·Π½ΡΡ
ΡΠΈΠ»ΠΈΠ½Π΄ΡΠΎΠ² β Π΄Π²Π° Π³ΠΎΠ΄Π° ΡΠΎ Π΄Π½Ρ Π½Π°ΡΠ°Π»Π° ΡΠΊΡΠΏΠ»ΡΠ°ΡΠ°ΡΠΈΠΈ (ΡΠΎ Π·Π½Π°ΠΊΠΎΠΌ ΠΊΠ°ΡΠ΅ΡΡΠ²Π° ΡΠ΅ΡΡΡΠ΅).
ΠΠ½ΡΡΡΠΈ ΠΊΠΎΡΠΏΡΡΠ° ΡΠΎΡΠΌΠΎΠ·Π½ΠΎΠ³ΠΎ ΡΠΈΠ»ΠΈΠ½Π΄ΡΠ° Π΅ΡΡΡ ΠΎΡΠΏΡΡΠΊΠ½Π°Ρ ΠΏΡΡΠΆΠΈΠ½Π°, ΠΏΠΎΡΡΠ΅Π½Ρ Ρ ΡΠ΅Π·ΠΈΠ½ΠΎΠ²ΠΎΠΉ ΡΠΏΠ»ΠΎΡΠ½ΡΡΡΠ΅ΠΉ ΠΌΠ°Π½ΠΆΠ΅ΡΠΎΠΉ ΠΈ Π²ΠΎΠΉΠ»ΠΎΡΠ½ΡΠΌ ΡΠΌΠ°Π·ΡΠ²Π°ΡΡΠΈΠΌ ΠΊΠΎΠ»ΡΡΠΎΠΌ, Π° ΡΠ°ΠΊΠΆΠ΅ ΡΡΠΎΠΊ. Π Π·Π°Π΄Π½Π΅ΠΉ ΠΊΡΡΡΠΊΠ΅ ΡΠΎΡΠΌΠΎΠ·Π½ΠΎΠ³ΠΎ ΡΠΈΠ»ΠΈΠ½Π΄ΡΠ°, ΠΊΠΎΡΠΎΡΠ°Ρ ΠΊΡΠ΅ΠΏΠΈΡΡΡ ΠΊ ΠΊΠΎΡΠΏΡΡΡ Ρ ΠΏΠΎΠΌΠΎΡΡΡ Π±ΠΎΠ»ΡΡΠΎΠ³ΠΎ ΠΊΠΎΠ»ΠΈΡΠ΅ΡΡΠ²Π° Π±ΠΎΠ»ΡΠΎΠ², Π΅ΡΡΡ Π΄Π²Π° ΠΎΡΠ²Π΅ΡΡΡΠΈΡ: ΠΏΠ΅ΡΠ²ΠΎΠ΅ β ΠΈΡΠΏΠΎΠ»ΡΠ·ΡΠ΅ΡΡΡ Π΄Π»Ρ ΠΏΠΎΠ΄Π²ΠΎΠ΄Π° ΡΠΆΠ°ΡΠΎΠ³ΠΎ Π²ΠΎΠ·Π΄ΡΡ Π°, Π° Π²ΡΠΎΡΠΎΠ΅, Π·Π°Π³Π»ΡΡΠ΅Π½Π½ΠΎΠ΅ ΠΏΡΠΎΠ±ΠΊΠΎΠΉ β ΠΏΡΠΈΠΌΠ΅Π½ΡΠ΅ΡΡΡ Π΄Π»Ρ ΡΡΡΠ°Π½ΠΎΠ²ΠΊΠΈ ΠΌΠ°Π½ΠΎΠΌΠ΅ΡΡΠ° Π²ΠΎ Π²ΡΠ΅ΠΌΡ ΡΠΊΡΠΏΠ»ΡΠ°ΡΠ°ΡΠΈΠΎΠ½Π½ΡΡ ΠΈΡΠΏΡΡΠ°Π½ΠΈΠΉ. Π ΠΏΠ΅ΡΠ΅Π΄Π½Π΅ΠΉ ΠΊΡΡΡΠΊΠ΅ Π΅ΡΡΡ ΡΠΏΠ΅ΡΠΈΠ°Π»ΡΠ½ΠΎΠ΅ Π½Π΅Π±ΠΎΠ»ΡΡΠΎΠ΅ ΠΎΡΠ²Π΅ΡΡΡΠΈΠ΅, ΠΊΠΎΡΠΎΡΠΎΠ΅ ΠΈΡΠΏΠΎΠ»ΡΠ·ΡΠ΅ΡΡΡ Π΄Π»Ρ ΡΠ»ΠΈΠ²Π° ΠΊΠΎΠ½Π΄Π΅Π½ΡΠ°ΡΠ°, Π° Π΅Π΅ Π³ΠΎΡΠ»ΠΎΠ²ΠΈΠ½Π° ΠΎΡΠ½Π°ΡΠ΅Π½Π° ΡΠ΅Π·ΠΈΠ½ΠΎΠ²ΠΎΠΉ ΡΠ°ΠΉΠ±ΠΎΠΉ, Π·Π°ΡΠΈΡΠ°ΡΡΠ΅ΠΉ ΠΎΡ ΠΏΡΠ»ΠΈ.
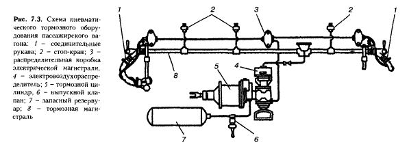
ΠΠΏΠΈΡΠ°Π½ΠΈΠ΅ ΡΠΎΡΠΌΠΎΠ·Π½ΠΎΠΉ ΡΠΈΡΡΠ΅ΠΌΡ Π³ΡΡΠ·ΠΎΠ²ΠΎΠ³ΠΎ Π²Π°Π³ΠΎΠ½Π°
Π’ΠΎΡΠΌΠΎΠ·Π½ΠΎΠ΅ ΠΎΠ±ΠΎΡΡΠ΄ΠΎΠ²Π°Π½ΠΈΠ΅ Π³ΡΡΠ·ΠΎΠ²ΠΎΠ³ΠΎ Π²Π°Π³ΠΎΠ½Π° β ΡΡΠΎ ΡΡΡΡΠΎΠΉΡΡΠ²Π°, ΠΊΠΎΡΠΎΡΡΠ΅ ΡΠΎΠ·Π΄Π°ΡΡ ΠΈΡΠΊΡΡΡΡΠ²Π΅Π½Π½ΠΎΠ΅ ΡΠΎΠΏΡΠΎΡΠΈΠ²Π»Π΅Π½ΠΈΠ΅ Π΄Π²ΠΈΠΆΠ΅Π½ΠΈΡ ΠΏΠΎΠ΅Π·Π΄Π° Π΄Π»Ρ ΡΠ΅Π³ΡΠ»ΠΈΡΠΎΠ²ΠΊΠΈ ΡΠΊΠΎΡΠΎΡΡΠΈ Π΅Π³ΠΎ Π΄Π²ΠΈΠΆΠ΅Π½ΠΈΡ ΠΈΠ»ΠΈ ΠΎΡΡΠ°Π½ΠΎΠ²ΠΊΠΈ. ΠΠ»Π°Π³ΠΎΠ΄Π°ΡΡ Π΅ΠΌΡ ΠΎΡΡΡΠ΅ΡΡΠ²Π»ΡΠ΅ΡΡΡ ΠΈΡΠΊΡΡΡΡΠ²Π΅Π½Π½ΠΎΠ΅ ΠΏΡΠΎΡΠΈΠ²ΠΎΠ΄Π΅ΠΉΡΡΠ²ΠΈΠ΅ Π²ΡΠ°ΡΠ΅Π½ΠΈΡ ΠΊΠΎΠ»Π΅Ρ.
Β
Π‘ΠΎΠ³Π»Π°ΡΠ½ΠΎ ΠΏΡΠ°Π²ΠΈΠ»Π°ΠΌ, Π³ΡΡΠ·ΠΎΠ²ΡΠ΅ Π²Π°Π³ΠΎΠ½Ρ ΠΎΠ±ΡΠ·Π°ΡΠ΅Π»ΡΠ½ΠΎ Π΄ΠΎΠ»ΠΆΠ½Ρ Π±ΡΡΡ ΠΎΡΠ½Π°ΡΠ΅Π½Ρ Π°Π²ΡΠΎΠΌΠ°ΡΠΈΡΠ΅ΡΠΊΠΈΠΌΠΈ ΠΏΠ½Π΅Π²ΠΌΠ°ΡΠΈΡΠ΅ΡΠΊΠΈΠΌΠΈ ΡΡΠΈΠΊΡΠΈΠΎΠ½Π½ΡΠΌΠΈ ΡΠΎΡΠΌΠΎΠ·Π°ΠΌΠΈ ΠΈ ΡΡΠΎΡΠ½ΠΎΡΠ½ΡΠΌΠΈ Ρ ΡΡΡΠ½ΡΠΌ Π»ΠΈΠ±ΠΎ Π°Π²ΡΠΎΠΌΠ°ΡΠΈΡΠ΅ΡΠΊΠΈΠΌ ΠΏΡΠΈΠ²ΠΎΠ΄ΠΎΠΌ. ΠΠΎΠΏΡΡΠΊΠ°Π΅ΡΡΡ ΡΠ°ΠΊΠΆΠ΅ ΠΎΠ±ΠΎΡΡΠ΄ΠΎΠ²Π°Π½ΠΈΠ΅ Π²Π°Π³ΠΎΠ½Π° ΡΠ»Π΅ΠΊΡΡΠΎΠΏΠ½Π΅Π²ΠΌΠ°ΡΠΈΡΠ΅ΡΠΊΠΈΠΌ ΡΠΎΡΠΌΠΎΠ·ΠΎΠΌ. ΠΡΠΈΡΠ΅ΠΌ Π²ΡΠ΅ ΡΠ»Π΅ΠΌΠ΅Π½ΡΡ ΡΠΎΡΠΌΠΎΠ·Π½ΠΎΠΉ ΡΠΈΡΡΠ΅ΠΌΡ Π²Π°ΠΆΠ½ΠΎ ΡΠ²ΠΎΠ΅Π²ΡΠ΅ΠΌΠ΅Π½Π½ΠΎ ΡΠΈΡΡΠΈΡΡ, Π° ΡΠ°ΠΊΠΆΠ΅ ΡΠ΅Π³ΡΠ»ΡΡΠ½ΠΎ ΠΏΡΠΎΠ²Π΅ΡΡΡΡ ΠΈΡ , ΡΡΠΎΠ±Ρ ΡΠ±Π΅Π΄ΠΈΡΡΡΡ Π² ΠΈΡ Π½Π°Π΄Π΅ΠΆΠ½ΠΎΡΡΠΈ ΠΈ ΡΠΏΡΠ°Π²Π»ΡΠ΅ΠΌΠΎΡΡΠΈ.
Π ΠΏΡΠΎΡΠ΅ΡΡΠ΅ ΡΡΠΈΠΊΡΠΈΠΎΠ½Π½ΠΎΠ³ΠΎ ΡΠΎΡΠΌΠΎΠΆΠ΅Π½ΠΈΡ ΠΊΠΎΠ»ΠΎΠ΄ΠΊΠΈ Π²Π°Π³ΠΎΠ½ΠΎΠ² ΠΊΠΎΠ½ΡΠ°ΠΊΡΠΈΡΡΡΡ Ρ Π΄ΠΈΡΠΊΠ°ΠΌΠΈ ΠΊΠΎΠ»Π΅ΡΠ½ΡΡ ΠΏΠ°Ρ, ΠΈ Π² ΡΠ΅Π·ΡΠ»ΡΡΠ°ΡΠ΅ Π²ΠΎΠ·Π½ΠΈΠΊΠ°Π΅Ρ ΡΡΠ΅Π½ΠΈΠ΅, Ρ ΠΏΠΎΠΌΠΎΡΡΡ ΠΊΠΎΡΠΎΡΠΎΠ³ΠΎ ΠΊΠΈΠ½Π΅ΡΠΈΡΠ΅ΡΠΊΠ°Ρ ΡΠ½Π΅ΡΠ³ΠΈΡ ΠΏΡΠ΅Π²ΡΠ°ΡΠ°Π΅ΡΡΡ Π² ΡΠ΅ΠΏΠ»ΠΎΠ²ΡΡ, Π° Π·Π°ΡΠ΅ΠΌ ΡΠ°ΡΡΠ΅ΠΈΠ²Π°Π΅ΡΡΡ Π² Π°ΡΠΌΠΎΡΡΠ΅ΡΠ΅. ΠΡΠΈ ΡΡΠΎΠΌ Π² Π²Π°Π³ΠΎΠ½Π°Ρ Π·Π°Π΄Π΅ΠΉΡΡΠ²ΠΎΠ²Π°Π½Ρ ΡΡΠΈ ΡΠΈΠΏΠ° ΡΡΡΡΠΎΠΉΡΡΠ²:
- ΠΠ½Π΅Π²ΠΌΠ°ΡΠΈΡΠ΅ΡΠΊΠΈΠ΅, Ρ ΠΏΡΠΈΠΌΠ΅Π½Π΅Π½ΠΈΠ΅ΠΌ ΡΠΈΠ»Ρ ΡΠΆΠ°ΡΠΎΠ³ΠΎ Π²ΠΎΠ·Π΄ΡΡ Π°.Β
- ΠΠ»Π΅ΠΊΡΡΠΎΠΏΠ½Π΅Π²ΠΌΠ°ΡΠΈΡΠ΅ΡΠΊΠΈΠ΅, Π³Π΄Π΅ ΡΠΏΡΠ°Π²Π»Π΅Π½ΠΈΠ΅ ΠΏΡΠΎΠΈΡΡ ΠΎΠ΄ΠΈΡ Ρ ΠΏΠΎΠΌΠΎΡΡΡ ΡΠΎΠΊΠ°, ΠΊΠΎΡΠΎΡΡΠΉ Π·Π°ΡΡΠ°Π²Π»ΡΠ΅Ρ ΡΠΎΡΠΌΠΎΠ·Π½ΡΠ΅ ΠΊΠΎΠ»ΠΎΠ΄ΠΊΠΈ ΠΏΡΠΈΠΆΠΈΠΌΠ°ΡΡΡΡ ΠΊ ΠΊΠΎΠ»Π΅ΡΠ°ΠΌ.Β
- ΠΠ΅Ρ Π°Π½ΠΈΡΠ΅ΡΠΊΠΈΠ΅, ΠΊΠΎΡΠΎΡΡΠ΅ ΡΠ°ΡΡΠΎ ΠΏΡΠΈΠΌΠ΅Π½ΡΡΡΡΡ ΠΊΠ°ΠΊ Π·Π°ΠΏΠ°ΡΠ½ΡΠ΅.Β
ΠΡΠΎΠΌΠ΅ ΡΠΎΠ³ΠΎ, ΡΠΎΡΠΌΠΎΠ·Π½ΡΠ΅ ΡΡΡΡΠΎΠΉΡΡΠ²Π° Π³ΡΡΠ·ΠΎΠ²ΡΡ
Π²Π°Π³ΠΎΠ½ΠΎΠ² ΠΌΠΎΠ³ΡΡ Π±ΡΡΡ Ρ Π°Π²ΡΠΎΡΠ΅ΠΆΠΈΠΌΠΎΠΌ Π»ΠΈΠ±ΠΎ Π±Π΅Π· Π½Π΅Π³ΠΎ.
ΠΡΡΡ Π½Π΅ΡΠΊΠΎΠ»ΡΠΊΠΎ Π²ΠΈΠ΄ΠΎΠ² ΡΠΎΡΠΌΠΎΠ·Π½ΡΡ ΠΊΠΎΠ»ΠΎΠ΄ΠΎΠΊ:Β
- Π§ΡΠ³ΡΠ½Π½ΡΠ΅. ΠΡΠ½ΠΎΠ²Π½ΡΠ΅ Π΄ΠΎΡΡΠΎΠΈΠ½ΡΡΠ²Π° ΡΠ°ΠΊΠΈΡ ΡΠΎΡΠΌΠΎΠ·Π½ΡΡ ΠΊΠΎΠ»ΠΎΠ΄ΠΎΠΊ β ΡΡΡΠΎΠΉΡΠΈΠ²ΠΎΡΡΡ ΠΊ Π²Π»Π°Π³Π΅ ΠΈ Π²ΡΡΠΎΠΊΠΈΠΉ ΠΊΠΎΡΡΡΠΈΡΠΈΠ΅Π½Ρ ΠΎΡΠ²Π΅Π΄Π΅Π½ΠΈΡ ΡΠ΅ΠΏΠ»Π°. ΠΠ°ΠΈΠ±ΠΎΠ»Π΅Π΅ Π±Π΅Π·ΠΎΠΏΠ°ΡΠ½ΡΠΌΠΈ ΡΡΠΈΡΠ°ΡΡΡΡ ΡΠΎΡΠΌΠΎΠ·Π½ΡΠ΅ ΠΌΠ΅Ρ Π°Π½ΠΈΠ·ΠΌΡ ΠΈΠ· ΡΡΠ³ΡΠ½Π°, Π²Π΅Π΄Ρ ΠΎΠ½ΠΈ Π½Π΅ ΡΠ»ΠΈΡΠΊΠΎΠΌ ΡΠΈΠ»ΡΠ½ΠΎ Π½Π°Π³ΡΠ΅Π²Π°ΡΡΡΡ.
- ΠΠΎΠΌΠΏΠΎΠ·ΠΈΡΠΈΠΎΠ½Π½ΡΠ΅. ΠΡΠΎ ΠΌΠ΅ΡΠ°Π»Π»ΠΈΡΠ΅ΡΠΊΠ°Ρ ΠΎΡΠ½ΠΎΠ²Π° Ρ ΡΡΠΈΠΊΡΠΈΠΎΠ½Π½ΡΠΌΠΈ ΡΠ»Π΅ΠΌΠ΅Π½ΡΠ°ΠΌΠΈ. ΠΡΠ΅ΠΈΠΌΡΡΠ΅ΡΡΠ²Π° ΠΊΠΎΠΌΠΏΠΎΠ·ΠΈΡΠΈΠΎΠ½Π½ΡΡ ΡΠΎΡΠΌΠΎΠ·Π½ΡΡ ΠΊΠΎΠ»ΠΎΠ΄ΠΎΠΊ β Π²ΡΡΠΎΠΊΠΈΠΉ ΠΊΠΎΡΡΡΠΈΡΠΈΠ΅Π½Ρ ΡΡΠ΅Π½ΠΈΡ ΠΈ ΠΈΠ·Π½ΠΎΡΠΎΡΡΠΎΠΉΠΊΠΎΡΡΡ, Π±Π»Π°Π³ΠΎΠ΄Π°ΡΡ Π΄ΠΎΠ±Π°Π²Π»Π΅Π½ΠΈΡ Π°ΡΠ±ΠΎΠΊΠ°ΡΡΡΠΊΠ°, Π° ΡΠ°ΠΊΠΆΠ΅ ΡΠ²ΡΠ·ΡΡΡΠΈΡ Π²Π΅ΡΠ΅ΡΡΠ². ΠΠ½ΠΈ Π² Π½Π΅ΡΠΊΠΎΠ»ΡΠΊΠΎ ΡΠ°Π· ΠΏΡΠΎΡΠ½Π΅Π΅ ΡΡΠ³ΡΠ½Π½ΡΡ ΠΈ ΡΠ²Π΅Π»ΠΈΡΠΈΠ²Π°ΡΡ ΡΠΎΡΠΌΠΎΠ·Π½ΡΡ ΡΡΡΠ΅ΠΊΡΠΈΠ²Π½ΠΎΡΡΡ ΠΏΠΎΠ΅Π·Π΄ΠΎΠ².
- Π’ΠΎΡΠΌΠΎΠ·Π½ΡΠ΅ ΠΊΠΎΠ»ΠΎΠ΄ΠΊΠΈ Π΄Π»Ρ ΠΎΠΏΡΠ΅Π΄Π΅Π»Π΅Π½Π½ΡΡ Π΅Π΄ΠΈΠ½ΠΈΡ ΡΠΎΡΡΠ°Π²Π°. ΠΡΠΎ Π²Π°ΡΠΈΠ°Π½ΡΡ ΡΠΎ ΡΠΏΠ΅ΡΠΈΠ°Π»ΡΠ½ΡΠΌ ΠΈΡΠΏΠΎΠ»Π½Π΅Π½ΠΈΠ΅ΠΌ, Π²Π΅Π΄Ρ ΠΏΠΎΠ²Π΅ΡΡ Π½ΠΎΡΡΠΈ, ΠΊΠΎΡΠΎΡΡΠ΅ Π½Π΅ΠΏΠΎΡΡΠ΅Π΄ΡΡΠ²Π΅Π½Π½ΠΎ ΠΊΠΎΠ½ΡΠ°ΠΊΡΠΈΡΡΡΡ Ρ ΡΠ΅Π»ΡΡΠ°ΠΌΠΈ, Π²ΡΠΏΠΎΠ»Π½Π΅Π½Ρ ΠΈΠ· ΠΌΠ΅ΡΠ°Π»Π»ΠΎΠΊΠ΅ΡΠ°ΠΌΠΈΠΊΠΈ. ΠΡΠΎ Π΄ΠΎΡΡΠ°ΡΠΎΡΠ½ΠΎ Π΄ΠΎΡΠΎΠ³ΠΈΠ΅ ΡΠΎΡΠΌΠΎΠ·Π½ΡΠ΅ ΠΊΠΎΠ»ΠΎΠ΄ΠΊΠΈ, Π½ΠΎ Π½Π°Π΄Π΅ΠΆΠ½ΡΠ΅ ΠΈ Π΄ΠΎΠ»Π³ΠΎΠ²Π΅ΡΠ½ΡΠ΅.
ΠΡΠΈ ΡΠΊΡΠΏΠ»ΡΠ°ΡΠ°ΡΠΈΠΈ ΡΠΎΡΠΌΠΎΠ·Π½ΡΡ
ΠΊΠΎΠ»ΠΎΠ΄ΠΎΠΊ Π²ΠΎΠ·Π½ΠΈΠΊΠ°ΡΡ ΡΠ°ΠΊΠΈΠ΅ Π½Π΅ΠΈΡΠΏΡΠ°Π²Π½ΠΎΡΡΠΈ: ΡΠ΅ΡΠΌΠΈΡΠ΅ΡΠΊΠΈΠ΅ ΡΡΠ΅ΡΠΈΠ½Ρ, ΠΊΠΎΠ»ΡΡΠ΅Π²ΡΠ΅ ΠΏΡΠΎΡΠΎΡΠΊΠΈ Π½Π° ΠΏΠΎΠ²Π΅ΡΡ
Π½ΠΎΡΡΠΈ ΠΊΠ°ΡΠ°Π½ΠΈΡ ΠΊΠΎΠ»Π΅Ρ ΠΈΠ»ΠΈ ΠΏΠΎΠ²ΡΡΠ΅Π½Π½ΡΠΉ Π΅Π΅ ΠΈΠ·Π½ΠΎΡ.
Π’Π°ΠΊΠΆΠ΅ ΡΠΎ Π²ΡΠ΅ΠΌΠ΅Π½Π΅ΠΌ ΠΏΡΠΎΠΈΡΡ
ΠΎΠ΄ΠΈΡ ΡΠ½ΠΈΠΆΠ΅Π½ΠΈΠ΅ ΡΠΎΡΠΌΠΎΠ·Π½ΠΎΠΉ ΡΡΡΠ΅ΠΊΡΠΈΠ²Π½ΠΎΡΡΠΈ ΠΏΡΠΈ ΠΏΠΎΠΏΠ°Π΄Π°Π½ΠΈΠΈ ΠΎΡΠ°Π΄ΠΊΠΎΠ² Π² Π·ΠΎΠ½Ρ ΡΡΠ΅Π½ΠΈΡ, Π° ΡΠ°ΠΊΠΆΠ΅ ΠΏΡΠΈ Π½Π°Π»ΠΈΡΠΈΠΈ ΡΠ³ΠΎΠ»ΡΠ½ΠΎΠΉ ΠΈΠ»ΠΈ ΡΠΎΡΡΡΠ½ΠΎΠΉ ΠΏΡΠ»ΠΈ ΠΈ Π»ΠΈΡΡΡΠ΅Π² Π½Π° ΠΏΠΎΠ²Π΅ΡΡ
Π½ΠΎΡΡΠΈ ΡΠ΅Π»ΡΡΠΎΠ².
ΠΠΎΡΡΠ΄ΠΎΠΊ ΡΠ΅ΠΌΠΎΠ½ΡΠ° ΡΠΎΡΠΌΠΎΠ·Π½ΠΎΠ³ΠΎ ΠΌΠ΅Ρ Π°Π½ΠΈΠ·ΠΌΠ° Π³ΡΡΠ·ΠΎΠ²ΠΎΠ³ΠΎ Π²Π°Π³ΠΎΠ½Π°
ΠΡΠΈ ΠΠ -2 Ρ Π²Π°Π³ΠΎΠ½Π° ΡΠ½ΠΈΠΌΠ°Π΅ΡΡΡ ΡΠΎΡΠΌΠΎΠ·Π½ΠΎΠ΅ ΠΎΠ±ΠΎΡΡΠ΄ΠΎΠ²Π°Π½ΠΈΠ΅, Π²ΡΠ΅ ΡΠ»Π΅ΠΌΠ΅Π½ΡΡ Π΅Π³ΠΎ ΠΊΡΠ΅ΠΏΠ»Π΅Π½ΠΈΡ, Π° ΡΠ°ΠΊΠΆΠ΅ ΠΏΡΠ΅Π΄ΠΎΡ ΡΠ°Π½ΠΈΡΠ΅Π»ΡΠ½ΡΠ΅ ΡΡΡΡΠΎΠΉΡΡΠ²Π°. ΠΡΠ΅ ΠΎΠ½ΠΈ ΡΠ°Π·Π±ΠΈΡΠ°ΡΡΡΡ ΠΈ Π½Π°ΠΏΡΠ°Π²Π»ΡΡΡΡΡ Π½Π° ΠΎΡΠΌΠΎΡΡ, ΡΠ΅ΠΌΠΎΠ½Ρ ΠΈ ΡΠΊΡΠΏΠ»ΡΠ°ΡΠ°ΡΠΈΠΎΠ½Π½ΡΠ΅ ΠΈΡΠΏΡΡΠ°Π½ΠΈΡ Π² ΡΠΏΠ΅ΡΠΈΠ°Π»ΡΠ½ΡΠ΅ ΠΏΠΎΠ΄ΡΠ°Π·Π΄Π΅Π»Π΅Π½ΠΈΡ. ΠΡΠ΅ ΡΠ»ΠΎΠΌΠ°Π½Π½ΡΠ΅ Π΄Π΅ΡΠ°Π»ΠΈ ΡΠΎΡΠΌΠΎΠ·Π½ΠΎΠΉ ΡΠΈΡΡΠ΅ΠΌΡ Π·Π°ΠΌΠ΅Π½ΡΡΡΡΡ ΠΈΠ»ΠΈ Π²ΠΎΡΡΡΠ°Π½Π°Π²Π»ΠΈΠ²Π°ΡΡΡΡ. ΠΠ°ΠΌΠ΅Π½Π΅ ΠΏΠΎΠ΄Π»Π΅ΠΆΠ°Ρ: Π²ΠΎΠ·Π΄ΡΡ ΠΎΡΠ°ΡΠΏΡΠ΅Π΄Π΅Π»ΠΈΡΠ΅Π»ΠΈ ΠΈ Π°Π²ΡΠΎΡΠ΅Π³ΡΠ»ΡΡΠΎΡΡ. ΠΠΎΡΡΡΠΏΠΈΠ²ΡΠΈΠΉ Π² ΡΠ΅ΠΌΠΎΠ½Ρ ΡΠΈΠ»ΠΈΠ½Π΄Ρ, ΡΠ½Π°ΡΡΠΆΠΈ ΡΡΠ°ΡΠ΅Π»ΡΠ½ΠΎ ΠΎΡΠΈΡΠ°Π΅ΡΡΡ ΠΎΡ ΠΏΡΠ»ΠΈ ΠΈ Π·Π°Π³ΡΡΠ·Π½Π΅Π½ΠΈΠΉ ΠΈ ΠΎΡΠΌΠ°ΡΡΠΈΠ²Π°Π΅ΡΡΡ Π½Π° Π½Π°Π»ΠΈΡΠΈΠ΅ ΡΠΆΠ°Π²ΡΠΈΠ½Ρ.
ΠΡΠ΅Π½Ρ Π²Π°ΠΆΠ½ΠΎ, ΡΡΠΎΠ±Ρ Π½Π° ΠΏΠΎΠ²Π΅ΡΡ
Π½ΠΎΡΡΠΈ ΠΊΠΎΡΠΏΡΡΠ° ΡΠΎΡΠΌΠΎΠ·Π½ΠΎΠ³ΠΎ ΡΠΈΠ»ΠΈΠ½Π΄ΡΠ° ΠΈ Π½Π° Π΅Π³ΠΎ ΡΠΎΡΡΠ°Π²Π»ΡΡΡΠΈΡ
Π½Π΅ Π±ΡΠ»ΠΎ ΡΡΠ΅ΡΠΈΠ½, ΠΎΡΠΊΠΎΠ»ΠΎΠ², ΠΈΠ·Π»ΠΎΠΌΠΎΠ², Π° Π²Π½ΡΡΡΠΈ β ΠΊΠΎΡΡΠΎΠ·ΠΈΠΈ. ΠΠ΄Π½Π°ΠΊΠΎ, Π΅ΡΠ»ΠΈ Π½Π° ΡΠ»Π°Π½ΡΠ°Ρ
ΠΊΠΎΡΠΏΡΡΠ° ΡΠΎΡΠΌΠΎΠ·Π½ΠΎΠ³ΠΎ ΡΠΈΠ»ΠΈΠ½Π΄ΡΠ° ΠΈ ΠΏΠ΅ΡΠ΅Π΄Π½Π΅ΠΉ ΠΊΡΡΡΠΊΠ΅ Π΅ΡΡΡ Π½Π΅ Π±ΠΎΠ»ΡΡΠ΅ Π΄Π²ΡΡ
ΠΎΡΠΊΠΎΠ»ΠΎΠ² ΠΈ ΠΏΡΠΈ ΡΡΠΎΠΌ ΠΎΡΠ±ΠΈΡΠ°Ρ ΡΠ°ΡΡΡ Π·Π°Ρ
Π²Π°ΡΡΠ²Π°Π΅Ρ Π½Π΅ Π±ΠΎΠ»Π΅Π΅ 2 ΡΠΎΡΠ΅Π΄Π½ΠΈΡ
ΠΎΡΠ²Π΅ΡΡΡΠΈΠΉ Π΄Π»Ρ Π±ΠΎΠ»ΡΠΎΠ², ΡΠΎ ΠΌΠΎΠΆΠ½ΠΎ ΠΏΡΠΈΠ²Π°ΡΠΈΠ²Π°ΡΡ ΠΎΡΠ±ΠΈΡΡΠ΅ ΡΠ»Π΅ΠΌΠ΅Π½ΡΡ.
ΠΠ»Ρ ΡΠ°Π·Π±ΠΎΡΠΊΠΈ, ΡΠ±ΠΎΡΠΊΠΈ, ΡΠ΅ΠΌΠΎΠ½ΡΠ°, Π° ΡΠ°ΠΊΠΆΠ΅ ΡΠΊΡΠΏΠ»ΡΠ°ΡΠ°ΡΠΈΠΎΠ½Π½ΡΡ ΠΈΡΠΏΡΡΠ°Π½ΠΈΠΉ ΡΠΎΡΠΌΠΎΠ·Π½ΡΡ ΡΠΈΠ»ΠΈΠ½Π΄ΡΠΎΠ² ΠΏΡΠΈ ΠΠ -2 Π²Π°Π³ΠΎΠ½ΠΎΠ² ΠΏΡΠΈΠΌΠ΅Π½ΡΠ΅ΡΡΡ ΡΠΏΠ΅ΡΠΈΠ°Π»ΡΠ½ΡΠΉ ΡΡΠ΅Π½Π΄. Π‘ Π΅Π³ΠΎ ΠΏΠΎΠΌΠΎΡΡΡ ΠΎΡΠ΅Π½Ρ ΡΠ΄ΠΎΠ±Π½ΠΎ Π²ΡΠΏΠΎΠ»Π½ΡΡΡ ΡΠ°Π·Π±ΠΎΡΠΊΡ ΠΈ ΡΠ±ΠΎΡΠΊΡ ΠΏΠΎΡΡΠ½Π΅Π²ΠΎΠ³ΠΎ ΡΠ·Π»Π° ΡΠΎΡΠΌΠΎΠ·Π½ΠΎΠ³ΠΎ ΡΠΈΠ»ΠΈΠ½Π΄ΡΠ°, Π° ΡΠ°ΠΊΠΆΠ΅ ΠΈΡΠΏΡΡΡΠ²Π°ΡΡ Π΅Π³ΠΎ Π½Π° Π³Π΅ΡΠΌΠ΅ΡΠΈΡΠ½ΠΎΡΡΡ ΠΏΡΠΈ ΡΠ°Π±ΠΎΡΠ΅ΠΌ Π΄Π°Π²Π»Π΅Π½ΠΈΠΈ Π½Π° ΠΏΡΠΎΡΡΠΆΠ΅Π½ΠΈΠΈ ΡΡΠ΅Ρ ΠΌΠΈΠ½ΡΡ. ΠΠ»Π°Π³ΠΎΠ΄Π°ΡΡ ΡΡΠ΅Π½Π΄Ρ Π½Π° ΠΏΡΠΎΠ³ΡΠ°ΠΌΠΌΠ½ΠΎΠΌ ΡΡΠΎΠ²Π½Π΅ ΠΎΡΡΡΠ΅ΡΡΠ²Π»ΡΠ΅ΡΡΡ:
- ΠΊΠΎΠ½ΡΡΠΎΠ»Ρ ΠΏΠ°ΡΠ°ΠΌΠ΅ΡΡΠΎΠ² ΠΏΡΠΎΠ²Π΅ΡΡΠ΅ΠΌΠΎΠ³ΠΎ ΡΠΎΡΠΌΠΎΠ·Π½ΠΎΠ³ΠΎ ΡΠΈΠ»ΠΈΠ½Π΄ΡΠ°;
- ΠΎΠ±ΠΌΠ΅Π½ ΠΈΠ½ΡΠΎΡΠΌΠ°ΡΠΈΠ΅ΠΉ Ρ Π±Π°Π·ΠΎΠΉ Π΄Π°Π½Π½ΡΡ ΡΠ΅Ρ ΠΎΠ²ΠΎΠΉ ΡΠΈΡΡΠ΅ΠΌΡ;
- Π°Π½Π°Π»ΠΈΠ· ΠΏΠΎΠ»ΡΡΠ΅Π½Π½ΡΡ ΡΠ΅Π·ΡΠ»ΡΡΠ°ΡΠΎΠ² ΠΈΡΠΏΡΡΠ°Π½ΠΈΠΉ.
Π‘Π΅ΡΡΠ°ΡΡΠ΅ ΡΠΈΠ»ΡΡΡΡ, ΠΊΠΎΡΠΎΡΡΠ΅ ΡΠ°Π·ΠΌΠ΅ΡΠ΅Π½Ρ Π² ΠΏΠ΅ΡΠ΅Π΄Π½Π΅ΠΉ ΠΊΡΡΡΠΊΠ΅ ΡΠΎΡΠΌΠΎΠ·Π½ΠΎΠ³ΠΎ ΡΠΈΠ»ΠΈΠ½Π΄ΡΠ°, Π½Π°Π΄ΠΎ ΠΏΠΎΡΠΈΡΡΠΈΡΡ, ΠΏΠΎΠΌΡΡΡ, Π° ΡΠ°ΠΊΠΆΠ΅ ΠΏΡΠΎΠ΄ΡΡΡ Ρ ΠΏΠΎΠΌΠΎΡΡΡ ΡΠΆΠ°ΡΠΎΠ³ΠΎ Π²ΠΎΠ·Π΄ΡΡ Π°. Π£ ΡΠ΅Ρ ΡΠΎΡΠΌΠΎΠ·Π½ΡΡ ΡΠΈΠ»ΠΈΠ½Π΄ΡΠΎΠ², Π³Π΄Π΅ Π½Π΅Ρ Π²Π»Π°Π³ΠΎΡΠΏΡΡΠΊΠ½ΡΡ ΠΊΠ°Π½Π°Π²ΠΎΠΊ, ΡΠ²Π΅ΡΠ»ΠΈΡΡΡ Π½Π΅Π±ΠΎΠ»ΡΡΠΎΠ΅ ΠΎΡΠ²Π΅ΡΡΡΠΈΠ΅.
ΠΠ° Π³Π΅ΡΠΌΠ΅ΡΠΈΡΠ½ΠΎΡΡΡ ΠΏΡΠΎΠ²Π΅ΡΡΡΡΡΡ Π½Π΅ ΡΠΎΠ»ΡΠΊΠΎ ΡΠΈΠ»ΠΈΠ½Π΄ΡΡ, Π° ΠΈ ΡΠ°Π±ΠΎΡΠΈΠ΅, ΠΈ Π·Π°ΠΏΠ°ΡΠ½ΡΠ΅ ΡΠ΅Π·Π΅ΡΠ²ΡΠ°ΡΡ Π²Π°Π³ΠΎΠ½ΠΎΠ². Π ΠΏΠΎΡΠ»Π΅Π΄Π½ΠΈΡ
ΡΠ΅ΠΆΠΈΠΌΠ½ΡΠΉ Π²Π°Π»ΠΈΠΊ ΡΠΌΠ°Π·ΡΠ²Π°Π΅ΡΡΡ. ΠΠ°Π»Π΅Π΅ ΡΠ΅ΡΠΊΠΈ ΠΈ ΡΠΈΠ»ΡΡΡ ΠΏΡΠΎΠΌΡΠ²Π°ΡΡΡΡ, ΠΏΡΠΎΠ΄ΡΠ²Π°ΡΡΡΡ Π»ΠΈΠ±ΠΎ ΠΏΡΠΈ Π½Π΅ΠΎΠ±Ρ
ΠΎΠ΄ΠΈΠΌΠΎΡΡΠΈ Π·Π°ΠΌΠ΅Π½ΡΡΡΡΡ Π½Π° Π½ΠΎΠ²ΡΠ΅.
ΠΠ΄ΠΎΠ±Π°Π²ΠΎΠΊ, ΠΏΡΠΎΠ²Π΅ΡΡΠ΅ΡΡΡ Π·Π°Π·ΠΎΡ ΠΌΠ΅ΠΆΠ΄Ρ Π³ΠΎΠ»ΠΎΠ²ΠΊΠΎΠΉ ΠΈ ΠΎΠΏΠΎΡΠ½ΠΎΠΉ ΠΏΠ»ΠΈΡΠΎΠΉ. Π‘ΠΎΠ³Π»Π°ΡΠ½ΠΎ ΡΠ΅ΠΊΠΎΠΌΠ΅Π½Π΄Π°ΡΠΈΡΠΌ, ΠΎΠ½ Π΄ΠΎΠ»ΠΆΠ΅Π½ Π±ΡΡΡ Π½Π΅ Π±ΠΎΠ»ΡΡΠ΅ ΡΡΠ΅Ρ
ΠΌΠΈΠ»Π»ΠΈΠΌΠ΅ΡΡΠΎΠ². Π’Π°ΠΊΠΆΠ΅ ΠΏΡΠΎΠ²Π΅ΡΡΠ΅ΡΡΡ, Π½Π°Π΄Π΅ΠΆΠ½ΠΎ Π»ΠΈ ΠΏΡΠΈΠΊΡΠ΅ΠΏΠ»Π΅Π½Ρ ΠΎΡΠ½ΠΎΠ²Π½ΡΠ΅ ΡΠ·Π»Ρ.
ΠΠ°ΠΌΠ΅ΡΠ° Π²ΠΎΠ·Π΄ΡΡ ΠΎΡΠ°ΡΠΏΡΠ΅Π΄Π΅Π»ΠΈΡΠ΅Π»Ρ ΠΏΡΠΎΠ²Π΅ΡΡΠ΅ΡΡΡ Π½Π° Π³Π΅ΡΠΌΠ΅ΡΠΈΡΠ½ΠΎΡΡΡ Ρ ΠΏΠΎΠΌΠΎΡΡΡ ΡΠΆΠ°ΡΠΎΠ³ΠΎ Π²ΠΎΠ·Π΄ΡΡ Π° ΠΏΠΎΠ΄ Π΄Π°Π²Π»Π΅Π½ΠΈΠ΅ΠΌ. ΠΡΠΈ ΡΡΠΎΠΌ ΡΠ°ΠΊΠΆΠ΅ ΠΏΡΠΎΠ²Π΅ΡΡΡΡΡΡ:
- ΠΊΠ°Π½Π°Π» ΡΠΎΡΠΌΠΎΠ·Π½ΠΎΠ³ΠΎ ΡΠΈΠ»ΠΈΠ½Π΄ΡΠ° Ρ ΡΠ°Π±ΠΎΡΠ΅ΠΉ ΠΊΠ°ΠΌΠ΅ΡΠΎΠΉ;
- ΠΊΠ°Π½Π°Π» Π΄ΠΎΠΏΠΎΠ»Π½ΠΈΡΠ΅Π»ΡΠ½ΠΎΠΉ ΡΠ°Π·ΡΡΠ΄ΠΊΠΈ Ρ Π·ΠΎΠ»ΠΎΡΠ½ΠΈΠΊΠΎΠ²ΠΎΠΉ ΠΊΠ°ΠΌΠ΅ΡΠΎΠΉ;
- ΠΌΠ°Π³ΠΈΡΡΡΠ°Π»ΡΠ½ΡΠΉ ΠΊΠ°Π½Π°Π».
ΠΠΎ Π²ΡΠ΅ΠΌΡ Π΄Π΅ΠΏΠΎΠ²ΡΠΊΠΎΠ³ΠΎ ΡΠ΅ΠΌΠΎΠ½ΡΠ° Π³ΡΡΠ·ΠΎΠ²ΡΡ ΠΈ ΠΏΠ°ΡΡΠ°ΠΆΠΈΡΡΠΊΠΈΡ Π²Π°Π³ΠΎΠ½ΠΎΠ² ΡΠΎΡΡΠ°Π²Π»ΡΡΡΠΈΠ΅ ΡΠΎΡΠΌΠΎΠ·Π½ΡΡ ΡΡΡΡΠΎΠΉΡΡΠ² Π½Π΅ ΡΠ½ΠΈΠΌΠ°ΡΡΡΡ, Π° Π²ΠΎΡΡΡΠ°Π½Π°Π²Π»ΠΈΠ²Π°ΡΡΡΡ Π΄Π»Ρ ΠΎΠ±Π΅ΡΠΏΠ΅ΡΠ΅Π½ΠΈΡ ΠΏΠΎΠ΄Π΄Π΅ΡΠΆΠ°Π½ΠΈΡ Π² ΡΠ°Π±ΠΎΡΠΎΡΠΏΠΎΡΠΎΠ±Π½ΠΎΠΌ ΡΠΎΡΡΠΎΡΠ½ΠΈΠΈ Π²ΡΠ΅ΠΉ ΡΠΈΡΡΠ΅ΠΌΡ Π½Π° ΠΏΡΠΎΡΡΠΆΠ΅Π½ΠΈΠΈ ΠΌΠ΅ΠΆΡΠ΅ΠΌΠΎΠ½ΡΠ½ΠΎΠ³ΠΎ ΠΏΠ΅ΡΠΈΠΎΠ΄Π°. Π’Π°ΠΊΠΈΠΌ ΠΎΠ±ΡΠ°Π·ΠΎΠΌ Π½Π° Π²Π°Π³ΠΎΠ½Π΅ ΡΠ΅ΠΌΠΎΠ½ΡΠΈΡΡΡΡΡΡ:Β
- ΡΠΎΡΠΌΠΎΠ·Π½ΡΠ΅ ΡΠΈΠ»ΠΈΠ½Π΄ΡΡ,Β
- ΠΊΠΎΡΠΎΠ±ΠΊΠΈ Π·Π°ΠΆΠΈΠΌΠΎΠ²;
- ΠΌΠ°Π³ΠΈΡΡΡΠ°Π»ΡΠ½ΡΠΉ Π²ΠΎΠ·Π΄ΡΡ ΠΎΠΏΡΠΎΠ²ΠΎΠ΄;
- ΡΡΠΎΠΏ-ΠΊΡΠ°Π½Ρ ΠΈ Π΄Ρ.
Π§ΡΠΎΠ±Ρ ΠΎΡΡΠ΅ΠΌΠΎΠ½ΡΠΈΡΠΎΠ²Π°ΡΡ ΡΠΎΡΠΌΠΎΠ·Π½ΠΎΠΉ ΡΠΈΠ»ΠΈΠ½Π΄Ρ ΠΏΡΡΠΌΠΎ Π½Π° Π²Π°Π³ΠΎΠ½Π΅, Π½Π΅ΠΎΠ±Ρ
ΠΎΠ΄ΠΈΠΌΠΎ ΡΠ½ΡΡΡ ΠΏΠ΅ΡΠ΅Π΄Π½ΡΡ ΠΊΡΡΡΠΊΡ Π²ΠΌΠ΅ΡΡΠ΅ Ρ ΠΏΠΎΡΡΠ½Π΅ΠΌ. Π ΡΠ»ΡΡΠ°Π΅, Π΅ΡΠ»ΠΈ Π½Π° ΡΡΠΎΠΊΠ΅ ΠΏΠΎΡΡΠ½Ρ ΠΎΡΡΡΡΡΡΠ²ΡΠ΅Ρ ΡΠΏΠ΅ΡΠΈΠ°Π»ΡΠ½ΠΎΠ΅ ΠΊΠΎΠ»ΡΡΠΎ Π΄Π»Ρ ΡΠ½ΡΡΠΈΡ β Π½Π° Π½Π΅Π³ΠΎ Π½Π°Π΄Π΅Π²Π°Π΅ΡΡΡ Π²ΡΡΠ»ΠΊΠ°, Π° Π² ΠΎΡΠ²Π΅ΡΡΡΠΈΠ΅ Π²ΡΡΠ°Π²Π»ΡΠ΅ΡΡΡ Π²Π°Π»ΠΈΠΊ.
ΠΠ°ΡΠ΅ΠΌ ΡΠΆΠ΅ ΠΎΡΠΊΡΡΡΠΈΠ²Π°ΡΡΡΡ Π±ΠΎΠ»ΡΡ. ΠΡΡΠΆΠΈΠ½Ρ ΡΠΎΡΠΌΠΎΠ·Π½ΠΎΠ³ΠΎ ΡΠΈΠ»ΠΈΠ½Π΄ΡΠ° Π½Π°Π΄ΠΎ ΡΠ½ΠΈΠΌΠ°ΡΡ Ρ ΠΏΠΎΠΌΠΎΡΡΡ ΡΠΏΠ΅ΡΠΈΠ°Π»ΡΠ½ΠΎΠ³ΠΎ ΠΏΡΠΈΡΠΏΠΎΡΠΎΠ±Π»Π΅Π½ΠΈΡ, ΠΎΠ±ΡΠ·Π°ΡΠ΅Π»ΡΠ½ΠΎ ΡΠΎΠ±Π»ΡΠ΄Π°Ρ Π²ΡΠ΅ ΠΌΠ΅ΡΡ Π±Π΅Π·ΠΎΠΏΠ°ΡΠ½ΠΎΡΡΠΈ.
Π’ΠΎΡΠΌΠΎΠ·Π½ΠΎΠΉ ΡΠΈΠ»ΠΈΠ½Π΄Ρ ΠΈ Π΅Π³ΠΎ ΡΠ»Π΅ΠΌΠ΅Π½ΡΡ ΠΎΡΠΈΡΠ°ΡΡΡΡ, ΠΏΡΠΎΠΌΡΠ²Π°ΡΡΡΡ ΠΈ ΠΏΡΠΎΡΠΈΡΠ°ΡΡΡΡ, Π° ΠΊΠΎΡΡΠΎΠ·ΠΈΠΉΠ½ΡΠΉ Π½Π°Π»Π΅Ρ ΡΠ΄Π°Π»ΡΠ΅ΡΡΡ Ρ ΠΏΠΎΠΌΠΎΡΡΡ ΡΠ»ΠΈΡΠΎΠ²Π°Π»ΡΠ½ΠΎΠΉ ΡΠΊΡΡΠΊΠΈ. Π’Π°ΠΊΠΆΠ΅ Π½Π΅ΠΎΠ±Ρ ΠΎΠ΄ΠΈΠΌΠΎ ΠΊΠΎΠ½ΡΡΠΎΠ»ΠΈΡΠΎΠ²Π°ΡΡ ΡΠΈΠ»ΠΎΠ²ΡΠ΅ ΠΏΠ°ΡΠ°ΠΌΠ΅ΡΡΡ ΠΏΡΡΠΆΠΈΠ½Ρ ΡΠΎΡΠΌΠΎΠ·Π½ΠΎΠ³ΠΎ ΡΠΈΠ»ΠΈΠ½Π΄ΡΠ°. ΠΠ΅ Π·Π°ΠΌΠ΅Π½ΡΡΡ, Π΅ΡΠ»ΠΈ ΠΎΠ½Π° ΠΏΡΠΎΡΠ΅Π»Π° Π±ΠΎΠ»Π΅Π΅ ΡΠ΅ΠΌ Π½Π° ΡΡΠΈΠ΄ΡΠ°ΡΡ ΠΌΠΈΠ»Π»ΠΈΠΌΠ΅ΡΡΠΎΠ² ΠΈ ΡΠΆΠ΅ Π½Π΅ Π΄Π΅ΡΠΆΠΈΡ ΠΎΠ±ΡΡΠ½ΡΡ Π½Π°Π³ΡΡΠ·ΠΊΡ.Β
Π ΠΏΡΠΎΡΠ΅ΡΡΠ΅ ΡΠ±ΠΎΡΠΊΠΈ ΡΠ°Π±ΠΎΡΡΡ ΠΏΠΎΠ²Π΅ΡΡ Π½ΠΎΡΡΡ ΠΊΠΎΡΠΏΡΡΠ° ΡΠΎΡΠΌΠΎΠ·Π½ΠΎΠ³ΠΎ ΡΠΈΠ»ΠΈΠ½Π΄ΡΠ° Π½Π°Π΄ΠΎ ΠΏΡΠΎΡΠ΅ΡΠ΅ΡΡ Π½Π°ΡΡΡ ΠΎ, Π° ΠΏΠΎΡΠΎΠΌ ΡΠΌΠ°Π·Π°ΡΡ ΡΠΎΠ½ΠΊΠΈΠΌ ΡΠ»ΠΎΠ΅ΠΌ Ρ ΠΏΠΎΠΌΠΎΡΡΡ ΡΠΏΠ΅ΡΠΈΠ°Π»ΡΠ½ΠΎΠΉ ΡΠΌΠ°Π·ΠΊΠΈ. Π’Π°ΠΊΠΆΠ΅ Π² ΡΠΈΠ»ΠΈΠ½Π΄ΡΠ΅ ΡΠΌΠ°Π·ΡΠ²Π°Π΅ΡΡΡ Π²ΠΎΠΉΠ»ΠΎΡΠ½ΠΎΠ΅ ΠΊΠΎΠ»ΡΡΠΎ ΠΏΠΎΡΡΠ½Ρ, ΠΌΠ°Π½ΠΆΠ΅ΡΠ° ΠΈ ΡΠ°Π»ΡΠ½ΠΈΠΊ. Π Ρ ΡΠ°Π±ΠΎΡΠΈΡ ΡΠ΅Π·Π΅ΡΠ²ΡΠ°ΡΠΎΠ² ΡΠΌΠ°Π·ΡΠ²Π°Π΅ΡΡΡ ΡΠ΅ΠΆΠΈΠΌΠ½ΡΠΉ Π²Π°Π»ΠΈΠΊ.Β
Π ΡΡΠ°ΠΆΠ½ΡΡ ΠΏΠ΅ΡΠ΅Π΄Π°ΡΡ ΡΠΎΡΠΌΠΎΠ·Π½ΡΡ
ΠΌΠ΅Ρ
Π°Π½ΠΈΠ·ΠΌΠΎΠ² Π³ΡΡΠ·ΠΎΠ²ΡΡ
Π²Π°Π³ΠΎΠ½ΠΎΠ² Π½ΡΠΆΠ½ΠΎ ΠΏΠΎΠ»Π½ΠΎΡΡΡΡ ΡΠ°Π·ΠΎΠ±ΡΠ°ΡΡ, Π²ΠΊΠ»ΡΡΠ°Ρ ΡΡΠ΅ΠΌΠ½ΡΠ΅ ΡΠ»Π΅ΠΌΠ΅Π½ΡΡ ΡΡΠΎΡΠ½ΠΎΡΠ½ΠΎΠ³ΠΎ ΡΠΎΡΠΌΠΎΠ·Π°. ΠΡΠ΅ ΡΠ»Π΅ΠΌΠ΅Π½ΡΡ ΡΠΎΡΠΌΠΎΠ·Π½ΠΎΠΉ ΡΡΡΠ°ΠΆΠ½ΠΎΠΉ ΠΏΠ΅ΡΠ΅Π΄Π°ΡΠΈ ΠΎΡΠΌΠ°ΡΡΠΈΠ²Π°ΡΡΡΡ Π½Π° ΠΏΡΠ΅Π΄ΠΌΠ΅Ρ ΠΈΠ·Π½ΠΎΡΠ°, ΡΡΠ΅ΡΠΈΠ½ ΠΈ Ρ. Π΄. ΠΈ, Π΅ΡΠ»ΠΈ Π½ΡΠΆΠ½ΠΎ, Π·Π°ΠΌΠ΅Π½ΡΡΡΡΡ.
Π’ΡΠΈΠ°Π½Π³Π΅Π»ΠΈ ΠΈ ΡΡΠ°Π²Π΅ΡΡΡ ΠΈΡΠΏΡΡΡΠ²Π°ΡΡΡΡ Π½Π° ΠΏΡΠΎΡΠ½ΠΎΡΡΡ. ΠΠΎΡΠ»Π΅ ΠΏΡΠΎΡ
ΠΎΠΆΠ΄Π΅Π½ΠΈΡ ΠΈΡΠΏΡΡΠ°Π½ΠΈΠΉ Π½Π° ΡΠ°ΡΠΏΠΎΡΠΊΠ΅ Π²ΠΎΠ·Π»Π΅ ΡΡΡΡΠ½Ρ ΡΡΠΈΠ°Π½Π³Π΅Π»Ρ ΡΡΠ°Π²ΠΈΡΡΡ ΡΠΏΠ΅ΡΠΈΠ°Π»ΡΠ½ΠΎΠ΅ ΠΊΠ»Π΅ΠΉΠΌΠΎ.Β
ΠΠΎΠΏΡΡΠΊΠ°Π΅ΡΡΡ ΠΈΠ·Π½ΠΎΡ ΡΠ°Π±ΠΎΡΠΈΡ ΡΡΡΡΠΎΠΉΡΡΠ², ΠΊΠΎΡΠΎΡΡΠΉ ΡΠΎΡΡΠ°Π²Π»ΡΠ΅Ρ Π½Π΅ Π±ΠΎΠ»ΡΡΠ΅ ΠΏΡΡΠ½Π°Π΄ΡΠ°ΡΠΈ ΠΏΡΠΎΡΠ΅Π½ΡΠΎΠ² ΠΎΡ ΠΈΡ ΠΏΠ΅ΡΠ²ΠΎΠ½Π°ΡΠ°Π»ΡΠ½ΠΎΠΉ ΡΠΎΠ»ΡΠΈΠ½Ρ.
ΠΡΠΈ ΠΊΠ°ΠΏΡΠ΅ΠΌΠΎΠ½ΡΠ΅ Π²Π°Π³ΠΎΠ½ΠΎΠ² ΡΠ°ΠΊΠΈΠΌ ΡΠΎΡΡΠ°Π²Π»ΡΡΡΠΈΠΌ ΡΠΎΡΠΌΠΎΠ·Π½ΠΎΠΉ ΡΡΡΠ°ΠΆΠ½ΠΎΠΉ ΠΏΠ΅ΡΠ΅Π΄Π°ΡΠΈ ΡΡΠ΅Π±ΡΠ΅ΡΡΡ ΠΌΠ°Π³Π½ΠΈΡΠΎΠΏΠΎΡΠΎΡΠΊΠΎΠ²ΡΠΉ ΠΊΠΎΠ½ΡΡΠΎΠ»Ρ:Β
- ΠΏΡΠΎΠ΄ΠΎΠ»ΡΠ½ΡΡ ΡΡΠ³;
- ΡΠΎΡΠΌΠΎΠ·Π½ΡΡ Π±Π°ΡΠΌΠ°ΠΊΠΎΠ²;
- ΠΏΠΎΠΏΠ΅ΡΠ΅ΡΠ½ΡΡ Π±Π°Π»ΠΎΠΊ ΠΈ Π΄Ρ.
Π¨Π°ΡΠ½ΠΈΡΠ½ΡΠ΅ ΡΠΎΠ΅Π΄ΠΈΠ½Π΅Π½ΠΈΡ, ΡΡΡΡΠΈΠ΅ΡΡ ΡΠ°ΡΡΠΈ, Π° ΡΠ°ΠΊΠΆΠ΅ Π²ΠΈΠ½ΡΡ ΡΠΎΡΠΌΠΎΠ·Π½ΠΎΠΉ ΡΡΡΠ°ΠΆΠ½ΠΎΠΉ ΠΏΠ΅ΡΠ΅Π΄Π°ΡΠΈ ΡΠΌΠ°Π·ΡΠ²Π°ΡΡΡΡ ΠΏΡΠΈ ΠΏΠΎΠΌΠΎΡΠΈ ΠΎΡΠ΅Π²ΠΎΠΉ ΡΠΌΠ°Π·ΠΊΠΈ. ΠΠΎ Π²ΡΠ΅ΠΌΡ ΡΠ±ΠΎΡΠΊΠΈ Π½Π° Π²Π°Π»ΠΈΠΊΠ°Ρ ΡΡΡΠ°Π½Π°Π²Π»ΠΈΠ²Π°ΡΡΡΡ ΡΠΈΠΏΠΎΠ²ΡΠ΅ ΡΠ°ΠΉΠ±Ρ ΠΈ ΡΠΏΠ»ΠΈΠ½ΡΡ.Β
ΠΠ·-Π·Π° Π·Π½Π°ΡΠΈΡΠ΅Π»ΡΠ½ΠΎΠΉ Π²ΠΈΠ±ΡΠ°ΡΠΈΠΈ Π½Π΅ΠΊΠΎΡΠΎΡΡΡ ΡΠ·Π»ΠΎΠ² ΡΡΡΠ°ΠΆΠ½ΠΎΠΉ ΠΏΠ΅ΡΠ΅Π΄Π°ΡΠΈ Π½Π° Π²ΡΡΠΎΠΊΠΎΠΉ ΡΠΊΠΎΡΠΎΡΡΠΈ Π΄Π»Ρ ΡΠΌΠ΅Π½ΡΡΠ΅Π½ΠΈΡ ΡΡΠΌΠ½ΠΎΡΡΠΈ ΠΈ ΡΠ²Π΅Π»ΠΈΡΠ΅Π½ΠΈΡ ΠΏΡΠΎΠ΄ΠΎΠ»ΠΆΠΈΡΠ΅Π»ΡΠ½ΠΎΡΡΠΈ ΡΡΠΎΠΊΠ° ΠΈΡ ΡΠ»ΡΠΆΠ±Ρ, ΠΏΡΠ΅Π΄ΠΎΡ ΡΠ°Π½ΠΈΡΠ΅Π»ΡΠ½ΡΠ΅ ΡΠΊΠΎΠ±Ρ ΠΌΠΎΠ½ΡΠΈΡΡΡΡΡΡ Π½Π° ΡΠΏΠ΅ΡΠΈΠ°Π»ΡΠ½ΡΡ ΡΠ΅Π·ΠΈΠ½ΠΎΠ²ΡΡ ΠΏΡΠΎΠΊΠ»Π°Π΄ΠΊΠ°Ρ . Π Π½Π° Π΄Π»ΠΈΠ½Π½ΡΡ ΡΠΎΡΠΌΠΎΠ·Π½ΡΡ ΡΡΠ³Π°Ρ ΡΡΠ°Π²ΡΡΡΡ ΡΠΏΠ΅ΡΠΈΠ°Π»ΡΠ½ΡΠ΅ ΠΎΠ³ΡΠ°Π½ΠΈΡΠΈΡΠ΅Π»ΠΈ Π²ΠΈΠ±ΡΠ°ΡΠΈΠΈ.
Π’Π΅ΠΊΡΡΠΈΠΉ ΡΠ΅ΠΌΠΎΠ½Ρ ΡΠΎΡΠΌΠΎΠ·Π½ΡΡ
ΠΌΠ΅Ρ
Π°Π½ΠΈΠ·ΠΌΠΎΠ² ΠΏΡΠΎΠ²ΠΎΠ΄ΡΡΡΡ ΠΏΠΎΡΠ»Π΅ ΠΎΡΡΠ΅ΠΏΠΊΠΈ Π²Π°Π³ΠΎΠ½Π° ΠΎΡ ΠΏΠΎΠ΅Π·Π΄Π°.
ΠΡΠΈ ΡΡΠΎΠΌ ΡΡΠ°ΡΠ΅Π»ΡΠ½ΠΎ ΠΏΡΠΎΠ²Π΅ΡΡΠ΅ΡΡΡ Π½Π΅ ΡΠΎΠ»ΡΠΊΠΎ ΡΠ΅Ρ
Π½ΠΈΡΠ΅ΡΠΊΠΎΠ΅ ΡΠΎΡΡΠΎΡΠ½ΠΈΠ΅ ΡΠΎΡΠΌΠΎΠ·Π½ΡΡ
, Π½ΠΎ ΠΈ ΠΏΡΠ΅Π΄ΠΎΡ
ΡΠ°Π½ΠΈΡΠ΅Π»ΡΠ½ΡΡ
ΡΡΡΡΠΎΠΉΡΡΠ². ΠΠ·Π½ΠΎΡΠΈΠ²ΡΠΈΠ΅ΡΡ ΡΠ»Π΅ΠΌΠ΅Π½ΡΡ ΠΈ ΡΠ·Π»Ρ Π·Π°ΠΌΠ΅Π½ΡΡΡΡΡ Π»ΠΈΠ±ΠΎ ΡΠ΅ΠΌΠΎΠ½ΡΠΈΡΡΡΡΡΡ.Β
ΠΡΠΈ Π’Π ΡΠΎΡΠΌΠΎΠ·Π½ΡΡ ΡΡΡΡΠΎΠΉΡΡΠ² Π³ΡΡΠ·ΠΎΠ²ΡΡ Π²Π°Π³ΠΎΠ½ΠΎΠ², ΠΈ ΠΏΡΠΈ ΠΈΡ ΡΠ΅ΠΊΡΡΠ΅ΠΌ Π±Π΅Π·ΠΎΡΡΠ΅ΠΏΠΎΡΠ½ΠΎΠΌ ΡΠ΅ΠΌΠΎΠ½ΡΠ΅, Π²ΡΠ΅ ΠΌΠ°Π½ΠΈΠΏΡΠ»ΡΡΠΈΠΈ ΠΏΡΠΎΠ²ΠΎΠ΄ΡΡ Π² ΠΏΡΠ½ΠΊΡΠ°Ρ ΡΠ΅Ρ ΠΎΠ±ΡΠ»ΡΠΆΠΈΠ²Π°Π½ΠΈΡ ΠΏΡΠΈ ΠΏΠΎΠ΄Π³ΠΎΡΠΎΠ²ΠΊΠ΅ Π²Π°Π³ΠΎΠ½ΠΎΠ² ΠΊ ΡΠ΅ΠΉΡΡ.
ΠΠ°Π΄ΠΏΠΈΡΡ ΠΎ ΠΏΡΠΎΠ²Π΅Π΄Π΅Π½ΠΈΠΈ ΡΠ΅ΠΌΠΎΠ½ΡΠ° ΡΠΎΡΠΌΠΎΠ·Π½ΡΡ ΠΌΠ΅Ρ Π°Π½ΠΈΠ·ΠΌΠΎΠ² ΠΏΡΠΈ Π΄Π΅ΠΏΠΎΠ²ΡΠΊΠΎΠΌ ΠΈ ΠΊΠ°ΠΏΡΠ΅ΠΌΠΎΠ½ΡΠ΅ Π²Π°Π³ΠΎΠ½ΠΎΠ² Π½Π΅ ΡΡΠ°Π²ΠΈΡΡΡ. ΠΠ΅ΡΠΈΠΎΠ΄ΠΈΡΠ½ΠΎΡΡΡ ΡΠ΅ΠΌΠΎΠ½ΡΠ° ΠΎΠΏΡΠ΅Π΄Π΅Π»ΡΠ΅ΡΡΡ ΠΏΠΎ Π½Π°Π΄ΠΏΠΈΡΡΠΌ, ΠΊΠΎΡΠΎΡΡΠ΅ Π±ΡΠ»ΠΈ Π½Π°Π½Π΅ΡΠ΅Π½Ρ ΡΠ°Π½Π΅Π΅ Π½Π° ΠΊΡΠ·ΠΎΠ², Π° ΡΠ°ΠΊΠΆΠ΅ Π½Π° Π΄Π½ΠΈΡΠ΅ ΠΊΠΎΡΠ»Π°. ΠΡΠ΅ Π΄Π°Π½Π½ΡΠ΅ ΠΎ ΠΏΠ΅ΡΠΈΠΎΠ΄ΠΈΡΠ΅ΡΠΊΠΎΠΌ ΡΠ΅ΠΌΠΎΠ½ΡΠ΅, Π° ΡΠ°ΠΊΠΆΠ΅ ΡΠ΅Π²ΠΈΠ·ΠΈΠΈ Π²Π°Π³ΠΎΠ½ΠΎΠ² Π·Π°Π½ΠΎΡΡΡ Π² ΡΠΏΠ΅ΡΠΈΠ°Π»ΡΠ½ΡΡ ΠΊΠ½ΠΈΠ³Ρ.
ΠΡΠΈ Π’Π ΠΈ ΡΠ΅ΠΌΠΎΠ½ΡΠ΅ ΡΠΎΡΠΌΠΎΠ·Π½ΠΎΠ³ΠΎ ΠΎΠ±ΠΎΡΡΠ΄ΠΎΠ²Π°Π½ΠΈΡ Π³ΡΡΠ·ΠΎΠ²ΠΎΠ³ΠΎ Π²Π°Π³ΠΎΠ½Π° ΠΎΠ±ΡΠ·Π°ΡΠ΅Π»ΡΠ½ΠΎ Π½ΡΠΆΠ½ΠΎ ΡΠΎΠ±Π»ΡΠ΄Π°ΡΡ Π²ΡΠ΅ Π½Π΅ΠΎΠ±Ρ
ΠΎΠ΄ΠΈΠΌΡΠ΅ ΠΌΠ΅ΡΡ Π΄Π»Ρ ΡΠΎΡ
ΡΠ°Π½Π΅Π½ΠΈΡ Π±Π΅Π·ΠΎΠΏΠ°ΡΠ½ΠΎΡΡΠΈ. ΠΠ΅ΡΠ΅Π΄ Π·Π°ΠΌΠ΅Π½ΠΎΠΉ Π²ΠΎΠ·Π΄ΡΡ
ΠΎΡΠ°ΡΠΏΡΠ΅Π΄Π΅Π»ΠΈΡΠ΅Π»Π΅ΠΉ, ΡΠ΅Π·Π΅ΡΠ²ΡΠ°ΡΠΎΠ², ΠΏΠΎΠ΄Π²ΠΎΠ΄ΡΡΠΈΡ
ΡΡΡΠ±ΠΎΠΊ, Π²ΡΠΊΡΡΡΠΈΠ΅ΠΌ ΡΠΎΡΠΌΠΎΠ·Π½ΠΎΠ³ΠΎ ΡΠΈΠ»ΠΈΠ½Π΄ΡΠ° ΠΈ ΡΠ΅Π³ΡΠ»ΠΈΡΠΎΠ²ΠΊΠΎΠΉ ΡΡΡΠ°ΠΆΠ½ΠΎΠΉ ΠΏΠ΅ΡΠ΅Π΄Π°ΡΠΈ Π½ΡΠΆΠ½ΠΎ ΠΎΠ±ΡΠ·Π°ΡΠ΅Π»ΡΠ½ΠΎ Π²ΡΠΊΠ»ΡΡΠΈΡΡ ΡΠΎΡΠΌΠΎΠ· Π²Π°Π³ΠΎΠ½ΠΎΠ², Π° Π²ΠΎΠ·Π΄ΡΡ
β Π²ΡΠΏΡΡΡΠΈΡΡ. ΠΠ΅Π½ΡΡΡ ΡΠ°Π·ΡΠ΅Π΄ΠΈΠ½ΠΈΡΠ΅Π»ΡΠ½ΡΠ΅ ΡΡΠΊΠ°Π²Π° ΠΌΠΎΠΆΠ½ΠΎ, ΡΠΎΠ»ΡΠΊΠΎ ΠΏΠ΅ΡΠ΅ΠΊΡΡΠ² ΠΊΠΎΠ½ΡΠ΅Π²ΡΠ΅ ΠΊΡΠ°Π½Ρ ΡΠΌΠ΅ΠΆΠ½ΡΡ
Π²Π°Π³ΠΎΠ½ΠΎΠ².
ΠΠ°ΠΏΡΠ΅ΡΠ΅Π½ΠΎ ΠΎΠ±ΡΡΡΠΊΠΈΠ²Π°ΡΡ ΡΠ°Π±ΠΎΡΡΡ ΠΊΠ°ΠΌΠ΅ΡΡ ΠΈ Π²ΠΎΠ·Π΄ΡΡ
ΠΎΡΠ°ΡΠΏΡΠ΅Π΄Π΅Π»ΠΈΡΠ΅Π»Ρ ΡΠΎΡΠΌΠΎΠ·Π½ΠΎΠ³ΠΎ ΡΠΈΠ»ΠΈΠ½Π΄ΡΠ° Ρ ΠΏΠΎΠΌΠΎΡΡΡ ΠΌΠΎΠ»ΠΎΡΠΊΠ° ΠΈΠ· ΠΌΠ΅ΡΠ°Π»Π»Π°, Π° ΡΠ°ΠΊΠΆΠ΅ ΠΎΡΠ²ΠΈΠ½ΡΠΈΠ²Π°ΡΡ Π·Π°Π³Π»ΡΡΠΊΠΈ ΡΠ΅Π·Π΅ΡΠ²ΡΠ°ΡΠΎΠ², ΠΊΠΎΡΠΎΡΡΠ΅ Π½Π°Ρ
ΠΎΠ΄ΡΡΡΡ ΠΏΠΎΠ΄ Π΄Π°Π²Π»Π΅Π½ΠΈΠ΅ΠΌ.
Π’ΠΎΡΠΌΠΎΠ·Π½ΠΎΠ΅ ΠΎΠ±ΠΎΡΡΠ΄ΠΎΠ²Π°Π½ΠΈΠ΅: ΠΏΠ΅ΡΠΈΠΎΠ΄ΠΈΡΠ½ΠΎΡΡΡ ΠΈ ΡΡΠΎΠΊΠΈ Π΅Π³ΠΎ ΡΠ΅ΠΌΠΎΠ½ΡΠ°
Π ΠΎΡΠ½ΠΎΠ²Π½ΠΎΠΌ ΡΡΠΎΠΊ ΡΠ»ΡΠΆΠ±Ρ Π³ΡΡΠ·ΠΎΠ²ΡΡ Π²Π°Π³ΠΎΠ½ΠΎΠ² ΡΠΎΡΡΠ°Π²Π»ΡΠ΅Ρ 20-30 Π»Π΅Ρ. Π§ΡΠΎΠ±Ρ ΠΎΠ±Π΅ΡΠΏΠ΅ΡΠΈΡΡ Π±Π΅Π·ΠΎΠΏΠ°ΡΠ½ΠΎΡΡΡ Π΄Π²ΠΈΠΆΠ΅Π½ΠΈΡ ΠΈ Π²ΡΠΏΠΎΠ»Π½ΠΈΡΡ Π½ΡΠΆΠ½ΡΠΉ ΠΎΠ±ΡΠ΅ΠΌ ΠΏΠ΅ΡΠ΅Π²ΠΎΠ·ΠΎΠΊ, Π²Π°Π³ΠΎΠ½Ρ Π½ΡΠΆΠ΄Π°ΡΡΡΡ Π² ΠΊΠΎΠ½ΡΡΠΎΠ»Π΅ ΠΈΡΠΏΡΠ°Π²Π½ΠΎΡΡΠΈ Π² ΠΏΡΠΎΡΠ΅ΡΡΠ΅ ΡΠΊΡΠΏΠ»ΡΠ°ΡΠ°ΡΠΈΠΈ, Π° ΡΠ°ΠΊΠΆΠ΅ Π² ΡΠ΅ΠΌΠΎΠ½ΡΠ΅. Π Π ΠΎΡΡΠΈΠΉΡΠΊΠΎΠΉ Π€Π΅Π΄Π΅ΡΠ°ΡΠΈΠΈ ΠΈ Π·Π° ΡΡΠ±Π΅ΠΆΠΎΠΌ ΡΡΠΎΠΊΠΈ ΡΠ΅ΠΌΠΎΠ½ΡΠ° ΠΈ ΡΠΈΡΡΠ΅ΠΌΠ° ΡΠ΅Ρ ΠΎΠ±ΡΠ»ΡΠΆΠΈΠ²Π°Π½ΠΈΡ Π²Π°Π³ΠΎΠ½ΠΎΠ² β ΡΠ°Π·Π½ΡΠ΅. ΠΡΠΎ ΡΠ²ΡΠ·Π°Π½ΠΎ Ρ ΠΏΠΎΡΠ²Π»Π΅Π½ΠΈΠ΅ΠΌ Π½Π° ΡΡΠ½ΠΊΠ΅ Π±ΠΎΠ»Π΅Π΅ Π½Π°Π΄Π΅ΠΆΠ½ΡΡ ΠΈ ΠΏΡΠΎΡΠ½ΡΡ Π³ΡΡΠ·ΠΎΠ²ΡΡ Π²Π°Π³ΠΎΠ½ΠΎΠ². ΠΡΠΎΠΌΠ΅ ΡΠΎΠ³ΠΎ, ΠΏΠΎΡΠ²ΠΈΠ»ΠΎΡΡ Π½ΠΎΠ²ΠΎΠ΅ ΡΠΎΠ²ΡΠ΅ΠΌΠ΅Π½Π½ΠΎΠ΅ ΠΎΠ±ΠΎΡΡΠ΄ΠΎΠ²Π°Π½ΠΈΠ΅, ΠΏΡΠ΅Π΄Π½Π°Π·Π½Π°ΡΠ΅Π½Π½ΠΎΠ΅ Π΄Π»Ρ ΠΊΠΎΠ½ΡΡΠΎΠ»Ρ ΠΈΡΠΏΡΠ°Π²Π½ΠΎΡΡΠΈ Π²Π°Π³ΠΎΠ½ΠΎΠ², Π° ΡΠ°ΠΊΠΆΠ΅ ΠΈΡ ΡΠΎΡΠΌΠΎΠ·Π½ΡΡ ΡΡΡΡΠΎΠΉΡΡΠ².
ΠΠ΅ΡΠΈΠΎΠ΄ ΠΏΡΠΎΠ²Π΅Π΄Π΅Π½ΠΈΡ ΡΠ΅Π²ΠΈΠ·ΠΈΠΉ, Π²ΠΈΠ΄Ρ ΡΠ΅Ρ ΠΎΠ±ΡΠ»ΡΠΆΠΈΠ²Π°Π½ΠΈΡ, Π΄Π΅ΠΏΠΎΠ²ΡΠΊΠΎΠ³ΠΎ ΠΈ ΠΊΠ°ΠΏΠΈΡΠ°Π»ΡΠ½ΡΡ ΡΠ΅ΠΌΠΎΠ½ΡΠΎΠ² Π³ΡΡΠ·ΠΎΠ²ΡΡ ΠΈ ΠΏΠ°ΡΡΠ°ΠΆΠΈΡΡΠΊΠΈΡ Π²Π°Π³ΠΎΠ½ΠΎΠ² ΡΡΡΠ°Π½Π°Π²Π»ΠΈΠ²Π°Π΅ΡΡΡ ΠΠΠ Β«Π ΠΎΡΡΠΈΠΉΡΠΊΠΈΠ΅ ΠΆΠ΅Π»Π΅Π·Π½ΡΠ΅ Π΄ΠΎΡΠΎΠ³ΠΈΒ».Β
ΠΡΠΎ Π·Π°Π²ΠΈΡΠΈΡ ΠΎΡ ΠΏΡΠΎΠ±Π΅Π³Π° Π²Π°Π³ΠΎΠ½Π° ΠΈΠ»ΠΈ ΠΌΠ°ΠΊΡΠΈΠΌΠ°Π»ΡΠ½ΠΎ Π΄ΠΎΠΏΡΡΡΠΈΠΌΡΡ
ΡΡΠΎΠΊΠΎΠ² ΡΠΊΡΠΏΠ»ΡΠ°ΡΠ°ΡΠΈΠΈ ΠΌΠ΅ΠΆΠ΄Ρ ΠΏΡΠΎΠ²Π΅Π΄Π΅Π½Π½ΡΠΌΠΈ ΡΠ΅ΠΌΠΎΠ½ΡΠ½ΡΠΌΠΈ ΡΠ°Π±ΠΎΡΠ°ΠΌΠΈ.
Π ΠΏΡΠΈΠΌΠ΅ΡΡ, Π³ΡΡΠ·ΠΎΠ²ΡΠ΅ Π²Π°Π³ΠΎΠ½Ρ, ΠΊΠΎΡΠΎΡΡΠ΅ Π±ΡΠ»ΠΈ ΠΏΡΠΎΠΈΠ·Π²Π΅Π΄Π΅Π½Ρ ΠΏΠΎΡΠ»Π΅ 1984 Π³ΠΎΠ΄Π°, ΠΏΡΠΎΡ
ΠΎΠ΄ΡΡ ΠΊΠ°ΠΏΡΠ΅ΠΌΠΎΠ½Ρ ΡΠ΅ΡΠ΅Π· ΡΡΠΈΠ½Π°Π΄ΡΠ°ΡΡ Π»Π΅Ρ ΠΏΠΎΡΠ»Π΅ Π²ΡΠΏΡΡΠΊΠ° ΠΈ ΡΠ΅ΡΠ΅Π· Π΄Π²Π΅Π½Π°Π΄ΡΠ°ΡΡ Π»Π΅Ρ β ΠΏΠΎΡΠ»Π΅ ΠΎΡΠ΅ΡΠ΅Π΄Π½ΠΎΠ³ΠΎ ΠΠ . ΠΠΌ ΡΡΠ΅Π±ΡΠ΅ΡΡΡ Π΄Π΅ΠΏΠΎΠ²ΡΠΊΠΈΠΉ ΡΠ΅ΠΌΠΎΠ½Ρ ΡΠ΅ΡΠ΅Π· ΡΡΠΈ Π³ΠΎΠ΄Π° ΠΏΠΎΡΠ»Π΅ ΠΏΠΎΡΡΡΠΎΠΉΠΊΠΈ ΠΈ ΡΠΏΡΡΡΡ Π΄Π²Π° Π³ΠΎΠ΄Π° ΠΏΠΎΡΠ»Π΅ ΠΠ ΠΈ ΠΠ ΠΈΠ»ΠΈ ΠΏΡΠΎΠ±Π΅Π³Π° 100 ΡΡΡ. ΠΊΠΌ. ΠΠ΅ΠΆΡΠ΅ΠΌΠΎΠ½ΡΠ½ΡΠ΅ ΡΡΠΎΠΊΠΈ Π·Π°Π²ΠΈΡΡΡ ΠΎΡ ΠΊΠΎΠ½ΡΡΡΡΠΊΡΠΈΠΈ Π³ΡΡΠ·ΠΎΠ²ΠΎΠ³ΠΎ Π²Π°Π³ΠΎΠ½Π°, Π° ΡΠ°ΠΊΠΆΠ΅ ΠΎΡ ΠΈΠ½ΡΠ΅Π½ΡΠΈΠ²Π½ΠΎΡΡΠΈ Π΅Π³ΠΎ ΠΈΡΠΏΠΎΠ»ΡΠ·ΠΎΠ²Π°Π½ΠΈΡ.
ΠΠ½ΡΡΡΡΠΌΠ΅Π½ΡΡ ΠΈ ΠΎΠ±ΠΎΡΡΠ΄ΠΎΠ²Π°Π½ΠΈΠ΅ Π΄Π»Ρ ΠΎΠ±ΡΠ»ΡΠΆΠΈΠ²Π°Π½ΠΈΡ ΡΠΎΡΠΌΠΎΠ·ΠΎΠ²
Π Π°Π±ΠΎΡΠ° Ρ ΡΠΎΡΠΌΠΎΠ·Π°ΠΌΠΈ ΡΠ²Π»ΡΠ΅ΡΡΡ ΠΎΠ΄Π½ΠΈΠΌ ΠΈΠ· ΠΊΡΠ°Π΅ΡΠ³ΠΎΠ»ΡΠ½ΡΡ
ΠΊΠ°ΠΌΠ½Π΅ΠΉ Π±ΠΈΠ·Π½Π΅ΡΠ° ΠΏΠΎ ΡΠ΅ΠΌΠΎΠ½ΡΡ Π°Π²ΡΠΎΠΌΠΎΠ±ΠΈΠ»Π΅ΠΉ, ΠΏΠΎΡΡΠΎΠΌΡ Π²Π°ΠΆΠ½ΠΎ ΡΠ±Π΅Π΄ΠΈΡΡΡΡ, ΡΡΠΎ Ρ Π²Π°Ρ Π΅ΡΡΡ ΠΏΠΎΠ΄Ρ
ΠΎΠ΄ΡΡΠΈΠ΅ ΠΈΠ½ΡΡΡΡΠΌΠ΅Π½ΡΡ ΠΈ ΠΎΠ±ΠΎΡΡΠ΄ΠΎΠ²Π°Π½ΠΈΠ΅ Π΄Π»Ρ ΠΎΠ±ΡΠ»ΡΠΆΠΈΠ²Π°Π½ΠΈΡ ΡΠΎΡΠΌΠΎΠ·ΠΎΠ² Π½Π° ΡΠΎΠ²ΡΠ΅ΠΌΠ΅Π½Π½ΡΡ
Π°Π²ΡΠΎΠΌΠΎΠ±ΠΈΠ»ΡΡ
. Π Π±ΠΎΠ»ΡΡΠΈΠ½ΡΡΠ²Π΅ ΠΌΠ°ΡΡΠ΅ΡΡΠΊΠΈΡ
, Π·Π°Π½ΠΈΠΌΠ°ΡΡΠΈΡ
ΡΡ ΡΠ΅ΠΌΠΎΠ½ΡΠΎΠΌ ΡΠΎΡΠΌΠΎΠ·ΠΎΠ², Π΅ΡΡΡ ΠΊΠ°ΠΊΠΎΠ΅-Π»ΠΈΠ±ΠΎ ΠΎΠ±ΠΎΡΡΠ΄ΠΎΠ²Π°Π½ΠΈΠ΅ Π΄Π»Ρ ΠΏΡΠΎΠΌΡΠ²ΠΊΠΈ ΠΈ ΠΏΡΠΎΠΊΠ°ΡΠΊΠΈ ΡΠΎΡΠΌΠΎΠ·Π½ΠΎΠΉ ΠΆΠΈΠ΄ΠΊΠΎΡΡΠΈ (ΠΌΠ΅Ρ
Π°Π½ΠΈΠ·ΠΌ ΠΏΡΠΎΠΊΠ°ΡΠΊΠΈ, Π²Π°ΠΊΡΡΠΌΠ½ΡΠΉ ΠΏΡΠΎΠΊΠ°ΡΠΈΠ²Π°ΡΠ΅Π»Ρ ΠΈΠ»ΠΈ ΠΈΠ½ΡΡΡΡΠΌΠ΅Π½Ρ Π΄Π»Ρ ΠΈΠ½ΠΆΠ΅ΠΊΡΠΎΡΠ°), ΠΌΠΎΠΆΠ΅Ρ Π±ΡΡΡ, Π½Π°ΡΡΠΎΠ»ΡΠ½ΡΠΉ ΠΈΠ»ΠΈ Π°Π²ΡΠΎΠΌΠΎΠ±ΠΈΠ»ΡΠ½ΡΠΉ ΡΠΎΠΊΠ°ΡΠ½ΡΠΉ ΡΡΠ°Π½ΠΎΠΊ Π΄Π»Ρ ΡΠ»ΠΈΡΠΎΠ²ΠΊΠΈ Π±Π°ΡΠ°Π±Π°Π½ΠΎΠ² ΠΈ ΡΠΎΡΠΎΡΠΎΠ², Π° ΡΠ°ΠΊΠΆΠ΅, Π²ΠΎΠ·ΠΌΠΎΠΆΠ½ΠΎ, ΡΠ°Π·Π»ΠΈΡΠ½ΡΠ΅ ΡΡΡΠ½ΡΠ΅ ΠΈΠ½ΡΡΡΡΠΌΠ΅Π½ΡΡ, ΡΠ°ΠΊΠΈΠ΅ ΠΊΠ°ΠΊ Π² ΠΊΠ°ΡΠ΅ΡΡΠ²Π΅ ΡΠ΅Π³ΡΠ»ΡΡΠΎΡΠ° Π±Π°ΡΠ°Π±Π°Π½Π½ΠΎΠ³ΠΎ ΡΠΎΡΠΌΠΎΠ·Π°, ΡΡΠ΅ΠΌΠ½ΠΈΠΊΠ° Π±Π°ΡΠ°Π±Π°Π½Π°, Π³Π°Π΅ΡΠ½ΡΡ
ΠΊΠ»ΡΡΠ΅ΠΉ Π΄Π»Ρ ΠΏΡΠΎΠΊΠ°ΡΠΊΠΈ ΠΈ, Π²ΠΎΠ·ΠΌΠΎΠΆΠ½ΠΎ, ΠΊΠ°Π»ΠΈΠ±ΡΠ° Π±Π°ΡΠ°Π±Π°Π½Π° Π΄Π»Ρ ΠΏΡΠΎΠ²Π΅ΡΠΊΠΈ ΠΈΠ·Π½ΠΎΡΠ° Π±Π°ΡΠ°Π±Π°Π½Π° ΠΈ ΠΌΠΈΠΊΡΠΎΠΌΠ΅ΡΡΠ° Π΄Π»Ρ ΠΈΠ·ΠΌΠ΅ΡΠ΅Π½ΠΈΡ ΡΠΎΠ»ΡΠΈΠ½Ρ ΡΠΎΡΠΎΡΠ°.
Π§Π΅Π³ΠΎ Π½Π΅ Ρ Π²Π°ΡΠ°Π΅Ρ Π²ΠΎ ΠΌΠ½ΠΎΠ³ΠΈΡ ΠΌΠ°Π³Π°Π·ΠΈΠ½Π°Ρ , ΡΠ°ΠΊ ΡΡΠΎ Π½Π°Π΄Π»Π΅ΠΆΠ°ΡΠΈΡ Π΄ΠΈΠ°Π³Π½ΠΎΡΡΠΈΡΠ΅ΡΠΊΠΈΡ ΠΈΠ½ΡΡΡΡΠΌΠ΅Π½ΡΠΎΠ² Π΄Π»Ρ ΡΡΡΡΠ°Π½Π΅Π½ΠΈΡ ΡΠ°ΡΠΏΡΠΎΡΡΡΠ°Π½Π΅Π½Π½ΡΡ ΠΏΡΠΎΠ±Π»Π΅ΠΌ Ρ ΡΠΎΡΠΌΠΎΠ·Π°ΠΌΠΈ. ΠΠ΄Π½ΠΈΠΌ ΠΈΠ· ΡΠ°ΠΊΠΈΡ ΠΈΠ½ΡΡΡΡΠΌΠ΅Π½ΡΠΎΠ² ΠΌΠΎΠΆΠ΅Ρ Π±ΡΡΡ Π±Π°Π·ΠΎΠ²ΡΠΉ ΡΠΈΡΠ΅ΡΠ±Π»Π°ΡΠ½ΡΠΉ ΠΈΠ½Π΄ΠΈΠΊΠ°ΡΠΎΡ Π΄Π»Ρ ΠΈΠ·ΠΌΠ΅ΡΠ΅Π½ΠΈΡ Π±ΠΈΠ΅Π½ΠΈΡ ΡΠΎΡΠΎΡΠ°, ΠΊΠΎΠ³Π΄Π° ΡΡΠ°Π½ΡΠΏΠΎΡΡΠ½ΠΎΠ΅ ΡΡΠ΅Π΄ΡΡΠ²ΠΎ ΠΈΠΌΠ΅Π΅Ρ ΡΠΎΡΠΌΠΎΠ·Π° ΠΈΠ»ΠΈ Π²ΠΈΠ±ΡΠ°ΡΠΈΡ, ΡΠ²ΡΠ·Π°Π½Π½ΡΡ ΡΠΎ ΡΠΊΠΎΡΠΎΡΡΡΡ. Π¦ΠΈΡΠ΅ΡΠ±Π»Π°ΡΠ½ΡΠΉ ΠΈΠ½Π΄ΠΈΠΊΠ°ΡΠΎΡ Ρ ΠΌΠ°Π³Π½ΠΈΡΠ½ΡΠΌ ΠΊΡΠ΅ΠΏΠ»Π΅Π½ΠΈΠ΅ΠΌ ΠΈΠ»ΠΈ Π·Π°ΠΆΠΈΠΌΠ½ΡΠΌ ΠΊΡΠ΅ΠΏΠ»Π΅Π½ΠΈΠ΅ΠΌ ΠΈ Π·Π°ΠΏΠΈΡΠ°Π΅ΠΌΠΎΠΉ Π³ΠΎΡΠ»ΠΎΠ²ΠΈΠ½ΠΎΠΉ ΠΏΠΎΠ·Π²ΠΎΠ»ΡΠ΅Ρ Π»Π΅Π³ΠΊΠΎ ΡΠ°ΡΠΏΠΎΠ»ΠΎΠΆΠΈΡΡ ΠΈΠ½Π΄ΠΈΠΊΠ°ΡΠΎΡ Π½Π°ΠΏΡΠΎΡΠΈΠ² ΠΏΠΎΠ²Π΅ΡΡ Π½ΠΎΡΡΠΈ ΡΠΎΡΠΎΡΠ° Π΄Π»Ρ ΠΈΠ·ΠΌΠ΅ΡΠ΅Π½ΠΈΡ Π±ΠΈΠ΅Π½ΠΈΡ. Π₯ΠΎΡΡ Π±ΠΎΠ»ΡΡΠΈΠ½ΡΡΠ²ΠΎ Π°Π²ΡΠΎΠΌΠΎΠ±ΠΈΠ»Π΅ΠΉ ΠΌΠΎΠ³ΡΡ Π²ΡΠ΄Π΅ΡΠΆΠΈΠ²Π°ΡΡ Π±ΠΈΠ΅Π½ΠΈΠ΅ ΠΎΡ 0,003 Π΄ΠΎ 0,005 Π΄ΡΠΉΠΌΠ°, Π½Π΅ΠΊΠΎΡΠΎΡΡΠ΅ ΠΈΠ· Π½ΠΈΡ Π½Π°ΡΡΠΎΠ»ΡΠΊΠΎ ΡΡΠ²ΡΡΠ²ΠΈΡΠ΅Π»ΡΠ½Ρ, ΡΡΠΎ Π΄Π°ΠΆΠ΅ Π±ΠΈΠ΅Π½ΠΈΠ΅ 0,0015 Π΄ΡΠΉΠΌΠ° ΠΌΠΎΠΆΠ΅Ρ Π²ΡΠ·Π²Π°ΡΡ Π·Π°ΠΌΠ΅ΡΠ½ΡΡ Π²ΠΈΠ±ΡΠ°ΡΠΈΡ.
ΠΠ»Ρ ΠΎΠ±Π½Π°ΡΡΠΆΠ΅Π½ΠΈΡ ΠΎΡΠΊΠ»ΠΎΠ½Π΅Π½ΠΈΠΉ Π² ΡΠΎΠ»ΡΠΈΠ½Π΅ ΡΠΎΡΠΎΡΠ° ΠΌΠΎΠΆΠ½ΠΎ ΠΈΡΠΏΠΎΠ»ΡΠ·ΠΎΠ²Π°ΡΡ ΠΌΠΈΠΊΡΠΎΠΌΠ΅ΡΡ, Π½ΠΎ Π½Π΅ΠΎΠ±Ρ
ΠΎΠ΄ΠΈΠΌΠΎ ΠΏΡΠΎΠ²Π΅ΡΠΈΡΡ ΠΌΠ½ΠΎΠΆΠ΅ΡΡΠ²ΠΎ ΡΠΎΡΠ΅ΠΊ ΠΏΠΎ Π²ΡΠ΅ΠΉ ΠΏΠΎΠ²Π΅ΡΡ
Π½ΠΎΡΡΠΈ ΡΠΎΡΠΎΡΠ°. ΠΠ°ΠΆΠ΅ Π² ΡΡΠΎΠΌ ΡΠ»ΡΡΠ°Π΅ Π²Ρ ΠΌΠΎΠΆΠ΅ΡΠ΅ Π½Π΅ Π½Π°ΠΉΡΠΈ Π±ΠΎΠ»ΡΡΠΎΠ³ΠΎ ΡΠ°Π·Π½ΠΎΠΎΠ±ΡΠ°Π·ΠΈΡ. ΠΠΎ Π΄Π»Ρ ΡΠΎΠ³ΠΎ, ΡΡΠΎΠ±Ρ ΠΏΠΎΡΡΠ²ΡΡΠ²ΠΎΠ²Π°ΡΡ ΠΏΡΠ»ΡΡΠ°ΡΠΈΡ ΠΏΠ΅Π΄Π°Π»ΠΈ, ΡΡΠ΅Π±ΡΠ΅ΡΡΡ Π²ΡΠ΅Π³ΠΎ ΠΎΠΊΠΎΠ»ΠΎ 0,0005 Π΄ΡΠΉΠΌΠ°. Π Π±ΠΎΠ»ΡΡΠΈΠ½ΡΡΠ²Π΅ ΡΠ»ΡΡΠ°Π΅Π², Π΅ΡΠ»ΠΈ Π²Ρ ΡΡΠ²ΡΡΠ²ΡΠ΅ΡΠ΅ ΠΏΡΠ»ΡΡΠ°ΡΠΈΡ ΠΏΡΠΈ ΡΠΎΡΠΌΠΎΠΆΠ΅Π½ΠΈΠΈ, ΡΠΎΡΠΎΡΡ Π½ΡΠΆΠ΄Π°ΡΡΡΡ Π² ΡΠ»ΠΈΡΠΎΠ²ΠΊΠ΅ ΠΈΠ»ΠΈ Π·Π°ΠΌΠ΅Π½Π΅.
ΠΠΈΠ°Π³Π½ΠΎΡΡΠΈΠΊΠ° ABS
ΠΠΎΠ»Π΅Π΅ 85% Π²ΡΠ΅Ρ
Π°Π²ΡΠΎΠΌΠΎΠ±ΠΈΠ»Π΅ΠΉ ΠΏΠΎΡΠ»Π΅Π΄Π½ΠΈΡ
ΠΌΠΎΠ΄Π΅Π»Π΅ΠΉ Π² Π½Π°ΡΡΠΎΡΡΠ΅Π΅ Π²ΡΠ΅ΠΌΡ ΠΎΡΠ½Π°ΡΠ΅Π½Ρ Π°Π½ΡΠΈΠ±Π»ΠΎΠΊΠΈΡΠΎΠ²ΠΎΡΠ½ΠΎΠΉ ΡΠΈΡΡΠ΅ΠΌΠΎΠΉ ΡΠΎΡΠΌΠΎΠ·ΠΎΠ² (ABS), ΡΠΈΡΡΠ΅ΠΌΠΎΠΉ ΠΊΠΎΠ½ΡΡΠΎΠ»Ρ ΡΡΠ³ΠΈ ΠΈ/ΠΈΠ»ΠΈ ΡΠΈΡΡΠ΅ΠΌΠΎΠΉ ΡΡΠ°Π±ΠΈΠ»ΠΈΠ·Π°ΡΠΈΠΈ. ΠΠΎΡΡΠΎΠΌΡ, Π΅ΡΠ»ΠΈ Ρ Π²Π°Ρ Π½Π΅Ρ ΡΠΊΠ°Π½Π΅ΡΠ°, ΠΊΠΎΡΠΎΡΡΠΉ ΠΌΠΎΠΆΠ΅Ρ ΡΡΠΈΡΡΠ²Π°ΡΡ ΠΊΠΎΠ΄Ρ ABS ΠΈ Π²ΡΠΏΠΎΠ»Π½ΡΡΡ ΡΠ°Π·Π»ΠΈΡΠ½ΡΠ΅ ΡΠ°ΠΌΠΎΠΏΡΠΎΠ²Π΅ΡΠΊΠΈ ABS, Π²Ρ ΡΠΈΠ»ΡΠ½ΠΎ ΠΎΡΡΡΠ°Π»ΠΈ ΠΎΡ Π²ΡΠ΅ΠΌΠ΅Π½ΠΈ.
Π Π±ΠΎΠ»ΡΡΠΈΠ½ΡΡΠ²Π΅ ΠΌΠ°ΡΡΠ΅ΡΡΠΊΠΈΡ
Π΅ΡΡΡ ΡΠΊΠ°Π½ΠΈΡΡΡΡΠΈΠΉ ΠΏΡΠΈΠ±ΠΎΡ Π΄Π»Ρ Π΄ΠΈΠ°Π³Π½ΠΎΡΡΠΈΠΊΠΈ Π΄Π²ΠΈΠ³Π°ΡΠ΅Π»Ρ, Π½ΠΎ Π΄Π»Ρ ΡΠ°Π±ΠΎΡΡ Ρ ΡΠΎΡΠΌΠΎΠ·Π°ΠΌΠΈ Π΄ΠΈΠ°Π³Π½ΠΎΡΡΠΈΡΠ΅ΡΠΊΠΈΠΉ ΠΏΡΠΈΠ±ΠΎΡ Π΄ΠΎΠ»ΠΆΠ΅Π½ ΠΈΠΌΠ΅ΡΡ ΠΏΡΠΎΠ³ΡΠ°ΠΌΠΌΠ½ΠΎΠ΅ ΠΎΠ±Π΅ΡΠΏΠ΅ΡΠ΅Π½ΠΈΠ΅, ΠΊΠΎΡΠΎΡΠΎΠ΅ ΡΠ°ΠΊΠΆΠ΅ ΠΌΠΎΠΆΠ΅Ρ ΡΡΠΈΡΡΠ²Π°ΡΡ ΠΊΠΎΠ΄Ρ ABS ΠΈ Π·Π°ΠΏΡΡΠΊΠ°ΡΡ ΡΠ°ΠΌΠΎΠΏΡΠΎΠ²Π΅ΡΠΊΠΈ ABS. ΠΡΠΎ ΠΎΠ·Π½Π°ΡΠ°Π΅Ρ ΠΏΠΎΠΊΡΠΏΠΊΡ Π²ΡΡΠΎΠΊΠΎΠΊΠ°ΡΠ΅ΡΡΠ²Π΅Π½Π½ΠΎΠ³ΠΎ ΡΠΊΠ°Π½Π΅ΡΠ° ΠΏΡΠΎΡΠ΅ΡΡΠΈΠΎΠ½Π°Π»ΡΠ½ΠΎΠ³ΠΎ ΡΡΠΎΠ²Π½Ρ, ΠΎΠ΄Π½ΠΎΠ³ΠΎ ΠΈΠ»ΠΈ Π½Π΅ΡΠΊΠΎΠ»ΡΠΊΠΈΡ
Π·Π°Π²ΠΎΠ΄ΡΠΊΠΈΡ
ΡΠΊΠ°Π½Π΅ΡΠΎΠ² ΠΈΠ»ΠΈ ΡΠΏΠ΅ΡΠΈΠ°Π»ΡΠ½ΠΎΠ³ΠΎ ΡΠ΅ΡΡΠ΅ΡΠ° ABS. ΠΠΎΠ·ΠΌΠΎΠΆΠ½ΠΎΡΡΠΈ Π·Π°Π²ΠΎΠ΄ΡΠΊΠΎΠ³ΠΎ ΡΠΊΠ°Π½Π΅ΡΠ° ΡΡΡΠ΄Π½ΠΎ ΠΏΡΠ΅Π²Π·ΠΎΠΉΡΠΈ, Π½ΠΎ Π·Π°Π²ΠΎΠ΄ΡΠΊΠΈΠ΅ ΡΠΊΠ°Π½Π΅ΡΡ ΠΎΡΠ΅Π½Ρ Π΄ΠΎΡΠΎΠ³ΠΈ ΠΈ ΡΠ°Π±ΠΎΡΠ°ΡΡ ΡΠΎΠ»ΡΠΊΠΎ Ρ ΠΎΠ΄Π½ΠΎΠΉ ΠΌΠ°ΡΠΊΠΎΠΉ Π°Π²ΡΠΎΠΌΠΎΠ±ΠΈΠ»Ρ. ΠΠΎΡΡΠΎΠΌΡ, Π΅ΡΠ»ΠΈ Π²Ρ Π½Π΅ Π²ΡΠΏΠΎΠ»Π½ΡΠ΅ΡΠ΅ ΠΌΠ½ΠΎΠ³ΠΎ ΡΠ°Π±ΠΎΡΡ Ρ ΠΊΠΎΠ½ΠΊΡΠ΅ΡΠ½ΠΎΠΉ ΠΌΠ°ΡΠΊΠΎΠΉ, ΡΡΡΠ΄Π½ΠΎ ΠΎΠΏΡΠ°Π²Π΄Π°ΡΡ ΠΈΠ½Π²Π΅ΡΡΠΈΡΠΈΠΈ Π² Π·Π°Π²ΠΎΠ΄ΡΠΊΠΎΠΉ ΡΠΊΠ°Π½Π΅Ρ. Π‘ΠΊΠ°Π½Π΅Ρ Π΄Π»Ρ Π²ΡΠΎΡΠΈΡΠ½ΠΎΠ³ΠΎ ΡΡΠ½ΠΊΠ° Β«Π²ΡΠ΅ ΠΌΠ°ΡΠΊΠΈ/Π²ΡΠ΅ ΠΌΠΎΠ΄Π΅Π»ΠΈΒ» β Π³ΠΎΡΠ°Π·Π΄ΠΎ Π»ΡΡΡΠΈΠΉ Π²ΡΠ±ΠΎΡ, ΠΈΠ»ΠΈ ΡΠΏΠ΅ΡΠΈΠ°Π»ΡΠ½ΡΠΉ ΡΠ΅ΡΡΠ΅Ρ ABS Π΅ΡΠ΅ Π±ΠΎΠ»Π΅Π΅ Π΄ΠΎΡΡΡΠΏΠ΅Π½, Π΅ΡΠ»ΠΈ Π²Ρ Π½Π΅ Π²ΡΠΏΠΎΠ»Π½ΡΠ΅ΡΠ΅ ΠΌΠ½ΠΎΠ³ΠΎ ΡΠ°Π±ΠΎΡΡ Ρ Π΄Π²ΠΈΠ³Π°ΡΠ΅Π»Π΅ΠΌ.
ΠΠ»Ρ Π±ΠΎΠ»Π΅Π΅ ΡΠ»ΠΎΠΆΠ½ΠΎΠΉ Π΄ΠΈΠ°Π³Π½ΠΎΡΡΠΈΠΊΠΈ ABS ΡΠΈΡΡΠΎΠ²ΠΎΠΉ ΠΎΡΡΠΈΠ»Π»ΠΎΠ³ΡΠ°Ρ (DSO) ΠΈΠ»ΠΈ ΠΌΡΠ»ΡΡΠΈΠΌΠ΅ΡΡ-Π³ΡΠ°ΡΠΈΠΊ ΡΠ²Π»ΡΠ΅ΡΡΡ ΠΏΠΎΠ»Π΅Π·Π½ΡΠΌ ΠΈΠ½ΡΡΡΡΠΌΠ΅Π½ΡΠΎΠΌ Π΄Π»Ρ Π½Π°Π±Π»ΡΠ΄Π΅Π½ΠΈΡ Π·Π° Π²ΡΡ ΠΎΠ΄Π½ΡΠΌΠΈ ΡΠΈΠ³Π½Π°Π»Π°ΠΌΠΈ Π΄Π°ΡΡΠΈΠΊΠ° ΡΠΊΠΎΡΠΎΡΡΠΈ Π²ΡΠ°ΡΠ΅Π½ΠΈΡ ΠΊΠΎΠ»Π΅ΡΠ° Π² Π²ΠΈΠ΄Π΅ ΡΠΈΠ³Π½Π°Π»Π°. ΠΠ±ΡΡΠ΅Π½ΠΈΠ΅ ΠΏΡΠ°Π²ΠΈΠ»ΡΠ½ΠΎΠΌΡ ΠΈΡΠΏΠΎΠ»ΡΠ·ΠΎΠ²Π°Π½ΠΈΡ ΠΏΡΠΈΡΠ΅Π»Π° ΡΡΠ΅Π±ΡΠ΅Ρ Π½Π΅ΠΊΠΎΡΠΎΡΠΎΠ³ΠΎ Π²ΡΠ΅ΠΌΠ΅Π½ΠΈ, Π½ΠΎ ΠΊΠ°ΠΊ ΡΠΎΠ»ΡΠΊΠΎ Π²Ρ ΡΡΠΎ ΠΏΠΎΠΉΠΌΠ΅ΡΠ΅, Π΅Π³ΠΎ ΠΌΠΎΠΆΠ½ΠΎ Π±ΡΠ΄Π΅Ρ ΠΈΡΠΏΠΎΠ»ΡΠ·ΠΎΠ²Π°ΡΡ Π΄Π»Ρ ΠΎΠ±Π½Π°ΡΡΠΆΠ΅Π½ΠΈΡ Π²ΡΠ΅Ρ Π²ΠΈΠ΄ΠΎΠ² ΠΏΡΠΎΠ±Π»Π΅ΠΌ Ρ Π΄Π°ΡΡΠΈΠΊΠ°ΠΌΠΈ Π΄Π²ΠΈΠ³Π°ΡΠ΅Π»Ρ, ΠΊΠΎΡΠΎΡΡΠ΅ Π½Π΅ ΡΡΡΠ°Π½Π°Π²Π»ΠΈΠ²Π°ΡΡ ΠΊΠΎΠ΄Ρ, ΡΠ»ΠΈΡΠΊΠΎΠΌ Π½Π΅Π·Π°ΠΌΠ΅ΡΠ½Ρ ΠΈΠ»ΠΈ Π²ΠΎΠ·Π½ΠΈΠΊΠ°ΡΡ ΡΠ»ΠΈΡΠΊΠΎΠΌ Π±ΡΡΡΡΠΎ, ΡΡΠΎΠ±Ρ ΠΈΡ ΠΌΠΎΠΆΠ½ΠΎ Π±ΡΠ»ΠΎ ΡΠ²ΠΈΠ΄Π΅ΡΡ ΠΏΡΠΈ ΡΠΊΠ°Π½ΠΈΡΠΎΠ²Π°Π½ΠΈΠΈ. ΠΈΠ½ΡΡΡΡΠΌΠ΅Π½Ρ.
ΠΡΡΠ³ΠΈΠΌ ΠΈΠ½ΡΡΡΡΠΌΠ΅Π½ΡΠΎΠΌ, ΠΊΠΎΡΠΎΡΡΠΉ ΠΌΠΎΠΆΠ΅Ρ ΠΏΡΠΈΠ³ΠΎΠ΄ΠΈΡΡΡΡ Π΄Π»Ρ ΡΡΡΡΠ°Π½Π΅Π½ΠΈΡ Π½Π΅ΠΏΠΎΠ»Π°Π΄ΠΎΠΊ Ρ ΡΠΎΡΠΌΠΎΠ·Π°ΠΌΠΈ, ΡΠ²Π»ΡΠ΅ΡΡΡ ΠΈΠ½ΡΡΠ°ΠΊΡΠ°ΡΠ½ΡΠΉ ΠΏΠΈΡΠΎΠΌΠ΅ΡΡ. ΠΡΠΈ ΡΠ΅ΡΠΌΠΎΠΌΠ΅ΡΡΡ, ΠΏΠΎΡ ΠΎΠΆΠΈΠ΅ Π½Π° ΠΏΠΈΡΡΠΎΠ»Π΅ΡΡ, ΠΈΠ·ΠΌΠ΅ΡΡΡΡ ΠΈΠ½ΡΡΠ°ΠΊΡΠ°ΡΠ½ΠΎΠ΅ ΠΈΠ·Π»ΡΡΠ΅Π½ΠΈΠ΅, ΡΡΠΎΠ±Ρ ΠΎΠΏΡΠ΅Π΄Π΅Π»ΠΈΡΡ ΡΠ΅ΠΌΠΏΠ΅ΡΠ°ΡΡΡΡ ΠΏΠΎΠ²Π΅ΡΡ Π½ΠΎΡΡΠΈ. ΠΠΎΡΡΡΠΈΠΉ ΡΠΎΡΠΌΠΎΠ· ΡΠ²Π»ΡΠ΅ΡΡΡ Ρ ΠΎΡΠΎΡΠΈΠΌ ΠΏΡΠΈΠ·Π½Π°ΠΊΠΎΠΌ ΡΠΎΡΠΌΠΎΠ·Π½ΠΎΠ³ΠΎ ΡΠΎΠΏΡΠΎΡΠΈΠ²Π»Π΅Π½ΠΈΡ. ΠΠ΅ΡΠ°Π²Π½ΠΎΠΌΠ΅ΡΠ½ΡΠΉ Π½Π°Π³ΡΠ΅Π² ΠΈΠ· ΡΡΠΎΡΠΎΠ½Ρ Π² ΡΡΠΎΡΠΎΠ½Ρ ΠΌΠΎΠΆΠ΅Ρ ΡΠΊΠ°Π·ΡΠ²Π°ΡΡ Π½Π° Π·Π°ΠΌΠ΅ΡΠ·ΡΠΈΠΉ ΠΈΠ»ΠΈ Π·Π°Π»ΠΈΠΏΡΠΈΠΉ ΡΡΠΏΠΏΠΎΡΡ.
ΠΠΈΠ°Π³Π½ΠΎΡΡΠΈΠΊΠ° Π³ΠΈΠ΄ΡΠ°Π²Π»ΠΈΠΊΠΈ
ΠΡ ΠΊΠΎΠ³Π΄Π°-Π½ΠΈΠ±ΡΠ΄Ρ ΡΡΠ°Π»ΠΊΠΈΠ²Π°Π»ΠΈΡΡ Ρ ΠΏΡΠΎΠ±Π»Π΅ΠΌΠΎΠΉ Π±Π°Π»Π°Π½ΡΠΈΡΠΎΠ²ΠΊΠΈ ΡΠΎΡΠΌΠΎΠ·ΠΎΠ²? ΠΠΎΠΆΠ΅Ρ Π±ΡΡΡ, Π΅Π³ΠΎ ΡΡΠ½Π΅Ρ Π² ΠΎΠ΄Π½Ρ ΡΡΠΎΡΠΎΠ½Ρ, ΠΈΠ»ΠΈ Π·Π°Π΄Π½ΠΈΠ΅ ΠΊΠΎΠ»Π΅ΡΠ° Π±Π»ΠΎΠΊΠΈΡΡΡΡΡΡ ΠΏΡΠΈ ΡΠ΅Π·ΠΊΠΎΠΌ ΡΠΎΡΠΌΠΎΠΆΠ΅Π½ΠΈΠΈ, ΠΈΠ»ΠΈ Π·Π°Π΄Π½ΠΈΠ΅ ΡΠΎΡΠΌΠΎΠ·Π°, ΠΊΠ°ΠΆΠ΅ΡΡΡ, ΠΌΠ°Π»ΠΎ ΡΡΠΎ Π΄Π΅Π»Π°ΡΡ.
Π§ΡΠΎΠ±Ρ Π΄ΠΈΠ°Π³Π½ΠΎΡΡΠΈΡΠΎΠ²Π°ΡΡ ΡΠ°ΠΊΠΈΠ΅ ΠΏΡΠΎΠ±Π»Π΅ΠΌΡ, Π²Π°ΠΌ ΠΏΠΎΠ½Π°Π΄ΠΎΠ±ΠΈΡΡΡ ΠΏΠ°ΡΠ° ΡΠΎΡΠΌΠΎΠ·Π½ΡΡ
ΠΌΠ°Π½ΠΎΠΌΠ΅ΡΡΠΎΠ² Π²ΡΡΠΎΠΊΠΎΠ³ΠΎ Π΄Π°Π²Π»Π΅Π½ΠΈΡ ΠΈ Π½Π΅ΡΠΊΠΎΠ»ΡΠΊΠΎ ΡΠΈΡΠΈΠ½Π³ΠΎΠ², ΡΡΠΎΠ±Ρ ΠΌΠ°Π½ΠΎΠΌΠ΅ΡΡΡ ΠΌΠΎΠΆΠ½ΠΎ Π±ΡΠ»ΠΎ Π²ΡΡΠ°Π²ΠΈΡΡ Π² ΡΠΎΡΠΌΠΎΠ·Π½ΡΠ΅ ΠΌΠ°Π³ΠΈΡΡΡΠ°Π»ΠΈ. ΠΠ»Ρ ΠΏΡΠΎΠ²Π΅ΡΠΊΠΈ ΠΏΠΎΠΏΠ΅ΡΠ΅ΡΠ½ΠΎΠ³ΠΎ Π΄ΠΈΡΠ±Π°Π»Π°Π½ΡΠ° ΡΠΎΡΠΌΠΎΠ·ΠΎΠ² ΠΎΠ΄Π½Π° ΠΊΠΎΠΌΠΏΠ°Π½ΠΈΡ Π²ΡΠΏΡΡΠΊΠ°Π΅Ρ Ρ
ΠΎΡΠΎΡΠΈΠΉ Π½Π°Π±ΠΎΡ ΠΌΠ°Π½ΠΎΠΌΠ΅ΡΡΠΎΠ², ΠΊΠΎΡΠΎΡΡΠ΅ ΠΊΡΠ΅ΠΏΡΡΡΡ ΠΊ Π΄Π°ΡΡΠΈΠΊΠ°ΠΌ Π² Π²ΠΈΠ΄Π΅ ΠΊΠΎΠ»ΠΎΠ΄ΠΎΠΊ. ΠΠ°ΡΡΠΈΠΊΠΈ ΠΌΠΎΠ³ΡΡ Π±ΡΡΡ ΡΡΡΠ°Π½ΠΎΠ²Π»Π΅Π½Ρ Π²ΠΌΠ΅ΡΡΠΎ Π²Π½ΡΡΡΠ΅Π½Π½ΠΈΡ
ΡΠΎΡΠΌΠΎΠ·Π½ΡΡ
ΠΊΠΎΠ»ΠΎΠ΄ΠΎΠΊ, ΡΡΠΎΠ±Ρ ΠΈΠ·ΠΌΠ΅ΡΡΡΡ, ΠΊΠ°ΠΊΠΎΠ΅ Π΄Π°Π²Π»Π΅Π½ΠΈΠ΅ ΠΎΠΊΠ°Π·ΡΠ²Π°Π΅Ρ ΠΊΠ°ΠΆΠ΄ΡΠΉ ΡΡΠΏΠΏΠΎΡΡ ΠΏΡΠΈ ΡΠΎΡΠΌΠΎΠΆΠ΅Π½ΠΈΠΈ.
Π’Π΅ΡΡΠ΅Ρ ΡΠΎΡΠΌΠΎΠ·Π½ΠΎΠΉ ΠΆΠΈΠ΄ΠΊΠΎΡΡΠΈ
Π’Π΅ΡΡΠ΅Ρ ΡΠΎΡΠΌΠΎΠ·Π½ΠΎΠΉ ΠΆΠΈΠ΄ΠΊΠΎΡΡΠΈ β ΡΡΠΎ Π΅ΡΠ΅ ΠΎΠ΄ΠΈΠ½ Π΄ΠΈΠ°Π³Π½ΠΎΡΡΠΈΡΠ΅ΡΠΊΠΈΠΉ ΠΈΠ½ΡΡΡΡΠΌΠ΅Π½Ρ, ΠΊΠΎΡΠΎΡΡΠΉ Π΄ΠΎΠ»ΠΆΠ΅Π½ Π±ΡΡΡ Π² ΠΊΠ°ΠΆΠ΄ΠΎΠΉ ΠΌΠ°ΡΡΠ΅ΡΡΠΊΠΎΠΉ ΠΏΠΎ ΡΠ΅ΠΌΠΎΠ½ΡΡ ΡΠΎΡΠΌΠΎΠ·Π½ΡΡ
ΡΠΈΡΡΠ΅ΠΌ, Π½ΠΎ Π½Π΅ Π²ΠΎ ΠΌΠ½ΠΎΠ³ΠΈΡ
. Π’ΠΎΡΠΌΠΎΠ·Π½Π°Ρ ΠΆΠΈΠ΄ΠΊΠΎΡΡΡ ΡΠΎ Π²ΡΠ΅ΠΌΠ΅Π½Π΅ΠΌ Π΄Π΅Π³Π΅Π½Π΅ΡΠΈΡΡΠ΅Ρ ΠΈ ΠΏΠΎΠ³Π»ΠΎΡΠ°Π΅Ρ Π²Π»Π°Π³Ρ. ΠΠ΄ΠΈΠ½ ΠΈΠ· ΡΠΏΠΎΡΠΎΠ±ΠΎΠ² Β«ΡΠ²ΠΈΠ΄Π΅ΡΡΒ», ΡΠΊΠΎΠ»ΡΠΊΠΎ Π²Π»Π°Π³ΠΈ ΡΠΎΠ΄Π΅ΡΠΆΠΈΡΡΡ Π² ΠΆΠΈΠ΄ΠΊΠΎΡΡΠΈ, β ΠΈΡΠΏΠΎΠ»ΡΠ·ΠΎΠ²Π°ΡΡ ΡΠΎΡΠΌΠΎΠ·Π½ΠΎΠΉ Β«ΡΠ΅ΡΡΠ°ΠΊΡΠΎΠΌΠ΅ΡΡΒ». ΠΡΠΎ ΡΠΎΡΠ½ΡΠΉ ΠΎΠΏΡΠΈΡΠ΅ΡΠΊΠΈΠΉ ΠΏΡΠΈΠ±ΠΎΡ, ΠΊΠΎΡΠΎΡΡΠΉ ΠΈΡΠΏΠΎΠ»ΡΠ·ΡΠ΅Ρ Β«ΠΏΠΎΠΊΠ°Π·Π°ΡΠ΅Π»Ρ ΠΏΡΠ΅Π»ΠΎΠΌΠ»Π΅Π½ΠΈΡΒ» ΠΆΠΈΠ΄ΠΊΠΎΡΡΠΈ Π΄Π»Ρ ΠΎΠΏΡΠ΅Π΄Π΅Π»Π΅Π½ΠΈΡ Π΅Π΅ ΡΠΎΡΡΠΎΡΠ½ΠΈΡ. ΠΠ»Π°ΠΆΠ½ΠΎΡΡΡ ΠΈΠ·ΠΌΠ΅Π½ΡΠ΅Ρ ΡΠΎ, ΠΊΠ°ΠΊ ΠΆΠΈΠ΄ΠΊΠΎΡΡΡ ΠΏΡΠ΅Π»ΠΎΠΌΠ»ΡΠ΅Ρ ΡΠ²Π΅Ρ, ΠΏΠΎΠ·Π²ΠΎΠ»ΡΡ Π»Π΅Π³ΠΊΠΎ Β«ΡΠ²ΠΈΠ΄Π΅ΡΡΒ» ΠΊΠΎΠ»ΠΈΡΠ΅ΡΡΠ²ΠΎ Π·Π°Π³ΡΡΠ·Π½Π΅Π½ΠΈΠΉ Π½Π° ΡΠΊΠ°Π»Π΅ Π² ΠΎΠΊΡΠ»ΡΡΠ΅.
Π¨ΠΊΠ°Π»Π° ΡΠ΅ΡΡΠ°ΠΊΡΠΎΠΌΠ΅ΡΡΠ° Π±ΡΠ΄Π΅Ρ ΠΎΡΠΊΠ°Π»ΠΈΠ±ΡΠΎΠ²Π°Π½Π° Π΄Π»Ρ ΠΆΠΈΠ΄ΠΊΠΎΡΡΠ΅ΠΉ DOT 3 ΠΈΠ»ΠΈ DOT 4.
ΠΡΠ΅ ΠΎΠ΄ΠΈΠ½ ΡΠΏΠΎΡΠΎΠ± ΠΏΡΠΎΠ²Π΅ΡΠΈΡΡ ΡΠΎΡΡΠΎΡΠ½ΠΈΠ΅ ΡΠΎΡΠΌΠΎΠ·Π½ΠΎΠΉ ΠΆΠΈΠ΄ΠΊΠΎΡΡΠΈ β ΠΈΡΠΏΠΎΠ»ΡΠ·ΠΎΠ²Π°ΡΡ ΡΠ»Π΅ΠΊΡΡΠΎΠ½Π½ΡΠΉ ΡΠ΅ΡΡΠ΅Ρ ΡΠΎΡΠΌΠΎΠ·Π½ΠΎΠΉ ΠΆΠΈΠ΄ΠΊΠΎΡΡΠΈ. Π‘ΡΡΠ΅ΡΡΠ²ΡΡΡ ΡΠ΅ΡΡΠ΅ΡΡ, ΠΊΠΎΡΠΎΡΡΠ΅ ΠΈΠ·ΠΌΠ΅ΡΡΡΡ ΡΠ»Π΅ΠΊΡΡΠΈΡΠ΅ΡΠΊΠΎΠ΅ ΡΠΎΠΏΡΠΎΡΠΈΠ²Π»Π΅Π½ΠΈΠ΅ ΠΆΠΈΠ΄ΠΊΠΎΡΡΠΈ, Π½ΠΎ ΠΈΡ ΡΠ°ΡΡΠΎ ΠΌΠΎΠΆΠ½ΠΎ ΠΎΠ±ΠΌΠ°Π½ΡΡΡ Π½Π°Π»ΠΈΡΠΈΠ΅ΠΌ Π² ΠΆΠΈΠ΄ΠΊΠΎΡΡΠΈ ΠΎΠΏΡΠ΅Π΄Π΅Π»Π΅Π½Π½ΡΡ Π΄ΠΎΠ±Π°Π²ΠΎΠΊ ΠΈΠ»ΠΈ Π·Π°Π³ΡΡΠ·Π½ΡΡΡΠΈΡ Π²Π΅ΡΠ΅ΡΡΠ². ΠΠ°ΠΈΠ±ΠΎΠ»Π΅Π΅ ΡΠΎΡΠ½ΡΠΌ ΡΠΈΠΏΠΎΠΌ ΡΠ΅ΡΡΠ΅ΡΠ° ΡΠΎΡΠΌΠΎΠ·Π½ΠΎΠΉ ΠΆΠΈΠ΄ΠΊΠΎΡΡΠΈ ΡΠ²Π»ΡΠ΅ΡΡΡ ΡΠΈΠΏ, ΠΊΠΎΡΠΎΡΡΠΉ ΠΊΠΈΠΏΡΡΠΈΡ Π½Π΅Π±ΠΎΠ»ΡΡΠΎΠΉ ΠΎΠ±ΡΠ°Π·Π΅Ρ ΠΆΠΈΠ΄ΠΊΠΎΡΡΠΈ Π΄Π»Ρ ΠΎΠΏΡΠ΅Π΄Π΅Π»Π΅Π½ΠΈΡ ΡΠ΅ΠΌΠΏΠ΅ΡΠ°ΡΡΡΡ ΠΊΠΈΠΏΠ΅Π½ΠΈΡ ΠΆΠΈΠ΄ΠΊΠΎΡΡΠΈ. ΠΡΠ»ΠΈ ΡΠ΅ΠΌΠΏΠ΅ΡΠ°ΡΡΡΠ° ΠΊΠΈΠΏΠ΅Π½ΠΈΡ ΠΆΠΈΠ΄ΠΊΠΎΡΡΠΈ DOT 3 ΡΠΏΠ°Π»Π° Π΄ΠΎ 312Β° ΠΈΠ»ΠΈ Π½ΠΈΠΆΠ΅, ΠΆΠΈΠ΄ΠΊΠΎΡΡΡ Π·Π°Π³ΡΡΠ·Π½Π΅Π½Π° ΠΈ Π½ΡΠΆΠ΄Π°Π΅ΡΡΡ Π² Π·Π°ΠΌΠ΅Π½Π΅ (340Β° Π΄Π»Ρ ΠΆΠΈΠ΄ΠΊΠΎΡΡΠΈ DOT 4). ΠΡΠ΅ ΠΎΠ΄Π½ΠΈΠΌ ΠΌΠ΅ΡΠΎΠ΄ΠΎΠΌ ΠΏΡΠΎΠ²Π΅ΡΠΊΠΈ ΡΠΎΡΡΠΎΡΠ½ΠΈΡ ΡΠΎΡΠΌΠΎΠ·Π½ΠΎΠΉ ΠΆΠΈΠ΄ΠΊΠΎΡΡΠΈ Π² Π°Π²ΡΠΎΠΌΠΎΠ±ΠΈΠ»Π΅ ΡΠ²Π»ΡΠ΅ΡΡΡ ΠΈΡΠΏΠΎΠ»ΡΠ·ΠΎΠ²Π°Π½ΠΈΠ΅ ΡΠΏΠ΅ΡΠΈΠ°Π»ΡΠ½ΡΡ Ρ ΠΈΠΌΠΈΡΠ΅ΡΠΊΠΈΡ ΡΠ΅ΡΡ-ΠΏΠΎΠ»ΠΎΡΠΎΠΊ. ΠΠ΅ΠΊΠΎΡΠΎΡΡΠ΅ ΠΈΠ· ΡΡΠΈΡ ΠΏΠΎΠ»ΠΎΡΠΎΠΊ ΡΠ΅Π°Π³ΠΈΡΡΡΡ Π½Π° Ρ ΠΈΠΌΠΈΡΠ΅ΡΠΊΠΈΠ΅ Π²Π΅ΡΠ΅ΡΡΠ²Π° ΠΈ ΡΠ°ΡΡΠ²ΠΎΡΠ΅Π½Π½ΡΡ Π² ΠΆΠΈΠ΄ΠΊΠΎΡΡΠΈ ΠΌΠ΅Π΄Ρ, ΡΡΠΎΠ±Ρ ΠΏΠΎΠΊΠ°Π·Π°ΡΡ Π΅Π΅ ΡΠΎΡΡΠΎΡΠ½ΠΈΠ΅. Π’Π΅ΡΡΠΎΠ²ΡΠ΅ ΠΏΠΎΠ»ΠΎΡΠΊΠΈ ΠΌΠ΅Π½ΡΡΡ ΡΠ²Π΅Ρ, ΡΡΠΎΠ±Ρ ΡΠΊΠ°Π·Π°ΡΡ Π½Π° Β«Ρ ΠΎΡΠΎΡΡΡΒ» ΠΈΠ»ΠΈ Β«ΠΏΠ»ΠΎΡ ΡΡΒ» ΠΆΠΈΠ΄ΠΊΠΎΡΡΡ.
ΠΠ»Ρ Π·Π°ΠΌΠ΅Π½Ρ ΠΆΠΈΠ΄ΠΊΠΎΡΡΠΈ
Π’ΠΎΡΠΌΠΎΠ·Π½Π°Ρ ΠΆΠΈΠ΄ΠΊΠΎΡΡΡ Π² Π°Π²ΡΠΎΠΌΠΎΠ±ΠΈΠ»Π΅ Π²ΡΠ΅Π³Π΄Π° Π΄ΠΎΠ»ΠΆΠ½Π° Π±ΡΡΡ ΠΏΡΠΎΠΌΡΡΠ° ΠΈ Π·Π°ΠΌΠ΅Π½Π΅Π½Π° ΡΠ²Π΅ΠΆΠ΅ΠΉ ΠΆΠΈΠ΄ΠΊΠΎΡΡΡΡ ΠΊΠ°ΠΆΠ΄ΡΠΉ ΡΠ°Π·, ΠΊΠΎΠ³Π΄Π° ΠΏΡΠΎΠΈΠ·Π²ΠΎΠ΄ΠΈΡΡΡ ΠΊΠ°ΠΏΠΈΡΠ°Π»ΡΠ½ΡΠΉ ΡΠ΅ΠΌΠΎΠ½Ρ ΡΠΎΡΠΌΠΎΠ·Π½ΠΎΠΉ ΡΠΈΡΡΠ΅ΠΌΡ (Π½ΠΎΠ²ΡΠ΅ ΠΊΠΎΠ»ΠΎΠ΄ΠΊΠΈ ΠΈΠ»ΠΈ ΠΊΠΎΠ»ΠΎΠ΄ΠΊΠΈ, Π·Π°ΠΌΠ΅Π½Π° ΠΈΠ»ΠΈ ΡΠ΅ΠΌΠΎΠ½Ρ ΡΡΠΏΠΏΠΎΡΡΠΎΠ², ΠΊΠΎΠ»Π΅ΡΠ½ΠΎΠ³ΠΎ ΡΠΈΠ»ΠΈΠ½Π΄ΡΠ°, ΡΠΎΡΠΌΠΎΠ·Π½ΡΡ
ΠΌΠ°Π³ΠΈΡΡΡΠ°Π»Π΅ΠΉ, ΠΈ Ρ.
Π΄.). ΠΠ°ΠΌΠ΅Π½Π° ΠΆΠΈΠ΄ΠΊΠΎΡΡΠΈ ΠΎΠ±Π΅ΡΠΏΠ΅ΡΠΈΠ²Π°Π΅Ρ Π±Π΅Π·ΠΎΠΏΠ°ΡΠ½ΠΎΠ΅ ΡΠΎΡΠΌΠΎΠΆΠ΅Π½ΠΈΠ΅ ΠΈ ΡΠ½ΠΈΠΆΠ°Π΅Ρ ΡΠΈΡΠΊ ΠΏΠΎΠ²ΡΠΎΡΠ½ΠΎΠ³ΠΎ ΡΠΎΡΠΌΠΎΠΆΠ΅Π½ΠΈΡ, ΠΊΠΎΠ³Π΄Π° Π² ΡΠΈΡΡΠ΅ΠΌΠ΅ ΠΎΡΡΠ°Π΅ΡΡΡ ΡΡΠ°ΡΠ°Ρ ΠΆΠΈΠ΄ΠΊΠΎΡΡΡ. Π‘ΡΠ°ΡΠ°Ρ ΠΆΠΈΠ΄ΠΊΠΎΡΡΡ ΠΌΠΎΠΆΠ΅Ρ Π±ΡΡΡ ΡΠ΄Π°Π»Π΅Π½Π° Ρ ΠΏΠΎΠΌΠΎΡΡΡ ΠΏΡΠΎΠΊΠ°ΡΠΊΠΈ Ρ ΠΌΠ΅Ρ
Π°Π½ΠΈΡΠ΅ΡΠΊΠΈΠΌ ΠΏΡΠΈΠ²ΠΎΠ΄ΠΎΠΌ, Π²Π°ΠΊΡΡΠΌΠ½ΠΎΠ³ΠΎ ΡΠΈΡΠΎΠ½Π°, ΠΈΠ½ΠΆΠ΅ΠΊΡΠΎΡΠ° (ΠΊΠΎΡΠΎΡΡΠΉ ΠΌΠΎΠΆΠ΅Ρ Π²ΡΠΏΠΎΠ»Π½ΡΡΡ ΠΊΠ°ΠΊ Π½Π°ΠΏΠΎΡΠ½ΡΡ, ΡΠ°ΠΊ ΠΈ Π²Π°ΠΊΡΡΠΌΠ½ΡΡ ΠΏΡΠΎΠΊΠ°ΡΠΊΡ ΠΈ ΠΏΡΠΎΠΌΡΠ²ΠΊΡ) ΠΈΠ»ΠΈ ΠΏΡΡΠ΅ΠΌ ΡΡΡΠ½ΠΎΠΉ ΠΏΡΠΎΠΊΠ°ΡΠΊΠΈ.
ΠΠ»Ρ ΠΏΡΠΎΠΌΡΠ²ΠΊΠΈ ΡΠΎΡΠΌΠΎΠ·ΠΎΠ² Π΄ΠΎΡΡΡΠΏΠ½Ρ ΠΏΠ½Π΅Π²ΠΌΠ°ΡΠΈΡΠ΅ΡΠΊΠΈΠ΅, ΡΠ»Π΅ΠΊΡΡΠΈΡΠ΅ΡΠΊΠΈΠ΅ ΠΈ ΡΡΡΠ½ΡΠ΅ ΠΏΡΠΎΠΊΠ°ΡΠ½ΡΠ΅ ΡΡΡΡΠΎΠΉΡΡΠ²Π°. ΠΠΎΠ·Π΄ΡΡ ΠΎΠΎΡΠ²ΠΎΠ΄ΡΠΈΠΊΠΈ ΡΠ°Π±ΠΎΡΠ°ΡΡ ΠΎΡ ΡΠΈΡΡΠ΅ΠΌΡ ΠΏΠΎΠ΄Π°ΡΠΈ Π²ΠΎΠ·Π΄ΡΡ Π° Π² ΡΠ΅Ρ ΠΈ ΠΈΡΠΏΠΎΠ»ΡΠ·ΡΡΡ ΠΏΠ΅ΡΠ΅Π½ΠΎΡΠ½ΠΎΠΉ ΡΠ΅Π·Π΅ΡΠ²ΡΠ°Ρ Π΄Π»Ρ ΠΏΠΎΠ²ΡΡΠ΅Π½ΠΈΡ Π΄Π°Π²Π»Π΅Π½ΠΈΡ Π² ΡΠΎΡΠΌΠΎΠ·Π½ΠΎΠΉ ΡΠΈΡΡΠ΅ΠΌΠ΅. ΠΠ»Π΅ΠΊΡΡΠΈΡΠ΅ΡΠΊΠΈΠ΅ ΡΡΡΡΠΎΠΉΡΡΠ²Π° Π΄Π»Ρ ΡΠ±ΡΠΎΡΠ° Π΄Π°Π²Π»Π΅Π½ΠΈΡ ΠΈΠΌΠ΅ΡΡ 12-Π²ΠΎΠ»ΡΡΠΎΠ²ΡΠΉ ΡΠ»Π΅ΠΊΡΡΠΎΠ΄Π²ΠΈΠ³Π°ΡΠ΅Π»Ρ Π΄Π»Ρ ΠΏΠΎΠ²ΡΡΠ΅Π½ΠΈΡ Π΄Π°Π²Π»Π΅Π½ΠΈΡ Π² ΡΠΈΡΡΠ΅ΠΌΠ΅. ΠΠ΅Π½ΡΡΠΈΠ΅ ΠΏΠΎ ΡΠ°Π·ΠΌΠ΅ΡΡ (ΠΈ ΠΌΠ΅Π½Π΅Π΅ Π΄ΠΎΡΠΎΠ³ΠΈΠ΅) ΡΡΡΠ½ΡΠ΅ ΡΡΡΡΠΎΠΉΡΡΠ²Π° Π΄Π»Ρ ΠΏΡΠΎΠΊΠ°ΡΠΊΠΈ Π΄Π°Π²Π»Π΅Π½ΠΈΡ ΠΈΡΠΏΠΎΠ»ΡΠ·ΡΡΡ ΡΡΡΠ½ΠΎΠΉ Π½Π°ΡΠΎΡ Π΄Π»Ρ ΠΏΠΎΠ²ΡΡΠ΅Π½ΠΈΡ Π΄Π°Π²Π»Π΅Π½ΠΈΡ Π² ΡΠΈΡΡΠ΅ΠΌΠ΅. ΠΠ»Ρ ΠΏΠΎΠ΄ΠΊΠ»ΡΡΠ΅Π½ΠΈΡ ΠΏΡΠΎΠΌΡΠ²ΠΎΡΠ½ΠΎΠΉ ΠΌΠ°ΡΠΈΠ½Ρ ΠΊ ΠΎΡΠ²Π΅ΡΡΡΠΈΡ ΠΊΡΡΡΠΊΠΈ ΡΠ΅Π·Π΅ΡΠ²ΡΠ°ΡΠ° Π΄Π»Ρ ΠΆΠΈΠ΄ΠΊΠΎΡΡΠΈ Π½Π° Π³Π»Π°Π²Π½ΠΎΠΌ ΡΠΈΠ»ΠΈΠ½Π΄ΡΠ΅ ΠΌΠΎΠ³ΡΡ ΠΏΠΎΡΡΠ΅Π±ΠΎΠ²Π°ΡΡΡΡ ΡΠ°Π·Π»ΠΈΡΠ½ΡΠ΅ Π°Π΄Π°ΠΏΡΠ΅ΡΡ.
ΠΠ°ΠΊΡΡΠΌΠ½ΡΠ΅ Π²ΠΎΠ·Π΄ΡΡ
ΠΎΠΎΡΠ²ΠΎΠ΄ΡΠΈΠΊΠΈ, ΡΠ°Π±ΠΎΡΠ°ΡΡΠΈΠ΅ ΠΎΡ ΡΠ΅Ρ
ΠΎΠ²ΠΎΠ³ΠΎ Π²ΠΎΠ·Π΄ΡΡ
Π° ΠΈΠ»ΠΈ ΠΈΡΠΏΠΎΠ»ΡΠ·ΡΡΡΠΈΠ΅ ΡΡΡΠ½ΠΎΠΉ Π½Π°ΡΠΎΡ, ΡΠ°ΠΊΠΆΠ΅ ΠΌΠΎΠΆΠ½ΠΎ ΠΈΡΠΏΠΎΠ»ΡΠ·ΠΎΠ²Π°ΡΡ Π΄Π»Ρ ΠΏΡΠΎΠΊΠ°ΡΠΊΠΈ ΠΆΠΈΠ΄ΠΊΠΎΡΡΠΈ ΡΠ΅ΡΠ΅Π· ΡΠΈΡΡΠ΅ΠΌΡ, Π° Π½Π΅ Π΄Π»Ρ Π΅Π΅ ΠΏΡΠΎΡΠ°Π»ΠΊΠΈΠ²Π°Π½ΠΈΡ.
ΠΠ°ΠΊΡΡΠΌΠ½ΡΠΉ ΡΡΡΡΠ΅Ρ ΠΊΡΠ΅ΠΏΠΈΡΡΡ ΠΊ ΡΡΡΡΠ΅ΡΡ ΡΡΡΡΠ΅ΡΠ° ΡΡΠΏΠΏΠΎΡΡΠ° ΠΈΠ»ΠΈ ΠΊΠΎΠ»Π΅ΡΠ½ΠΎΠ³ΠΎ ΡΠΈΠ»ΠΈΠ½Π΄ΡΠ° Π΄Π»Ρ ΠΎΡΠ²ΠΎΠ΄Π° ΠΆΠΈΠ΄ΠΊΠΎΡΡΠΈ ΠΈΠ· Π³Π»Π°Π²Π½ΠΎΠ³ΠΎ ΡΠΈΠ»ΠΈΠ½Π΄ΡΠ°. ΠΠ΄Π½ΠΈΠΌ ΠΈΠ· ΠΏΡΠ΅ΠΈΠΌΡΡΠ΅ΡΡΠ² ΡΡΠΎΠ³ΠΎ ΠΏΠΎΠ΄Ρ
ΠΎΠ΄Π° ΡΠ²Π»ΡΠ΅ΡΡΡ ΡΠΎ, ΡΡΠΎ Π²Π°ΠΌ Π½Π΅ Π½ΡΠΆΠ΅Π½ Π°ΡΡΠΎΡΡΠΈΠΌΠ΅Π½Ρ Π°Π΄Π°ΠΏΡΠ΅ΡΠΎΠ² Π΄Π»Ρ ΡΠ°Π·Π»ΠΈΡΠ½ΡΡ
ΡΠ΅Π·Π΅ΡΠ²ΡΠ°ΡΠΎΠ² Π³Π»Π°Π²Π½ΠΎΠ³ΠΎ ΡΠΈΠ»ΠΈΠ½Π΄ΡΠ°.
ΠΡΡΠ³ΠΈΠΌ Π²Π°ΡΠΈΠ°Π½ΡΠΎΠΌ ΡΠ²Π»ΡΠ΅ΡΡΡ ΠΈΡΠΏΠΎΠ»ΡΠ·ΠΎΠ²Π°Π½ΠΈΠ΅ Β«ΠΈΠ½ΠΆΠ΅ΠΊΡΠΎΡΠ°Β», ΠΊΠΎΡΠΎΡΡΠΉ ΠΌΠΎΠΆΠ΅Ρ ΠΏΡΠΎΠΊΠ°ΡΠ°ΡΡ ΡΠΎΡΠΌΠΎΠ·Π½ΡΠ΅ ΠΌΠ°Π³ΠΈΡΡΡΠ°Π»ΠΈ Π»ΠΈΠ±ΠΎ ΠΏΠΎΠ΄ Π΄Π°Π²Π»Π΅Π½ΠΈΠ΅ΠΌ, Π»ΠΈΠ±ΠΎ Ρ ΠΏΠΎΠΌΠΎΡΡΡ Π²Π°ΠΊΡΡΠΌΠ°. ΠΠ½ΠΆΠ΅ΠΊΡΠΎΡΠ½ΡΠΉ ΠΈΠ½ΡΡΡΡΠΌΠ΅Π½Ρ Π²ΡΠΏΡΡΠΊΠ°Π΅ΡΡΡ Π² Π½Π΅ΡΠΊΠΎΠ»ΡΠΊΠΈΡ Π²Π΅ΡΡΠΈΡΡ , Π²ΠΊΠ»ΡΡΠ°Ρ ΡΡΡΠ½ΠΎΠΉ ΠΈ ΠΏΠ½Π΅Π²ΠΌΠ°ΡΠΈΡΠ΅ΡΠΊΠΈΠΉ. ΠΡΠΎΡ ΠΆΠ΅ ΠΈΠ½ΡΡΡΡΠΌΠ΅Π½Ρ ΡΠ°ΠΊΠΆΠ΅ ΠΌΠΎΠΆΠ½ΠΎ ΠΈΡΠΏΠΎΠ»ΡΠ·ΠΎΠ²Π°ΡΡ Π΄Π»Ρ ΡΡΠ΅Π½Π΄ΠΎΠ²ΠΎΠΉ ΠΏΡΠΎΠΊΠ°ΡΠΊΠΈ Π³Π»Π°Π²Π½ΡΡ ΡΠΈΠ»ΠΈΠ½Π΄ΡΠΎΠ², Π³Π»Π°Π²Π½ΡΡ ΠΈ ΡΠ°Π±ΠΎΡΠΈΡ ΡΠΈΠ»ΠΈΠ½Π΄ΡΠΎΠ² ΡΡΠ΅ΠΏΠ»Π΅Π½ΠΈΡ ΠΈ Π³ΠΈΠ΄ΡΠ°Π²Π»ΠΈΡΠ΅ΡΠΊΠΈΡ Π»ΠΈΠ½ΠΈΠΉ ΡΡΠ΅ΠΏΠ»Π΅Π½ΠΈΡ, Π΄Π»Ρ ΠΏΡΠΎΠ²Π΅ΡΠΊΠΈ Π³Π΅ΡΠΌΠ΅ΡΠΈΡΠ½ΠΎΡΡΠΈ Π³ΠΈΠ΄ΡΠ°Π²Π»ΠΈΡΠ΅ΡΠΊΠΈΡ ΠΊΠΎΠΌΠΏΠΎΠ½Π΅Π½ΡΠΎΠ², ΡΠ°ΠΊΠΈΡ ΠΊΠ°ΠΊ Π°Π²ΡΠΎΠΌΠ°ΡΠΈΡΠ΅ΡΠΊΠΈΠ΅ ΠΊΠΎΡΠΎΠ±ΠΊΠΈ ΠΏΠ΅ΡΠ΅Π΄Π°Ρ ΠΈ ΠΎΡ Π»Π°Π΄ΠΈΡΠ΅Π»ΠΈ ATF, Π΄Π»Ρ ΠΏΡΠΎΠΊΠ°ΡΠΊΠΈ ΠΈ ΠΏΡΠΎΠΌΡΠ²ΠΊΠΈ Π½Π°ΡΠΎΡΠΎΠ² Π³ΠΈΠ΄ΡΠΎΡΡΠΈΠ»ΠΈΡΠ΅Π»Ρ ΡΡΠ»Π΅Π²ΠΎΠ³ΠΎ ΡΠΏΡΠ°Π²Π»Π΅Π½ΠΈΡ, ΡΡΡΠ±ΠΎΠΏΡΠΎΠ²ΠΎΠ΄ΠΎΠ² ΠΈ ΡΠ΅ΡΡΠ΅ΡΠ΅Π½, Π° ΡΠ°ΠΊΠΆΠ΅ Π΄Π»Ρ ΠΌΠ΅ΡΡ ΠΈ Π·Π°ΠΊΠ°ΡΠΈΠ²Π°ΡΡ ΡΠ°Π·Π»ΠΈΡΠ½ΡΠ΅ ΠΆΠΈΠ΄ΠΊΠΎΡΡΠΈ ΠΈ Π³Π°Π·Ρ.
ΠΠ° Π½Π΅ΠΊΠΎΡΠΎΡΡΡ
Π°Π²ΡΠΎΠΌΠΎΠ±ΠΈΠ»ΡΡ
, ΠΎΠ±ΠΎΡΡΠ΄ΠΎΠ²Π°Π½Π½ΡΡ
ΠΠΠ‘, Π²Π°ΠΌ ΡΠ°ΠΊΠΆΠ΅ ΠΌΠΎΠΆΠ΅Ρ ΠΏΠΎΠ½Π°Π΄ΠΎΠ±ΠΈΡΡΡΡ Π΄ΠΈΠ°Π³Π½ΠΎΡΡΠΈΡΠ΅ΡΠΊΠΈΠΉ ΠΏΡΠΈΠ±ΠΎΡ Π΄Π»Ρ Π²ΠΊΠ»ΡΡΠ΅Π½ΠΈΡ ΡΠΎΠ»Π΅Π½ΠΎΠΈΠ΄ΠΎΠ² ΠΠΠ‘, ΡΡΠΎΠ±Ρ ΠΌΠΎΠΆΠ½ΠΎ Π±ΡΠ»ΠΎ Π²ΡΠΏΡΡΡΠΈΡΡ ΡΠΊΠΎΠΏΠΈΠ²ΡΠΈΠΉΡΡ Π²ΠΎΠ·Π΄ΡΡ
ΠΈΠ· Π±Π»ΠΎΠΊΠ° Π³ΠΈΠ΄ΡΠ°Π²Π»ΠΈΡΠ΅ΡΠΊΠΎΠ³ΠΎ ΠΌΠΎΠ΄ΡΠ»ΡΡΠΎΡΠ° ΠΠΠ‘.
Π ΡΡΠ½ΠΎΠΉ ΠΈΠ½ΡΡΡΡΠΌΠ΅Π½Ρ
ΠΠ»Ρ ΡΠ°Π±ΠΎΡΡ Ρ Π΄ΠΈΡΠΊΠΎΠ²ΡΠΌΠΈ ΡΠΎΡΠΌΠΎΠ·Π°ΠΌΠΈ ΠΎΠ±ΡΡΠ½ΠΎ Π΄ΠΎΡΡΠ°ΡΠΎΡΠ½ΠΎ ΠΎΠ±ΡΡΠ½ΡΡ
ΡΡΡΠ½ΡΡ
ΠΈΠ½ΡΡΡΡΠΌΠ΅Π½ΡΠΎΠ² Π΄Π»Ρ ΡΠ½ΡΡΠΈΡ ΡΡΠΏΠΏΠΎΡΡΠΎΠ² ΠΈ Π·Π°ΠΌΠ΅Π½Ρ ΠΊΠΎΠ»ΠΎΠ΄ΠΎΠΊ. ΠΠΎ Π½Π° Π½Π΅ΠΊΠΎΡΠΎΡΡΡ
Π°Π²ΡΠΎΠΌΠΎΠ±ΠΈΠ»ΡΡ
Π²Π°ΠΌ ΠΏΠΎΠ½Π°Π΄ΠΎΠ±ΡΡΡΡ ΡΠΏΠ΅ΡΠΈΠ°Π»ΡΠ½ΡΠ΅ Π±ΠΈΡΡ Torx Π΄Π»Ρ Π±ΠΎΠ»ΡΠΎΠ² ΡΡΠΏΠΏΠΎΡΡΠ°. ΠΠ°ΠΊΠΎΠΉ-ΡΠΎ ΠΈΠ½ΡΡΡΡΠΌΠ΅Π½Ρ Π΄Π»Ρ ΠΏΠΎΡΡΠ½Ρ ΡΡΠΏΠΏΠΎΡΡΠ° ΠΈΠ»ΠΈ Π±ΠΎΠ»ΡΡΠΎΠΉ Π‘-ΠΎΠ±ΡΠ°Π·Π½ΡΠΉ Π·Π°ΠΆΠΈΠΌ ΡΠ°ΠΊΠΆΠ΅ Π½Π΅ΠΎΠ±Ρ
ΠΎΠ΄ΠΈΠΌ, ΡΡΠΎΠ±Ρ Π²ΡΡΠ°Π²ΠΈΡΡ ΠΏΠΎΡΡΠ΅Π½Ρ ΠΎΠ±ΡΠ°ΡΠ½ΠΎ Π² ΡΡΠΏΠΏΠΎΡΡ ΠΏΡΠΈ Π·Π°ΠΌΠ΅Π½Π΅ ΠΊΠΎΠ»ΠΎΠ΄ΠΎΠΊ.
ΠΡΠΈ ΡΠ°Π±ΠΎΡΠ΅ Ρ Π±Π°ΡΠ°Π±Π°Π½Π½ΡΠΌΠΈ ΡΠΎΡΠΌΠΎΠ·Π°ΠΌΠΈ ΡΠ½ΡΡΠΈΠ΅ ΡΠΆΠ°Π²ΠΎΠ³ΠΎ Π±Π°ΡΠ°Π±Π°Π½Π° ΡΠΎ ΡΡΡΠΏΠΈΡΡ ΡΠ°ΡΡΠΎ ΡΠ²Π»ΡΠ΅ΡΡΡ ΡΠ°ΠΌΠΎΠΉ ΡΠ»ΠΎΠΆΠ½ΠΎΠΉ ΡΠ°ΡΡΡΡ ΡΠ°Π±ΠΎΡΡ. ΠΠ΄Π΅ΡΡ ΠΎΠ±ΡΡΠ½ΠΎ ΡΠ°Π±ΠΎΡΠ°Π΅Ρ ΡΡΠ΅ΠΌΠ½ΠΈΠΊ ΡΠΎΡΠΌΠΎΠ·Π½ΠΎΠ³ΠΎ Π±Π°ΡΠ°Π±Π°Π½Π° (Π²ΠΈΠ½ΡΠΎΠ²ΠΎΠΉ ΠΈ/ΠΈΠ»ΠΈ ΡΠΊΠΎΠ»ΡΠ·ΡΡΠΈΠΉ ΠΌΠΎΠ»ΠΎΡΠΎΠΊ), Π° ΡΠ°ΠΊΠΆΠ΅ ΡΡΠΏΠ°Ρ Π½Π°ΡΠ°Π΄ΠΊΠ° Π΄Π»Ρ ΠΏΠ½Π΅Π²ΠΌΠ°ΡΠΈΡΠ΅ΡΠΊΠΎΠ³ΠΎ ΠΏΠ½Π΅Π²ΠΌΠ°ΡΠΈΡΠ΅ΡΠΊΠΎΠ³ΠΎ ΠΌΠΎΠ»ΠΎΡΠ°, ΠΏΠΎΠΌΠΎΠ³Π°ΡΡΠ°Ρ Π²ΠΈΠ±ΡΠΈΡΠΎΠ²Π°ΡΡ Π±Π°ΡΠ°Π±Π°Π½. Π’Π°ΠΊΠΆΠ΅ ΠΌΠΎΠΆΠ΅Ρ ΠΏΠΎΠ½Π°Π΄ΠΎΠ±ΠΈΡΡΡΡ Π±ΠΎΠ»ΡΡΠΎΠΉ ΠΌΠΎΠ»ΠΎΡΠΎΠΊ Ρ ΠΌΡΠ³ΠΊΠΈΠΌ Π±ΠΎΠΉΠΊΠΎΠΌ, ΡΡΠΎΠ±Ρ Π·Π°ΡΡΠ°Π²ΠΈΡΡ ΡΠΏΡΡΠΌΡΠΉ Π±Π°ΡΠ°Π±Π°Π½ Π²ΡΡΠΊΠΎΡΠΈΡΡ.
ΠΠΎΡΠ»Π΅ ΡΠ½ΡΡΠΈΡ Π±Π°ΡΠ°Π±Π°Π½Π° ΡΠ»Π΅Π΄ΡΠ΅Ρ ΠΈΡΠΏΠΎΠ»ΡΠ·ΠΎΠ²Π°ΡΡ ΠΊΠ°Π»ΠΈΠ±Ρ Π΄Π»Ρ ΠΈΠ·ΠΌΠ΅ΡΠ΅Π½ΠΈΡ Π²Π½ΡΡΡΠ΅Π½Π½Π΅Π³ΠΎ Π΄ΠΈΠ°ΠΌΠ΅ΡΡΠ° Π±Π°ΡΠ°Π±Π°Π½Π°, ΡΡΠΎΠ±Ρ ΠΎΠΏΡΠ΅Π΄Π΅Π»ΠΈΡΡ ΠΈΠ·Π½ΠΎΡ ΠΈ Π½Π΅ΠΎΠ±Ρ ΠΎΠ΄ΠΈΠΌΠΎΡΡΡ Π·Π°ΠΌΠ΅Π½Ρ Π±Π°ΡΠ°Π±Π°Π½Π°.
Π§ΡΠΎΠ±Ρ ΡΠ½ΡΡΡ Π±Π°ΡΠΌΠ°ΠΊΠΈ ΠΈ Π΄ΡΡΠ³ΠΎΠ΅ ΠΎΠ±ΠΎΡΡΠ΄ΠΎΠ²Π°Π½ΠΈΠ΅ Π±Π°ΡΠ°Π±Π°Π½Π°, ΠΏΡΠΈΠ³ΠΎΠ΄ΡΡΡΡ ΠΏΠ»ΠΎΡΠΊΠΎΠ³ΡΠ±ΡΡ ΠΈ ΠΏΡΠΈΠΆΠΈΠΌΠ½ΠΎΠΉ ΠΈΠ½ΡΡΡΡΠΌΠ΅Π½Ρ Π΄Π»Ρ ΠΎΡΠ²ΠΎΠ±ΠΎΠΆΠ΄Π΅Π½ΠΈΡ ΠΏΡΡΠΆΠΈΠ½Ρ.
ΠΠ°ΠΌ ΡΠ°ΠΊΠΆΠ΅ ΠΌΠΎΠΆΠ΅Ρ ΠΏΠΎΠ½Π°Π΄ΠΎΠ±ΠΈΡΡΡΡ Π·Π°ΠΆΠΈΠΌ, ΡΡΠΎΠ±Ρ ΠΏΠΎΡΡΠ½ΠΈ ΠΊΠΎΠ»Π΅ΡΠ½ΠΎΠ³ΠΎ ΡΠΈΠ»ΠΈΠ½Π΄ΡΠ° Π½Π΅ Π²ΡΡΠΊΠ°ΠΊΠΈΠ²Π°Π»ΠΈ.
ΠΠ°ΠΌΠ΅Π½Π° ΠΏΠΎΠ²Π΅ΡΡ
Π½ΠΎΡΡΠΈ ΡΠΎΡΠΎΡΠΎΠ² ΠΈ Π±Π°ΡΠ°Π±Π°Π½ΠΎΠ²
ΠΠ°ΠΌΠ΅Π½Π° ΠΏΠΎΠ²Π΅ΡΡ
Π½ΠΎΡΡΠΈ ΡΠΎΡΠΎΡΠΎΠ² ΠΈ Π±Π°ΡΠ°Π±Π°Π½ΠΎΠ² ΡΠΎΠ±ΡΡΠ²Π΅Π½Π½ΡΠΌΠΈ ΡΠΈΠ»Π°ΠΌΠΈ ΠΌΠΎΠΆΠ΅Ρ ΠΏΡΠΈΠ½Π΅ΡΡΠΈ ΠΌΠ°Π³Π°Π·ΠΈΠ½Ρ Π΄ΠΎΠΏΠΎΠ»Π½ΠΈΡΠ΅Π»ΡΠ½ΡΡ ΠΏΡΠΈΠ±ΡΠ»Ρ ΠΈ ΡΡΠΊΠΎΠ½ΠΎΠΌΠΈΡΡ Π²ΡΠ΅ΠΌΡ. ΠΠΎ ΡΡΠΎ ΡΠ°ΠΊΠΆΠ΅ ΠΎΠ·Π½Π°ΡΠ°Π΅Ρ Π²Π»ΠΎΠΆΠ΅Π½ΠΈΠ΅ ΡΡΠ΅Π΄ΡΡΠ² Π² Π½Π°ΡΡΠΎΠ»ΡΠ½ΡΠΉ ΡΠΎΠΊΠ°ΡΠ½ΡΠΉ ΡΡΠ°Π½ΠΎΠΊ ΠΈ/ΠΈΠ»ΠΈ ΡΠΎΠΊΠ°ΡΠ½ΡΠΉ ΡΡΠ°Π½ΠΎΠΊ Π½Π° Π°Π²ΡΠΎΠΌΠΎΠ±ΠΈΠ»Π΅, Π° ΡΠ°ΠΊΠΆΠ΅ Π½Π°Π»ΠΈΡΠΈΠ΅ ΠΌΠ΅ΡΡΠ° Π΄Π»Ρ ΡΠ°Π·ΠΌΠ΅ΡΠ΅Π½ΠΈΡ ΡΡΠΎΠ³ΠΎ ΠΎΠ±ΠΎΡΡΠ΄ΠΎΠ²Π°Π½ΠΈΡ Π² ΠΌΠ°Π³Π°Π·ΠΈΠ½Π΅.
ΠΠ°ΡΡΠΎΠ»ΡΠ½ΡΠ΅ ΡΠΎΠΊΠ°ΡΠ½ΡΠ΅ ΡΡΠ°Π½ΠΊΠΈ, ΠΊΠΎΡΠΎΡΡΠ΅ ΠΌΠΎΠ³ΡΡ ΠΎΠ±ΡΠ°Π±Π°ΡΡΠ²Π°ΡΡ ΠΊΠ°ΠΊ ΡΠΎΡΠΎΡΡ, ΡΠ°ΠΊ ΠΈ Π±Π°ΡΠ°Π±Π°Π½Ρ, ΡΠ²Π»ΡΡΡΡΡ Ρ
ΠΎΡΠΎΡΠΈΠΌ Π²ΡΠ±ΠΎΡΠΎΠΌ, Π½ΠΎ ΠΈΠΌΠ΅ΠΉΡΠ΅ Π² Π²ΠΈΠ΄Ρ, ΡΡΠΎ ΡΠΎΠΊΠ°ΡΠ½ΡΠΉ ΡΡΠ°Π½ΠΎΠΊ Π½Π°ΡΡΠΎΠ»ΡΠΊΠΎ ΡΠΎΡΠ΅Π½, Π½Π°ΡΠΊΠΎΠ»ΡΠΊΠΎ ΡΠΎΡΠ΅Π½ ΡΠ΅Π»ΠΎΠ²Π΅ΠΊ, ΠΊΠΎΡΠΎΡΡΠΉ Π΅Π³ΠΎ ΠΈΡΠΏΠΎΠ»ΡΠ·ΡΠ΅Ρ. Π’ΠΎΠΊΠ°ΡΠ½ΡΠ΅ ΡΡΠ°Π½ΠΊΠΈ Π½Π΅ΠΎΠ±Ρ
ΠΎΠ΄ΠΈΠΌΠΎ ΠΏΠ΅ΡΠΈΠΎΠ΄ΠΈΡΠ΅ΡΠΊΠΈ ΠΊΠ°Π»ΠΈΠ±ΡΠΎΠ²Π°ΡΡ, ΡΡΠΎΠ±Ρ ΠΎΠ½ΠΈ ΠΏΡΠ°Π²ΠΈΠ»ΡΠ½ΠΎ ΡΠ΅Π·Π°Π»ΠΈ, Π° Π±ΠΈΡΡ Π΄ΠΎΠ»ΠΆΠ½Ρ Π±ΡΡΡ ΠΎΡΡΡΡΠΌΠΈ Π΄Π»Ρ Ρ
ΠΎΡΠΎΡΠ΅Π³ΠΎ ΠΊΠ°ΡΠ΅ΡΡΠ²Π° ΠΏΠΎΠ²Π΅ΡΡ
Π½ΠΎΡΡΠΈ. ΠΠ½ΠΎΠ³ΠΈΠ΅ ΠΏΡΠΎΠΈΠ·Π²ΠΎΠ΄ΠΈΡΠ΅Π»ΠΈ ΡΡΠ°Π½ΡΠΏΠΎΡΡΠ½ΡΡ
ΡΡΠ΅Π΄ΡΡΠ² ΠΎΠ΄ΠΎΠ±ΡΡΡΡ ΡΠ»ΠΈΡΠΎΠ²ΠΊΡ ΡΠΎΡΠΎΡΠ° Π½Π° Π°Π²ΡΠΎΠΌΠΎΠ±ΠΈΠ»Π΅ ΠΈ Π³ΠΎΠ²ΠΎΡΡΡ, ΡΡΠΎ ΡΡΠΎ ΠΏΡΠ΅Π΄ΠΏΠΎΡΡΠΈΡΠ΅Π»ΡΠ½ΡΠΉ ΠΌΠ΅ΡΠΎΠ΄, ΠΏΠΎΡΠΊΠΎΠ»ΡΠΊΡ ΠΎΠ½ ΠΎΠ±Π΅ΡΠΏΠ΅ΡΠΈΠ²Π°Π΅Ρ Π±ΠΎΠ»Π΅Π΅ ΠΏΡΡΠΌΠΎΠΉ ΡΡΠ΅Π· Ρ Π³ΠΎΡΠ°Π·Π΄ΠΎ ΠΌΠ΅Π½ΡΡΠΈΠΌ Π±ΠΈΠ΅Π½ΠΈΠ΅ΠΌ.
ΠΠ²ΡΠΎΠΌΠΎΠ±ΠΈΠ»ΡΠ½ΡΠ΅ ΡΠΎΠΊΠ°ΡΠ½ΡΠ΅ ΡΡΠ°Π½ΠΊΠΈ ΠΈΠΌΠ΅ΡΡ Π°Π²ΡΠΎΠΌΠ°ΡΠΈΡΠ΅ΡΠΊΠΈΠ΅ ΠΏΡΠΎΡΠ΅Π΄ΡΡΡ Π½Π°ΡΡΡΠΎΠΉΠΊΠΈ ΠΈ ΠΌΠΎΠ³ΡΡ ΡΡΠΊΠΎΠ½ΠΎΠΌΠΈΡΡ Π²ΡΠ΅ΠΌΡ (ΠΎΡΠΎΠ±Π΅Π½Π½ΠΎ Π½Π° ΡΡΠ°Π½ΡΠΏΠΎΡΡΠ½ΡΡ
ΡΡΠ΅Π΄ΡΡΠ²Π°Ρ
Ρ ΡΡΡΠ΄Π½ΠΎΡΠ΄Π°Π»ΡΠ΅ΠΌΡΠΌΠΈ Β«Π·Π°Ρ
Π²Π°ΡΠ΅Π½Π½ΡΠΌΠΈΒ» ΡΠΎΡΠΎΡΠ°ΠΌΠΈ).
ΠΠΎΠ»ΡΡΠΈΠ½ΡΡΠ²ΠΎ ΡΠΎΠΊΠ°ΡΠ½ΡΡ ΡΡΠ°Π½ΠΊΠΎΠ² ΠΏΡΠΈ ΠΏΡΠ°Π²ΠΈΠ»ΡΠ½ΠΎΠΌ ΠΈΡΠΏΠΎΠ»ΡΠ·ΠΎΠ²Π°Π½ΠΈΠΈ Ρ ΠΎΡΡΡΡΠΌΠΈ Π½Π°ΡΠ°Π΄ΠΊΠ°ΠΌΠΈ ΠΎΠ±Π΅ΡΠΏΠ΅ΡΠΈΠ²Π°ΡΡ ΡΠ΄ΠΎΠ²Π»Π΅ΡΠ²ΠΎΡΠΈΡΠ΅Π»ΡΠ½ΡΡ ΡΠΈΡΡΠΎΡΡ ΠΏΠΎΠ²Π΅ΡΡ Π½ΠΎΡΡΠΈ, ΡΠΎΠΎΡΠ²Π΅ΡΡΡΠ²ΡΡΡΡΡ ΡΡΠ΅Π±ΠΎΠ²Π°Π½ΠΈΡΠΌ OEM. ΠΠ»Ρ ΠΎΠΏΡΠΈΠΌΠ°Π»ΡΠ½ΠΎΠ³ΠΎ ΡΡΠΎΠΊΠ° ΡΠ»ΡΠΆΠ±Ρ ΠΈΠ½ΡΡΡΡΠΌΠ΅Π½ΡΠ° ΠΈ ΠΏΡΠ΅Π²ΠΎΡΡ ΠΎΠ΄Π½ΠΎΠΉ ΠΎΡΠ΄Π΅Π»ΠΊΠΈ ΡΠ°ΡΡΠΌΠΎΡΡΠΈΡΠ΅ Π²ΠΎΠ·ΠΌΠΎΠΆΠ½ΠΎΡΡΡ ΠΈΡΠΏΠΎΠ»ΡΠ·ΠΎΠ²Π°Π½ΠΈΡ ΡΠ²Π΅ΡΠ΄ΠΎΡΠΏΠ»Π°Π²Π½ΡΡ Π½Π°ΡΠ°Π΄ΠΎΠΊ Ρ ΠΏΠΎΠΊΡΡΡΠΈΠ΅ΠΌ ΠΈΠ»ΠΈ ΡΡΠΏΠ΅ΡΠ°Π±ΡΠ°Π·ΠΈΠ²Π½ΡΡ Π½Π°ΡΠ°Π΄ΠΎΠΊ. ΠΡΠ»ΠΈ Π½Π° ΡΠΎΡΠΎΡΠ°Ρ ΡΡΠ΅Π±ΡΠ΅ΡΡΡ Π½Π΅Π½Π°ΠΏΡΠ°Π²Π»Π΅Π½Π½Π°Ρ ΠΎΡΠ΄Π΅Π»ΠΊΠ° ΠΏΠΎΠ²Π΅ΡΡ Π½ΠΎΡΡΠΈ, ΠΌΠΎΠΆΠ½ΠΎ ΡΠ°ΠΊΠΆΠ΅ ΠΈΡΠΏΠΎΠ»ΡΠ·ΠΎΠ²Π°ΡΡ ΡΠ»ΠΈΡΠΎΠ²Π°Π»ΡΠ½ΡΠ΅ ΠΏΡΠΈΡΠΏΠΎΡΠΎΠ±Π»Π΅Π½ΠΈΡ ΠΈΠ»ΠΈ Π³ΠΈΠ±ΠΊΡΡ ΡΠ΅ΡΠΊΡ ΡΠΎΡΠΌΠΎΠ·Π½ΠΎΠ³ΠΎ ΡΠΎΡΠΎΡΠ° Π΄Π»Ρ ΠΏΠΎΠ»ΠΈΡΠΎΠ²ΠΊΠΈ ΠΎΡΠ΄Π΅Π»ΠΊΠΈ ΡΠΎΡΠΎΡΠ°.
ΠΡΠ»ΠΈ Π² Π°Π²ΡΠΎΠΌΠΎΠ±ΠΈΠ»Π΅ ΡΡΡΠ°Π½ΠΎΠ²Π»Π΅Π½Ρ ΠΊΠΎΠΌΠΏΠΎΠ·ΠΈΡΠ½ΡΠ΅ ΡΠΎΡΠΎΡΡ, ΠΈ ΡΠΎΡΠΎΡΡ Π΄ΠΎΠ»ΠΆΠ½Ρ Π±ΡΡΡ ΠΎΠ±ΡΠ°Π±ΠΎΡΠ°Π½Ρ Π·Π°Π½ΠΎΠ²ΠΎ, Π½Π΅ΠΎΠ±Ρ ΠΎΠ΄ΠΈΠΌΠΎ ΠΈΡΠΏΠΎΠ»ΡΠ·ΠΎΠ²Π°ΡΡ ΡΠΏΠ΅ΡΠΈΠ°Π»ΡΠ½ΡΠ΅ Π°Π΄Π°ΠΏΡΠ΅ΡΡ ΠΈΠ»ΠΈ ΡΠ°ΡΡΡΡΠ±Ρ ΡΠ²Π΅Π»ΠΈΡΠ΅Π½Π½ΠΎΠ³ΠΎ ΡΠ°Π·ΠΌΠ΅ΡΠ° Ρ ΡΠΎΠΊΠ°ΡΠ½ΡΠΌ ΡΡΠ°Π½ΠΊΠΎΠΌ Π΄Π»Ρ ΠΏΠΎΠ΄Π΄Π΅ΡΠΆΠΊΠΈ ΡΠΎΡΠΎΡΠΎΠ². Π ΠΏΡΠΎΡΠΈΠ²Π½ΠΎΠΌ ΡΠ»ΡΡΠ°Π΅ ΡΠΎΡΠΎΡΡ ΠΌΠΎΠ³ΡΡ ΠΈΠ·Π³ΠΈΠ±Π°ΡΡΡΡ, Π²ΡΠ·ΡΠ²Π°Ρ ΠΏΡΠΎΠ±Π»Π΅ΠΌΡ Ρ ΠΎΡΠ΄Π΅Π»ΠΊΠΎΠΉ ΠΈ Π±ΠΈΠ΅Π½ΠΈΠ΅.
Π‘Π΅ΡΠ²ΠΈΡΠ½Π°Ρ ΠΈΠ½ΡΠΎΡΠΌΠ°ΡΠΈΡ
ΠΠ°ΠΊΠΎΠ½Π΅Ρ, ΠΏΠΎΡΠ»Π΅Π΄Π½Π΅Π΅, ΡΡΠΎ Π²Π°ΠΌ Π½ΡΠΆΠ½ΠΎ ΡΠ΅Π³ΠΎΠ΄Π½Ρ Π΄Π»Ρ Π΄ΠΈΠ°Π³Π½ΠΎΡΡΠΈΠΊΠΈ ΠΈ ΡΠ΅ΠΌΠΎΠ½ΡΠ° ΡΠΎΡΠΌΠΎΠ·ΠΎΠ², β ΡΡΠΎ Π΄ΠΎΡΡΡΠΏ ΠΊ Π°ΠΊΡΡΠ°Π»ΡΠ½ΠΎΠΉ ΡΠ΅ΡΠ²ΠΈΡΠ½ΠΎΠΉ ΠΈΠ½ΡΠΎΡΠΌΠ°ΡΠΈΠΈ.
ΠΡΠΌΠ°ΠΆΠ½ΡΠ΅ ΡΡΠΊΠΎΠ²ΠΎΠ΄ΡΡΠ²Π° ΡΡΠΎΡΡ Π΄ΠΎΡΠΎΠ³ΠΎ, ΠΈ Π²ΠΎ ΠΌΠ½ΠΎΠ³ΠΈΡ
ΡΠ»ΡΡΠ°ΡΡ
ΠΈΡ
ΡΡΡΠ΄Π½ΠΎ Π΄ΠΎΡΡΠ°ΡΡ, ΠΏΠΎΡΠΎΠΌΡ ΡΡΠΎ ΠΌΠ½ΠΎΠ³ΠΈΠ΅ ΠΏΡΠΎΠΈΠ·Π²ΠΎΠ΄ΠΈΡΠ΅Π»ΠΈ ΠΈΡΠΏΠΎΠ»ΡΠ·ΡΡΡ ΡΠ»Π΅ΠΊΡΡΠΎΠ½Π½ΡΠ΅ Π½ΠΎΡΠΈΡΠ΅Π»ΠΈ Π΄Π»Ρ ΠΏΠΎΠ»ΡΡΠ΅Π½ΠΈΡ ΡΠ»ΡΠΆΠ΅Π±Π½ΠΎΠΉ ΠΈΠ½ΡΠΎΡΠΌΠ°ΡΠΈΠΈ (ΠΊΠΎΠΌΠΏΠ°ΠΊΡ-Π΄ΠΈΡΠΊΠΈ, DVD-Π΄ΠΈΡΠΊΠΈ ΠΈΠ»ΠΈ ΠΎΠ½Π»Π°ΠΉΠ½ΠΎΠ²ΡΠ΅ Π±Π°Π·Ρ Π΄Π°Π½Π½ΡΡ
). ΠΡΡΡΠ΅ Π²ΡΠ΅Π³ΠΎ ΠΏΠΎΠ΄ΠΏΠΈΡΠ°ΡΡΡΡ Π½Π° ΠΎΠ½Π»Π°ΠΉΠ½-ΡΠ΅ΡΠ²ΠΈΡ ΠΈΠ»ΠΈ ΠΏΠΎΠ»ΡΡΠΈΡΡ Π΄ΠΎΡΡΡΠΏ ΠΊ ΡΠ΅Ρ
Π½ΠΈΡΠ΅ΡΠΊΠΈΠΌ Π²Π΅Π±-ΡΠ°ΠΉΡΠ°ΠΌ ΠΏΡΠΎΠΈΠ·Π²ΠΎΠ΄ΠΈΡΠ΅Π»Π΅ΠΉ ΡΡΠ°Π½ΡΠΏΠΎΡΡΠ½ΡΡ
ΡΡΠ΅Π΄ΡΡΠ² (Π΄ΠΎΡΡΡΠΏΠ½Ρ Π½Π° www.nastf.org). ΠΠΎΠ»ΡΡΠΈΠ½ΡΡΠ²ΠΎ ΠΈΠ· Π½ΠΈΡ
Π±Π΅ΡΡΡ ΠΎΡ 15 Π΄ΠΎ 25 Π΄ΠΎΠ»Π»Π°ΡΠΎΠ² Π·Π° Β«ΠΊΡΠ°ΡΠΊΠΎΡΡΠΎΡΠ½ΡΠΉΒ» Π΄ΠΎΡΡΡΠΏ (ΠΎΡ ΠΎΠ΄Π½ΠΎΠ³ΠΎ Π΄ΠΎ ΡΡΠ΅Ρ
Π΄Π½Π΅ΠΉ), Π½ΠΎ Π½Π΅ΠΊΠΎΡΠΎΡΡΠ΅ ΠΈΠ· Π½ΠΈΡ
Π±Π΅ΡΠΏΠ»Π°ΡΠ½Ρ. Π Π°ΡΡ
ΠΎΠ΄Ρ ΠΌΠΎΠ³ΡΡ Π±ΡΡΡ ΠΏΠ΅ΡΠ΅Π΄Π°Π½Ρ Π²Π°ΡΠΈΠΌ ΠΊΠ»ΠΈΠ΅Π½ΡΠ°ΠΌ Π² ΠΈΡ
ΡΡΠ΅ΡΠ΅ Π·Π° ΡΠ΅ΠΌΠΎΠ½Ρ Π² ΠΊΠ°ΡΠ΅ΡΡΠ²Π΅ Π½Π΅ΠΎΠ±Ρ
ΠΎΠ΄ΠΈΠΌΡΡ
ΡΠ°ΡΡ
ΠΎΠ΄ΠΎΠ² Π΄Π»Ρ ΠΏΠΎΠ»ΡΡΠ΅Π½ΠΈΡ ΡΠ΅ΡΠ²ΠΈΡΠ½ΠΎΠΉ ΠΈΠ½ΡΠΎΡΠΌΠ°ΡΠΈΠΈ Π΄Π»Ρ ΠΈΡ
Π°Π²ΡΠΎΠΌΠΎΠ±ΠΈΠ»Ρ.
ΠΡΠ΅ΡΡΠ²Π°Π½ΠΈΠ΅ ΡΠΈΠΊΠ»Π° ΠΏΡΠ΅Π½Π΅Π±ΡΠ΅ΠΆΠ΅Π½ΠΈΡ ΡΠΎΠΊΠ°ΡΠ½ΡΠΌ ΡΡΠ°Π½ΠΊΠΎΠΌ Ρ ΡΠΎΡΠΌΠΎΠ·ΠΎΠΌ
ΠΠ΄Π°ΠΏΡΠΈΡΠΎΠ²Π°Π½ΠΎ ΠΈΠ· ΡΡΠ°ΡΡΠΈ ΠΡ ΠΠ°Π»ΠΊΠΈ Π² ΠΆΡΡΠ½Π°Π»Π΅ Brake & Front End, Π°Π²Π³ΡΡΡ 2007 Π³.
ΠΠ°ΠΊ ΡΠ°ΡΡΠΎ Π²Π°Ρ ΡΠΎΠΊΠ°ΡΠ½ΡΠΉ ΡΡΠ°Π½ΠΎΠΊ Π²Π°Ρ ΠΏΠΎΠ΄Π²ΠΎΠ΄ΠΈΡ? Π¨Π°Π½ΡΡ Π΅ΡΡΡ, ΡΠ΅Π΄ΠΊΠΎ. ΠΠ°ΡΠ΅ΡΡΠ²Π΅Π½Π½ΡΠ΅ ΡΠΎΠΊΠ°ΡΠ½ΡΠ΅ ΡΡΠ°Π½ΠΊΠΈ Π΄Π»Ρ ΡΠΎΡΠΌΠΎΠ·ΠΎΠ² ΠΎΠ±ΡΡΠ½ΠΎ ΡΠ»ΡΠΆΠ°Ρ Π³ΠΎΠ΄Π°ΠΌΠΈ ΠΈ Π΄Π°ΠΆΠ΅ Π΄Π΅ΡΡΡΠΈΠ»Π΅ΡΠΈΡΠΌΠΈ Π±Π΅Π·ΠΎΡΠΊΠ°Π·Π½ΠΎΠΉ ΡΠ°Π±ΠΎΡΡ.
ΠΠΎΠ½Π΅ΡΠ½ΠΎ, ΠΏΡΠ°Π²ΠΈΠ»ΡΠ½ΠΎΠ΅ ΡΠ΅Ρ
Π½ΠΈΡΠ΅ΡΠΊΠΎΠ΅ ΠΎΠ±ΡΠ»ΡΠΆΠΈΠ²Π°Π½ΠΈΠ΅ Π²Π°ΡΠ΅Π³ΠΎ ΡΠΎΡΠΌΠΎΠ·Π½ΠΎΠ³ΠΎ ΡΡΠ°Π½ΠΊΠ°, ΠΊΠ°ΠΊ ΠΈ ΠΏΠ»Π°Π½ΠΎΠ²ΠΎΠ΅ ΡΠ΅Ρ
Π½ΠΈΡΠ΅ΡΠΊΠΎΠ΅ ΠΎΠ±ΡΠ»ΡΠΆΠΈΠ²Π°Π½ΠΈΠ΅ Π°Π²ΡΠΎΠΌΠΎΠ±ΠΈΠ»Ρ, ΠΏΡΠΎΠ΄Π»ΠΈΡ ΡΡΠΎΠΊ ΡΠ»ΡΠΆΠ±Ρ Π²Π°ΡΠ΅Π³ΠΎ ΠΎΠ±ΠΎΡΡΠ΄ΠΎΠ²Π°Π½ΠΈΡ. ΠΡΠΎΠΌΠ΅ ΡΠΎΠ³ΠΎ, Ρ
ΠΎΡΠΎΡΠΎ ΠΎΠ±ΡΠ»ΡΠΆΠΈΠ²Π°Π΅ΠΌΡΠΉ ΡΠΎΠΊΠ°ΡΠ½ΡΠΉ ΡΡΠ°Π½ΠΎΠΊ ΠΎΠ±Π΅ΡΠΏΠ΅ΡΠΈΡ ΡΠΎΡΠ½ΡΡ ΡΠ΅Π·ΠΊΡ ΠΈ ΠΏΡΠ°Π²ΠΈΠ»ΡΠ½ΠΎΠ΅ ΠΊΠ°ΡΠ΅ΡΡΠ²ΠΎ ΠΏΠΎΠ²Π΅ΡΡ
Π½ΠΎΡΡΠΈ ΠΊΠ°ΠΆΠ΄ΠΎΠ³ΠΎ ΡΠΎΡΠΎΡΠ°, ΠΊΠΎΡΠΎΡΡΠΉ Π²Ρ ΠΎΠ±ΡΠ°Π±Π°ΡΡΠ²Π°Π΅ΡΠ΅.
ΠΠΈΠΊΡΠΎ Π½Π΅ Ρ ΠΎΡΠ΅Ρ Π²ΠΎΠ·Π²ΡΠ°ΡΠ΅Π½ΠΈΡ, ΠΎΡΠΎΠ±Π΅Π½Π½ΠΎ ΠΊΠΎΠ³Π΄Π° ΡΡΠΌ ΠΈΠ»ΠΈ Π²ΠΈΠ±ΡΠ°ΡΠΈΡ ΡΠΎΡΠΌΠΎΠ·ΠΎΠ² ΠΌΠΎΠΆΠ½ΠΎ Π±ΡΠ»ΠΎ Π±Ρ ΠΏΡΠ΅Π΄ΠΎΡΠ²ΡΠ°ΡΠΈΡΡ Ρ ΠΏΠΎΠΌΠΎΡΡΡ ΠΏΡΠ°Π²ΠΈΠ»ΡΠ½ΠΎ ΠΎΠ±ΡΠ°Π±ΠΎΡΠ°Π½Π½ΠΎΠ³ΠΎ ΡΠΎΡΠΎΡΠ°.
Π’ΠΎΡΠ½ΠΎ ΡΠ°ΠΊ ΠΆΠ΅, ΠΊΠ°ΠΊ ΠΌΡ Π΄ΠΈΠΏΠ»ΠΎΠΌΠ°ΡΠΈΡΠ½ΠΎ ΡΠΊΠ°Π·ΡΠ²Π°Π΅ΠΌ Π½Π°ΡΠΈΠΌ ΠΊΠ»ΠΈΠ΅Π½ΡΠ°ΠΌ, ΡΡΠΎ ΡΡΠ΅Π±ΠΎΠ²Π°Π½ΠΈΡ ΠΏΠΎ ΡΠ΅Ρ Π½ΠΈΡΠ΅ΡΠΊΠΎΠΌΡ ΠΎΠ±ΡΠ»ΡΠΆΠΈΠ²Π°Π½ΠΈΡ ΡΠΊΠ°Π·Π°Π½Ρ Π² ΠΊΠΎΠ½ΡΠ΅ ΡΡΠΊΠΎΠ²ΠΎΠ΄ΡΡΠ²Π° ΠΏΠΎ ΡΠΊΡΠΏΠ»ΡΠ°ΡΠ°ΡΠΈΠΈ ΡΡΠ°Π½ΡΠΏΠΎΡΡΠ½ΠΎΠ³ΠΎ ΡΡΠ΅Π΄ΡΡΠ²Π°, Π²Ρ ΠΌΠΎΠΆΠ΅ΡΠ΅ ΠΏΠΎΠΏΡΠΎΠ±ΠΎΠ²Π°ΡΡ ΠΏΠΎΠΈΡΠΊΠ°ΡΡ ΡΠ΅ΠΊΠΎΠΌΠ΅Π½Π΄ΡΠ΅ΠΌΡΠ΅ ΠΏΡΠΎΡΠ΅Π΄ΡΡΡ ΠΎΠ±ΡΠ»ΡΠΆΠΈΠ²Π°Π½ΠΈΡ Π² ΡΡΠΊΠΎΠ²ΠΎΠ΄ΡΡΠ²Π΅ ΠΎΠΏΠ΅ΡΠ°ΡΠΎΡΠ° Π²Π°ΡΠ΅Π³ΠΎ ΡΠΎΠΊΠ°ΡΠ½ΠΎΠ³ΠΎ ΡΡΠ°Π½ΠΊΠ°.
Π’ΠΎΡΠΌΠΎΠ·Π½ΡΠ΅ ΡΡΠ°Π½ΠΊΠΈ ΠΏΠΎΠ΄Π²Π΅ΡΠ³Π°ΡΡΡΡ Π²ΠΎΠ·Π΄Π΅ΠΉΡΡΠ²ΠΈΡ ΠΌΠ΅ΡΠ°Π»Π»ΠΈΡΠ΅ΡΠΊΠΎΠΉ ΡΡΡΡΠΆΠΊΠΈ, ΡΠΆΠ°Π²ΡΠΈΠ½Ρ, ΡΠΎΡΠΌΠΎΠ·Π½ΠΎΠΉ ΠΏΡΠ»ΠΈ ΠΈ Π³ΡΡΠ·ΠΈ. ΠΠ°ΠΈΠ±ΠΎΠ»Π΅Π΅ Π²Π°ΠΆΠ½ΡΠΌ ΡΠ΅Ρ
Π½ΠΈΡΠ΅ΡΠΊΠΈΠΌ ΠΎΠ±ΡΠ»ΡΠΆΠΈΠ²Π°Π½ΠΈΠ΅ΠΌ ΡΠ²Π»ΡΠ΅ΡΡΡ ΡΠ°ΡΡΡΠΉ ΠΎΡΠΌΠΎΡΡ ΠΈ ΠΎΡΠΈΡΡΠΊΠ°. ΠΠ΅ΡΠ°Π»Π»ΠΈΡΠ΅ΡΠΊΡΡ ΡΡΡΡΠΆΠΊΡ ΠΈ ΠΏΡΠ»Ρ ΡΠ»Π΅Π΄ΡΠ΅Ρ ΠΎΡΠΈΡΠ°ΡΡ ΠΎΡ ΡΠΎΠΊΠ°ΡΠ½ΠΎΠ³ΠΎ ΡΡΠ°Π½ΠΊΠ° Π΅ΠΆΠ΅Π΄Π½Π΅Π²Π½ΠΎ.
ΠΡΠ»ΠΈ ΠΈΠΌ ΠΏΠΎΠ·Π²ΠΎΠ»ΠΈΡΡ Π½Π°ΠΊΠ°ΠΏΠ»ΠΈΠ²Π°ΡΡΡΡ, ΠΎΠ½ΠΈ ΠΌΠΎΠ³ΡΡ ΡΠΏΠ»ΠΎΡΠ½ΡΡΡΡΡ ΠΈ Π·Π°ΡΠ²Π΅ΡΠ΄Π΅Π²Π°ΡΡ, ΠΎΡΠΎΠ±Π΅Π½Π½ΠΎ Π²ΠΎ Π²Π»Π°ΠΆΠ½ΠΎΠΉ ΡΡΠ΅Π΄Π΅. ΠΡΠΎ Π·Π°ΡΡΡΠ΄Π½ΠΈΡ ΠΈΡ
ΡΠ΄Π°Π»Π΅Π½ΠΈΠ΅.
ΠΡΠΈΡΡΠΊΡ ΠΏΡΠΎΠΈΠ·Π²ΠΎΠ΄ΠΈΡΡ ΡΠ΅ΡΠΊΠΎΠΉ. ΠΠ·Π±Π΅Π³Π°ΠΉΡΠ΅ ΡΠΆΠ°ΡΠΎΠ³ΠΎ Π²ΠΎΠ·Π΄ΡΡ Π°, ΡΠ°ΠΊ ΠΊΠ°ΠΊ ΠΎΠ½ ΠΌΠΎΠΆΠ΅Ρ Π·Π°ΡΡΡΡΡΡ Π² ΠΌΠ΅ΡΠ°Π»Π»ΠΈΡΠ΅ΡΠΊΠΈΡ ΡΠ°ΡΡΠΈΡΠ°Ρ ΡΠ°ΠΌ, Π³Π΄Π΅ ΠΎΠ½ΠΈ Π²Π°ΠΌ ΠΌΠ΅Π½ΡΡΠ΅ Π²ΡΠ΅Π³ΠΎ Π½ΡΠΆΠ½Ρ, Π½Π°ΠΏΡΠΈΠΌΠ΅Ρ, Π² ΠΏΠΎΠ΄ΡΠΈΠΏΠ½ΠΈΠΊΠ°Ρ ΡΠΎΠΊΠ°ΡΠ½ΠΎΠ³ΠΎ ΡΡΠ°Π½ΠΊΠ° ΠΈΠ»ΠΈ, ΡΡΠΎ Π΅ΡΠ΅ Ρ ΡΠΆΠ΅, Π² Π²Π°ΡΠΈΡ Π³Π»Π°Π·Π°Ρ ! ΠΡΠΎΠΌΠ΅ ΡΠΎΠ³ΠΎ, ΠΎΡΠΈΡΡΠΊΠ° ΡΠΆΠ°ΡΡΠΌ Π²ΠΎΠ·Π΄ΡΡ ΠΎΠΌ ΡΠ²Π΅Π»ΠΈΡΠΈΠ²Π°Π΅Ρ Π²Π΅ΡΠΎΡΡΠ½ΠΎΡΡΡ ΠΎΠ±ΡΠ°Π·ΠΎΠ²Π°Π½ΠΈΡ ΠΏΠ΅ΡΠ΅Π½ΠΎΡΠΈΠΌΠΎΠΉ ΠΏΠΎ Π²ΠΎΠ·Π΄ΡΡ Ρ ΡΠΎΡΠΌΠΎΠ·Π½ΠΎΠΉ ΠΏΡΠ»ΠΈ.
ΠΠ°ΡΠΈΡΠ½ΡΠ΅ ΠΊΠΎΠΆΡΡ ΠΈ ΠΈΠ»ΠΈ ΡΠΈΠ»ΡΡΠΎΠ½Ρ, Π·Π°ΠΊΡΡΠ²Π°ΡΡΠΈΠ΅ ΡΠ°Π·Π»ΠΈΡΠ½ΡΠ΅ ΡΠΏΠΈΠ½Π΄Π΅Π»ΠΈ ΠΈ ΠΌΠ΅Ρ Π°Π½ΠΈΠ·ΠΌΡ ΠΏΠΎΠΏΠ΅ΡΠ΅ΡΠ½ΠΎΠΉ ΠΏΠΎΠ΄Π°ΡΠΈ, ΡΠ°ΠΊΠΆΠ΅ ΡΠ»Π΅Π΄ΡΠ΅Ρ Π΅ΠΆΠ΅Π΄Π½Π΅Π²Π½ΠΎ ΠΏΡΠΎΠ²Π΅ΡΡΡΡ. ΠΡΠ»ΠΈ ΠΎΠ½ΠΈ ΡΡΠ΅ΡΠ½ΡΡΡ ΠΈΠ»ΠΈ ΠΏΠΎΡΠ²ΡΡΡΡ, Π²ΡΡΠΎΠΊΠΎΠ°Π±ΡΠ°Π·ΠΈΠ²Π½ΡΠ΅ ΡΠ°ΡΡΠΈΡΡ Π±ΡΡΡΡΠΎ ΠΏΠΎΠΏΠ°Π΄ΡΡ Π² ΡΠΎΠΊΠ°ΡΠ½ΡΠΉ ΡΡΠ°Π½ΠΎΠΊ, ΡΡΠΎ ΠΏΡΠΈΠ²Π΅Π΄Π΅Ρ ΠΊ ΠΊΠ°ΡΠ°ΡΡΡΠΎΡΠΈΡΠ΅ΡΠΊΠΈΠΌ ΠΏΠΎΡΠ»Π΅Π΄ΡΡΠ²ΠΈΡΠΌ. ΠΡΠΈ ΡΠ°ΠΏΠΎΠ³ΠΈ, ΠΎΡΠΎΠ±Π΅Π½Π½ΠΎ ΡΠΎΡ, ΡΡΠΎ Π²ΠΎΠ·Π»Π΅ Π±Π΅ΡΠ΅Π΄ΠΊΠΈ, ΡΠ»Π΅Π΄ΡΠ΅Ρ Ρ ΡΠ°Π½ΠΈΡΡ Π² ΠΌΠ°Π³Π°Π·ΠΈΠ½Π΅ ΠΊΠ°ΠΊ Π·Π°ΠΏΠ°ΡΠ½ΡΠ΅ ΡΠ°ΡΡΠΈ.
ΠΠΆΠ΅Π΄Π½Π΅Π²Π½ΠΎ ΡΠ»Π΅Π΄ΡΠ΅Ρ ΡΠ°ΠΊΠΆΠ΅ ΡΠ΄Π΅Π»ΡΡΡ Π²Π½ΠΈΠΌΠ°Π½ΠΈΠ΅ ΡΠ°Π·Π»ΠΈΡΠ½ΡΠΌ Π°Π΄Π°ΠΏΡΠ΅ΡΠ°ΠΌ, ΠΊΠΎΠ½ΡΡΠ°ΠΌ ΠΈ ΠΊΡΠ΅ΠΏΠ΅ΠΆΠ½ΡΠΌ ΡΠ»Π΅ΠΌΠ΅Π½ΡΠ°ΠΌ, ΠΈΡΠΏΠΎΠ»ΡΠ·ΡΠ΅ΠΌΡΠΌ Π΄Π»Ρ ΠΊΡΠ΅ΠΏΠ»Π΅Π½ΠΈΡ Π±Π°ΡΠ°Π±Π°Π½ΠΎΠ² ΠΈ ΡΠΎΡΠΎΡΠΎΠ² ΠΊ ΠΎΠΏΡΠ°Π²ΠΊΠ΅. ΠΠ½ΠΈ ΡΠΎΠΆΠ΅ ΠΆΠΈΠ²ΡΡ Π² ΡΡΡΠΎΠ²ΡΡ
ΡΡΠ»ΠΎΠ²ΠΈΡΡ
.
ΠΡΡΠ·Π½ΡΠ΅ Π°Π΄Π°ΠΏΡΠ΅ΡΡ ΠΏΠΎΠ²ΡΡΠ°ΡΡ Π²Π΅ΡΠΎΡΡΠ½ΠΎΡΡΡ Π½Π΅ΠΏΡΠ°Π²ΠΈΠ»ΡΠ½ΠΎΠΉ ΡΡΡΠ°Π½ΠΎΠ²ΠΊΠΈ ΡΠΎΡΠΎΡΠ° ΠΈΠ»ΠΈ Π±Π°ΡΠ°Π±Π°Π½Π°.
ΠΡΠ»ΠΈ Π²Ρ Π·Π°ΠΌΠ΅ΡΠΈΠ»ΠΈ, ΡΡΠΎ Π°Π΄Π°ΠΏΡΠ΅ΡΡ ΡΠ»Π΅Π³ΠΊΠ° ΡΠΆΠ°Π²Π΅ΡΡ, ΡΠ°ΡΠΏΡΠ»ΠΈΡΠ΅ Π½Π° Π½ΠΈΡ Π»Π΅Π³ΠΊΠΎΠ΅ ΠΏΡΠΎΠ½ΠΈΠΊΠ°ΡΡΠ΅Π΅ ΠΌΠ°ΡΠ»ΠΎ ΠΈ ΡΡΠ°ΡΠ΅Π»ΡΠ½ΠΎ ΠΏΡΠΎΡΡΠΈΡΠ΅. ΠΡ Π½Π΅ Ρ ΠΎΡΠΈΡΠ΅, ΡΡΠΎΠ±Ρ ΠΎΠ½ΠΈ Π±ΡΠ»ΠΈ ΠΆΠΈΡΠ½ΡΠΌΠΈ; ΡΡΠΎ ΠΌΠΎΠΆΠ΅Ρ ΠΏΡΠΈΠ½Π΅ΡΡΠΈ Π±ΠΎΠ»ΡΡΠ΅ Π²ΡΠ΅Π΄Π°, ΡΠ΅ΠΌ ΠΏΠΎΠ»ΡΠ·Ρ, ΠΏΡΠΈΡΡΠ³ΠΈΠ²Π°Ρ Π³ΡΡΠ·Ρ ΠΈ ΠΌΠ΅ΡΠ°Π»Π»ΠΈΡΠ΅ΡΠΊΡΡ ΡΡΡΡΠΆΠΊΡ. ΠΡΠΎΠ½ΠΈΠΊΠ°ΡΡΠ΅Π΅ ΠΌΠ°ΡΠ»ΠΎ Π½Π°ΠΉΠ΄Π΅Ρ ΡΠ²ΠΎΠΉ ΠΏΡΡΡ Π² ΠΌΠΈΠΊΡΠΎΡΠΊΠΎΠΏΠΈΡΠ΅ΡΠΊΠΈΠ΅ Π΄ΠΎΠ»ΠΈΠ½Ρ ΠΌΠ΅ΡΠ°Π»Π»Π°, ΠΏΡΠ΅Π΄ΠΎΡΠ²ΡΠ°ΡΠ°Ρ ΡΠΆΠ°Π²ΡΠΈΠ½Ρ ΠΈ ΠΊΠΎΡΡΠΎΠ·ΠΈΡ.
ΠΠΈΡΡΠΎ ΡΠ°ΠΊ Π½Π΅ Π²Π»ΠΈΡΠ΅Ρ Π½Π° ΡΠΈΡΡΠΎΡΡ ΠΏΠΎΠ²Π΅ΡΡ Π½ΠΎΡΡΠΈ ΡΠΎΡΠΎΡΠ° ΠΈΠ»ΠΈ Π±Π°ΡΠ°Π±Π°Π½Π°, ΠΊΠ°ΠΊ ΡΠΎΡΡΠΎΡΠ½ΠΈΠ΅ Π½Π°ΡΠ°Π΄ΠΊΠΈ ΠΈΠ½ΡΡΡΡΠΌΠ΅Π½ΡΠ°. Π’ΡΠΏΡΠ΅ Π±ΠΈΡΡ ΡΠ°Π·ΠΎΡΠ²ΡΡ ΠΌΠ΅ΡΠ°Π»Π», ΠΎΡΡΠ°Π²ΠΈΠ² ΡΠ΅ΡΠΎΡ ΠΎΠ²Π°ΡΡΡ ΠΏΠΎΠ²Π΅ΡΡ Π½ΠΎΡΡΡ, ΡΡΠΎ ΠΌΠΎΠΆΠ΅Ρ Π²ΡΠ·Π²Π°ΡΡ ΡΡΠΌ ΡΠΎΡΠΌΠΎΠ·ΠΎΠ², Π±ΡΡΡΡΡΠΉ ΠΈΠ·Π½ΠΎΡ ΠΊΠΎΠ»ΠΎΠ΄ΠΎΠΊ ΠΈ ΠΏΠ»ΠΎΡ ΡΡ ΡΠ°Π±ΠΎΡΡ ΡΠΎΡΠΌΠΎΠ·ΠΎΠ².
ΠΠ°ΡΠ΅ΡΡΠ²Π΅Π½Π½Π°Ρ Π½Π°ΡΠ°Π΄ΠΊΠ° ΠΎΠ±Π΅ΡΠΏΠ΅ΡΠΈΡ ΠΏΡΠ΅Π²ΠΎΡΡ ΠΎΠ΄Π½ΡΡ ΠΎΡΠ΄Π΅Π»ΠΊΡ ΠΈ ΠΏΡΠΎΡΠ»ΡΠΆΠΈΡ Π΄ΠΎΠ»ΡΡΠ΅, ΡΠ΅ΠΌ Π΄Π΅ΡΠ΅Π²Π°Ρ Π½Π°ΡΠ°Π΄ΠΊΠ°. ΠΡΠΎ ΠΎΡΠΎΠ±Π΅Π½Π½ΠΎ Π²Π°ΠΆΠ½ΠΎ Π΄Π»Ρ ΡΠΎΠΊΠ°ΡΠ½ΡΡ ΡΡΠ°Π½ΠΊΠΎΠ², ΡΠΏΠΎΡΠΎΠ±Π½ΡΡ Π²ΡΠΏΠΎΠ»Π½ΡΡΡ ΠΎΠ΄ΠΈΠ½ ΠΏΡΠΎΡ ΠΎΠ΄. ΠΠ΅ΠΊΠΎΡΠΎΡΡΠ΅ ΡΠΎΠΊΠ°ΡΠ½ΡΠ΅ ΡΡΠ°Π½ΠΊΠΈ ΠΌΠΎΠ³ΡΡ ΠΈΠ·Π³ΠΎΡΠΎΠ²ΠΈΡΡ Π³ΠΎΡΠΎΠ²ΡΠΉ ΡΠΎΡΠΎΡ Π²ΡΠ΅Π³ΠΎ Π·Π° ΠΎΠ΄ΠΈΠ½ ΡΠ°Π·ΡΠ΅Π·, Π½ΠΎ Ρ Π·Π°ΡΡΠΏΠΈΠ²ΡΠ΅ΠΉΡΡ ΡΡΠ΅Π·ΠΎΠΉ ΡΡΠΎΠ³ΠΎ Π½Π΅ ΠΏΡΠΎΠΈΠ·ΠΎΠΉΠ΄Π΅Ρ.
Π‘Π»ΠΈΡΠΊΠΎΠΌ ΠΌΠ΅Π»ΠΊΠ°Ρ ΡΠ΅Π·ΠΊΠ° ΠΌΠΎΠΆΠ΅Ρ ΡΠ°ΠΊΡΠΈΡΠ΅ΡΠΊΠΈ ΡΠΎΠΊΡΠ°ΡΠΈΡΡ ΡΡΠΎΠΊ ΡΠ»ΡΠΆΠ±Ρ Π½Π°ΡΠ°Π΄ΠΊΠΈ ΠΈΠ½ΡΡΡΡΠΌΠ΅Π½ΡΠ° Π·Π° ΡΡΠ΅Ρ ΡΠ½ΠΈΠΆΠ΅Π½ΠΈΡ ΡΠ΅ΠΏΠ»ΠΎΠΏΠ΅ΡΠ΅Π΄Π°ΡΠΈ ΠΎΡ Π½Π°ΡΠ°Π΄ΠΊΠΈ ΠΊ ΡΠΎΡΠΎΡΡ (ΠΈΠ»ΠΈ Π±Π°ΡΠ°Π±Π°Π½Ρ).
ΠΠ»ΡΠ±ΠΈΠ½Π° ΡΠ΅Π·Π°Π½ΠΈΡ ΠΈ ΡΠΊΠΎΡΠΎΡΡΡ ΠΏΠΎΠ΄Π°ΡΠΈ Π²Π»ΠΈΡΡΡ Π½Π° Π΄ΠΎΠ»Π³ΠΎΠ²Π΅ΡΠ½ΠΎΡΡΡ Π½Π°ΡΠ°Π΄ΠΊΠΈ. ΠΠ°ΠΌΠ΅Π½ΠΈΡΠ΅ Π±ΠΈΡΡ ΠΏΠΎ ΠΌΠ΅ΡΠ΅ Π½Π΅ΠΎΠ±Ρ
ΠΎΠ΄ΠΈΠΌΠΎΡΡΠΈ, ΠΊΠ°ΠΊ ΡΠΎΠ»ΡΠΊΠΎ Π²Ρ Π·Π°ΠΌΠ΅ΡΠΈΡΠ΅ ΡΡ
ΡΠ΄ΡΠ΅Π½ΠΈΠ΅ ΠΊΠ°ΡΠ΅ΡΡΠ²Π° ΠΏΠΎΠ²Π΅ΡΡ
Π½ΠΎΡΡΠΈ.
Π Π½Π΅ΠΊΠΎΡΠΎΡΡΡ
Π°Π²ΡΠΎΠΌΠΎΠ±ΠΈΠ»ΡΠ½ΡΡ
ΠΈ Π²Π½Π΅Π΄ΠΎΡΠΎΠΆΠ½ΡΡ
ΡΠΎΠΊΠ°ΡΠ½ΡΡ
ΡΡΠ°Π½ΠΊΠ°Ρ
ΠΈΡΠΏΠΎΠ»ΡΠ·ΡΠ΅ΡΡΡ ΠΌΠ°ΡΠ»ΠΎ, ΠΊΠΎΡΠΎΡΠΎΠ΅ Π½Π΅ΠΎΠ±Ρ
ΠΎΠ΄ΠΈΠΌΠΎ ΠΏΠ΅ΡΠΈΠΎΠ΄ΠΈΡΠ΅ΡΠΊΠΈ ΠΌΠ΅Π½ΡΡΡ. Π£ Π½ΠΈΡ
ΡΠ°ΠΊΠΆΠ΅ ΠΌΠΎΠ³ΡΡ Π±ΡΡΡ ΠΏΡΠ΅ΡΡ-ΠΌΠ°ΡΠ»Π΅Π½ΠΊΠΈ, ΠΊΠΎΡΠΎΡΡΠ΅ Π½Π΅ΠΎΠ±Ρ
ΠΎΠ΄ΠΈΠΌΠΎ ΡΠΌΠ°Π·Π°ΡΡ. ΠΠ±ΡΡΠ½ΠΎ ΠΈΠΌΠ΅Π΅ΡΡΡ ΡΠ»ΠΈΠ²Π½Π°Ρ ΠΏΡΠΎΠ±ΠΊΠ°, ΠΏΠΎΠ·Π²ΠΎΠ»ΡΡΡΠ°Ρ Π»Π΅Π³ΠΊΠΎ ΡΠ»ΠΈΠ²Π°ΡΡ ΡΠΎΠΊΠ°ΡΠ½ΡΠΉ ΡΡΠ°Π½ΠΎΠΊ. ΠΠ±ΡΠ°ΡΠΈΡΠ΅ΡΡ ΠΊ ΡΡΠΊΠΎΠ²ΠΎΠ΄ΡΡΠ²Ρ ΠΏΠΎ ΡΠΊΡΠΏΠ»ΡΠ°ΡΠ°ΡΠΈΠΈ, ΡΡΠΎΠ±Ρ ΡΠ·Π½Π°ΡΡ ΡΠ΅ΠΊΠΎΠΌΠ΅Π½Π΄ΡΠ΅ΠΌΡΠΉ ΡΠΈΠΏ ΠΈ ΠΎΠ±ΡΠ΅ΠΌ ΠΌΠ°ΡΠ»Π°. ΠΡΠ»ΠΈ Π²Π°Ρ ΡΠΎΠΊΠ°ΡΠ½ΡΠΉ ΡΡΠ°Π½ΠΎΠΊ ΠΎΡΠ½Π°ΡΠ΅Π½ ΡΠ΅ΠΌΠ΅Π½Π½ΡΠΌ ΠΏΡΠΈΠ²ΠΎΠ΄ΠΎΠΌ, Π²ΡΠ΅ΠΌΡ ΠΎΡ Π²ΡΠ΅ΠΌΠ΅Π½ΠΈ ΠΏΡΠΎΠ²Π΅ΡΡΠΉΡΠ΅ Π΅Π³ΠΎ ΡΠΎΡΡΠΎΡΠ½ΠΈΠ΅ ΠΈ ΠΏΡΠ°Π²ΠΈΠ»ΡΠ½ΠΎΠ΅ Π½Π°ΡΡΠΆΠ΅Π½ΠΈΠ΅. ΠΠ΅ΠΊΠΎΡΠΎΡΡΠ΅ ΠΏΡΠΎΠΈΠ·Π²ΠΎΠ΄ΠΈΡΠ΅Π»ΠΈ ΡΠΎΠΊΠ°ΡΠ½ΡΡ
ΡΡΠ°Π½ΠΊΠΎΠ² ΠΏΡΠ΅Π΄Π»Π°Π³Π°ΡΡ Β«Π½Π°Π»Π°Π΄ΠΎΡΠ½ΡΠ΅ ΠΊΠΎΠΌΠΏΠ»Π΅ΠΊΡΡΒ» Π΄Π»Ρ ΡΠ²ΠΎΠΈΡ
ΡΡΠ°Π½ΠΊΠΎΠ². ΠΡΠΈ ΠΊΠΎΠΌΠΏΠ»Π΅ΠΊΡΡ ΡΠΎΠ΄Π΅ΡΠΆΠ°Ρ ΠΎΠ±ΡΡΠ½ΡΠ΅ ΠΈΠ·Π½Π°ΡΠΈΠ²Π°Π΅ΠΌΡΠ΅ ΠΏΡΠ΅Π΄ΠΌΠ΅ΡΡ, ΡΠ°ΠΊΠΈΠ΅ ΠΊΠ°ΠΊ Π±ΠΎΡΠΈΠ½ΠΊΠΈ, ΡΠ΅ΠΌΠ½ΠΈ, Π»Π΅Π½ΡΡ Π³Π»ΡΡΠΈΡΠ΅Π»Ρ ΠΈ Ρ. Π΄. ΠΠ΅ Π·Π°Π±ΡΠ΄ΡΡΠ΅ ΠΏΡΠΎΠ²Π΅ΡΠΈΡΡ ΡΡΡΡΠΎΠΉΡΡΠ²Π° Π³Π»ΡΡΠΈΡΠ΅Π»Ρ. Π Π΅Π·ΠΈΠ½ΠΎΠ²ΡΠ΅ Π³Π»ΡΡΠΈΡΠ΅Π»ΠΈ ΡΠ»Π΅Π΄ΡΠ΅Ρ ΠΎΡΠΌΠ°ΡΡΠΈΠ²Π°ΡΡ Π½Π° Π½Π°Π»ΠΈΡΠΈΠ΅ ΡΠ°Π·ΡΡΠ²ΠΎΠ² ΠΈ ΡΠ°Π·ΡΡΠ²ΠΎΠ². ΠΠ΅Π½ΡΠ° Π³Π»ΡΡΠΈΡΠ΅Π»Ρ, ΠΎΡΡΡΠ²Π°ΡΡΠ°ΡΡΡ Π²ΠΎ Π²ΡΠ΅ΠΌΡ ΠΎΠ±ΡΠ°Π±ΠΎΡΠΊΠΈ Π±Π°ΡΠ°Π±Π°Π½Π° ΠΈΠ»ΠΈ ΡΠΎΡΠΎΡΠ°, ΠΌΠΎΠΆΠ΅Ρ ΠΏΠΎΠ²ΡΠ΅Π΄ΠΈΡΡ ΡΠΎΠΊΠ°ΡΠ½ΡΠΉ ΡΡΠ°Π½ΠΎΠΊ ΠΈΠ»ΠΈ, ΡΡΠΎ Π΅ΡΠ΅ Ρ
ΡΠΆΠ΅, Π½Π°Π½Π΅ΡΡΠΈ ΡΡΠ°Π²ΠΌΡ ΠΎΠΏΠ΅ΡΠ°ΡΠΎΡΡ.
ΠΡΠ»ΠΈ Π²Ρ Ρ ΠΎΡΠΈΡΠ΅, ΡΡΠΎΠ±Ρ Π·ΠΎΠ½Π° ΡΠΎΠΊΠ°ΡΠ½ΠΎΠ³ΠΎ ΡΡΠ°Π½ΠΊΠ° ΠΈΠ»ΠΈ Π²Π°Ρ ΡΠ΅Ρ ΡΠΎΠ΄Π΅ΡΠΆΠ°Π»ΠΈΡΡ Π² ΡΠΈΡΡΠΎΡΠ΅ (ΠΏΠΎ ΠΆΠ΅Π»Π°Π½ΠΈΡ ΠΈΠ»ΠΈ Π² ΡΠΈΠ»Ρ Π½Π΅ΠΎΠ±Ρ ΠΎΠ΄ΠΈΠΌΠΎΡΡΠΈ), ΡΠ΅ΡΠ΅Π½ΠΈΠ΅ΠΌ ΠΌΠΎΠΆΠ΅Ρ ΡΡΠ°ΡΡ ΠΎΠ³ΡΠ°ΠΆΠ΄Π΅Π½ΠΈΠ΅. ΠΠΎΡΠΏΡΡ ΠΏΡΠ΅Π΄ΡΡΠ°Π²Π»ΡΠ΅Ρ ΡΠΎΠ±ΠΎΠΉ ΡΠΎΡΠΌΠΎΠ²Π°Π½Π½ΡΡ ΠΏΠ»Π°ΡΡΠΈΠΊΠΎΠ²ΡΡ Β«ΠΊΠΎΡΠΎΠ±ΠΊΡΒ», ΠΊΠΎΡΠΎΡΠ°Ρ ΠΏΠΎΠΌΠ΅ΡΠ°Π΅ΡΡΡ Π²ΠΎΠΊΡΡΠ³ Π²ΡΠ΅Π³ΠΎ ΡΠΎΠΊΠ°ΡΠ½ΠΎΠ³ΠΎ ΡΡΠ°Π½ΠΊΠ°. ΠΡΠΎ ΠΏΠΎΠΌΠΎΠ³Π°Π΅Ρ ΡΠ΄Π΅ΡΠΆΠΈΠ²Π°ΡΡ ΠΏΠΎΠ΄Π°Π²Π»ΡΡΡΠ΅Π΅ Π±ΠΎΠ»ΡΡΠΈΠ½ΡΡΠ²ΠΎ ΠΏΡΠ»ΠΈ ΠΈ ΡΡΡΡΠΆΠΊΠΈ Π²Π½ΡΡΡΠΈ ΠΊΠΎΡΠΎΠ±ΠΊΠΈ. ΠΡΠ»ΠΈ Π²Π°Ρ ΡΠΎΠΊΠ°ΡΠ½ΡΠΉ ΡΡΠ°Π½ΠΎΠΊ Π½Π°Ρ ΠΎΠ΄ΠΈΡΡΡ ΡΡΠ΄ΠΎΠΌ Ρ Π²Π΅ΡΡΡΠ°ΠΊΠΎΠΌ, ΠΎΡΠΈΡΠΎΠΌ ΠΈΠ»ΠΈ ΠΊΠ°ΠΊΠΈΠΌ-Π»ΠΈΠ±ΠΎ Π΄ΡΡΠ³ΠΈΠΌ ΠΌΠ΅ΡΡΠΎΠΌ, ΠΊΠΎΡΠΎΡΠΎΠ΅ Π²Ρ Π΄ΠΎΠ»ΠΆΠ½Ρ ΡΠΎΠ΄Π΅ΡΠΆΠ°ΡΡ Π² ΡΠΈΡΡΠΎΡΠ΅, ΠΊΠΎΡΠΏΡΡ ΠΌΠΎΠΆΠ΅Ρ Π±ΡΡΡ ΠΈΠΌΠ΅Π½Π½ΠΎ ΡΠ΅ΠΌ, ΡΡΠΎ Π²Π°ΠΌ Π½ΡΠΆΠ½ΠΎ. ΠΡΠΎΠΌΠ΅ ΡΠΎΠ³ΠΎ, ΠΎΠ³ΡΠ°ΠΆΠ΄Π΅Π½ΠΈΠ΅ ΠΌΠΎΠΆΠ΅Ρ ΠΏΠΎΠΌΠΎΡΡ ΡΠ»ΡΡΡΠΈΡΡ ΠΊΠ°ΡΠ΅ΡΡΠ²ΠΎ Π²ΠΎΠ·Π΄ΡΡ Π° Π² ΠΌΠ°Π³Π°Π·ΠΈΠ½Π΅.
Π’ΠΎΡΠΌΠΎΠ·Π½ΡΠ΅ ΡΡΠ°Π½ΠΊΠΈ ΠΡΡΡΡΠ΅Π΅, ΡΠΎΡΠ½Π΅Π΅
ΠΠΎΠ³Π΄Π° Π²Ρ ΠΏΠΎΠΊΡΠΏΠ°Π΅ΡΠ΅ ΡΠΎΡΠΌΠΎΠ·Π½ΠΎΠΉ ΡΠΎΠΊΠ°ΡΠ½ΡΠΉ ΡΡΠ°Π½ΠΎΠΊ ΡΠ΅Π³ΠΎΠ΄Π½Ρ, Π²Ρ Π·Π°ΠΌΠ΅ΡΠΈΡΠ΅ Π½Π΅ΡΠΊΠΎΠ»ΡΠΊΠΎ Π²Π΅ΡΠ΅ΠΉ. ΠΠΎ-ΠΏΠ΅ΡΠ²ΡΡ
, ΠΎΠ½ΠΈ Π±ΡΡΡΡΠ΅Π΅. ΠΠΎ-Π²ΡΠΎΡΡΡ
, ΠΎΠ½ΠΈ ΡΠΎΡΠ½Π΅Π΅. Π-ΡΡΠ΅ΡΡΠΈΡ
, ΠΎΠ½ΠΈ ΠΌΠΎΠ³ΡΡ ΡΠ°Π±ΠΎΡΠ°ΡΡ Ρ ΡΠΈΡΠΎΠΊΠΈΠΌ ΡΠΏΠ΅ΠΊΡΡΠΎΠΌ ΡΡΠ°Π½ΡΠΏΠΎΡΡΠ½ΡΡ
ΡΡΠ΅Π΄ΡΡΠ². Π-ΡΠ΅ΡΠ²Π΅ΡΡΡΡ
, ΠΈ Π²-ΠΏΡΡΡΡ
, ΠΎΠ½ΠΈ Π±ΠΎΠ»Π΅Π΅ Π΄ΠΎΠ»Π³ΠΎΠ²Π΅ΡΠ½Ρ, ΡΠ΅ΠΌ ΠΊΠΎΠ³Π΄Π°-Π»ΠΈΠ±ΠΎ, ΠΈ ΠΏΡΠΎΡΡΡ Π² ΠΈΡΠΏΠΎΠ»ΡΠ·ΠΎΠ²Π°Π½ΠΈΠΈ. ΠΠ΅Π·Π°Π²ΠΈΡΠΈΠΌΠΎ ΠΎΡ ΡΠΎΠ³ΠΎ, ΠΈΡΠ΅ΡΠ΅ Π»ΠΈ Π²Ρ ΡΠΎΡΠΌΠΎΠ·Π½ΠΎΠΉ ΡΠΎΠΊΠ°ΡΠ½ΡΠΉ ΡΡΠ°Π½ΠΎΠΊ Π΄Π»Ρ Π°Π²ΡΠΎΠΌΠΎΠ±ΠΈΠ»Ρ ΠΈΠ»ΠΈ Π²Π½Π΅ Π°Π²ΡΠΎΠΌΠΎΠ±ΠΈΠ»Ρ, Π²Π°ΠΌ ΡΠ»Π΅Π΄ΡΠ΅Ρ ΠΈΡΠΊΠ°ΡΡ ΡΠ΅ Π΄ΠΎΠΏΠΎΠ»Π½ΠΈΡΠ΅Π»ΡΠ½ΡΠ΅ ΠΊΠΎΠΌΠΏΠΎΠ½Π΅Π½ΡΡ, ΠΊΠΎΡΠΎΡΡΠ΅ Π»ΡΡΡΠ΅ Π²ΡΠ΅Π³ΠΎ ΡΠΎΠΎΡΠ²Π΅ΡΡΡΠ²ΡΡΡ Π²Π°ΡΠΈΠΌ ΠΏΠΎΡΡΠ΅Π±Π½ΠΎΡΡΡΠΌ.
ΠΠ°ΠΏΡΠΈΠΌΠ΅Ρ, Π΅ΡΡΡ Π»ΠΈ Ρ ΡΠΎΠΊΠ°ΡΠ½ΠΎΠ³ΠΎ ΡΡΠ°Π½ΠΊΠ° Π±Π»ΠΎΠΊΠΈΡΠΎΠ²ΠΊΠ° ΡΠΏΡΠ°Π²Π»Π΅Π½ΠΈΡ Π΄ΠΈΡΠΊΠΎΠΌ/Π±Π°ΡΠ°Π±Π°Π½ΠΎΠΌ ΠΈ ΡΠ²Π΅ΡΠΎΠ²ΠΎΠΉ ΠΈΠ½Π΄ΠΈΠΊΠ°ΡΠΎΡ? ΠΡΠ° ΡΡΠ½ΠΊΡΠΈΡ ΠΈΡΠΊΠ»ΡΡΠ°Π΅Ρ Π²Π΅ΡΠΎΡΡΠ½ΠΎΡΡΡ ΠΏΠΎΠ»ΠΎΠΌΠΊΠΈ ΠΌΠ°ΡΠΈΠ½Ρ Π² Π±Π°ΡΠ°Π±Π°Π½Π½ΠΎΠΌ ΠΈΠ»ΠΈ Π΄ΠΈΡΠΊΠΎΠ²ΠΎΠΌ ΡΠ΅ΠΆΠΈΠΌΠ°Ρ
Π΄Π°ΠΆΠ΅ Ρ Π½Π°ΡΠΈΠ½Π°ΡΡΠΈΡ
ΠΎΠΏΠ΅ΡΠ°ΡΠΎΡΠΎΠ².
ΠΡΠΈΡΠ΅ ΠΎΠΏΡΠΈΡ Π°Π²ΡΠΎΠΌΠ°ΡΠΈΡΠ΅ΡΠΊΠΎΠ³ΠΎ ΠΈΠ·ΠΌΠ΅ΡΠ΅Π½ΠΈΡ ΡΡΠ°Π½Π³Π΅Π½ΡΠΈΡΠΊΡΠ»Ρ. ΠΠ½ ΠΌΠ³Π½ΠΎΠ²Π΅Π½Π½ΠΎ ΠΈΠ·ΠΌΠ΅ΡΡΠ΅Ρ ΡΠ°Π·ΠΌΠ΅ΡΡ Π±Π°ΡΠ°Π±Π°Π½Π° ΠΈΠ»ΠΈ ΡΠΎΡΠΎΡΠ°, ΡΡΠΎΠ±Ρ ΠΎΠΏΡΠ΅Π΄Π΅Π»ΠΈΡΡ, ΡΠ»Π΅Π΄ΡΠ΅Ρ Π»ΠΈ Π²ΡΠ±ΡΠΎΡΠΈΡΡ Π±Π°ΡΠ°Π±Π°Π½ ΠΈΠ»ΠΈ ΡΠΎΡΠΎΡ ΠΏΠ΅ΡΠ΅Π΄ ΠΎΠ±ΡΠ°Π±ΠΎΡΠΊΠΎΠΉ.
ΠΠ΄Π½Π° ΠΊΠΎΠΌΠΏΠ°Π½ΠΈΡ Π·Π°ΡΠ²Π»ΡΠ΅Ρ, ΡΡΠΎ Π΅Π΅ ΡΠ΅Ρ Π½ΠΎΠ»ΠΎΠ³ΠΈΡ Β«Π·Π°ΡΠΈΡΡ ΠΎΡ Π²ΠΈΠ±ΡΠ°ΡΠΈΠΉΒ» ΠΌΠ΅Π½ΡΠ΅Ρ ΡΠΊΠΎΡΠΎΡΡΡ ΠΎΠ±ΡΠ°Π±ΠΎΡΠΊΠΈ ΡΠΎΠΊΠ°ΡΠ½ΠΎΠ³ΠΎ ΡΡΠ°Π½ΠΊΠ° ΠΈ ΡΡΡΡΠ°Π½ΡΠ΅Ρ Π½Π°ΠΊΠΎΠΏΠ»Π΅Π½ΠΈΠ΅ Π²ΠΈΠ±ΡΠ°ΡΠΈΠΈ (Π²ΠΈΠ±ΡΠ°ΡΠΈΠΈ), ΠΊΠΎΡΠΎΡΠ°Ρ ΠΌΠΎΠΆΠ΅Ρ Π²ΠΎΠ·Π½ΠΈΠΊΠ½ΡΡΡ ΠΏΡΠΈ ΠΎΠ±ΡΠ°Π±ΠΎΡΠΊΠ΅ Π½Π° ΡΠΈΠΊΡΠΈΡΠΎΠ²Π°Π½Π½ΠΎΠΉ ΡΠΊΠΎΡΠΎΡΡΠΈ. ΠΠΎ ΡΠ»ΠΎΠ²Π°ΠΌ ΡΡΠΎΠ³ΠΎ ΠΏΡΠΎΠΈΠ·Π²ΠΎΠ΄ΠΈΡΠ΅Π»Ρ, Π΅Π³ΠΎ ΡΠΎΠΊΠ°ΡΠ½ΡΠΉ ΡΡΠ°Π½ΠΎΠΊ ΠΎΠ±Π΅ΡΠΏΠ΅ΡΠΈΠ²Π°Π΅Ρ Π±ΠΎΠ»Π΅Π΅ Π³Π»Π°Π΄ΠΊΡΡ ΠΏΠΎΠ²Π΅ΡΡ Π½ΠΎΡΡΡ, ΠΊΠΎΡΠΎΡΠ°Ρ ΠΏΡΠ΅Π΄ΠΎΡΠ²ΡΠ°ΡΠ°Π΅Ρ ΠΏΡΠ»ΡΡΠ°ΡΠΈΡ ΠΏΠ΅Π΄Π°Π»ΠΈ β Π³Π»Π°Π²Π½ΡΡ ΠΏΡΠΈΡΠΈΠ½Ρ Π²ΠΎΠ·Π²ΡΠ°ΡΠ΅Π½ΠΈΡ ΠΊΠ»ΠΈΠ΅Π½ΡΠΎΠ² Π² ΡΠ΅ΡΠ²ΠΈΡΠ½ΡΠΉ ΡΠ΅Π½ΡΡ. ΠΡΠ° ΠΎΡΠΎΠ±Π°Ρ ΡΡΠ½ΠΊΡΠΈΡ Π°ΠΊΡΠΈΠ²ΠΈΡΡΠ΅ΡΡΡ Π½Π°ΠΆΠ°ΡΠΈΠ΅ΠΌ ΠΊΠ½ΠΎΠΏΠΊΠΈ.
ΠΠΎΠ·ΠΌΠΎΠΆΠ½ΠΎ, Π΄Π»Ρ Π²Π°ΡΠ΅ΠΉ ΠΌΠ°ΡΡΠ΅ΡΡΠΊΠΎΠΉ Π»ΡΡΡΠ΅ Π²ΡΠ΅Π³ΠΎ ΠΏΠΎΠ΄ΠΎΠΉΠ΄Π΅Ρ ΡΡΠΆΠ΅Π»Π°Ρ ΡΠ΅Π»Π΅ΠΆΠΊΠ° Ρ ΠΏΡΠΈΡΠ΅ΠΏΠ½ΡΠΌ ΡΠΎΡΠΌΠΎΠ·Π½ΡΠΌ ΡΡΠ°Π½ΠΊΠΎΠΌ. ΠΡΠΎΠΈΠ·Π²ΠΎΠ΄ΠΈΡΠ΅Π»Ρ ΡΡΠΎΠ³ΠΎ ΡΡΡΡΠΎΠΉΡΡΠ²Π° Π·Π°ΡΠ²Π»ΡΠ΅Ρ, ΡΡΠΎ ΠΎΠ½ ΠΌΠΎΠΆΠ΅Ρ ΠΎΠ±ΡΠ»ΡΠΆΠΈΠ²Π°ΡΡ ΡΠΎΡΠΎΡΡ Π² Π΄Π²Π° ΡΠ°Π·Π° Π±ΡΡΡΡΠ΅Π΅, ΡΠ΅ΠΌ Π΄ΡΡΠ³ΠΈΠ΅ Π°Π²ΡΠΎΠΌΠΎΠ±ΠΈΠ»ΡΠ½ΡΠ΅ ΡΠΎΠΊΠ°ΡΠ½ΡΠ΅ ΡΡΠ°Π½ΠΊΠΈ, ΠΎΠ±Π΅ΡΠΏΠ΅ΡΠΈΠ²Π°Ρ ΠΏΠ΅ΡΠ΅ΠΌΠ΅Π½Π½ΡΡ ΡΠΊΠΎΡΠΎΡΡΡ ΠΈ ΠΊΡΡΡΡΡΠΈΠΉ ΠΌΠΎΠΌΠ΅Π½Ρ Π²ΠΎ Π²ΡΠ΅ΠΌΡ ΠΊΠΎΠΌΠΏΠ΅Π½ΡΠ°ΡΠΈΠΈ ΠΈ ΠΎΠ±ΡΠ°Π±ΠΎΡΠΊΠΈ.
Π’Π΅Ρ
Π½ΠΈΠΊΠΈ ΠΌΠΎΠ³ΡΡ ΡΠ»ΠΈΡΠΎΠ²Π°ΡΡ ΡΠΎΡΠΎΡΡ Π½Π° ΠΌΠ°ΠΊΡΠΈΠΌΠ°Π»ΡΠ½ΠΎ Π²ΠΎΠ·ΠΌΠΎΠΆΠ½ΠΎΠΉ ΡΠΊΠΎΡΠΎΡΡΠΈ ΠΈ ΠΈΠ·ΠΌΠ΅Π½ΡΡΡ ΡΠΊΠΎΡΠΎΡΡΡ ΠΏΡΡΠΌΠΎ Π½Π° ΠΏΠΎΠ»Ρ, Π³ΠΎΠ²ΠΎΡΠΈΡ ΠΏΡΠΎΠΈΠ·Π²ΠΎΠ΄ΠΈΡΠ΅Π»Ρ ΡΠΎΠΊΠ°ΡΠ½ΡΡ
ΡΡΠ°Π½ΠΊΠΎΠ².
ΠΠ±ΡΠ·Π°ΡΠ΅Π»ΡΠ½ΠΎ ΠΎΠ·Π½Π°ΠΊΠΎΠΌΡΡΠ΅ΡΡ Ρ ΡΠ΅ΠΊΠΎΠΌΠ΅Π½Π΄ΡΠ΅ΠΌΡΠΌΠΈ Π΄Π΅ΡΠ°Π»ΡΠΌΠΈ ΠΈ ΠΎΠΏΡΠΈΡΠΌΠΈ Π΄Π»Ρ Π»ΡΠ±ΠΎΠ³ΠΎ ΡΠΎΡΠΌΠΎΠ·Π½ΠΎΠ³ΠΎ ΡΡΠ°Π½ΠΊΠ°, ΠΊΠΎΡΠΎΡΡΠΉ Π²Ρ ΡΠ°ΡΡΠΌΠ°ΡΡΠΈΠ²Π°Π΅ΡΠ΅. ΠΠ°ΠΏΡΠΈΠΌΠ΅Ρ, Ρ ΠΎΡΠΎΡΠΈΠΉ Π½Π°ΡΡΠΎΠ»ΡΠ½ΡΠΉ ΡΠΎΠΊΠ°ΡΠ½ΡΠΉ ΡΡΠ°Π½ΠΎΠΊ ΠΌΠΎΠΆΠ½ΠΎ Π·Π°ΠΊΠ°Π·Π°ΡΡ Ρ ΡΠ°ΠΊΠΈΠΌΠΈ Π°ΠΊΡΠ΅ΡΡΡΠ°ΡΠ°ΠΌΠΈ, ΠΊΠ°ΠΊ ΠΎΠΏΠΎΡΠ½Π°Ρ ΠΏΠ»Π°ΡΡΠΈΠ½Π° ΡΠΎΡΠΎΡΠ° Toyota; ΠΠ΄Π°ΠΏΡΠ΅Ρ ΡΠΎΡΠΎΡΠ° Ρ ΠΏΡΠ΅ΡΡΠΎΠ²Π°Π½Π½ΠΎΠΉ ΡΡΡΠΏΠΈΡΠ΅ΠΉ 4Γ4; Π²Π°ΠΊΡΡΠΌΠ½Π°Ρ ΠΏΡΠΎΠΊΠ°ΡΠΊΠ° ΡΠΎΡΠΌΠΎΠ·ΠΎΠ²; ΠΊΠΎΠΌΠΏΠ»Π΅ΠΊΡ Π΄Π²ΠΎΠΉΠ½ΡΡ ΠΏΠ°ΡΡΠΎΠ½ΠΎΠ²; D-ΠΎΠ±ΡΠ°Π·Π½ΡΠ΅ Π·Π°ΠΆΠΈΠΌΡ; ΡΠ²Π΅ΡΡ ΠΌΠΎΡΠ½ΡΠΉ ΡΡΠ΅Ρ ΠΊΡΠ»Π°ΡΠΊΠΎΠ²ΡΠΉ ΠΏΠ°ΡΡΠΎΠ½; ΡΠ΅ΡΡΠ΅Ρ ΡΠΎΡΠΌΠΎΠ·Π½ΠΎΠΉ ΠΆΠΈΠ΄ΠΊΠΎΡΡΠΈ; ΠΈ ΠΌΠ½ΠΎΠ³ΠΈΠ΅ Π΄ΡΡΠ³ΠΈΠ΅.
ΠΠ΅ΠΊΠΎΡΠΎΡΡΠ΅ ΠΈΠ· Π½ΠΎΠ²Π΅ΠΉΡΠΈΡ Π°Π²ΡΠΎΠΌΠΎΠ±ΠΈΠ»ΡΠ½ΡΡ ΡΠΎΠΊΠ°ΡΠ½ΡΡ ΡΡΠ°Π½ΠΊΠΎΠ² Π΄Π»Ρ ΡΠΎΡΠΌΠΎΠ·ΠΎΠ² ΠΎΡΠ½Π°ΡΠ΅Π½Ρ ΡΡΠ³ΠΎΠ½ΠΎΠΌΠΈΡΠ½ΡΠΌΠΈ ΡΡΡΠΊΠ°ΠΌΠΈ Π΄Π»Ρ ΠΏΡΠΎΡΡΠΎΡΡ ΠΈΡΠΏΠΎΠ»ΡΠ·ΠΎΠ²Π°Π½ΠΈΡ ΠΈ Π²ΡΡΡΠΎΠ΅Π½Π½ΡΠΌ ΠΊΠΎΠΌΠΏΡΡΡΠ΅ΡΠΎΠΌ, ΠΊΠΎΡΠΎΡΡΠΉ ΡΠΏΡΠ°Π²Π»ΡΠ΅Ρ ΠΏΠΎΡΠΎΠΊΠΎΠΌ ΠΈΠ½ΡΠΎΡΠΌΠ°ΡΠΈΠΈ ΠΎΡ Π΄Π°ΡΡΠΈΠΊΠ° Π²Π½ΡΡΡΠΈ ΠΊΠΎΡΠΏΡΡΠ° ΡΠΎΠΊΠ°ΡΠ½ΠΎΠ³ΠΎ ΡΡΠ°Π½ΠΊΠ°. ΠΡΠΎ Π΄Π΅ΠΉΡΡΠ²ΠΈΠ΅ ΡΠΊΠ°Π·ΡΠ²Π°Π΅Ρ ΡΠΎΠ»Π΅Π½ΠΎΠΈΠ΄Ρ Π²ΡΠΏΠΎΠ»Π½ΡΡΡ ΡΠΎΡΠ½ΡΡ ΡΠ΅Π³ΡΠ»ΠΈΡΠΎΠ²ΠΊΡ Π΄ΠΎ ΡΠ΅Ρ ΠΏΠΎΡ, ΠΏΠΎΠΊΠ° Π±ΠΎΠΊΠΎΠ²ΠΎΠ΅ Π±ΠΈΠ΅Π½ΠΈΠ΅ Π½Π΅ ΡΡΠ°Π½Π΅Ρ ΡΠ°Π²Π½ΡΠΌ 0,001 Π΄ΡΠΉΠΌΠ° ΠΈΠ»ΠΈ Π½ΠΈΠΆΠ΅.
ΠΠ±ΡΠ°ΡΠΈΡΠ΅ ΡΠ°ΠΊΠΆΠ΅ Π²Π½ΠΈΠΌΠ°Π½ΠΈΠ΅ Π½Π° Π²ΠΎΠ·ΠΌΠΎΠΆΠ½ΠΎΡΡΡ ΠΏΠ΅ΡΠ΅ΠΊΠ»ΡΡΠ΅Π½ΠΈΡ Ρ ΠΌΠΈΠ»Π»ΠΈΠΌΠ΅ΡΡΠΎΠ² Π½Π° Π΄ΡΠΉΠΌΡ ΠΎΠ΄Π½ΠΈΠΌ Π½Π°ΠΆΠ°ΡΠΈΠ΅ΠΌ ΠΊΠ½ΠΎΠΏΠΊΠΈ ΠΈ ΡΡΠ½ΠΊΡΠΈΡ, ΠΊΠΎΡΠΎΡΠ°Ρ Π°Π²ΡΠΎΠΌΠ°ΡΠΈΡΠ΅ΡΠΊΠΈ ΠΏΠΎΠ·Π²ΠΎΠ»ΡΠ΅Ρ ΠΎΠΏΠ΅ΡΠ°ΡΠΎΡΡ ΠΈΠ·ΠΌΠ΅ΡΡΡΡ ΡΠΎΠ»ΡΠΈΠ½Ρ ΡΠΎΡΠΎΡΠ°, Π΄ΠΈΠ°ΠΌΠ΅ΡΡ Π±Π°ΡΠ°Π±Π°Π½Π° ΠΈ ΡΠ°ΡΡΡΠΈΡΡΠ²Π°ΡΡ ΠΎΠ±ΡΠ΅Π΅ ΡΠΊΠ°Π·Π°Π½Π½ΠΎΠ΅ Π±ΠΈΠ΅Π½ΠΈΠ΅.
ΠΡΡΠΎΡΠ½ΠΈΠΊ: ΠΆΡΡΠ½Π°Π» Tire Review, Π΄Π΅ΠΊΠ°Π±ΡΡ 2006 Π³.
ΠΠ½ΡΡΡΡΠΌΠ΅Π½ΡΡ ΠΈ ΠΎΠ±ΠΎΡΡΠ΄ΠΎΠ²Π°Π½ΠΈΠ΅ Π΄Π»Ρ ΠΎΠ±ΡΠ»ΡΠΆΠΈΠ²Π°Π½ΠΈΡ ΡΠΎΡΠΌΠΎΠ·ΠΎΠ²
ΠΠ°Π±Π°Π²Π½ΠΎ, ΠΊΠ°ΠΊ ΠΏΡΠΎΡΠΈΠ²ΠΎΠΏΠΎΠ»ΠΎΠΆΠ½ΡΠ΅ Π²Π΅ΡΠΈ Π² ΠΆΠΈΠ·Π½ΠΈ ΡΠ°ΠΊ ΡΠ°ΡΡΠΎ ΠΎΠΊΠ°Π·ΡΠ²Π°ΡΡΡΡ Π²ΠΌΠ΅ΡΡΠ΅! Π‘ΠΊΠΎΠ»ΡΠΊΠΎ ΡΠ°Π· Π²Ρ Π²ΠΈΠ΄Π΅Π»ΠΈ ΠΏΠ°ΡΡ, ΠΊΠΎΡΠΎΡΡΠ΅ Π²ΡΠ³Π»ΡΠ΄ΡΡ ΠΏΠΎ-ΡΠ°Π·Π½ΠΎΠΌΡ, Π²Π΅Π΄ΡΡ ΡΠ΅Π±Ρ ΠΏΠΎ-ΡΠ°Π·Π½ΠΎΠΌΡ, ΠΈΠΌΠ΅ΡΡ ΡΠ°Π·Π½ΡΠ΅ Π²ΠΊΡΡΡ, ΠΈ Π²ΡΠ΅ ΠΆΠ΅ ΠΈΠΌ ΡΠ΄Π°Π΅ΡΡΡ ΠΏΠΎΠ΄Π΄Π΅ΡΠΆΠΈΠ²Π°ΡΡ ΠΏΡΠ΅ΠΊΡΠ°ΡΠ½ΡΠ΅ ΠΎΡΠ½ΠΎΡΠ΅Π½ΠΈΡ? ΠΠ°ΠΊ Π½Π°ΡΡΠ΅Ρ Π»Π΅ΠΊΠ°ΡΡΡΠ²? ΠΠ½ΠΎΠ³ΠΈΠ΅ ΠΏΡΠΈΠ²ΠΈΠ²ΠΊΠΈ Π½Π° ΡΠ°ΠΌΠΎΠΌ Π΄Π΅Π»Π΅ ΠΏΡΠ΅Π΄ΡΡΠ°Π²Π»ΡΡΡ ΡΠΎΠ±ΠΎΠΉ Π½Π΅Π±ΠΎΠ»ΡΡΠΎΠ΅ ΠΊΠΎΠ»ΠΈΡΠ΅ΡΡΠ²ΠΎ Π²ΠΈΡΡΡΠ° Π±ΠΎΠ»Π΅Π·Π½ΠΈ, ΠΊΠΎΡΠΎΡΡΠΉ ΠΎΠ½ΠΈ ΠΏΡΠ΅Π΄ΠΎΡΠ²ΡΠ°ΡΠ°ΡΡ! Π‘ΡΡΠ°Π½Π½ΠΎ, Π΄Π°?
Π Π΅ΠΌΠΎΠ½Ρ ΠΈ ΠΎΠ±ΡΠ»ΡΠΆΠΈΠ²Π°Π½ΠΈΠ΅ ΡΠΎΡΠΌΠΎΠ·ΠΎΠ² β Π΅ΡΠ΅ ΠΎΠ΄ΠΈΠ½ ΠΏΡΠΈΠΌΠ΅Ρ Π²Π΅ΡΠ΅ΠΉ, ΠΊΠΎΡΠΎΡΡΠ΅ ΠΊΠ°ΠΆΡΡΡΡ ΠΏΡΠΎΡΠΈΠ²ΠΎΠΏΠΎΠ»ΠΎΠΆΠ½ΡΠΌΠΈ, Π½ΠΎ ΠΏΠΎΠΌΠΎΠ³Π°ΡΡ Π΄ΡΡΠ³ Π΄ΡΡΠ³Ρ. Π Π΅ΠΌΠΎΠ½Ρ ΡΠΎΡΠΌΠΎΠ·ΠΎΠ² Π³Π°ΡΠ°Π½ΡΠΈΡΡΠ΅Ρ, ΡΡΠΎ Π°Π²ΡΠΎΠΌΠΎΠ±ΠΈΠ»ΠΈ Π²Π°ΡΠΈΡ
ΠΊΠ»ΠΈΠ΅Π½ΡΠΎΠ² ΠΎΡΡΠ°Π½ΠΎΠ²ΡΡΡΡ, Π° ΡΠ΅ΠΌΠΎΠ½Ρ ΡΠΎΡΠΌΠΎΠ·ΠΎΠ² ΠΌΠΎΠΆΠ΅Ρ ΠΏΠΎΠΌΠΎΡΡ Π²Π°ΡΠ΅ΠΌΡ Π±ΠΈΠ·Π½Π΅ΡΡ!
Π£Π΄ΠΎΠ²Π»Π΅ΡΠ²ΠΎΡΠ΅Π½ΠΈΠ΅ ΠΏΠΎΡΡΠ΅Π±Π½ΠΎΡΡΠ΅ΠΉ Π²Π°ΡΠΈΡ ΠΊΠ»ΠΈΠ΅Π½ΡΠΎΠ² Π² ΡΠ΅ΠΌΠΎΠ½ΡΠ΅ ΡΠΎΡΠΌΠΎΠ·ΠΎΠ² Π·Π°Π²ΠΈΡΠΈΡ ΠΎΡ Π½Π°Π»ΠΈΡΠΈΡ Ρ Π²Π°Ρ Π½Π°Π΄Π»Π΅ΠΆΠ°ΡΠ΅ΠΉ ΠΏΠΎΠ΄Π³ΠΎΡΠΎΠ²ΠΊΠΈ, Π½Π°Π΄Π»Π΅ΠΆΠ°ΡΠΈΡ Π·Π°ΠΏΡΠ°ΡΡΠ΅ΠΉ ΠΈ Π½Π°Π΄Π»Π΅ΠΆΠ°ΡΠΈΡ ΠΈΠ½ΡΡΡΡΠΌΠ΅Π½ΡΠΎΠ². Π ΡΡΠΎΠΉ ΡΡΠ°ΡΡΠ΅ ΡΠ΅ΡΡ ΠΏΠΎΠΉΠ΄Π΅Ρ ΠΎ ΠΏΠΎΡΠ»Π΅Π΄Π½Π΅ΠΉ ΠΏΡΠΎΠ±Π»Π΅ΠΌΠ΅. ΠΡ ΡΠ°ΠΌΠΈ ΠΏΠΎ ΡΠ΅Π±Π΅ Π΄Π»Ρ ΠΏΠ΅ΡΠ²ΡΡ Π΄Π²ΡΡ !
ΠΠ½ΡΡΡΡΠΌΠ΅Π½ΡΡ Π΄Π»Ρ ΠΎΠ±ΡΠ»ΡΠΆΠΈΠ²Π°Π½ΠΈΡ ΡΠΎΡΠΌΠΎΠ·ΠΎΠ² ΠΎΡΠ½ΠΎΡΡΡΡΡ ΠΊ Π½Π΅ΡΠΊΠΎΠ»ΡΠΊΠΈΠΌ ΡΠ°Π·Π»ΠΈΡΠ½ΡΠΌ ΠΊΠ°ΡΠ΅Π³ΠΎΡΠΈΡΠΌ.
Π― ΡΠ°ΡΡΠΊΠ°ΠΆΡ Π½Π΅ΠΌΠ½ΠΎΠ³ΠΎ ΠΎΠ± ΠΈΠ½ΡΡΡΡΠΌΠ΅Π½ΡΠ°Ρ Π² ΡΠΎΠΌ ΠΏΠΎΡΡΠ΄ΠΊΠ΅, Π² ΠΊΠΎΡΠΎΡΠΎΠΌ ΠΎΠ½ΠΈ ΠΌΠΎΠ³ΡΡ Π²Π°ΠΌ ΠΏΠΎΠ½Π°Π΄ΠΎΠ±ΠΈΡΡΡΡ.
ΠΡΠΌΠΎΡΡ ΠΈ Π·Π°ΡΠΈΡΠ°
ΠΠ°ΠΊ ΡΠ΅Ρ
Π½ΠΈΡΠ΅ΡΠΊΠΈΠΉ ΡΠΏΠ΅ΡΠΈΠ°Π»ΠΈΡΡ, Π²Ρ, ΡΠΊΠΎΡΠ΅Π΅ Π²ΡΠ΅Π³ΠΎ, ΠΊΠ°ΠΆΠ΄ΡΠΉ Π΄Π΅Π½Ρ Π²ΠΈΠ΄ΠΈΡΠ΅ ΡΠ»Π΅Π΄ΡΡΡΠΈΠΉ Π·Π°ΠΊΠ°Π· Π½Π° ΡΠ΅ΠΌΠΎΠ½Ρ: ΠΠ°Π»ΠΎΠ±Π° ΠΊΠ»ΠΈΠ΅Π½ΡΠ°: Β«Π’ΠΎΡΠΌΠΎΠ·Π½ΠΎΠΉ ΡΡΠΌ, ΠΏΡΠΎΠ²Π΅ΡΡΡΠ΅ ΠΈ ΡΠΎΠΎΠ±ΡΠΈΡΠ΅Β». ΠΠ·ΡΠ² Π°Π²ΡΠΎΠΌΠΎΠ±ΠΈΠ»Ρ Π½Π° ΡΠ΅ΡΡ-Π΄ΡΠ°ΠΉΠ², Π²Ρ ΠΏΡΠΈΠ²ΠΎΠ·ΠΈΡΠ΅ Π΅Π³ΠΎ Π² Π±ΡΡ
ΡΡ, ΡΡΠΎΠ±Ρ Π½Π°ΡΠ°ΡΡ ΠΏΡΠΎΡΠ΅ΡΡ ΠΎΡΠΌΠΎΡΡΠ°. Π‘ΡΠ°Π·Ρ ΠΆΠ΅ Π²Π°ΠΌ ΠΏΠΎΠ½Π°Π΄ΠΎΠ±ΡΡΡΡ ΠΈΠ½ΡΡΡΡΠΌΠ΅Π½ΡΡ Π΄Π»Ρ Π²ΡΠΏΠΎΠ»Π½Π΅Π½ΠΈΡ ΡΠ°Π±ΠΎΡΡ. ΠΠ΅ΡΠ²ΡΠΌ ΡΠ°Π³ΠΎΠΌ ΠΊ ΠΏΡΠΎΠ²Π΅ΡΠΊΠ΅ ΡΠΎΡΠΌΠΎΠ·ΠΎΠ² ΡΠ²Π»ΡΠ΅ΡΡΡ ΡΠ½ΡΡΠΈΠ΅ ΠΊΠΎΠ»Π΅ΡΠ°/ΡΠΈΠ½Ρ, ΡΡΠΎΠ±Ρ Π²Ρ ΠΌΠΎΠ³Π»ΠΈ Ρ
ΠΎΡΠΎΡΠΎ ΡΠ°ΡΡΠΌΠΎΡΡΠ΅ΡΡ ΡΠΎΡΠΌΠΎΠ·Π½ΡΡ ΡΠΈΡΡΠ΅ΠΌΡ. ΠΡΠ»ΠΈ Π²Ρ ΠΌΠ½ΠΎΠ³ΠΎ ΡΠ°Π±ΠΎΡΠ°Π΅ΡΠ΅ Ρ ΠΊΠΎΠ»Π΅ΡΠ°ΠΌΠΈ/ΡΠΎΡΠΌΠΎΠ·Π°ΠΌΠΈ, Π²Π°ΠΌ ΡΡΠΎΠΈΡ ΠΈΠ½Π²Π΅ΡΡΠΈΡΠΎΠ²Π°ΡΡ Π² Ρ
ΠΎΡΠΎΡΠΈΠΉ ΡΠ΄Π°ΡΠ½ΡΠΉ Π³Π°ΠΉΠΊΠΎΠ²Π΅ΡΡ Π½Π° 1/2 Π΄ΡΠΉΠΌΠ°. ΠΡΠΈΡΠ΅ ΠΌΠΎΠ΄Π΅Π»Ρ Ρ Π²ΡΡΠΎΠΊΠΈΠΌ Π½ΠΎΠΌΠΈΠ½Π°Π»ΡΠ½ΡΠΌ ΠΊΡΡΡΡΡΠΈΠΌ ΠΌΠΎΠΌΠ΅Π½ΡΠΎΠΌ (500+ ΡΡΡ-ΡΡΠ½ΡΠΎΠ²) ΠΈ ΡΠ±Π΅Π΄ΠΈΡΠ΅ΡΡ, ΡΡΠΎ Π½ΠΎΠΌΠΈΠ½Π°Π»ΡΠ½ΡΠΉ ΠΊΡΡΡΡΡΠΈΠΉ ΠΌΠΎΠΌΠ΅Π½Ρ ΡΠ°Π±ΠΎΡΠ°Π΅Ρ ΠΊΠ°ΠΊ Π² ΠΏΡΡΠΌΠΎΠΌ, ΡΠ°ΠΊ ΠΈ Π² ΠΎΠ±ΡΠ°ΡΠ½ΠΎΠΌ Π½Π°ΠΏΡΠ°Π²Π»Π΅Π½ΠΈΠΈ! ΠΠ΄Π½ΠΎΠΉ ΠΈΠ· ΡΠ°ΠΌΡΡ
ΡΠ»ΠΎΠΆΠ½ΡΡ
ΠΏΡΠΎΠ±Π»Π΅ΠΌ Π² ΡΠ°Π±ΠΎΡΠ΅ ΡΠΎΡΠΌΠΎΠ·ΠΎΠ² ΠΌΠΎΠ³ΡΡ Π±ΡΡΡ ΡΠΆΠ°Π²ΡΠ΅ Π³Π°ΠΉΠΊΠΈ ΠΈ Π±ΠΎΠ»ΡΡ.
Π‘Π΅Π³ΠΎΠ΄Π½ΡΡΠ½ΠΈΠ΅ ΠΊΠΎΠ»Π΅ΡΠ° ΠΌΠΎΠ³ΡΡ Π±ΡΡΡ ΠΎΡΠ΅Π½Ρ Π΄ΠΎΡΠΎΠ³ΠΈΠΌΠΈ; ΠΊΠ°ΠΊ ΠΎΡΠΈΠ³ΠΈΠ½Π°Π»ΡΠ½ΡΠ΅, ΡΠ°ΠΊ ΠΈ Π½Π΅ΠΎΡΠΈΠ³ΠΈΠ½Π°Π»ΡΠ½ΡΠ΅ ΠΊΠΎΠ»Π΅ΡΠ° ΠΌΠΎΠ³ΡΡ ΡΡΠΎΠΈΡΡ ΡΡΡΡΡΠΈ Π΄ΠΎΠ»Π»Π°ΡΠΎΠ². ΠΡΠ΅Π³ΠΎ ΠΎΠ΄Π½Π° ΡΠ°ΡΠ°ΠΏΠΈΠ½Π° Π½Π° ΡΠ°ΠΊΠΎΠΌ ΠΊΠΎΠ»Π΅ΡΠ΅ ΠΌΠΎΠΆΠ΅Ρ ΡΠ²Π΅ΡΡΠΈ Π½Π° Π½Π΅Ρ Π²ΡΡ ΠΏΡΠΈΠ±ΡΠ»Ρ, ΠΊΠΎΡΠΎΡΡΡ Π²Ρ ΠΌΠΎΠ³Π»ΠΈ Π±Ρ ΠΏΠΎΠ»ΡΡΠΈΡΡ ΠΎΡ ΡΠ°Π±ΠΎΡΡ Ρ ΡΠΎΡΠΌΠΎΠ·Π°ΠΌΠΈ (ΠΈ, Π²ΠΎΠ·ΠΌΠΎΠΆΠ½ΠΎ, ΠΎΡ Π²ΡΠ΅ΠΉ ΡΠ°Π±ΠΎΡΡ Π² ΡΡΠΎΡ Π΄Π΅Π½Ρ). ΠΠ΄ΠΈΠ½ ΠΈΠ· ΡΠΏΠΎΡΠΎΠ±ΠΎΠ² ΠΈΠ·Π±Π΅ΠΆΠ°ΡΡ ΠΏΠΎΠ²ΡΠ΅ΠΆΠ΄Π΅Π½ΠΈΡ ΠΊΠΎΠ»Π΅ΡΠ° β ΠΏΡΠΈΠΎΠ±ΡΠ΅ΡΡΠΈ ΡΠΏΠ΅ΡΠΈΠ°Π»ΡΠ½ΡΠ΅ Π³ΠΎΠ»ΠΎΠ²ΠΊΠΈ Π΄Π»Ρ ΠΊΠΎΠ»Π΅ΡΠ½ΡΡ Π³Π°Π΅ΠΊ Ρ Π½Π΅ΠΉΠ»ΠΎΠ½ΠΎΠ²ΡΠΌ ΠΏΠΎΠΊΡΡΡΠΈΠ΅ΠΌ. ΠΡΠΈ Π³ΠΎΠ»ΠΎΠ²ΠΊΠΈ ΠΏΡΠ΅Π΄Π½Π°Π·Π½Π°ΡΠ΅Π½Ρ Π΄Π»Ρ ΠΈΡΠΏΠΎΠ»ΡΠ·ΠΎΠ²Π°Π½ΠΈΡ Π½Π° Π»Π΅Π³ΠΊΠΎΡΠΏΠ»Π°Π²Π½ΡΡ ΠΈ Π°Π»ΡΠΌΠΈΠ½ΠΈΠ΅Π²ΡΡ Π΄ΠΈΡΠΊΠ°Ρ . Π‘Π½Π°ΡΡΠΆΠΈ Π³ΠΈΠ»ΡΠ·Ρ ΠΈΠΌΠ΅ΡΡ Π²ΡΡΠ»ΠΊΡ ΠΈΠ· Π½Π΅ΠΉΠ»ΠΎΠ½Π°. ΠΡΠ° Π²ΡΡΠ»ΠΊΠ° ΡΠΌΠ΅Π½ΡΡΠ°Π΅Ρ Π²ΠΎΠ·ΠΌΠΎΠΆΠ½ΠΎΡΡΡ ΠΏΠΎΡΠ°ΡΠ°ΠΏΠ°ΡΡ ΠΊΠΎΠ»Π΅ΡΠΎ ΠΈ Π·Π°ΠΆΠΈΠΌΠ½ΡΠ΅ Π³Π°ΠΉΠΊΠΈ. ΠΡΠ΅ ΠΎΠ΄ΠΈΠ½ Π²Π°ΠΆΠ½ΡΠΉ ΡΠ»Π΅ΠΌΠ΅Π½Ρ, ΠΊΠΎΡΠΎΡΡΠΉ Π½ΡΠΆΠ½ΠΎ Π΄ΠΎΠ±Π°Π²ΠΈΡΡ Π² Π²Π°ΡΡ ΠΊΠΎΡΠΎΠ±ΠΊΡ, β ΡΡΠΎ Ρ ΠΎΡΠΎΡΠΈΠΉ ΠΊΠΎΠΌΠΏΠ»Π΅ΠΊΡ ΠΊΠΎΠ»Π΅ΡΠ½ΡΡ Π³Π°Π΅ΠΊ ΠΈ Π·Π°ΠΌΠΊΠΎΠ². ΠΡΠΈ Π½Π°Π±ΠΎΡΡ Π½Π° Π²Π΅Ρ Π·ΠΎΠ»ΠΎΡΠ°. ΠΡΠ΅Π΄Π½Π°Π·Π½Π°ΡΠ΅Π½Π½ΡΠ΅ Π΄Π»Ρ ΡΠ΄Π°Π»Π΅Π½ΠΈΡ ΠΏΠΎΠ²ΡΠ΅ΠΆΠ΄Π΅Π½Π½ΡΡ ΠΈΠ»ΠΈ Π·Π°ΠΊΡΡΠ³Π»Π΅Π½Π½ΡΡ Π³Π°Π΅ΠΊ, ΠΎΠ½ΠΈ ΡΠ²Π»ΡΡΡΡΡ ΠΎΠ΄Π½ΠΈΠΌ ΠΈΠ· ΡΠ΅Ρ ΠΈΠ½ΡΡΡΡΠΌΠ΅Π½ΡΠΎΠ², ΠΊΠΎΡΠΎΡΡΠ΅ ΠΌΠΎΠ³ΡΡ Β«ΡΠΏΠ°ΡΡΠΈ Π²Π°Ρ Π±Π΅ΠΊΠΎΠ½Β». ΠΡΠΈ ΠΊΠΎΠΌΠΏΠ»Π΅ΠΊΡΡ ΡΠ°ΠΊΠΆΠ΅ Π²ΠΊΠ»ΡΡΠ°ΡΡ Π² ΡΠ΅Π±Ρ ΠΌΠ½ΠΎΠ³ΠΈΠ΅ ΠΊΠ»ΡΡΠΈ, Π½Π΅ΠΎΠ±Ρ ΠΎΠ΄ΠΈΠΌΡΠ΅ Π΄Π»Ρ ΡΠ½ΡΡΠΈΡ Π·Π°ΠΌΠΊΠΎΠ² ΠΊΠΎΠ»Π΅ΡΠ½ΡΡ Π³Π°Π΅ΠΊ, ΠΈΡΠΏΠΎΠ»ΡΠ·ΡΠ΅ΠΌΡΡ Π½Π° OEM ΠΈ Π²ΡΠΎΡΠΈΡΠ½ΠΎΠΌ ΡΡΠ½ΠΊΠ΅ ΠΊΠΎΠ»Π΅Ρ ΠΈ ΠΊΠΎΠ»Π΅ΡΠ½ΡΡ ΠΊΠΎΠ»ΠΏΠ°ΠΊΠΎΠ².

ΠΠ°ΠΊ ΡΠΎΠ»ΡΠΊΠΎ Π²Ρ ΡΠ½ΠΈΠΌΠ΅ΡΠ΅ ΠΊΠΎΠ»Π΅ΡΠ°, Π½Π°ΡΠ½Π΅ΡΡΡ Π½Π°ΡΡΠΎΡΡΠ΅Π΅ Π²Π΅ΡΠ΅Π»ΡΠ΅. Π Π·Π°Π²ΠΈΡΠΈΠΌΠΎΡΡΠΈ ΠΎΡ ΡΠΈΠΏΠ° ΡΡΠ°Π½ΡΠΏΠΎΡΡΠ½ΠΎΠ³ΠΎ ΡΡΠ΅Π΄ΡΡΠ²Π° ΠΈ ΡΠΈΡΡΠ΅ΠΌΡ, Π½Π°Π΄ ΠΊΠΎΡΠΎΡΠΎΠΉ Π²Ρ ΡΠ°Π±ΠΎΡΠ°Π΅ΡΠ΅, Π²Π°ΠΌ ΠΏΠΎΠ½Π°Π΄ΠΎΠ±ΡΡΡΡ ΠΎΠΏΡΠ΅Π΄Π΅Π»Π΅Π½Π½ΡΠ΅ ΠΈΠ½ΡΡΡΡΠΌΠ΅Π½ΡΡ Π΄Π»Ρ ΠΏΡΠΎΠ΄ΠΎΠ»ΠΆΠ΅Π½ΠΈΡ ΠΏΡΠΎΡΠ΅ΡΡΠ° ΠΏΡΠΎΠ²Π΅ΡΠΊΠΈ. Π₯ΠΎΡΠΎΡΠ΅Π΅ ΠΎΡΠ²Π΅ΡΠ΅Π½ΠΈΠ΅ ΠΈΠΌΠ΅Π΅Ρ ΡΠ΅ΡΠ°ΡΡΠ΅Π΅ Π·Π½Π°ΡΠ΅Π½ΠΈΠ΅ Π΄Π»Ρ ΠΏΠΎΡΡΠ°Π½ΠΎΠ²ΠΊΠΈ ΠΏΡΠ°Π²ΠΈΠ»ΡΠ½ΠΎΠ³ΠΎ Π΄ΠΈΠ°Π³Π½ΠΎΠ·Π°. ΠΠ·-Π·Π° ΡΠ°ΡΠΏΠΎΠ»ΠΎΠΆΠ΅Π½ΠΈΡ ΡΠΎΡΠΌΠΎΠ·ΠΎΠ² (Π²Π½ΡΡΡΠΈ ΠΊΡΡΠ»ΡΠ΅Π²) ΡΠ²Π΅Ρ ΡΡΠ°Π½ΠΎΠ²ΠΈΡΡΡ ΠΏΡΠΎΠ±Π»Π΅ΠΌΠΎΠΉ. Π‘Π΅Π³ΠΎΠ΄Π½Ρ ΡΡΡΠ΅ΡΡΠ²ΡΠ΅Ρ ΠΌΠ½ΠΎΠΆΠ΅ΡΡΠ²ΠΎ ΠΎΡΠ»ΠΈΡΠ½ΡΡ
Π²Π°ΡΠΈΠ°Π½ΡΠΎΠ² ΠΎΡΠ²Π΅ΡΠ΅Π½ΠΈΡ β ΡΠ²Π΅ΡΠΎΠ΄ΠΈΠΎΠ΄Π½ΡΠ΅, Π»Π°ΠΌΠΏΡ Π½Π°ΠΊΠ°Π»ΠΈΠ²Π°Π½ΠΈΡ, Π»ΡΠΌΠΈΠ½Π΅ΡΡΠ΅Π½ΡΠ½ΡΠ΅, ΠΏΡΠΎΠ²ΠΎΠ΄Π½ΡΠ΅, Π±Π΅ΡΠΏΡΠΎΠ²ΠΎΠ΄Π½ΡΠ΅, ΠΏΠ΅ΡΠ΅Π·Π°ΡΡΠΆΠ°Π΅ΠΌΡΠ΅, Π±Π°ΡΠ°Π±Π°Π½Π½ΡΠ΅ ΠΈ ΡΡΡΠ½ΡΠ΅. Π‘Π²Π΅ΡΠΎΠ΄ΠΈΠΎΠ΄Π½ΠΎΠ΅ ΠΎΡΠ²Π΅ΡΠ΅Π½ΠΈΠ΅ ΡΡΠ°Π»ΠΎ Π΄ΠΎΠΌΠΈΠ½ΠΈΡΡΡΡΠ΅ΠΉ ΡΠΈΠ»ΠΎΠΉ Π² ΠΎΡΠ²Π΅ΡΠ΅Π½ΠΈΠΈ ΠΌΠ°Π³Π°Π·ΠΈΠ½ΠΎΠ². ΠΡΠΈ ΡΠΎΠ½Π°ΡΠΈ ΠΎΡΠ»ΠΈΡΠ°ΡΡΡΡ Π½ΠΈΠ·ΠΊΠΈΠΌΠΈ ΡΠ°Π±ΠΎΡΠΈΠΌΠΈ ΡΠ΅ΠΌΠΏΠ΅ΡΠ°ΡΡΡΠ°ΠΌΠΈ, ΡΡΠΊΠΈΠΌ ΡΠ²Π΅ΡΠΎΠΌ, Π½ΠΈΠ·ΠΊΠΈΠΌ ΡΠ½Π΅ΡΠ³ΠΎΠΏΠΎΡΡΠ΅Π±Π»Π΅Π½ΠΈΠ΅ΠΌ ΠΈ ΡΡΠ΅Π·Π²ΡΡΠ°ΠΉΠ½ΠΎ Π΄ΠΎΠ»Π³ΠΈΠΌ ΡΡΠΎΠΊΠΎΠΌ ΡΠ»ΡΠΆΠ±Ρ. ΠΠ΅Π·Π°Π²ΠΈΡΠΈΠΌΠΎ ΠΎΡ ΡΠΎΠ³ΠΎ, Π²ΡΠ±Π΅ΡΠ΅ΡΠ΅ Π»ΠΈ Π²Ρ ΡΡΡΠ½ΠΎΠΉ ΠΏΠ΅ΡΠ΅Π·Π°ΡΡΠΆΠ°Π΅ΠΌΡΠΉ ΡΠΎΠ½Π°ΡΠΈΠΊ ΠΈΠ»ΠΈ Π±ΠΎΠ»Π΅Π΅ ΡΡΠ°Π΄ΠΈΡΠΈΠΎΠ½Π½ΡΠΉ ΡΠ³Π»ΠΎΠ²ΠΎΠΉ ΡΠΎΠ½Π°ΡΡ Π½Π° ΠΊΠ°ΡΡΡΠΊΠ΅, Π²Ρ Π½Π΅ ΠΎΡΠΈΠ±Π΅ΡΠ΅ΡΡ ΡΠΎ ΡΠ²Π΅ΡΠΎΠ΄ΠΈΠΎΠ΄Π½ΡΠΌ ΠΎΡΠ²Π΅ΡΠ΅Π½ΠΈΠ΅ΠΌ.
ΠΠ°ΠΌ ΠΏΠΎΠ½Π°Π΄ΠΎΠ±ΠΈΡΡΡ Ρ ΠΎΡΠΎΡΠΈΠΉ Π½Π°Π±ΠΎΡ ΠΈΠ·ΠΌΠ΅ΡΠΈΡΠ΅Π»ΡΠ½ΠΎΠ³ΠΎ ΠΎΠ±ΠΎΡΡΠ΄ΠΎΠ²Π°Π½ΠΈΡ Π΄Π»Ρ Π΄ΠΈΠ°Π³Π½ΠΎΡΡΠΈΠΊΠΈ ΡΠΎΡΠΌΠΎΠ·ΠΎΠ².
Π¦ΠΈΡΡΠΎΠ²ΠΎΠΉ ΡΡΠ°Π½Π³Π΅Π½ΡΠΈΡΠΊΡΠ»Ρ, ΠΏΡΠ΅Π΄Π½Π°Π·Π½Π°ΡΠ΅Π½Π½ΡΠΉ Π΄Π»Ρ ΠΈΠ·ΠΌΠ΅ΡΠ΅Π½ΠΈΡ ΡΠΎΡΠΌΠΎΠ·Π½ΡΡ
Π΄ΠΈΡΠΊΠΎΠ², ΡΠ²Π»ΡΠ΅ΡΡΡ ΠΎΠ±ΡΠ·Π°ΡΠ΅Π»ΡΠ½ΡΠΌ. ΠΠΎΠ³Π΄Π°-ΡΠΎ ΠΈΠ½ΡΡΡΡΠΌΠ΅Π½Ρ, ΠΊΠΎΡΠΎΡΡΠΉ Π±ΡΠ» Π½Π΅ΠΏΠΎΠΌΠ΅ΡΠ½ΠΎ Π΄ΠΎΡΠΎΠ³ΠΈΠΌ, ΡΠ΅ΠΏΠ΅ΡΡ Π΅ΡΡΡ ΠΌΠ½ΠΎΠ³ΠΎ Ρ
ΠΎΡΠΎΡΠΈΡ
Π½Π΅Π΄ΠΎΡΠΎΠ³ΠΈΡ
ΡΠ΅ΡΠ΅Π½ΠΈΠΉ. ΠΡΠΎ ΠΏΠΎΠ·Π²ΠΎΠ»ΡΠ΅Ρ Π±ΡΡΡΡΠΎ ΠΎΠΏΡΠ΅Π΄Π΅Π»ΠΈΡΡ, ΡΠΎΠΎΡΠ²Π΅ΡΡΡΠ²ΡΠ΅Ρ Π»ΠΈ ΡΠΎΡΠΎΡ Π΄ΠΎΠΏΡΡΡΠΈΠΌΡΠΌ Ρ
Π°ΡΠ°ΠΊΡΠ΅ΡΠΈΡΡΠΈΠΊΠ°ΠΌ ΠΈΠ»ΠΈ Π΅Π³ΠΎ ΡΠ»Π΅Π΄ΡΠ΅Ρ Π·Π°ΠΌΠ΅Π½ΠΈΡΡ. Π₯ΠΎΡΡ ΡΠ΅Π³ΠΎΠ΄Π½Ρ Π½Π° Π΄ΠΎΡΠΎΠ³Π°Ρ
Π²ΡΠ΅ ΠΌΠ΅Π½ΡΡΠ΅ ΠΈ ΠΌΠ΅Π½ΡΡΠ΅ Π°Π²ΡΠΎΠΌΠΎΠ±ΠΈΠ»Π΅ΠΉ Ρ Π±Π°ΡΠ°Π±Π°Π½Π½ΡΠΌΠΈ ΡΠΎΡΠΌΠΎΠ·Π°ΠΌΠΈ, ΠΌΠ½ΠΎΠ³ΠΈΠ΅ Π»Π΅Π³ΠΊΠΈΠ΅ Π³ΡΡΠ·ΠΎΠ²ΠΈΠΊΠΈ Π²ΡΠ΅ Π΅ΡΠ΅ ΠΈΠΌΠ΅ΡΡ Π·Π°Π΄Π½ΠΈΠ΅ Π±Π°ΡΠ°Π±Π°Π½Π½ΡΠ΅ ΡΠΎΡΠΌΠΎΠ·Π°. ΠΠ°ΠΌ ΡΠ°ΠΊΠΆΠ΅ Π½ΡΠΆΠ½ΠΎ Π±ΡΠ΄Π΅Ρ ΠΏΠΎΠ΄ΡΠΌΠ°ΡΡ ΠΎ ΠΏΠΎΠΊΡΠΏΠΊΠ΅ ΠΌΠΈΠΊΡΠΎΠΌΠ΅ΡΡΠ° ΡΠΎΡΠΌΠΎΠ·Π½ΠΎΠ³ΠΎ Π±Π°ΡΠ°Π±Π°Π½Π°. Π§ΡΠΎΠ±Ρ Π·Π°Π²Π΅ΡΡΠΈΡΡ ΠΈΠ·ΠΌΠ΅ΡΠΈΡΠ΅Π»ΡΠ½ΠΎΠ΅ ΠΎΠ±ΠΎΡΡΠ΄ΠΎΠ²Π°Π½ΠΈΠ΅, Π²Ρ ΠΌΠΎΠΆΠ΅ΡΠ΅ ΡΠ°ΡΡΠΌΠΎΡΡΠ΅ΡΡ ΡΡΡΡΠΎΠΉΡΡΠ²ΠΎ Π΄Π»Ρ ΠΈΠ·ΠΌΠ΅ΡΠ΅Π½ΠΈΡ ΡΠΎΡΠΌΠΎΠ·Π½ΡΡ
ΠΊΠΎΠ»ΠΎΠ΄ΠΎΠΊ / ΠΊΠΎΠ»ΠΎΠ΄ΠΎΠΊ. ΠΡΠΎΡ Π½Π΅Π΄ΠΎΡΠΎΠ³ΠΎΠΉ ΠΈΠ½ΡΡΡΡΠΌΠ΅Π½Ρ ΠΏΠΎΠ·Π²ΠΎΠ»ΡΠ΅Ρ Π±ΡΡΡΡΠΎ ΠΈ ΡΠΎΡΠ½ΠΎ ΠΏΡΠΎΠ²Π΅ΡΠΈΡΡ ΡΠΎΠ»ΡΠΈΠ½Ρ ΠΊΠΎΠ»ΠΎΠ΄ΠΎΠΊ ΠΈ ΠΊΠΎΠ»ΠΎΠ΄ΠΎΠΊ. ΠΠ»Ρ Π½Π΅ΠΎΠ±ΡΡΠ½ΠΎΠΉ ΠΈΠ»ΠΈ ΡΠ»ΠΎΠΆΠ½ΠΎΠΉ Π΄ΠΈΠ°Π³Π½ΠΎΡΡΠΈΠΊΠΈ ΠΏΠΎΠ»Π΅Π·Π½ΠΎ ΠΈΠΌΠ΅ΡΡ Π²ΠΎΠ·ΠΌΠΎΠΆΠ½ΠΎΡΡΡ ΠΏΡΠΎΠ²Π΅ΡΠΈΡΡ Π΄Π°Π²Π»Π΅Π½ΠΈΠ΅ ΡΠΎΡΠΌΠΎΠ·Π½ΡΡ
ΠΊΠΎΠ»ΠΎΠ΄ΠΎΠΊ Π² ΡΠΈΡΡΠ΅ΠΌΠ΅. ΠΡΠΎ ΡΠ°ΠΊΡΠΈΡΠ΅ΡΠΊΠΎΠ΅ ΠΊΠΎΠ»ΠΈΡΠ΅ΡΡΠ²ΠΎ ΡΠΈΠ»Ρ, ΠΏΡΠΈΠ»Π°Π³Π°Π΅ΠΌΠΎΠΉ ΠΊ ΡΠΎΡΠΎΡΠ°ΠΌ ΡΠΎΡΠΌΠΎΠ·Π½ΡΠΌΠΈ ΠΊΠΎΠ»ΠΎΠ΄ΠΊΠ°ΠΌΠΈ. ΠΡΠΎΡ ΠΈΠ½ΡΡΡΡΠΌΠ΅Π½Ρ Π²ΠΊΠ»ΡΡΠ°Π΅Ρ Π² ΡΠ΅Π±Ρ ΡΠ΅Π½Π·ΠΎΠ΄Π°ΡΡΠΈΠΊΠΈ, ΡΠΎΠ΅Π΄ΠΈΠ½Π΅Π½Π½ΡΠ΅ ΡΠ»Π°Π½Π³ΠΎΠΌ Ρ ΠΌΠ°Π½ΠΎΠΌΠ΅ΡΡΠΎΠΌ.
ΠΠ°Π½ΠΎΠΌΠ΅ΡΡ ΠΏΠΎΠΊΠ°Π·ΡΠ²Π°Π΅Ρ ΡΡΡΡΡΠΈ ΡΡΠ½ΡΠΎΠ² Π½Π° ΠΊΠ²Π°Π΄ΡΠ°ΡΠ½ΡΠΉ Π΄ΡΠΉΠΌ. Π‘ΡΠ°Π²Π½ΠΈΠ²Π°Ρ ΠΏΠΎΠΊΠ°Π·Π°Π½ΠΈΡ ΠΎΡ ΠΊΠΎΠ»Π΅ΡΠ° ΠΊ ΠΊΠΎΠ»Π΅ΡΡ, Π²Ρ ΠΌΠΎΠΆΠ΅ΡΠ΅ ΠΎΠΏΡΠ΅Π΄Π΅Π»ΠΈΡΡ, ΡΠ°Π±ΠΎΡΠ°Π΅Ρ Π»ΠΈ ΠΎΠΏΡΠ΅Π΄Π΅Π»Π΅Π½Π½ΡΠΉ ΡΡΠΏΠΏΠΎΡΡ Π½Π΅ΠΏΡΠ°Π²ΠΈΠ»ΡΠ½ΠΎ.
ΠΠ»Ρ ΡΠ°Π·Π±ΠΎΡΠΊΠΈ ΠΈ ΡΠ΅ΠΌΠΎΠ½ΡΠ° Π΄ΠΈΡΠΊΠΎΠ²ΡΡ ΠΈ Π±Π°ΡΠ°Π±Π°Π½Π½ΡΡ ΡΠΎΡΠΌΠΎΠ·ΠΎΠ² ΡΡΠ΅Π±ΡΡΡΡΡ ΡΠΏΠ΅ΡΠΈΠ°Π»ΡΠ½ΡΠ΅ ΠΈΠ½ΡΡΡΡΠΌΠ΅Π½ΡΡ. ΠΠ°ΡΠΈ ΠΈΠ½ΡΡΡΡΠΌΠ΅Π½ΡΡ Π΄Π»Ρ ΡΡΠ°Π½Π³Π΅Π½ΡΠΈΡΠΊΡΠ»Ρ Π΄ΠΎΠ»ΠΆΠ½Ρ Π²ΠΊΠ»ΡΡΠ°ΡΡ Π² ΡΠ΅Π±Ρ Π½Π°Π±ΠΎΡ ΠΊΠ°ΠΊ ΡΠ΅ΡΡΠΈΠ³ΡΠ°Π½Π½ΡΡ Π³ΠΎΠ»ΠΎΠ²ΠΎΠΊ, ΡΠ°ΠΊ ΠΈ Π³ΠΎΠ»ΠΎΠ²ΠΎΠΊ ΡΠΈΠΏΠ° Torx. ΠΡΠΎΠΌΠ΅ ΡΠΎΠ³ΠΎ, Π²Ρ Π·Π°Ρ ΠΎΡΠΈΡΠ΅ ΠΈΠ½Π²Π΅ΡΡΠΈΡΠΎΠ²Π°ΡΡ Π² ΡΡΠΈΠ»Π΅Π½Π½ΡΠΉ ΡΠ°ΡΡΠΈΡΠΈΡΠ΅Π»Ρ ΡΠΎΡΠΌΠΎΠ·Π½ΡΡ ΠΊΠΎΠ»ΠΎΠ΄ΠΎΠΊ (ΠΈΡΠΏΠΎΠ»ΡΠ·ΡΠ΅ΠΌΡΠΉ Π΄Π»Ρ ΠΎΡΠΎΠ΄Π²ΠΈΠ³Π°Π½ΠΈΡ ΠΏΠΎΡΡΠ½Π΅ΠΉ ΡΡΠΏΠΏΠΎΡΡΠ°) ΠΈ Π½Π°Π±ΠΎΡ ΠΈΠ½ΡΡΡΡΠΌΠ΅Π½ΡΠΎΠ² Π΄Π»Ρ Π²ΠΎΠ·Π²ΡΠ°ΡΠ° ΠΏΠΎΡΡΠ½Ρ ΡΡΠΏΠΏΠΎΡΡΠ° (Π΄Π»Ρ ΡΠ°ΠΌΠΎΡΠ΅Π³ΡΠ»ΠΈΡΡΡΡΠΈΡ ΡΡ ΠΏΠΎΡΡΠ½Π΅ΠΉ ΡΡΠΏΠΏΠΎΡΡΠ° ΡΡΠΎΡΠ½ΠΎΡΠ½ΠΎΠ³ΠΎ ΡΠΎΡΠΌΠΎΠ·Π°). ΠΠ»Ρ ΡΠ½ΡΡΠΈΡ ΠΈ ΡΡΡΠ°Π½ΠΎΠ²ΠΊΠΈ ΡΠΎΡΠΌΠΎΠ·Π½ΡΡ ΠΌΠ°Π³ΠΈΡΡΡΠ°Π»Π΅ΠΉ Π²Π°ΠΌ ΠΏΠΎΠ½Π°Π΄ΠΎΠ±ΡΡΡΡ Ρ ΠΎΡΠΎΡΠΈΠ΅ Π½Π°ΠΊΠΈΠ΄Π½ΡΠ΅ Π³Π°Π΅ΡΠ½ΡΠ΅ ΠΊΠ»ΡΡΠΈ Π΄Π»Ρ ΡΡΠΆΠ΅Π»ΡΡ ΡΡΠ»ΠΎΠ²ΠΈΠΉ ΡΠΊΡΠΏΠ»ΡΠ°ΡΠ°ΡΠΈΠΈ. Π Π²Π°ΠΌ ΠΏΠΎΠ½Π°Π΄ΠΎΠ±ΡΡΡΡ ΠΊΠ»ΡΡΠΈ Π΄Π»Ρ ΠΏΡΠΎΠΊΠ°ΡΠΊΠΈ ΡΠΎΡΠΌΠΎΠ·ΠΎΠ². ΠΡΠΈ Π½Π°ΠΊΠΈΠ΄Π½ΡΠ΅ ΠΊΠ»ΡΡΠΈ ΠΎΡΠΎΠ±ΠΎΠΉ ΡΠΎΡΠΌΡ ΠΏΠΎΠ·Π²ΠΎΠ»ΡΡΡ ΠΏΠΎΠ»ΡΡΠΈΡΡ Π΄ΠΎΡΡΡΠΏ ΠΊ Π²ΡΠΏΡΡΠΊΠ½ΡΠΌ ΠΊΠ»Π°ΠΏΠ°Π½Π°ΠΌ Π΄Π»Ρ ΠΎΠΏΠ΅ΡΠ°ΡΠΈΠΉ ΠΏΡΠΎΠΊΠ°ΡΠΊΠΈ.
ΠΠ»Ρ Π±Π°ΡΠ°Π±Π°Π½Π½ΡΡ
ΡΠΎΡΠΌΠΎΠ·ΠΎΠ² ΠΏΠΎΡΡΠ΅Π±ΡΡΡΡΡ ΡΠΏΠ΅ΡΠΈΠ°Π»ΡΠ½ΡΠ΅ ΠΈΠ½ΡΡΡΡΠΌΠ΅Π½ΡΡ, Π΄ΠΎΠ±Π°Π²Π»Π΅Π½Π½ΡΠ΅ Π² ΠΊΠΎΡΠΎΠ±ΠΊΡ. ΠΠ±ΡΠ·Π°ΡΠ΅Π»ΡΠ½ΠΎ Π½Π°Π»ΠΈΡΠΈΠ΅ Π±ΠΎΠ»ΡΡΠΎΠ³ΠΎ Π°ΡΡΠΎΡΡΠΈΠΌΠ΅Π½ΡΠ° ΠΈΠ½ΡΡΡΡΠΌΠ΅Π½ΡΠΎΠ² Π΄Π»Ρ ΡΠ΅Π³ΡΠ»ΠΈΡΠΎΠ²ΠΊΠΈ ΡΠΎΡΠΌΠΎΠ·Π½ΡΡ
ΠΊΠΎΠ»ΠΎΠ΄ΠΎΠΊ ΠΈΠ»ΠΈ Β«Π»ΠΎΠΆΠ΅ΠΊΒ».
ΠΠ΅ΡΠΌΠΎΡΡΡ Π½Π° ΡΠΎ, ΡΡΠΎ ΡΡΡΠ΅ΡΡΠ²ΡΠ΅Ρ ΠΌΠ½ΠΎΠΆΠ΅ΡΡΠ²ΠΎ Π΄ΡΡΠ³ΠΈΡ ΠΈΠ½ΡΡΡΡΠΌΠ΅Π½ΡΠΎΠ² ΠΎΠ±ΡΠ΅Π³ΠΎ Π½Π°Π·Π½Π°ΡΠ΅Π½ΠΈΡ Π΄Π»Ρ ΡΠ°Π·Π±ΠΎΡΠΊΠΈ ΠΈ ΡΠ΅ΠΌΠΎΠ½ΡΠ° ΡΠΎΡΠΌΠΎΠ·ΠΎΠ², ΠΎΠΏΠΈΡΠ°Π½Π½ΠΎΠ΅ Π²ΡΡΠ΅ Π±ΡΠ΄Π΅Ρ Π΄Π»Ρ Π²Π°Ρ Ρ ΠΎΡΠΎΡΠΈΠΌ Π½Π°ΡΠ°Π»ΠΎΠΌ.
ΠΠ½ΡΡΡΡΠΌΠ΅Π½ΡΡ ΡΠΊΠ°Π½ΠΈΡΠΎΠ²Π°Π½ΠΈΡ ABS
ΠΠ»Π΅ΠΊΡΡΠΎΠ½Π½Π°Ρ Π΄ΠΈΠ°Π³Π½ΠΎΡΡΠΈΠΊΠ° ΡΡΠ°Π»Π° Π²Π°ΠΆΠ½ΠΎΠΉ ΡΠ°ΡΡΡΡ ΡΠ΅ΠΌΠΎΠ½ΡΠ° ΡΠΎΠ²ΡΠ΅ΠΌΠ΅Π½Π½ΡΡ
ΡΠΎΡΠΌΠΎΠ·Π½ΡΡ
ΡΠΈΡΡΠ΅ΠΌ. Π‘ ΠΏΠΎΡΠ²Π»Π΅Π½ΠΈΠ΅ΠΌ ΡΠΈΡΡΠ΅ΠΌ ABS/ΡΠΈΡΡΠ΅ΠΌΡ ΠΊΡΡΡΠΎΠ²ΠΎΠΉ ΡΡΡΠΎΠΉΡΠΈΠ²ΠΎΡΡΠΈ ΠΈ Π΄ΡΡΠ³ΠΈΡ
Π°Π²ΡΠΎΠΌΠ°ΡΠΈΠ·ΠΈΡΠΎΠ²Π°Π½Π½ΡΡ
ΡΠΈΡΡΠ΅ΠΌ ΠΈΡΠΏΠΎΠ»ΡΠ·ΠΎΠ²Π°Π½ΠΈΠ΅ ΡΠΊΠ°Π½Π΅ΡΠ° Π΄Π»Ρ Π΄ΠΈΠ°Π³Π½ΠΎΡΡΠΈΠΊΠΈ ΠΈ ΡΡΡΡΠ°Π½Π΅Π½ΠΈΡ ΠΏΡΠΎΠ±Π»Π΅ΠΌ Ρ ΡΠΎΡΠΌΠΎΠ·Π°ΠΌΠΈ ΡΡΠ°Π½ΠΎΠ²ΠΈΡΡΡ ΠΏΠΎΡΡΠΈ ΠΎΠ±ΡΠ·Π°ΡΠ΅Π»ΡΠ½ΡΠΌ. ΠΠ½ΠΎΠ³ΠΈΠ΅ ΠΈΠ· ΡΠΎΠ²ΡΠ΅ΠΌΠ΅Π½Π½ΡΡ
Π°Π²ΡΠΎΠΌΠΎΠ±ΠΈΠ»Π΅ΠΉ ΠΈΡΠΏΠΎΠ»ΡΠ·ΡΡΡ ΡΠΎΡΠΌΠΎΠ·Π½ΡΠ΅ ΡΠΈΡΡΠ΅ΠΌΡ, ΠΊΠΎΡΠΎΡΡΠ΅ ΠΏΡΠΈΠ²ΠΎΠ΄ΡΡΡΡ Π² Π΄Π΅ΠΉΡΡΠ²ΠΈΠ΅ ΠΈ ΡΠΏΡΠ°Π²Π»ΡΡΡΡΡ ΡΠ΅ΡΠ²ΠΎΠ΄Π²ΠΈΠ³Π°ΡΠ΅Π»ΡΠΌΠΈ ΠΈΠ»ΠΈ ΡΡΡΡΠΎΠΉΡΡΠ²Π°ΠΌΠΈ ΡΠΎΠ»Π΅Π½ΠΎΠΈΠ΄Π½ΠΎΠ³ΠΎ ΡΠΈΠΏΠ°. ΠΠ°ΠΆΠ΅ Π΅ΡΠ»ΠΈ Π² ΡΠΈΡΡΠ΅ΠΌΠ΅ Π½Π΅Ρ ΡΠ»Π΅ΠΊΡΡΠΎΠ½Π½ΡΡ
Π½Π΅ΠΈΡΠΏΡΠ°Π²Π½ΠΎΡΡΠ΅ΠΉ, Π²Ρ Π½Π΅ ΡΠΌΠΎΠΆΠ΅ΡΠ΅ ΠΎΠ±ΡΠ»ΡΠΆΠΈΠ²Π°ΡΡ ΠΈΠ»ΠΈ ΡΠ΅ΠΌΠΎΠ½ΡΠΈΡΠΎΠ²Π°ΡΡ ΡΡΠΈ Π°Π²ΡΠΎΠΌΠΎΠ±ΠΈΠ»ΠΈ Π±Π΅Π· ΠΊΠ°ΠΊΠΎΠΉ-Π»ΠΈΠ±ΠΎ ΡΠ΅Ρ
Π½ΠΎΠ»ΠΎΠ³ΠΈΠΈ Β«Π²ΠΎΠ»ΡΠ΅Π±Π½ΠΎΠ³ΠΎ ΡΡΠΈΠΊΠ°Β».
ΠΠ»Ρ ΠΎΠΏΡΠ΅Π΄Π΅Π»Π΅Π½ΠΈΡ Π½Π΅ΠΈΡΠΏΡΠ°Π²Π½ΠΎΡΡΠ΅ΠΉ ΡΠ°ΠΊΠΆΠ΅ Π½Π΅ΠΎΠ±Ρ
ΠΎΠ΄ΠΈΠΌΠΎ ΡΠΌΠ΅ΡΡ ΡΡΠΈΡΡΠ²Π°ΡΡ ΠΈ ΠΈΠ½ΡΠ΅ΡΠΏΡΠ΅ΡΠΈΡΠΎΠ²Π°ΡΡ ΠΊΠΎΠ΄Ρ Π½Π΅ΠΈΡΠΏΡΠ°Π²Π½ΠΎΡΡΠ΅ΠΉ ΡΠΈΡΡΠ΅ΠΌΡ. ΠΡΠΎ ΠΌΠΎΠΆΠ½ΠΎ ΡΠ΄Π΅Π»Π°ΡΡ Ρ ΠΏΠΎΠΌΠΎΡΡΡ Π°Π²ΡΠΎΠ½ΠΎΠΌΠ½ΠΎΠ³ΠΎ ΡΡΠΈΡΡΠ²Π°ΡΠ΅Π»Ρ ΠΊΠΎΠ΄ΠΎΠ² ABS ΠΈΠ»ΠΈ Π² ΠΊΠ°ΡΠ΅ΡΡΠ²Π΅ Π΄ΠΎΠΏΠΎΠ»Π½Π΅Π½ΠΈΡ ΠΊ Π΄ΠΈΠ°Π³Π½ΠΎΡΡΠΈΡΠ΅ΡΠΊΠΎΠΌΡ ΡΠΊΠ°Π½Π΅ΡΡ. ΠΠ²ΡΠΎΠ½ΠΎΠΌΠ½ΡΠ΅ Π±Π»ΠΎΠΊΠΈ ΡΡΠ½ΠΊΡΠΈΠΎΠ½Π°Π»ΡΠ½Ρ ΠΈ Ρ
ΠΎΡΠΎΡΠΎ ΡΠΏΡΠ°Π²Π»ΡΡΡΡΡ Ρ Π²ΡΠ΄Π°ΡΠ΅ΠΉ ΠΊΠΎΠ΄ΠΎΠ² Π½Π΅ΠΈΡΠΏΡΠ°Π²Π½ΠΎΡΡΠ΅ΠΉ, ΡΠ²ΡΠ·Π°Π½Π½ΡΡ
Ρ ΡΠΎΡΠΌΠΎΠ·Π°ΠΌΠΈ.
ΠΡΠΎ ΠΌΠΎΠΆΠ΅Ρ Π±ΡΡΡ Π±ΠΎΠ»Π΅Π΅ Π΄Π΅ΡΠ΅Π²ΡΠΌ ΡΠ΅ΡΠ΅Π½ΠΈΠ΅ΠΌ Π΄Π»Ρ ΠΌΠ°ΡΡΠ΅ΡΡΠΊΠΈΡ
, ΠΊΠΎΡΠΎΡΡΠ΅ Π½Π΅ ΠΎΠ±ΡΠ»ΡΠΆΠΈΠ²Π°ΡΡ ΠΌΠ½ΠΎΠ³ΠΈΠ΅ ΡΠΎΡΠΌΠΎΠ·Π½ΡΠ΅ ΡΠΈΡΡΠ΅ΠΌΡ ΠΈΠ»ΠΈ Π°Π²ΡΠΎΠΌΠΎΠ±ΠΈΠ»ΠΈ Π±ΠΎΠ»Π΅Π΅ ΠΏΠΎΠ·Π΄Π½ΠΈΡ
ΠΌΠΎΠ΄Π΅Π»Π΅ΠΉ. ΠΡΠ»ΠΈ Π²Π°Ρ ΠΌΠ°Π³Π°Π·ΠΈΠ½ ΠΏΡΠ΅Π΄ΡΡΠ°Π²Π»ΡΠ΅Ρ ΡΠΎΠ±ΠΎΠΉ ΠΌΠ°Π³Π°Π·ΠΈΠ½ Ρ ΠΏΠΎΠ»Π½ΡΠΌ ΡΠΏΠ΅ΠΊΡΡΠΎΠΌ ΡΡΠ»ΡΠ³, ΠΏΡΠ΅Π΄Π»Π°Π³Π°ΡΡΠΈΠΉ ΡΡΠ»ΡΠ³ΠΈ ΠΏΠΎ Π²ΠΎΠΆΠ΄Π΅Π½ΠΈΡ, Π²Ρ Π·Π°Ρ
ΠΎΡΠΈΡΠ΅ ΠΈΠ½Π²Π΅ΡΡΠΈΡΠΎΠ²Π°ΡΡ Π² ΠΈΠ½ΡΡΡΡΠΌΠ΅Π½Ρ ΠΏΠΎΠ»Π½ΠΎΠ³ΠΎ ΡΠΊΠ°Π½ΠΈΡΠΎΠ²Π°Π½ΠΈΡ Ρ ΡΠΎΡΠΌΠΎΠ·Π°ΠΌΠΈ Ρ ΠΠΠ‘ ΠΊΠ°ΠΊ ΡΠ°ΡΡΡ ΠΎΠ±ΡΠ΅Π³ΠΎ ΠΏΠ°ΠΊΠ΅ΡΠ°.
Π‘ΠΎΠ΄Π΅ΡΠΆΠΈΡΠ΅ Π΅Π³ΠΎ Π² ΡΠΈΡΡΠΎΡΠ΅
ΠΡΠ΅ ΠΎΠ΄Π½ΠΎΠΉ ΠΎΠ±Π»Π°ΡΡΡΡ ΠΎΠ±ΡΡΠΆΠ΄Π΅Π½ΠΈΡ ΠΈΠ½ΡΡΡΡΠΌΠ΅Π½ΡΠΎΠ² ΠΈ ΠΎΠ±ΠΎΡΡΠ΄ΠΎΠ²Π°Π½ΠΈΡ Π΄Π»Ρ ΡΠΎΡΠΌΠΎΠ·ΠΎΠ² ΡΠ²Π»ΡΠ΅ΡΡΡ ΠΎΡΠΈΡΡΠΊΠ° ΠΈ Π»ΠΎΠΊΠ°Π»ΠΈΠ·Π°ΡΠΈΡ. ΠΡΠΈ ΠΈΠ½ΡΡΡΡΠΌΠ΅Π½ΡΡ ΡΠ²Π»ΡΡΡΡΡ Ρ
ΠΎΡΠΎΡΠ΅ΠΉ ΠΈΠ΄Π΅Π΅ΠΉ Π΄Π»Ρ Π²ΡΠ΅Ρ
, Π° Π² Π½Π΅ΠΊΠΎΡΠΎΡΡΡ
ΡΠ°ΡΡΡΡ
ΡΡΡΠ°Π½Ρ ΡΠ²Π»ΡΡΡΡΡ ΠΎΠ±ΡΠ·Π°ΡΠ΅Π»ΡΠ½ΡΠΌΠΈ Π΄Π»Ρ ΡΠ΅Ρ
Π½ΠΈΠΊΠΈ Π±Π΅Π·ΠΎΠΏΠ°ΡΠ½ΠΎΡΡΠΈ. ΠΡΠΎ ΠΎΠ±ΠΎΡΡΠ΄ΠΎΠ²Π°Π½ΠΈΠ΅, ΠΏΡΠ΅Π΄Π½Π°Π·Π½Π°ΡΠ΅Π½Π½ΠΎΠ΅ Π΄Π»Ρ ΡΠ΄Π΅ΡΠΆΠ°Π½ΠΈΡ ΠΈ ΡΠΌΠ΅Π½ΡΡΠ΅Π½ΠΈΡ ΠΊΠΎΠ»ΠΈΡΠ΅ΡΡΠ²Π° ΠΏΠ΅ΡΠ΅Π½ΠΎΡΠΈΠΌΠΎΠΉ ΠΏΠΎ Π²ΠΎΠ·Π΄ΡΡ
Ρ ΠΏΡΠ»ΠΈ ΠΈ Π·Π°Π³ΡΡΠ·Π½ΡΡΡΠΈΡ
Π²Π΅ΡΠ΅ΡΡΠ² ΠΏΡΠΈ ΠΎΠ±ΡΠ»ΡΠΆΠΈΠ²Π°Π½ΠΈΠΈ ΡΠΎΡΠΌΠΎΠ·ΠΎΠ², ΠΏΠΎΠ·Π²ΠΎΠ»ΡΠ΅Ρ ΡΠ΅Ρ
Π½ΠΈΡΠ΅ΡΠΊΠΎΠΌΡ ΡΠΏΠ΅ΡΠΈΠ°Π»ΠΈΡΡΡ Β«ΠΏΡΠΎΠΌΡΠ²Π°ΡΡΒ» ΡΠΎΡΠΌΠΎΠ·Π½ΡΡ ΡΠΈΡΡΠ΅ΠΌΡ ΠΏΠ΅ΡΠ΅Π΄ Π΅Π΅ ΡΠ°Π·Π±ΠΎΡΠΊΠΎΠΉ. ΠΠ½ ΡΠ°ΠΊΠΆΠ΅ ΡΠ»ΡΠΆΠΈΡ Π΄Π»Ρ ΡΠ»Π°Π²Π»ΠΈΠ²Π°Π½ΠΈΡ Π»ΡΠ±ΡΡ
ΠΆΠΈΠ΄ΠΊΠΎΡΡΠ΅ΠΉ ΠΈΠ»ΠΈ ΡΠ°Π·Π»ΠΈΠ²ΠΎΠ², ΠΊΠΎΡΠΎΡΡΠ΅ ΠΌΠΎΠ³ΡΡ ΠΏΡΠΎΠΈΠ·ΠΎΠΉΡΠΈ Π²ΠΎ Π²ΡΠ΅ΠΌΡ ΡΠ΅ΠΌΠΎΠ½ΡΠ°, ΡΡΠΎ ΠΈΡΠΊΠ»ΡΡΠ°Π΅Ρ Π²ΠΎΠ·ΠΌΠΎΠΆΠ½ΠΎΡΡΡ Π·Π°Π³ΡΡΠ·Π½Π΅Π½ΠΈΡ Π³ΡΡΠ½ΡΠΎΠ²ΡΡ
Π²ΠΎΠ΄.
Π Π΅ΠΌΠΎΠ½ΡΠ½Π°Ρ ΠΎΡΠ΄Π΅Π»ΠΊΠ°
ΠΠΎΡΠ»Π΅Π΄Π½ΡΡ ΠΎΠ±Π»Π°ΡΡΡ ΠΎΠ±ΠΎΡΡΠ΄ΠΎΠ²Π°Π½ΠΈΡ, ΠΊΠΎΡΠΎΡΡΡ ΡΠ»Π΅Π΄ΡΠ΅Ρ ΠΎΠ±ΡΡΠ΄ΠΈΡΡ, β ΡΡΠΎ ΡΠ΅ΠΌΠΎΠ½ΡΠ½Π°Ρ ΠΎΠ±ΡΠ°Π±ΠΎΡΠΊΠ° ΠΎΠ±ΠΎΡΡΠ΄ΠΎΠ²Π°Π½ΠΈΡ. ΠΠ΅ΡΠΌΠΎΡΡΡ Π½Π° ΡΠΎ, ΡΡΠΎ ΡΡΠΎΠΈΠΌΠΎΡΡΡ ΡΠΎΡΠΎΡΠΎΠ² ΠΈ Π±Π°ΡΠ°Π±Π°Π½ΠΎΠ² ΡΠ΅Π·ΠΊΠΎ ΡΠ½ΠΈΠ·ΠΈΠ»Π°ΡΡ, Π²ΠΎ ΠΌΠ½ΠΎΠ³ΠΈΡ
ΡΠ»ΡΡΠ°ΡΡ
ΠΏΠΎΠ²ΡΠΎΡΠ½Π°Ρ ΠΎΡΠ΄Π΅Π»ΠΊΠ° ΠΈΠ»ΠΈ Β«ΡΠΎΡΠ΅Π½ΠΈΠ΅Β» Π±Π°ΡΠ°Π±Π°Π½ΠΎΠ² ΠΈ ΡΠΎΡΠΎΡΠΎΠ² ΠΏΠΎ-ΠΏΡΠ΅ΠΆΠ½Π΅ΠΌΡ ΠΈΠΌΠ΅Π΅Ρ ΡΠΌΡΡΠ». ΠΡΠ»ΠΈ Π² Π²Π°ΡΠ΅ΠΌ ΠΌΠ°Π³Π°Π·ΠΈΠ½Π΅ ΡΠ°ΡΡΠΎ ΠΎΠ±ΡΠ»ΡΠΆΠΈΠ²Π°ΡΡ ΡΠΎΡΠΌΠΎΠ·Π°, ΡΡΠΎ ΠΌΠΎΠΆΠ΅Ρ ΡΡΠ°ΡΡ ΠΈΡΡΠΎΡΠ½ΠΈΠΊΠΎΠΌ ΠΏΡΠΈΠ±ΡΠ»ΠΈ ΠΊΠ°ΠΊ Π΄Π»Ρ Π²Π°Ρ, ΡΠ°ΠΊ ΠΈ Π΄Π»Ρ ΡΠΎΡΠ΅Π΄Π½ΠΈΡ
ΠΌΠ°Π³Π°Π·ΠΈΠ½ΠΎΠ².
ΠΠΎΠ·ΠΌΠΎΠΆΠ½ΠΎΡΡΡ ΠΏΡΠΎΠ²ΠΎΡΠ°ΡΠΈΠ²Π°ΡΡ Π±Π°ΡΠ°Π±Π°Π½ ΠΈΠ»ΠΈ ΡΠΎΡΠΎΡ ΠΎΡΠ²ΠΎΠ±ΠΎΠΆΠ΄Π°Π΅Ρ Π²Π°Ρ ΠΎΡ Π½Π΅ΠΎΠ±Ρ
ΠΎΠ΄ΠΈΠΌΠΎΡΡΠΈ ΠΆΠ΄Π°ΡΡ Π΄ΠΎΡΡΠ°Π²ΠΊΠΈ Π΄Π΅ΡΠ°Π»Π΅ΠΉ ΠΈΠ»ΠΈ ΠΌΠ΅Ρ
Π°Π½ΠΈΡΠ΅ΡΠΊΠΎΠ³ΠΎ ΡΠ΅Ρ
Π° Π΄Π»Ρ ΠΈΡ
ΠΏΠΎΠ²ΡΠΎΡΠ½ΠΎΠΉ ΠΎΠ±ΡΠ°Π±ΠΎΡΠΊΠΈ.
ΠΠ°ΠΊ ΠΈ ΠΌΠ½ΠΎΠ³ΠΈΠ΅ Π΄ΡΡΠ³ΠΈΠ΅ ΠΈΠ½ΡΡΡΡΠΌΠ΅Π½ΡΡ ΠΈ ΠΎΠ±ΠΎΡΡΠ΄ΠΎΠ²Π°Π½ΠΈΠ΅, ΠΊΠΎΡΠΎΡΡΠ΅ Ρ ΡΠΆΠ΅ ΠΎΠ±ΡΡΠΆΠ΄Π°Π», ΡΡΡΠ΅ΡΡΠ²ΡΠ΅Ρ Π²ΡΠ±ΠΎΡ ΡΠΈΠΏΠ° ΠΈ ΠΊΠ°ΡΠ΅ΡΡΠ²Π° ΠΎΠ±ΠΎΡΡΠ΄ΠΎΠ²Π°Π½ΠΈΡ Π΄Π»Ρ ΠΎΠΊΡΠ°ΡΠΊΠΈ, ΠΊΠΎΡΠΎΡΠΎΠ΅ Π²Ρ ΠΏΠΎΠΊΡΠΏΠ°Π΅ΡΠ΅. ΠΠ»Ρ ΠΌΠ½ΠΎΠ³ΠΈΡ
Π°Π²ΡΠΎΠΌΠΎΠ±ΠΈΠ»Π΅ΠΉ ΠΏΠΎΡΠ»Π΅Π΄Π½ΠΈΡ
ΠΌΠΎΠ΄Π΅Π»Π΅ΠΉ ΡΠ½ΡΡΠΈΠ΅ ΡΠΎΡΠΎΡΠΎΠ² ΠΌΠΎΠΆΠ΅Ρ Π±ΡΡΡ ΡΡΡΠ΄Π½ΡΠΌ ΠΈ ΡΡΡΠ΄ΠΎΠ΅ΠΌΠΊΠΈΠΌ. ΠΡΠΈ ΡΡΠ°Π½ΡΠΏΠΎΡΡΠ½ΡΠ΅ ΡΡΠ΅Π΄ΡΡΠ²Π° ΡΠ²Π»ΡΡΡΡΡ Ρ
ΠΎΡΠΎΡΠΈΠΌΠΈ ΠΊΠ°Π½Π΄ΠΈΠ΄Π°ΡΠ°ΠΌΠΈ Π½Π° ΡΠΎΠΊΠ°ΡΠ½ΡΠ΅ ΡΡΠ°Π½ΠΊΠΈ ΡΠΎΡΠΌΠΎΠ·Π½ΠΎΠ³ΠΎ ΡΠΈΠΏΠ°, ΡΡΡΠ°Π½Π°Π²Π»ΠΈΠ²Π°Π΅ΠΌΡΠ΅ Π½Π° ΡΡΠ°Π½ΡΠΏΠΎΡΡΠ½ΠΎΠΌ ΡΡΠ΅Π΄ΡΡΠ²Π΅. Π’ΠΎΡΠΌΠΎΠ·Π½ΠΎΠΉ ΡΡΠ°Π½ΠΎΠΊ ΡΡΠΎΠ³ΠΎ ΡΠΈΠΏΠ° ΠΊΡΠ΅ΠΏΠΈΡΡΡ Π±ΠΎΠ»ΡΠ°ΠΌΠΈ ΠΊ Π»Π΅Π³ΠΊΠΎΠ²ΠΎΠΌΡ ΠΈΠ»ΠΈ Π³ΡΡΠ·ΠΎΠ²ΠΎΠΌΡ Π°Π²ΡΠΎΠΌΠΎΠ±ΠΈΠ»Ρ ΠΈ ΠΎΠ±ΡΠ°Π±Π°ΡΡΠ²Π°Π΅Ρ ΡΠΎΡΠΎΡ, ΠΏΠΎΠΊΠ° ΠΎΠ½ Π½Π°Ρ
ΠΎΠ΄ΠΈΡΡΡ Π½Π° ΠΌΠ΅ΡΡΠ΅. ΠΡΠΈ Π°Π³ΡΠ΅Π³Π°ΡΡ Π΄Π°ΠΆΠ΅ ΠΌΠΎΠ³ΡΡ ΠΎΠ±Π΅ΡΠΏΠ΅ΡΠΈΠ²Π°ΡΡ ΡΠΎΠ±ΡΡΠ²Π΅Π½Π½ΡΡ Π°Π»ΡΡΠ΅ΡΠ½Π°ΡΠΈΠ²Π½ΡΡ Β«ΠΌΠΎΡΠ½ΠΎΡΡΡΒ» Π΄Π»Ρ Π²ΡΠ°ΡΠ΅Π½ΠΈΡ ΡΠ·Π»Π° ΡΠΎΡΠΎΡΠ° Π΄Π»Ρ ΠΏΠΎΠ²ΡΠΎΡΠ½ΠΎΠΉ ΠΎΡΠ΄Π΅Π»ΠΊΠΈ. ΠΡΠΎ ΠΏΠΎΠ·Π²ΠΎΠ»ΡΠ΅Ρ Π²ΡΠ°ΡΠ°ΡΡ ΡΠΎΡΠΎΡΡ Π½Π° Π½Π΅ΠΏΡΠΈΠ²ΠΎΠ΄Π½ΡΡ
ΠΌΠΎΡΡΠ°Ρ
ΠΈ ββΡΡΡΡΠ°Π½ΡΠ΅Ρ Π½Π΅ΠΎΠ±Ρ
ΠΎΠ΄ΠΈΠΌΠΎΡΡΡ Π·Π°ΠΏΡΡΠΊΠ° Π°Π²ΡΠΎΠΌΠΎΠ±ΠΈΠ»Ρ Π² ΡΠ΅Ρ
Ρ, ΡΡΡΡΠ°Π½ΡΡ ΡΡΠΌ, Π΄ΡΠΌ ΠΈ ΡΠΈΡΠΊ ΡΡΠ°Π²ΠΌΠΈΡΠΎΠ²Π°Π½ΠΈΡ ΡΠ΅Ρ
Π½ΠΈΠΊΠΎΠ² ΠΈ ΠΏΠΎΠ²ΡΠ΅ΠΆΠ΄Π΅Π½ΠΈΡ Π°Π²ΡΠΎΠΌΠΎΠ±ΠΈΠ»Ρ.
ΠΠΎΠ»Π΅Π΅ ΡΡΠ°Π΄ΠΈΡΠΈΠΎΠ½Π½ΡΠΌ ΠΏΠΎΠ΄Ρ
ΠΎΠ΄ΠΎΠΌ ΡΠ²Π»ΡΠ΅ΡΡΡ ΠΎΠ±ΡΡΠ½ΡΠΉ ΡΠΎΠΊΠ°ΡΠ½ΡΠΉ ΡΡΠ°Π½ΠΎΠΊ Π½Π°ΡΡΠΎΠ»ΡΠ½ΠΎΠ³ΠΎ ΡΠΈΠΏΠ°.
ΠΠ°ΡΡΠΎΠ»ΡΠ½ΡΠ΅ ΡΠΎΠΊΠ°ΡΠ½ΡΠ΅ ΡΡΠ°Π½ΠΊΠΈ ΠΌΠΎΠ³ΡΡ Π±ΡΡΡ Π΄ΠΎΡΠΎΠΆΠ΅, ΡΠ΅ΠΌ ΡΡΠ°ΡΠΈΠΎΠ½Π°ΡΠ½ΡΠ΅, Π½ΠΎ ΠΈΠΌΠ΅ΡΡ Π½Π΅ΠΊΠΎΡΠΎΡΡΠ΅ ΠΏΡΠ΅ΠΈΠΌΡΡΠ΅ΡΡΠ²Π°, ΠΊΠΎΡΠΎΡΡΠ΅ ΡΠ»Π΅Π΄ΡΠ΅Ρ ΡΡΠΈΡΡΠ²Π°ΡΡ. ΠΠ½ΠΎΠ³ΠΎ ΡΠ°Π· Π½Π°ΡΡΠΎΠ»ΡΠ½ΡΠ΅ ΡΠΎΠΊΠ°ΡΠ½ΡΠ΅ ΡΡΠ°Π½ΠΊΠΈ ΡΠΌΠΎΠ³ΡΡ ΠΎΠ±ΡΠ°Π±Π°ΡΡΠ²Π°ΡΡ ΠΊΠ°ΠΊ Π±Π°ΡΠ°Π±Π°Π½Ρ, ΡΠ°ΠΊ ΠΈ ΡΠΎΡΠΎΡΡ. ΠΡΠΎΠΌΠ΅ ΡΠΎΠ³ΠΎ, Π½Π°ΡΡΠΎΠ»ΡΠ½ΡΠ΅ ΡΠΎΠΊΠ°ΡΠ½ΡΠ΅ ΡΡΠ°Π½ΠΊΠΈ ΠΎΠ±ΡΡΠ½ΠΎ ΠΌΠΎΠ³ΡΡ Π²ΠΌΠ΅ΡΠ°ΡΡ Π±Π°ΡΠ°Π±Π°Π½Ρ ΠΈ ΡΠΎΡΠΎΡΡ Π±ΠΎΠ»ΡΡΠ΅Π³ΠΎ ΡΠ°Π·ΠΌΠ΅ΡΠ°, ΡΠ΅ΠΌ ΡΠΎΠΊΠ°ΡΠ½ΡΠ΅ ΡΡΠ°Π½ΠΊΠΈ, ΡΡΡΠ°Π½Π°Π²Π»ΠΈΠ²Π°Π΅ΠΌΡΠ΅ Π½Π° Π°Π²ΡΠΎΠΌΠΎΠ±ΠΈΠ»Π΅. ΠΡΠ±ΠΎΡ Π΄Π»Ρ Π²Π°ΡΠ΅ΠΉ ΠΌΠ°ΡΡΠ΅ΡΡΠΊΠΎΠΉ Π±ΡΠ΄Π΅Ρ Π·Π°Π²ΠΈΡΠ΅ΡΡ ΠΎΡ ΡΡΠΎΠΈΠΌΠΎΡΡΠΈ ΠΎΠ±ΠΎΡΡΠ΄ΠΎΠ²Π°Π½ΠΈΡ ΠΈ ΠΊΠΎΠ»ΠΈΡΠ΅ΡΡΠ²Π° ΠΎΠΏΠ΅ΡΠ°ΡΠΈΠΉ ΠΏΠΎ ΡΠΎΡΠΌΠΎΠΆΠ΅Π½ΠΈΡ, Π²ΡΠΏΠΎΠ»Π½ΡΠ΅ΠΌΡΡ
Π² Π΄Π΅Π½Ρ/Π½Π΅Π΄Π΅Π»Ρ/Π³ΠΎΠ΄. ΠΠ°ΠΊΠΎΠΉ Π±Ρ Π²ΡΠ±ΠΎΡ Π²Ρ Π½ΠΈ ΡΠ΄Π΅Π»Π°Π»ΠΈ, Π²Π»Π°Π΄Π΅Π½ΠΈΠ΅ ΡΠΎΡΠΌΠΎΠ·Π½ΡΠΌ ΡΡΠ°Π½ΠΊΠΎΠΌ β ΡΡΠΎ ΠΎΡΠ»ΠΈΡΠ½ΡΠΉ ΡΠΏΠΎΡΠΎΠ± ΠΏΠΎΠ²ΡΡΠΈΡΡ ΠΏΡΠΎΠΈΠ·Π²ΠΎΠ΄ΠΈΡΠ΅Π»ΡΠ½ΠΎΡΡΡ, ΠΏΡΠΈΠ±ΡΠ»Ρ ΠΈ ΡΡΡΠ΅ΠΊΡΠΈΠ²Π½ΠΎΡΡΡ Π²Π°ΡΠ΅Π³ΠΎ Π±ΠΈΠ·Π½Π΅ΡΠ°.
ΠΡΠ°ΠΊ, ΠΌΡ Π³ΠΎΠ²ΠΎΡΠΈΠ»ΠΈ Π·Π΄Π΅ΡΡ ΠΎ ΠΌΠ½ΠΎΠΆΠ΅ΡΡΠ²Π΅ ΡΠ°Π·Π»ΠΈΡΠ½ΡΡ
ΠΈΠ½ΡΡΡΡΠΌΠ΅Π½ΡΠΎΠ² ΠΈ ΠΎΠ±ΠΎΡΡΠ΄ΠΎΠ²Π°Π½ΠΈΡ. ΠΠ½ΠΎΠ³ΠΈΠ΅ ΠΈΠ· ΡΡΠΈΡ
ΠΈΠ½ΡΡΡΡΠΌΠ΅Π½ΡΠΎΠ² Β«ΠΏΡΠΈΡΡΠ½ΠΎ ΠΈΠΌΠ΅ΡΡΒ», Π° Π½Π΅ΠΊΠΎΡΠΎΡΡΠ΅ β Β«ΠΎΠ±ΡΠ·Π°ΡΠ΅Π»ΡΠ½ΡΒ». Π‘ΠΎ Π²ΡΠ΅ΠΌΠ΅Π½Π΅ΠΌ Π²Ρ ΠΎΠ±Π½Π°ΡΡΠΆΠΈΡΠ΅, ΡΡΠΎ ΡΠ»Π΅ΠΌΠ΅Π½ΡΡ ΠΏΠ΅ΡΠ΅ΠΌΠ΅ΡΠ°ΡΡΡΡ ΠΈΠ· ΡΡΠΎΠ»Π±ΡΠ° Β«Ρ
ΠΎΡΠΎΡΠΎ ΠΈΠΌΠ΅ΡΡΒ» Π² ΡΡΠΎΠ»Π±Π΅Ρ Β«ΠΎΠ±ΡΠ·Π°ΡΠ΅Π»ΡΠ½ΠΎΒ». ΠΠΎ ΠΌΠ½ΠΎΠ³ΠΈΡ
ΡΠ»ΡΡΠ°ΡΡ
ΡΡΡΠ΅ΡΡΠ²ΡΠ΅Ρ ΡΠΏΠΎΡΠΎΠ± ΠΏΠΎΡΠΈΠ½ΠΈΡΡ Π°Π²ΡΠΎΠΌΠΎΠ±ΠΈΠ»Ρ Π±Π΅Π· ΡΠΏΠ΅ΡΠΈΠ°Π»ΡΠ½ΠΎΠ³ΠΎ ΠΈΠ½ΡΡΡΡΠΌΠ΅Π½ΡΠ° ΠΈΠ»ΠΈ ΠΎΠ±ΠΎΡΡΠ΄ΠΎΠ²Π°Π½ΠΈΡ, Π½ΠΎ ΡΡΠΎ ΡΡΠ΅Π±ΡΠ΅Ρ Π²ΡΠ΅ΠΌΠ΅Π½ΠΈ, Π° Π²ΡΠ΅ΠΌΡ β Π΄Π΅Π½ΡΠ³ΠΈ.
