Рулевое управление Т-150 регулировка и схема
В статье будет рассмотрен принцип работы рулевого управления трактора Т-150 «Владимирца», приведена подробная схема и расписаны основные рабочие механизмы.
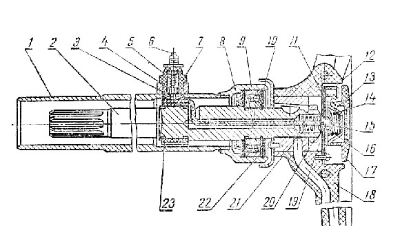
Для управления поворотом трактора Т-150 используют два органа: рычаги 1, включающие передачи, и рулевое колесо, с помощью которого можно отключить от дизеля правую или левую гусеничную цепь, а затем и затормозить ее движение.
Схема механизмов рулевого управления трактора Т-150
Для приведем полную схему управления трактора Т-150, а ниже дадим полное её описание.
1 — рычаги управления гидрораспределителями; 2 — фиксатор; 3 — указатель скоростей; 4 — труба рулевой колонки; 5 — тяга защелки тормоза; 6 — тяги рычагов управления гидрораспределителями; 7 — педаль тормоза; 8 — защелка педали; 9 — рычаг педали; 10 и 11 — промежуточные рычаги управления гидрораспределителями; 12 и 13 — тяги рычагов; 14 — валик переключения, 15 — верхний рычаг привода рулевого управления; 16 — поводок привода; 17 —нижний рычаг привода; 18 и 19 — промежуточные тяги управления клапанами плавного сброса давления; 20 и 31 — тяги рычагов правого и левого клапанов; 21 — оттяжная пружина тормоза; 22 — промежуточная тяга управления тормозами; 23 и 30 — тяги тормозов; 24 — промежуточный рычаг левого клапана плавного сброса давления; 25 и 28 — промежуточные рычаги клапанов с опорными пальцами; 26 — рычаги привода тормозов; 27 — блок рычагов привода тормозов с опорными пальцами; 29 — вал рычагов управления, 32 — оттяжные пружины; 33 — вал рулевой колонки; — стопорные шарики рычагов привода рулевого управления; А — упор.
Каждый рычаг управляет распределителем гидроподжимных муфт правого или левого вторичного вала коробки передач. Если рычагами включены одинаковые передачи — трактор движется прямолинейно. Если же ими включены разные передачи — трактор будет идти по дуге определенного (фиксированного) радиуса и повернется в сторону меньшей передачи. Самый крутой поворот будет, если один рычаг установлен на первую, а второй — на четвертую передачу.
Рычагами пользуются для поворота трактора, работающего под нагрузкой; при этом обе гусеничные цепи передают толкающие усилия.
Поворотом рулевого колеса до щелчка, создаваемого фиксатором 2, открывают клапаны плавного сброса давления. В результате этого уменьшается или полностью прекращается передача крутящего момента от коленчатого вала дизеля на ведущую звездочку отключаемой гусеничной цепи.
Трактор поворачивается в сторону этой гусеничной цепи, но радиус поворота зависит как от открытия клапана сброса давления, гак и от сопротивления агрегата: чем оно больше, тем круче будет поворот.
Для экстренного торможения трактора и удержания его на склоне, нажимают на тормозную педаль 7 и тягой 5 поднимают защелку 8. чтобы оставить трактор в заторможенном положении.
Рычаги 1, шарнирно надетые на ось, через тяги 6, промежуточные рычаги 10 и тяги 12 и 13 соединены с правым и левым рычагами гидрораспределителей. Рулевое колесо закреплено на валу 33.
Вал установлен в верхнем и нижнем шарикоподшипниках трубы 4 рулевой колонки. В верхней части этой трубы расположен фиксатор 2 с пружиной. Конус фиксатора входит в лунки трубы, когда рулевое колесо повернуто от среднего положения вправо или влево на угол 42°. Этому положению колеса соответствует полное выключение гидроподжимной муфты, вызванное открытием клапана плавного сброса давления.
На нижнем конце вала рулевого колеса стопорным болтом закреплен поводок 16 и свободно надеты верхний 15 и нижний 17 рычаги. Они поочередно поворачиваются, когда упор А поводка 16 нажимает то на верхний, то на нижний рычаг.
Движение от рычага 17 передается через промежуточную тягу 18, рычаг 24, вал 29 и рычаг 28 тяги 31 левого клапана плавного сброса давления. Так же передается движение от верхнего рычага 15 на тягу 20 рычага правого клапана плавного сброса давления.
Чтобы при повороте рулевого колеса открывался клапан сброса давления только одного борта, между рычагами 15 и 17 в сверление поводка 16 заложен фиксатор в виде трех шариков 34. Когда поворачивается один из рычагов привода, шарик выжимается из канавки этого рычага, а третий шарик входит в канавку другого рычага и запирает его.
При повороте рулевого колеса влево, после щелчка фиксатора палец-толкатель рычага 28 поднимает рычаг 26 привода тормоза, затягивая тормозную ленту на шкиве левого вторичного вала коробки передач.
Если же рулевое колесо поворачивается вправо после щелчка фиксатора, затормаживается шкив правого вторичного вала.
Также смотрите
15140278 Палец Т-150К,156,ХТЗ-17021,17221 цилиндра рулевого с гайкой в сборе — 151.
40.278Распечатать
Главная Запчасти для наших машин и тракторов
3
1
Применяется: ХТЗ
Код для заказа: 050704
Добавить фото
1 800 ₽
Дадим оптовые цены предпринимателям и автопаркам ?
Наличные при получении VISA, MasterCard, МИР Долями Оплата через банк
Производитель: NO NAME
Получить информацию о товаре или оформить заказ вы можете по телефону 8 800 6006 966.
Есть в наличии
Самовывоз
Уточняем
Доставка
Уточняем
Доступно для заказа — 3 шт.
Данные обновлены: 02.05.2023 в 18:30
- Все характеристики
- Отзывы о товаре
- Вопрос-ответ
- Описание
- Где применяется
Характеристики
Сообщить о неточности
в описании товара
050704
Артикулы151.40.278
ПроизводительNO NAME
Каталожная группа: Ходовая часть Ширина, м: 0.
03
0.03
Длина, м:0.15
Вес, кг:2.399
Описание
Диаметр пальца в крайней толстой части: 56,0 мм
Диаметр пальца в средней части: 50,0 мм
Резьба на конце пальца: М36х1,5
Отзывы о товаре
Вопрос-ответ
Задавайте вопросы и эксперты
помогут вам найти ответ
Чтобы задать вопрос, необоходимо
на сайте
Чтобы добавить отзыв, необходимо
авторизоваться/зарегистрироваться
на сайте
Чтобы подписаться на товар, необходимо
авторизоваться/зарегистрироваться
на сайте
Где применяется
- Легковые автомобили / ХТЗ / Т-151К 1 чертеж
- Палец Управление рулевое / Управление рулевое
- Легковые автомобили / ХТЗ / Т-150К 1 чертеж
- Палец Управление рулевое / Рулевое управление 151.
40.001-4
- Палец Управление рулевое / Рулевое управление 151.
- Легковые автомобили / ХТЗ / Т-150К (2004) 2 чертежа
Палец Рулевое управление / Управление рулевое- Палец Рулевое управление / Управление рулевое
- Легковые автомобили / ХТЗ / Т-151К-08 1 чертеж
- Палец Управление рулевое / Управление рулевое
Сертификаты
Обзоры
Все обзоры участвуют в конкурсе — правила конкурса.
- Для этого товара еще нет обзоров.
Написать обзор
Наличие товара на складах и в магазинах, а также цена товара указана на 02.05.2023 18:30.
Цены и наличие товара во всех магазинах и складах обновляются 1 раз в час. При достаточном количестве товара в нужном вам магазине вы можете купить его без предзаказа.
Интернет-цена — действительна при заказе на сайте или через оператора call-центра по телефону
Цена в магазинах — розничная цена товара в торговых залах магазинов без предварительного заказа.
Представленные данные о запчастях на этой странице несут исключительно информационный характер.
Ремонт подвески и рулевого управления — Crawford’s Auto 480-201-0740
Crawford’s Auto Repair предлагает ремонт рулевого управления и ремонт подвески для жителей и предприятий, владеющих автомобилями в Чандлере, Гилберте и близлежащих районах Аризоны.
Система рулевого управления и система подвески тесно взаимодействуют друг с другом, позволяя водителю сохранять устойчивость и контроль над автомобилем. Без рулевого управления водитель не мог изменить направление движения, что делало транспортное средство слишком небезопасным. Без системы подвески автомобиль будет подпрыгивать, дергаться и вибрировать на каждой неровной поверхности и выбоине на дороге. Современный автомобиль не локомотив с дорожкой, по которой нужно двигаться, которая определяет его направление. Современное транспортное средство — это автомобиль , что означает, что ему нужна автономная способность передвигаться по разным поверхностям и в любом направлении, которое считает нужным водитель.
Совет по техническому обслуживанию: Для автомобилей с передним приводом избегайте нажатия на педаль газа при полностью заблокированных колесах для защиты универсальных шарниров.
Системы рулевого управления
Система рулевого управления преобразует вращение рулевого колеса в поворот передних опорных колес.
Существует два типа рулевых систем. Одна из них называется реечной системой рулевого управления. Другой называется системой рулевого управления. Оба они могут быть дополнены гидроусилителем руля.
Реечный рулевой механизм: 1 рулевое колесо; 2 рулевая колонка; 3 рейка и шестерня; 4 рулевая тяга; 5 шкворня. CC BY-SA 3.0 LaurensvanLieshout
Реечная система
К частям реечной системы относятся рулевая колонка, универсальный шарнир, шестерня, рейка, рулевая тяга и шкворень. Шестерня представляет собой зубчатую часть, которая сцепляется с зубьями на рейке. Когда он вращается в одном направлении, он перемещает стойку вправо. Когда он вращается в другом направлении, он перемещает стойку влево.
Система рулевого управления
Части системы рулевого управления включают рулевую колонку, рулевой механизм, опускаемый рычаг, рулевую тягу, шаровые шарниры и промежуточный рычаг. Рулевой механизм похож на реечный механизм, за исключением того, что вместо типичного зубчатого механизма используется нитевидный механизм, также называемый червячной передачей.
Это как винт, закручиваемый отверткой.
Система рулевого управления с усилителем
Система рулевого управления с усилителем дополняет систему рулевого управления и улучшает реакцию опорных катков на вращение рулевого колеса. Даже если гидроусилитель руля выйдет из строя, у вас все равно будет нормальное рулевое управление, и вы сможете управлять автомобилем; это было бы немного сложнее. Без гидроусилителя руля может потребоваться несколько оборотов руля, чтобы повернуть за угол. Тем не менее, с гидроусилителем руля вы потенциально можете совершить поворот, повернув руль менее чем на один оборот. Существует два типа систем рулевого управления с усилителем: гидравлические и электрические. Гидравлические системы рулевого управления имеют гидравлический цилиндр и привод, а также компьютер и датчики, которые называются сервосистемой. Системы рулевого управления с электроусилителем имеют электродвигатели и приводы.
Управление четырьмя колесами в зависимости от скорости.
CC BY-SA 3.0 Сергей Руфанов
Четырехколесные системы рулевого управления (Quadrasteer)
Традиционные системы рулевого управления используют только два передних колеса. Однако некоторые автомобили имеют системы, в которых можно поворачивать все 4 колеса. У них есть задний блок рулевого управления, который находится за задней осью и поворачивает задние колеса так же, как и передние колеса. Это позволяет улучшить управляемость, особенно при поворотах на высоких скоростях.
Система подвески
Система подвески состоит из пружин, амортизаторов, стоек, стабилизатора поперечной устойчивости или поперечной балки, шаровых шарниров и шпинделя. Пружина является основной частью системы подвески; это часть, которая поглощает энергию удара или выбоины. Амортизаторы гасят отдачу пружин. Стойка соединяет пружины и амортизаторы. Стойки также можно назвать верхними и нижними рычагами управления. Шпиндель обеспечивает центральную точку поворота колеса.
Между системой рулевого управления, подвеской, трансмиссией и тормозами многое происходит до колес.
Техническое обслуживание рулевого управления и подвески
В авторемонтной мастерской Crawford’s Auto при каждой замене масла и контрольных проверках пробега (30 000, 90 000, 150 000 миль) проводится полная проверка технического обслуживания. Во время этой проверки проверяются рулевое управление и подвеска, а также другие системы. Проверка включает в себя тест-драйв, проверку всех жидкостей и визуальный осмотр всего автомобиля как под капотом, так и при поднятом автомобиле на гидроподъемниках. Во время тест-драйва техник заметит сигнальные лампы на приборной панели или признаки работы автомобиля, которые могут быть связаны с рулевым управлением и подвеской.
Наряду с другими жидкостями проверяется жидкость ГУР. Во время визуального осмотра техник проверит наличие любых утечек, которые могут исходить из гидроусилителя руля, системы рулевого управления, втулок стабилизатора поперечной устойчивости и других движущихся частей подвески (а также трансмиссии, тормозов и т.
д.). Любые обнаруженные утечки, проблемы с производительностью, или визуальные признаки повреждения заслуживают дальнейшего изучения и ремонта.
Шаровые шарниры и другие движущиеся части проверяются и при необходимости повторно смазываются. Часто рекомендуется проверять шаровые шарниры не реже двух раз в год, поэтому проверка их при каждой замене масла соответствует этому предложению. Смазка реечной передачи или редуктора выполняется в соответствии с рекомендациями производителя.
Уровень и состояние жидкости гидроусилителя руля проверены. Также проверяются ремни и шланги. Мы можем провести испытание системы гидроусилителя руля под давлением.
В отличие от других систем, промывка жидкости гидроусилителя рулевого управления не является частью стандартного графика технического обслуживания. Попробуйте поискать в руководстве по эксплуатации. Его там нет, и не позволяйте другим магазинам говорить вам, что это необходимо в качестве стандартного обслуживания. Если есть повреждение системы или загрязнения в жидкости из-за поломки в другой системе, то становится необходимой промывка.
См. 3 «Стандартные» услуги по техническому обслуживанию, которые являются полной чушью.
Самостоятельная проверка технического обслуживания: С силой и быстро нажмите один раз на угол автомобиля. Если ваш автомобиль подпрыгивает более двух раз, значит, ваши амортизаторы изношены и нуждаются в обслуживании.
Сигнальные лампы рулевого управления с усилителем и подвески
Если загораются какие-либо из следующих ламп, их необходимо отремонтировать. Эти символы не являются универсальными для всех марок и моделей. В вашем автомобиле может быть другой вариант одного из этих огней или он может вообще не гореть.
Индикатор незакрепленного колеса
Этот индикатор означает, что у вас есть пробуксовка колеса. Насколько свободно? Лучше узнай, прежде чем продолжать водить машину. Это тот, который вы должны запомнить, если он у вас есть.
Фары рулевого управления с электроприводом
Если загорятся эти фары, управлять автомобилем может быть немного сложнее, но управлять автомобилем все же можно.
Индикаторы подвески
Все это означает, что с системой подвески что-то не так.
Индикатор системы точного рулевого управления всеми колесами (P-AWS)
Когда этот индикатор загорается, это означает, что существует проблема с системой точного рулевого управления всеми колесами (P-AWS), и скорость автомобиля может быть ограничена до 50 миль в час или меньше.
Другие сигнальные лампы, относящиеся к тормозам или трансмиссии, также могут указывать на проблемы с рулевым управлением и подвеской. Ваш автомобиль также может иметь общие сигнальные лампы. См. руководство по сигнальным лампам приборной панели.
Признаки неисправности системы рулевого управления и усилителя рулевого управления
- Чрезмерный «люфт» рулевого колеса, означающий, что рулевое колесо поворачивается, а опорные колеса нет
- Изменение характеристик рулевого управления
- Автомобиль уводит в сторону во время движения
- Ослабление рулевого управления при повороте руля
- Вибрация при повороте
- Высокочастотный гул, похожий на Delorean (автомобиль из фильмов «Назад в будущее», конечно, если вы едете на Delorean, что может сбить с толку)
Признаки неисправности подвески
- Подвеска подпрыгивает более двух раз при испытании автомобиля на сжатие из-за угла, упомянутом выше
- Автомобиль тянет в одну сторону
- Неравномерный износ шин
- Чрезмерный шум
- Вибрация
- Автомобиль чрезмерно подпрыгивает на неровностях
- Автомобиль сильно наклоняется при поворотах
- Потеря управления, автомобиль дергается (ослаблены шаровые шарниры)
- Стук при поворотах на малых скоростях
Ремонт системы рулевого управления
Люфт рулевого колеса часто возникает из-за износа направляющих рычагов или рулевых тяг.
После осмотра выяснится, какой из них изношен или оба изношены, необходимый ремонт будет заключаться в замене промежуточного рычага или замене рулевой тяги .
Иногда также обнаруживается люфт в коробке передач. Для этого может потребоваться регулировка предварительного натяга червячного подшипника и регулировка зазора по центру .
Нижняя жидкость гидроусилителя руля часто является результатом утечки, которая обычно происходит из-за разрыва шланга. Для этого мы выполнили бы Замена шланга ГУР . Усилитель руля также может не работать, если ремень изношен, и для этого мы бы сделали замену ремня ГУР . При каждом ремонте системы гидроусилителя руля также потребуется промывка жидкости гидроусилителя руля , при замене жидкости выполняется прокачка гидроусилителя руля для удаления воздуха из системы.
Ремонт системы подвески
Пружины рассчитаны на весь срок службы автомобиля, и их замена производится редко.
Амортизаторы могут изнашиваться со временем, и может потребоваться ремонт амортизаторов . Иногда амортизаторы требуют устранения течи амортизаторной жидкости . Для стоек также может потребоваться устранение течи жидкости в стойках . Замена втулки стабилизатора поперечной устойчивости требуется всякий раз, когда втулки изнашиваются.
Вот более полный список услуг по обслуживанию рулевого управления и подвески:
Ford F-150 2011 года: шесть отзывов и четыре расследования выявили серьезные проблемы с популярным пикапом
Миша Ланин
22 января 2022 г.
Ford F-150 долгое время был самым продаваемым автомобилем в Америке: только в 2011 году было продано 390 661 единиц. Тем не менее, у этого вездесущего грузовика есть некоторые потенциально серьезные проблемы, связанные с его трансмиссией, тормозами и электрическим рулевым управлением.

Ключевые моменты
- Ford F-150 2011 года шесть раз отзывали, включая неисправности рычага переключения передач, неисправные блоки управления кузовом и неожиданное переключение на пониженную передачу.
- НАБДД провело четыре расследования в отношении F-150 2011 года, обнаружив проблемы с интеркулером грузовика, тормозным вакуумным насосом и блоком управления силовым агрегатом.
- Большинство отзывов и расследований, затрагивающих Ford F-150 2011 года, касаются моделей, оснащенных 3,5-литровым двигателем EcoBoost с двойным турбонаддувом.
- Другие проблемы также затрагивают модели без EcoBoost, в том числе разбитые задние стекла и периодический отказ усилителя рулевого управления.
3,5-литровый двигатель EcoBoost в 2011 году Ford F-150 может колебаться во время резкого ускорения, возникать проблемы с цепью ГРМ , и скалолазание. Жалобы на это были достаточно распространены, чтобы в 2013 году было проведено расследование NHTSA, которое сузило проблему до промежуточного охладителя EcoBoost — компонента, предназначенного для снижения температуры всасываемого воздуха для большей эффективности.

Обычно, если грузовик какое-то время движется с «устойчивой» скоростью, скажем, со скоростью 65 миль в час по ровному шоссе, внутри промежуточного охладителя накапливается избыточный конденсат, особенно во влажных условиях. Если грузовик внезапно ускоряется, весь этот скопившийся конденсат всасывается прямо в камеру сгорания, вызывая пропуски зажигания, остановку двигателя и общее снижение производительности. Ford выпустил несколько сервисных бюллетеней (TSB) для решения этой проблемы, в том числе тот, который касался установки дефлекторной пластины в промежуточном охладителе для предотвращения проникновения влаги во впуск.
Двигатель EcoBoost также вызвал многочисленные жалобы на «растяжение» цепи привода ГРМ. Наиболее частым признаком этой проблемы является слышимый «скрежет» или «дребезжание» из-под капота при холодном запуске, который исчезает, когда двигатель достигает рабочей температуры.
3,5-литровый Ecoboost на F-150 2011 года также страдает от отказа вакуумного тормозного насоса, что привело к двум расследованиям NHTSA
Расследование NHTSA было начато в ответ на жалобы на «повышенное усилие на педали тормоза при холодном запуске и увеличенный тормозной путь».
Проблема сводилась к неисправному электрическому вакуумному насосу тормозов F-150. Короче говоря, было обнаружено, что вода загрязняет вакуумную тормозную систему на моделях, оборудованных EcoBoost, вызывая коррозию и электрические повреждения. Симптомы этого состояния включают потерю чувствительности тормоза и, в крайних случаях, выход из строя усилителя тормозного усилия.
Для решения этой проблемы Ford выпустил TSB 15-0105, в котором механикам предписывается диагностировать тормозную систему F-150 и при необходимости заменить вакуумный насос.
Проблемы с шестиступенчатой автоматической коробкой передач включают неожиданное переключение на более низкую передачу и неисправный рычаг переключения передач, что требует отзывов и расследований коробка передач внезапно переключается на пониженную передачу на скоростях шоссе. Такая неисправность может нанести ущерб трансмиссии и другим механическим компонентам. Более тревожным, однако, является высокая вероятность блокировки задней части автомобиля, из-за чего водитель может потерять контроль над автомобилем.

В 2017 году НАБДД начало расследование проблемы с переключением на более низкую передачу, обнаружив, что виноват неисправный датчик выходной скорости трансмиссии (OSS). В частности, была обнаружена временная потеря сигнала между OSS и модулем управления трансмиссией (PCM). Это заставляет PCM ошибочно думать, что грузовик больше не движется, что приводит к внезапному переключению на более низкую передачу.
Ford выпустил два отзыва для решения этой проблемы, охватив в общей сложности 1 416 632 своих автомобиля (а не только F-150 2011 года). Исправление выполняется путем перепрограммирования PCM грузовика.
Еще два отзыва касаются автоматической коробки передач F-150. Один из них касается неисправного «рычага переключения передач», который может включить 16 091 поврежденный грузовик без нажатия педали тормоза.
Другой отзыв затрагивает всего 10 500 единиц и связан с тем, что фонари заднего хода грузовика не светятся должным образом, а индикатор «R» на приборной панели не загорается, когда это необходимо.![]()
Электрические проблемы F-150 2011 г. включают в себя отозванный модуль управления кузовом, обогреватель заднего стекла, который разбивает окно
F-150 2011 года имеет два отзыва, связанных с блоком управления кузовом (BCU) — компонентом, который управляет всей электроникой грузовика. Оба отзыва связаны с плохой партией BCU, которые, по данным NHTSA, могут привести к внутреннему короткому замыканию, которое может привести к электрическому возгоранию. Этот отзыв коснется в общей сложности 22 759 моделей Ford, а не только F-150.
Еще одна распространенная жалоба — заднее стекло грузовика разбивается при включенном обогревателе. В преддверии этих разрушительных инцидентов некоторые владельцы заметили запах горящей электроники после включения антиобледенителя, что указывает на возможное короткое замыкание. Несмотря на широко распространенные жалобы, зарегистрированные в NHTSA по поводу этой проблемы, Ford до сих пор не отозвал ни одной машины.
2011 Электронный усилитель рулевого управления F-150, по многочисленным сообщениям, выходит из строя в случайном порядке, что приводит к периодической жесткости рулевого колеса.
В частности, владельцы утверждают, что рулевое колесо может периодически тускнеть или, в тяжелых случаях, блокироваться. Это якобы ставит под угрозу управление транспортным средством, хотя Ford не занимался этой проблемой, в частности, для F-150 2011 года. Примечательно, что 2011 год был первым годом, когда F-150 был оснащен электроусилителем руля, так что это могло стать проблемой для новой технологии.Спустя 10 лет F-150 2011 года по-прежнему является одним из наиболее часто встречающихся автомобилей на дорогах, но проблемы могут скрываться под поверхностью
Этот F-150 был самым продаваемым автомобилем в Америке в 2011 году. вполне вероятно, что этот грузовик вызовет больше жалоб у владельцев, чем, скажем, Saab или Fiat.
Однако шесть отзывов, четыре расследования и 1803 жалобы вызывают беспокойство даже по меркам самых продаваемых автомобилей. И хотя самые серьезные проблемы с безопасностью F-150 были решены посредством отзывов и сервисных бюллетеней, некоторые проблемы, такие как периодический отказ гидроусилителя руля, Ford еще не решил (и на данный момент, возможно, никогда не решит).![]()
Тем не менее, если вы ищете Ford F-150 2011 года выпуска, обратите особое внимание на модели с EcoBoost, так как они подпадают под большинство отзывов и расследований в отношении этого грузовика.
Фото: Форд; Депозитные фотографии
Часто задаваемые вопросы
Автор Джош Барретт | 22 января 2022 г.
Как долго продлится F-150 2011 года выпуска?
При надлежащем обслуживании в соответствии с графиком обслуживания, рекомендованным производителем, вы можете ожидать, что Ford F-150 2011 года прослужит от 150 000 до 200 000 миль без серьезных проблем. Регулярное техническое обслуживание включает в себя замену воздушных фильтров салона/двигателя, трансмиссионной жидкости, моторного масла и т. д. Также важно не буксировать больше, чем предусмотрено для грузовика, поскольку это вредно.
У Ford F-150 2011 года есть проблемы с EcoBoost?
Хотя у Ford F-150 2011 года не было отзывов, связанных с двигателем EcoBoost, против него было зарегистрировано 437 жалоб в НАБДД.
Общие сообщаемые проблемы включают остановку двигателя при ускорении, скрежет, неравномерную работу / снижение мощности и загорание индикатора проверки двигателя.
Отзывы владельцев 9Сообщение 0019Править Написать обзор accountCircle
СтивенКоупленд 2 января 2023 г.
Двигатель выключается, перезапуск невозможен
Я только что купил свой Ford F150 2011 года. Погонял неделю. Крейсерская скорость 60 миль в час, и он перестает работать. Не перезапустится. Занимаюсь ремонтом и исследованиями. Ремонт включает в себя замену предохранителя топливной системы на новый топливный модуль и топливный насос. И все равно двигатель будет работать только на пусковой жидкости. Топливный насос находился в бензобаке. Так что сбросить его, чтобы заменить, было очень утомительно. Потому что болты на ремнях бензобака не ослабли. Конец, который крепится, недоступен, поэтому мне пришлось обрезать ремни кронштейна, и теперь я должен купить новые, а также придумать способ крепления с помощью болтов, которые потребуют модификации для надевания.
Джон М. 14 октября 2022 г.
Ford F150 2011 года с 3,5-литровым двойным турбонаддувом Ecoboost
Грузовик был выдающимся, поскольку я выполнял плановое техническое обслуживание до 2020 года, когда грузовик проехал 120 000 миль (приблизительно), когда я обслуживал передние тормоза.
После обслуживания тормозов произошел полный отказ тормозной системы, устранение которого обошлось мне в 6 тысяч долларов. Проехав 130 000 км поменял масло. Через неделю после замены масла загорелась лампа низкого давления масла. Проверил грузовик и обнаружил несколько ошибок, таких как отсутствие масла в двигателе, ошибка синхронизации положения распредвала А, турбонаддув, случайные множественные пропуски зажигания в цилиндрах 3, 4 и 5, пропуски зажигания при запуске, датчик положения распредвала B, ряд 2, эффективность катализатора. ряд 2 и давление воздуха, выходящего из картера. По сути, потребуется новый двигатель, который будет стоить от 6 тысяч до 9 долларов.К исправить.
Оливия В 16 ноября 2021 г.
В пикапе Ford 2011 года повышенный комфорт не является приоритетом.
Он работает, но имеет немало проблем для автомобиля, выпущенного всего 8 лет назад. Транспортные средства должны быть сделаны на века.
Датчик двери неисправен, а это означает, что задние фонари и плафоны остаются включенными, что разряжает аккумулятор. Переменный ток/тепло также выдал. На двери есть резиновая прокладка, которая не закреплена на раме и время от времени выскакивает, что не очень хорошо для занятости или, возможно, для датчика двери. Система объемного звучания отключена с одной стороны, поэтому некоторые инструментальные партии в песнях слышны лишь наполовину. У него поворотные окна, что является его самым крутым атрибутом, помимо того, что им можно управлять.
Стив 12 июня 2022 г.
Теплозащитный экран, закрывающий датчик положения коленчатого вала, вышел из строя, и проводка расплавилась.
Я ехал на своем Ford F150 Economist 3.5 2011 года выпуска и почувствовал запах горячей электрики, и я потерял мощность. Отнесли в магазин, а там вышел из строя тепловой экран и оплавился провод к датчику положения коленвала.
Жду открытия дилерского центра Ford в понедельник, чтобы посмотреть, насколько сильно меня обворуют, потому что некоторые инженеры посчитали разумным проложить проводку так близко к выхлопной трубе. У них есть детские сады, которые их проектируют? Магазин, в который я его отнес, даже не попытался исправить этот беспорядок. Я совершенно уверен, что это не единственный раз, когда это произошло.
Рон М 7 февраля 2023 г.
Оба каталитических нейтрализатора вышли из строя
F150 V-8 2011 года выпуска с пробегом 109 000 миль: оба каталитических нейтрализатора вышли из строя в пределах 200 миль друг от друга. На изготовление первого катализатора ушло 4 недели из-за того, что он был заказан у Форда. Заменили в пятницу. Лампа двигателя загорелась в понедельник…. 2-й преобразователь вышел из строя. Каждый ремонт стоил 1400 долларов (у дилера Форд значительно больше). Не лучший способ начать 2023 год.
Также пришлось заменить всю переднюю тормозную систему из-за того, что прошлой осенью заедал тормозной суппорт. Механик сказал, что это обычная проблема F-150.
Эдди 6 сентября 2021 г.
Надежность
Ford да, но мой F150 2011 года нет. Пришлось вложить в него несколько тысяч долларов, а у него еще нет даже 60 тысяч миль, и сейчас нужно сделать работу на тысячу долларов. 3.7 v6 ужасен. Плохой расход топлива, недостаточная мощность и просто пуля. Тормозные диски готовы вытрясти зубы из головы. У грузовиков тоже один владелец. Я считаю, что этот грузовик пришел с завода плохой. Люблю Ford, но думаю о Ram после этого опыта
счетКругЛукас Л 20 ноября 2021 г.
Несмотря на то, что это хороший выбор, он должен быть более прочным.
Это очень неудобно, он очень плохо работает, недавно были проблемы с батареей, так как мы его купили.
Электрические розетки по какой-то неизвестной причине постоянно выходят из строя и отключаются. Встроенная радиосистема полунадежна. А фары очень хрупкие для пикапа, задние фонари иногда вырубались, и нам приходилось отсылать их на ремонт двигателя. На данный момент нагреватель тоже ломается.
Джаред П 10 января 2022 г.
Ecoboost — хлам, крепкий, но хлам.
С этим автомобилем было так много проблем. Потратил почти 7к на ремонт за 2,5 года владения им. Форсунки, цилиндры, система коленчатого вала — все пришло в негодность. Ecm ушла, потратив недели на исправление. Если бы у меня сейчас была работа из-за пандемии, я бы сразу продал и купил GM или другой автомобиль. Сделайте себе одолжение и купите 5.0, если покупаете Форд.
счетКругДжейкоб М 17 августа 2021 г.
2011 f150 ecoboost краткое изложение общих проблем.
У меня есть экобуст f150 2011 года. У меня было несколько механических проблем, в том числе ослабление цепи ГРМ, которая была отремонтирована и теперь снова ослаблена. Кондиционер имел некоторые проблемы. Мой электронный мотор переключения передач для полного привода вышел из строя и был заменен. Мои линии охлаждающей жидкости разорвались, идя к турбинам, которые также были заменены.
счетКругФатбардха Д 20 октября 2021 г.
Название автомобиля ford f-150 2011 года.
Каждый день новая проблема с моей машиной. Это неудобно. До месяца проблемы со стартером и маховиком. У него механическая проблема на руле. Постоянно проблемы с тормозами. Иногда издает странный звук. Я устал от этой марки и модели автомобиля, потому что потратил много денег на его ремонт.
аккаунтКругВальтер Шлейле 30 января 2023 г.
2011 ford ecoboost
Ничего, кроме проблем, так как у отца-одиночки у меня ушли годы, чтобы получить первоначальный взнос за этот грузовик, обмен на мой автомобиль, который был оплачен за грузовик, которому нужен синхронизатор, преследующий датчик коленчатого вала.
тысячи грузовиков с такой же проблемой и Форд ничего не делает, кроме как говорит: «Да пошли вы, нам все равно, это не проблема безопасности, так что разберитесь в своем личном аккаунте
Джен С 4 августа 2021 г.
2011 F150: Мои 2 Жалобы
Мы с мужем приобрели этот автомобиль в начале этого года. Пока у нас нет претензий, кроме камеры заднего вида и монитора. Камера заднего вида плохо освещается ночью, и ею сложно пользоваться. Монитор имеет блики при открытом люке, кажется, что он должен использовать козырек.
аккаунтКругРедтоп 25 марта 2022 г.
2011 механические проблемы
2011 ford 5.0 4×4 плохие соленоиды трансмиссии. Плохой модуль управления кузовом, плохой PCM потратил 2000 на замену соленоидов трансмиссии. В этом году были промахи, и дилер сказал, что плохой PCM перепрограммировал его, и проблемы ушли на неделю.
Затем вернулся, теперь подозреваю, что это модуль управления кузовом. Форд отстой
Ян Ф 19 декабря 2021 г.
Обзор Ford 150 3,5 л твин турбо.
Я думаю, что рейтинг буксировки сильно завышен, а для легкого автомобиля с шестью цилиндрами и двойным турбонаддувом расход топлива составляет всего четырнадцать-шестнадцать. Я проверял коробку передач несколько раз, и она все еще издает стук, как будто она не переключается правильно.
аккаунтКругЭйден Д 4 января 2022 г.
Плохая конструкция двигателя в экобусте первого поколения.
Ecoboost первого поколения, поэтому очень много очень дорогих проблем с двигателем, которые очень трудно исправить. На данном этапе жизни автомобиля он почти полностью бесполезен из-за большого количества повреждений, вызванных нормальным использованием и плохой конструкцией.
Дерек М 15 июля 2021 г.
Ржавчина повсюду. Крылья и задняя панель.
Мне пришлось заменить на нем много деталей. Вдобавок ко всему, приводы в двух из четырех дверей вышли из строя и нуждаются в замене, и он ржавеет в типичных местах, где ржавеет Ford. Больше Форд покупать не буду.
счетКругЭбигейл Х 14 июня 2021 г.
Четырехдверный грузовик, минимум ремонтов, но в целом надежный, несмотря на глупые сбои.
Многое постоянно ломается, ручки на дверях сломаны, кондиционер и отопление самопроизвольно перестают работать, дважды менялась центральная консоль. Ремень вентилятора постоянно вращается, иногда приводя к перегреву двигателя.
аккаунтКругРоберт В. 26 июня 2021 г.
Выдерживает умеренное насилие.
Были некоторые проблемы с отказом водительского сиденья (отказ поясничной опоры, отказ левой боковой гусеницы, поломка боковой панели), были проблемы с датчиками топливного фильтра и теперь с датчиком масла, в настоящее время борется с моим контроллером вентилятора.
Лонни М 18 декабря 2021 г.
Низкий расход бензина и проблемы с турбонаддувом.
Кажется, легкий вес и есть проблемы с турбо. Пришлось заменить двигатель, пробег на нем меньше 100 000 км. Пришлось заменить катушки на нем. Не похоже, чтобы получить хороший пробег газа.
счетКругМарк Д 16 января 2022 г.
Исправлены проблемы с ржавчиной.
Моя основная проблема — ржавчина вокруг колесных арок и порогов. Это началось совсем недавно и очень негативно сказалось на его внешнем виде. Я так понимаю 2016 и новее алюминиевые.
аккаунтКругДональд 3 января 2023 г.
Мили
Какие проблемы. У моего грузовика 240 тыс. Пришлось менять прокладку масляного поддона и новые патрубки охлаждения. Поменял все ремни. И не иметь проблем.
Я использую 4×4 по крайней мере два раза в день.
Эндрю С 26 октября 2021 г.
Склонен к некоторым повторяющимся механическим проблемам.
За последние 4 года я проехал на нем более 175 000 миль. Я также буксировал наш туристический прицеп весом 6000 фунтов многие из этих миль, и, как следствие, у меня было много механических проблем.
аккаунтКругСидней В. 12 января 2022 г.
Для резервного копирования требуется больше места, так что дайте нам место.
Амортизация этого автомобиля не очень хорошая. Переезжать лежачих полицейских очень неприятно. Вентилятор также сломался и дует только на самом высоком уровне, проблема, которую я часто вижу в фордах.
аккаунтКругКрис 28 октября 2022 г.
Цепь раздаточной коробки
2011 ford fx4 3.
5 v6 6apeed auto echo boost, цепь раздаточной коробки постоянно растягивается, работает неровно даже в тепле, иногда глохнет при обгоне другого автомобиля.
Мэдисон М 20 декабря 2021 г.
Базовый подержанный грузовик Ford 2011 года выпуска.
У грузовика много механических проблем. Пришлось заменить почти все детали, кроме самого двигателя. Очень дорого. Рекомендую кожаный салон вместо тканевого.
аккаунтКругДжеймс А 14 июля 2021 г.
Не стоит покупать за те деньги, которые они с вас берут.
Мощность двигателя не очень хорошая, езда очень грубая. У меня двигатель Ecoboost, и, к сожалению, с момента покупки этого автомобиля у меня не было ничего, кроме проблем.
счетКругБродерик В. 28 октября 2021 г.
Минусы покупки подержанного грузовика.
Куплен грузовик б/у с большим пробегом. Первая проблема с грузовиком заключалась в том, что кондиционер дул горячим воздухом вместо холодного.
аккаунтКругМаркус М 16 июня 2021 г.
Ford f10 теперь работает нормально
Миша Ланин
Миша Ланин — автомобильный журналист с корнями в Нью-Йорке и Санкт-Петербурге, Россия. Его увлечение сомнительными старинными автомобилями началось в 16 лет, когда он и его отец купили три двухтактных мопеда 1970-х годов (которые они пытались восстановить на бруклинском тротуаре с неоднозначными результатами). Между семестрами в Скидмор-колледже Миша проводил лето в России, где он пытался владеть советской классикой, такой как ЗАЗ 968, Москвич 408, Лада 21011. Этот опыт вдохновил его освещать автомобильную культуру для Jalopnik, что привело к рассказам о Нью-Йорке, Финляндии и России. Миша расширил свое портфолио и теперь делится своими автомобильными знаниями с Vehicle History.

