Шаг резьбы: таблица, обозначение, как определить?
В зависимости от вида резьбового соединения могут меняться шаг резьбы, поэтому существуют специальныетаблицы, подбор необходимого значения производится по обозначениям в документации. С их помощью несложно определить требуемые параметры для конкретного исполнения.
Резьбовые соединения находят самое большое распространение. С их помощью можно из нескольких разрозненных деталей получить одну. Чем выше значение диаметра, тем большее усилие на разрыв может выдержать соединение. Когда же речь заходит о шаге, то здесь оказывается всё иначе. Уменьшая расстояние между нитками, добиваются повышения прочности в соединении. Поэтому конструкторы, желая усилить стык, уменьшают величину расстояния между канавками в соединении. Однако, произвольно назначать какие-либо параметры для подобных элементов нежелательно. При необходимости проведения ремонта возникнет трудность в замене деталей.
ГОСТ и унификация крепежа
В течение длительного времени не могли прийти к единому стандарту.
Еще в середине XIX века разные производители пользовались своими мерительными инструментами. Попутно у каждого резьбовые соединения выполнялись по своим требованиям и параметрам. Возникали проблемы у эксплуатационников.
При необходимости разборки и последующей сборки изделий приходилось помечать каждую деталь, чтобы потом их поставить строго на свое место. Особенно сложно приходилось военным, так как ружья и пушки приходили с разных заводов. Если кто-то разбирал свое оружие, то собрать чаще всего не удавалось.
Еще в XII веке установили, что оптимальным будет расстояние между двумя канавками на стержнях, равное примерно 20 % от диаметра. Тогда их изготавливали из дерева, на ручьях и небольших реках создавали водяные мельницы. Позже (примерно середина XIV века) начали проектировать и создавать ветряные мельницы.
Отдельные детали стягивали мощными шпильками. На них накручивали громадные дубовые гайки, выточенные из единого куска прикорневой части. Но все – это были единичные, разовые изделия.
Их характеристики и качество зависели от мастера. С развитием техники нужно было добиваться однообразности и универсальности стяжных деталей.
Информация к размышлению
Первый отраслевой стандарт был принят в Туле (Россия). На первом оружейном заводе производили только сборку конечного изделия. Производилось и литье. А сами отливки раздавали мастерам для домашнего изготовления. Так образовались улицы со своими названиями: Курковая, Ложевая, Дульная, Штыковая и ряд других. Тут делали только одно изделие. Потом на сборке оставалось только собрать их и получить ружье.
Главная заслуга Никиты Демидова (основоположника первого оружейного завода России) заключалась в том, что он сумел разработать подробные чертежи, а также мерительные инструменты (калибры). Пользуясь ими, мастера могли проверять, насколько правильно обрабатывается конкретная деталь. Налажен был выпуск и ручного металлообрабатывающего инструмента: напильники, шаберы, скребки и ручные сверлильные устройства.
В это же время Англия также изготавливала ружья. Конструктивно они были идентичными. В 1787 году были приобретены 500 ружей в Туле и 500 ружей из Англии. Их разобрали, а детали по артикулам разложили в несколько куч. Тщательно перемешали.
Потом решили собрать. Тульские ружья собрали все. Каждое прошло проверку на качество стрельбы. Результаты удовлетворили комиссию. Ни одного английского ружья собрать не смогли. Детали требовали индивидуальной притирки. Единого стандарта не было.
Поэтому в русскую армию помимо ружей поставляли детали, которые могли выходить из строя в процессе эксплуатации. В каждом полку существовал взвод, в обязанности которого вменяли ремонт вооружения.
В этих взводах имелись болтики, винтики и гаечки. Тогда их метили специальными насечками, чтобы использовать по мере необходимости.
В 1790 г. в Париже произошло первое утверждение основной системы мер. Одним из первых была утверждена мера длины – метр. Установили и дробные величины, которыми пользуются повсеместно: сантиметр, миллиметр.
Англия отказалась переходить на европейский стандарт. У них до сих пор пользуются футами, дюймами, линиями.
Для унификации деталей каждая страна разрабатывала свои государственные стандарты. Их соотносили так, чтобы товары из сопредельных государств могли соответствовать и отечественным изделиям. Поэтому с 1924 г. в СССР был введен ГОСТ на резьбовые соединения. Кроме основного стандарта допускалось использование изделий из Великобритании и США (дюймовые стандарты). В настоящее время используются только трубные соединения, измеряемые в дюймах.
Метрические резьбы
Название (метрическая резьба) показывает, что все измерения выполняются в метрических единицах. Это самый распространённый мировой стандарт. Основные значения резьбовых соединений показаны в таблице 1. За основу взят стандартный шаг резьбы, кроме него существуют исполнения, где предусматривается и меньшие шаги.
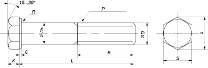
Параметры резьбовой части: номинальный диаметр d, внутренний диаметр d₁ и шаг резьбы Р
Таблица 1: Размеры резьбы и шаг винтовой линии
| Номинальный диаметр резьбы d | Шаг Р | |||||||
| 1 ряд (предпочтительный) | 2 ряд (допустимый) | 3 ряд (для специальных конструкций) | крупный | мелкий 1 | мелкий 2 | мелкий 3 | мелкий 4 | мелкий 5 |
| 2,00 | 0,40 | 0,35 | ||||||
| 2,20 | 0,45 | 0,40 | ||||||
| 2,50 | 0,45 | 0,35 | ||||||
| 3,00 | 0,50 | 0,35 | ||||||
| – | 3,50 | -0,60 | 0,35 | |||||
| 4,00 | 0,70 | 0,50 | ||||||
| 4,50 | 0,75 | 0,50 | ||||||
| 5,00 | 0,80 | 0,50 | ||||||
| 5,50 | 0,50 | 0,40 | ||||||
| 6,00 | 1,00 | 0,75 | 0,50 | |||||
| 7,00 | 1,00 | 0,75 | 0,50 | |||||
| 8,00 | 1,25 | 1,00 | 0,75 | 0,50 | ||||
| 9,00 | 1,25 | 1,00 | 0,75 | 0,50 | ||||
| 10,00 | 1,50 | 1,25 | 1,00 | 0,75 | 0,50 | |||
| 11,00 | 1,50 | 1,00 | 0,75 | 0,50 | ||||
| 12,00 | 1,75 | 1,50 | 1,25 | 1,00 | 0,75 | 0,50 | ||
| 14,00 | 2,00 | 1,50 | 1,25 | 1,00 | 0,75 | 0,50 | ||
| 15,00 | 1,75 | 1,50 | 1,00 | |||||
| 16,00 | 2,00 | 1,50 | 1,00 | 0,75 | 0,50 | |||
| 17,00 | 1,75 | 1,50 | 1,00 | |||||
| 18,00 | 2,50 | 2,00 | 1,50 | 1,00 | 0,75 | 0,50 | ||
| 20,00 | 2,50 | 2,00 | 1,50 | 1,00 | 0,75 | 0,50 | ||
| 22,00 | 2,50 | 2,00 | 1,50 | 1,00 | 0,75 | 0,50 | ||
| 24,00 | 3,00 | 2,00 | 1,50 | 1,00 | 0,75 | 0,50 | ||
| 25,00 | 2,00 | 1,50 | 1,00 | |||||
| 26,00 | 1,50 | 1,00 | ||||||
| 27,00 | 3,00 | 2,00 | 1,50 | 1,00 | 0,75 | 0,50 | ||
| 28,00 | 2,50 | 2,00 | 1,50 | 1,00 | ||||
| 30,00 | 3,50 | 3,00 | 2,00 | 1,50 | 1,00 | 0,75 | ||
| 32,00 | 2,50 | 2,00 | 1,50 | |||||
| 33,00 | 3,50 | 3,00 | 2,00 | 1,50 | 1,00 | 0,75 | ||
| 35,00 | 2,50 | 1,50 | 1,00 | 0,75 | ||||
| 36,00 | 4,00 | 3,00 | 2,00 | 1,50 | 1,00 | |||
| 38,00 | 3,00 | 1,50 | 1,00 | 0,75 | ||||
| 39,00 | 4,00 | 3,00 | 2,00 | 1,50 | 1,00 | 0,75 | ||
| 40,00 | 3,50 | 3,00 | 2,00 | 1,50 | 1,00 | 0,75 | ||
| 42,00 | 4,50 | 4,00 | 3,00 | 2,00 | 1,50 | 1,00 | ||
| 45,00 | 4,50 | 4,00 | 3,00 | 2,00 | 1,50 | 1,00 | ||
| 48,00 | 5,00 | 4,00 | 3,00 | 2,00 | 1,50 | 1,00 | ||
| 50,00 | 4,00 | 3,00 | 2,00 | 1,50 | ||||
| 52,00 | 5,00 | 4,00 | 3,00 | 2,00 | 1,50 | 1,00 | ||
| 55,00 | 4,00 | 3,00 | 2,00 | 1,50 | ||||
| 56,00 | 5,50 | 4,00 | 3,00 | 2,00 | 1,50 | 1,00 | ||
| 58,00 | 5,00 | 4,00 | 3,00 | 2,00 | 1,50 | |||
| 60,00 | 5,50 | 4,00 | 3,00 | 2,00 | 1,50 | 1,00 | ||
| 62,00 | 5,00 | 4,00 | 3,00 | 2,00 | 1,50 | |||
| 64,00 | 6,00 | 4,00 | 3,00 | 2,00 | 1,50 | 1,00 | ||
| 65,00 | 6,00 | 4,00 | 3,00 | 2,00 | 1,50 | |||
Угол при вершине винтовой линии у метрических резьб составляет 60⁰
Видно, что есть несколько рядов по уровню предпочтений.
Объясняется довольно просто. Типовые детали стараются делать так, чтобы их было проще заменять в случае разборки и сборки. Менее предпочтительные ряды получаются при индивидуальном проектировании отдельных деталей. Производство удорожается.
Специальные резьбы применяют весьма ограничено. Ими пользуются лишь в тех случаях, когда невозможно применить стандартные предпочтения.
Внимание! Использование специальных резьб связано с необходимостью создавать одноразовые инструменты для нарезания подобных винтовых линий.
В таблицах указан стандартный шаг резьбы, а также дополнительные мелкие значения. Здесь тоже имеются свои предпочтения. Проще использовать номинальные параметры. Инструмент для нарезки выпускается предприятиями разных стран. Его несложно приобрести. Мелкие шаги востребованы только в специальных местах.
Например, уменьшенный шаг резьбы применяют для изготовления шпилек, в двигателях внутреннего сгорания. С их помощью крепят головку блока к самому блоку цилиндров.
Эти детали испытывают значительные нагрузки. Внутри движутся поршни, происходит процесс горения газа. Давление возрастает и убывает постоянно. Поэтому требования к соединению довольно высокие.
Мелкие шаги используют при сборке лопаток на турбинах. Вал турбины современного реактивного двигателя вращается с частотой 40…50 тыс. об/мин. Центробежная сила достигает громадных значений. Поэтому требования к узлам соединений повышенные.
Дюймовые резьбы
В Россию и страны СНГ поступают изделия из США и Великобритании. Поэтому приходится сталкиваться с деталями, где применяется дюймовая резьба. Еще недавно самолетостроение было в дюймовом исполнении. Только недавно многие узлы самолетов начали выпускать с метрическими стандартами. Но еще довольно много изделий выполнено в дюймовом исполнении. В таблице 2 приведены параметры резьб, с которыми возможно придется столкнуться.
Угол при вершине винтовых линий дюймовой резьбы составляет 55⁰. Шаг Р задают редко, пользуются им только для справки.
Важнее количество ниток на дюйм резьбовой части изделия.
Ниже показана таблица дюймовых резьб с диаметрами и шагом.
Таблица 2: Размеры резьбы и шаг винтовой линии
| Номинальный диаметр в дюймах | Номинальный диаметр в мм | Число ниток на дюйм | Шаг резьбы, мм | ||||||
| нормальная резьба | мелкая первая | мелкая вторая | мелкая третья | нормальная резьба | мелкая первая | мелкая вторая | мелкая третья | ||
| 1/16 “ | 1,588 | 36 | 48 | 54 | 64 | 0,706 | 0,529 | 0,470 | 0,397 |
| 1/8 “ | 3,175 | 36 | 48 | 54 | 72 | 0,706 | 0,529 | 0,470 | 0,353 |
| 3/16 “ | 4,763 | 24 | 36 | 48 | 54 | 1,058 | 0,706 | 0,529 | 0,470 |
| 1/4 “ | 6,350 | 20 | 24 | 30 | 36 | 1,270 | 1,058 | 0,847 | 0,706 |
| 5/16 “ | 7,938 | 18 | 20 | 24 | 30 | 1,411 | 1,270 | 1,058 | 0,847 |
| 3/8 “ | 9,525 | 16 | 18 | 20 | 24 | 1,588 | 1,411 | 1,270 | 1,058 |
| 7/16 “ | 11,113 | 14 | 16 | 18 | 20 | 1,814 | 1,588 | 1,411 | 1,270 |
| 1/2 “ | 12,700 | 12 | 14 | 16 | 20 | 2,117 | 1,814 | 1,588 | 1,270 |
| 9/16 “ | 14,288 | 12 | 14 | 18 | 24 | 2,117 | 1,814 | 1,411 | 1,058 |
| 5/8 “ | 15,875 | 11 | 12 | 14 | 16 | 2,309 | 2,117 | 1,814 | 1,588 |
| 3/4 “ | 19,050 | 10 | 12 | 16 | 20 | 2,540 | 2,117 | 1,588 | 1,270 |
| 7/8 “ | 22,225 | 9 | 10 | 12 | 16 | 2,822 | 2,540 | 2,117 | 1,588 |
| 1 “ | 25,400 | 8 | 10 | 16 | 18 | 3,175 | 2,540 | 1,588 | 1,411 |
| 1 1/8 “ | 28,575 | 7 | 8 | 10 | 12 | 3,629 | 3,175 | 2,540 | 2,117 |
| 1 1/4 “ | 31,750 | 7 | 8 | 9 | 10 | 3,629 | 3,175 | 2,822 | 2,540 |
| 1 3/8 “ | 34,925 | 6 | 8 | 10 | 12 | 4,233 | 3,175 | 2,540 | 2,117 |
| 1 1/2 “ | 38,100 | 6 | 9 | 12 | 16 | 4,233 | 2,822 | 2,117 | 1,588 |
| 1 5/8 “ | 41,275 | 5 | 6 | 8 | 10 | 5,080 | 4,233 | 3,175 | 2,540 |
| 1 3/4 “ | 44,450 | 5 | 6 | 10 | 12 | 5,080 | 4,233 | 2,540 | 2,117 |
| 1 7/8 “ | 47,625 | 5 | 6 | 7 | 8 | 5,080 | 4,233 | 3,629 | 3,175 |
| 2 “ | 50,800 | 5 | 8 | 10 | 12 | 5,080 | 3,175 | 2,540 | 2,117 |
| 2 1/4 “ | 57,150 | 5 | 8 | 10 | 12 | 5,080 | 3,175 | 2,540 | 2,117 |
| 2 1/2 “ | 63,500 | 4 | 5 | 6 | 8 | 6,350 | 5,080 | 4,233 | 3,175 |
| 2 3/4 “ | 69,850 | 4 | 5 | 6 | 8 | 6,350 | 5,080 | 4,233 | 3,175 |
| 3 “ | 76,200 | 3 | 4 | 6 | 10 | 8,467 | 6,350 | 4,233 | 2,540 |
Для проектирования дюймовых резьб задаются не значением конкретного шага, а количеством витков самой резьбовой канавки.
Поэтому шаг нужен только для контроля. Обычно задаются количеством ниток. Отмеряют длину и считают, сколько ниток приходится на длине в 1 дюйм. Определить расстояние легко, достаточно разделить число 25,4 на число канавок.
Штуцер для соединения трубопроводов разных диаметров
Прямоугольная резьба
В таблице 3 представлены данные по прямоугольной резьбе.
Прямоугольные резьбы чаще всего изготавливаются с квадратным профилем зуба. Но некоторые производители для усиления применяют прямоугольные профили с расширенной полкой горизонтальной части
Таблица 3: Размеры резьбы и шаг винтовой линии
| Номинальный диаметр резьбы d, мм | Шаг P | |||||
| 1 ряд (предпочтительный) | 2 ряд (допустимый) | крупный | мелкий 1 | мелкий 2 | мелкий 3 | мелкий 4 |
| 8 | 2,00 | 1,50 | 1,25 | |||
| 9 | 2,00 | 1,50 | ||||
| 10 | 2,00 | 1,50 | 1,25 | |||
| 11 | 3,00 | 2,00 | 1,25 | 1,00 | ||
| 12 | 3,00 | 2,00 | 1,50 | |||
| 14 | 3,00 | 2,00 | ||||
| 16 | 4,00 | 2,00 | 1,50 | 1,00 | 0,75 | |
| 18 | 4,00 | 2,00 | ||||
| 20 | 4,00 | 3,00 | 2,00 | |||
| 22 | 8,00 | 5,00 | 4,00 | 3,00 | 2,00 | |
| 24 | 8,00 | 5,00 | 4,00 | 3,00 | 2,00 | |
| 26 | 8,00 | 5,00 | 4,00 | 3,00 | 2,00 | |
| 28 | 8,00 | 5,00 | 4,00 | 3,00 | 2,00 | |
| 30 | 10,00 | 6,00 | 3,00 | |||
| 32 | 10,00 | 6,00 | 3,00 | 2,00 | ||
| 34 | 10,00 | 6,00 | 3,00 | |||
| 36 | 10,00 | 6,00 | 3,00 | 2,00 | 1,50 | |
| 38 | 10 | 7 | 6,00 | 5,00 | 3,00 | |
| 40 | 10 | 7 | 6,00 | 5,00 | 3,00 | |
| 42 | 10 | 7 | 6,00 | 5,00 | ||
Упорная резьба
У упорной резьбы имеются определенные отличия:
- угол при виртуальной вершине 55 ⁰;
- одна сторона перпендикулярна к базе, а другая выполнена с наклоном.
Самоотвинчивание исключается.
Подобные резьбы используются в приборах, где нужно точно выставлять гайку относительно стержня. Основные размеры даны в таблице 4.
Таблица 4: Размеры резьбы и шаг винтовой линии для упорной резьбы
| Номинальный диаметр резьбы d | Шаг P | |||
| 1 ряд (предпочтительный) | 2 ряд (допустимый) | крупный | мелкий 1 | мелкий 2 |
| 10 | 3,00 | 2,00 | ||
| 12 | 3,00 | 2,00 | 1,00 | |
| 14 | 4,00 | 2,00 | ||
| 16 | 4,00 | 2,00 | 1,00 | |
| 18 | 4,00 | 3,00 | ||
| 20 | 4,00 | 3,00 | 2,00 | |
| 22 | 5,00 | 4,00 | ||
| 24 | 8,00 | 5,00 | 4,00 | |
| 26 | 8,00 | 5,00 | ||
| 28 | 10,00 | 8,00 | 4,00 | |
| 30 | 10,00 | 8,00 | ||
| 32 | 12,00 | 10,00 | 8,00 | |
| 34 | 12,00 | |||
| 36 | 12,00 | 10,00 | 8,00 | |
| 38 | 12,00 | 7,00 | 5,00 | |
| 40 | 12,00 | 10,00 | 8,00 | |
| 42 | 10,00 | 8,00 | ||
| 44 | 12,00 | 7,00 | 3,00 | |
| 46 | 12,00 | 8,00 | 3,00 | |
| 48 | 12,00 | 8,00 | 3,00 | |
| 50 | 12,00 | 8,00 | 5,00 | |
| 52 | 14,00 | 10,00 | 8,00 | |
| 55 | 14,00 | 10,00 | ||
| 60 | 16,00 | 12,00 | 10,00 | |
| 65 | 16,00 | 12,00 | ||
| 70 | 16,00 | 12,00 | 10,00 | |
| 75 | 16,00 | 10,00 | 8,00 | |
Трапецеидальная резьба
При создании систем управления нужно иметь резьбы с минимальным трением.
При разработке роботов и аналогичной техники требуется заставить устройство быстро и очно перемещать исполнительный механизм. В этих случаях использую трапецеидальные резьбы. Гайка довольно легко скользит по стержню в любую сторону. В нужном положении она надежно фиксируется.
Таблица 5: Размеры резьбы и шаг винтовой линии для трапецеидальной резьбы
| Номинальный диаметр резьбы d, мм | Шаг P | ||||||
| 1 ряд (предпочтительный) | 2 ряд (допустимый) | крупный | мелкий 1 | мелкий 2 | мелкий 3 | мелкий 4 | мелкий 5 |
| 8 | 2,00 | 1,50 | 1,00 | 0,75 | 0,50 | 0,25 | |
| 9 | 2,00 | 1,50 | |||||
| 10 | 2,00 | 1,50 | 1,00 | 0,75 | 0,50 | ||
| 11 | 3,00 | 2,00 | |||||
| 12 | 3,00 | 2,00 | 1,50 | ||||
| 14 | 3,00 | 2,00 | |||||
| 16 | 4,00 | 2,00 | 1,50 | 0,75 | 0,50 | ||
| 18 | 4,00 | 2,00 | |||||
| 20 | 4,00 | 2,00 | 1,50 | 1,00 | |||
| 22 | 8,00 | 5,00 | 3,00 | 2,00 | 1,50 | ||
| 24 | 8,00 | 5,00 | 3,00 | 2,00 | 1,50 | 0,75 | |
| 26 | 8,00 | 5,00 | 3,00 | 2,00 | 1,50 | ||
| 28 | 8,00 | 5,00 | 3,00 | 2,00 | 1,50 | ||
| 30 | 10,00 | 6,00 | 4,00 | 2,00 | |||
| 32 | 10,00 | 6,00 | 4,00 | 2,00 | |||
| 34 | 10,00 | 6,00 | 4,00 | 2,00 | |||
| 36 | 10,00 | 6,00 | 4,00 | 2,00 | 1,50 | 0,75 | |
| 38 | 10,00 | 7,00 | 6,00 | 3,00 | |||
| 40 | 10,00 | 7,00 | 6,00 | 3,00 | 2,00 | 1,50 | |
| 42 | 10,00 | 7,00 | 6,00 | 3,00 | |||
Трубная резьба
Все санитарно-технические устройства используют в основе трубную резьбу.
Ее еще называют дюймовой трубной, так как она основана на расчетах, выполняемых по аналогии с теми, что применяется в английской системе мер. За основу берется размер условного прохода DN (Ду).
Таблица 6: Размеры резьбы и шаг винтовой линии для трубной резьбы
| Номинальный размер условного прохода в дюймах | Номинальный (наружный) диаметр в мм | Число ниток на дюйм | Шаг резьбы, мм |
| 1/8 “ | 9,729 | 28 | 0,907 |
| 1/4 “ | 13,158 | 19 | 1,337 |
| 3/8 “ | 16,663 | 19 | 1,337 |
| 1/2 “ | 20,956 | 14 | 1,814 |
| 5/8 “ | 22,912 | 14 | 1,814 |
| 3/4 “ | 26,442 | 14 | 1,814 |
| 7/8 “ | 30,202 | 14 | 1,814 |
| 1 “ | 33,250 | 11 | 2,309 |
| 1 1/8 “ | 37,898 | 11 | 2,309 |
| 1 1/4 “ | 41,912 | 11 | 2,309 |
| 1 3/8 “ | 44,325 | 11 | 2,309 |
| 1 1/2 “ | 47,805 | 11 | 2,309 |
| 1 3/4 “ | 53,748 | 11 | 2,309 |
| 2 “ | 59,616 | 11 | 2,309 |
Как самостоятельно измерить шаг резьбы?
Иногда возникает необходимость измерения шага резьбы у имеющихся резьбовых соединений.
Приходится использовать самые разные приспособления для выполнения подобной операции со специальным приспособлением и без резьбомера. Способов узнать значение шага несколько, освоить их несложно.
Здесь показаны способы измерений шага резьбы
Использование линейки
- Нужно взять линейку.
- Положить болт (винт).
- Померить расстояние между пятью (десятью) витками.
- Разделить на количество канавок.
- Полученный результат нужно округлить до ближайшего стандартного.
Если для наружных резьб подобный способ подходит, то для внутренних может оказаться сложным вставить линейку внутрь отверстия. Поэтому приходится предпринять дополнительные действия.
Пластилиновый слепок
- Из пластилина (воска, парафина, стеарина) нужно скатать колбаску, которая будет соответствовать отверстию.
- Охладить заготовку.
При наличии холодильника задача упрощается. Если нет, то на некоторое время оставить в тени, чтобы заготовка приобрела твердость. - Ввернуть колбаску в резьбу. Стараться сильно не согревать дыханием и пальцами.
- Вывернуть наружу. Теперь на руках появилось «зеркальное» отражение резьбы. Остается измерить стержень так, как описано выше.
Использование бумаги
Бывает так, что сама резьба довольно загрязнена. Поэтому разглядеть, сколько витков, сложно. Поэтому используют метод «бумаги».
- Небольшой фрагмент бумажки берется в руки.
- По резьбе проводится так, словно заворачивается или отворачивается предмет.
- На листе остаётся оттиск.
- Нужно посчитать количество витков и замерить расстояние штангенциркулем или линейкой.
Внимание! Можно измерять не только наружные, но внутренние резьбы. Можно скатать небольшой стержень, накрутить на палочку. Потом заворачивать в отверстие. Остается только произвести измерения и расчёты.
Использование резьбомера
В специализированных магазинах можно приобрести резьбомер. Количество измерительных пластин у этого устройства может быть различным. Чем больше, тем удобнее использовать резьбомер.
Остается только прислонять разные пластинки, подбирая наиболее подходящий образец.
Пример определения размера шага резьбы резьбомером.
Когда возникает вопрос о том, какая нужна или имеется резьба, начинать желательно с производителя. Если США и Великобритания, то можно предполагать наличие дюймовых резьб. Для отечественных европейских и китайских изделий используют метрические резьбы.
Стандартные шаги метрической резьбы — Таблица размеров и шагов
Автор статьи: pkmetiz.ru
Надежность крепежных соединений достигается за счет резьбы. Она представляет собой чередование впадин и выступов на внутренней и внешней поверхности вращающихся деталей. Существует множество разновидностей резьбы: дюймовая, трубная, шуруповертная и метрическая.
Резьбовые соединения применяются везде, где нужен крепеж, и для передачи движения. У каждой разновидности резьбовых соединений есть ряд типовых характеристик:
- Профиль резьбы — рисунок «гребенки», которая проходит вдоль оси крепежа.
- Шаг резьбы — расстояние между двумя соседними вершинами, замеренное вдоль оси стержня элемента крепежа.
- Наружный диаметр — измеряется по верхним точкам профиля.
- Внутренний диаметр — размер вписанного цилиндра в углубления наружной резьбы, либо по точкам вершин внутренней.
- Ход резьбы — расстояние от одной вершины профиля до другой в проекции на ось крепежа.
- Угол профиля резьбы — угол между боковыми сторонами профиля.
Также существуют другие параметры резьбы: высота профиля, длина ввинчивания, количество витков. В метрической резьбе профиль состоит из равносторонних треугольников.
Угол профиля метрической резьбы составляет 60º. Нормативы размеров стандартного шага устанавливает ГОСТ 8724-81 (ИСО 261-98) «Основные нормы взаимозаменяемости. Резьба метрическая. Диаметры и шаги». Согласно этому документу, на поверхностях диаметром 1–68 мм шаг резьбы может быть крупным или мелким. При диаметре поверхности крепежного элемента свыше 68 мм метрическая резьба может иметь только мелкий шаг. Каждому диаметру соответствует один вариант крупного шага резьбы, и несколько вариантов мелкого шага. Например, при диаметре 10 мм возможен крупный шаг в 1,5 мм и три варианта мелкого шага. Крупный шаг в обозначении метрической резьбы опускается, поскольку его значение всегда неизменно, и его можно узнать по таблице.
Полное наименование резьбы состоит из следующих данных:
- М — метрическая резьба.
- Диаметр резьбы в миллиметрах.
- Размер мелкого шага в миллиметрах.
- Направление хода (есть левосторонняя и правосторонняя резьба).
- Обозначение хода для многозаходной резьбы.

Шаг метрической резьбы определяют по таблице, или по маркировке крепежного элемента. Кроме табличных и справочных данных, существуют и практические способы определения шага резьбового профиля:
- Можно сравнить резьбу на разных изделиях, и определить искомое значение путем сопоставления.
- Для измерения шага применяют резьбовые калибры — специальные инструменты без шкалы. Калибры помогают определить различные параметры резьбового профиля: диаметры, высоту треугольника, длину шага.
- Если наружная резьба легко и без сопротивления ввинчивается во внутреннюю, так можно предположительно установить шаг наружного профиля.
- Проведите измерения: с помощью штангенциркуля определите длину резьбы и разделите полученное значение на число витков.
Еще один важный параметр резьбового соединения — поле допуска. Эта величина обозначает максимальную длину сопряжения сторон резьбовых профилей винта и гайки, и других разновидностей крепежных изделий.
Существует три класса полей допусков. Если крепеж принадлежит к первому классу допусков, он является надежным и применяется в областях, где требуется высокая точность и надежная фиксация. Второй класс полей допусков — это наиболее часто используемый стандарт. Грубый класс допусков используется там, где не требуется большая точность резьбового соединения.
При выборе крепежа тип резьбового соединения имеет решающее значение. На территории Российской Федерации наиболее востребованы метизы с крупным шагом резьбы. Крепежные элементы с мелким шагом применяются для соединения изделий, подверженных вибрации, экспериментальным и переменным динамическим нагрузкам. Область применения метизов с мелким шагом резьбового профиля — автомобиле- и судостроение, производство станков, электроники и бытовой техники. В строительстве и других сферах в основном используется крепеж с крупным шагом метрической резьбы. Если требуется рассчитать, какие болты требуются для определенных строительных или иных задач, современные специалисты используют расчетные формулы, либо специальное программное обеспечение.
Расчет параметров крепежа онлайн доступен на многих специализированных интернет-ресурсах бесплатно. Также существуют онлайн-калькуляторы для подсчета параметров метрической резьбы по набору исходных размеров. Необходимые размеры рекомендуется замерять с помощью штангенциркуля.
Под метрической резьбой также принято подразумевать любую резьбу, обозначение которой указано в миллиметрах. По форме профиля различают следующие типы резьбы:
- Дюймовая — профиль состоит из равнобедренных треугольников, угол при вершине у которых составляет 55о.
- Трубная цилиндрическая — разновидность дюймовой резьбы, соответствует стандартам ГОСТ 6357-81. Номинальный размер резьбы соотносится с внутренним диаметром трубы или условно определенного отверстия.
- Трапецеидальная — профиль выглядит как трапеция с равными боковыми сторонами и острым углом при основании. Этот вид резьбы применяется в подвижных соединениях и служит для передачи возвратно-поступательного движения.

Трапецеидальная резьба бывает однозаходной и многозаходной. - Упорная — разновидность трапецеидальной, профиль выглядит как не равнобочная трапеция. Соответствует нормам ГОСТ 10177-82.
- Прямоугольная — этот вид резьбы выполняется на ходовых винтах, испытывающих высокие нагрузки, для передачи поступательно-вращательного движения.
- Круглая — профиль выглядит как частный случай синусоиды. Этот тип резьбы отличается значительной устойчивостью к частому закручиванию и раскручиванию. Пример использования — цоколь лампочки (резьба Эдисона), шпиндели, вентили, сантехнический крепеж и арматурные изделия.
Кроме миллиметров для измерения резьбовых соединений также используют другие системы мер: дюйм, модуль — отношение шага в миллиметрах к числу пи, питч — отношение числа пи к шагу, длина которого указана в дюймах.
Таблица метрических резьб
| Шаг резьбы Р | Диаметр резьбы | |||
| наружный | средний | внутренний | внутренний по дну впадины | |
| С к р у п н ы м ш а г о м | ||||
| 0,40 | 2,0 | 1,740 | 1,567 | 1,509 |
| 0,45 | (2,2) | 1,908 | 1,713 | 1,648 |
| 0,45 | 2,5 | 2,208 | 2,013 | 1,948 |
| 0,50 | 3,0 | 2,675 | 2,459 | 2,387 |
| 0,60 | (3,5) | 3,110 | 2,850 | 2,764 |
| 0,70 | 4 | 3,546 | 3,242 | 3,141 |
| 0,75 | (4,5) | 4,013 | 3,688 | 3,580 |
| 0,80 | 5 | 4,480 | 4,134 | 4,019 |
| 1 | 6 | 5,350 | 4,918 | 4,773 |
| 1,25 | 8 | 7,188 | 6,647 | 6,466 |
| 1,50 | 10 | 9,026 | 8,376 | 8,160 |
| 1,75 | 12 | 10,863 | 10,106 | 9,853 |
| 2 | (14) | 12,701 | 11,835 | 11,546 |
| 2 | 16 | 14,701 | 13,835 | 13,546 |
| 2,5 | (18) | 16,376 | 15,294 | 14,933 |
| 2,5 | 20 | 18,376 | 17,294 | 16,933 |
| 2,5 | (22) | 20,376 | 19,294 | 18,933 |
| 3 | 24 | 22,051 | 20,752 | 20,319 |
| 3 | (27) | 25,051 | 23,752 | 23,319 |
| 3,5 | 30 | 27,727 | 26,211 | 25,706 |
| 3,5 | (33) | 30,727 | 29,211 | 28,706 |
| 4 | 36 | 33,402 | 31,670 | 31,093 |
| 4 | (39) | 36,402 | 34,670 | 34,093 |
| 4,5 | 42 | 39,077 | 37,129 | 36,479 |
| 4,5 | (45) | 42,077 | 40,129 | 39,479 |
| 5 | 48 | 44,752 | 42,587 | 41,866 |
| 5 | (52) | 48,752 | 46,587 | 45,866 |
| 5,5 | 56 | 52,428 | 50,046 | 49,252 |
| 5,5 | (60) | 56,428 | 54,046 | 53,252 |
| 6 | 64 | 60,103 | 57,505 | 56,639 |
| 6 | (68) | 64,103 | 61,505 | 60,639 |
| С м е л к и м ш а г о м | ||||
| 0,25 | 2,0 | 1,838 | 1,729 | 1,693 |
| 2,2 | 2,038 | 1,929 | 1,893 | |
| 0,35 | 2,5 | 2,273 | 2,121 | 2,071 |
| 3 | 2,773 | 2,621 | 2,571 | |
| (3,5) | 3,273 | 3,121 | 3,071 | |
| 0,5 | 4 | 3,675 | 3,459 | 3,387 |
| (4,5) | 4,175 | 3,959 | 3,887 | |
| 5 | 4,675 | 4,459 | 4,387 | |
| 6 | 5,675 | 5,459 | 5,387 | |
| 8 | 7,675 | 7,459 | 7,387 | |
| 10 | 9,675 | 9,459 | 9,387 | |
| 12 | 11,675 | 11,459 | 11,387 | |
| (14) | 13,675 | 13,459 | 13,387 | |
| 16 | 15,675 | 15,459 | 15,387 | |
| (18) | 17,675 | 17,459 | 17,387 | |
| 20 | 19,675 | 19,459 | 19,387 | |
| (22) | 21,675 | 21,459 | 21,387 | |
| 0,75 | 6 | 5,513 | 5,188 | 5,080 |
| 8 | 7,513 | 7,188 | 7,080 | |
| 10 | 9,513 | 9,188 | 9,080 | |
| 12 | 11,513 | 11,188 | 11,080 | |
| (14) | 13,513 | 13,188 | 13,080 | |
| 16 | 15,513 | 15,188 | 15,080 | |
| (18) | 17,513 | 17,188 | 17,080 | |
| 20 | 19,513 | 19,188 | 19,080 | |
| (22) | 21,513 | 21,188 | 21,080 | |
| 24 | 23,513 | 23,188 | 23,080 | |
| (27) | 26,513 | 26,188 | 26,080 | |
| 30 | 29,513 | 29,188 | 29,080 | |
| (33) | 32,513 | 32,188 | 32,080 | |
| 1,0 | 8 | 7,350 | 6,917 | 6,773 |
| 10 | 9,350 | 8,917 | 8,773 | |
| 12 | 11,350 | 10,917 | 10,773 | |
| (14) | 13,350 | 12,917 | 12,773 | |
| 16 | 15,350 | 14,917 | 14,773 | |
| (18) | 17,350 | 16,917 | 16,773 | |
| 20 | 19,350 | 18,917 | 18,773 | |
| (22) | 21,350 | 20,917 | 20,773 | |
| 24 | 23,350 | 22,917 | 22,773 | |
| (27) | 26,350 | 25,917 | 25,773 | |
| 30 | 29,350 | 28,917 | 28,773 | |
| 36 | 35,350 | 34,917 | 34,773 | |
| (39) | 38,350 | 37,917 | 37,773 | |
| 42 | 41,350 | 40,917 | 40,773 | |
| (45) | 44,350 | 43,917 | 43,773 | |
| 48 | 47,350 | 46,917 | 46,773 | |
| (52) | 51,350 | 50,917 | 50,773 | |
| 56 | 55,350 | 54,917 | 54,773 | |
| (60) | 59,350 | 58,917 | 58,773 | |
| 64 | 63,350 | 62,917 | 62,773 | |
| (68) | 67,350 | 66,917 | 66,773 | |
| 72 | 71,350 | 70,917 | 70,773 | |
| (76) | 75,350 | 74,917 | 74,773 | |
| 80 | 79,350 | 78,917 | 78,773 | |
| 1,25 | 10 | 9,188 | 8,647 | 8,466 |
| 12 | 11,188 | 10,647 | 10,467 | |
| (14) | 13,188 | 12,647 | 12,466 | |
| 1,5 | 12 | 11,026 | 10,376 | 10,160 |
| (14) | 13,026 | 12,376 | 12,160 | |
| 16 | 15,026 | 14,376 | 14,160 | |
| (18) | 17,026 | 16,376 | 16,160 | |
| 20 | 19,026 | 18,376 | 18,160 | |
| (22) | 21,026 | 20,376 | 20,160 | |
| 24 | 23,026 | 22,376 | 22,160 | |
| (27) | 26,026 | 25,376 | 25,160 | |
| 30 | 29,026 | 28,376 | 28,160 | |
| (33) | 32,026 | 31,376 | 31,160 | |
| 36 | 35,026 | 34,376 | 34,160 | |
| (39) | 38,026 | 37,376 | 37,160 | |
| 42 | 41,026 | 40,376 | 40,160 | |
| (45) | 44,026 | 43,376 | 43,160 | |
| 48 | 47,026 | 46,376 | 46,160 | |
| (52) | 51,026 | 50,376 | 50,160 | |
| 56 | 55,026 | 54,376 | 54,160 | |
| (60) | 59,026 | 58,376 | 58,160 | |
| 64 | 63,026 | 62,376 | 62,160 | |
| (68) | 67,026 | 66,376 | 66,160 | |
| 72 | 71,026 | 70,376 | 70,160 | |
| (76) | 75,026 | 74,376 | 74,160 | |
| 80 | 79,026 | 78,376 | 78,160 | |
| (85) | 84,026 | 83,376 | 83,160 | |
| 90 | 89,026 | 88,376 | 88,160 | |
| (95) | 94,026 | 93,376 | 93,160 | |
| 100 | 99,026 | 98,376 | 98,160 | |
| 110 | 109,026 | 108,376 | 108,160 | |
| (115) | 114,026 | 113,376 | 113,160 | |
| (120) | 119,026 | 118,376 | 118,160 | |
| 125 | 124,026 | 123,376 | 123,160 | |
| (130) | 129,026 | 128,376 | 128,160 | |
| 140 | 139,026 | 138,376 | 138,160 | |
| (150) | 149,026 | 148,376 | 148,160 | |
| 2,0 | (18) | 16,701 | 15,835 | 15,546 |
| 20 | 18,701 | 17,835 | 17,546 | |
| (22) | 20,701 | 19,835 | 19,546 | |
| 24 | 22,701 | 21,835 | 21,546 | |
| (27) | 25,701 | 24,835 | 24,546 | |
| 30 | 28,701 | 27,835 | 27,546 | |
| (33) | 31,701 | 30,835 | 30,546 | |
| 36 | 33,701 | 32,835 | 32,546 | |
| (39) | 37,701 | 36,835 | 36,546 | |
| 42 | 40,701 | 39,835 | 39,546 | |
| (45) | 43,701 | 42,835 | 42,546 | |
| 48 | 46,701 | 45,835 | 45,546 | |
| (52) | 50,701 | 49,835 | 49,546 | |
| 56 | 54,701 | 53,835 | 53,546 | |
| (60) | 58,701 | 57,835 | 57,546 | |
| 64 | 62,701 | 61,835 | 61,546 | |
| (68) | 66,701 | 65,835 | 65,546 | |
| 72 | 70,701 | 69,835 | 69,546 | |
| (76) | 74,701 | 73,835 | 73,546 | |
| 80 | 78,701 | 77,835 | 77,546 | |
| (85) | 83,701 | 82,835 | 82,546 | |
| 90 | 88,701 | 87,835 | 87,546 | |
| (95) | 93,701 | 92,835 | 92,546 | |
| 100 | 98,701 | 97,835 | 97,546 | |
| (105) | 103,701 | 102,835 | 102,546 | |
| 110 | 108,701 | 107,835 | 107,546 | |
| (115) | 113,701 | 112,835 | 112,546 | |
| (120) | 118,701 | 117,835 | 117,546 | |
| 125 | 123,701 | 122,835 | 122,546 | |
| (130) | 128,701 | 127,835 | 127,546 | |
| 140 | 138,701 | 137,835 | 137,546 | |
| (150) | 148,701 | 147,835 | 147,546 | |
| 160 | 158,701 | 157,835 | 157,546 | |
| (170) | 168,701 | 167,835 | 167,546 | |
| 180 | 178,701 | 177,835 | 177,546 | |
| (190) | 188,701 | 187,835 | 187,546 | |
| 200 | 198,701 | 197,835 | 197,546 | |
| 3,0 | 30 | 28,051 | 26,752 | 26,319 |
| (33) | 31,051 | 29,752 | 29,319 | |
| 36 | 34,051 | 32,752 | 32,319 | |
| (39) | 37,051 | 35,752 | 35,319 | |
| 42 | 40,051 | 38,752 | 38,319 | |
| (45) | 43,051 | 41,752 | 41,319 | |
| 48 | 46,051 | 44,752 | 44,319 | |
| (52) | 50,051 | 48,752 | 48,319 | |
| 56 | 54,051 | 52,752 | 52,319 | |
| (60) | 58,051 | 56,752 | 56,319 | |
| 64 | 62,051 | 60,752 | 60,319 | |
| (68) | 66,051 | 64,752 | 64,319 | |
| 72 | 70,051 | 68,752 | 68,319 | |
| (76) | 74,051 | 72,752 | 72,319 | |
| 80 | 78,051 | 76,752 | 76,319 | |
| (85) | 83,051 | 81,752 | 81,319 | |
| 90 | 88,051 | 86,752 | 86,319 | |
| (95) | 93,051 | 91,752 | 91,319 | |
| 100 | 98,051 | 96,752 | 96,319 | |
| (105) | 103,051 | 101,752 | 101,319 | |
| 110 | 108,051 | 106,752 | 106,319 | |
| (115) | 113,051 | 111,752 | 111,319 | |
| (120) | 118,051 | 116,752 | 116,319 | |
| 125 | 123,051 | 121,752 | 121,319 | |
| (130) | 128,051 | 126,752 | 126,319 | |
| 140 | 138,051 | 136,752 | 136,319 | |
| (150) | 148,051 | 146,752 | 146,319 | |
| 160 | 158,051 | 156,752 | 156,319 | |
| (170) | 168,051 | 166,752 | 166,319 | |
| 180 | 178,051 | 176,752 | 176,319 | |
| (190) | 188,051 | 186,752 | 186,319 | |
| 200 | 198,051 | 196,752 | 196,319 | |
| (210) | 208,051 | 206,752 | 206,319 | |
| 220 | 218,051 | 216,752 | 216,319 | |
| (240) | 238,051 | 236,752 | 236,319 | |
| 250 | 248,051 | 246,752 | 246,319 | |
| (260) | 258,051 | 256,752 | 256,319 | |
| 280 | 278,051 | 276,752 | 276,319 | |
| (300) | 298,051 | 296,752 | 296,319 | |
| 4,0 | 42 | 39,402 | 37,670 | 37,093 |
| (45) | 42,402 | 40,670 | 40,093 | |
| 48 | 45,402 | 43,670 | 43,093 | |
| (52) | 49,402 | 47,670 | 47,093 | |
| 56 | 53,402 | 51,670 | 51,093 | |
| 60 | 57,402 | 55,670 | 55,093 | |
| 64 | 61,402 | 59,67 | 59,093 | |
| 72 | 69,402 | 67,670 | 67,093 | |
| (76) | 73,402 | 71,670 | 71,093 | |
| 80 | 77,402 | 78,670 | 75,093 | |
| (85) | 82,402 | 80,670 | 80,093 | |
| 90 | 87,402 | 85,670 | 85,093 | |
| (95) | 92,402 | 90,670 | 90,093 | |
| 100 | 97,402 | 95,670 | 95,093 | |
| (105) | 102,402 | 100,670 | 100,093 | |
| 110 | 107,402 | 105,670 | 105,093 | |
| (115) | 112,402 | 110,670 | 110,093 | |
| (120) | 117,402 | 115,670 | 115,093 | |
| 125 | 122,402 | 120,670 | 120,093 | |
| (130) | 127,402 | 125,670 | 125,093 | |
| 140 | 137,402 | 135,670 | 135,093 | |
| (150) | 147,402 | 145,670 | 145,093 | |
| 160 | 157,402 | 155,670 | 155,093 | |
| (170) | 167,402 | 165,670 | 165,093 | |
| 180 | 177,402 | 175,670 | 175,093 | |
| (190) | 187,402 | 185,670 | 185,093 | |
| 200 | 197,402 | 195,670 | 195,093 | |
| (210) | 207,402 | 205,670 | 205,093 | |
| 220 | 217,402 | 215,670 | 215,093 | |
| (240) | 237,402 | 235,670 | 235,093 | |
| (260) | 257,402 | 255,670 | 255,093 | |
| 280 | 277,402 | 275,670 | 275,093 | |
| 300 | 297,402 | 295,670 | 295,093 | |
Таблица метрических резьб
по ГОСТ 24705-2004
| Номинальный диаметр резьбы d, мм | Шаг Р, мм | Диаметры резьбы, мм | |||
| d = D | d2 = D2 | d1 = D1 | d3 | ||
| 0,25 | 0,075 | 0,250 | 0,201 | 0,169 | 0,158 |
| 0,3 | 0,08 | 0,30 | 0,248 | 0,213 | 0,202 |
| 0,35 | 0,09 | 0,350 | 0,292 | 0,253 | 0,240 |
| 0,4 | 0,1 | 0,40 | 0,335 | 0,292 | 0,277 |
| 0,45 | 0,450 | 0,385 | 0,342 | 0,327 | |
| 0,5 | 0,125 | 0,50 | 0,419 | 0,365 | 0,347 |
| 0,55 | 0,550 | 0,469 | 0,415 | 0,397 | |
| 0,6 | 0,15 | 0,60 | 0,503 | 0,438 | 0,416 |
| 0,7 | 0,175 | 0,70 | 0,586 | 0,511 | 0,485 |
| 0,8 | 0,2 | 0,80 | 0,670 | 0,583 | 0,555 |
| 0,9 | 0,225 | 0,90 | 0,754 | 0,656 | 0,624 |
| 1 | 0,25 | 1,0 | 0,838 | 0,729 | 0,693 |
| 0,2 | 1,0 | 0,870 | 0,783 | 0,755 | |
| 1,1 | 0,25 | 1,10 | 0,938 | 0,829 | 0,793 |
| 0,2 | 1,10 | 0,970 | 0,883 | 0,855 | |
| 1,2 | 0,25 | 1,20 | 1,038 | 0,929 | 0,893 |
| 0,2 | 1,20 | 1,070 | 0,983 | 0,955 | |
| 1,4 | 0,3 | 1,40 | 1,205 | 1,075 | 1,032 |
| 0,2 | 1,40 | 1,270 | 1,183 | 1,155 | |
| 1,6 | 0,35 | 1,60 | 1,373 | 1,221 | 1,171 |
| 0,2 | 1,60 | 1,470 | 1,383 | 1,355 | |
| 1,8 | 0,35 | 1,80 | 1,573 | 1,421 | 1,371 |
| 0,2 | 1,80 | 1,670 | 1,583 | 1,555 | |
| 2 | 0,4 | 2,0 | 1,740 | 1,567 | 1,509 |
| 0,25 | 2,0 | 1,838 | 1,729 | 1,693 | |
| 2,2 | 0,45 | 2,20 | 1,908 | 1,713 | 1,648 |
| 0,25 | 2,20 | 2,038 | 1,929 | 1,893 | |
| 2,5 | 0,45 | 2,50 | 2,208 | 2,013 | 1,948 |
| 0,35 | 2,50 | 2,273 | 2,121 | 2,071 | |
| 3 | 0,5 | 3,0 | 2,675 | 2,459 | 2,387 |
| 0,35 | 3,0 | 2,773 | 2,621 | 2,571 | |
| 3,5 | 0,6 | 3,50 | 3,110 | 2,850 | 2,764 |
| 0,35 | 3,50 | 3,273 | 3,121 | 3,071 | |
| 4 | 0,7 | 4,0 | 3,545 | 3,242 | 3,141 |
| 0,5 | 4,0 | 3,675 | 3,459 | 3,387 | |
| 4,5 | 0,75 | 4,50 | 4,013 | 3,688 | 3,580 |
| 0,5 | 4,50 | 4,175 | 3,959 | 3,887 | |
| 5 | 0,8 | 5,0 | 4,480 | 4,134 | 4,019 |
| 0,5 | 5,0 | 4,675 | 4,459 | 4,387 | |
| 5,5 | 0,5 | 5,50 | 5,175 | 4,959 | 4,887 |
| 6 | 1 | 6,0 | 5,350 | 4,917 | 4,773 |
| 0,75 | 6,0 | 5,513 | 5,188 | 5,080 | |
| 0,5 | 6,0 | 5,675 | 5,459 | 5,387 | |
| 7 | 1 | 7,0 | 6,350 | 5,917 | 5,773 |
| 0,75 | 7,0 | 6,513 | 6,188 | 6,080 | |
| 0,5 | 7,0 | 6,675 | 6,459 | 6,387 | |
| 8 | 1,25 | 8,0 | 7,188 | 6,647 | 6,466 |
| 1 | 8,0 | 7,350 | 6,917 | 6,773 | |
| 0,75 | 8,0 | 7,513 | 7,188 | 7,080 | |
| 0,5 | 8,0 | 7,675 | 7,459 | 7,387 | |
| 9 | 1,25 | 9,0 | 8,188 | 7,647 | 7,466 |
| 1 | 9,0 | 8,350 | 7,917 | 7,773 | |
| 0,75 | 9,0 | 8,513 | 8,188 | 8,080 | |
| 0,5 | 9,0 | 8,675 | 8,459 | 8,387 | |
| 10 | 1,5 | 10,0 | 9,026 | 8,376 | 8,160 |
| 1,25 | 10,0 | 9,188 | 8,647 | 8,466 | |
| 1 | 10,0 | 9,350 | 8,917 | 8,773 | |
| 0,75 | 10,0 | 9,513 | 9,188 | 9,080 | |
| 0,5 | 10,0 | 9,675 | 9,459 | 9,387 | |
| 11 | 1,5 | 11,0 | 10,026 | 9,376 | 9,160 |
| 1 | 11,0 | 10,350 | 9,917 | 9,773 | |
| 0,75 | 11,0 | 10,513 | 10,188 | 10,080 | |
| 0,5 | 11,0 | 10,675 | 10,459 | 10,387 | |
| 12 | 1,75 | 12,0 | 10,863 | 10,106 | 9,853 |
| 1,5 | 12,0 | 11,026 | 10,376 | 10,160 | |
| 1,25 | 12,0 | 11,188 | 10,647 | 10,466 | |
| 1 | 12,0 | 11,350 | 10,917 | 10,773 | |
| 0,75 | 12,0 | 11,513 | 11,188 | 11,080 | |
| 0,5 | 12,0 | 11,675 | 11,459 | 11,387 | |
| 14 | 2 | 14,0 | 12,701 | 11,835 | 11,546 |
| 1,5 | 14,0 | 13,026 | 12,376 | 12,160 | |
| 1,25 | 14,0 | 13,188 | 12,647 | 12,466 | |
| 1 | 14,0 | 13,350 | 12,917 | 12,773 | |
| 0,75 | 14,0 | 13,513 | 13,188 | 13,080 | |
| 0,5 | 14,0 | 13,675 | 13,459 | 13,387 | |
| 15 | 1,5 | 15,0 | 14,026 | 13,376 | 13,160 |
| 1 | 15,0 | 14,350 | 13,917 | 13,773 | |
| 16 | 2 | 16,0 | 14,701 | 13,835 | 13,546 |
| 1,5 | 16,0 | 15,026 | 14,376 | 14,160 | |
| 1 | 16,0 | 15,350 | 14,917 | 14,773 | |
| 0,75 | 16,0 | 15,513 | 15,188 | 15,080 | |
| 0,5 | 16,0 | 15,675 | 15,459 | 15,387 | |
| 17 | 1,5 | 17,0 | 16,026 | 15,376 | 15,160 |
| 1 | 17,0 | 16,350 | 15,917 | 15,773 | |
| 18 | 2,5 | 18,0 | 16,376 | 15,294 | 14,933 |
| 2 | 18,0 | 16,701 | 15,835 | 15,546 | |
| 1,5 | 18,0 | 17,026 | 16,376 | 16,160 | |
| 1 | 18,0 | 17,350 | 16,917 | 16,773 | |
| 0,75 | 18,0 | 17,518 | 17,188 | 17,080 | |
| 0,5 | 18,0 | 17,675 | 17,459 | 17,387 | |
| 20 | 2,5 | 20,0 | 18,376 | 17,294 | 16,933 |
| 2 | 20,0 | 18,701 | 17,835 | 17,546 | |
| 1,5 | 20,0 | 19,026 | 18,376 | 18,160 | |
| 1 | 20,0 | 19,350 | 18,917 | 18,773 | |
| 0,75 | 20,0 | 19,513 | 19,188 | 19,080 | |
| 0,5 | 20,0 | 19,675 | 19,459 | 19,387 | |
| 22 | 2,5 | 22,0 | 20,376 | 19,294 | 18,933 |
| 2 | 22,0 | 20,701 | 19,835 | 19,546 | |
| 1,5 | 22,0 | 21,026 | 20,376 | 20,160 | |
| 1 | 22,0 | 21,350 | 20,917 | 20,773 | |
| 0,75 | 22,0 | 21,513 | 21,188 | 21,080 | |
| 0,5 | 22,0 | 21,675 | 21,459 | 21,387 | |
| 24 | 3 | 24,0 | 22,051 | 20,752 | 20,319 |
| 2 | 24,0 | 22,701 | 21,835 | 21,546 | |
| 1,5 | 24,0 | 23,026 | 22,376 | 22,160 | |
| 1 | 24,0 | 23,350 | 22,917 | 22,773 | |
| 0,75 | 24,0 | 23,513 | 23,188 | 23,080 | |
| 25 | 2 | 25,0 | 23,701 | 22,835 | 22,546 |
| 1,5 | 25,0 | 24,026 | 23,376 | 23,160 | |
| 1 | 25,0 | 24,350 | 23,917 | 23,773 | |
| 26 | 1,5 | 26,0 | 25,026 | 24,376 | 24,160 |
| 27 | 3 | 27,0 | 25,051 | 23,752 | 23,319 |
| 2 | 27,0 | 25,701 | 24,835 | 24,546 | |
| 1,5 | 27,0 | 26,026 | 25,376 | 25,160 | |
| 1 | 27,0 | 26,350 | 25,917 | 25,773 | |
| 0,75 | 27,0 | 26,513 | 26,188 | 26,080 | |
| 28 | 2 | 28,0 | 26,701 | 25,835 | 25,546 |
| 1,5 | 28,0 | 27,026 | 26,376 | 26,160 | |
| 1 | 28,0 | 27,350 | 26,917 | 26,773 | |
| 30 | 3,5 | 30,0 | 27,727 | 26,211 | 25,706 |
| 3 | 30,0 | 28,051 | 26,752 | 26,319 | |
| 2 | 30,0 | 28,701 | 27,835 | 27,546 | |
| 1,5 | 30,0 | 29,026 | 28,376 | 28,160 | |
| 1 | 30,0 | 29,350 | 28,917 | 28,773 | |
| 0,75 | 30,0 | 29,513 | 29,188 | 29,080 | |
| 32 | 2 | 32,0 | 30,701 | 29,835 | 29,546 |
| 1,5 | 32,0 | 31,026 | 30,376 | 30,160 | |
| 33 | 3,5 | 33,0 | 30,727 | 29,211 | 28,706 |
| 3 | 33,0 | 31,051 | 29,752 | 29,319 | |
| 2 | 33,0 | 31,701 | 30,835 | 30,546 | |
| 1,5 | 33,0 | 32,026 | 31,376 | 31,160 | |
| 1 | 33,0 | 32,350 | 31,917 | 31,773 | |
| 0,75 | 33,0 | 32,513 | 32,188 | 32,080 | |
| 35 | 1,5 | 35,0 | 34,026 | 33,376 | 33,160 |
| 36 | 4 | 36,0 | 33,402 | 31,670 | 31,093 |
| 3 | 36,0 | 34,051 | 32,752 | 32,319 | |
| 2 | 36,0 | 34,701 | 33,835 | 33,546 | |
| 1,5 | 38,0 | 35,026 | 34,376 | 34,160 | |
| 1 | 36,0 | 35,350 | 34,917 | 34,773 | |
| 38 | 1,5 | 38,0 | 37,026 | 36,376 | 36,160 |
| 39 | 4 | 39,0 | 36,402 | 34,670 | 34,093 |
| 3 | 39,0 | 37,051 | 35,752 | 35,319 | |
| 2 | 39,0 | 37,701 | 36,835 | 36,546 | |
| 1,5 | 39,0 | 38,026 | 37,376 | 37,160 | |
| 1 | 39,0 | 38,350 | 37,917 | 37,773 | |
| 40 | 3 | 40,0 | 38,051 | 36,752 | 36,319 |
| 2 | 40,0 | 38,701 | 37,835 | 37,546 | |
| 1,5 | 40,0 | 39,026 | 38,376 | 38,160 | |
| 42 | 4,5 | 42,0 | 39,077 | 37,129 | 36,479 |
| 4 | 42,0 | 39,402 | 37,670 | 37,093 | |
| 3 | 42,0 | 40,051 | 38,752 | 38,319 | |
| 2 | 42,0 | 40,701 | 39,835 | 39,546 | |
| 42 | 1,5 | 42,0 | 41,026 | 40,376 | 40,160 |
| 1 | 42,0 | 41,350 | 40,917 | 40,773 | |
| 45 | 4,5 | 45,0 | 42,077 | 40,129 | 39,479 |
| 4 | 45,0 | 42,402 | 40,670 | 40,093 | |
| 3 | 45,0 | 43,051 | 41,752 | 41,319 | |
| 2 | 45,0 | 43,701 | 42,835 | 42,546 | |
| 1,5 | 45,0 | 44,026 | 43,376 | 43,160 | |
| 1 | 45,0 | 44,350 | 43,917 | 43,773 | |
| 48 | 5 | 48,0 | 44,752 | 42,587 | 41,866 |
| 4 | 48,0 | 45,402 | 43,670 | 43,093 | |
| 3 | 48,0 | 46,051 | 44,752 | 44,319 | |
| 2 | 48,0 | 46,701 | 45,835 | 45,516 | |
| 1,5 | 48,0 | 47,026 | 46,376 | 46,160 | |
| 1 | 48,0 | 47,350 | 46,917 | 46,773 | |
| 50 | 3 | 50,0 | 48,051 | 46,752 | 46,319 |
| 2 | 50,0 | 48,701 | 47,835 | 47,546 | |
| 1,5 | 50,0 | 49,026 | 48,376 | 48,160 | |
| 52 | 5 | 52,0 | 48,752 | 46,587 | 45,866 |
| 4 | 52,0 | 49,402 | 47,670 | 47,093 | |
| 3 | 52,0 | 50,051 | 48,752 | 48,319 | |
| 2 | 52,0 | 50,701 | 49,835 | 49,546 | |
| 1,5 | 52,0 | 51,026 | 50,376 | 50,160 | |
| 1 | 52,0 | 51,350 | 50,917 | 50,773 | |
| 55 | 4 | 55,0 | 52,402 | 50,670 | 50,093 |
| 3 | 55,0 | 53,051 | 51,752 | 51,319 | |
| 2 | 55,0 | 53,701 | 52,835 | 52,546 | |
| 1,5 | 55,0 | 54,026 | 53,376 | 53,160 | |
| 56 | 5,5 | 56,0 | 52,428 | 50,046 | 49,253 |
| 4 | 56,0 | 53,402 | 51,670 | 51,093 | |
| 3 | 56,0 | 54,051 | 52,752 | 52,319 | |
| 2 | 56,0 | 54,701 | 53,835 | 53,546 | |
| 1,5 | 56,0 | 55,026 | 54,376 | 54,160 | |
| 1 | 56,0 | 55,350 | 54,917 | 54,773 | |
| 58 | 4 | 58,0 | 55,402 | 53,670 | 53,093 |
| 3 | 58,0 | 56,051 | 54,752 | 54,319 | |
| 2 | 58,0 | 56,701 | 55,835 | 55,546 | |
| 1,5 | 58,0 | 57,026 | 56,376 | 56,160 | |
| 60 | 5,5 | 60,0 | 56,428 | 54,046 | 53,252 |
| 4 | 60,0 | 57,402 | 55,670 | 55,093 | |
| 3 | 60,0 | 58,051 | 56,752 | 56,319 | |
| 2 | 60,0 | 58,701 | 57,835 | 57,546 | |
| 1,5 | 60,0 | 59,026 | 58,376 | 58,160 | |
| 1 | 60,0 | 59,350 | 58,917 | 58,773 | |
| 62 | 4 | 62,0 | 59,402 | 57,670 | 57,093 |
| 3 | 62,0 | 60,051 | 58,752 | 58,319 | |
| 2 | 62,0 | 60,701 | 59,835 | 59,546 | |
| 1,5 | 62,0 | 61,026 | 60,376 | 60,160 | |
| 64 | 6 | 64,0 | 60,103 | 57,505 | 56,639 |
| 4 | 64,0 | 61,402 | 59,670 | 59,093 | |
| 3 | 64,0 | 62,051 | 60,752 | 60,319 | |
| 2 | 64,0 | 62,701 | 61,835 | 61,546 | |
| 1,5 | 64,0 | 63,026 | 62,376 | 62,160 | |
| 1 | 64,0 | 63,350 | 62,917 | 62,773 | |
| 65 | 4 | 65,0 | 62,402 | 60,670 | 60,093 |
| 3 | 65,0 | 63,051 | 61,752 | 61,319 | |
| 2 | 65,0 | 63,701 | 62,835 | 62,546 | |
| 1,5 | 65,0 | 64,026 | 63,376 | 63,160 | |
| 68 | 6 | 68,0 | 64,103 | 61,505 | 60,639 |
| 4 | 68,0 | 64,402 | 63,670 | 63,093 | |
| 3 | 68,0 | 66,051 | 64,752 | 64,319 | |
| 2 | 68,0 | 66,701 | 65,835 | 65,546 | |
| 1,5 | 68,0 | 67,026 | 66,376 | 66,160 | |
| 1 | 68,0 | 67,350 | 66,917 | 66,773 | |
| 70 | 6 | 70,0 | 66,103 | 63,505 | 62,639 |
| 4 | 70,0 | 67,402 | 65,670 | 65,093 | |
| 3 | 70,0 | 68,051 | 66,752 | 66,319 | |
| 2 | 70,0 | 68,701 | 67,835 | 67,546 | |
| 1,5 | 70,0 | 69,026 | 68,376 | 68,160 | |
| 72 | 6 | 72,0 | 68,103 | 65,505 | 64,639 |
| 4 | 72,0 | 69,402 | 67,670 | 67,093 | |
| 3 | 72,0 | 70,051 | 68,752 | 68,319 | |
| 2 | 72,0 | 70,701 | 69,835 | 69,546 | |
| 1,5 | 72,0 | 71,026 | 70,376 | 70,160 | |
| 1 | 72,0 | 71,350 | 70,917 | 70,773 | |
| 75 | 4 | 75,0 | 72,402 | 70,670 | 70,093 |
| 3 | 75,0 | 73,051 | 71,752 | 71,319 | |
| 2 | 75,0 | 73,701 | 72,835 | 72,546 | |
| 1,5 | 75,0 | 74,026 | 73,376 | 73,160 | |
| 76 | 6 | 76,0 | 72,103 | 69,505 | 68,639 |
| 4 | 76,0 | 73,402 | 71,670 | 71,093 | |
| 3 | 76,0 | 74,051 | 72,752 | 72,319 | |
| 2 | 76,0 | 74,701 | 73,835 | 73,546 | |
| 1,5 | 76,0 | 75,026 | 74,376 | 74,160 | |
| 1 | 76,0 | 75,350 | 74,917 | 74,773 | |
| 78 | 2 | 78,0 | 76,701 | 75,835 | 75,546 |
| 80 | 6 | 80,0 | 76,103 | 73,505 | 72,639 |
| 4 | 80,0 | 77,402 | 75,670 | 75,093 | |
| 3 | 80,0 | 78,051 | 76,752 | 76,319 | |
| 2 | 80,0 | 78,701 | 77,835 | 77,546 | |
| 1,5 | 80,0 | 79,026 | 78,376 | 78,160 | |
| 1 | 80,0 | 79,350 | 78,917 | 78,773 | |
| 82 | 2 | 82,0 | 80,701 | 79,835 | 79,546 |
| 85 | 6 | 85,0 | 81,103 | 78,505 | 77,639 |
| 4 | 85,0 | 82,402 | 80,670 | 80,093 | |
| 3 | 85,0 | 83,051 | 81,752 | 81,319 | |
| 2 | 85,0 | 83,701 | 82,835 | 82,546 | |
| 1,5 | 85,0 | 84,026 | 83,376 | 83,160 | |
| 90 | 6 | 90,0 | 86,103 | 83,505 | 82,639 |
| 4 | 90,0 | 87,402 | 85,670 | 85,093 | |
| 3 | 90,0 | 88,051 | 86,752 | 86,319 | |
| 2 | 90,0 | 88,701 | 87,835 | 87,546 | |
| 1,5 | 90,0 | 89,026 | 88,376 | 88,160 | |
| 95 | 6 | 95,0 | 91,103 | 88,505 | 87,639 |
| 4 | 95,0 | 92,402 | 90,670 | 90,093 | |
| 3 | 95,0 | 93,051 | 91,752 | 91,319 | |
| 2 | 95,0 | 93,701 | 92,835 | 92,546 | |
| 1,5 | 95,0 | 94,026 | 93,376 | 93,160 | |
| 10 | 6 | 100,0 | 96,103 | 93,505 | 92,639 |
| 4 | 100,0 | 97,402 | 95,670 | 95,093 | |
| 3 | 100,0 | 98,051 | 96,752 | 96,319 | |
| 2 | 100,0 | 98,701 | 97,835 | 97,546 | |
| 1,5 | 100,0 | 99,026 | 98,376 | 98,160 | |
| 105 | 6 | 105,0 | 101,103 | 98,505 | 97,639 |
| 4 | 105,0 | 102,402 | 100,670 | 100,093 | |
| 3 | 105,0 | 103,051 | 101,752 | 101,319 | |
| 2 | 105,0 | 103,701 | 102,835 | 102,546 | |
| 1,5 | 105,0 | 104,026 | 103,376 | 103,160 | |
| 110 | 6 | 110,0 | 106,103 | 103,505 | 102,639 |
| 4 | 110,0 | 107,402 | 105,670 | 105,093 | |
| 3 | 110,0 | 108,051 | 106,752 | 106,319 | |
| 2 | 110,0 | 108,701 | 107,835 | 107,546 | |
| 1,5 | 110,0 | 109,026 | 108,376 | 108,160 | |
| 115 | 6 | 115,0 | 111,103 | 108,505 | 107,639 |
| 4 | 115,0 | 112,402 | 110,670 | 110,093 | |
| 3 | 115,0 | 113,051 | 111,752 | 111,319 | |
| 2 | 115,0 | 113,701 | 112,835 | 112,546 | |
| 1,5 | 115,0 | 114,026 | 113,376 | 113,160 | |
| 120 | 6 | 120,0 | 116,103 | 113,505 | 112,639 |
| 4 | 120,0 | 117,402 | 115,670 | 115,093 | |
| 3 | 120,0 | 118,051 | 116,752 | 116,319 | |
| 2 | 120,0 | 118,701 | 117,835 | 117,546 | |
| 1,5 | 120,0 | 119,026 | 118,376 | 118,160 | |
| 125 | 8 | 125,0 | 119,804 | 116,340 | 115,185 |
| 6 | 125,0 | 121,103 | 118,505 | 117,639 | |
| 4 | 125,0 | 122,402 | 120,670 | 120,093 | |
| 8 | 125,0 | 123,051 | 121,752 | 121,319 | |
| 2 | 125,0 | 123,701 | 122,835 | 122,546 | |
| 1,5 | 125,0 | 124,026 | 123,376 | 123,160 | |
| 130 | 8 | 130,0 | 124,804 | 121,340 | 120,185 |
| 6 | 130,0 | 126,103 | 123,505 | 122,639 | |
| 4 | 130,0 | 127,402 | 125,670 | 125,093 | |
| 3 | 130,0 | 128,051 | 126,752 | 126,319 | |
| 2 | 130,0 | 128,701 | 127,835 | 127,546 | |
| 1,5 | 130,0 | 129,026 | 128,376 | 128,160 | |
| 135 | 6 | 135,0 | 131,103 | 128,505 | 127,639 |
| 4 | 135,0 | 132,402 | 130,670 | 130,093 | |
| 3 | 135,0 | 133,051 | 131,752 | 131,319 | |
| 2 | 135,0 | 133,701 | 132,835 | 132,546 | |
| 1,5 | 135,0 | 134,026 | 133,376 | 133,160 | |
| 140 | 8 | 140,0 | 134,804 | 131,340 | 130,185 |
| 6 | 140,0 | 136,103 | 133,505 | 132,639 | |
| 4 | 140,0 | 537,402 | 135,670 | 135,093 | |
| 3 | 140,0 | 138,051 | 136,752 | 136,319 | |
| 2 | 140,0 | 138,701 | 137,835 | 137,546 | |
| 1,5 | 140,0 | 139,026 | 138,376 | 138,160 | |
| 145 | 6 | 145,0 | 141,103 | 138,505 | 137,639 |
| 4 | 145,0 | 142,402 | 140,670 | 140,093 | |
| 3 | 145,0 | 143,051 | 141,752 | 141,319 | |
| 2 | 145,0 | 143,701 | 142,835 | 142,546 | |
| 1,5 | 145,0 | 144,025 | 143,376 | 143,160 | |
| 150 | 8 | 150,0 | 144,804 | 141,340 | 140,185 |
| 6 | 150,0 | 146,103 | 143,505 | 142,639 | |
| 4 | 150,0 | 147,402 | 145,670 | 145,093 | |
| 3 | 150,0 | 148,051 | 146,752 | !46,319 | |
| 2 | 150,0 | 148,701 | 147,835 | 147,546 | |
| 1,5 | 150,0 | 149,026 | 148,376 | 148,160 | |
| 155 | 6 | 155,0 | 151,103 | 148,505 | 147,639 |
| 4 | 155,0 | 152,402 | 150,670 | 150,093 | |
| 3 | 155,0 | 153,051 | 151,752 | 151,319 | |
| 2 | 155,0 | 153,701 | 152,835 | 152,546 | |
| 160 | 8 | 160,0 | 154,804 | 151,340 | 150,185 |
| 6 | 160,0 | 156,103 | 153,505 | 152,639 | |
| 4 | 160,0 | 157,402 | 155,670 | 155,093 | |
| 3 | 160,0 | 158,051 | 156,752 | 156,319 | |
| 2 | 160,0 | 158,701 | 157,835 | 157,546 | |
| 165 | 6 | 165,0 | 161,103 | 158,505 | 157,639 |
| 4 | 165,0 | 162,402 | 160,670 | 160,093 | |
| 3 | 165,0 | 163,051 | 161,752 | 161,319 | |
| 2 | 165,0 | 163,701 | 162,835 | 162,546 | |
| 170 | 8 | 170,0 | 164,804 | 161,340 | 160,185 |
| 6 | 170,0 | 166,103 | 163,505 | 162,639 | |
| 4 | 170,0 | 167,402 | 165,670 | 165,093 | |
| 3 | 170,0 | 168,051 | 166,752 | 166,319 | |
| 2 | 170,0 | 168,701 | 167,835 | 167,546 | |
| 175 | 6 | 175,0 | 171,103 | 168,505 | 167,639 |
| 4 | 175,0 | 172,402 | 170,670 | 170,093 | |
| 3 | 175,0 | 173,051 | 171,752 | 171,319 | |
| 2 | 175,0 | 173,701 | 172,835 | 172,546 | |
| 180 | 8 | 180,0 | 174,804 | 171,340 | 170,185 |
| 6 | 180,0 | 176,103 | 173,505 | 172,639 | |
| 4 | 180,0 | 177,402 | 175,670 | 175,093 | |
| 3 | 180,0 | 178,051 | 176,752 | 176,319 | |
| 2 | 180,0 | 178,701 | 177,835 | 177,546 | |
| 185 | 6 | 185,0 | 181,103 | 178,605 | 177,639 |
| 4 | 185,0 | 182,402 | 180,670 | 180,093 | |
| 3 | 185,0 | 183,051 | 181,752 | 181,319 | |
| 2 | 185,0 | 183,701 | 182,835 | 182,546 | |
| 190 | 8 | 190,0 | 184,804 | 181,340 | 180,185 |
| 6 | 190,0 | 186,103 | 183,505 | 182,639 | |
| 4 | 190,0 | 187,402 | 185,670 | 185,093 | |
| 3 | 190,0 | 188,051 | 186,752 | 186,319 | |
| 2 | 190,0 | 188,701 | 187,835 | 187,546 | |
| 195 | 6 | 195,0 | 191,103 | 188,505 | 187,639 |
| 4 | 195,0 | 192,402 | 190,670 | 190,093 | |
| 3 | 195,0 | 193,051 | 191,752 | 191,319 | |
| 2 | 195,0 | 193,701 | 192,835 | 192,546 | |
| 200 | 8 | 200,0 | 194,804 | 191,340 | 190,185 |
| 6 | 200,0 | 196,103 | 193,505 | 192,639 | |
| 4 | 200,0 | 197,402 | 195,670 | 195,093 | |
| 3 | 200,0 | 198,051 | 196,752 | 196,319 | |
| 2 | 200,0 | 198,701 | 197,835 | 197,546 | |
| 205 | 6 | 205,0 | 201,103 | 198,505 | 197,639 |
| 4 | 205,0 | 202,402 | 20,670 | 200,093 | |
| 3 | 205,0 | 203,051 | 201,752 | 201,319 | |
| 210 | 8 | 210,0 | 204,804 | 201,340 | 200,185 |
| 6 | 210,0 | 206,103 | 203,505 | 202,639 | |
| 4 | 210,0 | 207,402 | 205,670 | 205,093 | |
| 3 | 210,0 | 208,051 | 206,752 | 206,319 | |
| 215 | 6 | 215,0 | 211,103 | 208,505 | 2,07,639 |
| 4 | 215,0 | 212,402 | 210,670 | 210,093 | |
| 3 | 215,0 | 213,051 | 211,752 | 211,319 | |
| 220 | 8 | 220,0 | 214,804 | 211,340 | 210,185 |
| 6 | 220,0 | 216,103 | 213,505 | 212,639 | |
| 4 | 220,0 | 217,402 | 215,670 | 215,093 | |
| 3 | 220,0 | 218,051 | 216,752 | 216,319 | |
| 225 | 6 | 225,0 | 221,103 | 218,505 | 217,639 |
| 4 | 225,0 | 222,402 | 220,670 | 220,093 | |
| 3 | 225,0 | 223,051 | 221,752 | 221,319 | |
| 230 | 8 | 230,0 | 224,804 | 221,340 | 220,185 |
| 6 | 230,0 | 226,103 | 223,505 | 222,639 | |
| 4 | 230,0 | 227,402 | 225,670 | 225,098 | |
| 3 | 230,0 | 228,051 | 226,752 | 226,319 | |
| 235 | 6 | 235,0 | 231,103 | 228,505 | 227,639 |
| 4 | 235,0 | 232,402 | 230,670 | 230,093 | |
| 3 | 235,0 | 233,051 | 231,752 | 231,319 | |
| 240 | 8 | 240,0 | 234,804 | 231,340 | 230,185 |
| 6 | 240,0 | 236,103 | 233,505 | 232,639 | |
| 4 | 240,0 | 237,402 | 235,670 | 235,093 | |
| 3 | 240,0 | 238,051 | 236,752 | 236,319 | |
| 245 | 6 | 245,0 | 241,103 | 238,505 | 237,639 |
| 4 | 245,0 | 242,402 | 240,670 | 240,093 | |
| 3 | 245,0 | 243,051 | 241,752 | 241,319 | |
| 250 | 8 | 250,0 | 244,804 | 241,340 | 240,185 |
| 6 | 250,0 | 246,103 | 243,505 | 242,639 | |
| 4 | 250,0 | 247,402 | 245,670 | 245,093 | |
| 3 | 250,0 | 248,051 | 246,752 | 246,319 | |
| 255 | 6 | 255,0 | 21,103 | 248,505 | 247,639 |
| 4 | 255,0 | 252,402 | 250,670 | 250,093 | |
| 3 | 255,0 | 253,051 | 251,752 | 251,319 | |
| 260 | 8 | 260,0 | 254,804 | 251,340 | 250,185 |
| 6 | 260,0 | 256,103 | 253,505 | 252,639 | |
| 4 | 260,0 | 257,402 | 255,670 | 255,093 | |
| 3 | 260,0 | 258,051 | 256,752 | 256,319 | |
| 265 | 6 | 265,0 | 261,103 | 258,505 | 257,639 |
| 4 | 265,0 | 262,402 | 260,670 | 260,093 | |
| 3 | 265,0 | 263,051 | 261,752 | 261,319 | |
| 270 | 8 | 270,0 | 264,804 | 261,340 | 260,185 |
| 6 | 270,0 | 266,103 | 263,505 | 262,639 | |
| 4 | 270,0 | 267,402 | 265,670 | 265,093 | |
| 3 | 270,0 | 268,051 | 266,752 | 266,319 | |
| 275 | 6 | 275,0 | 271,103 | 268,505 | 267,639 |
| 4 | 275,0 | 272,402 | 270,670 | 270,093 | |
| 3 | 275,0 | 273,051 | 271,752 | 271,319 | |
| 280 | 8 | 280,0 | 274,804 | 271,340 | 270,185 |
| 6 | 280,0 | 276,103 | 273,505 | 272,639 | |
| 4 | 280,0 | 277,402 | 275,670 | 275,093 | |
| 3 | 280,0 | 278,051 | 276,752 | 276,319 | |
| 285 | 6 | 285,0 | 281,103 | 278,505 | 277,639 |
| 4 | 285,0 | 282,402 | 280,670 | 280,093 | |
| 3 | 285,0 | 283,051 | 281,752 | 281,319 | |
| 290 | 8 | 290,0 | 284,804 | 281,340 | 280,185 |
| 6 | 290,0 | 286,103 | 283,505 | 282,639 | |
| 4 | 290,0 | 287,402 | 285,670 | 285,093 | |
| 3 | 290,0 | 288,051 | 286,752 | 286,319 | |
| 295 | 6 | 295,0 | 291,103 | 288,505 | 287,639 |
| 4 | 295,0 | 292,402 | 290,670 | 290,093 | |
| 3 | 295,0 | 293,051 | 291,752 | 291,319 | |
| 300 | 8 | 300,0 | 294,804 | 291,340 | 290,185 |
| 6 | 300,0 | 296,103 | 293,505 | 292,639 | |
| 4 | 300,0 | 297,402 | 295,670 | 295,093 | |
| 3 | 300,0 | 298,051 | 296,752 | 296,319 | |
| 310 | 6 | 310,0 | 306,103 | 303,505 | 302,639 |
| 4 | 310,0 | 307,402 | 305,670 | 305,093 | |
| 320 | 8 | 320,0 | 314,804 | 311,340 | 310,185 |
| 6 | 320,0 | 3!6,103 | 313,505 | 312,639 | |
| 4 | 320,0 | 317,402 | 315,670 | 315,093 | |
| 330 | 6 | 330,0 | 326,103 | 323,505 | 322,639 |
| 4 | 330,0 | 327,402 | 325,670 | 325,093 | |
| 340 | 8 | 340,0 | 334,804 | 331,340 | 330,185 |
| 6 | 340,0 | 336,103 | 333,505 | 332,639 | |
| 4 | 340,0 | 337,402 | 335,670 | 335,093 | |
| 350 | 6 | 350,0 | 346,103 | 343,505 | 342,639 |
| 4 | 350,0 | 347,402 | 345,670 | 345,093 | |
| 360 | 8 | 360,0 | 354,804 | 351,340 | 350,185 |
| 6 | 360,0 | 356,103 | 353,505 | 352,639 | |
| 4 | 360,0 | 357,402 | 355,670 | 355,093 | |
| 370 | 6 | 370,0 | 366,103 | 363,505 | 362,639 |
| 4 | 370,0 | 367,402 | 365,670 | 365,093 | |
| 380 | 8 | 380,0 | 374,804 | 371,340 | 370,185 |
| 6 | 380,0 | 376,103 | 373,505 | 372,639 | |
| 4 | 380,0 | 377,402 | 375,670 | 375,093 | |
| 390 | 6 | 390,0 | 386,103 | 383,505 | 382,639 |
| 4 | 390,0 | 387,402 | 385,670 | 385,093 | |
| 400 | 8 | 400,0 | 394,804 | 391,340 | 390,185 |
| 6 | 400,0 | 396,103 | 393,505 | 392,639 | |
| 4 | 400,0 | 397,402 | 395,670 | 395,093 | |
| 410 | 6 | 410,0 | 406,103 | 403,505 | 402,639 |
| 420 | 8 | 420,0 | 414,804 | 411,340 | 410,185 |
| 6 | 420,0 | 416,103 | 413,505 | 412,639 | |
| 430 | 6 | 430,0 | 426,103 | 423,505 | 422,639 |
| 440 | 8 | 440,0 | 434,804 | 431,340 | 430,185 |
| 6 | 440,0 | 436,103 | 433,505 | 432,639 | |
| 450 | 6 | 450,0 | 446,103 | 443,505 | 442,639 |
| 460 | 8 | 460,0 | 454,804 | 451,340 | 450,185 |
| 6 | 460,0 | 456,103 | 453,505 | 452,639 | |
| 470 | 6 | 470,0 | 466,103 | 463,505 | 462,639 |
| 480 | 8 | 480,0 | 474,804 | 471,340 | 470,185 |
| 6 | 480,0 | 476,103 | 473,505 | 472,639 | |
| 490 | 6 | 490,0 | 486,103 | 483,505 | 482,639 |
| 500 | 8 | 500,0 | 494,804 | 491,340 | 490,185 |
| 6 | 500,0 | 496,103 | 493,505 | 492,639 | |
| 510 | 6 | 510,0 | 506,103 | 503,505 | 502,639 |
| 520 | 8 | 520,0 | 514,804 | 511,340 | 510,185 |
| 6 | 520,0 | 516,103 | 513,505 | 512,639 | |
| 530 | 6 | 530,0 | 526,103 | 523,505 | 522,639 |
| 540 | 8 | 540,0 | 534,804 | 531,340 | 530,185 |
| 6 | 540,0 | 536,103 | 533,505 | 532,639 | |
| 550 | 6 | 550,0 | 546,103 | 543,505 | 542,639 |
| 560 | 8 | 560,0 | 554,804 | 551,340 | 550,185 |
| 6 | 560,0 | 556,103 | 553,505 | 552,639 | |
| 570 | 6 | 570,0 | 566,103 | 563,505 | 562,639 |
| 580 | 8 | 580,0 | 574,804 | 571,340 | 570,185 |
| 6 | 580,0 | 576,103 | 573,505 | 572,639 | |
| 590 | 6 | 590,0 | 586,103 | 583,505 | 582,639 |
| 600 | 8 | 600,0 | 594,804 | 591,340 | 590,185 |
| 6 | 600,0 | 596,103 | 593,505 | 592,639 | |
Параметры резьбы
Размеры резьбы и точность ее профиля являются решающими факторами при определении следующего:
- возможно ли выполнение поверхностной обработки болта;
- возможно ли свободное соединение;
- сможет ли резьба выдерживать усилия, на которое рассчитано соединение деталей.

Расчет параметров резьбы основывается на номинальном диаметре резьбы, шаге резьбы и внутреннем диаметре резьбы:
|
D… Номинальный наружный диаметр внутренней резьбы (гайка) d… Номинальный наружный диаметр наружной резьбы (болт) _____________________________________________________ D/d Номинальный диаметр резьбы D2/d2 Номинальный средний диаметр резьбы D1/d3 Номинальный внутренний диаметр резьбы P Шаг резьбы |
Значение диаметров метрической резьбы вычисляют по формулам:
D2 (d2) = D(d) — 0,6495P
D1 (d1) = D(d) — 1,0825P
Размеры наружной резьбы (болта) измеряются калибрами, микрометрами или оптическими измерительными приборами, в то время как внутренняя резьба (гайка) измеряется цилиндрическими калибрами.
Основные параметры резьбы, учитываемые при соединении деталей:
Допуск на резьбу
Устанавливается допуски для двух диаметров резьбы – среднего диаметра и диаметра выступов (наружного диаметра наружной резьбы и внутреннего диаметра внутренней резьбы).
Допуск среднего диаметра резьбы определяет допустимую степень отклонения номинального среднего диаметра наружной (d2) и внутренней резьбы (D2).
Допуск на диаметр выступов устанавливает допустимую степень отклонения номинального наружного диаметра (d) крепежа с наружной резьбой (например, болты, винты) и номинального внутреннего диаметра (D) крепежа с внутренней резьбой (например, гайки).
Значение допуска среднего диаметра и диаметра выступов всегда отрицательное для крепежа с наружной резьбой и положительное для крепежа с внутренней резьбой.
Положительный допуск на внутреннюю резьбу и отрицательный на внешнюю позволяет оставлять необходимый допуск на возможную последующую обработку.
|
0 — нулевая отметка (h/H) — Номинальный диаметр +/- — положительные/отрицательные зоны расположения допусков e/g/G — положение допуска относительно 0 (h/H) 6/7/8 — степень точности допуска * — стандартный размер допуска болта/гайки Es/ei — максимальный размер границы поля допуска Ei/es — минимальный размер границы поля допуска ↨ — допуск зазора для антикоррозийного покрытия |
Поле допуска
Расстояние между максимальным и минимальным значением установленного ограничения (размер поля es-ei/EI-ES) определяет поле допуска. Поле допуска резьбы образуется сочетанием полей допусков среднего диаметра и диаметра выступов.
Положение поля допуска диаметра резьбы определяется основным отклонением (верхним для наружной резьбы и нижним для внутренней резьбы) и обозначается буквой латинского алфавита, строчной для наружной резьбы и прописной для внутренней.
Обозначение поля допуска отдельного диаметра резьбы состоит из цифры, указывающей степень точности, и буквы, указывающей основное отклонение. Например, 4h; 6g; 6H.
Обозначение поля допуска резьбы состоит из обозначения поля допуска среднего диаметра помещаемого на первом месте, и обозначения поля допуска диаметра выступов: 7g 6g (поле допуска d2 и d).
Если обозначение поля допуска диаметров выступов совпадает с обозначением поля среднего диаметра, то оно в обозначении поля допуска резьбы не повторяется.
Рекомендованные поля допуска для длины свинчивания N (до нанесения антикоррозийного покрытия) на крепеж с DIN, ISO, DIN ISO, DIN EN ISO, ГОСТ стандартами:
|
Класс точности: |
Средний |
Грубый |
||
|
Резьба |
Номинальный наружный диаметр наружной резьбы (винт, болт) |
Номинальный наружный диаметр внутренней резьбы(гайка) |
Номинальный наружный диаметр наружной резьбы (винт, болт) |
Номинальный наружный диаметр внутренней резьбы(гайка) |
|
Без покрытия |
6g |
6H |
8g |
7H |
|
Тонкое гальваническое покрытие |
||||
|
Крупные размеры (без покрытия) |
6e |
6G |
8e |
7G |
|
Толстое гальваническое покрытие |
||||
|
Класс точности продукции: |
A, B |
C |
||
|
ГОСТ |
7798-70, 7805-70 |
5915-70, 5927-70 |
15589-70 |
|
|
DIN |
931, 933 |
934 |
558, 601 |
555 |
|
ISO |
4014, 4017 |
4032 |
4018, 4016 |
4034 |
Длина свинчивания резьбы
Длины свинчивания резьбы подразделяются на 3 группы: «короткие» S, «нормальные» N, «длинные» L.
Длина свинчивания традиционных соединений (группа N) зависит от шага резьбы согласно ISO 965/DIN 13-14
Длина свинчивания N max для мелкой и крупной резьбы:
|
Диаметр резьбы |
M5 |
M6 |
M8 |
M10 |
M12 |
M14-M16 |
M18-M22 |
M24-M27 |
M30-M33 |
M36-M39 |
M42-M45 |
|
|
Шаг резьбы |
Крупная резьба |
0,8 |
1 |
1,25 |
1,5 |
1,75 |
2 |
2,5 |
3 |
3,5 |
4 |
4,5 |
|
Мелкая резьба |
0,5 |
0,75 |
1 |
1,25 |
1,5 |
1,5 |
2 |
2 |
2 |
3 |
3 |
|
|
Длина свинчивания N max |
Крупная резьба |
7,5 |
9 |
12 |
15 |
18 |
24 |
30 |
36 |
45 |
53 |
63 |
|
Мелкая резьба |
4,5 |
7,1 |
9 |
12 |
13 |
16 |
16 |
25 |
25 |
36 |
36 |
|
Размеры метрической резьбы (согласно ISO 965-2 / DIN 13-20, 21, 22, 27):
|
Номи- нальный диаметр резьбы d/D |
Шаг резьбы P |
Средний диаметр нулевой линии h/H |
Наружная резьба (болт, винт) |
Внутренняя резьба (гайка) |
||||||||||||
|
Поле допус- ка / поло- жение |
Номиналь- ный диаметр резьбы d |
Номиналь- ный средний диаметр резьбы d2 |
Номиналь- ный внутренний диаметр резьбы d3 |
Поле допус- ка / поло- жение |
Номи- нальный диаметр резьбы D мин. |
Номи- нальный средний диаметр резьбы D2 |
Номи- нальный внутренний диаметр резьбы D3 |
|||||||||
|
Круп- ный |
Мел- кий |
макс. |
мин. |
макс. |
мин. |
макс. |
мин. |
макс. |
мин. |
макс. |
мин. |
макс. |
мин. |
|||
|
M3 |
0,5 |
|
2,675 |
6g |
2,980 |
2,874 |
2,655 |
2,580 |
2,367 |
2,273 |
6H |
3,000 |
2,675 |
2,775 |
2,459 |
2,599 |
|
|
|
|
6e |
2,950 |
2,844 |
2,625 |
2,550 |
2,337 |
2,243 |
6G |
3,020 |
2,695 |
2,795 |
2,479 |
2,619 |
|
|
M4 |
0,7 |
|
3,545 |
6g |
3,978 |
3,838 |
3,523 |
3,433 |
3,119 |
3,002 |
6H |
4,000 |
3,545 |
3,663 |
3,242 |
3,422 |
|
|
|
|
6e |
3,944 |
3,804 |
3,489 |
3,399 |
3,085 |
2,968 |
6G |
4,022 |
3,567 |
3,685 |
3,264 |
3,444 |
|
|
M5 |
0,8 |
|
4,48 |
6g |
4,976 |
4,826 |
4,456 |
4,361 |
3,995 |
3,869 |
6H |
5,000 |
4,480 |
4,605 |
4,134 |
4,334 |
|
|
|
|
6e |
4,940 |
4,790 |
4,420 |
4,325 |
3,959 |
3,833 |
6G |
5,024 |
4,504 |
4,629 |
4,158 |
4,358 |
|
|
M6 |
1 |
|
5,35 |
6g |
5,974 |
5,794 |
5,324 |
5,212 |
4,747 |
4,596 |
6H |
6,000 |
5,350 |
5,500 |
4,917 |
5,153 |
|
|
|
|
6e |
5,940 |
5,760 |
5,290 |
5,178 |
4,713 |
4,562 |
6G |
6,026 |
5,376 |
5,526 |
4,943 |
5,179 |
|
|
M8 |
1,25 |
|
7,188 |
6g |
7,972 |
7,760 |
7,160 |
7,042 |
6,438 |
6,272 |
6H |
8,000 |
7,188 |
7,348 |
6,647 |
6,912 |
|
|
8e |
7,937 |
7,602 |
7,125 |
6,935 |
6,403 |
6,165 |
6G |
8,028 |
7,216 |
7,376 |
6,675 |
6,940 |
|||
|
|
1 |
7,35 |
6g |
7,974 |
7,794 |
7,324 |
7,212 |
6,747 |
6,596 |
6H |
8,000 |
7,350 |
7,500 |
6,917 |
7,153 |
|
|
M10 |
1,5 |
|
9,026 |
6g |
9,965 |
9,732 |
8,994 |
8,862 |
8,128 |
7,938 |
6H |
10,000 |
9,026 |
9,206 |
8,376 |
8,676 |
|
|
8e |
9,933 |
9,558 |
8,959 |
8,747 |
8,093 |
7,823 |
6G |
10,032 |
9,058 |
9,238 |
8,408 |
8,708 |
|||
|
|
1,25 |
9,188 |
6g |
9,972 |
9,760 |
9,160 |
9,042 |
8,438 |
8,272 |
6H |
10,000 |
9,188 |
9,348 |
8,647 |
8,912 |
|
|
M12 |
1,75 |
|
10,863 |
6g |
11,966 |
11,701 |
10,829 |
10,679 |
9,819 |
9,602 |
6H |
12,000 |
10,863 |
11,063 |
10,106 |
10,441 |
|
|
8e |
11,929 |
11,504 |
10,792 |
10,556 |
9,782 |
9,479 |
6G |
12,034 |
10,897 |
11,097 |
10,140 |
10,475 |
|||
|
|
1,5 |
11,026 |
6g |
11,968 |
11,732 |
10,994 |
10,854 |
10,128 |
9,930 |
6H |
12,000 |
11,026 |
11,216 |
10,376 |
10,676 |
|
|
M14 |
2 |
|
12,701 |
6g |
13,962 |
13,682 |
12,663 |
12,503 |
11,508 |
11,271 |
6H |
14,000 |
12,701 |
12,913 |
11,835 |
12,210 |
|
|
8e |
13,929 |
13,479 |
12,630 |
12,380 |
11,475 |
11,148 |
6G |
14,038 |
12,739 |
12,951 |
11,873 |
12,248 |
|||
|
|
1,5 |
13,026 |
6g |
13,968 |
13,732 |
12,994 |
12,854 |
12,128 |
11,930 |
6H |
14,000 |
13,026 |
13,216 |
12,376 |
12,676 |
|
|
M16 |
2 |
|
14,701 |
6g |
15,962 |
15,682 |
14,663 |
14,503 |
13,508 |
13,271 |
6H |
16,000 |
14,701 |
14,913 |
13,835 |
14,210 |
|
|
8e |
15,929 |
15,479 |
14,630 |
14,380 |
13,475 |
13,148 |
6G |
16,038 |
14,739 |
14,951 |
13,873 |
14,248 |
|||
|
|
1,5 |
15,026 |
6g |
15,968 |
15,732 |
14,994 |
14,854 |
14,128 |
13,930 |
6H |
16,000 |
15,026 |
15,216 |
14,376 |
14,676 |
|
|
M18 |
2,5 |
|
16,376 |
6g |
17,958 |
17,623 |
16,334 |
16,164 |
14,891 |
14,625 |
6H |
18,000 |
16,376 |
16,600 |
15,294 |
15,744 |
|
|
8e |
17,920 |
17,390 |
16,296 |
16,031 |
14,853 |
14,492 |
6G |
18,042 |
16,418 |
16,642 |
15,336 |
15,786 |
|||
|
|
2 |
16,701 |
6g |
17,962 |
17,682 |
16,663 |
16,503 |
15,508 |
15,271 |
6H |
18,000 |
16,701 |
16,913 |
15,835 |
16,210 |
|
|
M20 |
2,5 |
|
18,376 |
6g |
19,958 |
19,623 |
18,334 |
18,164 |
16,891 |
16,625 |
6H |
20,000 |
18,376 |
18,600 |
17,294 |
17,744 |
|
|
8e |
19,920 |
19,390 |
18,296 |
18,031 |
16,853 |
16,492 |
6G |
20,042 |
18,418 |
18,642 |
17,336 |
17,786 |
|||
|
|
2 |
18,701 |
6g |
19,962 |
19,682 |
18,663 |
18,503 |
17,508 |
17,271 |
6H |
20,000 |
18,701 |
18,913 |
17,835 |
18,210 |
|
|
M22 |
2,5 |
|
20,376 |
6g |
21,958 |
21,623 |
20,334 |
20,164 |
18,891 |
18,625 |
6H |
22,000 |
20,376 |
20,600 |
19,294 |
19,744 |
|
|
8e |
21,920 |
21,390 |
20,296 |
20,031 |
18,853 |
18,492 |
6G |
22,042 |
20,418 |
20,642 |
19,336 |
19,786 |
|||
|
|
2 |
20,701 |
6g |
21,962 |
21,682 |
20,663 |
20,503 |
19,508 |
19,271 |
6H |
22,000 |
20,701 |
20,913 |
19,835 |
20,210 |
|
|
M24 |
3 |
|
22,051 |
6g |
23,952 |
23,577 |
22,003 |
21,803 |
20,271 |
19,955 |
6H |
24,000 |
22,051 |
22,316 |
20,752 |
21,252 |
|
|
8e |
23,915 |
23,315 |
21,966 |
21,651 |
20,234 |
19,803 |
6G |
24,048 |
22,099 |
22,364 |
20,800 |
21,300 |
|||
|
|
2 |
22,701 |
6g |
23,962 |
23,682 |
22,663 |
22,493 |
21,508 |
21,261 |
6H |
24,000 |
22,701 |
22,925 |
21,835 |
22,210 |
|
|
M27 |
3 |
|
25,051 |
6g |
26,952 |
26,577 |
25,003 |
24,803 |
23,271 |
22,955 |
6H |
27,000 |
25,051 |
25,316 |
23,752 |
24,252 |
|
|
8e |
26,915 |
26,315 |
24,966 |
24,651 |
23,234 |
22,803 |
6G |
27,048 |
25,099 |
25,364 |
23,800 |
24,300 |
|||
|
|
2 |
25,701 |
6g |
26,962 |
26,682 |
25,663 |
25,493 |
24,508 |
24,261 |
6H |
27,000 |
25,701 |
25,925 |
24,835 |
25,210 |
|
|
M30 |
3,5 |
|
27,727 |
6g |
29,947 |
29,522 |
27,674 |
27,462 |
25,653 |
25,306 |
6H |
30,000 |
27,727 |
28,007 |
26,211 |
26,771 |
|
|
8e |
29,910 |
29,240 |
27,637 |
27,302 |
25,616 |
25,146 |
6G |
30,053 |
27,780 |
28,060 |
26,264 |
26,824 |
|||
|
|
2 |
28,701 |
6g |
29,952 |
29,577 |
28,003 |
27,803 |
26,271 |
25,955 |
6H |
30,000 |
28,051 |
28,316 |
26,752 |
27,252 |
|
|
M33 |
3,5 |
|
30,727 |
6g |
32,947 |
32,522 |
30,674 |
30,462 |
28,653 |
28,306 |
6H |
33,000 |
30,727 |
31,007 |
29,211 |
29,771 |
|
|
8e |
32,910 |
32,240 |
30,637 |
30,302 |
28,616 |
28,146 |
6G |
33,053 |
30,780 |
31,060 |
29,264 |
29,824 |
|||
|
|
2 |
31,701 |
6g |
32,962 |
32,682 |
31,663 |
31,493 |
30,508 |
30,261 |
6H |
33,000 |
31,701 |
31,925 |
30,835 |
31,210 |
|
|
M36 |
4 |
|
33,402 |
6g |
35,940 |
35,465 |
33,342 |
33,118 |
31,033 |
30,655 |
6H |
36,000 |
33,402 |
33,702 |
31,670 |
32,270 |
|
|
8e |
35,905 |
35,155 |
33,307 |
32,952 |
30,998 |
30,489 |
6G |
36,060 |
33,462 |
33,762 |
31,730 |
32,330 |
|||
|
|
3 |
34,051 |
6g |
35,952 |
35,577 |
34,003 |
33,803 |
32,271 |
31,955 |
6H |
36,000 |
34,051 |
34,316 |
32,752 |
33,252 |
|
Требования к метрической резьбе изделий, производимых в РФ, представлены в стандарте ГОСТ 16093-2004.
Как определить размер болта, гаек, шпилек, винтов
Определение размера крепежного изделия часто вызывает сложности. Без необходимых знаний и навыков потребуется много времени, чтобы выбрать подходящий метиз. На первый взгляд достаточно найти показатели толщины, длины и диаметра изделия. Но даже при выборе простых болтов и гаек возникают различные вопросы.
Главными параметрами, с помощью которых определяется вид и размер крепежного элемента, считаются длина, толщина и диаметр (в некоторых случаях высота).
Диаметр изделия обозначается буквой “D”, допускается написание как заглавной, так и маленькой (от сокращенного “diameter”). Соответственно, длина — это “lenght”, поэтому для обозначения используется буква “L”. Для толщины применяется понятие “stoutness” — “S”. Если понадобилось указать высоту, то указывается буква “H”, что означает “high”.
Перейдем к некоторым особенностям, которые встречаются при измерении основных видов метизов.
Определение размеров болта
Если болты имеют метрическую резьбу на стержне, то в прилагающейся документации используется формат MDxPxL. Обозначение расшифровывается следующим образом:
- M — указание метрической резьбы;
- D — показатель диаметра изделия;
- P — данные о шаге резьбы (виды отличаются, встречается мелкий, крупный, особо мелкий), при особо крупном значение не добавляется;
- L — показатель длины метиза.
Все перечисленные параметры указываются в миллиметрах.
Для того, чтобы узнать тип и размеры какого-либо болта, потребуется определить его вид. Рекомендуется руководствоваться отечественными стандартами ГОСТ или европейским ISO. Также допускается применение немецкого DIN. После того, как тип будет известен, можно определять размеры.
Диаметр крепежного элемента определяется с помощью различных инструментов — штангенциркуль, шаблонная линейка, а также микрометр. При этом точность измерений контролируется калибрами типа “ПР-НЕ”. Название приспособления расшифровывается как “проход-непроход”. Первая часть при накручивании на болт не требует прикладывания усилий, вторую деталь невозможно закрутить совсем.
Для измерения показателя длины также применяется линейка или штангенциркуль. Если потребовалось узнать шаг резьбы, то для крепежного элемента используется специальный инструмент шагомер. При отсутствии нужного приспособления допускается замер расстояния между парой витков с применением штангенциркуля.
Инструмент подойдет и предоставит точные показатели только в том случае, если измеряется крупный диаметр резьбы. Более правильные параметры получаются в результате проверки нескольких витков вместо двух. Полученный результат необходимо разделить на количество витков, используемых для измерения.
Если число, полученное в результате проверки, совпадает с каким-либо значением резьбового ряда, то это является справочным значением и искомый шаг присутствует. Если измерение не принесло необходимого результата, то вероятно перед вами дюймовый тип резьбы. В таком случае потребуется дополнительное уточнение для точного определения шага.
Болты имеют определенные разновидности, которые определяются геометрической формой метиза. Поэтому методы измерения для каждой группы отличается. Различают 2 варианта:
- с выступающей формой головки;
- потайной вид головки.
Для определения длины крепежных элементов с выступающей головкой не требуется задействовать саму головку.
- метизы с шестигранной головкой, соответствующие нормативам ГОСТ 7805-70, 7798-70, 15589-70, 10602-94;
- варианты с уменьшенными размерами головки и шестью гранями, изготовленные по стандартам ГОСТ 7808-70, 7796-70, 15591-70;
- крепежные элементы с высокой прочностью ГОСТ 22353-77;
- высокопрочные метизы с шестью гранями и увеличенным размером под ключ ГОСТ Р 52644-2006;
- болты, которые имеют шестигранную головку, а также дополнены направляющим подголовком ГОСТ 7811-70, 7795-70, 15590-70;
- головка метиза уменьшена, имеет 6 граней и применяется для монтажа в отверстия из-под развертки ГОСТ 7817-80;
- головка является увеличенной, также предусмотрен ус ГОСТ 7801-81;
- рым-болт, соответствующий отечественному стандарту ГОСТ 4751-73;
- варианты с полукруглой головкой увеличенных размеров, а также оснащенные квадратным подголовком ГОСТ 7802-81.
Если перед вами болт с потайной головкой, то потребуется измерять длину с учетом ее размеров:
- шинные метизы ГОСТ 7787-81;
- с потайной головкой, оснащенные усом и соответствующие нормативам ГОСТ 7785-81;
- стандартный вариант с квадратным подголовком и потайной разновидностью головки ГОСТ 7786-81.
Для определения вида болта и соответствующего ему стандарта применяется размер головки. Например, “под ключ” для головок с шестью гранями, если болт оснащен цилиндрической головкой, то используется диаметр.
Как правильно определить размер дюймового болта
Если рассматривать различную документацию для дюймовых болтов, то встречается аббревиатура для обозначения конструкции в виде D”-NQQQxL. Расшифровывается она следующим образом:
- D” — показатель диаметра резьбы, которая может быт
Какой бывает вид, шаг резьбы и размер у болтов, и для чего их используют?
Болт м12 является крепёжным элементом из высококачественной стали. Изделие состоит из шестигранной головки с металлическим стержнем. Его напыляют специальным покрытием от коррозии, называемой оцинковкой. Однако, не всегда покрывают. Просто оцинкованное изделие будет сслужить дольше, в отличие от не оцинкованного.
У него бывает крупный или мелкий шаг нарезки резьбы, иметь полную либо частичную резьбу. Под частичной резьбой подразумевается нарезная в нижней части. Длина стрежня крепежа с полной разбой в диапазоне 1,4– 3,2 см. В диаметре шестигранная головка будет равна 1,8 см. Диаметр болта м12 составляет 1,2 см. У него может быть правое или левое направление резьбы. Крепёж с частичной резьбой обычно длиной 3 см. По ГОСТ болт м12 используют ключи на 19, но в зависимости от головки могут использоваться ключи разной формы и размеров.
Крепежи часто применяют в автомобильной промышленности, строительстве и во время установки различных объектов. Крепежи, имеющие шестигранную головку, производятся строго по стандартам. ГОСТ 7798–70 является основным стандартом для данных видов изделий из металла. По этому стандарту изделие м12 всегда имеет неизменные технические характеристики.
Существуют не только изделия м12 из шестигранной головки, есть и другие виды головок у этого изделия:
- Мебельной или полукруглой формы.
- В форме кольца.
- U- образной формы.
- В форме цилиндра с внутренней выемкой в форме шестигранника.
Давайте рассмотрим техническое условное обозначение болта м12.
Что такое техническое условное обозначение металлического изделия?
Ещё в советское время ввели условное обозначение для крепёжного изделия, хотя в условном обозначении кое-что было заимствовано из Европы. Советским инженерам удалось создать новую систему условного обозначения для крепежа. Обозначения на чертежах крепёжных изделий (винт, шайба) должны соответствовать принятой системе условного обозначения крепежей. В результате недостаточной квалификации инженеров появилось упрощённое обозначение крепежей. На сегодняшний день существует три вида условного обозначения крепежей:
- Полное обозначение указывает все технические параметры (Гайка M 16–6 H.032 ГОСТ… и т. п.).
- Сокращённое обозначение указывает только важные технические параметры (Винт М8–8 gx 60.029 ГОСТ… и т. п.).
- Упрощённое обозначение указывает только важные параметры (Винт M 8×45 ГОСТ… и т. п.).
Какой ГОСТ, ТУ и ОСТ у крепежа указывать необходимо обязательно. Они указывают на ряд технических параметров конструкции, её геометрическую форму, точность, прочность и марку стали. Стандартом служит ГОСТ, для каждого вида крепежа он разный.
Расшифровка технического описания
Для описания металлических крепежей используют ГОСТ 1759.0. Он используется только для крепежей. Давайте разберёмся с каждым параметром в техническом описании металлического изделия.
Для крепежей существуют следующие параметры:
- Наименование крепежа.
- Точность класса изделия (A, B, C).
- Исполнение.
- Вид (M, K, T р).
- Диаметр.
- Шаг резьбы.
- Направленность резьбы.
- Поле допуска.
- Общая длина.
- Прочность.
- Марка материала.
- Толщина и вид покрытия.
- Номер стандарта.
В техническом обозначении на схемах не всегда указываются все характеристики крепежа. Их может быть больше или меньше.
Описание болта м12
В качестве примера рассмотрим по ГОСТ болт м12. Техническое условное обозначение этого изделия выглядит так: Болт 2М12×1,25LH-6gx50.58.019 ГОСТ 7798. Первый элемент название крепежа болт. Точность по ГОСТ болт м12 будет B, но его не указывают, так как указывается ГОСТ. Для него используется только класс B. Самым лучшим классом точности является первый класс А. Исполнение изделия, в нашем случае будет 2. Всего четыре. Когда его не указывают, значит, исполнение будет один.
Вид резьбы по ГОСТ м12 будет M. Для этого изделия используется металлический вид резьбы. Всего используется три вида (металлический, конический, трапецеидальный). Его диаметр по ГОСТ болт м12 будет 12 мм. Шаг резьбы по ГОСТ болт м12 будет в нашем случае равно 1,25 мм. Шаг резьбы бывает крупный, мелкий и особо мелкий. В условном обозначении крупный шаг резьбы никогда не указываю. Для крепежа шаг резьбы равный 1,25 мм считается мелким, а крупный шаг начинается от 1,75 мм.
В нашем случае резьба будет направлена в левую сторону LH, потому что направлении в правую сторону в техническом обозначении не указывают. По ГОСТ болт м12 поле допуска резьбы будет составлять 6g. Этот параметр позволяет узнать класс точности изготовленной резьбы. В рассматриваемом изделии класс точности изготовленной резьбы будет грубый, так как грубый класс обозначается цифрами от 5.
По ГОСТ болт м12 имеет прочность в рассмотренном примере равную 58. В нашем примере 01 служит для обозначения вида покрытия, а толщина будет равна 9 мкм. Общая длина болта м12 будет равна 50 мм.Теоретический вес 1 тыс. штук болтов м12 при длине 14 мм будет составлять 27,89 кг, а вес 1 тыс. шт. болта м12 при длине 260 мм будет равно 245 кг.
»Таблица шагов резьбы
Обозначения крышки серии резьбы для комбинаций диаметра / шага, которые измеряются числом витков резьбы на дюйм (TPI), применяемым к одному диаметру.
Серия с крупной резьбой (UNC / UNRC) — это наиболее распространенное обозначение для болтов и гаек общего назначения. Крупная резьба полезна, потому что она менее склонна к перекрещиванию резьбы, более устойчива к неблагоприятным условиям и способствует быстрой сборке.
Серия с мелкой резьбой (UNF / UNRF) обычно используется в точных приложениях.Из-за больших площадей растягивающих напряжений они обладают высокой прочностью на растяжение. Однако для применения с мелкой резьбой требуется более длительное зацепление, чем для резьбы с крупной последовательной резьбой, чтобы предотвратить снятие изоляции.
8-резьбовая серия (8UN) — это указанный метод формирования резьбы для нескольких стандартов ASTM, включая A193 B7, A193 B8 / B8M и A320. Эта серия используется для диаметров от одного дюйма и выше.
| Серия крупной резьбы — UNC | Серия с мелкой резьбой — UNF | 8-резьбовая серия — 8UN | |||||||||
|---|---|---|---|---|---|---|---|---|---|---|---|
| Номинальный размер и резьба на дюйм | Диаметр основного шага. | Раздел на малом диаметре. | Площадь растягивающего напряжения | Номинальный размер и резьба на дюйм. | Диаметр основного шага. | Раздел на малом диаметре. | Площадь растягивающего напряжения | Номинальный размер и резьба на дюйм. | Диаметр основного шага. | Раздел на малом диаметре. | Зона растягивающего напряжения |
| дюйм. | кв. Дюйм. | кв. Дюйм | дюйм. | кв. Дюйм | кв. Дюйм | дюйм. | кв. Дюйм | кв. Дюйм | |||
| 3 ⁄ 8 — 16 | 0,3344 | 0,0678 | 0,0775 | 3 ⁄ 8 — 24 | 0,3479 | 0,0809 | 0,0878 | — — | – | – | – |
| 7 ⁄ 16 — 14 | 0.3911 | 0,0933 | 0,1063 | 7 ⁄ 16 — 20 | 0,4050 | 0,1090 | 0,1187 | — — | – | – | – |
| 1 ⁄ 2 — 13 | 0,4500 | 0,1257 | 0,1419 | 1 ⁄ 2 — 20 | 0.4675 | 0,1486 | 0,1599 | — — | – | – | – |
| 9 ⁄ 16 — 12 | 0,5084 | 0,162 | 0,182 | 9 ⁄ 16 — 18 | 0,5264 | 0,189 | 0,203 | — — | – | – | – |
| 5 ⁄ 8 — 11 | 0.5660 | 0,202 | 0,226 | 5 ⁄ 8 — 18 | 0,5889 | 0,240 | 0,256 | — — | – | – | – |
| 3 ⁄ 4 — 10 | 0,6850 | 0,302 | 0,334 | 3 ⁄ 4 — 16 | 0.7094 | 0,351 | 0,373 | — — | – | – | – |
| 7 ⁄ 8 — 9 | 0.8028 | 0,419 | 0,462 | 7 ⁄ 8 — 14 | 0,8286 | 0,480 | 0,509 | — — | – | – | – |
| 1–8 | 0.9188 | 0,551 | 0.606 | 1–12 | 0,9459 | 0,625 | 0,663 | 1–8 | 0,9188 | 0,551 | 0.606 |
| 1 1 ⁄ 8 — 7 | 1.0322 | 0,693 | 0,763 | 1 1 ⁄ 8 — 12 | 1.0709 | 0.812 | 0,856 | 1 1 ⁄ 8 — 8 | 1.0438 | 0,728 | 0,790 |
| 1 1 ⁄ 4 — 7 | 1,1572 | 0,890 | 0,969 | 1 1 ⁄ 4 — 12 | 1,1959 | 1.024 | 1,073 | 1 1 ⁄ 4 — 8 | 1.1688 | 0,929 | 1.000 |
| 1 3 ⁄ 8 — 6 | 1,2667 | 1.054 | 1,155 | 1 3 ⁄ 8 — 12 | 1,3209 | 1,260 | 1,315 | 1 3 ⁄ 8 — 8 | 1,2938 | 1,155 | 1,233 |
| 1 1 ⁄ 2 — 6 | 1.3917 | 1,294 | 1.405 | 1 1 ⁄ 2 — 12 | 1,4459 | 1,521 | 1,581 | 1 1 ⁄ 2 — 8 | 1,4188 | 1.405 | 1.492 |
| — — | – | – | – | — — | – | – | – | 1 5 ⁄ 8 — 8 | 1.5438 | 1,68 | 1,78 |
| 1 3 ⁄ 4 — 5 | 1,6201 | 1,74 | 1,90 | — — | – | – | – | 1 3 ⁄ 4 — 8 | 1,6688 | 1,98 | 2,08 |
| — — | – | – | – | — — | – | – | – | 1 7 ⁄ 8 — 8 | 1.7938 | 2.30 | 2,41 |
| 2 — 4 1 ⁄ 2 | 1,8557 | 2.30 | 2,50 | — — | – | – | – | 2–8 | 1,9188 | 2,65 | 2,77 |
| 2 1 ⁄ 4 — 4 1 ⁄ 2 | 2.1057 | 3,02 | 3,25 | — — | – | – | – | 2 1 ⁄ 4 — 8 | 2,1688 | 3,42 | 3,56 |
| 2 1 ⁄ 2 — 4 | 2,3376 | 3,72 | 4,00 | — — | – | – | – | 2 1 ⁄ 2 — 8 | 2.4188 | 4,29 | 4,44 |
| 2 3 ⁄ 4 — 4 | 2,5876 | 4,62 | 4,93 | — — | – | – | – | 2 3 ⁄ 4 — 8 | 2,6688 | 5,26 | 5,43 |
| 3–4 | 2,8376 | 5.62 | 5,97 | — — | – | – | – | 3–8 | 2,9188 | 6,32 | 6,51 |
| 3 1 ⁄ 4 — 4 | 3,0876 | 6,72 | 7,10 | — — | – | – | – | 3 1 ⁄ 4 — 8 | 3.1688 | 7,49 | 7,69 |
| 3 1 ⁄ 2 — 4 | 3,3376 | 7,92 | 8,33 | — — | – | – | – | 3 1 ⁄ 2 — 8 | 3,4188 | 8,75 | 8,96 |
| 3 3 ⁄ 4 — 4 | 3.5876 | 9,21 | 9,66 | — — | – | – | – | 3 3 ⁄ 4 — 8 | 3,6688 | 10,11 | 10,34 |
| 4–4 | 3.8376 | 10,61 | 11,08 | — — | – | – | – | 4–8 | 3.9188 | 11,57 | 11,81 |
дюймов
Имперская система — таблица шага резьбы болта дюйма
Итак, что такое TPI резьбы? (что является аббревиатурой от «Threads per Inch». Мы позаботимся о производителях крепежных элементов. Ниже приведены наиболее часто используемые значения шага резьбы (TPI) для дюймовых болтов и гаек. Убедиться, что гайка подходит к болту, на самом деле сложнее Это просто «гайки и болты». Если серьезно, то есть много сложных факторов, создающих резьбу, чтобы убедиться, что они подходят правильно и надежно.Одним из факторов является то, что резьба сопрягаемых деталей должна иметь одинаковый TPI (резьба на 1 дюйм). Однако следует отметить, что в метрических стандартах, стандартах DIN и ЕС эта характеристика рассматривается в обратном порядке и называется «шагом» резьбы (то есть расстоянием в мм между двумя соседними витками резьбы).
Печатная таблица шага резьбы в британской системе и таблица нарезания резьбы для UNC и UNF
Таблица расстояния между дюймовой резьбой и дюймовой резьбой
| Размер | # 6 | # 8 | # 10 | # 12 | 1/4 | 5/16 | 3/8 | 7/16 | 1/2 | 9/16 | 5/8 | 3/4 | 7/8 |
|---|---|---|---|---|---|---|---|---|---|---|---|---|---|
| UNC | 32 | 32 | 24 | 24 | 20 | 18 | 16 | 14 | 13 | 12 | 11 | 10 | 9 |
| UNF | 40 | 36 | 32 | 28 | 28 | 24 | 24 | 20 | 20 | 18 | 18 | 16 | 14 |
дюймовая шкала шага резьбы болта (количество резьбы на дюйм — TPI) 2
| Размер | 1 | 1-1 / 8 | 1-1 / 4 | 1-3 / 8 | 1-1 / 2 | 1-5 / 8 | 1-3 / 4 | 1-7 / 8 | 2 | 2-1 / 4 | 2-1 / 2 | 2-3 / 4 | 3 |
|---|---|---|---|---|---|---|---|---|---|---|---|---|---|
| UNC | 8 | 7 | 7 | 6 | 6 | 5.5 | 5 | 5 | 4,5 | 4,5 | 4 | 4 | 4 |
| UNF | 14 | 12 | 12 | 12 | 12 | 12 | 12 | 12 | 12 | 12 | 12 | 12 | 12 |
| UN8 | 8 | 8 | 8 | 8 | 8 | 8 | 8 | 8 | 8 | 8 | 8 | 8 | 8 |
Почему болт с молнией для дюймовой и дюймовой резьбовых крепежных деталей?
Lightning Bolt & Supply обслуживает потребности в промышленных крепежных изделиях в Северной Америке более 25 лет.С тех пор наша ориентация на производство высококачественных деталей по конкурентоспособным ценам позволила нам стать лидером отрасли. Наша ниша в крепежных изделиях из экзотических высоконикелевых сплавов включает такие материалы, как хастеллой, инконель, монель, A-286, 904L, сплав-20, дуплексная нержавеющая сталь, а также многие другие сплавы.
Поскольку мы располагаем центральным офисом в Батон-Руж, штат Луизиана, мы можем осуществлять поставки на рабочие площадки по всему миру. Для многих наших промышленных проектов мы поставляем материалы, в том числе анкерные болты, а также шпильки различных классов ASTM.К ним относятся B7, L7, B16, B8, B8M, отвержденные пятна и многие другие. Помимо того, что мы являемся сертифицированным производителем крепежных изделий ISO, мы были удостоены награды WBENC «Корпоративным поставщиком года».
Таблица шагов резьбы
Обозначения крышки серии резьбы для комбинаций диаметра / шага, которые измеряются числом витков резьбы на дюйм (TPI), применяемым к одному диаметру.
Серияс крупной резьбой (UNC / UNRC) — это наиболее распространенное обозначение для болтов и гаек общего назначения.Крупная резьба полезна, потому что она менее склонна к перекрещиванию резьбы, более устойчива к неблагоприятным условиям и способствует быстрой сборке.
Серияс мелкой резьбой (UNF / UNRF) обычно используется в точных приложениях. Из-за больших площадей растягивающих напряжений они обладают высокой прочностью на растяжение. Однако для применения с мелкой резьбой требуется более длительное зацепление, чем для резьбы с крупной последовательной резьбой, чтобы предотвратить снятие изоляции.
8-резьбовая серия (8UN) — это указанный метод формирования резьбы для нескольких стандартов ASTM, включая A193 B7, A193 B8 / B8M и A320.Эта серия используется для диаметров от одного дюйма и выше.
| Серия крупной резьбы — UNC | |||
| Номинальный размер и резьба на дюйм | Диаметр основного шага. | Раздел на малом диаметре. | Область растягивающего напряжения |
| дюйм. | кв. Дюйм | кв. Дюйм | |
| 3/8 — 16 | 0,3344 | 0,0678 | 0,0775 |
| 7/16 — 14 | 0.3911 | 0,0933 | 0,1063 |
| 1/2 — 13 | 0,4500 | 0,1257 | 0,1419 |
| 16 сентября — 12 | 0,5084 | 0,162 | 0,182 |
| 5/8 — 11 | 0,5660 | 0,202 | 0,226 |
| 3/4 — 10 | 0,6850 | 0,302 | 0,334 |
| 7/8 — 9 | 0.8028 | 0.419 | 0,462 |
| 1–8 | 0,9188 | 0,551 | 0.606 |
| 1,1 / 8 — 7 | 1.0322 | 0,693 | 0,763 |
| 1–7 | 1,1572 | 0,890 | 0,969 |
| 1,3 / 8 — 6 | 1,2667 | 1.054 | 1,155 |
| 1½ — 6 | 1,3917 | 1,294 | 1.405 |
| 1–5 | 1,6201 | 1,74 | 1,90 |
| 2 — 4½ | 1,8557 | 2.30 | 2,50 |
| 2¼ — 4½ | 2,1057 | 3,02 | 3,25 |
| 2½ — 4 | 2,3376 | 3,72 | 4,00 |
| 2–4 | 2,5876 | 4,62 | 4,93 |
| 3–4 | 2.8376 | 5,62 | 5,97 |
| 3–4 | 3,0876 | 6,72 | 7,10 |
| 3½ — 4 | 3,3376 | 7,92 | 8,33 |
| 3–4 | 3,5876 | 9,21 | 9,66 |
| 4–4 | 3.8376 | 10,61 | 11,08 |
| Серия с мелкой резьбой — UNF | |||
| Номинальный размер и резьба на дюйм | Диаметр основного шага. | Раздел на малом диаметре. | Область растягивающего напряжения |
| дюйм. | кв. Дюйм | кв. Дюйм | |
| 3/8 — 24 | 0,3479 | 0,0809 | 0,0878 |
| 7/16 — 20 | 0,4050 | 0,1090 | 0,1187 |
| 1/2 — 20 | 0,4675 | 0,1486 | 0,1599 |
| 16.09 — 18 | 0.5264 | 0,189 | 0,203 |
| 5/8 — 18 | 0,5889 | 0,240 | 0,256 |
| 3/4 — 16 | 0,7094 | 0,351 | 0,373 |
| 7/8 — 14 | 0,8286 | 0,480 | 0,509 |
| 1–12 | 0,9459 | 0,625 | 0,663 |
| 1,1 / 8 — 12 | 1.0709 | 0.812 | 0,856 |
| 1–12 | 1,1959 | 1.024 | 1,073 |
| 1,3 / 8 — 12 | 1,3209 | 1,260 | 1,315 |
| 1½ — 12 | 1,4459 | 1,521 | 1,581 |
| 8-резьбовая серия — 8UN | |||
| Номинальный размер и резьба на дюйм | Диаметр основного шага. | Раздел на малом диаметре. | Область растягивающего напряжения |
| дюйм. | кв. Дюйм | кв. Дюйм | |
| 1–8 | 0,9188 | 0,551 | 0.606 |
| 1,1 / 8 — 8 | 1.0438 | 0,728 | 0,790 |
| 1–8 | 1,1688 | 0,929 | 1.000 |
| 1,3 / 8 — 8 | 1,2938 | 1,155 | 1,233 |
| 1½ — 8 | 1.4188 | 1.405 | 1.492 |
| 1,5 / 8 — 8 | 1,5438 | 1,68 | 1,78 |
| 1–8 | 1,6688 | 1,98 | 2,08 |
| 1,7 / 8 — 8 | 1.7938 | 2.30 | 2,41 |
| 2–8 | 1,9188 | 2,65 | 2,77 |
| 2–8 | 2,1688 | 3,42 | 3.56 |
| 2½ — 8 | 2,4188 | 4,29 | 4,44 |
| 2–8 | 2,6688 | 5,26 | 5,43 |
| 3–8 | 2,9188 | 6,32 | 6,51 |
| 3¼ — 8 | 3,1688 | 7,49 | 7,69 |
| 3½ — 8 | 3,4188 | 8,75 | 8,96 |
| 3¾ — 8 | 3.6688 | 10,11 | 10,34 |
| 4–8 | 3.9188 | 11,57 | 11,81 |
| Источник: Portland Bolt & Mfg. Co. | |||
A Грунтовка для винтовой и болтовой резьбы
Если вам нужны измерительные инструменты, начните с этих:
Шаг резьбы: Измеряет шаг резьбы для стандартных и метрических болтов. На орехи не годится.
Калибр болта: Измеряет стандартный и метрический диаметры болтов.Не работает с орехами.
Устройство для проверки резьбы гаек и болтов: Объединяет в себе функцию измерителя шага и калибратора болтов. Работает на болты и гайки. Не работает с действительно большим оборудованием более 1/2 дюйма
Это болт или винт?
Технически « болт » и « винт » можно на самом деле оба относятся к одному и тому же аппаратному обеспечению, но определение меняется в зависимости от его использования. Используется с гайкой, это болт.Когда ты превратите его в неподвижный объект с резьбой, такой как блок двигателя, это винт. Для наших целей это не имеет значения, но вы должны знать что «болты», которые вы покупаете в строительном магазине, можно назвать «колпачками» винты »в каталоге промышленных товаров.
Мы будем называть оборудование, измеряемое в дюймах, « стандарт ». Просто помните, когда читаете: метрическая система = миллиметры. Стандарт = дюймы.
Части болта и обозначения размера болта
Сначала взгляните на детали болта.У вас есть головка, стержень без резьбы и стержень с резьбой.
Детали болта
Головка и стержень — это основные части болта. Иногда вам нужно купить очень длинный болт и обрезать его, чтобы получить более длинный хвостовик без резьбы для таких вещей, как штифты для дужек.
Каждый болт можно описать по диаметру, шагу резьбы и длине резьбы.Обозначение для этого в метрической системе:
.M <диаметр в мм> — <шаг в мм> x <длина в мм>
Таким образом, метрический болт или винт длиной 30 мм с диаметром 8 мм и шагом 1,25 будет выглядеть так:
M8-1,25×30 мм
Стандартное обозначение для этого:
<диаметр в дюймах> — <шаг в дюймах> x <длина в дюймах>
Таким образом, стандартный болт или винт длиной 2 1/2 дюйма с диаметром 3/8 дюйма и шагом 24 будет выглядеть так:
3 / 8-24×2 1/2 ”
Давайте посмотрим на компоненты и как получить нужные числа.
Числа и системы измерения
Аппаратное обеспечениепо всему миру (да, в США тоже …) выпускается в метрических метрических и стандартных . В строительном магазине есть одна секция для стандартной и одна секция для метрической.
Самая распространенная метрическая единица измерения для оборудования — миллиметр . Шаг и длина резьбы обычно выражаются в миллиметрах. Наиболее распространенным стандартным устройством для оборудования является -дюймовый .В строительном магазине вам потребуется болт длиной 3 дюйма, а не болт длиной 0,25 фута. Метрическое оборудование всегда все метрическое и все его измерения будут представлены в метрических единицах. Не существует болта диаметром 10 мм с резьбой 20 дюймов на дюйм. подача. Точно так же стандартное оборудование всегда все стандартное .
Иногда можно определить, является ли оборудование метрическим или стандартная маркировка, но это не всегда так.Ты можешь нужно сделать обоснованное предположение. Если вы работаете над Honda CBR мотоцикл, вы знаете, что он японский и использует метрическую фурнитуру по всему байку. Следовательно, случайный болт на велосипеде будет метрика. Если вы работаете над машиной Caterpillar, произведенной в Америке, бульдозера, вы, вероятно, можете предположить, что большая часть оборудования стандарт.
К сожалению, многие легковые и грузовые автомобили имеют разное оборудование. когда комплектующие производятся в разных странах. Вы могли бы иметь Форд грузовик с метрическим двигателем и стандартной подвеской оборудование.Это очень раздражает.
Как измерить диаметр болта
Диаметр резьбы снаружи. Если вы посмотрите на со стороны болта, это измерение идет от «выступов» резьбы на сверху до выступов ниток снизу. Если кто-то говорит «5/8 дюйма болт », они говорят о болте, расстояние от пика до пика которого составляет 5/8 дюйма. Диаметр метрической резьбы указывается с шагом 1 миллиметр. Стандарт резьбы прибывают с шагом 1/16 дюйма.
Измерение диаметра болта
Резьба болта имеет выступы и впадины.Измерьте диаметр болта по выступам.
Если вы смотрите на болт и хотите определить, стандартная или метрическая система измерения диаметра — сложный способ, потому что:
- Некоторые метрические размеры очень близки к стандартным размерам SAE.
- Крепежные детали имеют допуски, что означает, что приобретаемый вами болт 3/16 дюйма
вероятно, на самом деле не будет ровно 3/16 дюйма на резьбе — будет
некоторые процентные пункты отклонения.
- Грубая рулетка / линейки неточные. Измерение тонкого болта на рулетке с жирными маркерами довольно неточно.
- Диаметр часто меняется по длине болта. На в начале резьбы диаметр будет наименьшим, чтобы помочь достать болт началось, когда вы его заправляете. Остальные потоки обычно немного меньше заявленного диаметра. Если болт не полностью с резьбой, часть без резьбы будет самой толстой.
- Если ваше оборудование имеет покрытие, и обычно оно предназначено для защита от коррозии, это также увеличивает диаметр.Это красиво минуту, но иногда получается что-то вроде толстого гальванического покрытия.
Вывод: если вы хотите определить,
метрические или стандартные, диаметр не обязательно является хорошим показателем, если вы не
опытный.
Чтобы определить, является ли болт метрическим или стандартным, используйте измеритель диаметра болта и , затем сравните его с измерителем шага . Не полагайтесь только на измеритель диаметра, чтобы определить, метрический он или стандартный.
Чтобы увидеть отклонения, которые могут возникнуть при использовании высококачественного болта, посмотрите на болт с крупным шагом 5/8 дюйма ниже. Это высокое качество Изделие американского производства с хорошо нанесенным тонким цинковым покрытием. Давайте измерим диаметр наконечника, резьбовой части хвостовика и нерезьбовой части хвостовика.
Болт 5/8 «- размер наконечника — 0,555»
Болт 5/8 «- размер хвостовика с резьбой — 0.619 «
Болт 5/8 «- размер хвостовика без резьбы — 0,621»
Обратите внимание, что 5/8 дюйма = 0,625 дюйма, но болт никогда не бывает полностью 0,625 дюйма. Разница в несколько тысячных дюймов довольно типична. Вывод здесь действительно, все вещи производятся с некоторыми допусками. Высоко качественное оборудование имеет более низкие допуски, что означает, что ваши гайка и болт combo может обеспечить предсказуемую силу зажима.
Как измерить шаг резьбы болта
Шаг резьбы — это просто количество витков резьбы на единицу длины. В метрическая, это будет выглядеть как 1,25 ниток на миллиметр; в стандарте это может быть 16 ниток на дюйм.
Измерение шага метрической резьбы
Болт с резьбой 1,00 на миллиметр. Считайте нити в начале линейки до отметки 1 сантиметр (это 10 мм) — ниток будет 10.10 ниток / 10 миллиметров = 1 нитка / миллиметр. Шаг 1,00.
Стандартный размер шага резьбы
Болт с резьбой 18 на дюйм. Подсчитайте количество ниток в начале линейки до отметки в 1 дюйм — получится 18 ниток. 18 ниток / дюйм. Шаг 18.
Грубая и тонкая нить
Каждый диаметр стандартного и метрического оборудования имеет , два стандартных шага , грубый и мелкий .Это означает, что в вашем хозяйственном магазине будет всего 2 поля для Болт диаметром 3/8 дюйма, 2 шага для болта 3/4 дюйма, 2 шага для болта 5 мм, 2 шага под болт 12мм и так далее. Грубая высота звука, обычно упоминаемая до крупная резьба — это шаг с меньшим числом резьбы. Мелкий шаг, или Мелкая резьба , имеет большее количество резьбы. Итак:
Для любого болта с крупной резьбой 3/8 дюйма шаг составляет 16.
Для любого болта с мелкой резьбой 3/8 дюйма шаг равен 24.
Другими словами, если вы хотите купить болт 3/8 дюйма, вы можете получить его либо с крупной резьбой (3/8 дюйма -16), либо с мелкой резьбой (3/8 дюйма -24).
Грубая и тонкая резьба
3/8 дюйма крупное слева (3/8 дюйма -16). 3/8 «штрафа справа (3/8» -24). Для болта диаметром 3/8 дюйма это единственные два шага, которые вы найдете в строительном магазине.
Как определить шаг резьбы болта?
У вас есть 3 варианта:
1) Используйте другой болт. Если у вас есть другой болт или винт и вы знаете диаметр и шаг, вы можете положить его поверх неизвестный. Если они зацеплены, у них одинаковый шаг. Это очень эффективен и хорошо работает в строительном магазине.
Измерение шага с помощью болта с аналогичным шагом — сетка
Они совпадают! Эти болты ИДЕАЛЬНО сцепляются друг с другом по резьбе и имеют одинаковый шаг.
Измерение шага с помощью болта с аналогичным шагом — без сетки
Они НЕ совпадают! Эти болты НЕ сцепляются друг с другом, поэтому они имеют разный шаг резьбы.
2) Используйте гайку. Если у вас есть орех и вы знаете диаметр и шаг, можно попробовать покрутить. Иногда болт, ты необходимо заменить, есть поврежденная резьба, и гайка на нее не пойдет, так что это не всегда получается.
«Измерение» шага с гайкой с аналогичным шагом
Гайка 5/16 «-18, поэтому болт также 5/16» -18. Если резьба повреждена или оборвана, особенно на кончике, у вас могут возникнуть проблемы с затягиванием гайки.
3) Используйте измеритель шага резьбы. Вы можете купить их за
несколько долларов. Они работают так же, как и описанный выше трюк с болтами, но они также
напечатайте числа на шкале, чтобы вы сразу узнали
подача.
В некоторых хозяйственных магазинах на полках висит немного другой, простой в использовании прибор для проверки ниток — в нем есть несколько болтов и
гайки в популярных сочетаниях шага и диаметра. Ты только
нужно закрутить гайку или ввинтить болт, чтобы найти правильный шаг
и диаметр. Они хороши тем, что подходят для болтов и гаек, но часто не подходят для действительно больших креплений с шагом и диаметром.
Вы можете найти размеры шага в метрических и стандартных единицах:
Шагомер метрический
Измеряет количество ниток на миллиметр.Обратите внимание на ММ после каждого числа.
Калибр стандартного шага
Измеряет количество витков на дюйм.
Из трех методов измеритель шага является самым удобным и надежным, но два других работают нормально в крайнем случае. Вот датчик высоты тона в действие:
Шагомер в действии — сетка
Это поле совпадает.Это стандартный размер шага и 16 совпадений, поэтому мы можем сказать, что этот шаг составляет 16 ниток на дюйм.
Шагомер в действии — без сетки
Это поле НЕ соответствует. Это стандартный размер шага, поэтому мы можем сказать, что этот шаг НЕ составляет 24 резьбы на дюйм.
Марки и твердость болтов
Аппаратные средстватакже рассчитаны на твердость.В основном более высокая твердость рейтинг означает, что произведение выдержит определенное количество злоупотреблений, прежде чем потерпит неудачу. В вашем распоряжении три категории твердости гаек и болтов. местный хозяйственный магазин:
- Вещи, которые не должны попадать в грузовик
- Более тяжелые вещи
- Хорошие вещи
Вы можете определить №2 и №3 в строительном магазине по маркировке на голова. На стандартных болтах # 2 и # 3 будут иметь приподнятые радиальные линии: В 5-м классе есть 3 строки, а в 8-м классе — 6 строк.8 класс сложнее.
Стандартные болты Graded
Стандартные болты слева направо: болт без номиналов, более твердый болт класса 5 (3 радиальные линии), еще более жесткий болт класса 8 (6 радиальных линий). Цвет не имеет отношения к рейтингу, это всего лишь тип отделки.
Метрические болты используют систему счисления. Оценка «8.8» соответствует 5-й степени стандарта. Оценка «10.8 дюймов соответствует стандарту 8-го класса.
Самое дешевое оборудование (крайнее левое на фото выше) без рейтинга или оценивается по самой низкой твердости. Иногда этот материал не отмечается на голова.
Итак, какой класс болтов следует использовать?
Номер один в приведенном выше списке — это мелочь. Вы могли бы использовать это возможно, для удержания на панелях отделки, или, может быть, вы используете его для легкая тележка для магазина. В автомобиле, подверженном вибрации и удар (он же все автомобили), это оборудование сломается, если вы вставите его критические места.Если вы попытаетесь прикрутить генератор с низким болта, вы, вероятно, закончите тем, что срезанный болт застрянет в вашем блок двигателя или голова. Если вы прикрутите листовые рессоры с немаркированными оборудование, вас в конечном итоге буксируют. Немаркированное и низкокачественное оборудование слабые и небезопасные в критических приложениях, которые испытывают много стресса вибрация.
Вы можете использовать материал №2 (оценка 5 или 8.8) во многих местах, но если вы покупаете коробку с болтами, вы также можете просто купить Grade 8 или 10.8. Почему? Вам обязательно понадобится оценка 8/10.8 предметов, удерживающих вашу лебедку, держите вашу подвеску вместе и тому подобное. 8 класс и 10.8 будет сопротивляться разрушению или изгибу от сил, которые могут сломать или гнуть фурнитуру Grade 5 / 8.8. Если у вас нет большого практического опыта или вы инженер, который регулярно проектирует самые прочные соединения с самое дешевое оборудование, тогда вы также можете использовать Grade 8 / 10.8.
Строительный магазин
Калькулятор метрической резьбы
Калькулятор метрической резьбы для расчета размеров внешней и внутренней метрической резьбы, включая большой диаметр, вспомогательный диаметр, делительный диаметр и допуск резьбы в соответствии со стандартами ISO 724 и ISO 965.
Доступны два варианта расчета: общее инженерное использование или индивидуальное использование.
Для общего инженерного использования расчеты могут быть выполнены путем выбора стандартного размера метрической резьбы в диапазоне от 1,6 мм (M1,6) до 64 мм (M64). Класс допуска можно выбрать среди альтернативных вариантов 6e, 6f, 6g и 4h для болтов и 5H, 6H, 7H и 6G для гаек. 6g и 6H являются значениями по умолчанию и выбранным классом для коммерческой внешней и внутренней резьбы в ISO 965-1: 1998.Пользователь должен использовать 6g для болтов и 6H для гаек, если нет особых требований к использованию других классов допуска.
При индивидуальном использовании размеры резьбы, шаг и классы допуска могут выбираться независимо для расчетов нестандартных размеров резьбы в метрической системе.
Некоторые важные примечания из стандартов ISO для метрической резьбы:
— Обозначение наружной резьбы винта: номинальный диаметр x шаг — класс допуска для делительного диаметра — Класс допуска для большого диаметра (M10 x 1 5g 6g)
— Обозначение внутренней винтовой резьбы: — Номинальный диаметр x шаг — Класс допуска для делительного диаметра — Класс допуска для малого диаметра (M10 x 1 5H 6H)
— Если два обозначения класса для делительного диаметра и диаметра гребня одинаковы, символы повторять не нужно.(M10 x 1 6 г)
— Согласно ISO 1 , стандартная эталонная температура для геометрического изделия спецификация 20 ° C.
— Калибры и калибры для метрической резьбы общего назначения ISO определены в ISO 1502 стандарт.
— Список показателей винтовая резьба, используемая в общем машиностроении, приведена в генеральный Назначение Таблица метрической винтовой резьбы.
Калькулятор метрической резьбы:
| ВХОДНЫЕ ПАРАМЕТРЫ | ||
| Тип расчета | Общее инженерное использованиеИспользование по индивидуальному заказу | |
| ОБЩЕЕ ИНЖЕНЕРНОЕ ПРИМЕНЕНИЕ | ||
| Метрическая резьба | M1.6 x 0,35M2 x 0,4M2,5 x 0,45M3 x 0,5M4 x 0,7M5 x 0,8M6 x 1M8 x 1M8 x 1,25M10 x 1M10 x 1,25M10 x 1,5M12 x 1,25M12 x 1,5M12 x 1,75M16 x 1,5M16 x 2M20 x 1.5M20 x 2M20 x 2.5M24 x 2M24 x 3M30 x 2M30 x 3.5M36 x 3M36 x 4M42 x 3M42 x 4.5M48 x 3M48 x 5M56 x 4M56 x 5.5M64 x 4M64 x 6 | |
| Наружная резьба (болт) Класс допуска * | 6e6f6g4h | |
| Внутренняя резьба (гайка) Класс допуска ** | 6G5H6H7H | |
Bolt Science — Основная терминология, относящаяся к резьбе винтов
Информация на резьбеДелительный диаметр (часто называемый эффективный диаметр) параллельной резьбы — это диаметр воображаемого коаксиального цилиндра, пересекающего поверхность потока таким образом, чтобы перехват на генераторе цилиндра, между точками, где он встречается с противоположным боковые стороны резьбовой канавки, равны половине номинального шага нити.
Наибольший диаметр резьбы диаметр воображаемого коаксиального цилиндра, который касается вершины внешней нити или корня Внутренний поток.
Меньший диаметр — это диаметр воображаемого цилиндра, который касается корней наружная резьба и (или) гребни внутренней резьбы.
Гребень нити выступающий часть резьбы, внутренняя или внешняя.
Корень — это дно канавки между двумя боковыми поверхностями резьбы, будь то внутренняя или внешний.
Бочки резьбы прямые стороны, соединяющие гребень и корень.
Угол резьбы — это угол между боковыми сторонами, измеренное в осевом плоском сечении.
Шаг резьбы — это расстояние, измеряется параллельно его оси, между соответствующими точками на смежных поверхностях в одной осевой плоскости.

Самоотвинчивание исключается.


