Cистема питания дизелей
Категория:
Техническое обслуживание автомобилей
Публикация:
Cистема питания дизелей
Читать далее:
Cистема питания дизелей
В отличие от карбюраторных двигателей, в цилиндры которых поступает готовая горючая смесь из карбюратора, горючая смесь у дизелей образуется непосредственно в цилиндрах, куда топливо и воздух подаются раздельно. Это -отличие определяет особенности устройства системы питания дизелей.
Вследствие особенностей рабочего процесса и главным образом применением высокой степени сжатия дизели выгодно отличаются от карбюраторных двигателей меньшим (на 30…35%) расходом топлива. Этим объясняется широкое распространение дизелей на тяжелых грузовых автомобилях.
На отечественные дизельные автомобили МАЗ, КрАЗ и БелАЗ устанавливают четырехтактные V-образные дизели Ярославского моторного завода (ЯМЗ) — 6-цилиндровые ЯМЗ-236, 8-цилиндровые ЯМЭ-238 и 12-цилиндровые ЯМЗ-240 мощностью соответственно 103, 176 и 220 кВт (180, 240 и 300 л.
Рекламные предложения на основе ваших интересов:
На автомобилях КамАЗ устанавливают также четырехтактные 8-цилиндровые дизели ЯМЗ-740 мощностью 154 кВт (210 л. е.).
По устройству системы питания все эти дизели близки друг к другу.
Дизельное топливо. Как и бензин, дизельное топливо представляет собой смесь получаемых при переработке нефти жидких углеводородов с различными температурами кипения. Дизельное топливо должно удовлетворять следующим основным требованиям: иметь определенные фракционный состав и вязкость, возможно низкую температуру застывания и самовоспламенения, возможно меньший период задержки воспламенения, малое содержание органических кислот и серы, отсутствие механических примесей и воды.
Для обеспечения хорошего смесеобразования дизельное топливо должно иметь определенный фракционный состав.
Определенная вязкость дизельного топлива необходима для обеспечения смазки топливной аппаратуры; при недостаточной вязкости ухудшаются условия смазки ее трущихся деталей. Чрезмерно высокая вязкость затрудняет подачу и впрыск топлива в цилиндры дизеля.
Низкая температура застывания обеспечивает надежность работы автомобиля зимой, а низкая температура самовоспламенения — легкий пуск холодного двигателя.
Для обеспечения мягкой работы дизеля необходимо, чтобы при сгорании топлива давление в цилиндрах нарастало плавно, что возможно при воспламенении топлива сразу же после поступления в цилиндры первых его частиц. Запаздывание воспламенения ведет к одновременному сгоранию значительного количества топлива, вызывающему резкое нарастание давления и жесткую работу двигателя.
Период задержки воспламенения топлива оценивается цетановым числом. Цетановым числом дизельного топлива называется процентное (по объему) содержание цетана в такой смеси его с альфаме-тилнафталином, которая равноценна испытуемому топливу в отношении жесткости работы двигателя.
Цетан — углеводород с наименьшим, а альфаметилнафталин — углеводород с наибольшим, принимаемыми за эталон пределами задержки воспламенения топлива. Чем больше цетановое число, тем мягче работает дизель.
Коррозийные свойства топлива зависят от содержания в нем органических кислот и серы, процентное содержание которых строго ограничивается.
Содержание механических примесей и воды в дизельном топливе недопустимо, так как первые вызывают усиленный износ трущихся деталей топливной аппаратуры и засорение форсунок, а вторая приводит к образованию льда в топливопроводах в холодное время года.
Основные марки автомобильного дизельного топлива в СССР — ДА (арктическое), ДЗ (зимнее) и ДЛ (летнее). Они отличаются друг от друга в основном фракционным составом и температурой застывания: чем ниже окружающая температура, тем должно быть больше в топливе легких фракций и ниже температура его застывания.
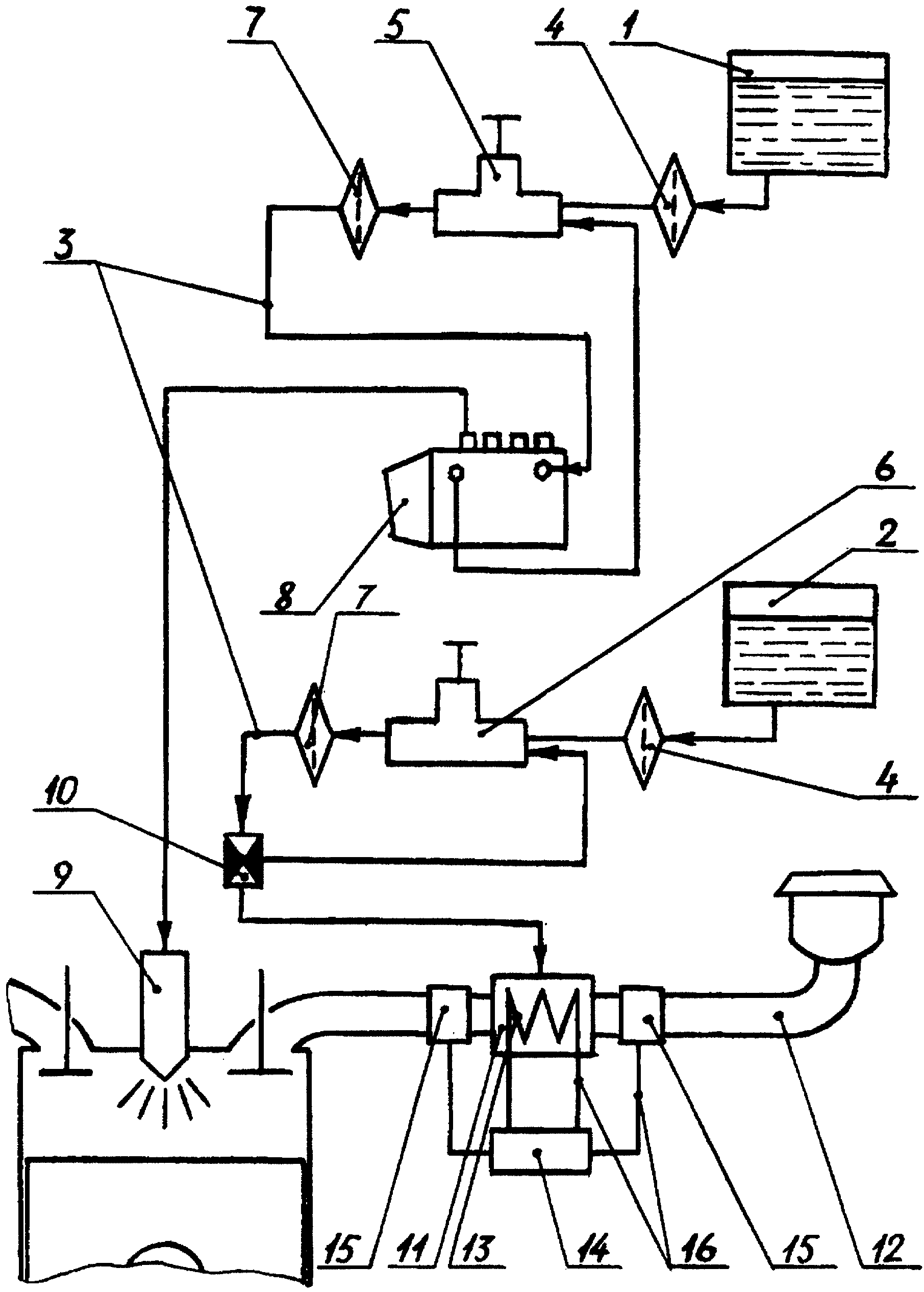
Система питания дизеля ЯМЗ-236. К прибором, узлам и деталям, обеспечивающим подачу топлива в цилиндры дизеля ЯМЭ-236, относятся топливный бак, подкачивающий насос, фильтры грубой и тонкой очистки топлива, насос высокого давления, форсунки, топливопроводы низкого и высокого давления.
Подкачивающий насос засасывает топливо из бака через фильтр грубой очистки и псдает его через фильтр тонкой очистки к насосу высокого давления, от которого топливо поступает к форсункам, распиливающим его в камерах сгорания цилиндров.
Атмосферный воздух поступает в цилиндры дизеля через воздушный фильтр и впускной трубопровод. Отработавшие газы отводятся из цилиндров в атмосферу через выпускной трубопровод и глушитель.
Топливные баки дизельных автомобилей устроены так же, как и баки автомобилей с карбюраторными двигателями.
Топливные фильтры. Топливо, поступающее к насосу высокого давления и форсункам, не должно содержать механических примесей, могущих вызвать повреждение или повышенный износ изготовленных с высокой точностью деталей топливной аппаратуры. Поэтому в системе питания дизелей топливо многократно фильтруют. У дизеля ЯМЭ-236 имеются следующие топливные фильтры: сетчатый, на конце топливо-заборной трубки в баке; грубой очистки, установленный в баке; тонкой очистки, помещенный между подкачивающим насосом и насосом высокого давления; во входном отверстии форсунок.
Вфильтре грубой очистки установлен фильтрующий элемент, состоящий из сетчатого каркаса, на который навит в несколько слоев ворсистый хлопчатобумажный шнур, ав фильтре тонкой очистки — фильтрующий элемент с набивкой из минеральной ваты, пропитанной клеящим веществом. Фильтр тонкой очистки снабжен перепускным клапаном, пружина которого рассчитана на давление 160…170 кПа (1,6…1,7 кгс/см2). Если давление в фильтре превышает эту величину, клапан открывается и перепускает часть топлива из фильтра через присоединенную к нему трубку 10 в топливный бак. Благодаря этому в фильтре и топливопроводе, соединяющем фильтр с насосом высокого давления, поддерживается приблизительно постоянное давление.
Воздушный фильтр по устройству и принципу действия аналогичен инерционно-масляным воздушным фильтрам карбюраторных двигателей.
Топливный насос высокого давления подает под высоким давлением в цилиндры дизеля требуемое количество топлива в строго определенные моменты. У двигателя ЯМЭ-236 насос установлен между правым и левым рядами цилиндров.
Вал насоса приводится во вращение валом привода, шестерня которого находится в зацеплении с шестерней распределительного вала дизеля. Частота вращения вала насоса вдвое меньше частоты вращения коленчатого вала дизеля. За два оборота коленчатого вала, в течение которых в каждом из цилиндров дизеля произойдет по одному рабочему ходу, вал насоса повернется на один оборот и насос осуществит впрыск топлива во все цилиндры.
В корпусе (рис. 29, а) насоса высокого давления установлен на шариковых (у насосов последних выпусков — на роликовых) подшипниках кулачковый вал 32.
Каждый из кулачков вала приводит в действие секцию насоса, представляющую собой одноплунжерный насос высокого давления, обуживающий один цилиндр дизеля. Секция состоит из гильзы, три которой помещается плунжер, нагнетательного клапана и роликового толкателя. Плунжер может перемещаться в гильзе вверх и вниз. На проточке нижнего конца плунжера установлена опорная шайба пружины, которая верхним концом упирается через шайбу в головку насоса.
Рис. 29. Топливный насос высокого давления.
а — поперечный разрез; б — схема работы секции насоса; в — продольный разрез; 1 — корпус насоса ручной подкачки; 2 — поршень насоса ручной подкачки; 3 — цилиндр; 4 — шток; 5 — рукоятка; 6 — зубчатый венец; 7 — плунжер; 8 — винт крепления гильзы; 9 и 18 — перепускное и впускное отверстия гильзы; 10 и 19 — топливные каналы насоса; 11 — гильза; 12 — вентиль для выпуска воздуха; 13 — седло нагнетательного клапана; 14 — клапан; 15 — пружина клапана; 16 — штуцер топливопровода высокого давления; 17 — корпус насоса; 20 и 21—осевое и радиальное сверления плунжера; 22 —спиральные канавки; 23 — зубчатая рейка; 24—поворотная втулка; 25—выступ (поводок) плунжера; 26 — пружина плунжера; 27 — опорная шайба пружины; 28 — регулировочный болт; 29 — толкатель; 30 — ролик толкателя; 31 — кулачок; 32 — вал насоса; 33 — толкатель подкачивающего насоса; 34 — пружина толкателя; 35 — шток; 36 — поршень; 37 — пружина поршня; 38 — корпус подкачивающего насоса; 39 — муфта автоматического опережения впрыска; 40 — колпак перепускного клапана; 41 — корпус центробежного регулятора; 42 — скоба останова.
Когда выступ кулачка подходит под ролик, толкатель поднимается, сжимая пружину, и перемещает плунжер насоса вверх. По мере того как выступ кулачка, повертываясь, выходит из-под ролика толкателя, пружина возвращает плунжер и толкатель в исходное положение. Таким образом, во время работы дизеля плунжер движется возвратно-поступательно вверх и вниз.
В верхней части плунжер имеет осевое и радиальное сверления. Когда плунжер находится в гильзе, эти сверления соединяют над-плунжерное пространство с двумя спиральными канавками, профре-зерованными на боковой поверхности плунжера.
Нагнетание топлива продолжается до момента, когда верхняя кромка левой спиральной канавки плунжера подойдет к перепускному отверстию гильзы (положение III). После этого топливо из над-плунжерного пространства будет перетекать через сверления плунжера, спиральную канавку и перепускное отверстие гильзы в канал корпуса насоса. Давление в надплунжерном пространстве резко снизится, нагнетательный клапан закроется, и подача топлива в цилиндр прекратится (произойдет отсечка подачи топлива).
Количество подаваемого в цилиндр топлива регулируется поворотом плунжера вокруг его оси, вследствие чего изменяется момент конца подачи топлива секцией при неизменном моменте начала подачи. При повертывании плунжера по часовой стрелке (если смотреть сверху) кромка его спиральной канавки раньше подходит к перепускному отверстию гильзы, вызывая прекращение нагнетания топлива к форсунке, и количество подаваемого в цилиндр топлива уменьшается. Поворот плунжера по ходу часовой стрелки до совпадения радиального сверления плунжера с отверстием гильзы вызывает полное прекращение подачи топлива секцией (нулевая подача). При повертывании плунжера против движения часовой стрелки кромка спиральной канавки плунжера позже достигает отверстия 9 гильзы, и количество топлива увеличивается.
Для повертывания плунжера служат зубчатая рейка и надетая на гильзу поворотная втулка, зубчатый венец которой зацеплен с рейкой. Через регулятор частоты вращения коленчатого вала зубчатая рейка связана с педалью управления подачей топлива, помещенной в кабине водителя.
Перемещение рейки вдоль ее оси вызывает поворот втулки, которая, в свою очередь, действуя через выступы, повертывает плунжер. Движение рейки вызывает одновременный поворот плунжеров всех секций насоса на одинаковый угол.
Гильзы всех шести секций укреплены в общем корпусе насоса винтами. Сверху в корпус ввернуты штуцеры, прижимающие к гильзам седла нагнетательных клапанов. Снаружи к штуцерам крепят топливопроводы, соединяющие секции насоса высокого давления с форсунками.
Кулачки расположены на валу насоса так, что обеспечивается подача топлива секциями в соответствии с порядком работы цилиндров дизеля и принятыми интервалами между рабочими ходами в разных цилиндрах. Вал насоса соединен с валом привода посредством центробежной муфты автоматического опережения впрыска; которая увеличивает угол опережения впрыска топлива в цилиндры по мере повышения частоты вращения коленчатого вала дизеля. По принципу действия эта муфта аналогична центробежному регулятору опережения зажигания карбюраторных двигателей.
На заднем конце вала насоса установлена шестерня, сообщающая вращение валу, расположенному в корпусе 41 всережимного центробежного регулятора частоты вращения коленчатого вала дизеля. Регулятор поддерживает постоянным любую частоту вращения коленчатого вала, установленную водителем путем нажатия (или отпускания) педали управления подачей топлива и, кроме того, ограничивает максимальную частоту вращения коленчатого вала (2250…2275 мин-1).
Подшипники, кулачки вала насоса и толкатели, а также детали регулятора смазываются дизельным маслом, заливаемым в корпуса насоса и регулятора. Плунжерные пары насоса смазываются топливом.
Управляют работой насоса с места водителя при помощи педали, соединенной системой тяг и рычагов с рычагом регулятора. Регулятор, в свою очередь, воздействует на рейку топливного насоса. Для остановки дизеля служит кнопка, соединенная тросом со скобой останова. При вытягивании кнопки скоба повертывается вниз и через рычажную систему регулятора передвигает рейку до отказа в сторону уменьшения подачи топлива, вследствие чего плунжеры всех секций насоса устанавливаются в положение нулевой подачи.
Рис. 30. Схема работы подкачивающего насоса двигателя ЯМЭ-236:
Подкачивающий насос. В системе питания дизеля ЯМЭ-236 установлен поршневой подкачивающий насос. Его корпус прикреплен к корпусу насоса высокого давления. В корпусе подкачивающего насоса помещены поршень с пружиной, шток и роликовый толкатель с пружиной.
Подкачивающий насос работает следующим образом (рис. 30). Внутреннее пространство цилиндра насоса делится поршнем на полости А и Б. Полость А сообщается с впускным каналом, перекрытым впускным клапаном 44, и с выпускным каналом, перекрытым выпускным клапаном. Оба клапана удерживаются в положении закрытия пружинами. Участок выпускного канала после клапана сообщен перепускным каналом с полостью Б.
Поршень приводится в действие кулачком вала насоса высокого давления. Когда выступ кулачка набегает на ролик толкателя, толкатель, шток и поршень перемещаются в сторону полости А. После того как выступ кулачка повернется и перестанет действовать на ролик толкателя, пружины и возвращают поршень, толкатель и шток в первоначальное положение.
Двигаясь вверх, поршень вытесняет топливо из полости А через выпускной клапан, открывающийся под давлением топлива, и перепускной канал в полость Б, объем которой вследствие перемещения поршня вверх увеличивается. При движении вниз поршень вытесняет топливо из полости Б к выходному отверстию насоса, откуда оно по топливопроводу поступает в фильтр тонкой очистки и далее к насосу высокого давления. Одновременно объем полости А увеличивается, и в ней создается разрежение, впускной клапан под давлением топлива со стороны входного отверстия открывается и через него полость А заполняется топливом, поступающим из бака. При последующих ходах поршня описанный цикл работы насоса повторяется.
Давление, создаваемое подкачивающим насосом, зависит от силы упругости пружины поршня и при закрытом выходном отверстии насоса может достигать 600 кПа (6 кгс/см2). В топливной системе после подкачивающего насоса поддерживается давление 160…170кПа (1,6…1,7кгс/см2).
Сверху на корпусе подкачивающего насоса установлен насос ручной подкачки топлива, который служит для наполнения системы топливом и удаления случайно попавшего в нее воздуха.
Этот насос состоит из корпуса, цилиндра, поршня со штоком и рукоятки. Когда поршень перемещают рукояткой вверх, в полость А подкачивающего насоса и в цилиндр. Всасывается через клапан топливо из бака. При перемещении вниз поршень вытесняет топливо из цилиндра через полость А и выпускной клапан подкачивающего насоса в топливопровод, соединенный через фильтр тонкой очистки с насосом высокого давления.
После пользования насосом рукоятку навертывают до отказа на резьбу цилиндра при этом поршень, плотно прижимаясь к прокладке, разобщает полости подкачивающего насоса и цилиндра насоса ручной подкачки, что устраняет возможность подсоса воздуха в систему через насос ручной подкачки.
Форсунки тонко распыливают топливо, подаваемое в камеры сгорания цилиндров дизеля насосом высокого давления.
К корпусу форсунки (рис. 31) прикреплен гайкой распылитель с четырьмя распыливающими отверстиями, в котором помещена игла. Силой упругости пружины, передаваемой через штангу, игла прижата к внутренней конической поверхности распылителя и перекрывает выход топливу из полости к отверстиям распылителя.
Рис. 31. Форсунка двигателя ЯМЗ-236:
А — кольцевая полость; 1 — распыливающие (сопловые) отверстия; 2 — игла распылителя; 3 — распылитель; 4 — гайка крепления распылителя; 5 — корпус форсунки; 6 — штанга пружины; 7 — пружина; 8 — регулировочный винт; 9 — контргайка; 10 — колпак; И — фильтр; 12 — входной штуцер; 13— резиновый уплотнитель; 14 — канал.
При нагнетательном ходе плунжера насоса высокого давления топливо от насоса поступает через входной штуцер, фильтр и канал в кольцевую полость А распылителя. Под давлением топлива игла приподнимается и полость распылителя сообщается с распыливающи-ми отверстиями, через которые топливо впрыскивается в цидиндр. В момент отсечки конца подачи топлива насосом давление в полостях форсунки падает и пружина опускает иглу, прекращая дальнейший выход топлива из отверстий распылителя.
Давление начала впрыска топлива в цилиндры дизеля ЯМЭ-236 должно быть 15 МПа (150 кгс/см2). Давление регулируют, изменяя натяжение пружины вращением винта при снятом колпаке и ослабленной контргайке.
Форсунки крепят в отверстиях головок цилиндров дизеля накладными скобами и болтами, штуцеры форсунок проходят через отверстия в стыке головок и крышек цилиндров; в отверстиях установлены резиновые уплотнители. К штуцерам присоединяют топливопроводы высокого давления, а к отверстиям в торцах колпаков — дренажные трубки для отвода из полостей в верхней части корпуса форсунок топлива, просочившегося через зазоры между иглой и распылителем. По трубке топливо из дренажных трубок сливается в бак автомобиля.
Неисправности в системе питания дизелей. При возникновении неисправностей в системе питания затрудняется пуск, снижается мощность дизеля и повышается расход топлива, возникают перебои в работе цилиндров, увеличивается дымность выпуска. Основные причины этого: утечка топлива или подсос в систему питания воздуха из-за негерметичности соединений топливопроводов и приборов; засорение топливных фильтров; неисправность подкачивающего насоса; износ плунжеров и гильз насоса высокого давления; нарушение момента начала и равномерности подачи топлива секциями насоса; уменьшение силы упругости пружины иглы форсунки; негерметичность или зависание иглы; засорение отверстий распылителя форсунки.
Рекламные предложения:
Читать далее: Cистема питания двигателя от газобаллонной установки
Категория: — Техническое обслуживание автомобилей
Главная → Справочник → Статьи → Форум
Принцип работы дизельного двигателя.
Принцип работы дизельного двигателя совсем иной, чем у мотора, работающего на бензине. Этим и объясняется принцип его питания. В двух словах – работа дизельного мотора строится на воспламенении топливной смеси от сильного сжатия, поскольку высокая температура вызывает ее возгорание.
Ремонт дизельных двигателей – дело не такое сложное, если знать, как он устроен, и на чем построена работа дизельного двигателя.
Порядок работы системы дизельного двигателя
Сначала цилиндры дизельного двигателя наполняются воздухом. Поршни в них движутся вверх, создавая очень высокое давление, от сжатия воздух раскалится до того, что дизельное топливо, будучи смешанным с ним, воспламенится.
Температура достигает максимального значения, когда поршень заканчивает движение вверх, затем дизтопливо впрыскивается посредством форсунки, она подает его не струйкой, а распыляет. Далее, из-за высокой степени нагрева сдавленного воздуха, воздушно-горючая смесь взрывается. Давление из-за взрыва достигает критической отметки и заставляет поршень опускаться вниз. На языке физики – совершается работа.
Система дизельного двигателя устроена так, что подает горючее в мотор, обеспечивая одновременно и несколько других функций.
Части системы дизельного двигателя, механизм его действия
Дизель состоит из:
- бака для горючего,
- насоса, подкачивающего дизтопливо,
- фильтров,
- топливного насоса, который подает горючее под высоким давлением,
- свечи накаливания
- основной части двигателя, которой является форсунка.
Подкачивающий насос отвечает за забор дизельного топлива из бака и отправляет его в топливный насос, а сам этот насос для подачи горючего под давлением – состоит из нескольких секций (их столько же, сколько двигатель ДВС имеет цилиндров – одна секция отвечает за обслуживание одного цилиндра).
Устройство насоса для подачи горючего под воздействием давления таково: внутри него по низу во всю длину располагается вал с кулачками, который совершает вращения от распредвала мотора. Кулачки воздействуют на толкатели, заставляющие функционировать плунжер (поршень). Поднимаясь, плунжер способствует давлению горючего в цилиндре. Таким образом и происходит выталкивание горючего посредством ТНВД в ту главную рабочую часть двигателя, которой и является форсунка.
Поступающему в магистраль дизельному топливу необходимо давление, чтобы продвинуться к форсунке для распыления через нее. Для этого и нужен поршень – он захватывает горючее внизу и продвигает к секционной верхушке. Поступающее под напором – горючее уже может качественно распыляться в камере сгорания. В этом насосе сила давления достигает 2000 атмосфер.
Одна из функций плунжера – контролировать объем подачи дизтоплива на форсунку своей двигающейся частью, открывающей и закрывающей канальца внутри него, эта часть соединяется с педалью, отвечающей за подачу газа в салоне машины.
То, насколько открыты каналы подачи горючего и его объем – обусловлено углом, под которым повернут поршень. Его поворот осуществляет рейка, соединяющаяся с педалью газа.
Вверху насоса, подающего под давлением горючее, расположен клапан, он устроен так, чтобы открываться под давлением и захлопываться, если оно мало. Таким образом, когда поршень внизу, клапан – в захлопнутом положении, и горючее из шланга, к которому подсоединена форсунка, поступать в насос не может. Давление, образующееся в секции, достаточно для впрыскивания горючего в цилиндр, тогда топливо и доставляется по шлангу в форсунку, а она – производит распыление его в цилиндре.
Форсунка — назначение и виды
Очень часто ремонт дизельных двигателей связан с диагностикой работы форсунок и их починкой или заменой.
Они бывают двух видов:
- управляемые механически
- электромагнитные
В управляемых механически – отверстие, которое распыляет горючее, открывается в зависимости от силы давления в шланге.
Ее отверстие закрывает игла, соединенная с поршеньком на верхушке форсунки. Пока не возникло давления, игла не позволяет горючему выйти через распылитель. Когда горючее поступает под напором, плунжер поднимается и оттягивает иголку. Отверстия распылителя раскрываются, и горючее выбрызгивается в цилиндр.
В нем установлены свечи накаливания, воспламеняющие горючее с воздухом. Они раскаляют воздух в специализированном отсеке, прежде, чем он окажется в цилиндре. По сути, свечи только облегчают запуск мотора ДВС, поскольку перед попаданием в цилиндр воздух уже достаточной температуры. Именно поэтому, когда на улице тепло, или если мотор еще не остыл после выключения зажигания, его запуск происходит и без участия свечей, а когда холодно – это невозможно.
Оснащенный электромагнитными форсунками дизель – более современный вариант. В таком случае – в насосе, подающем горючее, отсутствуют для каждого цилиндра своя секция, а шланг – один на все форсунки, и обеспечивает нужное давление и впрыск горючего сразу во все форсунки цилиндров ДВС.![]()
При данной системе ДВС – на форсунки воздействуют электрические импульсы, поступающие от блока управления автомобилем: их клапаны, открывающие и закрывающие выходы для впрыска горючего – электромагнитные. Сам блок управления мотором считывает информацию со специальных датчиков, а затем дает команду электромагнитному управлению форсунками.
Такая система подачи топлива в дизельный двигатель еще и намного экономичней.
Форсунки начали использовать в производстве моторов еще в тридцатых годах XX столетия, их устанавливали сначала на авиамоторы, затем стали применять в двигателях гоночных машин. А массовое применение в автомобилестроении они получили лишь в семидесятые-восьмидесятые годы прошлого века. Тому послужили топливный кризис и осознание необходимости сбережения природы: чтобы сделать авто более мощными – специально переобогащали воздушно-горючую смесь, но это приводило к увеличению расхода топлива и переизбытку продуктов сгорания в газовых выхлопах автомобилей.
И в 1967-м проблема была решена – тогда и была изобретена электромагнитная форсунка, в которой впрыск осуществляется электронной командой. Вне всяких сомнений, электроника всегда лучше механики, поскольку имеет перед ней массу очевидных преимуществ.
Система питания дизельного двигателя: схема и устройство
Дизельный двигатель существует более сотни лет. За время своего существования он претерпел серьезные изменения, хотя современные водители отдают предпочтение именно таким моторам из-за невысокой стоимости топлива и простоты обслуживания двигателя.
Чтобы разобраться, как работает автомобиль на дизельном топливе, в первую очередь необходимо выяснить, как работает система его питания.
Соответствующие детали раскрыты в данной статье.
Основные функции системы питания дизельного двигателя
Главная функция системы питания дизельного двигателя – обеспечивать бесперебойную подачу топлива к цилиндрам. Кроме того, в данной системе происходит сжимание топлива и его дальнейшая подача к камерам сгорания. В процессе дизель смешивается с горячим воздухом. Благодаря этому происходит самовоспламенение (рисунок 1).
Примечание: Дизель отличается от бензина по многим критериям. Он обладает повышенной плотностью и повышенной смазывающей способностью.
Как уже говорилось выше, главная функция системы питания – своевременно подавать дизельное топливо. При этом система должна подавать только определенное количество топлива и только в конкретный цилиндр в строго предназначенное время.
Рисунок 1. Дизельные двигатели по многим показателям превышают бензиновыеНа практике этот процесс осуществляется автоматически и занимает тысячную долю секунды, прием впрыск топлива проводится только в строго отведенное для этого вре мя.
Схема устройства питания дизеля
Система питания дизельного двигателя состоит из нескольких важных элементов, каждый из которых играет свою важную роль (рисунок 2).
К ним относятся:
- топливный бак;
- фильтры грубой и тонкой очистки топлива;
- насос для подкачки топлива и насос высокого давления;
- инжекторные форсунки;
- трубопровод высокого и низкого давления;
- воздушный фильтр.
Все элементы системы питания дизельного двигателя делятся на две большие группы: для подвода самого топлива, и для подвода воздуха. Самой популярной считается топливоподводящая аппаратура разделительного типа. Она включает отдельный топливный насос и форсунки.
Примечание: Подача топлива осуществляется через магистрали высокого и низкого давления.
Суть работы топливоподводящей аппаратуры следующая:
- Магистраль низкого давления используется для хранения, фильтрации и подачи дизеля под низким давлением к насосу высокого давления
- Посредством магистрали высокого давления обеспечивается подача и впрыск нужного количества топлива в камеру сгорания двигателя, причем в строго отведенный для этого момент.

- Топливоподкачивающий насос передает топливо из бака к топливному насосу высокого давления. Предварительно дизель проходит грубую и тонкую очистку.
- Далее топливо поступает к форсункам, расположенным в головках цилиндра. Именно они отвечают за распыление по камере сгорания.
Если к насосу высокого давления было подано слишком много топлива, излишек просто вернется в топливный бак по дренажным трубопроводам.
Особенности дизельного топлива
Требования к системе питания дизельного двигателя и к подобной группе моторов в принципе объясняется специфическими особенностями самого топлива (рисунок 3).
Примечание: По своему составу дизель представляет собой смесь керосиновых и газойлевых фракций соляры. По факту, дизельное топливо получают в процессе производства бензина из нефти.
Основными свойствами дизеля считаются:
- Показатель самовоспламеняемости, который определяется цетановым числом.
Как правило, оно находится в пределах 45-50 единиц. Лучшим считается топливо с максимальным показателем цетанового числа. - Дизельное топливо подается к цилиндрам холодным, но при смешивании с горячим воздухом самовоспламеняется под давлением, от контакта с горячим воздухом.
- Дизельное топливо обладает более высокой плотностью, в сравнении с бензином. Благодаря этому дизель имеет повышенную смазывающую способность.
Несмотря на то, что по многим показателям дизель лучше бензина, он способен застывать на морозе, и автомобилисту придется провести целый ряд манипуляций, чтобы завести машину.
Устройство системы питания дизельного двигателя
Кроме системы подачи топлива, описанной выше, существует неразделенный тип питания дизельных двигателей. Его применяют в машинах с двухтактными моторами (рисунок 4) .
Рисунок 4. Так работает система питания дизельного двигателяВ подобной системе топливный насос высокого давления и форсунка представлены одним устройством, которое носит название насос-форсунка.
Такие моторы считаются устаревшими. Они работают очень шумно и жестко, и имеют непродолжительный срок службы. Кроме того, в их конструкции не предусмотрены топлепроводы магистрали высокого давления.
Как работает турбодизель
Отдельно следует остановиться на системе питан
Система питания дизельного двигателя. Грузовые автомобили. Система питания
Система питания дизельного двигателя
В отличие от карбюраторных двигателей, в цилиндры которых поступает готовая горючая смесь из карбюратора, горючая смесь у дизелей образуется непосредственно в цилиндрах, куда топливо и воздух подаются раздельно. Чистый воздух засасывается в цилиндры и в них подвергается очень высокой степени сжатия. Вследствие в цилиндрах двигателя создается температура превышающая температуру воспламенения дизельного топлива. Это отличие определяет особенности устройства системы питания дизелей. Все отечественные дизели унифицированы, т.е. многие детали кривошипно – шатунного механизма, газораспределительного механизма, а также приборы системы питания у них одинаковые.
По сравнению с карбюраторными двигателями они более экономичны, надежны, а также способны работать на более дешевом и тяжелом топливе.
В дизельных двигателях осуществляется внутреннее смесеобразование. В цилиндры двигателя подается дозированная порция топлива под большим давлением. За счет перепада давлений между распыливающими отверстиями форсунки и камерой сгорания и происходит процесс впрыска топлива. Поршень находится почти в верхней мертвой точке, в сильно сжатый, достигающий температуры 600°С воздух, впрыскивается дизельное топливо, которое загорается без наличия свечи зажигания. С помощью топливного насоса высокого давления топливо подается из топливного бака, через топливный фильтр в систему питания двигателя. Топливо испаряется и смешивается с воздухом, что обеспечивает полное и быстрое сгорание топлива. Процесс начинается с момента впрыскивания топлива из распылителя форсункой и заканчивается полным сгоранием топлива. Топливный фильтр задерживает различные примеси и грязи.
Топливо в систему подается только в том случае, если в системе нет воздуха, в насосе создается необходимое для впрыска давление и топливо распределяется по цилиндрам. Так как дизельное топливо не нуждается в зажигании и его цикл не прекращается при отключении напряжения в системе накального зажигания, в конструкции дизельного двигателя предусмотрен магнитный клапан. При выключении зажигания напряжение на нем исчезает, и канал поступления топлива закрывается. Масло для смазывания деталей топливного насоса подается под давлением из общей смазочной системы двигателя.
Процесс смесеобразования в дизельных двигателях включает в себя несколько стадий:
– распыливание топлива;
– развитие топливного факела;
– прогрев;
– испарение;
– перегрев топливных паров;
– смешивание топливных паров с воздухом.
К дизельному топливу предъявляются высокие требования по степени очистки топлива от механических примесей, перед заправкой топливо должно отстояться.
Недостатком дизельных двигателей является слишком малое время необходимое на распыливание, смесеобразование и сгорание топлива, оно примерно в десять раз меньше, чем у двигателей с внешним смесеобразованием и равно 0,001 – 0,003 с. Топливо необходимо впрыскивать в строго определенные фазы цикла, что не всегда получается при работе дизеля на всех возможных режимах.
В дизельных двигателях наибольшее распространение получили две схемы подачи топлива: разделенная и неразделенная. В разделенной системе топливо от насоса высокого давления подается по топливопроводам к форсункам. В неразделенной системе топливный насос и форсунка объединены в один узел – насос – форсунку.
Рассмотрим принцип работы разделенной системы питания дизельного двигателя.
Рис. Система питания дизельного двигателя. 1 – топливный бак, 2 – топливоподкачивающий насос, 3 – фильтр тонкой очистки, 4 – топливный насос высокого давления, 5 – форсунки, 6 – фильтр грубой очистки топлива.Во время работы двигателя топливо из топливного бака 1 засасывается топливоподкачивающим насосом 2 через фильтр грубой очистки топлива 6, где отделяются крупные механические примеси.
Далее топливо нагнетается подкачивающим насосом, через фильтр тонкой очистки 3 в топливный насос высокого давления 4. Затем топливо по топливопроводам высокого давления подается к форсункам 5, которые впрыскивают его в распыленном состоянии в камеры сгорания цилиндров двигателя. Несмотря ни на что, впрыскиваемое в камеру сгорания топливо, распределяется неравномерно и процесс сгорания происходит не полностью. Для более полного сгорания топлива, работа дизельных двигателей происходит при высоком коэффициенте избытка воздуха, что приводит к понижению среднего эффективного давления, литровой мощности и к увеличению веса двигателя. В топливный насос избыточное количество топлива подается подкачивающим насосом. Излишки топлива отводятся из топливного насоса по перепускной трубке во впускную часть подкачивающего насоса, через клапан, находящийся в штуцере топливопровода. Воздух в цилиндры подается через впускной коллектор (трубопровод), предварительно пройдя через воздухоочиститель (воздушный фильтр).
Топливо, впрыскиваемое форсунками, попадает в среду сжатого и нагретого воздуха, воспламеняется и сгорает. Отработавшие газы после сгорания, выходят из цилиндров двигателя через выпускной трубопровод и глушитель в окружающую среду.
Распрыскивание топлива и распределение его в воздушной среде камеры сгорания зависит от :
– конструктивных параметров двигателя;
– давления впрыска;
– особенностей процесса, протекающего в цилиндре двигателя;
– других факторов.
Энергетические и экономические показатели двигателя зависят от качества распыливаемого топлива, от того, как происходит процесс сгорания в двигателе.
К корпусу топливного насоса у дизельных двигателей в задней части установлен регулятор частоты вращения коленчатого вала . В зависимости от нагрузки двигателя он автоматически изменяет количество топлива, подаваемого в цилиндры двигателя и автоматически поддерживает частоту вращения коленчатого вала, заданную водителем.
Форсунки тонко распыливают топливо, подаваемое в камеры сгорания дизельного двигателя насосом высокого давления. Тонкость распыливания топлива характеризуется средним диаметром капель топлива.
Качество распыливания улучшается, если:
– повышается давление впрыска и увеличивается скорость струи;
– увеличивается противодавление воздуха, сжатого в камере сгорания;
– при переходе к меньшим диаметрам распыливающих отверстий форсунки.
Все детали форсунки размещены в стальном корпусе. Основная часть форсунки – корпус и игла. Рис. Форсунка. А – устройство, б – схема работы, 1 – колпак, 2 – штуцер для топливопровода, 3 – сетчатый фи льтр, 4 – гайка распылителя, 5 – корпус распылителя, 6 – запорная игла распылителя, 7 – штифт, 8 – корпус, 9 – штанга, 10 – пружина, 11 – регулировочный винт, 12 – контргайка, А – канал, Б – камера распылителя.Силой упругости пружины 10, передаваемой через штангу 6, игла прижата к внутренней конической поверхности распылителя и перекрывает выход топливу из полости к отверстиям распылителя.
Подъем запорной иглы производится автоматически, под давлением топлива, нагнетаемого насосом. Давление топлива действует снизу на иглу, превышает усилие пружины, стремящейся удерживать иглу в опущенном состоянии. Топливо поступает к соплам распыливающих отверстий и через них впрыскивается в камеру сгорания. Такой способ подъема запорной иглы называется гидравлическим.
Диаметр и расположение сопловых отверстий зависят от принятого способа смесеобразования и формы камеры сгорания. Размеры, взаиморасположение и качество изготовления сопловых отверстий в значительной мере предопределяют форму и направление струи, тонкость и однородность распыливания и равномерное распределение частиц распыленного топлива в камере сгорания.
Топливные баки дизельных автомобилей устроены так же, как и баки автомобилей с карбюраторными двигателями.
Топливные фильтры. Топливо, поступающее к насосу высокого давления и форсункам, не должно содержать механических примесей, могущих вызвать повреждение или повышенный износ изготовленных с высокой точностью деталей топливной аппаратуры.
Поэтому в системе питания дизелей топливо многократно фильтруют.
На двигателях обычно устанавливают два последовательно работающих топливных фильтра: грубой и тонкой очистки.
В фильтре грубой очистки установлен сетчатый фильтрующий элемент, состоящий из отражателя и латунной сетки с размерами ячейки 0.09 мм. Поверх сетчатого каркаса навит ворсистый, хлопчатобумажный шнур.
В корпус ввернута резьбовая втулка, на которой смонтирован фильтрующий элемент. Резьбовая втулка прижимает к корпусу распределитель потока топлива. На распределителе потока топлива равномерно расположены восемь отверстий.
Во время работы двигателя топливо подводится в фильтр через трубку и отверстия распределителя. Часть топлива попадает под успокоитель, где остаются крупные механические примеси и вода, находящаяся в топливе. Через отверстие в успокоителе, топливо поднимается вверх к сетчатому фильтрующему элементу, очищается от мелких примесей и поступает к отводящей трубке.
Для периодического слива отстоя предназначена пробка.
В фильтре тонкой очистки установлен фильтрующий элемент с набивкой из минеральной ваты, пропитанной клеящим веществом. В отверстие крышки фильтра ввернут жиклер 9, через который часть топлива из корпуса фильтра по присоединенной к жиклеру трубке все время отводится в топливный бак. За счет этого в фильтре тонкой очистки и, топливопроводе, соединяющем фильтр с насосом высокого давления, поддерживается приблизительно постоянное давление.
В нижней части корпуса предусмотрено отверстие, закрытое пробкой 1, для слива из фильтра загрязненного топлива и попавшей с топливом воды. На крышке корпуса установлен продувочный вентиль, который служит для выпуска воздуха, попавшего в топливную систему двигателя. Рис. Фильтр тонкой очистки топлива 1 – пробка, 2 – пружина, 3 – стержень, 4 – прокладка, 5 – корпус, 6 – фильтрующий элемент, 7 – крышка, 8 – пробка, 9 – жиклер, 10 – болт.Воздушный фильтр по устройству и принципу действия аналогичен инерционно – масляным фильтрам карбюраторных двигателей.
При использовании воздушных фильтров уменьшается изнашивание деталей цилиндропоршневой группы в несколько раз, поскольку они очищают воздух от пыли, в которой содержатся твердые частицы.
Топливный насос высокого давления служит для подачи в цилиндры дизеля в строго определенные моменты требуемого количества топлива под высоким давлением. Топливные насосы высокого давления классифицируются по трем основным признакам: конструктивному исполнению, методу дозирования количеств подаваемого топлива и числу секций.
Топливные насосы высокого давления должны обеспечивать:
– равномерное распределение топлива в камере сгорания;
– создание высокого давления впрыска, обеспечивающего тонкое распыливание топлива;
– точную дозировку порции впрыскиваемого топлива для подачи его в камеру сгорания двигателя;
– впрыск топлива в камеру сгорания в определенный момент рабочего процесса с требуемой продолжительностью;
– создание равных условий впрыска для всех цилиндров многоцилиндрового двигателя.
Топливные насосы бывают многосекционные и распределительные. Обычно у многосекционных насосов секции располагаются в одном корпусе в один или два ряда. Одна секция топливного насоса подает топливо только в один цилиндр.
Распределительные насосы имеют одну или две секции (кратное числу цилиндров).Каждая секция может подавать топливо сразу в несколько цилиндров.
Топливный насос низкого давления служит для подачи топлива к топливному насосу высокого давления.Общее устройство системы питания дизелей — Студопедия.Нет
Во время работы двигателя топливо из топливного бака 12 засасывается топливоподкачивающим насосом 10 через фильтр грубой очистки 11, где отделяются крупные механические примеси. Далее оно нагнетается подкачивающим насосом через фильтр 9 тонкой очистки в топливный насос 7 высокого давления. Последний подает топливо через топливопровод 6 под большим давлением к форсункам 4, которые впрыскивают его в распыленном состоянии в камеру сгорания. В топливный насос подается избыточное количество топлива.
Излишки топлива отводятся из топливного насоса по топливопроводу 15 во впускную часть подкачивающего насоса через перепускной клапан.
| Рис. 3.24. Схема системы питания 4-х цилиндрового дизеля: 1- воздушный фильтр, 2 – турбокомпрессор, 3 – глушитель, 4 – форсунка, 5 – впускной трубопровод, 6 – топливопровод высокого давления, 7 – ТНВД, 8 – топливопровод низкого давления, 9 – фильтр тонкой очистки топлива, 10 – подкачивающий насос низкого давления, 11 – фильтр грубой очистки топлива, 12 – топливный бак, 13 – поршень, 14 – впускной клапана, 15 – топливопровод перепуска излишнего топлива, К – компрессор, Т – турбина |
На схеме подкачивающий насос вынесен для упрощения понимания, на дизелях подкачивающий насос является узлом ТНВД
Воздух, поступающий в цилиндры двигателя, проходит вначале предварительную очистку в воздушном фильтре 1, а затем нагнетается под давлением турбокомпрессором 2.
Отработавшие газы выходят из цилиндров через выпускной трубопровод 5 и глушитель 3.
Устройство узлов питания дизелей
3.2.4.1. Топливный бак Топливный бак состоит из двух штампованных сварных половин из листовой стали. Внутри бака вварены перегородки 7, придающие ему необходимую жесткость. В нижней части перегородок имеются вырезы для прохождения топлива в отсеки. В верхнюю часть бака вварена горловина для заливки топлива.
В верхнюю часть основного бака вмонтированы поплавковый датчик 1 электрического указателя уровня топлива и расходный кран 3 с фильтром 4. Бак оборудован крышкой, подобной радиаторной, с двумя клапанами и прокладкой, обеспечивающей его герметичность.
| Рис. 3.25. Топливный бак 1 – датчик уровня топлива, 2 – наливная горловина с крышкой, 3 – расходный кран, 4 – сетчатый фильтр, 5 – крышка сливного отверстия, 6 – выдвижной патрубок, 7 – перегородка, 8 – топливопровод, 9 – фильтр – отстойник (фильтр грубой очистки) |
3.
2.4.2. Воздушный фильтр При использовании воздушных фильтров уменьшается износ деталей цилиндро-поршневой группы в несколько раз, т.к. фильтры отчищают воздух от пыли, в которой содержатся твердые частицы.
Рис. 3.26. Воздушный фильтр сухого типа: 1 – воздухозаборник, 2 – распорная пружина, 3 – фильтрующий элемент, 4 – уплотнитель, 5 – крышка, 6 – винт, 7 – защелка, 8 – корпус, 9 – патрубок отсоса пыли, 10 – воздухопровод, 11 – кронштейн, 12 – шплинт дренажного отверстия, 13 – соединительный патрубок, 14 – хомут, 15 – установочная метка
Воздух проходит через бумажные фильтрующие элементы и очищенным поступает в выходной патрубок и далее в турбокомпрессор .
Засоренность воздушного фильтра определяется индикатором, который соединен трубкой с выходным патрубком воздушного фильтра.
3.2.4.3. Турбокомпрессор (турбонаддув) Мощность дизеля можно повысить, подавая в цилиндры воздух предварительно сжатый в компрессоре (наддувом). Если в цилиндры подано больше воздуха, то можно подать больше топливо, которое полностью сгорит и выделит больше энергии.
Турбокомпрессор используют для нагнетания воздуха под давлением в цилиндры двигателя. Он состоит из корпуса 3 (рис. 3.27) и колес 1 и 4 соответственно центробежного компрессора и газовой турбины, которые жестко закреплены на общем валу 2. Отработавшие газы по выпускному трубопроводу 5 попадают в камеру газовой турбины и направляются на лопатки рабочего колеса 4 турбины, заставляя его вращаться вместе с валом 2.
Рис. 3.27. Схема работы турбокомпрессора: 1 – колесо компрессора, 2 – вал турбокомпрессора, 3 – корпус, 4 – колесо турбины, 5 – выпускной трубопровод, 6 – выпускной клапан, 7 – цилиндр, 8 – поршень, 9 – впускной клапан, 10 – впускной трубопровод
|
Далее отработавшие газы выбрасываются в атмосферу через выпускную трубу. Закрепленное на валу колесо 1 компрессора, вращаясь, засасывает воздух из атмосферы через воздухоочиститель и под избыточным давлением 0,05 – 0.06 МПа нагнетает его по впускному трубопроводу 10 в цилиндры двигателя, увеличивая наполнение их воздухом.
Колеса турбины и компрессора вращаются с большой скоростью (частота вращения примерно 36000 об/мин).
3.2.4.4. Глушитель Глушитель 3 необходим для снижения шума при выпуске отработавших газов и гашения искр.
Внутри корпуса расположена труба, соединенная с корпусом перегородками, которые образуют 3 резонансные камеры. Эффект глушения шума достигается за счет движения потока газов через резонансные камеры.
3.2.4.5. Фильтр грубой очистки топлива Очищает топливо от крупных механических примесей. Фильтр имеет сетчатый фильтрующий элемент 7 (рис. 3.28), состоящий из отражателя и латунной сетки с ячейками размером 0,09 мм.
| Рис. 3.28. Фильтр грубой очистки топлива: 1,3 – трубки, 2 – корпус, 4 – распределитель потока топлива, 5 – нажимное кольцо, 6 – стакан, 7–сетчатый фильтрующий элемент, 8 – успокоитель, 9 – сливная пробка |
Фильтрующий элемент смонтирован на резьбовой втулке, которая ввернута в корпус 2 и прижимает к нему распределитель 4 потока топлива, имеющий 8 равномерно расположенных по окружности отверстий.
Во время работы двигателя топливо подводится в фильтр через трубку 1 и отверстия распределителя 4. Затем оно стекает вниз через кольцевую щель между отражателем и стенкой стакана. Часть топлива по инерции попадает под успокоитель 8, где оседают крупные механические примеси и вода, находящаяся в топливе. Через центральное отверстие успокоителя топливо поднимается вверх к сетке фильтрующего элемента. Пройдя через сетчатый элемент, оно очищается от мелких механических примесей и поступает через центральное отверстие корпуса к отводящей трубке 3.
3.2.4.6. Фильтр тонкой очистки топлива Очищает топливо от мельчайших механических частиц и воды.
| Рис. 3.29. Фильтр тонкой очистки: 12 – продувочный вентиль, 13 – пробка сливного отверстия, 14 – фильтрующий элемент второй ступени, 15 – фильтрующий элемент первой ступени, А и Б – вход и выход топлива |
Фильтрующий элемент включает в себя две секции: наружную и внутреннюю (рис. 3.29). Внутренняя секция считается как бы предохранительной: при разрыве шторы наружной секции механические примеси будут задерживаться во внутренней секции. Каждая секция фильтрующего элемента – цилиндрический картонный каркас, заключенный в жестяные крышки. Каркас имеет отверстие для прохода топлива. Внутри него размещены фильтрующие шторы, изготовленные из специальной бумаги и свернутые в многогранную винтовую гармошку.
Для штор наружной секции применяют бумагу с порами больших размеров, чем для внутренней. Поток топлива под давлением подкачивающего насоса входит через отверстие А в корпус фильтра, а затем проходит последовательно через отверстие каркаса и фильтрующих штор. Очищенное от мельчайших примесей топливо через отверстие Б направляется по топливопроводу низкого давления в топливный насос высокого давления.
В нижней части корпуса предусмотрено отверстие, закрытое пробкой 13, для слива из фильтра загрязненного топлива и попавшей с топливом воды. На крышке корпуса установлен продувочный вентиль 12, который служит для выпуска воздуха, попавшего в топливную систему двигателя.
3.2.4.7. Насос низкого давления (топливоподкачивающий насос дизеля) На топливном насосе высокого давления устанавливают подкачивающий насос низкого давления, который обеспечивает необходимую подачу топлива в его подводящий канал.
Рис. 3.30. Насос низкого давления: 1 – корпус, 2 – нагнетательный клапан, 3,7 – штуцеры отвода и подвода топлива, 4 – нажимная пружина, 5 – цилиндр насоса ручной подкачки, 6 – впускной клапан, 8,13 – поршни, 9 – толкатель, 10 – эксцентрик (кулачок) вала ТНВД, 11 – рукоятка ручной подкачки, 12 – головка цилиндра, 14 – шток
Топливо перекачивается насосом за 2 хода поршня. При вращении вала топливного насоса эксцентрик 10 (рис. 3.30) отходит от толкателя 9 и поршень 8 перемещается под действием пружины 4 вниз. Топливо, находящееся под поршнем, вытесняется в нагнетательный топливопровод через штуцер 3 и проходит через фильтр тонкой очистки в топливный насос. В надпоршневом пространстве в это время действует разряжение, вследствие чего, топливо поступает в насос через открывшийся впускной клапан 6 из топливного бака.
При дальнейшем вращении вала эксцентрик набегает на толкатель, и поршень перемещается вверх, сжимая пружину 4. Под действием давления поршня и топлива впускной клапан 6 закрывается, а нагнетательный клапан 2 открывается, и топливо из надпоршневого пространства перетекает под поршень. После этого вспомогательного хода поршня процесс повторяется.
На корпусе подкачивающего насоса над впускным клапаном установлен насос ручной подкачки топлива. Он служит для заполнения системы топливом и удаления из него воздуха перед пуском двигателя. При перемещении рукоятки 11 с поршнем 13 вверх под действием разряжения, образующегося в цилиндре 5, открывается впускной клапан 6 и топливо заполняет пространство под поршнем. При движении рукоятки с поршнем вниз под давлением топлива впускной клапан закрывается, а нагнетательный клапан 2 открывается, и топливо поступает по нагнетательному трубопроводу к топливному насосу.
3.2.4.8. Насос высокого давления (ТНВД) ТНВД предназначен для точного дозирования топлива в соответствии с режимом работы двигателя и обеспечения его подачи в определенные моменты рабочего цикла к форсункам в соответствии с порядком работы цилиндров.
Устройства, входящие в состав ТНВД, можно разделить на следующие группы:
- Устройства топливоподачи
- Устройства регулирования
- Дополнительные регулирующие устройства
По конструкции ТНВД выполняют рядными или V – образными, это зависит от компоновки двигателя. ТНВД состоит из одинаковых секций, их количество соответствует количеству цилиндров двигателя. Рис. 3.31. ТНВД двигателя КамАЗ 740 (продольный разрез): 1 – задняя крышка регулятора, 2,3 – ведущая и промежуточная шестерни регулятора частоты вращения, 4 – ведомая шестерня с державкой грузов, 5 – ось груза, 6 – груз, 7 – муфта груза, 8 – палец рычага, 9 – корректор, 10 – рычаг пружины регулятора, 11 – рейка, 12 – втулка рейки, 13 – редукционный клапан, 14 – пробка рейки, 15 – муфта опережения впрыска топлива, 16 – кулачковый вал
| Рис. 3.32. ТНВД двигателя КамАЗ 740 (поперечный разрез) | |
| Рис. 3.33. Секция ТНВД КамАЗ 740: А – полость нагнетания топливного насоса, Б – полость отсечки, 1 – корпус насоса, 2 – толкатель секции, 3 – пята толкателя, 4 – пружина, 5 – плунжер, 6 – втулка плунжера, 7 – нагнетательный клапан, 8 – штуцер, 9 – корпус секции, 10 – отсечная кромка винтовой канавки плунжера, 11 – рейка, 12 – поворотная втулка плунжера |
Насос плунжерного типа, с V – образным расположением секций, установлен в развале блока цилиндров. Он состоит из корпуса, кулачкового вала, восьми секций, регулятора частоты вращения коленчатого вала двигателя и муфты опережения впрыска топлива.
Устройства топливоподачи. В корпусе насоса выполнены впускной и отсечной топливные каналы (рис. 3.34), в нижней части корпуса установлен кулачковый вал. Количество кулачков вала соответствует числу секций насоса, а их взаимное расположение – порядку чередования подач секциями. При вращении кулачкового вала усилие передается на роликовый толкатель и через пяту толкателя – на плунжер секции.
Рис. 3.34. Расположение топливных каналов в корпусе ТНВД
Каждая секция (рис. 3.33) состоит из корпуса 9, втулки плунжера 5, нагнетательного клапана 7, прижатого через уплотнительную прокладку к втулке плунжера штуцера 8, и поворотной втулки 12. Плунжер совершает возвратно-поступательные движения под действием кулачка вала и пружины 4. Поворот плунжера 5 относительно втулки 6 для изменения количества подаваемого топлива осуществляется рейкой 11 топливного насоса через поворотную втулку 12.
Рис. 3.35. Секция ТНВД
Топливо под действием топливоподкачивающего насоса поступает в полость А (рис. 3.33) и далее через входное отверстие во втулке плунжера 6 в надплунжерное пространство. При движении плунжера вверх и перекрытии входного отверстия втулки его верхней кромкой топливо подвергается сжатию вследствие чего, открывается нагнетательный клапан 7 и топливо поступает в топливопровод высокого давления к форсунке через отверстие в штуцере 8. Дальнейшее движение плунжера вверх приводит к росту давления в топливопроводе, и по достижению величины 18 000 + 500 кПа происходит впрыск топлива форсункой в камеру сгорания. Минимальный зазор между втулкой и плунжером составляет порядка 1 микрометра.
В момент открытия выходного отверстия во втулке отсечной винтовой кромкой 10 плунжера давление над плунжером резко уменьшается, и нагнетательный клапан 7 закрывается, что приводит к резкому падению давления в топливопроводе. Вследствие этого игла распылителя форсунки совершает быструю посадку в седло и резкую отсечку подачи топлива в цилиндр.
При движении плунжера 5 (рис. 3.33) вниз под действием пружины 4 полость над ним заполняется топливом и процесс повторяется.
Рис. 3.36. Схема работы плунжерной пары
Изменение количества топлива, подаваемого секцией за один цикл, происходит в результате поворота плунжера зубчатой рейкой (рис. 3.37).
| Рис. 3.37. Схема изменения подачи топлива: а – максимальная подача, б – промежуточная подача, в – нулевая подача, h – расстояние от впускного отверстия до винтовой кромки плунжера |
При различных углах поворота плунжера, благодаря винтовой кромке, смещаются моменты открытия выпускного отверстия. При этом, чем позднее открывается выпускное отверстие, тем большее количество топлива может быть подано к форсункам.
Устройства регулирования. К ним относятся муфта опережения впрыскивания топлива и регуляторы частоты вращения коленчатого вала.
Муфта опережения впрыска топлива (муфта ОВТ) автоматически изменяет начало впрыска топлива в цилиндры в зависимости от частоты вращения коленчатого вала двигателя. Применение муфты обеспечивает полноту сгорания за счет увеличения угла опережения впрыска, оптимальное для рабочего процесса начало подачи топлива во всем диапазоне скоростного режима, вследствие чего достигается экономичность при различных скоростных режимах работы двигателя. Муфта опережения вступает в работу при резком увеличении числа оборотов, по назначению аналогична ускорительному насосу карбюратора.
Привод муфты ОВТ: ведомая полумуфта 2 (рис. 3.38) привода муфты ОВТ приводится в действие карданным валом в цепочке привода кулачкового вала ТНВД от коленчатого вала двигателя.
Рис. 3.38. Привод автоматической муфты опережения впрыска топлива 1 — автоматическая муфта опережения впрыска, 2 – ведомая полумуфта привода, 3 – передний фланец ведомой полумуфты привода, 4 – болт, 5 – задний фланец ведущей полумуфты привода, А, Б, В – метки на корпусе ТНВД, на муфте опережения впрыска и на заднем фланце ведущей полумуфты привода соответственно
Для правильной установки топливного насоса и его привода, а также для проведения регулировок и проверок на заднем фланце соединительной полумуфты, муфте ОВТ и корпусе насоса имеются метки А,Б,В.
Устройство муфты ОВТ. Автоматическая муфта опережения впрыска (рис. 3.39) устанавливается на носке кулачкового вала насоса высокого давления на шпонке. Она состоит из двух полумуфт: ведущей и ведомой. На ведомую полумуфту навернут корпус, объединяющий детали муфты. Полумуфты распираются пружинами, которые воздействуют на них через пальцы. Пальцы установлены в ведомой полумуфте и на них свободно надеты грузы. В профильные вырезы грузов под действием пружин упираются пальцы, закрепленные в ведущей полумуфте. Таким образом, полумуфты оказываются связанными между собой.
Рис. 3.39. Автоматическая муфта изменения угла опережения впрыска:
а – конструкция, б – детали, 1 – ведомая полумуфта, 2 – ось груза, 3 – уплотнительное кольцо, 4 – пружина, 5 – ведущая полумуфта, 6 – винт, 7 – втулка ведущей полумуфты, 8,12 – самоподвижные сальник, 9 – гайка крепления муфты, 10 – ступица ведомой полумуфты, 11 – шип, 13 – корпус, 14 – палец ведущей полумуфты, 15 – груз, 16 – пружинная шайба, 17 – шпонка, 18 – кулачковый вал топливного насоса, 19 – проставка, А – криволинейная поверхность груза
При малой частоте вращения коленчатого вала грузы находятся в сведенном состоянии и ведомая полумуфта занимает определенное положение относительно ведущей. Как только частота вращения коленчатого вала начинает превышать 1000 об/мин, возникающие центробежные силы грузов становятся больше усилия предварительного сжатия пружин.
Вследствие этого грузы начинают расходиться, сжимая пружины и поворачивая ведомую полумуфту относительно ведущей по направлению вращения. Это приводит к более раннему впрыску топлива, т. е. к увеличению угла опережения впрыска.
С понижением частоты вращения вала двигателя уменьшается центробежная сила грузов муфты, и они сходятся под действием пружин. При этом происходит поворот ведомой полумуфты, а вместе с ней и кулачкового вала насоса в направлении, противоположном направлению вращения вала насоса. Угол опережения впрыска топлива уменьшается.
Всережимный регулятор частоты вращения коленчатого вала двигателя установлен на насосе высокого давления и приводится в действие от кулачкового вала. Его работа основана, как и в автоматической муфте, на использовании центробежных сил и протекает следующим образом. Например, при заданном положении педали управления подачи топлива и возникновении дополнительного сопротивления движению (на подъеме) частота вращения коленчатого вала двигателя будет уменьшаться, и скорость автомобиля падать. Чтобы ее поддержать на заданном уровне, необходимо повысить крутящий момент двигателя. Это может быть достигнуто увеличением количества топлива, впрыскиваемого в цилиндры двигателя. Всережимный регулятор воспринимает снижение частоты вращения коленчатого вала и автоматически увеличивает подачу топлива насосом высокого давления, благодаря чему скорость автомобиля восстанавливается до заданного значения.
Рис. 3.40. Всережимный регулятор частоты вращения коленчатого вала: 1 – кулачковый вал, 2 – кулиса, 3 – ось пяты, 4 – упорный подшипник, 5 – муфта, 6,7 – шестерни, 8- крестовина грузов, 9 – грузы, 10 – рычаг рейки, 11 – пружина, 12,22 – рычаги, 13 – тяга, 14 – рейка, 15 – болт ограничения максимального скоростного режима, 16 – рычаг управления, 17 – винт регулировки минимальных оборотов холостого хода, 18 – двуплечный рычаг, 19 – винт двуплечного рычага, 20 – винт буферной пружины, 21 – винт регулировки подачи топлива, 23 – корректор, 24 – рычаг выключения подачи, 25 – регулировочный винт
Аналогичным образом всережимный регулятор изменяет подачу топлива при уменьшении нагрузки на двигатель. Только в этом случае управляющее воздействие регулятора сводится к уменьшению количества впрыскиваемого топлива. В результате при снижении нагрузки на двигатель происходит уменьшение скорости движения и доведение ее до заданного уровня.
Таким образом, всережимный регулятор изменяет подачу топлива при изменении нагрузки двигателя и обеспечивает любой установленный скоростной режим от 500 до 2100 об/мин коленчатого вала.
Регулятор приводится в действие от кулачкового вала 1 (рис. 3.40) ТНВД через шестерни 6 и 7. Шестерня 7 установлена на оси муфты 5. На крестовине 8 установлены грузы 9. Муфта 5 через упорный подшипник 4 пятой действует через ось 3 на рычаг рейки 10.
При вращении валика крестовины 8 грузы 9 расходятся под действием центробежных сил и отжимают муфту 5, которая через упорный подшипник 4 и ось 3 пяты поворачивает рычаг 22. На одном валу с рычагом 22 расположен рычаг 18, связанный через пружину 11 с рычагом 12. На ось 3 пяты надет рычаг 10 рейки, один конец которого соединен с кулисой 2, а другой, при помощи тяги 13 — с рейкой 14 топливного насоса.
Если нагрузка на двигатель уменьшается, а подача топлива в цилиндр неизменна, то, естественно, частота вращения коленчатого вала должна увеличиться. При этом грузы 9 регулятора разойдутся и через систему рычагов переместят рейку 14 в сторону уменьшения подачи топлива. Это будет продолжаться до тех пор, пока центробежные силы грузов не уравновесятся силой пружины 11.
Если нагрузка на двигатель увеличится при неизменной подаче топлива, то частота вращения коленчатого вала уменьшается, грузы регулятора под действием пружины 11 сходятся и через систему рычагов воздействуют на рейку насоса, обеспечивая увеличение подачи топлива. Необходимый скоростной режим работы двигателя устанавливается рычагом 16, связанным при помощи тяг с педалью управления топливным насосом в кабине водителя.
При нажатии на педаль рычаг 16 поворачивается на некоторый угол влево, натяжение пружины 11 увеличивается и рейка под действием пружины перемещается в сторону увеличения подачи топлива. Частота вращения коленчатого вала при этом увеличивается до тех пор, пока центробежная сила грузов не уравновесит силу натяжения пружины.
Форсунка
Форсунки обеспечивают впрыск мелкораспыленного топлива под определенным давлением в камеры сгорания и четкую отсечку подачи в конце впрыскивания. Давление впрыска топлива находится в пределах 16-20 МПа.
На дизелях применяют форсунки нескольких типов: открытые и закрытые, с распылителем, имеющим одно, два или несколько распыляющих отверстий (сопел). Сопла располагаются под определенными углами, обеспечивающими тонкое распыление топлива.
Закрытыми называются форсунки с распыляющими отверстиями, закрытыми при помощи иглы. Эти отверстия открываются только в момент впрыскивания топлива в камеры сгорания. В настоящее время большинство дизелей имеет распылители форсунок с гидравлически управляемой иглой. Диаметр распыляющих отверстий 0,34 мм.
Рис. 3.41. Форсунка: 1 – корпус, 2 – фильтр форсунки, 3 – уплотнительное кольцо, 4 – тарелка, 5 – пружина, 6 – проставка, 7 – корпус распылителя форсунки, 8 – гайка распылителя, 9 – игла, 10 – регулировочный винт, 11 – контргайка регулировочного винта
Форсунка состоит из корпуса 1 (рис. 3.41) с фильтрующим элементом 2 и пружины 5. Сверху пружина упирается в опорную тарелку 4, а снизу, через вкладыш, действует на иглу 9. Пружина находится в предварительно сжатом состоянии. Давление пружины регулируется винтом 10. Регулировочный винт удерживается от самопроизвольного вращения контргайкой 11. Регулировочный винт имеет дренажный канал для слива, просочившегося из корпуса распылителя 7 топлива, которое сливается обратно в топливный бак. Распылитель 7 имеет два распыляющих отверстия (сопла), которые закрываются иглой 9. Корпус распылителя вместе с иглой и проставкой 6 крепятся к корпусу форсунки накидной гайкой 8. Проставка и корпус иглы фиксируются в одном положении специальными штифтами. Форсунка устанавливается в гнезде головки цилиндра и закрепляется скобой.
Корпус распылителя 7 и игла 9 изготавливаются из легированной стали, тщательно обрабатываются и имеют большую твердость рабочих поверхностей, что необходимо для работы в условиях повышенных температур и давления.
Корпус и иглу при ремонте меняют комплектно.
Топливо к форсунке подается из ТНВД через канал внутрь корпуса распылителя, давление внутри которого возрастает. Это давление передается на заплечики иглы. Когда давление достигает величины 19 МПа, игла, преодолевая сопротивление пружины 5, поднимается, открывая распыляющие отверстия, через которые топливо впрыскивается в камеру сгорания цилиндра в мелкораспыленном виде.
Устройство и работа форсунок различных дизелей принципиально одинаковы при возможных конструктивных различиях.
Тест «Система питания дизельного двигателя»
Бюджетное профессиональное образовательное учреждение
Омской области
«Седельниковский агропромышленный техникум»
ТЕСТ
«Система питания дизельного двигателя»
МДК.01.02 «Устройство, техническое обслуживание и ремонт автомобилей»
ПМ. 01 Техническое обслуживание и ремонт автотранспорта
по профессии 23.01.03 Автомеханик
Составил: Баранов Владимир Ильич мастер производственного обучения
Седельниково, Омская область, 2017
Тест № 6 «Система питания дизельного двигателя»
Целью настоящих тестов является закрепление студентами знаний, полученных при изучении теоретического материала по теме «Система питания дизельного двигателя», входящей в состав МДК 01.02 «Устройство, техническое обслуживание и ремонт автомобильного транспорта» профессии 23.01.03 «Автомеханик». Тесты составлены в соответствии с требованиями программы профессионального модуля ПМ.01 «Техническое обслуживание и ремонт автомобильного транспорта» по профессии 23.01.03 «Автомеханик», 1 курс.
1. К какому типу двигателей относятся дизельные?
а) двигатели внутреннего смесеобразования
б) двигатели внешнего смесеобразования
в) двигатели с принудительным воспламенением горючей смеси
2. Укажите назначение форсунки.
а) регулирует угол опережения впрыскивания топлива
б) регулирует цикловую подачу топлива
в) обеспечивает впрыск топлива под высоким давлением в камеру сгорания
3. Как воспламеняется рабочая смесь в цилиндре дизельного двигателя?
а) свечой накаливания
б) электрической свечой
в) самовоспламеняется от сжатия воздуха
4. Для чего предназначены топливопроводы высокого давления?
а) для соединения приборов питания дизельного двигателя
б) для подачи топлива от бака к фильтрам
в) для соединения топливного насоса низкого давления с топливным насосом высокого давления
г) для подачи топлива от топливного насоса высокого давления к форсункам
5. Сколько форсунок имеет дизельный восьмицилиндровый, V-образный двигатель?
а) одну
б) две
в) четыре
г) восемь
6. Какого типа топливоподкачивающий насос низкого давления установлен на двигателе КамАЗ-740?
а) шестеренчатого типа с приводом от распредвала
б) диафрагменный, с приводом от коленвала
в) поршневой, с приводом от кулачкового вала ТНВД
7.Что означает цетановое число дизельного топлива?
а) степень сжатия двигателя, на котором применяется топливо
б) склонность топлива к самовоспламенению
в) угол впрыскивания топлива до прихода поршня в ВМТ
8. Какая деталь плунжерного ТНВД при работе двигателя совершает вращательное движение?
а) толкатель
б) кулачковый вал
в) плунжер
9. Какие топливопроводы высокого давления установлены на двигателе КамАЗ-740?
а) 4 коротких и 4 длинных
б) 3 коротких и 5 длинных
в) 2 коротких, 2 длинных и 4 средней длины
г) 8 топливопроводов одинаковой длины
10. Где образуется рабочая смесь в дизельном двигателе.
а) в цилиндре двигателя
б) во впускном трубопроводе при подаче топлива форсункой
в) в карбюраторе при открытой воздушной заслонке
г) в блоке цилиндров
11. Назначение форсунки в дизельном двигателе.
а) для впрыска мелкораспыленного топлива в камеру сгорания при впуске
б) приготовление горючей смеси оптимального состава и подачу ее в цилиндры
в) для впрыска мелкораспыленного топлива в камеру сгорания при сжатии
г) подача топлива во впускной трубопровод
12. Назначение ТНВД.
а) приготовление горючей смеси определенного состава в зависимости от нагрузки на двигатель и частоты вращения коленчатого вала
б) для подачи в форсунки двигателя определенной дозы топлива в определенный момент и под требуемым давлением
в) для смешивания воздуха и дизельного топлива в камере сгорания цилиндра
г) для подачи горючей смеси в двигатель
13. Что является основными деталями ТНВД.
а) игла форсунки, которая тщательно обрабатывается и притирается к корпусу
б) плунжерная пара, состоящая из плунжера и втулки плунжера
в) гильза цилиндра и поршень с поршневыми кольцами
г) поршень и цилиндр
14. Какое движение совершает плунжер в топливном насосе высокого давления.
а) вращательное
б) возвратно-поступательное
в) круговое под действием кулачкового вала
г) сложное
15. Что входит в систему питания дизельного двигателя.
а) топливный бак, топливоподкачивающий насос, топливный фильтр, ТНВД, форсунки, воздушный фильтр
б) топливный бак, топливоподкачивающий насос, топливный фильтр, карбюратор, форсунки, воздушный фильтр, глушитель
в) топливоподкачивающий насос, топливный фильтр, форсунки, воздушный фильтр, топливный бак
г) топливный фильтр, форсунки, воздушный фильтр, топливный бак
16. Чему равняется степень сжатия в дизельном двигателе.
а) 7-10
б) 20-25
в) 15-16
г) 4-5
17. Перечислите основные детали ДВС.
а) коленчатый вал, задний мост, поршень, блок цилиндров
б) шатун, коленчатый вал, поршень, цилиндр
в) трансмиссия, поршень, головка блока, распределительный вал
г) трансмиссия, головка блока, распределительный вал
18. Какое значение имеет давление открытия форсунки в дизельном двигателе.
а) 17.5-18 МПа
б) 10-12 МПа
в) 1.75-1.80 МПа
г) 2.5-3.5 МПа
19. Какая деталь форсунки устанавливается своим концом в камере сгорания?
а) корпус распылителя
б) штуцер
в) игла
г) корпус форсунки
20. Какое устройство предназначено для изменения момента начала подачи топлива в зависимости от частоты вращения коленчатого вала дизеля?
а) топливная секция ТНВД
б) топливоподкачивающий насос
в) муфта опережения впрыска топлива
г) всережимный регулятор ТНВД
21. Как закрывается наливная горловина топливного бака?
а) герметичной крышкой предотвращающей попадание пыли и грязного воздуха
б) герметичной крышкой с паровоздушным клапаном
в) крышкой, которая закрывается неплотно, для избежания образования разряжения при расходе топлива
Эталон ответов:
Вопрос | 1 | 2 | 3 | 4 | 5 | 6 | 7 | 8 |
Ответ | а | в | в | г | г | в | б | б |
Вопрос | 9 | 10 | 11 | 12 | 13 | 14 | 15 | 16 |
Ответ | г | а | в | б | б | б | а | в |
Вопрос | 17 | 18 | 19 | 20 | 21 | |||
Ответ | б | а | а | в | а |
Критерии оценок тестирования:
Оценка «отлично» 19 — 21 правильных ответов из 21 предложенных вопросов;
Оценка «хорошо» 15 — 18 правильных ответов из 21 предложенных вопросов;
Оценка «удовлетворительно» 11 — 14 правильных ответов из 21 предложенных вопросов;
Оценка «неудовлетворительно» 0 — 10 правильных ответов из 21 предложенных вопросов.
Список литературы
Кузнецов А.С. Техническое обслуживание и ремонт автомобилей: в 2 ч. – учебник для нач. проф. образования / А.С. Кузнецов. — М.: Издательский центр «Академия», 2012.
Кузнецов А.С. Слесарь по ремонту автомобилей (моторист): учеб. пособие для нач. проф. образования / А.С. Кузнецов. – 8-е изд., стер. – М.: Издательский центр «Академия», 2013.
Автомеханик / сост. А.А. Ханников. – 2-е изд. – Минск: Современная школа, 2010.
Виноградов В.М. Техническое обслуживание и ремонт автомобилей: Основные и вспомогательные технологические процессы: Лабораторный практикум: учеб. пособие для студ. учреждений сред. проф. образования / В.М. Виноградов, О.В. Храмцова. – 3-е изд., стер. – М.: Издательский центр «Академия», 2012.
Петросов В.В. Ремонт автомобилей и двигателей: Учебник для студ. Учреждений сред. Проф. Образования / В.В. Петросов. – М.: Издательский центр «Академия», 2005.
Карагодин В.И. Ремонт автомобилей и двигателей: Учебник для студ. Учреждений сред. Проф. Образования / В.И. Карагодин, Н.Н. Митрохин. – 3-е изд., стер. – М.: Издательский центр «Академия», 2005.
Коробейчик А.В. к-68 Ремонт автомобилей / Серия «Библиотека автомобилиста». Ростов н/Д: «Феникс», 2004.
Коробейчик А.В. К-66 Ремонт автомобилей. Практический курс / Серия «Библиотека автомобилиста». – Ростов н/Д: «Феникс», 2004.
Чумаченко Ю.Т., Рассанов Б.Б. Автомобильный практикум: Учебное пособие к выполнению лабораторно-практических работ. Изд. 2-е, доп. – Ростов н/Д: Феникс, 2003.
Слон Ю.М. С-48 Автомеханик / Серия «Учебники, учебные пособия». – Ростов н/Д: «Феникс», 2003.
Жолобов Л.А., Конаков А.М. Ж-79 Устройство и техническое обслуживание автомобилей категорий «В» и «С» на примере ВАЗ-2110, ЗИЛ-5301 «Бычок». Серия «Библиотека автомобилиста». – Ростов-на-Дону: «Феникс», 2002.
Лучшие дизельные силовые установки — Выгодные предложения на дизельные силовые установки от мировых продавцов дизельных энергосистем
Отличные новости !!! Вы попали в нужное место для дизельных энергосистем. К настоящему времени вы уже знаете, что что бы вы ни искали, вы обязательно найдете это на AliExpress. У нас буквально тысячи отличных продуктов во всех товарных категориях. Ищете ли вы товары высокого класса или дешевые и недорогие оптовые закупки, мы гарантируем, что он есть на AliExpress.
Вы найдете официальные магазины торговых марок наряду с небольшими независимыми продавцами со скидками, каждый из которых предлагает быструю доставку и надежные, а также удобные и безопасные способы оплаты, независимо от того, сколько вы решите потратить.
AliExpress никогда не уступит по выбору, качеству и цене.Каждый день вы будете находить новые онлайн-предложения, скидки в магазинах и возможность сэкономить еще больше, собирая купоны. Но вам, возможно, придется действовать быстро, поскольку эта лучшая дизельная силовая система в кратчайшие сроки станет одним из самых востребованных бестселлеров. Подумайте, как вам будут завидовать друзья, когда вы скажете им, что приобрели свою дизельную энергосистему на AliExpress. Благодаря самым низким ценам в Интернете, дешевым тарифам на доставку и возможности получения на месте вы можете еще больше сэкономить.
Если вы все еще не уверены в дизельных энергосистемах и думаете о выборе аналогичного товара, AliExpress — отличное место для сравнения цен и продавцов.Мы поможем вам разобраться, стоит ли доплачивать за высококачественную версию или вы получаете столь же выгодную сделку, приобретая более дешевую вещь. И, если вы просто хотите побаловать себя и потратиться на самую дорогую версию, AliExpress всегда позаботится о том, чтобы вы могли получить лучшую цену за свои деньги, даже сообщая вам, когда вам будет лучше дождаться начала рекламной акции. и ожидаемая экономия.AliExpress гордится тем, что у вас всегда есть осознанный выбор при покупке в одном из сотен магазинов и продавцов на нашей платформе.Реальные покупатели оценивают качество обслуживания, цену и качество каждого магазина и продавца. Кроме того, вы можете узнать рейтинги магазина или отдельных продавцов, а также сравнить цены, доставку и скидки на один и тот же продукт, прочитав комментарии и отзывы, оставленные пользователями. Каждая покупка имеет звездный рейтинг и часто имеет комментарии, оставленные предыдущими клиентами, описывающими их опыт транзакций, поэтому вы можете покупать с уверенностью каждый раз. Короче говоря, вам не нужно верить нам на слово — просто слушайте миллионы наших довольных клиентов.
А если вы новичок на AliExpress, мы откроем вам секрет. Непосредственно перед тем, как вы нажмете «купить сейчас» в процессе транзакции, найдите время, чтобы проверить купоны — и вы сэкономите еще больше. Вы можете найти купоны магазина, купоны AliExpress или собирать купоны каждый день, играя в игры в приложении AliExpress. Вместе с бесплатной доставкой, которую предлагают большинство продавцов на нашем сайте, вы сможете приобрести diesel power systems по самой выгодной цене.
У нас всегда есть новейшие технологии, новейшие тенденции и самые обсуждаемые лейблы. На AliExpress отличное качество, цена и сервис всегда в стандартной комплектации. Начните лучший опыт покупок прямо здесь.
Лучшая дизельная силовая установка — Выгодные предложения на дизельную силовую установку от мировых продавцов дизельных силовых установок
Отличные новости !!! Вы попали в нужное место для дизельной силовой машины.К настоящему времени вы уже знаете, что что бы вы ни искали, вы обязательно найдете это на AliExpress. У нас буквально тысячи отличных продуктов во всех товарных категориях. Ищете ли вы товары высокого класса или дешевые и недорогие оптовые закупки, мы гарантируем, что он есть на AliExpress.
Вы найдете официальные магазины торговых марок наряду с небольшими независимыми продавцами со скидками, каждый из которых предлагает быструю доставку и надежные, а также удобные и безопасные способы оплаты, независимо от того, сколько вы решите потратить.
AliExpress никогда не уступит по выбору, качеству и цене. Каждый день вы будете находить новые онлайн-предложения, скидки в магазинах и возможность сэкономить еще больше, собирая купоны. Но вам, возможно, придется действовать быстро, поскольку эта лучшая дизельная силовая установка в кратчайшие сроки станет одним из самых востребованных бестселлеров. Подумайте, как вам будут завидовать друзья, когда вы скажете им, что приобрели свой дизельный двигатель на AliExpress.Благодаря самым низким ценам в Интернете, дешевым тарифам на доставку и возможности получения на месте вы можете еще больше сэкономить.
Если вы все еще не уверены в дизельной силовой машине и думаете о выборе аналогичного товара, AliExpress — отличное место для сравнения цен и продавцов. Мы поможем вам разобраться, стоит ли доплачивать за высококачественную версию или вы получаете столь же выгодную сделку, приобретая более дешевую вещь.И, если вы просто хотите побаловать себя и потратиться на самую дорогую версию, AliExpress всегда позаботится о том, чтобы вы могли получить лучшую цену за свои деньги, даже сообщая вам, когда вам будет лучше дождаться начала рекламной акции. и ожидаемая экономия.AliExpress гордится тем, что у вас всегда есть осознанный выбор при покупке в одном из сотен магазинов и продавцов на нашей платформе. Реальные покупатели оценивают качество обслуживания, цену и качество каждого магазина и продавца.Кроме того, вы можете узнать рейтинги магазина или отдельных продавцов, а также сравнить цены, доставку и скидки на один и тот же продукт, прочитав комментарии и отзывы, оставленные пользователями. Каждая покупка имеет звездный рейтинг и часто имеет комментарии, оставленные предыдущими клиентами, описывающими их опыт транзакций, поэтому вы можете покупать с уверенностью каждый раз. Короче говоря, вам не нужно верить нам на слово — просто слушайте миллионы наших довольных клиентов.
А если вы новичок на AliExpress, мы откроем вам секрет.Непосредственно перед тем, как вы нажмете «купить сейчас» в процессе транзакции, найдите время, чтобы проверить купоны — и вы сэкономите еще больше. Вы можете найти купоны магазина, купоны AliExpress или собирать купоны каждый день, играя в игры в приложении AliExpress. Вместе с бесплатной доставкой, которую предлагают большинство продавцов на нашем сайте, вы сможете приобрести diesel power machine по самой выгодной цене.
У нас всегда есть новейшие технологии, новейшие тенденции и самые обсуждаемые лейблы.На AliExpress отличное качество, цена и сервис всегда в стандартной комплектации. Начните лучший опыт покупок прямо здесь.
Требования к системе питания дизельного двигателя— Могу ли я запустить его?
Системные требованияDiesel Power (2020) — полные спецификации, проверка системы и необходимая настройка игрового ПК: Могу ли я использовать Diesel Power?
Минимальные требования к дизельной мощности
- Память: 8 ГБ
- Видеокарта: NVIDIA GeForce GTX 970
- Процессор: Intel Core i5-4590
- Diesel Power Размер файла: 1.71 ГБ
- ОС: Windows 7
Автоматически проверяйте свой компьютер на соответствие системным требованиям Diesel Power . Проверьте, может ли ваш компьютер запустить игру, с помощью нашего бесплатного, простого в использовании инструмента обнаружения или войдите в вашу систему вручную.
Могу ли я использовать дизельный двигатель?
Системные требованияDiesel Power гласят, что вам потребуется как минимум 8 ГБ ОЗУ. Для работы Diesel Power требуется как минимум процессор Intel Core i5-4590.При условии, что у вас есть хотя бы графическая карта NVIDIA GeForce GTX 970, вы можете играть в игру. Для установки Diesel Power вам потребуется как минимум 1 ГБ свободного дискового пространства.
Diesel Power будет работать в системе ПК с Windows 7 и выше.
Ищете обновление? Попробуйте наши простые в использовании руководства по настройке Diesel Power , чтобы найти лучшие и самые дешевые карты. Фильтр для сравнения видеокарт Diesel Power и сравнения CPU. Мы поможем вам найти лучшее снаряжение для игры.
Попробуйте эти бесплатные альтернативы Diesel Power
Ищете готовую систему? В нашей базе данных 160 портативных компьютеров, на которых может работать на Diesel Power . Мы берем более 23 игровых ноутбуков до 1000 долларов. Ознакомьтесь с нашей полной таблицей сравнения ноутбуков, чтобы найти подходящие системы или лучшие предложения, которые мы выбрали ниже.
МОДЕЛИРОВАНИЕ И УПРАВЛЕНИЕ ПОТОКОМ ВЕТРО-ДИЗЕЛЬНОЙ ГИБРИДНОЙ СИЛОВОЙ СИСТЕМЫ
B — GERLĐM TRAFOLARI:
ве Seg.Korum_Hldun üyükdor onrım süresinin dh uzun olmsı yrıc rnın izole edilmesini gerektirmesi; rızlnmsı hlinde r tdiltını d gerektireilmesi, v.nedenlerle, özel durumlr dışınd tercih edilmezler. — GERĐLĐM
ДетайлыДЕНЕЙ 2 ОМ ЯСАСИ УЙГУЛАМАСИ
T.C. Mltepe Üniversitesi Mühendislik ve Doğ Bilimleri Fkültesi Elektrik-Elektronik Mühendisliği Bölümü ELK 201 DEVRE TEORİSİ DERSİ LABORATUVARI DENEY 2 OHM YASASI UYGULAMASI Детайлы
1.6 ЭЛЕКТРОМОТОР KUVVET VE POTANSİYEL FARK
.6 ELEKTROMOTOR KUVVET VE POTANSİYEL FARK İki uundn potnsiyel frk uygulnmış metl iletkenlerde, serest elektronlr iletkenin yüksek potnsiyeline doğru çekilirler. Elektrik kımını oluşturn, elektronlrın u
ДетайлыSAYISAL ÖZÜMLEME. Сайысал Чезюмлеме
SYISL ÖZÜMLEME Syısl Çözümleme SYISL ÇÖZÜMLEME Hft SYISL ÖZÜMLEMEDE HT KVRMI Syısl Çözümleme GİRİŞ Syısl nliz, mtemtik problemlerininmeçözümleme. Детайлы
ДЕНЕЙ 6.Ики Капылы Деврелер
004 ч. ULUDĞ ÜNİVERSİTESİ MÜHENDİSLİK FKÜLTESİ ELEKTRİKELEKTRONİK MÜHENDİSLİĞİ ÖLÜMÜ ELN04 Elektrik Devreleri Lorturı II 004 ч. DENEY 6 İreleri Детайлы
DC ŞÖNT JENERATÖR DENEY
İNÖNÜ ÜNİVRSİTSİ MÜHNDİSLİK FKÜLTSİ LKTRİKLKTRONİK MÜH. BÖL. 35 LKTRİK MKİNLR LBORTUVR DC ÖNT JNRTÖR DNY 3504.MÇ: önt bğlnmış DC jenertörün çlışmsını incelemek .. UYGULMLR :. ln kımının şönt bğlı DC jenertörün
ДетайлыELEKTRĐK MOTORLARI ve SÜRÜCÜLERĐ DERS 03
ELEĐ MOOLA ve SÜÜCÜLEĐ DES 03 Özer ŞENYU Mrt 0 ELEĐ MOOLA ve SÜÜCÜLEĐ DA MOOLANN ELEĐ DEE MODELLEĐ E AAEĐSĐLEĐ ENDÜĐ DEESĐ MODELĐ Endüviye uygulnn gerilim (), zıt end tems (E) Детайлы
EKLEMELİ DC KOMPOUND JENERATÖR DENEY 325-05
İNÖNÜ ÜNİVSİTSİ MÜHNDİSLİK FAKÜLTSİ LKTİKLKTONİK MÜH.BÖL. 35 LKTİK MAKİNALAI LABOATUVAI I KLMLİ DC KOMPOUND JNATÖ DNY 3505. AMAÇ: Kompound bğlnmış DC jenertörün çlışmsını incelemek .. UYGULAMALA :. Юк
ДетайлыDENEY 2 Wheatstone Köprüsü
0-05 Güz ULUDĞ ÜNİESİTESİ MÜHENDİSLİK FKÜLTESİ ELEKTİK-ELEKTONİK MÜHENDİSLİĞİ ÖLÜMÜ EEM0 Elektrik Devreleri Lorturı I 0-05 DENEY Whetstone Köprüsını Deney00: Детайлы
74xx serisi tümdevrelere örnekler
74xx serisi tümdevrelere örnekler Tümdevreler halinde gerçekleştirilen lojik kapılara örnekler.ir tümdevrede lojik kapı ve giriş sayısına göre belirlenmiş birden fazla kapı bulunur. TÜMLEŞİK KOMİNSYONEL
Детайлыİntegral Uygulamaları
Интегрл Уйгулмлры Изр Проф. Vkıf CAFEROV ÜNİTE Amçlr Bu üniteyi çlıştıktn sonr; düzlemsel ln ve dönel cisimlerin cimlerinin elirli integrl yrdımı ile esplnileceğini, küre, koni ve kesik koninin cim
ДетайлыТИКИЗ ЧЕКИЛ БЕТИМЛЕЙЧИЛЕРИ
TIIZ EİL BETİMLEYİCİLERİ Nfiz ARICA ve Ftoş YARMAN-VURAL Bildiri onusu: İMGE İLEME Sorumlu Yzr: Ftoş T.YARMAN-VURAL Адрес: Bilgisyr Mühendisliği Bölümü Ort Doğu Teknik Üniversitesi 653 Eskişehir
ДетайлыRASYONEL SAYILAR KESİR EİTLERİ. www.unkapani.com.tr. 1. Басит Кесир. olduğuna göre, a, b tamsayı ve b 0 olmak üzere, a şeklindeki ifadelere
RASYONEL SAYILAR, tmsyı ve 0 olmk üzere, şeklindeki ifdelere kesir denir. y kesrin pyı, ye kesrin pydsı denir. Örnein ,,,, kesirdir. kesrinde, py kesir çizgisi pyd, 0, 0 ise 0 0 dır.,, 0, syılrı irer 0
ДетайлыKIVIRMA İLEMİNİN EKİL ve BOYUTLARI
2011 Чут КИВИРМА ЧЕКИН ЧЕКИ ве БОЮТАРИ Хзирлин: Аднн ЙИМАЗ АГИНИМ ДЕГЕРЕРИ 50-21 ДИККАТ: Ийи нийет, ütün dikkt ве çm krşın ynlışlr olilir. Bu nedenle onucu orumluluk verecek ynlışlıklr için, hiçir
ДетайлыЛидерлик ве Йонетим Тарзи Рапору
Liderlik ve Yönetim Trzı Rporu Myıs 15 GİZLİ Liderlik ve Yönetim Trzı Rporu Giriş Myıs 15 Giriş LYTR, yönetii seçimi ve yönetim eerileri geliştirme ile ilgili kişiln odklnulrı.Бу рпор, професёнель
ДетайлыБАГИМСИЗ УЯРИЛМИŞ, округ Колумбия, ЕНЕРАТОР ДЕНЕЙ
İNÖNÜ ÜNİVRSİTSİ MÜHNDİSLİK FAKÜLTSİ LKTRİKLKTRONİK MÜH. BÖL. 35 LKTRİK MAKİNALARI LABORATUVARI I BAĞIMSIZ UYARILMIŞ DC JNRATÖR DNY 3503. AMAÇ: Bğımsız uyrılmış DC jenertörün çlışmsını incelemek .. UYGULAMALAR :.
ДетайлыЮксек сайида макалелерин сырры
Yüksek syıd mklelerin sırrı Prof.Д-р Метин Blcı Türk ilim cmisının 2010 yılınd en çok yyın yptığı ilk 10 ilimsel derginin nlizini yptı. Bun göre toplm 21.529 mklenin% 10 unun çok düşük düzeyde ve üstelik
ДетайлыORTĐK ÜÇGEN ve EŞ ÖZELLĐKLĐ NOKTALAR
ORTÖRETĐM ÖRENĐLERĐ RSI RŞTIRM ROJELERĐ YRIŞMSI (2008 2009) ORTĐK ÜÇGEN ve EŞ ÖZELLĐKLĐ NOKTLR rojeyi Hzırlyn Öğrencilerin dı Soydı: Sinem Детайлы
BOYUT ANALİZİ- (РАЗМЕРНЫЙ АНАЛИЗ)
BOYU ANAİZİ- (IMENSIONA ANAYSIS Boyut nlizi deneysel ölçümlerde ğımlı ve ımsız deney değişkenleri rsındki krmşık ifdeleri elirlemekte kullnıln ir yöntemdir.eneylerde ölçülen tüm fiziksel üyüklükler temel
ДетайлыEvre ve Alan. İlköğretim 6. Sınıf
Evre ve Aln İlköğretim 6. Sınıf evre Merhb, и т. Д. Olrk seninle birlikte evin çevresini bulmy çlışlım Kırmızı çizgiler evin çevre uzunluğunu verir. Evre imdi sır futbol shsınd evre imdi, Kelolnın Pmuk
Детайлы(НЕРАВЕНСТВО ПЕРЕСТАНОВКИ) DERS NOTLARI
YENİDEN DÜZENLEME EŞİTSİZLİĞİ (НЕРАВЕНСТВО ПЕРЕСТАНОВКИ) DERS NOTLARI www.5+ 9ч. $ 7 евро: 5 .. 00 + 0 + 00 + 0 + + 00 + 0 + (+ +) 55 — — 0 & — 0 & olmlıdır.
ДетайлыLYS 1 / MATEMATİK DENEME ÖZÜMLERİ
LYS / MATEMATİK DENEME ÖZÜMLERİ Deneme -. А) — — + В) — 7 — + В) 5-5 — 5 +. + м; + me +> H + D) — 5 — + E) 7- — + Sılrın plrı eşit olduğun göre, pdsı en üük oln sı en küçüktür. Bun göre A seçeneğindeki
Детайлы Дизель-генераторы— Системы резервного питания и бесшумные дизельные генераторы
Перейти к содержанию 0845 055 8455- Домой
- Дизель-генераторы »
- Резервные дизельные генераторы
- Бесшумные генераторы
- Изготовленные на заказ генераторы
- Дизель-генераторная установка
- Аренда дизельного генератора
- Демонтаж генератора
- Испытание нагрузки генератора
- Дизельные генераторы с навесом
- Генераторы с навесом — от 30 кВА до 200 кВА
- Генераторы с навесом — от 200 кВА до 450 кВА от до 800 кВА Генераторы с навесом от
- до 450 кВА — от 800 кВА до 1.5 мВт
- Дизельные генераторы с навесом
- Контейнерные генераторы
- Контейнерные генераторы — от 100 кВА до 300 кВА
- Контейнерные генераторы — от 300 кВА до 600 кВА
- Контейнерные генераторы — от 600 кВА до 1100 кВА
- Контейнерные генераторы от
- Контейнерные генераторы
- Техническое обслуживание
- Договоры на техническое обслуживание генераторов
- Техническое обслуживание ИБП
- Техническое обслуживание батарей
- Техническое обслуживание аварийного освещения
- Контракты на пожаротушение
- Air Con service & Maintenance
- Техническое обслуживание
- Обслуживание
- Генераторы с резервированием нагрузки
- ИБП с резервированием нагрузки
- Замена аккумуляторов и утилизация
- Контракты на обслуживание и испытания
- Контракт на пополнение газа и обслуживание
- Обслуживание
- 9 0035 Аккумуляторы
- Проверка и замена аккумуляторов ИБП
- Проверка и замена аккумуляторов генератора
- Проверка полного сопротивления аккумуляторов
- Проверка систем аварийного питания
- Послепродажное обслуживание
- Обучение на месте
- Персональный менеджер
- Удаленный мониторинг
- 24-часовая линия помощи
- Послепродажное обслуживание
- Удаление и перемещение
- Демонтаж генератора
- Удаление ИБП
- Удаление топливного бака
- Удаление и перемещение
- Резервирование нагрузки
- Резервирование нагрузки генератора
- ИБП Накопление нагрузки
- Резервирование нагрузки
- Полировка топлива
- Полировка топлива на месте
- Полировка топлива
- ИБП
- Источники бесперебойного питания
- Установка ИБП
- Аренда ИБП
- Системы ИБП с вращающимся маховиком
- Аккумуляторы ИБП
- Техническое обслуживание ИБП
- Демонтаж ИБП
- ИБП
- Тип ИБП
- Однофазный
- Трехфазный
- Центр обработки данных
- Помещение ИТ-сервера
- Тип ИБП
- База знаний ресурсов
- КАК РАЗМЕР ИБП
- Выбор правильного ИБП
- ПИТАНИЕ БЕЗ ПЕРЕРЫВА
- Окружающая среда
- UPS Care
- Обслуживание ИБП
- База знаний ресурсов
- Дизельный роторный ИБП
- Системы с вращающимся маховиком
- Батареи ИБП
- Контейнерный ИБП
- Дизельный роторный ИБП
- База знаний ресурсов
- Бесперебойное питание
- Дизайн, Сборка, установка
- 1 мегаватт до T o 10 мегаватт
- База знаний ресурсов
- Решения
- Системы аварийного питания
- Мини / микро центры обработки данных
- Комплексное проектирование и сборка
- Контейнерные центры обработки данных
- Источник бесперебойного питания Системы
- Генераторные системы
- Контракты на пожаротушение
- Решения
- Проектирование
- Проектирование, строительство, установка
- Ремонт
- Реконструкция
- Кондиционирование воздуха
- Проектирование
- Услуги
- Завершено установка
- Сервисное и техническое обслуживание
- Сервисное и техническое обслуживание
- Тестирование импеданса батареи
- Тестирование аварийных систем питания
- Тестирование банка нагрузки
- Air Con service & Maintenance
- Услуги
- База знаний ресурсов
- Системы предотвращения аварий
- Защита электропитания NO BREAK
- Мобильные центры обработки данных
- Непрерывность бизнеса
- Топливные системы центра обработки данных
- Охлаждение центра обработки данных
- База знаний ресурсов
- Решения
- Дизель-генераторная установка
- Установка ИБП
- Критическое планирование энергоснабжения
- Системы аварийного питания
- СН и ВН
- Распределение сети низкого напряжения
- Кондиционер
- Противопожарная система
- Решения
- Дизайн
- Проектирование, сборка, Установка
- Проектирование, сборка, установка
- Концепция до реализации
- Обновления
- Защита от перебоев питания
- Дизайн
- Услуги
- Полная установка
- Сервис и обслуживание
- Load Bank Tes ting
- Индивидуальный дизайн и сборка
- Услуги
- База знаний ресурсов
- Системы предотвращения бедствий
- Как определить размер генератора
- Как определить размер системы ИБП
- Обеспечение непрерывности бизнеса
- Контейнерные системы
- Калькулятор мощности
- База знаний ресурсов


Как правило, оно находится в пределах 45-50 единиц. Лучшим считается топливо с максимальным показателем цетанового числа.
3.27. Схема работы турбокомпрессора: 1 – колесо компрессора, 2 – вал турбокомпрессора, 3 – корпус, 4 – колесо турбины, 5 – выпускной трубопровод, 6 – выпускной клапан, 7 – цилиндр, 8 – поршень, 9 – впускной клапан, 10 – впускной трубопровод