Система смазки двигателя ВАЗ | Системы смазки двигателя автомобиля
Система смазки двигателя за счет подачи масла к трущимся поверхностям обеспечивает:
- уменьшение трения и повышение механического КПД двигателя;
- уменьшение износа трущихся деталей;
- охлаждение деталей двигателя;
- вынос продуктов износа из сопряжений деталей двигателя.
Система смазки двигателя ВАЗ — комбинированная, т.е. смазывание происходит одновременно двумя способами: под давлением и разбрызгиванием. При температуре масла 85 °С и частоте вращения коленвала 5600 мин-1, давление в системе смазки составляет от 3,5 до 4,5 кгс/см2. При минимальной частоте вращения коленчатого вала (от 850 до 900 мин-1) минимальное давление должно составлять не менее 0,5 кгс/см2. Вместимость системы смазки, включая масло в масляном фильтре, составляет 3,75 л.

Рис. Схема системы смазки двигателя ВАЗ:
1 — масляный насос; 2 — масляный картер: 3 — канал подачи масла от насоса к фильтру; 4 — горизонтальный канал для подачи масла от фильтра в масляную магистраль; 5 — канал для подачи масла к шестерне привода масляного насоса и распределителя зажигания; 6 — канал в шейке коленчатого вала; 7 — передний сальник коленчатого вала; 8 — канал подачи масла от масляной магистрали к коренному подшипнику и к валику привода масляного насоса и распределителя зажигания; 9 — шестерня привода масляного насоса и распределителя зажигания; 10 — валик привода масляного насоса и распределителя зажигания; 11 — канал для стока масла; 12 — канал в кулачке распределительного вала; 13 — магистральный канал в распределительном валу; 14 — канал в опорной шейке коленчатого вала; 15 — кольцевая выточка на средней опорной шейке распределительного вала; 16 — крышка маслоналивной горловины; 17 — наклонный канал с головке цилиндров; 18 — вертикальный канал в блоке цилиндров; 19 — масляная магистраль; 20 — датчики давления и контрольной лампы давление масла; 21 — канал подачи масла к коренному подшипнику; 22 — канал подачи масла от коренного подшипника к шатунному; 23 — указатель уровня масла; 24 — масляный фильтр; 25 — перепускной клапан масляного фильтра; 26 — противодренажный клапан
Система смазки двигателя ВАЗ состоит из следующих элементов:
- масляный картер 2;
- указатель уровня масла 23;
- масляный насос 1;
- приемный патрубок насоса с мелкой фильтрующей сеткой;
- полнопоточный масляный фильтр 24;
- редукционный клапан;
- указатель давления масла;
- датчики 20 давления масла;
- контрольной лампы недостаточного давления масла в системе;
- каналы подвода масла.
Под давлением смазываются подшипники коленчатого и распределительного валов, подшипники вала привода вспомогательных агрегатов, подшипник шестерни привода масляного насоса и распределителя зажигания.
Разбрызгиванием смазываются стенки цилиндров, поршни с поршневыми кольцами, поршневые пальцы в бобышках поршня, цепь привода распределительного вала, опоры рычагов привода клапанов и стержни клапанов в направляющих втулках.
Циркуляция масла в системе обеспечивается масляным насосом. Насос засасывает масло из картера и по каналу 3 в блоке цилиндров подает его в полнопоточный фильтр 24. Очищенное масло из фильтра, через главную масляную магистраль 19 и каналы 21 в блоке цилиндров, поступает к коренным подшипникам и подшипникам вала привода вспомогательных агрегатов. От коренных подшипников масло через внутренние каналы 22 в коленчатом валу поступает к шатунным подшипникам. Часть масла через отверстия в нижних головках шатунов разбрызгивается и смазывает цилиндры и детали поршневой группы двигателя. Через каналы 17 и 18 в блоке и головке цилиндров, далее через магистральный канал 13 в распределительном валу масло подается к подшипникам и кулачкам вала. Цепь привода распределительного вала смазывается маслом, выходящим из передних опор распределительного вала и вала привода вспомогательных агрегатов.
На блоке цилиндров установлены датчик давления масла и датчик контрольной лампы недостаточного давления установлены. Датчики соединяются с главной масляной магистралью. В момент запуска двигателя зажигается контрольная лампа зажигается, поскольку давление масла в системе надостаточное. При работающем двигателе лампа должна гаснуть. В нектороых случаях лампа может гореть и при нагретом двигателе, когда он работает на малых частотах вращения коленчатого вала при холостом ходе.
Масляный насос
В картере двигателя устанавливается шестеренчатый насос с маслоприемником и редукционным клапаном в крышке. Крепится насос к блоку цилиндров двумя болтами.
В корпусе насоса установлены шестерни: ведущая — неподвижно на валике насоса и ведомая — свободно на оси, запрессованной в корпус. Привод насоса осуществляется цепной передачей от звездочки коленчатого вала на звездочку вала привода вспомогательных агрегатов, который установлен в блоке цилиндров в сталеалюминиевых втулках. Валик имеет винтовую шестерню, находящуюся в зацеплении с шестерней привода масляного насоса и распределителя зажигания, которая вращается в металлокерамической втулке. На последних моделях автомобилей валик привода вспомогательных агрегатов устанавливается также в металлокерамических втулках.
Масляный фильтр
Фильтр полнопоточный, неразборный, навертывается на штуцер блока цилиндров и соединяется каналами с масляным насосом и главной масляной магистралью. Для снятия фильтра используется приспособление А.60312. При установке фильтр рекомендуется завертывать вручную без приспособления. В стальном корпусе фильтра установлен фильтрующий элемент из специального картона. Фильтр имеет противодренажный и перепускной клапаны. Противодренажный клапан не позволяет стекать маслу из системы при остановке двигателя, перепускной — перепускает масло при засорении фильтрующего элемента из насоса в главную масляную магистраль.
Вентиляция картера двигателя

Рис. Схема вентиляции картера двигателя автомобиля ВАЗ: 1 — трубка; 2 — маслоотделитель; 3 — крышка; 4 — шланги; 5 — пламегаситель; 6 — вытяжной коллектор; 7 — фильтрующий элемент; 8 — шланг; 9 — ось дроссельной заслонки; 10 — золотник; 11 — канавка золотника; 12 — калиброванное отверстие.
Вентиляция картера двигателя ВАЗ — принудительная, закрытая, не допускающая выделения картерных газов в атмосферу. Осуществляется за счет разрежения в цилиндрах двигателя.
Система вентиляции картера включает в себя:
- шланг 4;
- маслоотделитель 2;
- вытяжной коллектор 6, размещенный снизу воздушного фильтра.
Картерные газы при работе двигателя отсасываются в вытяжной коллектор через маслоотделитель 2 с крышкой 3, где масло отделяется и стекает вниз по трубке 1. В шланге 4 установлен пламегаситель 5, не допускающий прорыва пламени в картер при «хлопках» в карбюратор.
Из вытяжного коллектора газы далее могут проходить двумя путями:
- в воздушный фильтр, минуя фильтрующий элемент 7, и через карбюратор в цилиндры двигателя с горючей смесью;
- через шланг 8 в золотниковое устройство карбюратора и далее в задроссельное пространство карбюратора.
Золотниковое устройство регулирует режим отсоса картерных газов при различной частоте вращения коленчатого вала и состоит из золотника 10 на оси 9 дроссельной заслонки первой камеры и калиброванного отверстия 12. Золотник имеет канавку 11.
При малой частоте вращения коленчатого вала (при закрытых дроссельных заслонках) разрежение на входе в карбюратор незначительное, и основная масса газов отсасывается по шлангу 8 через калиброванное отверстие 12 в задроссельное пространство карбюратора. Калиброванное отверстие ограничивает количество отсасываемых газов, и вентиляция оказывает малое влияние на величину разрежения за дроссельной заслонкой.
С повышением частоты вращения коленчатого вала при открывании дроссельной заслонки золотник 10 поворачивается и открывает дополнительный путь для газов по канавке 11. Газы отсасываются как по шлангу 8, так и в воздушный фильтр. Общее количество отсасываемых газов увеличивается.
При высокой частоте вращения коленчатого вала (дроссельные заслонки открыты) основная масса газов отсасывается в воздушный фильтр в пространство за фильтрующим элементом.
ustroistvo-avtomobilya.ru
Система смазки двигателя
Содержание статьи
Назначение системы смазки
Детали кривошипно-шатунного и газораспределительного механизмов перемещаются относительно друг друга. Этому перемещению препятствует сила трения, величина которой зависит от относительной скорости перемещения, удельного давления деталей одной на другую и от точности обработки трущихся поверхностей. Для преодоления сил трения бесполезно затрачивается мощность двигателя. Помимо этого, трение деталей вызывает их нагрев. При чрезмерном нагреве зазоры между деталями уменьшатся настолько, что деталь перестанет перемещаться, т.е. заклинится.
Одним из наиболее эффективных способов уменьшения трения является ввод слоя смазки между трущимися поверхностями. Смазка, прилипая к поверхности, создает на ней прочную пленку, которая, разделяя детали, заменяет сухое трение между ними трением частиц смазки между собой. Так как в работающем двигателе масло беспрерывно циркулирует, оно одновременно охлаждает трущиеся детали и уносит твердые частицы, образовавшиеся в результате их износа. Помимо того, детали, смазываемые маслом, меньше подвержены действию коррозии, а зазоры между ними значительно уплотняются.
На современные системы смазки, кроме вышеперечисленных, возлагаются еще и управляющие функции. Моторное масло работает в гидрокомпенсаторах тепловых зазоров клапанов, гидронатяжителях привода ГРМ, системах регулирования фаз газораспределения.
Подача масла к трущимся поверхностям должна быть бесперебойной. При недостаточной подаче масла теряется мощность двигателя, повышается износ деталей и в результате их нагрева возможно выплавление подшипников, заклинивание поршней и остановка двигателя. Избыточная подача масла приводит к проникновению его в камеру сгорания, что увеличивает отложение нагара и ухудшает условия работы свечей зажигания.
Принцип работы
Так как отдельные детали двигателя работают в неодинаковых условиях, то смазка их также должна быть неодинакова. К наиболее нагруженным деталям масло подается под давлением, а к менее нагруженным – самотеком или разбрызгиванием. Системы, в которых смазка деталей производится разными способами, называются комбинированными.
При работе двигателя масляный насос обеспечивает непрерывную циркуляцию масла по системе. Под давлением оно поступает в масляный фильтр, а далее к коренным и шатунным подшипникам коленвала, поршневым пальцам, опорам и кулачкам распредвала, оси коромысел привода клапанов. В зависимости от конструкции мотора масло подается под давлением к валу турбокомпрессора, на внутреннюю поверхность поршней для их охлаждения, в гидротолкатели клапанов и исполнительные механизмы систем фазовращения.
На поверхности цилиндров масло попадает путем разбрызгивания через отверстия в нижней головке шатуна или форсунки в нижней части блока цилиндров. Попадая на стенки цилиндров, оно снижает трение при движении поршня и обеспечивает свободу перемещения компрессионных и маслосъемных колец.
Со смазанных под давлением деталей капли масла падают в поддон. Попадая на вращающиеся части кривошипно-шатунного механизма, они разбрызгиваются, создавая в картере так называемый масляный туман. Оседая на деталях двигателя, он обеспечивает их смазку. Осажденное масло затем стекает в поддон картера, и цикл повторяется вновь.
Устройство системы смазки
Система смазки двигателя включает в себя поддон картера с пробкой слива масла, масляный насос с редукционным клапаном, маслоприемник с сетчатым фильтром, масляный фильтр с предохранительным и перепускным клапанами, систему масляных каналов в блоке цилиндров, головке цилиндров, коленчатом и распределительном валах, датчик давления масла с контрольной лампой и маслозаливную горловину. В некоторых двигателях в систему смазки включен масляный радиатор.
Поддон картера представляет собой резервуар для хранения масла. Уровень масла в поддоне контролируется с помощью щупа, на котором нанесены метки максимально и минимально возможного уровня. Из поддона масло поступает через маслоприемник с сетчатым фильтром к масляному насосу. Маслоприемник может быть неподвижным или плавающего типа. Емкость системы смазки легкового автомобиля, в зависимости от объема и типа двигателя, может составлять от 3,5 до 7,5 литров. Причем указываемая в инструкции емкость имеет два значения – одно относится непосредственно к системе смазки двигателя, а второе указывает на необходимое количество масла с учетом емкости масляного фильтра.
В зависимости от конструкции двигателя давление масла в нем должно составлять от 2 до 15 бар. Масляный насос служит для создания необходимого давления в системе смазки и подачи масла к трущимся поверхностям. Масляный насос может иметь привод от коленчатого вала, распределительного вала или дополнительного приводного вала.
В автомобильных двигателях в основном применяются шестеренные насосы в силу своей простоты и дешевизны. Они бывают двух типов: с наружным и внутренним зацеплением. В первом шестерни насоса расположены рядом, а во втором – одна шестерня внутри другой. Поэтому насос с внутренним зацеплением более компактен. Ведущая шестерня устанавливается на приводном валике, а ведомая свободно вращается. Шестерни устанавливают в корпусе насоса с небольшими зазорами. Во время работы вращающиеся в разные стороны шестерни захватывают масло из поддона и переносят его во впадинах между зубьями в масляную магистраль. При повышении частоты вращения коленвала производительность насоса пропорционально возрастает, в то время как потребление масла самим двигателем меняется незначительно. Кроме того, шестеренные насосы не создают высокого давления, отнимают до 8% мощности мотора и не всегда способны обеспечить работу систем современного автомобиля (например, систем изменения фаз газораспределения). Поэтому были разработаны масляные насосы регулируемой производительности, которые способны создавать более высокие значения давления масла, отнимают меньше мощности у двигателя и обеспечивают постоянство давления в системе, независимо от оборотов коленвала. К таким конструкциям относятся, например, пластинчатый (шиберный) насос, героторный насос и насос с маятниковыми золотниками.
В некоторых двигателях устанавливают двухсекционные масляные насосы. Первая секция предназначена для подачи масла в систему смазки двигателя, вторая – для подачи масла в масляный радиатор.
Производительность масляного насоса рассчитывается с запасом так, чтобы даже при самых неблагоприятных условиях
эксплуатации (высокие температуры, износ деталей и др.) давление в системе оставалось достаточным для подвода масла к
трущимся поверхностям. Однако при этом в непрогретом двигателе давление масла может превысить допустимые значения.
Для предотвращения разрушения масляных магистралей в системах смазки с нерегулируемым насосом служит редукционный клапан.
Самая распространенная конструкция представляет собой плунжер и пружину установленные в корпусе с отверстиями. При избыточном давлении в системе плунжер, сжимая пружину, перемещается, и часть масла поступает обратно в поддон картера. Величина давления, при которой срабатывает клапан, зависит от жесткости пружины. Устанавливается редукционный клапан на выходе масляного насоса. В некоторых системах устанавливают редукционный клапан и в конце масляной магистрали – для предотвращения колебаний давления при изменении гидравлического сопротивления системы и расхода масла.
Качество масла в двигателе снижается с течением времени, так как оно засоряется мелкой металлической пылью, появляющейся в результате износа деталей, частицами нагара, образовывающегося в результате сгорания его на стенках цилиндров. При высокой температуре деталей масло коксуется, образуются смолы и лакообразные продукты. Все эти примеси являются вредными и оказывают существенное влияние на ускорение износа деталей автомобиля. Для очистки масла от вредных примесей в системе смазки устанавливается фильтр, который заменяется при каждой смене масла. Подробнее о фильтрах.
В жаркое время года и при эксплуатации автомобиля в тяжелых дорожных условиях температура масла настолько повышается, что оно становится очень жидким и давление в системе смазки падает. Для предотвращения разжижения масла в систему смазки могут включаться масляные радиаторы. Они бывают двух типов: с воздушным и с жидкостным охлаждением. Первые устанавливаются перед радиатором системы охлаждения и охлаждаются потоком воздуха. Вторые включаются в контур системы охлаждения, что обеспечивает постоянство температуры масла во время работы двигателя и быстрый подогрев его при пуске холодного двигателя. Масло проходит по трубкам радиатора, которые омываются охлаждающей жидкостью. В таких системах смазки устанавливается термостат. Термостат не допускает подачу масла в радиатор, пока оно не прогреется до рабочей температуры. Затем он открывается, и масло начинает поступать в радиатор, где происходит его охлаждение.
В более простых конструкциях радиатор подключается вручную водителем с помощью краника.
Для контроля давления масла в системе смазки устанавливается датчик с контрольной лампой красного света на панели приборов. Ее мигание или свечение при работе двигателя сигнализирует о недопустимом снижении давления. В этом случае двигатель необходимо немедленно заглушить. В некоторых автомобилях датчик давления масла может быть связан с блоком управления, который при опасном снижении давления сам останавливает двигатель. Кроме контрольной лампы, в комбинацию приборов могут включаться указатель давления масла и указатель температуры масла. На некоторых современных автомобилях, кроме датчика давления, ставят и датчик контроля уровня масла вместе с контрольной лампой уровня.
В картере работающего двигателя через зазоры, имеющиеся между зеркалом цилиндра и кольцами, проникают пары топлива и отработавшие газы. Пары топлива конденсируются и разжижают смазку, а отработавшие газы, содержащие в себе пары воды и сернистые соединения, также отрицательно влияют на качество масла и уменьшают срок его службы. Помимо этого, отработавшие газы создают в картере избыточное давление, которое «выдавливает» масло из двигателя через уплотнения. Особенно характерна такая ситуация для изношенных моторов. Поэтому газы необходимо выводить. Но так как они токсичны, то их не просто выбрасывают в атмосферу, а смешав с воздухом, дожигают в цилиндрах.
Для этого служит система принудительной вентиляции картера. Основными ее частями являются клапан, маслоотделитель и воздушные шланги. Воздух из впускного тракта через шланг системы вентиляции поступает в картер, где смешивается с картерными газами, а затем через клапан снова направляется во впускной коллектор. Производительность системы зависит от нагрузки двигателя. При малых оборотах разряжение на впуске высокое, плунжер клапана системы вентиляции открыт немного, поэтому и количество пропускаемых картерных газов невелико. С ростом оборотов разряжение падает, и клапан открывается на большую величину – соответственно и увеличивается объем пропускаемых картерных газов. Маслоотделитель предотвращает попадание масляного тумана во впускной тракт и, соответственно, в цилиндры двигателя. В маслоотделителе скорость истечения картерных газов вначале замедляется, а затем они приводятся во вращательное движение. В результате капли масла осаждаются на стенках и стекают в поддон.
Основные неисправности системы смазки
Внешними признаками неисправности системы смазки являются пониженное или повышенное давление масла в системе и ухудшение качества масла вследствие загрязнения.
Понижение давления возможно в результате недостаточного уровня масла, разжижения его, подтекания через неплотности в соединениях, загрязнения сетчатого фильтра маслоприемника, износа деталей масляного насоса, заедания редукционного клапана в открытом положении и вследствие износа подшипников коленчатого и распределительного валов.
Проверять уровень масла следует на прогретом двигателе, но не сразу после его остановки, а через 3-5 минут с тем, чтобы масло успело стечь. Если уровень ниже нормы, необходимо долить масло в поддон картера, предварительно выявив и устранив причину. Внешним осмотром выявляются течи масла из-под крышки привода распределительного вала, крышки клапанного механизма, блока цилиндров, масляного фильтра, а также из пробки заливной горловины, через штуцер датчика давления масла, из-под крышки маслоотделителя
системы вентиляции картера и через уплотнитель маслоизмерительного щупа.
Уровень масла может падать вследствие износа сальников стержней клапанов, износа и закоксовывания поршневых колец или их поломки, износа поршней и их канавок, износа цилиндров двигателя, износа стержней клапанов и их направляющих втулок, а также закоксовывания прорезей маслосъемных колец или заполнение их масляными отложениями. Эти неисправности приводят к повышенному расходу масла и, соответственно, падению давления в системе.
Повышение давления в системе смазки возможно вследствие применения масла с повышенной вязкостью, заедания редукционного клапана в закрытом положении и засорения маслопроводов.
Так как коленвал совершает вращательное движение, то под действием центробежных сил на стенках его масляных каналов откладываются продукты износа двигателя. Со временем проходное сечение этих каналов уменьшается настолько, что шатунный подшипник начинает испытывать масляное голодание. Усиленному загрязнению каналов способствует применение некачественного или не соответствующего двигателю масла, регулярная эксплуатации мотора в интенсивных режимах и несвоевременная замена масла.
Каналы подвода масла к гидрокомпенсаторам со временем также могут закоксовываться, и тогда гидрокомпенсатор перестает работать. Если его заклинит при открытом клапане, это приведет к выбиванию клапана поршнем. При этом разрушается сам гидрокомпенсатор и возможны повреждения распредвала, поршней, шатунов и появление трещин в головке блока цилиндров. Вероятны масляные проблемы и с гидронатяжителями, обеспечивающими натяжку ремней и цепей привода распредвалов. Их каналы также забиваются, что может стать причиной поломки ГРМ и разрушения головки блока цилиндров. При наличии в ГРМ механизма изменения фаз газораспределения грязь может спровоцировать отказ или нарушение его работы.
При эксплуатации автомобиля возможны случаи, когда может быть неисправен указатель давления масла. Для проверки правильности действия указателя давления вместо датчика ввертывают штуцер контрольного манометра и, сравнивая показания с проверяемым прибором, судят о его работе.
avtonov.info
Смазочная система двигателя.
Система смазки двигателя
Назначение системы смазки и ее дополнительные функции
Смазочная система (система смазки) предназначена для подачи масла к трущимся поверхностям с целью уменьшения сил трения, а также для охлаждения деталей, удаления продуктов нагара и износа, предохранения деталей двигателя от коррозии.
Помимо этого, масло существенно уплотняет зазоры между сопряженными деталями.
Кроме перечисленных функций, смазочная система может выполнять и специфические задачи.
Моторное масло из смазочной системы применяется в гидрокомпенсаторах тепловых зазоров клапанов, гидронатяжителях привода газораспределительного механизма, в системах регулирования фаз газораспределения, в гидравлическом приводе вентилятора системы охлаждения и т. п.
Если рабочие поверхности деталей, сопрягаемых в подвижном соединении, абсолютно сухие, то имеет место сухое трение, сопровождающееся интенсивным выделением теплоты, изнашиванием поверхностей, и требующее значительных затрат энергии на относительное перемещение деталей.
Трение между поверхностями, разделенными достаточно толстым слоем масла, называется жидкостным. В этом случае усилие, необходимое для относительного перемещения деталей, значительно сокращается и существенно уменьшается изнашивание их рабочих поверхностей.
В двигателе внутреннего сгорания стойкое жидкостное трение удается осуществить только в подшипниках коленчатого вала на рабочих режимах.
Остальные сопряженные пары движутся возвратно-поступательно или качаются, поэтому на их поверхностях не удается сохранить масляный слой достаточной толщины. Такое трение, когда рабочие поверхности разделены лишь тонкой пленкой масла (толщиной менее 0,1 мм) называется граничным.
В зависимости от толщины пленки граничное трение может быть полужидким или полусухим. Последнее характеризуется возможностью «схватывания» микровыступов трущихся поверхностей, склонностью к задирам и эрозивному изнашиванию.
Полужидкое трение наиболее характерно для деталей цилиндропоршневой группы. В паре «выпускной клапан – направляющая втулка» возможно возникновение полусухого трения.
Подача масла к трущимся поверхностям должна быть бесперебойной. При недостаточной смазке теряется мощность двигателя, повышается износ деталей и возрастает вероятность отказа из-за разрушения подшипников коленчатого вала, заклинивания поршней, распределительного механизма и т. п.
Нельзя допускать и избыточного смазывания, так как это может привести к попаданию масла в камеру сгорания и на электроды свечей зажигания, вследствие чего увеличивается нагарообразование в днищах поршней, стенках камеры сгорания и клапанах.
Это приводит к перегреву и перебоям в работе двигателя, а также к перерасходу масла.
***
Требования к системе смазки двигателя
Требования, предъявляемые к смазочной системе, основываются на ее функциях и задачах:
- бесперебойная подача масла к трущимся деталям на всех режимах работы двигателя, на подъемах и спусках автомобиля с уклоном до 35 % и при крене до 25 %, при температуре окружающей среды от +50 до -50 ˚С, при положительных и отрицательных горизонтальных и вертикальных ускорениях;
- достаточная степень очистки масла от механических примесей;
- прочная конструкция;
- удобство технического обслуживания;
***
Способы смазки деталей двигателя
В зависимости от способа подачи масла к трущимся поверхностям различают следующие способы смазывания:
- разбрызгиванием и посредством масляного тумана;
- под давлением;
- комбинированное.
Под давлением масло подводится к трущимся деталям из главной масляной магистрали, давление в которой создается насосом.
Смазка разбрызгиванием осуществляется специальными форсунками или подвижными деталями кривошипно-шатунного механизма (КШМ), а также путем создания масляного тумана из стекающего в картер масла.
Комбинированная система смазывания сочетает в себе первые два способа.
В современных автомобилях, как правило, система смазки имеет комбинированное устройство. Ее особенность заключается в следующем: к деталям, более всего подверженным износу, масло подается под давлением, а к тем, которые работают в более легких условиях, разбрызгиванием.
Под давлением масло подводится к коренным и шатунным подшипникам коленчатого вала, опорам распределительного вала, сочленениям привода газораспределительного механизма (ГРМ), зубчатым колесам привода распределительного вала, топливному насосу высокого давления (ТНВД) дизелей.
В некоторых двигателях под давлением смазываются сопряжения верхней головки шатуна с поршневым пальцем.
Разбрызгиванием масло подается на зеркало цилиндра из отверстия в кривошипной головке шатуна, а также разбрызгивается специальными форсунками на днище поршня. Масляные форсунки могут быть расположены у верхней головки шатуна или в нижней части цилиндра.
Подаваемое на днище поршня масло выполняет двоякие функции – во-первых, оно охлаждает днище поршня, во-вторых, при стекании по стенкам гильзы, оно смазывает сопрягаемую пару «поршень-гильза цилиндров», а далее, продолжая стекать в поддон и сталкиваясь с подвижными деталями КШМ, образует масляный туман, также смазывающий детали двигателя.
Существует способ смазывания самотеком, когда подача масла осуществляется по каналам из резервуаров, карманов, различных полостей и углублений, расположенных выше смазываемых поверхностей.
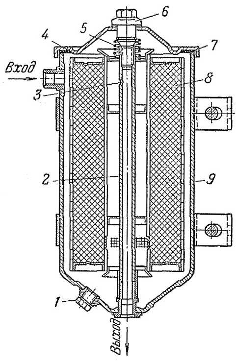
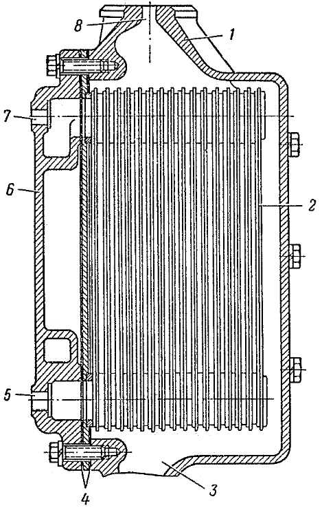
В зависимости от места размещения основного запаса масла смазочные системы могут быть с «мокрым» (рис. 1) или «сухим» (рис. 2) картером.
Для детального просмотра кликните по рисунку мышкой, и схема откроется в отдельном окне браузера.
Наибольшее распространение на автомобильных двигателях получили смазочные системы с «мокрым» картером, которые имеют более простую конструкцию. В этом случае основной запас масла находится в поддоне картера и при работе двигателя масло подается к трущимся деталям масляным насосом, затем оно самотеком возвращается обратно в поддон.
Это техническое решение имеет ряд недостатков, наиболее существенные из которых – вспенивание масла при высоких оборотах коленчатого вала, а также сильное плескание в картере, из-за чего может оголиться маслоприемник, что ведет к значительному снижению давления в системе смазки и масляному «голоданию».
Кроме того, относительно глубокий поддон негативно влияет на общие габариты и расположение центра тяжести двигателя и автомобиля в целом.
В системах с «сухим» картером основной запас масла содержится в отдельном масляном баке 5 (рис. 2) и масло подается к трущимся деталям нагнетающей секцией масляного насоса. Стекающее в поддон масло полностью удаляется из него откачивающими секциями масляного насоса 9 и вновь подается в масляный бак 5.
Такая смазочная система обеспечивает надежную смазку на крутых подъемах, спусках и уклонах без утечки масла через уплотнения между деталями двигателя, а также позволяет уменьшить высоту двигателя за счет менее глубокого поддона.
Кроме того, при «сухом» картере масло в меньшей мере нагревается от горячих деталей и подвергается вредному воздействию картерных газов, благодаря чему дольше сохраняет смазывающие свойства.
Из недостатков системы смазки с «сухим» картером можно отметить высокую стоимость, больший вес, более сложное устройство и больший заправочный объем в сравнении с системой смазки с «мокрым» картером.
Система смазки с «сухим» картером обычно применяется на автомобилях с высокофорсированными двигателями, предназначенными, например, для гонок, а также в некоторых моделях внедорожников, которым часто приходится передвигаться по бездорожью со сложным рельефом местности.
В некоторых случая такая система смазывания деталей двигателя используется для уменьшения габаритной высоты силового агрегата.
***
Работа системы смазки двигателя
k-a-t.ru
Назначение, устройство и работа приборов системы смазки
Маслоприемник 11 предназначен для забора масла из поддона двигателя. Он имеет металлическую сетку, которая задерживает крупные частицы металла, нагара и других примесей. Маслоприемник размещен в поддоне так, что он забирает наименее загрязненное масло из верхних слоев (частицы металла, нагара и другие примеси находятся в нижних слоях масла и осаждаются на дне поддона). С этой же целью в некоторых двигателях маслоприемник делается плавающим.

Рис. Схема работы шестеренчатого масляного насоса: 1 — корпус насоса; 2 — нагнетательная полость; 3 — ведомая шестерня; 4 — ведущая шестерня; 5 — редукционный клапан; 6 — пружина клапана; 7 — впускная полость
Масляный насос служит для подачи масла к трущимся деталям двигателя под давлением. В автомобильных двигателях обычно применяются шестеренчатые масляные насосы, принцип действия которых состоит в следующем. Шестерни насоса, вращаясь в противоположные стороны, своими зубьями захватывают масло из впускной полости 7, сообщенной с маслоприемником. Заключенное между впадинами зубьев и корпусом масло переносится в нагнетательную полость 2. Когда зубья входят в зацепление, масло выдавливается из впадин и накапливается в нагнетательной полости, создавая в ней давление, под действием которого масло поступает к трущимся деталям двигателя.
В чугунном корпусе 4 масляного насоса размещены ведущая 2 и ведомая 3 шестерни.
Ведущая шестерня жестко связана с валом 5. На противоположном конце вала закреплена шестерня 6 привода насоса.
Ведомая шестерня насоса свободно вращается на оси 8, установленной в корпусе. Обе шестерни плотно прилегают к стенкам корпуса насоса.
Масляный насос приводится в действие распределительным или коленчатым валом.

Рис. Масляный насос: 1 — крышка насоса; 2 — ведущая шестерня; 3 — ведомая шестерня; 4 — корпус насоса; 5 — вал привода насоса; 6 — шестерня привода насоса; 7 и 9 — прокладки; 9 — ось ведомой шестерни; 10 — редукционный клапан; 11 — пружина клапана; 12 — регулировочная пробка
Давление в системе смазки зависит от количества масла, подаваемого насосом в магистраль, вязкости масла и изношенности деталей двигателя. При малом давлении в системе смазки количество подаваемого масла к трущимся деталям будет недостаточно. Инструкциями по эксплуатации автомобилей особо оговаривается минимально допустимое давление масла, при котором двигатель может нормально работать.
Чрезмерное давление может вызвать повреждение приборов системы смазки. Для предупреждения чрезмерного давления служит редукционный клапан, который ограничивает давление в системе смазки.
Редукционный клапан устанавливается в корпусе масляного насоса или в масляной магистрали. Работает он следующим образом. При нормальном давлении в системе смазки клапан (шарик) 5 под действием пружины 6 закрывает перепускное отверстие, соединяющее нагнетательную 2 и впускную 7 полости масляного насоса. Натяжение пружины клапана регулируется пробкой 12.

Рис. Фильтр грубой очистки масла: 1 — пробка сливного отверстия; 2 — отстойник; 3 — стержень очистительных пластин; 4 — корпус фильтра; 5 — перепускной клапан; 6 — пружина; 7 — корпус клапана; в — гайка; 9 — центральный стержень; 10 — гайка сальника; 11 — сальник; 12 — рукоятка; 13 — фильтрующая стальная пластина; 14 — промежуточная звездочка; 15 — очистительная пластина; 16 — прокладка; 17— стержень
Если давление в масляной магистрали повысилось и стало выше нормального, клапан .под действием давления, образовавшегося в нагнетательной полости 2, смещается влево, сжимая пружину, и открывает (перепускное отверстие. При этом в магистраль поступает только часть масла, а остальное масло по соединительному каналу перетекает из нагнетательной полости во впускную. Как только давление в масляной магистрали станет нормальным, клапан под действием пружины перекроет перепускное отверстие.
Масляные фильтры служат для тщательной очистки масла от механических примесей, не задержанных сеткой маслоприемника насоса.
На двигателях устанавливаются два масляных фильтра: фильтр грубой очистки, который присоединяется к системе смазки последовательно (через него проходит все масло, нагнетаемое насосом), и фильтр тонкой очистки, который присоединяется к системе смазки параллельно (через него проходит только небольшая часть масла).
Фильтр грубой очистки состоит из корпуса, колпака (отстойника) с пробкой и фильтрующего элемента. Фильтрующие элементы бывают пластинчатого или сетчатого типа.
Фильтрующий пластинчатый элемент состоит из стальных пластин 13 и промежуточных звездочек 14, собранных на центральном стержне 9. Между пластинами, разделенными звездочками, образуются зазоры (щели), через которые проходит масло.

Рис. Масляный фильтр грубой очистки двигателя ЯАЗ-М-206Б: 1 — прокладка стержня колпака; 2 — стержень колпака; 3 — колпак; 4 — наружный фильтрующий элемент; 5 — внутренний фильтрующий элемент; 6 — резиновое уплотнительное кольцо; 7 — корпус фильтра; 8 — прокладка болта корпуса; 9 — болт корпуса; 10 — пробка сливного отверстия
Все частицы, размер которых больше зазора между пластинами, задерживаются в зазорах между пластинами или остаются на наружной поверхности фильтрующего элемента и оседают в отстойнике, откуда они периодически удаляются через сливное отверстие. Фильтр очищается поворотом рукоятки 12. При этом поворачивается центральный стержень, а вместе. с ним и фильтрующий элемент. Очистительные пластины 15, входящие в зазоры между пластинами 13, неподвижны и при повороте фильтрующего элемента очищают наружную его поверхность и зазоры между пластинами 13.
Устройство фильтра с сетчатыми фильтрующими элементами показано на рисунке.
Масло входит через верхний канал в корпус 7 фильтра и затем под давлением проходит через очень мелкую сетку фильтрующих элементов 4 и 5. Очищенное масло через канал в центральной части корпуса уходит в масляную магистраль, как показано на рисунке стрелками.

Рис. Фильтр тонкой очистки: 1 — крышка корпуса фильтра; 2 — калиброванное отверстие; 3 — корпус фильтра; 4 — центральная трубка; 5 — прокладка; 6 — картонная пластина; 7 — перепускное отверстие; 8 — пробка сливного отверстия; 9 — втулка; 10 — пружина; 11 — грязевой отсек
Примеси, размер частиц которых больше ячеек сетки, задерживаются сеткой и оседают в колпаке 3, откуда они удаляются через отверстие, закрываемое пробкой 10. Часть примесей осаждается на поверхности фильтрующих элементов, вследствие чего сетки со временем засоряются и фильтр перестает работать. Поэтому фильтры такого типа должны периодически разбираться для очистки и промывки фильтрующих элементов.
В системе смазки предусмотрен перепускной клапан 5, который при засорении фильтра грубой очистки позволяет непрофильтрованному маслу проходить в магистраль, минуя фильтр.
Фильтр тонкой очистки состоит из корпуса 3, крышки 1 корпуса и фильтрующего элемента, который помещен на центральной трубке 4.
Фильтрующий элемент собран из картонных пластин 6 и прокладок 5. В прокладках сделаны грязевые отсеки 11, а в перемычках между отсеками — радиальные каналы.
На пластинах 6 сделано по наружной окружности пять вырезов, глубина которых немного больше ширины кольцевой поверхности прокладок 5. Образующиеся таким образом между прокладками и пластинами узкие щели служат для прохода масла в грязевые отсеки.
Фильтрующий элемент с обеих сторон закрыт стальными крышками и стянут скобами.
Фильтрация масла происходит следующим образом. Масло из главной магистрали поступает в фильтр через входную трубку и заполняет его корпус. Часть примесей, находящихся в масле, осаждается при этом на дно корпуса.
Находясь под давлением, масло через щели, образованные вырезами в пластинах 6, проходит в грязевые отсеки, а из отсеков через зазоры между пластинами и прокладками — в радиальные каналы в перемычках. Так как зазоры между пластинами и перемычками прокладок очень малы, то почти все примеси остаются в грязевых отсеках и в радиальные каналы поступает очищенное масло. Из радиальных каналов масло проходит в кольцевой зазор между элементом и центральной трубкой и затем через отверстие 2 и трубку стекает в картер. Фильтрующие элементы со временем засоряются и их необходимо периодически заменять.

Рис. Фильтр тонкой очистки двигателя ЯАЗ-М-206Б: 1 — пробка сливного отверстия; 2 — центральная трубка; 3 — калиброванное отверстие; 4 — крышка; 5 — пружина; 6 — гайка крышки; 7 — прокладка; 8 — фильтрующий элемент; 9 — корпус
На рисунке изображен фильтр, фильтрующий элемент 8 которого сформован из минеральной шерсти на стальном каркасе. Элемент устанавливается в корпус 9 и прижимается пружиной 5 к буртику центральной трубки 2.
Масло из главной магистрали поступает через входной штуцер во внутреннюю полость корпуса фильтра. Находясь под давлением, масло проходит через фильтрующий элемент.
Очищенное масло попадает через калиброванное отверстие 3 в центральную трубку 2 и стекает в картер.
В случае засорения фильтрующий элемент заменяется новым.
В последнее время в отечественной автомобильной промышленности стали широко применяться вместо фильтра тонкой очистки более совершенные фильтры центробежной очистки масла.
Фильтр центробежной очистки масла состоит из ротора 6, который, опираясь на шарикоподшипник 14, может свободно вращаться на оси 1, закрепленной в корпусе 15 фильтра. На ротор фильтра надет и закреплен фасонной гайкой 11 колпак 7.
Соединения колпака и ротора уплотнены резиновыми уплотнителем 5 и прокладкой 10. Снаружи все детали фильтра закрыты съемным кожухом 8.
Работает фильтр следующим образом. Масло из магистрали двигателя проходит, как показано на рисунке стрелками, через сверления в оси ротора и самом роторе, заполняет полость колпака и через фильтрующую сетку 9 и вертикальные каналы ротора поступает к двум жиклерам 2, через которые оно с силой выбрасывается в полость корпуса фильтра и по его стенкам стекает в картер двигателя.
Под действием реактивного момента струй масла, выбрасываемого под давлением из жиклеров, ротор вместе с колпаком и сопряженными с ним деталями приводится во вращение со скоростью порядка 5000—6000 об/мин.

Рис. Фильтр центробежной очистки масла двигателя автомобиля Урал-375: 1 — ось ротора: 2 — жиклер; 3 — поддон: 4 и 10 — прокладки; 5 — уплотнитель; 6 — ротор; 7 — колпак; 8 — кожух; 9 — фильтрующая сетка; 11 — гайка крепления колпака; 12 — гайка крепления ротора; 13 — барашек; 14 — шарикоподшипник; 15 — корпус фильтра
Под действием центробежных сил находящиеся во вращающемся вместе с ротором и колпаком масле механические примеси как более тяжелые, чем масло, отбрасываются к стенкам колпака 7, на которых и оседают, образуя плотный осадок. Очищенное таким образом масло далее выбрасывается через жиклеры ротора фильтра, освобождая место в полости колпака для поступления следующей порции неочищенного масла. Следует отметить, что процесс очистки масла в таком фильтре идет при работающем двигателе непрерывно и характеризуется очень высокой степенью очистки масла.
Накапливающийся на внутренних стенках колпака 7 осадок из механических примесей периодически удаляется при промывке колпака и фильтрующей сетки в бензине при техническом обслуживании автомобиля.
Масляный радиатор. Во время работы двигателя масло нагревается, становится менее вязким и легче выжимается из зазоров между трущимися поверхностями. Чтобы не допустить возникновения полусухого трения, необходимо охлаждать масло, поддерживая его температуру в определенных пределах. Масло частично охлаждается в поддоне двигателя, однако для современных многооборотных двигателей естественное охлаждение масла в поддоне недостаточно, приходится применять специальные масляные радиаторы.

Рис. Установка масляного радиатора на автомобиле ГАЗ-63: 1 — масляный радиатор; 2 — радиатор системы охлаждения двигателя; 3 — кран включения масляного радиатора
Обычно применяются трубчатые масляные радиаторы, которые устанавливаются перед водяным радиатором. Масляный радиатор 1 подключается к масляной магистрали параллельно, поэтому через него проходит только часть масла, нагнетаемого насосом в магистраль. Включается масляный радиатор краном 3 при работе автомобиля в тяжелых дорожных условиях и летом при температуре окружающего воздуха выше 20° С.
На рисунке показан масляный радиатор двигателя ЯАЗ-М-206Б, включенный в систему охлаждения.
Радиатор состоит из корпуса 6, секций 2, омываемых охлаждающей жидкостью системы охлаждения двигателя, и крышки 1. Масло, проходя внутри секций, охлаждается или нагревается в зависимости от температуры охлаждающей жидкости системы охлаждения.
Контрольные приборы системы смазки служат для контроля за уровнем и давлением масла.
Переполнение поддона картера маслом приводит к чрезмерному нагарообразованию в камерах сжатия цилиндров, недостаток масла — к нарушению смазки трущихся деталей двигателя. Уровень масла проверяется маслоизмерительным стержнем, вставляемым в картер через специальное отверстие. На нижнем конце стержня нанесены метки верхнего, нижнего и промежуточных уровней масла. Нормальный уровень масла должен находиться около верхней метки. Если уровень масла находится ниже нижней метки, запускать двигатель нельзя.

Рис. Масляный радиатор двигателя ЯАЗ-М-206В: 1 — крышка; 2 — секция; 3 — выходное водяное отверстие; 4 — паронитовые прокладки; 5 — входной масляный канал; 6 — корпус; 7 — выходной масляный канал; 8 — входное водяное отверстие
Давление масла в системе смазки двигателя контролируется по манометру или по электрическому указателю давления, расположенным на щитке приборов. Стрелки этих приборов указывают давление масла в кг/см2.
На двигателе ЯАЗ-М-206Б для контроля за давлением масла, кроме манометра, используется также сигнальная лампочка, которая загорается, если давление в системе смазки падает ниже допустимого.
ustroistvo-avtomobilya.ru
Смазочная система | Системы смазки двигателя автомобиля
По способу подвода масла к трущимся поверхностям деталей различают смазочные системы разбрызгиванием, под давлением и комбинированные.
Смазывание разбрызгиванием и за счет добавления масла в бензин применяется в пусковых двигателях тракторов. В смазочной системе под давлением предусмотрен подвод масла ко всем трущимся деталям под давлением с помощью насоса, только такую систему в автотракторных двигателях не применяют. Комбинированную смазочную систему применяют во всех автотракторных двигателях. Эта система обеспечивает подвод масла под давлением к наиболее нагруженным и ответственным деталям. Трущиеся поверхности менее нагруженных деталей или деталей, к которым затруднен подвод масла под давлением (поршень, цилиндр, зубья распределительных шестерен и др.), смазываются разбрызгиванием.
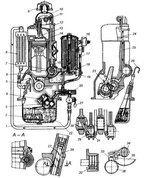
Комбинированная смазочная система работает следующим образом. Из поддона картера 11 масло через сетку маслозаборника 10 засасывается масляным насосом 8 и направляется к фильтру 18. Очищенное масло охлаждается в масляном радиаторе 16 поступает по трубке 17 в главную масляную магистраль. Из этой магистрали масло проходит по сверлениям в блоке к коренным и шатунным 5 подшипникам коленчатого вала 7 и в канал 24 к шейкам распределительного вала. Далее по сверлениям в распределительном и коленчатом валах масло идет ко всем шейкам. Масло, попавшее в полости шатунных шеек, смазывает шатунные подшипники. От первого коренного подшипника масло поступает к промежуточной шестерне и втулке шестерни топливного насоса.
От одной из опорных шеек распределительного вала масло пульсирующим потоком через канал 25 попадает во внутреннюю полость коромысел 26 и через отверстия в них смазывает втулки коромысел. Вытекая из втулок и разбрызгиваясь, масло попадает на трущиеся поверхности остальных деталей механизма газораспределения (клапаны, регулировочные болты, штанги, толкатели, кулачки распределительного вала), смазывает их и стекает в поддон картера.
Давление масла контролируют с помощью манометра 19, установленного на щитке приборов в кабине трактора.
Нормальный режим работы смазочной системы поддерживают три автоматически действующих клапана: предохранительный 12, клапан- термостат 14 и сливной 13.
В качестве фильтра можно применять масляную реактивную центрифугу или сменный бумажный фильтрующий элемент. На некоторых двигателях применяют и тот и другой фильтр.

Рисунок. Общая схема смазочной системы: 1-заливная горловина; 2 — сетка горловины; 3 — полость в шатунной шейке для очистки масла; 4 — измеритель уровня масла; 5 — шатунный подшипник; 6 — канал от коренной шейки к шатунной; 7 — коленчатый вал; 8 — масляный насос; 9 — сливная пробка; 10 — маслоза- борник насоса; 11 — поддон картера; 12 — предохранительной клапан; 13 — сливной клапан; 14 — клапан-термостат; 15 — трубка, подводящая масло к радиатору; 16 — масляный радиатор; 17- трубка, отводящая масло к главной магистрали; 18 — масляная центрифуга; 19 — манометр; 20 — ротор центрифуги; 21 — трубка, отводящая масло из центрифуги; 22 — форсунка; 23 — трубка, подводящая масло к центрифуге; 24 — канал (канавка) для подачи масла к шейкам распределительного вала; 25- канал (трубка) подвода масла к клапанному механизму; 26 — коромысло клапана
Предохранительный клапан 12 обеспечивает частичный слив масла в поддон 11 при значительном увеличении давления масла, нагнетаемого масляным насосом 8 при впуске и в начале работы двигателя, когда оно еще не прогрелось и поэтому имеет повышенную вязкость. Клапан-термостат 14 отключает радиатор 16, когда масло холодное. Когда температура масла становится выше нормальной, клапан автоматически закрывается, направляя горячее масло в радиатор 16 для охлаждения. Сливной клапан 13 поддерживает в главной масляной магистрали определенное давление масла при его рабочей температуре 80…95 оС. В некоторых двигателях вместо редукционного клапана установлен кран-переключатель, имеющий два положения: 3 (зима) и Л (лето).
ustroistvo-avtomobilya.ru
Система смазки легкового автомобиля | Системы смазки двигателя автомобиля
Принцип работы
В типичной системе смазки легкового автомобиля при работе двигателя масло засасывается из поддона двигателя масляным насосом через маслозаборник с сетчатым фильтром, предотвращающим попадание в насос крупных частиц. Из насоса масло под давлением подается в масляный фильтр, где очищается от механических примесей и проходит в главную масляную магистраль. От нее масло поступает к коренным подшипникам коленчатого вала, опорам распределительного вала и другим деталям. К шатунным шейкам коленчатого вала масло поступает через отверстия, просверленные в нем. В некоторых двигателях в нижней головке шатуна имеется канал, по которому масло подается для смазки поршневого пальца. Для подачи масла на рабочую поверхность цилиндра иногда выполняют сверление в нижней головке шатуна, из которого, при совпадении отверстий, в шатунной шейке и головке шатуна, масло попадает на зеркало цилиндра. В отдельных случаях для этого используются специальные форсунки, которые могут устанавливаться для охлаждения поршней в двигателях с высокими температурными режимами работы. Для охлаждения нагретого масла применяются масляные радиаторы.
Вытекающее через зазоры в подшипниках масло разбрызгивается движущимися деталями КШМ и ГРМ и в виде капель и масляного тумана попадает на другие детали двигателя. Из полости головки блока цилиндров под действием силы тяжести масло стекам обратно в поддон, смазывая при этом детали привода ГРМ.

Рис. Система смазки двигателя легкового автомобиля:
1 – вакуумный насос; 2, 5, 7, 8 – перепускные клапана; 3 – масляный фильтр; 4 – датчик давления; 6 – масляный радиатор; 9 – масляный насос; 10 – балансирный вал; 11 – привод вспомогательных агрегатов; 12 – гидравлический натяжитель цепи; 13 – турбонагнетатель; 14 – форсунка охлаждения поршня
Масляный насос
Ведущая роль в работе современных автомобильных двигателей внутреннего сгорания принадлежит масляному насосу. Сравнительно большие крутящие моменты при низких частотах вращения коленчатого вала, особенно у дизельных двигателей с наддувом, диктуют необходимость увеличения давления нагнетания и производительности масляных насосов. Это связано с тем, что при таких нагрузках происходит интенсивное нагревание конструктивных элементов двигателя, что, в свою очередь, приводит к перегрузке подшипников коленчатого вала. С другой стороны, повышение производительности масляных насосов ограничено необходимостью достижения низкого расхода топлива, так как мощность, расходуемая на привод насоса, может составлять до 8% мощности двигателя. Таким образом, на современном этапе автомобилестроения актуальным является вопрос регулирования производительности масляного насоса при различных режимах работы двигателя.
Существует большое количество разнообразных вариантов конструкций масляных насосов. Разумеется, что не все из этих конструкций подходят для применения в двигателях внутреннего сгорания. Основными критериями при выборе той или иной конструкции насоса являются:
- габаритные размеры
- стоимость
- производительность
В настоящее время в системах смазки используются шестеренчатые масляные насосы с внешним и внутренним зацеплением шестерен, пластинчатые насосы и героторные насосы.
Видео: Система смазки двигателя
ustroistvo-avtomobilya.ru
Назначение и устройство системы смазки
Система смазки служит для подвода масла к трущимся поверхностям деталей двигателя, частичного отвода теплоты и продуктов изнашивания.
Масло, поступающее к трущимся поверхностям, уменьшает потери на трение и износ деталей, охлаждает трущиеся поверхности и очищает их от продуктов изнашивания.
Автомобильные двигатели имеют комбинированную смазочную систему, в которой масло к трущимся поверхностям одних деталей подается под давлением от насоса, а к другим -путем разбрызгивания и самотеком.
Под давлением смазываются наиболее нагруженные детали; коренные и шатунные шейки коленчатого вала, коренные шейки распределительного вала, подшипники коромысел, поршневые пальцы.
Разбрызгиванием смазываются такие детали, как клапанный механизм, зубчатые колеса газораспределения, «зеркало» цилиндров.
Самотеком смазываются штанги, толкатели, кулачки распределительного вала и др.
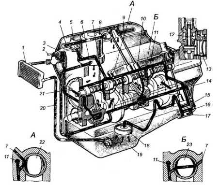
Система смазки включает в себя масляный насос, резервуар для масла (поддон картера), маслоприемник с сетчатым фильтром первичной очистки масла, масляные фильтры, масляные каналы и маслопроводы, масляный радиатор, редукционный и перепускные клапаны, масло заливную горловину с крышкой, приборы контроля уровня и давления масла, приборы вентиляции картера.
Редукционный клапан
Редукционный клапан предохраняет систему масло подачи от чрезмерных давлений, возникающих при пуске холодного двигателя, когда вязкость масла велика. Редукционный клапан находится в канале, соединяющем полости нагнетания и всасывания. Канал перекрывается шариком или поршнем, поджимаемым пружиной. С помощью пробки регулируют сжатие пружины, а следовательно, и давление в масляной магистрали. При повышении давления поршень отходит от седла, и масло проходит из полости нагнетания в полость всасывания.
При работе двигателя масло засасывается из поддона картера насосом через маслоприемник и подается в фильтр. Фильтр, через который проходит все масло, поступающее в главную магистраль, называется последовательно включенным или полно поточным. Если проходит только часть масла (10—15 %), фильтр называется не полно поточным.
Из фильтра масло поступает в масляную магистраль, выполненную и виде продольного канала в картере двигателя. Максимальное давление масла, создаваемое насосом, ограничивается редукционным клапаном. Из главной магистрали масло пол давлением по каналам поступает к коренным подшипникам коленчатого вала, подшипникам распределительного вала и в полую ось коромысел. От коренных полтинников по каналам и шейках и шеках масло поступает к шатунным подшипникам коленчатого вала. В двигателях марки «ЯМЗ» по каналу в шатуне масло подается под даменнем для смазывания поршневого пальца.
Вытекающее через зазоры в подшипниках коромысел масло разбрызгивается движущимися деталями, стекая по штангам, смазывает их наконечники, толкатели и кулачки распределительного вала.
В картере масло в виде тумана оседает на стенки цилиндров. У некоторых двигателей ь нижней головке шатуна имеется отверстие, через которое при его совпадении с каналом в шатунной шейке масло выбрасывается в наиболее нагруженную часть стенки цилиндра.
Давление масла контролируется электрическим манометром, датчик которого установлен в главной масляной магистрали, а указатели — на щитке приборов. Давление масла в карбюраторных двигателях 0,05 — 0,4 МПа, в дизелях 0,1 — 0,6 МПа.
Для охлаждения масла некоторые двигатели снабжены радиатором. Охлажденное масло сливается в поддон картера.

|
Устройство масляного фильтра
|
Назначение и устройство системы смазки: 1 и 18 — пробки маслосливных отверстий; 2- маслоприемник; 3 — масляный насос; 4 — редукционный клапан; 5 — коленчатый вал; 6 – масляная магистраль, 7 — распределительный вал, 8 – масляный радиатор; 9 — крышка масло заливной горловины, 10 — коромысло; 11 – крышка головки блока цилиндров; 12 — головка блока цилиндров; 13 — клапан; 14 — штанга; 15 — толкатель; 16 — датчик указатель давления масла; 17 — масляный фильтр; 19 — датчик лампы аварийного снижения давления масла; 20 — ограничительный клапан; 21 — кран масляного радиатора; 22 — поддон; 23 — отверстие в шатуне; 24 и 25 — масляные каналы в головке и блоке цилиндров, 26 – указатель уровня масла (щуп), 27 — винтовая канавка; 28 и 32 — каналы для стока масла; 29 — пробка; 30 — капал и коленчатом валу; 31 — грязеуловитель; 33- трубка для смазывания зубчатых колес; 34 — канавки на шейке распределительного вала; 35 — зубчатое колесо распределительного вала; 36 — зубчатое колесо коленчатого вала.

Система смазки: 1 — масляный радиатор; 2 — кран масляного радиатора; 3 -предохранительный клапан; 4 — ось коромысел; 5 — стойка оси коромысел; 6 — канал в головке блока цилиндров; 7 – масляный канал в блоке цилиндров; 8 — центрифуга; 9 — штанга; 10 — толкатель; 11 — главная масляная магистраль; 12 – отверстие в корпусе распределителя; 13 — полость; 14 — маслопровод к центрифуге; 15 и 16 — верхняя и нижняя секции масляного насоса; 17 и 18 — маслоприемник; 19 — поддон; 20 — маслопровод для слива масла из радиатора, 21 — редукционные клапаны, 22 — вторая шейка распределительного нала; 23 — четвертая шейка распределительного вала.
www.autoezda.com
