Система смазки с мокрым картером
В системах смазки с мокрым картером применяют односекционные (с одной парой шестерён) шестерёнчатые насосы. Схема такого насоса приведена на фиг. 165. Масло, посту- [c.183]Рассмотренная система смазки относится к системам смазки с мокрым картером. Такое название эти системы получили потому, что резервуаром для основного количества масла является нижняя часть картера двигателя. [c.333]
Схема системы смазки с мокрым картером дизелей ЯМЗ изображена на рис. 114. [c.168]
Картер является основанием двигателя. На нем крепятся цилиндры, а внутри устанавливается коленчатый вал. Он воспринимает все возникающие при работе двигателя силы. Картер изолирует от окружающей среды детали кривошипного механизма, служит маслосборником, а при системе смазки с мокрым картером является также и резервуаром для масла.

При системе смазки с мокрым картером отверстие сапуна одновременно используется для заливки в картер масла. При системе смазки с сухим картером во многих двигателях верхнюю полость масляного бака соединяют при помощи трубки с полостью картера. Такое соединение обеспечивает сообщение бака [c.139]
Принудительная система смазки с мокрым картером [c.372]
Фиг- 329, Схема принудительной системы смазки с мокрым картером двигателя с подвесными клапанами [c.373]
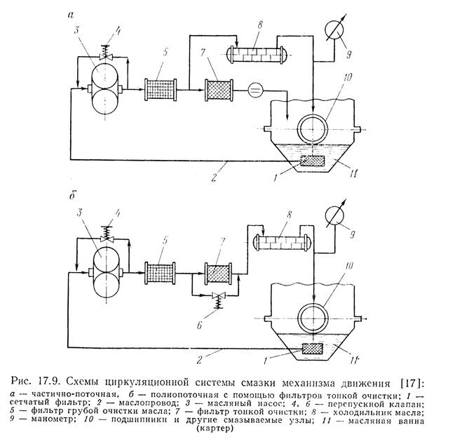
На фигуре 7-21 представлена смешанная система смазки (с мокрым картером) деталей механизмов двигателя, изображенных на фигуре 7-19. [c.229]
Система смазки с мокрым картером [c.523]
На рис. 18.7, а представлена схема одной из возможных систем смазки с мокрым картером. Она включает бак 2, которым является поддон картера двигателя, насос 8, фильтры 5 и Р, теплообменник-охладитель 4, а также клапаны 1, 6 и 7.
Из бака 2 через фильтр грубой очистки 9 жидкость поступает в насос 8. Насос 8 нагнетает жидкость через фильтр тонкой очистки 5 и охладитель 4 в магистраль 3, из которой масло направляется к трущимся поверхностям двигателя, а от них вновь стекает в поддон картера (бак 2). В гидросистему включены также предохранительный клапан 7и клапан 1, поддерживающий постоянное давление в магистрали 3. Клапан перепада давления 6 открывается при чрезмерном засорении фильтра. В этом случае часть потока жидкости движется через клапан 6, минуя фильтр 5. Таким образом, при засоренном фильтре система будет работать, но с частичной фильтрацией масла.
[c.264]
На рис. 115 видны дополнительные устройства системы смазки с сухим картером, которых нет в системе вмазки с мокрым картером. Поддон картера или рама имеют по концам углубления, из которых масло откачивается двумя секциями 3 насоса с помощью двух масло-заборников 2 в наружный циркуляционный бак 14 через охладитель 10 по общему нагнетательному трубопроводу, что предотвращает засасывание пены одной из секций.
Д.ля систем смазки с мокрым картером применяют односекционные насосы (рис. 307, айв). В системах с сухим картером устанавливают двух- (рис. 307, б) или трехсекционные насосы с одной нагнетающей секцией и одной или двумя откачивающими. Общая производительность откачивающих секций обычно в 2 раза больше производительности нагнетающей. В некоторых насосах две откачивающие секции объединяют в одну, что позволяет уменьшить чис.ло шестерен. [c.527]
В системе с мокрым картером резервуаров для масла служит картер двигателя, и смазка обеспечивается одним односекционным насосом. [c.180]
По месту нахождения основного количества масла системы смазки подразделяются на системы с мокрым и сухим картером.
В системах с мокрым картером, которые нашли широкое применение в двигателях автомобилей и тракторов, в качестве масляного бака используют поддон картера двигателя. В системах смазки с сухим
[c.263]В зависимости от места хранения запаса мас.-.а, необходимого для циркуляции, принудительные системы смазки, в свою очередь, делятся на системы с мокрым картером, в которых запас масла хранится в поддоне
Система смазки комбинированная с мокрым картером. Часть деталей (подшипники коленчатого и распределительного валов, промежуточного вала привода распределителя зажигания, толкатели, коромысла) смазываются под давлением, остальные детали — разбрызгиваемым маслом. Из масляного резервуара, которым служит поддон двигателя, масло подается в систему масляным насосом. [c.215]
Система смазки дизеля — автономно-замкнутая, циркуляционная, под давлением, с мокрым картером, обеспечивает подачу масла к ответственным трущимся деталям в необходимом количестве как для уменьшения трения, так и для отвода от них тепла.
[c.65]
Система смазки. Все трущиеся поверхности деталей дизеля во время его работы должны непрерывно смазываться маслом для уменьшения потерь на преодоление сил трения, а также для уменьшения их износа и нагрева. Система смазки дизеля обеспечивает подачу масла к трущимся поверхностям. Система циркуляционная, комбинированная, одноконтурная, с мокрым картером. При работе дизеля масло всасывается из поддона шестеренным насосом и нагнетается через фильтры грубой и тонкой очистки, охладитель масла в центральную магистраль системы смазки дизеля. Из последней масло поступает по сверлениям на смазку подшипников коленчатого вала, поршневых пальцев, механизма газораспределения, подшипников скольжения и на охлаждение днищ поршней. По трубопроводу масло подводится к турбокомпрессору, топливному насосу, реле частоты вращения. Зубчатые колеса передачи дизеля и подшипники качения смазываются разбрызгиванием масла. После смазки трущихся поверхностей деталей нагретое и загрязненное масло стекает в поддон дизеля.
В зависимости от мощности двигателя и условий работы применяют системы смазки двух типов с мокрым (рис. 306) и сухим картерами. [c.523]
При отсутствии повышенного давления в кривошипной камере (использование отдельных продувочных агрегатов) при подшипниках качения также часто применяется циркуляционная система смазки под давлением с мокрым или сухим картером. Такая система хотя и требует применения дополнительных устройств (фиг. 48), однако работает очень надежно. [c.461]
Шестеренчатые масляные насосы отличаются простотой устройства и надежностью работы. В системах смазки с мокрым картером шестеренчатые насосы выполняются с одной парой шестерен — односекционные.
На фиг. 330 приведена схема действия односекционного шестеренчатого масляного насоса. В корпусе расположены две цилиндрические шестерни, находящиеся в постоянном зацеплении и вращающиеся в разные стороны. Одна из шестерен ведущая, крепится на ведущем валике насоса обычно шпонкой или шлицами другая шестерня — ведомая, своей втулкой свободно сидит на оси. Масло, поступая в корпус, заполняет полость разрежения А. При вращении шестерен масло в полости А заполняет объем впадин, которые освобождаются выходящими из зацепления зубьями, и переносится в нагнетаюшую полость Б, где зубья входят в зацепление и вытесняют масло из впадин. Путь масла показан на схеме стрелками. При вращении шестерен масляного насоса имеет место такое положение, при котором масло, находящееся в основании впадины одной шестерни, сжимается Фиг. 331. Схема сдвоенного шестеренча- зубом другой шестерни.
[c.374]
В системе смазки с сухим картером» мас-ляжй бак рассеивает большую часть полученного теппа, что достигается за счет охлаждающего э4х )екта приобтекании бака потоком воздуха.
Система смазки двигателя выполнена с мокрым картером, что является необычным для танковых двигателей, однако чрезмерный бар-ботаж при задевании коленчатым валом уровня масла, что имело бы место при резких наклонах танка, устраняется установкой специальных щитков. Эти щитки образуют карманы, в которых собирается масло при больших на- [c.213]
Система смазки замкнутая, циркуляционная с мокрым картером. Под давлением смазываются иод[пипники коленчатого вала, подшипники рас- [c.41]
Система смазки с мокрым картером
Принципиальная схема такой системы, получившей преимущественное распространение в двигателях автомобильного и тракторного типов, показана на рис. 1, а.
Рис. 1 — Принципиальные схемы систем смазки автомобильных двигателей:
а) четырехтактного карбюраторного и дизеля; б) система смазки с «сухим» картером: в) двухтактного карбюраторного с кривошипно-камерной продувкой
Масло заливается здесь в поддон картера 21 через маслозаливную горловину 16, снабженную сеткой 17.
Уровень масла в поддоне контролируется щупом 19. В поддоне имеется пробка 22 для слива отработанного масла, в которую может быть вставлен магнит, улавливающий металлические частицы — продукты износа, смытые маслом с трущихся поверхностей. Как правило, в наиболее глубокой части поддона располагается маслоприемник 23 масляного насоса 6. Насосом масло прокачивается через фильтрующий элемент 3 и поступает в главную масляную магистраль 8. На нагнетающей ветви насоса установлен редукционный клапан 4, который понижает давление в магистрали до заданной величины, возвращая часть масла во всасывающий канал или в резервуар. При засорении фильтрующего элемента 3 сопротивление его повышается, и возросшим давлением масла перепускной клапан 5 отжимается, открывая проход в главную магистраль системы, помимо фильтрующего элемента.
Для лучшей очистки масла в систему смазки параллельно главной магистрали включают второй фильтрующий элемент 2, предназначаемый для более тонкой очистки масла, которое, пройдя через него, возвращается в поддон картера.
Фильтр тонкой очистки иногда снабжается предохранительным клапаном 1.
Из главной масляной магистрали по сверлениям в блоке масло поступает к коренным подшипникам 20 и подшипникам распределительного вала. По каналу в блоке и одной из стоек крепления оси коромысел или по трубке 9 масло попадает в полую ось 11 и оттуда по сверлениям проходит к подшипниковым втулкам коромысел. Коромысла могут иметь сверления 10 для подвода масла к торцам стержня клапана и штанге толкателя. В современных автомобильных двигателях эти пары чаще всего смазываются разбрызгиванием.
По сверлениям или полостям в шейках и щеках коленчатого вала масло под давлением поступает к шатунным подшипникам 18 и далее по сверлению 15 в теле шатуна может поступать для смазки поршневого пальца 14. Иногда в нижней головке шатуна делают отверстие, через которое при совмещении его с радиальным отверстием в шатунной шейке вала масло выбрасывается на стенки цилиндра и кулачковый вал. Лишнее масло со стенок отводится маслосъемными поршневыми кольцами через дренажные отверстия 13 поршня 12.
В ряде конструкций масло под давлением подается также к толкателям.
Для контроля исправности работы системы смазки в главную магистраль включается манометр 7 или световой сигнал, включающийся при отклонении давления от заданного в ту или иную сторону. Иногда в систему смазки включают дистанционный термометр 25, датчик 24 которого располагается в поддоне.
Для охлаждения масла в системе смазки некоторых двигателей предусматривают радиатор 29, через который масло прокачивается или самостоятельным насосом 26, или основным насосом 6. Перед радиатором устанавливают краник 28для отключения его и предохранительный клапан 27, предотвращающий чрезмерную перегрузку радиатора.
Источник: Райков И.Я., Рытвинский Г.Н. Двигатели внутреннего сгорания, 1971 г.
Newer news items:
Older news items:
Система смазки автомобильного двигателя
Система смазки двигателя должна осуществлять бесперебойную подачу масла к трущимся поверхностям для уменьшения износа деталей, защиты от коррозии, отвода тепла и продуктов износа от трущихся поверхностей.
От исправного состояния системы смазки в значительной степени зависит надежность работы двигателя.
В процессе эксплуатации автомобиля необходимо:
- Регулярно проверять уровень и состояние масла в картере двигателя
- Своевременно менять масло
- Очищать и промывать фильтры, менять фильтрующий элемент тонкой очистки
- Следить за давлением масла в системе смазки
- Не допускать подтекания масла из фильтров, масляного радиатора, картера двигателя и соединительных маслопроводов
Низкий уровень масла в картере двигателя приводит к нарушению его подачи к трущимся поверхностям, что грозит их перегревом и даже выплавлением антифрикционного сплава вкладышей подшипников коленчатого вала.
При повышенном уровне масла на стенках головки цилиндров, днищах поршней и головках клапанов образуется нагар. Избыток масла приводит к его утечке через сальники и уплотнительные прокладки.
Причинами повышенного расхода масла могут быть:
- Износ, пригорание или поломка поршневых колец
- Закоксовывание отверстий в кольцевых канавках поршня
- Износ канавок поршневых колец по высоте; износ цилиндров, образование на них царапин
Изношенные поршневые кольца, поршни и гильзы цилиндров подлежат замене.![]()
Повышенный расход масла может происходить также от засорения клапана или трубки вентиляции картера двигателя.
Во время работы двигателя масло в картере окисляется, образуя твердые (кокс) и мягкие (смолы) продукты окисления. Смолы откладываются на горячих деталях картера, клапанной коробки и в маслопроводах, тем самым ухудшая условия подачи масла к трущимся частям. Образовавшиеся кислоты вызывают коррозию трущихся поверхностей и особенно сильно воздействуют на антифрикционный сплав тонкостенных вкладышей.
В результате неполного сгорания пары топлива в виде конденсата попадают из цилиндра в картер, разжижают масло и ухудшают его смазочные свойства. Исправность указателя давления масла проверяют, замеряя его контрольным прибором. Пониженная вязкость масла может быть вызвана попаданием топлива в цилиндры из-за его неполного сгорания.
Повышенная температура масла (более +120 °С) возможна из-за неисправной системы охлаждения.
Уменьшение вязкости масла в поддоне может быть связано с разжижением его топливом. Эта неисправность устраняется подтяжкой соединений сливной топливной магистрали у дизеля или устранением причин, вызывающих перебои в работе свечей зажигания, повышение уровня топлива в карбюраторе.
В зависимости от места размещения основного запаса масла различают системы смазки с мокрым и сухим картером.
В автомобильных двигателях наиболее распространены системы смазки с мокрым картером, имеющие более простую конструкцию. Основной запас масла находится в поддоне картера, при работе двигателя оно подается к трущимся деталям масляным насосом.
В системах с сухим картером основной запас масла содержится в автономном масляном баке и масло подается к трущимся деталям нагнетающим масляным насосом. Стекающее в поддон масло полностью удаляется из него откачивающим насосом и вновь подается в масляный бак.
Система смазки с сухим картером обеспечивает длительную работу на крутых подъемах, спусках и при кренах без утечки масла через сальники коленчатого вала, а также дает возможность снизить высоту двигателя.
Отсутствие запаса масла в зоне вращения коленчатого вала исключает возможность его забрасывания на стенки цилиндров, что положительно влияет на снижение эксплуатационного расхода смазки. Кроме того, при сухом картере масло в меньшей степени нагревается от горячих деталей и подвергается воздействию картерных газов, благодаря чему сохраняет свои физико-химические свойства в течение более длительного времени, чем в системах с мокрым картером.
В основу большинства систем смазки положен один и тот же принцип. Масло из поддона (или бака) нагнетающим насосом через полнопоточный фильтр подается в масляную магистраль. Давление в ней контролируется манометром. Из масляной магистрали масло подается к шейкам коленчатого вала (в некоторых вариантах к одной шейке, а к остальным – по внутренним каналам коленвала), распределительного вала и к другим парам трения.
Слив избытка масла из магистрали происходит через фильтр. Контроль температуры масла осуществляется термометром, охлаждение — радиатором.
Уровень масла контролируется мерным щупом. Для откачки масла в системах с сухим картером используются насосы. В качестве насосов в системах смазки, как правило, используются шестеренчатые насосы (прямозубые или косозубые) с шестернями внешнего или внутреннего зацепления.
Производительность масляного насоса и создаваемое давление в значительной мере зависят от вязкости масла и частоты вращения вала двигателя, которая изменяется в широких пределах. В процессе эксплуатации сопряженные детали двигателя изнашиваются, что приводит к увеличению зазоров между ними и к повышению количества прокачиваемого масла.
Чтобы обеспечить бесперебойную подачу масла ко всем трущимся деталям при неблагоприятном сочетании указанных факторов, расчетную производительность масляного насоса увеличивают, а для поддержания требуемого давления в магистрали вводят регулятор, называемый редукционным клапаном.
В автомобильных двигателях применяются конические, сферические, пластинчатые и цилиндрические редукционные клапаны.
Цилиндрический клапан, который состоит из плунжера и пружины, установленных в корпусе с отверстиями. В случае повышения давления в магистрали плунжер, сжимая пружину, перемещается и обеспечивает перепуск части масла в поддон или во всасывающую полость насоса. Требуемая характеристика клапана достигается соответствующим подбором пружины.
Редукционные клапаны могут устанавливаться в корпусе насоса на входе в главную масляную магистраль или в конце масляной магистрали. Установка редукционного клапана в корпусе насоса исключает возможность резкого повышения давления на входе в магистраль.
Однако в этом случае давление в конце магистрали, под которым смазываются подшипники, может значительно колебаться при изменении гидравлического сопротивления системы и расхода масла. В связи с этим в некоторых системах устанавливают два редукционных клапана — в начале и в конце магистрали. Кроме редукционных в системах смазки могут устанавливаться нагнетательные, впускные, обратные и перепускные клапаны.
Моторные масла служат не только для смазки, но и для мытья и очистки двигателя. Кроме того, они могут способствовать экономии топлива. Поэтому от выбора смазочного материала зависит техническое состояние автомобиля. Наиболее подходящим является тот продукт, который рекомендован инструкцией по эксплуатации транспортного средства. Необходимо уделять большое внимание вязкости и классу масла, обращаться к официальным представителям за рекомендациями и допусками. Качественные моторные масла производят крупные компании Mobil, Shell, Esso, Liqui Moly и др.
Очистка масла от механических примесей в системах смазки осуществляется с помощью фильтров. Наибольшее распространение в двигателях современных автомобилей получили бумажные полнопоточные поглощающие фильтры, улавливающие частицы размером до 0,5 мкм.
Для исключения перегрева масла и сохранения нормального теплового режима трущихся пар масло в системе смазки двигателя, особенно в летний период, нуждается в охлаждении.
Чаще всего для этого используются воздушно-масляные радиаторы, устанавливаемые перед радиатором системы охлаждения двигателя.
С целью снижения вредного воздействия на масло картерных газов, а также снижения давления в картере для предотвращения утечек масла из двигателя, картер снабжают системой вентиляции. В настоящее время для минимизации вредных выбросов автомобильными двигателями в атмосферу используют закрытые системы вентиляции картера. Для отвода картерных газов в этих системах картер соединяется с впускным трубопроводом и (или) с воздушным фильтром.
Схемы циркуляционной смазки
Схема системы с «мокрым картером». Основные узлы трения двигателя обеспечиваются циркуляционной смазкой. Масло подается к узлам трения под давлением, создаваемым насосом. Стекающее с деталей масло скапливается в сборном резервуаре, откуда оно забирается насосом и вновь подается к узлам трения. Обильно подводимое при циркуляционной системе масло не только смазывает узлы трения, но и охлаждает их, уносит с собой механические и химические загрязнения.
Масло стекает с деталей в поддон фундаментной рамы. В простейшем варианте он может служить резервуаром, из которого масло засасывается насосом. Такая система называется системой с мокрым картером.
Масляный насос забирает масло из поддона двигателя. Поскольку в узлах трения масло нагревается и загрязняется, оно должно непрерывно охлаждаться и очищаться. Поэтому из насоса масло направляется в фильтр, после чего в холодильник, а затем уже поступает на смазку двигателя.
С течением времени в масле увеличивается содержание механических примесей, появляются органические кислоты, изменяется его вязкость, понижается температура вспышки. В связи с этим масло приходится менять, заливая в двигатель свежее.
Срок службы масла может быть увеличен, а износ трущихся частей уменьшен, если в систему ввести фильтр тонкой очистки, удерживающий мелкие механические примеси, а также смолы и прочие химические соединения. Такие фильтры (картонные, бумажные, войлочные) обладают значительным гидравлическим сопротивлением.
Поэтому фильтр тонкой очистки обычно включается параллельно основной ветви системы: после фильтра часть масла проходит через фильтр тонкой очистки и направляется обратно в поддон.
Через фильтр тонкой очистки проходит от 3 до 15% циркулирующего в системе масла. Поскольку масло проходит через фильтр непрерывно, содержание механических и химических примесей в нем значительно уменьшается.
В состав масляной системы входят также манометры, показывающие давление масла до фильтров и после них, термометры, по которым можно судить о степени нагрева масла в двигателе и о работе холодильника. Давление в системе можно регулировать перепускным клапанам масляного насоса.
Для прокачки двигателя перед пуском может использоваться ручной насос с невозвратным клапаном. Однако в настоящее время двигатели оборудуют прокачивающими насосами с электро- или пневмоприводом. На многих теплоходах есть резервный масляный электронасос, включенный параллельно основному насосу. На судах смешанного плавания установка резервных насосов обязательна.
Схема системы с «сухим картером». Поверхность масла, находящегося в картерном пространстве, всегда неспокойна и контактирует с продуктами сгорания топлива, проникающими в картер, что ускоряет старение масла. Кроме того, в фундаментной раме нет условий для отстоя масла. Эти недостатки в значительной степени устранены в системе с сухим картером.
Ниже двигателя, под еланью, устанавливается цистерна, называемая маслосборником. В него по трубе стекает масло из фундаментной рамы двигателя. В целях уменьшения опасности взрыва картерных газов конец трубы должен находиться ниже уровня масла в маслосборнике. Масляный насос засасывает масло из маслосборника через приемный фильтр. Чтобы масло подавалось сразу при пуске двигателя, перед приемом ставится обратный клапан.
Для лучшей очистки масла от механических примесей иногда в схему включают два фильтра: первичной и вторичной очистки. Если установить пластинчато-щелевой фильтр первичной очистки, то он может быть односекционным.
Фильтр вторичной очистки бывает как одно, так и двухсекционным. При загрязнении фильтра вторичной очистки или при холодном масле возможны перебои в его подаче. Для предотвращения этого, между фильтрами ставят перепускной клапан.
При пуске двигателя масло бывает холодным, повышенной вязкости. Значительное сопротивление холодильника приведет к тому, что подача масла на двигатель уменьшится вследствие большого сброса его через перепускной клапан масляного насоса. Поэтому перед холодильником предусматривается перепускной клапан, через который масло может проходить на двигатель, минуя холодильник.
Рис. 1. Схема масляной системы с мокрым картером
Рис. 2. Схема масляной системы с сухим картером
Система с сухим картером может иметь, как и предыдущая, фильтр тонкой очистки, который целесообразно включать после фильтра со сбросом масла в маслосборник.
Манометр иногда ставится перед входом масла в двигатель. В этом случае он будет показывать давление непосредственно в начале масляной магистрали двигателя, а манометр — после насоса.
На схеме изображен прокачивающий электронасос с невозвратным клапаном.
Система с масляным баком. Уменьшение запаса масла в двигателе способствует увеличению срока службы каждого его литра. Объясняется это следующим. В процессе работы двигателя часть масла сгорает, испаряется, и количество его в двигателе уменьшается. Угар масла составляет от 1,2 до 5 г на 1 л. с. мощности двигателя в час. В связи с этим производится периодическое пополнение маслосборника свежим маслом. Добавка свежего масла несколько обновляет запас масла в двигателе. Чем меньше запас, тем больший процент его составит доливаемое масло и тем заметнее будет влияние последнего на качество масла, находящегося в двигателе. Менять масло в двигателе можно будет реже. Иногда удается работать без смены его в течение всей навигации.
Однако с уменьшением запаса масла в системе поступление его в маслосборник самотеком становится ненадежным. Появляется необходимость перекачивать масло из поддона в маслосборник принудительно.
Маслосборник заменяется при этом масляным баком, который может быть расположен выше фундаментной рамы.
Рис. 3. Схема масляной системы с масляным баком
Схема такая – систему давд на рис. 1. Двигатель имеет двухсекционный масляный насос, причем секции представляют собой каждая самостоятельный насос. Откачивающая секция засасывает масло из поддона фундаментной рамы и нагнетает его в масляный бак. Для обеспечения бесперебойной работы секции при дифферентах могут быть два приема с обоих концов рамы. Нагнетательная секция забирает масло из бака и направляет его через фильтр и холодильник в двигатель. Чтобы в баке всегда был запас масла, производительность откачивающей секции должна быть больше, чем нагнетательной, а бак следует снабжать переливной трубой.
В систему может быть включен фильтр тонкой очистки или центрифуга со сбросом масла в поддон фундаментной рамы или в бак. Ручной насос может подключаться как к масляному баку, так и к поддону рамы, для чего предусмотрен кран.
В первом случае насос используется для прокачки двигателя маслом, во втором — для откачки его из поддона через трубу в цистерну грязного масла.
На рис. 166 перепускной клапан и манометр присоединены к концу масляной магистрали 8 двигателя. Такое расположение клапана и манометра обеспечивает нужное давление и контроль за ним в самой удаленной точке, Этим исключается влияние на давление утечек масла, но усложняется система. В частности, необходим предохранительный клапан на случай сильного засорения фильтра или чрезмерного повышения давления при холодном масле. Перед холодильником на рис. 3 включен делитель потока (терморегулятор), автоматически перепускающий часть масла помимо холодильника с тем, чтобы поддерживать постоянную температуру циркулирующего масла.
Система с масляным баком должна иметь два резервных насоса: откачивающий и нагнетательный, К откачивающему насосу идут трубы, к нагнетательному — трубы. Переключение системы на резервные насосы осуществляется трехходовыми кранами.
Резервные насосы могут использоваться и для прокачки двигателя маслом перед пуском.
В схеме на рис. 3 в бак поступает нефильтрованное масло. Иногда фильтр включают после откачивающей секции, а иногда — после обеих секций.
Все три типа рассмотренных масляных систем получили широкое распространение в судовых двигателях.
У современных двигателей масляная система часто оборудуется подогревателем масла, устанавливаемым в картере или масляном баке. Это позволяет поддерживать двигатель в «горячем» состоянии, в состоянии готовности к быстрому приему нагрузки. Для подогрева масла используют: воду от системы охлаждения другого двигателя, воду от котельной установки, электроэнергию.
| Системы смазки виды и задачи Состояние систем смазки, вентиляции картера и охлаждения определяет пусковые качества двигателя, топливную экономичность, токсичность и надежность. Основные задачи, выполняемые системой смазки,
включают создание масляного слоя на поверхностях
трения сопряженных деталей, удаление посторонних
частиц, попадающих между трущимися поверхностями. Большинство автомобильных двигателей имеют смешанную систему смазки с подачей масла под давлением к
поверхностям трения основных узлов кривошипно-шатунного и газораспределительного механизмов и разбрызгиванием. Основная часть масла, подаваемого под
давлением масляным насосом, проходит через подшипники коленчатого вала (до 80%). Большинство двигателей имеют параллельный подвод масла к подшипникам
коленчатого и распределительного валов. Смазка одной
половины цилиндра производится разбрызгиванием.
Другая «теневая» часть цилиндра смазывается парами
или струей масла, подаваемой через наклонное отверстие в кривошипной головке шатуна. В двигателях с
оппозитным расположением цилиндров масло впрыскивается на теневую сторону цилиндра или подается в выемку над цилиндром, откуда масло по отверстию
стекает
на поверхность цилиндра.
Исключение представляют двухтактные двигатели с
кривошипно-камерной продувкой и подшипниками качения в шатунно-кривошипном механизме. В зависимости от условий работы двигателя системы
смазки могут быть с «мокрым» и «сухим» картером. Большинство двигателей выполняются с мокрым картером,
т.е. в картере имеется емкость (обычно в задней части
двигателя), куда стекает масло из подшипников и других
узлов. Из нижней части этой емкости и через маслозаборник с сеткой масло поступает в масляный насос. Недостатком этой схемы является возможность
попадания
осадка из нижней части картера в масляный насос. Кроме того, при деформации дна картера, например при наезде на препятствие, бывают случаи
поломки маслозаборника. Существуют системы с плавающим маслоприемником, забирающим сверху чистое масло. Общие знания о двигателях на главную 0-100 км/ч 0-100
|
3. Классификация системы смазки . Мотоциклы
Система смазки служит для обеспечения подачи масла к трущимся деталям двигателя на всех режимах его работы и при любых нагрузках. У современных мотоциклетных двигателей системы смазок различаются: по способу размещения рабочего запаса масла, по способу подвода масла к трущимся деталям двигателя и по способу использования рабочего запаса масла.
По способу размещения рабочего запаса масла системы смазок мотоциклетных двигателей могут быть разделены на три группы: с сухим картером, с мокрым картером и с полусухим картером.
Системой смазки с сухим картером называется такая система, при которой рабочий запас масла размещается вне картера двигателя (в масляном баке), а непосредственно в картере находится очень небольшой количество масла, обеспечивающее смазку двигателя только в данный момент. Система смазки с сухим картером имеет то преимущество, что масло, размещенное вне картера, не соприкасается с горячими деталями двигателя, охлаждается потоком воздуха, омывающим масляный бак, и поэтому подходит к деталям двигателя достаточно охлажденным. Это обеспечивает надежную смазку и хороший отвод тепла от деталей двигателя. При системе смазки с сухим картером срок службы масла удлиняется, так как с горячими деталями двигателя соприкасается небольшое количество находящегося в картере масла. Но вместе с тем система смазки с сухим картером усложняется наличием масляного бака и системы трубопроводов.
Система смазки с мокрым картером характеризуется тем, что запас масла, необходимый для работы двигателя на определенный промежуток времени, размещен непосредственно в картере двигателя. При этой системе масло постоянно соприкасается с горячими деталями двигателя, поэтому к трущимся поверхностям масло подходит более горячим и окисление его идет интенсивнее, чем в системе смазки с сухим картером. Преимущество этой системы — отпадает необходимость в баке и во внешних маслопроводах, простота устройства системы смазки благодаря тому, что рабочий запас масла близко расположен к деталям двигателя, нуждающимся в смазке.
При системе смазки с полусухим картером в картере двигателя находится постоянно некоторое количество масла, расход которого непрерывно пополняется из запаса, находящегося вне картера. При такой системе смазки положительным является то, что в картер двигателя постоянно вводится свежее холодное масло. Недостаток этой системы смазки — продукты износа и окисления не выносятся из картера, а все время там накапливаются.
По способу подвода масла к трущимся деталям системы смазки мотоциклетных двигателей можно различить смазку разбрызгиванием, самотеком и принудительную смазку.
Смазка разбрызгиванием в мотоциклетных двигателях обычно применяется для смазывания стенок цилиндров, поршневых пальцев, кулачков и толкателей, а иногда коренных подшипников и втулок валиков кулачковых шестерен. При такой смазке детали в процессе работы двигателя покрываются пленкой масла, разбрызгиваемого в картере вращающимися деталями.
Смазка разбрызгиванием является наиболее простой, но вместе с тем и наименее надежной, так как в данном случае масло подается к трущимся поверхностям деталей двигателя в недостаточном количестве. Во время работы двигателя разбрызгиваемое масло образует в картере двигателя масляный туман и мельчайшие капельки масла, соприкасаясь с горячим воздухом и газами, проникающими в картер двигателя из цилиндра, а также конденсируясь на стенках цилиндра и картера, значительно нагреваются, что, конечно, ускоряет окисление и порчу масла.
Смазка самотеком в мотоциклетных двигателях используется для подвода к трущимся деталям двигателя масла, стекающего по внутренним стенкам картера в сборники, откуда оно по каналам самотеком поступает к трущимся деталям. Преимущество этого вида системы смазки — простота ее устройства. Недостатком этой системы является то, что в сборники масло поступает после разбрызгивания, а, стекая по горячим стенкам картера, оно сильно нагревается. При этом значительно понижается вязкость масла и не обеспечивается надежная смазка деталей двигателя. После долгой стоянки масло из сборников стекает через зазоры деталей в картер, вследствие чего также не обеспечивается надежная смазка деталей. Кроме того, движение масла самотеком по каналам возможно при условии, если температура масла выше температуры его застывания. Поэтому в условиях низкой температуры оно поступает к деталям только тогда, когда и масло, и стенки каналов достаточно прогреты.
Принудительная смазка является наилучшим способом подвода масла к более ответственным трущимся деталям.
Принудительная подача масла осуществляется масляными насосами, с помощью которых создается давление воздуха в картере двигателя или в масляном баке. Кроме того, для принудительной подачи могут использоваться центробежные силы, возникающие при вращении коленчатого вала.
По способу использования рабочего запаса масла системы смазки мотоциклетных двигателей могут быть разделены на следующие две группы: смазка циркуляционная и смазка смесью масла и горючего.
Циркуляционной называется такая смазка, когда при помощи масляных насосов осуществляется непрерывная циркуляция масла, обеспечивающего смазку деталей двигателя. Масло может циркулировать или непосредственно в картере двигателя, или же через масляный бак, расположенный вне картера. В первом случае циркуляция масла совершается по следующему пути: картер двигателя — нагнетательный масляный насос — масляные клапаны — места смазки — картер двигателя.
Во втором случае циркуляция масла совершается по несколько иному пути: масляный бак — нагнетательный масляный насос — масляные каналы — картер двигателя — фильтр — отсасывающий масляный насос — масляный бак.
При циркуляционной смазке масло в необходимом количестве подается к местам смазки, отводит тепло от подшипников и вымывает из них грязь и отложения. Кроме того, загрязненное и нагретое масло в процессе циркуляции фильтруется и охлаждается, что обеспечивает подвод к подшипникам чистого и охлажденного масла. Циркуляционная смазка применяется на двигателе мотоцикла М-72.
Смазка смесью масла и горючего применяется в двухтактных мотоциклетных двигателях с кривошипно-камерной продувкой. Масло, поступающее в смеси с горючим через карбюратор в картер двигателя, оседает на деталях и смазывает их. Разбрызгиваемое вращающимися деталями масло проникает затем с парами горючего в цилиндр двигателя и там сгорает.
Преимуществом этой системы смазки является ее простота, а недостатком — невозможность обеспечить подачу необходимого количества масла трущимся деталям, так как подача масла является произвольной.
Смазка трущихся деталей мотоциклетных двигателей в основном определяется характером их работы и возможностью применения того или иного способа подвода к ним масла.
Цилиндры и поршни мотоциклетных двигателей смазываются разбрызгиванием и в редких случаях в качестве вспомогательной меры масло принудительно подается на зеркало цилиндра. Поршневой палец, толкатели и кулачки смазываются только разбрызгиванием. Опоры кулачковых шестерен смазываются разбрызгиванием и чаще самотеком. Коренные подшипники коленчатого вала смазываются как разбрызгиванием, так и принудительно и в редких случаях самотеком. Шатунные подшипники в подавляющем большинстве случаев смазываются принудительно, но при кривошипно-камерной продувке, как правило, разбрызгиванием. Шестерни распределения смазываются разбрызгиванием, но в некоторых случаях осуществляется их принудительная смазка.
Таким образом, в мотоциклетных двигателях часть деталей может смазываться разбрызгиванием, часть самотеком и часть принудительно. Поэтому подавляющее большинство систем смазок представляет собой комбинацию различных способов подвода масла к трущимся поверхностям.
Система смазки
Система смазки
Основное назначение системы смазки двигателя —
своевременный подвод чистого и, при необходимости, охлажденного моторного масла
к трущимся деталям двигателя для уменьшения трения и износа этих деталей за счет
создания на их поверхностях несущего масляного слоя.
Система смазки также должна
обеспечивать охлаждение поверхностей путем отвода теплоты маслом и вымывание
продуктов износа из подшипников и зазоров между сопряженными поверхностями.
Система смазки может использоваться для организованного отвода теплоты от деталей, которые непосредственно не соприкасаются с охлаждающей жидкостью. К ним относятся внутренняя поверхность поршня, корпуса турбокомпрессора (в зонах подшипников), шестерни и др.
Смазка, кроме того, улучшает уплотнение поршневыми кольцами внутри-цилиндрового пространства и предохраняет детали двигателя от коррозии.
В зависимости от способа подвода масла к трущимся
поверхностям различают смазку под давлением, смазку разбрызгиванием и
комбинированную. В современных двигателях транспортных средств смазка наиболее
ответственных и нагруженных пар трения (подшипники коленчатого и
распределительного валов) осуществляется под давлением. Иногда под давлением
смазываются направляющие толкателей, подшипники верхних головок шатунов,
подшипники вала привода прерывателя-распределителя зажигания, вала привода
водяного насоса.
К остальным трущимся поверхностям (цилиндры, поршни, привод
механизма газораспределения и др.) масло поступает разбрызгиванием и самотеком.
В зависимости от назначения и условий работы двигателя применяются системы смазки двух типов: с мокрым и сухим картерами.
Система с мокрым картером получила преимущественное распространение. В этом случае резервуаром для масла служит нижняя часть картера. При больших продольных углах наклона двигателя в системах с мокрым картером уровень масла может быть расположен выше переднего или заднего концов коленчатого вала. При этом сальники будут находиться под избыточным давлением. Для уменьшения взбалтывания масла углубление в картере для масла может быть отделена от остального пространства успокоительным листом. Высота двигателя при системе смазки с мокрым картером возрастает.
В некоторых двигателях для обеспечения надежной
смазки при любом положении двигателя, а также для борьбы с пенообразованием в
картере применяют системы смазки с сухим картером.
В таких системах основное
количество масла помещается в специальных емкостях-баках, куда оно откачивается
из картера. Такие системы применяются в двигателях спортивных автомобилей,
тракторов, специальных транспортных средств.
Смазка
- Смазочные системы состоят из системы с мокрым или сухим картером
- Разницу между двумя системами можно запомнить, как если бы двигатель был выключен.
- В системах с мокрым картером масло остается в резервуарах, являющихся неотъемлемой частью двигателя, в то время как в сухих картерах нет, в результате чего масляный поддон остается «сухим»
- Масло подается в поддон, который является неотъемлемой частью двигателя [Рисунок 2]
- Основным компонентом является масляный насос, который забирает масло из поддона и направляет его в двигатель
- После прохождения масла через двигатель оно возвращается в поддон
- В некоторых двигателях дополнительная смазка обеспечивается вращающимся коленчатым валом, который разбрызгивает масло на части двигателя
- Пилотный справочник по авиационным знаниям, масляная система с мокрым отстойником
- Масло содержится в отдельном резервуаре и циркулирует в двигателе с помощью насосов
- Эти резервуары всегда больше, чем масло, которое они должны содержать для компенсации теплового расширения
- Масляный насос также обеспечивает давление масла в системе с сухим картером, но источник масла расположен вне двигателя в отдельном масляном баке
- После того, как масло проходит через двигатель, оно перекачивается из различных мест в двигателе обратно в масляный бак с помощью продувочных насосов
- Системы с сухим картером позволяют подавать в двигатель больший объем масла, что делает их более подходящими для очень больших поршневых двигателей
- Большинство реактивных двигателей будет иметь конструкцию с сухим картером
- Крышка маслозаливной горловины / масляный щуп, используемый для измерения количества масла, обычно доступен через панель в капоте двигателя [Рис.
2] - Если количество не соответствует рабочим уровням, рекомендованным производителем, следует добавить масло
- Требуемый тип масла может варьироваться в зависимости от различных атмосферных и эксплуатационных условий, как указано в руководстве по эксплуатации воздушного судна [Рис. 1]
- AFM / POH или таблички возле панели доступа предоставляют информацию о правильном типе и весе масла, а также минимальном и максимальном количестве масла
- Система контролируется датчиками давления и температуры [Рисунок 3]
- Cessna 172N POH, требуемый сорт масла
- Cessna 172N POH, требуемый сорт масла
- Справочник пилота по авиационным знаниям, проверка уровня моторного масла
- Справочник пилота по авиационным знаниям, проверка уровня моторного масла
- Падение давления масла в двигателе приведет к вибрации двигателя, частота вращения снизится, и двигатель в конечном итоге заклинивает.
- Вязкость: способность жидкости сопротивляться течению.

- Важнейшее назначение моторного масла — помочь управлять охлаждением
- Это происходит из-за того, что холодное масло движется через теплые участки, собирает тепло и рассеивает его через радиатор.
- Справочник пилота по аэронавигационным знаниям, датчику температуры и давления масла
- Манометр давления масла обеспечивает прямую индикацию работы масляной системы [Рис. 3]
- Обеспечивает давление в фунтах на квадратный дюйм (psi) масла, подаваемого в двигатель.
- Зеленый цвет указывает на нормальный рабочий диапазон, а красный указывает на минимальное и максимальное давление
- Должна быть индикация давления масла при запуске двигателя
- Ограничения производителя см. В AFM / POH
- Датчик температуры масла измеряет температуру масла [Рисунок 3]
- Зеленая область показывает нормальный рабочий диапазон, а красная линия указывает максимально допустимую температуру
- В отличие от давления масла, изменение температуры масла происходит медленнее
- Это особенно заметно после запуска холодного двигателя, когда прибор может показывать повышение температуры масла в течение нескольких минут или дольше.
- Периодически проверяйте температуру масла во время полета, особенно при работе при высокой или низкой температуре окружающего воздуха
- Показания высокой температуры масла могут сигнализировать:
- Забит маслопровод или радиатор
- Низкое количество масла (возможен отказ двигателя)
- Неисправен датчик температуры
- Высокие температуры масла могут привести к контакту металла с металлом при снижении вязкости
- Показания низкой температуры масла могут указывать на неправильную вязкость масла при работе в холодную погоду
- Масляные системы уменьшают трение о движущихся частях, улучшают уплотнения, уменьшают и отводят тепло, уносят загрязнения и в некоторых случаях запускают другие системы
- Многие системы имеют отстойники под давлением и масляный бак под давлением для обеспечения постоянного напора смазочного насоса и предотвращения кавитации на больших высотах.
- Расход масла в газотурбинном двигателе относительно низок по сравнению с поршневым двигателем
- Все еще что-то ищете? Продолжить поиск:
Copyright © 2021 CFI Notebook, Все права защищены.| Политика конфиденциальности | Условия использования | Карта сайта | Патреон | Контакты
Масляная система с мокрым отстойником: устранение неблагоприятных ситуаций — СКЛАД CIRCLE TRACK | ДИСТРИБЬЮТОР PERFORMANCE RACING
Обеспечение постоянного смазывания двигателя не только важно, но и очень важно. В то время как масляная система с мокрым картером часто бывает достаточной для среднего легкового автомобиля или грузовика, сухой картер является предпочтительным решением для двигателей с экстремальными характеристиками. Но что делать, если у вас нет выбора?
Лучшая система смазки для гоночного автомобиля — это сухой картер просто потому, что он обеспечивает плавное, постоянное давление масла, не беспокоясь о его прерывании.Однако из-за бюджетных ограничений или правил класса многие гонщики по-прежнему полагаются на традиционную масляную систему с мокрым картером. Системы с мокрым картером не только доступны по цене, они потребляют меньше энергии и могут быть надежными в условиях легких гонок, если выбраны правильные компоненты системы.
В системе с мокрым картером используется внутренний масляный насос с всасывающим устройством, расположенным рядом с нижней частью масляного поддона, погруженным в масло. В большинстве ранних моделей бытовые масляные насосы расположены в нижнем конце картера и приводятся в движение от распределительного вала, в то время как во многих двигателях поздних моделей, включая GM LS, Ford Modular и современный Chrysler Hemi, масляный насос установлен в передней части двигателя. двигатель, приводимый непосредственно от коленчатого вала.
Производители решили переместить масляный насос в переднюю часть двигателя, чтобы уменьшить глубину масляного поддона и увеличить дорожный просвет, необходимый в сегодняшних шасси с низкой посадкой. К сожалению, для переднего масляного насоса требуется исключительно длинная всасывающая трубка, которая может вызвать проблемы с подачей масла в экстремальных гоночных условиях. Это было явной проблемой при гонках на дорогах поздних моделей Корветов с двигателями LS2 и LS3 из-за чрезмерных перегрузок, снижающих поток масла к пикапу. GM решила эту проблему, предложив Corvette с двигателем LS7 с установленной OEM масляной системой с сухим картером.
Существует два популярных типа масляных насосов с мокрым картером: шестеренчатые или роторные. Шестеренчатые насосы распространены в ранних двигателях GM, в то время как насосы роторного типа используются в большинстве двигателей Ford, Chrysler и GM LS-серий. Большинство насосов состоит из корпуса, оборудованного приводной и ведомой шестернями, предохранительным клапаном или шаром и пружиной сброса давления. Подборщик масляного насоса просто прикручивается или вдавливается на место.
Многие старые двигатели оснащены шестеренчатыми масляными насосами, в то время как некоторые новые двигатели имеют роторные насосы.Для стандартных легковых автомобилей система мокрого картера более чем достаточна и относительно безотказна. При проектировании масляной системы с мокрым картером производитель рассчитывает зазоры подшипников, размеры шейки и другие технические характеристики системы, чтобы определить требования к объему двигателя. Затем они конструируют масляный насос, который обычно обеспечивает на 30% больший поток, чем требуется двигателю.
Однако в гоночных условиях высокие обороты двигателя и повышенные перегрузки становятся очень вредными для работы системы.По словам экспертов, коленчатый вал действует как ветряная мельница внутри картера, поднимая масло из поддона, в то время как перегрузки, вызванные ускорением, поворотами или торможением, могут влиять на поток масла в пикап. Это особенно проблема в дорожных гонках, которые подвержены левым и правым поворотам, резкому ускорению и резкому торможению. Именно в этих условиях подборщик может открыться и проглотить воздух, что приведет к нехватке масла в подшипниках.
Именно по этим причинам выбор гоночного масляного насоса может помочь свести к минимуму проблемы, связанные с смазкой мокрого картера.Компания Schumann Dynamic Performance (доступная через AFM Performance Equipment) представила линейку инновационных масляных насосов «Energy Recovery» серии Pro, которые разработаны для предотвращения этих проблем. Владелец компании Верн Шуман, который занимался доработкой гоночных масляных насосов с 1970 года, говорит, что конструкция насоса с рекуперацией энергии имеет специальный порт, который перенаправляет небольшое количество масла с выходной стороны корпуса насоса во впускную трубу насоса. . По словам Шумана, такая конструкция насоса не только «улучшает поток масла и снижает кавитацию при более высоких скоростях насоса», но также «снижает риски масляного голодания, вызванные высокими перегрузками».В качестве дополнительного бонуса эти насосы требуют меньше усилий для работы, что позволяет
немного увеличить мощность.
с «рекуперацией энергии» подходят для гоночных или уличных применений и в настоящее время доступны для автомобилей Chevy с малым и большим блоком, Ford с малым блоком, GM LS, Chrysler и Oldsmobile с большими блоками. Во всех моделях насосов Chevrolet Шумана используется модернизированная высокопрочная отливка из сплава железа, которая устраняет пористость, характерную для стандартных сменных насосов. Меллинг, Милодон и Морозо — дополнительные ресурсы для высокопроизводительных гоночных масляных насосов и компонентов.
Остальная часть масляной системы также должна быть проверена и при необходимости обновлена. Чтобы завершить масляную систему, подумайте о модернизации до масляного поддона, разработанного для конкретного типа гонок, вместе с надлежащим подборщиком, поддоном для защиты от ветра, ограничителями масла и приводным валом масляного насоса для тяжелых условий эксплуатации, если это применимо. Одним из наиболее полезных факторов является поддержание уровня масла в поддоне как можно ниже коленчатого вала, что является непростой задачей, учитывая ограниченные зазоры большинства гоночных шасси с низкой подвеской.Многие производители двигателей достигают этого, используя масляный поддон со встроенным карманом или вытяжкой, что улучшает контроль масла за счет перемещения большей части масла вниз и от коленчатого вала.
Хотя старое выражение «масляный насос — это сердце двигателя» остается верным утверждением, в масляной системе есть и другие компоненты, которые не менее важны. В конце концов, лучший масляный насос в мире принесет мало пользы, если он не будет использоваться с соответствующими, правильно подобранными компонентами системы.
Системы смазки поршневых двигателей самолетов
Системы смазки поршневых двигателей самолетов под давлением можно разделить на две основные категории: с мокрым картером и с сухим картером. Основное отличие состоит в том, что в системе с мокрым картером масло хранится в резервуаре внутри двигателя. После того, как масло циркулирует в двигателе, оно возвращается в резервуар на основе картера. Двигатель с сухим картером перекачивает масло из картера двигателя во внешний бак, в котором хранится масло.В системе с сухим картером используется продувочный насос, некоторые внешние трубки и внешний резервуар для хранения масла.
Помимо этого различия, в системах используются компоненты аналогичного типа. Поскольку система с сухим картером содержит все компоненты системы с мокрым картером, система с сухим картером поясняется в качестве примера системы.Комбинированная смазка разбрызгиванием и давлением
Смазочное масло распределяется по различным движущимся частям типичного двигателя внутреннего сгорания одним из трех следующих способов: давление, разбрызгивание или сочетание давления и разбрызгивания.
Система смазки под давлением является основным методом смазки авиационных двигателей. Смазку разбрызгиванием можно использовать в дополнение к смазке под давлением на авиационных двигателях, но она никогда не используется сама по себе; Системы смазки авиационных двигателей всегда бывают напорного или комбинированного типа, работающего под давлением и разбрызгиванием, обычно последнее.
Преимущества смазки под давлением:
- Положительное введение масла в подшипники.
- Эффект охлаждения, вызванный большим количеством масла, которое может перекачиваться или циркулировать через подшипник.
- Удовлетворительная смазка при различных положениях полета.
Требования к системе смазки
Система смазки двигателя должна быть спроектирована и сконструирована таким образом, чтобы она функционировала должным образом при любых положениях полета и атмосферных условиях, в которых предполагается эксплуатировать самолет. В двигателях с мокрым картером это требование должно выполняться, когда только половина максимального запаса смазочного материала находится в двигателе. Система смазки двигателя должна быть спроектирована и изготовлена таким образом, чтобы можно было установить средства охлаждения смазочного материала.Из картера также необходимо удалить воздух, чтобы исключить утечку масла из-за чрезмерного давления.
Масляные системы с сухим картером
Многие поршневые и турбинные авиационные двигатели имеют системы смазки с сухим картером под давлением. Подача масла в этом типе системы осуществляется в баке. Насос высокого давления обеспечивает циркуляцию масла через двигатель. Затем насосы очистителя возвращают его в бак так же быстро, как он накапливается в отстойниках двигателя. Необходимость в отдельном топливном баке очевидна при рассмотрении осложнений, которые могут возникнуть, если в картере двигателя будет находиться большое количество масла.На многодвигательных самолетах масло в каждый двигатель подается из собственной полной и независимой системы.Хотя расположение масляных систем в разных самолетах сильно различается, а узлы, из которых они состоят, различаются по деталям конструкции, функции всех таких систем одинаковы. Изучение одной системы проясняет общие требования к эксплуатации и обслуживанию других систем.
Основные узлы типичной масляной системы с сухим картером поршневого двигателя включают резервуар для подачи масла, масляный насос высокого давления с приводом от двигателя, продувочный насос, маслоохладитель с регулирующим клапаном маслоохладителя, вентиляционное отверстие масляного бака, необходимые трубопроводы и индикаторы давления и температуры.[Рис. 1]
Рис. 1. Схема масляной системы |
Масляные баки
Масляные баки обычно связаны с системой смазки с сухим картером, тогда как в системе с мокрым картером используется картер двигателя для хранения масла. Масляные резервуары обычно изготавливаются из алюминиевого сплава и должны выдерживать любые вибрации, инерцию и нагрузки жидкости, ожидаемые при эксплуатации.
Каждый масляный бак, используемый с поршневым двигателем, должен иметь пространство для расширения не менее 10 процентов емкости бака или 0.5 галлонов. Каждая крышка заливной горловины масляного бака, используемого с двигателем, должна обеспечивать герметичное уплотнение. Масляный бак обычно размещается близко к двигателю и достаточно высоко над входом масляного насоса, чтобы обеспечить подачу под действием силы тяжести.
Емкость масляного бака зависит от типа самолета, но обычно ее достаточно, чтобы обеспечить достаточный запас масла для общего запаса топлива. Заливная горловина бака расположена так, чтобы было достаточно места для расширения масла и сбора пены.
Крышка наливной горловины помечена словом OIL.Слив в крышке заливной горловины надежно устраняет любой перелив, вызванный операцией заполнения. Линии вентиляции масляного бака предназначены для обеспечения надлежащей вентиляции бака в любом положении полета. Эти трубопроводы обычно подключаются к картеру двигателя, чтобы предотвратить утечку масла через вентиляционные отверстия. Это косвенно приводит к выпуску баков в атмосферу через сапун картера.
В баке ранних больших радиальных двигателей было много галлонов масла. Чтобы помочь с прогревом двигателя, некоторые масляные баки имели встроенный бункер или датчик температуры.[Рис. 2] Этот колодец простирался от штуцера возврата масла в верхней части масляного бака до выходного штуцера в поддоне в нижней части бака. В некоторых системах бункерный бак открыт для основного источника масла с нижнего конца. В других системах есть клапаны откидного типа, которые отделяют основную подачу масла от масла в бункере.
Рис. 2. Масляный бак с бункером |
Отверстие в нижней части бункера у одного типа и отверстия, регулируемые заслонкой клапана в другом, позволяют маслу из основной бак для входа в бункер и замены масла, потребляемого двигателем.Всякий раз, когда в бункере бака есть отверстия, регулируемые заслонкой, клапаны работают от перепада давления масла. За счет отделения циркулирующего масла от окружающего масла в резервуаре циркулирует меньше масла. Это ускоряет нагревание масла при запуске двигателя. Очень немногие из этих типов резервуаров все еще используются, и большинство из них связано с установками радиальных двигателей.
Как правило, возвратная линия в верхней части бака предназначена для выпуска возвращенного масла к стенке бака вихревым движением.Этот метод значительно снижает пенообразование, возникающее при смешивании масла с воздухом. Перегородки в нижней части масляного бака препятствуют завихрению, предотвращая попадание воздуха во впускную линию масляного нагнетательного насоса. Вспенивающееся масло увеличивается в объеме и снижает его способность обеспечивать надлежащую смазку. В случае гребных винтов с масляным управлением главный выход из бака может быть выполнен в виде стояка, так что всегда имеется запас масла для флюгирования гребного винта в случае отказа двигателя.Поддон масляного бака, прикрепленный к нижней части бака, действует как уловитель для влаги и отложений. [Рис. 1] Воду и осадок можно слить, вручную открыв сливной клапан в нижней части отстойника.
Большинство авиационных масляных систем оснащено измерителем количества масляного щупа, который часто называют байонетным измерителем. Некоторые более крупные авиационные системы также имеют систему индикации количества масла, которая показывает количество масла во время полета. Система одного типа состоит, по существу, из рычага и поплавкового механизма, который регулирует уровень масла и приводит в действие электрический датчик наверху резервуара.Передатчик подключен к манометру в кабине, который показывает количество масла.
Масляный насос
Масло, поступающее в двигатель, сжимается, фильтруется и регулируется узлами внутри двигателя. Они обсуждаются вместе с внешней масляной системой, чтобы предоставить концепцию всей масляной системы.
Когда масло попадает в двигатель, оно нагнетается шестеренчатым насосом. [Рис. 3] Этот насос представляет собой поршневой насос прямого вытеснения, который состоит из двух зацепленных шестерен, которые вращаются внутри корпуса.Зазор между зубьями и корпусом небольшой. Впускной патрубок насоса расположен слева, а выпускной патрубок соединен с напорной линией системы двигателя. Одна шестерня прикреплена к шлицевому ведущему валу, который проходит от корпуса насоса к вспомогательному ведущему валу на двигателе. Уплотнения используются для предотвращения утечки вокруг приводного вала. Поскольку нижняя шестерня вращается против часовой стрелки, ведомая промежуточная шестерня вращается по часовой стрелке.
Рисунок 3.Масляный насос двигателя и связанные с ним узлы |
Когда масло попадает в камеру шестерни, оно захватывается зубьями шестерни, застревает между ними и сторонами камеры шестерни, разносится по внешней стороне шестерен и выходит из нагнетательного патрубка в проход масляного экрана. Масло под давлением поступает в масляный фильтр, где любые твердые частицы, взвешенные в масле, отделяются от него, предотвращая возможное повреждение движущихся частей двигателя.
Масло под давлением затем открывает обратный клапан масляного фильтра, установленный в верхней части фильтра.Этот клапан используется в основном с радиальными двигателями с сухим картером и закрывается легкой нагрузкой пружины от 1 до 3 фунтов на квадратный дюйм (psi), когда двигатель не работает, чтобы предотвратить попадание масла под действием силы тяжести в двигатель и его оседание в нижних слоях. цилиндры или поддон двигателя. Если позволить маслу постепенно просачиваться через кольца поршня и заполнять камеру сгорания, это может вызвать жидкостную пробку. Это могло произойти, если клапаны на цилиндре были закрыты, а двигатель запускался для запуска.Это может привести к повреждению двигателя.
Перепускной клапан масляного фильтра, расположенный между напорной стороной масляного насоса и масляным фильтром, позволяет нефильтрованному маслу обходить фильтр и попадать в двигатель, если масляный фильтр засорен, или в холодную погоду, если застывшее масло блокирует фильтр. при запуске двигателя. Пружинная нагрузка на перепускной клапан позволяет клапану открываться до того, как давление масла разрушит фильтр; в случае холодного застывшего масла оно обеспечивает путь с низким сопротивлением вокруг фильтра.Грязное масло в двигателе лучше, чем отсутствие смазки.
Масляные фильтры
Масляный фильтр, используемый в авиационном двигателе, обычно бывает одного из четырех типов: сетчатый, куно, канистровый или навинчиваемый. Сетчатый фильтр с двойной стенкой обеспечивает большую площадь фильтрации в компактном устройстве. [Рис. 3] Когда масло проходит через сито с мелкими ячейками, грязь, отложения и другие посторонние вещества удаляются и оседают на дно корпуса. Через определенные промежутки времени крышка снимается, а экран и корпус очищаются растворителем.Масляные сетчатые фильтры используются в основном в качестве всасывающих фильтров на входе масляного насоса.
Масляный фильтр Cuno имеет картридж из дисков и проставок. Лезвие для чистки вставляется между каждой парой дисков. Лопасти очистителя неподвижны, но диски вращаются при повороте вала. Масло из насоса поступает в колодец картриджа, который окружает картридж, и проходит через промежутки между близко расположенными дисками картриджа, затем через полый центр и далее в двигатель. Любые инородные частицы в масле откладываются на внешней поверхности картриджа.Когда картридж вращается, лезвия очистителя вычищают посторонние предметы с дисков. Картридж ручного фильтра Cuno поворачивается за внешнюю ручку. Автоматические фильтры Cuno имеют гидравлический двигатель, встроенный в головку фильтра. Этот двигатель, управляемый давлением моторного масла, вращает картридж всякий раз, когда двигатель работает. На автоматическом фильтре Cuno имеется ручная поворотная гайка для ручного вращения картриджа во время проверок. Этот фильтр не часто используется на современных самолетах.
Рис. 4. Масляный фильтр типа фильтрующего элемента корпуса |
Фильтрующий элемент канистры имеет сменный фильтрующий элемент, который заменяется остальными компонентами, кроме уплотнений и прокладок. повторно используется. [Рис. 4] Фильтрующий элемент сконструирован с гофрированной прочной стальной центральной трубкой, поддерживающей каждую извилистую складку фильтрующего материала, что приводит к более высокому номинальному давлению сжатия.Фильтр обеспечивает отличную фильтрацию, поскольку масло проходит через множество слоев заблокированных волокон.
Рисунок 5. Полнопоточный навинчиваемый фильтр |
Полнопоточный навинчивающийся фильтр — это наиболее широко используемые масляные фильтры для поршневых двигателей. [Рис. 5] Полный поток означает, что все масло обычно проходит через фильтр. В полнопоточной системе фильтр расположен между масляным насосом и подшипниками двигателя, который фильтрует масло от любых загрязнений, прежде чем они пройдут через поверхности подшипников двигателя.Фильтр также содержит антидренажный обратный клапан и предохранительный клапан, все герметично закрытые в одноразовом корпусе. Предохранительный клапан используется в случае засорения фильтра. Она открывалась, позволяя маслу проходить в обход, предотвращая масляное голодание компонентов двигателя. На разрезе микронного фильтрующего элемента показан пропитанный смолой целлюлозный наполнитель со складками, который используется для улавливания вредных частиц и предотвращения их попадания в двигатель. [Рисунок 6]
Рисунок 6.Вид фильтра в разрезе |
Клапан регулировки давления масла
Клапан регулировки давления масла ограничивает давление масла до заданного значения в зависимости от установки. [Рис. 3] Этот клапан иногда называют предохранительным клапаном, но его реальная функция заключается в регулировании давления масла на заданном уровне давления. Давление масла должно быть достаточно высоким, чтобы обеспечить адекватную смазку двигателя и его вспомогательного оборудования на высоких скоростях и мощностях.Это давление помогает обеспечить сохранение масляной пленки между шейкой коленчатого вала и подшипником. Однако давление не должно быть слишком высоким, так как это может привести к утечке и повреждению масляной системы. Давление масла обычно регулируется ослаблением контргайки и поворотом регулировочного винта. [Рис. 7] На большинстве авиационных двигателей поворот винта по часовой стрелке увеличивает натяжение пружины, удерживающей предохранительный клапан на своем седле, и увеличивает давление масла; поворот регулировочного винта против часовой стрелки уменьшает натяжение пружины и понижает давление.В некоторых двигателях используются шайбы под пружиной, которые либо снимаются, либо добавляются для регулировки регулирующего клапана и давления. Давление масла следует регулировать только после того, как масло в двигателе прогреется до рабочей температуры и правильная вязкость проверена. Точная процедура регулировки давления масла и факторы, которые изменяют настройку давления масла, включены в соответствующие инструкции производителя.
| Рисунок 7. Винт регулировки давления масла |
Датчик давления масла
Обычно манометр показывает давление, при котором масло поступает в двигатель от насоса.Этот датчик предупреждает о возможном отказе двигателя, вызванном истощением подачи масла, отказом масляного насоса, сгоревшими подшипниками, разрывом маслопроводов или другими причинами, на которые может указывать потеря давления масла.
В манометрах одного типа используется механизм с трубкой Бурдона, который измеряет разницу между давлением масла и атмосферным давлением в салоне. Этот манометр сконструирован аналогично другим манометрам типа Бурдона, за исключением того, что он имеет небольшое ограничение, встроенное в корпус прибора или в ниппельное соединение, ведущее к трубке Бурдона.Это ограничение предотвращает помпаж масляного насоса от повреждения манометра или колебания стрелки манометра. Доступен для использования на многомоторных самолетах. Двойной индикатор содержит две трубки Бурдона, помещенные в стандартный приборный футляр; одна трубка используется для каждого двигателя. Соединения простираются от задней части корпуса к каждому двигателю. Есть одна общая сборка механизма, но движущиеся части работают независимо. В некоторых установках линия, ведущая от двигателя к манометру, заполнена легким маслом.Поскольку вязкость этого масла не сильно меняется при изменении температуры, датчик лучше реагирует на изменения давления масла. Со временем моторное масло смешивается с небольшим количеством легкого масла в линии к передатчику; в холодную погоду более густая смесь вызывает вялые показания прибора. Чтобы исправить это состояние, необходимо отсоединить линию манометра, слить ее и снова залить легким маслом.
В настоящее время наблюдается тенденция к созданию электрических передатчиков и индикаторов для систем индикации давления масла и топлива на всех самолетах.В системе индикации этого типа измеряемое давление масла прикладывается к входному отверстию электрического преобразователя, где оно подводится к мембранному узлу по капиллярной трубке. Движение, вызванное расширением и сжатием диафрагмы, усиливается рычагом и механизмом передачи. Механизм изменяет электрическое значение цепи индикации, которое, в свою очередь, отражается на индикаторе в кабине. Этот тип индикаторной системы заменяет длинные заполненные жидкостью трубопроводы на почти невесомый кусок проволоки.
Индикатор температуры масла
В системах смазки с сухим картером датчик температуры масла может находиться в любом месте на линии подачи масла между топливным баком и двигателем. В масляных системах для двигателей с мокрым картером датчик температуры расположен там, где он определяет температуру масла после прохождения масла через маслоохладитель. В любой системе груша расположена так, что она измеряет температуру масла до того, как оно попадет в горячие секции двигателя. Датчик температуры масла в кабине соединен с термометром масла электрическими проводами.Температура масла указывается на манометре. Любая неисправность системы масляного охлаждения отображается как неправильные показания.
Масляный радиатор
Радиатор цилиндрической или эллиптической формы состоит из сердечника, заключенного в двустенный кожух. Сердечник состоит из медных или алюминиевых трубок, концы которых имеют шестиугольную форму и соединены вместе, образуя сотовый эффект. [Рис. 8] Концы медных трубок сердечника припаяны, а алюминиевые трубки припаяны или механически соединены.Трубки соприкасаются только на концах, так что между ними существует пространство на большей части их длины. Это позволяет маслу течь через промежутки между трубками, в то время как охлаждающий воздух проходит через трубки.
Рис. 8. Масляный радиатор |
Пространство между внутренней и внешней оболочками называется кольцевой или байпасной рубашкой. Для потока масла через охладитель открыты два пути. Из впускного отверстия он может обтекать наполовину байпасную рубашку, входить в активную зону снизу, а затем проходить через промежутки между трубками и выходить в масляный бак.Это путь, по которому масло следует, когда оно достаточно горячее и требует охлаждения. Когда масло течет через сердечник, оно направляется перегородками, которые заставляют масло перемещаться вперед и назад несколько раз, прежде чем оно достигнет выхода из сердечника. Масло также может проходить от входа полностью вокруг байпасной рубашки к выходу, не проходя через сердечник. Масло следует по этому байпасному маршруту, когда масло холодное или когда активная зона забита густым застывшим маслом.
Клапан регулирования потока маслоохладителя
Как обсуждалось ранее, вязкость масла зависит от его температуры.Поскольку вязкость влияет на его смазывающие свойства, температура, при которой масло поступает в двигатель, должна поддерживаться в жестких пределах. Как правило, масло, выходящее из двигателя, перед его рециркуляцией необходимо охладить. Очевидно, что степень охлаждения необходимо контролировать, чтобы масло возвращалось в двигатель при правильной температуре. Клапан управления потоком маслоохладителя определяет, по какому из двух возможных путей масло проходит через маслоохладитель. [Фиг.9]
Фиг.9.Регулирующий клапан с защитой от перенапряжения |
В регулирующем клапане есть два отверстия, которые подходят к соответствующим выпускным отверстиям в верхней части охладителя. Когда масло холодное, сильфон в регуляторе потока сжимается и поднимает клапан с седла. В этом случае масло, поступающее в охладитель, имеет два выхода и два пути. По пути наименьшего сопротивления масло обтекает рубашку и выходит через термостатический клапан в бак.Это позволяет маслу быстро нагреваться и в то же время нагревает масло в сердечнике. Когда масло нагревается и достигает своей рабочей температуры, сильфон термостата расширяется и закрывает выход из байпасной рубашки. Клапан управления потоком маслоохладителя, расположенный на маслоохладителе, теперь должен протекать масло через сердечник маслоохладителя. Независимо от того, по какому пути оно проходит через охладитель, масло всегда течет через сильфон термостатического клапана. Как следует из названия, этот блок регулирует температуру, либо охлаждая масло, либо передавая его в бак без охлаждения, в зависимости от температуры, при которой оно выходит из двигателя.
Клапаны защиты от перенапряжения
Когда масло в системе застывает, продувочный насос может создавать очень высокое давление в возвратной масляной линии. Для предотвращения разрыва маслоохладителя или разрыва шланговых соединений из-за высокого давления на некоторых самолетах в системах смазки двигателя установлены клапаны защиты от перенапряжения. В клапан управления потоком маслоохладителя встроен один тип импульсного клапана; другой тип — это отдельный узел в маслопроводе. [Рис. 9]
Клапан защиты от перенапряжения, встроенный в клапан регулирования расхода, является более распространенным типом.Хотя этот регулирующий клапан отличается от только что описанного, по сути он такой же, за исключением функции защиты от перенапряжения. Рабочее состояние при высоком давлении показано на рисунке 9, на котором высокое давление масла на входе регулирующего клапана вынудило импульсный клапан (C) подняться вверх. Обратите внимание, как это движение открыло уравнительный клапан и в то же время зафиксировало тарельчатый клапан (E). Закрытый тарельчатый клапан предотвращает попадание масла в собственно охладитель; Таким образом, продувочное масло проходит непосредственно в резервуар через выпускное отверстие (A), не проходя ни через байпасную рубашку охладителя, ни через сердечник.Когда давление падает до безопасного значения, пружина толкает вниз тормозной и тарельчатый клапаны, закрывая уравнительный клапан (C) и открывая тарельчатый клапан (E). Затем масло проходит от впускного отверстия регулирующего клапана (D) через открытый тарельчатый клапан в байпасную рубашку (F). Термостатический клапан в зависимости от температуры масла определяет поток масла либо через байпасную рубашку к порту (H), либо через сердечник к каналу (G). Обратный клапан (B) открывается, позволяя маслу достичь возвратной линии бака.
Регуляторы воздушного потока
Регулируя воздушный поток через охладитель, можно регулировать температуру масла в соответствии с различными условиями эксплуатации.Например, масло быстрее нагревается до рабочей температуры, если прекращается подача воздуха во время прогрева двигателя. Обычно используются два метода: заслонки, устанавливаемые на задней части маслоохладителя, и заслонка на воздуховоде. В некоторых случаях заслонка выхода воздуха из маслоохладителя открывается вручную и закрывается рычажным механизмом, прикрепленным к рычагу кабины. Чаще створка открывается и закрывается электродвигателем.
Рисунок 10.Плавающий регулирующий термостат |
Одним из наиболее широко используемых устройств автоматического контроля температуры масла является плавающий регулирующий термостат, который обеспечивает ручное и автоматическое регулирование температуры масла на входе. При этом типе управления дверца выхода воздуха из маслоохладителя открывается и закрывается автоматически с помощью электропривода. Автоматическая работа привода определяется электрическими импульсами, полученными от регулирующего термостата, вставленного в маслопровод, ведущий от маслоохладителя к резервуару подачи масла.Привод может управляться вручную с помощью переключателя дверцы воздуховыпускного отверстия маслоохладителя. Установка этого переключателя в положение «открыто» или «закрыто» вызывает соответствующее движение дверцы холодильника. Установка переключателя в положение «авто» переводит привод под автоматическое управление плавающим регулирующим термостатом. [Рис. 10] Термостат, показанный на Рис. 10, настроен на поддержание нормальной температуры масла, чтобы она не изменялась более чем примерно на 5–8 ° C, в зависимости от установки.
Во время работы температура моторного масла, протекающего по биметаллическому элементу, заставляет его слегка раскручиваться или раскручиваться. [Рисунок 10B] Это движение вращает вал (A) и заземленный центральный контактный рычаг (C). Когда заземленный контактный рычаг вращается, он перемещается в сторону открытого или закрытого рычага с плавающим контактом (G). Два плавающих контактных рычага приводятся в движение кулачком (F), который непрерывно вращается электродвигателем (D) через зубчатую передачу (E). Когда заземленный центральный контактный рычаг устанавливается с помощью биметаллического элемента так, чтобы он касался одного из плавающих контактных рычагов, электрическая цепь к электродвигателю привода выходной заслонки масляного радиатора замыкается, в результате чего исполнительный механизм работает и позиционирует воздухоохладитель масла. выходная заслонка.В более новых системах используются электронные системы управления, но функция или общая работа в основном те же, что и при регулировании температуры масла посредством управления потоком воздуха через охладитель.
В некоторых системах смазки используются сдвоенные маслоохладители. Если типичная масляная система, описанная ранее, адаптирована к двум маслоохладителям, система модифицируется и включает в себя делитель потока, два идентичных охладителя и регуляторы потока, двойные воздуховыпускные дверцы, двухдверный приводной механизм и Y-образный фитинг.[Рис. 11] Масло возвращается из двигателя по одной трубке в делитель потока (E), где обратный поток масла делится поровну на две трубки (C), по одной для каждого охладителя. Охладители и регуляторы имеют ту же конструкцию и функционирование, что и охладитель и регулятор потока, описанные только что. Масло из охладителей направляется по двум трубкам (D) к Y-образному фитингу, где плавающий регулирующий термостат (A) измеряет температуру масла и позиционирует две воздуховыпускные дверцы маслоохладителя с помощью двухдверного исполнительного механизма.Из Y-образного фитинга смазочное масло возвращается в бак, где замыкает свой контур.
Рисунок 11. Двойная система охлаждения масла |
Работа системы смазки с сухим картером
Следующая система смазки типична для небольших однодвигательных самолетов. Масляная система и компоненты используются для смазки шестицилиндрового двигателя мощностью 225 л.с. (л.с.) с горизонтальным расположением цилиндров и воздушным охлаждением.В типичной системе смазки под давлением с сухим картером механический насос под давлением подает масло к подшипникам по всему двигателю. [Рис. 1] Масло поступает на впускную или всасывающую сторону масляного насоса через всасывающий экран и линию, соединенную с внешним резервуаром в точке выше дна масляного поддона. Это предотвращает попадание осадка, попадающего в отстойник, в насос. Выходное отверстие бака выше, чем входное отверстие насоса, поэтому сила тяжести может способствовать потоку в насос. Объемный шестеренчатый насос с приводом от двигателя нагнетает масло в полнопоточный фильтр.[Рис. 3] Масло либо проходит через фильтр при нормальных условиях, либо, если фильтр забивается, перепускной клапан фильтра открывается, как упоминалось ранее. В байпасном положении масло не фильтруется. Как видно на Рисунке 3, регулирующий (сбросной) клапан определяет, когда давление в системе достигнуто, и открывается достаточно, чтобы перепустить масло на впускную сторону масляного насоса. Затем масло поступает в коллектор, который распределяет масло через просверленные каналы к подшипникам коленчатого вала и другим подшипникам по всему двигателю.Масло течет от коренных подшипников через отверстия, просверленные в коленчатом валу, к нижним шатунным подшипникам. [Рис. 12]
| Рис. 12. Циркуляция масла в двигателе |
Масло достигает полого распределительного вала (в рядном или оппозитном двигателе), кулачковом диске или кулачковом барабане (в радиальном двигателе) через соединение с концевым подшипником или главным масляным коллектором; Затем он течет к различным подшипникам распределительного вала, кулачкового барабана или кулачковому диску и кулачкам.
На поверхности цилиндров двигателя поступает масло, разбрызгиваемое из коленчатого вала, а также из подшипников кривошипа. Поскольку масло медленно просачивается через небольшие зазоры шатунной шейки перед тем, как распыляться на стенки цилиндра, требуется значительное время, чтобы достаточное количество масла достигло стенок цилиндра, особенно в холодный день, когда поток масла более медленный. Это одна из главных причин использования современных мультивязкостных масел, которые хорошо текут при низких температурах.
Когда циркулирующее масло выполняет свою функцию смазки и охлаждения движущихся частей двигателя, оно стекает в отстойники в самых нижних частях двигателя.Масло, собранное в этих отстойниках, улавливается шестеренчатыми или героторными насосами-поглотителями так же быстро, как и накапливается. Эти насосы имеют большую производительность, чем нагнетательный. Это необходимо, потому что объем масла обычно увеличивается из-за пенообразования (смешивания с воздухом). В двигателях с сухим картером это масло выходит из двигателя, проходит через маслоохладитель и возвращается в резервуар подачи.
Термостат, прикрепленный к маслоохладителю, регулирует температуру масла, позволяя части масла течь через охладитель, а часть — непосредственно в резервуар для подачи масла.Такое расположение позволяет горячему моторному маслу с температурой все еще ниже 65 ° C (150 ° F) смешиваться с холодным нециркулируемым маслом в баке. Это увеличивает всю подачу моторного масла до рабочей температуры за более короткий период времени.
Работа системы смазки с мокрым картером
Простая форма системы с мокрым картером показана на рисунке 13. Система состоит из поддона или поддона, в котором находится подача масла. Подача масла ограничена вместимостью поддона (масляного поддона). Уровень (количество) масла указывается или измеряется вертикальным стержнем, который выступает в масло из приподнятого отверстия в верхней части картера.В нижней части поддона (масляного поддона) находится сетчатый фильтр с подходящей сеткой или рядом отверстий для удаления нежелательных частиц из масла и пропускания достаточного количества на впускную или (всасывающую) сторону масляного нагнетательного насоса.
Рисунок 13. Основная масляная система с мокрым картером |
На рисунке 14 показан типовой масляный поддон, через который проходит впускная труба. Это подогревает топливно-воздушную смесь перед ее поступлением в цилиндры.
Рис. 14. Поддон системы с мокрым картером с проходящей через него впускной трубкой |
Вращение насоса, приводимого в движение двигателем, вызывает прохождение масла вокруг шестерен. [Рис. 3] Это создает давление в системе смазки коленчатого вала (просверленные проходные отверстия). Изменение скорости насоса от холостого хода до полностью открытой дроссельной заслонки рабочего диапазона двигателя и колебания вязкости масла из-за изменений температуры компенсируются натяжением пружины предохранительного клапана.Насос предназначен для создания большего давления, чем требуется для компенсации износа подшипников или разжижения масла. Детали, смазанные под давлением, разбрызгивают смазочный спрей на цилиндр и поршневые узлы. После смазки различных агрегатов, которые оно распыляет, масло стекает обратно в поддон, и цикл повторяется. Систему нелегко адаптировать к перевернутому полету, поскольку весь запас масла заливает двигатель.
СВЯЗАННЫЕ СООБЩЕНИЯ
Масляные системы
Масляная система двигателя выполняет несколько важных функций:
- Смазка движущихся частей двигателя
- Охлаждение двигателя за счет уменьшения трения
- Отвод тепла от цилиндров
- уплотнение между стенками цилиндра и поршнями
- Уносит загрязнения
В поршневых двигателях используется масляная система с мокрым или сухим картером. В системе с мокрым картером масло находится в картере, который является неотъемлемой частью двигателя. В системе с сухим картером масло содержится в отдельном баке и циркулирует по двигателю с помощью насосов.[Рисунок 7-17]
Рисунок 7-17. Масляная система с мокрым картером. [щелкните изображение, чтобы увеличить] Основным компонентом системы с мокрым картером является масляный насос, который забирает масло из картера и направляет его к двигателю. После прохождения масла через двигатель оно возвращается в поддон. В некоторых двигателях дополнительная смазка обеспечивается вращающимся коленчатым валом, который разбрызгивает масло на части двигателя.
Масляный насос также обеспечивает давление масла в системе с сухим картером, но источник масла находится вне двигателя в отдельном масляном баке.После того, как масло проходит через двигатель, оно перекачивается из различных мест в двигателе обратно в масляный бак с помощью продувочных насосов. Системы с сухим картером позволяют подавать в двигатель больший объем масла, что делает их более подходящими для очень больших поршневых двигателей.
Манометр давления масла обеспечивает прямую индикацию работы масляной системы. Он обеспечивает давление в фунтах на квадратный дюйм (psi) масла, подаваемого в двигатель. Зеленый цвет указывает на нормальный рабочий диапазон, а красный указывает на минимальное и максимальное давление.При запуске двигателя должна быть индикация давления масла. См. Ограничения производителя в AFM / POH.
Датчик температуры масла измеряет температуру масла. Зеленая область показывает нормальный рабочий диапазон, а красная линия указывает максимально допустимую температуру. В отличие от давления масла, изменение температуры масла происходит медленнее. Это особенно заметно после запуска холодного двигателя, когда манометру может потребоваться несколько минут или больше, чтобы показать какое-либо повышение температуры масла.
Периодически проверяйте температуру масла во время полета, особенно при работе при высокой или низкой температуре окружающего воздуха. Показания высокой температуры масла могут сигнализировать о закупорке маслопровода, низком количестве масла, засорении маслоохладителя или неисправном датчике температуры. Показания низкой температуры масла могут указывать на неправильную вязкость масла во время работы в холодную погоду.
Крышка маслозаливной горловины и масляный щуп (для измерения количества масла) обычно доступны через панель в капоте двигателя.Если количество не соответствует рекомендованным производителем рабочим уровням, следует добавить масло. AFM / POH или таблички возле панели доступа предоставляют информацию о правильном типе и весе масла, а также о минимальном и максимальном количестве масла. [Рисунок 7-18]
Рисунок 7-18. Во время предполетного осмотра всегда проверяйте уровень моторного масла.Рекомендуется летная грамотность
Масло во влажном поддоне — Rocket Industries
По сценарию Дона Крейсона
По большей части, двигатели OEM используют внутренние масляные системы с мокрым картером.Есть несколько автомобилей, использующих системы с сухим картером на уровне OEM, но это исключение, а не правило.
Насос для литого масла OEM пока подходит только для конкретного применения, и именно тогда пришло время заняться заменой высокопроизводительного насоса. Обычно это делается во время капитального ремонта двигателя или новой сборки, хотя теоретически это может быть сделано также как обновление существующего двигателя. Двумя основными игроками на рынке масляных систем являются Moroso Performance Products и Peterson Fluid Systems, и они будут давать нам советы о том, какие технологии используются в современных насосах с мокрым картером, в том числе о том, как определить, что лучше всего подходит для ваших уличных / полосных или дрэг-рейсинговых систем.
Зачем нужен мокрый отстойник
Этот насос с мокрым картером имеет экран, установленный чуть выше
всасывающего устройства, чтобы защитить зону всасывания от ветра кривошипа
, улучшая характеристики всасывания масла.
Существует ряд причин для использования масляной системы с мокрым картером на улице или на улице / на полосе. С точки зрения затрат, типичная система с сухим картером в среднем будет стоить около 3000 долларов. Это делает систему мокрого поддона привлекательной для тех, у кого есть уличный / уличный автомобиль или бюджетная сборка.Системы с мокрым картером, включая насос, подборщик и поддон, обычно стоят от нескольких сотен долларов до 1500 долларов. Вес и сложность — причины, по которым многие энтузиасты выбирают мокрый картер. Система мокрого отстойника состоит из меньшего количества деталей, чем сухой отстойник, что снижает вес. Меньшее количество компонентов также снижает сложность, упрощая настройку и обслуживание для многих владельцев. «Упаковка соответствует запросам клиентов — система влажного картера может быть помещена в масляный поддон», — говорит Тор Шредер из Moroso.Некоторые классы дрэг-рейсинга на уличных автомобилях также специально запрещают использование системы с сухим картером. Некоторые дойдут до регулирования типа поддона, который может использовать каждая машина. Это еще одна причина, по которой вы можете выбрать высокопроизводительный масляный насос с мокрым картером.
Улучшение конструкции мокрого отстойника
За прошедшие годы в высокоэффективные масляные системы с мокрым картером было внесено много улучшений, и предложения расширились, чтобы позволить более широкий спектр систем, соответствующих потребностям двигателя.
Moroso предлагает отдельные масляные насосы и пикапы. Они также предлагают свои насосы с мокрым картером с всасывающей трубкой, уже приваренной к насосу, при условии, что в двигателе будет использоваться масляный поддон Moroso, совместимый с этим конкретным насосом. Заранее приварив всасывающую трубку к насосу для конкретного масляного поддона, производители двигателей или энтузиасты могут сэкономить некоторое время и сэкономить головную боль, настраивая новый насос и всасывающую трубку на правильную высоту, которая обычно составляет 1/4 дюйма от дно масляного поддона.
В некоторых насосах Moroso также используется впускной патрубок с массивным диаметром 3/4 дюйма, позволяющий пропускать большие объемы масла через всасывающий патрубок.Антикавитационные щели и увеличенные канавки питателя внутри насоса также гарантируют, что насос не работает от голода и что шестерни насоса постоянно смазываются. Это увеличивает срок службы насоса, а также двигателя.
Все высокопроизводительные литые насосы с мокрым отстойником Moroso производятся с использованием запатентованного компанией процесса литья, который, как они заявляют, повышает надежность и долговечность. Некоторые насосы также имеют удлиненный приводной и промежуточный валы, что помогает предотвратить прогиб вала, обеспечивая их правильную работу при различных условиях нагрузки.В таких случаях нижняя крышка закрепляется штифтами, чтобы можно было правильно расположить удлиненные валы. В некоторых приложениях также есть резьбовая заглушка для блокировки перепускной пружины, что дополнительно улучшает производительность масляного насоса.
Насосы с черным рисунком
Линия литых насосов с чертежами также доступна от Moroso. Эти насосы были разработаны совместно с несколькими производителями двигателей высокого уровня и отличаются жесткими допусками и более стабильной производительностью. В моделях насосов антикавитационные пазы и канавки питателя фрезерованы на шаровой мельнице, что обеспечивает стабильный поток масла с каждой стороны шестерен даже при высоких оборотах, что еще больше снижает кавитацию.
Поскольку многие гоночные двигатели по-прежнему полагаются на распределитель для привода масляного насоса, рассеяние искры может стать проблемой для высокопроизводительных масляных насосов. Рассеяние искры возникает, когда на распределитель оказывается неравномерная нагрузка из-за привода масляного насоса. Это может произойти из-за вибрации шестерен насоса. Дребезжание шестерен насоса происходит, когда насос не рассчитан на удовлетворение потребностей двигателя или имеет кавитацию, а шестерни насоса не смазываются должным образом. Благодаря конструкции приводных шестерен насоса с более жесткими допусками и принятию мер по предотвращению кавитации рассеяние искры практически исключается.
Насосы для заготовок
«Наши алюминиевые насосы для заготовок предназначены для клиентов, которым требуется больше от масляного насоса», — говорит Шредер. Эти насосы изготовлены из алюминия 6061 T-6, который прочнее на фунт, чем стандартные насосы из литой стали. У них также нет проблем с пористостью, которые обычно характерны для литых насосов. Эти насосы легкие, их вес на целый фунт меньше, чем у сопоставимых литых насосов. Они имеют монтажную бобышку, которая в три раза больше, чем у большинства традиционных насосов, а также большую площадь входа для предотвращения кавитации.Обработанный корпус из заготовки не сломается и не сломается, как некоторые литые корпуса. В них также используется технология цилиндрических зубчатых колес Moroso.
Масляные насосы с мокрым картером Moroso Billet обеспечивают прецизионную обработку, а также повышенную прочность и отсутствие проблем с пористостью, иногда связанных с литыми насосами.
Внешний мокрый отстойник
Являясь вариантом насоса с сухим отстойником R4 компании Peterson, этот внешний насос с мокрым отстойником
имеет конструкцию с витым ротором и четырьмя лопастями
. Установка насоса снаружи
снижает нагрев, а также позволяет лучше настраивать давление и объем масла
.
Многие люди не знают, что существует альтернатива исключительно внутренней масляной системе с мокрым картером. Peterson Fluid Systems и Moroso предлагают одноступенчатый насос, тесно связанный с их технологией с сухим картером, который работает как внешний масляный насос с мокрым картером. Технически это все еще конструкция с мокрым картером, поскольку масло все еще хранится в поддоне. «Вы можете лучше сконструировать поддон, чтобы масло оставалось вокруг подборщика в поддоне», — говорит Уэйд Мун из Peterson Fluid Systems. Это дает уникальное преимущество во многих случаях, когда перегрузки сильно влияют на масло в поддоне, перемещая его.Поскольку насос внешний, на место всасывания не так сильно влияет расположение насоса. Это означает, что пикап можно разместить в идеальном месте, например, для дрэг-рейсинга, как можно ближе к задней части поддона. Еще одно преимущество внешнего насоса заключается в том, что поддон может быть спроектирован таким образом, чтобы он мог работать по всей длине коленчатого вала, что позволяет ему работать лучше. Внешний насос влажного картера от Peterson Fluid Systems имеет ротор с четырьмя закрученными лопастями для плавной и стабильной работы.Энтузиасты, использующие внешний насос, имеют легкий доступ к насосу для точной настройки его работы. Это позволяет адаптировать давление и расход масла к характеристикам двигателя. Насосная система с внешним мокрым картером имеет гораздо меньшую сложность и вес, чем сухой картер, и, как правило, ее можно купить примерно за половину стоимости системы с сухим картером для того же двигателя.
Недостатки
Как и все, у системы с мокрым картером есть недостатки. «Стандартные насосы для литого масла отлично подходят для серийных автомобилей, но они достигают своих пределов в условиях гонки», — говорит Шредер.Мун указывает на то, что в случае дрэг-рейсинга масло в картере все равно будет вызывать ветер при старте: «Что бы вы ни делали в системе с мокрым картером, при запуске масло попадет во вращающийся узел, который это все равно, что положить его в блендер, он вызывает аэрацию ». Системы с мокрым картером также нагревают больше, поскольку масло хранится внутри двигателя.
Если двигатель работает с вакуумным насосом, масляный насос должен преодолевать этот вакуум, чтобы всасывать масло.Это может быть сложнее в системе с мокрым картером, поскольку, в отличие от сухого картера, вакуумный насос во влажном картере конкурирует за масло, оттягивая его от всасывающего устройства, а не собирая его обратно в резервуар, как это было бы в сухой картер.
Другие компоненты
«Существует мнение, что это всего лишь масляный насос и масляный поддон, но масло является источником жизненной силы двигателя, и эти компоненты играют очень важную роль», — говорит Шредер. Он настаивает на том, что способ смазки двигателя следует учитывать в процессе сборки.Как и топливная система, лучше всего работает с точно подобранными компонентами, так и система смазки.
Слева: по сравнению с системой с сухим отстойником (на фото справа) система с мокрым отстойником отличается простотой, плотной упаковкой и низкой стоимостью.
Поддоны
Поддоны для масла — это область, которая может существенно повлиять на работу системы мокрого картера. Поддоны большей вместимости идеальны, но могут оказаться неприменимыми для всех уличных применений или законными для всех гоночных классов.
Выколотки помогают уменьшить дорожный просвет, если они совместимы с другими компонентами.Согласно Moroso и Peterson Fluid Systems, поддон должен быть спроектирован для работы вместе с масляным насосом и подборщиком. Поддон должен улавливать масло рядом с подборщиком и удерживать там как можно больше масла при любых условиях.
При планировании сборки или модернизации двигателя следует учитывать всю масляную систему. Сюда входят насос, подборщик, поддон, поддон для очистки воздуха, охладители и аккумуляторы.
Поддоны для защиты от ветра
Если вы планируете использовать внешний мокрый картер, вам понадобится подборщик
, подобный этому, для размещения в масляном поддоне.
Как и поддоны для масла, если они разрешены для данного класса, поддон для защиты от ветра является ценным инструментом, помогающим удалить излишки масла от кривошипа. Поддоны для ветрозащиты должны быть совместимы с используемым насосом и всасывающим устройством. При использовании полностью внутренней установки поддон не может проходить по всей длине кривошипа. Это необходимо учитывать при заказе, строительстве или проектировании.
Подборщик
Подборщик должен по диаметру соответствовать входному отверстию масляного насоса. Он также должен располагаться примерно на расстоянии 1/4 дюйма от дна сковороды.Всасывающая трубка должна обеспечивать адекватный поток, соответствующий конструкции насоса. Это поможет предотвратить кавитацию или потерю давления.
Аккумуляторы
Морозо также рекомендует масляный аккумулятор в качестве разумной меры предосторожности, если вы участвуете в гонках на автомобиле, который должен работать с системой мокрого картера. Это также полезно на трамваях. Аккумуляторы помогают снизить износ двигателя, сохраняя запас масла, который автоматически распределяется при падении давления, а также обеспечивают заливку масляной системы при запуске.
Масляный аккумулятор может спасти двигатель в случае внезапного падения давления масла. Это также может уменьшить износ, вызываемый при запуске, за счет предварительной смазки двигателя.
Несмотря на некоторые недостатки, масляные насосы с мокрым картером по-прежнему являются наиболее широко используемыми насосами как в гоночных, так и в высокопроизводительных двигателях OEM. Независимо от того, требуют ли их использования правила, упаковка, бюджет или удобство, для многих областей применения они могут обеспечить надлежащие характеристики смазывания. В сочетании с соответствующими компонентами высокоэффективная масляная система с мокрым картером может помочь продлить срок службы двигателя и компонентов даже в суровых условиях гоночной среды.
Эта статья любезно предоставлена Установленные двигатели
: системы смазки с сухим поддоном
Источник: Mercedes-BenzЯ помню, как сидел в средней школе по физике и просил учителя объяснить нам, почему центробежная сила — это «фиктивная сила». В качестве примера она привела машину, которая поворачивает за угол, и пассажиры чувствуют, что что-то толкает их к стороне машины. Фактически, пассажиры пытаются ехать по прямой, а машина поворачивает им дорогу.Когда я начал изучать автомобильные технологии, я начал понимать, что эти силы влияют на всю машину, а не только на ее пассажиров. Фактически, это наиболее ярко проявляется, когда речь идет о больших резервуарах с жидкостью в автомобиле (которые в значительной степени соответствуют людям, если подумать), а именно масляному поддону и бензобаку. В обоих этих контейнерах жидкость плещется, когда на автомобиль действуют различные силы. Учитывая, что насос для обоих из них является стационарным, жидкость может двигаться только до того, как насос перестанет работать.Очевидно, что это проблема высокопроизводительных приложений, поэтому необходимо было разработать решение.
В этой статье мы рассмотрим именно такое решение, сосредоточив внимание на масляной системе. В качестве грунтовки масляный поддон типичного двигателя, называемого системой мокрого картера, устанавливается в нижней части блока цилиндров. Он прикручен к блоку и улавливает масло, возвращающееся после смазки двигателя. Многие масляные поддоны — это не что иное, как следует из названия: простые резервуары для жидкости.Однако в высокопроизводительных приложениях масляные поддоны часто имеют перегородки (металлические пластины со специально спроектированными проходами и люками для потока масла), которые предотвращают разбрызгивание жидкости при ускорении автомобиля в различных направлениях. Это работает для большинства приложений, но есть еще один вариант для тех, кому нужна масляная система, которая будет работать при экстремальных нагрузках, обеспечивая при этом дополнительные преимущества в производительности.
Источник: Facebook / ValvolineЗадолго до того, как люди начали «грохотать» автомобили с помощью систем подвески с подушками безопасности, гонщики осознали, что наличие веса автомобиля, близкого к земле, улучшает управляемость за счет понижения центра тяжести.Центр тяжести — это место расположения средней массы автомобиля. Автомобили с высоким центром тяжести больше катятся в поворотах, так же как легче упасть, если вы несете кого-то на плечах. Когда вес сосредоточен близко к земле, автомобиль становится более устойчивым. На этом этапе вы, вероятно, начинаете задаваться вопросом, какое отношение все это имеет к масляным системам. Читайте дальше…
Источник: Mercedes-BenzВ среднем легковой автомобиль весит около 3500 фунтов, из которых на двигатель и трансмиссию приходится около 500 фунтов.Учитывая, что двигатель составляет такую значительную часть общего веса автомобиля, есть явное преимущество в том, чтобы установить его как можно ниже. Однако масляный поддон представляет собой проблему, поскольку обычно под двигателем находится на 6-10 дюймов лишнего материала. В 1950-х годах автопроизводители начали поиск решений этой проблемы и начали экспериментировать с радикальной гоночной технологией, которую можно найти и сегодня в автомобилях с высокими характеристиками.
В системе с мокрым картером масляный поддон вмещает масляный насос и служит резервуаром для всего масла.Если вы вытащите насос из поддона и отодвинете масляный резервуар от двигателя, у вас останется очень неглубокий уловитель на месте поддона, как вы можете видеть на двигателе Corvette Z06 2015 года ниже. Добавление дренажа в этот сборный бассейн позволяет перекачивать масло в резервуар, где оно деаэрируется (оседает) и охлаждается, часто с использованием внешнего маслоохладителя, перед тем, как перекачать обратно в двигатель. Это известно как система с сухим картером, потому что масло быстро откачивается из картера, масляного поддона, что оставляет его «сухим».”
Источник: General MotorsСистема с сухим картером имеет четыре основных преимущества. Во-первых, неглубокий масляный поддон позволяет установить двигатель ближе к земле, что снижает центр тяжести автомобиля и улучшает управляемость. Во-вторых, неглубокий масляный поддон означает, что под двигателем нет большого резервуара с маслом, которое могло бы не выдержать поворотов. Масло перекачивается в резервуар, специально разработанный для учета сил, возникающих при прохождении поворотов, — обычно это высокий цилиндрический резервуар.В-третьих, резервуар (а иногда и резервуары) можно установить в любом месте автомобиля, что позволяет улучшить распределение веса и балансировку. Наконец, масло способно выделять воздух или картерные газы, которые накапливаются в течение продолжительных периодов движения в верхней части диапазона оборотов. Это означает, что масло, возвращаемое в двигатель, будет лучше смазывать и охлаждать, поскольку в нем меньше воздуха.
Но есть проблемы, связанные с системой сухого картера, и они, как правило, относятся к сфере практичности.Системы с сухим отстойником значительно дороже влажного отстойника из-за их дополнительной сложности и деталей. Система с сухим картером может стоить более 3000 долларов в зависимости от конструкции. Кроме того, эти системы потребляют больше масла и усложняют каждую замену масла, поскольку вам нужно будет заполнить резервуар, линии между ним и двигателем. В результате автомобиль с сухим картером, такой как винтажный Porsche 911 с воздушным охлаждением, потребляет колоссальные 12 литров масла при каждой замене. Тем не менее, если вы разрабатываете автомобиль для высокопроизводительного вождения и не хотите рисковать повреждением двигателя из-за плохой смазки, когда это действительно нужно, эти несколько лишних литров синтетики и еще несколько долларов на вашу сборку — это небольшая сумма. цена, которую нужно заплатить.
Нравится классика? Где-то всегда бывает четверг с возвратом.
Что такое система смазки? Типы систем смазки.
Схема смазки используется для добавления масла и других смазок для обеспечения точного температурного потока гладкого масла с адекватной нагрузкой на движущиеся компоненты устройства. Масло забирается из поддона в насос, что снижает трение между компонентами и, таким образом, увеличивает срок службы всех компонентов. Без смазки большинство устройств будут перегреты или серьезно повредятся.
Правильная смазка — самый важный элемент жизни машины и автомобиля. Хорошо смазанный автомобиль легко переживет плохо сохранившиеся конструкции. Промышленное оборудование такое же, и долгой экономии может помочь хорошая схема смазки.
Используются различные типы систем смазки:
1. Система смазки туманом
2. Система смазки с мокрым картером и
3. Система смазки с сухим картером
1. Система смазки туманом:
Небольшое количество Смазочное масло смешивается с газом (в основном бензином) в этой схеме.Карбюратор вводит масляно-топливную смесь. Бензин испаряется, и масло в форме тумана достигает цилиндра через основание кривошипа. Пузырьки масла попадают в основание кривошипа, смазывают первичный и шатунный подшипники, а поршень, поршневые кольца и цилиндр смазываются остатком масла. В двухтактных двигателях, где не требуется смазка основания кривошипа, предпочтение отдается схеме. Топливо частично сжимается в кривошипном баке двухтактного двигателя, поэтому не ## s иметь масло в сердечнике кривошипа.
Различные преимущества:
Отсутствие замены масла и снижение требований к техническому обслуживанию
Пониженный расход смазочного материала (до 70 процентов по сравнению со смазкой картера)
Пониженное трение и пониженная температура подшипников
Давление тумана блокирует попадание загрязняющих веществ
Снижение износа и увеличение срока службы элементов машины
Снижение капитальных затрат
Эта система проста, не требует затрат и не требует обслуживания, поскольку не требует масляного насоса, фильтра и т. Д.Однако у него есть серьезные недостатки.
2. Система смазки с мокрым картером:
Эта схема включает в себя большую емкость для хранения масла в основании камеры кривошипа. Насос забирает масло из поддона и подает его на различные компоненты двигателя. Лишнее масло будет постепенно возвращаться в поддон после выполнения цели.
Существует три разновидности системы смазки с мокрым картером. Это:
1. Система смазки разбрызгиванием
2. Система разбрызгивания и давления и
3.Система смазки под давлением
2.1 Система смазки разбрызгиванием:
При смазке пеной путем поворота рукояток на крышках шатунных подшипников масло добавляется в цилиндры и поршни. Ковши перемещаются через масляный желоб каждый момент своего вращения. Ковши заливают масло в цилиндры и поршни для их смазки после прохождения через масляный поддон.
Хотя для более крупных двигателей и насосов смазка разбрызгиванием эффективна, это не точный метод.Детали насоса могут быть слишком сильно или недостаточно смазаны. Для нормальной работы важно количество масла в желобе. Если масла недостаточно, между критически важными частями может произойти износ, а слишком много масла вызовет ненужную смазку, что может способствовать гидравлической блокировке. В схеме распылительной трубки также важны тип используемого масла и его вязкость. Масло должно быть достаточно плотным, чтобы обеспечить адекватную смазку и прилипание к ковшам, но не настолько вязким, чтобы нагреваться при взбивании в масляной ванне.Чистота масла также имеет решающее значение; масло следует часто фильтровать и при необходимости доливать.
2.2 Система смазки разбрызгиванием и давлением:
Схема смазки разбрызгиванием и деформацией представляет собой смесь системы смазки разбрызгиванием и деформацией. В этой схеме насос подает смазочное масло к первичным подшипникам и подшипникам распределительного вала под напряжением. Масло также предназначено для смазки подшипников на большом конце шатуна, винтового штифта, поршневого пальца, поршневых колец и цилиндра в форме брызг из форсунки или разбрызгиваемых ковшом или ковшом.
2.3 Система смазки под давлением:
Смазочное масло подается насосом под нагрузкой на все компоненты, которые требуют смазки в схеме смазки под давлением. На опорные поверхности коленчатого вала, распределительного вала и шатуна подается масло под нагрузкой на первичные подшипники. Отверстия, проходящие через первичные подшипники коленчатого вала, пропускают масло через зазор, вставленный в шатун, к подшипникам большого конца и подшипникам узкого конца.Для проверки потока масла к различным компонентам предоставляется манометр. В схему деформации включен навинчиваемый масляный фильтр премиум-класса. Для выбора опорных поверхностей одноцилиндровых и шатунных подшипников применяется смазка под давлением.
3. Система смазки с сухим картером:
Многоступенчатый насос с сухим картером обеспечивает удаление всего масла из поддона. Это также приводит к удалению излишков воды из картера, и по этой причине их называют «сухим картером», что означает замерзание масляного бака.

Кроме того, производится предотвращение коррозии,
охлаждение трущихся поверхностей, а в некоторых двигателях охлаждение днища поршня или ротора (в РПД).
В этих двигателях смазка раньше добавлялась в топливо
(от 0,5 до
2,5% от расхода топлива). Однако сейчас преимущественно смазка подастся из отдельного бачка в поток воздуха через специальный распылитель и
дозатор, либо
непосредственно к подшипникам через лубрикатор. Недостатком двухтактных двигателей является повышенный выброс токсичных веществ (СН и твердых частиц)
от сгорания масла.
Но этот
слой масла обычно содержит пену. Недостатком системы с мокрым картером является возможность попадания воздуха в систему смазки при
движении по горным
дорогам, из-за приливно-отливных явлений при резких
разгонах и торможении. Такие системы имеют повышенные гидродинамические потери при встрече коленвала с маслом и как следствие меньший КПД и мощность.
По этому для дорогих форсированных или спортивных двигателей применяются системы с сухим картером.
Из картера масло одним или двумя дополнительными насосами перекачивается в специальный бак, где отстаивается и оттуда основным
насосом подастся в масляную магистраль.
2]