Система питания карбюраторного двигателя: характеристика, устройство
Долгое время для изготовления и доставки горючей смеси в цилиндры ДВС, для выведения отработанных газов применялась система питания карбюраторного двигателя. Она выполняет следующие задачи:
- смешивает воздух и горючее в нужном соотношении;
- готовит однородную смесь;
- транспортирует её к цилиндрам;
- выводит из ДВС отработанные газы.
Производство топливно-воздушной смеси называется карбюрацией. Общее устройство карбюраторного мотора состоит из следующих функциональных узлов:
- Приборы, в которых хранится бензин и измеряется его объем.
- Топливные фильтры.
- Устройства для доставки горючего.
- Фильтры воздуха.
- Приборы для изготовления топливно-воздушной смеси.
- Устройства, которые подают её в цилиндры.
- Приборы для выведения отработавших газов и снижения шума при их выходе.
Как работает простейший карбюратор
В функционировании системы питания карбюратора можно выделить следующие этапы:
- Горючее из бака откачивается насосом и течёт по трубопроводу, попадая в карбюратор.
При этом уровень топлива в бензобаке контролируется указателем, в электрической цепи которого присутствует датчик. - Бензин очищается с помощью фильтра-отстойника и фильтра тонкой очистки.
- Воздух попадает в карбюратор после воздушного фильтра.
- Изготовленная топливно-воздушная смесь из карбюратора поступает в цилиндры через впускной трубопровод. В нем она нагревается.
- Отработанные газы выводятся из двигателя системой выпуска. В неё входит трубопровод, труба и глушитель, снижающий уровень шума при выпуске газов.
Образование топливной струи
Из бензобака горючее поступает в поплавковую камеру. Топливо в ней всегда находится на постоянном уровне. Для этого используются поплавок и топливный клапан. Когда бак наполняется горючим до предельного уровня, то поплавком игла прижимается к седлу. Таким образом, поступление бензина останавливается.
Когда уровень горючего снижается, поплавок начинает опускаться. В результате открывается доступ бензина в камеру.
Возрастания расхода бензина вызывает снижение его уровня. Это приводит к увеличению проходного сечения для горючего. Зазор для бензина образовывается между иглой и седлом. К поплавковой камере присоединена труба.
Даже при максимальной наполненности бензин в ней находится ниже, чем края выходного отверстия распылителя. Благодаря этому горючее не вытекает, когда ДВС не работает.
Воздух в карбюратор поступает по главному воздушному каналу. Посередине его сечение уменьшается. За счёт этого создаётся диффузор. Он ускоряет поток воздуха, улучшает испарение бензина и смесеобразования, увеличивает тягу в распылителе. Самая узкая часть диффузора соединена с концом распылителя. За счёт дроссельной заслонки регулируется количество топливно-воздушной смеси, которая поступает в цилиндры.
Заслонка соединена с педалью. При нажатии на неё она меняет своё положение. Чем больше заслонка открывается, тем больший объем топливно-воздушной смеси попадает в цилиндры.
В результате растёт мощность, которую вырабатывает мотор. Так регулируется объем горючей смеси, которая поступает в цилиндры.
Распад топливной струи
Из жиклёра горючее поднимается в распылитель, при этом расходуется энергия. Когда разница между скоростями бензина и воздуха достигает 4-6 м/c, топливная струя распадается. Капли в размере достигают 20-120 мкм, оптимальным значением, считается 50 мкм.
Чем больше температура горючего, тем мельче капли. Это объясняется более низким коэффициентом поверхностного натяжения, возрастанием разницы между скоростями бензина и воздуха.
За счет чего движется бензин
Воздушный поток движется в 25 раз быстрее, чем бензин. Карбюратор работает по такому же принципу, что и пульверизатор. Между камерой с поплавком и диффузором имеется перепад давлений. Это приводит к тому, что бензин покидает поплавковую камеру, двигаясь по топливному калиброванному отверстию и распылителю к диффузору.
Затем горючее оказывается в главном воздушном канале.
На сегодняшний день давление, при котором начинается транспортировка бензина, составляет 100 Па. Если же значение меньше, то по карбюратору двигается лишь воздушный поток.
Скорость воздушного потока, проходящего через диффузор, растёт. По этой причине давление в распылительной области снижается. Когда мотор не работает, разность давлений между камерой с поплавком и распылительной областью отсутствует.
Во время запуска мотора при всасывании в цилиндре возникает тяга. Т.к. распылительная область сообщается с цилиндром с помощью впускного трубопровода и главноговоздушного калиброванного отверстия, то тяга из цилиндра достигает распылительной зоны.
После этого появляется перепад давлений между камерой с поплавком и диффузором, что приводит к движению бензина из камеры в распылитель. Затем в главном воздушном канале горючее образует смесь с воздухом и движется к цилиндрам.
Движение воздуха и топливно-воздушной смеси
Ускорению воздуха при движении по диффузору способствует образованию тяги в распылительной области.
Уменьшение размеров диффузора возможно лишь до определённого значения. В противном случае настанет момент, когда уменьшение диффузора приведёт к увеличению сопротивления для движения воздушного потока.
В результате упадёт мощность двигателя, потому что цилиндры станут меньше наполняться. Часть трубки, которая соединяет горловину диффузора с осью дроссельной заслонки, называется «смесительная камера».
При образовании топливно-воздушной смеси участвует не весь бензин. Это происходит по причине того, что часть бензина не испаряется и не перемешивается с воздушным потоком. Незадействованные капли горючего двигаются вместе с воздухом. Встречая на своём пути стенки смесительной камеры и выпускного трубопровода, остатки топлива откладываются на них.
При этом образуется плёнка, медленно движущаяся. Для её испарения производится нагрев впускного трубопровода во время работы ДВС. Существуют 2 вида подогрева:
- с помощью жидкости, для этого используют систему охлаждения двигателя;
- за счёт тепла выхлопных газов.

Виды карбюраторов
Топливно-воздушная смесь окончательно образовывается во впускном трубопроводе ДВС. Воздушный поток в смесеобразовательном приборе может двигаться в разных направлениях. Поэтому карбюраторы бывают нескольких видов:
- Устройства, в которых поток смеси падает, т.е. течёт сверху вниз. Они отличаются большой мощностью, экономичностью, удобным для ремонта расположением на моторе.
- Приборы, в которых поток смеси восходящий, т.е. она двигается снизу вверх. Это устаревшие конструкции.
Как улучшить образование топливно-воздушной смеси
Сложность изготовления топливно-воздушной смеси заключается в том, что данный процесс осуществляется очень быстро. Воздух и смесь проходят через впускной тракт мотора со скоростью 30 — 100 м/c, а время образования смеси не превышает 20 мс. Факторы, которые улучшают смесеобразование и испарение бензина:
- легкоиспаряющаяся жидкость в качестве горючего;
- расширение площади парообразования за счёт распыливания бензина и обдува топливных капель;
- уменьшение давления в той среде, в которую попадает горючее;
- нагревание бензина и воздуха;
- введение эмульсионной жидкости с помощью распылителя.
Усовершенствованные карбюраторные двигатели
Увеличение открытия дроссельной заслонки приводит к возрастанию воздуха, который проходит через карбюратор. В результате он ускоряется и создаёт дополнительную тягу в диффузоре. Это выступает причиной повышения расхода бензина. При этом необходимое соответствие между увеличением количества воздуха и горючего не выполняется.
За счёт этого топливно-воздушная смесь, изготовленная при большом открывании заслонки, является обогащённой Т.к. режимы работы ДВС разные, то смесь, произведённая простым карбюратором, по составу не соответствует требуемой. Во время малых нагрузок тяга в диффузоре такая низкая, что приготовить топливно-воздушную смесь вообще невозможно.
Чтобы убрать указанный недостаток устройство системы питания карбюратора укомплектовывают дополнительными приборами. При их использовании топливно-воздушная смесь, приготовленная во время разных режимов, очень близка к требуемой.
Машины на карбюраторах работают в следующих режимах:
- Пуск мотора.
В этот момент топливо плохо испаряется, поэтому необходимо использовать богатую смесь. - Холостой ход и малые нагрузки.
- Частичные нагрузки.
- Полные нагрузки.
- Резкое открывание заслонки. В таком режиме не должно быть смеси с повышенным содержанием воздуха.
Разные режимы функционирования ДВС сопровождаются включением соответствующих систем и устройств:
- прибор для пуска;
- система холостого хода;
- главный дозирующий прибор;
- экономайзер;
- ускоряющий насос.
Опишем подробно каждый:
- Прибор для пуска уменьшает количество воздуха, который двигается по карбюратору. Одновременно растёт тяга в диффузоре. В результате распылитель основной системы дозировки опустошается, т.к. содержащийся в нем бензин вытекает и создаётся топливно-воздушная смесь. После того как произошла первая вспышка, воздух движется по автоматическому клапану на приборе для пуска. При нагревании мотора пусковое устройство необходимо приоткрывать вручную.
Для автоматизации процесса на некоторых ДВС используется автоматика. - Система холостого хода производит смесь во время бездействия главной дозирующей системы. Она состоит из распылителя с двумя отверстиями, регулировочного винта, двух каналов, воздушного и топливного калиброванных отверстий.
- Главный дозирующий прибор от простого карбюратора отличает наличие колодца, воздушного калиброванного отверстия. Последний соединяет колодец с атмосферой.
- Экономайзер вступает в работу на полных нагрузках. В зависимости от привода он может быть двух видов: механический или пневматический. В состав первого входят клапан, калиброванное отверстие, толкатель и его подвижная стойка. Длина толкателя регулируется. При определённой длине включается экономайзер. Пневматический прибор запускается при определённой частоте вращения коленвала.
- Ускоряющий насос функционирует при особых условиях движения машины. Например, при обгоне, подъёме
Применение описанных устройств позволяет сделать работу карбюраторного ДВС более эффективной, повысив его мощность и снизить расход топлива.
Сбои в работе карбюратора
Опишем основные неисправности системы питания карбюраторного двигателя, и способы их устранения:
- Неисправности в топливном фильтре. При наличии сбоев в работе системы питания карбюраторного двигателя в первую очередь проверяют фильтр топлива. Для его осмотра надо будет открутить колпачок и извлечь фильтр. Далее потребуется промывание с помощью бензина. При обнаружении повреждения фильтра и подводящего патрубка требуется их заменить.
- В камере с поплавком мало бензина, либо его нет совсем. Одновременно с этим неполадки в сетчатом фильтре отсутствуют. Данный сбой в работе мог произойти вследствие, скопления грязи в игольчатом топливном клапане, связанном с крышкой поплавковой камеры. Грязь создала препятствия для поступления горючего. Для нормального функционирования карбюратора необходимо свободное движение клапана в гнезде и отсутствие зависаний шарика. Для удаления грязи в клапане достаточно его промыть и продуть.
- Сбился поплавок.
О данной неполадке свидетельствует нестабильная работа мотора, наличие рывков, резкое увеличение расхода бензина, отклонения от нормы уровня горючего в камере с поплавком. Для настройки работы иглы в клапане необходимо, чтобы горючее находилось на нужном уровне. Вдобавок к этому требуется сделать небольшой сгиб специально предназначенного язычка и ограничителя хода для поплавка. Если отверстие в последнем небольшое и сейчас нет времени устранять неисправность, то на короткий период поплавок может поработать заклеенным. - Трудности при пуске мотора, при этом горючего в камере достаточно. Необходимо проверить калиброванные отверстия и каналы карбюратора на наличие загрязнений. Потребуется частично разобрать карбюратор. Это сведётся к снятию крышки с камеры. Устранить грязь помогает промывка каналов и калиброванных отверстий с помощью бензина, продувание их насосом с использованием сжатого воздуха.
- Сложно завести ДВС после длительной стоянки. Причиной может служить износ диафрагмы, которая связана с пусковым прибором карбюратора.
Если в данный момент нет возможности ликвидировать неполадку, то на короткий период можно предпринять следующие действия. Взять маленький кусочек проволоки из алюминия и один её конец согнуть в виде петли. Далее прикрепить проволоку туда, где карбюратор соединён с воздухоочистителем. При этом её следует так зафиксировать, чтобы гайка была над ней. Затем второй согнутый конец проволоки устанавливается в месте прижатия верхней части воздушного регулятора в первом баллоне. Благодаря этому образуется зазор размером 3 — 4 мм, разделяющий воздушный регулятор и стенку первого баллона. Наличие образованного зазора поможет запустить мотор. Но данный метод пригоден лишь на короткое время, после которого надо будет устранить причину неполадки. - Сбои в работе двигателя. Например, он перестаёт функционировать после того, как водитель отпустил педаль газа. Такая неисправность может проявляться из-за загрязнения в системе холостого хода калиброванного отверстия, через которое проходит эмульсия.
Для устранения неполадки потребуется извлечь калиброванное отверстие. Для этого надо будет освободить фильтр воздуха от корпуса. При большой загрязнённости калиброванного отверстия оно подлежит очистке с помощью заточенной деревянной палочки, смоченной ацетоном. - Нарушена герметичность соединения впускной трубы с карбюратором. Обнаружить проблемный участок можно по следам сажи, по наличию тонкой плёнки горючего.
- Разрыв в соединениях выпускной трубы с фланцем, корпуса заслонки с впускной трубой. В результате в систему проникает воздух, увеличивая объем потребляемого бензина. При этом работа глушителя может сопровождаться сильными хлопками. Для обнаружения негерметичности можно применяют мыльную пенку. На участках разрыва она будет иметь отверстие.
- Плавают обороты двигателя на холостом ходу, и ДВС глохнет. О скачущих оборотах свидетельствует прыгающая стрелка тахометра. Причин может быть несколько. Нарушение регулировки состава горючей смеси, неполадки в электромагнитном клапане или в управляющем контуре, загрязнённые каналы и калиброванные отверстия в системе холостого хода, неисправный экономайзер на принудительном холостом ходу (трещина в мембране).
Устранить указанные неполадки поможет замена неисправного механизма и восстановление электропроводки.
Для комфортной и безопасной езды необходимо регулярно проводить ТО и использовать качественный бензин. При обнаружении нарушений в работе карбюратора требуется как можно быстрее выявить причину и устранить неполадку.
принцип работы, устройство и регулировка
Ноя 1 2014
Карбюраторный двигатель — один из типов двигателя внутреннего сгорания с внешним смесеобразованием.
В карбюраторном двигателе топливно-воздушная смесь, поступающая по впускному коллектору в цилиндры двигателя, приготавливается в специальном приборе — карбюраторе.
Также карбюраторные двигатели разделяются на двигатели без наддува или атмосферные, у которых впуск воздуха или горючей смеси осуществляется за счет разряжения в цилиндре при всасывающем ходе поршня; двигатели с наддувом, у которых впуск воздуха или горючей смеси в рабочий цилиндр происходит под давлением, создаваемым турбокомпрессором, с целью увеличения заряда воздуха и получения повышенной мощности и КПД двигателя;
В качестве топлива для карбюраторного двигателя в разное время применялись спирт, керосин, лигроин, бензин.
Наибольшее распространение получили бензиновые карбюраторные двигатели.
Карбюратор — устройство в системе питания карбюраторных двигателей внутреннего сгорания, предназначенное для смешивания бензина и воздуха, создания горючей смеси и регулирования её расхода. В настоящее время карбюраторные системы подачи топлива вытесняются инжекторными.
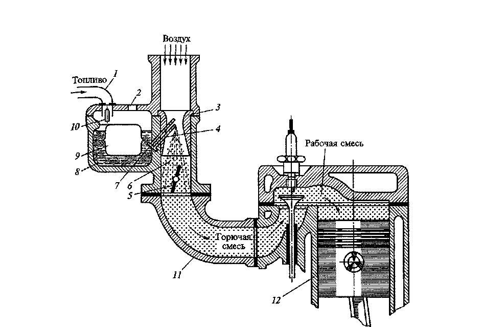
Простейший карбюратор состоит из четырёх основных элементов: поплавковой камеры (10) с поплавком (3), жиклёра (9) с распылителем (7), диффузора (6) и дроссельной заслонки (5).
Топливо по трубке (1) поступает из бака в поплавковую камеру (10). В поплавковой камере плавает пустотелый, обычно латунный поплавок (3), на который опирается запорная игла (2).
Когда уровень топлива в поплавковой камере достигнет необходимой высоты, поплавок всплывёт настолько, что заставит запорную иглу перекрыть трубку (1), прекращая подачу топлива в поплавковую камеру.
По мере расходования топлива его уровень в поплавковой камере понижается, поплавок опускается, и запорная игла снова открывает подачу топлива, таким образом в поплавковой камере поддерживается постоянный уровень топлива, что очень важно для правильной дозировки подачи топлива.
Из поплавковой камеры топливо поступает через жиклёр (9) в распылитель (7). Количество топлива, вытекающего из распылителя (7), зависит при прочих равных условиях от размеров и формы жиклёра.
При движении поршня в такте впуска давление в цилиндре снижается. При этом наружный воздух засасывается в цилиндр через карбюратор и впускной трубопровод, проходя через воздушную трубу (8) карбюратора, в которой находится диффузор (6).
В самой узкой части диффузора помещается конец распылителя. В сужающейся части диффузора скорость потока воздуха увеличивается, а давление воздуха уменьшается.
Благодаря отверстию (4) в поплавковой камере поддерживается атмосферное давление, в результате под влиянием разности давлений происходит истечение топлива из распылителя.
Топливо, вытекающее из распылителя, раздробляется струями воздуха, распыляется, частично испаряется и, перемешиваясь с воздухом, образует горючую смесь. Как правило, вместо одного диффузора используется двойной или даже тройной диффузор.
Дополнительные диффузоры расположены концентрически в главном диффузоре и имеют небольшие размеры. Через них проходит только часть общего потока воздуха.
Вследствие высокой скорости в центральной части при небольшом сопротивлении основному потоку воздуха достигается более качественное приготовление горючей смеси.
Количество горючей смеси, поступающей в цилиндры двигателя, а следовательно, и мощность двигателя регулируется дроссельной заслонкой (5), которая обычно приводится в движение педалью акселератора (или ручным приводом у мотоциклов и некоторых автомобилей).
Управление карбюратором
Обычно работой карбюратора управляет водитель автомобиля. На некоторых моделях карбюраторов использовались дополнительные системы, частично автоматизировавшие управление им.
Для управления дроссельной заслонкой на автомобилях обычно используется педаль газа. Она может приводить её в движение при помощи системы тяг или тросового привода. Тяги в целом надёжнее, но конструкция привода получается сложнее и ограничивает возможности конструктора по компоновке подкапотного пространства.
Привод тягами широко использовался в прежние годы, но начиная с 1970-х годов получила распространение система с металлическим тросиком. Системы с пневмо- или электромеханическим приводом распространения на карбюраторных двигателях не получили.
На старых автомобилях часто предусматривалась двойная система привода дроссельной заслонки карбюратора: от руки, рычажком или вытяжной рукояткой («постоянный газ»), и от ноги — педалью. Ручное и ножное управления связывалось между собой так, что при нажатии на педаль рукоятка ручного управления остаётся неподвижной, а при её вытягивании педаль опускается.
Дальнейшее открытие дросселя можно было производить педалью. При отпускании педали дроссель остаётся в положении, установленном ручным управлением. Например, на «Волге» ГАЗ-21 на панели приборов справа от радиоприёмника была расположена рукоятка ручного управления дроссельной заслонкой, дублирующая педаль газа.
Вытянув её, можно было добиться устойчивой работы холодного двигателя без использования воздушной заслонки, или использовать для установления «постоянного газа».
На грузовых автомобилях режим «постоянного газа» служил в частности для упрощения движения задним ходом.
На мотоциклах и некотором числе автомобилей применяется ручное управление дросселем, осуществляемое специальной рукояткой на руле через тросик.
Воздушная заслонка может иметь механический или автоматический привод. В первом случае её закрывает водитель при помощи рукоятки, размещённой обычно на панели приборов. Автоматический привод широко применялся за границей, а в практике отечественного автопрома распространения практически не получил ввиду низкой надёжности, недолговечности и ненадёжной работы при характерных для климата большей части территории СССР/России больших перепадах температур.
В этом случае воздушную заслонку закрывал биметаллический или церезиновый термоэлемент, обогреваемый жидкостью из системы охлаждения.
По мере прогрева двигателя, термоэлемент нагревался, расширялся и открывал воздушную заслонку. В иных системах использовался электромеханический привод с датчиком температуры.
Из отечественных автомобилей, такое пусковое устройство имели только карбюраторы отдельных моделей ВАЗ.
Очень широко распространён полуавтоматический привод воздушной заслонки. В этом случае она закрывается водителем вручную, а после пуска двигателя автоматически приоткрывается диафрагмой, работающей от возникающего во впускном коллекторе двигателя разрежения.
Это предотвращало возможную остановку двигателя из-за переобогащения рабочей смеси и несколько снижало расход топлива на прогрев.
Пусковую диафрагму имели практически все отечественные карбюраторы, разработанные после начала 1960-х годов. До этого некоторые модели использовали менее совершенный кулачковый механизм, немного приоткрывавший дроссельную заслонку при закрывании воздушной.
Регулировки карбюратора
Карбюратор — устройство, имеющее минимум регулировок, но требующее исправной работы узлов и механизмов. Работоспособность карбюратора и его техническое состояние существенно влияют на работу двигателя.
Нарушение регулировки карбюратора приводит к ухудшению экономичности, приёмистости двигателя, а также к увеличению токсичности отработавших газов.
Доступные регулировки самого карбюратора:
«Винт количества» — обороты в режиме холостого хода
«Винт качества» — обогащённость топливо воздушной смеси (и, как следствие, содержание токсичного угарного газа в выхлопных газах) в режиме холостого хода.
В процессе эксплуатации необходимо проверять и восстанавливать работоспособность следующих узлов:
работа клапана (герметичность) экономайзера и системы холостого хода
работа ускорительного насоса (задержка срабатывания, количество и время впрыска топлива, направленность топливного распылителя)
плавность работы, свободный ход, возвращение пружиной и необходимый уровень приоткрытия закрытой ДЗ
работу системы холодного запуска (закрытие воздушной, и приоткрытие дросельной и воздушной заслонок)
работу устройства открытия второй ДЗ (если имеется)
работу поплавкового механизма (уровень топлива в поплавковой камере, герметичность запорного клапана, отсутствие дефектов поплавка, и т.
д.)
работу эмульсионных колодцев и распылителей, пропускная способность жиклёров
отсутствие неучтённых подсосов воздуха
Так же на работу карбюратора оказывают своё влияние:
механизмы управления карбюратором
устройство подачи воздуха (воздушный фильтр, система подогрева воздуха в холодное время года)
система подачи топлива (бензонасос, бензофильтры, заборник, топливные магистрали, вентиляция бака)
система вентиляции картера двигателя
сливная трубка избытка топлива, впускного коллектора
герметичность впускного тракта после карбюратора
негерметичность/неисправность клапанного механизма
качество и состав топлива
Похожие записи автомобильной тематики:
Система питания карбюраторного двигателя — Студопедия
Автомобиль с двигателем внутреннего сгорания на одной заправке топливом может проехать 500–600 и более километров. Это расстояние называется запасом хода автомобиля.
Конечно, максимальный пробег машины «на одном баке» зависит от многих факторов, но основным из них является правильная работа системы питания двигателя.
Система питания двигателя предназначена для хранения, очистки и подачи топлива, очистки воздуха, приготовления горючей смеси и подачи ее в цилиндры двигателя. На различных режимах работы двигателя количество и качество горючей смеси должно быть различным, и это тоже обеспечивается системой питания.
Поскольку в этой книге мы рассматриваем работу бензинового двигателя, то в дальнейшем под топливом будет подразумеваться именно бензин.
Рис. 13. Схема расположения элементов системы питания карбюраторного двигателя: 1 – заливная горловина с пробкой; 2 – топливный бак; 3 – датчик указателя уровня топлива с поплавком; 4 – топливозаборник с фильтром; 5 – топливопроводы; 6 – фильтр тонкой очистки топлива; 7 – топливный насос; 8 – поплавковая камера карбюратора с поплавком; 9 – воздушный фильтр; 10 – смесительная камера карбюратора; 11 – впускной клапан; 12 – впускной трубопровод; 13 – камера сгорания
Система питания состоит из (рис.
13):
– топливного бака;
– топливопроводов;
– фильтров очистки топлива;
– топливного насоса;
– воздушного фильтра;
– карбюратора.
Топливный бак – это емкость для хранения топлива. Обычно он размещается в задней, более безопасной при аварии части автомобиля. От топливного бака к карбюратору бензин поступает по топливопроводам, которые тянутся вдоль всего автомобиля, как правило, под днищем кузова.
Первая ступень очистки топлива – это сетка на топливозаборнике внутри бака. Она не дает возможности содержащимся в бензине крупным примесям и воде попасть в систему питания двигателя.
Количество бензина в баке водитель может контролировать по показаниям указателя уровня топлива, расположенного на щитке приборов (см. рис. 67).
Емкость топливного бака среднестатистического легкового автомобиля обычно составляет 40–50 литров. Когда уровень бензина в баке уменьшается до 5–9 литров, на щитке приборов загорается соответствующая желтая (или красная) лампочка – лампа резерва топлива.
Это сигнал водителю о том, что пора подумать о заправке.
Топливный фильтр (как правило, устанавливается самостоятельно) – второй этап очистки топлива. Фильтр располагается в моторном отсеке и предназначен для тонкой очистки бензина, поступающего к топливному насосу (возможна установка фильтра и после насоса). Обычно применяется неразборный фильтр, при загрязнении которого требуется его замена.
Топливный насос – предназначен для принудительной подачи топлива из бака в карбюратор.
Насос состоит из (рис. 14): корпуса, диафрагмы с пружиной и механизмом привода, впускного и нагнетательного (выпускного) клапанов. В нем также находится сетчатый фильтр для очередной третьей ступени очистки бензина.
Рис. 14. Схема работы топливного насоса: 1 – нагнетательный патрубок; 2 – стяжной болт; 3 – крышка; 4 – всасывающий патрубок; 5 – впускной клапан с пружиной; 6 – корпус; 7 – диафрагма насоса; 8 – рычаг ручной подкачки; 9 – тяга; 10 – рычаг механической подкачки; 11 – пружина; 12 – шток; 13 – эксцентрик; 14 – нагнетательный клапан с пружиной; 15 – фильтр очистки топлива
Топливный насос приводится в действие от валика привода масляного насоса или от распределительного вала двигателя.
При вращении вышеуказанных валов, имеющийся на них эксцентрик набегает на шток привода топливного насоса. Шток начинает давить на рычаг, а тот, в свою очередь, заставляет диафрагму опускаться вниз. Над диафрагмой создается разряжение и впускной клапан, преодолевая усилие пружины, открывается. Порция топлива из бака засасывается в пространство над диафрагмой.
При сбегании эксцентрика со штока диафрагма освобождается от воздействия рычага и за счет жесткости пружины поднимается вверх. Возникающее при этом давление закрывает впускной клапан и открывает нагнетательный. Бензин над диафрагмой поступает к карбюратору. При очередном набегании эксцентрика на шток процесс повторяется.
Обратите внимание на то, что подача бензина в карбюратор происходит лишь за счет усилия пружины, которая поднимает диафрагму. Это означает, что когда поплавковая камера карбюратора будет заполнена и игольчатый клапан (см. рис. 16) перекроет путь бензину, диафрагма топливного насоса останется в нижнем положении.
До тех пор, пока двигатель не израсходует часть топлива из карбюратора, пружина будет не в состоянии «вытолкнуть» из насоса очередную порцию бензина.
Так как топливный бак расположен ниже карбюратора, то возникает необходимость в принудительной подаче бензина. Если предположить, что бак находится на крыше автомобиля, то потребность в насосе отпадает. В этом случае бензин будет поступать в карбюратор самотеком, что и используют некоторые водители в «безвыходной» ситуации при отказе насоса в работе. Закрепив канистру с бензином в положении, явно выше карбюратора и соединив их между собой, можно продолжить поездку (не забывая при этом правил противопожарной безопасности).
Воздушный фильтр (рис. 15)–необходим для очистки воздуха, поступающего в цилиндры двигателя. Фильтр устанавливается на верхней части воздушной горловины карбюратора.
Рис. 15. Воздушный фильтр: 1 – крышка; 2 – фильтрующий элемент; 3 – корпус; 4 – воздухозаборник
При загрязнении фильтра возрастает сопротивление движению воздуха, что может привести к повышенному расходу топлива, так как горючая смесь будет слишком обогащаться бензином.
Чем это грозит кроме лишних финансовых затрат, вы узнаете через несколько страниц.
Карбюратор предназначен для приготовления горючей смеси и подачи ее в цилиндры двигателя. В зависимости от режима работы двигателя карбюратор меняет качество (соотношение бензина и воздуха) и количество смеси.
Карбюратор, это одно из самых сложных устройств автомобиля. Он состоит из множества деталей и имеет несколько систем, которые принимают участие в приготовлении горючей смеси, обеспечивая бесперебойную работу двигателя. Давайте разберемся с устройством и принципом работы карбюратора на несколько упрощенной схеме.
Рис. 16. Схема устройства и работы простейшего карбюратора: 1 – топливная трубка; 2 – поплавок с игольчатым клапаном; 3 – отверстие для связи поплавковой камеры с атмосферой; 4 – воздушная заслонка; 5 – распылитель 6 – диффузор; 7 – дроссельная заслонка; 8 – корпус карбюратора; 9 – топливный жиклер
Простейший карбюратор состоит из (рис.
16):
– поплавковой камеры;
– поплавка с игольчатым запорным клапаном;
– распылителя;
– смесительной камеры;
– диффузора;
– воздушной и дроссельной заслонок;
– топливных и воздушных каналов с жиклерами.
При движении поршня в цилиндре от верхней мертвой точки к нижней (такт впуска), над ним создается разряжение. Поток воздуха с улицы, через воздушный фильтр и карбюратор, устремляется в освободившийся объем цилиндра (см. рис. 13).
При прохождении воздуха через карбюратор, из поплавковой камеры через распылитель, который расположен в самом узком месте смесительной камеры (диффузоре), вытекает топливо (рис. 16). Это происходит по причине разности давлений в поплавковой камере карбюратора, которая связана с атмосферой, и в диффузоре, где создается значительное разрежение.
Поток воздуха дробит вытекающее из распылителя топливо и смешивается с ним. На выходе из диффузора происходит окончательное перемешивание бензина с воздухом, и затем эта горючая смесь поступает в цилиндр.
Каждый из вас периодически пользуется каким-либо устройством, где применен принцип пульверизации. Не важно, что это – флакон с духами, банка с краской и насадкой к пылесосу или бачок-опрыскиватель для увлажнения цветов. В любом случае, за счет разности давлений из некой емкости высасывается жидкость, которая затем дробится и смешивается с воздухом.
Для примера можно взять даже обычный чайник, который вместе со своим носиком очень похож на поплавковую камеру с распылителем.
Нальем в чайник воду так, чтобы уровень в его носике не доходил до края примерно на 1–1,5 мм. Если вы создадите сильный поток воздуха (например, вентилятором или феном), то он будет высасывать воду из носика чайника, смешиваться с ней и «увлажнять» пол в вашей квартире. Примерно так это происходит и в карбюраторе, но здесь тщательно распыленный и смешанный с воздухом бензин попадает в цилиндры двигателя.
Из схемы работы простейшего карбюратора (рис.
16) можно понять, что двигатель не будет работать нормально, если уровень топлива в поплавковой камере (воды в чайнике) выше нормы, так как в этом случае бензина будет выливаться больше чем надо. Если уровень бензина будет меньше нормы, то и его содержание в смеси будет тоже меньше, что опять-таки нарушит правильную работу двигателя. Следовательно, количество бензина в камере всегда должно быть неизменным.
Уровень топлива в поплавковой камере карбюратора регулируется специальным поплавком (рис. 16), который, опускаясь вместе игольчатым запорным клапаном, позволяет бензину поступать в камеру. Когда поплавковая камера начинает наполняться, поплавок всплывает и закрывает игольчатым клапаном проход для бензина.
В салоне автомобиля у водителя под правой ногой имеется педаль «газа», предназначенная для управления карбюратором. А на что конкретно, на какую деталь карбюратора передается усилие ноги?
Когда водитель «давит на газ», на самом деле он управляет той заслонкой, которая обозначена на рисунке 16 как дроссельная.
Дроссельная заслонка связана с педалью «газа» посредством рычагов или троса. В исходном положении заслонка закрыта. Когда водитель нажимает на педаль, заслонка начинает открываться и поток воздуха, проходящего через карбюратор, увеличивается. При этом чем больше открывается дроссельная заслонка, тем больше высасывается топлива, так как повышаются объем и скорость потока воздуха, проходящего через диффузор и «высасывающее» разряжение увеличивается.
Когда водитель отпускает педаль «газа», заслонка под воздействием возвратной пружины начинает закрываться. Поток воздуха уменьшается, и в цилиндры поступает все меньше и меньше горючей смеси. Двигатель теряет обороты, уменьшается скорость вращения колес автомобиля, и соответственно, мы с вами едем медленнее.
А если совсем убрать ногу с педали «газа»?
Тогда дроссельная заслонка закроется полностью. И тут же возникает вопрос. А как теперь со смесеобразованием? Ведь мотор заглохнет!
Оказывается, для поддержания работы двигателя на холостом ходу в карбюраторе есть свои каналы, по которым воздух может попасть под дроссельную заслонку, смешиваясь по пути с бензином (рис.
17 а, поз. 6).
Рис. 17а. Схема работы системы холостого хода: 1 – игольчатый клапан поплавковой камеры карбюратора; 2 – топливный жиклер системы холостого хода; 3 – топливный канал системы холостого хода; 4 – воздушная заслонка; 5 – воздушный жиклер системы холостого хода; 6 – канал системы холостого хода; 7 – винт «качества» системы холостого хода; 8 – дроссельная заслонка; 9 – топливный жиклер
При закрытой дроссельной заслонке воздуху не остается другого пути, кроме как проходить в цилиндры по каналу холостого хода. По пути он высасывает бензин из топливного канала и, смешиваясь с ним, превращается в горючую смесь. Почти готовая к «употреблению» смесь попадает в поддроссельное пространство и затем через впускной трубопровод поступает в цилиндры.
На рисунке 17а (поз. 7) показан один из двух винтов регулировки карбюратора. С помощью этого винта регулируется качество смеси (соотношение воздуха и бензина), необходимое для работы двигателя на холостом ходу.
Вторым винтом, «количества» смеси (рис. 17б, поз. 1), регулируется плотность прикрытия дроссельной заслонки, от положения которой зависит объем проходящего через карбюратор потока воздуха.
Рис. 17б. Винты регулировки карбюратора: 1 – винт «количества»; 2 – винт «качества»
На холостом ходу, при нормально работающей системе подачи топлива и отрегулированном карбюраторе, коленчатый вал двигателя должен устойчиво вращаться со скоростью примерно 800–900 об/мин.
В объеме этой книги не хотелось бы затрагивать работу других систем карбюратора, так как у всех вас будут различные модели этого весьма сложного устройства. Карбюраторы «Озон» отличаются от своих «собратьев» серии «Солекс», «пятерочные» (ВАЗ-2105) отличается от «восьмерочных» (ВАЗ-2108, 2109), а об «иномарочных» и говорить не стоит. Поэтому хочется еще раз напомнить вам о том, что существует литература по конкретным моделям ваших автомобилей.
Тем не менее в карбюраторных автомобилях отечественного производства есть и кое-что общее.
В частности, на панели приборов (или под ней) располагается рукоятка «подсоса», которая управляет воздушной заслонкой карбюратора (рис. 16 и 17). Если прикрывать эту заслонку (вытягивать рукоятку «подсоса» на себя), то разрежение в смесительной камере карбюратора будет увеличиваться. Вследствие этого топливо из поплавковой камеры начинает высасываться более интенсивно и горючая смесь обогащается, что необходимо для запуска холодного двигателя.
По мере прогрева двигателя, водитель должен постепенно задвигать рукоятку «подсоса» (приоткрывать заслонку), не допуская очень больших оборотов коленчатого вала, так как повышенные обороты не полностью прогретого двигателя резко сокращают его ресурс. По окончании прогрева воздушную заслонку следует открыть полностью (это ее нормальное положение).
О степени прогрева двигателя вам «расскажет» стрелочный указатель температуры охлаждающей жидкости, который расположен на щитке приборов (см.
рис. 67). Вертикальное положение стрелки говорит о том, что двигатель прогрелся полностью.
При вытягивании рукоятки «подсоса» на щитке приборов включается лампочка, подсвечивающая окошко (обычно желтого цвета) с соответствующим символом. Погаснет эта лампочка только тогда, когда воздушная заслонка будет полностью открыта (рукоятка «подсоса» полностью задвинута).
Карбюратор смешивает бензин с воздухом в строго определенной пропорции. Горючая смесь называется нормальной, если на одну часть бензина приходится пятнадцать частей воздуха (1:15). В зависимости от различных факторов качество смеси (соотношение бензина и воздуха) может меняться. Если воздуха будет больше, то смесь становится обедненной или бедной. Если воздуха меньше, то смесь превращается в обогащенную или богатую.
Обедненная и бедная смеси – это «голодная» пища для двигателя, в них топлива меньше нормы. Обогащенная и богатая смеси – слишком калорийная пища, так как топлива в них больше, чем надо.
Вышеприведенной терминологии соответствует известные слова: «недоедание» и «голод» или «переедание» и «обжорство». Если подумать о своем здоровье, то из четырех предложенных вариантов для постоянного рациона лучше выбрать легкое «недоедание», чем три другие «убивающие» диеты.
Основные плюсы и минусы карбюраторного двигателя
Карбюраторный двигатель это один из видов двигателей внутреннего сгорания с внешним смесеобразованием. В подобных двигателях топливовоздушная смесь, которая поступает в цилиндры двигателя по впускному коллектору, производится в специально предназначенном для этого приборе – карбюраторе. Карбюраторные двигатели бывают атмосферные и без наддува.
Наибольшей популярностью пользуются бензиновые карбюраторные двигатели. Также известно, что в качестве топлива для двигателей подобного типа использовали спирт и керосин.
Сам карбюратор является устройством, которое предназначается для смешивания воздуха и бензина, создания горючей смеси и регулирования ее расхода.
К основным элементам карбюратора относятся: поплавковая камера с поплавком, жиклера с распылителем, диффузор и дроссельная заслонка.
В карбюраторе не предусмотрены датчики, которые бы могли анализировать число оборотов мотора, из-за этого равная доза попадает в камеру сгорания, как на холостом ходу, так и при максимальной скорости вращения коленчатого вала. Из-за этого происходит нерациональный расход бензина и поступление огромного количества вредных веществ в систему выхлопа и далее.
Карбюраторный движок четырехтактный:
- Такт впуска (в цилиндр попадает смесь от системы питания).
- Такт сжатия (поршень сдавливает горючую смесь в камере сгорания).
- Такт расширения (от свечи зажигания происходит возгорания смеси).
- Такт впрыска (за счет вращения коленчатого вала происходит выброс отработанных газов из цилиндра).
Какие же преимущества и недостатки имеют карбюраторные двигатели, обо всем и по порядку.
Преимущества карбюраторных двигателей
Основным преимуществом карбюраторных двигателей принято считать простоту устройства. Такой двигатель можно самостоятельно чистить, регулировать и доводить до желаемого режима работы. Для всех этих операций достаточно лишь прочитать несложную инструкцию. При ремонте такого двигателя нет необходимости в использовании дорогостоящих инструментов и приборов. Вполне достаточно будет отверток и гаечных ключей.
Карбюратор представляет собой сплошной механизм, тогда как в том же инжекторе сплошная электроника. Исходя из этого, становится понятно, что большинство неполадок карбюраторного движка можно отремонтировать самостоятельно, без помощи специалиста.
Положительные качества карбюратора:
- Средние габаритные размеры.
- Не особо большая масса сравнительно дизеля.
- Простота устройства и доступная ценовая политика топливной аппаратуры.
- Регулировка и техническое обслуживание на порядок проще, чем у ДВС.

- Легкая диагностика.
Недостатки карбюраторных двигателей
Отрицательными моментами карбюратора считается его неразборчивость. Зачастую более чем через 10 тысяч километром после регулировки карбюратор готовит топливовоздушную смесь, содержание бензина в которой в разы превышает допустимые значения. Исходя из этого, вред наносится не только окружающей среде, но и составляющим частям самого двигателя.
Известны и обратные случаи, когда смесь имеет повышенное содержание кислорода, из-за чего движимые детали движка закисляются. Все эти нюансы приводят к тому, что в момент впрыска топлива, поршни ощущают недостающее количество давления, из-за чего не могут работать с мощностью, предполагаемой заводом-изготовителем.
Также недостатками двигателей карбюраторного типа считают:
- Низкая экономичность.
- Высокий уровень выбросов, загрязняющих окружающую среду.
- Высокий уровень требований к топливу.
- Незначительные динамические качества при переменных режимах работы.

- Работа системы питания зависит от положения двигателя и самого автомобиля.
- Высокий уровень пожароопасности.
- Подвержен температурной зависимости.
- Раскрутка мотора осуществляется достаточно тяжело.
- Малый КПД.
Основные принципы работы карбюратора
- Карбюратор всасывает горючее внутрь двигателя.
- Работа карбюраторного двигателя нестабильная, поскольку он подвержен действию извне.
- Карбюраторный двигатель относительно сложно набирает обороты.
Карбюраторные двигатели в отличие от всех остальных видов являются менее требовательными к октановому числу (мере детонации стойкости моторных масел и бензина). Результатом использования топлива низкого качества является засорение жиклеров, однако они достаточно просто прочищаются и продуваются.
Не существует единого мнения насчет того хорош ли карбюраторный двигатель или нет. Отталкиваться необходимо от приоритетов и требований конкретного человека.
Людям, проживающим в сельской местности, либо жителям города, которые являются поклонниками рыбалки и охоты, стоит остановить свой выбор на карбюраторных двигателях. Поскольку для таких ситуаций крайне важно, чтобы ремонт можно было произвести самостоятельно и в достаточно быстрые сроки. Занятым людям, проживающим в крупных городах, особенно, где есть пробки, не особо подойдет карбюратор, так как зимой необходимо тратить значительную часть времени на прогрев двигателя, а добавив еще и пробки, вообще печальная картина получается.
Стоит отметить, что начиная с 2005 года, заводы перестали выпускать автомобили с карбюраторными движками, поскольку выброс отходов в атмосферу не соответствовал даже самым минимальным требованиям.
Выводы
Подводя итоги, можно отметить, что карбюраторный двигатель не особо экономичен с точки зрения расхода топлива. С другой стороны, такой двигатель менее требователен к качеству топлива, что сокращает растраты.
При эксплуатации карбюраторному двигателю отдают предпочтение из-за его ремонтопригодности, поскольку незначительные ремонтные работы можно произвести самостоятельно, не прибегая к помощи мастера. В свою очередь выход из строя у таких двигателей происходит значительно чаще, но компенсируется за счет низкой стоимости обслуживания.
Карбюратор весьма прост и экономичен в обслуживании, но его значительно количество существенных недостатков притупляет все достоинства.
Похожие записи
Карбюратор ВАЗ 2107 устройство и схема карбюратора » НаДомкрат
Подготавливающий воздушно-топливную смесь и подающий ее в силовой агрегат узел является важнейшей составляющей всех автомобилей классической серии (лишь экспортные модели комплектовались инжекторными устройствами) и некоторых других моделей, производившихся на Волжском заводе. Несмотря на то, что современные транспортные средства уже не комплектуются карбюраторными двигателями, до сих пор большое количество авто с такими моторами верой и правдой служат своим владельцам.
Поэтому важно знать, что собой представляет карбюратор ВАЗ 2107, иметь понимание об его устройстве и техническом обслуживании.
Основные типы карбюраторов ДААЗ
Конечно, карбюраторные системы подачи питающей смеси сегодня считаются морально устаревшими. Однако по ряду критериев они превосходят инжекторные конструкции. Небольшое количество электронных компонентов повышает надежность агрегата и обеспечивает простоту ремонтных работ. Кроме этого, у карбюраторных двигателей нет высоких требований к качеству топлива.
Карбюраторы могут быть трех типов.
- Барботажный. Эти устройства уже не применяются. Принцип работы узла состоял в приготовлении и подаче смеси воздуха с паровой фракцией топлива.
- Мембранно-игольчатый. Узел состоит из нескольких отсеков, которые разделяют мембраны. Они связаны друг с другом штоком, заканчивающимся иглой. Это приспособление запирает седло клапана, через который осуществляется подача топливной смеси.
- Поплавковый.
Этот тип получил самое широкое распространение за счет своей надежности, хорошего качества топливно-воздушной смеси и простоты настройки. Конструктивно он состоит из камеры поплавкового типа, необходимой для притока горючего и отсека, где оно смешивается с кислородом.
Кто производит и на какие модели ВАЗ устанавливается
Димитровградский автоагрегатный завод (ДААЗ) производил карбюраторы для комплектации разных авто, выпускавшихся в Тольятти. Все они относятся к поплавковому типу.
Таблица. Виды карбюраторов ДААЗ для автомобилей ВАЗ с мотором 1,5 л.
| Модель карбюратора | Марка автомобиля |
| 2107–1107010–20 | ВАЗ 2103, 2106 |
| 2107–1107010 | ВАЗ 2105, 2107 |
| 2107–1107010–10 | ВАЗ 2106,2103 |
Также для комплектации автомобилей используются модификации карбюраторов ДААЗ.
- Озон. Этот агрегат представляет собой оптимизированную версию ДААЗа.
У него – те же характеристики, но устройство карбюратора ВАЗ 2107 отличается модернизированными поплавковой камерой и клапанами. - Солекс. В нем инженеры завода в Димитровграде установили обратную подачу топлива. В результате карбюратор стал более экономичным и экологичным. Однако к качеству горючего агрегатом предъявляются высокие требования.
Кроме этих модификаций, в Санкт-Петербурге (тогда Ленинграде) собирался карбюратор Пекар, который стал аналогом моделей ДААЗ и ОЗОН. Его главные отличия – невысокая стоимость при отличных эксплуатационных параметрах, неприхотливость и высокий эксплуатационный ресурс.
Базовой моделью, устанавливающейся на ВАЗ-2017, является карбюратор ДААЗ 2107–1107010. Однако также автомобиль может комплектоваться всеми перечисленными типами устройств.
Устройство карбюратора
Узел, устанавливающийся на «семерку», несмотря на обилие деталей, не отличается сложностью. Зная устройство карбюратора, можно самостоятельно заниматься заменой вышедших из строя элементов.
Основные составляющие агрегата:
- камера поплавкового типа, в которую дозированно поступает топливо;
- клапан для прекращения поступления горючего;
- отсек, в котором перемешивается смесь;
- заслонки, каналы, жиклеры;
- распылитель;
- диффузор;
- насос для ускорения подачи.
Схема карбюратора:
Принцип работы карбюратора
Функционирование силового агрегата во многом определяется количеством и качеством поступающей топливной смеси.
Как работает карбюратор 2107:
В поплавковую камеру поступает топливо, уровень которого регулируется клапаном или поплавком. После этого разделенный на капли бензин через жиклеры попадает в смесительную камеру, где происходит перемешивание с воздушной средой. Эконостат дополнительно обогащает смесь при работе мотора в режиме полной нагрузки. Диффузоры оптимизируют поступление топлива, которое через дроссельные заслонки подается в коллектор.
При работе двигателя на высоких оборотах включается ускорительный насос.
Видео: устройство и работа карбюратора
Разобраться в конструкции устройства важно, чтобы иметь представление о возможных проблемах в его функционировании.
Из чего состоит карбюратор ДААЗ 2107 подробно рассказывается в видео:
Доступно о работе устройства можно узнать здесь:
Карбюратор ВАЗ2107: как очистить узел от грязи, пошагово
Зачастую сбои в работе устройства связаны с его загрязнением.
Признаки, по которым можно диагностировать проблему:
- неустойчивость работы, особенно на холостом ходу;
- высокое потребление бензина;
- толчки и рывки во время движения (при нажатой педали газа).

Провести очистку карбюратора от засоров можно своими силами. Для этого требуется промывка сетчатого фильтра, находящегося на входе поплавковой камеры. Кроме этого, справиться с проблемой поможет очистка самой камеры, а также других составляющих, особенно это касается жиклеров.
Важно удалить налет на внутренних стенках узла, который образуется в процессе работы вентиляционной системы картера. Стенки горловины, заслонок, а также диффузоров можно не чистить, хотя, если производится обслуживание агрегата, лучше удалить грязь везде.
Технология проведения работ:
- Снимается верхняя крышка (для этого откручиваются болты и отжимается боковая пружина).
- Если требуется, меняется фильтрующий элемент.
Важно! Проверку состояния сетчатого фильтра нужно проводить каждые 50…80 тыс. км. пробега.
- Откручиваются жиклеры.
- Демонтируются диффузоры (их можно просто поддеть отверткой).
- Все каналы продуваются
- Снимается нижняя часть карбюратора, закрепленная на двух болтах.
Для этого также необходимо снять пружину. - Все части карбюратора нужно очистить (особое внимание следует уделить жиклерам, отверстия которых часто засоряются), после чего его можно собрать.
Важно! Прокладки, имеющие значительный износ, рекомендуется заменить.
После проведения очистки деталей от грязи карбюратор собирается.
Тарировочные данные жиклёров ДААЗ 2107-таблица
Точное дозирование смеси бензина и воздуха осуществляется жиклерами. Их в любом карбюраторе устанавливается несколько типов. Знать характеристики и местоположение деталей полезно при проведении обслуживания устройства и настройки его параметров.
Если рассматривать ВАЗ 2107: карбюратор комплектуется следующими видами жиклеров:
Прочистка карбюратора без разборки
В ряде случаев выполнить очистку узла можно без его демонтажа. Обычно такая необходимость возникает в поездках, когда нет возможности доехать до станции технического обслуживания или снять карбюратор ВАЗ в домашних условиях.
Для проведения работ необходимо запастись спреем для очистки карбюратора.
Важно! Бензин, дизельное топливо или керосин для этих целей использовать не рекомендуется.
Как осуществляется прочистка:
- Снимается корпус воздушного фильтра.
- Очистителем обрабатываются каналы ХХ, поплавковая камера, дроссельная и воздушная заслонки, диффузоры, каналы жиклеров, элементы привода.
- Загрязнения начинают растворяться.
- Через несколько минут можно распылить очиститель еще раз.
- Мотор заводится и прогревается в течение пяти-семи минут.
- Ручка подсоса вытягивается, обороты повышаются (нужно нажимать на педаль газа).
- При работающем силовом агрегате спрей наносится в полости, на заслонки и другие части карбюратора.
- После остановки мотора следует еще раз распылить аэрозоль.
- Вытирать очиститель не нужно.
- Воздушный фильтр возвращается на место.
Нужно отметить, что впоследствии все равно придется карбюратор на ВАЗ 2107 разбирать, так как скопившаяся в поплавковой камере грязь там и осталась.
Она в скором времени опять засорит жиклеры.
Как снять карбюратор на ВАЗ 2107 — видео
Чтобы снять карбюратор для его обслуживания, не обязательно обращаться к специалистам. Посмотрев видео, каждый автовладелец может разобраться с этим процессом самостоятельно.
Очень доступно о том, как демонтируется узел, рассказывается здесь:
Устройство и принцип работы карбюратора
Для классических моделей ВАЗ устройство карбюратора является актуальным вопросом. Ведь от качества сформированной топливной смеси зависит работоспособность и долговечность большинства автомобильных систем.
Ремонт или профилактические работы с карбюратором можно проводить самостоятельно. В большинстве случаев для этого достаточно будет гаражных условий. Однако, перед тем как вмешиваться в конструкцию устройства, стоит узнать его принцип работы и устройство.
Из чего состоит карбюратор
В современных карбюраторах установлено большое количество систем с разветвленными каналами и системами рычажных передач. При быстром визуальном осмотре не всегда становится понятно их назначение. Проще выяснять работу отдельных элементов поблоково, а также разобрать принцип работы карбюратора на основе простейшего представителя семейства.
Устройство простого карбюратора
Основной задачей карбюратора является смешивание внутри воздушного потока с бензином в определенных пропорциях. Затем все это подается в камеру сгорания в блоке цилиндров, где во время рабочего хода поршня состав сгорает. Высвобождаемая энергия толкает поршень, закрепленный на коленвале, и таким образом энергия взрыва топлива преобразуется в механическую энергию вращения.
Для осуществления процесса карбюратор соединен с топливным насосом, воздухоподающей системой и впускными патрубками блока цилиндров. В простейшем устройстве есть только две камеры: смесительная и поплавковая.
Формирование смеси происходит на всем промежутке от всасывания воздуха до впрыска в камеру.
Сначала бензин распыляется в смесительной камере. Это осуществляется с помощью трубки-распылителя, выведенной в диффузор (сужающийся канал). Скорость подачи в нем растет, формируя разряжение. За счет такого вакуума всасывается бензин из диффузора, перемешиваясь с воздухом.
Через канал, связанный с поплавковой камерой, поступает топливо. Внутри канала зафиксирован ограничивающий жиклер (цилиндр с небольшим отверстием вдоль оси), который дозирует подачу бензина из поплавковой камеры.
Важным параметром является уровень бензина внутри поплавковой камеры. Есть три варианта:
- уровень топлива в срез канала даст оптимальное количество топлива в систему;
- низкий уровень сформирует обедненную смесь;
- высокий уровень зальет лишнее топливо в канал.
Уровень топлива контролируется с помощью поплавкового механизма и игольчатого клапана.
Регулировать обогащенность смеси в карбюраторе помогает воздушная заслонка. Если она начинает закрываться, то происходит переобогащение смеси, что вызовет в конечном счете остановку мотора.
Чтобы контролировать подачу готовой смеси в цилиндры силовой установки, устройство оснащено дроссельной заслонкой. При открытии обеих заслонок сопротивления воздушному потоку практически нет.
Видим, как работает карбюратор с простейшим устройством. У него состав смеси сформируется оптимальным лишь при узком интервале оборотов в минуту.
Основные системы карбюратора
Реальная работа карбюратора включает большее количество систем, отвечающих за работоспособность. Рассмотрим основные.
Система холостого хода
Эта система отвечает за обеспечение топливом мотора во время простоя главной дозирующей системы. За счет нее происходит работа силовой установки на низких оборотах. С помощью регулировочных винтов корректируется пропорция топлива и воздуха на холостых оборотах.
Новые автомобили, производители которых контролируют загрязненность выхлопов, идут с опломбированным регулировочным винтом. Заблуждением является то, что данная коррекция состава смеси приводит к изменению выхлопов на всех оборотах.
Переходная система
Задачей данного блока является обеспечение переходного режима после прекращения холостого хода и до начала запуска главной дозирующей системы. Часто в конструкции заметны каналы данной системы, которые расположены у пластин дроссельной заслонки. Через такие отверстия осуществляется синхронная подача бензина вместе с открытием дроссельной заслонки.
Главная дозирующая система
Ее функции заключаются в дозировании топлива при работе на средних скоростях. В ее составе диффузор, топливные жиклеры и главный распределитель. Внутри нее воздух диффузирует с топливом до формирования насыщенного тумана. Степень насыщенности контролируется с помощью регулировок главного топливного жиклера.
Экспериментируя с разными жиклерами, водитель может получать смесь разного уровня от самой обедненной до перенасыщенной.
На это влияет диаметр отверстия.
Экономайзеры
Если мотор работает с нагрузкой, то ему необходима более насыщенная топливная смесь, чем в то моменты, когда движение происходит без нагрузки. Подачу дополнительных порций бензина в смесь обеспечивают экономайзеры. Это происходит во время полного открытия дроссельной заслонки. Есть различные типы этой системы. Чаще всего встречаются экономайзеры диафрагменного типа и калибровочные стержни.
Интересное по теме:
загрузка…
Вконтакте
Одноклассники
Google+
Карбюраторные системы
Чтобы обеспечить работу двигателя при различных нагрузках и при разных оборотах двигателя, каждый карбюратор имеет шесть систем:
- Главный дозатор
- Холостой ход
- Ускорение
- Контроль смеси
- Отсечка холостого хода
- Обогащение мощности или экономайзер
Каждая из этих систем выполняет определенную функцию.
Он может действовать самостоятельно или с одним или несколькими другими.
Основная система дозирования подает топливо в двигатель на всех оборотах выше холостого хода.Топливо, выпускаемое этой системой, определяется падением давления в горловине Вентури.
Для холостого хода необходима отдельная система, поскольку основная система дозирования может работать нестабильно на очень низких оборотах двигателя. На малых оборотах дроссельная заслонка почти закрыта. В результате скорость воздуха, проходящего через трубку Вентури, мала, и давление незначительно падает. Следовательно, перепада давления недостаточно для работы основной системы дозирования, и топливо из этой системы не выгружается.Поэтому большинство карбюраторов имеют систему холостого хода для подачи топлива в двигатель на низких оборотах.
Система ускорения подает дополнительное топливо при резком увеличении мощности двигателя. Когда дроссельная заслонка открыта, воздушный поток через карбюратор увеличивается, чтобы получить больше мощности от двигателя.
Затем основная дозирующая система увеличивает расход топлива. Однако во время внезапного ускорения увеличение воздушного потока происходит настолько быстро, что существует небольшая задержка по времени, прежде чем увеличение расхода топлива станет достаточным для обеспечения правильного соотношения компонентов смеси с новым воздушным потоком.За счет дополнительной подачи топлива в этот период система ускорения предотвращает временное отклонение смеси и обеспечивает плавное ускорение.
Система контроля смеси определяет соотношение топлива и воздуха в смеси. С помощью пульта управления из кабины, ручное управление смесью может выбрать соотношение смеси в соответствии с рабочими условиями. В дополнение к этим ручным настройкам многие карбюраторы имеют автоматическое управление смесью, так что соотношение топливо / воздух, когда оно выбрано, не изменяется при изменении плотности воздуха.Это необходимо, потому что, когда самолет набирает высоту и атмосферное давление падает, происходит соответствующее уменьшение веса воздуха, проходящего через систему впуска.
Однако объем остается неизменным. Поскольку именно объем воздушного потока определяет падение давления в горловине трубки Вентури, карбюратор стремится дозировать такое же количество топлива в этот разреженный воздух, что и в плотный воздух на уровне моря. Таким образом, естественная тенденция состоит в том, что смесь становится богаче по мере набора высоты самолетом.Автоматический контроль смеси предотвращает это, уменьшая скорость слива топлива для компенсации уменьшения плотности воздуха.
Карбюратор имеет систему отключения холостого хода, чтобы можно было отключить подачу топлива для остановки двигателя. Эта система, входящая в состав ручного управления смесью, полностью останавливает выпуск топлива из карбюратора, когда рычаг управления смесью установлен в положение «отсечки холостого хода». Двигатель самолета останавливается путем отключения топлива, а не путем выключения зажигания.Если зажигание выключено, а карбюратор все еще подает топливо, свежая топливно-воздушная смесь продолжает поступать через систему впуска в цилиндры.
Поскольку двигатель останавливается по инерции и если он слишком горячий, эта горючая смесь может воспламениться из-за локальных горячих точек в камерах сгорания. Это может привести к тому, что двигатель продолжит работу или откатится назад. Кроме того, смесь может пройти через цилиндры несгоревшей, но воспламениться в горячем выпускном коллекторе. Или двигатель останавливается, по-видимому, нормально, но горючая смесь остается во впускных каналах, цилиндрах и выхлопной системе.Это небезопасное состояние, поскольку двигатель может перевернуться после остановки и серьезно травмировать всех, кто находится рядом с гребным винтом. Когда двигатель останавливается с помощью системы отключения холостого хода, свечи зажигания продолжают воспламенять топливно-воздушную смесь до тех пор, пока не прекратится выход топлива из карбюратора. Уже одно это должно предотвратить остановку двигателя с горючей смесью в цилиндрах. Некоторые производители двигателей предлагают, чтобы непосредственно перед тем, как гребной винт перестал вращаться, дроссельная заслонка должна быть широко открыта, чтобы поршни могли перекачивать свежий воздух через систему впуска, цилиндры и систему выпуска в качестве дополнительной меры предосторожности от случайного опрокидывания.
После полной остановки двигателя ключ зажигания переводится в положение «выключено».
Система обогащения мощности автоматически увеличивает насыщенность смеси при работе на большой мощности. Это позволяет изменять соотношение топливо / воздух, необходимое для различных условий эксплуатации. Помните, что на крейсерских скоростях обедненная смесь желательна из соображений экономии, тогда как при высокой выходной мощности смесь должна быть богатой, чтобы получить максимальную мощность и помочь в охлаждении цилиндров двигателя.Система обогащения энергии автоматически вызывает необходимое изменение соотношения топливо / воздух. По сути, это клапан, который закрывается на крейсерской скорости и открывается для подачи дополнительного топлива в смесь во время работы на большой мощности. Хотя она увеличивает расход топлива при высокой мощности, система обогащения энергии фактически является устройством для экономии топлива. Без этой системы было бы необходимо эксплуатировать двигатель на богатой смеси во всем диапазоне мощностей.
Тогда смесь будет богаче, чем необходимо на крейсерской скорости, чтобы гарантировать безопасную работу на максимальной мощности.Систему обогащения мощности иногда называют экономайзером или компенсатором мощности.
Хотя различные системы обсуждались отдельно, карбюратор функционирует как единое целое. Тот факт, что одна система работает, не обязательно мешает работе другой. В то время как основная система дозирования выпускает топливо пропорционально воздушному потоку, система управления смесью определяет, является ли полученная смесь богатой или бедной. Если дроссельная заслонка внезапно открывается широко, системы ускорения и обогащения мощности действуют, чтобы добавить топливо к тому, которое уже выгружается основной системой дозирования.
Бортовой механик рекомендует
Комплект для последовательного преобразования КПГ БД Автоматическое детекторное устройство для многоточечной системы впрыска бензиновых автомобилей Карбюраторный двигатель EFI | Впрыск топлива.
Органы управления и детали |
Комплект для последовательного преобразования сжатого природного газа БД Автоматическое детекторное устройство для многоточечной системы впрыска бензиновых автомобилей Карбюраторный двигатель EFI
Описание:
Это подлинный бренд и самый качественный многоточечный преобразовательный комплект cng в мире, который вы можете найти.
Блок управления газом позволяет бензиновым автомобилям использовать двухтопливное топливо (бензин — КПГ), внимательно следя за сигналами впрыска бензина оригинального автомобиля.
Основные характеристики:
1. Самообучающаяся автоматическая система отладки
2. Стабильность работы с хорошей производительностью, решение проблемы старения свечи зажигания или катушки зажигания обычной системы.
3. Система автоматизации OBD, нет необходимости отлаживать или возвращать на завод для повторного тестирования
4.
Не беспокойтесь о проблеме с индикатором проверки двигателя при установке комплекта для переоборудования двухтопливного газа
5. Потребление энергии не более 5% -10% после модификации
Примечание: этот комплект не подходит для модели двигателя с прямым впрыском или дизельных двигателей .
Редуктор регулятора давления СПГ Технические характеристики:
Рабочее давление: 260 бар
Давление газа на выходе: 2,0 бар
Рабочая температура: -40 / + 120 ℃
Размер выходной газовой трубки: 10 мм
Размер водопровода: 8 мм
Входная газовая трубка размер: M12 * 1
Размер MAP: 8 мм
Система сертификатов: 110R-00 / ISO15500
Спецификация форсунки CNG:
Рабочее давление: 0.5 ~ 2,0 бар
Максимальное давление: 4,5 бар
Сопротивление катушки: 2 Ом
Рабочее напряжение: 12 В ± 15%
Максимальное напряжение: 3a
Время инжектора: 1,9 мс
Размер впускной газовой трубки: 10 мм
Размер инжектора: 1,5 ~ 3,0 мм (различаются мощностью двигателя опционально)
Оплата:
1.
Мы принимаем только сделки, кредитные карты, Paypal.
2. Оплата должна быть произведена в течение 3 дней с момента заказа.
3.Если вы не можете оформить заказ сразу после закрытия аукциона, подождите несколько минут и повторите попытку
Отгрузка:
1.Все товары будут отправлены по адресу покупателя. Перед оплатой подтвердите
свой почтовый адрес.
2. Мы отправим вам товар авиапочтой, EMS, DHL, UPS, FedEx, в разных странах.
3. Если вам нужен более дорогой вид транспорта, свяжитесь с нами.
Возврат:
1. О дефектном элементе, у клиента есть 7 дней, чтобы запросить возврат или замену, пожалуйста,
сначала предоставьте нам фотографии об упаковке и продукте!
2. Что касается неправильного товара, он должен быть возвращен в исходном и неиспользованном состоянии и также должен быть в оригинальной коробке
и упаковке, бирках.
3. Пожалуйста, свяжитесь с нами для уточнения деталей перед вашим действием!
Обратная связь:
Краткая история, плюсы и минусы
Чтобы начать любой разговор о карбюраторе и впрыске топлива, нужно вспомнить самое начало двигателя внутреннего сгорания.
С момента появления двигателя внутреннего сгорания нам был нужен способ подачи воздуха и топлива в цилиндр, где он мог бы воспламениться и, таким образом, дать нам полезную механическую энергию. Некоторые из первых двигателей полагались на простую капельницу топлива, но в конечном итоге появились более эффективные способы подачи топлива в цилиндр.
Историческая перспектива
Ранние карбюраторы основывались на потоке воздуха над жидким топливом или фитилем, собирающим пары топлива для воспламенения. Более поздние версии будут использовать принцип Бернулли для лучшего измерения количества топлива, поступающего в цилиндры, то есть воздух, проходящий через трубку Вентури, будет подавать топливо пропорционально количеству воздуха, поступающего во впускное отверстие. К тому времени, когда в начале 1990-х годов в США вымерли последние карбюраторные автомобили, впрыск топлива уже работал в полную силу.
Впрыск топлива в том виде, в каком мы его знаем, на самом деле уходит своими корнями еще в первые двигатели 1880-х годов; однако его сложность не позволяла использовать его в любом масштабе до 1920-х годов, и он по-прежнему ограничивался дизельными двигателями с воспламенением от сжатия.
Позже, в середине 1950-х годов, системы впрыска топлива появятся как в дизельных, так и в бензиновых двигателях, как в механической, так и в электронной версии.
Первые электронные системы впрыска топлива, в которых использовался дроссельный инжектор, просто заменили карбюратор.Портовый впрыск топлива поместил отдельные топливные форсунки ближе к каждому впускному клапану, который используется в большинстве современных автомобилей. Позже, подобно дизельным двигателям, некоторые бензиновые двигатели будут оснащаться непосредственным впрыском топлива, при котором топливо поступает непосредственно в цилиндр. Некоторые системы прямого впрыска топлива сосуществуют с системами распределенного впрыска топлива.
Карбюратор против впрыска топлива: плюсы и минусы
- Выбросы и экономия топлива. Впрыск топлива, поскольку его можно более точно контролировать, приводит к более эффективному использованию топлива, снижению расхода топлива и меньшим выбросам, что является основной причиной замены карбюратора в 1970-х годах.

- Мощность и производительность. Опять же, поскольку впрыск топлива и современные электронные средства управления более точны, подачу топлива можно настроить в соответствии с требованиями водителя. Карбюраторы точны, но не точны, поскольку они не могут учитывать изменения температуры воздуха или топлива или атмосферного давления.
- Стоимость и сложность. Будучи чисто механическими устройствами, карбюраторы уступают впрыску топлива в отношении стоимости и сложности. С помощью канистры очистителя карбюратора, простых ручных инструментов и, возможно, пары запасных частей, вы можете восстановить карбюратор на своем крыльце или на остановке для отдыха.В то время как с впрыском топлива, даже с годами обучения и опыта и несколькими тысячами долларов на диагностическое оборудование, вам все равно понадобится эвакуатор, чтобы вывести вас с дороги, если ваша система перегорит. Большинство небольших двигателей, таких как двигатели мотоциклов, газонокосилок и снегоуборочных машин, по-прежнему оснащены карбюраторами просто потому, что они не регулируются по выбросам, являются недорогими, простыми и надежными.

Хотя карбюратор, возможно, существует уже более века, впрыск топлива является явно более совершенной альтернативой, обеспечивающей лучшую мощность, экономию топлива и меньшие выбросы.Для современного водителя это все, что можно пожелать.
Ознакомьтесь со всеми деталями топливной и выхлопной систем, доступными на NAPA Online, или доверьтесь одному из наших 17 000 пунктов обслуживания AutoCare NAPA для текущего обслуживания и ремонта. Для получения дополнительной информации о карбюраторе и впрыске топлива поговорите со знающим экспертом в местном магазине NAPA AUTO PARTS.
Фото любезно предоставлено Wikimedia Commons
Бен разбирал вещи с 5 лет и снова собирал их вместе с 8.После того, как он занялся ремонтом дома и на ферме своими руками, он нашел свое призвание в программе ремонта автомобилей CGCC. После того, как он проработал 10 лет на ASE CMAT, Бен решил, что ему нужны перемены. Теперь он пишет на автомобильные темы в Интернете и по всему миру, включая новые автомобильные технологии, транспортное законодательство, выбросы, экономию топлива и ремонт автомобилей.
Как настроить карбюраторы для новой выхлопной системы
Обучение настройке карбюраторов для нового выхлопа, а также других модификаций на болтах выделит вас среди всех на улице.Никогда не прекращайте получать знания и понимать то, что вам нравится.
Итак, вы уже несколько месяцев получаете удовольствие от своего велосипеда или, может быть, вы только что купили свой первый. Сразу же вы думаете про себя: «Этот байк звучал бы великолепно, если бы у него было немного больше ворчания!» Может быть, дело не только в звуке, но и во внешнем виде изгибов и полированного хрома, которые придают мотоциклу неповторимый характер, присущий только вам. Задолго до того, как вы начнете пробивать дыру в заводской выхлопной трубе за 1200 долларов или потратите следующую зарплату на какие-то новые трубы в Интернете, которые прикручиваются прямо, есть некоторые вещи, которые вы должны принять во внимание.Возможно, вы слышали, что для того, чтобы изменения, которые вы внесли, были эффективными, может потребоваться некоторая настройка карбюратора, чтобы сохранить управляемость мотоцикла такой же отзывчивой и эффективной, как это было до того, как были сделаны ваши обновления.
Я хочу поделиться с вами быстрым и простым способом внести эти изменения в карбюратор вашего велосипеда после установки новой выхлопной системы по НАМНОГО НИЗКОЙ СТОИМОСТИ, чем покупка дорогих комплектов форсунок, которые могут в конечном итоге погрузить вас в более глубокую воду, чем вы планировали. .
Итак, в этом посте я хочу по-настоящему отточить аспект настройки вашего карбюратора, а также бросить некоторые фундаментальные знания о базовых принципах, которым нужно следовать, которые помогут вам полностью подготовиться и быть уверенным в своих обновлениях, когда дело доходит до настройки вашего карбюратор для выхлопа.Если вы предпочитаете подниматься по ступенькам, будь моим гостем! Просто прокрутите вниз.
НАЗНАЧЕНИЕ ВЫХЛОПНЫХ СИСТЕМ?
Основная функция вашей выхлопной системы состоит в том, чтобы максимально эффективно и рационально избавиться от отработанного или сгоревшего процесса сгорания в такте сжатия. Когда ваш двигатель проходит свои циклы, его последний и последний ход называется тактом ВЫПУСКА.
То, что вы слышите, — это последствия сдерживаемого взрыва, происходящего внутри камеры сгорания.Высокопрофессиональные инженеры разрабатывают выхлопные трубы и глушители для обработки волн давления, шумовых волн, а также процесса, называемого «продувкой», с помощью таких способов, как размер выхлопной трубы, длина и точки ограничения. Как правило, в самой стандартной выхлопной системе есть ступени в выхлопе, где диаметр трубы изменяется по мере продвижения к концу выхлопной трубы. Когда выхлопные газы покидают камеру сгорания, через выхлопное отверстие и в первый изгиб или секцию трубопровода они расширяются и замедляются, создавая импульсные волны как сгоревших газов, так и звуковые волны по мере продвижения вниз по системе.Как только эта волна достигает большей части выхлопа, которая обычно является глушителем, она снова замедляется, поскольку она вступает в контакт с различными упаковочными материалами, такими как ПЕРЕГОРОДКИ. То, что вы слышите, — это конечный результат последнего выталкивания звуковых волн из системы.
Когда вы заменяете штатный выхлоп на менее ограничительный, более громкий или тип выхлопа, такой как всегда популярная прямая труба, также известная как «тяговые трубы», обычно являющиеся самыми громкими системами из-за их свойств открытой трубы.Выхлопной газ выходит из этого выхлопного отверстия с очень высокой скоростью, затем быстро ограничивается диаметром трубы и остается довольно стабильным до самого конца. Нет перегородки, которая могла бы замедлить его и изменить пульсирующую звуковую волну или ослабить шум. Также нет глушителя, чтобы добавить еще больше сопротивления. В результате возникает очень громкая и быстрая пульсовая волна. За изготовлением выхлопных газов стоит огромная наука для достижения различных уровней производительности двигателя. Если у вас есть время, чтобы убить, я нашел видео Ричарда Вайтаса, старшего менеджера Magnaflow (см. Видео под этим абзацем), очень хорошо объясняющего выхлопные системы и процесс разработки.Несмотря на то, что это касается автомобилей, информация актуальна и проникает в мотоциклетную промышленность.
Выхлопные системы компании вроде Vanes and Hines или Cobra работают с теми же намерениями и теорией, что и их продукция.
Не забудьте взять бесплатное руководство по устранению неполадок!
ПОЧЕМУ МНЕ НУЖНО ПОВТОРЯТЬ КАРБЮРАТОРЫ ПРИ УСТАНОВКЕ НОВОЙ ВЫПУСКНОЙ СИСТЕМЫ?
- SUCK: Aftermarket Выхлопные системы позволяют двигателю лучше дышать.Это означает, что общий «поток» воздуха, когда он входит в двигатель и выходит из него, увеличивается как по скорости, так и по объему. Когда вносятся какие-либо изменения, выходящие за рамки того, что было установлено на заводе, например, удары трубы по центру глушителя, чтобы «открыть» ограничение выхлопных газов, или просто замена или снятие перегородок. Соотношение воздух / топливо становится несбалансированным.
УВЕДОМЛЕНИЕ , что, когда я говорю о «способности дышать», я говорю только о ВОЗДУХЕ, а не о ТОПЛИВЕ. - BANG: Поскольку это новое обновление привело к так называемой смеси LEAN (больше воздуха, чем топлива), мы теперь должны увеличить расход / объем FUEL , чтобы вернуться в эту золотую середину.
Для бензиновых двигателей это химически эффективная смесь полного сгорания 14,7: 1 (14,7 частей воздуха на 1 часть топлива). - УДАР: Поскольку мы знаем, что цель выхлопных газов состоит в том, чтобы вывести отработанные газы из двигателя настолько быстро и эффективно, насколько это возможно, важно знать, что создаваемая нами смесь LEAN может быть вредной для двигателя внутреннего сгорания.
ПОДОЖДИТЕ, ТАК ТОЛЬКО ПРОСТОЙ ВЫПУСК ВЫПУСКА МОЖЕТ ДЕЙСТВИТЕЛЬНО ВЫРАЗИТЬ ВНУТРЕННИЕ ДВИГАТЕЛИ !? Верный..
Проблема с бедными смесями заключается в том, что они вызывают более высокие температуры нагрева рабочих частей двигателя. Все, от прокладок головки, прокладок цилиндров, цилиндров, поршней, клапанов, выхлопных деталей и даже до ваших жидкостей, таких как охлаждающая жидкость и моторное масло, теперь нагревается и перерабатывается при температурах, которые могут привести к их выходу из строя, ухудшению и деформации в течение длительных периодов эксплуатации.
использовать. Вы когда-нибудь видели пару коллекторов или секцию выхлопных труб, которые изменили цвет? Перегрев металла в любом случае заставляет его реагировать по-разному.Поскольку ваш мотор уже работает при высоких температурах, важно не усугубить ситуацию. Топливо фактически действует как охлаждающий агент, а также как основной ингредиент для ваших двигателей BOOM. Безумно правда?
ЛЮБОПЫТНЫЙ ФАКТ : У каждого была пара карбюраторов, кроме двигателей Honda V-Twin, таких как VT750 или VT1100? Вы могли заметить, что основные жиклеры бывают двух разных размеров. Задний цилиндр нагревается сильнее, чем передний цилиндр, поскольку на него подается горячий воздух от переднего цилиндра, и они большую часть времени заправлены близко к хребту рамы.Они используют больший главный жиклер в задней части, чтобы помочь охладить цилиндр. Гениальный дизайн, и он отлично работает.
ГОТОВЫ К ХОРОШИМ НОВОСТЯМ?
Техника, которой я пользуюсь и которой доверяю до сих пор, эффективна и почти каждый раз решает общие проблемы с выхлопом.
Время — деньги, так зачем мне тратить время на то, что не работает?
Я обнаружил, что он может вылечить общие симптомы смешения, такие как:
- Замедление Обратный огонь или выскакивание, что является НАИБОЛЕЕ РАСПРОСТРАНЕННЫМ ПРИЗНАКОМ ОБЕДЕННОЙ СМЕСИ после замены труб или даже плохой очистки карбюратора.
- Плоские пятна при отклике дроссельной заслонки на холостом ходу и в среднем диапазоне карбюраторов
- Плоские пятна в ответной реакции дроссельной заслонки от среднего до полностью открытого или полного газа
Итак, прежде чем тратить часы на поиски правильного комплекта форсунок для установки в зависимости от приобретенного вами типа модернизации выхлопной системы. Я хочу, чтобы вы опробовали мою ПРОСТОЮ и ЭФФЕКТИВНУЮ технику. Что вы можете потерять, кроме сожаления о том, что потратили время на замену форсунок, которые никогда не нужно было менять.
ПОЧЕМУ БУДЕТ РАБОТАТЬ НАСТРОЙКА ?
Стрелка главного жиклера играет большую роль в дозировании используемого топлива, а также помогает в переходный период для других жиклеров и перекачивающих отверстий во время быстрого открытия дроссельной заслонки.
Несмотря на то, что карбюраторы имеют несколько точек ограничения подачи воздуха и топлива, чтобы дроссельная заслонка реагировала плавно во всем диапазоне, ИГЛА ГЛАВНОГО РЕЖИМА помогает установить основу для определения того, сколько и когда эта смесь будет наиболее эффективной.
Вот диаграмма, которую вы можете разжевать, чтобы подробнее объяснить науку.Обратите внимание, что три основных диапазона включают все характеристики ГЛАВНОЙ СТРУЙНОЙ ИГЛЫ. От высоты зажима до размера и даже конуса иглы. Эти характеристики помогают при переходе из режима ожидания в режим WOT.
ДОСТАТОЧНО УЖЕ ПРОСТО СКАЖИТЕ МНЕ !!
То, что мы будем делать, называется «регулировкой иглы». Путем простого добавления Spacing устройства, как с маленькой шайбой, что игла находится в верхней части, Richens (топливо) добавляет к смеси карбюраторов основной выходной струи.Функция игл главного жиклера предназначена НЕ только для приложений WOT (широко открытая дроссельная заслонка), но она добавляет топливо к нескольким различным отверстиям дроссельной заслонки.
Вот почему я использую его как лекарство от всех болезней. Многие комплекты форсунок поставляются с «регулируемой иглой с зажимом». Это здорово, но по опыту я знаю, что эта новая игла зачастую короче и имеет более острый конус, чем ложа. Вот почему они также включают в себя дополнительные главные жиклеры, которые чаще всего представляют собой МЕНЬШЕ жиклеры, которые изначально были в карбюраторе.Я чувствую, что это в значительной степени изменение и просто попытка чрезмерно компенсировать необходимые изменения. Да, ему нужно больше топлива, но его можно добавить намного проще. Не поймите меня неправильно, если ваши деньги падают на производительность ваших двигателей с сумасшедшими распределительными валами, поршнями с высокой степенью сжатия, титановыми клапанами и пружинами клапанов и полным выхлопом на карбюраторном байке. Это не тот ответ, который вы ищете. Это для простых болтов на апгрейде.
Что вам потребуется :
- Отвертка с крестообразным шлицем
- Стальные плоские шайбы №4 для использования в качестве регулировочных шайб иглы
- Доступ к вакуумному поршню, расположенному в верхней части карбюратора
Как настроить карбюраторы для новой выхлопной системы
— Получив доступ к поршню, снимите держатель, расположенный внутри центра.
Чаще всего используется винт с головкой Phillips или с плоской головкой https://motorcyclemd.com/wp-admin/post.php? Post = 991 & action = editer.
— Сильно поверните влево (против часовой стрелки) и снимите.
— Снимите иглу главных жиклеров, просто наденьте регулировочную шайбу на конический вал и снова установите
— Установка в обратном порядке
ЭТО ТАК ЛЕГКО !!
Я использую этот метод, чтобы добавлять немного более богатую смесь почти к каждой работе карбюратора, которую я выполняю. Это не только улучшает реакцию двигателя на , но и велосипед, как правило, работает лучше, чем когда он был выпущен из ящика.
ЧТО ТАКОЕ Улов?
Так как мы изменили смесь, добавив как новую выхлопную систему, чтобы улучшить дыхание двигателя, так и регулировку части внутри карбюратора, которая измеряет основной источник топлива.
«Винт регулировки пилотного клапана» может нуждаться в подгонке. Это маленькая регулировочная игла с плоской головкой, расположенная либо чуть выше сопрягаемой поверхности поплавковой чаши с корпусом карбюратора, либо расположенная ближе к нижней части карбюратора.
ДВА ВИНТА ПИЛОТНОЙ РЕГУЛИРОВКИ ДВА ТИПА
НАЗНАЧЕНИЕ: Регулировка воздуха или топливной смеси ТОЛЬКО для ЦЕПЕЙ ХОЛОСТОГО ХОДА.(Регулировки помогают при замедлении обратного пламени, после прожига, на холостых смесях RICH, на черных закопченных свечах на холостом ходу, плохих холостых или неравномерных холостых условиях
- ВИНТ РЕГУЛИРОВКИ ТОПЛИВА: Всегда находится в направлении ПЕРЕДНЕЙ части карбюратора. (сторона, ближайшая к двигателю.) Обычно располагается либо на дне карбюратора прямо перед чашей карбюратора, либо горизонтально на внешней стороне карбюратора, обращенной к вам. Обычно головка регулировочного винта имеет форму буквы «D» или меньшую стандартную плоскую головку.
Эти заводские настройки обычно составляют 2 1/2 оборота. Попробуйте отрегулировать это еще на пол-оборота, вы можете заметить, что обороты увеличиваются, когда вы его выключаете. Это ХОРОШО, двигатель говорит вам: «Я лучше работаю на холостом ходу с добавленным воздухом или топливной смесью». (в зависимости от того, какой винт используется в карбюраторе) Если он ничего не влияет на обороты двигателя. Поверните его на ОДИН оборот назад, чтобы опустить НИЖЕ заводской настройки, чтобы увидеть, имеет ли это значение. Если по-прежнему не вносятся какие-либо изменения, то испытание на падение вашего карбюратора на холостом ходу, вероятно, настолько близко, насколько вы его получите, поэтому вы можете повернуть его обратно на ПОЛОВИНУ возврата к заводским настройкам.(Многие велосипеды идут с завода бедными, поэтому ПОЛОВИНА, как правило, всегда имеет значение.)
— Выкручивание этого винта ОБОГАЩАЕТ смесь холостого хода, поворот этого винта НАБИРАЕТ или ЗАБОРКИВАЕТ ТОПЛИВО к смеси холостого хода)
Вот изображение регулировочного винта, расположенного на НИЖНЕЙ ЧАСТИ корпуса карбюратора.
Обратите внимание, что этот регулятор находится на стороне ДВИГАТЕЛЯ карбюратора. (карбюратор перевернут с ног на голову, чтобы вам было хорошо видно) - РЕГУЛИРОВОЧНЫЙ ВИНТ ТИПА ВОЗДУХА: Всегда будет располагаться на стороне карбюратора, ближайшей к ВОЗДУШНОМУ КОРОБКУ, с теми же характеристиками, что и винты регулировки топлива, но с одним исключением.
(Выкручивание этого винта ОБОГАЩАЕТ смесь, добавляя в нее больше воздуха, Вращение ОБОГАЩАЕТ смесь, перекрывая воздух, используемый в контуре.)
Вот изображение РЕГУЛИРОВОЧНОГО ВИНТА ТИПА ВОЗДУХА. Обратите внимание на то, как ввинчивается на стороне ВОЗДУШНОГО ФИЛЬТРА карбюратора. Другой винт слева предназначен для синхронизации карбюратора. Часто, если карбюраторы велосипеда НИКОГДА не чистились, эти регулировочные иглы закрываются защитной крышкой, которую необходимо просверлить для доступа.
Вот изображение того, о чем я говорю. Если это так, эту крышку тампера необходимо ВНИМАТЕЛЬНО просверлить.
Пробив середину круга по центру и начав с небольшого сверла, продвигайтесь вверх, пока большее сверло не врежется и не открутите крышку. Вы ДОЛЖНЫ быть осторожны, чтобы не просверлить туннель слишком глубоко. Сразу за этой крышкой находится ваш регулировочный винт. Надеюсь, вы сможете подобрать и использовать мои методы для своего велосипеда. Информации должно быть достаточно, чтобы доставить вам неприятности!
НУЖНА БОЛЬШЕ ПОМОЩИ?
Статья о карбюраторе по The Free Dictionary
Устройство для измерения расхода топлива и приготовления горючей смеси жидкого топлива и воздуха для двигателей внутреннего сгорания с внешними схемами смешения.Процесс приготовления горючей смеси называется карбюрированием. Чтобы добиться полного и быстрого сгорания и максимального тепловыделения в цилиндре, топливо должно смешиваться с воздухом определенным образом. Приготовление смеси состоит из разбивания жидкого топлива на мелкие капли (распыление), интенсивного перемешивания топлива и воздуха и испарения смеси.
Распыление топлива в карбюраторе происходит, когда тонкая струя топлива выходит из распылителя в быстро движущийся воздушный поток.Воздушный поток разбивает топливо на мелкие капли, которые смешиваются с воздухом и переносятся через впускной коллектор в цилиндры двигателя.
Карбюраторы можно разделить на три группы с различными направлениями воздушного потока: нисходящий поток (нисходящий поток), восходящий поток и горизонтальный. Карбюраторы с нисходящим потоком используются в основном в двигателях автомобилей. Карбюраторы с горизонтальным потоком используются в основном в двигателях мотоциклов, лодок и автомобилей с наддувом.
Карбюратор соединен с впускным коллектором двигателя.Во время такта впуска поршень удаляется от головки блока цилиндров, создавая в цилиндре вакуум, который наружный воздух устремляется заполнить. Воздух с большой скоростью проходит через смесительную камеру, где забирает топливо. Количество горючей смеси, подаваемой в цилиндр, регулируется дроссельной заслонкой.
Простейшие типы карбюраторов не оборудованы для изменения состава горючей смеси, хотя изменения требуются при изменении условий работы двигателя.Для адаптации к изменениям условий эксплуатации карбюраторы оснащаются дозирующими устройствами с автоматическим управлением. График изменений состава горючей смеси, подаваемой в двигатель, как функция расхода воздуха или как функция нагрузки двигателя, показывает рабочие характеристики карбюратора. Регулировка и рабочее состояние карбюратора сильно влияют на работу двигателя. Карбюраторы, которые не отрегулированы, приводят к ухудшению эксплуатационной экономичности и производительности двигателя, а также к увеличению токсичности выхлопных газов.
СПИСОК ЛИТЕРАТУРЫ
Грибанов В.И., Орлов В.А. Карбиураторы двигателей внутреннего сгорания , 2-е изд. Ленинград, 1967.Блейз Н.Г. Автомобильные карбюраторы, бензонасосы, фильтры . Москва, 1967.
Большая Советская Энциклопедия, 3-е издание (1970-1979). © 2010 The Gale Group, Inc.
Все права защищены.
% PDF-1.5
%
6 0 obj
>
endobj
xref
6 662
0000000016 00000 н.
0000014454 00000 п.
0000014579 00000 п.
0000016877 00000 п.
0000016919 00000 п.
0000016954 00000 п.
0000030065 00000 п.
0000030535 00000 п.
0000045997 00000 п.
0000059529 00000 п.
0000059910 00000 п.
0000060038 00000 п.
0000060591 00000 п.
0000060769 00000 п.
0000072162 00000 п.
0000083059 00000 п.
0000095384 00000 п.
0000095819 00000 п.
0000096182 00000 п.
0000111295 00000 н.
0000126015 00000 н.
0000128663 00000 н.
0000128717 00000 н.
0000128832 00000 н.
0000128955 00000 н.
0000128985 00000 н.
0000129058 00000 н.
0000129171 00000 н.
0000134813 00000 н.
0000135139 00000 н.
0000135202 00000 н.
0000135316 00000 н.
0000135346 00000 п.
0000135419 00000 н.
0000147907 00000 н.
0000148234 00000 п.
0000148297 00000 н.
0000148411 00000 н.
0000148441 00000 н.
0000148514 00000 н.
0000158004 00000 н.
0000158330 00000 н.
0000158393 00000 н.
0000158507 00000 н.
0000158619 00000 н.
0000158649 00000 н.
0000158722 00000 н.
0000164648 00000 н.
0000164973 00000 н.
0000165036 00000 н.
0000165150 00000 н.
0000165180 00000 н.
0000165253 00000 н.
0000174931 00000 н.
0000175257 00000 н.
0000175320 00000 н.
0000175434 00000 н.
0000175464 00000 н.
0000175537 00000 н.
0000184457 00000 н.
0000184780 00000 н.
0000184843 00000 н.
0000184957 00000 н.
0000185068 00000 н.
0000185098 00000 н.
0000185171 00000 п.
0000198833 00000 н.
0000199160 00000 н.
0000199223 00000 п.
0000199337 00000 н.
0000199367 00000 н.
0000199440 00000 н.
0000205384 00000 н.
0000205710 00000 н.
0000205773 00000 н.
0000205887 00000 н.
0000205917 00000 н.
0000205990 00000 н.
0000213937 00000 н.
0000214264 00000 н.
0000214327 00000 н.
0000214441 00000 п.
0000214471 00000 н.
0000214544 00000 н.
0000223018 00000 н.
0000223344 00000 п.
0000223407 00000 н.
0000223521 00000 н.
0000223590 00000 н.
0000223669 00000 н.
0000226387 00000 н.
0000226645 00000 н.
0000226802 00000 н.
0000226827 00000 н.
0000227123 00000 н.
0000227212 00000 н.
0000230850 00000 н.
0000231298 00000 п
0000231844 00000 н.
0000231931 00000 н.
0000236279 00000 н.
0000236792 00000 н.
0000237409 00000 н.
0000238849 00000 н.
0000239169 00000 н.
0000239529 00000 н.
0000239618 00000 н.
0000240084 00000 н.
0000240370 00000 н.
0000240676 00000 н.
0000243377 00000 н.
0000243770 00000 н.
0000244231 00000 п.
0000245749 00000 н.
0000246075 00000 н.
0000246450 00000 н.
0000247568 00000 н.
0000247607 00000 н.
0000248813 00000 н.
0000248852 00000 н.
0000249970 00000 н.
0000250009 00000 н.
0000251127 00000 н.
0000251166 00000 н.
0000252284 00000 н.
0000252323 00000 н.
0000253529 00000 н.
0000253568 00000 н.
0000254774 00000 н.
0000254813 00000 н.
0000256019 00000 н.
0000256058 00000 н.
0000257264 00000 н.
0000257303 00000 н.
0000258421 00000 н.
0000258460 00000 н.
0000259578 00000 н.
0000259617 00000 н.
0000260735 00000 н.
0000260774 00000 п.
0000261980 00000 н.
0000262019 00000 н.
0000263137 00000 н.
0000263176 00000 н.
0000264382 00000 п.
0000264421 00000 н.
0000265627 00000 н.
0000265666 00000 н.
0000266872 00000 н.
0000266911 00000 н.
0000268117 00000 н.
0000268156 00000 н.
0000269274 00000 н.
0000269313 00000 п.
0000270431 00000 н.
0000270470 00000 н.
0000271588 00000 н.
0000271627 00000 н.
0000272745 00000 н.
0000272784 00000 н.
0000273990 00000 н.
0000274029 00000 н.
0000275147 00000 н.
0000275186 00000 н.
0000299409 00000 н.
0000299448 00000 н.
0000300646 00000 н.
0000300685 00000 н.
0000301803 00000 н.
0000301842 00000 н.
0000302960 00000 н.
0000302999 00000 н.
0000304117 00000 н.
0000304156 00000 п.
0000305274 00000 н.
0000305313 00000 н.
0000306431 00000 н.
0000306470 00000 н.
0000307588 00000 н.
0000307627 00000 н.
0000308014 00000 н.
0000308111 00000 п.
0000308256 00000 н.
0000308643 00000 п.
0000308740 00000 н.
0000308885 00000 н.
0000309272 00000 н.
0000309501 00000 п.
0000309620 00000 н.
0000309765 00000 н.
0000309839 00000 н.
0000309870 00000 н.
0000309944 00000 н.
0000332920 00000 н.
0000333250 00000 н.
0000333316 00000 н.
0000333432 00000 н.
0000333506 00000 н.
0000333621 00000 н.
0000333921 00000 н.
0000334431 00000 н.
0000334505 00000 н.
0000334871 00000 н.
0000334945 00000 н.
0000335311 00000 н.
0000335385 00000 н.
0000335750 00000 н.
0000335824 00000 н.
0000336189 00000 п.
0000336263 00000 н.
0000336294 00000 н.
0000336368 00000 н.
0000338470 00000 н.
0000338797 00000 н.
0000338863 00000 н.
0000338979 00000 н.
0000339053 00000 п.
0000339352 00000 н.
0000339874 00000 н.
0000339948 00000 н.
0000340246 00000 н.
0000340320 00000 н.
0000340688 00000 н.
0000340762 00000 н.
0000340793 00000 п.
0000340867 00000 н.
0000347219 00000 п.
0000347546 00000 н.
0000347612 00000 н.
0000347728 00000 н.
0000347802 00000 н.
0000348098 00000 н.
0000348533 00000 н.
0000348607 00000 н.
0000348972 00000 н.
0000349046 00000 н.
0000349077 00000 н.
0000349151 00000 п.
0000352104 00000 н.
0000352434 00000 н.
0000352500 00000 н.
0000352616 00000 н.
0000352690 00000 н.
0000352986 00000 н.
0000353491 00000 н.
0000353565 00000 н.
0000353932 00000 н.
0000354006 00000 н.
0000354037 00000 н.
0000354111 00000 п.
0000356214 00000 н.
0000356544 00000 н.
0000356610 00000 н.
0000356726 00000 н.
0000356800 00000 н.
0000357099 00000 н.
0000357614 00000 н.
0000357688 00000 н.
0000357719 00000 п.
0000357793 00000 н.
0000358122 00000 н.
0000358188 00000 н.
0000358304 00000 н.
0000358378 00000 н.
0000358676 00000 н.
0000359181 00000 п.
0000359255 00000 н.
0000359556 00000 н.
0000359630 00000 н.
0000359998 00000 н.
0000360072 00000 н.
0000360103 00000 п.
0000360177 00000 н.
0000370638 00000 п.
0000370970 00000 н.
0000371036 00000 н.
0000371152 00000 н.
0000371226 00000 н.
0000371526 00000 н.
0000371960 00000 н.
0000372034 00000 н.
0000372400 00000 н.
0000372474 00000 н.
0000372839 00000 н.
0000372913 00000 н.
0000372944 00000 н.
0000373018 00000 н.
0000373346 00000 н.
0000373412 00000 н.
0000373528 00000 н.
0000373602 00000 н.
0000373902 00000 н.
0000374423 00000 н.
0000374497 00000 н.
0000374528 00000 н.
0000374602 00000 н.
0000374929 00000 н.
0000374995 00000 н.
0000375111 00000 п.
0000375185 00000 н.
0000375485 00000 н.
0000376006 00000 н.
0000376080 00000 п.
0000376445 00000 н.
0000376519 00000 н.
0000376550 00000 н.
0000376624 00000 н.
0000376952 00000 н.
0000377018 00000 п.
0000377134 00000 н.
0000377208 00000 н.
0000377508 00000 н.
0000378028 00000 н.
0000378102 00000 п.
0000378467 00000 н.
0000378541 00000 н.
0000378843 00000 н.
0000378917 00000 н.
0000379284 00000 н.
0000379358 00000 н.
0000379389 00000 п.
0000379463 00000 н.
0000384723 00000 н.
0000385053 00000 н.
0000385119 00000 п.
0000385235 00000 п.
0000385309 00000 н.
0000385609 00000 н.
0000386044 00000 н.
0000386118 00000 п.
0000386486 00000 н.
0000386560 00000 н.
0000386591 00000 н.
0000386665 00000 н.
0000386994 00000 н.
0000387060 00000 п.
0000387176 00000 н.
0000387250 00000 н.
0000387550 00000 н.
0000388054 00000 н.
0000388128 00000 н.
0000388430 00000 н.
0000388504 00000 н.
0000388873 00000 н.
0000388947 00000 н.
0000388978 00000 н.
0000389052 00000 н.
0000395391 00000 н.
0000395719 00000 н.
0000395785 00000 н.
0000395901 00000 н.
0000395975 00000 н.
0000396274 00000 н.
0000396709 00000 н.
0000396783 00000 н.
0000397080 00000 н.
0000397154 00000 н.
0000397519 00000 п.
0000397593 00000 н.
0000397624 00000 н.
0000397698 00000 н.
0000398028 00000 н.
0000398094 00000 н.
0000398210 00000 н.
0000398284 00000 н.
0000398583 00000 н.
0000399100 00000 н.
0000399174 00000 н.
0000399205 00000 н.
0000399279 00000 н.
0000401382 00000 н.
0000401709 00000 н.
0000401775 00000 н.
0000401891 00000 н.
0000401965 00000 н.
0000402264 00000 н.
0000402787 00000 н.
0000402861 00000 н.
0000402892 00000 н.
0000402966 00000 н.
0000403293 00000 н.
0000403359 00000 н.
0000403475 00000 н.
0000403549 00000 н.
0000403846 00000 н.
0000404369 00000 н.
0000404443 00000 н.
0000404736 00000 н.
0000404810 00000 н.
0000405178 00000 н.
0000405252 00000 н.
0000405283 00000 н.
0000405357 00000 н.
0000410027 00000 н.
0000410358 00000 п.
0000410424 00000 н.
0000410540 00000 п.
0000410614 00000 п.
0000410911 00000 п.
0000411347 00000 н.
0000411421 00000 н.
0000411789 00000 н.
0000411863 00000 н.
0000411894 00000 н.
0000411968 00000 н.
0000414921 00000 н.
0000415253 00000 н.
0000415319 00000 н.
0000415435 00000 н.
0000415509 00000 н.
0000415809 00000 н.
0000416314 00000 н.
0000416388 00000 н.
0000416755 00000 н.
0000416829 00000 н.
0000416860 00000 н.
0000416934 00000 н.
0000421107 00000 н.
0000421434 00000 н.
0000421500 00000 н.
0000421616 00000 н.
0000421690 00000 н.
0000421990 00000 н.
0000422497 00000 н.
0000422571 00000 н.
0000422938 00000 п.
0000423012 00000 н.
0000423377 00000 н.
0000423451 00000 н.
0000423482 00000 н.
0000423556 00000 н.
0000423886 00000 н.
0000423952 00000 п.
0000424068 00000 н.
0000424142 00000 п.
0000424440 00000 н.
0000424945 00000 н.
0000425019 00000 н.
0000425386 00000 н.
0000425460 00000 н.
0000425491 00000 п.
0000425565 00000 н.
0000425895 00000 н.
0000425961 00000 н.
0000426077 00000 н.
0000426151 00000 н.
0000426451 00000 п.
0000426957 00000 н.
0000427031 00000 н.
0000427398 00000 н.
0000427472 00000 н.
0000427503 00000 н.
0000427577 00000 н.
0000427906 00000 н.
0000427972 00000 н.
0000428088 00000 н.
0000428162 00000 п.
0000428462 00000 н.
0000428968 00000 н.
0000429042 00000 н.
0000429341 00000 п.
0000429415 00000 н.
0000429782 00000 н.
0000429856 00000 н.
0000429887 00000 н.
0000429961 00000 н.
0000439251 00000 н.
0000439581 00000 н.
0000439647 00000 н.
0000439763 00000 н.
0000439837 00000 н.
0000440136 00000 п.
0000440569 00000 п.
0000440643 00000 п.
0000441008 00000 н.
0000441082 00000 н.
0000441448 00000 н.
0000441522 00000 н.
0000441553 00000 н.
0000441627 00000 н.
0000441957 00000 н.
0000442023 00000 н.
0000442139 00000 н.
0000442213 00000 н.
0000442509 00000 н.
0000443025 00000 н.
0000443099 00000 н.
0000443465 00000 н.
0000443539 00000 н.
0000443905 00000 н.
0000443979 00000 н.
0000444343 00000 п.
0000444417 00000 н.
0000444448 00000 н.
0000444522 00000 н.
0000444849 00000 н.
0000444915 00000 н.
0000445031 00000 н.
0000445105 00000 п.
0000445404 00000 п.
0000445921 00000 н.
0000445995 00000 н.
0000446026 00000 н.
0000446100 00000 н.
0000446427 00000 н.
0000446493 00000 н.
0000446609 00000 н.
0000446683 00000 н.
0000446982 00000 н.
0000447500 00000 н.
0000447574 00000 н.
0000447605 00000 н.
0000447679 00000 н.
0000450053 00000 н.
0000450379 00000 н.
0000450445 00000 н.
0000450561 00000 н.
0000450635 00000 н.
0000450934 00000 н.
0000451432 00000 н.
0000451506 00000 н.
0000451537 00000 н.
0000451611 00000 н.
0000451938 00000 н.
0000452004 00000 н.
0000452120 00000 н.
0000452194 00000 н.
0000452493 00000 н.
0000453011 00000 н.
0000453085 00000 н.
0000453116 00000 п.
0000453190 00000 п.
0000453517 00000 н.
0000453583 00000 н.
0000453699 00000 н.
0000453773 00000 н.
0000454072 00000 н.
0000454589 00000 н.
0000454663 00000 н.
0000454962 00000 н.
0000455036 00000 н.
0000455416 00000 н.
0000455490 00000 н.
0000455789 00000 н.
0000455863 00000 н.
0000456231 00000 п.
0000456305 00000 н.
0000456336 00000 н.
0000456410 00000 н.
0000463557 00000 н.
0000463887 00000 н.
0000463953 00000 н.
0000464069 00000 н.
0000464143 00000 п.
0000464443 00000 п.
0000465017 00000 н.
0000465091 00000 н.
0000465461 00000 п.
0000465535 00000 п.
0000465566 00000 н.
0000465640 00000 н.
0000465970 00000 н.
0000466036 00000 н.
0000466152 00000 н.
0000466226 00000 н.
0000466526 00000 н.
0000467100 00000 н.
0000467174 00000 н.
0000467544 00000 н.
0000467618 00000 н.
0000467649 00000 н.
0000467723 00000 п.
0000468053 00000 н.
0000468119 00000 п.
0000468235 00000 н.
0000468309 00000 н.
0000468609 00000 н.
0000469185 00000 п.
0000469259 00000 н.
0000469625 00000 н.
0000469699 00000 н.
0000469730 00000 н.
0000469804 00000 н.
0000470132 00000 н.
0000470198 00000 п.
0000470314 00000 п.
0000470388 00000 п.
0000470688 00000 п.
0000471209 00000 н.
0000471283 00000 н.
0000471649 00000 н.
0000471723 00000 н.
0000471754 00000 н.
0000471828 00000 н.
0000472156 00000 н.
0000472222 00000 н.
0000472338 00000 н.
0000472412 00000 н.
0000472712 00000 н.
0000473233 00000 н.
0000473307 00000 н.
0000473674 00000 н.
0000473748 00000 н.
0000474111 00000 п.
0000474185 00000 н.
0000474216 00000 н.
0000474290 00000 н.
0000474618 00000 н.
0000474684 00000 н.
0000474800 00000 н.
0000474874 00000 н.
0000475174 00000 н.
0000475695 00000 н.
0000475769 00000 н.
0000476067 00000 н.
0000476141 00000 н.
0000476504 00000 н.
0000476578 00000 н.
0000476940 00000 н.
0000477014 00000 н.
0000477375 00000 н.
0000477449 00000 н.
0000477480 00000 н.
0000477554 00000 н.
0000478854 00000 н.
0000479180 00000 н.
0000479246 00000 н.
0000479362 00000 н.
0000479436 00000 н.
0000479733 00000 н.
0000480246 00000 н.
0000480320 00000 н.
0000480351 00000 п.
0000480425 00000 н.
0000480750 00000 н.
0000480816 00000 н.
0000480932 00000 н.
0000481006 00000 н.
0000481302 00000 н.
0000481814 00000 н.
0000481888 00000 н.
0000481919 00000 н.
0000481993 00000 н.
0000482320 00000 н.
0000482386 00000 н.
0000482502 00000 н.
0000482576 00000 н.
0000482872 00000 н.
0000483384 00000 н.
0000483458 00000 н.
0000483489 00000 н.
0000483563 00000 н.
00004
00000 п.
0000490433 00000 н.
0000490499 00000 н.
0000490615 00000 н.
0000490689 00000 н.
0000490988 00000 н.
0000491422 00000 н.
0000492014 00000 н.
0000492561 00000 н.
0000013536 00000 п.
трейлер
] / Назад 495499 >>
startxref
0
%% EOF
667 0 объект
> поток
h KhQϝG ސ ISeZ & uaLQS_Jjň.

При этом уровень топлива в бензобаке контролируется указателем, в электрической цепи которого присутствует датчик.
Для автоматизации процесса на некоторых ДВС используется автоматика.
Если в данный момент нет возможности ликвидировать неполадку, то на короткий период можно предпринять следующие действия. Взять маленький кусочек проволоки из алюминия и один её конец согнуть в виде петли. Далее прикрепить проволоку туда, где карбюратор соединён с воздухоочистителем. При этом её следует так зафиксировать, чтобы гайка была над ней. Затем второй согнутый конец проволоки устанавливается в месте прижатия верхней части воздушного регулятора в первом баллоне. Благодаря этому образуется зазор размером 3 — 4 мм, разделяющий воздушный регулятор и стенку первого баллона. Наличие образованного зазора поможет запустить мотор. Но данный метод пригоден лишь на короткое время, после которого надо будет устранить причину неполадки.
Для устранения неполадки потребуется извлечь калиброванное отверстие. Для этого надо будет освободить фильтр воздуха от корпуса. При большой загрязнённости калиброванного отверстия оно подлежит очистке с помощью заточенной деревянной палочки, смоченной ацетоном.
Устранить указанные неполадки поможет замена неисправного механизма и восстановление электропроводки.

Этот тип получил самое широкое распространение за счет своей надежности, хорошего качества топливно-воздушной смеси и простоты настройки. Конструктивно он состоит из камеры поплавкового типа, необходимой для притока горючего и отсека, где оно смешивается с кислородом.
У него – те же характеристики, но устройство карбюратора ВАЗ 2107 отличается модернизированными поплавковой камерой и клапанами.
Для этого также необходимо снять пружину.
Органы управления и детали | 

Для бензиновых двигателей это химически эффективная смесь полного сгорания 14,7: 1 (14,7 частей воздуха на 1 часть топлива).
Эти заводские настройки обычно составляют 2 1/2 оборота. Попробуйте отрегулировать это еще на пол-оборота, вы можете заметить, что обороты увеличиваются, когда вы его выключаете. Это ХОРОШО, двигатель говорит вам: «Я лучше работаю на холостом ходу с добавленным воздухом или топливной смесью». (в зависимости от того, какой винт используется в карбюраторе) Если он ничего не влияет на обороты двигателя. Поверните его на ОДИН оборот назад, чтобы опустить НИЖЕ заводской настройки, чтобы увидеть, имеет ли это значение. Если по-прежнему не вносятся какие-либо изменения, то испытание на падение вашего карбюратора на холостом ходу, вероятно, настолько близко, насколько вы его получите, поэтому вы можете повернуть его обратно на ПОЛОВИНУ возврата к заводским настройкам.(Многие велосипеды идут с завода бедными, поэтому ПОЛОВИНА, как правило, всегда имеет значение.)
Обратите внимание, что этот регулятор находится на стороне ДВИГАТЕЛЯ карбюратора. (карбюратор перевернут с ног на голову, чтобы вам было хорошо видно)
Пробив середину круга по центру и начав с небольшого сверла, продвигайтесь вверх, пока большее сверло не врежется и не открутите крышку. Вы ДОЛЖНЫ быть осторожны, чтобы не просверлить туннель слишком глубоко. Сразу за этой крышкой находится ваш регулировочный винт. Надеюсь, вы сможете подобрать и использовать мои методы для своего велосипеда. Информации должно быть достаточно, чтобы доставить вам неприятности!