что нужно знать об этих деталях и как продлить срок их службы?
В статье подробно рассмотрены ключевые детали автомобильного двигателя – поршень и цилиндр. Уделено внимание их конструкции, функциям, условиям работы, возможным проблемам при эксплуатации и путям их решения.
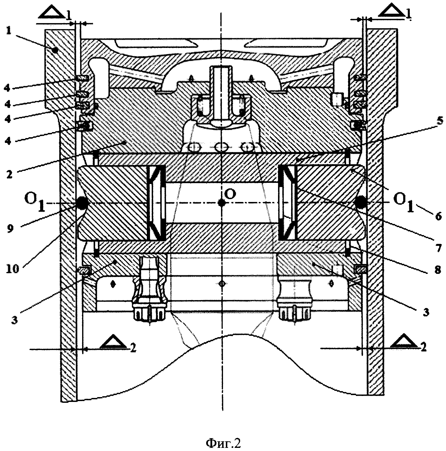
Цилиндр и поршень – ключевые детали любого двигателя. В замкнутой полости цилиндро-поршневой группы (ЦПГ) происходит сгорание топливно-воздушной смеси. Газы, образующиеся при этом, воздействуют на поршень – он начинает двигаться и заставляет вращаться коленчатый вал.
Цилиндр и поршень обеспечивают оптимальный режим работы двигателя в любых условиях эксплуатации автомобиля.
Рассмотрим эту пару подробнее: конструкцию, функции, условия работы, возможные проблемы при эксплуатации элементов ЦПГ и пути их решения.
Принцип работы цилиндро-поршневой группы
Современные двигатели внутреннего сгорания оснащены блоками, в которые входят от 1 до 16 цилиндров – чем их больше, тем мощнее силовой агрегат.
Внутренняя часть каждого цилиндра – гильза – является его рабочей поверхностью. Внешняя – рубашка – составляет единое целое с корпусом блока. Рубашка имеет множество каналов, по которым циркулирует охлаждающая жидкость.
Внутри цилиндра находится поршень. В результате давления газов, выделяющихся в процессе сгорания топливно-воздушной смеси, он совершает возвратно-поступательное движения и передает усилия на шатун. Кроме того, поршень выполняет функцию герметизации камеры сгорания и отводит от нее излишки тепла.
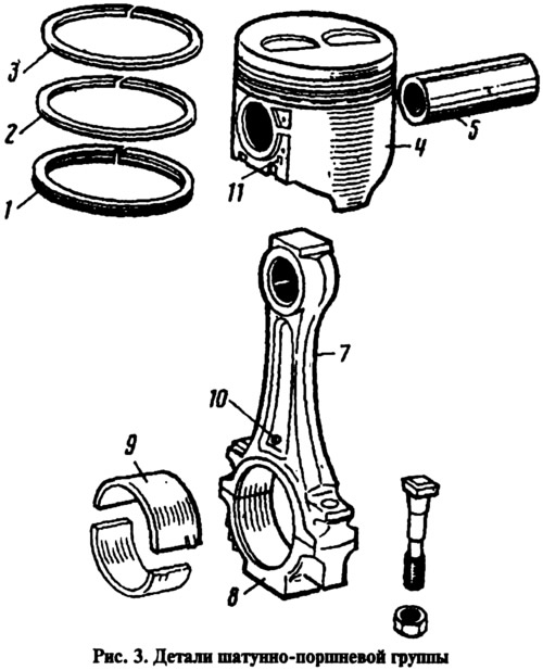
Поршень включает следующие конструктивные элементы:
- Головку (днище)
- Поршневые кольца (компрессионные и маслосъемные)
- Направляющую часть (юбку)
Бензиновые двигатели оснащены достаточно простыми в изготовлении поршнями с плоской головкой. Некоторые модели имеют канавки, способствующие максимальному открытию клапанов.
Кольца, установленные в специальные канавки на поршне, обеспечивают плотность и герметичность его соединения с цилиндром. В двигателях разного типа и предназначения количество и расположение колец могут отличаться.
Чаще всего поршень содержит два компрессионных и одно маслосъемное кольцо.
Компрессионные (уплотняющие) кольца могут иметь трапециевидную, бочкообразную или коническую форму. Они служат для минимизации попадания газов в картер двигателя, а также отведения тепла от головки поршня к стенкам цилиндра.
С помощью маслосъемного кольца поршень, совершающий возвратно-поступательные движения в гильзе, собирает с ее стенок излишки масла, которые не должны попасть в камеру сгорания. Через дренажные отверстия поршень «забирает» масло внутрь, а затем отводит его в картер двигателя.
Направляющая часть поршня (юбка) обычно имеет конусную или бочкообразную форму – это позволяет компенсировать неравномерное расширение поршня при высоких рабочих температурах. На юбке расположено отверстие с двумя выступами (бобышками) – в нем крепится поршневой палец, служащий для соединения поршня с шатуном.
Палец представляет собой деталь трубчатой формы, которая может либо закрепляться в бобышках поршня или головке шатуна, либо свободно вращаться и в бобышках, и в головке (плавающие пальцы).
Поршень с коленчатым валом соединяется шатуном. Его верхняя головка движется возвратно-поступательно, нижняя вращается вместе с шатунной шейкой коленвала, а стержень совершает сложные колебательные движения.
Шатун в процессе работы подвергается высоким нагрузкам – сжатию, изгибу и растяжению – поэтому его производят из прочных, жестких, но в то же время легких (в целях уменьшения сил инерции) материалов.
Конструкционные материалы деталей ЦПГ
Сегодня цилиндры и поршни двигателя чаще всего производят из алюминия или стали с различными присадками. Иногда для внешней части блока цилиндров используют алюминий, имеющий небольшой вес, а для гильзы, контактирующей с движущимся поршнем, – более прочную сталь.
В отличие от чугуна, который применялся ранее для изготовления деталей ЦПГ, внедрение алюминия – намного более легкого, но износостойкого материала – стало толчком к появлению мощных и высокооборотистых двигателей.
Современные автомобили, особенно с дизельными двигателями, все чаще оснащаются сборными поршнями из стали. Они имеют меньшую компрессионную высоту, чем алюминиевые, поэтому позволяют использовать удлиненные шатуны.В результате боковые нагрузки в паре «поршень-цилиндр» существенно снижаются.
Поршневые кольца, наиболее подверженные износу и деформациям, производят из специального высокопрочного чугуна с легирующими добавками (молибденом, хромом, вольфрамом, никелем).
Значительные механические и тепловые циклические нагрузки отрицательно сказываются на работоспособности элементов цилиндро-поршневой группы. В то же время от их состояния напрямую зависит стабильная компрессия двигателя, обеспечивающая его уверенный холодный и горячий запуск, мощность, экологичность и другие эксплуатационные показатели.
Именно поэтому для изготовления поршней и других деталей ЦПГ применяются материалы, обладающие высокой механической прочностью, хорошей теплопроводностью, незначительным коэффициентом линейного расширения, отличными антифрикционными и антикоррозионными свойствами.
В целях снижения потерь на трение производители поршней покрывают их боковую поверхность специальными антифрикционными составами на основе твердых смазочных частиц: графита или дисульфида молибдена.
Одним из самых эффективных антифрикционных покрытий поршней является MODENGY Для деталей ДВС.
Состав на основе сразу двух твердых смазок – высокоочищенного дисульфида молибдена и поляризованного графита – применяется для первоначальной обработки юбок поршней или восстановления старого заводского покрытия.
MODENGY Для деталей ДВС имеет практичную аэрозольную упаковку с оптимально настроенными параметрами распыления, поэтому наносится на юбки поршней легко, быстро и равномерно.
На поверхности покрытие создает долговечную сухую защитную пленку, которая снижает износ деталей и препятствует появлению задиров.
MODENGY Для деталей ДВС полимеризуется при комнатной температуре, не требуя дополнительного оборудования.
Для подготовки поверхностей перед нанесением покрытия их необходимо обработать Специальным очистителем-активатором MODENGY. Только в таком случае производитель гарантирует прочное сцепление состава с основой и долгий срок службы готового покрытия. Оба средства входят в Набор для нанесения антифрикционного покрытия на детали ДВС.
Методы охлаждения и смазывания цилиндро-поршневой группы
В каждом цикле работы двигателя сгорает большое количество топливно-воздушной смеси.
При этом все детали цилиндро-поршневой группы испытывают экстремальные температурные воздействия, поэтому нуждаются в эффективном охлаждении – воздушном или жидкостном.
Наружная поверхность цилиндров ДВС с воздушным охлаждением покрыта множеством ребер, которые обдувает встречный или искусственно созданный воздухозаборниками воздух.
При водяном охлаждении жидкость, циркулирующая в толще блока, омывает нагретые цилиндры, забирая таким образом излишек тепла. Затем жидкость попадает в радиатор, где охлаждается и вновь подается к цилиндрам.
Второй по важности момент после отвода тепла – система смазки цилиндров. Без нее поршни рано или поздно подвергаются заклиниванию, что может привести к поломке двигателя.
Для того чтобы масляная пленка дольше удерживалась на внутренних поверхностях цилиндров, их подвергают хонингованию, т.е. нанесению специальной микросетки.
Стабильность слоя масла гарантирует не только максимально низкое трение в паре «поршень-цилиндр», но и способствует отведению лишнего тепла из ЦПГ.
Неисправности ЦПГ и их диагностика
Даже грамотная эксплуатация автомобиля не гарантирует, что со временем не возникнет проблем с его цилиндро-поршневой группой.
О неисправностях деталей ЦПГ свидетельствует увеличение расхода масла, ухудшение пусковых качеств двигателя, снижение его мощности, появление каких-либо посторонних шумов при работе. Эти моменты нельзя игнорировать, так как стоимость ремонта цилиндро-поршневой группы иногда равна стоимости автомобиля в целом.
Под влиянием очень высоких нагрузок и температур:
- На рабочих поверхностях цилиндров появляются трещины, сколы, пробоины
- Посадочные места под гильзу деформируются
- Днища поршней оплавляются и прогорают
- Поршневые кольца разрушаются, закоксовываются, залегают
- На теле поршней возникают различные повреждения
- Зазоры между поршнем и цилиндром сужаются, вследствие чего на юбках появляются задиры
- Наблюдается общий износ цилиндров и поршней
Перечисленные неисправности цилиндро-поршневой группы неизбежны при перегреве двигателя.
Он может возникнуть из-за нарушения герметичности системы охлаждения, отказа термостата или помпы, сбоев в работе вентилятора охлаждения радиатора, поломки самого радиатора или его датчика.
Точно определить состояние цилиндров и поршней можно с помощью специализированной диагностики самой ЦПГ (при полной разборке двигателя) или других автомобильных систем (например, воздушного фильтра).
В ходе сервисных работ измеряется компрессия в цилиндрах ДВС, берутся пробы картерного масла и пр. Все это помогает оценить исправность работы цилиндро-поршневой группы.
Ремонт цилиндро-поршневой группы двигателя включает замену маслосъемных и компрессионных колец, установку новых поршней, шатунов, восстановление (расточку) цилиндров.
Степень износа последних определяется с помощью индикаторного нутрометра. Трещины и сколы на стенках устраняются эпоксидными пастами или путем сварки.
Новые поршни – с нужным диаметром и массой – подбирают к гильзам, а поршневые пальцы – к поршням и втулкам верхних головок шатунов. Шатуны предварительно проверяют и при необходимости восстанавливают.
Как продлить ресурс ЦПГ?
Ресурс цилиндро-поршневой группы зависит от типа двигателя, режима его эксплуатации, регулярности обслуживания и многих других факторов. Срок службы ЦПГ отечественных автомобилей, как правило, меньше, чем у иномарок: около 200 тыс. км против 500 тыс.км.
Для того, чтобы детали ЦПГ вырабатывали свой ресурс полностью, рекомендуется:
- Использовать моторное масло, одобренное автопроизводителем
- Осуществлять замену масла и охлаждающей жидкости строго по регламенту
- Следить за температурным режимом работы двигателя, не допускать его перегрева и холодного запуска
- Регулярно проводить диагностику автомобиля
- Применять для обслуживания автокомпонентов специальные средства, которые могут защитить их от усиленного износа и максимально продлить срок службы
Поршень — Словарь автомеханика
Поршень является одной из деталей кривошипно-шатунного механизма двигателя и представляет собой
целостный элемент условно разделяемый на головку и юбку.
Он является основой процесса преобразования энергии
горения топлива в тепловую, а далее в механическую. От качества работы данной детали напрямую зависит
производительность двигателя, а также его надежность и долговечность.
Предназначение и виды поршней
В моторе поршень двигателя выполняет ряд функций, в частности, это:
- трансформация давления газов в усилие, передаваемое на шатун;
- обеспечение герметичности камеры сгорания;
- теплоотвод.
Поршень работает в экстремальных условиях под стабильно высокими механическими нагрузками.
Поэтому для современных двигателей их изготавливают из специальных алюминиевых сплавов,
отличающихся легкостью и прочностью при достаточных показателях термостойкости.
Несколько менее распространены стальные поршни. Ранее они в основном производились из чугуна.
Обязательно присутствующая на каждом изделии маркировка поршней расскажет, из чего оно изготовлено.
Изготавливаются данные детали двумя методами – литьем и штамповкой. Кованые поршни, распространенные в тюнинге,
изготовлены именно методом штамповки, а не выкованы вручную.
Конструкция поршня
Устройство поршня не является сложным. Это цельная деталь, которую для удобства определения
принято условно разделять на юбку и головку. Конкретная форма и конструктивные особенности поршня
определяются типом и моделью двигателя. В распространенных видах бензиновых ДВС можно увидеть
только поршни с плоскими или крайне приближенными к такой форме головками. Часто они имеют канавки,
предназначенные для максимального полного открывания клапанов.
В моторах с непосредственным
впрыском топлива поршни выполняются в несколько более сложной форме. Поршень дизельного двигателя
имеет головку со специфической конфигурацией для обеспечения оптимального завихрения
с целью качественного смесеобразования.
Схема поршня двигателя.
Под головкой на поршне размещаются канавки, в которые устанавливаются поршневые кольца. Юбки у различных поршней тоже разные: с формой, подобной конусу или бочке. Такая конфигурация позволяет компенсировать расширение поршня, существующее при его нагревании в работе. Следует отметить что, поршень приобретает полностью рабочий объем только после разогрева двигателя до нормальной температуры.
Чтобы максимально снизить эффект от постоянного бокового трения поршня о цилиндр на его боковую поверхность
наносится специальный антифрикционный материал, тип которого также зависит от вида двигателя.
Также в юбке поршня есть специальные отверстия с приливами, предназначенные для монтажа поршневого пальца.
Работа поршня предполагает его интенсивное нагревание. Он охлаждается, причем в разных моторах различными способами. Вот наиболее распространенные среди них:
- с помощью подачи масляного тумана в цилиндр;
- через разбрызгивание масла сквозь шатун или специальную форсунку;
- через впрыскивание масла по кольцевому каналу;
- с помощью постоянной циркуляции масла по змеевику, расположенному непосредственно в головке поршня.
Вплотную соприкасается со стенками цилиндра не сам поршень, а его кольца.
Для обеспечения наивысшей износостойкости они производятся из особого сорта чугуна.
Количество и точное расположение этих колец зависит от вида мотора.
Чаще всего на поршень приходится пара компрессионных колец и еще одно маслосъемное.
Компрессионные колца предназначены не давать газам из камеры сгорания прорываться в картер. На первое кольцо приходится самая серьезная нагрузка, поэтому во всех дизельных и мощных бензиновых моторах в канавке первого кольца дополнительно присутствует стальная вставка, что позволяет повысить прочность конструкции. Существует множество видов компрессионных колец, которые уникальны практически у каждого самостоятельного производителя.
Маслосъемные кольца — для удаления лишнего масла из цилиндра и недопущения его проникновения в камеру сгорания. Такие кольца выполняются с большим количеством дренажных отверстий, а также с пружинными расширителями, хоть и не во всех моделях двигателей.
Устройство поршня
С шатуном поршень двигателя соединяется через поршневой палец, стальную деталь трубчатой формы.
Самым распространенным способом крепления пальца является плавающий,
благодаря которому деталь может прокручиваться в процессе работы.
Специальные стопорные кольца не дают пальцу смещаться в стороны.
Жесткий зацеп пальцев на данный момент практически не распространен
из-за очевидной большей уязвимости таких конструкций.
Поломки поршня и сопутствующих деталей
В процессе интенсивной или просто продолжительной эксплуатации поршень может выйти из строя
по причине присутствия в цилиндре постороннего тела, на которое поршень постоянно наталкивается
во время движения. Таким предметом может стать частица шатуна, коленвала или чего-то другого,
отлетевшего от детали. Поверхности такого излома имеют серый цвет, они не характеризуются истиранием,
трещинами и прочими визуальными признаками.
Поршень распадается быстро и внезапно.
Излом, вызванный усталостью металла, характеризуется образованием в проблемном месте растровых линий. Это позволяет заблаговременно определить наличие поломки и заменить поршень. Помимо старения причиной такого излома может стать детонационное воспламенение, усиленные сотрясения поршня из-за сталкивания его головки с головкой цилиндра или чрезмерного зазора юбки. В любом случае на детали образуются трещины, свидетельствующие о ее скором выходе из строя.
После износа колец, повреждения головки поршня наиболее часто встречаемы.
Помимо износа и старения металла, связанные с поршнями поломки могут случаться по целому ряду разнообразных причин, среди которых:
- нарушение режима сгорания, например из-за задержки зажигания;
- неправильная организация пуска холодного двигателя;
- заполнение цилиндра маслом или водой при выключенном моторе, что называется гидравлическим ударом;
- необоснованное повышение мощности в результате перенастройки электроники;
- использование неподходящих деталей;
- другие причины.

Чаще всего ремонт осуществляется методом замены – поршня, колец или всей поршневой группы.
Связанные термины
Поршень — Энциклопедия журнала «За рулем»
Энциклопедия- Издания
- Журнал “За рулем”
- Газета “За рулем – Регион”
- Журнал “Купи авто”
- Журнал “Мото”
- Журнал “Рейс”
- Книги, Каталоги
- Товары
- Интернет магазин
- Товары ЗР
- Реклама
- Подписка
- Турбюро
- Архив
- Форум
- Энциклопедия
- Купи авто
- Автомобиль — модели, марки
- Устройство автомобиля
- Ремонт и обслуживание
- Тюнинг
- Аксессуары и оборудование
- Компоненты
- Безопасность
- Физика процесса
- Новичкам в помощь
- Приглашение
- Официоз (компании)
- Пригородные маршруты
- Персоны
- Наши люди
- ТЮВ
- Эмблемы
- А
- Б
- В
- Г
- Д
- Е
- Ё
- Ж
- З
- И
- Й
- К
- Л
- М
- Н
- О
- П
- Р
- С
- Т
- У
- Ф
Поршни двигателя внутреннего сгорания, что это такое и основное назначение в работе.
- Главная
- Наше СТО
- Back
- Виды работ
- Back
- Ремонт задней балки
- Замена сцепления
МАТЕРИАЛЫ И ТЕХНОЛОГИЯ ИЗГОТОВЛЕНИЯ ПОРШНЕЙ
ПОРШЕНЬ
В конструкции поршня принято выделять следующие элементы (рис.
5.1):
головку 1 и юбку 2. Головка включает днище З, огневой (жаровой) 4 и уплотняющий 5 пояса. Юбка поршня состоит из бобышек б и направляющей части.
На рис. 5.2 и 5.3 представлены наиболее типичные в настоящее время Конструкции поршней автотракторных двигателей различного типа.
Сложная конфигурация поршня, быстро меняющиеся по величине и направлению тепловые потоки, воздействующие на его элементы, приводят к неравномерному распределению температур по его объему и, как следствие, к значительным переменным по времени локальным термическим напряжениям и деформациям (рис. 5.4).
Теплота, подводимая к поршню через его головку, контактирующую с рабочем телом в цилиндре двигателя, отводится в систему охлаждения через отдельные его элементы в следующем соотношении, %: в охлаждаемую стенку цилиндра через компрессионные кольца — 60…70, через юбку поршня — 20…30, в систему смазки через внутреннюю поверхность днища поршня — 5…10. Поршень также воспринимает часть теплоты, выделяющейся в результате трения цилиндра и поршневой группы.
КОНСТРУКТИВНЫЕ ПАРАМЕТРЫ ОСНОВНЫХ
ЭЛЕМЕНТОВ ПОРШНЯ
При проектировании поршня используются статистические данные по конструктивным параметрам его элементов, отнесенным к диаметру цилиндра 1) (рис. 5.5, табл. 5.1).
Высота поршня Н определяется в основном высотой головки h При малой Н существенно возрастает влияние на характер движения поршня несоблюдение при производстве и эксплуатации зазоров, допускаемых между его элементами и зеркалом цилиндра, что может интенсифицировать процессы перекладин, нарушение газо- и маслоуплотнения, повышенные износы стенок канавок компрессионных колец.
Высота головки поршня определяет его габариты и массу, в связи с чем ее выбирают минимально необходимой для обеспечения нормального температурного режима ее элементов. Особое внимание при этом обращается на температуру в зоне канавки верхнего компрессионного кольца и в бобышках поршня.
МАТЕРИАЛЫ И ТЕХНОЛОГИЯ ИЗГОТОВЛЕНИЯ ПОРШНЕЙ
Для изготовления поршней автотракторных ДВС в настоящее время в основном используют алюминиевые сплавы, реже серый или ковкий чугун, а также композиционные материалы.
Алюминиевые сплавы имеют малую плотность, что позволяет снизить массу поршня и, следовательно, уменьшить инерционны нагрузки на элементы цилиндропоршневой группы и КШМ. При этом упрощается также проблема уменьшения термического со противления элементов поршня, что в сочетании с хорошей теплопроводностью, свойственной данным материалам, позволяет уменьшать теплонапряженность деталей поршневой группы. К положительным качествам алюминиевых сплавов следует отнести малые значения коэффициента трения в паре с чугунными или стальными гильзами.
Однако поршням из алюминиевых сплавов присущ ряд серьезных недостатков, основными из которых являются невысокая усталостная прочность, уменьшающаяся при повышении температуры, высокий коэффициент линейного расширения, меньшая, чем у чугунных поршней, износостойкость, сравнительно большая стоимость.
В настоящее время при изготовлении поршней используют два вида силуминов: эвтектические с содержанием кремния 11…14% и заэвтектические — 17…25%.
Увеличение содержания Si в сплаве приводит к уменьшению коэффициента линейного расширения, к повышению термо- и износостойкости, но при этом ухудшаются его литейные качества и растет стоимость производства.
Для улучшения физико-механических свойств силуминов в них вводят различные легирующие добавки. добавка в алюминиево-кремниевый сплав до 6% меди приводит к повышению усталостной прочности, улучшает теплопроводность, обеспечивает хорошие литейные качества и, следовательно, меньшую стоимость изготовления. Однако при этом несколько снижается износостойкость поршня. Использование в качестве легирующих добавок натрия, азота, фосфора увеличивает износостойкость сплава. Легирование никелем, хромом, магнием повышает жаропрочность и твердость конструкции.
Заготовки поршней из алюминиевых сплавов получают путем отливки в кокиль или горячей штамповкой.
После механической обработки они подвергаются термической обработке для повышения твердости, прочности и износостойкости, а также для предупреждения коробления при эксплуатации. Кованые поршни пока используются реже, чем литые.
Чугун в качестве материала для поршней по сравнению с алюминиевым сплавом обладает следующими положительными свойствами: более высокими твердостью и износостойкостью, жаропрочностью, одинаковым коэффициентом линейного расширения с материалом гильзы. Последнее позволяет существенно уменьшить и стабилизировать по режимам работы зазоры в сочленении юбка поршня — цилиндр. Однако большая плотность не позволяет использовать его широко для поршней высокооборотных автомобильных двигателей. Данный недостаток может быть частично нивелирован включением в структуру чугуна шаровидного графита, что позволяет отливать элементы поршня существенно меньшей толщины. Как следует из сказанного выше, ни силумины, ни чугун в полной мере не являются оптимальными материалами для изготовления поршней.
В связи с этим в настоящее время ведется активная работа по использованию для поршней керамических материалов, которые наилучшим образом отвечают требованиям, предъявляемым к материалам поршневой группы. Это малая плотность при высокой прочности, термо-, химико- и износостойкости, низкой теплопроводности и необходимом значении коэффициента линейного расширения.
Один из практических способов использования керамики состоит в изготовлении деталей поршня из металло- или полимерокомпозиционных материалов. Матрицей (основой) первого типа материалов является алюминий или магний, а в качестве наполнителя используют керамические и металлические порошки или волокла пористых материалов. Основу полимерокомпозиционных материалов составляют полимерные материалы с наполнителем из волокон углерода, стекла, порошков металлов или керамики. Они обладают малой плотностью, высокими антифрикционными свойствами и применяются для элементов с небольшими тепловыми нагрузками, например для изготовления юбки поршня.
Перспективным является армирование элементов поршня керамическими волокнами из оксида алюминия и диоксида кремния.
При содержании в основном материале до 40…50% оксида алюминия получается аморфное керамическое волокно с диаметром 2…3 мкм, успешно работающее при температуре 1200…1300°С. Если содержание оксида алюминия превышает 70%, получается структура волокна, приближающаяся к кристаллической, что способствует высокой термической стабильности изделия.
Основными проблемами, сдерживающими широкое использование керамики для изготовления поршней автотракторных двигателей, являются хрупкость, низкая прочность на изгиб, склонность к трещинообразованию и усталости, а также высокая стоимость.
Материал поршня должен быть возможно малой плотности, иметь низкий коэффициент линейного расширения, обладать износостойкостью, высокой теплопроводностью, в том числе при повышенных температурах, иметь хорошую обрабатываемость.
При этом важными являются комплексные характеристики материала, а не только отдельные его свойства. Так, уровень термических напряжений зависит от величины Еt и т.д. В зависимости от назначения двигателя и типа конструкции поршня могут быть применены различные материалы. Поршни двигателей многих типов, прежде всего автомобильных и тракторных, изготовляют из легких сплавов литьем в кокиль или штамповкой. В первом случае применяются эвтектические силумины типа 4Л25 (11-13% Si) и заэвтектические. содержащие присадки меди, никеля, магния и марганца. Поршни штампуют из сплавов АК4 и АК4-1, отличающихся высокими прочностными свойствами при повышенных темперах.
Несмотря на то, что масса поршней из алюминиевого сплава меньше массы поршней из чугуна, последний также применяется для изготовления поршней быстроходных двигателей. Из легированного серого и высокопрочного чугунов типов СЧ 24-СЧ 45 и ВЧ 45-5 изготовляют поршни форсированных тепловозных и среднеоборотных двигателей. При повышенной по сравнению с алюминиевыми сплавами температуре плавления чугуна устраняется обгорание кромок на поверхностях, обращенных к камере сгорания.
В составных поршнях для изготовления головки применяют жаростойкие стали типа 2ОХЗМВФ. На изготовление из стали переходят, если максимальная температура в наиболее нагретых зонах поршня превышает ориентировочно 450С. В ряде случаев (накладки поршней двухтактных двигателей) применяют высоколегированные жаропрочные стали. В табл. 11 приведены некоторые теплофизические и механические характеристики ряда материалов поршней с учетом зависимости их от температуры.
Читайте также:
Рекомендуемые страницы:
Поиск по сайту
Поршневое устройство — Большая Химическая Энциклопедия
Будет показано, что температура 9 второго закона, называемая термодинамической температурой, идентична температуре идеального газа T. Далее мы рассмотрим цикл Карно, производящий механическую работу из тепла. Цикл Карно — это идеализированный обратимый цикл, при котором рабочая жидкость ограничивается цилиндро-поршневым устройством для (а) поглощения тепла от высокотемпературного источника при выполнении механической работы и (б) отвода тепла в низкотемпературный сток, в то время как сжатие до исходного состояния.
Последовательные этапы цикла Карно следующие … [Pg.265]При нажатии на рычаг блокирующего и разблокирующего устройства падающий груз разблокируется, в результате чего он ударяется о верхний ролик поршневого устройства. Образец отклика наблюдается. [Стр.22]
Воздействие падающего груза через поршневое устройство на образец может привести либо к его инициированию, либо к прекращению его действия, в зависимости от чувствительности взрывчатого вещества, массы груза и высоты его падения. Возникновение наблюдается по звуку, световым эффектам или дыму, либо при осмотре поршневого устройства.Если ни один из этих эффектов не замечен, регистрируется отказ инициации (неинициация). [Стр.22]
Важно отметить, что поршневое устройство можно использовать только один раз. Каждое новое испытание проводится с новым поршневым устройством и новым образцом. [Стр.23]
Рисунок 2.8. Расположение поршневого устройства (а) и поршневого устройства с образцом (б) . .. |
| Рис. 3.4 Силы, действующие на поршень (заштриховано) в цилиндро-поршневом устройстве, содержащем газ (заштриховано).Показанное здесь направление предназначено для расширения. |
В некоторых текстах говорится, что расширение работает в горизонтальном цилиндро-поршневом устройстве, как показано на рис.3.4 следует рассчитывать из w = -fpsxtdV, где pext — это давление в окружающей среде, которое оказывает внешнее усилие Fext на поршень. Если система является газом, правильным общим выражением является выражение. 3.4.8 tv = … [Pg.73]
Для работы по расширению не требуется цилиндро-поршневой механизм. Предположим, что система представляет собой изотропную жидкость или твердую фазу, и различные участки ее границы претерпевают смещения в разных направлениях.
На рис. 3.5 показан пример сжатия в системе произвольной формы.Считается, что деформация должна осуществляться медленно, чтобы давление p фазы оставалось постоянным. Рассмотрим элемент поверхности t границы с площадью / 4s, T, обозначенный на рисунке короткой толстой кривой. Поскольку фаза изотропна, сила = pA z, оказываемая давлением системы на окружающую среду, перпендикулярна этому элементу поверхности, то есть поперечная сила отсутствует. Сила, создаваемая … [Pg.73]
В качестве модели для работы с частичным рассеиванием энергии рассмотрим газонаполненное полупоршневое устройство, изображенное на рис.3.18. У этого устройства есть очевидный источник внутреннего трения в виде стержня, скользящего по втулке. Система состоит из содержимого цилиндра слева от поршня, включая газ, шток и втулку, в которой поршень и стенка цилиндра находятся поблизости. [Стр.91]
Рассмотрим горизонтальное цилиндро-поршневое устройство, подобное показанному на рис. 3.4 на стр. 70. Поршень имеет массу m. Стенка цилиндра диатермальна и находится в тепловом контакте с тепловым резервуаром с температурой. Текст. Система представляет собой количество n идеального газа, удерживаемого в цилиндре поршнем.[Стр.97]
Рассмотрим свободное расширение газа, показанное на Рис. 3.8 на странице 79. Система — это газ. Предположим, что стенки сосуда жесткие и адиабатические, так что система изолирована. Когда запорный кран между двумя сосудами открывается, газ необратимо расширяется в вакуум без тепла или работы и с постоянной внутренней энергией. Чтобы осуществить то же изменение состояния обратимо, мы ограничиваем газ в его начальном объеме и температуре в цилиндро-поршневом устройстве и используем поршень для адиабатического расширения газа с отрицательной работой.Затем необходимо положительное тепло для обратимого возврата внутренней энергии к ее первоначальному значению. Поскольку обратимый путь имеет положительное тепло, изменение энтропии положительное. [Стр.128]
Установка ультразвукового контроля АКВ-С предназначена для контроля поршней дизельных двигателей. В частности, это устройство выявляет области с трещинами и пониженной адгезией на межфазной границе между кольцом из нирезиста и основным материалом. [Pg.884]
Функциональное или твердое хромирование (169,175) является успешным способом защиты различных промышленных устройств от износа и трения.Наиболее важные примеры — гильзы цилиндров и поршневые кольца для двигателей внутреннего сгорания. Функциональные отложения хрома должны наноситься на твердые поверхности, такие как сталь, и наноситься в широком диапазоне толщин от 2,5 до 500 мкм. [Pg.143]
Описание физических объектов, процессов или абстрактных понятий. Например, насосы можно описать как устройства, перемещающие жидкости. Они имеют входные и выходные порты, нуждаются в источнике энергии и могут иметь механические компоненты, такие как рабочие колеса или поршни.Точно так же процесс течения можно описать как когерентное движение жидкости, газа или взаимодействий таких частиц. Поток характеризуется направлением и скоростью движения (расходом). Примером абстрактного понятия является химическая реакция, которую можно описать в терминах реагентов и условий. Подобные описания можно рассматривать как структурированные соединения элементарных фактов о некоторой общей сущности. В случаях, когда известно, что описания являются частичными или неполными, схема представления должна иметь возможность выражать связанную неопределенность.[Pg.531]
Гидравлические насосы с вытеснением В дополнение к насосам, которые зависят от механического действия поршней, плунжеров или рабочих колес для перемещения жидкости, другие устройства для этой цели используют вытеснение вторичной жидкостью. В эту группу входят воздушные лифты и кислотные яйца. [Pg.913]
Дистанционное снижение давления — Клапан с пилотным управлением имеет достаточно положительное действие, чтобы его можно было использовать в качестве устройства для сброса давления. Используя ручной клапан, регулирующий клапан или электромагнитный клапан для выпуска воздуха из поршневой камеры, можно открыть пилотный клапан и закрыть его при давлениях ниже заданного значения из любого удаленного места, не влияя на его работу в качестве клапана сброса давления. .[Стр.164]
Уплотнительные поршневые устройства. Поршневые двигатели нового поколения (без турбонаддува)
Двигатель внутреннего сгорания подвергается механическим, газодинамическим, гидродинамическим и термодинамическим воздействиям, изменяющим форму и размеры его отдельных элементов и частей, которые в его естественном виде и условия труда.
Разработчикам, проектирующим новые двигатели, необходимо знать, что и как физические процессы повлияли на трансформацию конструкции во время работы двигателя, что должно быть отражено в разрабатываемых проектах.
Этим «физическим процессам» разработчики уделяют недостаточно внимания. Более подробно рассмотрим, какие процессы и в какой части движка вызывают изменения. А от каких изменений зависит работа какого двигателя и его КПД.
Основным источником изменений в двигателе является цилиндро-поршневая группа, в которой происходят основные физико-химические процессы. Они естественным образом влияют на работу двигателя. Цилиндро-поршневая группа определяет не только размеры основных элементов двигателя, шатуна, коленчатого вала и т. Д., но и форма двигателя. Попробуем разобраться в этом.
КПД любого силового устройства оценивается величиной КПД, стремящейся к единице, в зависимости от комплекса различных потерь, сопровождающих работу этого устройства.
Специфика двигателей внутреннего сгорания заключается в том, что помимо нормальных механических потерь на трение подвижных элементов кинематической системы имеется газодинамических потерь , гидродинамических потерь (моторное масло) и термодинамических. убытки .
Термодинамические изменения двигателя в процессе его работы существенно влияют на КПД цилиндро-поршневой группы. Термодинамика изменяет форму и размеры цилиндра, поршня, поршневых колец и практически влияет на все процессы, происходящие в двигателе.
Потери в двигателе могут быть объективными из-за любого физического процесса, происходящего в конструкции, который разработчику и пользователю трудно использовать во время эксплуатации продукта.Но они также могут быть субъективными из-за человеческого фактора, который допускает ошибок и ошибок при проектировании, производстве и эксплуатации энергетического устройства.
Для значительного повышения эффективности двигателя необходимо было выявить эти ошибки и предложить конструкции, исключающие эти потери или снижающие их до незначительного минимума. Приведенный выше пример показывает, что у соперника двигателя КАМАЗ потери намного меньше и это закономерно влияет на КПД двигателя, его форму и состав.
Указанные выше потери, в целом, следует отнести к группе цилиндров-поршневых двигателей, которая по праву считается «сердцем» двигателя, определяющим технико-экономические характеристики и экологические показатели двигателя. Низкий КПД современного двигателя, это, прежде всего, свидетельство несовершенства двигателя ЦПГ и ошибок, допущенных при его проектировании.
цилиндр поршневое устройство — Deutsch Übersetzung — Englisch Beispiele
Diese Beispiele können unhöflich Wörter auf der Grundlage Ihrer Suchergebnis enthalten.
Diese Beispiele können umgangssprachliche Wörter, die auf der Grundlage Ihrer Suchergebnis enthalten.
цилиндр поршневого устройства по п.10, отличающийся тем, что упорное средство (25) включают в себя уменьшение радиуса указанного по окружности, радиально внутренняя цилиндрическая труба средство для лица (3а) по меньшей мере вдоль части его окружности.
Zylinder-Kolben-Vorrichtung nach Anspruch 10, dadurch gekennzeichnet, daß die Anlagemittel (25) eine Radiusverkleinerung der radial innen liegenden Zylinderrohr-Umfangsflächenmittel (3a) entlang zuminest einemenfil.Цилиндрическое поршневое устройство по п. 11 или 12, отличающееся тем, что указанное уменьшение радиуса (r) обеспечивается в пределах окружного угла вокруг указанной оси (A x) указанной цилиндрической трубки (3), составляющего менее 180 °.
Zylinder-Kolben-Vorrichtung nach Anspruch 11 или 12, dadurch gekennzeichnet, daß die Verkleinerung des Radius (r) innerhalb eines Umfangswinkels um die Achse (A x) des zylindrischen Rohrs (3) von venigerse als составляет 180º.Цилиндрическое поршневое устройство по одному из пп.1-14, отличающееся тем, что указанное цилиндровое поршневое устройство представляет собой однотрубный гаситель колебаний.
Zylinder-Kolben-Vorrichtung nach einem der Ansprüche 1 bis 14, dadurch gekennzeichnet, daß die Zylinder-Kolben-Vorrichtung ein Einrohr-Schwingungsdämpfer ist.Цилиндрическое поршневое устройство по одному из пп. 1-21, отличающееся тем, что упомянутые упорные средства (25) имеют форму тормозного средства, тормозящего направленное в осевом направлении наружу движение упомянутого поршневого блока (9).
Zylinder-Kolben-Vorrichtung nach einem der Ansprüche 1 bis 21, dadurch gekennzeichnet, daß die Anlagemittel (25) als Bremsmittel gestaltet sind, die eine axial auswärts gerichtete Bewegung der Kolbeneinheit (9).Цилиндрическое поршневое устройство по п. 5, отличающееся тем, что упомянутое, по меньшей мере, одно направленное радиально внутрь вдавливание (12) является одним из кольцевого вдавливания и множества распределенных по окружности отдельных вдавлений.
Zylinder-Kolben-Vorrichtung nach Anspruch 5, dadurch gekennzeichnet, daß die zumindest eine radial einwärts gerichtete Einformung (12) eine ringförmige Einformung или eine Mehrzahl über den Umfang verteilter einzung.Цилиндрическое поршневое устройство по одному из пп. 1-15, отличающееся тем, что указанное средство наполнения жидкостью содержит демпфирующую жидкость внутри указанных рабочих камер (30а, 30b) и объем сжатого газа, примыкающий по меньшей мере к одной из указанных рабочих камер ( 30а, 30б).
Zylinder-Kolben-Vorrichtung nach einem der Ansprüche 1 bis 15, dadurch gekennzeichnet, daß die Fluidfüllungsmittel in den Arbeitskammern (30a, 30b) eine Dämpfflüssigkeit sowie benachbart zumingasvitsa der der.Цилиндрическое поршневое устройство по п. 7, отличающееся тем, что указанная цилиндрическая трубка (3) изготовлена из стали, а указанный структурный корпус (11а) изготовлен из легкого металла, такого как алюминиевый сплав.
Zylinder-Kolben-Vorrichtung nach Anspruch 7, dadurch gekennzeichnet, dadurch gekennzeichnet, daß das zylindrische Rohr (3) aus Stahl hergestellt ist, wobei der Strukturkörper (11a) aus einem Leichtmetall, wieium etwa eintunger ist Aluminium.цилиндр поршневого устройства по одному из пп.1 9, отличающийся тем, что указанный поршневой шток-поршневой блок наклона средства (25) содержат опорные средства (25), поддерживаемых указанной цилиндрической трубки (3).
Zylinder-Kolben-Vorrichtung nach einem der Ansprüche 1 bis 9, dadurch gekennzeichnet, daß die Kolbenstangen-Kolbeneinheit-Kippmittel (25) von dem zylindrischen Rohr (3) gehaltene Anlagemittel (25) aufweisen.Цилиндрическое поршневое устройство по одному из пп. 1-16, отличающееся тем, что указанные рабочие камеры (30а, 30b) соединены между собой посредством средства (9b) протока жидкости, проходящего через указанный поршневой блок (9).
Zylinder-Kolben-Vorrichtung nach einem der Ansprüche 1 bis 16, dadurch gekennzeichnet, daß die Arbeitskammern (30a, 30b) durch Fluidflußdurchgangsmittel (9b) miteinander verbunden sind, welche durchufen die (9).цилиндра поршневого устройство в соответствии с п.17, отличающимся тем, что прохождение потока текучей среды средство (9b) снабжено одним из средства закрытия клапана и демпфирующее средством клапана.
Zylinder-Kolben-Vorrichtung nach Anspruch 17, dadurch gekennzeichnet, daß die Fluidflußdurchgangsmittel (9b) mit einem Schließventilmittel или einem Dämpfventilmittel versehen sind.Устройство для аварийного выхода жидкости, цилиндрическое поршневое устройство и , цилиндрическое поршневое устройство с таким устройством для аварийного выхода жидкости.
цилиндр поршневого устройства , как указано в п.4, указанные средства, содержащие фиксирующий кольцевой элемент (26) крепления.
Цилиндрическое поршневое устройство по одному из пп. 1-11, содержащее комбинацию по меньшей мере двух упругих демпфирующих тел (208), отклоняемых в противоположных осевых направлениях.
Zylinderkolbenvorrichtung nach einem der Ansprüche 1 bis 11, umfassend eine Kombination aus wenigstens zwei elastischen Dämpfungskörpern (208), умереть in entgegengesetzten axialen Richtungen auslenkbar sind.Цилиндрическое поршневое устройство по п.1, в котором упомянутое упругое демпфирующее тело (8) имеет кольцевую форму вокруг упомянутой оси.
Zylinderkolbenvorrichtung nach Anspruch 1, wobei der elastische Dämpfungskörper (8) eine ringförmige Form um die Achse aufweist.Цилиндрическое поршневое устройство по п.15, при этом указанное средство радиального соединения (12) является неотъемлемой разрушаемой частью указанных кольцевых частей (11, 10).
Zylinder / Kolben-Vorrichtung nach Anspruch 15, wobei die Radialverbindungsmittel (12) ein Integraler, zerstörbarer Teil der Ringabschnitte (11, 10) sind.Цилиндрическое поршневое устройство по п. 13, указанное средство кольцевой пружины (18) содержит набор тарельчатых пружин типа Бельвилля.
Zylinder / Kolben-Vorrichtung nach Anspruch 13, worin die ringförmigen Federmittel einen Stapel von Tellerfedern des Belleville-Typs umfassen.Цилиндрическое поршневое устройство по одному из пп. 3-8, при этом удерживающий элемент (15) изготовлен из электроизоляционного материала.
Zylinder-Kolben-Vorrichtung nach einem der Ansprüche 3 bis 8, wobei das Halteelement (15) aus elektrisch isolierendem Material besteht.Цилиндрическое поршневое устройство по п.14, в котором указанный удерживающий элемент (15) по меньшей мере частично выполнен из пористого материала, проницаемого для воздуха и газа, но по существу непроницаемого для жидкого обрабатывающего агента.
Zylinder-Kolben-Vorrichtung nach Anspruch 14, wobei das Halteelement (15) wenigstens teilweise aus einem porösen Material besteht, das für Luft und Gas durchlässig, aber für ein flüssiges Behandlungsmittel im wesentlic.Цилиндрическое поршневое устройство по одному из пунктов 11-15, в котором указанный кольцевой распорный элемент снабжен средствами для прохождения воздуха, такими как предотвращение существенного доступа жидкого обрабатывающего агента к указанному воздушному пространству (17).
Zylinder-Kolben-Vorrichtung nach einem der Ansprüche 11 bis 15, wobei das ringförmige Abstandselement derart mit Luftdurchgangsmitteln versehen ist, daß ein wesentlicher Zugang von flüssigem Behandlungsmittel zu dem Luftrans.Цилиндрический поршневой механизм по п.9, при этом кольцевой элемент (11) имеет такую форму, которая образует дополнительную камеру (26) кольцевого проточного канала вместе с указанной крепежной втулкой (12).
Zylinderkolbenvorrichtung nach Anspruch 9, wobei das Ringelement (11) derart geformt ist, daß es zusammen mit der Befestigungsbuchse (12) eine weitere ringförmige Fließpassagenkammer (26) beginzt. .
В результате боковые нагрузки в паре «поршень-цилиндр» существенно снижаются.

..