Двигатель ЯМЗ-238: характеристики, устройство, описание
Двигатель ЯМЗ 238 — это силовой агрегат семейства моторов выпускаемых Ярославским моторным заводом. Мотор ЯМЗ 238 считается старшим братом не менее известного силового агрегата ЯМЗ-236. Они имеют схожие технические характеристики, устройство работы и конструктивные особенности.

Исторический аспект
238-я модель, как и младший собрат 236-й, пришли на смену устаревших движков ЯАЗ-204 и ЯАЗ-206. Разработка и внедрение силового агрегата началось еще в 50-е годы 20 века, когда необходимо было сделать мощный 4-х тактный дизельный двигатель с экономичными показателями.
Отцом двигателей семейства ЯМЗ считается легендарный советский инженер, конструктор и изобретатель — Георгий Дмитриевич Чернышёв. На то время — это был уникальный в своем роде мотор, который выпускали полвека, и зарекомендовал себя, как один из лучших силовых агрегатов во всем мире.
На сегодняшний день, официально мотор ЯМЗ 238 снятый с производства, поскольку Ярославский завод выпускает приемника — ЯМЗ-530 и ЯМЗ-540. Но, производство запасных частей продолжается, а линия останавливаться не будет, по крайней мере, в ближайшее 10 лет.
Технические характеристики
Технические характеристики двигателя ЯМЗ-238 за весь период выпуска и модернизаций не поменялись. Конечно, мотор совершенствовался по последним разработкам и инновациям, но конструктивных изменений было очень мало. Рассмотрим, основные характеристики силового агрегата:
| Наименование | Характеристика |
| Тип | Дизель, турбированный дизель |
| Объем | 15 литров (14 866 см куб) |
| Конфигурация, параметр | V-образная |
| Количество цилиндров | 8 |
| Количество клапанов | 16 |
| Эконорма | от Евро-0 до Евро-4 |
| Диаметр цилиндра | 130 мм |
| Степень сжатия | 17,5 |
| Охлаждение | Жидкостное |
| Клапанный механизм | OHV |
| Материал исполнения блока и головки | Чугун |
| Ресурс | 800 000 — 1 000 000 км пробега |
| Топливо | Дизельное топливо |
| Порядок работы цилиндров | 1-5-4-2-6-3-7-8 |
| Применяемость | МАЗ, КРАЗ, УРАЛ, танки серии Т, тракторы К, автобусы ЛАЗ, вездеход ЧЕТРА и другое |
Стоит отметить, что всех двигателях серии 238 установлен механический насос высокого давления топлива. На каждый цилиндр установлена своя секция насоса, чтобы сгорание проходило равномерно. Располагается ТНВД между рядами цилиндров, на развале двигателя.

Модификации мотора
ДВС ЯМЗ 238 получил достаточно много модификаций и применяемость на автомобильном ряде. Так, согласно технической документации завода изготовителя, рассмотрим, какой модельный ряд и модификации имеет двигатель «восьмерка»:
- 235 л.с. (173 кВт) при 1700 об/мин, 1108 Н•м (113 кгс•м) при 1300 об/мин — ЯМЗ-238НД3.
- 235 л.с. (173 кВт) при 1700 об/мин, 1108 Н•м (113 кгс•м) при 1300 об/мин — ЯМЗ-238НД6.
- 240 л.с. (177 кВт) при 2100 об/мин, 882 Н*м (90 кгс*м) при 1500 об/мин — ЯМЗ-238 (базовый).
- 250 л.с. (184 кВт) при 1900 об/мин, 1108 Н•м (113 кгс•м) при 1300 об/мин — ЯМЗ-238НД4.
- 250 л.с. (184 кВт) при 1900 об/мин, 1108 Н•м (113 кгс•м) при 1300 об/мин — ЯМЗ-238НД7.
- 280 л.с. (206 кВт) при 2100 об/мин, 1029 Н•м (105 кгс•м) при 1500 об/мин — ЯМЗ-238ПМ.
- 290 л.с. (184 кВт) при 2000 об/мин, 1128 Н•м (115 кгс•м) при 1400 об/мин — ЯМЗ-238ДК.
- 300 л.с. (220 кВт) при 1900 об/мин, 1280 Н•м (131 кгс•м) при 1300 об/мин — ЯМЗ-238НД5.
- 300 л.с. (220 кВт) при 1900 об/ммн, 1280 Н•м (131 кгс•м) при 1300 об/мин — ЯМЗ-238НД8.
- 320 л.с. (235 кВт) при 2100 об/мин, 1117 Н•м (114 кгс•м) при 1500 об/мин — ЯМЗ-238ФМ.
- 330 л.с. (243 кВт) при 2000 об/мин, 1225 Н•м (125 кгс•м) при 1400 об/мин — ЯМЗ-238ДК.
- 330 л.с. (243 кВт) при 2100 об/мин, 1225 Н•м (125 кгс•м) при 1300 об/мин — ЯМЗ-238Д.
- 330 л.с. (243 кВт) при 2100 об/мин, 1225 Н•м (125 кгс•м) при 1300 об/мин — ЯМЗ-238ДЕ.
- 330 л.с. (243 кВт) при 2100 об/мин, 1274 Н•м (130 кгс•м) при 1200 об/мин — ЯМЗ-238ДЕ2.
- 330 л.с. (243 кВт) при 1900 об/мин, 1274 Н•м (130 кгс•м) при 1200 об/мин — ЯМЗ-6582.
- 360 л.с. (265 кВт) при 1900 об/мин, 1570 Н•м (160 кгс•м) при 1200 об/мин — ЯМЗ-7512.
- 400 л.с. (294 кВт) при 1900 об/мин, 1715 Н•м (175 кгс•м) при 1200 об/мин — ЯМЗ-7511.
- 400 л.с. (294 кВт) при 1900 об/мин, 1764 Н•м (180 кгс•м) при 1200 об/мин — ЯМЗ-6581.
- 420 л.с. (309 кВт) при 1900 об/мин, 1764 Н•м (180 кгс•м) при 1200 об/мин — ЯМЗ-7513.
Обслуживание силового агрегата
Двигатель ЯМЗ-238 не имеет значительных отличий от 236 модели. Сервисное обслуживание движка проводится каждые 20-25 тыс. км пробега. Плановое техническое обслуживание ДВС — комплекс операций направленных на сохранение первичного состояния узлов и деталей агрегата. Согласно руководству по ремонту и эксплуатации мотора ЯМЗ составленное заводом изготовителем, рассмотрим, какие операции входят в ТО «восьмерки»:
- Замена масла.
- Регулировка клапанного механизма.
- Замена фильтров. Так, в зависимости от модификации мотора могут быть или не быть следующие фильтрующие элементы: фильтр тонкой и грубой очистки масла, фильтрующий элемент для грубой и тонкой очистки топлива, воздушный фильтр, экофильтр для выхлопа.
- Очистка форсунок.
- Регулировки, связанные с топливным насосом высокого давления.
- Другие операции направленные на техническое обслуживание силового агрегата.

Обслужить топливный насос высокого давления топлива — это отдельный комплекс операций, который смогут сделать качественно только мастера по ремонту топливной аппаратуры дизельных моторов.
Ремонт двигателя: основное описание
Ремонт двигателя ЯМЗ 238 — это целый комплекс операций по восстановлению работоспособности мотора, который не рекомендуется делать своими руками. Так, стоит обратиться к профессионалам, которые смогут правильно диагностировать неисправности и износы, а также какой внутренний элемент требуется заменить. Рассмотрим, основной комплекс операций, который проводится для мотора ЯМЗ 238, чтобы провести капитальный ремонт мотора:
- Поверхностная диагностика неисправностей проводится на слух. Моторист определяет наличие посторонних шумов, а также предварительное месторасположение.
- Демонтаж мотора с автомобиля, а также проведение полной разборки силового агрегата.
- Замеры цилиндров и коленчатого вала. Определение номера ремонта, а также заказ запасных частей. Как показывает практика, в большинстве случае, чтобы не растачивать цилиндры двигателя — блок гильзуется. Этот параметр позволяет, а в случае последующих ремонтов растачивать не блок, а гильзы, которые при износе можно вынуть и вставить новые.
- Ремонт головки блока цилиндров.
- Сборка силового агрегата.
Отдельным параметром стоит восстановление ТНВД. Как показывает практика, мастер ремонтирует только плунжерную пару, которая изнашивается наиболее часто.

Что касается поточных ремонтных операций, то каждый владелец автомобиля с двигателем ЯМЗ обладает достаточными навыками и знаниями, что восстанавливать свой двигатель самостоятельно, главное, чтобы рука росла из нужного места. К наиболее частым проблемам относится:
- Неисправность стартера и генератора.
- Выход со строя водяного насоса.
- Замена приводных ремней.
- Регулировка клапанного механизма.
- Замена масла.
- Замена фильтров двигателя.
Инструкция по ремонту каждого узла имеется в интернете или можно использовать заводские книги, которые имеются в открытом доступе.
Вывод
Двигатель ЯМЗ 238 считается легендой отечественного автомобилестроения. Больше чем, за полвека производства, силовой агрегат показал себя как надежный и легко ремонтируемый. За эти качества он и полюбился автомобилистам.
Стоит отметить, что ЯМЗы, как 238, так и 236, часто шли на экспорт большими партиями. Например, Китай заказывает для своих большегрузных грузовиков именно двигатели этой серии, поскольку с ЯМЗом может соревноваться только БЕЛАЗ и Катерпиллер, но они стоят намного дороже отечественного аналога.
avtodvigateli.com
Двигатель ЯМЗ-238 | Характеристики, проблемы и что делать.
Характеристики ЯМЗ-238
| Производство | «Автодизель» Ярославский моторный завод |
| Марка двигателя | 238 |
| Годы выпуска | 1962-н.в. |
| Материал блока цилиндров | чугун |
| Тип двигателя | дизельный |
| Конфигурация | V-образный |
| Количество цилиндров | 8 |
| Клапанов на цилиндр | 2 |
| Ход поршня, мм | 140 |
| Диаметр цилиндра, мм | 130 |
| Степень сжатия | 16.5 |
| Объем двигателя, куб.см | 14866 |
| Мощность двигателя, л.с./об.мин | 235/1700 240/2100 250/1900 280/2100 290/2000 300/1900 320/2100 330/2000 330/2100 330/2100 |
| Крутящий момент, Нм/об.мин | 1108/1300 882/1500 1108/1300 1029/1500 1280/1300 1117/1500 1225/1400 1225/1300 1274/1200 |
| Экологические нормы | Евро 0 Евро 1 Евро 2 |
| Турбокомпрессор | К27-49 К36-87 ТКР 11 ТКР 122 |
| Вес двигателя, кг | 1075 (ЯМЗ-238М2) |
| Расход топлива при скорости 60 км/ч, л/100 км (для УРАЛ 4320) | 38 |
| Расход масла, % к расходу топлива, до | 0.5 0.2 (Евро 2) |
| Масло в двигатель: -летом -зимой (меньше +5° С) | М-10-Г2к М-8-Г2к |
| Сколько масла в двигателе, л | 29 (атмосферный) 32 (турбированный) |
| Замена масла проводится, часов | 500 1000 (Евро-2) |
| Размеры, мм: — длина — ширина — высота | (ЯМЗ-238Б) 1315 1045 1070 |
| Ресурс двигателя — по данным завода, часов — на практике, тыс. км | 8 000 800+ |
| Тюнинг, л.с. — потенциал — без потери ресурса | 300+ ~280 |
| Двигатель устанавливался | Комбайны Дон, Кубань, Херсонец, Славутич, Палессе МАЗ-5336, 5432, 5440, 5516, 5551, 5552 МАЗ-6303, 6317, 6422 ,6425, 6430 МоАЗ-740, 1405, 6014, 6442, 7505 МоАЗ-40484, 40489, 49011 КрАЗ-260М, 5133, 5444, 6130, 6133, 6305, 6322 КрАЗ-6351, 6443, 6446, 6503, 6505, 7133, 7140 ЭО-412, 511, 512, 522 Урал-4320, 5323, 5423, 5557 ЧЕТРА-60, Т15, Т20, ТГ-221 Кранэкс ЕК400 Раскат РЭМ25 ГТ-ТМ, ГТ-ТМС и МГШ521М1 МТ-ЛБу, МТ-ЛБ ЭКСКО БМ-2501 МЛ-107 ТГ-301 МЗКТ-692378 ХТЗ 181 ЧСДМ ДЗ-240С Кировец К-700, 702, 703, 740, 744 ДЗ-98В Катера КС-101, 104, 110 АД-100, ДГУ-100 АДМ-1.5, МПГ-6 ВПР-02, ВПРС-02, 03 |
Надежность, проблемы и ремонт ЯМЗ-238
Серия ЯМЗ-238 была запущена в производство в 1962 году и пришла на смену ЯАЗ-206. Этот мотор имеет V-образный 8-ми цилиндровый чугунный блок, с углом развала 90°, с чугунными мокрыми гильзами и со смещением рядов цилиндров относительно друг друга на 35 мм. Внутри блока на 5-ти опорах установлен кованый коленвал с ходом поршня 140 мм и с диаметром коренных шеек 110 мм и с диаметром шатунных шеек 88 мм, сами шатуны стальные, а их длина 265 мм. Для этих моторов использовали литые алюминиевые поршни диаметром 130 мм и высотой 100 мм, диаметр поршневого пальца 50 мм.
Блок цилиндров накрыт двумя чугунными головками по 8 клапанов на каждую. Диаметр впускных клапанов 61 мм, выпускных 48 мм, диаметр ножки 12 мм.
Здесь применен шестеренчатый привод распредвала, а сам распредвал находится в блоке цилиндров и через толкатели, стальные штанги и стальные коромысла, приводит клапаны в действие. Характеристики распредвала: фаза 246/266, подъем 13.5 мм.
Регулировка клапанов на ЯМЗ-238 (турбо и атмосферный) проводится после каждых 500 часов работы (при необходимости). Зазоры клапанов и для впуска и для выпуска — 0.25-0.3 мм. Порядок регулировки 1–5–4–2–6–3–7–8, такой же, как порядок работы цилиндров (как на турбированном, так и на атмосфернике).
Давление форсунок 261 — 230 кгс/см2; форсунок 267 — 270 кгс/см2.
Давление масла на прогретом двигателе должно находиться в пределах 4-7 кгс/см2 (это относится как к турбо, так и атмо).
Помимо атмосферных вариантов выпускали и турбированные, список которых не знает границ. Основные отличия между ними указаны ниже.
Этот мотор имел родственную серию ЯМЗ-236.
Выпуск 238-го продолжается и сейчас, но их заменяют на более экологичные ЯМЗ-7511 и ЯМЗ-658.
Модификации ЯМЗ 238 и их отличия
1. ЯМЗ-238АК — аналог ЯМЗ-238М2 под нормы Евро-0, который предназначался для комбайнов Дон, Кубань, Херсонец, Славутич и Палессе FS60. Мощность 235 л.с. при 2000 об/мин, крутящий момент 932 Нм при 1300-1500 об/мин. Срок службы мотора до капремонта 8000 часов.
Стоит на МоАЗ-6014 и 6442.
3. ЯМЗ-238Б — турбированный мотор на базе ЯМЗ 238М2, где применен турбокомпрессор ТКР 100. Здесь установлен измененный распредвал с такими характеристиками: фаза 240/266, форсунки 261-13, другой коленвал, свои поршни, насос 807-40. Мотор соответствует стандарту Евро-0.
Встретить его можно на ВПР-02, ВПРС-02 и 03; МАЗ-5336 и 5432; МоАЗ-40484, 40489, 49011 и 7505; КрАЗ 5444, 6130, 6503 и 6505; АДМ-1.5, МПГ-6, ЭО-5225, Урал 5323 и 5423; ЧЕТРА Т20, ЕК400 и РЭМ25. Ресурс мотора — 450 тыс. км.
4. ЯМЗ-238БВ — аналог 238БЛ, но с ТНВД 807-40. Устанавливался на ГТ-ТМ, ГТ-ТМС и МГШ521М1. Ресурс — 8000 часов.
5. ЯМЗ-238БЕ — такой же ЯМЗ-238Б, но со встроенным жидкостно-масляным теплообменником и доработанными системами охлаждения и смазки. Здесь применен ТНВД ЯЗДА 807-50, форсунки 261-13 и турбина ТКР 122. Давление наддува 0.93 бар. Мощность 300 л.с. при 2000 об/мин, крутящий момент 1180 Нм при 1200-1400 об/мин. Двигатель отвечает требованиям Евро-1.
6. ЯМЗ-238БЕ2 — двигатель с отличающимся коленвалом и шатунами, с гильзами, выступающими над поверхностью блока на 1.6 мм, с другими поршнями (высота 85 мм), диаметр поршневого пальца увеличен до 52 мм. Также здесь применена ГБЦ с кольцевыми проточками, ТНВД ЯЗДА 173-20, форсунки 267-01, распредвал с фазой 233/272, применен другой фильтр грубой очистки топлива. Мощность осталась прежней, а крутящий момент возрос до 1274 Нм при 1100-1300 об/мин. Такой вариант отвечает нормам Евро-2.
7. ЯМЗ-238БК — мотор для комбайнов Полесье, который подходит под нормы Евро-0. Он оснащается турбиной ТКР-100 и ТНВД 805-40. Версии 238БК-3 используют две турбины К27-49. Ресурс такого движка 8000 часов.
8. ЯМЗ-238БЛ — такой же 238Б, но с ТНВД 801-50, с глубоким картером и другим приводом вентилятора. Мощность увеличена до 310 л.с. при 2100 об/мин, крутящий момент 1177 Нм при 1200-1400 об/мин. Встречается на МТ-ЛБу.
10. ЯМЗ-238ВМ — аналог ЯМЗ-238М2 с другим масляным поддоном. Предназначался для МТ-ЛБ. Служит до капремонта 5000 часов.
11. ЯМЗ-238ГМ2 — такой же ЯМЗ238М2, но с по-другому отрегулированной топливной (ТНВД 809-20). Мощность снижена до 180 л.с. при 1700 об/мин. Встречается на экскаваторах ЭО-412, 511, 512, 522 и буровой технике БМ-2501. Срок службы 5000 часов.
12. ЯМЗ-238Д — такой же 238Б, но под КПП ЯМЗ 202 и с ТНВД 806-40. Ресурс двс — 450 тыс. км.
Стоит на МЛ-107, ТГ-301, МЗКТ-692378, МАЗ-53363, 54323, 5552, 6303 и 64229; КрАЗ-5133, 5444, 6130, 6322, 6351, 6443, 6505 и 7133.
13. ЯМЗ-238ДЕ — тот же ЯМЗ-238БЕ, но с ТНВД ЯЗДА 806-50 и с давлением наддува 1.08 бар. Мощность увеличена до 330 л.с. при 2100 об/мин, крутящий момент 1225 Нм при 1200-1400 об/мин. Движок соответствует экологическому классу Евро 1 и встречается на автомобилях МАЗ 5336, 5432, 5516, 5551, 6303, 6317, 6422, 6425 и на комбайнах Полесье. Заявленный ресурс — 800 тыс. км.
14. ЯМЗ-238ДЕ2 — такой же 238БЕ2, но с ТНВД ЯЗДА 173-30. По сравнению с 238ДЕ, мощность осталась неизменной, крутящий момент достиг 1274 Нм при 1100-1300 об/мин. Здесь повышен экологический класс до Евро 2, а ресурс составляет 800 тыс. км.
Такой двс стоит на КрАЗ 5133, 5444, 6130, 6133, 6305, 6322, 6443, 6446, 6503, 6505, 7133, 7140, а также на МАЗ-5336, 5432, 5516, 5551, 6303, 6317, 6422, 6425.
15. ЯМЗ-238ДИ — такой же 238Б, но с турбиной К36-30 и с ТНВД 803-30.
16. ЯМЗ-238ДК — комбайновый мотор для Дон 680М, аналог ЯМЗ-238БК, но мощность увеличена до 330 л.с. при 2000 об/мин, крутящий момент 1225 Нм при 1300-1500 об/мин.
17. ЯМЗ-238ИМ2 — мотор для дизельных электростанций АД-100 и ДГУ-100, его ресурс — 25000 часов.
19. ЯМЗ-238Л — многотопливный движок для КрАЗ-260М. Он оснащается турбиной ТКР-11 и насосом 801-11.
20. ЯМЗ-238М2 — двигатель, заменивший ЯМЗ-238М в 1988 году, его экологический класс — Евро 0. Мотор стоит на ЧСДМ ДЗ-240С, МоАЗ-6442 и 6014.
21. ЯМЗ-238МС — вариант для северных широт.
22. ЯМЗ-238Н — турбодвигатель с ТНВД 804-21 и с ТКР 11, мощность 300 л.с. при 2100 об/мин, крутящий момент 1078 Нм при 1500 об/мин.
23. ЯМЗ-238НД3 — турбированный мотор на базе 238Б, который не имеет масляного охлаждения поршней и жидкостно-масляного теплообменника. Здесь установлена турбина ТКР 11 и ТНВД 805-30, а мотор отвечает требованиям Евро 0. Моторесурс движка — 8000 часов. Мощность 235 л.с. при 1700 об/мин, момент 1108 Нм при 1100-1400 об/мин. Стоит двигатель на К-700, 702, 703 и ДЗ-98В.
24. ЯМЗ-238НД4 — турбированный мотор с жидкостно-масляным теплообменником на базе 238НД3. Здесь стоит ТНВД 805-40, а экологический класс — Евро 0. Встречается на К-744, К-703, КС-101, КС-104, КС-110, Т15.01, Т-221 и Четра-60. Ресурс мотора 8000 часов, а его отдача 250 л.с. при 1900 об/мин, момент 1108 Нм при 1100-1400 об/мин.
25. ЯМЗ-238НД5 — турбомотор на основе 238Б-1. Он оснащался ТНВД 805-50, своим генератором, картером, шкивом коленвала и имел ресурс 8000 часов. Мощность мотора 300 л.с. при 1900 об/мин, крутящий момент 1280 Нм при 1100-1400 об/мин. Ставили его на К-744Р1.
26. ЯМЗ-238НД6 — турбодвигатель под Евро-1, разработанный на основе ЯМЗ-238ДЕ. От родительского движка отличается генератором, картером, маховиком, насосом 805-60 и ресурсом в 10000 ч. Мощность 235 л.с. при 1700 об/мин, момент 1108 Нм при 1100-1400 об/мин. Стоял движок на К-740.
27. ЯМЗ-238НД7 — версия на 250 л.с. при 1900 об/мин, момент прежний. Здесь применен насос 805-70, а стоит этот двс на тракторах «Кировец» и Т15.01, а также на ТГ-221.
29. ЯМЗ-238НП — мотор, созданный на базе 238НД2 и отличается патрубком турбины и генератором.
30. ЯМЗ-238ПМ — турбомотор с турбиной ТКР9 мощностью 280 л.с. при 2100 об/мин, крутящий момент 1029 Нм при 1500 об/мин. Заменен на 238Б.
31. ЯМЗ-238ФМ — такой же 238ПМ, но с маслофорсунками, мощность увеличена до 320 л.с. при 2100 об/мин, крутящий момент 1118 Нм при 1500 об/мин. Мотор заменили на 238Д.
Неисправности ЯМЗ-238
1. Греется двигатель. Причины перегрева зачастую в грязном радиаторе, в помпе или в термостатах. Проверяйте и скорей всего проблема будет именно здесь. Если нет, тогда нужно смотреть прокладку ГБЦ и состояние головок на наличие трещин.
2. Плавают обороты. Причина в ТНВД, нужно проверять, как он отрегулирован, и настроить холостые обороты винтом на задней его части. Еще из причин это воздух в топливной системе.
3. Не развивает обороты. Нужно проверить, как настроен насос, заменить фильтры, посмотреть топливную систему.
4. Дергается на малых оборотах. В таком случае надо начинать с топливной (насос, форсунки и т.д.) и с зажигания.
5. Троит. Возможно, причина в недостатке топлива и нужно обратить внимание на ТННД, на топливные фильтры, на форсунки или на трубки.
6. Глохнет или заводится и глохнет. Проверяйте на предмет подсоса воздуха, смотрите топливные фильтры, насос, иногда что-то постороннее могло попасть в бак.
7. Стук в двигателе. Причины могут быть в форсунках, насосе, зажигании, клапанах, в кольцах, во вкладышах; здесь надо вскрывать движок и смотреть.
8. Дымит:
— белым дымом — возможно у вас вода в баке или охлаждающая жидкость попадает в цилиндры через прокладку или треснувшую ГБЦ.
— черным дымом — нужно убавить топливо на ТНВД с помощью нижнего винта мощности, скорей всего он выкручен на максимум.
— синим дымом — вероятно у вас горит масло.
9. Вибрация. Причины обычно в маховике, в зажигании, в опорах мотора, в карданном валу, возможно коленвал не отбалансирован.
10. Не заводится. Причину нужно искать в форсунках и насосе.
11. Трещины в ГБЦ. Типичная неисправность для этих ДВС и образовывается она на межклапанной перемычке, но, к счастью, этот вопрос можно попробовать решить, есть множество компаний, которые готовы восстановить головку.
Несмотря на большой список различных неисправностей, это очень надежный и долговечный мотор. ЯМЗ-238, при адекватном уходе и обслуживании, имеет ресурс на практике 800-900 и даже 1 млн. км.
Номер двигателя ЯМЗ-238
Номер находится в районе маховика, слева.
Тюнинг двигателей ЯМЗ-238
Как поставить турбину
Для переделки обычного атмосферного 238 в турбо можно оставить стандартные поршни, можно обойтись без масляных форсунок, просто поставить турбину ТКР 36-87 с коллекторами от ЯМЗ-7511, сделать маслослив и маслоподачу на турбину, поставить распылители 261, настроить ТНВД и ездить как есть. Так можно получить 280-300 л.с. Это даже будет ездить годами без проблем, но для более высокой надежности лучше заменить поршни на 238Б.
<<НАЗАД
wikimotors.ru
Описание и устройство двигателя ЯМЗ-238
Если говорить о двигателе модели ЯМЗ-238, то он предназначается для автомобилей, которые осуществляют перевозку тяжелых и габаритных грузов. По названию можно понять, что выпускается он Ярославским комбинатом и является обновленной версией модели ЯАЗ-206. Эта модель относится к группе восьмицилиндровых моторов внутреннего сгорания. Часто они могут дополняться механизмом турбированного наддува. Как правило, его устанавливают на автомобили таких марок, как «Урал», КамАЗ. Часто ими комплектуют БТРы, а также различную строительную технику. Вес двигателя — около 1 400 килограммов. Хотя его отличает устаревшая система подачи горючего, зато он надежен, и его работу можно назвать стабильной. Кроме того, популярность модели обусловлена простотой в ремонте и дешевыми запасными частями.

Об устройстве двигателя ЯМЗ-238
Его конструкция довольно проста. Питание мотора обеспечивает топливный насос механического типа. Он питает топливом по одной линии каждый из цилиндров. Также в нем используется механизм прямого впрыска. Насос работает при помощи муфты центробежного типа, которую можно регулировать на предмет подачи топлива автоматически. Есть также механизм OHV, благодаря чему на каждом цилиндре устанавливаются 2 клапана на головке. Они двигаются за счет соединения с частями нижнего распределительного вала, расположенного на валу коленчатого типа. В действие его приводят две шестеренки, которые находятся в передней части двигателя внутреннего сгорания.

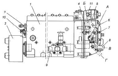
Схема устройства ТНВД ЯМЗ-238
1 – топливный насос высокого давления; 2 – перепускной клапан; 3 – демпферная муфта; 4 – болт ограничения максимальной частоты вращения; 5 – регулятор частоты вращения; 6 – рычаг управления регулятором; 7 – болт ограничения минимальной частоты вращения; 8 – скоба останова; 9 – топливоподкачивающий насос; 10 – болт регулировки пусковой подачи; 11 – корректор подачи топлива по наддуву.А – положение рычага при минимальной частоте вращения холостого хода; Б – положение рычага при максимальной частоте вращения холостого хода; В – положение скобы при работе; Г – положение скобы при выключенной подаче
Если говорить об охлаждении, то здесь имеется охладительная система жидкостного типа, гильзы цилиндров которого сделаны из чугуна специального типа, обладающего высочайшей прочностью. Распределительный вал данного двигателя выполнен из специальной штампованной стали. Кстати, то же касается и коленчатого вала, который сделан из специального сплава стали с применением метода горячей штамповки.

Схема системы охлаждения дизельного двигателя ЯМЗ-238
1 – водяной насос; 2 – полость блока охлаждения гильз; 3 – водяная полость в головке блока; 4 – продольный водяной канал; 5 – турбокомпрессор; 6 – правая водяная труба; 7 – труба соединительная; 8 – патрубок впускной; 9 – термостат; 10 – тройник с соединительными трубками; 11 – трубка перепускная; 12 –заглушка; 13 – впускной патрубок жидкостно-масляного теплообменника; 14 – вентилятор; 15 – поперечный водяной канал; А – подвод охлаждающей жидкости от водяного радиатора; Б – к отопителю кабины; В – выпуск воздуха; Г – подача наддувочного воздуха к охладителю типа «воздух-воздух»; Д, Ж – к радиатору; Е – от охладителя наддувочного воздуха типа «воздух-воздух» в цилиндры
Все клапаны, использующиеся здесь, имеют отдельные кулачки, которые приводятся в движение специальными штангами, а также толкателями, похожими на ролики. Отдельно нужно сказать о поршнях. В этой модели все они состоят из трех колец компрессионного типа, а также кольца, снимающего масло. Они изготавливаются из алюминиевого сплава с добавлением большого количества кремния.
Как можно убедиться, устройство данного двигателя сравнительно простое, что и является одной из причин его надежности, а также простоты ремонта.
www.yamz76.ru
Двигатели ЯМЗ-238: технические характеристики и устройство
Наибольшее распространение из двигателей Ярославского моторного завода имеет семейство дизелей ЯМЗ-238. Если смотреть на ЯМЗ-238 не касаясь технических параметров, то от семейства ЯМЗ-236 он отличается незначительно – просто к V-образному шестицилиндровому агрегату добавили по одному цилиндру в каждый ряд, получив при этом восьмицилиндровый.Все восьмицилиндровые двигатели серий ЯМЗ-236, вне зависимости от наличия турбонаддува имеют одинаковый объем – 14,86 л и размерность DxS 130 на 140 мм, угол развала 90° и 135° относительно вертикальной оси.
Технические характеристики двигателей семейства ЯМЗ-238 различаются достаточно сильно. Атмосферный дизель ЯМЗ-236 Базовый двигатель семейства это атмосферный ЯМЗ-238 Евро-0. Его мощностной диапазон от 180 л.с. у дефорсированной версии ЯМЗ-238Г2, до 240 л.с. у моделей ЯМЗ-238М2.
Сфера применения двигателей ЯМЗ-238 в атмосферном исполнении обширна, они используются: — модификации ЯМЗ-238М2 как силовой агрегат для автотранспортной техники, передвигающейся как по дорогам общего пользования, так и во внедорожном исполнении (с обеспечением бродо-проходимости до 1,4 метра глубины), как промышленные моторы для привода буровых, насосных установок и компрессорных станций, в дизельных электростанциях, как судовой дизель; — ЯМЗ-238ГМ как двигатель для дорожной и экскаваторной техники; — ЯМЗ-238КМ как дизель подземных самосвальных автопоездов; — ЯМЗ-238АК и ЯМЗ-238АМ как комбайновый мотор.
В отличии от семейства ЯМЗ-236, семейство ЯМЗ-238 имеет в своем составе и турбированные двигатели с показателями Евро-0. Это хорошо известные «суперовские» моторы для МАЗ серий ЯМЗ-238Д и ЯМЗ-238Б имеющие значительный спектр модификаций. Кроме них в эту группу следует отнести двигатели серии ЯМЗ-238НД (3, 4 и 5), получившие широкое распространение в составе колесных погрузчиков, сельхоз тракторов, лесной заготовительной и дорожно-строительной техники. Модель ЯМЗ-238НД4-4 создана как судовой мотор и применяется на катерах типа КС. Модификации ЯМЗ-238ДК предназначены для энергетических средств и комбайнов, а ЯМЗ-238ДИ устанавливаются на дизельные электростанции (дизель-генераторы).
При кажущейся простоте применения турбокомпрессора, для повышения мощности, это повлекло за собой целый комплекс мероприятий по изменению конструкции дизеля и повышения качества деталей. Улучшенные критерии качества затронули в первую очередь следующие запчасти: коленчатый вал, блок цилиндров и цилиндро-поршневую группу.
Для соответствия экологическим требованиям Евро-1 турбированные моторы ЯМЗ-238 прошли дополнительную доработку. Конструкцию двигателей дополнили жидкостно-масляный теплообменник и водяной насос повышенной производительности, цилиндро-поршневая группа с эффективной системой охлаждения. Включение привода крыльчатки вентилятора обеспечивает специальная муфта. В дополнение к турбонаддуву дизель ЯМЗ-236 получил охладитель наддувочного воздуха, который устанавливается непосредственно на изделии, в котором применяется силовой агрегат. Так же потребовалось увеличить энергию впрыска в камеру сгорания, для чего спроектирована топливная аппаратура нового типа.
Двигатели серии ЯМЗ-238НД Евро-0 прошли дополнительную модернизацию и модели ЯМЗ-238НД (6, 7 и 8) соответствуют уже более жестким требованиям по экологии, что позволило применять их в большем сегменте техники: на сельскохозяйственных тракторах, погрузчиках, в составе колесных машин на их базе. Путем аналогичной модернизации из двигателя ЯМЗ-238Д получены моторы ЯМЗ-238ДЕ. Все моторы серии ЯМЗ-238ДЕ, за исключением модификации ЯМЗ-238ДЕ-21 (применяется для кормоуборочного комбайна), используются в составе автотранспортной техники. Все эти силовые агрегаты относятся к Евро-1.
Применение более эффективного топливного насоса высокого давления (ТНВД) позволило дизелям семейства ЯМЗ-238 достичь показателей Евро-2. Серия получила обозначение ЯМЗ-238ДЕ2, все двигатели серии нашли примение исключительно в автомобильном транспорте.
В настоящее время двигатели ЯМЗ-238 на автомобильные заводы не поставляются из-за ужесточения требований по экологическим параметрам, используются как запасная часть, а так же в местах, где не такие жесткие ограничения — к примеру при производстве дорожной техники или дизельных электростанций.
Устройство дизельных двигателей ЯМЗ-238
Двигатель ЯМЗ-238 имеет восемь цилиндров, с рабочим объемом камеры сгорания 1858 см³ каждый. Принцип работы четырехтактный, характерный для двигателей Отто, порядок работы цилиндров 1-3-6-2-4-5-7-8, впрыск непосредственный, степень сжатия 16,5.Цилиндро-поршневая группа (ЦПГ) с поршнем из силумина (сплав алюминия с кремнием) и чугунной гильзой так называемого «мокрого типа». ЦПГ крепится к шатуну двухтаврового сечения, отлитому из чугуна со специальной бронзовой вставкой, при помощи пальца «плавающего типа» с двумя стопорными кольцами. Другая сторона шатуна крепится с помощью двух болтовых соединений на шатунную шейку коленвала через вкладыши (бронзовые подшипники скольжения). Цилиндры расположены в два ряда по четыре в каждом.
На каждый ряд приходится одна общая головка блока цилиндров (ГБЦ). Распредвал имеет шестеренчатый привод и является единым для обеих ГБЦ. Коленчатый вал изготовлен методом ковки с шейками, укрепленными методом азотации, имеет пять опорных точек и противовесы. Блок цилиндров отлит из серого чугуна одновременно с верхней частью картера. Блок цилиндров выпуска до 2008г. отличается от современного (унифицирован, имеет укороченную «юбку»). Картер маховика отлит отдельно от блока. Маховик стальной с отдельным зубчатым венцом (используется для стартерного пуска двигателя), выполняется в двух вариантах: под двухдисковое сцепление (широкий) и под однодисковое (узкий). Топливная система мотора ЯМЗ-238 механического плунжерного типа. Двигатель ЯМЗ-236 имеет водяную систему охлаждения и масляную систему смазки смешанного типа (под давлением и методом разбрызгивания), водяные и масляный радиатор установлены отдельно от двигателя.
Подробно с техническими характеристиками и сферой применения двигателей ЯМЗ-238 ознакомьтесь на странице нужной модели.
www.yamz-dizel.ru
ЯМЗ 238 турбо технические характеристики, фото и частые неиспавности
Оглавление:
Дизельный двигатель ЯМЗ 238 турбо — технические характеристики
Данный дизельный двигатель ЯМЗ 238 турбо, несмотря на устаревшую конструкцию и средние технические показатели, имеет довольно широкое распространение. Благодаря тому, что автомобили с этим двигателем выпускались долгое время, и сейчас сохраняется большой спрос, вызванный надежностью, высокой ремонтопригодностью, широкому распространению запчастей на эти двигатели.
И в сравнении с заграничными аналогами двигатели ЯМЗ 238 поставляются по низкой цене. Именно по этому на новые модели техники устанавливают двигатели ЯМЗ 238 . В настоящее время он был модернизирован для выполнения норма Евро-2, -3, и мощность двигателя повышена до 400 л.с.
Двигатель ЯМЗ 238
Материал, из которого сделаны блоки цилиндров двигатель ЯМЗ 238 — серый чугун. Гильзы цилиндров так же отлиты из специального чугуна. На двигателе установлены две головки, по одной на каждый ряд. Так же стоит стальной кованный коленчатый вал, с противовесами. Так же идет 4-5 опор коленчатого вала. Поршни двигателя сделаны из алюминиевого сплава. Всего на поршне идет три компрессионных поршневых кольца и два масло съемных.

Стопорные кольца ограничивают осевое перемещение плавающих поршневых пальцев. Также установлены стальные кованые шатуны с косым разъемом нижней головки. Для запуска двигателя стартером, используется маховик со стальным зубчатым венцом.
Стальные штампованные оттяжные рычаги (4 штуки), установлены на игольчатых подшипниках. Между рычагами идет придаточное отношение 1:5,4. Установлено 28 штук цилиндрических нажимных пружин, витых из стальной проволоки. Вылитый из чугуна средний ведущий диск, связан шипами с маховиком.

По обе стороны ведомого диска, приклепаны фрикционные накладки. Сам же он штампованный, сделан из листовой стали. Двигатель использует шариковый упорный нажимной подшипник, с постоянной смазкой. Вылитая из стали муфта выключения сцепления, смазывается через гибкий шланг и пресс-масленку. Картер прикреплен болтами с одной стороны к картеру коробки передач, с другой стороны к картеру маховика.
Габаритные размеры мотора ЯМЗ-238
- Длина 1020-1222 мм, без сцепления и коробки передач;
- Длина 1796-2069 мм, с сцеплением и коробкой передач;
- Ширина 1006 мм;
- Высота 1195 мм.
Заправочные емкости ямз 238
Основные показатели заправочных емкостей ЯМЗ-238:

- Объем системы смазки — 32 л.
- Объем системы охлаждения, без объема радиатора — 20 л.
- Воздушный фильтр имеет объем — 1,4 л.
- Объем топливного насоса высокого давления — 0,20 л.
- Регулятор, объемом 0,10 л.
Не заправленный двигатель весит:
- 820-1010 кг, исключая вспомогательное оборудования;
- 880-1070 кг, включая комплект вспомогательного оборудования;
- 1170-1385 кг, включая коробку передач, сцепление и комплект вспомогательного оборудования.
Заправочная емкость двигателя
- объем системы смазки двигателя: 24-32 литра, исключая масляный радиатор;
- объем системы охлаждения: 17-20 литров, исключая радиатор;
- Воздушный фильтр имеет объем 1,6-1,4 литра;
- топливный насос, объемом 0,15-0,2 литра;
- Объем регулятора: 0,15 литра;
- коробка передач, объемом 5,5 литра;
- механизм, для дистанционного управления коробкой передач, имеет объем 0,16 литра.
Двигатель ЯМЗ 238 турбо
Двигатели ЯМЗ 238 турбо устанавливаются на автомобили моделей МАЗ 54322 и МАЗ 64227. Востребованность и популярность дизельных двигателей ЯМЗ 238 объясняется надежностью и высокими показателями мощности. Это обусловлено наличием восьми цилиндров. Также одно из преимуществ в эксплуатации — увеличенный ресурс двигателя ЯМЗ 238 на 15%. Это дает возможность пользоваться транспортом в холодную погоду.
Тяговые показатели двигателя ЯМЗ 238 — это большое преимущество, заключающееся в том, что у двигателя большая номинальная мощность при меньших оборотах коленвала. Кроме того, поскольку доступ ко всем узлам дизеля прост, это делает их удобными в обслуживании и эксплуатации.

Также можно экономить при эксплуатации мотора, за счет использования недорого моторного масла и трансмиссионного масла, это еще один плюс дизельного двигателя ЯМЗ 238. За счет повышенной приемистости дизеля, тяговые показатели машины также повышаются, что немаловажно при транспортировки тяжелых грузов.
Основные показатели ЯМЗ 238
ЯМЗ 238 — дизельный, 8-цилиндровый двигатель. Расположение цилиндров V-образное, турбонаддув, жидкостное охлаждение, непосредственный впрыск топлива, четырехтактный, с воспламенением от сжатия. На транспортном средстве установлен теплообменник типа «воздух-воздух» с промежуточным охлаждением наддувочного воздуха.

- Диаметр установленных цилиндров 130 мм.
- Объем рабочих цилиндров 14,86 л.
- Ход поршня 140 мм.
- Мощность двигателя 300 кВт (л.с).
- Частота вращения 2000 об/мин.
- Степень сжатия 16,5.
- Максимальный крутящий момент 1274 Н•м (или 130 кгс•м).
- Достигаемая частота при максимальном крутящем моменте 110-1300 об/мин.
- Минимально допустимый удельный расход топлива 195 г/кВт•ч (или 195 г/л.с.•ч)
- Используемое сцепление ЯМЗ-238ВК7
- Габариты двигателя — 2,26х1 и 0,45х1,10 м.
- Масса двигателя — 1615 кг.
- Модель генератора 1702.3771.
- Тип ТНВД 173.6-01.
- Применяется на самосвалах КрАЗ-7133Сб и КрАЗ-7133С4;
- Сдельном тягаче КрАЗ-64431.
Применение двигатель ЯМЗ 238
Двигатели ЯМЗ 238 турбо используют более чем в 300 изделиях российского, украинского и белорусского производств, включая такие машины: железнодорожные краны, самосвалы, путиремонтные машины. Так же устанавливают дизельные двигатели этой серии на автогрейдеры, трубоукладчики, промышленные машины и дорожно-строительную технику, включая фронтальные погрузчики; и используются в дизельных электростанциях. Выбросы отработанных газов двигателя, подходят под экологические стандарты Европы.

В зависимости от температурных условий подбирается топливо для ЯМЗ 238 турбо. Смазки и масла должны соответствовать определенной марке, и быть без содержания различных кислот, воды и примесей. Масла должны позволять двигателю работать без перебоев и защищать его от коррозии и окислительных воздействий.
Для обеспечения хорошей проводимости тепла от нагретых деталей двигателя, необходимо использовать охлаждающую жидкость. Однако возможно использовать мягкую чистую воду, главное, чтобы не оставляла накипь на деталях системы охлаждения двигателя.
Первый пуск нового двигателя ЯМЗ
Перед пуском двигателя, нужно тщательно его подготовить, в соответствии со всеми указанными требованиями по эксплуатации. Перед тем, как начать работать с новым двигателем ЯМЗ 238 турбо обязательно нужно убедиться в отсутствии посторонних предметов внутри и снаружи деталей, а также очистить и удалить от пыли и смазки.

Процесс подготовки к пуску двигателя включает в себя проверку системы охлаждения, состояния подвески, питания и смазки. Все соединения и детали должны находится на своих местах, чтобы обеспечить стабильную работу двигателя, механизма, который управляет подачей топлива и остальных узлов двигателя ЯМЗ 238 турбо.
Частые неисправности двигателя ямз 238
Рассмотрим случаи, когда двигатель не запускается, или же запускается с трудом.
Если двигатель не заводится, нужно проверить наличие топлива в баках. Если его нет, заполните баки топливом и прокачайте топливную систему, чтобы удалить из нее воздух. Прокачка производится подкачивающим топливным насосом. Перед прокачиванием отворачиваем пробку спуска воздуха на двигателе.

Прокачивание производится до тех пор, пока топливо не начнет выходить без пузырьков воздуха. Применяемое для двигателя дизельное топливо, должно быть в соответствии с ГОСТом 4749-49. Разрешено использование сернистого топлива (ГОСТ 305-62) в работе двигателя, но обязательно применить дизельное масло с присадкой ВНИИ НП-360 -6%. Зимой применяется топливо Дз и З, а летом ДЛ или Л. При очень низкой температуре рекомендуется использовать топливо ДА или А.
Масло Дп-8 целесообразно применять зимой. Дп-11 применяют летом используя присадки ВНИИ НП-360 или ЦИАТИМ-339.
Правильная сборка ямз 238
Когда собирают двигатели ЯМЗ 238, предварительно собранные узлы и детали устанавливаются на его блок цилиндров. Гильзу без резиновых колец подбирают в соответствии с техническими условиями, чтобы она ставилась небольшим нажатием руки. Гильзы должны быть без уплотнительных колец и подходить по высоте бурта.
Если при осмотре мест установки уплотнительных колец они оказались сильно поражены коррозией, то их необходимо зачистить и заполнить эпоксидной смолой в нижней части блока. Все агрегаты и детали протирают салфеткой и устанавливаются чистыми. Не рекомендуется использовать текстильные материалы, потому что их волокна, оставаясь на поверхности засоряют масляные каналы. Если масляные каналы все же засорились, их промывают дизельным топливом, после его необходимо продуть сжатым воздухом.

Перед установкой все детали предварительно подбирают, подгоняя друг к другу. Сальник вала ведомой шестерни устанавливают с помощью оправки в блок цилиндров. Когда устанавливают привод топливного насоса, до этого установленный сальник предохраняют оправкой, которую надевают на свободный конец вала. Для того, чтобы толкатели двигателя легко поворачивались на осях, без заедания, их нужно установить пятой в сторону окна расположенном в блоке цилиндров под штангу толкателей. Сами толкатели, перед сборкой должны быть протерты и смазаны.
Перед установкой в блок, распределительный вал нужно протереть салфеткой и покрыть применяемым для двигателя маслом. При установки шестерен газораспределения следят тем, чтобы на торцах шестерен совпали метки. Так же чтобы были в норме зазоры между упорным фланцем и торцом шейки вала. Для того, чтобы установить распределительный вал, нужно совместить установочную метку Л с установочной меткой П.
После установки распределительного вала не должно быть никаких заеданий. Когда устанавливают коленчатый вал в блок цилиндров, то вручную ввертывают болты крышек, на одну-две нитки. Затяжка болтов начинается с середины и завершается по краям. Регулировка осевого зазора коленчатого вала происходит подбором упорных шайб. Их устанавливают с двух сторон на передний коренной подшипник.

Чтобы предохранить сальник коленчатого вала от повреждения, нужно одеть оправку на передний конец коленчатого вала, и смазать наружную поверхность дизельным маслом.
Когда устанавливается полумуфта, нужно проверить совмещение рисок «0» на полумуфте и фланце. Соединение автоматической муфты и полумуфты вала ведомой шестерни, производится при помощи текстолитовой шайбы.
Когда собирают коренные подшипники двигателя ЯМЗ 238, то напрессовывают деревянные уплотнители с помощью молотка. Если над плоскостью разъема выступают концы уплотнителей, их снимают ножом. Обязательно нужно смазать поршень, перед установкой в блок. Предварительно салфеткой протирают все рабочие поверхности поршня, вкладышей, гильзы, поршневых колец, шеек. Предохранительные наконечники предварительно ставят на шатунные болты. Если двигатель собран правильно, то коленчатый вал, должен плавно проворачиваться ручным рычагом.
ЯМЗ 238 фото подборка



avto-motor.com.ua
Технические характеристики двигателя ЯМЗ 238 — Лада мастер
Огромный опыт и солидная научно-производственная база позволили Ярославскому моторному заводу выстоять в условиях жесткой рыночной конкуренции. Несмотря на внушительное количество дизельной техники из стран Азии, которая отличается демпинговыми ценами и агрессивной рыночной политикой, моторы ЯМЗ на протяжении 40 лет исправно служат на грузовиках и специальной технике, нисколько не уступая лучшим образцам японских и американских производителей.
Содержание:
- Двигатели ЯМЗ для грузовой и специальной техники
- Моторы ЯМЗ 238, модельный ряд
- Ремонт и устройство двигателей ЯМЗ 238Ф
- Основные данные дизеля ЯМЗ 238
Двигатели ЯМЗ для грузовой и специальной техники

Моторы производства Ярославского моторного завода и силовые агрегаты, которые имеют в основе их конструкцию, выходят в нескольких вариантах, но независимо от конфигурации отмечают их стабильность в работе, надежность и неприхотливость в эксплуатации. Моторы ЯМЗ выпускаются как в V образном, так и в рядном исполнении. V6, V 8 и V 12 — самые востребованные двигатели для грузовой автомобильной техники. Есть варианты с турбиной, а также специально адаптированные версии под холодный и тропический климат. Сегодня используют около 13 разновидностей дизелей ЯМЗ, а количество модификаций — около 260.
Используются моторы ЯМЗ в грузовых автомобилях МАЗ, Урал, КрАЗ, МЗКТ, практически на всех отечественных тракторах, комбайнах и автобусах, а также на ряде специальной техники. Двигатели ЯМЗ имеют рабочие объемы от 11 до 26 литров, в зависимости от применения, мощность может составлять от 150 до 800 лошадиных сил. В таблице приведены цены на силовые агрегаты ЯМЗ 238 и их применяемость.
Моторы ЯМЗ 238, модельный ряд

Самым применяемым силовым агрегатом в грузовиках и тракторах стал ЯМЗ 238 Евро 0. С точки зрения технологии 238-я модель очень похожа на 236, разве только конструкцией блока цилиндров и особенностями впускных и выпускных коллекторов. Модель 236 имеет шесть цилиндров и адаптированный коллектор, в то время, как 238 — модель восьмицилиндровая с особым впускным коллектором. В базе все модели ЯМЗ 238 не имеют турбонаддува. Мощность базового двигателя составляет 180 лошадиных сил у дефорсированной версии мотора, а наиболее мощная модель ЯМЗ 238М2 имеет 240 лошадиных сил. Эти двигатели нашли применение не только в автомобилях и автомобильных шасси.

Техника, на которой применяется силовой агрегат ЯМЗ 238 довольно разнообразна:
- скреперы;
- грейдеры;
- бульдозеры;
- тракторы;
- путевые машины;
- сельскохозяйственная техника;
- автопоезда для подземных работ.
Ремонт и устройство двигателей ЯМЗ 238Ф

В автомобильной технике чаще всего применяются силовые агрегаты ЯМЗ 238 Н и ЯМЗ 238 Ф с турбонагнетателем. Первый мотор производился с 1974 года, второй с 1978. Эти двигатели устанавливали на грузовые автомобили МАЗ 516Б, 515Б второго поколения, на седельные тягачи МАЗ 504В и тягачи четвертого поколения 5432 и 6422.
V-образный мотор устроен по классической схеме с углом развала цилиндров 90˚. Восьмицилиндровые силовые агрегаты ЯМЗ 238 имеют преимущества не только в мощности перед шестицилиндровым ЯМЗ 236. Они более сбалансированы в работе, что влияет на их ресурс. Более уравновешенный коленчатый вал модели 238 равномернее воспринимает нагрузку, что сказывается на износе коренных и шатунных шеек, коренных опор коленчатого вала. На двигателе ЯМЗ 238Ф установлена турбина, которая позволила поднять мощность двигателя до 350 лошадиных сил.

Компрессор установлен в задней части мотора над маховиком, а его рабочая ось перпендикулярна коленчатому вала двигателя. Блок цилиндров, головки и топливная аппаратура у этих двух двигателей одинакова. Отличия их только в системе выпуска и впускном коллекторе, в котором расположен турбонаддув ТКР14. Выпускные патрубки каждого из ряда цилиндров объединены в два рукава, которые подключены к входным отверстиям турбины. Лопаточный нагнетатель способен развивать давление во впускной системе до 0,18МПа
Основные данные дизеля ЯМЗ 238

Силовые агрегаты Ярославского завода заслужили репутацию мощного и неприхотливого в обслуживании силового агрегата. Технические характеристики двигателя ЯМЗ 238 приведены в таблице вместе со скоростными характеристиками на примере модели М2. На этом агрегате турбонаддув не предусмотрен.

Дизель ЯМЗ 238М2 устанавливается, как правило, на самосвалах, дорожной и сельскохозяйственной технике, а также на других автомобилях, где применение турбонаддува экономически нецелесообразно. Восьмицилиндровые дизели имеют только одно слабое место — система фильтрации воздуха. Основной износ цилиндро-поршневой группы происходит как раз за счет абразивных кремниевых частиц, которые попадают в систему впуска.

Надежные дизели Ярославского завода соответствуют европейским нормам по выбросу вредных веществ, поэтому составляют достойную конкуренцию как европейским, так и азиатским брендам.
ladamaster.com
Двигатель ЯМЗ 238
- Подробности
- Категория: Двигатели
- Опубликовано: 04.06.2016
ЯМЗ 238 — семейство дизельных двигателей, выпускаемых на ярославском заводе «Автодизель». Используется в большегрузных машинах и различной спецтехнике.
В марте 1959 г. завершилась сборка первого экспериментального образца восьмицилиндрового дизельного мотора ЯМЗ-238. Не прошло и одного года, как были выполнены его испытания и отработана конструкция. Причем, ни внешне, ни внутренне он не напоминал первые образцы, так были глубоко изменены почти все детали и узлы. На плоские в прошлом концы толкателей были установлены ролики, крышки коренных подшипников стали крепиться не двумя болтами, а четырьмя и т. д. Июнь 1962 г. ознаменовался началом серийного выпуска моторов ЯМЗ-238, мощность которых составила 177 кВт. С момента, когда появился первый образец, и до начала серийного выпуска изделия не прошло и трех лет, что стало своеобразным рекордом мира в практическом моторостроении. Семейство восьмицилиндровых, четырехтактных дизельных моторов ЯМЗ-238 представлено многочисленными модификациями, отличие которых друг от друга состоит преимущественно в разной комплектации и настройке топливного контура (аппаратуры).
Описание
ЯМЗ 238 — дизельные моторы, имеющие V-образное (под углом 90о) расположение цилиндров (по 4 в одном ряду), с турбонаддувом и без него, до сих пор применяются и, более того, находят применение в качестве силовых установок во вновь создаваемой технике. В основу системы питания двигателя заложен механический ТНВД, одна насосная секция которого производит непосредственный впрыск в свой цилиндр. Местом расположения насоса вместе с впускными трубопроводами является развал между цилиндрами.
Система клапанного механизма OHV построена по верхнеклапанной, нижневальной схеме. Два клапана в каждом цилиндре расположены в головке блока и действуют посредством коромысел и штанг благодаря нижнему распределительному валу, который находится сверху коленчатого вала, и приводится во вращение двумя шестернями, размещенными спереди мотора, под специальной крышкой.
Шатунные шейки коленвала составляют между собой прямой угол, что вызывает равномерность вспышек через 90 градусов поворота. Конструкция шатунов выполнена со смещением. Материалом гильз цилиндров является высокопрочный чугун. На впускных и выпускных клапанах стоят по две пружины. Посредством специальных замков пружинные тарелки соединены с клапанами, что заставляет их вращаться на работающем моторе. Охлаждается двигатель посредством жидкости. Изготовление стального распределительного вала производится методом штамповки. Для каждого клапана на нем есть индивидуальный кулачок, который передает движение на него посредством штанг через роликовые толкатели. Способом изготовления коленчатого вала из легированной стали также является горячая штамповка. Местом размещения 8-ми плунжерного рядного топливного насоса высокого давления (ТНВД) служит развал, образованный цилиндрами. Импульс он получает через центробежную муфту, которая автоматически регулирует опережение подачи дизтоплива. Материалом поршней является высококремнистый алюминиевый сплав, в днищах которых расположены камеры сгорания. Каждый поршень снабжен комплектом колец: тремя компрессионными и одним маслосъемным.
Характеристики
class=»eliadunit»>
Величина рабочего объема двигателя составляет почти 15 литров, а значение степени сжатия достигает 16,5. Коленчатый вал вращается при номинальной мощности со скоростью 35 об/сек. Базовый мотор развивает мощность 240 л. с. при 2100 об/мин и крутящий момент 882 Н·м при 25 об/сек.
Каждая модификация этого двигателя имеет свои показатели мощности и крутящего момента, которые изменяются от 235 л. с. при 28,3 об/сек и 1108 Н·м при 21,7 об/сек у ЯМЗ-238НД3 до 420 л. с. при 31,7 об/сек и 1764 Н·м при 20 об/сек у ЯМЗ-7513.
Область применения
Дизельные моторы ЯМЗ 238 востребованы и популярны из-за своей надежности и высоких показателей мощности. Еще одним эксплуатационным достоинством является увеличенный на 15% ресурс силового агрегата.
Атмосферные двигатели в основном применяются в качестве силовых установок большегрузных автомобилей, тягачей, самосвалов и автопоездов на базе КамАЗов, МАЗов, КрАЗов и Уралов. Турбированными моторами оснащены модели автомобилей МАЗ 54322 и МАЗ 64227.
Вообще, моторами ЯМЗ 238 турбо оборудованы свыше трехсот изделий, произведенных в России, Украине и Беларуси, которые представлены железнодорожными кранами, самосвалами, путеремонтными машинами. Так же они стоят на автогрейдерах, трубоукладчиках, промышленных машинах, дорожно-строительной технике, фронтальных погрузчиках и дизельных электростанциях.
Эти изделия Ярославского моторного завода востребованы до сегодняшнего времени, поскольку обладают неплохой надежностью, высокой ремонтопригодностью, обеспеченностью запчастями и привлекательной ценой по сравнению с иностранными аналогами. Эти же причины (особенно последняя) служит основанием для установки двигателей ЯМЗ-238 и их модификаций на технику, создаваемую в эти дни.
class=»eliadunit»>tehnorussia.su
