Система смазки двигателя — устройство, профилактика неисправностей
Назначение системы смазки двигателя, её устройство, элементы (поддон картера, маслозаборник, насос, фильтр, датчик давления, редукционные клапаны), профилактика неисправностей, техническое обслуживание.
Система смазки двигателя автомобиля или смазочная система двигателя (ССД) – совокупность механизмов авто, которые участвуют в снижении трения между сопряженными деталями ДВС, минимизируют затраты мощности ДВС на трение. Принцип работы системы смазки двигателя заключается в обеспечении подачи смазочных материалов (моторного масла) ко всем трущимся деталям ДВС на всех режимах его работы. ССД работает циклично.
Между двумя поверхностями движущихся тел формируется масляная пленка. Она разделяет движущиеся поверхности и уберегает трущиеся поверхности от дополнительных нагрузок.
Назначение системы смазки двигателя
Система смазки направлена на поддержание непрерывной подачи к подшипникам смазочных материалов и непосредственное решение следующих задач:
- Уменьшение трения между сопряженными деталями.

Причем компоненты системы направлены на уменьшение всех видов трения – сухого – непосредственного соприкосновения деталей друг с другом, жидкостного – с разделением масла, полужидкостного (масляный слой присутствует, но полного разделение трущихся поверхностей маслом нет). Сухое трение в чистом виде на практике – самое редкое. Его можно встретить при деформации контактирующих тел (например, подшипников), при разрушении граничных плёнок в местах повышенного давления. Гораздо же более распространённая ситуация – полужидкостное и жидностное трение. С жидкостным трением детали, например, часто встречаются при высоких окружных скоростях при попадании масла в клиновой зазор между цапфой и вкладышем подшипника скольжения. - Отвод тепла и охлаждение деталей двигателя. Осуществляется потоком жидкости из системы охлаждения. Сначала охлаждается масло, а затем уже сами детали ДВС.
- Освобождение двигателя от продуктов износа механизмов в отработанном масле (в виде прямоугольников, «листочков», пыли).
Наиболее распространён усталостный износ. Он возникает при трении качения и трении скольжения. Также существует адгезионный, абразивный, коррозионный износ. - Удаление нагара. Чаще всего нагар характерен для транспортных систем с прямым впрыском топлива (топливо идет непосредственно в камеру сгорания, отсутствует этап промывки клапанов). Также проблема нагара актуальна в ситуациях, если транспортное средство используется только время от времени, есть постоянные простои, или при использовании авто в холодное время года его владелец не прибегает к прогреву двигателя.
- Защита деталей двигателя от коррозии. Смазочные вещества в системе помогают ей противостоять окислением под влиянием кислорода.
- Чтобы решить поставленные задачи, давление масла в ССД должно быть достаточно высоким. Масла должно хватит для обеспечения жидкостного и отвода от поверхностей тепла.
Устройство системы смазки
Элементы системы смазки двигателя:
- Поддон картера.
Резервуар для хранения масла. Именно здесь происходит сбор и аккумуляция масла в системе смазки. Также в поддоне картера скапливаются мелкие абразивные частички при трении металлических элементов друг о друга. - Маслозаборник. Место сбора масла для дальнейшей циркуляции масла в системе после поддона картера. Устанавливается не на самом дне, а на некотором расстоянии от него. Благодаря этому абразивные частицы, образовавшиеся в системе, легко удалить. Достаточно просто снять поддон. Некоторые маслозаборники комплектуются магнитами. Это удобно для быстрого сбора и удаления металлической стружки.
- Масляный насос – приспособление, главная функция которого – закачивать в систему масло. Запускаться насос может разными способами. Например, от распредвала, от коленвала.
- Масляный фильтр. Устройство выполняет функцию очистителя масла от продуктов нагара, загрязнений и износа.
- Датчик давления. Он работает в связке с указателем давления в системе смазки двигателя, сигнальной лампой на панели приборов.

- Радиатор (стоит не на всех транспортных средствах). Комплекс трубок и пластин для отвода тепла, охлаждения масла.
- Редукционные клапаны. Помогают поддержать стабильное давление. Размещены в масляном фильтре, насосе.
Масляные насосы
Масляные насосы в системе могут быть шестеренными, роторными, героторными (с внутренним и внешним мотором), поршневыми, шиберными крыльчатыми. Самые популярные – шестерённые модели.
На практике шестеренчатые модели показывают себя как наиболее производительные. Конструкция шестерённых насосов при этом бывает очень разной. На транспорте могут устанавливаться конструкции, где шестерни располагаются рядом (решения с наружным зацеплением) и друг в друге (шестерня в шестерне), т.е. зацепление – внутреннее.
Насосы с шестернями наружного зацепления более компактные (их можно легко поместить в ограниченном пространстве) и износостойкие в силу небольшой величины скорости скольжения в зацеплении и, соответственно, небольшого давления на зубья.
И это их существенные преимущества перед насосами с наружным зацеплением. При этом большинство производителей выпускает насосы с внешним зацеплением. Конструкция «шестерня в шестерне» более дорогостоящая, так как более сложная в исполнении, при этом производитель не может гарантировать такой же КПД, как в случае с решением с наружным зацеплением.
Масляные фильтры
Существенные различия – и в масляных фильтрах, которые могут входить в ССД. Они напрямую влияют на заправочный объем системы смазки двигателя, пропускную способность, скорость и эффективность очистки.Наиболее быстро масло и очищают полнопроточные (часто их называют просто – проточными) фильтры. Через полнопроточные фильтры проходит всё количество масла, всасываемое насосом. Наиболее качественную очистку обеспечивают частично проточные фильтры. Через них проходит не всё масло, а только его часть.
Если же важна и скорость, и качество, помогут комбинированные фильтрующие системы. Они дороже, сложней, но фактически они представляют собой систему частичнопоточного и полнопоточного фильтров.
При этом самые практичные комбинированные системы с обратным и перепускным клапаном и двойной вальцовкой. На картинке представлен типичный фильтр такого типа (решение компании Robert Bosch GmbH).
Среди явных плюсов системы смазки двигателя – возможность обеспечить непрерывную подачу масла в ДВС даже при очень вязком масле и при низкой температуре воздуха, быстрое наращивание давление и, соответственно, оперативное смазывание при перезапуске, а также защита от холостого хода фильтра после запуска ДВС.
Виды систем смазки
Схема системы смазки двигателя может быть разной. Классификацию при этом можно провести по различным признакам.- По способу подачи масла: с подачей масла под давлением, с разбрызгиванием (самотёком), комбинированный вариант. Комбинированный вариант хорош тем, что детали, испытывающие большие нагрузки, можно обрабатывать максимально основательно — под давлением, а узлы, функционирующие в простых операциях – самотёком. В этом случае не страдает ни качество, ни скорость.

- По типу вентиляции картера: картерные газы могут удаляться сразу в атмосферу (через сапун) или направляться в цилиндры на дожигание (системы с закрытой вентиляцией). Замкнутая (закрытая) система вентиляции является наиболее экологичной.
- По способу охлаждения масла («отработки»). Охлаждение может проводиться в радиаторе, поддоне картера. Для маломощных двигателей достаточно охлаждения в поддоне, для мощных ДВС – подходящий вариант – решения с охлаждением в масляном радиаторе.
- По типу картера. Хорошо известны схемы с «сухим» и «мокрым» картером. Решения с сухим картером более конструктивно сложные. У них есть отдельный бак для масла. Масло стекает в поддон, но не аккумулируется, а поступает в бак, и картер всегда сухой. Решение более сложное и дорогое в реализации, но зато надёжная смазка гарантировано дает при интенсивном движении по наклонным поверхностям. Поэтому популярный вариант устройства системы смазки двигателя у внедорожников, строительной спецтехники, транспортных средств для работы в горах – именно решение с «сухим» картером.

Аналогичное же решение популярно у спорткаров.
«Сухой» картер для производителя – это целый спектр преимуществ. ДВС можно установить ниже, чем обычно (идеальный вариант, чтобы снизить центр тяжести транспортного средства и упростить прохождение поворотов. В СДД оптимизируется температурное регулирование. Масло удерживается на большом расстоянии от коленвала, и ДВС способен развивать впечатляющую мощность.
Возможные неполадки
Наиболее распространёнными неполадками, с которыми встречаются автомобилисты, является выход из строя деталей масляного насоса, фильтров (чаще – из-за износа), потеря герметичности узлов, нарушение регулировок или механические проблемы с редукционными клапанами.Неисправности системы смазки двигателя, как правило, связаны с двумя группами неполадок.
- Неполадки, которые приводят к понижению давления масла. Они могут быть результатом деформации, износа, повреждения масляного насоса, низкого уровня масла, засорения фильтра, выхода из строя датчика масла, заедания редукционного клапана.

- Неполадки, которые приводят к повышенному расходу масла. Это результат выхода из строя газораспределительного механизма, износа прокладки насоса, засорения вентиляции картера, повреждения КШМ (кривошипно-шатунного механизма), ослабления масляного фильтра (или изначально ошибки при его закреплении).
Для определения расхода масла у современных автомобилей с автоматикой есть специальная контрольная лампа на панели приборов. Для определения проблемы у транспортных средств без такой лампы традиционно применяют щуп.
Износ и деформация
Если диагностика показывает, что детали износились, то есть отслужили свой срок эксплуатации, в большинстве случаев не стоит пытаться восстанавливать их. Её нужно менять.
У прокладок, колпачков, сальников фильтров есть ресурс (указан в документации на детали), и, если их не заменить, количество проблем можно только увеличить. Например, несвоевременная замена фильтра приводит к критической концентрации вредных примесей, что может привести к деформации не только самого фильтра, но и корпуса. К деформации корпуса может привести, например, износ наружной поверхности втулок насоса.Кстати, о деформации. Она может наступить гораздо раньше самого износа. Но, чтобы решить проблему, придётся не просто менять деформированную деталь, но и устранять причину, которая привела к этой неприятности.
Например, при механической деформации часто корень проблемы – в неисправностях иных узлов, взаимодействующих с ССД. В частности, деформация деталей системы смазки может быть ответной реакцией на выход из строя сайлентблоков, нарушение крепления ДВС.
Впрочем, здесь важна именно комплексная диагностика. Сразу «обвинять» крепление ДВС или сайлентблоки не стоит. Например, в ситуации, когда деформированы детали клапанной группы ГРМ, часто виновато качество масла.
Профилактика неисправностей
Самая эффективная профилактика неисправностей – регулярное квалифицированное техобслуживание:- Систематическая замена масляного фильтра.
- Систематическая замена моторного масла.
Важно! Вместе с заменой масляного насоса всегда важно не лениться заменять масляный фильтр.
Важный элемент профилактики – это и грамотная эксплуатация ДВС. Особенно важно корректно запускать двигатель в морозное время. При низких температурах вязкость масла густеет, и путь масла к трущимся деталям ухудшается. Прогрев двигателя перед запуском в этой ситуации – необходимая операция.
Своевременное техническое обслуживание и профилактика – это обеспечение смазочными веществами всех деталей, вступающих в трение, защита ДВС от перегрева, остаточных продуктов сгорания, гашение колебаний и подавление шумов.
Система смазки двигателя. Общее устройство и принцип действия
Видео: Система смазки двигателя внутреннего сгорания (ДВС) в 3D. Как работает система смазки?
Назначение системы смазки заключается в снижении трения сопряженных деталей двигателя. Кроме того система смазки выполняет и побочные функции — понижает температуру деталей двигателя, удаляет продукты износа и нагара, защищает детали двигателя от коррозии.
Общее устройство
В систему смазки двигателя входят:
- поддон картера с маслозаборником
- масляный насос
- масляный радиатор
- масляный фильтр
- соединительные магистрали и каналы
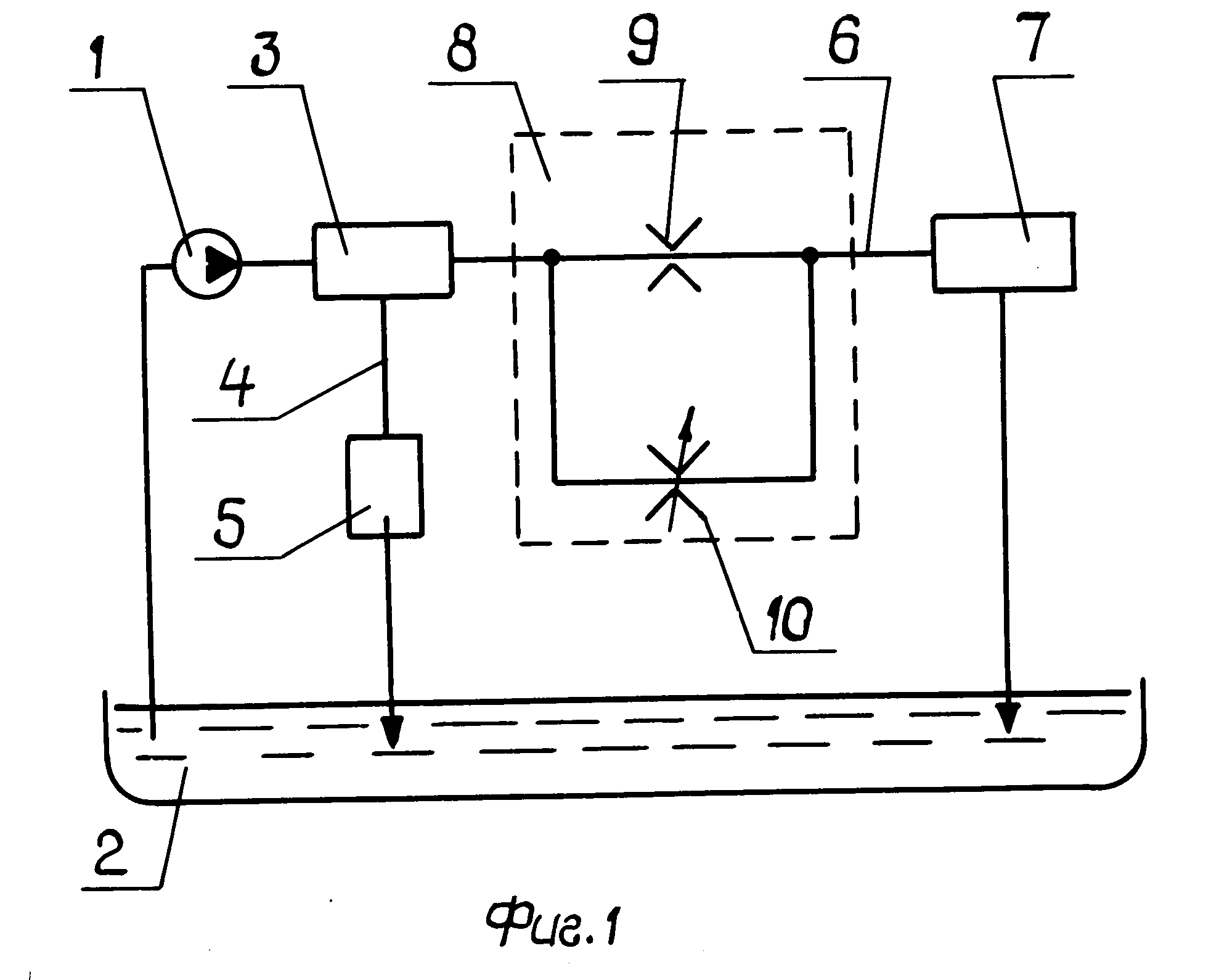
Рис.
Схема системы смазки двигателя: 1 — масляный поддон; 2 — датчик уровня и температуры масла; 3 — масляный насос; 4 — редукционный клапан; 5 — масляный радиатор; 6 — масляный фильтр; 7 — перепускной клапан; 8 — обратный клапан; 9 — датчик давления масла; 10 — коленчатый вал; 11 — форсунки; 12 — распределительный вал выпускных клапанов; 13 — распределительный вал впускных клапанов; 14 — вакуумный насос; 15 — турбонагнетатель; 16 — стекание масла; 17 — сетчатый фильтр; 18 — дроссель.
Предназначением поддона картера двигателя является хранения масла. Проконтролировать уровень масла в поддоне можно используя щуп, а также датчик уровня и температуры масла.
Масляный насос служит для закачки масла в систему. В действие он приводится коленчатым, распределительным или дополнительным приводным валом. Самыми распространенными являются масляные насосы шестеренного типа.
Рис. Односекционный шестеренный масляный насос со встроенным редукционным клапаном:
1 — впускная полость; 2 — нагнетательная полость; 3 — редукционный клапан
От продуктов нагара и износа масло очищается масляным фильтром.
Очищение моторного масла достигается фильтрующим элементом, замену которого рекомендуется производить одновременно с заменой масла.
Охлаждение и нагрев моторного масла производит масляный радиатор. Через масляный радиатор пропускается охлаждающая жидкость, которая нагревает масло в холодном двигателе и охлаждает его, когда двигатель горячий. Масло в двигателе должно иметь температуру выше 100°С чтобы из него выпаривалась остаточная вода, но его температура не должна превосходить границу в диапазоне от от 138°С до 148°С.
Давление масла в системе контролируют датчики установленные в масляной магистрали. Датчик направляет сигнал к лампе на приборной панели. Также информация о давлении может поступать в систему управления двигателем. При снижении давления сверх нормы, система управления должна остановить двигатель.
Современные двигатели могут иметь датчики уровня и температуры масла. Поступающая от них информация также отображается на приборной панели.
Постоянное рабочее давление в системе смазки поддерживается с помощью одного или нескольких редукционных (перепускных) клапанов, которые устанавливают в масляных насосе и фильтре.
Принцип действия системы смазки двигателя
Самой распространенной системой смазки двигателей в настоящее время является комбинированная. В такой системе одни детали смазываются под давлением, а другие – самотеком или разбрызгиванием.
Двигатель смазывается циклически. После его запуска, масло закачивается в систему масляным насосом. Насос создает необходимое давление и подает масло в масляный фильтр, в котором происходит его очистка от механических примесей. Далее масло по каналам подается к:
- шатунным шейкам коленчатого вала
- коренным шейкам коленчатого вала
- опорам распределительного вала
- верхней опоре шатуна для смазки поршневого пальца
К рабочей поверхности цилиндра масло поступает из отверстий в нижней опоре шатуна или от специальных форсунок.
Другие части двигателя смазываются разбрызгиванием, т.е. часть масла вытекающего из зазоров в соединениях разбрызгивается подвижными частями КШМ и ГРМ. При разбрызгивании масла создается масляный туман, который при оседании смазывает детали двигателя.
Масло стекает в поддон картера двигателя под действием силы тяжести, после чего цикл смазки повторяется.
Также в некоторых автомобилях применяется система смазки с сухим картером. В такой системе основной запас масла содержится в автономном масляном баке, откуда подается в главную масляную магистраль двигателя нагнетающей секцией масляного насоса. Такие системы обеспечивают бесперебойный подвод масла к трущимся деталям двигателя на длительных крутых подъемах, спусках и при кренах без какого-либо масляного голодания и утечек масла через сальники коленчатого вала. Кроме того, применение системы с сухим картером позволяет уменьшить высоту двигателя, снизить расход масла и сохранять его физико-химические свойства в течение более длительного периода благодаря возможности удаления из масла картерных газов.
Рис. Типичная схема смазочной системы двигателя с сухим картером:
1 — масляная центрифуга; 2 — двигатель; 3 — полнопоточный фильтр грубой очистки; 4 — масляный радиатор; 5 — перепускной клапан; 6 — масляный бак; 7 — змеевик для подогрева масла; 8 — предпусковой маслозакачивающий насос; 9 — маслопрцемный сетчатый фильтр; 10, 11 — нагнетающая и откачивающая секции основного масляного насоса
Устройство системы смазки двигателей ГАЗ-69, ГАЗ-69А, ГАЗ-63 и ГАЗ-51А, ЗИЛ-157К, ЗИЛ-157 и ЗИЛ-151, ЗИЛ-164А, ЗИЛ-164 и ЗИЛ-150, ЯАЗ-М-206Б
Ознакомиться с особенностями устройства двигателей отечественных автомобилей ГАЗ, ЗИЛ, УРАЛ И ЯАЗ можно в следующей записи.
Система смазки двигателя ВАЗ
Система смазки двигателя ВАЗ — комбинированная, т.е. смазывание происходит одновременно двумя способами: под давлением и разбрызгиванием. При температуре масла 85 °С и частоте вращения коленвала 5600 мин-1, давление в системе смазки составляет от 3,5 до 4,5 кгс/см2.
При минимальной частоте вращения коленчатого вала (от 850 до 900 мин-1) минимальное давление должно составлять не менее 0,5 кгс/см2. Вместимость системы смазки, включая масло в масляном фильтре, составляет 3,75 л.
Рис. Схема системы смазки двигателя ВАЗ:
1 — масляный насос; 2 — масляный картер: 3 — канал подачи масла от насоса к фильтру; 4 — горизонтальный канал для подачи масла от фильтра в масляную магистраль; 5 — канал для подачи масла к шестерне привода масляного насоса и распределителя зажигания; 6 — канал в шейке коленчатого вала; 7 — передний сальник коленчатого вала; 8 — канал подачи масла от масляной магистрали к коренному подшипнику и к валику привода масляного насоса и распределителя зажигания; 9 — шестерня привода масляного насоса и распределителя зажигания; 10 — валик привода масляного насоса и распределителя зажигания; 11 — канал для стока масла; 12 — канал в кулачке распределительного вала; 13 — магистральный канал в распределительном валу; 14 — канал в опорной шейке коленчатого вала; 15 — кольцевая выточка на средней опорной шейке распределительного вала; 16 — крышка маслоналивной горловины; 17 — наклонный канал с головке цилиндров; 18 — вертикальный канал в блоке цилиндров; 19 — масляная магистраль; 20 — датчики давления и контрольной лампы давление масла; 21 — канал подачи масла к коренному подшипнику; 22 — канал подачи масла от коренного подшипника к шатунному; 23 — указатель уровня масла; 24 — масляный фильтр; 25 — перепускной клапан масляного фильтра; 26 — противодренажный клапан
Подробней система смазки двигателя ВАЗ рассмотрена нами в следующей статье.
ВИДЕО-УРОК: Система смазки автомобиля
Система смазки двигателя
Двигатель внутреннего сгорания состоит из множества трущихся друг о друга деталей. Процесс трения деталей называется фрикциями. В двигателях внутреннего сгорания фрикции являются отрицательными процессами, так как напрямую вызывают износ деталей и уменьшение КПД двигателя. Для уменьшения фрикционного износа, в двигателях применяется система смазки трущихся деталей. Для двигателей внутреннего сгорания применяется самая распространенная система смазки двигателя – комбинированная. Для двухтактных двигателей – топливная, то есть моторное масло смешивается с топливом. Во время работы подмешанное масло смазывает узлы и детали двигателя.
В комбинированной системе смазки масло может выполнять и охлаждающие функции. Для охлаждения самого моторного масла в некоторых системах применяются масляные радиаторы, которые включаются в контур забора масла и установлены в передней части моторного отсека. Для двигателей небольшого литража применяются теплообменники. Обычно это узел, на который устанавливается масляный фильтр. Теплообменник имеет выходы для подключения контура охлаждения. Процесс охлаждения масла совмещен непосредственно с охлаждением двигателя. Охлаждающая жидкость, проходя через теплообменник, забирает часть тепла от подаваемого в двигатель моторного масла, исключая его перегрев и разложение под действием высоких температур.
В комбинированной системе смазки масло подается под давлением в масляные каналы. Но при этом смазывание происходит как под давлением, так и при помощи образующейся масляной ванночки, разбрызгиванием.
Устройство системы смазки
Комбинированная система смазки ДВС включает в себя несколько основных элементов:
- Поддон
- Масляный насос
- Заборник
- Масляный фильтр
- Контуры подачи масла к деталям и узлам
Поддон
Это конструктивно установленная на блок цилиндров (в нижней части) ёмкость, в которой находится моторное масло. Поддон изготавливается из железа или алюминия. Для исключения образования масляной пены, между поддоном и блоком цилиндров установлена пеногасительная пластина. У поддона имеется резьбовое сливное отверстие. Форма поддона обычно имеет наклонные плоскости, углубление для заборника масляного насоса. Заборник должен устанавливаться с учетом неполного забора масла со дна поддона. Делается это для недопускания попадания частиц мусора скапливающихся на дне поддона в масляный насос.
Контроль уровня масла производится при помощи щупа с делениями, указывающими на допустимое количество. Контроль должен проводиться постоянно и при малейшем изменении уровня, необходимо устранять причины подъема или опускания уровня масла. Повышенный расход масла указывает на отсутствие компрессии в цилиндрах, износ турбины, или износ сальников. Повышенный уровень может свидетельствовать об утечке охлаждающей жидкости в поддон, залегании компрессионных колец.
Замена масла производится строго с учетом рекомендаций производителя. Менять масло на другие марки по API (не рекомендованные производителем) не следует.
Масляный насос
Узел, который подает масло под давлением в систему смазки двигателя. Разновидностей масляных насосов множество (поршневые, шестеренчатые, воздушные и др.). Для двигателей внутреннего сгорания применяются насосы шестеренчатые. Масло нагнетается при помощи двух шестерен, подогнанных друг к другу с минимальным зазором между зубьями. В корпусе насоса находится редукционный клапан, который сбрасывает излишки давления масла. Приводится в действие насос вращающимся коленвалом непосредственно или при помощи цепной передачи. К масляному насосу присоединяется заборник с сетчатым фильтром грубой очистки.
Масляный фильтр
Предназначен для очистки масла от металлических примесей, появляющихся в процессе эксплуатации двигателя, от конденсата воды, от других вредных веществ. Крепится в непосредственной близости к масляному насосу, обычно на резьбовом соединении. Фильтр имеет форму цилиндра с отверстием в центре для подачи масла и отверстиями по краю для подачи отфильтрованного масла в каналы смазки. Существуют фильтры несменные, в таких фильтрах меняется только фильтрующий элемент. Остальные фильтры меняются вместе с заменой масла.
Принцип работы системы смазки
При запуске двигателя начинает вращаться масляный насос, который подает масло в фильтр, далее масло поступает в каналы смазки и распределяется на узлы, которые работают в режиме повышенного износа. Это шейки коленчатого вала (коренные, шатунные), шейки распредвала и в турбированных двигателях пальцы поршней и турбина. Во многих турбированных двигателях стоят специальные форсунки, которые подают масло под давлением на пальцы поршней.
После смазки шеек распредвала, масло образует масляную ванночку в ГБЦ. Этим маслом смазываются бобышки распредвала и толкатели клапанов, клапаны. После увеличения уровня в ванночке, масло по сливным каналам опять поступает в поддон. В поддоне, под действием движущихся шатунов и выдавливания масла из-под вкладышей шеек, образуется масляный туман, который разбрызгивается по стенкам цилиндров. После смазывания цилиндров, оно снимается со стенок маслосъёмными кольцами. Избыточное давление, которое возникает в картере, снимается при помощи сапуна. Сапун представляет собой устройство задержки масла и выпуска воздуха из картера. Выход сапуна подключается к заборнику воздушного фильтра.
Процесс смазки происходит непрерывно, пока работает двигатель, контроль давления масла осуществляется при помощи установленного датчика на выходе фильтра и указателя давления на приборной панели. При малейшем несоответствии давления (мигание лампочки контроля), двигатель немедленно должен быть остановлен.
|
РЕКОМЕНДУЕМ ТАКЖЕ ПРОЧИТАТЬ:
|
Система смазки двигателя — устройство, принцип работы, схема системы, фото и видео
Система смазки двигателя или, как многим она известна, смазочная система, необходима для снижения трения между соприкасающимися деталями силового агрегата, читаем статью устройство двигателя внутреннего сгорания. Кроме выполнения своей главной функции смазочная система также обеспечивает:
- защиту всех деталей двигателя от возникновения коррозии;
- охлаждение двигателя и его деталей;
- вывод продуктов износа и нагара.
Устройство системы смазки двигателя.
Поддон картера.
Данная деталь предназначена для размещения масла. Обычно уровень содержания масла контролируется при помощи датчика показывающего температуру и уровень масла, а также с использованием специального щупа.
Насос для масла.
Необходим для подачи масла из поддона в систему. Данный агрегат осуществляет свою работу при помощи распределительного вала, вала двигателя (коленвала) либо при использовании проводного дополнительного вала. В большинстве случаев на двигателях современных автомобилей используются насосы шестеренного типа.
Фильтр масляный.
Предназначен для производства очистки поступающего масла от продуктов нагара и износа. Процесс очистки происходит при помощи использования элемента фильтрации, который нужно заменять при замене масла.
Масляный радиатор.
Отвечает за охлаждение масла. А происходит это при помощи патока специальной охлаждающей жидкости, поступающей из охлаждающей системы.
Датчик, измеряющий давление.
В такой конструкции используется для контроля за давлением масла. Он расположен в масляной магистрали. Электросигнал поступает от него на приборную панель к контрольной лампе. На современных авто также устанавливают указатель масляного давления. И вместе с ним может устанавливаться температурный датчик масла.
Перепускные (редукционные) клапана.
Нужны для постоянного поддержания давления во всей системе. Обычно клапана ставят непосредственно в системные элементы: масляный фильтр, масляный насос.
Схема системы смазки двигателя.
Работа системы смазки двигателя.
В двигателях автомобилей выпускающихся в настоящее время производители используют комбинированную смазочную систему, в которой смазывание одних деталей происходит при помощи самотека или разбрызгивания, а других деталей под давлением.
Смазочный процесс двигателя происходит циклически: во время работы мотора происходит закачка в систему масла при помощи масляного насоса. Под давлением масло попадает в масляной фильтр, где оно и проходит очистку от различных механических примесей. После чего по специальным каналам масло перетекает к шатунным и коренным подшипникам (шейкам) коленчатого вала, на верхнюю опору шатуна, к опорам распредвала для смазывания поршневого пальца.
Масло при помощи форсунок или через специальное отверстие в опоре шатуна подается к цилиндру на его рабочую поверхность. А все оставшиеся механизмы двигателя смазываются при помощи разбрызгивания. Та часть масла, которая проходит через промежутки между соединениями, разбрызгивается при помощи движущихся частей газораспределительного и кривошипно-шатунного механизмов. При этом появляется маслянистый туман, при оседании которого производится смазывание деталей двигателя. Под действием сил тяготения масло перетекает обратно в поддон, и смазочный цикл вновь повторяется по вышеуказанному кругу.
В автомобилях спортивного класса обычно устанавливается система смазки двигателя с сухим картером. Особенность работы такой конструкции заключается в том, что масло находится в специальном баке, в который оно закачивается из кратера движка специальным насосом. Благодаря этому картер постоянно остается пустым – оттуда и название «с сухим картером». Данная конструкция применяется для обеспечения бесперебойной работы системы смазки двигателя в любом режиме и в любом положении маслозаборника, а также объема масла в картере.
Видео
/p
Рекомендую прочитать:
Система смазки двигателя
В двигателе находится большое количество трущихся друг о друга деталей, все они металлические, и всем им требуется смазка, ибо они нагреваются и, как следствие, могут заклинить. Поэтому в двигателе есть система смазки: с каналами (магистралями), с поддоном и с масляным насосом. Упрощенная схема системы смазки приведена на рисунке 4.38.
Помимо смазывания, масло еще выполняет роль охладителя раскаленных трущихся деталей двигателя. Именно поэтому часто в дизельных, а иногда и в бензиновых двигателях устанавливают специальные распылители, направленные на нижние части поршней, но об этом позже.
Рисунок 4.38 Упрощенная схема системы смазки.
Основные элементы системы смазки
Масляный насос
О назначении сего устройства говорит его название. Масляный насос необходим для перекачки моторного масла из масляного поддона, который находится в самой нижней части двигателя, ко всем трущимся деталям через специальные масляные каналы.
Для этой цели применяют насосы шестеренного типа с внешним и внутренним зацеплением. Насосы первого типа — сейчас большая редкость из-за своих габаритов, потому рассмотрим тип насоса, являющийся наиболее актуальным на сегодняшний день – шестеренный с внутренним зацеплением, пример которого можно увидеть на рисунке 4.39.
Рисунок 4.39 Масляный насос шестеренного типа с внутренним зацеплением.
Приводится масляный насос обычно от коленчатого вала цепью, ремнем или шестерней, в зависимости от типа привода газораспределительного механизма или непосредственно установлен на коленчатом вале. Работа насоса заключается в том, что при вращении малая шестерня перекатывается по большой, увлекая за собой моторное масло, и по каналам под давлением подводит его к трущимся деталям.
Редукционный клапан
Редукционный клапан служит для ограничения давления масла в маслопроводах системы смазки. Давление масла может повыситься при очень больших количествах оборотов коленчатого вала двигателя или при чрезмерно густом масле, например, в холодном двигателе. Редукционный клапан обычно ставят в корпусе насоса. Он представляет собой шарик, поджатый пружиной. Пока давление масла нормальное, шарик плотно прижат к пружине, когда давление начинает чрезмерно повышаться, шарик перемещается, сжимая пружину, при этом открывается перепускной канал, по которому масло из поддона через насос снова стекает в поддон.
Масляные фильтры
Двигатель работает, масло смазывает, однако, так или иначе, появляются продукты износа трущихся деталей. Продукты износа – это довольно мелкие частички металлической стружки, образующиеся при трении и, как следствие, износе деталей. Также масло загрязняется частицами нагара и пыли, проникающей в картер. Эти механические примеси, попадая вместе с маслом к трущимся деталям, увеличивают их износ и поэтому должны быть удалены из масла.
Примечание
Масляные фильтры служат для очистки масла от механических примесей, в результате чего увеличивается продолжительность его работы.
Рисунок 4.40 Масляный фильтр.
Зачастую в двигателе имеются два масляных фильтра: один – сетчатый – устанавливается на маслоприемнике (который показан на рисунке 4.38), а второй — в собственном корпусе в наиболее доступном месте на блоке цилиндров двигателя.
Состоит такой фильтр из корпуса и фильтрующего элемента вставленного в корпус.
Масляный радиатор
Узнав о том, что в процессе работы все детали двигателя очень сильно нагреваются, вы могли предположить, что и масло, смазывающее эти самые детали, также нагревается, достигая приличных температур. А при сильном перегреве моторное масло начинает очень стремительно терять свои свойства — все это может вылиться в довольно плачевные последствия для двигателя.
Примечание
При работе двигателя температура моторного масла не должна сильно повышаться во избежание падения его вязкости.
Чтобы поддерживать температуру моторного масла в наиболее эффективном диапазоне, устанавливают масляный радиатор, который иногда схож с радиатором системы охлаждения (см. рисунок 4.33). При воздушном охлаждении масляный радиатор трубчатого типа, включенный в масляную магистраль, ставят перед радиатором водяной системы охлаждения двигателя.
Примечание
Если конструкция предполагает жидкостное охлаждение масла, то она называется охладителем, а не радиатором (схематически такой охладитель можно увидеть на рисунке 4.32).
Примечание
Радиатор с водяным охлаждением обеспечивает не только охлаждение масла при работе в тяжелых условиях, но и быстрый прогрев масла при пуске двигателя.
Масляный поддон, картер
Масляный поддон — чаще всего штампованная деталь, имеющая вид чаши или кухонного противня. Это емкость, в которой находится моторное масло, оттуда оно через маслоприемник (рисунок 4.38) подается ко всем трущимся деталям и туда же стекает после смазки данных деталей. В главе «Техническое обслуживание» описан щуп, с помощью которого измеряется уровень моторного масла. Так вот, данный щуп, а точнее его тонкая пластина с нанесенными метками, вставляется именно в поддон.
Внимание
Масло необходимо наливать в поддон до определенного уровня, который должен поддерживаться в процессе работы двигателя. При переполнении картера масло чрезмерно разбрызгивается на стенки цилиндров и может попасть в камеры сгорания, при этом нагарообразование в камерах сгорания усилится. Также возможно вспенивание масла, что приводит к значительному падению давления в системе и, если вовремя не остановиться, — к выходу двигателя из строя.
Также очевидно, что недостаток масла в системе может привести к так называемому масляному голоданию, из-за чего нередки случаи проворачивания вкладышей в коренных опорах коленчатого вала.
Картер – это самая большая корпусная деталь двигателя. Может быть отлита вместе с блоком цилиндров, а может быть отдельной деталью, крепящейся к блоку цилиндров болтами.
Вентиляция картера
В большинстве современных автомобилей установлены системы принудительной вентиляции картерных газов. В такую систему входят обычно клапаны и патрубки, соединяющие полость картера двигателя со впускным коллектором.
Сама вентиляция картера крайне важна для нормальной работы двигателя. Дело в том что, так или иначе отработавшие газы через зазоры поршневой группы попадают в картер двигателя. Так же газы образуются при контакте моторного масла с раскаленным деталями двигателя. Прорвавшиеся отработанные газы воздействуя на моторное масло, разжижают его, что приводит к уменьшению срока службы и потере эффективности. Также, в зависимости от режима работы двигателя, попавшие в картер газы могут резко повысить избыточное давление, что приведет к выдавливанию уплотнительных манжет (сальников) и прокладок. Именно для этого устанавливают клапаны, контролируемые электроникой, которые отвечают за вентиляцию картера.
Применяемые для смазки масла
Для смазки двигателей применяют масла минерального (сейчас редко), полусинтетического и синтетического происхождения.
Для повышения качества масла к нему добавляют специальные присадки (специальные химические соединения), которые повышают смазывающую способность масла, делают более стабильной его вязкость, понижают температуру застывания, уменьшают окисляющее действие масла. Присадки в масле также способствуют вымыванию смолистых отложений из зазоров трущихся деталей и т. д.
В зависимости от времени года и климатических условий для смазки двигателя следует применять масла различной вязкости. Зимой вязкость масла должна быть меньше, так как масло с большой вязкостью при низкой температуре загустеет и будет в холодном двигателе плохо проникать в зазоры трущихся деталей, а также будут затруднены заливка масла и пуск холодного двигателя.
Летом вязкость масла должна быть большей, так как масло с малой вязкостью при повышенной температуре становится еще более жидким и не обеспечивает нормальной смазки двигателя. Однако, на данный момент распространены всесезонные моторные масла.
Ниже рассмотрим обозначение вязкости масел по классификации SAE (Society of Automotive Engineers – Сообщество автомобильных инженеров).
В данном обозначении имеется две цифры, разделенные буквой W – это говорит о том, что масло всесезонное. При этом первая цифра говорит о минимальной отрицательной температуре, при которой коленвал двигателя можно будет провернуть. Так, масло 0W40 должно прокачиваться от -35°С, 15W40 – от -20°С. Вторая цифра определяет вязкость масла при температуре 100°С, а если точнее, то не саму вязкость, а допустимый диапазон ее изменения. Так, для «30» вязкость при 100°С может меняться в диапазоне от 9.3 до 12.5 сСт (сантистоксов – единиц измерения вязкости), для «40» – от 12.5 до 16.5 сСт, а для «50» – от 16.3 до 21.9 сСт. То есть кинематическая вязкость в пределах допустимого диапазона может меняться на 10…15%.
Параллельно с классификацией по SAE, характеризующей вязкость моторного масла, существует классификация по API (American Petroleum Institute – Американский институт топлива), которая определяет его применимость к конкретному мотору.
В марку масла входит индекс, состоящий из двух букв, первая из которых определяет тип двигателя: S (Service Station) – бензиновые двигатели и C (Commercial) – дизельные двигатели; вторая (A, B, C, D, E, F, G, H, J, L, M) определяет уровень эксплуатационных свойств. Марка масла может быть дробной, тогда масло с точки зрения применения универсально – для бензиновых и дизельных двигателей.
конструктивные особенности и принцип работы opex.ru
Array
(
[DATE_ACTIVE_FROM] => 21.01.2020 09:17:00
[~DATE_ACTIVE_FROM] => 21.01.2020 09:17:00
[ID] => 509133196
[~ID] => 509133196
[NAME] => Система смазки МАЗ: конструктивные особенности и принцип работы
[~NAME] => Система смазки МАЗ: конструктивные особенности и принцип работы
[IBLOCK_ID] => 33
[~IBLOCK_ID] => 33
[IBLOCK_SECTION_ID] =>
[~IBLOCK_SECTION_ID] =>
[DETAIL_TEXT] => Исправная система смазки МАЗ — увеличение ресурса двигателя
В двигателях внутреннего сгорания многотонных грузовиков применяется смешанная система смазки МАЗ. Она предназначена для обеспечения эффективной смазки деталей цилиндропоршневой группы силового агрегата методом разбрызгивания и подачи под давлением. Кроме того, происходит смазывание деталей, когда масло самотеком поступает в картер двигателя. Моторное масло охлаждает подшипники и другие детали, нагревающиеся в процессе трения, а также выводит в поддон картера продукты износа, продлевая ресурс деталей.
Основное устройство системы
Для выполнения возложенных функций система смазки МАЗ состоит из следующих деталей:
- маслозаливная горловина;
- масляный насос и маслозаборник в поддоне картера;
- фильтры тонкой и грубой очистки;
- радиатор охлаждения;
- предохранительный и редукционный клапан;
- масляные каналы (магистрали).
Масло под давлением подается по маслопроводам для смазывания коренных и шатунных подшипников распредвала, пальцев поршней, подшипников, на которых вращается распредвал, втулок коромысел и толкателей, наконечников штанг, а также привода масляного насоса и его подшипников. Благодаря разбрызгиванию масла обеспечивается смазка зеркальной поверхности гильз блока цилиндра, кулачков распредвала, приводных шестерен и подшипников качения.
Принцип работы
Для создания в магистрали давления залитое в двигатель масло всасывается масляным насосом шестеренчатого типа из поддона через специальный заборник с фильтрующей сеткой. Насос состоит из радиаторной и нагнетательной (основной) секции. Нагнетательная часть предназначена для прокачки смазки в основную магистраль через последовательно подключенный фильтр, обеспечивающий грубую очистку. Конструктивно в фильтре предусмотрен перепускной клапан, который срабатывает при разности давления во впускном и выпускном патрубке, возникающей в случае загрязнения фильтрующего элемента. После открытия клапана масло поступает напрямую в магистраль, минуя фильтрующий элемент.
Пройдя грубую очистку, смазка нагнетается в центральную магистраль. Далее по специальным каналам, проделанным в блоке цилиндров, подается к подшипникам, на которых вращается коленвал двигателя. По системе каналов коленчатого вала и шатунов масло под давлением нагнетается к подшипникам распредвала, подается к осям толкателей и по штангам смазывает приводы клапанов.
Параллельно главной магистрали, по которой смазка поступает к деталям цилиндропоршневой группы, подсоединяется фильтрующий элемент тонкой очистки центробежного типа. Элемент рассчитан пропускать не более 10% циркулирующей в системе смазки. После очистки техническая жидкость сливается в картер (поддон) силового агрегата. Центрифуга фильтра приводится в действие благодаря потоку рабочей жидкости, поступающей под высоким давлением. Очищенное благодаря центробежной силе масло вытекает в поддон картера через два сопла. Механические примеси и микрочастицы отбрасываются к плоскости корпуса и образуют осадок. При сервисном обслуживании фильтрующих элементов образованное загрязнение удаляется.
Для охлаждения рабочей среды, циркулирующей в системе смазки двигателя, подключается радиатор. Применяется агрегат трубчатого типа с воздушным охлаждением. Он монтируется перед радиатором системы охлаждения мотора. Радиатор активируется с помощью специального краника. Необходимость в охлаждении смазки возникает, когда грузовик эксплуатируется при температуре воздуха выше 15°С, а также в тяжелых условиях, предусматривающие высокую нагрузку и невысокую скорость движения.
Защита системы
С целью обеспечения стабильной работы системы смазки МАЗ конструкцией предусмотрены клапаны. Редукционный клапан установлен в нагнетательной части масляного насоса. Его задача в возвращении смазки в поддон при повышенном давлении на выходном патрубке, превышающее 7,5 кГ/кв.см. В радиаторной части масляного насоса смонтирован предохранительный клапан. Он отрегулирован на срабатывание при давлении 0,80 -1,2 кГ/кв.см.
Сливной клапан смонтирован в нижней части блока цилиндров и предназначен для стабилизации давления. Устройство открывается при достижении в магистрали уровня давления 5,0 кГ/кв.см.
Типовые неисправности и методы устранения
При эксплуатации грузовика МАЗ возможны следующие характерные для дизельного двигателя неисправности системы смазки:
- повышение уровня масла до критического значения;
- увеличенный расход смазки;
- резкое падение давления в основной магистрали;
- плавное снижение давления в процессе эксплуатации двигателя.
Основным дефектом системы является повышенное или пониженное давление циркулирующего масла. Показания контролируются с помощью указателя давления, смонтированного на панели приборов. Перед проверкой деталей необходимо убедиться в исправности штатного измерительного прибора. С этой целью в контур подсоединяется контрольный указатель давления смазки для сверки показаний.
Причиной отсутствия давления может быть повреждение привода насоса или засорение фильтрующих элементов грубой очистки. Пониженное давление возникает в результате низкого уровня смазки, а также разжижении охлаждающей жидкостью или топливом. Происходит понижение давления при перегреве масла по причине засорения радиатора или потери производительности насоса вследствие износа деталей.
Потеря давления возможна по причине выхода из строя масляного насоса, при засорении маслоприемника в картере или фильтров грубой и тонкой очистки. При длительной эксплуатации происходит естественный износ деталей в парах трения масляного насоса. При заедании плунжера редукционного или предохранительного клапана давление повышается выше нормы. Также причиной критически высокого давления является использование смазки повышенной вязкости.
В процессе эксплуатации возможно попадание в смазку охлаждающей жидкости из-за потери эластичности прокладки головки и блока цилиндров. Определить наличие жидкости можно, если слить немного смазки из картера в стеклянный сосуд. После отстоя в течение часа на дне образуется прозрачный слой, указывающий на наличие воды. При обнаружении такого дефекта моторное масло подлежит замене, дальнейшая эксплуатация автомобиля запрещена.
Если охлаждающая жидкость просачивается между стенками колодцев форсунок и головкой блока цилиндров, то при раскрутке силового агрегата до 2000 об/мин в районе форсунок образуются капли воды. Попадание охлаждающей жидкости в систему смазки проявляется резким повышением уровня масла и его разжижением.
Моторное масло может разжижаться также по причине просачивания топлива из-за недостаточно плотной затяжки стаканов форсунок. Поиск причины данной неисправности заключается в демонтаже крышки головки блока цилиндров и обследовании точек подключения к форсункам трубопроводов, через которые осуществляется слив топлива. Капли топлива, появившиеся в местах соединения топливопроводов после пуска и работы двигателя на протяжении 3 минут, указывают на протечки системы. Дефект устраняется прессовкой трубопровода. Если в местах присоединения топливопроводов не обнаружена утечка, то снимаются форсунки и проверяются на герметичность на специальном стенде.
Причины снижения уровня моторного масла:
- утечка через поврежденные уплотнения;
- выгорание масла из-за изношенных поршневых колец;
- засорение прорезей в маслосъемных кольцах;
- нарушение циркуляции через охлаждающий радиатор, приводящей к перегреву смазки свыше 120 °С;
- образование трещин, нарушающие герметичность соединения фланца трубопровода с патрубком корпуса масляного насоса.
Поломка клапанов системы смазки МАЗ встречается крайне редко по причине незначительной нагрузки на эти детали. Чаще образуется засорение клапанов (закоксовка) в одном из положений: открытом или закрытом. Причина дефекта заключается в неудовлетворительном качестве заливаемого в двигатель масла или превышении срока его замены.
Техническое обслуживание системы смазки
Для поддержания работоспособности деталей и конструктивных элементов, обеспечивающих давление смазки в магистрали и подачу ее к трущимся поверхностям, необходимо выполнять в объеме регламентного обслуживания следующие действия:
- Ежедневно проверять уровень масла в двигателе с помощью маслоизмерительного щупа. Проверка выполняется на неработающем силовом агрегате при горизонтально расположенном автомобиле. После остановки мотора должно пройти не менее 5 минут. При низком уровне техническая жидкость доливается до верхней метки.
- Визуальным осмотром проверять отсутствие течи смазки через соединения силового агрегата. При этом двигатель должен быть прогретым и работать в течение 20 мин. на 2000 об/мин. Синеватый цвет выхлопных газов указывает на сгорание смазки в цилиндрах двигателя по причине износа или залипания маслосъемных поршневых колец.
- В процессе движения постоянно контролировать на приборной панели давление в магистрали. Нормальное значение давления на прогретом моторе составляет 4-7 кГ/кв.см (минимум 3,5 кГ/кв.см). На холостых оборотах давление не должно опускаться ниже 1 кГ/кв.см (минимум 0,5 кГ/кв.см). При падении давления в системе дальнейшая эксплуатация двигателя запрещена.
- Выполнять замену масла в установленные производителем сроки. Смазка меняется на прогретом двигателе, чтобы частицы от трущихся поверхностей и грязь удалились вместе с отработкой.
- После заливки в картер новой смазки запустить двигатель на 10 минут с целью создания давления и заполнения контура. После остановки мотора проверить уровень и долить до верхней метки маслоизмерительного щупа. Заливать необходимо масло по сезону через маслозаливную горловину.
- При обнаружении течи масла в процессе визуального осмотра принять меры по замене уплотнительных элементов: прокладок, сальников и пр.
При выполнении сервисных работ по замене моторного масла необходимо выполнять промывку фильтра, обеспечивающего грубую очистку, в следующей последовательности:
- открутить пробку сливного отверстия и слить отработку;
- снять колпак, крышку и демонтировать фильтрующий элемент, который поместить на несколько часов в емкость с растворителем;
- снятые элементы промыть растворителем и продуть сжатым воздухом;
- для эффективной очистки фильтрующего элемента поместить его в ванну с 10% водным раствором каустической соды, тщательно промыть в солярке и просушить сжатым воздухом;
- собрать фильтр и установить на автомобиль.
При каждом техническом обслуживании необходимо разбирать и промывать также и фильтр тонкой очистки. При разборке и сборке детали обращать внимание на целостность прокладки колпака, ротора, упорной шайбы, сопл и правильное положение сетки. Работоспособность масляного насоса проверять на специальном стенде, имитирующем режимы работы. Если в процессе проверки насос не обеспечивает должной производительности, он подлежит разборке и ремонту.
При грамотном и своевременном регламентном обслуживании системы смазки МАЗ с использованием качественных расходных материалов обеспечивается нормальная работа силового агрегата и увеличивается эксплуатационный ресурс.
[~DETAIL_TEXT] =>Исправная система смазки МАЗ — увеличение ресурса двигателя
В двигателях внутреннего сгорания многотонных грузовиков применяется смешанная система смазки МАЗ. Она предназначена для обеспечения эффективной смазки деталей цилиндропоршневой группы силового агрегата методом разбрызгивания и подачи под давлением. Кроме того, происходит смазывание деталей, когда масло самотеком поступает в картер двигателя. Моторное масло охлаждает подшипники и другие детали, нагревающиеся в процессе трения, а также выводит в поддон картера продукты износа, продлевая ресурс деталей.
Основное устройство системы
Для выполнения возложенных функций система смазки МАЗ состоит из следующих деталей:
- маслозаливная горловина;
- масляный насос и маслозаборник в поддоне картера;
- фильтры тонкой и грубой очистки;
- радиатор охлаждения;
- предохранительный и редукционный клапан;
- масляные каналы (магистрали).
Масло под давлением подается по маслопроводам для смазывания коренных и шатунных подшипников распредвала, пальцев поршней, подшипников, на которых вращается распредвал, втулок коромысел и толкателей, наконечников штанг, а также привода масляного насоса и его подшипников. Благодаря разбрызгиванию масла обеспечивается смазка зеркальной поверхности гильз блока цилиндра, кулачков распредвала, приводных шестерен и подшипников качения.
Принцип работы
Для создания в магистрали давления залитое в двигатель масло всасывается масляным насосом шестеренчатого типа из поддона через специальный заборник с фильтрующей сеткой. Насос состоит из радиаторной и нагнетательной (основной) секции. Нагнетательная часть предназначена для прокачки смазки в основную магистраль через последовательно подключенный фильтр, обеспечивающий грубую очистку. Конструктивно в фильтре предусмотрен перепускной клапан, который срабатывает при разности давления во впускном и выпускном патрубке, возникающей в случае загрязнения фильтрующего элемента. После открытия клапана масло поступает напрямую в магистраль, минуя фильтрующий элемент.
Пройдя грубую очистку, смазка нагнетается в центральную магистраль. Далее по специальным каналам, проделанным в блоке цилиндров, подается к подшипникам, на которых вращается коленвал двигателя. По системе каналов коленчатого вала и шатунов масло под давлением нагнетается к подшипникам распредвала, подается к осям толкателей и по штангам смазывает приводы клапанов.
Параллельно главной магистрали, по которой смазка поступает к деталям цилиндропоршневой группы, подсоединяется фильтрующий элемент тонкой очистки центробежного типа. Элемент рассчитан пропускать не более 10% циркулирующей в системе смазки. После очистки техническая жидкость сливается в картер (поддон) силового агрегата. Центрифуга фильтра приводится в действие благодаря потоку рабочей жидкости, поступающей под высоким давлением. Очищенное благодаря центробежной силе масло вытекает в поддон картера через два сопла. Механические примеси и микрочастицы отбрасываются к плоскости корпуса и образуют осадок. При сервисном обслуживании фильтрующих элементов образованное загрязнение удаляется.
Для охлаждения рабочей среды, циркулирующей в системе смазки двигателя, подключается радиатор. Применяется агрегат трубчатого типа с воздушным охлаждением. Он монтируется перед радиатором системы охлаждения мотора. Радиатор активируется с помощью специального краника. Необходимость в охлаждении смазки возникает, когда грузовик эксплуатируется при температуре воздуха выше 15°С, а также в тяжелых условиях, предусматривающие высокую нагрузку и невысокую скорость движения.
Защита системы
С целью обеспечения стабильной работы системы смазки МАЗ конструкцией предусмотрены клапаны. Редукционный клапан установлен в нагнетательной части масляного насоса. Его задача в возвращении смазки в поддон при повышенном давлении на выходном патрубке, превышающее 7,5 кГ/кв.см. В радиаторной части масляного насоса смонтирован предохранительный клапан. Он отрегулирован на срабатывание при давлении 0,80 -1,2 кГ/кв.см.
Сливной клапан смонтирован в нижней части блока цилиндров и предназначен для стабилизации давления. Устройство открывается при достижении в магистрали уровня давления 5,0 кГ/кв.см.
Типовые неисправности и методы устранения
При эксплуатации грузовика МАЗ возможны следующие характерные для дизельного двигателя неисправности системы смазки:
- повышение уровня масла до критического значения;
- увеличенный расход смазки;
- резкое падение давления в основной магистрали;
- плавное снижение давления в процессе эксплуатации двигателя.
Основным дефектом системы является повышенное или пониженное давление циркулирующего масла. Показания контролируются с помощью указателя давления, смонтированного на панели приборов. Перед проверкой деталей необходимо убедиться в исправности штатного измерительного прибора. С этой целью в контур подсоединяется контрольный указатель давления смазки для сверки показаний.
Причиной отсутствия давления может быть повреждение привода насоса или засорение фильтрующих элементов грубой очистки. Пониженное давление возникает в результате низкого уровня смазки, а также разжижении охлаждающей жидкостью или топливом. Происходит понижение давления при перегреве масла по причине засорения радиатора или потери производительности насоса вследствие износа деталей.
Потеря давления возможна по причине выхода из строя масляного насоса, при засорении маслоприемника в картере или фильтров грубой и тонкой очистки. При длительной эксплуатации происходит естественный износ деталей в парах трения масляного насоса. При заедании плунжера редукционного или предохранительного клапана давление повышается выше нормы. Также причиной критически высокого давления является использование смазки повышенной вязкости.
В процессе эксплуатации возможно попадание в смазку охлаждающей жидкости из-за потери эластичности прокладки головки и блока цилиндров. Определить наличие жидкости можно, если слить немного смазки из картера в стеклянный сосуд. После отстоя в течение часа на дне образуется прозрачный слой, указывающий на наличие воды. При обнаружении такого дефекта моторное масло подлежит замене, дальнейшая эксплуатация автомобиля запрещена.
Если охлаждающая жидкость просачивается между стенками колодцев форсунок и головкой блока цилиндров, то при раскрутке силового агрегата до 2000 об/мин в районе форсунок образуются капли воды. Попадание охлаждающей жидкости в систему смазки проявляется резким повышением уровня масла и его разжижением.
Моторное масло может разжижаться также по причине просачивания топлива из-за недостаточно плотной затяжки стаканов форсунок. Поиск причины данной неисправности заключается в демонтаже крышки головки блока цилиндров и обследовании точек подключения к форсункам трубопроводов, через которые осуществляется слив топлива. Капли топлива, появившиеся в местах соединения топливопроводов после пуска и работы двигателя на протяжении 3 минут, указывают на протечки системы. Дефект устраняется прессовкой трубопровода. Если в местах присоединения топливопроводов не обнаружена утечка, то снимаются форсунки и проверяются на герметичность на специальном стенде.
Причины снижения уровня моторного масла:
- утечка через поврежденные уплотнения;
- выгорание масла из-за изношенных поршневых колец;
- засорение прорезей в маслосъемных кольцах;
- нарушение циркуляции через охлаждающий радиатор, приводящей к перегреву смазки свыше 120 °С;
- образование трещин, нарушающие герметичность соединения фланца трубопровода с патрубком корпуса масляного насоса.
Поломка клапанов системы смазки МАЗ встречается крайне редко по причине незначительной нагрузки на эти детали. Чаще образуется засорение клапанов (закоксовка) в одном из положений: открытом или закрытом. Причина дефекта заключается в неудовлетворительном качестве заливаемого в двигатель масла или превышении срока его замены.
Техническое обслуживание системы смазки
Для поддержания работоспособности деталей и конструктивных элементов, обеспечивающих давление смазки в магистрали и подачу ее к трущимся поверхностям, необходимо выполнять в объеме регламентного обслуживания следующие действия:
- Ежедневно проверять уровень масла в двигателе с помощью маслоизмерительного щупа. Проверка выполняется на неработающем силовом агрегате при горизонтально расположенном автомобиле. После остановки мотора должно пройти не менее 5 минут. При низком уровне техническая жидкость доливается до верхней метки.
- Визуальным осмотром проверять отсутствие течи смазки через соединения силового агрегата. При этом двигатель должен быть прогретым и работать в течение 20 мин. на 2000 об/мин. Синеватый цвет выхлопных газов указывает на сгорание смазки в цилиндрах двигателя по причине износа или залипания маслосъемных поршневых колец.
- В процессе движения постоянно контролировать на приборной панели давление в магистрали. Нормальное значение давления на прогретом моторе составляет 4-7 кГ/кв.см (минимум 3,5 кГ/кв.см). На холостых оборотах давление не должно опускаться ниже 1 кГ/кв.см (минимум 0,5 кГ/кв.см). При падении давления в системе дальнейшая эксплуатация двигателя запрещена.
- Выполнять замену масла в установленные производителем сроки. Смазка меняется на прогретом двигателе, чтобы частицы от трущихся поверхностей и грязь удалились вместе с отработкой.
- После заливки в картер новой смазки запустить двигатель на 10 минут с целью создания давления и заполнения контура. После остановки мотора проверить уровень и долить до верхней метки маслоизмерительного щупа. Заливать необходимо масло по сезону через маслозаливную горловину.
- При обнаружении течи масла в процессе визуального осмотра принять меры по замене уплотнительных элементов: прокладок, сальников и пр.
При выполнении сервисных работ по замене моторного масла необходимо выполнять промывку фильтра, обеспечивающего грубую очистку, в следующей последовательности:
- открутить пробку сливного отверстия и слить отработку;
- снять колпак, крышку и демонтировать фильтрующий элемент, который поместить на несколько часов в емкость с растворителем;
- снятые элементы промыть растворителем и продуть сжатым воздухом;
- для эффективной очистки фильтрующего элемента поместить его в ванну с 10% водным раствором каустической соды, тщательно промыть в солярке и просушить сжатым воздухом;
- собрать фильтр и установить на автомобиль.
При каждом техническом обслуживании необходимо разбирать и промывать также и фильтр тонкой очистки. При разборке и сборке детали обращать внимание на целостность прокладки колпака, ротора, упорной шайбы, сопл и правильное положение сетки. Работоспособность масляного насоса проверять на специальном стенде, имитирующем режимы работы. Если в процессе проверки насос не обеспечивает должной производительности, он подлежит разборке и ремонту.
При грамотном и своевременном регламентном обслуживании системы смазки МАЗ с использованием качественных расходных материалов обеспечивается нормальная работа силового агрегата и увеличивается эксплуатационный ресурс.
[DETAIL_TEXT_TYPE] => html [~DETAIL_TEXT_TYPE] => html [PREVIEW_TEXT] =>Назначение, состав и задачи, возлагаемые на систему смазки грузовиков МАЗ. Смазка деталей двигателя под давлением и методом разбрызгивания. Возникающие характерные неисправности и эффективные способы их диагностики. Мероприятия в рамках сервисного обслуживания.
[~PREVIEW_TEXT] =>Назначение, состав и задачи, возлагаемые на систему смазки грузовиков МАЗ. Смазка деталей двигателя под давлением и методом разбрызгивания. Возникающие характерные неисправности и эффективные способы их диагностики. Мероприятия в рамках сервисного обслуживания.
[PREVIEW_TEXT_TYPE] => html [~PREVIEW_TEXT_TYPE] => html [DETAIL_PICTURE] => [~DETAIL_PICTURE] => [TIMESTAMP_X] => 27.01.2020 11:31:10 [~TIMESTAMP_X] => 27.01.2020 11:31:10 [ACTIVE_FROM] => 21.01.2020 09:17:00 [~ACTIVE_FROM] => 21.01.2020 09:17:00 [LIST_PAGE_URL] => /press/articles/ [~LIST_PAGE_URL] => /press/articles/ [DETAIL_PAGE_URL] => /press/articles/sistema-smazki-maz/ [~DETAIL_PAGE_URL] => /press/articles/sistema-smazki-maz/ [LANG_DIR] => / [~LANG_DIR] => / [CODE] => sistema-smazki-maz [~CODE] => sistema-smazki-maz [EXTERNAL_ID] => 509133196 [~EXTERNAL_ID] => 509133196 [IBLOCK_TYPE_ID] => content [~IBLOCK_TYPE_ID] => content [IBLOCK_CODE] => articles [~IBLOCK_CODE] => articles [IBLOCK_EXTERNAL_ID] => [~IBLOCK_EXTERNAL_ID] => [LID] => s1 [~LID] => s1 [NAV_RESULT] => [DISPLAY_ACTIVE_FROM] => 21.01.2020 [IPROPERTY_VALUES] => Array ( [SECTION_META_TITLE] => Система смазки МАЗ: конструктивные особенности и принцип работы [SECTION_META_KEYWORDS] => Система смазки МАЗ: конструктивные особенности и принцип работы [SECTION_META_DESCRIPTION] => Система смазки МАЗ: конструктивные особенности и принцип работы [SECTION_PAGE_TITLE] => Система смазки МАЗ: конструктивные особенности и принцип работы [ELEMENT_META_KEYWORDS] => Система смазки МАЗ: конструктивные особенности и принцип работы [ELEMENT_PAGE_TITLE] => Система смазки МАЗ: конструктивные особенности и принцип работы [SECTION_PICTURE_FILE_ALT] => Система смазки МАЗ: конструктивные особенности и принцип работы [SECTION_PICTURE_FILE_TITLE] => Система смазки МАЗ: конструктивные особенности и принцип работы [SECTION_DETAIL_PICTURE_FILE_ALT] => Система смазки МАЗ: конструктивные особенности и принцип работы [SECTION_DETAIL_PICTURE_FILE_TITLE] => Система смазки МАЗ: конструктивные особенности и принцип работы [ELEMENT_PREVIEW_PICTURE_FILE_ALT] => Система смазки МАЗ: конструктивные особенности и принцип работы [ELEMENT_PREVIEW_PICTURE_FILE_TITLE] => Система смазки МАЗ: конструктивные особенности и принцип работы [ELEMENT_DETAIL_PICTURE_FILE_ALT] => Система смазки МАЗ: конструктивные особенности и принцип работы [ELEMENT_DETAIL_PICTURE_FILE_TITLE] => Система смазки МАЗ: конструктивные особенности и принцип работы [ELEMENT_META_TITLE] => Система смазки МАЗ: конструктивные особенности и принцип работы [ELEMENT_META_DESCRIPTION] => Устройство и работоспособность системы смазки МАЗ. Основные неисправности, способы дефектовки и устранения. Увеличение эксплуатационного ресурса комплектующих. Тел. +7 (495) 741-66-107 Система смазки МАЗ: конструктивные особенности и принцип работы ) [FIELDS] => Array ( [DATE_ACTIVE_FROM] => 21.01.2020 09:17:00 ) [DISPLAY_PROPERTIES] => Array ( ) [IBLOCK] => Array ( [ID] => 33 [~ID] => 33 [TIMESTAMP_X] => 05.03.2019 16:17:37 [~TIMESTAMP_X] => 05.03.2019 16:17:37 [IBLOCK_TYPE_ID] => content [~IBLOCK_TYPE_ID] => content [LID] => s1 [~LID] => s1 [CODE] => articles [~CODE] => articles [API_CODE] => [~API_CODE] => [NAME] => Статьи [~NAME] => Статьи [ACTIVE] => Y [~ACTIVE] => Y [SORT] => 500 [~SORT] => 500 [LIST_PAGE_URL] => /press/articles/ [~LIST_PAGE_URL] => /press/articles/ [DETAIL_PAGE_URL] => #SITE_DIR#press/articles/#ELEMENT_CODE#/ [~DETAIL_PAGE_URL] => #SITE_DIR#press/articles/#ELEMENT_CODE#/ [SECTION_PAGE_URL] => [~SECTION_PAGE_URL] => [CANONICAL_PAGE_URL] => [~CANONICAL_PAGE_URL] => [PICTURE] => [~PICTURE] => [DESCRIPTION] => [~DESCRIPTION] => [DESCRIPTION_TYPE] => text [~DESCRIPTION_TYPE] => text [RSS_TTL] => 24 [~RSS_TTL] => 24 [RSS_ACTIVE] => N [~RSS_ACTIVE] => N [RSS_FILE_ACTIVE] => N [~RSS_FILE_ACTIVE] => N [RSS_FILE_LIMIT] => 10 [~RSS_FILE_LIMIT] => 10 [RSS_FILE_DAYS] => 7 [~RSS_FILE_DAYS] => 7 [RSS_YANDEX_ACTIVE] => N [~RSS_YANDEX_ACTIVE] => N [XML_ID] => [~XML_ID] => [TMP_ID] => [~TMP_ID] => [INDEX_ELEMENT] => Y [~INDEX_ELEMENT] => Y [INDEX_SECTION] => Y [~INDEX_SECTION] => Y [WORKFLOW] => N [~WORKFLOW] => N [BIZPROC] => N [~BIZPROC] => N [SECTION_CHOOSER] => L [~SECTION_CHOOSER] => L [LIST_MODE] => [~LIST_MODE] => [RIGHTS_MODE] => S [~RIGHTS_MODE] => S [SECTION_PROPERTY] => N [~SECTION_PROPERTY] => N [PROPERTY_INDEX] => N [~PROPERTY_INDEX] => N [VERSION] => 2 [~VERSION] => 2 [LAST_CONV_ELEMENT] => 0 [~LAST_CONV_ELEMENT] => 0 [SOCNET_GROUP_ID] => [~SOCNET_GROUP_ID] => [EDIT_FILE_BEFORE] => [~EDIT_FILE_BEFORE] => [EDIT_FILE_AFTER] => [~EDIT_FILE_AFTER] => [SECTIONS_NAME] => Разделы [~SECTIONS_NAME] => Разделы [SECTION_NAME] => Раздел [~SECTION_NAME] => Раздел [ELEMENTS_NAME] => Элементы [~ELEMENTS_NAME] => Элементы [ELEMENT_NAME] => Элемент [~ELEMENT_NAME] => Элемент [REST_ON] => N [~REST_ON] => N [EXTERNAL_ID] => [~EXTERNAL_ID] => [LANG_DIR] => / [~LANG_DIR] => / [SERVER_NAME] => www.opex.ru [~SERVER_NAME] => www.opex.ru ) [SECTION] => Array ( [PATH] => Array ( ) ) [SECTION_URL] => [META_TAGS] => Array ( [TITLE] => Система смазки МАЗ: конструктивные особенности и принцип работы [ELEMENT_CHAIN] => Система смазки МАЗ: конструктивные особенности и принцип работы [BROWSER_TITLE] => Система смазки МАЗ: конструктивные особенности и принцип работы [KEYWORDS] => Система смазки МАЗ: конструктивные особенности и принцип работы [DESCRIPTION] => Устройство и работоспособность системы смазки МАЗ. Основные неисправности, способы дефектовки и устранения. Увеличение эксплуатационного ресурса комплектующих. Тел. +7 (495) 741-66-107 Система смазки МАЗ: конструктивные особенности и принцип работы ) [IMAGES] => Array ( ) [FILES] => Array ( ) [VIDEO] => Array ( ) [LINKS] => Array ( ) [BUTTON] => Array ( [SHOW_BUTTON] => [BUTTON_ACTION] => [BUTTON_LINK] => [BUTTON_TARGET] => [BUTTON_JS_CLASS] => [BUTTON_TITLE] => ) )В двигателях внутреннего сгорания многотонных грузовиков применяется смешанная система смазки МАЗ. Она предназначена для обеспечения эффективной смазки деталей цилиндропоршневой группы силового агрегата методом разбрызгивания и подачи под давлением. Кроме того, происходит смазывание деталей, когда масло самотеком поступает в картер двигателя. Моторное масло охлаждает подшипники и другие детали, нагревающиеся в процессе трения, а также выводит в поддон картера продукты износа, продлевая ресурс деталей.
Для выполнения возложенных функций система смазки МАЗ состоит из следующих деталей:
Масло под давлением подается по маслопроводам для смазывания коренных и шатунных подшипников распредвала, пальцев поршней, подшипников, на которых вращается распредвал, втулок коромысел и толкателей, наконечников штанг, а также привода масляного насоса и его подшипников. Благодаря разбрызгиванию масла обеспечивается смазка зеркальной поверхности гильз блока цилиндра, кулачков распредвала, приводных шестерен и подшипников качения.
Для создания в магистрали давления залитое в двигатель масло всасывается масляным насосом шестеренчатого типа из поддона через специальный заборник с фильтрующей сеткой. Насос состоит из радиаторной и нагнетательной (основной) секции. Нагнетательная часть предназначена для прокачки смазки в основную магистраль через последовательно подключенный фильтр, обеспечивающий грубую очистку. Конструктивно в фильтре предусмотрен перепускной клапан, который срабатывает при разности давления во впускном и выпускном патрубке, возникающей в случае загрязнения фильтрующего элемента. После открытия клапана масло поступает напрямую в магистраль, минуя фильтрующий элемент.
Пройдя грубую очистку, смазка нагнетается в центральную магистраль. Далее по специальным каналам, проделанным в блоке цилиндров, подается к подшипникам, на которых вращается коленвал двигателя. По системе каналов коленчатого вала и шатунов масло под давлением нагнетается к подшипникам распредвала, подается к осям толкателей и по штангам смазывает приводы клапанов.
Параллельно главной магистрали, по которой смазка поступает к деталям цилиндропоршневой группы, подсоединяется фильтрующий элемент тонкой очистки центробежного типа. Элемент рассчитан пропускать не более 10% циркулирующей в системе смазки. После очистки техническая жидкость сливается в картер (поддон) силового агрегата. Центрифуга фильтра приводится в действие благодаря потоку рабочей жидкости, поступающей под высоким давлением. Очищенное благодаря центробежной силе масло вытекает в поддон картера через два сопла. Механические примеси и микрочастицы отбрасываются к плоскости корпуса и образуют осадок. При сервисном обслуживании фильтрующих элементов образованное загрязнение удаляется.
Для охлаждения рабочей среды, циркулирующей в системе смазки двигателя, подключается радиатор. Применяется агрегат трубчатого типа с воздушным охлаждением. Он монтируется перед радиатором системы охлаждения мотора. Радиатор активируется с помощью специального краника. Необходимость в охлаждении смазки возникает, когда грузовик эксплуатируется при температуре воздуха выше 15°С, а также в тяжелых условиях, предусматривающие высокую нагрузку и невысокую скорость движения.
С целью обеспечения стабильной работы системы смазки МАЗ конструкцией предусмотрены клапаны. Редукционный клапан установлен в нагнетательной части масляного насоса. Его задача в возвращении смазки в поддон при повышенном давлении на выходном патрубке, превышающее 7,5 кГ/кв.см. В радиаторной части масляного насоса смонтирован предохранительный клапан. Он отрегулирован на срабатывание при давлении 0,80 -1,2 кГ/кв.см.
Сливной клапан смонтирован в нижней части блока цилиндров и предназначен для стабилизации давления. Устройство открывается при достижении в магистрали уровня давления 5,0 кГ/кв.см.
При эксплуатации грузовика МАЗ возможны следующие характерные для дизельного двигателя неисправности системы смазки:
Основным дефектом системы является повышенное или пониженное давление циркулирующего масла. Показания контролируются с помощью указателя давления, смонтированного на панели приборов. Перед проверкой деталей необходимо убедиться в исправности штатного измерительного прибора. С этой целью в контур подсоединяется контрольный указатель давления смазки для сверки показаний.
Причиной отсутствия давления может быть повреждение привода насоса или засорение фильтрующих элементов грубой очистки. Пониженное давление возникает в результате низкого уровня смазки, а также разжижении охлаждающей жидкостью или топливом. Происходит понижение давления при перегреве масла по причине засорения радиатора или потери производительности насоса вследствие износа деталей.
Потеря давления возможна по причине выхода из строя масляного насоса, при засорении маслоприемника в картере или фильтров грубой и тонкой очистки. При длительной эксплуатации происходит естественный износ деталей в парах трения масляного насоса. При заедании плунжера редукционного или предохранительного клапана давление повышается выше нормы. Также причиной критически высокого давления является использование смазки повышенной вязкости.
В процессе эксплуатации возможно попадание в смазку охлаждающей жидкости из-за потери эластичности прокладки головки и блока цилиндров. Определить наличие жидкости можно, если слить немного смазки из картера в стеклянный сосуд. После отстоя в течение часа на дне образуется прозрачный слой, указывающий на наличие воды. При обнаружении такого дефекта моторное масло подлежит замене, дальнейшая эксплуатация автомобиля запрещена.
Если охлаждающая жидкость просачивается между стенками колодцев форсунок и головкой блока цилиндров, то при раскрутке силового агрегата до 2000 об/мин в районе форсунок образуются капли воды. Попадание охлаждающей жидкости в систему смазки проявляется резким повышением уровня масла и его разжижением.
Моторное масло может разжижаться также по причине просачивания топлива из-за недостаточно плотной затяжки стаканов форсунок. Поиск причины данной неисправности заключается в демонтаже крышки головки блока цилиндров и обследовании точек подключения к форсункам трубопроводов, через которые осуществляется слив топлива. Капли топлива, появившиеся в местах соединения топливопроводов после пуска и работы двигателя на протяжении 3 минут, указывают на протечки системы. Дефект устраняется прессовкой трубопровода. Если в местах присоединения топливопроводов не обнаружена утечка, то снимаются форсунки и проверяются на герметичность на специальном стенде.
Поломка клапанов системы смазки МАЗ встречается крайне редко по причине незначительной нагрузки на эти детали. Чаще образуется засорение клапанов (закоксовка) в одном из положений: открытом или закрытом. Причина дефекта заключается в неудовлетворительном качестве заливаемого в двигатель масла или превышении срока его замены.
Для поддержания работоспособности деталей и конструктивных элементов, обеспечивающих давление смазки в магистрали и подачу ее к трущимся поверхностям, необходимо выполнять в объеме регламентного обслуживания следующие действия:
При выполнении сервисных работ по замене моторного масла необходимо выполнять промывку фильтра, обеспечивающего грубую очистку, в следующей последовательности:
При каждом техническом обслуживании необходимо разбирать и промывать также и фильтр тонкой очистки. При разборке и сборке детали обращать внимание на целостность прокладки колпака, ротора, упорной шайбы, сопл и правильное положение сетки. Работоспособность масляного насоса проверять на специальном стенде, имитирующем режимы работы. Если в процессе проверки насос не обеспечивает должной производительности, он подлежит разборке и ремонту.
При грамотном и своевременном регламентном обслуживании системы смазки МАЗ с использованием качественных расходных материалов обеспечивается нормальная работа силового агрегата и увеличивается эксплуатационный ресурс.
|
Наименование трудов |
Название издательства, сборника, номер, год |
Объем печатных страниц |
ФИО соавтора |
|
Учебно-методическое пособие по английскому языку «Сущность и функции денег» |
Ярославль, 1977г. |
1 п.л |
|
|
Методические разработки и контрольные задания по английскому языку для студентов I курса заочного отделения зооинженерного факультета |
Ярославль, 1986г. |
1 п.л. |
|
|
Методические разработки и контрольные задания по английскому языку для студентов II курса заочного отделения агрономического факультета |
Ярославль, 1986г. |
1,5 п.л. |
Лобачева Э.А. |
|
Методические разработки и контрольные задания по английскому языку для студентов II курса заочного отделения зооинженерного факультета |
Ярославль, 1987г. |
1,5 п.л. |
|
|
Сборник упражнений по грамматике английского языка по специальности «Агрономия» |
Ярославль, 1988г. |
1,5 п.л. |
Лобачева Э.А. |
|
Вводно-коррективный фонетический курс для студентов, изучающих английский язык |
Ярославль, 1989г. |
2 п.л. |
Соколова Э.И. |
|
Методические разработки для студентов I курса зооинженерного факультета заочного отделения (английский язык) |
Ярославль, 1991г. |
1 п.л. |
Лобачева Э.А. |
|
Методические разработки для студентов II курса зооинженерного факультета заочного отделения (английский язык) |
Ярославль, 1991г. |
1 п.л. |
Лобачева Э.А. |
|
Английский язык. Учебное пособие по развитию навыков устной речи по курсу «Животноводство» |
Ярославль, 1992г. |
4 п.л. |
Гаврилова Е.Г. |
|
Сборник упражнений по грамматике английского языка по специальности «Экономика сельского хозяйства» |
Ярославль, 1992г. |
2 п.л. |
Соколова Э.И. |
|
Учебное пособие: Ролевые игры на занятиях по английскому языку по курсу «Животноводство» |
Ярославль, 1993г. |
2 п.л. |
Гаврилова Е.Г. |
|
Английский язык в таблицах (Пособие по грамматике английского языка для аспирантов и слушателей курсов повышения квалификации АПК) |
Ярославль, 1993г. |
2 п.л. |
Гаврилова Е.Г. |
|
Методические разработки по английскому языку для студентов экономического факультета I курса заочного отделения |
Ярославль, 1993г. |
1 п.л. |
|
|
Методические разработки по английскому языку для студентов экономического факультета II курса заочного отделения |
Ярославль, 1993г. |
1 п.л. |
|
|
Методические указания по английскому языку для студентов I курса инженерного факультета заочного отделения |
Ярославль, 1993г. |
1,5 п.л. |
|
|
Словарь анатомических терминов (Учебное пособие по латинскому языку для студентов ветеринарных факультетов и ветеринарных вузов России) |
Санкт-Петербургский ветеринарный институт, Яр. СХИ, 1994г. |
1 п. л. |
Доктор ветеринарных наук Зеленевский Н.В. |
|
Методические разработки и контрольные задания по английскому языку для студентов I курса инженерного факультета заочного отделения |
Ярославль, 1994г. |
1 п.л. |
Лобачева Э.А. |
|
Методические разработки и контрольные задания по английскому языку для студентов II курса инженерного факультета заочного отделения |
Ярославль, 1994г. |
1 п.л. |
Лобачева Э.А. |
|
Англо-русский словарь по экономике и менеджменту |
Ярославль, 1994г. |
1 п.л. |
|
|
Компьютерная программа по грамматике английского языка для слушателей повышения квалификации АПК и студентов с/х вузов |
Ярославль, 1995г. |
1п.л. |
Гаврилова Е.Г. Шалобода Б.Ф. |
|
«Economics» Пособие по развитию навыков устной речи |
Ярославль, 1997г. |
4 п.л. |
|
|
Сборник упражнений по грамматике английского языка по специальности «Механизация сельского хозяйства» |
Ярославль, 2001г. |
2 п.л. |
|
|
Теоретические аспекты определения структуры односоставных предложений в английском языке. |
Сборник «Научных трудов ЯГСХА»2002 г.
|
0,3 п.л.
|
|
|
Методические разработки на английском языке по курсу «Экономика» для студентов II курса заочного отделения |
Ярославль, 2004г. |
1 п.л. |
|
|
Учебный толковый русско-английский и англо-русский словарь для зооинженеров |
Ярославль, 2004г. |
12 п.л. |
Арсеньев Д.Д. |
|
«Speaking Skills» Пособие по практике устной речи |
Ярославль, 2005г. |
6 п.л. |
Арсеньева Ю.Д. |
|
Grammar Tests: Пособие по грамматике английского языка для самостоятельной работы студентов |
Ярославль, 2006г. |
9,5 п.л. |
Васильева И.Л. Лазуткина М.Н. |
|
Учебно-методическое пособие по чтению для студентов I курса |
Ярославль, 2006г. |
6 п.л. |
Арсеньева Ю.Д. Васильева И.Л. Лазуткина М.Н. |
|
Учебное пособие по чтению (Английский язык): учебное пособие для студентов вузов обучающихся по очной и заочной форме обучения. |
Ярославль, 2007г. |
9 п.л. |
Лобачева Э.А. |
|
Методические указания по дисциплине «Русский язык и культура речи» для студентов очной и заочной формы обучения |
Ярославль, 2008г. |
1,5 п.л. |
Борина Н.П. |
|
Фонд комплексных вопросов и тестовых заданий по специальности 110305.65 «Технология производства и переработки продукции сельского хозяйства» для проведения рубежной аттестации студентов по циклам: гуманитарных, социально-экономических и естественнонаучных дисциплин. |
Ярославль, 2008г. |
5,5 п.л. |
|
|
Русский язык и культура речи: Учебное пособие для вузов Допущено Министерством сельского хозяйства Российской Федерации в качестве учебного пособия для студентов высших учебных заведений нефилологического профиля, обучающихся на очной и заочной формах обучения. |
Ярославль, 2009г. |
19,5 п.л. |
Борина Н.П. |
|
Русский язык и культура речи: Рабочая тетрадь |
Ярославль, 2010г. |
5 п.л. |
Борина Н.П. Верещагина А.Н. |
|
Английский язык (для аспирантов): учебно-методическое пособие для аспирантов |
Ярославль, 2010г. |
3,5 п.л. |
|
|
Professional Egclich |
Ярославль, 2011г. |
9 п.л. |
|
|
Русский язык и культура речи: Курс лекций |
Ярославль, 2012г. |
9,5 п.л. |
Борина Н.П. |
|
Методические указания по реферированию для студентов очной и заочной формы обучения по дисциплине «Русский язык и культура речи» |
Ярославль, 2012г. |
3 п.л. |
Борина Н.П. |
|
Методические разработки по дисциплине «Английский язык» для самостоятельной работы студентов аграрных вузов заочной формы обучения |
Ярославль, 2013г. |
6,5 п.л. |
Кононова Ю.Д. Заикина М.Н. |
|
Практикум по курсу «Русский язык и культура речи» |
Ярославль, 2013г. |
6 п.л. |
Борина Н.П. |
|
Практикум по дисциплине «Английский язык» для студентов бакалавриата технологического, экономического и инженерного факультетов заочной формы обучения. |
Ярославль, 2014г. |
19,25 п.л.
|
Кононова Ю.Д. Беляева М.А. Заикина М.Н. Гребенщикова Т.В. |
Система смазки двигателя
В течение сорока лет после первый полет братьев Райт использовались самолеты двигатель внутреннего сгорания повернуть пропеллеры чтобы генерировать толкать. Сегодня большинство самолетов авиации общего назначения или частных самолетов все еще находятся в эксплуатации. с пропеллерами и двигателями внутреннего сгорания, как и ваш автомобильный двигатель. Мы обсудим основы двигатель внутреннего сгорания с использованием Двигатель братьев Райт 1903 года, показанный на рисунке в качестве примера. Дизайн братьев очень прост по сегодняшним меркам, так что это хороший двигатель для студентов, чтобы изучить и изучить основы двигателей и их операция.На этой странице мы представляем компьютерный чертеж системы смазки фирмы Wright авиадвигатель братьев 1903 года.
Механическое управление
На рисунке вверху показаны основные компоненты системы смазки . на двигателе Wright 1903 года. В любом двигателе внутреннего сгорания топливо и кислород объединяются в процесс горения произвести силу, чтобы повернуть коленчатый вал двигателя. При сгорании образуется выхлопной газ под высоким давлением. который оказывает давление на лицо поршень.Поршень движется внутри цилиндра и соединяется с коленчатым валом. стержнем, который передает мощность. В этой силовой передаче, как показано на этом компьютере, много движущихся частей. анимация:
Работа системы смазки заключается в распределении масла по движущиеся части для уменьшения трения между поверхностями, которые трутся о друг с другом.Система смазки, которую использовали братья Райт, довольно проста. Масляный насос расположен в нижней части двигателя слева. фигуры.Насос приводится в действие червячной передачей от главного выхлопа. распредвал клапана. Масло перекачивается в верхнюю часть двигателя, справа, внутри линии подачи . Небольшие отверстия в линии подачи позволяют маслу течь. капать внутрь картер. На рисунке мы удалили топливная система и снял крышку картера, чтобы заглянуть внутрь. Масло капает на поршни по мере их движения в цилиндрах, смазывая поверхность между поршнем и цилиндром. Затем масло стекает внутрь картера. к коренным подшипникам, удерживающим коленчатый вал.Масло собрано и разбрызгано на подшипники для смазки этих поверхностей. Вдоль внешней стороны нижней части картер представляет собой сборную трубку , которая собирает отработанное масло и возвращает его масляному насосу для повторной циркуляции. Заметьте, что братья не смазывали клапаны и коромысло в сборе для камер сгорания.
Деятельность:
Экскурсии с гидом
Навигация ..
- Руководство для начинающих Домашняя страница
Системы смазки поршневых двигателей — Работа системы смазки с сухим картером
Следующая система смазки типична для небольших одномоторных самолетов.Масляная система и компоненты используются для смазки шестицилиндрового двигателя мощностью 225 л.с. (л.с.) с горизонтальным расположением цилиндров и воздушным охлаждением. В типичной системе смазки под давлением с сухим картером механический насос под давлением подает масло к подшипникам по всему двигателю. [Рис. 6-4] Масло течет на впускную или всасывающую сторону масляного насоса через всасывающий экран и линию, соединенную с внешним резервуаром в точке выше дна масляного поддона. Это предотвращает попадание осадка, попадающего в отстойник, в насос.
Рисунок 6-4. Схема масляной системы. [Щелкните изображение, чтобы увеличить] Рисунок 6-6. Масляный насос двигателя и сопутствующие агрегаты. [Щелкните изображение, чтобы увеличить] Выходное отверстие резервуара находится выше входа насоса, поэтому сила тяжести может способствовать потоку в насос. Объемный шестеренчатый насос с приводом от двигателя нагнетает масло в полнопоточный фильтр. [Рис. 6-6] Масло либо проходит через фильтр при нормальных условиях, либо, если фильтр забивается, перепускной клапан фильтра открывается, как упоминалось ранее.В байпасном положении масло не фильтруется. Как видно на Рисунке 6-6, регулирующий (сбросной) клапан определяет, когда давление в системе достигнуто, и открывается достаточно, чтобы перепустить масло на входную сторону масляного насоса. Затем масло поступает в коллектор, который распределяет масло через просверленные каналы к подшипникам коленчатого вала и другим подшипникам по всему двигателю. Масло течет от коренных подшипников через отверстия, просверленные в коленчатом валу, к нижним шатунным подшипникам. [Рисунок 6-15] Рисунок 6-15.Циркуляция масла в двигателе. [Щелкните изображение, чтобы увеличить] Масло достигает полого распределительного вала (в рядном или оппозитном двигателе), кулачковом диске или кулачковом барабане (в радиальном двигателе) через соединение с концевым подшипником или главным масляным коллектором; Затем он течет к различным подшипникам распределительного вала, кулачкового барабана или кулачковому диску и кулачкам.На поверхности цилиндров двигателя поступает масло, разбрызгиваемое из коленчатого вала, а также из шатунных подшипников. Поскольку масло медленно просачивается через небольшие зазоры шатунной шейки перед тем, как распыляться на стенки цилиндра, требуется значительное время, чтобы достаточное количество масла достигло стенок цилиндра, особенно в холодный день, когда поток масла более медленный.Это одна из главных причин использования современных мультивязкостных масел, которые хорошо текут при низких температурах.
Когда циркулирующее масло выполняет свою функцию смазки и охлаждения движущихся частей двигателя, оно стекает в отстойники в самых нижних частях двигателя. Масло, собранное в этих отстойниках, улавливается шестеренчатыми или героторными поглотительными насосами так же быстро, как и накапливается. Эти насосы имеют большую производительность, чем нагнетательный. Это необходимо, потому что объем масла обычно увеличивается из-за пенообразования (смешивания с воздухом).В двигателях с сухим картером это масло выходит из двигателя, проходит через маслоохладитель и возвращается в резервуар подачи.
Термостат, прикрепленный к охладителю масла, регулирует температуру масла, позволяя части масла течь через охладитель, а части — непосредственно в резервуар подачи масла. Такое расположение позволяет горячему моторному маслу с температурой все еще ниже 65 ° C (150 ° F) смешиваться с холодным нециркулируемым маслом в баке. Это увеличивает всю подачу моторного масла до рабочей температуры за более короткий период времени.
Бортовой механик рекомендует
Системы смазки — обзор
Система смазки рамы обеспечивает циркуляцию масла к подшипникам рамы, шатунным подшипникам и башмакам крейцкопфа. Он также может подавать масло в систему смазки сальника и цилиндра. Системы смазки разбрызгиванием являются наименее дорогими и используются в небольших воздушных компрессорах. Системы с принудительной подачей используются практически во всех областях компрессии газа на нефтяных месторождениях.
9.7.1.2 Система смазки с принудительной подачей
Рис.9.79 — схематическое изображение типичной системы смазки с принудительной подачей. В системе смазки с принудительной подачей смазочного масла насос циркулирует через охладитель и фильтр в систему распределения, которая направляет масло ко всем подшипникам и башмакам крейцкопфа.
Рис. 9.79. Принципиальная схема системы смазки с принудительной подачей.
Детали любой системы могут сильно различаться. Основными компонентами и особенностями системы смазки с принудительной подачей являются главный масляный насос, вспомогательный насос, насос предварительной смазки, маслоохладитель, масляный фильтр и дневной бак.
Главный масляный насос приводится в действие коленчатым валом и обычно рассчитан на подачу 110% от максимально ожидаемого расхода. Вспомогательный насос служит резервным для основного масляного насоса. Часто он приводится в действие электродвигателем и запускается автоматически, когда давление питания падает ниже определенного уровня. Насос предварительной смазки может быть ручным или автоматическим. Он предназначен для смазки подшипников перед запуском, чтобы предотвратить работу подшипников без надлежащей смазки при запуске. Некоторые более крупные агрегаты оснащены насосами для последующей смазки, чтобы гарантировать отсутствие потери жизненно важной смазки при остановке агрегата, а также надлежащее охлаждение опорных поверхностей.Любой из этих насосов может иметь электрический, пневматический или гидравлический привод.
Маслоохладитель обеспечивает поддержание температуры масла ниже заданной (120 ° F (48,9 ° C). Можно использовать охлаждающую воду в рубашке или направить масло непосредственно в секцию воздушного охладителя газа. Охладители должны быть рассчитан на 110% от максимально ожидаемой нагрузки
Обычно используется двойной полнопоточный масляный фильтр с запорными клапанами, расположенными так, чтобы переключение могло происходить без отключения по низкому давлению.
Верхний дневной бак обычно рассчитан на расход масла в течение 1 месяца. Он должен быть оборудован индикатором уровня.
Трубопровод смазочного масла, как правило, после фильтров изготавливается из нержавеющей стали. Следует избегать фитингов для приварки внахлест или других карманов, которые могут накапливать грязь после фильтров. Перед фильтрами часто используются трубопроводы из углеродистой стали. Их следует протравить и покрыть ингибитором ржавчины, чтобы предотвратить загрязнение системы смазки продуктами коррозии.
После завершения изготовления систему смазочного масла от нагнетания насоса до системы распределения необходимо промыть смазочным маслом при температуре от 71 ° C до 82 ° C (от 160 ° F до 180 ° F). Масло должно течь через сито 200 меш. Промывка должна прекратиться, когда на экране больше не будет грязи или песка.
Горючие газы, исходящие от привода двигателя, могут привести к окислению смазочного масла, если для компрессора и привода используется общая система. Эту практику следует тщательно изучить для конкретных приложений; на более крупных агрегатах часто используется отдельная система смазки двигателя.
Системы смазки поршневых двигателей самолетов
Системы смазки под давлением поршневых двигателей самолетов можно разделить на две основные категории: с мокрым картером и с сухим картером. Основное отличие состоит в том, что в системе с мокрым картером масло хранится в резервуаре внутри двигателя. После того, как масло циркулирует в двигателе, оно возвращается в резервуар на основе картера. Двигатель с сухим картером перекачивает масло из картера двигателя во внешний бак, в котором хранится масло. В системе с сухим картером используется продувочный насос, некоторые внешние трубки и внешний резервуар для хранения масла.
Помимо этого различия, в системах используются аналогичные типы компонентов. Поскольку система с сухим картером содержит все компоненты системы с мокрым картером, система с сухим картером поясняется в качестве примера системы.
Смазочное масло распределяется по различным движущимся частям типичного двигателя внутреннего сгорания одним из трех следующих способов: давление, разбрызгивание или сочетание давления и разбрызгивания.
Система смазки под давлением является основным методом смазки авиационных двигателей.Смазку разбрызгиванием можно использовать в дополнение к смазке под давлением на авиационных двигателях, но она никогда не используется сама по себе; системы смазки авиационных двигателей всегда либо типа давления или сочетания давления и выплеск типа, как правило, последний.
Преимущества смазки под давлением:
Система смазки двигателя должна быть спроектирована и изготовлена таким образом, чтобы она функционировала должным образом при любых положениях полета и атмосферных условиях, в которых предполагается эксплуатировать самолет.В двигателях с мокрым картером это требование должно выполняться, когда только половина максимального запаса смазочного материала находится в двигателе. Система смазки двигателя должна быть спроектирована и изготовлена таким образом, чтобы можно было установить средства охлаждения смазочного материала. Из картера также необходимо удалить воздух, чтобы исключить утечку масла из-за чрезмерного давления.
Многие поршневые и турбинные авиационные двигатели имеют системы смазки с сухим картером под давлением. Подача масла в этом типе системы осуществляется в баке.Насос высокого давления обеспечивает циркуляцию масла в двигателе. Затем насосы-очистители возвращают его в резервуар так же быстро, как он накапливается в отстойниках двигателя. Необходимость в отдельном топливном баке очевидна при рассмотрении осложнений, которые могут возникнуть, если в картере двигателя будет находиться большое количество масла. На многодвигательных самолетах масло в каждый двигатель подается из собственной полной и независимой системы.
Хотя расположение масляных систем в разных самолетах сильно различается, а узлы, из которых они состоят, различаются деталями конструкции, функции всех таких систем одинаковы.Изучение одной системы проясняет общие требования к эксплуатации и обслуживанию других систем.
Основные узлы типичной масляной системы с сухим картером поршневого двигателя включают резервуар для подачи масла, масляный насос с приводом от двигателя, продувочный насос, маслоохладитель с регулирующим клапаном маслоохладителя, вентиляционное отверстие масляного бака, необходимые трубопроводы и давление и индикаторы температуры. [Рисунок 1]
Рисунок 1. Схема масляной системы |
Масляные баки
Масляные баки обычно связаны с системой смазки с сухим картером, в то время как система с мокрым картером использует картер двигателя для хранения масла.Масляные резервуары обычно изготавливаются из алюминиевого сплава и должны выдерживать любые вибрации, инерцию и нагрузки жидкости, ожидаемые при эксплуатации.
Каждый масляный бак, используемый с поршневым двигателем, должен иметь пространство для расширения не менее 10 процентов емкости бака или 0,5 галлона. Каждая крышка заливной горловины масляного бака, используемого с двигателем, должна обеспечивать герметичное уплотнение. Масляный бак обычно размещается близко к двигателю и достаточно высоко над входом масляного насоса, чтобы обеспечить подачу под действием силы тяжести.
Емкость масляного бака варьируется в зависимости от типа самолета, но обычно ее достаточно, чтобы обеспечить достаточный запас масла для общего запаса топлива. Заливная горловина бака расположена так, чтобы было достаточно места для расширения масла и сбора пены.
Крышка наливной горловины или крышка помечена словом OIL. Слив в крышке заливной горловины хорошо устраняет любой перелив, вызванный операцией заполнения. Линии вентиляции масляного бака предназначены для обеспечения надлежащей вентиляции бака в любом положении полета.Эти трубопроводы обычно подключаются к картеру двигателя, чтобы предотвратить утечку масла через вентиляционные отверстия. Это косвенно приводит к выпуску баков в атмосферу через сапун картера.
В баке ранних больших радиальных двигателей было много галлонов масла. Чтобы помочь с прогревом двигателя, некоторые масляные баки имели встроенный бункер или датчик температуры. [Рис. 2] Этот колодец простирался от штуцера возврата масла в верхней части масляного бака до выходного штуцера в поддоне в нижней части бака.В некоторых системах бункерный бак открыт для основного источника масла с нижнего конца. В других системах есть клапаны откидного типа, которые отделяют основную подачу масла от масла в бункере.
Рисунок 2. Масляный бак с бункером |
Отверстие в нижней части бункера в одном типе и отверстия, управляемые откидным клапаном в другом, позволяют маслу из основного бака попадать в бункер и заменять масло, потребляемое двигателем.Всякий раз, когда в бункере бака есть отверстия, регулируемые заслонкой, клапаны работают от перепада давления масла. За счет отделения циркулирующего масла от окружающего масла в резервуаре циркулирует меньше масла. Это ускоряет нагревание масла при запуске двигателя. Очень немногие из этих типов резервуаров все еще используются, и большинство из них связано с установками радиальных двигателей.
Как правило, возвратная линия в верхней части бака предназначена для отвода возвращенного масла к стенке бака вихревым движением.Этот метод значительно снижает пенообразование, возникающее при смешивании масла с воздухом. Перегородки в нижней части масляного бака препятствуют завихрению, предотвращая попадание воздуха во впускной трубопровод нагнетательного масляного насоса. Вспенивающееся масло увеличивается в объеме и снижает его способность обеспечивать надлежащую смазку. В случае гребных винтов с масляным управлением главный выход из бака может быть выполнен в виде стояка, так что всегда имеется запас масла для флюгирования гребного винта в случае отказа двигателя.Поддон масляного бака, прикрепленный к нижней части бака, действует как уловитель для влаги и отложений. [Рис. 1] Воду и осадок можно слить, вручную открыв сливной клапан в нижней части отстойника.
Большинство авиационных масляных систем оснащено измерителем количества масляного щупа, который часто называют байонетным. Некоторые более крупные авиационные системы также имеют систему индикации количества масла, которая показывает количество масла во время полета. Система одного типа состоит, по существу, из рычага и поплавкового механизма, который регулирует уровень масла и приводит в действие электрический датчик наверху резервуара.Передатчик подключен к манометру в кабине, который показывает количество масла.
Масляный насос
Масло, поступающее в двигатель, сжимается, фильтруется и регулируется блоками внутри двигателя. Они обсуждаются вместе с внешней масляной системой, чтобы предоставить концепцию всей масляной системы.
Когда масло попадает в двигатель, оно нагнетается шестеренчатым насосом. [Рис. 3] Этот насос представляет собой поршневой насос прямого вытеснения, который состоит из двух зацепленных шестерен, которые вращаются внутри корпуса.Зазор между зубьями и корпусом небольшой. Отверстие насоса расположено слева и выпускное отверстие соединено с линией давления в системе двигателя. Одна шестерня прикреплена к шлицевому ведущему валу, который проходит от корпуса насоса к вспомогательному ведущему валу на двигателе. Уплотнения используются для предотвращения утечки вокруг приводного вала. Поскольку нижняя шестерня вращается против часовой стрелки, ведомая промежуточная шестерня вращается по часовой стрелке.
Рисунок 3.Масляный насос двигателя и сопутствующие агрегаты |
Когда масло попадает в камеру шестерни, оно захватывается зубьями шестерни, захватывается между ними и сторонами шестерни, разносится по внешней стороне шестерен и выпускается из порта нагнетания в канал масляного экрана. Масло под давлением поступает в масляный фильтр, где любые твердые частицы, взвешенные в масле, отделяются от него, предотвращая возможное повреждение движущихся частей двигателя.
Затем масло под давлением открывает обратный клапан масляного фильтра, установленный в верхней части фильтра.Этот клапан используется в основном с радиальными двигателями с сухим картером и закрывается легкой нагрузкой пружины от 1 до 3 фунтов на квадратный дюйм (фунт / кв. Дюйм), когда двигатель не работает, чтобы предотвратить попадание масла под действием силы тяжести в двигатель и его осаждение в нижней части. цилиндры или поддон двигателя. Если позволить маслу постепенно просачиваться через кольца поршня и заполнять камеру сгорания, это может вызвать жидкостную пробку. Это могло произойти, если клапаны на цилиндре были закрыты, а двигатель запускался для запуска.Это может привести к повреждению двигателя.
Масляный фильтр перепускной клапан, расположенный между напорной стороной масляного насоса и масляным фильтром, позволяет нефильтрованное масло в обходе фильтра и введите двигатель, если масляный фильтр забит или в холодной погоде, если застывшее масло блокирует фильтр во время работы двигателя Начало. Пружинная нагрузка на перепускной клапан позволяет клапану открываться до того, как давление масла разрушит фильтр; в случае холодного застывшего масла оно обеспечивает путь с низким сопротивлением вокруг фильтра.Грязное масло в двигателе лучше, чем отсутствие смазки.
Масляные фильтры
Масляный фильтр, используемый в авиационном двигателе, обычно бывает одного из четырех типов: сито, куно, канистра или навинчиваемый. Сетчатый фильтр с двойной стенкой обеспечивает большую площадь фильтрации в компактном устройстве. [Рис. 3] Когда масло проходит через сито с мелкими ячейками, грязь, отложения и другие посторонние вещества удаляются и оседают на дно корпуса. Через определенные промежутки времени крышка снимается, а экран и корпус очищаются растворителем.Масляные сетчатые фильтры используются в основном в качестве всасывающих фильтров на входе масляного насоса.
Масляный фильтр Cuno имеет картридж из дисков и проставок. Лезвие для чистки вставляется между каждой парой дисков. Лезвия очистителя неподвижны, но диски вращаются при повороте вала. Масло из насоса поступает в колодец картриджа, который окружает картридж, и проходит через промежутки между близко расположенными дисками картриджа, затем через полый центр и далее в двигатель. Любые инородные частицы в масле откладываются на внешней поверхности картриджа.Когда картридж вращается, лезвия очистителя вычищают посторонние предметы с дисков. Картридж ручного фильтра Cuno поворачивается за внешнюю ручку. Автоматические фильтры Cuno имеют гидравлический двигатель, встроенный в головку фильтра. Этот двигатель, управляемый давлением моторного масла, вращает картридж всякий раз, когда двигатель работает. На автоматическом фильтре Cuno имеется ручная поворотная гайка для ручного вращения картриджа во время проверок. Этот фильтр нечасто используется на современных самолетах.
Рисунок 4. Корпус фильтрующего элемента типа масляного фильтра |
Фильтр корпуса канистры имеет сменный фильтрующий элемент, который заменяется остальными компонентами, кроме уплотнений и прокладок, которые используются повторно. [Рис. 4] Фильтрующий элемент сконструирован с гофрированной прочной стальной центральной трубкой, поддерживающей каждую извилистую складку фильтрующего материала, что приводит к более высокому номинальному давлению сжатия.Фильтр обеспечивает отличную фильтрацию, поскольку масло проходит через множество слоев заблокированных волокон.
Рисунок 5. Полнопоточный навинчивающийся фильтр |
Полнопоточные навинчиваемые фильтры — это наиболее широко используемые масляные фильтры для поршневых двигателей. [Рис. 5] Полный поток означает, что все масло обычно проходит через фильтр. В полнопоточной системе фильтр расположен между масляным насосом и подшипниками двигателя, который фильтрует масло от любых загрязнений до того, как они пройдут через поверхности подшипников двигателя.Фильтр также содержит антидренажный обратный клапан и предохранительный клапан, все герметично закрытые в одноразовом корпусе. Предохранительный клапан используется в случае засорения фильтра. Она открывалась, позволяя маслу проходить в обход, предотвращая масляное голодание компонентов двигателя. На разрезе микронного фильтрующего элемента показан пропитанный смолой целлюлозный наполнитель со складками, который используется для улавливания вредных частиц и предотвращения их попадания в двигатель. [Рисунок 6]
Рисунок 6.Вид фильтра в разрезе |
Клапан регулировки давления масла
Клапан регулирования давления масла ограничивает давление масла до заданного значения в зависимости от установки. [Рис. 3] Этот клапан иногда называют предохранительным клапаном, но его реальная функция заключается в регулировании давления масла на заданном уровне давления. Давление масла должно быть достаточно высоким, чтобы обеспечить адекватную смазку двигателя и его вспомогательного оборудования на высоких скоростях и мощностях.Это давление помогает обеспечить сохранение масляной пленки между шейкой коленчатого вала и подшипником. Однако давление не должно быть слишком высоким, так как это может привести к утечке и повреждению масляной системы. Давление масла обычно регулируется ослаблением контргайки и поворотом регулировочного винта. [Рис. 7] На большинстве авиационных двигателей поворот винта по часовой стрелке увеличивает натяжение пружины, удерживающей предохранительный клапан на своем седле, и увеличивает давление масла; поворот регулировочного винта против часовой стрелки уменьшает натяжение пружины и понижает давление.В некоторых двигателях используются шайбы под пружиной, которые либо снимаются, либо добавляются для регулировки регулирующего клапана и давления. Давление масла следует регулировать только после того, как масло в двигателе прогреется до рабочей температуры и правильная вязкость проверена. Точная процедура регулировки давления масла и факторы, которые изменяют настройку давления масла, включены в соответствующие инструкции производителя.
| Рисунок 7. Винт регулировки давления масла |
Датчик давления масла
Обычно манометр показывает давление, при котором масло поступает в двигатель от насоса.Этот датчик предупреждает о возможном отказе двигателя, вызванном истощением подачи масла, отказом масляного насоса, сгоревшими подшипниками, разрывом маслопроводов или другими причинами, на которые может указывать потеря давления масла.
В манометрах одного типа используется механизм с трубкой Бурдона, который измеряет разницу между давлением масла и атмосферным давлением в салоне. Этот манометр сконструирован аналогично другим манометрам типа Бурдона, за исключением того, что он имеет небольшое ограничение, встроенное в корпус прибора или в ниппельное соединение, ведущее к трубке Бурдона.Это ограничение предотвращает помпаж масляного насоса от повреждения манометра или колебания стрелки манометра. Доступен для использования на многомоторных самолетах. Двойной индикатор содержит две трубки Бурдона, помещенные в стандартный приборный футляр; одна трубка используется для каждого двигателя. Соединения простираются от задней части корпуса к каждому двигателю. Есть одна общая сборка механизма, но движущиеся части работают независимо. В некоторых установках линия, ведущая от двигателя к манометру, заполнена легким маслом.Поскольку вязкость этого масла не сильно меняется при изменении температуры, манометр лучше реагирует на изменения давления масла. Со временем моторное масло смешивается с небольшим количеством легкого масла в линии к передатчику; в холодную погоду более густая смесь вызывает вялые показания прибора. Чтобы исправить это состояние, необходимо отсоединить линию манометра, слить ее и снова залить легким маслом.
В настоящее время наблюдается тенденция к созданию электрических передатчиков и индикаторов для систем индикации давления масла и топлива на всех самолетах.В системе индикации этого типа измеряемое давление масла прикладывается к входному отверстию электрического преобразователя, где оно подводится к мембранному узлу с помощью капиллярной трубки. Движение, вызванное расширением и сжатием диафрагмы, усиливается рычагом и механизмом передачи. Шестерня изменяет электрическую величину цепи индикации, которая, в свою очередь, отражается на индикаторе в кабине. Этот тип индикаторной системы заменяет длинные заполненные жидкостью трубопроводы на почти невесомый кусок проволоки.
Индикатор температуры масла
В системах смазки с сухим картером датчик температуры масла может находиться в любом месте на линии впуска масла между питающим баком и двигателем. В масляных системах для двигателей с мокрым картером датчик температуры расположен там, где он определяет температуру масла после того, как масло проходит через маслоохладитель. В любой системе груша расположена так, что она измеряет температуру масла до того, как оно попадет в горячие секции двигателя. Датчик температуры масла в кабине соединен с термометром масла электрическими проводами.Температура масла указывается на манометре. Любая неисправность системы масляного охлаждения отображается как неправильные показания.
Масляный радиатор
Охладитель цилиндрической или эллиптической формы состоит из сердечника, заключенного в двустенный кожух. Сердечник состоит из медных или алюминиевых трубок, концы которых имеют шестиугольную форму и соединены вместе, образуя сотовый эффект. [Рис. 8] Концы медных трубок сердечника припаяны, а алюминиевые трубки припаяны или механически соединены.Трубки соприкасаются только на концах, так что между ними существует пространство на большей части их длины. Это позволяет маслу течь через промежутки между трубками, в то время как охлаждающий воздух проходит через трубки.
Рисунок 8. Масляный радиатор |
Пространство между внутренней и внешней оболочками известно как кольцевая или байпасная рубашка. Для потока масла через охладитель открыты два пути.Из впускного отверстия он может обтекать наполовину байпасную рубашку, входить в активную зону снизу, а затем проходить через промежутки между трубками и выходить в масляный резервуар. Это путь, по которому масло следует, когда оно достаточно горячее и требует охлаждения. Когда масло течет через сердечник, оно направляется перегородками, которые заставляют масло перемещаться вперед и назад несколько раз, прежде чем оно достигнет выхода из сердечника. Масло также может проходить от входа полностью вокруг байпасной рубашки к выходу, не проходя через сердечник.Нефть следует по этому байпасному маршруту, когда масло холодное или когда активная зона забита густым застывшим маслом.
Клапан управления потоком маслоохладителя
Как обсуждалось ранее, вязкость масла зависит от его температуры. Поскольку вязкость влияет на его смазывающие свойства, температура, при которой масло поступает в двигатель, должна поддерживаться в жестких пределах. Как правило, масло, выходящее из двигателя, перед его рециркуляцией необходимо охладить. Очевидно, что степень охлаждения необходимо контролировать, чтобы масло возвращалось в двигатель при правильной температуре.Клапан управления потоком маслоохладителя определяет, по какому из двух возможных путей масло проходит через маслоохладитель. [Рисунок 9]
Рисунок 9. Регулирующий клапан с защитой от перенапряжения |
В клапане управления потоком есть два отверстия, которые подходят к соответствующим выходным отверстиям в верхней части охладителя. Когда масло холодное, сильфон в регуляторе потока сжимается и поднимает клапан с седла.В этом случае масло, поступающее в охладитель, имеет два выхода и два пути. По пути наименьшего сопротивления масло обтекает рубашку и выходит через термостатический клапан в бак. Это позволяет маслу быстро нагреться и в то же время нагревает масло в сердечнике. Когда масло нагревается и достигает своей рабочей температуры, сильфон термостата расширяется и закрывает выход из байпасной рубашки. Клапан управления потоком маслоохладителя, расположенный на маслоохладителе, теперь должен протекать масло через сердечник маслоохладителя.Независимо от того, по какому пути оно проходит через охладитель, масло всегда течет через сильфон термостатического клапана. Как следует из названия, этот блок регулирует температуру, либо охлаждая масло, либо передавая его в бак без охлаждения, в зависимости от температуры, при которой оно выходит из двигателя.
Клапаны защиты от перенапряжения
Когда масло в системе застывает, откачивающий насос может создать очень высокое давление в линии возврата масла. Для предотвращения разрыва маслоохладителя или разрыва шлангов под высоким давлением на некоторых самолетах в системах смазки двигателя установлены клапаны защиты от перенапряжения.В клапан управления потоком маслоохладителя встроен один тип импульсного клапана; другой тип — это отдельный узел в маслопроводе. [Рисунок 9]
Клапан защиты от перенапряжения, встроенный в клапан управления потоком, является более распространенным типом. Хотя этот регулирующий клапан отличается от только что описанного, по сути, он такой же, за исключением функции защиты от перенапряжения. Рабочее состояние при высоком давлении показано на рисунке 9, на котором высокое давление масла на входе регулирующего клапана вынудило импульсный клапан (C) подняться вверх.Обратите внимание, как это движение открыло уравнительный клапан и в то же время зафиксировало тарельчатый клапан (E). Закрытый тарельчатый клапан предотвращает попадание масла в собственно охладитель; Таким образом, продувочное масло проходит непосредственно в резервуар через выпускное отверстие (A), не проходя ни через байпасную рубашку охладителя, ни через сердечник. Когда давление падает до безопасного значения, пружина толкает вниз тормозной и тарельчатый клапаны, закрывая уравнительный клапан (C) и открывая тарельчатый клапан (E). Затем масло проходит от впускного отверстия регулирующего клапана (D) через открытый тарельчатый клапан в байпасную рубашку (F).Термостатический клапан в зависимости от температуры масла определяет поток масла либо через байпасную рубашку к порту (H), либо через сердечник к каналу (G). Обратный клапан (B) открывается, позволяя маслу достичь возвратной линии бака.
Регуляторы воздушного потока
Регулируя поток воздуха через охладитель, можно регулировать температуру масла в соответствии с различными условиями эксплуатации. Например, масло быстрее нагревается до рабочей температуры, если прекращается подача воздуха во время прогрева двигателя.Обычно используются два метода: заслонки, устанавливаемые на задней части маслоохладителя, и заслонка на воздуховоде. В некоторых случаях заслонка выхода воздуха из маслоохладителя открывается вручную и закрывается рычажным механизмом, прикрепленным к рычагу кабины. Чаще створка открывается и закрывается электродвигателем.
Рис. 10. Плавающий регулирующий термостат |
Одним из наиболее широко используемых устройств автоматического контроля температуры масла является плавающий регулирующий термостат, который обеспечивает ручное и автоматическое регулирование температуры масла на входе.При этом типе управления дверца выхода воздуха из маслоохладителя открывается и закрывается автоматически с помощью электропривода. Автоматическая работа привода определяется электрическими импульсами, полученными от регулирующего термостата, вставленного в маслопровод, ведущий от маслоохладителя к резервуару подачи масла. Привод может управляться вручную с помощью переключателя дверцы воздуховыпускного отверстия маслоохладителя. Установка этого переключателя в положение «открыто» или «закрыто» вызывает соответствующее движение дверцы холодильника.Установка переключателя в положение «авто» переводит привод под автоматическое управление плавающим регулирующим термостатом. [Рис. 10] Термостат, показанный на Рис. 10, настроен на поддержание нормальной температуры масла, чтобы она не изменялась более чем примерно на 5–8 ° C, в зависимости от установки.
Во время работы температура моторного масла, протекающего по биметаллическому элементу, заставляет его слегка раскручиваться или раскручиваться. [Рисунок 10B] Это движение вращает вал (A) и заземленный центральный контактный рычаг (C).Когда заземленный контактный рычаг вращается, он перемещается в сторону открытого или закрытого рычага с плавающим контактом (G). Два плавающих контактных рычага приводятся в движение кулачком (F), который непрерывно вращается электродвигателем (D) через зубчатую передачу (E). Когда заземленный центральный контактный рычаг устанавливается с помощью биметаллического элемента так, чтобы он касался одного из плавающих контактных рычагов, электрическая цепь к электродвигателю привода выходной заслонки маслоохладителя замыкается, в результате чего исполнительный механизм срабатывает и позиционирует воздухоохладитель масла. выходная заслонка.В более новых системах используются электронные системы управления, но функция или общая работа в основном те же, что и при регулировании температуры масла посредством управления потоком воздуха через охладитель.
В некоторых системах смазки используются сдвоенные маслоохладители. Если описанная ранее типовая масляная система адаптирована к двум маслоохладителям, система модифицируется и включает в себя делитель потока, два идентичных охладителя и регуляторы потока, двойные воздуховыпускные двери, двухдверный приводной механизм и Y-образный фитинг.[Рис. 11] Масло возвращается из двигателя по одной трубке в делитель потока (E), где обратный поток масла делится поровну на две трубки (C), по одной для каждого охладителя. Охладители и регуляторы имеют ту же конструкцию и функционирование, что и охладитель и регулятор потока, описанные только что. Масло из охладителей направляется по двум трубкам (D) к Y-образному фитингу, где плавающий регулирующий термостат (A) измеряет температуру масла и позиционирует две воздуховыпускные дверцы маслоохладителя с помощью двухдверного исполнительного механизма.Из Y-образного фитинга смазочное масло возвращается в бак, где замыкает свой контур.
Рис. 11. Двойная система охлаждения масла |
Работа системы смазки с сухим поддоном
Следующая система смазки типична для небольших одномоторных самолетов. Масляная система и компоненты используются для смазки шестицилиндрового двигателя мощностью 225 л.с. (л.с.) с горизонтальным расположением цилиндров и воздушным охлаждением.В типичной системе смазки под давлением с сухим картером механический насос под давлением подает масло к подшипникам по всему двигателю. [Рис. 1] Масло поступает на впускную или всасывающую сторону масляного насоса через всасывающий экран и линию, соединенную с внешним резервуаром в точке выше дна масляного поддона. Это предотвращает попадание осадка, попадающего в отстойник, в насос. Выходное отверстие бака выше, чем входное отверстие насоса, поэтому сила тяжести может способствовать потоку в насос. Объемный шестеренчатый насос с приводом от двигателя нагнетает масло в полнопоточный фильтр.[Рис. 3] Масло либо проходит через фильтр при нормальных условиях, либо, если фильтр забивается, перепускной клапан фильтра открывается, как упоминалось ранее. В байпасном положении масло не фильтруется. Как видно на Рисунке 3, регулирующий (сбросной) клапан определяет, когда давление в системе достигнуто, и открывается достаточно, чтобы перепустить масло на впускную сторону масляного насоса. Затем масло поступает в коллектор, который распределяет масло через просверленные каналы к подшипникам коленчатого вала и другим подшипникам по всему двигателю.Масло течет от коренных подшипников через отверстия, просверленные в коленчатом валу, к нижним шатунным подшипникам. [Рисунок 12]
| Рис. 12. Циркуляция масла в двигателе |
Масло достигает полого распределительного вала (в рядном или оппозитном двигателе), кулачковом диске или кулачковом барабане (в радиальном двигателе) через соединение с концевым подшипником или главным масляным коллектором; Затем он течет к различным подшипникам распределительного вала, кулачкового барабана или кулачковому диску и кулачкам.
На поверхности цилиндров двигателя поступает масло, разбрызгиваемое из коленчатого вала, а также из шатунных подшипников. Поскольку масло медленно просачивается через небольшие зазоры шатунной шейки перед тем, как распыляться на стенки цилиндра, требуется значительное время, чтобы достаточное количество масла достигло стенок цилиндра, особенно в холодный день, когда поток масла более медленный. Это одна из главных причин использования современных мультивязкостных масел, которые хорошо текут при низких температурах.
Когда циркулирующее масло выполняет свою функцию смазки и охлаждения движущихся частей двигателя, оно стекает в отстойники в самых нижних частях двигателя.Масло, собранное в этих отстойниках, улавливается шестеренчатыми или героторными поглотительными насосами так же быстро, как и накапливается. Эти насосы имеют большую производительность, чем нагнетательный. Это необходимо, потому что объем масла обычно увеличивается из-за пенообразования (смешивания с воздухом). В двигателях с сухим картером это масло выходит из двигателя, проходит через маслоохладитель и возвращается в резервуар подачи.
Термостат, прикрепленный к маслоохладителю, контролирует температуру масла, позволяя части масла течь через охладитель, а часть — непосредственно в резервуар для подачи масла.Такое расположение позволяет горячему моторному маслу с температурой все еще ниже 65 ° C (150 ° F) смешиваться с холодным нециркулируемым маслом в баке. Это увеличивает всю подачу моторного масла до рабочей температуры за более короткий период времени.
Работа системы смазки с мокрым отстойником
Простая форма системы с мокрым картером показана на рисунке 13. Система состоит из поддона или поддона, в котором находится подача масла. Подача масла ограничена вместимостью поддона (масляного поддона). Уровень (количество) масла указывается или измеряется вертикальным стержнем, который выступает в масло из приподнятого отверстия в верхней части картера.В нижней части поддона (масляного поддона) находится сетчатый фильтр с подходящей сеткой или рядом отверстий для удаления нежелательных частиц из масла и пропускания достаточного количества на впускную или (всасывающую) сторону масляного нагнетательного насоса. На рисунке 14 показан типичный масляный картер, через который проходит впускная труба. Это подогревает топливно-воздушную смесь перед ее поступлением в цилиндры.
Рис. 13. Базовая масляная система с мокрым картером |
Рисунок 14.Поддон системы мокрого отстойника с проходящей через него всасывающей трубкой |
Вращение насоса, который приводится в действие двигателем, заставляет масло проходить по внешней стороне шестерен. [Рис. 3] Это создает давление в системе смазки коленчатого вала (просверленные проходные отверстия). Изменение скорости насоса от холостого хода до полностью открытой дроссельной заслонки рабочего диапазона двигателя и колебания вязкости масла из-за изменений температуры компенсируются натяжением пружины предохранительного клапана.Насос предназначен для создания большего давления, чем требуется для компенсации износа подшипников или разжижения масла. Детали, смазанные под давлением, разбрызгивают смазочный спрей на цилиндр и поршневые узлы. После смазки различных агрегатов, которые оно распыляет, масло стекает обратно в поддон, и цикл повторяется. Систему нелегко адаптировать к перевернутому полету, поскольку весь запас масла заливает двигатель.
СВЯЗАННЫЕ ЗАПИСИ
Принципы смазки двигателя, требования и характеристики смазочных материалов для поршневых двигателей
Практика технического обслуживания системы смазки
Рекомендации по замене масла
Автомобильное масло и смазочная система: обзор
В современном двигателе система смазки более важна, чем любая другая, из-за очень низких допусков и более высоких температур, при которых двигатели должны работать.
Системные компоненты
- Масляный поддон — удерживает масло, необходимое для системы, обеспечивает средства слива масла через масляную пробку и вмещает масляный насос и всасывающую трубку.
- Масляный насос — обеспечивает непрерывную подачу масла под достаточным давлением и в количестве, достаточном для обеспечения адекватной смазки всего двигателя. Насос приводится в действие коленчатым валом, распределительным валом, распределителем или зубчатым ремнем.
Регулятор давления — обычно внутренняя часть масляного насоса в сборе, сбрасывает избыточное давление масла с помощью пружины и обратного клапана. - Масляный фильтр — масляный фильтр предназначен для удаления пыли, грязи, шлама и воды до того, как она достигнет деталей двигателя.
- Масляные галереи — каналы, по которым масло течет к различным частям двигателя.
- Индикатор давления масла — манометр или световой индикатор, указывающий на проблемы с давлением масла. Индикатор электрически подключен к реле давления масла или «отправляющему блоку».
- Масляный радиатор — охлаждает моторное масло для уменьшения окисления. Не все автомобили оснащены этим элементом.
- Индикатор уровня масла — также известный как масляный щуп, показывает уровень масла в масляном поддоне и иногда содержит информацию, например, тип масла, рекомендованный производителем.В некоторых автомобилях в масляном поддоне есть электронный датчик, указывающий на низкий уровень масла.
Масляный тракт
Масло начинается в масляном поддоне, где оно всасывается через приемный экран и трубку и нагнетается через масляный насос. Клапан сброса давления стравливает избыточное давление масла и направляет его обратно в масляный поддон. Насос направляет масло в масляный фильтр, где оно очищается. Если масляный фильтр слишком загрязнен, давление в фильтре будет расти до тех пор, пока не откроется перепускной клапан, встроенный в фильтр, и масло сможет поступать в двигатель без очистки.Из фильтра масло попадает через масляные каналы в блоке цилиндров к коренным подшипникам коленчатого вала. Затем он проходит через полый коленчатый вал для смазки шатунных подшипников. Другие масляные каналы в блоке подают масло в верхнюю часть двигателя, где смазываются подшипники распределительного вала, кулачки и толкатели клапана. На некоторых двигателях толкающие штоки в верхней части подъемников подают масло к коромыслам и штокам клапанов.
Масло под действием силы тяжести возвращается в масляный поддон. Сливные каналы в головке позволяют маслу течь через них.Часть масла, возвращающегося в поддон, ударяется о вращающийся коленчатый вал и разбрызгивается вокруг, смазывая поршень, поршневые кольца и стенки цилиндра.
Масляный насос и регулятор давления
Масляный насос должен обеспечивать непрерывную подачу масла под достаточным давлением и в количестве, достаточном для обеспечения адекватной смазки всего двигателя. Он забирает масло из резерва в масляном поддоне через впускную сетку и всасывающую трубку. Масло вытесняется из выпускного отверстия насоса к клапану регулятора давления, встроенному в насос.Зазоры в подшипниках и дозированные отверстия для масла в двигателе ограничивают поток масла из насоса, что приводит к повышению давления. Чтобы ограничить это давление, масло возвращается в масляный поддон через клапан регулятора давления.
Насосы двух типов
а) ротор типа
б) зубчатая передача
Один из роторов или шестерен приводится в движение валом от коленчатого вала, распределительного вала, распределительного вала или зубчатого ремня. Поскольку масло не может течь от входа к выходу без давления со стороны роторов или шестерен, насосы классифицируются как поршневые.
Когда масляный насос начинает изнашиваться, масло может течь обратно на впускную сторону, вызывая падение давления масла, что приводит к недостаточной смазке и выходу деталей из строя.
Масляные фильтры
Масляный фильтр предназначен для удаления грязи, шлама и пыли из масла. Масляные фильтры следует менять каждый раз при замене моторного масла. Масляные фильтры предназначены для улавливания взвешенных в масле посторонних частиц, чтобы предотвратить их попадание на подшипники двигателя и другие детали.В современных двигателях используется полнопоточная система фильтрации. Это означает, что все масло проходит через фильтр, прежде чем попадет к деталям двигателя.
Фильтр выполняет фильтрующую задачу с использованием фильтрующего элемента из сложенной (гофрированной) бумаги. Складки обеспечивают большую площадь фильтрации в небольшом контейнере. Если фильтр забивается, открывается специальный клапан, называемый перепускным, и позволяет маслу проходить к деталям двигателя, не проходя через фильтр. Другой клапан предотвращает вытекание масла из фильтра при остановленном двигателе.
Фильтры бывают разных размеров и имеют рейтинг в микронах. Рейтинг в микронах означает, насколько малы частицы грязи, которые пропускает фильтр.
Идентификация масляного фильтра
Масляные фильтры идентифицируются по номеру, напечатанному на внешней металлической оболочке и / или на коробке, в которую входит сменный фильтр. По номеру можно найти перекрестные ссылки в книгах или базе данных, чтобы узнать, для какого применения он предназначен. У каждого производителя масляных фильтров своя система нумерации.
Как найти подходящий масляный фильтр для вашего автомобиля или области применения.
- Посмотрите руководство по эксплуатации и / или обслуживанию автомобиля.
- Посмотрите на старый фильтр и найдите номер.
- Найдите год выпуска, марку, модель и объем двигателя автомобиля и найдите его в справочнике или базе данных или обратитесь к дилеру.
- Используйте идентификационный номер транспортного средства (VIN) при регистрации или транспортном средстве и найдите его в справочнике или базе данных или обратитесь к дилеру.
Указатели давления масла
Индикаторы давления масла информируют водителя о давлении или его отсутствии в системе смазки. Есть два типа:
- сигнальная лампа масла
- манометров.
В манометрах используются чувствительные к давлению манометры прямого действия или переключатели передающих устройств с переменным сопротивлением.
Нефть Маршрут
- Запускается в масляный поддон
- Отводится через приемный экран и трубку к насосу
- Клапан сброса давления стравливает избыток
- Насос направляет масло в фильтр (байпас)
- Через масляные каналы к коренным подшипникам
- От коленчатого вала к шатунным подшипникам
- Через масляные каналы к верхней части двигателя (подшипники распределительного вала, кулачки, толкатели клапанов)
- Возврат в масляный поддон под действием силы тяжести
Ключевые термины и определения
- Обход: когда масло отклоняется от обычного маршрута.
- Полный поток: все моторное масло, используемое в двигателе, должно проходить через масляный фильтр.
- Впуск: там, где масло попадает в насос.
- Смазка: Уменьшите трение между двумя (2) деталями, используя масло, консистентную смазку и т. Д.
- Рейтинг в микронах: Система классификации масляных фильтров.
- Масляный радиатор: Охлаждает моторное масло для уменьшения окисления.
- Масляный фильтр: удаляет загрязнения из масла.
- Масляные галереи: каналы в двигателе, используемые для подачи масла к различным частям.
- Индикатор уровня масла: Также называется щупом.
- Масляный поддон: Съемная нижняя часть двигателя из листового металла. Закрывает картер и служит резервуаром для масла.
- Индикатор давления масла: указатель или световой индикатор, показывающий давление масла.
- Масляный насос: механическое устройство, которое нагнетает масло под давлением к движущимся частям двигателя.
- Окисление: Воздух (кислород) смешивается с моторным маслом из-за чрезмерного нагрева.
- Регулятор давления: клапан, ограничивающий давление моторного масла.
- Всасывающая трубка: трубка, идущая от масляного насоса в масло.
- Передающее устройство: изменяет давление масла (механическое) на напряжение (электрическое).
- Поддон: резервуар для хранения моторного масла. Также называется масляным поддоном.
Безопасность
Моторное масло следует менять горячим. Если при замене масла двигатель холодный, это дает время частицам грязи и воды прилипать к частям двигателя.Когда масло сливается, грязь и вода остаются в двигателе. Если масло еще горячее, частицы остаются взвешенными и, таким образом, вымываются при сливе масла.
Помогите нам исправить его улыбку своими старыми эссе, это займет секунды!
-Мы ищем предыдущие эссе, лабораторные работы и задания, которые вы выполнили!
-Мы рассмотрим и разместим их на нашем сайте.— Доход от рекламы используется для поддержки детей в развивающихся странах.
-Мы помогаем оплатить операции по восстановлению расщелины неба через операцию «Улыбка и поезд улыбки».
Автор: Уильям Андерсон (Редакционная группа Schoolworkhelper)
https://schoolworkhelper.net/Репетитор и писатель-фрилансер. Учитель естественных наук и любитель сочинений. Последняя редакция статьи: 2020 г. | Институт Св. Розмарина © 2010-2021 | Лицензия Creative Commons 4.0
Системы смазки для бензиновых двигателей (автомобилей)
11.9.
Системы смазки для бензиновых двигателей Чтобы обеспечить достаточную подачу масла к деталям двигателя, резервуар для масла представляет собой поддон, который является нижней частью системы смазки, а в автомобильных двигателях поддон представляет собой масляный поддон.Из резервуара масло распределяется по двигателю либо через систему разбрызгивания, либо через систему полного давления. В случае двухтактных двигателей картер не может использоваться в качестве резервуара для масла. Смазка в этом случае обеспечивается смешиванием небольшого количества масла с бензином.
В системе разбрызгивания масло удерживается в маленьких желобах (рис. 11.9). На концах шатунов есть ковши для разбрызгивания масла на различные детали, такие как стенки цилиндров, распределительные валы, поршневые пальцы и т. Д.когда они проходят через масляные желоба к нижней части хода поршня. Масло подается к коренным подшипникам под давлением за счет масляного насоса через просверленные каналы в картере, называемые галереями. Масляный насос также пополняет желоба. Система сейчас практически устарела.
Рис. 11.9. Система смазки разбрызгиванием.
11.9.1.
Система полного давления
В автомобильных двигателях сегодня используются системы смазки с «принудительной подачей», как правило, с мокрым картером, в которых масляный поддон действует как возврат для слива масла и как резервуар для хранения.Масляный насос роторного типа обеспечивает принудительную подачу. Насос может приводиться в действие непосредственно от коленчатого вала или косвенно от распределительного вала или любого вспомогательного вала (рис. 11.10). Масло из поддона попадает в насос через затопленный марлевый сетчатый фильтр и всасывающую трубу. Затем масло сжимается, которое проходит через отверстие в систему смазки.
Клапан сброса давления, расположенный на выходной стороне насоса, регулирует давление масла. Если давление масла становится слишком высоким, открывается предохранительный клапан и излишки масла стекаются обратно в поддон.Предохранительный клапан может быть установлен на фильтрующем блоке, картере или корпусе насоса.
Масляный насос нагнетает масло через отверстия в картере в цилиндрический полнопоточный фильтр. Масло циркулирует вокруг стакана фильтра, проходит через фильтр к его центру и вытекает в главный масляный канал, называемый главным масляным каналом (рис. 11.10 и 11.11), который расположен параллельно коленчатому валу. В большинстве двигателей легковых и грузовых автомобилей масляный канал формируется путем просверливания отверстия в картере на всю длину двигателя и заглушки его концов.
Масло подается к коренным подшипникам скольжения коленчатого вала и в некоторых случаях к подшипникам распределительного вала (рис. 11.10 и 11.11) через различные отверстия в картере. В некоторых тяжелых коммерческих двигателях используется отдельная труба, расположенная под крышками коренных подшипников и кронштейнами опоры. Отверстия в этих кронштейнах соединяют маслоотвод галереи с основными подшипниками
. При диагональном просверливании коленчатого вала масло непрерывно подается к подшипникам шатуна из масляных канавок вокруг вкладышей коренных подшипников.Эти отверстия проходят от шейки коренного подшипника к шатунным шейкам шатуна (рис. 11.10) через перемычку коленчатого вала.
Рис. 11.10. Система смазки с принудительной подачей. A. Вид спереди в разрезе. Б. Вид сбоку в разрезе.
Для смазки цилиндров и поршней используются четыре разных метода.
(i) Масляный спрей с боковым зазором шатуна шатуна.
(H) Масляный спрей для радиальных отверстий на головке шатуна.
(Hi) Масляный спрей с радиальным отверстием на малом конце шатуна.
(iv) Масляный распылитель с неподвижной форсункой картера.
В настоящее время один или комбинация этих методов используется для достижения эффективной смазки цилиндров, в зависимости, главным образом, от рабочих условий, ожидаемых от двигателя.
Шатун Большой конец Боковой зазор Масляный спрей. Смазка цилиндров и поршней разбрызгиванием с боковым зазором шатуна (рис. 11.12) является наиболее простым и распространенным методом. В данном случае
Рис. 11.11. Система смазки с принудительной подачей.A. С толкателем и коромыслом клапанного механизма. B. С верхним распредвалом.
Давление масла в системе смазки, сжимающее действие между шатуном и шейкой шатуна и величина бокового зазора — все вместе вызывает достаточное разбрызгивание масла на стенки цилиндра и нижнюю часть поршня, когда коленчатый вал бросок находится рядом с ВМТ.
Рис. 11.12. Масляный спрей с боковым зазором шатуна шатуна.
В этом случае небольшое радиальное бурения отверстие в каждом шатун большого конце направляет шприц масла к упорной стороне отверстия цилиндра один раз при каждом обороте коленчатого вала (рис. 11.13). Диаметр отверстия и его угловое положение имеют решающее значение при таком способе смазки цилиндра.
Шатун Малый конец Масляный спрей с радиальным отверстием. Шатун в высокопроизводительных двигателях может иметь отверстие, соединяющее большую головку с малой головкой, что вызывает положительную подачу масла на поршневой палец (рис.11.14 и 11.17). Подшипники шатуна в тяжелых дизельных двигателях имеют канавки, так что непрерывный поток масла
обеспечивается через просверленные шатуны к малым подшипникам. В проушинах малого конца есть два отверстия, которые могут подавать струи охлаждающего масла в области кольцевого ремня внутри поршней.
В тяжелых дизельных двигателях с турбонаддувом в картере двигателя расположен жиклер, который выступает вверх для обеспечения контролируемого и непрерывного распыления масла, которое охлаждает и смазывает нижнюю часть поршня.Эта система подачи масла более активно снижает температуру поршня и кольца, чем обеспечивает дополнительную смазку для поршневой комбинации (рис. 11.15).
Рис. 11.13. Масляный спрей для радиальных отверстий шатуна шатуна.
Поршневое кольцо соскребает масло из отверстия цилиндра во время его хода вниз, вызывая перекачивающее действие, благодаря которому узкий конец смазывается положительно. Это масло проталкивается в канавку за нижним поршневым масляным кольцом.Затем он течет по просверленному проходу, который
Рис. 11.14. Масляный спрей с радиальным отверстием на малом конце шатуна.
Рис. 11.15. Распыление масла с неподвижной форсункой картера.
пересекает отверстия поршневого поршневого пальца и бобышки. Во время поворота узкого конца шатуна это масло растекается по поверхностям подшипников. Окружные пазы или отверстия выполнены под прямым углом к бобышкам поршневого пальца, из-за чего часть излишков масла разбрызгивается между бобышками поршневого пальца и узким концом шатуна.Это необходимо, когда поршневой палец полностью плавающий и нет подачи масла от шатуна. Кроме того, имеется ограниченное количество брызг из бокового зазора головки шатуна для завершения смазки головки шатуна (рис. 11.16 и 11.17).
Рис. 11.16. Полуплавающий поршневой палец с подачей масла к маслосъемным кольцам.
Рис. 11.17. Полностью плавающий поршневой палец со скребковым кольцом и подачей масла в шатун.
Существует четыре основных метода подачи масла к подшипникам распределительного вала.
(i) Отдельные поперечные отверстия в картере напрямую подают масло из главного масляного канала к каждому подшипнику распределительного вала (рис. 11.1)
(ii) Отверстия в картере, которые соединяют масляные канавки в коренном подшипнике коленчатого вала с Подшипники распределительного вала (рис. 11.2А) обеспечивают постоянную подачу масла.
(Hi) Одно отверстие обеспечивает подачу масла из главного масляного канала к одному из подшипников распределительного вала с внутренней канавкой.Затем это масло попадает через пару радиальных отверстий в полый распределительный вал. Центральный осевой масляный канал в распределительном валу подает масло к другим подшипникам через одиночные радиальные поперечные отверстия (рис. 11.11B).
(iv) Отдельный масляный канал распределительного вала просверлен в блоке опоры распределительного вала и по всей его длине. Это отверстие имеет пересекающиеся отверстия, соединяющие его с различными подшипниками распределительного вала (рис. 11.18), через которые подается масло.
Способы смазки кулачков распределительного вала в целом подразделяются на смазку для распредвалов с низким расположением и для распредвалов с высоким расположением. Смазка низко установленных кулачков распредвала зависит главным образом от следующего:
(a) Боковой зазор шатуна позволяет выливать масло, которое разбрызгивает кулачки каждый раз, когда ход кривошипа совмещается с распредвалом, т. Е. Один раз. каждый оборот коленчатого вала (рис. 11.12 A и B).
(b) Слив масла из коромысел брызг на профили кулачков (Рис.11.19).
(c) Масляный туман создается вращающимся коленчатым валом и системой вентиляции коромысла и картера.
Смазка кулачков распределительного вала с высокой посадкой зависит от типа используемых механизмов привода клапана.
(a) В коромысле прямого действия с центральным поворотом кулачковые выступы снабжены циклическими брызгами масла из отверстия в коромысле (рис. 11.20.) выступающие и поворачивающиеся на концах коромысла, кулачки смазываются струей масла, направляемой на кулачки.Это обеспечивается трубкой, расположенной между опорами опоры опоры распределительного вала (рис. 11.21 и 11.26).
(c) В цилиндрических толкателях прямого действия кулачки смазываются следующими тремя способами (рис. 11.25.)
• простой брызг из масляного поддона,
• радиальное отверстие, пересекающее базовую окружность кулачка,
• масло брызги, идущие из просверленного прохода по всей длине головки блока цилиндров.
Рис. 11.18. OHC с цилиндрическим толкателем прямого действия.
Смазка штока и наконечника клапана осуществляется путем разбрызгивания масла и слива излишков масла из коромысла и / или кулачков распределительного вала. (Рис. 11.22–11.26).
Клапан Коромысло-механизм Смазка. Смазка коромысла клапана зависит от типа используемого узла коромысла.
Цельная коромысла. Эти рычаги смазываются масляным отверстием или трубкой, проходящей от одного из подшипников распределительного вала до полого вала коромысла
, который имеет радиальные отверстия, совмещенные с каждым коромыслом.Отверстие для шарнира коромысла может быть либо просверлено и использовано непосредственно над валом, либо иметь бронзовую втулку с внутренними масляными канавками.
Рис. 11.19. Высоко расположенный распределительный вал с коромыслом, приводимым в действие толкателем.
Рис. 11.20. OHC с центрально вращающимся коромыслом с приводом от конца.
Рис. 11.21. OHC с центрально откидывающимся коромыслом.
Три способа подачи масла к узлу шток и пружина клапана и к толкателю и штоку показаны на рис.11.22.
(i) Шток клапана и толкатель в сборе смазываются одним вертикальным радиальным сверлением в середине коромысла (рис. 11.22A). Когда рука покачивается, масло разбрызгивается в обоих направлениях. Этот метод позволяет удовлетворить количество масла, необходимое для малых двигателей. Более контролируемая смазка толкателя и узла толкателя достигается за счет горизонтального сверления между отверстием шарнира коромысла и концом толкателя рычага. Конец штока клапана коромысла имеет открытый желобчатый канал, образованный вдоль верхней части коромысла, через который излишки масла переливаются и стекают вниз по клапану и возвратным пружинам (рис.11.22B). Эта система обычно применяется на некоторых бензиновых и дизельных двигателях среднего размера. (Привет) Для работы в тяжелых условиях смазка обеспечивается путем соединения механизма подачи коромысла с полым винтом толкателя, благодаря чему масло течет непосредственно в чашеобразное седло толкателя, а затем переливается и стекает вниз по смазке толкателя. кулачковый толкатель (рис. 11.22C). Конец штока клапана коромысла содержит горизонтальное отверстие, просверленное вдоль него, так что масло напрямую подается в узел клапана и пружины.Однако этот метод может привести к чрезмерной смазке штока клапана, если не наложено ограничение на подачу масла к коромыслам. Это проблема этой системы.
Сталь прессованная коромысла с полым толкателем. Один из подшипников распределительного вала подает масло через бурение нефтяных скважин в буровую штангу толкателя и толкателя, которая расположена параллельно распределительному валу. Из этой галереи масло течет по кольцевой канавке в каждом корпусе толкателя-толкателя, обеспечивая положительную смазку. Поток этого масла через полый шток толкателя к коромыслу и клапану регулируется тарелкой клапана в толкателе (не показан).
Стальной прессованный коромысел с центральной полой стойкой. Масло проходит через канал в первом подшипнике распределительного вала в масляный канал толкателя-толкателя, просверленный рядом с толкателями по всей длине головки блока цилиндров (рис. 11.24). Из галереи масло течет вокруг выемки, обработанной на толкателе, а затем к короткому отверстию, которое встречается с центральным коромыслом
Рис. 11.22. Твердый коромысло. масляное отверстие и сальники штока клапана.
Шпилька поворотной стойки.Шпилька полая и имеет радиальное пересекающееся отверстие, так что подача масла из толкателя соединяется со сферической осью коромысла. Затем масло разбрызгивается и заливает коромысло, что приводит к чрезмерному разливу, смазывая как узел клапана, так и верхнюю часть толкателя.
Рис. 11.23. Коромысло прессовочное с подачей масла в полый толкатель.
Рис. 11.24. Коромысло прессовочное с центральной подачей масла на полую шпильку.
Метод смазки распределительных валов верхнего расположения зависит от типа используемого исполнительного механизма, и они следующие:
(a) При расположении распределительного вала ковшового толкателя прямого действия (рис. 11.25) распредвал, толкатель и шток клапана являются смазывается либо просверленным отверстием по центру оси распределительного вала и пересекающимися радиальными отверстиями, выходящими на базовую окружность кулачка, либо просверленным отверстием в корпусе опоры, параллельным распределительному валу и выступающими отверстиями для распыления, направленными на профили кулачка.В любом из случаев смазка толкателя и штока клапана осуществляется путем слива масла из распределительного вала.
(6) В системе коромысла с непрямым поворотом на конце (рис. 11.26) распределительный вал, коромысло и шток клапана смазываются путем разбрызгивания масла на поверхности кулачков через маслопровод, прикрепленный к корпусу опоры распределительного вала. Избыточное масло, стекающее из распределительного вала, также течет по коромыслу и смазывает его шарнир, а также наконечник клапана и шток.
Эти чрезмерно используемые компоненты обычно смазываются небольшим отверстием, которое пересекает масляный канал, идущий от основного масляного канала к первому коренному подшипнику (рис. 11.10), или канал от первого коренного подшипника к первому подшипнику распределительного вала (рис. 11.11А). Иногда
небольшая труба из этого отверстия направляет масло на шестерни или цепь. Кроме того, в некоторых конструкциях масляный поддон имеет форму масляного желоба распределительного механизма, благодаря которому сливаемое масло погружает шестерню коленчатого вала, обеспечивая непрерывный восходящий разбрызгивание масла на остальную часть привода распределительного вала.
Рис. 11.25. OHC цилиндрический прямого действия с распылителем на неподвижной опоре, полый распределительный вал с радиальным отверстием для масла или просто ванна для разбрызгивания.
Рис. 11.26. OHC с поворотным коромыслом и распылителем маслопровода.
Масляные каналы коленчатого вала подают масло от подшипника коренной шейки к шейке шатуна. В простейшем виде масляный канал представляет собой диагональное сверление (рис.11.27A), идущую от основного журнала к главному журналу. Обычно диагональное отверстие просверливается под углом к центральной линии шатуна, так что, когда шатун находится в положении ВМТ и сила сгорания толкает шатуны вниз, некоторое количество масла все еще попадает между шейкой и подшипником. Это связано с тем, что если выход диагонального отверстия находится точно в верхней части шейки шатуна, масло не может попасть между подшипником и шейкой в положении ВМТ. Кроме того, эффективная расчетная площадь подшипника также уменьшается из-за скошенного масляного отверстия.
Для улучшения подачи масла поперечное сверление (рис. 11.27B) проходит прямо через шейку шатуна, а диагональное сверление из шейки коренного подшипника пересекает поперечное сверление шатуна. Другое отверстие также просверливается диаметрально противоположно входу диагонального отверстия в основной шейке, так что, когда подшипник нагружен в верхней или нижней части хода, другая сторона подшипника пропускает масло.
11.9.2.
В системах смазки под давлением используются четыре основных типа масляных насосов роторного действия.Это
(i) насос с внешней прямозубой шестерней, (ii) серповидный насос с внутренним зацеплением, (Hi) эксцентриковый двухроторный насос и (iv) эксцентриковый насос со скользящими лопастями.
Выбор насоса обычно основывается на простоте и удобстве установки и эксплуатации. Другими соображениями являются ожидаемый срок службы насоса, пропускная способность масла, время заливки, способность создавать давление на низких скоростях и способность непрерывно подавать масло в условиях более высокого давления при высоких оборотах двигателя.
Фиг.11.27. Масляные каналы коленчатого вала.
A. Коленчатый вал с одинарным масляным каналом.
B. Коленчатый вал с диагональным проходом перемычки и прямым поперечным отверстием в шейке шатуна.
Создание давления масла масляным насосом зависит от «утечек» в двигателе. «Утечки» — это зазоры в конечных точках системы смазки, такие как кромки подшипников, коромысла, шатуны шатуна и т. Д. Эти зазоры вводятся для правильной работы двигателя.Утечка увеличивается по мере износа деталей и увеличения зазора. Производительность масляного насоса зависит от его размера, скорости вращения и физического состояния. Производительность масляного насоса мала на холостом ходу двигателя и когда «утечки» относительно превышают производительность насоса. По мере того, как двигатель набирает обороты, производительность насоса увеличивается, и он пытается вытеснить больше масла из «утечек». Это заставляет давление повышаться, пока не достигнет регулируемого давления. Вязкость моторного масла также влияет как на производительность насоса, так и на утечку масла.Очень низкая вязкость или жидкое масло скользит по краям насоса и свободно вытекает из «утечек». Горячее масло имеет низкую вязкость и часто сопровождается низким давлением масла. Холодное масло более вязкое и обычно вызывает высокое давление даже при работе двигателя на холостом ходу. Масло с более высокой вязкостью в двигателе повышает давление масла даже до регулируемого значения при более низких оборотах двигателя.
Этот насос (рис. 11.28) состоит из двух идентичных прямозубых зубчатых колес, установленных в корпусе насоса.Ведущее колесо жестко соединено с приводным валом масляного насоса с горячей посадкой или шпоночной канавкой. Приводной вал вращается в отверстии для подшипника, обработанном непосредственно в корпусе насоса, а ведомая шестерня вращается на стойке подшипника, установленной внутри этого корпуса.
Когда шестерни вращаются, на впускной стороне всасывания образуется область низкого давления, так что масло всасывается. Масло, заполняющее промежутки между зубьями шестерни, уплотняется стенками корпуса при вращении колес. Это захваченное масло затем перемещается по периферии каждого зубчатого колеса в противоположных направлениях в двух зубчатых колесах к выпускному отверстию.Непрерывное вытеснение масла к выпускному отверстию повышает давление масла и увеличивает скорость его циркуляции.
Одноступенчатый насос этого типа может развивать давление нагнетания до 981 кПа. Пропускную способность насоса можно определить с помощью следующего соотношения.
Компоненты насоса проверяются на предмет зазора и износа с помощью щупов. Зазор между вершинами зубьев шестерни и корпусом насоса не должен превышать 0,2 мм. Зазор между зубчатыми колесами должен быть в пределах 0.1 и 0,2 мм. Концевой зазор поплавка (между торцевой пластиной и шестернями через открытую поверхность корпуса насоса) от поверхностей шестерен не должен превышать 0,1 мм. Механический и объемный КПД этих насосов довольно высоки 95% и 98% соответственно.
Этот насос (рис. 11.29) содержит прямозубую коронную шестерню с внутренним цилиндрическим цилиндром, которая работает снаружи, но в зацеплении
Рис. 11.28. Цилиндрический насос с внешним зацеплением.
с ведущим цилиндрическим цилиндрическим зубчатым колесом таким образом, чтобы его ось вращения была эксцентричной оси вращения ведущего колеса.Этот эксцентриситет вызывает зазор между внешней и внутренней шестернями. Это пространство занято фиксированным разделительным блоком, называемым серпом, предназначенным для разделения областей входного и выходного портов. Ведущая шестерня приводится в движение отдельным валом или соединяется шпонкой с продолжением главной шейки переднего коленчатого вала. Ось вращения внешней шестерни полностью поддерживается стенкой корпуса насоса. Корпус насоса вокруг шейки коленчатого вала позволяет создать очень компактный насосный агрегат, способный обеспечивать большой выходной поток при относительно низких оборотах коленчатого вала.
Вращение шестерен создает зону низкого давления на всасывающем конце полумесяца, так что масло всасывается. При вращении шестерен масло попадает между зубьями внутренней ведущей шестерни и внутренней серповидной боковой стенкой, и между зубьями внешней шестерни и внешней серповидной боковой стенкой. Это масло переносится этими зубцами к другому концу полумесяца, где оно выпускается обоими зубцами в камеру выпускного отверстия. Непрерывная подача масла к выпускной стороне увеличивает слив масла.Как только пространство между зубьями шестерни заполнено маслом, дополнительное масло, выдавленное из зазоров зубьев, увеличивает давление масла. Среднее давление масла и скорость циркуляции зависят от количества масла, выходящего из подшипников системы смазки.
Компоненты насоса проверяются на предмет зазора и износа с помощью щупов. Зазоры между вершинами зубьев шестерни и серповидной стенкой для каждой шестерни не должны превышать 0,3 мм, когда обе шестерни находятся в положении с корпусом насоса.Зазор между зубчатыми колесами должен составлять от 0,1 до 0,2 мм. Зазор между внешней шестерней и корпусом
Рис. 11.29. Серповидный насос с внутренним зацеплением.
не должен превышать 0,2 мм. Зазор между поплавком шестерни по открытой поверхности корпуса насоса и боковыми поверхностями шестерен не должен превышать 0,2 мм.
В насосе (рис. 11.30) используются внутренний и внешний ротор, установленные в корпусе насоса, причем внешний ротор эксцентричен по отношению к внутреннему.Внутренний ротор прижимается к валу масляного насоса и удерживается на месте
зубцами. Этот ротор имеет четыре лопасти, которые входят в зацепление с пятью сегментами внешнего ротора. Таким образом, внутренний ротор вращает внешний ротор, но со скоростью, меньшей, чем соотношение количества лепестков к количеству сегментов.
Первое масло всасывается через впускное отверстие в пространство между внутренним и внешним роторами. Из-за их эксцентриситета и разницы в размерах зазор между лепестками увеличивается, и, как следствие, масло заполняется в этом пространстве.Однако пространство между лопастями ротора выходит за пределы
Рис. 11.30. Эксцентриковый двухроторный насос.
впускной канал, таким образом задерживая масло, которое впоследствии переносится между лопастями и сегментами ротора. При дальнейшем вращении объем образовавшегося эффективного пространства уменьшается, и в конечном итоге оно становится доступным для нагнетательного канала, так что масло под давлением выходит в фильтр. Насос действует путем непрерывного повторения этого процесса.
Компоненты насоса проверяются на предмет зазора и износа с помощью щупов.Зазор между концом рабочего лепестка ротора и сегментом не должен превышать 0,2 мм. Зазор между внешним ротором и корпусом не должен превышать 0,25 мм. Концевой зазор (между торцевой пластиной и роторами) через открытую поверхность корпуса насоса и роторы серповидного насоса с внутренним зацеплением не должен превышать 0,2 мм.
Этот насос (рис. 11.31) содержит ротор, эксцентрично установленный в отверстии цилиндра, выточенном в корпусе насоса.Ротор прижимается к валу масляного насоса и удерживается пальцем. Четыре скользящие лопатки размещены в пазах, обработанных на периферии этого ротора, и расположены центрирующими кольцами с каждой стороны ротора. Во время работы насоса лопатки прижимаются к стенке корпуса насоса за счет центробежной силы.
При движении ротора лопатки проходят над входным отверстием, образованным на боковой стороне корпуса насоса. Из-за эксцентриситета вала ротора относительно стенки кожуха пространство между лопатками в
Рис.11.31. Шиберный насос.
складки и масло втягивается в пространство между ротором и стенкой корпуса насоса. Впоследствии масло переносится между лопастями за входное отверстие, где пространство между ротором и отверстием насоса уменьшается. Следовательно, масло вытесняется через выпускное отверстие в масляный фильтр и масляные каналы. Из-за дальнейшего вытеснения избыточного количества масла давление масла в смазочных каналах двигателя увеличивается.
Компоненты насоса проверяются на предмет зазора и износа с помощью щупов.Зазор между ротором и корпусом не должен превышать 0,13 мм. Зазор между лопаткой и корпусом не должен превышать 0,28 мм. Зазор между лопаткой и канавкой ротора не должен превышать 0,13 мм. Концевой зазор между ротором и лопастями на открытой поверхности корпуса насоса от ротора и лопаток не должен превышать 0,13 мм.
11.9.3.
Привод с перекосом шестерен масляного насоса коленчатого вала применяется при использовании высоко установленных распредвалов.Короткий вал с косой шестерней входит в зацепление с шестерней, установленной на передней части коленчатого вала. Эта компоновка приводит в действие распределитель зажигания и масляный насос с редуктором 2: 1 (рис. 11.32A).
Зубчатый привод с перекосом для масляного насоса распределительного вала используется при низко установленном распределительном валу. Длинный вал с косой шестерней входит в зацепление с шестерней, выточенной непосредственно на распредвале. Этот вал приводит в движение распределитель зажигания и масляный насос (рис. 11.32B) с передаточным числом 1: 1.
Когда используется двухступенчатая цепь привода ГРМ с высоко расположенным распределительным валом и вспомогательным валом (также известным как вал домкрата), часто удобно иметь привод масляного насоса от этого вала.Это также приводит в действие распределитель и насос (рис. 11.32C).
Для небольших компактных двигателей с высоко расположенными распределительными валами обычно используется серповидный насос с внутренним зацеплением. Этот насос компактен, занимает очень мало места и установлен на внешней шестерне коленчатого вала со шпонкой. Это выполняет двойную функцию: приведения в действие насоса и создания части перекачивающего действия (рис. 11.32D).
Для двигателей среднего и большого размера, привод насоса непосредственно от распределительной шестерни коленчатого вала (рис.11.32E) является предпочтительным. Эти формы привода обычно используются с насосами с большой производительностью.
Для некоторых двигателей с поперечным расположением и низко расположенными распределительными валами предпочтительнее приводить насос через муфту, расположенную на конце распределительного вала. Он также компактен и не требует отдельного приводного вала (Рис. 11.32F)
Рис. 11.32. Привод масляного насоса. A. Коленчатый вал с косой зубчатой передачей. B. Привод с косой головкой распределительного вала.
C. Привод перекоса вспомогательного вала. D. Привод с внутренним зацеплением коленчатого вала.
E. Привод ГРМ коленчатого вала. F. Приводы с прямыми концевыми парами распредвала.
11.9.4.
Регулятор давления или предохранительный клапан (рис. 11.33) ограничивает максимальное давление в двигателях с системами смазки под полным давлением. Если клапан регулятора давления не используется, давление моторного масла продолжает увеличиваться по мере увеличения оборотов двигателя. Максимальное давление обычно ограничивается давлением, при котором достаточное количество масла (от 11 до 22 часов в минуту) подается к точкам смазки двигателя.После того, как масло покидает насос, масляные пленки поддерживаются гидродинамическими силами. Чрезмерное давление масла требует большей мощности, а также не обеспечивает лучшей смазки. Высокое давление масла и, как следствие, высокая скорость потока масла могут в некоторых случаях вызвать эрозию подшипников двигателя.
Регулятор давления установлен ниже по потоку от другой стороны давления масляного насоса. Обычно он содержит подпружиненный поршень и в некоторых случаях подпружиненный шарик. Когда давление масла достигает регулируемого давления (обычно от 380 до 414 кПа), оно прижимает регулирующий клапан к калиброванной пружине, сжимая ее, когда клапан возвращается в исходное положение.Это позволяет контролировать «утечку» из системы давления, чтобы поддерживать регулируемое установленное давление. Любое изменение давления пружины регулирующего клапана также изменяет регулируемое давление масла, а более высокое давление пружины
вызывает более высокое давление масла. В большинстве двигателей масло, выпущенное из регулирующего клапана, направляется на впускную сторону насоса, как показано на рис. 11.33. Поэтому регулирующий клапан обычно размещается в корпусе масляного насоса или в крышке насоса. Этот метод подачи масла из регулирующего клапана предотвращает вспенивание и чрезмерное перемешивание масла, так что насос получает сплошной поток смазочного масла.
Рис. 11.33. Клапан регулятора давления масла.
11.9.5.
Масло из выпускного отверстия насоса поступает в масляный фильтр, где улавливаются крупные частицы, позволяя только чистому маслу поступать в двигатель. Через фильтр проходят очень мелкие частицы. Эти частицы настолько мелкие, что могут попасть между
зазорами двигателя и не повредить их. Поскольку фильтр улавливает частицы, отверстия в фильтре частично закупориваются, так что он улавливает даже более мелкие частицы.Однако такая лучшая фильтрация ограничивает поток масла, что может привести к масляному голоданию подшипников. Большинство масляных фильтров являются одноразовыми навинчиваемыми. Масло течет из масляного насоса во внешнюю область фильтра (рис. 11.34) между корпусом фильтра и бумажным элементом. Масло течет из центра бумажного элемента в главный масляный канал в блоке двигателя. Обратный клапан, расположенный в верхней части масляного фильтра, предотвращает обратный слив масла из системы смазки через фильтр в картер, когда двигатель
выключен.Монтажная пластина масляного фильтра содержит перепускной клапан, который позволяет нефильтрованному маслу течь из масляного насоса непосредственно в систему смазки в случае засорения фильтра. Этот перепускной клапан установлен на значение от 34 до 103 кПа, в зависимости от двигателя и нормального перепада давления на фильтрующем элементе.
Рис. 11.34. Масляный фильтр.
Смазочные материалы для дизельных двигателей
Смазочные материалы для дизельных двигателейХанну Яэскеляйнен, В. Адди Маевски
Это предварительный просмотр статьи, ограниченный некоторым исходным содержанием.Для полного доступа требуется подписка DieselNet.
Пожалуйста, войдите в систему , чтобы просмотреть полную версию этого документа.
Реферат : Смазочные материалы для дизельных двигателей состоят из базового масла, модификатора вязкости и пакета присадок, который может включать антиоксиданты, депрессанты температуры застывания, детергенты и диспергенты. Вязкость моторного масла — его важнейшее свойство. Вязкость масла следует выбирать так, чтобы гидродинамическое смазывание происходило там и тогда, когда это необходимо.Во время использования масло может загрязняться сажей, несгоревшим топливом, металлическими частицами и другими загрязнителями. Распространенный способ определения подходящих интервалов замены масла — анализ отработанного масла.
Состав смазки
Обзор
Смазочные масла в дизельном двигателе выполняют ряд важных функций:
- Снижение износа таких компонентов, как подшипники, поршни, поршневые кольца, гильзы цилиндров и клапанный механизм,
- Снижение трения граничных и гидродинамически смазываемых компонентов,
- Охлаждение поршня,
- Защита от коррозии из-за кислот и влаги,
- Очистка поршней и предотвращение скопления шлама на внутренних поверхностях,
- Поддержание смазки уплотнений и контроль набухания для предотвращения утечки из-за неисправности уплотнения и
- Служит гидравлической средой в таких компонентах, как топливные системы HEUI.
Смазочные материалы для двигателей состоят из базового масла (обычно 75–83%), модификатора вязкости (5–8%) и пакета присадок (12–18%) [1265] . Поскольку базовое масло само по себе не может обеспечить все функции смазочного масла, необходимые в современных двигателях, пакет присадок стал играть все более важную роль в рецептуре масла.
Базовое масло
Базовое масло состоит из базового компонента или смеси ряда базовых компонентов. Базовые компоненты из нефтяного сырья могут быть произведены с использованием множества различных процессов, включая дистилляцию, очистку растворителем, обработку водородом, олигомеризацию, этерификацию и повторную очистку.Синтез с использованием процесса Фишера-Тропша также может быть использован для производства некоторых высококачественных базовых компонентов из исходного сырья, такого как природный газ (GTL). Биосинтез также можно использовать для производства базовых компонентов из возобновляемых источников сырья, таких как растительный сахар [3229] . Базовые запасы также могут быть восстановлены при переработке отработанного масла.
Американский институт нефти (API) классифицирует базовые компоненты моторных масел, имеющих лицензию на нанесение классификационного символа API, на несколько различных категорий, как показано в таблице 1.В Европе ассоциация Technique de L’Industrie Européenne des Lubrifiants (ATIEL) определяет группы базовых масел для использования в последовательностях масел ACEA. Классификации ATIEL с I по V идентичны классификациям API (однако с 2003 по 2010 год ATIEL включила дополнительную классификацию по группе VI).
| Группа | Насыщенные вещества | Сера | Индекс вязкости | Прочие | ||||||||||
|---|---|---|---|---|---|---|---|---|---|---|---|---|---|---|
| мин. | макс. | мин. | макс. | мин. | макс. | 0.03% * | — | 80 | 120 | |||||
| II | 90% | — | — | 0,03% | 80 | 120 | 9010% — | — | 0,03% | 120 | — | |||
| IV | — | — | — | — | — | — | — | — | — | — | — | — | не в группах с I по IV | |
| * Максимум 90% насыщения и / или минимум 0.03% серы | ||||||||||||||
Базовые компоненты групп I, II и III различаются по концентрации насыщенных веществ и серы, а также по их индексу вязкости (см. Ниже). Базовые компоненты группы I имеют низкое содержание насыщенных углеводородов и / или высокое содержание серы. Группы II и III содержат много насыщенных веществ и мало серы. Базовые масла группы IV — это синтетические масла, состоящие из полиальфаолефинов. Наконец, базовые компоненты Группы V — это те, которые не попадают в Группы I-IV. Базовые масла Группы I и Группы II с индексом вязкости выше 110 иногда называют базовыми маслами Группы I + и Группы II + соответственно.Более широкое использование базовых масел Группы III также привело к аналогичной дифференциации для этих продуктов. Однако различие менее четкое. Базовые масла группы III + могут использоваться для обозначения базовых масел с индексом вязкости более 130-150 в зависимости от продавца.
Базовые масла группы I — это базовые масла самого низкого качества. Они производятся путем физического разделения молекул смазочного материала с использованием рафинирования растворителем; двухстадийный процесс, включающий частичное удаление ароматических углеводородов с помощью растворителя и последующее удаление парафина осаждением и другим растворителем.Базовые компоненты группы I могут содержать более 10% ароматических углеводородов, что придает этим базовым маслам без добавок плохую стойкость к окислению, а их вязкость — плохой температурный отклик. Необходимо использовать специальную сырую нефть, которая содержит желаемые молекулы базового масла смазочного материала, так что характеристики базового масла Группы I сильно зависят от источника сырой нефти.
Базовые компоненты Группы II производятся с использованием различных технологий гидрообработки. На модернизированных или гибридных установках Группы II к установкам Группы I добавляется стадия гидроочистки, что позволяет повысить гибкость выбора сырой нефти по сравнению с базовыми маслами Группы I.На специально построенной установке гидрокрекинга Группы II каталитические процессы преобразуют молекулы, не являющиеся смазочными материалами, в молекулы смазочных материалов, что обеспечивает еще большую гибкость исходного сырья и позволяет использовать более низкое качество / более дешевую сырую нефть. При производстве базовых компонентов группы II можно удалить значительное количество азот- и серосодержащих соединений и ароматических углеводородов. Это обеспечивает превосходное базовое сырье по сравнению с базовыми маслами Группы I. Базовые компоненты группы II более инертны и образуют меньше продуктов окисления. Поскольку исходные молекулы базового сырья Группы II подвергаются крекингу и изменяют форму, свойства продукта в меньшей степени зависят от источника сырой нефти.
Базовые компоненты группы III производятся почти так же, как базовые компоненты группы II, но с использованием более высоких температур или более длительного времени пребывания в реакторе. Это дает им значительно улучшенные температурные характеристики. Базовые компоненты, производные от газа до жидкости (GTL), относятся к Группе III. Базовые компоненты группы III + также могут быть биосинтезированы [3229] .
Стремление повысить экономию топлива и сократить выбросы в автомобильной промышленности привело к сокращению использования базовых масел Группы I и увеличению использования базовых масел Группы II и III.Повышенная доступность этих высококачественных базовых масел открыла для базовых масел Группы II новые области применения, помимо тех, которые были созданы из-за потребности в более качественных автомобильных смазочных материалах. Например, переход на смазочные материалы, созданные на основе базовых масел Группы II для судовых поршневых двигателей, может помочь снизить затраты на техническое обслуживание и эксплуатацию [3352] .
Базовые компоненты группы IV традиционно называются «синтетическими» базовыми маслами. Эти полиальфаолефины (ПАО) полимеризуются из более мелких молекул.На момент своего появления они были самыми эффективными из доступных базовых масел. По мере роста спроса производители начали использовать сырье с высоким индексом вязкости для производства минеральных масел, соответствующих характеристикам ПАО. Эти базовые компоненты Группы III соответствовали характеристикам ПАО, но при более низкой стоимости. В Северной Америке базовые компоненты Группы III также могут называться «синтетическими» [464] . Были также разработаны биосинтезированные базовые компоненты ПАО [3229] . ПАО с низкой вязкостью, используемые в сочетании с базовыми маслами Группы III, предлагают инструмент для получения составов моторных масел с низкой вязкостью для повышения экономии топлива при сохранении приемлемых характеристик летучести масла, рис. 1 [3216] .
Рисунок 1 . Пример того, как ПАО могут быть использованы для расширения базовых масел Группы III для достижения требований вязкости и летучести 0W-30.(Источник: ExxonMobil Chemical)
Базовые компоненты группы V включают полиалкиленгликоли (PAG), алкилированные нафталины (AN) и сложные эфиры, такие как сложные эфиры полиолов (сложные эфиры пентаэритрита и сложные эфиры триметилолпропана) и ароматические сложные эфиры (фталаты и тримеллитаты). Новые жидкости, такие как смешивающиеся с маслом ионные жидкости, также продолжают разрабатываться [2442] .Эти синтетические базовые масла могут обладать различными свойствами, которые делают их привлекательными для определенных областей применения:
- полярные базовые компоненты обладают улучшенными свойствами, традиционно обеспечиваемыми добавками, и могут снизить количество требуемых добавок,
- более высокая термическая стабильность может расширить диапазон рабочих температур на 50-100 ° C,
- высокая прочность пленки и повышенная смазывающая способность могут снизить потребление энергии в некоторых областях применения,
- некоторые из них являются биоразлагаемыми и имеют низкую токсичность для окружающей среды.
###
.

Наиболее распространён усталостный износ. Он возникает при трении качения и трении скольжения. Также существует адгезионный, абразивный, коррозионный износ.
Резервуар для хранения масла. Именно здесь происходит сбор и аккумуляция масла в системе смазки. Также в поддоне картера скапливаются мелкие абразивные частички при трении металлических элементов друг о друга.



Схема системы смазки двигателя: 1 — масляный поддон; 2 — датчик уровня и температуры масла; 3 — масляный насос; 4 — редукционный клапан; 5 — масляный радиатор; 6 — масляный фильтр; 7 — перепускной клапан; 8 — обратный клапан; 9 — датчик давления масла; 10 — коленчатый вал; 11 — форсунки; 12 — распределительный вал выпускных клапанов; 13 — распределительный вал впускных клапанов; 14 — вакуумный насос; 15 — турбонагнетатель; 16 — стекание масла; 17 — сетчатый фильтр; 18 — дроссель.