БЕССТУПЕНЧАТАЯ ПЕРЕДАЧА — это… Что такое БЕССТУПЕНЧАТАЯ ПЕРЕДАЧА?
- БЕССТУПЕНЧАТАЯ ПЕРЕДАЧА
механизм для плавного изменения передаточного отношения. Бывают механич., электрич. и гидравлич. Наиболее распространены механич. Б. п.: фрикционные передачи с гибким звеном (клиновой ремень или спей. цепь) и раздвижными конич. шкивами, с жёсткими звеньями (ролики, чашки и др.). промежуточными шарами и др. (см. рис.). Механич. и гидравлич. Б. п. наз. вариаторами.
Фрикционная бесступенчатая передача с раздвижными шкивамиФрикционные бесступенчатые передачи с жёсткими звеньями
Большой энциклопедический политехнический словарь. 2004.
- БЕССТОЧНАЯ ТЕХНОЛОГИЯ
- БЕССТЫКОВОЙ ПУТЬ
Смотреть что такое «БЕССТУПЕНЧАТАЯ ПЕРЕДАЧА» в других словарях:
БЕССТУПЕНЧАТАЯ ПЕРЕДАЧА — механизм для плавного изменения частоты вращения ведомого вала в транспортных машинах, станках, приборах.

Бывают механические (в т. ч. фрикционные), электрические и гидравлические. Механические бесступенчатые передачи называются также вариаторами … Большой Энциклопедический словарьБесступенчатая передача — механизм для плавного изменения передаточного числа, т. е. отношения частоты вращения ведущего звена к частоте вращения ведомого. Применяется в транспортных машинах, станках, приборах и т.д. Бесступенчатое регулирование скорости по… … Большая советская энциклопедия
бесступенчатая передача — механизм для плавного изменения частоты вращения ведомого вала в транспортных машинах, станках, приборах. Бывают механические (в том числе фрикционные), электрические и гидравлические. Механические бесступенчатые передачи называются также… … Энциклопедический словарь
Бесступенчатая трансмиссия — CVT Toyota. Бесступенчатая трансмиссия (англ. Continuously Variable Transmission, CVT) вид трансмиссии (переда … Википедия
Передача — [transfer; gearing; transmission] механизм для передачи движения, как правило, с преобразованием скорости и соответствующим изменением вращающего момента.
При помощи передачи решаются следующие задачи: понижение (реже повышение) скорости… … Энциклопедический словарь по металлургииФрикционная передача — (от лат. frictio, родительный падеж frictionis трение) механическая Передача, в которой движение передаётся или преобразовывается с помощью сил трения между телами качения цилиндрами, конусами и т.д., прижимаемыми друг к другу. Ф. п.… … Большая советская энциклопедия
вариатор — то же, что бесступенчатая передача. * * * ВАРИАТОР ВАРИАТОР, то же, что бесступенчатая передача (см. БЕССТУПЕНЧАТАЯ ПЕРЕДАЧА) … Энциклопедический словарь
Мопед — [от мо(тоцикл) (См. Мотоцикл) и (велоси)пед (См. Велосипед)], название двухколёсного транспортного средства с двигателем внутреннего сгорания с рабочим объёмом до 49,8 см3 и педальным цепным приводом заднего колеса. В СССР лёгкие М.… … Большая советская энциклопедия
Шкив — (от голл.
schijf) вращающаяся деталь ремённой передачи (См. Ремённая передача) или канатной передачи (См. Канатная передача), выполненная в виде колеса, охватываемого гибкой связью. Передающие вращающий момент рабочие Ш. (ведущий и… … Большая советская энциклопедияВАРИАТОР — то же, что бесступенчатая передача … Большой Энциклопедический словарь
Бесступенчатая передача — Энциклопедия по машиностроению XXL
Механизмы, осуществляющие плавное изменение передаточного отношения, называются механизмами бесступенчатых передач или вариаторами скоростей. [c.143]На рис. 7.6 показан механизм бесступенчатой передачи с двумя дисками / и 5 и промежуточным роликом 2. Передаточное отношение 51 между параллельными осями и Oj равно [c.143]
На рис. 7.7 показан механизм бесступенчатой передачи с коническими барабанами / и 5, имеющими равные углы раствора конусов.
Передаточное отношение И51 определяется по формуле
[c.143]
Рассчитать регулируемую бесступенчатую передачу с раздвижными конусами и жестким промежуточным кольцом (рис. 7.7). [c.122]
В зависимости от назначения передачи выполняют с постоянным или с переменным (регулируемым) передаточным отношением. В последнем случае применяют ступенчатое или бесступенчатое регулирование. Ступенчатое регулирование дешевле и осуществляется более простыми и надежными механизмами. Бесступенчатое регулирование вследствие возможности выбора оптимального процесса способствует повышению производительности и качественных показателей работы машины. Применение автоматических бесступенчатых передач в автомобилях и тракторах приводит к уменьшению расхода топлива до двух раз. Кроме того, оно благоприятно для автоматизации и управления на ходу.
Общим принципом, который при возможности следует реализовать в экспериментальных машинах для длительных испытаний, является внутреннее нагружение.
При испытании передач, редукторов, коробок скоростей, из них составляют кинематически замкнутый контур, т.е. две передачи на двух валах. Контур подвергается внутреннему нагружению путем деформирования упругого элемента (обычно закручивания торсионного валика) или гидравлическим путем (реже пневматическим). Метод замкнутого контура в последнее время успешно распространен на бесступенчатые передачи, работающие со скольжением. Нагрузку регулируют, принудительно изменяя скольжение путем варьирования передаточного отношения одной из передач, входящих в контур.
[c.474]
Простой фрикционный механизм (рис. 2.10., а) состоит из двух вращающихся круглых цилиндров /, 2 и стойки 3. Силовое замыкание высшей пары осуществляется пружинами 4. Фрикционные механизмы используют и в бесступенчатых передачах (рис. 2.10,6). При постоянной угловой скорости диска I посредством перемещения колеса — катка 2 вдоль своей оси можно плавно изменять его угловую скорость и даже направление вращения.
Широкие клиновые ремни предназначены для бесступенчатых передач (вариаторов). Конструкция и размеры их приведены на стр. 542 и табл. 45. Размеры ремней нормальных сечений и узких приведены в табл. 24. Основными размерами клиновых ремней являются расчетная ширина 6р [c.518]
Клиноременные передачи с бесступенчатым регулированием скорости (клиноременные варианты . Иа всех механических бесступенчатых передач клиноременные вариаторы наиболее просты и надежны. Они выполняются как со стандартными клиновыми ремнями по ГОСТ 1284—68, так и со специальными широкими вариаторными ремнями. [c.540]
Кроме того, предусмотрено пять специальных сечений широких ремней для бесступенчатых передач сельскохозяйственных машин, рассчитанных на передачу повышенной мощности. [c.544]
Применяют следующие разновидности клиноременных бесступенчатых передач мотор-вариаторы или вариаторы универсального назначения в корпусе в виде отдельного агрегата (рис.
Передачи выполняют либо с постоянным, либо с переменным передаточным отношением, причем изменение передаточного отношения может быть ступенчатым или бесступенчатым. Ступенчатое регулирование передаточного отношения осуществляется, например, коробками скоростей металлорежущих станков, автомобилей, тракторов. Механизм для плавного изменения передаточного отношения называется бесступенчатой передачей или вариатором. [c.64]
Вариатором или бесступенчатой передачей называется механизм для плавного изменения передаточного отношения. [c.73]
Синтез бесступенчатых передач с замкнутым дифференциалом. [c.212]
В качестве примера синтеза замкнутых дифференциалов рассмотрим механизм (рис. 115), в котором замыкающая цепь выполнена в виде бесступенчатой передачи, т. е. передачи с регулируемым передаточным отношением. В рассматриваемом механизме применена лобовая фрикционная передача, в которую входят два фрикционных колеса (диска) Д и Дз.
Назовем коэффициентом увеличения диапазонов А отношение диапазона регулирования всей передачи к диапазону регулирования бесступенчатой передачи. В нашем случае [c.213]
Основным условием синтеза является получение заданного коэффициента увеличения диапазонов А при известном диапазоне регулирования бесступенчатой передачи 643. Из конструктивных условий задаемся также минимальным передаточным отношением 43″ (обычно » =1). Тогда из (25.21) находим [c.213]
Пример. В механизме фрикционной бесступенчатой передачи (см. рис. 7,6) между углами поворота звеньев ф], фг и коор> динатой р, определяющей положение ролика, имеется дифференциальная связь, выражающая условие чистого качения звеньев 1 н 2 [c.154]
В качестве примера синтеза фрикционных механизмов рассмотрим синтез бесступенчатой передачи, т.
е. передачи с регулируемым передаточным отношением (рис. 173). Механизм сострит из замкнутого дифференциала, в котором замыкающая цепь выполнена в виде фрикционной лобовой передачи, имеющей два фрикционных колеса (диска) Д4 и Дъ. Колесо Д4 может перемещаться вдоль оси вращения на призматической шпонке. При этом перемещении колеса Д4 изменяется величина Лз и, следовательно, изменяется передаточное отношение
[c.474]
Например, для бесступенчатой передачи, состоящей из колес 3 и 4 [c.474]
Выбор схемы начинается с рассмотрения комбинаций, получающихся при различных соединениях колес бесступенчатой передачи Д4 и Дз со звеньями дифференциала. Каждое из колес Д4 и Дз может быть соединено с одним из трех звеньев дифференциала 1, 3 и Н. Всего получается шесть комбинаций, отличающихся не только конструкцией, но и кинематическими и динамическими характеристиками. Полное сравнение всех комбинаций обычно может быть выполнено только на основании сравнительного расчета.
Пусть, например, выбрана комбинация, показанная на рис. 173. Тогда заданными величинами будут 8]н, 643 и U43 «. Требуется найти передаточное отношение обращенного механизма и по нему подобрать числа зубьев всех колес.
[c.475]
Если основным условием синтеза является не увеличение диапазона регулирования, а уменьшение мощности бесступенчатой передачи по сравнению с мощностью всей передачи, то аналогичным путем можно найти передаточное отношение по заданному отношению мощностей ). [c.476]
Балансировка 321, 326 Балансировочный станок 321, 322 Бесступенчатая передача 32 [c.570]
Синтез бесступенчатой передачи 474 [c.573]
Большинство современных рабочих машин требует регулирования скорости рабочих органов в зависимости от условий осуществления технологического процесса. Для этого машины снабжают ступенчатыми коробками передач с большим числом зубчатых пар, например, в коробке передач автомобилей их 4 — 6 пар, станков 5—16 лишь в механизме главного движения.
Применение в машинах вариаторов (бесступенчатых передач) значительно упрощает конструкцию, позволяет установить оптимальный скоростной режим и
[c.297]
Отказ от этого требования означал бы возможность скачкообразного изменения либо передаточного отношения у=у (t), либо скорости его изменения у (t), либо того и другого одновременно, т. е. отказ от самой идеи осуществления бесступенчатой передачи. [c.270]
Дальнейшее развитие должна получить теория пространственных механизмов применительно к новым видам автооператоров, роботов, манипуляторов и шагающих машин. Широко внедряться, по-видимому, будут бесступенчатые передачи, позволяющие плавно изменять скорости исполнительных и других механизмов. J [c.154]
Фрикционный механизм лобовой бесступенчатой передачи (фиг. 253). Механизм допускает бесступенчатое изменение величины и знака передаточного отношения между валами Л и Л посредством перемещения колеса 2 вдоль оси X — X, совпадающей с осью вала В.
Передаточное отношение равно
[c.83]Лобовые вариаторы (фиг. 86, в—ж) применяются в виде специальных агрегатов с индивидуальными электродвигателями, во фрикционно-винтовых прессах, в металлорежущих станках, в счётно-решающих и в других машинах. Эти вариаторы вследствие значительной разности скоростей на площадке касания в отношении к. п. д. и износа не являются совершенными, но благодаря своей простоте имеют очень широкое применение. Использование лобовых вариаторов в ряде случаев вызывается также тем, что они являются почти единственными фрикционными бесступенчатыми передачами, передающими движение. между перпендикулярными осями, а также благодаря тому, что они позволяют реверсирование. Лобовые вариаторы принадлежат к числу регулируемых изменением радиуса одного из рабочих тел — диска поэтому при постоянной силе прижатия, если ведущим является ролик, регулирование производится при предельной мощности, близкой к постоянной, а если диск, то при предельном моменте, близком к постоянному.
[c.406]
Потребный диапазон регулирования бесступенчатой передачи при заданном общем диапазоне регулирования Д и выбранном числе Z ступеней ступенчатого регулирования [c.417]
Сложение и разложение движения, в том числе с автоматическим управлением скорости в станках, автомобилях и других машинах, мно -оступенчатые планетарные коробки скоростей, управляемые поочередным торможением звеньев, замкнутые планетарные передачи с встроенной бесступенчатой передачей и т. д. [c.215]
Бесступенчатые передачи выполняют в виде передач клиновыми ремнями с раздвижными конусными П1кивами (рис. 14.18). На каждом валу установлены ПО два конусных диска-п1кива, рабочие поверхности которых образуют канавку для клинового ремня. Скорость регулируется при раздвижепии одной пары конусов и сближении второй. [c.301]
Фрикционные механизмы. Механизмы, в которых для передачи движения между соприкасающимися звеньями используется трение, называются фрикционными.
Например,, передача вращения с постоянным отношением угловых скоростей (передаточным отношением) происходит за счет трения цилиндрических поверхностей колес / и отношение можно регулировать в менить лобовую фрикционную передачу, в которой ролик 1 может устанавливаться на различных расстояниях R от оси вращения звена 2 (рис. 7, б), соответствующих различным значениям передаточного отношения. Механизмы, в которых передаточное отношение может плавно регулироваться, называются бесступенчатыми передачами.
[c.22]
Фрикционное колесо соединено с колесом 1 дифференциала через коническую передачу с передаточным отношением, равным единице, а колесо Дз — непосредственно с колесом 3. Соединение бесступенчатой передачи с дифференциалом имеет целью увеличение диапазона регулирования скоростей, под которым понимается отношение модулей максимального иередаточиого отношения к минимальному. Диапазон регулирования обозначается буквой б с индексами соответствуюш,его передаточного отношения.
Например, для бесступенчатой передачи, состоящей из колес 3 и 4.
[c.213]
Пример иеголономиой связи во фрикционной бесступенчатой передаче. Интегрирующие механизмы с колесиками впоследствии были вытеснены механизмами, в состав которых входят фрикционные вариаторы. Для выполнения операции дифференцирования или интегрирования можно использовать, например, механизм фрикционной бесступенчатой передачи (см. рис. 7,6), в которой расстояние р от оси фрикционного диска 2 до точки контакта с роликом 1 может изменяться вручную или автоматически. Условие отсутствия скольжения во фрикционной паре дает уравнение дифференциальной связи [c.48]
Пример. Для фрикционной бесступенчатой передачи, рассмотренной в предыдущем параграфе, уравнение Аипеля (8.11), отнесенное к обобщенной координате ф1, имеет вид [c.158]
Фригщионное колесо Д4 соединено с колесом 1 дифференциала через коническую передачу с передаточным отношением, равным единице, а колесо Дз—непосредственно с колесом 3.
Соединение бесступенчатой передачи с дифференциалом может иметь две цели 1) увеличение диапазона регулирования скоростей и 2) уменьшение мощности бесступенчатой передачи по сравнению с мощностью всей передачи.
[c.474]
Важное значение для машиностроения имело развитие теории механических передач, т. е. различных зубчатых механизмов. Геометрия плоского-и пространственного зацепления начала развиваться еше до Великой Отечественной зойны на базе работ X. И. Гохмана и Н. И. Мерцалова. В первую очередь б ла развита теория эвольвентной цилиндрической зубчатой передачи. Развитие этой теории и методов профилирования зубьев тесно, увязывалось с технологическими процессами обработки зубчатых колес. После войны существенное развитие получает теория некруглых зубчатых механизмов, нашедших применение в приборостроении. В последнее десятилетие внимание исследователей было посвящено геометрии ирострапствен-ных зацеплений. Получены новые виды зацеплений, изучены динамические характеристики различных зацеплений, разработаны инженерные методьг их расчета и проектирования.
Существенное внимание уделялось синтезу сложных зубчатых механизмов. Особенное внимание уделено методам проектирования редукторов дифференциальных, планетарных и с неподвижными осями колес. Некоторое развитие получили методы анализа и синтеза бесступенчатых передач.
[c.28]
Основное назначение вариатора состоит в плавном регулировании угловой скорости движения звена приведения машинного агрегата или, что одно и то же, в осупцествлении бесступенчатой передачи. Вариатор к тому же должен работать в режимах, исключающих возникновение чрезмерно резких динамических нагрузок на рабочие элементы соприкасающихся в нем поверхностей и приводящих их к преждевременному износу. Поэтому передаточное отношение у = (t) от ведомого вала к ведущему, осуществляемое посредством вариатора, естественно считать непрерывно дифференцируемой функцией времени, определенной и ограниченной [c.270]
Рис. 5.69. Бесступенчатая передача с автоматическим регулированием передаточного отношения. Передача вращения от ведущего I к ведомому диску б производится через диски 2, вращающиеся относительно поводка-обоймы 3. Ведомый диск 6 с увеличением нагрузки перемещается к центру диска 2, навинчиваясь ка неподвижный в осевом паправлепки сиит. При уме 1мие 1ин момента диск 6 возвращается пружиной. Под действием суммы окружных усилий, действующих на диски 2, поводок-обойма 3 поворачивается и увлекает в движение ролики 3, катящиеся по рессоре 4, имеющей форму изогнутого -клина. В результате этого нажатие на диски 1 и 6 увеличивается. Кривизну рессор 4 можно регулировать болтами 7. Крутящий момент Mq на ведущем валу остается постоянным в случае дополнительного компенсационного перемещения пружины
|
Русско-казахский словарь
`
1
2
3
4
5
6
7
8
9
0
-
=
Backspace
Tab
q
w
e
r
t
y
u
i
o
p
[
]
\
Delete
CapsLock
a
s
d
f
g
h
j
k
l
;
‘
Enter
Shift
z
x
c
v
b
n
m
,
.
/
МФА:
син.
Основная словарная статья:
Нашли ошибку? Выделите ее мышью!
Короткая ссылка:
Слово/словосочетание не найдено.
В словаре имеются схожие по написанию слова:
Вы можете добавить слово/фразу в словарь.Не нашли перевода? Напишите Ваш вопрос в форму ВКонтакте, Вам, скорее всего, помогут:
Правила:
- Ваш вопрос пишите в самом верхнем поле Ваш комментарий…, выше синей кнопки Отправить.
Не задавайте свой вопрос внутри вопросов, созданных другими. - Ваш ответ пишите в поле, кликнув по ссылке Комментировать или в поле Написать комментарий…, ниже вопроса.
- Размещайте только небольшие тексты (в пределах одного предложения).
- Не размещайте переводы, выполненные системами машинного перевода (Google-переводчик и др.)
- Не засоряйте форум такими сообщениями, как «привет», «что это» и своими мыслями не требующими перевода.
- Не пишите отзывы о качестве словаря.
- Рекламные сообщения будут удалены. Авторы получают бан.
Бесступенчатые механические приводы
Автор: Юлиюс Мацкерле (Julius Mackerle)Источник: «Современный экономичный автомобиль» [1]
6546 0
Уже с самого начала возникновения автомобиля была известна бесступенчатая фрикционная передача. Однако она до сих пор не нашла широкого применения в автомобиле, так как имеет невысокий КПД, небольшой срок службы или неприемлема для передачи большой мощности.
Интерес всегда вызывает клиноременный вариатор, т. е. клиноременная передача с двумя шкивами, половины которых могут сдвигаться в осевом направлении, в результате чего изменяется их эффективный диаметр. Такая передача была применена в легковом автомобиле малого класса фирмы ДАФ (Нидерланды), где благодаря удобному расположению в автомобиле, автоматическому управлению, уменьшению нагрузки на ремень в результате использования понижающей передачи зубчатыми колесами была достигнута достаточно высокая надежность работы и хороший срок службы.
Но для надежной передачи большей мощности срок службы обычных клиновых ремней оказывается недостаточным. Решение нашли в замене их металлическими клиновидными ремнями. Элемент одного из таких ремней показан на рис. ниже. Основу составляет стальная лента, состоящая из 10 – 14 слоев стального листа с толщиной каждого слоя около 0,2 мм, на которой подвижно размещены клиновидные башмачки. Передача усилия с одного шкива на другой осуществляется давлением между отдельными башмачками, а стальная лента не несет тягового усилия и служит лишь направляющей башмачков.
Углы клина башмачков в плоскости ремня выбраны таким образом, чтобы их торцовые поверхности не касались друг друга даже при минимальном диаметре шкивов. Боковые поверхности башмачков передают тяговое усилие в направлении от оси вращения ремня к его краю. Для уменьшения вибраций и шума, а также для ограничения зазоров, образующихся при вытягивании ленты, башмачки выполнены разными по толщине.
| Элемент металлического составного клиновидного ремня |
|---|
Для монтажа на ленту башмачки снабжены прорезями или (см. рис.) штифтами, что предохраняет их от выпадания. Собранный ремень помещен в кожух и смазан. Для удаления масла с боковых поверхностей башмачков, входящих в контакт с поверхностью шкива, на них выполнены маслосбрасывающие канавки.
Для изменения активного радиуса шкивов и, следовательно, передаточного отношения боковые поверхности шкивов перемещаются гидравлическим устройством; КПД такого клиноременного вариатора очень высок и достигает 97 – 98 %.
КПД же всей трансмиссии с передачей такого типа, включая привод колес и гидронасосы, у автомобиля «Форд-Фиеста» составил 88 – 92 %. Для трогания автомобиля с места и выключения привода при остановке автомобиля служит центробежное сцепление на маховике двигателя. Для движения автомобиля задним ходом используют зубчатую реверсирующую передачу, включаемую вручную.
Ведутся разработки и других типов бесступенчатых вариаторных передач. Например, фирма «ГКН» вместо клинового ремня использует для передачи тягового усилия стальную цепь. Пальцы цепи имеют специальную форму боковых торцов, соприкасающихся со шкивами. КПД такой передачи составляет 90—95 %.
Описанная выше бесступенчатая передача типа «Трансматик» металлическим клиновым ремнем с башмачками на 10 % легче автоматической планетарной коробки передач и короче ее. Такая передача может использоваться в автомобилях с рабочим объемом двигателя 1000 – 2300 см3.
Опубликовано 18.02.2014Читайте также
Сноски
- ↺ Мацкерле Ю.
Современный экономичный автомобиль/Пер. с чешск. В. Б. Иванова; Под ред. А. Р. Бенедиктова. — М.: Машиностроение, 1987. — 320 с.: ил.//Стр. 22 — 23 (книга есть в библиотеке сайта). – Прим. icarbio.ru
Комментарии
Бесступенчатые силовые передачи
Категория:
Автомобили и трактора
Публикация:
Бесступенчатые силовые передачи
Читать далее:
Бесступенчатые силовые передачи
Наиболее распространенными типами бесступенчатых силовых передач автомобилей и тракторов являются гидромеханические и электромеханические.
Гидромеханическая трансмиссия является комбинированной и состоит из гидротрансформатора и механической трансмиссии, которая состоит из ступенчатой коробки передач, карданной передачи и ведущего моста. Ступенчатая коробка передач может быть с неподвижными валами или планетарной. Управление коробкой, как правило, автоматизированное.
Гидротрансформатор представляет собой гидродинамический бесступенчатый преобразователь крутящего момента. Он состоит из двух лопастных колес — насосного, жестко через корпус связанного с коленчатым валом двигателя, и турбинного, соединенного с первичным валом коробки передач, а также расположенного между ними направляющего аппарата — реактора, установленного на его пустотелый вал 8 с помощью муфты свободного хода. Корпус заполнен рабочей жидкостью (маловязким маслом). Во избежание потерь энергии, связанных с циркуляцией рабочей жидкости между насосом и турбиной, их колеса и реактор максимально сближены, им придана форма, обеспечивающая непрерывный круг циркуляции жидкости без каких-либо промежуточных устройств.
Рекламные предложения на основе ваших интересов:
При вращении коленчатого вала двигателя лопатки насосного колеса увлекают жидкость, заставляя ее перемещаться от внутренних краев к внешним. Под действием центробежной силы жидкость поступает на лопатки турбинного колеса, заставляя его вращаться вместе с первичным валом коробки передач.
С лопаток турбинного колеса жидкость попадает на лопатки колеса реактора, где изменяет направление движения и попадает вновь на насосное колесо. Образуется непрерывный круг циркуляции жидкости во внутренней полости рабочих колес. При попадании жидкости на лопатки неподвижного колеса реактора на них возникает реактивный момент, воздействующий на турбинное колесо дополнительно к моменту, передаваемому от насосного колеса. Следовательно, наличие колеса-реактора позволяет получать на турбинном колесе момент, отличный от того, который передается двигателем. Чем выше скорость насосного колеса по сравнениию с турбинным, тем больший реактивный момент передается от колеса-реактора турбинному колесу, вследствие чего увеличивается крутящий момент на его валу. Это свойство гидротрансформатора автоматически изменять соотношение моментов на валах насосного и турбинного колес в зависимости от частоты вращения является его основной особенностью.
Таким образом, если момент сопротивления на валу турбинного колеса выше момента подводимого к насосному колесу, жидкость, воздействуя на колесо-реактор, вызывает заклинивание его обгонной муфтой.
При этом возникает реактивный момент, передающийся на турбинное колесо дополнительно к моменту от насосного колеса. Величина этого момента увеличивается пропорционально увеличению нагрузки на валу турбинного колеса. Если же момент на валу турбинного колеса становится меньше момента, развиваемого насосным колесом, то изменяется направление движения потока жидкости на колесе-реакторе. При этом ролики обгонной муфты расклиниваются, и колесо-реактор начинает вращаться совместно с турбинным колесом с одинаковой частотой, т. е. трансформация крутящего момента отсутствует, а гидротрансформатор выполняет роль гидравлической муфты.
Основными параметрами гидротрансформатора являются коэффициент трансформации и КПД.
Рис. 1. Схема гидротрансформатора
К достоинствам гидромеханической трансмиссии следует отнести плавное автоматическое изменение величины передаваемого момента в зависимости от нагрузки, что уменьшает число переключений передач и утомляемость водителя, улучшает приемистость и проходимость машины вследствие непрерывной передачи крутящего момента, повышает долговечность двигателя и трансмиссии в результате уменьшения крутильных колебаний и динамических нагрузок в трансмиссии, снижает вероятность остановки двигателя при резком увеличении нагрузки.
В то же время этот тип трансмиссии имеет по сравнению со ступенчатой механической значительно меньший КПД, что ухудшает топливную экономичность машины; более сложную конструкцию и большую массу.
Электромеханическая трансмиссия представляет собой силовую передачу, в которой отдельные агрегаты (сцепление, коробка передач и др.) заменяются генератором и тяговым электродвигателем (или несколькими электродвигателями). Энергия в такой трансмиссии преобразуется дважды: механическая энергия двигателя преобразуется в связанном с ним генераторе в электрическую, а затем в тяговых электродвигателях, соединенных с ведущими колесами, электрическая энергия вновь преобразуется в механическую.
Существуют одно- и многодвигательные электромеханические трансмиссии. При одноприводной трансмиссии мощность тягового электродвигателя передается через агрегаты механической трансмиссии (карданная передача, ведущий мост) к ведущим колесам машины. В многоприводной электромеханической трансмиссии элементы механической трансмиссии почти отсутствуют, а электрическая энергия от генератора по проводам передается к тяговым электродвигателям, расположенным внутри ведущих колес и соединенным с ними шестеренчатыми редукторами (система «мотор-колесо»).
Электромеханические трансмиссии могут работать на постоянном и переменном токе. При использовании переменного тока трансмиссия компактнее и легче, однако не обеспечивает бесступенчатого изменения крутящего момента на ведущих колесах, поэтому шире практикуются электромеханические трансмиссии на постоянном токе.
Наиболее рациональна электромеханическая трансмиссия постоянного тока с приводом «мотор-колесо». Такие трансмиссии применяются в конструкциях двухосных тягачей большой мощности (свыше 400 кВт). На рис. 82 а показан такой тягач на четырех мотор-колесах. Мотор-колесо состоит из электродвигателя, корпус которого является несущим элементом (осью) для обода ведущего колеса с бескамерной шиной, и планетарного редуктора, передающего вращение от вала ротора электродвигателя ободу колеса. Стояночный тормоз мотор-колеса, смонтированный на валу электродвигателя, автоматически включается при обесто-чивании обмоток электродвигателя. Корпус электродвигателя подвешен к несущей раме тягача на двух шарнирах, ими обеспечивается поворот мотор-колеса в плане относительно продольной оси машины вправо и влево.
Таким образом, каждое колесо тягача является одновременно ведущим и управляемым, что определяет высокую маневренность и проходимость машины. Тяговые электродвигатели питаются током от генератора, приводимого во вращение дизелем. Скорость движения регулируется изменением магнитного поля электродвигателей путем введения дополнительных сопротивлений в их обмотки возбуждения, а также применением различных схем соединения электродвигателей между собой. Тормозится машина посредством переключения электродвигателей мотор-колес на режим работы генераторов с погашением энергии реостатами. Трансмиссия «мотор-колесо» компактна, число механических узлов в ней сведено до минимума, что позволяет конструировать транспортные средства неограниченной грузоподъемности.
Рис. 2. Двухосный дизель-электрический тягач
Применение электромеханической трансмисси позволяет обеспечить бесступенчатое автоматическое изменение передаточного числа трансмиссии, что упрощает и облегчает управление машиной, повысить проходимость за счет плавного и непрерывного изменения тягового момента, повысить долговечность двигателя и трансмиссии благодаря уменьшению динамических нагрузок и отсутствию жесткой связи между двигателем и трансмиссией.
Недостатками электромеханических трансмиссий являются более низкий КПД по сравнению с механической ступенчатой трансмиссией, значительные габариты и масса, необходимость использования дефицитных материалов.
Рекламные предложения:
Читать далее: Назначение и классификация сцеплений
Категория: — Автомобили и трактора
Главная → Справочник → Статьи → Форум
Бесступенчатая коробка передач | Mobil ™
Автор: Аарон РобинсонАнтиблокировочная система тормозов (ABS), электронный контроль устойчивости (ESP), бензиновый прямой инъекция (GDI): когда дело доходит до названия новой технологии, авто промышленность действительно любит свои TLA (трехбуквенные сокращения). Вот один, который ты можешь не слышал: вариатор.
Целью бесступенчатой трансмиссии (CVT) является снижение затрат. и усложнения в вашем автомобиле, и даст вам лучшую экономию топлива.
Nissan, например, оценивает, что его внедорожник Murano с двигателем V6 получает от 10 до 12 баллов.
на процент лучшая экономия топлива с его стандартным вариатором CVT, чем это было бы
с обычной АКПП.
Так почему же сегодня не каждая машина оснащена вариатором? Давайте разберемся.
История вариатора
CVT — это тип автоматической трансмиссии, разработанный компанией General Motors (GM) в 1930-е гг. Технология ушла на полку, потому что жидкости и контрольные устройства, необходимые для обеспечения надежности, отсутствовали. пока что.
Subaru делает ставку на введение первого бесступенчатого
трансмиссия в Америку с его маленьким хэтчбеком Justy GL ECVT 1989 года. В
В последнее десятилетие интерес к вариаторам действительно возрос. GM запустила свой
вариатор собственного производства 2001 г. на своем внедорожнике Saturn Vue. Хонда поставила вариаторы на
листы опций его малолитражки Civic (1996 г.) и гибрида Insight (2000 г.).
С 2003 года Nissan установил на свой Murano вариатор Extroid CVT.
Внедорожник продается и в Японии несколько моделей с вариатором.
Audi начала предлагать вариаторы
на своем седане A4 в 2002 году. В настоящее время многие автомобили, оснащенные вариаторами, находятся в
Американские гаражи.
Что делает коробка передач
Возможно, вы уже знаете, что трансмиссия передает мощность от двигателя на колеса. Поскольку двигатель недостаточно гибок, чтобы работать на каждом колесе скорость, необходимая для нормального вождения (иначе бы колеса сразу прикрутили к коленчатому валу) требуется какое-то передаточное устройство, чтобы двигатель для работы в своем ограниченном диапазоне скоростей, но для генерации более широкого диапазон скоростей колес.Это устройство — трансмиссия.
В большинстве легковых автомобилей используется ступенчатая коробка передач с диапазоном от двух до двух.
шесть скоростей (хотя Mercedes-Benz недавно представил семиступенчатую
коробка передач). Каждая «скорость» на самом деле представляет собой различное передаточное число, созданное
варьируя размеры шестерен относительно друг друга.
Маленькая шестерня, вращающая большую шестерню, имеет большое механическое преимущество, но должна поворачивайте быстрее, чем большая передача, чтобы поддерживать скорость. Большая шестерня, поворачивающая Маленькая шестерня имеет меньшее механическое преимущество, но она начинает вращаться медленнее, чтобы поддерживать ту же скорость.Это обычная трансмиссия. Соотношение трансмиссия — ее гибкость — всегда ограничивается количеством скорости.
Представьте себе многоскоростной велосипед — у него трансмиссия больше похожа на вариатор. Ты
есть цепная звездочка на педалях, и когда вы переключаетесь на более высокие передачи,
цепь переходит с меньшей звездочки на большую (относительно задней
звездочка). Хотя вы крутите педали медленнее, велосипед едет быстрее, но
становится труднее крутить педали. Точно так же, когда вы переключаетесь на пониженную передачу, скажем, чтобы подняться на холм,
цепь переходит с большей звездочки на меньшую.Велосипед идет
чем медленнее, тем быстрее вы крутите педали, и крутить педали становится легче.
Вариатор: Безредукторная коробка передач
CVT берет эту основную идею и адаптирует ее к автомобилям, но с еще большим гибкость.
Вместо шестерен большинство вариаторов имеют два шкива, обернутые одним ремнем с V-образное поперечное сечение (есть и другие виды, о которых мы поговорим в минуту). Каждый шкив выглядит как йо-йо и на самом деле состоит из двух конусы, обращенные друг к другу. Под действием гидравлического давления конусы либо сходятся, либо расходятся, в результате чего V-образный ремень либо ехать выше в канавке шкива или ниже и ближе к центру.
Езда выше означает звездочку большего диаметра; езда ниже означает меньший диаметр. Во время движения два шкива по-разному сжимаются или отдельный, чтобы изменить соотношение между входным шкивом (от двигателя) и выходной шкив (к колесам).
Вот пример: когда вы начинаете с остановки, управляющий компьютер
отсоединяет входной шкив так, чтобы ремень поворачивался на наименьший диаметр, в то время как
выходной шкив (который идет к колесам) зажимается сильнее, чтобы
Ремень поворачивает его наибольшего диаметра.
Это дает самое низкое передаточное число (скажем,
3,0-к-1) для максимально быстрого разгона. По мере нарастания скорости компьютер
меняет диаметр шкива в зависимости от условий, чтобы обеспечить наилучший баланс
экономия топлива и мощность.
В результате вместо пяти-шести соотношений вы получаете бесконечное количество соотношение между наименьшим (установка шкива наименьшего диаметра) и наибольшим (установка шкива наибольшего диаметра).
Двигатель всегда может работать с оптимальной скоростью для мощности или топлива. экономичность, независимо от скорости вращения колес, что означает отсутствие увеличения или уменьшения оборотов при каждом переключении передачи, и только правильные обороты для правильной скорости все время.
Есть еще одно преимущество: самые низкие и самые высокие коэффициенты также увеличивают
в отличие от обычной ступенчатой трансмиссии, что дает
трансмиссия имеет больший «разброс передаточных чисел». Это означает, что она еще больше
гибкий.
В случае с вариатором Audi A4 2002 года, например, передаточные числа варьировались от От 2,40 к 1 до 0,40 к 1 или с коэффициентом 6 от самого высокого до самого низкого. В обычный шестиступенчатый автомат также предлагался на A4 того года, Коэффициент соотношения был всего 4.79-к-1. Больший коэффициент означает передачу, которая может делать больше и делать это более эффективно.
Все это может показаться сложным, но это не так. По идее до вариатора далеко менее сложен, чем обычная АКПП. Планетарная передача автоматическая коробка передач, проданная в прошлом году десятками миллионов, сотни точно обработанных движущихся частей. Имеет удобные фрикционные ленты. и сложные электронные и гидравлические средства управления. Вариатор как тот описанный выше имеет три основных движущихся части: ремень и два шкива.
Учитывая экономию, полученную при построении трансмиссий всего за три
движущихся частей, вы поймете, почему автомобильные компании стали очень
Интересуюсь вариаторами последнее время.
Различные типы вариаторов
В дополнение к ременному вариатору, описанному выше, вот краткое изложение основные типы, применяемые в легковых автомобилях:
Ременный вариатор: также называемый вариатором «толкающего типа» или «Ван Дорн». Инженеры называют это нажимного типа из-за конструкции ремня.Ремень, разработанный голландцем компания под названием Van Doorne, владеющая патентом, на самом деле представляет собой стопку От 70 до 80 плоских стальных пластин трапециевидной формы, соединенных в петлю сталью группы.
Ремень зажимается в шкивах при давлении до 4 тонн и «толкается».
хотя его цепь шкивами. Сжимающие нагрузки на ремень
отдельные пластины различаются в зависимости от объема двигателя, но они высокие, начиная с
1200 фунтов за небольшой четырехцилиндровый двигатель. Потому что зажим и
нагрузки настолько велики даже для небольших двигателей, что ременной вариатор
ограничен в том, какой крутящий момент он может выдержать, не разлетаясь на части.
В настоящее время
используется на Saturn Vue, Ford Freestyle и FiveHundred, Honda Civic и
Insight и Nissan Murano.
Цепной вариатор: Этот вариатор, также называемый «тянущим типом» или «цепью Luk», также использует зажим шкивы. Но вместо ремня цепочка (разработка немецкой компании называется Luk) зажимается между половинками шкива.
Звенья цепи удерживаются вместе десятками штифтов, которые также действуют как контактная поверхность со шкивом. Цепь протягивается по цепи за счет шкив двигателя.Два основных преимущества конструкции перед вариатором ременного типа: Цепь может вращаться с меньшим диаметром, чем ремень, что позволяет больший разброс передаточного числа в корпусе трансмиссии того же размера, и цепь больше легко справляется с двигателями большей мощности. Цепные вариаторы используются на Audi A4.
Тороидальный вариатор:
Это сложно. Тор — это геометрическая форма, похожая на конус, но с
вогнутые стороны. Представьте, что вы надеваете конус на гончарный круг и придаете ему форму.
стороны во время вращения, пока они не будут закруглены.
Теперь поместите два тора лицом друг к другу с дискообразным роликом между ними, в контакте с обоими. Затем поверните диск так, чтобы он поднимался выше по выгибая сторону одного тора, он спускается вниз по другой. Один будет быстрее вращаться поскольку другой вращается медленнее. У вас тороидальный вариатор. Потому что это не полагается на ремнях, цепях или зажимных шкивах тороидальный вариатор может передавать больше крутящий момент. Вы не найдете тороидального вариатора в США — по крайней мере, нет. Теперь. Его можно найти только на некоторых автомобилях Nissan, продаваемых только в Японии.
К вариатору или нет вариатору
Подводя итог, можно сказать, что вариаторы простые, с меньшим количеством движущихся частей (которые вызывают
трение), они предлагают лучшую экономию топлива и производительность, и у них есть
бесконечные передаточные числа и более широкий диапазон передаточных чисел, что позволяет двигателю всегда
бежать с оптимальной скоростью.
Несмотря на то, что они классные и полезные, есть ряд причин, по которым мы не на каждой машине есть вариаторы:
- Их производство намного сложнее и дороже, чем кажется.Создание высоких зажимных усилий, которые заставляют их работать, — непростая задача. для гидравлических систем и смазочных материалов. Детали должны соответствовать точному спецификации при изготовлении и сборке. Различные патенты роялти также увеличивают расходы автопроизводителя.
- Долговечность была большим камнем преткновения. Проскальзывание ремня — это Ахиллесова пята вариатора. Если ремень проскользнет даже на крошечный кусочек шкив, трансмиссия испорчена.
- Некоторым водителям они не нравятся.Большинство людей понятия не имеют, что это за
трансмиссии у них есть, но они обычно ожидают, что двигатель будет издавать звук
определенным образом. Автомобиль с вариатором немного напоминает моторную лодку. Когда ты
пол, двигатель набирает обороты и остается там, пока вы
отпустить.
Нет переключения передач, поэтому нет изменений в двигателе.
тон, к которому мы все привыкли с обычными передачами.
Владельцы часто возвращают свои машины, думая, что трансмиссия
поскользнулся или что-то сломалось. - Прирост экономии топлива теперь сопоставим с традиционными трансмиссии. Усовершенствования в ступенчатых трансмиссиях сузились разрыв. Некоторые автопроизводители считают, что они могут получить большую часть экономии топлива вариатор с шестиступенчатой или семиступенчатой автоматикой.
Будущее вариаторов
Тем не менее, у вариатора есть верные сторонники. Nissan, например, придерживается вариатор Extroid на его 245-сильном Murano и планирует четырехкратное расширение в использовании вариатора в ближайшие несколько лет.Относительно клиента CVT принятие, специалист по продукции Nissan в Северной Америке Тони Пирсон признает, что производители и дилеры должны делать больше.
«Есть еще много информации о работе и преимуществах CVT.
это должно быть сделано с общественностью », — говорит он.
Что касается долговечности, «… это наша самая низкая гарантия (стоимость). передача », — говорит Пирсон. «Все наши переднеприводные автомобили будут в этом направлении ».
Есть ли в вашем будущем вариатор? Вполне возможно.
Что такое вариатор? | News
CVT — это бесступенчатая трансмиссия, тип автоматической трансмиссии, в которой фиксированные передаточные числа заменяются бесступенчато регулируемыми благодаря двум шкивам и промежуточному ремню или цепи. Начиная с конца 1980-х годов в США, бесступенчатые трансмиссии могут предложить преимущества в отношении топливной экономичности и, когда двигатель чаще работает на оптимальных оборотах (или оборотах), производительности.
Связано: Ручные коробки передач дешевле ремонтировать и обслуживать, чем автоматические?
Но за это приходится платить.Поскольку обороты двигателя нагоняются дольше и часто остаются на высоких оборотах дольше, чем с традиционной автоматической коробкой передач, вариатор может вызвать шумный гудение двигателя или ощущение, что вы тянете тяжелый предмет с помощью резиновой ленты — вы потянете немного, а затем он догоняет — так как обороты слишком долго поднимаются после подачи газа.
В ответ на это большинство автопроизводителей адаптировали вариаторы так, чтобы они при определенных условиях вели себя как традиционная автоматика. Большинство современных примеров будут поддерживать фиксированное передаточное число при резком ускорении, чтобы имитировать подъем, кратковременное падение и повторный подъем на оборотах, которые вы ожидаете от переключения передач на повышенную передачу с автоматической коробкой передач.Чтобы имитировать переключение на пониженную передачу, многие вариаторы ускоряют подъем оборотов, когда входной сигнал водителя требует передачи мощности. А некоторые, например, вариатор Dynamic-Shift 2,0-литрового Toyota Corolla, заходят так далеко, что используют 1-ю передачу с фиксированным передаточным числом для большей линейности между оборотами двигателя и ускорением при трогании с места.
Стоит отметить, что такие действия приносят выгоду потребителям в обмен на повышение эффективности использования топлива — бесступенчатые трансмиссии по своей сути эффективны, потому что они не должны принимать фиксированные передаточные числа и, таким образом, могут более плавно переключаться между низкими и высокими оборотами — но общая экономия топлива в любом случае Данная машина является продуктом бесчисленного множества систем.
Например, EPA экономия топлива на 2,0-литровом вариаторе Corolla просто потрясающая.
Ещё с сайта Cars.com:
Последнее замечание: автопроизводители часто продают трансмиссии для гибридов или подключаемых гибридов как вариаторы или электронные вариаторы. Практически во всех современных случаях это технически не так — в таких трансмиссиях используются электронные устройства разделения мощности, а не ремни и шкивы, — но результат аналогичен. Такие трансмиссии имеют бесступенчато регулируемые передаточные числа, чтобы вести себя так же, как вариатор. Поэтому мы часто называем их трансмиссиями типа CVT-.
Конечно, не следует путать их с автоматикой с фиксированной передачей, которая используется у , некоторых гибридов и подключаемых гибридов; Примеры варьируются от Hyundai Sonata Hybrid (шестиступенчатая автоматическая коробка передач) до подключаемого модуля BMW X3 xDrive30e (восьмиступенчатая автоматическая коробка передач). В них нет ничего вариативного, ни по механике, ни по стилю.
Редакционный отдел Cars.com — ваш источник новостей и обзоров автомобильной отрасли. В соответствии с давней политикой этики Cars.com редакторы и рецензенты не принимают подарки или бесплатные поездки от автопроизводителей.Редакционный отдел не зависит от отделов рекламы, продаж и спонсируемого контента Cars.com.
Новый механизм бесступенчатой трансмиссии
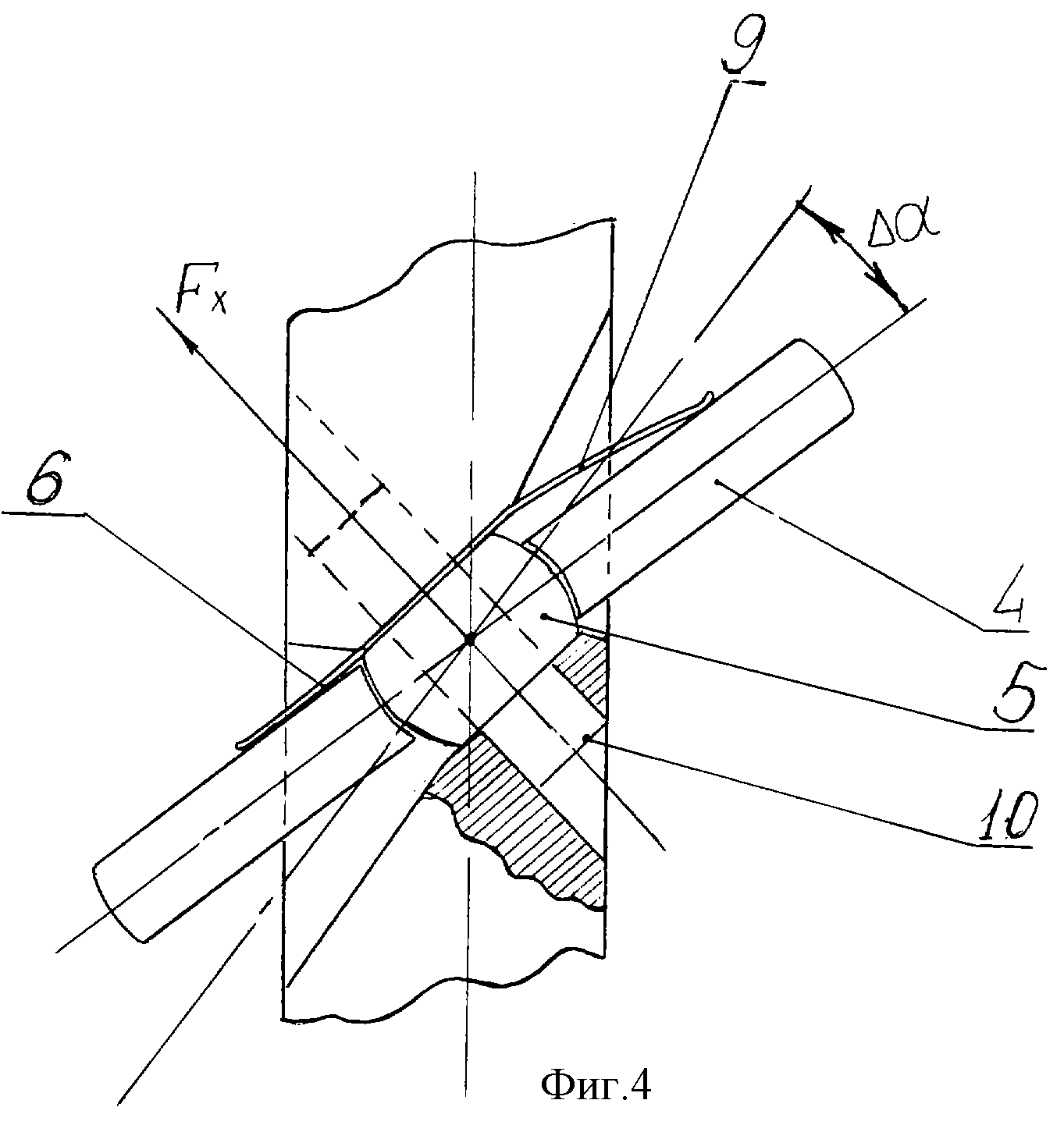
Следует отметить, что каждый ведомый элемент задействован под ограниченным углом, как показано на рис. 4. Итак, мы представляем расчет передаточного числа в двух секциях: в первой секции мы просто приводим максимальное передаточное число. трансмиссии для случая нулевого угла рельса α = 0, то во втором разделе мы приведем полное описание передаточного числа.
Рис. 4Поперечный разрез, указывающий угол зацепления ведомого в режиме B
Максимальное передаточное число
Этот вариатор может работать в обоих направлениях. Для обоих направлений вращения на входе существует только одно направление на выходе.
Он имеет два разных передаточных числа для двух разных входных направлений. Как показано на рис. 5, передача может происходить в точке A или в точке B. Эти точки относятся к положениям свободного вала на рельсе. Для одного спроектированного вариатора, поскольку односторонние муфты устанавливаются в определенном направлении вращения, если входной вал вращается по часовой стрелке, то свободный вал толкает рычаг ведомого в точке А, а если входной вал вращается против часовой стрелки, то свободный вал вал толкает плечо толкателя в точку B.Мы называем их режимом A и режимом B.
Два рабочих режима вариатора: левая сторона показывает режим B, а правая сторона показывает режим A
Линия C показывает центр рельса, который является центром входного вращения. Для разных входных направлений ведомый элемент просто находится в одном из положений A или B.
Режим A: в этом режиме свободный вал будет задействовать ведомый в точке A.
Если \ (\ upomega _ {\ text {i }} \) — входная угловая скорость, \ (\ upomega _ {\ text {o}} \) — угловая скорость вала ведомого и считается выходной.Свободный вал расположен на расстоянии ∆ от центра входного вращения (линия C), а расстояние между центром вращающегося элемента и центральной осью вала ведомого составляет R 0. Передаточное число:
$$ \ frac { {\ upomega _ {\ text {o}}}} {{\ upomega _ {\ text {i}}}} = \ frac {\ Delta} {{{\ text {R}} _ {\ text {o}} + \ Delta}} $$
(1)
Режим B: здесь свободный вал зацепляет ведомый в точке B. Для режима B использовались те же параметры, и передаточное отношение:
$$ \ frac {{\ upomega _ {\ text {o}}}} {{\ upomega _ {\ text {i}}}} = \ frac {\ Delta} {{{\ text {R}} _ {\ text {o}} — \ Delta}} $$
(2)
Параметр ∆ может быть изменен с минимального значения ∆ min на максимальное значение ∆ max .
В одном прототипе мы имеем R 0 = 65 мм, ∆ max = 35 мм и ∆ min = 5 мм, поэтому передаточное число составляет:
Для режима A из уравнения. (1):
$$ \ осталось. {\ frac {{\ upomega _ {\ text {o}}}} {{\ upomega _ {\ text {i}}}}} \ right | _ {\ hbox {min}} = 0,071 \ quad \ left. {\ frac {{\ upomega _ {\ text {o}}}} {{\ upomega _ {\ text {i}}}}} \ right | _ {\ hbox {max}} = 0,35 $$
Для режима B из уравнения. (2):
$$ \ осталось. {\ frac {{\ upomega _ {\ text {o}}}} {{\ upomega _ {\ text {i}}}}} \ right | _ {\ hbox {min}} = 0.083 \ quad \ left. {\ frac {{\ upomega _ {\ text {o}}}} {{\ upomega _ {\ text {i}}}}} \ right | _ {\ hbox {max}} = 1.17 $$
Диапазон передаточного отношения для двух граничных значений ∆:
Для режима A:
$$ {\ text {T}} = \ frac {{\ left. {\ frac {{\ upomega _ {\ text {o}}}} {{\ upomega _ {\ text {i}}}}} \ right | _ {{\ Delta_ {\ hbox {max}}}}}} { {\левый. {\ frac {{\ upomega _ {\ text {o}}}} {{\ upomega _ {\ text {i}}}}} \ right | _ {{\ Delta_ {\ hbox {min}}}}}} = \ to {\ text {T}} _ {\ text {A}} = \ frac {{\ Delta_ {\ hbox {max}}}} {{\ Delta_ {\ hbox {min}}}} \ cdot \ frac {{{\ text {R}} _ {0} + \ Delta_ {\ hbox {min}}}} {{{\ text {R}} _ {0} + \ Delta_ {\ hbox {max}}}} = 4.9 $$
Для режима B:
$$ {\ text {T}} _ {\ text {B}} = \ frac {{\ Delta_ {\ hbox {max}}}} {{\ Delta_ {\ hbox {min} }}} \ cdot \ frac {{{\ text {R}} _ {0} — \ Delta_ {\ hbox {min}}}} {{{\ text {R}} _ {0} — \ Delta_ {\ hbox {max}}}} = 14,1 $$
Это означает: \ ({\ text {T}} _ {\ text {A}} <{\ text {T}} _ {\ text {B}} \).
Эти результаты показывают, что новый вариатор имеет широкое передаточное число, которое больше, чем тороидальные [11, 20] и ременные [22, 23] вариаторы, которые могут обеспечить передаточное число около 2,5 в максимальном случае.
Точно регулируя минимальное значение ∆, мы можем расширить передаточное отношение, чтобы получить функциональность IVT. Например, в случае уменьшения минимального радиального смещения свободного вала до ∆ min = 1 мм, диапазон передаточного числа в режиме B получит T = 74,6. Для R 0 = 65 (мм) кривая передаточного числа для обоих режимов A и B показана на рис. 6.
Рис. 6Максимальное передаточное отношение для разных ∆ и R 0 = 65 (мм)
Точное решение передаточного числа
На рис.4 параметр «α» может изменяться от нуля до 2π радиан при вращении свободного вала. Угол ведомого «β» является функцией α следующим образом:
$$ \ tan \ left (\ beta \ right) = \ frac {{\ Delta {\ sin} \ left (\ alpha \ right)}} {{R_ {0} — \ Delta {\ cos} \ left (\ alpha \ right)}} $$
(3)
Если −π / 2 <α <π / 2, это соотношение описывает B-моду. Если π / 2 <α <3π / 2, это соотношение описывает A-моду. Обратите внимание, что в обоих режимах β принимает все значения, но из-за реализации односторонней муфты только некоторые угловые значения важны в каждом режиме.Для постоянного ∆ = 20 (мм) и R 0 = 65 (мм) кривая β показана на рис. 7.
Рис. 7Угол толкателя для ∆ = 20 (мм) и R 0 = 65 (мм) как функция угла рельса
Как мы знаем, ω i = dα / dt, что «t» указывает время. {2} — 2R_ {0} \ Delta \ cos \ alpha}} $$
(4)
Это соотношение дает нам угловую скорость толкателей в различных положениях свободного вала.Для −π / 2 <α <π / 2 это соотношение описывает режим B, а для π / 2 <α <3π / 2 это соотношение описывает моду A. Угловая скорость толкателя ω o для четырех различных величин Δ и R 0 = 65 (мм) и ω i = 1 (об / мин) показана на рис. 8.
Рис. 8Угол поворота ведомого скорость для различных дельт в зависимости от угла рельса и R 0 = 65 (мм) и ω i = 1 (об / мин)
На основании рисунка 8, для одного прототипа вариатора с четырьмя толкателями и ∆ = 10 мм в наихудших условиях, когда каждый толкатель включен между углами -π / 4 <α <π / 4, скорость вращения на выходе будет иметь вид Рис.9. Использование пружинной муфты делает выход более плавным. Работа вариатора будет более надежной и стабильной за счет использования большего количества толкателей, что уменьшает угол зацепления. Другой способ добиться стабильного передаточного числа - заставить свободный вал медленно скользить по рельсам. Это предотвращает внезапное смещение свободного вала.
Рис. 9Выходная скорость вращения вариатора с четырьмя толкателями, включенными в диапазоне от −π / 4 <α <π / 4, толкатели перемещаются между этими двумя диапазонами, как маятник
Что такое вариатор? (А как это работает?)
CVT означает бесступенчатую трансмиссию, тип автоматической трансмиссии, в которой отсутствует установленное количество передач или «скоростей».Вместо этого этот тип автоматической коробки передач может бесконечно изменять передаточное число между самым низким стартовым передаточным числом и самым высоким передаточным числом. Это позволяет двигателю работать с наиболее эффективными оборотами в минуту для скорости автомобиля, уклона дороги или условий нагрузки, которые присутствуют в любой момент времени.
Однако это заставляет трансмиссии с вариатором звучать принципиально иначе, потому что частота вращения двигателя имеет тенденцию оставаться постоянной, поскольку трансмиссия непрерывно и плавно меняет свою передачу, заставляя автомобиль ускоряться.Поэтому тем, кто ожидает или предпочитает ступенчатую серию переключения передач, как правило, не нравятся трансмиссии CVT.
Почему вариатор — хорошая идея?
Все сводится к экономии топлива и правильной передаче в нужный момент. Первыми автоматическими трансмиссиями были двухступенчатые автоматические трансмиссии, которые были быстро заменены трехступенчатой, а затем четырехступенчатой автоматикой. Каждое последующее изменение улучшало экономию топлива и управляемость, и поэтому тенденция продолжалась до такой степени, что большинство современных автоматических механизмов обычно имеют восемь, девять или даже 11 скоростей.Очевидная конечная точка этой тенденции — бесконечные скорости, и это то, что предлагает вариатор.
Чем больше число передач, тем меньше размер шагов между соседними шестернями, что дает несколько преимуществ. Экономия топлива улучшается, поскольку двигатель с большей вероятностью будет работать на наиболее эффективных оборотах. Аналогичным образом, большее количество передач снижает вероятность возвратно-поступательного дизеринга на уклонах, потому что меньшие ступени позволяют двигателю приблизиться к его оптимальной мощности с точки зрения мощности и крутящего момента. Наличие меньших ступеней также снижает потребность в гидротрансформаторе крутящего момента, обычно неэффективном, ограничивающем мощность устройстве, которое сглаживает то, что в противном случае могло бы вызвать сотрясение при каждом переключении передачи.
CVT максимально раскрывает потенциал этой концепции. Бесконечное количество передач означает отсутствие ступеней вообще, поэтому вариаторы иногда называют «бесступенчатыми» трансмиссиями. Теоретически максимальная топливная экономичность и ходовые качества достигаются при использовании бесступенчатых передач, и нет необходимости в гидротрансформаторе, чтобы гарантировать плавность переключения передач.
Почему люди не любят вариаторы?
Двигатель может гудеть, если выхлопная система и функции шумоподавления кабины не спроектированы правильно.И, конечно же, степень, в которой вариатор реализует описанный выше потенциал, зависит от программного обеспечения, которое им управляет. Но стратегии управления неизмеримо улучшились за 10 с лишним лет, когда они широко использовались, и дальнейшие улучшения произошли по мере того, как двигатели и пассажирские отсеки были повторно оптимизированы с учетом вариатора.
Главный недостаток, который остается, — это восприятие и эмоции, потому что вариатор изменяет то, как звучит двигатель, а трансмиссия реагирует на ускорение.Мы все привыкли к неуклонно растущему звуку двигателя, который перемежается переключениями, но этого практически нет в трансмиссиях CVT, поскольку они, как правило, поддерживают постоянные обороты и вместо этого меняют передачу. Многих водителей это не волнует, потому что эта тенденция не так заметна, когда транспортное средство движется в нормальной, расслабленной манере. Однако многие считают, что отсутствие традиционных переключений передач неприятно странно, особенно агрессивные водители, которые с большей вероятностью будут сильно работать с двигателем. Автомобиль может звучать так, как будто он постоянно работает на пониженной передаче.
Вот почему многие новые вариаторы искусственно создают ступенчатое переключение передач — обычно в «спортивном» режиме вождения, но иногда и при нормальной работе. На уровне детализации все еще продолжается работа с вариатором, но такие примеры могут создать более живое и знакомое впечатление — хотя и за счет некоторой экономии топлива.
Как работает вариатор?
Представьте себе велосипед с множеством передач — скажем, восемь из них на заднем колесе. Есть самая маленькая звездочка и самая большая звездочка, между ними шесть.Теперь поместите ту же коробку передач на педали, но переверните ее. Мы настроим его так, чтобы самая большая передняя звездочка работала только с самой маленькой задней звездочкой, с аналогичными индивидуальными отношениями один-к-одному во всех наборах передач. Эта стратегия помогает нашей цепи поддерживать фиксированную длину за счет восьми комбинаций передач. Не понадобится S-образный натяжитель, чтобы цепь могла удлиняться и укорачиваться, как это делает настоящая велосипедная цепь, потому что любая передняя звездочка может работать с любой задней звездочкой.Здесь это запрещено.
Теперь замените цепь клиновым ремнем и превратите зубчатые передачи в шкивы с V-образными фланцами, которые можно сжимать или раздвигать. Изменение зазора между клиновыми фланцами приводит к тому, что клиновой ремень поднимается или опускается между ними, создавая различные рабочие диаметры ремня. Есть еще наименьший диаметр и наибольший диаметр, но теперь между ними бесконечное количество возможных диаметров. Один из шкивов управляется компьютером, а другой — пассивным, с натяжением пружины, сжимающим его фланцы вместе.По мере того, как фланцы управляемого шкива расширяются или сжимаются, его диаметр клинового ремня соответственно сжимается или растет, и в ответ подпружиненные фланцы шкива и диаметр ремня на дальнем конце вынуждены делать противоположное, поскольку длина ремня фиксирована. Результатом является бесступенчатая трансмиссия с бесконечным числом передач или «скоростей», также известная как вариатор. Материалы и детали дизайна намного сложнее, но это основная идея.
Видео по теме:
Что такое бесступенчатая коробка передач?
Шестерни? Нам не нужны механизмы, куда мы собираемся!
По эксперту по продукту | Опубликовано в Технологии в среду, 23 мая 2018 г., в 20:20Что такое бесступенчатая коробка передач?
Несмотря на то, что цены на газ в течение некоторого времени были довольно низкими и стабильными, некоторые автопроизводители не упускают из виду, когда дело доходит до экономии топлива.Недавно было внедрено несколько довольно новых технологий, которые действительно сделали несколько серьезных скачков в повышении эффективности. Тот, который нас интересует сегодня, называется бесступенчатой трансмиссией или вариатором. Можно легко привести веские доводы в пользу того, что трансмиссия является самой важной частью всего транспортного средства. Без возможности передать мощность, производимую двигателем, на колеса, никто никуда не денется. Итак, что такое бесступенчатая трансмиссия? Давайте взглянем.
ПОДРОБНЕЕ: Нужно ли мне использовать синтетическое масло в моем Nissan?
Чем отличается вариатор?
До разработки бесступенчатой трансмиссии инженеры-автомобилестроители использовали шестерни для передачи мощности, производимой двигателем, на колеса.На самом базовом уровне вариатор работает так же, как автоматическая коробка передач, но с одним ключевым отличием.
Вместо шестерен в вариаторе используются ремни или тросы, обернутые вокруг системы шкивов. Результатом является гораздо более эффективная передача энергии, что привело к созданию гораздо более эффективных автомобилей и кроссоверов-внедорожников. Некоторые марки, выставленные на продажу в Billion Auto Group, используют вариатор, и любой из наших специалистов по продажам будет рад провести вас на тест-драйв.
Как это работает?
Бесступенчатая трансмиссия демонстрирует выдающиеся показатели экономии топлива, поскольку она не привязана к фиксированному передаточному отношению.На первый взгляд, эти слова могут не иметь большого значения для вас, но это невероятно элегантное решение, позволяющее снизить расход топлива в транспортных средствах.
Поскольку автомобили с вариатором используют почти бесконечный набор передаточных чисел, двигатель всегда может работать с максимальной эффективностью. Когда система была впервые внедрена, владельцы думали, что трансмиссии сломаны, потому что звуки двигателя не соответствовали ускорению. Чтобы помочь в этом, было разработано несколько стратегий, в том числе использование искусственных, так называемых «шестеренок».”
Чтобы увидеть, как будет работать автомобиль с вариатором, зайдите сегодня в выставочный зал Billion Auto Group и поговорите с одним из наших экспертов по продукции.
Ещё от Billion Auto Group
Эта запись была опубликована в среду, 23 мая 2018 г., в 20:20 и подана в разделе «Технологии».Вы можете следить за любыми ответами на эту запись через канал RSS 2.0. И комментарии и запросы в настоящий момент закрыты.
Как работает вариатор — бесступенчатая трансмиссия?
ВведениеЛюбите автоматическую коробку передач? Конечно, вы те, кто устоит перед комфортом вождения автомобиля с автоматической коробкой передач, но задумывались ли вы когда-нибудь, как это работает?
Да, теперь знаете; В эту эпоху современных автомобильных транспортных средств автоматическая трансмиссия является одной из самых горячих областей для производителей автомобилей, потому что сегодня у нас есть различные типы автоматических трансмиссий.Одна из них — «Бесступенчатая трансмиссия» (см. Нашу статью о вариаторной трансмиссии)
Начнем с интересного факта о бесступенчатой трансмиссии. Идея бесступенчатой трансмиссии принадлежит одному из величайших умов того времени, то есть «Леонардо». — da — Vinci »в 1490.
В этой статье мы подробно узнаем, как работает cvt. Итак, давайте начнем с его определения.
Что такое бесступенчатая трансмиссия (CVT)?Система бесступенчатой трансмиссии — это тип автоматической трансмиссии, в которой расположение шкивов и ремней позволило приводу достичь n-го числа непрерывных передаточных чисел в пределах диапазона (в зависимости от конструкции).
Бесступенчатая трансмиссия в транспортном средстве определяет вход акселератора с нагрузкой на двигатель и автоматически переключается на желаемую скорость или передаточное число крутящего момента, другими словами, мы можем сказать, что трансмиссия cvt является одним из простейших типов автоматической трансмиссии, которая обеспечивает непрерывная бесперебойная мощность в заданном диапазоне соотношений скорости и крутящего момента.
Чтобы понять, как это работает, сначала давайте разберемся с конструкцией CVT.
Детали конструкцииКогда дело доходит до конструкции бесступенчатой трансмиссии, как мы уже обсуждали, ее конструкция очень проста, поэтому давайте просто разберемся с различными компонентами, которые объединяются, чтобы создать cvt-
1.Шкивы —In Cvt шкивы играют важную роль, поскольку шкивы конической формы, интегрированные над входным и выходным валами, являются причиной постоянного n-числа скоростей и передаточных чисел бесступенчатой трансмиссии из-за различного поперечного сечения этих конических шкивов. Получены несколько соотношений крутящего момента и скорости.
Две пары конических шкивов для входного и выходного валов используются в базовой бесступенчатой трансмиссии:
- Фиксированный входной шкив Это конический шкив, установленный на входном валу (с правой стороны). ), этот шкив не перемещается (туда и обратно) по валу, а вращается вместе с входным валом, обычно фиксированный шкив меньше по размеру.
- Фиксированный выходной шкив — такой же, как фиксированный входной шкив, но в отличие от фиксированного входного вала этот вал расположен с левой стороны над выходным валом.
- Подающий шкив или шкив — I t — это тип конического шкива, который установлен над входным валом и имеет внутренние шлицы, зацепленные со шлицами вала таким образом, что он может перемещаться (туда и сюда), а также вращается вместе с входным валом.
Момент этого вала на первичный вал позволяет переключать передаточные числа.
- Подающий выходной шкив или шкив — То же, что и движущийся входной шкив, но в отличие от движущегося входного вала, этот вал расположен с правой стороны над выходным валом.
Читайте также:
2. Валы —Как и в случае с механической коробкой передач, трансмиссии CVT необходимы 2 вала для передачи мощности от двигателя к главной передаче, которые являются-
- Входной вал- Так же, как и механическая коробка передач, это тип вала со шлицами по поперечному сечению, на котором установлены входные шкивы, источником энергии для этого входного вала является двигатель, что означает, что бесступенчатая трансмиссия получает входной сигнал от двигателя через входной вал.
- Выходной вал — Это тип вала, который удерживается параллельно входному валу в бесступенчатой трансмиссии, так же как и входной вал, он также имеет шлицы по его поперечному сечению и установлен на выходных шкивах.
Выходной вал отвечает за передачу конечной выходной мощности на главную передачу автомобиля.
3. Ремень или цепь —В трансмиссии CVT для передачи мощности от входных шкивов к выходным шкивам используется v-образная металлическая (в некоторых случаях резиновая) цепь или ремень, так как
этот ремень или цепь является Обернутые поверх конических пар входных и выходных шкивов, а V-образная форма этого ремня или цепи позволяет переключать передачи с высокого крутящего момента на высокую скорость.
Как работает CVT?Как мы все знаем, основная функция любой системы трансмиссии, будь то ручная или автоматическая, заключается в обеспечении переменной скорости или соотношений крутящего момента в соответствии с требованиями привода.
Прочитав конструкцию бесступенчатой трансмиссии, я полагаю, что основная картина или конструкция вариатора ясны в нашем сознании, не так ли? Итак, давайте просто преобразуем это изображение в видео и сначала давайте разберемся с основной передачей мощности трансмиссии CVT —
- Когда водитель нажимает педаль акселератора или ручку акселератора (в случае двухколесных транспортных средств), вал двигателя вращается в соответствии с вход акселератора, который, в свою очередь, вращает первичный вал.
- При вращении первичного вала входные шкивы, установленные над ним, также вращаются, что, в свою очередь, вращает ремень, обернутый вокруг них.
- Этот ремень передает мощность от входного вала к выходному шкиву, так как он также наматывается на выходные шкивы.
- Выходные шкивы вращают выходной вал, и получается конечный выходной сигнал.
Note-
Перемещение шкивов справа налево или наоборот (в зависимости от входного ускорения и потребности автомобиля) по входному и выходному валам позволяет достичь желаемого крутящего момента или передаточного отношения.
Вот как происходит передача мощности от вала двигателя к выходному валу бесступенчатой трансмиссии. Теперь давайте разберемся, как мы получаем различные отношения скорости и крутящего момента. требует высоких коэффициентов крутящего момента, так как подающий входной конический шкив (шкив) над входным валом отходит от неподвижного шкива, который, в свою очередь, смещает часть клинового ремня, намотанного на входные шкивы, в сторону нижней части поперечного сечения конического шкива.
Одновременно, когда этот входной шкив (шкив) движется, подающий выходной шкив (шкив) также перемещается и приближается к фиксированному выходному шкиву, который, в свою очередь, смещает часть клинового ремня, намотанного на выходные шкивы, в сторону большего креста. -достигнута площадь сечения выходных конических шкивов и требуемые передаточные числа крутящего момента.
Передаточные числа-Когда транспортному средству необходимы передаточные числа, подающий конический шкив (шкив) над входным валом перемещается к неподвижному шкиву, который, в свою очередь, смещает часть клиновидного ремня, намотанного на входные шкивы, в направлении большая часть поперечного сечения входных шкивов конической формы.
Одновременно с этим движением входного шкива подающий выходной шкив (шкив) также перемещается и удаляется от неподвижного шкива, который, в свою очередь, перемещает часть клиновидного ремня, намотанного вокруг выходных шкивов, к нижней части поперечного сечения конические выходные шкивы и желаемое передаточное число достигаются.
Другими словами, отношения крутящего момента достигаются, когда клиновой ремень вращается в нижнем поперечном сечении входных шкивов и в большем поперечном сечении выходного шкива.
И передаточные числа достигаются, когда клиновой ремень вращается в верхнем поперечном сечении входного шкива и нижнем поперечном сечении выходного шкива.
Для лучшего понимания см. Видео-
Приложение
CVT работает в следующем автомобиле:
- Honda Activa, Suzuki Access.
- Nissan micra.
- Audi A4
- Jeep compass.
В этой статье мы узнали о том, как работает CVT.Если вы найдете эту статью полезной, не забудьте поставить лайк и поделиться ею.
Бесступенчатая коробка передач | Autopedia
Бесступенчатая трансмиссия (CVT) — это тип автоматической трансмиссии, которая может изменять «передаточное число» (шестерни обычно не задействуются) на любую произвольную настройку в определенных пределах. Вариатор не ограничен небольшим числом передаточных чисел, например передаточными числами от 4 до 6 в типичных автомобильных трансмиссиях. Компьютеры управления вариатором часто имитируют традиционное резкое переключение передач, особенно на низких скоростях, потому что большинство водителей ожидают резких рывков и отвергают идеально плавную трансмиссию из-за недостаточной полной мощности.
Расширение конструкции вариатора, иногда называемое бесступенчатой трансмиссией (IVT) , позволяет трансмиссии двигаться как вперед, так и назад. Вход трансмиссии соединяется с двигателем, затем он разделяется на 2 вала, один из которых соединен с планетарной зубчатой передачей. Выход вала вариатора соединен с другим валом, который соединяется с другим набором шестерен планетарной передачи. Шестерня, которая не получает мощность от двигателя или вариатора, передает крутящий момент на выход коробки передач.Набор шестерен действует как механическая счетная машина, которая вычитает одну скорость из другой, позволяя автомобилю двигаться вперед, назад или на нейтральной передаче.
Коробки передачCVT совершенствовались на протяжении многих лет и значительно улучшились по сравнению с исходными.
Типы
Шкив переменного диаметра (VDP)
В этом типе вариатора используются шкивы, обычно соединенные металлическим ремнем с резиновым покрытием. Также может использоваться цепочка. Большой шкив, соединенный с меньшим шкивом с помощью ремня или цепи, будет работать так же, как большая шестерня, зацепляющаяся с меньшей шестерней.Типичные вариаторы имеют шкивы, образованные парами противоположных конусов. Перемещение конусов внутрь и наружу приводит к изменению диаметра шкива, поскольку ремень или цепь должны проходить путь большого диаметра, когда половины конических шкивов находятся близко друг к другу. Это движение конусов может контролироваться компьютером и управляться, например, серводвигателем. Однако в легких трансмиссиях VDP, используемых в автоматических мотороллерах и легких мотоциклах, изменение диаметра шкива осуществляется вариатором, полностью механической системой, которая использует веса и пружины для изменения диаметра шкива в зависимости от скорости ремня.В моделях с большей мощностью, например, производимых немецкой компанией ZF-Sachs, используется многослойная стальная лента с масляным охлаждением.
В случае цепи звенья опираются на шкивы через конические стороны звеньев. Некоторые такие трансмиссии были разработаны для передачи сил между шкивами с использованием сжимающих (толкающих), а не тяговых (тянущих) сил. В некоторых трансмиссиях с цепным приводом используется специальная смазка, которая под экстремальным давлением претерпевает фазовый переход в стеклообразное твердое вещество.
Файл: Cvt list01.гифка Шкив вариатора вариатора — Mitsubishi Motors
Роликовый вариатор
(продается как Traction CVT, Extroid CVT или IVT)
Рассмотрим две почти конические части, точка к точке, со сторонами, вогнутыми так, чтобы две части могли заполнить центральное отверстие тора или бублика. Одна часть — это входной диск (который соединяет коленчатый вал), а другая часть — выходной диск (который соединяет карданный вал). Мощность передается с одного диска на другой с помощью одного или нескольких роликов.Когда ось ролика перпендикулярна оси дисков, он контактирует с дисками в местах одинакового диаметра и, таким образом, обеспечивает передаточное число 1: 1. Ролик можно перемещать вдоль оси почти конической части, изменяя угол по мере необходимости для сохранения контакта. Это приведет к тому, что ролик будет контактировать с дисками различного и различного диаметра, давая передаточное число, отличное от 1: 1. Изменяя угол наклона роликов, можно получить разные передаточные числа. Например, для «низкого» передаточного числа ролики контактируют с входным диском около его внутреннего диаметра, но встречаются с выходным диском вблизи его периферии — поэтому выходной диск вращается намного медленнее, чем входной диск.
Ролики имеют электрогидравлический привод, но не контактируют напрямую с входными / выходными дисками. Специально разработанное вязкое масло обеспечивает сцепление между роликами и дисками, а также снижает трение и износ.
Системы могут быть частичными или полными тороидальными. Полные тороидальные системы являются наиболее эффективной конструкцией, в то время как частичные тороидальные системы могут по-прежнему требовать преобразователя крутящего момента (например, JATCO) и, следовательно, терять эффективность. Роликовые вариаторы могут иметь больший крутящий момент двигателя, чем вариаторы со шкивом допустимого диаметра.
Файл: Extroid cvt autozineorg.jpg Autozine.org
Файл: Extroid cvt2 autozineorg.jpg Autozine.org
Схемы:
Гидростатический вариатор
В гидростатических трансмиссияхиспользуется насос переменной производительности и гидравлический двигатель. Вся мощность передается через жидкость. Эти типы обычно могут передавать больший крутящий момент, но очень чувствительны к загрязнению. А некоторые конструкции очень дороги. Однако у них есть преимущество, заключающееся в том, что гидравлический двигатель может быть установлен непосредственно на ступице колеса, что позволяет создать более гибкую систему подвески и исключить потери эффективности из-за трения в приводном валу и компонентах дифференциала.Этот тип трансмиссии эффективно применяется в дорогих версиях легких газонокосилок, садовых тракторов и некоторой тяжелой техники.
Вариатор с электронным управлением
E-CVT впервые был использован в коммерческих автомобилях в системе Toyota Hybrid Synergy Drive. Эта система не является настоящим вариатором с фиксированным передаточным числом, но ведет себя очень похоже на настоящий вариатор. В этой системе трансмиссия является неотъемлемой частью гибридной трансмиссии и фактически является сумматором крутящего момента.Зубчатая передача представляет собой постоянно включенный трехходовой планетарный механизм с фиксированным передаточным числом. Двигатель присоединен к одному входу, карданный вал и главный электродвигатель — к другому, а затем меньший мотор-генератор управляет третьим входом дифференциала, чтобы создать бесступенчатое соотношение между частотой вращения двигателя и частотой вращения колес, причем изменение принимается за электродвигатель и генератор. В крайних случаях автомобиль может двигаться на электрической тяге без включения двигателя, или он может запускать двигатель в неподвижном состоянии во время прогрева двигателя или, если необходимо, для предотвращения разряда аккумуляторов.
Достоинством системы является простота механики — отсутствие муфт, гидротрансформаторов и переключения передач. Недостатком является то, что непрерывная передача электроэнергии между двумя двигателями-генераторами необходима даже во время крейсерского полета, что приводит к потерям преобразования, но общий эффект заключается в повышении чистой эффективности с помощью четырех методов:
- Двигатель внутреннего сгорания может быть полностью остановлен, а не работать на холостом ходу.
- Электродвигатель работает при высоком крутящем моменте, необходимом для приведения автомобиля в движение.
- Двигатель внутреннего сгорания работает в основном с более высокой потребляемой мощностью, где он более эффективен.
- Энергия может быть восстановлена с помощью функции генерации, когда транспортное средство замедляется или движется по инерции под уклон, с энергией (хранящейся в батарее), применяемой к начальному ускорению транспортного средства, и когда высокая потребляемая мощность требует, чтобы и двигатель внутреннего сгорания, и двигатель электродвигатель работает.
Конструкция системы может быть оптимизирована с точки зрения эффективности или производительности в зависимости от маркетингового сегмента, для которого предназначено транспортное средство.
Андерсон А + вариатор
Это технология, изобретенная Ларри Андерсоном под патентом США 6,575,856. Два параллельных конуса имеют «плавающие звездочки», установленные в продольных канавках вокруг каждого конуса. Специально разработанная цепь находится в зацеплении с плавающими звездочками и может свободно скользить по длине конусов, изменяя передаточное число в каждой точке. Эта технология работает так же тихо, как и любая обычная трансмиссия, поскольку она заключена в корпус и смазана. В дополнение к существующему двухконусному вариатору A +, Anderson в настоящее время разрабатывает шкив переменного диаметра вариатора A + CVT.(www.andersoncvt.com)
Конус вариатора
В эту категорию входят все вариаторы, состоящие из одного или нескольких конических тел, которые вместе функционируют вдоль своих соответствующих образующих для достижения вариации.
В типе с одним конусом есть вращающееся тело (колесо), которое перемещается по образующей конуса, тем самым создавая разницу между нижним и верхним диаметром конуса.
В вариаторах с двумя или более конусами (см. веб-сайт GIF), конусы располагаются напротив друг друга, при этом меньший диаметр одного конуса обращен к большему диаметру другого конуса.Контакт между всеми возможными диаметрами двух конусов осуществляется кольцом, вставленным между конусами. Вариация получается перемещением кольца по образующей двух конусов.
В вариаторе с колеблющимися конусами крутящий момент передается посредством трения от переменного числа конусов (в соответствии с передаваемым крутящим моментом) на центральную бочкообразную ступицу. Боковая поверхность ступицы является выпуклой в соответствии с определенным радиусом кривизны, который меньше радиуса вогнутости конусов.Таким образом, будет только одна (теоретическая) точка контакта между каждым конусом и ступицей.
Революционно новый вариатор Warko, использующий эту технологию, был представлен в Берлине во время 6-го Международного симпозиума CTI по инновационным автомобильным трансмиссиям 3-7 декабря 2007 года.
Отличительной особенностью Warko является отсутствие сцепления: двигатель всегда соединен с колесами, а задний привод получается посредством планетарной системы на выходе.Эта система, названная «делением мощности», допускает состояние зубчатой нейтрали или «нулевой динамики»: когда двигатель вращается (соединенный с солнечной шестерней планетарной системы), вариатор (который вращает кольцо планетарной системы в в противоположном направлении солнечной шестерни), в определенном положении ее диапазона, будет компенсировать вращение двигателя, имея нулевые обороты на выходе (планетарный = выход системы). Как следствие, сателлитные шестерни вращаются внутри зубчатого колеса с внутренним кольцом.
Модульность, широкий диапазон передаточных чисел (= 9), высокий КПД (95%), высокий крутящий момент (до 500 Нм) и компактность (длина менее 36 см для диаметра 31 см и 60 кг) являются наиболее важными характеристиками. Варко.
Одно и то же устройство с одним и тем же идентичным диффузором в разных конфигурациях охватывает 90% двигателей, производимых во всем мире, с диапазоном мощности от 60 до 200 л.с., бензиновых и дизельных. Как следствие, его производственные затраты будут сопоставимы с затратами на механическую трансмиссию.
Схемы:
Преимущества и недостатки
По сравнению с гидравлическими автоматическими трансмиссиями:
- CVT могут плавно компенсировать изменение скорости автомобиля, позволяя скорости двигателя оставаться на уровне максимальной эффективности.Они также могут избежать потерь в гидротрансформаторе. Это улучшает как экономию топлива, так и выбросы выхлопных газов. Однако в некоторых агрегатах (например, Jetco Extroid) также используется преобразователь крутящего момента. По сравнению с 4-ступенчатыми автоматическими коробками передач можно получить преимущество в топливной экономичности до 20%. Вариаторы
- имеют гораздо более плавную работу. Это может создать впечатление малой мощности, потому что многие водители ожидают рывка, когда они начинают движение. Удовлетворительный рывок трансмиссии без вариатора можно эмулировать с помощью программного обеспечения для управления вариатором, устраняя эту маркетинговую проблему.
- Поскольку вариатор поддерживает постоянную скорость вращения двигателя в широком диапазоне скоростей автомобиля, нажатие на педаль акселератора заставит автомобиль двигаться быстрее, но не меняет звук, исходящий от двигателя, в такой степени, как при использовании обычной автоматической коробки передач. сдвиг. Это сбивает с толку некоторых водителей и опять же приводит к ошибочному впечатлению о недостатке мощности. Вариатор
- проще в сборке и ремонте. Возможности обработки крутящего момента вариатора
- ограничиваются прочностью ремня или цепи и их способностью противостоять трению между источником крутящего момента и трансмиссионной средой для вариаторов с фрикционным приводом.Бесступенчатые трансмиссии, выпускавшиеся до 2005 года, имели преимущественно ременной или цепной привод и поэтому обычно ограничивались легковыми автомобилями и другими легковыми двигателями. Однако более совершенные агрегаты IVT, в которых используются современные смазочные материалы, доказали, что они поддерживают любой крутящий момент в серийных автомобилях, в том числе в автобусах, тяжелых грузовиках и землеройной технике.
История
Леонардо да Винчи зарисовывает то, что считается основой для первой бесступенчатой трансмиссии в 1490 году.
Согласно TOROTRAK, первый патент на тороидальный вариатор был подан в конце 19 века.
С 1950-х годов бесступенчатые трансмиссии применяются в авиационных системах выработки электроэнергии.
Первый работоспособный вариатор под названием Variomatic был спроектирован и построен голландцем Хуубом ван Дорном, соучредителем DAF Trucks (Van Doorne’s Automobiel Fabriek), в конце 1950-х годов специально для производства автоматической коробки передач для небольшого и доступного по цене автомобиля. автомобиль. Первый автомобиль DAF с вариатором ван Дорна был выпущен в 1958 году.Патенты Ван Дорна были позже проданы Volvo вместе с автомобильным бизнесом DAF, а вариатор был использован в Volvo 340.
В 1980-х и 1990-х годах Subaru Justy предлагалась с вариатором. В то время как Justy имел лишь ограниченный успех, Subaru до сих пор продолжает использовать вариатор в своих кейкарах (японских мини-автомобилях), а также поставляет его другим производителям.
Nissan впервые представил вариаторную коробку передач в Nissan March 1992 года с агрегатом, полученным от Subaru. В конце 1990-х годов Nissan разработал свой собственный вариатор, обеспечивающий более высокий крутящий момент, и включающий преобразователь крутящего момента.Эта коробка передач использовалась в ряде моделей японского рынка. Nissan также является единственным производителем автомобилей, который в последние годы вывел на рынок роликовый вариатор. Их тороидальный вариатор, получивший название X-troid, был доступен на японском рынке Y34 Nissan Cedric / Nissan Gloria и V35 Skyline GT-8. Однако коробка передач не была перенесена, когда Cedric / Gloria был заменен Nissan Fuga в 2004 году.
После долгих лет изучения вариатора со шкивом, Honda также представила свою собственную версию на Honda Civic VTi 1995 года.Эта коробка передач CVT, получившая название Honda Multi Matic, допускает более высокий крутящий момент, чем традиционные вариаторы со шкивом, а также включает гидротрансформатор для «медленного» действия.
Toyota представила E-CVT в Prius 1997 года, и все последующие гибриды Toyota и Lexus, продаваемые на международном уровне, продолжают использовать эту систему (продаваемые под названием Hybrid Synergy Drive). Несмотря на то, что он продается как вариатор, на самом деле это не такое устройство, поскольку передаточные числа фиксированы, а трансмиссия фактически представляет собой устройство для смешивания крутящего момента, позволяющее либо электродвигателю, либо двигателю внутреннего сгорания, либо обоим приводить в движение транспортное средство.Реакция всей системы (под управлением компьютера) по ощущениям похожа на CVT в том, что частота вращения двигателя внутреннего сгорания относительно низкая и постоянная при низкой мощности или высокая и постоянная при высокой мощности.
BMW использовала вариатор с ременным приводом в качестве опции для MINI низкого и среднего диапазона в 2001 году, отказавшись от него только на версии автомобиля с наддувом, где повышенный крутящий момент требовал использования обычной автоматической коробки передач. При желании вариатор можно также «переключать» вручную с помощью программно смоделированных точек переключения.
General Motors разработала вариатор для использования в небольших автомобилях, который впервые был предложен в 2002 году. Однако всего через три года эта трансмиссия будет постепенно заменена обычными планетарными автоматическими трансмиссиями.
Audi с 2000 года предлагает цепной вариатор (Multitronic) в качестве опции для некоторых моделей с более крупными двигателями, например, A4 3.0L V6.
Запущенные в 2005 году Ford Freestyle, Five Hundred и Mecury Montego используют новый вариатор с цепным приводом, который может выдерживать крутящий момент двигателя до 300 Н • м.Коробка передач была разработана в сотрудничестве с немецкой компанией Sachs ZF и в настоящее время производится в Батавии, штат Огайо.
Sachs ZF поставляла свой вариатор с ременным приводом многим производителям автомобилей, включая BMW и MG Rover.
Контрактные соглашения были заключены в 2006 году на изготовление первой полностью тороидальной системы для наружного силового оборудования, такого как водные мотоциклы, лыжные мобиле и косилки.
Примеры
Многие небольшие тракторы для дома и сада имеют простой гидростатический или резиновый ременный вариатор, как и большинство снегоходов.Большинство новых мотороллеров сегодня оснащаются вариатором. Практически все вариаторы снегоходов и мотороллеров представляют собой вариаторы с резиновым ремнем и регулируемым шкивом.
Возможно, самый большой автомобиль, продаваемый в настоящее время с вариатором, — это Toyota Highlander Hybrid.
Некоторые комбайны имеют вариатор. Механизм комбайна настроен на оптимальную работу при определенных оборотах двигателя. CVT позволяет регулировать поступательную скорость комбайна независимо от скорости машины. Это позволяет оператору замедляться и ускоряться по мере необходимости, чтобы приспособиться к изменениям толщины культуры.
CVT используются в гоночных автомобилях SCCA Formula 500 с начала 1970-х годов.
Совсем недавно для картов были разработаны системы вариатора, которые, как было доказано, повышают производительность и ожидаемый срок службы двигателя.
Новые автомобили с вариатором
Старые автомобили с вариатором
- DAF 600
- DAF 750
- DAF 30 (нарцисс)
- DAF 31
- DAF 32 (DAF 33)
- DAF 44
- DAF 46
- DAF 66
- Fiat Uno
- Форд Фиеста
- Honda Civic ESi
- Nissan Micra
- Subaru Justy 1.2 3-х цилиндровые с ECVT (49/55 кВт) Вольво
- 66 Вольво
- 340
- Daewoo (в настоящее время GM Daewoo) Matiz II с E3CVT


При помощи передачи решаются следующие задачи: понижение (реже повышение) скорости… … Энциклопедический словарь по металлургии
schijf) вращающаяся деталь ремённой передачи (См. Ремённая передача) или канатной передачи (См. Канатная передача), выполненная в виде колеса, охватываемого гибкой связью. Передающие вращающий момент рабочие Ш. (ведущий и… … Большая советская энциклопедия
Передача вращения от ведущего I к ведомому диску б производится через диски 2, вращающиеся относительно поводка-обоймы 3. Ведомый диск 6 с увеличением нагрузки перемещается к центру диска 2, навинчиваясь ка неподвижный в осевом паправлепки сиит. При уме 1мие 1ин момента диск 6 возвращается пружиной. Под действием суммы окружных усилий, действующих на диски 2, поводок-обойма 3 поворачивается и увлекает в движение ролики 3, катящиеся по рессоре 4, имеющей форму изогнутого -клина. В результате этого нажатие на диски 1 и 6 увеличивается. Кривизну рессор 4 можно регулировать болтами 7. Крутящий момент Mq на ведущем валу остается постоянным в случае дополнительного компенсационного перемещения пружины
Не задавайте свой вопрос внутри вопросов, созданных другими.
Современный экономичный автомобиль/Пер. с чешск. В. Б. Иванова; Под ред. А. Р. Бенедиктова. — М.: Машиностроение, 1987. — 320 с.: ил.//Стр. 22 — 23 (книга есть в библиотеке сайта). – Прим. icarbio.ru
Нет переключения передач, поэтому нет изменений в двигателе.
тон, к которому мы все привыкли с обычными передачами.
Владельцы часто возвращают свои машины, думая, что трансмиссия
поскользнулся или что-то сломалось.