Активные датчики для электрогитары | Гитаршкола

Здравствуйте уважаемые читатели блога Гитаршкола. Уже давно очень популярным стало устанавливать на электрогитару активные звукосниматели. Давайте в сегодняшней статье поговорим об особенностях, плюсах и минусах активных звукоснимателей для электрогитары.
Компромисс между выходом, шумом и сустейном заставил многих конструкторов отказаться от традиционного дизайна. В активных датчиках с низким сопротивлением (типа EMG)эти проблемы решаются при помощи электронной схемы. Активные датчики правильнее называть датчиками с низким сопротивлением, то есть они слабо препятствуют протеканию через них возникающего в катушке переменного тока.
В таких катушках мало витков, что дает широкий частотный диапазон и слабый выходной сигнал. Термин «активный» относится к электронной схеме, которая усиливает слабый сигнал датчика до уровня, достаточного для раскачки усилителя.
Поскольку эти активные датчики, устанавливаемые в посадочные места синглов или хамбакеров, являются в первую очередь хамбакерами, то они имеют высокое соотношение сигнал/шум и широкую частотную характеристику. Однако широкая частотная характеристика создала некоторые проблемы для создателей датчиков с низким сопротивлением.
Им пришлось формировать частотную характеристику так, чтобы она соответствовала рок-н-рольным стандартам. Если бы они этого не сделали, то такие датчики мало кому бы понравились. Говорили бы, что они у них ненормальное звучание. Но датчики с низким сопротивлением не столь подвержены влиянию ёмкостей, которые влияют на звук при использовании длинных шнуров.
![]() |
Достоинства активных звукоснимателей:
√ Низкое сопротивление
√ Широкий диапазон частот
√ Хороший сустейн
√ Звук заточен под рок-рифы
√ Мало подвержены влиянию емкостей, что дает возможность использовать длинные шнуры, которые ни коем образом не повлияют на звук.
Активные регуляторы тембра типичны для датчиков с низким сопротивлением, но их также можно использовать в сочетании с высокоомными моделями. Активные схемы могут как усиливать, так и резать сигнал, а пассивные регуляторы — только резать.
Пассивный регулятор тембра в положении «10» является нейтральным, то есть он не воздействует на сигнал. Нейтральное положение активного регулятора тембра находится где-то в середине, а » 10″ дает максимальный подъем диапазона частот, управляемого этим регулятором.
В большинстве случаев усилительная схема активной электроники питается от 9-ти вольтовой батарейки, которая устанавливается внутри корпуса гитары. В этом есть одна проблема — батарейки периодически садятся, причём, как правило, в самый неподходящий момент. Поэтому любителям активной электроники всегда нужно иметь под рукой запасную батарейку. Однако есть и другой вариант — возможность вручную переключиться от активной схемы на пассивную, что позволит вам играть на гитаре даже при севшей батарейке.
Можно конечно предложить использовать внешний источник питания, либо аккумулятор, который можно было бы заряжать, не вынимая из корпуса гитары. Однако это уже слишком.
Кстати, все подобные системы должны иметь выключатель питания, и если вы забудете его выключить, то батарейка очень быстро разрядится. Чтобы избежать этого, в качестве выключателя используют стерео-гнездо под джэк, который после игры обычно всё-таки вынимают из гитары и, таким образом, автоматически отключают питание активной схемы.
В этом случае «минус» батарейки соединяют с со средним контактом стерео-гнезда, а «землю» активной схемы — с «землей» гнезда. Тогда при подключении гитары при помощи обычного моно-джэка «минус» батарейки соединяется с «землей» и схема начинает работать. Вынув джэк, вы разрываете цепь, и питание отключается.
Недостатки активных звукоснимателей:
√ Наличие батарейки в корпусе гитары. Хотя этот недостаток очень незначителен, так как при средней игре батарейки хватает почти на год
√ После игры необходимо отсоединять гитарный шнур от гитары, чтобы батарейка не продолжала садиться
√ Некоторые считают, что звук активных звукоснимателей пресный и ненасыщенный. Ну тут на любителя. Конечно для джаза такие звукоснимателя не подойдут) Для рока, метала — самое то.
Установка активных датчиков на электрогитару:
Что касается установки, сделать это проще простого. Для этого Вам не понадобится даже паяльник, так как все элементы схемы активной системы подключаются штекерами.
В коробке Вы найдете инструкцию и самые разнообразные схемы подключения в зависимости от количества самих датчиков, патенциометров, позиционера и так далее.
Если у Вас есть что добавить, пишите в комментарии ниже. Отзывы об активных звукоснимателях приветствуются.
Оставить комментарий
gitarshkola.ru
Активные и пасивные звукосниматели, в чём разница? — Блог — Kombik.com
30 марта 2011 | Максим Иванов
Большинство гитаристов хорошо знакомы с пассивными звукоснимателями. Классический дизайн с тысячами витков тонкой проволоки и звуком от джаза до рока. Тем не менее давно существует и другая технология, которую либо любят, либо ненавидят по разным причинам. Здесь, конечно же, речь идёт об активных звукоснимателях, в гитарах с батарейками 🙂 В противовес популярному мнению, что активные звукосниматели были придуманы специально для чёрных гитар с черепами на грифе мы приведём несколько примеров, в которых перечисляются их несомненные преимущества. Я думаю, это стоит того, чтобы их попробовать.

Главные преимущества активных звукоснимателей
Выходная мощность активных звукоснимателей по умолчанию довольно низкая, но в связи с тем, что их конструкция основана на предусилении сигнала, здесь сразу проявляется несколько преимуществ. У традиционных пассивных звукоснимателей довольно сильное магнитное поле, это вызывает притяжение струн к звукоснимателям, что может негативно сказываться на сустейне и звучании в целом. Активные же звукосниматели разрабатываются со слабыми магнитами , поэтому струна сильнее и дольше вибрирует при ударе по ней. Всякие неприятные призвуки, которые появляются при подъеме пассивных звучков ближе к струнам, в случае с активными датчиками просто пропадают.
Вы замечали, что когда убираете ручку громкость на гитаре с пассивными хамбакерами, меняется не только громкость, но и тембр инструмента? Активные звукосниматели избавлены от этой проблемы. На сайте EMG висит гордая надпись: «в отличие от традиционной гитарной электроники, система EMG с низким сопротивлением позволяет вам уменьшать громкость инструмента с минимальным воздействием на его тембр, так что вы не будете звучать глуше с прибранной громкостью.»
Ключевая вещь здесь — низкое сопротивление. Основные преимущества активных звучков произрастают именно из этого отличия. Вы уже наверное знаете, что у гитар в стиле Les Paul ставят ручки громкости на 500 кОм, а в стратокастерах и гитарах с синглами — 250 кОм и для громкости и для тона. В случае с активными звукоснимателями вам нужно всего лишь 25 кОм, как в случае с EMG и Seymour Duncan Blackouts. Одна причина такого низкого сопротивления у ручки громкости для активных звукоснимателей — сделать их не такими серединистыми и сохранить низкое сопротивление в схеме в целом.
В качестве отступления должен вам рассказать о методе лечения мутного звука при убранной ручке громкости Это так называемый “treble bleed” мод. Суть его в том, что в схему просто добавляется конденсатор (обычно на .001), он позволяет сохранить середину, когда вы убираете громкость.
И всё таки, у звукоснимателей с низким выходным сопротивлением есть и другие преимущества кроме прозрачного звучания при поворотах ручки громкости. Представьте себе все плюсы качественного буфера и вот вам ответ — вы можете играть с более длинным кабелем без потери верхних частот, что особенно важно на большой сцене и с большим педалбордом.
Также активные датчики часто имеют возможность посылать балансный сигнал на выход, а это сразу же ставит вашу гитару или бас в ряд с профессиональным аудио оборудованием. Более низкий уровень шума, низкая восприимчивость к радиопомехам делают активные звукосниматели идеальным выбором для звукозаписи и работы с беспроводными системами.
Ну ладно, давайте сделаем перерыв и послушаем, как звучит чистая гитара с активными и пассивными датчиками. На записи звучит EMG 81X и EMG h5. В семплах звучит бриджевый датчик. Думаю, эти записи говорят сами за себя. Отметьте, как в самом конце на пассивном датчике средние частоты становятся более яркими, тогда как активные звукосниматели выдают похожий на электроакустику звук.
Чистый звук на активном звукоснимателе
Чистый звук на пассивном звукоснимателе
Вы замечали, что басисты гораздо больше хвалят актив, чем гитаристы? С одной стороны это за счёт низкого уровня шума, но самое главное — активные звукосниматели звучат ровно и чисто. Важная особенность в пассивных звукоснимателях — если нужен более мощный выхлоп, приходится делать большее число витков, но звук при том становится темнее. У активных звучков нет такой проблемы. Усиленный сигнал с них, насыщенный средними, низкими и высокими поступает прямо в усилитель. Мечта любого басиста!
Яркость и увеличенный сустейн активных датчиков, а также более объёмное звучание идеальны для тех, кто любит играть слэпом. Что касается гитаристов, особенно играющих тяжелую музыку, здесь тоже одни только плюсы. Более широкий частотный диапазон позволяет более точно настроить нужный звук, а в случае работы с хай-гейн педалями перегруза и усилителями прежде всего имеют значение чистота сигнала и минимальный уровень шума.
Достоинства активных звукоснимателей при скоростной игре и низких строях очевидна. Звук будет оставаться собранным, с чёткой атакой в отличие от мутного и несобранного звука пассивных датчиков.
Различия в конструкции
В классическом звукоснимателе EMG 81 используется керамический магнит. Именно за счёт него звукосниматель звучит остро и мощно вне зависимости от того с каким уровнем перегруза вы работаете. Однако, в EMG 85 используется другой магнит — Alnico V, по той же причине, что и в пассивных звукоснимателях — тёплое звучание.
Звукосниматели Seymour Duncan Livewires — это попытка подобраться поближе к классическому звуку их хамбакеров ’59 и JB, которые мы все любим и знаем, там те же частотные характеристики. Теоретически, так у вас одни только плюсы от старой и от новой технологии. Хотя, мне не доводилось пробовать Livewires в других гитарах кроме Dean Mustaine, они там звучали очень многообещающе. Близко к винтажу.

Активная схемотехника бывает разная, не только в виде звукоснимателей. Например, в именной модели Fender Эрика Клэптона встроена схема активного буста средних частот (active midboost circuit), которая стала неотъемлемой частью его фирменного звучания. Установив этот простенький активный преамп в ваш стратокастер вы можете поднимать середину и гейн, получая жирный звук, характерный для хамбакера с интересным щелчком, которым отличаются синглы. Ну и, конечно, сопротивление становится ниже, так как приходится сменить ручку громкости с 250 кОм на 50 кОм. Такое решение кажется вполне себе компромиссом между винтажом и современным звуком, если вы сторонник классического звучания.
У активных звукоснимателей есть свои недостатки, также как и у пассивных. Вопрос в том, нравится ли вам звук. Вот, например, интересные звукосниматели — Lace Alumitone. Они пассивные и с широким частотным диапазоном, плюс в них используется на 95% меньше проволоки чем в традиционных пассивных звукоснимателях. Выход всего 2,5 кОм, но они громкие и весят мало. Интересная штуковина, я бы попробовал, а вы?
Какие звукосниматели вы используете и какие бы вы хотели попробовать?
www.kombik.com
Активные датчики
Принцип действия активных датчиков основан на том или ином физическом явлении, обеспечивающем преобразование измеряемой величины в электрическую форму энергии.
Физические эффекты, использующиеся для построения активных датчиков.Измерительная величина | Используемый физический эффект | Выходная величина |
Температура | Термоэлектрический эффект | U |
Поток оптического излучения | Пироэлектрический эффект Внешний фотоэффект Внутренний фотоэффект в — полупроводнике с “p-n” переходом; Фотоэлектромагнитный эффект | q I U U, I U |
Сила, давление, ускорение | Пьезоэлектрический эффект | q |
Скорость | Электромагнитная индукция | U |
Перемещение | Эффект Холла | U |
Датчик реализующий термоэлектрический эффект
– термопара содержит 2 проводника М1 и М2 различной химической природы. Их спаи, находящиеся при Т1 и Т2 являются местом возникновения термо э.д.с. пропорциональной Т1. Температура второго спая Т2 известна(обычно О°С). 
В датчике с пироэлектрическим эффектом, определенные кристаллы пироэлектрики (например, триглицинсульфат), при действии оптического излучения испытывают спонтанную электрическую поляризацию в результате теплового нагрева. На двух противолежащих гранях при этом появляются электрические заряды.
Изменение поглощенного кристаллом оптический потока изменяет его поляризацию, которую измеряют, как падение напряжения U на зажимах конденсатора.

В датчике с пьезоэлектрическим эффектом изменение механического напряжения в кристалле (обычно кварца) приводит к его деформации и появлению на противоположных поверхностях кристалла электрических зарядов противоположного знака. В качестве сигнала измеряется U между гранями кристалла пьезоэлектрика.

В датчике, использующем явление электромагнитной индукции при перемещении проводника в постоянном электромагнитном поле возникает э.д.с., пропорциональная изменению магнитного потока и, следовательно, скорости его перемещения.

Аналогично, когда замкнут контур, подвергающийся воздействию переменного магнитного потока из-за перемещения контура или источника поля (магнита) возникающая э.д.с пропорциональна магнитной напряженности поля (э.д.с. ~ В). Измерение э.д.с. электромагнитной индукции в таком датчике позволяет определить скорость перемещения объекта, механически связанного с подвижным элементом подобного датчика.
В датчиках использующих фотоэлектрические эффекты общим является генерирование носителей электрических зарядов под действием света.

В вакуумном фотоэлементе (внешний фотоэффект) освобожденные фотоэлектроны покидают катод и образуют ток, текущий к аноду под действием приложенного электрического поля, величина которого пропорциональна оптическому потоку (I ~ Ф).
В полупроводниковом фотодиоде с внутренним фотоэффектом. Электроны и дырки, освобожденные в окрестностях р-n перехода, перемещаясь под действием электрического поля, вызывают изменение падения напряжения на границах полупроводникового кристалла. То же практически происходит в фоторезисторе: генерируемые световым потоком носители под действием приложенного напряжения создают ток. Для определения величины облученности можно измерять его величину, либо падение напряжения на нагрузочном сопротивлении. Максимальное значение падения напряжения имеет место при равенстве темнового сопротивления фоторезистора сопротивлению нагрузки (RT= RH).

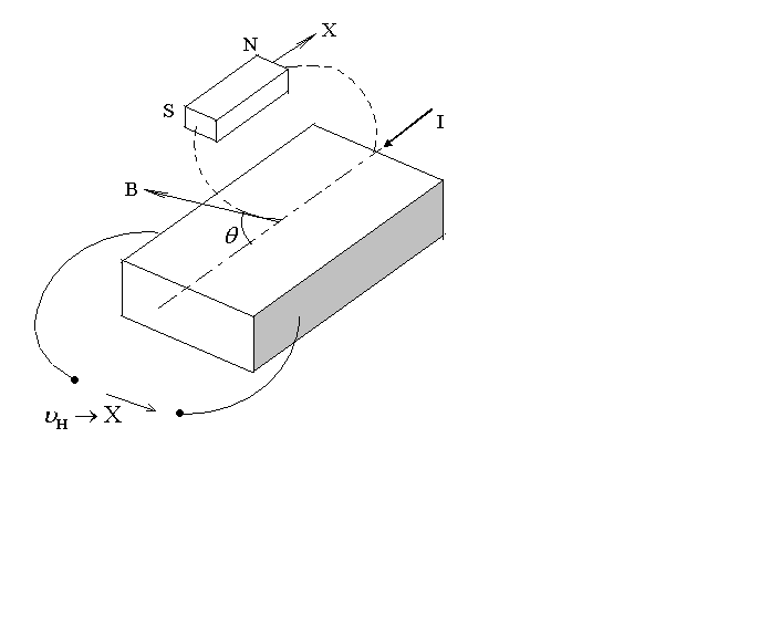
Датчики на основе эффекта Холла. При пропускании электрического тока через образец (пленку и кристалл) полупроводника, находящегося в магнитном поле, в направлении перпендикулярном полю возникает э.д.с. пропорциональная току и напряженности магнитного поля.

Датчик Холла используется для определения угла или расстояния перемещения объектов, а также величин преобразуемых в перемещения (давление). Постоянный магнит датчика механически связан с объектом и при смещении магнита пропорционально изменению напряженности магнитного поля изменяется выходное напряжение, снимаемое с датчика ( величина тока при этом должна быть постоянной).
В датчике на основе фотоэлектромагнитного эффекта полупроводник, размещенный между полюсами магнита освещается источником света. Вблизи поверхности кристалла возникает высокая концентрация электронно-дырочных пар, которые диффундируют внутрь. Заряды различного знака отклоняются магнитным полем в противоположные стороны, устанавливая пропорциональную зависимость между величиной оптического потока и Разностью потенциалов (∆φ ~ Ф).
studfile.net
Что такое датчик, какие функции выполняет и где используется
Содержание статьи
Что такое датчики и зачем они нужны
При изучении робототехники возникает вопрос – что такое датчики? Датчики еще часто называю сенсорами.
Датчики — это детекторы, которые имеют возможность измерять некоторые физические качества, такие как давление или свет.
Датчик после этого будет преобразовывать измерение в сигнал, который может быть передан для анализа. Большинство датчиков, используемых сегодня существует для того, чтобы иметь возможность общаться с электронным устройством, которое будет делать измерения и записи.

Наличие датчиков обязательно для всех систем автоматизации. Именно датчики позволяют создать робота, который может реагировать на изменение различных параметров окружающей среды. Получая информацию от датчиков, робот выполняет различные действия согласно заложенной в него программе.
Можно сказать, что наличие датчиков и обратной связи с ними, отличает робота от автоматизированного устройства. Изучая робототехнику можно быстро узнать, что такое датчик и как использовать различные типы датчиков.
Сегодня вы сможете найти датчики в широком диапазоне различных устройств, которые вы используете регулярно. Сенсорный экран, который у вас есть на телефоне.

Ультразвуковые датчики для открытия дверей в торговых центрах, герконовые датчики для систем сигнализации и множество других. Датчики являются очень распространенной частью повседневной жизни.
Введение в датчики
Мир полон сенсоров. В нашей повседневной жизни мы сталкиваемся с автоматизацией во всех видах деятельности. Автоматизация включает включение света и вентилятора, с использованием мобильных телефонов. Управление телевизором с помощью мобильных приложений.

Регулировки температуры в помещении. Обеспечение пожарной безопасности при помощи детекторов дыма и т.д. Все это делается с помощью датчиков. В наши дни любой встроенный системный продукт имеет встроенные датчики. Есть множество приложений, таких как мобильные управляемые камеры видеонаблюдения.
Приложения мониторинга и прогнозирования погоды и т. д. Датчики играют очень важную роль в профилактике и обнаружении заболеваний в здравоохранении. Поэтому, прежде чем проектировать датчик, использующий приложение, мы должны понять, что такое датчик, что именно делает датчик и сколько типов датчиков доступны.
Что такое датчик?
Датчик определяется как устройство или модуль, который помогает обнаружить любые изменения в физической величине такой как давление, сила или электрическая величина, как ток или любой другой вид энергии. После наблюдать изменениями, датчик посылает обнаруженный входной сигнал к микроконтроллеру или микропроцессору.

Наконец, датчик выдает считываемый выходной сигнал, который может быть либо оптическим, либо электрическим, либо любой формой сигнала, соответствующей изменению входного сигнала. В любой измерительной системе большую роль играют датчики.
Фактически, датчики являются первым элементом в структурной схеме измерительной системы, который вступает в непосредственный контакт с переменными для получения действительного выхода. Теперь вы знаете, что такое датчик и что на самом деле означает датчик.
Классификация датчиков
Активный датчик
Что такое активные датчик – это тип датчиков, который производит выходной сигнал с помощью внешнего источника возбуждения.
Собственные физические свойства датчика изменяются в зависимости от применяемого внешнего воздействия. Например, тензометрический датчик.

При нажатии на такой датчик воздействие преобразуется в электрический сигнал и сигнал передается в считывающее устройство.
Пассивный датчик
Пассивные датчики тип датчиков, который производит выходной сигнал без помощи внешнего источника возбуждения.
Им не нужны никакие дополнительные токи или напряжения. Например, термопара, которая генерирует значение напряжения, соответствующее приложенному теплу.

Она не требует никакого внешнего электропитания.
Также датчики подразделяются на
Аналоговые
Что такое аналоговый датчик – это датчик, который производит непрерывный сигнал относительно времени с аналоговым выходом.
Сформированный аналоговый выходной сигнал пропорционален измеряемому им входному сигналу. Как правило, аналоговое напряжение лежит в диапазоне от 0 до 10 В или в качестве выходного сигнала используется ток.

Примерами физических параметров для непрерывных сигналов могут служить температура, усилие, давление, смещение и др. Например, аналоговый датчик линии Arduino.
Цифровые
Цифровые датчики-это те, которые производят дискретные выходные сигналы.
Дискретные сигналы будут не непрерывными во времени и могут быть представлены в “битах” для последовательной передачи и в “байтах” для параллельной передачи. Измеряемая величина будет представлена в цифровом формате. Цифровой выход может быть в форме логики 1 или логики 0 (включено-выключено).
Цифровой датчик состоит из датчика, кабеля и передатчика. Измеренный сигнал преобразован в цифровой сигнал внутри датчика самого без любого внешнего компонента. Кабель используется для передачи на большие расстояния. Примером цифрового датчика может служить энкодер.

Он включает в себя цифровой светодиод и фотодиод, используемый для получения цифрового сигнала для измерения скорости вращающегося вала. Диск прикреплен к вращающемуся валу. Вращающийся вал имеет по окружности прозрачные пазы. Когда вал вращается со скоростью, диск также вращается вместе с ним.

Сигнал от светодиода проходит через паз и фиксируется фотодиодом. Выходным сигналом будет логическая 1 или логический 0. Выходные данные отображаются на ЖК-дисплее после прохождения через счетчик.
В настоящее время есть огромное количество датчиков для различных целей и каждый год датчики становятся все совершеннее. Сейчас все больше становится программируемых датчиков, которые можно калибровать и программировать на различные виды измерений.
Обычно в комплекте с этими датчиками идет достаточно подробная инструкция со схемами подключения, способами настройки и программирования датчиков.
Обзор полезного набора датчиков для Arduino
legoteacher.ru
Раздел 1. Общие сведения и классификация
Тема 1. Понятие и классификация датчиков, их место в эсб.
Датчик — это устройство, воспринимающее внешние воздействия и реагирующее на них изменением электрических сигналов.
Назначение датчиков — реакция на определенное внешнее физическое воздействие и преобразование его в электрический сигнал, совместимый с измерительными схемами. Выходными сигналами датчиков могут быть напряжение, ток или заряд, которые описываются следующими характеристиками: амплитудой, частотой, фазой или цифровым кодом. Этот набор характеристик называется форматом выходного сигнала. Таким образом, каждый датчик характеризуется набором входных параметров (любой физической природы) и набором выходных электрических параметров.
Вне зависимости от типа измеряемой величины всегда происходит передача энергии от исследуемого объекта к датчику. Работа датчика — это особый случай передачи информации, а любая передача информации связана с передачей энергии. Очевидным является тот факт, что передача энергии может проходить в двух направлениях, т.е. она может быть как положительной, так и отрицательной, например, энергия может передаваться от объекта к датчику, и, наоборот, от датчика к объекту. Особым случаем является ситуация, при которой энергия равна нулю, но и в этом случае происходит передача информации о существовании именно такой особой ситуации.
Понятие датчик необходимо отличать от понятия преобразователь. Преобразователь конвертирует один тип энергии в другой, тогда как датчик преобразует любой тип энергии внешнего воздействия в электрический сигнал. Примером преобразователя может служить громкоговоритель, конвертирующий электрический сигнал в переменное магнитное поле для последующего формирования акустических волн.
Все датчики можно разделить на две группы: датчики прямого действия и составные датчики. Датчики прямого действия преобразуют внешнее воздействие непосредственно в электрический сигнал, используя для этого соответствующее физическое явление, в то время как в составных датчиках прежде чем получить электрический сигнал на выходе оконечного датчика прямого действия необходимо осуществить несколько преобразований энергии.
На практике датчики не работают сами по себе. Как правило, они входят в состав измерительных систем, часто довольно больших, объединяющих много разных детекторов, преобразователей сигналов, сигнальных процессоров, запоминающих устройств и приводов. Датчики в таких системах могут быть как наружными, так и встроенными.
Все датчики можно разделить на две категории: пассивные и активные. Пассивный датчик не нуждается в дополнительной энергии и в ответ на изменение внешнего воздействия на его выходе всегда появляется электрический сигнал. Это означает, что такой датчик преобразует энергию внешнего сигнала в выходной сигнал. Примерами пассивных датчиков являются термопары, фотодиоды и пьезоэлектрические чувствительные элементы. Большинство пассивных датчиков являются устройствами прямого действия. В отличие от пассивного собрата активный датчик для своей работы требует внешней энергии, называемой сигналом возбуждения. При формировании выходного сигнала активный датчик тем или иным способом воздействует на сигнал возбуждения. Поскольку такие датчики меняют свои характеристики в ответ на изменение внешних сигналов, их иногда называются параметрическими. Другим примером активных датчиков является резистивный тензодатчик, чье электрическое сопротивление зависит от величины его деформации. Для определения сопротивления датчика через него также необходимо пропустить электрический ток от внешнего источника питания.
В зависимости от выбора точки отсчета датчики можно разделить на абсолютные и относительные. Абсолютный датчик определяет внешний сигнал в абсолютных физических единицах, не зависящих от условий проведения измерений, тогда как выходной сигнал относительного датчика в каждом конкретном случае может трактоваться по-разному. Примером абсолютного датчика является термистор. Его электрическое сопротивление напрямую зависит от абсолютной температуры по шкале Кельвина. Другой же популярный датчик температуры — термопара — является относительным устройством, поскольку напряжение на его выходе является функцией градиента температуры на проволочках термопары.
Для каждого датчика можно вывести идеальное или теоретическое соотношение, связывающее сигналы на его входе и выходе. Выведенное идеальное соотношение между входным и выходным сигналом можно выразить в виде либо таблицы, либо графика, либо математического выражения. Это идеальное (теоретическое) выражение часто называют передаточной функцией. Передаточная функция устанавливает взаимосвязь между выходным электрическим сигналом датчика S и внешним воздействием s: S=f(s). Эта функция может быть как линейной, так и нелинейной (например, логарифмической, экспоненциальной или степенной). Во многих случаях передаточная функция является одномерной (т. е. связывает выходной сигнал только с одним внешним воздействием)
studfile.net
4.2. Общие сведения об активных и пассивных датчиках
С точки зрения вида сигнала на выходе неунифицированного датчика, они могут быть активным (генераторными), выдающим заряд, напряжение или ток, либо пассивным (параметрическими), с выходным сопротивлением, индуктивностью или емкостью.
Различие между активными и пассивными датчиками обусловлено их эквивалентными электрическими схемами, отражающими фундаментальные отличия в природе используемых в датчиках физических явлений.
Электрический сигнал – это переменная составляющая тока или напряжения, которая несет информацию, связанную с измеряемой величиной; амплитуда и частота сигнала должна быть непосредственно связаны с амплитудой и частотой измеряемой величины. Активный датчик является источником непосредственно выдаваемого электрического сигнала, а измерение изменений параметров импеданса пассивного датчика производится косвенно, по изменению тока или напряжения в результате его обязательного включения в схему с внешним источником питания. Электрическая схема, непосредственно связанная с пассивным датчиком, формирует его сигнал и, таким образом, совокупность датчика и этой электрической схемы является источником электрического сигнала.
Принцип действия активного датчика основан на том или ином физическом явлении, обеспечивающем преобразование соответствующей измеряемой величины в электрическую форму энергии. Наиболее важные из этих явлений указаны в таблице 4.2.1.
Таблица 4.2.1
Физические эффекты, используемые для построения активных датчиков
Измеряемая величина | Используемый эффект | Выходная величина |
Температура | Термоэлектрический эффект | Напряжение |
Поток оптического излучения | Пироэлектрический эффект | Заряд |
Внешний фотоэффект | Ток | |
Внутренний фотоэффект в полупроводнике с p-n- переходом | Напряжение | |
Фотоэлектромагнитный эффект | Напряжение | |
Сила, давление, ускорение | Пьезоэлектрический эффект | Заряд |
Скорость | Электромагнитная индукция | Напряжение |
Перемещение | Эффект Холла | Напряжение |
В пассивных датчиках
некоторые параметры выходного импеданса
могут меняться под воздействием
измеряемой величины. Импеданс датчика,
с одной стороны, обусловлен геометрией
и размерами его элементов, а с другой
стороны – свойствами материалов:
удельным сопротивлением
,
магнитной проницаемостью µ и
диэлектрической постоянной ε.
Изменения импеданса могут быть, таким образом, вызваны воздействием измеряемой величины либо на геометрию и размеры элементов датчика, либо на электрические и магнитные свойства его материала, либо, что реже, на то и на другое одновременно. Геометрические размеры датчика и параметры его импеданса могут изменяться, если датчик содержит подвижный или деформирующийся элемент.
Каждому положению подвижного элемента датчика соответствует определенный импеданс, и измерение его параметров позволяет узнать положение элемента. На этом принципе работает большое число датчиков положения и перемещения объектов: потенциометрических, индуктивных с подвижным сердечником, емкостных.
Деформация является результатом действия силы (или с ней связанной величины — давления, ускорения) на чувствительный элемент датчика. Изменение импеданса датчика, вызванное деформацией чувствительного элемента, вызывает изменение соответствующего электрического сигнала в специальной измерительной схеме, в которую этот датчик включают.
Электрические свойства материала и состояние чувствительного элемента датчика зависят от переменных физических величин: температуры, давления, влажности, освещенности и т. д. Если меняется только одна из величин, а остальные поддерживаются постоянными, то можно оценить существующее однозначное соответствие между значениями этой величины и импедансом датчика. Это соответствие описывается градуировочной кривой, по результатам измерения импеданса можно определить соответствующее значение измеряемой величины.
В таблице 4.2.2 указан ряд физических эффектов, связанных с преобразованием значений электрических характеристик пассивных датчиков.
Таблица 4.2.2
studfile.net
С точки зрения вида сигнала на выходе неунифицированного датчика, они могут быть активным (генераторными), выдающим заряд, напряжение или ток, либо пассивным (параметрическими), с выходным сопротивлением, индуктивностью или емкостью. Различие между активными и пассивными датчиками обусловлено их эквивалентными электрическими схемами, отражающими фундаментальные отличия в природе используемых в датчиках физических явлений. Электрический сигнал – это переменная составляющая тока или напряжения, которая несет информацию, связанную с измеряемой величиной; амплитуда и частота сигнала должна быть непосредственно связаны с амплитудой и частотой измеряемой величины. Активный датчик является источником непосредственно выдаваемого электрического сигнала, а измерение изменений параметров импеданса пассивного датчика производится косвенно, по изменению тока или напряжения в результате его обязательного включения в схему с внешним источником питания. Электрическая схема, непосредственно связанная с пассивным датчиком, формирует его сигнал и, таким образом, совокупность датчика и этой электрической схемы является источником электрического сигнала. Принцип действия активного датчика основан на том или ином физическом явлении, обеспечивающем преобразование соответствующей измеряемой величины в электрическую форму энергии. Наиболее важные из этих явлений указаны в таблице 4.2.1. Таблица 4.2.1 Физические эффекты, используемые для построения активных датчиков
В пассивных датчиках некоторые параметры выходного импеданса могут меняться под воздействием измеряемой величины. Импеданс датчика, с одной стороны, обусловлен геометрией и размерами его элементов, а с другой стороны – свойствами материалов: удельным сопротивлением Изменения импеданса могут быть, таким образом, вызваны воздействием измеряемой величины либо на геометрию и размеры элементов датчика, либо на электрические и магнитные свойства его материала, либо, что реже, на то и на другое одновременно. Геометрические размеры датчика и параметры его импеданса могут изменяться, если датчик содержит подвижный или деформирующийся элемент. Каждому положению подвижного элемента датчика соответствует определенный импеданс, и измерение его параметров позволяет узнать положение элемента. На этом принципе работает большое число датчиков положения и перемещения объектов: потенциометрических, индуктивных с подвижным сердечником, емкостных. Деформация является результатом действия силы (или с ней связанной величины — давления, ускорения) на чувствительный элемент датчика. Изменение импеданса датчика, вызванное деформацией чувствительного элемента, вызывает изменение соответствующего электрического сигнала в специальной измерительной схеме, в которую этот датчик включают. Электрические свойства материала и состояние чувствительного элемента датчика зависят от переменных физических величин: температуры, давления, влажности, освещенности и т. д. Если меняется только одна из величин, а остальные поддерживаются постоянными, то можно оценить существующее однозначное соответствие между значениями этой величины и импедансом датчика. Это соответствие описывается градуировочной кривой, по результатам измерения импеданса можно определить соответствующее значение измеряемой величины. В таблице 4.2.2 указан ряд физических эффектов, связанных с преобразованием значений электрических характеристик пассивных датчиков. Таблица 4.2.2 Физические принципы преобразования величин и материалы, используемые для построения пассивных датчиков
Измерение физической величины |
stydopedia.ru


, магнитной проницаемостью µ и диэлектрической постоянной ε.