Датчик педали акселератора (он же датчик ускорения, датчик педали газа или датчик положения дроссельной заслонки), предназначен для электронного управления подачей топлива в автомобилях В большинстве современных двигателей используется так называемая электронная педаль газа, когда управление дроссельной заслонкой осуществляет контроллер, выполняющий команды водителя. Формирование команд производится посредством датчика, механически соединённого с педалью акселератора. Датчик представляет собой потенциометр, ползунок которого перемещается педалью. Датчик положения педали акселератора устанавливается в составе объединенного модуля электронной педали газа. Конструктивно — это датчик углового перемещения. Для оценки положения педали акселератора используются контактные и бесконтактные датчики перемещения. Возникает вопрос, зачем такие сложности? Ведь есть давно испытанная схема, при которой дроссельная заслонка управляется тросиком, соединённым с педалью газа. Характерными признаками неисправности датчика являются повышенные или нестабильные обороты холостого хода. В последнем случае они могут уменьшиться настолько, что двигатель будет глохнуть. Кроме того, возможны рывки при разгоне и, особенно, при трогании автомобиля. Это может быть связано с износом датчика или необходимостью обучения контроллера при замене датчика. Проверка датчика педалиПроверить датчик можно подключив к его контактам омметр и плавно перемещая педаль акселератора. Сопротивление должно плавно, без рывков изменяться во всём диапазоне перемещения педали. При замене датчика или контроллера может потребоваться обучение контроллера новому исходному положению педали акселератора. Это связано с тем, что при отпущенном положении педали сигнал датчика не равен нулю, а имеет некоторое небольшое начальное значение. Контроллер должен запомнить этот сигнал в качестве опорного, соответствующего начальному положению педали газа и дальнейший отсчёт положения педали вести от этого начального значения сигнала. Замена датчика влияет на величину начального сигнала, что приводит к изменению оборотов холостого хода. Обучение необходимо проводить даже при отсоединении разъёма от датчика или контроллера. Процедура обучения отпущенному положению педали акселератора заключается в следующем:
Для каждой марки автомобиля предусмотрен свой вид потенциометра педали акселератора, для того, чтобы выбрать необходимое в данном случае вам устройство, лучше всего воспользоваться специальным каталогом или обратиться к автоэлектрику. Это должен знать каждый владелец авто:
|
А у вас работает датчик положения педали
27.09.2020,
Ориентироваться приходится только на поведении автомобиля, а именно в момент переключения передач. Это особенно заметно, когда во время перехода на пониженную передачу, например с 3-й на 2-ю, если обороты высоковаты, происходит торможение двигателем и автомобиль буквально «клюёт носом» как при резком торможении. Чтобы убедиться в исправности датчика на 100%, во время езды переключитесь на пониженную передачу и резко бросьте сцепление. Понятное дело, что лучше всего это делать при переходе с 3-й на 2-ю или 2-й на 1-ю, ато сами понимаете, с 5-й на 4-ю, можно и через лобовое стекло вылететь. =) При исправном датчике, машина будет плавно сбрасывать обороты, если же будет резко останавливаться, значит датчик под замену.Если вы уже ранее сталкивались с этой проблемой и у вас где-то завалялся неисправный датчик, можно из двух собрать рабочий. Разбирается несложно, в Интернете можно найти об этом много информации. В будущем, здесь будет ссылка на отдельный материал, в котором я подробно распишу, как разбирать эти датчики на разных моделях автомобиля.
Ошибка Р0504 — причина в датчике положения педали тормоза
Ошибка Р0504 — причина в датчике положения педали тормоза
Владельцы автомобилей LADA с электронной педалью газа могут столкнуться с ошибкой Р0504 (рассогласование датчиков педали тормоза). Вместе с ней могут появиться неисправности в работе двигателя (глохнет, плавают обороты, не заводится и т.
Датчик положения педали тормоза и выключатель сигналов торможения смонтированы в одном корпусе. Чаще всего причина его неисправности — поломка пружины. В этом случае датчик можно отремонтировать самостоятельно, заменив пружину на новую. Либо заменить датчик на новый.
Как снять и установить
Отключаем минусовую клемму аккумулятора. Отодвигаем сиденье водителя максимально назад, рулевую колонку поднимаем вверх, убираем коврик. Датчик располагается возле педали тормоза, чтобы его снять необходимо снять колодку с проводами (отщелкнув фиксаторы), а затем:
- (Приора, Калина, Гранта, Нива 4х4) ослабить контргайку и выкрутить датчик.
- (Ларгус, Веста, XRAY) повернуть датчик против часовой стрелки на 90 градусов и снять его из кронштейна.
Установка датчика педали тормоза производится в обратной последовательности. При необходимости выполните его регулировку.
Закручиваем датчик до тех пор, пока педаль не пойдет вниз. Затем немного вывернуть его (против часовой стрелки на 90 градусов) и зафиксировать контргайкой. Должно получиться так, чтобы при отпущенной педали тормоза шток выключателя был полностью «утоплен», а при нажатой педали шток должен полностью выходить из корпуса выключателя. Процесс снятия и установки датчика также показан на видео:
Как проверить
Включаем зажигание и нажимаем на педаль тормоза, стоп-сигналы должны загореться. После отпускания педали они должны погаснуть. Если лампы не загораются, проверяем датчик педали тормоза и поступление напряжения от аккумулятора на колодку жгута проводов.
(Ларгус, Веста, XRAY) Перевести фиксатор штока в правое положение, используя отвертку. Проверяем датчик педали тормоза при помощи мультиметра в режиме омметра. Цепь 3-4 должна быть замкнута (значение сопротивление близко к нулю), а цепь 1-2 разомкнуто (сопротивление должно стремиться к бесконечности).
После нажатия на шток цепь 3-4 должна разомкнуться, а 1-2 замкнуться. Перед установкой перевести шток в левое положение.
(Приора, Калина, Гранта, Нива 4х4) Цепь 1-4 должна быть замкнута, а цепь 2-3 разомкнута. После нажатия на шток цепь 2-3 замкнуться, а 1-4 разомкнуться.
Таким образом, причиной ошибки Р0504 может быть:
- неисправный датчик или его проводка
- датчик педали тормоза не отрегулирован
- необходимо перепрограмирование ЭСУД (предписание №46-15 для Лада Гранта и Калина 2 с АКПП, скачать его могут пользователи сайта)
_x000D_ Чтобы скачать файлы нужно авторизироваться на сайте
Напомним, ознакомиться с другими датчиками системы управления двигателем можно тут. Ранее мы публиковали инструкцию, как проверить электронную педаль газа.
Категории товаров, которые вам могут быть интересны на основании статьи «Ошибка Р0504 — причина в датчике положения педали тормоза»:
Записей не найдено.
Товары, из ассортимента Дастершоп77 по теме статьи:
| Изображение | Артикул | Наименование | Производитель | Цена | Наличие | В корзину |
Добавить комментарий
Датчик положения педали акселератора — аналог
Дополнительные указания
С повышением уровня электронного управления и последующим уменьшением количества движущихся механических частей неизбежно, что мы увидим больше элементов, управляемых «по проводам».
Одним из примеров этого является управление дроссельной заслонкой. В большинстве производимых в настоящее время автомобилей больше не используется трос акселератора, а вместо этого используется приложение APP в сочетании с приводом электронного управления дроссельной заслонкой (ETC), включающим электронный двигатель дроссельной заслонки и датчик положения дроссельной заслонки (TPS).
Приложение — это просто один или, чаще, два потенциометра, прикрепленные к педали акселератора. Когда педаль акселератора нажата, на PCM отправляется сигнал напряжения, который передает фактическое положение педали акселератора и, таким образом, физические требования водителя. В результате этого ввода PCM затем генерирует вывод для соответствующего исполнительного механизма; в этом случае ETC. Как упоминалось ранее, в приложении обычно есть два потенциометра. Они используются для проверки достоверности, а также для обеспечения определенной степени отказоустойчивости.
Для генерации сигнала используются несколько методов. Подавляющее большинство использует общий источник опорного напряжения 5 В, который используется во всей системе управления двигателем. Два наиболее распространенных метода генерации сигналов следующие:
Рис. 2 : Потенциометр 1 генерирует сигнал от 0,3 до 4,8 В (красная кривая на Рис. 2 ), а потенциометр 2 генерирует сигнал от 0,5 до 4,8 В (синяя кривая на Рис.
2 ). Например, при положении педали акселератора 45 градусов потенциометр 1 может выдавать сигнал 2 вольта, а потенциометр 2 — сигнал 3 вольта.
Рис. 3 : Потенциометр 1 генерирует сигнал от 0,3 до 4,8 В (красная кривая на Рис. 3 ), а потенциометр 2 генерирует сигнал от 4,8 до 0,3 В (синяя кривая на Рис. 3 ). При положении педали акселератора 0 градусов потенциометр 1 может выдавать сигнал 0,5 вольт, а потенциометр 2 может выдавать сигнал 4,5 вольт.
Получив таким образом сигналы, PCM может гарантировать, что информация верна; Например, если угол APP составляет 45 градусов, то потенциометр 1 выдает 2 вольта, а потенциометр 2 — 3 вольта.Если есть какое-либо отклонение от этого, то PCM обнаруживает возможную неисправность и регистрирует соответствующий код неисправности. Если одна дорожка потенциометра должна выйти из строя, то PCM снова может обнаружить это и работать в отказоустойчивом или аварийном режиме, часто повышая холостой ход, ограничивая работу дроссельной заслонки и зажигая контрольную лампу неисправности (MIL).
Использование двух потенциометров также позволяет PCM контролировать скорость, с которой акселератор нажимается и закрывается, положение дроссельной заслонки, таким образом, регулирует подачу топлива соответственно.
Если вы подозреваете неисправность сигнала, проверьте проводку от PCM к приложению.
Убедитесь, что PCM имеет хорошие источники питания и заземление там, где это необходимо.
Проверить приложение (отключено) с помощью омметра.
Пример данных вывода
Протестировано на автомобиле Smart Forfour 1.1, бензин 2005 г.в.
Hella component
6-контактный разъем
Контакт 1 = опорное напряжение 2,5 В (желтый / красный)
Контакт 2 = опорное напряжение 5,0 В (желтый / зеленый)
Контакт 3 = напряжение сигнала, приблизительно 1 В при закрытой дроссельной заслонке & 3.8 В при открытой дроссельной заслонке (серый)
Контакт 4 = 0 В заземление (коричневый / белый)
Контакт 5 = 0 В заземление (коричневый)
Контакт 6 = сигнальное напряжение, приблизительно 0,5 В при закрытой дроссельной заслонке и 1,8 В при открытой дроссельной заслонке (розовый / черный)
Все приведенные цифры являются приблизительными и получены путем закрепления штифтов при включенном зажигании и подключенной вилке.
6 признаков неисправности датчика педали акселератора (стоимость замены)
Современные автомобили оснащены множеством датчиков и компьютеров для автоматического и точного управления основными средствами управления автомобилем.
Они помогают сократить расход топлива и сделать вождение более плавным, комфортным и безопасным.
Практически каждый современный автомобиль теперь имеет датчик под названием TPS и датчик положения педали акселератора. Как следует из названия, эти датчики представляют собой прецизионные устройства, определяющие положение педали акселератора.
В этой статье вы найдете наиболее распространенные симптомы неисправного датчика положения педали акселератора, его расположение и стоимость замены. Начнем с краткого обзора знаков, на которые стоит обратить внимание:
Наиболее частым признаком неисправного датчика положения педали акселератора является отсутствие реакции на педаль акселератора, часто вместе с индикатором проверки двигателя на приборной панели.
Вы также можете заметить такие симптомы, как проблемы с переключением передач, резкий холостой ход или высокий расход топлива.
Влияние неисправного датчика педали акселератора довольно очевидно, поскольку оно напрямую влияет на то, как автомобиль движется и реагирует на нажатие педали и расход топлива.
Если возникает какой-либо из этих симптомов или ваша машина не реагирует точно на нажатие педали газа, вам следует немедленно остановиться и вызвать механика.
Вот более подробный список наиболее распространенных симптомов неисправного датчика положения педали акселератора.
Признак неисправности датчика положения педали акселератора1. Ваш автомобиль не решается двигаться при нажатии на педаль газа
Этот симптом легко обнаружить, поскольку каждый владелец со временем узнает, как его автомобиль реагирует на нажатие педали газа. Если вы чувствуете, что ваша машина не решается двигаться, возможно, неисправен датчик педали акселератора.
В таком случае рекомендуется немедленно остановиться и вызвать механика, поскольку неправильный выбор времени педалирования может оказаться фатальным.
2. Неровный холостой ход
Оптимальная частота вращения автомобильного двигателя составляет от 600 до 700 оборотов в минуту. На этих оборотах двигатель работает на холостом ходу плавно, без тряски и потребляет мало топлива. Если ваш автомобиль не может плавно работать на холостом ходу, причиной может быть неисправный датчик педали акселератора, помимо топливной смеси.
3. Ваш автомобиль не разгоняется выше определенного предела
Если ваш автомобиль способен разогнаться только до определенного момента и не будет превышать эту скорость, ваш датчик педали акселератора не может точно посылать сигналы позиционирования, что приводит к тому, что ваш автомобиль не разгоняется сверх точки нажатия кнопки педаль газа.
4. Автомобиль не перекручивается и не дергается при нажатии на педаль.
Если датчик педали акселератора не работает должным образом, он выдаст неверные показания компьютеру автоматической коробки передач.
В таких случаях из-за того, что датчик плохой.
Ужасно, он иногда выдавал сигналы с задержкой или серию различных сигналов, которые компьютер вашего автомобиля пытается накапливать и использовать для корректировки смеси.
5. У вас низкий расход бензина
Датчик положения дроссельной заслонки вашего автомобиля часто выходит из строя, но последствия для вас не очевидны.Возможно, вы не заметите задержки отклика педали, но если вы видите низкий расход топлива, это может означать, что датчик положения дроссельной заслонки в автомобиле работает, но не так точно, как должен.
6. Проверьте свет двигателя
Современные автомобили имеют систему контроля над всеми датчиками в двигателе автомобиля. Если блок управления двигателем подозревает, что один из этих датчиков сломан и посылает неверный сигнал — он загорится контрольной лампой двигателя.
Если ваш индикатор проверки двигателя горит, вам обязательно следует проверить коды неисправностей с помощью автомобильного диагностического прибора.
Современные автомобили не имеют провода между акселератором и дроссельной заслонкой; вместо этого они используют электронную систему.
Водитель постоянно нажимает на педаль акселератора, оказывая на нее различное давление, которое определяет, как автомобиль движется вперед.
Датчик TPS и датчик педали акселератора отслеживают движение педали газа, который отправляет сигналы в компьютер автомобиля. Затем компьютер использует эту информацию для регулировки топливовоздушной смеси и клапана корпуса дроссельной заслонки в соответствии с положением педали газа, текущей скоростью, температурой воздуха, показаниями массового расхода воздуха и числа оборотов в минуту.Результат — плавный и отзывчивый привод.
В некоторых автомобилях используется датчик положения педали акселератора на педали и один датчик TPS на корпусе дроссельной заслонки, в то время как некоторые автомобили имеют только датчик TPS на корпусе дроссельной заслонки.
Можно подчеркнуть важность датчика TPS, поскольку он может влиять на расход топлива и реакцию двигателя.
Расположение датчика положения педали акселератораДатчик положения педали акселератора находится внутри педали акселератора.В некоторых случаях можно заменить только датчик, но на других моделях автомобилей необходимо заменить всю педаль акселератора.
Снятие педали акселератора иногда может быть сложной задачей, но для большинства моделей автомобилей это довольно просто.
Стоимость замены датчика положения педали акселератораСредняя стоимость замены датчика педали акселератора составляет от 100 до 300 долларов, в зависимости от модели автомобиля и затрат на рабочую силу. Датчик педали акселератора обычно стоит от 50 до 200 долларов.Стоимость рабочей силы в мастерской может колебаться от 50 до 100 долларов.
Стоимость сильно различается в зависимости от того, можете ли вы заменить только датчик положения или, как в некоторых моделях автомобилей, вам нужно заменить всю педаль акселератора, что делает ее намного дороже.
Помните, что иногда вам необходимо откалибровать новый датчик положения педали акселератора, что можно сделать только с помощью диагностического прибора.
Nissan Датчик положения педали акселератора (APP)
Датчик положения педали акселератора Nissan
ЧТО ТАКОЕ ПРИЛОЖЕНИЕ?
Датчик положения педали акселератора установлен на верхнем конце узла педали акселератора. Датчик определяет положение акселератора и отправляет сигнал в ECM. Датчик положения педали акселератора имеет два датчика. Эти датчики представляют собой своего рода потенциометр, который преобразует положение педали акселератора в выходное напряжение и подает сигнал напряжения на контроллер ЭСУД. Кроме того, эти датчики определяют скорость открытия и закрытия педали акселератора и отправляют сигналы напряжения на контроллер ЭСУД. Контроллер ЭСУД определяет текущий угол открытия педали акселератора по этим сигналам и управляет электродвигателем управления дроссельной заслонкой на основе этих сигналов.
Положение педали акселератора на холостом ходу определяется блоком управления двигателем, получающим сигнал от датчика положения педали акселератора. Контроллер ЭСУД использует этот сигнал для работы двигателя, например, для прекращения подачи топлива.
РАСПОЛОЖЕНИЕ ДАТЧИКА:
Nissan Датчик положения педали акселератора (APP)КАК ПРОВЕРИТЬ:
Как проверить датчик положения педали акселератора (APP)- Проверьте напряжение между клеммой 4 датчика APP и массой с помощью МУЛЬТИ ТЕСТЕРА .
- Напряжение: приблизительно 5 В
СХЕМА ПОДКЛЮЧЕНИЯ:
Датчик положения педали акселератора Nissan (APP) Схема подключенияТЕХНИЧЕСКИЕ ДАННЫЕ ЭЛЕКТРОПРОВОДКИ:
Датчик положения педали акселератора Nissan (APP) ТЕХНИЧЕСКИЕ ДАННЫЕ ПРОВОДОВ ТЕХНИЧЕСКИЕ ХАРАКТЕРИСТИКИТЕХНИЧЕСКИЕ ХАРАКТЕРИСТИКИ:
Датчик положения педали акселератора Nissan (APP) ТЕХНИЧЕСКИЕ ХАРАКТЕРИСТИКИИзучение положения педали акселератора в отпущенном состоянии
ОПИСАНИЕ
Изучение положения педали акселератора в отпущенном состоянии — это операция по определению полностью отпущенного положения педали акселератора путем отслеживания положения педали акселератора.
выходной сигнал датчика положения педали.Это необходимо выполнять каждый раз при отсоединении разъема жгута проводов датчика положения педали акселератора или блока управления двигателем.
ПРОЦЕДУРА РАБОТЫ
1. Убедитесь, что педаль акселератора полностью отпущена.
2. Включите зажигание и подождите не менее 2 секунд.
3. Выключите зажигание и подождите не менее 10 секунд.
4. Включите зажигание и подождите не менее 2 секунд.
5. Выключите зажигание и подождите не менее 10 секунд.
СПИСОК DTC
Это руководство применимо к следующим автомобилям Nissan
№ 2005 – настоящее время Nissan Serena
№ 2005 – настоящее время Renault Samsung SM5
№ 2005–2012 Nissan Bluebird Sylphy
№ 2006 – настоящее время Renault Clio
# 2007 – настоящее время Nissan X-Trail
# 2007 – настоящее время Nissan Qashqai
# 2007–2012 Nissan Sentra
# 2007 – настоящее время Renault Laguna
# 2008–2014 Nissan Teana (J32)
# 2008 – настоящее время Renault Safrane
# 2008–2016 Renault Mégane (III)
# 2009 – настоящее время Renault Scénic
№ 2009 – настоящее время Renault Fluence
№ 2009 – настоящее время Renault Samsung SM3
№ 2009 – настоящее время Renault Latitude
# 2013 – настоящее время Nissan NV200
№ 2013 – настоящее время Nissan Sentra
Навигация по сообщениям
Пользовательский датчик положения педали дроссельной заслонки для команды Формулы-1 »Датчики и органы управления жабер —
Пользовательский датчик положения педали дроссельной заслонки для Formula 1 Team
Компания Gill Sensors разработала полностью бесконтактный датчик положения педали газа для ведущей гоночной команды F1.
Датчик был разработан для добавления избыточности к существующему датчику положения педали дроссельной заслонки на эффекте Холла, повышая надежность и устраняя все механические связи из приложения.
Состоящий из трех обработанных на станке пластиковых компонентов из ПЭЭК, соединенных нержавеющими креплениями, датчик является термически стабильным, полностью твердотельным и полностью герметичным от любых жидкостей, с которыми он может контактировать.
Разработанный как модернизируемое устройство, исключающее нарушение работы существующего педального узла, вал педали полностью проходит через отверстие в датчике.Датчик крепится к опорной плите педали с помощью двух нестандартных титановых креплений M3, которые также служат проставками для существующего устройства на эффекте Холла. Несмотря на то, что датчики установлены на расстоянии миллиметров, между ними нет помех из-за характера индукционной технологии, используемой в устройстве Gill.
Датчик настроен на измерение 40 градусов вращения в этом приложении.
Положение педали определяется установкой трапециевидной металлической мишени, называемой активатором, на движущуюся часть педали.Затем он проходит через серию катушек, установленных внутри датчика. Поочередно генерируя магнитные импульсы в катушках и измеряя различия в ответе активатора, его положение может быть точно определено со скоростью обновления 5 кГц, хотя с этой технологией возможны скорости более 10 кГц.
Датчик чрезвычайно компактен и весит всего 19,4 г
Разъем Souriau 8STA интегрирован в датчик с аналоговым выходом 0–5 В, настраиваемым во всем диапазоне движения.Интеграция CAN разрабатывается как цифровая альтернатива этому выходу со всеми сопутствующими преимуществами в отношении точности, размера разъема и упрощенных ткацких станков. При весе всего 19,4 г датчик чрезвычайно компактен и является хорошим примером способности Gill производить полностью настраиваемые высокоскоростные индуктивные микросенсоры с высоким разрешением.
Gill тесно сотрудничает с гоночной командой, чтобы помочь оптимизировать работу датчика и конструкцию активатора. В настоящее время проводится комплексная программа автомобильных и стендовых испытаний, помимо текущих испытаний в компании Gill.Как и в случае с большинством проектов Формулы 1, за которые отвечает Джилл, необходимое время доставки было коротким, а датчик требовался для тестирования и использования в гонках как можно раньше в сезоне 2012 года.
Toyota RAV4 Service Manual: Датчик положения дроссельной заслонки / педали / переключатель «A» — Таблица диагностических кодов неисправностей — Система SFI
Подсказка:
Эти dtcs относятся к датчику положения дроссельной заслонки (tp).
Описание
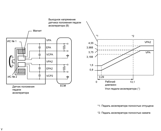
Датчик tp установлен на корпусе дроссельной заслонки и определяет угол открытия дроссельной заслонки.Этот датчик бесконтактного типа. Он использует элементы эффекта холла, чтобы дать точные сигналы даже в экстремальные условия вождения, такие как высокие и очень низкие скорости.
Датчик tp имеет две цепи датчика, каждая из которых передает сигнал vta1 и vta2. Vta1 используется для определяет угол дроссельной заслонки, а vta2 используется для обнаружения неисправностей в vta1. Сигнал датчика напряжения варьируются от 0 до 5 В пропорционально открытию дроссельной заслонки. угол, и передаются на клеммы vta блока ecm.
Когда клапан закрывается, выходное напряжение датчика уменьшается, а когда клапан открывается, выход датчика напряжение увеличивается. ECM рассчитывает угол открытия дроссельной заслонки в соответствии с к этим сигналам и управляет приводом дроссельной заслонки в ответ на действия водителя. Эти сигналы также используются в расчетах такие в качестве коррекции воздушно-топливного отношения, коррекции увеличения мощности и управления прекращением подачи топлива.
Подсказка:
- При установке любого из этих dtcs проверьте угол открытия дроссельной заслонки. выбрав следующие пункты меню интеллектуального тестера: диагностика / расширенный obd ii / список данных / etcs / дроссельная заслонка поз. № 1 и поз. дроссельной заслонки № 2.
- Throttle pos # 1 обозначает сигнал vta1, а throttle pos # 2 обозначает сигнал vta2.
Ссылка (нормальное состояние)
Описание монитора
ECM использует датчик положения дроссельной заслонки (tp) для контроля за дроссельной заслонкой угол открытия. Есть несколько проверок, которые выполняет ECM для подтверждения правильной работы TP датчик.
- Ожидается определенная разница напряжений между клеммами датчика, vta1 и vta2, для каждого угол открытия дроссельной заслонки.Если разница между vta1 и vta2 равна неверно, ecm интерпретирует это как неисправность в датчике, и устанавливает dtc.
- Vta1 и vta2 имеют определенный диапазон напряжений. Если vta1 или vta2 вне нормального рабочего режима диапазона, ЭКМ интерпретирует это как неисправность датчика и устанавливает dtc.
- Vta1 и vta2 никогда не должны быть близки к одному и тому же уровню напряжения. Если vta1 находится в пределах 0,02 В от vta2, ecm определяет, что в датчике короткое замыкание, и устанавливает dtc.
Если неисправность не устранена успешно, устанавливается dtc 10 секунд после следующего запуска двигателя.
Стратегия мониторинга
Типовые условия включения
Типовые пороги неисправности
Рабочий диапазон компонентов
Отказоустойчивый
Если любой из этих dtcs, а также других dtcs, относящихся к etcs (электронный система управления дроссельной заслонкой) неисправности, установлены, ЭКМ переходит в безотказный режим.В отказоустойчивом режиме ecm сокращает ток до привод дроссельной заслонки выключен, и дроссельная заслонка возвращается в положение дроссельной заслонки 6 ° угол возвратной пружиной. В Затем ecm регулирует мощность двигателя, управляя впрыском топлива. (прерывистое прекращение подачи топлива) и зажигание синхронизации в соответствии с углом открытия педали акселератора, чтобы автомобиль, чтобы продолжить в минимальная скорость. Если педаль акселератора нажата твердо и мягко, автомобиль может двигаться медленно.
Отказоустойчивый режим продолжается до тех пор, пока не будет обнаружено условие прохождения и зажигание затем выключатель выключается.
Схема подключения
Порядок проверки
Подсказка:
Считайте данные стоп-кадра с помощью интеллектуального тестера. Данные стоп-кадра записывает состояние двигателя, когда обнаружены неисправности. При устранении неполадок могут помочь данные о стоп-кадре. определить, был ли автомобиль движущийся или неподвижный, прогретый двигатель или нет, если соотношение воздух-топливо был тощим или богатым, а другие данные с момента возникновения неисправности.
- Считайте значение с помощью интеллектуального тестера (положение дроссельной заслонки №1 и положение дроссельной заслонки. # 2)
- Подключите интеллектуальный тестер к dlc3.
- Включите зажигание и включите тестер.
- Выберите следующие пункты меню: диагностика / расширенный obd ii / список данных / etcs / throttle поз. № 1 и поз. дроссельной заслонки № 2.
- Проверьте значения, отображаемые на тестере.
Результат
Подсказка:
Tp # 1 обозначает положение дроссельной заслонки # 1, а tp # 2 обозначает поз. дроссельной заслонки №2.
- Проверить жгут и разъем (датчик положения дроссельной заслонки — ecm)
- Отсоедините разъем b3 корпуса дроссельной заслонки.
- Отсоедините разъем b30 ecm.
- Измерьте сопротивление.
Стандартное сопротивление (проверить на обрыв)
Стандартное сопротивление (коротко проверить)
- Подсоедините разъем корпуса дроссельной заслонки.
- Подсоедините разъем электронного блока управления.
- Проверить ECM (напряжение постоянного тока)
- Отсоедините разъем b3 корпуса дроссельной заслонки.
- Включите зажигание.
- Измерьте напряжение между выводами дроссельной заслонки. разъем корпуса.
Стандартное напряжение
- Подсоедините разъем корпуса дроссельной заслонки.
- Заменить блок корпуса дроссельной заслонки
- Проверить, повторяется ли вывод dtc (датчик положения дроссельной заслонки dtcs)
- Подключите интеллектуальный тестер к dlc3.
- Включите зажигание и включите тестер.
- Очистить dtcs (см. Стр. Es-35).
- Запустите двигатель.
- Дайте двигателю поработать на холостом ходу не менее 15 секунд.
- Выберите следующие пункты меню: диагностика / расширенные obd ii / dtc info / текущие коды.
- Прочитать dtcs.
Прочие материалы:
Цепь источника питания Ig
Описание
Это основной источник питания, подаваемый на усилитель кондиционера, когда
ключ зажигания включен
(ig). Этот источник питания используется для рабочих компонентов, таких как воздушный
усилитель кондиционирования и
серводвигатели.Схема подключения Порядок осмотра Осмотрите предохранитель (ec …
Зоны обнаружения функции предупреждения о перекрестном движении сзади
Зоны, в которых могут быть обнаружены транспортные средства, указаны ниже. Чтобы водитель мог быстрее среагировать, зуммер может предупредить
для более быстрых транспортных средств издалека.
Пример:
Функция предупреждения о перекрестном движении сзади работает, когда Главный выключатель BSM включен.
Смена …
Шаровой шарнир передний нижний
Детали Удаление
Намекать: Используйте те же процедуры для правой и левой стороны.
Перечисленные ниже процедуры относятся к левой стороне. Снять переднее колесо
Снимите передний левый датчик скорости (для 2wd) (см.
стр. bc-191)
Снимите передний тормозной цилиндр в сборе с левой стороны.
(см. стр. br-40)
Снимаем переднюю …
Двойной резервный датчик положения педали — Reventec
Гоночная команда обратилась к нам с просьбой разработать двойной резервный датчик положения педали для гоночного автомобиля.Датчик должен был контролировать до 40 градусов углового перемещения педали газа. Он также должен был быть легким и предоставлять точные данные.
Они указали, что датчик должен иметь степень защиты IP67 и выдерживать значительную вибрацию. Также потребовались двойные резервные выходы для соответствия нормам безопасности руководящего органа.
Reventec заработал завидную репутацию в области разработки датчиков, используемых ведущими командами автоспорта, поэтому мы понимаем проблемы, с которыми сталкиваются наши клиенты.В результате нас проинструктировали разработать и произвести надежный датчик положения педали с двойным резервированием.
ПроектДатчик положения педали газа должен был надежно работать в экстремальных условиях автоспорта. В датчиках положения Reventec используется новейшая технология бесконтактного измерения TMR, поэтому наши датчики не страдают от тех же характеристик физического износа, что и потенциометры или другие устаревшие технологии. Это важно, если учесть, что некоторые команды автогонок на выносливость испытывают отказ датчика потенциометра более одного раза в течение одной гонки.Не идеально, если вы пытаетесь выиграть чемпионат.
Мы разработали, изготовили и откалибровали датчик положения дроссельной заслонки в нашем офисе в Уилтшире, Великобритания.
О компании ReventecМы измеряем линейные, угловые и вращательные движения компонентов, используя новейшую технологию TMR. Наши датчики могут измерять до 40 мм цветных металлов. Это обеспечивает высокий уровень точности и надежности, не имеющий аналогов в потенциометрах и других устаревших технологиях. Наши датчики положения идеально подходят для использования в суровых условиях, поскольку они твердотельные и прочные.
Продукты Reventec предоставляют высокоточные данные и откалиброваны на заводе в соответствии с требованиями пользователя. Они также программируются пользователем через простой графический интерфейс, который предоставляется бесплатно.
Reventec также разрабатывает и производит емкостные датчики уровня жидкости и решения для программируемых датчиков температуры.
Мы производим ряд стандартных и настраиваемых конфигураций датчиков и предлагаем полный спектр услуг по индивидуальному проектированию.
Клиенты Reventec ценят наш технический опыт, а также быстрое время отклика.Как правило, они работают на переднем крае:
- Автоспорт
- Оборонное производство
- Промышленная автоматизация
- Автомобильная промышленность
Reventec предоставляет консультации по дизайну и разовые / мелкосерийные производства, и мы можем увеличить производство до 5000 + шт., по мере необходимости.
P2122, P2127 Низкий уровень сигнала датчика 1 и 2 положения педали акселератора
P2122, P2127, код — Система электронного управления дроссельной заслонкой (ETC) использует два датчика положения педали акселератора (APP) для контроля положения педали акселератора.Датчики 1 и 2 APP объединены в один узел, расположенный на педальном узле. Каждый датчик имеет цепь опорного напряжения 5 В, цепь низкого опорного напряжения и сигнальную цепь. Модуль управления трансмиссией (PCM) считывает два сигнала по отдельности, а затем сравнивает два сигнала в качестве дополнительной проверки положения педали. Один из датчиков будет колебаться где-то между 0 и 5,0 вольт, а другой датчик будет колебаться где-то между 0 и 2,5 вольт. Колебания двух датчиков должны двигаться правильно.При правильной работе показание напряжения датчика, работающего по шкале 2,5 В, всегда будет примерно половиной от показания напряжения датчика по шкале 5,0 В.Установите условие этого кода неисправности: модуль управления трансмиссией (PCM) обнаруживает, что входное напряжение датчика 1 APP ниже минимально допустимого значения. Действия по умолчанию: загорается лампочка MIL, мигает лампочка ETC, ограничивается дроссельная заслонка и скорость автомобиля.
Возможные причины P2122, код P2127
— цепь питания 5 В обрыв или короткое замыкание на массу— Сигнальная цепь датчика 1 APP замкнута на массу
— Сигнальная цепь датчика 1 APP замкнута на цепь массы датчика 1 APP
— Сигнальная цепь датчика 1 APP замкнута на цепь массы датчика 2 APP
— Сигнальная цепь датчика 1 APP обрыв / высокое сопротивление
— Обрыв цепи массы датчика 1 APP / высокое сопротивление
— Датчик положения педали акселератора
— Модуль управления трансмиссией (PCM)
Диагностический тест P2122, код P2127
Шаг 1.Проверить наличие активного кода неисправностиПеред тем, как продолжить эту проверку, диагностируйте и устраните все коды неисправности, связанные с напряжением питания датчика 5 В. Включите зажигание; диагностический прибор считывает коды неисправности.
Код неисправности активен или ожидает подтверждения?
Да, переходите к шагу 2.
Нет, выполните неустойчивое состояние PCM.
Шаг 2. Проверьте напряжение в цепи питания 5 В
Выключите зажигание, отсоедините разъем жгута проводов датчика положения педали акселератора. Включите зажигание, измерьте напряжение между массой и цепью питания 5 В в разъеме жгута проводов датчика положения педали акселератора.
Напряжение составляет от 4,9 до 5,2 вольт?
Да, переходите к шагу 3.
Нет, отремонтировать цепь питания 5 В на обрыв или короткое замыкание на массу.
Шаг 3. Проверьте сигнальную цепь датчика 1 APP на предмет замыкания на массу.
Отсоедините разъем жгута проводов PCM, измерьте сопротивление между массой и сигнальной цепью датчика 1 APP в разъеме жгута проводов датчика положения педали акселератора.
Сопротивление превышает 10 кОм?
Да, переходите к шагу 4.
Нет, отремонтировать сигнальную цепь датчика 1 АРР на замыкание на массу.
Шаг 4. Убедитесь, что сигнальная цепь датчика 1 APP не замкнута на цепи заземления датчика.
Измерить сопротивление между сигнальной цепью датчика 1 APP и:
— Цепью массы датчика в разъеме жгута проводов датчика 1 положения педали акселератора.
— Цепь массы датчика в разъеме жгута проводов датчика 2 положения педали акселератора.
Сопротивление превышает 10 кОм?
Да, переходите к шагу 5.
Нет, отремонтировать цепь сигнала APP 1 на предмет короткого замыкания на цепь массы датчика, сопротивление которого ниже 10 кОм.
Шаг 5. Проверьте сигнальную цепь датчика 1 APP на обрыв или высокое сопротивление.
Не проверяйте разъемы жгута проводов PCM. Зондирование разъемов жгута проводов PCM приведет к повреждению клемм PCM, что приведет к плохому соединению клемм с контактами.
Измерить сопротивление сигнальной цепи датчика 1 APP между разъемом жгута проводов датчика положения педали акселератора и разъемом жгута проводов компьютера PCM.
Сопротивление ниже 3,0 Ом?
Да, переходите к шагу 6.
Нет, отремонтируйте сигнальную цепь датчика 1 APP на обрыв или высокое сопротивление.
Шаг 6. Проверьте цепь заземления 1 датчика APP на обрыв или высокое сопротивление.
Измерьте сопротивление цепи заземления 1 датчика APP между разъемом жгута проводов датчика положения педали акселератора и разъемом жгута проводов компьютера PCM.
Сопротивление ниже 3,0 Ом?
Да, переходите к шагу 7.
Нет, отремонтировать цепь массы 1 датчика APP на разрыв или высокое сопротивление.
Шаг 7. Проверьте датчик положения педали акселератора.
Подсоедините разъем жгута проводов PCM, подключите перемычку между цепью питания 5 В и сигнальной цепью датчика 1 APP в разъеме жгута проводов датчика положения педали акселератора.




..