ΠΠΈΡΠΊΠΎΠ²ΡΠ΅ ΡΠΎΡΠΌΠΎΠ·Π½ΡΠ΅ ΠΌΠ΅Ρ Π°Π½ΠΈΠ·ΠΌΡ ΠΈ ΠΈΡ ΡΠ»Π΅ΠΌΠ΅Π½ΡΡ
ΠΠ°ΡΠ΅Π³ΠΎΡΠΈΡ:
Β Β Β Π’ΠΎΡΠΌΠΎΠ·Π½ΠΎΠ΅ ΡΠΏΡΠ°Π²Π»Π΅Π½ΠΈΠ΅ Π°Π²ΡΠΎΠΌΠΎΠ±ΠΈΠ»Ρ
ΠΡΠ±Π»ΠΈΠΊΠ°ΡΠΈΡ:
Β Β Β ΠΠΈΡΠΊΠΎΠ²ΡΠ΅ ΡΠΎΡΠΌΠΎΠ·Π½ΡΠ΅ ΠΌΠ΅Ρ Π°Π½ΠΈΠ·ΠΌΡ ΠΈ ΠΈΡ Β ΡΠ»Π΅ΠΌΠ΅Π½ΡΡ
Π§ΠΈΡΠ°ΡΡ Π΄Π°Π»Π΅Π΅:
ΠΠΈΡΠΊΠΎΠ²ΡΠ΅ ΡΠΎΡΠΌΠΎΠ·Π½ΡΠ΅ ΠΌΠ΅Ρ Π°Π½ΠΈΠ·ΠΌΡ ΠΈ ΠΈΡ Β ΡΠ»Π΅ΠΌΠ΅Π½ΡΡ
ΠΠΈΡΠΊΠΎΠ²ΡΠΉ ΡΠΎΡΠΌΠΎΠ·Π½ΠΎΠΉ ΠΌΠ΅Ρ Π°Π½ΠΈΠ·ΠΌ ΠΎΡΠ»ΠΈΡΠ°Π΅ΡΡΡ ΠΎΡ Π±Π°ΡΠ°Π±Π°Π½Π½ΠΎΠ³ΠΎ ΡΠΎΡΠΌΠΎΠΉ ΠΊΠΎΠ½ΡΡΡΠ΅Π» ΠΏΠ°ΡΡ ΡΡΠ΅Π½ΠΈΡ. ΠΠ³ΠΎ ΡΠΎΡΠΎΡ ΠΈΠΌΠ΅Π΅Ρ Π²ΠΈΠ΄ ΠΏΠ»ΠΎΡΠΊΠΎΠ³ΠΎ Π΄ΠΈΡΠΊΠ°. ΠΠ»ΠΎΡΠΊΠΈΠΌΠΈ ΡΠ²Π»ΡΡΡΡΡ ΠΈ ΡΠ°Π±ΠΎΡΠΈΠ΅ ΠΏΠΎΠ²Π΅ΡΡ Π½ΠΎΡΡΠΈ ΠΊΠΎΠ»ΠΎΠ΄ΠΎΠΊ. ΠΡΠ»Π΅Π΄ΡΡΠ²ΠΈΠ΅ ΡΡΠΎΠ³ΠΎ ΠΏΡΠΈΠ²ΠΎΠ΄Π½ΡΠ΅ ΡΠΈΠ»Ρ Π² ΡΠ°ΠΊΠΎΠΌ ΠΌΠ΅Ρ Π°Π½ΠΈΠ·ΠΌΠ΅ ΠΎΠ±ΡΡΠ½ΠΎ Π΄Π΅ΠΉΡΡΠ²ΡΡΡ ΠΏΠ΅ΡΠΏΠ΅Π½Π΄ΠΈΠΊΡΠ»ΡΡΠ½ΠΎ ΠΏΠ»ΠΎΡΠΊΠΎΡΡΠΈ Π²ΡΠ°ΡΠ΅Π½ΠΈΡ Π΄ΠΈΡΠΊΠ°. ΠΠ°ΠΊ ΡΠΆΠ΅ Π±ΡΠ»ΠΎ ΡΠΊΠ°Π·Π°Π½ΠΎ, ΠΏΡΠΈ ΡΡΠΎΠΌ ΡΠ΅ΡΠ²ΠΎΠ΄Π΅ΠΉΡΡΠ²ΠΈΠ΅ ΠΌΠ΅Ρ Π°Π½ΠΈΠ·ΠΌΠ° ΠΎΡΡΡΡΡΡΠ²ΡΠ΅Ρ.
Π ΡΠΎΠ²ΡΠ΅ΠΌΠ΅Π½Π½ΠΎΠΌ Π°Π²ΡΠΎΠΌΠΎΠ±ΠΈΠ»Π΅ΡΡΡΠΎΠ΅Π½ΠΈΠΈ ΠΏΡΠΈΠΌΠ΅Π½ΡΡΡΡΡ Π΄Π²Π° Π²ΠΈΠ΄Π° Π΄ΠΈΡΠΊΠΎΠ²ΡΡ ΡΠΎΡΠΌΠΎΠ·ΠΎΠ²: ΠΎΡΠΊΡΡΡΡΠΉ ΠΎΠ΄Π½ΠΎΠ΄ΠΈΡΠΊΠΎΠ²ΡΠΉ ΠΈ Π·Π°ΠΊΡΡΡΡΠΉ, ΡΠ°ΡΠ΅ Π²ΡΠ΅Π³ΠΎ ΠΌΠ½ΠΎΠ³ΠΎΠ΄ΠΈΡΠΊΠΎΠ²ΡΠΉ.
Π’ΠΎΡΠΌΠΎΠ·Π½ΡΠ΅ ΠΌΠ΅Ρ Π°Π½ΠΈΠ·ΠΌΡ Π²ΡΠΎΡΠΎΠ³ΠΎ Π²ΠΈΠ΄Π° ΠΈΡΠΏΠΎΠ»ΡΠ·ΡΡΡΡΡ Π»ΠΈΡΡ Π½Π° ΡΠΏΠ΅ΡΠΈΠ°Π»ΡΠ½ΡΡ Π°Π²ΡΠΎΡΡΠ°Π½ΡΠΏΠΎΡΡΠ½ΡΡ ΡΡΠ΅Π΄ΡΡΠ²Π°Ρ ΠΈ Π² ΠΊΠ½ΠΈΠ³Π΅ Π½Π΅ ΡΠ°ΡΡΠΌΠ°ΡΡΠΈΠ²Π°ΡΡΡΡ.
Π Π΅ΠΊΠ»Π°ΠΌΠ½ΡΠ΅ ΠΏΡΠ΅Π΄Π»ΠΎΠΆΠ΅Π½ΠΈΡ Π½Π° ΠΎΡΠ½ΠΎΠ²Π΅ Π²Π°ΡΠΈΡ ΠΈΠ½ΡΠ΅ΡΠ΅ΡΠΎΠ²:
ΠΠ°ΠΏΡΠΎΡΠΈΠ², ΠΎΡΠΊΡΡΡΡΠ΅ Π΄ΠΈΡΠΊΠΎΠ²ΡΠ΅ ΡΠΎΡΠΌΠΎΠ·Π° Π² ΡΠΎΠ²ΡΠ΅ΠΌΠ΅Π½Π½ΠΎΠΌ Π°Π²ΡΠΎΠΌΠΎΠ±ΠΈΠ»Π΅ΡΡΡΠΎΠ΅Π½ΠΈΠΈ ΠΏΡΠΈΠΌΠ΅Π½ΡΡΡΡΡ Π²ΡΠ΅ ΡΠ°ΡΠ΅.
ΠΡΠ°Π²Π΄Π°, Π΄ΠΈΡΠΊΠΎΠ²ΡΠ΅ ΡΠΎΡΠΌΠΎΠ·Π½ΡΠ΅ ΠΌΠ΅Ρ
Π°Π½ΠΈΠ·ΠΌΡ ΠΈΠΌΠ΅ΡΡ ΠΈ Π½Π΅Π΄ΠΎΡΡΠ°ΡΠΊΠΈ:
β Π·Π½Π°ΡΠΈΡΠ΅Π»ΡΠ½ΡΠ΅ ΡΠΈΠ»Ρ ΠΏΡΠΈΠΆΠ°ΡΠΈΡ Π½Π°ΠΊΠ»Π°Π΄ΠΎΠΊ ΠΊ Π΄ΠΈΡΠΊΡ ΠΈ ΠΌΠ°Π»Π°Ρ ΠΈΡ ΡΠ°Π±ΠΎΡΠ°Ρ ΠΏΠ»ΠΎΡΠ°Π΄Ρ ΠΏΡΠΈΠ²ΠΎΠ΄ΡΡ ΠΊ Π²ΡΡΠΎΠΊΠΈΠΌ ΡΠ΄Π΅Π»ΡΠ½ΡΠΌ Π΄Π°Π²Π»Π΅Π½ΠΈΡΠΌ Π² ΠΊΠΎΠ½ΡΠ°ΠΊΡΠ΅ ΠΈ ΠΏΠΎΠ²ΡΡΠ΅Π½Π½ΡΠΌ ΠΈΠ·Π½ΠΎΠ΅Π°ΠΌ Π½Π°ΠΊΠ»Π°Π΄ΠΎΠΊ;
β ΠΏΠΎΠ²ΡΡΠ΅Π½Π½ΡΠΉ ΠΈΠ·Π½ΠΎΡ Π½Π°ΠΊΠ»Π°Π΄ΠΎΠΊ ΠΎΠ±ΡΡΠ»ΠΎΠ²Π»Π΅Π½ ΠΈ ΡΠ΅ΠΌ, ΡΡΠΎ ΠΌΠ΅Ρ Π°Π½ΠΈΠ·ΠΌ ΠΎΡΠΊΡΡΡ Π΄Π»Ρ ΠΏΠΎΠΏΠ°Π΄Π°Π½ΠΈΡ ΠΏΡΠ»ΠΈ ΠΈ Π³ΡΡΠ·ΠΈ, ΠΎΡΠΎΠ±Π΅Π½Π½ΠΎ ΠΏΡΠΈ ΡΡΡΠ°Π½ΠΎΠ²ΠΊΠ΅ Π½Π° Π·Π°Π΄Π½ΠΈΠ΅ ΠΊΠΎΠ»Π΅ΡΠ°;
β Π²Π΅ΡΡΠΌΠ° Π·Π°ΡΡΡΠ΄Π½ΠΈΡΠ΅Π»ΡΠ½ΠΎ ΠΎΡΡΡΠ΅ΡΡΠ²Π»Π΅Π½ΠΈΠ΅ ΠΌΠ΅Ρ Π°Π½ΠΈΡΠ΅ΡΠΊΠΎΠ³ΠΎ ΠΏΡΠΈΠ²ΠΎΠ΄Π° Π΄ΠΈΡΠΊΠΎΠ²ΡΡ ΡΠΎΡΠΌΠΎΠ·ΠΎΠ², ΡΡΠΎ ΡΡΠ»ΠΎΠΆΠ½ΡΠ΅Ρ ΠΈΡ ΠΈΡΠΏΠΎΠ»ΡΠ·ΠΎΠ²Π°Π½ΠΈΠ΅ Π² ΡΡΠΎΡΠ½ΠΎΡΠ½ΠΎΠΉ ΡΠΎΡΠΌΠΎΠ·Π½ΠΎΠΉ ΡΠΈΡΡΠ΅ΠΌΠ΅ ΠΈ ΠΏΡΠΈ ΡΠ°Π±ΠΎΡΠ΅ Ρ ΠΏΠ½Π΅Π²ΠΌΠ°ΡΠΈΡΠ΅ΡΠΊΠΈΠΌ ΠΏΡΠΈΠ²ΠΎΠ΄ΠΎΠΌ.

ΠΠ°Π΄ΠΎ ΡΠΊΠ°Π·Π°ΡΡ, ΡΡΠΎ ΡΡΠΈ Π½Π΅Π΄ΠΎΡΡΠ°ΡΠΊΠΈ ΠΏΠΎΡΡΠ΅ΠΏΠ΅Π½Π½ΠΎ ΠΏΡΠ΅ΠΎΠ΄ΠΎΠ»Π΅Π²Π°ΡΡΡΡ. Π Π»Π΅Π³ΠΊΠΎΠ²ΡΡ Π°Π²ΡΠΎΠΌΠΎΠ±ΠΈΠ»ΡΡ Π΄ΠΈΡΠΊΠΎΠ²ΡΠ΅ ΡΠΎΡΠΌΠΎΠ·Π½ΡΠ΅ ΠΌΠ΅Ρ Π°Π½ΠΈΠ·ΠΌΡ ΡΠΆΠ΅ ΠΏΠΎΠ»ΡΡΠΈΠ»ΠΈ ΠΏΡΠ΅ΠΈΠΌΡΡΠ΅ΡΡΠ²Π΅Π½Π½ΠΎΠ΅ ΡΠ°ΡΠΏΡΠΎΡΡΡΠ°Π½Π΅Π½ΠΈΠ΅ ΠΈ Π² Π½Π°ΡΡΠΎΡΡΠ΅Π΅ Π²ΡΠ΅ΠΌΡ Π²Π΅Π΄ΡΡΡΡ ΠΈΠ½ΡΠ΅Π½ΡΠΈΠ²Π½ΡΠ΅ ΡΠ°Π±ΠΎΡΡ ΠΏΠΎ ΠΏΡΠΈΠΌΠ΅Π½Π΅Π½ΠΈΡ ΠΈΡ Π½Π° Π³ΡΡΠ·ΠΎΠ²ΡΡ Π°Π²ΡΠΎΠΌΠΎΠ±ΠΈΠ»ΡΡ ΠΈ Π°Π²ΡΠΎΠ±ΡΡΠ°Ρ .
ΠΠ°ΠΆΠ½Π΅ΠΉΡΠΈΠΌ ΡΠ»Π΅ΠΌΠ΅Π½ΡΠΎΠΌ Π΄ΠΈΡΠΊΠΎΠ²ΠΎΠ³ΠΎ ΡΠΎΡΠΌΠΎΠ·Π° Π½Π°ΡΡΠ΄Ρ Ρ ΡΠΎΡΠΎΡΠΎΠΌ, ΠΊΠΎΠ»ΠΎΠ΄ΠΊΠ°ΠΌΠΈ ΠΈ ΡΡΠΏΠΏΠΎΡΡΠΎΠΌ ΡΠ²Π»ΡΠ΅ΡΡΡ ΡΠΊΠΎΠ±Π°, Π½Π΅ΡΡΡΠ°Ρ ΠΈ Π½Π°ΠΏΡΠ°Π²Π»ΡΡΡΠ°Ρ ΡΠΎΡΠΌΠΎΠ·Π½ΡΠ΅ ΠΊΠΎΠ»ΠΎΠ΄ΠΊΠΈ. ΠΠΈΡΠΊΠΎΠ²ΡΠ΅ ΡΠΎΡΠΌΠΎΠ·Π° ΡΠ°Π·Π΄Π΅Π»ΡΡΡΡΡ Π½Π° ΠΌΠ΅Ρ Π°Π½ΠΈΠ·ΠΌΡ Ρ ΡΠΈΠΊΡΠΈΡΠΎΠ²Π°Π½Π½ΠΎΠΉ ΡΠΊΠΎΠ±ΠΎΠΉ ΠΈ ΠΏΠ»Π°Π²Π°ΡΡΠ΅ΠΉ ΡΠΊΠΎΠ±ΠΎΠΉ.
Π€ΠΈΠΊΡΠΈΡΠΎΠ²Π°Π½Π½ΡΠ΅ ΡΠΊΠΎΠ±Ρ Π²ΡΠΏΠΎΠ»Π½ΡΡΡΡΡ ΠΊΠ°ΠΊ Ρ ΠΏΠ°Π·ΠΎΠΌ Π΄Π»Ρ Π΄Π΅ΠΌΠΎΠ½ΡΠ°ΠΆΠ° ΠΊΠΎΠ»ΠΎΠ΄ΠΎΠΊ, ΡΠ°ΠΊ ΠΈ ΡΠΏΠ»ΠΎΡΠ½ΡΠΌΠΈ. ΠΡΠ΅ΠΈΠΌΡΡΠ΅ΡΡΠ²ΠΎ ΠΏΠ΅ΡΠ²ΡΡ
Π·Π°ΠΊΠ»ΡΡΠ°Π΅ΠΌΠ°Ρ Π² ΡΠΎΠΌ, ΡΡΠΎ Π΄Π»Ρ Π·Π°ΠΌΠ΅Π½Ρ ΠΊΠΎΠ»ΠΎΠ΄ΠΎΠΊ Π½Π΅ ΡΡΠ΅Π±ΡΠ΅ΡΡΡ ΡΡΡΠ΄ΠΎΠ΅ΠΌΠΊΠΈΡ
ΡΠ°Π±ΠΎΡ ΠΏΠΎ Π΄Π΅ΠΌΠΎΠ½ΡΠ°ΠΆΡ ΡΠΊΠΎΠ±Ρ; ΠΊΠΎΠ»ΠΎΠ΄ΠΊΠΈ ΠΏΡΠΎΡΡΠΎ Π²ΡΠ½ΠΈΠΌΠ°ΡΡΡΡ ΡΠ΅ΡΠ΅Π· ΠΏΠ°Π· ΠΈΠ· ΡΠΊΠΎΠ±Ρ, Π³Π΄Π΅ ΠΎΠ½ΠΈ ΡΠ΄Π΅ΡΠΆΠΈΠ²Π°Π»ΠΈΡΡ ΡΡΠ΅ΠΌΠ½ΡΠΌΠΈ ΡΡΠΈΡΡΠ°ΠΌΠΈ. ΠΠΈΡΠΊΠΎΠ²ΡΠ΅ ΡΠΎΡΠΌΠΎΠ·Π½ΡΠ΅ ΠΌΠ΅Ρ
Π°Π½ΠΈΠ·ΠΌΡ ΡΠΎ ΡΠΏΠ»ΠΎΡΠ½ΠΎΠΉ ΡΠΈΠΊΡΠΈΡΠΎΠ²Π°Π½Π½ΠΎΠΉ ΡΠΊΠΎΠ±ΠΎΠΉ ΠΏΡΠΈΠΌΠ΅Π½ΡΡΡΡΡ Π½Π° Π³ΡΡΠ·ΠΎΠ²ΡΡ
Π°Π²ΡΠΎΠΌΠΎΠ±ΠΈΠ»ΡΡ
, Π³Π΄Π΅ ΡΡΠ΅Π±ΡΠ΅ΡΡΡ Π±ΠΎΠ»ΡΡΠ΅Π΅ ΠΏΡΠΈΠ²ΠΎΠ΄Π½ΠΎΠ΅ ΡΡΠΈΠ»ΠΈΠ΅, Π° ΡΠ»Π΅Π΄ΠΎΠ²Π°ΡΠ΅Π»ΡΠ½ΠΎ, ΠΈ ΠΏΠΎΠ²ΡΡΠ΅Π½Π½Π°Ρ ΠΆΠ΅ΡΡΠΊΠΎΡΡΡ ΡΠΊΠΎΠ±Ρ. ΠΠΎΠΎΠ±ΡΠ΅ ΡΠΎΡΠΌΠΎΠ·Π° Ρ ΡΠΈΠΊΡΠΈΡΠΎΠ²Π°Π½Π½ΠΎΠΉ ΡΠΊΠΎΠ±ΠΎΠΉ ΠΎΡΠ»ΠΈΡΠ°ΡΡΡΡ Π±ΠΎΠ»ΡΡΠΎΠΉ ΠΆΠ΅ΡΡΠΊΠΎΡΡΡΡ ΠΊΠΎΠ½ΡΡΡΡΠΊΡΠΈΠΈ.
ΠΠ΄Π½Π°ΠΊΠΎ Π² Π½ΠΈΡ
Π½Π°Π±Π»ΡΠ΄Π°Π΅ΡΡΡ ΡΡ
ΡΠ΄ΡΠ΅Π½ΠΈΠ΅ ΡΠ΅ΠΏΠ»ΠΎΠΎΡΠ²ΠΎΠ΄Π° ΠΎΡ ΡΠΊΠΎΠ±Ρ. ΠΠΎΡΠΊΠΎΠ»ΡΠΊΡ Π² ΠΌΠ΅Ρ
Π°Π½ΠΈΠ·ΠΌΠ°Ρ
ΡΡΠΎΠ³ΠΎ ΡΠΈΠΏΠ° Π³ΠΈΠ΄ΡΠΎΡΠΈΠ»ΠΈΠ½Π΄ΡΡ ΡΠ°ΡΠΏΠΎΠ»Π°Π³Π°ΡΡΡΡ Ρ Π΄Π²ΡΡ
ΡΡΠΎΡΠΎΠ½ Π΄ΠΈΡΠΊΠ°, Π² ΡΠ΅Π»Π΅ ΡΠΊΠΎΠ±Ρ ΠΈΠΌΠ΅Π΅ΡΡΡ ΡΠ²ΡΠ·ΡΠ²Π°ΡΡΠΈΠΉ ΡΠΈΠ»ΠΈΠ½Π΄ΡΡ ΠΊΠ°Π½Π°Π». ΠΠ΅ΡΠ΅Π³ΡΠ΅Π² ΡΠΊΠΎΠ±Ρ ΠΌΠΎΠΆΠ΅Ρ ΠΏΡΠΈΠ²Π΅ΡΡΠΈ ΠΊ Π·Π°ΠΊΠΈΠΏΠ°Π½ΠΈΡ ΡΠΎΡΠΌΠΎΠ·Π½ΠΎΠΉ ΠΆΠΈΠ΄ΠΊΠΎΡΡΠΈ Π² ΡΠΈΠ»ΠΈΠ½Π΄ΡΠ°Ρ
ΠΈ ΠΎΡΠΎΠ±Π΅Π½Π½ΠΎ Π² ΡΡΠΎΠΌ ΠΊΠ°Π½Π°Π»Π΅.
Π Π΄ΠΈΡΠΊΠΎΠ²ΠΎΠΌ ΡΠΎΡΠΌΠΎΠ·Π½ΠΎΠΌ ΠΌΠ΅Ρ
Π°Π½ΠΈΠ·ΠΌΠ΅ Ρ ΠΏΠ»Π°Π²Π°ΡΡΠ΅ΠΉ ΡΠΊΠΎΠ±ΠΎΠΉ Π³ΠΈΠ΄ΡΠΎΡΠΈΠ»ΠΈΠ½Π΄Ρ ΡΡΡΠ°Π½Π°Π²Π»ΠΈΠ²Π°Π΅ΡΡΡ Π² ΡΠΊΠΎΠ±Π΅ Ρ ΠΎΠ΄Π½ΠΎΠΉ ΡΡΠΎΡΠΎΠ½Ρ Π΄ΠΈΡΠΊΠ°. ΠΡΠΈ ΡΠΎΡΠΌΠΎΠΆΠ΅Π½ΠΈΠΈ ΠΏΠΎΡΡΠ΅Π½Ρ ΠΏΡΠΈΠΆΠΈΠΌΠ°Π΅Ρ ΠΊ Π΄ΠΈΡΠΊΡ ΠΎΠ΄Π½Ρ ΠΈΠ· ΠΊΠΎΠ»ΠΎΠ΄ΠΎΠΊ. Π Π΅Π°ΠΊΡΠΈΠ²Π½Π°Ρ ΡΠΈΠ»Π° ΠΏΠ΅ΡΠ΅ΠΌΠ΅ΡΠ°Π΅Ρ ΡΠ°ΠΌΡ ΡΠΊΠΎΠ±Ρ ΠΏΠΎ ΡΠΏΠ΅ΡΠΈΠ°Π»ΡΠ½ΡΠΌ Π½Π°ΠΏΡΠ°Π²Π»ΡΡΡΠΈΠΌ ΡΡΠΏΠΏΠΎΡΡΠ° Π² ΠΏΡΠΎΡΠΈΠ²ΠΎΠΏΠΎΠ»ΠΎΠΆΠ½ΠΎΠΌ Π½Π°ΠΏΡΠ°Π²Π»Π΅Π½ΠΈΠΈ, ΠΈ ΠΎΠ½Π° ΠΏΡΠΈΠΆΠΈΠΌΠ°Π΅Ρ ΠΊ Π΄ΠΈΡΠΊΡ Π²ΡΠΎΡΡΡ ΠΊΠΎΠ»ΠΎΠ΄ΠΊΡ. Π ΡΠ°ΠΊΠΎΠΉ ΠΊΠΎΠ½ΡΡΡΡΠΊΡΠΈΠΈ Π²Π½ΡΡΡΠ΅Π½Π½ΠΈΠ΅ ΠΊΠ°Π½Π°Π»Ρ ΠΎΡΡΡΡΡΡΠ²ΡΡΡ, ΠΈ ΡΠ΅ΠΌΠΏΠ΅ΡΠ°ΡΡΡΠ° ΡΠΎΡΠΌΠΎΠ·Π½ΠΎΠΉ ΠΆΠΈΠ΄ΠΊΠΎΡΡΠΈ Π½Π° 30β50 Β°Π‘ Π½ΠΈΠΆΠ΅, ΡΠ΅ΠΌ Π² ΠΌΠ΅Ρ
Π°Π½ΠΈΠ·ΠΌΠ΅ Ρ ΡΠΈΠΊΡΠΈΡΠΎΠ²Π°Π½Π½ΠΎΠΉ ΡΠΊΠΎΠ±ΠΎΠΉ. ΠΠ΄Π½Π°ΠΊΠΎ ΠΏΠ»Π°Π²Π°ΡΡΠ°Ρ ΡΠΊΠΎΠ±Π° ΠΈΠΌΠ΅Π΅Ρ ΡΡΡΠ΅ΡΡΠ²Π΅Π½Π½ΡΠΉ Π½Π΅Π΄ΠΎΡΡΠ°ΡΠΎΠΊ: ΠΏΡΠΈ ΠΈΠ·Π½ΠΎΡΠ΅, Π·Π°Π³ΡΡΠ·Π½Π΅Π½ΠΈΠΈ ΠΈΠ»ΠΈ ΠΊΠΎΡΡΠΎΠ·ΠΈΠΈ Π½Π°ΠΏΡΠ°Π²Π»ΡΡΡΠΈΡ
Π²ΠΎΠ·Π½ΠΈΠΊΠ°Π΅Ρ ΠΎΠ΄Π½ΠΎΡΡΠΎΡΠΎΠ½Π½ΠΈΠΉ ΠΈΠ·Π½ΠΎΡ Π½Π°ΠΊΠ»Π°Π΄ΠΎΠΊ ΠΈ Π΄ΠΈΡΠΊΠ°, ΡΠΎΠΏΡΠΎΠ²ΠΎΠΆΠ΄Π°ΡΡΠΈΠΉΡΡ ΠΏΠΈΡΠΊΠΎΠΌ ΠΈ Π²ΠΈΠ±ΡΠ°ΡΠΈΡΠΌΠΈ. Π ΡΠ²ΡΠ·ΠΈ Ρ ΡΡΠΈΠΌ ΡΠΎΡΠΌΠΎΠ·Π½ΡΠ΅ ΠΌΠ΅Ρ
Π°Π½ΠΈΠ·ΠΌΡ Ρ ΠΏΠ»Π°Π²Π°ΡΡΠ΅ΠΉ ΡΠΊΠΎΠ±ΠΎΠΉ ΡΠ°ΡΠΏΡΠΎΡΡΡΠ°Π½Π΅Π½Ρ ΠΏΠΎΠΊΠ° ΠΌΠ΅Π½ΡΡΠ΅, ΡΠ΅ΠΌ Ρ ΡΠΈΠΊΡΠΈΡΠΎΠ²Π°Π½Π½ΠΎΠΉ.
Π ΡΠΈΠΊΡΠΈΡΠΎΠ²Π°Π½Π½ΠΎΠΉ ΡΠΊΠΎΠ±Π΅ ΠΎΠΏΠΏΠΎΠ·ΠΈΡΠ½ΠΎ ΡΠ°Π·ΠΌΠ΅ΡΠ°ΡΡΡΡ Π΄Π²Π°, ΡΡΠΈ (Π΄Π²Π° Ρ ΠΎΠ΄Π½ΠΎΠΉ ΡΡΠΎΡΠΎΠ½Ρ ΠΈ ΠΎΠ΄ΠΈΠ½ Ρ Π΄ΡΡΠ³ΠΎΠΉ) ΠΈΠ»ΠΈ ΡΠ΅ΡΡΡΠ΅ ΡΠΈΠ»ΠΈΠ½Π΄ΡΠ°. ΠΡΠΈ ΡΠ΅ΡΡΡΠ΅Ρ ΡΠΈΠ»ΠΈΠ½Π΄ΡΠΎΠ²ΠΎΠΉ ΡΠΊΠΎΠ±Π΅ ΠΏΠΎΡΠ²Π»ΡΠ΅ΡΡΡ Π²ΠΎΠ·ΠΌΠΎΠΆΠ½ΠΎΡΡΡ ΡΠΎΠ·Π΄Π°Π½ΠΈΡ Π΄Π²ΡΡ ΠΊΠΎΠ½ΡΡΡΠ½ΠΎΠ³ΠΎ ΠΏΡΠΈΠ²ΠΎΠ΄Π°, ΠΎΠ±Π° ΠΊΠΎΠ½ΡΡΡΠ° ΠΊΠΎΡΠΎΡΠΎΠ³ΠΎ Π²ΠΎΠ·Π΄Π΅ΠΉΡΡΠ²ΡΡΡ Π½Π° ΠΎΠ΄ΠΈΠ½ ΠΈ ΡΠΎΡ ΠΆΠ΅ ΡΠΎΡΠΌΠΎΠ·Π½ΠΎΠΉ ΠΌΠ΅Ρ Π°Π½ΠΈΠ·ΠΌ. ΠΠ»Π°Π²Π°ΡΡΠΈΠ΅ ΡΠΊΠΎΠ±Ρ ΠΎΠ±ΡΡΠ½ΠΎ ΠΈΠΌΠ΅ΡΡ ΠΎΠ΄ΠΈΠ½, ΠΈΠ·ΡΠ΅Π΄ΠΊΠ° Π΄Π²Π° ΡΠΈΠ»ΠΈΠ½Π΄ΡΠ°, ΡΠ°Π·ΠΌΠ΅ΡΠ΅Π½Π½ΡΠ΅ Ρ ΠΎΠ΄Π½ΠΎΠΉ ΡΡΠΎΡΠΎΠ½Ρ. ΠΡΠΈ ΡΡΠΎΠΌ ΡΠΈΠ»ΠΈΠ½Π΄Ρ ΠΌΠΎΠΆΠ΅Ρ Π±ΡΡΡ Π²ΡΠΏΠΎΠ»Π½Π΅Π½ Π·Π°ΠΎΠ΄Π½ΠΎ ΡΠΎ ΡΠΊΠΎΠ±ΠΎΠΉ ΠΈΠ»ΠΈ ΠΊΡΠ΅ΠΏΠΈΡΡΡΡ ΠΊ Π½Π΅ΠΉ.
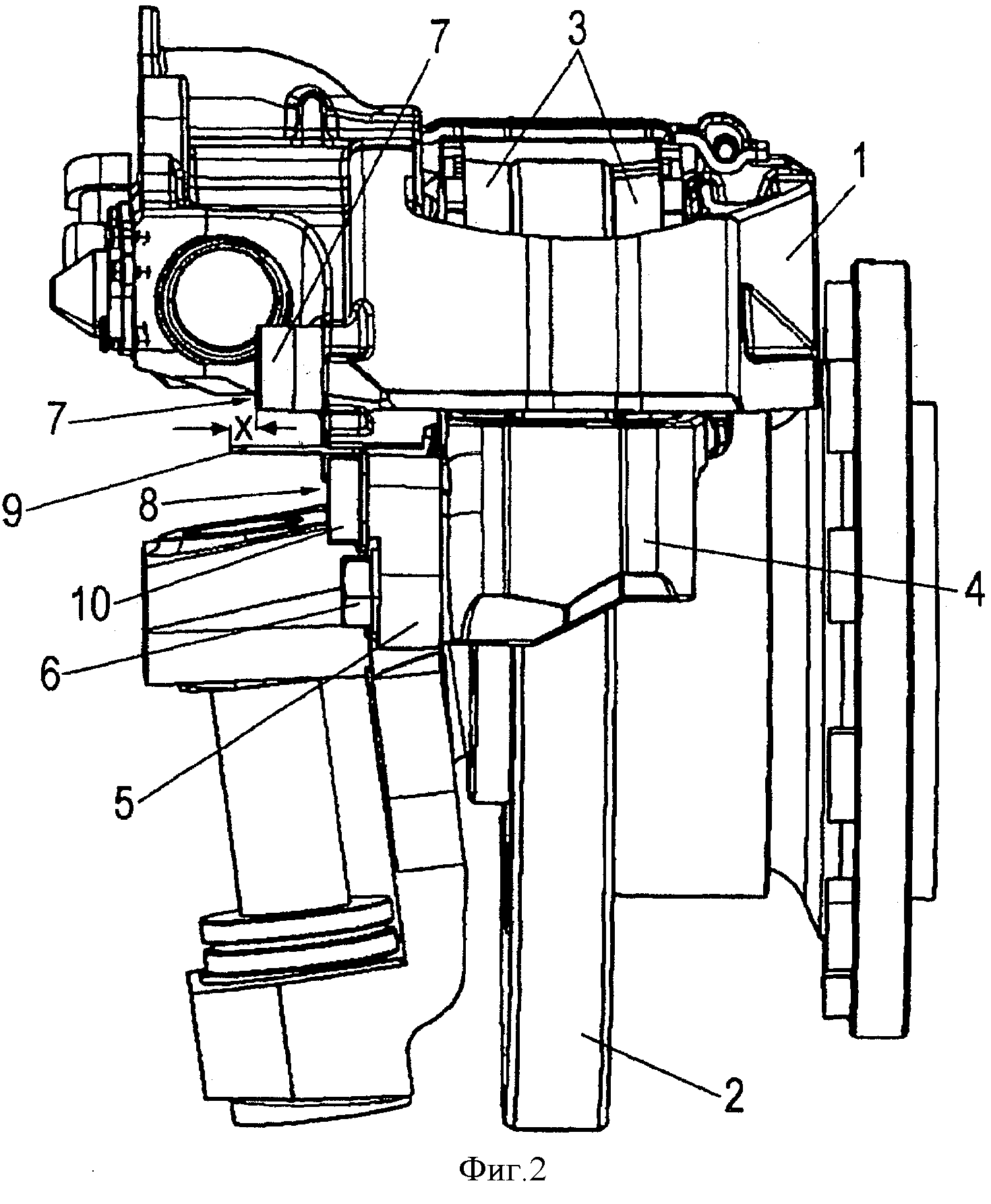
ΠΠΎΠ½ΡΡΡΡΠΊΡΠΈΡ ΠΎΡΠΊΡΡΡΠΎΠ³ΠΎ Π΄ΠΈΡΠΊΠΎΠ²ΠΎΠ³ΠΎ ΡΠΎΡΠΌΠΎΠ·Π½ΠΎΠ³ΠΎ ΠΌΠ΅Ρ
Π°Π½ΠΈΠ·ΠΌΠ° Ρ ΡΠΈΠΊΡΠΈΡΠΎΠ²Π°Π½Π½ΠΎΠΉ Π΄Π²ΡΡ
ΡΠΈΠ»ΠΈΠ½Π΄ΡΠΎΠ²ΠΎΠΉ ΡΠΊΠΎΠ±ΠΎΠΉ, ΠΏΡΠΈΠΌΠ΅Π½ΡΠ΅ΠΌΠΎΠ³ΠΎ Π½Π° Π°Π²ΡΠΎΠΌΠΎΠ±ΠΈΠ»ΡΡ
ΠΠΠ, ΠΏΠΎΠΊΠ°Π·Π°Π½Π° Π½Π° ΡΠΈΡ. 44. ΠΠΈΡΠΊ Π·Π°ΠΊΡΠ΅ΠΏΠ»Π΅Π½ Π½Π° ΡΡΡΠΏΠΈΡΠ΅ ΠΊΠΎΠ»Π΅ΡΠ°. Π‘ΠΊΠΎΠ±Π° ΡΡΡΠ°Π½ΠΎΠ²Π»Π΅Π½Π° Π½Π° ΠΊΡΠΎΠ½ΡΡΠ΅ΠΉΠ½Π΅ ΠΏΠΎΠ²ΠΎΡΠΎΡΠ½ΠΎΠΉ ΡΠ°ΠΏΡΡ ΠΊΠΎΠ»Π΅ΡΠ° ΠΈ Π² Π½Π΅ΠΉ Π·Π°ΠΊΡΠ΅ΠΏΠ»Π΅Π½Ρ Π΄Π²Π° ΠΊΠΎΠ»Π΅ΡΠ½ΡΡ
ΡΠΈΠ»ΠΈΠ½Π΄ΡΠ°. ΠΠ°ΠΆΠ΄ΡΠΉ ΡΠΈΠ»ΠΈΠ½Π΄Ρ ΠΈΠΌΠ΅Π΅Ρ ΠΏΠΎΡΡΠ΅Π½Ρ, ΡΠΏΠ»ΠΎΡΠ½ΠΈΡΠ΅Π»ΡΠ½ΠΎΠ΅ ΠΊΠΎΠ»ΡΡΠΎ ΠΈ ΠΏΡΠ»Π΅Π·Π°ΡΠΈΡΠ½ΡΠΉ ΡΠ΅Ρ
ΠΎΠ». ΠΠΎΡΡΠ½ΠΈ ΡΠΈΠ»ΠΈΠ½Π΄ΡΠΎΠ² Π²ΠΎΠ·Π΄Π΅ΠΉΡΡΠ²ΡΡΡ Π½Π° ΡΠΎΡΠΌΠΎΠ·Π½ΡΠ΅ ΠΊΠΎΠ»ΠΎΠ΄ΠΊΠΈ 6 Ρ Π½Π°ΠΊΠ»Π°Π΄ΠΊΠ°ΠΌΠΈ. ΠΠ½ΡΡΡΠ΅Π½Π½ΠΈΠ΅ ΠΏΠΎΠ»ΠΎΡΡΠΈ ΡΠΈΠ»ΠΈΠ½Π΄ΡΠΎΠ² ΡΠΊΠΎΠ±Ρ ΡΠΎΠΎΠ±ΡΠ°ΡΡΡΡ Ρ Π³Π»Π°Π²Π½ΡΠΌ ΡΠΎΡΠΌΠΎΠ·Π½ΡΠΌ ΡΠΈΠ»ΠΈΠ½Π΄ΡΠΎΠΌ ΡΡΡΠ±ΠΎΠΏΡΠΎΠ²ΠΎΠ΄ΠΎΠΌ. ΠΡΠΈ ΠΏΠΎΠ²ΡΡΠ΅Π½ΠΈΠΈ Π΄Π°Π²Π»Π΅Π½ΠΈΡ Π² ΡΠΈΠ»ΠΈΠ½Π΄ΡΠ΅ ΠΏΠΎΡΡΠ½ΠΈ ΠΏΡΠΈΠΆΠΈΠΌΠ°ΡΡ Π½Π°ΠΊΠ»Π°Π΄ΠΊΠΈ ΠΊ Π²ΡΠ°ΡΠ°ΡΡΠ΅ΠΌΡΡΡ Π΄ΠΈΡΠΊΡ.
Π ΠΈΡ. 44. ΠΠΈΡΠΊΠΎΠ²ΡΠΉ ΡΠΎΡΠΌΠΎΠ·Π½ΠΎΠΉ ΠΌΠ΅Ρ Π°Π½ΠΈΠ·ΠΌ Ρ ΡΠΈΠΊΡΠΈΡΠΎΠ²Π°Π½Π½ΠΎΠΉ ΡΠΊΠΎΠ±ΠΎΠΉ Π°Π²ΡΠΎΠΌΠΎΠ±ΠΈΠ»Ρ ΠΠΠ-2101
ΠΡΠ²ΠΎΠ΄ ΠΊΠΎΠ»ΠΎΠ΄ΠΎΠΊ ΠΏΡΠΈ ΠΎΡΡΠΎΡΠΌΠ°ΠΆΠΈΠ²Π°Π½ΠΈΠΈ ΠΎΠ±Π΅ΡΠΏΠ΅ΡΠΈΠ²Π°Π΅ΡΡΡ, Π²ΠΎ-ΠΏΠ΅Ρ-Π²ΡΡ , ΡΠΏΡΡΠ³ΠΎΡΡΡΡ ΡΠΏΠ»ΠΎΡΠ½ΠΈΡΠ΅Π»ΡΠ½ΡΡ ΠΊΠΎΠ»Π΅Ρ, Π²ΠΎ-Π²ΡΠΎΡΡΡ , ΠΎΡΠ΅Π²ΡΠΌ Π±ΠΈΠ΅Π½ΠΈΠ΅ΠΌ Π΄ΠΈΡΠΊΠ°. Π’Π°ΠΊΠΈΠΌ ΠΎΠ±ΡΠ°Π·ΠΎΠΌ, Π² Π΄ΠΈΡΠΊΠΎΠ²ΡΡ ΡΠΎΡΠΌΠΎΠ·Π°Ρ Π·Π°Π·ΠΎΡ ΠΌΠ΅ΠΆΠ΄Ρ ΠΊΠΎΠ½ΡΡΡΠ΅Π»Π°ΠΌΠΈ Π² Π½Π΅ΡΠ°Π±ΠΎΡΠ΅ΠΌ ΠΏΠΎΠ»ΠΎΠΆΠ΅Π½ΠΈΠΈ Π²Π΅ΡΡΠΌΠ° ΠΌΠ°Π» (ΠΏΠΎΡΡΠ΄ΠΊΠ° ΡΠΎΡΡΡ Π΄ΠΎΠ»Π΅ΠΉ ΠΌΠΈΠ»Π»ΠΈΠΌΠ΅ΡΡΠ°), ΡΡΠΎ ΠΏΠΎΠ²ΡΡΠ°Π΅Ρ Π±ΡΡΡΡΠΎΠ΄Π΅ΠΉΡΡΠ²ΠΈΠ΅ ΡΠΎΡΠΌΠΎΠ·Π°. Π’ΠΎΡΠΌΠΎΠ·Π½ΡΠ΅ ΠΊΠΎΠ»ΠΎΠ΄ΠΊΠΈ ΡΠ΄Π΅ΡΠΆΠΈΠ²Π°ΡΡΡΡ ΠΈ Π½Π°ΠΏΡΠ°Π²Π»ΡΡΡΡΡ Π² ΡΠΊΠΎΠ±Π΅ ΠΏΠ°Π»ΡΡΠ°ΠΌΠΈ. ΠΡΠΈ Π·Π°ΠΌΠ΅Π½Π΅ ΠΊΠΎΠ»ΠΎΠ΄ΠΎΠΊ ΡΡΠΈ ΠΏΠ°Π»ΡΡΡ ΡΠ΄Π°Π»ΡΡΡΡΡ, ΠΏΠΎΡΠ»Π΅ ΡΠ΅Π³ΠΎ ΠΊΠΎΠ»ΠΎΠ΄ΠΊΠΈ ΡΠ²ΠΎΠ±ΠΎΠ΄Π½ΠΎ Π²ΡΠ½ΠΈΠΌΠ°ΡΡΡΡ ΡΠ΅ΡΠ΅Π· ΠΏΠ°Π· ΡΠΊΠΎΠ±Ρ.
ΠΠΈΡΠΊΠΎΠ²ΡΠΉ ΡΠΎΡΠΌΠΎΠ·Π½ΠΎΠΉ ΠΌΠ΅Ρ
Π°Π½ΠΈΠ·ΠΌ Ρ ΠΏΠ»Π°Π²Π°ΡΡΠ΅ΠΉ ΡΠΊΠΎΠ±ΠΎΠΉ ΠΏΠΎΠΊΠ°Π·Π°Π½ Π½Π° ΡΠΈΡ. 45. Π‘ΠΊΠΎΠ±Π° ΠΏΠ΅ΡΠ΅ΠΌΠ΅ΡΠ°Π΅ΡΡΡ Π² ΡΡΠΏΠΏΠΎΡΡΠ΅, Π·Π°ΠΊΡΠ΅ΠΏΠ»Π΅Π½Π½ΠΎΠΌ Π½Π° ΡΠ°ΠΏΡΠ΅ ΠΊΠΎΠ»Π΅ΡΠ°. ΠΠ°ΠΏΡΠ°Π²Π»ΡΡΡΠΈΠΌΠΈ ΡΠΊΠΎΠ±Ρ ΡΠ»ΡΠΆΠ°Ρ ΡΡΠΈΡΡΡ. ΠΠΎΠ»Π΅ΡΠ½ΡΠΉ ΡΠΈΠ»ΠΈΠ½Π΄Ρ Π²ΡΠΏΠΎΠ»Π½Π΅Π½ Π·Π°ΠΎΠ΄Π½ΠΎ ΡΠΎ ΡΠΊΠΎΠ±ΠΎΠΉ, Π² Π½Π΅ΠΌ Π½Π°Ρ
ΠΎΠ΄ΠΈΡΡΡ ΠΏΠΎΡΡΠ΅Π½Ρ Ρ ΡΠΏΠ»ΠΎΡΠ½ΠΈΡΠ΅Π»ΡΠ½ΡΠΌ ΠΊΠΎΠ»ΡΡΠΎΠΌ ΠΈ ΠΏΡΠ»Π΅Π·Π°ΡΠΈΡΠ½ΡΠΌ ΡΠ΅Ρ
Π»ΠΎΠΌ. ΠΠ»Ρ ΠΏΡΠ΅Π΄ΠΎΡΠ²ΡΠ°ΡΠ΅Π½ΠΈΡ Π²ΠΈΠ±ΡΠ°ΡΠΈΠΈ ΠΊΠΎΠ»ΠΎΠ΄ΠΎΠΊ ΡΠ»ΡΠΆΠ°Ρ ΠΏΠ»Π°ΡΡΠΈΠ½ΡΠ°ΡΡΠ΅ ΠΏΡΡΠΆΠΈΠ½Ρ, Π° ΠΏΡΡΠΆΠΈΠ½Ρ ΡΠ²Π»ΡΡΡΡΡ ΠΎΡΡΡΠΆΠ½ΡΠΌΠΈ Π΄Π»Ρ Π½Π°ΡΡΡ
ΡΠΎΠΉ ΠΊΠΎΠ»ΠΎΠ΄ΠΊΠΈ. ΠΠΈΡΠΊ Π΄Π°Π½Π½ΠΎΠ³ΠΎ ΡΠΎΡΠΌΠΎΠ·Π½ΠΎΠ³ΠΎ ΠΌΠ΅Ρ
Π°Π½ΠΈΠ·ΠΌΠ° ΠΈΠΌΠ΅Π΅Ρ Π²Π½ΡΡΡΠ΅Π½Π½ΠΈΠ΅ Π½Π°ΠΊΠ»ΠΎΠ½Π½ΡΠ΅ Π»ΠΎΠΏΠ°ΡΠΊΠΈ Π΄Π»Ρ ΡΠ»ΡΡΡΠ΅Π½ΠΈΡ ΡΠ΅ΠΏΠ»ΠΎΠΎΡΠ²ΠΎΠ΄Π° ΠΈ Π½Π°Π·ΡΠ²Π°Π΅ΡΡΡ Π²Π΅Π½ΡΠΈΠ»ΠΈΡΡΠ΅ΠΌΡΠΌ.
Π ΠΈΡ. 45. ΠΠΈΡΠΊΠΎΠ²ΡΠΉ ΡΠΎΡΠΌΠΎΠ·Π½ΠΎΠΉ ΠΌΠ΅Ρ Π°Π½ΠΈΠ·ΠΌ Ρ ΠΏΠ»Π°Π²Π°ΡΡΠ΅ΠΉ ΡΠΊΠΎΠ±ΠΎΠΉ
Π’ΠΎΡΠΌΠΎΠ·Π½ΡΠ΅ Π΄ΠΈΡΠΊΠΈ ΡΠ°ΠΊ ΠΆΠ΅, ΠΊΠ°ΠΊ ΠΈ Π±Π°ΡΠ°Π±Π°Π½Ρ, ΠΈΠ·Π³ΠΎΡΠ°Π²Π»ΠΈΠ²Π°ΡΡΡΡ ΠΈΠ· ΡΡΠ³ΡΠ½Π°. ΠΠ½ΠΈ Π²ΡΠΏΠΎΠ»Π½ΡΡΡΡΡ ΠΈΠ»ΠΈ ΡΠΏΠ»ΠΎΡΠ½ΡΠΌΠΈ ΡΠΎΠ»ΡΠΈΠ½ΠΎΠΈ 8β13 ΠΌΠΌ, ΠΈΠ»ΠΈ Π²Π΅Π½ΡΠΈΠ»ΠΈΡΡΠ΅ΠΌΡΠΌΠΈ ΡΠΎΠ»ΡΠΈΠ½ΠΎΠΉ 16β25 ΠΌΠΌ.
Π’ΠΎΡΠΌΠΎΠ·Π½ΡΠ΅ ΠΊΠΎΠ»ΠΎΠ΄ΠΊΠΈ Π΄ΠΈΡΠΊΠΎΠ²ΡΡ ΡΠΎΡΠΌΠΎΠ·ΠΎΠ² ΡΠΎΡΡΠΎΡΡ ΠΈΠ· ΡΡΠ°Π»ΡΠ½ΠΎΠΉ ΠΏΠ»Π°ΡΡΠΈΠ½Ρ ΡΠΎΠ»ΡΠΈΠ½ΠΎΠΉ 4β5 ΠΌΠΌ, ΠΊ ΠΊΠΎΡΠΎΡΠΎΠΉ ΡΠΏΠΎΡΠΎΠ±ΠΎΠΌ Π³ΠΎΡΡΡΠ΅Π³ΠΎ ΡΠΎΡΠΌΠΎΠ²Π°Π½ΠΈΡ ΠΊΡΠ΅ΠΏΠΈΡΡΡ Π½Π°ΠΊΠ»Π°Π΄ΠΊΠ° ΠΈΠ· ΡΡΠΈΠΊΡΠΈΠΎΠ½Π½ΠΎΠ³ΠΎ ΠΌΠ°ΡΠ΅ΡΠΈΠ°Π»Π° ΠΠ»Ρ ΠΏΠΎΠ²ΡΡΠ΅Π½ΠΈΡ ΠΏΡΠΎΡΠ½ΠΎΡΡΠΈ ΡΠΎΠ΅Π΄ΠΈΠ½Π΅Π½ΠΈΡ ΠΊΠΎΠ»ΠΎΠ΄ΠΊΠ° ΠΈΠΌΠ΅Π΅Ρ ΡΠΊΠ²ΠΎΠ·Π½ΡΠ΅ ΠΎΡΠ²Π΅ΡΡΡΠΈΡ, ΠΊΡΠ΄Π° ΠΏΡΠΈ ΡΠΎΡΠΌΠΎΠ²Π°Π½ΠΈΠΈ ΠΏΠΎΠΏΠ°Π΄Π°Π΅Ρ ΠΌΠ°ΡΠ΅ΡΠΈΠ°Π» Π½Π°ΠΊΠ»Π°Π΄ΠΊΠΈ
ΠΡΠ½ΠΎΠ²Ρ ΡΡΠΈΠΊΡΠΈΠΎΠ½Π½ΠΎΠΉ ΠΊΠΎΠΌΠΏΠΎΠ·ΠΈΡΠΈΠΈ Π½Π°ΠΊΠ»Π°Π΄ΠΎΠΊ Π΄ΠΈΡΠΊΠΎΠ²ΡΡ ΡΠΎΡΠΌΠΎ Π·ΠΎΠ² ΡΠ°ΠΊΠΆΠ΅ ΡΠΎΡΡΠ°Π²Π»ΡΠ΅Ρ Π°ΡΠ±Π΅ΡΡ. ΠΠ΄Π½Π°ΠΊΠΎ ΠΏΠΎ ΡΠ²ΠΎΠΈΠΌ ΡΠ²ΠΎΠΉΡΡΠ²Π°ΠΌ ΡΠ°ΠΊΠ°Ρ ΠΊΠΎΠΌΠΏΠΎΠ·ΠΈΡΠΈΡ Π·Π½Π°ΡΠΈΡΠ΅Π»ΡΠ½ΠΎ ΠΎΡΠ»ΠΈΡΠ°Π΅ΡΡΡ ΠΎΡ ΠΌΠ°ΡΠ΅ΡΠΈΠ°Π»Π° Π½Π°ΠΊΠ»Π°Π΄ΠΎΠΊ Π±Π°ΡΠ°Π±Π°Π½Π½ΡΡ ΡΠΎΡΠΌΠΎΠ·Π½ΡΡ ΠΌΠ΅Ρ Π°Π½ΠΈΠ·ΠΌΠΎΠ². ΠΠ½Π° Π±ΠΎΠ»Π΅Π΅ ΡΠ΅ΡΠΌΠΎΡΡΠΎΠΉΠΊΠ° ΠΈ Π²ΡΠ΄Π΅ΡΠΆΠΈΠ²Π°Π΅Ρ Π±ΠΎΠ»ΡΡΠΈΠ΅ ΡΠ΄Π΅Π»ΡΠ½ΡΠ΅ Π΄Π°Π²Π»Π΅Π½ΠΈΡ.
Π Π΅ΠΊΠ»Π°ΠΌΠ½ΡΠ΅ ΠΏΡΠ΅Π΄Π»ΠΎΠΆΠ΅Π½ΠΈΡ:
Π§ΠΈΡΠ°ΡΡ Π΄Π°Π»Π΅Π΅: Π₯Π°ΡΠ°ΠΊΡΠ΅ΡΠΈΡΡΠΈΠΊΠΈ ΡΠΎΡΠΌΠΎΠ·Π½ΡΡ ΠΌΠ΅Ρ Π°Π½ΠΈΠ·ΠΌΠΎΠ²
ΠΠ°ΡΠ΅Π³ΠΎΡΠΈΡ: — Π’ΠΎΡΠΌΠΎΠ·Π½ΠΎΠ΅ ΡΠΏΡΠ°Π²Π»Π΅Π½ΠΈΠ΅ Π°Π²ΡΠΎΠΌΠΎΠ±ΠΈΠ»Ρ
ΠΠ»Π°Π²Π½Π°Ρ β Π‘ΠΏΡΠ°Π²ΠΎΡΠ½ΠΈΠΊ β Π‘ΡΠ°ΡΡΠΈ β Π€ΠΎΡΡΠΌ
Π΄ΠΈΡΠΊΠΎΠ²ΡΠΉ ΠΈ Π±Π°ΡΠ°Π±Π°Π½Π½ΡΠΉ ΠΌΠ΅Ρ Π°Π½ΠΈΠ·ΠΌ, Π° ΡΠ°ΠΊΠΆΠ΅ ΠΏΡΠΈΠ½ΡΠΈΠΏ ΡΠ°Π±ΠΎΡΡ
Π’ΠΎΡΠΌΠΎΠ·Π½Π°Ρ ΡΠΈΡΡΠ΅ΠΌΠ° ΡΠ»ΡΠΆΠΈΡ Π΄Π»Ρ:
- ΠΈΠ·ΠΌΠ΅Π½Π΅Π½ΠΈΡ ΡΠΊΠΎΡΠΎΡΡΠΈ Π΄Π²ΠΈΠΆΠ΅Π½ΠΈΡ Π°Π²ΡΠΎΠΌΠΎΠ±ΠΈΠ»Ρ;
- ΠΏΠΎΠ»Π½ΠΎΠΉ ΠΎΡΡΠ°Π½ΠΎΠ²ΠΊΠΈ Π’Π‘;
- ΠΎΠ±Π΅ΡΠΏΠ΅ΡΠ΅Π½ΠΈΡ Π΄Π»ΠΈΡΠ΅Π»ΡΠ½ΠΎΠΉ ΡΡΠΎΡΠ½ΠΊΠΈ Π½Π° ΠΎΠ΄Π½ΠΎΠΌ ΠΌΠ΅ΡΡΠ΅.

Π‘ΡΡΠ΅ΡΡΠ²ΡΡΡ ΡΡΠΈ Π²ΠΈΠ΄Π° ΡΠΎΡΠΌΠΎΠ·Π½ΠΎΠΉ ΡΠΈΡΡΠ΅ΠΌΡ, ΠΊΠΎΡΠΎΡΡΠ΅ ΡΡΡΠ°Π½Π°Π²Π»ΠΈΠ²Π°ΡΡΡΡ Π½Π° Π°Π²ΡΠΎΠΌΠΎΠ±ΠΈΠ»ΠΈ:
- Π Π°Π±ΠΎΡΠ°Ρ. ΠΠ±Π΅ΡΠΏΠ΅ΡΠΈΠ²Π°Π΅Ρ ΡΠΎΡΠΌΠΎΠΆΠ΅Π½ΠΈΠ΅ ΠΈΠ»ΠΈ ΠΏΠΎΠ»Π½ΡΡ ΠΎΡΡΠ°Π½ΠΎΠ²ΠΊΡ ΠΌΠ°ΡΠΈΠ½Ρ Π²ΠΎ Π²ΡΠ΅ΠΌΡ Π΄Π²ΠΈΠΆΠ΅Π½ΠΈΡ.
- ΠΠ°ΠΏΠ°ΡΠ½Π°Ρ ΠΈΠ»ΠΈ Π°Π²Π°ΡΠΈΠΉΠ½Π°Ρ. ΠΠ°ΡΠΈΠ½Π°Π΅Ρ Π΄Π΅ΠΉΡΡΠ²ΠΎΠ²Π°ΡΡ ΠΏΠΎΡΠ»Π΅ ΠΎΡΠΊΠ°Π·Π° ΠΈΠ»ΠΈ Π½Π΅ΠΈΡΠΏΡΠ°Π²Π½ΠΎΡΡΠΈ ΡΠ°Π±ΠΎΡΠ΅ΠΉ ΡΠΈΡΡΠ΅ΠΌΡ ΠΈ ΠΏΠΎ ΠΏΡΠΈΠ½ΡΠΈΠΏΡ Π΄Π΅ΠΉΡΡΠ²ΠΈΡ Π½ΠΈΡΠ΅ΠΌ Π½Π΅ ΠΎΡΠ»ΠΈΡΠ°Π΅ΡΡΡ ΠΎΡ ΠΏΠ΅ΡΠ²ΠΎΠ³ΠΎ Π²ΠΈΠ΄Π°.
Π‘ΡΠΎΡΠ½ΠΎΡΠ½Π°Ρ. ΠΠ±Π΅ΡΠΏΠ΅ΡΠΈΠ²Π°Π΅Ρ Π½Π΅ΠΏΠΎΠ΄Π²ΠΈΠΆΠ½ΠΎΠ΅ ΠΏΠΎΠ»ΠΎΠΆΠ΅Π½ΠΈΠ΅ Π°Π²ΡΠΎΠΌΠΎΠ±ΠΈΠ»Ρ, Π΄Π»ΠΈΡΠ΅Π»ΡΠ½ΡΠΉ ΠΏΠ΅ΡΠΈΠΎΠ΄ Π²ΡΠ΅ΠΌΠ΅Π½ΠΈ.
Π£ΡΡΡΠΎΠΉΡΡΠ²ΠΎ
Π’ΠΎΡΠΌΠΎΠ·Π½Π°Ρ ΡΠΈΡΡΠ΅ΠΌΠ° ΡΠΎΡΡΠΎΠΈΡ ΠΈΠ·:
- ΠΌΠ΅Ρ Π°Π½ΠΈΠ·ΠΌΠΎΠ²;
- ΠΏΡΠΈΠ²ΠΎΠ΄Π°.
Π§Π°ΡΠ΅ Π²ΡΠ΅Π³ΠΎ Π½Π° ΠΌΠ°ΡΠΈΠ½Π°Ρ ΡΡΡΠ°Π½ΠΎΠ²Π»Π΅Π½Ρ ΡΡΠΈΠΊΡΠΈΠΎΠ½Π½ΡΠ΅ ΠΌΠ΅Ρ Π°Π½ΠΈΠ·ΠΌΡ, ΡΠ°Π±ΠΎΡΠ°ΡΡΠΈΠ΅ Π·Π° ΡΡΠ΅Ρ ΡΠΈΠ»Ρ ΡΡΠ΅Π½ΠΈΡ.
Π Π°Π±ΠΎΡΠ°Ρ ΡΠΈΡΡΠ΅ΠΌΠ° ΡΠ°Π·ΠΌΠ΅ΡΠ°Π΅ΡΡΡ Π½Π΅ΠΏΠΎΡΡΠ΅Π΄ΡΡΠ²Π΅Π½Π½ΠΎ Π² ΠΊΠΎΠ»Π΅ΡΠ΅, Π° ΠΌΠ΅Ρ Π°Π½ΠΈΠ·ΠΌ ΡΡΠΎΡΠ½ΠΎΡΠ½ΠΎΠ³ΠΎ ΡΠΎΡΠΌΠΎΠ·Π° ΠΌΠΎΠΆΠ΅Ρ ΡΠ°ΡΠΏΠΎΠ»Π°Π³Π°ΡΡΡΡ Π·Π° ΠΊΠΎΡΠΎΠ±ΠΊΠΎΠΉ ΠΏΠ΅ΡΠ΅Π΄Π°Ρ ΠΈΠ»ΠΈ Π·Π° ΡΠ°Π·Π΄Π°ΡΠΎΡΠ½ΠΎΠΉ ΠΊΠΎΡΠΎΠ±ΠΊΠΎΠΉ.
Π’ΠΎΡΠΌΠΎΠ·Π½ΡΠ΅ ΠΌΠ΅Ρ Π°Π½ΠΈΠ·ΠΌΡ ΠΌΠΎΠ³ΡΡ ΡΠ°Π·Π»ΠΈΡΠ°ΡΡΡΡ ΠΏΠΎ ΠΊΠΎΠ½ΡΡΡΡΠΊΡΠΈΠΈ ΡΡΠΈΠΊΡΠΈΠΎΠ½Π½ΠΎΠΉ ΡΠ°ΡΡΠΈ ΠΈ ΠΏΠΎΠ΄ΡΠ°Π·Π΄Π΅Π»ΡΡΡΡΡ Π½Π°:
- Π΄ΠΈΡΠΊΠΎΠ²ΡΠ΅;
- Π±Π°ΡΠ°Π±Π°Π½Π½ΡΠ΅.

ΠΠΈΡΠΊΠΎΠ²ΡΠΉ ΠΌΠ΅Ρ Π°Π½ΠΈΠ·ΠΌ
Π‘ΠΎΡΡΠΎΠΈΡ ΠΈΠ· ΡΡΠΏΠΏΠΎΡΡΠ°, ΠΎΠ΄Π½ΠΎΠ³ΠΎ ΠΈΠ»ΠΈ Π΄Π²ΡΡ ΡΠΎΡΠΌΠΎΠ·Π½ΡΡ ΡΠΈΠ»ΠΈΠ½Π΄ΡΠΎΠ², Π° ΡΠ°ΠΊΠΆΠ΅ Π΄Π²ΡΡ ΠΊΠΎΠ»ΠΎΠ΄ΠΎΠΊ ΠΈ Π΄ΠΈΡΠΊΠ°.
Π‘ΡΠΏΠΏΠΎΡΡ ΠΊΡΠ΅ΠΏΠΈΡΡΡΒ Π½Π° ΠΏΠΎΠ²ΠΎΡΠΎΡΠ½ΠΎΠΌ ΠΊΡΠ»Π°ΠΊΠ΅ ΠΏΠ΅ΡΠ΅Π΄Π½Π΅Π³ΠΎ ΠΊΠΎΠ»Π΅ΡΠ° ΠΌΠ°ΡΠΈΠ½Ρ.Β Π Π½Π΅ΠΌ Π΅ΡΡΡ Π΄Π²Π° ΡΠΎΡΠΌΠΎΠ·Π½ΡΡ ΡΠΈΠ»ΠΈΠ½Π΄ΡΠ° ΠΈ ΠΊ Π½ΠΈΠΌ Π΄Π²Π΅ ΡΠΎΡΠΌΠΎΠ·Π½ΡΠ΅ ΠΊΠΎΠ»ΠΎΠ΄ΠΊΠΈ. ΠΠΎΡΠΎΡΡΠ΅ Π½Π°Ρ ΠΎΠ΄ΡΡΡΡ Ρ ΠΎΠ±Π΅ΠΈΡ ΡΡΠΎΡΠΎΠ½ ΡΠΎΡΠΌΠΎΠ·Π½ΠΎΠ³ΠΎ Π΄ΠΈΡΠΊΠ°, ΠΊΠΎΡΠΎΡΡΠΉ Π²ΡΠ°ΡΠ°Π΅ΡΡΡ Π²ΠΌΠ΅ΡΡΠ΅ Ρ ΠΏΡΠΈΠΊΡΡΡΠ΅Π½Π½ΡΠΌ ΠΊ Π½Π΅ΠΌΡ ΠΊΠΎΠ»Π΅ΡΠΎΠΌ.
- ΠΡΠΈ Π½Π°ΠΆΠ°ΡΠΈΠΈ Π½Π° ΠΏΠ΅Π΄Π°Π»Ρ ΡΠΎΡΠΌΠΎΠ·Π°, ΠΏΠΎΡΡΠ½ΠΈ Π²ΡΡ ΠΎΠ΄ΡΡ ΠΈΠ· ΡΠΈΠ»ΠΈΠ½Π΄ΡΠΎΠ² ΠΈ ΠΏΡΠΈΠΆΠΈΠΌΠ°ΡΡ ΠΊΠΎΠ»ΠΎΠ΄ΠΊΠΈ ΠΊ Π΄ΠΈΡΠΊΡ.
- ΠΡΠΈ ΠΎΡΠΏΡΡΠΊΠ°Π½ΠΈΠΈ ΠΏΠ΅Π΄Π°Π»ΠΈ, ΠΌΠ΅Ρ Π°Π½ΠΈΠ·ΠΌΡ Π²ΠΎΠ·Π²ΡΠ°ΡΠ°ΡΡΡΡ Π² Π½Π°ΡΠ°Π»ΡΠ½ΠΎΠ΅ ΠΏΠΎΠ»ΠΎΠΆΠ΅Π½ΠΈΠ΅. ΠΡΠΎ Π²ΠΎΠ·ΠΌΠΎΠΆΠ½ΠΎ ΠΈΠ·-Π·Π° Π»Π΅Π³ΠΊΠΎΠ³ΠΎ Π±ΠΈΠ΅Π½ΠΈΡ Π΄ΠΈΡΠΊΠ°.
ΠΠΎΡΠΌΠΎΡΡΠΈΡΠ΅ ΠΏΠΎΠ»Π΅Π·Π½ΠΎΠ΅ Π²ΠΈΠ΄Π΅ΠΎ, ΡΡΡΡΠΎΠΉΡΡΠ²ΠΎ ΠΈ ΠΏΡΠΈΠ½ΡΠΈΠΏ ΡΠ°Π±ΠΎΡΡ Π΄ΠΈΡΠΊΠΎΠ²ΠΎΠ³ΠΎ ΡΠΎΡΠΌΠΎΠ·Π½ΠΎΠ³ΠΎ ΠΌΠ΅Ρ Π°Π½ΠΈΠ·ΠΌΠ°:
ΠΠΈΡΠΊΠΎΠ²ΡΠ΅ ΡΠΎΡΠΌΠΎΠ·Π° ΡΡΡΠ΅ΠΊΡΠΈΠ²Π½Ρ ΠΈ ΠΏΡΠΎΡΡΡ Π² ΠΎΠ±ΡΠ»ΡΠΆΠΈΠ²Π°Π½ΠΈΠΈ.
Π Π΅ΠΌΠΎΠ½Ρ Π½Π΅ Π΄ΠΎΡΡΠ°Π²ΠΈΡ Π±ΠΎΠ»ΡΡΠΈΡ Ρ Π»ΠΎΠΏΠΎΡ.
ΠΠ± Π΄ΠΎΡΡΠΎΠΈΠ½ΡΡΠ²Π°Ρ
- ΡΠ΅ΠΌΠΏΠ΅ΡΠ°ΡΡΡΠ½Π°Ρ ΡΡΠΎΠΉΠΊΠΎΡΡΡ Π΄ΠΈΡΠΊΠΎΠ² Π²ΡΡΠ΅, ΡΠ΅ΠΌ Ρ Π±Π°ΡΠ°Π±Π°Π½Π½ΡΡ . ΠΡΡΡΠ΅ ΠΎΡ Π»Π°ΠΆΠ΄Π°ΡΡΡΡ;
Π²ΡΡΠΎΠΊΠ°Ρ ΡΡΡΠ΅ΠΊΡΠΈΠ²Π½ΠΎΡΡΡ ΡΠΌΠ΅Π½ΡΡΠ°Π΅Ρ ΡΠΎΡΠΌΠΎΠ·Π½ΠΎΠΉ ΠΏΡΡΡ;- ΠΌΠ΅Π½ΡΡΠ΅ ΡΠ°Π·ΠΌΠ΅ΡΡ ΠΈ Π²Π΅Ρ;
- ΡΠΌΠ΅Π½ΡΡΠ΅Π½ΠΎ Π²ΡΠ΅ΠΌΡ ΡΡΠ°Π±Π°ΡΡΠ²Π°Π½ΠΈΡ;
- ΠΈΠ·Π½ΠΎΡΠ΅Π½Π½ΡΠ΅ ΠΊΠΎΠ»ΠΎΠ΄ΠΊΠΈ ΠΏΡΠΎΡΡΠΎ ΠΌΠ΅Π½ΡΡΡ;
- ΡΠ°Π·Π½Π°Ρ ΡΠ΅ΠΌΠΏΠ΅ΡΠ°ΡΡΡΠ°, Π²ΠΎΠ·Π½ΠΈΠΊΠ°ΡΡΠ°Ρ ΠΏΡΠΈ ΡΠ°Π±ΠΎΡΠ΅, Π½Π΅ Π²Π»ΠΈΡΠ΅Ρ Π½Π° ΠΏΡΠΈΠ»Π΅Π³Π°Π½ΠΈΠ΅ ΡΠΎΡΠΌΠΎΠ·Π½ΡΡ ΠΏΠΎΠ²Π΅ΡΡ Π½ΠΎΡΡΠ΅ΠΉ.
ΠΠ°ΡΠ°Π±Π°Π½Π½ΡΠΉ ΠΌΠ΅Ρ Π°Π½ΠΈΠ·ΠΌ
Π‘ΠΎΡΡΠΎΠΈΡ ΠΈΠ·:
- Π±Π°ΡΠ°Π±Π°Π½Π°,
- Π΄Π²ΡΡ ΠΊΠΎΠ»ΠΎΠ΄ΠΎΠΊ;
- Π²ΠΎΠ·Π²ΡΠ°ΡΠ½ΡΡ ΠΏΡΡΠΆΠΈΠ½;
- ΡΠ°Π±ΠΎΡΠ΅Π³ΠΎ ΡΠΈΠ»ΠΈΠ½Π΄ΡΠ° ΠΈ ΠΎΠΏΠΎΡΡ ΠΊΠΎΠ»ΠΎΠ΄ΠΎΠΊ;
- ΠΎΠΏΠΎΡΠ½ΠΎΠ³ΠΎ ΡΠΈΡΠ°.
ΠΠ° ΠΎΠΏΠΎΡΠ½ΠΎΠΌ ΡΠΈΡΠ΅ Π·Π°ΠΊΡΠ΅ΠΏΠ»Π΅Π½ ΡΠΎΡΠΌΠΎΠ·Π½ΠΎΠΉ ΡΠΈΠ»ΠΈΠ½Π΄Ρ ΠΈ ΠΎΠΏΠΎΡΠ°. ΠΡΠΈ Π½Π°ΠΆΠ°ΡΠΈΠΈ Π½Π° ΠΏΠ΅Π΄Π°Π»Ρ ΠΏΠΎΡΡΠ½ΠΈ Π² ΡΠΈΠ»ΠΈΠ½Π΄ΡΠ΅ ΡΠ°ΡΡ ΠΎΠ΄ΡΡΡΡ ΠΈΒ Π΄Π°Π²ΡΡ Π½Π° ΠΊΠΎΠ½ΡΡ ΡΠΎΡΠΌΠΎΠ·Π½ΡΡ ΠΊΠΎΠ»ΠΎΠ΄ΠΎΠΊ.
ΠΠΎΠ»ΠΎΠ΄ΠΊΠΈ ΠΏΡΠΈΠΆΠΈΠΌΠ°ΡΡΡΡ Π½Π°ΠΊΠ»Π°Π΄ΠΊΠ°ΠΌΠΈ ΠΊ Π²Π½ΡΡΡΠ΅Π½Π½Π΅ΠΉ ΡΡΠΎΡΠΎΠ½Π΅ ΠΊΡΡΠ³Π»ΠΎΠ³ΠΎ Π±Π°ΡΠ°Π±Π°Π½Π°. ΠΠΎΡΠΎΡΡΠΉ Π²ΡΠ°ΡΠ°Π΅ΡΡΡ Π²ΠΌΠ΅ΡΡΠ΅ Ρ ΠΏΡΠΈΠΊΡΡΡΠ΅Π½Π½ΡΠΌ ΠΊ Π½Π΅ΠΌΡ ΠΊΠΎΠ»Π΅ΡΠΎΠΌ.
Π’ΠΎΡΠΌΠΎΠΆΠ΅Π½ΠΈΠ΅ ΠΊΠΎΠ»Π΅ΡΠ° ΠΏΠΎΠ»ΡΡΠ°Π΅ΡΡΡ Π·Π° ΡΡΠ΅Ρ ΡΠΈΠ» ΡΡΠ΅Π½ΠΈΡ, ΠΊΠΎΡΠΎΡΠΎΠ΅ ΠΏΡΠΎΠΈΡΡ ΠΎΠ΄ΠΈΡ ΠΌΠ΅ΠΆΠ΄Ρ Π½Π°ΠΊΠ»Π°Π΄ΠΊΠ°ΠΌΠΈ ΠΊΠΎΠ»ΠΎΠ΄ΠΎΠΊ ΠΈ Π±Π°ΡΠ°Π±Π°Π½Π°.
ΠΡΠΈ ΠΎΡΠΏΡΡΠΊΠ°Π½ΠΈΠΈ ΠΏΠ΅Π΄Π°Π»ΠΈ, ΡΡΡΠΆΠ½ΡΠ΅ ΠΏΡΡΠΆΠΈΠ½Ρ ΠΏΡΠΈΡΡΠ³ΠΈΠ²Π°ΡΡ ΠΊΠΎΠ»ΠΎΠ΄ΠΊΠΈ Π² Π½Π°ΡΠ°Π»ΡΠ½ΠΎΠ΅ ΠΏΠΎΠ»ΠΎΠΆΠ΅Π½ΠΈΠ΅ ΠΈ Π΄Π΅ΠΉΡΡΠ²ΠΈΠ΅ ΡΠΎΡΠΌΠΎΠ·ΠΎΠ² ΠΏΡΠ΅ΠΊΡΠ°ΡΠ°Π΅ΡΡΡ.
ΠΠ± Π΄ΠΎΡΡΠΎΠΈΠ½ΡΡΠ²Π°Ρ
- ΠΏΡΠΎΡΡΠΎΡΠ° ΠΈΠ·Π³ΠΎΡΠΎΠ²Π»Π΅Π½ΠΈΡ;
- Π½ΠΈΠ·ΠΊΠ°Ρ ΡΡΠΎΠΈΠΌΠΎΡΡΡ;
- ΠΈΠΌΠ΅ΡΡ ΡΡΡΠ΅ΠΊΡ ΡΠ°ΠΌΠΎΡΡΠΈΠ»Π΅Π½ΠΈΡ. ΠΠΈΠΆΠ½ΠΈΠ΅ ΡΠ°ΡΡΠΈ ΠΊΠΎΠ»ΠΎΠ΄ΠΎΠΊ ΡΠ΅ΡΠ½ΠΎ ΡΠ²ΡΠ·Π°Π½Ρ Π΄ΡΡΠ³ Ρ Π΄ΡΡΠ³ΠΎΠΌ ΠΈ ΡΡΠ΅Π½ΠΈΠ΅ ΠΎ Π±Π°ΡΠ°Π±Π°Π½ ΠΏΠ΅ΡΠ΅Π΄Π½Π΅ΠΉ ΡΠ°ΡΡΠΈ, ΡΡΠΈΠ»ΠΈΠ²Π°Π΅Ρ ΠΏΡΠΈΠΆΠ°ΡΠΈΠ΅ ΠΊ Π½Π΅ΠΌΡ ΠΈ Π·Π°Π΄Π½Π΅ΠΉ ΡΠ°ΡΡΠΈ.
Π‘ΡΠΎΡΠ½ΠΎΡΠ½Π°Ρ ΡΠΈΡΡΠ΅ΠΌΠ°
ΠΠ»Ρ ΠΏΠΎΡΡΠ°Π½ΠΎΠ²ΠΊΠΈ ΠΌΠ°ΡΠΈΠ½Ρ Π½Π° Π΄Π»ΠΈΡΠ΅Π»ΡΠ½ΡΡ ΡΡΠΎΡΠ½ΠΊΡ, ΡΠ°ΡΠ΅ ΠΈΡΠΏΠΎΠ»ΡΠ·ΡΠ΅ΡΡΡ ΠΌΠ΅Ρ Π°Π½ΠΈΡΠ΅ΡΠΊΠΈΠΉ ΠΏΡΠΈΠ²ΠΎΠ΄, Π² ΠΎΡΠ½ΠΎΠ²Ρ ΠΊΠΎΡΠΎΡΠΎΠ³ΠΎ Π²Ρ ΠΎΠ΄ΡΡ ΡΠ°Π·Π»ΠΈΡΠ½ΡΠ΅ ΡΡΠ³ΠΈ ΠΈ ΡΡΠΎΡΡ, ΠΎΠ±ΡΠ΅Π΄ΠΈΠ½Π΅Π½Π½ΡΠ΅ Π² ΡΠΈΡΡΠ΅ΠΌΡ.
ΠΠΌΠ΅ΡΡΡΡ ΡΠ»ΡΡΠ°ΠΈ, ΠΊΠΎΠ³Π΄Π° Π² Π°Π²ΡΠΎΠΌΠΎΠ±ΠΈΠ»Π΅ Π΄Π»Ρ ΡΡΠ°Π±Π°ΡΡΠ²Π°Π½ΠΈΡ ΡΡΠΎΡΠ½ΠΎΡΠ½ΠΎΠ³ΠΎ ΡΠΎΡΠΌΠΎΠ·Π°, Π½Π΅ΠΎΠ±Ρ ΠΎΠ΄ΠΈΠΌΠΎ Π½Π°ΠΆΠ°ΡΡ Π½Π° ΠΏΠ΅Π΄Π°Π»Ρ. ΠΠ΅Π΄Π°Π²Π½ΠΎ, ΡΡΠ°Π»ΠΈ ΠΏΡΠΈΠΌΠ΅Π½ΡΡΡ ΡΠ»Π΅ΠΊΡΡΠΎΠΏΡΠΈΠ²ΠΎΠ΄.
ΠΠΎΡΠΌΠΎΡΡΠΈΡΠ΅ ΠΈΠ½ΡΠ΅ΡΠ΅ΡΠ½ΠΎΠ΅ Π²ΠΈΠ΄Π΅ΠΎ, ΡΡΡΡΠΎΠΉΡΡΠ²ΠΎ ΠΈ ΠΏΡΠΈΠ½ΡΠΈΠΏ ΡΠ°Π±ΠΎΡΡ Π±Π°ΡΠ°Π±Π°Π½Π½ΠΎΠ³ΠΎ ΠΈ ΡΡΠΎΡΠ½ΠΎΡΠ½ΠΎΠ³ΠΎ ΡΠΎΡΠΌΠΎΠ·Π°:
- Π’ΠΎΡΠΌΠΎΠ·Π½ΠΎΠΉ ΠΏΡΠΈΠ²ΠΎΠ΄ ΠΎΡΠ½ΠΎΠ²Π°Π½Π½ΡΠΉ Π½Π° ΡΠ°Π±ΠΎΡΠ΅ Π²ΠΎΠ·Π΄ΡΡ
Π°, Π½Π°Π·ΡΠ²Π°Π΅ΡΡΡ ΠΏΠ½Π΅Π²ΠΌΠ°ΡΠΈΡΠ΅ΡΠΊΠΈΠΌ ΠΈ ΡΠ°ΡΠ΅ ΠΏΡΠΈΠΌΠ΅Π½ΡΠ΅ΡΡΡ Π½Π° Π±ΠΎΠ»ΡΡΠ΅Π³ΡΡΠ·Π½ΡΡ
Π°Π²ΡΠΎΠΌΠΎΠ±ΠΈΠ»ΡΡ
.

- ΠΡΠ»ΠΈ ΡΠΎΡΠ΅ΡΠ°ΡΡΡΡ Π½Π΅ΡΠΊΠΎΠ»ΡΠΊΠΎ ΠΏΡΠΈΠ²ΠΎΠ΄ΠΎΠ², ΡΠΎ ΠΎΠ½ Π½Π°Π·ΡΠ²Π°Π΅ΡΡΡ ΠΊΠΎΠΌΠ±ΠΈΠ½ΠΈΡΠΎΠ²Π°Π½Π½ΡΠΌ.
ΠΡΠΈΠ½ΡΠΈΠΏ Π΄Π΅ΠΉΡΡΠ²ΠΈΡ ΡΠΎΡΠΌΠΎΠ·Π½ΠΎΠΉ ΡΠΈΡΡΠ΅ΠΌΡ
ΠΠ΅Π³ΠΊΠΎ ΠΏΠΎΠ½ΡΡΡ Π½Π° ΠΏΡΠΈΠΌΠ΅ΡΠ΅ Π³ΠΈΠ΄ΡΠ°Π²Π»ΠΈΡΠ΅ΡΠΊΠΎΠΉ ΡΠΈΡΡΠ΅ΠΌΡ:
- ΠΡΠΈ Π½Π°ΠΆΠ°ΡΠΈΠΈ Π½Π° ΠΏΠ΅Π΄Π°Π»Ρ, ΡΠΈΠ»Π° ΠΏΠ΅ΡΠ΅Π΄Π°Π΅ΡΡΡ Π½Π° Π³Π»Π°Π²Π½ΡΠΉ ΡΠΎΡΠΌΠΎΠ·Π½ΠΎΠΉ ΡΠΈΠ»ΠΈΠ½Π΄Ρ.
- ΠΠΎΡΡΠ΅Π½Ρ Π³Π»Π°Π²Π½ΠΎΠ³ΠΎ ΡΠΈΠ»ΠΈΠ½Π΄ΡΠ° Π΄Π²ΠΈΠ³Π°Π΅ΡΡΡ ΠΈ ΡΠ²Π΅Π»ΠΈΡΠΈΠ²Π°Π΅Ρ Π΄Π°Π²Π»Π΅Π½ΠΈΠ΅ Π² ΡΠΈΡΡΠ΅ΠΌΠ΅ Π³ΠΈΠ΄ΡΠ°Π²Π»ΠΈΡΠ΅ΡΠΊΠΈΡ ΡΡΡΠ±ΠΎΠΊ, ΠΊΠΎΡΠΎΡΡΠ΅ Π²Π΅Π΄ΡΡ ΠΊ ΠΊΠ°ΠΆΠ΄ΠΎΠΌΡ ΠΊΠΎΠ»Π΅ΡΡ ΡΡΠ°Π½ΡΠΏΠΎΡΡΠ½ΠΎΠ³ΠΎ ΡΡΠ΅Π΄ΡΡΠ²Π°.
- Π’ΠΎΡΠΌΠΎΠ·Π½Π°Ρ ΠΆΠΈΠ΄ΠΊΠΎΡΡΡ Π΄Π°Π²ΠΈΡ Π½Π° ΠΏΠΎΡΡΠ΅Π½Ρ ΠΊΠΎΠ»Π΅ΡΠ½ΠΎΠ³ΠΎ ΡΠΈΠ»ΠΈΠ½Π΄ΡΠ°. ΠΠΎΡΠΎΡΡΠΉ Π΄Π²ΠΈΠ³Π°Ρ ΠΊΠΎΠ»ΠΎΠ΄ΠΊΠΈ, ΠΏΡΠΈΠΆΠΈΠΌΠ°Π΅Ρ ΠΈΡ ΠΊ Π±Π°ΡΠ°Π±Π°Π½Ρ ΠΈΠ»ΠΈ Π΄ΠΈΡΠΊΡ. Π’ΡΠ΅Π½ΠΈΠ΅ Π·Π°ΠΌΠ΅Π΄Π»ΡΠ΅Ρ Π²ΡΠ°ΡΠ΅Π½ΠΈΠ΅ ΠΊΠΎΠ»Π΅Ρ ΠΈ Π°Π²ΡΠΎΠΌΠΎΠ±ΠΈΠ»Ρ ΠΎΡΡΠ°Π½Π°Π²Π»ΠΈΠ²Π°Π΅ΡΡΡ.
ΠΠΎΡΠ»Π΅ ΠΎΡΠΏΡΡΠΊΠ°Π½ΠΈΡ ΡΠΎΡΠΌΠΎΠ·Π½ΠΎΠΉ ΠΏΠ΅Π΄Π°Π»ΠΈ, ΠΎΠ½Π° Ρ ΠΏΠΎΠΌΠΎΡΡΡ Π²ΠΎΠ·Π²ΡΠ°ΡΠ½ΠΎΠΉ ΠΏΡΡΠΆΠΈΠ½Ρ Π²ΠΎΠ·Π²ΡΠ°ΡΠ°Π΅ΡΡΡ Π½Π° ΠΌΠ΅ΡΡΠΎ. Π£ΡΠΈΠ»ΠΈΠ΅, Π΄Π΅ΠΉΡΡΠ²ΡΡΡΠ΅Π΅ Π² Π³Π»Π°Π²Π½ΠΎΠΌ ΡΠΈΠ»ΠΈΠ½Π΄ΡΠ΅ ΠΎΡΠ»Π°Π±Π΅Π²Π°Π΅Ρ ΠΈ Π΅Π³ΠΎ ΠΏΠΎΡΡΠ΅Π½Ρ, Π²ΠΎΠ·Π²ΡΠ°ΡΠ°Π΅ΡΡΡ Π² ΠΈΡΡ ΠΎΠ΄Π½ΠΎΠ΅ ΠΏΠΎΠ»ΠΎΠΆΠ΅Π½ΠΈΠ΅. ΠΠ°ΡΡΠ°Π²Π»ΡΡ ΠΊΠΎΠ»ΠΎΠ΄ΠΊΠΈ Ρ ΡΡΠΈΠΊΡΠΈΠΎΠ½Π½ΡΠΌΠΈ Π½Π°ΠΊΠ»Π°Π΄ΠΊΠ°ΠΌΠΈ ΡΠ°Π·ΠΆΠ°ΡΡΡΡ, ΡΠ΅ΠΌ ΡΠ°ΠΌΡΠΌ, ΠΎΡΠ²ΠΎΠ±ΠΎΠΆΠ΄Π°Ρ Π΄ΠΈΡΠΊΠΈ ΠΈΠ»ΠΈ Π±Π°ΡΠ°Π±Π°Π½Ρ ΠΊΠΎΠ»Π΅ΡΠ°.
ΠΡΡΡ Π΅ΡΡ Π²Π°ΠΊΡΡΠΌΠ½ΡΠΉ ΡΡΠΈΠ»ΠΈΡΠ΅Π»Ρ, ΠΊΠΎΡΠΎΡΡΠΉ ΠΏΡΠΈΠΌΠ΅Π½ΡΠ΅ΡΡΡ Π² ΡΠΎΡΠΌΠΎΠ·Π½ΠΎΠΉ ΡΠΈΡΡΠ΅ΠΌΠ΅.
ΠΠ³ΠΎ ΠΈΡΠΏΠΎΠ»ΡΠ·ΠΎΠ²Π°Π½ΠΈΠ΅, Π·Π½Π°ΡΠΈΡΠ΅Π»ΡΠ½ΠΎ ΠΎΠ±Π»Π΅Π³ΡΠ°Π΅Ρ ΡΠ°Π±ΠΎΡΡ.
ΠΠΎΡΠΌΠΎΡΡΠΈΡΠ΅ Π²ΠΈΠ΄Π΅ΠΎ ΠΏΠΎ ΡΠ΅ΠΌΠ΅, ΠΏΡΠΈΠ½ΡΠΈΠΏ ΡΠ°Π±ΠΎΡΡ ΡΠΎΡΠΌΠΎΠ·Π½ΠΎΠΉ ΡΠΈΡΡΠ΅ΠΌΡ:
ΠΠ°Π³ΡΡΠ·ΠΊΠ°…Π Π΅ΠΌΠΎΠ½Ρ Π΄ΠΈΡΠΊΠΎΠ²ΡΡ ΡΠΎΡΠΌΠΎΠ·ΠΎΠ² ΠΈΠ»ΠΈ ΡΠΈΠΏΠΈΡΠ½ΡΠ΅ ΠΏΠΎΠ»ΠΎΠΌΠΊΠΈ ΠΈ Π½Π΅ΠΈΡΠΏΡΠ°Π²Π½ΠΎΡΡΠΈ
ΠΠ°Π²Π΅ΡΠ½ΡΠΊΠ° ΠΌΠ½ΠΎΠ³ΠΈΠ΅ Π°Π²ΡΠΎΠΌΠΎΠ±ΠΈΠ»ΠΈΡΡΡ Π½Π΅ ΡΠ°Π· ΡΠ»ΡΡΠ°Π»ΠΈ ΡΠΊΡΠΈΠΏ ΡΠΎΡΠΌΠΎΠ·Π½ΡΡ ΠΊΠΎΠ»ΠΎΠ΄ΠΎΠΊ ΠΈ Π·Π°ΠΌΠ΅ΡΠ°Π»ΠΈ Π²ΠΈΠ±ΡΠ°ΡΠΈΡ ΠΏΠ΅Π΄Π°Π»ΠΈ ΡΠΎΡΠΌΠΎΠ·Π°. ΠΠΎΠ΄ΠΎΠ±Π½ΡΠ΅ ΡΠΈΠΌΠΏΡΠΎΠΌΡ ΡΠ²ΠΈΠ΄Π΅ΡΠ΅Π»ΡΡΡΠ²ΡΡΡ ΠΎ Π½Π΅ΠΈΡΠΏΡΠ°Π²Π½ΠΎΡΡΠΈ ΡΡΠΈΡ Π·Π°ΠΏΡΠ°ΡΡΠ΅ΠΉ. Π Π΅ΡΡ ΠΈΠ΄Π΅Ρ ΠΏΡΠ΅ΠΈΠΌΡΡΠ΅ΡΡΠ²Π΅Π½Π½ΠΎ ΠΎ Π΄ΠΈΡΠΊΠΎΠ²ΡΡ ΠΌΠ΅Ρ Π°Π½ΠΈΠ·ΠΌΠ°Ρ , ΠΊΠΎΡΠΎΡΡΠ΅ ΡΠΏΡΠ°Π²Π»ΡΡΡΡΡ ΠΏΠΎΡΡΠ΅Π΄ΡΡΠ²ΠΎΠΌ Π³ΠΈΠ΄ΡΠ°Π²Π»ΠΈΡΠ΅ΡΠΊΠΎΠ³ΠΎ ΠΏΡΠΈΠ²ΠΎΠ΄Π°, Π° ΡΠΎΡΠ½Π΅Π΅ ΠΎ Π½Π°ΠΈΠ±ΠΎΠ»Π΅Π΅ Π·Π½Π°ΡΠΈΠΌΡΡ ΡΠ°ΡΡΡΡ ΡΡΠΏΠΏΠΎΡΡΠΎΠ².
Π‘Π΅Π³ΠΎΠ΄Π½Ρ ΠΌΡ Π½Π΅ Π±ΡΠ΄Π΅ΠΌ ΡΠ°ΡΡΠΌΠ°ΡΡΠΈΠ²Π°ΡΡ Π±Π°ΡΠ°Π±Π°Π½Ρ, ΠΊΠΎΡΠΎΡΡΠ΅ Π²ΡΠ΅ Π΅ΡΠ΅ ΡΡΡΠ°Π½Π°Π²Π»ΠΈΠ²Π°ΡΡΡΡ Π½Π° ΠΎΡΠ΄Π΅Π»ΡΠ½ΡΠ΅ ΠΌΠΎΠ΄Π΅Π»ΠΈ Π°Π²ΡΠΎ. ΠΠ½ΠΈ Π½Π΅ ΡΠ°ΠΊ Π²ΠΎΡΡΡΠ΅Π±ΠΎΠ²Π°Π½Ρ, ΠΏΠΎΡΠΊΠΎΠ»ΡΠΊΡ Π΄ΠΈΡΠΊΠΎΠ²ΡΠ΅ ΡΠΎΡΠΌΠΎΠ·Π° ΡΠ²ΠΎΠΈΠΌΠΈ ΡΠ΅Ρ
Π½ΠΈΡΠ΅ΡΠΊΠΈΠΌΠΈ Π²ΠΎΠ·ΠΌΠΎΠΆΠ½ΠΎΡΡΡΠΌΠΈ ΠΈ Ρ
Π°ΡΠ°ΠΊΡΠ΅ΡΠΈΡΡΠΈΠΊΠ°ΠΌΠΈ ΠΎΠ΄Π΅ΡΠΆΠ°Π»ΠΈ ΠΏΠΎΠ±Π΅Π΄Ρ Π² ΡΡΠΎΠΉ Π½Π΅ΡΠ°Π²Π½ΠΎΠΉ Π±ΠΎΡΡΠ±Π΅.
ΠΠΈΡΠΊΠΎΠ²ΡΠ΅ ΡΠΎΡΠΌΠΎΠ·Π°: ΠΈΡ ΠΊΠΎΠ½ΡΡΡΡΠΊΡΠΈΡ ΠΈ ΠΎΡΠ½ΠΎΠ²Π½ΡΠ΅ ΠΎΡΠ»ΠΈΡΠΈΡ
ΠΠΈΡΠΊΠΎΠ²ΡΠΉ ΡΠΎΡΠΌΠΎΠ·Π½ΠΎΠΉ ΠΌΠ΅Ρ Π°Π½ΠΈΠ·ΠΌ Π²ΠΊΠ»ΡΡΠ°Π΅Ρ Π² ΡΠ΅Π±Ρ Π΄Π²Π° ΠΎΡΠ½ΠΎΠ²Π½ΡΡ ΠΊΠΎΠΌΠΏΠΎΠ½Π΅Π½ΡΠ°: ΡΠΎΡΠΌΠΎΠ·Π½ΠΎΠΉ Π΄ΠΈΡΠΊ ΠΈ ΡΠΎΡΠΌΠΎΠ·Π½ΠΎΠΉ ΡΡΠΏΠΏΠΎΡΡ, Π² ΠΊΠΎΡΠΎΡΡΠΉ ΠΈΠ½ΡΠ΅Π³ΡΠΈΡΠΎΠ²Π°Π½ ΠΎΠ΄ΠΈΠ½ ΠΈΠ»ΠΈ Π½Π΅ΡΠΊΠΎΠ»ΡΠΊΠΎ ΡΠΈΠ»ΠΈΠ½Π΄ΡΠΎΠ². ΠΠΎΡΠ»Π΅Π΄Π½ΠΈΠΉ ΠΏΡΠ΅Π΄ΡΡΠ°Π²Π»Π΅Π½ Π² Π΄Π²ΡΡ Π²Π°ΡΠΈΠ°Π½ΡΠ°Ρ :
- ΠΠ»Π°Π²Π°ΡΡΠΈΠΉ ΡΡΠΏΠΏΠΎΡΡ ΠΊΡΠ΅ΠΏΠΈΡΡΡ Π½Π°ΠΏΡΡΠΌΡΡ ΠΊ ΠΏΠΎΠ²ΠΎΡΠΎΡΠ½ΠΎΠΌΡ ΠΊΡΠ»Π°ΠΊΡ, Π° Π² ΠΎΡΠ΄Π΅Π»ΡΠ½ΡΡ ΡΠ»ΡΡΠ°ΡΡ — ΠΊ ΡΠΏΠ΅ΡΠΈΠ°Π»ΡΠ½ΠΎΠΌΡ ΠΊΡΠΎΠ½ΡΡΠ΅ΠΉΠ½Ρ ΠΏΠΎΡΡΠ΅Π΄ΡΡΠ²ΠΎΠΌ Π½Π°ΠΏΡΠ°Π²Π»ΡΡΡΠΈΡ ΠΏΠ°Π»ΡΡΠ΅Π². ΠΡΠΈ ΡΡΠΎΠΌ ΡΠ°Π±ΠΎΡΠΈΠΉ ΠΏΠΎΡΡΠ΅Π½Ρ ΡΡΡΠ°Π½Π°Π²Π»ΠΈΠ²Π°Π΅ΡΡΡ Π»ΠΈΡΡ Ρ ΠΎΠ΄Π½ΠΎΠΉ ΡΡΠΎΡΠΎΠ½Ρ. Π ΡΡΠΎΠΌ ΡΠ»ΡΡΠ°Π΅ ΡΠΎΡΠΌΠΎΠ·Π½Π°Ρ ΡΠΈΡΡΠ΅ΠΌΠ° ΡΠ°Π±ΠΎΡΠ°Π΅Ρ ΡΠ»Π΅Π΄ΡΡΡΠΈΠΌ ΠΎΠ±ΡΠ°Π·ΠΎΠΌ: ΠΏΡΠΈ Π½Π°ΠΆΠ°ΡΠΈΠΈ Π½Π° ΡΠΎΡΠΌΠΎΠ·Π½ΡΡ ΠΏΠ΅Π΄Π°Π»Ρ ΡΠΏΠ΅ΡΠΈΠ°Π»ΡΠ½Π°Ρ Π³ΠΈΠ΄ΡΠ°Π²Π»ΠΈΡΠ΅ΡΠΊΠ°Ρ ΠΆΠΈΠ΄ΠΊΠΎΡΡΡ ΠΎΠΊΠ°Π·ΡΠ²Π°Π΅Ρ Π΄Π°Π²Π»Π΅Π½ΠΈΠ΅ Π½Π° ΠΏΠΎΡΡΠ΅Π½Ρ, Π° ΠΎΠ½ ΡΠ΄Π²ΠΈΠ³Π°Π΅Ρ Π²Π½ΡΡΡΠ΅Π½Π½ΡΡ ΠΊΠΎΠ»ΠΎΠ΄ΠΊΡ Π±Π»ΠΈΠΆΠ΅ ΠΊ Π΄ΠΈΡΠΊΡ. ΠΠ°ΠΊ ΡΠΎΠ»ΡΠΊΠΎ ΠΏΡΠΎΠΈΡΡ ΠΎΠ΄ΠΈΡ Β«ΡΡΠΎΠ»ΠΊΠ½ΠΎΠ²Π΅Π½ΠΈΠ΅Β», ΡΡΠΏΠΏΠΎΡΡ Π½Π°ΡΠΈΠ½Π°Π΅Ρ Π΄Π²ΠΈΠ³Π°ΡΡΡΡ ΡΠ΅Π»ΠΈΠΊΠΎΠΌ, Π°ΠΊΡΠΈΠ²ΠΈΡΡΡ Π²Π½Π΅ΡΠ½ΡΡ ΡΠΎΡΠΌΠΎΠ·Π½ΡΡ ΠΊΠΎΠ»ΠΎΠ΄ΠΊΡ.
- Π€ΠΈΠΊΡΠΈΡΠΎΠ²Π°Π½Π½ΡΠΉ ΠΈΠ»ΠΈ Π½Π΅ΠΏΠΎΠ΄Π²ΠΈΠΆΠ½ΡΠΉ ΡΡΠΏΠΏΠΎΡΡ ΠΈΠΌΠ΅Π΅Ρ ΠΆΠ΅ΡΡΠΊΠΎΠ΅ ΠΊΡΠ΅ΠΏΠ»Π΅Π½ΠΈΠ΅ Ρ ΠΏΠΎΠ²ΠΎΡΠΎΡΠ½ΡΠΌ ΠΊΡΠ»Π°ΠΊΠΎΠΌ, Π° Π²ΡΠ΅ ΠΏΠΎΡΡΠ½ΠΈ ΡΠ°ΡΠΏΠΎΠ»ΠΎΠΆΠ΅Π½Ρ Ρ Π΄Π²ΡΡ
ΡΡΠΎΡΠΎΠ½. ΠΠΎΠ΄ΠΎΠ±Π½Π°Ρ ΠΊΠΎΠ½ΡΡΡΡΠΊΡΠΈΡ ΡΡΠΈΠ»ΠΈΠ²Π°Π΅Ρ Π΄Π°Π²Π»Π΅Π½ΠΈΠ΅, ΠΎΠΊΠ°Π·ΡΠ²Π°Π΅ΠΌΠΎΠ΅ Π½Π° ΠΊΠΎΠ»ΠΎΠ΄ΠΊΠΈ β ΡΠ΅ΠΏΠ΅ΡΡ ΠΌΠΎΠΆΠ½ΠΎ Π½Π° ΠΎΡΡΠ΅Π·ΠΊΠ΅ Π΄ΠΎΡΠΎΠ³ΠΈ Π² 30-35 ΠΌΠ΅ΡΡΠΎΠ² ΠΎΡΡΠ°Π½ΠΎΠ²ΠΈΡΡ Π»Π΅Π³ΠΊΠΎΠ²ΡΡ ΠΌΠ°ΡΠΈΠ½Ρ ΠΈ Π·Π°ΡΡΠ°Π²ΠΈΡΡ Π΅Π΅ ΡΠ±ΡΠΎΡΠΈΡΡ ΡΠΊΠΎΡΠΎΡΡΡ Ρ Β«ΡΠΎΡΠ½ΠΈΒ» Π΄ΠΎ Π½ΡΠ»Ρ.

ΠΠ»Π°Π²Π½ΡΠΌ Π΄ΠΎΡΡΠΎΠΈΠ½ΡΡΠ²ΠΎΠΌ ΠΏΠ»Π°Π²Π°ΡΡΠΈΡ ΡΡΠΏΠΏΠΎΡΡΠΎΠ² ΡΡΠΈΡΠ°Π΅ΡΡΡ ΠΈΡ Π½ΠΈΠ·ΠΊΠ°Ρ ΡΡΠΎΠΈΠΌΠΎΡΡΡ ΠΈ Π½Π΅Π±ΠΎΠ»ΡΡΠΎΠΉ Π²Π΅Ρ. Π Π½Π΅ΠΏΠΎΠ΄Π²ΠΈΠΆΠ½ΡΠ΅ (Ρ.Π΅. ΡΠΈΠΊΡΠΈΡΠΎΠ²Π°Π½Π½ΡΠ΅) ΡΡΠΏΠΏΠΎΡΡΡ, Π½Π°ΠΎΠ±ΠΎΡΠΎΡ, ΠΎΠ±ΠΎΠΉΠ΄ΡΡΡΡ ΡΡΡΡ Π΄ΠΎΡΠΎΠΆΠ΅, Π·Π°ΡΠΎ ΡΠΌΠΎΠ³ΡΡ ΠΎΠ±Π΅ΡΠΏΠ΅ΡΠΈΡΡ Π±ΠΎΠ»ΡΡΡΡ Π½Π°Π΄Π΅ΠΆΠ½ΠΎΡΡΡ ΠΈ Π±Π΅Π·ΠΎΠΏΠ°ΡΠ½ΠΎΡΡΡ Π°Π²ΡΠΎ.
Π Π°ΡΠΏΡΠΎΡΡΡΠ°Π½Π΅Π½Π½ΡΠ΅ ΠΏΠΎΠ»ΠΎΠΌΠΊΠΈ Π΄ΠΈΡΠΊΠΎΠ²ΡΡ ΡΠΎΡΠΌΠΎΠ·ΠΎΠ² ΠΈ ΠΈΡ Π½Π΅ΠΈΡΠΏΡΠ°Π²Π½ΠΎΡΡΠΈΒ
ΠΡΠ»ΠΈ ΠΆΠ΅ Π³ΠΎΠ²ΠΎΡΠΈΡΡ ΠΎ Π½Π°ΠΈΠ±ΠΎΠ»Π΅Π΅ ΡΠ°ΡΠΏΡΠΎΡΡΡΠ°Π½Π΅Π½Π½ΡΡ Π½Π΅ΠΈΡΠΏΡΠ°Π²Π½ΠΎΡΡΡΡ Π΄ΠΈΡΠΊΠΎΠ²ΡΡ ΡΠΎΡΠΌΠΎΠ·ΠΎΠ², ΡΠΎ Π² ΡΠ»ΡΡΠ°Π΅ Ρ ΡΡΠΏΠΏΠΎΡΡΠ°ΠΌΠΈ Π΄Π²ΡΡ Π²ΠΈΠ΄ΠΎΠ² ΠΎΠ½ΠΈ ΠΏΡΠΈΠΌΠ΅ΡΠ½ΠΎ ΠΎΠ΄ΠΈΠ½Π°ΠΊΠΎΠ²Ρ. ΠΠ°ΡΠ°ΡΡΡΡ ΠΏΡΠΈΡΠΈΠ½ΠΎΠΉ ΠΏΠΎΠ»ΠΎΠΌΠΎΠΊ ΡΡΠ°Π½ΠΎΠ²ΠΈΡΡΡ Π³ΡΡΠ·Ρ ΠΈ Π²ΠΎΠ΄Π°, ΠΏΠΎΠΏΠ°Π΄Π°ΡΡΠΈΠ΅ Π² ΡΠΏΠ»ΠΎΡΠ½ΠΈΡΠ΅Π»ΡΠ½ΡΠ΅ ΠΌΠ°Π½ΠΆΠ΅ΡΡ, β ΠΏΠΎΠ΄ Π²Π½Π΅ΡΠ½ΠΈΠΌ Π²ΠΎΠ·Π΄Π΅ΠΉΡΡΠ²ΠΈΠ΅ΠΌ ΠΎΠ½ΠΈ ΡΠ°Π·ΡΡΡΠ°ΡΡΡΡ ΠΈ ΠΏΡΠΈΠ²ΠΎΠ΄ΡΡ ΠΊ Π·Π°ΠΊΠ»ΠΈΠ½ΠΈΠ²Π°Π½ΠΈΡ ΠΏΠΎΡΡΠ½Π΅ΠΉ. ΠΠΌΠ΅Π½Π½ΠΎ ΠΏΠΎΡΡΠΎΠΌΡ ΡΠ΅ΠΌΠΊΠΎΠΌΠΏΠ»Π΅ΠΊΡΡ ΠΏΡΠΎΠ΄Π°ΡΡΡΡ ΡΠΎ ΡΠΌΠ°Π·ΠΎΡΠ½ΡΠΌ ΠΌΠ°ΡΠ΅ΡΠΈΠ°Π»ΠΎΠΌ, ΠΏΠΎΠ·Π²ΠΎΠ»ΡΡΡΠΈΠΌ ΠΏΡΠΎΠ΄Π»ΠΈΡΡ ΡΡΠΎΠΊ ΡΠ»ΡΠΆΠ±Ρ ΡΠΎΡΠΌΠΎΠ·Π½ΡΡ Π΄ΠΈΡΠΊΠΎΠ².
Π Π²ΠΎΡ ΡΠΎΡΠΌΠΎΠ·Π½ΡΠ΅ ΠΊΠΎΠ»ΠΎΠ΄ΠΊΠΈ ΠΎΡΠ½ΠΎΡΡΡ ΠΊ ΠΊΠ°ΡΠ΅Π³ΠΎΡΠΈΠΈ ΡΠ°ΡΡ
ΠΎΠ΄Π½ΡΡ
ΠΌΠ°ΡΠ΅ΡΠΈΠ°Π»ΠΎΠ². ΠΠ½Π΅ΡΠ½Π΅ ΠΎΠ½ΠΈ Π½Π°ΠΏΠΎΠΌΠΈΠ½Π°ΡΡ ΠΎΠ±ΡΡΠ½ΡΡ ΠΏΠ»Π°ΡΡΠΈΠ½Ρ, Π½Π° ΠΌΠ΅ΡΠ°Π»Π»ΠΈΡΠ΅ΡΠΊΡΡ ΠΏΠΎΠ²Π΅ΡΡ
Π½ΠΎΡΡΡ ΠΊΠΎΡΠΎΡΠΎΠΉ Π½Π°Π½Π΅ΡΠ΅Π½Π° ΡΡΠΈΠΊΡΠΈΠΎΠ½Π½Π°Ρ Π½Π°ΠΊΠ»Π°Π΄ΠΊΠ°. ΠΠΎΡΠ»Π΅Π΄Π½ΡΡ ΠΌΠΎΠΆΠ΅Ρ Π±ΡΡΡ ΠΈΠ·Π³ΠΎΡΠΎΠ²Π»Π΅Π½Π° ΠΈΠ· ΡΠ³Π»Π΅Π²ΠΎΠ»ΠΎΠΊΠ½Π° ΠΈΠ»ΠΈ ΠΊΠ΅ΡΠ°ΠΌΠΈΠΊΠΈ. ΠΡΡΠ³ΠΈΡ
ΠΎΡΠ»ΠΈΡΠΈΠΉ Ρ ΡΠΎΡΠΌΠΎΠ·Π½ΡΡ
ΠΊΠΎΠ»ΠΎΠ΄ΠΎΠΊ Π½Π΅Ρ β ΡΠΎΠ»ΡΠΊΠΎ ΡΠΎΡΠΌΠ° ΠΈ ΡΠ°Π·ΠΌΠ΅Ρ ΡΠ°Π±ΠΎΡΠ΅ΠΉ ΠΏΠΎΠ²Π΅ΡΡ
Π½ΠΎΡΡΠΈ.
ΠΠ΅ΡΠ΅Π΄ΠΊΠΎ Π΄Π°Π½Π½Π°Ρ Π·Π°ΠΏΡΠ°ΡΡΡ ΠΎΡΠ½Π°ΡΠ°Π΅ΡΡΡ ΡΠΏΠ΅ΡΠΈΠ°Π»ΡΠ½ΠΎΠΉ ΠΏΡΡΠΆΠΈΠ½ΠΎΠΉ β ΡΡΠΎ Π΄Π°ΡΡΠΈΠΊ ΠΈΠ·Π½ΠΎΡΠ°, ΠΊΠΎΡΠΎΡΡΠΉ Π² ΡΠ»ΡΡΠ°Π΅ ΠΈΠ·Π½ΠΎΡΠ° Π½Π°ΡΠΈΠ½Π°Π΅Ρ ΠΈΠ·Π΄Π°Π²Π°ΡΡ ΡΠΊΡΠΈΠΏΡ.
Π§ΡΠΎ ΠΊΠ°ΡΠ°Π΅ΡΡΡ ΡΠΎΡΠΌΠΎΠ·Π½ΡΡ Π΄ΠΈΡΠΊΠΎΠ², ΡΠΎ Π±ΠΎΠ»ΡΡΠΈΠ½ΡΡΠ²ΠΎ Π΄Π΅ΡΠ°Π»Π΅ΠΉ ΠΏΡΠΎΠΈΠ·Π²ΠΎΠ΄ΠΈΡΡΡ ΠΈΠ· Π½Π΅Π΄ΠΎΡΠΎΠ³ΠΎ ΡΡΠ³ΡΠ½Π°. Π’Π°ΠΊ ΡΡΠΎ ΡΠ°ΠΌΡΠΌΠΈ ΡΠ°ΡΠΏΡΠΎΡΡΡΠ°Π½Π΅Π½Π½ΡΠΌΠΈ ΠΏΡΠΎΠ±Π»Π΅ΠΌΠ°ΠΌΠΈ ΡΠ²Π»ΡΡΡΡΡ:
- ΠΈΠ·Π½ΠΎΡ Π² ΡΠ΅Π·ΡΠ»ΡΡΠ°ΡΠ΅ ΡΡΠ΅Π½ΠΈΡ;
- ΠΊΠΎΡΠΎΠ±Π»Π΅Π½ΠΈΠ΅ ΠΈΠ·-Π·Π° ΠΏΠΎΡΡΠΎΡΠ½Π½ΠΎΠ³ΠΎ ΠΏΠ΅ΡΠ΅Π³ΡΠ΅Π²Π°.
ΠΠ΅Π»ΠΎ Π² ΡΠΎΠΌ, ΡΡΠΎ ΠΏΡΠΈ Π½Π°ΠΆΠ°ΡΠΈΠΈ Π½Π° ΠΏΠ΅Π΄Π°Π»Ρ ΡΠΎΡΠΌΠΎΠ·Π° Π΄ΠΈΡΠΊ Π½Π°Π³ΡΠ΅Π²Π°Π΅ΡΡΡ ΠΈ ΡΠ°ΡΡΠΈΡΡΠ΅ΡΡΡ. ΠΠ°ΠΊ ΡΠΎΠ»ΡΠΊΠΎ Π²Ρ ΠΎΡΠΏΡΡΠΊΠ°Π΅ΡΠ΅ ΠΏΠ΅Π΄Π°Π»Ρ β ΠΎΠ½ ΠΎΡΡΡΠ²Π°Π΅Ρ ΠΈ ΠΏΡΠΈΡ ΠΎΠ΄ΠΈΡ Π² Π½ΠΎΡΠΌΡ. ΠΡΠ»ΠΈ ΡΠΎΡΠΌΠΎΠΆΠ΅Π½ΠΈΠ΅ ΠΏΡΠΎΠΈΡΡ ΠΎΠ΄ΠΈΡ ΡΠ»ΠΈΡΠΊΠΎΠΌ ΡΠ΅Π·ΠΊΠΎ, Π° ΠΎΡ Π»Π°ΠΆΠ΄Π΅Π½ΠΈΠ΅ ΡΡΠΊΠΎΡΡΠ΅Ρ Π²ΠΎΠ΄Π° ΠΈΠ· Π»ΡΠΆΠΈ, ΡΠΎ Π΄ΠΈΡΠΊ Π½Π°ΡΠΈΠ½Π°Π΅Ρ Π΄Π΅ΡΠΎΡΠΌΠΈΡΠΎΠ²Π°ΡΡΡΡ. Π Π΅Π·ΡΠ»ΡΡΠ°Ρ ΠΏΠΎΠ΄ΠΎΠ±Π½ΠΎΠΉ Π½Π΅ΠΈΡΠΏΡΠ°Π²Π½ΠΎΡΡΠΈ β ΠΏΠΎΡΡΠΎΡΠ½Π½ΡΠ΅ Π²ΠΈΠ±ΡΠ°ΡΠΈΠΈ.
ΠΠΎΠΌΠ½ΠΈΡΠ΅, ΡΡΠΎ ΡΠΎΡΠΌΠΎΠ·Π½Π°Ρ ΡΠΈΡΡΠ΅ΠΌΠ° β Π·Π°Π»ΠΎΠ³ Π²Π°ΡΠ΅ΠΉ Π±Π΅Π·ΠΎΠΏΠ°ΡΠ½ΠΎΡΡΠΈ. Π’Π°ΠΊ ΡΡΠΎ ΠΏΡΠΈ ΠΏΠΎΡΠ²Π»Π΅Π½ΠΈΠΈ ΠΏΠ΅ΡΠ²ΡΡ
ΠΏΡΠΈΠ·Π½Π°ΠΊΠΎΠ² Π½Π΅ΠΈΡΠΏΡΠ°Π²Π½ΠΎΡΡΠΈ ΡΠΎΡΠΌΠΎΠ·Π½ΠΎΠ³ΠΎ Π΄ΠΈΡΠΊΠ° ΠΈΠ»ΠΈ Π΅Π³ΠΎ ΡΠΎΡΡΠ°Π²Π»ΡΡΡΠΈΡ
, Π½Π΅ΠΌΠ΅Π΄Π»Π΅Π½Π½ΠΎ ΠΎΡΠΏΡΠ°Π²Π»ΡΠΉΡΠ΅ΡΡ Π½Π° ΡΠ΅ΡΠ²ΠΈΡ Β«Π‘Π’ΠΠ ΠΒ». ΠΠ°ΡΡΠ΅ΡΠ° Π°Π²ΡΠΎΡΠ΅Π½ΡΡΠ° ΠΏΡΠΎΠ²Π΅Π΄ΡΡ Π΄ΠΈΠ°Π³Π½ΠΎΡΡΠΈΠΊΡ ΡΠΎΡΠΌΠΎΠ·Π½ΠΎΠΉ ΡΠΈΡΡΠ΅ΠΌΡ, ΠΎΠΏΡΠ΅Π΄Π΅Π»ΡΡ ΠΏΡΠΎΠ±Π»Π΅ΠΌΡ ΠΈ ΠΏΡΠ΅Π΄Π»ΠΎΠΆΠ°Ρ Π±ΡΡΡΡΡΠΉ ΠΈ Π½Π΅Π΄ΠΎΡΠΎΠ³ΠΎΡΡΠΎΡΡΠΈΠΉ ΡΠ΅ΠΌΠΎΠ½Ρ.
ΠΠΈΡΠΊΠΎΠ²ΡΠ΅ ΡΠΎΡΠΌΠΎΠ·Π½ΡΠ΅ ΠΌΠ΅Ρ Π°Π½ΠΈΠ·ΠΌΡ — ΠΠ»Π°ΡΡΠΈΡΠ΅ΡΠΊΠΈΠ΅ BMW
ΠΠΈΡΠΊΠΎΠ²ΡΠ΅ ΡΠΎΡΠΌΠΎΠ·Π½ΡΠ΅ ΠΌΠ΅Ρ Π°Π½ΠΈΠ·ΠΌΡ β ΡΡΠΎ ΡΠ°ΡΡΡ ΡΠΎΡΠΌΠΎΠ·Π½ΠΎΠΉ ΡΠΈΡΡΠ΅ΠΌΡ, ΠΎΡΠ½ΠΎΠ²Π°Π½Π½Π°Ρ Π½Π° Π΄ΠΈΡΠΊΠΎΠ²ΠΎΠΌ ΡΠΎΡΠΌΠΎΠ·Π΅.
ΠΡΡΠΎΡΠΈΡ ΡΠΎΠ·Π΄Π°Π½ΠΈΡ Π΄ΠΈΡΠΊΠΎΠ²ΡΡ ΡΠΎΡΠΌΠΎΠ·Π½ΡΡ ΠΌΠ΅Ρ Π°Π½ΠΈΠ·ΠΌΠΎΠ²
ΠΠ΅ΡΠ²ΡΠ΅ Π΄ΠΈΡΠΊΠΎΠ²ΡΠ΅ ΡΠΎΡΠΌΠΎΠ·Π° ΠΏΠΎΡΠ²ΠΈΠ»ΠΈΡΡ Π² 19-ΠΌ Π²Π΅ΠΊΠ΅. ΠΠΎ Ρ Π½ΠΈΡ
Π±ΡΠ»ΠΎ ΠΌΠ½ΠΎΠ³ΠΎ Π½Π΅Π΄ΠΎΡΡΠ°ΡΠΊΠΎΠ², Π΄Π΅Π»ΠΎ Π² ΡΠΎΠΌ, ΡΡΠΎ ΡΠΎΡΠΌΠΎΠ·Π½ΡΠ΅ ΠΊΠΎΠ»ΠΎΠ΄ΠΊΠΈ ΠΈΠ·Π³ΠΎΡΠ°Π²Π»ΠΈΠ²Π°Π»ΠΈ ΠΈΠ· ΠΌΠ΅Π΄ΠΈ, Π° ΠΎΠ½Π° Π±ΡΡΡΡΠΎ ΠΈΠ·Π½Π°ΡΠΈΠ²Π°Π»Π°ΡΡ ΠΏΡΠΈ ΡΡΠ΅Π½ΠΈΠΈ ΠΎ Π΄ΠΈΡΠΊ ΠΈ ΠΈΠ·Π΄Π°Π²Π°Π»ΠΈ Π³ΡΠΎΠΌΠΊΠΈΠΉ ΡΠΊΡΠΈΠΏ.
Π 1902-ΠΌ Π³ΠΎΠ΄Ρ Π£ΠΈΠ»ΡΡΠΌ ΠΠ°Π½ΡΠ΅ΡΡΠ΅Ρ ΠΏΠΎΠ»ΡΡΠΈΠ» ΠΏΠ°ΡΠ΅Π½Ρ. ΠΠΎ Π΄ΠΎ 60-Ρ
Π³ΠΎΠ΄ΠΎΠ² Π½Π΅ΠΎΠ±Ρ
ΠΎΠ΄ΠΈΠΌΠΎΡΡΠΈ Π² Π΄ΠΈΡΠΊΠΎΠ²ΡΡ
ΡΠΎΡΠΌΠΎΠ·Π°Ρ
Π½Π° Π³ΡΠ°ΠΆΠ΄Π°Π½ΡΠΊΠΈΡ
Π°Π²ΡΠΎΠΌΠΎΠ±ΠΈΠ»ΡΡ
Π½Π΅ Π±ΡΠ»ΠΎ. ΠΠ²ΡΠΎΠΌΠΎΠ±ΠΈΠ»ΠΈ Π² ΡΠ²ΠΎΠ΅ΠΌ Π±ΠΎΠ»ΡΡΠΈΠ½ΡΡΠ²Π΅ Π±ΡΠ»ΠΈ Π»Π΅Π³ΠΊΠΈΠΌΠΈ ΠΈ ΡΠ»Π°Π±ΡΠΌΠΈ, Π½ΠΎ ΠΊΠ°ΠΊ ΡΠΎΠ»ΡΠΊΠΎ Π² ΠΠΌΠ΅ΡΠΈΠΊΠΈ ΡΡΠ°Π»ΠΈ ΠΏΠΎΡΠ²Π»ΡΡΡΡΡ ΠΌΠ°ΡΠ» ΠΊΠ°ΡΡ Ρ ΠΌΠΎΡΠΎΡΠ°ΠΌΠΈ ΠΏΠΎΠ΄ 400 Π».Ρ., ΡΠΎ Π΄ΠΈΡΠΊΠΎΠ²ΡΠ΅ ΡΠΎΡΠΌΠΎΠ·Π° ΠΎΠΏΡΡΡ Π²ΡΡΠ»ΠΈ Π½Π° ΡΡΠ΅Π½Ρ ΠΈ ΡΡΠ°Π»ΠΈ ΡΡΡΠ°Π½Π°Π²Π»ΠΈΠ²Π°ΡΡΡΡ ΠΏΡΠ°ΠΊΡΠΈΡΠ΅ΡΠΊΠΈ Π½Π° Π²ΡΠ΅ Π°Π²ΡΠΎΠΌΠΎΠ±ΠΈΠ»ΠΈ. ΠΠΎ ΠΏΠ΅ΡΠ²ΠΎΠ΅ Π²ΡΠ΅ΠΌΡ Π΄ΠΈΡΠΊΠΎΠ²ΡΠ΅ ΠΌΠ΅Ρ
Π°Π½ΠΈΠ·ΠΌΡ ΡΡΡΠ°Π½Π°Π²Π»ΠΈΠ²Π°Π»ΠΈ ΡΠΎΠ»ΡΠΊΠΎ Π°Π½ ΠΏΠ΅ΡΠ΅Π΄Π½ΡΡ ΠΎΡΡ, Π° ΡΠ·Π°Π΄ΠΈ Π²ΡΠ΅ Π΅ΡΠ΅ ΡΡΠΎΡΠ»ΠΈ Π±Π°ΡΠ°Π±Π°Π½Π½ΡΠ΅.
Π 70-ΠΌ Π³ΠΎΠ΄Π°ΠΌ ΡΡΠ°Π»ΠΈ ΠΏΠΎΡΠ²Π»ΡΡΡΡΡ ΠΌΠΎΠ΄Π΅Π»ΠΈ ΡΠΎ Π²ΡΠ΅ΠΌΠΈ Π΄ΠΈΡΠΊΠΎΠ²ΡΠΌΠΈ ΡΠΎΡΠΌΠΎΠ·Π°ΠΌΠΈ.
ΠΡΠΎΠ±Π΅Π½Π½ΠΎΡΡΠΈ ΠΊΠΎΠ½ΡΡΡΡΠΊΡΠΈΠΈ Π΄ΠΈΡΠΊΠΎΠ²ΡΡ ΡΠΎΡΠΌΠΎΠ·Π½ΡΡ ΠΌΠ΅Ρ Π°Π½ΠΈΠ·ΠΌΠΎΠ²
Π’ΠΎΡΠΌΠΎΠ·Π½ΡΠ΅ ΠΊΠΎΠ»ΠΎΠ΄ΠΊΠΈ Ρ Π΄Π²ΡΡ
ΡΡΠΎΡΠΎΠ½ ΡΠΆΠΈΠΌΠ°ΡΡ ΠΌΠ΅ΡΠ°Π»Π»ΠΈΡΠ΅ΡΠΊΠΈΠΉ ΡΠΎΡΠΌΠΎΠ·Π½ΠΎΠΉ Π΄ΠΈΡΠΊ, ΡΠΎΠ·Π΄Π°Π΅ΡΡΡ Π±ΠΎΠ»ΡΡΠ°Ρ ΡΠΈΠ»Π° ΡΡΠ΅Π½ΠΈΡ, Π²ΡΡΠ°Π±Π°ΡΡΠ²Π°Π΅ΡΡΡ ΡΠ΅ΠΏΠ»ΠΎ ΠΈ ΠΌΠ°ΡΠΈΠ½Π° ΠΎΡΡΠ°Π½Π°Π²Π»ΠΈΠ²Π°Π΅ΡΡΡ. ΠΠΎΠ»ΠΎΠ΄ΠΊΠΈ ΠΏΡΠΈΠ²ΠΎΠ΄ΡΡΡΡ Π² Π΄Π΅ΠΉΡΡΠ²ΠΈΠ΅ ΠΏΠΎΡΡΠ½ΡΠΌΠΈ, Π² ΠΊΠΎΡΠΎΡΡΠ΅ ΠΏΠΎΠ΄Π°Π΅ΡΡΡ ΠΏΠΎΠ΄ Π±ΠΎΠ»ΡΡΠΈΠΌ Π΄Π°Π²Π»Π΅Π½ΠΈΠ΅ΠΌ ΠΆΠΈΠ΄ΠΊΠΎΡΡΡ, ΠΊΠΎΡΠΎΡΠ°Ρ ΠΏΠΎΡΡΡΠΏΠ°Π΅Ρ ΠΈΠ· ΡΡΠΈΠ»ΠΈΡΠ΅Π»Ρ ΡΠΎΡΠΌΠΎΠ·ΠΎΠ².
ΠΡΠ²Π°ΡΡ Π΄ΠΈΡΠΊΠΈ ΠΎΠ΄Π½ΠΎΡΠ»ΠΎΠΉΠ½ΡΠ΅, Π° Π±ΡΠ²Π°ΡΡ Π²Π΅Π½ΡΠΈΠ»ΠΈΡΡΠ΅ΠΌΡΠ΅, ΠΊΠΎΡΠΎΡΡΠ΅ ΡΠΎΡΡΠΎΡΡ ΠΈΠ· Π΄Π²ΡΡ
Π΄ΠΈΡΠΊΠΎΠ², Π° ΠΌΠ΅ΠΆΠ΄Ρ Π½ΠΈΠΌΠΈ ΡΠ°Π·ΠΌΠ΅ΡΠ΅Π½Ρ Π»ΠΎΠΏΠ°ΡΡΠΈ, ΠΊΠΎΡΠΎΡΡΠ΅ ΠΏΡΠΈ Π΄Π²ΠΈΠΆΠ΅Π½ΠΈΠΈ ΡΠΏΠΎΡΠΎΠ±Π½Ρ ΠΏΡΠΎΠ³ΠΎΠ½ΡΡΡ ΡΠ΅ΡΠ΅Π· ΡΠ΅Π±Ρ Π²ΠΎΠ·Π΄ΡΡ
. ΠΠ΅Π½ΡΠΈΠ»ΠΈΡΡΠ΅ΠΌΡΠ΅ Π»ΡΡΡΠ΅ ΠΎΡ
Π»Π°ΠΆΠ΄Π°ΡΡΡΡ ΠΈ Π½Π΅ ΡΠ΅ΡΡΡΡ ΡΠ²ΠΎΠ΅ΠΉ ΡΡΡΠ΅ΠΊΡΠΈΠ²Π½ΠΎΡΡΡ.
ΠΠ»ΡΡΡ ΠΈ ΠΌΠΈΠ½ΡΡΡ Π΄ΠΈΡΠΊΠΎΠ²ΡΡ ΡΠΎΡΠΌΠΎΠ·Π½ΡΡ ΠΌΠ΅Ρ Π°Π½ΠΈΠ·ΠΌΠΎΠ²
Π ΠΏΠ»ΡΡΠ°ΠΌ ΠΌΠΎΠΆΠ½ΠΎ ΠΎΡΠ½Π΅ΡΡΠΈ Π±ΠΠ»ΡΡΡΡ ΡΡΡΠ΅ΠΊΡΠΈΠ²Π½ΠΎΡΡΡ, ΡΠ΅ΠΌ Ρ Π±Π°ΡΠ°Π±Π°Π½Π½ΡΡ
ΠΌΠ΅Ρ
Π°Π½ΠΈΠ·ΠΌΠΎΠ². ΠΡΡΡΠ΅Π΅ ΠΎΡ
Π»Π°ΠΆΠ΄Π΅Π½ΠΈΠ΅, ΡΠΏΠΎΡΠΎΠ±Π½ΠΎΡΡΡ ΠΎΡΠΈΡΠ°ΡΡΡΡ ΠΎΡ Π³ΡΡΠ·ΠΈ, Π½ΠΎ ΠΈΠ·-Π·Π° ΡΠΎΠ³ΠΎ, ΡΡΠΎ ΠΌΠ΅Ρ
Π°Π½ΠΈΠ·ΠΌ Π²Π΅ΡΡ ΠΎΡΠΊΡΡΡ, ΡΠΎ Π½Π° Π½Π΅Π³ΠΎ ΠΏΠΎΠΏΠ°Π΄Π°Π΅Ρ Π³ΡΡΠ·Ρ ΠΈ Π²ΠΎΠ΄Π°, ΠΈΠ·Π½Π°ΡΠΈΠ²Π°Ρ ΠΏΡΠ»ΡΠ½ΠΈΠΊΠΈ ΠΈ ΠΏΠΎΠΊΡΡΠ²Π°Ρ ΠΊΠΎΡΡΠΎΠ·ΠΈΠ΅ΠΉ Π΄ΠΈΡΠΊ. ΠΠ°ΠΌΠ΅Π½Π° ΠΊΠΎΠ»ΠΎΠ΄ΠΎΠΊ ΠΈ Π΄ΠΈΡΠΊΠΎΠ² Π½Π΅ ΠΏΡΠ΅Π΄ΡΡΠ°Π²Π»ΡΠ΅Ρ ΠΈΠ· ΡΠ΅Π±Ρ ΠΏΡΠΎΠ±Π»Π΅ΠΌΡ, Π² Π³Π°ΡΠ°ΠΆΠ½ΡΡ
ΡΡΠ»ΠΎΠ²ΠΈΡΡ
Π²ΡΠ΅Π³Π΄Π° ΠΌΠΎΠΆΠ½ΠΎ Π±Π΅Π· ΠΏΡΠΎΠ±Π»Π΅ΠΌ ΠΈΡ
Π·Π°ΠΌΠ΅Π½ΠΈΡΡ ΡΠ°ΠΌΠΎΡΡΠΎΡΡΠ΅Π»ΡΠ½ΠΎ.
ΠΠ΅Π»ΠΎΡΠΈΠΏΠ΅Π΄Π½ΡΠ΅ ΡΠΎΡΠΌΠΎΠ·Π°. ΠΠ΅Π»ΠΎΡΠΈΠΏΠ΅Π΄Ρ Forward
Π’ΠΎΡΠΌΠΎΠ·Π° Π΄Π»Ρ Π²Π΅Π»ΠΎΡΠΈΠΏΠ΅Π΄Π°, ΠΊΠ°ΠΊ ΠΈ Π΄Π»Ρ Π»ΡΠ±ΠΎΠ³ΠΎ Π΄ΡΡΠ³ΠΎΠ³ΠΎ ΡΡΠ°Π½ΡΠΏΠΎΡΡΠ½ΠΎΠ³ΠΎ ΡΡΠ΅Π΄ΡΡΠ²Π° β ΠΎΠ±ΡΠ·Π°ΡΠ΅Π»ΡΠ½ΡΠΉ ΡΠ»Π΅ΠΌΠ΅Π½Ρ, Π½Π΅ΠΎΠ±Ρ ΠΎΠ΄ΠΈΠΌΡΠΉ Π΄Π»Ρ ΡΠΏΡΠ°Π²Π»Π΅Π½ΠΈΡ Π²Π΅Π»ΠΎΡΠΈΠΏΠ΅Π΄ΠΎΠΌ ΠΈ ΠΎΠ±Π΅ΡΠΏΠ΅ΡΠ΅Π½ΠΈΡ Π±Π΅Π·ΠΎΠΏΠ°ΡΠ½ΠΎΡΡΠΈ. Π Π°Π·Π»ΠΈΡΠ°ΡΡ ΡΠ»Π΅Π΄ΡΡΡΠΈΠ΅ ΡΠΈΠΏΡ:
1. ΠΠ°ΡΠ°Π±Π°Π½Π½ΡΠ΅ ΡΠΎΡΠΌΠΎΠ·Π°.
2. ΠΠ±ΠΎΠ΄Π½ΡΠ΅ ΡΠΎΡΠΌΠΎΠ·Π°.
3. ΠΠΈΡΠΊΠΎΠ²ΡΠ΅ ΡΠΎΡΠΌΠΎΠ·Π°.
ΠΠ΅Π»ΠΎΡΠΈΠΏΠ΅Π΄ Ρ ΠΊΠ°ΠΊΠΈΠΌ ΡΠΈΠΏΠΎΠΌ ΡΠΎΡΠΌΠΎΠ·ΠΎΠ² Π²ΡΠ±ΡΠ°ΡΡ? ΠΠ»Ρ ΠΎΡΠ²Π΅ΡΠ° Π½Π° ΡΡΠΎΡ Π²ΠΎΠΏΡΠΎΡ ΡΡΠΎΠΈΡ ΡΠ°Π·ΠΎΠ±ΡΠ°ΡΡΡΡ Π² ΠΎΡΠΎΠ±Π΅Π½Π½ΠΎΡΡΡΡ ΠΊΠ°ΠΆΠ΄ΠΎΠ³ΠΎ ΡΠΈΠΏΠ° ΡΠΎΡΠΌΠΎΠ·ΠΎΠ².
ΠΠ°ΡΠ°Π±Π°Π½Π½ΡΠ΅ ΡΠΎΡΠΌΠΎΠ·Π°
Π’ΠΎΡΠΌΠΎΠ· Π±Π°ΡΠ°Π±Π°Π½Π½ΠΎΠ³ΠΎ ΡΠΈΠΏΠ° (ΠΈΠ½Π°ΡΠ΅ Π½Π°Π·ΡΠ²Π°Π΅ΡΡΡ Β«Π½ΠΎΠΆΠ½ΠΎΠΉ ΡΠΎΡΠΌΠΎΠ·Β») ΡΠ°ΡΠΏΠΎΠ»Π°Π³Π°Π΅ΡΡΡ Π² Π·Π°Π΄Π½Π΅ΠΉ Π²ΡΡΠ»ΠΊΠ΅ Π²Π΅Π»ΠΎΡΠΈΠΏΠ΅Π΄Π° ΠΈ ΠΈΠΌΠ΅Π΅Ρ Π²Π½ΡΡΡΠΈ ΡΠΎΡΠΌΠΎΠ·Π½ΡΠ΅ ΠΊΠΎΠ»ΠΎΠ΄ΠΊΠΈ. ΠΡΠΎΡΠ΅ΡΡ ΡΠΎΡΠΌΠΎΠΆΠ΅Π½ΠΈΡ ΠΈΠ½ΠΈΡΠΈΠΈΡΡΠ΅ΡΡΡ ΠΏΡΠΈ Π²ΡΠ°ΡΠ΅Π½ΠΈΠΈ ΠΊΠ°ΡΠ΅ΡΠΊΠΈ ΠΏΡΠΎΡΠΈΠ² Π΄Π²ΠΈΠΆΠ΅Π½ΠΈΡ. Π ΡΠ΅Π·ΡΠ»ΡΡΠ°ΡΠ΅ ΡΡΠΎΠ³ΠΎ ΡΠΎΡΠΌΠΎΠ·Π½ΡΠ΅ ΠΊΠΎΠ»ΠΎΠ΄ΠΊΠΈ ΡΠ°Π·Π²ΠΎΠ΄ΡΡΡΡ Π² ΡΡΠΎΡΠΎΠ½Ρ ΠΈ ΠΏΡΠΈΠΆΠΈΠΌΠ°ΡΡΡΡ ΠΊ Π±Π°ΡΠ°Π±Π°Π½Ρ. ΠΠ΅ΠΆΠ΄Ρ ΠΊΠΎΠ»ΠΎΠ΄ΠΊΠ°ΠΌΠΈ ΠΈ Π±Π°ΡΠ°Π±Π°Π½ΠΎΠΌ Π²ΠΎΠ·Π½ΠΈΠΊΠ°Π΅Ρ ΡΡΠ΅Π½ΠΈΠ΅, Π±Π»Π°Π³ΠΎΠ΄Π°ΡΡ ΠΊΠΎΡΠΎΡΠΎΠΌΡ ΠΈ ΠΏΡΠΎΠΈΡΡ
ΠΎΠ΄ΠΈΡ ΡΠΎΡΠΌΠΎΠΆΠ΅Π½ΠΈΠ΅. ΠΠ°ΡΠ°Π±Π°Π½Π½ΡΠ΅ ΡΠΎΡΠΌΠΎΠ·Π° ΠΎΠ±ΡΡΠ½ΠΎ ΡΡΡΠ°Π½Π°Π²Π»ΠΈΠ²Π°ΡΡΡΡ Π½Π° Π΄Π΅ΡΡΠΊΠΈΠ΅ Π²Π΅Π»ΠΎΡΠΈΠΏΠ΅Π΄Ρ ΠΈ Π½Π° Π½Π΅Π΄ΠΎΡΠΎΠ³ΠΈΠ΅ Π³ΠΎΡΠΎΠ΄ΡΠΊΠΈΠ΅ Π²Π΅Π»ΠΎΡΠΈΠΏΠ΅Π΄Ρ Π΄Π»Ρ Π²Π·ΡΠΎΡΠ»ΡΡ
.
| ΠΡΠ΅ΠΈΠΌΡΡΠ΅ΡΡΠ²Π° | ΠΠ΅Π΄ΠΎΡΡΠ°ΡΠΊΠΈ |
|---|---|
|
|
ΠΠ±ΠΎΠ΄Π½ΡΠ΅ ΡΠΎΡΠΌΠΎΠ·Π°
ΠΡΠΎ ΡΠ°ΠΌΡΠΉ ΠΏΠΎΠΏΡΠ»ΡΡΠ½ΡΠΉ ΡΠΈΠΏ ΡΠΎΡΠΌΠΎΠ·ΠΎΠ² Π½Π° ΡΠ΅Π³ΠΎΠ΄Π½Ρ. ΠΡΠΈΠ½ΡΠΈΠΏ ΠΈΡ Π΄Π΅ΠΉΡΡΠ²ΠΈΡ Π·Π°ΠΊΠ»ΡΡΠ°Π΅ΡΡΡ Π² ΡΠ»Π΅Π΄ΡΡΡΠ΅ΠΌ: ΠΏΡΠΈ ΠΏΡΠΈΠ»ΠΎΠΆΠ΅Π½ΠΈΠΈ ΡΡΠΈΠ»ΠΈΡ, ΠΊΠΎΡΠΎΡΠΎΠ΅ ΠΏΠ΅ΡΠ΅Π΄Π°Π΅ΡΡΡ ΡΠ΅ΡΠ΅Π· ΡΡΠΎΡΠΈΠΊ ΠΊ ΡΠΎΡΠΌΠΎΠ·Π½ΡΠΌ ΡΡΡΠ°Π³Π°ΠΌ, ΡΠΎΡΠΌΠΎΠ·Π½ΡΠ΅ ΠΊΠΎΠ»ΠΎΠ΄ΠΊΠΈ Π½Π° ΡΠΎΡΠΌΠΎΠ·Π½ΡΡ ΡΡΡΠ°Π³Π°Ρ ΠΏΠ»ΠΎΡΠ½ΠΎ ΠΏΡΠΈΠ»Π΅Π³Π°ΡΡ ΠΊ ΠΎΠ±ΠΎΠ΄Ρ ΠΊΠΎΠ»Π΅ΡΠ°, Π±Π»Π°Π³ΠΎΠ΄Π°ΡΡ ΡΠ΅ΠΌΡ ΠΈ ΠΎΠ±Π΅ΡΠΏΠ΅ΡΠΈΠ²Π°Π΅ΡΡΡ ΡΠΎΡΠΌΠΎΠΆΠ΅Π½ΠΈΠ΅. ΠΠ±ΠΎΠ΄Π½ΡΠ΅ ΡΠΎΡΠΌΠΎΠ·Π° Π±ΡΠ²Π°ΡΡ ΠΊΠ°Π½ΡΠΈΠ»Π΅Π²Π΅ΡΠ½ΡΠ΅, ΠΊΠ»Π΅ΡΠ΅Π²ΡΠ΅ ΠΈ V-brake.
ΠΠ°Π½ΡΠΈΠ»Π΅Π²Π΅ΡΠ½ΡΠ΅ ΡΠΎΡΠΌΠΎΠ·Π°
ΠΡ ΠΌΠ΅Ρ Π°Π½ΠΈΠ·ΠΌ ΡΠΎΡΡΠΎΠΈΡ ΠΈΠ· Π΄Π²ΡΡ ΡΡΡΠ°Π³ΠΎΠ² Ρ ΡΠΎΡΠΌΠΎΠ·Π½ΡΠΌΠΈ ΠΊΠΎΠ»ΠΎΠ΄ΠΊΠ°ΠΌΠΈ, ΠΏΡΠΈΠΊΡΠ΅ΠΏΠ»Π΅Π½Π½ΡΡ ΠΊ ΠΏΠΈΠ²ΠΎΡΠ°ΠΌ Π½Π° Π²ΠΈΠ»ΠΊΠ΅. Π‘ ΠΏΠΎΠΌΠΎΡΡΡ ΠΏΠ°ΡΡ ΡΡΠ³ ΡΡΠΎΡ ΠΏΠ΅ΡΠ΅Π΄Π²ΠΈΠ³Π°Π΅Ρ ΡΡΡΠ°Π³ΠΈ, ΠΏΠΎΡΠ»Π΅ ΡΠ΅Π³ΠΎ ΠΈ ΠΏΡΠΎΠΈΡΡ ΠΎΠ΄ΠΈΡ ΡΠΎΡΠΌΠΎΠΆΠ΅Π½ΠΈΠ΅. ΠΡΠΎΡ ΠΌΠ΅Ρ Π°Π½ΠΈΠ·ΠΌ ΠΏΡΠΎΡΡ ΠΈ Π½Π°Π΄ΡΠΆΠ΅Π½, ΠΎΠ΄Π½Π°ΠΊΠΎ Π²ΡΡΡΠ΅ΡΠ°Π΅ΡΡΡ Π²ΡΠ΅ ΡΠ΅ΠΆΠ΅ ΠΈ ΡΠ΅ΠΆΠ΅. ΠΠ½ Π²ΡΡΠ΅ΡΠ½ΡΠ΅ΡΡΡ Π΄ΡΡΠ³ΠΈΠΌΠΈ Π΄ΡΡΠ³ΠΈΠΌΠΈ ΡΠΈΠΏΠ°ΠΌΠΈ ΡΠΎΡΠΌΠΎΠ·ΠΎΠ² Ρ Π±ΠΎΠ»Π΅Π΅ ΡΡΡΠ΅ΠΊΡΠΈΠ²Π½ΠΎΠΉ ΡΠΈΠ»ΠΎΠΉ ΡΠΎΡΠΌΠΎΠΆΠ΅Π½ΠΈΡ.
ΠΠ»Π΅ΡΠ΅Π²ΡΠ΅ ΡΠΎΡΠΌΠΎΠ·Π°
Π§Π°ΡΠ΅ Π²ΡΠ΅Π³ΠΎ ΠΏΡΠΈΠΌΠ΅Π½ΡΡΡΡΡ Π½Π° ΡΠΎΡΡΠ΅ΠΉΠ½ΡΡ
Π²Π΅Π»ΠΎΡΠΈΠΏΠ΅Π΄Π°Ρ
, Π½ΠΎ ΠΈ ΡΠ°ΠΌ Π½Π° Π·Π°ΠΌΠ΅Π½Ρ ΠΈΠΌ ΠΏΠΎΡΡΠ΅ΠΏΠ΅Π½Π½ΠΎ ΠΏΡΠΈΡ
ΠΎΠ΄ΡΡ Π΄ΡΡΠ³ΠΈΠ΅ ΡΠΈΠΏΡ ΡΠΎΡΠΌΠΎΠ·ΠΎΠ².
ΠΠ°Π·Π²Π°Π½ΠΈΠ΅ ΡΠΎΡΠΌΠΎΠ·ΠΎΠ² ΠΊΡΠ°ΡΠ½ΠΎΡΠ΅ΡΠΈΠ²ΠΎ Π³ΠΎΠ²ΠΎΡΠΈΡ ΠΎ Π΅Π³ΠΎ ΠΊΠΎΠ½ΡΡΡΡΠΊΡΠΈΠΈ: ΡΠΎΡΠΌΠΎΠ·Π½ΡΠ΅ ΠΊΠΎΠ»ΠΎΠ΄ΠΊΠΈ ΠΏΡΠΈΠΆΠΈΠΌΠ°ΡΡΡΡ ΠΊ ΠΎΠ±ΠΎΠ΄Ρ ΠΈΠ·ΠΎΠ³Π½ΡΡΡΠΌΠΈ ΡΡΡΠ°Π³Π°ΠΌΠΈ, ΠΊΠΎΡΠΎΡΡΠ΅ Π²Π½Π΅ΡΠ½Π΅ Π½Π°ΠΏΠΎΠΌΠΈΠ½Π°ΡΡ ΠΊΠ»Π΅ΡΠΈ.Β ΠΠ»Π΅ΡΠ΅Π²ΡΠ΅ ΡΠΎΡΠΌΠΎΠ·Π° ΡΡΡΠ°Π½ΠΎΠ²Π»Π΅Π½Ρ Π½Π° Π²Π΅Π»ΠΎΡΠΈΠΏΠ΅Π΄Π°Ρ
Forward Impulse (2020).
V-brake ΡΠΎΡΠΌΠΎΠ·Π°
Π’ΠΎΡΠΌΠΎΠ·Π° V-brake ΠΊΡΠ΅ΠΏΡΡΡΡ ΠΏΠΎ ΡΠ°ΠΊΠΎΠΌΡ ΠΆΠ΅ ΠΏΡΠΈΠ½ΡΠΈΠΏΡ, ΡΡΠΎ ΠΈ ΠΊΠ°Π½ΡΠΈΠ»Π΅Π²Π΅ΡΠ½ΡΠ΅ ΡΠΎΡΠΌΠΎΠ·Π°. Π’ΠΎΡΠΌΠΎΠ·Π½ΠΎΠΉ ΡΡΠΎΡΠΈΠΊ ΠΏΠΎΠ΄Π²Π΅Π΄Π΅Π½ ΡΠ±ΠΎΠΊΡ ΠΊ Π²Π΅ΡΡ Π½Π΅ΠΉ ΡΠ°ΡΡΠΈ ΡΠΎΡΠΌΠΎΠ·Π½ΠΎΠ³ΠΎ ΡΡΡΠ°Π³Π°. Π’ΠΎΡΠΌΠΎΠ·Π½ΠΎΠΉ ΡΡΡΠ°Π³ ΡΠΆΠΈΠΌΠ°Π΅Ρ ΠΎΠ±Π΅ ΡΠ°ΡΡΠΈ ΡΠΎΡΠΌΠΎΠ·Π° Ρ ΠΊΠ°ΡΡΡΠΈΠ΄ΠΆΠ½ΡΠΌΠΈ ΡΠΎΡΠΌΠΎΠ·Π½ΡΠΌΠΈ ΠΊΠΎΠ»ΠΎΠ΄ΠΊΠ°ΠΌΠΈ. Π’Π°ΠΊΠ°Ρ ΡΠΈΡΡΠ΅ΠΌΠ° ΠΏΠ°ΡΠ°Π»Π»Π΅Π»ΡΠ½ΠΎΠ³ΠΎ ΠΏΡΠΈΠΆΠΈΠΌΠ°Π½ΠΈΡ ΠΊΠΎΠ»ΠΎΠ΄ΠΎΠΊ ΠΏΠΎΠ·Π²ΠΎΠ»ΡΠ΅Ρ ΠΎΠ±Π΅ΡΠΏΠ΅ΡΠΈΠ²Π°ΡΡ ΡΡΡΠ΅ΠΊΡΠΈΠ²Π½ΠΎΠ΅ ΡΠΎΡΠΌΠΎΠΆΠ΅Π½ΠΈΠ΅. ΠΠ°ΡΡΡΠΈΠ΄ΠΆΠ½ΡΠ΅ ΡΠΎΡΠΌΠΎΠ·Π½ΡΠ΅ ΠΊΠΎΠ»ΠΎΠ΄ΠΊΠΈ ΠΊ ΡΠΎΠΌΡ ΠΆΠ΅ ΠΌΠΎΠΆΠ½ΠΎ Π»Π΅Π³ΠΊΠΎ ΠΌΠ΅Π½ΡΡΡ Ρ ΠΏΠΎΠΌΠΎΡΡΡ ΠΎΠ±ΡΡΠ½ΠΎΠ³ΠΎ ΡΠ΅ΡΡΠΈΠ³ΡΠ°Π½Π½ΠΈΠΊΠ°. ΠΠ° Π΄Π°Π½Π½ΡΠΉ ΠΌΠΎΠΌΠ΅Π½Ρ ΡΡΠΎΡ ΡΠΈΠΏ ΡΠΎΡΠΌΠΎΠ·ΠΎΠ² Π½Π°ΠΈΠ±ΠΎΠ»Π΅Π΅ ΡΠ°ΡΠΏΡΠΎΡΡΡΠ°Π½Π΅Π½. ΠΠ½ ΠΈΡΠΏΠΎΠ»ΡΠ·ΡΠ΅ΡΡΡ Π½Π° Π²Π΅Π»ΠΎΡΠΈΠΏΠ΅Π΄Π°Ρ ΠΏΠΎΡΡΠΈ Π²ΡΠ΅Ρ ΡΠΈΠΏΠΎΠ². Π ΠΏΡΠΈΠΌΠ΅ΡΡ:
— Π³ΠΎΡΠ½ΡΠΉ Ρ
Π°ΡΠ΄ΡΠ΅ΠΉΠ»: Forward Sporting 27,5 1.0 (2020)
— Π³ΠΎΡΠ½ΡΠΉ Π΄Π²ΡΡ
ΠΏΠΎΠ΄Π²Π΅Ρ: Forward Raptor 27,5 1.0 (2020)
— Π³ΠΎΡΠΎΠ΄ΡΠΊΠΎΠΉ: Forward Parma 28 (2020)
Π’Π°ΠΊ ΠΊΠ°ΠΊ V-brake ΡΠΎΡΠΌΠΎΠ·Π° β ΡΡΠΎ ΡΠ°ΠΌΡΠΉ ΡΠ°ΡΠΏΡΠΎΡΡΡΠ°Π½Π΅Π½Π½ΡΠΉ ΡΠΈΠΏ ΠΎΠ±ΠΎΠ΄Π½ΡΡ
ΡΠΎΡΠΌΠΎΠ·ΠΎΠ², ΡΡΠΎΠΈΡ ΠΎΡΠ΄Π΅Π»ΡΠ½ΠΎ ΡΠ°ΡΡΠΌΠΎΡΡΠ΅ΡΡ ΠΈΡ
ΠΏΡΠ΅ΠΈΠΌΡΡΠ΅ΡΡΠ²Π° ΠΈ Π½Π΅Π΄ΠΎΡΡΠ°ΡΠΊΠΈ.
| ΠΡΠ΅ΠΈΠΌΡΡΠ΅ΡΡΠ²Π° | ΠΠ΅Π΄ΠΎΡΡΠ°ΡΠΊΠΈ |
|---|---|
|
|
ΠΠΈΡΠΊΠΎΠ²ΡΠ΅ ΡΠΎΡΠΌΠΎΠ·Π°
ΠΠΈΡΠΊΠΎΠ²ΡΠ΅ ΡΠΎΡΠΌΠΎΠ·Π° Ρ Π½Π΅Π±ΠΎΠ»ΡΡΠΈΠΌΠΈ ΠΈΠ·ΠΌΠ΅Π½Π΅Π½ΠΈΡΠΌΠΈ, Π΄ΠΎΡΠ°Π±ΠΎΡΠΊΠ°ΠΌΠΈ ΠΈ ΠΏΡΠΈΡΠΏΠΎΡΠΎΠ±Π»Π΅Π½ΠΈΡΠΌΠΈ ΠΏΡΠΈΡΠ»ΠΈ Π² Π²Π΅Π»ΠΎΠΌΠΈΡ ΠΈΠ· ΠΌΠΈΡΠ° ΠΌΠΎΡΠΎΡΠΈΠΊΠ»ΠΎΠ² ΠΈ Π°Π²ΡΠΎΠΌΠΎΠ±ΠΈΠ»Π΅ΠΉ. Π Π·Π°Π²ΠΈΡΠΈΠΌΠΎΡΡΠΈ ΠΎΡ ΡΠΈΠΏΠ° ΠΏΡΠΈΠ²ΠΎΠ΄Π° Π΄ΠΈΡΠΊΠΎΠ²ΡΠ΅ ΡΠΎΡΠΌΠΎΠ·Π° Π΄Π΅Π»ΡΡΡΡ Π½Π° ΠΌΠ΅Ρ
Π°Π½ΠΈΡΠ΅ΡΠΊΠΈΠ΅ ΠΈ Π³ΠΈΠ΄ΡΠ°Π²Π»ΠΈΡΠ΅ΡΠΊΠΈΠ΅. Π ΠΌΠ΅Ρ
Π°Π½ΠΈΡΠ΅ΡΠΊΠΎΠΌ Π΄ΠΈΡΠΊΠΎΠ²ΠΎΠΌ ΡΠΎΡΠΌΠΎΠ·Π΅ ΡΡΠΈΠ»ΠΈΠ΅ ΠΎΡ ΡΠΎΡΠΌΠΎΠ·Π½ΠΎΠΉ ΡΡΡΠΊΠΈ ΠΊ ΡΠΎΡΠΌΠΎΠ·Π½ΡΠΌ ΠΊΠΎΠ»ΠΎΠ΄ΠΊΠ°ΠΌ ΠΏΠ΅ΡΠ΅Π΄Π°ΡΡΡΡ Ρ ΠΏΠΎΠΌΠΎΡΡΡ ΡΡΠΎΡΠ°, Π° Π² Π³ΠΈΠ΄ΡΠ°Π²Π»ΠΈΡΠ΅ΡΠΊΠΎΠΌ Π΄ΠΈΡΠΊΠΎΠ²ΠΎΠΌ ΡΠΎΡΠΌΠΎΠ·Π΅ β ΡΠ΅ΡΠ΅Π· Π³ΠΈΠ΄ΡΠ°Π²Π»ΠΈΡΠ΅ΡΠΊΡΡ ΡΠΈΡΡΠ΅ΠΌΡ, Π·Π°ΠΏΠΎΠ»Π½Π΅Π½Π½ΡΡ ΡΠΎΡΠΌΠΎΠ·Π½ΠΎΠΉ ΠΆΠΈΠ΄ΠΊΠΎΡΡΡΡ.
ΠΡΠΈ Π½Π°ΠΆΠ°ΡΠΈΠΈ Π½Π° ΡΠΎΡΠΌΠΎΠ·Π½ΡΡ ΡΡΡΠΊΡ Ρ ΠΌΠ΅Ρ
Π°Π½ΠΈΡΠ΅ΡΠΊΠΎΠ³ΠΎ ΡΠΎΡΠΌΠΎΠ·Π° Π½Π°ΡΡΠ³ΠΈΠ²Π°Π΅ΡΡΡ ΡΡΠΎΡΠΈΠΊ, ΡΡΠΎ ΡΡΠΈΠ»ΠΈΠ΅ ΠΏΠ΅ΡΠ΅Π΄Π°Π΅ΡΡΡ ΠΊ ΡΠΎΡΠΌΠΎΠ·Π½ΡΠΌ ΠΊΠΎΠ»ΠΎΠ΄ΠΊΠ°ΠΌ, ΠΊΠΎΡΠΎΡΡΠ΅, ΠΏΡΠΈΠΆΠΈΠΌΠ°ΡΡΡ ΠΊ ΡΠΎΡΠΌΠΎΠ·Π½ΠΎΠΌΡ Π΄ΠΈΡΠΊΡ, ΠΏΡΠΈΠ²ΠΎΠ΄ΡΡ ΠΊ ΡΠΎΡΠΌΠΎΠΆΠ΅Π½ΠΈΡ. Π ΡΠ»ΡΡΠ°Π΅ Ρ Π³ΠΈΠ΄ΡΠ°Π²Π»ΠΈΡΠ΅ΡΠΊΠΈΠΌ ΡΠΎΡΠΌΠΎΠ·ΠΎΠΌ Π½Π΅ΠΎΠ±Ρ
ΠΎΠ΄ΠΈΠΌΠΎΠ΅ ΡΡΠΈΠ»ΠΈΠ΅ ΠΏΠ΅ΡΠ΅Π΄Π°Π΅ΡΡΡ ΡΠ΅ΡΠ΅Π· Π³ΠΈΠ΄ΡΠΎΠ»ΠΈΠ½ΠΈΡ ΠΎΡ ΡΠΎΡΠΌΠΎΠ·Π½ΠΎΠΉ ΡΡΡΠΊΠΈ Π½Π°ΠΏΡΡΠΌΡΡ ΠΊ ΠΊΠΎΠ»ΠΎΠ΄ΠΊΠ°ΠΌ. ΠΠ΅Π»ΠΎΡΠΈΠΏΠ΅Π΄Ρ Forward Ρ Π΄ΠΈΡΠΊΠΎΠ²ΡΠΌΠΈ ΡΠΎΡΠΌΠΎΠ·Π°ΠΌΠΈ ΠΎΡΠ΅Π½Ρ Π»Π΅Π³ΠΊΠΎ ΠΈΠ΄Π΅Π½ΡΠΈΡΠΈΡΠΈΡΠΎΠ²Π°ΡΡ: Π² ΠΊΠΎΠ½ΡΠ΅ Π½Π°Π·Π²Π°Π½ΠΈΡ ΠΌΠΎΠ΄Π΅Π»ΠΈ Π΅ΡΡΡ ΡΠ»ΠΎΠ²ΠΎ «disc» (ΠΊ ΠΏΡΠΈΠΌΠ΅ΡΡ Forward Next 3.0 disc).
Π£ΡΡΡΠΎΠΉΡΡΠ²ΠΎ Π΄ΠΈΡΠΊΠΎΠ²ΡΡ ΡΠΎΡΠΌΠΎΠ·ΠΎΠ²
ΠΠΈΡΠΊΠΎΠ²ΡΠΉ ΡΠΎΡΠΌΠΎΠ· ΡΠΎΡΡΠΎΠΈΡ ΠΈΠ· ΡΠΎΡΠΌΠΎΠ·Π½ΠΎΠ³ΠΎ Π΄ΠΈΡΠΊΠ° (ΡΠΎΡΠΎΡΠ°), ΠΏΡΠΈΠΊΡΠ΅ΠΏΠ»Π΅Π½Π½ΠΎΠ³ΠΎ ΠΊ Π²ΡΡΠ»ΠΊΠ΅ ΠΊΠΎΠ»Π΅ΡΠ°, ΠΈ ΡΠΎΡΠΌΠΎΠ·Π½ΠΎΠΉ ΠΌΠ°ΡΠΈΠ½ΠΊΠΈ (ΠΊΠ°Π»ΠΈΠΏΠ΅ΡΠ°), Π²Π½ΡΡΡΠΈ ΠΊΠΎΡΠΎΡΠΎΠΉ ΡΠ°Π·ΠΌΠ΅ΡΠ΅Π½Ρ ΡΠΎΡΠΌΠΎΠ·Π½ΡΠ΅ ΠΊΠΎΠ»ΠΎΠ΄ΠΊΠΈ. ΠΠΈΡΠΊΠΎΠ²ΡΠ΅ ΡΠΎΡΠΎΡΡ Π±ΡΠ²Π°ΡΡ Π½Π΅ΡΠΊΠΎΠ»ΡΠΊΠΈΡ ΡΠ°Π·ΠΌΠ΅ΡΠΎΠ²: 140, 160, 180, 185, 203 ΠΈ 220 ΠΌΠΌ. Π§Π΅ΠΌ Π±ΠΎΠ»ΡΡΠ΅ Π΄ΠΈΠ°ΠΌΠ΅ΡΡ ΡΠΎΡΠΎΡΠ°, ΡΠ΅ΠΌ Π±ΠΎΠ»Π΅Π΅ ΡΡΡΠ΅ΠΊΡΠΈΠ²Π½ΠΎ ΡΠ°Π±ΠΎΡΠ°Π΅Ρ ΡΠΎΡΠΌΠΎΠ·, ΡΠ°ΠΊ ΠΊΠ°ΠΊ ΡΠ²Π΅Π»ΠΈΡΠΈΠ²Π°Π΅ΡΡΡ ΠΏΠ»Π΅ΡΠΎ ΡΡΡΠ°Π³Π° ΡΠΎΡΠΌΠΎΠ·Π½ΠΎΠ³ΠΎ ΡΡΠΈΠ»ΠΈΡ.
ΠΠ°Π»ΠΈΠΏΠ΅Ρ (ΡΠΎΡΠΌΠΎΠ·Π½Π°Ρ ΠΌΠ°ΡΠΈΠ½ΠΊΠ°) ΠΊΡΠ΅ΠΏΠΈΡΡΡ Π½Π° Π²ΠΈΠ»ΠΊΠ΅ ΠΈΠ»ΠΈ Π½Π° ΡΠ°ΠΌΠ΅.
ΠΠ½ΡΡΡΠΈ ΠΊΠ°Π»ΠΈΠΏΠ΅ΡΠ° Π½Π°Ρ
ΠΎΠ΄ΡΡΡΡ Π΄Π²Π΅ ΡΠΎΡΠΌΠΎΠ·Π½ΡΠ΅ ΠΊΠΎΠ»ΠΎΠ΄ΠΊΠΈ, ΠΊΠΎΡΠΎΡΡΠ΅ ΠΏΡΠΈΠΆΠΈΠΌΠ°ΡΡΡΡ ΠΊ ΡΠΎΡΠΎΡΡ ΠΎΠ΄Π½ΠΈΠΌ ΠΈΠ»ΠΈ Π½Π΅ΡΠΊΠΎΠ»ΡΠΊΠΈΠΌΠΈ ΠΏΠΎΡΡΠ½ΡΠΌΠΈ.Β
Π’ΠΎΡΠΌΠΎΠ·Π½ΡΠ΅ ΠΊΠΎΠ»ΠΎΠ΄ΠΊΠΈ ΠΌΠΎΠ³ΡΡ Π±ΡΡΡ Ρ Π½Π°ΠΏΠΎΠ»Π½Π΅Π½ΠΈΠ΅ΠΌ ΠΈΠ· ΠΌΠ΅ΡΠ°Π»Π»ΠΈΡΠ΅ΡΠΊΠΈΡ ΠΎΠΏΠΈΠ»ΠΎΠΊ ΠΈΠ»ΠΈ ΠΈΠ· ΠΎΡΠ³Π°Π½ΠΈΡΠ΅ΡΠΊΠΎΠ³ΠΎ ΠΌΠ°ΡΠ΅ΡΠΈΠ°Π»Π°. ΠΠΎΠ»ΠΎΠ΄ΠΊΠΈ Ρ ΠΌΠ΅ΡΠ°Π»Π»ΠΈΡΠ΅ΡΠΊΠΈΠΌ Π½Π°ΠΏΠΎΠ»Π½Π΅Π½ΠΈΠ΅ΠΌ Π΄ΠΎΠ»Π³ΠΎ ΠΏΡΠΈΡΠΈΡΠ°ΡΡΡΡ ΠΈ Π±ΠΎΠ»Π΅Π΅ ΡΡΡΠΎΠΉΡΠΈΠ²Ρ ΠΊ ΠΈΠ·Π½ΠΎΡΡ. ΠΡΠ³Π°Π½ΠΈΡΠ΅ΡΠΊΠΈΠ΅ ΠΊΠΎΠ»ΠΎΠ΄ΠΊΠΈ Π±ΠΎΠ»Π΅Π΅ ΠΌΡΠ³ΠΊΠΈΠ΅, Π±ΡΡΡΡΠΎ ΠΏΡΠΈΡΠΈΡΠ°ΡΡΡΡ ΠΈ ΠΎΠ±Π΅ΡΠΏΠ΅ΡΠΈΠ²Π°ΡΡ Π±ΠΎΠ»Π΅Π΅ ΠΏΠ»Π°Π²Π½ΠΎΠ΅ ΡΠΎΡΠΌΠΎΠΆΠ΅Π½ΠΈΠ΅.
ΠΠΈΡΠΊΠΎΠ²ΡΠ΅ ΠΌΠ΅Ρ Π°Π½ΠΈΡΠ΅ΡΠΊΠΈΠ΅ ΡΠΎΡΠΌΠΎΠ·Π°
ΠΠΈΡΠΊΠΎΠ²ΡΠ΅ ΠΌΠ΅Ρ Π°Π½ΠΈΡΠ΅ΡΠΊΠΈΠ΅ ΡΠΎΡΠΌΠΎΠ·Π°, ΠΊΠ°ΠΊ ΠΏΡΠ°Π²ΠΈΠ»ΠΎ, ΡΡΡΠ°Π½Π°Π²Π»ΠΈΠ²Π°ΡΡΡΡ Π½Π° Π³ΠΎΡΠ½ΡΠ΅ (Forward Next 27,5 2.0 disc (2020), Forward Iris 26 2.0 disc (2020) ΠΈ Π΄Ρ.)Β ΠΈ ΡΡΡΠΈΡΡΠΈΡΠ΅ΡΠΊΠΈΠ΅ Π²Π΅Π»ΠΎΡΠΈΠΏΠ΅Π΄Ρ (Forward Yukon 2.0 disc), ΡΠ΅ΠΆΠ΅ β Π½Π° Π³ΠΎΡΠΎΠ΄ΡΠΊΠΈΠ΅ (ΠΊ ΠΏΡΠΈΠΌΠ΅ΡΡ, Forward Tracer 26 2.0 disc (2020)).
| ΠΡΠ΅ΠΈΠΌΡΡΠ΅ΡΡΠ²Π° | ΠΠ΅Π΄ΠΎΡΡΠ°ΡΠΊΠΈ |
|---|---|
|
|
ΠΠΈΡΠΊΠΎΠ²ΡΠ΅ Π³ΠΈΠ΄ΡΠ°Π²Π»ΠΈΡΠ΅ΡΠΊΠΈΠ΅ ΡΠΎΡΠΌΠΎΠ·Π°
Π ΠΌΠΎΠ΄Π΅Π»ΡΠ½ΠΎΠΌ ΡΡΠ΄Ρ 2020 Π΄ΠΈΡΠΊΠΎΠ²ΡΠ΅ Π³ΠΈΠ΄ΡΠ°Π²Π»ΠΈΡΠ΅ΡΠΊΠΈΠ΅ ΡΠΎΡΠΌΠΎΠ·Π° ΡΡΡΠ°Π½ΠΎΠ²Π»Π΅Π½Ρ Π½Π° ΡΠ»Π΅Π΄ΡΡΡΠΈΠ΅ ΠΌΠΎΠ΄Π΅Π»ΠΈ Π³ΠΎΡΠ½ΡΡ Π²Π΅Π»ΠΎΡΠΈΠΏΠ΅Π΄ΠΎΠ² Forward:
— Apache 29 3.0 disc
— Apache 27,5 3.0 disc
— Quadro 27,5 3.0 disc
— Next 29 3.0 disc
— Next 27,5 3.0 disc
— Sporting 27,5 3.0 disc
Π Π°ΡΡΠΌΠΎΡΡΠΈΠΌ ΠΏΡΠ΅ΠΈΠΌΡΡΠ΅ΡΡΠ²Π° ΠΈ Π½Π΅Π΄ΠΎΡΡΠ°ΡΠΊΠΈ Π³ΠΈΠ΄ΡΠ°Π²Π»ΠΈΡΠ΅ΡΠΊΠΈΡ ΡΠΎΡΠΌΠΎΠ·ΠΎΠ².
| ΠΡΠ΅ΠΈΠΌΡΡΠ΅ΡΡΠ²Π° | ΠΠ΅Π΄ΠΎΡΡΠ°ΡΠΊΠΈ |
|---|---|
|
|
Π’Π΅ΠΏΠ΅ΡΡ, ΠΊΠΎΠ³Π΄Π° Π²Ρ Π·Π½Π°Π΅ΡΠ΅ ΠΎΡΠΎΠ±Π΅Π½Π½ΠΎΡΡΠΈ ΡΠ°Π·Π»ΠΈΡΠ½ΡΡ ΡΠΈΠΏΠΎΠ² ΡΠΎΡΠΌΠΎΠ·ΠΎΠ², ΠΈΡ ΠΏΠ»ΡΡΡ ΠΈ ΠΌΠΈΠ½ΡΡΡ, Π²Π°ΠΌ Π±ΡΠ΄Π΅Ρ ΠΏΡΠΎΡΠ΅ Π²ΡΠ±ΡΠ°ΡΡ Π²Π΅Π»ΠΎΡΠΈΠΏΠ΅Π΄ Ρ Π½Π°ΠΈΠ±ΠΎΠ»Π΅Π΅ ΠΏΠΎΠ΄Ρ ΠΎΠ΄ΡΡΠΈΠΌΠΈ ΡΠΎΡΠΌΠΎΠ·Π°ΠΌΠΈ.
ΠΠ΅ΠΈΡΠΏΡΠ°Π²Π½ΠΎΡΡΠΈ Π΄ΠΈΡΠΊΠΎΠ²ΡΡ ΡΠΎΡΠΌΠΎΠ·ΠΎΠ² β ΠΠΎΠ»Π΅Π·Π½ΡΠ΅ ΡΡΠ°ΡΡΠΈ
ΠΠΈΡΠΊΠΎΠ²ΡΠ΅ ΡΠΎΡΠΌΠΎΠ·Π° Π²ΡΠ΅Β ΡΠ°ΡΠ΅ Π·Π°ΠΌΠ΅Π½ΡΡΡ Π±Π°ΡΠ°Π±Π°Π½Π½ΡΠ΅, ΠΎΠ½ΠΈΒ ΠΎΠ±Π»Π°Π΄Π°ΡΡ Π±ΠΎΠ»Π΅Π΅ Π»ΡΡΡΠΈΠΌΠΈ ΡΠΊΡΠΏΠ»ΡΠ°ΡΠ°ΡΠΈΠΎΠ½Π½ΡΠΌΠΈ Ρ Π°ΡΠ°ΠΊΡΠ΅ΡΠΈΡΡΠΈΠΊΠ°ΠΌΠΈ, ΠΎΠ±Π΅ΡΠΏΠ΅ΡΠΈΠ²Π°Ρ Π±ΠΎΠ»Π΅Π΅ ΡΡΡΠ΅ΠΊΡΠΈΠ²Π½ΠΎΠ΅ ΡΠΎΡΠΌΠΎΠΆΠ΅Π½ΠΈΠ΅. ΠΠ°ΠΊΒ ΠΈΒ Π»ΡΠ±ΠΎΠΉ ΠΌΠ΅Ρ Π°Π½ΠΈΠ·ΠΌ, Π΄ΠΈΡΠΊΠΎΠ²ΡΠ΅ ΡΠΎΡΠΌΠΎΠ·Π° ΡΠΎΒ Π²ΡΠ΅ΠΌΠ΅Π½Π΅ΠΌ ΠΈΠ·Π½Π°ΡΠΈΠ²Π°ΡΡΡΡ ΠΈΒ ΠΌΠΎΠ³ΡΡ Π²ΡΠΉΡΠΈ ΠΈΠ·Β ΡΡΡΠΎΡ Π±Π΅Π·Β ΡΠ²ΠΎΠ΅Π²ΡΠ΅ΠΌΠ΅Π½Π½ΠΎΠ³ΠΎ ΡΠ΅ΠΌΠΎΠ½ΡΠ°. ΠΒ Π½Π°ΠΈΠ±ΠΎΠ»Π΅Π΅ ΡΠ°ΡΠΏΡΠΎΡΡΡΠ°Π½Π΅Π½Π½ΡΠΌ ΠΏΡΠΈΡΠΈΠ½Π°ΠΌ Π½Π΅ΠΈΡΠΏΡΠ°Π²Π½ΠΎΡΡΠΈ Π΄ΠΈΡΠΊΠΎΠ²ΡΡ ΡΠΎΡΠΌΠΎΠ·ΠΎΠ² ΠΎΡΠ½ΠΎΡΡΡΡΡ:Β
1. ΠΡΠΈΒ Π½Π΅ΡΠ°Π²Π½ΠΎΠΌΠ΅ΡΠ½ΠΎΠΌΒ ΠΈΠ»ΠΈ ΡΠ»ΠΈΡΠΊΠΎΠΌ Π±ΡΡΡΡΠΎΠΌ ΠΈΠ·Π½Π°ΡΠΈΠ²Π°Π½ΠΈΠΈ Π½Π°ΠΊΠ»Π°Π΄ΠΊΠΈ
- ΠΏΠ»ΠΎΡ ΠΎ Π·Π°ΡΡΠ½ΡΡΡ Π±ΠΎΠ»ΡΠΎΠ²ΡΠ΅ ΠΊΡΠ΅ΠΏΠ»Π΅Π½ΠΈΡ
- ΡΡΡΠ°Π½ΠΎΠ²Π»Π΅Π½Ρ Π½Π΅ΠΊΠ°ΡΠ΅ΡΡΠ²Π΅Π½Π½ΡΠ΅Β ΠΈΠ»ΠΈ Π½Π΅ΠΏΠΎΠ΄Ρ ΠΎΠ΄ΡΡΠΈΠ΅ Π½Π°ΠΊΠ»Π°Π΄ΠΊΠΈ
- ΠΏΠΎΡΠ²ΠΈΠ»Π°ΡΡ ΠΊΠΎΡΡΠΎΠ·ΠΈΡ Π½Π°Β ΡΠΈΠ»ΠΈΠ½Π΄ΡΠ°Ρ Β ΠΈΠ»ΠΈ ΠΏΠΎΡΡΠ½ΡΡ
- ΠΌΠ΅ΠΆΠ΄Ρ Π΄ΠΈΡΠΊΠ°ΠΌΠΈ ΠΈΒ Π½Π°ΠΊΠ»Π°Π΄ΠΊΠΎΠΉ ΠΏΠΎΠΏΠ°Π»Π° Π³ΡΡΠ·Ρ
- Π½Π΅Π΄ΠΎΡΡΠ°ΡΠΎΡΠ½ΡΠΉ Π·Π°Π·ΠΎΡ ΠΌΠ΅ΠΆΠ΄Ρ Π΄ΠΈΡΠΊΠΎΠΌ ΠΈΒ Π½Π°ΠΊΠ»Π°Π΄ΠΊΠ°ΠΌΠΈ
- Π½Π΅ΠΎΠ±Ρ ΠΎΠ΄ΠΈΠΌΠΎ ΠΎΡΡΠ΅Π³ΡΠ»ΠΈΡΠΎΠ²Π°ΡΡ ΡΠΎΡΠΌΠΎΠ·Π°
2. ΠΠΎΡΠ²ΠΈΠ»ΠΈΡΡ ΠΏΠΎΡΡΠΎΡΠΎΠ½Π½ΠΈΠ΅ Π·Π²ΡΠΊΠΈ ΠΏΡΠΈΒ ΡΠΎΡΠΌΠΎΠΆΠ΅Π½ΠΈΠΈ
- ΠΏΠΎΠΏΠ°Π»Π° Π³ΡΡΠ·ΡΒ ΠΈΠ»ΠΈ Π²ΠΎΠ΄Π° Π²Β ΡΠΈΠ»ΠΈΠ½Π΄ΡΡ
- ΠΈΠ·Π½ΠΎΡΠΈΠ»ΠΈΡΡ Π΄ΠΈΡΠΊΠΈ
- ΠΊΠΎΠ»ΠΎΠ΄ΠΊΠΈ Π½Π΅Β ΡΠΎΠΎΡΠ²Π΅ΡΡΡΠ²ΡΡΡ ΡΡΠ΅Π±ΠΎΠ²Π°Π½ΠΈΡΠΌ
3. ΠΠ°Π΄Π΅Π½ΠΈΠ΅ ΡΡΠΎΠ²Π½Ρ ΡΠ°Π±ΠΎΡΠ΅ΠΉ ΠΆΠΈΠ΄ΠΊΠΎΡΡΠΈ
- Π½Π΅Π³Π΅ΡΠΌΠ΅ΡΠΈΡΠ½Ρ ΡΡΡΠ±ΠΎΠΏΡΠΎΠ²ΠΎΠ΄Ρ Π³Π»Π°Π²Π½ΠΎΠ³ΠΎ ΡΠΈΠ»ΠΈΠ½Π΄ΡΠ°
- ΠΏΠΎΠ²ΡΠ΅ΠΆΠ΄Π΅Π½ΡΒ ΠΈΠ»ΠΈ ΠΈΠ·Π½ΠΎΡΠ΅Π½Ρ ΠΊΠΎΠ»ΠΎΠ΄ΠΊΠΈ ΡΠΎΡΠΌΠΎΠ·ΠΎΠ²
4. ΠΠ΅Π΄Π°Π»Ρ ΡΠΎΡΠΌΠΎΠ·Π° Β«ΠΏΡΠΎΠ²Π°Π»ΠΈΠ²Π°Π΅ΡΡΡΒ»
- ΠΏΠΎΡΠ΅ΡΡ Π³Π΅ΡΠΌΠ΅ΡΠΈΡΠ½ΠΎΡΡΠΈ ΡΠΎΡΠΌΠΎΠ·Π½ΠΎΠΉ ΡΠΈΡΡΠ΅ΠΌΡ
- ΠΏΠΎΡΠ²Π»Π΅Π½ΠΈΠ΅ Π²ΠΎΠ·Π΄ΡΡ Π° Π²Β ΡΠΈΡΡΠ΅ΠΌΠ΅ (ΡΡΠ΅Π±ΡΠ΅ΡΡΡ ΠΏΡΠΎΠΊΠ°ΡΠΊΠ°)
- ΠΏΠΎΡΠ²Π°Π»ΠΎΡΡΒ ΠΈΠ»ΠΈ ΠΈΠ·Π½ΠΎΡΠΈΠ»ΠΎΡΡ ΡΠΏΠ»ΠΎΡΠ½ΠΈΡΠ΅Π»ΡΠ½ΠΎΠ΅ ΠΊΠΎΠ»ΡΡΠΎ
5. ΠΠ²ΡΠΎΠΌΠΎΠ±ΠΈΠ»Ρ Π²Π΅Π΄Π΅Ρ Π²Β ΡΡΠΎΡΠΎΠ½Ρ ΠΏΡΠΈΒ ΡΠΎΡΠΌΠΎΠΆΠ΅Π½ΠΈΠΈ
- ΡΠΎΡΠΌΠΎΠ·Π½ΡΠ΅ ΡΠΈΠ»ΠΈΠ½Π΄ΡΡ ΠΏΠΎΠ΄Π²Π΅ΡΠ³Π»ΠΈΡΡ ΠΊΠΎΡΡΠΎΠ·ΠΈΠΈ
- ΠΈΠ·Π½ΠΎΡΠ΅Π½ ΠΎΠ΄ΠΈΠ½ ΠΈΠ·Β ΡΠΎΡΠΌΠΎΠ·Π½ΡΡ Π΄ΠΈΡΠΊΠΎΠ²
- Π·Π°Π³ΡΡΠ·Π½ΠΈΠ»ΠΈΡΡ Π½Π°ΠΊΠ»Π°Π΄ΠΊΠΈ, ΡΠΈΠ»ΠΈΠ½Π΄ΡΡΒ ΠΈΠ»ΠΈ Π΄ΡΡΠ³ΠΈΠ΅ Π΄Π΅ΡΠ°Π»ΠΈ Π΄ΠΈΡΠΊΠΎΠ²ΠΎΠ³ΠΎ ΡΠΎΡΠΌΠΎΠ·Π½ΠΎΠ³ΠΎ ΠΌΠ΅Ρ Π°Π½ΠΈΠ·ΠΌΠ°
6. ΠΠ΅Π΄Π°Π»Ρ ΡΠΎΡΠΌΠΎΠ·Π° Π½Π°ΡΠ°Π»Π° Π²ΠΈΠ±ΡΠΈΡΠΎΠ²Π°ΡΡ
- ΡΠΎΠ»ΡΠΈΠ½Π° ΡΡΡΠ°Π½ΠΎΠ²Π»Π΅Π½Π½ΡΡ Π΄ΠΈΡΠΊΠΎΠ² Π½Π΅Β ΡΠΎΠΎΡΠ²Π΅ΡΡΡΠ²ΡΠ΅Ρ Π½ΠΎΡΠΌΠ΅
- Π΄ΠΈΡΠΊΠΈ ΡΠΈΠ»ΡΠ½ΠΎ ΠΈΠ·Π½ΠΎΡΠ΅Π½Ρ
- Π² ΠΏΠΎΠ΄ΡΠΈΠΏΠ½ΠΈΠΊΠ°Ρ ΠΊΠΎΠ»Π΅Ρ Π΅ΡΡΡ Π±ΠΎΠ»ΡΡΠΎΠΉ Π»ΡΡΡ
Π Π΅ΠΌΠΎΠ½Ρ Π΄ΠΈΡΠΊΠΎΠ²ΡΡ ΡΠΎΡΠΌΠΎΠ·ΠΎΠ² Π½Π°ΡΠΈΠ½Π°Π΅ΡΡΡ ΡΒ Π΄ΠΈΠ°Π³Π½ΠΎΡΡΠΈΠΊΠΈ, Π±Π»Π°Π³ΠΎΠ΄Π°ΡΡ ΠΊΠΎΡΠΎΡΠΎΠΉ Π²ΡΡΠ²Π»ΡΡΡΡΡ Π²ΡΠ΅Β ΠΏΠΎΠ»ΠΎΠΌΠΊΠΈ ΠΈΒ Π΄Π°ΠΆΠ΅ Π½Π΅Π·Π½Π°ΡΠΈΡΠ΅Π»ΡΠ½ΡΠ΅ Π½Π΅ΠΈΡΠΏΡΠ°Π²Π½ΠΎΡΡΠΈ. ΠΠΎΡΠ»Π΅ ΡΠ΅Π³ΠΎ ΠΌΠΎΠΆΠ½ΠΎ ΠΏΡΠΈΡΡΡΠΏΠ°ΡΡ ΠΊΒ ΡΠ°Π·Π±ΠΎΡΠΊΠ΅ ΡΠΎΡΠΌΠΎΠ·Π½ΠΎΠ³ΠΎ ΠΌΠ΅Ρ Π°Π½ΠΈΠ·ΠΌΠ°, ΠΏΡΠΎΠ²Π΅ΡΠΊΠ΅ Π²ΡΠ΅Ρ Π΄Π΅ΡΠ°Π»Π΅ΠΉ, Π²ΠΎΡΡΡΠ°Π½ΠΎΠ²Π»Π΅Π½ΠΈΡ ΠΈΒ Π·Π°ΠΌΠ΅Π½Π΅ Π½Π΅ΠΎΠ±Ρ ΠΎΠ΄ΠΈΠΌΡΡ ΡΠ·Π»ΠΎΠ². ΠΡΠΎΠ²ΠΎΠ΄ΠΈΡΡΡ ΠΏΠΎΠ»Π½Π°ΡΒ ΠΈΠ»ΠΈ ΡΠ°ΡΡΠΈΡΠ½Π°Ρ ΠΏΡΠΎΠΊΠ°ΡΠΊΠ° ΡΠΈΡΡΠ΅ΠΌΡ, Π΄Π΅ΡΠ°Π»ΠΈ ΠΎΡΠΈΡΠ°ΡΡΡΡ ΠΎΡΒ Π·Π°Π³ΡΡΠ·Π½Π΅Π½ΠΈΠΉ, ΠΌΠ΅Ρ Π°Π½ΠΈΠ·ΠΌ ΡΠΎΠ±ΠΈΡΠ°Π΅ΡΡΡ ΠΈΒ ΡΠ΅ΡΡΠΈΡΡΠ΅ΡΡΡ ΡΠΆΠ΅Β Π²Β Π΄ΠΎΡΠΎΠΆΠ½ΡΡ ΡΡΠ»ΠΎΠ²ΠΈΡ.Β
ΠΠΈΡΠΊΠΎΠ²ΡΠ΅ ΠΈ Π±Π°ΡΠ°Π±Π°Π½Π½ΡΠ΅ ΡΠΎΡΠΌΠΎΠ·Π°, Π² ΡΠ΅ΠΌ ΡΠ°Π·Π½ΠΈΡΠ°, ΠΊΠ°ΠΊΠΎΠ²Ρ ΠΎΡΠΎΠ±Π΅Π½Π½ΠΎΡΡΠΈ
ΠΠ° ΡΠ΅Π³ΠΎΠ΄Π½ΡΡΠ½ΠΈΠΉ Π΄Π΅Π½Ρ Π² Π°Π²ΡΠΎΠΌΠΎΠ±ΠΈΠ»Π΅ΡΡΡΠΎΠ΅Π½ΠΈΠΈ ΠΈΡΠΏΠΎΠ»ΡΠ·ΡΡΡΡΡ Π΄Π²Π΅ ΡΠ°Π·Π½ΠΎΠ²ΠΈΠ΄Π½ΠΎΡΡΠΈ ΡΠΎΡΠΌΠΎΠ·ΠΎΠ² β Π±Π°ΡΠ°Π±Π°Π½Π½ΡΠ΅ ΠΈ Π΄ΠΈΡΠΊΠΎΠ²ΡΠ΅. Π‘ΡΡΠ΅ΡΡΠ²ΡΡΡ ΠΌΠΎΠ΄ΠΈΡΠΈΠΊΠ°ΡΠΈΠΈ ΠΌΠ°ΡΠΈΠ½, ΠΊΠΎΡΠΎΡΡΠ΅ ΠΎΠ±ΠΎΡΡΠ΄ΠΎΠ²Π°Π½Ρ Π΄ΠΈΡΠΊΠΎΠ²ΡΠΌΠΈ ΡΠΎΡΠΌΠΎΠ·Π°ΠΌΠΈ Π½Π° Π²ΡΠ΅Ρ ΡΠ²ΠΎΠΈΡ ΠΊΠΎΠ»Π΅ΡΠ°Ρ .
ΠΡΠ²Π°ΡΡ ΠΈ ΡΠ°ΠΊΠΈΠ΅ Π°Π²ΡΠΎΠΌΠΎΠ±ΠΈΠ»ΠΈ, ΠΊΠΎΡΠΎΡΡΠ΅ ΡΠΏΠ΅ΡΠ΅Π΄ΠΈ ΠΎΡΠ½Π°ΡΠ΅Π½Ρ Π΄ΠΈΡΠΊΠΎΠ²ΡΠΌΠΈ ΡΠΎΡΠΌΠΎΠ·Π°ΠΌΠΈ, Π° ΡΠ·Π°Π΄ΠΈ β Π±Π°ΡΠ°Π±Π°Π½Π½ΡΠΌΠΈ. ΠΠ°ΠΊΠΈΠ΅ ΡΠ°Π·Π»ΠΈΡΠΈΡ Ρ Π΄Π°Π½Π½ΡΡ ΡΠΎΡΠΌΠΎΠ·Π½ΡΡ ΡΡΡΡΠΎΠΉΡΡΠ², ΠΊΠ°ΠΊΠΈΠ΅ ΠΈΠ· Π½ΠΈΡ Π±ΠΎΠ»Π΅Π΅ Π΄Π΅ΡΠ΅Π²ΡΠ΅, ΡΡΡΠ΅ΠΊΡΠΈΠ²Π½ΡΠ΅ ΠΈ ΠΏΡΠ°ΠΊΡΠΈΡΠ½ΡΠ΅?
ΠΡΠΈΠ½ΡΠΈΠΏ Π΄Π΅ΠΉΡΡΠ²ΠΈΡ Π±Π°ΡΠ°Π±Π°Π½Π½ΡΡ ΠΈ Π΄ΠΈΡΠΊΠΎΠ²ΡΡ ΡΠΎΡΠΌΠΎΠ·ΠΎΠ²
Π§ΡΠΎΠ±Ρ ΡΠ°Π·ΠΎΠ±ΡΠ°ΡΡΡΡ Π²ΠΎ Π²ΡΠ΅Ρ ΡΡΠΈΡ Π²ΠΎΠΏΡΠΎΡΠ°Ρ , ΡΡΠ΅Π±ΡΠ΅ΡΡΡ ΠΈΠ·ΡΡΠΈΡΡ ΠΎΡΠΎΠ±Π΅Π½Π½ΠΎΡΡΡ ΡΠ°Π±ΠΎΡΡ ΠΎΠ±ΠΎΠΈΡ ΡΠΈΠΏΠΎΠ² ΡΠΎΡΠΌΠΎΠ·ΠΎΠ². ΠΠΎΠ³Π΄Π° Π²Ρ ΡΡΠΈΡΠ°Π΅ΡΠ΅, ΡΡΠΎ ΡΡΠΈ ΡΡΡΡΠΎΠΉΡΡΠ²Π° ΡΠ°Π±ΠΎΡΠ°ΡΡ ΠΏΡΠΈΠ±Π»ΠΈΠ·ΠΈΡΠ΅Π»ΡΠ½ΠΎ ΠΎΠ΄ΠΈΠ½Π°ΠΊΠΎΠ²ΠΎ, ΡΠΎ Π²Ρ Π³Π»ΡΠ±ΠΎΠΊΠΎ Π·Π°Π±Π»ΡΠΆΠ΄Π°Π΅ΡΠ΅ΡΡ, ΠΏΠΎΡΠΎΠΌΡ ΡΡΠΎ Π½ΠΈ ΠΎΠ΄Π½ΠΎΠ³ΠΎ ΠΏΠΎΡ ΠΎΠΆΠ΅Π³ΠΎ ΡΠ·Π»Π° Ρ Π±Π°ΡΠ°Π±Π°Π½Π½ΡΡ ΠΈ Π΄ΠΈΡΠΊΠΎΠ²ΡΡ ΡΠΎΡΠΌΠΎΠ·ΠΎΠ² ΠΏΠΎΠΏΡΠΎΡΡΡ Π½Π΅Ρ.
ΠΠΈΡΠΊΠΎΠ²ΡΠ΅ ΡΠΎΡΠΌΠΎΠ·Π° ΡΠ²Π»ΡΡΡΡΡ ΠΎΡΠΊΡΡΡΠΎΠΉ ΡΠΈΡΡΠ΅ΠΌΠΎΠΉ ΡΠΎΡΠΌΠΎΠΆΠ΅Π½ΠΈΡ, Ρ ΠΊΠΎΡΠΎΡΠΎΠΉ Π²ΡΠ°ΡΠ΅Π½ΠΈΠ΅ Π΄ΠΈΡΠΊΠ° ΡΠΌΠ΅Π½ΡΡΠ°Π΅ΡΡΡ ΠΏΠΎΡΡΠ΅Π΄ΡΡΠ²ΠΎΠΌ Π·Π°ΠΆΠΈΠΌΠ°Π½ΠΈΡ ΡΠΎΡΠΌΠΎΠ·Π½ΡΠΌΠΈ ΠΊΠΎΠ»ΠΎΠ΄ΠΊΠ°ΠΌΠΈ, Π° ΠΎΡΠ½ΠΎΠ²Π½ΡΠΌ ΡΠ»Π΅ΠΌΠ΅Π½ΡΠΎΠΌ Π΄ΠΈΡΠΊΠΎΠ²ΠΎΠ³ΠΎ ΡΠΎΡΠΌΠΎΠ·Π° ΡΡΠΈΡΠ°Π΅ΡΡΡ ΠΏΠ°ΡΠ° ΠΊΠΎΠ»ΠΎΠ΄ΠΊΠΈ-Π΄ΠΈΡΠΊ.
Π‘Ρ Π΅ΠΌΠ° ΠΏΠΎΠ΄Π³ΠΎΡΠΎΠ²Π»Π΅Π½Π° ΠΏΠΎ ΠΌΠ°ΡΠ΅ΡΠΈΠ°Π»Π°ΠΌ lada-10.ru
ΠΡΠ΅ΠΈΠΌΡΡΠ΅ΡΡΠ²ΠΎ Π΄Π°Π½Π½ΠΎΠΉ ΡΠΈΡΡΠ΅ΠΌΡ Π·Π°ΠΊΠ»ΡΡΠ°Π΅ΡΡΡ Π² ΡΠΎΠΌ, ΡΡΠΎ ΠΎΡΠΊΡΡΡΠ°Ρ ΡΠΈΡΡΠ΅ΠΌΠ° ΠΏΡΠΎΡΠ΅ ΠΎΡΠΈΡΠ°Π΅ΡΡΡ ΠΎΡ Π·Π°Π³ΡΡΠ·Π½Π΅Π½ΠΈΠΉ, Π±ΡΡΡΡΠ΅Π΅ ΠΎΡ Π»Π°ΠΆΠ΄Π°Π΅ΡΡΡ, Π° Π΅Π΅ ΠΌΠΈΠ½ΡΡ β ΡΡΠΎ ΠΎΡΠ½ΠΎΡΠΈΡΠ΅Π»ΡΠ½ΠΎ Π±ΡΡΡΡΠ°Ρ Π²ΡΡΠ°Π±ΠΎΡΠΊΠ° ΠΊΠΎΠ»ΠΎΠ΄ΠΎΠΊ.
ΠΠΎΠ»ΠΎΠ΄ΠΊΠΈ Π²ΡΡΠ°Π±Π°ΡΡΠ²Π°ΡΡΡΡ Π±ΡΡΡΡΠ΅Π΅ ΠΈΠ·-Π·Π° ΡΠΎΠ³ΠΎ, ΡΡΠΎ ΠΏΡΠΈΠΆΠΈΠΌΠ½ΠΎΠ΅ ΡΡΠΈΠ»ΠΈΠ΅ ΠΊΠΎΠ»ΠΎΠ΄ΠΎΠΊ ΠΊ Π΄ΠΈΡΠΊΡ Π² Π½Π΅ΡΠΊΠΎΠ»ΡΠΊΠΎ ΡΠ°Π· Π²ΡΡΠ΅, Π½Π΅ΠΆΠ΅Π»ΠΈ ΡΠ΅ΠΌ Π² Π±Π°ΡΠ°Π±Π°Π½Π½ΠΎΠΉ ΡΠΈΡΡΠ΅ΠΌΠ΅, Π΄Π° ΠΏΠ»ΡΡ ΠΏΠΎΡΡΠΎΡΠΎΠ½Π½ΠΈΠ΅ ΡΠ°ΡΡΠΈΡΠΊΠΈ ΠΏΠ΅ΡΠΊΠ°, ΠΏΡΠ»ΠΈ, Π»Π΅ΡΡΡΠΈΠ΅ Ρ Π΄ΠΎΡΠΎΠ³ΠΈ.
ΠΡΠ»ΠΈΡΠΈΠ΅ Π±Π°ΡΠ°Π±Π°Π½Π½ΡΡ ΡΠΎΡΠΌΠΎΠ·ΠΎΠ² Π·Π°ΠΊΠ»ΡΡΠ°Π΅ΡΡΡ Π² ΡΠΎΠΌ, ΡΡΠΎ ΠΈΡ ΠΌΠ΅Ρ Π°Π½ΠΈΠ·ΠΌ ΡΠΊΡΡΡ Π²Π½ΡΡΡΠΈ Π±Π°ΡΠ°Π±Π°Π½Π°, Π° ΡΠΎΡΠΌΠΎΠΆΠ΅Π½ΠΈΠ΅ ΠΏΡΠΎΠΈΠ·Π²ΠΎΠ΄ΠΈΡΡΡ ΠΏΠΎΡΡΠ΅Π΄ΡΡΠ²ΠΎΠΌ ΡΠΎΠΏΡΠΈΠΊΠΎΡΠ½ΠΎΠ²Π΅Π½ΠΈΡ ΠΊΠΎΠ»ΠΎΠ΄ΠΎΠΊ Ρ Π²Π½ΡΡΡΠ΅Π½Π½Π΅ΠΉ ΠΏΠΎΠ²Π΅ΡΡ Π½ΠΎΡΡΡΡ Π±Π°ΡΠ°Π±Π°Π½Π°.
Π‘Ρ Π΅ΠΌΠ° ΠΏΠΎΠ΄Π³ΠΎΡΠΎΠ²Π»Π΅Π½Π° ΠΏΠΎ ΠΌΠ°ΡΠ΅ΡΠΈΠ°Π»Π°ΠΌ lada-10.ru
ΠΠΎΠ³Π΄Π° Π² Π΄ΠΈΡΠΊΠΎΠ²ΡΡ ΡΠΎΡΠΌΠΎΠ·Π°Ρ ΡΠΎΡΠΌΠΎΠ·Π½ΡΠ΅ ΠΊΠΎΠ»ΠΎΠ΄ΠΊΠΈ ΠΏΡΠΈΠΆΠΈΠΌΠ°ΡΡ Π΄ΠΈΡΠΊ, ΡΠΎ Π² Π±Π°ΡΠ°Π±Π°Π½Π½ΡΡ Π²Π°ΡΠΈΠ°Π½ΡΠ°Ρ ΠΎΠ½ΠΈ Π½Π΅ΠΌΠ½ΠΎΠ³ΠΎ ΡΠ°ΡΡΠΈΡΡΡΡΡΡ, ΡΡΠΎΠ±Ρ ΠΏΡΠΈΡΠΎΡΠΌΠΎΠ·ΠΈΡΡ Π±Π°ΡΠ°Π±Π°Π½ ΠΈ, ΡΠΎΠΎΡΠ²Π΅ΡΡΡΠ²Π΅Π½Π½ΠΎ, ΠΊΠΎΠ»Π΅ΡΠΎ.
ΠΡΠ΅ΠΈΠΌΡΡΠ΅ΡΡΠ²ΠΎΠΌ Π±Π°ΡΠ°Π±Π°Π½Π½ΠΎΠΉ ΡΠΎΡΠΌΠΎΠ·Π½ΠΎΠΉ ΡΠΈΡΡΠ΅ΠΌΡ ΡΡΠΈΡΠ°Π΅ΡΡΡ ΠΏΡΠΎΡΡΠΎΡΠ° ΠΊΠΎΠ½ΡΡΡΡΠΊΡΠΈΠΈ, Π° ΠΌΠΈΠ½ΡΡΠΎΠΌ ΡΠ²Π»ΡΠ΅ΡΡΡ ΠΎΡΡΡΡΡΡΠ²ΠΈΠ΅ Π²Π΅Π½ΡΠΈΠ»ΡΡΠΈΠΈ. ΠΠΎΡΡΠΎΠΌΡ Π±Π°ΡΠ°Π±Π°Π½Π½ΡΠ΅ ΡΠΎΡΠΌΠΎΠ·Π° Π½Π°ΠΌΠ½ΠΎΠ³ΠΎ Π±ΠΎΠ»ΡΡΠ΅ ΠΏΠΎΠ΄Π²Π΅ΡΠΆΠ΅Π½Ρ ΠΏΠ΅ΡΠ΅Π³ΡΠ΅Π²Ρ, ΡΠ΅ΠΌ Π΄ΠΈΡΠΊΠΎΠ²ΡΠ΅ Π°Π½Π°Π»ΠΎΠ³ΠΈ, ΡΡΠΎ Π·Π°ΠΌΠ΅ΡΠ½ΠΎ ΡΠ½ΠΈΠΆΠ°Π΅Ρ ΠΈΡ ΡΡΡΠ΅ΠΊΡΠΈΠ²Π½ΠΎΡΡΡ.
ΠΡΡΠ΅ΠΊΡΠΈΠ²Π½ΠΎΡΡΡ ΠΏΡΠΎΡΠ΅ΡΡΠ° ΡΠΎΡΠΌΠΎΠΆΠ΅Π½ΠΈΡ
ΠΠ΅Π·ΡΡΠ»ΠΎΠ²Π½ΠΎ, Π΄ΠΈΡΠΊΠΎΠ²ΡΠ΅ ΡΠΎΡΠΌΠΎΠ·Π° Π½Π°ΠΌΠ½ΠΎΠ³ΠΎ ΡΡΡΠ΅ΠΊΡΠΈΠ²Π½Π΅Π΅ ΠΏΡΠΈ ΡΠΎΡΠΌΠΎΠΆΠ΅Π½ΠΈΠΈ, ΡΠ΅ΠΌ Π±Π°ΡΠ°Π±Π°Π½Π½ΡΠ΅ ΡΠΎΠ±ΡΠ°ΡΡΡ. Π ΠΏΡΠΈΠ½ΡΠΈΠΏΠ΅, Π΄ΠΈΡΠΊΠΎΠ²ΡΠ΅ ΡΠΎΡΠΌΠΎΠ·Π° Π²ΠΎΠ·Π½ΠΈΠΊΠ»ΠΈ ΡΠΎΠ»ΡΠΊΠΎ ΠΏΠΎΡΠΎΠΌΡ, ΡΡΠΎ Π±Π°ΡΠ°Π±Π°Π½Π½ΡΠ΅ Π½Π΅ ΠΌΠΎΠ³Π»ΠΈ ΠΎΠ±Π΅ΡΠΏΠ΅ΡΠΈΡΡ ΠΏΡΠΈΠ΅ΠΌΠ»Π΅ΠΌΡΡ ΡΠΊΠΎΡΠΎΡΡΡ ΡΠΎΡΠΌΠΎΠΆΠ΅Π½ΠΈΡ ΡΠΎΠ²ΡΠ΅ΠΌΠ΅Π½Π½ΠΎΠ³ΠΎ Π°Π²ΡΠΎΠΌΠΎΠ±ΠΈΠ»Ρ, Ρ ΠΊΠΎΡΠΎΡΠΎΠ³ΠΎ Π·Π°ΠΌΠ΅ΡΠ½ΠΎ Π²ΠΎΠ·ΡΠΎΡΠ»Π° ΡΠΊΠΎΡΠΎΡΡΡ ΠΈ Π΄ΠΈΠ½Π°ΠΌΠΈΠΊΠ°.
ΠΠ°ΠΆΠ΅ ΠΊΠΎΠ³Π΄Π° Π±Π°ΡΠ°Π±Π°Π½Π½Π°Ρ ΡΠΎΡΠΌΠΎΠ·Π½Π°Ρ ΡΠΈΡΡΠ΅ΠΌΠ° Π΅ΡΠ΅ ΡΠΎΠ²ΡΠ΅ΠΌ Π½ΠΎΠ²Π°Ρ, ΡΠΎ ΠΎΠ½Π° Π²ΡΠ΅ ΡΠ°Π²Π½ΠΎ ΠΏΠΎ ΡΠ²ΠΎΠ΅ΠΉ ΡΡΡΠ΅ΠΊΡΠΈΠ²Π½ΠΎΡΡΠΈ ΡΠΎΡΠΌΠΎΠΆΠ΅Π½ΠΈΡ Π±ΡΠ΄Π΅Ρ Π·Π°ΠΌΠ΅ΡΠ½ΠΎ ΡΡΡΡΠΏΠ°ΡΡ Π΄ΠΈΡΠΊΠΎΠ²ΠΎΠΉ.
Π ΡΡΡΠ½ΠΎΡΡΠΈ, ΠΌΡ ΡΠΆΠ΅ Π΄Π°Π²Π½ΠΎ ΠΌΠΎΠΆΠ΅ΠΌ Π½Π°Π±Π»ΡΠ΄Π°ΡΡ ΠΏΠΎΡΡΠ΅ΠΏΠ΅Π½Π½ΠΎΠ΅ Π²ΡΡΠ΅ΡΠ½Π΅Π½ΠΈΠ΅ Π±Π°ΡΠ°Π±Π°Π½Π½ΡΡ ΡΠΎΡΠΌΠΎΠ·ΠΎΠ² ΠΈ ΠΈΡ Π·Π°ΠΌΠ΅Π½Ρ Π½Π° Π΄ΠΈΡΠΊΠΎΠ²ΡΠ΅.
Π‘Π΅Π³ΠΎΠ΄Π½Ρ Π²Ρ Π²ΡΡΠ΄ Π»ΠΈ Π½Π°ΠΉΠ΄Π΅ΡΠ΅ Π°Π²ΡΠΎΠΌΠΎΠ±ΠΈΠ»Ρ, Ρ ΠΊΠΎΡΠΎΡΠΎΠ³ΠΎ Π½Π° ΠΏΠ΅ΡΠ΅Π΄Π½ΠΈΡ ΠΊΠΎΠ»Π΅ΡΠ°Ρ ΠΈΡΠΏΠΎΠ»ΡΠ·ΠΎΠ²Π°Π»ΠΈΡΡ Π±Ρ Π±Π°ΡΠ°Π±Π°Π½Π½ΡΠ΅ ΡΠΎΡΠΌΠΎΠ·Π°. ΠΠ· ΡΠΎΠΎΠ±ΡΠ°ΠΆΠ΅Π½ΠΈΠΉ Π±Π΅Π·ΠΎΠΏΠ°ΡΠ½ΠΎΡΡΠΈ Π°Π±ΡΠΎΠ»ΡΡΠ½ΠΎ Π²ΡΠ΅ ΠΏΡΠΎΠΈΠ·Π²ΠΎΠ΄ΠΈΡΠ΅Π»ΠΈ ΡΡΠ°Π²ΡΡ Π½Π° ΠΏΠ΅ΡΠ΅Π΄Π½ΠΈΠ΅ ΠΊΠΎΠ»Π΅ΡΠ° Π΄ΠΈΡΠΊΠΎΠ²ΡΠΉ ΡΠΎΡΠΌΠΎΠ·.
ΠΠ° Π·Π°Π΄Π½ΠΈΠ΅ ΠΊΠΎΠ»Π΅ΡΠ° Π²ΡΠ΅ Π΅ΡΠ΅ ΡΡΡΠ°Π½Π°Π²Π»ΠΈΠ²Π°ΡΡ Π±Π°ΡΠ°Π±Π°Π½Π½ΡΠ΅ ΡΠΎΡΠΌΠΎΠ·Π°, Π½ΠΎ Π΅Π΄ΠΈΠ½ΡΡΠ²Π΅Π½Π½Π°Ρ ΠΏΡΠΈΡΠΈΠ½Π°, ΠΏΠΎ ΠΊΠΎΡΠΎΡΠΎΠΉ ΡΡΠΎ Π΄Π΅Π»Π°Π΅ΡΡΡ β ΡΠ΄Π΅ΡΠ΅Π²Π»Π΅Π½ΠΈΠ΅ Π°Π²ΡΠΎΠΌΠΎΠ±ΠΈΠ»Ρ.
Π’ΠΎ Π΅ΡΡΡ, Π±Π°ΡΠ°Π±Π°Π½Π½ΡΠ΅ ΡΠΎΡΠΌΠΎΠ·Π° ΠΌΠΎΠ³ΡΡ ΡΡΡΠ°Π½Π°Π²Π»ΠΈΠ²Π°ΡΡΡΡ Π½Π° Π·Π°Π΄Π½ΠΈΠ΅ ΠΊΠΎΠ»Π΅ΡΠ° Π±ΡΠ΄ΠΆΠ΅ΡΠ½ΡΡ Π°Π²ΡΠΎΠΌΠΎΠ±ΠΈΠ»Π΅ΠΉ. ΠΡΠΎ Π΄ΠΎΠΏΡΡΡΠΈΠΌΠΎ, ΠΏΠΎΡΠΊΠΎΠ»ΡΠΊΡ Π½Π° ΡΠ°ΠΊΠΈΠ΅ Π°Π²ΡΠΎΠΌΠΎΠ±ΠΈΠ»ΠΈ ΠΎΠ±ΡΡΠ½ΠΎ ΡΡΠ°Π²ΡΡ Π½Π΅ ΠΎΡΠ΅Π½Ρ ΠΌΠΎΡΠ½ΡΠ΅ Π΄Π²ΠΈΠ³Π°ΡΠ΅Π»ΠΈ, ΠΈ ΠΈΡ Π΄ΠΈΠ½Π°ΠΌΠΈΠΊΠ° Π½Π΅ ΡΡΠΎΠ»Ρ Π²Π΅Π»ΠΈΠΊΠ°. ΠΠ°ΡΠ°Π±Π°Π½Π½ΡΠΌ ΡΠΎΡΠΌΠΎΠ·Π°ΠΌ Π²ΠΏΠΎΠ»Π½Π΅ ΠΏΠΎ ΡΠΈΠ»Π°ΠΌ Ρ ΡΡΠΈΠΌ ΡΠΏΡΠ°Π²ΠΈΡΡΡΡ.
Π‘ΡΠΎΠΈΠΌΠΎΡΡΡ ΠΎΠ±ΡΠ»ΡΠΆΠΈΠ²Π°Π½ΠΈΡ
ΠΡΠ»ΠΈ ΡΠ°ΡΡΠΌΠ°ΡΡΠΈΠ²Π°ΡΡ Π΄Π΅Π½Π΅ΠΆΠ½ΡΠ΅ ΡΠ°ΡΡ ΠΎΠ΄Ρ, ΡΠΎ Π·Π΄Π΅ΡΡ ΠΏΡΠ΅ΠΈΠΌΡΡΠ΅ΡΡΠ²ΠΎ Ρ Π±Π°ΡΠ°Π±Π°Π½Π½ΠΎΠΉ ΡΠΈΡΡΠ΅ΠΌΡ ΡΠΎΡΠΌΠΎΠ·ΠΎΠ², ΠΏΠΎΡΠΎΠΌΡ ΡΡΠΎ ΠΊΠΎΠ»ΠΎΠ΄ΠΊΠΈ Π² Π±Π°ΡΠ°Π±Π°Π½Π°Ρ Π·Π°ΠΌΠ΅ΡΠ½ΠΎ ΡΠ΅ΠΆΠ΅ ΡΡΠ΅Π±ΡΡΡ Π·Π°ΠΌΠ΅Π½Ρ, ΡΠ΅ΠΌ ΠΊΠΎΠ»ΠΎΠ΄ΠΊΠΈ Π΄ΠΈΡΠΊΠΎΠ²ΠΎΠΉ ΡΠΈΡΡΠ΅ΠΌΡ.
Π’Π°ΠΊ ΡΡΠ΅Π΄Π½ΠΈΠΉ ΡΠΊΡΠΏΠ»ΡΠ°ΡΠ°ΡΠΈΠΎΠ½Π½ΡΠΉ ΡΡΠΎΠΊ ΠΊΠΎΠ»ΠΎΠ΄ΠΎΠΊ Π΄ΠΈΡΠΊΠΎΠ²ΡΡ ΡΠΎΡΠΌΠΎΠ·ΠΎΠ² ΡΠΎΡΡΠ°Π²Π»ΡΠ΅Ρ ΠΏΡΠΈΠΌΠ΅ΡΠ½ΠΎ 25 000 ΠΊΠΌ ΠΏΡΠΎΠ±Π΅Π³Π°, Π° Π²ΠΎΡ Π±Π°ΡΠ°Π±Π°Π½Π½ΡΠ΅ Π°Π½Π°Π»ΠΎΠ³ΠΈ ΠΌΠΎΠ³ΡΡ ΠΏΡΠΎΡΠ°Π±ΠΎΡΠ°ΡΡ ΠΈ Π²ΡΠ΅ 60 000 ΠΊΠΌ (Π²ΠΏΡΠΎΡΠ΅ΠΌ, ΡΡΠΈ ΠΏΠ°ΡΠ°ΠΌΠ΅ΡΡΡ ΡΠΈΠ»ΡΠ½ΠΎ Π·Π°Π²ΠΈΡΡΡ ΠΎΡ ΠΌΠ°Π½Π΅ΡΡ Π΅Π·Π΄Ρ, Π½ΠΎ ΡΠ΅ΠΉΡΠ°Ρ Π½Π΅ Π±ΡΠ΄Π΅ΠΌ Π½Π° ΡΡΠΎ ΠΎΡΠ²Π»Π΅ΠΊΠ°ΡΡΡΡ).
ΠΠ΄Π΅ΡΡ ΠΏΡΠΎΡΠ»Π΅ΠΆΠΈΠ²Π°Π΅ΡΡΡ ΡΠ²Π½Π°Ρ ΡΠΊΠΎΠ½ΠΎΠΌΠΈΡ ΡΡΠ΅Π΄ΡΡΠ². ΠΠΎ Ρ Π±Π°ΡΠ°Π±Π°Π½Π½ΡΡ ΡΠΎΡΠΌΠΎΠ·ΠΎΠ² ΠΈΠΌΠ΅Π΅ΡΡΡ ΠΎΠ΄ΠΈΠ½ ΡΡΡΠ΅ΡΡΠ²Π΅Π½Π½ΡΠΉ ΠΌΠΈΠ½ΡΡ, ΠΊΠΎΡΠΎΡΡΠΉ ΠΌΠΎΠΆΠ΅Ρ ΠΏΡΠΈΠ²Π΅ΡΡΠΈ ΠΊ Π΄ΠΎΠ±Π°Π²ΠΎΡΠ½ΡΠΌ ΡΠ°ΡΡ ΠΎΠ΄Π°ΠΌ. ΠΠΌΠ΅Π΅ΡΡΡ Π² Π²ΠΈΠ΄Ρ Π·Π°ΠΊΠΈΡΠ°Π½ΠΈΠ΅ ΡΠΎΡΠΌΠΎΠ·ΠΎΠ² (Π²ΡΠ»Π΅Π΄ΡΡΠ²ΠΈΠ΅ Π΄Π»ΠΈΡΠ΅Π»ΡΠ½ΠΎΠ³ΠΎ ΠΏΡΠΎΡΡΠΎΡ Π°Π²ΡΠΎΠΌΠΎΠ±ΠΈΠ»Ρ).
Π‘Π»Π°Π±ΠΎΠ΅ ΠΌΠ΅ΡΡΠΎ Π΄ΠΈΡΠΊΠΎΠ²ΡΡ ΡΠΎΡΠΌΠΎΠ·ΠΎΠ²
ΠΡΡΡ Ρ Π΄ΠΈΡΠΊΠΎΠ²ΡΡ ΡΠΎΡΠΌΠΎΠ·ΠΎΠ² ΠΎΠ΄Π½ΠΎ ΡΠ»Π°Π±ΠΎΠ΅ ΠΌΠ΅ΡΡΠΎ β ΠΎΠ½ΠΈ Π±ΠΎΡΡΡΡ Π»ΡΠΆ. ΠΠΈΡΠΊ Π² ΠΏΡΠΎΡΠ΅ΡΡΠ΅ ΠΈΠ½ΡΠ΅Π½ΡΠΈΠ²Π½ΠΎΠ³ΠΎ ΡΠΎΡΠΌΠΎΠΆΠ΅Π½ΠΈΡ ΠΎΡΠ΅Π½Ρ ΡΠΈΠ»ΡΠ½ΠΎ ΡΠ°Π·ΠΎΠ³ΡΠ΅Π²Π°Π΅ΡΡΡ, ΠΏΠΎΡΡΠΎΠΌΡ ΠΏΠΎΠΏΠ°Π΄Π°Π½ΠΈΠ΅ Π½Π° Π½Π΅Π³ΠΎ Ρ ΠΎΠ»ΠΎΠ΄Π½ΠΎΠΉ Π²ΠΎΠ΄Ρ ΠΌΠΎΠΆΠ΅Ρ ΠΎΠΊΠ°Π·Π°ΡΡ Π½Π΅Π³Π°ΡΠΈΠ²Π½ΠΎΠ΅ Π²ΠΎΠ·Π΄Π΅ΠΉΡΡΠ²ΠΈΠ΅. ΠΠΈΡΠΊ ΠΏΠΎΠΏΡΠΎΡΡΡ ΠΌΠΎΠΆΠ΅Ρ Π»ΠΎΠΏΠ½ΡΡΡ.
ΠΡΠ»ΠΈ Π²Π½ΠΈΠΌΠ°ΡΠ΅Π»ΡΠ½ΠΎ ΡΠΈΡΠ°ΡΡ ΠΈΠ½ΡΡΡΡΠΊΡΠΈΡ ΠΊ Π°Π²ΡΠΎΠΌΠΎΠ±ΠΈΠ»Ρ, ΡΠΎ ΡΠΏΠΎΠΌΠΈΠ½Π°Π½ΠΈΠ΅ ΠΎΠ± ΡΡΠΎΠΌ Π΄ΠΎΠ»ΠΆΠ½ΠΎ Π½Π°ΠΉΡΠΈΡΡ, Ρ ΠΎΡΡ ΠΊΡΠΎ ΡΠΈΡΠ°Π΅Ρ ΡΡΠΈ ΠΈΠ½ΡΡΡΡΠΊΡΠΈΠΈ? Π Π·ΡΡ!
ΠΠΏΡΠΎΡΠ΅ΠΌ, ΠΎΡΠ΅Π½Ρ ΡΠΈΠ»ΡΠ½ΡΠΉ ΡΠ°Π·ΠΎΠ³ΡΠ΅Π² ΡΠΎΡΠΌΠΎΠ·ΠΎΠ² Π²ΠΎΠ·ΠΌΠΎΠΆΠ΅Π½ Π»ΠΈΡΡ ΠΏΡΠΈ ΠΎΠΏΡΠ΅Π΄Π΅Π»Π΅Π½Π½ΡΡ ΡΡΠ»ΠΎΠ²ΠΈΡΡ ΡΠΊΡΠΏΠ»ΡΠ°ΡΠ°ΡΠΈΠΈ, Π½Π°ΠΏΡΠΈΠΌΠ΅Ρ, Π΅ΡΠ»ΠΈ Π΅Ρ Π°ΡΡ ΠΏΠΎ Π·Π°ΡΡΠΆΠ½ΠΎΠΌΡ ΡΠΏΡΡΠΊΡ Π½Π° ΠΏΠ΅ΡΠ΅Π³ΡΡΠΆΠ΅Π½Π½ΠΎΠΌ Π°Π²ΡΠΎΠΌΠΎΠ±ΠΈΠ»Π΅ ΠΈ Π½ΠΈΡΠ΅Π³ΠΎ Π½Π΅ Π·Π½Π°ΡΡ ΠΎ ΡΠΎΡΠΌΠΎΠΆΠ΅Π½ΠΈΠΈ Π΄Π²ΠΈΠ³Π°ΡΠ΅Π»Π΅ΠΌ.
ΠΠ»ΠΈ Π΅ΡΠ»ΠΈ ΠΏΠΎΡΡΠΎΡΠ½Π½ΠΎ ΠΈ ΡΠ°ΡΡΠΎ ΠΎΡΠ΅Π½Ρ ΡΠ΅Π·ΠΊΠΎ ΡΠ°Π·Π³ΠΎΠ½ΡΡΡΡΡ, Π° ΠΏΠΎΡΠΎΠΌ ΠΎΡΠ΅Π½Ρ ΡΠ΅Π·ΠΊΠΎ ΠΈ ΡΠΈΠ»ΡΠ½ΠΎ ΡΠΎΡΠΌΠΎΠ·ΠΈΡΡ, Π΄Π²ΠΈΠ³Π°ΡΡΡ Π² ΠΏΠ»ΠΎΡΠ½ΠΎΠΌ Π³ΠΎΡΠΎΠ΄ΡΠΊΠΎΠΌ ΠΏΠΎΡΠΎΠΊΠ΅, ΡΡΡΡΠ°ΠΈΠ²Π°Ρ Π³ΠΎΠ½ΠΊΠΈ ΠΎΡ ΡΠ²Π΅ΡΠΎΡΠΎΡΠ° ΠΊ ΡΠ²Π΅ΡΠΎΡΠΎΡΡ.
ΠΡΠ»ΠΈ Π½ΠΈΡΠ΅Π³ΠΎ ΠΏΠΎΠ΄ΠΎΠ±Π½ΠΎΠ³ΠΎ Π²Ρ Π·Π° ΡΠΎΠ±ΠΎΠΉ Π½Π΅ Π·Π°ΠΌΠ΅ΡΠ°Π»ΠΈ, ΡΠΎ 99% ΠΈΠ· 100%, ΡΡΠΎ Ρ Π²Π°ΡΠΈΠΌΠΈ Π΄ΠΈΡΠΊΠΎΠ²ΡΠΌΠΈ ΡΠΎΡΠΌΠΎΠ·Π°ΠΌΠΈ Π½ΠΈΡΠ΅Π³ΠΎ Π½Π΅ ΡΠ»ΡΡΠΈΡΡΡ, Π΄Π°ΠΆΠ΅ Π΅ΡΠ»ΠΈ Π²Ρ ΠΏΠΎΡΡΠΎΡΠ½Π½ΠΎ Π±ΡΠ΄Π΅ΡΠ΅ Π΅Π·Π΄ΠΈΡΡ ΠΏΠΎ Π»ΡΠΆΠ°ΠΌ. (Π Π΅ΠΊΠΎΠΌΠ΅Π½Π΄ΡΡ ΠΎΠ·Π½Π°ΠΊΠΎΠΌΠΈΡΡΡΡ: ΡΠΏΠΎΡΠΎΠ±Ρ ΡΠΎΡΠΌΠΎΠΆΠ΅Π½ΠΈΡ Π°Π²ΡΠΎΠΌΠΎΠ±ΠΈΠ»Ρ…)
ΠΡΠ°ΠΊΡΠΈΡΠ½ΠΎΡΡΡ ΡΠΎΡΠΌΠΎΠ·Π½ΡΡ ΠΌΠ΅Ρ Π°Π½ΠΈΠ·ΠΌΠΎΠ²
Π§ΡΠΎ ΠΆΠ΅ Π²ΡΠ±ΡΠ°ΡΡ: Π±Π°ΡΠ°Π±Π°Π½Π½ΡΠ΅ ΠΈΠ»ΠΈ Π΄ΠΈΡΠΊΠΎΠ²ΡΠ΅ ΡΠΎΡΠΌΠΎΠ·Π°? Π₯ΠΎΡΡ, Π²ΠΎΠΏΡΠΎΡ, ΠΏΠΎΠΆΠ°Π»ΡΠΉ, Π½ΡΠΆΠ½ΠΎ ΡΡΠ°Π²ΠΈΡΡ Π½Π΅ ΡΠ°ΠΊ. ΠΠ°Π²Π΅ΡΠ½ΠΎΠ΅, Π²ΠΎΠΏΡΠΎΡ Π΄ΠΎΠ»ΠΆΠ΅Π½ Π·Π²ΡΡΠ°ΡΡ ΡΠ°ΠΊ: ΠΏΠΎΠΊΡΠΏΠ°ΡΡ Π»ΠΈ Π°Π²ΡΠΎΠΌΠΎΠ±ΠΈΠ»Ρ Ρ Π±Π°ΡΠ°Π±Π°Π½Π½ΡΠΌΠΈ ΡΠΎΡΠΌΠΎΠ·Π°ΠΌΠΈ?
Π ΡΡΠΎ ΡΡΡ ΠΌΠΎΠΆΠ½ΠΎ ΡΠΊΠ°Π·Π°ΡΡ, Π΅ΡΠ»ΠΈ ΠΎΡΠ²Π΅Ρ ΠΎΡΠ΅Π²ΠΈΠ΄Π΅Π½? ΠΠ° Π΄ΠΎΡΠΎΠ³ΠΈΠ΅, Π΄ΠΈΠ½Π°ΠΌΠΈΡΠ½ΡΠ΅ Π°Π²ΡΠΎΠΌΠΎΠ±ΠΈΠ»ΠΈ Π±Π°ΡΠ°Π±Π°Π½Π½ΡΠ΅ ΡΠΎΡΠΌΠΎΠ·Π° Π½Π΅ ΡΡΠ°Π²ΡΡ, Π° Π΅ΡΠ»ΠΈ Π°Π²ΡΠΎΠΌΠΎΠ±ΠΈΠ»Ρ ΡΠΊΠΎΠΌΠΏΠ»Π΅ΠΊΡΠΎΠ²Π°Π½ Π±Π°ΡΠ°Π±Π°Π½Π½ΡΠΌΠΈ ΡΠΎΡΠΌΠΎΠ·Π°ΠΌΠΈ, ΡΠΎ ΠΆΠ΄Π°ΡΡ ΠΎΡ Π½Π΅Π³ΠΎ ΠΎΡΠΎΠ±ΠΎΠΉ ΡΠ΅Π·Π²ΠΎΡΡΠΈ ΠΈ ΡΡΠΏΠ΅Ρ-Π΄ΠΈΠ½Π°ΠΌΠΈΠΊΠΈ Π½Π΅ ΡΡΠΎΠΈΡ.
ΠΡΠΎ ΠΎΠ΄Π½ΠΎΠ·Π½Π°ΡΠ½ΠΎ Π±ΡΠ΄ΠΆΠ΅ΡΠ½ΡΠΉ Π°Π²ΡΠΎΠΌΠΎΠ±ΠΈΠ»Ρ, ΠΊΠΎΡΠΎΡΡΠΉ ΠΏΠΎΠΊΡΠΏΠ°ΡΡ ΠΏΠΎΡΠΎΠΌΡ, ΡΡΠΎ Π½Π° Π±ΠΎΠ»Π΅Π΅ Π΄ΠΎΡΠΎΠ³ΠΎΠΉ Π±Π°Π½Π°Π»ΡΠ½ΠΎ Π½Π΅Ρ Π΄Π΅Π½Π΅Π³, ΠΈ ΡΠΊΠΎΠ½ΠΎΠΌΠΈΡ ΡΡΠ΅Π΄ΡΡΠ² Π²ΡΡ ΠΎΠ΄ΠΈΡ Π½Π° ΠΏΠ΅ΡΠ²ΡΠΉ ΠΏΠ»Π°Π½.
ΠΠ°, Π΄ΠΈΡΠΊΠΎΠ²ΡΠ΅ ΡΠΎΡΠΌΠΎΠ·Π° Π»ΡΡΡΠ΅ Π±Π°ΡΠ°Π±Π°Π½Π½ΡΡ , Π½ΠΎ ΠΏΡΠΈ ΡΡΠΎΠΌ ΠΎΠ½ΠΈ Π΄ΠΎΡΠΎΠΆΠ΅ ΠΊΠ°ΠΊ ΡΠ°ΠΌΠΈ ΠΏΠΎ ΡΠ΅Π±Π΅, ΡΠ°ΠΊ ΠΈ Π² ΠΎΠ±ΡΠ»ΡΠΆΠΈΠ²Π°Π½ΠΈΠΈ.
ΠΠΎ Π½Π΅ ΡΡΠΎΠΈΡ Π΄ΡΠ°ΠΌΠ°ΡΠΈΠ·ΠΈΡΠΎΠ²Π°ΡΡ. ΠΠ° ΠΌΠ½ΠΎΠ³ΠΈΠ΅ ΠΌΠ°ΡΠΈΠ½Ρ ΡΠ΅Π³ΠΎΠ΄Π½Ρ ΠΎΡΠ½Π°ΡΠ°ΡΡΡΡ ΠΈ Π΄ΠΈΡΠΊΠΎΠ²ΡΠΌΠΈ ΡΠΎΡΠΌΠΎΠ·Π°ΠΌΠΈ, ΡΡΡΠ°Π½Π°Π²Π»ΠΈΠ²Π°ΡΡΠΈΠΌΠΈΡΡ Π½Π° ΠΏΠ΅ΡΠ΅Π΄Π½ΡΡ ΠΏΠ°ΡΡ ΠΊΠΎΠ»Π΅Ρ, ΠΈ Π±Π°ΡΠ°Π±Π°Π½Π½ΡΠΌΠΈ Π°Π½Π°Π»ΠΎΠ³Π°ΠΌΠΈ, ΠΊΠΎΡΠΎΡΡΠ΅ ΠΌΠΎΠ½ΡΠΈΡΡΡΡΡΡ Π½Π° Π·Π°Π΄Π½ΡΡ ΠΎΡΡ Π°Π²ΡΠΎΠΌΠΎΠ±ΠΈΠ»Ρ.
Π ΡΠ΅Π·ΡΠ»ΡΡΠ°ΡΠ΅, Π°Π²ΡΠΎΡΡΠ°Π½ΡΠΏΠΎΡΡ ΠΈΠΌΠ΅Π΅Ρ Π΄ΠΎΠΏΡΡΡΠΈΠΌΡΠΉ ΠΏΠΎ ΠΌΠ΅ΡΠΊΠ°ΠΌ Π±Π΅Π·ΠΎΠΏΠ°ΡΠ½ΠΎΡΡΠΈ ΡΠΎΡΠΌΠΎΠ·Π½ΠΎΠΉ ΠΏΡΡΡ (Π²ΡΠ»Π΅Π΄ΡΡΠ²ΠΈΠ΅ ΡΡΡΠ΅ΠΊΡΠΈΠ²Π½ΠΎΠ³ΠΎ Π΄Π΅ΠΉΡΡΠ²ΠΈΡ ΠΏΠ΅ΡΠ΅Π΄Π½ΠΈΡ Π΄ΠΈΡΠΊΠΎΠ²ΡΡ ΡΠΎΡΠΌΠΎΠ·ΠΎΠ²), ΠΈ ΠΏΡΠΈ ΡΡΠΎΠΌ Π°Π²ΡΠΎΠ²Π»Π°Π΄Π΅Π»Π΅Ρ Π½Π΅ Π½Π΅ΡΠ΅Ρ Π±ΠΎΠ»ΡΡΠΈΡ Π·Π°ΡΡΠ°Ρ.
Π’Π°ΠΊ ΠΆΠ΅ ΡΡΠΎΠΈΡ ΡΡΠΈΡΡΠ²Π°ΡΡ ΠΈ ΡΠΎ, ΡΡΠΎ ΠΌΠ½ΠΎΠ³ΠΈΠ΅ Π°Π²ΡΠΎΠ²Π»Π°Π΄Π΅Π»ΡΡΡ Π΅Π·Π΄ΡΡ Π² ΡΠΏΠΎΠΊΠΎΠΉΠ½ΠΎΠΉ ΠΌΠ°Π½Π΅ΡΠ΅, Π½Π΅ ΠΏΠ΅ΡΠ΅Π³ΡΡΠΆΠ°ΡΡ ΡΠ²ΠΎΠΉ Π°Π²ΡΠΎΠΌΠΎΠ±ΠΈΠ»Ρ ΠΈ Π² ΡΡΠΎΠΌ ΡΠ»ΡΡΠ°Π΅ Π±Π°ΡΠ°Π±Π°Π½Π½ΡΠ΅ ΡΠΎΡΠΌΠΎΠ·Π° ΠΎΡΠ»ΠΈΡΠ½ΠΎ ΡΠΏΡΠ°Π²ΡΡΡΡ Ρ ΠΏΠΎΡΡΠ°Π²Π»Π΅Π½Π½ΠΎΠΉ Π·Π°Π΄Π°ΡΠ΅ΠΉ.
ΠΠ΄Π½ΠΎΠ²ΡΠ΅ΠΌΠ΅Π½Π½ΠΎ Ρ ΡΡΠΈΠΌ Π½ΡΠΆΠ½ΠΎ, ΠΊΠΎΠ½Π΅ΡΠ½ΠΎ, ΡΡΠΈΡΡΠ²Π°ΡΡ ΠΈ ΡΠΎ, ΡΡΠΎ Π² ΡΠ»ΡΡΠ°Π΅, Π΅ΡΠ»ΠΈ Π°Π²ΡΠΎΠΌΠΎΠ±ΠΈΠ»Ρ ΠΏΡΠ΅Π΄ΠΏΠΎΠ»Π°Π³Π°Π΅Ρ ΠΏΠ΅ΡΠ΅Π²ΠΎΠ·ΠΊΡ Π±ΠΎΠ»ΡΡΠΎΠ³ΠΎ Π³ΡΡΠ·Π°, Π½Π°ΠΏΡΠΈΠΌΠ΅Ρ, Π΅ΡΠ»ΠΈ Π²Ρ ΠΏΠΎΠΊΡΠΏΠ°Π΅ΡΠ΅ ΡΠ½ΠΈΠ²Π΅ΡΡΠ°Π» ΠΈ ΠΏΠ»Π°Π½ΠΈΡΡΠ΅ΡΠ΅ Π΅ΡΠ΅ Π±Π°Π³Π°ΠΆΠ½ΠΈΠΊ Π½Π° ΠΊΡΡΡΡ ΠΏΠΎΡΡΠ°Π²ΠΈΡΡ, ΡΠΎ Π»ΡΡΡΠ΅ Π±ΡΠ΄Π΅Ρ ΠΊΡΠΏΠΈΡΡ Π°Π²ΡΠΎΠΌΠΎΠ±ΠΈΠ»Ρ, ΠΊΠΎΡΠΎΡΡΠΉ ΡΠΊΠΎΠΌΠΏΠ»Π΅ΠΊΡΠΎΠ²Π°Π½ Π΄ΠΈΡΠΊΠΎΠ²ΡΠΌΠΈ ΡΠΎΡΠΌΠΎΠ·Π°ΠΌΠΈ Π½Π° Π²ΡΠ΅Ρ 4-Ρ ΠΊΠΎΠ»Π΅ΡΠ°Ρ .
ΠΠΎΠΌΠ½ΠΈΡΠ΅, ΡΡΠΎ Π·Π°ΠΏΠ°Ρ Π±Π΅Π·ΠΎΠΏΠ°ΡΠ½ΠΎΡΡΠΈ Π»ΠΈΡΠ½ΠΈΠΌ Π½Π΅ Π±ΡΠ²Π°Π΅Ρ Π½ΠΈΠΊΠΎΠ³Π΄Π°, Π° ΠΎΡΠΎΠ±Π΅Π½Π½ΠΎ ΠΎΠ½ ΠΏΠΎΠ»Π΅Π·Π΅Π½ Π² ΡΠΊΡΡΡΠ΅Π½Π½ΡΡ ΡΠΈΡΡΠ°ΡΠΈΡΡ , ΠΎΡ ΠΊΠΎΡΠΎΡΡΡ Π½ΠΈΠΊΡΠΎ Π½Π΅ Π·Π°ΡΡΡΠ°Ρ ΠΎΠ²Π°Π½, ΠΊ ΡΠΎΠΆΠ°Π»Π΅Π½ΠΈΡ.
Π§ΠΈΡΠ°ΠΉΡΠ΅ ΡΠ°ΠΊΠΆΠ΅: ΡΠΎΡΠΌΠΎΠ·Π½Π°Ρ ΡΠΈΡΡΠ΅ΠΌΠ° Π°Π²ΡΠΎΠΌΠΎΠ±ΠΈΠ»Ρ…
Π Π²ΠΈΠ΄Π΅ΠΎ Π΄Π»Ρ Π½Π°Π³Π»ΡΠ΄Π½ΠΎΡΡΠΈ (ΡΠΏΠ°ΡΠΈΠ±ΠΎ Youtube, Π·Π° ΡΠΎ, ΡΡΠΎ ΠΎΠ½ Π΅ΡΡΡ π ):
ΠΠ΅Π»ΠΎΡΠΈΠΏΠ΅Π΄Π½ΡΠ΅ Π΄ΠΈΡΠΊΠΎΠ²ΡΠ΅ ΡΠΎΡΠΌΠΎΠ·Π°
ΠΠ΅Π»ΠΎΡΠΈΠΏΠ΅Π΄Π½ΡΠ΅ Π΄ΠΈΡΠΊΠΎΠ²ΡΠ΅ ΡΠΎΡΠΌΠΎΠ·Π°ΠΠΈΡΠΊΠΎΠ²ΡΠ΅ ΡΠΎΡΠΌΠΎΠ·Π°
ΠΠΈΠ΄ΡΠ°Π²Π»ΠΈΡΠ΅ΡΠΊΠΈΠΉ Π΄ΠΈΡΠΊΠΎΠ²ΡΠΉ ΡΠΎΡΠΌΠΎΠ·. ΡΠΎΡΠΎ: Wikimedia Commons
ΠΡΠΎΡΡΠΈΡΠ΅ ΡΡΡ ΡΡΠ°ΡΡΡ Π² ΡΠ²ΡΠ·ΠΈ Ρ:
ΠΠΎΡΠ΅ΠΌΡ Π΄ΠΈΡΠΊΠΎΠ²ΡΠ΅ ΡΠΎΡΠΌΠΎΠ·Π°?
ΠΠΎΡΠ½ΡΠ΅ Π²Π΅Π»ΠΎΡΠΈΠΏΠ΅Π΄Ρ Π²ΠΏΠ΅ΡΠ²ΡΠ΅ ΠΈΡΠΏΠΎΠ»ΡΠ·ΠΎΠ²Π°Π»ΠΈ ΠΊΠΎΠ½ΡΠΎΠ»ΡΠ½ΡΠ΅ ΡΠΎΡΠΌΠΎΠ·Π°; Π²ΠΎ-Π²ΡΠΎΡΡΡ , ΡΠΎΡΠΌΠΎΠ·Π° ΠΏΡΡΠΌΠΎΠ³ΠΎ Π΄Π΅ΠΉΡΡΠ²ΠΈΡ, ΠΊΠΎΡΠΎΡΡΠ΅ ΠΏΠΎΠ·Π²ΠΎΠ»ΡΡΡ ΠΈΠ·Π±Π΅ΠΆΠ°ΡΡ ΡΠΈΡΠΊΠ° Π·Π°ΡΠ΅ΠΏΠΈΡΡ ΠΏΠΎΠΏΠ΅ΡΠ΅ΡΠ½ΡΠΉ ΡΡΠΎΡ Π·Π° ΡΠ·Π»ΠΎΠ²Π°ΡΡΡ ΡΠΈΠ½Ρ. ΠΠΎ ΠΎΠ±ΠΎΠ΄Π° Π³ΠΎΡΠ½ΡΡ Π²Π΅Π»ΠΎΡΠΈΠΏΠ΅Π΄ΠΎΠ² ΡΠ°ΡΡΠΎ Π±ΡΠ²Π°ΡΡ ΠΌΠΎΠΊΡΡΠΌΠΈ, Π³ΡΡΠ·Π½ΡΠΌΠΈ ΠΈ ΠΏΠΎΠΊΠΎΡΠΎΠ±Π»Π΅Π½Π½ΡΠΌΠΈ, ΡΡΠΎ ΡΠΎΠ·Π΄Π°Π΅Ρ ΠΏΡΠΎΠ±Π»Π΅ΠΌΡ Ρ ΠΎΠ±ΠΎΠ΄Π½ΡΠΌΠΈ ΡΠΎΡΠΌΠΎΠ·Π°ΠΌΠΈ.
ΠΠΈΡΠΊΠΎΠ²ΡΠ΅ ΡΠΎΡΠΌΠΎΠ·Π° ΡΡΠ°Π½ΠΎΠ²ΡΡΡΡ Π²ΡΠ΅ Π±ΠΎΠ»Π΅Π΅ ΠΏΠΎΠΏΡΠ»ΡΡΠ½ΡΠΌΠΈ Π½Π° Π³ΠΎΡΠ½ΡΡ Π²Π΅Π»ΠΎΡΠΈΠΏΠ΅Π΄Π°Ρ ΠΈ ΡΡΠ°Π½ΠΎΠ²ΡΡΡΡ Π²ΡΠ΅ Π±ΠΎΠ»Π΅Π΅ ΠΏΠΎΠΏΡΠ»ΡΡΠ½ΡΠΌΠΈ Π΄Π»Ρ Π΄ΡΡΠ³ΠΈΡ Π²Π΅Π»ΠΎΡΠΈΠΏΠ΅Π΄ΠΎΠ².
ΠΠΆΠΎΠ½ ΠΠ»ΡΠ΅Π½, ΠΎΠΏΡΡΠ½ΡΠΉ Π³ΠΎΠ½ΡΠΈΠΊ ΠΈ ΠΈΠ½ΠΆΠ΅Π½Π΅Ρ Π½Π° Π³ΠΎΡΠ½ΡΡ Π²Π΅Π»ΠΎΡΠΈΠΏΠ΅Π΄Π°Ρ (ΠΏΡΠ΅Π΄ΠΎΡΡΠ°Π²ΠΈΠ²ΡΠΈΠΉ ΡΠΎΡΠΎΠ³ΡΠ°ΡΠΈΡ ΡΠ»Π΅Π²Π°), ΡΠΎΠΎΠ±ΡΠ°Π΅Ρ:
Β«ΠΠΎΠ³Π΄Π° Ρ ΠΏΠΎΠ»ΡΡΠΈΠ» ΡΠ²ΠΎΠΉ ΠΏΠ΅ΡΠ²ΡΠΉ ΡΠ°Π±ΠΎΡΠ°ΡΡΠΈΠΉ Π΄ΠΈΡΠΊΠΎΠ²ΡΠΉ ΡΠΎΡΠΌΠΎΠ· Π΄Π»Ρ Π³ΠΎΡΠ½ΠΎΠ³ΠΎ Π²Π΅Π»ΠΎΡΠΈΠΏΠ΅Π΄Π°, ΠΏΡΠ΅ΠΈΠΌΡΡΠ΅ΡΡΠ²Π° Π½Π° Π±Π΅Π·Π΄ΠΎΡΠΎΠΆΡΠ΅ Π±ΡΠ»ΠΈ Π½Π°ΡΡΠΎΠ»ΡΠΊΠΎ ΠΎΡΠ΅Π»ΠΎΠΌΠ»ΡΡΡΠΈΠΌΠΈ, ΡΡΠΎ Ρ ΠΌΠ΅Π½ΡΠ» ΠΊΠ°ΠΆΠ΄ΡΠΉ Π±Π°ΠΉΠΊ Ρ ΠΏΠ΅ΡΠ΅Π΄Π°Π» ΠΈΠΌ ΠΊΠ°ΠΊ ΠΌΠΎΠΆΠ½ΠΎ Π±ΡΡΡΡΠ΅Π΅.ΠΠΎΠ½ΡΡΡΡΠΊΡΠΈΡ ΡΡΡΠΏΠΈΡΡ, ΠΎΠ±ΠΎΠ΄Π° ΠΈ ΡΠΏΠΈΡ ΠΏΡΠ°ΠΊΡΠΈΡΠ΅ΡΠΊΠΈ Π½Π΅ ΠΈΠ·ΠΌΠ΅Π½ΠΈΠ»Π°ΡΡ, Π·Π° ΠΈΡΠΊΠ»ΡΡΠ΅Π½ΠΈΠ΅ΠΌ ΠΏΠΎΠ»ΠΎΠΆΠ΅Π½ΠΈΠΉ ΠΊΡΠ΅ΠΏΠ»Π΅Π½ΠΈΡ Π΄ΠΈΡΠΊΠΎΠ² Π½Π° ΡΡΡΠΏΠΈΡΠ°Ρ .Β«
ΠΠ»Ρ Π΄ΠΎΡΠΎΠΆΠ½ΡΡ Π²Π΅Π»ΠΎΡΠΈΠΏΠ΅Π΄ΠΎΠ² ΠΏΡΠ΅ΠΈΠΌΡΡΠ΅ΡΡΠ²Π° Π΄ΠΈΡΠΊΠΎΠ²ΡΡ ΡΠΎΡΠΌΠΎΠ·ΠΎΠ² Π½Π΅ ΡΡΠΎΠ»Ρ ΠΎΡΠ΅Π²ΠΈΠ΄Π½Ρ. Π ΠΊΠ°ΠΊΠΎΠΉ-ΡΠΎ ΡΡΠ΅ΠΏΠ΅Π½ΠΈ ΠΎΠ½ΠΈ ΡΠ²Π»ΡΡΡΡΡ ΠΌΠΎΠ΄Π½ΡΠΌ Π·Π°ΡΠ²Π»Π΅Π½ΠΈΠ΅ΠΌ, ΠΈΠΌΠΈΡΠΈΡΡΡΡΠΈΠΌ Π°Π²ΡΠΎΠΌΠΎΠ±ΠΈΠ»ΡΠ½ΡΡ ΠΏΡΠ°ΠΊΡΠΈΠΊΡ.
ΠΠΎ ΠΈΠΌΠ΅ΠΉΡΠ΅ Π² Π²ΠΈΠ΄Ρ: Π΄ΠΈΡΠΊΠΎΠ²ΡΠ΅ ΡΠΎΡΠΌΠΎΠ·Π° Π½Π΅ ΠΌΠΎΠ³ΡΡ Π±ΡΡΡ ΠΌΠΎΠ΄Π΅ΡΠ½ΠΈΠ·ΠΈΡΠΎΠ²Π°Π½Ρ Π±Π΅Π· ΠΌΠΎΠ΄ΠΈΡΠΈΠΊΠ°ΡΠΈΠΈ ΡΠ°ΠΌΡ. ΠΠ΅ΡΠ΅Π΄Π½ΠΈΠΉ Π΄ΠΈΡΠΊΠΎΠ²ΡΠΉ ΡΠΎΡΠΌΠΎΠ· ΡΠΈΠ»ΡΠ½ΠΎ Π½Π°Π³ΡΡΠΆΠ°Π΅Ρ Π²ΠΈΠ»ΠΊΡ ΠΈ ΠΌΠΎΠΆΠ΅Ρ Π²ΡΡΠ²Π°ΡΡ ΠΏΠ΅ΡΠ΅Π΄Π½Π΅Π΅ ΠΊΠΎΠ»Π΅ΡΠΎ ΠΈΠ· Π΄ΡΠΎΠΏΠ°ΡΡΠΎΠ², Π΅ΡΠ»ΠΈ Π½Π΅ ΠΈΡΠΏΠΎΠ»ΡΠ·ΡΡΡΡΡ ΡΠΏΠ΅ΡΠΈΠ°Π»ΡΠ½ΡΠ΅ ΡΡΡΠΏΠΈΡΠ° ΠΈ Π²ΠΈΠ»ΠΊΠ°.
ΠΡΠ΅ΠΈΠΌΡΡΠ΅ΡΡΠ²Π° ΠΈ Π½Π΅Π΄ΠΎΡΡΠ°ΡΠΊΠΈ Π΄ΠΈΡΠΊΠΎΠ²ΡΡ ΡΠΎΡΠΌΠΎΠ·ΠΎΠ²
ΠΡΠ΅ΠΈΠΌΡΡΠ΅ΡΡΠ²Π°
- ΠΠΈΡΠΊΠΎΠ²ΡΠ΅ ΡΠΎΡΠΌΠΎΠ·Π° Ρ Π±ΠΎΠ»ΡΡΠΈΠΌΠΈ ΡΠΎΡΠΎΡΠ°ΠΌΠΈ ΡΠΈΠ»ΡΠ½Ρ, Ρ ΠΎΡΡ Π½Π΅ΠΊΠΎΡΠΎΡΡΠ΅ ΠΈΠ· Π½ΠΈΡ Ρ ΠΌΠ°Π»Π΅Π½ΡΠΊΠΈΠΌΠΈ ΡΠΎΡΠΎΡΠ°ΠΌΠΈ, ΠΏΡΠ΅Π΄Π½Π°Π·Π½Π°ΡΠ΅Π½Π½ΡΠ΅ Π΄Π»Ρ Π΄ΠΎΡΠΎΠΆΠ½ΡΡ Π²Π΅Π»ΠΎΡΠΈΠΏΠ΅Π΄ΠΎΠ², ΠΌΠ΅Π½Π΅Π΅ ΡΡΡΠ΅ΠΊΡΠΈΠ²Π½Ρ.
- Π£ΡΠΈΠ»ΠΈΠ΅ ΡΡΡΠ°Π³Π° Π½ΠΈΠ·ΠΊΠΎΠ΅, Π΄ΠΈΡΠΊΠΎΠ²ΡΠ΅ ΡΠΎΡΠΌΠΎΠ·Π° Π»ΡΡΡΠ΅.
- ΠΠΈΡΠΊΠΎΠ²ΡΠ΅ ΡΠΎΡΠΌΠΎΠ·Π° Π½Π΅ Π΄ΠΎΠ»ΠΆΠ½Ρ ΠΈΠ·Π³ΠΈΠ±Π°ΡΡΡΡ Π½Π°Π΄ ΡΠΈΠ½ΠΎΠΉ, ΠΏΠΎΡΡΠΎΠΌΡ ΠΏΡΠΈ Π²ΡΠ±ΠΎΡΠ΅ ΡΠΈΡΠΎΠΊΠΈΡ ΡΠΈΠ½ Π½Π΅ ΡΡΠ΅Π±ΡΠ΅ΡΡΡ Π½ΠΈΠΊΠ°ΠΊΠΈΡ ΠΊΠΎΠΌΠΏΡΠΎΠΌΠΈΡΡΠΎΠ² Π² ΠΊΠΎΠ½ΡΡΡΡΠΊΡΠΈΠΈ.
- ΠΠ° Π½ΠΈΡ ΠΌΠ°Π»ΠΎ Π²Π»ΠΈΡΠ΅Ρ Π²Π»Π°ΠΆΠ½ΠΎΡΡΡ.
- ΠΠ΅ Π·Π°Π±ΠΈΠ²Π°ΡΡΡΡ Π³ΡΡΠ·ΡΡ ΠΈ ΡΠ½Π΅Π³ΠΎΠΌ.
- ΠΠ½ΠΈ Π½Π΅ ΠΏΠΎΠ΄Π²Π΅ΡΠΆΠ΅Π½Ρ ΠΏΠΎΠ²ΡΠ΅ΠΆΠ΄Π΅Π½ΠΈΡ ΠΎΠ±ΠΎΠ΄Π° ΠΈ Π½Π΅ ΡΠΎΠΎΡΠ²Π΅ΡΡΡΠ²ΡΡΡ Π΄Π΅ΠΉΡΡΠ²ΠΈΡΠ΅Π»ΡΠ½ΠΎΡΡΠΈ.
- ΠΠ½ΠΈ Π½Π΅ ΡΠΈΡΠΊΡΡΡ ΠΏΠΎΠ²ΡΠ΅Π΄ΠΈΡΡ ΡΠΈΠ½Ρ ΡΠΎΡΠΌΠΎΠ·Π½ΡΠΌΠΈ ΠΊΠΎΠ»ΠΎΠ΄ΠΊΠ°ΠΌΠΈ ΠΈΠ»ΠΈ Π½ΡΡΠ½ΡΡΡ ΠΏΠΎΠ΄ ΠΎΠ±ΠΎΠ΄ ΠΈ Π·Π°Π±Π»ΠΎΠΊΠΈΡΠΎΠ²Π°ΡΡ ΠΊΠΎΠ»Π΅ΡΠΎ.
- ΠΡΠ΄ΡΡΠΈ Π²Π½Π΅ΡΠ½ΠΈΠΌΠΈ ΠΏΠΎ ΠΎΡΠ½ΠΎΡΠ΅Π½ΠΈΡ ΠΊ ΡΡΡΠΏΠΈΡΠ΅, ΠΎΠ½ΠΈ Π½Π΅ ΠΏΡΠ΅Π΄ΡΡΠ²Π»ΡΡΡ ΠΎΡΠΎΠ±ΡΡ ΡΡΠ΅Π±ΠΎΠ²Π°Π½ΠΈΠΉ ΠΊ ΡΠΌΠ°Π·ΠΊΠ΅, Π½Π°ΠΏΡΠΈΠΌΠ΅Ρ, Π΄Π»Ρ ΠΊΠ°Π±ΠΎΡΠ°ΠΆΠ½ΠΎΠ³ΠΎ ΡΠΎΡΠΌΠΎΠ·Π°, ΠΈ Π½Π΅ ΠΏΠΎΠ΄Π²Π΅ΡΠ³Π°ΡΡΡΡ ΡΠΈΡΠΊΡ Π·Π°Π³ΡΡΠ·Π½Π΅Π½ΠΈΡ ΡΠΌΠ°Π·ΠΎΡΠ½ΡΠΌΠΈ ΠΌΠ°ΡΠ΅ΡΠΈΠ°Π»Π°ΠΌΠΈ, ΡΠ°ΠΊΠΈΠΌΠΈ ΠΊΠ°ΠΊ Π²ΡΡΡΠΎΠ΅Π½Π½ΡΠΉ Π±Π°ΡΠ°Π±Π°Π½Π½ΡΠΉ ΡΠΎΡΠΌΠΎΠ·, ΠΈ Π½Π΅ ΠΏΠ΅ΡΠ΅Π³ΡΠ΅Π²Π°ΡΡ ΡΡΡΠΏΠΈΡΡ Π½Π° Π΄Π»ΠΈΠ½Π½ΡΡ ΠΊΡΡΡΡΡ ΡΠΏΡΡΠΊΠ°Ρ .
- ΠΠ½ΠΈ ΡΠ°ΠΊΠΆΠ΅ ΡΠ°ΡΡΠ΅ΠΈΠ²Π°ΡΡ ΡΠ΅ΠΏΠ»ΠΎ, Π½Π΅ ΠΏΠ΅ΡΠ΅Π³ΡΠ΅Π²Π°Ρ ΡΠΈΠ½Ρ, ΡΡΠΎ ΠΎΡΠΎΠ±Π΅Π½Π½ΠΎ Π²Π°ΠΆΠ½ΠΎ ΠΏΡΠΈ ΠΈΡΠΏΠΎΠ»ΡΠ·ΠΎΠ²Π°Π½ΠΈΠΈ Π² ΠΊΠ°ΡΠ΅ΡΡΠ²Π΅ ΡΠΎΡΠΌΠΎΠ·Π½ΠΎΠ³ΠΎ ΠΌΠ΅Ρ Π°Π½ΠΈΠ·ΠΌΠ° Π½Π° ΡΠΏΡΡΠΊΠ΅ Π½Π° ΡΠ°Π½Π΄Π΅ΠΌΠ½ΠΎΠΌ ΠΈΠ»ΠΈ Π³ΡΡΠ·ΠΎΠ²ΠΎΠΌ Π²Π΅Π»ΠΎΡΠΈΠΏΠ΅Π΄Π΅.
- ΠΠ½ΠΈ Π½Π΅ ΠΈΠ·Π½Π°ΡΠΈΠ²Π°ΡΡΡΡ ΠΎΠ±ΠΎΠ΄Π°ΠΌΠΈ — ΠΎΡΠΎΠ±Π΅Π½Π½ΠΎ ΡΡΠΎ ΠΏΡΠΎΠ±Π»Π΅ΠΌΠ° Π² ΠΏΠ΅ΡΠΊΠ΅ ΠΈ Π³ΡΡΠ·ΠΈ ΠΈΠ»ΠΈ Ρ ΠΎΠ±ΠΎΠ΄Π°ΠΌΠΈ ΠΈΠ· ΠΊΠΎΠΌΠΏΠΎΠ·ΠΈΡΠ½ΠΎΠ³ΠΎ ΡΠ³Π»Π΅ΡΠΎΠ΄Π½ΠΎΠ³ΠΎ Π²ΠΎΠ»ΠΎΠΊΠ½Π°. ΠΠ½ΠΈ Π½Π΅ ΠΎΡΡΠ°Π²Π»ΡΡΡ ΡΠ΅ΡΠ½ΡΡ ΠΏΡΠ»Ρ (ΡΠ°ΡΡΠΈΡΡ ΠΈΠ·Π½ΠΎΡΠ°) Π½Π° ΠΎΠ±ΠΎΠ΄Π°Ρ ΠΈΠ· Π°Π»ΡΠΌΠΈΠ½ΠΈΠ΅Π²ΠΎΠ³ΠΎ ΡΠΏΠ»Π°Π²Π°, ΡΡΠΎΠ±Ρ ΠΎΠ½ΠΈ Π½Π΅ ΠΏΠΎΠΏΠ°Π»ΠΈ Π²Π°ΠΌ Π½Π° ΡΡΠΊΠΈ ΠΏΡΠΈ ΡΠ½ΡΡΠΈΠΈ ΠΈΠ»ΠΈ Π·Π°ΠΌΠ΅Π½Π΅ ΠΊΠΎΠ»Π΅ΡΠ°.
- ΠΠΎΠΏΡΡΠΊΠ°ΡΡΡΡ ΠΌΠΎΠ΄ΠΈΡΠΈΠΊΠ°ΡΠΈΠΈ, ΠΊΠΎΡΠΎΡΡΠ΅ Π½Π΅ ΡΠ°Π±ΠΎΡΠ°ΡΡ Ρ ΠΎΠ±ΠΎΠ΄Π½ΡΠΌΠΈ ΡΠΎΡΠΌΠΎΠ·Π°ΠΌΠΈ, Π½Π°ΠΏΡΠΈΠΌΠ΅Ρ, ΡΠ²Π΅ΡΠΎΠΎΡΡΠ°ΠΆΠ°ΡΡΠ°Ρ Π»Π΅Π½ΡΠ° ΠΏΠΎ Π±ΠΎΠΊΠ°ΠΌ ΠΎΠ±ΠΎΠ΄Π°; ΠΠ°ΡΡΠ΅ΠΆΠΊΠΈ-ΠΌΠΎΠ»Π½ΠΈΠΈ Π² Π²ΠΈΠ΄Π΅ ΡΠ΅ΠΏΠ΅ΠΉ Π΄Π»Ρ ΡΠΈΠ½, ΠΎΠ±Π΅ΡΠ½ΡΡΡΡ Π²ΠΎΠΊΡΡΠ³ ΠΎΠ±ΠΎΠ΄Π° ΠΈ ΡΠΈΠ½Ρ.
- ΠΠ½ΠΈ ΠΏΠΎΠ·Π²ΠΎΠ»ΡΡΡ Π·Π°ΠΌΠ΅Π½ΡΡΡ ΠΊΠΎΠ»Π΅ΡΠ° Ρ ΠΎΠ±ΠΎΠ΄Π°ΠΌΠΈ ΡΠ°Π·Π½ΠΎΠ³ΠΎ ΡΠ°Π·ΠΌΠ΅ΡΠ° Π½Π° ΠΎΠ΄Π½ΠΎΠΉ ΠΈ ΡΠΎΠΉ ΠΆΠ΅ ΡΠ°ΠΌΠ΅, ΠΏΠΎΡΡΠΎΠΌΡ Π²Ρ ΠΌΠΎΠΆΠ΅ΡΠ΅ ΠΏΠ΅ΡΠ΅ΠΊΠ»ΡΡΠ°ΡΡΡΡ Ρ ΡΠΎΠ½ΠΊΠΈΡ Π΄ΠΎΡΠΎΠΆΠ½ΡΡ ΡΠΈΠ½ Π½Π° ΡΠΎΠ»ΡΡΡΠ΅ Π²Π½Π΅Π΄ΠΎΡΠΎΠΆΠ½ΡΠ΅ ΡΠΈΠ½Ρ, ΡΠΎΡ ΡΠ°Π½ΡΡ ΠΏΡΠΈ ΡΡΠΎΠΌ ΡΡ ΠΆΠ΅ Π²ΡΡΠΎΡΡ ΠΊΠ°ΡΠ΅ΡΠΊΠΈ.
- ΠΠΈΡΠΊΠΎΠ²ΡΠ΅ ΡΠΎΡΠΌΠΎΠ·Π° Ρ Π³ΠΈΠ΄ΡΠ°Π²Π»ΠΈΡΠ΅ΡΠΊΠΈΠΌ ΠΏΡΠΈΠ²ΠΎΠ΄ΠΎΠΌ ΠΏΡΠ΅Π΄ΠΎΡΠ²ΡΠ°ΡΠ°ΡΡ Β«Π»ΠΈΠΏΠΊΠΎΡΡΡΒ» ΠΈΠ·-Π·Π° ΡΡΠ΅Π½ΠΈΡ ΠΊΠ°Π±Π΅Π»Ρ.
- ΠΠ΅ΠΊΠΎΡΠΎΡΡΠ΅ Π΄ΠΈΡΠΊΠΎΠ²ΡΠ΅ ΡΠΎΡΠΌΠΎΠ·Π° Ρ Π³ΠΈΠ΄ΡΠ°Π²Π»ΠΈΡΠ΅ΡΠΊΠΈΠΌ ΠΏΡΠΈΠ²ΠΎΠ΄ΠΎΠΌ ΡΠ²Π»ΡΡΡΡΡ ΡΠ°ΠΌΠΎΡΠ΅Π³ΡΠ»ΠΈΡΡΡΡΠΈΠΌΠΈΡΡ, ΡΡΠΎΠ±Ρ ΠΊΠΎΠΌΠΏΠ΅Π½ΡΠΈΡΠΎΠ²Π°ΡΡ ΠΈΠ·Π½ΠΎΡ ΠΊΠΎΠ»ΠΎΠ΄ΠΎΠΊ ΠΈ ΡΠΎΡΠΎΡΠ°.
- Π ΠΎΡΠΎΡ Π»Π΅Π³ΠΊΠΎ Π·Π°ΠΌΠ΅Π½ΡΠ΅ΡΡΡ Π² ΡΠ»ΡΡΠ°Π΅ ΠΈΠ·Π½ΠΎΡΠ° ΠΈΠ»ΠΈ ΠΏΠΎΠ²ΡΠ΅ΠΆΠ΄Π΅Π½ΠΈΡ. ΠΠ΄Π°ΠΏΡΠ΅ΡΡ ΠΏΠΎΠ·Π²ΠΎΠ»ΡΡΡ Π·Π°ΠΌΠ΅Π½ΡΡΡ Π±ΠΎΠ»ΡΡΠΈΠ½ΡΡΠ²ΠΎ ΡΡΠΏΠΏΠΎΡΡΠΎΠ², Π΄Π°ΠΆΠ΅ ΡΠ΅Ρ , ΠΊΠΎΡΠΎΡΡΠ΅ Π±ΠΎΠ»ΡΡΠ΅ Π½Π΅ ΠΏΡΠΎΠΈΠ·Π²ΠΎΠ΄ΡΡΡΡ.
- ΠΠ΅ΠΊΠΎΡΠΎΡΡΠ΅ Π²Π΅Π»ΠΎΡΠΈΠΏΠ΅Π΄Π½ΡΠ΅ ΡΠ°ΠΌΡ ΠΈΠΌΠ΅ΡΡ ΠΏΡΠΈΡΠΏΠΎΡΠΎΠ±Π»Π΅Π½ΠΈΡ Π΄Π»Ρ Π΄ΠΈΡΠΊΠΎΠ²ΡΡ ΡΠΎΡΠΌΠΎΠ·ΠΎΠ², Π½ΠΎ Π½Π΅ ΠΈΠΌΠ΅ΡΡ ΠΏΡΠΈΡΠΏΠΎΡΠΎΠ±Π»Π΅Π½ΠΈΠΉ Π΄Π»Ρ ΡΡΡΠ°Π½ΠΎΠ²ΠΊΠΈ ΠΎΠ±ΠΎΠ΄Π½ΡΡ ΡΠΎΡΠΌΠΎΠ·ΠΎΠ².
ΠΠ΅Π΄ΠΎΡΡΠ°ΡΠΊΠΈ
- ΠΠ΅ΡΠ΅Π΄Π½ΠΈΠΉ Π΄ΠΈΡΠΊΠΎΠ²ΡΠΉ ΡΠΎΡΠΌΠΎΠ· ΠΎΡΠ΅Π½Ρ ΡΠΈΠ»ΡΠ½ΠΎ Π½Π°Π³ΡΡΠΆΠ°Π΅Ρ ΠΎΠ΄Π½Ρ Π»ΠΎΠΏΠ°ΡΡΡ ΠΏΠ΅ΡΠ΅Π΄Π½Π΅ΠΉ Π²ΠΈΠ»ΠΊΠΈ, ΡΡΠΎ ΡΡΠ΅Π±ΡΠ΅Ρ Π±ΠΎΠ»Π΅Π΅ ΡΠΈΠ»ΡΠ½ΠΎΠΉ ΠΈ ΡΡΠΆΠ΅Π»ΠΎΠΉ Π²ΠΈΠ»ΠΊΠΈ, ΡΡΠΎ ΠΏΡΠΈΠ²ΠΎΠ΄ΠΈΡ ΠΊ Π±ΠΎΠ»Π΅Π΅ Π½Π΅ΡΠΎΠ²Π½ΠΎΠΉ ΠΏΠΎΠ΅Π·Π΄ΠΊΠ΅ Ρ Π²ΠΈΠ»ΠΊΠΎΠΉ Π±Π΅Π· ΠΏΠΎΠ΄Π²Π΅ΡΠΊΠΈ, Π° Π΅ΡΠ»ΠΈ Π²ΠΈΠ»ΠΊΠ° Π½Π΅Π΄ΠΎΡΡΠ°ΡΠΎΡΠ½ΠΎ ΠΆΠ΅ΡΡΠΊΠ°Ρ, Π²ΡΠ·ΡΠ²Π°Π΅Ρ « ΡΠΎΡΠΌΠΎΠ·Π½ΠΎΠ΅ ΡΠΏΡΠ°Π²Π»Π΅Π½ΠΈΠ΅ ». «.
- ΠΠ»Ρ Π΄ΠΈΡΠΊΠΎΠ²ΡΡ ΡΠΎΡΠΌΠΎΠ·ΠΎΠ² ΡΡΠ΅Π±ΡΡΡΡΡ ΡΠΏΠ΅ΡΠΈΠ°Π»ΡΠ½ΡΠ΅ ΠΏΡΠΈΡΠΏΠΎΡΠΎΠ±Π»Π΅Π½ΠΈΡ Π½Π° ΡΠ°ΠΌΠ΅ ΠΈ Π²ΠΈΠ»ΠΊΠ΅, Π° ΡΠ°ΠΊΠΆΠ΅ ΡΠΏΠ΅ΡΠΈΠ°Π»ΡΠ½ΡΠ΅ ΡΡΡΠΏΠΈΡΡ.
- Π‘ΡΠΏΠΏΠΎΡΡ ΠΏΠ΅ΡΠ΅Π΄Π½Π΅Π³ΠΎ Π΄ΠΈΡΠΊΠΎΠ²ΠΎΠ³ΠΎ ΡΠΎΡΠΌΠΎΠ·Π° Π·Π° Π»Π΅Π·Π²ΠΈΠ΅ΠΌ Π²ΠΈΠ»ΠΊΠΈ ΡΠΎΠ·Π΄Π°Π΅Ρ ΠΌΠΎΡΠ½ΡΡ ΡΠΈΠ»Ρ, ΡΡΡΠ΅ΠΌΡΡΡΡΡΡ ΠΎΡΠ»Π°Π±ΠΈΡΡ ΠΌΠ΅Ρ Π°Π½ΠΈΠ·ΠΌ Π±ΡΡΡΡΠΎΠ³ΠΎ ΠΎΡΠ²ΠΎΠ±ΠΎΠΆΠ΄Π΅Π½ΠΈΡ ΠΈ Π²ΡΡΠ°ΡΠΈΡΡ ΠΊΠΎΠ»Π΅ΡΠΎ ΠΈΠ· Π²ΠΈΠ»ΠΊΠΈ.ΠΠ»Ρ ΡΠ΅ΡΠ΅Π½ΠΈΡ ΡΡΠΎΠΉ ΠΏΡΠΎΠ±Π»Π΅ΠΌΡ Π½Π΅ΠΎΠ±Ρ ΠΎΠ΄ΠΈΠΌΡ ΡΠΏΠ΅ΡΠΈΠ°Π»ΡΠ½Π°Ρ ΡΡΡΠΏΠΈΡΠ° ΠΈ Π²ΠΈΠ»ΠΊΠ° Ρ ΠΎΡΠ²Π΅ΡΡΡΠΈΠ΅ΠΌ, Π° Π½Π΅ ΠΏΡΠΎΡΠ΅Π·ΡΡ Π΄Π»Ρ ΠΎΡΠΈ.
- ΠΠΈΡΠΊΠΎΠ²ΡΠ΅ ΡΠΎΡΠΌΠΎΠ·Π° ΠΈ ΡΠ²ΡΠ·Π°Π½Π½ΡΠ΅ Ρ Π½ΠΈΠΌΠΈ Π΄Π΅ΡΠ°Π»ΠΈ ΠΎΠ±ΡΡΠ½ΠΎ Π΄Π΅Π»Π°ΡΡ Π²Π΅Π»ΠΎΡΠΈΠΏΠ΅Π΄ ΡΡΠΆΠ΅Π»Π΅Π΅, ΡΠ΅ΠΌ ΠΎΠ±ΠΎΠ΄Π½ΡΠ΅ ΡΠΎΡΠΌΠΎΠ·Π°. ΠΡΠΎ ΠΌΠ΅Π½ΡΡΠ°Ρ ΠΏΡΠΎΠ±Π»Π΅ΠΌΠ° Ρ ΠΎΠ±ΠΎΠ΄Π°ΠΌΠΈ ΠΈΠ· ΡΠ³Π»Π΅ΡΠΎΠ΄Π½ΠΎΠ³ΠΎ Π²ΠΎΠ»ΠΎΠΊΠ½Π°, ΠΏΠΎΡΠΊΠΎΠ»ΡΠΊΡ ΠΎΠ±ΠΎΠ΄Π° Π½Π΅ ΠΎΠ±ΡΠ·Π°ΡΠ΅Π»ΡΠ½ΠΎ Π΄ΠΎΠ»ΠΆΠ½Ρ Π±ΡΡΡ ΠΏΡΠ΅Π΄Π½Π°Π·Π½Π°ΡΠ΅Π½Ρ Π΄Π»Ρ ΡΠΎΡΠΌΠΎΠΆΠ΅Π½ΠΈΡ.
- ΠΠΈΡΠΊΠΎΠ²ΡΠ΅ ΡΠΎΡΠΌΠΎΠ·Π° ΡΠ»ΠΎΠΆΠ½Π΅Π΅, Π΄ΠΎΡΠΎΠΆΠ΅ ΠΈ ΡΡΡΠ΄Π½Π΅Π΅ Π² ΠΎΠ±ΡΠ»ΡΠΆΠΈΠ²Π°Π½ΠΈΠΈ, ΡΠ΅ΠΌ ΠΎΠ±ΠΎΠ΄Π½ΡΠ΅ ΠΈΠ»ΠΈ Π±Π°ΡΠ°Π±Π°Π½Π½ΡΠ΅. ΠΡΠΎ ΠΎΡΠΎΠ±Π΅Π½Π½ΠΎ Π²Π΅ΡΠ½ΠΎ Π² ΠΎΡΠ½ΠΎΡΠ΅Π½ΠΈΠΈ Π΄ΠΈΡΠΊΠΎΠ²ΡΡ ΡΠΎΡΠΌΠΎΠ·ΠΎΠ² Ρ Π³ΠΈΠ΄ΡΠ°Π²Π»ΠΈΡΠ΅ΡΠΊΠΈΠΌ ΠΏΡΠΈΠ²ΠΎΠ΄ΠΎΠΌ, Π½Π°ΠΈΠ±ΠΎΠ»Π΅Π΅ ΡΡΡΠ΅ΠΊΡΠΈΠ²Π½ΡΡ ΠΈΠ· Π½ΠΈΡ .
- ΠΠ΅ΠΊΠΎΡΠΎΡΡΠ΅ Π΄ΠΈΡΠΊΠΎΠ²ΡΠ΅ ΡΠΎΡΠΌΠΎΠ·Π° ΡΠ΅ΠΏΠΊΠΈΠ΅. ΠΡΠ° ΠΏΡΠΎΠ±Π»Π΅ΠΌΠ° Π±ΠΎΠ»Π΅Π΅ Π²Π΅ΡΠΎΡΡΠ½Π°, Π΅ΡΠ»ΠΈ ΠΌΠ΅ΠΆΠ΄Ρ ΡΡΠΏΠΏΠΎΡΡΠ°ΠΌΠΈ ΠΏΠΎΠΏΠ°Π»Π° Π³ΡΡΠ·Ρ.
- ΠΠΈΡΠΊΠΎΠ²ΡΠΉ ΡΠΎΡΠΌΠΎΠ· ΠΎΠ³ΡΠ°Π½ΠΈΡΠΈΠ²Π°Π΅Ρ ΡΠ²ΠΎΠ±ΠΎΠ΄Ρ ΠΏΠ΅ΡΠ΅ΠΌΠ΅ΡΠ΅Π½ΠΈΡ ΡΡΡΠΏΠΈΡΡ Π²ΠΏΡΠ°Π²ΠΎ ΠΈΠ»ΠΈ Π²Π»Π΅Π²ΠΎ ΠΏΡΡΠ΅ΠΌ ΠΏΠ΅ΡΠ΅ΡΡΠ°Π½ΠΎΠ²ΠΊΠΈ ΠΏΡΠΎΡΡΠ°Π²ΠΎΠΊ Π½Π° ΠΎΡΠΈ, ΡΠ°ΠΊ ΠΊΠ°ΠΊ ΡΡΠΎ ΠΈΠ·ΠΌΠ΅Π½ΡΠ΅Ρ ΠΏΠΎΠ»ΠΎΠΆΠ΅Π½ΠΈΠ΅ ΡΠΎΡΠΎΡΠ°. Π‘ΡΠΏΠΏΠΎΡΡ Π½ΡΠΆΠ½ΠΎ ΡΠ΄Π²ΠΈΠ½ΡΡΡ Π½Π° ΡΠ°ΠΊΡΡ ββΠΆΠ΅ Π²Π΅Π»ΠΈΡΠΈΠ½Ρ. Π ΡΡΠΎΠΌ ΡΠ»ΡΡΠ°Π΅ ΠΊΠΎΠ»Π΅ΡΠΎ ΠΈ ΡΠ°ΠΌΠ° Π½Π΅ ΠΌΠΎΠ³ΡΡ Π±ΡΡΡ Π·Π°ΠΌΠ΅Π½Π΅Π½Ρ Π΄ΡΡΠ³ΠΈΠΌΠΈ.
- ΠΠΈΡΠΊΠΎΠ²ΡΠ΅ ΡΠΎΡΠΌΠΎΠ·Π° ΠΌΠΎΠ³ΡΡ ΠΌΠ΅ΡΠ°ΡΡ ΡΠ°Π±ΠΎΡΠ΅ Π±Π°Π³Π°ΠΆΠ½ΡΡ ΠΏΠΎΠ»ΠΎΠΊ ΠΈ ΠΊΡΡΠ»ΡΠ΅Π².
- ΠΠΈΡΠΊΠΎΠ²ΡΠΉ ΡΠΎΡΠΌΠΎΠ· ΠΌΠΎΠΆΠ΅Ρ ΠΏΡΠ΅Π΄ΠΎΡΠ²ΡΠ°ΡΠΈΡΡ Π±ΡΡΡΡΡΡ Π·Π°ΠΌΠ΅Π½Ρ ΠΊΠΎΠ»Π΅ΡΠ°, Π΅ΡΠ»ΠΈ ΡΡΠΎ Π½Π΅ΠΎΠ±Ρ ΠΎΠ΄ΠΈΠΌΠΎ Π³ΠΎΠ½ΡΠΈΠΊΠ°ΠΌ.(Π‘ΠΌ. ΠΠΎΠΌΠΌΠ΅Π½ΡΠ°ΡΠΈΠΈ ΠΡΡΡΠ° ΠΠ½Π³Π»Π° Π½ΠΈΠΆΠ΅.)
- ΠΠΈΡΠΊ ΡΡΠ·Π²ΠΈΠΌΡΠΉ ΠΈ Π»Π΅Π³ΠΊΠΎ Π³Π½ΡΡΠΈΠΉΡΡ. Π£ Π΄ΡΡΠ³ΠΈΡ ΡΡΡΠΏΠΈΡΠ½ΡΡ ΡΠΎΡΠΌΠΎΠ·ΠΎΠ² Π½Π΅Ρ ΡΡΠΎΠΉ ΡΠ»Π°Π±ΠΎΡΡΠΈ. ΠΠ°ΠΊ ΠΏΠΎΠΊΠ°Π·Π°Π½ΠΎ Π½Π° ΡΠΎΡΠΎ ΡΠΏΡΠ°Π²Π°, Ρ Π²Π΅Π»ΠΎΡΠΈΠΏΠ΅Π΄Π½ΡΠΌΠΈ ΡΡΠΎΠΉΠΊΠ°ΠΌΠΈ Π½Π΅ΠΎΠ±Ρ ΠΎΠ΄ΠΈΠΌΠΎ ΡΠΎΠ±Π»ΡΠ΄Π°ΡΡ ΠΎΡΡΠΎΡΠΎΠΆΠ½ΠΎΡΡΡ.
- Π Π°ΡΡΡΠΎΡΠ½ΠΈΠ΅ ΠΌΠ΅ΠΆΠ΄Ρ ΡΠ»Π°Π½ΡΠ°ΠΌΠΈ ΡΡΡΠΏΠΈΡΡ ΡΠ°ΡΡΠΎ ΡΠΌΠ΅Π½ΡΡΠ°Π΅ΡΡΡ, ΡΡΠΎ ΠΏΡΠΈΠ²ΠΎΠ΄ΠΈΡ ΠΊ Π±ΠΎΠ»Π΅Π΅ ΡΠ»Π°Π±ΠΎΠΌΡ ΠΊΠΎΠ»Π΅ΡΡ. ΠΠΎΠ»Π΅Π΅ ΡΠΈΡΠΎΠΊΠΎΠ΅ ΡΠ°ΡΡΡΠΎΡΠ½ΠΈΠ΅ ΠΌΠ΅ΠΆΠ΄Ρ ΠΎΠ²Π΅ΡΠ»ΠΎΠΊΠ°ΠΌΠΈ ΠΌΠΎΠΆΠ΅Ρ ΡΠ΅ΡΠΈΡΡ ΡΡΡ ΠΏΡΠΎΠ±Π»Π΅ΠΌΡ Π·Π° ΡΡΠ΅Ρ Π½Π΅ΡΠΎΠ²ΠΌΠ΅ΡΡΠΈΠΌΠΎΡΡΠΈ ΠΈ ΡΠ²Π΅Π»ΠΈΡΠ΅Π½ΠΈΡ ΠΊΠΎΠ»ΠΈΡΠ΅ΡΡΠ²Π° ΡΡΠ°Π½Π΄Π°ΡΡΠΎΠ².
- ΠΠΎΠΆΠ΅Ρ Π±ΡΡΡ ΡΡΡΠ΄Π½ΠΎ ΠΈΠ·Π±Π΅ΠΆΠ°ΡΡ ΡΡΠ΅Π½ΠΈΡ ΡΡΠΏΠΏΠΎΡΡΠΎΠ² ΠΎ ΡΠΎΡΠΎΡ, ΠΊΠΎΠ³Π΄Π° ΡΠΎΡΠΌΠΎΠ· Π½Π΅ ΠΈΡΠΏΠΎΠ»ΡΠ·ΡΠ΅ΡΡΡ, ΡΡΠΎ ΠΏΡΠΈΠ²ΠΎΠ΄ΠΈΡ ΠΊ Π½Π΅ΠΊΠΎΡΠΎΡΠΎΠΌΡ ΡΠΎΠΏΡΠΎΡΠΈΠ²Π»Π΅Π½ΠΈΡ ΠΈ ΡΡΠΌΡ.
- ΠΠΈΡΠΊΠΎΠ²ΡΠ΅ ΡΠΎΡΠΌΠΎΠ·Π° Π²ΠΎΡΡ ΠΏΡΠΈ Π½Π°ΠΌΠΎΠΊΠ°Π½ΠΈΠΈ (Ρ ΠΎΡΡ Π½Π° ΠΌΠΎΠΊΡΠΎΠΉ Π΄ΠΎΡΠΎΠ³Π΅ ΠΎΠ½ΠΈ ΡΠ°Π±ΠΎΡΠ°ΡΡ Π»ΡΡΡΠ΅, ΡΠ΅ΠΌ ΠΎΠ±ΠΎΠ΄Π½ΡΠ΅).
- ΠΠΎΠ»ΠΎΠ΄ΠΊΠΈ ΠΈΠ·Π½Π°ΡΠΈΠ²Π°ΡΡΡΡ Π±ΡΡΡΡΠ΅Π΅, ΡΠ΅ΠΌ ΠΊΠΎΠ»ΠΎΠ΄ΠΊΠΈ ΠΎΠ±ΠΎΠ΄Π½ΡΡ ΡΠΎΡΠΌΠΎΠ·ΠΎΠ². Π Π΅ΠΊΠΎΠΌΠ΅Π½Π΄ΡΠ΅ΡΡΡ Π±ΡΠ°ΡΡ Π·Π°ΠΏΠ°ΡΠ½ΡΠ΅ ΠΊΠΎΠ»ΠΎΠ΄ΠΊΠΈ Ρ ΡΠΎΠ±ΠΎΠΉ Π² Π΄ΠΎΠ»Π³ΡΡ ΠΏΠΎΠ΅Π·Π΄ΠΊΡ, ΠΎΡΠΎΠ±Π΅Π½Π½ΠΎ Π² Π³ΡΡΠ·Π½ΡΡ ΡΡΠ»ΠΎΠ²ΠΈΡΡ . Π ΡΡΠ°ΡΡΡΡ, Π·Π°ΠΌΠ΅Π½ΠΈΡΡ ΠΊΠΎΠ»ΠΎΠ΄ΠΊΠΈ ΠΎΡΠ½ΠΎΡΠΈΡΠ΅Π»ΡΠ½ΠΎ ΠΏΡΠΎΡΡΠΎ (Π²ΠΏΡΠΎΡΠ΅ΠΌ, Ρ ΠΌΠ΅ΡΠ°Π»Π»ΠΈΡΠ΅ΡΠΊΠΈΠΌΠΈ ΠΊΠΎΠ»ΠΎΠ΄ΠΊΠ°ΠΌΠΈ ΡΡΠΎ Π½Π΅ ΠΏΡΠΎΠ±Π»Π΅ΠΌΠ°.)
- ΠΠΈΡΠΊ ΡΠΈΠ»ΡΠ½ΠΎ Π½Π°Π³ΡΠ΅Π²Π°Π΅ΡΡΡ. ΠΡΠΈ ΠΏΡΠΈΠΊΠΎΡΠ½ΠΎΠ²Π΅Π½ΠΈΠΈ ΠΊ Π½Π΅ΠΌΡ ΠΌΠΎΠΆΠ½ΠΎ ΠΏΠΎΠ»ΡΡΠΈΡΡ ΡΡΠ°Π²ΠΌΡ, Π° ΡΠ°ΠΊΠΆΠ΅ ΡΠ°ΡΠΏΠ»Π°Π²ΠΈΡΡ Π±Π»ΠΈΠ·Π»Π΅ΠΆΠ°ΡΠΈΠ΅ ΠΏΠ»Π°ΡΡΠΈΠΊΠΎΠ²ΡΠ΅ ΠΈΠ»ΠΈ ΡΠΊΠ°Π½Π΅Π²ΡΠ΅ ΠΏΡΠ΅Π΄ΠΌΠ΅ΡΡ. ΠΠ΅ΠΎΠ±Ρ ΠΎΠ΄ΠΈΠΌΠΎ ΡΠΎΠ±Π»ΡΠ΄Π°ΡΡ ΠΎΡΡΠΎΡΠΎΠΆΠ½ΠΎΡΡΡ ΠΏΡΠΈ ΠΈΡΠΏΠΎΠ»ΡΠ·ΠΎΠ²Π°Π½ΠΈΠΈ ΠΏΠΎΠ΄Ρ ΠΎΠ΄ΡΡΠ΅ΠΉ ΡΠΎΡΠΌΠΎΠ·Π½ΠΎΠΉ ΠΆΠΈΠ΄ΠΊΠΎΡΡΠΈ Ρ Π΄ΠΈΡΠΊΠΎΠ²ΡΠΌ ΡΠΎΡΠΌΠΎΠ·ΠΎΠΌ Ρ Π³ΠΈΠ΄ΡΠ°Π²Π»ΠΈΡΠ΅ΡΠΊΠΈΠΌ ΠΏΡΠΈΠ²ΠΎΠ΄ΠΎΠΌ, ΡΡΠΎΠ±Ρ ΠΎΠ½Π° Π½Π΅ Π·Π°ΠΊΠΈΠΏΠ°Π»Π°, ΡΡΠΎ ΠΏΡΠΈΠ²Π΅Π»ΠΎ ΠΊ ΠΏΠΎΡΠ΅ΡΠ΅ ΡΠΎΡΠΌΠΎΠΆΠ΅Π½ΠΈΡ (ΡΠΌ. ΠΠΎΠΏΠΎΠ»Π½ΠΈΡΠ΅Π»ΡΠ½ΡΠ΅ ΠΊΠΎΠΌΠΌΠ΅Π½ΡΠ°ΡΠΈΠΈ Π½ΠΈΠΆΠ΅.)
- ΠΠΎΡΡΡΠΏΠ°Π»ΠΈ ΠΆΠ°Π»ΠΎΠ±Ρ Π½Π° ΡΠΎ, ΡΡΠΎ ΡΠΎΡΠΎΡΡ Π΄ΠΈΡΠΊΠΎΠ² Π²ΡΠ·ΡΠ²Π°ΡΡ ΡΡΠ°Π²ΠΌΡ ΠΏΡΠΈ Π°Π²Π°ΡΠΈΡΡ (ΠΊΠ°ΠΊ ΠΈ Π·Π²Π΅Π·Π΄ΠΎΡΠΊΠΈ …).
Π ΡΠ΅Π»ΠΎΠΌ, Π΄ΠΈΡΠΊΠΎΠ²ΡΠ΅ ΡΠΎΡΠΌΠΎΠ·Π° Π²ΡΠ³ΠΎΠ΄Π½Ρ Π½Π° Π²Π΅Π»ΠΎΡΠΈΠΏΠ΅Π΄Π°Ρ Ρ ΠΏΠ΅ΡΠ΅Π΄Π½Π΅ΠΉ ΠΏΠΎΠ΄Π²Π΅ΡΠΊΠΎΠΉ, ΠΊΠΎΡΠΎΡΡΠ΅ Π΅Π·Π΄ΡΡ ΠΏΠΎ Π³ΡΡΠ·ΠΈ ΠΈ ΡΠ½Π΅Π³Ρ. ΠΠΎΠ»ΡΡΠΎΠΉ Π·Π°Π΄Π½ΠΈΠΉ Π΄ΠΈΡΠΊΠΎΠ²ΡΠΉ ΡΠΎΡΠΌΠΎΠ· ΠΌΠΎΠΆΠ΅Ρ ΠΈΡΠΏΠΎΠ»ΡΠ·ΠΎΠ²Π°ΡΡΡΡ Π² ΠΊΠ°ΡΠ΅ΡΡΠ²Π΅ ΡΠΎΡΠΌΠΎΠ·Π½ΠΎΠ³ΠΎ ΠΌΠ΅Ρ Π°Π½ΠΈΠ·ΠΌΠ° Π½Π° ΡΠΏΡΡΠΊΠ΅ Π½Π° ΡΠ°Π½Π΄Π΅ΠΌΠ½ΠΎΠΌ ΠΈΠ»ΠΈ Π³ΡΡΠ·ΠΎΠ²ΠΎΠΌ Π²Π΅Π»ΠΎΡΠΈΠΏΠ΅Π΄Π΅. ΠΠΈΡΠΊΠΎΠ²ΡΠ΅ ΡΠΎΡΠΌΠΎΠ·Π° ΠΌΠ΅Π½Π΅Π΅ ΠΏΠΎΠ΄Ρ ΠΎΠ΄ΡΡ Π΄Π»Ρ Π²Π΅Π»ΠΎΡΠΈΠΏΠ΅Π΄ΠΎΠ², Π³Π΄Π΅ Π²Π°ΠΆΠ΅Π½ Π»Π΅Π³ΠΊΠΈΠΉ Π²Π΅Ρ, Π° ΠΎΠ±ΠΎΠ΄ ΠΌΠΎΠΆΠ΅Ρ Π²ΡΠΏΠΎΠ»Π½ΡΡΡ Π΄Π²ΠΎΠΉΠ½ΡΡ ΡΡΠ½ΠΊΡΠΈΡ ΠΊΠ°ΠΊ ΡΠΎΡΠΌΠΎΠ·Π½ΠΎΠΉ Π΄ΠΈΡΠΊ.
ΠΠ°ΡΠ΄Π»ΡΠΉ Π²Π΅Π»ΠΎΡΠΈΠΏΠ΅Π΄ΠΈΡΡ ΠΈ Π½Π°ΡΡΡΠΎΠΉΡΠΈΠΊ Π²Π΅Π»ΠΎΡΠΈΠΏΠ΅Π΄ΠΎΠ² ΠΡΡΡ ΠΠ½Π³Π» ΠΈΡΠΏΠΎΠ»ΡΠ·ΡΠ΅Ρ Π΄ΠΈΡΠΊΠΎΠ²ΡΠ΅ ΡΠΎΡΠΌΠΎΠ·Π° Π½Π° ΡΡΡΠ±Π°ΠΉΠΊΠ΅, Π½Π° ΠΊΠΎΡΠΎΡΠΎΠΌ ΠΎΠ½ Π΅Π·Π΄ΠΈΡ Π·ΠΈΠΌΠΎΠΉ, Π½ΠΎ ΠΎΠ½ ΡΠ°ΠΊΠΆΠ΅ Π³ΠΎΠ²ΠΎΡΠΈΡ…
Π― ΠΎΠ·Π°Π΄Π°ΡΠ΅Π½ ΠΏΡΠΈΠ²Π»Π΅ΠΊΠ°ΡΠ΅Π»ΡΠ½ΠΎΡΡΡΡ Π΄ΠΈΡΠΊΠΎΠ²ΡΡ ΡΠΎΡΠΌΠΎΠ·ΠΎΠ² Π΄Π»Ρ ΡΠΎΡΡΠ΅ΠΉΠ½ΡΡ Π²Π΅Π»ΠΎΡΠΈΠΏΠ΅Π΄ΠΎΠ² Π½Π° Π΄Π°Π½Π½ΡΠΉ ΠΌΠΎΠΌΠ΅Π½Ρ, ΠΏΡΠ°ΠΊΡΠΈΡΠ΅ΡΠΊΠΈ Π³ΠΎΠ²ΠΎΡΡ. Π― ΠΌΠΎΠ³Ρ ΠΏΠΎΠ½ΡΡΡ ΠΏΡΠΈΠ²Π»Π΅ΠΊΠ°ΡΠ΅Π»ΡΠ½ΠΎΡΡΡ ΠΏΡΠΎΡΡΠΎΠΉ Π·Π°ΠΌΠ΅Π½Ρ ΠΊΠΎΠ»Π΅ΡΠ½ΡΡ ΠΏΠ°Ρ ΠΏΡΠΎΡΡΠΎ Π΄Π»Ρ ΠΈΠ·ΠΌΠ΅Π½Π΅Π½ΠΈΡ ΡΠΈΡΠΈΠ½Ρ ΡΠΈΠ½Ρ Π±Π΅Π· ΠΈΠ·ΠΌΠ΅Π½Π΅Π½ΠΈΡ Π²Π½Π΅ΡΠ½Π΅Π³ΠΎ Π΄ΠΈΠ°ΠΌΠ΅ΡΡΠ° ΠΈ ΠΎΡΡΡΡΡΡΠ²ΠΈΡ Π½Π΅ΠΎΠ±Ρ ΠΎΠ΄ΠΈΠΌΠΎΡΡΠΈ Π² ΡΠΎΡΠΌΠΎΠ·Π½ΡΡ ΠΏΠΎΠ²Π΅ΡΡ Π½ΠΎΡΡΡΡ Ρ Π°Π»ΡΠΌΠΈΠ½ΠΈΠ΅Π²ΡΠΌ ΠΎΠ±ΠΎΠ΄ΠΎΠΌ, Π½ΠΎ Π΄ΠΈΡΠΊΠΎΠ²ΡΠ΅ ΡΠΎΡΠΌΠΎΠ·Π° Π²ΠΎΡΡ, ΠΊΠΎΠ³Π΄Π° ΠΌΠΎΠΊΡΡΠ΅, ΠΈ ΠΎΠ½ΠΈ Π»ΠΈΡΡ Π½Π΅ΠΌΠ½ΠΎΠ³ΠΎ ΠΌΠ΅Π½Π΅Π΅ ΡΠ²ΠΎΠ΄ΡΡ Ρ ΡΠΌΠ°, ΡΠ΅ΠΌ ΡΠ΅ΠΏΠ½ΠΎΠΉ ΠΊΠΎΠΆΡΡ , ΡΡΠΎΠ±Ρ ΡΠ½ΡΡΡ ΠΈ Π·Π°ΠΌΠ΅Π½ΠΈΡΡ ΠΊΠΎΠ»Π΅ΡΠΎ . Π― Π΅ΡΠ΅ Π½Π΅ ΡΠ΄Π΅Π»Π°Π» ΡΡΠΎΠ³ΠΎ Π±Π΅Π· ΡΠ°Π±ΠΎΡΠ΅Π³ΠΎ ΡΡΠ΅Π½Π΄Π° ΠΈ ΠΈΠ½ΡΡΡΡΠΌΠ΅Π½ΡΠΎΠ², ΡΠ°ΠΊ ΠΊΠ°ΠΊ ΡΡΠΏΠΏΠΎΡΡ ΡΡΠ΅Π±ΠΎΠ²Π°Π» ΠΏΠΎΠ²ΡΠΎΡΠ½ΠΎΠΉ ΡΠ΅Π½ΡΡΠΎΠ²ΠΊΠΈ ΠΏΡΠΈ ΠΊΠ°ΠΆΠ΄ΠΎΠΉ Π·Π°ΠΌΠ΅Π½Π΅ Π·Π°Π΄Π½Π΅Π³ΠΎ ΠΊΠΎΠ»Π΅ΡΠ°.ΠΠ±ΠΎΠ΄Π½ΡΠ΅ ΠΈ Π±Π°ΡΠ°Π±Π°Π½Π½ΡΠ΅ ΡΠΎΡΠΌΠΎΠ·Π° Π½Π΅ ΠΈΠΌΠ΅ΡΡ ΡΡΠΎΠΉ ΠΏΡΠΎΠ±Π»Π΅ΠΌΡ, ΠΈ ΠΈΡ ΠΌΠΎΠΆΠ½ΠΎ ΠΈΡΠΏΠΎΠ»ΡΠ·ΠΎΠ²Π°ΡΡ Ρ ΡΡΡΠ΅ΡΡΠ²ΡΡΡΠΈΠΌΠΈ Π½Π°Π±ΠΎΡΠ°ΠΌΠΈ ΡΠ°ΠΌ.
Π― ΠΎΠΏΡΠ΅Π΄Π΅Π»Π΅Π½Π½ΠΎ Π½Π΅ Π²ΠΈΠΆΡ Π΄ΠΈΡΠΊΠΎΠ²ΡΡ ΡΠΎΡΠΌΠΎΠ·ΠΎΠ² Π΄Π»Ρ ΠΏΡΠΎΡΠ΅ΡΡΠΈΠΎΠ½Π°Π»ΡΠ½ΡΡ Π³ΠΎΠ½ΠΎΠΊ, ΡΠ°ΠΊ ΠΊΠ°ΠΊ ΠΎΠ½ΠΈ Π½Π΅ ΠΏΠΎΠ·Π²ΠΎΠ»ΡΡ Π·Π°ΠΌΠ΅Π½ΠΈΡΡ ΠΊΠΎΠ»Π΅ΡΠΎ Π·Π° 8 ΡΠ΅ΠΊΡΠ½Π΄ — Π²ΡΡΠ°Π²ΠΊΠ° Π΄ΠΈΡΠΊΠ° Π² ΡΠ·ΠΊΡΡ ΠΏΡΠΎΡΠ΅Π·Ρ Π² ΡΡΠΏΠΏΠΎΡΡΠ΅ ΡΡΠ΅Π±ΡΠ΅Ρ Π½Π΅ΠΊΠΎΡΠΎΡΠΎΠΉ Π»ΠΎΠ²ΠΊΠΎΡΡΠΈ, ΠΏΠΎΡΡΠΎΠΌΡ Π²Ρ Π½Π΅ ΠΌΠΎΠΆΠ΅ΡΠ΅ ΠΏΡΠΎΡΡΠΎ Π²ΡΡΠ°Π²ΠΈΡΡ Π΅Π³ΠΎ Π½Π° ΠΌΠ΅ΡΡΠΎ.
ΠΠΈΡΠΊΠΎΠ²ΡΠΉ ΡΠΎΡΠΌΠΎΠ· Π±Π΅Π·ΠΎΠΏΠ°ΡΠ½ΠΎΡΡΠΈ
Π ΠΎΡΠΎΡ Π΄ΠΈΡΠΊΠΎΠ²ΠΎΠ³ΠΎ ΡΠΎΡΠΌΠΎΠ·Π° ΡΡΠ°Π½ΠΎΠ²ΠΈΡΡΡ ΡΠΎΠ½ΡΡΠ΅ ΠΏΠΎ ΠΌΠ΅ΡΠ΅ ΠΈΠ·Π½ΠΎΡΠ°. Π’ΠΎΠ½ΠΊΠΈΠΉ ΡΠΎΡΠΎΡ ΡΠ»Π°Π± ΠΈ ΡΠΊΠ»ΠΎΠ½Π΅Π½ ΠΊ ΠΊΠΎΡΠΎΠ±Π»Π΅Π½ΠΈΡ ΠΈΠ»ΠΈ ΠΏΠΎΠ»ΠΎΠΌΠΊΠ΅.ΠΡΠ»ΠΈ ΡΠΎΡΠΎΡ Π±ΠΎΠ»ΡΡΠΈΠ½ΡΡΠ²Π° ΠΏΡΠΎΠΈΠ·Π²ΠΎΠ΄ΠΈΡΠ΅Π»Π΅ΠΉ ΠΈΠΌΠ΅Π΅Ρ ΡΠΎΠ»ΡΠΈΠ½Ρ ΠΌΠ΅Π½Π΅Π΅ 1,5 ΠΌΠΌ ΠΈΠ»ΠΈ ΠΈΠΌΠ΅Π΅Ρ Π±ΠΎΠ»ΡΡΡΡ Π²ΠΎΠ³Π½ΡΡΠΎΡΡΡ, Π΅Π³ΠΎ ΡΠ»Π΅Π΄ΡΠ΅Ρ Π·Π°ΠΌΠ΅Π½ΠΈΡΡ. Moment Industries ΡΠΊΠ°Π·ΡΠ²Π°Π΅Ρ 1,7 ΠΌΠΌ, Π° Hayes — 1,52 ΠΌΠΌ. Π‘ΠΌ. ΠΠΎΠ΄ΡΠΎΠ±Π½ΡΡ ΠΈΠ½ΡΠΎΡΠΌΠ°ΡΠΈΡ Π½Π° Π²Π΅Π±-ΡΡΡΠ°Π½ΠΈΡΠ΅ ΠΠ°ΡΠΎΠ½Π° ΠΠΎΡΡΠ°, ΡΡΡΠ»ΠΊΠ° Π½Π° ΠΊΠΎΡΠΎΡΡΡ ΠΏΡΠΈΠ²Π΅Π΄Π΅Π½Π° Π½ΠΈΠΆΠ΅. ΠΠ½ ΡΠ°ΠΊΠΆΠ΅ ΠΏΡΠΎΠ΄Π°Π΅Ρ Π±ΠΎΠ»Π΅Π΅ ΡΠΎΠ»ΡΡΡΠ΅ ΡΠΎΡΠΎΡΡ Π²Π΅Π»ΠΎΡΠΈΠΏΠ΅Π΄ΠΈΡΡΠ°ΠΌ, Π½Π΅ Π»ΡΠ±ΡΡΠΈΠΌ Π²Π΅Ρ.
ΠΠ°ΠΊ ΡΠΆΠ΅ Π±ΡΠ»ΠΎ ΡΠΊΠ°Π·Π°Π½ΠΎ, ΠΊΠΎΠ»ΠΎΠ΄ΠΊΠΈ ΡΠΎΠΆΠ΅ ΠΈΠ·Π½Π°ΡΠΈΠ²Π°ΡΡΡΡ. ΠΡΠ΅Π΄Π΅Π»Ρ ΠΈΠ·Π½ΠΎΡΠ° ΡΠ°Π·Π»ΠΈΡΠ°ΡΡΡΡ Π΄Π»Ρ ΡΠ°Π·Π½ΡΡ ΠΊΠΎΠ»ΠΎΠ΄ΠΎΠΊ — ΠΏΡΠΎΠ²Π΅ΡΡΡΠ΅ Π΄Π°Π½Π½ΡΠ΅ ΠΏΡΠΎΠΈΠ·Π²ΠΎΠ΄ΠΈΡΠ΅Π»Ρ.
Π’ΠΎΠ»ΡΠΈΠ½Π° ΡΠΎΡΠΎΡΠ° Π½Π΅ ΠΌΠΎΠΆΠ΅Ρ Π±ΡΡΡ ΠΈΠ·ΠΌΠ΅ΡΠ΅Π½Π° Π½Π°ΠΏΡΡΠΌΡΡ Ρ ΠΏΠΎΠΌΠΎΡΡΡ ΠΎΠ±ΡΡΠ½ΠΎΠ³ΠΎ ΡΡΠ°Π½Π³Π΅Π½ΡΠΈΡΠΊΡΠ»Ρ ΠΈΠ·-Π·Π° Π²ΠΎΠ³Π½ΡΡΠΎΡΡΠΈ.
Π¨ΡΠ°Π½Π³Π΅Π½ΡΠΈΡΠΊΡΠ»Ρ Ρ Π½ΠΎΠ½ΠΈΡΡΠΎΠΌ (ΠΈΠ·ΠΎΠ±ΡΠ°ΠΆΠ΅Π½ΠΈΠ΅ ΠΡΠΊΠ°ΡΠ±ΠΎΡΠ°, ΠΈΠ· Wikimedia Commons)
ΠΠ°ΠΌ Π½ΡΠΆΠ½ΠΎ ΠΈΡΠΏΠΎΠ»ΡΠ·ΠΎΠ²Π°ΡΡ ΡΡΠ°Π½Π³Π΅Π½ΡΠΈΡΠΊΡΠ»Ρ ΠΌΠΈΠΊΡΠΎΠΌΠ΅ΡΡΠ° ΠΈΠ»ΠΈ Π²Ρ ΠΌΠΎΠΆΠ΅ΡΠ΅ ΡΠ΄Π΅Π»Π°ΡΡ ΠΏΡΠΎΡΡΠΎΠΉ Π²ΡΠΏΠΎΠΌΠΎΠ³Π°ΡΠ΅Π»ΡΠ½ΡΠΉ ΠΈΠ½ΡΡΡΡΠΌΠ΅Π½Ρ, ΠΎΡΡΠ΅Π·Π°Π² ΠΈ ΡΠΎΠ³Π½ΡΠ² ΡΠΏΠΈΡΡ ΡΠ°ΠΊ, ΡΡΠΎΠ±Ρ Π΅Π΅ Π΄Π»ΠΈΠ½Π° Π»Π΅ΠΆΠ°Π»Π° ΡΠΎΠ²Π½ΠΎ Π²Π΄ΠΎΠ»Ρ ΠΎΠ±Π΅ΠΈΡ ΡΡΠΎΡΠΎΠ½ ΡΠΎΡΠΎΡΠ°. ΠΠ°ΡΠ΅ΠΌ ΠΌΠΎΠΆΠ½ΠΎ ΠΈΡΠΏΠΎΠ»ΡΠ·ΠΎΠ²Π°ΡΡ ΡΡΠ°Π½Π³Π΅Π½ΡΠΈΡΠΊΡΠ»Ρ ΠΈΠ»ΠΈ ΡΠΈΡΡΠΎΠ²ΠΎΠΉ ΡΡΠ°Π½Π³Π΅Π½ΡΠΈΡΠΊΡΠ»Ρ. ΠΡΡΡΠΈΡΠ΅ Π΄Π²ΠΎΠΉΠ½ΡΡ ΡΠΎΠ»ΡΠΈΠ½Ρ ΡΠΏΠΈΡΡ, ΠΈ Π²Ρ ΠΏΠΎΠ»ΡΡΠΈΡΠ΅ ΡΠ΅Π·ΡΠ»ΡΡΠ°Ρ ΠΈΠ·ΠΌΠ΅ΡΠ΅Π½ΠΈΡ.
Π¨ΡΠ°Π½Π³Π΅Π½ΡΠΈΡΠΊΡΠ»Ρ (ΠΈΠ·ΠΎΠ±ΡΠ°ΠΆΠ΅Π½ΠΈΠ΅ Lucasbosch, ΠΈΠ· Wikimedia Commons)
ΠΠΈΡΠΊΠΎΠ²ΡΠ΅ ΡΠΎΡΠΌΠΎΠ·Π° ΡΡΠ°Π΄ΠΈΡΠΈΠΎΠ½Π½ΠΎ ΡΡΡΠ°Π½Π°Π²Π»ΠΈΠ²Π°ΡΡΡΡ Ρ Π»Π΅Π²ΠΎΠΉ ΡΡΠΎΡΠΎΠ½Ρ Π²Π΅Π»ΠΎΡΠΈΠΏΠ΅Π΄Π°.ΠΠ΅ΠΊΠΎΡΠΎΡΡΠ΅ ΠΌΠΎΡΠΎΡΠΈΠΊΠ»Ρ ΠΈΠΌΠ΅ΡΡ Π΄Π²ΠΎΠΉΠ½ΡΠ΅ Π΄ΠΈΡΠΊΠΎΠ²ΡΠ΅ ΡΠΎΡΠΌΠΎΠ·Π°, ΠΏΠΎ ΠΎΠ΄Π½ΠΎΠΌΡ Ρ ΠΊΠ°ΠΆΠ΄ΠΎΠΉ ΡΡΠΎΡΠΎΠ½Ρ ΠΏΠ΅ΡΠ΅Π΄Π½Π΅Π³ΠΎ ΠΊΠΎΠ»Π΅ΡΠ°, Π½ΠΎ Π΄ΠΎΠΏΠΎΠ»Π½ΠΈΡΠ΅Π»ΡΠ½ΡΠΉ Π²Π΅Ρ Π΄Π»Ρ Π²Π΅Π»ΠΎΡΠΈΠΏΠ΅Π΄Π° Π½Π΅ΠΆΠ΅Π»Π°ΡΠ΅Π»Π΅Π½. ΠΠ΄Π½ΠΎΡΡΠΎΡΠΎΠ½Π½ΠΈΠΉ ΠΌΠΎΠ½ΡΠ°ΠΆ ΠΏΡΠΈΠ²ΠΎΠ΄ΠΈΡ ΠΊ Π½Π΅ΡΠ±Π°Π»Π°Π½ΡΠΈΡΠΎΠ²Π°Π½Π½ΠΎΠΉ Π½Π°Π³ΡΡΠ·ΠΊΠ΅ Π½Π° Π²ΠΈΠ»ΠΊΡ, ΡΡΠΎ ΠΌΠΎΠΆΠ΅Ρ ΠΏΡΠΈΠ²Π΅ΡΡΠΈ ΠΊ ΠΏΡΠΎΠ±Π»Π΅ΠΌΠ°ΠΌ Ρ ΡΠΏΡΠ°Π²Π»Π΅Π½ΠΈΠ΅ΠΌ ΠΈ Π±Π΅Π·ΠΎΠΏΠ°ΡΠ½ΠΎΡΡΡΡ. ΠΠ°Π³ΡΡΠ·ΠΊΠ° Π½Π° Π²ΠΈΠ»ΠΊΡ Π²Π΅Π»ΠΈΠΊΠ°, ΠΏΠΎΡΠΎΠΌΡ ΡΡΠΎ ΠΊΡΡΡΡΡΠΈΠΉ ΠΌΠΎΠΌΠ΅Π½Ρ ΠΎΡ ΡΠΎΡΠΌΠΎΠΆΠ΅Π½ΠΈΡ Π²ΠΎΡΠΏΡΠΈΠ½ΠΈΠΌΠ°Π΅ΡΡΡ Π½Π° ΠΎΡΠ½ΠΎΡΠΈΡΠ΅Π»ΡΠ½ΠΎ Π½Π΅Π±ΠΎΠ»ΡΡΠΎΠΌ ΡΠ°ΡΡΡΠΎΡΠ½ΠΈΠΈ ΠΎΡ ΡΡΡΠΏΠΈΡΡ.
ΠΠ°ΠΊ ΡΠΆΠ΅ ΠΎΡΠΌΠ΅ΡΠ°Π»ΠΎΡΡ, ΠΏΠ΅ΡΠ΅Π΄Π½ΠΈΠΉ Π΄ΠΈΡΠΊΠΎΠ²ΡΠΉ ΡΠΎΡΠΌΠΎΠ· Ρ ΡΡΠΏΠΏΠΎΡΡΠΎΠΌ Π² ΠΎΠ±ΡΡΠ½ΠΎΠΌ ΠΏΠΎΠ»ΠΎΠΆΠ΅Π½ΠΈΠΈ Π·Π° Π»Π΅Π·Π²ΠΈΠ΅ΠΌ Π»Π΅Π²ΠΎΠΉ Π²ΠΈΠ»ΠΊΠΈ ΠΎΠΊΠ°Π·ΡΠ²Π°Π΅Ρ ΡΠΈΠ»ΡΠ½ΠΎΠ΅ ΡΡΠΈΠ»ΠΈΠ΅, ΡΡΡΠ΅ΠΌΡΡΠ΅Π΅ΡΡ Π²ΡΡΠ°ΡΠΈΡΡ ΠΎΡΡ ΡΡΡΠΏΠΈΡΡ ΠΈΠ· Π΄ΡΠΎΠΏΠ°ΡΡΠ°.ΠΡΠ»ΠΎ ΠΎΠΊΠΎΠ½ΡΠ°ΡΠ΅Π»ΡΠ½ΠΎ ΠΏΠΎΠΊΠ°Π·Π°Π½ΠΎ, ΡΡΠΎ ΡΠ΅ΡΠ΅Π΄ΠΎΠ²Π°Π½ΠΈΠ΅ ΡΠΈΠ»Ρ, Π½Π°ΠΏΡΠ°Π²Π»Π΅Π½Π½ΠΎΠΉ Π²Π²Π΅ΡΡ ΠΎΡ Π²Π΅ΡΠ° ΠΈ Π²Π½ΠΈΠ· ΠΎΡ ΡΠΎΡΠΌΠΎΠ·Π°, ΠΌΠΎΠΆΠ΅Ρ ΠΎΡΠ»Π°Π±ΠΈΡΡ Π±ΡΡΡΡΠΎΠ΄Π΅ΠΉΡΡΠ²ΠΈΠ΅ ΠΏΠ΅ΡΠ΅Π΄Π½Π΅ΠΉ ΡΡΡΠΏΠΈΡΡ.
ΠΠΌΠΎΡΡΠΈΠ·ΠΈΡΡΡΡΠ°Ρ ΠΏΠ΅ΡΠ΅Π΄Π½ΡΡ Π²ΠΈΠ»ΠΊΠ° ΠΈ Π΄ΠΈΡΠΊΠΎΠ²ΡΠΉ ΡΠΎΡΠΌΠΎΠ· Ρ ΠΎΡΠΎΡΠΎ ΡΠ°Π±ΠΎΡΠ°ΡΡ Π²ΠΌΠ΅ΡΡΠ΅, ΠΏΠΎΡΠΎΠΌΡ ΡΡΠΎ Π²ΠΈΠ»ΠΊΠ° Π΄ΠΎΠ»ΠΆΠ½Π° ΠΈΠΌΠ΅ΡΡ ΠΏΠΎΠ»Π·ΡΠ½ΠΊΠΈ Π±ΠΎΠ»ΡΡΠΎΠ³ΠΎ Π΄ΠΈΠ°ΠΌΠ΅ΡΡΠ° (Π½ΠΈΠΆΠ½ΡΡ ΡΠ°ΡΡΡ ΠΊΠ°ΠΆΠ΄ΠΎΠ³ΠΎ Π»Π΅Π·Π²ΠΈΡ Π²ΠΈΠ»ΠΊΠΈ), Π° ΠΎΠ΄ΠΈΠ½ Π»Π΅Π²ΡΠΉ ΠΏΠΎΠ»Π·ΡΠ½ΠΎΠΊ ΠΌΠΎΠΆΠ΅Ρ Π»Π΅Π³ΠΊΠΎ Π²ΡΠ΄Π΅ΡΠΆΠΈΠ²Π°ΡΡ Π½Π°Π³ΡΡΠ·ΠΊΡ ΠΎΡ Π΄ΠΈΡΠΊΠΎΠ²ΠΎΠ³ΠΎ ΡΠΎΡΠΌΠΎΠ·Π°. Π’Π΅ΠΌ Π½Π΅ ΠΌΠ΅Π½Π΅Π΅, ΠΏΠ΅ΡΠ΅Π΄Π½ΡΡ ΡΡΡΠΏΠΈΡΠ° ΡΠΎ ΡΠΊΠ²ΠΎΠ·Π½ΠΎΠΉ ΠΎΡΡΡ (ΡΠ°, Π² ΠΊΠΎΡΠΎΡΠΎΠΉ ΠΎΡΡ ΡΡΡΠ°Π½Π°Π²Π»ΠΈΠ²Π°Π΅ΡΡΡ Π² ΠΎΡΠ²Π΅ΡΡΡΠΈΡ, Π° Π½Π΅ Π² ΠΏΠ°Π·Ρ) ΠΏΠΎ-ΠΏΡΠ΅ΠΆΠ½Π΅ΠΌΡ Π½Π΅ΠΎΠ±Ρ ΠΎΠ΄ΠΈΠΌΠ°, ΡΡΠΎΠ±Ρ ΠΈΠ·Π±Π΅ΠΆΠ°ΡΡ Π²ΠΎΠ·ΠΌΠΎΠΆΠ½ΠΎΡΡΠΈ ΠΏΠΎΡΠ΅ΡΠΈ ΠΏΠ΅ΡΠ΅Π΄Π½Π΅Π³ΠΎ ΠΊΠΎΠ»Π΅ΡΠ°.Π‘ΡΠΏΠΏΠΎΡΡ Π΄ΠΈΡΠΊΠΎΠ²ΠΎΠ³ΠΎ ΡΠΎΡΠΌΠΎΠ·Π°, ΡΠ°ΡΠΏΠΎΠ»ΠΎΠΆΠ΅Π½Π½ΡΠΉ ΠΏΠ΅ΡΠ΅Π΄ Π»Π΅Π·Π²ΠΈΠ΅ΠΌ Π²ΠΈΠ»ΠΊΠΈ, Π±ΡΠ΄Π΅Ρ ΡΡΡΠ΅ΠΌΠΈΡΡΡΡ Π²ΡΡΠ³ΠΈΠ²Π°ΡΡ ΠΎΡΡ Π²ΡΡΠ»ΠΊΠΈ Π² Π²ΠΈΠ»ΠΊΡ, Π° Π½Π΅ ΠΈΠ· Π½Π΅Π΅, Π½ΠΎ ΡΡΠΎ Π½Π΅ ΠΎΠ±ΡΡΠ½ΠΎΠ΅ Π΄Π΅Π»ΠΎ.
ΠΡΠ»ΠΎ ΠΎΡΠΎΠ·Π²Π°Π½ΠΎ Π±ΠΎΠ»Π΅Π΅ 1 ΠΌΠΈΠ»Π»ΠΈΠΎΠ½Π° Π²Π΅Π»ΠΎΡΠΈΠΏΠ΅Π΄ΠΎΠ² Trek, Ρ ΠΊΠΎΡΠΎΡΡΡ Π±ΡΡΡΡΠΎΡΠ°Π·ΡΠ΅ΠΌΠ½ΡΠΉ ΡΡΡΠ°Π³ ΠΌΠΎΠΆΠ΅Ρ ΠΎΡΠΊΡΡΠ²Π°ΡΡΡΡ Π±ΠΎΠ»Π΅Π΅ ΡΠ΅ΠΌ Π½Π° 180 Π³ΡΠ°Π΄ΡΡΠΎΠ² ΠΈ Π·Π°ΡΠ΅ΠΏΠ»ΡΡΡΡΡ Π·Π° Π΄ΠΈΡΠΊΠΎΠ²ΡΠΉ ΡΠΎΡΠΎΡ, ΡΡΠΎ ΠΏΡΠΈΠ²ΠΎΠ΄ΠΈΡ ΠΊ Π²ΡΠ±ΡΠΎΡΡ ΠΊΠΎΠ»Π΅ΡΠ°. (ΡΠΌ. Π½Π°ΡΡ ΡΡΠ°ΡΡΡ ΠΎΠ± ΡΡΠΎΠΌ.) ΠΡΠ° ΠΏΡΠΎΠ±Π»Π΅ΠΌΠ° Π½Π΅ ΠΎΠ³ΡΠ°Π½ΠΈΡΠΈΠ²Π°Π΅ΡΡΡ ΡΠΎΠ»ΡΠΊΠΎ Π²Π΅Π»ΠΎΡΠΈΠΏΠ΅Π΄Π°ΠΌΠΈ Trek. Π ΡΡΠ°Π³ ΡΠ°ΠΊΠΆΠ΅ ΠΌΠΎΠΆΠ΅Ρ ΡΠ΅ΠΏΠ»ΡΡΡΡΡ Π·Π° ΡΠΏΠΈΡΡ ΠΊΠΎΠ»Π΅ΡΠ° Π±Π΅Π· Π΄ΠΈΡΠΊΠΎΠ²ΠΎΠ³ΠΎ ΡΠΎΡΠΌΠΎΠ·Π°.
ΠΠ΅ΡΠ΅Π΄Π½ΠΈΠΉ Π±Π°ΡΠ°Π±Π°Π½Π½ΡΠΉ ΡΠΎΡΠΌΠΎΠ· ΠΈΠ»ΠΈ ΡΠΎΠ»ΠΈΠΊΠΎΠ²ΡΠΉ ΡΠΎΡΠΌΠΎΠ·, Π΄Π»Ρ ΡΡΠ°Π²Π½Π΅Π½ΠΈΡ, ΡΠ°ΠΊΠΆΠ΅ ΠΎΠΊΠ°Π·ΡΠ²Π°Π΅Ρ Π½Π΅ΡΠ±Π°Π»Π°Π½ΡΠΈΡΠΎΠ²Π°Π½Π½ΡΡ Π½Π°Π³ΡΡΠ·ΠΊΡ Π½Π° Π²ΠΈΠ»ΠΊΡ, Π½ΠΎ Π½Π΅ ΠΈΠΌΠ΅Π΅Ρ ΡΠ΅Π½Π΄Π΅Π½ΡΠΈΠΈ Π²ΡΡΠ°ΡΠΊΠΈΠ²Π°ΡΡ ΠΊΠΎΠ»Π΅ΡΠΎ ΠΈΠ· Π΄ΡΠΎΠΏΠ°ΡΡΠ°.
Π‘Π°ΠΌΠΎ ΡΠΎΠ±ΠΎΠΉ ΡΠ°Π·ΡΠΌΠ΅Π΅ΡΡΡ, ΡΡΠΎ ΡΡΠΎΡ ΠΊ ΡΠΎΡΠΌΠΎΠ·Ρ ΠΏΠ΅ΡΠ΅Π΄Π½Π΅ΠΉ ΡΡΡΠΏΠΈΡΡ Π½Π° Π²ΠΈΠ»ΠΊΠ΅ ΠΏΠΎΠ΄Π²Π΅ΡΠΊΠΈ Π΄ΠΎΠ»ΠΆΠ΅Π½ Π±ΡΡΡ ΠΏΡΠΎΠ»ΠΎΠΆΠ΅Π½ Π² ΠΊΠΎΠΆΡΡ Π΅, Π½ΠΎ ΠΊΠ°Π±Π΅Π»Ρ ΠΊ ΡΠΎΡΠΌΠΎΠ·Ρ ΠΏΠ΅ΡΠ΅Π΄Π½Π΅ΠΉ ΡΡΡΠΏΠΈΡΡ Ρ ΠΆΠ΅ΡΡΠΊΠΎΠΉ Π²ΠΈΠ»ΠΊΠΎΠΉ ΡΠ°ΠΊΠΆΠ΅ Π΄ΠΎΠ»ΠΆΠ΅Π½ Π±ΡΡΡ ΠΏΡΠΎΠ»ΠΎΠΆΠ΅Π½ Π² ΠΊΠΎΠΆΡΡ Π΅, ΠΏΠΎΡΠΊΠΎΠ»ΡΠΊΡ ΠΈΠ·Π³ΠΈΠ± Π²ΠΈΠ»ΠΊΠΈ Π²ΠΎ Π²ΡΠ΅ΠΌΡ ΡΠΎΡΠΌΠΎΠΆΠ΅Π½ΠΈΡ ΠΌΠΎΠΆΠ΅Ρ Π·Π°ΡΡΠ½ΠΈΡΠ΅ ΡΡΠΎΡ ΠΈ Π·Π°Π±Π»ΠΎΠΊΠΈΡΡΠΉΡΠ΅ ΡΠΎΡΠΌΠΎΠ·.
ΠΠ° Π΄Π»ΠΈΠ½Π½ΡΡ ΡΠΏΡΡΠΊΠ°Ρ Π²ΡΠ΄Π΅Π»ΡΠ΅ΡΡΡ ΡΠΈΠ»ΡΠ½ΡΠΉ Π½Π°Π³ΡΠ΅Π², Π½Π°ΡΡΠΎΠ»ΡΠΊΠΎ, ΡΡΠΎ Ρ Π΄ΠΈΡΠΊΠΎΠ²ΡΡ ΡΠΎΡΠΌΠΎΠ·ΠΎΠ² ΠΏΠ΅ΡΠ²ΠΎΠ³ΠΎ ΠΏΠΎΠΊΠΎΠ»Π΅Π½ΠΈΡ Π²ΠΎΠ·Π½ΠΈΠΊΠ°Π»ΠΈ ΠΏΡΠΎΠ±Π»Π΅ΠΌΡ Ρ ΠΎΡΠΊΠ°Π·ΠΎΠΌ ΠΈΠ·-Π·Π° ΠΏΠ»Π°Π²Π»Π΅Π½ΠΈΡ ΠΊΠ»Π΅Ρ Π½Π° ΠΊΠΎΠ»ΠΎΠ΄ΠΊΠ°Ρ ΠΈ Π·Π°ΠΊΠΈΠΏΠ°Π½ΠΈΡ ΡΠΎΡΠΌΠΎΠ·Π½ΠΎΠΉ ΠΆΠΈΠ΄ΠΊΠΎΡΡΠΈ.Shimano ΡΠ΄Π΅Π»Π°Π»Π° Π²ΡΠ΅ Π²ΠΎΠ·ΠΌΠΎΠΆΠ½ΠΎΠ΅, ΡΡΠΎΠ±Ρ ΠΏΡΠ΅ΠΎΠ΄ΠΎΠ»Π΅ΡΡ ΡΡΠΈ ΠΏΡΠΎΠ±Π»Π΅ΠΌΡ, Π²ΠΊΠ»ΡΡΠ°Ρ ΡΠ°Π΄ΠΈΠ°ΡΠΎΡΡ Π½Π° ΠΊΠΎΠ»ΠΎΠ΄ΠΊΠ°Ρ ΠΈ ΡΠΎΡΠΎΡΡ Ρ Π°Π»ΡΠΌΠΈΠ½ΠΈΠ΅Π²ΡΠΌΠΈ ΡΠ΅ΡΠ΄Π΅ΡΠ½ΠΈΠΊΠ°ΠΌΠΈ ΠΈ ΠΎΡ Π»Π°ΠΆΠ΄Π°ΡΡΠΈΠΌΠΈ ΡΠ΅Π±ΡΠ°ΠΌΠΈ. Shimano ΠΎΠ±ΡΡΡΠ½ΡΠ΅Ρ, ΡΡΠΎ Π΄ΠΈΡΠΊΠΈ — ΡΡΠΎ Π±ΡΠ΄ΡΡΠ΅Π΅ ΠΊΠ°ΡΠ±ΠΎΠ½ΠΎΠ²ΡΡ ΠΎΠ±ΠΎΠ΄ΠΎΠ², ΠΏΠΎΡΠΊΠΎΠ»ΡΠΊΡ Π½ΠΈΠΊΡΠΎ Π½Π΅ Π½Π°ΡΠ΅Π» Ρ ΠΎΡΠΎΡΠ΅Π³ΠΎ ΡΠ΅ΡΠ΅Π½ΠΈΡ Π΄Π»Ρ ΠΎΠ±ΠΎΠ΄Π½ΡΡ ΡΠΎΡΠΌΠΎΠ·ΠΎΠ² Π½Π° ΠΎΠ±ΠΎΠ΄Π°Ρ Ρ ΠΊΠ°ΡΠ±ΠΎΠ½ΠΎΠ²ΡΠΌΠΈ ΡΠΎΡΠΌΠΎΠ·Π½ΡΠΌΠΈ ΠΏΠΎΠ²Π΅ΡΡ Π½ΠΎΡΡΡΠΌΠΈ. Shimano ΡΠ΄Π°Π»ΠΎΡΡ ΡΠ±Π΅Π΄ΠΈΡΡ UCI, ΠΊΠΎΡΠΎΡΡΠΉ Π·Π°ΠΏΡΠ΅ΡΠΈΠ» Π΄ΠΈΡΠΊΠΈ Π½Π° ΡΠΎΡΡΠ΅ΠΉΠ½ΡΡ Π²Π΅Π»ΠΎΡΠΈΠΏΠ΅Π΄Π°Ρ , ΠΈΠ·ΠΌΠ΅Π½ΠΈΡΡ ΡΠ²ΠΎΡ ΠΏΠΎΠ·ΠΈΡΠΈΡ ΠΏΠΎΡΠ»Π΅ ΠΏΡΠ΅Π΄ΠΎΡΡΠ°Π²Π»Π΅Π½ΠΈΡ Π΄ΠΎΠΊΠ°Π·Π°ΡΠ΅Π»ΡΡΡΠ² Π±ΠΎΠ»ΡΡΠΎΠ³ΠΎ ΠΊΠΎΠ»ΠΈΡΠ΅ΡΡΠ²Π° Π°Π²Π°ΡΠΈΠΉ, Π²ΡΠ·Π²Π°Π½Π½ΡΡ Π½Π΅Π΄ΠΎΡΡΠ°ΡΠΊΠ°ΠΌΠΈ ΡΠΎΡΠΌΠΎΠ·ΠΎΠ² ΡΡΠΏΠΏΠΎΡΡΠΎΠ² Π½Π° ΠΊΠ°ΡΠ±ΠΎΠ½ΠΎΠ²ΡΡ ΠΎΠ±ΠΎΠ΄Π°Ρ .
ΠΠΎΠ½ΡΠ°ΠΆ ΠΈ ΠΎΠ±ΡΠ»ΡΠΆΠΈΠ²Π°Π½ΠΈΠ΅
Π ΠΎΡΠΎΡΡ Π΄ΠΈΡΠΊΠΎΠ²ΡΡ ΡΠΎΡΠΌΠΎΠ·ΠΎΠ² Π΄ΠΎΡΡΡΠΏΠ½Ρ Π² Π½Π΅ΡΠΊΠΎΠ»ΡΠΊΠΈΡ ΡΠ°Π·ΠΌΠ΅ΡΠ°Ρ . Π₯ΠΎΡΡ ΠΌΠΎΠΆΠ½ΠΎ ΡΠΌΠ΅ΡΠΈΠ²Π°ΡΡ ΠΈ ΡΠΎΡΠ΅ΡΠ°ΡΡ ΠΌΠ°ΡΠΊΠΈ ΡΠΎΡΠΎΡΠΎΠ² ΠΈ ΡΡΠΏΠΏΠΎΡΡΠΎΠ², ΡΠ°Π·ΠΌΠ΅Ρ ΡΠΎΡΠΎΡΠ° ΠΈ ΡΡΠΏΠΏΠΎΡΡΠ° Π΄ΠΎΠ»ΠΆΠ΅Π½ ΡΠΎΠ²ΠΏΠ°Π΄Π°ΡΡ. Π ΠΎΡΠΎΡΡ Π±ΠΎΠ»ΡΡΠ΅Π³ΠΎ ΡΠ°Π·ΠΌΠ΅ΡΠ° Π½Π΅ΠΌΠ½ΠΎΠ³ΠΎ ΡΡΠΆΠ΅Π»Π΅Π΅, Π½ΠΎ Π»Π΅Π³ΡΠ΅ ΡΠ°ΡΡΠ΅ΠΈΠ²Π°ΡΡ ΡΠ΅ΠΏΠ»ΠΎ ΠΈ ΠΎΠ±Π΅ΡΠΏΠ΅ΡΠΈΠ²Π°ΡΡ Π±ΠΎΠ»Π΅Π΅ ΡΠΈΠ»ΡΠ½ΠΎΠ΅ ΡΠΎΡΠΌΠΎΠΆΠ΅Π½ΠΈΠ΅. Π ΠΎΡΠΎΡΡ ΠΌΠ΅Π½ΡΡΠ΅Π³ΠΎ ΡΠ°Π·ΠΌΠ΅ΡΠ°, ΠΎΠ±ΡΡΠ½ΠΎ Π΄Π»Ρ Β«Π΄ΠΎΡΠΎΠΆΠ½ΡΡ Β» Π΄ΠΈΡΠΊΠΎΠ²ΡΡ ΡΠΎΡΠΌΠΎΠ·ΠΎΠ², Π»Π΅Π³ΡΠ΅.
Π Π±ΠΎΠ»ΡΡΠΈΠ½ΡΡΠ²Π΅ ΠΌΠ΅Ρ Π°Π½ΠΈΡΠ΅ΡΠΊΠΈΡ Π΄ΠΈΡΠΊΠΎΠ²ΡΡ ΡΠΎΡΠΌΠΎΠ·ΠΎΠ² ΠΈΡΠΏΠΎΠ»ΡΠ·ΡΡΡΡΡ ΡΠ΅ ΠΆΠ΅ ΡΠΎΡΠΌΠΎΠ·Π½ΡΠ΅ ΡΡΡΠ°Π³ΠΈ Ρ Π΄Π»ΠΈΠ½Π½ΡΠΌ ΡΡΠΎΡΠΎΠΌ, ΡΡΠΎ ΠΈ Π² ΡΠΎΡΠΌΠΎΠ·Π°Ρ ΠΏΡΡΠΌΠΎΠ³ΠΎ Π΄Π΅ΠΉΡΡΠ²ΠΈΡ.ΠΠΎΠ΄ΡΠΎΠ±Π½Π°Ρ ΠΈΠ½ΡΠΎΡΠΌΠ°ΡΠΈΡ ΠΎΠ± ΡΡΠΈΡ ΡΠΎΡΠΌΠΎΠ·Π½ΡΡ ΡΡΡΠ°Π³Π°Ρ Π½Π°Ρ ΠΎΠ΄ΠΈΡΡΡ Π·Π΄Π΅ΡΡ. ΠΡΠΈ Π΄ΡΡΠ³ΠΈΡ ΡΠΎΡΠΌΠΎΠ·Π½ΡΡ ΡΡΡΠ°Π³Π°Ρ ΡΡΠΎΡ Π½Π΅ Π½Π°ΡΡΠ³ΠΈΠ²Π°Π΅ΡΡΡ, ΡΡΠΎ ΠΏΡΠΈΠ²ΠΎΠ΄ΠΈΡ ΠΊ ΡΠ»Π°Π±ΠΎΠΌΡ ΡΠΎΡΠΌΠΎΠΆΠ΅Π½ΠΈΡ. Β«ΠΠΎΡΠΎΠΆΠ½ΡΠ΅Β» Π΄ΠΈΡΠΊΠΎΠ²ΡΠ΅ ΡΠΎΡΠΌΠΎΠ·Π°, Π½Π°ΠΏΡΠΎΡΠΈΠ², ΡΠ°Π±ΠΎΡΠ°ΡΡ Ρ ΠΎΠ±ΡΡΠ½ΡΠΌΠΈ ΡΠΎΡΠΌΠΎΠ·Π½ΡΠΌΠΈ ΡΡΡΠ°Π³Π°ΠΌΠΈ ΠΈ ΡΡΡΠ°Π³Π°ΠΌΠΈ ΠΏΠ΅ΡΠ΅ΠΊΠ»ΡΡΠ΅Π½ΠΈΡ ΠΏΠ΅ΡΠ΅Π΄Π°Ρ.
ΠΡΡΡ Π½Π΅ΡΠΊΠΎΠ»ΡΠΊΠΎ ΡΠ°ΡΠΏΡΠΎΡΡΡΠ°Π½Π΅Π½Π½ΡΡ ΡΠΏΠΎΡΠΎΠ±ΠΎΠ² ΠΏΡΠΈΠΊΡΠ΅ΠΏΠ»Π΅Π½ΠΈΡ ΡΠΎΡΠΎΡΠ° ΠΊ ΡΡΡΠΏΠΈΡΠ΅. Π Π°ΡΠΏΡΠΎΡΡΡΠ°Π½Π΅Π½Π½ΡΠΌΠΈ ΠΈΠ· Π½ΠΈΡ ΡΠ²Π»ΡΡΡΡΡ ISO Ρ 6 Π±ΠΎΠ»ΡΠ°ΠΌΠΈ, 3 Π±ΠΎΠ»ΡΠ° Hope ΠΈ 4 Π±ΠΎΠ»ΡΠ° Rohloff. ΠΠ΅ΠΊΠΎΡΠΎΡΡΠ΅ ΡΡΠ°ΡΡΠ΅ ΠΌΠΎΠ΄Π΅Π»ΠΈ Π±ΠΎΠ»ΡΡΠ΅ Π½Π΅ ΠΏΡΠΎΠΈΠ·Π²ΠΎΠ΄ΡΡΡΡ, ΡΡΠΎ Π·Π°ΡΡΡΠ΄Π½ΡΠ΅Ρ ΠΏΠΎΠΈΡΠΊ ΡΠΎΡΠΎΡΠ° Π½Π° Π·Π°ΠΌΠ΅Π½Ρ Π΄Π»Ρ Π±ΠΎΠ»Π΅Π΅ ΡΡΠ°ΡΠΎΠΉ ΡΡΡΠΏΠΈΡΡ. ΠΡΡΠ»ΠΊΠΈ Shimano Alfine Ρ Π²Π½ΡΡΡΠ΅Π½Π½ΠΈΠΌ Π·Π°ΡΠ΅ΠΏΠ»Π΅Π½ΠΈΠ΅ΠΌ ΠΈΠΌΠ΅ΡΡ ΡΠΈΡΠΈΠ½Π³ Π΄ΠΈΡΠΊΠΎΠ²ΠΎΠ³ΠΎ ΡΠΎΡΠΌΠΎΠ·Π° Centerlock.Π€ΠΈΡΠΈΠ½Π³ Shimano Inter-M, ΠΈΡΠΏΠΎΠ»ΡΠ·ΡΠ΅ΠΌΡΠΉ Π½Π° Π²ΡΡΠ»ΠΊΠ°Ρ Shimano Nexus ΠΈ Nexave, ΠΏΡΠ΅Π΄Π½Π°Π·Π½Π°ΡΠ΅Π½ Π΄Π»Ρ Shimano Rollerbrake, Π° Π½Π΅ Π΄Π»Ρ ΡΠΎΡΠΎΡΠ° Π΄ΠΈΡΠΊΠΎΠ²ΠΎΠ³ΠΎ ΡΠΎΡΠΌΠΎΠ·Π°. ΠΠΎΡΡΡΠΏΠ΅Π½ Π°Π΄Π°ΠΏΡΠ΅Ρ ΠΎΡ Cesur, ΠΠ΅ΡΠΌΠ°Π½ΠΈΡ, Π΄Π»Ρ ΡΡΡΠ°Π½ΠΎΠ²ΠΊΠΈ Π΄ΠΈΡΠΊΠΎΠ²ΠΎΠ³ΠΎ ΡΠΎΡΠΌΠΎΠ·Π° Π½Π° ΡΡΡΠΏΠΈΡΡ Nexus.
Π’Π°ΠΊΠΆΠ΅ ΡΡΡΠ΅ΡΡΠ²ΡΡΡ ΡΠ°Π·Π½ΡΠ΅ ΡΠΏΠΎΡΠΎΠ±Ρ ΠΊΡΠ΅ΠΏΠ»Π΅Π½ΠΈΡ ΡΡΠΏΠΏΠΎΡΡΠ°. ΠΠΎΡΡΡΠΏΠ½ΠΎ Π±ΠΎΠ»ΡΡΠΎΠ΅ ΠΊΠΎΠ»ΠΈΡΠ΅ΡΡΠ²ΠΎ Π°Π΄Π°ΠΏΡΠ΅ΡΠΎΠ², ΡΡΠΎ Π΄Π΅Π»Π°Π΅Ρ Π²ΠΎΠ·ΠΌΠΎΠΆΠ½ΡΠΌ ΠΌΠ½ΠΎΠΆΠ΅ΡΡΠ²ΠΎ ΠΊΠΎΠΌΠ±ΠΈΠ½Π°ΡΠΈΠΉ.
Π¦Π΅Π½ΡΡΠΎΠ²ΠΊΠ° ΡΠΎΡΠΎΡΠ° ΠΈ ΡΡΠΏΠΏΠΎΡΡΠ° ΠΎΡΠ΅Π½Ρ Π²Π°ΠΆΠ½Π°, ΠΏΠΎΡΡΠΎΠΌΡ ΡΠΎΡΠΎΡ Π²ΡΠ°ΡΠ°Π΅ΡΡΡ ΡΠ²ΠΎΠ±ΠΎΠ΄Π½ΠΎ, Π·Π° ΠΈΡΠΊΠ»ΡΡΠ΅Π½ΠΈΠ΅ΠΌ ΡΠ»ΡΡΠ°Π΅Π² ΡΠΎΡΠΌΠΎΠΆΠ΅Π½ΠΈΡ. Π₯ΠΎΡΡ Π½Π΅ΠΊΠΎΡΠΎΡΡΠ΅ ΡΡΠΏΠΏΠΎΡΡΡ ΡΠ²Π»ΡΡΡΡΡ ΡΠ΅Π³ΡΠ»ΠΈΡΡΠ΅ΠΌΡΠΌΠΈ, Π΅ΡΡΡ Π½Π΅Π±ΠΎΠ»ΡΡΠ°Ρ Π³ΠΈΠ±ΠΊΠΎΡΡΡ Π² Π΄ΠΎΠ±Π°Π²Π»Π΅Π½ΠΈΠΈ ΠΈΠ»ΠΈ ΡΠ΄Π°Π»Π΅Π½ΠΈΠΈ ΠΏΡΠΎΡΡΠ°Π²ΠΎΠΊ Ρ Π»Π΅Π²ΠΎΠΉ ΡΡΠΎΡΠΎΠ½Ρ ΡΡΡΠΏΠΈΡΡ Π΄Π»Ρ ΡΡΡΡΠ°Π½Π΅Π½ΠΈΡ Π½Π΅ΡΠΎΠ²Π½ΠΎΡΡΠ΅ΠΉ ΠΊΠΎΠ»Π΅ΡΠ°, Π·Π°Π·ΠΎΡΠ° ΠΌΠ΅ΠΆΠ΄Ρ Π²ΡΡ ΠΎΠ΄Π°ΠΌΠΈ ΠΈΠ»ΠΈ Π»ΠΈΠ½ΠΈΠΈ ΡΠ΅ΠΏΠΈ.
Π ΡΠ΅Π»ΠΎΠΌ, Π·Π΄Π΅ΡΡ ΡΠ»ΠΈΡΠΊΠΎΠΌ ΠΌΠ½ΠΎΠ³ΠΎ ΡΠ°Π·Π½ΠΎΠΎΠ±ΡΠ°Π·ΠΈΡ Π΄ΠΈΡΠΊΠΎΠ²ΡΡ ΡΠΎΡΠΌΠΎΠ·ΠΎΠ², ΠΈ ΡΠ°Π·ΡΠΌΠ½Π΅Π΅ Π²ΡΠ΅Π³ΠΎ ΠΏΡΠΈΠ΄Π΅ΡΠΆΠΈΠ²Π°ΡΡΡΡ ΠΊΠΎΠΌΠ±ΠΈΠ½Π°ΡΠΈΠΉ, ΠΏΡΠ΅Π΄Π»Π°Π³Π°Π΅ΠΌΡΡ ΠΏΡΠΎΠΈΠ·Π²ΠΎΠ΄ΠΈΡΠ΅Π»ΡΠΌΠΈ. ΠΠ»Π°Π²Π° 11 7-Π³ΠΎ ΠΈΠ·Π΄Π°Π½ΠΈΡ ΡΠΏΡΠ°Π²ΠΎΡΠ½ΠΈΠΊΠ° Sutherland’s Handbook for Bicycle Mechanics ΠΎΡΠ΅Π½Ρ ΠΏΠΎΠ΄ΡΠΎΠ±Π½ΠΎ ΠΎΠΏΠΈΡΡΠ²Π°Π΅Ρ Π΄ΠΈΡΠΊΠΎΠ²ΡΠ΅ ΡΠΎΡΠΌΠΎΠ·Π°, ΠΎΡΠΎΠ±Π΅Π½Π½ΠΎ ΠΌΠ½ΠΎΠ³ΠΈΠ΅ ΡΠΈΠΏΡ ΡΠΈΡΠΈΠ½Π³ΠΎΠ² ΠΈ Π°Π΄Π°ΠΏΡΠ΅ΡΠΎΠ². Π Π»ΡΠ±ΠΎΠΌ Ρ ΠΎΡΠΎΡΠ΅ΠΌ Π²Π΅Π»ΠΎΠΌΠ°Π³Π°Π·ΠΈΠ½Π΅ Π΅ΡΡΡ ΠΊΠΎΠΏΠΈΡ — ΡΠ°ΠΊΠΆΠ΅ ΡΠΌ. Π‘ΡΡΠ»ΠΊΡ Π½ΠΈΠΆΠ΅. Π£ ΠΠΆΠΎΠ½Π° ΠΠ»ΡΠ΅Π½Π° Π΅ΡΡΡ Ρ ΠΎΡΠΎΡΠ°Ρ ΡΠ΅Ρ Π½ΠΈΡΠ΅ΡΠΊΠ°Ρ ΠΈΠ½ΡΠΎΡΠΌΠ°ΡΠΈΡ Π² ΠΊΠ½ΠΈΠ³Π΅ High Tech Cycling , Π° ΡΠ°ΡΡΡ ΠΊΠ½ΠΈΠ³ΠΈ ΠΎ Π΄ΠΈΡΠΊΠΎΠ²ΡΡ ΡΠΎΡΠΌΠΎΠ·Π°Ρ Π΄ΠΎΡΡΡΠΏΠ½Π° ΠΎΠ½Π»Π°ΠΉΠ½ Π² ΠΊΠ°ΡΠ΅ΡΡΠ²Π΅ ΠΏΡΠ΅Π΄Π²Π°ΡΠΈΡΠ΅Π»ΡΠ½ΠΎΠ³ΠΎ ΠΏΡΠΎΡΠΌΠΎΡΡΠ°.(ΠΠΎ ΠΊΡΠΏΠΈΡΠ΅ ΠΊΠ½ΠΈΠ³Ρ — ΡΠ°ΠΌ Π΅ΡΠ΅ ΠΈ Ρ ΠΎΡΠΎΡΠ΅Π³ΠΎ ΡΡΠ΅Π½ΠΈΡ!).
Π Π΅Π³ΡΠ»ΠΈΡΠΎΠ²ΠΊΠ°
ΠΠΎΠ»ΠΎΠ΄ΠΊΠΈ Π΄ΠΈΡΠΊΠΎΠ²ΠΎΠ³ΠΎ ΡΠΎΡΠΌΠΎΠ·Π° Π½Π΅ΠΎΠ±Ρ ΠΎΠ΄ΠΈΠΌΠΎ ΠΎΡΡΠ΅Π³ΡΠ»ΠΈΡΠΎΠ²Π°ΡΡ ΠΊΠ°ΠΊ ΠΌΠΎΠΆΠ½ΠΎ Π±Π»ΠΈΠΆΠ΅ ΠΊ ΡΠΎΡΠΎΡΡ, ΡΡΠΎΠ±Ρ Π½Π΅ Π½Π°ΡΠΈΡΠ°ΡΡ. ΠΡΠΎΠ³ΠΎ Π΄ΠΎΡΡΠΈΠ³Π°ΡΡ ΡΡΠΈ ΠΎΡΠ΄Π΅Π»ΡΠ½ΡΠ΅ Π½Π°ΡΡΡΠΎΠΉΠΊΠΈ.
ΠΠΎΠ»Π΅ΡΠΎ Π΄ΠΎΠ»ΠΆΠ½ΠΎ Π±ΡΡΡ ΠΎΡΠΎΡΠ²Π°Π½ΠΎ ΠΎΡ Π·Π΅ΠΌΠ»ΠΈ, ΡΡΠΎΠ±Ρ ΠΎΠ½ΠΎ Π²ΡΠ°ΡΠ°Π»ΠΎΡΡ ΡΠ²ΠΎΠ±ΠΎΠ΄Π½ΠΎ. ΠΡ ΠΌΠΎΠΆΠ΅ΡΠ΅ ΠΈΡΠΏΠΎΠ»ΡΠ·ΠΎΠ²Π°ΡΡ ΡΠ°Π±ΠΎΡΡΡ ΠΏΠΎΠ΄ΡΡΠ°Π²ΠΊΡ ΠΈΠ»ΠΈ ΠΏΡΠΎΡΡΠΎ ΠΏΠΎΠ²Π΅ΡΠΈΡΡ ΡΠ΅Π΄Π»ΠΎ Π½Π° ΠΊΡΡΠΊ ΠΈΠ»ΠΈ Π½Π° Π½Π΅Π²ΡΡΠΎΠΊΠΎΠΉ Π²Π΅ΡΠΊΠ΅ Π΄Π΅ΡΠ΅Π²Π°.
ΠΡΠΎΠΊΡΡΡΠΈΡΠ΅ ΠΊΠΎΠ»Π΅ΡΠΎ ΠΈ ΡΠ±Π΅Π΄ΠΈΡΠ΅ΡΡ Π² ΠΏΡΠ°Π²ΠΈΠ»ΡΠ½ΠΎΡΡΠΈ Π²ΡΠ°ΡΠ΅Π½ΠΈΡ ΡΠΎΡΠΎΡΠ°. ΠΠ°ΠΆΠ΅ ΡΠ»Π΅Π³ΠΊΠ° Π΄Π΅ΡΠΎΡΠΌΠΈΡΠΎΠ²Π°Π½Π½ΡΠΉ ΡΠΎΡΠΎΡ Π±ΡΠ΄Π΅Ρ ΡΠ΄Π΅ΡΠΆΠΈΠ²Π°ΡΡ ΡΠΎΡΠΌΡ ΠΏΠΎΠ΄ΡΡΠ΅ΠΊ Π΄ΠΎΡΡΠ°ΡΠΎΡΠ½ΠΎ Π±Π»ΠΈΠ·ΠΊΠΎ, Π±Π΅Π· ΡΡΠ΅Π½ΠΈΡ.
ΠΠΈΠ΄ΡΠ°Π²Π»ΠΈΡΠ΅ΡΠΊΠΈΠ΅ Π΄ΠΈΡΠΊΠΎΠ²ΡΠ΅ ΡΠΎΡΠΌΠΎΠ·Π° ΡΠ²Π»ΡΡΡΡΡ ΡΠ°ΠΌΠΎΡΠ΅Π³ΡΠ»ΠΈΡΡΡΡΠΈΠΌΠΈΡΡ, Π½ΠΎ Π΄ΠΈΡΠΊΠΎΠ²ΡΠ΅ ΡΠΎΡΠΌΠΎΠ·Π° Ρ ΡΡΠΎΡΠΎΠ²ΡΠΌ ΠΏΡΠΈΠ²ΠΎΠ΄ΠΎΠΌ Π±ΡΠ΄ΡΡ ΠΈΠΌΠ΅ΡΡ ΡΠ΅Π³ΡΠ»ΠΈΡΠΎΠ²ΠΊΡ Π²ΠΈΠ½ΡΠΎΠΌ Π΄Π»Ρ ΡΠΎΡΠ½ΠΎΠΉ Π½Π°ΡΡΡΠΎΠΉΠΊΠΈ ΡΠ°ΡΡΡΠΎΡΠ½ΠΈΡ ΠΌΠ΅ΠΆΠ΄Ρ ΠΊΠΎΠ»ΠΎΠ΄ΠΊΠ°ΠΌΠΈ. ΠΠ½ΠΎΠ³ΠΈΠ΅ Π΄ΠΈΡΠΊΠΎΠ²ΡΠ΅ ΡΠΎΡΠΌΠΎΠ·Π° ΠΈΠΌΠ΅ΡΡ ΡΠΎΠ»ΡΠΊΠΎ ΠΎΠ΄Π½Ρ ΠΊΠΎΠ»ΠΎΠ΄ΠΊΡ, ΠΊΠΎΡΠΎΡΠ°Ρ Π²ΡΠ΄Π²ΠΈΠ³Π°Π΅ΡΡΡ, ΡΡΠΎΠ±Ρ Π·Π°Π΄Π΅ΠΉΡΡΠ²ΠΎΠ²Π°ΡΡ ΡΠΎΡΠΌΠΎΠ·. Π ΠΎΡΠΎΡ ΠΈΠ·Π³ΠΈΠ±Π°Π΅ΡΡΡ, ΡΠ°ΠΊ ΡΡΠΎ ΠΎΠ½ ΡΠ°ΠΊΠΆΠ΅ ΠΏΡΠΈΠΆΠΈΠΌΠ°Π΅ΡΡΡ ΠΊ Π΄ΡΡΠ³ΠΎΠΉ ΠΊΠΎΠ»ΠΎΠ΄ΠΊΠ΅. ΠΠ΅ΡΠ΅Π΄ ΠΎΠΊΠΎΠ½ΡΠ°ΡΠ΅Π»ΡΠ½ΠΎΠΉ ΡΠ΅Π³ΡΠ»ΠΈΡΠΎΠ²ΠΊΠΎΠΉ ΡΠ·Π»Π° ΡΡΠΏΠΏΠΎΡΡΠ° ΠΊΠΎΠ»ΠΎΠ΄ΠΊΠΈ ΠΏΡΠ΅Π΄ΠΏΠΎΡΡΠΈΡΠ΅Π»ΡΠ½ΠΎ ΠΎΡΡΠ΅Π³ΡΠ»ΠΈΡΠΎΠ²Π°ΡΡ Π΄Π»Ρ ΠΎΠ±Π΅ΡΠΏΠ΅ΡΠ΅Π½ΠΈΡ Π½Π°ΠΈΠ»ΡΡΡΠ΅Π³ΠΎ ΡΠ°ΡΡΡΠΎΡΠ½ΠΈΡ.
Π ΡΠΎΡΠΌΠΎΠ·Π΅ Ρ ΡΡΠΎΡΠΎΠ²ΡΠΌ ΠΏΡΠΈΠ²ΠΎΠ΄ΠΎΠΌ Π³ΡΡΠ±Π°Ρ ΡΠ΅Π³ΡΠ»ΠΈΡΠΎΠ²ΠΊΠ° Π²ΡΠΏΠΎΠ»Π½ΡΠ΅ΡΡΡ Ρ ΠΏΠΎΠΌΠΎΡΡΡ ΡΡΠΎΡΠ°, ΠΊΠ°ΠΊ ΠΈ Ρ Π΄ΡΡΠ³ΠΈΠΌΠΈ ΡΠΎΡΠΌΠΎΠ·Π°ΠΌΠΈ, Π½ΠΎ ΡΡΠΎΡ Π΄ΠΎΠ»ΠΆΠ΅Π½ Π±ΡΡΡ ΠΎΡΡΠ΅Π³ΡΠ»ΠΈΡΠΎΠ²Π°Π½ ΡΠ°ΠΊ, ΡΡΠΎΠ±Ρ ΡΡΡΠ°Π³, ΠΊΠΎΡΠΎΡΡΠΉ ΠΎΠ½ ΠΏΠ΅ΡΠ΅ΠΌΠ΅ΡΠ°Π΅Ρ, Π½Π°Ρ ΠΎΠ΄ΠΈΠ»ΡΡ Π² ΠΏΠΎΠ»Π½ΠΎΡΡΡΡ ΠΎΡΠΏΡΡΠ΅Π½Π½ΠΎΠΌ ΠΏΠΎΠ»ΠΎΠΆΠ΅Π½ΠΈΠΈ.Π΅Π³ΠΎ Π½Π΅ ΡΠ»Π΅Π΄ΡΠ΅Ρ ΠΈΡΠΏΠΎΠ»ΡΠ·ΠΎΠ²Π°ΡΡ Π΄Π»Ρ ΡΠ΅Π³ΡΠ»ΠΈΡΠΎΠ²ΠΊΠΈ Π»ΠΎΠΏΠ°ΡΠΊΠΈ. ΠΠ»Ρ ΡΡΠΎΠ³ΠΎ Π±ΡΠ΄Π΅Ρ ΡΠ΅Π³ΡΠ»ΠΈΡΠΎΠ²ΠΊΠ° Π΄ΠΈΡΠΊΠΎΠΌ ΠΈΠ»ΠΈ Π²ΠΈΠ½ΡΠΎΠΌ. ΠΡΡΠ΅Π³ΡΠ»ΠΈΡΡΠΉΡΠ΅ ΡΠ°ΡΡΡΠΎΡΠ½ΠΈΠ΅ Π΄ΠΎ ΠΌΠΈΠ½ΠΈΠΌΡΠΌΠ°. ΠΠΎΡΠ»Π΅ ΡΠ΅Π³ΡΠ»ΠΈΡΠΎΠ²ΠΊΠΈ ΠΎΠ΄Π½Π° ΠΏΠ»ΠΎΡΠ°Π΄ΠΊΠ° ΠΌΠΎΠΆΠ΅Ρ ΠΊΠΎΠ½ΡΠ°ΠΊΡΠΈΡΠΎΠ²Π°ΡΡ Ρ ΡΠΎΡΠΎΡΠΎΠΌ, Π² ΡΠΎ Π²ΡΠ΅ΠΌΡ ΠΊΠ°ΠΊ Π΄ΡΡΠ³Π°Ρ ΠΈΠΌΠ΅Π΅Ρ ΡΠ»ΠΈΡΠΊΠΎΠΌ Π±ΠΎΠ»ΡΡΠΎΠΉ Π·Π°Π·ΠΎΡ. ΠΠ°ΡΠ΅ΠΌ Π²Ρ Π΄ΠΎΠ»ΠΆΠ½Ρ ΠΎΡΡΠ΅Π³ΡΠ»ΠΈΡΠΎΠ²Π°ΡΡ ΡΡΠΏΠΏΠΎΡΡ, ΡΡΠΎΠ±Ρ Π²ΡΡΠΎΠ²Π½ΡΡΡ ΡΠ°ΡΡΡΠΎΡΠ½ΠΈΠ΅ Ρ ΠΊΠ°ΠΆΠ΄ΠΎΠΉ ΡΡΠΎΡΠΎΠ½Ρ ΡΠΎΡΠΎΡΠ°.
ΠΡΠ»Π°Π±ΡΡΠ΅ Π±ΠΎΠ»ΡΡ, ΠΊΠΎΡΠΎΡΡΠ΅ ΠΊΡΠ΅ΠΏΡΡ ΡΠ·Π΅Π» ΡΡΠΏΠΏΠΎΡΡΠ° ΠΊ Π΅Π³ΠΎ ΠΊΡΠ΅ΠΏΠ»Π΅Π½ΠΈΡ — Π½Π΅ Π±ΠΎΠ»ΡΡ, ΠΊΠΎΡΠΎΡΡΠ΅ ΠΎΠ±ΡΠ°ΡΠ΅Π½Ρ ΠΊ ΡΠ΅ΡΠ΅Π΄ΠΈΠ½Π΅ Π²Π΅Π»ΠΎΡΠΈΠΏΠ΅Π΄Π°, Π° ΡΠ΅, ΠΊΠΎΡΠΎΡΡΠ΅ ΠΎΠ±ΡΠ°ΡΠ΅Π½Ρ Π²ΠΏΠ΅ΡΠ΅Π΄ ΠΈΠ»ΠΈ Π²Π½ΠΈΠ·.ΠΡΠΈ Π±ΠΎΠ»ΡΡ ΡΡΡΠ°Π½Π°Π²Π»ΠΈΠ²Π°ΡΡΡΡ Π² ΠΎΡΠ²Π΅ΡΡΡΠΈΡ Ρ ΠΏΠ°Π·Π°ΠΌΠΈ, ΡΡΠΎ ΠΏΠΎΠ·Π²ΠΎΠ»ΡΠ΅Ρ ΠΌΠ΅Π½ΡΡΡ ΠΏΠΎΠ»ΠΎΠΆΠ΅Π½ΠΈΠ΅ ΡΡΠΏΠΏΠΎΡΡΠ° Π² ΡΠ±ΠΎΡΠ΅. ΠΡΡΠ΅Π³ΡΠ»ΠΈΡΡΠΉΡΠ΅ Π½Π° Π³Π»Π°Π· ΡΠ°ΠΊ, ΡΡΠΎΠ±Ρ Π΄Π²Π΅ ΠΊΠΎΠ»ΠΎΠ΄ΠΊΠΈ Π½Π°Ρ ΠΎΠ΄ΠΈΠ»ΠΈΡΡ Π½Π° ΠΎΠ΄ΠΈΠ½Π°ΠΊΠΎΠ²ΠΎΠΌ ΡΠ°ΡΡΡΠΎΡΠ½ΠΈΠΈ ΠΎΡ ΡΠΎΡΠΎΡΠ°. ΠΠ»ΠΈ ΠΏΠΎΠΌΠ΅ΡΡΠΈΡΠ΅ ΡΠΎΠ½ΠΊΠΈΠΉ ΠΏΡΠ΅Π΄ΠΌΠ΅Ρ, ΡΠ°ΠΊΠΎΠΉ ΠΊΠ°ΠΊ ΡΡΠ΅ΡΠ½Π°Ρ ΠΊΠ°ΡΡΠΎΡΠΊΠ°, ΠΌΠ΅ΠΆΠ΄Ρ ΠΊΠ°ΠΆΠ΄ΠΎΠΉ ΠΊΠΎΠ»ΠΎΠ΄ΠΊΠΎΠΉ ΠΈ ΡΠΎΡΠΎΡΠΎΠΌ, ΡΡΠΎΠ±Ρ Π·Π°Π½ΠΈΠΌΠ°ΡΡ ΠΏΡΠΎΡΡΡΠ°Π½ΡΡΠ²ΠΎ ΠΏΡΠΈ Π½Π°ΠΆΠ°ΡΠΈΠΈ Π½Π° ΡΠΎΡΠΌΠΎΠ· Π΄ΠΎΡΡΠ°ΡΠΎΡΠ½ΠΎ Π»Π΅Π³ΠΊΠΎ, ΡΡΠΎΠ±Ρ ΡΠ΄Π΅ΡΠΆΠΈΠ²Π°ΡΡ Π΅Π³ΠΎ Π½Π° ΠΌΠ΅ΡΡΠ΅, ΠΈ Π·Π°ΡΡΠ½ΠΈΡΠ΅ Π±ΠΎΠ»ΡΡ.
ΠΠ»Ρ ΠΏΠΎΠ»ΡΡΠ΅Π½ΠΈΡ Π±ΠΎΠ»Π΅Π΅ ΠΏΠΎΠ΄ΡΠΎΠ±Π½ΠΎΠΉ ΠΈΠ½ΡΠΎΡΠΌΠ°ΡΠΈΠΈ ΠΎΠ½Π»Π°ΠΉΠ½ ΠΎΠ± ΡΡΡΠ°Π½ΠΎΠ²ΠΊΠ΅ ΠΈ ΡΠ΅Π³ΡΠ»ΠΈΡΠΎΠ²ΠΊΠ΅ Π΄ΠΈΡΠΊΠΎΠ²ΡΡ ΡΠΎΡΠΌΠΎΠ·ΠΎΠ². ΡΠΌ. ΡΡΡΠ»ΠΊΠΈ Π½ΠΈΠΆΠ΅.
Π‘ΡΡΠ»ΠΊΠΈ
Π‘ΡΠ°ΡΡΠΈ Π¨Π΅Π»Π΄ΠΎΠ½Π° ΠΡΠ°ΡΠ½Π° ΠΈ Π΄ΡΡΠ³ΠΈΡ
Π‘ΠΏΠ°ΡΠΈΠ±ΠΎ ΠΠΆΠΎΠ½Ρ ΠΠ»ΡΠ΅Π½Ρ, ΠΠΆΠ°ΡΡΠΈΠ½Ρ Π₯Π°Π±Π΅ΡΡ ΠΈ Π₯ΡΠ»Ρ Π§Π΅ΠΌΠ±Π΅ΡΠ»ΠΈΠ½Ρ Π·Π° ΠΏΠΎΠΌΠΎΡΡ Ρ ΡΡΠΎΠΉ ΡΡΠ°ΡΡΠ΅ΠΉ!
ΠΡΠ»ΠΈ Π²Ρ Ρ ΠΎΡΠΈΡΠ΅ ΡΠ΄Π΅Π»Π°ΡΡ ΡΡΡΠ»ΠΊΡ ΠΈΠ»ΠΈ Π·Π°ΠΊΠ»Π°Π΄ΠΊΡ Π½Π° ΡΡΡ ΡΡΡΠ°Π½ΠΈΡΡ, URL-Π°Π΄ΡΠ΅Ρ:https: // www.sheldonbrown.com/disc-brakes.html
ΠΠΎΡΠ»Π΅Π΄Π½Π΅Π΅ ΠΎΠ±Π½ΠΎΠ²Π»Π΅Π½ΠΈΠ΅: ΠΠΆΠΎΠ½ ΠΠ»Π»Π΅Π½
Π¨Π΅ΡΡΡ ΠΏΡΠΎΡΡΡΡ ΡΠΎΠ²Π΅ΡΠΎΠ² ΠΏΠΎ ΡΠ²Π΅Π»ΠΈΡΠ΅Π½ΠΈΡ ΠΌΠΎΡΠ½ΠΎΡΡΠΈ Π΄ΠΈΡΠΊΠΎΠ²ΡΡ ΡΠΎΡΠΌΠΎΠ·ΠΎΠ²
ΠΠ΅ΠΎΠ±Ρ ΠΎΠ΄ΠΈΠΌΠΎΠ΅ ΠΎΠ±ΡΠ»ΡΠΆΠΈΠ²Π°Π½ΠΈΠ΅ Π΄ΠΈΡΠΊΠΎΠ²ΡΡ ΡΠΎΡΠΌΠΎΠ·ΠΎΠ²: Π½Π΅Π΄ΠΎΡΡΠ°ΡΠΎΡΠ½ΠΎ ΠΌΠΎΡΠ½ΡΠ΅ ΡΠΎΡΠΌΠΎΠ·Π°? Π ΡΡΠ°Π³ΠΈ ΠΌΡΠ³ΠΊΠΈΠ΅, ΠΊΠ°ΠΊ ΡΡΡΠ½ΡΠ΅ Π½ΠΈΡΠΊΠΈ? ΠΠ΅ ΠΏΠΎΠΊΡΠΏΠ°ΠΉΡΠ΅ Π½ΠΎΠ²ΡΠ΅, ΠΏΠΎΠΊΠ° Π½Π΅ ΠΏΠΎΠΏΡΠΎΠ±ΡΠ΅ΡΠ΅ ΡΡΠΈ ΡΠΎΠ²Π΅ΡΡβ¦
Π’ΠΎΡΠΌΠΎΠ·Π° Π½Π΅Π΄ΠΎΡΡΠ°ΡΠΎΡΠ½ΠΎ ΠΌΠΎΡΠ½ΡΠ΅? Π ΡΡΠ°Π³ΠΈ ΠΌΡΠ³ΠΊΠΈΠ΅, ΠΊΠ°ΠΊ ΡΡΡΠ½ΡΠ΅ Π½ΠΈΡΠΊΠΈ? ΠΠ°ΡΠΈ ΡΡΠΎΠΏΠΎΡΡ ΠΏΠ΅ΡΠ΅ΡΡΠ°Π»ΠΈ ΠΎΡΡΠ°Π½Π°Π²Π»ΠΈΠ²Π°ΡΡΡΡ? Π‘Π»Π΅Π΄ΡΠΉΡΠ΅ ΡΡΠΈΠΌ ΡΠΎΠ²Π΅ΡΠ°ΠΌ. ΠΠ΅ ΠΏΠΎΠΊΡΠΏΠ°ΠΉΡΠ΅ Π½ΠΎΠ²ΡΠ΅, ΠΏΠΎΠΊΠ° Π½Π΅ ΠΏΠΎΠΏΡΠΎΠ±ΡΠ΅ΡΠ΅ ΡΡΠΈ ΡΠΎΠ²Π΅ΡΡ ΠΏΠΎ ΠΎΡΠ½ΠΎΠ²Π½ΠΎΠΌΡ ΠΎΠ±ΡΠ»ΡΠΆΠΈΠ²Π°Π½ΠΈΡ Π΄ΠΈΡΠΊΠΎΠ²ΡΡ ΡΠΎΡΠΌΠΎΠ·ΠΎΠ².
ΠΠΎΠ΄ΡΠΎΠ±Π½Π΅Π΅: ΠΡΡΡΠΈΠ΅ Π΄ΠΈΡΠΊΠΎΠ²ΡΠ΅ ΡΠΎΡΠΌΠΎΠ·Π° Π΄Π»Ρ Π³ΠΎΡΠ½ΡΡ Π²Π΅Π»ΠΎΡΠΈΠΏΠ΅Π΄ΠΎΠ²
1. ΠΠΎΠ»ΠΎΠΆΠ΅Π½ΠΈΠ΅ ΡΡΡΠ°Π³Π°
ΠΠΎΡΠ΅ΡΠ΅ΡΡ Π·Π° ΠΌΠΎΡΠ½ΠΎΡΡΡ ΠΈΠ»ΠΈ ΠΌΠΎΠ΄ΡΠ»ΡΡΠΈΡ? ΠΠ°ΡΠ½ΠΈΡΠ΅ ΠΏΠΎΠΈΡΠΊ ΡΠ΅ΡΠ΅Π½ΠΈΡ Π·Π΄Π΅ΡΡ. ΠΡΡΠΎΠ²Π½ΡΠΉΡΠ΅ Π»Π΅Π·Π²ΠΈΡ ΡΠ°ΠΊ, ΡΡΠΎΠ±Ρ ΠΎΠ΄Π½ΠΈΠΌ ΠΏΠ°Π»ΡΡΠ΅ΠΌ ΡΡΠ½ΡΡΡ Π·Π° ΠΊΠΎΠ½Π΅Ρ ΡΡΡΠ°Π³Π°. Π’Π°ΠΊΠΈΠΌ ΠΎΠ±ΡΠ°Π·ΠΎΠΌ Π²Ρ ΠΏΠΎΠ»ΡΡΠΈΡΠ΅ ΠΌΠ°ΠΊΡΠΈΠΌΡΠΌ ΡΠΈΠ»Ρ ΠΈ Π±ΠΎΠ»ΡΡΠ΅ Π²ΡΠ΅Π³ΠΎ ΠΊΠΎΠ½ΡΡΠΎΠ»Ρ.
ΠΠΎΠΊΠ° Π²Ρ Π½Π° Π½Π΅ΠΌ, ΠΈΡΠΏΠΎΠ»ΡΠ·ΡΠΉΡΠ΅ ΡΠ΅Π³ΡΠ»ΠΈΡΠΎΠ²ΠΊΡ Π΄ΠΎΡΡΠ³Π°Π΅ΠΌΠΎΡΡΠΈ, ΡΡΠΎΠ±Ρ ΠΏΠΎΠ΄Π½Π΅ΡΡΠΈ Π»Π΅Π·Π²ΠΈΠ΅ ΠΊ ΠΏΠ΅ΡΠ΅ΠΊΠ»Π°Π΄ΠΈΠ½Π΅ Π΄ΠΎΡΡΠ°ΡΠΎΡΠ½ΠΎ Π±Π»ΠΈΠ·ΠΊΠΎ, ΡΡΠΎΠ±Ρ ΠΏΠΎΠ»ΡΡΠΈΡΡ ΠΌΠ°ΠΊΡΠΈΠΌΠ°Π»ΡΠ½ΡΡ ΠΌΠΎΡΠ½ΠΎΡΡΡ, Π½ΠΎ Π½Π΅ ΡΠ°ΠΊ Π±Π»ΠΈΠ·ΠΊΠΎ, ΡΡΠΎΠ±Ρ ΠΎΠ½ΠΎ ΡΠΎΠΌΠΊΠ½ΡΠ»ΠΎΡΡ Π² Π²Π°ΡΠ΅ΠΉ ΡΡΠΊΠ΅.ΠΡΠ»ΠΈ Ρ Π²Π°ΡΠΈΡ ΡΠΎΡΠΌΠΎΠ·ΠΎΠ² Π΅ΡΡΡ ΡΠ΅Π³ΡΠ»ΠΈΡΠΎΠ²ΠΊΠ° ΡΠΎΡΠΊΠΈ ΠΊΠΎΠ½ΡΠ°ΠΊΡΠ°, ΠΎΡΡΠ΅Π³ΡΠ»ΠΈΡΡΠΉΡΠ΅ Π΅Π΅ ΡΠ°ΠΊ, ΡΡΠΎΠ±Ρ Π±ΡΠ»ΠΎ Π½Π΅ΠΌΠ½ΠΎΠ³ΠΎ Β«ΠΏΠ»Π°Π²ΡΡΠ΅ΡΡΠΈΒ», ΠΏΡΠ΅ΠΆΠ΄Π΅ ΡΠ΅ΠΌ ΠΊΠΎΠ»ΠΎΠ΄ΠΊΠΈ ΡΡΠ°Π±ΠΎΡΠ°ΡΡ.
2. ΠΡΠΎΠΊΠ°ΡΠ°ΡΡ ΡΠΎΡΠΌΠΎΠ·Π°
Π ΠΈΠ΄Π΅Π°Π»Π΅ Π²Π½ΡΡΡΠ΅Π½Π½ΡΡ ΡΠ°ΡΡΡ Π²Π°ΡΠΈΡ ΡΠΎΡΠΌΠΎΠ·ΠΎΠ² Π΄ΠΎΠ»ΠΆΠ½Π° Π±ΡΡΡ Π·Π°ΠΏΠΎΠ»Π½Π΅Π½Π° ΡΠΎΡΠΌΠΎΠ·Π½ΠΎΠΉ ΠΆΠΈΠ΄ΠΊΠΎΡΡΡΡ ΠΈ Π½ΠΈΡΠ΅ΠΌ Π±ΠΎΠ»ΡΡΠ΅, Π½ΠΎ Π²ΠΎΠ·Π΄ΡΡ ΡΠ°ΡΡΠΎ ΠΏΠΎΠΏΠ°Π΄Π°Π΅Ρ Π²Π½ΡΡΡΡ ΠΈ ΡΠ½ΠΈΠΆΠ°Π΅Ρ ΠΌΠΎΡΠ½ΠΎΡΡΡ ΠΈ ΡΡΠ°Π±ΠΈΠ»ΡΠ½ΠΎΡΡΡ. Π§ΡΠΎΠ±Ρ ΡΠ·Π½Π°ΡΡ, ΠΊΠ°ΠΊ ΠΈΡ Π²ΡΠΌΡΡΡ, ΠΏΠΎΡΠΌΠΎΡΡΠΈΡΠ΅ Π½Π°ΡΠΈ Π²ΠΈΠ΄Π΅ΠΎΡΠΎΠ»ΠΈΠΊΠΈβ¦
ΠΠ»ΡΠΆΠ΄Π°ΡΡΠ°Ρ ΡΠΎΡΠΊΠ° ΡΠΊΡΡΠ° Π’ΠΎΡΠΌΠΎΠ·Π° Shimano: ΠΏΡΠΈΡΠΈΠ½Π° ΠΈ Π»Π΅ΠΊΠ°ΡΡΡΠ²ΠΎ
ΠΠ°ΠΊ ΡΠ΄Π°Π»ΠΈΡΡ Π²ΠΎΠ·Π΄ΡΡ ΠΈΠ· ΡΠΎΡΠΌΠΎΠ·ΠΎΠ² Avid ΠΈΠ»ΠΈ SRAM
3.ΠΡΠΏΠΈΡΡ ΡΠΎΡΠΎΡΡ Π±ΠΎΠ»ΡΡΠ΅Π³ΠΎ ΡΠ°Π·ΠΌΠ΅ΡΠ°
ΠΠΎΠ»Π΅Π΅ Π΄ΠΎΡΠΎΠ³ΠΎΠ΅ ΠΈΡΠΏΡΠ°Π²Π»Π΅Π½ΠΈΠ΅, Π½ΠΎ ΡΠ²Π΅Π»ΠΈΡΠ΅Π½ΠΈΠ΅ ΡΠ°Π·ΠΌΠ΅ΡΠ° ΠΌΠΎΠΆΠ΅Ρ ΠΈΠΌΠ΅ΡΡ ΠΎΠ³ΡΠΎΠΌΠ½ΠΎΠ΅ Π·Π½Π°ΡΠ΅Π½ΠΈΠ΅, Π΅ΡΠ»ΠΈ Π²Π°Ρ Π±Π°ΠΉΠΊ Π±ΡΠ΄Π΅Ρ ΡΠΊΠΎΠΌΠΏΠ»Π΅ΠΊΡΠΎΠ²Π°Π½ Π΄ΠΎΠ²ΠΎΠ»ΡΠ½ΠΎ ΠΌΠ°Π»Π΅Π½ΡΠΊΠΈΠΌΠΈ 160-ΠΌΠΈΠ»Π»ΠΈΠΌΠ΅ΡΡΠΎΠ²ΡΠΌΠΈ ΡΠΎΡΠΎΡΠ°ΠΌΠΈ. ΠΠ΅Π»ΠΎΡΠΈΠΏΠ΅Π΄Ρ ΡΠ°ΡΡΠΎ ΠΎΡΠ½Π°ΡΠ°ΡΡΡΡ ΠΌΠ΅Π½ΡΡΠΈΠΌ ΡΠΎΡΠΎΡΠΎΠΌ ΡΠ·Π°Π΄ΠΈ ΠΈ Π±ΠΎΠ»ΡΡΠΈΠΌ ΡΠΏΠ΅ΡΠ΅Π΄ΠΈ, ΡΡΠΎ Π΄Π»Ρ Π½Π°Ρ Π½Π΅ ΠΈΠΌΠ΅Π΅Ρ ΡΠΌΡΡΠ»Π°, Π½ΠΎ ΡΠΉ. Π£Π²Π΅Π»ΠΈΡΡΡΠ΅ ΡΠ°Π·ΠΌΠ΅Ρ Π²Π°ΡΠΈΡ ΡΠΎΡΠΎΡΠΎΠ², ΡΡΠΎΠ±Ρ ΠΎΠ½ΠΈ ΡΠΎΠΎΡΠ²Π΅ΡΡΡΠ²ΠΎΠ²Π°Π»ΠΈ Π΄ΡΡΠ³ Π΄ΡΡΠ³Ρ — ΡΠ²Π΅Π»ΠΈΡΠΈΠ²Π°ΠΉΡΠ΅ ΠΈΡ Ρ ΠΎΠ±Π΅ΠΈΡ ΡΡΠΎΡΠΎΠ½ — ΠΈ Π½Π΅ Π·Π°Π±ΡΠ΄ΡΡΠ΅ ΡΠ°ΠΊΠΆΠ΅ ΠΊΡΠΏΠΈΡΡ ΠΏΠ΅ΡΠ΅Ρ ΠΎΠ΄Π½ΠΈΠΊΠΈ Π΄Π»Ρ ΡΡΠΏΠΏΠΎΡΡΠΎΠ².
4. ΠΡΠΈΡΡΠΈΡΠ΅ ΡΠΎΡΠΎΡΡ ΠΈ ΠΊΠΎΠ»ΠΎΠ΄ΠΊΠΈ
ΠΡΡΠ°ΡΠΈΡΠ΅ ΠΊΠΎΠ»Π΅ΡΠ° ΠΈΠ· Π²Π΅Π»ΠΎΡΠΈΠΏΠ΅Π΄Π°, ΡΠ½ΠΈΠΌΠΈΡΠ΅ ΠΊΠΎΠ»ΠΎΠ΄ΠΊΠΈ ΠΈ ΠΎΡΠΌΠΎΡΡΠΈΡΠ΅ ΡΠΎΡΠΎΡΡ ΠΈ ΠΊΠΎΠ»ΠΎΠ΄ΠΊΠΈ Π½Π° ΠΏΡΠ΅Π΄ΠΌΠ΅Ρ Π·Π°Π³ΡΡΠ·Π½Π΅Π½ΠΈΡ ΠΈΠ»ΠΈ ΠΏΠΎΠ²ΡΠ΅ΠΆΠ΄Π΅Π½ΠΈΠΉ.ΠΡΠ»ΠΈ ΡΠΎΡΠΎΡΡ ΠΏΡΡΠΌΡΠ΅, Π° Π½Π° ΠΊΠΎΠ»ΠΎΠ΄ΠΊΠ°Ρ ΠΎΡΡΠ°Π»ΠΎΡΡ ΠΌΠ½ΠΎΠ³ΠΎ ΠΌΠ°ΡΠ΅ΡΠΈΠ°Π»Π°, ΠΎΡΠΈΡΡΠΈΡΠ΅ ΠΈΡ ΡΠ²Π΅ΠΆΠ΅ΠΉ ΡΡΡΠΏΠΊΠΎΠΉ ΠΈ ΡΠ°ΡΡΠ²ΠΎΡΠΈΡΠ΅Π»Π΅ΠΌ.
ΠΡ ΠΌΠΎΠΆΠ΅ΡΠ΅ ΠΊΡΠΏΠΈΡΡ ΡΠΏΠ΅ΡΠΈΠ°Π»ΡΠ½ΡΠΉ ΠΎΡΠΈΡΡΠΈΡΠ΅Π»Ρ Π΄Π»Ρ Π΄ΠΈΡΠΊΠΎΠ²ΡΡ ΡΠΎΡΠΌΠΎΠ·ΠΎΠ², Π½ΠΎ Π΅ΡΠ»ΠΈ Π²Ρ Π·Π°ΡΠ΄Π»ΡΠΉ ΡΡΡΠΈΡΡ (ΠΈΠ»ΠΈ ΠΎΡΠ΅Π½Ρ Π·Π°ΡΠ΄Π»ΡΠΉ Π°Π»ΠΊΠΎΠ³ΠΎΠ»ΠΈΠΊ), Ρ Π²Π°Ρ ΠΌΠΎΠΆΠ΅Ρ Π±ΡΡΡ Π½Π΅ΡΠΊΠΎΠ»ΡΠΊΠΎ ΠΌΠ΅ΡΠ°ΠΌΡΠ΅ΡΠ°ΠΌΠΈΠ½ΠΎΠ², ΠΊΠΎΡΠΎΡΡΠ΅ ΠΏΠΎΠ΄ΠΎΠΉΠ΄ΡΡ.
ΠΡΠ»ΠΈ ΠΎΠ½ΠΈ Π½Π΅ ΠΊΡΡΠ°ΡΡΡΡ Π΄ΠΎΠ»ΠΆΠ½ΡΠΌ ΠΎΠ±ΡΠ°Π·ΠΎΠΌ ΠΏΠΎΡΠ»Π΅ ΡΡΠΎΠΉ ΠΎΡΠΈΡΡΠΊΠΈ, ΠΎΠ½ΠΈ, Π²Π΅ΡΠΎΡΡΠ½ΠΎ, Π·Π°Π³ΡΡΠ·Π½Π΅Π½Ρ ΡΠΌΠ°Π·ΠΊΠΎΠΉ Π΄Π»Ρ ΡΠ΅ΠΏΠ΅ΠΉ, ΡΡΠ΄ΠΎ-Π±Π»Π΅ΡΠΊΠΎΠΌ, ΡΠΈΠ»ΠΈΠΊΠΎΠ½ΠΎΠ²ΡΠΌ ΡΠΏΡΠ΅Π΅ΠΌ ΠΈΠ»ΠΈ ΡΠ΅ΠΌ-ΡΠΎ Π² ΡΡΠΎΠΌ ΡΠΎΠ΄Π΅. ΠΠ΅ ΠΏΡΡΠ°ΠΉΡΠ΅ΡΡ ΠΈΡ ΡΠΏΠ°ΡΡΠΈ — ΠΈΡ Π½ΡΠΆΠ½ΠΎ Π·Π°ΠΌΠ΅Π½ΠΈΡΡ.
5. ΠΡΠΏΠΈΡΡ Π½ΠΎΠ²ΡΠ΅ ΡΠΎΡΠΌΠΎΠ·Π½ΡΠ΅ ΠΊΠΎΠ»ΠΎΠ΄ΠΊΠΈ
. ΠΠΎΠ΄ΡΡΠ΅ΡΠΊΠΈΠΈΠ· ΠΎΡΠ³Π°Π½ΠΈΡΠ΅ΡΠΊΠΈΡ ΠΌΠ°ΡΠ΅ΡΠΈΠ°Π»ΠΎΠ² (ΡΠΌΠΎΠ»Π° AKA) ΠΎΠ±Π»Π°Π΄Π°ΡΡ Π½Π°ΠΈΠ±ΠΎΠ»ΡΡΠ΅ΠΉ ΠΌΠΎΡΠ½ΠΎΡΡΡΡ, Π½ΠΎ ΠΈΠ·Π½Π°ΡΠΈΠ²Π°ΡΡΡΡ Π±ΡΡΡΡΠ΅Π΅, ΡΠ΅ΠΌ ΠΌΠ΅ΡΠ°Π»Π»ΠΎΠΊΠ΅ΡΠ°ΠΌΠΈΡΠ΅ΡΠΊΠΈΠ΅. ΠΠΎΡΠ»Π΅Π΄Π½ΠΈΠ΅ Π»ΡΡΡΠ΅ ΡΠ°Π±ΠΎΡΠ°ΡΡ Π²ΠΎ Π²Π»Π°ΠΆΠ½ΡΡ ΡΡΠ»ΠΎΠ²ΠΈΡΡ , Π½ΠΎ ΠΈΠΌΠ΅ΡΡ Π½Π΅ΠΏΡΠΈΡΡΠ½ΡΡ ΡΠ΅Π½Π΄Π΅Π½ΡΠΈΡ Π²ΠΈΠ·ΠΆΠ°ΡΡ ΠΈ Π½Π΅ ΠΎΠ±Π΅ΡΠΏΠ΅ΡΠΈΠ²Π°ΡΡ ΠΏΠΎΠ»Π½ΡΡ ΠΌΠΎΡΠ½ΠΎΡΡΡ, ΠΏΠΎΠΊΠ° Π½Π΅ΠΌΠ½ΠΎΠ³ΠΎ Π½Π΅ Π½Π°Π³ΡΠ΅ΡΡΡΡ. ΠΡ Π΄Π΅Π»Π°Π΅ΡΠ΅ Π²ΡΠ±ΠΎΡ ΠΈ Π²ΡΠ΅ ΡΠ°ΠΊΠΎΠ΅. ΠΡΠ»ΠΈ ΠΆΠ΅ Π²Π°ΠΌ Π½ΡΠΆΠ½ΠΎ Π±ΠΎΠ»ΡΡΠ΅ ΠΌΠΎΡΠ½ΠΎΡΡΠΈ, Π²ΡΠ±ΠΈΡΠ°ΠΉΡΠ΅ ΡΠΌΠΎΠ»Ρ / ΠΎΡΠ³Π°Π½ΠΈΠΊΡ.
6. Π‘ΠΎΠ²Π΅ΡΡΠ΅Π½ΡΡΠ²ΡΠΉΡΠ΅ ΡΠ²ΠΎΡ ΡΠ΅Ρ Π½ΠΈΠΊΡ ΡΠΎΡΠΌΠΎΠΆΠ΅Π½ΠΈΡ
Π’Π΅ΠΏΠ΅ΡΡ Π²Π°ΠΌ ΡΠ»Π΅Π΄ΡΠ΅Ρ ΠΎΡΡΠΎΡΠΈΡΡ ΡΠ²ΠΎΡ ΡΠ΅Ρ Π½ΠΈΠΊΡ, ΡΠ°ΠΊ ΠΊΠ°ΠΊ ΡΡΠΎ Π»ΡΡΡΠΈΠΉ ΡΠΏΠΎΡΠΎΠ± ΡΠ»ΡΡΡΠΈΡΡ Π²Π°ΡΠ΅ ΡΠΎΡΠΌΠΎΠΆΠ΅Π½ΠΈΠ΅.ΠΡΠΎΡΡΠΈΡΠ΅ ΡΠΎΠ²Π΅ΡΡ Π€Π°Π±ΡΠ΅Π½Π° ΠΠ°ΡΠ΅Π»Ρ ΠΏΠΎ ΡΠΎΡΠΌΠΎΠΆΠ΅Π½ΠΈΡ.
ΠΠ°ΠΊ Π·Π°ΠΌΠ΅Π½ΠΈΡΡ ΠΊΠΎΠ»ΠΎΠ΄ΠΊΠΈ ΠΈ ΡΠΎΡΠΎΡ Π΄ΠΈΡΠΊΠΎΠ²ΠΎΠ³ΠΎ ΡΠΎΡΠΌΠΎΠ·Π°
ΠΠΎΠ³Π΄Π° Π½Π΅ΠΎΠ±Ρ ΠΎΠ΄ΠΈΠΌΠΎ Π·Π°ΠΌΠ΅Π½ΠΈΡΡ ΠΊΠΎΠ»ΠΎΠ΄ΠΊΠΈ ΠΈ ΡΠΎΡΠΎΡ Π΄ΠΈΡΠΊΠΎΠ²ΠΎΠ³ΠΎ ΡΠΎΡΠΌΠΎΠ·Π° — ΠΈ ΠΊΠ°ΠΊ ΡΡΠΎ ΡΠ΄Π΅Π»Π°ΡΡ!
Π’Π΅ΠΏΠ΅ΡΡ, ΠΊΠΎΠ³Π΄Π° Π΄ΠΈΡΠΊΠΎΠ²ΡΠ΅ ΡΠΎΡΠΌΠΎΠ·Π° ΡΡΡΠ°Π½ΠΎΠ²Π»Π΅Π½Ρ Π½Π° Π²ΡΠ΅Ρ Π²Π°ΡΠΈΡ Π²Π΅Π»ΠΎΡΠΈΠΏΠ΅Π΄Π°Ρ — Π΄ΠΎΡΠΎΠΆΠ½ΡΡ ΠΈ Π³ΠΎΡΠ½ΡΡ — ΠΏΡΠΈΡΠ»ΠΎ Π²ΡΠ΅ΠΌΡ ΡΠ·Π½Π°ΡΡ, ΠΊΠ°ΠΊ ΠΎΠΏΡΠ΅Π΄Π΅Π»ΠΈΡΡ, ΠΈΠ·Π½ΠΎΡΠ΅Π½Ρ Π»ΠΈ ΠΊΠΎΠ»ΠΎΠ΄ΠΊΠΈ ΠΈ ΡΠΎΡΠΎΡΡ Π΄ΠΈΡΠΊΠΎΠ²ΡΡ ΡΠΎΡΠΌΠΎΠ·ΠΎΠ², ΠΈ ΠΊΠ°ΠΊ ΠΈΡ Π·Π°ΠΌΠ΅Π½ΠΈΡΡ. ΠΠΎΡΠΌΠΎΡΡΠΈΡΠ΅ Π½Π°ΡΠ΅ Π²ΠΈΠ΄Π΅ΠΎ ΠΈ ΠΏΠΎΠ»ΡΡΠΈΡΠ΅ ΠΏΠΎΠ΄ΡΠΎΠ±Π½ΡΠ΅ ΡΠ²Π΅Π΄Π΅Π½ΠΈΡ ΠΎ ΡΠΎΠΌ, ΠΊΠ°ΠΊ ΡΡΠΎ Π΄Π΅Π»Π°Π΅ΡΡΡ, Π½ΠΈΠΆΠ΅.
Π§ΡΠΎ Π²Π°ΠΌ ΠΏΠΎΠ½Π°Π΄ΠΎΠ±ΠΈΡΡΡ
- ΠΠ·ΠΌΠ΅ΡΠΈΡΠ΅Π»ΡΠ½Π°Ρ Π»Π΅Π½ΡΠ°
- ΠΠ»ΡΡ Torx T25
- Π¨Π΅ΡΡΠΈΠ³ΡΠ°Π½Π½ΡΠΉ ΠΊΠ»ΡΡ Π½Π° 5 ΠΌΠΌ
- ΠΡΠ²Π΅ΡΡΠΊΠ° Ρ ΠΏΠ»ΠΎΡΠΊΠΎΠΉ Π³ΠΎΠ»ΠΎΠ²ΠΊΠΎΠΉ ΠΈΠ»ΠΈ ΡΠ°ΡΡΠΈΡΠΈΡΠ΅Π»Ρ ΠΊΠΎΠ»ΠΎΠ΄ΠΎΠΊ Π΄ΠΈΡΠΊΠΎΠ²ΠΎΠ³ΠΎ ΡΠΎΡΠΌΠΎΠ·Π°
- ΠΠ»ΠΎΡΠΊΠΎΠ³ΡΠ±ΡΡ Π΄Π»Ρ ΠΈΠ³Π»
- ΠΠ½ΡΡΡΡΠΌΠ΅Π½Ρ Π΄Π»Ρ ΠΊΠ°ΡΡΠ΅Ρ (ΡΠΎΡΠΎΡΡ ΡΠΎΡΡΠ΅ΠΉΠ½ΡΡ Π²Π΅Π»ΠΎΡΠΈΠΏΠ΅Π΄ΠΎΠ²)
- ΠΠ·ΠΎΠΏΡΠΎΠΏΠΈΠ»ΠΎΠ²ΡΠΉ ΡΠΏΠΈΡΡ
- ΠΠ±Π΅Π·ΠΆΠΈΡΠΈΠ²Π°ΡΠ΅Π»Ρ
- Π§ΠΈΡΡΠ°Ρ ΡΡΡΠΏΠΊΠ° ΠΈΠ»ΠΈ ΡΠΊΠ°Π½Ρ Π±Π΅Π· Π²ΠΎΡΡΠ°
ΠΠ°ΠΊ ΠΏΡΠΎΠ²Π΅ΡΠΈΡΡ ΠΊΠΎΠ»ΠΎΠ΄ΠΊΠΈ Π΄ΠΈΡΠΊΠΎΠ²ΠΎΠ³ΠΎ ΡΠΎΡΠΌΠΎΠ·Π° Π½Π° ΠΈΠ·Π½ΠΎΡ
Π‘ΠΎ Π²ΡΠ΅ΠΌΠ΅Π½Π΅ΠΌ ΡΠΎΡΠΌΠΎΠ·Π½ΡΠ΅ ΠΊΠΎΠ»ΠΎΠ΄ΠΊΠΈ Π½Π° Π²Π°ΡΠ΅ΠΌ Π²Π΅Π»ΠΎΡΠΈΠΏΠ΅Π΄Π΅ ΠΈΠ·Π½Π°ΡΠΈΠ²Π°ΡΡΡΡ! ΠΠ°ΠΊ ΡΠ°ΡΡΠΎ Π½ΡΠΆΠ½ΠΎ Π±ΡΠ΄Π΅Ρ ΠΌΠ΅Π½ΡΡΡ ΠΊΠΎΠ»ΠΎΠ΄ΠΊΠΈ? ΠΡΠΎ Π±ΡΠ΄Π΅Ρ Π·Π°Π²ΠΈΡΠ΅ΡΡ ΠΎΡ ΡΠΎΠ³ΠΎ, ΠΊΠ°ΠΊ ΡΠ°ΡΡΠΎ Π²Ρ ΠΊΠ°ΡΠ°Π΅ΡΠ΅ΡΡ, Π½Π° ΠΊΠ°ΠΊΠΎΠΉ ΠΌΠ΅ΡΡΠ½ΠΎΡΡΠΈ Π²Ρ Π΅Π·Π΄ΠΈΡΠ΅ ΠΈ Π² ΠΊΠ°ΠΊΠΈΡ ΡΡΠ»ΠΎΠ²ΠΈΡΡ ΠΊΠ°ΡΠ°Π΅ΡΠ΅ΡΡ.ΠΠ·Π΄Π° ΠΏΠΎ ΠΌΠΎΠΊΡΠΎΠΉ / Π³ΡΡΠ·Π½ΠΎΠΉ Π΄ΠΎΡΠΎΠ³Π΅, ΠΏΠΎ ΠΊΡΡΡΡΠΌ Π΄ΠΎΡΠΎΠ³Π°ΠΌ ΠΈΠ»ΠΈ ΡΡΠΎΠΏΠ°ΠΌ ΠΎΠ·Π½Π°ΡΠ°Π΅Ρ, ΡΡΠΎ Π²Π°ΠΌ Π½ΡΠΆΠ½ΠΎ Π±ΡΠ΄Π΅Ρ ΡΠ°ΡΠ΅ ΠΌΠ΅Π½ΡΡΡ ΡΠΎΡΠΌΠΎΠ·Π½ΡΠ΅ ΠΊΠΎΠ»ΠΎΠ΄ΠΊΠΈ. ΠΠ°ΠΌ ΡΠ»Π΅Π΄ΡΠ΅Ρ ΠΏΠ΅ΡΠΈΠΎΠ΄ΠΈΡΠ΅ΡΠΊΠΈ ΠΏΡΠΎΠ²Π΅ΡΡΡΡ ΡΠΎΡΠΌΠΎΠ·Π½ΡΠ΅ ΠΊΠΎΠ»ΠΎΠ΄ΠΊΠΈ Π½Π° ΠΈΠ·Π½ΠΎΡ. ΠΠΎΡ ΠΊΠ°ΠΊ ΡΡΠΎ ΡΠ΄Π΅Π»Π°ΡΡ:
- Π‘Π½ΠΈΠΌΠΈΡΠ΅ ΠΊΠΎΠ»Π΅ΡΠΎ Ρ Π²Π΅Π»ΠΎΡΠΈΠΏΠ΅Π΄Π°. ΠΡΠ΄Π΅Ρ Π»Π΅Π³ΡΠ΅ ΡΠΌΠΎΡΡΠ΅ΡΡ Π½Π° ΡΠΎΡΠΌΠΎΠ·Π½ΡΠ΅ ΠΊΠΎΠ»ΠΎΠ΄ΠΊΠΈ Π±Π΅Π· ΡΠΎΡΠΎΡΠ° ΠΌΠ΅ΠΆΠ΄Ρ Π½ΠΈΠΌΠΈ.
- ΠΠΎΡΠΌΠΎΡΡΠΈΡΠ΅ Π²Π½ΠΈΠ· Π² ΡΡΠΏΠΏΠΎΡΡ, ΡΡΠΎΠ±Ρ ΡΠ²ΠΈΠ΄Π΅ΡΡ, ΡΠΊΠΎΠ»ΡΠΊΠΎ ΠΊΠΎΠ»ΠΎΠ΄ΠΎΠΊ ΠΎΡΡΠ°Π»ΠΎΡΡ Π½Π° ΠΌΠ΅ΡΠ°Π»Π»ΠΈΡΠ΅ΡΠΊΠΎΠΉ ΠΎΡΠ½ΠΎΠ²Π΅. ΠΠ½ΠΎΠ³Π΄Π° Π²Ρ ΠΌΠΎΠΆΠ΅ΡΠ΅ ΡΡΠ°Π·Ρ ΡΠΊΠ°Π·Π°ΡΡ, ΡΡΠΎ Π²Π°ΡΠ° ΠΊΠΎΠ»ΠΎΠ΄ΠΊΠ° ΠΈΠ·Π½ΠΎΡΠ΅Π½Π° ΠΈΠ»ΠΈ Π΅Π΅ Π²ΡΠ΅ Π΅ΡΠ΅ Π΄ΠΎΡΡΠ°ΡΠΎΡΠ½ΠΎ, ΡΡΠΎΠ±Ρ Π²Ρ ΠΌΠΎΠ³Π»ΠΈ ΠΏΡΠΎΠΉΡΠΈ ΡΠ»Π΅Π΄ΡΡΡΠΈΠ΅ Π½Π΅ΡΠΊΠΎΠ»ΡΠΊΠΎ ΠΏΠΎΠ΅Π·Π΄ΠΎΠΊ.ΠΡΠ»ΠΈ Π²Ρ Π½Π΅ ΡΠ²Π΅ΡΠ΅Π½Ρ, ΡΠ½ΠΈΠΌΠΈΡΠ΅ ΡΠΎΡΠΌΠΎΠ·Π½ΡΠ΅ ΠΊΠΎΠ»ΠΎΠ΄ΠΊΠΈ. ΠΠ°ΠΌ Π½ΡΠΆΠ½ΠΎ Π±ΡΠ΄Π΅Ρ ΡΠ΄Π°Π»ΠΈΡΡ ΡΡΠΎΠΏΠΎΡΠ½ΡΠΉ ΡΡΠΈΡΡ, ΡΡΠΎΠ±Ρ Π²ΡΠ½ΡΡΡ ΠΊΠΎΠ»ΠΎΠ΄ΠΊΠΈ ΠΈΠ· ΡΡΠΏΠΏΠΎΡΡΠ°. ΠΠ»Ρ ΠΏΠΎΠ»ΡΡΠ΅Π½ΠΈΡ ΠΎΡΠ½ΠΎΠ²Π½ΠΎΠΉ ΠΈΠ½ΡΠΎΡΠΌΠ°ΡΠΈΠΈ ΠΎ Π΄Π΅ΡΠ°Π»ΡΡ Π΄ΠΈΡΠΊΠΎΠ²ΠΎΠ³ΠΎ ΡΠΎΡΠΌΠΎΠ·Π°, ΠΎ ΡΠΎΠΌ, ΠΊΠ°ΠΊ ΡΠ½ΡΡΡ ΠΊΠΎΠ»ΠΎΠ΄ΠΊΡ Π΄ΠΈΡΠΊΠΎΠ²ΠΎΠ³ΠΎ ΡΠΎΡΠΌΠΎΠ·Π° ΠΈ ΠΊΠ°ΠΊ ΡΠ΄Π°Π»ΠΈΡΡ Π·Π°Π³ΡΡΠ·Π½Π΅Π½ΠΈΡ, ΠΎΠ·Π½Π°ΠΊΠΎΠΌΡΡΠ΅ΡΡ Ρ Π½Π°ΡΠΈΠΌ ΡΡΠΊΠΎΠ²ΠΎΠ΄ΡΡΠ²ΠΎΠΌ ΠΠΠΠ‘Π¬>
- ΠΠ·ΠΌΠ΅ΡΡΡΠ΅ ΠΊΠ°ΠΆΠ΄ΡΡ ΡΠΎΡΠΌΠΎΠ·Π½ΡΡ ΠΊΠΎΠ»ΠΎΠ΄ΠΊΡ. ΠΡΠ»ΠΈ ΡΠΎΠ»ΡΠΈΠ½Π° ΠΌΠ°ΡΠ΅ΡΠΈΠ°Π»Π° ΠΊΠΎΠ»ΠΎΠ΄ΠΎΠΊ ΠΌΠ΅Π½ΡΡΠ΅ 1 ΠΌΠΌ, ΠΈΡ Π½Π΅ΠΎΠ±Ρ ΠΎΠ΄ΠΈΠΌΠΎ Π·Π°ΠΌΠ΅Π½ΠΈΡΡ!
- ΠΡΡΠ³ΠΎΠΉ ΠΏΡΠΈΡΠΈΠ½ΠΎΠΉ Π·Π°ΠΌΠ΅Π½Ρ ΠΊΠΎΠ»ΠΎΠ΄ΠΎΠΊ Π΄ΠΈΡΠΊΠΎΠ²ΠΎΠ³ΠΎ ΡΠΎΡΠΌΠΎΠ·Π° ΡΠ²Π»ΡΠ΅ΡΡΡ Π·Π°Π³ΡΡΠ·Π½Π΅Π½ΠΈΠ΅ ΠΊΠΎΠ»ΠΎΠ΄ΠΎΠΊ ΡΠΎΡΠΌΠΎΠ·Π½ΠΎΠΉ ΠΆΠΈΠ΄ΠΊΠΎΡΡΡΡ, ΠΌΠ°ΡΠ»ΠΎΠΌ ΠΈΠ»ΠΈ ΡΠΌΠ°Π·ΠΊΠΎΠΉ.
ΠΠ°ΠΊ ΠΏΡΠΎΠ²Π΅ΡΠΈΡΡ ΠΈΠ·Π½ΠΎΡ ΡΠΎΡΠΎΡΠΎΠ² Π΄ΠΈΡΠΊΠΎΠ²ΡΡ ΡΠΎΡΠΌΠΎΠ·ΠΎΠ²
Π ΠΎΡΠΎΡΡ ΠΈΠΌΠ΅ΡΡ ΡΠ΅Π½Π΄Π΅Π½ΡΠΈΡ ΡΠ»ΡΠΆΠΈΡΡ Π΄ΠΎΠ»ΡΡΠ΅, ΡΠ΅ΠΌ ΡΠΎΡΠΌΠΎΠ·Π½ΡΠ΅ ΠΊΠΎΠ»ΠΎΠ΄ΠΊΠΈ, Π½ΠΎ ΡΠ΅ΠΌ Π½Π΅ ΠΌΠ΅Π½Π΅Π΅ ΠΈΡ ΡΠ»Π΅Π΄ΡΠ΅Ρ ΠΏΠ΅ΡΠΈΠΎΠ΄ΠΈΡΠ΅ΡΠΊΠΈ ΠΏΡΠΎΠ²Π΅ΡΡΡΡ Π½Π° ΠΏΡΠ΅Π΄ΠΌΠ΅Ρ ΠΈΠ·Π½ΠΎΡΠ°. ΠΠΎΡ ΠΊΠ°ΠΊ ΡΡΠΎ ΡΠ΄Π΅Π»Π°ΡΡ:
- ΠΠ·ΠΌΠ΅ΡΡΡΠ΅ ΡΠΎΠ»ΡΠΈΠ½Ρ Π½Π΅ΠΈΡΠΏΠΎΠ»ΡΠ·ΡΠ΅ΠΌΠΎΠΉ ΡΠ°ΡΡΠΈ ΡΠΎΡΠΎΡΠ° (Π½Π°ΠΏΡΠΈΠΌΠ΅Ρ, ΡΠ΅Π½ΡΡ, ΠΎΠ±Π»Π°ΡΡΡ ΠΊΡΠ΅ΡΡΠΎΠ²ΠΈΠ½Ρ).
- ΠΠ·ΠΌΠ΅ΡΡΡΠ΅ ΡΠΎΠ»ΡΠΈΠ½Ρ ΠΈΡΠΏΠΎΠ»ΡΠ·ΡΠ΅ΠΌΠΎΠΉ ΠΊΡΠΎΠΌΠΊΠΈ ΡΠΎΡΠΎΡΠ°. ΠΡΠ»ΠΈ ΡΠ°Π·Π½ΠΈΡΠ° ΡΠΎΡΡΠ°Π²Π»ΡΠ΅Ρ 0,2 — 0,5 ΠΌΠΌ, ΡΠΎ ΠΏΠΎΡΠ° Π·Π°ΠΌΠ΅Π½ΠΈΡΡ.
- ΠΡ ΡΠ°ΠΊΠΆΠ΅ ΠΌΠΎΠΆΠ΅ΡΠ΅ ΠΏΠΎΡΡΠ²ΡΡΠ²ΠΎΠ²Π°ΡΡ Π·Π½Π°ΡΠΈΡΠ΅Π»ΡΠ½ΡΠΉ ΠΈΠ·Π½ΠΎΡ Π²Π°ΡΠ΅Π³ΠΎ ΡΠΎΡΠΎΡΠ°, Π²ΠΎΡΠΏΠΎΠ»ΡΠ·ΠΎΠ²Π°Π²ΡΠΈΡΡ ΡΠΊΡΠ΅ΠΏΠΊΠΎΠΉ Π΄Π»Ρ Π±ΡΠΌΠ°Π³ ΠΈΠ»ΠΈ ΠΎΡΠΌΡΡΠΊΠΎΠΉ ΠΈ ΠΏΡΠΎΠ²Π΅Π΄Ρ ΠΈΠΌ ΠΎΡ Π½Π΅ΠΈΡΠΏΠΎΠ»ΡΠ·ΡΠ΅ΠΌΠΎΠΉ ΡΠ°ΡΡΠΈ ΡΠΎΡΠΎΡΠ° ΠΊ ΠΈΡΠΏΠΎΠ»ΡΠ·ΠΎΠ²Π°Π½Π½ΠΎΠΉ ΡΠ°ΡΡΠΈ.ΠΡΠ»ΠΈ Π²Ρ ΡΡΠ²ΡΡΠ²ΡΠ΅ΡΠ΅ Π³ΡΠ΅Π±Π΅Π½Ρ ΠΈΠ»ΠΈ ΡΡΡΠΏΠ΅Π½ΡΠΊΡ Π½Π° ΠΏΠΎΠ²Π΅ΡΡ Π½ΠΎΡΡΠΈ, Π²Π΅ΡΠΎΡΡΠ½ΠΎ, Π²Π°ΠΌ Π½Π΅ΠΎΠ±Ρ ΠΎΠ΄ΠΈΠΌΠΎ Π·Π°ΠΌΠ΅Π½ΠΈΡΡ ΡΠΎΡΠΎΡ.
- ΠΡΡΠ³ΠΈΠ΅ ΠΏΡΠΈΡΠΈΠ½Ρ, ΠΏΠΎ ΠΊΠΎΡΠΎΡΡΠΌ Π²Π°ΠΌ ΠΌΠΎΠΆΠ΅Ρ ΠΏΠΎΡΡΠ΅Π±ΠΎΠ²Π°ΡΡΡΡ Π·Π°ΠΌΠ΅Π½Π° ΡΠΎΡΠΎΡΠ°, Π²ΠΊΠ»ΡΡΠ°ΡΡ: ΠΏΠΎΠ²ΡΠ΅ΠΆΠ΄Π΅Π½Π½ΡΠΉ ΠΈΠ»ΠΈ ΡΠΈΠ»ΡΠ½ΠΎ ΠΈΠ·ΠΎΠ³Π½ΡΡΡΠΉ ΡΠΎΡΠΎΡ, ΡΠΎΡΠΎΡ ΠΌΠΎΠ΄Π΅ΡΠ½ΠΈΠ·ΠΈΡΠΎΠ²Π°Π½Π½ΠΎΠ³ΠΎ / Π½ΠΎΠ²ΠΎΠ³ΠΎ ΡΠ°Π·ΠΌΠ΅ΡΠ°.
ΠΠ°ΠΊ Π·Π°ΠΌΠ΅Π½ΠΈΡΡ ΠΊΠΎΠ»ΠΎΠ΄ΠΊΠΈ Π΄ΠΈΡΠΊΠΎΠ²ΠΎΠ³ΠΎ ΡΠΎΡΠΌΠΎΠ·Π°
ΠΡΠΈ Π·Π°ΠΌΠ΅Π½Π΅ ΠΊΠΎΠ»ΠΎΠ΄ΠΎΠΊ Π΄ΠΈΡΠΊΠΎΠ²ΠΎΠ³ΠΎ ΡΠΎΡΠΌΠΎΠ·Π° Π² ΠΏΠ΅ΡΠ²ΡΡ ΠΎΡΠ΅ΡΠ΅Π΄Ρ ΡΠ»Π΅Π΄ΡΠ΅Ρ ΡΡΠΈΡΡΠ²Π°ΡΡ, ΠΊΠ°ΠΊΠΎΠΉ ΡΠΈΠΏ ΠΊΠΎΠ»ΠΎΠ΄ΠΎΠΊ Π²Ρ ΠΈΡΠΏΠΎΠ»ΡΠ·ΡΠ΅ΡΠ΅. ΠΡΠ΅Π³Π΄Π° Π·Π°ΠΌΠ΅Π½ΡΠΉΡΠ΅ ΠΊΠΎΠ»ΠΎΠ΄ΠΊΠΈ ΠΎΠ΄Π½ΠΈΠΌ ΠΈ ΡΠ΅ΠΌ ΠΆΠ΅ Π’ΠΠΠΠ ΠΌΠ°ΡΠ΅ΡΠΈΠ°Π»Π° ΠΊΠΎΠ»ΠΎΠ΄ΠΎΠΊ, Π΅ΡΠ»ΠΈ ΡΠΎΠ»ΡΠΊΠΎ Π²Ρ Π½Π΅ ΠΏΠ»Π°Π½ΠΈΡΡΠ΅ΡΠ΅ Π·Π°ΠΌΠ΅Π½ΡΡΡ ΠΈ ΠΊΠΎΠ»ΠΎΠ΄ΠΊΡ, ΠΈ ΡΠΎΡΠΎΡ.ΠΠΎΠ΄ΡΡΠ΅ΡΠΊΠΈ ΠΌΠΎΠ³ΡΡ Π±ΡΡΡ ΠΠ ΠΠΠΠΠ§ΠΠ‘ΠΠΠΠ (ΡΠΌΠΎΠ»Π°) ΠΈΠ»ΠΈ ΠΠΠ’ΠΠΠΠΠ§ΠΠ‘ΠΠΠΠ (ΡΠΏΠ΅ΡΠ΅Π½Π½ΡΠΌΠΈ). ΠΠ΅ΡΠ°Π»Π»ΠΈΡΠ΅ΡΠΊΠΈΠ΅ ΠΊΠΎΠ»ΠΎΠ΄ΠΊΠΈ ΡΠ»ΡΠΆΠ°Ρ Π΄ΠΎΠ»ΡΡΠ΅ ΠΈ ΡΠ²Π»ΡΡΡΡΡ Ρ ΠΎΡΠΎΡΠΈΠΌ Π²ΡΠ±ΠΎΡΠΎΠΌ, Π΅ΡΠ»ΠΈ Π²Ρ Π΅Π΄Π΅ΡΠ΅ ΠΏΠΎ ΠΊΡΡΡΡΠΌ Π΄ΠΎΡΠΎΠ³Π°ΠΌ ΠΈΠ»ΠΈ ΡΡΠΎΠΏΠ°ΠΌ Π² Π½Π΅Π±Π»Π°Π³ΠΎΠΏΡΠΈΡΡΠ½ΡΡ ΡΡΠ»ΠΎΠ²ΠΈΡΡ . ΠΠΎΠ΄ΡΡΠ΅ΡΠΊΠΈ Organic ΠΎΡΠ΅Π½Ρ ΠΎΡΠ·ΡΠ²ΡΠΈΠ²Ρ, Π½ΠΎ ΠΌΠ΅Π½ΡΡΡ ΠΈΡ Π½ΡΠΆΠ½ΠΎ Π±ΡΠ΄Π΅Ρ ΡΠ°ΡΠ΅. ΠΡΠ»ΠΈ Π²Ρ ΠΆΠΈΠ²Π΅ΡΠ΅ Π² Π±ΠΎΠ»Π΅Π΅ ΠΏΠ»ΠΎΡΠΊΠΎΠΉ ΠΌΠ΅ΡΡΠ½ΠΎΡΡΠΈ ΠΈ Π΅Π·Π΄ΠΈΡΠ΅ Π² ΠΎΡΠ½ΠΎΠ²Π½ΠΎΠΌ Π² ΡΡΡ ΠΈΡ ΡΡΠ»ΠΎΠ²ΠΈΡΡ , ΠΎΡΠ³Π°Π½ΠΈΡΠ΅ΡΠΊΠΈΠ΅ ΠΊΠΎΠ»ΠΎΠ΄ΠΊΠΈ ΠΌΠΎΠ³ΡΡ Π±ΡΡΡ Ρ ΠΎΡΠΎΡΠΈΠΌ Π²ΡΠ±ΠΎΡΠΎΠΌ. ΠΡΠΎΠΌΠ΅ ΡΠΎΠ³ΠΎ, ΡΠ±Π΅Π΄ΠΈΡΠ΅ΡΡ, ΡΡΠΎ Π²Ρ ΠΏΡΠΈΠΎΠ±ΡΠ΅Π»ΠΈ ΠΊΠΎΠ»ΠΎΠ΄ΠΊΠΈ, ΡΠΎΠ²ΠΌΠ΅ΡΡΠΈΠΌΡΠ΅ Ρ Π²Π°ΡΠΈΠΌ ΡΡΠΏΠΏΠΎΡΡΠΎΠΌ. ΠΠ°ΡΠΊΠ° ΠΈ ΠΌΠΎΠ΄Π΅Π»Ρ Π²Π°ΡΠΈΡ ΡΠΎΡΠΌΠΎΠ·ΠΎΠ² Π΄ΠΎΠ»ΠΆΠ½Ρ Π±ΡΡΡ ΡΠΊΠ°Π·Π°Π½Ρ Π½Π° ΡΠΏΠ°ΠΊΠΎΠ²ΠΊΠ΅ ΡΠΌΠ΅Π½Π½ΡΡ ΠΊΠΎΠ»ΠΎΠ΄ΠΎΠΊ.ΠΠΎΡ ΠΊΠ°ΠΊ Π·Π°ΠΌΠ΅Π½ΠΈΡΡ ΡΡΠΈ ΠΊΠΎΠ»ΠΎΠ΄ΠΊΠΈ:
- Π‘ ΠΏΠΎΠΌΠΎΡΡΡ ΡΠ°ΡΡΠΈΡΠΈΡΠ΅Π»Ρ ΠΊΠΎΠ»ΠΎΠ΄ΠΎΠΊ ΠΈΠ»ΠΈ ΠΎΡΠ²Π΅ΡΡΠΊΠΈ Ρ ΠΏΠ»ΠΎΡΠΊΠΈΠΌ ΠΆΠ°Π»ΠΎΠΌ Π²ΡΡΠ°Π²ΡΡΠ΅ ΠΏΠΎΡΡΠ½ΠΈ ΠΎΠ±ΡΠ°ΡΠ½ΠΎ Π² ΡΡΠΏΠΏΠΎΡΡ. ΠΡΠΎ ΡΠΏΡΠΎΡΡΠΈΡ ΡΡΡΠ°Π½ΠΎΠ²ΠΊΡ Π½ΠΎΠ²ΡΡ ΠΊΠΎΠ»ΠΎΠ΄ΠΎΠΊ ΠΈ ΠΏΡΠ΅Π΄ΠΎΡΠ²ΡΠ°ΡΠΈΡ ΠΈΡ ΠΈΡΡΠΈΡΠ°Π½ΠΈΠ΅ ΡΠΎΡΠΎΡΠ°.
- Π‘Π½ΠΈΠΌΠΈΡΠ΅ ΡΡΠ°ΡΡΠ΅ ΠΊΠΎΠ»ΠΎΠ΄ΠΊΠΈ. ΠΠ°ΠΌ ΠΌΠΎΠΆΠ΅Ρ ΠΏΠΎΠ½Π°Π΄ΠΎΠ±ΠΈΡΡΡΡ ΠΎΡΠ²Π΅ΡΡΠΊΠ° ΠΈΠ»ΠΈ ΡΠ΅ΡΡΠΈΠ³ΡΠ°Π½Π½ΡΠΉ ΠΊΠ»ΡΡ, ΡΡΠΎΠ±Ρ ΡΠ΄Π°Π»ΠΈΡΡ ΡΡΠΈΡΡ, ΡΠ΄Π΅ΡΠΆΠΈΠ²Π°ΡΡΠΈΠΉ ΠΊΠΎΠ»ΠΎΠ΄ΠΊΠΈ Π½Π° ΠΌΠ΅ΡΡΠ΅.
- ΠΠΎΡΠ»Π΅ ΡΠ½ΡΡΠΈΡ ΠΊΠΎΠ»ΠΎΠ΄ΠΎΠΊ ΠΎΡΠΈΡΡΠΈΡΠ΅ Π²Π½ΡΡΡΠ΅Π½Π½ΡΡ ΡΠ°ΡΡΡ ΡΡΠΏΠΏΠΎΡΡΠ° / ΠΏΠΎΡΡΠ½Π΅ΠΉ ΠΎΠ±Π΅Π·ΠΆΠΈΡΠΈΠ²Π°ΡΠ΅Π»Π΅ΠΌ. ΠΡΠΎ Π³Π°ΡΠ°Π½ΡΠΈΡΡΠ΅Ρ, ΡΡΠΎ Π²Π°ΡΠΈ ΠΏΠΎΡΡΠ½ΠΈ Π±ΡΠ΄ΡΡ Π΄Π²ΠΈΠ³Π°ΡΡΡΡ ΠΏΡΠ°Π²ΠΈΠ»ΡΠ½ΠΎ ΠΈ Π½Π΅ Π·Π°ΡΡΡΡΡΡ Π½Π° ΠΌΠ΅ΡΡΠ΅.ΠΠ°ΡΠΈΡΡΠΎ ΠΏΡΠΎΡΡΠΈΡΠ΅ ΡΡΠΏΠΏΠΎΡΡ. ΠΠ΅ ΠΎΡΡΠ°Π²Π»ΡΠΉΡΠ΅ Π»ΠΈΡΠ½ΠΈΠΉ ΠΎΠ±Π΅Π·ΠΆΠΈΡΠΈΠ²Π°ΡΠ΅Π»Ρ Π²Π½ΡΡΡΠΈ ΡΡΠΏΠΏΠΎΡΡΠ°, ΡΠ°ΠΊ ΠΊΠ°ΠΊ ΠΎΠ½ ΠΌΠΎΠΆΠ΅Ρ Π·Π°Π³ΡΡΠ·Π½ΠΈΡΡ Π½ΠΎΠ²ΡΠ΅ ΠΊΠΎΠ»ΠΎΠ΄ΠΊΠΈ.
- ΠΠΎΠΌΠ΅ΡΡΠΈΡΠ΅ Π½ΠΎΠ²ΡΠ΅ ΠΊΠΎΠ»ΠΎΠ΄ΠΊΠΈ Π² ΡΡΠΏΠΏΠΎΡΡ, ΡΠ»Π΅Π΄Ρ Π·Π° ΡΠ΅ΠΌ, ΡΡΠΎΠ±Ρ Π½Π΅ ΠΊΠ°ΡΠ°ΡΡΡΡ ΠΈΡ ΠΏΠ°Π»ΡΡΠ°ΠΌΠΈ. ΠΠ°ΡΠ»Π° Π½Π° ΠΏΠ°Π»ΡΡΠ°Ρ ΡΠ°ΠΊΠΆΠ΅ ΠΌΠΎΠ³ΡΡ Π·Π°Π³ΡΡΠ·Π½ΠΈΡΡ Π½ΠΎΠ²ΡΠ΅ ΡΠΎΡΠΌΠΎΠ·Π½ΡΠ΅ ΠΊΠΎΠ»ΠΎΠ΄ΠΊΠΈ.
- ΠΠ°ΠΊΡΠ΅ΠΏΠΈΡΠ΅ Π½ΠΎΠ²ΡΠ΅ ΠΊΠΎΠ»ΠΎΠ΄ΠΊΠΈ Π±ΠΎΠ»ΡΠΎΠΌ / ΡΡΠΈΡΡΠΎΠΌ, Π²Ρ ΠΎΠ΄ΡΡΠΈΠΌ Π² ΠΊΠΎΠΌΠΏΠ»Π΅ΠΊΡ.
ΠΠ°ΠΊ Π·Π°ΠΌΠ΅Π½ΠΈΡΡ ΡΠΎΡΠΎΡ Π΄ΠΈΡΠΊΠΎΠ²ΠΎΠ³ΠΎ ΡΠΎΡΠΌΠΎΠ·Π°
ΠΠΎ-ΠΏΠ΅ΡΠ²ΡΡ , ΡΠ±Π΅Π΄ΠΈΡΠ΅ΡΡ, ΡΡΠΎ Ρ Π²Π°Ρ Π΅ΡΡΡ ΠΏΠΎΠ΄Ρ ΠΎΠ΄ΡΡΠΈΠΉ ΡΠΌΠ΅Π½Π½ΡΠΉ ΡΠΎΡΠΎΡ ΠΈ ΠΈΠ½ΡΡΡΡΠΌΠ΅Π½ΡΡ Π΄Π»Ρ ΡΠ°Π±ΠΎΡΡ.ΠΡΡΡ Π΄Π²Π° ΡΠ°Π·Π½ΡΡ ΡΠΈΠΏΠ° ΡΠΎΡΠΎΡΠΎΠ²: 6-ΠΠΠΠ’ΠΠΠ«Π ΠΈ Π¦ΠΠΠ’Π ΠΠΠ¬ΠΠ«Π ΠΠΠΠΠ . ΠΠΎΠ»ΡΡΠΈΠ½ΡΡΠ²ΠΎ Π½ΠΎΠ²ΡΡ Π³ΠΎΡΠ½ΡΡ Π²Π΅Π»ΠΎΡΠΈΠΏΠ΅Π΄ΠΎΠ² Π±ΡΠ΄ΡΡ ΠΏΠΎΡΡΠ°Π²Π»ΡΡΡΡΡ Ρ ΡΠΎΡΠΎΡΠ°ΠΌΠΈ Ρ 6 Π±ΠΎΠ»ΡΠ°ΠΌΠΈ, Π° ΡΠΎΡΡΠ΅ΠΉΠ½ΡΠ΅ Π²Π΅Π»ΠΎΡΠΈΠΏΠ΅Π΄Ρ, ΠΊΠ°ΠΊ ΠΏΡΠ°Π²ΠΈΠ»ΠΎ, ΠΈΠΌΠ΅ΡΡ ΡΠΎΡΠΎΡ Ρ ΡΠ΅Π½ΡΡΠ°Π»ΡΠ½ΡΠΌ Π·Π°ΠΌΠΊΠΎΠΌ. ΠΠΎΡ ΠΊΠ°ΠΊ Π·Π°ΠΌΠ΅Π½ΠΈΡΡ ΡΠΎΡΠΎΡ:
- Π‘Π½ΠΈΠΌΠΈΡΠ΅ ΡΡΠ°ΡΡΠΉ ΡΠΎΡΠΎΡ. ΠΡΠΏΠΎΠ»ΡΠ·ΡΠΉΡΠ΅ ΠΊΠ°ΡΡΠ΅ΡΠ½ΡΠΉ ΠΈΠ½ΡΡΡΡΠΌΠ΅Π½Ρ Π΄Π»Ρ ΡΠ΅Π½ΡΡΠ°Π»ΡΠ½ΠΎΠ³ΠΎ Π·Π°ΠΌΠΊΠ° ΠΈ ΠΊΠ»ΡΡ Torx T-25 Π΄Π»Ρ Π±ΠΎΠ»ΡΡΠΈΠ½ΡΡΠ²Π° ΡΠΎΡΠΎΡΠΎΠ² Π³ΠΎΡΠ½ΡΡ Π²Π΅Π»ΠΎΡΠΈΠΏΠ΅Π΄ΠΎΠ² Ρ 6 Π±ΠΎΠ»ΡΠ°ΠΌΠΈ. ΠΠ°Ρ Π½ΠΎΠ²ΡΠΉ ΡΠΎΡΠΎΡ, ΡΠΊΠΎΡΠ΅Π΅ Π²ΡΠ΅Π³ΠΎ, Π±ΡΠ΄Π΅Ρ ΠΏΠΎΡΡΠ°Π²Π»ΡΡΡΡΡ Ρ Π½ΠΎΠ²ΡΠΌΠΈ Π±ΠΎΠ»ΡΠ°ΠΌΠΈ, Π½ΠΎ ΠΎΡΡΠ°Π²ΡΡΠ΅ ΡΡΠ°ΡΡΠ΅ Π±ΠΎΠ»ΡΡ Π½Π° Π²ΡΡΠΊΠΈΠΉ ΡΠ»ΡΡΠ°ΠΉ.
- ΠΠΎΠΊΠ° ΡΠΎΡΠΎΡ ΡΠ½ΡΡ, Π²ΠΎΡΠΏΠΎΠ»ΡΠ·ΡΠΉΡΠ΅ΡΡ Π²ΠΎΠ·ΠΌΠΎΠΆΠ½ΠΎΡΡΡΡ ΠΎΡΠΈΡΡΠΈΡΡ ΡΡΡΠ΄Π½ΠΎΠ΄ΠΎΡΡΡΠΏΠ½ΡΠ΅ ΡΡΠ°ΡΡΠΊΠΈ ΡΡΡΠΏΠΈΡΡ.
- ΠΠΎΠ·ΡΠΌΠΈΡΠ΅ Π½ΠΎΠ²ΡΠΉ ΡΠΎΡΠΎΡ. ΠΠ΅ΡΠ΅Π΄ Π·Π°ΡΡΠΆΠΊΠΎΠΉ ΡΠ±Π΅Π΄ΠΈΡΠ΅ΡΡ, ΡΡΠΎ ΡΡΡΠ΅Π»ΠΊΠ° ΡΠΊΠ°Π·ΡΠ²Π°Π΅Ρ Π² Π½Π°ΠΏΡΠ°Π²Π»Π΅Π½ΠΈΠΈ Π²ΡΠ°ΡΠ΅Π½ΠΈΡ ΠΊΠΎΠ»Π΅ΡΠ°.
- ΠΡΠΈ Π·Π°ΡΡΠΆΠΊΠ΅ Π±ΠΎΠ»ΡΠΎΠ² Π½Π° ΡΠΎΡΠΎΡΠ΅ Ρ 6 Π±ΠΎΠ»ΡΠ°ΠΌΠΈ Π·Π°ΡΡΠ³ΠΈΠ²Π°ΠΉΡΠ΅ ΠΈΡ Π² Π·Π²Π΅Π·Π΄ΠΎΠΎΠ±ΡΠ°Π·Π½ΠΎΠΌ ΠΏΠΎΡΡΠ΄ΠΊΠ΅.
- ΠΡΠΈ Π·Π°ΠΌΠ΅Π½Π΅ ΡΠΎΡΠΎΡΠ° Ρ ΡΠ΅Π½ΡΡΠ°Π»ΡΠ½ΡΠΌ ΡΠΈΠΊΡΠ°ΡΠΎΡΠΎΠΌ ΡΡΡΠ°Π½ΠΎΠ²ΠΈΡΠ΅ Π½Π° ΠΌΠ΅ΡΡΠΎ ΡΠΎΡΡΠ΅Π²ΡΡ ΠΊΡΡΡΠΊΡ ΠΈ ΡΠ΄Π΅Π»Π°ΠΉΡΠ΅ ΠΏΠ΅ΡΠ²ΡΠ΅ Π½Π΅ΡΠΊΠΎΠ»ΡΠΊΠΎ ΠΎΠ±ΠΎΡΠΎΡΠΎΠ² Π²ΡΡΡΠ½ΡΡ, ΡΡΠΎΠ±Ρ ΡΠ±Π΅Π΄ΠΈΡΡΡΡ, ΡΡΠΎ ΠΊΡΡΡΠΊΠ° ΠΏΡΠ°Π²ΠΈΠ»ΡΠ½ΠΎ Π½Π°Π²ΠΈΠ½ΡΠ΅Π½Π°. ΠΠ°ΡΠ΅ΠΌ ΠΈΡΠΏΠΎΠ»ΡΠ·ΡΠΉΡΠ΅ ΠΊΠ°ΡΡΠ΅ΡΠ½ΡΠΉ ΠΈΠ½ΡΡΡΡΠΌΠ΅Π½Ρ Π΄Π»Ρ Π·Π°ΡΡΠΆΠΊΠΈ.
- ΠΡΠ΅Π³Π΄Π° ΠΏΡΠΎΠ²Π΅ΡΡΠΉΡΠ΅, ΡΡΠΎ Π²Ρ Π·Π°ΡΡΠ³ΠΈΠ²Π°Π΅ΡΠ΅ Π±ΠΎΠ»ΡΡ Ρ ΠΊΡΡΡΡΡΠΈΠΌ ΠΌΠΎΠΌΠ΅Π½ΡΠΎΠΌ, ΡΠΊΠ°Π·Π°Π½Π½ΡΠΌ ΠΏΡΠΎΠΈΠ·Π²ΠΎΠ΄ΠΈΡΠ΅Π»Π΅ΠΌ.
- ΠΠΈΠΊΠΎΠ³Π΄Π° Π½Π΅ ΠΈΡΠΏΠΎΠ»ΡΠ·ΡΠΉΡΠ΅ ΠΊΠΎΠ½ΡΠΈΡΡΠ΅Π½ΡΠ½ΡΡ ΡΠΌΠ°Π·ΠΊΡ ΠΈΠ»ΠΈ ΡΠΌΠ°Π·ΠΊΡ Π΄Π»Ρ Π±ΠΎΠ»ΡΠΎΠ² ΡΠΎΡΠΌΠΎΠ·Π½ΠΎΠ³ΠΎ ΡΠΎΡΠΎΡΠ°.Π’Π΅ΠΏΠ»ΠΎ, Π²ΠΎΠ·Π½ΠΈΠΊΠ°ΡΡΠ΅Π΅ ΠΏΡΠΈ ΡΠΈΠ»ΡΠ½ΠΎΠΌ ΡΠΎΡΠΌΠΎΠΆΠ΅Π½ΠΈΠΈ, ΠΌΠΎΠΆΠ΅Ρ Π²ΡΠ·Π²Π°ΡΡ Π²ΡΡΠ΅ΠΊΠ°Π½ΠΈΠ΅ ΡΠΌΠ°Π·ΠΊΠΈ ΠΈ Π·Π°Π³ΡΡΠ·Π½Π΅Π½ΠΈΠ΅ ΡΠΎΡΠΎΡΠ° ΠΈ ΠΊΠΎΠ»ΠΎΠ΄ΠΎΠΊ.
- Π Π΅Π·ΡΠ±Π° ΡΠΎΡΡΠ΅Π²ΠΎΠΉ ΠΊΡΡΡΠΊΠΈ ΡΠΎΡΠΎΡΠ° Ρ ΡΠ΅Π½ΡΡΠ°Π»ΡΠ½ΡΠΌ ΡΠΈΠΊΡΠ°ΡΠΎΡΠΎΠΌ ΠΈ Π±ΠΎΠ»ΡΡ ΡΠΎΡΠΎΡΠ° Ρ 6 Π±ΠΎΠ»ΡΠ°ΠΌΠΈ Π΄ΠΎΠ»ΠΆΠ½Ρ ΠΏΠΎΡΡΠ°Π²Π»ΡΡΡΡΡ Ρ ΠΏΡΠ΅Π΄Π²Π°ΡΠΈΡΠ΅Π»ΡΠ½ΠΎ ΡΡΡΠ°Π½ΠΎΠ²Π»Π΅Π½Π½ΡΠΌ ΡΠΈΠΊΡΠ°ΡΠΎΡΠΎΠΌ ΡΠ΅Π·ΡΠ±Ρ. ΠΡΠ»ΠΈ Π΅Π³ΠΎ Π½Π΅Ρ, Π½Π°Π½Π΅ΡΠΈΡΠ΅ ΠΎΠ΄Π½Ρ ΠΊΠ°ΠΏΠ»Ρ ΡΠΈΠΊΡΠ°ΡΠΎΡΠ° ΡΠ΅Π·ΡΠ±Ρ Π½Π° ΠΊΠ°ΠΆΠ΄ΠΎΠ΅ ΠΎΡΠ²Π΅ΡΡΡΠΈΠ΅ ΠΏΠΎΠ΄ Π±ΠΎΠ»Ρ ΠΈ Π²ΡΡΡΠΈΡΠ΅ ΠΈΠ·Π»ΠΈΡΠΊΠΈ.
- ΠΠ΅ΡΠ΅Π΄ Π·Π°ΠΌΠ΅Π½ΠΎΠΉ ΠΊΠΎΠ»Π΅ΡΠ° Π²ΡΠ΅Π³Π΄Π° ΡΠ΅ΠΊΠΎΠΌΠ΅Π½Π΄ΡΠ΅ΡΡΡ ΠΈΡΠΏΠΎΠ»ΡΠ·ΠΎΠ²Π°ΡΡ ΠΈΠ·ΠΎΠΏΡΠΎΠΏΠΈΠ»ΠΎΠ²ΡΠΉ ΡΠΏΠΈΡΡ Π΄Π»Ρ ΡΠ΄Π°Π»Π΅Π½ΠΈΡ Π»ΡΠ±ΡΡ Π·Π°Π³ΡΡΠ·Π½Π΅Π½ΠΈΠΉ Ρ Π½ΠΎΠ²ΠΎΠ³ΠΎ ΡΠΎΡΠΎΡΠ°.
- ΠΠ°ΠΌΠ΅Π½ΠΈΡΠ΅ ΠΊΠΎΠ»Π΅ΡΠΎ ΠΈ ΡΠ±Π΅Π΄ΠΈΡΠ΅ΡΡ, ΡΡΠΎ ΡΡΠΏΠΏΠΎΡΡ ΠΏΡΠ°Π²ΠΈΠ»ΡΠ½ΠΎ Π²ΡΡΠΎΠ²Π½Π΅Π½ (ΠΎΡΡΡΡΡΡΠ²ΠΈΠ΅ ΡΡΠ΅Π½ΠΈΡ ΡΠΎΡΠΌΠΎΠ·ΠΎΠ²).ΠΡΠ»ΠΈ Π΅ΡΡΡ ΡΡΠΌ ΡΠΎΡΠΌΠΎΠ·ΠΎΠ², Π²ΠΎΡΠΏΠΎΠ»ΡΠ·ΡΠΉΡΠ΅ΡΡ Π½Π°ΡΠΈΠΌ ΡΡΠΊΠΎΠ²ΠΎΠ΄ΡΡΠ²ΠΎΠΌ ΠΏΠΎ ΡΡΡΡΠ°Π½Π΅Π½ΠΈΡ ΡΠΊΡΠΈΠΏΡΡΠΈΡ Π΄ΠΈΡΠΊΠΎΠ²ΡΡ ΡΠΎΡΠΌΠΎΠ·ΠΎΠ², ΡΡΠΎΠ±Ρ Π²ΡΡΠΎΠ²Π½ΡΡΡ ΡΡΠΏΠΏΠΎΡΡ!
ΠΠ°ΠΊ ΡΡΡΠ°Π½ΠΎΠ²ΠΈΡΡ Π΄ΠΈΡΠΊΠΎΠ²ΡΠ΅ ΡΠΎΡΠΌΠΎΠ·Π°
ΠΡΠ΅ ΠΊΠΎΠ»ΠΎΠ΄ΠΊΠΈ ΠΈ ΡΠΎΡΠΎΡΡ Π΄ΠΈΡΠΊΠΎΠ²ΡΡ ΡΠΎΡΠΌΠΎΠ·ΠΎΠ² Π΄ΠΎΠ»ΠΆΠ½Ρ Π±ΡΡΡ Β«ΠΏΡΠΈΡΠ΅ΡΡΡΒ» ΠΈΠ»ΠΈ ΠΏΡΠ΅Π΄Π²Π°ΡΠΈΡΠ΅Π»ΡΠ½ΠΎ ΠΈΠ·Π½ΠΎΡΠ΅Π½Ρ ΠΏΠ΅ΡΠ΅Π΄ ΠΏΠ΅ΡΠ²ΠΎΠΉ ΠΏΠΎΠ΅Π·Π΄ΠΊΠΎΠΉ. ΠΡΠΎ ΠΏΡΠ΅Π΄ΠΎΡΠ²ΡΠ°ΡΠ°Π΅Ρ ΡΡΠ΅Π·ΠΌΠ΅ΡΠ½ΡΠΉ ΡΡΠΌ ΠΈ Π³Π°ΡΠ°Π½ΡΠΈΡΡΠ΅Ρ ΡΠ°Π²Π½ΠΎΠΌΠ΅ΡΠ½ΠΎΠ΅ ΠΈ ΠΏΡΠ΅Π΄ΡΠΊΠ°Π·ΡΠ΅ΠΌΠΎΠ΅ ΡΠΎΡΠΌΠΎΠΆΠ΅Π½ΠΈΠ΅. ΠΠΎ ΡΡΡΠΈ, Π²Π°ΡΠ° ΡΠ΅Π»Ρ — Π½Π°Π³ΡΠ΅ΡΡ ΠΊΠΎΠ»ΠΎΠ΄ΠΊΠΈ ΠΈ ΡΠΎΡΠΎΡΡ, Π½Π°Π½Π΅ΡΡ ΡΠΎΠ²Π½ΡΠΉ ΡΠ»ΠΎΠΉ ΠΌΠ°ΡΠ΅ΡΠΈΠ°Π»Π° ΠΊΠΎΠ»ΠΎΠ΄ΠΎΠΊ Π½Π° ΡΠΎΡΠΎΡ (ΠΈΠ»ΠΈ ΡΠΎΡΠΌΠΎΠ·Π½ΡΡ ΠΏΠΎΠ²Π΅ΡΡ Π½ΠΎΡΡΡ). ΠΠΎΡ ΠΊΠ°ΠΊ ΡΡΠΎ ΡΠ΄Π΅Π»Π°ΡΡ:
- ΠΠ°ΠΉΠ΄ΠΈΡΠ΅ ΡΠ²ΠΎΠ±ΠΎΠ΄Π½ΡΡ ΠΏΠ°ΡΠΊΠΎΠ²ΠΊΡ ΠΈΠ»ΠΈ ΡΠΈΡ ΡΡ ΡΠ»ΠΈΡΡ, Π³Π΄Π΅ ΠΌΠΎΠΆΠ½ΠΎ Π±Π΅Π·ΠΎΠΏΠ°ΡΠ½ΠΎ Π΅Π·Π΄ΠΈΡΡ.
- Π‘ΠΈΠ΄Ρ Π½Π° Π²Π΅Π»ΠΎΡΠΈΠΏΠ΅Π΄Π΅, ΡΠ²Π΅Π»ΠΈΡΡΡΠ΅ ΡΠΊΠΎΡΠΎΡΡΡ Π΄ΠΎ ΡΠΌΠ΅ΡΠ΅Π½Π½ΠΎΠΉ.
- Π‘ΠΈΠ»ΡΠ½ΠΎ ΠΈ ΡΠ°Π²Π½ΠΎΠΌΠ΅ΡΠ½ΠΎ Π·Π°ΡΡΠ½ΠΈΡΠ΅ ΠΎΠ±Π° ΡΠΎΡΠΌΠΎΠ·Π°, Π½ΠΎ ΠΠ ΠΎΡΡΠ°Π½Π°Π²Π»ΠΈΠ²Π°ΠΉΡΠ΅ΡΡ ΠΏΠΎΠ»Π½ΠΎΡΡΡΡ. ΠΠΎΡΡΠ΅ΠΏΠ΅Π½Π½ΠΎ ΠΎΡΠΏΡΡΠΊΠ°ΠΉΡΠ΅ ΡΠΎΡΠΌΠΎΠ·Π°.
- ΠΠΎΠ²ΡΠΎΡΠΈΡΠ΅ ΡΡΠΎΡ ΠΏΡΠΎΡΠ΅ΡΡ 15-30 ΡΠ°Π·, ΠΏΠΎΠΊΠ° Π½Π΅ ΠΏΠΎΡΡΠ²ΡΡΠ²ΡΠ΅ΡΠ΅, ΡΡΠΎ ΡΠΎΡΠΌΠΎΠ·Π° ΠΊΡΡΠ°ΡΡΡΡ Ρ Π±ΠΎΠ»ΡΡΠ΅ΠΉ ΠΌΠΎΡΠ½ΠΎΡΡΡΡ.
- ΠΠ°ΠΉΡΠ΅ ΡΠΎΡΠΌΠΎΠ·Π°ΠΌ ΠΎΡΡΡΡΡ ΠΏΠ΅ΡΠ΅Π΄ ΠΏΠ΅ΡΠ²ΠΎΠΉ ΠΏΠΎΠ΅Π·Π΄ΠΊΠΎΠΉ.
ΠΠ΅ΡΠΊΠΎΠ½Π΅ΡΠ½ΡΠΉ FAQ ΠΏΠΎ Π΄ΠΎΡΠΎΠΆΠ½ΡΠΌ Π΄ΠΈΡΠΊΠΎΠ²ΡΠΌ ΡΠΎΡΠΌΠΎΠ·Π°ΠΌ
ΠΡΠ°Π²ΠΈΡΡΡ Π²Π°ΠΌ ΡΡΠΎ ΠΈΠ»ΠΈ Π½Π΅Ρ, Π΄ΠΈΡΠΊΠΎΠ²ΡΠ΅ ΡΠΎΡΠΌΠΎΠ·Π° Π½Π° Π²Π΅Π»ΠΎΡΠΈΠΏΠ΅Π΄Π°Ρ Ρ ΠΎΡΠΊΠΈΠ΄Π½ΠΎΠΉ Π±Π°Π»ΠΊΠΎΠΉ Π½ΠΈΠΊΡΠ΄Π° Π½Π΅ Π΄Π΅Π½ΡΡΡΡ. Π’Π΅ΠΏΠ΅ΡΡ, ΠΊΠΎΠ³Π΄Π° Π²ΡΠ΅ ΠΎΡΠ½ΠΎΠ²Π½ΡΠ΅ ΠΏΡΠΎΠΈΠ·Π²ΠΎΠ΄ΠΈΡΠ΅Π»ΠΈ ΡΡΠ°Π½ΡΠΌΠΈΡΡΠΈΠΉ ΠΏΡΠΈΠ²Π΅ΡΠΆΠ΅Π½Ρ Π΄Π΅Π»Ρ, Π° Π²ΡΠ΅ Π±ΠΎΠ»ΡΡΠ΅Π΅ ΡΠΈΡΠ»ΠΎ Π±ΡΠ΅Π½Π΄ΠΎΠ² ΠΏΡΠΎΠ΄Π²ΠΈΠ³Π°Π΅Ρ ΠΏΠ΅ΡΠ΅Π΄ΠΎΠ²ΡΡ ΡΠΎΡΠΌΠΎΠ·Π½ΡΡ ΡΠΈΡΡΠ΅ΠΌΡ, Π²ΡΡΠΎΠΊΠ° Π²Π΅ΡΠΎΡΡΠ½ΠΎΡΡΡ, ΡΡΠΎ Π²Π°Ρ ΡΠ»Π΅Π΄ΡΡΡΠΈΠΉ Π²Π΅Π»ΠΎΡΠΈΠΏΠ΅Π΄ (ΠΈΠ»ΠΈ Π±Π°ΠΉΠΊ ΠΏΠΎΡΠ»Π΅ Π½Π΅Π³ΠΎ) Π±ΡΠ΄Π΅Ρ ΠΈΠΌΠ΅ΡΡ Π΄ΠΈΡΠΊΠΎΠ²ΡΠ΅ ΡΠΎΡΠΌΠΎΠ·Π°.Π’Π΅ΠΌ Π½Π΅ ΠΌΠ΅Π½Π΅Π΅, ΡΡΠ΄ ΠΏΡΠ΅ΠΈΠΌΡΡΠ΅ΡΡΠ², ΠΊΠΎΡΠΎΡΡΠ΅ ΠΎΠ½ΠΈ ΠΏΡΠ΅Π΄Π»Π°Π³Π°ΡΡ, ΠΏΠΎΡΠΎΠΆΠ΄Π°Π΅Ρ ΡΡΠ΄ ΠΏΡΠΈΡΡΠ΄ ΠΈ ΡΠ½ΠΈΠΊΠ°Π»ΡΠ½ΡΡ ΡΡΠ΅Π±ΠΎΠ²Π°Π½ΠΈΠΉ ΠΊ ΠΎΠ±ΡΠ»ΡΠΆΠΈΠ²Π°Π½ΠΈΡ.
Π’Π΅ ΠΆΠ΅ Π²ΠΎΠΏΡΠΎΡΡ ΡΠ΅Π³ΡΠ»ΡΡΠ½ΠΎ Π²ΠΎΠ·Π½ΠΈΠΊΠ°ΡΡ ΠΏΠΎΡΡΠΈ ΠΏΡΠΈ ΠΊΠ°ΠΆΠ΄ΠΎΠΌ ΡΠΏΠΎΠΌΠΈΠ½Π°Π½ΠΈΠΈ Π²Π΅Π»ΠΎΡΠΈΠΏΠ΅Π΄ΠΎΠ² Ρ Π΄ΠΈΡΠΊΠ°ΠΌΠΈ, ΠΏΠΎΡΡΠΎΠΌΡ ΠΌΡ ΡΠ΅ΡΠΈΠ»ΠΈ, ΡΡΠΎ ΠΏΠΎΡΠ° Π½Π° Π½ΠΈΡ ΠΎΡΠ²Π΅ΡΠΈΡΡ. ΠΡΠ° ΡΡΠ°ΡΡΡ ΠΌΠΎΠΆΠ΅Ρ Π±ΡΡΡ Π½Π΅ ΡΠ°ΠΌΠΎΠΉ ΠΈΠ½ΡΠ΅ΡΠ΅ΡΠ½ΠΎΠΉ Π΄Π»Ρ ΡΡΠ΅Π½ΠΈΡ, Π½ΠΎ ΠΌΡ Π½Π°Π΄Π΅Π΅ΠΌΡΡ, ΡΡΠΎ ΠΎΠ½Π°, ΠΏΠΎ ΠΊΡΠ°ΠΉΠ½Π΅ΠΉ ΠΌΠ΅ΡΠ΅, Π±ΡΠ΄Π΅Ρ ΠΏΠΎΠ»Π΅Π·Π½ΠΎΠΉ. Π‘ΠΎΠΎΠ±ΡΠΈΡΠ΅ Π½Π°ΠΌ, Π΅ΡΠ»ΠΈ ΠΌΡ ΡΡΠΎ-ΡΠΎ ΠΏΡΠΎΠΏΡΡΡΠΈΠ»ΠΈ; Π ΠΊΠΎΠ½ΡΠ΅ ΠΊΠΎΠ½ΡΠΎΠ², ΡΡΠΎ Π±Π΅ΡΠΊΠΎΠ½Π΅ΡΠ½ΡΠΉ ΡΠΏΠΈΡΠΎΠΊ ΡΠ°ΡΡΠΎ Π·Π°Π΄Π°Π²Π°Π΅ΠΌΡΡ Π²ΠΎΠΏΡΠΎΡΠΎΠ² ΠΎ Π΄ΠΎΡΠΎΠΆΠ½ΡΡ Π΄ΠΈΡΠΊΠΎΠ²ΡΡ ΡΠΎΡΠΌΠΎΠ·Π°Ρ , ΠΈ, Π½Π΅ΡΠΌΠΎΡΡΡ Π½Π° ΠΎΠ±ΡΠ΅ΠΌ, Π²ΡΠ΅Π³Π΄Π° Π΅ΡΡΡ ΠΌΠ΅ΡΡΠΎ, ΡΡΠΎΠ±Ρ Π΄ΠΎΠ±Π°Π²ΠΈΡΡ Π΅ΡΠ΅.
ΠΠΎΡΠ»Π΅Π΄Π½Π΅Π΅ ΠΎΠ±Π½ΠΎΠ²Π»Π΅Π½ΠΈΠ΅: 16 Π°Π²Π³ΡΡΡΠ° 2019 Π³.
ΠΡΠ½ΠΎΠ²Ρ Π΄ΠΎΡΠΎΠΆΠ½ΡΡ Π΄ΠΈΡΠΊΠΎΠ²
Π§ΡΠΎ ΡΠ°ΠΊΠΎΠ΅ Π΄ΠΈΡΠΊΠΎΠ²ΡΠΉ ΡΠΎΡΠΌΠΎΠ·?
ΠΠΈΡΠΊΠΎΠ²ΡΠ΅ ΡΠΎΡΠΌΠΎΠ·Π° ΠΈΡΠΏΠΎΠ»ΡΠ·ΠΎΠ²Π°Π»ΠΈΡΡ Π½Π° Π²Π΅Π»ΠΎΡΠΈΠΏΠ΅Π΄Π°Ρ Π΄ΠΎΠ²ΠΎΠ»ΡΠ½ΠΎ Π΄ΠΎΠ»Π³ΠΎΠ΅ Π²ΡΠ΅ΠΌΡ — ΠΏΠΎ ΡΡΡΠΈ, Π΅ΡΠ΅ Π² 50-Ρ Π³ΠΎΠ΄Π°Ρ . ΠΠ°ΡΠ°Π½ΠΈΠ΅ Π½Π° Π³ΠΎΡΠ½ΡΡ Π²Π΅Π»ΠΎΡΠΈΠΏΠ΅Π΄Π°Ρ Π΄Π΅ΠΉΡΡΠ²ΠΈΡΠ΅Π»ΡΠ½ΠΎ ΡΠ΄Π΅Π»Π°Π»ΠΎ Π΄ΠΈΡΠΊΠΈ ΠΏΠΎΠΏΡΠ»ΡΡΠ½ΡΠΌΠΈ, ΠΈ ΠΎΠ½ΠΈ Π±ΡΠ»ΠΈ ΡΡΠ°Π½Π΄Π°ΡΡΠ½ΠΎΠΉ ΡΠΎΡΠΌΠΎΠ·Π½ΠΎΠΉ ΡΠΈΡΡΠ΅ΠΌΠΎΠΉ Π² ΡΠ΅ΡΠ΅Π½ΠΈΠ΅ ΠΏΠΎΡΡΠΈ Π΄Π²Π°Π΄ΡΠ°ΡΠΈ Π»Π΅Ρ. ΠΠΎ Ρ ΡΠΎΡΠΊΠΈ Π·ΡΠ΅Π½ΠΈΡ ΡΠΎΠ³ΠΎ, ΡΡΠΎ ΠΈΡ ΠΎΡΠ»ΠΈΡΠ°Π΅Ρ, Π½Π° ΡΠ°ΠΌΠΎΠΌ Π΄Π΅Π»Π΅ Π²ΡΠ΅ Π΄ΠΎΠ²ΠΎΠ»ΡΠ½ΠΎ ΠΏΡΠΎΡΡΠΎ. ΠΠΎΠ΄ΠΎΠ±Π½ΠΎ ΡΠΎΡΠΌΠΎΠ·Π°ΠΌ, ΠΈΡΠΏΠΎΠ»ΡΠ·ΡΠ΅ΠΌΡΠΌ Π² ΡΠΎΠ²ΡΠ΅ΠΌΠ΅Π½Π½ΡΡ Π°Π²ΡΠΎΠΌΠΎΠ±ΠΈΠ»ΡΡ ΠΈΠ»ΠΈ ΠΌΠΎΡΠΎΡΠΈΠΊΠ»Π°Ρ , Π΄ΠΈΡΠΊΠΎΠ²ΡΠ΅ ΡΠΎΡΠΌΠΎΠ·Π° ΠΏΠ΅ΡΠ΅ΠΌΠ΅ΡΠ°ΡΡ ΡΠΎΡΠΌΠΎΠ·Π½ΡΡ ΠΏΠΎΠ²Π΅ΡΡ Π½ΠΎΡΡΡ Ρ ΠΎΠ±ΠΎΠ΄Π° Π½Π° ΡΠΏΠ΅ΡΠΈΠ°Π»ΡΠ½ΡΠΉ ΠΌΠ΅ΡΠ°Π»Π»ΠΈΡΠ΅ΡΠΊΠΈΠΉ (ΠΎΠ±ΡΡΠ½ΠΎ ΡΡΠ°Π»ΡΠ½ΠΎΠΉ) ΡΠΎΡΠΎΡ, ΠΏΡΠΈΠΊΡΠ΅ΠΏΠ»Π΅Π½Π½ΡΠΉ ΠΊ ΡΡΡΠΏΠΈΡΠ΅ — Π²ΠΎΡ ΠΈ Π²ΡΠ΅.
ΠΠΎ ΠΈΠ΄Π΅Π΅, ΡΡΠΏΠΏΠΎΡΡΡ Π΄ΠΈΡΠΊΠΎΠ²ΡΡ ΡΠΎΡΠΌΠΎΠ·ΠΎΠ² Π½ΠΈΡΠ΅ΠΌ Π½Π΅ ΠΎΡΠ»ΠΈΡΠ°ΡΡΡΡ ΠΎΡ ΡΡΠΏΠΏΠΎΡΡΠΎΠ² ΠΎΠ±ΠΎΠ΄Π½ΡΡ ΡΠΎΡΠΌΠΎΠ·ΠΎΠ², Π·Π° ΠΈΡΠΊΠ»ΡΡΠ΅Π½ΠΈΠ΅ΠΌ ΡΠΎΠ³ΠΎ, ΡΡΠΎ ΠΊΠΎΡΠΏΡΡΠ° ΡΡΠΏΠΏΠΎΡΡΠΎΠ² Π½Π°ΠΌΠ½ΠΎΠ³ΠΎ ΠΌΠ΅Π½ΡΡΠ΅, Π° ΠΊΠΎΠ»ΠΎΠ΄ΠΊΠΈ ΡΠ΄Π΅Π»Π°Π½Ρ ΠΈΠ· Π³ΠΎΡΠ°Π·Π΄ΠΎ Π±ΠΎΠ»Π΅Π΅ ΡΠ²Π΅ΡΠ΄ΡΡ ΠΌΠ°ΡΠ΅ΡΠΈΠ°Π»ΠΎΠ², ΡΠ΅ΠΌ ΡΠ°Π·Π»ΠΈΡΠ½ΡΠ΅ ΡΠ΅Π·ΠΈΠ½ΠΎΠ²ΡΠ΅ ΡΠΌΠ΅ΡΠΈ, ΠΈΡΠΏΠΎΠ»ΡΠ·ΡΠ΅ΠΌΡΠ΅ Π² ΠΎΠ±ΠΎΠ΄Π½ΡΡ ΡΠΎΡΠΌΠΎΠ·Π°Ρ .
ΠΠ΅Ρ Π°Π½ΠΈΡΠ΅ΡΠΊΠΈΠ΅ ΠΈ Π³ΠΈΠ΄ΡΠ°Π²Π»ΠΈΡΠ΅ΡΠΊΠΈΠ΅ Π΄ΠΈΡΠΊΠΎΠ²ΡΠ΅ ΡΠΎΡΠΌΠΎΠ·Π°: Π² ΡΠ΅ΠΌ ΡΠ°Π·Π½ΠΈΡΠ°?
Π ΠΌΠ΅Ρ Π°Π½ΠΈΡΠ΅ΡΠΊΠΎΠΌ Π΄ΠΈΡΠΊΠΎΠ²ΠΎΠΌ ΡΠΎΡΠΌΠΎΠ·Π΅ ΠΈΡΠΏΠΎΠ»ΡΠ·ΡΠ΅ΡΡΡ ΡΡΠ°Π΄ΠΈΡΠΈΠΎΠ½Π½ΡΠΉ ΡΠΎΡΠΌΠΎΠ·Π½ΠΎΠΉ ΡΡΡΠ°Π³, ΠΊΠΎΡΠΏΡΡ ΡΠΎΡΠΌΠΎΠ·Π° ΠΈ Π²Π½ΡΡΡΠ΅Π½Π½ΠΈΠΉ ΡΡΠΎΡ.
ΠΠ΅Ρ Π°Π½ΠΈΡΠ΅ΡΠΊΠΈΠΉ Π΄ΠΈΡΠΊΠΎΠ²ΡΠΉ ΡΠΎΡΠΌΠΎΠ· ΠΎΡΠ΅Π½Ρ ΠΏΠΎΡ ΠΎΠΆ Π½Π° ΡΡΠ°Π΄ΠΈΡΠΈΠΎΠ½Π½ΡΠΉ ΠΎΠ±ΠΎΠ΄Π½ΠΎΠΉ ΡΠΎΡΠΌΠΎΠ·, Π² ΠΊΠΎΡΠΎΡΠΎΠΌ ΠΈΡΠΏΠΎΠ»ΡΠ·ΡΠ΅ΡΡΡ ΡΡΠ°Π½Π΄Π°ΡΡΠ½ΡΠΉ ΡΠΎΡΠΌΠΎΠ·Π½ΠΎΠΉ ΡΡΡΠ°Π³ ΡΠΎΡΡΠ΅ΠΉΠ½ΠΎΠ³ΠΎ Π²Π΅Π»ΠΎΡΠΈΠΏΠ΅Π΄Π° ΠΈ ΡΡΠΎΡ, ΠΊΠΎΡΠΎΡΡΠ΅ ΡΠΎΠ΅Π΄ΠΈΠ½Π΅Π½Ρ Ρ ΡΠΎΡΠΌΠΎΠ·Π½ΡΠΌ ΡΡΠΏΠΏΠΎΡΡΠΎΠΌ.ΠΠΎΠ³Π΄Π° ΡΡΡΠ°Π³ Π½Π°ΠΆΠ°Ρ, ΡΡΠΎΡ ΠΏΡΠΈΠ²ΠΎΠ΄ΠΈΡ Π² Π΄Π΅ΠΉΡΡΠ²ΠΈΠ΅ ΠΏΠΎΡΡΠ΅Π½Ρ, ΠΊΠΎΡΠΎΡΡΠΉ ΡΠΎΠ»ΠΊΠ°Π΅Ρ ΠΎΠ΄Π½Ρ ΡΠΎΡΠΌΠΎΠ·Π½ΡΡ ΠΊΠΎΠ»ΠΎΠ΄ΠΊΡ, ΠΈΠ·Π³ΠΈΠ±Π°Ρ ΡΠΎΡΠΎΡ Π½Π°ΡΡΠΎΠ»ΡΠΊΠΎ, ΡΡΠΎ ΠΎΠ½ Π·Π°ΠΆΠ°Ρ ΠΌΠ΅ΠΆΠ΄Ρ ΠΏΠΎΠ΄Π²ΠΈΠΆΠ½ΠΎΠΉ ΠΈ Π½Π΅ΠΏΠΎΠ΄Π²ΠΈΠΆΠ½ΠΎΠΉ ΡΠΎΡΠΌΠΎΠ·Π½ΡΠΌΠΈ ΠΊΠΎΠ»ΠΎΠ΄ΠΊΠ°ΠΌΠΈ. ΠΠ΅ΠΊΠΎΡΠΎΡΡΠ΅ ΠΌΠ΅Ρ Π°Π½ΠΈΡΠ΅ΡΠΊΠΈΠ΅ Π΄ΠΈΡΠΊΠΎΠ²ΡΠ΅ ΡΠΎΡΠΌΠΎΠ·Π°, ΡΠ°ΠΊΠΈΠ΅ ΠΊΠ°ΠΊ TRP Spyre, ΡΠ°Π±ΠΎΡΠ°ΡΡ, ΠΏΡΠΈΠΆΠΈΠΌΠ°Ρ ΠΎΠ±Π΅ ΡΠΎΡΠΌΠΎΠ·Π½ΡΠ΅ ΠΊΠΎΠ»ΠΎΠ΄ΠΊΠΈ ΠΎΠ΄Π½ΠΎΠ²ΡΠ΅ΠΌΠ΅Π½Π½ΠΎ ΠΊ ΡΠΎΡΠΎΡΡ.
ΠΠΈΠ΄ΡΠ°Π²Π»ΠΈΡΠ΅ΡΠΊΠΈΠΉ ΡΠΎΡΠΌΠΎΠ· (ΠΈΠ·ΠΎΠ±ΡΠ°ΠΆΠ΅Π½Π½ΡΠΉ Π² Π²Π΅ΡΡ Π½Π΅ΠΉ ΡΠ°ΡΡΠΈ ΡΡΠ°ΡΡΠΈ) Π±ΠΎΠ»ΡΡΠ΅ ΠΏΠΎΡ ΠΎΠΆ Π½Π° ΡΠΎ, ΡΡΠΎ ΠΈΡΠΏΠΎΠ»ΡΠ·ΡΠ΅ΡΡΡ Π² ΡΠΎΠ²ΡΠ΅ΠΌΠ΅Π½Π½ΠΎΠΌ Π°Π²ΡΠΎΠΌΠΎΠ±ΠΈΠ»Π΅, Π³Π΄Π΅ ΠΆΠΈΠ΄ΠΊΠΎΡΡΡ ΠΈΡΠΏΠΎΠ»ΡΠ·ΡΠ΅ΡΡΡ Π΄Π»Ρ ΠΏΠ΅ΡΠ΅Π΄Π°ΡΠΈ ΡΡΠΈΠ»ΠΈΡ. ΠΠ΄Π΅ΡΡ ΠΆΠΈΠ΄ΠΊΠΎΡΡΡ Ρ ΡΠ°Π½ΠΈΡΡΡ Π² ΡΠ΅Π·Π΅ΡΠ²ΡΠ°ΡΠ΅, Π½Π°Π·ΡΠ²Π°Π΅ΠΌΠΎΠΌ Π³Π»Π°Π²Π½ΡΠΌ ΡΠΈΠ»ΠΈΠ½Π΄ΡΠΎΠΌ, ΠΊΠΎΡΠΎΡΡΠΉ Π½Π°Ρ ΠΎΠ΄ΠΈΡΡΡ Π²Π½ΡΡΡΠΈ ΠΊΠΎΡΠΏΡΡΠ° ΡΠΎΡΠΌΠΎΠ·Π½ΠΎΠ³ΠΎ ΡΡΡΠ°Π³Π°.ΠΠΎΠ³Π΄Π° ΡΡΡΠ°Π³ Π½Π°ΠΆΠ°Ρ, ΠΎΠ½ Π²ΡΡΠ°Π»ΠΊΠΈΠ²Π°Π΅Ρ ΠΆΠΈΠ΄ΠΊΠΎΡΡΡ ΠΈΠ· Π³Π»Π°Π²Π½ΠΎΠ³ΠΎ ΡΠΈΠ»ΠΈΠ½Π΄ΡΠ° ΠΈ ΡΠ΅ΡΠ΅Π· ΡΠΎΡΠΌΠΎΠ·Π½ΠΎΠΉ ΡΠ»Π°Π½Π³ ΠΊ ΡΡΠΏΠΏΠΎΡΡΡ. ΠΠ°ΡΠ΅ΠΌ ΡΡΠ° ΠΆΠΈΠ΄ΠΊΠΎΡΡΡ ΡΠΎΠ»ΠΊΠ°Π΅Ρ ΠΏΠΎΡΡΠ½ΠΈ ΡΡΠΏΠΏΠΎΡΡΠ° (ΠΊ ΠΊΠΎΡΠΎΡΡΠΌ ΠΏΡΠΈΠΊΡΠ΅ΠΏΠ»Π΅Π½Ρ ΠΊΠΎΠ»ΠΎΠ΄ΠΊΠΈ) ΠΏΠΎ ΠΎΠ±Π΅ ΡΡΠΎΡΠΎΠ½Ρ ΠΎΡ ΡΠΎΡΠΎΡΠ°.
ΠΠΎΡΠ΅ΠΌΡ Π³ΠΈΠ΄ΡΠ°Π²Π»ΠΈΡΠ΅ΡΠΊΠΎΠ΅ ΡΠΎΡΠΌΠΎΠΆΠ΅Π½ΠΈΠ΅ Π»ΡΡΡΠ΅?
ΠΠ΅Ρ Π°Π½ΠΈΡΠ΅ΡΠΊΠΈΠ΅ ΡΠΎΡΠΌΠΎΠ·Π°ΠΎΡΠ΅Π½Ρ Π½Π°Π΄Π΅ΠΆΠ½Ρ, ΠΎΠ΄Π½Π°ΠΊΠΎ ΡΡΠΎΡΡ ΠΈ ΠΊΠΎΡΠΏΡΡ ΠΌΠ΅Π½Π΅Π΅ ΡΡΡΠ΅ΠΊΡΠΈΠ²Π½Ρ ΠΏΡΠΈ ΠΏΠ΅ΡΠ΅Π΄Π°ΡΠ΅ ΡΡΠΈΠ»ΠΈΡ ΠΎΡ ΡΡΡΠ°Π³Π° ΠΊ ΡΡΠΏΠΏΠΎΡΡΡ, ΠΎΠ½ΠΈ Π±ΠΎΠ»Π΅Π΅ ΠΏΠΎΠ΄Π²Π΅ΡΠΆΠ΅Π½Ρ Π·Π°Π³ΡΡΠ·Π½Π΅Π½ΠΈΡ ΠΈ Π΄ΠΎΠ»ΠΆΠ½Ρ ΡΠ΅Π³ΡΠ»ΠΈΡΠΎΠ²Π°ΡΡΡΡ Π²ΡΡΡΠ½ΡΡ ΠΏΠΎ ΠΌΠ΅ΡΠ΅ ΠΈΠ·Π½ΠΎΡΠ° ΠΊΠΎΠ»ΠΎΠ΄ΠΎΠΊ.
ΠΠΈΠ΄ΡΠ°Π²Π»ΠΈΡΠ΅ΡΠΊΠΈΠ΅ Π΄ΠΈΡΠΊΠΎΠ²ΡΠ΅ ΡΠΎΡΠΌΠΎΠ·Π°, Π½Π°ΠΏΡΠΎΡΠΈΠ², Π°Π²ΡΠΎΠΌΠ°ΡΠΈΡΠ΅ΡΠΊΠΈ ΠΊΠΎΠΌΠΏΠ΅Π½ΡΠΈΡΡΡΡ ΠΈΠ·Π½ΠΎΡ ΠΊΠΎΠ»ΠΎΠ΄ΠΎΠΊ, ΠΎΠ½ΠΈ, ΠΊΠ°ΠΊ ΠΏΡΠ°Π²ΠΈΠ»ΠΎ, Π»Π΅Π³ΡΠ΅ ΠΈ ΠΏΠΎΠ»Π½ΠΎΡΡΡΡ ΠΈΠ·ΠΎΠ»ΠΈΡΠΎΠ²Π°Π½Ρ ΠΎΡ Π²Π½Π΅ΡΠ½ΠΈΡ Π²ΠΎΠ·Π΄Π΅ΠΉΡΡΠ²ΠΈΠΉ. ΠΡΠΎΠΌΠ΅ ΡΠΎΠ³ΠΎ, Π³ΠΈΠ΄ΡΠ°Π²Π»ΠΈΡΠ΅ΡΠΊΠ°Ρ ΠΊΠΎΠ½ΡΡΡΡΠΊΡΠΈΡ ΡΠ½ΠΈΠΆΠ°Π΅Ρ ΠΌΠ΅Ρ Π°Π½ΠΈΡΠ΅ΡΠΊΠΎΠ΅ ΡΡΠ΅Π½ΠΈΠ΅ Π² ΡΠΈΡΡΠ΅ΠΌΠ΅, Π° ΡΠ°ΠΊΠΆΠ΅ ΠΌΠΎΠΆΠ½ΠΎ ΡΠΏΡΠΎΠ΅ΠΊΡΠΈΡΠΎΠ²Π°ΡΡ Π²ΠΏΠ΅ΡΠ°ΡΠ»ΡΡΡΠ΅Π΅ ΡΡΠΈΠ»Π΅Π½ΠΈΠ΅ ΡΠΈΠ»Ρ, Π° ΡΡΠΎ ΠΎΠ·Π½Π°ΡΠ°Π΅Ρ, ΡΡΠΎ Π»Π΅Π³ΠΊΠΎΠ΅ ΡΡΠΈΠ»ΠΈΠ΅ Π½Π° ΡΡΡΠ°Π³Π΅ ΡΠ°Π²Π½ΠΎ ΠΎΠ³ΡΠΎΠΌΠ½ΠΎΠΌΡ ΡΠΎΡΠΌΠΎΠ·Π½ΠΎΠΌΡ ΡΡΠΈΠ»ΠΈΡ, ΡΠΎΠ·Π΄Π°Π²Π°Π΅ΠΌΠΎΠΌΡ Π½Π° ΠΊΠΎΠ»Π΅ΡΠ΅.
ΠΠΎΠΆΠ½ΠΎ Π»ΠΈ ΠΏΡΠ΅Π²ΡΠ°ΡΠΈΡΡ ΡΡΡΠ°Π³ ΠΌΠ΅Ρ Π°Π½ΠΈΡΠ΅ΡΠΊΠΎΠ³ΠΎ ΡΠΎΡΠΌΠΎΠ·Π° Π² ΡΡΡΠ°Π³ Π³ΠΈΠ΄ΡΠ°Π²Π»ΠΈΡΠ΅ΡΠΊΠΎΠ³ΠΎ?
They TRP Hy / Rd — ΠΎΠ΄ΠΈΠ½ ΠΈΠ· ΠΏΡΠΈΠΌΠ΅ΡΠΎΠ² ΡΡΠΏΠΏΠΎΡΡΠ° Π³ΠΈΠ΄ΡΠ°Π²Π»ΠΈΡΠ΅ΡΠΊΠΎΠ³ΠΎ ΡΠΎΡΠΌΠΎΠ·Π°, ΠΊΠΎΡΠΎΡΡΠΉ ΠΌΠΎΠΆΠ½ΠΎ ΠΈΡΠΏΠΎΠ»ΡΠ·ΠΎΠ²Π°ΡΡ Ρ ΠΌΠ΅Ρ Π°Π½ΠΈΡΠ΅ΡΠΊΠΈΠΌ ΡΡΡΠ°Π³ΠΎΠΌ.
ΠΡΠΎΡΠ΅ Π³ΠΎΠ²ΠΎΡΡ, Π½Π΅Ρ. ΠΠ΄Π½Π°ΠΊΠΎ Π²Ρ ΠΌΠΎΠΆΠ΅ΡΠ΅ ΠΏΠΎΠ΄ΡΠΎΠ΅Π΄ΠΈΠ½ΠΈΡΡ ΡΡΡΠ°Π³ ΠΌΠ΅Ρ Π°Π½ΠΈΡΠ΅ΡΠΊΠΎΠ³ΠΎ ΡΠΎΡΠΌΠΎΠ·Π° ΠΊ Π½Π΅ΠΊΠΎΡΠΎΡΡΠΌ Π³ΠΈΠ΄ΡΠ°Π²Π»ΠΈΡΠ΅ΡΠΊΠΈΠΌ ΡΡΠΏΠΏΠΎΡΡΠ°ΠΌ. ΠΠΎΠ·ΠΌΠΎΠΆΠ½ΠΎΡΡΠΈ Π΄Π»Ρ ΡΡΠΎΠ³ΠΎ ΠΎΠ³ΡΠ°Π½ΠΈΡΠ΅Π½Ρ, Π½ΠΎ ΠΈ TRP, ΠΈ Yokozuna ΠΏΡΠ΅Π΄Π»Π°Π³Π°ΡΡ ΡΠ°ΠΊΡΡ ββΠ²Π΅ΡΡ. ΠΠ±Π° ΠΎΠ½ΠΈ ΠΈΠΌΠ΅ΡΡ Π³ΠΈΠ΄ΡΠ°Π²Π»ΠΈΡΠ΅ΡΠΊΠΈΠΉ ΡΡΠΏΠΏΠΎΡΡ, Π³Π΄Π΅ Π³Π»Π°Π²Π½ΡΠΉ ΡΠΈΠ»ΠΈΠ½Π΄Ρ Π½Π°Ρ ΠΎΠ΄ΠΈΡΡΡ Π² ΡΠ°ΠΌΠΎΠΌ ΠΊΠΎΡΠΏΡΡΠ΅ ΡΡΠΏΠΏΠΎΡΡΠ°. Π ΡΡΠ°Π³ ΠΌΠ΅Ρ Π°Π½ΠΈΡΠ΅ΡΠΊΠΎΠ³ΠΎ ΡΠΎΡΠΌΠΎΠ·Π° ΡΡΠ½Π΅Ρ Π·Π° ΡΠΎΠ±ΠΎΠΉ ΠΌΠ΅Ρ Π°Π½ΠΈΡΠ΅ΡΠΊΠΈΠΉ ΡΡΠΎΡ, ΠΊΠΎΡΠΎΡΡΠΉ Π½Π°ΡΡΠ³ΠΈΠ²Π°Π΅Ρ ΡΡΠΎΠΊ ΠΏΠΎΡΡΠ½Ρ Π½Π° ΡΡΠΏΠΏΠΎΡΡΠ΅. ΠΡΠΎ ΠΏΠΎ-ΠΏΡΠ΅ΠΆΠ½Π΅ΠΌΡ ΠΊΠΎΠΌΠΏΡΠΎΠΌΠΈΡΡ, ΠΏΡΠΎΠ±Π»Π΅ΠΌΠ° Π·Π°ΠΊΠ»ΡΡΠ°Π΅ΡΡΡ Π² ΠΏΠΎΡΠ΅ΡΡΡ Π½Π° ΡΡΠ΅Π½ΠΈΠ΅ Π² ΠΊΠ°Π±Π΅Π»Π΅ ΠΈ ΡΠ²Π΅Π»ΠΈΡΠ΅Π½Π½ΠΎΠΌ Π²Π΅ΡΠ΅. ΠΠΎ Π΅ΡΠ»ΠΈ Π²Ρ ΠΈΡΠ΅ΡΠ΅ ΡΠ»ΡΡΡΠ΅Π½Π½ΡΠ΅ Ρ Π°ΡΠ°ΠΊΡΠ΅ΡΠΈΡΡΠΈΠΊΠΈ ΡΠΎΡΠΌΠΎΠΆΠ΅Π½ΠΈΡ Π½Π° ΡΠ²ΠΎΠ΅ΠΌ Π²Π΅Π»ΠΎΡΠΈΠΏΠ΅Π΄Π΅ Ρ ΠΌΠ΅Ρ Π°Π½ΠΈΡΠ΅ΡΠΊΠΈΠΌ Π΄ΠΈΡΠΊΠΎΠΌ ΠΈΠ»ΠΈ Ρ ΠΎΡΠΈΡΠ΅ ΠΏΠΎΠ²ΡΠΎΡΠ½ΠΎ ΠΈΡΠΏΠΎΠ»ΡΠ·ΠΎΠ²Π°ΡΡ Π½Π΅ΠΊΠΎΡΠΎΡΡΠ΅ ΡΡΡΠ΅ΡΡΠ²ΡΡΡΠΈΠ΅ ΠΏΠ΅ΡΠ΅ΠΊΠ»ΡΡΠ°ΡΠ΅Π»ΠΈ Π½Π° Π½ΠΎΠ²ΠΎΠΌ Π²Π΅Π»ΠΎΡΠΈΠΏΠ΅Π΄Π΅, ΡΡΠΎ ΠΆΠΈΠ·Π½Π΅ΡΠΏΠΎΡΠΎΠ±Π½ΡΠΉ Π²Π°ΡΠΈΠ°Π½Ρ.
ΠΠ°ΡΠΊΠΎΠ»ΡΠΊΠΎ ΡΡΠΆΠ΅Π»Π΅Π΅ Π΄ΠΈΡΠΊΠΎΠ²Π°Ρ ΡΠΎΡΠΌΠΎΠ·Π½Π°Ρ ΡΠΈΡΡΠ΅ΠΌΠ°?
ΠΡΠΎ ΡΠ»ΠΎΠΆΠ½ΡΠΉ Π²ΠΎΠΏΡΠΎΡ.
ΠΡΠΎΡΡΠΎ ΡΡΠ°Π²Π½ΠΈΠ² ΡΡΠΎ-ΡΠΎ Π²ΡΠΎΠ΄Π΅ ΡΠΎΡΠΌΠΎΠ·Π½ΡΡ ΡΡΡΠ°Π³ΠΎΠ² Shimano Dura-Ace R9100 ΠΈ ΡΡΠΏΠΏΠΎΡΡΠΎΠ² ΠΎΠ±ΠΎΠ΄Π½ΠΎΠ³ΠΎ ΡΠΎΡΠΌΠΎΠ·Π° (Π²ΠΊΠ»ΡΡΠ°Ρ ΠΏΡΠΈΠ±Π»ΠΈΠ·ΠΈΡΠ΅Π»ΡΠ½ΡΠΉ Π²Π΅Ρ ΡΡΠΎΡΠΎΠ²) Ρ ΡΠΊΠ²ΠΈΠ²Π°Π»Π΅Π½ΡΠ½ΠΎΠΉ ΡΠΈΡΡΠ΅ΠΌΠΎΠΉ Π΄ΠΈΡΠΊΠΎΠ²ΠΎΠ³ΠΎ ΡΠΎΡΠΌΠΎΠ·Π°, Π²Ρ ΡΠ²ΠΈΠ΄ΠΈΡΠ΅, ΡΡΠΎ Π΄ΠΈΡΠΊΠΎΠ²ΡΠ΅ ΡΠΎΡΠΌΠΎΠ·Π° ΠΏΡΠΈΠΌΠ΅ΡΠ½ΠΎ Π½Π° 200 Π³ ΡΡΠΆΠ΅Π»Π΅Π΅ Ρ ΡΡΠ΅ΡΠΎΠΌ ΡΡΠΎΡΠΎΠ², ΠΊΠΎΡΠΏΡΡ ΠΈ ΡΠΎΡΠΌΠΎΠ·Π½ΡΠ΅ ΡΠ»Π°Π½Π³ΠΈ.
ΠΠ΄Π½Π°ΠΊΠΎ ΡΡΡΠΏΠΈΡΡ Π΄ΠΈΡΠΊΠΎΠ²ΡΡ ΡΠΎΡΠΌΠΎΠ·ΠΎΠ² ΡΠ°ΠΊΠΆΠ΅ ΡΡΠΆΠ΅Π»Π΅Π΅, ΠΏΠΎΡΠΊΠΎΠ»ΡΠΊΡ Π΄Π»Ρ Π½ΠΈΡ ΡΡΠ΅Π±ΡΡΡΡΡ ΠΈΠ½ΡΠ΅ΡΡΠ΅ΠΉΡΡ Π΄Π»Ρ ΡΡΡΠ°Π½ΠΎΠ²ΠΊΠΈ ΡΠΎΡΠΎΡΠΎΠ², Π° ΠΊΠΎΠ»Π΅ΡΠ°, ΡΠΎΠ²ΠΌΠ΅ΡΡΠΈΠΌΡΠ΅ Ρ Π΄ΠΈΡΠΊΠ°ΠΌΠΈ, ΡΠ°ΠΊΠΆΠ΅ ΡΡΠΆΠ΅Π»Π΅Π΅, ΠΏΠΎΡΠΊΠΎΠ»ΡΠΊΡ ΠΈΠΌ ΠΏΡΠΈΡ ΠΎΠ΄ΠΈΡΡΡ Π²ΡΠ΄Π΅ΡΠΆΠΈΠ²Π°ΡΡ Π±ΠΎΠ»ΡΡΠΈΠ΅ ΡΠΊΡΡΡΠΈΠ²Π°ΡΡΠΈΠ΅ Π½Π°Π³ΡΡΠ·ΠΊΠΈ.Π ΡΠ΅Π·ΡΠ»ΡΡΠ°ΡΠ΅, Π΄ΠΈΡΠΊΠΎΠ²ΡΠ΅ ΠΊΠΎΠ»Π΅ΡΠ° ΠΎΠ±ΡΡΠ½ΠΎ ΠΈΠ·Π³ΠΎΡΠ°Π²Π»ΠΈΠ²Π°ΡΡΡΡ Ρ Π±ΠΎΠ»ΡΡΠΈΠΌ ΠΊΠΎΠ»ΠΈΡΠ΅ΡΡΠ²ΠΎΠΌ ΡΠΏΠΈΡ, ΠΏΠ΅ΡΠ΅ΠΊΡΠ΅ΡΡΠ½ΠΎΠΉ ΡΠ½ΡΡΠΎΠ²ΠΊΠΎΠΉ ΡΠΏΠΈΡ ΠΈ ΡΠ°ΡΡΠΎ Ρ Π±ΠΎΠ»Π΅Π΅ ΡΠΎΠ»ΡΡΡΠΌΠΈ ΡΠΏΠΈΡΠ°ΠΌΠΈ. ΠΡΡΠ°ΡΡΠΈ ΡΡΠΎ ΠΌΠΎΠΆΠ½ΠΎ ΠΊΠΎΠΌΠΏΠ΅Π½ΡΠΈΡΠΎΠ²Π°ΡΡ Π±ΠΎΠ»Π΅Π΅ Π»Π΅Π³ΠΊΠΈΠΌ ΠΎΠ±ΠΎΠ΄ΠΎΠΌ, ΠΏΠΎΡΠΊΠΎΠ»ΡΠΊΡ ΠΎΠ½ Π±ΠΎΠ»ΡΡΠ΅ Π½Π΅ Π΄ΠΎΠ»ΠΆΠ΅Π½ ΠΈΠΌΠ΅ΡΡ ΡΠΎΡΠΌΠΎΠ·Π½ΡΡ ΠΏΠΎΠ²Π΅ΡΡ Π½ΠΎΡΡΡ, Π½ΠΎ ΠΏΡΠΈ ΡΡΠΎΠΌ ΡΠΎΡ ΡΠ°Π½ΡΠ΅ΡΡΡ ΡΠΈΡΡΠ°Ρ ΠΏΡΠΈΠ±Π°Π²ΠΊΠ° Π² ΠΌΠ°ΡΡΠ΅.
Π Π½Π°ΠΎΠ±ΠΎΡΠΎΡ, Π½Π΅ΠΊΠΎΡΠΎΡΡΠ΅ — Π½ΠΎ Π½Π΅ Π²ΡΠ΅ — ΡΠΎΠ²ΡΠ΅ΠΌΠ΅Π½Π½ΡΠ΅ Π΄ΠΎΡΠΎΠΆΠ½ΡΠ΅ ΡΠ°ΠΌΡ, ΡΠΎΠ²ΠΌΠ΅ΡΡΠΈΠΌΡΠ΅ Ρ Π΄ΠΈΡΠΊΠ°ΠΌΠΈ, Π½Π° ΡΠ°ΠΌΠΎΠΌ Π΄Π΅Π»Π΅ Π»Π΅Π³ΡΠ΅, ΡΠ΅ΠΌ ΠΈΡ Π°Π½Π°Π»ΠΎΠ³ΠΈ Ρ ΠΎΠ±ΠΎΠ΄Π½ΡΠΌ ΡΠΎΡΠΌΠΎΠ·ΠΎΠΌ, Π½ΠΎ Π±ΠΎΠ»Π΅Π΅ ΠΆΠ΅ΡΡΠΊΠΈΠ΅ ΡΠΊΠ²ΠΎΠ·Π½ΡΠ΅ ΠΎΡΠΈ, ΠΎΠ±ΡΡΠ½ΠΎ ΡΠΎΠ΅Π΄ΠΈΠ½Π΅Π½Π½ΡΠ΅ Ρ Π½ΠΈΠΌΠΈ, Π΄ΠΎΠ±Π°Π²Π»ΡΡΡ ΡΠ°ΡΡΡ ΡΡΠΎΠ³ΠΎ Π²Π΅ΡΠ°. Π ΡΠ΅Π»ΠΎΠΌ, ΠΌΠ½ΠΎΠ³ΠΈΠ΅ Π²Π΅Π΄ΡΡΠΈΠ΅ Π±ΡΠ΅Π½Π΄Ρ Π·Π°ΡΠ²Π»ΡΡΡ, ΡΡΠΎ ΡΠ°Π·Π½ΠΈΡΠ° Π² Π²Π΅ΡΠ΅ ΠΌΠ΅ΠΆΠ΄Ρ ΠΎΠ±ΠΎΠ΄Π½ΡΠΌ ΡΠΎΡΠΌΠΎΠ·ΠΎΠΌ ΠΈ ΡΠ°ΠΌΠΎΠΉ Π΄ΠΈΡΠΊΠΎΠ²ΠΎΠ³ΠΎ ΡΠΎΡΠΌΠΎΠ·Π° ΡΠΎΡΡΠ°Π²Π»ΡΠ΅Ρ 30-90 Π³.
ΠΡΠΈΠ½ΠΈΠΌΠ°Ρ Π²ΡΠ΅ Π²ΠΎ Π²Π½ΠΈΠΌΠ°Π½ΠΈΠ΅, Π²Ρ ΠΎΠ±ΡΡΠ½ΠΎ Π²ΠΈΠ΄ΠΈΡΠ΅ Π½Π΅Π΄ΠΎΡΡΠ°ΡΠΎΠΊ 300 Π³ Ρ Π΄ΠΈΡΠΊΠΎΠ²ΡΠΌΠΈ ΡΠΎΡΠΌΠΎΠ·Π°ΠΌΠΈ, ΠΈ ΡΡΠΎ Π΄Π΅ΠΉΡΡΠ²ΠΈΡΠ΅Π»ΡΠ½ΠΎ Π»ΡΡΡΠΈΠΉ ΡΡΠ΅Π½Π°ΡΠΈΠΉ. Π§Π°ΡΠ΅ ΠΈ ΠΏΡΠΈ Π±ΠΎΠ»Π΅Π΅ ΠΎΠ³ΡΠ°Π½ΠΈΡΠ΅Π½Π½ΠΎΠΌ Π±ΡΠ΄ΠΆΠ΅ΡΠ΅ ΠΏΡΠΈΠ±Π°Π²ΠΊΠ° Π² Π²Π΅ΡΠ΅ ΠΎΠ±ΡΡΠ½ΠΎ ΠΏΡΠΈΠ±Π»ΠΈΠΆΠ°Π΅ΡΡΡ ΠΊ 500 Π³ (1,1 ΡΡΠ½ΡΠ°).
ΠΠ΄Π½Π°ΠΊΠΎ Π² Π±Π»ΠΈΠΆΠ°ΠΉΡΠΈΠ΅ Π³ΠΎΠ΄Ρ ΡΠΈΡΡΠ°ΡΠΈΡ ΠΌΠΎΠΆΠ΅Ρ ΠΈΠ·ΠΌΠ΅Π½ΠΈΡΡΡΡ. ΠΠ°ΠΏΡΠΈΠΌΠ΅Ρ, ΠΎΠΊΠΎΠ»ΠΎ 15 Π»Π΅Ρ Π½Π°Π·Π°Π΄ Π΄Π»Ρ Π΄ΠΈΡΠΊΠΎΠ²ΡΡ ΡΠΎΡΠΌΠΎΠ·ΠΎΠ² Π² Π³ΠΎΠ½ΠΊΠ°Ρ Π½Π° Π³ΠΎΡΠ½ΡΡ Π²Π΅Π»ΠΎΡΠΈΠΏΠ΅Π΄Π°Ρ ΠΏΠΎ ΠΏΠ΅ΡΠ΅ΡΠ΅ΡΠ΅Π½Π½ΠΎΠΉ ΠΌΠ΅ΡΡΠ½ΠΎΡΡΠΈ Π½Π°ΡΡΡΠΏΠΈΠ» ΠΏΠ΅ΡΠ΅Π»ΠΎΠΌΠ½ΡΠΉ ΠΌΠΎΠΌΠ΅Π½Ρ, ΠΊΠΎΠ³Π΄Π° Π΄ΠΈΡΠΊΠΎΠ²ΡΠ΅ ΡΠΎΡΠΌΠΎΠ·Π° ΠΊΠ°ΠΊ Π΅Π΄ΠΈΠ½Π°Ρ ΡΠΈΡΡΠ΅ΠΌΠ° (Π²ΠΊΠ»ΡΡΠ°Ρ Π²Π΅Ρ ΠΊΠΎΠ»Π΅Ρ) ΡΡΠ°Π»ΠΈ Π»Π΅Π³ΡΠ΅, ΡΠ΅ΠΌ Π°Π½Π°Π»ΠΎΠ³ΠΈΡΠ½ΡΠ΅ ΠΎΠ±ΠΎΠ΄Π½ΡΠ΅ ΡΠΎΡΠΌΠΎΠ·Π°.Π₯ΠΎΡΡ ΠΌΡ, Π²ΠΎΠ·ΠΌΠΎΠΆΠ½ΠΎ, Π½ΠΈΠΊΠΎΠ³Π΄Π° Π½Π΅ ΡΠ²ΠΈΠ΄ΠΈΠΌ ΡΡΠΎΠ³ΠΎ Π½Π° ΠΎΠ±ΠΎΡΠΈΠ½Π΅ Π΄ΠΎΡΠΎΠ³ΠΈ, ΡΠ°Π·ΡΡΠ² Π½Π°Π²Π΅ΡΠ½ΡΠΊΠ° Π±ΡΠ΄Π΅Ρ ΡΠΎΠΊΡΠ°ΡΠ°ΡΡΡΡ.
Π― ΡΠΆΠ΅ ΠΌΠΎΠ³Ρ Π·Π°Π±Π»ΠΎΠΊΠΈΡΠΎΠ²Π°ΡΡ ΠΊΠΎΠ»Π΅ΡΠΎ ΠΎΠ±ΠΎΠ΄Π½ΡΠΌΠΈ ΡΠΎΡΠΌΠΎΠ·Π°ΠΌΠΈ, ΡΠ°ΠΊ Π·Π°ΡΠ΅ΠΌ ΠΌΠ½Π΅ Π²ΠΎΠΎΠ±ΡΠ΅ Π²ΠΎΠ·ΠΈΡΡΡΡ Ρ Π΄ΠΈΡΠΊΠ°ΠΌΠΈ?
ΠΠΎΠ·ΠΌΠΎΠΆΠ½ΠΎΡΡΡ Π·Π°Π±Π»ΠΎΠΊΠΈΡΠΎΠ²Π°ΡΡ ΠΊΠΎΠ»Π΅ΡΠΎ Π½Π΅ ΡΠ²Π»ΡΠ΅ΡΡΡ ΠΏΡΠΈΠ·Π½Π°ΠΊΠΎΠΌ ΠΎΡΠ»ΠΈΡΠ½ΡΡ ΡΠΎΡΠΌΠΎΠ·Π½ΡΡ Ρ Π°ΡΠ°ΠΊΡΠ΅ΡΠΈΡΡΠΈΠΊ, ΠΈ Π΄Π°, ΠΌΠ°ΠΊΡΠΈΠΌΠ°Π»ΡΠ½Π°Ρ ΠΌΠΎΡΠ½ΠΎΡΡΡ ΡΠΎΡΠΌΠΎΠΆΠ΅Π½ΠΈΡ ΠΎΠΏΡΠ΅Π΄Π΅Π»ΡΠ΅ΡΡΡ ΡΡΠ΅ΠΏΠ΅Π½ΡΡ ΡΡΠ΅ΠΏΠ»Π΅Π½ΠΈΡ Π²Π°ΡΠΈΡ ΡΠΈΠ½ Ρ Π΄ΠΎΡΠΎΠΆΠ½ΡΠΌ ΠΏΠΎΠΊΡΡΡΠΈΠ΅ΠΌ. Π’Π΅ΠΌ Π½Π΅ ΠΌΠ΅Π½Π΅Π΅, Π΄ΠΈΡΠΊΠΎΠ²ΡΠ΅ ΡΠΎΡΠΌΠΎΠ·Π° ΠΎΠ±Π΅ΡΠΏΠ΅ΡΠΈΠ²Π°ΡΡ Π±ΠΎΠ»Π΅Π΅ ΡΠΎΡΠ½ΡΠΉ ΠΊΠΎΠ½ΡΡΠΎΠ»Ρ Π½Π°Π΄ ΡΠΎΡΠΌΠΎΠ·Π½ΠΎΠΉ ΠΌΠΎΡΠ½ΠΎΡΡΡΡ Π½Π΅ΠΏΠΎΡΡΠ΅Π΄ΡΡΠ²Π΅Π½Π½ΠΎ ΠΏΠ΅ΡΠ΅Π΄ Π±Π»ΠΎΠΊΠΈΡΠΎΠ²ΠΊΠΎΠΉ, ΠΊΠΎΠ³Π΄Π° Π²Ρ ΠΏΠΎΠ»ΡΡΠ°Π΅ΡΠ΅ Π½Π°ΠΈΠ±ΠΎΠ»Π΅Π΅ ΡΡΡΠ΅ΠΊΡΠΈΠ²Π½ΠΎΠ΅ ΡΠΎΡΠΌΠΎΠΆΠ΅Π½ΠΈΠ΅.ΠΡΠ° ΡΠΏΠΎΡΠΎΠ±Π½ΠΎΡΡΡ, Π±ΠΎΠ»Π΅Π΅ ΠΈΠ·Π²Π΅ΡΡΠ½Π°Ρ ΠΊΠ°ΠΊ ΠΌΠΎΠ΄ΡΠ»ΡΡΠΈΡ, ΠΏΠΎΠ·Π²ΠΎΠ»ΡΠ΅Ρ Π±ΠΎΠ»Π΅Π΅ ΡΠΎΡΠ½ΠΎ ΠΏΡΠΈΠΌΠ΅Π½ΡΡΡ ΠΌΠΎΡΠ½ΠΎΡΡΡ, ΡΠΎΠΊΡΠ°ΡΠ°Ρ ΡΠΎΡΠΌΠΎΠ·Π½ΠΎΠΉ ΠΏΡΡΡ. Π Π³ΠΎΠ½ΠΊΠ΅ ΡΡΠΎ ΠΏΠΎΠ·Π²ΠΎΠ»ΡΠ΅Ρ Π²Π°ΠΌ ΠΏΠΎΠ·ΠΆΠ΅ ΡΠΎΡΠΌΠΎΠ·ΠΈΡΡ Π² ΠΏΠΎΠ²ΠΎΡΠΎΡΠ°Ρ ΠΈ ββΠ±ΡΡΡ ΡΠ²Π΅ΡΠ΅Π½Π½ΡΠΌ, ΡΡΠΎ ΠΏΡΠ΅ΠΎΠ΄ΠΎΠ»Π΅Π΅Ρ ΠΈΡ Ρ Π±ΠΎΠ»ΡΡΠ΅ΠΉ ΡΠΊΠΎΡΠΎΡΡΡΡ.
Π’Π΅, ΠΊΡΠΎ Π΅Π·Π΄ΠΈΡ Π²ΠΎ Π²Π»Π°ΠΆΠ½ΡΡ ΡΡΠ»ΠΎΠ²ΠΈΡΡ , ΡΠ°ΠΊΠΆΠ΅ Π²ΡΠΈΠ³ΡΠ°ΡΡ ΠΎΡ ΡΠ»ΡΡΡΠ΅Π½Π½ΠΎΠ³ΠΎ ΡΠΎΡΠΌΠΎΠΆΠ΅Π½ΠΈΡ Π½Π΅Π·Π°Π²ΠΈΡΠΈΠΌΠΎ ΠΎΡ ΠΏΠΎΠ³ΠΎΠ΄Ρ, Π° ΡΠ°ΠΊΠΆΠ΅ ΠΎΡ ΠΌΠ΅Π½ΡΡΠ΅Π³ΠΎ ΠΊΠΎΠ»ΠΈΡΠ΅ΡΡΠ²Π° ΠΎΠ±ΡΠ»ΡΠΆΠΈΠ²Π°Π½ΠΈΡ. ΠΠΎΡΡΠΈ Π²ΡΠ΅ Π³ΠΈΠ΄ΡΠ°Π²Π»ΠΈΡΠ΅ΡΠΊΠΈΠ΅ Π΄ΠΈΡΠΊΠΎΠ²ΡΠ΅ ΡΠΎΡΠΌΠΎΠ·Π° Π°Π²ΡΠΎΠΌΠ°ΡΠΈΡΠ΅ΡΠΊΠΈ Π°Π΄Π°ΠΏΡΠΈΡΡΡΡΡΡ ΠΊ ΠΈΠ·Π½ΠΎΡΡ ΠΊΠΎΠ»ΠΎΠ΄ΠΎΠΊ, ΠΈ Π²Ρ Π½Π΅ Π±ΡΠ΄Π΅ΡΠ΅ ΡΡΡΠ°Π΄Π°ΡΡ ΠΎΡ ΠΈΠ·Π½ΠΎΡΠ° Π΄ΠΈΡΠΊΠΎΠ² ΠΈΠ·-Π·Π° ΡΠ΅Π·ΠΊΠΎΠ³ΠΎ ΡΠΎΡΠΌΠΎΠΆΠ΅Π½ΠΈΡ.
ΠΠΈΠ΄ΡΠ°Π²Π»ΠΈΡΠ΅ΡΠΊΠΈΠ΅ Π΄ΠΈΡΠΊΠΎΠ²ΡΠ΅ ΡΠΎΡΠΌΠΎΠ·Π° ΡΠ°ΠΊΠΆΠ΅ ΡΡΠ΅Π±ΡΡΡ ΠΌΠ΅Π½ΡΡΠ΅Π³ΠΎ ΡΡΠΈΠ»ΠΈΡ ΡΡΠΊΠΈ, Π° ΡΡΠΎ ΠΎΠ·Π½Π°ΡΠ°Π΅Ρ, ΡΡΠΎ ΡΠ°ΡΡΠΎ Π΄ΠΎΡΡΠ°ΡΠΎΡΠ½ΠΎ ΠΎΠ΄Π½ΠΎΠ³ΠΎ ΠΏΠ°Π»ΡΡΠ°, ΡΡΠΎΠ±Ρ ΠΊΠΎΠ½ΡΡΠΎΠ»ΠΈΡΠΎΠ²Π°ΡΡ ΡΠΊΠΎΡΠΎΡΡΡ.
ΠΠ±ΠΎΠ΄Enve SES 4.5 AR Disc Π½Π΅ ΡΠΎΠ»ΡΠΊΠΎ ΡΠΈΡΠ΅, ΡΠ΅ΠΌ Π΅Π³ΠΎ Π°Π½Π°Π»ΠΎΠ³ Ρ ΠΎΠ±ΠΎΠ΄Π½ΡΠΌ ΡΠΎΡΠΌΠΎΠ·ΠΎΠΌ, Π½ΠΎ ΠΈ Π»Π΅Π³ΡΠ΅.
ΠΠ°ΠΊΠΎΠ½Π΅Ρ, Π΄ΠΈΡΠΊΠΎΠ²ΡΠ΅ ΡΠΎΡΠΌΠΎΠ·Π° ΠΏΡΠΈΠ½ΠΎΡΡΡ ΠΈΠ½ΠΆΠ΅Π½Π΅ΡΠ½ΡΠ΅ ΡΠ²ΠΎΠ±ΠΎΠ΄Ρ. Π‘Π½ΡΠ² ΡΠΎΡΠΌΠΎΠ·Π½ΠΎΠΉ ΡΡΠΏΠΏΠΎΡΡ Ρ ΠΊΠΎΡΠΎΠ½Ρ Π²ΠΈΠ»ΠΊΠΈ ΠΈΠ»ΠΈ ΠΌΠΎΡΡΠ° ΠΏΠΎΠ΄ΡΠ΅Π΄Π΅Π»ΡΠ½ΠΎΠ³ΠΎ ΡΡΡΡΡ, ΠΏΡΠΎΠΈΠ·Π²ΠΎΠ΄ΠΈΡΠ΅Π»ΠΈ ΡΠΌΠΎΠ³Π»ΠΈ Π·Π½Π°ΡΠΈΡΠ΅Π»ΡΠ½ΠΎ ΡΠ²Π΅Π»ΠΈΡΠΈΡΡ Π·Π°Π·ΠΎΡ ΠΌΠ΅ΠΆΠ΄Ρ ΡΠΈΠ½Π°ΠΌΠΈ ΠΈ ΡΠ»ΡΡΡΠΈΡΡ ΠΏΠΎΠ΄Π°ΡΠ»ΠΈΠ²ΠΎΡΡΡ ΡΠ°ΠΌΡ.Π’ΠΎΡΠ½ΠΎ ΡΠ°ΠΊ ΠΆΠ΅ ΡΡΡΠ±ΠΎΠΏΡΠΎΠ²ΠΎΠ΄Ρ Π³ΠΈΠ΄ΡΠ°Π²Π»ΠΈΡΠ΅ΡΠΊΠΎΠ³ΠΎ Π΄ΠΈΡΠΊΠΎΠ²ΠΎΠ³ΠΎ ΡΠΎΡΠΌΠΎΠ·Π° ΠΌΠΎΠΆΠ½ΠΎ ΠΏΡΠΎΠΊΠ»Π°Π΄ΡΠ²Π°ΡΡ Ρ Π±ΠΎΠ»Π΅Π΅ ΠΊΡΡΡΡΠΌΠΈ ΠΈΠ·Π³ΠΈΠ±Π°ΠΌΠΈ, ΡΠ΅ΠΌ ΠΌΠ΅Ρ Π°Π½ΠΈΡΠ΅ΡΠΊΠΈΠ΅ ΠΊΠ°Π±Π΅Π»ΠΈ ΠΈ ΠΊΠΎΡΠΏΡΡΠ°, ΡΡΠΎ Π·Π½Π°ΡΠΈΡΠ΅Π»ΡΠ½ΠΎ ΡΠΏΡΠΎΡΠ°Π΅Ρ ΠΏΡΠΎΠΊΠ»Π°Π΄ΠΊΡ. ΠΡΠΎΠΈΠ·Π²ΠΎΠ΄ΠΈΡΠ΅Π»ΠΈ ΠΊΠΎΠ»Π΅Ρ ΡΠ°ΠΊΠΆΠ΅ ΠΌΠΎΠ³ΡΡ ΡΠΎΠ·Π΄Π°Π²Π°ΡΡ Π±ΠΎΠ»Π΅Π΅ Π»Π΅Π³ΠΊΠΈΠ΅ Π΄ΠΈΡΠΊΠΈ (Ρ ΠΎΡΡ Π½Π° ΠΏΡΠ°ΠΊΡΠΈΠΊΠ΅ ΡΡΠΈ ΡΠ°Π·Π»ΠΈΡΠΈΡ Π² Π½Π°ΡΡΠΎΡΡΠ΅Π΅ Π²ΡΠ΅ΠΌΡ ΠΎΡΠ΅Π½Ρ Π½Π΅Π·Π½Π°ΡΠΈΡΠ΅Π»ΡΠ½Ρ).
ΠΠΎ Π΄Π°, Ρ Π΄ΠΈΡΠΊΠΎΠ²ΡΡ ΡΠΎΡΠΌΠΎΠ·ΠΎΠ² Π΅ΡΡΡ Π·Π°ΠΌΠ΅ΡΠ½ΡΠ΅ Π½Π΅Π΄ΠΎΡΡΠ°ΡΠΊΠΈ. ΠΠ½ΠΈ ΡΡΠΆΠ΅Π»Π΅Π΅, ΠΏΠ΅ΡΠ²ΠΎΠ½Π°ΡΠ°Π»ΡΠ½Π°Ρ Π½Π°ΡΡΡΠΎΠΉΠΊΠ° ΡΠ»ΠΎΠΆΠ½Π΅Π΅, ΠΈ Ρ Π½ΠΈΡ Π΅ΡΡΡ ΡΠ²ΠΎΠΈ ΠΎΡΠΎΠ±Π΅Π½Π½ΠΎΡΡΠΈ. Π Π΄Π°, ΡΠ΅Ρ Π½ΠΎΠ»ΠΎΠ³ΠΈΡ Π²ΡΠ΅ ΠΆΠ΅ Π΄ΠΎΡΠΎΠΆΠ΅.
ΠΠΈΡΠΊΠΎΠ²ΡΠ΅ ΡΠΎΡΠΌΠΎΠ·Π° Π±ΠΎΠ»Π΅Π΅ ΠΈΠ»ΠΈ ΠΌΠ΅Π½Π΅Π΅ Π°ΡΡΠΎΠ΄ΠΈΠ½Π°ΠΌΠΈΡΠ½Ρ, ΡΠ΅ΠΌ ΠΎΠ±ΠΎΠ΄Π½ΡΠ΅?
ΠΡΠΈ ΠΏΡΠΎΡΠΈΡ ΡΠ°Π²Π½ΡΡ , ΠΎΠ΄Π½ΠΈ ΡΠΎΠ»ΡΠΊΠΎ Π΄ΠΈΡΠΊΠΎΠ²ΡΠ΅ ΡΠΎΡΠΌΠΎΠ·Π° Π½Π΅ΠΌΠ½ΠΎΠ³ΠΎ ΠΌΠ΅Π½Π΅Π΅ Π°ΡΡΠΎΠ΄ΠΈΠ½Π°ΠΌΠΈΡΠ½Ρ, ΡΠ΅ΠΌ ΠΎΠ±ΠΎΠ΄Π½ΡΠ΅. ΠΠ΄Π½Π°ΠΊΠΎ Π²ΡΠ΅ Π±ΠΎΠ»ΡΡΠ΅Π΅ ΠΊΠΎΠ»ΠΈΡΠ΅ΡΡΠ²ΠΎ ΠΏΡΠΎΠΈΠ·Π²ΠΎΠ΄ΠΈΡΠ΅Π»Π΅ΠΉ Π²Π΅Π»ΠΎΡΠΈΠΏΠ΅Π΄ΠΎΠ², ΡΠ°ΠΊΠΈΡ ΠΊΠ°ΠΊ Giant Ρ ΠΈΡ Propel Disc, Π·Π°ΡΠ²Π»ΡΡΡ, ΡΡΠΎ, ΡΡΡΡΠ°Π½ΡΡ Π±Π΅ΡΠΏΠΎΡΡΠ΄ΠΎΠΊ ΠΎΠ±ΠΎΠ΄Π½ΡΡ ΡΠΎΡΠΌΠΎΠ·ΠΎΠ², ΠΌΠΎΠΆΠ½ΠΎ ΡΡΠ°Π²Π½ΠΎΠ²Π΅ΡΠΈΡΡ Π°ΡΡΠΎΠ΄ΠΈΠ½Π°ΠΌΠΈΡΠ΅ΡΠΊΠΈΠ΅ ΡΡΡΠ΅ΠΊΡΡ Π΄ΠΈΡΠΊΠΎΠ²ΠΎΠ³ΠΎ ΡΠΎΡΠΎΡΠ°.
Π§ΡΠΎ Π΅ΡΠ΅ Π±ΠΎΠ»Π΅Π΅ Π²Π°ΠΆΠ½ΠΎ, Π½Π΅ΠΊΠΎΡΠΎΡΡΠ΅ ΠΈΠ· ΡΠ°ΠΌΡΡ Π±ΡΡΡΡΡΡ Π°ΡΡΠΎΠ²Π΅Π»ΠΎΡΠΈΠΏΠ΅Π΄ΠΎΠ² ΡΡΠ°Π΄ΠΈΡΠΈΠΎΠ½Π½ΠΎ ΠΈΡΠΏΠΎΠ»ΡΠ·ΠΎΠ²Π°Π»ΠΈ ΠΎΠ±ΠΎΠ΄Π½ΡΠ΅ ΡΠΎΡΠΌΠΎΠ·Π°, ΠΊΠΎΡΠΎΡΡΠ΅ ΡΠ°Π±ΠΎΡΠ°ΡΡ Ρ ΡΠΎΠΌΠ½ΠΈΡΠ΅Π»ΡΠ½ΡΠΌ ΠΊΠ°ΡΠ΅ΡΡΠ²ΠΎΠΌ, Π½Π΅ Π³ΠΎΠ²ΠΎΡΡ ΡΠΆΠ΅ ΠΎ ΡΠΎΠΌ, ΡΡΠΎ ΡΠΎΡΠΌΠΎΠ·Π½ΡΠ΅ Ρ Π°ΡΠ°ΠΊΡΠ΅ΡΠΈΡΡΠΈΠΊΠΈ Π½Π° ΠΊΠ°ΡΠ±ΠΎΠ½ΠΎΠ²ΡΡ ΠΎΠ±ΠΎΠ΄Π°Ρ Π½Π΅ ΡΠ°ΠΊ Ρ ΠΎΡΠΎΡΠΈ, ΠΊΠ°ΠΊ Π½Π° Π°Π»ΡΠΌΠΈΠ½ΠΈΠ΅Π²ΡΡ .Π’Π΅ΠΌ Π½Π΅ ΠΌΠ΅Π½Π΅Π΅, Π΄ΠΈΡΠΊΠΎΠ²ΡΠ΅ ΡΠΎΡΠΌΠΎΠ·Π° ΠΎΡΠΊΡΡΠ²Π°ΡΡ Π²ΠΎΠ·ΠΌΠΎΠΆΠ½ΠΎΡΡΠΈ Π΄Π»Ρ ΠΏΠΎΠ»ΡΡΠ΅Π½ΠΈΡ Π°ΡΡΠΎΠ΄ΠΈΠ½Π°ΠΌΠΈΡΠ΅ΡΠΊΠΈΡ ΠΏΡΠ΅ΠΈΠΌΡΡΠ΅ΡΡΠ² Π² Π΄ΡΡΠ³ΠΈΡ ΡΠ°ΡΡΡΡ ΠΌΠΎΡΠΎΡΠΈΠΊΠ»Π°, ΠΈ ΠΌΡ ΡΠΎΠ»ΡΠΊΠΎ Π½Π°ΡΠΈΠ½Π°Π΅ΠΌ ΡΠ·Π½Π°Π²Π°ΡΡ, ΠΊΠ°ΠΊ ΡΡΠΎ ΡΠ΄Π΅Π»Π°ΡΡ.
ΠΠΎΠ³Ρ Π»ΠΈ Ρ ΡΡΠ°ΡΡΠ²ΠΎΠ²Π°ΡΡ Π² Π³ΠΎΠ½ΠΊΠ°Ρ Ρ Π΄ΠΈΡΠΊΠΎΠ²ΡΠΌΠΈ ΡΠΎΡΠΌΠΎΠ·Π°ΠΌΠΈ?
Π‘ 1 ΠΈΡΠ»Ρ 2018 Π³ΠΎΠ΄Π° Π΄ΠΈΡΠΊΠΎΠ²ΡΠ΅ ΡΠΎΡΠΌΠΎΠ·Π° ΡΠ°Π·ΡΠ΅ΡΠ΅Π½Ρ ΠΊ ΠΈΡΠΏΠΎΠ»ΡΠ·ΠΎΠ²Π°Π½ΠΈΡ Π½Π° Π²ΡΠ΅Ρ ΡΠΎΡΠ΅Π²Π½ΠΎΠ²Π°Π½ΠΈΡΡ , ΠΏΡΠΎΠ²ΠΎΠ΄ΠΈΠΌΡΡ UCI. Π, ΡΡΠΈΡΡΠ²Π°Ρ, ΡΡΠΎ ΠΏΠΎΡΡΠΈ Π²ΡΠ΅ Π»ΡΠ±ΠΈΡΠ΅Π»ΡΡΠΊΠΈΠ΅ ΡΠΎΡΠ΅Π²Π½ΠΎΠ²Π°Π½ΠΈΡ, Π²ΠΊΠ»ΡΡΠ°Ρ Gran Fondos, ΡΡΠΊΠΎΠ²ΠΎΠ΄ΡΡΠ²ΡΡΡΡΡ ΠΏΡΠ°Π²ΠΈΠ»Π°ΠΌΠΈ UCI, Π΄ΠΈΡΠΊΠΎΠ²ΡΠ΅ ΡΠΎΡΠΌΠΎΠ·Π° ΡΠ΅ΠΏΠ΅ΡΡ ΠΏΠΎΠ»ΡΡΠΈΠ»ΠΈ ΡΠΈΡΠΎΠΊΠΎΠ΅ ΡΠ°ΡΠΏΡΠΎΡΡΡΠ°Π½Π΅Π½ΠΈΠ΅.
ΠΠ΅ΡΠΆΠ΅Π»ΠΈ ΠΏΡΠΎΠΌΡΡΠ»Π΅Π½Π½ΠΎΡΡΡ Π·Π°ΡΡΠ°Π²ΠΈΡ Π½Π°Ρ ΠΈΡΠΏΠΎΠ»ΡΠ·ΠΎΠ²Π°ΡΡ Π΄ΠΈΡΠΊΠΎΠ²ΡΠ΅ ΡΠΎΡΠΌΠΎΠ·Π°?
ΠΠΎΠΊΠ° Π½Π΅ ΠΏΡΠΎΠ΄Π°ΡΡΡΡ Π²Π΅Π»ΠΎΡΠΈΠΏΠ΅Π΄Ρ Ρ ΠΎΠ±ΠΎΠ΄Π½ΡΠΌ ΡΠΎΡΠΌΠΎΠ·ΠΎΠΌ.ΠΠ΅Π»ΡΠ·Ρ ΠΎΡΡΠΈΡΠ°ΡΡ ΡΠ΅Π½Π΄Π΅Π½ΡΠΈΡ ΠΊ ΠΈΡΠΏΠΎΠ»ΡΠ·ΠΎΠ²Π°Π½ΠΈΡ Π΄ΠΈΡΠΊΠΎΠ²ΡΡ ΡΠΎΡΠΌΠΎΠ·ΠΎΠ² Π½Π° Π΄ΠΎΡΠΎΠ³Π°Ρ , ΠΈ Π½Π΅ΠΊΠΎΡΠΎΡΡΠ΅ Π±ΡΠ΅Π½Π΄Ρ, ΡΠ°ΠΊΠΈΠ΅ ΠΊΠ°ΠΊ Giant, Π³ΡΠΎΠΌΠΎΠ³Π»Π°ΡΠ½ΠΎ Π·Π°ΡΠ²Π»ΡΠ»ΠΈ, ΡΡΠΎ Π²Π΅Π»ΠΎΡΠΈΠΏΠ΅Π΄Ρ Ρ ΠΎΠ±ΠΎΠ΄Π½ΡΠΌ ΡΠΎΡΠΌΠΎΠ·ΠΎΠΌ ΠΈΠΌΠ΅ΡΡ ΠΎΠ³ΡΠ°Π½ΠΈΡΠ΅Π½Π½ΡΠΉ ΡΡΠΎΠΊ ΡΠ»ΡΠΆΠ±Ρ.
ΠΠ°ΠΆΠ΅ Π΅ΡΠ»ΠΈ ΠΊΡΡΠΏΠ½ΡΠ΅ Π±ΡΠ΅Π½Π΄Ρ ΠΎΡΠΊΠ°ΠΆΡΡΡΡ ΠΎΡ ΠΎΠ±ΠΎΠ΄Π½ΡΡ ΡΠΎΡΠΌΠΎΠ·ΠΎΠ², ΡΡΠΎ Π·Π°ΠΉΠΌΠ΅Ρ Π½Π΅ΡΠΊΠΎΠ»ΡΠΊΠΎ Π»Π΅Ρ, Π²Ρ Π²ΡΠ΅ ΡΠ°Π²Π½ΠΎ ΡΠΌΠΎΠΆΠ΅ΡΠ΅ ΡΠ°Π±ΠΎΡΠ°ΡΡ Ρ Π»ΡΠ±ΡΠΌ ΠΊΠΎΠ»ΠΈΡΠ΅ΡΡΠ²ΠΎΠΌ ΠΈΠ·Π³ΠΎΡΠΎΠ²ΠΈΡΠ΅Π»Π΅ΠΉ Π½Π° Π·Π°ΠΊΠ°Π· ΠΈΠ»ΠΈ Π½Π΅Π±ΠΎΠ»ΡΡΠΈΠΌΠΈ Π±ΡΠ΅Π½Π΄Π°ΠΌΠΈ, ΡΡΠΎΠ±Ρ ΠΏΠΎΠ»ΡΡΠΈΡΡ Π²Π΅Π»ΠΎΡΠΈΠΏΠ΅Π΄ Ρ ΠΎΠ±ΠΎΠ΄Π½ΡΠΌΠΈ ΡΠΎΡΠΌΠΎΠ·Π°ΠΌΠΈ.
ΠΠ°, Π² Π±Π»ΠΈΠΆΠ°ΠΉΡΠΈΠ΅ ΠΏΠ°ΡΡ Π»Π΅Ρ ΡΡΠ°Π½Π΅Ρ Π΄ΠΎΡΡΡΠΏΠ½ΠΎ Π²ΡΠ΅ Π±ΠΎΠ»ΡΡΠ΅ ΠΈ Π±ΠΎΠ»ΡΡΠ΅ Π²Π°ΡΠΈΠ°Π½ΡΠΎΠ² Ρ Π΄ΠΈΡΠΊΠΎΠ²ΡΠΌΠΈ ΡΠΎΡΠΌΠΎΠ·Π°ΠΌΠΈ, ΠΈ ΡΡΠΎ Π±ΡΠ΄Π΅Ρ ΠΏΡΠΎΠΈΡΡ ΠΎΠ΄ΠΈΡΡ Π·Π° ΡΡΠ΅Ρ Π²ΡΠ΅ ΠΌΠ΅Π½ΡΡΠ΅Π³ΠΎ ΠΈ ΠΌΠ΅Π½ΡΡΠ΅Π³ΠΎ ΠΊΠΎΠ»ΠΈΡΠ΅ΡΡΠ²Π° Π²Π΅Π»ΠΎΡΠΈΠΏΠ΅Π΄ΠΎΠ² Ρ ΠΎΠ±ΠΎΠ΄Π½ΡΠΌ ΡΠΎΡΠΌΠΎΠ·ΠΎΠΌ.ΠΠΎ Π΅ΡΠ»ΠΈ Ρ Π²Π°Ρ ΡΠ΅ΠΉΡΠ°Ρ Π΅ΡΡΡ Π²Π΅Π»ΠΎΡΠΈΠΏΠ΅Π΄ Ρ ΠΎΠ±ΠΎΠ΄Π½ΡΠΌ ΡΠΎΡΠΌΠΎΠ·ΠΎΠΌ ΠΈΠ»ΠΈ Π²Ρ Ρ ΠΎΡΠΈΡΠ΅ Π΅Π³ΠΎ ΠΊΡΠΏΠΈΡΡ, Π² Π±Π»ΠΈΠΆΠ°ΠΉΡΠ΅Π΅ Π²ΡΠ΅ΠΌΡ ΠΎΠ½ Π½Π΅ ΡΡΡΠ°ΡΠ΅Π΅Ρ.
Road Disc ΠΡΠ½ΠΎΠ²Ρ ΡΡΡΠ°Π½ΠΎΠ²ΠΊΠΈ ΠΈ ΠΏΠΎΠΊΡΠΏΠΊΠΈ
ΠΠΎΠ³Ρ Π»ΠΈ Ρ ΡΡΡΠ°Π½ΠΎΠ²ΠΈΡΡ Π΄ΠΈΡΠΊΠΈ Π½Π° ΡΡΡΠ΅ΡΡΠ²ΡΡΡΠΈΠΉ Π²Π΅Π»ΠΎΡΠΈΠΏΠ΅Π΄?
ΠΠΈ ΡΡΠ°Π΄ΠΈΡΠΈΠΎΠ½Π½ΡΠ΅ Π΄ΠΎΡΠΎΠΆΠ½ΡΠ΅ ΡΡΡΠΏΠΈΡΡ, Π½ΠΈ ΡΠ°ΠΌΡ Π½Π΅ ΠΈΠΌΠ΅ΡΡ ΠΏΡΠΈΡΠΏΠΎΡΠΎΠ±Π»Π΅Π½ΠΈΠΉ Π΄Π»Ρ Π΄ΠΎΠ±Π°Π²Π»Π΅Π½ΠΈΡ Π΄ΠΈΡΠΊΠΎΠ².
ΠΡΠΎΡΡΠΎ Π½Π΅Ρ. ΠΠ»Ρ ΡΡΠΏΠΏΠΎΡΡΠΎΠ² Π΄ΠΈΡΠΊΠΎΠ²ΡΡ ΡΠΎΡΠΌΠΎΠ·ΠΎΠ² ΡΡΠ΅Π±ΡΡΡΡΡ ΠΎΠΏΡΠ΅Π΄Π΅Π»Π΅Π½Π½ΡΠ΅ ΡΠΎΡΠΊΠΈ ΠΊΡΠ΅ΠΏΠ»Π΅Π½ΠΈΡ Π½Π° Π²ΠΈΠ»ΠΊΠ΅ ΠΈ ΡΠ°ΠΌΠ΅, Π° Π΄Π»Ρ ΠΊΠΎΠ»Π΅Ρ Π½ΡΠΆΠ½Ρ ΡΠΏΠ΅ΡΠΈΠ°Π»ΡΠ½ΡΠ΅ ΡΡΡΠΏΠΈΡΡ, Π½Π° ΠΊΠΎΡΠΎΡΡΠ΅ ΠΌΠΎΠΆΠ½ΠΎ ΡΡΡΠ°Π½ΠΎΠ²ΠΈΡΡ ΡΠΎΡΠΎΡ.Π ΡΠΎ Π²ΡΠ΅ΠΌΡ ΠΊΠ°ΠΊ Π² ΡΠ΅ Π²ΡΠ΅ΠΌΠ΅Π½Π°, ΠΊΠΎΠ³Π΄Π° Π²ΠΎΠ·Π½ΠΈΠΊΠ»ΠΈ Π΄ΠΈΡΠΊΠΎΠ²ΡΠ΅ ΡΠΎΡΠΌΠΎΠ·Π°, Π±ΡΠ»ΠΎ Π²ΡΠΏΡΡΠ΅Π½ΠΎ Π½Π΅ΡΠΊΠΎΠ»ΡΠΊΠΎ ΡΡΠ°ΡΡΡ (Π±ΠΎΠ»ΡΡΠΈΠ½ΡΡΠ²ΠΎ Π²Π΅Π»ΠΎΠΊΡΠΎΡΡΠΎΠ²ΡΡ ) Π²Π΅Π»ΠΎΡΠΈΠΏΠ΅Π΄ΠΎΠ², ΠΊΠΎΡΠΎΡΡΠ΅ ΠΌΠΎΠ³Π»ΠΈ ΠΏΡΠΈΠ½ΠΈΠΌΠ°ΡΡ Π»ΡΠ±ΠΎΠΉ ΡΠΎΡΠΌΠ°Ρ, Π²Π΅ΡΠΎΡΡΠ½ΠΎΡΡΡ ΡΠΎΠ³ΠΎ, ΡΡΠΎ Π²Ρ ΡΠΌΠΎΠΆΠ΅ΡΠ΅ ΡΡΡΠ°Π½ΠΎΠ²ΠΈΡΡ Π΄ΠΈΡΠΊΠΎΠ²ΡΠ΅ ΡΠΎΡΠΌΠΎΠ·Π° Π½Π° ΡΠ²ΠΎΠΉ ΡΡΡΠ΅ΡΡΠ²ΡΡΡΠΈΠΉ Π²Π΅Π»ΠΎΡΠΈΠΏΠ΅Π΄ Ρ ΠΎΠ±ΠΎΠ΄Π½ΡΠΌ ΡΠΎΡΠΌΠΎΠ·ΠΎΠΌ, ΡΡΠ΅Π·Π²ΡΡΠ°ΠΉΠ½ΠΎ ΠΌΠ°Π»Π°.
ΠΡΠ»ΠΈ Ρ ΠΏΡΠ΅Π΄ΡΡΠ°Π²Π»Ρ ΡΠ²ΠΎΠ΅ ΠΊΠΎΠ»Π΅ΡΠΎ ΠΊΠ°ΠΊ Π΄ΠΈΡΠΊ, ΡΠΎ Π½Π°Π²Π΅ΡΠ½ΡΠΊΠ° Ρ ΠΌΠ΅Π½Ρ ΡΠΆΠ΅ Π΅ΡΡΡ Π΄ΠΈΡΠΊΠΎΠ²ΡΠ΅ ΡΠΎΡΠΌΠΎΠ·Π°, Π½Π΅ ΡΠ°ΠΊ Π»ΠΈ?
Π’Π΅ΠΎΡΠ΅ΡΠΈΡΠ΅ΡΠΊΠΈ Π΄Π°. ΠΠ΄Π½Π°ΠΊΠΎ ΠΏΡΠ΅ΠΈΠΌΡΡΠ΅ΡΡΠ²Π° Π΄ΠΈΡΠΊΠΎΠ²ΡΡ ΡΠΎΡΠΌΠΎΠ·ΠΎΠ² Π·Π°ΠΊΠ»ΡΡΠ°ΡΡΡΡ Π½Π΅ Π² ΡΠ°Π·ΠΌΠ΅ΡΠ΅ ΡΠΎΡΠΎΡΠ°, Π° Π² ΡΠΎΠΌ, Π½Π°ΡΠΊΠΎΠ»ΡΠΊΠΎ ΡΡΡΠ΅ΠΊΡΠΈΠ²Π½ΠΎ ΡΡΠΈΠ»ΠΈΠ΅ ΠΏΠ΅ΡΠ΅Π΄Π°Π΅ΡΡΡ ΠΎΡ ΡΡΡΠ°Π³Π° ΠΊ ΡΠΎΡΠΌΠΎΠ·Π½ΠΎΠΉ ΠΏΠΎΠ²Π΅ΡΡ Π½ΠΎΡΡΠΈ.ΠΠΎΡΡΡΠΈΡΠΈΠ΅Π½ΡΡ ΡΡΠ΅Π½ΠΈΡ ΠΊΠ°ΡΠ±ΠΎΠ½ΠΎΠ²ΡΡ ΠΈ Π°Π»ΡΠΌΠΈΠ½ΠΈΠ΅Π²ΡΡ ΠΎΠ±ΠΎΠ΄ΠΎΠ² Π½Π΅ ΡΠ°ΠΊ Ρ ΠΎΡΠΎΡΠΈ, ΠΊΠ°ΠΊ Ρ ΡΡΠ°Π»ΡΠ½ΡΡ Π΄ΠΈΡΠΊΠΎΠ²ΡΡ ΡΠΎΡΠΌΠΎΠ·ΠΎΠ², Π° ΡΡΠΏΠΏΠΎΡΡΡ ΠΈ ΠΊΠΎΡΠΏΡΡΠ° ΠΎΠ±ΠΎΠ΄Π½ΡΡ ΡΠΎΡΠΌΠΎΠ·ΠΎΠ² Π³ΠΎΡΠ°Π·Π΄ΠΎ Π±ΠΎΠ»Π΅Π΅ ΡΠΊΠ»ΠΎΠ½Π½Ρ ΠΊ ΠΈΠ·Π³ΠΈΠ±Ρ, ΡΠ½ΠΈΠΆΠ°ΡΡΠ΅ΠΌΡ ΠΌΠΎΡΠ½ΠΎΡΡΡ, ΡΠ΅ΠΌ ΠΊΠΎΠΌΠΏΠ°ΠΊΡΠ½ΡΠ΅ Π³ΠΈΠ΄ΡΠ°Π²Π»ΠΈΡΠ΅ΡΠΊΠΈΠ΅ ΡΡΠΏΠΏΠΎΡΡΡ Π΄ΠΈΡΠΊΠΎΠ²ΡΡ ΡΠΎΡΠΌΠΎΠ·ΠΎΠ². ΠΡΠΊΠ»ΡΡΠ΅Π½ΠΈΡ ΡΡΡΠ΅ΡΡΠ²ΡΡΡ, Π½Π°ΠΏΡΠΈΠΌΠ΅Ρ, Π½Π΅ΠΊΠΎΡΠΎΡΡΠ΅ ΡΠΏΠ΅ΡΠΈΠ°Π»ΡΠ½ΠΎ ΠΎΠ±ΡΠ°Π±ΠΎΡΠ°Π½Π½ΡΠ΅ Π±ΠΎΠΊΠΎΠ²ΠΈΠ½Ρ ΠΎΠ±ΠΎΠ΄Π½ΡΡ ΡΠΎΡΠΌΠΎΠ·ΠΎΠ² ΠΈ Π³ΠΈΠ΄ΡΠ°Π²Π»ΠΈΡΠ΅ΡΠΊΠΈΠ΅ ΡΡΠΏΠΏΠΎΡΡΡ ΠΎΠ±ΠΎΠ΄Π½ΡΡ ΡΠΎΡΠΌΠΎΠ·ΠΎΠ², Π½ΠΎ ΠΏΠΎ Π±ΠΎΠ»ΡΡΠ΅ΠΉ ΡΠ°ΡΡΠΈ ΡΡΠΎ ΡΠΎΠ²ΡΠ΅ΠΌ Π½Π΅ ΠΎΠ΄Π½ΠΎ ΠΈ ΡΠΎ ΠΆΠ΅.
Π ΡΠ΅ΠΌ ΡΠ°Π·Π½ΠΈΡΠ° ΠΌΠ΅ΠΆΠ΄Ρ ΡΠ΅Π½ΡΡΠ°Π»ΡΠ½ΡΠΌ Π·Π°ΠΌΠΊΠΎΠΌ ΠΈ Π΄ΠΈΡΠΊΠΎΠ²ΡΠΌ ΡΠΎΡΠΎΡΠΎΠΌ Ρ ΡΠ΅ΡΡΡΡ Π±ΠΎΠ»ΡΠ°ΠΌΠΈ?
Π¨Π΅ΡΡΡ Π±ΠΎΠ»ΡΠΎΠ² ΡΠ»Π΅Π²Π°, ΡΠ΅Π½ΡΡΠ°Π»ΡΠ½ΡΠΉ Π·Π°ΠΌΠΎΠΊ ΡΠΏΡΠ°Π²Π°.
ΠΡΠΎ Π΄Π²Π° ΡΠ°ΡΠΏΡΠΎΡΡΡΠ°Π½Π΅Π½Π½ΡΡ ΡΠΏΠΎΡΠΎΠ±Π° ΠΊΡΠ΅ΠΏΠ»Π΅Π½ΠΈΡ ΡΠΎΡΠΎΡΠΎΠ² ΠΊ ΡΡΡΠΏΠΈΡΠ°ΠΌ. Π¦Π΅Π½ΡΡΠ°Π»ΡΠ½ΡΠΉ Π·Π°ΠΌΠΎΠΊ ΠΈΡΠΏΠΎΠ»ΡΠ·ΡΠ΅Ρ ΡΠ»ΠΈΡΠ΅Π²ΠΎΠΉ ΠΈΠ½ΡΠ΅ΡΡΠ΅ΠΉΡ Π΄Π»Ρ ΡΠ΄Π΅ΡΠΆΠ°Π½ΠΈΡ ΡΠΎΡΠΎΡΠ°, ΠΈ ΡΡΠΎΠΏΠΎΡΠ½ΠΎΠ³ΠΎ ΠΊΠΎΠ»ΡΡΠ° (ΠΊΠΎΡΠΎΡΠΎΠ΅ ΠΎΠ±ΡΡΠ½ΠΎ ΠΈΡΠΏΠΎΠ»ΡΠ·ΡΠ΅ΡΡΡ ΠΊΠ°ΡΡΠ΅ΡΠΎΠΉ ΡΡΠΎΠΏΠΎΡΠ½ΠΎΠ³ΠΎ ΠΊΠΎΠ»ΡΡΠ° ΠΈΠ½ΡΡΡΡΠΌΠ΅Π½ΡΠ°, Π½ΠΎ ΠΈΠ½ΠΎΠ³Π΄Π° Π²Π½Π΅ΡΠ½ΠΈΠΉ Π½ΠΈΠΆΠ½ΠΈΠΉ ΠΈΠ½ΡΡΡΡΠΌΠ΅Π½ΡΠ° ΠΊΡΠΎΠ½ΡΡΠ΅ΠΉΠ½Π°) ΠΊΡΠ΅ΠΏΠΈΡ Π΅Π³ΠΎ Π½Π° ΠΌΠ΅ΡΡΠ΅. ΠΡΠΎ ΡΠ»Π΅Π³Π°Π½ΡΠ½Π°Ρ ΡΠΈΡΡΠ΅ΠΌΠ°, ΠΏΡΠ΅Π΄ΡΡΠ°Π²Π»Π΅Π½Π½Π°Ρ Shimano, Π° ΡΠ΅ΠΏΠ΅ΡΡ ΡΠ°ΠΊΠΆΠ΅ ΠΏΡΠ΅Π΄Π»Π°Π³Π°Π΅ΡΡΡ ΡΠ°ΠΊΠΈΠΌΠΈ ΠΊΠΎΠΌΠΏΠ°Π½ΠΈΡΠΌΠΈ, ΠΊΠ°ΠΊ SRAM ΠΈ Campagnolo.
Π ΠΎΡΠΎΡΡ Ρ ΡΠ΅ΡΡΡΡ Π±ΠΎΠ»ΡΠ°ΠΌΠΈ, ΠΊΠΎΡΠΎΡΡΠ΅ ΠΎΠ±ΡΡΠ½ΠΎ Π²ΡΡΡΠ΅ΡΠ°ΡΡΡΡ Π½Π° Π±ΠΎΠ»Π΅Π΅ Π΄Π΅ΡΠ΅Π²ΡΡ Π²Π΅Π»ΠΎΡΠΈΠΏΠ΅Π΄Π°Ρ , ΠΏΡΠΎΡΠ΅, ΠΎΠ½ΠΈ ΠΊΡΠ΅ΠΏΡΡΡΡ ΠΊ ΡΡΡΠΏΠΈΡΠ΅ ΡΠ΅ΡΡΡΡ Π±ΠΎΠ»ΡΠ°ΠΌΠΈ. ΠΠ±ΡΡΠ½ΠΎ Π΄Π»Ρ ΡΡΠΈΡ Π±ΠΎΠ»ΡΠΎΠ² ΠΈΡΠΏΠΎΠ»ΡΠ·ΡΠ΅ΡΡΡ Torx T25.
ΠΡ ΠΌΠΎΠΆΠ΅ΡΠ΅ ΠΎΠΏΡΠ΅Π΄Π΅Π»ΠΈΡΡ Π»ΡΠ±ΠΎΠΉ ΡΠΈΠΏ ΡΠΎΡΠΎΡΠ°, ΠΏΡΠΎΡΡΠΎ ΠΏΠΎΡΠΌΠΎΡΡΠ΅Π² Π½Π° ΡΡΡΠΏΠΈΡΡ ΠΈΠ»ΠΈ ΡΠΎΡΠΎΡ. Π¨Π»ΠΈΡΠ΅Π²ΠΎΠΉ ΠΈΠ½ΡΠ΅ΡΡΠ΅ΠΉΡ — ΡΡΠΎ Center Lock, Π° ΡΠ΅ΡΡΡ Π±ΠΎΠ»ΡΠΎΠ² — ΡΡΠΎ, Π½Ρ, Π½Ρ, ΡΠ΅ΡΡΡ Π±ΠΎΠ»ΡΠΎΠ².
ΠΠ΄Π°ΠΏΡΠ΅Ρ Center Lock ΠΏΠΎΠ·Π²ΠΎΠ»ΡΠ΅Ρ ΡΡΡΠ°Π½Π°Π²Π»ΠΈΠ²Π°ΡΡ ΡΠΎΡΠΎΡ Ρ ΡΠ΅ΡΡΡΡ Π±ΠΎΠ»ΡΠ°ΠΌΠΈ Π½Π° ΡΠ»ΠΈΡΠ΅Π²ΡΡ ΡΡΡΠΏΠΈΡΡ.
Π‘ΡΠΎΠΈΡ ΠΎΡΠΌΠ΅ΡΠΈΡΡ, ΡΡΠΎ ΡΠΎΡΠΎΡΡ Ρ ΡΠ΅ΡΡΡΡ Π±ΠΎΠ»ΡΠ°ΠΌΠΈ ΠΌΠΎΠ³ΡΡ Π±ΡΡΡ ΡΡΡΠ°Π½ΠΎΠ²Π»Π΅Π½Ρ Π½Π° ΡΠ»ΠΈΡΠ΅Π²ΡΠ΅ ΡΡΡΠΏΠΈΡΡ Ρ ΠΏΠΎΠΌΠΎΡΡΡ ΡΠΎΠΎΡΠ²Π΅ΡΡΡΠ²ΡΡΡΠ΅Π³ΠΎ Π°Π΄Π°ΠΏΡΠ΅ΡΠ°, Π½ΠΎ ΠΎΠ±ΡΠ°ΡΠ½ΠΎΠ΅ Π½Π΅Π²ΠΎΠ·ΠΌΠΎΠΆΠ½ΠΎ.
Π§ΡΠΎ ΡΠ°ΠΊΠΎΠ΅ Ice Tech?
Ice Tech — ΡΡΠΎ ΡΠ΅Ρ Π½ΠΎΠ»ΠΎΠ³ΠΈΡ ΡΠΏΡΠ°Π²Π»Π΅Π½ΠΈΡ ΡΠ΅ΠΏΠ»ΠΎΠΌ, Π²ΡΡΡΠΎΠ΅Π½Π½Π°Ρ Π² ΠΎΠΏΡΠ΅Π΄Π΅Π»Π΅Π½Π½ΡΠ΅ ΠΌΠΎΠ΄Π΅Π»ΠΈ ΡΠΎΡΠΌΠΎΠ·Π½ΡΡ ΠΊΠΎΠ»ΠΎΠ΄ΠΎΠΊ ΠΈ ΡΠΎΡΠΎΡΠΎΠ² Shimano.
Π ΡΠΎΡΠΎΡΠ°Ρ Ice Tech ΠΎΠ·Π½Π°ΡΠ°Π΅Ρ ΡΡΠ΅Ρ ΡΠ»ΠΎΠΉΠ½ΡΡ ΠΊΠΎΠ½ΡΡΡΡΠΊΡΠΈΡ ΡΠΎΡΠΎΡΠ° Ρ Π²Π½ΡΡΡΠ΅Π½Π½ΠΈΠΌ Π°Π»ΡΠΌΠΈΠ½ΠΈΠ΅Π²ΡΠΌ ΡΠ»ΠΎΠ΅ΠΌ, Π·Π°ΠΆΠ°ΡΡΠΌ ΠΌΠ΅ΠΆΠ΄Ρ ΡΠΎΡΠΌΠΎΠ·Π½ΡΠΌΠΈ ΠΏΠΎΠ²Π΅ΡΡ Π½ΠΎΡΡΡΠΌΠΈ ΠΈΠ· Π½Π΅ΡΠΆΠ°Π²Π΅ΡΡΠ΅ΠΉ ΡΡΠ°Π»ΠΈ. ΠΠΎΡΠΊΠΎΠ»ΡΠΊΡ Π°Π»ΡΠΌΠΈΠ½ΠΈΠΉ ΡΠ²Π»ΡΠ΅ΡΡΡ Π»ΡΡΡΠΈΠΌ ΠΏΡΠΎΠ²ΠΎΠ΄Π½ΠΈΠΊΠΎΠΌ ΡΠ΅ΠΏΠ»Π°, ΡΠ΅ΠΌ ΡΡΠ°Π»Ρ, ΡΡΠ²Π΅ΡΠΆΠ΄Π°Π΅ΡΡΡ, ΡΡΠΎ ΡΡΠ° ΠΊΠΎΠ½ΡΡΡΡΠΊΡΠΈΡ Π»ΡΡΡΠ΅ ΡΠ°ΡΡΠ΅ΠΈΠ²Π°Π΅Ρ ΡΠ΅ΠΏΠ»ΠΎ ΠΏΡΠΈ ΡΠΎΡΠΌΠΎΠΆΠ΅Π½ΠΈΠΈ, ΡΠ΅ΠΌ ΡΠ΅Π»ΡΠ½ΠΎΡΡΠ°Π»ΡΠ½ΠΎΠΉ ΡΠΎΡΠΎΡ. Π ΠΌΠΎΠ΄Π΅Π»ΡΡ Π±ΠΎΠ»Π΅Π΅ Π²ΡΡΠΎΠΊΠΎΠ³ΠΎ ΡΡΠΎΠ²Π½Ρ, ΡΠ°ΠΊΠΈΡ ΠΊΠ°ΠΊ RT-99, ΡΡΠΎ ΡΠΎΡΠ΅ΡΠ°Π΅ΡΡΡ Ρ ΡΠ΅Ρ Π½ΠΎΠ»ΠΎΠ³ΠΈΠ΅ΠΉ Freeza, Π³Π΄Π΅ Π°Π»ΡΠΌΠΈΠ½ΠΈΠ΅Π²ΡΠΉ ΡΠ΅ΡΠ΄Π΅ΡΠ½ΠΈΠΊ ΡΠ°ΠΊΠΆΠ΅ ΡΡΠΎΡΠΌΠΈΡΠΎΠ²Π°Π½ Π² Π²ΠΈΠ΄Π΅ ΡΠ΅Π±ΡΠΈΡΡΠΎΠ³ΠΎ ΡΠ°Π΄ΠΈΠ°ΡΠΎΡΠ°. Shimano ΡΡΠ²Π΅ΡΠΆΠ΄Π°Π΅Ρ, ΡΡΠΎ ΠΎΠ½ΠΈ ΠΏΡΠΈΠΌΠ΅ΡΠ½ΠΎ Π½Π° 50% ΡΡΡΠ΅ΠΊΡΠΈΠ²Π½Π΅Π΅ Π² ΠΎΡ Π»Π°ΠΆΠ΄Π΅Π½ΠΈΠΈ, ΡΠ΅ΠΌ ΡΠΎΡΠΎΡΡ, ΡΠΎΠ»ΡΠΊΠΎ Ρ Ice Tech.
Π ΡΠΎΡΠΌΠΎΠ·Π½ΡΡ ΠΊΠΎΠ»ΠΎΠ΄ΠΊΠ°Ρ Ice Tech ΠΎΡΠ½ΠΎΡΠΈΡΡΡ ΠΊ ΠΎΠΏΠΎΡΠ½ΡΠΌ ΠΏΠ»Π°ΡΡΠΈΠ½Π°ΠΌ ΡΠΎ Π²ΡΡΡΠΎΠ΅Π½Π½ΡΠΌΠΈ ΡΠ°Π΄ΠΈΠ°ΡΠΎΡΠ°ΠΌΠΈ. ΠΠ°ΠΊ ΠΈ Π² ΡΠ»ΡΡΠ°Π΅ Ρ ΡΠΎΡΠΎΡΠ°ΠΌΠΈ, ΠΎΠ½ΠΈ ΠΏΠΎΠΌΠΎΠ³Π°ΡΡ ΠΎΡΠ²ΠΎΠ΄ΠΈΡΡ ΡΠ΅ΠΏΠ»ΠΎ ΠΎΡ ΡΠΎΡΠΌΠΎΠ·Π½ΡΡ ΠΊΠΎΠ»ΠΎΠ΄ΠΎΠΊ ΠΈ ΡΠ°ΡΡΠ΅ΠΈΠ²Π°ΡΡΡΡ Π² ΠΎΠΊΡΡΠΆΠ°ΡΡΠ΅ΠΌ Π²ΠΎΠ·Π΄ΡΡ Π΅. ΠΠ΅Π΄ΠΎΡΡΠ°ΡΠΊΠΎΠΌ ΠΎΡΠ΅Π±ΡΠ΅Π½Π½ΡΡ ΡΠΎΡΠΌΠΎΠ·Π½ΡΡ ΠΊΠΎΠ»ΠΎΠ΄ΠΎΠΊ ΡΠ²Π»ΡΠ΅ΡΡΡ Π½Π΅Π·Π½Π°ΡΠΈΡΠ΅Π»ΡΠ½ΠΎΠ΅ ΡΠ²Π΅Π»ΠΈΡΠ΅Π½ΠΈΠ΅ Π²Π΅ΡΠ° ΠΈ ΡΡΠΎΠΈΠΌΠΎΡΡΠΈ.
Π₯ΠΎΡΡ ΠΎΠ½ΠΈ ΠΌΠΎΠ³ΡΡ Π½Π΅ ΡΡΡΠ°Π½Π°Π²Π»ΠΈΠ²Π°ΡΡΡΡ Π½Π° Π±Π°ΠΉΠΊ, ΠΊΠΎΡΠΎΡΡΠΉ Π²Ρ ΠΏΠΎΠΊΡΠΏΠ°Π΅ΡΠ΅, Π±ΠΎΠ»ΡΡΠΈΠ½ΡΡΠ²ΠΎ Π΄ΠΎΡΠΎΠΆΠ½ΡΡ ΡΠΎΡΠΌΠΎΠ·ΠΎΠ² Shimano ΡΠΎΠ²ΠΌΠ΅ΡΡΠΈΠΌΡ Ρ Ice Tech. ΠΠ½ΠΎΠ³Π΄Π° Π²ΡΠ΅, ΡΡΠΎ ΡΡΠ΅Π±ΡΠ΅ΡΡΡ, — ΡΡΠΎ ΠΎΠ±Π½ΠΎΠ²ΠΈΡΡ ΡΠΎΡΠΌΠΎΠ·Π½ΡΠ΅ ΠΊΠΎΠ»ΠΎΠ΄ΠΊΠΈ.
Π ΡΠ΅ΠΌ ΡΠ°Π·Π½ΠΈΡΠ° ΠΌΠ΅ΠΆΠ΄Ρ ΡΡΠΏΠΏΠΎΡΡΠ°ΠΌΠΈ Ρ ΠΏΠ»ΠΎΡΠΊΠΈΠΌ ΠΊΡΠ΅ΠΏΠ»Π΅Π½ΠΈΠ΅ΠΌ ΠΈ ΡΡΠ°Π½Π³Π΅Π½ΡΠΈΡΠΊΡΠ»Π΅ΠΌ? Π‘ΠΎΠ²ΠΌΠ΅ΡΡΠΈΠΌΡ Π»ΠΈ ΠΎΠ½ΠΈ?
ΠΡΠΈΠΌΠ΅Ρ ΡΡΠΎΡΠ½ΠΎΡΠ½ΠΎΠ³ΠΎ ΡΠΎΡΠΌΠΎΠ·Π°.
ΠΏΠΎΡΠ»Π΅ ΠΌΠΎΠ½ΡΠ°ΠΆΠ° ΡΡΠΏΠΏΠΎΡΡΠΎΠ² Π±ΡΠ»ΠΈ ΠΏΡΠΈΠ½ΡΡΡ ΠΎΡ Π³ΠΎΡΠ½ΡΡ Π²Π΅Π»ΠΎΡΠΈΠΏΠ΅Π΄ΠΎΠ² Π² ΠΏΠ΅ΡΠ²ΡΠ΅ Π΄Π½ΠΈ Π΄ΠΎΡΠΎΠ³ΠΈ Π΄ΠΈΡΠΊΠΎΠ²ΡΡ ΡΠΎΡΠΌΠΎΠ·Π°. ΠΠ΄Π΅ΡΡ ΡΡΠΏΠΏΠΎΡΡ ΡΠΎΡΠΌΠΎΠ·Π° ΡΡΡΠ°Π½Π°Π²Π»ΠΈΠ²Π°Π΅ΡΡΡ Π½Π° ΡΠ΅Π·ΡΠ±ΠΎΠ²ΡΠ΅ ΡΡΠΎΠΉΠΊΠΈ Π½Π° ΡΠ°ΠΌΠ΅, ΠΏΡΠΈ ΡΡΠΎΠΌ Π±ΠΎΠ»ΡΡ ΠΏΡΠΎΡ ΠΎΠ΄ΡΡ ΡΠ΅ΡΠ΅Π· ΡΡΠΏΠΏΠΎΡΡ. Π‘ΠΈΡΡΠ΅ΠΌΠ° ΠΏΠΎΠ·Π²ΠΎΠ»ΡΠ»Π° Π»Π΅Π³ΠΊΠΎ ΠΌΠ΅Π½ΡΡΡ ΠΏΠΎΠ»ΠΎΠΆΠ΅Π½ΠΈΠ΅ ΠΈ ΡΠ΅Π³ΡΠ»ΠΈΡΠΎΠ²ΠΊΡ ΡΡΠΏΠΏΠΎΡΡΠ°, Π° ΡΠ°ΠΊΠΆΠ΅ ΠΎΠ±ΡΠΈΡ ΠΊΠΎΡΠΏΡΡΠΎΠ² ΡΡΠΏΠΏΠΎΡΡΠΎΠ² Π½Π° Π·Π°ΡΠ΅ Π΄ΠΎΡΠΎΠΆΠ½ΡΡ Π΄ΠΈΡΠΊΠΎΠ²ΡΡ ΡΠΎΡΠΌΠΎΠ·ΠΎΠ².
Π ΠΎΡΠ»ΠΈΡΠΈΠ΅ ΠΎΡ ΡΡΠΎΠ³ΠΎ ΡΡΠ°Π½Π΄Π°ΡΡ Π΄Π»Ρ Π΄ΠΎΡΠΎΠΆΠ½ΠΎΠ³ΠΎ ΠΌΠΎΠ½ΡΠ°ΠΆΠ° Ρ ΠΏΠ»ΠΎΡΠΊΠΈΠΌ ΡΠΊΡΠ°Π½ΠΎΠΌ ΠΌΠ΅Π½ΡΡΠ΅ ΠΏΠΎ ΡΠ°Π·ΠΌΠ΅ΡΡ ΠΈ ΡΡΠ΅Π±ΡΠ΅Ρ ΠΌΠ΅Π½ΡΡΠ΅ ΠΌΠ΅ΡΡΠ° Π½Π° ΡΠ°ΠΌΠ΅.
Flat-mount — ΡΡΠΎ Π½ΠΎΠ²ΠΎΠ΅ ΠΊΡΠ΅ΠΏΠ»Π΅Π½ΠΈΠ΅ Π΄Π»Ρ Π΄ΠΈΡΠΊΠΎΠ²ΡΡ ΡΠΎΡΠΌΠΎΠ·ΠΎΠ², ΠΏΡΠ΅Π΄Π½Π°Π·Π½Π°ΡΠ΅Π½Π½ΠΎΠ΅ Π΄Π»Ρ Π΄ΠΎΡΠΎΠ³, ΠΎΠ½ΠΎ Π±ΠΎΠ»Π΅Π΅ ΠΊΠΎΠΌΠΏΠ°ΠΊΡΠ½ΠΎΠ΅ ΠΈ Π»Π΅Π³ΠΊΠΎΠ΅, ΡΠ΅ΠΌ ΠΏΠΎΡΡ-ΠΊΡΠ΅ΠΏΠ»Π΅Π½ΠΈΠ΅.ΠΡΠΈ ΠΏΠ»ΠΎΡΠΊΠΎΠΌ ΠΊΡΠ΅ΠΏΠ»Π΅Π½ΠΈΠΈ Π·Π°Π΄Π½ΠΈΠΉ ΡΡΠΏΠΏΠΎΡΡ ΠΊΡΠ΅ΠΏΠΈΡΡΡ Π΄Π²ΡΠΌΡ Π±ΠΎΠ»ΡΠ°ΠΌΠΈ, ΠΏΡΠΎΡ ΠΎΠ΄ΡΡΠΈΠΌΠΈ ΡΠ΅ΡΠ΅Π· ΠΏΠ»ΠΎΡΠΊΡΡ ΠΏΠΎΠ²Π΅ΡΡ Π½ΠΎΡΡΡ ΡΠ°ΠΌΡ ΠΈ Π·Π°ΡΠ΅ΠΌ Π²Π²ΠΈΠ½ΡΠΈΠ²Π°Π΅ΠΌΡΠΌΠΈ Π½Π΅ΠΏΠΎΡΡΠ΅Π΄ΡΡΠ²Π΅Π½Π½ΠΎ Π² ΡΡΠΏΠΏΠΎΡΡ (ΠΈΠ»ΠΈ ΠΏΠ΅ΡΠ΅Ρ ΠΎΠ΄Π½ΠΈΠΊ, ΠΏΡΠΈΠΊΡΠ΅ΠΏΠ»Π΅Π½Π½ΡΠΉ ΠΊ ΡΡΠΏΠΏΠΎΡΡΡ). Π‘ΠΏΠ΅ΡΠ΅Π΄ΠΈ ΡΡΠΏΠΏΠΎΡΡ ΡΠ½Π°ΡΠ°Π»Π° ΠΏΡΠΈΠΊΡΡΡΠΈΠ²Π°Π΅ΡΡΡ Π±ΠΎΠ»ΡΠ°ΠΌΠΈ ΠΊ Π°Π΄Π°ΠΏΡΠ΅ΡΡ, ΠΊΠΎΡΠΎΡΡΠΉ Π·Π°ΡΠ΅ΠΌ ΠΏΡΠΈΠΊΡΡΡΠΈΠ²Π°Π΅ΡΡΡ ΠΊ Π΄Π²ΡΠΌ ΡΠ΅Π·ΡΠ±ΠΎΠ²ΡΠΌ Π²ΡΡΠ°Π²ΠΊΠ°ΠΌ Π½Π° Π²ΠΈΠ»ΠΊΠ΅.
Π¨ΡΠ°Π½Π³Π΅Π½ΡΠΈΡΠΊΡΠ»Ρ Π½Π° ΡΡΠΎΠΉΠΊΠ΅ ΠΌΠΎΠΆΠ½ΠΎ ΡΡΡΠ°Π½ΠΎΠ²ΠΈΡΡ Π΄Π»Ρ ΠΈΡΠΏΠΎΠ»ΡΠ·ΠΎΠ²Π°Π½ΠΈΡ Π½Π° Π½Π΅ΠΊΠΎΡΠΎΡΡΡ ΡΠ°ΠΌΠ°Ρ Ρ ΠΏΠ»ΠΎΡΠΊΠΈΠΌ ΠΊΡΠ΅ΠΏΠ»Π΅Π½ΠΈΠ΅ΠΌ; ΠΎΠ΄Π½Π°ΠΊΠΎ Π°Π΄Π°ΠΏΡΠ΅ΡΠΎΠ² Π΄Π»Ρ Π΄Π²ΠΈΠΆΠ΅Π½ΠΈΡ Π² ΠΎΠ±ΡΠ°ΡΠ½ΠΎΠΌ Π½Π°ΠΏΡΠ°Π²Π»Π΅Π½ΠΈΠΈ, ΠΊΠ°ΠΊ ΠΏΡΠ°Π²ΠΈΠ»ΠΎ, Π½Π΅Ρ.
ΠΠ°ΠΊΠΎΠΉ ΡΡΠ°Π½Π΄Π°ΡΡΠ½ΡΠΉ ΡΠ°Π·ΠΌΠ΅Ρ ΡΠΎΡΠΎΡΠ°?
ΠΡΠΎΡ Π²ΠΎΠΏΡΠΎΡ Π²ΡΠ΅ Π΅ΡΠ΅ ΠΎΠ±ΡΡΠΆΠ΄Π°Π΅ΡΡΡ ΠΈ Π·Π°Π²ΠΈΡΠΈΡ ΠΎΡ ΠΏΡΠΎΠΈΠ·Π²ΠΎΠ΄ΠΈΡΠ΅Π»Ρ.Π ΠΎΡΠΎΡ Π±ΠΎΠ»ΡΡΠ΅Π³ΠΎ Π΄ΠΈΠ°ΠΌΠ΅ΡΡΠ° ΠΎΠ±Π΅ΡΠΏΠ΅ΡΠΈΠ²Π°Π΅Ρ Π±ΠΎΠ»ΡΡΠΈΠΉ ΡΡΡΠ°Π³ ΠΈ, ΡΠ»Π΅Π΄ΠΎΠ²Π°ΡΠ΅Π»ΡΠ½ΠΎ, Π±ΠΎΠ»ΡΡΡΡ ΡΠΎΡΠΌΠΎΠ·Π½ΡΡ ΠΌΠΎΡΠ½ΠΎΡΡΡ, ΡΠ΅ΠΌ ΡΠΎΡΠΎΡ ΠΌΠ΅Π½ΡΡΠ΅Π³ΠΎ ΡΠ°Π·ΠΌΠ΅ΡΠ°. ΠΡΠΎΠΌΠ΅ ΡΠΎΠ³ΠΎ, Π±ΠΎΠ»ΡΡΠ°Ρ ΠΏΠ»ΠΎΡΠ°Π΄Ρ ΠΏΠΎΠ²Π΅ΡΡ Π½ΠΎΡΡΠΈ ΠΎΠ·Π½Π°ΡΠ°Π΅Ρ Π»ΡΡΡΠ΅Π΅ ΡΠΏΡΠ°Π²Π»Π΅Π½ΠΈΠ΅ ΡΠ΅ΠΏΠ»ΠΎΠΌ. Π‘ Π΄ΡΡΠ³ΠΎΠΉ ΡΡΠΎΡΠΎΠ½Ρ, ΡΠΎΡΠΎΡΡ ΠΌΠ΅Π½ΡΡΠ΅Π³ΠΎ ΡΠ°Π·ΠΌΠ΅ΡΠ° Π»Π΅Π³ΡΠ΅, Ρ ΠΌΠ΅Π½ΡΡΠ΅ΠΉ Π²Π΅ΡΠΎΡΡΠ½ΠΎΡΡΡΡ ΠΌΠΎΠ³ΡΡ Π±ΡΡΡ ΠΏΠΎΠ²ΡΠ΅ΠΆΠ΄Π΅Π½Ρ ΠΏΡΠΈ Π°Π²Π°ΡΠΈΠΈ, ΠΎΠ±Π΅ΡΠΏΠ΅ΡΠΈΠ²Π°ΡΡ Π±ΠΎΠ»Π΅Π΅ ΠΌΡΠ³ΠΊΠΎΠ΅ ΡΠΎΡΠΌΠΎΠΆΠ΅Π½ΠΈΠ΅ ΠΈ Π±ΠΎΠ»Π΅Π΅ Π°ΡΡΠΎΠ΄ΠΈΠ½Π°ΠΌΠΈΡΠ΅ΡΠΊΠΈΠ΅ Ρ Π°ΡΠ°ΠΊΡΠ΅ΡΠΈΡΡΠΈΠΊΠΈ.
ΠΠΎΠ»ΡΡΠΈΠ½ΡΡΠ²ΠΎ ΠΊΠΎΠΌΠΏΠ°Π½ΠΈΠΉ, Π²ΠΊΠ»ΡΡΠ°Ρ SRAM ΠΈ Campagnolo, ΠΏΡΠ΅Π΄Π»Π°Π³Π°ΡΡ Π½Π° Π΄ΠΎΡΠΎΠ³Π΅ ΠΏΠ΅ΡΠ΅Π΄Π½ΠΈΠ΅ ΡΠΎΡΠΎΡΡ Π΄ΠΈΠ°ΠΌΠ΅ΡΡΠΎΠΌ 160 ΠΌΠΌ Π² ΠΊΠ°ΡΠ΅ΡΡΠ²Π΅ ΠΊΠΎΠ½ΡΠ΅ΡΠ²Π°ΡΠΈΠ²Π½ΠΎ Π±Π΅Π·ΠΎΠΏΠ°ΡΠ½ΠΎΠ³ΠΎ Π²Π°ΡΠΈΠ°Π½ΡΠ° ΡΠΏΡΠ°Π²Π»Π΅Π½ΠΈΡ Π²ΡΡΠΎΠΊΠΎΠΉ ΡΠ΅ΠΌΠΏΠ΅ΡΠ°ΡΡΡΠΎΠΉ Π½Π° ΠΏΡΠΎΡΡΠΆΠ΅Π½Π½ΡΡ ΡΠΏΡΡΠΊΠ°Ρ .Π’Π΅ΠΌ Π½Π΅ ΠΌΠ΅Π½Π΅Π΅, Shimano Π·Π°ΡΠ²Π»ΡΠ΅Ρ, ΡΡΠΎ Π±ΠΎΠ»ΡΡΠΈΠ½ΡΡΠ²Ρ ΡΠ°ΠΉΠ΄Π΅ΡΠΎΠ² ΠΏΠΎΠ΄ΠΎΠΉΠ΄Π΅Ρ ΠΏΠ΅ΡΠ΅Π΄Π½ΠΈΠΉ ΡΠΎΡΠΎΡ Π΄ΠΈΠ°ΠΌΠ΅ΡΡΠΎΠΌ 140 ΠΌΠΌ Π±Π»Π°Π³ΠΎΠ΄Π°ΡΡ ΡΠ΅Ρ Π½ΠΎΠ»ΠΎΠ³ΠΈΠΈ Ice Tech, ΡΠ½ΠΈΠΆΠ°ΡΡΠ΅ΠΉ ΡΠ΅ΠΌΠΏΠ΅ΡΠ°ΡΡΡΡ.
Π‘ΡΡΠ΅ΡΡΠ²ΡΠ΅Ρ ΡΠ΅Π½Π΄Π΅Π½ΡΠΈΡ, Π·Π°ΠΈΠΌΡΡΠ²ΠΎΠ²Π°Π½Π½Π°Ρ Ρ Π³ΠΎΡΠ½ΡΡ Π²Π΅Π»ΠΎΡΠΈΠΏΠ΅Π΄ΠΎΠ² ΠΈ Π΄ΡΡΠ³ΠΈΡ ΡΡΠ°Π½ΡΠΏΠΎΡΡΠ½ΡΡ ΡΡΠ΅Π΄ΡΡΠ² Ρ Π΄ΠΈΡΠΊΠ°ΠΌΠΈ, ΠΊ Π½Π΅ΡΠΎΠΎΡΠ²Π΅ΡΡΡΠ²ΠΈΡ ΡΠ°Π·ΠΌΠ΅ΡΠΎΠ² ΡΠΎΡΠΎΡΠ° Π½Π° Π²Π΅Π»ΠΎΡΠΈΠΏΠ΅Π΄Π΅, ΡΠ°ΠΊ ΠΊΠ°ΠΊ Π΄ΠΎ 70% Π²Π°ΡΠ΅ΠΉ ΡΠΎΡΠΌΠΎΠ·Π½ΠΎΠΉ ΠΌΠΎΡΠ½ΠΎΡΡΠΈ ΠΏΡΠΈΡ ΠΎΠ΄ΠΈΡΡΡ Π½Π° ΠΏΠ΅ΡΠ΅Π΄Π½Π΅Π΅ ΠΊΠΎΠ»Π΅ΡΠΎ. ΠΡΠΈΠΌΠ΅ΡΠΎΠΌ ΡΡΠΎΠ³ΠΎ ΡΠ²Π»ΡΠ΅ΡΡΡ Π½ΠΎΠ²ΡΠΉ Π΄ΠΈΡΠΊ Specialized Tarmac Sl6 Disc, Π² ΠΊΠΎΡΠΎΡΠΎΠΌ ΡΠΏΠ΅ΡΠ΅Π΄ΠΈ ΡΡΡΠ°Π½ΠΎΠ²Π»Π΅Π½ Π±ΠΎΠ»Π΅Π΅ ΠΊΡΡΠΏΠ½ΡΠΉ 160-ΠΌΠΈΠ»Π»ΠΈΠΌΠ΅ΡΡΠΎΠ²ΡΠΉ ΡΠΎΡΠΎΡ Π΄Π»Ρ ΡΠ²Π΅Π»ΠΈΡΠ΅Π½ΠΈΡ ΡΠΎΡΠΌΠΎΠ·Π½ΠΎΠΉ ΠΌΠΎΡΠ½ΠΎΡΡΠΈ ΠΈ ΠΊΠΎΠ½ΡΡΠΎΠ»Ρ Π½Π°Π³ΡΠ΅Π²Π°, Π° ΡΠ·Π°Π΄ΠΈ — Π±ΠΎΠ»Π΅Π΅ Π»Π΅Π³ΠΊΠΈΠΉ 140-ΠΌΠΈΠ»Π»ΠΈΠΌΠ΅ΡΡΠΎΠ²ΡΠΉ ΡΠΎΡΠΎΡ.
ΠΠ΅Π·Π°Π²ΠΈΡΠΈΠΌΠΎ ΠΎΡ Π°ΡΠ³ΡΠΌΠ΅Π½ΡΠ°, ΠΊΠ°Π΄ΡΡ ΠΎΠ±ΡΡΠ½ΠΎ ΠΎΠΏΡΠΈΠΌΠΈΠ·ΠΈΡΡΡΡΡΡ Π΄Π»Ρ ΠΎΠΏΡΠ΅Π΄Π΅Π»Π΅Π½Π½ΠΎΠ³ΠΎ ΡΠ°Π·ΠΌΠ΅ΡΠ°. ΠΠ΅Π»ΠΎΡΠΈΠΏΠ΅Π΄, ΡΠ°ΠΊΠΎΠΉ ΠΊΠ°ΠΊ Giant Propel Disc, ΠΈΡΠΏΠΎΠ»ΡΠ·ΡΠ΅Ρ 140-ΠΌΠΈΠ»Π»ΠΈΠΌΠ΅ΡΡΠΎΠ²ΡΠ΅ ΡΠΎΡΠΎΡΡ, Π² ΡΠΎ Π²ΡΠ΅ΠΌΡ ΠΊΠ°ΠΊ Π΄ΡΡΠ³ΠΈΠ΅ ΠΏΡΠ΅Π΄ΠΎΡΡΠ°Π²Π»ΡΡΡ Π°Π΄Π°ΠΏΡΠ΅ΡΡ Π΄Π»Ρ ΡΠ²Π΅Π»ΠΈΡΠ΅Π½ΠΈΡ ΡΠ°Π·ΠΌΠ΅ΡΠ°.
Π§ΡΠΎ ΡΠ°ΠΊΠΎΠ΅ ΡΠΎΡΠΎΡΡ, ΡΠΎΡΡΠΎΡΡΠΈΠ΅ ΠΈΠ· Π΄Π²ΡΡ ΡΠ°ΡΡΠ΅ΠΉ?
Π‘Π½Π°ΡΠ°Π»Π° ΡΠ°ΡΡΠΌΠΎΡΡΠΈΠΌ Π½Π΅ΡΠ°Π·ΡΠ΅ΠΌΠ½ΡΠ΅ ΡΠΎΡΠΎΡΡ. ΠΠΎΠ»ΡΡΠΈΠ½ΡΡΠ²ΠΎ ΠΈΠ· Π½ΠΈΡ ΡΡΠ°ΠΌΠΏΡΡΡΡΡ ΠΈΠ· ΡΠ΅Π»ΡΠ½ΠΎΠ³ΠΎ ΠΊΡΡΠΊΠ° ΡΡΠ°Π»ΠΈ. ΠΠ½ΠΎΠ³ΠΈΠ΅ Π±ΠΎΠ»Π΅Π΅ Π΄Π΅ΡΠ΅Π²ΡΠ΅ ΡΠΎΡΠΎΡΡ Ρ ΡΠ΅ΡΡΡΡ Π±ΠΎΠ»ΡΠ°ΠΌΠΈ ΡΠ²Π»ΡΡΡΡΡ Π½Π΅ΡΠ°Π·ΡΠ΅ΠΌΠ½ΡΠΌΠΈ.
ΠΠ²ΡΡ ΡΠ΅ΠΊΡΠΈΠΎΠ½Π½ΡΠ΅ ΡΠΎΡΠΎΡΡ Ρ ΡΠΎΡΠΌΠΎΠ·Π½ΠΎΠΉ ΠΏΠΎΠ²Π΅ΡΡ Π½ΠΎΡΡΡΡ ΠΏΡΠΈΠΊΡΠ΅ΠΏΠ»Π΅Π½Ρ ΠΊ ΠΎΡΠ΄Π΅Π»ΡΠ½ΠΎΠΌΡ Π΄Π΅ΡΠΆΠ°ΡΠ΅Π»Ρ ΠΈΠ»ΠΈ ΠΊΡΠ΅ΡΡΠΎΠ²ΠΈΠ½Π΅. Π§Π°ΡΡΠΎ ΡΡΠΎ Π΄Π΅Π»Π°Π΅ΡΡΡ Π΄Π»Ρ ΠΈΡΠΏΠΎΠ»ΡΠ·ΠΎΠ²Π°Π½ΠΈΡ ΡΠ»ΠΈΡΠ΅Π²ΠΎΠ³ΠΎ ΠΊΡΠ΅ΠΏΠ»Π΅Π½ΠΈΡ Center Lock, Π½ΠΎ Π½Π° ΠΌΠΎΠ΄Π΅Π»ΡΡ Π±ΠΎΠ»Π΅Π΅ Π²ΡΡΠΎΠΊΠΎΠ³ΠΎ ΠΊΠ»Π°ΡΡΠ° ΡΡΠΎ ΡΠ°ΠΊΠΆΠ΅ ΠΌΠΎΠΆΠ΅Ρ ΡΠΌΠ΅Π½ΡΡΠΈΡΡ Π²Π΅Ρ, ΡΠ²Π΅Π»ΠΈΡΠΈΡΡ ΠΆΠ΅ΡΡΠΊΠΎΡΡΡ ΡΠΎΡΠΎΡΠ° ΠΈ ΠΏΠΎΠΌΠΎΡΡ Ρ ΠΎΡΠ²ΠΎΠ΄ΠΎΠΌ ΡΠ΅ΠΏΠ»Π°, ΠΏΠΎΠΌΠΎΠ³Π°Ρ ΠΎΡΠ²ΠΎΠ΄ΠΈΡΡ ΡΠ΅ΠΏΠ»ΠΎ ΠΎΡ ΡΠΎΡΠΌΠΎΠ·Π½ΠΎΠΉ ΠΏΠΎΠ²Π΅ΡΡ Π½ΠΎΡΡΠΈ.
Π ΡΠ΅ΠΌ ΡΠ°Π·Π½ΠΈΡΠ° ΠΌΠ΅ΠΆΠ΄Ρ ΠΌΠ΅ΡΠ°Π»Π»ΠΈΡΠ΅ΡΠΊΠΈΠΌΠΈ ΠΈ ΠΎΡΠ³Π°Π½ΠΈΡΠ΅ΡΠΊΠΈΠΌΠΈ ΠΏΠΎΠ΄ΡΡΠΊΠ°ΠΌΠΈ?
ΠΠΎΠ»ΡΡΠΈΠ½ΡΡΠ²ΠΎ ΠΏΡΠΎΠΈΠ·Π²ΠΎΠ΄ΠΈΡΠ΅Π»Π΅ΠΉ ΡΠΎΡΠΌΠΎΠ·ΠΎΠ² ΠΏΡΠ΅Π΄Π»Π°Π³Π°ΡΡ Π²ΡΠ±ΠΎΡ ΠΌΠ°ΡΠ΅ΡΠΈΠ°Π»Π° ΠΊΠΎΠ»ΠΎΠ΄ΠΎΠΊ. ΠΠ±ΡΡΠ½ΠΎ ΡΡΠΎ ΠΏΠΎΠ»ΠΈΠΌΠ΅ΡΠ½ΡΠ΅ (ΡΠ»Π΅Π²Π°) ΠΈ ΠΌΠ΅ΡΠ°Π»Π»ΠΈΡΠ΅ΡΠΊΠΈΠ΅ (ΡΠΏΡΠ°Π²Π°).
ΠΠ±Π° ΠΌΠ°ΡΠ΅ΡΠΈΠ°Π»Π° ΠΎΠ±Π»Π°Π΄Π°ΡΡ ΡΠ°Π·Π½ΡΠΌΠΈ Ρ Π°ΡΠ°ΠΊΡΠ΅ΡΠΈΡΡΠΈΠΊΠ°ΠΌΠΈ, ΠΈ Π²Π°Ρ Π²ΡΠ±ΠΎΡ Π΄ΠΎΠ»ΠΆΠ΅Π½ Π·Π°Π²ΠΈΡΠ΅ΡΡ ΠΎΡ Π²Π°ΡΠ΅Π³ΠΎ ΡΡΠΈΠ»Ρ ΠΊΠ°ΡΠ°Π½ΠΈΡ, Π΄ΠΈΡΡΠΈΠΏΠ»ΠΈΠ½Ρ, ΠΌΠ΅ΡΡΠΎΠΏΠΎΠ»ΠΎΠΆΠ΅Π½ΠΈΡ ΠΈ ΡΠΊΠ»ΠΎΠ½Π½ΠΎΡΡΠΈ ΠΊ ΠΊΠ°ΡΠ°Π½ΠΈΡ Π² ΠΏΠ»ΠΎΡ ΡΡ ΠΏΠΎΠ³ΠΎΠ΄Ρ.
ΠΠΈΡΠΊΠΎΠ²ΡΠ΅ ΠΊΠΎΠ»ΠΎΠ΄ΠΊΠΈResin, ΡΠ°ΠΊΠΆΠ΅ ΠΈΠ·Π²Π΅ΡΡΠ½ΡΠ΅ ΠΊΠ°ΠΊ ΠΎΡΠ³Π°Π½ΠΈΡΠ΅ΡΠΊΠΈΠ΅, ΠΎΠ±ΡΡΠ½ΠΎ ΠΎΠ±Π΅ΡΠΏΠ΅ΡΠΈΠ²Π°ΡΡ ΡΠ»ΡΡΡΠ΅Π½Π½ΡΡ ΠΌΠΎΠ΄ΡΠ»ΡΡΠΈΡ ΠΈ Π±ΠΎΠ»Π΅Π΅ ΡΠΈΡ ΠΎΠ΅ ΡΠΎΡΠΌΠΎΠΆΠ΅Π½ΠΈΠ΅.ΠΠ΅ΠΊΠΎΡΠΎΡΡΠ΅ Π±ΡΠ΅Π½Π΄Ρ, ΡΠ°ΠΊΠΈΠ΅ ΠΊΠ°ΠΊ SRAM ΠΈ Campagnolo, ΡΠ°ΠΊΠΆΠ΅ Π·Π°ΡΠ²Π»ΡΡΡ, ΡΡΠΎ ΠΎΠ½ΠΈ ΡΠ°ΡΡΠ΅ΠΈΠ²Π°ΡΡ ΡΠ΅ΠΏΠ»ΠΎ Π»ΡΡΡΠ΅, ΡΠ΅ΠΌ ΠΌΠ΅ΡΠ°Π»Π»ΠΈΡΠ΅ΡΠΊΠΈΠ΅ ΠΊΠΎΠ»ΠΎΠ΄ΠΊΠΈ.
ΠΠ°ΠΏΡΠΎΡΠΈΠ², ΠΌΠ΅ΡΠ°Π»Π»ΠΈΡΠ΅ΡΠΊΠΈΠ΅, ΡΠ°ΠΊΠΆΠ΅ ΠΈΠ·Π²Π΅ΡΡΠ½ΡΠ΅ ΠΊΠ°ΠΊ ΡΠΏΠ΅ΡΠ΅Π½Π½ΡΠ΅ ΠΏΡΠΎΠΊΠ»Π°Π΄ΠΊΠΈ, ΡΠ΄Π΅Π»Π°Π½Ρ ΠΈΠ· Π±ΠΎΠ»Π΅Π΅ ΡΠ²Π΅ΡΠ΄ΡΡ ΠΌΠ°ΡΠ΅ΡΠΈΠ°Π»ΠΎΠ² ΠΈ ΠΈΠΌΠ΅ΡΡ Π±ΠΎΠ»Π΅Π΅ Π²ΡΡΠΎΠΊΠΎΠ΅ ΡΠΎΠ΄Π΅ΡΠΆΠ°Π½ΠΈΠ΅ ΠΌΠ΅ΡΠ°Π»Π»Π°, ΡΠ΅ΠΌ ΠΎΡΠ³Π°Π½ΠΈΡΠ΅ΡΠΊΠΈΠ΅ ΠΏΡΠΎΠΊΠ»Π°Π΄ΠΊΠΈ. Π ΡΠ΅Π·ΡΠ»ΡΡΠ°ΡΠ΅ ΠΌΠ΅ΡΠ°Π»Π»ΠΈΡΠ΅ΡΠΊΠΈΠ΅ ΠΊΠΎΠ»ΠΎΠ΄ΠΊΠΈ ΠΎΠ±Π΅ΡΠΏΠ΅ΡΠΈΠ²Π°ΡΡ Π±ΠΎΠ»ΡΡΡΡ ΡΠΎΡΠΌΠΎΠ·Π½ΡΡ ΡΠΏΠΎΡΠΎΠ±Π½ΠΎΡΡΡ ΠΈ ΡΠ»ΡΠΆΠ°Ρ Π΄ΠΎΠ»ΡΡΠ΅, ΡΠ΅ΠΌ ΠΎΡΠ³Π°Π½ΠΈΡΠ΅ΡΠΊΠΈΠ΅ ΠΊΠΎΠ»ΠΎΠ΄ΠΊΠΈ, Ρ ΠΎΡΡ ΠΈ Π·Π° ΡΡΠ΅Ρ Π±ΠΎΠ»Π΅Π΅ ΡΡΠΌΠ½ΠΎΠΉ ΡΠ°Π±ΠΎΡΡ ΠΈ Π±ΠΎΠ»Π΅Π΅ Π±ΡΡΡΡΠΎΠ³ΠΎ ΠΈΠ·Π½ΠΎΡΠ° ΡΠΎΡΠΎΡΠ°.
Π£ Π³ΠΎΡΠ½ΡΡ Π±Π°ΠΉΠΊΠ΅ΡΠΎΠ² ΡΠΆΠ΅ Π΄Π°Π²Π½ΠΎ Π΅ΡΡΡ ΡΡΠΎΡ Π²ΡΠ±ΠΎΡ, Π° ΠΏΠΎΠ²ΡΡΠ΅Π½Π½Π°Ρ ΠΏΡΠΎΡΠ½ΠΎΡΡΡ ΠΎΠ·Π½Π°ΡΠ°Π΅Ρ, ΡΡΠΎ ΠΎΠ½ΠΈ ΡΠ°ΡΡΠΎ ΠΈΡΠΏΠΎΠ»ΡΠ·ΡΡΡ ΡΠΏΠ΅ΡΠ΅Π½Π½ΡΠ΅ ΠΌΠ΅ΡΠ°Π»Π»ΠΈΡΠ΅ΡΠΊΠΈΠ΅ ΠΊΠΎΠ»ΠΎΠ΄ΠΊΠΈ.Π‘ ΠΌΠ΅Π½ΡΡΠΈΠΌ ΠΊΠΎΠ»ΠΈΡΠ΅ΡΡΠ²ΠΎΠΌ ΠΏΠ΅ΡΠΊΠ°, ΠΌΠ΅Π½ΡΡΠ΅ΠΉ ΠΏΠΎΡΡΠ΅Π±Π½ΠΎΡΡΡΡ Π² ΡΠ΅Π·ΠΊΠΎΠΌ ΡΠΎΡΠΌΠΎΠΆΠ΅Π½ΠΈΠΈ ΠΈ ΡΡΠ΅Π±ΠΎΠ²Π°Π½ΠΈΡΠΌΠΈ ΠΊ Π±Π΅ΡΡΡΠΌΠ½ΠΎΠΌΡ ΡΠΎΡΠΌΠΎΠΆΠ΅Π½ΠΈΡ Π±ΠΎΠ»ΡΡΠΈΠ½ΡΡΠ²ΠΎ ΠΏΠΎΠ»ΡΠ·ΠΎΠ²Π°ΡΠ΅Π»Π΅ΠΉ Π΄ΠΈΡΠΊΠΎΠ² Π½Π° Π΄ΠΎΡΠΎΠ³Π°Ρ ΠΏΡΠ΅Π΄ΠΏΠΎΡΠΈΡΠ°ΡΡ ΠΏΠ»Π°ΡΡΠΌΠ°ΡΡΠΎΠ²ΡΠ΅ ΠΊΠΎΠ»ΠΎΠ΄ΠΊΠΈ.
ΠΡΠΈΠΌΠ΅ΡΠ°Π½ΠΈΠ΅. ΠΠ΅ΠΊΠΎΡΠΎΡΡΠ΅ Π±ΠΎΠ»Π΅Π΅ Π΄Π΅ΡΠ΅Π²ΡΠ΅ Π²Π΅Π»ΠΎΡΠΈΠΏΠ΅Π΄Ρ Shimano ΠΏΠΎΡΡΠ°Π²Π»ΡΡΡΡΡ Ρ Π΄ΠΈΡΠΊΠΎΠ²ΡΠΌΠΈ ΡΠΎΡΠΎΡΠ°ΠΌΠΈ Β«ΡΠΎΠ»ΡΠΊΠΎ ΡΠΌΠΎΠ»Π°Β», ΠΊΠΎΡΠΎΡΡΠ΅ ΠΈΠ·Π³ΠΎΡΠΎΠ²Π»Π΅Π½Ρ ΠΈΠ· ΠΌΠ΅Π½Π΅Π΅ ΠΏΡΠΎΡΠ½ΡΡ ΡΡΠ°Π»ΡΠ½ΡΡ ΡΠΏΠ»Π°Π²ΠΎΠ². ΠΡΠ»ΠΈ Π²Ρ ΡΠ΅ΡΠΈΡΠ΅ ΠΈΡΠΏΠΎΠ»ΡΠ·ΠΎΠ²Π°ΡΡ ΠΌΠ΅ΡΠ°Π»Π»ΠΈΡΠ΅ΡΠΊΠΈΠ΅ ΠΊΠΎΠ»ΠΎΠ΄ΠΊΠΈ, Π²Π°ΠΌ ΠΏΠΎΡΡΠ΅Π±ΡΡΡΡΡ ΡΠΎΡΠΎΡΡ ΠΏΠΎΠ»ΡΡΡΠ΅.
Π― Π²ΠΈΠΆΡ ΠΊΠΎΠ»ΠΎΠ΄ΠΊΠΈ ΠΏΡΠ΅ΠΌΠΈΡΠΌ-ΠΊΠ»Π°ΡΡΠ° Ρ Π°Π»ΡΠΌΠΈΠ½ΠΈΠ΅ΠΌ ΠΈΠ»ΠΈ ΡΠΈΡΠ°Π½ΠΎΠΌ; Π² ΡΠ΅ΠΌ Π΄Π΅Π»ΠΎ?
ΠΡΠ΅ Π΄Π΅Π»ΠΎ Π² ΡΠΊΠΎΠ½ΠΎΠΌΠΈΠΈ Π²Π΅ΡΠ°. ΠΠ°ΡΠ΅ΡΠΈΠ°Π»Ρ ΠΊΠΎΠ»ΠΎΠ΄ΠΎΠΊ Π΄ΠΈΡΠΊΠΎΠ²ΡΡ ΡΠΎΡΠΌΠΎΠ·ΠΎΠ² ΠΎΠ±ΡΡΠ½ΠΎ ΠΏΡΠΈΠΊΠ»Π΅ΠΈΠ²Π°ΡΡΡΡ ΠΊ ΡΡΠ°Π»ΡΠ½ΡΠΌ ΠΎΠΏΠΎΡΠ½ΡΠΌ ΠΏΠ»Π°ΡΡΠΈΠ½Π°ΠΌ, Π½ΠΎ ΡΠ΅, ΠΊΠΎΡΠΎΡΡΠ΅ ΡΠ΄Π΅Π»Π°Π½Ρ ΠΈΠ· Π°Π»ΡΠΌΠΈΠ½ΠΈΡ ΠΈΠ»ΠΈ ΡΠΈΡΠ°Π½Π°, ΠΎΡΠ΅Π²ΠΈΠ΄Π½ΠΎ, ΡΡΠΊΠΎΠ½ΠΎΠΌΡΡ Π½Π΅ΡΠΊΠΎΠ»ΡΠΊΠΎ Π³ΡΠ°ΠΌΠΌΠΎΠ².ΠΠΎΠΎΠ±ΡΠ΅ Π³ΠΎΠ²ΠΎΡΡ, Π² Π²ΡΡΠΎΠΊΠΎΠΊΠ°ΡΠ΅ΡΡΠ²Π΅Π½Π½ΡΡ ΠΏΠΎΠ»ΠΈΠΌΠ΅ΡΠ½ΡΡ ΠΏΠΎΠ΄ΡΡΠΊΠ°Ρ ΡΠ°ΡΡΠΎ ΠΈΡΠΏΠΎΠ»ΡΠ·ΡΡΡΡΡ Π°Π»ΡΠΌΠΈΠ½ΠΈΠ΅Π²ΡΠ΅ ΠΎΠΏΠΎΡΠ½ΡΠ΅ ΠΏΠ»Π°ΡΡΠΈΠ½Ρ, Π² ΡΠΎ Π²ΡΠ΅ΠΌΡ ΠΊΠ°ΠΊ Π² ΠΌΠ΅ΡΠ°Π»Π»ΠΈΡΠ΅ΡΠΊΠΈΡ Π²Π΅ΡΡΠΈΡΡ ΠΈΡΠΏΠΎΠ»ΡΠ·ΡΠ΅ΡΡΡ ΡΠΈΡΠ°Π½ΠΎΠ²Π°Ρ ΠΎΠΏΠΎΡΠ½Π°Ρ ΠΏΠ»Π°ΡΡΠΈΠ½Π°. ΠΠ΅ΠΆΠ΄Ρ Π½ΠΈΠΌΠΈ Π°Π»ΡΠΌΠΈΠ½ΠΈΠ΅Π²ΡΠ΅ Π»Π΅Π³ΡΠ΅.
ΠΠ΅ ΡΠ»Π΅Π΄ΡΠ΅Ρ ΠΏΡΡΠ°ΡΡ Ρ ΡΠ΅Π±ΡΠΈΡΡΡΠΌΠΈ ΠΊΠΎΠ»ΠΎΠ΄ΠΊΠ°ΠΌΠΈ Ice Tech, ΠΎΠΏΠΈΡΠ°Π½ΠΈΠ΅ ΠΊΠΎΡΠΎΡΡΡ ΠΏΡΠΈΠ²Π΅Π΄Π΅Π½ΠΎ Π²ΡΡΠ΅.
ΠΠΎΠΉ Π²Π΅Π»ΠΎΡΠΈΠΏΠ΅Π΄ ΠΏΠΎΡ ΠΎΠΆ Π½Π° ΠΏΡΠΈΡΡΠ΅ Π³Π½Π΅Π·Π΄ΠΎ. ΠΠΎΠ³Ρ Π»ΠΈ Ρ ΠΎΠ±ΡΠ΅Π·Π°ΡΡ Π³ΠΈΠ΄ΡΠ°Π²Π»ΠΈΡΠ΅ΡΠΊΠΈΠ΅ ΡΠΎΡΠΌΠΎΠ·Π½ΡΠ΅ ΡΠ»Π°Π½Π³ΠΈ?
Π ΡΠΎΡΠΌΠΎΠ·Π½ΡΡ ΡΠ»Π°Π½Π³Π°ΡΠΈΡΠΏΠΎΠ»ΡΠ·ΡΡΡΡΡ ΠΌΠ΅ΡΠ°Π»Π»ΠΈΡΠ΅ΡΠΊΠΈΠ΅ Π·Π°Π·ΡΠ±ΡΠΈΠ½Ρ ΠΈ ΠΌΠ°ΡΠ»ΠΈΠ½Ρ, ΠΊΠΎΡΠΎΡΡΠ΅ ΡΠΆΠΈΠΌΠ°ΡΡΡΡ Π΄Π»Ρ ΠΎΠ±Π΅ΡΠΏΠ΅ΡΠ΅Π½ΠΈΡ Π³Π΅ΡΠΌΠ΅ΡΠΈΡΠ½ΠΎΠΉ ΠΏΠΎΡΠ°Π΄ΠΊΠΈ. ΠΠ°ΠΌ Π½ΡΠΆΠ½ΠΎ Π±ΡΠ΄Π΅Ρ ΡΡΡΠ°Π½Π°Π²Π»ΠΈΠ²Π°ΡΡ Π½ΠΎΠ²ΡΠ΅ ΠΊΠ°ΠΆΠ΄ΡΠΉ ΡΠ°Π· ΠΏΡΠΈ ΡΠΊΠΎΡΠ°ΡΠΈΠ²Π°Π½ΠΈΠΈ ΡΠ»Π°Π½Π³Π°.
ΠΠ³Π°! ΠΠΎΠ·ΠΌΠΎΠΆΠ½ΠΎΡΡΡ ΠΎΠ±ΡΠ΅Π·ΠΊΠΈ ΡΠΎΡΠΌΠΎΠ·Π½ΡΡ ΡΠ»Π°Π½Π³ΠΎΠ² ΡΠ²Π»ΡΠ΅ΡΡΡ ΠΎΡΠ»ΠΈΡΠΈΡΠ΅Π»ΡΠ½ΠΎΠΉ ΡΠ΅ΡΡΠΎΠΉ Π²ΡΠ΅Ρ ΡΠΈΡΡΠ΅ΠΌ, ΠΏΡΠ΅Π΄ΡΡΠ°Π²Π»Π΅Π½Π½ΡΡ Π½Π° ΡΡΠ½ΠΊΠ΅. ΠΠ΄Π½Π°ΠΊΠΎ ΡΡΠΎ ΠΌΠΎΠΆΠ΅Ρ Π±ΡΡΡ Π±ΠΎΠ»Π΅Π΅ ΡΠ»ΠΎΠΆΠ½Π°Ρ ΡΠ°Π±ΠΎΡΠ°.
ΠΠ°ΠΊ ΠΌΠΈΠ½ΠΈΠΌΡΠΌ, Π²Π°ΠΌ ΠΏΠΎΠ½Π°Π΄ΠΎΠ±ΠΈΡΡΡ ΡΠΏΠΎΡΠΎΠ± Π°ΠΊΠΊΡΡΠ°ΡΠ½ΠΎ ΠΎΠ±ΡΠ΅Π·Π°ΡΡ Π°ΡΠΌΠΈΡΠΎΠ²Π°Π½Π½ΡΠΉ ΡΠ»Π°Π½Π³, Π° ΡΠ°ΠΊΠΆΠ΅ Π½ΠΎΠ²ΡΠ΅ Π·Π°Π·ΡΠ±ΡΠΈΠ½Ρ ΠΈ ΠΎΠ»ΠΈΠ²ΠΊΠΈ, ΠΊΠΎΡΠΎΡΡΠ΅ ΠΌΠΎΠΆΠ½ΠΎ Π±ΡΠ΄Π΅Ρ Π²ΡΡΠ°Π²ΠΈΡΡ Π² ΡΠ²Π΅ΠΆΠΈΠΉ ΠΊΠΎΠ½Π΅Ρ ΡΠ»Π°Π½Π³Π°. ΠΡΠΎ ΡΠΎ, ΡΡΠΎ ΡΠΎΠ·Π΄Π°Π΅Ρ Π³Π΅ΡΠΌΠ΅ΡΠΈΡΠ½ΠΎΠ΅ ΡΠΏΠ»ΠΎΡΠ½Π΅Π½ΠΈΠ΅, Π³Π΄Π΅ Π±Ρ Π½ΠΈ Π±ΡΠ» ΠΏΡΠΈΠΊΡΠ΅ΠΏΠ»Π΅Π½ ΡΠ»Π°Π½Π³. Π₯ΠΎΡΡ ΠΌΠΎΠΆΠ½ΠΎ ΠΎΠ±ΡΠ΅Π·Π°ΡΡ Π±ΠΎΠ»ΡΡΠΈΠ½ΡΡΠ²ΠΎ ΡΠ»Π°Π½Π³ΠΎΠ² Π±Π΅Π· ΡΠ΄Π°Π»Π΅Π½ΠΈΡ Π²ΠΎΠ·Π΄ΡΡ Π° ΠΈΠ· ΡΠΈΡΡΠ΅ΠΌΡ, Π±ΠΎΠ»Π΅Π΅ Π²Π΅ΡΠΎΡΡΠ½ΠΎ, ΡΡΠΎ ΡΡΠΎ ΠΏΠΎΡΡΠ΅Π±ΡΠ΅ΡΡΡ.
ΠΠΎΠ³Ρ Π»ΠΈ Ρ ΡΠΌΠ΅ΡΠΈΠ²Π°ΡΡ ΠΈ ΠΏΠΎΠ΄Π±ΠΈΡΠ°ΡΡ ΠΊΠΎΠΌΠΏΠΎΠ½Π΅Π½ΡΡ ΡΠ°Π·Π½ΡΡ ΠΏΡΠΎΠΈΠ·Π²ΠΎΠ΄ΠΈΡΠ΅Π»Π΅ΠΉ?
ΠΠΎΠ΄ΠΎΠ±Π½ΠΎ ΡΠΌΠ΅ΡΠΈΠ²Π°Π½ΠΈΡ ΠΈ ΡΠΎΠ³Π»Π°ΡΠΎΠ²Π°Π½ΠΈΡ ΡΡΠ°Π½ΡΠΌΠΈΡΡΠΈΠΉ, Π΄ΠΈΡΠΊΠΎΠ²ΡΠ΅ ΡΠΎΡΠΌΠΎΠ·Π½ΡΠ΅ ΡΠΈΡΡΠ΅ΠΌΡ ΠΎΡΠΈΡΠΈΠ°Π»ΡΠ½ΠΎ ΠΈΠΌΠ΅ΡΡ ΠΎΡΠ΅Π½Ρ ΠΎΠ³ΡΠ°Π½ΠΈΡΠ΅Π½Π½ΡΡ ΠΏΠ΅ΡΠ΅ΠΊΡΠ΅ΡΡΠ½ΡΡ ΡΠΎΠ²ΠΌΠ΅ΡΡΠΈΠΌΠΎΡΡΡ, Π½ΠΎ Π΅ΡΡΡ Π½Π΅ΠΊΠΎΡΠΎΡΡΠ΅ ΠΈΡΠΊΠ»ΡΡΠ΅Π½ΠΈΡ.
ΠΠ΅ΡΠ΅ΠΊΡΠ΅ΡΡΠ½Π°Ρ ΡΠΎΠ²ΠΌΠ΅ΡΡΠΈΠΌΠΎΡΡΡ — ΠΎΠ΄Π½ΠΎ ΠΈΠ· ΠΊΠ»ΡΡΠ΅Π²ΡΡ ΠΏΡΠ΅ΠΈΠΌΡΡΠ΅ΡΡΠ² ΠΌΠ΅Ρ Π°Π½ΠΈΡΠ΅ΡΠΊΠΈΡ Π΄ΠΈΡΠΊΠΎΠ²ΡΡ ΡΠΎΡΠΌΠΎΠ·Π½ΡΡ ΡΠΈΡΡΠ΅ΠΌ, ΠΈ ΡΠΌΠ΅ΡΠΈΠ²Π°Π½ΠΈΠ΅ ΠΈ ΡΠΎΠ³Π»Π°ΡΠΎΠ²Π°Π½ΠΈΠ΅ ΡΠ°Π·Π»ΠΈΡΠ½ΡΡ ΡΡΡΠ°Π³ΠΎΠ² ΠΈ ΡΡΠΏΠΏΠΎΡΡΠΎΠ² Π½Π΅ ΠΏΡΠΎΡΡΠΎ Π²ΠΎΠ·ΠΌΠΎΠΆΠ½ΠΎ, ΡΡΠΎ ΡΠ°ΡΡΠΎ Π·Π°Π»ΠΎΠΆΠ΅Π½ΠΎ Π² ΠΊΠΎΠ½ΡΡΡΡΠΊΡΠΈΡ ΡΡΠΏΠΏΠΎΡΡΠ°. ΠΠ΄Π½Π°ΠΊΠΎ ΠΈΠΌΠ΅ΠΉΡΠ΅ Π² Π²ΠΈΠ΄Ρ, ΡΡΠΎ Π½Π΅ Π²ΡΠ΅ ΡΠΎΡΠΌΠΎΠ·Π½ΡΠ΅ ΡΡΡΠ°Π³ΠΈ ΡΡΠ½ΡΡ ΠΎΠ΄ΠΈΠ½Π°ΠΊΠΎΠ²ΠΎΠ΅ ΠΊΠΎΠ»ΠΈΡΠ΅ΡΡΠ²ΠΎ ΡΡΠΎΡΠ° Π΄Π»Ρ Π·Π°Π΄Π°Π½Π½ΠΎΠ³ΠΎ ΠΊΠΎΠ»ΠΈΡΠ΅ΡΡΠ²Π° Π΄Π²ΠΈΠΆΠ΅Π½ΠΈΡ ΡΡΡΠ°Π³Π°, ΠΈ Π½Π΅ΠΊΠΎΡΠΎΡΡΠ΅ ΠΊΠΎΠΌΠ±ΠΈΠ½Π°ΡΠΈΠΈ Π±ΡΠ΄ΡΡ ΡΠ°Π±ΠΎΡΠ°ΡΡ Π»ΡΡΡΠ΅, ΡΠ΅ΠΌ Π΄ΡΡΠ³ΠΈΠ΅. Π ΡΡΠ°Π³ΠΈ Shimano ΠΎΠ±ΡΡΠ½ΠΎ ΠΎΠ±Π΅ΡΠΏΠ΅ΡΠΈΠ²Π°ΡΡ Π±ΠΎΠ»Π΅Π΅ ΠΏΡΠΎΡΠ½ΠΎΠ΅ ΠΎΡΡΡΠ΅Π½ΠΈΠ΅ ΡΡΡΠ°Π³Π° Ρ Π±ΠΎΠ»ΡΡΠΈΠΌ Π·Π°Π·ΠΎΡΠΎΠΌ ΠΊΠΎΠ»ΠΎΠ΄ΠΊΠΈ, Π½ΠΎ ΠΌΠ΅Π½ΡΡΠ΅ΠΉ ΠΌΠΎΡΠ½ΠΎΡΡΡΡ, Π² ΡΠΎ Π²ΡΠ΅ΠΌΡ ΠΊΠ°ΠΊ ΡΡΡΠ°Π³ΠΈ SRAM ΠΈ Campagnolo ΠΎΠ±ΡΡΠ½ΠΎ ΠΎΠ±Π΅ΡΠΏΠ΅ΡΠΈΠ²Π°ΡΡ ΠΎΡΠ»ΠΈΡΠ½ΡΡ ΠΌΠΎΡΠ½ΠΎΡΡΡ, Π½ΠΎ ΠΌΠ΅Π½ΡΡΠΈΠΉ Π·Π°Π·ΠΎΡ ΠΊΠΎΠ»ΠΎΠ΄ΠΊΠΈ ΠΈ Π±ΠΎΠ»Π΅Π΅ ΠΌΡΠ³ΠΊΠΎΠ΅ ΠΎΡΡΡΠ΅Π½ΠΈΠ΅ ΡΡΡΠ°Π³Π°.
ΠΠΈΠ΄ΡΠ°Π²Π»ΠΈΡΠ΅ΡΠΊΠΈΠ΅ ΡΠΈΡΡΠ΅ΠΌΡ ΠΈΠΌΠ΅ΡΡ Π³ΠΎΡΠ°Π·Π΄ΠΎ Π±ΠΎΠ»Π΅Π΅ ΡΡΡΠΎΠ³ΠΈΠ΅ ΠΎΠ³ΡΠ°Π½ΠΈΡΠ΅Π½ΠΈΡ. ΠΠ±ΡΠ΅ΠΌ ΠΆΠΈΠ΄ΠΊΠΎΡΡΠΈ, ΡΠΈΠΏΡ ΡΠΎΡΠΌΠΎΠ·Π½ΠΎΠΉ ΠΆΠΈΠ΄ΠΊΠΎΡΡΠΈ, Π΄ΠΈΠ°ΠΌΠ΅ΡΡΡ ΠΏΠΎΡΡΠ½Π΅ΠΉ ΠΈ ΡΠΈΡΠΈΠ½Π³ΠΈ ΡΠ»Π°Π½Π³ΠΎΠ² — Π΄ΠΎΡΡΠ°ΡΠΎΡΠ½ΡΠ΅ ΠΎΡΠ½ΠΎΠ²Π°Π½ΠΈΡ Π΄Π»Ρ Π²ΡΠ±ΠΎΡΠ° ΠΏΡΠΎΠΈΠ·Π²ΠΎΠ΄ΠΈΡΠ΅Π»Ρ ΡΡΠΏΠΏΠΎΡΡΠ° Ρ ΡΡΡΠ°Π³ΠΎΠΌ. ΠΡΠ²Π°ΡΡ ΡΠ»ΡΡΠ°ΠΈ, ΠΊΠΎΠ³Π΄Π° Π²Ρ ΠΌΠΎΠΆΠ΅ΡΠ΅ ΡΠΌΠ΅ΡΠΈΠ²Π°ΡΡ ΠΈ ΡΠΎΡΠ΅ΡΠ°ΡΡ ΡΠ°Π·Π½ΡΠ΅ ΠΏΠΎΠΊΠΎΠ»Π΅Π½ΠΈΡ ΠΎΠ΄Π½ΠΎΠ³ΠΎ ΠΈ ΡΠΎΠ³ΠΎ ΠΆΠ΅ Π±ΡΠ΅Π½Π΄Π°, Π½ΠΎ, ΠΎΠΏΡΡΡ ΠΆΠ΅, ΠΏΡΠΎΠΈΠ·Π²ΠΎΠ΄ΠΈΡΠ΅Π»ΠΈ ΡΠ΅Π΄ΠΊΠΎ ΠΏΡΠ΅Π΄Π»Π°Π³Π°ΡΡ ΡΡΠΎ Π΄Π΅Π»Π°ΡΡ.
Π’ΠΎΡΠΌΠΎΠ·Π½ΡΠ΅ ΡΠΎΡΠΎΡΡ— ΡΡΠΎ ΡΠΎΠ²ΡΠ΅ΠΌ Π΄ΡΡΠ³Π°Ρ ΠΈΡΡΠΎΡΠΈΡ, ΠΈ Ρ ΠΎΡΡ Π²Ρ, Π²Π΅ΡΠΎΡΡΠ½ΠΎ, ΠΏΠΎΠ»ΡΡΠΈΡΠ΅ Π»ΡΡΡΡΡ ΠΏΡΠΎΠΈΠ·Π²ΠΎΠ΄ΠΈΡΠ΅Π»ΡΠ½ΠΎΡΡΡ, ΡΠΎΠΏΠΎΡΡΠ°Π²ΠΈΠ² ΡΠΎΡΠΎΡ Ρ ΡΠΎΡΠΌΠΎΠ·Π½ΠΎΠΉ ΡΠΈΡΡΠ΅ΠΌΠΎΠΉ (ΠΎΡΠΎΠ±Π΅Π½Π½ΠΎ Ρ ΠΌΠΎΠ΄Π΅Π»ΡΠΌΠΈ Shimano Π±ΠΎΠ»Π΅Π΅ Π²ΡΡΠΎΠΊΠΎΠ³ΠΎ ΠΊΠ»Π°ΡΡΠ°), ΡΠΌΠ΅ΡΠΈΠ²Π°Π½ΠΈΠ΅ Π±ΡΠ΅Π½Π΄ΠΎΠ² ΡΠ΅Π΄ΠΊΠΎ ΠΏΡΠΈΠ²ΠΎΠ΄ΠΈΡ ΠΊ ΠΊΠ°ΠΊΠΈΠΌ-Π»ΠΈΠ±ΠΎ ΡΠ΅ΡΡΠ΅Π·Π½ΡΠΌ ΠΏΡΠΎΠ±Π»Π΅ΠΌΠ°ΠΌ.
ΠΡΡΡ Π»ΠΈ ΠΏΡΠΎΡΡΠΎΠΉ ΡΠΏΠΎΡΠΎΠ± ΠΏΠΎΠΌΠ΅Π½ΡΡΡ ΠΊΠΎΠ»Π΅ΡΠ½ΡΠ΅ ΠΏΠ°ΡΡ Π½Π° Π²Π΅Π»ΠΎΡΠΈΠΏΠ΅Π΄Π΅ Ρ Π΄ΠΈΡΠΊΠΎΠ²ΡΠΌ ΡΠΎΡΠΌΠΎΠ·ΠΎΠΌ?
ΠΡΠ»ΠΈ ΠΊΠΎΠ»Π΅ΡΠ°, ΠΊΠΎΡΠΎΡΡΠ΅ Π²Ρ ΠΌΠ΅Π½ΡΠ΅ΡΠ΅, ΠΈΠΌΠ΅ΡΡ ΠΎΠ΄ΠΈΠ½Π°ΠΊΠΎΠ²ΡΠ΅ ΡΡΡΠΏΠΈΡΡ, ΠΈΠ»ΠΈ, ΠΌΠΎΠΆΠ΅Ρ Π±ΡΡΡ, Π²Π°ΠΌ ΠΏΠΎΠ²Π΅Π·Π»ΠΎ, Π½Π΅ Π΄ΠΎΠ»ΠΆΠ½ΠΎ Π±ΡΡΡ ΡΠ°Π·Π½ΠΈΡΡ Π² ΡΠ°Π·ΠΌΠ΅ΡΠ΅Π½ΠΈΠΈ ΡΠΎΡΠΎΡΠ°, ΠΈ Π²Ρ ΠΌΠΎΠΆΠ΅ΡΠ΅ ΠΌΠ΅Π½ΡΡΡ ΠΊΠΎΠ»Π΅ΡΠ°. ΠΠΎ Ρ ΡΠ°ΠΊΠΈΠΌ ΠΌΠ°Π»Π΅Π½ΡΠΊΠΈΠΌ Π·Π°Π·ΠΎΡΠΎΠΌ ΠΌΠ΅ΠΆΠ΄Ρ ΡΠΎΡΠΌΠΎΠ·Π½ΡΠΌΠΈ ΠΊΠΎΠ»ΠΎΠ΄ΠΊΠ°ΠΌΠΈ ΠΈ Π΄ΠΎΡΡΠ°ΡΠΎΡΠ½ΠΎΠΉ Π²Π°ΡΠΈΠ°ΡΠΈΠ²Π½ΠΎΡΡΡΡ ΠΌΠ΅ΠΆΠ΄Ρ ΡΠ°Π·Π»ΠΈΡΠ½ΡΠΌΠΈ ΠΌΠ°ΡΠΊΠ°ΠΌΠΈ ΠΈ ΠΌΠΎΠ΄Π΅Π»ΡΠΌΠΈ ΡΡΡΠΏΠΈΡ ΠΈ ΠΊΠΎΠ»Π΅Ρ (Π° ΠΈΠ½ΠΎΠ³Π΄Π° Π΄Π°ΠΆΠ΅ Π² ΠΏΡΠ΅Π΄Π΅Π»Π°Ρ
ΠΎΠ΄Π½ΠΎΠΉ ΠΌΠ°ΡΠΊΠΈ ΠΈ ΠΌΠΎΠ΄Π΅Π»ΠΈ) ΡΠΎΡΠΌΠΎΠ·Π½ΡΠ΅ Π΄ΠΈΡΠΊΠΈ ΡΠ°ΡΡΠΎ ΠΌΠΎΠ³ΡΡ Π±ΡΡΡ ΡΠ°Π·ΠΌΠ΅ΡΠ΅Π½Ρ Π² Π΄ΡΡΠ³ΠΎΠΌ ΠΏΠΎΠ»ΠΎΠΆΠ΅Π½ΠΈΠΈ ΠΎΡΠ½ΠΎΡΠΈΡΠ΅Π»ΡΠ½ΠΎ Π΄ΡΠΎΠΏΠ°ΡΡΠ°.ΠΡΠ»ΠΈ Π²Ρ ΡΠ΅Π΄ΠΊΠΎ ΠΌΠ΅Π½ΡΠ΅ΡΠ΅ ΠΊΠΎΠ»Π΅ΡΠ°, ΡΠΎ ΡΠ΅Π³ΡΠ»ΠΈΡΠΎΠ²ΠΊΠ° ΡΡΠΏΠΏΠΎΡΡΠ° — ΠΎΡΠ΅Π²ΠΈΠ΄Π½ΡΠΉ ΠΎΡΠ²Π΅Ρ. ΠΠ΄Π½Π°ΠΊΠΎ, Π΅ΡΠ»ΠΈ Π²Ρ Ρ
ΠΎΡΠΈΡΠ΅ ΡΠ΅Π³ΡΠ»ΡΡΠ½ΠΎ ΠΌΠ΅Π½ΡΡΡ ΠΌΠ΅ΡΡΠ°ΠΌΠΈ, ΡΠΎ ΡΡΠΎΠΈΡ ΠΏΠΎΡΡΠ°ΡΠΈΡΡ Π²ΡΠ΅ΠΌΡ Π½Π° Π½Π°ΡΡΡΠΎΠΉΠΊΡ ΠΊΠΎΠ»Π΅Ρ ΡΠ°ΠΊ, ΡΡΠΎΠ±Ρ Π²ΡΠ΅ ΡΠΎΡΠΎΡΡ Π½Π°Ρ
ΠΎΠ΄ΠΈΠ»ΠΈΡΡ Π² ΠΎΠ΄Π½ΠΎΠΉ ΠΏΠ»ΠΎΡΠΊΠΎΡΡΠΈ.
ΠΡΠ»ΠΈ Π΅ΡΡΡ ΡΠ°Π·Π½ΠΈΡΠ° Π² ΡΠ°Π·ΠΌΠ΅ΡΠ΅Π½ΠΈΠΈ, ΠΎΡΠ²Π΅Ρ — ΡΠ΅Π³ΡΠ»ΠΈΡΠΎΠ²ΠΎΡΠ½ΡΠ΅ ΡΠ°ΠΉΠ±Ρ ΡΠΎΡΠΎΡΠ°. Π Π°Π·Π»ΠΈΡΠ½ΡΠ΅ Π±ΡΠ΅Π½Π΄Ρ (Π½Π°ΠΏΡΠΈΠΌΠ΅Ρ, Syntace) ΠΏΡΠΎΠΈΠ·Π²ΠΎΠ΄ΡΡ ΠΊΠΎΠΌΠΏΠ»Π΅ΠΊΡΡ ΡΠ΅Π³ΡΠ»ΠΈΡΠΎΠ²ΠΎΡΠ½ΡΡ ΡΠ°ΠΉΠ± Π΄Π»Ρ ΡΠΎΡΠΎΡΠΎΠ² Ρ 6 Π±ΠΎΠ»ΡΠ°ΠΌΠΈ, Π° ΠΊΠΎΠΌΠΏΠ°Π½ΠΈΡ November Bicycle Π½Π΅Π΄Π°Π²Π½ΠΎ Π²ΡΠΏΡΡΡΠΈΠ»Π° ΠΏΠ΅ΡΠ²ΡΠΉ ΠΊΠΎΠΌΠΏΠ»Π΅ΠΊΡ ΡΠ°ΠΉΠ± Π΄Π»Ρ ΡΠΎΡΠΎΡΠΎΠ² Ρ ΡΠ΅Π½ΡΡΠ°Π»ΡΠ½ΡΠΌ Π·Π°ΠΌΠΊΠΎΠΌ. Π ΠΎΠ±ΠΎΠΈΡ ΡΠ»ΡΡΠ°ΡΡ Π²ΡΠ΅, ΡΡΠΎ Π½ΡΠΆΠ½ΠΎ, — ΡΡΠΎ Π΄ΠΎΠ±Π°Π²ΠΈΡΡ ΠΏΡΠΎΠΊΠ»Π°Π΄ΠΊΡ (ΠΏΡΠΎΠΊΠ»Π°Π΄ΠΊΠΈ) ΠΊ ΠΊΠΎΠ»Π΅ΡΡ (Π°ΠΌ), Π³Π΄Π΅ ΡΠΎΡΠΎΡ Π½Π°Ρ ΠΎΠ΄ΠΈΡΡΡ Π²Π½ΡΡΡΠΈ, Π΄ΠΎ ΡΠ΅Ρ ΠΏΠΎΡ, ΠΏΠΎΠΊΠ° ΠΎΠ½ Π½Π΅ ΠΏΠ΅ΡΠ΅ΡΡΠ°Π½Π΅Ρ ΡΡΠ°ΡΡΡΡ ΠΎ Π²Π½ΡΡΡΠ΅Π½Π½ΡΡ ΡΠΎΡΠΌΠΎΠ·Π½ΡΡ ΠΊΠΎΠ»ΠΎΠ΄ΠΊΡ.
ΠΠ±ΡΠ»ΡΠΆΠΈΠ²Π°Π½ΠΈΠ΅ Π΄ΠΎΡΠΎΠΆΠ½ΡΡ Π΄ΠΈΡΠΊΠΎΠ²
ΠΠ°ΠΊ Π΄ΠΎΠ»Π³ΠΎ ΡΠ»ΡΠΆΠ°Ρ ΡΠΎΡΠΌΠΎΠ·Π½ΡΠ΅ ΠΊΠΎΠ»ΠΎΠ΄ΠΊΠΈ?
ΠΡΠΎ Π·Π°Π²ΠΈΡΠΈΡ ΠΎΡ ΠΎΠ±ΡΡΠΎΡΡΠ΅Π»ΡΡΡΠ². ΠΡ Π²ΠΈΠ΄Π΅Π»ΠΈ, ΠΊΠ°ΠΊ ΠΊΠΎΠ»ΠΎΠ΄ΠΊΠΈ Π΄ΠΈΡΠΊΠΎΠ²ΡΡ ΡΠΎΡΠΌΠΎΠ·ΠΎΠ² ΠΈΡΡΠ΅Π·Π°Π»ΠΈ Π·Π° ΠΎΠ΄Π½Ρ ΠΏΠΎΠ΅Π·Π΄ΠΊΡ ΠΏΠΎ ΠΌΠΎΠΊΡΠΎΠΌΡ ΠΏΠ΅ΡΡΠ°Π½ΠΈΠΊΡ, Π° Π·Π°ΡΠ΅ΠΌ Π΄ΡΡΠ³ΠΈΠ΅ ΠΊΠΎΠ»ΠΎΠ΄ΠΊΠΈ Π² ΡΠ΅ΡΠ΅Π½ΠΈΠ΅ Π΄Π²ΡΡ ΠΏΠΎΠ»Π½ΡΡ ΡΠ΅Π·ΠΎΠ½ΠΎΠ².
ΠΠΎΠΎΠ±ΡΠ΅ Π³ΠΎΠ²ΠΎΡΡ, ΠΏΡΠΈ Π΅Π·Π΄Π΅ Π² ΡΡΠ»ΠΎΠ²ΠΈΡΡ , ΠΊΠΎΠ³Π΄Π° ΠΏΠ΅ΡΠΎΠΊ Π½Π΅ ΡΠ²Π»ΡΠ΅ΡΡΡ ΠΏΡΠΎΠ±Π»Π΅ΠΌΠΎΠΉ, ΠΊΠΎΠ»ΠΎΠ΄ΠΊΠΈ Π΄Π»Ρ Π΄ΠΈΡΠΊΠΎΠ²ΡΡ ΡΠΎΡΠΌΠΎΠ·ΠΎΠ² Π±ΡΠ΄ΡΡ Π»ΡΡΡΠ΅, ΡΠ΅ΠΌ ΠΊΠΎΠ»ΠΎΠ΄ΠΊΠΈ Π΄Π»Ρ ΠΎΠ±ΠΎΠ΄Π½ΡΡ ΡΠΎΡΠΌΠΎΠ·ΠΎΠ², ΠΎΡΠΎΠ±Π΅Π½Π½ΠΎ Π΅ΡΠ»ΠΈ Π²Ρ ΠΈΡΠΏΠΎΠ»ΡΠ·ΡΠ΅ΡΠ΅ ΠΌΠ΅ΡΠ°Π»Π»ΠΈΡΠ΅ΡΠΊΠΈΠ΅ ΠΊΠΎΠ»ΠΎΠ΄ΠΊΠΈ (ΡΠΌ. Π Π°Π·Π΄Π΅Π» ΠΎ ΡΠΈΠΏΠ°Ρ ΡΠΎΡΠΌΠΎΠ·Π½ΡΡ ΠΊΠΎΠ»ΠΎΠ΄ΠΎΠΊ Π²ΡΡΠ΅). Π’Π΅ΠΌ Π½Π΅ ΠΌΠ΅Π½Π΅Π΅, Π»ΡΠ±ΠΎΠ΅ ΠΊΠΎΠ»ΠΈΡΠ΅ΡΡΠ²ΠΎ Π²Π»Π°ΠΆΠ½ΠΎΠ³ΠΎ ΠΏΠ΅ΡΠΊΠ° ΠΏΡΠΈΠ²Π΅Π΄Π΅Ρ ΠΊ Π΄ΠΎΠ²ΠΎΠ»ΡΠ½ΠΎ Π±ΡΡΡΡΠΎΠΌΡ ΠΈΡΡΠΈΡΠ°Π½ΠΈΡ ΠΏΠΎΠ΄ΡΡΠ΅ΠΊ.
ΠΠ°ΠΊ ΠΏΡΠΎΠ²Π΅ΡΠΈΡΡ ΠΈΠ·Π½ΠΎΡ ΡΠΎΡΠΌΠΎΠ·Π½ΡΡ ΠΊΠΎΠ»ΠΎΠ΄ΠΎΠΊ?
ΠΠ°ΠΊΠ»Π°Π΄ΠΊΠ° ΡΠΎΡΡΠΎΠΈΡ ΠΈΠ· ΡΠΎΡΠΌΠΎΠ·Π½ΠΎΠ³ΠΎ ΠΌΠ°ΡΠ΅ΡΠΈΠ°Π»Π° ΠΈ ΠΎΠΏΠΎΡΠ½ΠΎΠΉ ΠΏΠ»Π°ΡΡΠΈΠ½Ρ. ΠΡ ΠΌΠΎΠΆΠ΅ΡΠ΅ ΡΠ²ΠΈΠ΄Π΅ΡΡ, ΡΠΊΠΎΠ»ΡΠΊΠΎ ΠΌΠ°ΡΠ΅ΡΠΈΠ°Π»Π° ΠΊΠΎΠ»ΠΎΠ΄ΠΊΠΈ ΠΎΡΡΠ°Π»ΠΎΡΡ, ΠΏΠΎΡΠΌΠΎΡΡΠ΅Π² ΡΠ΅ΡΠ΅Π· ΡΡΠ°Π½Π³Π΅Π½ΡΠΈΡΠΊΡΠ»Ρ. ΠΠ΄Π½Π°ΠΊΠΎ ΠΌΠΎΠΆΠ΅Ρ ΠΏΠΎΡΡΠ΅Π±ΠΎΠ²Π°ΡΡΡΡ Π²ΡΠ½ΡΡΡ ΠΊΠΎΠ»Π΅ΡΠΎ Π΄Π»Ρ Π±ΠΎΠ»Π΅Π΅ ΡΡΠ°ΡΠ΅Π»ΡΠ½ΠΎΠ³ΠΎ Π²ΠΈΠ·ΡΠ°Π»ΡΠ½ΠΎΠ³ΠΎ ΠΎΡΠΌΠΎΡΡΠ°.
ΠΡΠΈ ΠΈΡΠΏΠΎΠ»ΡΠ·ΠΎΠ²Π°Π½ΠΈΠΈ ΠΊΠΎΠ»ΠΎΠ΄ΠΎΠΊ Shimano ΡΠ΅ΠΊΠΎΠΌΠ΅Π½Π΄ΡΠ΅ΡΡΡ Π·Π°ΠΌΠ΅Π½ΡΡΡ ΠΊΠΎΠ»ΠΎΠ΄ΠΊΠΈ, ΠΊΠΎΠ³Π΄Π° ΠΎΡΡΠ°Π΅ΡΡΡ ΠΌΠ΅Π½Π΅Π΅ 0,9 ΠΌΠΌ ΡΠΎΡΠΌΠΎΠ·Π½ΠΎΠ³ΠΎ ΠΌΠ°ΡΠ΅ΡΠΈΠ°Π»Π°. ΠΠ»Ρ SRAM ΠΌΠΈΠ½ΠΈΠΌΠ°Π»ΡΠ½ΡΠΉ ΡΠ°Π·ΠΌΠ΅Ρ ΡΠΎΡΡΠ°Π²Π»ΡΠ΅Ρ 2,5 ΠΌΠΌ, Π²ΠΊΠ»ΡΡΠ°Ρ ΠΏΠΎΠ΄ΠΊΠ»Π°Π΄ΠΊΠΈ.Campagnolo ΡΠΏΡΠΎΡΠ°Π΅Ρ Π·Π°Π΄Π°ΡΡ Π±Π»Π°Π³ΠΎΠ΄Π°ΡΡ ΠΏΡΠΎΡΠΎΡΠΊΠ΅ Π² ΡΠ΅Π½ΡΡΠ΅ ΠΊΠΎΠ»ΠΎΠ΄ΠΎΠΊ; Π·Π°ΠΌΠ΅Π½Π° ΡΡΠ΅Π±ΡΠ΅ΡΡΡ, ΠΊΠ°ΠΊ ΡΠΎΠ»ΡΠΊΠΎ ΠΊΠ°Π½Π°Π²ΠΊΠ° Π±ΠΎΠ»ΡΡΠ΅ Π½Π΅ Π²ΠΈΠ΄Π½Π°.
ΠΡΠΎΠΌΠ΅ ΡΠΎΠ³ΠΎ, ΠΎΠ±ΡΠ°ΡΠΈΡΠ΅ Π²Π½ΠΈΠΌΠ°Π½ΠΈΠ΅ Π½Π° Π½Π΅ΡΠ°Π²Π½ΠΎΠΌΠ΅ΡΠ½ΡΠΉ ΠΈΠ·Π½ΠΎΡ ΠΏΠΎΠ²Π΅ΡΡ Π½ΠΎΡΡΠΈ ΠΊΠΎΠ»ΠΎΠ΄ΠΊΠΈ ΠΈΠ»ΠΈ ΡΠΎΡΠΎΡΠ°, ΠΏΠΎΡΠΊΠΎΠ»ΡΠΊΡ ΡΡΠΎ ΠΎΠ±ΡΡΠ½ΠΎ ΠΏΡΠΈΠ·Π½Π°ΠΊ ΠΏΠ»ΠΎΡ ΠΎ ΠΎΡΡΠ΅Π³ΡΠ»ΠΈΡΠΎΠ²Π°Π½Π½ΠΎΠ³ΠΎ ΡΠΎΡΠΌΠΎΠ·Π°.
Π Π½Π΅ΠΊΠΎΡΠΎΡΡΠ΅ ΡΠΎΡΠΌΠΎΠ·Π½ΡΠ΅ ΠΊΠΎΠ»ΠΎΠ΄ΠΊΠΈ ΡΠΎΠ·Π΄Π°ΡΡ ΡΡΠΌ ΠΏΡΠΈ ΠΈΠ·Π½ΠΎΡΠ΅. ΠΠ°ΠΏΡΠΈΠΌΠ΅Ρ, ΡΠΎΡΠΌΠΎΠ·Π½ΡΠ΅ ΠΊΠΎΠ»ΠΎΠ΄ΠΊΠΈ Shimano Π½Π°ΡΠ½ΡΡ Π²ΠΈΠ·ΠΆΠ°ΡΡ, ΠΊΠΎΠ³Π΄Π° Π΄ΠΎΡΡΠΈΠ³Π½ΡΡ ΡΠ΅ΠΊΠΎΠΌΠ΅Π½Π΄ΠΎΠ²Π°Π½Π½ΠΎΠΉ ΡΠΎΡΠΊΠΈ Π·Π°ΠΌΠ΅Π½Ρ.
ΠΠ°ΠΊΠΈΠ΅ ΡΠΎΡΠΌΠΎΠ·Π½ΡΠ΅ ΠΊΠΎΠ»ΠΎΠ΄ΠΊΠΈ ΠΌΠ½Π΅ Π½ΡΠΆΠ½Ρ Π΄Π»Ρ ΡΠΎΡΠΌΠΎΠ·ΠΎΠ²?
ΠΠ°ΠΆΠ΅ Π²Π½ΡΡΡΠΈ ΠΎΠ΄Π½ΠΎΠ³ΠΎ Π±ΡΠ΅Π½Π΄Π° ΡΠ°ΡΡΠΎ ΠΈΡΠΏΠΎΠ»ΡΠ·ΡΡΡΡΡ ΠΊΠΎΠ»ΠΎΠ΄ΠΊΠΈ ΡΠ°Π·Π½ΠΎΠΉ ΡΠΎΡΠΌΡ Π΄Π»Ρ ΡΠ°Π·Π½ΡΡ ΠΌΠΎΠ΄Π΅Π»Π΅ΠΉ.ΠΠ° ΡΠΎΡΠΎ Π΄Π²Π΅ ΡΠΎΡΠΌΠΎΠ·Π½ΡΠ΅ ΠΊΠΎΠ»ΠΎΠ΄ΠΊΠΈ, ΠΊΠ°ΠΆΠ΄Π°Ρ Π΄Π»Ρ ΡΠΎΡΠΌΠΎΠ·ΠΎΠ² ΡΡΠΎΠ²Π½Ρ Ultegra, Π½ΠΎ ΠΎΡΠ»ΠΈΡΠ½ΡΡ ΠΎΡ ΠΏΠΎΠΊΠΎΠ»Π΅Π½ΠΈΡ.
ΠΠΎΠ»ΠΎΠ΄ΠΊΠΈ Π΄Π»Ρ Π΄ΠΈΡΠΊΠΎΠ²ΡΡ ΡΠΎΡΠΌΠΎΠ·ΠΎΠ² ΡΠΈΠ»ΡΠ½ΠΎ ΡΠ°Π·Π»ΠΈΡΠ°ΡΡΡΡ Π² Π·Π°Π²ΠΈΡΠΈΠΌΠΎΡΡΠΈ ΠΎΡ ΠΌΠ°ΡΠΊΠΈ ΠΈ ΠΌΠΎΠ΄Π΅Π»ΠΈ ΡΠΎΡΠΌΠΎΠ·Π°. Π§ΡΠ΅Π·Π²ΡΡΠ°ΠΉΠ½ΠΎ Π²Π°ΠΆΠ½ΠΎ, ΡΡΠΎΠ±Ρ ΠΊΠΎΠ»ΠΎΠ΄ΠΊΠ° ΡΠΎΠΎΡΠ²Π΅ΡΡΡΠ²ΠΎΠ²Π°Π»Π° ΠΌΠΎΠ΄Π΅Π»ΠΈ ΡΠΎΡΠΌΠΎΠ·Π½ΠΎΠ³ΠΎ ΡΡΠΏΠΏΠΎΡΡΠ°.
ΠΠ°ΠΊ ΡΠΎΠ»ΡΠΊΠΎ Π²Ρ ΡΡΠΎ ΡΠ΄Π΅Π»Π°Π΅ΡΠ΅, Π²Ρ Π½Π°ΠΉΠ΄Π΅ΡΠ΅ ΡΡΠ΄ ΡΡΠΎΡΠΎΠ½Π½ΠΈΡ Π±ΡΠ΅Π½Π΄ΠΎΠ², ΠΏΡΠ΅Π΄Π»Π°Π³Π°ΡΡΠΈΡ ΠΏΠΎΡΠ»Π΅ΠΏΡΠΎΠ΄Π°ΠΆΠ½ΡΠ΅ ΠΊΠΎΠ»ΠΎΠ΄ΠΊΠΈ. ΠΠ΅ΠΊΠΎΡΠΎΡΡΠ΅ Π΄Π΅Π»Π°ΡΡ ΡΡΠΎ, ΡΡΠΎΠ±Ρ Π±ΡΡΡ Π±ΠΎΠ»Π΅Π΅ Π΄Π΅ΡΠ΅Π²ΠΎΠΉ Π°Π»ΡΡΠ΅ΡΠ½Π°ΡΠΈΠ²ΠΎΠΉ, ΡΠ΅ΠΌ ΠΊΠΎΠ»ΠΎΠ΄ΠΊΠΈ ΠΎΡΠΈΠ³ΠΈΠ½Π°Π»ΡΠ½ΠΎΠ³ΠΎ ΠΏΡΠΎΠΈΠ·Π²ΠΎΠ΄ΠΈΡΠ΅Π»Ρ. ΠΡΡΠ³ΠΈΠ΅ Π΄Π΅Π»Π°ΡΡ ΡΡΠΎ, Π·Π°ΡΠ²Π»ΡΡ ΠΎ ΠΏΡΠ΅Π²ΠΎΡΡ ΠΎΠ΄Π½ΠΎΠΉ ΠΏΡΠΎΠΈΠ·Π²ΠΎΠ΄ΠΈΡΠ΅Π»ΡΠ½ΠΎΡΡΠΈ, Π΄ΠΎΠ»Π³ΠΎΠ²Π΅ΡΠ½ΠΎΡΡΠΈ ΠΈ ΡΠ½ΠΈΠΆΠ΅Π½ΠΈΠΈ ΡΡΠΌΠ° (Π½Π°ΠΏΡΠΈΠΌΠ΅Ρ, SwissStop ΠΈ KoolStop).
ΠΡΠ»ΠΈ Π²Ρ Ρ ΠΎΡΠΈΡΠ΅ ΠΏΠ΅ΡΠ΅ΡΡΡΠ°Ρ ΠΎΠ²Π°ΡΡΡΡ, ΠΎΠ±ΡΡΠ½ΠΎ ΡΠ΅ΠΊΠΎΠΌΠ΅Π½Π΄ΡΠ΅ΡΡΡ ΠΈΡΠΏΠΎΠ»ΡΠ·ΠΎΠ²Π°ΡΡ Π΄ΠΈΡΠΊΠΎΠ²ΡΠ΅ ΠΊΠΎΠ»ΠΎΠ΄ΠΊΠΈ ΠΏΠΎΠ΄Π»ΠΈΠ½Π½ΠΎΠΉ ΠΌΠ°ΡΠΊΠΈ (ΠΎΠ±ΠΎΠ΄Π½ΡΠ΅ ΡΠΎΡΠΌΠΎΠ·Π° — ΡΡΠΎ ΡΠΎΠ²ΡΠ΅ΠΌ Π΄ΡΡΠ³ΠΎΠ΅ Π΄Π΅Π»ΠΎ), ββΠΏΠΎΠ΄Ρ ΠΎΠ΄ΡΡΠΈΠ΅ ΠΊ Π²Π°ΡΠ΅ΠΌΡ ΡΡΠΏΠΏΠΎΡΡΡ. ΠΡΠΎ ΡΠΎ, Π΄Π»Ρ ΡΠ΅Π³ΠΎ Π±ΡΠ»ΠΈ ΡΠΏΡΠΎΠ΅ΠΊΡΠΈΡΠΎΠ²Π°Π½Ρ Π²Π°ΡΠΈ ΡΠΎΡΠΌΠΎΠ·Π°, ΠΈ, ΡΠ΅ΡΡΠ½ΠΎ Π³ΠΎΠ²ΠΎΡΡ, Ρ ΠΌΠ΅Π½Ρ Π±ΡΠ»ΠΎ ΡΠ»ΠΈΡΠΊΠΎΠΌ ΠΌΠ½ΠΎΠ³ΠΎ ΡΠΌΠ΅ΡΠ°Π½Π½ΠΎΠ³ΠΎ ΠΎΠΏΡΡΠ°, ΡΡΠΎΠ±Ρ ΠΏΡΠ΅Π΄ΠΏΠΎΠ»ΠΎΠΆΠΈΡΡ ΠΎΠ±ΡΠ°ΡΠ½ΠΎΠ΅.
Π ΡΠ΅ΠΌ ΡΠ°Π·Π½ΠΈΡΠ° ΠΌΠ΅ΠΆΠ΄Ρ ΠΌΠΎΠ΄Π΅Π»ΡΠΌΠΈ ΡΠΎΡΠΌΠΎΠ·Π½ΡΡ ΠΊΠΎΠ»ΠΎΠ΄ΠΎΠΊ Shimano?
ΠΠ΅ΡΠ²Π°Ρ Π±ΡΠΊΠ²Π° Π² Π½Π°Π·Π²Π°Π½ΠΈΠΈ ΡΠΎΡΠΌΠΎΠ·Π½ΡΡ ΠΊΠΎΠ»ΠΎΠ΄ΠΎΠΊ Shimano ΠΎΠ±ΠΎΠ·Π½Π°ΡΠ°Π΅Ρ ΡΠΎΡΠΌΡ ΠΊΠΎΠ»ΠΎΠ΄ΠΊΠΈ ΠΈ ΡΡΡΠ°Π½ΠΎΠ²ΠΊΡ. ΠΠ»Ρ ΠΎΠΏΡΠ΅Π΄Π΅Π»Π΅Π½Π½ΡΡ ΡΠΎΡΠΌΠΎΠ·Π½ΡΡ ΡΡΠΏΠΏΠΎΡΡΠΎΠ² ΡΡΠ΅Π±ΡΡΡΡΡ ΠΎΠΏΡΠ΅Π΄Π΅Π»Π΅Π½Π½ΡΠ΅ ΠΊΠΎΠ»ΠΎΠ΄ΠΊΠΈ, ΠΏΠΎΡΡΠΎΠΌΡ, Π΅ΡΠ»ΠΈ Π²Ρ Π½Π΅ ΡΠ²Π΅ΡΠ΅Π½Ρ, ΡΡΠ°Π²Π½ΠΈΡΠ΅ Π½Π°Π·Π²Π°Π½ΠΈΠ΅ ΠΌΠΎΠ΄Π΅Π»ΠΈ Π½Π° Π²Π°ΡΠ΅ΠΌ ΡΡΠΏΠΏΠΎΡΡΠ΅ Ρ ΠΏΡΠ΅Π΄Π»ΠΎΠΆΠ΅Π½Π½ΡΠΌ ΡΠΏΠΈΡΠΊΠΎΠΌ ΠΎΡ Shimano.Π Π΄ΠΈΡΠΊΠΎΠ²ΡΡ ΡΡΠΏΠΏΠΎΡΡΠ°Ρ Shimano Dura-Ace, R9100, Ultegra R8000 ΠΈ 105 R7000 ΠΈΡΠΏΠΎΠ»ΡΠ·ΡΠ΅ΡΡΡ ΠΊΠΎΠ»ΠΎΠ΄ΠΊΠ° ΡΠ΅ΡΠΈΠΈ L. Π ΡΡΠΏΠΏΠΎΡΡΠ°Ρ R785 ΠΏΡΠ΅Π΄ΡΠ΄ΡΡΠ΅Π³ΠΎ ΠΏΠΎΠΊΠΎΠ»Π΅Π½ΠΈΡ ΠΈΡΠΏΠΎΠ»ΡΠ·ΡΠ΅ΡΡΡ ΠΊΠΎΠ»ΠΎΠ΄ΠΊΠ° J-ΡΠ΅ΡΠΈΠΈ, ΠΊΠΎΡΠΎΡΠ°Ρ Π°Π½Π°Π»ΠΎΠ³ΠΈΡΠ½Π° ΠΌΠ½ΠΎΠ³ΠΈΠΌ ΡΡΠΏΠΏΠΎΡΡΠ°ΠΌ Π΄Π»Ρ Π³ΠΎΡΠ½ΡΡ Π²Π΅Π»ΠΎΡΠΈΠΏΠ΅Π΄ΠΎΠ² ΠΏΡΠ΅Π΄ΡΠ΄ΡΡΠ΅Π³ΠΎ ΠΏΠΎΠΊΠΎΠ»Π΅Π½ΠΈΡ.
ΠΡΠΊΠ²Π° Π² ΠΊΠΎΠ½ΡΠ΅ Π½Π°Π·Π²Π°Π½ΠΈΡ ΠΌΠΎΠ΄Π΅Π»ΠΈ ΡΠΎΡΠΌΠΎΠ·Π½ΡΡ ΠΊΠΎΠ»ΠΎΠ΄ΠΎΠΊ ΠΎΠ±ΠΎΠ·Π½Π°ΡΠ°Π΅Ρ ΠΎΠΏΠΎΡΠ½ΡΡ ΠΏΠ»Π°ΡΡΠΈΠ½Ρ ΠΌΠ°ΡΠ΅ΡΠΈΠ°Π»Π°. ΠΠ°ΠΏΡΠΈΠΌΠ΅Ρ, Β«AΒ» ΠΎΠ·Π½Π°ΡΠ°Π΅Ρ ΡΠΏΠ»Π°Π² (Π°Π»ΡΠΌΠΈΠ½ΠΈΠΉ), Β«SΒ» — ΡΡΠ°Π»Ρ, Β«TiΒ» — ΡΠΈΡΠ°Π½, Π° Β«CΒ» — ΠΎΡ Π»Π°ΠΆΠ΄Π΅Π½ΠΈΠ΅ (ΠΎΠ±ΡΡΠ½ΠΎ ΡΡΠ°Π»ΡΠ½Π°Ρ ΠΎΠΏΠΎΡΠ½Π°Ρ ΠΏΠ»ΠΈΡΠ° Ρ ΠΎΡ Π»Π°ΠΆΠ΄Π°ΡΡΠΈΠΌΠΈ ΡΠ΅Π±ΡΠ°ΠΌΠΈ ΠΈΠ· ΡΠΏΠ»Π°Π²Π°).
ΠΡΠ»ΠΈ Π²Ρ ΠΏΠΎΠΊΡΠΏΠ°Π΅ΡΠ΅ Π½ΠΎΠ²ΡΠ΅ ΠΏΠΎΠ»ΠΈΠΌΠ΅ΡΠ½ΡΠ΅ ΠΊΠΎΠ»ΠΎΠ΄ΠΊΠΈ Π΄Π»Ρ Π΄ΠΈΡΠΊΠΎΠ²ΡΡ ΡΠΎΡΠΌΠΎΠ·ΠΎΠ², ΠΏΠΎΠ΄Ρ ΠΎΠ΄ΡΡΠΈΠ΅ ΠΊ Π²Π°ΡΠΈΠΌ Π½ΠΎΠ²ΡΠΌ ΡΠΎΡΡΠ΅ΠΉΠ½ΡΠΌ ΡΡΠΏΠΏΠΎΡΡΠ°ΠΌ Shimano, Π²Ρ ΠΌΠΎΠΆΠ΅ΡΠ΅ Π²ΡΠ±ΡΠ°ΡΡ ΠΌΠ΅ΠΆΠ΄Ρ J02A, J03A ΠΈΠ»ΠΈ L02A ΠΈ L03A.Β«02Β» — ΡΡΠΎ ΠΏΡΠΎΠΊΠ»Π°Π΄ΠΊΠΈ ΠΈΠ· ΡΠΌΠΎΠ»Ρ ΠΏΡΠ΅Π΄ΡΠ΄ΡΡΠ΅ΠΉ Π²Π΅ΡΡΠΈΠΈ, ΠΊΠΎΡΠΎΡΡΠ΅ ΡΠ΅ΠΏΠ΅ΡΡ Π·Π°ΠΌΠ΅Π½Π΅Π½Ρ Π½Π° 03, ΠΊΠΎΡΠΎΡΡΠ΅ ΡΡΠ²Π΅ΡΠΆΠ΄Π°ΡΡ, ΡΡΠΎ ΠΎΠ±Π΅ΡΠΏΠ΅ΡΠΈΠ²Π°ΡΡ Π½Π° 50% Π±ΠΎΠ»ΡΡΡΡ Π΄ΠΎΠ»Π³ΠΎΠ²Π΅ΡΠ½ΠΎΡΡΡ, Π½Π΅ ΠΎΡΠΊΠ°Π·ΡΠ²Π°ΡΡΡ Π½ΠΈ ΠΎΡ ΡΠ΅Π³ΠΎ. ΠΡΠ»ΠΈ Ρ Π²Π°Ρ Π΅ΡΡΡ Π²ΡΠ±ΠΎΡ, Π²ΡΠ±Π΅ΡΠΈΡΠ΅ Π±ΠΎΠ»Π΅Π΅ Π½ΠΎΠ²ΡΡ ΠΎΠΏΡΠΈΡ Β«03Β».
ΠΠ΅ΡΠΆΠ΅Π»ΠΈ ΡΠ°ΠΊ Π²Π°ΠΆΠ½ΠΎ Π½Π΅ Π΄ΠΎΠΏΡΡΠΊΠ°ΡΡ ΠΏΠΎΠΏΠ°Π΄Π°Π½ΠΈΡ ΠΌΠ°ΡΠ»Π° Π½Π° ΠΊΠΎΠ»ΠΎΠ΄ΠΊΠΈ ΠΌΠΎΠ΅Π³ΠΎ Π΄ΠΈΡΠΊΠΎΠ²ΠΎΠ³ΠΎ ΡΠΎΡΠΌΠΎΠ·Π°?
ΠΠ³Π°. ΠΠΈΡΠΊΠΎΠ²ΡΠ΅ ΡΠΎΡΠΌΠΎΠ·Π° ΡΠ²Π΅ΡΡ ΡΡΠ²ΡΡΠ²ΠΈΡΠ΅Π»ΡΠ½Ρ ΠΊ Π»ΡΠ±ΡΠΌ Π·Π°Π³ΡΡΠ·Π½Π΅Π½ΠΈΡΠΌ. ΠΠ°ΠΆΠ΅ ΠΌΠ°ΡΠ»Π° Π½Π° ΠΊΠΎΠ½ΡΠΈΠΊΠ°Ρ ΠΏΠ°Π»ΡΡΠ΅Π² ΠΌΠΎΠΆΠ΅Ρ Π±ΡΡΡ Π΄ΠΎΡΡΠ°ΡΠΎΡΠ½ΠΎ, ΡΡΠΎΠ±Ρ Π½Π°ΡΡΡΠΈΡΡ ΡΡΡΠ΅ΠΊΡΠΈΠ²Π½ΠΎΡΡΡ ΡΠΎΡΠΌΠΎΠΆΠ΅Π½ΠΈΡ. ΠΠ²ΡΠΎΠΌΠΎΠ±ΠΈΠ»ΡΠ½ΡΠ΅ ΡΠΎΡΠΌΠΎΠ·Π°, Π²ΠΎΠ·ΠΌΠΎΠΆΠ½ΠΎ, Π½ΠΈΡΠ΅ΠΌ Π½Π΅ ΠΎΡΠ»ΠΈΡΠ°ΡΡΡΡ, Π½ΠΎ ΠΎΠ½ΠΈ ΠΏΡΠ΅Π΄Π»Π°Π³Π°ΡΡ Π³ΠΎΡΠ°Π·Π΄ΠΎ Π±ΠΎΠ»ΡΡΡΡ ΠΏΠ»ΠΎΡΠ°Π΄Ρ ΠΏΠΎΠ²Π΅ΡΡ Π½ΠΎΡΡΠΈ ΠΈ Π³ΠΎΡΠ°Π·Π΄ΠΎ Π±ΠΎΠ»Π΅Π΅ Π²ΡΡΠΎΠΊΠΈΠΉ Π½Π°Π³ΡΠ΅Π², ΠΊΠΎΡΠΎΡΡΠΉ ΡΡΡΡΠ°Π½ΡΠ΅Ρ ΡΠ°ΠΊΠΈΠ΅ ΠΏΡΠΎΠ±Π»Π΅ΠΌΡ.
ΠΡΠ΄ΡΡΠ΅ ΠΎΡΡΠΎΡΠΎΠΆΠ½Ρ ΠΏΡΠΈ ΠΎΠ±Π΅Π·ΠΆΠΈΡΠΈΠ²Π°Π½ΠΈΠΈ ΡΡΠ°Π½ΡΠΌΠΈΡΡΠΈΠΈ. ΠΡΠ»ΠΈ Π²Ρ ΡΠΎΠ±ΠΈΡΠ°Π΅ΡΠ΅ΡΡ ΡΠ°ΡΠΏΡΠ»ΡΡΡ ΠΎΠ±Π΅Π·ΠΆΠΈΡΠΈΠ²Π°ΡΠ΅Π»Ρ, Π»ΡΡΡΠ΅ Π²ΡΠ΅Π³ΠΎ ΡΠ½ΡΡΡ ΠΊΠΎΠ»Π΅ΡΠΎ ΠΈ Π½Π°ΠΊΡΡΡΡ ΡΠΎΡΠΌΠΎΠ·Π½ΠΎΠΉ ΡΡΠΏΠΏΠΎΡΡ.
ΠΠ΅ΡΠΆΠ°ΡΡ ΡΠ²ΠΎΠΉ Π΄ΠΈΡΠΊ Π² ΡΠΈΡΡΠΎΡΠ΅ ΠΎΡ Π»ΡΠ±ΡΡ ΡΠΎΡΠΌ ΠΌΠ°ΡΠ»ΡΠ½ΠΎΠ³ΠΎ Π·Π°Π³ΡΡΠ·Π½Π΅Π½ΠΈΡ — ΠΊΠ»ΡΡ ΠΊ ΡΡΠ°ΡΡΡΡ. ΠΡΠΎ ΠΎΠ·Π½Π°ΡΠ°Π΅Ρ, ΡΡΠΎ Π½Π΅ ΠΈΡΠΏΠΎΠ»ΡΠ·ΡΠΉΡΠ΅ Π°ΡΡΠΎΠ·ΠΎΠ»ΡΠ½ΡΠ΅ ΡΠΌΠ°Π·ΠΊΠΈ Π½Π° ΡΠ΅ΠΏΠΈ, Π° ΡΠ°ΠΊΠΆΠ΅ Π±ΡΠ΄ΡΡΠ΅ ΠΎΡΡΠΎΡΠΎΠΆΠ½Ρ ΠΏΡΠΈ ΠΌΡΡΡΠ΅ Π²Π΅Π»ΠΎΡΠΈΠΏΠ΅Π΄Π° Ρ ΡΠΎΡΠΊΠΈ Π·ΡΠ΅Π½ΠΈΡ ΠΈΡΠΏΠΎΠ»ΡΠ·ΡΠ΅ΠΌΡΡ ΠΌΠ΅ΡΠΎΠ΄ΠΎΠ² ΠΈ ΠΌΠΎΡΡΠΈΡ ΡΡΠ΅Π΄ΡΡΠ². ΠΡΠ»ΠΈ Π²Ρ Π½Π°ΡΡΠ°ΠΈΠ²Π°Π΅ΡΠ΅ Π½Π° ΡΠ°Π·Π±ΡΡΠ·Π³ΠΈΠ²Π°Π½ΠΈΠΈ ΠΎΠ±Π΅Π·ΠΆΠΈΡΠΈΠ²Π°ΡΡΠ΅Π³ΠΎ ΡΡΠ΅Π΄ΡΡΠ²Π° ΠΏΠΎΠ²ΡΡΠ΄Ρ, Π½Π΅ Π½Π°Π½ΠΎΡΠΈΡΠ΅ Π΅Π³ΠΎ Π½Π° Π΄ΠΈΡΠΊΠΈ, Π° Π΅ΡΠ΅ Π»ΡΡΡΠ΅ ΠΈΡΠΏΠΎΠ»ΡΠ·ΡΠΉΡΠ΅ ΡΠΈΡΡΡΠΉ ΠΏΠ°ΠΊΠ΅Ρ Π΄Π»Ρ ΠΌΠΎΡΠΎΠ·ΠΈΠ»ΡΠ½ΠΎΠΉ ΠΊΠ°ΠΌΠ΅ΡΡ (ΡΠ΄Π΅ΡΠΆΠΈΠ²Π°Π΅ΠΌΡΠΉ ΡΠ΅Π·ΠΈΠ½ΠΊΠΎΠΉ), ΡΡΠΎΠ±Ρ Π½Π°ΠΊΡΡΡΡ ΡΠΎΡΠΌΠΎΠ·Π½ΠΎΠΉ ΡΡΠΏΠΏΠΎΡΡ.
ΠΠ°ΠΊ ΠΏΠΎΡΠΈΡΡΠΈΡΡ Π΄ΠΈΡΠΊΠΎΠ²ΡΠ΅ ΡΠΎΡΠΌΠΎΠ·Π°?
Π ΡΡΠΎΠΌ Π½Π΅Ρ Π½Π΅ΠΎΠ±Ρ ΠΎΠ΄ΠΈΠΌΠΎΡΡΠΈ, Ρ ΠΎΡΡ, Π²ΠΎΠ·ΠΌΠΎΠΆΠ½ΠΎ, ΠΏΠΎΡΡΠ΅Π±ΡΠ΅ΡΡΡ Π²ΡΠ΅ΠΌΡ ΠΎΡ Π²ΡΠ΅ΠΌΠ΅Π½ΠΈ Π²ΡΡΠΈΡΠ°ΡΡ ΡΠΎΡΠΌΠΎΠ·Π½ΡΡ ΠΏΡΠ»Ρ ΡΠΈΡΡΠΎΠΉ ΡΡΡΠΏΠΊΠΎΠΉ Π±Π΅Π· Π²ΠΎΡΡΠ°. ΠΠ΅Π±ΠΎΠ»ΡΡΠ°Ρ ΡΡΡΡΠΉΠΊΠ° Π²ΠΎΠ΄Ρ ΡΠΎΠΆΠ΅ ΠΌΠΎΠΆΠ΅Ρ Π±ΡΡΡ ΠΏΠΎΠ»Π΅Π·Π½Π°.
ΠΠ·ΠΎΠΏΡΠΎΠΏΠΈΠ»ΠΎΠ²ΡΠΉ (ΠΈΠ»ΠΈ ΠΌΠ΅Π΄ΠΈΡΠΈΠ½ΡΠΊΠΈΠΉ) ΡΠΏΠΈΡΡ — ΡΡΠΎ ΠΎΠ±ΡΡΠ½ΠΎ ΡΠ΅ΠΊΠΎΠΌΠ΅Π½Π΄ΡΠ΅ΠΌΡΠΉ ΠΎΡΠΈΡΡΠΈΡΠ΅Π»Ρ Π΄Π»Ρ Π΄ΠΈΡΠΊΠΎΠ²ΡΡ ΡΠΎΡΠΌΠΎΠ·ΠΎΠ².
ΠΡΠ»ΠΈ Π²Π°ΠΌ Π²ΡΠ΅ ΠΆΠ΅ Π½ΡΠΆΠ½ΠΎ ΠΈΡ ΠΎΡΠΈΡΡΠΈΡΡ, ΠΈΡΠΏΠΎΠ»ΡΠ·ΡΠΉΡΠ΅ ΠΈΠ·ΠΎΠΏΡΠΎΠΏΠΈΠ»ΠΎΠ²ΡΠΉ ΡΠΏΠΈΡΡ, ΠΆΠ΅Π»Π°ΡΠ΅Π»ΡΠ½ΠΎ 100% -Π½ΡΠΉ, Π° Π½Π΅ ΡΠ»Π΅Π³ΠΊΠ° ΡΠ°Π·Π±Π°Π²Π»Π΅Π½Π½ΡΠ΅ Π²Π΅ΡΠ΅ΡΡΠ²Π°, ΠΊΠΎΡΠΎΡΡΠ΅ ΠΎΠ±ΡΡΠ½ΠΎ ΠΌΠΎΠΆΠ½ΠΎ Π½Π°ΠΉΡΠΈ Π² Π°ΠΏΡΠ΅ΠΊΠ°Ρ . ΠΠ°, ΡΡΠΎ Π½Π΅ ΡΠ°ΠΊ Π΄Π΅ΡΠ΅Π²ΠΎ ΠΈ Π½Π΅ ΡΠ°ΠΊ ΠΏΡΠΎΡΡΠΎ Π½Π°ΠΉΡΠΈ, Π½ΠΎ ΠΎΠ½ Π³Π°ΡΠ°Π½ΡΠΈΡΠΎΠ²Π°Π½Π½ΠΎ ΠΎΡΠΈΡΠ°Π΅Ρ ΡΠΎΡΠΌΠΎΠ·Π½ΡΠ΅ ΠΏΠΎΠ²Π΅ΡΡ Π½ΠΎΡΡΠΈ, Π½Π΅ ΠΎΡΡΠ°Π²Π»ΡΡ ΠΌΠ°ΡΠ»ΡΠ½ΡΡ ΡΠ»Π΅Π΄ΠΎΠ² ΠΈ Π½Π΅ Π²ΡΠ·ΡΠ²Π°Ρ ΠΏΠΎΠ²ΡΠ΅ΠΆΠ΄Π΅Π½ΠΈΡ ΡΠΏΠ»ΠΎΡΠ½Π΅Π½ΠΈΠΉ.
ΠΡΠΈΡΡΠΈΡΠ΅Π»ΠΈ Π°Π²ΡΠΎΠΌΠΎΠ±ΠΈΠ»ΡΠ½ΡΡ Π΄ΠΈΡΠΊΠΎΠ²ΡΡ ΡΠΎΡΠΌΠΎΠ·ΠΎΠ² ΡΠ°ΡΡΠΎ ΠΌΠΎΠ³ΡΡ Π²ΡΠ·ΡΠ²Π°ΡΡ ΠΏΡΠΎΠ±Π»Π΅ΠΌΡ. ΠΠ΅ΠΊΠΎΡΠΎΡΡΠ΅ ΠΎΡΡΠ°Π²Π»ΡΡΡ ΠΌΠ°ΡΠ»ΡΠ½ΠΈΡΡΡΠ΅ ΠΎΡΡΠ°ΡΠΊΠΈ, Π² ΡΠΎ Π²ΡΠ΅ΠΌΡ ΠΊΠ°ΠΊ Π΄ΡΡΠ³ΠΈΠ΅ Π»ΠΈΡΠ°ΡΡ ΠΆΠΈΠ·Π½ΠΈ ΡΠ΅Π·ΠΈΠ½ΠΎΠ²ΡΠ΅ ΡΠΏΠ»ΠΎΡΠ½Π΅Π½ΠΈΡ. Π ΠΏΡΠ°ΠΊΡΠΈΡΠ΅ΡΠΊΠΈ Π²ΡΠ΅ ΠΎΠ±Π΅Π·ΠΆΠΈΡΠΈΠ²Π°ΡΠ΅Π»ΠΈ ΠΏΡΠΈΠ½Π΅ΡΡΡ Π±ΠΎΠ»ΡΡΠ΅ Π²ΡΠ΅Π΄Π°, ΡΠ΅ΠΌ ΠΏΠΎΠ»ΡΠ·Ρ.
ΠΡΠΈΡΡΠΈΡΠ΅Π»ΠΈ Π΄ΠΈΡΠΊΠΎΠ²ΡΡ ΡΠΎΡΠΌΠΎΠ·ΠΎΠ², ΠΏΡΠ΅Π΄Π½Π°Π·Π½Π°ΡΠ΅Π½Π½ΡΠ΅ Π΄Π»Ρ Π²Π΅Π»ΠΎΡΠΈΠΏΠ΅Π΄ΠΎΠ², Ρ Π±ΠΎΠ»ΡΡΠ΅ΠΉ Π²Π΅ΡΠΎΡΡΠ½ΠΎΡΡΡΡ ΠΏΠΎΠ΄ΠΎΠΉΠ΄ΡΡ Π΄Π»Ρ ΠΈΡΠΏΠΎΠ»ΡΠ·ΠΎΠ²Π°Π½ΠΈΡ, Π½ΠΎ, ΠΊ ΡΠΎΠΆΠ°Π»Π΅Π½ΠΈΡ, ΡΡΠΎ Π½Π΅ Π²ΡΠ΅Π³Π΄Π° ΡΠ°ΠΊ. ΠΠ΅ΠΊΠΎΡΠΎΡΡΠ΅ ΠΈΠ· Π½ΠΈΡ — ΡΡΠΎ ΠΏΡΠΎΡΡΠΎ Π°Π²ΡΠΎΠΌΠΎΠ±ΠΈΠ»ΡΠ½ΡΠ΅ ΡΠΈΡΡΡΡΠΈΠ΅ ΡΡΠ΅Π΄ΡΡΠ²Π° Ρ Π½ΠΎΠ²ΠΎΠΉ ΡΠΎΡΠ³ΠΎΠ²ΠΎΠΉ ΠΌΠ°ΡΠΊΠΎΠΉ, Π² ΡΠΎ Π²ΡΠ΅ΠΌΡ ΠΊΠ°ΠΊ Π΄ΡΡΠ³ΠΈΠ΅ ΠΏΡΠ΅Π΄ΡΡΠ°Π²Π»ΡΡΡ ΡΠΎΠ±ΠΎΠΉ ΠΏΡΠΎΡΡΠΎ ΠΈΠ·ΠΎΠΏΡΠΎΠΏΠΈΠ»ΠΎΠ²ΡΠΉ ΡΠΏΠΈΡΡ ΠΏΠΎ Π±ΠΎΠ»Π΅Π΅ Π²ΡΡΠΎΠΊΠΎΠΉ ΡΠ΅Π½Π΅. Π‘ Π½ΠΈΠΌΠΈ, Π²Π΅ΡΠΎΡΡΠ½ΠΎ, Π²ΡΠ΅ Π² ΠΏΠΎΡΡΠ΄ΠΊΠ΅, Π½ΠΎ, ΠΎΠΏΡΡΡ ΠΆΠ΅, ΠΈΠ·ΠΎΠΏΡΠΎΠΏΠ°Π½ΠΎΠ» ΠΏΠΎ-ΠΏΡΠ΅ΠΆΠ½Π΅ΠΌΡ ΡΠ΅ΠΊΠΎΠΌΠ΅Π½Π΄ΡΠ΅ΡΡΡ Π²ΡΠ΅ΠΌΠΈ ΠΎΡΠ½ΠΎΠ²Π½ΡΠΌΠΈ ΠΏΡΠΎΠΈΠ·Π²ΠΎΠ΄ΠΈΡΠ΅Π»ΡΠΌΠΈ Π΄ΠΈΡΠΊΠΎΠ²ΡΡ ΡΠΎΡΠΌΠΎΠ·ΠΎΠ².
Π§ΡΠΎ ΡΠ°ΠΊΠΎΠ΅ ΠΏΡΠΈΡΠ°Π±ΠΎΡΠΊΠ° ΡΠΎΡΠΌΠΎΠ·Π° ΠΈ Π·Π°ΡΠ΅ΠΌ ΠΎΠ½Π° Π½ΡΠΆΠ½Π°?
ΠΡΠΈΡΠ°Π±ΠΎΡΠΊΠ° ΠΈΠ»ΠΈ ΠΏΡΠΈΡΠ°Π±ΠΎΡΠΊΠ° ΡΠΎΡΠΌΠΎΠ·Π½ΠΎΠΉ ΠΊΠΎΠ»ΠΎΠ΄ΠΊΠΈ — ΡΡΠΎ ΠΏΡΠΎΡΠ΅ΡΡ ΠΏΠ΅ΡΠ΅Π½ΠΎΡΠ° ΠΌΠ°ΡΠ΅ΡΠΈΠ°Π»Π° ΠΊΠΎΠ»ΠΎΠ΄ΠΊΠΈ Π½Π° ΡΠΎΡΠΌΠΎΠ·Π½ΡΡ ΠΏΠΎΠ²Π΅ΡΡ Π½ΠΎΡΡΡ Π΄Π»Ρ ΠΏΡΠ°Π²ΠΈΠ»ΡΠ½ΠΎΠ³ΠΎ ΡΡΠ½ΠΊΡΠΈΠΎΠ½ΠΈΡΠΎΠ²Π°Π½ΠΈΡ. ΠΠ°ΠΆΠ΄ΡΠΉ ΡΠ°Π·, ΠΊΠΎΠ³Π΄Π° Π²ΠΎΠ·Π½ΠΈΠΊΠ°ΡΡ Π½ΠΎΠ²ΡΠ΅ ΡΠΎΡΠΌΠΎΠ·Π½ΡΠ΅ ΠΊΠΎΠ»ΠΎΠ΄ΠΊΠΈ ΠΈΠ»ΠΈ ΡΠΎΡΠΌΠΎΠ·Π½ΡΠ΅ Π΄ΠΈΡΠΊΠΈ, ΡΡΠΎ Π²Π°ΠΆΠ½ΡΠΉ ΡΠ°Π³. ΠΡΠΎΡΡΠΈΡΠ΅ Π½Π°ΡΡ ΡΡΠ°ΡΡΡ ΠΎ ΡΠΎΡΠΌΠΎΠ·Π½ΠΎΠΉ ΡΠΈΡΡΠ΅ΠΌΠ΅, ΡΡΠΎΠ±Ρ ΡΠ·Π½Π°ΡΡ Π±ΠΎΠ»ΡΡΠ΅ ΠΏΠΎ ΡΡΠΎΠΉ ΡΠ΅ΠΌΠ΅.
ΠΠ°ΠΊ Ρ ΡΠ·Π½Π°Ρ, ΡΡΠΎ ΠΌΠΎΠΈ ΡΠΎΡΠΌΠΎΠ·Π° Π½ΡΠΆΠ½ΠΎ ΠΏΡΠΎΠΊΠ°ΡΠ°ΡΡ?
ΠΡΡΡΠ΅Π½ΠΈΠ΅ Π³ΡΠ±ΡΠ°ΡΠΎΡΡΠΈ ΡΡΡΠ°Π³ΠΎΠ² ΠΈΠ»ΠΈ Π½Π΅ΠΏΠΎΡΡΠΎΡΠ½Π½ΠΎΠ΅ ΠΎΡΡΡΠ΅Π½ΠΈΠ΅ ΡΠΎΡΠΌΠΎΠ·ΠΎΠ² — Π²Π΅ΡΠ½ΡΠ΅ ΠΏΡΠΈΠ·Π½Π°ΠΊΠΈ ΡΠΎΠ³ΠΎ, ΡΡΠΎ Π²Π°ΡΠΈ ΡΠΎΡΠΌΠΎΠ·Π° ΠΌΠΎΠ³ΡΡ ΠΏΡΠΎΡΠ΅ΠΊΠ°ΡΡ.ΠΠ±Π° ΡΡΠΈΡ ΡΠΈΠΌΠΏΡΠΎΠΌΠ° ΡΠ²Π»ΡΡΡΡΡ ΡΠ΅Π·ΡΠ»ΡΡΠ°ΡΠΎΠΌ ΠΏΠΎΠΏΠ°Π΄Π°Π½ΠΈΡ Π²ΠΎΠ·Π΄ΡΡ Π° Π² ΡΠΈΡΡΠ΅ΠΌΡ, ΡΡΠΎ ΠΈΠ½ΠΎΠ³Π΄Π° ΠΌΠΎΠΆΠ΅Ρ ΠΏΡΠΎΠΈΠ·ΠΎΠΉΡΠΈ, Π΅ΡΠ»ΠΈ ΡΠΎΡΠΌΠΎΠ·Π½ΡΠ΅ ΠΊΠΎΠ»ΠΎΠ΄ΠΊΠΈ ΠΈΠ·Π½ΠΎΡΡΡΡΡ ΡΠ»ΠΈΡΠΊΠΎΠΌ ΡΠΈΠ»ΡΠ½ΠΎ.
ΠΠ΄ΠΈΠ½ ΠΈΠ· ΠΏΡΠΎΡΡΡΡ ΡΠΏΠΎΡΠΎΠ±ΠΎΠ² ΠΏΡΠΎΠ²Π΅ΡΠΈΡΡ ΡΡΠΎ — ΠΏΠ΅ΡΠ΅Π²Π΅ΡΠ½ΡΡΡ Π²Π΅Π»ΠΎΡΠΈΠΏΠ΅Π΄ Π²Π²Π΅ΡΡ Π½ΠΎΠ³Π°ΠΌΠΈ, ΠΌΠ½ΠΎΠ³ΠΎΠΊΡΠ°ΡΠ½ΠΎ Π½Π°ΠΆΠΈΠΌΠ°Ρ Π½Π° ΡΡΡΠ°Π³ ΡΠΎΡΠΌΠΎΠ·Π°. ΠΡΠΎ ΠΌΠ΅Π½ΡΠ΅Ρ ΠΎΡΡΡΠ΅Π½ΠΈΠ΅? Π ΡΡΠ°Π³ ΡΠΎΠ»ΡΠΊΠΎ ΡΡΠΎ ΠΏΠΎΡΡΠ½ΡΠ» ΠΊ ΡΡΠ°Π½Π³Π΅? ΠΡΠ»ΠΈ ΡΡΠΎ ΡΠ°ΠΊ, Π·Π½Π°ΡΠΈΡ, Π² ΡΠΈΡΡΠ΅ΠΌΠ΅ Π΅ΡΡΡ Π²ΠΎΠ·Π΄ΡΡ , ΠΈ Π²Π°ΠΌ Π½ΡΠΆΠ½ΠΎ ΡΠ΄Π°Π»ΠΈΡΡ Π²ΠΎΠ·Π΄ΡΡ . ΠΡΠ»ΠΈ Π²Ρ ΡΡΠ²ΡΡΠ²ΡΠ΅ΡΠ΅ ΡΠΎ ΠΆΠ΅ ΡΠ°ΠΌΠΎΠ΅, Π²ΡΠ΅ Π² ΠΏΠΎΡΡΠ΄ΠΊΠ΅.
ΠΡΡΠ³ΠΎΠΉ ΠΏΡΠΈΡΠΈΠ½ΠΎΠΉ ΠΏΠΎΠ²ΡΠΎΡΠ½ΠΎΠ³ΠΎ ΠΊΡΠΎΠ²ΠΎΡΠ΅ΡΠ΅Π½ΠΈΡ ΡΠ²Π»ΡΠ΅ΡΡΡ ΡΠ°Π·Π»ΠΎΠΆΠ΅Π½ΠΈΠ΅ ΠΆΠΈΠ΄ΠΊΠΎΡΡΠΈ, ΡΠ°ΡΡΠΎ Π²ΡΠ·ΡΠ²Π°Π΅ΠΌΠΎΠ΅ ΡΡΠ΅Π·ΠΌΠ΅ΡΠ½ΡΠΌ Π½Π°Π³ΡΠ΅Π²ΠΎΠΌ.ΠΠΎΡΠ½ΡΠ΅ Π²Π΅Π»ΠΎΡΠΈΠΏΠ΅Π΄ΠΈΡΡΡ, ΡΠ°Π±ΠΎΡΠ°ΡΡΠΈΠ΅ Π½Π° ΡΠΊΠΎΡΠΎΡΡΠ½ΠΎΠΌ ΡΠΏΡΡΠΊΠ΅, ΡΠ»ΠΈΡΠΊΠΎΠΌ Ρ ΠΎΡΠΎΡΠΎ ΡΡΠΎ Π·Π½Π°ΡΡ: ΠΎΡΡΡΠ΅Π½ΠΈΡ ΠΎΡ ΡΠΎΡΠΌΠΎΠ·ΠΎΠ² ΠΌΠ΅Π½ΡΡΡΡΡ ΠΏΠΎΡΠ»Π΅ Π΄Π»ΠΈΡΠ΅Π»ΡΠ½ΡΡ ΡΠΏΡΡΠΊΠΎΠ², ΠΊΠΎΠ³Π΄Π° ΡΠΎΡΠΎΡΡ ΡΡΠ°Π½ΠΎΠ²ΡΡΡΡ Π΄ΠΎΠΊΡΠ°ΡΠ½ΡΠΌΠΈ (Π³Π΄Π΅ Π²Ρ ΡΠΈΡΠΊΡΠ΅ΡΠ΅ Π·Π°Π΄ΡΡΡ ΡΠΈΠ½Ρ Ρ ΠΏΠΎΠΌΠΎΡΡΡ ΠΎΠ±ΠΎΠ΄Π½ΡΡ ΡΠΎΡΠΌΠΎΠ·ΠΎΠ²). ΠΡΡΠ³Π°Ρ ΠΏΡΠΈΡΠΈΠ½Π° Π·Π°ΠΊΠ»ΡΡΠ°Π΅ΡΡΡ Π² ΡΠΎΠΌ, ΡΡΠΎ ΠΆΠΈΠ΄ΠΊΠΎΡΡΡ DOT, ΡΠ°ΠΊΠ°Ρ ΠΊΠ°ΠΊ ΡΠ°, ΠΊΠΎΡΠΎΡΠ°Ρ ΠΈΡΠΏΠΎΠ»ΡΠ·ΡΠ΅ΡΡΡ Π² ΡΠΈΡΡΠ΅ΠΌΠ°Ρ SRAM, ΡΠΎ Π²ΡΠ΅ΠΌΠ΅Π½Π΅ΠΌ ΠΏΠΎΠ³Π»ΠΎΡΠ°Π΅Ρ Π²ΠΎΠ΄Ρ, ΡΡΠΎ Π² ΠΊΠΎΠ½Π΅ΡΠ½ΠΎΠΌ ΠΈΡΠΎΠ³Π΅ ΡΠ½ΠΈΠΆΠ°Π΅Ρ ΡΠΎΡΠΊΡ ΠΊΠΈΠΏΠ΅Π½ΠΈΡ ΠΆΠΈΠ΄ΠΊΠΎΡΡΠΈ.
ΠΠ°ΠΊΠΎΠΉ Π±Ρ Π½ΠΈ Π±ΡΠ»Π° ΠΏΡΠΈΡΠΈΠ½Π°, ΠΏΡΠΎΠ΄ΡΠ²ΠΊΠ° ΡΠΈΡΡΠ΅ΠΌΡ ΠΏΡΠΈΠ²Π΅Π΄Π΅Ρ ΠΊ Π²ΡΠΌΡΠ²Π°Π½ΠΈΡ ΡΡΠ°ΡΠΎΠΉ ΠΆΠΈΠ΄ΠΊΠΎΡΡΠΈ ΠΈ ΡΠ΄Π°Π»Π΅Π½ΠΈΡ Π²ΠΎΠ·Π΄ΡΡ Π° ΠΈΠ· ΡΡΠΏΠΏΠΎΡΡΠ°, ΡΠ»Π°Π½Π³Π° ΠΈ ΡΡΡΠ°Π³Π°. ΠΠΎΠ»ΡΡΠΈΠ½ΡΡΠ²ΠΎ ΠΏΡΠΎΠΈΠ·Π²ΠΎΠ΄ΠΈΡΠ΅Π»Π΅ΠΉ ΡΠΎΡΠΌΠΎΠ·ΠΎΠ² ΡΠ΅ΠΊΠΎΠΌΠ΅Π½Π΄ΡΡΡ Π΄Π΅Π»Π°ΡΡ ΡΡΠΎ Π΅ΠΆΠ΅Π³ΠΎΠ΄Π½ΠΎ, Π½ΠΎ ΠΌΡ Π·Π½Π°Π΅ΠΌ ΠΌΠ½ΠΎΠΆΠ΅ΡΡΠ²ΠΎ Π»ΡΠ΄Π΅ΠΉ, ΠΊΠΎΡΠΎΡΡΠ΅ ΠΈΠ³Π½ΠΎΡΠΈΡΡΡΡ ΡΡΠΎ Π±Π΅Π· ΠΏΡΠΎΠ±Π»Π΅ΠΌ.
ΠΠ°ΠΊΡΡ ΠΆΠΈΠ΄ΠΊΠΎΡΡΡ Ρ ΠΌΠΎΠ³Ρ ΠΈΡΠΏΠΎΠ»ΡΠ·ΠΎΠ²Π°ΡΡ?
ΠΡΠΏΠΎΠ»ΡΠ·ΡΠΉΡΠ΅ ΡΠΎΠ»ΡΠΊΠΎ ΡΡ ΠΆΠΈΠ΄ΠΊΠΎΡΡΡ, ΠΊΠΎΡΠΎΡΡΡ ΡΠ΅ΠΊΠΎΠΌΠ΅Π½Π΄ΡΠ΅Ρ Π²Π°Ρ ΠΊΠΎΠ½ΠΊΡΠ΅ΡΠ½ΡΠΉ ΡΠΎΡΠΌΠΎΠ·. Shimano, Campagnolo, Magura ΠΈ Π½Π΅ΠΊΠΎΡΠΎΡΡΠ΅ Π΄ΡΡΠ³ΠΈΠ΅ ΠΈΡΠΏΠΎΠ»ΡΠ·ΡΡΡ ΠΎΠΏΡΠ΅Π΄Π΅Π»Π΅Π½Π½ΡΠ΅ ΡΠΈΠΏΡ ΠΌΠΈΠ½Π΅ΡΠ°Π»ΡΠ½ΡΡ ΠΌΠ°ΡΠ΅Π». Π ΡΠΎΡΠΌΠΎΠ·Π°Ρ SRAM ΠΈΡΠΏΠΎΠ»ΡΠ·ΡΠ΅ΡΡΡ Π°Π²ΡΠΎΠΌΠΎΠ±ΠΈΠ»ΡΠ½Π°Ρ ΠΆΠΈΠ΄ΠΊΠΎΡΡΡ DOT 5.1.
ΠΠΈΠ½Π΅ΡΠ°Π»ΡΠ½ΠΎΠ΅ ΠΌΠ°ΡΠ»ΠΎ ΠΈ ΠΆΠΈΠ΄ΠΊΠΎΡΡΡ DOT Π½Π΅ΡΠΎΠ²ΠΌΠ΅ΡΡΠΈΠΌΡ, ΠΈ ΠΈΡΠΏΠΎΠ»ΡΠ·ΠΎΠ²Π°Π½ΠΈΠ΅ Π½Π΅ΠΏΠΎΠ΄Ρ ΠΎΠ΄ΡΡΠ΅ΠΉ ΠΆΠΈΠ΄ΠΊΠΎΡΡΠΈ ΠΏΡΠΈΠ²Π΅Π΄Π΅Ρ ΠΊ ΡΠ°Π·Π±ΡΡ Π°Π½ΠΈΡ ΡΠΏΠ»ΠΎΡΠ½Π΅Π½ΠΈΠΉ ΠΈ ΠΎΡΠΊΠ°Π·Ρ ΡΠΎΡΠΌΠΎΠ·ΠΎΠ². ΠΡΠΎ, Π±Π΅Π·ΡΡΠ»ΠΎΠ²Π½ΠΎ, ΡΠΎ, Ρ ΡΠ΅ΠΌ Π½ΡΠΆΠ½ΠΎ Π±ΡΡΡ ΠΎΡΠ΅Π½Ρ ΠΎΡΡΠΎΡΠΎΠΆΠ½ΡΠΌ ΠΈ Π½Π΅ Π΄ΠΎΠΏΡΡΠΊΠ°ΡΡ ΠΏΠ΅ΡΠ΅ΠΊΡΠ΅ΡΡΠ½ΠΎΠ³ΠΎ Π·Π°ΡΠ°ΠΆΠ΅Π½ΠΈΡ ΡΠΈΡΡΠ΅ΠΌ ΠΈΠ·-Π·Π° ΡΠΎΠ²ΠΌΠ΅ΡΡΠ½ΠΎΠ³ΠΎ ΠΈΡΠΏΠΎΠ»ΡΠ·ΠΎΠ²Π°Π½ΠΈΡ ΠΊΠΎΠΌΠΏΠ»Π΅ΠΊΡΠΎΠ² Π΄Π»Ρ ΠΏΡΠΎΠΊΠ°ΡΠΊΠΈ.
ΠΠ°ΠΊ ΠΏΡΠΎΠΊΠ°ΡΠ°ΡΡ ΡΠΎΡΠΌΠΎΠ·Π°?
ΠΡΠΎΡΠ΅ΡΡ Π±ΡΠ΄Π΅Ρ Π·Π°Π²ΠΈΡΠ΅ΡΡ ΠΎΡ ΠΌΠΎΠ΄Π΅Π»ΠΈ ΡΠΎΡΠΌΠΎΠ·Π°. Π‘Π»Π΅Π΄ΡΡΡΠΈΠ΅ ΡΡΡΠ»ΠΊΠΈ Π΄ΠΎΠ»ΠΆΠ½Ρ ΠΏΠΎΠΌΠΎΡΡ. ΠΠΎΠΎΠ±ΡΠ΅ Π³ΠΎΠ²ΠΎΡΡ, ΠΎΠ±Π΅ΡΠΊΡΠΎΠ²Π»ΠΈΠ²Π°Π½ΠΈΠ΅ ΡΠΎΡΠΌΠΎΠ·ΠΎΠ² Π²ΠΊΠ»ΡΡΠ°Π΅Ρ Π² ΡΠ΅Π±Ρ Π½Π΅ΡΠΊΠΎΠ»ΡΠΊΠΎ ΠΏΡΠΈΡΠΏΠΎΡΠΎΠ±Π»Π΅Π½ΠΈΠΉ Π΄Π»Ρ ΠΊΠΎΠ½ΠΊΡΠ΅ΡΠ½ΡΡ ΠΏΡΠΎΠΈΠ·Π²ΠΎΠ΄ΠΈΡΠ΅Π»Π΅ΠΉ, Π½Π΅ΠΊΠΎΡΠΎΡΡΠ΅ ΠΎΡΠ½ΠΎΠ²Π½ΡΠ΅ ΠΈΠ½ΡΡΡΡΠΌΠ΅Π½ΡΡ, ΠΏΠΎΠ΄Ρ ΠΎΠ΄ΡΡΡΡ ΠΆΠΈΠ΄ΠΊΠΎΡΡΡ ΠΈ Π½Π΅ΡΠΊΠΎΠ»ΡΠΊΠΎ ΡΠΏΡΠΈΡΠ΅Π². ΠΠΎΠΌΠΏΠ»Π΅ΠΊΡΡ Π΄Π»Ρ ΠΏΡΠΎΠΊΠ°ΡΠΊΠΈ Π΄ΠΎΡΡΡΠΏΠ½Ρ ΠΎΡ ΠΊΠ°ΠΆΠ΄ΠΎΠΉ ΠΌΠ°ΡΠΊΠΈ, Π° ΡΠ°ΠΊΠΆΠ΅ ΠΎΡ ΠΏΠΎΡΡΠ°Π²ΡΠΈΠΊΠΎΠ² ΠΏΠΎΡΠ»Π΅ΠΏΡΠΎΠ΄Π°ΠΆΠ½ΠΎΠ³ΠΎ ΠΎΠ±ΡΠ»ΡΠΆΠΈΠ²Π°Π½ΠΈΡ, ΠΊΠΎΡΠΎΡΡΠ΅ ΠΏΡΠ΅Π΄Π»Π°Π³Π°ΡΡ ΡΠ½ΠΈΠ²Π΅ΡΡΠ°Π»ΡΠ½ΡΠΉ Π²Π°ΡΠΈΠ°Π½Ρ.
ΠΠΎΡΠ΅ΠΌΡ ΠΌΠΎΠΈ ΡΠΎΡΠΎΡΡ ΡΡΡΠ°Π½Π½ΠΎΠ³ΠΎ ΡΠ²Π΅ΡΠ°?
ΠΡΠ»ΠΈ ΠΎΠ½ΠΈ Π½Π΅ ΠΏΡΠΎΡΡΠΎ Π³ΡΡΠ·Π½ΡΠ΅, ΠΈΠ·ΠΌΠ΅Π½Π΅Π½ΠΈΠ΅ ΡΠ²Π΅ΡΠ° ΡΠ²Π»ΡΠ΅ΡΡΡ ΠΏΡΠΈΠ·Π½Π°ΠΊΠΎΠΌ ΡΠ΅ΠΏΠ»ΠΎΠ²ΠΎΠ³ΠΎ ΠΏΠΎΠ²ΡΠ΅ΠΆΠ΄Π΅Π½ΠΈΡ.ΠΠΎΠ²ΡΠ΅ΠΆΠ΄Π΅Π½Π½ΡΠ΅ Π½Π°Π³ΡΠ΅Π²Π°Π½ΠΈΠ΅ΠΌ ΡΠΎΡΠΎΡΡ Π±ΡΠ΄ΡΡ ΠΈΠΌΠ΅ΡΡ ΡΠ²Π΅Ρ ΠΎΡ Π±Π»Π΅Π΄Π½ΠΎ-ΠΆΠ΅Π»ΡΠΎΠ³ΠΎ, Π±ΠΎΠ»Π΅Π΅ ΡΠ΅ΠΌΠ½ΠΎΠ³ΠΎ ΠΆΠ΅Π»ΡΠΎΠ³ΠΎ Π΄ΠΎ ΠΏΠΎΡΡΠ΅ΠΏΠ΅Π½Π½ΠΎ Π±ΠΎΠ»Π΅Π΅ ΡΠ΅ΠΌΠ½ΠΎΠ³ΠΎ ΡΠ²Π΅ΡΠ° Π² Π·Π°Π²ΠΈΡΠΈΠΌΠΎΡΡΠΈ ΠΎΡ ΠΏΠΎΠ²ΡΠ΅ΠΆΠ΄Π΅Π½ΠΈΡ, ΠΏΠ΅ΡΠ΅Ρ ΠΎΠ΄Ρ Π² ΠΊΠΎΡΠΈΡΠ½Π΅Π²ΡΠΉ, ΡΠΈΠΎΠ»Π΅ΡΠΎΠ²ΡΠΉ ΠΈΠ»ΠΈ Π΄Π°ΠΆΠ΅ ΡΠΈΠ½ΠΈΠΉ, Π΅ΡΠ»ΠΈ ΠΎΠ½ΠΈ Π΄Π΅ΠΉΡΡΠ²ΠΈΡΠ΅Π»ΡΠ½ΠΎ ΠΎΠ±ΠΆΠ°ΡΠ΅Π½Ρ. ΠΡΠ»ΠΈ Π²Π°ΡΠΈ ΡΠΎΡΠΎΡΡ ΡΡΠ°Π½ΠΎΠ²ΡΡΡΡ ΠΆΠ΅Π»ΡΡΠΌΠΈ, Π²Π°ΠΌ ΡΠ»Π΅Π΄ΡΠ΅Ρ ΠΏΠΎΠ΄ΡΠΌΠ°ΡΡ ΠΎ ΡΠΏΠΎΡΠΎΠ±Π°Ρ Π±ΠΎΠ»Π΅Π΅ ΡΡΡΠ΅ΠΊΡΠΈΠ²Π½ΠΎΠ³ΠΎ ΡΠΏΡΠ°Π²Π»Π΅Π½ΠΈΡ Π½Π°Π³ΡΠ΅Π²ΠΎΠΌ (Π½Π°ΠΏΡΠΈΠΌΠ΅Ρ, ΠΈΡΠΏΠΎΠ»ΡΠ·ΠΎΠ²Π°Π½ΠΈΠ΅ ΠΊΠΎΠ»ΠΎΠ΄ΠΎΠΊ IceTech Π΄Π»Ρ ΡΠΈΡΡΠ΅ΠΌ Shimano ΠΈ / ΠΈΠ»ΠΈ ΠΈΡΠΏΠΎΠ»ΡΠ·ΠΎΠ²Π°Π½ΠΈΠ΅ ΡΠΎΡΠΎΡΠΎΠ² Π±ΠΎΠ»ΡΡΠ΅Π³ΠΎ ΡΠ°Π·ΠΌΠ΅ΡΠ°).
ΠΠ·Π½ΠΎΡΡΡΡΡ Π»ΠΈ ΡΠΎΡΠΌΠΎΠ·Π½ΡΠ΅ Π΄ΠΈΡΠΊΠΈ?
ΠΠ³Π°. ΠΡΠΈΡΠΌΠΎΡΡΠΈΡΠ΅ΡΡ ΠΊ ΡΠΎΡΠΎΡΡ Shimano, ΠΈ Π²Ρ ΡΠ²ΠΈΠ΄ΠΈΡΠ΅ ΡΡΠ°ΠΌΠΏ Β«1,5 ΠΌΠΌΒ».ΠΡΠΎ ΠΌΠΈΠ½ΠΈΠΌΠ°Π»ΡΠ½Π°Ρ ΡΠ΅ΠΊΠΎΠΌΠ΅Π½Π΄ΡΠ΅ΠΌΠ°Ρ ΡΠΎΠ»ΡΠΈΠ½Π° ΠΏΠ΅ΡΠ΅Π΄ Π·Π°ΠΌΠ΅Π½ΠΎΠΉ. ΠΠΎΠ»ΡΡΠΈΠ½ΡΡΠ²ΠΎ Π±ΡΠ΅Π½Π΄ΠΎΠ² ΠΊΠΎΠ»Π΅Π±Π»ΡΡΡΡ Π²ΠΎΠΊΡΡΠ³ ΡΡΠΎΠΉ ΠΎΡΠΌΠ΅ΡΠΊΠΈ. ΠΠ°ΠΏΡΠΈΠΌΠ΅Ρ, SRAM ΠΏΡΠ΅Π΄Π»Π°Π³Π°Π΅Ρ ΠΌΠΈΠ½ΠΈΠΌΠ°Π»ΡΠ½ΡΡ ΡΠΎΠ»ΡΠΈΠ½Ρ ΡΠΎΡΠΎΡΠΎΠ² 1,55 ΠΌΠΌ.
Π₯ΠΎΡΠΎΡΠ°Ρ Π½ΠΎΠ²ΠΎΡΡΡ Π·Π°ΠΊΠ»ΡΡΠ°Π΅ΡΡΡ Π² ΡΠΎΠΌ, ΡΡΠΎ ΡΠΎΡΠΌΠΎΠ·Π½Π°Ρ ΠΏΠΎΠ²Π΅ΡΡ Π½ΠΎΡΡΡ Π΄ΠΈΡΠΊΠΎΠ²ΡΡ ΡΠΎΡΠΎΡΠΎΠ² ΠΈΠ· Π½Π΅ΡΠΆΠ°Π²Π΅ΡΡΠ΅ΠΉ ΡΡΠ°Π»ΠΈ ΠΏΠΎ ΡΠ²ΠΎΠ΅ΠΉ ΠΏΡΠΈΡΠΎΠ΄Π΅ Π΄ΠΎΠ»Π³ΠΎΠ²Π΅ΡΠ½Π°, ΠΈ Π²Ρ, Π²Π΅ΡΠΎΡΡΠ½ΠΎ, ΠΏΡΠΎΠΉΠ΄Π΅ΡΠ΅ ΡΠ΅ΡΠ΅Π· ΠΌΠ½ΠΎΠΆΠ΅ΡΡΠ²ΠΎ ΠΊΠΎΠΌΠΏΠ»Π΅ΠΊΡΠΎΠ² Π΄ΠΈΡΠΊΠΎΠ²ΡΡ ΠΊΠΎΠ»ΠΎΠ΄ΠΎΠΊ, ΠΏΡΠ΅ΠΆΠ΄Π΅ ΡΠ΅ΠΌ ΠΏΠΎΠ½Π°Π΄ΠΎΠ±ΡΡΡΡ Π½ΠΎΠ²ΡΠ΅ ΡΠΎΡΠΎΡΡ. Π ΠΊΠΎΠ³Π΄Π° Π²Ρ ΡΡΠΎ ΡΠ΄Π΅Π»Π°Π΅ΡΠ΅, ΠΏΡΠΎΡΡΠΎ Π±ΡΠ΄ΡΡΠ΅ ΡΡΠ°ΡΡΠ»ΠΈΠ²Ρ, ΡΡΠΎ Π½Π΅ Π²Π°ΡΠΈ Π΄ΠΈΡΠΊΠΈ Π½ΡΠΆΠ΄Π°ΡΡΡΡ Π² Π·Π°ΠΌΠ΅Π½Π΅.
ΠΠ²ΠΈΠΆΠ΅Π½ΠΈΠ΅ Ρ Π΄ΠΈΡΠΊΠΎΠ²ΡΠΌΠΈ ΡΠΎΡΠΌΠΎΠ·Π°ΠΌΠΈ
Π― ΡΠ»ΡΡΠ°Π», ΡΡΠΎ ΠΏΡΠΈ ΡΠ½ΡΡΠΈΠΈ ΠΊΠΎΠ»Π΅ΡΠ° Π΄ΠΈΡΠΊΠΎΠ²ΠΎΠ³ΠΎ ΡΠΎΡΠΌΠΎΠ·Π° Π½ΡΠΆΠ½ΠΎ ΡΠΎΠ±Π»ΡΠ΄Π°ΡΡ ΠΎΡΡΠΎΡΠΎΠΆΠ½ΠΎΡΡΡ; ΠΠ°ΡΠ΅ΠΌ?
ΠΡΠΎ ΠΎΡΠ½ΠΎΡΠΈΡΡΡ ΡΠΎΠ»ΡΠΊΠΎ ΠΊ Π³ΠΈΠ΄ΡΠ°Π²Π»ΠΈΡΠ΅ΡΠΊΠΈΠΌ ΡΠΈΡΡΠ΅ΠΌΠ°ΠΌ.ΠΡΠΎ ΡΠ²ΡΠ·Π°Π½ΠΎ Ρ ΡΠ°ΠΌΠΎΡΠ΅Π³ΡΠ»ΠΈΡΡΡΡΠ΅ΠΉΡΡ ΠΏΡΠΈΡΠΎΠ΄ΠΎΠΉ Π³ΠΈΠ΄ΡΠ°Π²Π»ΠΈΡΠ΅ΡΠΊΠΈΡ ΡΠΈΡΡΠ΅ΠΌ, Π² ΠΊΠΎΡΠΎΡΡΡ ΠΏΠΎΡΡΠ½ΠΈ ΠΏΡΠ΅Π΄Π½Π°Π·Π½Π°ΡΠ΅Π½Ρ Π΄Π»Ρ Π²ΡΡΠ°Π»ΠΊΠΈΠ²Π°Π½ΠΈΡ, ΠΏΠΎΠΊΠ° ΠΎΠ½ΠΈ Π½Π΅ ΠΊΠΎΡΠ½ΡΡΡΡ Π½Π΅ΠΏΠΎΠ΄Π²ΠΈΠΆΠ½ΠΎΠ³ΠΎ ΠΎΠ±ΡΠ΅ΠΊΡΠ° (Π΄ΠΈΡΠΊΠΎΠ²ΠΎΠ³ΠΎ ΡΠΎΡΠΎΡΠ°), Π° Π·Π°ΡΠ΅ΠΌ Π²ΡΡΠ³ΠΈΠ²Π°ΡΡΡΡ Π½Π° ΠΎΠΏΡΠ΅Π΄Π΅Π»Π΅Π½Π½ΡΡ Π²Π΅Π»ΠΈΡΠΈΠ½Ρ.
ΠΡΠ»ΠΈ Π²Ρ Π½Π°ΠΆΠΌΠ΅ΡΠ΅ ΡΡΡΠ°Π³ ΡΠΎΡΠΌΠΎΠ·Π° Π±Π΅Π· ΡΡΡΠ°Π½ΠΎΠ²Π»Π΅Π½Π½ΠΎΠ³ΠΎ ΡΠΎΡΠΎΡΠ°, ΠΏΠΎΡΡΠ½ΠΈ Π±ΡΠ΄ΡΡ Π²ΡΡΠ°Π»ΠΊΠΈΠ²Π°ΡΡΡΡ, ΠΏΠΎΠΊΠ° Π΄Π²Π΅ ΠΊΠΎΠ»ΠΎΠ΄ΠΊΠΈ Π½Π΅ ΡΠΎΠΏΡΠΈΠΊΠΎΡΠ½ΡΡΡΡ Π΄ΡΡΠ³ Ρ Π΄ΡΡΠ³ΠΎΠΌ. ΠΠ΄Π½Π°ΠΊΠΎ ΡΡΠΎ Π΅ΡΠ΅ Π½Π΅ ΠΊΠΎΠ½Π΅Ρ ΡΠ²Π΅ΡΠ°, Π΅ΡΠ»ΠΈ ΡΡΠΎ ΠΏΡΠΎΠΈΠ·ΠΎΠΉΠ΄Π΅Ρ; Π² Π±ΠΎΠ»ΡΡΠΈΠ½ΡΡΠ²Π΅ ΡΠ»ΡΡΠ°Π΅Π² Π²Π°ΠΌ ΠΏΡΠΎΡΡΠΎ Π½ΡΠΆΠ½ΠΎ ΠΏΠ΅ΡΠ΅ΡΡΡΠ°Π½ΠΎΠ²ΠΈΡΡ ΠΊΠΎΠ»ΠΎΠ΄ΠΊΠΈ, Π²ΡΡΠ°Π²ΠΈΠ² ΠΈΡ ΠΎΠ±ΡΠ°ΡΠ½ΠΎ Π² ΠΊΠΎΡΠΏΡΡ ΡΡΠΏΠΏΠΎΡΡΠ° Ρ ΠΏΠΎΠΌΠΎΡΡΡ ΠΊΠ»ΠΈΠ½Π° ΡΠΎΡΠΌΠΎΠ·Π½ΡΡ ΠΊΠΎΠ»ΠΎΠ΄ΠΎΠΊ (ΠΈΠ»ΠΈ ΡΠΈΡΡΠΎΠΉ ΠΎΡΠ²Π΅ΡΡΠΊΠΈ Ρ ΠΏΠ»ΠΎΡΠΊΠΈΠΌ Π»Π΅Π·Π²ΠΈΠ΅ΠΌ, ΠΏΡΠΎΡΠ²ΠΈΠ² Π±ΠΎΠ»ΡΡΡΡ ΠΎΡΡΠΎΡΠΎΠΆΠ½ΠΎΡΡΡ).
ΠΠ΄Π½Π°ΠΊΠΎ, Π΅ΡΠ»ΠΈ Π²Π°ΡΠΈ ΠΊΠΎΠ»ΠΎΠ΄ΠΊΠΈ ΡΠΈΠ»ΡΠ½ΠΎ ΠΈΠ·Π½ΠΎΡΠ΅Π½Ρ, Π²ΠΎΠ·ΠΌΠΎΠΆΠ½ΠΎ, Π²Ρ ΠΌΠΎΠΆΠ΅ΡΠ΅ Π²ΡΡΠΎΠ»ΠΊΠ½ΡΡΡ ΠΏΠΎΡΡΠ½ΠΈ ΠΎΠ±ΡΠ°ΡΠ½ΠΎ ΠΈΠ· ΡΠΏΠ»ΠΎΡΠ½Π΅Π½ΠΈΠΉ, ΠΈ Π² ΡΡΠΎΠΌ ΡΠ»ΡΡΠ°Π΅ Π²Ρ Π²ΡΠΏΠ»Π΅ΡΠΊΠΈΠ²Π°Π΅ΡΠ΅ ΠΆΠΈΠ΄ΠΊΠΎΡΡΡ ΠΏΠΎΠ²ΡΡΠ΄Ρ ΠΈ ΡΠΌΠ΅ΡΠ°Π΅ΡΠ΅ ΠΏΠΎΡΡΠ½ΠΈ. Π‘Π΅ΡΡΠ΅Π·Π½ΠΎ, ΡΡΠΎ ΠΏΠ»ΠΎΡ ΠΈΠ΅ Π½ΠΎΠ²ΠΎΡΡΠΈ.
ΠΡΠ»ΠΈ Π²Π°ΠΌ Π²ΡΠ΅ ΠΆΠ΅ Π½ΡΠΆΠ½ΠΎ Π²ΡΡΠ°ΡΠΈΡΡ ΠΊΠΎΠ»Π΅ΡΠΎ Π΄Π»Ρ ΠΏΡΡΠ΅ΡΠ΅ΡΡΠ²ΠΈΡ, Π»ΠΈΠ±ΠΎ Π±ΡΠ΄ΡΡΠ΅ ΠΎΡΡΠΎΡΠΎΠΆΠ½Ρ, ΡΡΠΎΠ±Ρ Π½Π΅ ΠΊΠΎΡΠ½ΡΡΡΡΡ ΡΡΡΠ°Π³Π°, Π»ΠΈΠ±ΠΎ ΠΈΡΠΏΠΎΠ»ΡΠ·ΡΠΉΡΠ΅ ΠΏΡΠΎΠΊΠ»Π°Π΄ΠΊΡ ΠΊΠΎΠ»ΠΎΠ΄ΠΊΠΈ / Ρ ΠΎΠ΄ΠΎΠ²ΠΎΠΉ ΠΊΠ»ΠΈΠ½. ΠΡΠΎ ΠΏΠ»Π°ΡΡΠΈΠΊΠΎΠ²ΡΠ΅ ΠΊΠ»ΠΈΠ½ΡΡ, ΠΊΠΎΡΠΎΡΡΠ΅ ΠΏΠΎΡΡΠ°Π²Π»ΡΡΡΡΡ Ρ ΠΊΠ°ΠΆΠ΄ΡΠΌ Π²Π΅Π»ΠΎΡΠΈΠΏΠ΅Π΄ΠΎΠΌ ΠΈ ΡΠΎΡΠΌΠΎΠ·Π½ΡΠΌ ΠΊΠΎΠΌΠΏΠ»Π΅ΠΊΡΠΎΠΌ (Π² Π²Π°ΡΠ΅ΠΌ ΠΌΠ°Π³Π°Π·ΠΈΠ½Π΅ Π΄ΠΎΠ»ΠΆΠ½Ρ Π±ΡΡΡ Π·Π°ΠΏΠ°ΡΠ½ΡΠ΅, Π΅ΡΠ»ΠΈ ΠΎΠ½ΠΈ Π²Π°ΠΌ Π΅ΡΠ΅ Π½Π΅ Π΄Π°Π»ΠΈ). ΠΠ½ΠΈ ΠΏΡΠΎΡΡΠΎ Π·Π°ΡΠ΅Π»ΠΊΠΈΠ²Π°ΡΡΡΡ Π² ΡΡΠΏΠΏΠΎΡΡΠ΅ ΡΠΎΡΠΌΠΎΠ·Π° Π΄Π»Ρ Π΄Π²ΠΈΠΆΠ΅Π½ΠΈΡ ΠΈ ΠΏΡΠ΅Π΄ΠΎΡΠ²ΡΠ°ΡΠ°ΡΡ ΡΡΠΎΠ»ΠΊΠ½ΠΎΠ²Π΅Π½ΠΈΠ΅ ΠΊΠΎΠ»ΠΎΠ΄ΠΎΠΊ Π΄ΡΡΠ³ Ρ Π΄ΡΡΠ³ΠΎΠΌ.ΠΠ΅ΡΠ΅Π΄ ΠΈΡΠΏΠΎΠ»ΡΠ·ΠΎΠ²Π°Π½ΠΈΠ΅ΠΌ ΡΠ±Π΅Π΄ΠΈΡΠ΅ΡΡ, ΡΡΠΎ ΠΎΠ½ΠΈ ΡΠΈΡΡΡΠ΅.
ΠΡΠΎΠ±Π»Π΅ΠΌΠ° Ρ ΡΠΎΡΠΌΠΎΠ·Π½ΠΎΠΉ ΠΆΠΈΠ΄ΠΊΠΎΡΡΡΡ Π²ΠΎ Π²ΡΠ΅ΠΌΡ ΠΏΠΎΠ΅Π·Π΄ΠΊΠΈ?
ΠΠ΅Ρ. ΠΡΠΎ Π³Π΅ΡΠΌΠ΅ΡΠΈΡΠ½Π°Ρ ΡΠΈΡΡΠ΅ΠΌΠ° Π±Π΅Π· Π΄Π°Π²Π»Π΅Π½ΠΈΡ, ΠΈ ΠΎΡΠ½ΠΎΡΠΈΡΠ΅Π»ΡΠ½ΠΎ Π½Π΅Π·Π½Π°ΡΠΈΡΠ΅Π»ΡΠ½ΡΠ΅ ΠΈΠ·ΠΌΠ΅Π½Π΅Π½ΠΈΡ Π°ΡΠΌΠΎΡΡΠ΅ΡΠ½ΠΎΠ³ΠΎ Π΄Π°Π²Π»Π΅Π½ΠΈΡ, ΡΠ²ΡΠ·Π°Π½Π½ΡΠ΅ Ρ ΠΏΠΎΠ»Π΅ΡΠΎΠΌ ΠΏΠΎ Π²ΠΎΠ·Π΄ΡΡ Ρ, Π½Π΅ ΠΈΠΌΠ΅ΡΡ Π±ΠΎΠ»ΡΡΠΎΠ³ΠΎ Π·Π½Π°ΡΠ΅Π½ΠΈΡ.
ΠΠ½Π΅ ΡΠΊΠ°Π·Π°Π»ΠΈ Π½Π΅ ΠΏΠ΅ΡΠ΅Π²ΠΎΡΠ°ΡΠΈΠ²Π°ΡΡ Π²Π΅Π»ΠΎΡΠΈΠΏΠ΅Π΄ Ρ Π΄ΠΈΡΠΊΠΎΠ²ΡΠΌΠΈ ΡΠΎΡΠΌΠΎΠ·Π°ΠΌΠΈ Π²Π²Π΅ΡΡ Π½ΠΎΠ³Π°ΠΌΠΈ? ΠΡΠΎ ΠΏΡΠ°Π²Π΄Π°?
ΠΠΎ Π±ΠΎΠ»ΡΡΠ΅ΠΉ ΡΠ°ΡΡΠΈ ΡΡΠΎ ΠΌΠΈΡ, Π½ΠΎ Π½Π΅ Π±Π΅Π· ΠΏΡΠΈΡΠΈΠ½Ρ.
Π‘Π°ΠΌΡΠ΅ ΡΠ°Π½Π½ΠΈΠ΅ Π΄ΠΈΡΠΊΠΎΠ²ΡΠ΅ ΡΠΎΡΠΌΠΎΠ·Π½ΡΠ΅ ΡΠΈΡΡΠ΅ΠΌΡ Π½Π° Π³ΠΎΡΠ½ΡΡ Π²Π΅Π»ΠΎΡΠΈΠΏΠ΅Π΄Π°Ρ ΠΌΠΎΠ³Π»ΠΈ Π·Π°ΡΠ°ΡΡΠ²Π°ΡΡ Π²ΠΎΠ·Π΄ΡΡ Π² ΡΠ»Π°Π½Π³ΠΈ, Π΅ΡΠ»ΠΈ Π²Π΅Π»ΠΎΡΠΈΠΏΠ΅Π΄ ΠΏΠ΅ΡΠ΅Π²ΠΎΡΠ°ΡΠΈΠ²Π°Π»ΡΡ Π²Π²Π΅ΡΡ Π½ΠΎΠ³Π°ΠΌΠΈ.ΠΠ΄Π½Π°ΠΊΠΎ Π½ΠΈ ΠΎΠ΄Π½Π° ΠΈΠ· Π½ΠΎΠ²Π΅ΠΉΡΠΈΡ ΡΠΎΡΠΌΠΎΠ·Π½ΡΡ ΡΠΈΡΡΠ΅ΠΌ Π½Π° ΡΡΠ½ΠΊΠ΅ Π½Π΅ ΠΈΡΠΏΠΎΠ»ΡΠ·ΡΠ΅Ρ ΡΡΡ ΠΊΠΎΠ½ΡΡΡΡΠΊΡΠΈΡ, ΠΈ ΡΠ΅ΠΎΡΠ΅ΡΠΈΡΠ΅ΡΠΊΠΈ Π½Π΅Ρ Π²ΠΎΠ·Π΄ΡΡ Π°, ΠΊΠΎΡΠΎΡΡΠΉ ΠΌΠΎΠ³ Π±Ρ ΠΏΠΎΠΏΠ°ΡΡΡ Π² ΡΡΡΠΎΠΏΡ.
Π’Π΅ΠΌ Π½Π΅ ΠΌΠ΅Π½Π΅Π΅, ΡΠΎΠ²ΡΠ΅ΠΌΠ΅Π½Π½ΡΠ΅ ΡΠΎΡΠΌΠΎΠ·Π° Ρ Π½Π΅Π½Π°Π΄Π»Π΅ΠΆΠ°ΡΠΈΠΌ ΠΏΡΠΎΠΊΠ°ΡΠΊΠΎΠΉ Π²ΠΎΠ·Π΄ΡΡ Π° ΠΌΠΎΠ³ΡΡ ΠΎΡΡΠ°Π²Π»ΡΡΡ Π²ΠΎΠ·Π΄ΡΡ Π² ΡΠ΅Π·Π΅ΡΠ²ΡΠ°ΡΠ΅ Π΄Π»Ρ ΠΆΠΈΠ΄ΠΊΠΎΡΡΠΈ Π½Π° ΡΡΡΠ°Π³Π΅, ΠΊΠΎΡΠΎΡΡΠΉ ΠΏΠΎΡΠ²Π»ΡΠ΅ΡΡΡ ΡΠΎΠ»ΡΠΊΠΎ ΠΏΡΠΈ ΠΏΠ΅ΡΠ΅Π²Π΅ΡΠ½ΡΡΠΎΠΌ Π²Π΅Π»ΠΎΡΠΈΠΏΠ΅Π΄Π΅. ΠΡΠ»ΠΈ Ρ Π²Π°Ρ Π΅ΡΡΡ Π²Π΅Π»ΠΎΡΠΈΠΏΠ΅Π΄ Ρ ΡΠΎΠ²ΡΠ΅ΠΌΠ΅Π½Π½ΡΠΌΠΈ Π΄ΠΈΡΠΊΠΎΠ²ΡΠΌΠΈ ΡΠΎΡΠΌΠΎΠ·Π°ΠΌΠΈ, ΠΈ ΡΡΡΠ°Π³ΠΈ ΡΡΠ°Π½ΠΎΠ²ΡΡΡΡ ΠΌΡΠ³ΠΊΠΈΠΌΠΈ ΠΏΡΠΈ ΠΏΠ΅ΡΠ΅Π²ΠΎΡΠ°ΡΠΈΠ²Π°Π½ΠΈΠΈ Π²Π΅Π»ΠΎΡΠΈΠΏΠ΅Π΄Π° Π²Π²Π΅ΡΡ Π½ΠΎΠ³Π°ΠΌΠΈ, ΡΡΠΎ Ρ ΠΎΡΠΎΡΠΈΠΉ Π·Π½Π°ΠΊ, ΡΡΠΎ Ρ Π²Π°Ρ Π΄ΠΎΠ»ΠΆΠ½ΠΎ Π±ΡΡΡ ΠΊΡΠΎΠ²ΠΎΡΠ΅ΡΠ΅Π½ΠΈΠ΅.
Π§ΡΠΎ ΠΌΠΎΠΆΠ½ΠΎ ΠΈΡΠΏΠΎΠ»ΡΠ·ΠΎΠ²Π°ΡΡ Π΄Π»Ρ Π·Π°ΡΠΈΡΡ ΡΠΎΡΠΎΡΠΎΠ² Π΄ΠΈΡΠΊΠΎΠ² Π² Π΄ΠΎΡΠΎΠΆΠ½ΠΎΠΌ ΡΠ΅ΠΌΠΎΠ΄Π°Π½Π΅?
Π‘ΡΡΠ΅ΡΡΠ²ΡΡΡ Π»Π΅Π³ΠΊΠΈΠ΅ ΠΊΠ°ΡΡΠ΅ΡΠ½ΡΠ΅ ΠΈΠ½ΡΡΡΡΠΌΠ΅Π½ΡΡ, ΡΡΠΎ ΠΎΠ·Π½Π°ΡΠ°Π΅Ρ Π»Π΅Π³ΠΊΠΎΠ΅ ΡΠ½ΡΡΠΈΠ΅ ΡΠΎΡΠΎΡΠ° ΠΈ Π½Π΅Π±ΠΎΠ»ΡΡΠΎΠ΅ ΡΠ²Π΅Π»ΠΈΡΠ΅Π½ΠΈΠ΅ Π²Π΅ΡΠ° Π²Π°ΡΠ΅Π³ΠΎ Π±Π°Π³Π°ΠΆΠ°.ΠΠ° ΡΠΎΡΠΎ ΠΈΠ½ΡΡΡΡΠΌΠ΅Π½ΡΡ ΠΎΡ Abbey Bike Tools (ΡΠ»Π΅Π²Π°) ΠΈ Wolf Tooth (ΡΠΏΡΠ°Π²Π°)
.ΠΡΠΎΡΠ΅ΠΊΡΠΎΡΡ Π΄ΠΈΡΠΊΠΎΠ²ΠΎΠ³ΠΎ ΡΠΎΡΠΎΡΠ° ΡΡΡΠ΅ΡΡΠ²ΡΡΡ, ΠΈ ΠΌΠ½ΠΎΠ³ΠΈΠ΅ Π²Π΅Π»ΠΎΡΠΈΠΏΠ΅Π΄Ρ Ρ Π΄ΠΈΡΠΊΠ°ΠΌΠΈ ΠΏΠΎΡΡΠ°Π²Π»ΡΡΡΡΡ Ρ ΡΠ°ΠΊΠΈΠΌΠΈ Π²Π΅ΡΠ°ΠΌΠΈ. Π‘ΠΏΡΠΎΡΠΈΡΠ΅ Π½Π΅ΠΌΠ½ΠΎΠ³ΠΎ Π² ΠΌΠ΅ΡΡΠ½ΠΎΠΌ ΠΌΠ°Π³Π°Π·ΠΈΠ½Π΅, ΠΏΡΠ΅Π΄ΠΏΠΎΠ»Π°Π³Π°Ρ, ΡΡΠΎ ΠΎΠ½ΠΈ Π΅ΡΠ΅ Π½Π΅ ΠΎΡΠΏΡΠ°Π²ΠΈΠ»ΠΈΡΡ Π² ΠΌΡΡΠΎΡΠ½ΠΎΠ΅ Π²Π΅Π΄ΡΠΎ. Π’Π΅ΠΌ Π½Π΅ ΠΌΠ΅Π½Π΅Π΅, ΡΡΠΎ Π½Π΅ ΡΠ°ΠΊ ΠΌΠ½ΠΎΠ³ΠΎ, ΠΏΠΎΡΡΠΎΠΌΡ Ρ ΡΠΎΠ²Π΅ΡΡΡ ΡΠ½ΠΈΠΌΠ°ΡΡ ΡΠΎΡΠΎΡΡ Π΄Π»Ρ ΠΏΡΡΠ΅ΡΠ΅ΡΡΠ²ΠΈΠΉ.
Π‘ ΠΏΠΎΠΌΠΎΡΡΡ ΡΠΎΡΠΎΡΠΎΠ² Center Lock Π»Π΅Π³ΠΊΠΎ ΡΠ½ΠΈΠΌΠ°ΡΡ ΡΠΎΡΠΌΠΎΠ·Π½ΡΠ΅ Π΄ΠΈΡΠΊΠΈ, ΠΈ Π΅ΡΡΡ Π΄Π°ΠΆΠ΅ Π»Π΅Π³ΠΊΠΈΠ΅ ΠΈΠ½ΡΡΡΡΠΌΠ΅Π½ΡΡ, ΡΠ°Π·ΡΠ°Π±ΠΎΡΠ°Π½Π½ΡΠ΅ ΡΠΏΠ΅ΡΠΈΠ°Π»ΡΠ½ΠΎ Π΄Π»Ρ ΡΡΠΎΠ³ΠΎ, ΡΠ°ΠΊΠΈΠ΅ ΠΊΠ°ΠΊ ΡΠ΅ΡΠΈΡ Wolf Tooth Components Pack Tool.Π ΠΎΡΠΎΡΡ Ρ ΡΠ΅ΡΡΡΡ Π±ΠΎΠ»ΡΠ°ΠΌΠΈ ΠΏΠΎ-ΠΏΡΠ΅ΠΆΠ½Π΅ΠΌΡ Π΄ΠΎΡΡΠ°ΡΠΎΡΠ½ΠΎ ΠΏΡΠΎΡΡΡ Π² ΠΈΡΠΏΠΎΠ»ΡΠ·ΠΎΠ²Π°Π½ΠΈΠΈ, Π½ΠΎ Π½Π°ΠΌΠ½ΠΎΠ³ΠΎ ΠΌΠ΅Π΄Π»Π΅Π½Π½Π΅Π΅ ΠΈ Π½Π΅ΡΠ΄ΠΎΠ±Π½Π΅Π΅.
ΠΠΎΡΠ»Π΅ ΡΠ½ΡΡΠΈΡ Ρ ΡΠ°Π½ΠΈΡΠ΅ ΡΠΎΡΠΎΡΡ Π² ΡΠΈΡΡΡΡ Π·Π°ΠΊΡΡΠ²Π°ΡΡΠΈΡ ΡΡ ΠΏΠ»Π°ΡΡΠΈΠΊΠΎΠ²ΡΡ ΠΏΠ°ΠΊΠ΅ΡΠ°Ρ . ΠΡΠΎ Π³Π°ΡΠ°Π½ΡΠΈΡΡΠ΅Ρ, ΡΡΠΎ ΡΠΎΡΠΎΡΡ Π½Π΅ Π±ΡΠ΄ΡΡ Π·Π°Π³ΡΡΠ·Π½Π΅Π½Ρ ΠΏΡΠΈ ΠΏΡΠΈΠΊΠΎΡΠ½ΠΎΠ²Π΅Π½ΠΈΠΈ ΠΊ ΡΠ΅ΠΌΡ-Π»ΠΈΠ±ΠΎ Π΅ΡΠ΅ Π² Π²Π°ΡΠ΅ΠΌ ΡΠ΅ΠΌΠΎΠ΄Π°Π½Π΅.
ΠΠΎΠΈΡΠΊ ΠΈ ΡΡΡΡΠ°Π½Π΅Π½ΠΈΠ΅ Π½Π΅ΠΈΡΠΏΡΠ°Π²Π½ΠΎΡΡΠ΅ΠΉ
ΠΠΎΡΠ΅ΠΌΡ Π²ΠΈΠ·ΠΆΠ°Ρ ΡΠΎΡΠΌΠΎΠ·Π°?
Π§Π°ΡΠ΅ Π²ΡΠ΅Π³ΠΎ ΡΡΠΎ ΠΏΡΠΎΠΈΡΡ ΠΎΠ΄ΠΈΡ ΠΈΠ·-Π·Π° Π·Π°Π³ΡΡΠ·Π½Π΅Π½ΠΈΡ. ΠΠ½ΠΎΠ³Π΄Π° ΡΡΠΎ ΠΏΠ»ΠΎΡ Π°Ρ Π½Π°ΡΡΡΠΎΠΉΠΊΠ°, ΠΈΠ½ΠΎΠ³Π΄Π° ΡΡΠΎ ΠΏΡΠ΅Π΄ΡΠΏΡΠ΅ΠΆΠ΄Π΅Π½ΠΈΠ΅ ΠΎ Π½Π΅ΠΎΠ±Ρ ΠΎΠ΄ΠΈΠΌΠΎΡΡΠΈ Π½ΠΎΠ²ΡΡ ΠΏΠΎΠ΄ΡΡΠ΅ΠΊ, ΠΈΠ½ΠΎΠ³Π΄Π° ΠΈΠ·-Π·Π° ΡΠΎΠ³ΠΎ, ΡΡΠΎ Π²Π°ΡΠΈ ΠΏΠΎΠ΄ΡΡΠ΅ΡΠΊΠΈ Π³Π»Π°Π·ΡΡΠΎΠ²Π°Π½Ρ ΠΈΠ»ΠΈ ΠΈΠ·Π³ΠΎΡΠΎΠ²Π»Π΅Π½Ρ ΠΈΠ· Π½Π΅ΠΏΠΎΠ΄Ρ ΠΎΠ΄ΡΡΠ΅Π³ΠΎ ΠΌΠ°ΡΠ΅ΡΠΈΠ°Π»Π°, Π½ΠΎ ΠΏΠΎΡΡΠΈ Π²ΡΠ΅Π³Π΄Π° ΡΡΠΎ Π·Π°Π³ΡΡΠ·Π½Π΅Π½ΠΈΠ΅.
Π₯ΡΠ°Π½ΠΈΡΠ΅ ΠΌΠ°ΡΠ»ΠΎ, ΠΎΠ±Π΅Π·ΠΆΠΈΡΠΈΠ²Π°ΡΡΠΈΠ΅ ΡΡΠ΅Π΄ΡΡΠ²Π° ΠΈ ΡΡΠ΅Π΄ΡΡΠ²Π° Π΄Π»Ρ ΡΠΈΡΡΠΊΠΈ Π²Π΅Π»ΠΎΡΠΈΠΏΠ΅Π΄ΠΎΠ² ΠΏΠΎΠ΄Π°Π»ΡΡΠ΅ ΠΎΡ ΠΊΠΎΠ»ΠΎΠ΄ΠΎΠΊ ΠΈ ΡΠΎΡΠΎΡΠΎΠ² Π΄ΠΈΡΠΊΠΎΠ²ΡΡ ΡΠΎΡΠΌΠΎΠ·ΠΎΠ² — ΡΡΠΎ Π²Π΅ΡΠ½ΡΠΉ ΡΠΏΠΎΡΠΎΠ± ΡΠ±Π΅ΡΠ΅ΡΡ ΠΈΡ ΠΎΡ ΡΠΊΡΠΈΠΏΠ°. Π, ΠΊΠΎΠ½Π΅ΡΠ½ΠΎ ΠΆΠ΅, Π½Π΅ΠΎΠ±Ρ ΠΎΠ΄ΠΈΠΌΠ° Π½Π°Π΄Π»Π΅ΠΆΠ°ΡΠ°Ρ ΠΏΡΠΈΡΠ°Π±ΠΎΡΠΊΠ°.
ΠΠΎΡΠ΅ΠΌΡ Ρ ΠΈΠ½ΠΎΠ³Π΄Π° ΡΠ»ΡΡΡ ΡΡΠΌ ΡΠΎΡΠΌΠΎΠ·ΠΎΠ² Π² ΡΠ»ΡΡΠ°ΠΉΠ½ΠΎΠ΅ Π²ΡΠ΅ΠΌΡ?
ΠΠΈΡΠΊΠΎΠ²ΡΠ΅ ΡΠΎΡΠΌΠΎΠ·Π° ΡΠ°Π±ΠΎΡΠ°ΡΡ Ρ ΠΎΡΠ΅Π½Ρ ΠΆΠ΅ΡΡΠΊΠΈΠΌΠΈ Π΄ΠΎΠΏΡΡΠΊΠ°ΠΌΠΈ, ΠΎΠ±ΡΡΠ½ΠΎ ΠΌΠ΅ΠΆΠ΄Ρ ΡΠΎΡΠΎΡΠΎΠΌ ΠΈ ΠΊΠΎΠ»ΠΎΠ΄ΠΊΠ°ΠΌΠΈ ΠΎΡΡΠ°Π΅ΡΡΡ Π½Π΅ Π±ΠΎΠ»Π΅Π΅ ΠΌΠΈΠ»Π»ΠΈΠΌΠ΅ΡΡΠ° Π·Π°Π·ΠΎΡΠ°. ΠΡΠΎ Π½Π΅ ΠΎΡΡΠ°Π²Π»ΡΠ΅Ρ ΠΌΠ΅ΡΡΠ° Π΄Π»Ρ ΠΎΡΠΈΠ±ΠΊΠΈ. ΠΡΠ»ΠΈ Π²Π°ΡΠΈ ΡΠΎΡΠΌΠΎΠ·Π° Π² ΡΠ»ΡΡΠ°ΠΉΠ½ΠΎΠ΅ Π²ΡΠ΅ΠΌΡ ΠΈΠ·Π΄Π°ΡΡ Π·Π²ΡΠΊΠΈ ΡΡΠ΅Π½ΠΈΡ, ΡΡΠΎ Π»ΠΈΠ±ΠΎ ΠΏΡΠΈΠ·Π½Π°ΠΊ ΠΏΡΠΎΠ³ΠΈΠ±Π°, Π»ΠΈΠ±ΠΎ Π½Π΅ΠΎΠ±Ρ ΠΎΠ΄ΠΈΠΌΠΎΡΡΠΈ Π² ΠΎΠ±ΡΠ»ΡΠΆΠΈΠ²Π°Π½ΠΈΠΈ ΡΠΎΡΠΌΠΎΠ·Π°, Π»ΠΈΠ±ΠΎ Π²Π½Π΅ΡΠ½ΠΈΡ ΡΠ»Π΅ΠΌΠ΅Π½ΡΠΎΠ².
ΠΠ·Π³ΠΈΠ± ΡΡΡΠΏΠΈΡΡ ΠΈ ΡΠ°ΠΌΡ / Π²ΠΈΠ»ΠΊΠΈ / ΠΎΡΠΈ ΠΌΠΎΠ³ΡΡ Π±ΡΡΡ ΠΏΡΠΈΡΠΈΠ½ΠΎΠΉ ΡΡΠ΅Π½ΠΈΡ. ΠΡ ΠΊΠΎΠ³Π΄Π°-Π½ΠΈΠ±ΡΠ΄Ρ ΡΠ»ΡΡΠΈΡΠ΅ ΡΡΠΎ, ΡΠΎΠ»ΡΠΊΠΎ ΠΊΠΎΠ³Π΄Π° Π½Π°ΠΊΠ»ΠΎΠ½ΡΠ΅ΡΠ΅ Π±Π°ΠΉΠΊ Π² ΠΎΠΏΡΠ΅Π΄Π΅Π»Π΅Π½Π½ΠΎΠΌ Π½Π°ΠΏΡΠ°Π²Π»Π΅Π½ΠΈΠΈ ΠΈΠ»ΠΈ Π²ΠΎ Π²ΡΠ΅ΠΌΡ ΡΠΏΡΠΈΠ½ΡΠ°? ΠΡΠ»ΠΈ Π΄Π°, ΡΠΎ ΠΎΠ½ Π³ΠΈΠ±ΠΊΠΈΠΉ. ΠΡΠΎΠ²Π΅ΡΠΊΠ° ΡΠΎΠ³ΠΎ, ΡΡΠΎ Π²Π°ΡΠΈ ΠΎΡΠΈ Π·Π°ΡΡΠ½ΡΡΡ ΡΡΠ³ΠΎ, — ΡΡΠΎ ΠΏΠ΅ΡΠ²ΡΠΉ ΡΠ°Π³. Π’Π°ΠΊΠΆΠ΅ ΡΠ±Π΅Π΄ΠΈΡΠ΅ΡΡ, ΡΡΠΎ Π² Π²Π°ΡΠΈΡ ΡΡΡΠΏΠΈΡΠ°Ρ Π½Π΅Ρ Π»ΡΡΡΠ°, ΠΏΠΎΠΊΠ° Π²Ρ Π½Π° Π½ΠΈΡ ΡΠ°Π±ΠΎΡΠ°Π΅ΡΠ΅. ΠΡΠ»ΠΈ ΡΡΠΎ Π½Π΅ ΡΠ΅ΡΠΈΡ ΠΏΡΠΎΠ±Π»Π΅ΠΌΡ, ΡΠ±Π΅Π΄ΠΈΡΠ΅ΡΡ, ΡΡΠΎ ΡΡΠΏΠΏΠΎΡΡ ΡΡΡΠ°Π½ΠΎΠ²Π»Π΅Π½ ΠΏΡΠ°Π²ΠΈΠ»ΡΠ½ΠΎ Ρ ΡΠ°Π²Π½ΡΠΌ Π·Π°Π·ΠΎΡΠΎΠΌ ΠΏΠΎ ΠΎΡΠ½ΠΎΡΠ΅Π½ΠΈΡ ΠΊ ΠΊΠΎΠ»ΠΎΠ΄ΠΊΠ°ΠΌ Ρ ΠΎΠ±Π΅ΠΈΡ ΡΡΠΎΡΠΎΠ½ ΡΠΎΡΠΎΡΠ°. ΠΡΠ»ΠΈ ΡΡΠΎ Π½Π΅ ΠΏΠΎΠΌΠΎΠ³Π»ΠΎ, ΡΡΠΎ ΠΌΠΎΠΆΠ΅Ρ Π±ΡΡΡ ΠΏΡΠΎΡΡΠΎ Π³ΠΈΠ±ΠΊΠ°Ρ ΠΎΡΡ ΠΈΠ»ΠΈ Π΄ΡΠΎΠΏΠ°ΡΡ.
ΠΠ½ΠΎΠ³Π΄Π° ΠΊΠΎΠ»ΠΎΠ΄ΠΊΠΈ ΡΡΡΡΡΡ ΠΈΠ·-Π·Π° Π·Π°Π»ΠΈΠΏΠ°Π½ΠΈΡ ΠΏΠΎΡΡΠ½Π΅ΠΉ Π·Π° Π½ΠΈΠΌΠΈ. ΠΡΠΎ ΠΌΠΎΠΆΠ΅Ρ ΠΏΡΠΎΠΈΡΡ ΠΎΠ΄ΠΈΡΡ ΠΈΠ·-Π·Π° ΡΠΊΠΎΠΏΠ»Π΅Π½ΠΈΡ ΠΌΡΡΠΎΡΠ°, Π° ΠΈΠ½ΠΎΠ³Π΄Π° ΠΏΡΠΎΡΡΠΎ ΠΈΠ·-Π·Π° Π΄Π»ΠΈΡΠ΅Π»ΡΠ½ΠΎΠ³ΠΎ ΠΈΡΠΏΠΎΠ»ΡΠ·ΠΎΠ²Π°Π½ΠΈΡ. ΠΠΎ ΠΎΠ±ΡΠ»ΡΠΆΠΈΠ²Π°Π½ΠΈΠ΅ ΡΠΎΡΠΌΠΎΠ·ΠΎΠ² (ΠΊΠΎΠ³Π΄Π° ΠΏΠΎΡΡΠ½ΠΈ ΠΏΠ΅ΡΠ΅ΡΡΡΠ°Π½Π°Π²Π»ΠΈΠ²Π°ΡΡΡΡ ΠΈ ΠΎΡΠΈΡΠ°ΡΡΡΡ) ΠΈ ΡΠΎΡΠΌΠΎΠ·Π½ΡΠ΅ ΡΠ»Π΅ΠΏΠΊΠΈ ΠΎΠ±ΡΡΠ½ΠΎ ΡΠ΅ΡΠ°ΡΡ ΠΏΡΠΎΠ±Π»Π΅ΠΌΡ.
ΠΠ°ΠΊΠΎΠ½Π΅Ρ, Π³ΡΡΠ·ΠΈ, ΠΏΠ΅ΡΠΊΠ° ΠΈΠ»ΠΈ ΠΏΡΠΎΡΡΠΎΠΉ Π²ΠΎΠ΄Ρ ΠΌΠΎΠΆΠ΅Ρ Π±ΡΡΡ Π΄ΠΎΡΡΠ°ΡΠΎΡΠ½ΠΎ, ΡΡΠΎΠ±Ρ Π½Π° Π²Π°ΡΠΈΡ Π΄ΠΈΡΠΊΠ°Ρ ΠΈΠ·Π΄Π°Π²Π°Π»ΠΈΡΡ Π·Π²ΡΠΊΠΈ. ΠΡΠ»ΠΈ Π²Ρ ΡΠΎΠ»ΡΠΊΠΎ ΡΡΠΎ Π΅Ρ Π°Π»ΠΈ ΠΏΠΎ Π»ΡΠΆΠ΅, Π° ΡΠ΅ΠΏΠ΅ΡΡ ΠΎΠ½ΠΈ ΡΡΡΡΡΡ, Π½Π΅ Π±Π΅ΡΠΏΠΎΠΊΠΎΠΉΡΠ΅ΡΡ ΠΎΠ± ΡΡΠΎΠΌ. ΠΡΠΈΠΌΠ΅Π½Π΅Π½ΠΈΠ΅ ΡΠΎΡΠΌΠΎΠ·ΠΎΠ², Π²Π΅ΡΠΎΡΡΠ½ΠΎ, ΠΎΡΠΈΡΡΠΈΡ ΠΎΡ Π³ΡΡΠ·ΠΈ ΠΈ Π²Π΅ΡΠ½Π΅Ρ ΡΠΈΡΠΈΠ½Ρ.
ΠΠΎΠΈ ΡΠΎΡΠΌΠΎΠ·Π° ΡΡΡΡΡΡ, Π½ΠΎ ΡΠΎΠ»ΡΠΊΠΎ Π² ΠΎΠ΄Π½ΠΎΠΉ ΡΠΎΡΠΊΠ΅ ΠΊΠΎΠ»Π΅ΡΠ°. Π§ΡΠΎ ΠΌΠ½Π΅ Π΄Π΅Π»Π°ΡΡ?
ΠΠ΅ΡΠΎΡΠΌΠΈΡΠΎΠ²Π°Π½Π½ΡΠΉ ΡΠΎΡΠΌΠΎΠ·Π½ΠΎΠΉ ΡΠΎΡΠΎΡ ΡΠ²Π»ΡΠ΅ΡΡΡ ΠΏΡΠΈΡΠΈΠ½ΠΎΠΉ ΡΡΠ΅Π½ΠΈΡ ΡΠΎΡΠΌΠΎΠ·Π° ΠΏΡΠΈ ΠΊΠ°ΠΆΠ΄ΠΎΠΌ ΠΎΠ±ΠΎΡΠΎΡΠ΅ ΠΊΠΎΠ»Π΅ΡΠ°.
ΠΠΎΡ ΠΎΠΆΠ΅, Ρ Π²Π°Ρ ΠΏΠΎΠΊΠΎΡΠΎΠ±ΠΈΠ»ΡΡ Π΄ΠΈΡΠΊΠΎΠ²ΡΠΉ ΡΠΎΡΠΎΡ. ΠΡ ΡΠΎΠ»ΡΠΈΠ½Π° ΡΠΎΡΡΠ°Π²Π»ΡΠ΅Ρ Π²ΡΠ΅Π³ΠΎ ΠΎΠΊΠΎΠ»ΠΎ Π΄Π²ΡΡ ΠΌΠΈΠ»Π»ΠΈΠΌΠ΅ΡΡΠΎΠ², ΠΏΠΎΡΡΠΎΠΌΡ ΠΎΠΆΠΈΠ΄Π°Π΅ΡΡΡ, ΡΡΠΎ ΠΎΠ½ΠΈ ΠΌΠΎΠ³ΡΡ Π³Π½ΡΡΡΡΡ. ΠΠ·-Π·Π° ΡΡΠΎΠ³ΠΎ ΡΡΠΎΠΈΡ Π±ΡΡΡ ΠΎΡΡΠΎΡΠΎΠΆΠ½ΡΠΌ: Π½Π΅ ΠΏΡΠΈΡΠ»ΠΎΠ½ΡΠΉΡΠ΅ Π²Π΅Π»ΠΎΡΠΈΠΏΠ΅Π΄ ΠΊ ΡΠΎΡΠΎΡΡ ΠΈ ΠΏΡΠΎΡΠ²Π»ΡΠΉΡΠ΅ ΠΎΡΠΎΠ±ΡΡ ΠΎΡΡΠΎΡΠΎΠΆΠ½ΠΎΡΡΡ ΠΏΡΠΈ ΡΡΠ°Π½ΡΠΏΠΎΡΡΠΈΡΠΎΠ²ΠΊΠ΅ Π²Π΅Π»ΠΎΡΠΈΠΏΠ΅Π΄Π° Π² ΡΡΠ°Π½ΡΠΏΠΎΡΡΠ½ΠΎΠΌ ΡΡΠ΅Π΄ΡΡΠ²Π΅ ΠΈΠ»ΠΈ ΡΠ΅ΠΌΠΎΠ΄Π°Π½Π΅, ΡΡΠΎΠ±Ρ ΡΠΎΡΠΎΡΡ Π½Π΅ ΠΏΠΎΠ²ΡΠ΅Π΄ΠΈΠ»ΠΈΡΡ.
ΠΡΠ»ΠΈ ΡΡΠΎ ΠΏΡΠΎΠΈΠ·ΠΎΡΠ»ΠΎ ΡΡΠ°Π·Ρ ΠΏΠΎΡΠ»Π΅ Π΄Π»ΠΈΡΠ΅Π»ΡΠ½ΠΎΠ³ΠΎ ΡΠΏΡΡΠΊΠ°, ΡΡΠΎ ΠΌΠΎΠΆΠ΅Ρ Π±ΡΡΡ ΡΠ²ΡΠ·Π°Π½ΠΎ Ρ ΠΆΠ°ΡΠΎΠΉ. ΠΠ°ΠΉΡΠ΅ ΡΠΎΡΠΎΡΡ Π²ΡΠ΅ΠΌΡ ΠΎΡΡΡΡΡ ΠΈ, Π΅ΡΠ»ΠΈ ΠΎΠ½ Π²ΡΠ΅ Π΅ΡΠ΅ Π΄Π΅ΡΠΎΡΠΌΠΈΡΠΎΠ²Π°Π½, ΡΠ»Π΅Π΄ΡΠΉΡΠ΅ ΠΏΡΠΈΠ²Π΅Π΄Π΅Π½Π½ΡΠΌ Π½ΠΈΠΆΠ΅ ΡΠΎΠ²Π΅ΡΠ°ΠΌ.
ΠΡΠ»ΠΈ ΡΠΎΡΠΎΡΡ Π½Π΅ ΡΠΈΠ»ΡΠ½ΠΎ ΠΈΠ·ΠΎΠ³Π½ΡΡΡ, ΠΈΡ ΠΌΠΎΠΆΠ½ΠΎ Π²ΡΡΡΠ½ΡΡΡ ΠΈΠ»ΠΈ Π²Π΅ΡΠ½ΡΡΡ Π² Π½ΡΠΆΠ½ΡΡ ΡΠΎΡΠΌΡ. ΠΠ±ΡΡΠ½ΠΎ ΡΡΠΎ Π΄Π΅Π»Π°Π΅ΡΡΡ Ρ ΠΊΠΎΠ»Π΅ΡΠΎΠΌ Π² Π²Π΅Π»ΠΎΡΠΈΠΏΠ΅Π΄Π΅, ΠΈΡΠΏΠΎΠ»ΡΠ·ΡΡ ΡΠΎΡΠΌΠΎΠ·Π½ΡΠ΅ ΠΊΠΎΠ»ΠΎΠ΄ΠΊΠΈ Π² ΠΊΠ°ΡΠ΅ΡΡΠ²Π΅ ΠΈΠ·ΠΌΠ΅ΡΠΈΡΠ΅Π»Ρ. ΠΡΠΏΠΎΠ»ΡΠ·ΡΠΉΡΠ΅ ΠΊΡΡΠΎΠΊ ΡΠΈΡΡΠΎΠ³ΠΎ Π±ΡΠΌΠ°ΠΆΠ½ΠΎΠ³ΠΎ ΠΏΠΎΠ»ΠΎΡΠ΅Π½ΡΠ°, ΡΡΠΎΠ±Ρ ΠΏΡΠΈΠΊΠΎΡΠ½ΡΡΡΡΡ ΠΊ ΠΏΠΎΠ²Π΅ΡΡ Π½ΠΎΡΡΠΈ Π΄ΠΈΡΠΊΠ°, ΠΈ ΠΎΡΡΠΎΡΠΎΠΆΠ½ΠΎ Π²ΠΎΠ·ΡΠΌΠΈΡΠ΅ Π±ΠΎΠ»ΡΡΠΎΠΉ ΠΏΠ°Π»Π΅Ρ Π² ΡΠΎΡΠΊΠ΅ ΡΡΠ΅Π½ΠΈΡ, ΡΡΠΎΠ±Ρ ΡΠΎΠ»ΠΊΠ½ΡΡΡ ΡΠΎΡΠΎΡ Π² ΠΏΡΠΎΡΠΈΠ²ΠΎΠΏΠΎΠ»ΠΎΠΆΠ½ΠΎΠΌ Π½Π°ΠΏΡΠ°Π²Π»Π΅Π½ΠΈΠΈ.ΠΠΎΠ»Π΅Π³ΡΠ΅; Π§ΡΠΎΠ±Ρ ΡΠΎΠ³Π½ΡΡΡ ΡΠΎΡΠΎΡ Π½Π°Π·Π°Π΄, Π½Π΅ ΡΡΠ΅Π±ΡΠ΅ΡΡΡ Π±ΠΎΠ»ΡΡΠΈΡ ΡΡΠΈΠ»ΠΈΠΉ.
ΠΠ»Ρ Π±ΠΎΠ»ΡΡΠ΅ΠΉ ΡΠΎΡΠ½ΠΎΡΡΠΈ ΠΏΠΎΡΡΠΈ ΠΊΠ°ΠΆΠ΄Π°Ρ ΠΌΠ°ΡΠΊΠ° ΠΈΠ½ΡΡΡΡΠΌΠ΅Π½ΡΠ° ΠΏΡΠ΅Π΄Π»Π°Π³Π°Π΅Ρ ΡΠΏΠ΅ΡΠΈΠ°Π»ΡΠ½ΡΠΉ ΠΈΠ½ΡΡΡΡΠΌΠ΅Π½Ρ Π΄Π»Ρ ΡΡΠΎΠΉ ΡΠ°Π±ΠΎΡΡ. ΠΠ°ΠΊ Π²Π°ΡΠΈΠ°Π½Ρ, Π²Ρ ΠΌΠΎΠΆΠ΅ΡΠ΅ ΠΈΡΠΏΠΎΠ»ΡΠ·ΠΎΠ²Π°ΡΡ ΡΠ°Π·Π²ΠΎΠ΄Π½ΠΎΠΉ Π³Π°Π΅ΡΠ½ΡΠΉ ΠΊΠ»ΡΡ, Π½ΠΎ ΠΏΠ΅ΡΠ΅Π΄ ΡΡΠΈΠΌ ΡΠ±Π΅Π΄ΠΈΡΠ΅ΡΡ, ΡΡΠΎ ΠΎΠ½ ΠΎΡΠ΅Π½Ρ ΡΠΈΡΡΡΠΉ.
ΠΠΎΠΈ Π³ΠΈΠ΄ΡΠ°Π²Π»ΠΈΡΠ΅ΡΠΊΠΈΠ΅ ΡΠΎΡΠΌΠΎΠ·Π° ΠΏΠΎΡΡΠΎΡΠ½Π½ΠΎ ΡΡΡΡΡΡ; ΡΡΠΎ Ρ ΠΌΠΎΠ³Ρ Π΄Π΅Π»Π°ΡΡ?
ΠΡ ΡΠΎΠ»ΡΠΊΠΎ ΡΡΠΎ Π²ΡΡΠ°ΡΠΈΠ»ΠΈ ΠΊΠΎΠ»Π΅ΡΠΎ, Π° ΡΠ΅ΠΏΠ΅ΡΡ ΠΎΠ½ΠΈ ΡΡΡΡΡΡ ΠΊΠ°ΠΊ ΡΡΠΌΠ°ΡΡΠ΅Π΄ΡΠΈΠ΅? ΠΡΠ»ΠΈ Π΄Π°, ΠΎΠ±ΡΠ°ΡΠΈΡΠ΅ΡΡ ΠΊ Π½Π°ΡΠ΅ΠΌΡ ΡΠ°Π·Π΄Π΅Π»Ρ Π²ΡΡΠ΅ ΠΎ ΠΏΡΡΠ΅ΡΠ΅ΡΡΠ²ΠΈΡΡ Ρ Π΄ΠΈΡΠΊΠ°ΠΌΠΈ. ΠΡΠ²Π΅Ρ Π·Π΄Π΅ΡΡ — Π²ΡΡΠ°Π²ΠΈΡΡ ΡΠΎΡΠΌΠΎΠ·Π½ΡΠ΅ ΠΊΠΎΠ»ΠΎΠ΄ΠΊΠΈ (ΠΈ ΠΏΠΎΡΡΠ½ΠΈ) ΠΎΠ±ΡΠ°ΡΠ½ΠΎ Π² ΡΡΠΏΠΏΠΎΡΡ Π΄Π»Ρ ΡΠ±ΡΠΎΡΠ° ΡΠΈΡΡΠ΅ΠΌΡ.
ΠΡΠ»ΠΈ ΡΡΠΎ Π½Π΅ ΡΠ°ΠΊ, Π²Π΅ΡΠΎΡΡΠ½ΠΎ, Ρ Π²Π°Ρ Π΅ΡΡΡ ΡΠΎΡΠΌΠΎΠ·Π½ΠΎΠΉ ΡΡΠΏΠΏΠΎΡΡ, ΠΊΠΎΡΠΎΡΡΠΉ Π½ΡΠΆΠ½ΠΎ ΠΎΡΡΠ΅Π³ΡΠ»ΠΈΡΠΎΠ²Π°ΡΡ. ΠΠΎΡΠΌΠΎΡΡΠΈΡΠ΅ ΡΠ΅ΡΠ΅Π· ΡΡΠΏΠΏΠΎΡΡ ΠΈ ΠΏΠΎΡΠΌΠΎΡΡΠΈΡΠ΅, Π½Π΅ ΡΡΠ΅ΡΡΡ Π»ΠΈ ΡΠΎΡΠΎΡ Ρ ΠΎΠ΄Π½ΠΎΠΉ ΠΊΠΎΠ½ΠΊΡΠ΅ΡΠ½ΠΎΠΉ ΡΡΠΎΡΠΎΠ½Ρ. ΠΠ°? Π₯ΠΎΡΠΎΡΠΎ, ΠΏΠΎΡΠ° Π½Π΅ΠΌΠ½ΠΎΠ³ΠΎ ΠΎΡΠ»Π°Π±ΠΈΡΡ Π΄Π²Π° Π±ΠΎΠ»ΡΠ°, ΡΠ΄Π΅ΡΠΆΠΈΠ²Π°ΡΡΠΈΡ ΡΡΠΏΠΏΠΎΡΡ Π½Π° ΠΌΠ΅ΡΡΠ΅. ΠΠΎΡΠ»Π΅ ΠΎΡΠ»Π°Π±Π»Π΅Π½ΠΈΡ ΠΌΠ½ΠΎΠ³ΠΈΠ΅ ΡΡΠΏΠΏΠΎΡΡΡ Π°Π²ΡΠΎΠΌΠ°ΡΠΈΡΠ΅ΡΠΊΠΈ ΡΠ΅Π½ΡΡΠΈΡΡΡΡΡΡ, Π΅ΡΠ»ΠΈ ΠΏΠΎΡΡΠ½ΡΡΡ Π·Π° ΡΡΡΠ°Π³ ΡΠΎΡΠΌΠΎΠ·Π° ΠΈ Π·Π°ΡΠ΅ΠΌ Π·Π°ΡΡΠ½ΡΡΡ Π΄Π²Π° Π±ΠΎΠ»ΡΠ°, ΡΠ΄Π΅ΡΠΆΠΈΠ²Π°Ρ ΡΡΡΠ°Π³. ΠΠ½ΠΎΠ³Π΄Π° ΡΡΠΎ Π½Π΅ ΡΠ°Π±ΠΎΡΠ°Π΅Ρ, Π½ΠΎ Π΅ΡΡΡ ΠΌΠ½ΠΎΠ³ΠΎ Π΄ΡΡΠ³ΠΈΡ ΠΏΡΠΈΠ΅ΠΌΠΎΠ², ΡΡΠΎΠ±Ρ Ρ ΡΡΠΈΠΌ ΡΠΏΡΠ°Π²ΠΈΡΡΡΡ. ΠΡΠΈΡΠ΅Π»ΠΈΠ²Π°Π½ΠΈΠ΅ ΡΠ΅ΡΠ΅Π· ΡΡΠ°Π½Π³Π΅Π½ΡΠΈΡΠΊΡΠ»Ρ ΠΈ ΠΎΡΡΠΎΡΠΎΠΆΠ½ΠΎΠ΅ Π·Π°ΡΡΠ³ΠΈΠ²Π°Π½ΠΈΠ΅ ΡΡΠ°Π½Π³Π΅Π½ΡΠΈΡΠΊΡΠ»Ρ ΠΌΠΎΠΆΠ΅Ρ ΠΏΠΎΠΌΠΎΡΡ (Π΅ΡΠ»ΠΈ ΠΏΠΎΠ»ΠΎΠΆΠΈΡΡ Π±Π΅Π»ΡΠΉ Π»ΠΈΡΡ Π±ΡΠΌΠ°Π³ΠΈ Π½Π° Π·Π΅ΠΌΠ»Ρ, ΡΡΠΎΠ±Ρ ΠΎΠ±Π»Π΅Π³ΡΠΈΡΡ ΠΎΠ±Π·ΠΎΡ).
ΠΡΡΠ³ΠΎΠΉ Π²Π°ΡΠΈΠ°Π½Ρ — ΠΈΡΠΏΠΎΠ»ΡΠ·ΠΎΠ²Π°ΡΡ Π²ΠΈΠ·ΠΈΡΠ½ΡΡ ΠΊΠ°ΡΡΠΎΡΠΊΡ ΠΌΠ΅ΠΆΠ΄Ρ ΡΠΎΡΠΎΡΠΎΠΌ ΠΈ ΡΡΡΡΠ΅ΠΉΡΡ ΠΏΠΎΠ΄ΡΡΠΊΠΎΠΉ. ΠΠ΅ΡΠΆΠ° Π²ΠΈΠ·ΠΈΡΠΊΡ Π½Π° ΠΌΠ΅ΡΡΠ΅, ΠΏΠΎΠ²ΡΠΎΡΠΈΡΠ΅ ΠΎΠΏΠΈΡΠ°Π½Π½ΡΠΉ Π²ΡΡΠ΅ ΠΏΡΠΎΡΠ΅ΡΡ. ΠΡΠ»Π°Π±ΡΡΠ΅ Π±ΠΎΠ»ΡΡ ΡΡΠΏΠΏΠΎΡΡΠ°, Π½Π°ΠΆΠΌΠΈΡΠ΅ Π½Π° ΡΡΡΠ°Π³ ΠΈ Π·Π°ΡΡΠ½ΠΈΡΠ΅ Π±ΠΎΠ»ΡΡ, ΡΠ΄Π΅ΡΠΆΠΈΠ²Π°Ρ ΡΡΡΠ°Π³. ΠΡΠΎ ΠΌΠΎΠΆΠ΅Ρ ΠΏΠΎΡΡΠ΅Π±ΠΎΠ²Π°ΡΡ Π½Π΅ΠΊΠΎΡΠΎΡΡΡ ΠΏΡΠΎΠ± ΠΈ ΠΎΡΠΈΠ±ΠΎΠΊ, Π½ΠΎ ΠΎΠ±ΡΡΠ½ΠΎ ΡΡΠΎ ΡΠ΅ΡΠ°Π΅Ρ ΠΏΡΠΎΠ±Π»Π΅ΠΌΡ, ΠΊΠΎΠ³Π΄Π° ΡΠΎΡΠΌΠΎΠ·Π° Π°Π²ΡΠΎΠΌΠ°ΡΠΈΡΠ΅ΡΠΊΠΈ Π½Π΅ ΠΏΠΎΠ·ΠΈΡΠΈΠΎΠ½ΠΈΡΡΡΡΡΡ ΠΏΡΠ°Π²ΠΈΠ»ΡΠ½ΠΎ.
ΠΡΠ»ΠΈ Π²Ρ ΡΠΎΠ»ΡΠΊΠΎ ΡΡΠΎ ΡΡΡΠ°Π½ΠΎΠ²ΠΈΠ»ΠΈ Π½ΠΎΠ²ΡΠ΅ ΠΊΠΎΠ»ΠΎΠ΄ΠΊΠΈ, ΠΈ ΡΠ΅ΠΏΠ΅ΡΡ Π·Π°Π·ΠΎΡ ΠΌΠΈΠ½ΠΈΠΌΠ°Π»Π΅Π½, ΠΏΠΎΠΏΡΠΎΠ±ΡΠΉΡΠ΅ ΠΏΡΠΎΡΠΎΠ»ΠΊΠ½ΡΡΡ ΠΏΠΎΡΡΠ½ΠΈ ΠΎΠ±ΡΠ°ΡΠ½ΠΎ Π² ΠΎΡΠ²Π΅ΡΡΡΠΈΡ ΡΡΠΏΠΏΠΎΡΡΠ° (ΠΈΡΠΏΠΎΠ»ΡΠ·ΡΠΉΡΠ΅ ΡΡΡΠ°Π³ Π΄Π»Ρ ΠΏΠ»Π°ΡΡΠΈΠΊΠΎΠ²ΠΎΠΉ ΡΠΈΠ½Ρ ΠΈΠ»ΠΈ Π½Π°ΠΊΠΎΠ½Π΅ΡΠ½ΠΈΠΊ ΠΌΠ°Π»Π΅Π½ΡΠΊΠΎΠ³ΠΎ Π³Π°Π΅ΡΠ½ΠΎΠ³ΠΎ ΠΊΠ»ΡΡΠ°).ΠΠ½ΠΎΠ³Π΄Π° Π² Π²Π°ΡΠ΅ΠΉ ΡΠΎΡΠΌΠΎΠ·Π½ΠΎΠΉ ΡΠΈΡΡΠ΅ΠΌΠ΅ Π±ΡΠ΄Π΅Ρ ΡΠ»ΠΈΡΠΊΠΎΠΌ ΠΌΠ½ΠΎΠ³ΠΎ ΠΆΠΈΠ΄ΠΊΠΎΡΡΠΈ, ΡΡΠΎ ΠΌΠΎΠΆΠ΅Ρ ΠΏΡΠΎΠΈΠ·ΠΎΠΉΡΠΈ, Π΅ΡΠ»ΠΈ Π²Π°ΡΠΈ ΡΠΎΡΠΌΠΎΠ·Π° Π±ΡΠ»ΠΈ Π±ΡΡΡΡΠΎ ΠΏΡΠΎΠΊΠ°ΡΠ°Π½Ρ ΠΈΠ»ΠΈ Π΄ΠΎΠ»ΠΈΡΡ Ρ ΠΈΠ·Π½ΠΎΡΠ΅Π½Π½ΡΠΌΠΈ ΠΊΠΎΠ»ΠΎΠ΄ΠΊΠ°ΠΌΠΈ Π½Π° ΠΌΠ΅ΡΡΠ΅. ΠΠΎΡΡΠ΅Π±ΡΠ΅ΡΡΡ ΡΠ²Π΅ΠΆΠΈΠΉ ΡΠΏΡΡΠΊ ΠΈΠ»ΠΈ ΠΎΡΡΠΎΡΠΎΠΆΠ½ΠΎΠ΅ ΠΎΡΠΊΡΡΡΠΈΠ΅ ΡΠΈΡΡΠ΅ΠΌΡ Π΄Π»Ρ Π²ΡΠΏΡΡΠΊΠ° ΠΆΠΈΠ΄ΠΊΠΎΡΡΠΈ (Π½Π΅ Π²ΠΏΡΡΠΊΠ°Ρ Π²ΠΎΠ·Π΄ΡΡ !).
ΠΠ΅ΡΠΊΠΎΠ»ΡΠΊΠΎ ΡΠ΅Π»ΠΎΠ²Π΅ΠΊ ΠΏΡΡΠ°Π»ΠΈΡΡ ΠΎΡΡΠ΅Π³ΡΠ»ΠΈΡΠΎΠ²Π°ΡΡ ΠΌΠΎΠΈ ΡΠΎΡΠΌΠΎΠ·Π°, Π½ΠΎ, Π½Π΅ΡΠΌΠΎΡΡΡ Π½ΠΈ Π½Π° ΡΡΠΎ, ΠΊΠΎΠ»ΠΎΠ΄ΠΊΠΈ Π½Π΅ ΠΊΠ°ΡΠ°ΡΡΡΡ ΠΊΠ²Π°Π΄ΡΠ°ΡΠ° ΡΠΎΡΠΎΡΠ°. Π§ΡΠΎ ΡΠ΅ΠΏΠ΅ΡΡ?
ΠΡΠ΅Π΄ΠΏΠΎΠ»Π°Π³Π°Ρ, ΡΡΠΎ ΡΠ΅Π³ΡΠ»ΠΈΡΠΎΠ²ΠΊΠ° ΡΡΠΏΠΏΠΎΡΡΠ° ΠΏΡΠ°Π²ΠΈΠ»ΡΠ½Π°Ρ, Π° Π²Π°Ρ ΡΠΎΡΠΎΡ ΠΏΡΡΠΌΠΎΠΉ, ΡΡΠΎ Π·Π²ΡΡΠΈΡ ΡΠ°ΠΊ, ΠΊΠ°ΠΊ Π±ΡΠ΄ΡΠΎ Π²ΠΈΠ½ΠΎΠ²Π°ΡΠ° Π²Π°ΡΠ° ΡΠ°ΠΌΠ° / Π²ΠΈΠ»ΠΊΠ°.ΠΠΎΠ³ΠΎΠ²ΠΎΡΠΈΡΠ΅ ΡΠΎ ΡΠ²ΠΎΠΈΠΌ ΠΏΡΠΎΠΈΠ·Π²ΠΎΠ΄ΠΈΡΠ΅Π»Π΅ΠΌ ΡΠ°ΠΌΡ ΠΎ ΡΠ΅ΡΠ΅Π½ΠΈΠΈ, Π½ΠΎ, ΡΠΊΠΎΡΠ΅Π΅ Π²ΡΠ΅Π³ΠΎ, ΠΎΠ½ΠΈ ΠΏΡΠ΅Π΄Π»ΠΎΠΆΠ°Ρ ΠΎΠ±Π»ΠΈΡΠ΅Π²Π°ΡΡ ΠΏΠΎΠ²Π΅ΡΡ Π½ΠΎΡΡΠΈ ΡΠ°ΠΌΡ (ΠΈ, Π½Π°Π΄Π΅ΡΡΡ, ΠΎΠ½ΠΈ ΠΎΠΏΠ»Π°ΡΡΡ ΡΡΠ΅Ρ).
ΠΠ½ΡΡΡΡΠΌΠ΅Π½Ρ Π΄Π»Ρ ΡΠΎΡΡΠ΅Π²Π°Π½ΠΈΡ Π²ΡΡΡΡΠΏΠΎΠ² Π΄ΠΈΡΠΊΠ° Park Tool (DT-5.2) ΡΠ°Π·ΡΠ°Π±ΠΎΡΠ°Π½ Ρ ΡΡΠ΅ΡΠΎΠΌ Π²ΡΠ΅Ρ ΡΠ°ΡΠΏΡΠΎΡΡΡΠ°Π½Π΅Π½Π½ΡΡ ΡΡΠ°Π½Π΄Π°ΡΡΠΎΠ² ΠΊΡΠ΅ΠΏΠ»Π΅Π½ΠΈΡ Π΄ΠΈΡΠΊΠΎΠ². ΠΡΠΎ ΠΎΡΠ΅Π½Ρ ΠΏΠΎΡ ΠΎΠΆΠ΅ Π½Π° ΠΌΠ°Π³Π°Π·ΠΈΠ½Π½ΡΠΉ ΠΈΠ½ΡΡΡΡΠΌΠ΅Π½Ρ.
Park Tool ΠΏΡΠ΅Π΄Π»Π°Π³Π°Π΅Ρ ΠΈΠ½ΡΡΡΡΠΌΠ΅Π½Ρ ΠΏΠΎΠ΄ Π½Π°Π·Π²Π°Π½ΠΈΠ΅ΠΌ DT-5.2 Disc Tab Facing Tool Π΄Π»Ρ ΡΠ΅ΡΠ΅Π½ΠΈΡ ΡΡΠΎΠΉ ΡΠ°ΠΌΠΎΠΉ ΠΏΡΠΎΠ±Π»Π΅ΠΌΡ. ΠΠ½ΠΎΠ³Π΄Π° ΠΊΡΠ°ΡΠΊΠ° ΠΈΠ»ΠΈ ΠΏΡΠΎΡΡΠΎ Π³ΡΡΠ·Π½ΡΠ΅ ΠΏΡΠΎΠΈΠ·Π²ΠΎΠ΄ΡΡΠ²Π΅Π½Π½ΡΠ΅ Π΄ΠΎΠΏΡΡΠΊΠΈ ΠΌΠΎΠ³ΡΡ Π²ΡΠ·Π²Π°ΡΡ ΠΏΡΠΎΠ±Π»Π΅ΠΌΡ Ρ Π²ΡΡΠ°Π²Π½ΠΈΠ²Π°Π½ΠΈΠ΅ΠΌ. ΠΠ½ΡΡΡΡΠΌΠ΅Π½Ρ Π΄Π»Ρ Π²ΡΡΠ°Π²Π½ΠΈΠ²Π°Π½ΠΈΡ Π²ΡΡΡΡΠΏΠ° Π΄ΠΈΡΠΊΠ° Π±ΡΠ΄Π΅Ρ ΡΠ΄Π°Π»ΡΡΡ ΠΌΠ°ΡΠ΅ΡΠΈΠ°Π» Π΄ΠΎ ΡΠ΅Ρ ΠΏΠΎΡ, ΠΏΠΎΠΊΠ° ΠΌΠΎΠ½ΡΠ°ΠΆΠ½Π°Ρ ΠΏΠΎΠ²Π΅ΡΡ Π½ΠΎΡΡΡ ΡΡΠΏΠΏΠΎΡΡΠ° ΡΠΎΡΠΌΠΎΠ·Π° Π½Π΅ ΡΡΠ°Π½Π΅Ρ ΠΏΠ°ΡΠ°Π»Π»Π΅Π»ΡΠ½ΠΎΠΉ ΠΎΡΠΈ.ΠΡΠΎ ΡΡΠ΅Π·Π²ΡΡΠ°ΠΉΠ½ΠΎ Π΄ΠΎΡΠΎΠ³ΠΎΠΉ ΠΈΠ½ΡΡΡΡΠΌΠ΅Π½Ρ, ΠΏΠΎΡΡΠΎΠΌΡ ΠΈΡΠΈΡΠ΅ ΠΌΠ°ΡΡΠ΅ΡΡΠΊΡΡ, Π² ΠΊΠΎΡΠΎΡΠΎΠΉ ΠΎΠ½ Π΅ΡΡΡ (Π°, ΠΊ ΡΠΎΠΆΠ°Π»Π΅Π½ΠΈΡ, ΠΎΡΠ΅Π½Ρ Π½Π΅ΠΌΠ½ΠΎΠ³ΠΈΠ΅ ΠΈΠ· Π½ΠΈΡ ).
ΠΠΎΠΉ Π²ΡΠ°ΡΠ°ΡΡΠΈΠΉΡΡ Π΄ΠΈΡΠΊΠΎΠ²ΡΠΉ ΡΠΎΡΠΌΠΎΠ· ΠΎΡΡΠ΅Π·Π°Π» ΠΌΠ½Π΅ Π»Π΅Π²ΡΡ Π½ΠΎΠ³Ρ. Π§ΡΠΎ ΠΌΠ½Π΅ Π΄Π΅Π»Π°ΡΡ?
ΠΠ°Π³Π³Π΅Ρ. ΠΡ ΡΠ²Π΅ΡΠ΅Π½Ρ, ΡΡΠΎ ΡΡΠΎ Π±ΡΠ»ΠΎ Π½Π΅ Π³ΠΎΠ½ΠΎΡΠ½ΠΎΠ΅ ΡΠ΅Ρ ΡΠΎΠ²Π°Π½ΠΈΠ΅? ΠΠ° ΡΠ°ΠΌΠΎΠΌ Π΄Π΅Π»Π΅, Π²Π΅ΡΠΎΡΡΠ½ΠΎ, ΡΡΠΎ Π±ΡΠ»ΠΎ ΡΠ΅ΠΏΠ½ΠΎΠ΅ ΠΊΠΎΠ»ΡΡΠΎ. Π Π»ΡΠ±ΠΎΠΌ ΡΠ»ΡΡΠ°Π΅ Π²Π°ΠΌ, Π²Π΅ΡΠΎΡΡΠ½ΠΎ, ΡΠ»Π΅Π΄ΡΠ΅Ρ ΠΎΠ±ΡΠ°ΡΠΈΡΡΡΡ Π·Π° ΠΌΠ΅Π΄ΠΈΡΠΈΠ½ΡΠΊΠΎΠΉ ΠΏΠΎΠΌΠΎΡΡΡ.
ΠΠΎΠΈΠΌ Π΄ΠΈΡΠΊΠΎΠ²ΡΠΌ ΡΠΎΡΠΌΠΎΠ·Π°ΠΌ Π½Π΅ Ρ Π²Π°ΡΠ°Π΅Ρ ΠΌΠΎΡΠ½ΠΎΡΡΠΈ. Π§ΡΠΎ Ρ ΠΌΠΎΠ³Ρ Π΄Π΅Π»Π°ΡΡ?
ΠΡΠΎ ΠΌΠΎΠΆΠ΅Ρ Π±ΡΡΡ Π²ΡΠ·Π²Π°Π½ΠΎ Π½Π΅ΡΠΊΠΎΠ»ΡΠΊΠΈΠΌΠΈ ΠΏΡΠΈΡΠΈΠ½Π°ΠΌΠΈ, Π½ΠΎ, ΡΠΊΠΎΡΠ΅Π΅ Π²ΡΠ΅Π³ΠΎ, ΡΡΠΎ ΠΎΠ΄Π½Π° ΠΈΠ· ΡΠ»Π΅Π΄ΡΡΡΠΈΡ ΠΏΡΠΎΠ±Π»Π΅ΠΌ.
ΠΠΎ-ΠΏΠ΅ΡΠ²ΡΡ , ΡΠΊΠΎΡΠ΅Π΅ Π²ΡΠ΅Π³ΠΎ, Π²Π°ΡΠ° ΡΠΎΡΠΌΠΎΠ·Π½Π°Ρ ΠΏΠΎΠ²Π΅ΡΡ Π½ΠΎΡΡΡ Π·Π°Π³ΡΡΠ·Π½Π΅Π½Π°. ΠΡΠ±ΠΎΠ΅ ΠΊΠΎΠ»ΠΈΡΠ΅ΡΡΠ²ΠΎ ΠΌΠ°ΡΠ»Π°, Π΄Π°ΠΆΠ΅ ΠΌΠ°ΡΠ»ΠΎ Ρ ΠΊΠΎΠ½ΡΠΈΠΊΠΎΠ² ΠΏΠ°Π»ΡΡΠ΅Π², ΠΌΠΎΠΆΠ΅Ρ Π½Π°ΡΡΡΠΈΡΡ ΡΠ°Π±ΠΎΡΡ Π΄ΠΈΡΠΊΠΎΠ²ΡΡ ΡΠΎΡΠΌΠΎΠ·ΠΎΠ². ΠΡΠΈΡΡΠΊΠ° ΡΠΈΡΡΠ΅ΠΌΡ ΠΌΠΎΠΆΠ΅Ρ ΠΏΠΎΠΌΠΎΡΡ, Π½ΠΎ Π΅ΡΠ»ΠΈ ΠΎΠ½Π° ΡΠΈΠ»ΡΠ½ΠΎ Π·Π°Π³ΡΡΠ·Π½Π΅Π½Π°, Π»ΡΡΡΠ΅ Π²ΡΠ΅Π³ΠΎ ΠΏΠΎΠ΄ΠΎΠΉΠ΄ΡΡ Π½ΠΎΠ²ΡΠ΅ ΠΊΠΎΠ»ΠΎΠ΄ΠΊΠΈ ΠΈ ΡΡΠ°ΡΠ΅Π»ΡΠ½ΠΎ ΠΎΡΠΈΡΠ΅Π½Π½ΡΠΉ ΡΠΎΡΠΎΡ.
ΠΡΡΠ³Π°Ρ ΠΏΡΠΈΡΠΈΠ½Π° ΠΌΠΎΠΆΠ΅Ρ Π±ΡΡΡ ΡΠ²ΡΠ·Π°Π½Π° Ρ Π½Π΅ΠΏΡΠ°Π²ΠΈΠ»ΡΠ½ΡΠΌ ΠΏΡΠΎΡΠ΅ΡΡΠΎΠΌ ΠΏΡΠΈΡΠ°Π±ΠΎΡΠΊΠΈ, Π²ΡΠ·Π²Π°Π²ΡΠΈΠΌ ΠΎΡΡΠ΅ΠΊΠ»Π΅Π½ΠΈΠ΅ ΠΈΠ»ΠΈ ΠΏΠΎΠ΄ΠΎΠ±Π½ΠΎΠ΅ Π½Π° ΠΊΠΎΠ»ΠΎΠ΄ΠΊΠ°Ρ ΠΈ ΡΠΎΡΠΎΡΠ°Ρ . Π‘ΠΌ. ΠΠ°ΡΡ ΡΡΠ°ΡΡΡ ΠΎ ΠΏΡΠΈΡΠ°Π±ΠΎΡΠΊΠ΅ ΡΠΎΡΠΌΠΎΠ·Π°, ΡΡΠΎΠ±Ρ ΡΠ·Π½Π°ΡΡ Π±ΠΎΠ»ΡΡΠ΅.
ΠΠΎΠ²ΠΎΡΡ ΠΎ ΠΎΡΡΠ΅ΠΊΠ»Π΅Π½ΠΈΠΈ, ΡΡΠΎ ΠΌΠΎΠΆΠ΅Ρ ΠΏΡΠΎΠΈΠ·ΠΎΠΉΡΠΈ, Π΅ΡΠ»ΠΈ ΡΠΎΡΠΌΠΎΠ·Π° Π·Π°ΡΡΠ½ΡΡΡ Π½Π° ΠΎΡΠ΅Π½Ρ Π΄ΠΎΠ»Π³ΠΎΠΌ ΡΠΏΡΡΠΊΠ΅.ΠΡΠΎ ΠΌΠΎΠΆΠ½ΠΎ ΠΎΠΏΡΠ΅Π΄Π΅Π»ΠΈΡΡ ΠΏΠΎ ΡΡΠ΅ΠΊΠ»ΠΎΠ²ΠΈΠ΄Π½ΠΎΠΉ ΠΎΡΠ΄Π΅Π»ΠΊΠ΅ ΠΏΠΎΠ²Π΅ΡΡ Π½ΠΎΡΡΠ΅ΠΉ ΡΠΎΡΠΌΠΎΠ·Π½ΡΡ ΠΊΠΎΠ»ΠΎΠ΄ΠΎΠΊ. Π‘Π½ΠΈΠΌΠΈΡΠ΅ ΠΏΠΎΠ΄ΡΡΠ΅ΡΠΊΠΈ ΠΈ ΠΏΡΠΎΡΡΠΈΡΠ΅ ΠΈΡ ΡΠΈΡΡΠΎΠΉ Π½Π°ΠΆΠ΄Π°ΡΠ½ΠΎΠΉ Π±ΡΠΌΠ°Π³ΠΎΠΉ; ΡΡΠΎ Π΄ΠΎΠ»ΠΆΠ½ΠΎ ΡΡΠ°Π±ΠΎΡΠ°ΡΡ.
Π’Π°ΠΊΠΆΠ΅ ΠΌΠΎΠΆΠ΅Ρ Π±ΡΡΡ Π²ΠΎΠ·Π΄ΡΡ Π² Π²Π°ΡΠ΅ΠΉ ΡΠΈΡΡΠ΅ΠΌΠ΅, ΠΊΠΎΡΠΎΡΡΠΉ ΠΏΡΠ΅ΠΏΡΡΡΡΠ²ΡΠ΅Ρ ΡΡΡΠ΅ΠΊΡΠΈΠ²Π½ΠΎΠΉ ΠΏΠ΅ΡΠ΅Π΄Π°ΡΠ΅ ΠΌΠΎΡΠ½ΠΎΡΡΠΈ ΠΎΡ ΡΡΡΠ°Π³Π° ΠΊ ΡΡΠΏΠΏΠΎΡΡΡ. ΠΡΠΎΠΊΠ°ΡΠΊΠ° ΡΠΎΡΠΌΠΎΠ·ΠΎΠ² ΡΠ΅ΡΠΈΡ ΡΡΡ ΠΏΡΠΎΠ±Π»Π΅ΠΌΡ; ΡΠΌ. Π½Π°Ρ ΡΠ°Π·Π΄Π΅Π» ΠΎ ΠΏΡΠΎΠΊΠ°ΡΠΊΠ΅ ΡΠΎΡΠΌΠΎΠ·ΠΎΠ² Π²ΡΡΠ΅.
ΠΠ°ΠΊΠΎΠ½Π΅Ρ, Π²ΠΎΠ·ΠΌΠΎΠΆΠ½ΠΎ, Π²Π°ΡΠΈ ΡΠΎΡΠΌΠΎΠ·Π½ΡΠ΅ Π΄ΠΈΡΠΊΠΈ Π½Π΅Π΄ΠΎΡΡΠ°ΡΠΎΡΠ½ΠΎ Π²Π΅Π»ΠΈΠΊΠΈ Π΄Π»Ρ Π²Π°ΡΠ΅Π³ΠΎ ΡΡΠΈΠ»Ρ Π΅Π·Π΄Ρ ΠΈΠ»ΠΈ Π²Π΅ΡΠ° ΡΠ΅Π»Π°, ΠΎΡΠΎΠ±Π΅Π½Π½ΠΎ Π΅ΡΠ»ΠΈ Π²Π°Ρ Π²Π΅Π»ΠΎΡΠΈΠΏΠ΅Π΄ Π² Π½Π°ΡΡΠΎΡΡΠ΅Π΅ Π²ΡΠ΅ΠΌΡ ΠΎΡΠ½Π°ΡΠ΅Π½ ΡΠΎΡΠΎΡΠ°ΠΌΠΈ Π΄ΠΈΠ°ΠΌΠ΅ΡΡΠΎΠΌ 140 ΠΌΠΌ.ΠΠΎΠ³ΠΎΠ²ΠΎΡΠΈΡΠ΅ ΡΠΎ ΡΠ²ΠΎΠΈΠΌ ΠΌΠ°Π³Π°Π·ΠΈΠ½ΠΎΠΌ ΠΎ ΡΠΎΠΌ, ΠΌΠΎΠΆΠ΅Ρ Π»ΠΈ Π²Π°Ρ Π²Π΅Π»ΠΎΡΠΈΠΏΠ΅Π΄ ΠΏΠΎΠ΄Π΄Π΅ΡΠΆΠΈΠ²Π°ΡΡ ΠΏΠ΅ΡΠ΅Ρ ΠΎΠ΄ Π½Π° Π±ΠΎΠ»Π΅Π΅ ΠΊΡΡΠΏΠ½ΡΠΉ ΡΠΎΡΠΎΡ, ΠΊΠΎΡΠΎΡΡΠΉ Π±ΡΠ΄Π΅Ρ ΠΏΡΠ΅Π΄Π»Π°Π³Π°ΡΡ Π±ΠΎΠ»ΡΡΠ΅ ΡΡΡΠ°Π³ΠΎΠ² Π²ΠΎΠ·Π΄Π΅ΠΉΡΡΠ²ΠΈΡ.
Π§ΡΠΎ Π΄Π΅Π»Π°ΡΡ, Π΅ΡΠ»ΠΈ ΡΡΡΠ°Π³ Π³ΠΈΠ΄ΡΠ°Π²Π»ΠΈΡΠ΅ΡΠΊΠΎΠ³ΠΎ ΡΠΎΡΠΌΠΎΠ·Π° ΡΡΠ½Π΅ΡΡΡ ΠΎΡΠ΅Π½Ρ Π±Π»ΠΈΠ·ΠΊΠΎ ΠΊ ΡΡΠ°Π½Π³Π΅?
ΠΠΎΡ ΠΎΠΆΠ΅, Π² ΡΠΈΡΡΠ΅ΠΌΠ΅ Π½Π΅Π΄ΠΎΡΡΠ°ΡΠΎΡΠ½ΠΎ ΠΆΠΈΠ΄ΠΊΠΎΡΡΠΈ. ΠΡΠΎΠ²Π΅ΡΡΡΠ΅, ΡΡΠ΅Π±ΡΠ΅ΡΡΡ Π»ΠΈ ΠΏΡΠΎΠΊΠ°ΡΠΊΠ°, ΡΠ»Π΅Π΄ΡΡ ΡΠ΅ΠΊΠΎΠΌΠ΅Π½Π΄Π°ΡΠΈΡΠΌ Π² ΡΠ°Π·Π΄Π΅Π»Π΅ Β«ΠΠ°ΠΊ ΡΠ·Π½Π°ΡΡ, ΡΡΠΎ ΠΌΠΎΠΈ ΡΠΎΡΠΌΠΎΠ·Π° Π½ΡΠΆΠ΄Π°ΡΡΡΡ Π² ΠΏΡΠΎΠΊΠ°ΡΠΊΠ΅?Β» ΡΠ°Π·Π΄Π΅Π» Π²ΡΡΠ΅.
ΠΡΠ»ΠΈ ΠΏΡΠΈΡΠΈΠ½Π° Π½Π΅ Π² ΡΡΠΎΠΌ, ΡΠΎ ΡΡΠΎ Π½Π°Π·ΡΠ²Π°Π΅ΡΡΡ Ρ ΠΎΠ΄ΠΎΠΌ ΡΡΡΠ°Π³Π°. Π£ Π²Π°Ρ Π΅ΡΡΡ Π΅ΡΠ΅ Π½Π΅ΡΠΊΠΎΠ»ΡΠΊΠΎ Π²Π°ΡΠΈΠ°Π½ΡΠΎΠ².
ΠΡΠ»ΠΈ Π½Π°ΠΊΠ°ΡΠ°ΡΡ ΡΠΎΡΠΌΠΎΠ·Π½ΡΠ΅ ΠΊΠΎΠ»ΠΎΠ΄ΠΊΠΈ, ΡΡΠΎΠ±Ρ ΠΎΠ½ΠΈ ΠΏΡΠΈΠ±Π»ΠΈΠ·ΠΈΠ»ΠΈΡΡ ΠΊ ΡΠΎΡΠΎΡΡ, Ρ ΠΎΠ΄ ΡΡΡΠ°Π³Π° Π±ΡΠ΄Π΅Ρ ΠΌΠ΅Π½ΡΡΠ΅. ΠΠ»Ρ ΡΡΠΎΠ³ΠΎ ΡΠ½ΠΈΠΌΠΈΡΠ΅ ΠΊΠΎΠ»Π΅ΡΠΎ (ΠΈ ΡΠΎΡΠΎΡ) ΠΈ ΠΎΡΡΠΎΡΠΎΠΆΠ½ΠΎ ΠΏΠΎΡΡΠ½ΠΈΡΠ΅ ΡΠΎΡΠΌΠΎΠ·, ΠΏΠΎΠΊΠ° Π½Π΅ ΡΠ²ΠΈΠ΄ΠΈΡΠ΅ Π΄Π²ΠΈΠΆΠ΅Π½ΠΈΠ΅ ΠΊΠΎΠ»ΠΎΠ΄ΠΎΠΊ. Π£ΡΡΠ°Π½ΠΎΠ²ΠΈΡΠ΅ ΠΊΠΎΠ»Π΅ΡΠΎ Π½Π° ΠΌΠ΅ΡΡΠΎ ΠΈ ΠΏΡΠΎΠ²Π΅ΡΡΡΠ΅ Π½Π° ΠΎΡΡΠΏΡ ΡΡΡΠ°Π³. ΠΠΎΠ²ΡΠΎΡΡΠΉΡΠ΅ ΡΡΠΎΡ ΠΏΡΠΎΡΠ΅ΡΡ, ΠΏΠΎΠΊΠ° ΡΡΡΠ°Π³ Π½Π΅ ΡΡΠ°Π½Π΅Ρ Π½ΡΠΆΠ½ΡΠΌ. ΠΠΌΠ΅ΠΉΡΠ΅ Π² Π²ΠΈΠ΄Ρ, ΡΡΠΎ ΠΏΡΠΈ ΡΡΠΎΠΌ Π±ΡΠ΄Π΅Ρ ΡΠ»ΠΎΠΆΠ½Π΅Π΅ ΠΏΠΎΠ»ΡΡΠΈΡΡ Π½Π°ΡΡΡΠΎΠΉΠΊΡ Π±Π΅Π· ΡΡΠ΅Π½ΠΈΡ, ΠΈ ΡΡΠΎ ΠΏΡΠΎΠ΄Π»ΠΈΡΡΡ ΡΠΎΠ»ΡΠΊΠΎ Π΄ΠΎ ΡΠ΅Ρ ΠΏΠΎΡ, ΠΏΠΎΠΊΠ° Π½Π΅ ΠΈΠ·Π½Π°ΡΠΈΠ²Π°ΡΡΡΡ ΠΊΠΎΠ»ΠΎΠ΄ΠΊΠΈ.
ΠΠ΅ΠΊΠΎΡΠΎΡΡΠ΅ ΡΠΎΡΠΌΠΎΠ·Π° ΡΠ°ΠΊΠΆΠ΅ ΠΈΠΌΠ΅ΡΡ ΡΠ΅Π³ΡΠ»ΠΈΡΠΎΠ²ΠΊΡ Ρ ΠΎΠ΄Π° ΡΡΡΠ°Π³Π°. ΠΡΠ»ΠΈ ΡΡΠΎ Π΄ΠΎΡΡΡΠΏΠ½ΡΠΉ Π²Π°ΡΠΈΠ°Π½Ρ, Π²Π΅ΡΠΎΡΡΠ½ΠΎ, Π΅ΡΡΡ ΡΠ΅Π³ΡΠ»ΠΈΡΠΎΠ²ΠΎΡΠ½ΡΠΉ Π²ΠΈΠ½Ρ, ΠΊΠΎΡΠΎΡΡΠΉ ΠΌΠΎΠΆΠ½ΠΎ ΠΈΡΠΏΠΎΠ»ΡΠ·ΠΎΠ²Π°ΡΡ Π΄Π»Ρ ΡΠΌΠ΅Π½ΡΡΠ΅Π½ΠΈΡ Ρ ΠΎΠ΄Π° ΡΡΡΠ°Π³Π°.
ΠΠΎΡΠ΅ΠΌΡ ΠΌΠΎΠΈ ΡΠΎΡΠΌΠΎΠ·Π° ΡΠ΅ΡΡΡΡ ΠΌΠΎΡΠ½ΠΎΡΡΡ ΠΏΡΠΈ Π΄Π»ΠΈΡΠ΅Π»ΡΠ½ΠΎΠΌ ΡΠΎΡΠΌΠΎΠΆΠ΅Π½ΠΈΠΈ?
ΠΡΠΎ ΠΈΠ·Π²Π΅ΡΡΠ½ΠΎ ΠΊΠ°ΠΊ Π·Π°ΡΡΡ Π°Π½ΠΈΠ΅ ΡΠΎΡΠΌΠΎΠ·Π°. ΠΠ½ΠΎΠ³Π΄Π° ΡΡΠΎ ΠΏΡΠΈΠ·Π½Π°ΠΊ ΡΠΎΠ³ΠΎ, ΡΡΠΎ ΡΠΎΡΠΌΠΎΠ·Π½Π°Ρ ΠΆΠΈΠ΄ΠΊΠΎΡΡΡ ΡΡΠ°Π½ΠΎΠ²ΠΈΡΡΡ ΡΠ»ΠΈΡΠΊΠΎΠΌ Π³ΠΎΡΡΡΠ΅ΠΉ ΠΈ Π½Π°ΡΠΈΠ½Π°Π΅Ρ Π·Π°ΠΊΠΈΠΏΠ°ΡΡ. ΠΠΎΠ³Π΄Π° ΡΡΠΎ ΠΏΡΠΎΠΈΡΡ ΠΎΠ΄ΠΈΡ, Π½Π΅ΠΊΠΎΠ³Π΄Π° Π½Π΅ΡΠΆΠΈΠΌΠ°Π΅ΠΌΠ°Ρ ΠΆΠΈΠ΄ΠΊΠΎΡΡΡ ΡΡΠ°Π½ΠΎΠ²ΠΈΡΡΡ ΡΠΆΠΈΠΌΠ°Π΅ΠΌΡΠΌ Π³Π°Π·ΠΎΠΌ, ΠΈ Π²Ρ Π±ΡΡΡΡΠΎ ΡΠ΅ΡΡΠ΅ΡΠ΅ ΠΌΠΎΡΠ½ΠΎΡΡΡ. ΠΡΠ»ΠΈ ΡΡΠΎ ΠΏΡΠΎΠΈΠ·ΠΎΠΉΠ΄Π΅Ρ, Π½Π°ΡΡΠΎΡΡΠ΅Π»ΡΠ½ΠΎ ΡΠ΅ΠΊΠΎΠΌΠ΅Π½Π΄ΡΠ΅ΡΡΡ ΠΏΠ΅ΡΠ΅ΠΉΡΠΈ Π½Π° ΡΠΎΡΠΎΡ Π±ΠΎΠ»ΡΡΠ΅Π³ΠΎ ΡΠ°Π·ΠΌΠ΅ΡΠ° ΠΈΠ»ΠΈ, Π΅ΡΠ»ΠΈ Π²ΠΎΠ·ΠΌΠΎΠΆΠ½ΠΎ, Π½Π° ΡΠ΅ΠΏΠ»ΠΎΠΎΡΠ²ΠΎΠ΄ΡΡΠΈΠ΅ ΡΠΎΡΠΌΠΎΠ·Π½ΡΠ΅ ΠΊΠΎΠ»ΠΎΠ΄ΠΊΠΈ ΠΈ ΡΠΎΡΠΎΡΡ, ΡΠ°ΠΊΠΈΠ΅ ΠΊΠ°ΠΊ Π»ΠΈΠ½Π΅ΠΉΠΊΠ° Shimano Ice Tech.
ΠΠ»ΠΈ ΠΆΠ΅ ΡΡΠΎ ΠΌΠΎΠΆΠ΅Ρ Π±ΡΡΡ ΠΏΡΠΈΠ·Π½Π°ΠΊΠΎΠΌ ΡΠΎΠ³ΠΎ, ΡΡΠΎ Π² Π²Π°ΡΠ΅ΠΉ ΡΠΈΡΡΠ΅ΠΌΠ΅ Π΅ΡΡΡ Π²ΠΎΠ·Π΄ΡΡ .Π‘ΠΌ. Π Π°Π·Π΄Π΅Π» Π²ΡΡΠ΅ ΠΎ ΠΏΡΠΎΠΊΠ°ΡΠΊΠ΅ ΡΠΎΡΠΌΠΎΠ·ΠΎΠ².
Π§ΡΠΎ ΠΌΠ½Π΅ Π΄Π΅Π»Π°ΡΡ, Π΅ΡΠ»ΠΈ ΠΌΠΎΠΈ ΡΠΎΡΠΌΠΎΠ·Π° Π²Π½Π΅Π·Π°ΠΏΠ½ΠΎ ΡΠ΅ΡΡΡΡ ΠΌΠΎΡΠ½ΠΎΡΡΡ?
ΠΡ, ΡΡΠΎ Π½Π΅Ρ ΠΎΡΠΎΡΠΎ!
ΠΠ΅ΡΠ²ΠΎΠ΅, ΡΡΠΎ Π½ΡΠΆΠ½ΠΎ ΡΠ΄Π΅Π»Π°ΡΡ, ΡΡΠΎ ΠΏΠΎΠΏΡΠΎΠ±ΠΎΠ²Π°ΡΡ ΠΏΡΠΎΠΊΠ°ΡΠ°ΡΡ ΡΠΎΡΠΌΠΎΠ·. ΠΡΠΎ ΠΏΡΠΎΡΡΠΎ Π²ΠΎΠΏΡΠΎΡ Π±ΡΡΡΡΠΎΠ³ΠΎ Π²ΠΊΠ»ΡΡΠ΅Π½ΠΈΡ ΠΈ Π²ΡΠΊΠ»ΡΡΠ΅Π½ΠΈΡ ΡΡΡΠ°Π³Π°. ΠΡΠ»ΠΈ Π²Π°ΡΠΈ Π²Π½Π΅Π·Π°ΠΏΠ½ΡΠ΅ ΠΏΡΠΎΠ±Π»Π΅ΠΌΡ Ρ ΡΠΎΡΠΌΠΎΠ·ΠΎΠΌ Π²ΡΠ·ΡΠ²Π°Π΅Ρ Π²ΠΎΠ·Π΄ΡΡ , ΡΠΎ ΠΌΠΎΠΆΠ½ΠΎ Π½Π°Π΄Π΅ΡΡΡΡΡ, ΡΡΠΎ Π½Π°ΠΆΠ°ΡΠΈΠ΅ Π½Π° ΡΡΡΠ°Π³ ΠΏΠ΅ΡΠ΅ΠΌΠ΅ΡΡΠΈΡ ΠΏΡΠ·ΡΡΠ΅ΠΊ ΠΈΠ· ΡΠ»Π°Π½Π³Π° Π² ΡΠ΅Π·Π΅ΡΠ²ΡΠ°Ρ.
ΠΡΠ»ΠΈ ΡΡΠΎ Π½Π΅ ΡΡΠ°Π±ΠΎΡΠ°Π΅Ρ, ΡΠΎ, ΡΠΊΠΎΡΠ΅Π΅ Π²ΡΠ΅Π³ΠΎ, Ρ Π²Π°Ρ ΠΎΡΡΠ°Π½Π΅ΡΡΡ ΠΎΠ΄ΠΈΠ½ Ρ ΠΎΡΠΎΡΠΈΠΉ ΡΠΎΡΠΌΠΎΠ·.ΠΡΠΏΠΎΠ»ΡΠ·ΡΠΉΡΠ΅ Π΅Π³ΠΎ ΠΎΡΡΠΎΡΠΎΠΆΠ½ΠΎ, ΡΡΠΎΠ±Ρ ΠΎΡΡΠ°Π½ΠΎΠ²ΠΈΡΡΡΡ, Π° Π·Π°ΡΠ΅ΠΌ Π΄Π΅ΠΉΡΡΠ²ΡΠΉΡΠ΅ Ρ Π°Π±ΡΠΎΠ»ΡΡΠ½ΠΎΠΉ ΠΎΡΡΠΎΡΠΎΠΆΠ½ΠΎΡΡΡΡ. ΠΠΎΠ³ΠΎΠ²ΠΎΡΠΈΡΠ΅ Ρ ΠΌΠ΅ΡΡΠ½ΡΠΌ ΠΌΠ°Π³Π°Π·ΠΈΠ½ΠΎΠΌ ΠΎ ΠΏΡΠΎΠ±Π»Π΅ΠΌΠ΅ ΠΈ ΠΏΠΎΠΏΡΠΎΡΠΈΡΠ΅ ΠΈΡ ΠΏΡΠΎΠ²Π΅ΡΠΈΡΡ ΡΠΈΡΡΠ΅ΠΌΡ. Π₯ΠΎΡΡ ΡΡΠΎ ΠΏΡΠΎΠΈΡΡ ΠΎΠ΄ΠΈΡ ΠΊΡΠ°ΠΉΠ½Π΅ ΡΠ΅Π΄ΠΊΠΎ, Π½Π΅ΠΈΡΠΏΡΠ°Π²Π½ΡΠΉ ΠΊΠΎΠΌΠΏΠΎΠ½Π΅Π½Ρ ΠΌΠΎΠΆΠ΅Ρ Π±ΡΡΡ ΠΏΡΠΈΡΠΈΠ½ΠΎΠΉ ΠΏΠΎΠ»Π½ΠΎΠ³ΠΎ ΠΎΡΠΊΠ°Π·Π°.
Π§ΡΠΎ ΠΌΡ ΡΠΏΡΡΡΠΈΠ»ΠΈ? Π§ΡΠΎ Π²Ρ ΠΌΠΎΠΆΠ΅ΡΠ΅ ΠΏΠΎΡΠΎΠ²Π΅ΡΠΎΠ²Π°ΡΡ, ΠΊΠΎΠ³Π΄Π° Π΄Π΅Π»ΠΎ Π΄ΠΎΡ ΠΎΠ΄ΠΈΡ Π΄ΠΎ Π΄ΠΈΡΠΊΠΎΠ²ΡΡ ΡΠΎΡΠΌΠΎΠ·ΠΎΠ²?
ΠΠΈΡΠΊΠΎΠ²ΡΠ΅ ΡΠΎΡΠΌΠΎΠ·Π° — ΡΡΠΎ ΡΠ΅Ρ Π½ΠΈΡΠ΅ΡΠΊΠΈΠΉ ΠΏΡΠΎΠ΄ΡΠΊΡ, ΡΡΠ΅Π±ΡΡΡΠΈΠΉ Π±ΠΎΠ»ΡΡΠΈΡ Π·Π½Π°Π½ΠΈΠΉ ΠΈ Π½Π°Π²ΡΠΊΠΎΠ² Π΄Π»Ρ ΠΎΠ±ΡΠ»ΡΠΆΠΈΠ²Π°Π½ΠΈΡ. ΠΠΎΡΠΏΠΎΠ»ΡΠ·ΠΎΠ²Π°Π²ΡΠΈΡΡ Π»ΡΠ±ΡΠΌ ΠΈΠ· ΠΏΡΠΈΠ²Π΅Π΄Π΅Π½Π½ΡΡ Π²ΡΡΠ΅ ΡΠΎΠ²Π΅ΡΠΎΠ², ΠΎΠ±ΡΠ·Π°ΡΠ΅Π»ΡΠ½ΠΎ ΠΏΡΠΎΠΊΠΎΠ½ΡΡΠ»ΡΡΠΈΡΡΠΉΡΠ΅ΡΡ ΡΠΎ ΡΠΏΠ΅ΡΠΈΠ°Π»ΠΈΡΡΠΎΠΌ, Π΅ΡΠ»ΠΈ Π² ΠΊΠ°ΠΊΠΎΠΉ-Π»ΠΈΠ±ΠΎ ΠΌΠΎΠΌΠ΅Π½Ρ Π²Ρ Π½Π΅ ΡΠ²Π΅ΡΠ΅Π½Ρ.Π Π°Π±ΠΎΡΠ°ΡΡΠΈΠ΅ ΡΠΎΡΠΌΠΎΠ·Π° ΠΈΠΌΠ΅ΡΡ Π·Π½Π°ΡΠ΅Π½ΠΈΠ΅.
ΠΠΈΡΠΊΠΎΠ²ΡΠ΅ ΡΠΎΡΠΌΠΎΠ·Π°ΠΏΡΠΎΡΠΈΠ² ΠΎΠ±ΠΎΠ΄Π½ΡΡ ΡΠΎΡΠΌΠΎΠ·ΠΎΠ²: ΡΠΏΠΈΡΠΎΠΊ ΠΏΠ»ΡΡΠΎΠ² ΠΈ ΠΌΠΈΠ½ΡΡΠΎΠ²
Π§ΡΠΎ ΠΊΠ°ΡΠ°Π΅ΡΡΡ Π²Π΅Π»ΠΎΡΠΈΠΏΠ΅Π΄Π½ΡΡ ΡΠΎΡΠΌΠΎΠ·ΠΎΠ², Ρ Π²Π°Ρ Π΅ΡΡΡ Π΄Π²Π° ΡΡΠΈΠ»Ρ Π½Π° Π²ΡΠ±ΠΎΡ. Π ΡΡΠΎΠΌ ΡΡΠΊΠΎΠ²ΠΎΠ΄ΡΡΠ²Π΅ ΠΎΠΏΠΈΡΠ°Π½Ρ ΠΏΠ»ΡΡΡ ΠΈ ΠΌΠΈΠ½ΡΡΡ Π΄ΠΈΡΠΊΠΎΠ²ΡΡ ΡΠΎΡΠΌΠΎΠ·ΠΎΠ² ΠΏΠΎ ΡΡΠ°Π²Π½Π΅Π½ΠΈΡ Ρ ΠΎΠ±ΠΎΠ΄Π½ΡΠΌΠΈ, ΡΡΠΎΠ±Ρ ΠΏΠΎΠΌΠΎΡΡ Π²Π°ΠΌ ΡΠ΅ΡΠΈΡΡ, ΠΊΠ°ΠΊΠΎΠΉ ΠΈΠ· Π½ΠΈΡ Π²ΡΠ±ΡΠ°ΡΡ Π΄Π»Ρ Π²Π°ΡΠ΅Π³ΠΎ ΡΠ»Π΅Π΄ΡΡΡΠ΅Π³ΠΎ Π²Π΅Π»ΠΎΡΠΈΠΏΠ΅Π΄Π°. Π― ΡΠ°ΠΊΠΆΠ΅ ΡΠ°ΡΡΠΊΠ°ΠΆΡ ΠΎ ΡΠ°Π·Π»ΠΈΡΠ½ΡΡ ΡΠΈΠΏΠ°Ρ Π΄ΠΎΡΡΡΠΏΠ½ΡΡ Π΄ΠΈΡΠΊΠΎΠ²ΡΡ ΠΈ ΠΎΠ±ΠΎΠ΄Π½ΡΡ ΡΠΎΡΠΌΠΎΠ·ΠΎΠ².
Π ΡΠ΅ΠΌ ΡΠ°Π·Π½ΠΈΡΠ° ΠΌΠ΅ΠΆΠ΄Ρ Π΄ΠΈΡΠΊΠΎΠ²ΡΠΌΠΈ ΡΠΎΡΠΌΠΎΠ·Π°ΠΌΠΈ ΠΈ ΠΎΠ±ΠΎΠ΄Π½ΡΠΌΠΈ ΡΠΎΡΠΌΠΎΠ·Π°ΠΌΠΈ?
ΠΠ±ΠΎΠ΄Π½ΡΠ΅ ΡΠΎΡΠΌΠΎΠ·Π° ΠΎΡΡΠ°Π½Π°Π²Π»ΠΈΠ²Π°ΡΡ Π²Π΅Π»ΠΎΡΠΈΠΏΠ΅Π΄ Ρ ΠΏΠΎΠΌΠΎΡΡΡ ΡΠΎΡΠΌΠΎΠ·Π½ΡΡ ΡΡΠΏΠΏΠΎΡΡΠΎΠ², ΠΊΠΎΡΠΎΡΡΠ΅ ΠΏΡΠΈΠΊΠ»Π°Π΄ΡΠ²Π°ΡΡ ΡΠΎΡΠΌΠΎΠ·Π½ΠΎΠ΅ ΡΡΠΈΠ»ΠΈΠ΅ Π½Π΅ΠΏΠΎΡΡΠ΅Π΄ΡΡΠ²Π΅Π½Π½ΠΎ ΠΊ ΠΏΠ»ΠΎΡΠΊΠΈΠΌ ΡΡΠΎΡΠΎΠ½Π°ΠΌ ΠΎΠ±ΠΎΠ΄Π° Π²Π΅Π»ΠΎΡΠΈΠΏΠ΅Π΄Π°.ΠΠ΅ΡΠ΅Π΄Π½ΠΈΠΉ ΡΡΠΏΠΏΠΎΡΡ ΠΊΡΠ΅ΠΏΠΈΡΡΡ ΠΊ Π²ΠΈΠ»ΠΊΠ΅ Π²Π΅Π»ΠΎΡΠΈΠΏΠ΅Π΄Π°, Π° Π·Π°Π΄Π½ΠΈΠΉ ΡΡΠΏΠΏΠΎΡΡ ΠΊΡΠ΅ΠΏΠΈΡΡΡ ΠΊ ΠΏΠ΅ΡΡΡΠΌ ΡΠΈΠ΄Π΅Π½ΡΡ. Π£ ΡΡΠΏΠΏΠΎΡΡΠΎΠ² Π΅ΡΡΡ ΡΡΡΠ°Π³ΠΈ, ΠΊΠΎΡΠΎΡΡΠ΅ Π΄ΠΎΡ ΠΎΠ΄ΡΡ Π΄ΠΎ ΠΊΡΠ°Π΅Π² ΠΎΠ±ΠΎΠ΄Π°. Π’ΠΎΡΠΌΠΎΠ·Π½ΡΠ΅ ΠΊΠΎΠ»ΠΎΠ΄ΠΊΠΈ ΠΊΡΠ΅ΠΏΡΡΡΡ Π½Π° ΠΊΠΎΠ½ΡΠ°Ρ ΡΡΡΠ°Π³ΠΎΠ² ΡΡΠΏΠΏΠΎΡΡΠ°. ΠΠΎΠ³Π΄Π° Π²Ρ Π½Π°ΠΆΠΈΠΌΠ°Π΅ΡΠ΅ Π½Π° ΡΠΎΡΠΌΠΎΠ·, ΡΠΎΡΠΌΠΎΠ·Π½ΡΠ΅ ΠΊΠΎΠ»ΠΎΠ΄ΠΊΠΈ ΠΏΡΠΈΠΆΠΈΠΌΠ°ΡΡΡΡ ΠΊ ΠΎΠ±ΠΎΠ΄Ρ. ΠΡΠΎ ΡΠΎΠ·Π΄Π°Π΅Ρ ΡΡΠ΅Π½ΠΈΠ΅, ΠΊΠΎΡΠΎΡΠΎΠ΅ Π·Π°ΠΌΠ΅Π΄Π»ΡΠ΅Ρ Π²Π΅Π»ΠΎΡΠΈΠΏΠ΅Π΄. ΠΠ±ΠΎΠ΄Π½ΡΠ΅ ΡΠΎΡΠΌΠΎΠ·Π° Π°ΠΊΡΠΈΠ²ΠΈΡΡΡΡΡΡ Ρ ΠΏΠΎΠΌΠΎΡΡΡ ΡΡΠΎΡΠ°, ΠΈΠ΄ΡΡΠ΅Π³ΠΎ ΠΎΡ ΡΠΎΡΠΌΠΎΠ·Π½ΡΡ ΡΡΡΠ°Π³ΠΎΠ² ΠΊ ΡΡΠΏΠΏΠΎΡΡΠ°ΠΌ.
ΠΠΈΡΠΊΠΎΠ²ΡΠ΅ ΡΠΎΡΠΌΠΎΠ·Π° ΠΎΡΡΠ°Π½Π°Π²Π»ΠΈΠ²Π°ΡΡ Π²Π΅Π»ΠΎΡΠΈΠΏΠ΅Π΄ Ρ ΠΏΠΎΠΌΠΎΡΡΡ ΡΡΠΏΠΏΠΎΡΡΠΎΠ², ΠΊΠΎΡΠΎΡΡΠ΅ ΠΏΡΠΈΠΊΠ»Π°Π΄ΡΠ²Π°ΡΡ ΡΠΎΡΠΌΠΎΠ·Π½ΠΎΠ΅ ΡΡΠΈΠ»ΠΈΠ΅ ΠΊ ΡΠΎΡΠΎΡΠ°ΠΌ (Π΄ΠΈΡΠΊΠ°ΠΌ).Π ΠΎΡΠΎΡΡ ΠΊΡΠ΅ΠΏΡΡΡΡ ΠΊ ΡΡΡΠΏΠΈΡΠ°ΠΌ Π²Π΅Π»ΠΎΡΠΈΠΏΠ΅Π΄Π° ΠΈ Π²ΡΠ°ΡΠ°ΡΡΡΡ Π²ΠΌΠ΅ΡΡΠ΅ Ρ ΠΊΠΎΠ»Π΅ΡΠ°ΠΌΠΈ. Π‘ΡΠΏΠΏΠΎΡΡΡ ΡΡΡΠ°Π½Π°Π²Π»ΠΈΠ²Π°ΡΡΡΡ Π½Π° Π²ΠΈΠ»ΠΊΡ ΠΈ ΡΠΈΠ΄Π΅Π½ΡΠ΅ ΠΈΠ»ΠΈ Π½ΠΈΠΆΠ½ΠΈΠ΅ ΠΏΠ΅ΡΡΡ ΡΡΠ΄ΠΎΠΌ Ρ ΠΎΡΡΠΌΠΈ. Π’ΠΎΡΠΌΠΎΠ·Π½ΡΠ΅ ΠΊΠΎΠ»ΠΎΠ΄ΠΊΠΈ ΡΡΡΠ°Π½ΠΎΠ²Π»Π΅Π½Ρ Π² ΡΡΠΏΠΏΠΎΡΡΠ°Ρ ΠΏΠΎ ΠΎΠ±Π΅ ΡΡΠΎΡΠΎΠ½Ρ ΠΎΡ ΡΠΎΡΠΎΡΠ°. ΠΠΎΠ³Π΄Π° Π²Ρ Π½Π°ΠΆΠΈΠΌΠ°Π΅ΡΠ΅ Π½Π° ΡΠΎΡΠΌΠΎΠ·Π½ΡΠ΅ ΡΡΡΠ°Π³ΠΈ, ΡΠΎΡΠΌΠΎΠ·Π½ΡΠ΅ ΠΊΠΎΠ»ΠΎΠ΄ΠΊΠΈ Π½Π°ΠΆΠΈΠΌΠ°ΡΡ Π½Π° ΡΠΎΡΠΎΡΡ, ΡΠΎΠ·Π΄Π°Π²Π°Ρ ΡΡΠ΅Π½ΠΈΠ΅, ΠΊΠΎΡΠΎΡΠΎΠ΅ Π·Π°ΠΌΠ΅Π΄Π»ΡΠ΅Ρ Π²Π΅Π»ΠΎΡΠΈΠΏΠ΅Π΄. ΠΡΠΎ ΡΠ΅ ΠΆΠ΅ ΡΠΎΡΠΌΠΎΠ·Π°, ΡΡΠΎ ΠΈ Π½Π° ΠΌΠΎΡΠΎΡΠΈΠΊΠ»Π°Ρ .
ΠΠΈΡΠΊΠΎΠ²ΡΠ΅ ΡΠΎΡΠΌΠΎΠ·Π° ΡΠ°ΡΡΠΎ ΠΏΡΠΈΠ²ΠΎΠ΄ΡΡΡΡ Π² Π΄Π΅ΠΉΡΡΠ²ΠΈΠ΅ Π³ΠΈΠ΄ΡΠ°Π²Π»ΠΈΠΊΠΎΠΉ, Π° Π½Π΅ ΡΡΠΎΡΠΎΠΌ. ΠΠΎΠ³Π΄Π° Π²Ρ Π½Π°ΠΆΠΈΠΌΠ°Π΅ΡΠ΅ ΡΠΎΡΠΌΠΎΠ·Π½ΡΠ΅ ΡΡΡΠ°Π³ΠΈ, Π³ΠΈΠ΄ΡΠ°Π²Π»ΠΈΡΠ΅ΡΠΊΠ°Ρ ΠΆΠΈΠ΄ΠΊΠΎΡΡΡ Π² ΡΠΎΡΠΌΠΎΠ·Π½ΡΡ ΠΌΠ°Π³ΠΈΡΡΡΠ°Π»ΡΡ ΡΠΎΠ·Π΄Π°Π΅Ρ Π΄Π°Π²Π»Π΅Π½ΠΈΠ΅ Π² ΡΠΈΡΡΠ΅ΠΌΠ΅.ΠΡΠΎ Π΄Π°Π²Π»Π΅Π½ΠΈΠ΅ Π·Π°ΡΡΠ°Π²Π»ΡΠ΅Ρ ΠΏΠΎΡΡΠ΅Π½Ρ Π² ΡΡΠΏΠΏΠΎΡΡΠ΅ ΠΏΡΠΈΠΆΠΈΠΌΠ°ΡΡ ΡΠΎΡΠΌΠΎΠ·Π½ΡΠ΅ ΠΊΠΎΠ»ΠΎΠ΄ΠΊΠΈ ΠΊ ΡΠΎΡΠΎΡΡ. ΠΠ΅ΠΊΠΎΡΠΎΡΡΠ΅ Π΄ΠΈΡΠΊΠΎΠ²ΡΠ΅ ΡΠΎΡΠΌΠΎΠ·Π° — ΠΌΠ΅Ρ Π°Π½ΠΈΡΠ΅ΡΠΊΠΈΠ΅. ΠΠ½ΠΈ ΠΈΡΠΏΠΎΠ»ΡΠ·ΡΡΡ ΡΡΠΎΡ Π΄Π»Ρ Π°ΠΊΡΠΈΠ²Π°ΡΠΈΠΈ ΡΡΠΏΠΏΠΎΡΡΠ°, ΠΊΠ°ΠΊ ΠΎΠ±ΠΎΠ΄Π½ΡΠ΅ ΡΠΎΡΠΌΠΎΠ·Π°. ΠΠ»Ρ ΠΏΠΎΠ»ΡΡΠ΅Π½ΠΈΡ Π΄ΠΎΠΏΠΎΠ»Π½ΠΈΡΠ΅Π»ΡΠ½ΠΎΠΉ ΠΈΠ½ΡΠΎΡΠΌΠ°ΡΠΈΠΈ ΠΎΠ·Π½Π°ΠΊΠΎΠΌΡΡΠ΅ΡΡ Ρ ΠΌΠΎΠΈΠΌ ΡΡΠΊΠΎΠ²ΠΎΠ΄ΡΡΠ²ΠΎΠΌ: Π³ΠΈΠ΄ΡΠ°Π²Π»ΠΈΡΠ΅ΡΠΊΠΈΠ΅ ΠΈ ΠΌΠ΅Ρ Π°Π½ΠΈΡΠ΅ΡΠΊΠΈΠ΅ Π΄ΠΈΡΠΊΠΎΠ²ΡΠ΅ ΡΠΎΡΠΌΠΎΠ·Π°.
ΠΠΈΡΠΊΠΎΠ²ΡΠ΅ ΡΠΎΡΠΌΠΎΠ·Π° ΠΠ»ΡΡΡ
- ΠΠΈΡΠΊΠΎΠ²ΡΠ΅ ΡΠΎΡΠΌΠΎΠ·Π° ΠΎΠ±Π»Π°Π΄Π°ΡΡ Π±ΠΎΠ»ΡΡΠ΅ΠΉ ΡΠΎΡΠΌΠΎΠ·Π½ΠΎΠΉ ΡΠΏΠΎΡΠΎΠ±Π½ΠΎΡΡΡΡ, ΡΠ΅ΠΌ ΠΎΠ±ΠΎΠ΄Π½ΡΠ΅ ΡΠΎΡΠΌΠΎΠ·Π°- ΠΠΈΡΠΊΠΎΠ²ΡΠ΅ ΡΠΎΡΠΌΠΎΠ·Π° ΠΎΠ±Π΅ΡΠΏΠ΅ΡΠΈΠ²Π°ΡΡ Π±ΠΎΠ»ΡΡΠ΅ ΠΌΠ΅Ρ Π°Π½ΠΈΡΠ΅ΡΠΊΠΈΡ ΠΏΡΠ΅ΠΈΠΌΡΡΠ΅ΡΡΠ², ΡΠ΅ΠΌ ΠΎΠ±ΠΎΠ΄Π½ΡΠ΅ ΡΠΎΡΠΌΠΎΠ·Π°. ΠΡΠΎΠ±Π΅Π½Π½ΠΎ, Π΅ΡΠ»ΠΈ ΠΎΠ½ΠΈ Π³ΠΈΠ΄ΡΠ°Π²Π»ΠΈΡΠ΅ΡΠΊΠΈΠ΅. ΠΡΠΎ ΠΏΠΎΠ·Π²ΠΎΠ»ΡΠ΅Ρ ΡΡΠΏΠΏΠΎΡΡΠ°ΠΌ ΠΏΡΠΈΠΊΠ»Π°Π΄ΡΠ²Π°ΡΡ Π±ΠΎΠ»ΡΡΠ΅Π΅ ΡΡΠΈΠ»ΠΈΠ΅ ΠΊ ΡΠΎΡΠΌΠΎΠ·Π½ΠΎΠΉ ΠΏΠΎΠ²Π΅ΡΡ Π½ΠΎΡΡΠΈ, ΡΡΠΎ ΠΏΠΎΠΌΠΎΠ³Π°Π΅Ρ ΡΡΠΊΠΎΡΠΈΡΡ Π·Π°ΠΌΠ΅Π΄Π»Π΅Π½ΠΈΠ΅ Π²Π΅Π»ΠΎΡΠΈΠΏΠ΅Π΄Π°.ΠΠΈΡΠΊΠΎΠ²ΡΠ΅ ΡΠΎΡΠΌΠΎΠ·Π° ΡΠ°ΠΊΠΆΠ΅ ΠΈΠΌΠ΅ΡΡ Π±ΠΎΠ»ΡΡΡΡ ΠΏΠ»ΠΎΡΠ°Π΄Ρ ΠΏΠΎΠ²Π΅ΡΡ Π½ΠΎΡΡΠΈ Π΄Π»Ρ ΡΡΠ΅ΠΏΠ»Π΅Π½ΠΈΡ Ρ ΡΠΎΡΠΌΠΎΠ·Π½ΡΠΌΠΈ ΠΊΠΎΠ»ΠΎΠ΄ΠΊΠ°ΠΌΠΈ. ΠΡΠΎ ΡΠ²Π΅Π»ΠΈΡΠΈΠ²Π°Π΅Ρ ΡΡΠ΅Π½ΠΈΠ΅, ΡΡΠΎΠ±Ρ Π·Π°ΠΌΠ΅Π΄Π»ΠΈΡΡ Π²Π°Ρ Π±ΡΡΡΡΠ΅Π΅. ΠΡΠ΅Π΄ΡΡΠ°Π²ΡΡΠ΅ ΡΠ΅Π±Π΅ ΡΠΈΠ»Ρ, Π½Π΅ΠΎΠ±Ρ ΠΎΠ΄ΠΈΠΌΡΡ, ΡΡΠΎΠ±Ρ ΠΎΡΡΠ°Π½ΠΎΠ²ΠΈΡΡ 300-ΡΡΠ½ΡΠΎΠ²ΠΎΠ³ΠΎ ΠΏΠΎΠ»Π½ΠΎΡΡΡΡ Π·Π°Π³ΡΡΠΆΠ΅Π½Π½ΠΎΠ³ΠΎ ΡΡΡΠΈΡΡΠΈΡΠ΅ΡΠΊΠΎΠ³ΠΎ Π²Π΅Π»ΠΎΡΠΈΠΏΠ΅Π΄Π° ΠΈ Π³ΠΎΠ½ΡΠΈΠΊΠ°, ΠΌΡΠ°ΡΠ΅Π³ΠΎΡΡ ΠΏΠΎ Π³ΠΎΡΠ½ΠΎΠΌΡ ΠΏΠ΅ΡΠ΅Π²Π°Π»Ρ ΡΠΎ ΡΠΊΠΎΡΠΎΡΡΡΡ 40 ΠΌΠΈΠ»Ρ Π² ΡΠ°Ρ. Π ΡΠ°ΠΊΠΎΠΉ ΡΠΈΡΡΠ°ΡΠΈΠΈ Π²Π°ΠΌ Π½ΡΠΆΠ½ΠΎ ΠΊΠ°ΠΊ ΠΌΠΎΠΆΠ½ΠΎ Π±ΠΎΠ»ΡΡΠ΅ ΡΠΎΡΠΌΠΎΠ·Π½ΠΎΠ³ΠΎ ΡΡΠΈΠ»ΠΈΡ.
- Π’Π΅ΠΏΠ»ΠΎΠ²ΡΠ΄Π΅Π»Π΅Π½ΠΈΠ΅ — ΠΌΠ΅Π½ΡΡΠ°Ρ ΠΏΡΠΎΠ±Π»Π΅ΠΌΠ° Ρ Π΄ΠΈΡΠΊΠΎΠ²ΡΠΌΠΈ ΡΠΎΡΠΌΠΎΠ·Π°ΠΌΠΈ — ΠΡΠΈ ΡΠΏΡΡΠΊΠ΅ ΠΏΠΎ Π΄Π»ΠΈΠ½Π½ΠΎΠΌΡ Π³ΠΎΡΠ½ΠΎΠΌΡ ΠΏΠ΅ΡΠ΅Π²Π°Π»Ρ ΡΠΎΡΠΌΠΎΠ·Π° Π²ΡΠ΄Π΅Π»ΡΡΡ ΠΌΠ½ΠΎΠ³ΠΎ ΡΠ΅ΠΏΠ»Π°. ΠΡΠ»ΠΈ Π²Ρ ΠΈΡΠΏΠΎΠ»ΡΠ·ΡΠ΅ΡΠ΅ ΠΎΠ±ΠΎΠ΄Π½ΡΠ΅ ΡΠΎΡΠΌΠΎΠ·Π°, ΡΡΠ΅Π·ΠΌΠ΅ΡΠ½ΡΠΉ Π½Π°Π³ΡΠ΅Π² ΠΌΠΎΠΆΠ΅Ρ ΠΏΡΠΈΠ²Π΅ΡΡΠΈ ΠΊ Π²ΡΡ ΠΎΠ΄Ρ ΠΈΠ· ΡΡΡΠΎΡ ΠΎΠ±ΠΎΠ΄ΠΎΠ², ΡΠΈΠ½ ΠΈΠ»ΠΈ ΠΊΠ°ΠΌΠ΅Ρ.Π‘Π°ΠΌΠ°Ρ ΡΠ°ΡΠΏΡΠΎΡΡΡΠ°Π½Π΅Π½Π½Π°Ρ ΠΏΡΠΎΠ±Π»Π΅ΠΌΠ°, ΡΠ²ΡΠ·Π°Π½Π½Π°Ρ Ρ ΡΡΠ΅Π·ΠΌΠ΅ΡΠ½ΡΠΌ Π½Π°Π³ΡΠ΅Π²ΠΎΠΌ — ΡΡΠΎ Π»ΠΎΠΏΠ½ΡΠ²ΡΠ°Ρ ΡΠΈΠ½Π°. Π’Π΅ΠΏΠ»ΠΎ ΡΠ²Π΅Π»ΠΈΡΠΈΠ²Π°Π΅Ρ Π΄Π°Π²Π»Π΅Π½ΠΈΠ΅ Π²ΠΎΠ·Π΄ΡΡ Π° Π²Π½ΡΡΡΠΈ ΡΠΈΠ½Ρ, Π·Π°ΡΡΠ°Π²Π»ΡΡ ΠΊΠ°ΠΌΠ΅ΡΡ Π²Π·ΠΎΡΠ²Π°ΡΡΡΡ ΠΈΠ»ΠΈ ΡΠ΄ΡΡΡ ΡΠΈΠ½Ρ Ρ ΠΎΠ±ΠΎΠ΄Π°. Π‘ Π΄ΠΈΡΠΊΠΎΠ²ΡΠΌΠΈ ΡΠΎΡΠΌΠΎΠ·Π°ΠΌΠΈ Π²Π°ΡΠΈ Π΄ΠΈΡΠΊΠΈ ΠΎΡΡΠ°ΡΡΡΡ ΠΏΡΠΎΡ Π»Π°Π΄Π½ΡΠΌΠΈ, ΠΊΠ°ΠΊ Π±Ρ ΡΠΈΠ»ΡΠ½ΠΎ Π²Ρ Π½ΠΈ ΡΠΎΡΠΌΠΎΠ·ΠΈΠ»ΠΈ. ΠΠΈΡΠΊΠΎΠ²ΡΠ΅ ΡΠΎΡΠΎΡΡ ΡΠΎΠΆΠ΅ ΠΌΠΎΠ³ΡΡ ΠΏΠ΅ΡΠ΅Π³ΡΠ΅Π²Π°ΡΡΡΡ, Π½ΠΎ ΠΎΠ½ΠΈ Π»ΡΡΡΠ΅ ΠΎΡΠ²ΠΎΠ΄ΡΡ ΡΠ΅ΠΏΠ»ΠΎ, ΡΠ΅ΠΌ ΠΎΠ±ΠΎΠ΄ΡΡ, ΠΈΠ·-Π·Π° ΡΠΎΠ½ΠΊΠΎΠΉ ΠΊΠΎΠ½ΡΡΡΡΠΊΡΠΈΠΈ. ΠΡ ΠΌΠΎΠΆΠ΅ΡΠ΅ Π΅Π·Π΄ΠΈΡΡ ΠΈΠ½ΡΠ΅Π½ΡΠΈΠ²Π½Π΅Π΅ ΠΈ Π΄ΠΎΠ»ΡΡΠ΅ ΡΠΎΡΠΌΠΎΠ·ΠΈΡΡ, Π½Π΅ ΠΎΡΡΠ°Π½Π°Π²Π»ΠΈΠ²Π°ΡΡΡ ΠΈ Π½Π΅ Π΄ΠΎΠΆΠΈΠ΄Π°ΡΡΡ, ΠΏΠΎΠΊΠ° ΡΠΎΡΠΌΠΎΠ·Π° ΠΎΡΡΡΠ½ΡΡ.
- ΠΠΈΡΠΊΠΎΠ²ΡΠ΅ ΡΠΎΡΠΌΠΎΠ·Π° Π»ΡΡΡΠ΅ ΡΠ°Π±ΠΎΡΠ°ΡΡ Π² ΡΡΡΡΡ ΠΏΠΎΠ³ΠΎΠ΄Ρ- ΠΠΎΠ³Π΄Π° Π²Π°Ρ ΠΎΠ±ΠΎΠ΄ ΠΌΠΎΠΊΡΡΠΉ ΠΈΠ»ΠΈ ΠΏΠΎΠΊΡΡΡΡΠΉ Π³ΡΡΠ·ΡΡ, Π΄ΠΈΡΠΊΠΎΠ²ΡΠ΅ ΡΠΎΡΠΌΠΎΠ·Π° ΠΏΠΎ-ΠΏΡΠ΅ΠΆΠ½Π΅ΠΌΡ Π½Π°Π΄Π΅ΠΆΠ½ΠΎ ΠΎΡΡΠ°Π½Π°Π²Π»ΠΈΠ²Π°ΡΡ Π²Π΅Π»ΠΎΡΠΈΠΏΠ΅Π΄.ΠΠΎΠ΄Π° Π½Π΅ΠΌΠ½ΠΎΠ³ΠΎ ΡΠ½ΠΈΠΆΠ°Π΅Ρ ΡΡΡΠ΅ΠΊΡΠΈΠ²Π½ΠΎΡΡΡ ΡΠΎΡΠΌΠΎΠΆΠ΅Π½ΠΈΡ, Π½ΠΎ Π½Π΅ ΡΠ°ΠΊ ΡΠΈΠ»ΡΠ½ΠΎ, ΠΊΠ°ΠΊ ΠΎΠ±ΠΎΠ΄Π½ΡΠ΅ ΡΠΎΡΠΌΠΎΠ·Π°.
- ΠΡ ΠΌΠΎΠΆΠ΅ΡΠ΅ Π΅Ρ Π°ΡΡ Π±ΡΡΡΡΠ΅Π΅ Ρ Π΄ΠΈΡΠΊΠΎΠ²ΡΠΌΠΈ ΡΠΎΡΠΌΠΎΠ·Π°ΠΌΠΈ- ΠΠΎΡΠΊΠΎΠ»ΡΠΊΡ ΡΠΎΡΠΌΠΎΠ·Π° ΠΌΠΎΠ³ΡΡ ΠΎΡΡΠ°Π½ΠΎΠ²ΠΈΡΡ Π²Π°Ρ Π±ΡΡΡΡΠ΅Π΅, Π²Ρ ΠΌΠΎΠΆΠ΅ΡΠ΅ Π΄ΠΎΠ»ΡΡΠ΅ ΠΆΠ΄Π°ΡΡ, ΠΏΡΠ΅ΠΆΠ΄Π΅ ΡΠ΅ΠΌ Π½Π°ΡΠ°ΡΡ ΡΠΎΡΠΌΠΎΠΆΠ΅Π½ΠΈΠ΅. ΠΠ°ΠΏΡΠΈΠΌΠ΅Ρ, Π²ΠΌΠ΅ΡΡΠΎ ΡΠΎΠ³ΠΎ, ΡΡΠΎΠ±Ρ ΡΠΎΡΠΌΠΎΠ·ΠΈΡΡ Π·Π° 50 ΡΡΡΠΎΠ² Π΄ΠΎ ΠΏΠΎΠ²ΠΎΡΠΎΡΠ°, Π²Ρ ΠΌΠΎΠΆΠ΅ΡΠ΅ Π½Π°ΡΠ°ΡΡ ΡΠΎΡΠΌΠΎΠΆΠ΅Π½ΠΈΠ΅ Π½Π° 20 ΡΡΡΠΎΠ² Π²ΠΏΠ΅ΡΠ΅Π΄ΠΈ. ΠΡΠΎ ΡΠΊΠΎΠ½ΠΎΠΌΠΈΡ Π²ΡΠ΅ΠΌΡ.
- ΠΠ΅Π½ΡΡΠ΅ Π½Π°Π³ΡΡΠ·ΠΊΠΈ Π½Π° ΡΡΠΊΠΈ — ΠΠ»Π°Π³ΠΎΠ΄Π°ΡΡ ΠΌΠ΅Ρ Π°Π½ΠΈΡΠ΅ΡΠΊΠΈΠΌ ΠΏΡΠ΅ΠΈΠΌΡΡΠ΅ΡΡΠ²Π°ΠΌ, Π²Π°ΠΌ Π½Π΅ Π½ΡΠΆΠ½ΠΎ ΡΠΈΠ»ΡΠ½ΠΎ Π½Π°ΠΆΠΈΠΌΠ°ΡΡ Π½Π° ΡΠΎΡΠΌΠΎΠ·Π½ΡΠ΅ ΡΡΡΠ°Π³ΠΈ ΠΏΡΠΈ ΠΈΡΠΏΠΎΠ»ΡΠ·ΠΎΠ²Π°Π½ΠΈΠΈ Π΄ΠΈΡΠΊΠΎΠ²ΡΡ ΡΠΎΡΠΌΠΎΠ·ΠΎΠ².ΠΡΠΎ ΡΠ½ΠΈΠΆΠ°Π΅Ρ ΡΡΠΎΠΌΠ»ΡΠ΅ΠΌΠΎΡΡΡ ΡΡΠΊ ΠΈ ΡΠΎΠΊΡΠ°ΡΠ°Π΅Ρ ΡΡΠ΄ΠΎΡΠΎΠ³ΠΈ, ΠΎΡΠΎΠ±Π΅Π½Π½ΠΎ Π½Π° Π΄Π»ΠΈΠ½Π½ΡΡ ΡΠΏΡΡΠΊΠ°Ρ , ΠΊΠΎΠ³Π΄Π° Π²Ρ Π΄Π»ΠΈΡΠ΅Π»ΡΠ½ΠΎΠ΅ Π²ΡΠ΅ΠΌΡ ΡΠΎΡΠΌΠΎΠ·ΠΈΡΠ΅.
- ΠΡ ΠΌΠΎΠΆΠ΅ΡΠ΅ Π΅Π·Π΄ΠΈΡΡ Ρ ΠΏΠΎΠ³Π½ΡΡΡΠΌΠΈ ΠΈΠ»ΠΈ Π½Π΅Π½Π°ΡΡΠΎΡΡΠΈΠΌΠΈ ΠΊΠΎΠ»Π΅ΡΠ°ΠΌΠΈ- ΠΠΈΡΠΊ ΠΎΡΡΠ°Π΅ΡΡΡ ΠΏΡΠ΅ΠΆΠ½ΠΈΠΌ ΠΈ ΡΠΎΡΠ½ΠΎ ΡΠ°ΠΊ ΠΆΠ΅ ΠΎΡΡΠ°Π½Π°Π²Π»ΠΈΠ²Π°Π΅Ρ Π²Π°Ρ, Π΄Π°ΠΆΠ΅ Π΅ΡΠ»ΠΈ Π²Π°ΡΠΈ ΠΊΠΎΠ»Π΅ΡΠ° Π½Π΅ ΡΠΎΠΎΡΠ²Π΅ΡΡΡΠ²ΡΡΡ Π΄Π΅ΠΉΡΡΠ²ΠΈΡΠ΅Π»ΡΠ½ΠΎΡΡΠΈ. ΠΡΠΎ ΠΏΡΠΈΠ³ΠΎΠ΄ΠΈΡΡΡ, Π΅ΡΠ»ΠΈ Π²Ρ ΠΏΡΡΠ°Π΅ΡΠ΅ΡΡ Π΄ΠΎΠ±ΡΠ°ΡΡΡΡ Π΄ΠΎ Π±Π»ΠΈΠΆΠ°ΠΉΡΠ΅Π³ΠΎ Π²Π΅Π»ΠΎΠΌΠ°Π³Π°Π·ΠΈΠ½Π° ΠΏΠΎΡΠ»Π΅ Π°Π²Π°ΡΠΈΠΈ. ΠΠ±ΠΎΠ΄Π½ΡΠ΅ ΡΠΎΡΠΌΠΎΠ·Π° ΡΡΡΡΡΡ ΠΈΠ»ΠΈ ΠΏΠ΅ΡΠ΅ΡΡΠ°ΡΡ ΡΠ°Π±ΠΎΡΠ°ΡΡ, Π΅ΡΠ»ΠΈ Π²Π°ΡΠ΅ ΠΊΠΎΠ»Π΅ΡΠΎ Π½Π΅ ΡΠΎΠ²ΡΠ΅ΠΌ ΠΏΡΠ°Π²ΠΈΠ»ΡΠ½ΠΎΠ΅.
- ΠΠΈΡΠΊΠΎΠ²ΡΠ΅ ΡΠΎΡΠΌΠΎΠ·Π° Π±ΠΎΠ»Π΅Π΅ Π±Π΅Π·ΠΎΠΏΠ°ΡΠ½Ρ- ΠΠΎΡΠΊΠΎΠ»ΡΠΊΡ Π΄ΠΈΡΠΊΠΎΠ²ΡΠ΅ ΡΠΎΡΠΌΠΎΠ·Π° ΠΎΠ±Π΅ΡΠΏΠ΅ΡΠΈΠ²Π°ΡΡ Π±ΠΎΠ»ΡΡΡΡ ΡΠΎΡΠΌΠΎΠ·Π½ΡΡ ΡΠΏΠΎΡΠΎΠ±Π½ΠΎΡΡΡ, ΠΎΠ½ΠΈ ΡΠΎΠΊΡΠ°ΡΠ°ΡΡ ΡΠΎΡΠΌΠΎΠ·Π½ΠΎΠΉ ΠΏΡΡΡ.ΠΡΠΎ ΠΏΠΎΠ·Π²ΠΎΠ»ΡΠ΅Ρ Π²Π°ΠΌ Π·Π°ΠΌΠ΅Π΄Π»ΠΈΡΡΡΡ ΠΈΠ»ΠΈ Π±ΡΡΡΡΠ΅Π΅ ΠΎΡΡΠ°Π½ΠΎΠ²ΠΈΡΡΡΡ Π² Π°Π²Π°ΡΠΈΠΉΠ½ΠΎΠΉ ΡΠΈΡΡΠ°ΡΠΈΠΈ.
- ΠΡ ΠΌΠΎΠΆΠ΅ΡΠ΅ ΠΈΡΠΏΠΎΠ»ΡΠ·ΠΎΠ²Π°ΡΡ Π΄ΠΈΡΠΊΠΈ ΡΠ°Π·Π½ΡΡ ΡΠ°Π·ΠΌΠ΅ΡΠΎΠ² Ρ Π΄ΠΈΡΠΊΠΎΠ²ΡΠΌΠΈ ΡΠΎΡΠΌΠΎΠ·Π°ΠΌΠΈ- ΠΡΠ»ΠΈ Ρ Π²Π°Ρ Π΅ΡΡΡ ΠΎΠ΄ΠΈΠ½ Π²Π΅Π»ΠΎΡΠΈΠΏΠ΅Π΄, ΠΊΠΎΡΠΎΡΡΠΉ Π²Ρ Ρ ΠΎΡΠΈΡΠ΅ ΠΈΡΠΏΠΎΠ»ΡΠ·ΠΎΠ²Π°ΡΡ Π΄Π»Ρ ΡΠΎΡΡΠ΅ΠΉΠ½ΡΡ , ΡΡΡΠΈΡΡΠΈΡΠ΅ΡΠΊΠΈΡ ΠΈ Π³ΠΎΡΠ½ΡΡ ΠΏΠΎΠ΅Π·Π΄ΠΎΠΊ, Π²Ρ ΠΌΠΎΠΆΠ΅ΡΠ΅ ΡΠΎΠ·Π΄Π°Π²Π°ΡΡ ΠΊΠΎΠ»Π΅ΡΠ½ΡΠ΅ ΠΏΠ°ΡΡ Ρ ΡΠ°Π·Π½ΡΠΌΠΈ ΡΠ°Π·ΠΌΠ΅ΡΠ°ΠΌΠΈ ΠΎΠ±ΠΎΠ΄Π° ΠΈ ΠΏΡΠΎΡΡΠΎ ΠΌΠ΅Π½ΡΡΡ ΠΈΡ Ρ ΠΏΠΎΠΌΠΎΡΡΡ Π΄ΠΈΡΠΊΠΎΠ²ΡΡ ΡΠΎΡΠΌΠΎΠ·ΠΎΠ². ΠΡΠΎ ΠΎΡΠ»ΠΈΡΠ½ΠΎ ΠΏΠΎΠ΄Ρ ΠΎΠ΄ΠΈΡ Π΄Π»Ρ Π»ΡΠ΄Π΅ΠΉ, Ρ ΠΊΠΎΡΠΎΡΡΡ Π΅ΡΡΡ Π±ΡΠ΄ΠΆΠ΅Ρ ΠΈΠ»ΠΈ ΠΌΠ΅ΡΡΠΎ ΡΠΎΠ»ΡΠΊΠΎ Π΄Π»Ρ ΠΎΠ΄Π½ΠΎΠ³ΠΎ Π²Π΅Π»ΠΎΡΠΈΠΏΠ΅Π΄Π°. ΠΡ ΠΌΠΎΠΆΠ΅ΡΠ΅ ΡΡΡΠ°Π½ΠΎΠ²ΠΈΡΡ ΠΊΠΎΠΌΠΏΠ»Π΅ΠΊΡ ΠΊΠΎΠ»Π΅Ρ 700c ΡΠΎ ΡΠ»ΠΈΠΊΠ°ΠΌΠΈ Π΄Π»Ρ ΡΠΎΡΡΠ΅ΠΉΠ½ΠΎΠΉ Π΅Π·Π΄Ρ. ΠΡΠ»ΠΈ Π²Ρ Ρ ΠΎΡΠΈΡΠ΅ ΠΏΠΎΠ΅Ρ Π°ΡΡ ΠΏΠΎ Π±Π΅Π·Π΄ΠΎΡΠΎΠΆΡΡ, Π²Ρ ΠΌΠΎΠΆΠ΅ΡΠ΅ ΡΡΡΠ°Π½ΠΎΠ²ΠΈΡΡ ΠΏΠ°ΡΡ ΠΊΠΎΠ»Π΅Ρ 650b Ρ ΡΠΈΠΏΠ°ΠΌΠΈ.
- ΠΠΎΠ»ΠΎΠ΄ΠΊΠΈ Π΄ΠΈΡΠΊΠΎΠ²ΠΎΠ³ΠΎ ΡΠΎΡΠΌΠΎΠ·Π° ΡΠ»ΡΠΆΠ°Ρ Π΄ΠΎΠ»ΡΡΠ΅ — ΠΠΎΡΠΊΠΎΠ»ΡΠΊΡ ΠΊΠΎΠ»ΠΎΠ΄ΠΊΠΈ ΡΠ΄Π΅Π»Π°Π½Ρ ΠΈΠ· Π±ΠΎΠ»Π΅Π΅ ΡΠ²Π΅ΡΠ΄ΠΎΠ³ΠΎ ΠΌΠ°ΡΠ΅ΡΠΈΠ°Π»Π°, ΠΎΠ½ΠΈ Π΄ΠΎΠ»ΡΡΠ΅ ΠΈΠ·Π½Π°ΡΠΈΠ²Π°ΡΡΡΡ. ΠΡΠΎ ΠΎΠ·Π½Π°ΡΠ°Π΅Ρ ΠΌΠ΅Π½Π΅Π΅ ΡΠ°ΡΡΠΎΠ΅ ΠΎΠ±ΡΠ»ΡΠΆΠΈΠ²Π°Π½ΠΈΠ΅.
- ΠΠ±ΠΎΠ΄Π° ΡΠ»ΡΠΆΠ°Ρ Π΄ΠΎΠ»ΡΡΠ΅ ΠΏΡΠΈ ΠΈΡΠΏΠΎΠ»ΡΠ·ΠΎΠ²Π°Π½ΠΈΠΈ Π΄ΠΈΡΠΊΠΎΠ²ΡΡ ΡΠΎΡΠΌΠΎΠ·ΠΎΠ² — ΠΠΎΡΠΊΠΎΠ»ΡΠΊΡ Π΄ΠΈΡΠΊΠΎΠ²ΡΠ΅ ΡΠΎΡΠΌΠΎΠ·Π° Π½Π΅ ΡΡΡΡΡΡ ΠΎΠ± ΠΎΠ±ΠΎΠ΄, ΠΎΠ½ΠΈ Π½Π΅ ΠΈΠ·Π½Π°ΡΠΈΠ²Π°ΡΡΡΡ ΠΏΡΠΈ ΡΠΎΡΠΌΠΎΠΆΠ΅Π½ΠΈΠΈ. ΠΠΈΡΠΊΠΈ ΡΠΎΠΆΠ΅ Π½Π΅ Π½Π°Π³ΡΠ΅Π²Π°ΡΡΡΡ. Π‘ Π΄ΡΡΠ³ΠΎΠΉ ΡΡΠΎΡΠΎΠ½Ρ, ΠΎΠ±ΠΎΠ΄Π½ΡΠ΅ ΡΠΎΡΠΌΠΎΠ·Π° ΡΠ΄Π°Π»ΡΡΡ Π½Π΅ΠΌΠ½ΠΎΠ³ΠΎ ΠΌΠ°ΡΠ΅ΡΠΈΠ°Π»Π° Ρ ΠΎΠ±ΠΎΠ΄Π° ΠΊΠ°ΠΆΠ΄ΡΠΉ ΡΠ°Π·, ΠΊΠΎΠ³Π΄Π° Π²Ρ ΠΎΡΡΠ°Π½Π°Π²Π»ΠΈΠ²Π°Π΅ΡΠ΅ΡΡ. Π’ΡΠ΅Π½ΠΈΠ΅ ΡΠ°ΠΊΠΆΠ΅ Π½Π°Π³ΡΠ΅Π²Π°Π΅Ρ Π΄ΠΈΡΠΊΠΈ, ΡΡΠΎ ΡΠΎ Π²ΡΠ΅ΠΌΠ΅Π½Π΅ΠΌ ΠΏΡΠΈΠ²ΠΎΠ΄ΠΈΡ ΠΊ ΠΈΡ ΠΎΡΠ»Π°Π±Π»Π΅Π½ΠΈΡ.ΠΡ, Π²Π΅ΡΠΎΡΡΠ½ΠΎ, ΡΡΠΊΠΎΠ½ΠΎΠΌΠΈΡΠ΅ Π΅ΡΠ΅ Π½Π΅ΡΠΊΠΎΠ»ΡΠΊΠΎ ΡΡΡΡΡ ΠΌΠΈΠ»Ρ, Π΅ΡΠ»ΠΈ Π²ΠΎΡΠΏΠΎΠ»ΡΠ·ΡΠ΅ΡΠ΅ΡΡ Π΄ΠΈΡΠΊΠΎΠ²ΡΠΌΠΈ ΡΠΎΡΠΌΠΎΠ·Π°ΠΌΠΈ.
- ΠΠ΅ Π½ΡΠΆΠ½ΠΎ ΡΠΈΡΡΠΈΡΡ Π΄ΠΈΡΠΊΠΈ ΡΠ°ΠΊ ΡΠ°ΡΡΠΎ, ΠΊΠ°ΠΊ ΠΎΠ±ΠΎΠ΄ΡΡ — ΠΠΎΡΠΊΠΎΠ»ΡΠΊΡ Π΄ΠΈΡΠΊΠΈ ΡΠ°ΡΠΏΠΎΠ»ΠΎΠΆΠ΅Π½Ρ Π²ΡΡΠ΅ Π½Π°Π΄ Π·Π΅ΠΌΠ»Π΅ΠΉ, ΠΎΠ½ΠΈ Π½Π΅ ΡΠΎΠ±ΠΈΡΠ°ΡΡ ΡΡΠΎΠ»ΡΠΊΠΎ Π³ΡΡΠ·ΠΈ ΠΈΠ»ΠΈ ΠΏΠ΅ΡΠΊΠ°, ΡΠΊΠΎΠ»ΡΠΊΠΎ Π²Π°ΡΠΈ ΠΎΠ±ΠΎΠ΄ΡΡ. ΠΡΠΈ ΠΈΡΠΏΠΎΠ»ΡΠ·ΠΎΠ²Π°Π½ΠΈΠΈ ΠΎΠ±ΠΎΠ΄Π½ΡΡ ΡΠΎΡΠΌΠΎΠ·ΠΎΠ² Π²Ρ Π΄ΠΎΠ»ΠΆΠ½Ρ ΡΠ΅Π³ΡΠ»ΡΡΠ½ΠΎ ΡΠΈΡΡΠΈΡΡ ΠΎΠ±ΠΎΠ΄ΡΡ. ΠΡΠ»ΠΈ Π²Ρ ΡΡΠΎΠ³ΠΎ Π½Π΅ ΡΠ΄Π΅Π»Π°Π΅ΡΠ΅, Π²Ρ ΡΠΈΡΠΊΡΠ΅ΡΠ΅ ΠΏΠΎΠ²ΡΠ΅Π΄ΠΈΡΡ ΠΈΡ , Π΅ΡΠ»ΠΈ ΡΠ²Π΅ΡΠ΄ΡΠ΅ Π·Π°Π³ΡΡΠ·Π½Π΅Π½ΠΈΡ, ΡΠ°ΠΊΠΈΠ΅ ΠΊΠ°ΠΊ ΠΏΠ΅ΡΠΎΠΊ ΠΈΠ»ΠΈ ΠΌΠ΅Π»ΠΊΠΈΠ΅ ΠΊΠ°ΠΌΠ½ΠΈ, ΠΏΠΎΠΏΠ°Π΄ΡΡ Π² ΠΏΠΎΠ΄ΡΡΠΊΡ. ΠΠ½ΠΈ ΠΌΠΎΠ³ΡΡ ΡΠ΅ΡΠ΅ΡΡΡΡ ΠΎΠ± ΠΎΠ±ΠΎΠ΄ ΠΈ Π±ΡΡΡΡΠΎ Π²ΡΠ·ΡΠ²Π°ΡΡ Π±ΠΎΠ»ΡΡΠΎΠΉ ΠΈΠ·Π½ΠΎΡ. Π― ΡΡΠ²ΠΎΠΈΠ» ΡΡΠΎ Π½Π° ΡΠΎΠ±ΡΡΠ²Π΅Π½Π½ΠΎΠΌ Π³ΠΎΡΡΠΊΠΎΠΌ ΠΎΠΏΡΡΠ΅, ΠΊΠ°ΡΠ°ΡΡΡ ΠΏΠΎ ΠΏΠ»ΡΠΆΡ Π²ΠΎ Π²ΡΠ΅ΠΌΡ Π³Π°ΡΡΡΠΎΠ»Π΅ΠΉ.Π― Π΄ΠΎΠ²ΠΎΠ»ΡΠ½ΠΎ ΡΠΈΠ»ΡΠ½ΠΎ ΠΏΠΎΡΠ°ΡΠ°ΠΏΠ°Π» ΠΎΠ±ΠΎΠ΄, ΠΏΡΠ΅ΠΆΠ΄Π΅ ΡΠ΅ΠΌ ΠΏΡΠΈΡΡΡΠΏΠΈΠ» ΠΊ ΠΎΡΠΈΡΡΠΊΠ΅ ΠΊΠΎΠ»ΠΎΠ΄ΠΎΠΊ ΠΈ ΠΎΠ±ΠΎΠ΄Π°.
- ΠΠΈΡΠΊΠΎΠ²ΡΠ΅ ΡΠΎΡΠΌΠΎΠ·Π° Π±ΠΎΠ»Π΅Π΅ ΡΠΎΡΠ½ΡΠ΅ — ΠΠ»Π°Π³ΠΎΠ΄Π°ΡΡ ΠΊΠΎΠ½ΡΡΡΡΠΊΡΠΈΠΈ Π²Ρ ΠΌΠΎΠΆΠ΅ΡΠ΅ Π»ΡΡΡΠ΅ ΠΊΠΎΠ½ΡΡΠΎΠ»ΠΈΡΠΎΠ²Π°ΡΡ, ΠΊΠ°ΠΊΠΎΠ΅ ΡΠΎΡΠΌΠΎΠ·Π½ΠΎΠ΅ ΡΡΠΈΠ»ΠΈΠ΅ Π²Ρ ΠΏΡΠΈΠΊΠ»Π°Π΄ΡΠ²Π°Π΅ΡΠ΅. ΠΠΎΠ»Π΅ΡΠ° ΠΌΠ΅Π½Π΅Π΅ ΠΏΠΎΠ΄Π²Π΅ΡΠΆΠ΅Π½Ρ Π±Π»ΠΎΠΊΠΈΡΠΎΠ²ΠΊΠ΅. ΠΡΠΎ Π΄Π°Π΅Ρ Π²Π°ΠΌ Π±ΠΎΠ»ΡΡΠ΅ ΡΠ²Π΅ΡΠ΅Π½Π½ΠΎΡΡΠΈ ΠΏΡΠΈ Π΅Π·Π΄Π΅ ΠΏΠΎ Π²ΠΎΠ»ΠΎΡΠ°ΡΠΎΠΌΡ ΠΏΠΎΠΊΡΠΎΠ²Ρ. ΠΠ°ΠΏΡΠΈΠΌΠ΅Ρ, Π²ΠΎ Π²ΡΠ΅ΠΌΡ Π·ΠΈΠΌΠ½Π΅ΠΉ Π΅Π·Π΄Ρ Π½Π° Π²Π΅Π»ΠΎΡΠΈΠΏΠ΅Π΄Π΅ Π² ΡΠ½Π΅ΠΆΠ½ΡΡ ΠΈΠ»ΠΈ ΠΎΠ±Π»Π΅Π΄Π΅Π½Π΅Π»ΡΡ ΡΡΠ»ΠΎΠ²ΠΈΡΡ Π²Ρ ΠΌΠΎΠΆΠ΅ΡΠ΅ Π½Π°ΠΆΠ°ΡΡ Π½Π° ΠΏΠ΅Π΄Π°Π»Ρ ΡΠΎΡΠΌΠΎΠ·Π°, ΡΡΠΎΠ±Ρ Π½Π΅ ΠΏΠΎΡΠ΅ΡΡΡΡ ΡΡΠ΅ΠΏΠ»Π΅Π½ΠΈΠ΅ Ρ Π΄ΠΎΡΠΎΠ³ΠΎΠΉ. ΠΡΠΎ ΠΏΡΠΎΡΠ΅ Ρ Π΄ΠΈΡΠΊΠΎΠ²ΡΠΌΠΈ ΡΠΎΡΠΌΠΎΠ·Π°ΠΌΠΈ.
- ΠΡ ΠΌΠΎΠΆΠ΅ΡΠ΅ ΠΈΡΠΏΠΎΠ»ΡΠ·ΠΎΠ²Π°ΡΡ Π±ΠΎΠ»Π΅Π΅ ΡΠΈΡΠΎΠΊΠΈΠ΅ ΡΠΈΠ½Ρ — ΠΠΈΡΠΊΠΎΠ²ΡΠ΅ ΡΠΎΡΠΌΠΎΠ·Π° Π½Π΅ ΠΎΠ³ΡΠ°Π½ΠΈΡΠΈΠ²Π°ΡΡ ΡΠΈΡΠΈΠ½Ρ Π²Π°ΡΠ΅ΠΉ ΡΠΈΠ½Ρ. ΠΠ΄ΠΈΠ½ΡΡΠ²Π΅Π½Π½ΠΎΠ΅ ΠΎΠ³ΡΠ°Π½ΠΈΡΠ΅Π½ΠΈΠ΅ — ΡΡΠΎ Π·Π°Π·ΠΎΡ ΡΠ°ΠΌΡ. ΠΠΎΠ³Π΄Π° Π²Ρ ΠΈΡΠΏΠΎΠ»ΡΠ·ΡΠ΅ΡΠ΅ ΠΎΠ±ΠΎΠ΄Π½ΡΠ΅ ΡΠΎΡΠΌΠΎΠ·Π°, Π²Π°ΡΠΈ ΡΠΈΠ½Ρ Π΄ΠΎΠ»ΠΆΠ½Ρ Π±ΡΡΡ ΡΠΆΠ΅, ΡΠ΅ΠΌ ΡΠΎΡΠΌΠΎΠ·Π½ΡΠ΅ ΡΡΡΠ°Π³ΠΈ, ΠΏΠΎΡΠΎΠΌΡ ΡΡΠΎ ΡΡΡΠ°Π³ΠΈ Π΄ΠΎΠ»ΠΆΠ½Ρ ΠΎΡ Π²Π°ΡΡΠ²Π°ΡΡ ΡΠΈΠ½Ρ, ΡΡΠΎΠ±Ρ Π·Π°Ρ Π²Π°ΡΠΈΡΡ ΠΎΠ±ΠΎΠ΄. Π Π½Π΅ΠΊΠΎΡΠΎΡΡΡ ΡΠ»ΡΡΠ°ΡΡ Π²Π°ΠΌ ΠΌΠΎΠΆΠ΅Ρ ΠΏΠΎΡΡΠ΅Π±ΠΎΠ²Π°ΡΡΡΡ ΡΠ½ΠΈΠ·ΠΈΡΡ Π΄Π°Π²Π»Π΅Π½ΠΈΠ΅ Π² ΡΠΈΠ½Π°Ρ , ΡΡΠΎΠ±Ρ ΠΎΠ½ΠΈ ΠΌΠΎΠ³Π»ΠΈ ΠΎΡΠΈΡΡΠΈΡΡ ΡΠΎΡΠΌΠΎΠ·Π½ΡΠ΅ ΡΡΡΠ°Π³ΠΈ. ΠΠΎΠ»Π΅Π΅ ΡΠΈΡΠΎΠΊΠΈΠ΅ ΡΠΈΠ½Ρ ΠΎΠ±Π΅ΡΠΏΠ΅ΡΠΈΠ²Π°ΡΡ Π±ΠΎΠ»ΡΡΠΈΠΉ ΠΊΠΎΠΌΡΠΎΡΡ ΠΈ Π»ΡΡΡΠ΅Π΅ ΡΡΠ΅ΠΏΠ»Π΅Π½ΠΈΠ΅ Ρ Π΄ΠΎΡΠΎΠ³ΠΎΠΉ.
- ΠΠΈΡΠΊΠΎΠ²ΡΠ΅ ΡΠΎΡΠΌΠΎΠ·Π° Π»ΡΡΡΠ΅ ΡΠ°Π±ΠΎΡΠ°ΡΡ- ΠΡΠΎ Π±ΠΎΠ»ΡΡΠ΅ ΠΎΡΠ½ΠΎΡΠΈΡΡΡ ΠΊ Π³ΠΈΠ΄ΡΠ°Π²Π»ΠΈΡΠ΅ΡΠΊΠΈΠΌ Π΄ΠΈΡΠΊΠΎΠ²ΡΠΌ ΡΠΎΡΠΌΠΎΠ·Π°ΠΌ.ΠΠΎ ΠΊΠ°ΠΊΠΎΠΉ-ΡΠΎ ΠΏΡΠΈΡΠΈΠ½Π΅ Ρ Π²Π°ΡΠ°ΡΡ ΠΈ ΡΡΠ½ΡΡΡ Π·Π° ΡΡΡΠ°Π³ ΠΊΠ°ΠΆΠ΅ΡΡΡ Π±ΠΎΠ»Π΅Π΅ ΠΏΡΠΎΡΠ½ΡΠΌ ΠΈ ΠΏΡΠΈΡΡΠ½ΡΠΌ. ΠΠΎΠ½Π΅ΡΠ½ΠΎ, ΡΡΠΎ Π»ΠΈΡΠ½ΠΎΠ΅ ΠΏΡΠ΅Π΄ΠΏΠΎΡΡΠ΅Π½ΠΈΠ΅. ΠΡΡΠΎΠΊΠΎΠΊΠ°ΡΠ΅ΡΡΠ²Π΅Π½Π½ΡΠ΅ ΠΎΠ±ΠΎΠ΄Π½ΡΠ΅ ΡΠΎΡΠΌΠΎΠ·Π° ΡΠ°ΠΊΠΆΠ΅ ΠΊΠ°ΠΆΡΡΡΡ ΠΏΡΠΎΡΠ½ΡΠΌΠΈ.
- ΠΠΈΡΠΊΠΎΠ²ΡΠ΅ ΡΠΎΡΠΌΠΎΠ·Π° ΡΠ΅ΠΏΠ΅ΡΡ ΡΠ°Π·ΡΠ΅ΡΠ΅Π½Ρ Π² Π³ΠΎΠ½ΠΊΠ°Ρ - ΠΠΎΡΠ»Π΅ ΠΌΠ½ΠΎΠ³ΠΈΡ Π»Π΅Ρ Π·Π°ΠΏΡΠ΅ΡΠΎΠ², Π²ΡΠ΅ΠΌΠ΅Π½Π½ΡΡ ΡΠ°Π·ΡΠ΅ΡΠ΅Π½ΠΈΠΉ ΠΈ ΠΏΠΎΠ²ΡΠΎΡΠ½ΡΡ Π·Π°ΠΏΡΠ΅ΡΠΎΠ² UCI Π½Π°ΠΊΠΎΠ½Π΅Ρ ΡΠ°Π·ΡΠ΅ΡΠΈΠ»Π° ΠΈΡΠΏΠΎΠ»ΡΠ·ΠΎΠ²Π°Π½ΠΈΠ΅ Π΄ΠΈΡΠΊΠΎΠ²ΡΡ ΡΠΎΡΠΌΠΎΠ·ΠΎΠ² Π² ΡΠΎΡΡΠ΅ΠΉΠ½ΡΡ Π³ΠΎΠ½ΠΊΠ°Ρ .
- ΠΠΈΡΠΊΠΎΠ²ΡΠ΅ ΡΠΎΡΠΌΠΎΠ·Π° Π±ΠΎΠ»Π΅Π΅ ΡΠ΅Ρ Π½ΠΎΠ»ΠΎΠ³ΠΈΡΠ½Ρ- ΠΠ° ΠΏΠΎΡΠ»Π΅Π΄Π½ΠΈΠ΅ ΠΏΠ°ΡΡ Π»Π΅Ρ ΠΏΡΠΎΡΠ΅ΡΡΠΈΠΎΠ½Π°Π»ΡΠ½ΡΠ΅ Π³ΠΎΠ½ΡΠΈΠΊΠΈ Π½Π°ΡΠ°Π»ΠΈ ΠΈΡΠΏΠΎΠ»ΡΠ·ΠΎΠ²Π°ΡΡ Π΄ΠΈΡΠΊΠΎΠ²ΡΠ΅ ΡΠΎΡΠΌΠΎΠ·Π°.ΠΡ ΠΈΡΠΏΠΎΠ»ΡΠ·ΡΡΡ ΠΌΠ°ΡΠ½ΡΠΈΠ½Π±Π°ΠΉΠΊΠ΅ΡΡ ΡΠΆΠ΅ ΠΌΠ½ΠΎΠ³ΠΎ Π»Π΅Ρ. ΠΠ΅Π»ΠΎΡΠΈΠΏΠ΅Π΄Π½ΡΠ΅ ΠΊΠΎΠΌΠΏΠ°Π½ΠΈΠΈ ΡΡΠ°ΡΡΡ ΠΌΠ½ΠΎΠ³ΠΎ Π΄Π΅Π½Π΅Π³ Π½Π° ΡΠ°Π·ΡΠ°Π±ΠΎΡΠΊΡ Π±ΠΎΠ»Π΅Π΅ ΡΠΎΠ²Π΅ΡΡΠ΅Π½Π½ΡΡ , Π±Π΅Π·ΠΎΠΏΠ°ΡΠ½ΡΡ ΠΈ Π½Π°Π΄Π΅ΠΆΠ½ΡΡ Π΄ΠΈΡΠΊΠΎΠ², ΡΡΠΏΠΏΠΎΡΡΠΎΠ² ΠΈ ΠΊΠΎΠ»ΠΎΠ΄ΠΎΠΊ, ΡΡΠΎΠ±Ρ Π΄Π°ΡΡ Π³ΠΎΠ½ΡΠΈΠΊΠ°ΠΌ ΠΏΡΠ΅ΠΈΠΌΡΡΠ΅ΡΡΠ²ΠΎ. ΠΡΠ° ΠΆΠ΅ ΡΠ΅Ρ Π½ΠΎΠ»ΠΎΠ³ΠΈΡ Π΄ΠΎΡΡΡΠΏΠ½Π° Π΄Π»Ρ ΠΎΠ±ΡΡΠ½ΡΡ Π³ΠΎΠ½ΡΠΈΠΊΠΎΠ², ΡΠ°ΠΊΠΈΡ ΠΊΠ°ΠΊ Π²Ρ ΠΈ Ρ.
- ΠΠΈΡΠΊΠΎΠ²ΡΠ΅ ΡΠΎΡΠΌΠΎΠ·Π° — ΡΠΎΠ²ΡΠ΅ΠΌΠ΅Π½Π½Π°Ρ ΡΠ΅Π½Π΄Π΅Π½ΡΠΈΡ- Π Π½Π°ΡΠΈ Π΄Π½ΠΈ ΠΏΠΎΡΡΠΈ ΠΊΠ°ΠΆΠ΄ΡΠΉ Π²ΡΡΠΎΠΊΠΎΠΊΠ»Π°ΡΡΠ½ΡΠΉ Π²Π΅Π»ΠΎΡΠΈΠΏΠ΅Π΄ ΠΎΡΠ½Π°ΡΠ΅Π½ Π΄ΠΈΡΠΊΠΎΠ²ΡΠΌΠΈ ΡΠΎΡΠΌΠΎΠ·Π°ΠΌΠΈ. ΠΠΎΡ ΠΊΡΠ΄Π° Π΄Π²ΠΈΠΆΠ΅ΡΡΡ ΠΈΠ½Π΄ΡΡΡΡΠΈΡ. ΠΡΠ»ΠΈ Π²Π°ΠΌ Π½ΡΠ°Π²ΠΈΡΡΡ Π½ΠΎΠ²Π΅ΠΉΡΠ΅Π΅ ΠΈ Π»ΡΡΡΠ΅Π΅ ΠΎΠ±ΠΎΡΡΠ΄ΠΎΠ²Π°Π½ΠΈΠ΅, Π²Π°ΠΌ ΠΏΠΎΠ΄ΠΎΠΉΠ΄ΡΡ Π΄ΠΈΡΠΊΠΎΠ²ΡΠ΅ ΡΠΎΡΠΌΠΎΠ·Π°.
- Look- ΠΠ½ΠΎΠ³ΠΈΠ΅ Π²Π΅Π»ΠΎΡΠΈΠΏΠ΅Π΄ΠΈΡΡΡ ΠΏΡΠ΅Π΄ΠΏΠΎΡΠΈΡΠ°ΡΡ Π²Π½Π΅ΡΠ½ΠΈΠΉ Π²ΠΈΠ΄ Π΄ΠΈΡΠΊΠΎΠ². ΠΠ½ΠΈ Π±ΠΎΠ»Π΅Π΅ ΡΠΎΠ²ΡΠ΅ΠΌΠ΅Π½Π½ΡΠ΅. ΠΠΎΠ½Π΅ΡΠ½ΠΎ, ΡΡΠΎ ΡΠΎΠ²Π΅ΡΡΠ΅Π½Π½ΠΎ ΡΡΠ±ΡΠ΅ΠΊΡΠΈΠ²Π½ΡΠΉ ΠΌΠΎΠΌΠ΅Π½Ρ.
ΠΠΈΡΠΊΠΎΠ²ΡΠ΅ ΡΠΎΡΠΌΠΎΠ·Π° ΠΠΈΠ½ΡΡΡ
- ΠΠΈΡΠΊΠΎΠ²ΡΠ΅ ΡΠΎΡΠΌΠΎΠ·Π° Π΄ΠΎΡΠΎΠΆΠ΅ — ΠΠΎΡΠΊΠΎΠ»ΡΠΊΡ ΠΊΠΎΠΌΠΏΠΎΠ½Π΅Π½ΡΡ Π΄ΠΈΡΠΊΠΎΠ²ΡΡ ΡΠΎΡΠΌΠΎΠ·ΠΎΠ² Π±ΠΎΠ»Π΅Π΅ ΡΠ»ΠΎΠΆΠ½ΡΠ΅, ΠΎΠ½ΠΈ ΡΡΠΎΡΡ Π΄ΠΎΡΠΎΠΆΠ΅. Π‘ΡΠΏΠΏΠΎΡΡΡ ΠΈ ΠΊΠΎΠ»ΠΎΠ΄ΠΊΠΈ Π΄ΠΎΡΠΎΠΆΠ΅ ΠΎΠ±ΠΎΠ΄Π½ΡΡ ΡΠΎΡΠΌΠΎΠ·Π½ΡΡ ΡΡΠΏΠΏΠΎΡΡΠΎΠ² ΠΈ ΠΊΠΎΠ»ΠΎΠ΄ΠΎΠΊ. ΠΠ°ΠΌ ΡΠ°ΠΊΠΆΠ΅ Π½Π΅ΠΎΠ±Ρ ΠΎΠ΄ΠΈΠΌΠΎ ΠΊΡΠΏΠΈΡΡ ΡΠΎΡΠΎΡΡ, ΠΊΠΎΡΠΎΡΡΠ΅ Π½Π΅ Π½ΡΠΆΠ½Ρ Π΄Π»Ρ ΠΎΠ±ΠΎΠ΄Π½ΡΡ ΡΠΎΡΠΌΠΎΠ·ΠΎΠ², ΠΏΠΎΡΠΎΠΌΡ ΡΡΠΎ ΠΎΠ±ΠΎΠ΄ Π΄Π΅ΠΉΡΡΠ²ΡΠ΅Ρ ΠΊΠ°ΠΊ ΡΠΎΡΠΎΡ.ΠΠ΅Π»ΠΎΡΠΈΠΏΠ΅Π΄Π½ΡΠ΅ ΡΠ°ΠΌΡ, ΡΠΎΠ²ΠΌΠ΅ΡΡΠΈΠΌΡΠ΅ Ρ Π΄ΠΈΡΠΊΠΎΠ²ΡΠΌΠΈ ΡΠΎΡΠΌΠΎΠ·Π°ΠΌΠΈ, ΡΠ°ΠΊΠΆΠ΅ ΡΡΠΎΡΡ Π΄ΠΎΡΠΎΠΆΠ΅, ΡΠ΅ΠΌ ΡΠ°ΠΌΡ, ΠΏΡΠ΅Π΄Π½Π°Π·Π½Π°ΡΠ΅Π½Π½ΡΠ΅ Π΄Π»Ρ ΠΎΠ±ΠΎΠ΄Π½ΡΡ ΡΠΎΡΠΌΠΎΠ·ΠΎΠ². ΠΡΠΈΡΠΈΠ½Π° Π² ΡΠΎΠΌ, ΡΡΠΎ ΠΊ Π½Π΅ΠΏΡΠΈΠ²ΠΎΠ΄Π½ΠΎΠΉ ΡΡΠΎΡΠΎΠ½Π΅ Π²Π΅Π»ΠΎΡΠΈΠΏΠ΅Π΄Π° Ρ Π΄ΠΈΡΠΊΠΎΠ²ΡΠΌΠΈ ΡΠΎΡΠΌΠΎΠ·Π°ΠΌΠΈ ΠΏΡΠΈΠ»Π°Π³Π°Π΅ΡΡΡ Π±ΠΎΠ»ΡΡΠ΅ ΡΠΎΡΠΌΠΎΠ·Π½ΡΡ ΡΠΈΠ». Π§ΡΠΎΠ±Ρ ΡΠΏΡΠΎΠ΅ΠΊΡΠΈΡΠΎΠ²Π°ΡΡ ΠΈ ΠΏΠΎΡΡΡΠΎΠΈΡΡ ΠΊΠ°ΡΠΊΠ°Ρ, ΡΡΠ΅Π±ΡΠ΅ΡΡΡ Π±ΠΎΠ»ΡΡΠ΅ ΠΈΠ½ΠΆΠ΅Π½Π΅ΡΠΎΠ². ΠΡΠΎ ΡΠ²Π΅Π»ΠΈΡΠΈΠ²Π°Π΅Ρ ΡΡΠΎΠΈΠΌΠΎΡΡΡ. ΠΡΠ»ΠΈ Ρ Π²Π°Ρ ΠΎΠ³ΡΠ°Π½ΠΈΡΠ΅Π½Π½ΡΠΉ Π±ΡΠ΄ΠΆΠ΅Ρ, Π»ΡΡΡΠ΅ Π΄Π΅ΡΠΆΠΈΡΠ΅ΡΡ ΠΏΠΎΠ΄Π°Π»ΡΡΠ΅ ΠΎΡ Π΄ΠΈΡΠΊΠΎΠ²ΡΡ ΡΠΎΡΠΌΠΎΠ·ΠΎΠ². ΠΡ ΠΌΠΎΠΆΠ΅ΡΠ΅ ΠΊΡΠΏΠΈΡΡ ΠΏΡΠΎΡΠ½ΡΡ Π±ΡΠ²ΡΡΡ Π² ΡΠΏΠΎΡΡΠ΅Π±Π»Π΅Π½ΠΈΠΈ ΠΏΠ°ΡΡ ΠΏΠΎΡΡΠΈ Π·Π° Π±Π΅ΡΡΠ΅Π½ΠΎΠΊ, ΠΈ ΠΎΠ½ΠΈ ΡΠ»ΡΠΆΠ°Ρ Π²Π΅ΡΠ½ΠΎ.
- ΠΠΎ Π²ΡΠ΅ΠΌΡ ΠΏΡΡΠ΅ΡΠ΅ΡΡΠ²ΠΈΡ Π΄Π΅ΡΠ°Π»ΠΈ Π΄ΠΈΡΠΊΠΎΠ²ΠΎΠ³ΠΎ ΡΠΎΡΠΌΠΎΠ·Π° Π½Π°ΠΉΡΠΈ ΡΡΡΠ΄Π½Π΅Π΅- ΠΡΠ»ΠΈ Π²Π°ΠΌ ΠΏΠΎΠ½Π°Π΄ΠΎΠ±ΡΡΡΡ Π½ΠΎΠ²ΡΠ΅ ΠΊΠΎΠ»ΠΎΠ΄ΠΊΠΈ ΠΈΠ»ΠΈ Π·Π°ΠΏΠ°ΡΠ½ΡΠ΅ ΡΠ°ΡΡΠΈ Π²ΠΎ Π²ΡΠ΅ΠΌΡ ΠΏΡΡΠ΅ΡΠ΅ΡΡΠ²ΠΈΡ ΠΏΠΎ ΡΠ°Π·Π²ΠΈΠ²Π°ΡΡΠΈΠΌΡΡ ΡΡΡΠ°Π½Π°ΠΌ ΠΈΠ»ΠΈ ΠΎΡΠ΄Π°Π»Π΅Π½Π½ΡΠΌ ΡΠ΅Π³ΠΈΠΎΠ½Π°ΠΌ, Ρ Π²Π°Ρ ΠΌΠΎΠ³ΡΡ Π²ΠΎΠ·Π½ΠΈΠΊΠ½ΡΡΡ ΠΏΡΠΎΠ±Π»Π΅ΠΌΡ Ρ ΠΈΡ ΠΏΠΎΠΈΡΠΊΠΎΠΌ.Π Π½Π΅Π±ΠΎΠ»ΡΡΠΈΡ Π²Π΅Π»ΠΎΠΌΠ°Π³Π°Π·ΠΈΠ½Π°Ρ Π² ΡΠ°Π·Π²ΠΈΠ²Π°ΡΡΠΈΡ ΡΡ ΡΡΡΠ°Π½Π°Ρ ΠΏΡΠΎΡΡΠΎ Π½Π΅Ρ Π΄ΠΈΡΠΊΠΎΠ²ΡΡ ΠΊΠΎΠ»ΠΎΠ΄ΠΎΠΊ, ΡΠΎΡΠΎΡΠΎΠ² ΠΈΠ»ΠΈ ΡΡΠΏΠΏΠΎΡΡΠΎΠ². Π£ Π²Π°Ρ ΠΌΠΎΠ³ΡΡ Π±ΡΡΡ Π·Π°ΠΏΡΠ°ΡΡΠΈ Π΄Π»Ρ Π΄ΠΎΡΡΠ°Π²ΠΊΠΈ. ΠΠΎΠ»ΡΡΠΈΠ½ΡΡΠ²ΠΎ ΡΠ½ΠΈΠ²Π΅ΡΠΌΠ°Π³ΠΎΠ² ΡΠ°ΠΊΠΆΠ΅ Π½Π΅ ΠΏΡΠΎΠ΄Π°ΡΡ Π·Π°ΠΏΡΠ°ΡΡΠΈ Π΄Π»Ρ Π΄ΠΈΡΠΊΠΎΠ²ΡΡ ΡΠΎΡΠΌΠΎΠ·ΠΎΠ². ΠΡΠ»ΠΈ Π±Π»ΠΈΠΆΠ°ΠΉΡΠΈΠΉ ΠΌΠ°Π³Π°Π·ΠΈΠ½, Π³Π΄Π΅ ΠΏΡΠΎΠ΄Π°ΡΡΡΡ Π·Π°ΠΏΡΠ°ΡΡΠΈ Π΄Π»Ρ Π²Π΅Π»ΠΎΡΠΈΠΏΠ΅Π΄ΠΎΠ², — ΡΡΠΎ Walmart, Π²Π°ΠΌ Π½Π΅ ΠΏΠΎΠ²Π΅Π·Π»ΠΎ, Π΅ΡΠ»ΠΈ Π²Π°ΠΌ ΠΏΠΎΠ½Π°Π΄ΠΎΠ±ΡΡΡΡ ΠΊΠΎΠ»ΠΎΠ΄ΠΊΠΈ Π΄Π»Ρ Π΄ΠΈΡΠΊΠΎΠ²ΡΡ ΡΠΎΡΠΌΠΎΠ·ΠΎΠ².
- ΠΠΎΠ»Π΅ΡΠ° Π»Π΅Π³ΡΠ΅ Π²ΡΡ ΠΎΠ΄ΡΡ ΠΈΠ· ΡΡΡΠΎΡ — ΠΠΈΡΠΊΠΎΠ²ΡΠ΅ ΡΠΎΡΠΌΠΎΠ·Π° ΡΠΎΠ·Π΄Π°ΡΡ Π΄ΠΎΠΏΠΎΠ»Π½ΠΈΡΠ΅Π»ΡΠ½ΡΡ Π½Π°Π³ΡΡΠ·ΠΊΡ Π½Π° ΡΠΏΠΈΡΡ. ΠΡΠΎ ΠΏΡΠΎΠΈΡΡ ΠΎΠ΄ΠΈΡ ΠΏΠΎΡΠΎΠΌΡ, ΡΡΠΎ ΡΠΎΡΠΌΠΎΠ·Π½Π°Ρ ΡΠΈΠ»Π° ΠΏΠ΅ΡΠ΅Π΄Π°Π΅ΡΡΡ ΡΠ΅ΡΠ΅Π· ΡΠΏΠΈΡΡ, Π° Π½Π΅ ΡΠ΅ΡΠ΅Π· ΠΎΠ±ΠΎΠ΄.Π‘ΠΏΠΈΡΡ ΡΠΎ ΡΡΠΎΡΠΎΠ½Ρ Π΄ΠΈΡΠΊΠ° ΠΊΠΎΠ»Π΅ΡΠ° ΠΏΡΠΈΠ½ΠΈΠΌΠ°ΡΡ Π½Π°ΠΈΠ±ΠΎΠ»ΡΡΠ΅Π΅ ΡΡΠΈΠ»ΠΈΠ΅. Π‘Π»Π°Π±ΡΠ΅ ΠΈΠ»ΠΈ ΠΏΠ»ΠΎΡ ΠΎ ΠΏΠΎΡΡΡΠΎΠ΅Π½Π½ΡΠ΅ ΠΊΠΎΠ»Π΅ΡΠ° ΠΌΠΎΠ³ΡΡ Π»Π΅Π³ΠΊΠΎ Π²ΡΠΉΡΠΈ ΠΈΠ· ΡΡΡΠΎΡ Ρ Π΄ΠΈΡΠΊΠΎΠ²ΡΠΌΠΈ ΡΠΎΡΠΌΠΎΠ·Π°ΠΌΠΈ. ΠΠΎΠ³Π΄Π° ΡΡΠΎ ΠΏΡΠΎΠΈΠ·ΠΎΠΉΠ΄Π΅Ρ, Π²Ρ ΠΌΠΎΠΆΠ΅ΡΠ΅ ΡΡΠΎΠ»ΠΊΠ½ΡΡΡΡΡ Ρ ΠΏΠΎΠ»ΠΎΠΌΠΊΠΎΠΉ ΡΠΏΠΈΡ. ΠΠΎΠ·ΠΌΠΎΠΆΠ½ΠΎ, Π²Π°ΠΌ ΠΏΡΠΈΠ΄Π΅ΡΡΡ ΡΠ°ΡΠ΅ ΡΠΈΡΡΠΈΡΡ ΠΊΠΎΠ»Π΅ΡΠ°. Π§ΡΠΎΠ±Ρ ΡΠ΅ΡΠΈΡΡ ΡΡΡ ΠΏΡΠΎΠ±Π»Π΅ΠΌΡ, Π²Π°ΠΌ ΠΌΠΎΠΆΠ΅Ρ ΠΏΠΎΡΡΠ΅Π±ΠΎΠ²Π°ΡΡΡΡ ΠΈΠ·ΠΌΠ΅Π½ΠΈΡΡ ΡΠΈΡΡΠ½ΠΎΠΊ ΡΠΏΠΈΡ, ΡΡΠΎΠ±Ρ ΠΎΠ½ΠΈ Π±ΡΠ»ΠΈ ΡΠΌΠ΅ΡΠ΅Π½Ρ.
- ΠΠΈΡΠΊΠΎΠ²ΡΠ΅ ΡΠΎΡΠΌΠΎΠ·Π° ΡΠΎΠ·Π΄Π°ΡΡ Π½Π°Π³ΡΡΠ·ΠΊΡ Π½Π° Π»Π°ΠΏΡ Π²ΠΈΠ»ΠΊΠΈ. Π‘ΡΠΏΠΏΠΎΡΡΡ Π΄ΠΈΡΠΊΠΎΠ²ΠΎΠ³ΠΎ ΡΠΎΡΠΌΠΎΠ·Π° ΠΊΡΠ΅ΠΏΡΡΡΡ ΠΊ Π½ΠΈΠΆΠ½Π΅ΠΉ ΡΠ°ΡΡΠΈ Π²ΠΈΠ»ΠΊΠΈ. ΠΠΎΠ³Π΄Π° Π²Ρ ΠΎΡΡΠ°Π½Π°Π²Π»ΠΈΠ²Π°Π΅ΡΠ΅ΡΡ, Π²ΡΡ ΡΠΎΡΠΌΠΎΠ·Π½Π°Ρ ΡΠΈΠ»Π° ΠΏΡΠΎΡ ΠΎΠ΄ΠΈΡ ΡΠ΅ΡΠ΅Π· ΡΠ°ΠΌΡΡ ΡΠΎΠ½ΠΊΡΡ ΡΠ°ΡΡΡ Π²ΠΈΠ»ΠΊΠΈ — Π½ΠΎΠΆΠΊΡ Π²ΠΈΠ»ΠΊΠΈ.ΠΠΎ ΡΡΠΎΠΉ ΠΏΡΠΈΡΠΈΠ½Π΅ Π²Π°ΠΌ Π½ΡΠΆΠ½Π° Π±ΠΎΠ»Π΅Π΅ ΠΏΡΠΎΡΠ½Π°Ρ Π²ΠΈΠ»ΠΊΠ° Π΄Π»Ρ Π±Π΅Π·ΠΎΠΏΠ°ΡΠ½ΠΎΠ³ΠΎ ΠΈΡΠΏΠΎΠ»ΡΠ·ΠΎΠ²Π°Π½ΠΈΡ Π΄ΠΈΡΠΊΠΎΠ²ΡΡ ΡΠΎΡΠΌΠΎΠ·ΠΎΠ². Π’ΠΎΠ½ΠΊΠΈΠ΅ Π²ΠΈΠ»ΠΊΠΈ ΡΠΎ Π²ΡΠ΅ΠΌΠ΅Π½Π΅ΠΌ ΡΡΡΠ°ΡΡ ΠΈ Π² ΠΊΠΎΠ½Π΅ΡΠ½ΠΎΠΌ ΠΈΡΠΎΠ³Π΅ Π²ΡΡ ΠΎΠ΄ΡΡ ΠΈΠ· ΡΡΡΠΎΡ. ΠΡΡΠ³Π°Ρ ΠΏΡΠΎΠ±Π»Π΅ΠΌΠ° Π·Π°ΠΊΠ»ΡΡΠ°Π΅ΡΡΡ Π² ΡΠΎΠΌ, ΡΡΠΎ ΡΠΎΠ»ΡΡΡΠ΅ Π²ΠΈΠ»ΠΊΠΈ Π΄ΠΈΡΠΊΠΎΠ²ΠΎΠ³ΠΎ ΡΠΎΡΠΌΠΎΠ·Π° ΡΠ°ΠΊΠΆΠ΅ Π½Π΅ ΠΏΠΎΠ³Π»ΠΎΡΠ°ΡΡ ΡΠ΄Π°ΡΡ, ΡΡΠΎ Π΄Π΅Π»Π°Π΅Ρ Π΅Π·Π΄Ρ ΠΌΠ΅Π½Π΅Π΅ ΠΊΠΎΠΌΡΠΎΡΡΠ½ΠΎΠΉ. ΠΠ±ΠΎΠ΄Π½ΡΠ΅ ΡΠΎΡΠΌΠΎΠ·Π° ΠΏΠ΅ΡΠ΅Π΄Π°ΡΡ ΡΠΎΡΠΌΠΎΠ·Π½ΠΎΠ΅ ΡΡΠΈΠ»ΠΈΠ΅ ΡΠ΅ΡΠ΅Π· Π²Π΅ΡΡ Π²ΠΈΠ»ΠΊΠΈ ΡΡΠ΄ΠΎΠΌ ΡΠΎ ΡΡΠΎΠΊΠΎΠΌ. ΠΡΠΎ Π³ΠΎΡΠ°Π·Π΄ΠΎ Π±ΠΎΠ»Π΅Π΅ ΡΠΈΠ»ΡΠ½Π°Ρ ΡΠ°ΡΡΡ Π²Π΅Π»ΠΎΡΠΈΠΏΠ΅Π΄Π°. ΠΡ ΠΌΠΎΠΆΠ΅ΡΠ΅ ΠΎΠ±ΠΎΠΉΡΠΈΡΡ Π±ΠΎΠ»Π΅Π΅ ΡΠΎΠ½ΠΊΠΎΠΉ Π²ΠΈΠ»ΠΊΠΎΠΉ, ΠΊΠΎΡΠΎΡΠ°Ρ ΠΏΠΎΠ³Π»ΠΎΡΠ°Π΅Ρ Π½Π΅ΠΊΠΎΡΠΎΡΡΠ΅ ΡΠ΄Π°ΡΡ ΠΈ Π²ΠΈΠ±ΡΠ°ΡΠΈΡ.
- ΠΠΎΠ»ΠΎΠ΄ΠΊΠΈ Π΄ΠΈΡΠΊΠΎΠ²ΠΎΠ³ΠΎ ΡΠΎΡΠΌΠΎΠ·Π° ΠΌΠΎΠ³ΡΡ Π·Π°Π΄Π΅ΡΡ ΡΠΎΡΠΎΡ- ΠΡΠΎ ΡΠ°ΡΠΏΡΠΎΡΡΡΠ°Π½Π΅Π½Π½Π°Ρ ΠΏΡΠΎΠ±Π»Π΅ΠΌΠ°.ΠΠΎΡΠΊΠΎΠ»ΡΠΊΡ ΠΊΠΎΠ»ΠΎΠ΄ΠΊΠΈ Π½Π°Ρ ΠΎΠ΄ΡΡΡΡ Π²ΡΠ΅Π³ΠΎ Π² ΠΏΠ°ΡΠ΅ ΠΌΠΈΠ»Π»ΠΈΠΌΠ΅ΡΡΠΎΠ² ΠΎΡ ΡΠΎΡΠΎΡΠΎΠ², ΠΎΠ½ΠΈ ΠΌΠΎΠ³ΡΡ Π»Π΅Π³ΠΊΠΎ ΠΏΠΎΡΠ΅ΡΠ΅ΡΡΡΡ, Π΅ΡΠ»ΠΈ ΡΡΠΎ-ΡΠΎ Π½Π΅ΠΌΠ½ΠΎΠ³ΠΎ Π½Π΅ ΠΎΡΡΠ΅Π³ΡΠ»ΠΈΡΠΎΠ²Π°Π½ΠΎ ΠΈΠ»ΠΈ ΡΠΎΡΠΎΡ ΡΠ»Π΅Π³ΠΊΠ° Π΄Π΅ΡΠΎΡΠΌΠΈΡΠΎΠ²Π°Π½. Π‘Π»ΡΡΠ°ΡΡ, ΠΊΠ°ΠΊ ΠΏΡΠ΄ ΡΡΡΡ Π΄ΠΈΡΠΊ, ΠΊΠ°ΠΆΠ΄ΡΠΉ ΠΎΠ±ΠΎΡΠΎΡ Π±ΡΡΡΡΠΎ Π½Π°Π΄ΠΎΠ΅Π΄Π°Π΅Ρ. Π ΡΡΠ°ΡΡΡΡ, ΡΡΠΎ ΠΎΠ±ΡΡΠ½ΠΎ Π½Π΅ Π²Π»ΠΈΡΠ΅Ρ Π½Π° ΠΏΡΠΎΠΈΠ·Π²ΠΎΠ΄ΠΈΡΠ΅Π»ΡΠ½ΠΎΡΡΡ.
- ΠΠΈΡΠΊΠΎΠ²ΡΠ΅ ΡΠΎΡΠΌΠΎΠ·Π° Π½Π΅ΠΌΠ½ΠΎΠ³ΠΎ ΡΠ»ΠΎΠΆΠ½Π΅Π΅ ΠΎΠ±ΡΠ»ΡΠΆΠΈΠ²Π°ΡΡ ΠΈ ΡΠ΅Π³ΡΠ»ΠΈΡΠΎΠ²Π°ΡΡ- ΠΠΈΡΠΊΠΎΠ²ΡΠ΅ ΡΠΎΡΠΌΠΎΠ·Π° ΠΌΠΎΠ³ΡΡ Π±ΡΡΡ Π½Π΅ΠΌΠ½ΠΎΠ³ΠΎ Π²ΡΠΏΡΠ»ΡΡΠΈΠ²ΡΠΌΠΈ. ΠΡ Π½ΡΠΆΠ½ΠΎ ΡΠ΅Π³ΡΠ»ΠΈΡΠΎΠ²Π°ΡΡ, ΡΡΠΎΠ±Ρ ΠΊΠΎΠ»ΠΎΠ΄ΠΊΠΈ Π½Π΅ Π½Π°ΡΠΈΡΠ°Π»ΠΈ Π΄ΠΈΡΠΊ. ΠΡ Π½ΡΠΆΠ½ΠΎ ΡΠ΅Π³ΡΠ»ΠΈΡΠΎΠ²Π°ΡΡ ΡΠΎΡΠ½Π΅Π΅, ΡΠ΅ΠΌ ΠΎΠ±ΠΎΠ΄Π½ΡΠ΅ ΡΠΎΡΠΌΠΎΠ·Π°.ΠΡΠ»ΠΈ Π΅ΡΡΡ ΠΌΠ΅Ρ Π°Π½ΠΈΡΠ΅ΡΠΊΠ°Ρ ΠΏΡΠΎΠ±Π»Π΅ΠΌΠ° Ρ Π²Π°ΡΠΈΠΌΠΈ Π΄ΠΈΡΠΊΠΎΠ²ΡΠΌΠΈ ΡΠΎΡΠΌΠΎΠ·Π°ΠΌΠΈ, Π΅Π΅ ΠΌΠΎΠΆΠ΅Ρ Π±ΡΡΡ ΡΡΡΠ΄Π½Π΅Π΅ Π΄ΠΈΠ°Π³Π½ΠΎΡΡΠΈΡΠΎΠ²Π°ΡΡ, ΠΏΠΎΡΠΎΠΌΡ ΡΡΠΎ ΡΡΠΏΠΏΠΎΡΡΡ Π΄ΠΈΡΠΊΠΎΠ²ΡΡ ΡΠΎΡΠΌΠΎΠ·ΠΎΠ² Π³Π΅ΡΠΌΠ΅ΡΠΈΠ·ΠΈΡΠΎΠ²Π°Π½Ρ Π² ΠΊΠΎΡΠΏΡΡΠ΅. ΠΡ Π½Π΅ Π²ΠΈΠ΄ΠΈΡΠ΅, ΡΡΠΎ ΠΏΡΠΎΠΈΡΡ ΠΎΠ΄ΠΈΡ. ΠΡΠ»ΠΈ Π²Ρ ΠΈΡΠΏΠΎΠ»ΡΠ·ΡΠ΅ΡΠ΅ Π³ΠΈΠ΄ΡΠ°Π²Π»ΠΈΡΠ΅ΡΠΊΠΈΠ΅ Π΄ΠΈΡΠΊΠΎΠ²ΡΠ΅ ΡΠΎΡΠΌΠΎΠ·Π°, Π²Π°ΠΌ ΠΏΡΠΈΠ΄Π΅ΡΡΡ ΠΏΡΠΎΠΊΠ°ΡΠΈΠ²Π°ΡΡ ΡΠΎΡΠΌΠΎΠ·Π½ΡΠ΅ ΠΌΠ°Π³ΠΈΡΡΡΠ°Π»ΠΈ ΠΏΡΠΈΠΌΠ΅ΡΠ½ΠΎ ΡΠ°Π· Π² Π³ΠΎΠ΄ ΠΈ ΠΌΠ΅Π½ΡΡΡ ΡΠΎΡΠΌΠΎΠ·Π½ΡΡ ΠΆΠΈΠ΄ΠΊΠΎΡΡΡ. ΠΡΠΎ ΠΌΠΎΠΆΠ΅Ρ Π±ΡΡΡ Π½Π΅ΠΌΠ½ΠΎΠ³ΠΎ ΡΠ»ΠΎΠΆΠ½ΠΎ, Π΅ΡΠ»ΠΈ Π²Ρ Π½ΠΈΠΊΠΎΠ³Π΄Π° Π½Π΅ Π΄Π΅Π»Π°Π»ΠΈ ΡΡΠΎΠ³ΠΎ ΡΠ°Π½ΡΡΠ΅. Π‘Π°ΠΌΠ°Ρ ΡΠ°ΡΠΏΡΠΎΡΡΡΠ°Π½Π΅Π½Π½Π°Ρ ΡΠ°Π±ΠΎΡΠ°, ΠΊΠΎΡΠΎΡΡΡ Π²Π°ΠΌ ΠΏΡΠΈΠ΄Π΅ΡΡΡ Π²ΡΠΏΠΎΠ»Π½ΡΡΡ, — ΡΡΠΎ Π·Π°ΠΌΠ΅Π½Π° ΠΊΠΎΠ»ΠΎΠ΄ΠΎΠΊ, ΠΊΠΎΠ³Π΄Π° ΠΎΠ½ΠΈ ΠΈΠ·Π½Π°ΡΠΈΠ²Π°ΡΡΡΡ. ΠΡΠ° ΡΠ°Π±ΠΎΡΠ° ΠΏΡΠΈΠΌΠ΅ΡΠ½ΠΎ ΡΠΎΠ³ΠΎ ΠΆΠ΅ ΡΡΠΎΠ²Π½Ρ ΡΠ»ΠΎΠΆΠ½ΠΎΡΡΠΈ, ΡΡΠΎ ΠΈ Π·Π°ΠΌΠ΅Π½Π° ΠΎΠ±ΠΎΠ΄Π½ΡΡ ΡΠΎΡΠΌΠΎΠ·Π½ΡΡ ΠΊΠΎΠ»ΠΎΠ΄ΠΎΠΊ.
- ΠΠΈΡΠΊΠΎΠ²ΡΠ΅ ΡΠΎΡΠΌΠΎΠ·Π° ΡΡΠΆΠ΅Π»Π΅Π΅ ΠΎΠ±ΠΎΠ΄Π½ΡΡ ΡΠΎΡΠΌΠΎΠ·ΠΎΠ² — ΠΠΈΡΠΊΠΎΠ²ΡΠ΅ ΡΡΠΏΠΏΠΎΡΡΡ Π²Π΅ΡΡΡ Π±ΠΎΠ»ΡΡΠ΅, ΡΠ΅ΠΌ ΠΎΠ±ΠΎΠ΄Π½ΡΠ΅. ΠΠ°ΠΌ ΡΠ°ΠΊΠΆΠ΅ ΠΏΠΎΠ½Π°Π΄ΠΎΠ±ΡΡΡΡ ΡΠΎΡΠΎΡΡ, ΠΊΠΎΡΠΎΡΡΠ΅ ΡΠ²Π΅Π»ΠΈΡΠΈΠ²Π°ΡΡ Π½Π΅Π½ΡΠΆΠ½ΡΠΉ Π²Π΅Ρ ΠΊΠΎΠ»Π΅ΡΠ°. ΠΡΠ»ΠΈ Π²Ρ Π·Π°Π±ΠΎΡΠΈΡΠ΅ΡΡ ΠΎ ΡΠΎΠΌ, ΡΡΠΎΠ±Ρ Π²Π°Ρ Π²Π΅Π»ΠΎΡΠΈΠΏΠ΅Π΄ Π±ΡΠ» ΠΊΠ°ΠΊ ΠΌΠΎΠΆΠ½ΠΎ Π±ΠΎΠ»Π΅Π΅ Π»Π΅Π³ΠΊΠΈΠΌ, ΠΏΡΠΈΠ΄Π΅ΡΠΆΠΈΠ²Π°ΠΉΡΠ΅ΡΡ ΠΎΠ±ΠΎΠ΄Π½ΡΡ ΡΠΎΡΠΌΠΎΠ·ΠΎΠ². ΠΠ΄ΠΈΠ½ ΠΈΠ· ΡΠΏΠΎΡΠΎΠ±ΠΎΠ² Π½Π΅ΠΌΠ½ΠΎΠ³ΠΎ ΡΠ½ΠΈΠ·ΠΈΡΡ Π²Π΅Ρ ΠΏΡΠΈ ΠΈΡΠΏΠΎΠ»ΡΠ·ΠΎΠ²Π°Π½ΠΈΠΈ Π΄ΠΈΡΠΊΠΎΠ²ΡΡ ΡΠΎΡΠΌΠΎΠ·ΠΎΠ² — ΡΡΠΎ ΠΈΡΠΏΠΎΠ»ΡΠ·ΠΎΠ²Π°ΡΡ ΡΠΏΠ΅ΡΠΈΠ°Π»ΡΠ½ΡΠ΅ Π΄ΠΈΡΠΊΠΈ. ΠΠ½ΠΈ ΡΠΎΠ½ΡΡΠ΅ ΠΈ Π»Π΅Π³ΡΠ΅, ΠΏΠΎΡΠΎΠΌΡ ΡΡΠΎ ΡΡΠ΅Π½ΠΊΠΈ ΠΎΠ±ΠΎΠ΄Π° Π½Π΅ ΠΈΡΠΏΠΎΠ»ΡΠ·ΡΡΡΡΡ Π² ΠΊΠ°ΡΠ΅ΡΡΠ²Π΅ ΡΠΎΡΠΌΠΎΠ·Π½ΠΎΠΉ ΠΏΠΎΠ²Π΅ΡΡ Π½ΠΎΡΡΠΈ. ΠΠ°ΠΆΠ΅ Π² ΡΡΠΎΠΌ ΡΠ»ΡΡΠ°Π΅ ΡΡΡΠ°Π½ΠΎΠ²ΠΊΠ° Π΄ΠΈΡΠΊΠΎΠ²ΠΎΠ³ΠΎ ΡΠΎΡΠΌΠΎΠ·Π° Π±ΡΠ΄Π΅Ρ Π²Π΅ΡΠΈΡΡ Π±ΠΎΠ»ΡΡΠ΅.
- ΠΠΈΡΠΊΠΎΠ²ΡΠ΅ ΡΠΎΡΠΌΠΎΠ·Π° ΠΌΠ΅Π½Π΅Π΅ Π°ΡΡΠΎΠ΄ΠΈΠ½Π°ΠΌΠΈΡΠ½Ρ- Π‘ΡΠΏΠΏΠΎΡΡΡ ΠΈ Π΄ΠΈΡΠΊΠΈ Π²ΡΡΡΡΠΏΠ°ΡΡ Π² ΡΡΠΎΡΠΎΠ½Ρ ΠΈ ΡΠ°ΡΡΠΈΡΡΡΡ ΠΏΡΠΎΡΠΈΠ»Ρ Π²Π΅Π»ΠΎΡΠΈΠΏΠ΅Π΄Π°, ΡΠΎΠ·Π΄Π°Π²Π°Ρ Π±ΠΎΠ»ΡΡΠ΅Π΅ ΡΠΎΠΏΡΠΎΡΠΈΠ²Π»Π΅Π½ΠΈΠ΅ Π²Π΅ΡΡΡ.Π§Π΅ΠΌ Π±ΡΡΡΡΠ΅Π΅ Π²Ρ Π΅Π΄Π΅ΡΠ΅, ΡΠ΅ΠΌ Π²Π°ΠΆΠ½Π΅Π΅ ΡΡΠ°Π½ΠΎΠ²ΠΈΡΡΡ Π°ΡΡΠΎΠ΄ΠΈΠ½Π°ΠΌΠΈΠΊΠ°. ΠΠ° ΡΠΊΠΎΡΠΎΡΡΠΈ Π±ΠΎΠ»Π΅Π΅ 10 ΠΌΠΈΠ»Ρ Π² ΡΠ°Ρ ΡΠΎΠΏΡΠΎΡΠΈΠ²Π»Π΅Π½ΠΈΠ΅ Π²Π΅ΡΡΠ° ΡΡΠ°Π½ΠΎΠ²ΠΈΡΡΡ ΠΎΡΠ½ΠΎΠ²Π½ΠΎΠΉ ΡΠΈΠ»ΠΎΠΉ, Π΄Π΅ΠΉΡΡΠ²ΡΡΡΠ΅ΠΉ ΠΏΡΠΎΡΠΈΠ² Π²Π°Ρ.
- ΠΠΈΡΠΊ ΠΌΠΎΠΆΠ΅Ρ ΠΏΠΎΡΠ΅Π·Π°ΡΡΡΡ ΠΈΠ»ΠΈ ΠΎΠ±ΠΆΠ΅ΡΡΡΡ — ΠΠ΅ ΠΊΠ°ΡΠ°ΠΉΡΠ΅ΡΡ Π΄ΠΈΡΠΊΠ° ΠΏΠΎΡΠ»Π΅ Π΄ΠΎΠ»Π³ΠΎΠ³ΠΎ ΡΠΏΡΡΠΊΠ°. Π― Π²ΠΈΠ΄Π΅Π», ΠΊΠ°ΠΊ Π»ΡΠ΄ΠΈ Π²ΡΠ»ΠΈΠ²Π°ΡΡ Π²ΠΎΠ΄Ρ Π½Π° ΡΠ²ΠΎΠΈ Π³ΠΎΡΡΡΠΈΠ΅ Π΄ΠΈΡΠΊΠΈ, ΡΡΠΎΠ±Ρ ΡΠ²ΠΈΠ΄Π΅ΡΡ, ΠΊΠ°ΠΊ ΠΎΠ½Π° Π·Π°ΠΊΠΈΠΏΠ°Π΅Ρ ΠΈ ΠΏΡΠ΅Π²ΡΠ°ΡΠ°Π΅ΡΡΡ Π² ΠΏΠ°Ρ. Π ΡΠ»ΡΡΠ°Π΅ Π°Π²Π°ΡΠΈΠΈ Π΄ΠΈΡΠΊ ΠΌΠΎΠΆΠ΅Ρ ΡΠΈΠ»ΡΠ½ΠΎ ΠΏΠΎΡΠ΅Π·Π°ΡΡ Π½ΠΎΠ³Ρ. ΠΡΠΎ ΠΎΠ΄Π½Π° ΠΈΠ· ΠΏΡΠΈΡΠΈΠ½ ΡΠΎΠ³ΠΎ, ΡΡΠΎ Π³ΠΎΠ½ΡΠΈΠΊΠΈ Π½Π΅ ΡΠΏΠ΅ΡΠ°Ρ ΠΏΠ΅ΡΠ΅Ρ ΠΎΠ΄ΠΈΡΡ Π½Π° Π΄ΠΈΡΠΊΠΎΠ²ΡΠ΅ ΡΠΎΡΠΌΠΎΠ·Π°. ΠΠ»Ρ ΠΏΠΎΠ»ΡΡΠ΅Π½ΠΈΡ Π΄ΠΎΠΏΠΎΠ»Π½ΠΈΡΠ΅Π»ΡΠ½ΠΎΠΉ ΠΈΠ½ΡΠΎΡΠΌΠ°ΡΠΈΠΈ ΠΎΠ·Π½Π°ΠΊΠΎΠΌΡΡΠ΅ΡΡ Ρ ΡΡΠΎΠΉ ΡΡΠ°ΡΡΠ΅ΠΉ Π½Π° ΡΠ°ΠΉΡΠ΅ Bicycling.com, ΠΎΠ±ΡΡΡΠ½ΡΡΡΠΈΠΉ, ΠΊΠ°ΠΊ ΠΡΡΠΈ ΠΠΎΠΌΠΏΡΠΎΠ½, Π³ΠΎΠ½ΡΠΈΡΠ° ΠΏΠΎ Π²Π΅Π»ΠΎΠΊΡΠΎΡΡΡ, ΡΠ»ΠΎΠΌΠ°Π»Π° ΠΊΠΎΠ»Π΅Π½ΠΎ Π΄ΠΈΡΠΊΠΎΠ²ΡΠΌ ΡΠΎΡΠΌΠΎΠ·ΠΎΠΌ.
- ΠΠ΅Ρ Π°Π½ΠΈΡΠ΅ΡΠΊΠΈΠΌ Π΄ΠΈΡΠΊΠΎΠ²ΡΠΌ ΡΠΎΡΠΌΠΎΠ·Π°ΠΌ Π½Π΅ Ρ Π²Π°ΡΠ°Π΅Ρ ΠΌΠΎΡΠ½ΠΎΡΡΠΈ — ΠΠ΅ΡΠ΅Π²ΡΠ΅ Π΄ΠΈΡΠΊΠΎΠ²ΡΠ΅ ΡΠΎΡΠΌΠΎΠ·Π° Π½Π΅ ΠΎΡΡΠ°Π½Π°Π²Π»ΠΈΠ²Π°ΡΡΡΡ Π»ΡΡΡΠ΅, ΡΠ΅ΠΌ ΠΎΠ±ΠΎΠ΄Π½ΡΠ΅. ΠΡΠ»ΠΈ Π²Ρ Ρ ΠΎΡΠΈΡΠ΅ Π²ΡΠΏΠΎΠ»Π½ΠΈΡΡ ΠΎΠ±Π½ΠΎΠ²Π»Π΅Π½ΠΈΠ΅, ΡΠ±Π΅Π΄ΠΈΡΠ΅ΡΡ, ΡΡΠΎ Π²Ρ Π΄Π΅ΠΉΡΡΠ²ΠΈΡΠ΅Π»ΡΠ½ΠΎ ΠΏΠΎΠ²ΡΡΠ°Π΅ΡΠ΅ ΠΏΡΠΎΠΈΠ·Π²ΠΎΠ΄ΠΈΡΠ΅Π»ΡΠ½ΠΎΡΡΡ, Π° Π½Π΅ ΠΏΡΠΎΡΡΠΎ ΠΏΡΠΈΠΎΠ±ΡΠ΅ΡΠ°Π΅ΡΠ΅ ΡΡΠΎ-ΡΠΎ Π½ΠΎΠ²ΠΎΠ΅. ΠΠΈΠ΄ΡΠ°Π²Π»ΠΈΡΠ΅ΡΠΊΠΈΠ΅ Π΄ΠΈΡΠΊΠΎΠ²ΡΠ΅ ΡΠΎΡΠΌΠΎΠ·Π° ΠΎΠ±Π΅ΡΠΏΠ΅ΡΠΈΠ²Π°ΡΡ Π½Π°ΠΈΠ»ΡΡΡΡΡ ΡΠΎΡΠΌΠΎΠ·Π½ΡΡ ΡΠΏΠΎΡΠΎΠ±Π½ΠΎΡΡΡ, Π΄ΠΎΡΡΡΠΏΠ½ΡΡ Π½Π° Π²Π΅Π»ΠΎΡΠΈΠΏΠ΅Π΄Π΅.
- ΠΠΈΠ΄ΡΠ°Π²Π»ΠΈΡΠ΅ΡΠΊΠΈΠ΅ Π΄ΠΈΡΠΊΠΎΠ²ΡΠ΅ ΡΠΎΡΠΌΠΎΠ·Π° ΡΡΠ΅Π±ΡΡΡ Π΄ΠΎΠΏΠΎΠ»Π½ΠΈΡΠ΅Π»ΡΠ½ΡΡ ΠΈΠ½ΡΡΡΡΠΌΠ΅Π½ΡΠΎΠ² ΠΈ ΠΆΠΈΠ΄ΠΊΠΎΡΡΠΈ Π΄Π»Ρ ΠΎΠ±ΡΠ»ΡΠΆΠΈΠ²Π°Π½ΠΈΡ- ΠΠ΅ΡΠΌΠΎΡΡΡ Π½Π° ΡΠΎ, ΡΡΠΎ ΠΎΠ½ΠΈ Π½Π΅Π²Π΅ΡΠΎΡΡΠ½ΠΎ Π½Π°Π΄Π΅ΠΆΠ½Ρ, Π²Ρ Π½Π΅ Π·Π°Ρ ΠΎΡΠΈΡΠ΅ Π·Π°ΡΡΡΡΡΡ Π² ΠΏΡΡΡΠΎΡΠ΅ ΠΏΠΎΡΠ»Π΅ ΡΠΎΠ³ΠΎ, ΠΊΠ°ΠΊ Π²ΡΡ ΡΠΎΡΠΌΠΎΠ·Π½Π°Ρ ΠΆΠΈΠ΄ΠΊΠΎΡΡΡ Π²ΡΡΠ΅ΡΠ΅Ρ ΠΈΠ· ΡΠΎΡΠΌΠΎΠ·Π½ΠΎΠΉ ΠΌΠ°Π³ΠΈΡΡΡΠ°Π»ΠΈ.ΠΠΎ ΡΡΠΎΠΉ ΠΏΡΠΈΡΠΈΠ½Π΅ Π±ΠΎΠ»ΡΡΠΈΠ½ΡΡΠ²ΠΎ Π²Π΅Π»ΠΎΡΠΈΠΏΠ΅Π΄ΠΈΡΡΠΎΠ² ΠΈΠ·Π±Π΅Π³Π°ΡΡ ΠΈΡΠΏΠΎΠ»ΡΠ·ΠΎΠ²Π°Π½ΠΈΡ Π³ΠΈΠ΄ΡΠ°Π²Π»ΠΈΡΠ΅ΡΠΊΠΈΡ Π΄ΠΈΡΠΊΠΎΠ²ΡΡ ΡΠΎΡΠΌΠΎΠ·ΠΎΠ².
- ΠΠΎ Π²ΡΠ΅ΠΌΡ Π³ΠΎΠ½ΠΎΠΊ ΠΈΠ»ΠΈ ΠΊΠ°ΡΠ°Π½ΠΈΡ Ρ Π΄ΡΡΠ·ΡΡΠΌΠΈ ΠΌΠΎΠΆΠ΅Ρ Π±ΡΡΡ ΠΎΠΏΠ°ΡΠ½ΠΎ ΡΠΌΠ΅ΡΠΈΠ²Π°ΡΡ Π²Π΅Π»ΠΎΡΠΈΠΏΠ΅Π΄Ρ Ρ Π΄ΠΈΡΠΊΠΎΠ²ΡΠΌ ΡΠΎΡΠΌΠΎΠ·ΠΎΠΌ ΠΈ ΠΎΠ±ΠΎΠ΄Π½ΡΠΌ ΡΠΎΡΠΌΠΎΠ·ΠΎΠΌ. ΠΠ΅ΠΊΠΎΡΠΎΡΡΠ΅ Π³ΠΎΠ½ΡΠΈΠΊΠΈ ΠΆΠ°Π»ΡΡΡΡΡ, ΡΡΠΎ ΡΠ°Π·Π»ΠΈΡΠΈΡ Π² ΡΠΊΠΎΡΠΎΡΡΠΈ ΡΠΎΡΠΌΠΎΠΆΠ΅Π½ΠΈΡ ΠΈ ΠΏΡΠΎΡ ΠΎΠΆΠ΄Π΅Π½ΠΈΡ ΠΏΠΎΠ²ΠΎΡΠΎΡΠ° ΠΌΠ΅ΠΆΠ΄Ρ Π΄Π²ΡΠΌΡ ΡΠΈΠΏΠ°ΠΌΠΈ ΡΠΎΡΠΌΠΎΠ·ΠΎΠ² Π΄Π΅Π»Π°ΡΡ ΡΠΎΠ²ΠΌΠ΅ΡΡΠ½ΡΡ Π΅Π·Π΄Ρ Π±ΠΎΠ»Π΅Π΅ ΠΎΠΏΠ°ΡΠ½ΠΎΠΉ. ΠΠ°ΠΏΡΠΈΠΌΠ΅Ρ, ΠΏΡΠΈ ΡΠΏΡΡΠΊΠ΅ Ρ Ρ ΠΎΠ»ΠΌΠ° Π² Π΄ΠΎΠΆΠ΄Π»ΠΈΠ²ΡΠΉ Π΄Π΅Π½Ρ Π²ΠΎΠ΄ΠΈΡΠ΅Π»Ρ Ρ Π΄ΠΈΡΠΊΠΎΠ²ΡΠΌ ΡΠΎΡΠΌΠΎΠ·ΠΎΠΌ Π±ΡΡΡΡΠΎ Π·Π°ΠΌΠ΅Π΄Π»ΡΠ΅ΡΡΡ. ΠΠΎΠ΄ΠΈΡΠ΅Π»Ρ ΠΎΠ±ΠΎΠ΄Π½ΠΎΠ³ΠΎ ΡΠΎΡΠΌΠΎΠ·Π°, Π½Π°Ρ ΠΎΠ΄ΡΡΠΈΠΉΡΡ ΡΡΠ΄ΠΎΠΌ Ρ Π½ΠΈΠΌ, Π½Π΅ ΠΌΠΎΠΆΠ΅Ρ Π·Π°ΠΌΠ΅Π΄Π»ΡΡΡΡΡ ΡΠ°ΠΊ Π±ΡΡΡΡΠΎ ΠΈ Π²ΡΠ΅Π·Π°Π΅ΡΡΡ Π΅ΠΌΡ Π² ΡΠΏΠΈΠ½Ρ.
ΠΠ»ΡΡΡ ΠΎΠ±ΠΎΠ΄Π½ΠΎΠ³ΠΎ ΡΠΎΡΠΌΠΎΠ·Π°
- ΠΠ±ΠΎΠ΄Π½ΡΠ΅ ΡΠΎΡΠΌΠΎΠ·Π° Π»Π΅Π³ΡΠ΅ ΡΠ΅ΠΌΠΎΠ½ΡΠΈΡΠΎΠ²Π°ΡΡ ΠΈ ΠΎΠ±ΡΠ»ΡΠΆΠΈΠ²Π°ΡΡ- ΠΠ±ΠΎΠ΄Π½ΡΠ΅ ΡΠΎΡΠΌΠΎΠ·Π° ΠΏΡΠΎΡΡΡ. ΠΡΠ»ΠΈ Π΅ΡΡΡ ΠΏΡΠΎΠ±Π»Π΅ΠΌΠ°, Π²Ρ ΠΌΠΎΠΆΠ΅ΡΠ΅ ΡΠ°Π·ΠΎΡΠ²Π°ΡΡ ΡΠΎΡΠΌΠΎΠ· ΡΠ΅Π»ΠΈΠΊΠΎΠΌ Π½Π° ΠΎΠ±ΠΎΡΠΈΠ½Π΅ Π΄ΠΎΡΠΎΠ³ΠΈ ΡΠΎΠ»ΡΠΊΠΎ Ρ ΠΏΠΎΠΌΠΎΡΡΡ ΡΠ½ΠΈΠ²Π΅ΡΡΠ°Π»ΡΠ½ΠΎΠ³ΠΎ ΠΈΠ½ΡΡΡΡΠΌΠ΅Π½ΡΠ°. Π’Π°ΠΊΠΆΠ΅ Π»Π΅Π³ΡΠ΅ Π΄ΠΈΠ°Π³Π½ΠΎΡΡΠΈΡΠΎΠ²Π°ΡΡ ΠΏΡΠΎΠ±Π»Π΅ΠΌΡ Ρ ΠΎΠ±ΠΎΠ΄Π½ΡΠΌΠΈ ΡΠΎΡΠΌΠΎΠ·Π°ΠΌΠΈ. ΠΠΎΡΠΊΠΎΠ»ΡΠΊΡ ΠΎΠ½ΠΈ ΠΏΠΎΠ»Π½ΠΎΡΡΡΡ ΠΎΡΠΊΡΡΡΡ, Π²Ρ ΠΌΠΎΠΆΠ΅ΡΠ΅ Π»Π΅Π³ΠΊΠΎ ΡΠ²ΠΈΠ΄Π΅ΡΡ, ΡΡΠΎ Π½Π΅ ΡΠ°ΠΊ. ΠΠ±ΠΎΠ΄Π½ΡΠ΅ ΡΠΎΡΠΌΠΎΠ·Π° ΡΠ°ΠΊΠΆΠ΅ Π½Π°ΠΌΠ½ΠΎΠ³ΠΎ ΠΌΠ΅Π½Π΅Π΅ Π±ΠΎΠ»Π΅Π·Π½Π΅Π½Π½Ρ, ΡΠ΅ΠΌ Π΄ΠΈΡΠΊΠΎΠ²ΡΠ΅. ΠΡΠ»ΠΈ ΠΎΠ½ΠΈ Π½Π΅ ΠΎΡΡΠ΅Π³ΡΠ»ΠΈΡΠΎΠ²Π°Π½Ρ ΠΈΠ΄Π΅Π°Π»ΡΠ½ΠΎ, ΠΎΠ½ΠΈ Π²ΡΠ΅ ΡΠ°Π²Π½ΠΎ ΡΠ°Π±ΠΎΡΠ°ΡΡ Π½ΠΎΡΠΌΠ°Π»ΡΠ½ΠΎ.ΠΠ°ΠΌ Π½Π΅ Π½ΡΠΆΠ½ΠΎ Π·Π½Π°ΡΡ, ΠΊΠ°ΠΊ ΠΏΡΠΎΠΊΠ°ΡΠ°ΡΡ Π³ΠΈΠ΄ΡΠ°Π²Π»ΠΈΡΠ΅ΡΠΊΠΈΠ΅ ΡΠΎΡΠΌΠΎΠ·Π°.
- ΠΠ±ΠΎΠ΄Π½ΡΠ΅ ΡΠΎΡΠΌΠΎΠ·Π° ΠΈ Π·Π°ΠΏΡΠ°ΡΡΠΈ Π»Π΅Π³ΠΊΠΎ Π½Π°ΠΉΡΠΈ Π² Π»ΡΠ±ΠΎΠΉ ΡΠΎΡΠΊΠ΅ ΠΌΠΈΡΠ°. ΠΠ±ΠΎΠ΄Π½ΡΠ΅ ΡΠΎΡΠΌΠΎΠ·Π° ΡΠΆΠ΅ Π½Π΅ΡΠΊΠΎΠ»ΡΠΊΠΎ Π΄Π΅ΡΡΡΠΈΠ»Π΅ΡΠΈΠΉ ΡΠ²Π»ΡΡΡΡΡ ΡΡΠ°Π½Π΄Π°ΡΡΠ½ΡΠΌΠΈ Π²Π΅Π»ΠΎΡΠΈΠΏΠ΅Π΄Π½ΡΠΌΠΈ ΡΠΎΡΠΌΠΎΠ·Π°ΠΌΠΈ. ΠΡΠ»ΠΈ Π²Ρ Π΅Π΄Π΅ΡΠ΅ Π² ΡΠ°Π·Π²ΠΈΠ²Π°ΡΡΠ΅ΠΌΡΡ ΠΌΠΈΡΠ΅, Ρ Π²Π°Ρ Π½Π΅ Π±ΡΠ΄Π΅Ρ ΠΏΡΠΎΠ±Π»Π΅ΠΌ Ρ ΠΏΠΎΠΈΡΠΊΠΎΠΌ ΡΡΠΏΠΏΠΎΡΡΠΎΠ², ΡΡΠΎΡΠΎΠ² ΠΈΠ»ΠΈ ΡΠΎΡΠΌΠΎΠ·Π½ΡΡ ΠΊΠΎΠ»ΠΎΠ΄ΠΎΠΊ, Π³Π΄Π΅ Π±Ρ Π²Ρ Π½ΠΈ Π΅Π·Π΄ΠΈΠ»ΠΈ. ΠΡ ΠΌΠΎΠΆΠ΅ΡΠ΅ Π½Π°ΠΉΡΠΈ Π·Π°ΠΏΡΠ°ΡΡΠΈ Π² Π»ΡΠ±ΠΎΠΌ ΡΠ³ΠΎΠ»ΠΊΠ΅ ΠΌΠΈΡΠ°, Π² ΡΠΎΠΌ ΡΠΈΡΠ»Π΅ Π² ΡΠ°ΠΌΠΎΠΌ ΠΌΠ°Π»Π΅Π½ΡΠΊΠΎΠΌ Π΄Π΅ΡΠ΅Π²Π΅Π½ΡΠΊΠΎΠΌ ΠΌΠ°Π³Π°Π·ΠΈΠ½Π΅ Π²Π΅Π»ΠΎΡΠΈΠΏΠ΅Π΄ΠΎΠ². ΠΡΠ»ΠΈ Π²Ρ ΠΏΡΡΠ΅ΡΠ΅ΡΡΠ²ΡΠ΅ΡΠ΅ ΠΏΠΎ ΡΠ°Π·Π²ΠΈΡΠΎΠΌΡ ΠΌΠΈΡΡ, Π²Ρ ΠΌΠΎΠΆΠ΅ΡΠ΅ Π½Π°ΠΉΡΠΈ ΡΠΌΠ΅Π½Π½ΡΠ΅ ΠΊΠΎΠ»ΠΎΠ΄ΠΊΠΈ ΠΈ ΠΊΠ°Π±Π΅Π»ΠΈ Π² Π±ΠΎΠ»ΡΡΠΈΠ½ΡΡΠ²Π΅ ΡΠ½ΠΈΠ²Π΅ΡΠΌΠ°Π³ΠΎΠ².ΠΡΠΎ ΠΎΡΠΎΠ±Π΅Π½Π½ΠΎ Π²Π°ΠΆΠ½ΠΎ Π΄Π»Ρ Π²Π΅Π»ΠΎΡΠΈΠΏΠ΅Π΄ΠΈΡΡΠΎΠ², ΠΊΠΎΡΠΎΡΡΠ΅ ΡΠ°ΡΡΠΎ ΠΎΠΊΠ°Π·ΡΠ²Π°ΡΡΡΡ Π² ΡΠ΅Π»ΡΡΠΊΠΈΡ ΠΈΠ»ΠΈ ΠΎΡΠ΄Π°Π»Π΅Π½Π½ΡΡ ΡΠ΅Π³ΠΈΠΎΠ½Π°Ρ , Π³Π΄Π΅ ΠΏΠΎΠΈΡΠΊ Π·Π°ΠΏΡΠ°ΡΡΠ΅ΠΉ ΠΌΠΎΠΆΠ΅Ρ Π±ΡΡΡ ΠΏΡΠΎΠ±Π»Π΅ΠΌΠΎΠΉ.
- ΠΠ±ΠΎΠ΄Π½ΡΠ΅ ΡΠΎΡΠΌΠΎΠ·Π° Π΄Π΅ΡΠ΅Π²Π»Π΅ — ΠΡΠ»ΠΈ Ρ Π²Π°Ρ ΠΎΠ³ΡΠ°Π½ΠΈΡΠ΅Π½Π½ΡΠΉ Π±ΡΠ΄ΠΆΠ΅Ρ, ΠΏΠΎΠ΄ΠΎΠΉΠ΄ΡΡ ΠΎΠ±ΠΎΠ΄Π½ΡΠ΅ ΡΠΎΡΠΌΠΎΠ·Π°. ΠΠ΅ΡΠ°Π»ΠΈ ΠΈ Π·Π°ΠΏΡΠ°ΡΡΠΈ ΡΡΠΎΡΡ Π΄Π΅ΡΠ΅Π²Π»Π΅, ΠΏΠΎΡΠΎΠΌΡ ΡΡΠΎ ΠΎΠ½ΠΈ Π±ΠΎΠ»Π΅Π΅ ΠΏΡΠΎΡΡΡΠ΅ ΠΈ ΡΠ°ΡΠΏΡΠΎΡΡΡΠ°Π½Π΅Π½Π½ΡΠ΅. ΠΠ°ΠΌ ΡΠ°ΠΊΠΆΠ΅ Π½Π΅ Π½ΡΠΆΠ½Ρ ΡΠΎΡΠΎΡΡ, ΠΏΠΎΡΠΎΠΌΡ ΡΡΠΎ ΠΎΠ±ΠΎΠ΄ ΠΎΠ±Π΅ΡΠΏΠ΅ΡΠΈΠ²Π°Π΅Ρ ΡΠΎΡΠΌΠΎΠ·Π½ΡΡ ΠΏΠΎΠ²Π΅ΡΡ Π½ΠΎΡΡΡ. Π ΡΡΠ΅Π΄Π½Π΅ΠΌ, Ρ Π±Ρ ΠΏΡΠ΅Π΄ΠΏΠΎΠ»ΠΎΠΆΠΈΠ», ΡΡΠΎ ΠΊΠΎΠΌΠΏΠΎΠ½Π΅Π½ΡΡ ΠΎΠ±ΠΎΠ΄Π½ΠΎΠ³ΠΎ ΡΠΎΡΠΌΠΎΠ·Π° ΡΡΠΎΡΡ Π½Π° 10-20% ΠΌΠ΅Π½ΡΡΠ΅, ΡΠ΅ΠΌ ΡΠΎΠΏΠΎΡΡΠ°Π²ΠΈΠΌΡΠ΅ ΠΊΠΎΠΌΠΏΠΎΠ½Π΅Π½ΡΡ Π΄ΠΈΡΠΊΠΎΠ²ΠΎΠ³ΠΎ ΡΠΎΡΠΌΠΎΠ·Π°.ΠΡΠ²ΡΠΈΠ΅ Π² ΡΠΏΠΎΡΡΠ΅Π±Π»Π΅Π½ΠΈΠΈ Π΄Π΅ΡΠ°Π»ΠΈ ΡΠ°ΠΊΠΆΠ΅ Π»Π΅Π³ΠΊΠΎ Π΄ΠΎΡΡΡΠΏΠ½Ρ. ΠΡΠ»ΠΈ Π²Π°ΠΌ Π½ΡΠΆΠ΅Π½ ΡΡΠΏΠΏΠΎΡΡ, Π²Ρ ΠΌΠΎΠΆΠ΅ΡΠ΅ ΠΊΡΠΏΠΈΡΡ ΠΏΠΎΠ΄Π΅ΡΠΆΠ°Π½Π½ΡΠΉ Π²ΡΠ΅Π³ΠΎ Π·Π° Π½Π΅ΡΠΊΠΎΠ»ΡΠΊΠΎ Π΄ΠΎΠ»Π»Π°ΡΠΎΠ² Π² Π±ΠΎΠ»ΡΡΠΈΠ½ΡΡΠ²Π΅ Π²Π΅Π»ΠΎΠΌΠ°Π³Π°Π·ΠΈΠ½ΠΎΠ². ΠΠΎΠ»ΠΎΠ΄ΠΊΠΈ ΡΠΎΠΆΠ΅ Π΄Π΅ΡΠ΅Π²Π»Π΅. ΠΠ°ΠΏΡΠΈΠΌΠ΅Ρ, Ρ ΠΊΡΠΏΠΈΠ» Π·Π°ΠΌΠ΅Π½Ρ ΡΠ²ΠΎΠ΅ΠΉ Schwinn High Sierra ΠΏΡΠΈΠΌΠ΅ΡΠ½ΠΎ Π·Π° 1 Π΄ΠΎΠ»Π»Π°Ρ Π² ΠΠ΅ΠΊΡΠΈΠΊΠ΅.
- ΠΠ±ΠΎΠ΄Π½ΡΠ΅ ΡΠΎΡΠΌΠΎΠ·Π° Π»Π΅Π³ΡΠ΅ Π½Π° ΠΊΠΎΠ»Π΅ΡΠ°Ρ - ΠΠΎΡΠΊΠΎΠ»ΡΠΊΡ ΡΠΎΡΠΌΠΎΠ· ΠΏΡΠΈΠΊΠ»Π°Π΄ΡΠ²Π°Π΅Ρ ΡΠΎΡΠΌΠΎΠ·Π½ΠΎΠ΅ ΡΡΠΈΠ»ΠΈΠ΅ Π½Π΅ΠΏΠΎΡΡΠ΅Π΄ΡΡΠ²Π΅Π½Π½ΠΎ ΠΊ ΠΎΠ±ΠΎΠ΄Ρ, ΠΎΠ½ Π·Π½Π°ΡΠΈΡΠ΅Π»ΡΠ½ΠΎ ΡΠ½ΠΈΠΆΠ°Π΅Ρ Π½Π°Π³ΡΡΠ·ΠΊΡ Π½Π° ΡΠΏΠΈΡΡ. ΠΠ°ΡΠ΅ ΠΊΠΎΠ»Π΅ΡΠΎ ΠΎΡΡΠ°Π΅ΡΡΡ Π²Π΅ΡΠ½ΡΠΌ Π΄ΠΎΠ»ΡΡΠ΅. ΠΡ ΡΠ»ΠΎΠΌΠ°Π΅ΡΠ΅ ΠΌΠ΅Π½ΡΡΠ΅ ΡΠΏΠΈΡ. ΠΠΎ ΡΡΠΎΠΉ ΠΏΡΠΈΡΠΈΠ½Π΅ ΠΎΠ±ΠΎΠ΄Π½ΡΠ΅ ΡΠΎΡΠΌΠΎΠ·Π° — Π»ΡΡΡΠΈΠΉ Π²ΡΠ±ΠΎΡ, Π΅ΡΠ»ΠΈ Π²Ρ ΠΈΡΠΏΠΎΠ»ΡΠ·ΡΠ΅ΡΠ΅ ΠΊΠΎΠ»Π΅ΡΠ° Ρ Π±ΠΎΠ»Π΅Π΅ Π½ΠΈΠ·ΠΊΠΈΠΌ ΠΊΠΎΠ½ΡΠΎΠΌ.ΠΠΎΠ½Π΅ΡΠ½ΠΎ, Ρ ΠΎΡΠΎΡΠΎ ΠΏΠΎΡΡΡΠΎΠ΅Π½Π½ΠΎΠ΅ ΠΊΠΎΠ»Π΅ΡΠΎ ΠΎΡΡΠ°Π½Π΅ΡΡΡ Π²Π΅ΡΠ½ΡΠΌ, Π½Π΅Π·Π°Π²ΠΈΡΠΈΠΌΠΎ ΠΎΡ ΡΠΎΠ³ΠΎ, ΠΊΠ°ΠΊΠΈΠ΅ ΡΠΎΡΠΌΠΎΠ·Π° Π²Ρ Π²ΡΠ±Π΅ΡΠ΅ΡΠ΅.
- ΠΠ±ΠΎΠ΄Π½ΡΠ΅ ΡΠΎΡΠΌΠΎΠ·Π° Π»Π΅Π³ΡΠ΅ Π½Π° Π»Π°ΠΏΠ°Ρ Π²ΠΈΠ»ΠΊΠΈ- ΠΠΎΡΠΊΠΎΠ»ΡΠΊΡ ΠΎΠ±ΠΎΠ΄Π½ΡΠ΅ ΡΠΎΡΠΌΠΎΠ·Π° ΡΡΡΠ°Π½ΠΎΠ²Π»Π΅Π½Ρ Π²ΡΡΠΎΠΊΠΎ Π½Π° Π²ΠΈΠ»ΠΊΠ΅ ΡΡΠ΄ΠΎΠΌ ΡΠΎ ΡΡΠΎΠΊΠΎΠΌ, Π½Π° Π»Π°ΠΏΡ Π²ΠΈΠ»ΠΊΠΈ ΠΏΡΠΈΠΊΠ»Π°Π΄ΡΠ²Π°Π΅ΡΡΡ ΠΌΠ΅Π½ΡΡΠ΅Π΅ ΡΡΠΈΠ»ΠΈΠ΅. ΠΡΠΎ ΠΏΠΎΠ·Π²ΠΎΠ»ΡΠ΅Ρ ΠΈΡΠΏΠΎΠ»ΡΠ·ΠΎΠ²Π°ΡΡ Π±ΠΎΠ»Π΅Π΅ Π³ΠΈΠ±ΠΊΡΡ Π²ΠΈΠ»ΠΊΡ, ΠΊΠΎΡΠΎΡΠ°Ρ ΠΎΠ±Π΅ΡΠΏΠ΅ΡΠΈΠ²Π°Π΅Ρ Π»ΡΡΡΡΡ Π°ΠΌΠΎΡΡΠΈΠ·Π°ΡΠΈΡ ΠΈ ΠΊΠΎΠΌΡΠΎΡΡ. ΠΠ°ΡΠ° Π²ΠΈΠ»ΠΊΠ° ΠΏΡΠΎΡΠ»ΡΠΆΠΈΡ Π΄ΠΎΠ»ΡΡΠ΅ Π±Π΅Π· ΡΡΠ΅ΡΠΈΠ½ ΠΈ ΠΏΠΎΠ»ΠΎΠΌΠΎΠΊ.
- ΠΡΡΠΎΠΊΠΎΠΊΠ°ΡΠ΅ΡΡΠ²Π΅Π½Π½ΡΠ΅ ΠΎΠ±ΠΎΠ΄Π½ΡΠ΅ ΡΠΎΡΠΌΠΎΠ·Π° ΡΠ°Π±ΠΎΡΠ°ΡΡ ΡΠ°ΠΊ ΠΆΠ΅ Ρ ΠΎΡΠΎΡΠΎ, ΠΊΠ°ΠΊ ΠΈ Π΄ΠΈΡΠΊΠΎΠ²ΡΠ΅ ΡΠΎΡΠΌΠΎΠ·Π° Π±ΠΎΠ»Π΅Π΅ Π½ΠΈΠ·ΠΊΠΎΠ³ΠΎ ΡΡΠΎΠ²Π½Ρ — ΠΡΠ»ΠΈ Π²Ρ ΠΏΠ»Π°Π½ΠΈΡΡΠ΅ΡΠ΅ ΠΊΡΠΏΠΈΡΡ Π½ΠΎΠ²ΡΠΉ Π²Π΅Π»ΠΎΡΠΈΠΏΠ΅Π΄ Ρ Π΄ΠΈΡΠΊΠΎΠ²ΡΠΌΠΈ ΡΠΎΡΠΌΠΎΠ·Π°ΠΌΠΈ ΠΈΠ»ΠΈ ΠΌΠΎΠ΄Π΅ΡΠ½ΠΈΠ·ΠΈΡΠΎΠ²Π°ΡΡ ΡΠ²ΠΎΠΉ Π²Π΅Π»ΠΎΡΠΈΠΏΠ΅Π΄ Π΄Π»Ρ ΡΠ»ΡΡΡΠ΅Π½ΠΈΡ ΡΠΎΡΠΌΠΎΠ·Π½ΡΡ Ρ Π°ΡΠ°ΠΊΡΠ΅ΡΠΈΡΡΠΈΠΊ, ΡΠ±Π΅Π΄ΠΈΡΠ΅ΡΡ, ΡΡΠΎ Π²Ρ Π΄Π΅ΠΉΡΡΠ²ΠΈΡΠ΅Π»ΡΠ½ΠΎ ΠΎΠ±Π½ΠΎΠ²Π»ΡΠ΅ΡΠ΅ Π΅Π³ΠΎ.Π‘ΠΎΠ²ΡΠ΅ΠΌΠ΅Π½Π½ΡΠ΅ ΠΎΠ±ΠΎΠ΄Π½ΡΠ΅ ΡΠΎΡΠΌΠΎΠ·Π° ΠΎΡΠ΅Π½Ρ Ρ ΠΎΡΠΎΡΠΈ. ΠΠ΅ΡΠ΅Π²ΡΠ΅ ΠΌΠ΅Ρ Π°Π½ΠΈΡΠ΅ΡΠΊΠΈΠ΅ Π΄ΠΈΡΠΊΠΎΠ²ΡΠ΅ ΡΠΎΡΠΌΠΎΠ·Π° Π½Π΅ ΡΠ°ΠΊ ΡΠΆ ΠΈ Ρ ΠΎΡΠΎΡΠΈ. Π Π½Π΅ΠΊΠΎΡΠΎΡΡΡ ΡΠ»ΡΡΠ°ΡΡ Π²Π°ΠΌ ΠΌΠΎΠΆΠ΅Ρ Π±ΡΡΡ Π»ΡΡΡΠ΅ ΠΏΡΠΈΠ΄Π΅ΡΠΆΠΈΠ²Π°ΡΡΡΡ ΡΠΎΠ³ΠΎ, ΡΡΠΎ Ρ Π²Π°Ρ Π΅ΡΡΡ.
- ΠΠ±ΠΎΠ΄Π½ΡΠ΅ ΡΠΎΡΠΌΠΎΠ·Π° Π½Π΅ ΡΡΡΡΡΡ- ΠΠΎΡΠΊΠΎΠ»ΡΠΊΡ ΠΊΠΎΠ»ΠΎΠ΄ΠΊΠΈ ΡΠ°ΡΠΏΠΎΠ»ΠΎΠΆΠ΅Π½Ρ Π΄Π°Π»ΡΡΠ΅ ΠΎΡ ΡΠΎΡΠΌΠΎΠ·Π½ΠΎΠΉ ΠΏΠΎΠ²Π΅ΡΡ Π½ΠΎΡΡΠΈ, ΠΎΠ½ΠΈ Π½Π΅ ΡΡΡΡΡΡ, Π΅ΡΠ»ΠΈ ΡΠΎΠ»ΡΠΊΠΎ ΠΎΠ½ΠΈ ΠΏΠ»ΠΎΡ ΠΎ ΠΎΡΡΠ΅Π³ΡΠ»ΠΈΡΠΎΠ²Π°Π½Ρ ΠΈΠ»ΠΈ ΠΊΠΎΠ»Π΅ΡΠΎ Π½Π΅ ΡΠ°Π±ΠΎΡΠ°Π΅Ρ Π½Π΅ΠΏΡΠ°Π²ΠΈΠ»ΡΠ½ΠΎ. ΠΡΠ»ΠΈ ΠΎΠ½ΠΈ Π½Π°ΡΠ½ΡΡ ΡΠ΅ΡΠ΅ΡΡΡΡ, ΠΌΠΎΠΆΠ½ΠΎ Π»Π΅Π³ΠΊΠΎ ΠΈΡΠΏΡΠ°Π²ΠΈΡΡ ΠΏΡΠΎΠ±Π»Π΅ΠΌΡ.
- ΠΠ±ΠΎΠ΄Π½ΡΠ΅ ΡΠΎΡΠΌΠΎΠ·Π° Π»Π΅Π³ΡΠ΅ — ΠΡΠ»ΠΈ Π²Ρ ΡΡΡΠ΅ΠΌΠΈΡΠ΅ΡΡ ΠΏΠΎΡΡΡΠΎΠΈΡΡ ΠΌΠ°ΠΊΡΠΈΠΌΠ°Π»ΡΠ½ΠΎ Π»Π΅Π³ΠΊΠΈΠΉ Π²Π΅Π»ΠΎΡΠΈΠΏΠ΅Π΄, Π²Ρ ΡΡΠΊΠΎΠ½ΠΎΠΌΠΈΡΠ΅ ΠΎΠΊΠΎΠ»ΠΎ 450 Π³ΡΠ°ΠΌΠΌΠΎΠ², ΠΈΡΠΏΠΎΠ»ΡΠ·ΡΡ ΠΎΠ±ΠΎΠ΄Π½ΡΠ΅ ΡΠΎΡΠΌΠΎΠ·Π°.ΠΠΈΡΠΊΠΎΠ² Π½Π΅Ρ, ΡΡΠΏΠΏΠΎΡΡΡ ΠΌΠ΅Π½ΡΡΠ΅, ΡΡΠΎ ΡΠΊΠΎΠ½ΠΎΠΌΠΈΡ Π²Π΅Ρ.
- ΠΠ±ΠΎΠ΄Π½ΡΠ΅ ΡΠΎΡΠΌΠΎΠ·Π° Π±ΠΎΠ»Π΅Π΅ Π°ΡΡΠΎΠ΄ΠΈΠ½Π°ΠΌΠΈΡΠ½Ρ- ΠΠ° ΡΠΎΠ²Π½ΡΡ ΡΡΠ°ΡΡΠΊΠ°Ρ ΠΈ ΡΠΏΡΡΠΊΠ°Ρ Π²Ρ ΠΏΠΎΠ»ΡΡΠ°Π΅ΡΠ΅ Π½Π΅Π±ΠΎΠ»ΡΡΠΎΠ΅ ΠΏΡΠ΅ΠΈΠΌΡΡΠ΅ΡΡΠ²ΠΎ, ΠΏΠΎΡΠΎΠΌΡ ΡΡΠΎ Ρ Π²Π°Ρ Π½Π΅Ρ ΡΠΎΡΡΠ°ΡΠΈΡ ΡΡΠΏΠΏΠΎΡΡΠΎΠ² ΠΈ ΡΠΎΡΠΎΡΠΎΠ², Π²ΡΠ·ΡΠ²Π°ΡΡΠΈΡ ΡΠΎΠΏΡΠΎΡΠΈΠ²Π»Π΅Π½ΠΈΠ΅. Π§Π΅ΠΌ Π±ΡΡΡΡΠ΅Π΅ Π²Ρ Π΅Π΄Π΅ΡΠ΅, ΡΠ΅ΠΌ Π²Π°ΠΆΠ½Π΅Π΅ ΡΡΠ°Π½ΠΎΠ²ΠΈΡΡΡ Π°ΡΡΠΎΠ΄ΠΈΠ½Π°ΠΌΠΈΠΊΠ°.
- ΠΠ±ΠΎΠ΄Π½ΡΠ΅ ΡΠΎΡΠΌΠΎΠ·Π° Π±ΠΎΠ»Π΅Π΅ Π±Π΅Π·ΠΎΠΏΠ°ΡΠ½Ρ- ΠΠ΅ΡΠΊΠΎΠ»ΡΠΊΠΎ ΠΏΡΠΎΡΠ΅ΡΡΠΈΠΎΠ½Π°Π»ΡΠ½ΡΡ Π³ΠΎΠ½ΠΎΡΠ½ΡΡ Π²Π΅Π»ΠΎΡΠΈΠΏΠ΅Π΄ΠΈΡΡΠΎΠ² ΠΆΠ°Π»ΠΎΠ²Π°Π»ΠΈΡΡ Π½Π° ΡΠΎ, ΡΡΠΎ Π΄ΠΈΡΠΊ ΠΈΡ ΠΏΠΎΡΠ΅Π·Π°Π» Π²ΠΎ Π²ΡΠ΅ΠΌΡ Π°Π²Π°ΡΠΈΠΈ. ΠΡΠΎ Π½Π΅ ΠΏΡΠΎΠ±Π»Π΅ΠΌΠ° ΠΎΠ±ΠΎΠ΄Π½ΡΡ ΡΠΎΡΠΌΠΎΠ·ΠΎΠ².
- ΠΠ±ΠΎΠ΄Π½ΡΠ΅ ΡΠΎΡΠΌΠΎΠ·Π° ΠΊΠ»Π°ΡΡΠΈΡΠ΅ΡΠΊΠΈΠ΅- ΠΡ, Π½Π°Π²Π΅ΡΠ½ΠΎΠ΅, Π²ΡΡΠΎΡΠ»ΠΈ, ΠΊΠ°ΡΠ°ΡΡΡ Π½Π° Π²Π΅Π»ΠΎΡΠΈΠΏΠ΅Π΄Π΅ Ρ ΠΎΠ±ΠΎΠ΄Π½ΡΠΌΠΈ ΡΠΎΡΠΌΠΎΠ·Π°ΠΌΠΈ. ΠΠ½ΠΈ Π±ΡΠ»ΠΈ ΡΡΠ°Π½Π΄Π°ΡΡΠΎΠΌ Π½Π° ΠΏΡΠΎΡΡΠΆΠ΅Π½ΠΈΠΈ Π΄Π΅ΡΡΡΠΈΠ»Π΅ΡΠΈΠΉ.
ΠΠΈΠ½ΡΡΡ ΠΎΠ±ΠΎΠ΄Π½ΠΎΠ³ΠΎ ΡΠΎΡΠΌΠΎΠ·Π°
- ΠΠ±ΠΎΠ΄Π½ΡΠ΅ ΡΠΎΡΠΌΠΎΠ·Π° Π½Π΅ ΠΎΠ±Π»Π°Π΄Π°ΡΡ ΡΠ°ΠΊΠΎΠΉ ΠΆΠ΅ ΡΠΎΡΠΌΠΎΠ·Π½ΠΎΠΉ ΡΠΏΠΎΡΠΎΠ±Π½ΠΎΡΡΡΡ, ΠΊΠ°ΠΊ Π΄ΠΈΡΠΊΠΎΠ²ΡΠ΅ ΡΠΎΡΠΌΠΎΠ·Π°. ΠΠ±ΠΎΠ΄Π½ΡΠ΅ ΡΠΎΡΠΌΠΎΠ·Π° Π½Π΅ Π΄Π°ΡΡ ΡΠ°ΠΊΠΈΡ ΠΌΠ΅Ρ Π°Π½ΠΈΡΠ΅ΡΠΊΠΈΡ ΠΏΡΠ΅ΠΈΠΌΡΡΠ΅ΡΡΠ², ΠΊΠ°ΠΊ Π΄ΠΈΡΠΊΠΎΠ²ΡΠ΅. Π£ Π½ΠΈΡ ΠΌΠ΅Π½ΡΡΠ΅ ΡΡΡΠ°Π³ΠΎΠ². ΠΡ Π·Π½Π°Π΅ΠΌ ΡΡΠΎ, ΠΏΠΎΡΠΎΠΌΡ ΡΡΠΎ ΠΎΠ±ΠΎΠ΄Π½ΡΠ΅ ΡΠΎΡΠΌΠΎΠ·Π½ΡΠ΅ ΠΊΠΎΠ»ΠΎΠ΄ΠΊΠΈ Π΄ΠΎΠ»ΠΆΠ½Ρ ΠΏΠ΅ΡΠ΅ΠΌΠ΅ΡΠ°ΡΡΡΡ Π΄Π°Π»ΡΡΠ΅, ΡΠ΅ΠΌ Π΄ΠΈΡΠΊΠΎΠ²ΡΠ΅, ΠΏΡΠΈ ΡΠΎΠΌ ΠΆΠ΅ ΡΡΠΈΠ»ΠΈΠΈ ΡΡΡΠ°Π³Π° ΡΠΎΡΠΌΠΎΠ·Π°.ΠΠ±ΠΎΠ΄Π½ΡΠ΅ ΡΠΎΡΠΌΠΎΠ·Π½ΡΠ΅ ΠΊΠΎΠ»ΠΎΠ΄ΠΊΠΈ Π΄ΠΎΠ»ΠΆΠ½Ρ ΠΏΠ΅ΡΠ΅ΠΌΠ΅ΡΡΠΈΡΡΡΡ ΠΏΡΠΈΠΌΠ΅ΡΠ½ΠΎ Π½Π° ΡΠ°Π½ΡΠΈΠΌΠ΅ΡΡ, ΡΡΠΎΠ±Ρ ΠΊΠΎΡΠ½ΡΡΡΡΡ ΠΎΠ±ΠΎΠ΄Π°. ΠΠΈΡΠΊΠΎΠ²ΡΠ΅ ΠΊΠΎΠ»ΠΎΠ΄ΠΊΠΈ Π΄ΠΎΠ»ΠΆΠ½Ρ ΠΏΠ΅ΡΠ΅ΠΌΠ΅ΡΡΠΈΡΡΡΡ Π²ΡΠ΅Π³ΠΎ Π½Π° ΠΏΠ°ΡΡ ΠΌΠΈΠ»Π»ΠΈΠΌΠ΅ΡΡΠΎΠ². ΠΡΠΎ ΠΎΠ·Π½Π°ΡΠ°Π΅Ρ, ΡΡΠΎ ΡΡΠΏΠΏΠΎΡΡΡ Π½Π΅ ΠΌΠΎΠ³ΡΡ ΠΏΡΠΈΠ»ΠΎΠΆΠΈΡΡ ΠΊ ΡΠΎΡΠΌΠΎΠ·Π½ΠΎΠΉ ΠΏΠΎΠ²Π΅ΡΡ Π½ΠΎΡΡΠΈ ΡΡΠΎΠ»ΡΠΊΠΎ ΡΠΈΠ»Ρ, ΡΡΠΎΠ±Ρ Π·Π°ΠΌΠ΅Π΄Π»ΠΈΡΡ Π²Π΅Π»ΠΎΡΠΈΠΏΠ΅Π΄. ΠΠ±ΠΎΠ΄Π½ΡΠ΅ ΡΠΎΡΠΌΠΎΠ·Π° ΡΠ°ΠΊΠΆΠ΅ ΠΈΠΌΠ΅ΡΡ ΠΌΠ΅Π½ΡΡΡΡ ΠΏΠ»ΠΎΡΠ°Π΄Ρ ΠΏΠΎΠ²Π΅ΡΡ Π½ΠΎΡΡΠΈ, Π½Π° ΠΊΠΎΡΠΎΡΠΎΠΉ ΠΊΠΎΠ»ΠΎΠ΄ΠΊΠΈ ΡΠ΄Π°ΡΡΡΡΡΡ ΠΎ ΡΠΎΡΠΌΠΎΠ·Π½ΡΡ ΠΏΠΎΠ²Π΅ΡΡ Π½ΠΎΡΡΡ. ΠΡΠΎ ΠΎΠ·Π½Π°ΡΠ°Π΅Ρ, ΡΡΠΎ ΠΎΠ½ΠΈ ΠΏΡΠΎΠΈΠ·Π²ΠΎΠ΄ΡΡ ΠΌΠ΅Π½ΡΡΠ΅ ΡΡΠ΅Π½ΠΈΡ. ΠΠ°Ρ ΡΠΎΡΠΌΠΎΠ·Π½ΠΎΠΉ ΠΏΡΡΡ Π±ΡΠ΄Π΅Ρ Π½Π΅ΠΌΠ½ΠΎΠ³ΠΎ Π±ΠΎΠ»ΡΡΠ΅, Π΅ΡΠ»ΠΈ Π²Ρ ΠΈΡΠΏΠΎΠ»ΡΠ·ΡΠ΅ΡΠ΅ ΠΎΠ±ΠΎΠ΄Π½ΡΠ΅ ΡΠΎΡΠΌΠΎΠ·Π°.
- ΠΠ±ΠΎΠ΄Π° Π½Π΅ ΡΠ»ΡΠΆΠ°Ρ ΡΠ°ΠΊ Π΄ΠΎΠ»Π³ΠΎ — ΠΠ°ΠΆΠ΄ΡΠΉ ΡΠ°Π·, ΠΊΠΎΠ³Π΄Π° Π²Ρ ΡΠΎΡΠΌΠΎΠ·ΠΈΡΠ΅ Ρ ΠΏΠΎΠΌΠΎΡΡΡ ΠΎΠ±ΠΎΠ΄Π½ΡΡ ΡΠΎΡΠΌΠΎΠ·ΠΎΠ², Π½Π΅ΠΌΠ½ΠΎΠ³ΠΎ ΠΌΠ°ΡΠ΅ΡΠΈΠ°Π»Π° ΠΎΠ±ΠΎΠ΄Π° ΡΡΠΈΡΠ°Π΅ΡΡΡ.ΠΠ° ΡΡΡΡΡΠΈ ΠΌΠΈΠ»Ρ Π΅Π·Π΄Ρ Π²Π°ΡΠΈ Π΄ΠΈΡΠΊΠΈ ΡΠΎ Π²ΡΠ΅ΠΌΠ΅Π½Π΅ΠΌ ΠΈΠ·Π½Π°ΡΠΈΠ²Π°ΡΡΡΡ. Π’ΡΠ΅Π½ΠΈΠ΅, ΡΠΎΠ·Π΄Π°Π²Π°Π΅ΠΌΠΎΠ΅ ΡΠΎΡΠΌΠΎΠ·Π°ΠΌΠΈ ΠΎΠ±ΠΎΠ΄Π° ΠΎΠ± ΠΎΠ±ΠΎΠ΄, ΡΠ°ΠΊΠΆΠ΅ Π½Π°Π³ΡΠ΅Π²Π°Π΅Ρ ΠΎΠ±ΠΎΠ΄. Π¦ΠΈΠΊΠ» Π½Π°Π³ΡΠ΅Π²Π° ΠΎΠ±ΠΎΠ΄Π° ΠΏΡΠΈ ΡΠΎΡΠΌΠΎΠΆΠ΅Π½ΠΈΠΈ ΠΈ ΠΏΠΎΠ²ΡΠΎΡΠ½ΠΎΠ³ΠΎ ΠΎΡ Π»Π°ΠΆΠ΄Π΅Π½ΠΈΡ ΡΠ°ΠΊΠΆΠ΅ ΡΠΎ Π²ΡΠ΅ΠΌΠ΅Π½Π΅ΠΌ ΠΎΡΠ»Π°Π±Π»ΡΠ΅Ρ ΠΎΠ±ΠΎΠ΄. Π Π°Π·Π½ΠΈΡΠ° Π½Π΅ ΡΠ°ΠΊ ΡΠΆ Π²Π΅Π»ΠΈΠΊΠ°, Π½ΠΎ ΠΏΡΠΈ ΠΏΡΠΎΡΠΈΡ ΡΠ°Π²Π½ΡΡ Π²Ρ, Π²Π΅ΡΠΎΡΡΠ½ΠΎ, ΡΡΠΊΠΎΠ½ΠΎΠΌΠΈΡΠ΅ Π½Π° ΠΎΠ±ΠΎΠ΄ΡΡΡ Π½Π° Π½Π΅ΡΠΊΠΎΠ»ΡΠΊΠΎ ΡΡΡΡΡ ΠΌΠΈΠ»Ρ ΠΌΠ΅Π½ΡΡΠ΅, Π΅ΡΠ»ΠΈ Π±ΡΠ΄Π΅ΡΠ΅ ΠΈΡΠΏΠΎΠ»ΡΠ·ΠΎΠ²Π°ΡΡ ΠΎΠ±ΠΎΠ΄Π½ΡΠ΅ ΡΠΎΡΠΌΠΎΠ·Π°.
- ΠΠ±ΠΎΠ΄Π½ΡΠ΅ ΡΠΎΡΠΌΠΎΠ·Π° Π½Π΅ ΡΠ°Π±ΠΎΡΠ°ΡΡ Π² ΡΡΡΡΡ ΠΏΠΎΠ³ΠΎΠ΄Ρ- ΠΠΎΠ³Π΄Π° ΠΎΠ±ΠΎΠ΄Π° ΠΈ ΠΊΠΎΠ»ΠΎΠ΄ΠΊΠΈ Π½Π°ΠΌΠΎΠΊΠ°ΡΡ, ΠΎΠ½ΠΈ ΡΡΠ°Π½ΠΎΠ²ΡΡΡΡ ΡΠΊΠΎΠ»ΡΠ·ΠΊΠΈΠΌΠΈ.ΠΠΎΠ΄Π° ΡΠ½ΠΈΠΆΠ°Π΅Ρ ΡΡΠ΅Π½ΠΈΠ΅. ΠΡΠΎ ΡΠ½ΠΈΠΆΠ°Π΅Ρ ΡΠΎΡΠΌΠΎΠ·Π½ΡΡ ΡΠΏΠΎΡΠΎΠ±Π½ΠΎΡΡΡ ΡΠΎΡΠΌΠΎΠ·ΠΎΠ². ΠΠ½ΠΎΠ³Π΄Π° Π²Π°ΡΠ΅ΠΌΡ ΠΊΠΎΠ»Π΅ΡΡ Π½ΡΠΆΠ½ΠΎ ΡΠ΄Π΅Π»Π°ΡΡ ΠΏΠΎΠ»Π½ΡΠΉ ΠΎΠ±ΠΎΡΠΎΡ, ΠΏΡΠ΅ΠΆΠ΄Π΅ ΡΠ΅ΠΌ ΡΠΎΡΠΌΠΎΠ·Π° Π½Π°ΡΠ½ΡΡ Π·Π°ΠΌΠ΅Π΄Π»ΡΡΡ Π²Π°Ρ. ΠΠΎ Π²ΡΠ΅ΠΌΡ ΡΡΠΎΠ³ΠΎ Π²ΡΠ°ΡΠ΅Π½ΠΈΡ ΠΊΠΎΠ»ΠΎΠ΄ΠΊΠΈ ΡΠ³ΠΎΠ½ΡΡΡ Π²ΠΎΠ΄Ρ Ρ ΠΎΠ±ΠΎΠ΄Π°. ΠΡΠΎ Π΄Π΅Π»Π°Π΅Ρ ΡΠΎΡΠΌΠΎΠ·Π½ΡΡ ΡΠΏΠΎΡΠΎΠ±Π½ΠΎΡΡΡ Π½Π΅ΠΏΠΎΡΡΠΎΡΠ½Π½ΠΎΠΉ.
- ΠΠ°Π³ΡΠ΅Π²Π°Π½ΠΈΠ΅ — ΠΏΡΠΎΠ±Π»Π΅ΠΌΠ° ΠΎΠ±ΠΎΠ΄Π½ΡΡ ΡΠΎΡΠΌΠΎΠ·ΠΎΠ² — ΠΠΎ Π²ΡΠ΅ΠΌΡ Π΄ΠΎΠ»Π³ΠΎΠ³ΠΎ ΠΊΡΡΡΠΎΠ³ΠΎ ΡΠΏΡΡΠΊΠ° ΡΡΠ΅Π½ΠΈΠ΅ Π²ΡΠ·ΡΠ²Π°Π΅Ρ Π½Π°Π³ΡΠ΅Π² ΠΎΠ±ΠΎΠ΄Π°. ΠΡΡΡΠ΄Π° ΠΌΠΎΠΆΠ΅Ρ Π²ΠΎΠ·Π½ΠΈΠΊΠ½ΡΡΡ ΡΡΠ΄ ΠΏΡΠΎΠ±Π»Π΅ΠΌ. Π§Π°ΡΠ΅ Π²ΡΠ΅Π³ΠΎ ΡΠ΅ΠΏΠ»ΠΎ Π²ΡΠ·ΡΠ²Π°Π΅Ρ ΠΏΠΎΠ²ΡΡΠ΅Π½ΠΈΠ΅ Π΄Π°Π²Π»Π΅Π½ΠΈΡ Π²ΠΎΠ·Π΄ΡΡ Π° Π² ΡΠΈΠ½Π΅.ΠΠ±ΡΡΠ½ΠΎ ΡΠΈΠ½Π° ΡΡΡΠ²Π°Π΅ΡΡΡ Ρ ΠΎΠ±ΠΎΠ΄Π°. ΠΡΠΎ Π½Π°Π·ΡΠ²Π°Π΅ΡΡΡ Π²ΡΠ±ΡΠΎΡΠΎΠΌ. ΠΡΠ»ΠΈ ΡΡΠΎ ΠΏΡΠΎΠΈΠ·ΠΎΠΉΠ΄Π΅Ρ, Π²Π°ΠΌ ΠΏΠΎΠ½Π°Π΄ΠΎΠ±ΠΈΡΡΡ ΠΊΠ°ΠΊ ΠΌΠΈΠ½ΠΈΠΌΡΠΌ Π½ΠΎΠ²Π°Ρ ΠΊΠ°ΠΌΠ΅ΡΠ° ΠΈ, Π²ΠΎΠ·ΠΌΠΎΠΆΠ½ΠΎ, Π½ΠΎΠ²Π°Ρ ΡΠΈΠ½Π°. Π Ρ ΡΠ΄ΡΠ΅ΠΌ ΡΠ»ΡΡΠ°Π΅ ΠΎΠ±ΠΎΠ΄ Π»ΠΎΠΏΠ°Π΅ΡΡΡ, ΠΈ Π²Π°ΠΌ Π½ΡΠΆΠ½ΠΎ Π½ΠΎΠ²ΠΎΠ΅ ΠΊΠΎΠ»Π΅ΡΠΎ. Π§ΡΠΎΠ±Ρ ΡΠ΅ΡΠΈΡΡ ΡΡΡ ΠΏΡΠΎΠ±Π»Π΅ΠΌΡ, ΠΈΠ½ΠΎΠ³Π΄Π° Π²Π°ΠΌ Π½ΡΠΆΠ½ΠΎ ΠΎΡΡΠ°Π½ΠΎΠ²ΠΈΡΡΡΡ Π²ΠΎ Π²ΡΠ΅ΠΌΡ ΡΠΏΡΡΠΊΠ° ΠΈ Π΄Π°ΡΡ ΠΊΠΎΠ»Π΅ΡΠ°ΠΌ ΠΎΡΡΡΡΡ, ΠΏΡΠ΅ΠΆΠ΄Π΅ ΡΠ΅ΠΌ ΠΏΡΠΎΠ΄ΠΎΠ»ΠΆΠΈΡΡ ΡΠΏΡΡΠΊ.
- ΠΡΠ»ΠΈ Π²Π°ΡΠ΅ ΠΊΠΎΠ»Π΅ΡΠΎ ΠΏΠΎΠ³Π½ΡΠ»ΠΎΡΡ ΠΈΠ»ΠΈ ΡΠ»ΠΈΡΠΊΠΎΠΌ ΡΠΈΠ»ΡΠ½ΠΎ ΠΎΡΠΊΠ»ΠΎΠ½ΠΈΠ»ΠΎΡΡ ΠΎΡ ΠΈΡΡΠΈΠ½Π½ΠΎΠ³ΠΎ ΠΏΠΎΠ»ΠΎΠΆΠ΅Π½ΠΈΡ, Π²Ρ Π½Π΅ ΡΠΌΠΎΠΆΠ΅ΡΠ΅ Π΅Ρ Π°ΡΡ- ΠΠ°ΠΊΠ»Π°Π΄ΠΊΠ° Π±ΡΠ΄Π΅Ρ ΡΠ΅ΡΠ΅ΡΡΡΡ ΠΎΠ± ΠΎΠ±ΠΎΠ΄, Π΄Π΅Π»Π°Ρ Π΅Π·Π΄Ρ Π½Π΅Π²ΠΎΠ·ΠΌΠΎΠΆΠ½ΠΎΠΉ. ΠΡΠΎ ΡΠ»ΡΡΠΈΠ»ΠΎΡΡ Ρ ΠΌΠΎΠΈΠΌ ΠΏΡΠΈΡΡΠ΅Π»Π΅ΠΌ Π² ΠΏΡΠΎΡΠ»ΠΎΠΌ Π³ΠΎΠ΄Ρ.ΠΠ½ Π²Π·ΡΠ» ΡΠ°Π·Π»ΠΈΠ² ΠΈ ΠΈΠ·ΡΡΠ΄Π½ΠΎ ΠΏΠΎΠ³Π½ΡΠ» ΠΎΠ±ΠΎΠ΄. ΠΠ³ΠΎ ΠΊΠΎΠ»Π΅ΡΠΎ ΠΏΠΎΡΠ»Π΅ ΡΡΠΎΠ³ΠΎ ΠΏΠΎΡΡΠΈ Π½Π΅ Π²ΡΠ°ΡΠ°Π»ΠΎΡΡ, ΠΏΠΎΡΠΎΠΌΡ ΡΡΠΎ ΠΎΠ½ΠΎ ΡΠ΅ΡΠ»ΠΎ ΡΠΎΡΠΌΠΎΠ·Π½ΠΎΠΉ ΡΡΡΠ°Π³. Π‘ Π΄ΠΈΡΠΊΠΎΠ²ΡΠΌΠΈ ΡΠΎΡΠΌΠΎΠ·Π°ΠΌΠΈ ΡΡΠΎ Π½Π΅ Π±ΡΠ»ΠΎ Π±Ρ ΠΏΡΠΎΠ±Π»Π΅ΠΌΠΎΠΉ, ΠΏΠΎΡΠΎΠΌΡ ΡΡΠΎ ΡΠΎΡΠΌΠΎΠ·Π½ΠΎΠΉ ΠΏΠΎΠ²Π΅ΡΡ Π½ΠΎΡΡΡΡ ΡΠ²Π»ΡΠ΅ΡΡΡ ΡΠΎΡΠΎΡ, Π° Π½Π΅ ΠΊΠΎΠ»Π΅ΡΠΎ.
- ΠΠ±ΠΎΠ΄Π½ΡΠ΅ ΡΠΎΡΠΌΠΎΠ·Π° Π±ΠΎΠ»Π΅Π΅ ΠΎΠΏΠ°ΡΠ½Ρ — ΠΠ±ΠΎΠ΄Π½ΡΠ΅ ΡΠΎΡΠΌΠΎΠ·Π° ΠΎΠ±ΡΡΠ½ΠΎ ΠΈΠΌΠ΅ΡΡ Π±ΠΎΠ»ΡΡΠΈΠΉ ΡΠΎΡΠΌΠΎΠ·Π½ΠΎΠΉ ΠΏΡΡΡ, ΡΠ΅ΠΌ Π΄ΠΈΡΠΊΠΎΠ²ΡΠ΅. ΠΡΠ»ΠΈ Π²Π°ΠΌ Π½ΡΠΆΠ½ΠΎ Π±ΡΡΡΡΠΎ ΠΎΡΡΠ°Π½ΠΎΠ²ΠΈΡΡΡΡ Π² ΡΠΊΡΡΡΠ΅Π½Π½ΠΎΠΉ ΡΠΈΡΡΠ°ΡΠΈΠΈ, Π²ΠΎΠ·ΠΌΠΎΠΆΠ½ΠΎ, Π²Ρ Π½Π΅ ΡΠΌΠΎΠΆΠ΅ΡΠ΅ ΠΎΡΡΠ°Π½ΠΎΠ²ΠΈΡΡΡΡ Π΄ΠΎΡΡΠ°ΡΠΎΡΠ½ΠΎ Π±ΡΡΡΡΠΎ.
- ΠΡ Π½Π΅ ΠΌΠΎΠΆΠ΅ΡΠ΅ Π»Π΅Π³ΠΊΠΎ ΠΈΡΠΏΠΎΠ»ΡΠ·ΠΎΠ²Π°ΡΡ ΠΊΠΎΠ»Π΅ΡΠ° ΡΠ°Π·Π½ΡΡ ΡΠ°Π·ΠΌΠ΅ΡΠΎΠ² — Π£ Π½Π΅ΠΊΠΎΡΠΎΡΡΡ Π³ΠΎΠ½ΡΠΈΠΊΠΎΠ² Π΅ΡΡΡ ΠΎΠ΄ΠΈΠ½ Π²Π΅Π»ΠΎΡΠΈΠΏΠ΅Π΄, Π½Π° ΠΊΠΎΡΠΎΡΠΎΠΌ ΠΎΠ½ΠΈ ΠΌΠ΅Π½ΡΡΡ ΠΊΠΎΠ»Π΅ΡΠ° Π΄Π»Ρ ΡΠ°Π·Π½ΡΡ ΡΠ΅Π»Π΅ΠΉ.ΠΠ°ΠΏΡΠΈΠΌΠ΅Ρ, Π²ΠΎΠ·ΠΌΠΎΠΆΠ½ΠΎ, Ρ Π½ΠΈΡ Π΅ΡΡΡ ΠΊΠΎΠ»Π΅ΡΠ½Π°Ρ ΠΏΠ°ΡΠ° 700c Π΄Π»Ρ Π΅Π·Π΄Ρ ΠΏΠΎ ΡΠΎΡΡΠ΅ ΠΈ ΠΊΠΎΠ»Π΅ΡΠ½Π°Ρ ΠΏΠ°ΡΠ° 650b Π΄Π»Ρ Π΅Π·Π΄Ρ Π½Π° Π³ΠΎΡΠ½ΡΡ Π²Π΅Π»ΠΎΡΠΈΠΏΠ΅Π΄Π°Ρ . ΠΡ Π½Π΅ ΠΌΠΎΠΆΠ΅ΡΠ΅ ΡΠ΄Π΅Π»Π°ΡΡ ΡΡΠΎ Ρ ΠΎΠ±ΠΎΠ΄Π½ΡΠΌΠΈ ΡΠΎΡΠΌΠΎΠ·Π°ΠΌΠΈ, ΠΏΠΎΡΠΎΠΌΡ ΡΡΠΎ ΠΎΠ±ΠΎΠ΄ Π½Π°Ρ ΠΎΠ΄ΠΈΡΡΡ Π² Π΄ΡΡΠ³ΠΎΠΌ ΠΌΠ΅ΡΡΠ΅ ΠΏΠΎ ΠΎΡΠ½ΠΎΡΠ΅Π½ΠΈΡ ΠΊ ΡΠ°ΠΌΠ΅. ΠΡΠ»ΠΈ Π²Ρ Ρ ΠΎΡΠΈΡΠ΅ Π΅Π·Π΄ΠΈΡΡ Π½Π° ΠΊΠΎΠ»Π΅ΡΠ°Ρ Π΄ΡΡΠ³ΠΎΠ³ΠΎ ΡΠ°Π·ΠΌΠ΅ΡΠ°, Π²Π°ΠΌ ΠΏΠΎΠ½Π°Π΄ΠΎΠ±ΠΈΡΡΡ Π΄ΡΡΠ³ΠΎΠΉ Π²Π΅Π»ΠΎΡΠΈΠΏΠ΅Π΄. ΠΠΈΡΠΊΠΈ Π²ΡΠ΅Π³Π΄Π° Π½Π°Ρ ΠΎΠ΄ΡΡΡΡ Π² ΠΎΠ΄Π½ΠΎΠΌ ΠΈ ΡΠΎΠΌ ΠΆΠ΅ ΠΌΠ΅ΡΡΠ΅, Π½Π΅Π·Π°Π²ΠΈΡΠΈΠΌΠΎ ΠΎΡ ΡΠ°Π·ΠΌΠ΅ΡΠ° ΠΊΠΎΠ»Π΅ΡΠ°.
- ΠΠ°ΠΌ Π½Π΅ΠΎΠ±Ρ ΠΎΠ΄ΠΈΠΌΠΎ ΡΠ°ΡΡΠΎ ΡΠΈΡΡΠΈΡΡ Π΄ΠΈΡΠΊΠΈ ΠΈ ΡΠΎΡΠΌΠΎΠ·Π½ΡΠ΅ ΠΊΠΎΠ»ΠΎΠ΄ΠΊΠΈ- ΠΠ΅ΡΠΎΠΊ, Π³ΡΡΠ·Ρ ΠΈΠ»ΠΈ Π΄ΡΡΠ³ΠΎΠΉ ΠΌΡΡΠΎΡ Π·Π°ΡΡΡΠ΅Π²Π°Π΅Ρ Π½Π° Π²Π°ΡΠ΅ΠΌ Π΄ΠΈΡΠΊΠ΅ ΠΈ ΡΠΎΡΠΌΠΎΠ·Π½ΡΡ ΠΊΠΎΠ»ΠΎΠ΄ΠΊΠ°Ρ .ΠΠΎΠ³Π΄Π° Π²Ρ Π½Π°ΠΆΠΈΠΌΠ°Π΅ΡΠ΅ Π½Π° ΡΠΎΡΠΌΠΎΠ·, ΠΎΠ½ ΡΠ°ΡΠ°ΠΏΠ°Π΅Ρ Π²Π°ΡΠΈ Π΄ΠΈΡΠΊΠΈ. ΠΡΠ»ΠΈ Π½Π΅ ΡΡΠΈΡΡΠΈΡΡ ΠΌΡΡΠΎΡ, Π² ΠΊΠΎΠ½Π΅ΡΠ½ΠΎΠΌ ΠΈΡΠΎΠ³Π΅ ΠΎΠ½ ΠΌΠΎΠΆΠ΅Ρ ΡΠ°Π·ΡΡΡΠΈΡΡ Π²Π°ΡΠΈ Π΄ΠΈΡΠΊΠΈ. Π― ΡΡΠ²ΠΎΠΈΠ» ΡΡΠΎ Π½Π° ΡΠΎΠ±ΡΡΠ²Π΅Π½Π½ΠΎΠΌ Π³ΠΎΡΡΠΊΠΎΠΌ ΠΎΠΏΡΡΠ΅ ΠΏΠΎΡΠ»Π΅ ΡΠΎΠ³ΠΎ, ΠΊΠ°ΠΊ ΠΊΠ°ΡΠ°Π»ΡΡ ΠΏΠΎ ΠΏΠ»ΡΠΆΡ ΠΈ Π½Π΅ ΡΠΈΡΡΠΈΠ» ΡΠ²ΠΎΠΉ ΠΎΠ±ΠΎΠ΄ ΡΡΠ°Π·Ρ ΠΏΠΎΡΠ»Π΅ ΡΡΠΎΠ³ΠΎ.
- ΠΠ±ΠΎΠ΄Π½ΡΠ΅ ΡΠΎΡΠΌΠΎΠ·Π° Π½Π΅ ΡΠ°ΠΊ ΡΠΎΡΠ½Ρ- ΠΡ Π½Π΅ ΠΌΠΎΠΆΠ΅ΡΠ΅ ΡΠ°ΠΊ ΡΠΎΡΠ½ΠΎ ΠΊΠΎΠ½ΡΡΠΎΠ»ΠΈΡΠΎΠ²Π°ΡΡ, Π½Π°ΡΠΊΠΎΠ»ΡΠΊΠΎ ΡΠΈΠ»ΡΠ½ΠΎ Π²Ρ ΡΠΎΡΠΌΠΎΠ·ΠΈΡΠ΅. ΠΠ°ΡΠΈ ΠΊΠΎΠ»Π΅ΡΠ° Ρ Π±ΠΎΠ»ΡΡΠ΅ΠΉ Π²Π΅ΡΠΎΡΡΠ½ΠΎΡΡΡΡ Π·Π°Π±Π»ΠΎΠΊΠΈΡΡΡΡΡΡ. ΠΡΠΎ Π΄Π΅Π»Π°Π΅Ρ Π΅Π·Π΄Ρ ΠΏΠΎ ΡΡΡΠ΄Π½ΠΎΠΏΡΠΎΡ ΠΎΠ΄ΠΈΠΌΠΎΠΉ ΠΌΠ΅ΡΡΠ½ΠΎΡΡΠΈ Π½Π΅ΠΌΠ½ΠΎΠ³ΠΎ ΡΠ»ΠΎΠΆΠ½Π΅Π΅, ΠΏΠΎΡΠΎΠΌΡ ΡΡΠΎ Π²Ρ Ρ Π±ΠΎΠ»ΡΡΠ΅ΠΉ Π²Π΅ΡΠΎΡΡΠ½ΠΎΡΡΡΡ ΠΏΠΎΡΠ΅ΡΡΠ΅ΡΠ΅ ΡΡΠ΅ΠΏΠ»Π΅Π½ΠΈΠ΅ Ρ Π΄ΠΎΡΠΎΠ³ΠΎΠΉ.
- ΠΡΠΏΠΎΠ»ΡΠ·ΠΎΠ²Π°Π½ΠΈΠ΅ ΠΎΠ±ΠΎΠ΄Π½ΡΡ ΡΠΎΡΠΌΠΎΠ·ΠΎΠ² Π½Π΅ ΡΠ°ΠΊ ΠΏΡΠΈΡΡΠ½ΠΎ- ΠΡΠΎ ΠΌΠΎΠΆΠ΅Ρ Π±ΡΡΡ Π»ΠΈΡΠ½ΡΠΌ ΠΏΡΠ΅Π΄ΠΏΠΎΡΡΠ΅Π½ΠΈΠ΅ΠΌ ΠΈΠ»ΠΈ ΠΌΠΎΠΆΠ΅Ρ Π±ΡΡΡ ΡΠ²ΡΠ·Π°Π½ΠΎ Ρ ΠΊΠ°ΡΠ΅ΡΡΠ²ΠΎΠΌ ΡΠΎΡΠΌΠΎΠ·ΠΎΠ², ΠΊΠΎΡΠΎΡΡΠ΅ Ρ ΠΈΡΠΏΠΎΠ»ΡΠ·ΠΎΠ²Π°Π», Π½ΠΎ ΠΎΠ±ΠΎΠ΄Π½ΡΠ΅ ΡΠΎΡΠΌΠΎΠ·Π° ΠΏΡΠΎΡΡΠΎ Π½Π΅ ΠΊΠ°ΠΆΡΡΡΡ ΡΠ°ΠΊΠΈΠΌΠΈ ΠΏΡΠΎΡΠ½ΡΠΌΠΈ, ΠΊΠΎΠ³Π΄Π° Ρ Π±Π΅ΡΡ ΡΠΎΡΠΌΠΎΠ·Π½ΠΎΠΉ ΡΡΡΠ°Π³ .
- ΠΠ±ΠΎΠ΄Π½ΡΠ΅ ΡΠΎΡΠΌΠΎΠ·Π½ΡΠ΅ ΠΊΠΎΠ»ΠΎΠ΄ΠΊΠΈ Π½Π΅ ΡΠ»ΡΠΆΠ°Ρ ΡΠ°ΠΊ Π΄ΠΎΠ»Π³ΠΎ — ΠΠ±ΠΎΠ΄Π½ΡΠ΅ ΠΊΠΎΠ»ΠΎΠ΄ΠΊΠΈ ΠΈΠ·Π³ΠΎΡΠΎΠ²Π»Π΅Π½Ρ ΠΈΠ· Π±ΠΎΠ»Π΅Π΅ ΠΌΡΠ³ΠΊΠΎΠ³ΠΎ ΠΌΠ°ΡΠ΅ΡΠΈΠ°Π»Π° Π΄Π»Ρ ΡΠ²Π΅Π»ΠΈΡΠ΅Π½ΠΈΡ Π΄ΠΎΠ»Π³ΠΎΠ²Π΅ΡΠ½ΠΎΡΡΠΈ ΠΎΠ±ΠΎΠ΄Π°. ΠΠΎΡΠΊΠΎΠ»ΡΠΊΡ ΠΊΠΎΠ»ΠΎΠ΄ΠΊΠΈ ΡΠ΄Π΅Π»Π°Π½Ρ ΠΈΠ· Π±ΠΎΠ»Π΅Π΅ ΠΌΡΠ³ΠΊΠΎΠ³ΠΎ ΠΌΠ°ΡΠ΅ΡΠΈΠ°Π»Π°, ΠΎΠ½ΠΈ Π±ΡΡΡΡΠ΅Π΅ ΠΈΠ·Π½Π°ΡΠΈΠ²Π°ΡΡΡΡ.
- ΠΠ±ΠΎΠ΄Π½ΡΠ΅ ΡΠΎΡΠΌΠΎΠ·Π° ΠΌΠΎΠ³ΡΡ ΠΎΠ³ΡΠ°Π½ΠΈΡΠΈΠ²Π°ΡΡ ΠΌΠ°ΠΊΡΠΈΠΌΠ°Π»ΡΠ½ΡΡ ΡΠΈΡΠΈΠ½Ρ ΡΠΈΠ½Ρ — ΠΠ±ΠΎΠ΄Π½ΡΠ΅ ΡΠΎΡΠΌΠΎΠ·Π½ΡΠ΅ ΡΡΡΠ°Π³ΠΈ Π΄ΠΎΠ»ΠΆΠ½Ρ Π΄ΠΎΡ ΠΎΠ΄ΠΈΡΡ Π΄ΠΎ Π²Π°ΡΠΈΡ ΡΠΈΠ½, ΡΡΠΎΠ±Ρ ΠΎΠ½ΠΈ ΠΌΠΎΠ³Π»ΠΈ ΡΠ΄Π΅ΡΠΆΠΈΠ²Π°ΡΡ ΠΎΠ±ΠΎΠ΄. ΠΠ΅ΠΊΠΎΡΠΎΡΡΠ΅ ΠΎΠ±ΠΎΠ΄Π½ΡΠ΅ ΡΠΎΡΠΌΠΎΠ·Π½ΡΠ΅ ΡΡΠΏΠΏΠΎΡΡΡ ΡΠ»ΠΈΡΠΊΠΎΠΌ ΡΠ·ΠΊΠΈΠ΅ Π΄Π»Ρ ΡΡΡΠ°Π½ΠΎΠ²ΠΊΠΈ ΡΠΈΡΠΎΠΊΠΈΡ ΡΠΈΠ½. Π¨ΠΈΠ½Ρ Π±ΡΠ΄ΡΡ Π½Π°ΡΠΈΡΠ°ΡΡ ΡΠΎΡΠΌΠΎΠ·Π½ΡΠ΅ ΡΡΡΠ°Π³ΠΈ ΠΈΠ»ΠΈ ΠΏΡΠΎΡΡΠΎ Π½Π΅ ΠΏΠΎΠΌΠ΅ΡΠ°ΡΡΡΡ ΠΌΠ΅ΠΆΠ΄Ρ ΠΊΠΎΠ»ΠΎΠ΄ΠΊΠ°ΠΌΠΈ. ΠΠΈΡΠΊΠΎΠ²ΡΠ΅ ΡΠΎΡΠΌΠΎΠ·Π° Π½Π΅ ΠΎΠ³ΡΠ°Π½ΠΈΡΠΈΠ²Π°ΡΡ ΡΠΈΡΠΈΠ½Ρ ΡΠΈΠ½.ΠΠ°ΡΠ° ΡΠ°ΠΌΠ° ΠΈ Π΄ΠΈΡΠΊΠΈ — Π΅Π΄ΠΈΠ½ΡΡΠ²Π΅Π½Π½ΡΠ΅ ΠΎΠ³ΡΠ°Π½ΠΈΡΠΈΡΠ΅Π»ΠΈ.
- ΠΠ±ΠΎΠ΄Π½ΡΠ΅ ΡΠΎΡΠΌΠΎΠ·Π° ΠΌΠ΅Π½Π΅Π΅ ΡΠ΅Ρ Π½ΠΎΠ»ΠΎΠ³ΠΈΡΠ½Ρ- ΠΠΎΡΠ»Π΅ Π½Π΅Π΄Π°Π²Π½Π΅Π³ΠΎ ΠΏΠ΅ΡΠ΅Ρ ΠΎΠ΄Π° Ρ ΠΎΠ±ΠΎΠ΄Π½ΡΡ ΡΠΎΡΠΌΠΎΠ·ΠΎΠ² Π½Π° Π΄ΠΈΡΠΊΠΎΠ²ΡΠ΅ Π² ΠΏΡΠΎΡΠ΅ΡΡΠΈΠΎΠ½Π°Π»ΡΠ½ΠΎΠΌ Π²Π΅Π»ΠΎΡΠΏΠΎΡΡΠ΅, Π² ΡΠ΅Ρ Π½ΠΎΠ»ΠΎΠ³ΠΈΠΈ Π΄ΠΈΡΠΊΠΎΠ²ΡΡ ΡΠΎΡΠΌΠΎΠ·ΠΎΠ² ΠΈΠ΄Π΅Ρ Π±ΠΎΠ»ΡΡΠ΅ ΠΈΡΡΠ»Π΅Π΄ΠΎΠ²Π°Π½ΠΈΠΉ ΠΈ ΡΠ°Π·ΡΠ°Π±ΠΎΡΠΎΠΊ, ΡΠ΅ΠΌ ΠΊΠΎΠ³Π΄Π°-Π»ΠΈΠ±ΠΎ. Π Π°Π²ΡΠΎΠΌΠΎΠ±ΠΈΠ»ΡΠ½ΠΎΠΉ ΠΏΡΠΎΠΌΡΡΠ»Π΅Π½Π½ΠΎΡΡΠΈ Π΄ΠΈΡΠΊΠΎΠ²ΡΠ΅ ΡΠΎΡΠΌΠΎΠ·Π° ΠΈΡΠΏΠΎΠ»ΡΠ·ΡΡΡΡΡ ΡΠΆΠ΅ ΠΌΠ½ΠΎΠ³ΠΎ Π»Π΅Ρ. ΠΠ΅ΠΊΠΎΡΠΎΡΡΠ΅ ΠΈΠ· ΡΡΠΈΡ ΡΠ΅Ρ Π½ΠΎΠ»ΠΎΠ³ΠΈΠΉ ΠΌΠΎΠΆΠ½ΠΎ ΠΏΡΠΈΠΌΠ΅Π½ΠΈΡΡ ΠΈ ΠΊ Π²Π΅Π»ΠΎΡΠΈΠΏΠ΅Π΄Π°ΠΌ. Π Π΅Π·ΡΠ»ΡΡΠ°Ρ — Π½Π΅Π²Π΅ΡΠΎΡΡΠ½ΠΎ ΠΏΠ»Π°Π²Π½ΠΎΠ΅, ΡΡΠ°Π±ΠΈΠ»ΡΠ½ΠΎΠ΅ ΠΈ Π½Π°Π΄Π΅ΠΆΠ½ΠΎΠ΅ ΡΠΎΡΠΌΠΎΠΆΠ΅Π½ΠΈΠ΅.
- ΠΠ±ΠΎΠ΄Π½ΡΠ΅ ΡΠΎΡΠΌΠΎΠ·Π° ΡΡΡΠ°ΡΠ΅Π»ΠΈ- ΠΠ΅Π»ΠΎΡΠΈΠΏΠ΅Π΄Π½Π°Ρ ΠΏΡΠΎΠΌΡΡΠ»Π΅Π½Π½ΠΎΡΡΡ ΠΎΡΠΊΠ°Π·ΡΠ²Π°Π΅ΡΡΡ ΠΎΡ ΠΎΠ±ΠΎΠ΄Π½ΡΡ
ΡΠΎΡΠΌΠΎΠ·ΠΎΠ².ΠΡΠ»ΠΈ Π²Ρ Ρ
ΠΎΡΠΈΡΠ΅ ΠΊΡΠΏΠΈΡΡ Π½ΠΎΠ²ΡΠΉ Π²Π΅Π»ΠΎΡΠΈΠΏΠ΅Π΄, Π½Π° ΠΊΠΎΡΠΎΡΠΎΠΌ ΠΏΠ»Π°Π½ΠΈΡΡΠ΅ΡΠ΅ Π΅Π·Π΄ΠΈΡΡ ΠΌΠ½ΠΎΠ³ΠΎ Π»Π΅Ρ, Π²ΠΎΠ·ΠΌΠΎΠΆΠ½ΠΎ, Π²Ρ Π·Π°Ρ
ΠΎΡΠΈΡΠ΅ ΠΈΡΠΏΠΎΠ»ΡΠ·ΠΎΠ²Π°ΡΡ Π΄ΠΈΡΠΊΠΎΠ²ΡΠ΅ ΡΠΎΡΠΌΠΎΠ·Π°, ΡΡΠΎΠ±Ρ ΡΠ΄Π΅Π»Π°ΡΡ ΡΠ²ΠΎΠΉ Π²Π΅Π»ΠΎΡΠΈΠΏΠ΅Π΄ Π±ΠΎΠ»Π΅Π΅ Π½Π°Π΄Π΅ΠΆΠ½ΡΠΌ Π² Π±ΡΠ΄ΡΡΠ΅ΠΌ. ΠΡΠΎ Π·Π½Π°Π΅Ρ, ΠΌΠΎΠΆΠ΅Ρ Π±ΡΡΡ, ΡΠ΅ΡΠ΅Π· 20 Π»Π΅Ρ Π±ΡΠ΄Π΅Ρ ΡΠ»ΠΎΠΆΠ½ΠΎ Π½Π°ΠΉΡΠΈ Π½ΠΎΠ²ΡΠ΅ ΠΎΠ±ΠΎΠ΄Π½ΡΠ΅ ΡΠΎΡΠΌΠΎΠ·Π°. Π₯ΠΎΡΡ, Π½Π°Π²Π΅ΡΠ½ΠΎΠ΅, Π½Π΅Ρ.
ΠΡΠ»ΠΈ Π²Ρ ΡΠ΅ΡΠΈΡΠ΅ ΠΈΡΠΏΠΎΠ»ΡΠ·ΠΎΠ²Π°ΡΡ ΡΡΠ°ΡΡΠ΅ Π΄ΠΎΠ±ΡΡΠ΅ ΠΎΠ±ΠΎΠ΄Π½ΡΠ΅ ΡΠΎΡΠΌΠΎΠ·Π° ΠΈΠ»ΠΈ ΠΏΠ΅ΡΠ΅ΠΉΡΠΈ Π½Π° Π΄ΠΈΡΠΊΠΎΠ²ΡΠ΅ ΡΠΎΡΠΌΠΎΠ·Π°, Ρ Π²Π°Ρ Π΅ΡΡΡ Π²ΡΠ±ΠΎΡ. Π Π°ΠΌΠ° ΠΈ Π²ΠΈΠ»ΠΊΠ° Π²Π΅Π»ΠΎΡΠΈΠΏΠ΅Π΄Π° ΠΎΠΏΡΠ΅Π΄Π΅Π»ΡΡΡ, ΠΊΠ°ΠΊΠΎΠΉ ΡΠΈΠΏ ΡΠΎΡΠΌΠΎΠ·ΠΎΠ² Π²Ρ ΠΌΠΎΠΆΠ΅ΡΠ΅ ΠΈΡΠΏΠΎΠ»ΡΠ·ΠΎΠ²Π°ΡΡ.ΠΠ½ΠΎΠ³ΠΈΠ΅ Π²Π΅Π»ΠΎΡΠΈΠΏΠ΅Π΄Ρ Ρ Π΄ΠΈΡΠΊΠΎΠ²ΡΠΌΠΈ ΡΠΎΡΠΌΠΎΠ·Π°ΠΌΠΈ ΡΠ°ΠΊΠΆΠ΅ ΠΈΠΌΠ΅ΡΡ ΡΠΎΡΠΊΠΈ ΠΊΡΠ΅ΠΏΠ»Π΅Π½ΠΈΡ Π΄Π»Ρ ΠΎΠ±ΠΎΠ΄Π½ΡΡ ΡΠΎΡΠΌΠΎΠ·ΠΎΠ². ΠΠΎΠ»ΡΡΠΈΠ½ΡΡΠ²ΠΎ Π²Π΅Π»ΠΎΡΠΈΠΏΠ΅Π΄ΠΎΠ² Ρ ΠΎΠ±ΠΎΠ΄Π½ΡΠΌΠΈ ΡΠΎΡΠΌΠΎΠ·Π°ΠΌΠΈ Π½Π΅ΡΠΎΠ²ΠΌΠ΅ΡΡΠΈΠΌΡ Ρ Π΄ΠΈΡΠΊΠΎΠ²ΡΠΌΠΈ ΡΠΎΡΠΌΠΎΠ·Π°ΠΌΠΈ, ΠΏΠΎΡΠΎΠΌΡ ΡΡΠΎ Ρ Π½ΠΈΡ Π½Π΅Ρ Π½Π΅ΠΎΠ±Ρ ΠΎΠ΄ΠΈΠΌΡΡ ΡΠΎΡΠ΅ΠΊ ΠΊΡΠ΅ΠΏΠ»Π΅Π½ΠΈΡ Π΄Π»Ρ Π΄ΠΈΡΠΊΠΎΠ²ΡΡ ΡΠΎΡΠΎΡΠΎΠ² ΠΈ ΡΡΠΏΠΏΠΎΡΡΠΎΠ².
Π’ΠΈΠΏΡ Π΄ΠΈΡΠΊΠΎΠ²ΡΡ ΡΠΎΡΠΌΠΎΠ·ΠΎΠ²: ΠΌΠ΅Ρ Π°Π½ΠΈΡΠ΅ΡΠΊΠΈΠ΅ ΠΏΡΠΎΡΠΈΠ² Π³ΠΈΠ΄ΡΠ°Π²Π»ΠΈΡΠ΅ΡΠΊΠΈΡ .
ΠΠ΅Ρ Π°Π½ΠΈΡΠ΅ΡΠΊΠΈΠ΅ Π΄ΠΈΡΠΊΠΎΠ²ΡΠ΅ ΡΠΎΡΠΌΠΎΠ·Π° ΡΠ°Π±ΠΎΡΠ°ΡΡ ΡΠΎ ΡΡΠ°Π»ΡΠ½ΡΠΌ ΡΡΠΎΡΠΎΠΌ Π² ΠΎΠΏΠ»Π΅ΡΠΊΠ΅, ΠΊΠ°ΠΊ ΠΈ ΠΎΠ±ΠΎΠ΄Π½ΡΠ΅ ΡΠΎΡΠΌΠΎΠ·Π°. Π‘ΠΈΡΡΠ΅ΠΌΠ° ΡΠ°Π±ΠΎΡΠ°Π΅Ρ ΡΠΎΡΠ½ΠΎ ΡΠ°ΠΊ ΠΆΠ΅. ΠΠΎΠ³Π΄Π° Π²Ρ ΡΡΠ½Π΅ΡΠ΅ Π·Π° ΡΡΡΠ°Π³ ΡΠΎΡΠΌΠΎΠ·Π°, ΡΡΠΎΡ ΡΡΠ½Π΅Ρ Π·Π° ΡΡΡΠ°Π³ Π½Π° ΡΡΠΏΠΏΠΎΡΡΠ΅. ΠΡΠΎΡ ΡΡΡΠ°Π³ ΠΏΡΠΈΠΆΠΈΠΌΠ°Π΅Ρ ΠΊΠΎΠ»ΠΎΠ΄ΠΊΠΈ ΠΊ ΡΠΎΡΠΎΡΡ, ΡΠΎΠ·Π΄Π°Π²Π°Ρ ΡΡΠ΅Π½ΠΈΠ΅ ΠΈ ΠΎΡΡΠ°Π½Π°Π²Π»ΠΈΠ²Π°Ρ Π²Π΅Π»ΠΎΡΠΈΠΏΠ΅Π΄.Π ΠΌΠ΅Ρ Π°Π½ΠΈΡΠ΅ΡΠΊΠΈΡ Π΄ΠΈΡΠΊΠΎΠ²ΡΡ ΡΠΎΡΠΌΠΎΠ·Π°Ρ ΠΈΡΠΏΠΎΠ»ΡΠ·ΡΡΡΡΡ ΡΠ΅ ΠΆΠ΅ ΠΊΠΎΠ»ΠΎΠ΄ΠΊΠΈ ΠΈ ΡΠΎΡΠΎΡΡ, ΡΡΠΎ ΠΈ Π² Π³ΠΈΠ΄ΡΠ°Π²Π»ΠΈΡΠ΅ΡΠΊΠΈΡ Π΄ΠΈΡΠΊΠΎΠ²ΡΡ ΡΠΎΡΠΌΠΎΠ·Π°Ρ .
ΠΡΠ΅ΠΈΠΌΡΡΠ΅ΡΡΠ²Π° ΠΌΠ΅Ρ Π°Π½ΠΈΡΠ΅ΡΠΊΠΈΡ Π΄ΠΈΡΠΊΠΎΠ²ΡΡ ΡΠΎΡΠΌΠΎΠ·ΠΎΠ² — Π΄ΠΎΡΡΡΠΏΠ½ΠΎΡΡΡ ΠΈ ΠΏΡΠΎΡΡΠΎΡΠ°. ΠΠ½ΠΈ ΡΠ°ΠΊΠΆΠ΅ ΡΠΎΠ²ΠΌΠ΅ΡΡΠΈΠΌΡ Ρ ΡΠ΅ΠΌΠΈ ΠΆΠ΅ ΡΠΎΡΠΌΠΎΠ·Π½ΡΠΌΠΈ ΡΡΡΠ°Π³Π°ΠΌΠΈ ΠΈ Π²ΡΡΡΠΎΠ΅Π½Π½ΡΠΌΠΈ ΠΏΠ΅ΡΠ΅ΠΊΠ»ΡΡΠ°ΡΠ΅Π»ΡΠΌΠΈ, ΡΡΠΎ ΠΈ ΠΎΠ±ΠΎΠ΄Π½ΡΠ΅ ΡΠΎΡΠΌΠΎΠ·Π°.
ΠΡΠ½ΠΎΠ²Π½ΡΠ΅ Π½Π΅Π΄ΠΎΡΡΠ°ΡΠΊΠΈ ΠΌΠ΅Ρ Π°Π½ΠΈΡΠ΅ΡΠΊΠΈΡ Π΄ΠΈΡΠΊΠΎΠ²ΡΡ ΡΠΎΡΠΌΠΎΠ·ΠΎΠ² Π·Π°ΠΊΠ»ΡΡΠ°ΡΡΡΡ Π² ΡΠΎΠΌ, ΡΡΠΎ ΠΎΠ½ΠΈ Π½Π΅ ΡΠ°Π±ΠΎΡΠ°ΡΡ ΡΠ°ΠΊ ΠΆΠ΅ Ρ ΠΎΡΠΎΡΠΎ, ΠΊΠ°ΠΊ Π³ΠΈΠ΄ΡΠ°Π²Π»ΠΈΡΠ΅ΡΠΊΠΈΠ΅ Π΄ΠΈΡΠΊΠΎΠ²ΡΠ΅ ΡΠΎΡΠΌΠΎΠ·Π°. ΠΠ½ΠΈ Π½Π΅ ΠΎΠ±Π΅ΡΠΏΠ΅ΡΠΈΠ²Π°ΡΡ ΡΠ°ΠΊΠΎΠ΅ Π±ΠΎΠ»ΡΡΠΎΠ΅ ΡΠΎΡΠΌΠΎΠ·Π½ΠΎΠ΅ ΡΡΠΈΠ»ΠΈΠ΅, ΠΎΠ½ΠΈ ΠΌΠ΅Π½Π΅Π΅ ΡΡΠ²ΡΡΠ²ΠΈΡΠ΅Π»ΡΠ½Ρ, ΠΈ Π²Π°ΠΌ Π½ΡΠΆΠ½ΠΎ ΡΠΈΠ»ΡΠ½Π΅Π΅ Π½Π°ΠΆΠΈΠΌΠ°ΡΡ Π½Π° ΡΡΡΠ°Π³ ΡΠΎΡΠΌΠΎΠ·Π°, ΡΡΠΎΠ±Ρ ΠΎΡΡΠ°Π½ΠΎΠ²ΠΈΡΡ Π²Π΅Π»ΠΎΡΠΈΠΏΠ΅Π΄.ΠΡ ΡΠ°ΠΊΠΆΠ΅ ΡΠ»ΠΎΠΆΠ½ΠΎ ΠΏΡΠ°Π²ΠΈΠ»ΡΠ½ΠΎ ΠΎΡΡΠ΅Π³ΡΠ»ΠΈΡΠΎΠ²Π°ΡΡ. ΠΡΠ»ΠΈ ΠΊΠ°Π±Π΅Π»Ρ Π½Π΅ΠΏΡΠ°Π²ΠΈΠ»ΡΠ½ΡΠΉ, ΠΊΠΎΠ»ΠΎΠ΄ΠΊΠΈ ΡΡΡΡΡΡ ΠΎ Π΄ΠΈΡΠΊ. ΠΠ΅Ρ Π°Π½ΠΈΡΠ΅ΡΠΊΠΈΠ΅ Π΄ΠΈΡΠΊΠΎΠ²ΡΠ΅ ΡΠΎΡΠΌΠΎΠ·Π° ΡΠ°ΠΊΠΆΠ΅ ΡΡΠΆΠ΅Π»Π΅Π΅ Π³ΠΈΠ΄ΡΠ°Π²Π»ΠΈΡΠ΅ΡΠΊΠΈΡ .
ΠΠΈΠ΄ΡΠ°Π²Π»ΠΈΡΠ΅ΡΠΊΠΈΠ΅ Π΄ΠΈΡΠΊΠΎΠ²ΡΠ΅ ΡΠΎΡΠΌΠΎΠ·Π° ΡΠ°Π±ΠΎΡΠ°ΡΡ Ρ ΡΡΡΠ±ΠΊΠΎΠΉ, Π·Π°ΠΏΠΎΠ»Π½Π΅Π½Π½ΠΎΠΉ ΠΆΠΈΠ΄ΠΊΠΎΡΡΡΡ. ΠΠΎΠ³Π΄Π° Π²Ρ Π½Π°ΠΆΠΈΠΌΠ°Π΅ΡΠ΅ Π½Π° ΡΡΡΠ°Π³ ΡΠΎΡΠΌΠΎΠ·Π°, Π² ΡΡΡΠΎΠΏΠ΅ ΠΎΠΊΠ°Π·ΡΠ²Π°Π΅ΡΡΡ Π΄Π°Π²Π»Π΅Π½ΠΈΠ΅. ΠΡΠΎ Π΄Π°Π²Π»Π΅Π½ΠΈΠ΅ ΠΏΠ΅ΡΠ΅ΠΌΠ΅ΡΠ°Π΅Ρ ΠΏΠΎΡΡΠ΅Π½Ρ Π² ΡΡΠΏΠΏΠΎΡΡΠ΅. ΠΠΎΡΡΠ΅Π½Ρ ΠΏΡΠΈΠΆΠΈΠΌΠ°Π΅Ρ ΠΊΠΎΠ»ΠΎΠ΄ΠΊΠΈ ΠΊ ΡΠΎΡΠΎΡΡ. ΠΡΠ° ΠΆΠ΅ ΡΠ΅Ρ Π½ΠΎΠ»ΠΎΠ³ΠΈΡ ΠΈΡΠΏΠΎΠ»ΡΠ·ΡΠ΅ΡΡΡ Π² Π΄ΠΈΡΠΊΠΎΠ²ΡΡ ΡΠΎΡΠΌΠΎΠ·Π°Ρ Π°Π²ΡΠΎΠΌΠΎΠ±ΠΈΠ»Π΅ΠΉ ΠΈ ΠΌΠΎΡΠΎΡΠΈΠΊΠ»ΠΎΠ².
ΠΡΠ½ΠΎΠ²Π½ΠΎΠ΅ ΠΏΡΠ΅ΠΈΠΌΡΡΠ΅ΡΡΠ²ΠΎ Π³ΠΈΠ΄ΡΠ°Π²Π»ΠΈΡΠ΅ΡΠΊΠΈΡ Π΄ΠΈΡΠΊΠΎΠ²ΡΡ ΡΠΎΡΠΌΠΎΠ·ΠΎΠ² — ΠΏΡΠΎΠΈΠ·Π²ΠΎΠ΄ΠΈΡΠ΅Π»ΡΠ½ΠΎΡΡΡ.ΠΠ½ΠΈ ΠΎΠ±Π»Π°Π΄Π°ΡΡ ΡΠΈΠ»ΡΠ½ΡΠΌ ΠΈ ΠΏΠΎΡΡΠΎΡΠ½Π½ΡΠΌ ΡΠΎΡΠΌΠΎΠ·Π½ΡΠΌ ΡΡΠΈΠ»ΠΈΠ΅ΠΌ Π·Π° ΡΡΠ΅Ρ ΡΠ½ΠΈΠΆΠ΅Π½ΠΈΡ ΡΡΠ΅Π½ΠΈΡ Π² ΡΠΈΡΡΠ΅ΠΌΠ΅. Π’ΠΎΡΠΌΠΎΠ·Π° ΡΠΎΠΆΠ΅ ΡΠΎΡΠ½Π΅Π΅. ΠΡΠ΅ ΠΎΠ΄Π½ΠΈΠΌ ΠΏΡΠ΅ΠΈΠΌΡΡΠ΅ΡΡΠ²ΠΎΠΌ Π³ΠΈΠ΄ΡΠ°Π²Π»ΠΈΡΠ΅ΡΠΊΠΈΡ Π΄ΠΈΡΠΊΠΎΠ²ΡΡ ΡΠΎΡΠΌΠΎΠ·ΠΎΠ² ΡΠ²Π»ΡΠ΅ΡΡΡ ΡΠΎ, ΡΡΠΎ ΠΎΠ½ΠΈ ΡΡΠ΅Π±ΡΡΡ ΠΌΠ΅Π½ΡΡΠ΅Π³ΠΎ ΠΎΠ±ΡΠ»ΡΠΆΠΈΠ²Π°Π½ΠΈΡ ΠΏΠΎΡΠ»Π΅ ΡΡΡΠ°Π½ΠΎΠ²ΠΊΠΈ. ΠΡΠΎ Π·Π°ΠΌΠΊΠ½ΡΡΠ°Ρ ΡΠΈΡΡΠ΅ΠΌΠ°, Π½Π° ΠΊΠΎΡΠΎΡΡΡ ΠΌΠ΅Π½Π΅Π΅ Π²Π΅ΡΠΎΡΡΠ½ΠΎ ΠΏΠΎΠΏΠ°Π΄Π°Π½ΠΈΠ΅ Π³ΡΡΠ·ΠΈ, ΠΏΠ΅ΡΠΊΠ° ΠΈ Π΄ΡΡΠ³ΠΎΠ³ΠΎ ΠΌΡΡΠΎΡΠ°. Π‘ΠΈΡΡΠ΅ΠΌΠ° ΡΠ°ΠΊΠΆΠ΅ Π»Π΅Π³ΡΠ΅.
ΠΡΠ½ΠΎΠ²Π½ΡΠ΅ Π½Π΅Π΄ΠΎΡΡΠ°ΡΠΊΠΈ — ΡΡΠΎΠΈΠΌΠΎΡΡΡ, ΠΎΠ±ΡΠ»ΡΠΆΠΈΠ²Π°Π½ΠΈΠ΅ ΠΈ ΡΠ»ΠΎΠΆΠ½ΠΎΡΡΡ. Π‘ΠΈΡΡΠ΅ΠΌΠ° ΠΏΡΠΎΡΡΠΎ Π΄ΠΎΡΠΎΠΆΠ΅. Π ΡΡΠ°Π³ΠΈ, ΡΡΠΏΠΏΠΎΡΡΡ ΠΈ ΡΠΎΡΠΌΠΎΠ·Π½ΡΠ΅ ΠΌΠ°Π³ΠΈΡΡΡΠ°Π»ΠΈ ΡΡΠΎΡΡ Π΄ΠΎΡΠΎΠΆΠ΅.Π’Π΅Ρ Π½ΠΈΡΠ΅ΡΠΊΠΎΠ΅ ΠΎΠ±ΡΠ»ΡΠΆΠΈΠ²Π°Π½ΠΈΠ΅ — ΡΠΎΠΆΠ΅ ΠΏΡΠΎΠ±Π»Π΅ΠΌΠ°. ΠΠ΅ΡΠΌΠΎΡΡΡ Π½Π° ΡΠΎ, ΡΡΠΎ ΡΡΠΎ ΠΏΡΠΎΠΈΡΡ ΠΎΠ΄ΠΈΡ ΡΠ΅ΠΆΠ΅, Π²Π°ΠΌ Π½Π΅ΠΎΠ±Ρ ΠΎΠ΄ΠΈΠΌΠΎ ΠΏΠ΅ΡΠΈΠΎΠ΄ΠΈΡΠ΅ΡΠΊΠΈ ΠΏΡΠΎΠΊΠ°ΡΠΈΠ²Π°ΡΡ ΡΠΎΡΠΌΠΎΠ·Π½ΡΠ΅ ΠΌΠ°Π³ΠΈΡΡΡΠ°Π»ΠΈ, ΠΏΠΎΡΠΎΠΌΡ ΡΡΠΎ ΡΡΡΠ΅ΠΊΡΠΈΠ²Π½ΠΎΡΡΡ ΡΠΎΡΠΌΠΎΠΆΠ΅Π½ΠΈΡ ΡΠΎ Π²ΡΠ΅ΠΌΠ΅Π½Π΅ΠΌ ΡΡ ΡΠ΄ΡΠ°Π΅ΡΡΡ, ΠΏΠΎΡΠΊΠΎΠ»ΡΠΊΡ ΠΏΡΠ·ΡΡΡΠΊΠΈ Π²ΠΎΠ·Π΄ΡΡ Π° ΠΏΠΎΠΏΠ°Π΄Π°ΡΡ Π² ΠΆΠΈΠ΄ΠΊΠΎΡΡΡ Π² ΠΌΠ°Π³ΠΈΡΡΡΠ°Π»ΡΡ . ΠΡΠΎ Π½Π΅ΠΌΠ½ΠΎΠ³ΠΎ ΡΠ»ΠΎΠΆΠ½Π°Ρ ΡΠ°Π±ΠΎΡΠ°.
Π’ΠΈΠΏΡ ΠΎΠ±ΠΎΠ΄Π½ΡΡ ΡΠΎΡΠΌΠΎΠ·ΠΎΠ²
ΠΠ±ΠΎΠ΄Π½ΡΠ΅ ΡΠΎΡΠΌΠΎΠ·Π° Π±ΡΠ²Π°ΡΡ ΡΠ°Π·Π½ΡΡ ΠΈΡΠΏΠΎΠ»Π½Π΅Π½ΠΈΠΉ. ΠΡΠ΅ ΠΎΠ½ΠΈ ΡΠ°Π±ΠΎΡΠ°ΡΡ Π±ΠΎΠ»Π΅Π΅ ΠΈΠ»ΠΈ ΠΌΠ΅Π½Π΅Π΅ ΠΎΠ΄ΠΈΠ½Π°ΠΊΠΎΠ²ΠΎ. ΠΡΠ½ΠΎΠ²Π½ΡΠ΅ ΡΠ°Π·Π»ΠΈΡΠΈΡ Π·Π°ΠΊΠ»ΡΡΠ°ΡΡΡΡ Π² ΡΠΎΠΌ, Π³Π΄Π΅ ΠΊΡΠ΅ΠΏΠΈΡΡΡ ΡΡΠΏΠΏΠΎΡΡ, Π½Π΅Π·Π°Π²ΠΈΡΠΈΠΌΠΎ ΠΎΡ ΡΠΎΠ³ΠΎ, ΡΠΎΡΡΠΎΠΈΡ ΠΎΠ½ ΠΈΠ· ΠΎΠ΄Π½ΠΎΠΉ ΠΈΠ»ΠΈ Π΄Π²ΡΡ ΡΠ°ΡΡΠ΅ΠΉ. ΠΠΎΡ Π½Π΅ΡΠΊΠΎΠ»ΡΠΊΠΎ ΡΠ°ΡΠΏΡΠΎΡΡΡΠ°Π½Π΅Π½Π½ΡΡ ΡΠΈΠΏΠΎΠ² ΠΎΠ±ΠΎΠ΄Π½ΡΡ ΡΠΎΡΠΌΠΎΠ·ΠΎΠ².
- ΠΠ±ΠΎΠ΄Π½ΡΠ΅ ΡΠΎΡΠΌΠΎΠ·Π° Ρ ΡΡΠΏΠΏΠΎΡΡΠΎΠΌ — ΠΡΠΈ ΡΠΎΡΠΌΠΎΠ·Π° ΠΊΡΠ΅ΠΏΡΡΡΡ ΠΎΠ΄Π½ΠΈΠΌ Π±ΠΎΠ»ΡΠΎΠΌ ΠΊ ΡΠ°ΠΌΠ΅ ΠΈ Π²ΠΈΠ»ΠΊΠ΅ Π½Π΅ΠΏΠΎΡΡΠ΅Π΄ΡΡΠ²Π΅Π½Π½ΠΎ Π½Π°Π΄ ΡΠΈΠ½Π°ΠΌΠΈ. Π’Π°ΠΊΠ°Ρ ΠΊΠΎΠ½ΡΡΡΡΠΊΡΠΈΡ ΠΏΠΎΠ·Π²ΠΎΠ»ΡΠ΅Ρ ΡΡΠΊΠ°ΠΌ ΡΠ΅Π½ΡΡΠΈΡΠΎΠ²Π°ΡΡΡΡ. Π’ΠΎΡΠΌΠΎΠ·Π° Ρ ΡΡΠΏΠΏΠΎΡΡΠΎΠΌ Π»ΡΡΡΠ΅ Π²ΡΠ΅Π³ΠΎ ΡΠ°Π±ΠΎΡΠ°ΡΡ Π½Π° ΡΠ·ΠΊΠΈΡ ΠΊΠΎΠ»Π΅ΡΠ°Ρ , ΠΏΠΎΡΡΠΎΠΌΡ ΠΎΠ½ΠΈ ΡΠ°ΡΠ΅ Π²ΡΡΡΠ΅ΡΠ°ΡΡΡΡ Π½Π° ΡΠΎΡΡΠ΅ΠΉΠ½ΡΡ Π²Π΅Π»ΠΎΡΠΈΠΏΠ΅Π΄Π°Ρ . ΠΠ΅ΠΊΠΎΡΠΎΡΡΠ΅ ΠΊΠΎΠ½ΡΡΡΡΠΊΡΠΈΠΈ ΠΈΠΌΠ΅ΡΡ ΠΎΠ΄Π½Ρ ΡΠΎΡΠΊΡ ΠΏΠΎΠ²ΠΎΡΠΎΡΠ°, Π° Π½Π΅ΠΊΠΎΡΠΎΡΡΠ΅ — Π΄Π²Π΅.
- ΠΠΎΠ½ΡΠΎΠ»ΡΠ½ΡΠ΅ ΠΎΠ±ΠΎΠ΄Π½ΡΠ΅ ΡΠΎΡΠΌΠΎΠ·Π° — Π Π½ΠΈΡ ΠΈΡΠΏΠΎΠ»ΡΠ·ΡΡΡΡΡ Π΄Π²Π° ΠΎΡΠ΄Π΅Π»ΡΠ½ΡΡ ΡΠΎΡΠΌΠΎΠ·Π½ΡΡ ΡΡΡΠ°Π³Π°, ΠΊΠΎΡΠΎΡΡΠ΅ ΠΊΡΠ΅ΠΏΡΡΡΡ ΠΊ Π²ΠΈΠ»ΠΊΠ΅ ΠΈ ΡΠ°ΠΌΠ΅ Ρ ΠΎΠ±Π΅ΠΈΡ ΡΡΠΎΡΠΎΠ½ ΠΊΠΎΠ»Π΅ΡΠ°. Π£ ΠΊΠ°ΠΆΠ΄ΠΎΠΉ ΡΡΠΊΠΈ ΡΠ²ΠΎΠΉ ΡΡΠ΅ΡΠΆΠ΅Π½Ρ.ΠΠ΄Π½Π° ΡΡΠΊΠ° ΠΏΡΠΈΠΊΡΠ΅ΠΏΠ»ΡΠ΅ΡΡΡ Π½Π΅ΠΏΠΎΡΡΠ΅Π΄ΡΡΠ²Π΅Π½Π½ΠΎ ΠΊ ΡΡΠΎΡΡ, Π° Π²ΡΠΎΡΠ°Ρ ΠΏΡΠΈΠΊΡΠ΅ΠΏΠ»ΡΠ΅ΡΡΡ ΠΏΠΎΠΏΠ΅ΡΠ΅ΡΠ½ΡΠΌ ΡΡΠΎΡΠΎΠΌ, ΠΊΠΎΡΠΎΡΡΠΉ ΠΏΡΠΎΡ ΠΎΠ΄ΠΈΡ ΠΌΠ΅ΠΆΠ΄Ρ Π΄Π²ΡΠΌΡ ΡΡΠΊΠ°ΠΌΠΈ, ΠΎΠ±ΡΡΠ½ΠΎ Π½Π°Π΄ ΡΠΈΠ½ΠΎΠΉ. Π’Π°ΠΊΠ°Ρ ΠΊΠΎΠ½ΡΡΡΡΠΊΡΠΈΡ Π½Π΅ ΠΎΠ³ΡΠ°Π½ΠΈΡΠΈΠ²Π°Π΅Ρ ΡΠΈΡΠΈΠ½Ρ ΡΠΈΠ½, ΡΡΠΎ Π΄Π΅Π»Π°Π΅Ρ ΠΈΡ ΠΏΠΎΠΏΡΠ»ΡΡΠ½ΡΠΌ Π²ΡΠ±ΠΎΡΠΎΠΌ Π΄Π»Ρ Π³ΠΎΡΠ½ΡΡ Π²Π΅Π»ΠΎΡΠΈΠΏΠ΅Π΄ΠΎΠ².
- V Π’ΠΎΡΠΌΠΎΠ·Π° (Π»ΠΈΠ½Π΅ΠΉΠ½ΡΠ΅ ΡΠΎΡΠΌΠΎΠ·Π° Ρ ΡΡΠ³ΠΎΠ²ΡΠΌ ΡΡΠΈΠ»ΠΈΠ΅ΠΌ) — ΠΡΠΎ Π² ΠΎΡΠ½ΠΎΠ²Π½ΠΎΠΌ ΠΏΠ΅ΡΠ΅ΡΠ°Π±ΠΎΡΠ°Π½Π½Π°Ρ Π²Π΅ΡΡΠΈΡ ΠΊΠΎΠ½ΡΠΎΠ»ΡΠ½ΡΡ ΡΠΎΡΠΌΠΎΠ·ΠΎΠ² Ρ Π±ΠΎΠΊΠΎΠ²ΡΠΌ ΡΡΠ³ΠΎΠ²ΡΠΌ ΡΡΠΈΠ»ΠΈΠ΅ΠΌ. ΠΠ½ΠΈ ΡΡΡΠ°Π½Π°Π²Π»ΠΈΠ²Π°ΡΡΡΡ Π² ΠΎΠ΄Π½ΠΎΠΌ ΠΈ ΡΠΎΠΌ ΠΆΠ΅ ΠΌΠ΅ΡΡΠ΅ Π½Π° Π²ΠΈΠ»ΠΊΠ΅. ΠΡΠ½ΠΎΠ²Π½ΠΎΠ΅ ΠΎΡΠ»ΠΈΡΠΈΠ΅ — Π² ΡΠΎΡΠΌΠΎΠ· Π²ΡΡΡΠΎΠ΅Π½ ΠΏΠΎΠΏΠ΅ΡΠ΅ΡΠ½ΡΠΉ ΡΡΠΎΡ. Π‘ΡΠΏΠΏΠΎΡΡ ΡΠΎΡΡΠΎΠΈΡ Π²ΡΠ΅Π³ΠΎ ΠΈΠ· ΠΎΠ΄Π½ΠΎΠΉ Π΄Π΅ΡΠ°Π»ΠΈ.
- U Π’ΠΎΡΠΌΠΎΠ·Π° — ΠΡΠΈ ΡΠΎΡΠΌΠΎΠ·Π° ΡΡΡΠ°Π½Π°Π²Π»ΠΈΠ²Π°ΡΡΡΡ Π² Π΄Π²ΡΡ ΡΠΎΡΠΊΠ°Ρ Π½Π΅ΠΏΠΎΡΡΠ΅Π΄ΡΡΠ²Π΅Π½Π½ΠΎ Π½Π° Π²ΠΈΠ»ΠΊΠ΅ ΠΈ ΡΠ°ΠΌΠ΅ Π½Π°Π΄ ΠΎΠ±ΠΎΠ΄ΠΎΠΌ. ΠΠ½ΠΈ ΠΏΠΎΠ²ΠΎΡΠ°ΡΠΈΠ²Π°ΡΡΡΡ Π² ΡΠΎΡΠΊΠ΅ ΠΊΡΠ΅ΠΏΠ»Π΅Π½ΠΈΡ. ΠΠ»Π΅ΡΠΈ ΠΏΠ΅ΡΠ΅ΡΠ΅ΠΊΠ°ΡΡΡΡ Π½Π°Π΄ ΠΊΠΎΠ»Π΅ΡΠΎΠΌ, ΠΈ ΠΏΠΎΠΏΠ΅ΡΠ΅ΡΠ½ΡΠΉ ΡΡΠΎΡ ΡΠΎΠ΅Π΄ΠΈΠ½ΡΠ΅Ρ ΠΈΡ . Π U-ΡΠΎΡΠΌΠΎΠ·Π°Ρ ΠΈΡΠΏΠΎΠ»ΡΠ·ΡΡΡΡΡ ΡΠ΅ ΠΆΠ΅ ΠΊΡΠ΅ΠΏΠ»Π΅Π½ΠΈΡ, ΡΡΠΎ ΠΈ Π² ΡΠΎΠ»ΠΈΠΊΠΎΠ²ΡΡ ΠΊΡΠ»Π°ΡΠΊΠΎΠ²ΡΡ ΡΠΎΡΠΌΠΎΠ·Π°Ρ , ΡΡΠΎ Π΄Π΅Π»Π°Π΅Ρ ΠΈΡ Π²Π·Π°ΠΈΠΌΠΎΠ·Π°ΠΌΠ΅Π½ΡΠ΅ΠΌΡΠΌΠΈ. ΠΠ½ΠΈ ΡΠ°ΡΠΏΡΠΎΡΡΡΠ°Π½Π΅Π½Ρ Π½Π° Π²Π΅Π»ΠΎΡΠΈΠΏΠ΅Π΄Π°Ρ BMX.
- ΠΠΈΠ΄ΡΠ°Π²Π»ΠΈΡΠ΅ΡΠΊΠΈΠ΅ ΠΎΠ±ΠΎΠ΄Π½ΡΠ΅ ΡΠΎΡΠΌΠΎΠ·Π° — Π Π½ΠΈΡ ΠΈΡΠΏΠΎΠ»ΡΠ·ΡΡΡΡΡ ΡΡΡΠ±ΠΎΠΏΡΠΎΠ²ΠΎΠ΄Ρ, Π·Π°ΠΏΠΎΠ»Π½Π΅Π½Π½ΡΠ΅ ΠΆΠΈΠ΄ΠΊΠΎΡΡΡΡ, Π΄Π»Ρ ΠΏΡΠΈΠ²Π΅Π΄Π΅Π½ΠΈΡ Π² Π΄Π΅ΠΉΡΡΠ²ΠΈΠ΅ ΡΡΠΏΠΏΠΎΡΡΠ°, ΠΊΠ°ΠΊ ΠΈ Π² Π³ΠΈΠ΄ΡΠ°Π²Π»ΠΈΡΠ΅ΡΠΊΠΈΡ Π΄ΠΈΡΠΊΠΎΠ²ΡΡ ΡΠΎΡΠΌΠΎΠ·Π°Ρ . ΠΠ½ΠΈ ΠΏΡΠ΅Π΄Π»Π°Π³Π°ΡΡ ΡΠ΅ ΠΆΠ΅ ΠΏΡΠ΅ΠΈΠΌΡΡΠ΅ΡΡΠ²Π° Π³ΠΈΠ΄ΡΠ°Π²Π»ΠΈΡΠ΅ΡΠΊΠΈΡ Π΄ΠΈΡΠΊΠΎΠ²ΡΡ ΡΠΎΡΠΌΠΎΠ·ΠΎΠ², Π² ΡΠΎΠΌ ΡΠΈΡΠ»Π΅ Π»ΡΡΡΡΡ ΡΠΎΡΠΌΠΎΠ·Π½ΡΡ ΠΌΠΎΡΠ½ΠΎΡΡΡ, ΡΠΎΡΠ½ΠΎΡΡΡ ΠΈ ΠΏΠ»Π°Π²Π½ΠΎΡΡΡ Ρ ΠΎΠ΄Π°.Π£ Π½ΠΈΡ ΡΠΎΠΆΠ΅ Π΅ΡΡΡ ΡΠ΅ ΠΆΠ΅ Π½Π΅Π΄ΠΎΡΡΠ°ΡΠΊΠΈ.
ΠΡΠΈΠΌΠ΅ΡΠ°Π½ΠΈΠ΅ ΠΎ Π²Π»ΠΈΡΠ½ΠΈΠΈ ΡΠΈΠ½ Π½Π° ΡΠΎΡΠΌΠΎΠΆΠ΅Π½ΠΈΠ΅
ΠΠ°ΡΠΈ ΡΠΈΠ½Ρ ΠΈΠ³ΡΠ°ΡΡ Π²Π°ΠΆΠ½ΡΡ ΡΠΎΠ»Ρ Π² ΡΠΎΡΠΌΠΎΠ·Π½ΠΎΠΌ ΠΏΡΡΠΈ Π²Π°ΡΠ΅Π³ΠΎ Π²Π΅Π»ΠΎΡΠΈΠΏΠ΅Π΄Π°. ΠΡΠΎΡΠ½ΡΠΉ Π½Π°Π±ΠΎΡ Π΄ΠΈΡΠΊΠΎΠ²ΡΡ ΠΈΠ»ΠΈ ΠΎΠ±ΠΎΠ΄Π½ΡΡ ΡΠΎΡΠΌΠΎΠ·ΠΎΠ² ΡΠΌΠΎΠΆΠ΅Ρ Π·Π°Π±Π»ΠΎΠΊΠΈΡΠΎΠ²Π°ΡΡ Π²Π°ΡΠΈ ΡΠΈΠ½Ρ, Π΅ΡΠ»ΠΈ ΠΈΡ ΠΏΡΠΈΠ»ΠΎΠΆΠΈΡΡ Π΄ΠΎΡΡΠ°ΡΠΎΡΠ½ΠΎ ΡΠΈΠ»ΡΠ½ΠΎ. ΠΠ΅ΠΊΠ°ΡΠ΅ΡΡΠ²Π΅Π½Π½ΡΠ΅ ΠΈΠ»ΠΈ ΠΈΠ·Π½ΠΎΡΠ΅Π½Π½ΡΠ΅ ΡΠΈΠ½Ρ Π»Π΅Π³ΠΊΠΎ ΡΠ΅ΡΡΡΡ ΡΡΠ΅ΠΏΠ»Π΅Π½ΠΈΠ΅ Ρ Π΄ΠΎΡΠΎΠ³ΠΎΠΉ.
ΠΠΎΠ³Π΄Π° Π²Π°ΡΠΈ ΡΠΈΠ½Ρ Π±Π»ΠΎΠΊΠΈΡΡΡΡΡΡ, ΡΠΎΡΠΌΠΎΠ·Π° Π½Π΅ ΠΎΡΡΠ°Π½Π°Π²Π»ΠΈΠ²Π°ΡΡ Π²Π°Ρ. Π§ΡΠΎΠ±Ρ ΠΎΠ±Π΅ΡΠΏΠ΅ΡΠΈΡΡ ΠΎΠΏΡΠΈΠΌΠ°Π»ΡΠ½ΡΡ ΡΡΡΠ΅ΠΊΡΠΈΠ²Π½ΠΎΡΡΡ ΡΠΎΡΠΌΠΎΠΆΠ΅Π½ΠΈΡ, ΠΈΡΠΏΠΎΠ»ΡΠ·ΡΠΉΡΠ΅ ΠΊΠ°ΡΠ΅ΡΡΠ²Π΅Π½Π½ΡΠ΅ ΡΠΈΠ½Ρ ΠΈ Π·Π°ΠΌΠ΅Π½ΡΠΉΡΠ΅ ΠΈΡ , ΠΊΠΎΠ³Π΄Π° ΠΏΡΠΎΡΠ΅ΠΊΡΠΎΡ ΠΈΠ·Π½Π°ΡΠΈΠ²Π°Π΅ΡΡΡ.
ΠΠ°ΠΊΠΎΠΉ Π²Π΅Π»ΠΎΡΠΈΠΏΠ΅Π΄ΠΈΡΡ Π΄ΠΎΠ»ΠΆΠ΅Π½ Π²ΡΠ±ΡΠ°ΡΡ Π΄ΠΈΡΠΊΠΎΠ²ΡΠ΅ ΡΠΎΡΠΌΠΎΠ·Π°?
ΠΠΈΡΠΊΠΎΠ²ΡΠ΅ ΡΠΎΡΠΌΠΎΠ·Π° ΠΈΠ΄Π΅Π°Π»ΡΠ½ΠΎ ΠΏΠΎΠ΄Ρ ΠΎΠ΄ΡΡ Π΄Π»Ρ ΡΠ΅Ρ , ΠΊΡΠΎ ΠΏΠ»Π°Π½ΠΈΡΡΠ΅Ρ Π΅Π·Π΄ΠΈΡΡ Π² ΠΏΠ»ΠΎΡ ΠΈΡ ΠΏΠΎΠ³ΠΎΠ΄Π½ΡΡ ΡΡΠ»ΠΎΠ²ΠΈΡΡ , ΡΠ°ΠΊΠΈΡ ΠΊΠ°ΠΊ Π΄ΠΎΠΆΠ΄Ρ ΠΈΠ»ΠΈ ΡΠ½Π΅Π³. ΠΠ½ΠΈ ΡΠ°ΠΊΠΆΠ΅ ΠΎΡΠ»ΠΈΡΠ½ΠΎ ΡΠ°Π±ΠΎΡΠ°ΡΡ Π² Π³ΡΡΠ·Π½ΡΡ ΡΡΠ»ΠΎΠ²ΠΈΡΡ , ΠΊΠΎΠ³Π΄Π° Π²Π°ΡΠΈ Π΄ΠΈΡΠΊΠΈ ΠΌΠΎΠ³ΡΡ Π±ΡΡΡ ΠΏΠΎΠΊΡΡΡΡ ΠΏΡΠ»ΡΡ, ΠΏΠ΅ΡΠΊΠΎΠΌ, Π³ΡΡΠ·ΡΡ ΠΈ Π΄ΡΡΠ³ΠΈΠΌ ΠΌΡΡΠΎΡΠΎΠΌ. ΠΠΈΡΠΊΠΎΠ²ΡΠ΅ ΡΠΎΡΠΌΠΎΠ·Π° ΠΎΠ±Π΅ΡΠΏΠ΅ΡΠΈΠ²Π°ΡΡ ΡΡΠ°Π±ΠΈΠ»ΡΠ½ΡΡ ΡΠ°Π±ΠΎΡΡ Π΄Π°ΠΆΠ΅ Π½Π° Π½Π΅ΡΠΎΠ²Π½ΠΎΠΉ Π΄ΠΎΡΠΎΠ³Π΅ ΠΈΠ»ΠΈ ΡΡΠΎΠΏΠ΅. ΠΡ Π½Π΅ ΡΠΈΡΠΊΡΠ΅ΡΠ΅ ΠΏΠΎΡΠ°ΡΠ°ΠΏΠ°ΡΡ Π΄ΠΈΡΠΊΠΈ, Π΅ΡΠ»ΠΈ ΠΎΠ½ΠΈ Π·Π°ΠΏΠ°ΡΠΊΠ°ΡΡΡΡ Π² Π³ΡΡΠ·ΠΈ.
Π’Π΅ΠΌ, ΠΊΡΠΎ Π΅Π·Π΄ΠΈΡ ΠΏΠΎ Π³ΠΎΡΠ½ΠΎΠΉ ΠΌΠ΅ΡΡΠ½ΠΎΡΡΠΈ, ΡΠ°ΠΊΠΆΠ΅ Π»ΡΡΡΠ΅ ΠΏΠΎΠ΄ΠΎΠΉΠ΄ΡΡ Π΄ΠΈΡΠΊΠΎΠ²ΡΠ΅ ΡΠΎΡΠΌΠΎΠ·Π°.ΠΠ°ΠΌ Π½Π΅ Π½ΡΠΆΠ½ΠΎ Π±Π΅ΡΠΏΠΎΠΊΠΎΠΈΡΡΡΡ ΠΎ ΠΏΠ΅ΡΠ΅Π³ΡΠ΅Π²Π΅ ΠΎΠ±ΠΎΠ΄Π° ΠΈ ΠΎΠ±ΡΡΠ²Π΅ Π²ΠΎ Π²ΡΠ΅ΠΌΡ Π΄Π»ΠΈΡΠ΅Π»ΡΠ½ΠΎΠ³ΠΎ ΡΠΏΡΡΠΊΠ°. ΠΡΡΠ΅ΠΊΡΠΈΠ²Π½ΠΎΡΡΡ ΡΠΎΡΠΌΠΎΠΆΠ΅Π½ΠΈΡ Π½Π΅ ΡΠ½ΠΈΠΆΠ°Π΅ΡΡΡ, ΠΎΡΠΎΠ±Π΅Π½Π½ΠΎ Π΅ΡΠ»ΠΈ Π²Ρ ΠΈΡΠΏΠΎΠ»ΡΠ·ΡΠ΅ΡΠ΅ Π³ΠΈΠ΄ΡΠ°Π²Π»ΠΈΡΠ΅ΡΠΊΠΈΠ΅ Π΄ΠΈΡΠΊΠΎΠ²ΡΠ΅ ΡΠΎΡΠΌΠΎΠ·Π°.
ΠΠΎΠ½ΡΠΈΠΊΠΈ Ρ Π±ΠΎΠ»Π΅Π΅ Π²ΡΡΠΎΠΊΠΈΠΌ Π±ΡΠ΄ΠΆΠ΅ΡΠΎΠΌ ΡΠ°ΠΊΠΆΠ΅ Π΄ΠΎΠ»ΠΆΠ½Ρ ΠΈΡΠΏΠΎΠ»ΡΠ·ΠΎΠ²Π°ΡΡ Π΄ΠΈΡΠΊΠΎΠ²ΡΠ΅ ΡΠΎΡΠΌΠΎΠ·Π°. ΠΡΠ»ΠΈ Π²Ρ ΠΌΠΎΠΆΠ΅ΡΠ΅ ΡΠ΅Π±Π΅ ΡΡΠΎ ΠΏΠΎΠ·Π²ΠΎΠ»ΠΈΡΡ, Π²Ρ ΡΠ°ΠΊΠΆΠ΅ ΠΌΠΎΠΆΠ΅ΡΠ΅ ΠΏΠΎΠ»ΡΡΠΈΡΡ ΠΌΠ°ΠΊΡΠΈΠΌΠ°Π»ΡΠ½ΡΡ ΠΏΡΠΎΠΈΠ·Π²ΠΎΠ΄ΠΈΡΠ΅Π»ΡΠ½ΠΎΡΡΡ. ΠΡ Π±ΡΠ΄Π΅ΡΠ΅ ΡΡΠ²ΡΡΠ²ΠΎΠ²Π°ΡΡ ΡΠ΅Π±Ρ Π² Π±ΠΎΠ»ΡΡΠ΅ΠΉ Π±Π΅Π·ΠΎΠΏΠ°ΡΠ½ΠΎΡΡΠΈ ΠΈ ΡΠ²Π΅ΡΠ΅Π½Π½Π΅Π΅, Π΅ΡΠ»ΠΈ Π²ΡΠ΅Π³Π΄Π° ΡΠΌΠΎΠΆΠ΅ΡΠ΅ Π½Π°Π΄Π΅ΠΆΠ½ΠΎ ΠΈ ΠΏΠΎΡΠ»Π΅Π΄ΠΎΠ²Π°ΡΠ΅Π»ΡΠ½ΠΎ ΠΎΡΡΠ°Π½Π°Π²Π»ΠΈΠ²Π°ΡΡΡΡ.
ΠΠ°ΠΊΠΎΠΌΡ ΡΠΈΠΏΡ ΡΠ°ΠΉΠ΄Π΅ΡΠ° ΡΠ»Π΅Π΄ΡΠ΅Ρ Π²ΡΠ±ΡΠ°ΡΡ ΠΎΠ±ΠΎΠ΄Π½ΡΠ΅ ΡΠΎΡΠΌΠΎΠ·Π°?
ΠΠ±ΠΎΠ΄Π½ΡΠ΅ ΡΠΎΡΠΌΠΎΠ·Π°ΠΈΠ΄Π΅Π°Π»ΡΠ½Ρ Π΄Π»Ρ ΡΠ΅Ρ , ΠΊΡΠΎ Π΅Π·Π΄ΠΈΡ ΡΠΎΠ»ΡΠΊΠΎ Π² Ρ ΠΎΡΠΎΡΡΡ ΠΏΠΎΠ³ΠΎΠ΄Ρ.ΠΡΠ»ΠΈ Π²Ρ ΠΏΡΠΎΡΡΠΎ Π΅Π΄Π΅ΡΠ΅ ΠΏΠΎ ΡΠΎΠ²Π½ΠΎΠΉ Π²Π΅Π»ΠΎΡΠΈΠΏΠ΅Π΄Π½ΠΎΠΉ Π΄ΠΎΡΠΎΠΆΠΊΠ΅, ΠΎΠ±ΠΎΠ΄Π½ΡΠ΅ ΡΠΎΡΠΌΠΎΠ·Π° ΠΎΠ±Π΅ΡΠΏΠ΅ΡΠΈΠ²Π°ΡΡ Π±ΠΎΠ»Π΅Π΅ ΡΠ΅ΠΌ Π΄ΠΎΡΡΠ°ΡΠΎΡΠ½ΡΡ ΡΠΎΡΠΌΠΎΠ·Π½ΡΡ ΡΠΏΠΎΡΠΎΠ±Π½ΠΎΡΡΡ.
ΠΠ΅Π»ΠΎΡΡΡΠΈΡΡΡ ΠΈ Π±Π°ΠΉΠΊΠΏΠ°ΠΊΠ΅ΡΡ, ΠΊΠΎΡΠΎΡΡΠ΅ Π΅Π·Π΄ΡΡ Π² ΠΎΡΠ΄Π°Π»Π΅Π½Π½ΡΡ ΡΠ΅Π³ΠΈΠΎΠ½Π°Ρ ΠΈ ΡΠ°Π·Π²ΠΈΠ²Π°ΡΡΠΈΡ ΡΡ ΡΡΡΠ°Π½Π°Ρ , ΡΠ°ΠΊΠΆΠ΅ ΠΌΠΎΠ³ΡΡ ΠΏΠΎΡΡΠΈΡΠ°ΡΡ ΠΎΠ±ΠΎΠ΄Π½ΡΠ΅ ΡΠΎΡΠΌΠΎΠ·Π° ΠΏΡΠ΅Π΄ΠΏΠΎΡΡΠΈΡΠ΅Π»ΡΠ½ΡΠΌΠΈ ΠΈΠ·-Π·Π° Π½Π°Π»ΠΈΡΠΈΡ Π·Π°ΠΏΠ°ΡΠ½ΡΡ ΡΠ°ΡΡΠ΅ΠΉ. ΠΠΎΠ³Π΄Π° Π²Ρ Π½Π°Ρ ΠΎΠ΄ΠΈΡΠ΅ΡΡ Π² Π³Π»ΡΡΠΈ, Π»Π΅Π³ΡΠ΅ Π½Π°ΠΉΡΠΈ Π΄Π΅ΡΠ°Π»ΠΈ ΠΎΠ±ΠΎΠ΄Π½ΠΎΠ³ΠΎ ΡΠΎΡΠΌΠΎΠ·Π°, ΠΏΠΎΡΠΎΠΌΡ ΡΡΠΎ ΡΠ΅Ρ Π½ΠΎΠ»ΠΎΠ³ΠΈΡ ΡΡΡΠ΅ΡΡΠ²ΡΠ΅Ρ Π²ΡΠ΅Π³Π΄Π°. Π / Ρ Π·Π°ΠΏΡΠ°ΡΡΠΈ ΠΎΠ±ΡΡΠ½ΡΠ΅.
Π’Π΅ΠΌ, Ρ ΠΊΠΎΠ³ΠΎ ΠΎΠ³ΡΠ°Π½ΠΈΡΠ΅Π½Π½ΡΠΉ Π±ΡΠ΄ΠΆΠ΅Ρ, ΡΠ°ΠΊΠΆΠ΅ ΡΡΠΎΠΈΡ ΠΈΡΠΏΠΎΠ»ΡΠ·ΠΎΠ²Π°ΡΡ ΠΎΠ±ΠΎΠ΄Π½ΡΠ΅ ΡΠΎΡΠΌΠΎΠ·Π°. ΠΠΎΠΌΠΏΠΎΠ½Π΅Π½ΡΡ ΠΈ Π·Π°ΠΏΠ°ΡΠ½ΡΠ΅ ΡΠ°ΡΡΠΈ, ΡΠ°ΠΊΠΈΠ΅ ΠΊΠ°ΠΊ ΠΊΠΎΠ»ΠΎΠ΄ΠΊΠΈ ΠΈ ΠΊΠ°Π±Π΅Π»ΠΈ, Π΄Π΅ΡΠ΅Π²Π»Π΅.
ΠΠΎΡΠ»Π΅Π΄Π½ΠΈΠ΅ ΠΌΡΡΠ»ΠΈ: ΠΠΈΡΠΊΠΎΠ²ΡΠ΅ ΡΠΎΡΠΌΠΎΠ·Π° ΠΏΡΠΎΡΠΈΠ². ΠΠ±ΠΎΠ΄Π½ΡΠ΅ ΡΠΎΡΠΌΠΎΠ·Π°
ΠΠ»Ρ Π±ΠΎΠ»ΡΡΠΈΠ½ΡΡΠ²Π° ΠΎΠ±ΡΡΠ½ΡΡ Π³ΠΎΠ½ΡΠΈΠΊΠΎΠ² ΠΎΠ±ΠΎΠ΄Π½ΡΠ΅ ΡΠΎΡΠΌΠΎΠ·Π° ΡΠ°Π±ΠΎΡΠ°ΡΡ ΠΎΡΠ»ΠΈΡΠ½ΠΎ. ΠΠ½ΠΈ Π΄Π΅ΡΠ΅Π²Ρ, Π½Π°Π΄Π΅ΠΆΠ½Ρ ΠΈ ΠΏΡΠΎΡΡΡ Π² ΠΎΠ±ΡΠ»ΡΠΆΠΈΠ²Π°Π½ΠΈΠΈ. ΠΠ΅ΠΊΠΎΡΠΎΡΡΠ΅ Π²ΠΈΠ΄Ρ Π΅Π·Π΄Ρ ΡΡΠ΅Π±ΡΡΡ Π±ΠΎΠ»ΡΡΠ΅ΠΉ ΡΠΎΡΠΌΠΎΠ·Π½ΠΎΠΉ ΡΠΏΠΎΡΠΎΠ±Π½ΠΎΡΡΠΈ ΠΈΠ»ΠΈ Π»ΡΡΡΠΈΡ Ρ Π°ΡΠ°ΠΊΡΠ΅ΡΠΈΡΡΠΈΠΊ ΡΠΎΡΠΌΠΎΠΆΠ΅Π½ΠΈΡ. ΠΠ°ΠΏΡΠΈΠΌΠ΅Ρ, Π΄Π»Ρ ΠΏΠΎΠ»Π½ΠΎΡΡΡΡ Π·Π°Π³ΡΡΠΆΠ΅Π½Π½ΡΡ Π²Π΅Π»ΠΎΡΠΈΠΏΠ΅Π΄ΠΈΡΡΠΎΠ² ΠΌΠΎΠΆΠ΅Ρ ΠΎΠΊΠ°Π·Π°ΡΡΡΡ ΡΠ΅Π»Π΅ΡΠΎΠΎΠ±ΡΠ°Π·Π½ΡΠΌ ΠΏΠ΅ΡΠ΅Ρ ΠΎΠ΄ Π½Π° Π΄ΠΈΡΠΊΠΎΠ²ΡΠ΅ ΡΠΎΡΠΌΠΎΠ·Π°. ΠΠΎΠΏΠΎΠ»Π½ΠΈΡΠ΅Π»ΡΠ½Π°Ρ ΡΠΎΡΠΌΠΎΠ·Π½Π°Ρ ΡΠΏΠΎΡΠΎΠ±Π½ΠΎΡΡΡ, ΠΌΠ΅Π½Π΅Π΅ ΡΠ°ΡΡΠΎΠ΅ ΡΠ΅Ρ Π½ΠΈΡΠ΅ΡΠΊΠΎΠ΅ ΠΎΠ±ΡΠ»ΡΠΆΠΈΠ²Π°Π½ΠΈΠ΅ ΠΈ Π²ΠΎΠ·ΠΌΠΎΠΆΠ½ΠΎΡΡΡ ΡΠΏΡΡΠΊΠ°ΡΡΡΡ ΠΏΠΎ Π΄Π»ΠΈΠ½Π½ΡΠΌ Ρ ΠΎΠ»ΠΌΠ°ΠΌ Π±Π΅Π· ΠΎΡΡΠ°Π½ΠΎΠ²ΠΎΠΊ ΠΌΠΎΠ³ΡΡ ΠΏΡΠΈΠ³ΠΎΠ΄ΠΈΡΡΡΡ.
Π ΠΊΠΎΠ½ΡΠ΅ ΠΊΠΎΠ½ΡΠΎΠ², Π΄ΠΈΡΠΊΠΎΠ²ΡΠ΅ ΠΈ ΠΎΠ±ΠΎΠ΄Π½ΡΠ΅ ΡΠΎΡΠΌΠΎΠ·Π° — ΡΡΠΎ Π»ΠΈΡΠ½ΠΎΠ΅ Π΄Π΅Π»ΠΎ ΠΊΠ°ΠΆΠ΄ΠΎΠ³ΠΎ.Π‘ ΡΠΎΡΠΊΠΈ Π·ΡΠ΅Π½ΠΈΡ ΠΏΡΠΎΠΈΠ·Π²ΠΎΠ΄ΠΈΡΠ΅Π»ΡΠ½ΠΎΡΡΠΈ ΠΎΠ½ΠΈ Π΄ΠΎΡΡΠ°ΡΠΎΡΠ½ΠΎ ΠΏΠΎΡ ΠΎΠΆΠΈ, ΠΏΠΎΡΡΠΎΠΌΡ, Π²Π΅ΡΠΎΡΡΠ½ΠΎ, Π½Π΅ ΡΡΠΎΠΈΡ ΠΏΠΎΠΊΡΠΏΠ°ΡΡ Π½ΠΎΠ²ΡΠΉ Π²Π΅Π»ΠΎΡΠΈΠΏΠ΅Π΄ ΡΠΎΠ»ΡΠΊΠΎ Π΄Π»Ρ ΡΠΎΠ³ΠΎ, ΡΡΠΎΠ±Ρ ΠΏΠΎΠ»ΡΡΠΈΡΡ Π΄ΠΈΡΠΊΠΎΠ²ΡΠ΅ ΡΠΎΡΠΌΠΎΠ·Π°. ΠΡΠ»ΠΈ Π²Ρ ΡΠΆΠ΅ Ρ ΠΎΡΠΈΡΠ΅ ΠΊΡΠΏΠΈΡΡ Π½ΠΎΠ²ΡΠΉ Π²Π΅Π»ΠΎΡΠΈΠΏΠ΅Π΄, Π² Π±ΠΎΠ»ΡΡΠΈΠ½ΡΡΠ²Π΅ ΡΠ»ΡΡΠ°Π΅Π² Π΄ΠΈΡΠΊΠΈ ΡΡΠΎΡΡ Π΄ΠΎΠΏΠΎΠ»Π½ΠΈΡΠ΅Π»ΡΠ½ΡΡ Π·Π°ΡΡΠ°Ρ. ΠΠΎΠΏΠΎΠ»Π½ΠΈΡΠ΅Π»ΡΠ½ΡΠΉ Π²Π΅Ρ ΠΈ ΡΠ»ΠΎΠΆΠ½ΠΎΡΡΡ ΠΊΠΎΠΌΠΏΠ΅Π½ΡΠΈΡΡΡΡΡΡ Π΄ΠΎΠΏΠΎΠ»Π½ΠΈΡΠ΅Π»ΡΠ½ΠΎΠΉ Π±Π΅Π·ΠΎΠΏΠ°ΡΠ½ΠΎΡΡΡΡ Π·Π° ΡΡΠ΅Ρ Π±ΠΎΠ»Π΅Π΅ ΠΌΠΎΡΠ½ΡΡ ΡΠΎΡΠΌΠΎΠ·Π½ΡΡ Ρ Π°ΡΠ°ΠΊΡΠ΅ΡΠΈΡΡΠΈΠΊ.
ΠΡ ΠΏΡΠ΅Π΄ΠΏΠΎΡΠΈΡΠ°Π΅ΡΠ΅ Π΄ΠΈΡΠΊΠΎΠ²ΡΠ΅ ΡΠΎΡΠΌΠΎΠ·Π° ΠΈΠ»ΠΈ ΠΎΠ±ΠΎΠ΄Π½ΡΠ΅? ΠΠΎΠ΄Π΅Π»ΠΈΡΠ΅ΡΡ ΡΠ²ΠΎΠΈΠΌΠΈ ΠΌΡΡΠ»ΡΠΌΠΈ Π² ΠΊΠΎΠΌΠΌΠ΅Π½ΡΠ°ΡΠΈΡΡ Π½ΠΈΠΆΠ΅!
ΠΠΎΠ»ΡΡΠ΅ ΠΎΡΡΡΠ΄Π°, Π³Π΄Π΅ Π΄ΠΎΡΠΎΠ³Π° ΡΠ°Π·Π²Π΅ΡΠ²Π»ΡΠ΅ΡΡΡ
Π Π°ΡΠΊΡΡΡΠΈΠ΅ ΠΈΠ½ΡΠΎΡΠΌΠ°ΡΠΈΠΈ: ΠΎΠ±ΡΠ°ΡΠΈΡΠ΅ Π²Π½ΠΈΠΌΠ°Π½ΠΈΠ΅, ΡΡΠΎ Π½Π΅ΠΊΠΎΡΠΎΡΡΠ΅ ΠΈΠ· ΡΡΡΠ»ΠΎΠΊ Π² ΡΡΠΎΠΌ ΡΠΎΠΎΠ±ΡΠ΅Π½ΠΈΠΈ ΡΠ²Π»ΡΡΡΡΡ ΠΏΠ°ΡΡΠ½Π΅ΡΡΠΊΠΈΠΌΠΈ ΡΡΡΠ»ΠΊΠ°ΠΌΠΈ, Π²ΠΊΠ»ΡΡΠ°Ρ ΡΡΡΠ»ΠΊΠΈ ΠΈΠ· ΠΏΠ°ΡΡΠ½Π΅ΡΡΠΊΠΎΠΉ ΠΏΡΠΎΠ³ΡΠ°ΠΌΠΌΡ Amazon Serivices LLC.Π― ΠΏΠΎΠ»ΡΡΠ°Ρ ΠΊΠΎΠΌΠΈΡΡΠΈΡ Π±Π΅Π· Π΄ΠΎΠΏΠΎΠ»Π½ΠΈΡΠ΅Π»ΡΠ½ΡΡ Π·Π°ΡΡΠ°Ρ Π΄Π»Ρ Π²Π°Ρ, Π΅ΡΠ»ΠΈ Π²Ρ ΡΠΎΠ²Π΅ΡΡΠ°Π΅ΡΠ΅ ΠΏΠΎΠΊΡΠΏΠΊΡ ΠΏΠΎ ΡΡΠΈΠΌ ΡΡΡΠ»ΠΊΠ°ΠΌ. Π― ΡΠ΅ΠΊΠΎΠΌΠ΅Π½Π΄ΡΡ ΡΠΎΠ»ΡΠΊΠΎ ΡΠ΅ ΠΏΡΠΎΠ΄ΡΠΊΡΡ ΠΈ ΡΡΠ»ΡΠ³ΠΈ, ΠΊΠΎΡΠΎΡΡΠ΅ Ρ ΠΈΡΠΏΠΎΠ»ΡΠ·ΡΡ ΠΈ Π·Π½Π°Ρ. Π‘ΠΏΠ°ΡΠΈΠ±ΠΎ Π·Π° ΡΡΠ΅Π½ΠΈΠ΅!
ΠΠΈΡΠΊΠΎΠ²ΡΠ΅ ΡΠΎΡΠΌΠΎΠ·Π½ΡΠ΅ ΡΠΈΡΡΠ΅ΠΌΡ
ΠΠ°ΠΏΠ°ΡΠ½ΡΠ΅ ΡΠ°ΡΡΠΈ ΡΠΎΡΠΌΠΎΠ·Π½ΡΡ ΡΠΈΡΡΠ΅ΠΌ, ΠΊΠΎΡΠΎΡΡΠΌ ΠΌΠΎΠΆΠ½ΠΎ Π΄ΠΎΠ²Π΅ΡΡΡΡ
ΠΠ°ΡΠΈ ΡΠΎΡΠΌΠΎΠ·Π½ΡΠ΅ Π΄Π΅ΡΠ°Π»ΠΈ ΠΎΠ±Π΅ΡΠΏΠ΅ΡΠΈΠ²Π°ΡΡ ΠΊΠ°ΡΠ΅ΡΡΠ²ΠΎ, ΠΊΠΎΡΠΎΡΠΎΠ³ΠΎ Π²Ρ ΠΎΠΆΠΈΠ΄Π°Π΅ΡΠ΅ ΠΎΡ TRW. TRW ΠΈΠΌΠ΅Π΅Ρ Π±ΠΎΠ»Π΅Π΅ ΡΠ΅ΠΌ 100-Π»Π΅ΡΠ½ΠΈΠΉ ΠΎΠΏΡΡ ΠΏΠΎΡΡΠ°Π²ΠΊΠΈ Π»ΠΈΠ΄ΠΈΡΡΡΡΠΈΡ
Π½Π° ΡΡΠ½ΠΊΠ΅ ΠΎΡΠΈΠ³ΠΈΠ½Π°Π»ΡΠ½ΡΡ
Π·Π°ΠΏΡΠ°ΡΡΠ΅ΠΉ Π΄Π»Ρ Π²Π΅Π΄ΡΡΠΈΡ
ΠΌΠΈΡΠΎΠ²ΡΡ
ΠΏΡΠΎΠΈΠ·Π²ΠΎΠ΄ΠΈΡΠ΅Π»Π΅ΠΉ Π°Π²ΡΠΎΠΌΠΎΠ±ΠΈΠ»Π΅ΠΉ, ΠΈ Π²Ρ ΠΏΠΎΠ»ΡΡΠΈΡΠ΅ ΡΠ°ΠΊΠΎΠ΅ ΠΆΠ΅ ΠΈΡΠΊΠ»ΡΡΠΈΡΠ΅Π»ΡΠ½ΠΎΠ΅ ΠΊΠ°ΡΠ΅ΡΡΠ²ΠΎ ΠΎΡ TRW Aftermarket.ΠΡ ΠΏΡΠ΅Π΄Π»Π°Π³Π°Π΅ΠΌ Π»ΡΡΡΠ΅Π΅ Π½Π° ΡΡΠ½ΠΊΠ΅ ΠΏΠΎΠΊΡΡΡΠΈΠ΅ ΠΈΠ· ΠΈΠ·ΡΡΠΊΠ°Π½Π½ΠΎΠ³ΠΎ Π°ΡΡΠΎΡΡΠΈΠΌΠ΅Π½ΡΠ°. ΠΡΠΎ ΠΎΠ·Π½Π°ΡΠ°Π΅Ρ, ΡΡΠΎ Π²Ρ ΠΌΠΎΠΆΠ΅ΡΠ΅ ΡΡΠ°ΡΠΈΡΡ ΠΌΠ΅Π½ΡΡΠ΅ Π²ΡΠ΅ΠΌΠ΅Π½ΠΈ Π½Π° ΠΏΠΎΠΈΡΠΊ Π·Π°ΠΏΡΠ°ΡΡΠ΅ΠΉ ΠΈ Π±ΠΎΠ»ΡΡΠ΅ — Π½Π° ΠΈΡ
ΡΡΡΠ°Π½ΠΎΠ²ΠΊΡ, ΠΏΠ΅ΡΠ΅ΠΌΠ΅ΡΠ°Ρ ΡΠ°Π±ΠΎΡΠΈΠ΅ ΠΌΠ΅ΡΡΠ° Π² Π³Π°ΡΠ°ΠΆΠ΅, ΡΡΠΎΠ±Ρ ΡΠ°ΡΡΠΈΡΠΈΡΡ Π±ΠΈΠ·Π½Π΅Ρ.
Π’ΠΎΡΠΌΠΎΠ·Π½ΡΠ΅ Π΄ΠΈΡΠΊΠΈ, Π·Π°Π²ΠΎΠ΅Π²ΡΠ²Π°ΡΡΠΈΠ΅ ΠΌΠΈΡ
TRW Π΅ΠΆΠ΅Π³ΠΎΠ΄Π½ΠΎ ΠΏΡΠΎΠΈΠ·Π²ΠΎΠ΄ΠΈΡ 12 ΠΌΠΈΠ»Π»ΠΈΠΎΠ½ΠΎΠ² ΡΠΎΡΠΌΠΎΠ·Π½ΡΡ
ΡΠΎΡΠΎΡΠΎΠ² ΠΊΠ°ΠΊ Π΄Π»Ρ ΠΎΡΠΈΠ³ΠΈΠ½Π°Π»ΡΠ½ΠΎΠ³ΠΎ ΠΎΠ±ΠΎΡΡΠ΄ΠΎΠ²Π°Π½ΠΈΡ, ΡΠ°ΠΊ ΠΈ Π΄Π»Ρ Π½Π΅Π·Π°Π²ΠΈΡΠΈΠΌΠΎΠ³ΠΎ Π²ΡΠΎΡΠΈΡΠ½ΠΎΠ³ΠΎ ΡΡΠ½ΠΊΠ° ΠΏΠΎ Π²ΡΠ΅ΠΌΡ ΠΌΠΈΡΡ, ΡΠ°ΠΊ ΡΡΠΎ Π²Ρ ΠΌΠΎΠΆΠ΅ΡΠ΅ Π΄ΠΎΠ²Π΅ΡΡΡΡ Π»ΠΈΠ΄Π΅ΡΠ°ΠΌ ΡΡΠ½ΠΊΠ°. Π ΠΏΠΎΡΠΊΠΎΠ»ΡΠΊΡ ΠΌΡ Π²ΡΠ΅Π³Π΄Π° Π½Π°Ρ
ΠΎΠ΄ΠΈΠΌΡΡ Π² Π°Π²Π°Π½Π³Π°ΡΠ΄Π΅ ΠΈΠ½Π½ΠΎΠ²Π°ΡΠΈΠΉ, Π²Ρ ΠΏΠΎΠ»ΡΡΠΈΡΠ΅ ΡΠ°ΠΌΡΠ΅ ΠΏΠΎΡΠ»Π΅Π΄Π½ΠΈΠ΅ ΡΠ°Π·ΡΠ°Π±ΠΎΡΠΊΠΈ Π² ΠΎΠ±Π»Π°ΡΡΠΈ Π΄ΠΈΡΠΊΠΎΠ²ΡΡ
ΡΠ΅Ρ
Π½ΠΎΠ»ΠΎΠ³ΠΈΠΉ, ΠΊΠΎΡΠΎΡΡΠ΅ ΠΎΠ±Π΅ΡΠΏΠ΅ΡΠ°Ρ Π±ΠΎΠ»Π΅Π΅ ΠΊΠ°ΡΠ΅ΡΡΠ²Π΅Π½Π½ΠΎΠ΅ ΠΎΠ±ΡΠ»ΡΠΆΠΈΠ²Π°Π½ΠΈΠ΅ Π±ΠΎΠ»ΡΡΠ΅Π³ΠΎ ΡΠΈΡΠ»Π° ΠΊΠ»ΠΈΠ΅Π½ΡΠΎΠ².
ΠΡ ΠΏΠΎΠ΄Π΄Π΅ΡΠΆΠΈΠΌ Π²Π°Ρ
ΠΠΎΡΠΊΠΎΠ»ΡΠΊΡ TRW ΡΠ²Π»ΡΠ΅ΡΡΡ ΠΏΡΠΎΠΈΠ·Π²ΠΎΠ΄ΠΈΡΠ΅Π»Π΅ΠΌ Π·Π°ΠΏΡΠ°ΡΡΠ΅ΠΉ Π²ΡΡΡΠ΅Π³ΠΎ ΠΊΠ°ΡΠ΅ΡΡΠ²Π°, ΡΠ°Π·ΡΠ°Π±Π°ΡΡΠ²Π°Ρ ΠΈ ΠΏΡΠΎΠΈΠ·Π²ΠΎΠ΄Ρ ΡΠ°ΠΊ ΠΌΠ½ΠΎΠ³ΠΎ ΠΎΡΠΈΠ³ΠΈΠ½Π°Π»ΡΠ½ΠΎΠ³ΠΎ ΠΎΠ±ΠΎΡΡΠ΄ΠΎΠ²Π°Π½ΠΈΡ, ΠΊΠΎΡΠΎΡΡΠΌ ΠΎΡΠ½Π°ΡΠ°ΡΡΡΡ Π°Π²ΡΠΎΠΌΠΎΠ±ΠΈΠ»ΠΈ, ΠΊΠΎΠ³Π΄Π° ΠΎΠ½ΠΈ ΠΏΠΎΠΊΠΈΠ΄Π°ΡΡ Π·Π°Π²ΠΎΠ΄, ΠΌΡ ΠΏΠΎΠ½ΠΈΠΌΠ°Π΅ΠΌ ΠΊΠ°ΠΆΠ΄ΡΡ Π΄Π΅ΡΠ°Π»Ρ ΠΊΠ°ΠΆΠ΄ΠΎΠΉ Π΄Π΅ΡΠ°Π»ΠΈ. ΠΡΠΎ ΠΎΠ·Π½Π°ΡΠ°Π΅Ρ, ΡΡΠΎ ΠΌΡ ΠΌΠΎΠΆΠ΅ΠΌ ΠΏΡΠ΅Π΄Π»ΠΎΠΆΠΈΡΡ Π²Π°ΠΌ ΡΡΠ½ΡΠΉ ΠΈ ΠΏΡΠΎΡΡΠΎΠΉ ΡΠΎΠ²Π΅Ρ Ρ ΠΏΠΎΠΌΠΎΡΡΡ ΠΏΡΠΎΡΡΡΡ
Π΄Π»Ρ ΠΏΠΎΠ½ΠΈΠΌΠ°Π½ΠΈΡ ΠΈΠ½ΡΡΡΡΠΊΡΠΈΠΉ, ΡΡΠΎΠ±Ρ Π²Ρ ΡΠΌΠΎΠ³Π»ΠΈ ΠΏΠΎΠ΄ΠΎΠ±ΡΠ°ΡΡ Π½Π°ΠΈΠ»ΡΡΡΠΈΠΉ Π²Π°ΡΠΈΠ°Π½Ρ. Π ΠΈΡΠΏΠΎΠ»ΡΠ·ΠΎΠ²Π°Π½ΠΈΠ΅ ΠΈΠ½ΡΠ΅Π³ΡΠΈΡΠΎΠ²Π°Π½Π½ΠΎΠ³ΠΎ ΠΊΠ°ΡΠ°Π»ΠΎΠ³Π° TRW Aftermarket Π΄Π»Ρ Π·Π°ΠΊΠ°Π·Π° ΠΊΠΎΠΌΠΏΠΎΠ½Π΅Π½ΡΠΎΠ² ΡΠΎΡΠΌΠΎΠ·Π½ΠΎΠΉ ΡΠΈΡΡΠ΅ΠΌΡ TRW ΠΏΠΎΠΌΠΎΠΆΠ΅Ρ Π²Π°ΠΌ Π±ΡΡΡΡΠ΅Π΅ ΠΈ ΡΠΎΡΠ½Π΅Π΅ Π½Π°ΠΉΡΠΈ ΠΈΠΌΠ΅Π½Π½ΠΎ ΡΠΎ, ΡΡΠΎ ΠΎΠ½ΠΈ ΠΈΡΡΡ, ΡΡΠΎ ΠΎΠ·Π½Π°ΡΠ°Π΅Ρ Π±ΡΡΡΡΡΠΉ ΠΏΠΎΠΈΡΠΊ, ΡΡΡΠ΅ΠΊΡΠΈΠ²Π½ΡΡ ΠΏΠΎΠ΄Π³ΠΎΠ½ΠΊΡ ΠΈ ΠΏΡΠ°Π²ΠΈΠ»ΡΠ½ΡΠΉ Π·Π°ΠΊΠ°Π· ΠΊΠ°ΠΆΠ΄ΡΠΉ ΡΠ°Π·.ΠΡ ΠΏΡΠ΅Π΄ΠΎΡΡΠ°Π²Π»ΡΠ΅ΠΌ Π²Π°ΠΌ Π²ΡΠ΅ Π½Π΅ΠΎΠ±Ρ
ΠΎΠ΄ΠΈΠΌΠΎΠ΅ Π΄Π»Ρ ΡΠ°Π·Π²ΠΈΡΠΈΡ Π²Π°ΡΠ΅Π³ΠΎ Π±ΠΈΠ·Π½Π΅ΡΠ° — ΠΎΡ Π½Π°ΡΠ΅Π³ΠΎ Π°ΡΡΠΎΡΡΠΈΠΌΠ΅Π½ΡΠ° ΠΊΠ°ΡΠ΅ΡΡΠ²Π΅Π½Π½ΡΡ
ΠΎΡΠΈΠ³ΠΈΠ½Π°Π»ΡΠ½ΡΡ
ΡΠΎΡΠΌΠΎΠ·Π½ΡΡ
ΠΊΠΎΠ»ΠΎΠ΄ΠΎΠΊ ΠΈ Π΄ΠΈΡΠΊΠΎΠ²ΡΡ
ΡΠΎΡΠΌΠΎΠ·ΠΎΠ² Π΄ΠΎ Π½Π°ΡΠΈΡ
Π²ΡΡΠΎΠΊΠΎΠΊΠ°ΡΠ΅ΡΡΠ²Π΅Π½Π½ΡΡ
ΠΌΠ°ΡΠΊΠ΅ΡΠΈΠ½Π³ΠΎΠ²ΡΡ
ΠΌΠ°ΡΠ΅ΡΠΈΠ°Π»ΠΎΠ² ΠΈ ΡΠ΅Ρ
Π½ΠΈΡΠ΅ΡΠΊΠΎΠΉ ΠΏΠΎΠ΄Π΄Π΅ΡΠΆΠΊΠΈ.
Π£Π²Π΅Π»ΠΈΡΡΡΠ΅ Π±ΠΈΠ·Π½Π΅Ρ Π·Π° ΡΡΠ΅Ρ Π±ΠΎΠ»Π΅Π΅ Π±ΡΡΡΡΠΎΠΉ ΡΡΡΠ°Π½ΠΎΠ²ΠΊΠΈ
ΠΠ΄Π½Π° ΠΈΠ· ΠΏΡΠΈΡΠΈΠ½, ΠΏΠΎ ΠΊΠΎΡΠΎΡΠΎΠΉ ΠΌΠ½ΠΎΠ³ΠΈΠ΅ ΠΊΠΎΠΌΠΏΠ°Π½ΠΈΠΈ ΠΏΠΎΠ»Π°Π³Π°ΡΡΡΡ Π½Π° Π½Π°Ρ, ΡΡΠΎΠ±Ρ Π΄ΠΎΠ±ΠΈΡΡΡΡ Π±ΠΎΠ»Π΅Π΅ Π±ΡΡΡΡΠΎΠΉ ΡΡΡΠ°Π½ΠΎΠ²ΠΊΠΈ, Π·Π°ΠΊΠ»ΡΡΠ°Π΅ΡΡΡ Π² ΡΠΎΠΌ, ΡΡΠΎ Π½Π°ΡΠΈ ΡΠΌΠ΅Π½Π½ΡΠ΅ ΡΠΎΡΠΌΠΎΠ·Π½ΡΠ΅ ΠΊΠΎΠ»ΠΎΠ΄ΠΊΠΈ ΠΈ Π΄Π΅ΡΠ°Π»ΠΈ Π΄ΠΈΡΠΊΠΎΠ²ΡΡ
ΡΠΎΡΠΌΠΎΠ·ΠΎΠ² ΠΏΠΎΡΡΠ°Π²Π»ΡΡΡΡΡ Π² ΠΊΠΎΠΌΠΏΠ»Π΅ΠΊΡΠ΅ ΡΠΎ Π²ΡΠ΅ΠΌΠΈ ΠΎΡΠ½ΠΎΠ²Π½ΡΠΌΠΈ ΠΏΡΠΈΠ½Π°Π΄Π»Π΅ΠΆΠ½ΠΎΡΡΡΠΌΠΈ ΠΈ Π½Π΅ΠΎΠ±Ρ
ΠΎΠ΄ΠΈΠΌΡΠΌΠΈ ΡΡΡΠ°Π½ΠΎΠ²ΠΎΡΠ½ΡΠΌΠΈ Π½Π°Π±ΠΎΡΠ°ΠΌΠΈ.Π Π½Π°ΡΠΈ ΠΏΡΠΎΠ΄ΡΠΊΡΡ ΠΎΠ±Π»Π°Π΄Π°ΡΡ ΡΠ°ΠΊΠΈΠΌΠΈ ΠΊΠ°ΡΠ΅ΡΡΠ²Π°ΠΌΠΈ, ΠΊΠΎΡΠΎΡΡΠ΅ ΠΏΠΎΠΌΠΎΠ³Π°ΡΡ ΠΏΠΎΠ»ΡΠ·ΠΎΠ²Π°ΡΠ΅Π»ΡΠΌ Π»Π΅Π³ΡΠ΅ Π²ΡΡΠ°Π²Π»ΡΡΡ ΠΈΡ
, Π½Π°ΠΏΡΠΈΠΌΠ΅Ρ, Π½Π°ΡΠΈ ΡΠΎΡΠΎΡΡ, ΠΎΠΊΡΠ°ΡΠ΅Π½Π½ΡΠ΅ Π² ΡΠ΅ΡΠ½ΡΠΉ ΡΠ²Π΅Ρ, ΠΊΠΎΡΠΎΡΡΠ΅ ΡΠ°ΠΊΠΆΠ΅ Π½Π΅ Π½ΡΠΆΠ΄Π°ΡΡΡΡ Π² ΡΠΈΡΡΠΊΠ΅ ΠΏΠ΅ΡΠ΅Π΄ ΡΡΡΠ°Π½ΠΎΠ²ΠΊΠΎΠΉ.
ΠΡΠ΅ΠΏΠ΅ΠΆΠ½ΡΠ΅ Π²ΠΈΠ½ΡΡ ΡΠ°ΡΡΠΎ ΠΏΠΎΠ²ΡΠ΅ΠΆΠ΄Π°ΡΡΡΡ ΠΏΡΠΈ Π·Π°ΠΌΠ΅Π½Π΅ ΡΠΎΡΠΌΠΎΠ·Π½ΡΡ Π΄ΠΈΡΠΊΠΎΠ² ΠΈ Π½Π΅ ΠΌΠΎΠ³ΡΡ Π±ΡΡΡ ΠΈΡΠΏΠΎΠ»ΡΠ·ΠΎΠ²Π°Π½Ρ ΠΏΠΎΠ²ΡΠΎΡΠ½ΠΎ, ΠΏΠΎΡΡΠΎΠΌΡ ΠΌΡ ΠΏΠΎΠ·Π°Π±ΠΎΡΠΈΠ»ΠΈΡΡ ΠΎ ΡΠΎΠΌ, ΡΡΠΎΠ±Ρ ΡΠΈΡΠΎΠΊΠΈΠΉ Π°ΡΡΠΎΡΡΠΈΠΌΠ΅Π½Ρ ΡΠΎΡΠΎΡΠΎΠ² TRW Aftermarket ΠΏΠΎΡΡΠ°Π²Π»ΡΠ»ΡΡ Ρ ΡΡΡΠ°Π½ΠΎΠ²ΠΎΡΠ½ΡΠΌΠΈ Π²ΠΈΠ½ΡΠ°ΠΌΠΈ ΠΊΠ°ΠΊ ΡΠ°ΡΡΡ ΠΏΠ°ΠΊΠ΅ΡΠ°. ΠΡΠΎ ΠΎΠ·Π½Π°ΡΠ°Π΅Ρ, ΡΡΠΎ ΡΡΠ°ΡΡΠ΅, ΠΈΠ·Π½ΠΎΡΠ΅Π½Π½ΡΠ΅ ΠΈ ΠΊΠΎΡΡΠΎΠ΄ΠΈΡΠΎΠ²Π°Π½Π½ΡΠ΅ ΠΊΡΠ΅ΠΏΠ»Π΅Π½ΠΈΡ Π½ΠΈΠΊΠΎΠ³Π΄Π° Π½Π΅ ΠΏΡΠΈΠ΄Π΅ΡΡΡ ΠΏΠΎΠ²ΡΠΎΡΠ½ΠΎ ΠΈΡΠΏΠΎΠ»ΡΠ·ΠΎΠ²Π°ΡΡ, ΡΡΠΎ ΡΠΊΠΎΠ½ΠΎΠΌΠΈΡ Π²Π°ΡΠ΅ Π²ΡΠ΅ΠΌΡ, ΠΏΠΎΡΠΊΠΎΠ»ΡΠΊΡ Π²Π°ΠΌ Π½Π΅ Π½ΡΠΆΠ½ΠΎ Π·Π°ΠΊΠ°Π·ΡΠ²Π°ΡΡ Π²ΠΈΠ½ΡΡ ΠΎΡΠ΄Π΅Π»ΡΠ½ΠΎ.ΠΠ»Π°Π³ΠΎΠ΄Π°ΡΡ ΠΊΡΠ΅ΠΏΠ΅ΠΆΠ½ΡΠΌ Π²ΠΈΠ½ΡΠ°ΠΌ ΡΠ΅ΠΏΠ΅ΡΡ ΠΏΡΠΎΡΠ΅ ΠΈ Π±ΡΡΡΡΠ΅Π΅, ΡΠ΅ΠΌ ΠΊΠΎΠ³Π΄Π°-Π»ΠΈΠ±ΠΎ, Π·Π°ΠΌΠ΅Π½ΡΡΡ ΡΠΎΡΠΌΠΎΠ·Π½ΡΠ΅ Π΄ΠΈΡΠΊΠΈ. ΠΠ»Ρ Π±ΠΎΠ»ΡΡΠΈΠ½ΡΡΠ²Π° Π½Π°ΡΠΈΡ ΠΏΡΠΎΠ΄ΡΠΊΡΠΎΠ² Π²Π°ΠΌ Π±ΡΠ΄ΡΡ ΠΏΡΠ΅Π΄ΠΎΡΡΠ°Π²Π»Π΅Π½Ρ Π²ΡΠ΅ Π½Π΅ΠΎΠ±Ρ ΠΎΠ΄ΠΈΠΌΡΠ΅ ΠΊΠΎΠΌΠΏΠΎΠ½Π΅Π½ΡΡ Π² ΠΎΠ΄Π½ΠΎΠΉ ΠΊΠΎΡΠΎΠ±ΠΊΠ΅ TRW, ΡΠ°ΠΊ ΡΡΠΎ Π²Ρ ΠΌΠΎΠΆΠ΅ΡΠ΅ ΠΊΠ°ΠΆΠ΄ΡΠΉ ΡΠ°Π· ΠΏΡΠ΅Π΄ΠΎΡΡΠ°Π²Π»ΡΡΡ ΠΎΠ΄ΠΈΠ½Π°ΠΊΠΎΠ²ΠΎ ΠΎΡΠ»ΠΈΡΠ½ΡΠΉ ΡΠ΅ΡΠ²ΠΈΡ, Π° Π²Π°Ρ ΠΊΠ»ΠΈΠ΅Π½Ρ Π²ΡΠ΅Π³Π΄Π° ΠΌΠΎΠΆΠ΅Ρ ΡΠ°ΡΡΡΠΈΡΡΠ²Π°ΡΡ Π½Π° Π»ΡΡΡΡΡ ΠΏΡΠΎΠΈΠ·Π²ΠΎΠ΄ΠΈΡΠ΅Π»ΡΠ½ΠΎΡΡΡ.
ΠΡΠΎΠΈΠ·Π²ΠΎΠ΄ΡΡΠ²Π΅Π½Π½ΡΠ΅ ΠΌΠΎΡΠ½ΠΎΡΡΠΈ ΠΌΠΈΡΠΎΠ²ΠΎΠ³ΠΎ ΠΊΠ»Π°ΡΡΠ°
ΠΡ ΠΏΡΠΎΠΈΠ·Π²ΠΎΠ΄ΠΈΠΌ ΡΠΎΡΠΎΡΡ ΡΠΎΠ±ΡΡΠ²Π΅Π½Π½ΡΠΌΠΈ ΡΠΈΠ»Π°ΠΌΠΈ Π½Π° ΠΏΠΎΠ»Π½ΠΎΡΡΡΡ Π°Π²ΡΠΎΠΌΠ°ΡΠΈΠ·ΠΈΡΠΎΠ²Π°Π½Π½ΡΡ
Π·Π°Π²ΠΎΠ΄Π°Ρ
Ρ ΠΈΡΠΏΠΎΠ»ΡΠ·ΠΎΠ²Π°Π½ΠΈΠ΅ΠΌ Π½ΠΎΠ²Π΅ΠΉΡΠΈΡ
ΠΏΠ΅ΡΠ΅Π΄ΠΎΠ²ΡΡ
ΡΠ΅Ρ
Π½ΠΎΠ»ΠΎΠ³ΠΈΠΉ.Π Π½ΠΈΠΌ ΠΎΡΠ½ΠΎΡΡΡΡΡ:
- ΠΠ°ΡΡΠ½ΠΎΠ΅ ΠΏΡΠΎΠΈΠ·Π²ΠΎΠ΄ΡΡΠ²ΠΎ, ΠΈΡΠΏΠΎΠ»ΡΠ·ΡΡΡΠ΅Π΅ ΠΌΠ΅ΡΠΎΠ΄ΠΎΠ»ΠΎΠ³ΠΈΡ ΡΡΠ°ΡΠΈΡΡΠΈΡΠ΅ΡΠΊΠΎΠ³ΠΎ ΠΊΠΎΠ½ΡΡΠΎΠ»Ρ ΠΊΠ°ΡΠ΅ΡΡΠ²Π°
- ΠΠΊΠΎΠ»ΠΎΠ³ΠΈΡΠ΅ΡΠΊΠΈ ΡΠΈΡΡΡΠ΅ ΠΌΠ΅ΡΠΎΠ΄Ρ ΠΏΡΠΎΠΈΠ·Π²ΠΎΠ΄ΡΡΠ²Π°
- ΠΠ±ΡΠ°Π±ΠΎΡΠΊΠ° Π²ΡΠΏΠΎΠ»Π½ΡΠ΅ΡΡΡ Π½Π° ΡΠΎΠ²ΡΠ΅ΠΌΠ΅Π½Π½ΡΡ ΡΡΠ°Π½ΠΊΠ°Ρ EMAG, ΠΎΠ±Π΅ΡΠΏΠ΅ΡΠΈΠ²Π°Ρ Π³Π»Π°Π΄ΠΊΡΡ ΠΏΠΎΠ²Π΅ΡΡ Π½ΠΎΡΡΡ Ρ ΠΊΠΎΠ½ΡΡΠΎΠ»ΠΈΡΡΠ΅ΠΌΡΠΌΠΈ Π΄ΠΎΠΏΡΡΠΊΠ°ΠΌΠΈ ΠΏΠΎ ΡΠΎΠ»ΡΠΈΠ½Π΅ ΠΈ Π±ΠΈΠ΅Π½ΠΈΡ
- ΠΡΠ°ΠΊΡΠΈΠΊΠΈ, ΠΊΠΎΡΠΎΡΡΠ΅ ΠΏΡΠΈΠ½Π΅ΡΠ»ΠΈ Π½Π°ΠΌ ΡΠ΅ΡΡΠΈΡΠΈΠΊΠ°ΡΡ ISO / TS 16949, ISO 14001
ΠΠΎΠ»Π΅Π΅ ΠΆΠ΅ΡΡΠΊΠΈΠ΅ Π΄ΠΎΠΏΡΡΠΊΠΈ Π΄Π»Ρ ΡΠΎΡΠΌΠΎΠ·Π½ΡΡ Π΄ΠΈΡΠΊΠΎΠ² ΠΈ ΠΊΠΎΠ»ΠΎΠ΄ΠΎΠΊ
ΠΡΠΈ ΠΏΡΠΎΠ΅ΠΊΡΠΈΡΠΎΠ²Π°Π½ΠΈΠΈ Π½Π°ΡΠ΅Π³ΠΎ ΠΎΡΠΈΠ³ΠΈΠ½Π°Π»ΡΠ½ΠΎΠ³ΠΎ ΠΎΠ±ΠΎΡΡΠ΄ΠΎΠ²Π°Π½ΠΈΡ ΠΌΡ ΠΊΠΎΠ½ΡΡΠΎΠ»ΠΈΡΡΠ΅ΠΌ ΠΊΠ°ΠΆΠ΄ΡΡ Π΄Π΅ΡΠ°Π»Ρ ΠΊΠ°ΠΆΠ΄ΠΎΠΉ Π΄Π΅ΡΠ°Π»ΠΈ ΠΈ Π½Π΅ ΠΈΠ΄Π΅ΠΌ Π½Π° ΠΊΠΎΠΌΠΏΡΠΎΠΌΠΈΡΡ Π² ΠΎΡΠ½ΠΎΡΠ΅Π½ΠΈΠΈ ΡΡΡΡΡ ΠΈΠ»ΠΈ Π΄ΠΎΠΏΡΡΠΊΠΎΠ² Π½Π° ΠΎΠ±ΡΠ°Π±ΠΎΡΠΊΡ.ΠΡΠ΅ Π½Π°ΡΠΈ ΠΎΡΠ»ΠΈΠ²ΠΊΠΈ ΠΈΠ·Π³ΠΎΡΠΎΠ²Π»Π΅Π½Ρ ΠΈΠ· Π²ΡΡΠΎΠΊΠΎΠΊΠ°ΡΠ΅ΡΡΠ²Π΅Π½Π½ΠΎΠ³ΠΎ ΠΌΠ°ΡΠ΅ΡΠΈΠ°Π»Π° GG20 ΠΈΠ»ΠΈ GG15HC Π΄Π»Ρ Π°ΡΠ±ΠΎΠ½Π° H, ΠΈ C . Π ΠΌΡ ΡΡΡΠΎΠ³ΠΎ ΠΊΠΎΠ½ΡΡΠΎΠ»ΠΈΡΡΠ΅ΠΌ ΡΡΠΈ Π΄ΡΡΠ³ΠΈΡ
Π΄ΠΎΠΏΡΡΠΊΠ° Π½Π° ΠΎΠ±ΡΠ°Π±ΠΎΡΠΊΡ: DTV (ΠΈΠ·ΠΌΠ΅Π½Π΅Π½ΠΈΠ΅ ΡΠΎΠ»ΡΠΈΠ½Ρ Π΄ΠΈΡΠΊΠ°) Π½ΠΈΠΊΠΎΠ³Π΄Π° Π½Π΅ ΠΏΡΠ΅Π²ΡΡΠ°Π΅Ρ 12 ΠΌΠΊΠΌ; Π±ΠΈΠ΅Π½ΠΈΠ΅ Π½ΠΈΠΊΠΎΠ³Π΄Π° Π½Π΅ ΠΏΡΠ΅Π²ΡΡΠ°Π΅Ρ 30 ΠΌΠΊΠΌ; Π° ΡΠ΅Π½ΡΡΠ°Π»ΡΠ½ΠΎΠ΅ ΠΎΡΠ²Π΅ΡΡΡΠΈΠ΅ Π·Π°ΠΊΡΠ΅ΠΏΠ»Π΅Π½ΠΎ Π½Π° Π½ΠΎΡΠΌΠ΅ H8. ΠΡΠΎ ΠΎΠ·Π½Π°ΡΠ°Π΅Ρ Π±Π΅ΡΠΏΡΠΎΠ±Π»Π΅ΠΌΠ½ΡΡ ΡΡΡΠ°Π½ΠΎΠ²ΠΊΡ ΠΈ ΡΠ΄ΠΎΠ±Π½ΡΡ ΡΠ°Π±ΠΎΡΡ Π±Π΅Π· ΡΡΡΠΏΡΠΈΠ·ΠΎΠ².
Π’ΠΎΡΠΌΠΎΠ·Π½ΡΠ΅ ΠΊΠΎΠ»ΠΎΠ΄ΠΊΠΈ ΠΈ ΡΠΎΡΠΎΡΡ Π΄Π»Ρ Π²Π°ΡΠ΅Π³ΠΎ ΡΠΏΠΎΠΊΠΎΠΉΡΡΠ²ΠΈΡ
ΠΡΠΎΠΈΠ·Π²ΠΎΠ΄ΡΡΠ²Π΅Π½Π½ΡΠ΅ Π²ΠΎΠ·ΠΌΠΎΠΆΠ½ΠΎΡΡΠΈ, ΠΏΡΠΈΠ²Π΅ΡΠΆΠ΅Π½Π½ΠΎΡΡΡ ΠΊΠ°ΡΠ΅ΡΡΠ²Ρ, ΠΈΠ½Π½ΠΎΠ²Π°ΡΠΈΠΈ ΠΈ ΠΎΠ±ΡΠΈΡΠ½ΡΠ΅ ΠΈΡΠΏΡΡΠ°Π½ΠΈΡ, ΠΏΠΎΠ΄Π΄Π΅ΡΠΆΠΈΠ²Π°ΡΡΠΈΠ΅ ΡΠΎΡΠΌΠΎΠ·Π½ΡΠ΅ ΠΊΠΎΠ»ΠΎΠ΄ΠΊΠΈ ΠΈ ΡΠΎΡΠΎΡΡ TRW, ΠΎΠ·Π½Π°ΡΠ°ΡΡ, ΡΡΠΎ Π²Ρ Π²ΡΠ΅Π³Π΄Π° ΠΌΠΎΠΆΠ΅ΡΠ΅ ΠΏΠΎΠ»ΠΎΠΆΠΈΡΡΡΡ Π½Π° Π½Π°ΡΠΈ Π·Π°ΠΏΡΠ°ΡΡΠΈ.ΠΠ΄Π΅ Π±Ρ Π²Ρ Π½ΠΈ Π½Π°Ρ
ΠΎΠ΄ΠΈΠ»ΠΈΡΡ ΠΈ ΠΊΠ΅ΠΌ Π±Ρ Π²Ρ Π½ΠΈ Π±ΡΠ»ΠΈ, ΡΡΡΠ°Π½ΠΎΠ²ΠΊΠ° ΡΠΎΡΠΌΠΎΠ·Π½ΡΡ
Π΄Π΅ΡΠ°Π»Π΅ΠΉ ΠΎΡ TRW Automotive Aftermarket Π΄Π°Π΅Ρ Π²Π°ΠΌ Π΄ΡΡΠ΅Π²Π½ΠΎΠ΅ ΡΠΏΠΎΠΊΠΎΠΉΡΡΠ²ΠΈΠ΅.
ΠΠΎΠ»Π½Π°Ρ Π±Π΅Π·ΠΎΠΏΠ°ΡΠ½ΠΎΡΡΡ Π΄Π»Ρ Π°Π²ΡΠΎΠΌΠΎΠ±ΠΈΠ»ΡΠ½ΡΡ ΡΠΎΡΠΌΠΎΠ·ΠΎΠ² ΠΈ Π½Π΅ ΡΠΎΠ»ΡΠΊΠΎ.
ΠΠΎΡΠΊΠΎΠ»ΡΠΊΡ ΠΌΡ ΠΏΡΠΎΠΈΠ·Π²ΠΎΠ΄ΠΈΠΌ Π²ΡΠ΅ ΡΠΈΠΏΡ ΡΠ΅ΡΠ΅Π½ΠΈΠΉ Π΄Π»Ρ ΠΎΠ±Π΅ΡΠΏΠ΅ΡΠ΅Π½ΠΈΡ Π±Π΅Π·ΠΎΠΏΠ°ΡΠ½ΠΎΡΡΠΈ ΡΡΠ°Π½ΡΠΏΠΎΡΡΠ½ΡΡ
ΡΡΠ΅Π΄ΡΡΠ², Π½ΠΈΠΊΡΠΎ Π»ΡΡΡΠ΅ Π½Π°Ρ Π½Π΅ Π·Π½Π°Π΅Ρ, ΠΊΠ°ΠΊ ΠΎΠ½ΠΈ ΡΠ°Π±ΠΎΡΠ°ΡΡ Π²ΠΌΠ΅ΡΡΠ΅, ΡΡΠΎΠ±Ρ Π·Π°ΡΠΈΡΠΈΡΡ ΠΏΠ°ΡΡΠ°ΠΆΠΈΡΠΎΠ² Π²Π½ΡΡΡΠΈ. ΠΡ ΠΏΡΠΎΠ΅ΠΊΡΠΈΡΡΠ΅ΠΌ ΠΈ ΠΏΡΠΎΠΈΠ·Π²ΠΎΠ΄ΠΈΠΌ Π½Π°ΡΠΈ ΡΠΎΡΠΎΡΡ, ΡΡΠΎΠ±Ρ ΠΎΠ½ΠΈ Π±ΡΠ»ΠΈ ΡΠ±Π°Π»Π°Π½ΡΠΈΡΠΎΠ²Π°Π½Π½ΠΎΠΉ ΡΠ°ΡΡΡΡ ΡΠΎΡΠΌΠΎΠ·Π½ΠΎΠΉ Π΄ΠΈΠ½Π°ΠΌΠΈΠΊΠΈ. ΠΠΎΡ ΠΏΠΎΡΠ΅ΠΌΡ Π²ΡΠ±ΠΎΡ TRW Aftermarket ΠΎΠ·Π½Π°ΡΠ°Π΅Ρ Π½Π°ΠΈΠ±ΠΎΠ»Π΅Π΅ ΡΡΡΠ΅ΠΊΡΠΈΠ²Π½ΡΡ ΠΏΠΎΠ΄Π³ΠΎΠ½ΠΊΡ Π΄Π»Ρ Π²Π°Ρ, Π»ΡΡΡΠ΅Π΅ ΠΊΠ°ΡΠ΅ΡΡΠ²ΠΎ Π΄Π»Ρ Π²Π°ΡΠΈΡ
ΠΊΠ»ΠΈΠ΅Π½ΡΠΎΠ² ΠΈ Π½Π°ΠΈΠ»ΡΡΡΠΈΠ΅ ΡΠ΅Π·ΡΠ»ΡΡΠ°ΡΡ Π΄Π»Ρ Π²Π°ΡΠ΅Π³ΠΎ Π±ΠΈΠ·Π½Π΅ΡΠ°.
ΠΠΎΠ»Π΅Π΅ Π±Π΅Π·ΠΎΠΏΠ°ΡΠ½Π°Ρ ΡΠΎΡΠΌΠΎΠ·Π½Π°Ρ ΠΊΠΎΠ»ΠΎΠ΄ΠΊΠ°
Π’ΠΎΡΠΌΠΎΠ·Π½ΡΠ΅ ΠΊΠΎΠ»ΠΎΠ΄ΠΊΠΈ TRW ΠΎΠ±Π΅ΡΠΏΠ΅ΡΠΈΠ²Π°ΡΡ Π±ΠΎΠ»ΡΡΡΡ Π±Π΅Π·ΠΎΠΏΠ°ΡΠ½ΠΎΡΡΡ, Π±ΠΎΠ»ΡΡΠΈΠΉ ΠΎΡ
Π²Π°Ρ ΠΈ Π±ΠΎΠ»Π΅Π΅ ΠΏΡΠΎΡΡΡΡ ΡΡΡΠ°Π½ΠΎΠ²ΠΊΡ. ΠΠ°ΡΠ΅ Π½ΠΎΠ²ΠΎΠ΅ ΡΡΠΈΠΊΡΠΈΠΎΠ½Π½ΠΎΠ΅ ΠΏΠΎΠΊΡΡΡΠΈΠ΅ COTEC ΠΌΠΎΠΆΠ΅Ρ ΡΠΎΠΊΡΠ°ΡΠΈΡΡ ΡΠΎΡΠΌΠΎΠ·Π½ΠΎΠΉ ΠΏΡΡΡ Π½Π° Π½ΠΎΠ²ΡΡ
ΠΊΠΎΠ»ΠΎΠ΄ΠΊΠ°Ρ
— ΠΈ ΠΌΡ Π΄Π΅Π»Π°Π΅ΠΌ Π΅Π³ΠΎ ΡΡΠ°Π½Π΄Π°ΡΡΠ½ΡΠΌ. ΠΠ΅Π·Π°Π²ΠΈΡΠΈΠΌΡΠ΅ ΠΈΡΠΏΡΡΠ°Π½ΠΈΡ Π΄ΠΎΠΊΠ°Π·Π°Π»ΠΈ, ΡΡΠΎ Π·Π°ΠΌΠ΅Π½Π° ΡΠΎΡΠΌΠΎΠ·Π½ΡΡ
ΠΊΠΎΠ»ΠΎΠ΄ΠΎΠΊ Π½Π° ΠΊΠΎΠ»ΠΎΠ΄ΠΊΠΈ COTEC ΠΌΠΎΠΆΠ΅Ρ ΡΠΎΠΊΡΠ°ΡΠΈΡΡ ΡΠΎΡΠΌΠΎΠ·Π½ΠΎΠΉ ΠΏΡΡΡ Π΄ΠΎ 7 ΠΌΠ΅ΡΡΠΎΠ² Π²ΠΎ Π²ΡΠ΅ΠΌΡ ΠΏΡΠΈΡΠ°Π±ΠΎΡΠΊΠΈ. Π’Π°ΠΊΠ°Ρ ΡΠ°Π·Π½ΠΈΡΠ° ΠΌΠΎΠΆΠ΅Ρ ΡΠΏΠ°ΡΡΠΈ ΠΆΠΈΠ·Π½Ρ. ΠΠΎΡ ΠΏΠΎΡΠ΅ΠΌΡ ΠΌΡ Π΄Π΅Π»Π°Π΅ΠΌ Π΅Π³ΠΎ ΡΡΠ°Π½Π΄Π°ΡΡΠ½ΡΠΌ. ΠΡΠΎΠΌΠ΅ ΡΠΎΠ³ΠΎ, ΠΌΡ ΠΏΡΠ΅Π΄ΠΎΡΡΠ°Π²ΠΈΠΌ Π²Π°ΠΌ Π²ΡΠ΅ ΠΏΠΎΠ΄Ρ
ΠΎΠ΄ΡΡΠΈΠ΅ Π°ΠΊΡΠ΅ΡΡΡΠ°ΡΡ, Π½Π΅ΠΎΠ±Ρ
ΠΎΠ΄ΠΈΠΌΡΠ΅ Π΄Π»Ρ Π±ΡΡΡΡΠΎΠΉ ΡΡΡΠ°Π½ΠΎΠ²ΠΊΠΈ ΡΠΎΡΠΌΠΎΠ·Π½ΡΡ
ΠΊΠΎΠ»ΠΎΠ΄ΠΎΠΊ.ΠΠ΄ΠΎΠ±Π°Π²ΠΎΠΊ ΠΊ ΡΡΠΎΠΌΡ, ΠΌΡ ΡΠ°Π·ΡΠ°Π±ΠΎΡΠ°Π»ΠΈ Π°ΡΡΠΎΡΡΠΈΠΌΠ΅Π½Ρ, ΠΊΠΎΡΠΎΡΡΠΉ ΠΏΠΎΠΊΡΡΠ²Π°Π΅Ρ 98% Π΅Π²ΡΠΎΠΏΠ΅ΠΉΡΠΊΠΎΠ³ΠΎ Π°Π²ΡΠΎΠΌΠΎΠ±ΠΈΠ»ΡΠ½ΠΎΠ³ΠΎ ΠΏΠ°ΡΠΊΠ°, ΡΡΠΎ ΠΎΠ·Π½Π°ΡΠ°Π΅Ρ, ΡΡΠΎ Π²Ρ ΠΌΠΎΠΆΠ΅ΡΠ΅ ΡΡΡΠ°Π½ΠΎΠ²ΠΈΡΡ Π½ΠΎΠ²ΡΠ΅ ΠΏΠ΅ΡΠ΅Π΄Π½ΠΈΠ΅ ΠΈΠ»ΠΈ Π·Π°Π΄Π½ΠΈΠ΅ ΡΠΎΡΠΌΠΎΠ·Π½ΡΠ΅ ΠΊΠΎΠ»ΠΎΠ΄ΠΊΠΈ ΠΏΡΠ°ΠΊΡΠΈΡΠ΅ΡΠΊΠΈ Π½Π° Π»ΡΠ±ΠΎΠΉ Π°Π²ΡΠΎΠΌΠΎΠ±ΠΈΠ»Ρ.
ΠΠΈΡΠΊΠΎΠ²ΡΠ΅ ΡΠΎΡΠΌΠΎΠ·Π° ΠΏΠΎ Π²ΡΠ΅ΠΌΡ ΠΌΠΈΡΡ
TRW Π²ΠΊΠ»Π°Π΄ΡΠ²Π°Π΅Ρ ΠΊΠ°ΠΆΠ΄ΡΡ ΡΠ΅ΠΊΡΠ½Π΄Ρ ΡΠ²ΠΎΠ΅Π³ΠΎ Π²ΡΠ΅ΠΌΠ΅Π½ΠΈ Π² ΡΠ°Π·ΡΠ°Π±ΠΎΡΠΊΡ ΠΈ ΠΏΡΠΎΠΈΠ·Π²ΠΎΠ΄ΡΡΠ²ΠΎ Π½Π°ΠΈΠ»ΡΡΡΠ΅Π³ΠΎ Π²ΠΎΠ·ΠΌΠΎΠΆΠ½ΠΎΠ³ΠΎ ΠΎΡΠΈΠ³ΠΈΠ½Π°Π»ΡΠ½ΠΎΠ³ΠΎ ΠΎΠ±ΠΎΡΡΠ΄ΠΎΠ²Π°Π½ΠΈΡ Π΄Π»Ρ Π°Π²ΡΠΎΠΌΠΎΠ±ΠΈΠ»Π΅ΠΉ ΠΏΠΎ Π²ΡΠ΅ΠΌΡ ΠΌΠΈΡΡ, ΠΈ Π²ΡΠ΅ ΡΡΠΈ ΠΈΠ½Π½ΠΎΠ²Π°ΡΠΈΠΈ ΠΈ ΠΎΠΏΡΡ ΠΏΠ΅ΡΠ΅Π΄Π°ΡΡΡΡ TRW Aftermarket. ΠΡΠΎ ΠΎΠ·Π½Π°ΡΠ°Π΅Ρ, ΡΡΠΎ Π²Ρ ΠΌΠΎΠΆΠ΅ΡΠ΅ ΡΡΠΊΠΎΠ½ΠΎΠΌΠΈΡΡ Π΄ΡΠ°Π³ΠΎΡΠ΅Π½Π½ΠΎΠ΅ Π²ΡΠ΅ΠΌΡ Π΄Π»Ρ ΡΠ²ΠΎΠ΅Π³ΠΎ Π±ΠΈΠ·Π½Π΅ΡΠ° ΠΈ ΡΠ²ΠΎΠΈΡ
ΠΊΠ»ΠΈΠ΅Π½ΡΠΎΠ², Π²ΡΠ±ΡΠ°Π² ΠΊΠΎΠΌΠΏΠΎΠ½Π΅Π½ΡΡ TRW, ΠΊΠΎΡΠΎΡΡΠ΅ ΠΏΠΎΠΌΠΎΠ³ΡΡ Π΄ΠΎΡΡΠΈΡΡ ΠΈΠ΄Π΅Π°Π»ΡΠ½ΠΎΠΉ ΡΠΎΠ²ΠΌΠ΅ΡΡΠΈΠΌΠΎΡΡΠΈ — Π±ΡΡΡΡΠΎ.TRW Aftermarket ΡΠ°Π· Π·Π° ΡΠ°Π·ΠΎΠΌ Π±ΡΠ΄Π΅Ρ ΠΎΠ±Π΅ΡΠΏΠ΅ΡΠΈΠ²Π°ΡΡ ΠΊΠ°ΡΠ΅ΡΡΠ²ΠΎ ΠΎΡΠΈΠ³ΠΈΠ½Π°Π»ΡΠ½ΠΎΠ³ΠΎ ΠΎΠ±ΠΎΡΡΠ΄ΠΎΠ²Π°Π½ΠΈΡ, Π΄Π°Π²Π°Ρ Π²ΠΎΠ΄ΠΈΡΠ΅Π»ΡΠΌ ΠΌΠ°ΠΊΡΠΈΠΌΠ°Π»ΡΠ½ΡΠΉ ΠΊΠΎΠ½ΡΡΠΎΠ»Ρ, ΠΊΠΎΠ³Π΄Π° Π½Π° ΡΡΠ΅ΡΡ ΠΊΠ°ΠΆΠ΄Π°Ρ ΡΠ΅ΠΊΡΠ½Π΄Π°, ΠΈ ΠΏΡΠ΅Π΄ΠΎΡΡΠ°Π²Π»ΡΡ Π²Π°ΠΌ Π½Π΅ΠΏΡΠ΅Π²Π·ΠΎΠΉΠ΄Π΅Π½Π½ΡΠΉ Π΄ΠΈΠ°ΠΏΠ°Π·ΠΎΠ½ Π΄Π»Ρ ΡΠ°Π·Π²ΠΈΡΠΈΡ Π²Π°ΡΠ΅Π³ΠΎ Π±ΠΈΠ·Π½Π΅ΡΠ°.
ΠΠ°ΠΊ ΡΠ°Π±ΠΎΡΠ°ΡΡ ΡΠΎΡΠΌΠΎΠ·Π½ΡΠ΅ Π΄ΠΈΡΠΊΠΈ?
Π΄ΠΈΡΠΊΠΎΠ²Π°Ρ ΡΠΎΡΠΌΠΎΠ·Π½Π°Ρ ΡΠΈΡΡΠ΅ΠΌΠ°
ΠΠ»Π΅ΠΊΡΡΠΈΡΠ΅ΡΠΊΠ°Ρ ΡΠ΅Π²ΠΎΠ»ΡΡΠΈΡ, Π²ΠΎΠ·ΠΌΠΎΠΆΠ½ΠΎ, Π²ΡΠ΅ Π΅ΡΠ΅ Π½Π°Ρ ΠΎΠ΄ΠΈΡΡΡ Π² Π·Π°ΡΠ°ΡΠΎΡΠ½ΠΎΠΌ ΡΠΎΡΡΠΎΡΠ½ΠΈΠΈ, Π½ΠΎ Π½Π΅Π»ΡΠ·Ρ ΠΎΡΡΠΈΡΠ°ΡΡ, ΡΡΠΎ Π΄Π²ΠΈΠ³Π°ΡΠ΅Π»ΠΈ, ΡΠ°Π±ΠΎΡΠ°ΡΡΠΈΠ΅ Π½Π° ΠΈΡΠΊΠΎΠΏΠ°Π΅ΠΌΠΎΠΌ ΡΠΎΠΏΠ»ΠΈΠ²Π΅, Π½Π°Ρ ΠΎΠ΄ΡΡΡΡ Π² Π΄ΠΎΠ»Π³ΠΎΠΌ Π²ΡΠ΅ΠΌΠ΅Π½ΠΈ. Π’Π΅ΠΌ Π½Π΅ ΠΌΠ΅Π½Π΅Π΅, Π±ΡΠ΄Ρ ΡΠΎ Π΄Π²ΠΈΠ³Π°ΡΠ΅Π»ΠΈ Ρ Π±Π°ΡΠ°ΡΠ΅ΠΉΠ½ΡΠΌ ΠΏΠΈΡΠ°Π½ΠΈΠ΅ΠΌ ΠΈΠ»ΠΈ Π½Π° ΡΠΎΠΏΠ»ΠΈΠ²Π½ΡΡ ΡΠ»Π΅ΠΌΠ΅Π½ΡΠ°Ρ , Π±ΡΠ΄ΡΡΠΈΠ΅ Π±ΠΎΠ»Π΅Π΅ ΡΠΊΠΎΠ»ΠΎΠ³ΠΈΡΠ½ΡΠ΅ Π°Π²ΡΠΎΠΌΠΎΠ±ΠΈΠ»ΠΈ ΠΏΠΎ-ΠΏΡΠ΅ΠΆΠ½Π΅ΠΌΡ Π΄ΠΎΠ»ΠΆΠ½Ρ Π±ΡΠ΄ΡΡ ΡΠ΄Π΅Π»ΡΡΡ ΠΏΡΠΈΠΎΡΠΈΡΠ΅ΡΠ½ΠΎΠ΅ Π²Π½ΠΈΠΌΠ°Π½ΠΈΠ΅ Π±Π΅Π·ΠΎΠΏΠ°ΡΠ½ΠΎΡΡΠΈ ΠΏΠ°ΡΡΠ°ΠΆΠΈΡΠΎΠ² Π΄Π»Ρ Π»ΡΠ±ΡΡ ΠΊΠΎΠΌΠΌΠ΅ΡΡΠ΅ΡΠΊΠΈΡ ΠΈΠ»ΠΈ ΠΌΠ°ΡΡΠΎΠ²ΡΡ Π°Π²ΡΠΎΠΌΠΎΠ±ΠΈΠ»Π΅ΠΉ.Π’ΠΎΠ³Π΄Π° ΠΌΡ ΠΌΠΎΠΆΠ΅ΠΌ Ρ ΡΠ²Π΅ΡΠ΅Π½Π½ΠΎΡΡΡΡ ΠΏΡΠ΅Π΄ΠΏΠΎΠ»ΠΎΠΆΠΈΡΡ, ΡΡΠΎ ΡΠΎΡΠΌΠΎΠ·Π½Π°Ρ ΡΠΈΡΡΠ΅ΠΌΠ° Π½Π΅ ΠΈΠ·ΠΌΠ΅Π½ΠΈΡΡΡ Π² ΠΎΠ±ΠΎΠ·ΡΠΈΠΌΠΎΠΌ Π±ΡΠ΄ΡΡΠ΅ΠΌ, ΠΏΠΎΠΊΠ°, ΠΊΠΎΠ½Π΅ΡΠ½ΠΎ, Π½Π΅ Π±ΡΠ΄Π΅Ρ ΠΏΡΠΎΠΈΠ·Π²Π΅Π΄Π΅Π½Π° Π±ΠΎΠ»Π΅Π΅ ΡΠ΅Π²ΠΎΠ»ΡΡΠΈΠΎΠ½Π½Π°Ρ ΡΠΈΡΡΠ΅ΠΌΠ°.
Π Π±ΠΎΠ»ΡΡΠΈΠ½ΡΡΠ²Π΅ Π²ΡΠΏΡΡΠΊΠ°Π΅ΠΌΡΡ ΡΠ΅Π³ΠΎΠ΄Π½Ρ Π°Π²ΡΠΎΠΌΠΎΠ±ΠΈΠ»Π΅ΠΉ ΠΈΡΠΏΠΎΠ»ΡΠ·ΡΠ΅ΡΡΡ Π΄ΠΈΡΠΊΠΎΠ²Π°Ρ ΡΠΎΡΠΌΠΎΠ·Π½Π°Ρ ΡΠΈΡΡΠ΅ΠΌΠ°; Π±Π°ΡΠ°Π±Π°Π½Ρ Π²ΡΠ΅ Π΅ΡΠ΅ ΠΈΡΠΏΠΎΠ»ΡΠ·ΡΡΡΡΡ Π½Π΅ΠΊΠΎΡΠΎΡΡΠΌΠΈ ΠΏΡΠΎΠΈΠ·Π²ΠΎΠ΄ΠΈΡΠ΅Π»ΡΠΌΠΈ, ΠΎΠ΄Π½Π°ΠΊΠΎ ΠΈΡ ΡΡΡΠ΅ΠΊΡΠΈΠ²Π½ΠΎΡΡΡ ΠΌΠ΅ΡΠΊΠ½Π΅Ρ ΠΏΠΎ ΡΡΠ°Π²Π½Π΅Π½ΠΈΡ Ρ Π΄ΠΈΡΠΊΠΎΠ²ΡΠΌΠΈ ΡΠΎΡΠΌΠΎΠ·Π°ΠΌΠΈ.
ΠΠΈΡΠΊΠΎΠ²Π°Ρ ΡΠΎΡΠΌΠΎΠ·Π½Π°Ρ ΡΠΈΡΡΠ΅ΠΌΠ° ΡΠΎΡΡΠΎΠΈΡ ΠΈΠ· ΠΌΠ½ΠΎΠΆΠ΅ΡΡΠ²Π° ΡΠ°Π·Π»ΠΈΡΠ½ΡΡ ΠΊΠΎΠΌΠΏΠΎΠ½Π΅Π½ΡΠΎΠ², Π½ΠΎ ΠΏΠΎ ΡΠ²ΠΎΠ΅ΠΉ ΠΎΡΠ½ΠΎΠ²Π½ΠΎΠΉ ΡΡΠ½ΠΊΡΠΈΠΈ ΡΠΈΡΡΠ΅ΠΌΠ° ΡΠΎΡΡΠΎΠΈΡ ΠΈΠ· Π΄ΠΈΡΠΊΠ° / ΡΠΎΡΠΎΡΠ°, ΡΠΎΡΠΌΠΎΠ·Π½ΠΎΠ³ΠΎ ΡΡΠΏΠΏΠΎΡΡΠ° ΠΈ ΡΠΎΡΠΌΠΎΠ·Π½ΡΡ ΠΊΠΎΠ»ΠΎΠ΄ΠΎΠΊ.ΠΠΎΠ³Π΄Π° ΠΏΠ΅Π΄Π°Π»Ρ ΡΠΎΡΠΌΠΎΠ·Π° Π½Π°ΠΆΠ°ΡΠ°, ΡΠΎΡΠΌΠΎΠ·Π½Π°Ρ ΠΆΠΈΠ΄ΠΊΠΎΡΡΡ ΡΠΎΠ·Π΄Π°Π΅Ρ Π΄Π°Π²Π»Π΅Π½ΠΈΠ΅ ΠΈ ΠΏΡΠΈΠΆΠΈΠΌΠ°Π΅Ρ ΡΠΎΡΠΌΠΎΠ·Π½ΡΡ ΠΊΠΎΠ»ΠΎΠ΄ΠΊΡ ΠΊ ΡΠΎΡΠΎΡΡ, ΡΠΎΠ·Π΄Π°Π²Π°Ρ ΡΡΠ΅Π½ΠΈΠ΅. ΠΡΠΎ ΡΡΠ΅Π½ΠΈΠ΅ Π·Π°ΠΌΠ΅Π΄Π»ΡΠ΅Ρ Π²ΡΠ°ΡΠ΅Π½ΠΈΠ΅ ΠΊΠΎΠ»Π΅Ρ ΠΈ ΡΠ°ΠΌΠΎΠ³ΠΎ Π°Π²ΡΠΎΠΌΠΎΠ±ΠΈΠ»Ρ. ΠΡΠΎΡΡΠΎΠΉ?
ΠΡΠ΅Π²ΠΈΠ΄Π½ΠΎ, ΡΡΠΎ Π·Π΄Π΅ΡΡ Π΅ΡΡΡ ΠΊΠΎΠ΅-ΡΡΠΎ Π΅ΡΠ΅, ΠΏΠΎΡΠΊΠΎΠ»ΡΠΊΡ ΠΊΠ°ΠΆΠ΄ΡΠΉ ΠΊΠΎΠΌΠΏΠΎΠ½Π΅Π½Ρ ΡΠΏΡΠΎΠ΅ΠΊΡΠΈΡΠΎΠ²Π°Π½ ΡΠ°ΠΊ, ΡΡΠΎΠ±Ρ ΠΌΠ°ΠΊΡΠΈΠΌΠΈΠ·ΠΈΡΠΎΠ²Π°ΡΡ ΡΠΎΡΠΌΠΎΠ·Π½ΡΠ΅ Ρ Π°ΡΠ°ΠΊΡΠ΅ΡΠΈΡΡΠΈΠΊΠΈ.
ΠΠΈΡΠΊ / ΡΠΎΡΠΎΡ
ΠΠΈΡΠΊ ΠΈΠ»ΠΈ ΡΠΎΡΠΎΡ ΡΠ²Π»ΡΠ΅ΡΡΡ ΡΠ°ΠΌΠΎΠΉ Π±ΠΎΠ»ΡΡΠΎΠΉ ΡΠ°ΡΡΡΡ Π΄ΠΈΡΠΊΠΎΠ²ΠΎΠΉ ΡΠΎΡΠΌΠΎΠ·Π½ΠΎΠΉ ΡΠΈΡΡΠ΅ΠΌΡ ΠΈ ΠΊΡΠ΅ΠΏΠΈΡΡΡ ΠΊ ΠΊΠ°ΠΆΠ΄ΠΎΠΌΡ ΠΊΠΎΠ»Π΅ΡΡ ΡΠ΅ΡΠ΅Π· ΠΎΡΠ²Π΅ΡΡΡΠΈΡ Π² ΠΏΠ΅ΡΠ΅Π΄Π½Π΅ΠΉ ΡΠ°ΡΡΠΈ ΡΡΡΠΏΠΈΡΡ (Π½Π° ΡΠΈΡΡΠ½ΠΊΠ΅).ΠΠΈΡΠΊΠΈ ΠΎΠ±ΡΡΠ½ΠΎ ΡΠΎΡΡΠΎΡΡ ΠΈΠ· ΡΡΠ³ΡΠ½Π°, Π½ΠΎ ΠΊΠ°ΠΆΠ΄ΡΠΉ ΠΈΠ· Π½ΠΈΡ Π±ΡΠ΄Π΅Ρ ΠΈΠΌΠ΅ΡΡ ΠΎΠΏΡΠ΅Π΄Π΅Π»Π΅Π½Π½ΡΡ ΡΠΌΠ΅ΡΡ ΠΌΠ΅ΡΠ°Π»Π»ΠΎΠ² Π² Π·Π°Π²ΠΈΡΠΈΠΌΠΎΡΡΠΈ ΠΎΡ ΡΠΈΠΏΠ° Π°Π²ΡΠΎΠΌΠΎΠ±ΠΈΠ»Ρ ΠΈ ΡΡΠ΅Π±ΠΎΠ²Π°Π½ΠΈΠΉ ΠΊ Ρ Π°ΡΠ°ΠΊΡΠ΅ΡΠΈΡΡΠΈΠΊΠ°ΠΌ. ΠΠΈΡΠΊ ΡΠ²Π»ΡΠ΅ΡΡΡ ΠΊΠΎΠ½ΡΠ°ΠΊΡΠ½ΠΎΠΉ ΠΏΠΎΠ²Π΅ΡΡ Π½ΠΎΡΡΡΡ Π΄Π»Ρ ΡΠΎΠ·Π΄Π°Π½ΠΈΡ ΡΡΠ΅Π½ΠΈΡ Π² ΡΠΎΡΠΌΠΎΠ·Π½ΠΎΠΉ ΡΠΈΡΡΠ΅ΠΌΠ΅, ΠΏΠΎΡΡΠΎΠΌΡ ΠΎΠ½ Π΄ΠΎΠ»ΠΆΠ΅Π½ Π²ΡΠ΄Π΅ΡΠΆΠΈΠ²Π°ΡΡ ΠΎΠ³ΡΠΎΠΌΠ½ΠΎΠ΅ Π΄Π°Π²Π»Π΅Π½ΠΈΠ΅ ΠΈ Π²ΡΡΠΎΠΊΡΡ ΡΠ΅ΠΌΠΏΠ΅ΡΠ°ΡΡΡΡ.
ΠΠ·-Π·Π° ΡΠΈΠ»ΡΠ½ΠΎΠ³ΠΎ Π½Π°Π³ΡΠ΅Π²Π° Π΄ΠΈΡΠΊΠ° Π²ΠΎ Π²ΡΠ΅ΠΌΡ ΠΏΡΠΎΡΠ΅ΡΡΠ°, Π±ΠΎΠ»ΡΡΠ°Ρ Π΅Π³ΠΎ ΡΠ°ΡΡΡ Π²Π΅Π½ΡΠΈΠ»ΠΈΡΡΠ΅ΡΡΡ, ΠΎΠΏΡΠΈΠΌΠΈΠ·ΠΈΡΡΡ ΠΏΠΎΡΠΎΠΊ Ρ ΠΎΠ»ΠΎΠ΄Π½ΠΎΠ³ΠΎ Π²ΠΎΠ·Π΄ΡΡ Π° Π²ΠΎ Π²ΡΠ΅ΠΌΡ ΡΠΎΡΠΌΠΎΠΆΠ΅Π½ΠΈΡ.ΠΡΠΎ ΠΏΡΠ΅Π΄ΠΎΡΠ²ΡΠ°ΡΠ°Π΅Ρ ΠΏΠ΅ΡΠ΅Π³ΡΠ΅Π² Π΄ΠΈΡΠΊΠ°, ΡΡΠΎ ΠΌΠΎΠΆΠ΅Ρ ΠΏΡΠΈΠ²Π΅ΡΡΠΈ ΠΊ ΠΏΠΎΠ²ΡΠ΅ΠΆΠ΄Π΅Π½ΠΈΡ Π΄ΠΈΡΠΊΠ° ΠΈΠ»ΠΈ Π΄ΡΡΠ³ΠΈΡ ΡΠ°ΡΡΠ΅ΠΉ ΡΠΈΡΡΠ΅ΠΌΡ. ΠΠΎΠ½ΡΡΡΡΠΊΡΠΈΡ Π²Π΅Π½ΡΠΈΠ»ΡΡΠΈΠΎΠ½Π½ΡΡ ΠΎΡΠ²Π΅ΡΡΡΠΈΠΉ Π·Π°Π²ΠΈΡΠΈΡ ΠΎΡ ΡΡΠ΅Π±ΠΎΠ²Π°Π½ΠΈΠΉ ΠΏΡΠΎΠΈΠ·Π²ΠΎΠ΄ΠΈΡΠ΅Π»Π΅ΠΉ Π°Π²ΡΠΎΠΌΠΎΠ±ΠΈΠ»Π΅ΠΉ ΠΈ ΠΌΠΎΠΆΠ΅Ρ ΠΏΡΠΈΠ½ΠΈΠΌΠ°ΡΡ ΡΠ°Π·Π»ΠΈΡΠ½ΡΠ΅ ΡΠΎΡΠΌΡ ΠΈ ΡΠΈΠΏΡ. ΠΡΡΠ³ΠΎΠΉ ΠΌΠ΅ΡΠΎΠ΄, ΠΈΡΠΏΠΎΠ»ΡΠ·ΡΠ΅ΠΌΡΠΉ Π΄Π»Ρ ΡΠ²Π΅Π»ΠΈΡΠ΅Π½ΠΈΡ ΠΏΠΎΡΠΎΠΊΠ° Π²ΠΎΠ·Π΄ΡΡ Π°, — ΡΡΠΎ ΠΎΠ±ΡΠ°Π±ΠΎΡΠΊΠ° ΠΊΠ°Π½Π°Π²ΠΎΠΊ Π½Π° Π²Π½Π΅ΡΠ½Π΅ΠΉ ΡΡΠΎΡΠΎΠ½Π΅ Π΄ΠΈΡΠΊΠ°. ΠΠ°ΠΊ ΠΈ Π²Π΅Π½ΡΠΈΠ»ΡΡΠΈΠΎΠ½Π½ΡΠ΅ ΠΎΡΠ²Π΅ΡΡΡΠΈΡ, ΠΎΠ½ΠΈ ΡΠ²Π΅Π»ΠΈΡΠΈΠ²Π°ΡΡ ΠΏΠ»ΠΎΡΠ°Π΄Ρ ΠΏΠΎΠ²Π΅ΡΡ Π½ΠΎΡΡΠΈ ΠΈ ΠΎΠΏΡΠΈΠΌΠΈΠ·ΠΈΡΡΡΡ ΠΏΠΎΡΠΎΠΊ Π²ΠΎΠ·Π΄ΡΡ Π° Π½Π΅ΠΏΠΎΡΡΠ΅Π΄ΡΡΠ²Π΅Π½Π½ΠΎ ΠΊ Π΄ΠΈΡΠΊΡ ΠΈ ΡΠΎΡΠΌΠΎΠ·Π½ΠΎΠΉ ΠΏΠΎΠ²Π΅ΡΡ Π½ΠΎΡΡΠΈ.
ΠΠ΄Π΅ΡΡ Π²Ρ ΠΌΠΎΠΆΠ΅ΡΠ΅ ΡΠ·Π½Π°ΡΡ Π±ΠΎΠ»ΡΡΠ΅ ΠΎ ΡΠ°Π·Π»ΠΈΡΠ½ΡΡ ΡΠΈΠΏΠ°Ρ ΡΠΎΡΠΌΠΎΠ·Π½ΡΡ Π΄ΠΈΡΠΊΠΎΠ², Π²Π΅Π½ΡΠΈΠ»ΡΡΠΈΠΎΠ½Π½ΡΡ ΠΎΡΠ²Π΅ΡΡΡΠΈΡΡ ΠΈ ΠΊΠ°Π½Π°Π²ΠΊΠ°Ρ .
Π’ΠΎΡΠΌΠΎΠ·Π½ΠΎΠΉ ΡΡΠΏΠΏΠΎΡΡ
Π’ΠΎΡΠΌΠΎΠ·Π½ΡΠ΅ ΡΡΠΏΠΏΠΎΡΡΡ ΠΏΡΠ΅Π΄ΡΡΠ°Π²Π»ΡΡΡ ΡΠΎΠ±ΠΎΠΉ Π·Π°ΠΆΠΈΠΌΡ, ΠΊΠΎΡΠΎΡΡΠ΅ Π½Π°Π΄Π΅Π²Π°ΡΡΡΡ Π½Π° Π΄ΠΈΡΠΊ. ΠΡ ΠΎΡΠ½ΠΎΠ²Π½Π°Ρ ΡΡΠ½ΠΊΡΠΈΡ — ΠΏΡΠΈΠΆΠΈΠΌΠ°ΡΡ ΡΠΎΡΠΌΠΎΠ·Π½ΡΠ΅ ΠΊΠΎΠ»ΠΎΠ΄ΠΊΠΈ ΠΊ Π΄ΠΈΡΠΊΡ, ΠΈ ΠΎΠ½ΠΈ Π΄Π΅Π»Π°ΡΡ ΡΡΠΎ Ρ ΠΏΠΎΠΌΠΎΡΡΡ ΠΏΠΎΡΡΠ½Π΅ΠΉ ΠΈ Π³ΠΈΠ΄ΡΠ°Π²Π»ΠΈΡΠ΅ΡΠΊΠΎΠΉ ΡΠΎΡΠΌΠΎΠ·Π½ΠΎΠΉ ΠΆΠΈΠ΄ΠΊΠΎΡΡΠΈ.
ΠΠ½ΡΡΡΠΈ ΡΡΠΏΠΏΠΎΡΡΠΎΠ² Π½Π°Ρ ΠΎΠ΄ΡΡΡΡ ΠΏΠΎΡΡΠ½ΠΈ, ΠΊ ΠΊΠΎΡΠΎΡΡΠΌ ΠΏΡΠΈΠΊΡΠ΅ΠΏΠ»Π΅Π½Ρ ΡΠΎΡΠΌΠΎΠ·Π½ΡΠ΅ ΠΊΠΎΠ»ΠΎΠ΄ΠΊΠΈ. ΠΠΎΠ³Π΄Π° ΠΌΡ ΡΡΠ°Π²ΠΈΠΌ Π½ΠΎΠ³Ρ Π½Π° ΡΠΎΡΠΌΠΎΠ·, ΠΆΠΈΠ΄ΠΊΠΎΡΡΡ ΠΏΠΎΠ΄ Π΄Π°Π²Π»Π΅Π½ΠΈΠ΅ΠΌ Π½Π°ΠΏΡΠ°Π²Π»ΡΠ΅ΡΡΡ ΠΊ ΠΏΠΎΡΡΠ½ΡΠΌ, ΠΈ ΠΎΠ½ΠΈ Π΄Π°Π²ΡΡ Π½Π° ΠΊΠΎΠ»ΠΎΠ΄ΠΊΠΈ, ΠΊΠΎΡΠΎΡΡΠ΅ ΠΊΠΎΠ½ΡΠ°ΠΊΡΠΈΡΡΡΡ Ρ ΠΏΠΎΠ²Π΅ΡΡ Π½ΠΎΡΡΡΡ Π΄ΠΈΡΠΊΠ°.
ΠΠΎΠ΄ΡΠΎΠ±Π½Π΅Π΅ ΠΎ ΡΠΎΡΠΌΠΎΠ·Π½ΠΎΠΌ ΡΡΠΏΠΏΠΎΡΡΠ΅ ΠΌΠΎΠΆΠ½ΠΎ ΠΏΡΠΎΡΠΈΡΠ°ΡΡ Π·Π΄Π΅ΡΡ.
ΠΠΎΠ»ΠΎΠ΄ΠΊΠΈ ΡΠΎΡΠΌΠΎΠ·Π½ΡΠ΅
ΠΠΎΡΠ»Π΅Π΄Π½ΠΈΠΌ ΠΎΡΠ½ΠΎΠ²Π½ΡΠΌ ΠΊΠΎΠΌΠΏΠΎΠ½Π΅Π½ΡΠΎΠΌ ΡΠΈΡΡΠ΅ΠΌΡ ΡΠΎΡΠΌΠΎΠ·Π½ΡΡ Π΄ΠΈΡΠΊΠΎΠ² ΡΠ²Π»ΡΠ΅ΡΡΡ ΡΠΎΡΠΌΠΎΠ·Π½Π°Ρ ΠΊΠΎΠ»ΠΎΠ΄ΠΊΠ° — ΠΊΠΎΠ»ΠΎΠ΄ΠΊΠ° ΠΏΡΠ΅Π΄ΡΡΠ°Π²Π»ΡΠ΅Ρ ΡΠΎΠ±ΠΎΠΉ ΡΡΠ°Π»ΡΠ½ΡΡ ΠΎΠΏΠΎΡΠ½ΡΡ ΠΏΠ»Π°ΡΡΠΈΠ½Ρ Ρ ΡΡΠΈΠΊΡΠΈΠΎΠ½Π½ΡΠΌ ΠΌΠ°ΡΠ΅ΡΠΈΠ°Π»ΠΎΠΌ, ΠΏΡΠΈΠΊΡΠ΅ΠΏΠ»Π΅Π½Π½ΡΠΌ ΠΊ ΠΈΡ ΠΏΠΎΠ²Π΅ΡΡ Π½ΠΎΡΡΠΈ. ΠΠ±ΡΡΠ½ΠΎ Π²Π½ΡΡΡΠΈ ΡΡΠΏΠΏΠΎΡΡΠ° ΡΠΎΡΠΌΠΎΠ·Π° ΡΠ°Π·ΠΌΠ΅ΡΠ°ΡΡΡΡ Π΄Π²Π°, ΠΏΡΠΈΠΊΡΠ΅ΠΏΠ»Π΅Π½Π½ΡΡ ΠΊ ΠΏΠΎΡΡΠ½ΡΠΌ ΡΠ°ΠΊ, ΡΡΠΎΠ±Ρ ΠΏΠΎΠ²Π΅ΡΡ Π½ΠΎΡΡΡ ΡΡΠ΅Π½ΠΈΡ Π±ΡΠ»Π° Π½Π°ΠΏΡΠ°Π²Π»Π΅Π½Π° ββΠ½Π° Π΄ΠΈΡΠΊ.
ΠΠ±ΡΠ·Π°ΡΠ΅Π»ΡΠ½ΠΎ Π½Π°Π»ΠΈΡΠΈΠ΅ Π΄ΠΎΡΡΠ°ΡΠΎΡΠ½ΠΎΠ³ΠΎ ΡΡΠΈΠΊΡΠΈΠΎΠ½Π½ΠΎΠ³ΠΎ ΠΌΠ°ΡΠ΅ΡΠΈΠ°Π»Π° Π½Π° ΠΊΠΎΠ»ΠΎΠ΄ΠΊΠ΅, ΡΠ°ΠΊ ΠΊΠ°ΠΊ Π΄ΠΈΡΠΊ ΠΌΠΎΠΆΠ΅Ρ Π±ΡΡΡ ΠΏΠΎΠ²ΡΠ΅ΠΆΠ΄Π΅Π½ ΠΈ ΠΈΠ·Π½ΠΎΡΠ΅Π½ Π±Π΅Π· ΠΏΡΠ°Π²ΠΈΠ»ΡΠ½ΠΎΠ³ΠΎ ΠΊΠΎΠ½ΡΠ°ΠΊΡΠ° Π²ΠΎ Π²ΡΠ΅ΠΌΡ ΠΏΡΠΎΡΠ΅ΡΡΠ° ΡΠΎΡΠΌΠΎΠΆΠ΅Π½ΠΈΡ.Π’ΠΎΡΠΌΠΎΠ·Π½ΡΠ΅ ΠΊΠΎΠ»ΠΎΠ΄ΠΊΠΈ ΠΌΠΎΠ³ΡΡ Π±ΡΡΡ ΠΈΠ· ΡΠ°ΠΌΡΡ ΡΠ°Π·Π½ΡΡ ΠΌΠ°ΡΠ΅ΡΠΈΠ°Π»ΠΎΠ², Π² Π·Π°Π²ΠΈΡΠΈΠΌΠΎΡΡΠΈ ΠΎΡ ΡΠΈΠΏΠ° ΡΡΠ°Π½ΡΠΏΠΎΡΡΠ½ΠΎΠ³ΠΎ ΡΡΠ΅Π΄ΡΡΠ²Π°, ΠΊΠΎΡΠΎΡΠΎΠ΅ Π½Π΅ΠΎΠ±Ρ ΠΎΠ΄ΠΈΠΌΠΎ ΠΎΡΡΠ°Π½ΠΎΠ²ΠΈΡΡ.
Π§ΡΠΎΠ±Ρ ΠΎΡΡΠ°Π½ΠΎΠ²ΠΈΡΡ Π°Π²ΡΠΎΠΌΠΎΠ±ΠΈΠ»Ρ Π²Π΅ΡΠΎΠΌ Π±ΠΎΠ»Π΅Π΅ 1000 ΠΊΠ³, ΠΊΠΎΠ»ΠΎΠ΄ΠΊΠΈ Π΄ΠΎΠ»ΠΆΠ½Ρ Π²ΡΠ΄Π΅ΡΠΆΠΈΠ²Π°ΡΡ ΡΠΈΠ»ΡΠ½ΠΎΠ΅ Π½Π°Π³ΡΠ΅Π²Π°Π½ΠΈΠ΅ ΠΈ ΡΡΠ΅Π½ΠΈΠ΅. Π£Π΄ΠΈΠ²ΠΈΡΠ΅Π»ΡΠ½ΠΎ, Π½ΠΎ Π΄Π»Ρ ΠΈΠ·Π³ΠΎΡΠΎΠ²Π»Π΅Π½ΠΈΡ ΡΠΎΡΠΌΠΎΠ·Π½ΡΡ ΠΊΠΎΠ»ΠΎΠ΄ΠΎΠΊ ΠΈΡΠΏΠΎΠ»ΡΠ·ΡΠ΅ΡΡΡ Π±ΠΎΠ»ΡΡΠΎΠ΅ ΠΊΠΎΠ»ΠΈΡΠ΅ΡΡΠ²ΠΎ ΡΠ°Π·Π»ΠΈΡΠ½ΡΡ ΠΌΠ°ΡΠ΅ΡΠΈΠ°Π»ΠΎΠ², ΠΈ Π²ΡΠ΅ ΠΎΠ½ΠΈ ΠΎΠ±Π»Π°Π΄Π°ΡΡ Π·Π½Π°ΡΠΈΡΠ΅Π»ΡΠ½ΠΎΠΉ ΠΏΡΠΎΡΠ½ΠΎΡΡΡΡ. Π‘Π°ΠΌΡΠΉ ΠΏΠΎΠΏΡΠ»ΡΡΠ½ΡΠΉ ΠΌΠ°ΡΠ΅ΡΠΈΠ°Π», ΠΊΠΎΡΠΎΡΡΠΉ, Π²Π΅ΡΠΎΡΡΠ½ΠΎ, Π±ΡΠ΄Π΅Ρ ΠΈΡΠΏΠΎΠ»ΡΠ·ΠΎΠ²Π°ΡΡΡΡ Π² Π²Π°ΡΠ΅ΠΉ ΠΌΠ°ΡΠΈΠ½Π΅, — ΡΡΠΎ ΠΌΠ΅ΡΠ°Π»Π»ΠΈΡΠ΅ΡΠΊΠΈΠ΅ ΡΠΎΡΠΌΠΎΠ·Π½ΡΠ΅ ΠΊΠΎΠ»ΠΎΠ΄ΠΊΠΈ. ΠΠ½ΠΈ ΠΏΡΠ΅Π΄ΡΡΠ°Π²Π»ΡΡΡ ΡΠΎΠ±ΠΎΠΉ ΡΠΌΠ΅ΡΡ ΡΠ°Π·Π½ΡΡ ΠΌΠ΅ΡΠ°Π»Π»ΠΎΠ²; ΠΎΠ±ΡΡΠ½ΠΎ ΠΈΠ·Π³ΠΎΡΠ°Π²Π»ΠΈΠ²Π°Π΅ΡΡΡ ΠΈΠ· ΠΆΠ΅Π»Π΅Π·Π°, ΠΌΠ΅Π΄ΠΈ, ΡΡΠ°Π»ΠΈ ΠΈ Π³ΡΠ°ΡΠΈΡΠ°.
ΠΠ΅ΡΠ°Π»Π»ΠΈΡΠ΅ΡΠΊΠΈΠ΅ ΡΠΎΡΠΌΠΎΠ·Π½ΡΠ΅ ΠΊΠΎΠ»ΠΎΠ΄ΠΊΠΈ ΡΡΠΆΠ΅Π»ΡΠ΅, ΠΈ Π΅ΡΠ»ΠΈ Π³Π»Π°Π²Π½ΠΎΠ΅ — ΡΠΊΠΎΡΠΎΡΡΡ, ΡΠΎ Π½ΡΠΆΠ΅Π½ Π±ΠΎΠ»Π΅Π΅ Π»Π΅Π³ΠΊΠΈΠΉ ΠΌΠ°ΡΠ΅ΡΠΈΠ°Π», Π½Π°ΠΏΡΠΈΠΌΠ΅Ρ ΠΊΠ΅ΡΠ°ΠΌΠΈΠΊΠ°. ΠΡ ΠΌΠΎΠΆΠ΅ΡΠ΅ ΡΠ·Π½Π°ΡΡ Π±ΠΎΠ»ΡΡΠ΅ ΠΎ ΡΠ°Π·Π»ΠΈΡΠ½ΡΡ ΡΠΈΠΏΠ°Ρ ΠΈ ΠΌΠ°ΡΠ΅ΡΠΈΠ°Π»Π°Ρ ΡΠΎΡΠΌΠΎΠ·Π½ΡΡ ΠΊΠΎΠ»ΠΎΠ΄ΠΎΠΊ Π·Π΄Π΅ΡΡ.
Π¦Π΅Ρ Π»ΠΈΡΠ΅ΠΉΠ½ΠΎΠ³ΠΎ ΡΠ΅Ρ Π°
Π MAT Foundry Group ΠΌΡ ΡΠΏΠ΅ΡΠΈΠ°Π»ΠΈΠ·ΠΈΡΡΠ΅ΠΌΡΡ Π½Π° Π»ΠΈΡΡΠ΅ ΠΈ ΠΌΠ΅Ρ Π°Π½ΠΈΡΠ΅ΡΠΊΠΎΠΉ ΠΎΠ±ΡΠ°Π±ΠΎΡΠΊΠ΅ ΡΠΎΡΠΌΠΎΠ·Π½ΡΡ Π΄ΠΈΡΠΊΠΎΠ² ΠΈ ΡΡΠΏΠΏΠΎΡΡΠΎΠ², Π΄Π²ΡΡ ΠΎΡΠ½ΠΎΠ²Π½ΡΡ ΠΊΠΎΠΌΠΏΠΎΠ½Π΅Π½ΡΠΎΠ² Π΄ΠΈΡΠΊΠΎΠ²ΠΎΠΉ ΡΠΎΡΠΌΠΎΠ·Π½ΠΎΠΉ ΡΠΈΡΡΠ΅ΠΌΡ. ΠΠ°ΡΠΈ Π²ΡΡΠΎΠΊΠΎΠΊΠ²Π°Π»ΠΈΡΠΈΡΠΈΡΠΎΠ²Π°Π½Π½ΡΠ΅ ΠΈΠ½ΠΆΠ΅Π½Π΅ΡΡ-ΡΠ΅Ρ Π½ΠΎΠ»ΠΎΠ³ΠΈ ΠΈ ΠΈΠ½ΠΆΠ΅Π½Π΅ΡΡ-ΡΠ°Π·ΡΠ°Π±ΠΎΡΡΠΈΠΊΠΈ ΠΏΠΎΠ΄Π΄Π΅ΡΠΆΠΈΠ²Π°ΡΡ ΠΊΠ°ΠΊ ΠΏΡΠΎΠΈΠ·Π²ΠΎΠ΄ΠΈΡΠ΅Π»Π΅ΠΉ ΠΎΡΠΈΠ³ΠΈΠ½Π°Π»ΡΠ½ΠΎΠ³ΠΎ ΠΎΠ±ΠΎΡΡΠ΄ΠΎΠ²Π°Π½ΠΈΡ (OEM), ΡΠ°ΠΊ ΠΈ Π·Π°ΠΊΠ°Π·ΡΠΈΠΊΠΎΠ² ΠΏΠΎΡΠ»Π΅ΠΏΡΠΎΠ΄Π°ΠΆΠ½ΠΎΠ³ΠΎ ΠΎΠ±ΡΠ»ΡΠΆΠΈΠ²Π°Π½ΠΈΡ Π² ΠΎΠ±Π»Π°ΡΡΠΈ ΠΈΡΡΠ»Π΅Π΄ΠΎΠ²Π°Π½ΠΈΠΉ ΠΈ ΡΠ°Π·ΡΠ°Π±ΠΎΡΠΎΠΊ ΠΏΠΎ Π²ΡΠ΅ΠΌΡ ΠΌΠΈΡΡ.
ΠΠ°ΡΠ° Π΄ΠΎΡΠ΅ΡΠ½ΡΡ ΠΊΠΎΠΌΠΏΠ°Π½ΠΈΡ MAT Friction Group ΠΎΠ±ΡΠ»ΡΠΆΠΈΠ²Π°Π΅Ρ ΡΡΠ½ΠΊΠΈ Π»Π΅Π³ΠΊΠΎΠ²ΡΡ , ΠΊΠΎΠΌΠΌΠ΅ΡΡΠ΅ΡΠΊΠΈΡ ΠΈ ΡΡΠΆΠ΅Π»ΡΡ ΡΡΠ°Π½ΡΠΏΠΎΡΡΠ½ΡΡ ΡΡΠ΅Π΄ΡΡΠ² Ρ ΡΠ°Π·Π»ΠΈΡΠ½ΡΠΌΠΈ ΡΠΎΡΠΌΠΎΠ·Π½ΡΠΌΠΈ ΠΊΠΎΠΌΠΏΠΎΠ½Π΅Π½ΡΠ°ΠΌΠΈ, Π²ΠΊΠ»ΡΡΠ°Ρ ΠΊΠΎΠ»ΠΎΠ΄ΠΊΠΈ, ΠΏΡΠΎΠΊΠ»Π°Π΄ΠΊΠΈ ΠΈ Π·Π°Π΄Π½ΠΈΠ΅ ΠΏΠ»Π°ΡΡΠΈΠ½Ρ, Π° ΡΠ°ΠΊΠΆΠ΅ ΡΠΎΡΠΌΠΎΠ·Π½ΡΠ΅ ΠΊΠΎΠ»ΠΎΠ΄ΠΊΠΈ ΠΈ Π½Π°ΠΊΠ»Π°Π΄ΠΊΠΈ.



Π Π΅ΠΌΠΎΠ½Ρ Π½Π΅ Π΄ΠΎΡΡΠ°Π²ΠΈΡ Π±ΠΎΠ»ΡΡΠΈΡ
Ρ
Π»ΠΎΠΏΠΎΡ.

ΠΠ³ΠΎ ΠΈΡΠΏΠΎΠ»ΡΠ·ΠΎΠ²Π°Π½ΠΈΠ΅, Π·Π½Π°ΡΠΈΡΠ΅Π»ΡΠ½ΠΎ ΠΎΠ±Π»Π΅Π³ΡΠ°Π΅Ρ ΡΠ°Π±ΠΎΡΡ.