Основные размеры стандартного легкового прицепа: выбираем
Содержание статьи
- Интересующие величины
- Длина
- Ширина
- Высота
- Маркировка шин: расшифровка обозначений
- Что еще следует учитывать
- Какие права нужны для управления легковым автомобилем с прицепом
Здравствуйте, дорогие друзья! При создании различных конструкций очень важно придерживаться определенных стандартов. Это обусловлено тем, что они разработаны по предварительным расчетам, после многочисленных испытаний и тестов. Соблюдение стандартов позволяет добиться идеальных характеристик. Это распространяется на размеры легкового прицепа.
Причем тут мы говорим не просто о таких габаритах кузова как длина и ширина. Это и более тонкие параметры.
У прицепов старого образца использовались иные стандарты, нежели сейчас. При этом каждый современный производитель, будь то Россия, Украина или страны ЕС, придерживаются примерно одинакового регламента.
Потому сегодня поговорим про стандартный размер автоприцепа, предназначенного для легкового авто.
Обсудим габаритные характеристики, расскажем про максимальный и оптимальный показатель. Это будет одинаково актуально для одноосного и двухосного автомобильного прицепа.
Интересующие величины
Важно понимать, что существуют прицепы, ориентированные на грузовые авто. Это те же модели МАЗ или КРАЗ.
А есть ТС, созданные для легкового автомобиля. К числу популярных можно отнести модели Курганского производства, прицепы типа Крепыш или наш старый добрый знакомый Зубренок.
Соблюдение стандартов также важно при изготовлении самодельного автоприцепа.
Создавая чертежи, либо подбирая автоприцеп для своего авто, учитывайте такие параметры:
- высота до сцепной головки от уровня земли;
- погрузочная высота;
- клиренс;
- габариты кузова;
- размер дышла;
- высота бортов;
- высота от пола до уровня тента;
- толщина бортов и пр.
Какие-то параметры играют второстепенную роль, другие являются первоочередными.
Если не следовать ГОСТу, можно существенно нарушить правила эксплуатации, спровоцировать возникновение серьезных проблем в дальнейшем.
Теперь про основные габариты расскажу отдельно.
Длина
Начнем с такого параметра как длина. По ГОСТу существуют свои правила и ограничения для этого значения.
В большинстве случаев в технической документации на первом месте стоит длина.
Согласно действующим правилам и стандартам, длина автомобильного прицепа не может превышать габаритную длину самого транспортного средства более чем в 1,5 раза. Ведущие автопроизводители обычно создают ТС в диапазоне длины от 2620 до 5105 мм. Важно обратить внимание на то, что при указании длины в характеристиках довольно часто фигурирует суммарное значение, где длина конструкции сочетается еще и с длиной дышла. Этот момент лучше уточнить заранее, чтобы затем не возникло проблем. Просто загляните в техническую документацию, ознакомьтесь описанием, позвоните представители компании.
Также еще учитывайте такой момент.
Длина не может составлять более 8 метров.
В этом случае требуется соблюдение особых условий, чтобы получить возможность для выезда на дороги. Применительно к легковым авто это не актуально.
Ширина
Далее у нас на очереди ширина. Здесь ничего сложного нет. Хотя некоторые нюансы все равно имеются.
Подобрать автоприцеп по ширине несколько проще, чем по длине.
Ширина не может составлять больше, нежели габаритные размеры самого автотранспортного средства. Если быть точнее, то выходить за рамки можно, но не более чем на 20 см. Говоря о наиболее распространенных конструкциях, можно выделить определенный диапазон по ширине. В большинстве случаев ширина варьируется в пределах от 1695 до 2247 мм. Выбирая автоприцеп, берите во внимание конструктивные особенности своего автотранспортного средства. Чем шире ТС, тем сложнее будет выполнять различные маневры.
Опять же, если приобретать продукцию известных и сертифицированных заводов, никаких проблем с превышением допустимых значений не будет.
Лучше заранее уточнить у продавца, какая у вас машина, по технической документации запомнить ширину авто, и уже сопоставить ее с параметрами приобретаемого прицепа.
Высота
Теперь разберемся с высотой.
При расчете высоты учитывается сам автоприцеп, а также возможная установка на него тента. Сам тент по размерам повторяет габариты кузова, но имеет различную высоту.
По высоте не допускается, чтобы прицеп составлял более 3 метров. Но для каждой конструкции ТС делается индивидуальный расчет. Сделать его не сложно. Максимальная высота, допустимая для автоприцепа, составляет 1,8 от ширины его колеи. В продаже можно встретить несколько основных вариантов. Если прицеп только с бортами, тогда его высота варьируется в пределах от 860 до 1220 мм. Если дополнительно предусмотрен тент, то это порядка 1420 мм. Отдельного внимания заслуживает высота центра тяжести. Высота центра тяжести рассчитывается при нахождении автоприцепа в нагруженном состоянии.
Этот параметр сопоставляется с шириной колеи и рассчитывается по коэффициенту 0,725.
То есть высота должна составлять 0,725 от ширины колеи.
Если не соблюдать это правило, тогда при езде с загруженным прицепом возможно изменение устойчивости, потеря управления. Возрастает риск переворачивания.
Еще одна высота — это клиренс. Он же дорожный просвет.
Клиренс или дорожный просвет автоприцепа должен соответствовать аналогичному параметру на самой машине.
Здесь все предельно просто и понятно. Какой клиренс на автомобиле, такой же и на прицепе.
Что еще следует учитывать
Можно выделить еще несколько моментов, которые могут сыграть свою роль при подборе легкового автомобильного прицепа.
Речь идет о таких параметрах:
- Высота бортов. Варьируется в основном в пределах от 350 до 400 мм. Но могут иметь и другие значения. Те же прицепы-платформы вовсе не предусматривают наличие бортов;
- Расстояние от пола до тента. Тут речь идет о высоте. Все зависит от перевозимого типа груза. Но наиболее распространенным считается значение от 600 до 700 мм;
- Габариты кузова.
Это его длина и ширина. Вариантов много, но чаще всего это 1800×1300 мм или 2000×1300 мм. Учтите, что габариты могут указываться наружные и внутренние. В первом случае для определения внутренних размеров нужно с каждой стороны отнять 4-6 мм; - Расстояние от земли до сцепного шара. Рекомендуемое значение составляет от 350 до 420 мм. Максимально разрешенный параметр 460 мм.
Детально вдаваться в подробности стандартных габаритов в основном нужно тем, что хочет собрать самодельный прицеп, и затем его зарегистрировать, пройдя все испытания.
Но могу с уверенностью сказать, что экономия на сборке очень условная. Чаще всего затраты оказываются довольно высокими, а вот результат себя не оправдывает. Сложнее всего получить сертификат, допускающий автоприцеп к эксплуатации.
Всем спасибо за внимание! Подписывайтесь на наш сайт, оставляйте комментарии, задавайте актуальные вопросы!
Watch this video on YouTube
Как удлинить дышло легкового прицепа своими руками
Отечественные автолюбители давно оценили новые возможности, которые может предоставить легковой автомобиль, оснащенный прицепом.
С его помощью можно транспортировать домашнюю утварь, строительную технику и материалы, мебель на любые расстояния в подходящее для себя время. Однако для перевозки длинномерных грузов, например, труб или лодки, стандартной длины прицепа не хватает. Выходом в такой ситуации может стать удлинение дышла прицепного устройства.
Техническая реализация удлинения габаритных размеров прицепа
Независимо от того, будет автолюбитель заниматься этим самостоятельно или передаст выполнение работ специалистам, нужно продумать техническое решение этой задачи. Длина дышла может быть различной, но необходимо определить, будет оно раскладным или цельным. Длинный прицеп более громоздок в управлении, поэтому оптимально, если его можно удлинять по мере необходимости. Потребуется продумать механизм складывания и крепления, поэтому такой проект обойдётся дороже.
Следующий момент, который нужно предусмотреть с прицепом на легковом авто, — это как будет крепиться дышло: при помощи сварки или болтов.
Если делать полностью новое дышло, тогда старое полностью убирается. Как альтернатива — к старому приваривается дополнительный фрагмент из прочного металлического профиля. Длина такого дышла может быть разной, но желательно, чтобы новая часть была идентичной по ширине и толщине.
Важно тщательно подходить к выбору материала, из которого будет произведена удлинённая конструкция. Конечно, он должен быть в меру прочным и выдерживать значительные нагрузки. Лучше не использовать для наращивания плоские металлические элементы, которые попросту могут оказаться слабыми. Специалисты рекомендуют приобретать металлический уголок или швеллер с размерами по толщине не менее 3 мм.
Как только измерена, какая длина будет дополнительно добавлена, нужно позаботиться об усилении конструкции. Для этого перпендикулярно фланцу с обеих сторон приваривается уголок. Вся работа по удлинению дышла может занять не менее нескольких часов, ведь придётся и варить, и крепить металлические болты, а также обрабатывать антикоррозионными составами.
Расчет длины каждый определяет для себя самостоятельно. Имеющиеся в продаже удлинители способны перевозить грузы длиной до 5,5-6 метров.
Как удлинить дышло легкового прицепа
Если водитель хочет провести работы по удлинению дышла легкового прицепа своими силами, то придётся запастись некоторым инструментарием и материалами. Прежде всего, это болгарка и дрель, ключи разводные и газовые, сварочный аппарат, металлический уголок (швеллер), болты с гайками, уплотняющие материалы, антикоррозионные смеси.
Можно приобрести уже готовый удлинитель дышла на легковой прицеп транспортного средства. Они выпускаются заводами в виде трубы с размерами 40х80 или 40х60 мм. Такое дышло может изменять положение и удлинять расстояние от прицепа до машины на 2 положения: 40 или 80 см. Последовательность действий по его установке будет примерно такой:
- снимается старое сцепное устройство;
- снимается крепление полудышла на прицепе;
- удлинитель ставится на предусмотренное для этого место и стягивается болтами;
- полудышло можно возвращать на прежнее место.

Для того чтобы проделать эту процедуру, необходимо подготовить определённые запасные части. Кроме самого удлинителя и полудышла, понадобится фиксатор замка и скоба крепления, а также замок с рукояткой.
Теперь посмотрим, как можно удлинить дышло профессиональным способом, то есть так, как бы это сделали на станции техобслуживания. Эта процедура не потребует много времени и включает в себя следующие шаги:
- Первым делом нужно снять соединительную головку с дышла прицепа. Для этого понадобится ключ на 19.
- Для демонтажа полудышла придётся отвернуть боковые скобки. Прицеп опрокидывается на бок.
- Ключом на 19 откручивается соответствующее крепление дышла, которым он фиксируется к раме самого прицепа.
- Теперь то же самое проделывается для другой стороны прицепа и полудышла.
- Извлекаются крепежные втулки на сцепной головке.
- Теперь начинается установка удлинителя — на нем нужно отыскать 2 отверстия. Сцепная головка будет вставляться в то, что расположено спереди.
Сам удлинитель вставляется в дышло обратным концом. Отверстия позволяют регулировать длину сцепной конструкции. - Как только длина выбрана, отверстие на удлинителе совмещается с таким же на дышле. К раме прицепа крепится полудышло.
- Спереди дышла есть 2 крепежных отверстия, в которые необходимо вставить болты и закрутить их.
Может не хватить длины провода для подключения оптики прицепа (осветительных приборов). Для этого нужно снять фиксаторы со жгута и вытянуть его на недостающее расстояние. Теперь можно снова установить фиксаторы и возвращать прицеп в начальное положение. Осталось установить на свое место сцепную головку, и прицеп готов к перевозке длинных и габаритных грузов.
Согласно существующим правилам перевозки, длина транспортируемых грузов не должна превышать в длину 5,5 метров. Длинномерные изделия необходимо переводить так, чтобы они не волочились по дороге и не бились в багажник самого автомобиля. Для этого расстояние от него до прицепа нужно удлинить любым из описанных выше способов.
Совет: параллельно с работами по удлинению, опытные путешественники сразу ставят обновленную оптику светодиодного типа, которая более экономна сама по себе. Не стоит забывать и о светоотражателях — это безопасность для всех участников движения. Изношенный тент заменяется новым или вместо него монтируется пластиковая крыша. Сам кузов прицепа нелишне будет покрыть новым лакокрасочным покрытием вместо изношенного старого.
Размеры прицепа для легкового автомобиля: вес, длина и ширина
Время от времени с необходимостью перевести груз сталкивается каждый, поэтому многие прибегают за помощью к организациям, предоставляющим услуги грузоперевозок.
Но покупка своего автоприцепа в перспективе позволяет сэкономить, как средства, так и время.
Такое средство просто незаменимо в проведении ремонтных работ, перевозке мебели, доставке товаров и т.п.
Прицепы сегодня затребованы во многих сферах, но назначение у каждого из них совершенно разное. К примеру, дачник использует прицеп для легкового автомобиля для того, чтобы перевозить дрова, сыпучие материалы, стройматериалы и многое другое.
Бизнесмен использует такое удобное средство передвижения для перевозки продукции, что позволяет ему неплохо сэкономить на покупке крупногабаритного, коммерческого автомобиля. Понятно одно, что автоприцеп является просто незаменимым средством для доставки разнообразных грузов.
Для первого варианта размеры прицепа для легкового автомобиля длина и ширина, а также вес прицепа, не так важны, поэтому подойдет и самый небольшой автоприцеп, который поместиться в небольшом гараже. А вот для второго варианта необходима прицепная конструкция с увеличенной вместительностью, чтобы можно было одной ходкой доставить необходимый груз, что позволяет сэкономить время и топливо.
Именно поэтому размеры и масса прицепа выбирается исходя из потребностей и поставленных задач, а также из того, что вы собираетесь транспортировать и как часто. Выбрать самый подходящий вариант сегодня совсем не сложно, так как производители предлагают огромный выбор легковых автоприцепов, который может удовлетворить требования в каждом отдельном случае.
На рынке представлены самые компактные и не дорогие прицепы для легковых автомобилей размеры которых отлично подойдут для частного использования. Также есть и достаточно внушительные варианты с массивной конструкцией и габаритными размерами, которые чаще всего выбирают предприниматели.
Помимо вышеперечисленных вариантов сегодня можно без проблем приобрести легковой прицеп для транспортировки разнообразной мототехники, которые используют спортсмены или просто любители острых ощущений. Длина прицепа и его масса в такой ситуации может быть совершенной разной.
Безусловно, легковое прицепное устройство не обладает такой маневренностью, как автомобиль, что может привести к аварийной ситуации во время движения, поэтому очень важным фактором является соблюдение определенных параметров автоприцепа, в первую очередь его размеры.
Каждый водитель должен помнить, что ширина прицепа и его длина ни в коем случае не должны превышать размеров самого автомобиля, который его транспортирует, иначе такое вождение может привести к ДТП. В таблице легковых прицепов четко описаны правила.
Практика производства, продаж и эксплуатации таких транспортных средств имеет определенные стандарты, касающиеся размеров:
- Максимально допустимая длина прицепа не должна превышать длину автомобиля боле чем в 1.5 раза. Самые затребованные варианты, как правило, имеют длину от 2620 до 5105 мм. Стоит учесть, что эти размеры идут с учетом дышла;
- Относительно ширины, то она не должна превышать ширину автомобиля более чем на 20 см. Самые популярные варианты длиной от 1695 до 2247 см. Основным, на что нужно обращать внимание перед покупкой, это ширина самого авто. Необходимо четко соблюдать правила дорожного движения во время маневрирования иначе можно повредить прицепное устройство или другие автомобили;
- Высота, как правило, допускается до 3 метров, но советуется подходить к этому показателю в каждом отдельном случае.
Самая распространенная высота составляет с бортами 860 мм до 1220 мм, а с учетом тента до 1420 мм; - Также особое внимание необходимо уделять центру тяжести, коэффициент которого не должен превышать 0.725 от соотношения его колеи. В случае несоблюдения данных нормативов может произойти переворачивание прицепного устройства;
- Важный момент касается клиренса легкового автоприцепа. Он обязательно должен соответствовать клиренсу автомобиля;
- Для некоторых марок вышеперечисленные нормативы могут быть увеличены. Шириной до 2.55, высотой 4 м, а длиной до 12 м;
- Масса прицепа рассчитывается исходя их максимально дозволенного веса в полностью загруженном состоянии.
Во время продажи такого транспортного средства производитель, как правило, указывает такие важные параметры, как:
- вес конструкции автоприцепа (также максимально дозволенный вес в загруженном состоянии),
- габаритные размеры,
- внутренние размеры,
- дорожный просвет,
- площадь платформы,
- колея колес,
- погрузочная высота (с высотой до тента)
- и многие другие параметры.

Перед тем, как приступить к выбору наиболее подходящего варианта именно для вашего случая, сначала советуется определиться с тем, какие грузы вы собираетесь перевозить. Прочтите подробную инструкцию вашего автомобиля, а именно какие прицепные устройства он может транспортировать, а также какой вес полуприцепа с учетом груза ему дозволено перевозить.
Высота, ширина и другие немаловажные параметры обязательно должны быть учтены. В случае правильного выбора и эксплуатации вы исключаете возможность быть оштрафованными сотрудниками ГИБДД за любые нарушения транспортировки легкового автоприцепа. Также правильная эксплуатация подобного транспортного средства исключит возможные аварийные ситуации на дороге.
Автомобильный прицеп для перевозки негабаритных грузов
Главная » Новости » Июль 2015 г. » Автомобильный прицеп для перевозки негабаритных грузов
Архив новостей
2022
2021
2020
2019
2018
2017
2016
2015
Январь
Февраль
Март
Апрель
Май
Июнь
Июль
Август
Сентябрь
Октябрь
Ноябрь
Декабрь
30.
07.2015
Продажа легковых автоприцепов в Москве +7 495 61 741 61
Перевозка грузов, выступающих за габариты автомобильного прицепа.
Легковой автоприцеп может быть укомплектован удлинителем дышла. Есть модели автоприцепов, которые комплектуются удлинителем сразу, а есть, например КМЗ (Курган), которые доукомплектовываются по необходимости. Удлинитель дышла легкового автоприцепа нужен для увеличения длины дышла, что позволяет перевозить негабаритные по длине предметы.
Если вы купили автоприцеп и хотите перевозить негабаритный груз, то стоит разобраться какие крупногабаритные грузы можно перевозить на легковых прицепах без нарушения ПДД.
55 м.При этом он должен быть обозначен опознавательными знаками «Крупногабаритный груз», а в темное время суток и в условиях недостаточной видимости:
- спереди фонарем или световозвращателем белого цвета,
- сзади фонарем или световозвращателем красного цвета.
Кроме того, по пункту 23.3. ПДД РФ, груз не должен ограничивать обзор, мешать управлению, нарушать устойчивость транспортного средства, закрывать внешние световые приборы и световозвращатели, регистрационные и опознавательные знаки, а также не препятствовать восприятию сигналов, подаваемых рукой. Также груз, расположенный в автомобильном прицепе, не должен создавать шум, пылить, загрязнять дорогу и окружающую среду.
Стандартный знак «Крупногабаритный груз»
Таким образом, подведем итог:
Задача перевозки негабаритных грузов, если вы купили автоприцеп, например, досок решается путем установки удлинителя дышла. Удлинитель, может входить в стандартную комплектацию прицепов «Крепыш» или являться опциональным для прицепов КРД, КМЗ, КРКЗ, POLO и других.
Эти и другие прицепы, а так же удлинители, вы можете купить в нашем магазине. Незаменимым помощником для владельцев легковых прицепов при перевозке и погрузке крупногабаритных грузов является подкатное колесо. Подкатное колесо позволит переместить даже нагруженный прицеп, что очень удобно при погрузке, разгрузке и маневре когда легковой прицеп не зацеплен за автомобиль к фаркопу.
На нашей стоянке представлен большой модельный ряд автомобильных прицепов:
• Украинские прицепы КРДнажмите на ссылку
• Украинские прицепы КРКЗнажмите на ссылку
• Курганские прицепы КМЗнажмите на ссылку
• Курганские прицепы Крепышнажмите на ссылку
Предыдущая новость:
Купить легковой прицеп. Новый или бу?
Следующая новость:
С каким дышлом купить автомобильный прицеп
Отправить заявку на
Контактные данные необходимы только для связи с Вами по вопросу приобретения данного товара, не будут использоваться для рассылки рекламных предложений,
и не будут переданы третьим лицам (в соответствии с нашей политикой конфиденциальности персональных данных).
Рассчитать приобретение в кредит.
Не упускайте свою выгоду! Узнайте, как купить легковой прицеп в кредит и использовать его уже сейчас! Узнать про кредит—>
Контактные данные необходимы только для связи с Вами по этому вопросу, не будут использоваться для рассылки рекламных предложений, и не будут переданы третьим лицам (в соответствии с нашей политикой конфиденциальности персональных данных).
Уточнить наличие «»
Мы уточним, есть ли данный товар в наличии, или будет в ближайшее время, и сообщим Вам.
Контактные данные необходимы только для связи с Вами по этому вопросу, не будут использоваться для рассылки рекламных предложений, и не будут переданы третьим лицам (в соответствии с нашей политикой конфиденциальности персональных данных).
Заказ обратного звонка.
Наш телефон 8 (800) 350-19-288 (495) 617-41-61. Если Вы не смогли нам дозвониться — оставьте свой номер, и мы Вам обязательно перезвоним.
Номер телефона необходим только для связи с Вами, не будет использоваться для рассылки рекламных предложений,
и не будет переданы третьим лицам (в соответствии с нашей политикой конфиденциальности персональных данных).
Габариты прицепа для легкового автомобиля
Главная » Разное » Габариты прицепа для легкового автомобиля
Размеры прицепа для легкового автомобиля
Размеры легкового автоприцепа важно подбирать не только с учетом собственных желаний и потребностей в перевозке, но и соблюдая нормы безопасности. Законодательством четко регулируются допустимые размеры прицепов, и превышение габаритов приведет как минимум к штрафу.
Размеры автомобильных прицепов для легковых автомобилей: что следует помнить
Для начала запомните три основных нюанса, на которые стоит опираться при выборе прицепа:
- длина прицепа не может составлять больше 1,5 длины машины. Отметим, что зачастую производители указывают длину с дышлом, поэтому читайте характеристики ТС внимательнее;
- ширина прицепа не может превышать ширину автомобиля более чем на 20 см;
- высота прицепа считается по формуле «ширина колеи прицепа *1,8». Отметим, что слишком высоким прицепом сложнее управлять в силу большего крена при маневрах.

Теперь у вас есть представление о примерном размере будущей покупки. Также отметим, что при выборе габаритов стоит задуматься и о собственном удобстве. Например, на узких дорогах дачного кооператива будет удобнее маневрировать с чуть меньшим по размерам прицепом. Пусть в него и поместится не так много, но транспортировка, а также выгрузка и погрузка будут намного проще и быстрее.
Что касается груза, то он может выступать за пределы прицепа при соблюдении следующих норм:
- сзади — не более 2 м;
- с боков — не более 2,55 м.
Помните: если вы перевозите груз, который выступает более чем на 1 м спереди или сзади, а также более чем на 0,4 м по бокам, то он должен маркироваться специальным знаком «Крупногабаритный груз» и в темное время суток подсвечиваться. Для этого спереди вешается фонарь белого цвета, сзади — красного.
ООО ТД «СаранскСпецТехника»: прицепы нужных размеров
По всем вопросам касательно размеров автоприцепа для легкового автомобиля конкретной модели или марки вам помогут наши консультанты: просто позвоните по номеру 8 (800) 100 55 90.
Также они предоставят все нужные вам данные о моделях в нашем каталоге и их особенностях. Мы всегда рады помочь вам и полезными статьями, например, «Какой фирмы выбрать прицеп для легкового автомобиля». Надеемся, что эта информация облегчит ваш выбор и поможет найти идеальный прицеп!
Размеры прицепа для легкового автомобиля
Автомобиль с прицепом создает на дороге дополнительные опасности для остальных участников движения. Как бы ни был искусен водитель, дополнительный груз на сцепном крюке может повести себя непредсказуемым образом. В такой ситуации крайне важно точно знать параметры прицепа, чтобы суметь «вписать» его в любой сложный поворот.
Согласно стандартам ОСТа на прицепы, должны быть определенные размеры легковых прицепов. Перечислим основные из них:
- Длина прицепа может превышать длину тягача не более, чем в полтора раза, но не может быть более 8 метров.
- Ширина прицепа может превышать ширину тягача не более, чем на 200 мм, но не может быть более 2,3 метра.

- Высота прицепа не должна быть больше, чем 1,8 ширины его колеи, но не превышать 3 м.
- Клиренс прицепа должен совпадать с клиренсом тягача.
- Высота центра тяжести груженого прицепа и ширина его колеи должны соотноситься с величиной, не превышающей 0,725.
Предохранительные элементы
- Прицепы должны иметь две несъемных предохранительных цепи или троса, которые не дадут дышлу коснуться дороги при поломке тягового устройства.
- Также, в комплекте прицепа обязательно предусмотрены два противооткатных «башмака».
- Прицеп должен иметь гнезда для установки домкрата.
- Устройство управления стояночной тормозной системой должно быть съемным и располагаться с правой стороны дышла.
Смотрите также:
Какой длины выбрать легковой прицеп
Сегодня на рынке представлено огромное количество прицепов с характеристиками, которые удовлетворят даже самого привередливого покупателя.
И одним из самых важных аспектов при выборе прицепа является его длина. От этого параметра зависят маневренность автомобиля с прицепом, возможности по перевозки различных грузов и удобство при погрузке и выгрузке. Так какой же длины выбрать легковой прицеп?
Выбираем длину легкового прицепа правильно
При оценке длины прицепа прежде всего задумайтесь о том, какие грузы вы планируете возить. Согласно главе 23 ПДД РФ груз в легковом прицепе должен выступать сзади и спереди не более чем на 1 м, а по бокам не более 0,4 м. Таким образом, не стоит экономить на длине и лучше взять немного с запасом. Учитывайте и специфику груза: например, лодки-ПВХ и катера часто перевозят, не снимая мотор, что добавляет около 0,5 м к размерам груза.
Вопрос длины прицепа связан также с состоянием дорог, по которым вы планируете ездить. Если на многополосном шоссе с хорошим асфальтом маневры с прицепом будут относительно простыми, то в условиях узкой грунтовки дачных кооперативов могут возникнуть проблемы с завозом прицепа на участок, а также с разворотами.
Кроме того, длина прицепа не может в 1,5 раза и более превышать длину автомобиля, а габаритные размеры производители часто указывают с учетом дышла и тента. Учитывайте это при выборе и сможете без проблем подобрать подходящую модель прицепа.
Практичные прицепы нужной вам длины от ООО ТД «СаранскСпецТехника»
Наша компания разрабатывает, производит и продает прицепы, которые оптимально подойдут для большинства повседневных задач. В наличии как коммерческие модели, так и универсальные «дачные» прицепы, а, кроме того, прицепы для перевозки гидроциклов и другой водной техники.
Мы предлагаем как компактные варианты габаритной длиной в 2 400 мм, так и большие, вместительные модели длиной в 4 750 мм. При этом все прицепы оптимально сбалансированы, высота центра тяжести соотносится с колеей по оптимальным коэффициентам, что позволяет эффективно использовать и без проблем буксировать прицеп как в полностью загруженном, так и в порожнем состоянии.
Уже долго выбираете длину легкового прицепа, но вопросы все еще остались? Звоните на нашу линию консультации по номеру 8 (800) 100 55 90, и мы подберем оптимальный прицеп, исходя из ваших пожеланий и возможностей вашего авто.
Максимальная длина прицепа для легкового автомобиля
Прицеп для многих автомобилистов — вещь крайне необходимая. На современном рынке можно найти практически любую модель для необходимых задач, а большое количество производителей позволяет уложиться даже в скромный бюджет. Однако важно не только выбрать модель, но и верно рассчитать её габариты. Какова же сегодня максимальная длина прицепа для легкового автомобиля? Какие есть ограничения по ширине и прочим параметрам?
Максимальная длина прицепа для легкового автомобиля и другие полезные цифры
Согласно законодательству РФ (также эта норма прописана в соглашении стран СНГ), максимальная длина прицепа составляет 12 м. При этом стоит помнить, что это длина именно прицепа, а с учетом автомобиля цифра вырастает до 20 м: именно столько составляет максимально разрешенная длина автопоезда.
Однако важно помнить, что помимо ограничения габаритов прицепа есть и ограничения габаритов груза. Согласно ПДД они выглядят следующим образом:
- если груз выступает за габариты ТС спереди и сзади более чем на 1 м, он должен быть обозначен специальным знаком «Крупногабаритный груз»;
- если груз выступает за габариты ТС по ширине более чем на 0,4 м от внешнего края габаритный огней, также необходим знак «Крупногабаритный груз».

Помимо знака при перевозке в темное время суток или в погоду, создающую плохую видимость, понадобится дополнительное освещение. В передней части это фонарь или светоотражатель белого цвета, в задней — красного.
ООО ТД «СаранскСпецТехника»: надежные прицепы для любых нужд
Наша компания всегда рада предложить вам широкий спектр прицепов, которые отвечают большей части запросов современного автомобилиста. От универсальных, компактных моделей для дачников до двухосных коммерческих моделей для предпринимателей: в производстве мы опираемся на потребности клиентов. Именно поэтому каждая модель максимально проста, функциональна и надежна.
На заводе используются современные технологические и конструкторские решения, часть из которых запатентована. Например, при сборке мы используем некоторые элементы от серийно выпускаемых отечественных авто, что повышает надежность и ремонтопригодность прицепов.
Наши менеджеры всегда готовы проконсультировать вас по любым связанным с прицепами вопросам: максимальной длине прицепа для вашего легкового автомобиля, требованиям к регистрации и оформлению прицепов (например, нужен ли номер на легковой прицеп).
Звоните по номеру 8 (800) 100 55 90 и получите консультацию наших экспертов!
Габариты прицепа для легкового автомобиля
ПРИЦЕПЫ К ЛЕГКОВЫМ АВТОМОБИЛЯМ
Параметры, размеры и общие технические требования
ОСТ 37.001. 220-80
Настоящий стандарт распространяется на все типы прицепов, предназначенных для буксировки легковыми автомобилями и микроавтобусами по дорогам общей сети СССР.
Стандарт не распространяется на прицепы, технические задания, на проектирование которых утверждены до введения настоящего стандарта. Основные термины, используемые в стандарте, и их определение приведены в справочном приложении.
1. ПАРАМЕТРЫ И РАЗМЕРЫ
1.1. Полная конструктивная масса прицепа не должна превышать разрешенной изготовителем тягового автомобиля, не должна быть более снаряженной массы тягового автомобиля и превышать 1800 кг.
1.2. Полная конструктивная масса прицепа, не имеющего тормозов, не должна превышать разрешенной изготовителем тягового автомобиля и не должна быть более половины снаряженной массы тягового автомобиля.
1.3. Вертикальная статическая нагрузка в центре шарового шарнира сцепного устройства при любом весовом состоянии прицепа должна соответствовать величине, разрешенной изготовителем тягового автомобиля, но не должна быть менее 240 Н (25 кгс) и более 980Н (100 кгс).
1.4. Длина прицепа не должна быть более 1,5 длины основной тягового автомобиля или более 8 м.
1.5. Ширина прицепа не должна превышать ширину основного тягового автомобиля более чем на 200 мм с каждой стороны и не должна быть более 2,3 м.
1.6. Высота прицепа не должна быть более 1,8 ширины колеи прицепа или более 3м.
1.7. Центр тяжести груженого прицепа должен быть расположен таким образом, чтобы отношение высоты центра тяжести к величине колеи колес прицепа составляло не более 0,725.
1.8. Дорожный просвет прицепа не должен быть менее дорожного просвета основного тягового автомобиля.
2. ТЕХНИЧЕСКИЕ ТРЕБОВАНИЯ
2.1. Общие требования
2.1.1. Прицепы должны быть одноосными, допускается применение спаренной оси.
2.1 2 Прицеп с горизонтально расположенным внутренним полом, установленный на горизонтальной поверхности, должен иметь на шину (шины) одной стороны нагрузку не более 55% его полной массы.
2 1.3. Конструкция прицепа должна быть рассчитана на движение в составе автопоезда полной конструктивной массы с максимальной скоростью, разрешенной изготовителями тяговых автомобилей.
2.1.4. Конструкция и размеры дышла (рамы) прицепа должны обеспечивать возможность его отклонения относительно сцепного шара, установленного на автомобиле, на углы, предусмотренные ОСТ 37.001.096-77.
2.1.5. Прицепы должны быть оборудованы двумя несъемными предохранительными цепями (тросами), которые в случае аварийного обрыва (поломки) тягово-сцепного устройства не должны позволять дышлу касаться поверхности дороги, обеспечивая при этом управление прицепом.
2.1.6. Прицепы должны иметь два противооткатных упора, («башмака»).
2.1.7. Прицепы должны иметь места для установки домкрата.
2.1.8. Орган управления стояночной тормозной системой прицепов должен быть съемным и расположен с правой стороны в передней части дышла (рамы).
2.1.9. Прицепы должны быть оборудованы надколесными защитными устройствами (крыльями, брызговиками), если детали кузова не выполняют функции этого устройства.
2.1.10. Материалы, применяемые для изготовления прицепов, должны обладать стойкостью против возгорания воздействия воды, топлива и масел не ниже стойкости материалов деталей и узлов аналогичного назначения основного тягового автомобиля.
2.1.11. Окраска прицепов и контроль внешнего вида покрытия по ГОСТ 7593-80.
2.1.12. Прицеп должен иметь климатическое исполнение по ГОСТ 15150-69, соответствующее климатическому исполнению основного тягового автомобиля, и должен быть рассчитан на условия хранения на открытых площадках.
2.1.13. Срок службы прицепа в соответствии с назначением и условиями эксплуатации регламентируются нормативно-технической документацией, утвержденной в установленном порядке.
2.2. Требования к системам, узлам и агрегатам
2.2.1. Тормозные системы прицепов должны соответствовать требованиям ОСТ 37.001.016 70.
2.2.2. Замковое устройство для сцепки с тяговым автомобилем должно соответствовать требованиям ОСТ 37.001.096-77.
2.2.3. Электрооборудование, внешние световые и сигнальные приборы должны соответствовать требованиям ГОСТ 3940-71. ГОСТ 8769-75, ГОСТ 10984-74 и ГОСТ 20961-75.
2.2.4. Прицепы должны иметь кронштейны (или место) для крепления номерного знака по ГОСТ 3207 -77.
2.2.5. Для соединения с электросистемой автомобиля прицеп должен иметь вилку по ГОСТ 9209-76 с соединительным кабелем.
2.2.6. Прицепы должны иметь опорные стойки, обеспечивающие устойчивость прицепа в отцепленном состоянии и не ухудшающие проходимость автопоезда.
При вертикальной статической нагрузке от замкового устройства прицепа более 390 Н (40 кгс) передняя опорная стойка должна быть оборудована механизмом подъема-опускания, обеспечивающим установку замкового устройства в необходимое для сцепки (расцепки) положение. При ручном приводе механизма усилие на рукоятке не должно быть более 118Н (12 кгс).
3. КОМПЛЕКТНОСТЬ
3.1. Прицепы, оборудованные не унифицированными с основным тяговым автомобилем шинами, должны иметь запасное колесо и устройство для его крепления.
3.2. К прицепам должны прилагаться необходимые инструменты и принадлежности, если комплект инструментов и принадлежностей основного тягового автомобиля недостаточен для обслуживания прицепа.
4.
МАРКИРОВКА
4.1. Прицепы должны иметь заводскую табличку и маркировку по отраслевой нормативно-технической документации.
4.2. Прицепы должны иметь вблизи замкового устройства дополнительную табличку по ГОСТ 12971-67 с указанием полной конструктивной массы прицепа; величины максимальной статической нагрузки на сцепной шар
Размеры легкового автоприцепа важно подбирать не только с учетом собственных желаний и потребностей в перевозке, но и соблюдая нормы безопасности. Законодательством четко регулируются допустимые размеры прицепов, и превышение габаритов приведет как минимум к штрафу.
Размеры автомобильных прицепов для легковых автомобилей: что следует помнить
Для начала запомните три основных нюанса, на которые стоит опираться при выборе прицепа:
- длина прицепа не может составлять больше 1,5 длины машины. Отметим, что зачастую производители указывают длину с дышлом, поэтому читайте характеристики ТС внимательнее;
- ширина прицепа не может превышать ширину автомобиля более чем на 20 см;
- высота прицепа считается по формуле «ширина колеи прицепа *1,8».
Отметим, что слишком высоким прицепом сложнее управлять в силу большего крена при маневрах.
Теперь у вас есть представление о примерном размере будущей покупки. Также отметим, что при выборе габаритов стоит задуматься и о собственном удобстве. Например, на узких дорогах дачного кооператива будет удобнее маневрировать с чуть меньшим по размерам прицепом. Пусть в него и поместится не так много, но транспортировка, а также выгрузка и погрузка будут намного проще и быстрее.
Что касается груза, то он может выступать за пределы прицепа при соблюдении следующих норм:
- сзади — не более 2 м;
- с боков — не более 2,55 м.
Помните: если вы перевозите груз, который выступает более чем на 1 м спереди или сзади, а также более чем на 0,4 м по бокам, то он должен маркироваться специальным знаком «Крупногабаритный груз» и в темное время суток подсвечиваться. Для этого спереди вешается фонарь белого цвета, сзади — красного.
ООО ТД «СаранскСпецТехника»: прицепы нужных размеров
По всем вопросам касательно размеров автоприцепа для легкового автомобиля конкретной модели или марки вам помогут наши консультанты: просто позвоните по номеру 8 (800) 100 55 90.
Также они предоставят все нужные вам данные о моделях в нашем каталоге и их особенностях. Мы всегда рады помочь вам и полезными статьями, например, «Какой фирмы выбрать прицеп для легкового автомобиля». Надеемся, что эта информация облегчит ваш выбор и поможет найти идеальный прицеп!
Производственное предприятие ООО Торговый дом «СаранскСпецТехника» г. Саранск, ул. Строительная, д. 11, этаж 2
Каждый автомобилист хотя бы раз в жизни задумывался о приобретении прицепа для своего легкового авто. Это очень удобно – иметь дополнительную возможность переместить груз, который не помещается в салон. Это также дает определенную экономию времени и средств, избавляет от необходимости заказа грузового такси при решении дачных вопросов, проведении ремонта, транспортировке мебели, товаров для ведения малого бизнеса и путешествий.
В то же время прицеп не может маневрировать с такой же легкостью, как автомобиль. И на дороге он может создавать опасные ситуации. Поэтому особенное значение имеет соблюдение параметров прицепа, соответствие его размеров размерам легкового автомобиля, что при наличии соответствующих навыков вождения будет гарантией правильного направления движения прицепа при повороте авто.
В практике производства, продажи и эксплуатации этого товара существуют такие основные стандарты размеров прицепов:
- первый касается длины, которая не может быть больше самого авто в 1.5 раза. Самая популярная длина у известных моделей прицепов находится в диапазоне от 2620 мм до 5105 мм. При этом в характеристике часто указывают размер с дышлом, потому перед покупкой нужно очень внимательно изучать параметры;
- что касается ширины, то она не может быть больше, чем габариты авто, на 20 см. Наибольшее распространение имеют прицепы с шириной от 1695 мм до 2247 мм. Здесь нужно ориентироваться на марку автомобиля и соблюдение безопасности движения при осуществлении маневрирования ;
- высота прицепа может быть 3 м, но для каждого отельного случая необходимо делать расчет максимальной величины этого показателя, исходя из 1,8 ширины колеи. Технически наиболее часто встречается высота с бортами от 860 мм до 1220 мм, а с тентом – 1420 мм. ;
- особое внимание необходимо уделять высоте центра тяжести прицепа в нагруженном состоянии, которая должна соотноситься с шириной его колеи, как коэффициент, не превышающий 0,725.
Опасность несоблюдения мер предосторожности при учете этого показателя состоит в том, что излишнее количество груза по высоте может привести к потере устойчивости и переворачиванию прицепа. Но это касается скорее уже правил эксплуатации, а не характеристики товара; - немаловажная деталь – клиренс прицепа, он должен полностью соответствовать такой же части легкового автомобиля.
- В некоторых случаях максимальные параметры могут быть пересмотрены соответственно марке авто до таких размеров – длина 12 м, высота 4 м, ширина 2,55 м.
При продаже указывают размеры прицепов таким образом: Габаритные размеры (в том числе с дышлом или с тентом), внутренние размеры кузова, площадь пола платформы, дорожный просвет, колею колес, погрузочную высоту, полную массу, высоту до тента и другие технические параметры.
Наиболее полную информацию о размерах прицепов размещает на своем сайте ТД «Уральские автоприцепы», поэтому за покупкой этого нужного товара лучше обращаться именно к указанному представителю производителя.
Если вы решили приобрести прицеп для своего автомобиля, можно это сделать в ТД «Уральские автоприцепы»:
Дизайн и функции дышла прицепа
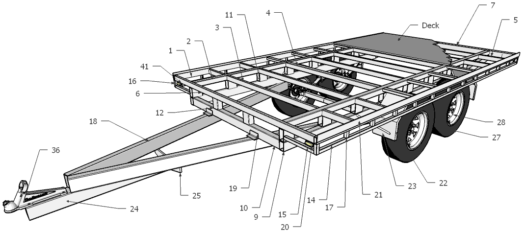
Пожалуй, самой важной и упускаемой из виду частью конструкции прицепа является дышло. Взгляните на пару трейлеров в вашем районе, и вы увидите множество материалов и дизайнов.
Дышло выполняет несколько важных функций, помимо того, что оно удерживает прицеп на расстоянии от тягача. Дышло удерживает прицеп в равновесии при буксировке и помогает удерживать вес на дышле, что необходимо для контролируемой буксировки. Это также увеличивает жесткость шасси и, в зависимости от оси и размещения груза, помогает поддерживать правильное и стабильное движение прицепа.
Дышло должно иметь хорошую вертикальную и боковую прочность, и в зависимости от размера вашего прицепа и груза, который вы хотите перевозить, это определит размер необходимого материала и конструкцию, которую вы должны использовать.
Дышло выполняет большую работу при буксировке.
Каждая маленькая неровность на дороге и каждый поворот, который вы делаете, передает нагрузку на дышло и постоянно сжимает, скручивает и растягивает материал дышла. Если прицеп был построен с дышлом меньшего размера или прицеп постоянно перегружен или неуравновешен, эта повторяющаяся нагрузка и разгрузка (циклирование) нагрузок на дышло может привести к микроскопическим трещинам в зернистой структуре материала дышла.
Со временем микроскопическая трещина может вырасти и в конечном итоге достичь критического размера, при котором дышло может внезапно сломаться и в конечном итоге выйти из строя.
Это также может произойти с дышлом, которое было повреждено или деформировано в результате обычного использования.
Количество циклов, которое дышло может пройти до выхода из строя, зависит от нескольких факторов —
- Конструкция дышла (см. ниже)
- Размер материала дышла — чем больше, тем лучше
- Как дышло крепится к шасси
- Длина дышла
- Как прицеп загружается и буксируется
Существует 3 основных типа дышла —
Прямое дышло —
Составное дышло —
И дышло с А-образной рамой
Прямое дышло
Этот дизайн возвращает нас к старой лошади и повозке, где у вас была лошадь привязаны к обеим сторонам дышла.
Это немного старомодно, но все еще используется, особенно на лодках и сельскохозяйственных прицепах.
Несмотря на то, что такая конструкция имеет меньшую вероятность того, что тяга сдвинется при движении задним ходом, если дышло будет повреждено, это создаст сильно нагруженную секцию, которая может быстро вызвать внутреннее растрескивание или выход из строя.
Поскольку прямые дышла установлены по центру, они подвержены большим вертикальным нагрузкам, особенно там, где дышло соприкасается с шасси. Это напряжение увеличивается, если нагрузка неправильно распределяется по осям.
Длина должна быть сведена к минимуму, так как чем длиннее дышло, тем меньший груз можно нести и тем слабее становится дышло.
Самая прочная конструкция для одинарного дышла – это две детали RHS (прямоугольные полые секции), соединенные вместе (сваренные внахлестку) и закрепленные на прицепе самой длинной кромкой вертикально. Дышло должно проходить под шасси как минимум на половину его выступающей длины и крепиться как минимум к первой промежуточной поперечине.
Должны быть установлены треугольные косынки, крепящие дышло к передней части шасси, и промежуточные поперечины.
Композитное дышло
Составное дышло представляет собой вариант конструкции одинарного дышла с боковыми опорами для усиления дышла и обеспечения поддержки шасси.
Этот стиль позволяет сделать дышло немного длиннее, а также уменьшить вес стальной секции.
Композитные тяги обеспечивают хороший клиренс для тягача при резком движении задним ходом и обеспечивают дополнительную поддержку боковых сторон прицепа.
Вы найдете множество ретро-прицепов с одинарным дышлом, оснащенных композитной угловой рамой для лучшей стабилизации и контроля прицепа, а также для увеличения прочности.
В идеале составные угловые рамы должны проходить под шасси как минимум до первой поперечины.
Лодочные прицепы обычно используют составное дышло, используя угловые секции как часть рамы шасси. Сила в этом исходит от носовой стойки, которая поддерживает передний киль лодки.
Когда лодка зафиксирована в носовой стойке и закреплена на прицепе, она фактически становится частью шасси/дышла.
Дышло рамы «А»
Дышло этого типа является одним из наиболее распространенных из-за прочности, которую угловая рама придает прицепу. Он поддерживает внешние края прицепа и предотвращает скручивание шасси при плохой загрузке.
Длина дышла может быть увеличена при условии увеличения размера секции материала или добавления распорок (см. ниже) для обеспечения жесткости и жесткости дышла.
Чем длиннее может быть дышло (до точки, когда вес дышла становится чрезмерным), тем плавнее и устойчивее будет двигаться прицеп. Он также будет более отзывчивым и снисходительным при движении задним ходом. Прицепы с коротким дышлом склонны к быстрому, а иногда и неожиданному повороту, легкие движения тягача могут в момент невнимательности привести прицеп к складыванию.
Из трех конструкций дышла рама «А» конструктивно лучше, так как обеспечивает превосходную горизонтальную жесткость и хорошую вертикальную поддержку.
Любая нагрузка на дышло передается на внешние края шасси через дышло и эффективно распределяет нагрузку.
Одним из недостатков является большая вероятность повреждения дышла при поднятии ножом при движении задним ходом.
Вернуться к началу
Длина дышла
Длина дышла — это расстояние, измеренное от центра передней поперечины прицепа до центра тягово-сцепного устройства, и может быть определено из ряда соображений. Наряду с возможностью выбора прямой, составной и А-образной тяги, также доступны варианты с фиксированной длиной, выдвижной и наклоняемой тягой. Каждый из них обсуждается ниже.
Дышло фиксированной длины является наиболее распространенным и составляет, вероятно, 95% всех производимых прицепов. У большинства производителей прицепов есть собственная стандартная длина для прицепа определенного размера, основанная на опыте, устойчивости прицепа, реакции на поворот и задний ход, положении оси и максимальной грузоподъемности прицепа.
Фиксированные дышла
Слишком короткое дышло, и вы рискуете задеть переднюю часть прицепа своим тягачом при поворотах, и хотя прицеп будет хорошо следовать за тягачом, при движении задним ходом прицеп будет сверхчувствительным.
Как отмечалось выше, прицепы с коротким дышлом склонны к быстрому и иногда неожиданному повороту. Незначительные движения тягача могут в момент невнимательности поставить прицеп в положение «складной нож».
Короткие дышла характерны для сельскохозяйственных прицепов и серьезных внедорожных прицепов благодаря их лучшему отслеживанию при прохождении крутых поворотов (меньшая вероятность того, что прицеп заденет столбы забора/ворот или деревья при повороте) и уменьшению вероятности опускания дышла до упора при повороте. переход через крутую волнистую землю или песчаные дюны.
Дышло должно быть не меньше половины ширины тягача. Большинство легковых автомобилей и внедорожников имеют длину от 1,6 до 1,9 м, поэтому минимальная длина дышла должна составлять половину этой длины плюс немного больше (скажем, 200–300 мм), чтобы получить клиренс при повороте и повысить устойчивость прицепа. .
Стандартная длина дышла варьируется от 1,2 м до 1,8 м в зависимости от тягача, того, что будет монтироваться на дышле (ящики для инструментов, запасное колесо, стойка для велосипедов и т.
д.), длины груза при перевозке длинномерных грузов. (древесина, трубы, байдарки/каноэ и аналогичные длинномерные предметы) и положение осей по отношению к шасси.
Для обычной перевозки на стандартном прицепе, на дышле которого ничего не установлено, за исключением, возможно, запасного колеса и осей, установленных сзади по центру платформы, я бы рекомендовал длину дышла от 1,2 до 1,4 м. Это хороший компромисс по длине для стабильной буксировки и радиуса поворота без увеличения веса прицепа.
Если на дышле должен быть установлен полноразмерный ящик для инструментов или предметы аналогичной ширины (велосипеды, дека газонокосилки, защита от камней и т. д.), размер дышла должен располагаться впереди этих предметов, чтобы обеспечить достаточный зазор для поворота.
Еще одна вещь, о которой следует знать, это наличие на вашем тягаче задней двери с боковыми или верхними петлями. Убедитесь, что дверь может открываться, не задев переднюю часть прицепа или какие-либо аксессуары, стационарно закрепленные на прицепе.
Тяги длиной более 1,5 м, в зависимости от используемого материала, должны быть закреплены для придания дополнительной жесткости и предотвращения вертикального изгиба. Нажмите здесь для получения информации о «Укреплении/укреплении дышла».
См. также «Наклонные дышла» и «Выдвижное дышло»
Вернуться к началу
Соус для прицепа :: Дизайн и функции дышла
Пожалуй, самой важной и часто игнорируемой частью конструкции прицепа является его дышло. Взгляните на пару трейлеров в вашем районе, и вы увидите множество материалов и дизайнов.
Дышло выполняет несколько важных функций, помимо того, что оно удерживает прицеп на расстоянии от тягача. Дышло удерживает прицеп в равновесии при буксировке и помогает удерживать вес на дышле, что необходимо для контролируемой буксировки. Это также увеличивает жесткость шасси и, в зависимости от оси и размещения груза, помогает поддерживать правильное и стабильное движение прицепа.
Дышло должно иметь хорошую вертикальную и боковую прочность, и в зависимости от размера вашего прицепа и груза, который вы хотите перевозить, это определит размер необходимого материала и конструкцию, которую вы должны использовать.
Дышло выполняет большую работу при буксировке. Каждая маленькая неровность на дороге и каждый поворот, который вы делаете, передает нагрузку на дышло и постоянно сжимает, скручивает и растягивает материал дышла. Если прицеп был построен с дышлом меньшего размера или прицеп постоянно перегружен или неуравновешен, эта повторяющаяся нагрузка и разгрузка (циклирование) нагрузок на дышло может привести к микроскопическим трещинам в зернистой структуре материала дышла.
Со временем микроскопическая трещина может вырасти и в конечном итоге достичь критического размера, при котором дышло может внезапно сломаться и в конечном итоге выйти из строя.
Это также может произойти с дышлом, которое было повреждено или деформировано в результате обычного использования.
Количество циклов, которое дышло может пройти до выхода из строя, зависит от нескольких факторов —
- Конструкция дышла (см. ниже)
- Размер материала дышла — чем больше, тем лучше
- Как дышло крепится к шасси
- Длина дышла
- Как прицеп загружается и буксируется
Дизайн дышла
Существует 3 основных типа дышла —
Прямое дышло —
Составное дышло —
И дышло с А-образной рамой
Это немного старомодно, но все еще используется, особенно на лодках и сельскохозяйственных прицепах. Несмотря на то, что такая конструкция имеет меньшую вероятность того, что тяга сдвинется при движении задним ходом, если дышло будет повреждено, это создаст сильно нагруженную секцию, которая может быстро вызвать внутреннее растрескивание или выход из строя.
Поскольку прямые дышла установлены по центру, они подвержены большим вертикальным нагрузкам, особенно там, где дышло соприкасается с шасси. Это напряжение увеличивается, если нагрузка неправильно распределяется по осям.
Длина должна быть сведена к минимуму, так как чем длиннее дышло, тем меньший груз можно нести и тем слабее становится дышло.
Самая прочная конструкция для одинарного дышла – это две детали RHS (прямоугольные полые секции), соединенные вместе (сваренные внахлестку) и закрепленные на прицепе самой длинной кромкой вертикально. Дышло должно проходить под шасси как минимум на половину его выступающей длины и крепиться как минимум к первой промежуточной поперечине.
Должны быть установлены треугольные косынки, крепящие дышло к передней части шасси, и промежуточные поперечины.
Композитное дышло
Составное дышло представляет собой вариант конструкции одинарного дышла с боковыми опорами для усиления дышла и обеспечения поддержки шасси.
Этот стиль позволяет сделать дышло немного длиннее, а также уменьшить вес стальной секции.
Композитные тяги обеспечивают хороший клиренс для тягача при резком движении задним ходом и обеспечивают дополнительную поддержку боковых сторон прицепа.
Вы найдете множество ретро-прицепов с одинарным дышлом, оснащенных композитной угловой рамой для лучшей стабилизации и контроля прицепа, а также для увеличения прочности.
В идеале составные угловые рамы должны проходить под шасси как минимум до первой поперечины.
Лодочные прицепы обычно используют составное дышло, используя угловые секции как часть рамы шасси. Сила в этом исходит от носовой стойки, которая поддерживает передний киль лодки.
Когда лодка зафиксирована в носовой стойке и закреплена на прицепе, она фактически становится частью шасси/дышла.
Дышло рамы «А»
Дышло этого типа является одним из наиболее распространенных из-за прочности, которую угловая рама придает прицепу. Он поддерживает внешние края прицепа и предотвращает скручивание шасси при плохой загрузке.
Длина дышла может быть увеличена при условии увеличения размера секции материала или добавления распорок (см. ниже) для обеспечения жесткости и жесткости дышла.
Чем длиннее может быть дышло (до точки, когда вес дышла становится чрезмерным), тем плавнее и устойчивее будет двигаться прицеп. Он также будет более отзывчивым и снисходительным при движении задним ходом. Прицепы с коротким дышлом склонны к быстрому, а иногда и неожиданному повороту, легкие движения тягача могут в момент невнимательности привести прицеп к складыванию.
Из трех конструкций дышла рама «А» конструктивно лучше, так как обеспечивает превосходную горизонтальную жесткость и хорошую вертикальную поддержку.
Любая нагрузка на дышло передается на внешние края шасси через дышло и эффективно распределяет нагрузку.
Одним из недостатков является большая вероятность повреждения дышла при поднятии ножом при движении задним ходом.
Вернуться к началу
Длина дышла
Длина дышла — это расстояние, измеренное от центра передней поперечины прицепа до центра шаровой опоры, и может быть определено из ряда соображений. Наряду с возможностью выбора прямой, составной и А-образной тяги, также доступны варианты с фиксированной длиной, выдвижной и наклоняемой тягой. Каждый из них обсуждается ниже.
Дышло фиксированной длины является наиболее распространенным и составляет, вероятно, 95% всех производимых прицепов. У большинства производителей прицепов есть собственная стандартная длина для прицепа определенного размера, основанная на опыте, устойчивости прицепа, реакции на поворот и задний ход, положении оси и максимальной грузоподъемности прицепа.
Фиксированные дышла
Слишком короткое дышло, и вы рискуете задеть переднюю часть прицепа своим тягачом при поворотах, и хотя прицеп будет хорошо следовать за тягачом, при движении задним ходом прицеп будет сверхчувствительным.
Как отмечалось выше, прицепы с коротким дышлом склонны к быстрому и иногда неожиданному повороту. Незначительные движения тягача могут в момент невнимательности поставить прицеп в положение «складной нож».
Короткие дышла характерны для сельскохозяйственных прицепов и серьезных внедорожных прицепов благодаря их лучшему отслеживанию при прохождении крутых поворотов (меньшая вероятность того, что прицеп заденет столбы забора/ворот или деревья при повороте) и уменьшению вероятности опускания дышла до упора при повороте. переход через крутую волнистую землю или песчаные дюны.
Дышло должно быть не меньше половины ширины тягача. Большинство легковых автомобилей и внедорожников имеют длину от 1,6 до 1,9 м, поэтому минимальная длина дышла должна составлять половину этой длины плюс немного больше (скажем, 200–300 мм), чтобы получить клиренс при повороте и повысить устойчивость прицепа. .
Стандартная длина дышла варьируется от 1,2 м до 1,8 м в зависимости от тягача, того, что будет монтироваться на дышле (ящики для инструментов, запасное колесо, стойка для велосипедов и т.
д.), длины груза при перевозке длинномерных грузов. (древесина, трубы, байдарки/каноэ и аналогичные длинномерные предметы) и положение осей по отношению к шасси.
Для обычной перевозки на стандартном прицепе, на дышле которого ничего не установлено, за исключением, возможно, запасного колеса и осей, установленных сзади по центру платформы, я бы рекомендовал длину дышла от 1,2 до 1,4 м. Это хороший компромисс по длине для стабильной буксировки и радиуса поворота без увеличения веса прицепа.
Если на дышле должен быть установлен полноразмерный ящик для инструментов или предметы аналогичной ширины (велосипеды, дека газонокосилки, защита от камней и т. д.), размер дышла должен располагаться впереди этих предметов, чтобы обеспечить достаточный зазор для поворота.
Еще одна вещь, о которой следует знать, это наличие на вашем тягаче задней двери с боковыми или верхними петлями. Убедитесь, что дверь может открываться, не задев переднюю часть прицепа или какие-либо аксессуары, стационарно закрепленные на прицепе.
Тяги длиной более 1,5 м, в зависимости от используемого материала, должны быть закреплены для придания дополнительной жесткости и предотвращения вертикального изгиба. См. ниже информацию о распорках дышла.
Вернуться к началу
Выдвижные дышла
Установка выдвижного дышла на ваш прицеп может повысить его универсальность, особенно если вам иногда требуется перевозить большие куски материала (строительные материалы, трубы, столярные изделия и т. д.) или даже если вы хотите бросить байдарку на прицеп. Выдвижные дышла отлично подходят для спуска и подъема лодочных прицепов на мелководье.
Большую часть времени выдвижное дышло будет иметь нормальную длину в сложенном состоянии и будет выдвигаться только при необходимости. При этом помогает удерживать любой задний свес в допустимых пределах и помогает удерживать вес впереди оси (осей), чтобы предотвратить неустойчивость прицепа.
Задний свес — это расстояние от центра оси (или на тандеме, посередине между осями) до конца вашего груза.
В Новой Зеландии это 4,0 метра, а в большинстве штатов Австралии — 3,7 метра.
Выдвижные тяги обычно изготавливаются с использованием SHS (квадратной полой секции), скользящей внутри другой секции SHS. Например, секция 65 x 65 x 5,0 скользит внутри опорной секции 75 x 75 x 4,0. При использовании SHS для опорной секции сварной шов внутреннего шва необходимо будет отшлифовать или отшлифовать, чтобы обеспечить плавное движение подвижной секции. Зазор необходим для предотвращения заклинивания дышла, что может сделать дышло немного шумным при транспортировке пустого прицепа. К передней кромке опорной секции следует добавить ограничительный ремень для придания дополнительной прочности. (см фото)
Стопорные штифты должны быть как можно большего диаметра (минимум 16 мм) и, в идеале, иметь высокую прочность на растяжение. Желательно иметь более одного стопорного штифта, и должен быть способ их закрепления, чтобы предотвратить их ослабление и выпадение. Стопорные штифты должны плотно входить в отверстие в ползунке и опорной секции, чтобы отверстия не выбивались (растягивались), а штифты не изнашивались и не деформировались.
Если удлинитель постоянно используется, целесообразно регулярно заменять скользящую секцию и стопорные штифты, поскольку дополнительные нагрузки на скользящую секцию могут привести к усталости материала и растрескиванию и привести к преждевременному выходу из строя дышло.
Использование выдвижных тяг имеет свои ограничения, поэтому при их использовании в полностью выдвинутом состоянии необходимо соблюдать осторожность. В полностью выдвинутом состоянии грузоподъемность прицепа снижается из-за увеличения прогиба скользящей секции. Вы можете рассчитывать на то, что потеряете как минимум половину своей номинальной нагрузки при полном выдвижении.
Необходимо увеличить длину электрического кабеля, чтобы прицеп можно было подключить к тягачу, когда дышло полностью выдвинуто. Чтобы этот дополнительный трос можно было аккуратно свернуть и зафиксировать при втянутом дышле, это необходимо для предотвращения повреждения троса и предотвращения его волочения по земле. Кабель можно пропустить через середину скользящей секции и установить подпружиненный шкив или устройство повторной намотки (например, барабан для автоматической намотки садового шланга) под настилом, чтобы защитить кабель от потенциального повреждения.
В противном случае пара противоположных крючков на неподвижной части дышла для намотки троса прекрасно справятся с этой задачей.
Муфты гидравлического импульсного тормоза можно использовать на выдвижных дышлах, но требуется гибкий тормозной шланг между муфтой и фиксированной секцией дышла. Шланг должен быть изготовлен профессиональным поставщиком и должен быть покрыт оплеткой из нержавеющей стали, чтобы обеспечить дополнительную защиту шланга. Сохранение гибкого шланга при втянутом дышле немного сложнее, чем троса, и необходимо соблюдать осторожность, сворачивая свободный шланг, чтобы предотвратить перекручивание или повреждение шланга при креплении к прицепу.
Я видел прицепы в Новой Зеландии, у которых главный блок гидравлической муфты установлен на подвижной секции дышла, а блок главного цилиндра установлен на неподвижной секции дышла (опорной секции). Прицеп тормозится только тогда, когда дышло полностью втянуто, и можно не беспокоиться о проблемах и затратах на установку длинных тормозных шлангов.
Это новое и несколько практичное решение, и пока полная масса транспортного средства (GVM) составляет менее 2000 кг в Новой Зеландии, а совокупная масса прицепа (ATM) составляет менее 750 кг в Австралии, вам может сойти с рук такая буксировка на законных основаниях. Лично я бы порекомендовал тормоза при любых обстоятельствах — раскошельтесь на дополнительные деньги и получите полностью функциональный прицеп.
На дышле с А-образной рамой длиной от 1,2 до 1,5 м нередко имеется удлиняемая секция дышла, которая может увеличить общую длину дышла до 2,4 м или больше в зависимости от используемого материала. Если общая длина превышает 2,4 м, необходимо принять некоторые профессиональные инженерные рекомендации, чтобы гарантировать, что прочность дышла не будет нарушена. И всегда помните о снижении нагрузки на прицеп как минимум наполовину при использовании удлиненного дышла.
Чтобы определить требуемую длину длинного фиксированного или выдвижного дышла, измерьте самый длинный материал/предмет, который вам нужно нести, и вычтите из этого длину вашей платформы.
Разделите то, что осталось, пополам и добавьте не менее 300 мм, чтобы обеспечить зазор между грузом и буксирующим транспортным средством, чтобы получить увеличенную длину.
Например, если у вас есть каяк длиной 6 м и длиной палубы 2,4 м (8 футов) — 6 м минус 2,4 м = 3,6 м разделить пополам = 1,8 м плюс 300 мм = 2,1 м.
Обратите внимание, что дополнительные 300 мм подходят только в том случае, если груз относительно узкий и расположен по центру прицепа, чтобы обеспечить достаточный зазор для буксирующего транспортного средства/груза при повороте. Если груз шире, чем 1/3 ширины платформы прицепа в передней части прицепа, вам необходимо увеличить это значение.
Как и для всех грузов, баланс должен быть немного впереди оси, чтобы обеспечить хорошую устойчивость прицепа и предотвратить раскачивание прицепа.
Вернуться к началу
Наклонные дышла
Наклонные дышла — удобное дополнение к прицепу, если вы планируете перевозить сыпучие материалы (песок, землю, кору, мусор и т.
д.). Быстрым щелчком одной или двух защелок и нажатием на заднюю часть прицепа задняя часть прицепа наклонится к земле, что облегчит снятие груза и снизит вероятность поломки спины. Наклонные дышла также можно использовать для погрузки и разгрузки косилки, квадроцикла, мотоцикла или аналогичного оборудования.
Наклонные дышла используют основные концы дышла под настилом в качестве шарнира, а прицепы с одинарной и сдвоенной осью могут использовать подвеску передней рессоры как часть шарнира.
Для тандемной оси может потребоваться, чтобы петля располагалась впереди передней пружины, чтобы обеспечить достаточный наклон платформы. Чем короче платформа прицепа на тандемном прицепе, тем меньше будет наклон платформы, а наклон действительно хорошо работает только на прицепах длиной более 10 футов (3050 мм). Прицепы-тандемы с фиксированной подвеской или торсионной подвеской в большинстве случаев не допускают наклона платформы. Для эффективной работы тандемным прицепам требуется качающаяся/качающаяся подвеска.
Защелки можно открывать и закрывать вручную, также вы можете найти автоматические подпружиненные защелки, которые блокируют деку в нужном положении, когда она опускается обратно на дышло. Рекомендуется использовать автоматический стиль, так как легко забыть зафиксировать палубу после того, как в поте лица разгружается трейлер.
Также рекомендуется укрепить канал заднего фонаря/поперечину прицепа, так как эта область будет регулярно подвергаться ударам при падении на землю.
Прицепы с наклонным дышлом могут быть немного шумными при буксировке порожнего из стали на вибрации стали. Следует проводить частые профилактические осмотры в области петель и защелок, чтобы проверить наличие незакрепленных или изношенных предметов.
Распорка дышла
Распорка дышла увеличивает вертикальную жесткость секции дышла и должна использоваться на прицепах, длина дышла которых превышает 1,5 м или где секция дышла изготовлена из материала меньшего размера, особенно из стали квадратного сечения (SHS).
или аналогичные тяги.
Существует множество вариантов, пара из которых показана здесь, но цель одна и та же: увеличить прочность дышла, не добавляя лишнего веса.
Принцип раскоса аналогичен конструкции ферм опор крыши дома и мостов, только в перевернутом виде. Угловые, вертикальные и горизонтальные компоненты сопротивляются растяжению и сжатию (движению вверх и вниз) дышла, когда он выполняет свои обычные функции.
Распорки обычно устанавливаются на старых прицепах, где первоначальная конструкция дышла была скорее запоздалой, чем запланированной. Прямые тяги выигрывают от дополнительной распорки, и на этих прицепах часто можно увидеть распорки «лестничного типа».
Распорки также рекомендуются для тяжелых прицепов с наклонным дышлом, чтобы обеспечить дополнительную жесткость, поскольку дышло недостаточно эффективно соединено с шасси.
Поскольку распорка находится под дышлом, она принимает на себя основную нагрузку повседневного использования, поэтому имеет смысл сделать ее как можно более прочной и низкопрофильной.
Стальной плоский стержень (50 x 6 мм или аналогичный), приваренный вертикально вдоль внутреннего нижнего края полого профиля (RHS или SHS), хорошо подходит, если требуется низкопрофильная распорка.
Распорки для стержней популярны и относительно быстро и легко устанавливаются. Сужение от соединительного конца дышла до глубины 50-75 мм за первой поперечиной и назад к нижней части дышла с вертикальными штоками через равные промежутки обеспечивает превосходную прочность благодаря треугольной форме.
При использовании материала RHS или SHS для дышла — там, где концы тяги и стержни прикреплены к дышлу, необходимо приварить небольшие кусочки стального плоского стержня поперек дышла между тягой и дышлом, чтобы предотвратить усталость тяги и полой секции от движения брекета вверх-вниз во время работы. Приварите эти лыски только к внешним краям полого профиля, а не к нижней (горизонтальной) поверхности дышла. См. рисунок ниже.
Стальной уголок также может использоваться для создания прочной низкопрофильной распорки и приваривается стежком вдоль внешней поверхности дышла.
Глубина конуса не должна быть слишком большой и может составлять около 50 мм от основания дышла. Стебли обычно не требуются.
Если вам нужно прочное цельное дышло, вы можете заказать в местном техническом магазине изготовление дышла С-образного сечения из стального листа толщиной 4–5 мм с угловатым нижним профилем, как на фото ниже. Это устраняет любые внешние крепления и должно выдерживать практически все, что может быть брошено на него.
Вернуться к началу
Раскачивание прицепа
Раскачивание прицепа, зигзаг, раскачивание хвоста, хвост рыбы, дрожание, раскачивание, называйте это как хотите, это очень неприятно, чрезвычайно опасно, потенциально смертельно и в большинстве случаев полностью можно избежать.
Раскачивание прицепа — это когда ваш прицеп начинает двигаться из стороны в сторону позади тягача. Если не взять под контроль прицеп, он может раскачиваться все сильнее, в результате чего задняя часть тягача будет неконтролируемо раскачиваться вместе с прицепом.
Плохо загруженные прицепы с чрезмерным весом сзади оси (осей) или со слишком большим весом на одной стороне прицепа являются наиболее распространенными причинами раскачивания прицепа, которых легче всего избежать. Дополнительную информацию см. в разделе «Буксировка по уровню» ниже.
Прицепы с грузом, имеющим высокий центр тяжести, или прицепы с высокими бортами, закрытые прицепы (концессионные прицепы, караваны, товарные прицепы и крытые прицепы с мебелью/прокатом) более склонны к раскачиванию, особенно при сильном или порывистом боковом ветре, или когда вас обгоняют автобусы или большие грузовики.
Крупные транспортные средства выталкивают перед собой носовую волну воздуха, толкая большое количество воздуха в сторону вашего тягача и прицепа. буксировать автомобиль и прицеп к проезжающему автомобилю. В нормальных условиях хорошо сбалансированный прицеп сразу же возвращается к нормальной буксировке, но несбалансированный прицеп может быстро начать раскачиваться.
Низкое или неравномерное давление в шинах может вызвать раскачивание прицепа, когда боковины шин чрезмерно прогибаются под нагрузкой. Если прицеп начинает раскачиваться, шины будут преувеличивать движение, как если бы прицеп сидел на паре кусков желе.
Шины разного диаметра и использование шин разной конструкции на одном и том же прицепе также могут вызывать и усиливать раскачивание.
Вернуться к началу
Буксировка в горизонтальном положении
При буксировке необходимо уделить особое внимание обеспечению горизонтального положения прицепа. На устойчивость прицепа может серьезно повлиять то, как прицеп расположен позади вашего прицепа, и на нее может повлиять то, как прицеп загружен.
Прицеп, который стоит носом вверх вперед, может привести к тому, что центр тяжести груза сместится назад при нормальном использовании, что приведет к еще большему увеличению веса на заднюю часть прицепа. Помимо дополнительной нагрузки на прицеп, он снимает вес с дышла и задних колес тягача.
Любая неровность на дороге, проезжающий мимо грузовик или крупное транспортное средство, порыв ветра или незначительное изменение направления могут привести к тому, что прицеп превратится в очень большой и очень тяжелый качающийся металлический маятник (включая все, что находится внутри или на прицепе). ) и может взять на себя управление тягачом (см. «Раскачивание прицепа» выше)
Если вам не повезло, и вы не взяли ситуацию под контроль, прицеп может легко перевернуться и увлечь за собой тягач, потенциально забрав вас и ваших пассажиров, а также любого беднягу на вашем участке дороги на время.
Вернуться к началу
Подача прицепа
Аналогичный результат может возникнуть, если нагрузка на переднюю часть прицепа слишком велика. Чрезмерный вес шаровой опоры приподнимет переднюю часть тягача, что снизит его способность управлять автомобилем. Ситуация усугубляется при движении вниз по склону, особенно при торможении, поскольку центр тяжести груза смещается вперед.
Любой груз на вашем прицепе, независимо от того, надежно ли он привязан или нет, будет наклоняться вперед, добавляя дополнительную массу к уже наклоняющемуся прицепу.
Любое резкое торможение тягача приведет к тому, что прицеп нырнет носом, приподняв переднюю часть тягача, и рулевое управление станет практически бесполезным.
Когда тягач теряет управляемость, конечный результат может быть катастрофическим.
Вернуться к началу
Балансировка груза
Перед загрузкой прицепа убедитесь, что не менее 10 % веса пустого прицепа приходится на сцепное устройство (25 кг для 250-килограммового прицепа, 50 кг для 500-килограммового прицепа и т. д.). .)
Удобный способ проверить это — положить доску на набор напольных весов, обнулить весы, выровнять прицеп с помощью деревянного бруска между сцепкой и весами, а затем измерить вес дышла прицепа.
Загрузка прицепа может быть чем-то вроде игры в угадайку, пока вы хорошо не узнаете свой прицеп, и стоит проверить вес дышла после загрузки прицепа, особенно если груз имеет широкий диапазон веса.
Опять же, вес дышла должен составлять около 10% от общего веса прицепа/груза.
Любые тяжелые предметы должны быть загружены немного впереди оси и центра осей на тандемном прицепе. В идеале они должны быть загружены первыми и как можно ниже.
Если вы загружаете сыпучие материалы, такие как дрова или песок, выравнивайте груз, немного наклонив его вперед от центра. Помните, что груз может перемещаться во время буксировки, особенно на ухабистых или волнистых дорогах, поэтому регулярно проверяйте положение груза.
Наверх
Выравнивание вашего прицепа
Ваш пустой прицеп должен стоять ровно позади вашего тягача, а если нет, вам нужно будет внести некоторые изменения в крепление сцепки или высоту буксирного шара.
Если у вас есть шаровая опора, которая вставляется в квадратный приемник на тягово-сцепном устройстве, вы можете приобрести различные приспособления, позволяющие устанавливать шаровую сцепку на высоте, необходимой для выравнивания вашего прицепа.
Это, безусловно, самый быстрый и простой способ исправления уровня трейлера.
Если у вас фиксированная фаркоп/шаровая опора, вам потребуется внести некоторые коррективы в ваш прицеп.
Относительно простой способ исправления прицепа, который задирается носом вперед, состоит в том, чтобы найти разницу высот между местом, где стоит прицеп, и высотой уровня.
Установите под муфтой пакер, который компенсирует разницу высот, убедившись, что пакер и муфта установлены независимо и надежно закреплены. Обычно используется толстостенная правосторонняя труба, в которой просверлены отверстия как для муфты, так и для крепления муфты. В зависимости от высоты пакера вам может понадобиться установить усиливающие косынки внутри RHS, чтобы предотвратить деформацию и скручивание.
Если ваш прицеп опускается носом вниз, необходимо внести некоторые серьезные изменения, чтобы опустить сцепку. Эти модификации могут включать в себя изменение расположения осей, диаметров шин или модификацию дышла, и они должны выполняться с профессиональной консультацией.
Обратитесь за помощью к местному производителю прицепов или в технический магазин.
Вернуться к началу
Обсуждение трейлера — Автодом и жизнь на открытом воздухе
2393
ПРОСМОТРЫ
92
АКЦИИ
Дышло является неотъемлемой и важной частью любого прицепа. Он выполняет функцию размещения сцепного устройства, чтобы его можно было буксировать, и поддерживает баланс прицепа. Дышло улучшает жесткость шасси и помогает прицепу двигаться правильно по прямой линии за тягачом.
Обычно существует довольно много типов дышла, но чаще всего в Южной Африке и в остальном мире используется дышло с А-образной рамой. Надежное дышло должно иметь хорошую прочность как по вертикали, так и по горизонтали, а также быть способным выдерживать часто чрезмерные усилия, которые прилагаются к этой области, особенно при большой нагрузке. Дышло находится под постоянным напряжением, материалы постоянно сжимаются и скручиваются.
По этой причине дышло на любом прицепе должно иметь прочную целостность, чтобы выдерживать действующие на него постоянные силы. Материалы должны быть в состоянии справиться с этими нагрузками без образования микротрещин и т.п., которые могут быстро перерасти в более серьезные и даже опасные для жизни несчастные случаи.
ДЫШЛО А-ОБРАЗНОЙ РАМЫ
Дышло А-рамы предназначено для поддержки внешних краев прицепа и уменьшает изгиб шасси при неравномерной загрузке прицепа. Это наиболее часто используемый тип конструкции дышла из-за прочности, которую эта рама обеспечивает прицепу. Расстояние дышла между прицепом и сцепным устройством может быть увеличено, если используются дополнительные распорки, чтобы гарантировать, что жесткость материала останется неизменной и никоим образом не будет нарушена.
Интересно отметить, что тесты показывают, что более длинное дышло обеспечивает большую устойчивость и более плавный ход прицепа. Складной нож чаще встречается на прицепах с более короткими дышлами.
Движение задним ходом прицепа с более длинным дышлом также будет немного проще, что обеспечит лучшую обратную связь. Длина дышла определяется расстоянием от центра передней поперечины прицепа до центра шаровой сцепки дышла. В большинстве прицепов используются дышла фиксированной длины, но на некоторых прицепах есть варианты с выдвижным дышлом. Большинство производителей проектируют свои дышло в соответствии с размером и весом конкретного типа прицепа, основываясь на своем опыте и тестировании оптимальной длины для этого конкретного прицепа, чтобы он обеспечивал хорошую устойчивость, реакцию на поворот, позиционирование оси и реакцию на задний ход.
ТЯГА СЛИШКОМ КОРОТКАЯ?
Если конструкция дышла слишком короткая, есть большая вероятность того, что передняя часть прицепа или его передняя кромка могут задеть тягач на крутых поворотах. В то время как более короткое дышло обеспечит улучшенную буксировку с прицепом, хорошо идущим за тягачом, реверсирование покажет противоположные результаты и станет слишком чувствительным.
Более короткие дышла чаще всего используются в прицепах повышенной проходимости, потому что они лучше отслеживаются позади тягача при прохождении крутых поворотов. В прицепах для бездорожья более короткое дышло также снижает склонность прицепа к проседанию при столкновении с неровной и каменистой поверхностью.
ФАКТИЧЕСКАЯ ДЛИНА ДЫШЛА
Дышло прицепа должно быть не менее половины ширины тягача. Длина большинства транспортных средств составляет от 1,55 до 2,0 м, поэтому длина дышла должна составлять не менее половины этого расстояния плюс приблизительно дополнительные 250–350 мм, чтобы получить оптимальный уровень зазора при повороте и повысить устойчивость прицепа.
НЕРАТИЧНОЕ ДВИЖЕНИЕ ПРИЦЕПА
Заклинивание прицепа может быть очень опасным и часто является причиной серьезных аварий, но его почти всегда можно избежать. Раскачивание прицепа определяется извилистым движением буксируемого прицепа из стороны в сторону и, если его не контролировать, может привести к резкому раскачиванию прицепа со смертельными последствиями.
Раскачивание прицепа часто происходит из-за того, что груз размещается слишком далеко позади оси или когда в прицеп загружен совершенно неравномерный груз. Кроме того, прицепы с высоким центром тяжести больше подвержены раскачиванию прицепа. Таким образом, важно поддерживать как можно более низкую нагрузку, поддерживая самый низкий центр тяжести для оптимальной буксировки. Плохо подобранные шины на прицепе также могут усилить раскачивание прицепа.
БУКСИРОВКА НА УРОВНЕ
Полезный совет: Всегда перемещайтесь с равномерно распределенным грузом в прицепе, при этом вес дышла должен составлять около 10 % от общего веса прицепа и груза. Буксировка прицепа всегда лучше, когда тягово-сцепное устройство тягача и прицеп находятся на одном уровне, что обеспечивает горизонтальное положение прицепа при буксировке. Если прицеп сцеплен слишком низко или слишком высоко на дышле, это может серьезно повлиять на динамику буксировки прицепа. Если нос прицепа направлен вверх, это увеличивает нагрузку на заднюю часть, а при наезде на неровности он может даже действовать как маятник с ужасными последствиями.
Буксировка по уровню всегда самый безопасный и лучший вариант. Если вес в прицепе находится слишком далеко вперед, может возникнуть килевая качка прицепа, которая увеличивает вес тягово-сцепного устройства тягача, особенно в случаях резкого торможения на спусках, в результате чего прицеп ныряет носом и, таким образом, поднимает переднюю часть тягача. автомобиль в крайнем случае.
Уолтер Эллис
Оставить комментарий
Длина фаркопа имеет значение! Вот почему
Объявление
Длина фаркопа имеет значение, и вот почему мы объясняем, какое влияние он, наряду с колесной базой, оказывает на динамические характеристики вашего тягача.
В первой части раздела «Понимание динамики буксировки» мы прежде всего рассматривали влияние буксировки каравана или прицепа на общую комбинацию автомобиля и прицепа, теперь мы более подробно рассмотрим, что влияет на тягач. Одной из важных вещей, которые следует учитывать при выборе тягача, является длина колесной базы и тягово-сцепного устройства.
Как правило, более длинная колесная база (расстояние от оси до оси) и более короткая длина буксировочного крюка (расстояние от задней оси до шаровой опоры) делают буксирное транспортное средство более устойчивым. Давайте посмотрим, почему это так.
ПРИМЕЧАНИЕ: Длина буксирного крюка указана для демонстрации принципа и не относится к каким-либо автомобилям.
Если мы сначала посмотрим на длину фаркопа…
На приведенном выше рисунке мы видим два автомобиля, один с расстоянием между осью и фаркопом 500 мм, второй с расстоянием между осью и фаркопом 750 мм. Теперь, используя расчет рычага, мы можем рассчитать, какая такая же боковая нагрузка или поперечная нагрузка (красная стрелка) на фаркоп будет иметь (синяя стрелка) на задних колесах с длиной дышла 750 мм по сравнению с автомобилем с длиной дышла 500 мм. Предположим, что караван или прицеп не передают боковую нагрузку на переднюю ось. Таким образом, передняя ось фактически становится точкой поворота.
О нет… а вот и математика! Я буду проще. Действующие силы рассчитываются (Рычаг второго класса) с использованием:
Реклама
Теперь математика.
Таким образом, результирующая сила 100 кг, действующая на 500-мм дышла, составляет 120 кг, а та же сила, действующая на 750-мм фаркоп, на 10 кг больше.
В первой части мы узнали, что существует эффект, называемый «голландский перекат», который чаще всего ощущается на автомагистралях, где внутренняя полоса изношена тяжелыми транспортными средствами до двух канавок, а караван или трейлер «рыскают» между этими канавками. . Это создаст качающееся движение в караване и будет иметь эффект попытки переместить сцепку из стороны в сторону. По мере того, как транспортное средство и караван движутся вперед, волнистость также вызывает раскачивание каравана вперед и назад, что приводит к тому, что сначала уменьшается нагрузка (вес носа) на сцепку, а затем увеличивается. Комбинированный эффект этого заключается в том, что сцепка каравана будет двигаться круговыми движениями сначала вбок, затем вниз, затем вбок в противоположном направлении и, наконец, снова вверх, непрерывно повторяясь.
Это один из источников боковой нагрузки на шаровую опору.
Задние шины обладают ограниченным сцеплением. Сцепление шины зависит от трения о поверхность дороги, трения состава шины, давления в шине и нагрузки на ось. (Поклонники Формулы 1 знают, что она должна включать температуру дорожного покрытия и температуру шин.) Это сцепление не безгранично; это легко проявляется при попытке резкого трогания с места и пробуксовке шин, а также при попытке быстрой остановки шины блокируются и начинают скользить (до тех пор, пока не включится ABS!).
Если бы мы пропустили веревку через обод заднего колеса, потребовалось бы всего 300 кг «тяги», чтобы перетащить заднюю часть автомобиля вбок по дороге. Когда вы начнете прикладывать усилие, стенка шины будет прогибаться и деформировать шину, уменьшая доступное сцепление (подробнее об этом позже). Статичное колесо на транспортном средстве имеет наибольшее сцепление, как только оно начинает вращаться, это сцепление уменьшается и будет продолжать уменьшаться, чем быстрее вращается колесо.
Это одна из причин, по которой автомобиль может пройти крутой поворот, скажем, на скорости 30 км/ч, но на скорости 50 км/ч динамическая боковая нагрузка увеличилась, а также уменьшилось сцепление (трение) шины с дорогой. задний конец будет скользить наружу, что приведет к заносу.
Объявление
На автомобили с короткой и длинной колесной базой по-разному влияют более короткие или длинные фаркопы
Имеет ли значение длина колесной базы?
Давайте вернемся к нашим предыдущим расчетам, чтобы увидеть, что получилось:
Теперь у нас есть два автомобиля, один с одинаковой колесной базой 2500 мм и длиной дышла 500 мм. Второй имеет колесную базу 2000мм и такую же длину фаркопа 500мм.
Используя то же уравнение, что и раньше…
Теперь мы рассчитаем для разных колесных баз:
Глядя на приведенную выше таблицу, мы видим, что те же 100 кг поперечной силы на фаркопе оказывают большее влияние на 5 кг для автомобиля с короткой колесной базой по сравнению с автомобилем с более длинной колесной базой.
Есть еще кое-что, что происходит, когда вы сравниваете автомобиль с короткой и длинной колесной базой. Если вы прикладываете боковую силу к задней части автомобиля, это приводит к «управлению» задней частью, то есть толкает ее в одну сторону. Если мы сравним две машины, мы увидим, что происходит:
При тех же 100 мм бокового смещения фаркопа под действием приложенных к нему сил базовая тригонометрия показывает, что автомобиль с короткой колесной базой (2000 мм) отклоняется от траектории на 2,3 градуса, в то время как те же 100 мм бокового смещения отклоняют только более длиннобазный (2500 мм) автомобиль на 1,9 градуса. Хотя это не кажется чем-то большим, помните, что обычно вы можете почувствовать рулевое колесо, если колея отклонена более чем на полградуса, поэтому ощущение бокового толчка/тяги в автомобиле с короткой колесной базой (SWB) будет более заметным, чем автомобиль с длинной колесной базой (LWB). В то время как на автомобиле с короткой колесной базой будет легче «почувствовать» прогиб раньше, автомобиль с длинной колесной базой будет более устойчивым.
Почему тогда тягачи с полуприцепом такие короткие?
В шарнирно-сочлененном тягаче точка поворота (фактически шаровая опора) фактически находится прямо на одной линии с задней осью или немного впереди нее, поэтому любая боковая нагрузка, действующая на точку поворота, фактически меньше на задней оси, поскольку некоторые усилие также передается на переднюю ось. Это немного похоже на то, что ваш фаркоп находится прямо за передними сиденьями.
Изображение предоставлено Бреттом ХеммингсомШины…
Ранее мы говорили о сцеплении шин с дорожным покрытием. Однако есть еще кое-что, что следует учитывать. Мы знаем, что изгиб боковины влияет на сцепление с дорогой, и, как мы только что видели, буксировка каравана или прицепа оказывает большее боковое усилие на боковину задней шины. Итак, каково решение?
«Наденьте низкопрофильные шины». Ладно, кто это сказал?
Это одно из решений, и, на первый взгляд, низкопрофильные шины уменьшат изгиб боковой стенки и, следовательно, будут более устойчивы к боковым силам, воздействующим на нее со стороны каравана или прицепа.
Но прежде чем вы броситесь менять шины, давайте посмотрим на это поближе.
Так какое решение?
Вообще-то шины с нормальным профилем. Это лучшее из обоих сценариев, достаточно «чувства», чтобы дать вам некоторые подсказки, что все не так хорошо, и достаточно жесткости, чтобы помочь противостоять боковым нагрузкам, создаваемым трейлером или прицепом.
Тем не менее, вам необходимо проверить руководство по давлению в шинах в руководстве пользователя для тяжелых грузов и буксировки. Почти для всех автомобилей производитель рекомендует более высокое рабочее давление в задних шинах. Подробную информацию см. в руководстве для владельца, так как существуют исключения для определенных автомобилей и комбинаций колес/шин.
Так что же все это значит?
Вы едете по дороге со скоростью 80 км/ч, буксируя караван или прицеп весом 1500 кг. Дом на колесах или прицеп начинает раскачиваться, когда мимо вас проезжает грузовик, и небольшое количество массы дома на колесах или прицепа, чуть более 6,5% или 100 кг веса, теперь начинает боком воздействовать на дышло тягача, пытаясь тянуть задний мост сбоку. Мы знаем, что задние шины обладают ограниченным сцеплением, и теперь сила, действующая на задний фаркоп, берет на себя часть этого сцепления. Мы чувствуем, как караван или прицеп начинает тянуть нас из стороны в сторону, и естественной реакцией является торможение.
Неправильный!
Теперь мы знаем, что сцепление с задними колесами ограничено, и часть этого сцепления используется для сопротивления раскачиванию каравана или прицепа. Если мы тормозим, мы также используем часть этого сцепления — возможно, больше, чем сейчас доступно, чего мы не хотим делать. Мы также знаем (из первой части, см. ниже), что торможение снижает нагрузку на заднюю ось по мере того, как центр масс тягача смещается вперед, тем самым еще больше уменьшая доступное сцепление с дорогой. Если мы ускоряемся, нам также нужно немного этого сцепления. Ускорение с 1500 кг, раскачивающимися позади нас, будет использовать большую часть доступного сцепления, и мы можем просто снова выбежать, и мы действительно не хотим двигаться быстрее в этот момент, не так ли?
Что еще мы узнали?
Что ж, мы доказали, что длинная колесная база предпочтительнее короткой при одинаковых условиях буксировки и прицепе. Мы также доказали с помощью школьной математики, что короткий фаркоп по длине задней оси лучше, чем длинный фаркоп, поскольку он передает меньшую боковую (поперечную) силу на заднюю ось и шины.
Теперь мы также знаем, почему важно следить за давлением в шинах и состоянием шин тягача, поскольку теперь они выполняют гораздо больше работы.
Есть ли недостатки у короткого фаркопа?
Да, есть. С коротким дышлом дом на колесах или прицеп будет «срезать угол» больше, чем длинное транспортное средство. Таким образом, требуется более широкий «размах» при поворотах. С другой стороны, при движении задним ходом уменьшенная длина эффекта рычага немного облегчает маневрирование, так как влияние рулевого управления на прицеп замедляется, поэтому он становится менее чувствительным и дает вам больше времени, чтобы отреагировать на отклонение от курса, хотя вы придется приложить чуть больше рулевого управления, чтобы исправить.
Читать далее:
Серия из четырех частей «Понимание динамики буксировки» представлена ниже.
Понимание динамики буксировки, часть первая
Часть вторая, Двухосные прицепы
Часть третья, Груз на носу
Часть четвертая, Что такое голландский вал?
Слова и иллюстрации Саймона Барлоу из Caravan Chronicles.
Воспроизведено с любезного разрешения.
Реклама
Сборка простого трейлера – часть первая
Важный шаг в сборке этого прицепа — выровнять цапфу оси, иначе ваши шины порвутся во время движения. Я использую приспособление для углового железа, чтобы получить это прямо. Но я могу показать, как это сделать для домашней мастерской, просто крепко прижав цапфу оси к основанию и одной стороне оси коробчатого сечения, чтобы убедиться, что она перпендикулярна. На цапфе оси должны быть хорошие сварные швы.
Тони Каллен из Cullen Equipment Specialist
Когда вам нужно перевезти садовый мусор, переставить мебель для квартиры ваших детей, помочь товарищу донести какое-то снаряжение или принести домой новую покупку на выходных, очень удобно иметь возможность возьмите свой собственный трейлер с заднего двора.
Перечень компонентов
1 оцинкованная буксировочная сцепка
4 оцинкованных стяжных болта из высокопрочной стали 1 предохранительная цепь и скоба из высокопрочной стали, рассчитанная на 2000 кг
Комплект рессор: многолистовые рессоры 1000 кг, пружина, тапочки, рессорные подвески, болты и гайки
4 U-образных болта, 2 оцинкованных U-образных пластины
6 петель задней двери, 6 шарнирных штифтов
4 противоскользящих болта задняя дверь переключается
2 поворотные проушины
2 задних фонаря в сборе
2 оцинкованных брызговика
Заглушка и держатель заглушки
Держатель WOF
* Компоненты прицепа поставляются компанией Trailer Components, Hamilton.
С НЕБОЛЬШИМИ ОТКЛОНЕНИЯМИ, Я построил стандартный бытовой прицеп размером 1200 мм x 1800 мм (или 6 футов на 4 фута по старым меркам) со сплошной рамой из мягкой стали коробчатого сечения или прямоугольного полого сечения (RHS). Рама скреплена поперечинами из уголкового железа и имеет прочную фанерную деревянную палубу. Лучше всего использовать не менее 5 слоев толщиной не менее 12 мм — в данном случае мы использовали 7 слоев толщиной 17 мм. Задняя дверь и передняя дверь имеют шарнирные штифты, обращенные в одну сторону, поэтому ворота можно снять, когда вы хотите открыть прицеп для перевозки длинномерных лесоматериалов.
Сварка является ключом к сборке рамы, и предоставляется список раскроя стальных отрезков. Сталь RHS поставляется в восьмиметровой длине, угловой металл в шестиметровой длине, поэтому его нужно будет обрезать по размеру. Основные компоненты прицепа — сцепка, предохранительная цепь, брызговики, колеса и т. д., как указано в списке компонентов, — все это можно купить у обычных поставщиков.
Полная инструкция по сборке поставляется вместе с компонентами.
1
Важный шаг в сборке прицепа — выровнять цапфу оси, иначе ваши шины порвутся во время движения. Я использую приспособление для углового железа, чтобы получить это прямо. Но я могу показать, как это сделать для домашней мастерской, просто крепко прижав цапфу оси к основанию и одной стороне оси коробчатого сечения, чтобы убедиться, что она перпендикулярна. На цапфе оси должны быть хорошие сварные швы.
Пластина крепления муфты должна быть прочно приварена к дышлу в целях безопасности при буксировке. Если вы сомневаетесь в своем опыте сварки, обратитесь к специалисту для сварки соединительной пластины.
Зажимы являются очень важной частью конструкции всего прицепа — они используются на каждом этапе. Ускорит сборку прицепа, если заранее нарезать весь материал. Затем я помечаю все детали, особенно верх, низ и бока, а также переднюю и заднюю часть.
2
3
4
В то время как владельцы домашних мастерских освобождаются от наличия сертификата сварки новозеландского стандарта (NZS) 4711 при изготовлении бытового прицепа, сварка должна соответствовать совместному австралийско-новозеландскому AS / NZS 1554 (частично первоначально NZS 4701) .
Для гарантии пригодности сварные швы тщательно проверяются визуально на новом прицепе.
Складывание рамы
Начертите мелом прямую линию на земле или скамейке и проложите боковую и заднюю части рамы. Внешний срез RHS может быть неровным, поэтому сверьтесь с угольником на внутреннем измерении. Первый прямой угол между боком и спиной важен, так как все остальные измерения зависят от этого первого угла. (1) Прихватите первый угол отдельно.
Когда все четыре правые стороны разложены, выполните прихваточный шов. Я сделал прицеп на 10 мм шире
(1210 мм = 1130 мм угол поперечной рамы + 2 x 40 мм ширины правых сторон). Это на случай, если фанерный лист не совсем квадратный — он оставляет место, чтобы его было легче вставить. Убедитесь, что обе диагонали рамы равны, чтобы убедиться, что он квадратный. (2) На полу тяжелее, потому что его нельзя зажать, как на скамье.
5
Я предпочитаю работать с рамой на скамье. Я зажимаю секцию, приваренную прихватками, к верстаку и постукиваю по ней молотком, чтобы прихваточный шов получился ровным (все время проверяя угольником).
На этом этапе вы работаете с перевернутой рамкой. Легче положить тяжелое дышло на раму, чем удерживать тяги под рамой. Пока прицеп перевернут, я делаю раму и дышло, пружины, ось, ступицы и колеса. Затем я переворачиваю его, чтобы сделать брызговики, крепления для боковых дуг, передней и задней двери и фары.
Угловые поперечины
Просверлите отверстие на одной стороне уголков ближе к концу для прохождения кабеля освещения. Две поперечины приварить прихватками на равном расстоянии от концов коробчатого сечения рамы прицепа и друг от друга. Я установил угловые железные поперечины на 600 мм. Зажмите небольшие кусочки металла под рамой, когда она сидит, и положите на них уголок. (3) Прихваточные поперечины. (4) Вы можете использовать его для поперечин, но уголки дешевле и выполняют свою работу. Держите уголок на одной линии с тем, что станет верхней частью рамы RHS, так как деревянная палуба будет прикручена к поперечинам уголка.
6
Пружины
Пружины этого прицепа выдерживают нагрузку 1000 кг.
Люди должны знать об ограничении веса при загрузке трейлера такими вещами, как строительная смесь. Установите пружины с их центральной опорой для оси на 900 мм по центру 1800-мм боковых рам. Отцентрируйте ось так, чтобы вес дышла весом 40 кг был немного смещен вперед, иначе прицеп будет дребезжать при движении без груза. Вам нужно знать, где расположены пружины, чтобы точно определить, где дышло прилегает к боковой балке. Проверьте, чтобы пружины были квадратными. (5)
Теперь поместите затворную раму и тапочки для пружин. Позвольте 50 мм пружины пройти через заднюю часть тапочка. (6) Я видел результат, если припуска нет, а пружина резко сжимается, скажем, если удариться о желоб при движении задним ходом. Пружина выскакивает из линзы тапочка. Тогда вам придется открутить его, чтобы поставить его обратно. Прихватите как переднее крепление к балке, где пружины прикручены болтами, так и тапочек сзади.
7
8 и 9
10
Дышло
А-образное дышло прочнее, чем простое прямое стальное дышло.
Если вы сдвинете прицеп складным ножом, вы можете удариться о боковую сторону дышла А-образной рамы и немного перегнуть его, но это сильнее, чем прямое дышло.
Дышло может быть сколь угодно длинным, но эмпирическое правило — не делать его слишком коротким, потому что тогда будет слишком сложно развернуть прицеп. Минимальная длина дышла должна составлять от 1200 мм до 1500 мм от передней поперечины до буксировочной сцепки. Я выбрал дышло из правых балок общей длиной 1800 мм.
Поместите дышло назад к рессорам, чтобы можно было сварить как переднюю балку, так и боковые балки. Чтобы расположить дышло по центру, отметьте центральную точку 605 мм на ширине 1210 мм с обоих концов. Возьмите струну от задней рамы и через центры к кончику дышла, чтобы дышло было в центре. (7) Соедините дышло вместе по центральной отметке.
Стороны дышла должны быть заподлицо с боковыми балками, где они должны быть приварены.
Длина дышла теперь должна составлять 1140 мм от кончика дышла до передней балки.
К тому времени, когда соединительная пластина будет приварена к дышлу, общая длина составит около 1300 мм. Прихватите заднюю часть дышла к балкам. (8)
11
Соединительная пластина
Просверлите отверстия в соединительной пластине, используя болты, вставленные в муфту, в качестве меток. Закрепите соединительную пластину на дышле снизу, оставив отверстия для болтов свободными. (Таким образом, соединительная пластина находится наверху, а вы работаете с нижней частью прицепа.) Проведите веревку до конца пластины — выровняйте все по средней отметке. Приварите соединительную пластину к дышлу прихватками. Прихватите дышло к передней балке. (9)
Установите скиповое крепление на соединительную пластину. (10) Предотвращает заглубление дышла, когда оно падает на землю. Это также укрепляет соединительную пластину. Прихватите его. Просверлите отверстие рядом с передней частью дышла для болта предохранительной цепи.
Перед тем, как снять раму со скамейки, я полностью прикрепляю стыки коробчатого сечения, чтобы рама не развалилась.
Переверните раму и подвесьте ее на двух пилах или подобном приспособлении. (11)
12
Ось
Затем я снова устанавливаю пружины и устанавливаю ось, чтобы знать, где просверлить в оси отверстие для фиксатора пружины. Чтобы получить правильную ширину оси RHS, наденьте колесо с шиной на ступицу и цапфу оси и поместите его в коробчатую секцию. Шина должна находиться на расстоянии 50 мм от боковой направляющей. (12)
Измерьте ширину прицепа от центра рессоры до центра рессоры. Ширина рамы прицепа 1210 мм, ширина рессор 45 мм. Таким образом, от установочного штифта до установочного штифта в центре каждой пружины должно быть 1165 мм. На одной половине оси просверлите установочное отверстие для штифта на расстоянии 582 мм от центра оси. Поместите ось и измерьте расстояние до другого фиксирующего штифта, чтобы просверлить второе отверстие.
Вставьте цапфу оси в колесо. Поместите его в коробку на расстоянии 50 мм от шины.
Отметьте заглушку меловой линией там, где она выходит из коробки. Когда я вынул цапфу, я обнаружил, что меловая линия была на расстоянии 70 мм от внутреннего конца цапфы оси. Поэтому я просверлил отверстие на расстоянии 50 мм от конца коробчатой секции, куда войдет сварочный материал и удержит цапфу оси на месте. (13) Это позволило добавить еще 20 мм заглушки внутри коробчатого сечения для дополнительной прочности. Убедитесь, что вы повернули коробчатую секцию, чтобы просверлить поверхность, отличную от той, где находится отверстие для локатора пружины.
Вставьте цапфу до отметки мелом и удерживайте ее на месте. Крепко держите цапфу во время прихватки (я использую приспособление, но вы можете держать его рукой). Держите заглушку ровно и плотно снизу и впритык к боку — вы можете сказать, когда она плотно прилегает к боку коробчатой секции. (14)
С установленной цапфой оси, если вы хотите проверить перпендикулярность ступиц, соберите обе и выполните измерения по всей окружности.
Четыре положения должны быть одинаковыми, и я обнаружил, что расстояние 1480 мм проверяется на каждой четверти поверхности втулки. (15) Это измерение я делаю только при прихватке поворотной цапфы (в случае переделки).
Теперь приварите цапфу оси, предварительно заполнив отверстие в коробчатой части. При приваривании цапфы оси можно оставить гайку на ступице для защиты резьбы. Приварите конец секции буксы в соответствии с инструкциями к компонентам. Другое отверстие в оси предназначено для фиксатора пружины.
13, 14 и 15
16 и 17
Затем я просверливаю отверстия в оси, чтобы подготовиться к цинкованию. (16) Просверлите все элементы закрытого поперечного сечения с двумя или тремя отверстиями, чтобы обеспечить вентиляцию во время цинкования. Дышло и лонжероны рамы открытого сечения. Обычно передний и задний средний элементы представляют собой закрытые секции. Сверлю отверстия 4мм или 6мм под оцинковку.
Поместите ось на установочные штифты и прикрутите ее к пружинам с помощью прилагаемых U-образных болтов.
(17) Я поставил ось поверх пружины, чтобы опустить прицеп, что я предпочитаю — выглядит некрасиво, если он стоит под углом к машине. (Свод правил для легких прицепов Стандарт NZS 5467:1993 3.3.1 относится к «правильно настроенному» прицепу).
Рейтинг пружин определяется количеством листов. Пружина достаточно прочная, чтобы удерживать ось, и мы использовали пружины с номинальным весом до 1000 кг.
18
Брызговики
Соберите ось в сборе, чтобы убедиться, что все подходит, и получить высоту брызговиков. (18) Для этого установите ступицу и колесо. Установите зазор 80 мм между шиной и брызговиком — достаточно места, чтобы, когда вес прицепа давит на пружины, брызговик не ударялся о верхнюю часть шины.
Я использую деревянный брусок на шине, чтобы установить зазор, и ставлю домкрат под поднятый прицеп, чтобы остановить вращение колеса. (19) Отмерьте 900 мм вдоль центра боковой балки, чтобы отцентрировать брызговик.
20) Квадрат вверх. (21)
Крепления крыльев предварительно вырезаны и просверлены. Зажмите и приварите их, а также угловые крепления под боковыми балками для прочности, а не сваривайте их встык, прижимая к боковым балкам. (22) Всегда проверяйте, чтобы крепления располагались перпендикулярно балке. (23) Зажмите и прихватите опоры и угловые опоры. (24)
19
20
21
22
23 и 24
Угловые крепления защищают брызговики — проезжая часть может столкнуться с чем-то боком прицепа или может встать на брызговики, если нет угловых креплений. Они придают дополнительную прочность и защищают брызговики.
Закрепите брызговик на креплении так, чтобы он был заподлицо с боковой направляющей. Просверлите отверстия для крепления, чтобы отметить брызговики. (25) Снимите брызговики, чтобы просверлить их на верстаке. (26) Снова прикрутите брызговики.
25
26 и 27
28
Боковые перекладины
Используйте уголок толщиной 3 мм для четырех угловых стоек и уголок толщиной 1,6 мм для боковых стоек. Предварительно просверлите отверстия в задней и передней стойках для рычажных болтов, которыми будут крепиться ворота. Я разработал высоту в сочетании с петлями длиной 30 мм, которые входят в состав компонентов прицепа.
Задняя дверь и передняя дверь будут иметь три петли, приваренные и подвешенные к задней и передней верхней направляющей. Боковые борта будут на 300 мм от палубы, но для тумблера 300 мм не критично. Я предварительно просверлил отверстие для переключателя в любом месте ниже верхней линии 300 мм.
Теперь приварите стойки по бокам к балкам. Сначала я делаю задний угол, убедившись, что фланец уголка находится снаружи, чтобы получить верхнюю направляющую. Зажмите и проверьте, чтобы он был квадратным.
(27) Я нашел под рукой квадратный магнит. Затем прихватите заднюю стойку. (28)
29
30
Проделайте то же самое с передней стойкой, затем измерьте верхний металлический уголок, чтобы убедиться, что он подходит. Фланец верхней перекладины расположен таким образом, чтобы боковые стойки могли входить под него. Зажмите верхнюю направляющую и прихватите ее прихватками. (29) Вы можете использовать коробчатое сечение вместо углового железа, но это упирается в стоимость.
При размещении деревянных бортов оставьте зазор, чтобы можно было привязать верхнюю перекладину при использовании прицепа.
Далее я размещаю стойки вдоль стороны. Расстояние от стоек до конца каждой стороны не имеет значения, так как они предназначены только для крепления боковых досок. Я нахожу стойки на креплениях брызговиков, чтобы добавить прочности. Убедитесь, что они квадратные, зажмите и прихватите сварные швы. (30)
31 и 33
32
34
Ворота
Передние и задние ворота имеют одинаковую конструкцию.
Верхняя направляющая 25 мм RHS, и есть три петли. К внешним петлям приварена защелка. Средняя петля расположена на расстоянии 600 мм от центра 1200-мм рейки. Ремешки с защелкой и шарниром доступны в виде готовых компонентов, хотя я делаю их самостоятельно.
Поместите рычаг на внешнюю стойку, чтобы по нему можно было измерить ворота. Закрепите ремешок на стойке и измерьте, где будет вырезана петля. (31) Я измерил 360 мм от верха стойки до верха настила, за вычетом 25 мм по ширине верхней направляющей, и обрезал петлю на 335 мм.
Проверьте, насколько низко находится ремешок-переключатель на стойке и петле (32) — в моем случае 45 мм — и насколько далеко от края будут находиться внешние петли, когда они прикреплены к ремешку-переключателю. Подровняйте петли к направляющей (33) и закрепите их на верстаке. Приварите прихватками верхнюю часть петель к внутренней части поручня, а прихватки приварите хомуты к внешним петлям. (34) Установите заднюю дверцу, убедившись, что защелка находится посередине отверстия в ремешке защелки и легко соскользнет с защелки.
Закрепите петли на раме внизу. (35) Мне нравится следить за тем, чтобы все шарнирные штифты указывали в одном направлении, чтобы ворота можно было соскользнуть (например, когда вам нужно открыть переднюю или заднюю часть прицепа для длинномерного леса).
Перед привариванием сошлифуйте все препятствия, мешающие сварке, на боковых стойках, чтобы штифты петель плавно стыковались друг с другом. Вставьте тумблер и закрепите ремешок. Прихватите шарнирные штифты к раме. (36)
35
36
37
Ремни для поддержки угловой железной рамы, которая держит номерной знак и фонари, приварены встык к боковой раме. Под задней дверью прицепа приварите прихватками угловую железную поперечину к металлическим ремням. Ремешок для сборки светильника находится сбоку от фланца уголка и сверху коробчатой секции. (37)
Для создания затяжек для канатов, скрепляющих грузы, согните в тисках небольшие отрезки стержня и приварите два-три вдоль боковых рам.
Приварите две небольшие бочки или трубчатые секции на расстоянии около метра друг от друга и вдоль внутренней стороны боковых рам для светового кабеля. Трос будет проходить от внутреннего конца дышла к задней части прицепа.
Теперь я скругляю острые края рамы болгаркой. Перед оцинковкой прицеп необходимо разобрать. Снимите колеса, брызговики, ось, пружины, ворота и муфту. Теперь обязательно прочно сварите все прихваточные швы, которые вы сделали в каждом стыке. Это явно для безопасности. Но также, когда вы отправляете раму прицепа, ворота и ось в ванну для цинкования, вам необходимо полностью закрыть сварные швы. Если вы отправите его только прихваточным, ржавчина проникнет в щели и просочится в металл, когда его сначала погружают в кислоту для травления, а это не способствует цинкованию.
Часть вторая: После того, как трейлер возвращается с завода по производству цинка, я заканчиваю настил и электропроводку.
СПИСОК РЕЗКИ СТАЛИ ПРИЦЕПА
RHS = прямоугольное полое железо ГЛАВНАЯ РАМА 40MM X 40MM X 3MM RHS 2 @ 1800 мм (стороны рамы) 2 @ 1130 мм (концы рамы) @ 1130 мм
ТЯГА 65 мм X 35 мм X 3 мм, правая сторона 2 @ 1800 мм (рычаги дышла)
Угловая опорная пластина, передняя часть дышла 50 мм x 5 мм Плоская 1 @ 150 мм
Связанная пластина 80 мм x10 мм квартира 1 @ 250 мм
ось 50 мм x 50 мм x 5 мм RHS 1 @ 1300 мм
Buckguard поддерживает
40 мм x 40 мм x 1,6 мм угла железа 4 @ 250 мм х 25 мм x3mm Углое железно Монте 4 @ 350 мм
Боковые рельсы
25 мм x 25 мм x3mm Угол железо 2 @ 1795 мм (по бокам) 4 @ 400 мм (опоры)
40 мм x 40 мм x 1,6 мм угла железа 4 @ 400 мм (опоры)
Хвосты.
25 мм X 25 мм X 3 мм, правая сторона 2 @ 1200 мм
Хвостовой свет
40 мм x 5 мм плоский железо 2 @ 130 мм, 2 @ 120 мм
40 мм x 40 мм x3mm Угол Железо 1 @ 1210 мм
ПЕРЕМЕНТЫ РЕЗКИ
Между 5-PLY 17 мм 17 мм 17 мм 17 мм. Tanalised
C-D Seconds Seconds 2400 мм x 1200 мм
1 @ 1760 мм x 1200 мм (палуба)
2 @ 1200 мм x 280 мм (ходовые ворота)
2 @ 1760 мм x 280 мм (боковые доски)
. Купить: Все о тягах
Мы получаем повторяющиеся вопросы: «Какой размер сцепного устройства я должен купить?» Одним из основных компонентов наших регулируемых шаровых опор является дышло, представляющее собой L-образную часть сцепного устройства. Хвостовик — это часть, которая входит в приемник вашего тягача и имеет отверстие для фиксации на месте. Нижняя часть дышла — это часть, которая свисает вниз и имеет дополнительные отверстия для быстрой и легкой регулировки высоты. Вот фото для большей ясности:
Мы предлагаем тяги со следующими размерами длины опускания: 4”, 6”, 8” и 10” и со следующими размерами хвостовика: 2”, 2,5” и 3”; все из которых могут быть несовместимы, так что вы можете приобрести наилучшее сцепное устройство для вашего автомобиля.
Единственная комбинация, которой у нас нет, — это 4-дюймовая дрель с 3-дюймовым хвостовиком.
Сцепное устройство какого размера мне следует купить? Мы получаем много вопросов, когда дело доходит до определения того, какой размер тяговой штанги/длины опускания лучше всего подходит для тягачей наших клиентов. Мы рекомендуем зазор не менее 11 дюймов от нижней части шара сцепного устройства прицепа LOADED до земли. Чтобы определить, как этого добиться, вы можете проверить наш блог, который шаг за шагом проведет вас о том, как это определить (нажмите здесь).
Важно знать, что все наши дышло на 3 дюйма длиннее указанной длины. Например, наша длина капли 4 дюйма на самом деле составляет 7 дюймов общей длины; наши 6″ на самом деле 9” в общей длине и так далее. Это происходит из-за скользящей части, которая крепится к дышлу. Эта часть составляет 3 дюйма, и для того, чтобы получить полную длину заявленного падения, тяговая штанга должна быть на 3 дюйма длиннее, чтобы учесть этот ползунок.
Какой размер капли сейчас у меня? Простой способ определить, какая у вас длина опускания, — это либо измерить тяговую штангу рулеткой, либо подсчитать количество отверстий в опускаемой части, когда ползунок не прикреплен. Вам нужно будет подсчитать количество отверстий, а затем вычесть 3, что даст вам длину падения, которая у вас есть. Таким образом, если у вас есть тяга с 13 отверстиями в нижней части, вы получите 10-дюймовую высоту (13-3=10).
Какой у меня размер приемника? Когда дело доходит до определения необходимого размера хвостовика, лучший способ сделать это — измерить внутреннее отверстие ресивера на вашем тягаче. НИКОГДА не предполагайте, глядя на него, что вы знаете его размер, и НИКОГДА не позволяйте кому-то другому говорить вам, какого он размера, не измерив его самостоятельно. Измерение КЛЮЧ для получения правильного размера хвостовика.
**Нажмите, чтобы увеличить изображение
Мне нужно знать расстояние… Время от времени мы получаем вопросы относительно расстояния между отверстием для пальца сцепного устройства и задней частью опускаемой части или расстоянием от центра отверстия для пальца сцепного устройства до центра шаровой опоры.
Если вам нужно знать конкретное расстояние или размер, на странице продукта есть ссылка, после того как вы щелкнете по нужной длине и размеру хвостовика, вы получите все размеры. Ниже приведен пример размеров шаровой опоры Weigh Safe с перепадом высоты 8 дюймов и хвостовиком 2,5 дюйма:
Совместимо ли мое дышло с Rock Tamers/брызговиками? Наш 2-дюймовый хвостовик имеет два отверстия, тогда как наши 2,5-дюймовые и 3-дюймовые хвостовики имеют только одно отверстие. При этом только наши 2-дюймовые хвостовики с 2 отверстиями совместимы с укротителями камней/брызговиками. Наши хвостовики 2,5” и 3” имеют только 1 отверстие и в настоящее время не совместимы ни с какими скальными укротителями. Тем не менее, мы работаем над тем, чтобы сделать второе отверстие в двух других размерах хвостовика.
Можно ли перевернуть мою сцепку в поднятом положении? Еще одной замечательной особенностью наших дышла является то, что их можно использовать как в подъемном, так и в опущенном положении.
Это означает, что вы можете вставить дышло в приемник вашего автомобиля так, чтобы опускаемая часть в поднятом положении была направлена вверх. Переключение сцепки в подъемное положение никоим образом не влияет на расчетный вес сцепки, и вы можете буксировать такой же вес в подъемном положении, как и в опускаемом.
Мне нужно другое дышло, но я не хочу покупать полностью новое сцепное устройство… Хорошая новость: при необходимости часть дышла можно приобрести отдельно. Допустим, вы приобрели 10-дюймовую сцепку для поднятого грузовика, а затем решили, что хотите буксировать другой из ваших автомобилей, который находится ниже земли. Вы можете приобрести более короткую тягу для своего второго тягача, и скользящая часть вместе со всеми другими компонентами будет совместима. Этот вариант также удобен в ситуациях, когда вы покупаете новый автомобиль и вам нужна дышло другого размера, но вы не хотите покупать полностью новую сцепку.
Я купил не тот размер! Если вы случайно приобрели дышло неправильного размера при заказе сцепного устройства, обратитесь в нашу службу поддержки клиентов, чтобы мы могли найти лучший способ получить то, что вам нужно.

Это его длина и ширина. Вариантов много, но чаще всего это 1800×1300 мм или 2000×1300 мм. Учтите, что габариты могут указываться наружные и внутренние. В первом случае для определения внутренних размеров нужно с каждой стороны отнять 4-6 мм;
Сам удлинитель вставляется в дышло обратным концом. Отверстия позволяют регулировать длину сцепной конструкции.
Самая распространенная высота составляет с бортами 860 мм до 1220 мм, а с учетом тента до 1420 мм;



Отметим, что слишком высоким прицепом сложнее управлять в силу большего крена при маневрах.
Опасность несоблюдения мер предосторожности при учете этого показателя состоит в том, что излишнее количество груза по высоте может привести к потере устойчивости и переворачиванию прицепа. Но это касается скорее уже правил эксплуатации, а не характеристики товара;