Об электромагнитных форсунках
13.10.2015 / 25.04.2018 • 15837 / 6199Обычно в двигателях с системой Bosch СР1 используются форсунки электромагнитного типа CRI 1 и CRI 2. Принцип работы в следующем:
Топливо из рампы под высоким давлением через трубку направляется к форсунке и далее по топливной галерее в форкамеру распылителя, а также через впускной дроссель в управляющую камеру клапана. Управляющая камера клапана соединена с линией возврата топлива в бак через выпускной дроссель, который может открываться электромагнитным клапаном. В закрытом состоянии (электромагнитный клапан обесточен) выпускной дроссель закрыт шариком клапана, поэтому топливо не может выйти из управляющей камеры клапана. В этом положении в форкамере распылителя и в управляющей камере клапана устанавливается одинаковое давление (баланс давления). На иглу распылителя действует дополнительно усилие собственной пружины, поэтому игла распылителя остается закрытой (гидравлическое давление и усилие пружины иглы распылителя).
Спустя заданное программой время подача электропитания к электромагнитному клапану прерывается. После этого выпускной дроссель снова закрывается. С закрытием выпускного дросселя в управляющей камере клапана через впускной дроссель восстанавливается давление из топливной рампы. Это повышенное давление с большим усилием воздействует на управляющий золотник клапана. Эта сила и сила упругости пружины иглы распылителя теперь превосходят силу в форкамере распылителя и игла распылителя закрывается.
Дополнительное к управляющему объему имеются объемы утечек на перемещение иглы распылителя и управляющего золотника клапана. Электромагнитные форсунки калибруются во время производства и имеют несколько вариантов кодировки. Ранние версии разделены на классы (например, Х, Y, Z у Hyundai) и в случае замены классы форсунок необходимо комбинировать по определенному принципу. В более поздних системах используется код : 8-значный (ЕВРО IV) или 9-значный (ЕВРО V), который представляет собой поправочный коэффициент для коррекции топлива и выгравирован на поверхности головки топливной форсунки.
Источник: http://www.commonrail.ru
Дизельные электромагнитные форсунки. — Автоэлектрика
Оборудование
Требование к экологической безопасности повышаются постоянно. В результате производители дизельных двигателей разрабатывают новые системы топливоподачи. Для повышения качества топливовоздушной смеси и полнейшего сгорания топлива прежде всего повышают давление топлива. Более того дизельные электромагнитные форсунки обеспечивают точную подачу топлива в цилиндры двигателя. Самый простой и эффективный способ регулировки подачи топлива в цилиндры, это применение дизельных электромагнитных форсунок. На данный момент так же существуют форсунки с пьезо управлением. Все эти форсунки схожи по конструкции с механическими форсунками.
В этой статье остановимся подробнее на форсунках с электромагнитным приводом.
То есть на форсунках имеющих электромагнитную катушку. Эти форсунки являются гибридом механической дизельной форсунки и электромагнитной форсунки бензинового двигателя. Как устроена и работает форсунка бензинового двигателя можно прочитать в статье «Инжекторная форсунка». Так как давление топлива на дизельном двигателе более 1500 атмосфер, то применение электромагнитных форсунок бензинового двигателя не возможно.
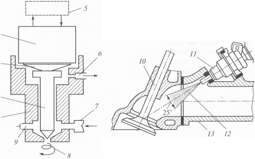
Устройство дизельной электромагнитной форсунки.
Дизельные электромагнитные форсунки состоитят из корпуса, в котором располагаются клапана, возвратные пружины, каналы. На конце форсунки располагается распылитель. Название и расположение элементов форсунки видно на картинке ниже. Подключение магистрали высокого давления к форсунке осуществляется по средствам штуцера. Более того к форсунке подключается магистраль для обратного слива лишнего топлива. Основным элементом управления форсункой является электромагнитная катушка, которая подключается к электропроводке автомобиля по средствам разъёма.
Распылитель форсунки перекрывается иглой, которая плотно притирается к стенкам распылителя. Электромагнитный управляющий поршень, аналогично якорю бензиновой форсунки перемещается за счёт электромагнитного поля катушки. Управляющий поршень воздействует на клапан камеры управления. В результате поднятие иглы форсунки осуществляется не непосредственно электромагнитной катушкой, а топливом, за счёт разницы давлений.
Принцип работы дизельной электромагнитной форсунки.
В отличие от бензиновой форсунки, дизельная форсунка работает под большим давлением, почти 1800 атмосфер. В результате подача топлива происходит не за счёт электромагнитной катушки, а за счёт давления подаваемого топлива. Следовательно управление форсункой осуществляется клапаном камеры управления. При работе топливного насоса высокого давления происходит подача топлива по каналу высокого давления, через дроссельное отверстие к нижней части иглы. Точно так же через дроссельное отверстие топливо поступает в управляющую камеру.
В результате давление под иглой форсунки и в камере управления становится одинаково. Благодаря дроссельным отверстиям давление в камере управления повышается медленнее, чем под иглой. Под действием пружины игла при этом остаётся прижатой к седлу, следовательно топливо не поступает к распылителю.
При подаче импульса на дизельную электромагнитную форсунку происходит перемещение электромагнитного управляющего поршня вверх. Это освобождает шарик клапана камеры управления. Из-за разницы давления топлива в камере управления происходит открытие клапана. В результате топливо из камеры перетекает в магистраль возврата топлива. Следовательно давление в камере управления падает, что приводит к разнице давлений топлива под иглой форсунки и над поршнем управления. Под действием давления игла поднимается, следовательно топливо поступает через распылитель в цилиндр. Дроссельные отверстия обеспечивают разность скорости падения давления под иглой и камерой управления.
При снятии питания с катушки под воздействием возвратной пружины происходит возврат электромагнитного поршня в исходное положение.
В результате происходит закрытие клапана камеры управления. В результате происходит повышение давления в камере управления. Под действием повышенного давления происходит перемещение управляющего поршня вверх, который воздействует на иглу форсунки, то есть закрывает её.
Особенности электромагнитных дизельных форсунок.
Электромагнитные форсунки имеют важное преимущество перед механическими форсунками. Прежде всего они позволяют более точно дозировать подаваемое топливо. Также имеется возможность многократного впрыска топлива. Кроме того впрыск топлива производится в самый подходящий момент. Наконец, электромагнитные дизельные форсунки более тонко распыляют топливо, потому что работают при повышенном давлении почти 1800 атм. В результате этого топливо лучшего смешения его с воздухом.
В отличие от форсунок бензинового двигателя при производстве форсунок их характеристики не одинаковы, то есть они отличаются от эталона. Это приводит к различной подаче топлива ы цилиндры.
Для компенсации этого недостатка каждая форсунка проходит испытания, при которых проверяют характеристики при нескольких параметрах. После этого на корпус форсунки наносится код для корректировки подачи топлива. При смене форсунок при помощи диагностического оборудования этот код вводится в память блока управления. В зависимости от производителя код может быть различного вида.
Магнитные сопла | Лаборатория электродвигателей и динамики плазмы
Введение
Проще говоря, магнитное сопло преобразует тепловую энергию плазмы в направленную кинетическую энергию.
Это преобразование достигается с помощью магнитного поля, контур которого аналогичен сплошным стенкам обычного сопла (см., например, рис. 1).
Приложенное магнитное поле в большинстве случаев имеет цилиндрическую симметрию и формируется с помощью постоянных магнитов или электромагнитных катушек, которые удерживают плазму и действуют как эффективная «магнитная стена».
через который тепловая плазма расширяется в вакуум.
Приложения включают лабораторное моделирование космической плазмы, обработку поверхности и плазменное движение для космических полетов.
Исследования магнитных сопел в EPPDyL начались в 2008 году. Целью данного исследования является понимание основных физических процессов течения плазмы через сопло и их влияние на работу сопла. В частности, мы работаем над ответами на следующие важные вопросы:
- Как динамика потока плазмы через магнитное сопло влияет на структуру выхлопного факела?
- Как взаимосвязь между физической и магнитной геометрией влияет на отработанную плазму?
- Как замагниченная плазма отрывается от приложенного магнитного поля?
Ответы на эти вопросы будут получены путем сочетания теоретических, экспериментальных и вычислительных исследований.
В конечном счете, знание этих процессов даст фундаментальные законы масштабирования для работы магнитных сопел для плазменных двигателей.
Теория
Мы разрабатываем теоретические модели для изучения связи между динамикой плазмы в магнитном сопле и структурой выхлопного факела. Структура выхлопного шлейфа важна для общих характеристик движения сопла. Сильно расходящийся шлейф создает меньшую тягу, чем хорошо направленный шлейф. Кроме того, структура выхлопного шлейфа тесно связана с физическими механизмами, с помощью которых плазма может отрываться от магнитного поля сопла.
Природа расширения плазмы магнитного сопла ранее наблюдалась как экспериментально, так и с помощью численных моделей, приводя к возникновению значительных пространственных неоднородностей в выхлопном факеле. Руководствуясь этими наблюдениями, мы использовали преобразование цилиндрических координат в магнитные (рис. 2) для получения первой аналитической модели, способной давать решения в замкнутой форме для двумерных распределений потенциала плазмы, плотности и числа Маха ионов. в области расширения сопла (рис. 3).
Рисунок 2 — Преобразование цилиндрических (r-z) в магнитные \(\psi-\zeta\) координаты.
Наша модель в конечном итоге дает полностью аналитические выражения для эффективности расходимости луча и коэффициента тяги магнитного сопла. Установлено, что эти рабочие параметры в основном зависят от числа Маха ионов, радиуса плазмы и однородности профиля плотности на выходе из сопла. Работа сопла наиболее чувствительна к радиусу плазмы, при этом улучшение характеристик наблюдается при уменьшении радиуса из-за меньшей эффективной расходимости приложенного магнитного поля.
Эксперимент
Эксперимент по динамике и отрыву плазмы с магнитным соплом (MN-PD2X) был разработан для экспериментального изучения фундаментальной физики плазмы, связанной с течением плазмы через магнитное сопло. Цели эксперимента:
- Охарактеризовать взаимосвязь между источником плазмы и геометрией магнитного поля и ее влияние на перенос плазмы и потери на стенках.
- Определите, как эти факторы влияют на свойства плазмы в горловине сопла.
- Определите, как изменяется структура факела по отношению к потоку плазмы на горловине сопла, и сравните результаты с нашей теоретической моделью.
Основой эксперимента является плоская катушка радиочастотного (РЧ) плазменного источника, рассчитанного на мощность до 1 кВт. Согласующая сеть L-типа используется для согласования сопротивлений источника РЧ и антенны. Источник плазмы установлен концентрически с двумя электромагнитными (ЭМ) катушками, каждая с пиковым магнитным полем 500 Гс.
MN-PD2X был разработан, чтобы позволить легко изменять пропорции источника плазмы (отношение длины трубки источника к радиусу) и геометрии магнитного поля для проверки влияния взаимосвязи между физическими поверхностями источника плазмы и магнитным полем. топология поля.
В частности, положение задней стенки источника плазмы можно регулировать относительно плоскости выпуска, изменяя таким образом соотношение сторон.
Источник плазмы установлен на упорном рычаге с поворотным затвором в составе большой диэлектрической импульсной двигательной установки (LDPP) EPPDyL. Для проведения измерений на стенде тяги трубка источника физически изолирована от антенны и согласующей сети.
Рис. 5. MN-PD 2 X Первая плазма.Фотография первой плазмы MN-PD2X представлена на рис. 5. Разряд получен при мощности 250 Вт с массовым расходом газа аргона примерно 1 мг/с и пиковым полем 250 Гс. Расположение регулируемой задней стенки можно увидеть примерно посередине между двумя электромагнитными катушками. Отсутствие паразитного разряда за задней стенкой указывает на хорошее уплотнение между антенной и камерой источника плазмы.
Рис. 6. MN-PD 2 Переход в режим X.
Расчет
В сотрудничестве с профессором Сэмом Коэном и доктором Адамом Сефковым
Механизм, с помощью которого плазма отрывается от приложенного магнитного поля сопла, остается плохо изученным.
Однако существует много многообещающих теорий.
К сожалению, эти теории связаны со сложными плазменными процессами, которые трудно включить в самосогласованные аналитические модели.
Кроме того, условия плазмы, при которых эти процессы становятся доминирующими, трудно охарактеризовать экспериментально с помощью обычной диагностики.
С этой целью мы работаем над применением кода частиц в ячейках, LSP, к проблеме отрыва плазмы магнитного сопла.
Используя LSP, мы надеемся проверить уже существующие теории отделения и потенциально открыть новую и актуальную физику.
Соответствующие публикации
- Критическое условие для удержания плазмы в источнике потока магнитного сопла — IEEE Transactions on Plasma Science (2015)
- Масштабирование характеристик магнитных сопел для электрических двигателей — доктор философии. Диссертация (2015)
- Движительные характеристики потока плазмы с конечной температурой в магнитном сопле с приложенным азимутальным током — Физика плазмы (2014)
- Влияние напряженности приложенного магнитного поля на коллимацию потока в магнитных соплах — 50th AIAA/ASME/ Совместная конференция SAE/ASEE по силовым установкам (2014 г.
) - Экспериментальная проверка фокусировки плазмы азимутальным током в магнитном сопле — 50-я Совместная конференция по двигателям AIAA/ASME/SAE/ASEE (2014 г.)
- Модель тяги и эффективности магнитных сопел с электронным приводом — Физика плазмы (2013 г.) Новый метод измерения тяги плазменных ракет с магнитными соплами с использованием измерений B-поля — бакалавр наук. Диссертация (2012 г.)
- Отрыв плазмы и передача импульса в магнитных соплах — 47-я Совместная конференция и выставка по двигателям AIAA/ASME/SAE/ASEE (2011 г.)
- Эволюция параметров подобия в магнитном сопле с применением к лабораторной плазме — 31-я Международная конференция по электрическим двигателям (2011 г.) 2010)
- Дивергенция реактивного потока плазмы, расширяющегося через магнитное сопло — 31-я Международная конференция по электродвигателям (2009)
Контакт
Former students:
- Justin Little
- Margaret Shaw
Former Visiting Researchers:
- Lorenzo Ferrario
- Jaume Navarro Cavallé
Electromagnetic print nozzle for direct-write additive manufacturing with resistive renditions (Patent)
Электромагнитное печатающее сопло для аддитивного производства прямой записи с резистивным исполнением (Патент) | ОСТИ.
GOVперейти к основному содержанию
- Полная запись
- Каталожные номера (7)
- Другое связанное исследование
Аннотация
Способ и устройство для аддитивного производства, включающие в себя направляющую для подачи рабочего материала. Механизм продвижения, содержащий один или более поршней, толкатели, плунжеры и/или системы регулирования давления, расположен позади, по меньшей мере, части подачи рабочего материала для продвижения рабочего материала вперед. Рабочий материал нагревается с помощью электромагнитного нагревательного элемента, а расплавленный или расплавленный рабочий материал подается из наконечника, расположенного на конце направляющей для материала.
- Изобретатели:
- Риос, Орландо; Картер, Уильям Г.; Симс, Закари С.
- Дата публикации:
- Исследовательская организация:
- Национальная лаборатория Ок-Ридж. (ORNL), Ок-Ридж, Теннесси (США)
- Организация-спонсор:
- USDOE
- Идентификатор ОСТИ:
- 1632484
- Номер(а) патента:
- 10 542 589
- Номер заявки:
- 15/484 937
- Правопреемник:
- UT-Battelle, LLC (Оук-Ридж, Теннесси)
- Номер контракта с Министерством энергетики:
- AC05-00OR22725
- Тип ресурса:
- Патент
- Отношение ресурсов:
- Патентный файл Дата: 11.
04.2017
- Страна публикации:
- США
- Язык:
- Английский
Форматы цитирования
- MLA
- АПА
- Чикаго
- БибТекс
Риос, Орландо, Картер, Уильям Г., и Симс, Закари С.. Электромагнитное печатающее сопло для аддитивного производства прямой записи с резистивными изображениями . США: Н. П., 2020.
Веб.
Копировать в буфер обмена
Риос, Орландо, Картер, Уильям Г. и Симс, Захари С.. Электромагнитное печатающее сопло для аддитивного производства прямой записи с резистивными изображениями . Соединенные Штаты.
Копировать в буфер обмена
Риос, Орландо, Картер, Уильям Г.
и Симс, Закари К.. 2020.
«Электромагнитное печатающее сопло для аддитивного производства прямой записи с резистивным исполнением». Соединенные Штаты. https://www.osti.gov/servlets/purl/1632484.
Копировать в буфер обмена
@статья{osti_1632484,
title = {Электромагнитное печатающее сопло для аддитивного производства прямой записи с резистивным исполнением},
автор = {Риос, Орландо и Картер, Уильям Г. и Симс, Закари К.},
abstractNote = {Метод и устройство для аддитивного производства, которые включают в себя направляющую для подачи рабочего материала. Механизм продвижения, содержащий один или более поршней, толкатели, плунжеры и/или системы регулирования давления, расположен позади, по меньшей мере, части подачи рабочего материала для продвижения рабочего материала вперед. Рабочий материал нагревается с помощью электромагнитного нагревательного элемента, а расплавленный или расплавленный рабочий материал подается из наконечника, расположенного на конце направляющей для материала.
},
дои = {},
URL = {https://www.osti.gov/biblio/1632484},
журнал = {},
номер =,
объем = ,
место = {США},
год = {2020},
месяц = {1}
}
Копировать в буфер обмена
Посмотреть патент
Экспорт метаданных
Сохранить в мою библиотеку
Вы должны войти в систему или создать учетную запись, чтобы сохранять документы в своей библиотеке.
Работы, упомянутые в этой записи:
- Ласко, Бернард
- Патентный документ США 7 886 935
- https://doi.org/https://ppubs.uspto.gov/pubwebapp/external.html?q=(7886935).pn.&db=USPAT&type=id
- Тарбуттон, Джошуа; Ли, Чабум
- заявка на патент США 14/718648; 20160016369
- https://doi.
org/https://ppubs.uspto.gov/pubwebapp/external.html?q=(20160016369).pn.&db=US-PGPUB&type=ids
- Греул, Матиас; Стаскевич, Эвальд; Стегер, Вильгельм
- Патентный документ США 5 649 277
- https://doi.org/https://ppubs.uspto.gov/pubwebapp/external.html?q=(5649277).pn.&db=USPAT&type=ids
- Ценг, Ампер А.
- Патентный документ США 6 030 199
- https://doi.org/https://ppubs.uspto.gov/pubwebapp/external.html?q=(6030199).pn.&db=USPAT&type=id
- Долг, Чад Э .; Кунк, Властимил; С любовью, Лонни Дж.
- заявка на патент США 14/143934; 20150183164
- https://doi.org/https://ppubs.
uspto.gov/pubwebapp/external.html?q=(20150183164).pn.&db=US-PGPUB&type=ids
- Крамп, С. Скотт
- Патентный документ США 5 340 433
- https://doi.org/https://ppubs.uspto.gov/pubwebapp/external.html?q=(5340433).pn.&db=USPAT&type=ids
- Дэнфорт, Стивен С .; Агарвала, Мукеш; Бандйопадхай, Амит
- Патентный документ США 5 738 817
- https://doi.org/https://ppubs.uspto.gov/pubwebapp/external.html?q=(5738817).pn.&db=USPAT&type=ids
Предыдущий
Следующий
- Все ссылки
- патент (5) Заявка на патент
- (2)
Сортировать по названию
Сортировать по дате
[ × очистить фильтр / отсортировать ]
Аналогичных записей в сборниках OSTI.

)
04.2017
org/https://ppubs.uspto.gov/pubwebapp/external.html?q=(20160016369).pn.&db=US-PGPUB&type=ids
uspto.gov/pubwebapp/external.html?q=(20150183164).pn.&db=US-PGPUB&type=ids