ΠΠΈΠ΄ΡΠ°Π²Π»ΠΈΡΠ΅ΡΠΊΠΈΠΉ ΡΡΠΈΠ»ΠΈΡΠ΅Π»Ρ ΡΡΠ»Π΅Π²ΠΎΠ³ΠΎ ΡΠΏΡΠ°Π²Π»Π΅Π½ΠΈΡ Ρ ΡΠ»Π΅ΠΊΡΡΠΎΠ½Π½ΡΠΌ ΡΠΏΡΠ°Π²Π»Π΅Π½ΠΈΠ΅ΠΌ
Π§Π΅ΠΌ Π²ΡΡΠ΅ ΡΠΊΠΎΡΠΎΡΡΡ Π°Π²ΡΠΎΠΌΠΎΠ±ΠΈΠ»Ρ, ΡΠ΅ΠΌ ΠΌΠ΅Π½ΡΡΠΈΠ΅ ΡΡΠΈΠ»ΠΈΡ Π΄ΠΎΠ»ΠΆΠ΅Π½ ΠΏΡΠΈΠ»Π°Π³Π°ΡΡ Π²ΠΎΠ΄ΠΈΡΠ΅Π»Ρ ΠΊ ΡΡΠ»Π΅Π²ΠΎΠΌΡ ΠΊΠΎΠ»Π΅ΡΡ, ΡΡΠΎΠ±Ρ ΠΈΠ·ΠΌΠ΅Π½ΠΈΡΡ Π½Π°ΠΏΡΠ°Π²Π»Π΅Π½ΠΈΠ΅ Π΄Π²ΠΈΠΆΠ΅Π½ΠΈΡ, ΡΡΠΎ ΠΌΠΎΠΆΠ΅Ρ ΠΏΡΠΈΠ²Π΅ΡΡΠΈ ΠΊ ΠΏΠΎΡΠ΅ΡΠ΅ ΡΠΏΡΠ°Π²Π»ΡΠ΅ΠΌΠΎΡΡΠΈ. Π’Π°ΠΊΠ°Ρ ΠΏΡΠΈΠ½ΡΠΈΠΏΠΈΠ°Π»ΡΠ½Π°Ρ Π·Π°ΠΊΠΎΠ½ΠΎΠΌΠ΅ΡΠ½ΠΎΡΡΡ Ρ Π°ΡΠ°ΠΊΡΠ΅ΡΠ½Π° Π΄Π»Ρ Π²ΡΠ΅Ρ ΡΠΈΡΡΠ΅ΠΌ ΡΡΠ»Π΅Π²ΠΎΠ³ΠΎ ΡΠΏΡΠ°Π²Π»Π΅Π½ΠΈΡ (Ρ ΠΏΠΎΡΡΠΎΡΠ½Π½ΡΠΌ ΠΈ ΠΏΠ΅ΡΠ΅ΠΌΠ΅Π½Π½ΡΠΌ ΠΏΠ΅ΡΠ΅Π΄Π°ΡΠΎΡΠ½ΡΠΌ ΠΎΡΠ½ΠΎΡΠ΅Π½ΠΈΠ΅ΠΌ). ΠΠΎΡΡΠΎΠΌΡ ΠΏΡΠΈ ΡΠ°Π·ΡΠ°Π±ΠΎΡΠΊΠ΅ ΡΡΠ»Π΅Π²ΠΎΠ³ΠΎ ΡΠΏΡΠ°Π²Π»Π΅Π½ΠΈΡ ΠΏΡΠΈΠ½ΠΈΠΌΠ°ΡΡΡΡ ΠΊΠΎΠΌΠΏΡΠΎΠΌΠΈΡΡΠ½ΡΠ΅ ΡΠ΅ΡΠ΅Π½ΠΈΡ.
ΠΠ»Ρ ΡΠ»ΡΡΡΠ΅Π½ΠΈΡ ΡΠΏΡΠ°Π²Π»ΡΠ΅ΠΌΠΎΡΡΠΈ Π°Π²ΡΠΎΠΌΠΎΠ±ΠΈΠ»Ρ ΡΠ»Π΅Π΄ΡΠ΅Ρ ΠΏΠΎΠ²ΡΡΠ°ΡΡ ΠΊΡΡΡΡΡΠΈΠΉ ΠΌΠΎΠΌΠ΅Π½Ρ ΠΏΡΠΈ Π²ΡΡΠΎΠΊΠΈΡ ΡΠΊΠΎΡΠΎΡΡΡΡ ΠΈ ΡΠ²ΠΎΠ΄ΠΈΡΡ Π΅Π³ΠΎ Π΄ΠΎ ΠΌΠΈΠ½ΠΈΠΌΡΠΌΠ° ΠΏΡΠΈ ΠΌΠ°Π»ΡΡ ΡΠΊΠΎΡΠΎΡΡΡΡ Π΄Π²ΠΈΠΆΠ΅Π½ΠΈΡ ΠΈ ΠΏΡΠΈ ΠΏΠ°ΡΠΊΠΎΠ²ΠΊΠ΅. ΠΠ»Ρ Π²ΡΠΏΠΎΠ»Π½Π΅Π½ΠΈΡ ΡΡΠΈΡ ΡΡΠ΅Π±ΠΎΠ²Π°Π½ΠΈΠΉ ΡΠΎΠ²ΡΠ΅ΠΌΠ΅Π½Π½ΡΠ΅ Π»Π΅Π³ΠΊΠΎΠ²ΡΠ΅ Π°Π²ΡΠΎΠΌΠΎΠ±ΠΈΠ»ΠΈ ΠΎΡΠ½Π°ΡΠ°ΡΡΡΡ Π³ΠΈΠ΄ΡΠΎΡΡΠΈΠ»ΠΈΡΠ΅Π»ΡΠΌΠΈ Ρ ΡΠ»Π΅ΠΊΡΡΠΎΠ½Π½ΡΠΌ ΡΠΏΡΠ°Π²Π»Π΅Π½ΠΈΠ΅ΠΌ ΠΈ ΡΠ΅Π³ΡΠ»ΠΈΡΠΎΠ²Π°Π½ΠΈΠ΅ΠΌ ΡΠΈΠΏΠ° Servotronic. ΠΡΠ° ΡΠΈΡΡΠ΅ΠΌΠ° ΡΠ΅Π³ΡΠ»ΠΈΡΡΠ΅Ρ ΡΡΠΈΠ»ΠΈΡ Π½Π° ΡΡΠ»Π΅Π²ΠΎΠΌ ΠΊΠΎΠ»Π΅ΡΠ΅ Π² Π·Π°Π²ΠΈΡΠΈΠΌΠΎΡΡΠΈ ΠΎΡ ΡΠΊΠΎΡΠΎΡΡΠΈ Π°Π²ΡΠΎΠΌΠΎΠ±ΠΈΠ»Ρ.
Π ΠΈΡ. ΠΠ°Π²ΠΈΡΠΈΠΌΠΎΡΡΡ ΠΌΠΎΠΌΠ΅Π½ΡΠ° Π½Π° ΡΡΠ»Π΅Π²ΠΎΠΌ ΠΊΠΎΠ»Π΅ΡΠ΅ ΠΎΡ ΡΠΊΠΎΡΠΎΡΡΠΈ Π΄Π²ΠΈΠΆΠ΅Π½ΠΈΡ Π°Π²ΡΠΎΠΌΠΎΠ±ΠΈΠ»Ρ ΠΏΡΠΈ ΠΏΡΠΈΠΌΠ΅Π½Π΅Π½ΠΈΠΈ Π³ΠΈΠ΄ΡΠΎΡΡΠΈΠ»ΠΈΡΠ΅Π»Ρ ΡΠΈΠΏΠ° Servotronic.
ΠΡΠ»Π΅Π²Π°Ρ ΡΠΊΠΎΡΠΎΡΡΡ ΡΠΎΠΎΡΠ²Π΅ΡΡΡΠ²ΡΠ΅Ρ ΠΏΠ°ΡΠΊΠΎΠ²ΠΊΠ΅.
Π£ΡΠΈΠ»ΠΈΡΠ΅Π»Ρ ΡΡΠ»Ρ Servotronic ΡΠΎΠ·Π΄Π°Π½ Π½Π° Π±Π°Π·Π΅ ΠΎΠ±ΡΡΠ½ΠΎΠ³ΠΎ Π³ΠΈΠ΄ΡΠΎΡΡΠΈΠ»ΠΈΡΠ΅Π»Ρ. ΠΠ·ΠΌΠ΅Π½Π΅Π½Π½Π°Ρ ΠΊΠΎΠ½ΡΡΡΡΠΊΡΠΈΡ ΠΊΠ»Π°ΠΏΠ°Π½Π° ΡΠΏΡΠ°Π²Π»Π΅Π½ΠΈΡ Ρ ΠΏΠΎΠ²ΠΎΡΠΎΡΠ½ΡΠΌ Π·ΠΎΠ»ΠΎΡΠ½ΠΈΠΊΠΎΠΌ ΠΏΠΎΠ·Π²ΠΎΠ»ΡΠ΅Ρ ΡΠ΅Π°Π»ΠΈΠ·ΠΎΠ²Π°ΡΡ ΠΏΡΠΈΠ½ΡΠΈΠΏ Π½Π΅ΠΏΠΎΡΡΠ΅Π΄ΡΡΠ²Π΅Π½Π½ΠΎΠΉ Π³ΠΈΠ΄ΡΠ°Π²Π»ΠΈΡΠ΅ΡΠΊΠΎΠΉ ΠΎΠ±ΡΠ°ΡΠ½ΠΎΠΉ ΡΠ²ΡΠ·ΠΈ. ΠΡΠΈΠΌΠ΅Π½Π΅Π½ΠΈΠ΅ΠΌ ΡΠ»Π΅ΠΊΡΡΠΎΠ³ΠΈΠ΄ΡΠ°Π²Π»ΠΈΡΠ΅ΡΠΊΠΎΠ³ΠΎ ΠΏΡΠ΅ΠΎΠ±ΡΠ°Π·ΠΎΠ²Π°ΡΠ΅Π»Ρ ΠΈ ΡΠΎΠΎΡΠ²Π΅ΡΡΡΠ²ΡΡΡΠΈΠΌ ΠΏΡΠΈΡΠΏΠΎΡΠΎΠ±Π»Π΅Π½ΠΈΠ΅ΠΌ ΠΊΠ»Π°ΠΏΠ°Π½Π° ΡΠΏΡΠ°Π²Π»Π΅Π½ΠΈΡ ΡΠ΄Π°Π»ΠΎΡΡ ΠΎΠ±Π΅ΡΠΏΠ΅ΡΠΈΡΡ Π·Π°Π²ΠΈΡΠΈΠΌΠΎΡΡΡ ΡΡΠ΅ΠΏΠ΅Π½ΠΈ ΡΡΠΈΠ»Π΅Π½ΠΈΡ ΠΎΡ ΡΠΊΠΎΡΠΎΡΡΠΈ Π°Π²ΡΠΎΠΌΠΎΠ±ΠΈΠ»Ρ.
ΠΠ΅ΠΎΠ±Ρ ΠΎΠ΄ΠΈΠΌΠΎΠ΅ Π΄Π»Ρ ΡΠ°Π±ΠΎΡΡ ΡΠΈΡΡΠ΅ΠΌΡ Servotronic Π΄Π°Π²Π»Π΅Π½ΠΈΠ΅ ΡΠ°Π±ΠΎΡΠ΅ΠΉ ΠΆΠΈΠ΄ΠΊΠΎΡΡΠΈ ΠΏΠΎΡΡΠ΄ΠΊΠ° 130 ΠΊΠ³Ρ/ΡΠΌ2 ΡΠΎΠ·Π΄Π°Π΅ΡΡΡ Π³ΠΈΠ΄ΡΠΎΠ½Π°ΡΠΎΡΠΎΠΌ ΠΎΠ±ΡΡΠ½ΠΎΠΉ ΠΊΠΎΠ½ΡΡΡΡΠΊΡΠΈΠΈ. ΠΠΎΠ΄ ΡΡΠΈΠΌ Π΄Π°Π²Π»Π΅Π½ΠΈΠ΅ΠΌ ΡΠ°Π±ΠΎΡΠ°Ρ ΠΆΠΈΠ΄ΠΊΠΎΡΡΡ ΠΏΠΎΡΡΡΠΏΠ°Π΅Ρ ΠΊ ΠΏΠΎΠ²ΠΎΡΠΎΡΠ½ΠΎΠΌΡ Π·ΠΎΠ»ΠΎΡΠ½ΠΈΠΊΡ 7 ΠΊΠ»Π°ΠΏΠ°Π½Π° ΡΠΏΡΠ°Π²Π»Π΅Π½ΠΈΡ.
Π ΡΠ²ΠΎΠ±ΠΎΠ΄Π½ΠΎΠΌ ΡΠΎΡΡΠΎΡΠ½ΠΈΠΈ ΡΠΎΡΡΠΈΠΎΠ½ ΡΠ΄Π΅ΡΠΆΠΈΠ²Π°Π΅Ρ ΠΊΠ»Π°ΠΏΠ°Π½ ΡΠΏΡΠ°Π²Π»Π΅Π½ΠΈΡ Π² ΡΡΠ΅Π΄Π½Π΅ΠΌ (Π½Π΅ΠΉΡΡΠ°Π»ΡΠ½ΠΎΠΌ) ΠΏΠΎΠ»ΠΎΠΆΠ΅Π½ΠΈΠΈ.
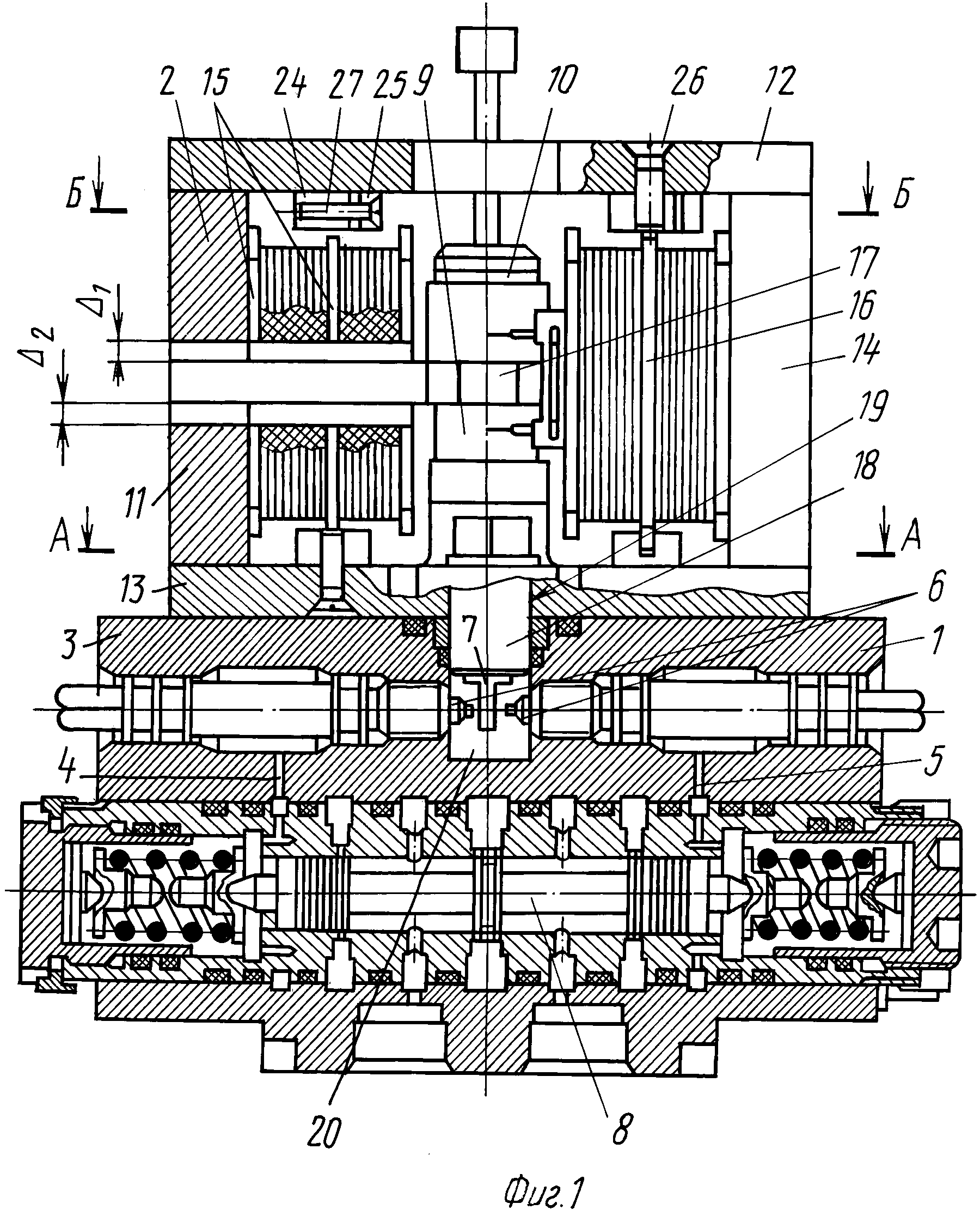
Π ΠΈΡ. Π‘Ρ Π΅ΠΌΠ° ΡΡΠ»Π΅Π²ΠΎΠ³ΠΎ ΡΠΏΡΠ°Π²Π»Π΅Π½ΠΈΡ ΠΎΠ±ΠΎΡΡΠ΄ΠΎΠ²Π°Π½Π½ΠΎΠ³ΠΎ Π³ΠΈΠ΄ΡΠΎΡΡΠΈΠ»ΠΈΡΠ΅Π»Π΅ΠΌ Ρ ΡΠ»Π΅ΠΊΡΡΠΎΠ½Π½ΡΠΌ ΡΠΏΡΠ°Π²Π»Π΅Π½ΠΈΠ΅ΠΌ:
1,7 β ΠΏΠΎΠ²ΠΎΡΠΎΡΠ½ΡΠΉ Π·ΠΎΠ»ΠΎΡΠ½ΠΈΠΊ; 2,5 β ΡΠΎΡΡΠΈΠΎΠ½; 3 β ΡΠ»Π΅ΠΊΡΡΠΎΠ½Π½ΡΠΉ Π±Π»ΠΎΠΊ ΡΠΏΡΠ°Π²Π»Π΅Π½ΠΈΡ; 4 β Π΄Π°ΡΡΠΈΠΊ ΡΠΈΠ³Π½Π°Π»Π° ΡΠΊΠΎΡΠΎΡΡΠΈ; 6 β ΡΡΠΈΡΡ; 8 β Π½Π°ΡΠΎΡ Π³ΠΈΠ΄ΡΠ°Π²Π»ΠΈΡΠ΅ΡΠΊΠΈΠΉ; 9 β ΡΠ΅Π·Π΅ΡΠ²ΡΠ°Ρ; 10 β ΠΏΡΠ΅Π΄ΠΎΡ ΡΠ°Π½ΠΈΡΠ΅Π»ΡΠ½ΡΠΉ ΠΈ ΠΏΠ΅ΡΠ΅ΠΏΡΡΠΊΠ½ΠΎΠΉ ΠΊΠ»Π°ΠΏΠ°Π½; 11 β ΡΠ΅Π°ΠΊΡΠΈΠ²Π½ΡΠΉ ΠΏΠΎΡΡΠ΅Π½Ρ; 12 β ΡΠ»Π΅ΠΊΡΡΠΎΠΌΠ°Π³Π½ΠΈΡΠ½ΡΠΉ ΠΊΠ»Π°ΠΏΠ°Π½; 13,18 β ΡΠ°ΡΠΏΡΠ΅Π΄Π΅Π»ΠΈΡΠ΅Π»ΡΠ½Π°Ρ Π²ΡΡΠ»ΠΊΠ°; 14 β ΠΏΡΠ°Π²Π°Ρ ΠΏΠΎΠ»ΠΎΡΡΡ ΡΠΈΠ»ΠΎΠ²ΠΎΠ³ΠΎ ΡΠΈΠ»ΠΈΠ½Π΄ΡΠ°;15 β Π»Π΅Π²Π°Ρ ΠΏΠΎΠ»ΠΎΡΡΡ ΡΠΈΠ»ΠΎΠ²ΠΎΠ³ΠΎ ΡΠΈΠ»ΠΈΠ½Π΄ΡΠ°; 16 β ΠΏΠΎΠ΄Π²ΠΎΠ΄ ΠΆΠΈΠ΄ΠΊΠΎΡΡΠΈ ΠΊ ΠΏΡΠ°Π²ΠΎΠΉ ΠΏΠΎΠ»ΠΎΡΡΠΈ; 17 β ΠΏΠΎΠ΄Π²ΠΎΠ΄ ΠΆΠΈΠ΄ΠΊΠΎΡΡΠΈ ΠΊ Π»Π΅Π²ΠΎΠΉ ΠΏΠΎΠ»ΠΎΡΡΠΈ; 19- ΠΏΠΎΡΡΠ΅Π½Ρ; Π° β Π½Π΅ΠΉΡΡΠ°Π»ΡΠ½ΠΎΠ΅ ΠΏΠΎΠ»ΠΎΠΆΠ΅Π½ΠΈΠ΅; Π± β ΠΏΠΎΠ²ΠΎΡΠΎΡ Π²ΠΏΡΠ°Π²ΠΎ; Π² β ΠΏΠΎΠ²ΠΎΡΠΎΡ Π²Π»Π΅Π²ΠΎ
Π Π±Π»ΠΎΠΊΠ΅ ΠΊΠ»Π°ΠΏΠ°Π½Π° ΡΠΏΡΠ°Π²Π»Π΅Π½ΠΈΡ Π½Π°Ρ
ΠΎΠ΄ΠΈΡΡΡ ΡΠΎΡΡΠΈΠΎΠ½ 5.
ΠΠ΅ΡΡ
Π½ΡΡ ΡΠ°ΡΡΡ ΡΠΎΡΡΠΈΠΎΠ½Π° ΡΠΎΠ΅Π΄ΠΈΠ½Π΅Π½Π° ΡΡΠΈΡΡΠΎΠΌ Ρ Π·ΠΎΠ»ΠΎΡΠ½ΠΈΠΊΠΎΠΌ 7. ΠΠΈΠΆΠ½ΡΡ Π΅Π³ΠΎ ΡΠ°ΡΡΡ ΡΠΎΠ΅Π΄ΠΈΠ½Π΅Π½Π° ΡΠ°ΠΊΠΆΠ΅ ΡΡΠΈΡΡΠΎΠΌ Ρ Π²Π΅Π΄ΡΡΠ΅ΠΉ ΡΠ΅ΡΡΠ΅ΡΠ½Π΅ΠΉ 19 ΠΈ Ρ Π²ΡΡΠ»ΠΊΠΎΠΉ ΡΠ°ΡΠΏΡΠ΅Π΄Π΅Π»ΠΈΡΠ΅Π»Ρ 13. Π’ΠΎΡΡΠΈΠΎΠ½ ΡΠ²ΡΠ·Π°Π½ Ρ ΡΡΠ»Π΅Π²ΡΠΌ Π²Π°Π»ΠΎΠΌ ΡΠ΅ΡΠ΅Π· ΠΊΠ°ΡΠ΄Π°Π½Π½ΡΠΉ ΡΠ°ΡΠ½ΠΈΡ. Π‘ΠΎΠ΅Π΄ΠΈΠ½Π΅Π½ΠΈΡ ΡΠΎΡΡΠΈΠΎΠ½Π° Π²ΡΠΏΠΎΠ»Π½Π΅Π½Ρ ΠΏΠΎΡΡΠ΅Π΄ΡΡΠ²ΠΎΠΌ ΡΡΠΈΡΡΠΎΠ² 6.
Π ΠΈΡ. Π‘ΠΎΠ΅Π΄ΠΈΠ½Π΅Π½ΠΈΡ ΡΠΎΡΡΠΈΠΎΠ½Π°:
5 β ΡΠΎΡΡΠΈΠΎΠ½; 6 β ΡΡΠΈΡΡ; 7 β ΠΏΠΎΠ²ΠΎΡΠΎΡΠ½ΡΠΉ Π·ΠΎΠ»ΠΎΡΠ½ΠΈΠΊ; 13 β ΡΠ°ΡΠΏΡΠ΅Π΄Π΅Π»ΠΈΡΠ΅Π»ΡΠ½Π°Ρ Π²ΡΡΠ»ΠΊΠ°; 19 β Π²Π΅Π΄ΡΡΠ°Ρ ΡΠ΅ΡΡΠ΅ΡΠ½Ρ
ΠΠΎΠ΄Π°Π²Π°Π΅ΠΌΠ°Ρ Π³ΠΈΠ΄ΡΠΎΠ½Π°ΡΠΎΡΠΎΠΌ ΡΠ°Π±ΠΎΡΠ°Ρ ΠΆΠΈΠ΄ΠΊΠΎΡΡΡ ΠΏΠΎΡΡΡΠΏΠ°Π΅Ρ ΡΠ΅ΡΠ΅Π· Π²Ρ
ΠΎΠ΄Π½ΠΎΠ΅ ΡΠ²Π΅ΡΠ»Π΅Π½ΠΈΠ΅ Π² ΠΊΠΎΡΠΏΡΡ ΠΊΠ»Π°ΠΏΠ°Π½Π° ΡΠΏΡΠ°Π²Π»Π΅Π½ΠΈΡ ΠΈ Π΄Π°Π»Π΅Π΅ ΡΠ΅ΡΠ΅Π· ΠΊΠΎΠ»ΡΡΠ΅Π²ΠΎΠΉ ΠΏΠ°Π· ΠΈ ΡΠ°Π΄ΠΈΠ°Π»ΡΠ½ΡΠ΅ ΠΎΡΠ²Π΅ΡΡΡΠΈΡ Π² ΡΠ°ΡΠΏΡΠ΅Π΄Π΅Π»ΠΈΡΠ΅Π»ΡΠ½ΠΎΠΉ Π²ΡΡΠ»ΠΊΠ΅ ΠΊΠ»Π°ΠΏΠ°Π½Π° ΠΊ ΡΠ΅Π³ΡΠ»ΠΈΡΡΡΡΠΈΠΌ ΠΊΡΠΎΠΌΠΊΠ°ΠΌ Π·ΠΎΠ»ΠΎΡΠ½ΠΈΠΊΠ°. ΠΡΠΈ Π½Π΅ΠΉΡΡΠ°Π»ΡΠ½ΠΎΠΌ ΠΏΠΎΠ»ΠΎΠΆΠ΅Π½ΠΈΠΈ ΠΊΠ»Π°ΠΏΠ°Π½Π° ΡΠ°Π±ΠΎΡΠ°Ρ ΠΆΠΈΠ΄ΠΊΠΎΡΡΡ ΠΏΠ΅ΡΠ΅ΡΠ΅ΠΊΠ°Π΅Ρ ΡΠ΅ΡΠ΅Π· ΠΏΡΠΈΡΠΎΡΠ½ΡΠ΅ ΠΊΡΠΎΠΌΠΊΠΈ Π·ΠΎΠ»ΠΎΡΠ½ΠΈΠΊΠ° 1 ΠΈ ΠΏΠΎΡΡΡΠΏΠ°Π΅Ρ Π²ΠΎ Π²ΡΠ΅ ΠΏΡΠΎΠ΄ΠΎΠ»ΡΠ½ΡΠ΅ ΠΏΠ°Π·Ρ ΡΠ°ΡΠΏΡΠ΅Π΄Π΅Π»ΠΈΡΠ΅Π»ΡΠ½ΠΎΠΉ Π²ΡΡΠ»ΠΊΠΈ ΠΈ Π΄Π°Π»Π΅Π΅ ΠΌΠΈΠΌΠΎ ΡΠ»ΠΈΠ²Π½ΡΡ
ΠΊΡΠΎΠΌΠΎΠΊ Π·ΠΎΠ»ΠΎΡΠ½ΠΈΠΊΠ° Π² Π΅Π³ΠΎ ΡΠ»ΠΈΠ²Π½ΡΠ΅ ΠΏΠ°Π·Ρ. Π§Π΅ΡΠ΅Π· ΡΡΠΈ ΠΏΠ°Π·Ρ ΡΠ°Π±ΠΎΡΠ°Ρ ΠΆΠΈΠ΄ΠΊΠΎΡΡΡ ΠΎΡΠ²ΠΎΠ΄ΠΈΡΡΡ Π² ΡΠ»ΠΈΠ²Π½ΡΡ ΠΏΠΎΠ»ΠΎΡΡΡ ΠΈ Π΄Π°Π»Π΅Π΅ Π² Π±Π°ΡΠΎΠΊ. ΠΡΠΈ ΡΡΠΎΠΌ ΠΏΡΠ°Π²Π°Ρ ΠΈ Π»Π΅Π²Π°Ρ ΠΏΠΎΠ»ΠΎΡΡΠΈ ΡΠΈΠ»ΠΎΠ²ΠΎΠ³ΠΎ ΡΠΈΠ»ΠΈΠ½Π΄ΡΠ° ΠΎΠΊΠ°Π·ΡΠ²Π°ΡΡΡΡ ΡΠΎΠ΅Π΄ΠΈΠ½Π΅Π½Π½ΡΠΌΠΈ ΠΌΠ΅ΠΆΠ΄Ρ ΡΠΎΠ±ΠΎΠΉ ΡΠ΅ΡΠ΅Π· ΠΏΠΎΠ΄ΠΊΠ»ΡΡΠ΅Π½Π½ΡΠ΅ ΠΊ Π½ΠΈΠΌ ΡΡΡΠ±ΠΎΠΏΡΠΎΠ²ΠΎΠ΄Ρ ΠΈ ΠΊΠΎΠ»ΡΡΠ΅Π²ΡΠ΅ ΠΏΠ°Π·Ρ Π² ΠΊΠΎΡΠΏΡΡΠ΅ ΠΊΠ»Π°ΠΏΠ°Π½Π°.
ΠΡΠΈ ΠΏΠΎΠ²ΠΎΡΠΎΡΠ΅ ΡΡΠ»Π΅Π²ΠΎΠ³ΠΎ ΠΊΠΎΠ»Π΅ΡΠ° Π½Π°Π»Π΅Π²ΠΎ ΡΠΎΠ·Π΄Π°Π²Π°Π΅ΠΌΡΠΉ Π²ΠΎΠ΄ΠΈΡΠ΅Π»Π΅ΠΌ ΠΊΡΡΡΡΡΠΈΠΉ ΠΌΠΎΠΌΠ΅Π½Ρ ΠΏΠ΅ΡΠ΅Π΄Π°Π΅ΡΡΡ Π½Π° ΡΠΎΡΡΠΈΠΎΠ½ 2, Π²Π΅ΡΡ Π½ΠΈΠΉ ΠΊΠΎΠ½Π΅Ρ ΠΊΠΎΡΠΎΡΠΎΠ³ΠΎ ΡΠΎΠ΅Π΄ΠΈΠ½Π΅Π½ ΡΡΠΈΡΡΠΎΠΌ 6 Ρ ΠΏΠΎΠ²ΠΎΡΠΎΡΠ½ΡΠΌ Π·ΠΎΠ»ΠΎΡΠ½ΠΈΠΊΠΎΠΌ, Π° Π½ΠΈΠΆΠ½ΠΈΠΉ ΠΊΠΎΠ½Π΅Ρ β Ρ ΡΠ°ΡΠΏΡΠ΅Π΄Π΅Π»ΠΈΡΠ΅Π»ΡΠ½ΠΎΠΉ Π²ΡΡΠ»ΠΊΠΎΠΉ 18 ΠΈ ΠΏΡΠΈΠ²ΠΎΠ΄Π½ΠΎΠΉ ΡΠ΅ΡΡΠ΅ΡΠ½Π΅ΠΉ ΡΡΠ»Π΅Π²ΠΎΠ³ΠΎ ΠΌΠ΅Ρ Π°Π½ΠΈΠ·ΠΌΠ°. Π ΡΠ΅Π·ΡΠ»ΡΡΠ°ΡΠ΅ ΡΠΎΡΡΠΈΠΎΠ½ ΡΠΊΡΡΡΠΈΠ²Π°Π΅ΡΡΡ ΠΏΠΎΠ΄ΠΎΠ±Π½ΠΎ ΡΡΠ°Π±ΠΈΠ»ΠΈΠ·Π°ΡΠΎΡΡ ΠΏΡΠΈ Π½Π°Π΅Π·Π΄Π΅ ΠΎΠ΄Π½ΠΎΠ³ΠΎ ΠΈΠ· ΠΊΠΎΠ»Π΅Ρ Π°Π²ΡΠΎΠΌΠΎΠ±ΠΈΠ»Ρ Π½Π° Π½Π΅ΡΠΎΠ²Π½ΠΎΡΡΡ Π΄ΠΎΡΠΎΠ³ΠΈ.
ΠΡΠΈ Π·Π°ΠΊΡΡΡΠΊΠ΅ ΡΠΎΡΡΠΈΠΎΠ½Π° Π·ΠΎΠ»ΠΎΡΠ½ΠΈΠΊ Π²ΠΌΠ΅ΡΡΠ΅ Ρ Π²Π΅ΡΡ Π½Π΅ΠΉ ΡΠ°ΡΡΡΡ ΡΠΎΡΡΠΈΠΎΠ½Π° ΠΏΠΎΠ²ΠΎΡΠ°ΡΠΈΠ²Π°Π΅ΡΡΡ Π² ΡΠ°ΡΠΏΡΠ΅Π΄Π΅Π»ΠΈΡΠ΅Π»ΡΠ½ΠΎΠΉ Π²ΡΡΠ»ΠΊΠ΅, ΠΈΠ·ΠΌΠ΅Π½ΡΡ ΠΎΡΠ½ΠΎΡΠΈΡΠ΅Π»ΡΠ½ΠΎΠ΅ ΠΏΠΎΠ»ΠΎΠΆΠ΅Π½ΠΈΠ΅ ΠΏΠ°Π·ΠΎΠ² Π·ΠΎΠ»ΠΎΡΠ½ΠΈΠΊΠ° ΠΈ ΠΏΠ΅ΡΠ΅ΠΏΡΡΠΊΠ½ΡΡ ΠΎΡΠ²Π΅ΡΡΡΠΈΠΉ Π²ΡΡΠ»ΠΊΠΈ. ΠΠΎ ΠΌΠ΅ΡΠ΅ ΠΏΠΎΠ²ΠΎΡΠΎΡΠ° Π·ΠΎΠ»ΠΎΡΠ½ΠΈΠΊΠ° ΠΎΡΠ½ΠΎΡΠΈΡΠ΅Π»ΡΠ½ΠΎ Π²ΡΡΠ»ΠΊΠΈ ΠΎΠ΄Π½ΠΈ ΠΊΠ°Π½Π°Π»Ρ ΠΎΡΠΊΡΡΠ²Π°ΡΡΡΡ, Π° Π΄ΡΡΠ³ΠΈΠ΅ Π·Π°ΠΊΡΡΠ²Π°ΡΡΡΡ.
Π Π°Π±ΠΎΡΠ°Ρ ΠΆΠΈΠ΄ΠΊΠΎΡΡΡ ΠΏΠΎΡΡΡΠΏΠ°Π΅Ρ ΡΠ΅ΡΠ΅Π· ΡΠ΅Π»ΠΈ, ΡΠ°ΡΠΊΡΡΠ²Π°ΡΡΠΈΠ΅ΡΡ ΠΏΡΠΈ ΠΏΠ΅ΡΠ΅ΠΌΠ΅ΡΠ΅Π½ΠΈΠΈ ΠΏΡΠΈΡΠΎΡΠ½ΡΡ ΠΊΡΠΎΠΌΠΎΠΊ, Π² ΠΏΡΠΎΠ΄ΠΎΠ»ΡΠ½ΡΠ΅ ΠΏΠ°Π·Ρ ΠΈ Π΄Π°Π»Π΅Π΅ ΡΠ΅ΡΠ΅Π· ΠΎΡΠ²Π΅ΡΡΡΠΈΠ΅ Π² ΠΊΠΎΠ»ΡΡΠ΅Π²ΠΎΠΉ ΠΏΠ°Π· ΠΈ ΡΠ΅ΡΠ΅Π· ΡΡΡΠ±ΠΎΠΏΡΠΎΠ²ΠΎΠ΄ Π² ΠΏΡΠ°Π²ΡΡ ΠΏΠΎΠ»ΠΎΡΡΡ 14 ΡΠΈΠ»ΠΎΠ²ΠΎΠ³ΠΎ ΡΠΈΠ»ΠΈΠ½Π΄ΡΠ°. ΠΠ° ΠΏΠΎΡΡΠ΅Π½Ρ 19 Π²ΠΎΠ·Π΄Π΅ΠΉΡΡΠ²ΡΠ΅Ρ Π΄Π°Π²Π»Π΅Π½ΠΈΠ΅ ΠΆΠΈΠ΄ΠΊΠΎΡΡΠΈ, ΡΡΠΎ ΠΎΠ±Π»Π΅Π³ΡΠ°Π΅Ρ ΠΏΠΎΠ²ΠΎΡΠΎΡ ΡΡΠ»Π΅Π²ΠΎΠ³ΠΎ ΠΊΠΎΠ»Π΅ΡΠ°.
ΠΡΠΈ ΠΏΠΎΡΡΡΠΏΠ»Π΅Π½ΠΈΠΈ ΡΠ°Π±ΠΎΡΠ΅ΠΉ ΠΆΠΈΠ΄ΠΊΠΎΡΡΠΈ Π² ΠΏΡΠ°Π²ΡΡ ΠΏΠΎΠ»ΠΎΡΡΡ ΡΠΈΠ»ΠΎΠ²ΠΎΠ³ΠΎ ΡΠΈΠ»ΠΈΠ½Π΄ΡΠ° ΠΏΡΠΎΠΈΡΡ
ΠΎΠ΄ΠΈΡ Π΅Π΅ Π²ΡΡΠ΅ΡΠ½Π΅Π½ΠΈΠ΅ ΠΈΠ· Π»Π΅Π²ΠΎΠΉ ΠΏΠΎΠ»ΠΎΡΡΠΈ Π² ΡΠ»ΠΈΠ²Π½ΡΡ ΠΌΠ°Π³ΠΈΡΡΡΠ°Π»Ρ.
ΠΡΠΈ ΠΏΠΎΠ²ΠΎΡΠΎΡΠ΅ ΡΡΠ»Π΅Π²ΠΎΠ³ΠΎ ΠΊΠΎΠ»Π΅ΡΠ° Π½Π°ΠΏΡΠ°Π²ΠΎ ΡΠ°Π±ΠΎΡΠ°Ρ ΠΆΠΈΠ΄ΠΊΠΎΡΡΡ ΠΏΠΎΡΡΡΠΏΠ°Π΅Ρ Π² Π»Π΅Π²ΡΡ ΠΏΠΎΠ»ΠΎΡΡΡ 15 ΡΠΈΠ»ΠΎΠ²ΠΎΠ³ΠΎ ΡΠΈΠ»ΠΈΠ½Π΄ΡΠ° ΠΈ ΠΏΡΠΎΠΈΡΡ ΠΎΠ΄ΠΈΡ Π΅Π΅ Π²ΡΡΠ΅ΡΠ½Π΅Π½ΠΈΠ΅ ΠΈΠ· ΠΏΡΠ°Π²ΠΎΠΉ ΠΏΠΎΠ»ΠΎΡΡΠΈ.
ΠΠ»Π΅ΠΊΡΡΠΎΠ½Π½ΡΠΉ Π±Π»ΠΎΠΊ ΡΠΏΡΠ°Π²Π»Π΅Π½ΠΈΡ ΡΠΈΡΡΠ΅ΠΌΡ Servotronic ΠΎΠ±ΡΠ°Π±Π°ΡΡΠ²Π°Π΅Ρ ΡΠΈΠ³Π½Π°Π» ΡΠΊΠΎΡΠΎΡΡΠΈ Π°Π²ΡΠΎΠΌΠΎΠ±ΠΈΠ»Ρ ΠΈ ΠΈΠ·ΠΌΠ΅Π½ΡΠ΅Ρ Π² ΡΠΎΠΎΡΠ²Π΅ΡΡΡΠ²ΠΈΠΈ Ρ Π½ΠΈΠΌ ΡΠΎΠΊ ΡΠΏΡΠ°Π²Π»Π΅Π½ΠΈΡ ΡΠ»Π΅ΠΊΡΡΠΎΠΌΠ°Π³Π½ΠΈΡΠ½ΡΠΌ ΠΊΠ»Π°ΠΏΠ°Π½ΠΎΠΌ 4. ΠΡΠΈ ΠΏΠΎΠ²ΡΡΠ΅Π½ΠΈΠΈ ΡΠΊΠΎΡΠΎΡΡΠΈ Π°Π²ΡΠΎΠΌΠΎΠ±ΠΈΠ»Ρ Π±Π»ΠΎΠΊ ΡΠΏΡΠ°Π²Π»Π΅Π½ΠΈΡ ΡΠΈΡΡΠ΅ΠΌΡ ΡΠΌΠ΅Π½ΡΡΠ°Π΅Ρ ΡΠΎΠΊ ΡΠΏΡΠ°Π²Π»Π΅Π½ΠΈΡ ΡΠ»Π΅ΠΊΡΡΠΎΠΌΠ°Π³Π½ΠΈΡΠ½ΡΠΌ ΠΊΠ»Π°ΠΏΠ°Π½ΠΎΠΌ. Π ΡΠ΅Π·ΡΠ»ΡΡΠ°ΡΠ΅ ΡΡΠΎΡ ΠΊΠ»Π°ΠΏΠ°Π½ ΡΠ°ΡΡΠΈΡΠ½ΠΎ ΠΎΡΠΊΡΡΠ²Π°Π΅ΡΡΡ ΠΈ ΠΏΠ΅ΡΠ΅ΠΏΡΡΠΊΠ°Π΅Ρ ΠΎΠ³ΡΠ°Π½ΠΈΡΠ΅Π½Π½ΠΎΠ΅ ΠΊΠΎΠ»ΠΈΡΠ΅ΡΡΠ²ΠΎ ΡΠ°Π±ΠΎΡΠ΅ΠΉ ΠΆΠΈΠ΄ΠΊΠΎΡΡΠΈ ΠΈΠ· ΠΏΡΠΈΡΠΎΡΠ½ΠΎΠ³ΠΎ ΠΊΠΎΠ»ΡΡΠ΅Π²ΠΎΠ³ΠΎ ΠΏΠ°Π·Π° 5 Π² ΠΏΠΎΠ»ΠΎΡΡΡ 9 Π½Π°Π΄ ΡΠ΅Π°ΠΊΡΠΈΠ²Π½ΡΠΌ ΠΏΠΎΡΡΠ½Π΅ΠΌ 8. ΠΡΠΈ ΡΡΠΎΠΌ ΠΆΠΈΠΊΠ»Π΅Ρ 6 ΠΏΡΠ΅ΠΏΡΡΡΡΠ²ΡΠ΅Ρ ΡΠΈΠ»ΡΠ½ΠΎΠΌΡ ΠΎΡΡΠΎΠΊΡ ΡΠ°Π±ΠΎΡΠ΅ΠΉ ΠΆΠΈΠ΄ΠΊΠΎΡΡΠΈ Π½Π° ΡΠ»ΠΈΠ², Π±Π»Π°Π³ΠΎΠ΄Π°ΡΡ ΡΠ΅ΠΌΡ Π² ΠΏΠΎΠ»ΠΎΡΡΠΈ Π½Π°Π΄ ΡΠ΅Π°ΠΊΡΠΈΠ²Π½ΡΠΌ ΠΏΠΎΡΡΠ½Π΅ΠΌ ΡΠΎΠ·Π΄Π°Π΅ΡΡΡ Π΄ΠΎΡΡΠ°ΡΠΎΡΠ½ΠΎ Π²ΡΡΠΎΠΊΠΎΠ΅ Π΄Π°Π²Π»Π΅Π½ΠΈΠ΅. Π Π·Π°Π²ΠΈΡΠΈΠΌΠΎΡΡΠΈ ΠΎΡ Π²Π΅Π»ΠΈΡΠΈΠ½Ρ ΡΡΠΎΠ³ΠΎ Π΄Π°Π²Π»Π΅Π½ΠΈΡ ΠΈΠ·ΠΌΠ΅Π½ΡΠ΅ΡΡΡ ΡΡΠΈΠ»ΠΈΠ΅, ΠΏΠ΅ΡΠ΅Π΄Π°Π²Π°Π΅ΠΌΠΎΠ΅ ΠΏΠΎΡΡΠ½Π΅ΠΌ Π½Π° ΡΠ°ΡΠΈΠΊΠΈ ΠΈ Π΄Π°Π»Π΅Π΅ Π½Π° Π²ΡΡΠ»ΠΊΡ ΡΠ°ΡΠΏΡΠ΅Π΄Π΅Π»ΠΈΡΠ΅Π»Ρ.
ΠΠ΅ΠΉΡΡΠ²ΡΡΡΠ΅Π΅ Π½Π° ΡΠ΅Π°ΠΊΡΠΈΠ²Π½ΡΠΉ ΠΏΠΎΡΡΠ΅Π½Ρ Π΄Π°Π²Π»Π΅Π½ΠΈΠ΅ ΠΏΠ΅ΡΠ΅Π΄Π°Π΅ΡΡΡ Π½Π° ΡΠ°ΡΠΈΠΊΠΈ 7, ΠΊΠΎΡΠΎΡΡΠ΅ ΡΡΡΠ°Π½ΠΎΠ²Π»Π΅Π½Ρ ΠΌΠ΅ΠΆΠ΄Ρ Π½ΠΈΠΌ ΠΈ ΡΠΊΠΎΡΠ΅Π½Π½ΡΠΌΠΈ ΠΏΠΎΠ²Π΅ΡΡ Π½ΠΎΡΡΡΠΌΠΈ ΡΠ΅Π½ΡΡΠΈΡΡΡΡΠ΅ΠΉ Π²ΡΡΠ»ΠΊΠΈ 10, ΠΆΠ΅ΡΡΠΊΠΎ ΡΠΎΠ΅Π΄ΠΈΠ½Π΅Π½Π½ΠΎΠΉ Ρ ΡΠ°ΡΠΏΡΠ΅Π΄Π΅Π»ΠΈΡΠ΅Π»ΡΠ½ΠΎΠΉ Π²ΡΡΠ»ΠΊΠΎΠΉ. Π’ΠΎΡΠ½ΠΎΠ΅ ΡΠ΅Π½ΡΡΠΈΡΠΎΠ²Π°Π½ΠΈΠ΅ ΠΊΠ»Π°ΠΏΠ°Π½Π° ΡΠΏΡΠ°Π²Π»Π΅Π½ΠΈΡ ΠΎΡΠΎΠ±Π΅Π½Π½ΠΎ Π±Π»Π°Π³ΠΎΠΏΡΠΈΡΡΠ½ΠΎ ΠΏΡΠΈ Π΄Π²ΠΈΠΆΠ΅Π½ΠΈΠΈ Π°Π²ΡΠΎΠΌΠΎΠ±ΠΈΠ»Ρ ΠΏΠΎ ΠΏΡΡΠΌΠΎΠΉ. ΠΡΠΈ Π²ΡΠ°ΡΠ΅Π½ΠΈΠΈ ΠΊΠ»Π°ΠΏΠ°Π½Π° ΡΠΏΡΠ°Π²Π»Π΅Π½ΠΈΡ, Π½Π°Ρ ΠΎΠ΄ΡΡΠΈΠ΅ΡΡ ΠΏΠΎΠ΄ Π½Π°Π³ΡΡΠ·ΠΊΠΎΠΉ ΡΠ°ΡΠΈΠΊΠΈ ΠΏΡΠΎΡΠΈΠ²ΠΎΠ΄Π΅ΠΉΡΡΠ²ΡΡΡ ΠΏΠΎΠ²ΠΎΡΠΎΡΡ Π·ΠΎΠ»ΠΎΡΠ½ΠΈΠΊΠ° ΠΎΡΠ½ΠΎΡΠΈΡΠ΅Π»ΡΠ½ΠΎ ΡΠ°ΡΠΏΡΠ΅Π΄Π΅Π»ΠΈΡΠ΅Π»ΡΠ½ΠΎΠΉ Π²ΡΡΠ»ΠΊΠΈ. Π’Π°ΠΊΠΈΠΌ ΠΎΠ±ΡΠ°Π·ΠΎΠΌ, Π³ΠΈΠ΄ΡΠ°Π²Π»ΠΈΡΠ΅ΡΠΊΠΈΠΉ ΡΠΏΠΎΡΠΎΠ± ΡΠΎΠ·Π΄Π°Π½ΠΈΡ ΡΠ΅Π°ΠΊΡΠΈΠ²Π½ΡΡ ΡΡΠΈΠ»ΠΈΠΉ ΠΈΡΠΏΠΎΠ»ΡΠ·ΡΠ΅ΡΡΡ Π΄Π»Ρ ΠΏΠΎΠ²ΡΡΠ΅Π½ΠΈΡ ΠΌΠΎΠΌΠ΅Π½ΡΠ° Π½Π° ΡΡΠ»Π΅Π²ΠΎΠΌ ΠΊΠΎΠ»Π΅ΡΠ° Π΄ΠΎ ΡΡΠΎΠ²Π½Ρ, ΠΏΠΎΠ΄Π±ΠΈΡΠ°Π΅ΠΌΠΎΠ³ΠΎ ΠΈΠ½Π΄ΠΈΠ²ΠΈΠ΄ΡΠ°Π»ΡΠ½ΠΎ Π΄Π»Ρ ΠΊΠ°ΠΆΠ΄ΠΎΠΉ ΠΌΠΎΠ΄Π΅Π»ΠΈ Π°Π²ΡΠΎΠΌΠΎΠ±ΠΈΠ»Ρ.
ΠΡΠΈ Π²ΡΡΠΎΠΊΠΈΡ
ΡΠΊΠΎΡΠΎΡΡΡΡ
Π΄Π²ΠΈΠΆΠ΅Π½ΠΈΡ ΡΠΎΠΊ ΡΠΏΡΠ°Π²Π»Π΅Π½ΠΈΡ ΡΠ½ΠΈΠΆΠ°Π΅ΡΡΡ Π΄ΠΎ Π½ΡΠ»Ρ, Π² ΡΠ΅Π·ΡΠ»ΡΡΠ°ΡΠ΅ ΡΠ΅Π³ΠΎ ΡΠ»Π΅ΠΊΡΡΠΎΠΌΠ°Π³Π½ΠΈΡΠ½ΡΠΉ ΠΊΠ»Π°ΠΏΠ°Π½ ΠΎΡΠΊΡΡΠ²Π°Π΅ΡΡΡ ΠΏΠΎΠ»Π½ΠΎΡΡΡΡ. Π ΡΠ΅Π·ΡΠ»ΡΡΠ°ΡΠ΅ Π½Π° ΡΠ΅Π°ΠΊΡΠΈΠ²Π½ΡΠΉ ΠΏΠΎΡΡΠ΅Π½Ρ Π΄Π΅ΠΉΡΡΠ²ΡΠ΅Ρ ΠΌΠ°ΠΊΡΠΈΠΌΠ°Π»ΡΠ½ΠΎΠ΅ Π΄Π°Π²Π»Π΅Π½ΠΈΠ΅, ΡΠΎΠΎΡΠ²Π΅ΡΡΡΠ²ΡΡΡΠ΅Π΅ Π΅Π³ΠΎ Π²Π΅Π»ΠΈΡΠΈΠ½Π΅ Π² ΠΏΡΠΈΡΠΎΡΠ½ΠΎΠΌ ΠΊΠΎΠ»ΡΡΠ΅Π²ΠΎΠΌ ΠΏΠ°Π·Π΅.
Π ΠΈΡ. ΠΠ»ΠΎΠΊ ΠΊΠ»Π°ΠΏΠ°Π½Π° ΡΠΏΡΠ°Π²Π»Π΅Π½ΠΈΡ:
1 β ΡΠ°ΡΠΏΡΠ΅Π΄Π΅Π»ΠΈΡΠ΅Π»ΡΠ½Π°Ρ Π²ΡΡΠ»ΠΊΠ°; 2 β ΡΠ»ΠΈΠ²Π½Π°Ρ ΠΏΠΎΠ»ΠΎΡΡΡ; 3 β ΠΎΠ³ΡΠ°Π½ΠΈΡΠΈΡΠ΅Π»ΡΠ½ΡΠΉ ΠΊΠ»Π°ΠΏΠ°Π½; 4 β ΡΠ»Π΅ΠΊΡΡΠΎΠΌΠ°Π³Π½ΠΈΡΠ½ΡΠΉ ΠΊΠ»Π°ΠΏΠ°Π½; 5 β ΠΏΡΠΈΡΠΎΡΠ½ΡΠΉ ΠΊΠΎΠ»ΡΡΠ΅Π²ΠΎΠΉ ΠΏΠ°Π·; 6 β ΠΆΠΈΠΊΠ»Π΅Ρ; 7 β ΡΠ°ΡΠΈΠΊ; 8 β ΡΠ΅Π°ΠΊΡΠΈΠ²Π½ΡΠΉ ΠΏΠΎΡΡΠ΅Π½Ρ; 9 β ΠΏΠΎΠ»ΠΎΡΡΡ Π½Π°Π΄ ΡΠ΅Π°ΠΊΡΠΈΠ²Π½ΡΠΌ ΠΏΠΎΡΡΠ½Π΅ΠΌ;10 β ΡΠ΅Π½ΡΡΠΈΡΡΡΡΠ°Ρ Π²ΡΡΠ»ΠΊΠ°
ΠΡΠΈ Π½Π΅Π±ΠΎΠ»ΡΡΠΎΠΉ ΠΈΠ»ΠΈ Π½ΡΠ»Π΅Π²ΠΎΠΉ ΡΠΊΠΎΡΠΎΡΡΠΈ Π΄Π²ΠΈΠΆΠ΅Π½ΠΈΡ ΡΠΈΠ»Π° ΠΏΡΠΎΡΠ΅ΠΊΠ°ΡΡΠ΅Π³ΠΎ ΡΠ΅ΡΠ΅Π· ΡΠ»Π΅ΠΊΡΡΠΎΠΌΠ°Π³Π½ΠΈΡΠ½ΡΠΉ ΠΊΠ»Π°ΠΏΠ°Π½ ΡΠΎΠΊΠ° Π΄ΠΎΡΡΠΈΠ³Π°Π΅Ρ ΠΌΠ°ΠΊΡΠΈΠΌΠ°Π»ΡΠ½ΠΎΠΉ Π²Π΅Π»ΠΈΡΠΈΠ½Ρ, Π² ΡΠ΅Π·ΡΠ»ΡΡΠ°ΡΠ΅ ΡΠ΅Π³ΠΎ ΡΠ»Π΅ΠΊΡΡΠΎΠΌΠ°Π³Π½ΠΈΡΠ½ΡΠΉ ΠΊΠ»Π°ΠΏΠ°Π½ 4 Π·Π°ΠΊΡΡΠ²Π°Π΅ΡΡΡ ΠΈ ΠΏΡΠ΅Π΄ΠΎΡΠ²ΡΠ°ΡΠ°Π΅Ρ ΠΏΠΎΡΡΡΠΏΠ»Π΅Π½ΠΈΠ΅ ΡΠ°Π±ΠΎΡΠ΅ΠΉ ΠΆΠΈΠ΄ΠΊΠΎΡΡΠΈ Π² ΠΏΠΎΠ»ΠΎΡΡΡ 9 Π½Π°Π΄ ΡΠ΅Π°ΠΊΡΠΈΠ²Π½ΡΠΌ ΠΏΠΎΡΡΠ½Π΅ΠΌ. ΠΡΠΈ ΡΡΠΎΠΌ Π² ΠΏΠΎΠ»ΠΎΡΡΠΈ Π½Π°Π΄ ΡΠ΅Π°ΠΊΡΠΈΠ²Π½ΡΠΌ ΠΏΠΎΡΡΠ½Π΅ΠΌ ΠΏΠΎΠ΄Π΄Π΅ΡΠΆΠΈΠ²Π°Π΅ΡΡΡ ΡΠ°ΠΊΠΎΠ΅ ΠΆΠ΅ Π΄Π°Π²Π»Π΅Π½ΠΈΠ΅, ΠΊΠ°ΠΊ ΠΈ Π² ΡΠ»ΠΈΠ²Π½ΠΎΠΉ ΠΏΠΎΠ»ΠΎΡΡΠΈ 2, ΡΠ°ΠΊ ΠΊΠ°ΠΊ ΠΎΠ½ΠΈ ΡΠΎΠ΅Π΄ΠΈΠ½Π΅Π½Ρ ΠΌΠ΅ΠΆΠ΄Ρ ΡΠΎΠ±ΠΎΠΉ ΠΏΠΎΡΡΠ΅Π΄ΡΡΠ²ΠΎΠΌ ΠΆΠΈΠΊΠ»Π΅ΡΠ° 6.
Π’Π°ΠΊΠΈΠΌ ΠΎΠ±ΡΠ°Π·ΠΎΠΌ ΠΊΠ»Π°ΠΏΠ°Π½ ΡΠΏΡΠ°Π²Π»Π΅Π½ΠΈΡ ΡΠΈΡΡΠ΅ΠΌΡ Servotronic Π΄Π΅ΠΉΡΡΠ²ΡΠ΅Ρ ΡΠ°ΠΊ ΠΆΠ΅, ΠΊΠ°ΠΊ ΠΎΠ±ΡΡΠ½ΡΠΉ ΠΊΠ»Π°ΠΏΠ°Π½ Ρ ΠΏΠΎΠ²ΠΎΡΠΎΡΠ½ΡΠΌ Π·ΠΎΠ»ΠΎΡΠ½ΠΈΠΊΠΎΠΌ. Π’Π°ΠΊ ΠΊΠ°ΠΊ Π΄Π΅ΠΉΡΡΠ²ΠΈΠ΅ ΡΠ΅Π°ΠΊΡΠΈΠ²Π½ΠΎΠ³ΠΎ ΠΏΠΎΡΡΠ½Ρ ΠΎΡΡΡΡΡΡΠ²ΡΠ΅Ρ, Π΄Π»Ρ ΠΏΠΎΠ²ΠΎΡΠΎΡΠ° ΠΊΠΎΠ»Π΅Ρ Π°Π²ΡΠΎΠΌΠΎΠ±ΠΈΠ»Ρ ΡΡΠ΅Π±ΡΡΡΡΡ ΠΎΡΠ½ΠΎΡΠΈΡΠ΅Π»ΡΠ½ΠΎ Π½Π΅Π±ΠΎΠ»ΡΡΠΈΠ΅ ΡΡΠΈΠ»ΠΈΡ Π½Π° ΡΡΠ»Π΅Π²ΠΎΠΌ ΠΊΠΎΠ»Π΅ΡΠ΅.
ΠΡΠΈ Π²ΠΎΠ·Π΄Π΅ΠΉΡΡΠ²ΠΈΠΈ Π½Π° ΡΡΠ»Π΅Π²ΠΎΠΉ ΠΌΠ΅Ρ Π°Π½ΠΈΠ·ΠΌ ΡΠΈΠ»Ρ Π² ΠΏΡΠΎΡΠΈΠ²ΠΎΠΏΠΎΠ»ΠΎΠΆΠ½ΠΎΠΌ Π½Π°ΠΏΡΠ°Π²Π»Π΅Π½ΠΈΠΈ, Π½Π°ΠΏΡΠΈΠΌΠ΅Ρ, Π² ΡΠ΅Π·ΡΠ»ΡΡΠ°ΡΠ΅ Π½Π°Π΅Π·Π΄Π° Π½Π° Π½Π΅ΡΠΎΠ²Π½ΠΎΡΡΡ, ΡΡΠΈΠ»ΠΈΡΠ΅Π»Ρ Π΄Π΅ΠΉΡΡΠ²ΡΠ΅Ρ ΠΊΠ°ΠΊ Π΄Π΅ΠΌΠΏΡΠ΅Ρ. Π ΡΡΠΎΠΌ ΡΠ»ΡΡΠ°Π΅ ΡΠΎΡΡΠΈΠΎΠ½ Π·Π°ΠΊΡΡΡΠΈΠ²Π°Π΅ΡΡΡ ΠΏΠΎΠ΄ Π΄Π΅ΠΉΡΡΠ²ΠΈΠ΅ΠΌ ΡΡΠΈΠ»ΠΈΡ, ΠΏΠ΅ΡΠ΅Π΄Π°Π²Π°Π΅ΠΌΠΎΠ³ΠΎ Π½Π° Π½Π΅Π³ΠΎ ΡΠ΅ΡΠ΅Π· ΡΠ΅ΠΉΠΊΡ ΠΈ Π²Π΅Π΄ΡΡΡΡ ΡΠ΅ΡΡΠ΅ΡΠ½Ρ. ΠΡΠΈ ΡΡΠΎΠΌ Π·ΠΎΠ»ΠΎΡΠ½ΠΈΠΊ ΠΏΠΎΠ²ΠΎΡΠ°ΡΠΈΠ²Π°Π΅ΡΡΡ ΠΈΠ· Π½Π΅ΠΉΡΡΠ°Π»ΡΠ½ΠΎΠ³ΠΎ ΠΏΠΎΠ»ΠΎΠΆΠ΅Π½ΠΈΡ ΠΎΡΠ½ΠΎΡΠΈΡΠ΅Π»ΡΠ½ΠΎ Π²ΡΡΠ»ΠΊΠΈ ΡΠ°ΡΠΏΡΠ΅Π΄Π΅Π»ΠΈΡΠ΅Π»Ρ. Π ΡΠ΅Π·ΡΠ»ΡΡΠ°ΡΠ΅ ΡΠ°Π±ΠΎΡΠ°Ρ ΠΆΠΈΠ΄ΠΊΠΎΡΡΡ ΠΏΠΎΡΡΡΠΏΠ°Π΅Ρ ΠΏΠΎΠ΄ Π΄Π°Π²Π»Π΅Π½ΠΈΠ΅ΠΌ Π² ΡΡ ΠΏΠΎΠ»ΠΎΡΡΡ ΡΠΈΠ»ΠΎΠ²ΠΎΠ³ΠΎ ΡΠΈΠ»ΠΈΠ½Π΄ΡΠ°, ΠΊΠΎΡΠΎΡΠ°Ρ ΡΠΎΠ·Π΄Π°Π΅Ρ ΠΏΡΠΎΡΠΈΠ²ΠΎΠ΄Π΅ΠΉΡΡΠ²ΠΈΠ΅ Π΄Π²ΠΈΠΆΠ΅Π½ΠΈΡ ΡΠ΅ΠΉΠΊΠΈ.
Π ΠΈΡ. Π‘Ρ Π΅ΠΌΠ° ΡΠ°Π±ΠΎΡΡ Π³ΠΈΠ΄ΡΠΎΡΡΠΈΠ»ΠΈΡΠ΅Π»Ρ ΠΏΡΠΈ Π½Π°Π΅Π·Π΄Π΅ Π½Π° ΠΏΡΠ΅ΠΏΡΡΡΡΠ²ΠΈΠ΅
ΠΠ°ΠΏΡΠΈΠΌΠ΅Ρ, ΠΏΡΠΈ ΠΏΠ΅ΡΠ΅Π΅Π·Π΄Π΅ Π½Π΅ΡΠΎΠ²Π½ΠΎΡΡΠΈ Π½Π° ΠΊΠΎΠ»Π΅ΡΠΎ Π°Π²ΡΠΎΠΌΠΎΠ±ΠΈΠ»Ρ Π΄Π΅ΠΉΡΡΠ²ΡΠ΅Ρ ΡΠΈΠ»Π° FA, ΠΊΠΎΡΠΎΡΠ°Ρ ΡΡΡΠ΅ΠΌΠΈΡΡΡ Π΅Π³ΠΎ ΠΏΠΎΠ²Π΅ΡΠ½ΡΡΡ Π²ΠΎΠΊΡΡΠ³ ΡΠΎΡΠΊΠΈ D (ΠΏΠΎ ΡΠ°ΡΠΎΠ²ΠΎΠΉ ΡΡΡΠ΅Π»ΠΊΠ΅). ΠΡΠΈ ΡΡΠΎΠΌ Π½Π° ΡΠ΅ΠΉΠΊΡ ΠΏΠ΅ΡΠ΅Π΄Π°Π΅ΡΡΡ ΡΠΈΠ»Π° FZ, ΠΊΠΎΡΠΎΡΠ°Ρ ΠΏΠΎΠ²ΠΎΡΠ°ΡΠΈΠ²Π°Π΅Ρ ΡΠ΅ΡΡΠ΅ΡΠ½Ρ ΠΈ Π·Π°ΠΊΡΡΡΠΈΠ²Π°Π΅Ρ ΡΠΎΡΡΠΈΠΎΠ½. Π ΡΠ΅Π·ΡΠ»ΡΡΠ°ΡΠ΅ ΠΎΡΠΊΡΡΠ²Π°Π΅ΡΡΡ ΠΏΡΠΎΡ
ΠΎΠ΄ ΡΠ°Π±ΠΎΡΠ΅ΠΉ ΠΆΠΈΠ΄ΠΊΠΎΡΡΠΈ ΠΏΠΎΠ΄ Π΄Π°Π²Π»Π΅Π½ΠΈΠ΅ΠΌ Π² ΠΏΡΠ°Π²ΡΡ ΠΏΠΎΠ»ΠΎΡΡΡ ΡΠΈΠ»ΠΎΠ²ΠΎΠ³ΠΎ ΡΠΈΠ»ΠΈΠ½Π΄ΡΠ°, Π° Π»Π΅Π²Π°Ρ ΠΏΠΎΠ»ΠΎΡΡΡ ΡΠΎΠΎΠ±ΡΠ°Π΅ΡΡΡ ΡΠΎ ΡΠ»ΠΈΠ²ΠΎΠΌ. ΠΠ΅ΠΉΡΡΠ²ΡΡΡΠ°Ρ Π½Π° ΠΏΠΎΡΡΠ΅Π½Ρ ΠΈ ΡΠ΅ΠΉΠΊΡ ΡΠ΅Π°ΠΊΡΠΈΠ²Π½Π°Ρ ΡΠΈΠ»Π° FR ΡΡΠ°Π²Π½ΠΎΠ²Π΅ΡΠΈΠ²Π°Π΅Ρ ΡΠΈΠ»Ρ FZ ΠΈ ΠΏΡΠΎΡΠΈΠ²ΠΎΠ΄Π΅ΠΉΡΡΠ²ΡΠ΅Ρ ΡΠ°ΠΊΠΈΠΌ ΠΎΠ±ΡΠ°Π·ΠΎΠΌ ΠΏΠΎΠ²ΠΎΡΠΎΡΡ ΠΊΠΎΠ»Π΅Ρ Π°Π²ΡΠΎΠΌΠΎΠ±ΠΈΠ»Ρ.
ΠΠ° ΠΏΡΠΈΠ²ΠΎΠ΄ Π½Π°ΡΠΎΡΠ° Π³ΠΈΠ΄ΡΠΎΡΡΠΈΠ»ΠΈΡΠ΅Π»Ρ Π·Π°ΡΡΠ°ΡΠΈΠ²Π°Π΅ΡΡΡ Π·Π½Π°ΡΠΈΡΠ΅Π»ΡΠ½Π°Ρ ΠΌΠΎΡΠ½ΠΎΡΡΡ (5β¦7 Π».Ρ.), ΠΏΠΎΡΡΠΎΠΌΡ Π² ΡΠ΅Π»ΡΡ ΡΠΊΠΎΠ½ΠΎΠΌΠΈΠΈ ΡΠΎΠΏΠ»ΠΈΠ²Π° Π² ΡΠΎΠ²ΡΠ΅ΠΌΠ΅Π½Π½ΡΡ Π°Π²ΡΠΎΠΌΠΎΠ±ΠΈΠ»ΡΡ ΠΏΡΠΈΠΌΠ΅Π½ΡΡΡ Π³ΠΈΠ΄ΡΠ°Π²Π»ΠΈΡΠ΅ΡΠΊΠΈΠ΅ Π½Π°ΡΠΎΡΡ Ρ ΠΏΡΠΈΠ²ΠΎΠ΄ΠΎΠΌ Π½Π΅ ΠΎΡ ΠΊΠΎΠ»Π΅Π½ΡΠ°ΡΠΎΠ³ΠΎ Π²Π°Π»Π°, Π° ΠΎΡ ΡΠ»Π΅ΠΊΡΡΠΎΠ΄Π²ΠΈΠ³Π°ΡΠ΅Π»Ρ, ΠΊΠΎΡΠΎΡΡΠΉ Π²ΠΊΠ»ΡΡΠ°Π΅ΡΡΡ Π² ΡΠ°Π±ΠΎΡΡ ΠΏΠΎ ΡΠΈΠ³Π½Π°Π»Ρ Π±Π»ΠΎΠΊΠ° ΡΠΏΡΠ°Π²Π»Π΅Π½ΠΈΡ. Π’Π°ΠΊΠ°Ρ ΠΊΠΎΠ½ΡΡΡΡΠΊΡΠΈΡ ΠΏΠΎΠ·Π²ΠΎΠ»ΡΠ΅Ρ ΡΠ°ΠΊΠΆΠ΅ ΠΏΠΎΠ²ΡΡΠΈΡΡ Π΄ΠΎΠ»Π³ΠΎΠ²Π΅ΡΠ½ΠΎΡΡΡ Π½Π°ΡΠΎΡΠ° Π³ΠΈΠ΄ΡΠΎΡΡΠΈΠ»ΠΈΡΠ΅Π»Ρ, ΡΠ°ΠΊ ΠΊΠ°ΠΊ ΠΎΠ½ ΡΠ°Π±ΠΎΡΠ°Π΅Ρ ΡΠΎΠ»ΡΠΊΠΎ Π²ΠΎ Π²ΡΠ΅ΠΌΡ ΠΏΠΎΠ²ΠΎΡΠΎΡΠ° ΡΡΠ»Π΅Π²ΠΎΠ³ΠΎ ΠΊΠΎΠ»Π΅ΡΠ°.
Π£ΡΠΈΠ»ΠΈΡΠ΅Π»ΠΈ ΡΠΎΡΠΌΠΎΠ·Π½ΡΡ ΠΏΡΠΈΠ²ΠΎΠ΄ΠΎΠ².
Π£ΡΠΈΠ»ΠΈΡΠ΅Π»ΠΈ ΡΠΎΡΠΌΠΎΠ·Π½ΡΡ ΠΏΡΠΈΠ²ΠΎΠ΄ΠΎΠ²
ο»ΏΠΠ»Ρ ΠΎΠ±Π»Π΅Π³ΡΠ΅Π½ΠΈΡ ΡΠ°Π±ΠΎΡΡ Π²ΠΎΠ΄ΠΈΡΠ΅Π»Ρ ΠΏΡΠΈ ΡΠΎΡΠΌΠΎΠΆΠ΅Π½ΠΈΠΈ, Π° ΡΠ°ΠΊΠΆΠ΅ ΡΠΎΠΊΡΠ°ΡΠ΅Π½ΠΈΡ ΡΠΎΡΠΌΠΎΠ·Π½ΠΎΠ³ΠΎ ΠΏΡΡΠΈ Π°Π²ΡΠΎΠΌΠΎΠ±ΠΈΠ»Ρ Π² Π³ΠΈΠ΄ΡΠ°Π²Π»ΠΈΡΠ΅ΡΠΊΠΈΡ
ΡΠΎΡΠΌΠΎΠ·Π½ΡΡ
ΠΏΡΠΈΠ²ΠΎΠ΄Π°Ρ
ΠΏΡΠΈΠΌΠ΅Π½ΡΡΡΡΡ ΡΡΠΈΠ»ΠΈΡΠ΅Π»ΠΈ, ΠΈΡΠΏΠΎΠ»ΡΠ·ΡΡΡΠΈΠ΅ Π΄Π»Ρ ΡΠ°Π±ΠΎΡΡ ΡΠ°Π·ΡΠ΅ΠΆΠ΅Π½ΠΈΠ΅ Π²ΠΎ Π²ΠΏΡΡΠΊΠ½ΠΎΠΌ ΡΡΡΠ±ΠΎΠΏΡΠΎΠ²ΠΎΠ΄Π΅ Π΄Π²ΠΈΠ³Π°ΡΠ΅Π»Ρ.
ΠΠ½Π΅Π²ΠΌΠ°ΡΠΈΡΠ΅ΡΠΊΠΈΠΉ ΠΏΡΠΈΠ²ΠΎΠ΄ Π½Π΅ Π½ΡΠΆΠ΄Π°Π΅ΡΡΡ Π² ΡΠΏΠ΅ΡΠΈΠ°Π»ΡΠ½ΠΎΠΌ ΡΡΠΈΠ»ΠΈΡΠ΅Π»Π΅ β ΡΠ½Π΅ΡΠ³ΠΈΡ ΡΠΆΠ°ΡΠΎΠ³ΠΎ Π²ΠΎΠ·Π΄ΡΡ
Π° ΠΏΠΎΠ·Π²ΠΎΠ»ΡΠ΅Ρ ΡΠΎΠ·Π΄Π°Π²Π°ΡΡ Π² ΡΠΎΡΠΌΠΎΠ·Π½ΡΡ
ΠΌΠ΅Ρ
Π°Π½ΠΈΠ·ΠΌΠ°Ρ
ΠΌΠΎΠΌΠ΅Π½ΡΡ, Π΄ΠΎΡΡΠ°ΡΠΎΡΠ½ΡΠ΅ Π΄Π»Ρ ΡΠΎΡΠΌΠΎΠΆΠ΅Π½ΠΈΡ Π°Π²ΡΠΎΡΡΠ°Π½ΡΠΏΠΎΡΡΠ½ΠΎΠ³ΠΎ ΡΡΠ΅Π΄ΡΡΠ²Π° Π»ΡΠ±ΠΎΠΉ ΠΌΠ°ΡΡΡ ΠΈ Π½Π° Π»ΡΠ±ΠΎΠΉ ΡΠΊΠΎΡΠΎΡΡΠΈ.
Π£ΡΠΈΠ»ΠΈΡΠ΅Π»ΠΈ Π³ΠΈΠ΄ΡΠ°Π²Π»ΠΈΡΠ΅ΡΠΊΠΈΡ ΡΠΎΡΠΌΠΎΠ·Π½ΡΡ ΠΏΡΠΈΠ²ΠΎΠ΄ΠΎΠ² ΠΏΠΎΠ΄ΡΠ°Π·Π΄Π΅Π»ΡΡΡ Π½Π° Π²Π°ΠΊΡΡΠΌΠ½ΡΠ΅ ΠΈ Π³ΠΈΠ΄ΡΠΎΠ²Π°ΠΊΡΡΠΌΠ½ΡΠ΅. ΠΡΠ»ΠΈ ΡΡΠΈΠ»ΠΈΡΠ΅Π»Ρ ΡΠ°ΡΠΏΠΎΠ»ΠΎΠΆΠ΅Π½ ΠΌΠ΅ΠΆΠ΄Ρ ΡΠΎΡΠΌΠΎΠ·Π½ΠΎΠΉ ΠΏΠ΅Π΄Π°Π»ΡΡ ΠΈ Π³Π»Π°Π²Π½ΡΠΌ ΡΠΈΠ»ΠΈΠ½Π΄ΡΠΎΠΌ, Π΅Π³ΠΎ Π½Π°Π·ΡΠ²Π°ΡΡ Π²Π°ΠΊΡΡΠΌΠ½ΡΠΌ, Π΅ΡΠ»ΠΈ ΡΡΠΈΠ»ΠΈΡΠ΅Π»Ρ Π²ΠΊΠ»ΡΡΠ΅Π½ Π½Π΅ΠΏΠΎΡΡΠ΅Π΄ΡΡΠ²Π΅Π½Π½ΠΎ Π² Π³ΠΈΠ΄ΡΠ°Π²Π»ΠΈΡΠ΅ΡΠΊΡΡ ΡΠ°ΡΡΡ ΠΏΡΠΈΠ²ΠΎΠ΄Π°, Π΅Π³ΠΎ Π½Π°Π·ΡΠ²Π°ΡΡ Π³ΠΈΠ΄ΡΠΎΠ²Π°ΠΊΡΡΠΌΠ½ΡΠΌ.
***
ΠΠΈΠ΄ΡΠΎΠ²Π°ΠΊΡΡΠΌΠ½ΡΠΉ ΡΡΠΈΠ»ΠΈΡΠ΅Π»Ρ ΡΠΎΡΠΌΠΎΠ·Π½ΠΎΠ³ΠΎ ΠΏΡΠΈΠ²ΠΎΠ΄Π°
ΠΠΈΠ΄ΡΠΎΠ²Π°ΠΊΡΡΠΌΠ½ΡΠΉ ΡΡΠΈΠ»ΠΈΡΠ΅Π»Ρ (ΡΠΈΡ. 1) ΡΠΎΡΡΠΎΠΈΡ ΠΈΠ· ΡΡΠ΅Ρ
ΠΎΡΠ½ΠΎΠ²Π½ΡΡ
ΡΠ°ΡΡΠ΅ΠΉ: Π³ΠΈΠ΄ΡΠΎΡΠΈΠ»ΠΈΠ½Π΄ΡΠ°, Π²Π°ΠΊΡΡΠΌΠ½ΠΎΠΉ ΠΊΠ°ΠΌΠ΅ΡΡ ΠΈ ΠΊΠ»Π°ΠΏΠ°Π½Π° ΡΠΏΡΠ°Π²Π»Π΅Π½ΠΈΡ.
Π ΡΠΈΠ»ΠΈΠ½Π΄ΡΠ΅ Π³ΠΈΠ΄ΡΠΎΠ²Π°ΠΊΡΡΠΌΠ½ΠΎΠ³ΠΎ ΡΡΠΈΠ»ΠΈΡΠ΅Π»Ρ, ΡΠΎΠ΅Π΄ΠΈΠ½Π΅Π½Π½ΠΎΠ³ΠΎ Ρ Π³Π»Π°Π²Π½ΡΠΌ ΡΠΈΠ»ΠΈΠ½Π΄ΡΠΎΠΌ, ΠΏΠ΅ΡΠ΅ΠΌΠ΅ΡΠ°Π΅ΡΡΡ ΠΏΠΎΡΡΠ΅Π½Ρ Ρ ΡΠ°ΡΠΈΠΊΠΎΠ²ΡΠΌ ΠΊΠ»Π°ΠΏΠ°Π½ΠΎΠΌ. ΠΠΎΡΡΠ΅Π½Ρ ΡΠ²ΡΠ·Π°Π½ Ρ ΡΠΎΠ»ΠΊΠ°ΡΠ΅Π»Π΅ΠΌ ΡΡΠΈΡΡΠΎΠΌ, ΠΊΠΎΡΠΎΡΡΠΉ ΠΏΠ»ΠΎΡΠ½ΠΎ ΠΏΡΠΈΠ»Π΅Π³Π°Π΅Ρ ΠΊ ΠΎΡΠ²Π΅ΡΡΡΠΈΡ ΠΏΠΎΡΡΠ½Ρ, Π° Ρ ΠΎΡΠ²Π΅ΡΡΡΠΈΠ΅ΠΌ ΡΠΎΠ»ΠΊΠ°ΡΠ΅Π»Ρ ΠΎΠ±ΡΠ°Π·ΡΠ΅Ρ Π½Π΅ΠΊΠΎΡΠΎΡΡΠΉ Π·Π°Π·ΠΎΡ.
Π ΠΏΠΎΡΡΠ½Π΅ Π²ΡΠΏΠΎΠ»Π½Π΅Π½Ρ ΠΏΡΠΎΡΠ΅Π·Ρ Π΄Π»Ρ ΡΠΎΠ»ΠΊΠ°ΡΠ΅Π»Ρ ΠΊΠ»Π°ΠΏΠ°Π½Π°, ΠΏΡΠ΅Π΄ΡΡΠ°Π²Π»ΡΡΡΠ΅Π³ΠΎ ΡΠΎΠ±ΠΎΠΉ ΠΏΠ»ΠΎΡΠΊΡΡ ΡΠΊΠΎΠ±Ρ Ρ ΡΠΈΠΏΠΎΠΌ Π½Π° ΠΊΠΎΠ½ΡΠ΅, ΠΊΠΎΡΠΎΡΠ°Ρ ΠΌΠΎΠΆΠ΅Ρ ΠΏΠ΅ΡΠ΅ΠΌΠ΅ΡΠ°ΡΡΡΡ ΠΎΡΠ½ΠΎΡΠΈΡΠ΅Π»ΡΠ½ΠΎ ΠΏΠΎΡΡΠ½Ρ Π½Π° Π½Π΅Π±ΠΎΠ»ΡΡΡΡ Π²Π΅Π»ΠΈΡΠΈΠ½Ρ.
Π ΡΠΈΠ»ΠΈΠ½Π΄ΡΠ΅ ΡΡΡΠ°Π½ΠΎΠ²Π»Π΅Π½Ρ ΠΏΠ΅ΡΠ΅ΠΏΡΡΠΊΠ½ΠΎΠΉ ΠΊΠ»Π°ΠΏΠ°Π½ Π΄Π»Ρ Π²ΡΠΏΡΡΠΊΠ° Π²ΠΎΠ·Π΄ΡΡ
Π° ΠΈ ΡΡΡΡΠ΅Ρ Π΄Π»Ρ ΠΏΠΎΠ΄ΡΠΎΠ΅Π΄ΠΈΠ½Π΅Π½ΠΈΡ ΡΡΡΠ±ΠΎΠΏΡΠΎΠ²ΠΎΠ΄ΠΎΠ². ΠΠ΅ΡΠ΅ΠΌΠ΅ΡΠ΅Π½ΠΈΠ΅ ΠΏΠΎΡΡΠ½Ρ ΠΎΠ³ΡΠ°Π½ΠΈΡΠ΅Π½ΠΎ ΡΠΏΠΎΡΠ½ΠΎΠΉ ΡΠ°ΠΉΠ±ΠΎΠΉ ΡΠΎ ΡΡΠΎΡΠΎΠ½Ρ Π²Π°ΠΊΡΡΠΌΠ½ΠΎΠΉ ΠΊΠ°ΠΌΠ΅ΡΡ.
ΠΠΎΡΠΏΡΡ Π²Π°ΠΊΡΡΠΌΠ½ΠΎΠΉ ΠΊΠ°ΠΌΠ΅ΡΡ ΡΠΎΡΡΠΎΠΈΡ ΠΈΠ· Π΄Π²ΡΡ
ΡΡΠ°ΠΌΠΏΠΎΠ²Π°Π½Π½ΡΡ
ΡΠ°ΡΠ΅ΠΊ, ΡΠ²ΡΠ·Π°Π½Π½ΡΡ
Ρ
ΠΎΠΌΡΡΠ°ΠΌΠΈ. ΠΠ΅ΠΆΠ΄Ρ ΡΠ°ΡΠΊΠ°ΠΌΠΈ, ΠΏΠΎΠ΄ΠΆΠΈΠΌΠ°Π΅ΠΌΡΠΌΠΈ ΠΏΡΡΠΆΠΈΠ½ΠΎΠΉ, ΡΠΎΠ΅Π΄ΠΈΠ½Π΅Π½Π½ΠΎΠΉ ΡΠ΅ΡΠ΅Π· ΡΠ°ΡΠ΅Π»ΠΊΡ Ρ ΡΠΎΠ»ΠΊΠ°ΡΠ΅Π»Π΅ΠΌ ΠΏΠΎΡΡΠ½Ρ, Π·Π°ΠΆΠ°ΡΡ ΠΊΡΠ°Ρ ΠΌΠ΅ΠΌΠ±ΡΠ°Π½Ρ. ΠΠ΅Π²Π°Ρ ΠΏΠΎΠ»ΠΎΡΡΡ Π²Π°ΠΊΡΡΠΌΠ½ΠΎΠΉ ΠΊΠ°ΠΌΠ΅ΡΡ ΠΏΠ΅ΡΠ΅Π΄ ΠΌΠ΅ΠΌΠ±ΡΠ°Π½ΠΎΠΉ ΡΠΎΠ΅Π΄ΠΈΠ½Π΅Π½Π° ΡΠ»Π°Π½Π³ΠΎΠΌ Ρ ΠΏΠΎΠ»ΠΎΡΡΡΡ ΠΊΠΎΡΠΏΡΡΠ° ΠΊΠ»Π°ΠΏΠ°Π½Π° ΡΠΏΡΠ°Π²Π»Π΅Π½ΠΈΡ, Π° ΠΏΡΠ°Π²Π°Ρ ΠΏΠΎΠ»ΠΎΡΡΡ Π·Π° ΠΌΠ΅ΠΌΠ±ΡΠ°Π½ΠΎΠΉ β Ρ Π²ΠΏΡΡΠΊΠ½ΡΠΌ ΡΡΡΠ±ΠΎΠΏΡΠΎΠ²ΠΎΠ΄ΠΎΠΌ Π΄Π²ΠΈΠ³Π°ΡΠ΅Π»Ρ.
ΠΠ»Π°ΠΏΠ°Π½ ΡΠΏΡΠ°Π²Π»Π΅Π½ΠΈΡ ΡΠΎΡΡΠΎΠΈΡ ΠΈΠ· ΠΏΠΎΡΡΠ½Ρ ΠΈ ΠΌΠ΅ΠΌΠ±ΡΠ°Π½Ρ, Π·Π°ΠΆΠ°ΡΠΎΠΉ ΠΌΠ΅ΠΆΠ΄Ρ Π΄Π²ΡΠΌΡ ΡΠ°ΡΡΡΠΌΠΈ ΠΊΠΎΡΠΏΡΡΠ° ΠΊΠ»Π°ΠΏΠ°Π½Π° ΡΠΏΡΠ°Π²Π»Π΅Π½ΠΈΡ. ΠΠ°ΠΊΡΡΠΌΠ½ΡΠΉ ΠΈ Π²ΠΎΠ·Π΄ΡΡΠ½ΡΠΉ ΠΊΠ»Π°ΠΏΠ°Π½Ρ ΡΠΎΠ΅Π΄ΠΈΠ½Π΅Π½Ρ ΡΡΠ΅ΡΠΆΠ½Π΅ΠΌ, ΡΠ΄Π΅ΡΠΆΠΈΠ²Π°Π΅ΠΌΡΠΌ Π² Π½ΠΈΠΆΠ½Π΅ΠΌ ΠΏΠΎΠ»ΠΎΠΆΠ΅Π½ΠΈΠΈ ΠΏΡΡΠΆΠΈΠ½ΠΎΠΉ.
ΠΠΎΠ·Π΄ΡΡΠ½ΡΠΉ ΡΠΈΠ»ΡΡΡ ΠΊΠ»Π°ΠΏΠ°Π½Π° ΡΠΏΡΠ°Π²Π»Π΅Π½ΠΈΡ ΡΠΎΠ΅Π΄ΠΈΠ½ΡΠ΅ΡΡΡ Ρ Π²Π½Π΅ΡΠ½Π΅ΠΉ ΡΡΠ΅Π΄ΠΎΠΉ (Π°ΡΠΌΠΎΡΡΠ΅ΡΠΎΠΉ).
Π ΠΈΡΡ
ΠΎΠ΄Π½ΠΎΠΌ ΠΏΠΎΠ»ΠΎΠΆΠ΅Π½ΠΈΠΈ ΠΏΠΎΠ΄ Π²ΠΎΠ·Π΄Π΅ΠΉΡΡΠ²ΠΈΠ΅ΠΌ ΠΏΡΡΠΆΠΈΠ½Ρ Π²ΠΎΠ·Π΄ΡΡΠ½ΡΠΉ ΠΊΠ»Π°ΠΏΠ°Π½, Π½Π°Ρ
ΠΎΠ΄ΡΡΠΈΠΉΡΡ Π½Π° ΠΎΠ΄Π½ΠΎΠΌ ΡΡΠ΅ΡΠΆΠ½Π΅ Ρ Π²Π°ΠΊΡΡΠΌΠ½ΡΠΌ ΠΊΠ»Π°ΠΏΠ°Π½ΠΎΠΌ, Π·Π°ΠΊΡΡΡ. ΠΡΠΈ ΡΡΠΎΠΌ ΠΏΡΠ°Π²Π°Ρ ΠΏΠΎΠ»ΠΎΡΡΡ Π²Π°ΠΊΡΡΠΌΠ½ΠΎΠΉ ΠΊΠ°ΠΌΠ΅ΡΡ, Π³Π΄Π΅ ΡΠΎΠ·Π΄Π°Π»ΠΎΡΡ ΡΠ°Π·ΡΠ΅ΠΆΠ΅Π½ΠΈΠ΅, ΡΠΎΠΎΠ±ΡΠ°Π΅ΡΡΡ ΡΠ΅ΡΠ΅Π· ΠΎΡΠΊΡΡΡΡΠΉ Π²Π°ΠΊΡΡΠΌΠ½ΡΠΉ ΠΊΠ»Π°ΠΏΠ°Π½ Ρ Π»Π΅Π²ΠΎΠΉ ΠΏΠΎΠ»ΠΎΡΡΡΡ. ΠΠ΅ΠΌΠ±ΡΠ°Π½Π° Π²Π°ΠΊΡΡΠΌΠ½ΠΎΠΉ ΠΊΠ°ΠΌΠ΅ΡΡ Π½Π°Ρ
ΠΎΠ΄ΠΈΡΡΡ Π² ΡΠΎΡΡΠΎΡΠ½ΠΈΠΈ ΠΏΠΎΠΊΠΎΡ.
ΠΠΎΠ΄ Π΄Π΅ΠΉΡΡΠ²ΠΈΠ΅ΠΌ ΡΠΈΠ»Ρ, ΠΏΡΠΈΠ»ΠΎΠΆΠ΅Π½Π½ΠΎΠΉ ΠΊ ΡΠΎΡΠΌΠΎΠ·Π½ΠΎΠΉ ΠΏΠ΅Π΄Π°Π»ΠΈ, ΠΆΠΈΠ΄ΠΊΠΎΡΡΡ ΠΈΠ· Π³Π»Π°Π²Π½ΠΎΠ³ΠΎ ΡΠΈΠ»ΠΈΠ½Π΄ΡΠ° ΠΏΠΎ ΡΡΡΠ±ΠΎΠΏΡΠΎΠ²ΠΎΠ΄Ρ ΠΏΠΎΡΡΡΠΏΠ°Π΅Ρ Π² Π³ΠΈΠ΄ΡΠΎΡΠΈΠ»ΠΈΠ½Π΄Ρ ΡΡΠΈΠ»ΠΈΡΠ΅Π»Ρ ΠΈ ΡΠ΅ΡΠ΅Π· ΠΎΡΠΊΡΡΡΡΠΉ ΡΠ°ΡΠΈΠΊΠΎΠ²ΡΠΉ ΠΊΠ»Π°ΠΏΠ°Π½ ΠΏΠΎΡΡΡΠΏΠ°Π΅Ρ ΠΊ ΠΊΠΎΠ»Π΅ΡΠ½ΡΠΌ ΡΠΈΠ»ΠΈΠ½Π΄ΡΠ°ΠΌ. ΠΡΠΈ ΡΠ²Π΅Π»ΠΈΡΠ΅Π½ΠΈΠΈ ΡΠΈΠ»Ρ, Π΄Π΅ΠΉΡΡΠ²ΡΡΡΠ΅ΠΉ Π½Π° ΠΏΠ΅Π΄Π°Π»Ρ, Π΄Π°Π²Π»Π΅Π½ΠΈΠ΅ ΠΆΠΈΠ΄ΠΊΠΎΡΡΠΈ Π²ΠΎΠ·ΡΠ°ΡΡΠ°Π΅Ρ, ΠΈ ΠΏΠΎΡΡΠ΅Π½Ρ ΠΊΠ»Π°ΠΏΠ°Π½Π° ΡΠΏΡΠ°Π²Π»Π΅Π½ΠΈΡ Π²ΠΌΠ΅ΡΡΠ΅ Ρ ΠΌΠ΅ΠΌΠ±ΡΠ°Π½ΠΎΠΉ ΠΈ ΡΠ΅Π΄Π»ΠΎΠΌ Π²Π°ΠΊΡΡΠΌΠ½ΠΎΠ³ΠΎ ΠΊΠ»Π°ΠΏΠ°Π½Π° ΠΏΠΎΠ΄Π½ΠΈΠΌΠ°Π΅ΡΡΡ Π²Π²Π΅ΡΡ
, ΠΏΡΠ΅ΠΎΠ΄ΠΎΠ»Π΅Π²Π°Ρ ΡΠΎΠΏΡΠΎΡΠΈΠ²Π»Π΅Π½ΠΈΠ΅ Π²ΠΎΠ·Π²ΡΠ°ΡΠ½ΠΎΠΉ ΠΏΡΡΠΆΠΈΠ½Ρ ΠΌΠ΅ΠΌΠ±ΡΠ°Π½Ρ. ΠΡΠΈ ΡΡΠΎΠΌ ΡΠ΅Π΄Π»ΠΎ ΠΏΡΠΈΠΆΠΈΠΌΠ°Π΅ΡΡΡ ΠΊ Π²Π°ΠΊΡΡΠΌΠ½ΠΎΠΌΡ ΠΊΠ»Π°ΠΏΠ°Π½Ρ, Π²ΡΠ»Π΅Π΄ΡΡΠ²ΠΈΠ΅ ΡΠ΅Π³ΠΎ ΠΏΠΎΠ»ΠΎΡΡΠΈ ΠΌΠ΅ΠΌΠ±ΡΠ°Π½Ρ ΡΡΠΈΠ»ΠΈΡΠ΅Π»Ρ ΡΠ°Π·ΠΎΠ±ΡΠ°ΡΡΡΡ.
ΠΡΠΈ Π΄Π°Π»ΡΠ½Π΅ΠΉΡΠ΅ΠΌ ΠΏΠ΅ΡΠ΅ΠΌΠ΅ΡΠ΅Π½ΠΈΠΈ ΠΏΠΎΡΡΠ½Ρ ΠΈ Π΄Π²ΠΈΠΆΠ΅Π½ΠΈΠΈ Π²Π°ΠΊΡΡΠΌΠ½ΠΎΠ³ΠΎ ΠΊΠ»Π°ΠΏΠ°Π½Π°, ΡΠ²ΡΠ·Π°Π½Π½ΠΎΠ³ΠΎ ΡΡΠ΅ΡΠΆΠ½Π΅ΠΌ Ρ Π²ΠΎΠ·Π΄ΡΡΠ½ΡΠΌ ΠΊΠ»Π°ΠΏΠ°Π½ΠΎΠΌ, ΠΏΠΎΡΠ»Π΅Π΄Π½ΠΈΠΉ ΠΎΡΠΊΡΡΠ²Π°Π΅ΡΡΡ, ΠΏΡΠ΅ΠΎΠ΄ΠΎΠ»Π΅Π²Π°Ρ ΡΠΎΠΏΡΠΎΡΠΈΠ²Π»Π΅Π½ΠΈΠ΅ ΡΠ²ΠΎΠ΅ΠΉ ΠΏΡΡΠΆΠΈΠ½Ρ, Π² ΡΠ΅Π·ΡΠ»ΡΡΠ°ΡΠ΅ ΡΠ΅Π³ΠΎ Π²ΠΎΠ·Π΄ΡΡ
ΠΈΠ· ΠΎΠΊΡΡΠΆΠ°ΡΡΠ΅ΠΉ ΡΡΠ΅Π΄Ρ ΠΏΠΎΡΡΡΠΏΠ°Π΅Ρ ΠΈΠ· ΠΏΠΎΠ»ΠΎΡΡΠΈ ΠΊΠ»Π°ΠΏΠ°Π½Π° ΡΠΏΡΠ°Π²Π»Π΅Π½ΠΈΡ Π² Π»Π΅Π²ΡΡ ΠΏΠΎΠ»ΠΎΡΡΡ Π²Π°ΠΊΡΡΠΌΠ½ΠΎΠΉ ΠΊΠ°ΠΌΠ΅ΡΡ ΡΡΠΈΠ»ΠΈΡΠ΅Π»Ρ.
ΠΡΠ°Π²Π°Ρ ΠΏΠΎΠ»ΠΎΡΡΡ Π²Π°ΠΊΡΡΠΌΠ½ΠΎΠΉ ΠΊΠ°ΠΌΠ΅ΡΡ ΠΎΡΡΠ°Π΅ΡΡΡ ΡΠΎΠ΅Π΄ΠΈΠ½Π΅Π½Π½ΠΎΠΉ Ρ Π²ΠΏΡΡΠΊΠ½ΡΠΌ ΡΡΡΠ±ΠΎΠΏΡΠΎΠ²ΠΎΠ΄ΠΎΠΌ Π΄Π²ΠΈΠ³Π°ΡΠ΅Π»Ρ. ΠΠ·-Π·Π° ΡΠ°Π·Π½ΠΎΡΡΠΈ Π΄Π°Π²Π»Π΅Π½ΠΈΠΉ Π² ΠΏΠΎΠ»ΠΎΡΡΡΡ
Π²Π°ΠΊΡΡΠΌΠ½ΠΎΠΉ ΠΊΠ°ΠΌΠ΅ΡΡ Π΅Π΅ ΠΌΠ΅ΠΌΠ±ΡΠ°Π½Π° ΠΏΡΠΎΠ³ΠΈΠ±Π°Π΅ΡΡΡ, ΠΏΠ΅ΡΠ΅ΠΌΠ΅ΡΠ°Ρ Π²ΠΌΠ΅ΡΡΠ΅ ΡΠΎ ΡΡΠΎΠΊΠΎΠΌ ΠΈ ΠΏΠΎΡΡΠ΅Π½Ρ Π³ΠΈΠ΄ΡΠΎΡΠΈΠ»ΠΈΠ½Π΄ΡΠ°.
Π¨Π°ΡΠΈΠΊΠΎΠ²ΡΠΉ ΠΊΠ»Π°ΠΏΠ°Π½ Π·Π°ΠΊΡΡΠ²Π°Π΅ΡΡΡ, ΠΈ ΠΏΠΎΡΡΠ΅Π½Ρ Π³ΠΈΠ΄ΡΠΎΡΠΈΠ»ΠΈΠ½Π΄ΡΠ° ΡΠΎΠ·Π΄Π°Π΅Ρ Π΄ΠΎΠΏΠΎΠ»Π½ΠΈΡΠ΅Π»ΡΠ½ΠΎΠ΅ Π΄Π°Π²Π»Π΅Π½ΠΈΠ΅ Π½Π° ΠΆΠΈΠ΄ΠΊΠΎΡΡΡ, Π² ΡΠ΅Π·ΡΠ»ΡΡΠ°ΡΠ΅ ΡΠ΅Π³ΠΎ Π² ΠΊΠΎΠ»Π΅ΡΠ½ΡΡ
ΡΠΎΡΠΌΠΎΠ·Π½ΡΡ
ΡΠΈΠ»ΠΈΠ½Π΄ΡΠ°Ρ
Π΄Π°Π²Π»Π΅Π½ΠΈΠ΅ ΡΠ²Π΅Π»ΠΈΡΠΈΠ²Π°Π΅ΡΡΡ.
Π‘Π»Π΅Π΄ΡΡΠ΅Π΅ Π΄Π΅ΠΉΡΡΠ²ΠΈΠ΅ ΠΊΠ»Π°ΠΏΠ°Π½Π° ΡΠΏΡΠ°Π²Π»Π΅Π½ΠΈΡ ΠΎΠ±Π΅ΡΠΏΠ΅ΡΠΈΠ²Π°Π΅Ρ ΠΏΡΠΎΠΏΠΎΡΡΠΈΠΎΠ½Π°Π»ΡΠ½ΠΎΡΡΡ ΡΡΠΈΠ»ΠΈΡ, ΠΏΡΠΈΠΊΠ»Π°Π΄ΡΠ²Π°Π΅ΠΌΠΎΠ³ΠΎ ΠΊ ΡΠΎΡΠΌΠΎΠ·Π½ΠΎΠΉ ΠΏΠ΅Π΄Π°Π»ΠΈ, ΠΈ Π΄ΠΎΠΏΠΎΠ»Π½ΠΈΡΠ΅Π»ΡΠ½ΠΎΠ³ΠΎ ΡΡΠΈΠ»ΠΈΡ, ΡΠ°Π·Π²ΠΈΠ²Π°Π΅ΠΌΠΎΠ³ΠΎ Π³ΠΈΠ΄ΡΠΎΠ²Π°ΠΊΡΡΠΌΠ½ΡΠΌ ΡΡΠΈΠ»ΠΈΡΠ΅Π»Π΅ΠΌ. ΠΡΡΡΡΡΡΠ²ΠΈΠ΅ ΡΠ»Π΅Π΄ΡΡΠ΅Π³ΠΎ ΠΌΠ΅Ρ Π°Π½ΠΈΠ·ΠΌΠ° Π² ΡΡΠΈΠ»ΠΈΡΠ΅Π»Π΅ ΠΏΡΠΈΠ²Π΅Π»ΠΎ Π±Ρ ΠΊ ΠΏΡΠΎΠ³ΡΠ΅ΡΡΠΈΡΡΡΡΠ΅ΠΌΡ Π²ΠΎΠ·ΡΠ°ΡΡΠ°Π½ΠΈΡ Π΄Π°Π²Π»Π΅Π½ΠΈΡ ΠΆΠΈΠ΄ΠΊΠΎΡΡΠΈ Π² ΠΏΡΠΈΠ²ΠΎΠ΄Π΅ Π²ΠΏΠ»ΠΎΡΡ Π΄ΠΎ ΠΏΠΎΠ»Π½ΠΎΠΉ ΠΎΡΡΠ°Π½ΠΎΠ²ΠΊΠΈ Π°Π²ΡΠΎΠΌΠΎΠ±ΠΈΠ»Ρ Π΄Π°ΠΆΠ΅ ΠΏΡΠΈ Π½Π΅Π·Π½Π°ΡΠΈΡΠ΅Π»ΡΠ½ΠΎΠΌ ΡΡΠΈΠ»ΠΈΠΈ Π½Π° ΡΠΎΡΠΌΠΎΠ·Π½ΡΡ ΠΏΠ΅Π΄Π°Π»Ρ.
Π Π°Π±ΠΎΡΠ° ΡΠ»Π΅Π΄ΡΡΠ΅Π³ΠΎ ΡΡΡΡΠΎΠΉΡΡΠ²Π° Π³ΠΈΠ΄ΡΠΎΠ²Π°ΠΊΡΡΠΌΠ½ΠΎΠ³ΠΎ ΡΡΠΈΠ»ΠΈΡΠ΅Π»Ρ Π·Π°ΠΊΠ»ΡΡΠ°Π΅ΡΡΡ Π² ΡΠ»Π΅Π΄ΡΡΡΠ΅ΠΌ.
ΠΡΠΈ ΡΠΎΡΠΌΠΎΠΆΠ΅Π½ΠΈΠΈ Π°Π²ΡΠΎΠΌΠΎΠ±ΠΈΠ»Ρ Π΄Π°Π²Π»Π΅Π½ΠΈΠ΅ ΡΠΎΡΠΌΠΎΠ·Π½ΠΎΠΉ ΠΆΠΈΠ΄ΠΊΠΎΡΡΠΈ, Π΄Π΅ΠΉΡΡΠ²ΡΡΡΠ΅Π΅ Π½Π° ΠΏΠΎΡΡΠ΅Π½Ρ ΠΊΠ»Π°ΠΏΠ°Π½Π° ΡΠΏΡΠ°Π²Π»Π΅Π½ΠΈΡ ΡΠ½ΠΈΠ·Ρ, ΠΈ Π΄Π°Π²Π»Π΅Π½ΠΈΠ΅ ΠΏΡΡΠΆΠΈΠ½Ρ ΠΊΠ»Π°ΠΏΠ°Π½Π° ΠΈ Π²ΠΎΠ·Π΄ΡΡ
Π° ΡΠ²Π΅ΡΡ
Ρ Π² ΠΊΠ°ΠΊΠΎΠΉ-ΡΠΎ ΠΌΠΎΠΌΠ΅Π½Ρ Π½Π°Ρ
ΠΎΠ΄ΡΡΡΡ Π² ΡΠ°Π²Π½ΠΎΠ²Π΅ΡΠΈΠΈ. ΠΠ΅ΠΌΠ±ΡΠ°Π½Π° ΠΊΠ»Π°ΠΏΠ°Π½Π° ΡΠΏΡΠ°Π²Π»Π΅Π½ΠΈΡ ΠΎΠΏΡΡΠΊΠ°Π΅ΡΡΡ Π²Π½ΠΈΠ·, Π²ΠΎΠ·Π΄ΡΡΠ½ΡΠΉ ΠΊΠ»Π°ΠΏΠ°Π½ Π·Π°ΠΊΡΡΠ²Π°Π΅ΡΡΡ, ΠΈ ΠΏΠΎΡΡΡΠΏΠ»Π΅Π½ΠΈΠ΅ Π²ΠΎΠ·Π΄ΡΡ
Π° Π² Π»Π΅Π²ΡΡ ΠΏΠΎΠ»ΠΎΡΡΡ Π²Π°ΠΊΡΡΠΌΠ½ΠΎΠΉ ΠΊΠ°ΠΌΠ΅ΡΡ ΡΡΠΈΠ»ΠΈΡΠ΅Π»Ρ ΠΏΡΠ΅ΠΊΡΠ°ΡΠ°Π΅ΡΡΡ.
ΠΡΠ»ΠΈ Π²ΠΎΠ΄ΠΈΡΠ΅Π»Ρ ΡΠΈΠ»ΡΠ½Π΅Π΅ Π½Π°ΠΆΠ°Π» Π½Π° ΠΏΠ΅Π΄Π°Π»Ρ, ΡΠΎ ΠΏΠΎΠ΄ Π΄Π΅ΠΉΡΡΠ²ΠΈΠ΅ΠΌ Π΄ΠΎΠΏΠΎΠ»Π½ΠΈΡΠ΅Π»ΡΠ½ΠΎΠΉ ΠΏΠΎΡΡΠΈΠΈ ΡΠΎΡΠΌΠΎΠ·Π½ΠΎΠΉ ΠΆΠΈΠ΄ΠΊΠΎΡΡΠΈ ΠΏΠΎΡΡΠ΅Π½Ρ ΠΊΠ»Π°ΠΏΠ°Π½Π° ΡΠΏΡΠ°Π²Π»Π΅Π½ΠΈΡ ΠΏΠΎΠ΄Π½ΠΈΠΌΠ°Π΅ΡΡΡ, ΡΠ°Π²Π½ΠΎΠ²Π΅ΡΠΈΠ΅ Π½Π°ΡΡΡΠΈΡΡΡ, Π²ΠΎΠ·Π΄ΡΡΠ½ΡΠΉ ΠΊΠ»Π°ΠΏΠ°Π½ Π²Π½ΠΎΠ²Ρ ΠΏΡΠΈΠΎΡΠΊΡΠΎΠ΅ΡΡΡ, Π²ΠΏΡΡΡΠΈΠ² Π΄ΠΎΠΏΠΎΠ»Π½ΠΈΡΠ΅Π»ΡΠ½ΡΡ ΠΏΠΎΡΡΠΈΡ Π²ΠΎΠ·Π΄ΡΡ
Π° Π² Π»Π΅Π²ΡΡ ΠΏΠΎΠ»ΠΎΡΡΡ Π²Π°ΠΊΡΡΠΌΠ½ΠΎΠΉ ΠΊΠ°ΠΌΠ΅ΡΡ. ΠΠ°Π²Π»Π΅Π½ΠΈΠ΅ Π½Π° ΠΌΠ΅ΠΌΠ±ΡΠ°Π½Ρ Π²Π°ΠΊΡΡΠΌΠ½ΠΎΠΉ ΠΊΠ°ΠΌΠ΅ΡΡ ΡΠ²Π΅Π»ΠΈΡΠΈΡΡΡ, ΡΠΎΠΎΡΠ²Π΅ΡΡΡΠ²Π΅Π½Π½ΠΎ Π²ΠΎΠ·ΡΠ°ΡΡΠ΅Ρ ΡΡΠΈΠ»ΠΈΠ΅, ΡΠΎΠ·Π΄Π°Π²Π°Π΅ΠΌΠΎΠ΅ ΠΏΠΎΡΡΠ½Π΅ΠΌ Π³ΠΈΠ΄ΡΠΎΡΠΈΠ»ΠΈΠ½Π΄ΡΠ° ΡΡΠΈΠ»ΠΈΡΠ΅Π»Ρ, Π·Π°ΡΠ΅ΠΌ Π²Π½ΠΎΠ²Ρ Π½Π°ΡΡΡΠΏΠ°Π΅Ρ ΡΠΎΡΡΠΎΡΠ½ΠΈΠ΅ ΡΠ°Π²Π½ΠΎΠ²Π΅ΡΠΈΡ.
ΠΡΠΈ ΡΠ°ΡΡΠΎΡΠΌΠ°ΠΆΠΈΠ²Π°Π½ΠΈΠΈ Π΄Π°Π²Π»Π΅Π½ΠΈΠ΅ ΠΆΠΈΠ΄ΠΊΠΎΡΡΠΈ, Π΄Π΅ΠΉΡΡΠ²ΡΡΡΠ΅ΠΉ Π½Π° ΠΏΠΎΡΡΠ΅Π½Ρ ΠΊΠ»Π°ΠΏΠ°Π½Π°, ΡΠ½ΠΈΠΆΠ°Π΅ΡΡΡ. ΠΠ΅ΠΌΠ±ΡΠ°Π½Π° ΠΊΠ»Π°ΠΏΠ°Π½Π° ΠΎΠΏΡΡΠΊΠ°Π΅ΡΡΡ, Π²ΠΎΠ·Π΄ΡΡΠ½ΡΠΉ ΠΊΠ°Π½Π°Π» Π·Π°ΠΊΡΡΠ²Π°Π΅ΡΡΡ, Π²Π°ΠΊΡΡΠΌΠ½ΡΠΉ ΠΊΠ»Π°ΠΏΠ°Π½ ΠΎΡΠΊΡΡΠ²Π°Π΅ΡΡΡ. ΠΠ΅Π²Π°Ρ ΠΏΠΎΠ»ΠΎΡΡΡ Π²Π°ΠΊΡΡΠΌΠ½ΠΎΠΉ ΠΊΠ°ΠΌΠ΅ΡΡ ΡΠΎΠΎΠ±ΡΠ°Π΅ΡΡΡ Ρ ΠΏΡΠ°Π²ΠΎΠΉ ΠΏΠΎΠ»ΠΎΡΡΡΡ, ΠΈ Π΄Π°Π²Π»Π΅Π½ΠΈΠ΅ Π² Π½ΠΈΡ
Π²ΡΡΠ°Π²Π½ΠΈΠ²Π°Π΅ΡΡΡ. ΠΠΎΠ·Π²ΡΠ°ΡΠ½Π°Ρ ΠΏΡΡΠΆΠΈΠ½Π° ΠΌΠ΅ΠΌΠ±ΡΠ°Π½Ρ Π²Π°ΠΊΡΡΠΌΠ½ΠΎΠΉ ΠΊΠ°ΠΌΠ΅ΡΡ Π²ΠΎΠ·Π²ΡΠ°ΡΠΈΡ ΡΠΎΠ»ΠΊΠ°ΡΠ΅Π»Ρ Π²ΠΌΠ΅ΡΡΠ΅ Ρ ΠΏΠΎΡΡΠ½Π΅ΠΌ Π³ΠΈΠ΄ΡΠΎΡΠΈΠ»ΠΈΠ½Π΄ΡΠ° Π² ΠΈΡΡ
ΠΎΠ΄Π½ΠΎΠ΅ ΠΏΠΎΠ»ΠΎΠΆΠ΅Π½ΠΈΠ΅.
Π’ΠΎΠ»ΠΊΠ°ΡΠ΅Π»Ρ ΠΊΠ»Π°ΠΏΠ°Π½Π°, Π΄ΠΎΠΉΠ΄Ρ Π΄ΠΎ ΡΠΏΠΎΡΠ½ΠΎΠΉ ΡΠ°ΠΉΠ±Ρ, ΠΎΡΡΠ°Π½ΠΎΠ²ΠΈΡ ΠΈ ΠΎΡΠΊΡΠΎΠ΅Ρ ΡΠ²ΠΎΠΈΠΌ ΡΠΈΠΏΠΎΠΌ ΡΠ°ΡΠΈΠΊΠΎΠ²ΡΠΉ ΠΊΠ»Π°ΠΏΠ°Π½.
ΠΡΠΈ ΠΎΡΡΠ°Π½ΠΎΠ²ΠΊΠ΅ Π΄Π²ΠΈΠ³Π°ΡΠ΅Π»Ρ Π·Π°ΠΏΠΎΡΠ½ΡΠΉ ΠΊΠ»Π°ΠΏΠ°Π½ Π°Π²ΡΠΎΠΌΠ°ΡΠΈΡΠ΅ΡΠΊΠΈ ΡΠ°Π·ΡΠ΅Π΄ΠΈΠ½ΡΠ΅Ρ Π³ΠΈΠ΄ΡΠΎΠ²Π°ΠΊΡΡΠΌΠ½ΡΠΉ ΡΡΠΈΠ»ΠΈΡΠ΅Π»Ρ ΠΈ Π²ΠΏΡΡΠΊΠ½ΠΎΠΉ ΡΡΡΠ±ΠΎΠΏΡΠΎΠ²ΠΎΠ΄, Π²ΡΠ»Π΅Π΄ΡΡΠ²ΠΈΠ΅ ΡΠ΅Π³ΠΎ Π² ΡΡΠΈΠ»ΠΈΡΠ΅Π»Π΅ Π½Π΅ΠΊΠΎΡΠΎΡΠΎΠ΅ Π²ΡΠ΅ΠΌΡ ΠΏΠΎΠ΄Π΄Π΅ΡΠΆΠΈΠ²Π°Π΅ΡΡΡ Π½ΠΈΠ·ΠΊΠΎΠ΅ Π΄Π°Π²Π»Π΅Π½ΠΈΠ΅, ΠΏΠΎΠ·Π²ΠΎΠ»ΡΡΡΠ΅Π΅ Π²ΡΠΏΠΎΠ»Π½ΠΈΡΡ ΠΎΠ΄Π½ΠΎ-Π΄Π²Π° ΡΠΎΡΠΌΠΎΠΆΠ΅Π½ΠΈΡ ΠΏΡΠΈ Π½Π΅ΡΠ°Π±ΠΎΡΠ°ΡΡΠ΅ΠΌ Π΄Π²ΠΈΠ³Π°ΡΠ΅Π»Π΅.
ΠΠΎΡΠ»Π΅ ΡΡΠΎΠ³ΠΎ ΡΡΡΠ΅ΠΊΡΠΈΠ²Π½ΠΎΡΡΡ ΡΠΎΡΠΌΠΎΠΆΠ΅Π½ΠΈΡ Π·Π°ΠΌΠ΅ΡΠ½ΠΎ ΡΠ½ΠΈΠ·ΠΈΡΡΡ, ΡΡΠΎ ΠΎΡΡΠ°Π·ΠΈΡΡΡ Π² Π½Π΅ΠΎΠ±Ρ
ΠΎΠ΄ΠΈΠΌΠΎΡΡΠΈ ΠΏΡΠΈΠΊΠ»Π°Π΄ΡΠ²Π°ΡΡ ΡΡΡΠ΅ΡΡΠ²Π΅Π½Π½ΠΎΠ΅ ΡΡΠΈΠ»ΠΈΠ΅ ΠΊ ΡΠΎΡΠΌΠΎΠ·Π½ΠΎΠΉ ΠΏΠ΅Π΄Π°Π»ΠΈ, ΠΏΠΎΡΠΊΠΎΠ»ΡΠΊΡ ΠΏΡΠΈ Π½Π΅ΡΠ°Π±ΠΎΡΠ°ΡΡΠ΅ΠΌ Π΄Π²ΠΈΠ³Π°ΡΠ΅Π»Π΅ ΡΡΠΈΠ»ΠΈΡΠ΅Π»Ρ Π½Π΅ ΡΠ°Π±ΠΎΡΠ°Π΅Ρ.
***
ΠΠ°ΠΊΡΡΠΌΠ½ΡΠΉ ΡΡΠΈΠ»ΠΈΡΠ΅Π»Ρ ΡΠΎΡΠΌΠΎΠ·Π½ΠΎΠ³ΠΎ ΠΏΡΠΈΠ²ΠΎΠ΄Π°
ΠΠ°ΠΊΡΡΠΌΠ½ΡΠΉ ΡΡΠΈΠ»ΠΈΡΠ΅Π»Ρ ΠΎΡΠ»ΠΈΡΠ°Π΅ΡΡΡ ΠΎΡ Π³ΠΈΠ΄ΡΠΎΠ²Π°ΠΊΡΡΠΌΠ½ΠΎΠ³ΠΎ ΡΠ΅ΠΌ, ΡΡΠΎ ΠΌΠ΅Ρ
Π°Π½ΠΈΡΠ΅ΡΠΊΠΈ Π½Π΅ΠΏΠΎΡΡΠ΅Π΄ΡΡΠ²Π΅Π½Π½ΠΎ ΡΠ²ΡΠ·Π°Π½ Ρ ΡΠΎΡΠΌΠΎΠ·Π½ΠΎΠΉ ΠΏΠ΅Π΄Π°Π»ΡΡ, ΠΏΠΎΡΡΠΎΠΌΡ Π½Π° Π°Π²ΡΠΎΠΌΠΎΠ±ΠΈΠ»ΡΡ
ΡΠ°ΡΠΏΠΎΠ»Π°Π³Π°Π΅ΡΡΡ ΡΡΠ΄ΠΎΠΌ Ρ ΡΡΠΎΠΉ ΠΏΠ΅Π΄Π°Π»ΡΡ ΡΠΎ ΡΡΠΎΡΠΎΠ½Ρ ΠΌΠΎΡΠΎΡΠ½ΠΎΠ³ΠΎ ΠΎΡΡΠ΅ΠΊΠ°.
ΠΠΈΠ΄ΡΠΎΠ²Π°ΠΊΡΡΠΌΠ½ΡΠΉ ΡΡΠΈΠ»ΠΈΡΠ΅Π»Ρ Π²ΡΡΡΠ°ΠΈΠ²Π°Π΅ΡΡΡ Π² Π³ΠΈΠ΄ΡΠΎΠΏΡΠΈΠ²ΠΎΠ΄ ΠΏΠΎΡΠ»Π΅ Π³Π»Π°Π²Π½ΠΎΠ³ΠΎ ΡΠΎΡΠΌΠΎΠ·Π½ΠΎΠ³ΠΎ ΡΠΈΠ»ΠΈΠ½Π΄ΡΠ° ΠΈ ΡΠ²ΡΠ·Π°Π½ Ρ Π½ΠΈΠΌ ΠΏΠΎΡΡΠ΅Π΄ΡΡΠ²ΠΎΠΌ ΡΡΡΠ±ΠΎΠΏΡΠΎΠ²ΠΎΠ΄ΠΎΠ², ΠΏΠΎΡΡΠΎΠΌΡ ΠΌΠΎΠΆΠ΅Ρ ΡΠ°ΡΠΏΠΎΠ»Π°Π³Π°ΡΡΡΡ Π½Π° Π°Π²ΡΠΎΠΌΠΎΠ±ΠΈΠ»Π΅ Π³Π΄Π΅ ΡΠ³ΠΎΠ΄Π½ΠΎ.
Π ΠΊΠΎΡΠΏΡΡΠ΅ Π²Π°ΠΊΡΡΠΌΠ½ΠΎΠ³ΠΎ ΡΡΠΈΠ»ΠΈΡΠ΅Π»Ρ (ΡΠΈΡ. 2) ΡΠ°Π·ΠΌΠ΅ΡΠ°Π΅ΡΡΡ ΠΌΠ΅ΠΌΠ±ΡΠ°Π½Π° ΠΈ ΠΏΠΎΡΡΠ΅Π½Ρ, ΠΎΠ±Π΅ΡΠΏΠ΅ΡΠΈΠ²Π°ΡΡΠΈΠΉ Π΅Π΅ Π΄Π΅ΡΠΎΡΠΌΠ°ΡΠΈΡ ΠΏΡΡΠ΅ΠΌ ΡΠ΄Π»ΠΈΠ½Π΅Π½ΠΈΡ Π΅Π΅ ΡΠΈΠ»ΠΈΠ½Π΄ΡΠΈΡΠ΅ΡΠΊΠΎΠΉ Π½Π°ΠΏΡΠ°Π²Π»ΡΡΡΠ΅ΠΉ.
Π ΡΡΡΠ±ΡΠ°ΡΠΎΠΉ ΡΠ°ΡΡΠΈ ΠΏΠΎΡΡΠ½Ρ ΡΠ°ΡΠΏΠΎΠ»Π°Π³Π°Π΅ΡΡΡ ΠΏΠ»ΠΎΡΠΊΠΈΠΉ ΠΊΠ»Π°ΠΏΠ°Π½, Π²Π·Π°ΠΈΠΌΠΎΠ΄Π΅ΠΉΡΡΠ²ΡΡΡΠΈΠΉ Ρ Π΄Π²ΡΠΌΡ ΡΠ΅Π΄Π»Π°ΠΌΠΈ β Π½Π°ΡΡΠΆΠ½ΡΠΌ ΠΈ Π²Π½ΡΡΡΠ΅Π½Π½ΠΈΠΌ. ΠΠ°ΡΡΠΆΠ½ΠΎΠ΅ ΡΠ΅Π΄Π»ΠΎ ΠΏΡΠΈΠ½Π°Π΄Π»Π΅ΠΆΠΈΡ ΡΠ΅Π»Ρ ΠΏΠΎΡΡΠ½Ρ ΠΈ ΠΏΠΎΠ·Π²ΠΎΠ»ΡΠ΅Ρ ΡΠ°Π·ΠΎΠ±ΡΠ°ΡΡ Π»Π΅Π²ΡΡ ΠΈ ΠΏΡΠ°Π²ΡΡ ΠΏΠΎΠ»ΠΎΡΡΠΈ ΡΡΠΈΠ»ΠΈΡΠ΅Π»Ρ.
ΠΠ½ΡΡΡΠ΅Π½Π½Π΅Π΅ ΡΠ΅Π΄Π»ΠΎ ΠΏΡΠΈΠ½Π°Π΄Π»Π΅ΠΆΠΈΡ ΠΏΠ»ΡΠ½ΠΆΠ΅ΡΡ, ΡΠ²ΡΠ·Π°Π½Π½ΠΎΠΌΡ ΡΠΎ ΡΡΠΎΠΊΠΎΠΌ ΡΠΎΡΠΌΠΎΠ·Π½ΠΎΠΉ ΠΏΠ΅Π΄Π°Π»ΠΈ.
Π ΡΠ°ΡΡΠΎΡΠΌΠΎΠΆΠ΅Π½Π½ΠΎΠΌ ΡΠΎΡΡΠΎΡΠ½ΠΈΠΈ ΠΏΡΠΈ ΠΎΡΠΏΡΡΠ΅Π½Π½ΠΎΠΉ ΠΏΠ΅Π΄Π°Π»ΠΈ ΡΠ΅Π΄Π»ΠΎ Π²Π½ΡΡΡΠ΅Π½Π½Π΅Π³ΠΎ ΠΊΠ»Π°ΠΏΠ°Π½Π° ΠΏΡΠΈΠΆΠ°ΡΠΎ ΠΊ ΠΊΠ»Π°ΠΏΠ°Π½Ρ, Π° ΠΌΠ΅ΠΆΠ΄Ρ Π½Π°ΡΡΠΆΠ½ΡΠΌ ΡΠ΅Π΄Π»ΠΎΠΌ ΠΈ ΠΊΠ»Π°ΠΏΠ°Π½ΠΎΠΌ ΠΈΠΌΠ΅Π΅ΡΡΡ ΡΠ΅Π»Ρ, ΡΠΎΠ΅Π΄ΠΈΠ½ΡΡΡΠ°Ρ ΠΊΠ°Π½Π°Π»ΠΎΠΌ Π»Π΅Π²ΡΡ ΠΈ ΠΏΡΠ°Π²ΡΡ (ΠΎΡ ΡΠΎΡΠΌΠΎΠ·Π½ΠΎΠΉ ΠΏΠ΅Π΄Π°Π»ΠΈ) ΠΏΠΎΠ»ΠΎΡΡΡ, Π² ΡΠ΅Π·ΡΠ»ΡΡΠ°ΡΠ΅ ΡΠ΅Π³ΠΎ Π² ΠΎΠ±Π΅ΠΈΡ ΠΏΠΎΠ»ΠΎΡΡΡΡ ΡΡΡΠ°Π½Π°Π²Π»ΠΈΠ²Π°Π΅ΡΡΡ ΠΎΠ΄ΠΈΠ½Π°ΠΊΠΎΠ²ΠΎΠ΅ Π½ΠΈΠ·ΠΊΠΎΠ΅ Π΄Π°Π²Π»Π΅Π½ΠΈΠ΅.
ΠΡΠΈ Π½Π°ΠΆΠ°ΡΠΈΠΈ Π½Π° ΠΏΠ΅Π΄Π°Π»Ρ ΠΏΠ»ΡΠ½ΠΆΠ΅Ρ Π²ΡΠ±ΠΈΡΠ°Π΅Ρ Π·Π°Π·ΠΎΡ, ΠΏΠΎΡΠ»Π΅ ΡΠ΅Π³ΠΎ ΠΏΡΠΎΠ΄ΠΎΠ»ΠΆΠ°Π΅Ρ Π΄Π²ΠΈΠΆΠ΅Π½ΠΈΠ΅ Π²Π»Π΅Π²ΠΎ Π²ΠΌΠ΅ΡΡΠ΅ Ρ ΠΏΠΎΡΡΠ½Π΅ΠΌ ΠΈ, ΡΠΎΠ»ΠΊΠ°Ρ ΠΏΠ΅ΡΠ΅Π΄ ΡΠΎΠ±ΠΎΠΉ ΡΠ΅Π·ΠΈΠ½ΠΎΠ²ΡΠΉ Π΄ΠΈΡΠΊ, Π²ΡΠ·ΡΠ²Π°Π΅Ρ ΡΡΠ°Π±Π°ΡΡΠ²Π°Π½ΠΈΠ΅ Π³Π»Π°Π²Π½ΠΎΠ³ΠΎ ΡΠΈΠ»ΠΈΠ½Π΄ΡΠ°. ΠΠ΄Π½ΠΎΠ²ΡΠ΅ΠΌΠ΅Π½Π½ΠΎ ΠΏΡΠΎΠΈΡΡ
ΠΎΠ΄ΠΈΡ Π·Π°ΠΊΡΡΡΠΈΠ΅ Π½Π°ΡΡΠΆΠ½ΠΎΠ³ΠΎ ΠΊΠ»Π°ΠΏΠ°Π½Π° ΠΈ ΠΎΡΠΊΡΡΡΠΈΠ΅ Π²Π½ΡΡΡΠ΅Π½Π½Π΅Π³ΠΎ ΠΊΠ»Π°ΠΏΠ°Π½Π°. ΠΠΎΠ·Π΄ΡΡ
ΡΠ΅ΡΠ΅Π· ΡΠΈΠ»ΡΡΡ ΠΈ ΠΊΠ°Π½Π°Π» ΠΏΠΎΡΡΡΠΏΠ°Π΅Ρ Π² ΠΏΡΠ°Π²ΡΡ ΠΏΠΎΠ»ΠΎΡΡΡ ΡΡΠΈΠ»ΠΈΡΠ΅Π»Ρ.
ΠΠ΅ΡΠ΅ΠΏΠ°Π΄ Π΄Π°Π²Π»Π΅Π½ΠΈΠΉ ΠΌΠ΅ΠΆΠ΄Ρ ΠΏΠΎΠ»ΠΎΡΡΡΠΌΠΈ ΡΠΎΠ·Π΄Π°Π΅Ρ ΡΠΈΠ»Ρ, ΠΊΠΎΡΠΎΡΠ°Ρ ΡΠ΅ΡΠ΅Π· ΠΏΡΡΠΆΠΈΠ½Ρ ΠΏΠ΅ΡΠ΅Π΄Π°Π΅ΡΡΡ Π½Π° ΡΡΠΎΠΊ Π³Π»Π°Π²Π½ΠΎΠ³ΠΎ ΡΠΈΠ»ΠΈΠ½Π΄ΡΠ°, ΡΡΠΌΠΌΠΈΡΡΡΡΡ Ρ ΡΠΈΠ»ΠΎΠΉ, ΠΏΡΠΈΠΊΠ»Π°Π΄ΡΠ²Π°Π΅ΠΌΠΎΠΉ ΠΊ ΡΡΠΎΠΌΡ ΡΡΠΎΠΊΡ Π²ΠΎΠ΄ΠΈΡΠ΅Π»Π΅ΠΌ ΡΠ΅ΡΠ΅Π· ΠΏΠ΅Π΄Π°Π»Ρ, ΡΡΠΎΠΊ ΠΈ ΠΏΠ»ΡΠ½ΠΆΠ΅Ρ. ΠΠ°Π²Π»Π΅Π½ΠΈΠ΅ Π²ΠΎΠ·Π΄ΡΡ
Π° Π² ΠΏΡΠ°Π²ΠΎΠΉ ΠΏΠΎΠ»ΠΎΡΡΠΈ, ΠΎΠΏΡΠ΅Π΄Π΅Π»ΡΡΡΠ΅Π΅ ΡΠΈΠ»Ρ, ΡΠΎΠ·Π΄Π°Π²Π°Π΅ΠΌΡΡ ΡΡΠΈΠ»ΠΈΡΠ΅Π»Π΅ΠΌ, ΡΡΡΠ°Π½Π°Π²Π»ΠΈΠ²Π°Π΅ΡΡΡ Π² ΠΌΠΎΠΌΠ΅Π½Ρ Π·Π°ΠΊΡΡΡΠΈΡ Π²Π½ΡΡΡΠ΅Π½Π½Π΅Π³ΠΎ ΠΊΠ»Π°ΠΏΠ°Π½Π°.
ΠΠ΅Π΄ΠΎΡΡΠ°ΡΠΊΠΎΠΌ Π΄Π°Π½Π½ΠΎΠΉ ΠΊΠΎΠ½ΡΡΡΡΠΊΡΠΈΠΈ ΡΡΠΈΠ»ΠΈΡΠ΅Π»Ρ ΡΠ²Π»ΡΠ΅ΡΡΡ ΡΠΎ, ΡΡΠΎ ΠΎΠ½, Π±ΡΠ΄ΡΡΠΈ ΠΊΠΎΠ½ΡΡΡΡΠΊΡΠΈΠ²Π½ΠΎ ΡΠ²ΡΠ·Π°Π½ Ρ ΡΠΎΡΠΌΠΎΠ·Π½ΠΎΠΉ ΠΏΠ΅Π΄Π°Π»ΡΡ, ΠΌΠΎΠΆΠ΅Ρ ΡΠ°ΡΠΏΠΎΠ»Π°Π³Π°ΡΡΡΡ ΡΠΎΠ»ΡΠΊΠΎ Π² Π΄Π²ΠΈΠ³Π°ΡΠ΅Π»ΡΠ½ΠΎΠΌ ΠΎΡΡΠ΅ΠΊΠ΅, ΠΊΠΎΡΠΎΡΡΠΉ Π² ΡΠΎΠ²ΡΠ΅ΠΌΠ΅Π½Π½ΡΡ Π°Π²ΡΠΎΠΌΠΎΠ±ΠΈΠ»ΡΡ (ΠΎΡΠΎΠ±Π΅Π½Π½ΠΎ Π»Π΅Π³ΠΊΠΎΠ²ΡΡ ) Π½Π΅Π΄ΠΎΡΡΠ°ΡΠΎΡΠ½ΠΎ Π±ΠΎΠ»ΡΡΠΎΠΉ. ΠΠΎΡΡΠΎΠΌΡ Π½Π° Π»Π΅Π³ΠΊΠΎΠ²ΡΡ Π°Π²ΡΠΎΠΌΠΎΠ±ΠΈΠ»ΡΡ ΠΏΡΠΈΠΌΠ΅Π½ΡΡΡ ΠΈΡΠΏΠΎΠ»Π½ΠΈΡΠ΅Π»ΡΠ½ΡΠΉ ΠΌΠ΅Ρ Π°Π½ΠΈΠ·ΠΌ ΡΡΠΈΠ»ΠΈΡΠ΅Π»Ρ, ΡΠΎΡΡΠΎΡΡΠΈΠΉ ΠΈΠ· Π΄Π²ΡΡ ΠΌΠ΅ΠΌΠ±ΡΠ°Π½, ΡΡΠΎ ΠΏΠΎΠ·Π²ΠΎΠ»ΡΠ΅Ρ ΡΠΌΠ΅Π½ΡΡΠΈΡΡ Π΄ΠΈΠ°ΠΌΠ΅ΡΡ ΡΡΠΈΠ»ΠΈΡΠ΅Π»Ρ.
ΠΠ°ΠΊ ΠΈ Π² Π³ΠΈΠ΄ΡΠΎΠ²Π°ΠΊΡΡΠΌΠ½ΠΎΠΌ, Π² Π²Π°ΠΊΡΡΠΌΠ½ΠΎΠΌ ΡΡΠΈΠ»ΠΈΡΠ΅Π»Π΅ ΠΈΠΌΠ΅Π΅ΡΡΡ Π·Π°ΠΏΠΎΡΠ½ΡΠΉ ΠΊΠ»Π°ΠΏΠ°Π½, ΠΏΠΎΠ·Π²ΠΎΠ»ΡΡΡΠΈΠΉ Π½Π΅ΠΊΠΎΡΠΎΡΠΎΠ΅ Π²ΡΠ΅ΠΌΡ ΠΏΠΎΠ΄Π΄Π΅ΡΠΆΠΈΠ²Π°ΡΡ ΡΠ°Π·ΡΠ΅ΠΆΠ΅Π½ΠΈΠ΅ Π² Π²Π°ΠΊΡΡΠΌΠ½ΠΎΠΉ ΠΊΠ°ΠΌΠ΅ΡΠ΅ ΠΏΠΎΡΠ»Π΅ ΠΎΡΡΠ°Π½ΠΎΠ²ΠΊΠΈ Π΄Π²ΠΈΠ³Π°ΡΠ΅Π»Ρ ΠΈ Π²ΡΠΏΠΎΠ»Π½ΡΡΡ ΠΎΠ΄Π½ΠΎ-Π΄Π²Π° ΡΠΎΡΠΌΠΎΠΆΠ΅Π½ΠΈΡ. ΠΠΎΡΠ»Π΅ ΠΈΠ·ΡΠ°ΡΡ ΠΎΠ΄ΠΎΠ²Π°Π½ΠΈΡ ΡΡΠΎΠ³ΠΎ Π·Π°ΠΏΠ°ΡΠ° ΡΡΡΠ΅ΠΊΡΠΈΠ²Π½ΠΎΡΡΡ ΡΠΎΡΠΌΠΎΠΆΠ΅Π½ΠΈΡ Π±ΡΠ΄Π΅Ρ Π·Π°Π²ΠΈΡΠ΅ΡΡ ΡΠΎΠ»ΡΠΊΠΎ ΠΎΡ ΡΠΈΠ·ΠΈΡΠ΅ΡΠΊΠΎΠ³ΠΎ ΡΡΠΈΠ»ΠΈΡ, ΠΎΠΊΠ°Π·ΡΠ²Π°Π΅ΠΌΠΎΠ³ΠΎ Π²ΠΎΠ΄ΠΈΡΠ΅Π»Π΅ΠΌ Π½Π° ΠΏΠ΅Π΄Π°Π»Ρ ΡΠΎΡΠΌΠΎΠ·Π°.
***
Π’ΠΎΡΠΌΠΎΠ·Π½ΡΠ΅ ΠΌΠ΅Ρ Π°Π½ΠΈΠ·ΠΌΡ
ο»ΏΠΠ»Π°Π²Π½Π°Ρ ΡΡΡΠ°Π½ΠΈΡΠ°
ΠΠΈΡΡΠ°Π½ΡΠΈΠΎΠ½Π½ΠΎΠ΅ ΠΎΠ±ΡΠ°Π·ΠΎΠ²Π°Π½ΠΈΠ΅
Π‘ΠΏΠ΅ΡΠΈΠ°Π»ΡΠ½ΠΎΡΡΠΈ
Π£ΡΠ΅Π±Π½ΡΠ΅ Π΄ΠΈΡΡΠΈΠΏΠ»ΠΈΠ½Ρ
ΠΠ»ΠΈΠΌΠΏΠΈΠ°Π΄Ρ ΠΈ ΡΠ΅ΡΡΡ
ΠΏΠΎΡΠ΅ΠΌΡ Π³ΡΠ΄ΠΈΡ ΠΈ ΡΠ²ΠΈΡΡΠΈΡ ΠΠ£Π Π½Π° Ρ ΠΎΠ»ΠΎΠ΄Π½ΡΡ ΠΈ Π½Π° Π³ΠΎΡΡΡΡΡ, ΡΡΠΎ Π΄Π΅Π»Π°ΡΡ?
ΠΡΠ»ΠΈ ΠΏΡΠΈ ΠΏΠΎΠ²ΠΎΡΠΎΡΠ΅ ΡΡΠ»Ρ ΠΏΠΎΡΠ²Π»ΡΠ΅ΡΡΡ ΡΡΡΠΊ, Π³ΡΠ», ΡΠΊΡΠΈΠΏ ΠΈΠ»ΠΈ ΡΠΊΡΠ΅ΠΆΠ΅Ρ, ΡΡΠΎ, Π½Π° ΡΠ°ΠΌΠΎΠΌ Π΄Π΅Π»Π΅, Π½Π΅ Π²ΡΠ΅Π³Π΄Π° ΠΏΡΠΎΠ±Π»Π΅ΠΌΠ°,Β ΠΊΠΎΡΠΎΡΠ°Ρ ΡΡΠ΅Π±ΡΠ΅Ρ ΡΠ΅ΡΠ΅Π½ΠΈΡ.
Π’Π°ΠΊ, Π°Π²ΡΠΎΠΌΠΎΠ±ΠΈΠ»ΠΈ Ρ Π³ΠΈΠ΄ΡΠΎΡΡΠΈΠ»ΠΈΡΠ΅Π»ΡΠΌΠΈ ΡΡΠ»Ρ ΡΡΠΌΡΡ Π΄ΠΎΠ²ΠΎΠ»ΡΠ½ΠΎ ΡΠ°ΡΡΠΎ (ΡΠ΄Π°ΠΊΠΈΠΉ Π½Π΅Π³ΡΠΎΠΌΠΊΠΈΠΉ Π³ΡΠ») ΠΏΡΠΈ ΠΏΠΎΠ²ΠΎΡΠΎΡΠ΅ ΡΡΠ»Ρ, ΠΈ ΡΡΠΎ ΠΎΡΠΎΠ±Π΅Π½Π½ΠΎΡΡΡ ΠΠ£Π ΠΎΠ². ΠΡΡΠ³ΠΎΠ΅ Π΄Π΅Π»ΠΎ, Π΅ΡΠ»ΠΈ ΡΡΠΎΡ Π³ΡΠ»Β ΠΏΡΠ΅Π²ΡΠ°ΡΠ°Π΅ΡΡΡ Π² ΡΠΊΡΠ΅ΠΆΠ΅Ρ, ΡΠΊΡΠΈΠΏ ΠΈΠ»ΠΈ Π΄Π°ΠΆΠ΅ ΡΡΡΠΊ ΠΈΠ»ΠΈ ΠΏΡΠΎΡΡΠΎ ΡΡΠΈΠ»ΠΈΠ²Π°Π΅ΡΡΡ β ΡΠΎΠ³Π΄Π° Π΅ΡΡΡ Π²Π΅ΡΠΎΡΡΠ½ΠΎΡΡΡ, ΡΡΠΎ ΠΠ°ΠΌ ΠΏΡΠΈΠ΄ΡΡΡΡ ΠΎΠ±ΡΠ°ΡΠΈΡΡΡΡ ΠΊ ΠΌΠ΅Ρ
Π°Π½ΠΈΠΊΡ.
ΠΠΎΠΆΠ΅ΡΠ΅ Π»ΠΈ Π²Ρ ΠΎΠΏΠΈΡΠ°ΡΡ ΡΡΠΌ?Β Π―Π²Π»ΡΠ΅ΡΡΡ Π»ΠΈ ΡΡΠΎ Ρ ΡΡΡΡ, Π²ΠΈΠ·Π³, Π³ΡΠ», ΡΡΡΠΊ, ΡΠΊΡΠ΅ΠΆΠ΅Ρ ΠΈ ΡΠ°ΠΊ Π΄Π°Π»Π΅Π΅ ΠΏΡΠΈ ΠΏΠΎΠ²ΠΎΡΠΎΡΠ΅ ΡΡΠ»Ρ? ΠΡΠ΅Π½Ρ Π²Π°ΠΆΠ½ΠΎ, ΡΡΠΎΠ±Ρ ΠΡ ΠΌΠΎΠ³Π»ΠΈ ΠΏΡΠ°Π²ΠΈΠ»ΡΠ½ΠΎ ΠΎΡ Π°ΡΠ°ΠΊΡΠ΅ΡΠΈΠ·ΠΎΠ²Π°ΡΡ ΡΡΠΎΡ Π²ΠΈΠ΄ Π·Π²ΡΠΊΠ°. Π Π»ΡΠ±ΠΎΠΌ ΡΠ»ΡΡΠ°Π΅, Π½ΠΈΠΆΠ΅ ΠΏΠΎ ΠΊΠ°ΠΆΠ΄ΠΎΠΌΡ ΠΈΠ· ΡΠΈΠΌΠΏΡΠΎΠΌΠΎΠ² ΠΌΡ Π±ΡΠ΄Π΅ΠΌ ΡΠ°ΡΡΠΌΠ°ΡΡΠΈΠ²Π°ΡΡ Π΄ΠΎΠΏΠΎΠ»Π½ΠΈΡΠ΅Π»ΡΠ½ΡΠ΅ ΠΊΠ»ΡΡΠΈ ΠΊ Π½Π°Ρ ΠΎΠΆΠ΄Π΅Π½ΠΈΡ ΡΠΎΡΠ½ΠΎΠΉ ΠΏΡΠΎΠ±Π»Π΅ΠΌΡ. ΠΠΎΒ ΠΠ°ΠΌ Π²ΡΡ ΡΠ°Π²Π½ΠΎΒ Π½Π΅ΠΎΠ±Ρ ΠΎΠ΄ΠΈΠΌΠΎ ΠΏΡΠΈΠ½ΡΡΡ Π²ΠΎ Π²Π½ΠΈΠΌΠ°Π½ΠΈΠ΅ ΡΠ»Π΅Π΄ΡΡΡΠΈΠ΅ Π½ΡΠ°Π½ΡΡ ΡΡΠΎΠ³ΠΎ ΡΡΠΌΠ°:
- ΠΠ°ΠΊΠΎΠ³ΠΎ Ρ Π°ΡΠ°ΠΊΡΠ΅ΡΠ° ΡΡΠΎΡ ΡΡΠΌ: ΡΡΡΠΊ, ΡΠΊΡΠ΅ΠΆΠ΅Ρ, Π³ΡΠ», Ρ ΡΡΡΡ, ΡΠΊΡΠΈΠΏ ΠΈΠ»ΠΈ ΡΡΠΎ-ΡΠΎ Π΅ΡΡ?
- ΠΠΎΡΠ²Π»ΡΠ΅ΡΡΡ Π»ΠΈ ΡΡΠΌ ΡΠΎΠ»ΡΠΊΠΎ ΠΏΡΠΈ ΠΏΠΎΠ²ΠΎΡΠΎΡΠ΅ ΡΡΠ»Ρ, ΠΏΡΠΈ Π²Ρ ΠΎΠΆΠ΄Π΅Π½ΠΈΠΈ Π² ΠΏΠΎΠ²ΠΎΡΠΎΡΒ ΠΈΠ»ΠΈ Π΅ΡΡ ΠΏΡΠΈ ΠΊΠ°ΠΊΠΈΡ -Π»ΠΈΠ±ΠΎ ΠΎΠ±ΡΡΠΎΡΡΠ΅Π»ΡΡΡΠ²Π°Ρ ΠΈ Π΄Π΅ΠΉΡΡΠ²ΠΈΡΡ ?
- Π¨ΡΠΌ ΠΏΠΎΡΠ²Π»ΡΠ΅ΡΡΡ Π²ΡΠ΅Π³Π΄Π° ΠΈΠ»ΠΈ Π·Π°Π²ΠΈΡΠΈΡ ΠΎΡ ΠΏΠΎΠ³ΠΎΠ΄Ρ, Π²Π»Π°ΠΆΠ½ΠΎΡΡΠΈ, ΠΏΡΠΎΠ³ΡΠ΅Π²Π°Β ΠΊΠΎΠΌΠΏΠΎΠ½Π΅Π½ΡΠΎΠ² ΠΏΠΎΠ΄Π²Π΅ΡΠΊΠΈ/ΡΡΠ»Π΅Π²ΠΎΠ³ΠΎ ΡΠΏΡΠ°Π²Π»Π΅Π½ΠΈΡ, Π·Π°Π³ΡΡΠΆΠ΅Π½Π½ΠΎΡΡΠΈ Π°Π²ΡΠΎΠΌΠΎΠ±ΠΈΠ»Ρ ΠΈ Ρ.
ΠΏ.? - ΠΠ²ΡΠΊΠΈ ΠΏΠΎΡΠ²Π»ΡΡΡΡΡ ΠΏΡΠΈ ΠΏΠΎΠ²ΠΎΡΠΎΡΠ΅ ΡΡΠ»Ρ Π½Π°Π»Π΅Π²ΠΎ ΠΈΠ»ΠΈ Π½Π°ΠΏΡΠ°Π²ΠΎ ΠΈΠ»ΠΈ Π² ΠΎΠ±Π΅ ΡΡΠΎΡΠΎΠ½Ρ?
- ΠΠ°ΠΊΠΈΠ΅ Π΄ΠΎΠΏΠΎΠ»Π½ΠΈΡΠ΅Π»ΡΠ½ΡΠ΅ ΡΠΈΠΌΠΏΡΠΎΠΌΡ ΠΈΠ»ΠΈ ΠΏΡΠΎΠ±Π»Π΅ΠΌΡ ΠΏΠΎΡΠ²Π»ΡΡΡΡΡ ΠΏΡΠΈ ΡΠ°ΠΊΠΎΠΌ ΡΡΠΌΠ΅?
ΠΡΠ²Π΅ΡΡ Π½Π° Π²ΡΠ΅ ΡΡΠΈ Π²ΠΎΠΏΡΠΎΡΡ Π΄Π°Π΄ΡΡ ΡΠ΅Π½Π½ΡΡ ΠΈΠ½ΡΠΎΡΠΌΠ°ΡΠΈΡ Π΄Π»Ρ ΠΏΡΠ°Π²ΠΈΠ»ΡΠ½ΠΎΠΉ Π΄ΠΈΠ°Π³Π½ΠΎΡΡΠΈΠΊΠΈ ΡΡΠΌΠΎΠ² ΠΏΡΠΈ ΠΏΠΎΠ²ΠΎΡΠΎΡΠ΅ ΡΡΠ»Ρ.
ΠΠ΅ΡΠ΅Π΄Π½ΡΡ ΡΠ°ΡΡΡ ΠΠ°ΡΠ΅Π³ΠΎ Π°Π²ΡΠΎΠΌΠΎΠ±ΠΈΠ»Ρ Π²ΡΠΏΠΎΠ»Π½ΡΠ΅ΡΒ ΠΌΠ½ΠΎΠ³ΠΎ ΡΠ°Π·Π»ΠΈΡΠ½ΡΡ Π·Π°Π΄Π°Ρ:
- ΠΏΡΠ΅Π΄ΠΎΡΠ²ΡΠ°ΡΠ°Π΅Ρ ΠΊΡΠ΅Π½ Π°Π²ΡΠΎΠΌΠΎΠ±ΠΈΠ»Ρ Π½Π° ΠΏΠΎΠ²ΠΎΡΠΎΡΠ°Ρ ;
- ΠΏΠ΅ΡΠ΅ΠΌΠ΅ΡΠ°Π΅Ρ ΠΊΠΎΠ»ΡΡΠ° Π²Π²Π΅ΡΡ -Π²Π½ΠΈΠ· Π΄Π»Ρ Π°ΠΌΠΎΡΡΠΈΠ·Π°ΡΠΈΠΈ;
- ΠΏΠΎΠ·Π²ΠΎΠ»ΡΠ΅Ρ ΠΏΠΎΠ²ΠΎΡΠ°ΡΠΈΠ²Π°ΡΡ ΠΊΠΎΠ»ΡΡΠ° ΡΡΠ»ΡΠΌ;
- ΠΏΠ΅ΡΠ΅Π΄Π°ΡΡ ΠΌΠΎΡΠ½ΠΎΡΡΡ ΠΎΡ Π΄Π²ΠΈΠ³Π°ΡΠ΅Π»Ρ ΠΊ ΠΊΠΎΠ»ΡΡΠ°ΠΌ, ΠΏΡΠΈΠ²ΠΎΠ΄Ρ Π°Π²ΡΠΎΠΌΠΎΠ±ΠΈΠ»Ρ Π² Π΄Π²ΠΈΠΆΠ΅Π½ΠΈΠ΅, Π½Π° ΠΏΠ΅ΡΠ΅Π΄Π½Π΅ΠΏΡΠΈΠ²ΠΎΠ΄Π½ΡΡ Π°Π²ΡΠΎ.
Π‘ ΡΡΡΡΠΎΠΌ Π²ΡΠ΅Π³ΠΎ ΡΡΠΎΠ³ΠΎ, Π΅ΡΡΡ ΠΌΠ½ΠΎΠ³ΠΎ ΠΏΡΠΈΡΠΈΠ½ Π΄Π»ΡΒ ΠΌΠ΅Ρ
Π°Π½ΠΈΠ·ΠΌΠΎΠ²Β ΠΏΠ΅ΡΠ΅Π΄Π½Π΅ΠΉ ΠΏΠΎΠ΄Π²Π΅ΡΠΊΠΈ ΠΈ ΡΡΠ»Π΅Π²ΠΎΠ³ΠΎ ΡΠΏΡΠ°Π²Π»Π΅Π½ΠΈΡΒ ΠΈΠ·Π½ΠΎΡΠΈΡΡΡΡ.Β Π ΡΡΠ°ΡΡΡΡ, ΠΏΠΎ ΠΌΠ΅ΡΠ΅ ΡΠΎΠ³ΠΎ,Β ΠΊΠ°ΠΊ ΡΡΠΈ ΠΊΠΎΠΌΠΏΠΎΠ½Π΅Π½ΡΡ ΠΈΠ·Π½Π°ΡΠΈΠ²Π°ΡΡΡΡ, ΠΌΠ½ΠΎΠ³ΠΈΠ΅ ΠΈΠ· Π½ΠΈΡ
Π½Π°ΡΠΈΠ½Π°ΡΡ ΠΈΠ·Π΄Π°Π²Π°ΡΡ ΡΡΡΠ°Π½Π½ΡΠ΅ ΡΡΠΌΡ, ΠΏΡΠ΅Π΄ΡΠΏΡΠ΅ΠΆΠ΄Π°ΡΡΠΈΠ΅, ΡΡΠΎ ΠΎΠ½ΠΈ Π΄ΠΎΠ»ΠΆΠ½Ρ Π±ΡΡΡ Π·Π°ΠΌΠ΅Π½Π΅Π½Ρ, ΡΠΌΠ°Π·Π°Π½ΡΒ ΠΈΠ»ΠΈ ΠΈΡΠΏΡΠ°Π²Π»Π΅Π½Ρ.Β Π’Π΅ΠΌ Π½Π΅ ΠΌΠ΅Π½Π΅Π΅, ΠΊ ΡΠΎΠΌΡ Π²ΡΠ΅ΠΌΠ΅Π½ΠΈ, ΠΊΠΎΠ³Π΄Π° ΠΎΠ½ΠΈ Π½Π°ΡΠΈΠ½Π°ΡΡ Π΄Π΅Π»Π°ΡΡ ΡΡΠΌ,Β ΠΎΠ½ΠΈ, ΠΊΠ°ΠΊ ΠΏΡΠ°Π²ΠΈΠ»ΠΎ, ΡΠΆΠ΅ ΠΎΡΠ΅Π½Ρ Π±Π»ΠΈΠ·ΠΊΠΈ ΠΊΒ ΠΏΡΠΎΠ²Π°Π»Ρ, ΡΠ°ΠΊ ΡΡΠΎ Π»ΡΡΡΠ΅ ΠΊΠ°ΠΊ ΠΌΠΎΠΆΠ½ΠΎ Π±ΡΡΡΡΠ΅Π΅ ΠΏΡΠΎΠ΄ΠΈΠ°Π³Π½ΠΎΡΡΠΈΡΠΎΠ²Π°ΡΡ ΡΠΎΡ ΠΈΠ»ΠΈ ΠΈΠ½ΠΎΠΉ Π°Π³ΡΠ΅Π³Π°Ρ.
ΠΠ΄Π½ΠΈ Π·Π²ΡΠΊΠΈ, ΠΈΠ·Π΄Π°Π²Π°Π΅ΠΌΡΠ΅ ΠΏΡΠΈ ΠΏΠΎΠ²ΠΎΡΠΎΡΠ΅ ΡΡΠ»Ρ, ΠΏΠΎΡ
ΠΎΠΆΠΈ Π½Π° ΡΡΡΠΊ, Π΄ΡΡΠ³ΠΈΠ΅ Π½Π° ΡΠΊΡΠΈΠΏ, ΡΡΠ΅ΡΡΠΈ, Π½Π° Π³ΡΠ» ΠΈ ΡΠ°ΠΊ Π΄Π°Π»Π΅Π΅.
ΠΠΎΡ ΡΠΏΠΈΡΠΎΠΊ Π²ΡΠ΅Ρ ΡΠ°ΠΊΠΈΡ ΡΡΠΌΠΎΠ², ΠΊΠΎΡΠΎΡΡΠΉ ΠΠ°Ρ Π°Π²ΡΠΎΠΌΠΎΠ±ΠΈΠ»Ρ ΠΌΠΎΠΆΠ΅Ρ ΠΈΠ·Π΄Π°Π²Π°ΡΡ ΠΏΡΠΈ ΠΏΠΎΠ²ΠΎΡΠΎΡΠ΅ ΡΡΠ»Ρ,Β ΠΈ Π²ΠΎΠ·ΠΌΠΎΠΆΠ½ΡΠ΅ ΠΏΡΠΎΠ±Π»Π΅ΠΌΡ, ΡΠ²ΡΠ·Π°Π½Π½ΡΠ΅ Ρ Π½ΠΈΠΌΠΈ.Β ΠΡΠΎ ΡΠ΅ ΠΌΠ΅ΡΡΠ°, Ρ ΠΊΠΎΡΠΎΡΡΡ ΡΠ»Π΅Π΄ΡΠ΅Ρ Π½Π°ΡΠ°ΡΡ Π΄ΠΈΠ°Π³Π½ΠΎΡΡΠΈΠΊΡ, Π½ΠΎ ΠΏΠΎΠΌΠ½ΠΈΡΠ΅, ΡΡΠΎ Π½Π΅ ΠΈΡΡΠ΅ΡΠΏΡΠ²Π°ΡΡΠΈΠΉ ΠΏΠ΅ΡΠ΅ΡΠ΅Π½Ρ Π²ΠΎΠ·ΠΌΠΎΠΆΠ½ΡΡ ΠΏΡΠΈΡΠΈΠ½. ΠΡΠ°ΠΊ, Π² ΡΡΠΌ ΠΌΠΎΠ³ΡΡ Π±ΡΡΡ ΠΏΡΠΈΡΠΈΠ½Ρ ΡΡΡΠΊΠΎΠ², ΡΠΊΡΠΈΠΏΠΎΠ², Π³ΡΠ»ΠΎΠ² ΠΏΡΠΈ ΠΏΠΎΠ²ΠΎΡΠΎΡΠ΅ ΡΡΠ»Ρ?
ΠΡΠ» Π²ΠΎ Π²ΡΠ΅ΠΌΡ ΠΏΠΎΠ²ΠΎΡΠΎΡΠ° ΡΡΠ»Ρ Π½Π° ΠΌΠ΅ΡΡΠ΅
Π’Π°ΠΊΠΎΠΉ Π²ΠΈΠ΄ ΡΡΠΌΠ° ΠΏΡΠΈ ΠΏΠΎΠ²ΠΎΡΠΎΡΠ΅ ΡΡΠ»Ρ, ΠΊΠΎΠ³Π΄Π° Π°Π²ΡΠΎΠΌΠΎΠ±ΠΈΠ»Ρ ΡΡΠΎΠΈΡ, Ρ Π°ΡΠ°ΠΊΡΠ΅ΡΠ΅Π½ Π΄Π»Ρ Π°Π²ΡΠΎΠΌΠΎΠ±ΠΈΠ»Π΅ΠΉ Ρ Π³ΠΈΠ΄ΡΠΎΡΡΠΈΠ»ΠΈΡΠ΅Π»Π΅ΠΌ ΡΡΠ»Ρ (ΠΠ£Π ). Π ΡΡΠΎ Π½ΠΎΡΠΌΠ°Π»ΡΠ½ΠΎΠ΅ ΡΡΠ»ΠΎΠ²ΠΈΠ΅ Π΄Π»Ρ Π»ΡΠ±ΠΎΠΉ ΠΌΠ°ΡΠΈΠ½Ρ Ρ ΠΠ£Π ΠΎΠΌ. ΠΡΠ»ΠΈ ΠΡ ΡΠ΅Π»ΠΈ Π² Π°Π²ΡΠΎΠΌΠΎΠ±ΠΈΠ»Ρ Π²ΠΏΠ΅ΡΠ²ΡΠ΅ ΠΈ ΡΠ»ΡΡΠΈΡΠ΅ ΡΡΠΎΡ Π½Π΅Π³ΡΠΎΠΌΠΊΠΈΠΉ Π³ΡΠ», ΡΠΎ Π·Π½Π°ΠΉΡΠ΅, ΡΡΠΎ ΠΎΠ½ Π±ΡΠ΄Π΅Ρ Π΄ΠΎΠ²ΠΎΠ»ΡΠ½ΠΎ ΡΠ°ΡΡΠΎ ΡΠΎΠΏΡΠΎΠ²ΠΎΠΆΠ΄Π°ΡΡ ΠΠ°Ρ. Π ΠΎΡΠ΅Π½Ρ ΡΠ΅Π΄ΠΊΠΈΡ ΡΠ»ΡΡΠ°ΡΡ Π³ΡΠ» ΠΌΠΎΠΆΠ΅Ρ ΠΏΠΎΡΠ²Π»ΡΡΡΡΡ ΡΠΎΠ»ΡΠΊΠΎ ΠΏΡΠΈ ΠΏΠΎΠ²ΠΎΡΠΎΡΠ΅ ΡΡΠ»Ρ Π² ΠΎΠ΄Π½Ρ ΡΡΠΎΡΠΎΠ½Ρ: Π²Π»Π΅Π²ΠΎ ΠΈΠ»ΠΈ Π²ΠΏΡΠ°Π²ΠΎ.
ΠΠ΄Π½Π°ΠΊΠΎ, Π΅ΡΠ»ΠΈ ΠΡ ΡΠΆΠ΅ Π΄Π°Π²Π½ΠΎ Π²Π»Π°Π΄Π΅Π΅ΡΠ΅ ΠΌΠ°ΡΠΈΠ½ΠΎΠΉ, ΠΈ Π³ΡΠ» ΡΡΠ°Π» ΠΎΡΠ΅Π²ΠΈΠ΄Π½ΠΎ Π±ΠΎΠ»Π΅Π΅ Π³ΡΠΎΠΌΠΊΠΈΠΌ, ΠΏΠΎΡΠ²Π»ΡΠ΅ΡΡΡ Π½Π΅ ΡΠΎΠ»ΡΠΊΠΎ ΠΏΡΠΈ ΠΏΠΎΠ²ΠΎΡΠΎΡΠ΅ ΡΡΠ»Ρ Π½Π° ΠΌΠ΅ΡΡΠ΅, Π½ΠΎ ΠΈ Π½Π° Ρ
ΠΎΠ΄Ρ, ΡΠΎ, Π²ΠΎΠ·ΠΌΠΎΠΆΠ½ΠΎ, ΡΠ»Π΅Π΄ΡΠ΅Ρ ΠΏΡΠΎΠ²Π΅ΡΠΈΡΡ ΠΠ£Π .
ΠΠ΅ Π²ΠΎΠ»Π½ΡΠΉΡΠ΅ΡΡ, Π½Π°ΠΈΠ±ΠΎΠ»Π΅Π΅ ΡΠ°ΡΡΠ°Ρ ΠΏΡΠΎΠ±Π»Π΅ΠΌΠ° ΠΏΡΠΈ ΡΠ°ΠΊΠΎΠΌ ΡΠΈΠΌΠΏΡΠΎΠΌΠ΅, ΠΊΠ°ΠΊ Π³ΡΠ» ΠΏΡΠΈ ΠΏΠΎΠ²ΠΎΡΠΎΡΠ΅ ΡΡΠ»Ρ, Π»Π΅Π³ΠΊΠΎ ΡΠ΅ΡΠ°Π΅ΡΡΡ Π΄ΠΎΠ»ΠΈΠ²ΠΊΠΎΠΉ ΠΆΠΈΠ΄ΠΊΠΎΡΡΠΈ ΠΠ£Π Π°. ΠΡΠΎΡΡΠΎ ΠΏΡΠΎΠ²Π΅ΡΡΡΠ΅ Π΅Ρ ΡΡΠΎΠ²Π΅Π½Ρ ΠΏΠΎΠ΄ ΠΊΠ°ΠΏΠΎΡΠΎΠΌ (ΡΠΏΠ΅ΡΠΈΠ°Π»ΡΠ½ΡΠΉ Π±Π°ΡΠΎΠΊ Ρ ΠΎΡΠΌΠ΅ΡΠΊΠ°ΠΌΠΈ ΠΌΠΈΠ½ΠΈΠΌΠ°Π»ΡΠ½ΠΎΠ³ΠΎ ΠΈ ΠΌΠ°ΠΊΡΠΈΠΌΠ°Π»ΡΠ½ΠΎΠ³ΠΎ ΡΡΠΎΠ²Π½Ρ ΠΆΠΈΠ΄ΠΊΠΎΡΡΠΈ ΠΈ ΠΈΠ΄Π΅Π½ΡΠΈΡΠΈΠΊΠ°ΡΠΈΠ΅ΠΉ Π² Π±ΠΎΠ»ΡΡΠΈΠ½ΡΡΠ²Π΅ ΡΠ»ΡΡΠ°Π΅Π², ΡΡΠΎ ΡΡΠΎ ΠΈΠΌΠ΅Π½Π½ΠΎ ΠΆΠΈΠ΄ΠΊΠΎΡΡΡ ΠΠ£Π Π°). ΠΠΈΠ·ΠΊΠΈΠΉ ΡΡΠΎΠ²Π΅Π½Ρ ΠΆΠΈΠ΄ΠΊΠΎΡΡΠΈ ΠΌΠΎΠΆΠ΅Ρ Π³ΠΎΠ²ΠΎΡΠΈΡΡ ΠΎ Π²ΠΎΠ·ΠΌΠΎΠΆΠ½ΠΎΠΉ ΡΡΠ΅ΡΠΊΠ΅, ΠΏΠΎΡΡΠΎΠΌΡ ΠΏΠΎΡΠ»Π΅ Π΅Ρ Π΄ΠΎΠ»ΠΈΠ²ΠΊΠΈ ΠΏΡΠΎΠ²Π΅ΡΡΠΉΡΠ΅ ΠΏΠ΅ΡΠ²ΠΎΠ΅ Π²ΡΠ΅ΠΌΡ ΡΡΠΎΠ²Π΅Π½Ρ ΠΏΠΎ ΠΌΠ΅Π½ΡΡΠ΅ΠΉ ΠΌΠ΅ΡΠ΅ ΡΠ°Π· Π² Π½Π΅Π΄Π΅Π»Ρ.
ΠΠΈΠ΄ΡΠΎΡΡΠΈΠ»ΠΈΡΠ΅Π»ΡΒ ΡΡΠ»Ρ Π² ΡΡΠ»Π΅Π²ΠΎΠΉ ΡΠΈΡΡΠ΅ΠΌΠ΅
ΠΡΡΠ³ΠΈΠΌΠΈΒ ΠΏΡΠΎΠ±Π»Π΅ΠΌΠ°ΠΌΠΈΒ ΡΠ°ΠΊΠΎΠ³ΠΎ ΡΠΈΠΌΠΏΡΠΎΠΌΠ° ΠΌΠΎΠ³ΡΡ Π±ΡΡΡ Π½Π΅ΠΈΡΠΏΡΠ°Π²Π½ΡΠΉ Π½Π°ΡΠΎΡ Π³ΠΈΠ΄ΡΠΎΡΡΠΈΠ»ΠΈΡΠ΅Π»Ρ, ΠΏΠΎΠΏΠ°Π²ΡΠΈΠΉ Π² ΡΠΈΡΡΠ΅ΠΌΡ ΠΠ£Π Π° Π²ΠΎΠ·Π΄ΡΡ ΠΈΠ»ΠΈ ΠΎΡΠ»Π°Π±Π»Π΅Π½Π½ΡΠΉ ΡΠ΅ΠΌΠ΅Π½Ρ Π³ΠΈΠ΄ΡΠΎΡΡΠΈΠ»ΠΈΡΠ΅Π»Ρ.Β Π ΡΡΠΎΠΌ ΡΠ»ΡΡΠ°Π΅ ΠΏΠΎΠΌΠΎΠΆΠ΅Ρ ΡΠΎΠ»ΡΠΊΠΎ ΡΠΏΠ΅ΡΠΈΠ°Π»ΠΈΠ·ΠΈΡΠΎΠ²Π°Π½Π½ΡΠΉ ΡΠ΅ΡΠ²ΠΈΡ.
ΠΡΠ°ΠΊΡΠΈΡΠ΅ΡΠΊΠΈ Π²ΡΠ΅ ΡΠΊΠ°Π·Π°Π½Π½ΡΠ΅Β Π½Π΅ΠΈΡΠΏΡΠ°Π²Π½ΠΎΡΡΠΈ Π³ΠΈΠ΄ΡΠΎΡΡΠΈΠ»ΠΈΡΠ΅Π»Ρ ΡΡΠ»Ρ ΠΏΡΠΎΡΠ²Π»ΡΡΡΡΡ, ΠΏΠΎΠΌΠΈΠΌΠΎ Π³ΡΠ»Π° ΠΏΡΠΈ ΠΏΠΎΠ²ΠΎΡΠΎΡΠ΅ ΡΡΠ»Ρ, Π΅ΡΡ Π±ΠΎΠ»Π΅Π΅ ΡΡΡΠ΄Π½ΡΠΌ ΠΏΠΎΠ²ΠΎΡΠ°ΡΠΈΠ²Π°Π½ΠΈΠ΅ΠΌ ΡΡΠΎΠ³ΠΎ ΡΠ°ΠΌΠΎΠ³ΠΎ ΡΡΠ»Ρ.
Π‘ΡΡΠΊ ΠΏΡΠΈ ΠΏΠΎΠ²ΠΎΡΠΎΡΠ΅ Π°Π²ΡΠΎΠΌΠΎΠ±ΠΈΠ»Ρ Π² Π΄Π²ΠΈΠΆΠ΅Π½ΠΈΠΈ
Π‘Π»Π΅Π΄ΡΡΡΠΈΠΉ ΡΠΈΠΌΠΏΡΠΎΠΌ β ΡΡΠΎ Ρ
Π°ΡΠ°ΠΊΡΠ΅ΡΠ½ΡΠΉ ΡΡΡΠΊ, ΠΊΠΎΠ³Π΄Π° ΠΡ Π²Ρ
ΠΎΠ΄ΠΈΡΠ΅ Π² ΠΏΠΎΠ²ΠΎΡΠΎΡ.
ΠΡΠΈΡΡΠΌ, ΡΡΡΠΊ ΠΌΠΎΠΆΠ΅Ρ Π±ΡΡΡ ΡΠ΅ΠΌ ΡΠΈΠ»ΡΠ½Π΅Π΅, ΡΠ΅ΠΌ ΠΌΠ΅Π½ΡΡΠ΅ ΡΠ³ΠΎΠ»Β ΠΏΠΎΠ²ΠΎΡΠΎΡΠ° ΠΈ Ρ
ΡΠΆΠ΅ Π΄ΠΎΡΠΎΠ³Π°. Π’Π°ΠΊΠΎΠΉ ΡΡΡΠΊ Ρ
Π°ΡΠ°ΠΊΡΠ΅ΡΠ΅Π½ Π΄Π»Ρ ΠΏΡΠΈΡΠ΅Π΄ΡΠΈΡ
Π² Π½Π΅Π³ΠΎΠ΄Π½ΠΎΡΡΡ ΡΡΠΎΠ΅ΠΊ Π°ΠΌΠΎΡΡΠΈΠ·Π°ΡΠΎΡΠΎΠ² β ΠΎΠ½ΠΈ ΠΏΡΠΎΡΡΠΎ ΠΏΠ΅ΡΠ΅ΡΡΠ°Π»ΠΈ ΠΎΡΡΠ°Π±Π°ΡΡΠ²Π°ΡΡ Π΄ΠΎΠ»ΠΆΠ½ΡΠΌ ΠΎΠ±ΡΠ°Π·ΠΎΠΌ, ΠΈ ΠΈΡ
Π½Π΅ΠΎΠ±Ρ
ΠΎΠ΄ΠΈΠΌΠΎ Π·Π°ΠΌΠ΅Π½ΠΈΡΡ. ΠΠ²ΠΈΠ΄Ρ ΡΠΎΠ³ΠΎ, ΡΡΠΎ Π°ΠΌΠΎΡΡΠΈΠ·Π°ΡΠΎΡΡ Π½Π° ΠΎΠ΄Π½ΠΎΠΉ ΠΎΡΠΈ ΠΈΠ·Π½Π°ΡΠΈΠ²Π°ΡΡΡΡ Π΄Π°Π»Π΅ΠΊΠΎ Π½Π΅ Π²ΡΠ΅Π³Π΄Π° ΡΠ°Π²Π½ΠΎΠΌΠ΅ΡΠ½ΠΎ, ΡΡΡΠΊ ΠΎΠ±ΡΡΠ½ΠΎ ΡΠΎΠΏΡΠΎΠ²ΠΎΠΆΠ΄Π°Π΅ΡΡΡ ΠΏΡΠΈ ΠΏΠΎΠ²ΠΎΡΠΎΡΠ΅ Π² ΠΎΠ΄Π½Ρ ΡΡΠΎΡΠΎΠ½Ρ, Π° Π² Π΄ΡΡΠ³ΡΡ β Π½Π΅Ρ.
Π‘Ρ Π΅ΠΌΠ°ΡΠΈΡΠ½ΠΎ ΠΏΡΠ΅Π΄ΡΡΠ°Π²Π»Π΅Π½Π½ΡΠΉ Π°ΠΌΠΎΡΡΠΈΠ·Π°ΡΠΎΡ
ΠΡΡΠ³ΠΎΠΉ ΡΠΈΠΌΠΏΡΠΎΠΌ, ΠΏΠΎΠΌΠΈΠΌΠΎ ΡΡΡΠΊΠ° ΠΏΡΠΈ Π²Ρ ΠΎΠΆΠ΄Π΅Π½ΠΈΠΈ Π² ΠΏΠΎΠ²ΠΎΡΠΎΡΡ,Β Ρ Π°ΡΠ°ΠΊΡΠ΅ΡΠ½ΡΠΉ Π΄Π»Ρ ΡΡΠΎΠΉ Π½Π΅ΠΈΡΠΏΡΠ°Π²Π½ΠΎΡΡΠΈ β ΠΏΠΎΡΠ²Π»Π΅Π½ΠΈΠ΅ ΡΡΡΠΊΠ° Π½Π° Π½Π΅ΡΠΎΠ²Π½ΡΡ ΠΏΠΎΠ²Π΅ΡΡ Π½ΠΎΡΡΡΡ Π² ΡΠΎΠΌ ΡΠΈΡΠ»Π΅ ΠΈ ΠΏΡΠΈ Π΄Π²ΠΈΠΆΠ΅Π½ΠΈΠΈ ΠΏΠΎ ΠΏΡΡΠΌΠΎΠΉ. ΠΠ΅Π»ΠΎ Π² ΡΠΎΠΌ, ΡΡΠΎ Π½Π° Π°ΠΌΠΎΡΡΠΈΠ·Π°ΡΠΎΡΡ ΠΈΠΌΠ΅Π½Π½ΠΎ Π² ΠΏΠΎΠ²ΠΎΡΠΎΡΠ΅ Π½Π°Π³ΡΡΠ·ΠΊΠ° ΡΠ²Π΅Π»ΠΈΡΠΈΠ²Π°Π΅ΡΡΡ, ΠΈ ΡΡΡΡΠ°Ρ ΠΎΠ½ΠΈ ΠΏΡΠΈ ΡΡΠΎΠΌ ΡΠ°ΡΠ΅. Π’Π°ΠΊΠΆΠ΅ ΠΎΠ±ΡΠ°ΡΠΈΡΠ΅ Π²Π½ΠΈΠΌΠ°Π½ΠΈΠ΅ Π½Π° Π½Π°Π»ΠΈΡΠΈΠ΅ ΠΌΠΎΠΊΡΡΡ ΠΏΡΡΠ΅Π½ Π½Π° Π°ΠΌΠΎΡΡΠΈΠ·Π°ΡΠΎΡΠ°Ρ β ΡΡΠΎ ΠΌΠΎΠΆΠ΅Ρ Π³ΠΎΠ²ΠΎΡΠΈΡΡ ΠΎΠ± ΠΈΡ Β ΡΡΠ΅ΡΠΊΠ΅.
ΠΡΠ»ΠΈ ΠΠ°ΡΠ΅ΠΌΡ Π°Π²ΡΠΎΠΌΠΎΠ±ΠΈΠ»Ρ ΡΠΆΠ΅ Π½Π΅ ΠΎΠ΄ΠΈΠ½ Π³ΠΎΠ΄, Ρ Π½Π΅Π³ΠΎ ΡΠΆΠ΅ Π²Π½ΡΡΠΈΡΠ΅Π»ΡΠ½ΡΠΉ ΠΏΡΠΎΠ±Π΅Π³ (ΡΠΈΡΡΡ ΠΌΡ ΠΏΡΠΈΠ²ΠΎΠ΄ΠΈΡΡ Π½Π΅ Π±ΡΠ΄Π΅ΠΌ, ΡΠ°ΠΊ ΠΊΠ°ΠΊ Ρ ΡΠ°Π·Π½ΡΡ
ΠΌΠΎΠ΄Π΅Π»Π΅ΠΉ ΡΡΠΎΠΉΠΊΠΈ ΠΌΠΎΠ³ΡΡ ΠΏΡΠΈΠΉΡΠΈ Π² Π½Π΅Π³ΠΎΠ΄Π½ΠΎΡΡΡ ΠΏΠΎ-ΡΠ°Π·Π½ΠΎΠΌΡ, ΠΈ, ΠΊΡΠΎΠΌΠ΅ ΡΠΎΠ³ΠΎ, ΠΌΠ½ΠΎΠ³ΠΎ Π΄ΡΡΠ³ΠΈΡ
ΡΠ°ΠΊΡΠΎΡΠΎΠ² Π²Π»ΠΈΡΡΡ Π½Π° ΡΡΠΎ), Π°ΠΌΠΎΡΡΠΈΠ·Π°ΡΠΎΡΡ Ρ Π½Π΅Π³ΠΎ Π½Π°Ρ
ΠΎΠ΄ΡΡΡΡ Π² Π³ΡΡΠΏΠΏΠ΅ ΡΠΈΡΠΊΠ° (Π±ΠΎΠ»Π΅Π·Π½Ρ ΠΠ°ΡΠ΅ΠΉΒ ΠΌΠΎΠ΄Π΅Π»ΠΈ, ΠΎ ΠΊΠΎΡΠΎΡΠΎΠΉ ΠΌΠΎΠΆΠ½ΠΎ ΡΠ·Π½Π°ΡΡ Π½Π° ΡΠ΅ΠΌΠ°ΡΠΈΡΠ΅ΡΠΊΠΎΠΌ ΡΠΎΡΡΠΌΠ΅, Π½Π°ΠΏΡΠΈΠΌΠ΅Ρ, ΠΈΠ»ΠΈ Ρ Π΄ΠΈΠ»Π΅ΡΠ°), ΡΠΎ Π²ΠΏΠΎΠ»Π½Π΅ Π²ΠΎΠ·ΠΌΠΎΠΆΠ½ΠΎ, ΡΡΠΎ ΠΏΡΠΈΡΠΈΠ½ΠΎΠΉ ΡΡΡΠΊΠ° ΠΏΡΠΈ ΠΏΠΎΠ²ΠΎΡΠΎΡΠ°Ρ
ΡΠ²Π»ΡΡΡΡΡ ΠΊΠ°ΠΊ ΡΠ°Π· Π°ΠΌΠΎΡΡΠΈΠ·Π°ΡΠΎΡΡ. ΠΡΠΎΠ²Π΅ΡΠΈΡΡ ΡΡΠΎ ΠΌΠΎΠΆΠ½ΠΎ, Π·Π°Π΅Ρ
Π°Π² ΠΊ ΠΏΡΠΎΡΠ΅ΡΡΠΈΠΎΠ½Π°Π»ΡΠ½ΠΎΠΌΡ ΠΌΠ΅Ρ
Π°Π½ΠΈΠΊΡ.
Π‘ΡΡΠΊ ΠΏΡΠΈ ΠΏΠΎΠ²ΠΎΡΠΎΡΠ΅ ΡΡΠ»Ρ Ρ Π»ΡΡΡΠΎΠΌ ΡΡΠ»Ρ
Π¨Π°ΡΠ½ΠΈΡΡ ΡΡΠ»Π΅Π²ΠΎΠ³ΠΎ ΡΠΏΡΠ°Π²Π»Π΅Π½ΠΈΡ Ρ ΠΎΡΡ ΠΈ Π½Π΅ ΡΡΠ΅Π±ΡΡΡ ΠΎΠ±ΡΠ»ΡΠΆΠΈΠ²Π°Π½ΠΈΡ ΠΏΠΎΡΡΠΈ Π½Π° Π²ΡΡΠΌ ΡΡΠΎΠΊΠ΅ ΡΠ»ΡΠΆΠ±Ρ Π°Π²ΡΠΎΠΌΠΎΠ±ΠΈΠ»Ρ, Π²ΡΡ ΠΆΠ΅ Π² ΡΡΠ»ΠΎΠ²ΠΈΡΡ Π½Π°ΡΠΈΡ Π΄ΠΎΡΠΎΠ³ ΠΎΠ½ΠΈ, Π±ΡΠ²Π°Π΅Ρ, ΠΈΠ·Π½Π°ΡΠΈΠ²Π°ΡΡΡΡ. ΠΠ»Π°Π²Π½ΡΠΌ ΡΠΈΠΌΠΏΡΠΎΠΌΠΎΠΌ ΠΈΠ·Π½ΠΎΡΠ° ΡΡΠ»Π΅Π²ΡΡ ΡΠ°ΡΠ½ΠΈΡΠΎΠ² ΡΠ²Π»ΡΠ΅ΡΡΡ ΠΈΡ ΠΎΡΠ»Π°Π±Π»Π΅Π½ΠΈΠ΅ Ρ ΠΏΠΎΡΠ²Π»Π΅Π½ΠΈΠ΅ΠΌ Π»ΡΡΡΠ° ΠΈ Ρ Π°ΡΠ°ΠΊΡΠ΅ΡΠ½ΠΎΠ³ΠΎ, Π½ΠΎ ΡΠΈΡ ΠΎΠ³ΠΎ ΡΡΡΠΊΠ° ΠΏΡΠΈ ΡΠ°ΠΌΠΎΠΌ Π½Π°ΡΠ°Π»Π΅ ΠΏΠΎΠ²ΠΎΡΠΎΡΠ° ΡΡΠ»Ρ. ΠΠ°ΠΈΠ±ΠΎΠ»Π΅Π΅ ΡΠΎΡΠ½ΠΎ ΠΎΠΏΡΠ΅Π΄Π΅Π»ΠΈΡΡ ΠΏΡΠΈΡΠΈΠ½Ρ ΡΠ°ΠΊΠΎΠ³ΠΎ ΡΡΡΠΊΠ° ΠΏΡΠΈ ΠΏΠΎΠ²ΠΎΡΠΎΡΠ΅ ΠΌΠΎΠΆΠ½ΠΎ, Π²ΡΡΠ°Π² Π½Π° ΡΠΎΠ²Π½ΠΎΠΌ ΠΌΠ΅ΡΡΠ΅ Π½Π° ΡΡΠΎΡΠ½ΠΊΠ΅ ΠΈ ΠΏΠΎΠΏΡΡΠ°Π²ΡΠΈΡΡ ΠΏΠΎΠ²ΠΎΡΠ°ΡΠΈΠ²Π°ΡΡ ΡΡΠ»Ρ ΠΈΠ· ΡΡΠΎΡΠΎΠ½Ρ Π² ΡΡΠΎΡΠΎΠ½Ρ β ΡΠ½Π°ΡΠ°Π»Π° Π½Π΅Π±ΠΎΠ»ΡΡΠΈΠΌΠΈ Π΄Π²ΠΈΠΆΠ΅Π½ΠΈΡΠΌΠΈ ΡΡΠ»Ρ, Π° Π·Π°ΡΠ΅ΠΌ Π²ΡΡ Π±ΠΎΠ»ΡΡΠ΅, ΠΏΠΎΠΊΠ° Π½Π΅ ΠΎΠΏΡΠ΅Π΄Π΅Π»ΠΈΡΡΡ Π»ΡΡΡ ΠΈ ΡΡΡΠΊ. ΠΠΎΠΆΠ½ΠΎ ΡΠ°ΠΊΠΆΠ΅ Π²ΡΠΉΡΠΈ ΠΈΠ· ΠΌΠ°ΡΠΈΠ½Ρ, ΡΠΌΠΎΡΡΠ΅ΡΡ Π½Π° ΠΊΠΎΠ»ΡΡΠ° ΠΈ ΠΏΡΠΎΠ΄Π΅Π»ΡΠ²Π°ΡΡ ΡΡΡ ΠΆΠ΅ ΡΠ°Π±ΠΎΡΡ Ρ ΡΡΠ»ΡΠΌ Π² ΠΎΡΠΊΡΡΡΠΎΠ΅ ΠΎΠΊΠ½ΠΎ ΠΌΠ°ΡΠΈΠ½Ρ ΠΈΠ»ΠΈ Π΄Π²Π΅ΡΡ. ΠΡΠ»ΠΈ ΠΡ Π²ΠΈΠ΄ΠΈΡΠ΅, ΡΡΠΎ ΠΏΡΠΈ ΠΊΡΡΡΠ΅Π½ΠΈΠΈ ΡΡΠ»Ρ Π½Π΅Π±ΠΎΠ»ΡΡΠΈΠΌΠΈ Π°ΠΌΠΏΠ»ΠΈΡΡΠ΄Π°ΠΌΠΈ ΠΊΠΎΠ»ΡΡΠ° ΠΎΡΡΠ°ΡΡΡΡ Π±Π΅Π·Π΄Π²ΠΈΠΆΠ½ΡΠΌΠΈ, ΡΠΎ Π² ΡΡΠ»Π΅Π²ΠΎΠΉ ΡΠΈΡΡΠ΅ΠΌΠ΅ ΠΏΠΎΡΠ²ΠΈΠ»ΡΡ Π»ΡΡΡ, ΠΊΠΎΡΠΎΡΡΠΉ Π½Π΅ΠΎΠ±Ρ ΠΎΠ΄ΠΈΠΌΠΎ ΡΡΡΡΠ°Π½ΠΈΡΡ.
ΠΠΎΠ±Π΅Π΄ΠΈΡΡ ΡΡΡ Π½Π΅ΠΈΡΠΏΡΠ°Π²Π½ΠΎΡΡΡ ΠΌΠΎΠΆΠ½ΠΎ, ΠΏΡΠΎΠ΄ΠΈΠ°Π³Π½ΠΎΡΡΠΈΡΠΎΠ²Π°Π² Ρ ΡΠΏΠ΅ΡΠΈΠ°Π»ΠΈΡΡΠ° Π²ΡΠ΅ ΡΠ°ΡΠ½ΠΈΡΡ Π½Π° ΠΏΡΠ΅Π΄ΠΌΠ΅Ρ ΠΈΠ·Π½ΠΎΡΠ΅Π½Π½ΠΎΡΡΠΈ ΠΈ Π»ΡΡΡΠ°, ΠΈ Π·Π°ΠΌΠ΅Π½ΠΈΠ² ΠΈΠ·Π½ΠΎΡΠ΅Π½Π½ΡΠ΅ ΡΠ°ΡΠ½ΠΈΡΡ ΠΈ ΡΠΎΠ΅Π΄ΠΈΠ½Π΅Π½ΠΈΡ ΠΈ ΠΏΠΎΠ΄ΡΡΠ½ΡΠ² ΡΠΎΠΎΡΠ²Π΅ΡΡΡΠ²ΡΡΡΠΈΠ΅ ΠΌΠ΅Ρ
Π°Π½ΠΈΠ·ΠΌΡ, Π΄Π°ΡΡΠΈΠ΅ Π»ΡΡΡ ΡΡΠ»Ρ.
Π‘ΠΊΡΠΈΠΏ ΠΈΠ»ΠΈ ΡΠΊΡΠ΅ΠΆΠ΅Ρ ΠΏΡΠΈ ΠΏΠΎΠ²ΠΎΡΠΎΡΠ΅ ΡΡΠ»Ρ ΠΈ Π½Π° ΠΌΠ΅ΡΡΠ΅, ΠΈ Π² Π΄Π²ΠΈΠΆΠ΅Π½ΠΈΠΈ
ΠΡΡΠ³ΠΎΠΉ ΡΡΠΌ, ΠΊΠΎΡΠΎΡΡΠΉ ΠΌΠΎΠΆΠ½ΠΎ ΡΡΠ»ΡΡΠ°ΡΡ, ΠΊΠΎΠ³Π΄Π° ΠΎΠ½ ΠΈΡΡ ΠΎΠ΄ΠΈΡ ΠΎΡ ΡΡΠ»Ρ ΠΈ ΡΠ΅Π°Π³ΠΈΡΡΠ΅Ρ Π½Π° ΠΏΠΎΠ²ΠΎΡΠΎΡΡ ΡΡΠ»Ρ β ΡΡΠΎ ΡΠΊΡΠΈΠΏ ΠΈΠ»ΠΈ ΡΠΊΡΠ΅ΠΆΠ΅Ρ.Β ΠΡΠΈ Π·Π²ΡΠΊΠΈ, ΠΊΠ°ΠΊ ΠΏΡΠ°Π²ΠΈΠ»ΠΎ, ΡΠ°ΠΊΠΆΠ΅ ΡΠ²Π»ΡΡΡΡΡ ΡΠΈΠΌΠΏΡΠΎΠΌΠΎΠΌ ΠΈΠ·Π½ΠΎΡΠ΅Π½Π½ΡΡ ΡΠ°ΡΠ½ΠΈΡΠΎΠ²Β Π² ΡΡΠ»Π΅Π²ΠΎΠΉ ΡΠΈΡΡΠ΅ΠΌΠ΅Β ΠΈΠ»ΠΈ ΠΆΠ΅ ΠΏΠ΅ΡΠ΅Π΄Π½Π΅ΠΉ ΠΏΠΎΠ΄Π²Π΅ΡΠΊΠ΅. ΠΠ°ΠΊ ΠΈ Π² ΠΏΡΠ΅Π΄ΡΠ΄ΡΡΠ΅ΠΌ ΡΠ»ΡΡΠ°Π΅, Π½Π΅ΠΎΠ±Ρ ΠΎΠ΄ΠΈΠΌΠΎ ΠΏΡΠΎΠ΄ΠΈΠ°Π³Π½ΠΎΡΡΠΈΡΠΎΠ²Π°ΡΡ ΡΠΎΠ΅Π΄ΠΈΠ½Π΅Π½ΠΈΡ Π² ΡΡΠ»Π΅Π²ΠΎΠΌ ΡΠΏΡΠ°Π²Π»Π΅Π½ΠΈΠΈ ΠΈΠ»ΠΈ ΠΏΠΎΠ΄Π²Π΅ΡΠΊΠ΅ ΠΈ ΠΏΠΎ ΠΌΠ΅ΡΠ΅ Π½Π°Π΄ΠΎΠ±Π½ΠΎΡΡΠΈ Π·Π°ΠΌΠ΅Π½ΠΈΡΡ ΠΈΡ .
ΠΠΎ Π½Π°ΠΈΠ±ΠΎΠ»Π΅Π΅ ΡΠ°ΡΡΠ°Ρ ΠΏΡΠΎΠ±Π»Π΅ΠΌΠ° ΠΏΡΠΈ Π΄Π°Π½Π½ΠΎΠΌ ΡΠΈΠΌΠΏΡΠΎΠΌΠ΅ β ΠΈΠ·Π½ΠΎΡΠΈΠ²ΡΠΈΠ΅ΡΡ ΡΡΠ»Π΅Π²ΡΠ΅ Π½Π°ΠΊΠΎΠ½Π΅ΡΠ½ΠΈΠΊΠΈ ΠΈΠ»ΠΈ Π΄Π΅ΡΠΈΡΠΈΡ ΡΠΌΠ°Π·ΠΊΠΈ Π² Π½ΠΈΡ .
Π’Π°ΠΊΠΆΠ΅ ΠΏΡΠΈΡΠΈΠ½ΠΎΠΉ ΡΠΊΡΠΈΠΏΠ° (ΠΈΠ½ΠΎΠ³Π΄Π° ΠΈ Π΄ΠΎ Ρ ΡΡΡΡΠ°) ΠΏΡΠΈ ΠΏΠΎΠ²ΠΎΡΠΎΡΠ΅ ΡΡΠ»Ρ Π½Π΅Π·Π°Π²ΠΈΡΠΈΠΌΠΎ ΠΎΡ ΡΠΎΠ³ΠΎ, ΡΡΠΎΠΈΡ Π°Π²ΡΠΎΠΌΠΎΠ±ΠΈΠ»Ρ ΠΈΠ»ΠΈ Π΅Π΄Π΅Ρ, ΠΌΠΎΠ³ΡΡ Π±ΡΡΡ ΠΎΠΏΠΎΡΠ½ΡΠ΅ ΠΏΠΎΠ΄ΡΠΈΠΏΠ½ΠΈΠΊΠΈ ΡΡΠΎΠΉΠΊΠΈ ΠΈΠ»ΠΈ Π½ΠΈΠΆΠ½ΠΈΠ΅ ΡΠ°ΡΠΎΠ²ΡΠ΅ ΠΎΠΏΠΎΡΡ. Π ΠΏΠΎΡΠ»Π΅Π΄Π½Π΅ΠΌ ΡΠ»ΡΡΠ°Π΅ Π΄ΠΎΠΏΠΎΠ»Π½ΠΈΡΠ΅Π»ΡΠ½ΡΠΌ ΡΠΈΠΌΠΏΡΠΎΠΌΠΎΠΌ ΡΠ²Π»ΡΠ΅ΡΡΡ Π»ΡΡΡ ΠΊΠΎΠ»Π΅ΡΠ°, ΠΊΠΎΠ³Π΄Π° Π°Π²ΡΠΎΠΌΠΎΠ±ΠΈΠ»Ρ Π½Π°Ρ ΠΎΠ΄ΠΈΡΡΡ Π½Π° Π²Π΅ΡΡ.
Π₯ΡΡΡΡΒ Π½Π° ΠΏΠΎΠ²ΠΎΡΠΎΡΠ°Ρ Π² ΠΏΠ΅ΡΠ΅Π΄Π½Π΅ΠΏΡΠΈΠ²ΠΎΠ΄Π½ΡΡ Π°Π²ΡΠΎΠΌΠΎΠ±ΠΈΠ»ΡΡ
ΠΡΠ²Π°Π΅Ρ ΠΈ ΡΠ°ΠΊ, ΡΡΠΎ Π°Π²ΡΠΎΠΌΠΎΠ±ΠΈΠ»Ρ Π°ΠΆ Ρ
ΡΡΡΡΠΈΡ ΠΏΡΠΈ Π²Ρ
ΠΎΠΆΠ΄Π΅Π½ΠΈΠΈ Π² ΠΏΠΎΠ²ΠΎΡΠΎΡ. ΠΡΠΈΡΡΠΌ, ΡΠ΅ΠΌ ΠΊΡΡΡΠ΅ ΠΏΠΎΠ²ΠΎΡΠΎΡ ΠΈ ΡΠ΅ΠΌ Π²ΡΡΠ΅ ΡΠΊΠΎΡΠΎΡΡΡ, ΡΠ΅ΠΌ Ρ
Π°ΡΠ°ΠΊΡΠ΅ΡΠ½Π΅Π΅ ΠΈ Π³ΡΠΎΠΌΡΠ΅ ΠΈΠ·Π΄Π°Π²Π°Π΅ΠΌΡΠΉ Ρ
ΡΡΡΡ.
ΠΠ°ΠΆΠ΅ΡΡΡ, ΡΡΠΎ ΡΡΠΎΡ Ρ
ΡΡΡΡ Π½Π΅ Π·Π°Π²ΠΈΡΠΈΡ ΠΎΡ ΠΏΠΎΠ²ΠΎΡΠΎΡΠ° ΡΡΠ»Ρ, Π° ΠΈΡΡ
ΠΎΠ΄ΠΈΡ ΠΈΠΌΠ΅Π½Π½ΠΎ ΠΏΡΠΈ ΠΌΠ°Π½ΡΠ²ΡΠ΅ ΠΏΠΎΠ²ΠΎΡΠΎΡΠ° Π½Π° Π΄ΠΎΡΠΎΠ³Π΅ ΠΈ ΠΈΠ·Π΄Π°ΡΡΡΡ ΠΈΠ·-ΠΏΠΎΠ΄ ΠΊΠΎΠ»Π΅ΡΠ°, Π½Π° ΠΊΠΎΡΠΎΡΠΎΠ΅ ΠΏΡΠΈΡ
ΠΎΠ΄ΠΈΡΡΡ Π½Π°Π³ΡΡΠ·ΠΊΠ° β ΡΠΎ Π΅ΡΡΡ ΠΊΠΎΠ»Π΅ΡΠ° Ρ Π²Π½Π΅ΡΠ½Π΅ΠΉ ΡΡΠΎΡΠΎΠ½ΡΒ ΡΡΠ°Π΅ΠΊΡΠΎΡΠΈΠΈ ΠΏΠΎΠ²ΠΎΡΠΎΡΠ°. ΠΡΠΈ ΡΡΠΎΠΌ, Ρ
ΡΡΡΡ ΡΠ°ΡΠ΅ Π²ΡΠ΅Π³ΠΎ Π±ΡΠ²Π°Π΅Ρ ΠΏΡΠΈ ΠΏΠΎΠ²ΠΎΡΠΎΡΠ°Ρ
ΡΠΎΠ»ΡΠΊΠΎ Π² ΠΊΠ°ΠΊΡΡ-Π»ΠΈΠ±ΠΎ ΠΎΠΏΡΠ΅Π΄Π΅Π»ΡΠ½Π½ΡΡ ΡΡΠΎΡΠΎΠ½Ρ: Π²ΠΏΡΠ°Π²ΠΎ ΠΈΠ»ΠΈ Π²Π»Π΅Π²ΠΎ.
Π’Π°ΠΊΠΎΠΉ Ρ ΡΡΡΡ Ρ Π°ΡΠ°ΠΊΡΠ΅ΡΠ΅Π½ ΡΠΎΠ»ΡΠΊΠΎ Π΄Π»Ρ ΠΏΠ΅ΡΠ΅Π΄Π½Π΅ΠΏΡΠΈΠ²ΠΎΠ΄Π½ΡΡ ΠΈΠ»ΠΈ ΠΏΠΎΠ»Π½ΠΎΠΏΡΠΈΠ²ΠΎΠ΄Π½ΡΡ Π°Π²ΡΠΎΠΌΠΎΠ±ΠΈΠ»Π΅ΠΉ. Π ΠΏΡΠΈΡΠΈΠ½ΠΎΠΉ Ρ ΡΡΡΡΠ° ΠΏΡΠΈ ΠΏΠΎΠ²ΠΎΡΠΎΡΠ΅ ΠΌΠ°ΡΠΈΠ½Ρ ΡΠ²Π»ΡΠ΅ΡΡΡ Π¨Π Π£Π‘,Β Π±ΠΎΠ»Π΅Π΅ ΠΈΠ·Π²Π΅ΡΡΠ½ΡΠΉΒ Π² ΠΏΡΠΎΡΡΠΎΠ½Π°ΡΠΎΠ΄ΡΠ΅ ΠΊΠ°ΠΊΒ Β«Π³ΡΠ°Π½Π°ΡΠ°Β».
Π¨Π Π£Π‘ ΠΏΡΠ΅Π΄ΡΡΠ°Π²Π»ΡΠ΅Ρ ΡΠΎΠ±ΠΎΠΉ ΡΠΎΠ΅Π΄ΠΈΠ½Π΅Π½ΠΈΠ΅, ΠΊΠΎΡΠΎΡΠΎΠ΅ ΠΏΠΎΠ·Π²ΠΎΠ»ΡΠ΅Ρ ΠΏΠ΅ΡΠ΅Π΄Π½Π΅ΠΌΡΒ ΠΊΠΎΠ»Π΅ΡΡΒ ΠΏΠΎΠ²ΠΎΡΠ°ΡΠΈΠ²Π°ΡΡ Π²ΠΎ Π²ΡΠ΅Ρ Π½Π°ΠΏΡΠ°Π²Π»Π΅Π½ΠΈΡΡ ΠΏΠΎΠ΄ ΠΎΠΏΡΠ΅Π΄Π΅Π»ΡΠ½Π½ΡΠΌ ΡΠ³Π»ΠΎΠΌ, ΡΠΎΡ ΡΠ°Π½ΡΡ ΠΏΡΠΈ ΡΡΠΎΠΌ ΠΏΠΎΡΡΠΎΡΠ½Π½ΡΡ ΡΠΊΠΎΡΠΎΡΡΡ ΠΎΡΠΈ.Β ΠΠΎΡΠΊΠΎΠ»ΡΠΊΡ Π¨Π Π£Π‘ ΠΏΠΎΡΡΠΎΡΠ½Π½ΠΎ ΠΊΡΡΡΠΈΡΡΡ ΠΈ ΠΈΡΠΏΡΡΡΠ²Π°Π΅Ρ ΡΠ΅ΡΡΡΠ·Π½ΡΠ΅ Π½Π°Π³ΡΡΠ·ΠΊΠΈ, ΠΈΠ½ΠΎΠ³Π΄Π° ΠΎΠ½ ΠΈΠ·Π½Π°ΡΠΈΠ²Π°Π΅ΡΡΡ ΠΈΒ Π΄ΠΎΠ»ΠΆΠ΅Π½Β Π±ΡΡΡ Π·Π°ΠΌΠ΅Π½ΡΠ½.
ΠΠ½ΡΡΡΠ΅Π½Π½ΠΎΡΡΠΈ Π¨Π Π£Π‘Π°
ΠΡ ΠΌΠΎΠΆΠ΅ΡΠ΅ ΠΏΡΠΎΠ²Π΅ΡΠΈΡΡ ΡΠΎΡΡΠΎΡΠ½ΠΈΠ΅ Π³ΡΠ°Π½Π°Ρ Π² Π°Π²ΡΠΎΠΌΠΎΠ±ΠΈΠ»Π΅, ΠΏΠΎΠ²Π΅ΡΠ½ΡΠ² ΡΡΠ»Ρ Π΄ΠΎ ΡΠΏΠΎΡΠ° ΠΈ ΠΌΠ΅Π΄Π»Π΅Π½Π½ΠΎ, Π° Π·Π°ΡΠ΅ΠΌ Π½Π΅ΠΌΠ½ΠΎΠ³ΠΎ Π±ΡΡΡΡΠ΅Π΅ Π²ΠΎΠ΄Ρ ΠΌΠ°ΡΠΈΠ½Ρ ΠΏΠΎ ΠΊΡΡΠ³Ρ β ΡΠ½Π°ΡΠ°Π»Π° Π² ΠΎΠ΄Π½Ρ ΡΡΠΎΡΠΎΠ½Ρ, Π·Π°ΡΠ΅ΠΌ Π² Π΄ΡΡΠ³ΡΡ.
Β ΠΡΠ»ΠΈ ΠΡ ΡΠ»ΡΡΠΈΡΠ΅ Ρ
ΡΡΡΡ ΠΏΡΠΈ ΡΠ°ΠΊΠΎΠΌ ΠΌΠ°Π½ΡΠ²ΡΠ΅, ΡΠΎΒ Ρ ΠΠ°Ρ ΠΈΠ·Π½ΠΎΡΠΈΠ»ΡΡ Π¨Π Π£Π‘. ΠΠ±ΡΠ°ΡΠΈΡΠ΅ Π²Π½ΠΈΠΌΠ°Π½ΠΈΠ΅, Π΅ΡΠ»ΠΈ ΡΠ°ΠΊΠΎΠΉ Ρ
ΡΡΡΡ ΡΠΎΠΏΡΠΎΠ²ΠΎΠΆΠ΄Π°Π΅ΡΡΡ Π΅ΡΡ ΠΈ Π²ΠΈΠ±ΡΠ°ΡΠΈΠ΅ΠΉ, ΡΠΎ ΠΌΠ°ΡΠΈΠ½Ρ ΡΠ»Π΅Π΄ΡΠ΅Ρ ΠΎΡΠ²Π΅Π·ΡΠΈ ΠΊ ΡΠΏΠ΅ΡΠΈΠ°Π»ΠΈΡΡΡ ΠΊΠ°ΠΊ ΠΌΠΎΠΆΠ½ΠΎ ΡΠΊΠΎΡΠ΅Π΅.
ΠΡΠ°Π½Π°ΡΠ° (Π²ΡΠ΄Π΅Π»Π΅Π½Π° ΠΊΡΠ°ΡΠ½ΡΠΌ) Π² ΠΏΡΠ»ΡΠ½ΠΈΠΊΠ΅
ΠΡΠ°Π½Π°ΡΠ° Π΄ΠΎΠ»ΠΆΠ½Π° Π²ΡΠ΅Π³Π΄Π° ΡΠ°Π±ΠΎΡΠ°ΡΡ Π²Π½ΡΡΡΠΈ ΠΏΡΠ»ΡΠ½ΠΈΠΊΠ°, ΠΊΠΎΡΠΎΡΡΠΉ Π·Π°ΡΠΈΡΠ°Π΅Ρ Π΅Ρ ΠΎΡ ΠΏΠΎΠΏΠ°Π΄Π°Π½ΠΈΡ Π³ΡΡΠ·ΠΈ ΠΈ ΠΏΡΠ»ΠΈ Π² ΡΠΈΡΡΠ΅ΠΌΡ. ΠΠ½Π°Β ΠΈΠ·Π½Π°ΡΠΈΠ²Π°Π΅ΡΡΡ Π½Π΅ΡΠ΅Π΄ΠΊΠΎ ΠΈΠ·-Π·Π° ΠΏΠΎΠ²ΡΠ΅ΠΆΠ΄Π΅Π½ΠΈΡ ΡΡΠΎΠ³ΠΎΒ ΠΏΡΠ»ΡΠ½ΠΈΠΊΠ°. Π Ρ ΡΡΡΡ Π³ΡΠ°Π½Π°ΡΡ β ΡΡΠΎ Π΅ΡΡΡ Π½ΠΈ ΡΡΠΎ ΠΈΠ½ΠΎΠ΅, ΠΊΠ°ΠΊ ΠΏΠ΅ΡΠ΅ΠΌΠ°Π»ΡΠ²Π°Π½ΠΈΠ΅ ΡΠ°ΡΡΠΈΡ Π³ΡΡΠ·ΠΈ Π²Π½ΡΡΡΠΈ Π½Π΅Ρ Π»ΠΈΠ±ΠΎ ΡΠ°ΡΡΡΠΏΠ°Π²ΡΠΈΠ΅ΡΡ ΠΏΠΎΠ΄ΡΠΈΠΏΠ½ΠΈΠΊΠΈ Π³ΡΠ°Π½Π°ΡΡ.
ΠΠ°Ρ Π°Π²ΡΠΎΠΌΠΎΠ±ΠΈΠ»Ρ β ΡΡΠΎ ΡΡΠ΅Π·Π²ΡΡΠ°ΠΉΠ½ΠΎ ΡΠ»ΠΎΠΆΠ½Π°Ρ ΡΠΈΡΡΠ΅ΠΌΠ°, ΠΈ ΡΡΠ»Π΅Π²Π°Ρ ΡΠΈΡΡΠ΅ΠΌΠ° Ρ ΠΏΠΎΠ΄Π²Π΅ΡΠΊΠΎΠΉ ΡΠΎΡΡΠΎΡΡ ΠΈΠ· ΠΌΠ½ΠΎΠΆΠ΅ΡΡΠ²Π° ΠΊΠΎΠΌΠΏΠΎΠ½Π΅Π½ΡΠΎΠ² ΠΈ ΡΠ°Π·Π»ΠΈΡΠ°ΡΡΡΡ ΠΏΠΎ ΡΠ²ΠΎΠ΅ΠΉ ΡΡΡΡΠΊΡΡΡΠ΅, ΡΠΈΠΏΡ ΡΠ°Π±ΠΎΡΡ ΠΈ ΡΠΎΡΡΠ°Π²Π½ΡΡ
ΡΠ°ΡΡΠ΅ΠΉ ΠΎΡ ΠΌΠΎΠ΄Π΅Π»ΠΈ ΠΊ ΠΌΠΎΠ΄Π΅Π»ΠΈ ΠΈ Π΄Π°ΠΆΠ΅ Π½Π΅ΡΠ΅Π΄ΠΊΠΎΒ ΠΎΡ ΠΌΠΎΠ΄ΠΈΡΠΈΠΊΠ°ΡΠΈΠΈ ΠΊ ΠΌΠΎΠ΄ΠΈΡΠΈΠΊΠ°ΡΠΈΠΈ ΠΎΠ΄Π½ΠΎΠΉ ΠΌΠΎΠ΄Π΅Π»ΠΈ. ΠΠΎΡΡΠΎΠΌΡ ΡΠΎΡ ΠΈΠ»ΠΈ ΠΈΠ½ΠΎΠΉ ΡΡΠΌ ΠΌΠΎΠΆΠ΅Ρ ΡΠΊΠ°Π·ΡΠ²Π°ΡΡ Π½Π΅ ΡΠΎΠ»ΡΠΊΠΎ Π½Π° Π²ΡΡ ΡΠΎ, ΡΡΠΎ ΠΌΡ ΠΏΡΠΈΠ²Π΅Π»ΠΈ Π²ΡΡΠ΅. Π§Π°ΡΡΠΎ ΡΠ°Π·Π½ΠΎΠ³ΠΎ ΡΠΎΠ΄Π° Π·Π²ΡΠΊΠΈ ΠΈΠ·Π΄Π°ΡΡ ΡΡΠ»Π΅Π²Π°Ρ ΠΊΠΎΠ»ΠΎΠ½ΠΊΠ°, ΡΡΠ»Π΅Π²Π°Ρ ΡΠ΅ΠΉΠΊΠ°, ΠΏΠΎΠ²ΠΎΡΠΎΡΠ½ΡΠ΅ ΠΊΡΠ»Π°ΠΊΠΈ, Π°ΠΌΠΎΡΡΠΈΠ·Π°ΡΠΎΡΡΒ ΠΈ ΡΠ°ΡΠ½ΠΈΡΡ. ΠΠ°ΠΆΠ΅ ΡΠ»Π΅ΠΌΠ΅Π½ΡΠ°ΡΠ½ΠΎ ΠΎΡΠ²Π°Π»ΠΈΠ²ΡΠ°ΡΡΡ ΠΈΠ»ΠΈ ΠΎΡΠ»Π°Π±Π»Π΅Π½Π½Π°Ρ Π΄Π΅ΡΠ°Π»Ρ ΡΠΎΠ²Π΅ΡΡΠ΅Π½Π½ΠΎ Π½Π΅ ΡΠ²ΡΠ·Π°Π½Π½ΠΎΠΉ Ρ ΡΠΏΡΠ°Π²Π»Π΅Π½ΠΈΠ΅ΠΌ ΠΈΠ»ΠΈ ΠΏΠΎΠ΄Π²Π΅ΡΠΊΠΎΠΉ ΡΠΈΡΡΠ΅ΠΌΡ ΠΌΠΎΠΆΠ΅Ρ, Π½Π°ΠΏΡΠΈΠΌΠ΅Ρ, Π½Π°ΡΠ°ΡΡ Π·Π°Π΄Π΅Π²Π°ΡΡ ΡΠ»Π΅ΠΌΠ΅Π½ΡΡ ΡΡΠ»Π΅Π²ΠΎΠΉ ΡΠΈΡΡΠ΅ΠΌΡ ΠΈΠ»ΠΈ ΠΏΠΎΠ΄Π²Π΅ΡΠΊΠΈ ΠΏΡΠΈ ΠΏΠΎΠ²ΠΎΡΠΎΡΠ΅ ΡΡΠ»Ρ ΠΈΠ»ΠΈ Π½Π° ΠΊΠΎΡΠΊΠ°Ρ
ΡΠΎΠΎΡΠ²Π΅ΡΡΡΠ²Π΅Π½Π½ΠΎ.
Π’Π΅ΠΌ Π½Π΅ ΠΌΠ΅Π½Π΅Π΅, ΠΎΠΏΡΠΈΠΌΠ°Π»ΡΠ½ΡΠΌ ΠΏΠΎΡΡΠ΄ΠΊΠΎΠΌ Π΄Π΅ΠΉΡΡΠ²ΠΈΠΉ ΠΏΡΠΈ ΠΏΠΎΡΠ²Π»Π΅Π½ΠΈΠΈ ΡΠΎΠ³ΠΎ ΠΈΠ»ΠΈ ΠΈΠ½ΠΎΠ³ΠΎ ΠΏΠΎΡΡΠΎΡΠΎΠ½Π½Π΅Π³ΠΎ ΡΡΠΌΠ° ΠΏΡΠΈ ΠΏΠΎΠ²ΠΎΡΠΎΡΠ΅ ΡΡΠ»Ρ ΠΈΠ»ΠΈ Π²ΡΠ΅ΠΉ ΠΌΠ°ΡΠΈΠ½Ρ ΡΠ²Π»ΡΠ΅ΡΡΡ ΠΏΠ΅ΡΠ²ΠΎ-Π½Π°ΠΏΠ΅ΡΠ²ΠΎ Π²ΡΡΠ²Π»Π΅Π½ΠΈΠ΅ Π΄ΠΎΠΏΠΎΠ»Π½ΠΈΡΠ΅Π»ΡΠ½ΡΡ ΡΠΈΠΌΠΏΡΠΎΠΌΠΎΠ² ΡΡΠΌΠΎΠ² (ΡΠ²ΠΎΠ΄Ρ ΡΡΠ»Ρ Π² ΡΡΠΎΡΠΎΠ½Ρ, Π±ΠΎΠ»Π΅Π΅ ΡΠΎΡΠ½Π°Ρ ΠΈΠ΄Π΅Π½ΡΠΈΡΠΈΠΊΠ°ΡΠΈΡ Π·Π²ΡΠΊΠΎΠ²). ΠΠ°Π»Π΅Π΅ ΡΠ»Π΅Π΄ΡΠ΅Ρ ΠΎΡΠΌΠΎΡΡΠ΅ΡΡ ΠΏΠΎΠ΄ ΠΌΠ°ΡΠΈΠ½ΠΎΠΉ Π²ΡΠ΅ ΠΏΡΠ»ΡΠ½ΠΈΠΊΠΈ ΡΡΠ»Π΅Π²ΠΎΠΉ ΡΠΈΡΡΠ΅ΠΌΡ ΠΈ ΠΏΠΎΠ΄Π²Π΅ΡΠΊΠΈ, ΠΏΡΠΎΠ²Π΅ΡΠΈΡΡ ΡΡΠ»Ρ, Π° Π·Π°ΡΠ΅ΠΌ ΠΊΠΎΠ»ΡΡΠ°Β Π½Π° Π»ΡΡΡ.
ΠΠΎΡΠ΅ΠΌΡ Π³ΡΠ΄ΠΈΡ Π³ΠΈΠ΄ΡΠΎΡΡΠΈΠ»ΠΈΡΠ΅Π»Ρ ΡΡΠ»Ρ ΠΈ ΠΊΠ°ΠΊ ΡΡΠΎ ΠΈΡΠΏΡΠ°Π²ΠΈΡΡ
ΠΠ΅ΡΠΌΠΎΡΡΡ Π½Π° ΠΊΠ°ΠΆΡΡΡΡΡΡ ΠΏΡΠΎΡΡΠΎΡΡ ΠΊΠΎΠ½ΡΡΡΡΠΊΡΠΈΠΈ Π³ΠΈΠ΄ΡΠΎΡΡΠΈΠ»ΠΈΡΠ΅Π»Ρ ΡΡΠ»Ρ, Π΄Π°Π½Π½Π°Ρ ΡΠΈΡΡΠ΅ΠΌΠ° ΠΈΠΌΠ΅Π΅Ρ Π΄ΠΎΠ²ΠΎΠ»ΡΠ½ΠΎ ΡΠ»ΠΎΠΆΠ½ΡΠΉ ΠΏΡΠΈΠ½ΡΠΈΠΏ Π΄Π΅ΠΉΡΡΠ²ΠΈΡ. ΠΠ½Π° ΡΠ²Π»ΡΠ΅ΡΡΡ ΠΈΠΌΠ΅Π½Π½ΠΎ Π²ΡΠΏΠΎΠΌΠΎΠ³Π°ΡΠ΅Π»ΡΠ½ΡΠΌ ΡΠ»Π΅ΠΌΠ΅Π½ΡΠΎΠΌ ΡΡΠ»Π΅Π²ΠΎΠ³ΠΎ ΡΠΏΡΠ°Π²Π»Π΅Π½ΠΈΡ, ΠΈ ΠΏΡΠΈ Π΅Π΅ Π²ΡΡ ΠΎΠ΄Π΅ ΠΈΠ· ΡΡΡΠΎΡ ΠΏΠΎΠ»Π½ΠΎΠ³ΠΎ ΠΎΡΠΊΠ°Π·Π° ΡΡΠ»Ρ Π½Π΅ ΠΏΡΠΎΠΈΠ·ΠΎΠΉΠ΄Π΅Ρ, Π½ΠΎ ΡΠΏΡΠ°Π²Π»ΡΡΡ ΠΌΠ°ΡΠΈΠ½ΠΎΠΉ ΡΡΠ°Π½Π΅Ρ ΡΡΡΠ΄Π½Π΅Π΅. ΠΡΠΎΠ±Π΅Π½Π½ΠΎ ΠΎΠΏΠ°ΡΠ½ΠΎ, ΠΊΠΎΠ³Π΄Π° Π³ΠΈΠ΄ΡΠΎΡΡΠΈΠ»ΠΈΡΠ΅Π»Ρ ΡΡΠ»Ρ ΠΏΠ΅ΡΠ΅ΡΡΠ°Π΅Ρ ΡΠ°Π±ΠΎΡΠ°ΡΡ Π²ΠΎ Π²ΡΠ΅ΠΌΡ Π΄Π²ΠΈΠΆΠ΅Π½ΠΈΡ ΠΌΠ°ΡΠΈΠ½Ρ, ΠΈ Π²ΠΎΠ΄ΠΈΡΠ΅Π»Ρ ΡΠ»ΠΎΠΆΠ½ΠΎ ΠΌΠ³Π½ΠΎΠ²Π΅Π½Π½ΠΎ ΠΏΡΠΈΠ²ΡΠΊΠ½ΡΡΡ ΠΊ Β«ΡΡΠΆΠ΅ΡΡΠΈΒ» ΠΏΠΎΠ²ΠΎΡΠΎΡΠ° ΡΡΠ»Π΅Π²ΠΎΠ³ΠΎ ΠΊΠΎΠ»Π΅ΡΠ°, ΠΊΠΎΡΠΎΡΠΎΠΉ Π²ΡΠ·Π²Π°Π½Π° ΠΏΠΎΠ½ΠΈΠΆΠ΅Π½Π½Π°Ρ ΠΌΠ°Π½Π΅Π²ΡΠ΅Π½Π½ΠΎΡΡΡ ΠΌΠ°ΡΠΈΠ½Ρ.
ΠΡΠ»ΠΈ Π³ΡΠ΄ΠΈΡ Π³ΠΈΠ΄ΡΠΎΡΡΠΈΠ»ΠΈΡΠ΅Π»Ρ ΡΡΠ»Ρ ΠΏΡΠΈ ΠΏΠΎΠ²ΠΎΡΠΎΡΠ΅, ΡΡΠΎΠΌΡ Π΅ΡΡΡ Π½Π΅ΡΠΊΠΎΠ»ΡΠΊΠΎ ΠΏΡΠΈΡΠΈΠ½:
- Π‘Π½ΠΈΠΆΠ΅Π½Π½ΡΠΉ ΡΡΠΎΠ²Π΅Π½Ρ ΠΆΠΈΠ΄ΠΊΠΎΡΡΠΈ Π³ΠΈΠ΄ΡΠΎΡΡΠΈΠ»ΠΈΡΠ΅Π»Ρ ΡΡΠ»Ρ.
ΠΡΠ»ΠΈ Π²ΠΎΠ΄ΠΈΡΠ΅Π»Ρ Π½Π΅ ΠΊΠΎΠ½ΡΡΠΎΠ»ΠΈΡΡΠ΅Ρ ΡΡΠΎΠ²Π΅Π½Ρ ΠΆΠΈΠ΄ΠΊΠΎΡΡΠΈ Π² Π³ΠΈΠ΄ΡΠΎΡΡΠΈΠ»ΠΈΡΠ΅Π»Π΅ ΡΡΠ»Ρ, ΠΏΡΠΎΠ±Π»Π΅ΠΌΠ° Ρ ΠΏΠΎΡΠ²Π»Π΅Π½ΠΈΠ΅ΠΌ ΠΏΠΎΡΡΠΎΡΠΎΠ½Π½ΠΈΡ
Π·Π²ΡΠΊΠΎΠ² ΠΏΡΠΈ Π²ΡΠ°ΡΠ΅Π½ΠΈΠΈ ΡΡΠ»Π΅Π²ΠΎΠ³ΠΎ ΠΊΠΎΠ»Π΅ΡΠ° ΠΌΠΎΠΆΠ΅Ρ Π²ΠΎΠ·Π½ΠΈΠΊΠ°ΡΡ ΠΈΠΌΠ΅Π½Π½ΠΎ ΠΈΠ·-Π·Π° Π΅Π΅ Π½ΠΈΠ·ΠΊΠΎΠ³ΠΎ ΡΡΠΎΠ²Π½Ρ. Π ΡΠ°ΠΊΠΎΠΉ ΡΠΈΡΡΠ°ΡΠΈΠΈ Π½ΡΠΆΠ½ΠΎ Π·Π°ΠΌΠ΅Π½ΠΈΡΡ ΠΆΠΈΠ΄ΠΊΠΎΡΡΡ Π² ΡΠΈΡΡΠ΅ΠΌΠ΅ ΠΈ ΠΏΡΠΎΠ²Π΅ΡΡΠΈ Π΄ΠΈΠ°Π³Π½ΠΎΡΡΠΈΠΊΡ, ΠΎΠΏΡΠ΅Π΄Π΅Π»ΠΈΠ², ΠΈΠ·-Π·Π° ΡΠ΅Π³ΠΎ ΡΠ½ΠΈΠ·ΠΈΠ»ΡΡ Π΅Π΅ ΡΡΠΎΠ²Π΅Π½Ρ. Π§Π°ΡΠ΅ Π²ΡΠ΅Π³ΠΎ ΠΌΠ°ΡΠ»ΠΎ Π³ΠΈΠ΄ΡΠΎΡΡΠΈΠ»ΠΈΡΠ΅Π»Ρ Π²ΡΡΠ΅ΠΊΠ°Π΅Ρ ΠΈΠ·-Π·Π° ΠΏΡΠΎΠ±Π»Π΅ΠΌ Ρ ΡΠ΅ΠΉΠΊΠΎΠΉ ΠΈΠ»ΠΈ Π½Π°ΡΠΎΡΠΎΠΌ; - ΠΠΈΠ·ΠΊΠΎΠΊΠ°ΡΠ΅ΡΡΠ²Π΅Π½Π½Π°Ρ ΠΆΠΈΠ΄ΠΊΠΎΡΡΡ Π² Π±Π°ΡΠΊΠ΅ Π³ΠΈΠ΄ΡΠΎΡΡΠΈΠ»ΠΈΡΠ΅Π»Ρ ΡΡΠ»Ρ. ΠΡΡΡ ΡΠ°ΡΡ ΠΎΠ΄Π½ΡΠ΅ ΠΌΠ°ΡΠ΅ΡΠΈΠ°Π»Ρ Π΄Π»Ρ Π°Π²ΡΠΎΠΌΠΎΠ±ΠΈΠ»Π΅ΠΉ, Π½Π° ΠΊΠΎΡΠΎΡΡΡ Π½Π΅Π»ΡΠ·Ρ ΡΠΊΠΎΠ½ΠΎΠΌΠΈΡΡ, ΠΈ ΠΌΠ°ΡΠ»ΠΎ Π΄Π»Ρ Π³ΠΈΠ΄ΡΠ°Π²Π»ΠΈΡΠ΅ΡΠΊΠΎΠ³ΠΎ ΡΡΠΈΠ»ΠΈΡΠ΅Π»Ρ Π² ΠΈΡ ΡΠΈΡΠ»Π΅. ΠΠ³ΠΎ ΡΡΠΎΠΈΠΌΠΎΡΡΡ Π½Π΅ ΡΡΠΎΠ»Ρ Π²Π΅Π»ΠΈΠΊΠ°, ΡΡΠΎΠ±Ρ Π²ΡΠ±ΠΈΡΠ°ΡΡ ΠΌΠ°ΠΊΡΠΈΠΌΠ°Π»ΡΠ½ΠΎ Π΄Π΅ΡΠ΅Π²ΡΠ΅ Π²Π°ΡΠΈΠ°Π½ΡΡ Π΄Π»Ρ Π·Π°ΠΌΠ΅Π½Ρ, Π° ΡΠΊΠΎΠ½ΠΎΠΌΠΈΡ Π½Π° ΡΠ°ΡΡ ΠΎΠ΄Π½ΠΎΠΉ ΠΆΠΈΠ΄ΠΊΠΎΡΡΠΈ ΠΌΠΎΠΆΠ΅Ρ Β«Π²ΡΠ»ΠΈΡΡΡΡΒ» Π² ΡΠ΅ΡΡΠ΅Π·Π½ΡΠ΅ ΠΏΠΎΠ»ΠΎΠΌΠΊΠΈ ΡΠΈΡΡΠ΅ΠΌΡ, ΠΊΠΎΡΠΎΡΡΠ΅ ΠΏΠΎΡΡΠ΅Π±ΡΡΡ Π·Π°ΠΌΠ΅Π½Ρ Π΄ΠΎΡΠΎΠ³ΠΎΡΡΠΎΡΡΠΈΡ Π΄Π΅ΡΠ°Π»Π΅ΠΉ.
ΠΡΠ»ΠΈ ΠΌΠ°ΡΠ»ΠΎ Π² Π³ΠΈΠ΄ΡΠ°Π²Π»ΠΈΡΠ΅ΡΠΊΠΎΠΌ ΡΡΠΈΠ»ΠΈΡΠ΅Π»Π΅ ΡΡΠ»Ρ Π²ΡΡΠ°Π±ΠΎΡΠ°Π»ΠΎ ΡΠ²ΠΎΠΉ ΡΠ΅ΡΡΡΡ, ΡΠ»Π΅Π΄ΡΠ΅Ρ Π΅Π³ΠΎ Π·Π°ΠΌΠ΅Π½ΠΈΡΡ. ΠΠ°ΠΌΠ΅Π½Π° ΠΊΠ°ΡΠ΅ΡΡΠ²Π΅Π½Π½ΠΎΠΉ ΠΆΠΈΠ΄ΠΊΠΎΡΡΠΈ ΡΡΠ΅Π±ΡΠ΅ΡΡΡ, ΠΏΡΠΈΠΌΠ΅ΡΠ½ΠΎ, ΠΎΠ΄ΠΈΠ½ ΡΠ°Π· Π² Π΄Π²Π° Π³ΠΎΠ΄Π° (ΠΈΠ»ΠΈ ΡΠ΅ΡΠ΅Π· ΠΊΠ°ΠΆΠ΄ΡΠ΅ 70-80 ΡΡΡΡΡ ΠΏΡΠΎΠ±Π΅Π³Π°). ΠΠΌΠ΅Π΅ΡΡΡ Π±ΡΡΠΎΠ²ΠΎΠΉ ΡΠΏΠΎΡΠΎΠ± Π°Π½Π°Π»ΠΈΠ·Π° ΠΆΠΈΠ΄ΠΊΠΎΡΡΠΈ Π³ΠΈΠ΄ΡΠΎΡΡΠΈΠ»ΠΈΡΠ΅Π»Ρ Π½Π° ΠΏΡΠ΅Π΄ΠΌΠ΅Ρ Π΅Π΅ ΠΏΡΠΈΠ³ΠΎΠ΄Π½ΠΎΡΡΠΈ.
Π§ΡΠΎΠ±Ρ ΡΠ·Π½Π°ΡΡ, Π½Π΅ΠΎΠ±Ρ
ΠΎΠ΄ΠΈΠΌΠ° Π»ΠΈ Π΅ΠΉ Π·Π°ΠΌΠ΅Π½Π°, ΠΎΡΠΊΡΡΡΠΈΡΠ΅ ΠΊΡΡΡΠΊΡ Π±Π°ΡΠΊΠ° Π³ΠΈΠ΄ΡΠΎΡΡΠΈΠ»ΠΈΡΠ΅Π»Ρ ΠΈ Π½Π°Π±Π΅ΡΠΈΡΠ΅ ΠΏΡΠΈ ΠΏΠΎΠΌΠΎΡΠΈ ΡΠΏΡΠΈΡΠ° (ΠΈΠ»ΠΈ ΠΏΠΈΠΏΠ΅ΡΠΊΠΈ) Π½Π΅ΠΌΠ½ΠΎΠ³ΠΎ ΠΌΠ°ΡΠ»Π°, ΠΊΠΎΡΠΎΡΠΎΠ΅ Π½Π°Ρ
ΠΎΠ΄ΠΈΡΡΡ Π² Π½Π΅ΠΌ. ΠΠ°Π»Π΅Π΅ ΠΊΠ°ΠΏΠ½ΠΈΡΠ΅ Π΅Π³ΠΎ Π½Π° Π±Π΅Π»ΡΡ Π±ΡΠΌΠ°Π³Ρ ΠΈ ΠΏΠΎΡΠΌΠΎΡΡΠΈΡΠ΅ Π½Π° ΡΠ²Π΅Ρ. Β«Π§ΠΈΡΡΠ°ΡΒ» ΠΆΠΈΠ΄ΠΊΠΎΡΡΡ Π΄Π»Ρ Π³ΠΈΠ΄ΡΠΎΡΡΠΈΠ»ΠΈΡΠ΅Π»Ρ Π½Π΅ Π΄ΠΎΠ»ΠΆΠ½Π° Π±ΡΡΡ ΡΠ΅ΡΠ½ΠΎΠΉ ΠΈΠ»ΠΈ ΠΊΠΎΡΠΈΡΠ½Π΅Π²ΠΎΠΉ. ΠΠΎΠΏΡΡΡΠΈΠΌΡ ΡΠ°ΠΊΠΈΠ΅ ΡΠ²Π΅ΡΠ° ΠΊΠ°ΠΊ: Π±ΠΎΡΠ΄ΠΎΠ²ΡΠΉ, ΠΌΠ°Π»ΠΈΠ½ΠΎΠ²ΡΠΉ ΠΈΠ»ΠΈ ΠΊΡΠ°ΡΠ½ΡΠΉ. ΠΠ±ΡΠ·Π°ΡΠ΅Π»ΡΠ½ΠΎ ΠΏΡΠΎΠ²Π΅ΡΡΡΠ΅ Π·Π°ΠΏΠ°Ρ
ΠΆΠΈΠ΄ΠΊΠΎΡΡΠΈ Π³ΠΈΠ΄ΡΠΎΡΡΠΈΠ»ΠΈΡΠ΅Π»Ρ, ΠΎΡ Π½Π΅Π΅ Π½Π΅ Π΄ΠΎΠ»ΠΆΠ½ΠΎ ΠΏΠ°Ρ
Π½ΡΡΡ ΠΆΠΆΠ΅Π½ΠΎΠΉ ΡΠ΅Π·ΠΈΠ½ΠΎΠΉ.
- ΠΠ΅ΠΈΡΠΏΡΠ°Π²Π½ΠΎΡΡΠΈ, ΡΠ²ΡΠ·Π°Π½Π½ΡΠ΅ Ρ ΡΡΠ»Π΅Π²ΠΎΠΉ ΡΠ΅ΠΉΠΊΠΎΠΉ. ΠΠ΄Π½Π° ΠΈΠ· ΡΠ°ΠΌΡΡ Π½Π΅ΠΏΡΠΈΡΡΠ½ΡΡ ΠΏΡΠΎΠ±Π»Π΅ΠΌ, ΠΈΠ·-Π·Π° ΠΊΠΎΡΠΎΡΠΎΠΉ ΠΌΠΎΠΆΠ΅Ρ Π½Π°ΡΠ°ΡΡ Π³ΡΠ΄Π΅ΡΡ Π³ΠΈΠ΄ΡΠΎΡΡΠΈΠ»ΠΈΡΠ΅Π»Ρ ΠΏΡΠΈ ΠΏΠΎΠ²ΠΎΡΠΎΡΠ΅ ΡΡΠ»Ρ. ΠΡΠ»ΠΈ Π½Π΅ΠΈΡΠΏΡΠ°Π²Π½ΠΎΡΡΡ ΠΊΡΠΎΠ΅ΡΡΡ Π² ΡΠ΅ΠΉΠΊΠ΅, ΠΏΠΎΡΡΠ΅Π±ΡΠ΅ΡΡΡ ΠΏΡΠΎΠ²Π΅ΡΡΠΈ Π½Π° ΡΠ΅ΡΠ²ΠΈΡΠ΅ Π΄ΠΈΠ°Π³Π½ΠΎΡΡΠΈΠΊΡ ΡΠ΅ΠΉΠΊΠΈ ΠΈ Π³ΠΈΠ΄ΡΠΎΡΡΠΈΠ»ΠΈΡΠ΅Π»Ρ. Π Π½Π΅ΠΊΠΎΡΠΎΡΡΡ ΡΠΈΡΡΠ°ΡΠΈΡΡ ΠΌΠΎΠΆΠ΅Ρ ΠΏΠΎΡΡΠ΅Π±ΠΎΠ²Π°ΡΡΡΡ Π΄ΠΎΡΠΎΠ³ΠΎΡΡΠΎΡΡΠ°Ρ Π·Π°ΠΌΠ΅Π½Π° ΡΡΠ»Π΅Π²ΠΎΠΉ ΡΠ΅ΠΉΠΊΠΈ.
- ΠΠ»ΠΎΡ ΠΎ Π½Π°ΡΡΠ½ΡΡ ΠΏΡΠΈΠ²ΠΎΠ΄Π½ΠΎΠΉ ΡΠ΅ΠΌΠ΅Π½Ρ Π³ΠΈΠ΄ΡΠ°Π²Π»ΠΈΡΠ΅ΡΠΊΠΎΠ³ΠΎ ΡΡΠΈΠ»ΠΈΡΠ΅Π»Ρ. ΠΡΠ»ΠΈ ΡΠ΅ΠΌΠ΅Π½Ρ Π³ΠΈΠ΄ΡΠΎΡΡΠΈΠ»ΠΈΡΠ΅Π»Ρ ΡΠ°ΡΡΠ»Π°Π±Π»Π΅Π½ ΠΈΠ»ΠΈ ΡΠΈΠ»ΡΠ½ΠΎ ΠΈΠ·Π½ΠΎΡΠ΅Π½, ΠΌΠΎΠΆΠ΅Ρ Π²ΠΎΠ·Π½ΠΈΠΊΠ°ΡΡ Π³ΡΠ» ΠΏΡΠΈ Π²ΡΠ°ΡΠ΅Π½ΠΈΠΈ ΡΡΠ»Π΅Π²ΠΎΠ³ΠΎ ΠΊΠΎΠ»Π΅ΡΠ°. Π ΡΠ°ΠΊΠΎΠΉ ΡΠΈΡΡΠ°ΡΠΈΠΈ Π²ΠΎΠ΄ΠΈΡΠ΅Π»Ρ ΠΌΠΎΠΆΠ΅Ρ ΡΠ°ΠΌΠΎΡΡΠΎΡΡΠ΅Π»ΡΠ½ΠΎ ΠΏΡΠΈΠΎΠ±ΡΠ΅ΡΡΠΈ Π½ΠΎΠ²ΡΠΉ ΡΠ΅ΠΌΠ΅Π½Ρ ΠΈ Π²ΡΠΏΠΎΠ»Π½ΠΈΡΡ Π΅Π³ΠΎ Π·Π°ΠΌΠ΅Π½Ρ;
- ΠΠΎΠΏΠ°Π΄Π°Π½ΠΈΠ΅ Π²ΠΎΠ·Π΄ΡΡ
Π° Π² ΡΠΈΡΡΠ΅ΠΌΡ Π³ΠΈΠ΄ΡΠΎΡΡΠΈΠ»ΠΈΡΠ΅Π»Ρ.
Π‘ΡΡΠ΅ΡΡΠ²ΡΠ΅Ρ Π΄Π²Π΅ ΡΠ°ΡΠΏΡΠΎΡΡΡΠ°Π½Π΅Π½Π½ΡΠ΅ ΠΏΡΠΈΡΠΈΠ½Ρ, ΠΈΠ·-Π·Π° ΠΊΠΎΡΠΎΡΡΡ
Π²ΠΎΠ·Π΄ΡΡ
ΠΌΠΎΠΆΠ΅Ρ ΠΎΠΊΠ°Π·Π°ΡΡΡΡ Π² ΡΠΈΡΡΠ΅ΠΌΠ΅: ΠΏΠΎΠΏΠ°Π΄Π°Π½ΠΈΠ΅ Π²ΠΎ Π²ΡΠ΅ΠΌΡ Π·Π°ΠΌΠ΅Π½Ρ ΠΆΠΈΠ΄ΠΊΠΎΡΡΠΈ ΠΈ ΠΏΠΎΠ΄ΡΠΎΡ Π²ΠΎΠ·Π΄ΡΡ
Π° ΡΠ΅ΡΠ΅Π· Π½Π΅ΠΏΠ»ΠΎΡΠ½ΠΎ ΡΠΎΠ΅Π΄ΠΈΠ½Π΅Π½Π½ΡΠ΅ ΡΠ·Π»Ρ ΡΠΈΡΡΠ΅ΠΌΡ. ΠΡΠΈ Π²ΠΎΠ·Π½ΠΈΠΊΠ½ΠΎΠ²Π΅Π½ΠΈΠΈ ΠΏΠΎΠ΄ΠΎΠ±Π½ΠΎΠΉ ΠΏΡΠΎΠ±Π»Π΅ΠΌΡ ΡΡΠ΅Π±ΡΠ΅ΡΡΡ ΠΎΠ±Π½Π°ΡΡΠΆΠΈΡΡ Π΅Π΅ ΠΏΡΠΈΡΠΈΠ½Ρ ΠΈ Π»ΠΈΠΊΠ²ΠΈΠ΄ΠΈΡΠΎΠ²Π°ΡΡ Π΅Π΅. ΠΠΎΡΠ»Π΅ ΡΡΠΎΠ³ΠΎ Π½Π΅ΠΎΠ±Ρ
ΠΎΠ΄ΠΈΠΌΠΎ ΠΏΡΠΎΠΌΡΡΡ ΡΠΈΡΡΠ΅ΠΌΡ Π³ΠΈΠ΄ΡΠΎΡΡΠΈΠ»ΠΈΡΠ΅Π»Ρ ΡΡΠ»Ρ, ΠΏΠΎΠΌΠ΅Π½ΡΡΡ ΠΌΠ°ΡΠ»ΠΎ Π½Π° Π½ΠΎΠ²ΠΎΠ΅ ΠΈ ΠΏΡΠ°Π²ΠΈΠ»ΡΠ½ΠΎ ΠΏΡΠΎΠΊΠ°ΡΠ°ΡΡ ΡΠΈΡΡΠ΅ΠΌΡ, ΡΡΠΎΠ±Ρ Π² Π½Π΅ΠΉ Π½Π΅ ΠΎΡΡΠ°Π»ΠΎΡΡ Π²ΠΎΠ·Π΄ΡΡ
Π°. ΠΠ±ΡΠ°ΡΠΈΡΠ΅ Π²Π½ΠΈΠΌΠ°Π½ΠΈΠ΅, ΡΡΠΎ ΠΏΡΠΈ ΠΏΠΎΠΏΠ°Π΄Π°Π½ΠΈΠΈ Π²ΠΎΠ·Π΄ΡΡ
Π° Π² Π³ΠΈΠ΄ΡΠΎΡΡΠΈΠ»ΠΈΡΠ΅Π»Ρ, ΠΆΠΈΠ΄ΠΊΠΎΡΡΡ Π² Π±Π°ΡΠΊΠ΅ Π½Π°ΡΠΈΠ½Π°Π΅Ρ ΠΏΠ΅Π½ΠΈΡΡΡΡ. - ΠΠΎΠ»ΠΎΠΌΠΊΠ° Π½Π°ΡΠΎΡΠ° Π³ΠΈΠ΄ΡΠΎΡΡΠΈΠ»ΠΈΡΠ΅Π»Ρ ΡΡΠ»Ρ. ΠΠΏΡΠ΅Π΄Π΅Π»ΠΈΡΡ Π΄Π°Π½Π½ΡΡ Π½Π΅ΠΈΡΠΏΡΠ°Π²Π½ΠΎΡΡΡ ΠΏΡΠΎΡΠ΅, ΡΠ΅ΠΌ ΠΎΡΡΠ°Π»ΡΠ½ΡΠ΅. ΠΠΎΠ³Π΄Π° Π»ΠΎΠΌΠ°Π΅ΡΡΡ Π½Π°ΡΠΎΡ Π³ΠΈΠ΄ΡΠΎΡΡΠΈΠ»ΠΈΡΠ΅Π»Ρ, ΡΠΈΡΡΠ΅ΠΌΠ° ΡΠ°ΠΊΡΠΈΡΠ΅ΡΠΊΠΈ ΠΏΠ΅ΡΠ΅ΡΡΠ°Π΅Ρ ΡΠ°Π±ΠΎΡΠ°ΡΡ, ΠΈΠ·-Π·Π° ΡΠ΅Π³ΠΎ ΡΡΠ»Ρ ΡΡΠ°Π½ΠΎΠ²ΠΈΡΡΡ Β«ΡΡΠ³ΠΈΠΌΒ», Π²ΠΌΠ΅ΡΡΠ΅ Ρ ΡΡΠΈΠΌ Π½Π°ΡΠΈΠ½Π°Π΅Ρ ΠΏΠΎΡΠ²Π»ΡΡΡΡΡ Π³ΡΠ» ΠΏΡΠΈ ΠΏΠΎΠ²ΠΎΡΠΎΡΠ΅ ΡΡΠ»Ρ. Π§Π°ΡΠ΅ Π²ΡΠ΅Π³ΠΎ ΠΏΡΠΎΠ±Π»Π΅ΠΌΡ Ρ Π½Π°ΡΠΎΡΠΎΠΌ Π²ΠΎΠ·Π½ΠΈΠΊΠ°ΡΡ ΠΈΠ·-Π·Π° Π½Π΅ΠΈΡΠΏΡΠ°Π²Π½ΠΎΡΡΠΈ ΠΊΡΡΠ»ΡΡΠ°ΡΠΊΠΈ, ΠΏΠΎΠ΄ΡΠΈΠΏΠ½ΠΈΠΊΠ° ΠΈΠ»ΠΈ ΡΠ°Π»ΡΠ½ΠΈΠΊΠΎΠ². Π Π΅ΠΌΠΎΠ½Ρ Π½Π°ΡΠΎΡΠ° Π³ΠΈΠ΄ΡΠΎΡΡΠΈΠ»ΠΈΡΠ΅Π»Ρ Π²ΡΠΏΠΎΠ»Π½ΡΠ΅ΡΡΡ ΠΊΡΠ°ΠΉΠ½Π΅ ΡΠ΅Π΄ΠΊΠΎ, ΠΈ ΠΏΡΠΈ Π΅Π³ΠΎ Π²ΡΡ
ΠΎΠ΄Π΅ ΠΈΠ· ΡΡΡΠΎΡ ΠΏΠΎΡΡΠ΅Π±ΡΠ΅ΡΡΡ ΠΏΡΠΎΠ²Π΅ΡΡΠΈ Π·Π°ΠΌΠ΅Π½Ρ Π΄Π΅ΡΠ°Π»ΠΈ.

ΠΠΎΠ»ΡΡΠΈΠ½ΡΡΠ²ΠΎ ΠΏΡΠΈΡΠΈΠ½, ΠΊΠΎΡΠΎΡΡΠ΅ ΠΏΡΠΈΠ²ΠΎΠ΄ΡΡ ΠΊ ΠΏΠΎΡΠ²Π»Π΅Π½ΠΈΡ Π³ΡΠ»Π° Π³ΠΈΠ΄ΡΠΎΡΡΠΈΠ»ΠΈΡΠ΅Π»Ρ ΡΡΠ»Ρ ΠΏΡΠΈ ΠΏΠΎΠ²ΠΎΡΠΎΡΠ΅, ΠΌΠΎΠΆΠ½ΠΎ Π΄ΠΈΠ°Π³Π½ΠΎΡΡΠΈΡΠΎΠ²Π°ΡΡ ΠΈ ΠΈΡΠΏΡΠ°Π²ΠΈΡΡ ΡΠ°ΠΌΠΎΡΡΠΎΡΡΠ΅Π»ΡΠ½ΠΎ. ΠΠ΄Π½Π°ΠΊΠΎ Π»ΡΡΡΠ΅ Π½Π΅ Π΄ΠΎΠ²ΠΎΠ΄ΠΈΡΡ ΡΠΈΡΡΠ°ΡΠΈΡ Π΄ΠΎ ΡΠ΅ΡΡΠ΅Π·Π½ΡΡ ΠΏΡΠΎΠ±Π»Π΅ΠΌ, ΠΈ ΠΏΡΠ°Π²ΠΈΠ»ΡΠ½ΠΎ ΡΠΊΡΠΏΠ»ΡΠ°ΡΠΈΡΠΎΠ²Π°ΡΡ ΡΠΈΡΡΠ΅ΠΌΡ.
ΠΠΎΠ·ΠΌΠΎΠΆΠ½ΡΠ΅ ΠΏΡΠΈΡΠΈΠ½Ρ ΠΏΠΎΡΠ²Π»Π΅Π½ΠΈΡ Π³ΡΠ»Π°
Π‘Π°ΠΌ ΠΏΠΎ ΡΠ΅Π±Π΅ ΠΌΠ΅Ρ Π°Π½ΠΈΠ·ΠΌ Π³ΠΈΠ΄ΡΠΎΡΡΠΈΠ»ΠΈΡΠ΅Π»Ρ Π΄ΠΎΡΡΠ°ΡΠΎΡΠ½ΠΎ ΠΏΡΠΎΡΡΠΎΠΉ, ΠΏΠΎΡΡΠΎΠΌΡ ΠΏΡΠΈ Π½Π΅ΠΎΠ±Ρ ΠΎΠ΄ΠΈΠΌΠΎΡΡΠΈ Π²Ρ Π²ΡΠ΅Π³Π΄Π° ΡΠΌΠΎΠΆΠ΅ΡΠ΅ ΡΠ°Π·ΠΎΠ±ΡΠ°ΡΡΡΡ Π² Π½Π΅ΠΌ ΡΠ°ΠΌΠΈ. Π‘ΠΎΠΎΡΠ²Π΅ΡΡΡΠ²Π΅Π½Π½ΠΎ, Π΅ΡΠ»ΠΈ Π³ΡΠ΄ΠΈΡ ΠΠ£Π , ΠΏΡΠΈ ΠΏΠΎΠ²ΠΎΡΠΎΡΠ΅ Π½Π° Π³ΠΎΡΡΡΡΡ ΠΈΠ»ΠΈ Ρ ΠΎΠ»ΠΎΠ΄Π½ΡΡ ΡΠ»ΡΡΠ΅Π½ ΡΠ²ΠΈΡΡ ΠΈ ΡΠ·Π΅Π» ΠΆΡΠΆΠΆΠΈΡ, Π½Π°ΠΉΡΠΈ ΠΏΡΠΈΡΠΈΠ½Ρ ΠΌΠΎΠΆΠ½ΠΎ ΡΠ²ΠΎΠΈΠΌΠΈ ΡΠΈΠ»Π°ΠΌΠΈ. ΠΠ΄Π½Π°ΠΊΠΎ Π΄Π»Ρ ΡΠΎΠ³ΠΎ, ΡΡΠΎΠ±Ρ ΠΏΠΎΠ½ΡΡΡ, ΠΏΠΎΡΠ΅ΠΌΡ Π³ΡΠ΄ΠΈΡ Π³ΠΈΠ΄ΡΠΎΡΡΠΈΠ»ΠΈΡΠ΅Π»Ρ ΡΡΠ»Ρ Π½Π° Ρ ΠΎΠ»ΠΎΠ΄Π½ΡΡ ΠΈΠ»ΠΈ Π³ΠΎΡΡΡΡΡ, Π½Π΅ΠΎΠ±Ρ ΠΎΠ΄ΠΈΠΌΠΎ Π½Π°ΠΈΠ±ΠΎΠ»Π΅Π΅ ΠΎΡΠ½ΠΎ ΠΏΡΠΎΠΈΠ·Π²Π΅ΡΡΠΈ Π΄ΠΈΠ°Π³Π½ΠΎΡΡΠΈΠΊΡ ΡΠΈΠΌΠΏΡΠΎΠΌΠΎΠ². Π‘Π΅Π³ΠΎΠ΄Π½Ρ ΡΠΏΠ΅ΡΠΈΠ°Π»ΠΈΡΡΡ Π²ΡΠ΄Π΅Π»ΡΡΡ Π½Π΅ΡΠΊΠΎΠ»ΡΠΊΠΎ Π²ΠΎΠ·ΠΌΠΎΠΆΠ½ΡΡ ΠΏΡΠΈΠ·Π½Π°ΠΊΠΎΠ², ΠΊΠΎΡΠΎΡΡΠ΅ ΠΌΠΎΠ³ΡΡ ΡΠΏΡΠΎΠ²ΠΎΡΠΈΡΠΎΠ²Π°ΡΡ Π³ΡΠ».
Π‘Ρ Π΅ΠΌΠ° Π³ΠΈΠ΄ΡΠΎΡΡΠΈΠ»ΠΈΡΠ΅Π»Ρ ΡΡΠ»Π΅Π²ΠΎΠ³ΠΎ ΡΠΏΡΠ°Π²Π»Π΅Π½ΠΈΡ Π°Π²ΡΠΎΠΌΠΎΠ±ΠΈΠ»Ρ ΠΠ£Π
ΠΡΠ°ΠΊ, ΠΏΠΎΡΠ΅ΠΌΡ ΠΏΡΠΈ ΠΏΠΎΠ²ΠΎΡΠΎΡΠ΅ Π½Π° Π³ΠΎΡΡΡΠ΅ΠΌ ΠΈΠ»ΠΈ Ρ
ΠΎΠ»ΠΎΠ΄Π½ΠΎΠΌ Π΄Π²ΠΈΠ³Π°ΡΠ΅Π»Π΅ Π½Π°ΡΠΈΠ½Π°Π΅ΡΡΡ Π³ΡΠ» ΠΈ ΡΡΠΎ Π΄Π΅Π»Π°ΡΡ Π² ΡΠ°ΠΊΠΈΡ
ΡΠ»ΡΡΠ°ΡΡ
? ΠΠ΄Π½ΠΎΠΉ ΠΈΠ· ΠΎΡΠ½ΠΎΠ²Π½ΡΡ
ΠΏΡΠΈΡΠΈΠ½ ΡΠ²Π»ΡΠ΅ΡΡΡ ΠΏΠ»ΠΎΡ
ΠΎΠ΅ ΡΠΎΡΡΠΎΡΠ½ΠΈΠ΅ ΠΌΠ°ΡΠ»Π° Π² ΡΠΈΡΡΠ΅ΠΌΠ΅.
ΠΠΈ Π΄Π»Ρ ΠΊΠΎΠ³ΠΎ Π½Π΅ ΡΠ΅ΠΊΡΠ΅Ρ, ΡΡΠΎ Π»ΡΠ±ΠΎΠΉ ΡΠ°ΡΡ
ΠΎΠ΄Π½ΡΠΉ ΠΌΠ°ΡΠ΅ΡΠΈΠ°Π» Π² ΡΠΎΠΉ ΠΈΠ»ΠΈ ΠΈΠ½ΠΎΠΉ ΡΠΈΡΡΠ΅ΠΌΠ΅ ΡΡΠ°Π½ΡΠΏΠΎΡΡΠ½ΠΎΠ³ΠΎ ΡΡΠ΅Π΄ΡΡΠ²Π° β Π½Π΅ Π²Π΅ΡΠ½ΡΠΉ, Π΄Π°ΠΆΠ΅ Π½Π΅ΡΠΌΠΎΡΡΡ Π½Π° ΡΠΎ, ΡΡΠΎ ΠΏΡΠΎΠΈΠ·Π²ΠΎΠ΄ΠΈΡΠ΅Π»ΠΈ ΡΠ²Π΅ΡΡΡΡ, ΡΡΠΎ ΠΌΠ°ΡΠ»ΠΎ Π·Π°Π»ΠΈΠ²Π°Π΅ΡΡΡ Π½Π° Π²Π΅ΡΡ ΡΡΠΎΠΊ ΡΠΊΡΠΏΠ»ΡΠ°ΡΠ°ΡΠΈΠΈ Π°Π²ΡΠΎ. ΠΠΎΡΡΠΎΠΌΡ Π΅ΡΠ»ΠΈ Π²ΠΎΠ΅Ρ ΠΠ£Π , ΡΠΎ ΠΎΠ΄Π½ΠΎΠΉ ΠΈΠ· ΠΏΡΠΈΡΠΈΠ½ ΠΌΠΎΠΆΠ΅Ρ ΡΠ²Π»ΡΡΡΡΡ ΠΈΠΌΠ΅Π½Π½ΠΎ ΡΠ°ΡΡ
ΠΎΠ΄Π½ΡΠΉ ΠΌΠ°ΡΠ΅ΡΠΈΠ°Π».
ΠΡΠ»ΠΈ Π²Ρ Π½Π΅ Π±ΡΠ΄Π΅ΡΠ΅ Π²ΠΎΠ²ΡΠ΅ΠΌΡ ΠΏΡΠΎΠΈΠ·Π²ΠΎΠ΄ΠΈΡΡ Π·Π°ΠΌΠ΅Π½Ρ ΠΆΠΈΠ΄ΠΊΠΎΡΡΠΈ, ΡΠΎ ΠΈ Π½Π° Ρ ΠΎΠ»ΠΎΠ΄Π½ΡΡ, ΠΈ Π½Π° Π³ΠΎΡΡΡΡΡ ΠΏΡΠΈ ΠΏΠΎΠ²ΠΎΡΠΎΡΠ°Ρ Π±ΡΠ΄Π΅Ρ ΠΏΡΠΎΡΠ²Π»ΡΡΡΡΡ Π³ΡΠ», ΠΏΠΎΡΡΠΎΠΌΡ ΡΠΎΡΡΠΎΡΠ½ΠΈΠ΅ ΠΌΠ°ΡΠ»Π° Π½Π΅ΠΎΠ±Ρ ΠΎΠ΄ΠΈΠΌΠΎ ΠΏΡΠΎΠ²Π΅ΡΠΈΡΡ Π² ΠΏΠ΅ΡΠ²ΡΡ ΠΎΡΠ΅ΡΠ΅Π΄Ρ. Π Π°Π±ΠΎΡΠ΅Π΅ Π²Π΅ΡΠ΅ΡΡΠ²ΠΎ Π΄ΠΎΠ»ΠΆΠ½ΠΎ ΠΈΠΌΠ΅ΡΡ ΠΏΠ΅ΡΠ²ΠΎΡΡΠ΅ΠΏΠ΅Π½Π½ΡΠΉ ΠΎΡΡΠ΅Π½ΠΎΠΊ, ΡΡΠΎ ΠΊΠ°ΡΠ°Π΅ΡΡΡ ΡΡΠΎΠ²Π½Ρ, ΡΠΎ ΠΎΠ½ ΡΠ°ΠΊΠΆΠ΅ Π΄ΠΎΠ»ΠΆΠ΅Π½ Π±ΡΡΡ ΠΎΠΏΡΠΈΠΌΠ°Π»ΡΠ½ΡΠΌ, ΡΠ°ΠΊ ΡΡΠΎ Π΅ΡΠ»ΠΈ Π²Ρ Π·Π°ΠΌΠ΅ΡΠΈΠ»ΠΈ, ΡΡΠΎ ΠΌΠ°ΡΠ»Π° Π² ΡΠΈΡΡΠ΅ΠΌΠ΅ Π½Π΅ Ρ Π²Π°ΡΠ°Π΅Ρ, ΡΠΎ Π»ΡΡΡΠ΅ Π±ΡΠ΄Π΅Ρ Π΄ΠΎΠ»ΠΈΡΡ. ΠΠ΅ΡΠ°ΡΡ ΠΌΠ°ΡΠ»Π° Π½Π΅ ΡΠ΅ΠΊΠΎΠΌΠ΅Π½Π΄ΡΠ΅ΡΡΡ, ΡΠΎΠ»ΡΠΊΠΎ Π² ΡΠΎΠΌ ΡΠ»ΡΡΠ°Π΅, Π΅ΡΠ»ΠΈ ΠΎΠ½ΠΈ ΠΏΠΎΠ»Π½ΠΎΡΡΡΡ ΡΠΎΠΎΡΠ²Π΅ΡΡΡΠ²ΡΡΡ Π΄ΡΡΠ³ Π΄ΡΡΠ³Ρ ΠΏΠΎ ΡΠΎΡΡΠ°Π²Π°ΠΌ ΠΈ ΠΏΡΠΈΡΠ°Π΄ΠΊΠ°ΠΌ. Π§ΡΠΎ ΠΊΠ°ΡΠ°Π΅ΡΡΡ ΠΈΠ½ΡΠ΅ΡΠ²Π°Π»ΠΎΠ² Π·Π°ΠΌΠ΅Π½Ρ, ΡΠΎ ΠΎΠ½ Π·Π°Π²ΠΈΡΠΈΡ ΠΎΡ ΡΠΊΡΠΏΠ»ΡΠ°ΡΠ°ΡΠΈΠΈ ΡΡΠ°Π½ΡΠΏΠΎΡΡΠ½ΠΎΠ³ΠΎ ΡΡΠ΅Π΄ΡΡΠ²Π°, Π½ΠΎ Π² ΡΡΠ΅Π΄Π½Π΅ΠΌ ΡΡΠ° ΠΆΠΈΠ΄ΠΊΠΎΡΡΡ ΠΌΠ΅Π½ΡΠ΅ΡΡΡ ΠΎΠ΄ΠΈΠ½ ΡΠ°Π· Π² Π΄Π²Π° Π³ΠΎΠ΄Π°.
ΠΡΠ»ΠΈ ΡΠΌΠ°Π·ΠΊΠ° Π΄Π΅ΠΉΡΡΠ²ΠΈΡΠ΅Π»ΡΠ½ΠΎ ΠΏΠ»ΠΎΡ
Π°, ΡΠΎ Π²Ρ Π·Π°ΠΌΠ΅ΡΠΈΡΠ΅, ΠΊΠ°ΠΊ Π½Π° Ρ
ΠΎΠ»ΠΎΠ΄Π½ΠΎΠΌ ΠΈ Π³ΠΎΡΡΡΠ΅ΠΌ Π΄Π²ΠΈΠ³Π°ΡΠ΅Π»Π΅ ΠΏΡΠΈ ΠΏΠΎΠ²ΠΎΡΠΎΡΠ΅ Π°Π²ΡΠΎ ΡΡΠ»Ρ Π±ΡΠ΄Π΅Ρ ΠΊΡΡΡΠΈΡΡΡΡ ΡΡΡΠ΄Π½Π΅Π΅.
Π’Π°ΠΊ ΡΡΠΎ Π΅ΡΠ»ΠΈ Π²Ρ ΠΏΡΠΈΠΊΠ»Π°Π΄ΡΠ²Π°Π΅ΡΠ΅ Π΄ΠΎΠΏΠΎΠ»Π½ΠΈΡΠ΅Π»ΡΠ½ΡΠ΅ ΡΡΠΈΠ»ΠΈΡ, ΠΏΡΠΈ ΡΡΠΎΠΌ ΡΠ»ΡΡΠΈΡΠ΅ Π³ΡΠ», ΡΠΎ Π²Π΅ΡΠΎΡΡΠ½Π΅Π΅ Π²ΡΠ΅Π³ΠΎ, ΠΏΡΠΎΠ±Π»Π΅ΠΌΠ° ΠΊΡΠΎΠ΅ΡΡΡ ΠΈΠΌΠ΅Π½Π½ΠΎ Π² ΡΠ°ΡΡ
ΠΎΠ΄Π½ΠΎΠΌ ΠΌΠ°ΡΠ΅ΡΠΈΠ°Π»Π΅.
ΠΠΎΠ²ΡΠ΅ΠΆΠ΄Π΅Π½Π½ΡΠΉ ΠΏΡΠ»ΡΠ½ΠΈΠΊ ΡΡΠ»Π΅Π²ΠΎΠΉ ΡΠ΅ΠΉΠΊΠΈ
ΠΡΠ΅ ΠΎΠ΄Π½ΠΎΠΉ ΠΏΡΠΈΡΠΈΠ½ΠΎΠΉ, ΠΏΠΎ ΠΊΠΎΡΠΎΡΠΎΠΉ ΡΠ²ΠΈΡΡΠΈΡ ΡΠΈΡΡΠ΅ΠΌΠ° ΠΏΡΠΈ ΠΏΠΎΠ²ΠΎΡΠΎΡΠ΅ Π½Π° Ρ ΠΎΠ»ΠΎΠ΄Π½ΡΡ ΠΈΠ»ΠΈ Π³ΠΎΡΡΡΡΡ, ΡΠ²Π»ΡΠ΅ΡΡΡ Π½Π΅ΠΊΠΎΡΡΠ΅ΠΊΡΠ½Π°Ρ ΡΠ°Π±ΠΎΡΠ° ΡΡΠ»Π΅Π²ΠΎΠΉ ΡΠ΅ΠΉΠΊΠΈ, ΠΊΠ°ΠΊ ΠΏΡΠ°Π²ΠΈΠ»ΠΎ, ΠΏΡΠΈΡΠΈΠ½ΠΎΠΉ ΠΏΠΎΠ»ΠΎΠΌΠΊΠΈ ΡΡΡΡΠΎΠΉΡΡΠ²Π° ΡΠ²Π»ΡΠ΅ΡΡΡ ΡΠ΅ΠΌΠΏΠ΅ΡΠ°ΡΡΡΠ°. Π ΡΠ΅Π·ΡΠ»ΡΡΠ°ΡΠ΅ ΡΠ΅Π·ΠΊΠΈΡ ΡΠ΅ΠΌΠΏΠ΅ΡΠ°ΡΡΡΠ½ΡΡ ΠΏΠ΅ΡΠ΅ΠΏΠ°Π΄ΠΎΠ² ΠΌΠ΅Ρ Π°Π½ΠΈΠ·ΠΌ ΠΌΠΎΠΆΠ΅Ρ ΡΠ°Π±ΠΎΡΠ°ΡΡ Π½Π΅ΠΊΠΎΡΡΠ΅ΠΊΡΠ½ΠΎ.
ΠΡΠΎΠΌΠ΅ ΡΠΎΠ³ΠΎ, Π³ΡΠ» ΠΏΡΠΎΡΠ²Π»ΡΠ΅ΡΡΡ ΠΈ Π² ΡΠ΅Π·ΡΠ»ΡΡΠ°ΡΠ΅ ΠΏΠΎΠΏΠ°Π΄Π°Π½ΠΈΡ ΡΠΎΠ»ΠΈ Π² ΡΠΈΡΡΠ΅ΠΌΡ, ΠΊΠΎΡΠΎΡΠ°Ρ ΠΎΡΡΠ°Π΅ΡΡΡ Π½Π° Π΄ΠΎΡΠΎΠ³Π°Ρ ΠΏΠΎΡΠ»Π΅ ΠΏΠΎΡΡΠΏΠ°Π½ΠΈΡ Π² Π³ΠΎΠ»ΠΎΠ»Π΅Π΄. ΠΡΠΈ ΠΏΠΎΠΏΠ°Π΄Π°Π½ΠΈΠΈ Π½Π° ΠΊΠΎΠΌΠΏΠΎΠ½Π΅Π½ΡΡ ΡΠ·Π»Π°, ΡΠ°ΠΊΠΈΠ΅ ΠΊΠ°ΠΊ ΡΠ°Π»ΡΠ½ΠΈΠΊΠΈ ΠΈ ΠΏΡΠ»ΡΠ½ΠΈΠΊΠΈ, ΡΠΎΠ»Ρ ΠΈΡ ΡΠ°Π·ΡΠ΅Π΄Π°Π΅Ρ, Π² ΡΠ΅Π·ΡΠ»ΡΡΠ°ΡΠ΅ ΡΠ΅Π³ΠΎ ΡΡΡΡΠΎΠΉΡΡΠ²ΠΎ ΡΠ²ΠΈΡΡΠΈΡ, Π½ΠΎ Π½Π΅ ΠΈΠ·-Π·Π° ΡΠ°Π·ΡΠ΅Π΄Π°Π½ΠΈΡ ΡΠ°Π»ΡΠ½ΠΈΠΊΠ°, Π° ΠΈΠ·-Π·Π° ΡΡΠ΅ΡΠΊΠΈ ΠΌΠ°ΡΠ»Π°, ΠΊΠΎΡΠΎΡΠ°Ρ ΡΠ²Π»ΡΠ΅ΡΡΡ ΡΠ»Π΅Π΄ΡΡΠ²ΠΈΠ΅ΠΌ. ΠΠ»Ρ ΡΠ΅ΡΠ΅Π½ΠΈΡ Π²ΠΎΠΏΡΠΎΡΠ° Π½ΡΠΆΠ½ΠΎ ΡΠ½ΠΈΠΌΠ°ΡΡ ΡΡΡΡΠΎΠΉΡΡΠ²ΠΎ ΠΈ ΡΠ΅ΠΌΠΎΠ½ΡΠΈΡΠΎΠ²Π°ΡΡ Π΅Π³ΠΎ.
ΠΠ°ΠΊ ΠΏΠΎΠΊΠ°Π·ΡΠ²Π°Π΅Ρ ΠΏΡΠ°ΠΊΡΠΈΠΊΠ°, Π² Π±ΠΎΠ»ΡΡΠΈΠ½ΡΡΠ²Π΅ ΡΠ»ΡΡΠ°Π΅Π² ΠΏΡΠΎΠΈΠ·Π²Π΅ΡΡΠΈ ΡΠ΅ΠΌΠΎΠ½Ρ Π½Π΅ ΡΠ°ΠΊ ΠΏΡΠΎΡΡΠΎ, ΠΏΠΎΡΡΠΎΠΌΡ ΠΎΠ±ΡΡΠ½ΠΎ ΠΏΡΠΎΠ±Π»Π΅ΠΌΠ° ΡΠ΅ΡΠ°Π΅ΡΡΡ ΠΏΡΡΠ΅ΠΌ Π·Π°ΠΌΠ΅Π½Ρ ΠΊΠΎΠΌΠΏΠΎΠ½Π΅Π½ΡΠ°.
ΠΠΎΠΌΠΈΠΌΠΎ ΡΡΠΎΠ³ΠΎ, ΠΠ£Π ΡΠ°ΡΡΠΎ ΡΠ²ΠΈΡΡΠΈΡ ΠΈΠ·-Π·Π° ΡΠΎΠ³ΠΎ, ΡΡΠΎ ΠΏΡΠΎΠΈΠ·ΠΎΡΠ΅Π» ΠΈΠ·Π½ΠΎΡ ΠΈΠ»ΠΈ ΠΎΡΠ»Π°Π±Π»Π΅Π½ΠΈΠ΅ ΡΠ΅ΠΌΠ΅ΡΠΊΠ° ΠΏΡΠΈΠ²ΠΎΠ΄Π°, Π΅ΡΠ»ΠΈ ΡΡΠΎ ΡΠ°ΠΊ, ΡΠΎ Π² ΠΏΠ΅ΡΠ²ΡΡ ΠΎΡΠ΅ΡΠ΅Π΄Ρ Π½Π΅ΠΎΠ±Ρ
ΠΎΠ΄ΠΈΠΌΠΎ ΠΎΡΡΡΠ΅ΡΡΠ²ΠΈΡΡ Π΄ΠΈΠ°Π³Π½ΠΎΡΡΠΈΠΊΡ. ΠΡΠ»ΠΈ Π²ΠΎ Π²ΡΠ΅ΠΌΡ ΠΏΠΎΠ²ΠΎΡΠΎΡΠ° ΡΡΡΡΠΎΠΉΡΡΠ²ΠΎ ΡΠ²ΠΈΡΡΠΈΡ, ΡΠΎ ΠΏΠΎΠΏΡΠΎΠ±ΡΠΉΡΠ΅ ΠΏΠΎΠ΄ΡΡΠ½ΡΡΡ ΡΠ΅ΠΌΠ΅ΡΠΎΠΊ, Π΅ΡΠ»ΠΈ ΠΆΠ΅ ΠΎΠ½ Π΄ΠΎΡΡΠ°ΡΠΎΡΠ½ΠΎ ΠΈΠ·Π½ΠΎΡΠ΅Π½, ΡΠΎ Π΅Π³ΠΎ Π½Π΅ΠΎΠ±Ρ
ΠΎΠ΄ΠΈΠΌΠΎ ΡΠΎΠ»ΡΠΊΠΎ ΠΌΠ΅Π½ΡΡΡ. ΠΡΠ»ΠΈ ΡΠ΅Π³ΡΠ»ΡΡΠ½ΠΎ ΠΏΠΎΡΠ²Π»ΡΠ΅ΡΡΡ Π³ΡΠ», ΡΠΎ ΡΠΎ Π²ΡΠ΅ΠΌΠ΅Π½Π΅ΠΌ ΡΡΠΎ ΠΌΠΎΠΆΠ΅Ρ ΠΎΡΡΠ°Π·ΠΈΡΡΡΡ Π½Π° ΡΠΏΡΠ°Π²Π»ΡΠ΅ΠΌΠΎΡΡΠΈ ΡΡΠ°Π½ΡΠΏΠΎΡΡΠ½ΠΎΠ³ΠΎ ΡΡΠ΅Π΄ΡΡΠ²Π°, ΡΠ΅ΠΌ Π±ΠΎΠ»Π΅Π΅, ΡΡΠΎ ΠΏΠΎΡΠ²Π»Π΅Π½ΠΈΡ ΡΠ°ΠΊΠΈΡ
Π·Π²ΡΠΊΠΎΠ² ΠΌΠΎΠΆΠ΅Ρ ΡΠΏΠΎΡΠΎΠ±ΡΡΠ²ΠΎΠ²Π°ΡΡ Π²ΠΈΠ±ΡΠ°ΡΠΈΡ ΡΡΠ»Π΅Π²ΠΎΠ³ΠΎ ΠΊΠΎΠ»Π΅ΡΠ° (Π°Π²ΡΠΎΡ Π²ΠΈΠ΄Π΅ΠΎ β Chevrolet Aveo).
ΠΡΠ΄Π΅Π»ΡΠ½ΠΎ ΡΠ»Π΅Π΄ΡΠ΅Ρ Π²ΡΠ΄Π΅Π»ΠΈΡΡ Π½Π°ΡΠΎΡ. ΠΠΎΡΠΊΠΎΠ»ΡΠΊΡ ΠΎΡΠ½ΠΎΠ²Π½ΡΠΌ Π΅Π³ΠΎ ΠΏΡΠ΅Π΄Π½Π°Π·Π½Π°ΡΠ΅Π½ΠΈΠ΅ΠΌ ΡΠ²Π»ΡΠ΅ΡΡΡ ΠΏΠΎΠ΄Π°ΡΠ° ΡΠ°Π±ΠΎΡΠ΅ΠΉ ΠΆΠΈΠ΄ΠΊΠΎΡΡΠΈ Π² ΡΠ·Π΅Π», ΠΏΡΠΈ Π΅Π³ΠΎ Π²ΡΡ ΠΎΠ΄Π΅ ΠΈΠ· ΡΡΡΠΎΡ ΠΌΠ°ΡΠ»ΠΎ ΠΌΠΎΠΆΠ΅Ρ ΠΏΠΎΠΏΠ°Π΄Π°ΡΡ Π² ΡΠΈΡΡΠ΅ΠΌΡ Π½Π΅ΡΠ°Π²Π½ΠΎΠΌΠ΅ΡΠ½ΠΎ ΠΈΠ»ΠΈ Π²ΠΎΠ²ΡΠ΅ Π½Π΅ ΠΏΠΎΠΏΠ°Π΄Π°ΡΡ. Π’ΠΎΠ³Π΄Π° ΠΠ£Π ΡΠ²ΠΈΡΡΠΈΡ. ΠΡΠ»ΠΈ ΠΏΡΠΎΠ±Π»Π΅ΠΌΠ° Π΄Π΅ΠΉΡΡΠ²ΠΈΡΠ΅Π»ΡΠ½ΠΎ Π·Π°ΠΊΠ»ΡΡΠ°Π΅ΡΡΡ Π² ΡΠ°Π±ΠΎΡΠΎΡΠΏΠΎΡΠΎΠ±Π½ΠΎΡΡΠΈ Π½Π°ΡΠΎΡΠ°, ΡΠΎ ΡΡΠΎΡ ΠΊΠΎΠΌΠΏΠΎΠ½Π΅Π½Ρ Π½Π΅ΠΎΠ±Ρ ΠΎΠ΄ΠΈΠΌΠΎ Π±ΡΠ΄Π΅Ρ ΠΌΠ΅Π½ΡΡΡ. Π’Π°ΠΊΠΆΠ΅ Π±ΡΠ²Π°Π΅Ρ Π³ΡΠ΄ΠΈΡ ΠΏΠΎΠ΄ΡΠΈΠΏΠ½ΠΈΠΊ.
ΠΡΠ½ΠΎΠ²Π½ΡΠ΅ ΡΠ·Π»Ρ Π³ΠΈΠ΄ΡΠΎΡΡΠΈΠ»ΠΈΡΠ΅Π»Ρ ΡΡΠ»Ρ
ΠΠΈΠ΄ΡΠΎΡΡΠΈΠ»ΠΈΡΠ΅Π»Ρ ΡΠΎΡΡΠΎΠΈΡ ΠΈΠ· Π½Π΅ΡΠΊΠΎΠ»ΡΠΊΠΈΡ Π²Π°ΠΆΠ½ΡΡ ΠΊΠΎΠΌΠΏΠΎΠ½Π΅Π½ΡΠΎΠ², Π° ΠΏΠΎΠ»ΠΎΠΌΠΊΠ° Π»ΡΠ±ΠΎΠ³ΠΎ ΠΈΠ· Π½ΠΈΡ ΡΡΠ΅Π²Π°ΡΠ° Π²ΡΡ ΠΎΠ΄ΠΎΠΌ ΠΈΠ· ΡΡΡΠΎΡ Π²ΡΠ΅Π³ΠΎ Π°Π³ΡΠ΅Π³Π°ΡΠ°:
- ΠΠ°ΡΠΎΡ Π³ΠΈΠ΄ΡΠΎΡΡΠΈΠ»ΠΈΡΠ΅Π»Ρ ΡΡΠ»Ρ, Π²ΠΊΠ»ΡΡΠ°ΡΡΠΈΠΉΡΡ Π²ΠΌΠ΅ΡΡΠ΅ Ρ ΠΏΡΡΠΊΠΎΠΌ Π΄Π²ΠΈΠ³Π°ΡΠ΅Π»Ρ.
ΠΠ³ΠΎ Π·Π°Π΄Π°ΡΠ°Β β ΠΊΠ°ΡΠ°ΡΡ ΠΌΠ°ΡΠ»ΠΎ ΠΈΠ· Π±Π°ΡΠΊΠ° ΠΈ ΡΠ°Π·Π³ΠΎΠ½ΡΡΡ Π΅Π³ΠΎ ΠΏΠΎ ΡΠΈΡΡΠ΅ΠΌΠ΅. - ΠΠ΅ΠΏΠΎΡΡΠ΅Π΄ΡΡΠ²Π΅Π½Π½ΠΎ Π±Π°ΡΠΎΠΊ Ρ ΠΌΠ°ΡΠ»ΠΎΠΌ.
- Π Π°ΡΠΏΡΠ΅Π΄Π΅Π»ΠΈΡΠ΅Π»Ρ ΡΠ°Π±ΠΎΡΠ΅ΠΉ ΠΆΠΈΠ΄ΠΊΠΎΡΡΠΈ ΠΏΠΎ Π³ΠΈΠ΄ΡΠΎΡΠΈΠ»ΠΈΠ½Π΄ΡΠ°ΠΌΒ β Π²ΠΊΠ»ΡΡΠ°Π΅ΡΡΡ Π² ΡΠ°Π±ΠΎΡΡ ΠΏΡΠΈ ΠΏΠΎΠ²ΠΎΡΠΎΡΠ΅ ΡΡΠ»Ρ.
ΠΠ½ΠΎΠ³ΠΈΠ΅ Π°Π²ΡΠΎΠ²Π»Π°Π΄Π΅Π»ΡΡΡ ΠΏΠΎΠ»Π°Π³Π°ΡΡ, ΡΡΠΎ ΠΌΠ°ΡΠ»ΠΎ Π² ΠΠ£Π ΡΠ°ΡΡΡΠΈΡΠ°Π½ΠΎ Π½Π° Π²Π΅ΡΡ ΡΡΠΎΠΊ ΡΠ»ΡΠΆΠ±Ρ Π°Π²ΡΠΎΠΌΠΎΠ±ΠΈΠ»Ρ. ΠΠ΄Π½Π°ΠΊΠΎ ΡΡΠΎ Π½Π΅Π²Π΅ΡΠ½ΠΎ βΒ ΠΌΠ΅Π½ΡΡΡ Π΅Π³ΠΎ Π²ΡΡ ΠΆΠ΅ ΠΏΠΎΡΡΠ΅Π±ΡΠ΅ΡΡΡ. ΠΠ±ΡΠ»ΡΠΆΠΈΠ²Π°Π½ΠΈΠ΅ ΡΠ°ΠΊΠΆΠ΅ ΠΏΠΎΠ΄ΡΠ°Π·ΡΠΌΠ΅Π²Π°Π΅Ρ ΠΏΠΎΡΡΠΎΡΠ½Π½ΡΠΉ ΠΊΠΎΠ½ΡΡΠΎΠ»Ρ ΡΡΠΎΠ²Π½Ρ ΡΠ°Π±ΠΎΡΠ΅ΠΉ ΠΆΠΈΠ΄ΠΊΠΎΡΡΠΈ Π² Π±Π°ΡΠΊΠ΅. ΠΡΠ»ΠΈ ΠΌΠ°ΡΠ»ΠΎ ΠΏΡΠΈ ΡΠ°ΡΡΠΈΡΠ½ΠΎΠΉ ΡΡΠ΅ΡΠΊΠ΅ Π΄ΠΎΡΡΠΈΠ³Π½Π΅Ρ ΠΊΡΠΈΡΠΈΡΠ΅ΡΠΊΠΎΠ³ΠΎ ΡΡΠΎΠ²Π½Ρ, ΡΠΎ Π³ΠΈΠ΄ΡΠΎΡΡΠΈΠ»ΠΈΡΠ΅Π»Ρ Π½Π°ΡΠ½Π΅Ρ Π³ΡΠ΄Π΅ΡΡ, Π° Π²ΠΏΠΎΡΠ»Π΅Π΄ΡΡΠ²ΠΈΠΈ ΠΏΡΠΎΡΡΠΎ ΠΏΠ΅ΡΠ΅ΡΡΠ°Π½Π΅Ρ ΡΠ°Π±ΠΎΡΠ°ΡΡ.
ΠΠΈΠ΄ΡΠΎΡΡΠΈΠ»ΠΈΡΠ΅Π»Ρ Π³ΡΠ΄ΠΈΡ ΠΏΡΠΈ Π²ΡΠ°ΡΠ΅Π½ΠΈΠΈ ΡΡΠ»Ρ
ΠΠ£Π ΠΌΠΎΠΆΠ΅Ρ Π²ΡΡΡ ΠΏΡΠΈ Π²ΡΠ°ΡΠ΅Π½ΠΈΠΈ ΡΡΠ»Ρ, Π° ΠΊΠΎΠ³Π΄Π° ΠΌΠ°ΡΠΈΠ½Π° Π΄Π²ΠΈΠΆΠ΅ΡΡΡ ΠΏΡΡΠΌΠΎ, Π³ΡΠ»Π° Π½Π΅ ΡΠ»ΡΡΠ½ΠΎ. Π’ΠΎ ΠΆΠ΅ ΡΠ°ΠΌΠΎΠ΅ ΠΏΡΠΎΠΈΡΡ ΠΎΠ΄ΠΈΡ, Π΅ΡΠ»ΠΈ Π°Π²ΡΠΎΠΌΠΎΠ±ΠΈΠ»Ρ ΡΡΠΎΠΈΡ Π½Π° ΠΌΠ΅ΡΡΠ΅:
- ΠΏΡΠΈ Π½Π΅ΠΏΠΎΠ΄Π²ΠΈΠΆΠ½ΠΎΠΌ ΡΠΎΡΡΠΎΡΠ½ΠΈΠΈ ΡΡΠ»Ρ Π³ΠΈΠ΄ΡΠΎΡΡΠΈΠ»ΠΈΡΠ΅Π»Ρ ΡΠ°Π±ΠΎΡΠ°Π΅Ρ ΡΠΈΡ ΠΎ;
- ΠΏΡΠΈ ΠΏΠΎΠ²ΠΎΡΠΎΡΠ΅ ΡΡΠ»Π΅Π²ΠΎΠ³ΠΎ ΠΊΠΎΠ»Π΅ΡΠ° ΡΠ°Π·Π΄Π°Π΅ΡΡΡ Π³ΡΠ΄Π΅Π½ΠΈΠ΅.
ΠΡΠΈΡΠΈΠ½ Π²ΠΎΠ·Π½ΠΈΠΊΠ½ΠΎΠ²Π΅Π½ΠΈΡ ΠΏΠΎΡΡΠΎΡΠΎΠ½Π½ΠΈΡ Π·Π²ΡΠΊΠΎΠ² Π·Π΄Π΅ΡΡ ΡΠ°ΠΊΠΆΠ΅ Π½Π΅ΡΠΊΠΎΠ»ΡΠΊΠΎ:
- ΠΆΠΈΠ΄ΠΊΠΎΡΡΠΈ ΠΌΠ°Π»ΠΎ (ΠΎΠ½Π° ΡΠ΅ΡΠ΅Ρ), ΠΈΠ»ΠΈ Π΅Π΅ Π½Π΅ΠΎΠ±Ρ ΠΎΠ΄ΠΈΠΌΠΎ ΠΌΠ΅Π½ΡΡΡ;
- Π² ΡΠΈΡΡΠ΅ΠΌΠ΅ ΠΏΠΎΡΠ²ΠΈΠ»ΡΡ Π²ΠΎΠ·Π΄ΡΡ ;
- Π½Π°ΡΠΎΡ ΡΡΠ΅Π±ΡΠ΅Ρ ΡΠ΅ΠΌΠΎΠ½ΡΠ° ΠΈΠ»ΠΈ Π·Π°ΠΌΠ΅Π½Ρ;
- Π½Π΅ΠΈΡΠΏΡΠ°Π²Π΅Π½ ΡΡΠ»Π΅Π²ΠΎΠΉ ΠΌΠ΅Ρ
Π°Π½ΠΈΠ·ΠΌ.

ΠΠΎΠ³Π΄Π° ΠΆΠΈΠ΄ΠΊΠΎΡΡΠΈ ΡΠΎΠ²ΡΠ΅ΠΌ ΠΌΠ°Π»ΠΎ, ΠΈΠ»ΠΈ ΠΎΠ½Π° ΠΏΠΎΠ»Π½ΠΎΡΡΡΡ Π²ΡΡΠ΅ΠΊΠ»Π°, Π³ΡΠ» ΡΡΠ»Π΅Π²ΠΎΠ³ΠΎ ΡΠΏΡΠ°Π²Π»Π΅Π½ΠΈΡ ΠΏΡΠΎΠΏΠ°Π΄Π°Π΅Ρ, Π½ΠΎ ΡΡΠ»Π΅Π²ΠΎΠ΅ ΠΊΠΎΠ»Π΅ΡΠΎ ΡΡΠ°Π½ΠΎΠ²ΠΈΡΡΡ ΡΡΠΆΠ΅Π»ΡΠΌ, Π½Π΅ΠΏΠΎΠ²ΠΎΡΠΎΡΠ»ΠΈΠ²ΡΠΌ. ΠΡΡΡΠ΅ΡΠ°ΡΡΡΡ Π²ΠΎΠ΄ΠΈΡΠ΅Π»ΠΈ, ΠΊΠΎΡΠΎΡΡΠ΅ Π½Π΅ ΠΎΠ±ΡΠ°ΡΠ°ΡΡ Π½Π° ΡΡΠ³ΠΎΠΉ ΡΡΠ»Ρ Π²Π½ΠΈΠΌΠ°Π½ΠΈΡ ΠΈ ΠΏΡΠΎΠ΄ΠΎΠ»ΠΆΠ°ΡΡ Π΄Π°Π»ΡΡΠ΅ Π΅Π·Π΄ΠΈΡΡ Π½Π° ΠΌΠ°ΡΠΈΠ½Π΅, Π½ΠΎ ΡΡΠΎ Π½ΠΈΡΠ΅ΠΌ Ρ ΠΎΡΠΎΡΠΈΠΌ Π½Π΅ Π·Π°ΠΊΠ°Π½ΡΠΈΠ²Π°Π΅ΡΡΡ: Π½Π°ΡΠΈΠ½Π°ΡΡ ΠΈΠ½ΡΠ΅Π½ΡΠΈΠ²Π½ΠΎ ΠΈΠ·Π½Π°ΡΠΈΠ²Π°ΡΡΡΡ Π΄Π΅ΡΠ°Π»ΠΈ ΡΡΠ»Π΅Π²ΠΎΠΉ ΡΠ΅ΠΉΠΊΠΈ, ΠΈ Π΅Π΅ Π΄ΠΎΡΡΠ°ΡΠΎΡΠ½ΠΎ ΡΠΊΠΎΡΠΎ ΠΏΡΠΈΡ ΠΎΠ΄ΠΈΡΡΡ ΠΌΠ΅Π½ΡΡΡ.
Π‘ΠΊΡΠ΅ΠΆΠ΅Ρ, Π° ΡΠ°ΠΊΠΆΠ΅ ΡΠΊΡΠΈΠΏ (ΡΡΠ»Ρ ΠΏΠΎΠ²ΠΎΡΠ°ΡΠΈΠ²Π°Π΅ΡΡΡ ΠΈ ΠΏΡΠΈ Π΅Π·Π΄Π΅, ΠΈ Π½Π° ΠΌΠ΅ΡΡΠ΅)
Π‘ΠΊΡΠ΅ΠΆΠ΅Ρ/ΡΠΊΡΠΈΠΏ, ΠΊΠΎΡΠΎΡΡΠΉ ΠΎΡΡΡΠ°Π΅ΡΡΡ ΠΏΡΠΈ ΠΊΡΡΡΠ΅Π½ΠΈΠΈ ΡΡΠ»Π΅Π²ΠΎΠ³ΠΎ ΠΊΠΎΠ»Π΅ΡΠ° Π² ΡΠ°Π·Π½ΡΠ΅ ΡΡΠΎΡΠΎΠ½Ρ. ΠΠΎΠ΄ΠΎΠ±Π½ΡΠΉ ΡΡΠΌ ΠΏΡΠΎΠΈΡΡ ΠΎΠ΄ΠΈΡ Π²ΡΠ»Π΅Π΄ΡΡΠ²ΠΈΠ΅ ΠΈΠ·Π½ΠΎΡΠ° ΡΠ°ΡΠ½ΠΈΡΠΎΠ² ΠΏΠΎΠ΄Π²Π΅ΡΠΊΠΈ ΠΈΠ»ΠΈ ΠΆΠ΅ ΡΠ°ΡΠ½ΠΈΡΠΎΠ² Π² ΡΡΠ»Π΅Π²ΠΎΠΌ ΡΠΏΡΠ°Π²Π»Π΅Π½ΠΈΠΈ. ΠΠ½Π°Π»ΠΎΠ³ΠΈΡΠ½ΠΎ ΠΏΡΠ΅Π΄ΡΠ΄ΡΡΠ΅ΠΌΡ ΠΏΡΠ½ΠΊΡΡ, Π·Π΄Π΅ΡΡ ΠΏΠΎΡΡΠ΅Π±ΡΠ΅ΡΡΡ ΠΏΡΠΎΠ²Π΅ΡΡΠΈ Π΄ΠΈΠ°Π³Π½ΠΎΡΡΠΈΠΊΡ ΡΠ·Π»ΠΎΠ² ΠΏΠΎΠ΄Π²Π΅ΡΠΊΠΈ ΠΈΠ»ΠΈ ΡΠΈΡΡΠ΅ΠΌΡ ΡΡΠ»Π΅Π²ΠΎΠ³ΠΎ ΡΠΏΡΠ°Π²Π»Π΅Π½ΠΈΡ, Π·Π°ΠΌΠ΅Π½ΠΈΠ², ΠΏΡΠΈ Π½Π΅ΠΎΠ±Ρ ΠΎΠ΄ΠΈΠΌΠΎΡΡΠΈ, ΠΈΠ·Π½ΠΎΡΠ΅Π½Π½ΡΠ΅ Π΄Π΅ΡΠ°Π»ΠΈ.
ΠΠ΄Π½Π°ΠΊΠΎ, Π²ΡΠ΅-ΡΠ°ΠΊΠΈ ΡΠ°ΠΌΠ°Ρ ΡΠ°ΡΠΏΡΠΎΡΡΡΠ°Π½Π΅Π½Π½Π°Ρ ΠΏΡΠΈΡΠΈΠ½Π° ΡΠ°ΠΊΠΎΠ³ΠΎ Π·Π²ΡΠΊΠ° β ΠΎΡΡΡΡΡΡΠ²ΠΈΠ΅ ΡΠΌΠ°Π·ΠΊΠΈ Π² ΡΡΠ»Π΅Π²ΡΡ Π½Π°ΠΊΠΎΠ½Π΅ΡΠ½ΠΈΠΊΠ°Ρ (Π° ΡΠ°ΠΊΠΆΠ΅ ΠΈΡ ΡΠΈΠ»ΡΠ½ΡΠΉ ΠΈΠ·Π½ΠΎΡ).
ΠΠ½ΠΎΠ³Π΄Π° ΡΠ°ΠΊΠΎΠΉ ΡΠΊΡΠΈΠΏ ΠΌΠΎΠΆΠ΅Ρ ΡΠΎΠΏΡΠΎΠ²ΠΎΠΆΠ΄Π°ΡΡΡΡ Π΄Π°ΠΆΠ΅ Ρ
ΡΡΡΡΠΎΠΌ Π²Π½Π΅ Π·Π°Π²ΠΈΡΠΈΠΌΠΎΡΡΠΈ ΠΎΡ ΡΠΎΠ³ΠΎ, Π΄Π²ΠΈΠ³Π°Π΅ΡΡΡ Π»ΠΈ ΠΌΠ°ΡΠΈΠ½Π° ΠΈΠ»ΠΈ ΡΡΠΎΠΈΡ Π½Π° ΠΌΠ΅ΡΡΠ΅.
Π ΡΡΠΎΠΌ ΡΠ»ΡΡΠ°Π΅ Π²ΠΈΠ½ΠΎΠ²Π½ΠΈΠΊΠ°ΠΌΠΈ ΡΠ²Π»ΡΡΡΡΡ Π½ΠΈΠΆΠ½ΠΈΠ΅ ΡΠ°ΡΠΎΠ²ΡΠ΅ ΠΊΡΠ΅ΠΏΠ»Π΅Π½ΠΈΡ (ΠΈΠ½ΠΎΠ³Π΄Π° ΠΈ ΠΏΠΎΠ΄ΡΠΈΠΏΠ½ΠΈΠΊΠΈ ΠΎΠΏΠΎΡ Π°ΠΌΠΎΡΡΠΈΠ·Π°ΡΠΈΠΎΠ½Π½ΡΡ
ΡΡΠΎΠ΅ΠΊ). ΠΠ΅ΡΠ²ΡΠΉ Π²Π°ΡΠΈΠ°Π½Ρ ΡΠ°ΠΊΠΆΠ΅ ΡΠΎΠΏΡΠΎΠ²ΠΎΠΆΠ΄Π°Π΅ΡΡΡ Π»ΡΡΡΠΎΠΌ ΡΡΠ»Π΅Π²ΠΎΠ³ΠΎ ΠΊΠΎΠ»Π΅ΡΠ° Π² ΠΌΠΎΠΌΠ΅Π½Ρ, ΠΊΠΎΠ³Π΄Π° ΠΌΠ°ΡΠΈΠ½Π° ΡΡΠΎΠΈΡ Π½Π° Π²Π΅ΡΡ.
ΠΡΠ΄ΠΈΡ ΠΠ£Π ΠΏΠΎΡΠ»Π΅ Π·Π°ΠΌΠ΅Π½Ρ
ΠΠ½ΠΎΠ³Π΄Π° Π³ΠΈΠ΄ΡΠΎΡΡΠΈΠ»ΠΈΡΠ΅Π»Ρ Π½Π°ΡΠΈΠ½Π°Π΅Ρ Π³ΡΠ΄Π΅ΡΡ ΠΏΠΎΡΠ»Π΅ Π·Π°ΠΌΠ΅Π½Ρ ΠΌΠ°ΡΠ»Π°. ΠΠ΅ΠΏΡΠΈΡΡΠ½ΡΠ΅ Π·Π²ΡΠΊΠΈ ΠΌΠΎΠ³ΡΡ Π±ΡΡΡ Π²ΡΠ·Π²Π°Π½Ρ Π½Π°ΡΠΎΡΠΎΠΌ Π² ΡΠ»ΡΡΠ°Π΅, Π΅ΡΠ»ΠΈ Π² ΡΠΈΡΡΠ΅ΠΌΡ Π±ΡΠ»ΠΎ Π·Π°Π»ΠΈΡΠΎ ΠΌΠ°ΡΠ»ΠΎ ΠΌΠ΅Π½Π΅Π΅ Π³ΡΡΡΠΎΠ΅, ΡΠ΅ΠΌ Π±ΡΠ»ΠΎ Π΄ΠΎ ΡΡΠΎΠ³ΠΎ. ΠΠ΅Π»ΠΎ Π² ΡΠΎΠΌ, ΡΡΠΎ ΠΌΠ΅ΠΆΠ΄Ρ Π²Π½ΡΡΡΠ΅Π½Π½Π΅ΠΉ ΠΏΠΎΠ²Π΅ΡΡ Π½ΠΎΡΡΡΡ ΡΡΠ°ΡΠΎΡΠ½ΠΎΠ³ΠΎ ΠΊΠΎΠ»ΡΡΠ° ΠΈ ΠΏΠ»Π°ΡΡΠΈΠ½ΠΊΠ°ΠΌΠΈ ΡΠΎΡΠΎΡΠ° ΡΠ²Π΅Π»ΠΈΡΠΈΠ²Π°Π΅ΡΡΡ Π²ΡΡΠ°Π±ΠΎΡΠΊΠ°. Π’Π°ΠΊΠΆΠ΅ Π²ΠΎΠ·Π½ΠΈΠΊΠ°Π΅Ρ Π²ΠΈΠ±ΡΠ°ΡΠΈΡ ΠΏΠ»Π°ΡΡΠΈΠ½ΠΎΠΊ, ΠΎΠ±ΡΡΠ»ΠΎΠ²Π»Π΅Π½Π½Π°Ρ Π½Π°Π»ΠΈΡΠΈΠ΅ΠΌ Π½Π΅ΡΠΎΠ²Π½ΠΎΡΡΠΈ ΠΏΠΎΠ²Π΅ΡΡ Π½ΠΎΡΡΠΈ ΡΡΠ°ΡΠΎΡΠ°.
Π§ΡΠΎΠ±Ρ ΠΏΡΠ΅Π΄ΠΎΡΠ²ΡΠ°ΡΠΈΡΡ ΠΏΠΎΠ΄ΠΎΠ±Π½ΡΡ ΡΠΈΡΡΠ°ΡΠΈΡ ΡΠΎΠ²Π΅ΡΡΠ΅ΠΌ Π²Π°ΠΌ ΠΏΠΎΠ»ΡΠ·ΠΎΠ²Π°ΡΡΡΡ ΠΌΠ°ΡΠ»ΠΎΠΌ, ΡΠ΅ΠΊΠΎΠΌΠ΅Π½Π΄ΡΠ΅ΠΌΡΠΌ Π·Π°Π²ΠΎΠ΄ΠΎΠΌ-ΠΈΠ·Π³ΠΎΡΠΎΠ²ΠΈΡΠ΅Π»Π΅ΠΌ. ΠΡΠΎ ΡΠ±Π΅ΡΠ΅ΠΆΠ΅Ρ Π²Π°Ρ Π°Π²ΡΠΎΠΌΠΎΠ±ΠΈΠ»Ρ ΠΎΡ ΠΏΠΎΠ»ΠΎΠΌΠΎΠΊ Π² ΡΠΈΡΡΠ΅ΠΌΠ΅.
Π’Π°ΠΊΠΆΠ΅ Π²ΠΎΠ·ΠΌΠΎΠΆΠ½ΠΎ Π²ΠΎΠ·Π½ΠΈΠΊΠ½ΠΎΠ²Π΅Π½ΠΈΠ΅ Π³ΡΠ»Π° ΠΏΠΎΡΠ»Π΅ Π·Π°ΠΌΠ΅Π½Ρ ΡΠ»Π°Π½Π³Π° Π²ΡΡΠΎΠΊΠΎΠ³ΠΎ Π΄Π°Π²Π»Π΅Π½ΠΈΡ Π³ΠΈΠ΄ΡΠΎΡΡΠΈΠ»ΠΈΡΠ΅Π»Ρ. ΠΠ΄Π½ΠΎΠΉ ΠΈΠ· ΠΏΡΠΈΡΠΈΠ½ ΠΌΠΎΠΆΠ΅Ρ Π±ΡΡΡ Π½Π΅ΠΊΠ°ΡΠ΅ΡΡΠ²Π΅Π½Π½ΡΠΉ ΡΠ»Π°Π½Π³. ΠΠ΅ΠΊΠΎΡΠΎΡΡΠ΅ Π‘Π’Π Π³ΡΠ΅ΡΠ°Ρ ΡΠ΅ΠΌ, ΡΡΠΎ Π²ΠΌΠ΅ΡΡΠΎ ΡΠΏΠ΅ΡΠΈΠ°Π»ΡΠ½ΡΡ
ΡΠ»Π°Π½Π³ΠΎΠ², ΠΏΡΠ΅Π΄Π½Π°Π·Π½Π°ΡΠ΅Π½Π½ΡΡ
Π΄Π»Ρ Π²ΡΡΠΎΠΊΠΎΠ³ΠΎ Π΄Π°Π²Π»Π΅Π½ΠΈΡ ΠΈ ΡΠ°Π±ΠΎΡΡ Π² ΡΠΈΡΡΠ΅ΠΌΠ΅ ΠΠ£Π Π°, ΠΎΠ½Π° ΡΡΡΠ°Π½Π°Π²Π»ΠΈΠ²Π°ΡΡ ΠΎΠ±ΡΡΠ½ΡΠ΅ Π³ΠΈΠ΄ΡΠ°Π²Π»ΠΈΡΠ΅ΡΠΊΠΈΠ΅ ΡΠ»Π°Π½Π³ΠΈ.
ΠΡΠΎ ΠΌΠΎΠΆΠ΅Ρ ΡΡΠ°ΡΡ ΠΏΡΠΈΡΠΈΠ½ΠΎΠΉ Π·Π°Π²ΠΎΠ·Π΄ΡΡΠΈΠ²Π°Π½ΠΈΡ ΡΠΈΡΡΠ΅ΠΌΡ ΠΈ, ΡΠΎΠΎΡΠ²Π΅ΡΡΡΠ²Π΅Π½Π½ΠΎ, Π²ΠΎΠ·Π½ΠΈΠΊΠ½ΠΎΠ²Π΅Π½ΠΈΡ Π³ΡΠ»Π°. ΠΡΡΠ°Π»ΡΠ½ΡΠ΅ ΠΏΡΠΈΡΠΈΠ½Ρ ΠΏΠΎΠ»Π½ΠΎΡΡΡΡ Π°Π½Π°Π»ΠΎΠ³ΠΈΡΠ½Ρ ΠΏΠ΅ΡΠ΅ΡΠΈΡΠ»Π΅Π½Π½ΡΠΌ Π²ΡΡΠ΅ ΡΠ»ΡΡΠ°ΡΠΌ (ΡΡΡΠΊ Π½Π° Ρ
ΠΎΠ»ΠΎΠ΄Π½ΡΡ, Π³ΠΎΡΡΡΡΡ).
ΠΠ°ΠΊ ΠΈΠ·Π±Π΅ΠΆΠ°ΡΡ ΠΏΠΎΠ»ΠΎΠΌΠΎΠΊ Π³ΠΈΠ΄ΡΠΎΡΡΠΈΠ»ΠΈΡΠ΅Π»Ρ ΡΡΠ»Ρ
ΠΠΈΠ΄ΡΠ°Π²Π»ΠΈΡΠ΅ΡΠΊΠΈΠ΅ ΡΡΠΈΠ»ΠΈΡΠ΅Π»ΠΈ ΡΡΠ»Ρ Π΄ΠΎΡΡΠ°ΡΠΎΡΠ½ΠΎ Π½Π°Π΄Π΅ΠΆΠ½Ρ ΠΈ ΡΠ΅Π΄ΠΊΠΎ Π²ΡΡ ΠΎΠ΄ΡΡ ΠΈΠ· ΡΡΡΠΎΡ ΠΏΡΠΈ ΠΏΡΠ°Π²ΠΈΠ»ΡΠ½ΠΎΠΉ ΡΠΊΡΠΏΠ»ΡΠ°ΡΠ°ΡΠΈΠΈ. ΠΡΠΎΠΈΠ·Π²ΠΎΠ΄ΠΈΡΠ΅Π»ΠΈ ΡΠΈΡΡΠ΅ΠΌ ΡΠ΅ΠΊΠΎΠΌΠ΅Π½Π΄ΡΡΡ ΡΠΎΠ±Π»ΡΠ΄Π°ΡΡ ΡΠ»Π΅Π΄ΡΡΡΠΈΠ΅ ΠΏΡΠ°Π²ΠΈΠ»Π°:
ΠΠ°ΡΠΊΡΡ Π°Π²ΡΠΎΠΌΠΎΠ±ΠΈΠ»Ρ, Π½Π΅ Π·Π°Π±ΡΠ²Π°ΠΉΡΠ΅ Π²ΡΡΠ°Π²Π½ΠΈΠ²Π°ΡΡ ΠΊΠΎΠ»Π΅ΡΠ°. ΠΡΠΎ ΠΏΠΎΠ·Π²ΠΎΠ»ΠΈΡ ΡΠΌΠ΅Π½ΡΡΠΈΡΡ Π½Π°Π³ΡΡΠ·ΠΊΡ Π½Π° Π³ΠΈΠ΄ΡΠΎΡΡΠΈΠ»ΠΈΡΠ΅Π»Ρ ΡΡΠ»Ρ ΠΏΡΠΈ ΡΡΠ°ΡΡΠ΅ Π΄Π²ΠΈΠ³Π°ΡΠ΅Π»Ρ. ΠΡΠΎΠ±Π΅Π½Π½ΠΎ Π²Π°ΠΆΠ½ΠΎ ΠΏΡΠΈΠ΄Π΅ΡΠΆΠΈΠ²Π°ΡΡΡΡ Π΄Π°Π½Π½ΠΎΠ³ΠΎ ΠΏΡΠ°Π²ΠΈΠ»Π° Π·ΠΈΠΌΠΎΠΉ, ΠΏΠΎΡΠΊΠΎΠ»ΡΠΊΡ ΠΆΠΈΠ΄ΠΊΠΎΡΡΡ Π² Π±Π°ΡΠΊΠ΅ Π³ΠΈΠ΄ΡΠΎΡΡΠΈΠ»ΠΈΡΠ΅Π»Ρ Π·Π° Π²ΡΠ΅ΠΌΡ ΡΡΠΎΡΠ½ΠΊΠΈ ΠΌΠΎΠΆΠ΅Ρ Π·Π°Π³ΡΡΡΠ΅ΡΡ, ΠΈ ΡΡΠ°ΡΡ Π΄Π»Ρ ΡΠΈΡΡΠ΅ΠΌΡ Π±ΡΠ΄Π΅Ρ Β«ΡΡΠΆΠ΅Π»ΡΠΌΒ»;
- ΠΠ΅ Π·Π°Π±ΡΠ²Π°ΠΉΡΠ΅ ΡΠ»Π΅Π΄ΠΈΡΡ Π·Π° ΡΡΠΎΠ²Π½Π΅ΠΌ ΠΆΠΈΠ΄ΠΊΠΎΡΡΠΈ Π² Π³ΠΈΠ΄ΡΠΎΡΡΠΈΠ»ΠΈΡΠ΅Π»Π΅ ΡΡΠ»Ρ ΠΈ ΠΌΠ΅Π½ΡΡΡ Π΅Π΅ ΠΏΡΠΈ Π½Π΅ΠΎΠ±Ρ ΠΎΠ΄ΠΈΠΌΠΎΡΡΠΈ;
- ΠΠΈΠ½ΠΈΠΌΠΈΠ·ΠΈΡΡΠΉΡΠ΅ Π²ΡΠ΅ΠΌΡ, Π² ΡΠ΅ΡΠ΅Π½ΠΈΠ΅ ΠΊΠΎΡΠΎΡΠΎΠ³ΠΎ ΡΡΠ»Ρ Π½Π°Ρ ΠΎΠ΄ΠΈΡΡΡ Π² ΠΊΡΠ°ΠΉΠ½Π΅ΠΌ ΠΏΡΠ°Π²ΠΎΠΌ ΠΈ ΠΊΡΠ°ΠΉΠ½Π΅ΠΌ Π»Π΅Π²ΠΎΠΌ ΠΏΠΎΠ»ΠΎΠΆΠ΅Π½ΠΈΠΈ. Π Π΅ΠΊΠΎΠΌΠ΅Π½Π΄ΡΠ΅ΡΡΡ, ΡΡΠΎΠ±Ρ ΡΡΠ»Ρ Π½Π΅ Π·Π°Π΄Π΅ΡΠΆΠΈΠ²Π°Π»ΡΡ Π² ΠΊΡΠ°ΠΉΠ½ΠΈΡ ΠΏΠΎΠ·ΠΈΡΠΈΡΡ Π±ΠΎΠ»Π΅Π΅ ΡΠ΅ΠΌ Π½Π° 10 ΡΠ΅ΠΊΡΠ½Π΄, ΠΈΠ½Π°ΡΠ΅ ΠΏΠΎΠ²ΡΡΠ°Π΅ΡΡΡ ΡΠΈΡΠΊ Π²ΡΡ ΠΎΠ΄Π° ΠΈΠ· ΡΡΡΠΎΡ Π½Π°ΡΠΎΡΠ° Π³ΠΈΠ΄ΡΠΎΡΡΠΈΠ»ΠΈΡΠ΅Π»Ρ;
- ΠΠΎΠ½ΡΡΠΎΠ»ΠΈΡΡΠΉΡΠ΅ ΡΠΎΡΡΠΎΡΠ½ΠΈΠ΅ ΠΏΡΠ»ΡΠ½ΠΈΠΊΠΎΠ², ΡΡΠ»Π΅Π²ΠΎΠΉ ΡΠ΅ΠΉΠΊΠΈ ΠΈ Π½Π°ΠΊΠΎΠ½Π΅ΡΠ½ΠΈΠΊΠΎΠ².
ΠΠΎΠ²ΡΠ΅ΠΌΡ ΡΡΡΡΠ°Π½ΠΈΠ² Π½Π΅ΠΈΡΠΏΡΠ°Π²Π½ΠΎΡΡΠΈ Π΄Π°Π½Π½ΡΡ
ΡΠ»Π΅ΠΌΠ΅Π½ΡΠΎΠ², ΠΌΠΎΠΆΠ½ΠΎ ΠΈΠ·Π±Π΅ΠΆΠ°ΡΡ ΠΏΠΎΠ»ΠΎΠΌΠΊΠΈ ΡΡΠ»Π΅Π²ΠΎΠ³ΠΎ ΠΌΠ΅Ρ
Π°Π½ΠΈΠ·ΠΌΠ° ΠΈ Π³ΠΈΠ΄ΡΠΎΡΡΠΈΠ»ΠΈΡΠ΅Π»Ρ.
ΠΡΠ»ΠΈ Π²Π°ΠΌ ΠΊΠ°ΠΆΠ΅ΡΡΡ, ΡΡΠΎ Π³ΠΈΠ΄ΡΠΎΡΡΠΈΠ»ΠΈΡΠ΅Π»Ρ ΡΡΠ»Ρ ΡΡΠ°Π» ΡΠ°Π±ΠΎΡΠ°ΡΡ Ρ ΡΠΆΠ΅ (ΡΡΠ³ΠΎ ΠΏΠΎΠ²ΠΎΡΠ°ΡΠΈΠ²Π°Π΅ΡΡΡ ΡΡΠ»Ρ ΠΈΠ»ΠΈ ΡΠ»ΡΡΠ΅Π½ Π³ΡΠ» ΠΏΡΠΈ Π΅Π³ΠΎ Π²ΡΠ°ΡΠ΅Π½ΠΈΠΈ), ΡΡΠ°Π·Ρ ΠΎΠ±ΡΠ°ΡΠΈΡΠ΅ΡΡ Π² ΡΠ΅ΡΠ²ΠΈΡΠ½ΡΠΉ ΡΠ΅Π½ΡΡ ΠΈΠ»ΠΈ ΠΏΠΎΠΏΡΠΎΠ±ΡΠΉΡΠ΅ ΡΠ°ΠΌΠΎΡΡΠΎΡΡΠ΅Π»ΡΠ½ΠΎ ΡΡΡΡΠ°Π½ΠΈΡΡ ΠΏΡΠΈΡΠΈΠ½Ρ Π½Π΅ΠΈΡΠΏΡΠ°Π²Π½ΠΎΡΡΠΈ. ΠΡΡΡΠ³ΠΈΠ²Π°Ρ Ρ ΡΠ΅ΠΌΠΎΠ½ΡΠΎΠΌ, Π²Ρ ΡΠΈΡΠΊΡΠ΅ΡΠ΅ ΠΏΠΎΠ²ΡΠ΅Π΄ΠΈΡΡ Π΄ΠΎΡΠΎΠ³ΠΎΡΡΠΎΡΡΠΈΠ΅ ΡΠ»Π΅ΠΌΠ΅Π½ΡΡ ΠΊΠΎΠ½ΡΡΡΡΠΊΡΠΈΠΈ.
ΠΡΠ°Π²ΠΈΠ»Π° ΠΏΡΠ°Π²ΠΈΠ»ΡΠ½ΠΎΠΉ ΡΠΊΡΠΏΠ»ΡΠ°ΡΠ°ΡΠΈΠΈ
ΠΡΠ»ΠΈ Π²Ρ Π½Π΅ Ρ
ΠΎΡΠΈΡΠ΅ ΡΡΠΎΠ»ΠΊΠ½ΡΡΡΡΡ Ρ ΠΏΡΠΎΠ±Π»Π΅ΠΌΠΎΠΉ Π³ΡΠ»Π°, ΡΠΎ ΠΏΠ΅ΡΠ²ΠΎΠ΅, ΡΡΠΎ Π½ΡΠΆΠ½ΠΎ Π΄Π΅Π»Π°ΡΡ, β ΡΡΠΎ ΠΏΡΠ°Π²ΠΈΠ»ΡΠ½ΠΎ ΠΈΡΠΏΠΎΠ»ΡΠ·ΠΎΠ²Π°ΡΡ ΡΠ²ΠΎΠΉ Π°Π²ΡΠΎΠΌΠΎΠ±ΠΈΠ»Ρ. Π ΠΏΠ΅ΡΠ²ΡΡ ΠΎΡΠ΅ΡΠ΅Π΄Ρ ΡΡΡΠΈΡΠ΅, ΡΡΠΎ Π½Π° ΡΡΠ°Π½ΡΠΏΠΎΡΡΠ½ΡΡ
ΡΡΠ΅Π΄ΡΡΠ²Π°Ρ
Ρ Π³ΠΈΠ΄ΡΠΎΡΡΠΈΠ»ΠΈΡΠ΅Π»Π΅ΠΌ ΡΡΠ»Ρ Π½Π΅ ΡΠ»Π΅Π΄ΡΠ΅Ρ ΡΠ»ΠΈΡΠΊΠΎΠΌ Π΄ΠΎΠ»Π³ΠΎ ΡΠ΄Π΅ΡΠΆΠΈΠ²Π°ΡΡ ΡΡΠ»Π΅Π²ΠΎΠ΅ ΠΊΠΎΠ»Π΅ΡΠΎ Π² ΠΎΠ΄Π½ΠΎΠΌ ΠΏΠΎΠ»ΠΎΠΆΠ΅Π½ΠΈΠΈ ΠΏΡΠΈ ΠΏΠΎΠ²ΠΎΡΠΎΡΠ΅ Π»ΠΈΠ±ΠΎ Π²ΡΠΏΠΎΠ»Π½Π΅Π½ΠΈΠΈ ΠΌΠ°Π½Π΅Π²ΡΠ°. ΠΡΠ΅ ΠΏΠΎΡΠΎΠΌΡ, ΡΡΠΎ Π² Ρ
ΠΎΠ΄Π΅ ΡΠΊΡΠΏΠ»ΡΠ°ΡΠ°ΡΠΈΠΈ ΠΌΠ°ΡΠΈΠ½Ρ ΡΡΡΡΠΎΠΉΡΡΠ²ΠΎ ΠΠ£Π Π½Π°ΡΠΈΠ½Π°Π΅Ρ Π½Π°Π³ΡΠ΅Π²Π°ΡΡΡΡ, ΡΠΎ ΠΆΠ΅ ΡΠ°ΠΌΠΎΠ΅ ΠΊΠ°ΡΠ°Π΅ΡΡΡ ΠΈ ΡΠ°Π±ΠΎΡΠ΅ΠΉ ΠΆΠΈΠ΄ΠΊΠΎΡΡΠΈ, Π° Π΅ΡΠ»ΠΈ ΡΠ΄Π΅ΡΠΆΠΈΠ²Π°ΡΡ ΡΠ·Π΅Π» Π² ΠΎΠ΄Π½ΠΎΠΌ ΡΠΎΡΡΠΎΡΠ½ΠΈΠΈ, ΡΠΎ ΠΆΠΈΠ΄ΠΊΠΎΡΡΡ ΠΌΠΎΠΆΠ΅Ρ ΠΈ Π²ΠΎΠ²ΡΠ΅ Π·Π°ΠΊΠΈΠΏΠ΅ΡΡ. Π‘ΠΎΠΎΡΠ²Π΅ΡΡΡΠ²Π΅Π½Π½ΠΎ, ΠΏΡΠΎΠ±Π»Π΅ΠΌΡ Π½Π΅ ΠΏΠΎΠ»ΡΡΠΈΡΡΡ ΡΠ΅ΡΠΈΡΡ ΠΊΡΠΎΠΌΠ΅ ΡΠΎΠ³ΠΎ, ΠΊΠ°ΠΊ ΠΏΡΠΎΠΈΠ·Π²Π΅ΡΡΠΈ Π·Π°ΠΌΠ΅Π½Ρ ΡΠΌΠ°Π·ΠΊΠΈ.
Π’Π°ΠΊΠΆΠ΅ ΡΠΏΠ΅ΡΠΈΠ°Π»ΠΈΡΡΡ Π½Π΅ ΡΠΎΠ²Π΅ΡΡΡΡ ΠΎΡΡΠ°Π²Π»ΡΡΡ ΡΠ²ΠΎΠ΅ ΡΡΠ°Π½ΡΠΏΠΎΡΡΠ½ΠΎΠ΅ ΡΡΠ΅Π΄ΡΡΠ²ΠΎ Ρ ΠΏΠΎΠ²Π΅ΡΠ½ΡΡΡΠΌΠΈ ΠΊΠΎΠ»Π΅ΡΠ°ΠΌΠΈ Π½Π° Π΄ΠΎΠ»Π³ΠΎΠ΅ Π²ΡΠ΅ΠΌΡ Π² ΡΠ°ΡΡΠ½ΠΎΡΡΠΈ, Π² ΠΏΠ΅ΡΠΈΠΎΠ΄ Π·ΠΈΠΌΠ½ΠΈΡ Ρ ΠΎΠ»ΠΎΠ΄ΠΎΠ². ΠΡΠΎ ΡΠ°ΠΊΠΆΠ΅ ΠΌΠΎΠΆΠ΅Ρ ΠΏΡΠΈΠ²Π΅ΡΡΠΈ ΠΊ Π½Π΅ΠΆΠ΅Π»Π°ΡΠ΅Π»ΡΠ½ΡΠΌ ΠΏΠΎΡΠ»Π΅Π΄ΡΡΠ²ΠΈΡΠΌ Π΄Π»Ρ ΡΡΠ»Π΅Π²ΠΎΠΉ ΡΠΈΡΡΠ΅ΠΌΡ. ΠΡΠ»ΠΈ Π²Ρ Π·Π°ΠΌΠ΅ΡΠΈΠ»ΠΈ, ΡΡΠΎ Π½Π°ΡΠ°Π»ΠΈ ΠΏΡΠΎΡΠ²Π»ΡΡΡΡΡ ΠΊΠ°ΠΊΠΈΠ΅-Π»ΠΈΠ±ΠΎ Π½Π΅ΠΈΡΠΏΡΠ°Π²Π½ΠΎΡΡΠΈ, ΡΠΎ ΠΆΠ΅Π»Π°ΡΠ΅Π»ΡΠ½ΠΎ ΠΊΠ°ΠΊ ΠΌΠΎΠΆΠ½ΠΎ Π±ΡΡΡΡΠ΅Π΅ ΠΏΡΠΎΠΈΠ·Π²Π΅ΡΡΠΈ Π΄ΠΈΠ°Π³Π½ΠΎΡΡΠΈΠΊΡ Π°Π²ΡΠΎ ΠΈ ΡΡΡΡΠ°Π½ΠΈΡΡ ΠΏΡΠΎΠ±Π»Π΅ΠΌΡ.
ΠΡΠΈ Π½Π°Π»ΠΈΡΠΈΠΈ ΡΠ΅ΡΡΠ΅Π·Π½ΡΡ Π½Π΅ΠΈΡΠΏΡΠ°Π²Π½ΠΎΡΡΠ΅ΠΉ Π»ΡΡΡΠ΅ Π΄Π°ΠΆΠ΅ Π½Π΅ ΠΏΡΡΠ°ΡΡΡΡ ΡΠ΅ΠΌΠΎΠ½ΡΠΈΡΠΎΠ²Π°ΡΡ ΡΠ·Π΅Π» ΡΠ²ΠΎΠΈΠΌΠΈ ΡΡΠΊΠ°ΠΌΠΈ, ΠΎΡΠΎΠ±Π΅Π½Π½ΠΎ, Π΅ΡΠ»ΠΈ Π²Ρ Π² ΡΠ΅Π±Π΅ Π½Π΅ ΡΠ²Π΅ΡΠ΅Π½Ρ. ΠΠΏΡΠΈΠΌΠ°Π»ΡΠ½ΡΠΌ Π²Π°ΡΠΈΠ°Π½ΡΠΎΠΌ Π±ΡΠ΄Π΅Ρ ΡΠ΅ΠΌΠΎΠ½Ρ Π°Π²ΡΠΎ Π½Π° ΡΡΠ°Π½ΡΠΈΠΈ ΡΠ΅Ρ ΠΎΠ±ΡΠ»ΡΠΆΠΈΠ²Π°Π½ΠΈΡ. Π’ΠΎΠ»ΡΠΊΠΎ Π²ΠΎΠ²ΡΠ΅ΠΌΡ Π²ΡΡΠ²Π»ΡΡ Π½Π΅ΠΈΡΠΏΡΠ°Π²Π½ΠΎΡΡΠΈ Π² ΡΠ°Π±ΠΎΡΠ΅ ΡΠΈΡΡΠ΅ΠΌΡ, Π²Ρ ΡΠΌΠΎΠΆΠ΅ΡΠ΅ ΠΎΠ±Π΅ΡΠΏΠ΅ΡΠΈΡΡ Π΅Π΅ Π΄ΠΎΠ»Π³ΡΡ ΡΠΊΡΠΏΠ»ΡΠ°ΡΠ°ΡΠΈΡ.
ΠΠ°ΠΊ Π²ΡΠ³Π½Π°ΡΡ Π²ΠΎΠ·Π΄ΡΡ ΠΈΠ· Π³ΠΈΠ΄ΡΠΎΡΡΠΈΠ»ΠΈΡΠ΅Π»Ρ
ΠΡΠ»ΠΈ Π²ΡΠ»Π΅Π΄ΡΡΠ²ΠΈΠ΅ ΠΏΠΎΠΏΠ°Π΄Π°Π½ΠΈΡ Π² ΠΌΠ°ΡΠ»ΠΎ Π²ΠΎΠ·Π΄ΡΡ Π° Π³ΡΠ΄ΠΈΡ Π³ΠΈΠ΄ΡΠΎΡΡΠΈΠ»ΠΈΡΠ΅Π»Ρ, ΡΠΎ Π΅ΡΡΡ ΠΎΡΠ΅Π½Ρ ΠΏΡΠΎΡΡΠΎΠΉ ΡΠΏΠΎΡΠΎΠ± ΠΈΠ·Π±Π°Π²ΠΈΡΡΡΡ ΠΎΡ ΠΏΡΠΎΠ±Π»Π΅ΠΌΡ:
- ΠΠ°Π²Π΅Π΄ΠΈΡΠ΅ Π°Π²ΡΠΎ ΠΈ Π΄Π°ΠΉΡΠ΅ ΠΌΠΎΡΠΎΡΡ ΠΏΠΎΡΠ°Π±ΠΎΡΠ°ΡΡ Π½Π° Ρ ΠΎΠ»ΠΎΡΡΡΡ ΠΎΠ±ΠΎΡΠΎΡΠ°Ρ 5 ΠΌΠΈΠ½ΡΡ.
- ΠΠΎ ΡΠΏΠΎΡΠ° ΠΏΠΎΠ²Π΅ΡΠ½ΠΈΡΠ΅ ΡΡΠ»Ρ Π²ΠΏΡΠ°Π²ΠΎ, Π² ΡΠ°ΠΊΠΎΠΌ ΠΏΠΎΠ»ΠΎΠΆΠ΅Π½ΠΈΠΈ ΠΎΡΡΠ°Π²ΡΡΠ΅ Π΅Π³ΠΎ ΡΠ΅ΠΊΡΠ½Π΄ Π½Π° 5-7.

- Π’ΠΎ ΠΆΠ΅ ΠΏΠΎΠ²ΡΠΎΡΠΈΡΠ΅, ΠΏΠΎΠ²Π΅ΡΠ½ΡΠ² ΡΡΠ»Ρ Π΄ΠΎ ΡΠΏΠΎΡΠ° Π²Π»Π΅Π²ΠΎ.
ΠΠΎΡΠ»Π΅ Π½Π΅ΡΠΊΠΎΠ»ΡΠΊΠΈΡ ΠΏΠΎΠ²ΡΠΎΡΠ΅Π½ΠΈΠΉ Π΄Π°Π½Π½ΠΎΠΉ ΠΏΡΠΎΡΠ΅Π΄ΡΡΡ Π²ΠΎΠ·Π΄ΡΡ ΠΈΠ· ΠΊΠΎΠ½ΡΡΡΠ° ΠΠ£Π ΠΎΠ±ΡΡΠ½ΠΎ Π²ΡΡ ΠΎΠ΄ΠΈΡ. ΠΠ΄Π½Π°ΠΊΠΎ ΡΡΠΎΡ ΡΠΏΠΎΡΠΎΠ± ΡΠ°Π±ΠΎΡΠ°Π΅Ρ Π½Π΅ Π²ΡΠ΅Π³Π΄Π°, ΠΏΠΎΡΡΠΎΠΌΡ Π·Π°ΡΠ°ΡΡΡΡ Π³ΠΈΠ΄ΡΠΎΡΡΠΈΠ»ΠΈΡΠ΅Π»Ρ ΠΏΡΠΈΡ ΠΎΠ΄ΠΈΡΡΡ ΡΠ°Π·Π±ΠΈΡΠ°ΡΡ. ΠΠ»Ρ ΡΡΠΎΠ³ΠΎ:
- ΠΡ Π±Π°ΡΠΊΠ° ΠΎΡΡΠΎΠ΅Π΄ΠΈΠ½ΠΈΡΠ΅ Π²ΠΎΠ·Π²ΡΠ°ΡΠ½ΡΠΉ ΡΠ»Π°Π½Π³, ΠΎΡΠ²Π΅ΡΡΡΠΈΠ΅ Π·Π°ΠΊΡΠΏΠΎΡΡΡΠ΅ ΠΏΡΠΎΠ±ΠΊΠΎΠΉ ΠΈΠ· Π²ΠΎΠ΄ΠΎΠ½Π΅ΠΏΡΠΎΠ½ΠΈΡΠ°Π΅ΠΌΠΎΠ³ΠΎ ΠΌΠ°ΡΠ΅ΡΠΈΠ°Π»Π° ΠΈΠ»ΠΈ ΡΠΏΠ΅ΡΠΈΠ°Π»ΡΠ½ΠΎΠΉ Π·Π°Π³Π»ΡΡΠΊΠΎΠΉ.
- Π ΡΠΈΡΡΡΡ Π΅ΠΌΠΊΠΎΡΡΡ ΠΎΠΏΡΡΡΠΈΡΠ΅ ΠΎΡΡΠΎΠ΅Π΄ΠΈΠ½Π΅Π½Π½ΡΠΉ ΠΊΠΎΠ½Π΅Ρ ΡΠ»Π°Π½Π³Π°.
- ΠΠ°ΠΏΡΡΡΠΈΡΠ΅ ΠΌΠΎΡΠΎΡ ΠΈ Π½Π°ΡΠ½ΠΈΡΠ΅ Π²ΡΠ°ΡΠ°ΡΡ ΡΡΠ»Ρ Π΄ΠΎ ΡΠ΅Ρ ΠΏΠΎΡ, ΠΏΠΎΠΊΠ° Π½Π°ΡΠΎΡ Π³ΠΈΠ΄ΡΠΎΡΡΠΈΠ»ΠΈΡΠ΅Π»Ρ ΡΡΠ»Ρ Π½Π΅ Π½Π°ΡΠ½Π΅Ρ Π²ΡΠΊΠ°ΡΠΈΠ²Π°ΡΡ ΠΌΠ°ΡΠ»ΠΎ ΠΠ£Π .
ΠΡΠ° ΠΏΡΠΎΡΠ΅Π΄ΡΡΠ° ΠΏΠΎΠ²ΡΠΎΡΡΠ΅ΡΡΡ Π΄ΠΎ ΡΠ΅Ρ ΠΏΠΎΡ, ΠΏΠΎΠΊΠ° ΠΈΠ· ΡΠΈΡΡΠ΅ΠΌΡ Π½Π΅ ΠΏΠ΅ΡΠ΅ΡΡΠ°Π½Π΅Ρ Π²ΡΡΠ΅ΠΊΠ°ΡΡ Π²ΡΠΏΠ΅Π½Π΅Π½Π½Π°Ρ ΠΆΠΈΠ΄ΠΊΠΎΡΡΡΒ β Π΄ΠΎΠ»ΠΆΠ½ΠΎ ΠΏΠΎΡΠ²ΠΈΡΡΡΡ ΡΠΈΡΡΠΎΠ΅ ΠΌΠ°ΡΠ»ΠΎ.
ΠΠΈΠ΄ΡΠΎΡΡΠΈΠ»ΠΈΡΠ΅Π»Ρ ΡΡΠΌΠΈΡ Π½Π° Π½Π΅ΠΏΡΠΎΠ³ΡΠ΅ΡΠΎΠΌ Π°Π²ΡΠΎΠΌΠΎΠ±ΠΈΠ»Π΅
ΠΠ΅ΡΠ΅Π΄ΠΊΠΎ Π°Π²ΡΠΎΠ²Π»Π°Π΄Π΅Π»ΡΡΡ Π·Π°ΠΌΠ΅ΡΠ°ΡΡ ΡΠ°ΠΊΠΎΠ΅ ΡΠ²Π»Π΅Π½ΠΈΠ΅ β ΠΠ£Π ΡΡΠΌΠΈΡ Π½Π° Ρ
ΠΎΠ»ΠΎΠ΄Π½ΡΡ ΠΏΡΠΈ Π·Π°ΠΏΡΡΠΊΠ΅ Π΄Π²ΠΈΠ³Π°ΡΠ΅Π»Ρ, ΠΈ ΡΠ΅ΠΌ Π½ΠΈΠΆΠ΅ ΡΠ΅ΠΌΠΏΠ΅ΡΠ°ΡΡΡΠ°, ΡΠ΅ΠΌ ΡΠΈΠ»ΡΠ½Π΅Π΅ Π·Π°ΠΌΠ΅ΡΠ΅Π½ Π²ΠΎΠΉ. ΠΡΠ΄Π΅Π½ΠΈΠ΅ ΠΌΠΎΠΆΠ΅Ρ ΠΏΡΠΎΠ΄ΠΎΠ»ΠΆΠ°ΡΡΡΡ ΠΎΡ 20-30 ΡΠ΅ΠΊΡΠ½Π΄ Π΄ΠΎ 5 ΠΌΠΈΠ½ΡΡ, Π·Π°ΡΠ΅ΠΌ ΠΏΠΎΡΡΠΎΡΠΎΠ½Π½ΠΈΠ΅ Π·Π²ΡΠΊΠΈ ΠΈΡΡΠ΅Π·Π°ΡΡ.
ΠΠΎΡΠ΅ΠΌΡ ΠΏΠΎΠ΄ΠΎΠ±Π½ΠΎΠ΅ ΠΏΡΠΎΠΈΡΡ
ΠΎΠ΄ΠΈΡ, ΠΎΠ΄Π½ΠΎΠ·Π½Π°ΡΠ½ΠΎ ΠΎΡΠ²Π΅ΡΠΈΡΡ Π½Π΅Π»ΡΠ·Ρ, ΠΊΠ°ΠΆΠ΄ΡΠΉ ΠΊΠΎΠ½ΠΊΡΠ΅ΡΠ½ΡΠΉ ΡΠ»ΡΡΠ°ΠΉ Π½ΡΠΆΠ½ΠΎ ΡΠ°ΡΡΠΌΠ°ΡΡΠΈΠ²Π°ΡΡ ΠΈΠ½Π΄ΠΈΠ²ΠΈΠ΄ΡΠ°Π»ΡΠ½ΠΎ. ΠΠ°ΠΈΠ±ΠΎΠ»Π΅Π΅ Π²Π΅ΡΠΎΡΡΠ½ΡΠ΅ ΠΏΡΠΈΡΠΈΠ½Ρ ΡΠ°ΠΊΠΎΠ³ΠΎ ΡΠ²Π»Π΅Π½ΠΈΡ:
- Π·Π°Π»ΠΈΡΠ° Π½Π΅ ΡΠ»ΠΈΡΠΊΠΎΠΌ ΠΊΠ°ΡΠ΅ΡΡΠ²Π΅Π½Π½Π°Ρ ΠΆΠΈΠ΄ΠΊΠΎΡΡΡ, Π³ΡΡΡΠ΅ΡΡΠ°Ρ Π½Π° ΠΌΠΎΡΠΎΠ·Π΅;
- Π²ΠΎΠ·ΠΌΠΎΠΆΠ½ΠΎ, ΠΆΠΈΠ΄ΠΊΠΎΡΡΠΈ Π² ΡΠΈΡΡΠ΅ΠΌΠ΅ ΠΌΠ°Π»ΠΎ, Π½ΡΠΆΠ½ΠΎ ΠΏΡΠΎΠ²Π΅ΡΠΈΡΡ Π΅Π΅ ΡΡΠΎΠ²Π΅Π½Ρ;
- Π³ΡΠ΄ΠΈΡ Π½Π΅ Π½Π°ΡΠΎΡ Π³ΠΈΠ΄ΡΠΎΡΡΠΈΠ»ΠΈΡΠ΅Π»Ρ, Π° Π½Π°ΠΏΡΠΈΠΌΠ΅Ρ, ΠΏΠΎΠ΄ΡΠΈΠΏΠ½ΠΈΠΊ Π²ΠΎΠ΄ΡΠ½ΠΎΠ³ΠΎ Π½Π°ΡΠΎΡΠ°.
Π Π³ΠΈΠ΄ΡΠΎΡΡΠΈΠ»ΠΈΡΠ΅Π»ΡΡ ΠΈΡΠΏΠΎΠ»ΡΠ·ΡΡΡΡΡ ΡΠ°Π·Π½ΡΠ΅ ΡΠΈΠΏΡ ΠΆΠΈΠ΄ΠΊΠΎΡΡΠ΅ΠΉ, ΠΎΡΠ»ΠΈΡΠ°ΡΡΠΈΠ΅ΡΡ Π²ΡΠ·ΠΊΠΎΡΡΡΡ, ΠΏΠΎΡΡΠΎΠΌΡ Π·Π°Π»ΠΈΠ²Π°ΡΡ Π½Π΅ΠΎΠ±Ρ ΠΎΠ΄ΠΈΠΌΠΎ ΡΠΎ, ΡΡΠΎ ΡΠ΅ΠΊΠΎΠΌΠ΅Π½Π΄ΠΎΠ²Π°Π½ΠΎ Π·Π°Π²ΠΎΠ΄ΠΎΠΌ-ΠΈΠ·Π³ΠΎΡΠΎΠ²ΠΈΡΠ΅Π»Π΅ΠΌ. ΠΠ°ΠΏΡΠΈΠΌΠ΅Ρ, Π΄Π»Ρ Π·Π°ΠΏΡΠ°Π²ΠΊΠΈ ΠΈ Π΄ΠΎΠ»ΠΈΠ²ΠΊΠΈ ΠΠ£Π Π¨Π΅Π²ΡΠΎΠ»Π΅ ΠΡΡΠ· ΡΠ΅ΠΊΠΎΠΌΠ΅Π½Π΄ΠΎΠ²Π°Π½ Dexron VI, Π΅ΡΠ΅ Π΄ΠΎΠΏΡΡΡΠΈΠΌΠΎ ΠΏΡΠΈΠΌΠ΅Π½ΡΡΡ ΠΌΠ°ΡΠ»ΠΎ Π΄Π»Ρ Π°Π²ΡΠΎΠΌΠ°ΡΠΈΡΠ΅ΡΠΊΠΈΡ ΠΠΠ ΡΠΈΠΏΠ° ATF.
Π‘ΡΡΠΊ (ΡΡΠ»Ρ ΠΊΡΡΡΠΈΡΡΡ, ΠΌΠ°ΡΠΈΠ½Π° ΠΏΠΎΠ²ΠΎΡΠ°ΡΠΈΠ²Π°Π΅Ρ)
ΠΠ²ΡΠΊ ΡΠ°ΠΊΠΎΠ³ΠΎ ΡΠΎΠ΄Π° ΡΠΎΠΏΡΠΎΠ²ΠΎΠΆΠ΄Π°Π΅Ρ Π°Π²ΡΠΎΠΌΠΎΠ±ΠΈΠ»Ρ ΠΏΡΠΈ ΠΏΠΎΠ²ΠΎΡΠΎΡΠ΅. ΠΡΠΈΠΌΠ΅ΡΠ°ΡΠ΅Π»ΡΠ½ΠΎ, ΡΡΠΎ Π·Π°ΡΠ°ΡΡΡΡ ΠΌΠ°Π»ΡΠΉ ΡΠ³ΠΎΠ» ΠΏΠΎΠ²ΠΎΡΠΎΡΠ° ΠΈ ΠΏΠ»ΠΎΡ
Π°Ρ Π΄ΠΎΡΠΎΠ³Π° Π·Π°ΡΡΠ°Π²Π»ΡΡΡ ΠΌΠ°ΡΠΈΠ½Ρ ΠΈΠ·Π΄Π°Π²Π°ΡΡ ΠΏΠΎΠ΄ΠΎΠ±Π½ΡΠΉ ΡΡΡΠΊ ΡΠΈΠ»ΡΠ½Π΅Π΅. ΠΡΠΈΡΠΈΠ½ΠΎΠΉ ΡΠ°ΠΊΠΎΠ³ΠΎ ΠΏΠΎΠ²Π΅Π΄Π΅Π½ΠΈΡ ΠΌΠ°ΡΠΈΠ½Ρ ΡΠ²Π»ΡΠ΅ΡΡΡ ΠΈΠ·Π½ΠΎΡ Π°ΠΌΠΎΡΡΠΈΠ·Π°ΡΠΎΡΠΎΠ², ΠΊΠΎΡΠΎΡΡΠ΅ ΠΏΠ΅ΡΠ΅ΡΡΠ°ΡΡ Π΄Π΅ΠΌΠΏΡΠΈΡΠΎΠ²Π°ΡΡ Π΄ΠΎΡΠΎΠΆΠ½ΡΠ΅ Π½Π΅ΡΠΎΠ²Π½ΠΎΡΡΠΈ.
Π ΡΡΠΎΠΌ ΡΠ»ΡΡΠ°Π΅ ΠΏΠΎΠΌΠΎΠΆΠ΅Ρ ΡΠΎΠ»ΡΠΊΠΎ Π·Π°ΠΌΠ΅Π½Π° Π½Π° Π½ΠΎΠ²ΡΠ΅ ΡΡΠΎΠΉΠΊΠΈ. ΠΠ°ΠΊ ΠΏΡΠ°Π²ΠΈΠ»ΠΎ, ΡΡΠΎΠΉΠΊΠΈ ΠΎΡΠΈ ΠΈΠΌΠ΅ΡΡ ΡΠ°Π·Π½ΡΡ ΡΡΠ΅ΠΏΠ΅Π½Ρ ΠΈΠ·Π½ΠΎΡΠ°, ΡΠ°ΠΊ ΡΡΠΎ Π²Π΅ΡΠΎΡΡΠ½Π° ΠΊΠ°ΡΡΠΈΠ½Π°, ΠΏΡΠΈ ΠΊΠΎΡΠΎΡΠΎΠΉ ΡΡΡΠΊ ΡΠ»ΡΡΠ΅Π½ Π»ΠΈΡΡ ΠΏΡΠΈ Π²ΡΠ°ΡΠ΅Π½ΠΈΠΈ ΡΡΠ»Ρ Π»ΠΈΡΡ Π² ΠΎΠ΄Π½Ρ ΠΈΠ· ΡΡΠΎΡΠΎΠ½.
Π‘ΡΡΠΊ ΡΠΏΠΎΡΠΎΠ±Π΅Π½ ΠΏΡΠΎΡΠ²Π»ΡΡΡΡΡ Π½Π΅ ΡΠΎΠ»ΡΠΊΠΎ ΠΏΡΠΈ ΠΎΡΡΡΠ΅ΡΡΠ²Π»Π΅Π½ΠΈΠΈ ΠΏΠΎΠ²ΠΎΡΠΎΡΠ°, Π½ΠΎ ΡΠ°ΠΊΠΆΠ΅ ΠΏΡΠΈ ΠΏΡΡΠΌΠΎΠ»ΠΈΠ½Π΅ΠΉΠ½ΠΎΠΌ ΠΏΠ΅ΡΠ΅ΠΌΠ΅ΡΠ΅Π½ΠΈΠΈ ΠΏΠΎ Π΄ΠΎΡΠΎΠ³Π΅ ΠΏΠ»ΠΎΡ ΠΎΠ³ΠΎ ΠΊΠ°ΡΠ΅ΡΡΠ²Π΅. ΠΠ°ΠΊΡΠΈΠΌΠ°Π»ΡΠ½Π°Ρ Π½Π°Π³ΡΡΠ·ΠΊΠ° Π½Π° ΡΡΠΎΠΉΠΊΠΈ ΠΎΡΡΡΠ΅ΡΡΠ²Π»ΡΠ΅ΡΡΡ Π² ΠΌΠΎΠΌΠ΅Π½ΡΡ ΠΏΠΎΠ²ΠΎΡΠΎΡΠ° ΡΡΠ»Ρ, ΠΏΠΎΡΡΠΎΠΌΡ ΠΈ ΡΡΡΠΊ ΠΈΠ·Π΄Π°Π΅ΡΡΡ ΡΠ°ΡΠ΅. ΠΡΠΎΠ²Π΅ΡΡΡΠ΅ Π½Π° Π²ΡΡΠΊΠΈΠΉ ΡΠ»ΡΡΠ°ΠΉ ΠΊΠΎΡΠΏΡΡΡ ΡΡΠΎΠ΅ΠΊ β Π²ΠΎΠ·ΠΌΠΎΠΆΠ½ΠΎ, ΠΎΠ½ΠΈ ΡΠΎΠ΄Π΅ΡΠΆΠ°Ρ ΠΌΠ°ΡΠ»ΡΠ½ΡΠ΅ ΠΏΠΎΠ΄ΡΠ΅ΠΊΠΈ, ΡΡΠΎ ΡΠ²ΠΈΠ΄Π΅ΡΠ΅Π»ΡΡΡΠ²ΡΠ΅Ρ ΠΎ ΡΠ΅ΡΠΈ ΠΌΠ°ΡΠ»Π° Π² ΡΡΠΎΠΉΠΊΠ°Ρ .
ΠΠ²ΡΠΎΠΌΠΎΠ±ΠΈΠ»Ρ Ρ ΠΏΡΠΈΠ»ΠΈΡΠ½ΡΠΌ ΠΏΡΠΎΠ±Π΅Π³ΠΎΠΌ (ΠΏΡΠΈ ΡΡΠΎΠΌ ΠΏΠΎΠ΄ ΡΠ»ΠΎΠ²ΠΎΠΌ Β«ΠΏΡΠΈΠ»ΠΈΡΠ½ΡΠΉΒ» ΠΏΠΎΠ½ΠΈΠΌΠ°ΡΡΡΡ ΡΠ°Π·Π½ΡΠ΅ ΡΠΈΡΡΡ Π² Π·Π°Π²ΠΈΡΠΈΠΌΠΎΡΡΠΈ ΠΎΡ ΠΌΠΎΠ΄Π΅Π»Π΅ΠΉ) Π°ΠΌΠΎΡΡΠΈΠ·Π°ΡΠΎΡΡ ΡΠΏΠΎΡΠΎΠ±Π½Ρ Π²ΡΠΉΡΠΈ ΠΈΠ· ΡΡΡΠΎΡ (Π² ΡΠΈΠ»Ρ ΡΠ°Π·Π½ΡΡ
ΡΠ°ΠΊΡΠΎΡΠΎΠ²). Π ΡΠΎΠΌ, Π½Π°ΡΠΊΠΎΠ»ΡΠΊΠΎ Π²Π°Ρ Π°Π²ΡΠΎΠΌΠΎΠ±ΠΈΠ»Ρ ΠΏΠΎΠ΄Π²Π΅ΡΠΆΠ΅Π½ ΡΠ°ΠΊΠΎΠΉ Π±ΠΎΠ»Π΅Π·Π½ΠΈ, ΠΏΠΎΠ»Π΅Π·Π½ΠΎ Π±ΡΠ΄Π΅Ρ ΠΎΡΠ²Π΅Π΄ΠΎΠΌΠΈΡΡΡΡ Π»ΠΈΠ±ΠΎ Π² ΠΎΡΠΈΡΠΈΠ°Π»ΡΠ½ΠΎΠΌ ΡΠ΅ΡΠ²ΠΈΡΠ΅, Π»ΠΈΠ±ΠΎ Π½Π° ΡΠΎΠΎΡΠ²Π΅ΡΡΡΠ²ΡΡΡΠ΅ΠΌ ΡΠΎΡΡΠΌΠ΅, ΠΏΠΎΡΠ²ΡΡΠ΅Π½Π½ΠΎΠΌ Π²Π°ΡΠ΅ΠΉ ΠΌΠ°ΡΠΊΠ΅ ΠΌΠ°ΡΠΈΠ½Ρ. Π’Π°ΠΊΠΆΠ΅ ΠΌΠΎΠΆΠ½ΠΎ ΡΡΠ°Π·Ρ Π½Π°ΠΏΡΠ°Π²ΠΈΡΡΡΡ ΠΊ ΡΠΏΠ΅ΡΠΈΠ°Π»ΠΈΡΡΡ Ρ ΡΠ΅Π»ΡΡ Π΄ΠΈΠ°Π³Π½ΠΎΡΡΠΈΠΊΠΈ ΡΡΠΎΠ΅ΠΊ.
ΠΠΈΠ΄ΡΠΎΡΡΠΈΠ»ΠΈΡΠ΅Π»Ρ Π³ΡΠ΄ΠΈΡ Π² Π»Π΅Π²ΠΎΠΌ ΠΈ ΠΏΡΠ°Π²ΠΎΠΌ ΠΏΠΎΠ»ΠΎΠΆΠ΅Π½ΠΈΠΈ
ΠΠ΅ΠΎΠ±Ρ ΠΎΠ΄ΠΈΠΌΠΎ Π·Π½Π°ΡΡ, ΡΡΠΎ ΠΏΡΠΈ ΠΏΠΎΠ²Π΅ΡΠ½ΡΡΡΡ Π΄ΠΎ ΡΠΏΠΎΡΠ° ΠΊΠΎΠ»Π΅ΡΠ°Ρ , Π½Π°ΡΠΎΡ Π³ΠΈΠ΄ΡΠΎΡΡΠΈΠ»ΠΈΡΠ΅Π»Ρ ΡΡΠ½ΠΊΡΠΈΠΎΠ½ΠΈΡΡΠ΅Ρ Ρ Π½Π°ΠΈΠ±ΠΎΠ»ΡΡΠ΅ΠΉ Π½Π°Π³ΡΡΠ·ΠΊΠΎΠΉ. ΠΠΎΡΡΠΎΠΌΡ ΡΠΎΠ·Π΄Π°ΡΡΡΡ ΠΏΠΎΡΡΠΎΡΠΎΠ½Π½ΠΈΠ΅ Π·Π²ΡΠΊΠΈ, ΠΊΠΎΡΠΎΡΡΠ΅ Π½Π΅ Π³ΠΎΠ²ΠΎΡΡΡ ΠΎ ΠΏΡΠΈΠ·Π½Π°ΠΊΠ°Ρ ΠΊΠ°ΠΊΠΈΡ -Π»ΠΈΠ±ΠΎ ΠΏΡΠΎΠ±Π»Π΅ΠΌ. ΠΠ½ΠΎΠ³ΠΈΠ΅ ΠΏΡΠΎΠΈΠ·Π²ΠΎΠ΄ΠΈΡΠ΅Π»ΠΈ Π°Π²ΡΠΎΠΌΠΎΠ±ΠΈΠ»Π΅ΠΉ ΠΈΠ½ΡΠΎΡΠΌΠΈΡΡΡΡ ΠΎΠ± ΡΡΠΎΠΌ Π² ΡΡΠΊΠΎΠ²ΠΎΠ΄ΡΡΠ²Π°Ρ . Π ΡΡΠΎΠΌ ΡΠ»ΡΡΠ°Π΅ Π²Π°ΠΆΠ½ΠΎ ΠΎΡΠ»ΠΈΡΠ°ΡΡ Π·Π²ΡΠΊΠΈ, ΡΠ²ΡΠ·Π°Π½Π½ΡΠ΅ Ρ ΠΏΠΎΠ»ΠΎΠΌΠΊΠ°ΠΌΠΈ Π² ΡΠΈΡΡΠ΅ΠΌΠ΅ ΠΎΡ Π΄ΡΡΠ³ΠΈΡ Π·Π²ΡΠΊΠΎΠ².
ΠΡΠ»ΠΈ Π΅ΡΡΡ ΡΠ²Π΅ΡΠ΅Π½Π½ΠΎΡΡΡ, ΡΡΠΎ Π²ΠΎΠ·Π½ΠΈΠΊΡΠΈΠ΅ ΡΡΠΌΡ ΡΡΠ°Π»ΠΈ ΠΏΡΠΈΡΠΈΠ½ΠΎΠΉ Π½Π΅ΠΈΡΠΏΡΠ°Π²Π½ΠΎΡΡΠΈ, ΡΠΎ Π½ΡΠΆΠ½ΠΎ Π²ΡΠΏΠΎΠ»Π½ΠΈΡΡ Π΄ΠΈΠ°Π³Π½ΠΎΡΡΠΈΠΊΡ. ΠΠ»Π°Π²Π½ΡΠ΅ ΠΏΡΠΈΡΠΈΠ½Ρ ΡΠΎΠ³ΠΎ, ΡΡΠΎ Π³ΠΈΠ΄ΡΠΎΡΡΠΈΠ»ΠΈΡΠ΅Π»Ρ ΡΡΠ°Π» Π³ΡΠ΄Π΅ΡΡ Π² ΠΊΠΎΠ½Π΅ΡΠ½ΡΡ ΠΏΠΎΠ»ΠΎΠΆΠ΅Π½ΠΈΡΡ ΡΠ΅, ΠΊΠΎΡΠΎΡΡΠ΅ Π±ΡΠ»ΠΈ ΡΠ°ΡΡΠΌΠΎΡΡΠ΅Π½Ρ Π½Π°ΠΌΠΈ ΡΠ°Π½Π΅Π΅. ΠΡΠΎ Π·Π½Π°ΡΠΈΡ, ΡΡΠΎ Π½ΡΠΆΠ½ΠΎ ΠΏΡΠΎΠ²Π΅ΡΠΈΡΡ Π΄Π΅ΠΉΡΡΠ²ΠΈΠ΅ Π½Π°ΡΠΎΡΠ°, ΠΊΠΎΠ»ΠΈΡΠ΅ΡΡΠ²ΠΎ ΠΆΠΈΠ΄ΠΊΠΎΡΡΠΈ Π² Π±Π°ΡΠΊΠ΅, Π²Π΅Π»ΠΈΡΠΈΠ½Ρ Π½Π°ΡΡΠΆΠ΅Π½ΠΈΡ ΡΠ΅ΠΌΠ½Ρ Π³ΠΈΠ΄ΡΠΎΡΡΠΈΠ»ΠΈΡΠ΅Π»Ρ, ΠΏΡΠΎΠ·ΡΠ°ΡΠ½ΠΎΡΡΡ ΠΆΠΈΠ΄ΠΊΠΎΡΡΠΈ ΠΈ Π½Π°Π»ΠΈΡΠΈΠ΅ Π² Π½Π΅ΠΉ Π·Π°Π³ΡΡΠ·Π½Π΅Π½ΠΈΠΉ. Π’Π°ΠΊΠΆΠ΅ Π²ΠΎΠ·ΠΌΠΎΠΆΠ½Ρ ΠΈ Π΄ΡΡΠ³ΠΈΠ΅ ΡΠΈΡΡΠ°ΡΠΈΠΈ.
Π§Π°ΡΡΠΎ Π±ΡΠ²Π°Π΅Ρ, ΡΡΠΎ Β Π²Π²Π΅ΡΡ
Ρ ΡΠ΅Π΄ΡΠΊΡΠΎΡΠ° ΡΠ°ΡΠΏΠΎΠ»ΠΎΠΆΠ΅Π½Π° ΠΊΠΎΡΠΎΠ±ΠΊΠ° ΠΊΠ»Π°ΠΏΠ°Π½ΠΎΠ², ΡΠ»ΡΠΆΠ°ΡΠ°Ρ Π΄Π»Ρ ΡΠΏΡΠ°Π²Π»Π΅Π½ΠΈΡ Π³ΠΈΠ΄ΡΠ°Π²Π»ΠΈΡΠ΅ΡΠΊΠΈΠΌΠΈ ΠΏΠΎΡΠΎΠΊΠ°ΠΌΠΈ. ΠΠΎ Π²ΡΠ΅ΠΌΡ ΠΏΠΎΠ²ΠΎΡΠΎΡΠ° ΡΡΠ»Π΅Π²ΠΎΠ³ΠΎ ΠΊΠΎΠ»Π΅ΡΠ° Π² ΠΊΠΎΠ½Π΅ΡΠ½ΠΎΠ΅ ΠΏΠΎΠ»ΠΎΠΆΠ΅Π½ΠΈΠ΅ Π³ΠΈΠ΄ΡΠ°Π²Π»ΠΈΡΠ΅ΡΠΊΠΈΠΉ ΠΏΠΎΡΠΎΠΊ Π·Π°ΠΊΡΡΠ²Π°Π΅ΡΡΡ ΠΏΠ΅ΡΠ΅ΠΏΡΡΠΊΠ½ΡΠΌ ΠΊΠ»Π°ΠΏΠ°Π½ΠΎΠΌ, Π² ΡΠ΅Π·ΡΠ»ΡΡΠ°ΡΠ΅ ΠΆΠΈΠ΄ΠΊΠΎΡΡΡ ΠΈΠ΄Π΅Ρ ΡΠΆΠ΅ ΠΏΠΎ ΠΌΠ°Π»ΠΎΠΌΡ ΠΊΡΡΠ³Ρ.
ΠΡΠΈ ΡΡΠΎΠΌ Π½Π°ΡΠΎΡ ΡΡΠ½ΠΊΡΠΈΠΎΠ½ΠΈΡΡΠ΅Ρ ΡΠ°ΠΌ Π½Π° ΡΠ΅Π±Ρ, Π±Π΅Π· ΠΎΡ
Π»Π°ΠΆΠ΄Π΅Π½ΠΈΡ. Π’Π°ΠΊΠ°Ρ ΡΠΈΡΡΠ°ΡΠΈΡ Π½Π΅Π³Π°ΡΠΈΠ²Π½ΠΎ Π²Π»ΠΈΡΠ΅Ρ Π½Π° Π½Π΅Π³ΠΎ ΠΈ ΠΏΡΠΈΠ²ΠΎΠ΄ΠΈΡ ΠΊ ΡΠ΅ΡΡΠ΅Π·Π½ΠΎΠΉ ΠΏΡΠΎΠ±Π»Π΅ΠΌΠ΅. ΠΠ°ΠΏΡΠΈΠΌΠ΅Ρ, ΠΌΠΎΠ³ΡΡ Π²ΠΎΠ·Π½ΠΈΠΊΠ½ΡΡΡ Π·Π°Π΄ΠΈΡΡ Π½Π° ΡΠΈΠ±Π΅ΡΠ°Ρ
Π½Π°ΡΠΎΡΠ° ΠΈΠ»ΠΈ Π½Π° ΡΠΈΠ»ΠΈΠ½Π΄ΡΠ΅. Π Π·ΠΈΠΌΠ½Π΅Π΅ Π²ΡΠ΅ΠΌΡ, ΠΊΠΎΠ³Π΄Π° ΠΆΠΈΠ΄ΠΊΠΎΡΡΡ Π±ΠΎΠ»Π΅Π΅ Π³ΡΡΡΠ°Ρ, ΡΡΠΎ Π±ΠΎΠ»Π΅Π΅ Π°ΠΊΡΡΠ°Π»ΡΠ½ΠΎ. ΠΠΎΡΡΠΎΠΌΡ Π½Π΅ ΡΠ»Π΅Π΄ΡΠ΅Ρ ΠΊΠΎΠ»Π΅ΡΠ° Π΄Π΅ΡΠΆΠ°ΡΡ Π΄ΠΎΠ»Π³ΠΎ Π² ΠΏΠΎΠ²Π΅ΡΠ½ΡΡΠΎΠΌ Π΄ΠΎ ΠΊΠΎΠ½ΡΠ° ΠΏΠΎΠ»ΠΎΠΆΠ΅Π½ΠΈΠΈ.
Π‘ΠΎΠ²Π΅ΡΡ ΠΏΠΎ ΡΠΊΡΠΏΠ»ΡΠ°ΡΠ°ΡΠΈΠΈ Π³ΠΈΠ΄ΡΠΎΡΡΠΈΠ»ΠΈΡΠ΅Π»Ρ ΡΡΠ»Ρ
Π§ΡΠΎΠ±Ρ Π³ΠΈΠ΄ΡΠΎΡΡΠΈΠ»ΠΈΡΠ΅Π»Ρ ΡΠ°Π±ΠΎΡΠ°Π» Π½ΠΎΡΠΌΠ°Π»ΡΠ½ΠΎ ΠΈ Π½Π΅ ΡΡΡΡΠ°Π», Π½Π΅ΠΎΠ±Ρ ΠΎΠ΄ΠΈΠΌΠΎ ΠΏΡΠΈΠ΄Π΅ΡΠΆΠΈΠ²Π°ΡΡΡΡ Π½Π΅ΡΠΊΠΎΠ»ΡΠΊΠΈΡ ΠΏΡΠΎΡΡΡΡ ΠΏΡΠ°Π²ΠΈΠ»:
- Π‘Π»Π΅Π΄ΠΈΡΡ Π·Π° ΡΡΠΎΠ²Π½Π΅ΠΌ ΠΌΠ°ΡΠ»Π° Π² ΡΠΈΡΡΠ΅ΠΌΠ΅ ΠΠ£Π , Π²ΠΎΠ²ΡΠ΅ΠΌΡ Π΄ΠΎΠ»ΠΈΠ²Π°ΡΡ ΠΈ ΠΌΠ΅Π½ΡΡΡ Π΅Π³ΠΎ. ΠΡΠΎΠΌΠ΅ ΡΡΠΎΠ³ΠΎ, ΠΏΡΠΎΠ²Π΅ΡΡΠΉΡΠ΅ Π΅Π³ΠΎ ΡΠΎΡΡΠΎΡΠ½ΠΈΠ΅. ΠΡΠ΅Π³Π΄Π° ΡΡΡΠ΅ΡΡΠ²ΡΠ΅Ρ ΡΠΈΡΠΊ ΠΏΠΎΠΊΡΠΏΠΊΠΈ Π½Π΅ΠΊΠ°ΡΠ΅ΡΡΠ²Π΅Π½Π½ΠΎΠΉ ΠΆΠΈΠ΄ΠΊΠΎΡΡΠΈ, ΠΊΠΎΡΠΎΡΠ°Ρ ΡΠ΅ΡΠ΅Π· ΠΊΠΎΡΠΎΡΠΊΠΎΠ΅ Π²ΡΠ΅ΠΌΡ ΡΠΊΡΠΏΠ»ΡΠ°ΡΠ°ΡΠΈΠΈ ΠΏΡΠΈΡ ΠΎΠ΄ΠΈΡ Π² Π½Π΅Π³ΠΎΠ΄Π½ΠΎΡΡΡ (ΠΏΡΠΎΠ²Π΅ΡΡΠΉΡΠ΅ Π΅Π΅ ΡΠ²Π΅Ρ ΠΈ Π·Π°ΠΏΠ°Ρ ).
- ΠΠ΅ Π·Π°Π΄Π΅ΡΠΆΠΈΠ²Π°ΠΉΡΠ΅ Π½Π°Π΄ΠΎΠ»Π³ΠΎ (Π±ΠΎΠ»Π΅Π΅ 5 ΡΠ΅ΠΊΡΠ½Π΄) ΠΊΠΎΠ»Π΅ΡΠ° Π² ΠΊΡΠ°ΠΉΠ½Π΅ΠΌ ΠΏΠΎΠ»ΠΎΠΆΠ΅Π½ΠΈΠΈ (ΠΈ Π»Π΅Π²ΠΎΠΌ ΠΈ ΠΏΡΠ°Π²ΠΎΠΌ). ΠΡΠΎ Π²ΡΠ΅Π΄Π½ΠΎ Π΄Π»Ρ Π½Π°ΡΠΎΡΠ° ΠΠ£Π , ΠΊΠΎΡΠΎΡΡΠΉ ΡΠ°Π±ΠΎΡΠ°Π΅Ρ Π±Π΅Π· ΠΎΡ Π»Π°ΠΆΠ΄Π΅Π½ΠΈΡ.
- ΠΡΠΈ ΠΏΠΎΡΡΠ°Π½ΠΎΠ²ΠΊΠ΅ ΠΌΠ°ΡΠΈΠ½Ρ Π½Π° ΡΡΠΎΡΠ½ΠΊΡ Π²ΡΠ΅Π³Π΄Π° ΠΎΡΡΠ°Π²Π»ΡΠΉΡΠ΅ ΠΏΠ΅ΡΠ΅Π΄Π½ΠΈΠ΅ ΠΊΠΎΠ»Π΅ΡΠ° Π² ΡΠΎΠ²Π½ΠΎΠΌ ΠΏΠΎΠ»ΠΎΠΆΠ΅Π½ΠΈΠΈ (ΠΏΡΡΠΌΠΎ).
ΠΡΠΎ ΡΠ½ΠΈΠΌΠ΅Ρ Π½Π°Π³ΡΡΠ·ΠΊΡ Ρ ΡΠΈΡΡΠ΅ΠΌΡ Π³ΠΈΠ΄ΡΠΎΡΡΠΈΠ»ΠΈΡΠ΅Π»Ρ ΠΏΡΠΈ ΠΏΠΎΡΠ»Π΅Π΄ΡΡΡΠ΅ΠΌ Π·Π°ΠΏΡΡΠΊΠ΅ Π΄Π²ΠΈΠ³Π°ΡΠ΅Π»Ρ. ΠΡΠΎΠ±Π΅Π½Π½ΠΎ ΡΡΠΎΡ ΡΠΎΠ²Π΅Ρ Π°ΠΊΡΡΠ°Π»Π΅Π½ Π² Ρ
ΠΎΠ»ΠΎΠ΄Π½ΠΎΠ΅ Π²ΡΠ΅ΠΌΡ, ΠΊΠΎΠ³Π΄Π° ΠΌΠ°ΡΠ»ΠΎ Π³ΡΡΡΠ΅Π΅Ρ. - Π ΡΠ»ΡΡΠ°Π΅ Π²ΠΎΠ·Π½ΠΈΠΊΠ½ΠΎΠ²Π΅Π½ΠΈΡ Π½Π΅ΠΈΡΠΏΡΠ°Π²Π½ΠΎΡΡΠ΅ΠΉ Ρ ΠΠ£Π (Π³ΡΠ», ΡΡΡΠΊ, Π²ΠΎΠ·ΡΠΎΡΡΠΈΠ΅ ΡΡΠΈΠ»ΠΈΡ ΠΏΡΠΈ ΠΏΠΎΠ²ΠΎΡΠΎΡΠ΅ ΡΡΠ»Π΅Π²ΠΎΠ³ΠΎ ΠΊΠΎΠ»Π΅ΡΠ°) Π½Π΅ ΡΡΠ½ΠΈΡΠ΅ Ρ ΡΠ΅ΠΌΠΎΠ½ΡΠΎΠΌ. ΠΡ Π½Π΅ ΡΠΎΠ»ΡΠΊΠΎ ΡΡΡΡΠ°Π½ΠΈΡΠ΅ ΠΏΠΎΠ»ΠΎΠΌΠΊΡ Ρ ΠΌΠ΅Π½ΡΡΠΈΠΌΠΈ Π·Π°ΡΡΠ°ΡΠ°ΠΌΠΈ, Π½ΠΎ ΠΈ ΡΠ±Π΅ΡΠ΅ΠΆΠ΅ΡΠ΅ ΡΠ²ΠΎΠ΅ Π°Π²ΡΠΎ, Π²Π°Ρ ΠΈ Π²Π°ΡΠΈΡ Π±Π»ΠΈΠ·ΠΊΠΈΡ ΠΎΡ Π²ΠΎΠ·ΠΌΠΎΠΆΠ½ΡΡ Π°Π²Π°ΡΠΈΠΉΠ½ΡΡ ΡΠΈΡΡΠ°ΡΠΈΠΉ.
- ΠΠΎΡΡΠΎΡΠ½Π½ΠΎ ΡΠ»Π΅Π΄ΠΈΡΠ΅ Π·Π° ΡΠΎΡΡΠΎΡΠ½ΠΈΠ΅ΠΌ ΡΡΠ»Π΅Π²ΠΎΠΉ ΡΠ΅ΠΉΠΊΠΈ. ΠΡΠΎΠ±Π΅Π½Π½ΠΎ ΡΡΠΎ ΠΊΠ°ΡΠ°Π΅ΡΡΡ ΡΠΎΡΡΠΎΡΠ½ΠΈΡ ΠΏΡΠ»ΡΠ½ΠΈΠΊΠΎΠ² ΠΈ ΡΠ°Π»ΡΠ½ΠΈΠΊΠΎΠ². Π’Π°ΠΊ Π²Ρ Π½Π΅ ΡΠΎΠ»ΡΠΊΠΎ ΠΏΡΠΎΠ΄Π»ΠΈΡΠ΅ ΡΡΠΎΠΊ Π΅Π΅ ΡΠ»ΡΠΆΠ±Ρ, Π½ΠΎ ΠΈ ΡΡΠΊΠΎΠ½ΠΎΠΌΠΈΡΠ΅ Π΄Π΅Π½ΡΠ³ΠΈ Π½Π° Π΄ΠΎΡΠΎΠ³ΠΎΡΡΠΎΡΡΠ΅ΠΌ ΡΠ΅ΠΌΠΎΠ½ΡΠ΅.
ΠΠΎΠΌΠ½ΠΈΡΠ΅, ΡΡΠΎ ΠΏΡΠΈ ΠΏΠΎΡΠ²Π»Π΅Π½ΠΈΠΈ ΠΌΠ°Π»Π΅ΠΉΡΠΈΡ
ΠΏΡΠΈΠ·Π½Π°ΠΊΠΎΠ² Π½Π΅ΠΈΡΠΏΡΠ°Π²Π½ΠΎΡΡΠΈ ΡΡΠ»Π΅Π²ΠΎΠ³ΠΎ ΡΠΏΡΠ°Π²Π»Π΅Π½ΠΈΡ ΠΌΠ°ΡΠΈΠ½Ρ, ΠΈ Π² ΡΠ°ΡΡΠ½ΠΎΡΡΠΈ, ΡΠΈΡΡΠ΅ΠΌΡ Π³ΠΈΠ΄ΡΠΎΡΡΠΈΠ»ΠΈΡΠ΅Π»Ρ, Π½Π΅ΠΎΠ±Ρ
ΠΎΠ΄ΠΈΠΌΠΎ ΠΊΠ°ΠΊ ΠΌΠΎΠΆΠ½ΠΎ Π±ΡΡΡΡΠ΅Π΅ ΠΏΡΠΎΠ²Π΅ΡΡΠΈ Π΄ΠΈΠ°Π³Π½ΠΎΡΡΠΈΠΊΡ ΠΈ ΡΠ΅ΠΌΠΎΠ½ΡΠ½ΡΠ΅ ΡΠ°Π±ΠΎΡΡ. ΠΠ½Π°ΡΠ΅ ΠΏΡΠΈ Π½Π°ΡΡΡΠΏΠ»Π΅Π½ΠΈΠΈ ΠΊΡΠΈΡΠΈΡΠ΅ΡΠΊΠΎΠ³ΠΎ ΠΌΠΎΠΌΠ΅Π½ΡΠ° Π²Ρ ΡΠΈΡΠΊΡΠ΅ΡΠ΅ ΠΏΠΎΡΠ΅ΡΡΡΡ ΠΊΠΎΠ½ΡΡΠΎΠ»Ρ Π½Π°Π΄ ΠΌΠ°ΡΠΈΠ½ΠΎΠΉ, ΠΊΠΎΠ³Π΄Π° ΡΡΠ»Π΅Π²ΠΎΠ΅ ΡΠΏΡΠ°Π²Π»Π΅Π½ΠΈΠ΅ ΠΎΡΠΊΠ°ΠΆΠ΅Ρ (Π½Π°ΠΏΡΠΈΠΌΠ΅Ρ, Π·Π°ΠΊΠ»ΠΈΠ½ΠΈΡ ΡΡΠ»Π΅Π²ΡΡ ΡΠ΅ΠΉΠΊΡ). ΠΠ΅ ΡΠΊΠΎΠ½ΠΎΠΌΡΡΠ΅ Π½Π° ΡΠΎΡΡΠΎΡΠ½ΠΈΠΈ Π²Π°ΡΠ΅Π³ΠΎ Π°Π²ΡΠΎ ΠΈ Π±Π΅Π·ΠΎΠΏΠ°ΡΠ½ΠΎΡΡΠΈ ΡΠ²ΠΎΠ΅ΠΉ ΠΈ Π²Π°ΡΠΈΡ
Π±Π»ΠΈΠ·ΠΊΠΈΡ
.
Π§ΡΠΎ Π»ΡΡΡΠ΅ Π³ΠΈΠ΄ΡΠΎΡΡΠΈΠ»ΠΈΡΠ΅Π»Ρ ΠΈΠ»ΠΈ ΡΠ»Π΅ΠΊΡΡΠΎΡΡΠΈΠ»ΠΈΡΠ΅Π»Ρ ΡΡΠ»Ρ?
ΠΠ²ΡΠΎΠ»ΠΈΠΊΠ±Π΅Π·2 Π΄Π΅ΠΊΠ°Π±ΡΡ 2016
Π‘Π΅ΠΉΡΠ°Ρ ΡΠ»ΠΎΠΆΠ½ΠΎ ΠΏΡΠ΅Π΄ΡΡΠ°Π²ΠΈΡΡ Π°Π²ΡΠΎΠΌΠΎΠ±ΠΈΠ»Ρ, Ρ ΠΊΠΎΡΠΎΡΠΎΠ³ΠΎ Π±Π°ΡΠ°Π½ΠΊΠ° ΠΊΡΡΡΠΈΡΡΡ Ρ ΡΡΡΠ΄ΠΎΠΌ, ΠΊΠ°ΠΊ ΡΡΠΎ Π±ΡΠ»ΠΎ Π² ΠΏΡΠ΅ΠΆΠ½ΠΈΠ΅ Π²ΡΠ΅ΠΌΠ΅Π½Π°. ΠΠΎΠ΄ΠΈΡΠ΅Π»Ρ ΡΠΏΡΠ°Π²Π»ΡΠ΅Ρ ΡΠΎΠ²ΡΠ΅ΠΌΠ΅Π½Π½ΡΠΌ Π°Π²ΡΠΎ Π»Π΅Π³ΠΊΠΈΠΌ Π΄Π²ΠΈΠΆΠ΅Π½ΠΈΠ΅ΠΌ ΡΡΠΊ, ΠΏΠΎΡΠΊΠΎΠ»ΡΠΊΡ ΠΏΠΎΠ²ΠΎΡΠ°ΡΠΈΠ²Π°ΡΡ ΠΊΠΎΠ»Π΅ΡΠ° ΠΏΠΎΠΌΠΎΠ³Π°Π΅Ρ ΡΠΏΠ΅ΡΠΈΠ°Π»ΡΠ½ΡΠΉ ΡΡΠΈΠ»ΠΈΡΠ΅Π»Ρ, ΠΏΡΠΈΠ²ΠΎΠ΄ΠΈΠΌΡΠΉ Π² Π΄Π΅ΠΉΡΡΠ²ΠΈΠ΅ Π³ΠΈΠ΄ΡΠ°Π²Π»ΠΈΠΊΠΎΠΉ (ΠΠ£Π ) Π»ΠΈΠ±ΠΎ ΡΠ»Π΅ΠΊΡΡΠΎΠ΄Π²ΠΈΠ³Π°ΡΠ΅Π»Π΅ΠΌ (ΠΠ£Π ). ΠΠΎΡΠ΅Π½ΡΠΈΠ°Π»ΡΠ½ΠΎΠΌΡ Π°Π²ΡΠΎΠ»ΡΠ±ΠΈΡΠ΅Π»Ρ Π²Π°ΠΆΠ½ΠΎ ΠΏΠΎΠ½ΡΡΡ, ΡΡΠΎ Π»ΡΡΡΠ΅ —Β ΡΠ»Π΅ΠΊΡΡΠΎ- ΠΈΠ»ΠΈ Π³ΠΈΠ΄ΡΠΎΡΡΠΈΠ»ΠΈΡΠ΅Π»Ρ ΡΡΠ»Ρ, Π΄Π°Π±Ρ Π²ΡΠ±ΡΠ°ΡΡ ΠΏΠΎΠ΄Ρ ΠΎΠ΄ΡΡΠΈΠΉ ΡΠΈΠΏ ΠΏΡΠΈΠ²ΠΎΠ΄Π° ΠΏΡΠΈ ΠΏΠΎΠΊΡΠΏΠΊΠ΅ ΠΌΠ°ΡΠΈΠ½Ρ.
ΠΡΠΈΠ½ΡΠΈΠΏ ΡΠ°Π±ΠΎΡΡ ΠΠ£Π ΠΈ ΠΠ£Π
ΠΠΈΠ΄ΡΠ°Π²Π»ΠΈΡΠ΅ΡΠΊΠΈΠΉ ΡΡΠΈΠ»ΠΈΡΠ΅Π»Ρ Π²ΡΠ°ΡΠ΅Π½ΠΈΡ ΡΡΠ»Π΅Π²ΠΎΠΉ ΠΊΠΎΠ»ΠΎΠ½ΠΊΠΈ ΠΏΠΎΡΠ²ΠΈΠ»ΡΡ Π΅ΡΠ΅ Π² ΠΏΡΠΎΡΠ»ΠΎΠΌ ΡΡΠΎΠ»Π΅ΡΠΈΠΈ ΠΈ ΠΏΠΎΠ½Π°ΡΠ°Π»Ρ ΡΡΡΠ°Π½Π°Π²Π»ΠΈΠ²Π°Π»ΡΡ Π½Π° Π³ΡΡΠ·ΠΎΠ²ΠΈΠΊΠΈ. Π 80-Π΅ Π³ΠΎΠ΄Ρ ΠΎΠ½ ΠΏΠ΅ΡΠ΅ΠΊΠΎΡΠ΅Π²Π°Π» Π½Π° Π»Π΅Π³ΠΊΠΎΠ²ΡΠ΅ Π°Π²ΡΠΎ, Π³Π΄Π΅ Π²Π΅ΡΠΎΠΉ ΠΈ ΠΏΡΠ°Π²Π΄ΠΎΠΉ ΡΠ»ΡΠΆΠΈΡ ΠΏΠΎ ΡΠ΅ΠΉ Π΄Π΅Π½Ρ. ΠΠ° Π΄Π°Π½Π½ΡΠΉ ΠΌΠΎΠΌΠ΅Π½Ρ Π³ΠΈΠ΄ΡΠ°Π²Π»ΠΈΠΊΠΎΠΉ ΠΎΡΠ½Π°ΡΠ°Π΅ΡΡΡ ΠΏΡΠΈΠΌΠ΅ΡΠ½ΠΎ 60% Π½ΠΎΠ²ΡΡ
ΠΌΠ°ΡΠΈΠ½. ΠΠ»Π΅ΠΊΡΡΠΎΡΡΠΈΠ»ΠΈΡΠ΅Π»ΠΈ Π±ΡΠ»ΠΈ Π²Π½Π΅Π΄ΡΠ΅Π½Ρ ΠΏΠΎΠ·ΠΆΠ΅ ΠΈ ΡΡΠ°Π»ΠΈ ΠΌΠ°ΡΡΠΎΠ²ΠΎ ΠΏΡΠΈΠΌΠ΅Π½ΡΡΡΡΡ ΠΏΠΎΡΠ»Π΅ 2000 Π³ΠΎΠ΄Π°, ΠΏΠΎΡΡΠ΅ΠΏΠ΅Π½Π½ΠΎ Π·Π°Π²ΠΎΠ΅Π²ΡΠ²Π°Ρ Π°Π²ΡΠΎΠΌΠΎΠ±ΠΈΠ»ΡΠ½ΡΠΉ ΡΡΠ½ΠΎΠΊ.
Π§ΡΠΎΠ±Ρ ΡΠ²ΠΈΠ΄Π΅ΡΡ ΡΠ°Π·Π½ΠΈΡΡ ΠΎΠ΄Π½ΠΎΠ³ΠΎ ΡΡΠΈΠ»ΠΈΡΠ΅Π»Ρ ΡΡΠ»Ρ ΠΎΡ Π΄ΡΡΠ³ΠΎΠ³ΠΎ, Π½ΡΠΆΠ½ΠΎ ΡΠ°ΡΡΠΌΠΎΡΡΠ΅ΡΡ ΠΏΡΠΈΠ½ΡΠΈΠΏ Π΄Π΅ΠΉΡΡΠ²ΠΈΡ ΠΎΠ±ΠΎΠΈΡ ΠΌΠ΅Ρ Π°Π½ΠΈΠ·ΠΌΠΎΠ². ΠΠ£Π —Β ΡΡΠΎ Π΄ΠΎΡΡΠ°ΡΠΎΡΠ½ΠΎ ΡΠ»ΠΎΠΆΠ½ΡΠΉ ΡΠ·Π΅Π», ΡΠΎΡΡΠΎΡΡΠΈΠΉ ΠΈΠ· Π½Π΅ΡΠΊΠΎΠ»ΡΠΊΠΈΡ ΠΎΡΠ΄Π΅Π»ΡΠ½ΡΡ ΡΠ»Π΅ΠΌΠ΅Π½ΡΠΎΠ²:
- Π½Π°ΡΠΎΡ, ΡΠ²ΡΠ·Π°Π½Π½ΡΠΉ ΡΠ΅ΠΌΠ΅Π½Π½ΠΎΠΉ ΠΏΠ΅ΡΠ΅Π΄Π°ΡΠ΅ΠΉ Ρ ΠΊΠΎΠ»Π΅Π½ΡΠ°ΡΡΠΌ Π²Π°Π»ΠΎΠΌ Π΄Π²ΠΈΠ³Π°ΡΠ΅Π»Ρ;
- ΡΠ°ΡΡΠΈΡΠΈΡΠ΅Π»ΡΠ½ΡΠΉ Π±Π°ΡΠΎΠΊ Π΄Π»Ρ Π³ΠΈΠ΄ΡΠ°Π²Π»ΠΈΡΠ΅ΡΠΊΠΎΠΉ ΠΆΠΈΠ΄ΠΊΠΎΡΡΠΈ;
- ΠΏΠΎΡΡΠ΅Π½Ρ, ΡΡΡΠ°Π½ΠΎΠ²Π»Π΅Π½Π½ΡΠΉ Π² ΡΡΠ»Π΅Π²ΠΎΠΉ ΡΠ΅ΠΉΠΊΠ΅;
- Π³ΠΈΠ΄ΡΠΎ-ΡΠ°ΡΠΏΡΠ΅Π΄Π΅Π»ΠΈΡΠ΅Π»Ρ, Π·Π°Π΄Π°ΡΡΠΈΠΉ Π½Π°ΠΏΡΠ°Π²Π»Π΅Π½ΠΈΠ΅ Π΄Π²ΠΈΠΆΠ΅Π½ΠΈΡ ΠΏΠΎΡΡΠ½Ρ.
ΠΠ΅ΡΠ΅ΡΠΈΡΠ»Π΅Π½Π½ΡΠ΅ ΡΠ»Π΅ΠΌΠ΅Π½ΡΡ ΡΠΎΠ΅Π΄ΠΈΠ½Π΅Π½Ρ ΠΌΠ΅ΡΠ°Π»Π»ΠΈΡΠ΅ΡΠΊΠΈΠΌΠΈ ΡΡΡΠ±ΠΊΠ°ΠΌΠΈ Ρ ΡΠΈΡΠΊΡΠ»ΠΈΡΡΡΡΠ΅ΠΉ ΠΆΠΈΠ΄ΠΊΠΎΡΡΡΡ. ΠΠ΅ Π·Π°Π΄Π°ΡΠ° β Π² Π½ΡΠΆΠ½ΡΠΉ ΠΌΠΎΠΌΠ΅Π½Ρ ΠΏΠ΅ΡΠ΅Π΄Π°ΡΡ ΡΠΎΠ·Π΄Π°Π²Π°Π΅ΠΌΠΎΠ΅ Π½Π°ΡΠΎΡΠΎΠΌ Π΄Π°Π²Π»Π΅Π½ΠΈΠ΅ ΠΏΠΎΡΡΠ½Ρ, ΡΠΎΠ»ΠΊΠ°ΡΡΠ΅ΠΌΡ Π²Π°Π» ΡΠ΅ΠΉΠΊΠΈ ΠΈ ΡΠ°ΠΊΠΈΠΌ ΡΠΏΠΎΡΠΎΠ±ΠΎΠΌ ΠΏΠΎΠΌΠΎΠ³Π°ΡΡΠ΅ΠΌΡ ΠΏΠΎΠ²ΠΎΡΠ°ΡΠΈΠ²Π°ΡΡ ΠΊΠΎΠ»Π΅ΡΠ° ΠΌΠ°ΡΠΈΠ½Ρ. Π ΡΠ΅Π»ΠΎΠΌ ΠΠ£Π ΡΠ°Π±ΠΎΡΠ°Π΅Ρ ΡΠ°ΠΊ:
- ΠΠΎΡΠ»Π΅ Π·Π°ΠΏΡΡΠΊΠ° Π΄Π²ΠΈΠ³Π°ΡΠ΅Π»Ρ Π½Π°ΡΠΎΡ, Π²ΡΠ°ΡΠ°Π΅ΠΌΡΠΉ ΠΊΠΎΠ»Π΅Π½Π²Π°Π»ΠΎΠΌ, Π½Π°ΠΊΠ°ΡΠΈΠ²Π°Π΅Ρ Π΄Π°Π²Π»Π΅Π½ΠΈΠ΅ Π² ΡΠΈΡΡΠ΅ΠΌΠ΅. ΠΠΎΠΊΠ° Π²Ρ Π½Π΅ ΡΡΠΎΠ³Π°Π΅ΡΠ΅ Π±Π°ΡΠ°Π½ΠΊΡ, ΠΈΠ·Π»ΠΈΡΠ΅ΠΊ Π΄Π°Π²Π»Π΅Π½ΠΈΡ ΡΠ±ΡΠ°ΡΡΠ²Π°Π΅ΡΡΡ Π² ΡΠ°ΡΡΠΈΡΠΈΡΠ΅Π»ΡΠ½ΡΠΉ Π±Π°ΡΠΎΠΊ.
- ΠΡΠΈ ΠΏΠΎΠΏΡΡΠΊΠ΅ ΠΏΠΎΠ²Π΅ΡΠ½ΡΡΡ ΡΡΠ»Ρ ΡΠ°ΡΠΏΡΠ΅Π΄Π΅Π»ΠΈΡΠ΅Π»Ρ, ΡΡΡΠ°Π½ΠΎΠ²Π»Π΅Π½Π½ΡΠΉ Π½Π° Π΅Π³ΠΎ Π²Π°Π»Ρ, ΠΎΡΠΊΡΡΠ²Π°Π΅Ρ Π½ΡΠΆΠ½ΡΡ ΠΌΠ°Π³ΠΈΡΡΡΠ°Π»Ρ ΠΈ Π½Π°ΠΏΡΠ°Π²Π»ΡΠ΅Ρ ΠΆΠΈΠ΄ΠΊΠΎΡΡΡ Π² ΠΎΠ΄Π½Ρ ΠΈΠ· ΠΊΠ°ΠΌΠ΅Ρ, Π½Π°Ρ
ΠΎΠ΄ΡΡΡΡΡΡ Ρ ΠΏΡΠ°Π²ΠΎΠΉ ΠΈΠ»ΠΈ Π»Π΅Π²ΠΎΠΉ ΡΡΠΎΡΠΎΠ½Ρ ΠΎΡ ΠΏΠΎΡΡΠ½Ρ.

- ΠΠΎΠ΄ Π΄Π°Π²Π»Π΅Π½ΠΈΠ΅ΠΌ ΠΏΠΎΡΡΠ΅Π½Ρ ΠΏΠ΅ΡΠ΅ΠΌΠ΅ΡΠ°Π΅ΡΡΡ ΠΈ ΡΠΎΠ»ΠΊΠ°Π΅Ρ Π²Π°Π» ΡΡΠ»Π΅Π²ΠΎΠΉ ΡΠ΅ΠΉΠΊΠΈ ΠΎΠ΄Π½ΠΎΠ²ΡΠ΅ΠΌΠ΅Π½Π½ΠΎ Ρ ΡΡΠ³ΠΎΠΉ, ΠΏΡΠΈΡΠΎΠ΅Π΄ΠΈΠ½Π΅Π½Π½ΠΎΠΉ ΠΊ ΠΏΠΎΠ²ΠΎΡΠΎΡΠ½ΠΎΠΌΡ ΠΊΡΠ»Π°ΠΊΡ ΠΏΠ΅ΡΠ΅Π΄Π½Π΅Π³ΠΎ ΠΊΠΎΠ»Π΅ΡΠ°.
- ΠΡΠ»ΠΈ Π±Π°ΡΠ°Π½ΠΊΡ ΠΏΠΎΠ²Π΅ΡΠ½ΡΡΡ Π² Π΄ΡΡΠ³ΡΡ ΡΡΠΎΡΠΎΠ½Ρ, ΡΠ°ΡΠΏΡΠ΅Π΄Π΅Π»ΠΈΡΠ΅Π»Ρ ΠΏΠ΅ΡΠ΅ΠΊΡΠΎΠ΅Ρ ΠΏΠ΅ΡΠ²ΡΡ ΠΌΠ°Π³ΠΈΡΡΡΠ°Π»Ρ ΠΈ ΠΎΡΠΊΡΠΎΠ΅Ρ Π²ΡΠΎΡΡΡ, Π΄Π°Π²Π»Π΅Π½ΠΈΠ΅ Π²ΠΎΠ·Π½ΠΈΠΊΠ½Π΅Ρ Π² Π΄ΡΡΠ³ΠΎΠΉ ΠΊΠ°ΠΌΠ΅ΡΠ΅ ΠΈ ΠΏΠΎΡΡΠ΅Π½Ρ Π΄Π²ΠΈΠ½Π΅ΡΡΡ Π² ΠΎΠ±ΡΠ°ΡΠ½ΠΎΠΌ Π½Π°ΠΏΡΠ°Π²Π»Π΅Π½ΠΈΠΈ.
Π§Π΅ΠΌ ΡΠ΅Π·ΡΠ΅ ΠΈ ΡΠΈΠ»ΡΠ½Π΅Π΅ Π²Ρ Π²ΡΠ°ΡΠ°Π΅ΡΠ΅ ΡΡΠ»Π΅Π²ΠΎΠ΅ ΠΊΠΎΠ»Π΅ΡΠΎ, ΡΠ΅ΠΌ Π±ΠΎΠ»ΡΡΠ΅Π΅ Π΄Π°Π²Π»Π΅Π½ΠΈΠ΅ ΠΏΠ΅ΡΠ΅Π΄Π°Π΅ΡΡΡ Π² ΠΎΠ΄Π½Ρ ΠΈΠ· ΠΊΠ°ΠΌΠ΅Ρ ΠΈ Π²ΠΎΠ·ΡΠ°ΡΡΠ°Π΅Ρ ΡΡΠΈΠ»ΠΈΠ΅, ΠΏΡΠΈΠ»Π°Π³Π°Π΅ΠΌΠΎΠ΅ ΠΊ ΠΏΠΎΠ²ΠΎΡΠΎΡΡ ΠΊΠΎΠ»Π΅Ρ. Π‘ΠΈΡΡΠ΅ΠΌΠ° ΡΠ΅Π°Π³ΠΈΡΡΠ΅Ρ ΡΠΎΠ»ΡΠΊΠΎ Π½Π° ΠΏΠΎΠ²ΠΎΡΠΎΡ ΠΎΡΠ½ΠΎΠ²Π½ΠΎΠ³ΠΎ Π²Π°Π»Π°, Π° ΠΏΡΠΈ Π΄Π²ΠΈΠΆΠ΅Π½ΠΈΠΈ ΠΏΠΎ ΠΏΡΡΠΌΠΎΠΉ Π»ΠΈΠ±ΠΎ ΡΡΠΎΡΠ½ΠΊΠ΅ Ρ Π·Π°ΠΏΡΡΠ΅Π½Π½ΡΠΌ Π΄Π²ΠΈΠ³Π°ΡΠ΅Π»Π΅ΠΌ ΠΎΠ½Π° ΠΏΡΠΎΠ΄ΠΎΠ»ΠΆΠ°Π΅Ρ ΡΠ°Π±ΠΎΡΠ°ΡΡ, Π½ΠΎ Π½Π° ΡΠ΅ΠΉΠΊΡ Π½Π΅ Π΄Π΅ΠΉΡΡΠ²ΡΠ΅Ρ.
ΠΡΠ»ΠΈΡΠΈΠ΅ ΡΠ»Π΅ΠΊΡΡΠΈΡΠ΅ΡΠΊΠΎΠ³ΠΎ ΡΡΠΈΠ»ΠΈΡΠ΅Π»Ρ ΡΡΠ»Ρ ΠΎΡ ΠΠ£Π Π·Π°ΠΊΠ»ΡΡΠ°Π΅ΡΡΡ Π² ΠΏΠ΅ΡΠ΅ΠΌΠ΅ΡΠ΅Π½ΠΈΠΈ Π²Π°Π»Π° ΡΠ΅ΠΉΠΊΠΈ ΡΠ»Π΅ΠΊΡΡΠΎΠ΄Π²ΠΈΠ³Π°ΡΠ΅Π»Π΅ΠΌ, ΡΠΏΡΠ°Π²Π»ΡΠ΅ΠΌΡΠΌ ΠΎΡΠ΄Π΅Π»ΡΠ½ΡΠΌ ΡΠ»Π΅ΠΊΡΡΠΎΠ½Π½ΡΠΌ Π±Π»ΠΎΠΊΠΎΠΌ (ΠΠΠ£). ΠΠ»Π³ΠΎΡΠΈΡΠΌ ΡΠ°Π±ΠΎΡΡ ΡΠ°ΠΊΠΎΠΉ:
- ΠΠΎΡΠ»Π΅ Π·Π°ΠΏΡΡΠΊΠ° Π΄Π²ΠΈΠ³Π°ΡΠ΅Π»Ρ Π½Π° Π±Π»ΠΎΠΊ ΡΠΏΡΠ°Π²Π»Π΅Π½ΠΈΡ ΠΏΠΎΠ΄Π°Π΅ΡΡΡ Π½Π°ΠΏΡΡΠΆΠ΅Π½ΠΈΠ΅, Π½ΠΎ ΠΠ£Π ΠΎΡΡΠ°Π΅ΡΡΡ Π² Π±Π΅Π·Π΄Π΅ΠΉΡΡΠ²ΠΈΠΈ.
- ΠΠ°Π»Π΅ΠΉΡΠΈΠΉ ΠΏΠΎΠ²ΠΎΡΠΎΡ Π±Π°ΡΠ°Π½ΠΊΠΈ ΡΠ»Π°Π²Π»ΠΈΠ²Π°Π΅Ρ ΡΠΏΠ΅ΡΠΈΠ°Π»ΡΠ½ΡΠΉ Π΄Π°ΡΡΠΈΠΊ, ΠΏΠ΅ΡΠ΅Π΄Π°ΡΡΠΈΠΉ ΠΈΠΌΠΏΡΠ»ΡΡ ΠΠΠ£.

- ΠΠΎ ΡΠΈΠ³Π½Π°Π»Ρ Π΄Π°ΡΡΠΈΠΊΠ° ΠΊΠΎΠ½ΡΡΠΎΠ»Π»Π΅Ρ Π΄Π°Π΅Ρ ΠΊΠΎΠΌΠ°Π½Π΄Ρ ΡΠ»Π΅ΠΊΡΡΠΎΠ΄Π²ΠΈΠ³Π°ΡΠ΅Π»Ρ Π²ΡΠ°ΡΠ°ΡΡ ΡΡΠ»Π΅Π²ΠΎΠΉ Π²Π°Π» Π² ΡΡ ΠΈΠ»ΠΈ ΠΈΠ½ΡΡ ΡΡΠΎΡΠΎΠ½Ρ ΠΏΠΎΡΡΠ΅Π΄ΡΡΠ²ΠΎΠΌ ΡΠ΅ΡΡΠ΅ΡΠ΅Π½ΡΠ°ΡΠΎΠΉ ΠΏΠ΅ΡΠ΅Π΄Π°ΡΠΈ.
Π‘ΠΊΠΎΡΠΎΡΡΡ Π²ΡΠ°ΡΠ΅Π½ΠΈΡ Π²Π°Π»Π° ΡΠ»Π΅ΠΊΡΡΠΎΠ΄Π²ΠΈΠ³Π°ΡΠ΅Π»Ρ ΠΈ ΠΌΠΎΡΠ½ΠΎΡΡΡ ΡΡΠΈΠ»Π΅Π½ΠΈΡ ΠΎΠΏΡΠ΅Π΄Π΅Π»ΡΠ΅ΡΡΡ Ρ ΠΏΠΎΠΌΠΎΡΡΡ Π²ΡΠΎΡΠΎΠ³ΠΎ ΡΠΎΡΡΠΈΠΎΠ½Π½ΠΎΠ³ΠΎ Π΄Π°ΡΡΠΈΠΊΠ°, ΡΠΊΡΡΡΠΈΠ²Π°ΡΡΠ΅Π³ΠΎΡΡ ΠΏΡΠΈ ΡΠ΅Π·ΠΊΠΎΠΌ ΠΏΠΎΠ²ΠΎΡΠΎΡΠ΅ ΡΡΠ»Ρ.
ΠΠ»ΡΡΡ ΠΈ ΠΌΠΈΠ½ΡΡΡ ΡΠ°Π·Π½ΡΡ ΡΡΠΈΠ»ΠΈΡΠ΅Π»Π΅ΠΉ
ΠΡΠΈΠΌΠ΅Π½Π΅Π½ΠΈΠ΅ Π³ΠΈΠ΄ΡΠ°Π²Π»ΠΈΠΊΠΈ Π΄Π»Ρ ΠΎΠ±Π»Π΅Π³ΡΠ΅Π½ΠΈΡ ΡΠΏΡΠ°Π²Π»Π΅Π½ΠΈΡ Π°Π²ΡΠΎΠΌΠΎΠ±ΠΈΠ»Π΅ΠΌ ΠΎΠ±ΡΡΠ»ΠΎΠ²Π»Π΅Π½ΠΎ ΡΠ»Π΅Π΄ΡΡΡΠΈΠΌΠΈ Π΄ΠΎΡΡΠΎΠΈΠ½ΡΡΠ²Π°ΠΌΠΈ ΠΠ£Π Π°:
- Π±ΠΎΠ»Π΅Π΅ Π½ΠΈΠ·ΠΊΠ°Ρ ΡΠ΅Π±Π΅ΡΡΠΎΠΈΠΌΠΎΡΡΡ ΠΏΡΠΎΠΈΠ·Π²ΠΎΠ΄ΡΡΠ²Π°, Π²Π»ΠΈΡΡΡΠ°Ρ Π½Π° ΠΊΠΎΠ½Π΅ΡΠ½ΡΡ ΡΠ΅Π½Ρ Π½ΠΎΠ²ΠΎΠΉ ΠΌΠ°ΡΠΈΠ½Ρ;
- ΠΎΡ Π³ΠΈΠ΄ΡΠΎΡΡΠΈΠ»ΠΈΡΠ΅Π»Ρ ΠΌΠΎΠΆΠ½ΠΎ ΠΏΠΎΠ»ΡΡΠΈΡΡ Π±ΠΎΠ»ΡΡΡΡ ΠΌΠΎΡΠ½ΠΎΡΡΡ, ΠΏΠΎΠ·Π²ΠΎΠ»ΡΡΡΡΡ ΠΏΡΠΈΠΌΠ΅Π½ΡΡΡ Π΅Π³ΠΎ Π² Π³ΡΡΠ·ΠΎΠ²ΠΈΠΊΠ°Ρ ΠΈ ΠΌΠΈΠΊΡΠΎΠ°Π²ΡΠΎΠ±ΡΡΠ°Ρ Π»ΡΠ±ΠΎΠΉ Π³ΡΡΠ·ΠΎΠΏΠΎΠ΄ΡΠ΅ΠΌΠ½ΠΎΡΡΠΈ;
- Π½Π°Π΄Π΅ΠΆΠ½Π°Ρ ΠΊΠΎΠ½ΡΡΡΡΠΊΡΠΈΡ, ΠΏΡΠΎΠ²Π΅ΡΠ΅Π½Π½Π°Ρ Π³ΠΎΠ΄Π°ΠΌΠΈ ΡΠΊΡΠΏΠ»ΡΠ°ΡΠ°ΡΠΈΠΈ.
ΠΡΠ½ΠΎΠ²Π½ΠΎΠΉ Π½Π΅Π΄ΠΎΡΡΠ°ΡΠΎΠΊ Π³ΠΈΠ΄ΡΠ°Π²Π»ΠΈΡΠ΅ΡΠΊΠΎΠΉ ΡΠΈΡΡΠ΅ΠΌΡ β Π½Π΅ΠΎΠ±Ρ
ΠΎΠ΄ΠΈΠΌΠΎΡΡΡ ΠΊΠΎΠ½ΡΡΠΎΠ»Ρ ΡΡΠΎΠ²Π½Ρ ΠΆΠΈΠ΄ΠΊΠΎΡΡΠΈ ΠΈ ΠΏΠ΅ΡΠΈΠΎΠ΄ΠΈΡΠ΅ΡΠΊΠΎΠ³ΠΎ ΠΎΠ±ΡΠ»ΡΠΆΠΈΠ²Π°Π½ΠΈΡ. ΠΡΠΆΠ½ΠΎ ΡΠ»Π΅Π΄ΠΈΡΡ, ΡΡΠΎΠ±Ρ Π½Π΅ ΠΏΡΠΎΡΠ΅ΠΊΠ°Π»ΠΈ ΡΠ°Π»ΡΠ½ΠΈΠΊΠΈ ΠΏΠΎΡΡΠ½Π΅Π²ΠΎΠ³ΠΎ ΠΌΠ΅Ρ
Π°Π½ΠΈΠ·ΠΌΠ°, ΡΠ°ΡΠΏΡΠ΅Π΄Π΅Π»ΠΈΡΠ΅Π»Ρ ΠΈ Π½Π°ΡΠΎΡΠ°, Π²ΠΎΠ²ΡΠ΅ΠΌΡ ΠΌΠ΅Π½ΡΡΡ ΠΈ ΠΏΠΎΠ΄ΡΡΠ³ΠΈΠ²Π°ΡΡ ΡΠ΅ΠΌΠ΅Π½Ρ, ΡΠΌΠ°Π·ΡΠ²Π°ΡΡ ΠΏΠΎΠ΄ΡΠΈΠΏΠ½ΠΈΠΊΠΈ.
ΠΡΠΎΡΠΈΠ΅ ΠΌΠΈΠ½ΡΡΡ Π½Π΅ ΡΡΠΎΠ»Ρ ΡΡΡΠ΅ΡΡΠ²Π΅Π½Π½Ρ:
- ΠΠ°ΡΠΎΡ ΡΡΠΈΠ»ΠΈΡΠ΅Π»Ρ ΡΠ°Π±ΠΎΡΠ°Π΅Ρ ΠΏΠΎΡΡΠΎΡΠ½Π½ΠΎ, ΠΏΠΎΠΊΠ° Π²ΠΊΠ»ΡΡΠ΅Π½ Π΄Π²ΠΈΠ³Π°ΡΠ΅Π»Ρ. ΠΡΠΎ ΡΠ²Π΅Π»ΠΈΡΠΈΠ²Π°Π΅Ρ ΡΠ°ΡΡ ΠΎΠ΄ ΡΠΎΠΏΠ»ΠΈΠ²Π°.
- Π§ΡΠΎΠ±Ρ Π΄Π°Π²Π»Π΅Π½ΠΈΠ΅ ΠΌΠ°ΡΠ»Π° Π² ΠΌΠ°Π³ΠΈΡΡΡΠ°Π»ΡΡ Π½Π΅ ΠΏΡΠ΅Π²ΡΡΠΈΠ»ΠΎ ΠΊΡΠΈΡΠΈΡΠ΅ΡΠΊΡΡ ΠΎΡΠΌΠ΅ΡΠΊΡ, Π½Π΅Π»ΡΠ·Ρ Π΄ΠΎΠ»ΡΡΠ΅ 5 ΡΠ΅ΠΊ ΡΠ΄Π΅ΡΠΆΠΈΠ²Π°ΡΡ Π±Π°ΡΠ°Π½ΠΊΡ, ΠΏΠΎΠ²Π΅ΡΠ½ΡΡΡΡ Π΄ΠΎ ΠΊΡΠ°ΠΉΠ½Π΅Π³ΠΎ ΠΏΠΎΠ»ΠΎΠΆΠ΅Π½ΠΈΡ.
- ΠΠ° Π±ΡΠ΄ΠΆΠ΅ΡΠ½ΡΡ ΠΌΠΎΠ΄Π΅Π»ΡΡ ΠΌΠ°ΡΠΈΠ½ ΡΡΠ»Ρ, ΡΡΠΈΠ»ΠΈΠ²Π°Π΅ΠΌΡΠΉ ΠΠ£Π , ΡΡΠ°Π½ΠΎΠ²ΠΈΡΡΡ Β«ΠΏΡΡΡΡΠΌΒ» Π½Π° Π²ΡΡΠΎΠΊΠΎΠΉ ΡΠΊΠΎΡΠΎΡΡΠΈ.
Π ΠΏΡΠΎΡΠΈΠ²ΠΎΠ²Π΅Ρ Π³ΠΈΠ΄ΡΠ°Π²Π»ΠΈΠΊΠ΅ ΠΠ£Π ΠΎΡΠ»ΠΈΡΠ°Π΅ΡΡΡ ΡΠ°ΠΊΠΈΠΌΠΈ ΠΏΡΠ΅ΠΈΠΌΡΡΠ΅ΡΡΠ²Π°ΠΌΠΈ:
- ΡΠ»Π΅ΠΊΡΡΠΎΠ΄Π²ΠΈΠ³Π°ΡΠ΅Π»Ρ ΠΈ Π±Π»ΠΎΠΊ ΡΠΏΡΠ°Π²Π»Π΅Π½ΠΈΡ Ρ Π΄Π°ΡΡΠΈΠΊΠΎΠΌ Π½Π΅ Π½ΡΠΆΠ΄Π°Π΅ΡΡΡ Π² ΠΎΡΠΌΠΎΡΡΠ°Ρ ΠΈ ΠΎΠ±ΡΠ»ΡΠΆΠΈΠ²Π°Π½ΠΈΠΈ;
- Π³Π°Π±Π°ΡΠΈΡΡ ΡΠ·Π»Π° Π³ΠΎΡΠ°Π·Π΄ΠΎ ΠΌΠ΅Π½ΡΡΠ΅, ΠΎΡΡΠ΅Π³ΠΎ Π² ΠΌΠ°Π»ΠΎΠ»ΠΈΡΡΠ°ΠΆΠΊΠ°Ρ ΠΎΠ½ Π²ΠΌΠ΅ΡΠ°Π΅ΡΡΡ Π·Π° ΠΏΡΠΈΠ±ΠΎΡΠ½ΠΎΠΉ ΠΏΠ°Π½Π΅Π»ΡΡ;
- ΡΠΈΡΡΠ΅ΠΌΠ° Π½Π΅ ΠΏΠΎΡΡΠ΅Π±Π»ΡΠ΅Ρ ΡΠ»Π΅ΠΊΡΡΠΎΡΠ½Π΅ΡΠ³ΠΈΡ Π±Π΅Π· Π½ΡΠΆΠ΄Ρ, Π° Π·Π½Π°ΡΠΈΡ, Π½Π΅ ΡΠ°ΡΡ ΠΎΠ΄ΡΠ΅Ρ Π»ΠΈΡΠ½Π΅Π΅ ΡΠΎΠΏΠ»ΠΈΠ²ΠΎ;
- ΡΡΠ»Ρ ΠΌΠΎΠΆΠ½ΠΎ Π΄Π΅ΡΠΆΠ°ΡΡ Π² Π»ΡΠ±ΠΎΠΌ ΠΏΠΎΠ»ΠΎΠΆΠ΅Π½ΠΈΠΈ ΡΠΊΠΎΠ»Ρ ΡΠ³ΠΎΠ΄Π½ΠΎ Π΄ΠΎΠ»Π³ΠΎ.
ΠΡΠ΅ ΠΎΠ΄Π½Π° ΠΎΡΠΎΠ±Π΅Π½Π½ΠΎΡΡΡ ΡΠ»Π΅ΠΊΡΡΠΎΡΡΠΈΠ»ΠΈΡΠ΅Π»Ρ ΡΡΠ»Ρ β Π²ΠΎΠ·ΠΌΠΎΠΆΠ½ΠΎΡΡΡ ΠΈΠ·ΠΌΠ΅Π½Π΅Π½ΠΈΡ Π½Π°ΡΡΡΠΎΠ΅ΠΊ ΡΠ°Π±ΠΎΡΡ Π² Π·Π°Π²ΠΈΡΠΈΠΌΠΎΡΡΠΈ ΠΎΡ ΡΡΠ»ΠΎΠ²ΠΈΠΉ Π΅Π·Π΄Ρ ΠΈ ΠΈΡΠΊΡΡΡΡΠ²Π΅Π½Π½ΠΎΠ΅ ΡΠΎΠ·Π΄Π°Π½ΠΈΠ΅ Β«ΡΡΠΆΠ΅ΡΡΠΈΒ» Π² Π±Π°ΡΠ°Π½ΠΊΠ΅ Π½Π° Π±ΠΎΠ»ΡΡΠΎΠΉ ΡΠΊΠΎΡΠΎΡΡΠΈ.
ΠΠ΄ΠΎΠ±Π°Π²ΠΎΠΊ ΠΠ£Π ΡΠΏΠΎΡΠΎΠ±Π΅Π½ Β«ΡΡΠ»ΠΈΡΡΒ» ΠΌΠ°ΡΠΈΠ½ΠΎΠΉ ΡΠ°ΠΌΠΎΡΡΠΎΡΡΠ΅Π»ΡΠ½ΠΎ ΠΏΡΠΈ Π΄Π²ΠΈΠΆΠ΅Π½ΠΈΠΈ ΠΏΠΎ ΠΏΡΡΠΌΠΎΠΉ, ΡΡΠΎ ΡΠ΅Π°Π»ΠΈΠ·ΠΎΠ²Π°Π½ΠΎ Π½Π° ΠΌΠ½ΠΎΠ³ΠΈΡ
Π°Π²ΡΠΎΠΌΠΎΠ±ΠΈΠ»ΡΡ
ΠΏΡΠ΅ΠΌΠΈΡΠΌ-ΠΊΠ»Π°ΡΡΠ°.
Π‘Π»Π°Π±Π°Ρ ΡΡΠΎΡΠΎΠ½Π° ΡΠ»Π΅ΠΊΡΡΠΈΡΠ΅ΡΠΊΠΎΠ³ΠΎ ΡΡΠΈΠ»ΠΈΡΠ΅Π»Ρ —Β Π²ΡΡΠΎΠΊΠ°Ρ ΡΠ΅Π½Π°. Π ΡΠ΅ΠΌ Π±ΠΎΠ»ΡΡΠ΅ ΡΡΠΎΠΈΠΌΠΎΡΡΡ ΡΠ·Π»Π°, ΡΠ΅ΠΌ Π΄ΠΎΡΠΎΠΆΠ΅ ΠΎΠ±ΠΎΠΉΠ΄Π΅ΡΡΡ Π΅Π³ΠΎ ΡΠ΅ΠΌΠΎΠ½Ρ, Π° Π·Π°ΡΠ°ΡΡΡΡ Π²ΡΡΠ΅Π΄ΡΠΈΠΉ ΠΈΠ· ΡΡΡΠΎΡ ΠΠ£Π ΠΏΡΠΈΡ ΠΎΠ΄ΠΈΡΡΡ ΠΌΠ΅Π½ΡΡΡ ΡΠ΅Π»ΠΈΠΊΠΎΠΌ.
ΠΡΠΎΡΠΎΠΉ Π½Π΅Π΄ΠΎΡΡΠ°ΡΠΎΠΊ β ΠΌΠ°Π»Π°Ρ ΠΌΠΎΡΠ½ΠΎΡΡΡ ΠΏΡΠΈΠ²ΠΎΠ΄Π°, ΠΏΠΎΡΡΠΎΠΌΡ ΠΏΠΎΠ΄ΠΎΠ±Π½ΡΠ΅ ΡΡΠΈΠ»ΠΈΡΠ΅Π»ΠΈ Π½Π΅ ΡΡΠ°Π²ΡΡΡΡ Π½Π° Π±ΠΎΠ»ΡΡΠ΅Π³ΡΡΠ·Π½ΡΠ΅ Π°Π²ΡΠΎ ΠΈ ΠΌΠΈΠΊΡΠΎΠ°Π²ΡΠΎΠ±ΡΡΡ.
ΠΠ°ΠΊΠΎΠΉ ΡΡΠΈΠ»ΠΈΡΠ΅Π»Ρ Π²ΡΠ±ΡΠ°ΡΡ?
ΠΡΠ°ΠΊΡΠΈΠΊΠ° ΠΏΠΎΠΊΠ°Π·ΡΠ²Π°Π΅Ρ, ΡΡΠΎ ΠΎΠ±Π° ΠΏΡΠΈΠ²ΠΎΠ΄Π° Π΄ΠΎΡΡΠ°ΡΠΎΡΠ½ΠΎ Π½Π°Π΄Π΅ΠΆΠ½Ρ Π² ΡΠΊΡΠΏΠ»ΡΠ°ΡΠ°ΡΠΈΠΈ, Ρ ΠΎΡΡ ΡΡΠΎΡΠΎΠ½Π½ΠΈΠΊΠΈ ΡΠ»Π΅ΠΊΡΡΠΈΡΠ΅ΡΠΊΠΈΡ ΡΡΠΈΠ»ΠΈΡΠ΅Π»Π΅ΠΉ ΡΡΠ²Π΅ΡΠΆΠ΄Π°ΡΡ ΠΎΠ±ΡΠ°ΡΠ½ΠΎΠ΅. ΠΠ°ΠΆΠ΅ Π² Π±ΡΠ΄ΠΆΠ΅ΡΠ½ΡΡ Π°Π²ΡΠΎ Π³ΠΈΠ΄ΡΠ°Π²Π»ΠΈΠΊΠ° ΡΠ»ΡΠΆΠΈΡ Π±Π΅Π· ΠΏΡΠΎΠ±Π»Π΅ΠΌ 100-150 ΡΡΡ. ΠΊΠΌ, Π° Π² ΡΠ»ΡΡΠ°Π΅ ΠΊΠ°ΠΊΠΎΠΉ-Π½ΠΈΠ±ΡΠ΄Ρ ΠΏΠΎΠ»ΠΎΠΌΠΊΠΈ ΠΎΠ½Π° ΡΠ΅ΠΌΠΎΠ½ΡΠΈΡΡΠ΅ΡΡΡ Π½Π° Π»ΡΠ±ΠΎΠΌ Π°Π²ΡΠΎΡΠ΅ΡΠ²ΠΈΡΠ΅. ΠΠ΅ΠΈΡΠΏΡΠ°Π²Π½ΠΎΡΡΠΈ ΠΠ£Π ΡΠ°ΡΠ΅ ΠΏΡΠΈΠ²ΠΎΠ΄ΡΡ ΠΊ Π·Π°ΠΌΠ΅Π½Π΅ ΠΌΠ΅Ρ Π°Π½ΠΈΠ·ΠΌΠ°, ΠΏΠΎΡΠΊΠΎΠ»ΡΠΊΡ Π² Π±ΠΎΠ»ΡΡΠΈΠ½ΡΡΠ²Π΅ Π°Π²ΡΠΎΠΌΠΎΠ±ΠΈΠ»Π΅ΠΉ ΡΠ·Π΅Π» Π½Π΅ ΠΏΠΎΠ΄Π»Π΅ΠΆΠΈΡ Π²ΠΎΡΡΡΠ°Π½ΠΎΠ²Π»Π΅Π½ΠΈΡ.
Π‘ Π΄ΡΡΠ³ΠΎΠΉ ΡΡΠΎΡΠΎΠ½Ρ, ΡΠ»Π΅ΠΊΡΡΠΎΠΏΡΠΈΠ²ΠΎΠ΄ Π½Π΅ ΠΏΡΠ΅ΠΏΡΡΡΡΠ²ΡΠ΅Ρ Π΅Π·Π΄Π΅ ΠΏΠΎΡΠ»Π΅ Π²ΡΡ
ΠΎΠ΄Π° ΠΈΠ· ΡΡΡΠΎΡ, ΠΊΠ°ΠΊ ΡΡΠΎ Π΄Π΅Π»Π°Π΅Ρ ΠΠ£Π , ΠΊΠΎΡΠΎΡΡΠΉ ΠΌΠΎΠΆΠ½ΠΎ Β«ΠΎΠ±Π΅Π·Π²ΡΠ΅Π΄ΠΈΡΡΒ» ΡΠΎΠ»ΡΠΊΠΎ ΠΎΡΠΊΠ»ΡΡΠ΅Π½ΠΈΠ΅ΠΌ Π½Π°ΡΠΎΡΠ°.
ΠΠΎΡΡΠΎΠΌΡ, Π²ΡΠ±ΠΈΡΠ°Ρ Π³ΠΈΠ΄ΡΠΎΡΡΠΈΠ»ΠΈΡΠ΅Π»Ρ ΠΈΠ»ΠΈ ΡΠ»Π΅ΠΊΡΡΠΎΡΡΠΈΠ»ΠΈΡΠ΅Π»Ρ ΡΡΠ»Ρ, ΡΡΠΊΠΎΠ²ΠΎΠ΄ΡΡΠ²ΡΠΉΡΠ΅ΡΡ ΡΠΎΠΎΠ±ΡΠ°ΠΆΠ΅Π½ΠΈΡΠΌΠΈ ΡΠ΅Π»Π΅ΡΠΎΠΎΠ±ΡΠ°Π·Π½ΠΎΡΡΠΈ. ΠΠ°ΠΏΡΠΈΠΌΠ΅Ρ, ΠΌΠ°ΡΠΈΠ½Ρ ΡΠΊΠΎΠ½ΠΎΠΌ-ΠΊΠ»Π°ΡΡΠ° Π»ΡΡΡΠ΅ ΠΏΠΎΠΊΡΠΏΠ°ΡΡ Ρ Π³ΠΈΠ΄ΡΠ°Π²Π»ΠΈΡΠ΅ΡΠΊΠΈΠΌ ΡΡΠΈΠ»ΠΈΡΠ΅Π»Π΅ΠΌ, Π° Π±ΠΈΠ·Π½Π΅Ρ- ΠΈ ΠΏΡΠ΅ΠΌΠΈΡΠΌ-ΠΊΠ»Π°ΡΡ β Ρ ΡΠ»Π΅ΠΊΡΡΠΈΡΠ΅ΡΠΊΠΈΠΌ.
ΠΠ»Π°Π΄Π΅Π»ΡΡΡ ΠΎΡΠ΅ΡΠ΅ΡΡΠ²Π΅Π½Π½ΡΡ Π°Π²ΡΠΎ ΠΎΡΠΌΠ΅ΡΠ°ΡΡ ΡΠ»ΡΡΠ°ΠΈ, ΠΊΠΎΠ³Π΄Π° ΡΠ»Π΅ΠΊΡΡΠΈΡΠ΅ΡΠΊΠΈΠΉ ΡΡΠΈΠ»ΠΈΡΠ΅Π»Ρ ΠΈΠ·-Π·Π° ΡΠ±ΠΎΠ΅Π² ΡΠ»Π΅ΠΊΡΡΠΎΠ½ΠΈΠΊΠΈ ΠΏΡΡΠ°Π»ΡΡ Β«ΡΡΠ»ΠΈΡΡΒ» Π²ΠΌΠ΅ΡΡΠΎ Π²ΠΎΠ΄ΠΈΡΠ΅Π»Ρ, Ρ ΠΎΡΡ ΠΏΠΎΠ΄ΠΎΠ±Π½ΡΠ΅ ΠΌΠΎΠΌΠ΅Π½ΡΡ ΠΊΡΠ°ΠΉΠ½Π΅ ΡΠ΅Π΄ΠΊΠΈ. Π’Π΅ΠΌ Π½Π΅ ΠΌΠ΅Π½Π΅Π΅, ΠΠ£Π ΠΏΠΎΡΡΠΎΡΠ½Π½ΠΎ ΡΠΎΠ²Π΅ΡΡΠ΅Π½ΡΡΠ²ΡΠ΅ΡΡΡ ΠΈ Π²ΡΡΠ΅ΡΠ½ΡΠ΅Ρ Π³ΠΈΠ΄ΡΠ°Π²Π»ΠΈΠΊΡ Ρ ΡΡΠ½ΠΊΠ° Π±Π»Π°Π³ΠΎΠ΄Π°ΡΡ Π±ΠΎΠ»Π΅Π΅ ΡΠ΄Π°ΡΠ½ΠΎΠΉ ΠΈ ΠΏΡΠΎΡΡΠΎΠΉ ΠΊΠΎΠ½ΡΡΡΡΠΊΡΠΈΠΈ.
ΠΠΈΠ΄ΡΠ°Π²Π»ΠΈΡΠ΅ΡΠΊΠΈΠΉ ΡΡΠΈΠ»ΠΈΡΠ΅Π»Ρ ΠΠΈΠΊΠΈ
Π‘Π»Π΅Π΄ΡΡΠΈΠΉ Π³ΠΈΠ΄ΡΠΎΠΏΡΠΈΠ²ΠΎΠ΄ β ΡΡΠΎ ΡΠ΅Π³ΡΠ»ΠΈΡΡΠ΅ΠΌΡΠΉ Π³ΠΈΠ΄ΡΠΎΠΏΡΠΈΠ²ΠΎΠ΄, Π² ΠΊΠΎΡΠΎΡΠΎΠΌ Π·Π°ΠΊΠΎΠ½ Π΄Π²ΠΈΠΆΠ΅Π½ΠΈΡ Π²ΡΡ ΠΎΠ΄Π½ΠΎΠ³ΠΎ Π·Π²Π΅Π½Π° (Π²Π°Π»Π° Π³ΠΈΠ΄ΡΠΎΠΌΠΎΡΠΎΡΠ° ΠΈΠ»ΠΈ ΡΡΠΎΠΊΠ° (Π² Π½Π΅ΠΊΠΎΡΠΎΡΡΡ ΡΠ»ΡΡΠ°ΡΡ ΠΊΠΎΡΠΏΡΡΠ°) Π³ΠΈΠ΄ΡΠΎΡΠΈΠ»ΠΈΠ½Π΄ΡΠ°) ΠΈΠ·ΠΌΠ΅Π½ΡΠ΅ΡΡΡ Π² Π·Π°Π²ΠΈΡΠΈΠΌΠΎΡΡΠΈ ΠΎΡ ΡΠΏΡΠ°Π²Π»ΡΡΡΠ΅Π³ΠΎ Π²ΠΎΠ·Π΄Π΅ΠΉΡΡΠ²ΠΈΡ.
ΠΠ°ΠΊ ΠΏΡΠ°Π²ΠΈΠ»ΠΎ ΠΊ ΡΡΠ½ΠΊΡΠΈΡΠΌ ΡΠ»Π΅ΠΆΠ΅Π½ΠΈΡ Π² ΡΠ»Π΅Π΄ΡΡΠ΅ΠΌ Π³ΠΈΠ΄ΡΠΎΠΏΡΠΈΠ²ΠΎΠ΄Π΅ Π΄ΠΎΠ±Π°Π²Π»ΡΡΡΡΡ ΡΡΠ½ΠΊΡΠΈΠΈ ΡΡΠΈΠ»Π΅Π½ΠΈΡ ΡΠΏΡΠ°Π²Π»ΡΡΡΠ΅Π³ΠΎ ΡΠΈΠ³Π½Π°Π»Π° ΠΏΠΎ ΠΌΠΎΡΠ½ΠΎΡΡΠΈ.
ΠΠΎΡΡΠΎΠΌΡ ΡΠΈΠ½ΠΎΠ½ΠΈΠΌΠΎΠΌ ΡΠ΅ΡΠΌΠΈΠ½Π° ΡΠ»Π΅Π΄ΡΡΠΈΠΉ Π³ΠΈΠ΄ΡΠΎΠΏΡΠΈΠ²ΠΎΠ΄ ΡΡΠΈΡΠ°Π΅ΡΡΡ ΡΠ΅ΡΠΌΠΈΠ½ Π³ΠΈΠ΄ΡΠΎΡΡΠΈΠ»ΠΈΡΠ΅Π»Ρ.
ΠΡΠΈΠ½ΡΠΈΠΏ ΡΠ°Π±ΠΎΡΡ Π³ΠΈΠ΄ΡΠΎΡΡΠΈΠ»ΠΈΡΠ΅Π»Ρ Ρ Π·ΠΎΠ»ΠΎΡΠ½ΠΈΠΊΠΎΠ²ΡΠΌ ΡΠ°ΡΠΏΡΠ΅Π΄Π΅Π»ΠΈΡΠ΅Π»Π΅ΠΌ[ | ΠΊΠΎΠ΄]
ΠΠ΄Π½Π° ΠΈΠ· Π²ΠΎΠ·ΠΌΠΎΠΆΠ½ΡΡ ΠΊΠΎΠ½ΡΡΡΡΠΊΡΠΈΠ²Π½ΡΡ ΡΡ Π΅ΠΌ Π³ΠΈΠ΄ΡΠΎΡΡΠΈΠ»ΠΈΡΠ΅Π»Ρ ΠΏΠΎΠΊΠ°Π·Π°Π½Π° Π½Π° ΡΠΈΡ. 1.
Π ΠΈΡ. 1. ΠΠ΄Π½Π° ΠΈΠ· ΠΊΠΎΠ½ΡΡΡΡΠΊΡΠΈΠ²Π½ΡΡ ΡΡ Π΅ΠΌ Π³ΠΈΠ΄ΡΠΎΡΡΠΈΠ»ΠΈΡΠ΅Π»Ρ Π ΠΈΡ. 2. ΠΡΠΈΠ½ΡΠΈΠΏ ΡΠ°Π±ΠΎΡΡ Π³ΠΈΠ΄ΡΠ°Π²Π»ΠΈΡΠ΅ΡΠΊΠΎΠ³ΠΎ ΡΡΠΈΠ»ΠΈΡΠ΅Π»Ρ Ρ Π²ΡΡ ΠΎΠ΄Π½ΡΠΌ Π·Π²Π΅Π½ΠΎΠΌ Π² Π²ΠΈΠ΄Π΅ Π΄Π²ΡΡ ΡΡΠΎΠΊΠΎΠ²ΠΎΠ³ΠΎ Π³ΠΈΠ΄ΡΠΎΡΠΈΠ»ΠΈΠ½Π΄ΡΠ°Π ΡΡΠΎΠΉ ΡΡ
Π΅ΠΌΠ΅ ΠΏΠ΅ΡΠ΅ΠΌΠ΅ΡΠ΅Π½ΠΈΠ΅ ΡΠΏΡΠ°Π²Π»ΡΡΡΠ΅ΠΉ ΡΡΠΊΠΎΡΡΠΊΠΈ Π²ΠΏΡΠ°Π²ΠΎ ΡΠ΅ΡΠ΅Π· ΠΌΠ΅Ρ
Π°Π½ΠΈΡΠ΅ΡΠΊΡΡ ΡΠ²ΡΠ·Ρ Π²ΡΠ·ΡΠ²Π°Π΅Ρ ΡΠΌΠ΅ΡΠ΅Π½ΠΈΠ΅ Π·ΠΎΠ»ΠΎΡΠ½ΠΈΠΊΠ° ΡΠ°ΠΊΠΆΠ΅ Π²ΠΏΡΠ°Π²ΠΎ. ΠΡΠΈ ΡΡΠΎΠΌ ΠΎΡΠΊΡΡΠ²Π°ΡΡΡΡ ΠΊΠ°Π½Π°Π»Ρ Π·ΠΎΠ»ΠΎΡΠ½ΠΈΠΊΠΎΠ²ΠΎΠ³ΠΎ Π³ΠΈΠ΄ΡΠΎΡΠ°ΡΠΏΡΠ΅Π΄Π΅Π»ΠΈΡΠ΅Π»Ρ, Π² ΡΠ΅Π·ΡΠ»ΡΡΠ°ΡΠ΅ ΡΠ΅Π³ΠΎ ΠΆΠΈΠ΄ΠΊΠΎΡΡΡ ΠΎΡ Π½Π°ΡΠΎΡΠ° ΠΏΠΎΠ΄Π°ΡΡΡΡ Π² ΠΏΡΠ°Π²ΡΡ ΠΏΠΎΠ»ΠΎΡΡΡ Π³ΠΈΠ΄ΡΠΎΠ΄Π²ΠΈΠ³Π°ΡΠ΅Π»Ρ, Π² ΠΊΠ°ΡΠ΅ΡΡΠ²Π΅ ΠΊΠΎΡΠΎΡΠΎΠ³ΠΎ ΠΏΡΠΈΠΌΠ΅Π½ΡΠ½ Π΄Π²ΡΡ
ΡΡΠΎΠΊΠΎΠ²ΡΠΉ Π³ΠΈΠ΄ΡΠΎΡΠΈΠ»ΠΈΠ½Π΄Ρ. Π ΡΡΠΎΠΉ ΠΏΠΎΠ»ΠΎΡΡΠΈ Π³ΠΈΠ΄ΡΠΎΡΠΈΠ»ΠΈΠ½Π΄ΡΠ° ΡΠΎΠ·Π΄Π°ΡΡΡΡ ΠΈΠ·Π±ΡΡΠΎΡΠ½ΠΎΠ΅ Π΄Π°Π²Π»Π΅Π½ΠΈΠ΅, ΠΈ, ΠΊΠ°ΠΊ ΡΠ»Π΅Π΄ΡΡΠ²ΠΈΠ΅, Π²ΡΡ
ΠΎΠ΄Π½ΠΎΠ΅ Π·Π²Π΅Π½ΠΎ Π΄Π²ΠΈΠΆΠ΅ΡΡΡ Π²ΠΏΡΠ°Π²ΠΎ, ΡΠΎ Π΅ΡΡΡ Π² ΡΠΎΠΌ ΠΆΠ΅ Π½Π°ΠΏΡΠ°Π²Π»Π΅Π½ΠΈΠΈ, ΡΡΠΎ ΠΈ ΡΡΠΊΠΎΡΡΠΊΠ°. ΠΠΎΡΠΊΠΎΠ»ΡΠΊΡ Π²ΡΡ
ΠΎΠ΄Π½ΠΎΠ΅ Π·Π²Π΅Π½ΠΎ ΠΆΡΡΡΠΊΠΎ ΡΠ²ΡΠ·Π°Π½ΠΎ Ρ ΠΊΠΎΡΠΏΡΡΠΎΠΌ ΡΠ°ΡΠΏΡΠ΅Π΄Π΅Π»ΠΈΡΠ΅Π»Ρ, ΡΠΎ ΠΏΠ΅ΡΠ΅ΠΌΠ΅ΡΠ΅Π½ΠΈΠ΅ Π²ΡΡ
ΠΎΠ΄Π½ΠΎΠ³ΠΎ Π·Π²Π΅Π½Π° Π²ΡΠ·ΡΠ²Π°Π΅Ρ ΡΠ°ΠΊΠΎΠ΅ ΠΆΠ΅ ΠΏΠΎ Π²Π΅Π»ΠΈΡΠΈΠ½Π΅ ΠΏΠ΅ΡΠ΅ΠΌΠ΅ΡΠ΅Π½ΠΈΠ΅ ΠΊΠΎΡΠΏΡΡΠ° ΡΠ°ΡΠΏΡΠ΅Π΄Π΅Π»ΠΈΡΠ΅Π»Ρ (ΡΠΈΡ.
2). Π ΡΠ΅Π·ΡΠ»ΡΡΠ°ΡΠ΅ ΡΠΌΠ΅ΡΠ΅Π½ΠΈΡ ΠΊΠΎΡΠΏΡΡΠ° ΡΠ°ΡΠΏΡΠ΅Π΄Π΅Π»ΠΈΡΠ΅Π»Ρ, ΠΊΠ°Π½Π°Π»Ρ Π² Π³ΠΈΠ΄ΡΠΎΡΠ°ΡΠΏΡΠ΅Π΄Π΅Π»ΠΈΡΠ΅Π»Π΅ ΠΏΠ΅ΡΠ΅ΠΊΡΡΠ²Π°ΡΡΡΡ ΠΏΠΎΡΡΠΊΠ°ΠΌΠΈ Π·ΠΎΠ»ΠΎΡΠ½ΠΈΠΊΠ° ΠΈ ΠΏΠΎΠ΄Π°ΡΠ° ΠΆΠΈΠ΄ΠΊΠΎΡΡΠΈ ΠΎΡ Π½Π°ΡΠΎΡΠ° Π² ΠΏΠΎΠ»ΠΎΡΡΡ Π³ΠΈΠ΄ΡΠΎΡΠΈΠ»ΠΈΠ½Π΄ΡΠ° ΠΏΡΠ΅ΠΊΡΠ°ΡΠ°Π΅ΡΡΡ. Π’Π°ΠΊΠΈΠΌ ΠΎΠ±ΡΠ°Π·ΠΎΠΌ, ΠΈ ΡΠΏΡΠ°Π²Π»ΡΡΡΠ°Ρ ΡΡΠΊΠΎΡΡΠΊΠ°, ΠΈ Π²ΡΡ
ΠΎΠ΄Π½ΠΎΠ΅ Π·Π²Π΅Π½ΠΎ Π³ΠΈΠ΄ΡΠΎΠ΄Π²ΠΈΠ³Π°ΡΠ΅Π»Ρ Π΄Π²ΠΈΠΆΡΡΡΡ ΡΠΈΠ½Ρ
ΡΠΎΠ½Π½ΠΎ. ΠΠ΄Π½Π°ΠΊΠΎ Π·Π° ΡΡΡΡ ΡΠΎΠ³ΠΎ, ΡΡΠΎ ΡΡΠΈΠ»ΠΈΠ΅ Π½Π° Π²ΡΡ
ΠΎΠ΄Π½ΠΎΠΌ Π·Π²Π΅Π½Π΅ ΡΠΎΠ·Π΄Π°ΡΡΡΡ Π·Π° ΡΡΡΡ Π΄Π°Π²Π»Π΅Π½ΠΈΡ, ΡΠ°Π·Π²ΠΈΠ²Π°Π΅ΠΌΠΎΠ³ΠΎ Π½Π°ΡΠΎΡΠΎΠΌ, ΡΠΎ ΡΡΠΎ ΡΡΠΈΠ»ΠΈΠ΅ ΠΌΠ½ΠΎΠ³ΠΎΠΊΡΠ°ΡΠ½ΠΎ Π±ΠΎΠ»ΡΡΠ΅, ΡΠ΅ΠΌ ΡΡΠΈΠ»ΠΈΠ΅, ΠΏΡΠΈΠΊΠ»Π°Π΄ΡΠ²Π°Π΅ΠΌΠΎΠ΅ ΠΊ ΡΡΠΊΠΎΡΡΠΊΠ΅ ΠΎΠΏΠ΅ΡΠ°ΡΠΎΡΠΎΠΌ. ΠΠΎΡΡΡΠΈΡΠΈΠ΅Π½Ρ ΡΡΠΈΠ»Π΅Π½ΠΈΡ ΡΠ»Π΅Π΄ΡΡΠΈΡ
Π³ΠΈΠ΄ΡΠΎΠΏΡΠΈΠ²ΠΎΠ΄ΠΎΠ² ΠΏΡΠ°ΠΊΡΠΈΡΠ΅ΡΠΊΠΈ Π½Π΅ΠΎΠ³ΡΠ°Π½ΠΈΡΠ΅Π½, ΠΈ ΠΌΠΎΡΠ½ΠΎΡΡΡ Π²Ρ
ΠΎΠ΄Π½ΠΎΠ³ΠΎ ΡΠΈΠ³Π½Π°Π»Π° ΠΌΠΎΠΆΠ΅Ρ Π±ΡΡΡ ΡΠΌΠ΅Π½ΡΡΠ΅Π½Π° Π΄ΠΎ Π½ΠΈΡΡΠΎΠΆΠ½ΠΎ ΠΌΠ°Π»ΠΎΠΉ Π²Π΅Π»ΠΈΡΠΈΠ½Ρ (ΠΏΡΠΈΠΌΠ΅ΡΠ½ΠΎ 0,5 ΠΡ).
Π ΡΠ°ΡΡΠΌΠΎΡΡΠ΅Π½Π½ΠΎΠΉ ΠΊΠΎΠ½ΡΡΡΡΠΊΡΠΈΠΈ ΡΠ°ΡΠΏΡΠ΅Π΄Π΅Π»ΠΈΡΠ΅Π»Ρ ΠΏΠ΅ΡΠ΅ΠΌΠ΅ΡΠ΅Π½ΠΈΠ΅ Π·ΠΎΠ»ΠΎΡΠ½ΠΈΠΊΠ° ΠΌΠΎΠΆΠ΅Ρ Π²ΡΠ·ΡΠ²Π°ΡΡΡΡ Π½Π΅ ΡΠΎΠ»ΡΠΊΠΎ Π»ΠΈΠ½Π΅ΠΉΠ½ΡΠΌ ΠΏΠ΅ΡΠ΅ΠΌΠ΅ΡΠ΅Π½ΠΈΠ΅ΠΌ ΡΠΏΡΠ°Π²Π»ΡΡΡΠ΅ΠΉ ΡΡΠΊΠΎΡΡΠΊΠΈ, Π½ΠΎ ΠΈ, ΠΏΡΠΈ Π½Π΅Π±ΠΎΠ»ΡΡΠΈΡ ΠΊΠΎΠ½ΡΡΡΡΠΊΡΠΈΠ²Π½ΡΡ ΠΈΠ·ΠΌΠ΅Π½Π΅Π½ΠΈΡΡ , Π²ΠΎΠ·ΠΌΠΎΠΆΠ½ΠΎ ΠΎΡΡΡΠ΅ΡΡΠ²ΠΈΡΡ Π²Ρ ΠΎΠ΄Π½ΠΎΠ΅ Π΄Π²ΠΈΠΆΠ΅Π½ΠΈΠ΅ Π·ΠΎΠ»ΠΎΡΠ½ΠΈΠΊΠ° Ρ ΠΏΠΎΠΌΠΎΡΡΡ Π²ΡΠ°ΡΠ°ΡΠ΅Π»ΡΠ½ΠΎΠ³ΠΎ Π΄Π²ΠΈΠΆΠ΅Π½ΠΈΡ ΡΡΠ»Ρ (Π½Π°ΠΏΡΠΈΠΌΠ΅Ρ, ΡΠ΅ΡΠ΅Π· Π²ΠΈΠ½ΡΠΎΠ²ΡΡ ΠΏΠ΅ΡΠ΅Π΄Π°ΡΡ).
ΠΡΠΎΡΠΈΠ»Ρ ΠΏΠΎΡΡΠΊΠΎΠ² Π·ΠΎΠ»ΠΎΡΠ½ΠΈΠΊΠ°[ | ΠΊΠΎΠ΄]
ΠΠ½ΠΎΠ³Π΄Π° ΠΏΠΎΡΡΠΊΠΈ Π·ΠΎΠ»ΠΎΡΠ½ΠΈΠΊΠΎΠ² Π³ΠΈΠ΄ΡΠΎΡΠ°ΡΠΏΡΠ΅Π΄Π΅Π»ΠΈΡΠ΅Π»Π΅ΠΉ Π²ΡΠΏΠΎΠ»Π½ΡΡΡ Ρ Π½Π΅Π±ΠΎΠ»ΡΡΠΎΠΉ ΠΊΠΎΠ½ΡΡΠ½ΠΎΡΡΡΡ (6Β°-10Β°) (ΡΠΈΡ.
4). Π’ΠΎΠ³Π΄Π° ΠΎΡΠΊΡΡΡΠΈΠ΅ ΠΊΠ°Π½Π°Π»ΠΎΠ² ΡΠ°ΡΠΏΡΠ΅Π΄Π΅Π»ΠΈΡΠ΅Π»Ρ ΠΏΡΠΎΠΈΡΡ
ΠΎΠ΄ΠΈΡ Π±ΠΎΠ»Π΅Π΅ ΠΏΠ»Π°Π²Π½ΠΎ, ΡΠ΅ΠΌ Π² ΡΠ°ΡΠΏΡΠ΅Π΄Π΅Π»ΠΈΡΠ΅Π»ΡΡ
Ρ Π·ΠΎΠ»ΠΎΡΠ½ΠΈΠΊΠ°ΠΌΠΈ Ρ ΡΠΈΠ»ΠΈΠ½Π΄ΡΠΈΡΠ΅ΡΠΊΠΈΠΌΠΈ ΠΏΠΎΡΡΠΊΠ°ΠΌΠΈ (ΡΠΈΡ. 5). Π‘ΠΎΠΎΡΠ²Π΅ΡΡΡΠ²Π΅Π½Π½ΠΎ, ΠΏΡΠΈ ΠΎΡΠΊΡΡΡΠΈΠΈ ΠΊΠ°Π½Π°Π»ΠΎΠ² Π±ΠΎΠ»Π΅Π΅ ΠΏΠ»Π°Π²Π½ΠΎ Π½Π°ΡΠ°ΡΡΠ°Π΅Ρ ΠΈ ΠΏΠΎΠ΄Π°ΡΠ° ΠΆΠΈΠ΄ΠΊΠΎΡΡΠΈ Π² ΠΏΠΎΠ»ΠΎΡΡΠΈ Π³ΠΈΠ΄ΡΠΎΠ΄Π²ΠΈΠ³Π°ΡΠ΅Π»Ρ, ΠΈ ΠΏΠΎΡΡΠΎΠΌΡ Β«ΡΡΠΎΠ³Π°Π½ΠΈΠ΅ Ρ ΠΌΠ΅ΡΡΠ°Β» ΠΈ ΠΎΡΡΠ°Π½ΠΎΠ²ΠΊΠ° Π²ΡΡ
ΠΎΠ΄Π½ΠΎΠ³ΠΎ Π·Π²Π΅Π½Π° Π³ΠΈΠ΄ΡΠΎΡΡΠΈΠ»ΠΈΡΠ΅Π»Ρ ΡΠ°ΠΊΠΆΠ΅ ΠΏΡΠΎΠΈΡΡ
ΠΎΠ΄ΠΈΡ Π±ΠΎΠ»Π΅Π΅ ΠΏΠ»Π°Π²Π½ΠΎ. ΠΠ½ΡΠΌΠΈ ΡΠ»ΠΎΠ²Π°ΠΌΠΈ, ΠΏΡΠΈ Π½Π°Π»ΠΈΡΠΈΠΈ ΠΊΠΎΠ½ΡΡΠ½ΠΎΡΡΠΈ Π² ΠΊΠΎΠ½ΡΡΡΡΠΊΡΠΈΠΈ Π·ΠΎΠ»ΠΎΡΠ½ΠΈΠΊΠΎΠ² ΡΡΠ²ΡΡΠ²ΠΈΡΠ΅Π»ΡΠ½ΠΎΡΡΡ Π³ΠΈΠ΄ΡΠΎΡΡΠΈΠ»ΠΈΡΠ΅Π»Ρ ΡΠ½ΠΈΠΆΠ°Π΅ΡΡΡ.
Π ΠΈΡ. 4. ΠΠΎΡΡΠΊΠΈ Π·ΠΎΠ»ΠΎΡΠ½ΠΈΠΊΠ° ΠΏΡΠΈ Π½Π°Π»ΠΈΡΠΈΠΈ ΠΊΠΎΠ½ΡΡΠ½ΠΎΡΡΠΈ; ΠΏΡΠΈ ΡΠ°ΠΊΠΎΠΉ ΠΊΠΎΠ½ΡΡΡΡΠΊΡΠΈΠΈ Β«ΡΡΠΎΠ³Π°Π½ΠΈΠ΅ Ρ ΠΌΠ΅ΡΡΠ°Β» ΠΈ ΠΎΡΡΠ°Π½ΠΎΠ²ΠΊΠ° Π²ΡΡ ΠΎΠ΄Π½ΠΎΠ³ΠΎ Π·Π²Π΅Π½Π° Π³ΠΈΠ΄ΡΠΎΡΡΠΈΠ»ΠΈΡΠ΅Π»Ρ ΠΏΡΠΎΠΈΡΡ ΠΎΠ΄ΠΈΡ Π±ΠΎΠ»Π΅Π΅ ΠΏΠ»Π°Π²Π½ΠΎ
Π ΠΈΡ. 5. Π¦ΠΈΠ»ΠΈΠ½Π΄ΡΠΈΡΠ΅ΡΠΊΠΈΠ΅ ΠΏΠΎΡΡΠΊΠΈ Π·ΠΎΠ»ΠΎΡΠ½ΠΈΠΊΠ°
ΠΠΈΠ΄ΡΠΎΡΡΠΈΠ»ΠΈΡΠ΅Π»ΠΈ Ρ ΠΊΠ»Π°ΠΏΠ°Π½Π½ΡΠΌΠΈ ΡΠ°ΡΠΏΡΠ΅Π΄Π΅Π»ΠΈΡΠ΅Π»ΡΠΌΠΈ[ | ΠΊΠΎΠ΄]
ΠΠΎΠΌΠΈΠΌΠΎ Π·ΠΎΠ»ΠΎΡΠ½ΠΈΠΊΠΎΠ²ΡΡ
ΡΠ°ΡΠΏΡΠ΅Π΄Π΅Π»ΠΈΡΠ΅Π»Π΅ΠΉ Π² ΠΊΠΎΠ½ΡΡΡΡΠΊΡΠΈΡΡ
Π³ΠΈΠ΄ΡΠΎΡΡΠΈΠ»ΠΈΡΠ΅Π»Π΅ΠΉ ΠΈΠ½ΠΎΠ³Π΄Π° ΠΏΡΠΈΠΌΠ΅Π½ΡΡΡ ΠΊΠ»Π°ΠΏΠ°Π½Π½ΡΠ΅ ΡΠ°ΡΠΏΡΠ΅Π΄Π΅Π»ΠΈΡΠ΅Π»ΠΈ. ΠΠ΄Π½Π° ΠΈΠ· Π²ΠΎΠ·ΠΌΠΎΠΆΠ½ΡΡ
ΠΊΠΎΠ½ΡΡΡΡΠΊΡΠΈΠ²Π½ΡΡ
ΡΡ
Π΅ΠΌ ΡΠ°ΠΊΠΎΠ³ΠΎ Π³ΠΈΠ΄ΡΠΎΡΡΠΈΠ»ΠΈΡΠ΅Π»Ρ ΠΏΡΠΈΠ²Π΅Π΄Π΅Π½Π° Π½Π° ΡΠΈΡ. 6.
Π ΡΠ°ΠΊΠΎΠΌ Π³ΠΈΠ΄ΡΠΎΡΡΠΈΠ»ΠΈΡΠ΅Π»Π΅ ΠΏΡΠΈ ΠΏΠ΅ΡΠ΅ΠΌΠ΅ΡΠ΅Π½ΠΈΠΈ ΡΡΡΠΊΠΈ ΡΠΏΡΠ°Π²Π»Π΅Π½ΠΈΡ Π²Π»Π΅Π²ΠΎ ΠΎΡΠΊΡΡΠ²Π°Π΅ΡΡΡ Π²Π΅ΡΡ Π½ΠΈΠΉ ΠΊΠ»Π°ΠΏΠ°Π½, ΠΈ ΠΆΠΈΠ΄ΠΊΠΎΡΡΡ ΠΎΡ Π½Π°ΡΠΎΡΠ° ΠΏΠΎ ΠΊΠ°Π½Π°Π»Π°ΠΌ Π²Π½ΡΡΡΠΈ Π³ΠΈΠ΄ΡΠΎΡΡΠΈΠ»ΠΈΡΠ΅Π»Ρ ΠΏΠΎΠ΄Π°ΡΡΡΡ Π² ΠΏΡΠ°Π²ΡΡ ΠΏΠΎΠ»ΠΎΡΡΡ ΡΠΈΠ»ΠΈΠ½Π΄ΡΠ°. ΠΡΠΈ ΡΡΠΎΠΌ Π² ΡΡΠΎΠΉ ΠΏΠΎΠ»ΠΎΡΡΠΈ ΡΠΎΠ·Π΄Π°ΡΡΡΡ ΠΈΠ·Π±ΡΡΠΎΡΠ½ΠΎΠ΅ Π΄Π°Π²Π»Π΅Π½ΠΈΠ΅, ΠΏΠΎΠ΄ Π΄Π΅ΠΉΡΡΠ²ΠΈΠ΅ΠΌ ΠΊΠΎΡΠΎΡΠΎΠ³ΠΎ ΠΏΠΎΡΡΠ΅Π½Ρ Π½Π°ΡΠΈΠ½Π°Π΅Ρ ΠΏΠ΅ΡΠ΅ΠΌΠ΅ΡΠ°ΡΡΡΡ Π²Π»Π΅Π²ΠΎ, ΡΠΎ Π΅ΡΡΡ Π² ΡΡ ΠΆΠ΅ ΡΡΠΎΡΠΎΠ½Ρ, Π² ΠΊΠΎΡΠΎΡΡΡ Π±ΡΠ»Π° ΠΏΠ΅ΡΠ΅ΠΌΠ΅ΡΠ΅Π½Π° ΡΡΡΠΊΠ° ΡΠΏΡΠ°Π²Π»Π΅Π½ΠΈΡ. ΠΠΎΡΠΊΠΎΠ»ΡΠΊΡ ΠΏΠΎΡΡΠ΅Π½Ρ ΠΆΡΡΡΠΊΠΎ ΡΠ²ΡΠ·Π°Π½ Ρ ΠΊΠΎΡΠΏΡΡΠΎΠΌ ΡΠ°ΡΠΏΡΠ΅Π΄Π΅Π»ΠΈΡΠ΅Π»Ρ, ΡΠΎ ΠΏΠ΅ΡΠ΅ΠΌΠ΅ΡΠ΅Π½ΠΈΠ΅ ΠΏΠΎΡΡΠ½Ρ Π²ΡΠ·ΡΠ²Π°Π΅Ρ ΡΠΎΡΠ½ΠΎ ΡΠ°ΠΊΠΎΠ΅ ΠΆΠ΅ ΠΏΠΎ Π²Π΅Π»ΠΈΡΠΈΠ½Π΅ ΠΈ Π½Π°ΠΏΡΠ°Π²Π»Π΅Π½ΠΈΡ ΠΏΠ΅ΡΠ΅ΠΌΠ΅ΡΠ΅Π½ΠΈΠ΅ ΠΊΠΎΡΠΏΡΡΠ° ΡΠ°ΡΠΏΡΠ΅Π΄Π΅Π»ΠΈΡΠ΅Π»Ρ. Π ΡΠ²ΠΎΡ ΠΎΡΠ΅ΡΠ΅Π΄Ρ ΡΠΌΠ΅ΡΠ΅Π½ΠΈΠ΅ ΠΊΠΎΡΠΏΡΡΠ° Π·Π°ΠΊΡΡΠ²Π°Π΅Ρ Π²Π΅ΡΡ Π½ΠΈΠΉ ΠΊΠ»Π°ΠΏΠ°Π½, ΠΈ ΠΏΠΎΠ΄Π°ΡΠ° ΠΆΠΈΠ΄ΠΊΠΎΡΡΠΈ Π² Π»Π΅Π²ΡΡ ΠΏΠΎΠ»ΠΎΡΡΡ ΡΠΈΠ»ΠΈΠ½Π΄ΡΠ° ΠΏΡΠ΅ΠΊΡΠ°ΡΠ°Π΅ΡΡΡ, ΠΈ ΡΠΎΠΎΡΠ²Π΅ΡΡΡΠ²Π΅Π½Π½ΠΎ ΠΏΡΠ΅ΠΊΡΠ°ΡΠ°Π΅ΡΡΡ Π΄Π²ΠΈΠΆΠ΅Π½ΠΈΠ΅ ΠΏΠΎΡΡΠ½Ρ. Π’Π°ΠΊΠΈΠΌ ΠΎΠ±ΡΠ°Π·ΠΎΠΌ, Π²ΡΡ ΠΎΠ΄Π½ΠΎΠ΅ Π·Π²Π΅Π½ΠΎ (ΡΡΠΎΠΊ ΠΏΠΎΡΡΠ½Ρ) Π΄Π²ΠΈΠΆΠ΅ΡΡΡ ΡΠΈΠ½Ρ ΡΠΎΠ½Π½ΠΎ Ρ Π²Ρ ΠΎΠ΄Π½ΡΠΌ Π·Π²Π΅Π½ΠΎΠΌ (ΡΡΡΠΊΠΎΠΉ ΡΠΏΡΠ°Π²Π»Π΅Π½ΠΈΡ).
ΠΡΠΈ Π΄Π²ΠΈΠΆΠ΅Π½ΠΈΠΈ ΠΏΠΎΡΡΠ½Ρ Π²Π»Π΅Π²ΠΎ ΠΆΠΈΠ΄ΠΊΠΎΡΡΡ ΠΈΠ· Π»Π΅Π²ΠΎΠΉ ΠΏΠΎΠ»ΠΎΡΡΠΈ ΡΠΈΠ»ΠΈΠ½Π΄ΡΠ° Π²ΡΡΠ΅ΡΠ½ΡΠ΅ΡΡΡ Π² Π³ΠΈΠ΄ΡΠΎΠ°ΠΊΠΊΡΠΌΡΠ»ΡΡΠΎΡ.
ΠΠΎΠ³Π΄Π° ΡΡΡΠΊΠ° ΡΠΏΡΠ°Π²Π»Π΅Π½ΠΈΡ ΠΏΠ΅ΡΠ΅ΠΌΠ΅ΡΠ°Π΅ΡΡΡ Π²ΠΏΡΠ°Π²ΠΎ, Π²Π΅ΡΡ
Π½ΠΈΠΉ ΠΊΠ»Π°ΠΏΠ°Π½ Π·Π°ΠΊΡΡΡ, Π½ΠΎ ΠΎΡΠΊΡΡΠ²Π°Π΅ΡΡΡ Π½ΠΈΠΆΠ½ΠΈΠΉ ΠΊΠ»Π°ΠΏΠ°Π½, ΠΈ ΠΆΠΈΠ΄ΠΊΠΎΡΡΡ ΠΈΠ· ΠΏΡΠ°Π²ΠΎΠΉ ΠΏΠΎΠ»ΠΎΡΡΠΈ ΡΠΈΠ»ΠΈΠ½Π΄ΡΠ° ΠΈΠ΄ΡΡ Π½Π° ΡΠ»ΠΈΠ² Π² Π±Π°ΠΊ.
ΠΠ²ΠΈΠΆΠ΅Π½ΠΈΠ΅ ΠΏΠΎΡΡΠ½Ρ ΠΏΡΠΈ ΡΡΠΎΠΌ ΠΏΡΠΎΠΈΡΡ
ΠΎΠ΄ΠΈΡ Π²ΠΏΡΠ°Π²ΠΎ ΠΏΠΎΠ΄ Π΄Π΅ΠΉΡΡΠ²ΠΈΠ΅ΠΌ Π΄Π°Π²Π»Π΅Π½ΠΈΡ, ΡΠΎΠ·Π΄Π°Π²Π°Π΅ΠΌΠΎΠ³ΠΎ Π³ΠΈΠ΄ΡΠΎΠ°ΠΊΠΊΡΠΌΡΠ»ΡΡΠΎΡΠΎΠΌ.
ΠΠΈΠ΄ΡΠΎΡΡΠΈΠ»ΠΈΡΠ΅Π»ΠΈ Ρ ΠΊΠ»Π°ΠΏΠ°Π½Π½ΡΠΌΠΈ ΡΠ°ΡΠΏΡΠ΅Π΄Π΅Π»ΠΈΡΠ΅Π»ΡΠΌΠΈ ΠΈΠΌΠ΅ΡΡ Π²ΡΡΠΎΠΊΡΡ ΡΠΎΡΠ½ΠΎΡΡΡ Π²ΠΎΡΠΏΡΠΎΠΈΠ·Π²Π΅Π΄Π΅Π½ΠΈΡ ΠΏΠΎ ΡΡΠ°Π²Π½Π΅Π½ΠΈΡ Ρ Π³ΠΈΠ΄ΡΠΎΡΡΠΈΠ»ΠΈΡΠ΅Π»ΡΠΌΠΈ Ρ Π·ΠΎΠ»ΠΎΡΠ½ΠΈΠΊΠΎΠ²ΡΠΌΠΈ ΡΠ°ΡΠΏΡΠ΅Π΄Π΅Π»ΠΈΡΠ΅Π»ΡΠΌΠΈ, ΠΏΠΎΡΠΊΠΎΠ»ΡΠΊΡ Π² Π·ΠΎΠ»ΠΎΡΠ½ΠΈΠΊΠΎΠ²ΡΡ ΡΠ°ΡΠΏΡΠ΅Π΄Π΅Π»ΠΈΡΠ΅Π»ΡΡ ΠΈΠΌΠ΅Π΅ΡΡΡ ΠΌΡΡΡΠ²Π°Ρ Π·ΠΎΠ½Π°, ΠΎΠ±ΡΡΠ»ΠΎΠ²Π»Π΅Π½Π½Π°Ρ ΡΠ΅ΠΌ, ΡΡΠΎ ΡΠΈΡΠΈΠ½Π° ΠΏΠΎΡΡΠΊΠΎΠ² Π·ΠΎΠ»ΠΎΡΠ½ΠΈΠΊΠ° ΠΎΠ±ΡΡΠ½ΠΎ Π΄Π΅Π»Π°Π΅ΡΡΡ Π½Π΅ΡΠΊΠΎΠ»ΡΠΊΠΎ Π±ΠΎΠ»ΡΡΠ΅ Π΄ΠΈΠ°ΠΌΠ΅ΡΡΠ° ΠΏΠ΅ΡΠ΅ΠΊΡΡΠ²Π°Π΅ΠΌΡΡ ΠΊΠ°Π½Π°Π»ΠΎΠ² (ΠΏΠΎΠ»ΠΎΠΆΠΈΡΠ΅Π»ΡΠ½ΠΎΠ΅ ΠΏΠ΅ΡΠ΅ΠΊΡΡΡΠΈΠ΅; Π°Π±ΡΠΎΠ»ΡΡΠ½ΠΎ ΡΠΎΡΠ½ΠΎΠ³ΠΎ ΡΠΎΠ²ΠΏΠ°Π΄Π΅Π½ΠΈΡ ΡΠΈΡΠΈΠ½Ρ ΠΏΠΎΡΡΠΊΠΎΠ² ΠΈ Π΄ΠΈΠ°ΠΌΠ΅ΡΡΠΎΠ² ΠΊΠ°Π½Π°Π»ΠΎΠ² Π½Π΅ ΡΠ΄Π°ΡΡΡΡ Π΄ΠΎΡΡΠΈΡΡ ΠΏΠΎ ΡΠ΅Ρ Π½ΠΎΠ»ΠΎΠ³ΠΈΡΠ΅ΡΠΊΠΈΠΌ ΠΏΡΠΈΡΠΈΠ½Π°ΠΌ ΠΈΠ·Π³ΠΎΡΠΎΠ²Π»Π΅Π½ΠΈΡ Π΄Π΅ΡΠ°Π»Π΅ΠΉ). Π ΠΊΠ»Π°ΠΏΠ°Π½Π½ΡΡ ΡΠ°ΡΠΏΡΠ΅Π΄Π΅Π»ΠΈΡΠ΅Π»ΡΡ ΠΌΡΡΡΠ²Π°Ρ Π·ΠΎΠ½Π° ΠΌΠΎΠΆΠ΅Ρ Π±ΡΡΡ Π»Π΅Π³ΠΊΠΎ ΡΡΡΡΠ°Π½Π΅Π½Π°.
ΠΠΈΠ΄ΡΠΎΡΡΠΈΠ»ΠΈΡΠ΅Π»Ρ ΠΊΡΡΡΡΡΠ΅Π³ΠΎ ΠΌΠΎΠΌΠ΅Π½ΡΠ°[ | ΠΊΠΎΠ΄]
- ΠΡΠ½ΠΎΠ²Π½Π°Ρ ΡΡΠ°ΡΡΡΒ β ΠΠΈΠ΄ΡΠΎΡΡΠΈΠ»ΠΈΡΠ΅Π»Ρ ΠΊΡΡΡΡΡΠ΅Π³ΠΎ ΠΌΠΎΠΌΠ΅Π½ΡΠ°
ΠΠΈΠ΄ΡΠΎΡΡΠΈΠ»ΠΈΡΠ΅Π»Ρ ΠΊΡΡΡΡΡΠ΅Π³ΠΎ ΠΌΠΎΠΌΠ΅Π½ΡΠ°Β β Π²ΠΈΠ΄ ΡΠ»Π΅Π΄ΡΡΠ΅Π³ΠΎ Π³ΠΈΠ΄ΡΠΎΠΏΡΠΈΠ²ΠΎΠ΄Π°, Π² ΠΊΠΎΡΠΎΡΠΎΠΌ Π³ΠΈΠ΄ΡΠΎΠ΄Π²ΠΈΠ³Π°ΡΠ΅Π»Π΅ΠΌ ΡΠ»ΡΠΆΠΈΡ Π»ΠΈΠ±ΠΎ Π³ΠΈΠ΄ΡΠΎΠΌΠΎΡΠΎΡ, Π»ΠΈΠ±ΠΎ ΠΏΠΎΠ²ΠΎΡΠΎΡΠ½ΡΠΉ Π³ΠΈΠ΄ΡΠΎΠ΄Π²ΠΈΠ³Π°ΡΠ΅Π»Ρ.
Π Π΄Π°Π½Π½ΠΎΠΌ ΡΠΈΠΏΠ΅ Π³ΠΈΠ΄ΡΠΎΡΡΠΈΠ»ΠΈΡΠ΅Π»Π΅ΠΉ ΠΎΠ±ΡΡΠ½ΠΎ ΠΈΡΠΏΠΎΠ»ΡΠ·ΡΠ΅ΡΡΡ Π³ΠΈΠ΄ΡΠ°Π²Π»ΠΈΡΠ΅ΡΠΊΠΈΠΉ ΡΠ°ΡΠΏΡΠ΅Π΄Π΅Π»ΠΈΡΠ΅Π»Ρ Ρ ΠΏΠΎΠ²ΠΎΡΠΎΡΠ½ΡΠΌ Π·ΠΎΠ»ΠΎΡΠ½ΠΈΠΊΠΎΠΌ, Π²ΡΠΏΠΎΠ»Π½Π΅Π½Π½ΡΠΌ Π² Π²ΠΈΠ΄Π΅ ΠΊΡΠ°Π½Π°, ΠΏΡΠΈ ΡΡΠΎΠΌ Ρ ΡΠ°ΡΠΏΡΠ΅Π΄Π΅Π»ΠΈΡΠ΅Π»Ρ ΠΈΠΌΠ΅Π΅ΡΡΡ ΠΎΡΡΠ»Π΅ΠΆΠΈΠ²Π°ΡΡΠ°Ρ Π²ΡΡΠ»ΠΊΠ°.
Π‘ΡΡΡΠΉΠ½ΡΠ΅ ΡΡΠΈΠ»ΠΈΡΠ΅Π»ΠΈ[ | ΠΊΠΎΠ΄]
Π‘ΡΡΡΠΉΠ½ΡΠ΅ ΡΡΠΈΠ»ΠΈΡΠ΅Π»ΠΈ Π²ΡΠΏΠΎΠ»Π½ΡΡΡΡΡ Π½Π° Π±Π°Π·Π΅ ΡΡΡΡΠΉΠ½ΡΡ ΡΠ°ΡΠΏΡΠ΅Π΄Π΅Π»ΠΈΡΠ΅Π»Π΅ΠΉ.
Π ΠΈΡ. 8. Π‘Ρ Π΅ΠΌΠ° ΡΡΡΡΠΉΠ½ΠΎΠ³ΠΎ ΡΡΠΈΠ»ΠΈΡΠ΅Π»Ρ ΠΏΡΠΎΠΏΠΎΡΡΠΈΠΎΠ½Π°Π»ΡΠ½ΠΎΠ³ΠΎ ΡΠΈΠΏΠ°ΠΠΎ ΡΡΠ°Π²Π½Π΅Π½ΠΈΡ Ρ Π³ΠΈΠ΄ΡΠΎΡΡΠΈΠ»ΠΈΡΠ΅Π»ΡΠΌΠΈ ΠΌΠ΅Ρ Π°Π½ΠΈΡΠ΅ΡΠΊΠΎΠ³ΠΎ ΡΠΈΠΏΠ°, ΡΡΡΡΠΉΠ½ΡΠ΅ ΡΡΠΈΠ»ΠΈΡΠ΅Π»ΠΈ ΠΎΠ±Π»Π°Π΄Π°ΡΡ Π²ΡΡΠΎΠΊΠΈΠΌ Π±ΡΡΡΡΠΎΠ΄Π΅ΠΉΡΡΠ²ΠΈΠ΅ΠΌ. Π§Π°ΡΡΠΎΡΠ° ΠΏΠ΅ΡΠ΅ΠΊΠ»ΡΡΠ΅Π½ΠΈΠΉ Π³Π°Π·ΠΎΠ²ΡΡ ΡΡΡΡΠΉΠ½ΡΡ ΡΡΠΈΠ»ΠΈΡΠ΅Π»Π΅ΠΉ Π΄ΠΎΡΡΠΈΠ³Π°Π΅Ρ Π½Π΅ΡΠΊΠΎΠ»ΡΠΊΠΈΡ ΠΊΠΡ. Π£ΡΠΈΠ»ΠΈΡΠ΅Π»ΠΈ, ΡΠ°Π±ΠΎΡΠ°ΡΡΠΈΠ΅ Π½Π° ΠΌΠ°Π»ΠΎΠ²ΡΠ·ΠΊΠΈΡ ΠΆΠΈΠ΄ΠΊΠΎΡΡΡΡ , ΠΈΠΌΠ΅ΡΡ Π±ΡΡΡΡΠΎΠ΄Π΅ΠΉΡΡΠ²ΠΈΠ΅ Π½Π° ΠΏΠΎΡΡΠ΄ΠΎΠΊ ΠΌΠ΅Π½ΡΡΠ΅, ΡΠ΅ΠΌ Π³Π°Π·ΠΎΠ²ΡΠ΅, ΠΎΠ΄Π½Π°ΠΊΠΎ ΠΈ ΠΈΡ Π±ΡΡΡΡΠΎΠ΄Π΅ΠΉΡΡΠ²ΠΈΠ΅ ΡΠ΄ΠΎΠ²Π»ΡΡΠ²ΠΎΡΡΠ΅Ρ ΠΏΡΠ°ΠΊΡΠΈΠΊΡ.
Π‘Ρ
Π΅ΠΌΠ° Π΄Π΅ΠΉΡΡΠ²ΠΈΡ ΠΎΠ΄Π½ΠΎΠ³ΠΎ ΠΈΠ· Π²ΠΈΠ΄ΠΎΠ² ΡΡΡΡΠΉΠ½ΡΡ
ΡΡΠΈΠ»ΠΈΡΠ΅Π»Π΅ΠΉ ΠΏΠΎΠΊΠ°Π·Π°Π½Π° Π½Π° ΡΠΈΡ. 8. ΠΡΠΈ ΠΏΠΎΠ²ΠΎΡΠΎΡΠ΅ ΡΡΡΠ±ΠΊΠΈ 1 Π½Π° Π½Π΅Π±ΠΎΠ»ΡΡΠΎΠΉ ΡΠ³ΠΎΠ» ΠΏΠΎ ΡΠ°ΡΠΎΠ²ΠΎΠΉ ΡΡΡΠ΅Π»ΠΊΠ΅ ΠΏΠΎΡΠΎΠΊ Q ΠΏΠΎΠ΄Π°ΡΡΡΡ Π² ΠΏΡΠ°Π²ΡΡ ΠΏΠΎΠ»ΠΎΡΡΡ Π³ΠΈΠ΄ΡΠΎΡΠΈΠ»ΠΈΠ½Π΄ΡΠ° 2. Π ΡΡΠΎΠΉ ΠΏΠΎΠ»ΠΎΡΡΠΈ ΡΠΎΠ·Π΄Π°ΡΡΡΡ ΠΈΠ·Π±ΡΡΠΎΡΠ½ΠΎΠ΅ Π΄Π°Π²Π»Π΅Π½ΠΈΠ΅, ΠΈ ΠΊΠΎΡΠΏΡΡ Π±ΡΠ΄Π΅Ρ ΡΠΌΠ΅ΡΠ°ΡΡΡΡ Π²ΠΏΡΠ°Π²ΠΎ Π΄ΠΎ ΡΠ΅Ρ
ΠΏΠΎΡ, ΠΏΠΎΠΊΠ° Π½Π΅ Π²ΠΎΡΡΡΠ°Π½ΠΎΠ²ΠΈΡΡΡ ΡΠ°Π²Π½ΠΎΠ²Π΅ΡΠΈΠ΅ ΠΈ ΠΏΠΎΡΠΎΠΊ Π²Π½ΠΎΠ²Ρ Π½Π΅ Π±ΡΠ΄Π΅Ρ ΠΏΠΎΠ΄Π΅Π»ΡΠ½ Π½Π° Π΄Π²Π΅ ΡΠ°Π²Π½ΡΠ΅ ΡΠ°ΡΡΠΈ.
Π’Π°ΠΊΠΈΠΌ ΠΎΠ±ΡΠ°Π·ΠΎΠΌ, ΠΊΠΎΡΠΏΡΡ Π³ΠΈΠ΄ΡΠΎΡΠΈΠ»ΠΈΠ½Π΄ΡΠ° 2 ΠΎΡΡΠ»Π΅ΠΆΠΈΠ²Π°Π΅Ρ Π΄Π²ΠΈΠΆΠ΅Π½ΠΈΡ ΡΡΡΠ±ΠΊΠΈ 1.
Π§ΡΠ²ΡΡΠ²ΠΈΡΠ΅Π»ΡΠ½ΠΎΡΡΡ Π³ΠΈΠ΄ΡΠΎΡΡΠΈΠ»ΠΈΡΠ΅Π»Π΅ΠΉ[ | ΠΊΠΎΠ΄]
Π‘ΠΈΠ³Π½Π°Π» ΠΏΠΎΠ΄Π°Π²Π°Π΅ΠΌΡΠΉ Π½Π° Π²Ρ
ΠΎΠ΄ Π³ΠΈΠ΄ΡΠΎΡΡΠΈΠ»ΠΈΡΠ΅Π»Ρ, Π²ΡΠ·ΡΠ²Π°Π΅Ρ ΡΠΎΠΎΡΠ²Π΅ΡΡΡΠ²ΡΡΡΠ΅Π΅ Π΄Π²ΠΈΠΆΠ΅Π½ΠΈΠ΅ Π²ΡΡ
ΠΎΠ΄Π½ΠΎΠ³ΠΎ Π·Π²Π΅Π½Π°. ΠΡΠΈ Π½Π΅ΠΊΠΎΡΠΎΡΡΡ
Π½Π΅Π±ΠΎΠ»ΡΡΠΈΡ
ΠΏΠ΅ΡΠ΅ΠΌΠ΅ΡΠ΅Π½ΠΈΡΡ
ΡΡΠΊΠΎΡΡΠΊΠΈ Π²ΡΡ
ΠΎΠ΄Π½ΠΎΠ΅ Π·Π²Π΅Π½ΠΎ ΠΏΡΠΈ ΠΎΠΏΡΠ΅Π΄Π΅Π»ΡΠ½Π½ΡΡ
Π·Π½Π°ΡΠ΅Π½ΠΈΡΡ
ΡΡΠΎΠ³ΠΎ ΠΏΠ΅ΡΠ΅ΠΌΠ΅ΡΠ΅Π½ΠΈΡ Π±ΡΠ΄Π΅Ρ ΠΎΡΡΠ°Π²Π°ΡΡΡΡ Π² ΠΏΠΎΠΊΠΎΠ΅. ΠΡΠΎ ΠΎΠ±ΡΡΠ»ΠΎΠ²Π»Π΅Π½ΠΎ ΡΠ΅ΠΌ, ΡΡΠΎ ΡΠ»Π΅ΠΌΠ΅Π½ΡΡ ΠΊΡΠ΅ΠΏΠ»Π΅Π½ΠΈΠΉ ΠΌΠ΅Ρ
Π°Π½ΠΈΡΠ΅ΡΠΊΠΎΠΉ ΠΏΠ΅ΡΠ΅Π΄Π°ΡΠΈ ΠΎΡ ΡΡΠΊΠΎΡΡΠΊΠΈ ΠΊ Π·ΠΎΠ»ΠΎΡΠ½ΠΈΠΊΡ ΠΈΠΌΠ΅ΡΡ Π»ΡΡΡΡ. ΠΠΎΠΊΠ° ΡΡΠΈ Π»ΡΡΡΡ Π½Π΅ Π²ΡΠ±ΡΠ°Π½Ρ, Π·ΠΎΠ»ΠΎΡΠ½ΠΈΠΊ Π±ΡΠ΄Π΅Ρ ΠΎΡΡΠ°Π²Π°ΡΡΡΡ Π² ΠΏΠΎΠΊΠΎΠ΅. Π‘ΠΎΠΎΡΠ²Π΅ΡΡΡΠ²Π΅Π½Π½ΠΎ, Π² ΠΏΠΎΠΊΠΎΠ΅ Π±ΡΠ΄Π΅Ρ ΠΎΡΡΠ°Π²Π°ΡΡΡΡ ΠΈ Π²ΡΡ
ΠΎΠ΄Π½ΠΎΠ΅ Π·Π²Π΅Π½ΠΎ Π³ΠΈΠ΄ΡΠΎΡΡΠΈΠ»ΠΈΡΠ΅Π»Ρ. ΠΡΠΎΠΌΠ΅ ΡΠΎΠ³ΠΎ, ΠΏΠΎ ΡΠ΅Ρ
Π½ΠΎΠ»ΠΎΠ³ΠΈΡΠ΅ΡΠΊΠΈΠΌ ΠΏΡΠΈΡΠΈΠ½Π°ΠΌ ΡΠΈΡΠΈΠ½Π° ΠΏΠΎΡΡΠΊΠΎΠ² Π·ΠΎΠ»ΠΎΡΠ½ΠΈΠΊΠ° ΠΎΠ±ΡΡΠ½ΠΎ Π΄Π΅Π»Π°Π΅ΡΡΡ Π½Π΅ΡΠΊΠΎΠ»ΡΠΊΠΎ Π±ΠΎΠ»ΡΡΠ΅ΠΉ, ΡΠ΅ΠΌ Π΄ΠΈΠ°ΠΌΠ΅ΡΡ ΠΏΠ΅ΡΠ΅ΠΊΡΡΠ²Π°Π΅ΠΌΡΡ
ΠΊΠ°Π½Π°Π»ΠΎΠ² (ΠΏΠΎΠ»ΠΎΠΆΠΈΡΠ΅Π»ΡΠ½ΠΎΠ΅ ΠΏΠ΅ΡΠ΅ΠΊΡΡΡΠΈΠ΅), Π° Π·Π½Π°ΡΠΈΡ, Π½Π° Π½Π°ΡΠ°Π»ΡΠ½ΠΎΠΌ ΡΡΠ°ΠΏΠ΅ Π΄Π²ΠΈΠΆΠ΅Π½ΠΈΡ Π·ΠΎΠ»ΠΎΡΠ½ΠΈΠΊΠ° ΠΊΠ°Π½Π°Π»Ρ ΡΠ°ΡΠΏΡΠ΅Π΄Π΅Π»ΠΈΡΠ΅Π»Ρ Π±ΡΠ΄ΡΡ ΠΏΠ΅ΡΠ΅ΠΊΡΡΡΡ, ΠΈ ΠΆΠΈΠ΄ΠΊΠΎΡΡΡ ΠΎΡ Π½Π°ΡΠΎΡΠ° Π½Π΅ Π±ΡΠ΄Π΅Ρ ΠΏΠΎΡΡΡΠΏΠ°ΡΡ ΠΊ ΠΏΠΎΠ»ΠΎΡΡΠΈ Π³ΠΈΠ΄ΡΠΎΠ΄Π²ΠΈΠ³Π°ΡΠ΅Π»Ρ, ΠΈ ΠΏΠΎΡΡΠΎΠΌΡ Π²ΡΡ
ΠΎΠ΄Π½ΠΎΠ΅ Π·Π²Π΅Π½ΠΎ Π±ΡΠ΄Π΅Ρ ΠΎΡΡΠ°Π²Π°ΡΡΡΡ Π² ΠΏΠΎΠΊΠΎΠ΅. Π’Π°ΠΊΠΈΠΌ ΠΎΠ±ΡΠ°Π·ΠΎΠΌ, ΠΏΠΎ ΠΎΠ±ΡΠ΅ΠΊΡΠΈΠ²Π½ΡΠΌ ΠΏΡΠΈΡΠΈΠ½Π°ΠΌ ΡΡΠ²ΡΡΠ²ΠΈΡΠ΅Π»ΡΠ½ΠΎΡΡΡ Π³ΠΈΠ΄ΡΠΎΡΡΠΈΠ»ΠΈΡΠ΅Π»Ρ Π½Π΅ ΠΌΠΎΠΆΠ΅Ρ Π±ΡΡΡ Π°Π±ΡΠΎΠ»ΡΡΠ½ΠΎΠΉ.
Π‘ΡΡΠΎΠ³ΠΎ Π³ΠΎΠ²ΠΎΡΡ, ΠΏΠΎΠ΄ ΡΡΠ²ΡΡΠ²ΠΈΡΠ΅Π»ΡΠ½ΠΎΡΡΡΡ ΠΏΠΎΠ½ΠΈΠΌΠ°ΡΡ ΠΊΠΎΠΌΠΏΠ»Π΅ΠΊΡ ΠΊΠ°ΡΠ΅ΡΡΠ², ΠΏΠΎΠ·Π²ΠΎΠ»ΡΡΡΠΈΡ Ρ ΠΌΠΈΠ½ΠΈΠΌΠ°Π»ΡΠ½ΠΎΠΉ ΠΎΡΠΈΠ±ΠΊΠΎΠΉ (ΠΏΠΎ Π²ΡΠ΅ΠΌΠ΅Π½ΠΈ ΠΈ ΠΏΡΡΠΈ) Π·Π°Π΄Π°Π½Π½ΡΠ΅ ΠΏΠ΅ΡΠ΅ΠΌΠ΅ΡΠ΅Π½ΠΈΡ Π²Ρ ΠΎΠ΄Π° ΠΏΡΠ΅ΠΎΠ±ΡΠ°Π·ΠΎΠ²ΡΠ²Π°ΡΡ Π² ΠΏΠ΅ΡΠ΅ΠΌΠ΅ΡΠ΅Π½ΠΈΡ Π²ΡΡ ΠΎΠ΄Π½ΠΎΠ³ΠΎ Π·Π²Π΅Π½Π°. ΠΡΠΈ ΡΡΠΎΠΌ ΠΎΡΠΈΠ±ΠΊΠ° ΠΏΠΎ Π²ΡΠ΅ΠΌΠ΅Π½ΠΈ Ρ Π°ΡΠ°ΠΊΡΠ΅ΡΠΈΠ·ΡΠ΅Ρ Π±ΡΡΡΡΠΎΠ΄Π΅ΠΉΡΡΠ²ΠΈΠ΅, Π° ΠΏΠΎ ΠΏΡΡΠΈΒ β ΡΠΎΡΠ½ΠΎΡΡΡ Π³ΠΈΠ΄ΡΠΎΡΡΠΈΠ»ΠΈΡΠ΅Π»Ρ.
ΠΠΎΠΌΠΈΠΌΠΎ ΡΠΈΡΠΈΠ½Ρ ΠΏΠΎΡΡΠΊΠΎΠ² ΠΈ Π»ΡΡΡΠΎΠ² ΠΌΠ΅Ρ Π°Π½ΠΈΡΠ΅ΡΠΊΠΎΠΉ ΠΏΠ΅ΡΠ΅Π΄Π°ΡΠΈ Π½Π° ΡΡΠ²ΡΡΠ²ΠΈΡΠ΅Π»ΡΠ½ΠΎΡΡΡ ΠΎΠΊΠ°Π·ΡΠ²Π°ΡΡ Π²Π»ΠΈΡΠ½ΠΈΠ΅ ΡΡΠ΅ΡΠΊΠΈ ΡΠ°Π±ΠΎΡΠ΅ΠΉ ΠΆΠΈΠ΄ΠΊΠΎΡΡΠΈ ΡΠ΅ΡΠ΅Π· Π·Π°Π·ΠΎΡΡ ΠΌΠ΅ΠΆΠ΄Ρ Π΄Π΅ΡΠ°Π»ΡΠΌΠΈ ΡΠ°ΡΠΏΡΠ΅Π΄Π΅Π»ΠΈΡΠ΅Π»Ρ, ΡΡΠ΅Π½ΠΈΠ΅ Π² ΡΠ»Π΅ΠΌΠ΅Π½ΡΠ°Ρ ΠΊΠΎΠ½ΡΡΡΡΠΊΡΠΈΠΈ, ΡΠΏΡΡΠ³ΠΎΡΡΡ Π΄Π΅ΡΠ°Π»Π΅ΠΉ ΠΈ ΡΠ°ΠΌΠΎΠΉ ΡΠ°Π±ΠΎΡΠ΅ΠΉ ΠΆΠΈΠ΄ΠΊΠΎΡΡΠΈ Π³ΠΈΠ΄ΡΠΎΡΡΠΈΠ»ΠΈΡΠ΅Π»Ρ, Π° ΡΠ°ΠΊΠΆΠ΅ Π½Π°Π³ΡΡΠ·ΠΊΠ° Π²ΡΡ ΠΎΠ΄Π°, Π²Π»ΠΈΡΡΡΠ°Ρ Π½Π° Π΄Π°Π²Π»Π΅Π½ΠΈΠ΅ Π² Π³ΠΈΠ΄ΡΠΎΡΠΈΡΡΠ΅ΠΌΠ΅, Π° Π·Π½Π°ΡΠΈΡ, ΠΈ Π½Π° ΡΡΠ΅ΡΠΊΠΈ.
Π§ΡΠ²ΡΡΠ²ΠΈΡΠ΅Π»ΡΠ½ΠΎΡΡΡ ΡΠ²Π»ΡΠ΅ΡΡΡ ΠΎΠ΄Π½ΠΈΠΌ ΠΈΠ· ΠΎΡΠ½ΠΎΠ²Π½ΡΡ ΡΡΠ΅Π±ΠΎΠ²Π°Π½ΠΈΠΉ, ΠΏΡΠ΅Π΄ΡΡΠ²Π»ΡΠ΅ΠΌΡΡ ΠΊ ΡΠ»Π΅Π΄ΡΡΠΈΠΌ Π³ΠΈΠ΄ΡΠΎΠΏΡΠΈΠ²ΠΎΠ΄Π°ΠΌ.
ΠΡΠΈΠΌΠ΅Π½Π΅Π½ΠΈΠ΅ ΡΠ»Π΅Π΄ΡΡΠΈΡ Π³ΠΈΠ΄ΡΠΎΠΏΡΠΈΠ²ΠΎΠ΄ΠΎΠ²[ | ΠΊΠΎΠ΄]
ΠΡΠΈΠΌΠ΅ΡΠΎΠΌ ΡΠ»Π΅Π΄ΡΡΠ΅Π³ΠΎ Π³ΠΈΠ΄ΡΠΎΠΏΡΠΈΠ²ΠΎΠ΄Π° ΡΠ²Π»ΡΠ΅ΡΡΡ Π³ΠΈΠ΄ΡΠΎΡΡΠΈΠ»ΠΈΡΠ΅Π»Ρ ΡΡΠ»Ρ, ΡΠΈΡΠΎΠΊΠΎ ΠΏΡΠΈΠΌΠ΅Π½ΡΠ΅ΠΌΡΠΉ Π² Π°Π²ΡΠΎΠΌΠΎΠ±ΠΈΠ»ΡΡ
. Π‘Π»Π΅Π΄ΡΡΠΈΠΉ Π³ΠΈΠ΄ΡΠΎΠΏΡΠΈΠ²ΠΎΠ΄ ΠΏΡΠΈΠΌΠ΅Π½ΡΠ΅ΡΡΡ Π² ΡΠ΅Ρ
ΡΠ»ΡΡΠ°ΡΡ
, ΠΊΠΎΠ³Π΄Π° Π½Π΅ΠΏΠΎΡΡΠ΅Π΄ΡΡΠ²Π΅Π½Π½ΠΎΠ΅ ΡΠΏΡΠ°Π²Π»Π΅Π½ΠΈΠ΅ ΡΠ΅ΠΌ ΠΈΠ»ΠΈ ΠΈΠ½ΡΠΌ ΠΌΠ΅Ρ
Π°Π½ΠΈΠ·ΠΌΠΎΠΌ ΡΡΠ΅Π±ΡΠ΅Ρ ΠΎΡ ΡΠ΅Π»ΠΎΠ²Π΅ΠΊΠ° ΡΠ»ΠΈΡΠΊΠΎΠΌ Π±ΠΎΠ»ΡΡΠΈΡ
ΡΡΠΈΠ»ΠΈΠΉ.
ΠΡΠΎΠΌΠ΅ Π°Π²ΡΠΎΠΌΠΎΠ±ΠΈΠ»Π΅ΠΉ, ΡΠ»Π΅Π΄ΡΡΠΈΠ΅ Π³ΠΈΠ΄ΡΠΎΠΏΡΠΈΠ²ΠΎΠ΄Ρ ΡΡΡΠ°Π½Π°Π²Π»ΠΈΠ²Π°ΡΡ Π½Π° ΡΡΠ°ΠΊΡΠΎΡΠ°Ρ
, Π½Π° ΡΡΠ΄Π°Ρ
, ΠΈΡΠΏΠΎΠ»ΡΠ·ΡΡΡ Π² Π°Π²ΠΈΠ°ΡΠΈΠΈ, ΡΠΎΠ±ΠΎΡΠΎΡΠ΅Ρ
Π½ΠΈΠΊΠ΅ ΠΈ Π΄ΡΡΠ³ΠΈΡ
ΡΡΠ΅ΡΠ°Ρ
.
ΠΡΡΠΎΡΠΈΡ[ | ΠΊΠΎΠ΄]
ΠΠ΅ΡΠ²ΡΠΉ ΠΏΠ°ΡΠ΅Π½Ρ, ΡΠ²ΡΠ·Π°Π½Π½ΡΠΉ Ρ Π³ΠΈΠ΄ΡΠ°Π²Π»ΠΈΡΠ΅ΡΠΊΠΈΠΌ ΡΡΠΈΠ»Π΅Π½ΠΈΠ΅ΠΌ, Π±ΡΠ» ΠΏΠΎΠ»ΡΡΠ΅Π½ Π€ΡΠ΅Π΄Π΅ΡΠΈΠΊΠΎΠΌ ΠΠ°Π½ΡΠ΅ΡΡΠ΅ΡΠΎΠΌ Π² ΠΠ΅Π»ΠΈΠΊΠΎΠ±ΡΠΈΡΠ°Π½ΠΈΠΈ Π² 1902 Π³ΠΎΠ΄Ρ. ΠΠ³ΠΎ ΠΈΠ·ΠΎΠ±ΡΠ΅ΡΠ΅Π½ΠΈΠ΅ ΠΏΡΠ΅Π΄ΡΡΠ°Π²Π»ΡΠ»ΠΎ ΡΠΎΠ±ΠΎΠΉ Β«ΡΡΠΈΠ»ΠΈΡΠ΅Π»ΡΠ½ΡΠΉ ΠΌΠ΅Ρ Π°Π½ΠΈΠ·ΠΌ, ΠΏΡΠΈΠ²ΠΎΠ΄ΠΈΠΌΡΠΉ ΠΏΠΎΡΡΠ΅Π΄ΡΡΠ²ΠΎΠΌ Π³ΠΈΠ΄ΡΠ°Π²Π»ΠΈΡΠ΅ΡΠΊΠΎΠΉ ΡΠ½Π΅ΡΠ³ΠΈΠΈΒ»[1]. Π 1926 Π³ΠΎΠ΄Ρ ΠΈΠ½ΠΆΠ΅Π½Π΅Ρ ΠΏΠΎΠ΄ΡΠ°Π·Π΄Π΅Π»Π΅Π½ΠΈΡ Π³ΡΡΠ·ΠΎΠ²ΠΈΠΊΠΎΠ² ΠΊΠΎΠΌΠΏΠ°Π½ΠΈΠΈ ΠΠΈΡΡ ΠΡΡΠΎΡ (Π°Π½Π³Π».Β Pierce Arrow) ΠΏΡΠΎΠ΄Π΅ΠΌΠΎΠ½ΡΡΡΠΈΡΠΎΠ²Π°Π» Π² ΠΊΠΎΠΌΠΏΠ°Π½ΠΈΠΈ ΠΠΆΠ΅Π½Π΅ΡΠ» ΠΌΠΎΡΠΎΡΡ Π³ΠΈΠ΄ΡΠΎΡΡΠΈΠ»ΠΈΡΠ΅Π»Ρ ΡΡΠ»Ρ Ρ Ρ ΠΎΡΠΎΡΠΈΠΌΠΈ Ρ Π°ΡΠ°ΠΊΡΠ΅ΡΠΈΡΡΠΈΠΊΠ°ΠΌΠΈ, ΠΎΠ΄Π½Π°ΠΊΠΎ Π°Π²ΡΠΎΠΏΡΠΎΠΈΠ·Π²ΠΎΠ΄ΠΈΡΠ΅Π»Ρ ΠΏΠΎΡΡΠΈΡΠ°Π», ΡΡΠΎ ΡΡΠΈ ΡΡΡΡΠΎΠΉΡΡΠ²Π° Π±ΡΠ΄ΡΡ ΡΠ»ΠΈΡΠΊΠΎΠΌ Π΄ΠΎΡΠΎΠ³ΠΈΠΌΠΈ, ΡΡΠΎΠ±Ρ Π²ΡΠΏΡΡΠΊΠ°ΡΡ ΠΈΡ Π½Π° ΡΡΠ½ΠΎΠΊ[2][3]. ΠΠ΅ΡΠ²ΡΠΉ ΠΏΡΠ΅Π΄Π½Π°Π·Π½Π°ΡΠ΅Π½Π½ΡΠΉ Π΄Π»Ρ ΠΊΠΎΠΌΠΌΠ΅ΡΡΠ΅ΡΠΊΠΎΠ³ΠΎ ΠΈΡΠΏΠΎΠ»ΡΠ·ΠΎΠ²Π°Π½ΠΈΡ Π³ΠΈΠ΄ΡΠΎΡΡΠΈΠ»ΠΈΡΠ΅Π»Ρ ΡΡΠ»Ρ Π±ΡΠ» ΡΠΎΠ·Π΄Π°Π½ ΠΊΠΎΠΌΠΏΠ°Π½ΠΈΠ΅ΠΉ ΠΡΠ°ΠΉΡΠ»Π΅Ρ Π² 1951 Π³ΠΎΠ΄Ρ, ΠΈ ΡΠ΅ΠΉΡΠ°Ρ Π±ΠΎΠ»ΡΡΠΈΠ½ΡΡΠ²ΠΎ Π½ΠΎΠ²ΡΡ Π°Π²ΡΠΎΠΌΠΎΠ±ΠΈΠ»Π΅ΠΉ ΡΠΊΠΎΠΌΠΏΠ»Π΅ΠΊΡΠΎΠ²ΡΠ²Π°Π΅ΡΡΡ ΠΏΠΎΠ΄ΠΎΠ±Π½ΡΠΌΠΈ ΡΡΡΡΠΎΠΉΡΡΠ²Π°ΠΌΠΈ.
Π‘ΠΌ. ΡΠ°ΠΊΠΆΠ΅[ | ΠΊΠΎΠ΄]
ΠΡΠΈΠΌΠ΅ΡΠ°Π½ΠΈΡ[ | ΠΊΠΎΠ΄]
Π‘ΡΡΠ»ΠΊΠΈ[ | ΠΊΠΎΠ΄]
ΠΠΈΡΠ΅ΡΠ°ΡΡΡΠ°[ | ΠΊΠΎΠ΄]
- ΠΠ°ΡΡΠ° Π’.
Π. ΠΠΈΠ΄ΡΠ°Π²Π»ΠΈΡΠ΅ΡΠΊΠΈΠ΅ ΠΏΡΠΈΠ²ΠΎΠ΄Ρ Π»Π΅ΡΠ°ΡΠ΅Π»ΡΠ½ΡΡ
Π°ΠΏΠΏΠ°ΡΠ°ΡΠΎΠ².Β β ΠΠΎΡΠΊΠ²Π°: ΠΠ°ΡΠΈΠ½ΠΎΡΡΡΠΎΠ΅Π½ΠΈΠ΅, 1967.
- ΠΠ°ΡΡΠ° Π’.Π. ΠΠΈΠ΄ΡΠΎΠΏΡΠΈΠ²ΠΎΠ΄ ΠΈ Π³ΠΈΠ΄ΡΠΎΠΏΠ½Π΅Π²ΠΌΠΎΠ°Π²ΡΠΎΠΌΠ°ΡΠΈΠΊΠ°.Β β ΠΠΎΡΠΊΠ²Π°: ΠΠ°ΡΠΈΠ½ΠΎΡΡΡΠΎΠ΅Π½ΠΈΠ΅, 1972.Β β Π‘.Β 320.
- Π‘Ρ ΠΈΡΡΠ»Π°Π΄Π·Π΅ Π.Π., ΠΠ²Π°Π½ΠΎΠ² Π.Π., ΠΠ°ΡΠ΅Π΅Π² Π.Π. ΠΠΈΠ΄ΡΠ°Π²Π»ΠΈΡΠ΅ΡΠΊΠΈΠ΅ ΠΈ ΠΏΠ½Π΅Π²ΠΌΠ°ΡΠΈΡΠ΅ΡΠΊΠΈΠ΅ ΡΠΈΡΡΠ΅ΠΌΡ.Β β ΠΠΎΡΠΊΠ²Π°: ΠΠ¦ ΠΠΠ’Π£ Β«Π‘ΡΠ°Π½ΠΊΠΈΠ½Β», Β«Π―Π½ΡΡ-ΠΒ», 2003.Β β Π‘.Β 544. Β
ΠΠ΅ΡΠΊΠΎΠ»ΡΠΊΠΎ ΡΠΏΠΎΡΠΎΠ±ΠΎΠ² Π·Π°ΠΌΠ΅Π½Ρ ΠΆΠΈΠ΄ΠΊΠΎΡΡΠΈ Π² Π³ΠΈΠ΄ΡΠΎΡΡΠΈΠ»ΠΈΡΠ΅Π»Π΅ ΡΠ°ΠΌΠΎΡΡΠΎΡΡΠ΅Π»ΡΠ½ΠΎ
ΠΠΈΠ΄ΡΠ°Π²Π»ΠΈΡΠ΅ΡΠΊΠΈΠ΅ ΡΡΠΈΠ»ΠΈΡΠ΅Π»ΠΈ ΡΡΠ»Ρ Π½Π° ΡΠ΅Π³ΠΎΠ΄Π½ΡΡΠ½ΠΈΠΉ Π΄Π΅Π½Ρ ΠΏΠΎΡΡΠ΅ΠΏΠ΅Π½Π½ΠΎ Π²ΡΡΠ΅ΡΠ½ΡΡΡΡΡ ΡΠ»Π΅ΠΊΡΡΠΎΡΡΠΈΠ»ΠΈΡΠ΅Π»ΡΠΌΠΈ. ΠΠ΄Π½Π°ΠΊΠΎ ΠΏΠΎ-ΠΏΡΠ΅ΠΆΠ½Π΅ΠΌΡ ΡΠ΄Π΅Π»ΡΠ½Π°Ρ Π΄ΠΎΠ»Ρ Ρ ΠΠ£Π ΠΎΠ² Π½Π° Π²Π½ΠΎΠ²Ρ ΠΈΠ·Π³ΠΎΡΠ°Π²Π»ΠΈΠ²Π°Π΅ΠΌΡΡ Π°Π²ΡΠΎΠΌΠΎΠ±ΠΈΠ»ΡΡ Π±ΠΎΠ»ΡΡΠ΅, ΡΠ΅ΠΌ Ρ ΠΠ£Π ΠΎΠ².
Π‘Ρ Π΅ΠΌΠ° Π³ΠΈΠ΄ΡΠΎΡΡΠΈΠ»ΠΈΡΠ΅Π»Ρ ΡΡΠ»Ρ (ΠΠ£Π )
Π‘ΠΊΠ°Π·ΡΠ²Π°Π΅ΡΡΡ ΠΌΠ½ΠΎΠ³ΠΎΠ»Π΅ΡΠ½ΠΈΠΉ ΠΎΠΏΡΡ ΡΠ°Π·ΡΠ°Π±ΠΎΡΠΊΠΈ Π³ΠΈΠ΄ΡΠ°Π²Π»ΠΈΡΠ΅ΡΠΊΠΎΠΉ Π²Π΅ΡΡΠΈΠΈ ΡΡΠΎΠΉ ΡΠΈΡΡΠ΅ΠΌΡ ΠΈ Π½Π°Π»Π°ΠΆΠ΅Π½Π½Π°Ρ ΡΠ΅Ρ Π½ΠΎΠ»ΠΎΠ³ΠΈΡ ΠΏΡΠΎΠΈΠ·Π²ΠΎΠ΄ΡΡΠ²Π°. ΠΡΠΆΠ½ΠΎ Π»ΠΈ ΠΌΠ΅Π½ΡΡΡ ΠΆΠΈΠ΄ΠΊΠΎΡΡΡ Π³ΠΈΠ΄ΡΠΎΡΡΠΈΠ»ΠΈΡΠ΅Π»Ρ? ΠΠ΄Π΅ΡΡ ΠΎΡΠ²Π΅Ρ ΠΎΠ΄Π½ΠΎΠ·Π½Π°ΡΠ΅Π½: Π΄Π°, Π½ΡΠΆΠ½ΠΎ.
ΠΠ°ΠΌΠ΅Π½Π° ΠΆΠΈΠ΄ΠΊΠΎΡΡΠΈ Π² Π³ΠΈΠ΄ΡΠΎΡΡΠΈΠ»ΠΈΡΠ΅Π»Π΅ ΡΡΠ»Ρ β ΠΎΠ±ΡΠ·Π°ΡΠ΅Π»ΡΠ½Π°Ρ ΠΏΡΠΎΡΠ΅Π΄ΡΡΠ°, ΠΎ ΠΊΠΎΡΠΎΡΠΎΠΉ, ΠΊ ΡΠΎΠΆΠ°Π»Π΅Π½ΠΈΡ, Π°Π²ΡΠΎΠ²Π»Π°Π΄Π΅Π»ΡΡΡ ΡΠ°ΡΡΠΎ Π·Π°Π±ΡΠ²Π°ΡΡ. Π ΠΌΠ°ΡΠ΅ΡΠΈΠ°Π»Π΅ ΡΡΠ°ΡΡΠΈ ΡΠ°ΡΡΠΌΠΎΡΡΠΈΠΌ ΠΏΠΎΠ΄ΡΠΎΠ±Π½ΠΎ, ΠΏΠΎΡΠ΅ΠΌΡ Π½Π΅ΠΎΠ±Ρ
ΠΎΠ΄ΠΈΠΌΠΎ ΠΎΠ±Π½ΠΎΠ²Π»ΡΡΡ ΡΠ°Π±ΠΎΡΡΡ ΠΆΠΈΠ΄ΠΊΠΎΡΡΡ Π² ΠΠ£Π Π΅, Π° ΡΠ°ΠΊΠΆΠ΅ ΡΠ°Π·Π±Π΅ΡΠ΅ΠΌΡΡ Π² ΠΎΡΠ½ΠΎΠ²Π½ΡΡ
Π½ΡΠ°Π½ΡΠ°Ρ
ΠΏΠΎΠ΄Π±ΠΎΡΠ° Π½ΡΠΆΠ½ΠΎΠ³ΠΎ ΠΌΠ°ΡΠ»Π° ΠΈ ΡΠ΅Ρ
Π½ΠΎΠ»ΠΎΠ³ΠΈΠΈ Π·Π°ΠΌΠ΅Π½Ρ.
ΠΡΠΈΠ½ΡΠΈΠΏ ΡΠ°Π±ΠΎΡΡ Π³ΠΈΠ΄ΡΠ°Π²Π»ΠΈΡΠ΅ΡΠΊΠΎΠ³ΠΎ ΡΡΠΈΠ»ΠΈΡΠ΅Π»Ρ ΡΡΠ»Ρ
ΠΠΈΠ΄ΡΠΎΡΡΠΈΠ»ΠΈΡΠ΅Π»Ρ ΡΠ»ΡΠΆΠΈΡ Π΄Π»Ρ ΠΏΠΎΠΌΠΎΡΠΈ Π²ΠΎΠ΄ΠΈΡΠ΅Π»Ρ ΠΏΡΠΈ ΠΏΠΎΠ²ΠΎΡΠΎΡΠ΅ ΡΡΠ»Ρ. Π‘ΠΎΡΡΠΎΠΈΡ ΠΈΠ· ΡΠ»Π΅Π΄ΡΡΡΠΈΡ ΠΎΡΠ½ΠΎΠ²Π½ΡΡ ΡΠ»Π΅ΠΌΠ΅Π½ΡΠΎΠ²:
- Π½Π°ΡΠΎΡΠ°;
- ΡΠ°ΡΡΠΈΡΠΈΡΠ΅Π»ΡΠ½ΠΎΠ³ΠΎ Π±Π°ΡΠΊΠ°;
- ΠΌΠ°Π³ΠΈΡΡΡΠ°Π»Π΅ΠΉ;
- Π·ΠΎΠ»ΠΎΡΠ½ΠΈΠΊΠΎΠ²ΠΎΠ³ΠΎ ΡΠ°ΡΠΏΡΠ΅Π΄Π΅Π»ΠΈΡΠ΅Π»Ρ;
- Π΄Π²ΡΡ ΡΠΈΠ»ΠΈΠ½Π΄ΡΠΈΡΠ΅ΡΠΊΠΈΡ ΠΏΠΎΠ»ΠΎΡΡΠ΅ΠΉ Π²Π½ΡΡΡΠΈ ΡΠ΅ΠΉΠΊΠΈ.
Π§ΡΠΎΠ±Ρ Π»ΡΡΡΠ΅ ΠΏΠΎΠ½ΡΡΡ, ΠΏΠΎΡΠ΅ΠΌΡ Π·Π°ΠΌΠ΅Π½Π° ΠΌΠ°ΡΠ»Π° Π² Π³ΠΈΠ΄ΡΠΎΡΡΠΈΠ»ΠΈΡΠ΅Π»Π΅ ΡΡΠ»Ρ β ΠΎΠ±ΡΠ·Π°ΡΠ΅Π»ΡΠ½Π°Ρ ΠΏΡΠΎΡΠ΅Π΄ΡΡΠ°, ΠΊΡΠ°ΡΠΊΠΎ ΡΠ°ΡΡΠΌΠΎΡΡΠΈΠΌ Π΅Π³ΠΎ ΠΏΡΠΈΠ½ΡΠΈΠΏ ΡΠ°Π±ΠΎΡΡ.
ΠΡΠΈΠ½ΡΠΈΠΏ ΡΠ°Π±ΠΎΡΡ ΠΠ£Π
ΠΠ°ΡΠΎΡ Π·Π°Π±ΠΈΡΠ°Π΅Ρ ΠΆΠΈΠ΄ΠΊΠΎΡΡΡ ΠΈΠ· Π±Π°ΡΠΊΠ° ΠΈ Π½Π°Π³Π½Π΅ΡΠ°Π΅Ρ Π΄Π°Π²Π»Π΅Π½ΠΈΠ΅ Π² ΠΌΠ°Π³ΠΈΡΡΡΠ°Π»Ρ. ΠΡΠΈ ΠΏΠΎΠ²ΠΎΡΠΎΡΠ΅ ΡΡΠ»Ρ, Π² Π·Π°Π²ΠΈΡΠΈΠΌΠΎΡΡΠΈ ΠΎΡ ΡΠΎΠ³ΠΎ, Π² ΠΊΠ°ΠΊΡΡ ΡΡΠΎΡΠΎΠ½Ρ ΠΏΡΠΈΠ»ΠΎΠΆΠ΅Π½ΠΎ ΡΡΠΈΠ»ΠΈΠ΅, Π·ΠΎΠ»ΠΎΡΠ½ΠΈΠΊΠΎΠ²ΡΠΉ ΡΠ°ΡΠΏΡΠ΅Π΄Π΅Π»ΠΈΡΠ΅Π»Ρ Π½Π°ΠΏΡΠ°Π²Π»ΡΠ΅Ρ ΠΏΠΎΡΠΎΠΊ ΠΆΠΈΠ΄ΠΊΠΎΡΡΠΈ ΠΏΠΎΠ΄ Π΄Π°Π²Π»Π΅Π½ΠΈΠ΅ΠΌ Π² ΠΎΠ΄ΠΈΠ½ ΠΈΠ· ΡΠΈΠ»ΠΈΠ½Π΄ΡΠΎΠ².
ΠΠ° ΡΡΠ΅Ρ Π΄Π°Π²Π»Π΅Π½ΠΈΡ Π½Π° ΠΏΠΎΡΡΠ΅Π½Ρ Π²Π½ΡΡΡΠΈ ΡΠ΅ΠΉΠΊΠΈ ΠΏΠΎΡΠ²Π»ΡΠ΅ΡΡΡ Π΄ΠΎΠΏΠΎΠ»Π½ΠΈΡΠ΅Π»ΡΠ½ΠΎΠ΅ ΡΡΠΈΠ»ΠΈΠ΅, ΠΊΠΎΡΠΎΡΠΎΠ΅ ΠΏΠΎΠΌΠΎΠ³Π°Π΅Ρ ΡΡΠΎΠΊΡ Π΄Π²ΠΈΠ³Π°ΡΡΡΡ Π² Π½ΡΠΆΠ½ΠΎΠΌ Π½Π°ΠΏΡΠ°Π²Π»Π΅Π½ΠΈΠΈ ΠΈ ΡΠ½ΠΈΠΆΠ°Π΅Ρ Π½Π΅ΠΎΠ±Ρ
ΠΎΠ΄ΠΈΠΌΠΎΠ΅ ΡΡΠΈΠ»ΠΈΠ΅, ΠΊΠΎΡΠΎΡΠΎΠ΅ ΡΡΠ΅Π±ΡΠ΅ΡΡΡ ΠΏΡΠΈΠ»Π°Π³Π°ΡΡ ΠΊ ΡΡΠ»Π΅Π²ΠΎΠΌΡ ΠΊΠΎΠ»Π΅ΡΡ.
ΠΠ°ΡΠ»ΠΎ Π·Π΄Π΅ΡΡ ΠΈΠ³ΡΠ°Π΅Ρ Π½Π΅ ΡΠΎΠ»ΡΠΊΠΎ ΡΠΌΠ°Π·ΡΠ²Π°ΡΡΡΡ ΠΈ Π·Π°ΡΠΈΡΠ½ΡΡ ΡΡΠ½ΠΊΡΠΈΡ, Π½ΠΎ ΠΈ ΡΠ²Π»ΡΠ΅ΡΡΡ ΠΏΠ΅ΡΠ΅Π½ΠΎΡΡΠΈΠΊΠΎΠΌ ΡΠ½Π΅ΡΠ³ΠΈΠΈ. ΠΠΎΡΡΠΎΠΌΡ ΠΎΡ Π΅Π³ΠΎ ΡΠΎΡΡΠΎΡΠ½ΠΈΡ Π·Π°Π²ΠΈΡΠΈΡ ΡΡΡΠ΅ΠΊΡΠΈΠ²Π½ΠΎΡΡΡ ΠΈ Π΄ΠΎΠ»Π³ΠΎΠ²Π΅ΡΠ½ΠΎΡΡΡ ΡΠ°Π±ΠΎΡΡ Π²ΡΠ΅ΠΉ ΡΠΈΡΡΠ΅ΠΌΡ.
ΠΠΎΡΠ΅ΠΌΡ Π½ΡΠΆΠ½ΠΎ ΠΌΠ΅Π½ΡΡΡ ΡΠ°Π±ΠΎΡΡΡ ΠΆΠΈΠ΄ΠΊΠΎΡΡΡ ΠΠ£Π
Π Π°Π±ΠΎΡΠ°Ρ ΠΆΠΈΠ΄ΠΊΠΎΡΡΡ Π² Π³ΠΈΠ΄ΡΠ°Π²Π»ΠΈΡΠ΅ΡΠΊΠΎΠΌ ΡΡΠΈΠ»ΠΈΡΠ΅Π»Π΅ ΡΡΠ»Ρ ΠΈΠΌΠ΅Π΅Ρ ΡΠ²ΠΎΠΉ ΠΎΠ³ΡΠ°Π½ΠΈΡΠ΅Π½Π½ΡΠΉ ΡΡΠΎΠΊ ΡΠ»ΡΠΆΠ±Ρ. Π Π·Π°Π²ΠΈΡΠΈΠΌΠΎΡΡΠΈ ΠΎΡ ΠΌΠΎΠ΄Π΅Π»ΠΈ Π°Π²ΡΠΎΠΌΠΎΠ±ΠΈΠ»Ρ, ΠΊΠΎΠ½ΡΡΡΡΠΊΡΠΈΠΈ ΠΠ£Π Π° ΠΈ ΠΈΡΠΏΠΎΠ»ΡΠ·ΡΠ΅ΠΌΠΎΠ³ΠΎ ΡΠΈΠΏΠ° ΠΌΠ°ΡΠ»Π°, ΠΆΠΈΠ΄ΠΊΠΎΡΡΡ Π² Π³ΠΈΠ΄ΡΠΎΡΡΠΈΠ»ΠΈΡΠ΅Π»Π΅ ΡΠ»ΡΠΆΠΈΡ ΠΏΡΠΈΠ±Π»ΠΈΠ·ΠΈΡΠ΅Π»ΡΠ½ΠΎ Π½Π° ΠΏΡΠΎΡΡΠΆΠ΅Π½ΠΈΠΈ 3-5 Π»Π΅Ρ (ΠΈΠ»ΠΈ 30-60 ΡΡΡΡΡ ΠΊΠΌ ΠΏΡΠΎΠ±Π΅Π³Π°).
Π‘ΡΠ°ΡΠ°Ρ ΠΈ ΡΠ²Π΅ΠΆΠ°Ρ ΠΆΠΈΠ΄ΠΊΠΎΡΡΠΈ Π΄Π»Ρ ΠΠ£Π
ΠΠ·Π²Π΅ΡΡΠ½ΠΎ Π½Π΅ΡΠΊΠΎΠ»ΡΠΊΠΎ ΠΌΠ΅Ρ Π°Π½ΠΈΠ·ΠΌΠΎΠ², ΠΊΠΎΡΠΎΡΡΠ΅ ΡΠ²Π»ΡΡΡΡΡ ΠΈΠ½ΠΈΡΠΈΠ°ΡΠΎΡΠ°ΠΌΠΈ Π΄Π΅Π³ΡΠ°Π΄Π°ΡΠΈΠΈ ΠΈ Π²ΡΠ·ΡΠ²Π°ΡΡ Π½Π΅ΠΎΠ±Ρ ΠΎΠ΄ΠΈΠΌΠΎΡΡΡ Π·Π°ΠΌΠ΅Π½Ρ ΠΌΠ°ΡΠ»Π° Π³ΠΈΠ΄ΡΠΎΡΡΠΈΠ»ΠΈΡΠ΅Π»Ρ ΡΡΠ»Ρ.
ΠΠ·ΠΌΠ΅Π½Π΅Π½ΠΈΠ΅ Ρ ΠΈΠΌΠΈΡΠ΅ΡΠΊΠΎΠ³ΠΎ ΡΠΎΡΡΠ°Π²Π°
ΠΠ΅ΡΠΌΠΎΡΡΡ Π½Π° ΠΎΡΠ½ΠΎΡΠΈΡΠ΅Π»ΡΠ½ΡΡ ΡΡΠ°Π±ΠΈΠ»ΡΠ½ΠΎΡΡΡ, ΠΌΠ°ΡΠ»ΠΎ Π³ΠΈΠ΄ΡΠΎΡΡΠΈΠ»ΠΈΡΠ΅Π»Ρ ΡΠΎ Π²ΡΠ΅ΠΌΠ΅Π½Π΅ΠΌ ΠΏΠΎΠ΄Π²Π΅ΡΠ³Π°Π΅ΡΡΡ Π΅ΡΡΠ΅ΡΡΠ²Π΅Π½Π½ΠΎΠΌΡ ΡΠ°Π·Π»ΠΎΠΆΠ΅Π½ΠΈΡ ΠΏΠΎΠ΄ Π²ΠΎΠ·Π΄Π΅ΠΉΡΡΠ²ΠΈΠ΅ΠΌ Π²ΡΠ΅ΠΌΠ΅Π½ΠΈ, ΡΠ΅ΠΌΠΏΠ΅ΡΠ°ΡΡΡΡ ΠΈ Π΄Π°Π²Π»Π΅Π½ΠΈΡ.
ΠΡΠΈ ΠΈΠ·ΠΌΠ΅Π½Π΅Π½ΠΈΠΈ Ρ
ΠΈΠΌΠΈΡΠ΅ΡΠΊΠΎΠ³ΠΎ ΡΠΎΡΡΠ°Π²Π° ΡΠ½ΠΈΠΆΠ°ΡΡΡΡ ΡΠ²ΠΎΠΉΡΡΠ²Π° ΠΆΠΈΠ΄ΠΊΠΎΡΡΠΈ ΠΠ£Π , ΡΡΠΎ ΠΏΡΠΈΠ²ΠΎΠ΄ΠΈΡ ΠΊ ΡΠ½ΠΈΠΆΠ΅Π½ΠΈΡ ΡΡΡΠ΅ΠΊΡΠΈΠ²Π½ΠΎΡΡΠΈ ΡΠ°Π±ΠΎΡΡ Π²ΡΠ΅ΠΉ ΡΠΈΡΡΠ΅ΠΌΡ ΠΈ ΡΠΊΠ°Π·ΡΠ²Π°Π΅ΡΡΡ Π½Π° ΡΠ΅ΡΡΡΡΠ΅ Π΄Π΅ΡΠ°Π»Π΅ΠΉ ΡΠ΅ΠΉΠΊΠΈ ΠΈ Π½Π°ΡΠΎΡΠ°.
ΠΡΠΊΠ°Π·Π°Π²ΡΠΈΠΉ ΠΈΠ·-Π·Π° Π΄Π΅Π³ΡΠ°Π΄ΠΈΡΠΎΠ²Π°Π²ΡΠ΅ΠΉ ΠΆΠΈΠ΄ΠΊΠΎΡΡΠΈ Π½Π°ΡΠΎΡ ΠΠ£Π
ΠΠ°ΠΊΠ°ΠΏΠ»ΠΈΠ²Π°Π½ΠΈΠ΅ Π² ΠΎΠ±ΡΠ΅ΠΌΠ΅ ΠΌΠ°ΡΠ»Π° Π²Π»Π°Π³ΠΈ. ΠΠ»Π°Π³Π° ΡΠΊΠ°Π·ΡΠ²Π°Π΅ΡΡΡ Π½Π° ΡΠΌΠ°Π·ΡΠ²Π°ΡΡΠΈΡ ΠΈ Π·Π°ΡΠΈΡΠ½ΡΡ ΠΊΠ°ΡΠ΅ΡΡΠ²Π°Ρ ΠΆΠΈΠ΄ΠΊΠΎΡΡΠΈ. Π’Π°ΠΊΠΆΠ΅ Π²ΠΎΠ΄Π° Π² Π³ΠΈΠ΄ΡΠΎΡΡΠΈΠ»ΠΈΡΠ΅Π»Π΅ ΡΡΠΊΠΎΡΡΠ΅Ρ ΠΏΡΠΎΡΠ΅ΡΡ ΠΊΠΎΡΡΠΎΠ΄ΠΈΡΠΎΠ²Π°Π½ΠΈΡ ΠΌΠ΅ΡΠ°Π»Π»ΠΈΡΠ΅ΡΠΊΠΈΡ Π΄Π΅ΡΠ°Π»Π΅ΠΉ ΡΠΈΡΡΠ΅ΠΌΡ.
ΠΠ°ΡΠΎΡΠ΅Π½ΠΈΠ΅ ΠΏΡΠΎΠ΄ΡΠΊΡΠ°ΠΌΠΈ ΠΈΠ·Π½ΠΎΡΠ°
ΠΠ°ΠΈΠ±ΠΎΠ»Π΅Π΅ ΠΎΠΏΠ°ΡΠ½ΡΠΌ Π·Π°Π³ΡΡΠ·Π½ΠΈΡΠ΅Π»Π΅ΠΌ Π²ΡΡΡΡΠΏΠ°Π΅Ρ ΠΌΠ΅Π»ΠΊΠΎΠ΄ΠΈΡΠΏΠ΅ΡΡΠ½Π°Ρ ΠΌΠ΅ΡΠ°Π»Π»ΠΈΡΠ΅ΡΠΊΠ°Ρ ΠΏΡΠ»Ρ. Π Π±ΠΎΠ»ΡΡΠΈΠ½ΡΡΠ²Π΅ ΠΊΠΎΠ½ΡΡΡΡΠΊΡΠΈΠΉ Π³ΠΈΠ΄ΡΠΎΡΡΠΈΠ»ΠΈΡΠ΅Π»Π΅ΠΉ Π² ΠΊΠ°ΡΠ΅ΡΡΠ²Π΅ ΡΠΈΠ»ΡΡΡΠ° ΠΏΡΠΈΡΡΡΡΡΠ²ΡΠ΅Ρ Π»ΠΈΡΡ ΠΌΠ΅ΡΠ°Π»Π»ΠΈΡΠ΅ΡΠΊΠ°Ρ ΡΠ΅ΡΠΊΠ°, ΡΡΡΠ°Π½ΠΎΠ²Π»Π΅Π½Π½Π°Ρ Π² ΡΠ°ΡΡΠΈΡΠΈΡΠ΅Π»ΡΠ½ΠΎΠΌ Π±Π°ΡΠΊΠ΅ ΠΏΠ΅ΡΠ΅Π΄ ΡΡΡΠ±ΠΊΠΎΠΉ Π·Π°Π±ΠΎΡΠ° ΠΌΠ°ΡΠ»Π° Π² ΠΊΠΎΠ½ΡΡΡ.
ΠΠ΄Π½Π°ΠΊΠΎ ΡΡΠ° ΡΠ΅ΡΠΊΠ° ΠΈΠΌΠ΅Π΅Ρ Π΄ΠΎΠ²ΠΎΠ»ΡΠ½ΠΎ Π±ΠΎΠ»ΡΡΠΎΠ΅ ΡΠ΅ΡΠ΅Π½ΠΈΠ΅ ΡΡΠ΅Π΅ΠΊ ΠΈ Π½Π΅ ΡΠΏΠΎΡΠΎΠ±Π½Π° Π·Π°Π΄Π΅ΡΠΆΠ°ΡΡ ΠΌΠ΅Π»ΠΊΡΡ ΠΌΠ΅ΡΠ°Π»Π»ΠΈΡΠ΅ΡΠΊΡΡ ΠΏΡΠ»ΡΡΡ. Π’Π°ΠΊΠΆΠ΅ ΠΆΠΈΠ΄ΠΊΠΎΡΡΡ ΠΠ£Π Π·Π°ΡΠΎΡΡΡΡΡ ΠΌΠ΅Π»ΠΊΠΈΠΌΠΈ ΠΏΠ»Π°ΡΡΠΈΠΊΠΎΠ²ΡΠΌΠΈ ΠΈ ΡΠ΅Π·ΠΈΠ½ΠΎΠ²ΡΠΌΠΈ ΡΠ°ΡΡΠΈΡΠ°ΠΌΠΈ, ΠΊΠΎΡΠΎΡΡΠ΅ ΠΎΡΡΠ»Π°ΠΈΠ²Π°ΡΡΡΡ ΠΎΡ Π½Π΅ΠΌΠ΅ΡΠ°Π»Π»ΠΈΡΠ΅ΡΠΊΠΈΡ Π΄Π΅ΡΠ°Π»Π΅ΠΉ Π³ΠΈΠ΄ΡΠΎΡΡΠΈΠ»ΠΈΡΠ΅Π»Ρ.
ΠΡΠΎΠ½ΠΈΠΊΠ½ΠΎΠ²Π΅Π½ΠΈΠ΅ ΠΏΠ΅ΡΠΊΠ° ΠΈ ΠΏΡΠ»ΠΈ ΡΠ΅ΡΠ΅Π· ΠΏΠΎΠ²ΡΠ΅ΠΆΠ΄Π΅Π½Π½ΡΠΉ ΠΏΡΠ»ΡΠ½ΠΈΠΊ ΡΠ΅ΠΉΠΊΠΈ. ΠΡΠΈ ΡΡΠΎΠΉ Π½Π΅ΠΈΡΠΏΡΠ°Π²Π½ΠΎΡΡΠΈ, ΠΊΠ°ΠΊ ΠΏΡΠ°Π²ΠΈΠ»ΠΎ, ΡΠ΅ΠΌΠΎΠ½ΡΠΈΡΡΠ΅ΡΡΡ ΡΡΠ»Π΅Π²Π°Ρ ΡΠ΅ΠΉΠΊΠ° Ρ ΠΏΠΎΡΠ»Π΅Π΄ΡΡΡΠ΅ΠΉ ΠΏΠΎΠ»Π½ΠΎΠΉ Π·Π°ΠΌΠ΅Π½ΠΎΠΉ ΠΆΠΈΠ΄ΠΊΠΎΡΡΠΈ Π³ΠΈΠ΄ΡΠΎΡΡΠΈΠ»ΠΈΡΠ΅Π»Ρ.
ΠΠ½ΡΠΎΡΠΌΠ°ΡΠΈΡ ΠΎ ΡΠ΅Π³Π»Π°ΠΌΠ΅Π½ΡΠ΅ ΠΏΡΠΎΡΠΈΠ»Π°ΠΊΡΠΈΡΠ΅ΡΠΊΠΎΠ³ΠΎ ΠΎΠ±Π½ΠΎΠ²Π»Π΅Π½ΠΈΡ ΠΌΠ°ΡΠ»Π° ΠΠ£Π ΠΎΠ±ΡΡΠ½ΠΎ ΡΠΊΠ°Π·ΡΠ²Π°Π΅ΡΡΡ Π² ΡΠ°Π·Π΄Π΅Π»Π΅ Β«Π’Π΅Ρ
Π½ΠΈΡΠ΅ΡΠΊΠΎΠ³ΠΎ ΠΎΠ±ΡΠ»ΡΠΆΠΈΠ²Π°Π½ΠΈΠ΅Β» Π² ΡΠ΅ΡΠ²ΠΈΡΠ½ΠΎΠΉ ΠΊΠ½ΠΈΠ³Π΅ Π°Π²ΡΠΎΠΌΠΎΠ±ΠΈΠ»Ρ.
ΠΡΠ½ΠΎΠ²Ρ ΠΏΠΎΠ΄Π±ΠΎΡΠ° ΠΌΠ°ΡΠ»Π° Π΄Π»Ρ Π³ΠΈΠ΄ΡΠΎΡΡΠΈΠ»ΠΈΡΠ΅Π»Ρ
Π Π½Π°ΡΡΠΎΡΡΠ΅Π΅ Π½Π° ΡΡΠ½ΠΊΠ΅ Π΅ΡΡΡ Π±ΠΎΠ»ΡΡΠΎΠ΅ ΠΊΠΎΠ»ΠΈΡΠ΅ΡΡΠ²ΠΎ ΡΠ°Π·Π½ΠΎΠΎΠ±ΡΠ°Π·Π½ΡΡ ΡΠΌΠ°Π·ΡΠ²Π°ΡΡΠΈΡ ΠΌΠ°ΡΠ΅ΡΠΈΠ°Π»ΠΎΠ², ΠΏΡΠΈΠΌΠ΅Π½ΡΠ΅ΠΌΡΡ Π² Π³ΠΈΠ΄ΡΠΎΡΡΠΈΠ»ΠΈΡΠ΅Π»ΡΡ .
ΠΠ°ΡΠ»Π° Π΄Π»Ρ ΠΠ£Π
Π ΡΠ°ΠΌΠΊΠ°Ρ ΠΎΠ±Π·ΠΎΡΠ½ΠΎΠΉ ΡΡΠ°ΡΡΠΈ Π½Π΅Ρ Π²ΠΎΠ·ΠΌΠΎΠΆΠ½ΠΎΡΡΠΈ ΠΏΠ΅ΡΠ΅ΡΠΈΡΠ»ΠΈΡΡ Π²ΡΠ΅ ΡΠΈΠΏΡ ΠΌΠ°ΡΠ΅Π», ΠΏΡΠΈΠΌΠ΅Π½ΡΠ΅ΠΌΡΡ Π² Π³ΠΈΠ΄ΡΠ°Π²Π»ΠΈΡΠ΅ΡΠΊΠΈΡ ΡΡΠΈΠ»ΠΈΡΠ΅Π»ΡΡ . Π Π°ΡΡΠΌΠΎΡΡΠΈΠΌ Π»ΠΈΡΡ ΠΎΠ±ΡΠΈΠ΅ ΠΏΡΠ°Π²ΠΈΠ»Π° ΠΏΠΎΠ΄Π±ΠΎΡΠ° ΠΏΠΎΠ΄Ρ ΠΎΠ΄ΡΡΠ΅ΠΉ ΠΆΠΈΠ΄ΠΊΠΎΡΡΠΈ.
- ΠΡΠ΅ ΠΌΠ°ΡΠ»Π° Π΄Π»Ρ Π³ΠΈΠ΄ΡΠ°Π²Π»ΠΈΡΠ΅ΡΠΊΠΈΡ
ΡΡΠΈΠ»ΠΈΡΠ΅Π»Π΅ΠΉ ΠΏΠΎΠ΄ΡΠ°Π·Π΄Π΅Π»ΡΡΡΡΡ Π½Π° ΠΌΠΈΠ½Π΅ΡΠ°Π»ΡΠ½ΡΠ΅, ΡΠΈΠ½ΡΠ΅ΡΠΈΡΠ΅ΡΠΊΠΈΠ΅ ΠΈ ΠΏΠΎΠ»ΡΡΠΈΠ½ΡΠ΅ΡΠΈΡΠ΅ΡΠΊΠΈΠ΅. ΠΠ° ΡΠ΅Π³ΠΎΠ΄Π½ΡΡΠ½ΠΈΠΉ Π΄Π΅Π½Ρ Π½Π°ΠΈΠ±ΠΎΠ»Π΅Π΅ ΡΠ°ΡΠΏΡΠΎΡΡΡΠ°Π½Π΅Π½Ρ ΠΌΠΈΠ½Π΅ΡΠ°Π»ΡΠ½ΡΠ΅ ΠΆΠΈΠ΄ΠΊΠΎΡΡΠΈ.
Π‘ΡΡΠ΅ΡΡΠ²ΡΠ΅Ρ ΡΠ°ΠΊΠΎΠ΅ ΠΏΡΠ°Π²ΠΈΠ»ΠΎ: Π΅ΡΠ»ΠΈ Π² ΠΈΠ½ΡΡΡΡΠΊΡΠΈΠΈ ΠΏΠΎ ΡΠΊΡΠΏΠ»ΡΠ°ΡΠ°ΡΠΈΠΈ ΠΊΠΎΠ½ΠΊΡΠ΅ΡΠ½ΠΎ Π½Π΅ ΠΏΡΠΎΠΏΠΈΡΠ°Π½Π° Π²ΠΎΠ·ΠΌΠΎΠΆΠ½ΠΎΡΡΡ ΠΏΡΠΈΠΌΠ΅Π½Π΅Π½ΠΈΡ ΡΠΈΠ½ΡΠ΅ΡΠΈΠΊΠΈ ΠΈ ΠΏΠΎΠ»ΡΡΠΈΠ½ΡΠ΅ΡΠΈΠΊΠΈ, ΡΠΎ ΠΈΡΠΏΠΎΠ»ΡΠ·ΠΎΠ²Π°ΡΡ ΠΌΠΎΠΆΠ½ΠΎ ΡΠΎΠ»ΡΠΊΠΎ ΠΌΠ°ΡΠ»Π° Π½Π° ΠΌΠΈΠ½Π΅ΡΠ°Π»ΡΠ½ΠΎΠΉ ΠΎΡΠ½ΠΎΠ²Π΅.
ΠΠ±ΡΠ°ΡΠ½Π°Ρ Π²Π·Π°ΠΈΠΌΠΎΠ·Π°ΠΌΠ΅Π½ΡΠ΅ΠΌΠΎΡΡΡ ΡΠΎΠΆΠ΅ Π½Π΅ΠΆΠ΅Π»Π°ΡΠ΅Π»ΡΠ½Π° (ΡΠΎ Π΅ΡΡΡ ΠΏΡΠΈ ΡΠ΅ΠΊΠΎΠΌΠ΅Π½Π΄ΠΎΠ²Π°Π½Π½ΠΎΠΉ ΡΠΈΠ½ΡΠ΅ΡΠΈΠΊΠ΅ Π»ΡΡΡΠ΅ Π½Π΅ Π·Π°Π»ΠΈΠ²Π°ΡΡ ΠΌΠΈΠ½Π΅ΡΠ°Π»ΡΠ½ΡΠ΅ Π²Π°ΡΠΈΠ°Π½ΡΡ), Π½ΠΎ ΡΡΠΈΡΠ°Π΅ΡΡΡ Π±ΠΎΠ»Π΅Π΅ Π±Π΅Π·ΠΎΠΏΠ°ΡΠ½ΠΎΠΉ. - ΠΠ°ΡΠ°Π½ΡΠΈΡΠΎΠ²Π°Π½ΠΎ Π±Π΅Π·ΠΎΠΏΠ°ΡΠ½ΠΎ ΠΌΠΎΠΆΠ½ΠΎ ΡΠΌΠ΅ΡΠΈΠ²Π°ΡΡ ΡΠΎΠ»ΡΠΊΠΎ ΠΆΠΈΠ΄ΠΊΠΎΡΡΠΈ Ρ ΠΎΠ΄ΠΈΠ½Π°ΠΊΠΎΠ²ΡΠΌΠΈ ΠΈΠ»ΠΈ Π±Π»ΠΈΠ·ΠΊΠΈΠΌΠΈ Ρ
ΠΈΠΌΠΈΡΠ΅ΡΠΊΠΈΠΌΠΈ ΡΠΎΡΡΠ°Π²Π°ΠΌΠΈ.
ΠΠ°ΡΠ°ΡΡΡΡ ΠΈΠ½ΡΠΎΡΠΌΠ°ΡΠΈΡ ΠΎ Π²Π·Π°ΠΈΠΌΠΎΠ·Π°ΠΌΠ΅Π½ΡΠ΅ΠΌΠΎΡΡΠΈ ΡΠΊΠ°Π·ΡΠ²Π°Π΅ΡΡΡ Π½Π° ΡΠΏΠ°ΠΊΠΎΠ²ΠΊΠ΅.Π¦Π²Π΅ΡΠ° ΠΆΠΈΠ΄ΠΊΠΎΡΡΠ΅ΠΉ ΠΠ£Π
Π§ΡΠΎ ΠΊΠ°ΡΠ°Π΅ΡΡΡ ΡΠ²Π΅ΡΠ°, ΡΠΎ Π΅ΡΡΡ ΡΠ°ΠΊΠΎΠ΅ Π½Π΅Π³Π»Π°ΡΠ½ΠΎΠ΅ ΠΏΡΠ°Π²ΠΈΠ»ΠΎ: ΠΊΡΠ°ΡΠ½ΡΠ΅ ΠΈ ΠΆΠ΅Π»ΡΡΠ΅ ΠΆΠΈΠ΄ΠΊΠΎΡΡΠΈ ΠΌΠΎΠΆΠ½ΠΎ ΡΠΌΠ΅ΡΠΈΠ²Π°ΡΡ. ΠΠ΅Π»Π΅Π½ΡΠ΅ Π½Π΅Π»ΡΠ·Ρ ΠΌΠ΅ΡΠ°ΡΡ Ρ Π΄ΡΡΠ³ΠΈΠΌΠΈ, Π° ΡΠΎΠ»ΡΠΊΠΎ ΠΌΠ΅ΠΆΠ΄Ρ ΡΠΎΠ±ΠΎΠΉ. ΠΠ΄Π½Π°ΠΊΠΎ Π·Π΄Π΅ΡΡ ΠΈ Π΄Π»Ρ Π·Π΅Π»Π΅Π½ΡΡ Π΅ΡΡΡ ΠΈΡΠΊΠ»ΡΡΠ΅Π½ΠΈΠ΅. ΠΠ°ΡΠ»Π° ΠΠ£Π Π·Π΅Π»Π΅Π½ΠΎΠ³ΠΎ ΡΠ²Π΅ΡΠ° ΠΌΠΎΠ³ΡΡ Π±ΡΡΡ ΡΠΈΠ½ΡΠ΅ΡΠΈΡΠ΅ΡΠΊΠΈΠΌΠΈ ΠΈ ΠΌΠΈΠ½Π΅ΡΠ°Π»ΡΠ½ΡΠΌΠΈ. ΠΠΎΡΡΠΎΠΌΡ ΠΎΠΏΠΈΡΠ°ΡΡΡΡ ΡΠΎΠ»ΡΠΊΠΎ Π½Π° ΡΠ²Π΅Ρ Π½Π΅ΠΆΠ΅Π»Π°ΡΠ΅Π»ΡΠ½ΠΎ.
- Π ΠΊΡΠ°ΡΠΊΠΎΡΡΠΎΡΠ½ΠΎΠΉ ΠΏΠ΅ΡΡΠΏΠ΅ΠΊΡΠΈΠ²Π΅, ΠΏΡΠΈ Π½Π΅ ΠΏΠ»Π°Π½ΠΎΠ²ΠΎΠΉ, Π° Π²ΡΠ½ΡΠΆΠ΄Π΅Π½Π½ΠΎΠΉ Π·Π°ΠΌΠ΅Π½Π΅, ΠΌΠΎΠΆΠ½ΠΎ Π²ΡΠ΅ΠΌΠ΅Π½Π½ΠΎ Π·Π°Π»ΠΈΡΡ Π»ΡΠ±ΠΎΠ΅ ΠΌΠ°ΡΠ»ΠΎ. ΠΠ°ΠΏΡΠΈΠΌΠ΅Ρ, Π² ΡΠΈΡΡΠ°ΡΠΈΠΈ, ΠΊΠΎΠ³Π΄Π° ΡΠΎΡΠΊΠΎΡΠΈΠ» ΡΠ»Π°Π½Π³ ΠΎΠ±ΡΠ°ΡΠΊΠΈ, ΠΈ ΠΆΠΈΠ΄ΠΊΠΎΡΡΡ Π²ΡΡΠ΅ΠΊΠ»Π°, ΡΠΎ Π½Π° Π½Π΅Π±ΠΎΠ»ΡΡΠΎΠΉ ΡΡΠΎΠΊ ΠΌΠΎΠΆΠ½ΠΎ Π·Π°Π»ΠΈΡΡ Π°Π±ΡΠΎΠ»ΡΡΠ½ΠΎ Π»ΡΠ±ΠΎΠ΅ ΠΌΠ°ΡΠ»ΠΎ. ΠΠ°ΡΠΎΡ Π³ΠΈΠ΄ΡΠΎΡΡΠΈΠ»ΠΈΡΠ΅Π»Ρ ΠΏΡΠΈ ΡΠ°Π±ΠΎΡΠ΅ Π½Π° ΡΡΡ ΡΡ Π±ΡΡΡΡΠΎ Π²ΡΠΉΠ΄Π΅Ρ ΠΈΠ· ΡΡΡΠΎΡ.
ΠΠΎΡΡΠΎΠΌΡ ΠΌΠ΅Π½ΡΡΠΈΠΉ Π²ΡΠ΅Π΄ ΠΏΡΠΈΡΠΈΠ½ΠΈΡ Π½Π΅ΠΏΠΎΠ΄Ρ ΠΎΠ΄ΡΡΠ΅Π΅ ΠΌΠ°ΡΠ»ΠΎ, ΡΠ΅ΠΌ ΡΠ°Π±ΠΎΡΠ° ΡΠΈΡΡΠ΅ΠΌΡ ΠΠ£Π Π²ΠΎΠΎΠ±ΡΠ΅ Π±Π΅Π· ΡΠΌΠ°Π·ΠΊΠΈ. ΠΠΎ ΠΏΠ΅ΡΠ΅Π΄ ΠΏΠΎΡΠ»Π΅Π΄ΡΡΡΠ΅ΠΉ Π·Π°Π»ΠΈΠ²ΠΊΠΎΠΉ ΠΏΠΎΠ΄Ρ ΠΎΠ΄ΡΡΠ΅Π³ΠΎ ΠΌΠ°ΡΠ»Π° ΠΎΠ±ΡΠ·Π°ΡΠ΅Π»ΡΠ½ΠΎ Π½ΡΠΆΠ½ΠΎ Π±ΡΠ΄Π΅Ρ ΠΏΡΠΎΠΌΡΡΡ ΡΠΈΡΡΠ΅ΠΌΡ.
ΠΠ°ΠΊ Π·Π°ΠΌΠ΅Π½ΠΈΡΡ ΠΆΠΈΠ΄ΠΊΠΎΡΡΡ Π² Π³ΠΈΠ΄ΡΠΎΡΡΠΈΠ»ΠΈΡΠ΅Π»Π΅ ΠΈ Π½Π΅ ΠΎΡΠΈΠ±ΠΈΡΡΡΡ Ρ Π²ΡΠ±ΠΎΡΠΎΠΌ ΠΏΠΎΠ΄Ρ
ΠΎΠ΄ΡΡΠ΅Π³ΠΎ ΡΠΌΠ°Π·ΠΎΡΠ½ΠΎΠ³ΠΎ ΠΌΠ°ΡΠ΅ΡΠΈΠ°Π»Π°? ΠΠ±ΡΠΈΠΉ ΠΎΡΠ²Π΅Ρ ΠΏΡΠ΅Π΄Π΅Π»ΡΠ½ΠΎ ΠΏΡΠΎΡΡ: ΡΠΈΡΠ°ΠΉΡΠ΅ ΠΈΠ½ΡΡΡΡΠΊΡΠΈΡ ΠΏΠΎ ΡΠΊΡΠΏΠ»ΡΠ°ΡΠ°ΡΠΈΠΈ Π°Π²ΡΠΎ.
Π’ΠΎΠ½ΠΊΠΎΡΡΠΈ Π·Π°ΠΌΠ΅Π½Ρ
ΠΠ°ΠΌΠ΅Π½Π° ΠΌΠ°ΡΠ»Π° Π² Π³ΠΈΠ΄ΡΠΎΡΡΠΈΠ»ΠΈΡΠ΅Π»Π΅ ΡΠ²ΠΎΠΈΠΌΠΈ ΡΡΠΊΠ°ΠΌΠΈ Π½Π° ΡΠ°ΠΌΠΎΠΌ Π΄Π΅Π»Π΅ ΠΌΠΎΠΆΠ΅Ρ ΠΎΠΊΠ°Π·Π°ΡΡΡΡ Π³ΠΎΡΠ°Π·Π΄ΠΎ ΠΏΡΠΎΡΠ΅, ΡΠ΅ΠΌ ΡΡΠΎ ΠΌΠΎΠΆΠ΅Ρ ΠΏΠΎΠΊΠ°Π·Π°ΡΡΡΡ Π½Π° ΠΏΠ΅ΡΠ²ΡΠΉ Π²Π·Π³Π»ΡΠ΄. ΠΠ½ΠΎΠ³ΠΎΠ΅ Π·Π°Π²ΠΈΡΠΈΡ ΠΎΡ Π²Π°ΡΠΈΡ ΠΏΠΎΠ·Π½Π°Π½ΠΈΠΉ ΠΈ Π½Π°Π²ΡΠΊΠΎΠ² Π² ΠΎΠ±Π»Π°ΡΡΠΈ ΡΠ΅ΠΌΠΎΠ½ΡΠ° ΠΈ ΠΎΠ±ΡΠ»ΡΠΆΠΈΠ²Π°Π½ΠΈΡ Π°Π²ΡΠΎ.
ΠΠΈΠ΄ΠΊΠΎΡΡΡ ΠΠ£Π ΠΌΠΎΠΆΠ΅Ρ ΠΌΠ΅Π½ΡΡΡΡΡ ΠΏΠΎ Π΄Π²ΡΠΌ ΡΡΠ΅Π½Π°ΡΠΈΡΠΌ:
- ΠΠΎΠ»Π½Π°Ρ Π·Π°ΠΌΠ΅Π½Π°.
- Π§Π°ΡΡΠΈΡΠ½ΠΎΠ΅ ΠΎΠ±Π½ΠΎΠ²Π»Π΅Π½ΠΈΠ΅.
ΠΠ°ΠΊ ΠΏΠΎΠΌΠ΅Π½ΡΡΡ ΠΆΠΈΠ΄ΠΊΠΎΡΡΡ Π² Π³ΠΈΠ΄ΡΠΎΡΡΠΈΠ»ΠΈΡΠ΅Π»Π΅ ΡΠ²ΠΎΠΈΠΌΠΈ ΡΡΠΊΠ°ΠΌΠΈ?
ΠΠ»Ρ ΡΠ°ΠΌΠΎΡΡΠΎΡΡΠ΅Π»ΡΠ½ΠΎΠ³ΠΎ Π²ΡΠΏΠΎΠ»Π½Π΅Π½ΠΈΡ ΡΡΠΎΠΉ ΠΏΡΠΎΡΠ΅Π΄ΡΡΡ ΡΠ΅ΠΊΠΎΠΌΠ΅Π½Π΄ΡΠ΅ΡΡΡ ΠΈΠ΄ΡΠΈ ΠΏΠΎ ΠΏΡΡΠΈ ΡΠ°ΡΡΠΈΡΠ½ΠΎΠ³ΠΎ ΠΎΠ±Π½ΠΎΠ²Π»Π΅Π½ΠΈΡ, ΠΏΠΎΡΠΎΠΌΡ ΡΡΠΎ:
- ΠΠΎΠ»Π½Π°Ρ Π·Π°ΠΌΠ΅Π½Π° Π½Π° Π±ΠΎΠ»ΡΡΠΈΠ½ΡΡΠ²Π΅ Π°Π²ΡΠΎΠΌΠΎΠ±ΠΈΠ»Π΅ΠΉ Π½Π΅ ΡΡΠ΅Π±ΡΠ΅ΡΡΡ Π²Π²ΠΈΠ΄Ρ Π½Π΅ΡΠ΅Π»Π΅ΡΠΎΠΎΠ±ΡΠ°Π·Π½ΠΎΡΡΠΈ ΡΡΠΎΠΉ ΠΏΡΠΎΡΠ΅Π΄ΡΡΡ.
- ΠΠ±Π½ΠΎΠ²Π»Π΅Π½ΠΈΠ΅ Π²ΡΠ΅Π³ΠΎ ΠΎΠ±ΡΠ΅ΠΌΠ°, ΠΊΠ°ΠΊ ΠΏΡΠ°Π²ΠΈΠ»ΠΎ, ΠΏΡΠΎΠΈΠ·Π²ΠΎΠ΄ΠΈΡΡΡ ΡΠΎΠ»ΡΠΊΠΎ ΠΏΠΎΡΠ»Π΅ ΠΊΠ°ΠΏΠΈΡΠ°Π»ΡΠ½ΠΎΠ³ΠΎ ΡΠ΅ΠΌΠΎΠ½ΡΠ° ΠΈΠ»ΠΈ Π·Π°ΠΌΠ΅Π½Ρ ΡΠ΅ΠΉΠΊΠΈ ΠΈ Π½Π°ΡΠΎΡΠ°, Π° ΡΠ°ΠΊΠΆΠ΅ Π² Π°Π²Π°ΡΠΈΠΉΠ½ΡΡ ΡΠ»ΡΡΠ°ΡΡ ΠΏΠΎΡΠ»Π΅ ΡΠ°Π·Π³Π΅ΡΠΌΠ΅ΡΠΈΠ·Π°ΡΠΈΠΈ Π³ΠΈΠ΄ΡΠ°Π²Π»ΠΈΡΠ΅ΡΠΊΠΈΡ ΠΊΠΎΠ½ΡΡΡΠΎΠ².
ΠΠ°ΠΊ ΡΠ»ΠΈΡΡ ΠΆΠΈΠ΄ΠΊΠΎΡΡΡ Ρ Π³ΠΈΠ΄ΡΠΎΡΡΠΈΠ»ΠΈΡΠ΅Π»Ρ?
ΠΡΠΊΠ°ΡΠΊΠ° ΠΌΠ°ΡΠ»Π° ΠΈΠ· Π±Π°ΡΠΊΠ° Π³ΠΈΠ΄ΡΠΎΡΡΠΈΠ»ΠΈΡΠ΅Π»Ρ
ΠΡΠΈ ΡΠ°ΡΡΠΈΡΠ½ΠΎΠΉ Π·Π°ΠΌΠ΅Π½Π΅ Π½Π΅ΠΎΠ±Ρ
ΠΎΠ΄ΠΈΠΌΠΎ Π»ΠΈΡΡ ΡΠ΄Π°Π»ΠΈΡΡ Π²ΡΠ΅ ΠΌΠ°ΡΠ»ΠΎ ΠΈΠ· ΡΠ°ΡΡΠΈΡΠΈΡΠ΅Π»ΡΠ½ΠΎΠ³ΠΎ Π±Π°ΡΠΊΠ°.
- ΠΠ»Ρ ΡΡΠΎΠ³ΠΎ ΠΌΠΎΠΆΠ½ΠΎ ΠΎΡΡΠΎΠ΅Π΄ΠΈΠ½ΠΈΡΡ Π½ΠΈΠΆΠ½ΠΈΠΉ ΡΠ»Π°Π½Π³ (ΠΏΠΎΠ΄Π°ΡΠΈ) ΠΈΠ»ΠΈ ΠΎΡΠΊΠ°ΡΠ°ΡΡ ΠΌΠ°ΡΠ»ΠΎ ΡΠΏΡΠΈΡΠΎΠΌ.
- ΠΡΠ»ΠΈ ΠΏΠΎΠ΄Ρ ΠΎΠ΄ΠΈΡΡ ΠΊ Π²ΠΎΠΏΡΠΎΡΡ Π±ΠΎΠ»Π΅Π΅ ΠΏΡΠΎΡΠ΅ΡΡΠΈΠΎΠ½Π°Π»ΡΠ½ΠΎ, ΡΠΎ ΠΏΠ°ΡΠ°Π»Π»Π΅Π»ΡΠ½ΠΎ Π½ΡΠΆΠ½ΠΎ Π΄Π΅ΠΌΠΎΠ½ΡΠΈΡΠΎΠ²Π°ΡΡ ΡΠ°ΡΡΠΈΡΠΈΡΠ΅Π»ΡΠ½ΡΠΉ Π±Π°ΡΠΎΠΊ, ΠΏΡΠΎΠΌΡΡΡ Π΅Π³ΠΎ ΠΈ ΠΏΠΎΡΠΈΡΡΠΈΡΡ ΡΠ΅ΡΠΎΡΠΊΡ Π½Π° ΠΊΠΎΠ½ΡΡΡΠ΅ Π·Π°Π±ΠΎΡΠ°.
- ΠΠΎΡΠ»Π΅ ΠΎΡΠΊΠ°ΡΠΊΠΈ ΡΡΠ°ΡΠΎΠ³ΠΎ ΠΌΠ°ΡΠ»Π° ΠΈ ΠΎΡΠΈΡΡΠΊΠΈ Π±Π°ΡΠΊΠ° Π² ΡΠΈΡΡΠ΅ΠΌΡ Π·Π°Π»ΠΈΠ²Π°Π΅ΡΡΡ Π½ΠΎΠ²Π°Ρ ΡΠ°Π±ΠΎΡΠ°Ρ ΠΆΠΈΠ΄ΠΊΠΎΡΡΡ. ΠΠ°ΠΏΡΡΠΊΠ°Π΅ΡΡΡ Π΄Π²ΠΈΠ³Π°ΡΠ΅Π»Ρ, ΠΈ ΡΡΠ»Ρ Π²ΡΠ°ΡΠ°Π΅ΡΡΡ Π΄ΠΎ ΡΠΏΠΎΡΠ° Π²Π»Π΅Π²ΠΎ-Π²ΠΏΡΠ°Π²ΠΎ Π½Π΅ ΠΌΠ΅Π½Π΅Π΅ 10 ΡΠ°Π·.
- ΠΡΠΎΡΠ΅Π΄ΡΡΡ ΠΌΠΎΠΆΠ½ΠΎ ΠΏΠΎΠ²ΡΠΎΡΠΈΡΡ Π½Π΅ΡΠΊΠΎΠ»ΡΠΊΠΎ ΡΠ°Π·. ΠΡΠΎ Π΄Π°ΡΡ Π±ΠΎΠ»Π΅Π΅ ΠΏΠΎΠ»Π½ΠΎΠ΅ ΠΎΠ±Π½ΠΎΠ²Π»Π΅Π½ΠΈΠ΅ ΠΌΠ°ΡΠ»Π° Π³ΠΈΠ΄ΡΠΎΡΡΠΈΠ»ΠΈΡΠ΅Π»Ρ.
ΠΠ±ΡΠ·Π°ΡΠ΅Π»ΡΠ½ΠΎ Π½Π΅ΠΎΠ±Ρ ΠΎΠ΄ΠΈΠΌΠΎ ΠΊΠΎΠ½ΡΡΠΎΠ»ΠΈΡΠΎΠ²Π°ΡΡ ΡΡΠΎΠ²Π΅Π½Ρ ΠΆΠΈΠ΄ΠΊΠΎΡΡΠΈ Π² Π±Π°ΡΠΊΠ΅ Π³ΠΈΠ΄ΡΠΎΡΡΠΈΠ»ΠΈΡΠ΅Π»Ρ ΡΡΠ»Ρ.
ΠΠ°Π»ΠΈΠ²Π°ΡΡ Β«Ρ Π·Π°ΠΏΠ°ΡΠΎΠΌΒ», ΠΊΠ°ΠΊ ΡΡΠΎ Π΄Π΅Π»Π°ΡΡ Π½Π΅ΠΊΠΎΡΠΎΡΡΠ΅ Π½Π΅ΠΊΠΎΠΌΠΏΠ΅ΡΠ΅Π½ΡΠ½ΡΠ΅ Π°Π²ΡΠΎΠ²Π»Π°Π΄Π΅Π»ΡΡΡ, Π½Π΅Π»ΡΠ·Ρ.
ΠΠ°Π»ΠΈΠ²ΠΊΠ° ΠΌΠ°ΡΠ»Π° Π² ΠΠ£Π
ΠΠΎΠ΄ΠΎΠ±Π½ΡΠΉ ΠΏΠΎΠ΄Ρ
ΠΎΠ΄ ΠΌΠΎΠΆΠ΅Ρ Π½Π΅Π³Π°ΡΠΈΠ²Π½ΠΎ ΡΠΊΠ°Π·Π°ΡΡΡΡ Π½Π° ΡΠ°Π±ΠΎΡΠ΅ ΡΠΈΡΡΠ΅ΠΌΡ ΠΈΠ·-Π·Π° ΡΠΎΠ·Π΄Π°Π½ΠΈΡ ΠΈΠ·Π±ΡΡΠΎΡΠ½ΠΎΠ³ΠΎ Π΄Π°Π²Π»Π΅Π½ΠΈΡ Π² Π±Π°ΡΠΊΠ΅. Π’Π°ΠΊΠΆΠ΅ Π² ΡΠ°ΠΊΠΈΡ
ΡΠ»ΡΡΠ°ΡΡ
ΠΈΠ·Π»ΠΈΡΠ½Π΅Π΅ ΠΌΠ°ΡΠ»ΠΎ ΡΠ°ΡΡΠΎ Π²ΡΠ΄Π°Π²Π»ΠΈΠ²Π°Π΅ΡΡΡ ΡΠ΅ΡΠ΅Π· ΠΏΡΠΎΠ±ΠΊΡ Π±Π°ΡΠΊΠ° ΠΈ Π·Π°Π»ΠΈΠ²Π°Π΅Ρ ΠΏΠΎΠ΄ΠΊΠ°ΠΏΠΎΡΠ½ΠΎΠ΅ ΠΏΡΠΎΡΡΡΠ°Π½ΡΡΠ²ΠΎ.
ΠΠΎΠ»Π½Π°Ρ Π·Π°ΠΌΠ΅Π½Π° ΡΠ²ΠΎΠΈΠΌΠΈ ΡΡΠΊΠ°ΠΌΠΈ
ΠΠ°ΡΠΈΠ°Π½Ρ Π±ΠΎΠ»Π΅Π΅ ΡΡΡΠ΄ΠΎΠ·Π°ΡΡΠ°ΡΠ½ΡΠΉ, Π½ΠΎ Π±ΠΎΠ»Π΅Π΅ ΡΡΡΠ΅ΠΊΡΠΈΠ²Π½ΡΠΉ. Π§ΡΠΎ Π½ΡΠΆΠ½ΠΎ ΡΠ΄Π΅Π»Π°ΡΡ:
- ΠΡΠ²Π΅ΡΠΈΡΡ Π°Π²ΡΠΎ Π»ΠΈΠ±ΠΎ Π½Π° ΠΏΠΎΠ΄ΡΠ΅ΠΌΠ½ΠΈΠΊΠ΅ Π»ΠΈΠ±ΠΎ Π½Π° Π΄ΠΎΠΌΠΊΡΠ°ΡΠ°Ρ . ΠΠ΅ Π·Π°Π±ΡΠ΄ΡΡΠ΅ ΠΏΡΠΎ ΡΠ΅Ρ Π½ΠΈΠΊΡ Π±Π΅Π·ΠΎΠΏΠ°ΡΠ½ΠΎΡΡΠΈ!
- ΠΡΠΊΡΡΡΡ ΠΊΡΡΡΠΊΡ Π³ΠΈΠ΄ΡΠΎΡΡΠΈΠ»ΠΈΡΠ΅Π»Ρ ΠΈ Π²ΡΠΊΠ°ΡΠΈΠ²Π°Π΅ΠΌ ΠΆΠΈΠ΄ΠΊΠΎΡΡΡ ΠΊΠ°ΠΊ ΠΎΠΏΠΈΡΠ°Π½ΠΎ Π²ΡΡΠ΅.
ΠΡΠΊΠ°ΡΠΈΠ²Π°Π΅ΠΌ ΠΆΠΈΠ΄ΠΊΠΎΡΡΡ ΡΠΏΡΠΈΡΠ΅ΠΌ
- ΠΡΠΊΡΡΡΠΈΠ²Π°Π΅ΠΌ Ρ
ΠΎΠΌΡΡΡ Π½Π° ΡΠ»Π°Π½Π³Π°Ρ
Π±Π°ΡΠΊΠ° Π³ΠΈΠ΄ΡΠΎΡΡΠΈΠ»ΠΈΡΠ΅Π»Ρ. Π‘Π½ΠΈΠΌΠ°Π΅ΠΌ ΠΈ ΠΏΡΠΎΠΌΡΠ²Π°Π΅ΠΌ Π±Π°ΡΠΎΠΊ.
Π‘Π½ΠΈΠΌΠ°Π΅ΠΌ Ρ ΠΎΠΌΡΡΡ
- Π¨Π»Π°Π½Π³, ΠΊΠΎΡΠΎΡΡΠΉ ΠΎΡΠ²Π΅ΡΠ°Π΅Ρ Π·Π° Π²ΠΎΠ·Π²ΡΠ°Ρ ΠΆΠΈΠ΄ΠΊΠΎΡΡΠΈ Π² Π±Π°ΡΠΎΠΊ ΠΎΠΏΡΡΠΊΠ°Π΅ΠΌ Π² ΠΏΡΡΡΡΡ Π΅ΠΌΠΊΠΎΡΡΡ, ΡΠ°Π΄ΠΈΠΌΡΡ Π·Π° ΡΡΠ»Ρ ΠΈ Π½Π°ΡΠΈΠ½Π°Π΅ΠΌ ΠΈΠ½ΡΠ΅Π½ΡΠΈΠ²Π½ΠΎ Π²ΡΠ°ΡΠ°ΡΡ ΡΡΠ»Π΅ΠΌ Π²Π»Π΅Π²ΠΎ Π²ΠΏΡΠ°Π²ΠΎ.
Π‘Π»ΠΈΠ²Π°Π΅ΠΌ ΠΎΡΡΠ°ΡΠΊΠΈ ΠΆΠΈΠ΄ΠΊΠΎΡΡΠΈ Π² Π΅ΠΌΠΊΠΎΡΡΡ
ΠΡΠΎ ΠΏΠΎΠ·Π²ΠΎΠ»ΠΈΡ Π²ΡΠΊΠ°ΡΠ°ΡΡ ΠΎΡΡΠ°ΡΠΊΠΈ ΠΆΠΈΠ΄ΠΊΠΎΡΡΠΈ ΠΈΠ· ΡΠΈΡΡΠ΅ΠΌΡ. ΠΠΎΠΆΠ½ΠΎ Π΅ΡΠ΅ Π·Π°Π²Π΅ΡΡΠΈ Π΄Π²ΠΈΠ³Π°ΡΠ΅Π»Ρ Π½Π° ΠΊΠΎΡΠΎΡΠΊΠΎΠ΅ Π²ΡΠ΅ΠΌΡ, Π½ΠΎ Π±Π΅Π· ΠΏΡΠ°ΠΊΡΠΈΠΊΠΈ ΠΈ ΡΠ½ΠΎΡΠΎΠ²ΠΊΠΈ Π΄Π΅Π»Π°ΡΡ ΡΡΠΎ Π½Π΅ ΡΠ΅ΠΊΠΎΠΌΠ΅Π½Π΄ΡΡ.
- ΠΡΠ°ΡΠ°Π΅ΠΌ Π΄ΠΎ ΡΠ΅Ρ
ΠΏΠΎΡ ΠΏΠΎΠΊΠ° ΠΆΠΈΠ΄ΠΊΠΎΡΡΡ ΠΏΠ΅ΡΠ΅ΡΡΠ°Π½Π΅Ρ Π²ΡΡΠ΅ΠΊΠ°ΡΡ, Π»Π΅Π·Π΅ΠΌ ΠΏΠΎΠ΄ ΠΊΠ°ΠΏΠΎΡ ΠΈ Π² ΡΠ»Π°Π½Π³Β ΠΈΠ΄ΡΡΠΈΠΉ Π½Π° Π½Π°ΡΠΎΡ, Π²ΡΡΠ°Π²Π»ΡΠ΅ΠΌ Π²ΠΎΡΠΎΠ½ΠΊΡ, Π·Π°Π»ΠΈΠ²Π°Ρ Π² Π½Π΅Π΅ ΡΠ²Π΅ΠΆΡΡ ΠΆΠΈΠ΄ΠΊΠΎΡΡΡ. Π’ΡΡ ΠΏΠΎΠ½Π°Π΄ΠΎΠ±ΠΈΡΡΡΡ ΠΏΠΎΠΌΠΎΡΡ Π²ΡΠΎΡΠΎΠ³ΠΎ ΡΠ΅Π»ΠΎΠ²Π΅ΠΊΠ°, ΠΎΠ½ Π΄ΠΎΠ»ΠΆΠ΅Π½ ΡΠ΅ΡΡΡ Π·Π° ΡΡΠ»Ρ ΠΈ Π²ΡΠ°ΡΠ°ΡΡ Π΅Π³ΠΎ ΠΏΠΎΠΊΠ° Π²Ρ Π·Π°Π»ΠΈΠ²Π°Π΅ΡΠ΅ ΠΆΠΈΠ΄ΠΊΠΎΡΡΡ.

- ΠΠ°Π»ΠΈΠ²ΠΊΡ ΠΏΡΠΎΠΈΠ·Π²ΠΎΠ΄ΠΈΠΌ Π΄ΠΎ ΡΠ΅Ρ ΠΏΠΎΡ, ΠΏΠΎΠΊΠ° ΡΠ΅ΡΠ΅Π· ΡΠ»Π°Π½Π³ ΠΎΠ±ΡΠ°ΡΠΊΠΈ Π½Π΅ ΠΏΠΎΠ»ΡΠ΅ΡΡΡ ΡΠ²Π΅ΠΆΠ°Ρ ΠΆΠΈΠ΄ΠΊΠΎΡΡΡ.
- Π¨Π»Π°Π½Π³ΠΈ ΠΈ Π±Π°ΡΠΎΠΊ ΡΡΠ°Π²ΠΈΠΌ Π½Π° ΠΌΠ΅ΡΡΠΎ.
- ΠΡΠΎΠ²Π΅ΡΡΠ΅ΠΌ ΡΡΠΎΠ²Π΅Π½Ρ ΠΈ ΠΏΡΠΈ Π½Π΅ΠΎΠ±Ρ ΠΎΠ΄ΠΈΠΌΠΎΡΡΠΈ Π΄ΠΎΠ»ΠΈΠ²Π°Π΅ΠΌ.
- ΠΡΠ΅ ΡΠ°Π· Π²ΡΠ°ΡΠ°Π΅ΠΌ ΡΡΠ»Π΅ΠΌ.
- ΠΠ°Π²ΠΎΠ΄ΠΈΠΌ Π΄Π²ΠΈΠ³Π°ΡΠ΅Π»Ρ, ΠΎΠΏΡΡΡ Π²ΡΠ°ΡΠ°Π΅ΠΌ ΡΡΠ»Π΅ΠΌ (Π½Π΅ΠΎΠ±Ρ ΠΎΠ΄ΠΈΠΌΠΎ ΡΡΠ°ΡΠ΅Π»ΡΠ½ΠΎ ΠΏΡΠΎΠΊΠ°ΡΠ°ΡΡ Π²ΠΎΠ·ΠΌΠΎΠΆΠ½ΡΠ΅ Π²ΠΎΠ·Π΄ΡΡΠ½ΡΠ΅ ΠΏΡΠΎΠ±ΠΊΠΈ)
- ΠΠ»ΡΡΠΈΠΌ ΠΈ ΠΏΡΠΎΠ²Π΅ΡΡΠ΅ΠΌ ΡΡΠΎΠ²Π΅Π½Ρ, Π΅ΡΠ»ΠΈ Π½ΡΠΆΠ½ΠΎ, ΡΠΎ Π΄ΠΎΠ»ΠΈΠ²Π°Π΅ΠΌ.
ΠΡΠ΅! ΠΡ ΡΠΎΠ»ΡΠΊΠΎ ΡΡΠΎ ΠΏΡΠΎΠΈΠ·Π²Π΅Π»ΠΈ ΠΏΠΎΠ»Π½ΡΡ Π·Π°ΠΌΠ΅Π½Ρ ΠΆΠΈΠ΄ΠΊΠΎΡΡΠΈ Π² Π³ΠΈΠ΄ΡΠΎΡΡΠΈΠ»ΠΈΡΠ΅Π»Π΅ ΡΡΠ»Ρ ΡΠ°ΠΌΠΎΡΡΠΎΡΡΠ΅Π»ΡΠ½ΠΎ!
10+ HYDRAULIC BOOSTER TOP ΠΏΠΎΡΡΠ°Π²ΡΠΈΠΊΠΈ ΠΈΠ· π·πΊ Π ΠΎΡΡΠΈΡ, ΠΠ°Π·Π°Ρ ΡΡΠ°Π½ [2021]
ΠΠΊΡΠΏΠΎΡΡΠ½ΡΠ΅ ΡΠΎΡΡΠΈΠΉΡΠΊΠΈΠ΅ Π³ΠΈΠ΄ΡΠΎΡΡΠΈΠ»ΠΈΡΠ΅Π»ΠΈ:
- ΠΡΠΌΠ΅Π½ΠΈΡ
- ΠΡΠ³Π°Π½ΠΈΡΡΠ°Π½
- ΠΠ΅Π»ΡΠ³ΠΈΡ
- ΠΠΎΠ»Π³Π°ΡΠΈΡ
- ΠΡΠ΅ΡΠ½Π°ΠΌ
- ΠΠ΅ΡΠΌΠ°Π½ΠΈΡ
- ΠΡΡΠ·ΠΈΡ
- ΠΠ½Π΄ΠΈΡ
- ΠΠ°Π·Π°Ρ ΡΡΠ°Π½
- ΠΡΡΠ³ΡΠ·ΡΡΠ°Π½
- ΠΠΈΡΠ°ΠΉ
- ΠΡΠ±Π°
- ΠΠΈΡΠ°ΠΉ
- ΠΡΠ±Π°
- ΠΠΈΠ±Π΅ΡΠΈΡ
- ΠΠΈΡΠ²Π°
- ΠΠ°Π»Π°ΠΉΠ·ΠΈΡ
- ΠΠ΅ΠΏΠ°Π»
- ΠΠΎΡΠ²Π΅Π³ΠΈΡ
- ΠΠ°ΠΊΠΈΡΡΠ°Π½
- Π‘Π΅ΡΠ±ΠΈΡ
- Π‘ΠΠΠΠΠΠΠΠΠ«Π Π¨Π’ΠΠ’Π«
- Π‘ΡΠ΄Π°Π½
- Π’Π£Π ΠΠΠΠΠΠ‘Π’ΠΠ
- Π£Π·Π±Π΅ΠΊΠΈΡΡΠ°Π½
- Π£Π·Π±Π΅ΠΊΠΈΡΡΠ°Π½ Π¨Π²Π΅ΡΠΈΡ ΠΠ»Π΅Π½Π° ΠΡΠ΅ΠΌΠ΅Π½ΠΊΠΎ
- Π¨Π°Π³ 1: Π‘Π²ΡΠΆΠΈΡΠ΅ΡΡ Ρ ΠΏΡΠΎΠ΄Π°Π²ΡΠ°ΠΌΠΈ ΠΈ ΡΠ·Π½Π°ΠΉΡΠ΅ ΠΎ Π³ΠΈΠ΄ΡΠΎΡΡΠΈΠ»ΠΈΡΠ΅Π»Π΅
- Π¨Π°Π³ 2: ΠΠΎΠ»ΡΡΠΈΡΠ΅ ΠΏΡΠ΅Π΄Π»ΠΎΠΆΠ΅Π½ΠΈΡ ΠΎΡ ΠΏΡΠΎΠ΄Π°Π²ΡΠ°
- Π¨Π°Π³ 3.
Π‘ΠΊΠ°ΠΆΠΈΡΠ΅ ΠΏΡΠΎΠ΄Π°Π²ΡΡ, ΡΡΠΎΠ±Ρ ΠΎΠ½ ΠΎΡΠΏΡΠ°Π²ΠΈΠ» Π²Π°ΠΌ Π΄ΠΎΠ³ΠΎΠ²ΠΎΡ Π·Π°ΠΊΠ°Π·Π° Π½Π° ΠΎΠ±Π΅ΡΠΏΠ΅ΡΠ΅Π½ΠΈΠ΅ ΡΠΎΡΠ³ΠΎΠ²ΡΡ
ΠΎΠΏΠ΅ΡΠ°ΡΠΈΠΉ. - Π¨Π°Π³ 4: ΠΡΠΈΠΌΠΈΡΠ΅ Π΄ΠΎΠ³ΠΎΠ²ΠΎΡ ΠΈ ΠΏΡΠΎΠΈΠ·Π²Π΅Π΄ΠΈΡΠ΅ ΠΎΠΏΠ»Π°ΡΡ.
- Π£ΡΠΎΠ²Π΅Π½Ρ ΡΡΠ°Π½Π·Π°ΠΊΡΠΈΠΈ
- ΠΡΠ΅Π½ΠΊΠΈ ΠΈ ΠΎΡΠ·ΡΠ²Ρ ΠΏΠΎΠΊΡΠΏΠ°ΡΠ΅Π»Π΅ΠΉ
- ΠΠΎΡΠ»Π΅Π΄Π½ΠΈΠ΅ ΡΡΠ°Π½Π·Π°ΠΊΡΠΈΠΈ
- Π’ΠΎΡΠ³ΠΎΠ²Π°Ρ Π΅ΠΌΠΊΠΎΡΡΡ
- ΠΡΠΎΠΈΠ·Π²ΠΎΠ΄ΡΡΠ²Π΅Π½Π½Π°Ρ ΠΌΠΎΡΠ½ΠΎΡΡΡ
- ΠΠΠΠΠ
- CAD / ΠΠ°ΡΠ°Π»ΠΎΠ³
- destaco.com/assets/buckets/all-products.jpg»>
ΠΡΠΎΠ΄ΡΠΊΡΠΈΡ
ΠΡΠΎΠ΄ΡΠΊΡΡ
li> a { ΡΠ΅ΠΌΠ΅ΠΉΡΡΠ²ΠΎ ΡΡΠΈΡΡΠΎΠ²: ‘Roboto’, Arial, sans-serif; Π½ΠΈΠΆΠ½ΡΡ Π³ΡΠ°Π½ΠΈΡΠ°: 2px solid # d2d2d2! important; ΡΠ²Π΅Ρ: # 000; ΡΠ°Π·ΠΌΠ΅Ρ ΡΡΠΈΡΡΠ°: 16 ΠΏΠΈΠΊΡΠ΅Π»Π΅ΠΉ; ΠΎΡΡΡΡΠΏ: 10 ΠΏΠΈΠΊΡΠ΅Π»Π΅ΠΉ; } # wide-solutions-menu ul { ΠΎΡΡΡΡΠΏ: 0; ΡΡΠΈΠ»Ρ ΡΠΏΠΈΡΠΊΠ°: Π½Π΅Ρ; } ]]>- ΠΠΠΠΠ
- Π Π΅ΠΊΠΎΠΌΠ΅Π½Π΄ΡΠ΅ΠΌΡΠ΅ ΡΠ΅ΡΠ΅Π½ΠΈΡ
Π Π΅ΠΊΠΎΠΌΠ΅Π½Π΄ΡΠ΅ΠΌΡΠ΅ ΡΠ΅ΡΠ΅Π½ΠΈΡ
li> a { ΡΠ΅ΠΌΠ΅ΠΉΡΡΠ²ΠΎ ΡΡΠΈΡΡΠΎΠ²: ‘Roboto’, Arial, sans-serif; Π½ΠΈΠΆΠ½ΡΡ Π³ΡΠ°Π½ΠΈΡΠ°: 2px solid # d2d2d2! important; ΡΠ²Π΅Ρ: # 000; ΡΠ°Π·ΠΌΠ΅Ρ ΡΡΠΈΡΡΠ°: 16 ΠΏΠΈΠΊΡΠ΅Π»Π΅ΠΉ; ΠΎΡΡΡΡΠΏ: 10 ΠΏΠΈΠΊΡΠ΅Π»Π΅ΠΉ; } # wide-solutions-menu ul { ΠΎΡΡΡΡΠΏ: 0; ΡΡΠΈΠ»Ρ ΡΠΏΠΈΡΠΊΠ°: Π½Π΅Ρ; } ]]> - amazonaws.com/assetbank-us-east-1-repurposed/destaco_a0a4525ffa98f8c42a1a29b3ae26cb32%2F6e3%2F0ahwgkQO1TWDJY8yA4GIs6NMPmbibVES%2Ejpg»>
ΠΠ°ΠΆΠΈΠΌ
ΠΠ°ΠΆΠΈΠΌ
li> a { ΡΠ΅ΠΌΠ΅ΠΉΡΡΠ²ΠΎ ΡΡΠΈΡΡΠΎΠ²: ‘Roboto’, Arial, sans-serif; Π½ΠΈΠΆΠ½ΡΡ Π³ΡΠ°Π½ΠΈΡΠ°: 2px solid # d2d2d2! important; ΡΠ²Π΅Ρ: # 000; ΡΠ°Π·ΠΌΠ΅Ρ ΡΡΠΈΡΡΠ°: 16 ΠΏΠΈΠΊΡΠ΅Π»Π΅ΠΉ; ΠΎΡΡΡΡΠΏ: 10 ΠΏΠΈΠΊΡΠ΅Π»Π΅ΠΉ; } # wide-solutions-menu ul { ΠΎΡΡΡΡΠΏ: 0; ΡΡΠΈΠ»Ρ ΡΠΏΠΈΡΠΊΠ°: Π½Π΅Ρ; } ]]> - ΠΠ°Ρ
Π²Π°ΡΡΠ²Π°ΡΡΠΈΠΉ
ΠΠ°Ρ Π²Π°Ρ
li> a { ΡΠ΅ΠΌΠ΅ΠΉΡΡΠ²ΠΎ ΡΡΠΈΡΡΠΎΠ²: ‘Roboto’, Arial, sans-serif; Π½ΠΈΠΆΠ½ΡΡ Π³ΡΠ°Π½ΠΈΡΠ°: 2px solid # d2d2d2! important; ΡΠ²Π΅Ρ: # 000; ΡΠ°Π·ΠΌΠ΅Ρ ΡΡΠΈΡΡΠ°: 16 ΠΏΠΈΠΊΡΠ΅Π»Π΅ΠΉ; ΠΎΡΡΡΡΠΏ: 10 ΠΏΠΈΠΊΡΠ΅Π»Π΅ΠΉ; } # wide-solutions-menu ul { ΠΎΡΡΡΡΠΏ: 0; ΡΡΠΈΠ»Ρ ΡΠΏΠΈΡΠΊΠ°: Π½Π΅Ρ; } ]]> - png»>
ΠΠΈΠ½Π΅ΠΉΠ½ΠΎΠ΅ ΠΏΠΎΠ·ΠΈΡΠΈΠΎΠ½ΠΈΡΠΎΠ²Π°Π½ΠΈΠ΅
ΠΠΈΠ½Π΅ΠΉΠ½ΠΎΠ΅ ΠΏΠΎΠ·ΠΈΡΠΈΠΎΠ½ΠΈΡΠΎΠ²Π°Π½ΠΈΠ΅
li> a { ΡΠ΅ΠΌΠ΅ΠΉΡΡΠ²ΠΎ ΡΡΠΈΡΡΠΎΠ²: ‘Roboto’, Arial, sans-serif; Π½ΠΈΠΆΠ½ΡΡ Π³ΡΠ°Π½ΠΈΡΠ°: 2px solid # d2d2d2! important; ΡΠ²Π΅Ρ: # 000; ΡΠ°Π·ΠΌΠ΅Ρ ΡΡΠΈΡΡΠ°: 16 ΠΏΠΈΠΊΡΠ΅Π»Π΅ΠΉ; ΠΎΡΡΡΡΠΏ: 10 ΠΏΠΈΠΊΡΠ΅Π»Π΅ΠΉ; } # wide-solutions-menu ul { ΠΎΡΡΡΡΠΏ: 0; ΡΡΠΈΠ»Ρ ΡΠΏΠΈΡΠΊΠ°: Π½Π΅Ρ; } ]]> - ΠΠΎΠ²ΠΎΡΠΎΡΠ½ΠΎΠ΅ ΠΏΠΎΠ·ΠΈΡΠΈΠΎΠ½ΠΈΡΠΎΠ²Π°Π½ΠΈΠ΅
ΠΠΎΠ²ΠΎΡΠΎΡΠ½ΠΎΠ΅ ΠΏΠΎΠ·ΠΈΡΠΈΠΎΠ½ΠΈΡΠΎΠ²Π°Π½ΠΈΠ΅
li> a { ΡΠ΅ΠΌΠ΅ΠΉΡΡΠ²ΠΎ ΡΡΠΈΡΡΠΎΠ²: ‘Roboto’, Arial, sans-serif; Π½ΠΈΠΆΠ½ΡΡ Π³ΡΠ°Π½ΠΈΡΠ°: 2px solid # d2d2d2! important; ΡΠ²Π΅Ρ: # 000; ΡΠ°Π·ΠΌΠ΅Ρ ΡΡΠΈΡΡΠ°: 16 ΠΏΠΈΠΊΡΠ΅Π»Π΅ΠΉ; ΠΎΡΡΡΡΠΏ: 10 ΠΏΠΈΠΊΡΠ΅Π»Π΅ΠΉ; } # wide-solutions-menu ul { ΠΎΡΡΡΡΠΏ: 0; ΡΡΠΈΠ»Ρ ΡΠΏΠΈΡΠΊΠ°: Π½Π΅Ρ; } ]]> - png»>
Π ΠΎΠ±ΠΎΡΠΈΠ·ΠΈΡΠΎΠ²Π°Π½Π½Π°Ρ ΠΎΡΠ½Π°ΡΡΠΊΠ°
ΠΠ½ΡΡΡΡΠΌΠ΅Π½ΡΡ Π΄Π»Ρ ΡΠΎΠ±ΠΎΡΠΎΠ²
li> a { ΡΠ΅ΠΌΠ΅ΠΉΡΡΠ²ΠΎ ΡΡΠΈΡΡΠΎΠ²: ‘Roboto’, Arial, sans-serif; Π½ΠΈΠΆΠ½ΡΡ Π³ΡΠ°Π½ΠΈΡΠ°: 2px solid # d2d2d2! important; ΡΠ²Π΅Ρ: # 000; ΡΠ°Π·ΠΌΠ΅Ρ ΡΡΠΈΡΡΠ°: 16 ΠΏΠΈΠΊΡΠ΅Π»Π΅ΠΉ; ΠΎΡΡΡΡΠΏ: 10 ΠΏΠΈΠΊΡΠ΅Π»Π΅ΠΉ; } # wide-solutions-menu ul { ΠΎΡΡΡΡΠΏ: 0; ΡΡΠΈΠ»Ρ ΡΠΏΠΈΡΠΊΠ°: Π½Π΅Ρ; } ]]>
- ΠΡΠ΅Π½Π΄Ρ
ΠΡΠ΅Π½Π΄Ρ
li> a { ΡΠ΅ΠΌΠ΅ΠΉΡΡΠ²ΠΎ ΡΡΠΈΡΡΠΎΠ²: ‘Roboto’, Arial, sans-serif; Π½ΠΈΠΆΠ½ΡΡ Π³ΡΠ°Π½ΠΈΡΠ°: 2px solid # d2d2d2! important; ΡΠ²Π΅Ρ: # 000; ΡΠ°Π·ΠΌΠ΅Ρ ΡΡΠΈΡΡΠ°: 16 ΠΏΠΈΠΊΡΠ΅Π»Π΅ΠΉ; ΠΎΡΡΡΡΠΏ: 10 ΠΏΠΈΠΊΡΠ΅Π»Π΅ΠΉ; } # wide-solutions-menu ul { ΠΎΡΡΡΡΠΏ: 0; ΡΡΠΈΠ»Ρ ΡΠΏΠΈΡΠΊΠ°: Π½Π΅Ρ; } ]]> - Π Π΅ΡΠ΅Π½ΠΈΡ
Π Π΅ΡΠ΅Π½ΠΈΡ
li> a { ΡΠ΅ΠΌΠ΅ΠΉΡΡΠ²ΠΎ ΡΡΠΈΡΡΠΎΠ²: ‘Roboto’, Arial, sans-serif; Π½ΠΈΠΆΠ½ΡΡ Π³ΡΠ°Π½ΠΈΡΠ°: 2px solid # d2d2d2! important; ΡΠ²Π΅Ρ: # 000; ΡΠ°Π·ΠΌΠ΅Ρ ΡΡΠΈΡΡΠ°: 16 ΠΏΠΈΠΊΡΠ΅Π»Π΅ΠΉ; ΠΎΡΡΡΡΠΏ: 10 ΠΏΠΈΠΊΡΠ΅Π»Π΅ΠΉ; } # wide-solutions-menu ul { ΠΎΡΡΡΡΠΏ: 0; ΡΡΠΈΠ»Ρ ΡΠΏΠΈΡΠΊΠ°: Π½Π΅Ρ; } ]]> - Π Π΅ΡΡΡΡΡ
ΡΠ΅ΡΡΡΡΠΎΠ²
li> a { ΡΠ΅ΠΌΠ΅ΠΉΡΡΠ²ΠΎ ΡΡΠΈΡΡΠΎΠ²: ‘Roboto’, Arial, sans-serif; Π½ΠΈΠΆΠ½ΡΡ Π³ΡΠ°Π½ΠΈΡΠ°: 2px solid # d2d2d2! important; ΡΠ²Π΅Ρ: # 000; ΡΠ°Π·ΠΌΠ΅Ρ ΡΡΠΈΡΡΠ°: 16 ΠΏΠΈΠΊΡΠ΅Π»Π΅ΠΉ; ΠΎΡΡΡΡΠΏ: 10 ΠΏΠΈΠΊΡΠ΅Π»Π΅ΠΉ; } # wide-solutions-menu ul { ΠΎΡΡΡΡΠΏ: 0; ΡΡΠΈΠ»Ρ ΡΠΏΠΈΡΠΊΠ°: Π½Π΅Ρ; } ]]>- ΠΠΠΠΠ
- ΠΠΈΡΠ΅ΡΠ°ΡΡΡΠ½Π°Ρ Π±ΠΈΠ±Π»ΠΈΠΎΡΠ΅ΠΊΠ°
- Π‘Π΅ΡΠ²ΠΈΡΠ½ΡΠ΅ ΡΡΠΊΠΎΠ²ΠΎΠ΄ΡΡΠ²Π°
- ΠΠΈΠ±Π»ΠΈΠΎΡΠ΅ΠΊΠ° ΠΈΠ·ΠΎΠ±ΡΠ°ΠΆΠ΅Π½ΠΈΠΉ
- ΠΠΈΠ΄Π΅ΠΎ Π±ΠΈΠ±Π»ΠΈΠΎΡΠ΅ΠΊΠ°
- ΠΠΈΠ±Π»ΠΈΠΎΡΠ΅ΠΊΠ° Π‘ΠΠΠ
- ΠΡΠΈΠΌΠ΅ΡΡ ΠΈΠ· ΠΏΡΠ°ΠΊΡΠΈΠΊΠΈ
ΠΡΠΈΠΌΠ΅ΡΡ ΠΈΡΠΏΠΎΠ»ΡΠ·ΠΎΠ²Π°Π½ΠΈΡ
li> a { ΡΠ΅ΠΌΠ΅ΠΉΡΡΠ²ΠΎ ΡΡΠΈΡΡΠΎΠ²: ‘Roboto’, Arial, sans-serif; Π½ΠΈΠΆΠ½ΡΡ Π³ΡΠ°Π½ΠΈΡΠ°: 2px solid # d2d2d2! important; ΡΠ²Π΅Ρ: # 000; ΡΠ°Π·ΠΌΠ΅Ρ ΡΡΠΈΡΡΠ°: 16 ΠΏΠΈΠΊΡΠ΅Π»Π΅ΠΉ; ΠΎΡΡΡΡΠΏ: 10 ΠΏΠΈΠΊΡΠ΅Π»Π΅ΠΉ; } # wide-solutions-menu ul { ΠΎΡΡΡΡΠΏ: 0; ΡΡΠΈΠ»Ρ ΡΠΏΠΈΡΠΊΠ°: Π½Π΅Ρ; } ]]> - ΠΠΎΠΈΡΠΊ Π΄ΠΈΡΡΡΠΈΠ±ΡΡΡΠΎΡΠΎΠ² ΠΈ ΠΏΡΠΎΠ΄Π°Π²ΡΠΎΠ²
ΠΡΠΎΠ³ΡΠ°ΠΌΠΌΠ° Π΄Π»Ρ Π΄ΠΈΡΡΡΠΈΠ±ΡΡΡΠΎΡΠΎΠ² ΠΈ ΠΏΡΠΎΠ΄Π°ΠΆ
li> a { ΡΠ΅ΠΌΠ΅ΠΉΡΡΠ²ΠΎ ΡΡΠΈΡΡΠΎΠ²: ‘Roboto’, Arial, sans-serif; Π½ΠΈΠΆΠ½ΡΡ Π³ΡΠ°Π½ΠΈΡΠ°: 2px solid # d2d2d2! important; ΡΠ²Π΅Ρ: # 000; ΡΠ°Π·ΠΌΠ΅Ρ ΡΡΠΈΡΡΠ°: 16 ΠΏΠΈΠΊΡΠ΅Π»Π΅ΠΉ; ΠΎΡΡΡΡΠΏ: 10 ΠΏΠΈΠΊΡΠ΅Π»Π΅ΠΉ; } # wide-solutions-menu ul { ΠΎΡΡΡΡΠΏ: 0; ΡΡΠΈΠ»Ρ ΡΠΏΠΈΡΠΊΠ°: Π½Π΅Ρ; } ]]> - ΠΠΎΠ΄Π΄Π΅ΡΠΆΠΊΠ°
ΠΠΏΠΎΡΠ°
li> a { ΡΠ΅ΠΌΠ΅ΠΉΡΡΠ²ΠΎ ΡΡΠΈΡΡΠΎΠ²: ‘Roboto’, Arial, sans-serif; Π½ΠΈΠΆΠ½ΡΡ Π³ΡΠ°Π½ΠΈΡΠ°: 2px solid # d2d2d2! important; ΡΠ²Π΅Ρ: # 000; ΡΠ°Π·ΠΌΠ΅Ρ ΡΡΠΈΡΡΠ°: 16 ΠΏΠΈΠΊΡΠ΅Π»Π΅ΠΉ; ΠΎΡΡΡΡΠΏ: 10 ΠΏΠΈΠΊΡΠ΅Π»Π΅ΠΉ; } # wide-solutions-menu ul { ΠΎΡΡΡΡΠΏ: 0; ΡΡΠΈΠ»Ρ ΡΠΏΠΈΡΠΊΠ°: Π½Π΅Ρ; } ]]> - Π§Π°ΡΡΠΎ Π·Π°Π΄Π°Π²Π°Π΅ΠΌΡΠ΅ Π²ΠΎΠΏΡΠΎΡΡ ΠΈ ΠΎΡΠ²Π΅ΡΡ
- Π¦ΠΈΡΡΠΎΠ²ΠΎΠΉ ΠΏΠΎΠ»ΡΠ·ΠΎΠ²Π°ΡΠ΅Π»ΡΡΠΊΠΈΠΉ ΠΊΠ°ΡΠ°Π»ΠΎΠ³ PDF Builder
- ΠΠ½ΡΠ΅ΡΠ°ΠΊΡΠΈΠ²Π½ΡΠ΅ ΠΎΠ±Π·ΠΎΡΡ ΠΏΡΠΎΠ΄ΡΠΊΡΠΎΠ²
ΠΠ½ΡΠ΅ΡΠ°ΠΊΡΠΈΠ²Π½ΡΠ΅ ΠΎΠ±Π·ΠΎΡΡ ΠΏΡΠΎΠ΄ΡΠΊΡΠΎΠ²
li> a { ΡΠ΅ΠΌΠ΅ΠΉΡΡΠ²ΠΎ ΡΡΠΈΡΡΠΎΠ²: ‘Roboto’, Arial, sans-serif; Π½ΠΈΠΆΠ½ΡΡ Π³ΡΠ°Π½ΠΈΡΠ°: 2px solid # d2d2d2! important; ΡΠ²Π΅Ρ: # 000; ΡΠ°Π·ΠΌΠ΅Ρ ΡΡΠΈΡΡΠ°: 16 ΠΏΠΈΠΊΡΠ΅Π»Π΅ΠΉ; ΠΎΡΡΡΡΠΏ: 10 ΠΏΠΈΠΊΡΠ΅Π»Π΅ΠΉ; } # wide-solutions-menu ul { ΠΎΡΡΡΡΠΏ: 0; ΡΡΠΈΠ»Ρ ΡΠΏΠΈΡΠΊΠ°: Π½Π΅Ρ; } ]]>
- Π₯Π°ΡΠ°ΠΊΡΠ΅ΡΠΈΡΡΠΈΠΊΠ°
- ΠΠ΅ΡΠ½ΡΡΡΡΡ Π² Π³Π»Π°Π²Π½ΠΎΠ΅ ΠΌΠ΅Π½Ρ
- Π₯Π°ΡΠ°ΠΊΡΠ΅ΡΠΈΡΡΠΈΠΊΠ°
- Π‘Π΅ΠΉΡΠΌΠΈΡΠ΅ΡΠΊΠΈΠΉ
- ΠΠ΅ΡΠ½ΡΡΡΡΡ ΠΊ Ρ Π°ΡΠ°ΠΊΡΠ΅ΡΠΈΡΡΠΈΠΊΠ°ΠΌ
- ΠΡΠ΅ ΡΠ΅ΠΉΡΠΌΠΈΡΠ΅ΡΠΊΠΈΠ΅
- Π Π΅ΡΠ΅Π½ΠΈΠ΅ Π½Π°Π·Π΅ΠΌΠ½ΠΎΠΉ ΡΠ΅ΠΉΡΠΌΠΎΡΠ°Π·Π²Π΅Π΄ΠΊΠΈ eNode
- Π‘ΠΊΠ²Π°ΠΆΠΈΠ½Π½Π°Ρ ΡΠ΅ΠΉΡΠΌΠΎΡΠ°Π·Π²Π΅Π΄ΠΊΠ°
- ΠΠ»Π°ΡΡΠΎΡΠΌΠ° ΠΎΠ±Π½Π°ΡΡΠΆΠ΅Π½ΠΈΡ ΠΈ ΡΠΎΡΠ³ΠΎΠ²Π»ΠΈ Π΄Π°Π½Π½ΡΠΌΠΈ GAIA
- Π ΡΠ½ΠΎΠΊ Π΄Π°Π½Π½ΡΡ GAIA Xchange
- ΠΡΠΎΠ³ΡΠ°ΠΌΠΌΠ½ΠΎΠ΅ ΠΎΠ±Π΅ΡΠΏΠ΅ΡΠ΅Π½ΠΈΠ΅ Geosolutions
- ΠΠ½ΠΎΠ³ΠΎΠΏΠΎΠ»ΡΠ·ΠΎΠ²Π°ΡΠ΅Π»ΡΡΠΊΠ°Ρ Π±ΠΈΠ±Π»ΠΈΠΎΡΠ΅ΠΊΠ° Π΄Π°Π½Π½ΡΡ
- ΠΠΈΠ·Π°ΠΉΠ½ ΠΈ ΠΌΠΎΠ΄Π΅Π»ΠΈΡΠΎΠ²Π°Π½ΠΈΠ΅ ΠΈΠ·ΡΡΠΊΠ°Π½ΠΈΠΉ
- ΠΠ±ΡΠ°Π±ΠΎΡΠΊΠ° ΡΠ΅ΠΉΡΠΌΠΈΡΠ΅ΡΠΊΠΈΡ Π΄Π°Π½Π½ΡΡ
- Π‘Π΅ΠΉΡΠΌΠΈΡΠ΅ΡΠΊΠΈΠ΅ ΠΈΠ·ΠΎΠ±ΡΠ°ΠΆΠ΅Π½ΠΈΡ
- ΠΡΠ»ΡΡΠΈΡΠΈΠ·ΠΈΠΊΠ°
- Π‘Π΅ΠΉΡΠΌΠΈΡΠ΅ΡΠΊΠ°Ρ Ρ Π°ΡΠ°ΠΊΡΠ΅ΡΠΈΡΡΠΈΠΊΠ° ΠΊΠΎΠ»Π»Π΅ΠΊΡΠΎΡΠ°
- Π Π΅ΡΠ΅Π½ΠΈΡ Π΄Π»Ρ ΡΠ΅ΠΉΡΠΌΠΈΡΠ΅ΡΠΊΠΎΠ³ΠΎ Π±ΡΡΠ΅Π½ΠΈΡ
- ΠΠ°ΡΠΎΡΠ°ΠΆ Ρ ΠΏΠΎΠ²Π΅ΡΡ
Π½ΠΎΡΡΠΈ ΠΈ Π² ΡΠΊΠ²Π°ΠΆΠΈΠ½Π΅
- ΠΠ΅ΡΠ½ΡΡΡΡΡ ΠΊ Ρ Π°ΡΠ°ΠΊΡΠ΅ΡΠΈΡΡΠΈΠΊΠ°ΠΌ
- ΠΠ°ΡΠΎΡΠ°ΠΆ Ρ ΠΏΠΎΠ²Π΅ΡΡ Π½ΠΎΡΡΠΈ ΠΈ Π² ΡΠΊΠ²Π°ΠΆΠΈΠ½Π΅
- ΠΡΡΠ·Π΅Π²ΠΎΠΉ ΠΊΠ°ΡΠΎΡΠ°ΠΆ
- ΠΠ½Π°Π»ΠΈΠ· ΡΠ»Π°ΠΌΠ°
- ΠΠ°ΡΠΎΡΠ°ΠΆ ΠΏΡΠΈ Π±ΡΡΠ΅Π½ΠΈΠΈ (LWD)
- ΠΠ°ΡΠΎΡΠ°ΠΆ Π½Π΅ΠΎΠ±ΡΠ°ΠΆΠ΅Π½Π½ΡΡ ΡΠΊΠ²Π°ΠΆΠΈΠ½ Π½Π° ΠΊΠ°Π±Π΅Π»Π΅
- ΠΠ°ΡΠΎΡΠ°ΠΆ ΠΎΠ±ΡΠ°ΠΆΠ΅Π½Π½ΡΡ ΡΠΊΠ²Π°ΠΆΠΈΠ½ Π½Π° ΠΊΠ°Π±Π΅Π»Π΅
- Π¦ΠΈΡΡΠΎΠ²ΠΎΠΉ ΡΡΠΎΡ
- Π’Π΅ΡΡΠΈΡΠΎΠ²Π°Π½ΠΈΠ΅ ΠΏΠ»Π°ΡΡΠ°
- ΠΠ΅ΡΠ½ΡΡΡΡΡ ΠΊ Ρ Π°ΡΠ°ΠΊΡΠ΅ΡΠΈΡΡΠΈΠΊΠ°ΠΌ
- Π’Π΅ΡΡΠΈΡΠΎΠ²Π°Π½ΠΈΠ΅ Π²ΡΠ΅Ρ ΡΠ΅Π·Π΅ΡΠ²ΡΠ°ΡΠΎΠ²
- ΠΡΠΈΡΡΠΈΡΡ ΡΠ΅ΡΡΠΈΡΠΎΠ²Π°Π½ΠΈΠ΅
- ΠΡΠΏΡΡΠ°Π½ΠΈΠ΅ ΠΏΠΎΠ²Π΅ΡΡ Π½ΠΎΡΡΠΈ
- ΠΡΡΠ»Π΅Π΄ΠΎΠ²Π°Π½ΠΈΠ΅ ΠΊΠΎΠ»Π»Π΅ΠΊΡΠΎΡΠ° Π² ΡΠΊΠ²Π°ΠΆΠΈΠ½Π΅
- Π’Π΅ΡΡΠΈΡΠΎΠ²Π°Π½ΠΈΠ΅ ΠΎΠ±ΡΠ°ΡΠ½ΠΎΠ³ΠΎ ΠΏΠΎΡΠΎΠΊΠ°
- ΠΠΈΠ·Π°ΠΉΠ½ ΠΈ ΠΈΠ½ΡΠ΅ΡΠΏΡΠ΅ΡΠ°ΡΠΈΡ ΠΠΠΠ‘
- ΠΡΠ±ΠΎΡ ΠΏΡΠΎΠ± ΠΈΠ· ΠΊΠΎΠ»Π»Π΅ΠΊΡΠΎΡΠ°
- ΠΠ΅ΡΠΏΡΠΎΠ²ΠΎΠ΄Π½Π°Ρ ΡΠ΅Π»Π΅ΠΌΠ΅ΡΡΠΈΡ Muzic
- ΠΠ½Π°Π»ΠΈΠ· Π³ΠΎΡΠ½ΡΡ
ΠΏΠΎΡΠΎΠ΄ ΠΈ ΡΠ»ΡΠΈΠ΄ΠΎΠ²
- ΠΠ΅ΡΠ½ΡΡΡΡΡ ΠΊ Ρ Π°ΡΠ°ΠΊΡΠ΅ΡΠΈΡΡΠΈΠΊΠ°ΠΌ
- ΠΠ½Π°Π»ΠΈΠ· Π²ΡΠ΅Ρ ΠΏΠΎΡΠΎΠ΄ ΠΈ ΡΠ»ΡΠΈΠ΄ΠΎΠ²
- ΠΠ°Π±ΠΎΡΠ°ΡΠΎΡΠΈΠΈ ΡΠ΅Π·Π΅ΡΠ²ΡΠ°ΡΠΎΠ²
- ΠΠ½Π°Π»ΠΈΠ· ΠΊΠ΅ΡΠ½Π°
- ΠΠ½Π°Π»ΠΈΠ· ΠΆΠΈΠ΄ΠΊΠΎΡΡΠ΅ΠΉ
- ΠΠ±ΠΎΡΡΠ΄ΠΎΠ²Π°Π½ΠΈΠ΅
- ΠΠ½Π°Π»ΠΈΠ· ΡΠ»ΡΠΈΠ΄ΠΎΠ² Π² ΡΠΊΠ²Π°ΠΆΠΈΠ½Π΅
- ΠΠ½Π°Π»ΠΈΠ· ΡΠ»ΡΠΈΠ΄ΠΎΠ² Π½Π° ΡΠΊΠ²Π°ΠΆΠΈΠ½Π΅
- ΠΠ½ΡΠ΅ΡΠΏΡΠ΅ΡΠ°ΡΠΈΡ ΠΈ Π°Π½Π°Π»ΠΈΠ·
- ΠΠ΅ΡΠ½ΡΡΡΡΡ ΠΊ Ρ Π°ΡΠ°ΠΊΡΠ΅ΡΠΈΡΡΠΈΠΊΠ°ΠΌ
- ΠΡΠ΅ ΠΈΠ½ΡΠ΅ΡΠΏΡΠ΅ΡΠ°ΡΠΈΠΈ ΠΈ Π°Π½Π°Π»ΠΈΠ·
- ΠΡΠΎΠΈΠ·Π²ΠΎΠ΄ΠΈΡΠ΅Π»ΡΠ½ΠΎΡΡΡ Π²ΠΆΠΈΠ²ΡΡ
- ΠΡΠΎΠ³ΡΠ°ΠΌΠΌΠ½ΠΎΠ΅ ΠΎΠ±Π΅ΡΠΏΠ΅ΡΠ΅Π½ΠΈΠ΅
- ΠΠ½ΡΠ΅ΡΠΏΡΠ΅ΡΠ°ΡΠΈΡ ΠΈ Π΄ΠΈΠ·Π°ΠΉΠ½
- ΠΠΏΠ΅ΡΠ°ΡΠΈΠΈ Π² ΡΠ΅Π°Π»ΡΠ½ΠΎΠΌ Π²ΡΠ΅ΠΌΠ΅Π½ΠΈ
- ΠΡΡΠ΅Π½ΠΈΠ΅
- ΠΠ΅ΡΠ½ΡΡΡΡΡ Π² Π³Π»Π°Π²Π½ΠΎΠ΅ ΠΌΠ΅Π½Ρ
- ΠΡΡΠ΅Π½ΠΈΠ΅
- ΠΡΡΠΎΠ²ΡΠ΅ ΡΡΡΠ°Π½ΠΎΠ²ΠΊΠΈ ΠΈ ΠΎΠ±ΠΎΡΡΠ΄ΠΎΠ²Π°Π½ΠΈΠ΅
- ΠΠ΅ΡΠ½ΡΡΡΡΡ ΠΊ Π±ΡΡΠ΅Π½ΠΈΡ
- ΠΡΠ΅ ΡΡΡΠ°Π½ΠΎΠ²ΠΊΠΈ ΠΈ ΠΎΠ±ΠΎΡΡΠ΄ΠΎΠ²Π°Π½ΠΈΠ΅
- ΠΡΡΠΎΠ²ΠΎΠ΅ ΠΎΠ±ΠΎΡΡΠ΄ΠΎΠ²Π°Π½ΠΈΠ΅ Ρ ΡΠ΅Π³ΡΠ»ΠΈΡΡΠ΅ΠΌΡΠΌ Π΄Π°Π²Π»Π΅Π½ΠΈΠ΅ΠΌ
- Π£ΡΠ»ΡΠ³ΠΈ ΠΏΠΎ Π±ΡΡΠ΅Π½ΠΈΡ Ρ ΡΠ΅Π³ΡΠ»ΠΈΡΡΠ΅ΠΌΡΠΌ Π΄Π°Π²Π»Π΅Π½ΠΈΠ΅ΠΌ
- ΠΠ±ΠΎΡΡΠ΄ΠΎΠ²Π°Π½ΠΈΠ΅ Π΄Π»Ρ ΠΊΠΎΠ½ΡΡΠΎΠ»Ρ Π΄Π°Π²Π»Π΅Π½ΠΈΡ
- ΠΡΡΠΎΠ²ΠΎΠ΅ ΠΎΠ±ΠΎΡΡΠ΄ΠΎΠ²Π°Π½ΠΈΠ΅
- Π£ΡΡΡΠ΅Π²ΡΠ΅ ΡΠΈΡΡΠ΅ΠΌΡ
- Π‘ΡΡΠΎΠΈΡΠ΅Π»ΡΡΡΠ²ΠΎ ΡΡΠ²ΠΎΠ»Π° ΡΠΊΠ²Π°ΠΆΠΈΠ½Ρ
- ΠΠ°Π±ΠΎΠΉΠ½ΡΠ΅ ΡΠ±ΠΎΡΠΊΠΈ
- ΠΠ΅ΡΠ½ΡΡΡΡΡ ΠΊ Π±ΡΡΠ΅Π½ΠΈΡ
- ΠΡΠ΅ ΡΠ·Π»Ρ Π·Π°Π±ΠΎΡ
- Π‘Π²ΡΡΠ»Π°
- ΠΠ°ΠΊΠ»ΠΎΠ½Π½ΠΎ-Π½Π°ΠΏΡΠ°Π²Π»Π΅Π½Π½ΠΎΠ΅ Π±ΡΡΠ΅Π½ΠΈΠ΅
- Π―ΡΠΈΠΊΠΈ Π΄Π»Ρ Π±ΡΡΠ΅Π½ΠΈΡ ΠΈ ΡΠ΄Π°ΡΠ½ΡΠ΅ ΠΈΠ½ΡΡΡΡΠΌΠ΅Π½ΡΡ
- Π Π°Π·Π²Π΅ΡΡΠΊΠΈ ΠΈ ΡΡΠ°Π±ΠΈΠ»ΠΈΠ·Π°ΡΠΎΡΡ
- Π‘ΠΏΠ΅ΡΠΈΠ°Π»ΡΠ½ΡΠ΅ ΠΏΡΠΈΠ»ΠΎΠΆΠ΅Π½ΠΈΡ Π΄Π»Ρ Π±ΡΡΠ΅Π½ΠΈΡ
- ΠΡΡΠΎΠ²ΡΠ΅ ΡΠ°ΡΡΠ²ΠΎΡΡ ΠΈ ΡΠ΅ΠΌΠ΅Π½ΡΠΈΡΠΎΠ²Π°Π½ΠΈΠ΅ ΡΠΊΠ²Π°ΠΆΠΈΠ½
- ΠΠ΅ΡΠ½ΡΡΡΡΡ ΠΊ Π±ΡΡΠ΅Π½ΠΈΡ
- ΠΡΠ΅ Π±ΡΡΠΎΠ²ΡΠ΅ ΡΠ°ΡΡΠ²ΠΎΡΡ ΠΈ ΡΠ΅ΠΌΠ΅Π½ΡΠΈΡΠΎΠ²Π°Π½ΠΈΠ΅ ΡΠΊΠ²Π°ΠΆΠΈΠ½
- ΠΠΎΠ½ΡΡΠΎΠ»Ρ ΡΠ²Π΅ΡΠ΄ΡΡ Π²Π΅ΡΠ΅ΡΡΠ²
- ΠΡΡΠΎΠ²ΡΠ΅ ΡΠ°ΡΡΠ²ΠΎΡΡ
- Π¦Π΅ΠΌΠ΅Π½ΡΠΈΡΠΎΠ²Π°Π½ΠΈΠ΅ ΡΠΊΠ²Π°ΠΆΠΈΠ½
- ΠΠ°ΡΠΎΡΠ°ΠΆ Ρ ΠΏΠΎΠ²Π΅ΡΡ
Π½ΠΎΡΡΠΈ ΠΈ Π² ΡΠΊΠ²Π°ΠΆΠΈΠ½Π΅
- ΠΠ΅ΡΠ½ΡΡΡΡΡ ΠΊ Π±ΡΡΠ΅Π½ΠΈΡ
- ΠΠ°ΡΠΎΡΠ°ΠΆ Ρ ΠΏΠΎΠ²Π΅ΡΡ Π½ΠΎΡΡΠΈ ΠΈ Π² ΡΠΊΠ²Π°ΠΆΠΈΠ½Π΅
- ΠΠ°ΡΠΎΡΠ°ΠΆ ΠΏΡΠΈ Π±ΡΡΠ΅Π½ΠΈΠΈ
- ΠΠ·ΠΌΠ΅ΡΠ΅Π½ΠΈΡ ΠΏΡΠΈ Π±ΡΡΠ΅Π½ΠΈΠΈ
- Π£ΡΠ»ΡΠ³ΠΈ ΠΏΠΎ Π±ΡΡΠΎΠ²ΠΎΠΌΡ ΠΊΠ°ΡΠΎΡΠ°ΠΆΡ
- ΠΠ°Π²Π΅ΡΡΠ΅Π½ΠΎ
- ΠΠ΅ΡΠ½ΡΡΡΡΡ Π² Π³Π»Π°Π²Π½ΠΎΠ΅ ΠΌΠ΅Π½Ρ
- ΠΠ°Π²Π΅ΡΡΠ΅Π½ΠΎ
- ΠΠ°ΠΊΠ°Π½ΡΠΈΠ²Π°Π½ΠΈΠ΅ ΡΠΊΠ²Π°ΠΆΠΈΠ½
- ΠΠ°Π·Π°Π΄ ΠΊ Π·Π°Π²Π΅ΡΡΠ΅Π½ΠΈΡ
- ΠΠ°Π²Π΅ΡΡΠ΅Π½ΠΈΠ΅ Π²ΡΠ΅Ρ ΡΠΊΠ²Π°ΠΆΠΈΠ½
- ΠΡΠΎΠ³ΡΠ°ΠΌΠΌΠ½ΠΎΠ΅ ΠΎΠ±Π΅ΡΠΏΠ΅ΡΠ΅Π½ΠΈΠ΅ Π΄Π»Ρ Π·Π°ΠΊΠ°Π½ΡΠΈΠ²Π°Π½ΠΈΡ ΡΠΊΠ²Π°ΠΆΠΈΠ½
- ΠΠ°ΠΊΠ΅ΡΡ
- ΠΠ½ΡΠ΅Π»Π»Π΅ΠΊΡΡΠ°Π»ΡΠ½ΠΎΠ΅ Π·Π°ΠΊΠ°Π½ΡΠΈΠ²Π°Π½ΠΈΠ΅
- ΠΠ°Π³Π»ΡΡΠΊΠΈ ΠΈ ΠΌΡΡΡΡ Π΄Π»Ρ Π³ΠΈΠ΄ΡΠΎΡΠ°Π·ΡΡΠ²Π°
- ΠΠΎΡΡΠΎΡΠ½Π½ΡΠΉ ΠΌΠΎΠ½ΠΈΡΠΎΡΠΈΠ½Π³
- ΠΡΠ΅Π΄ΠΎΡ ΡΠ°Π½ΠΈΡΠ΅Π»ΡΠ½ΡΠ΅ ΠΊΠ»Π°ΠΏΠ°Π½Ρ
- ΠΠ΅ΡΠ°Π»ΠΊΠΈ Π΄Π»Ρ Π²ΠΊΠ»Π°Π΄ΡΡΠ΅ΠΉ
- ΠΠΎΠ½ΡΡΠΎΠ»Ρ ΠΏΠ΅ΡΠΊΠ°
- ΠΠ½ΠΎΠ³ΠΎΡΡΠΎΡΠΎΠ½Π½ΠΈΠ΅
- ΠΠ΅ΡΡΠΎΡΠ°ΡΠΈΡ
- ΠΠ°ΠΏΠΎΡΠ½ΡΠ΅ ΠΊΠ»Π°ΠΏΠ°Π½Ρ
- ΠΠΎΠΌΠΏΠ»Π΅ΠΊΡΡΡΡΠΈΠ΅ Π΄Π»Ρ Π·Π°ΠΊΠ°Π½ΡΠΈΠ²Π°Π½ΠΈΡ
- ΠΠΈΠ΄ΠΊΠΎΡΡΠΈ ΠΈ ΠΈΠ½ΡΡΡΡΠΌΠ΅Π½ΡΡ
- ΠΠ°Π·Π°Π΄ ΠΊ Π·Π°Π²Π΅ΡΡΠ΅Π½ΠΈΡ
- ΠΡΠ΅ ΠΆΠΈΠ΄ΠΊΠΎΡΡΠΈ ΠΈ ΠΈΠ½ΡΡΡΡΠΌΠ΅Π½ΡΡ
- Π Π°ΡΡΠΎΠ» ΠΏΡΠΎΠ·ΡΠ°ΡΠ½ΡΠΉ
- Π Π°Π±ΠΎΡΠΈΠΉ ΠΎΠ±ΡΠ΅ΠΌ
- ΠΠ½ΡΠ΅ΡΠ²Π΅Π½ΡΠΈΠΎΠ½Π½ΡΠ΅ ΠΆΠΈΠ΄ΠΊΠΎΡΡΠΈ
- ΠΡΡΠΎΠ²ΡΠ΅ ΡΠ°ΡΡΠ²ΠΎΡΡ
- ΠΡΠΎΠ±ΠΈΠ»ΠΊΠΈ ΡΠΈΠ»ΡΡΡΠ°ΡΠΈΠΎΠ½Π½ΠΎΠΉ ΠΊΠΎΡΠΊΠΈ
- Π€ΠΈΠ»ΡΡΡΠ°ΡΠΈΡ
- ΠΠΎΠ½ΡΡΠΎΠ»Ρ ΠΏΠΎΡΠ΅ΡΠΈ ΠΆΠΈΠ΄ΠΊΠΎΡΡΠΈ
- ΠΠ°ΠΊΠ΅ΡΠ½ΡΠ΅ ΠΆΠΈΠ΄ΠΊΠΎΡΡΠΈ
- ΠΠ½ΡΡΡΡΠΌΠ΅Π½ΡΡ Π΄Π»Ρ ΠΎΡΠΈΡΡΠΊΠΈ ΡΡΠ²ΠΎΠ»Π° ΡΠΊΠ²Π°ΠΆΠΈΠ½Ρ
- ΠΡΠΊΡΡΡΡΠ²Π΅Π½Π½ΡΠΉ Π»ΠΈΡΡ
- ΠΠ°Π·Π°Π΄ ΠΊ Π·Π°Π²Π΅ΡΡΠ΅Π½ΠΈΡ
- ΠΡΠ΅ ΠΈΡΠΊΡΡΡΡΠ²Π΅Π½Π½ΡΠ΅ ΠΏΠΎΠ΄ΡΠ΅ΠΌΠ½ΠΈΠΊΠΈ
- ΠΠΏΡΠΈΠΌΠΈΠ·Π°ΡΠΈΡ ΠΈΡΠΊΡΡΡΡΠ²Π΅Π½Π½ΠΎΠ³ΠΎ ΠΏΠΎΠ΄ΡΠ΅ΠΌΠ½ΠΈΠΊΠ°
- ΠΠ»Π΅ΠΊΡΡΠΈΡΠ΅ΡΠΊΠΈΠ΅ ΠΏΠΎΠ³ΡΡΠΆΠ½ΡΠ΅ Π½Π°ΡΠΎΡΡ
- ΠΠΈΠ½ΡΠΎΠ²ΡΠ΅ Π½Π°ΡΠΎΡΡ
- ΠΠΎΡΠΈΠ·ΠΎΠ½ΡΠ°Π»ΡΠ½Π°Ρ Π½Π°ΡΠΎΡΠ½Π°Ρ ΡΠΈΡΡΠ΅ΠΌΠ° REDA HPS
- Π¨ΡΠ°Π½Π³ΠΎΠ²ΡΠ΅ Π½Π°ΡΠΎΡΡ
- ΠΠ°Π·Π»ΠΈΡΡ
- Π‘ΠΈΠ»ΠΎΠ²ΡΠ΅ ΡΠΈΡΡΠ΅ΠΌΡ ΠΈ ΠΊΠ°Π±Π΅Π»ΠΈ
- Π‘ΡΠΈΠΌΡΠ»ΡΡΠΈΡ
- ΠΠ°Π·Π°Π΄ ΠΊ Π·Π°Π²Π΅ΡΡΠ΅Π½ΠΈΡ
- ΠΡΠ΅ ΡΡΠΈΠΌΡΠ»ΡΡΠΈΠΈ
- OneStim
- ΠΠ±ΠΎΡΡΠ΄ΠΎΠ²Π°Π½ΠΈΠ΅ Π΄Π»Ρ Π³ΠΈΠ΄ΡΠΎΡΠ°Π·ΡΡΠ²Π° ΠΈ ΠΎΠ±ΡΠ°ΡΠ½ΠΎΠ³ΠΎ ΠΏΠΎΡΠΎΠΊΠ°
- Π£ΡΠ»ΡΠ³ΠΈ ΠΏΠΎ ΠΠ Π
- Π£ΡΠ»ΡΠ³ΠΈ ΠΏΠΎ ΠΏΠΎΠ΄ΠΊΠΈΡΠ»Π΅Π½ΠΈΡ
- ΠΠΎΠ΄Π½ΠΎΠ΅ Ρ ΠΎΠ·ΡΠΉΡΡΠ²ΠΎ
- ΠΠΏΡΠΈΠΌΠΈΠ·Π°ΡΠΈΡ ΡΡΠΈΠΌΡΠ»ΡΡΠΈΠΈ
- ΠΠ°ΡΠΎΡΠ°ΠΆ Ρ ΠΏΠΎΠ²Π΅ΡΡ
Π½ΠΎΡΡΠΈ ΠΈ Π² ΡΠΊΠ²Π°ΠΆΠΈΠ½Π΅
- ΠΠ°Π·Π°Π΄ ΠΊ Π·Π°Π²Π΅ΡΡΠ΅Π½ΠΈΡ
- ΠΠ°ΡΠΎΡΠ°ΠΆ Ρ ΠΏΠΎΠ²Π΅ΡΡ Π½ΠΎΡΡΠΈ ΠΈ Π² ΡΠΊΠ²Π°ΠΆΠΈΠ½Π΅
- ΠΡΡΠ·Π΅Π²ΠΎΠΉ ΠΊΠ°ΡΠΎΡΠ°ΠΆ
- ΠΠ°ΡΠΎΡΠ°ΠΆ Π½Π΅ΠΎΠ±ΡΠ°ΠΆΠ΅Π½Π½ΡΡ ΡΠΊΠ²Π°ΠΆΠΈΠ½ Π½Π° ΠΊΠ°Π±Π΅Π»Π΅
- ΠΠ°ΡΠΎΡΠ°ΠΆ ΠΎΠ±ΡΠ°ΠΆΠ΅Π½Π½ΡΡ ΡΠΊΠ²Π°ΠΆΠΈΠ½ Π½Π° ΠΊΠ°Π±Π΅Π»Π΅
- Slickline
- Π£ΡΠ»ΡΠ³ΠΈ ΡΠ΅Π³ΠΈΡΡΡΠ°ΡΠΈΠΈ ThruBit
- Π Π°ΡΠΏΡΠ΅Π΄Π΅Π»Π΅Π½Π½ΡΠ΅ ΠΈΠ·ΠΌΠ΅ΡΠ΅Π½ΠΈΡ
- ΠΡΠΎΠΈΠ·Π²ΠΎΠ΄ΡΡΠ²ΠΎ
- ΠΠ΅ΡΠ½ΡΡΡΡΡ Π² Π³Π»Π°Π²Π½ΠΎΠ΅ ΠΌΠ΅Π½Ρ
- ΠΡΠΎΠΈΠ·Π²ΠΎΠ΄ΡΡΠ²ΠΎ
- ΠΠ±ΡΠ°Π±ΠΎΡΠΊΠ° ΠΈ ΡΠ°Π·Π΄Π΅Π»Π΅Π½ΠΈΠ΅
- ΠΠ΅ΡΠ½ΡΡΡΡΡ ΠΊ ΠΏΡΠΎΠΈΠ·Π²ΠΎΠ΄ΡΡΠ²Ρ
- ΠΡΡ ΠΎΠ±ΡΠ°Π±ΠΎΡΠΊΠ° ΠΈ ΡΠ°Π·Π΄Π΅Π»Π΅Π½ΠΈΠ΅
- ΠΡΠ΄ΠΈΡ Π΄Π»Ρ ΠΎΠΏΡΠΈΠΌΠΈΠ·Π°ΡΠΈΠΈ
- ΠΡΠΎΠΈΠ·Π²ΠΎΠ΄ΡΡΠ²Π΅Π½Π½ΡΠ΅ ΠΌΠΎΡΠ½ΠΎΡΡΠΈ
- Π Π΅ΡΠ΅Π½ΠΈΡ Π΄Π»Ρ ΠΎΡΠΈΡΡΠΊΠΈ Π²ΠΎΠ΄Ρ Π½Π° ΠΌΠ΅ΡΡΠΎΡΠΎΠΆΠ΄Π΅Π½ΠΈΡΡ
- ΠΡΠΈΡΡΠΊΠ° ΠΌΠ°ΡΠ»Π°
- ΠΡΠΈΡΡΠΊΠ° Π²ΠΎΠ΄Ρ
- ΠΡΠΈΡΡΠΊΠ° Π³Π°Π·Π°
- Π£ΠΏΡΠ°Π²Π»Π΅Π½ΠΈΠ΅ ΡΠ²Π΅ΡΠ΄ΡΠΌΠΈ ΡΠ°ΡΡΠΈΡΠ°ΠΌΠΈ
- ΠΠΏΠ΅ΡΠ°ΡΠΈΠΎΠ½Π½Π°Ρ ΠΏΠΎΠ΄Π΄Π΅ΡΠΆΠΊΠ°
- ΠΠΏΡΡΠ½ΠΎ-ΠΏΡΠΎΠΌΡΡΠ»Π΅Π½Π½ΡΠ΅ ΠΈΡΠΏΡΡΠ°Π½ΠΈΡ
- ΠΡΠΎΠΈΠ·Π²ΠΎΠ΄ΡΡΠ²Π΅Π½Π½ΡΠ΅ ΡΠΈΡΡΠ΅ΠΌΡ
- ΠΠ΅ΡΠ½ΡΡΡΡΡ ΠΊ ΠΏΡΠΎΠΈΠ·Π²ΠΎΠ΄ΡΡΠ²Ρ
- ΠΡΠ΅ ΠΏΡΠΎΠΈΠ·Π²ΠΎΠ΄ΡΡΠ²Π΅Π½Π½ΡΠ΅ ΡΠΈΡΡΠ΅ΠΌΡ
- ΠΡΠΊΡΡΡΡΠ²Π΅Π½Π½ΡΠΉ Π»ΠΈΡΡ
- Π£ΡΠ΅Ρ
- ΠΡΠΎΠΌΡΡΠ»Π΅Π½Π½Π°Ρ Π°ΡΠΌΠ°ΡΡΡΠ°
- Π‘ΠΈΡΡΠ΅ΠΌΡ Π±Π΅Π·ΠΎΠΏΠ°ΡΠ½ΠΎΡΡΠΈ
- ΠΠΎΠ΄Π²ΠΎΠ΄Π½ΠΎΠ΅ ΠΎΠ±ΠΎΡΡΠ΄ΠΎΠ²Π°Π½ΠΈΠ΅
- ΠΡΠΎΡΡΠ΅Π»ΠΈ
- ΠΠ°ΡΠΎΡΡ Π΄Π»Ρ Π·Π°ΠΊΠ°ΡΠΊΠΈ Π²ΠΎΠ΄Ρ
- ΠΡΠΎΠΈΠ·Π²ΠΎΠ΄ΡΡΠ²ΠΎ Ρ
ΠΈΠΌΠΈΠΊΠ°ΡΠΎΠ²
- ΠΠ΅ΡΠ½ΡΡΡΡΡ ΠΊ ΠΏΡΠΎΠΈΠ·Π²ΠΎΠ΄ΡΡΠ²Ρ
- ΠΡΠ΅ ΠΏΡΠΎΠΈΠ·Π²ΠΎΠ΄ΡΡΠ²Π΅Π½Π½ΡΠ΅ Ρ ΠΈΠΌΠΈΠΊΠ°ΡΡ
- PREVENT Technologies
- PERFORM Flow Performance Technologies
- CURE Technologies
- SULFATREAT h3S Π£Π΄Π°Π»Π΅Π½ΠΈΠ΅ ΠΈ ΠΎΠ±ΡΠ°Π±ΠΎΡΠΊΠ°
- Π Π΅ΡΠ΅Π½ΠΈΡ ΠΈ ΡΡΠ»ΡΠ³ΠΈ ConcentraFlo Π² ΠΎΠ±Π»Π°ΡΡΠΈ ΡΡΡΠ±ΠΎΠΏΡΠΎΠ²ΠΎΠ΄Π½ΠΎΠΉ Ρ ΠΈΠΌΠΈΠΈ
- ΠΠ½ΡΠ΅Π³ΡΠΈΡΠΎΠ²Π°Π½Π½Π°Ρ ΡΠΈΡΡΠ΅ΠΌΠ° Ρ ΠΈΠΌΠΈΡΠ΅ΡΠΊΠΎΠ³ΠΎ ΠΌΠ΅Π½Π΅Π΄ΠΆΠΌΠ΅Π½ΡΠ° ChemWatcher
- ΠΠΈΠ΄ΡΡΡΠΈΠΌ
- ΠΠ΅ΡΠ½ΡΡΡΡΡ ΠΊ ΠΏΡΠΎΠΈΠ·Π²ΠΎΠ΄ΡΡΠ²Ρ
- ΠΡΠ΅ Midstream
- ΠΠ·ΠΌΠ΅ΡΠ΅Π½ΠΈΠ΅
- ΠΠ»Π°ΠΏΠ°Π½Ρ ΡΡΠ΅Π΄Π½Π΅Π³ΠΎ ΠΏΠΎΡΠΎΠΊΠ°
- Π’ΡΡΠ±ΠΎΠΏΡΠΎΠ²ΠΎΠ΄Π½ΡΠ΅ Π½Π°ΡΠΎΡΡ
- Π‘Π»ΡΠΆΠ±Π° ΠΏΡΠΎΠΈΠ·Π²ΠΎΠ΄ΠΈΡΠ΅Π»ΡΠ½ΠΎΡΡΠΈ, ΠΎΠ±ΠΎΠ³Π°ΡΠ΅Π½Π½Π°Ρ Π΄Π°Π½Π½ΡΠΌΠΈ Π² ΡΠ΅Π°Π»ΡΠ½ΠΎΠΌ Π²ΡΠ΅ΠΌΠ΅Π½ΠΈ
- ΠΠ½ΠΎΠ³ΠΎΡΠ°Π·Π½ΡΠΉ ΡΡΠ΅ΡΡΠΈΠΊ
- ΠΠΌΠ΅ΡΠ°ΡΠ΅Π»ΡΡΡΠ²ΠΎ
- ΠΠ΅ΡΠ½ΡΡΡΡΡ Π² Π³Π»Π°Π²Π½ΠΎΠ΅ ΠΌΠ΅Π½Ρ
- ΠΠΌΠ΅ΡΠ°ΡΠ΅Π»ΡΡΡΠ²ΠΎ
- ΠΠΎΠ»ΡΡΠ±ΠΈΠ½Π³ Π²ΠΌΠ΅ΡΠ°ΡΠ΅Π»ΡΡΡΠ²ΠΎ
- ΠΠ΅ΡΠ½ΡΡΡΡΡ ΠΊ Π²ΠΌΠ΅ΡΠ°ΡΠ΅Π»ΡΡΡΠ²Ρ
- ΠΠΌΠ΅ΡΠ°ΡΠ΅Π»ΡΡΡΠ²ΠΎ ΠΏΠΎ Π²ΡΠ΅ΠΌ ΠΠΠΠ’
- Π£ΡΠ»ΡΠ³ΠΈ ΠΏΠΎ ΡΠΊΡΠΏΠ»ΡΠ°ΡΠ°ΡΠΈΠΈ ΡΠΊΠ²Π°ΠΆΠΈΠ½Π½ΡΡ ΠΊΠΎΠ»ΡΡΠ±ΠΈΠ½Π³ΠΎΠ² Π² ΡΠ΅Π°Π»ΡΠ½ΠΎΠΌ Π²ΡΠ΅ΠΌΠ΅Π½ΠΈ ACTive
- ΠΠ Π
- ΠΠ΅ΡΡΠΎΡΠ°ΡΠΈΡ
- ΠΡΠΎΡΠΈΠ»ΠΈΡΠΎΠ²Π°Π½ΠΈΠ΅
- Π‘ΡΠΈΠΌΡΠ»ΡΡΠΈΡ ΠΈ ΡΠΎΠΎΡΠ²Π΅ΡΡΡΠ²ΠΈΠ΅
- ΠΠ°Π·Π΅ΠΌΠ½ΠΎΠ΅ ΠΎΠ±ΠΎΡΡΠ΄ΠΎΠ²Π°Π½ΠΈΠ΅
- ACTive Intervene Service
- Π‘Π»ΡΠΆΠ±Π° Π°ΠΊΡΠΈΠ²Π½ΠΎΠΉ ΠΈΠ·ΠΎΠ»ΡΡΠΈΠΈ
- CoilTOOLS CT ΠΠ½ΡΡΡΡΠΌΠ΅Π½ΡΡ ΠΈ ΡΠ΅ΡΠ΅Π½ΠΈΡ Π΄Π»Ρ Π²ΠΌΠ΅ΡΠ°ΡΠ΅Π»ΡΡΡΠ²Π°
- Slickline ΠΈ ΠΏΡΠΎΠ²ΠΎΠ΄Π½ΠΎΠ΅ Π²ΠΌΠ΅ΡΠ°ΡΠ΅Π»ΡΡΡΠ²ΠΎ
- ΠΠ΅ΡΠ½ΡΡΡΡΡ ΠΊ Π²ΠΌΠ΅ΡΠ°ΡΠ΅Π»ΡΡΡΠ²Ρ
- ΠΡΠ΅ ΡΡΠΎΡΠΎΠ²ΡΠ΅ ΠΈ ΠΏΡΠΎΠ²ΠΎΠ΄Π½ΡΠ΅ Π²ΠΌΠ΅ΡΠ°ΡΠ΅Π»ΡΡΡΠ²Π°
- LIVE Digital Slickline Services
- Π£ΡΠ»ΡΠ³ΠΈ ΠΏΠΎ Π²ΠΌΠ΅ΡΠ°ΡΠ΅Π»ΡΡΡΠ²Ρ Ρ ΠΏΡΠΎΠ²ΠΎΠ΄Π½ΡΠΌ ΠΏΠΎΠ΄ΠΊΠ»ΡΡΠ΅Π½ΠΈΠ΅ΠΌ
- ΠΠΈΠ°Π³Π½ΠΎΡΡΠΈΠΊΠ° ΡΠΊΠ²Π°ΠΆΠΈΠ½Ρ
- Π’ΡΠ°Π½ΡΠΏΠΎΡΡΠΈΡΠΎΠ²ΠΊΠ°
- ΠΠ΅Ρ Π°Π½ΠΈΡΠ΅ΡΠΊΠΎΠ΅ Π²ΠΌΠ΅ΡΠ°ΡΠ΅Π»ΡΡΡΠ²ΠΎ Slickline
- ΠΠ°Π½Π°ΡΠ½ΡΠΉ ΠΏΠ΅ΡΡΠΎΡΠ°ΡΠΎΡ
- ΠΠΎΠ΄Π²ΠΎΠ΄Π½ΠΎΠ΅ Π²ΠΌΠ΅ΡΠ°ΡΠ΅Π»ΡΡΡΠ²ΠΎ
- ΠΠ΅ΡΠ½ΡΡΡΡΡ ΠΊ Π²ΠΌΠ΅ΡΠ°ΡΠ΅Π»ΡΡΡΠ²Ρ
- ΠΡΠ΅ ΠΏΠΎΠ΄Π²ΠΎΠ΄Π½ΡΠ΅ ΠΌΠ΅ΡΠΎΠΏΡΠΈΡΡΠΈΡ
- ΠΠ»ΡΡΠ½Ρ ΠΏΠΎΠ΄Π²ΠΎΠ΄Π½ΡΡ ΡΡΠ»ΡΠ³
- Π£ΡΠ»ΡΠ³ΠΈ ΠΏΠΎ ΠΏΠΎΠ΄Π²ΠΎΠ΄Π½ΠΎΠΉ ΠΏΠΎΡΠ°Π΄ΠΎΡΠ½ΠΎΠΉ ΠΊΠΎΠ»ΠΎΠ½Π½Π΅
- Π‘ΡΠΎΠΊ ΡΠ»ΡΠΆΠ±Ρ ΡΠ»ΡΠΆΠ±Ρ ΠΎΠΏΠ΅ΡΠ°ΡΠΈΠ²Π½ΠΎΠ³ΠΎ Π²ΠΌΠ΅ΡΠ°ΡΠ΅Π»ΡΡΡΠ²Π°
- ΠΠ΅ΡΠΊΠΎΠ½ΡΠ°ΠΊΡΠ½ΡΠΉ Π±ΡΠΎΡΠΎΠΊ Π² ΠΎΡΠΊΡΡΡΠΎΠΉ Π²ΠΎΠ΄Π΅
- ΠΠΎΠ΄ΡΠ»ΡΠ½Π°Ρ ΡΠΈΡΡΠ΅ΠΌΠ° Π²ΠΏΡΡΡΠΊΠ°
- ΠΠ΅ΡΠ΅Π±Π½ΡΠ΅ ΡΡΠ»ΡΠ³ΠΈ
- ΠΠ΅ΡΠ½ΡΡΡΡΡ ΠΊ Π²ΠΌΠ΅ΡΠ°ΡΠ΅Π»ΡΡΡΠ²Ρ
- ΠΡΠ΅ ΡΠ΅Π°Π±ΠΈΠ»ΠΈΡΠ°ΡΠΈΠΎΠ½Π½ΡΠ΅ ΡΡΠ»ΡΠ³ΠΈ
- Π Π΅ΠΌΠΎΠ½Ρ ΠΊΠΎΡΠΏΡΡΠ°
- Π£Π»ΡΡΡΠ΅Π½ΠΈΠ΅ ΠΏΡΠΎΠΈΠ·Π²ΠΎΠ΄ΡΡΠ²Π°
- ΠΠ΅ΡΠ΅Π±Π½ΡΠΉ ΠΊΠΎΠ½ΡΡΠΎΠ»Ρ ΠΏΠ΅ΡΠΊΠ°
- ΠΠΎΡΡΡΠ°Π½ΠΎΠ²Π»Π΅Π½ΠΈΠ΅ ΡΡΡΠ±Ρ
- ΠΠΎΠΌΠΏΠ»Π΅ΠΊΡΠ½Π°Ρ ΠΎΡΡΠ°Π½ΠΎΠ²ΠΊΠ° ΡΠΊΠ²Π°ΠΆΠΈΠ½
- ΠΠ΅ΡΠ½ΡΡΡΡΡ ΠΊ Π²ΠΌΠ΅ΡΠ°ΡΠ΅Π»ΡΡΡΠ²Ρ
- ΠΠ°Π²Π΅ΡΡΠ΅Π½ΠΈΠ΅ Π»ΠΈΠΊΠ²ΠΈΠ΄Π°ΡΠΈΠΈ Π²ΡΠ΅Ρ ΡΠΊΠ²Π°ΠΆΠΈΠ½
- ΠΡΠ΅Π½ΠΊΠ°
- ΠΠ½ΠΆΠ΅Π½Π΅Ρ
- ΠΠΎΡΡΡΠΏ
- ΠΠΎΠ΄Π³ΠΎΡΠΎΠ²ΠΈΡΡ
- ΠΠ·ΠΎΠ»ΡΡΠΎΡ
- ΠΡΠΎΠ²Π΅ΡΠΈΡΡ
- ΠΠ½Π°Π»ΠΈΡΠΈΠΊΠ°
- ΠΠΈΠ±Π»ΠΈΠΎΡΠ΅ΠΊΠ° ΡΠ΅ΡΡΡΡΠΎΠ²
- ΠΡΠ½ΠΊΡΡ
- ΠΡΠΎΠ³ΡΠ°ΠΌΠΌΠ½ΠΎΠ΅ ΠΎΠ±Π΅ΡΠΏΠ΅ΡΠ΅Π½ΠΈΠ΅
- ΠΡΠΎ ΠΌΡ Π΅ΡΡΡ ΠΎΡΠ΄Π΅Π» Π½ΠΎΠ²ΠΎΡΡΠ΅ΠΉ ΠΠ°ΡΡΠ΅ΡΠ° ΠΠ½Π²Π΅ΡΡΠΎΡΠ°ΠΌ ΠΠ»ΠΎΠ±Π°Π»ΡΠ½ΠΎΠ΅ ΡΠΏΡΠ°Π²Π»Π΅Π½ΠΈΠ΅
- ΠΡΠΎ ΠΌΡ
- ΠΡΠ΄Π΅Π» Π½ΠΎΠ²ΠΎΡΡΠ΅ΠΉ
- ΠΠ°ΡΡΠ΅ΡΠ°
- ΠΠ½Π²Π΅ΡΡΠΎΡΡ
- ΠΠ»ΠΎΠ±Π°Π»ΡΠ½ΠΎΠ΅ ΡΠΏΡΠ°Π²Π»Π΅Π½ΠΈΠ΅
- Π₯Π°ΡΠ°ΠΊΡΠ΅ΡΠΈΡΡΠΈΠΊΠ°
- ΠΡΡΠ΅Π½ΠΈΠ΅
- ΠΠ°Π²Π΅ΡΡΠ΅Π½ΠΎ
- ΠΡΠΎΠΈΠ·Π²ΠΎΠ΄ΡΡΠ²ΠΎ
- ΠΠΌΠ΅ΡΠ°ΡΠ΅Π»ΡΡΡΠ²ΠΎ
- ΠΠ½Π°Π»ΠΈΡΠΈΠΊΠ°
- ΠΠΈΠ±Π»ΠΈΠΎΡΠ΅ΠΊΠ° ΡΠ΅ΡΡΡΡΠΎΠ²
- ΠΡΠ½ΠΊΡΡ
- ΠΡΠΎΠ³ΡΠ°ΠΌΠΌΠ½ΠΎΠ΅ ΠΎΠ±Π΅ΡΠΏΠ΅ΡΠ΅Π½ΠΈΠ΅
- Π Π΅ΡΠ΅Π½ΠΈΠ΅ Π½Π°Π·Π΅ΠΌΠ½ΠΎΠΉ ΡΠ΅ΠΉΡΠΌΠΎΡΠ°Π·Π²Π΅Π΄ΠΊΠΈ eNode
- Π‘ΠΊΠ²Π°ΠΆΠΈΠ½Π½Π°Ρ ΡΠ΅ΠΉΡΠΌΠΎΡΠ°Π·Π²Π΅Π΄ΠΊΠ°
- ΠΠ»Π°ΡΡΠΎΡΠΌΠ° ΠΎΠ±Π½Π°ΡΡΠΆΠ΅Π½ΠΈΡ ΠΈ ΡΠΎΡΠ³ΠΎΠ²Π»ΠΈ Π΄Π°Π½Π½ΡΠΌΠΈ GAIA
- Π ΡΠ½ΠΎΠΊ Π΄Π°Π½Π½ΡΡ GAIA Xchange
- Geosolutions Software
ΠΌΠ΅Π½Π΅Π΄ΠΆΠ΅Ρ ΠΏΠΎ Π»ΠΎΠ³ΠΈΡΡΠΈΠΊΠ΅ Π² ΠΠ‘, ΠΠ·ΠΈΡ
Π»ΠΎΠ³ΠΈΡΡΠΈΠΊΠ°, ΡΠ΅ΡΡΠΈΡΠΈΠΊΠ°Ρ
ΡΠ»Π΅ΠΊΡΡΠΎΠ½Π½Π°Ρ ΠΏΠΎΡΡΠ°: [ΡΠ»Π΅ΠΊΡΡΠΎΠ½Π½Π°Ρ ΠΏΠΎΡΡΠ° Π·Π°ΡΠΈΡΠ΅Π½Π°]
Π ΠΎΡΡΠΈΠΉΡΠΊΠΈΠΉ Π³ΠΈΠ΄ΡΠΎΡΡΠΈΠ»ΠΈΡΠ΅Π»Ρ ΡΠΎΠ²Π°Ρ
π·πΊ Π’ΠΠ ΠΠΊΡΠΏΠΎΡΡΠ΅Ρ Π³ΠΈΠ΄ΡΠΎΡΡΠΈΠ»ΠΈΡΠ΅Π»Ρ ΠΈΠ· Π Π€
ΠΊΠΎΠΌΠΏΠ°Π½ΠΈΠΉ-ΠΏΡΠΎΠΈΠ·Π²ΠΎΠ΄ΠΈΡΠ΅Π»Π΅ΠΉ Π³ΠΈΠ΄ΡΠΎΡΡΠΈΠ»ΠΈΡΠ΅Π»Π΅ΠΉ, Π²Ρ ΠΌΠ½ΠΎΠ³ΠΎ ΠΏΠΎΠΊΡΠΏΠ°Π΅ΡΠ΅ ΡΡΡ ΠΏΡΠΎΠ΄ΡΠΊΡΠΈΡ:
ΠΠΎΡΡΠ°Π²ΡΠΈΠΊ
Π’ΠΎΠ²Π°Ρ ΠΈΠ· Π ΠΎΡΡΠΈΠΈ
ΠΡΠΎΠΌΡΡΠ»Π΅Π½Π½Π°Ρ ΡΡΡΠ±ΠΎΠΏΡΠΎΠ²ΠΎΠ΄Π½Π°Ρ Π°ΡΠΌΠ°ΡΡΡΠ° Π² ΡΠ±ΠΎΡΠ΅ Ρ Π³ΠΈΠ΄ΡΠΎΡΠ°ΡΠΏΡΠ΅Π΄Π΅Π»ΠΈΡΠ΅Π»ΡΠΌΠΈ, Π³ΠΈΠ΄ΡΠΎΡΡΠΈΠ»ΠΈΡΠ΅Π»ΡΠΌΠΈ, Π³ΠΈΠ΄ΡΠΎΡΠΈΠ»ΠΈΠ½Π΄ΡΠ°ΠΌΠΈ, ΠΏΠΈΡΠ°ΡΠ΅Π»ΡΠΌΠΈ:
Π‘ΡΠ΅Π½Π΄Ρ Π΄ΠΈΠ°Π³Π½ΠΎΡΡΠΈΡΠ΅ΡΠΊΠΈΠ΅ ΡΠ΅ΡΠΈΠΈ MS — Π‘ΡΠ΅Π½Π΄ Π΄ΠΈΠ°Π³Π½ΠΎΡΡΠΈΡΠ΅ΡΠΊΠΈΠΉ Π΄Π»Ρ ΠΏΡΠΎΠ²Π΅ΡΠΊΠΈ ΡΡΠ°ΡΡΠ΅ΡΠΎΠ² ΠΈ Π³Π΅Π½Π΅ΡΠ°ΡΠΎΡΠΎΠ² MS001 COM, MS002 COM, MS003 COM, Π‘ΡΠ΅Π½Π΄ Π΄ΠΈΠ°Π³Π½ΠΎΡΡΠΈΡΠ΅ΡΠΊΠΈΠΉ Π΄Π»Ρ ΠΏΡΠΎΠ²Π΅ΡΠΊΠΈ ΡΠ΅Π»ΡΡΠΎΠ² Ρ Π³ΠΈΠ΄ΡΠΎΡΡΠΈΠ»ΠΈΡΠ΅Π»Π΅ΠΌ MS502, MS502M, MS503, ΠΠΈΠ°Π³Π½ΠΎΡΡΠΈΠΊΠ°
Π ΡΠ»Π΅Π²ΠΎΠΉ ΠΌΠ΅Ρ Π°Π½ΠΈΠ·ΠΌ Ρ Π³ΠΈΠ΄ΡΠΎΡΡΠΈΠ»ΠΈΡΠ΅Π»Π΅ΠΌ Π² ΡΠ±ΠΎΡΠ΅ 2110-3400010-30
π·πΊΠ’ΠΠ 4 ΠΏΡΠΎΠ²Π΅ΡΠ΅Π½Π½ΡΡ ΠΏΠΎΡΡΠ°Π²ΡΠΈΠΊΠ° ΠΈΠ· Π ΠΎΡΡΠΈΠΈ
ΠΠΎΠ»ΡΡΠΈΡΠ΅ ΡΠ΅ΠΊΡΡΡΡ ΡΠ΅Π½Ρ Π½Π° Π³ΠΈΠ΄ΡΠΎΡΡΠΈΠ»ΠΈΡΠ΅Π»Ρ
ΠΠ½ΡΠΎΡΠΌΠ°ΡΠΈΡ:
ΠΠΎΠ·Π΄ΡΡ | ΠΠΈΠ΄ΡΠ°Π²Π»ΠΈΡΠ΅ΡΠΊΠΈΠ΅ ΡΡΠΈΠ»ΠΈΡΠ΅Π»ΠΈ ΠΌΠΎΡΠ½ΠΎΡΡΠΈ Π΄Π»Ρ ΠΏΡΠΎΠΈΠ·Π²ΠΎΠ΄ΡΡΠ²Π΅Π½Π½ΡΡ Π»ΠΈΠ½ΠΈΠΉ — 039 Π‘Π΅ΡΠΈΡ
ΠΠΈΠ΄ΡΠ°Π²Π»ΠΈΡΠ΅ΡΠΊΠΈΠΉ ΡΡΠΈΠ»ΠΈΡΠ΅Π»Ρ | Schlumberger
ΠΠ΅Π½ΡΠ‘Π΅ΠΉΡΠΌΠΈΡΠ΅ΡΠΊΠΈΠΉ
ΠΠΈΠ΄ΡΠ°Π²Π»ΠΈΡΠ΅ΡΠΊΠΈΠΉ ΡΡΠΈΠ»ΠΈΡΠ΅Π»Ρ ΠΏΡΠΎΠΈΠ·Π²ΠΎΠ΄ΠΈΡΠ΅Π»Π΅ΠΉ ΠΈ ΠΏΠΎΡΡΠ°Π²ΡΠΈΠΊΠΎΠ², ΠΠΈΠ΄ΡΠ°Π²Π»ΠΈΡΠ΅ΡΠΊΠΈΠΉ ΡΡΠΈΠ»ΠΈΡΠ΅Π»Ρ ΡΠ΅Π½Π°
ΠΠΏΠΈΡΠ°Π½ΠΈΠ΅ ΡΠ΅ΠΌΡ
ΠΡ ΡΠ΅ΠΊΠΎΠΌΠ΅Π½Π΄ΡΠ΅ΠΌ Π²Π°ΠΌ ΠΊΠ°ΡΠ΅ΡΡΠ²Π΅Π½Π½ΡΠ΅ ΠΌΠΈΡΠΎΠ²ΡΠ΅ ΡΠΎΡΠ³ΠΎΠ²ΡΠ΅ ΠΊΠΎΠΌΠΏΠ°Π½ΠΈΠΈ, ΠΊΠΎΡΠΎΡΡΠ΅ ΠΏΠΎΡΡΠ°Π²Π»ΡΡΡ Π³ΠΈΠ΄ΡΠΎΡΡΠΈΠ»ΠΈΡΠ΅Π»ΠΈ.
ΠΡΠΈ ΡΠΎΡΠ³ΠΎΠ²ΡΠ΅ ΠΊΠΎΠΌΠΏΠ°Π½ΠΈΠΈ ΡΠΎΠ±ΠΈΡΠ°ΡΡΡΡ ΠΈ ΡΠ΅ΠΊΠΎΠΌΠ΅Π½Π΄ΡΡΡΡΡ Π²Π½Π΅ΡΠ½Π΅ΡΠΎΡΠ³ΠΎΠ²ΠΎΠΉ ΡΠ΅ΡΡΡ Π½Π° ΠΎΡΠ½ΠΎΠ²Π΅ ΠΈΡΡ
ΠΎΠ΄Π½ΡΡ
Π΄Π°Π½Π½ΡΡ
ΠΎΠ± ΠΈΠΌΠΏΠΎΡΡΠ΅ ΠΈ ΡΠΊΡΠΏΠΎΡΡΠ΅. ΠΡ ΠΏΡΠΎΠ΄ΠΎΠ»ΠΆΠ°Π΅ΠΌ ΠΏΡΠ΅Π΄ΠΎΡΡΠ°Π²Π»ΡΡΡ Π²ΡΡΠΎΠΊΠΎΠΊΠ°ΡΠ΅ΡΡΠ²Π΅Π½Π½ΡΠ΅ ΠΈΠ½ΡΠΎΡΠΌΠ°ΡΠΈΠΎΠ½Π½ΡΠ΅ ΡΡΠ»ΡΠ³ΠΈ ΠΏΠΎ Π²Π½Π΅ΡΠ½Π΅ΡΠΎΡΠ³ΠΎΠ²ΡΠΌ ΡΠ΄Π΅Π»ΠΊΠ°ΠΌ Π΄Π»Ρ ΠΏΠΎΠ»ΡΠ·ΠΎΠ²Π°ΡΠ΅Π»Π΅ΠΉ Π²Π½Π΅ΡΠ½Π΅ΠΉ ΡΠΎΡΠ³ΠΎΠ²Π»ΠΈ, Π½Π° Π΄Π°Π½Π½ΡΠΉ ΠΌΠΎΠΌΠ΅Π½Ρ ΠΌΡ ΡΠΎΠΏΡΠΎΠ²ΠΎΠΆΠ΄Π°Π»ΠΈ Π² ΠΎΠ±ΡΠ΅ΠΉ ΡΠ»ΠΎΠΆΠ½ΠΎΡΡΠΈ 1 ΠΌΠΈΠ»Π»ΠΈΠΎΠ½ ΠΏΠΎΠ»ΡΠ·ΠΎΠ²Π°ΡΠ΅Π»Π΅ΠΉ Π½Π° ΠΏΡΡΠΈ ΠΊ Π²Π½Π΅ΡΠ½Π΅ΠΉ ΡΠΎΡΠ³ΠΎΠ²Π»Π΅, ΠΌΡ ΡΡΡΠ΅ΠΌΠΈΠΌΡΡ ΡΡΠ°ΡΡ Π»ΡΡΡΠΈΠΌΠΈ ΡΠΊΠΎΠ½ΠΎΠΌΠΈΡΠ΅ΡΠΊΠΈ ΡΡΡΠ΅ΠΊΡΠΈΠ²Π½ΡΠΌΠΈ, Π»ΡΡΡΠΈΠΌΠΈ Π·Π°ΡΡΠ±Π΅ΠΆΠ½ΡΠΌΠΈ ΠΏΠΎΡΡΠ΅Π±ΠΈΡΠ΅Π»ΡΠΌΠΈ. ΠΏΠ»Π°ΡΡΠΎΡΠΌΠ° ΠΎΠ±ΡΠ»ΡΠΆΠΈΠ²Π°Π½ΠΈΡ ΡΠΎΡΠ³ΠΎΠ²ΡΡ
Π΄Π°Π½Π½ΡΡ
.
ΠΡ Π±ΡΠ΄Π΅ΠΌ ΠΎΡΠ΄Π°Π²Π°ΡΡ ΠΏΡΠΈΠΎΡΠΈΡΠ΅Ρ ΡΠΎΡΠ³ΠΎΠ²ΡΠΌ ΠΊΠΎΠΌΠΏΠ°Π½ΠΈΡΠΌ ΠΏΠΎ Π²ΡΠ΅ΠΌΡ ΠΌΠΈΡΡ, ΠΊΠΎΡΠΎΡΡΠ΅ Π½Π΅Π΄Π°Π²Π½ΠΎ ΡΡΠ°Π»ΠΈ Π΄ΠΎΡΡΡΠΏΠ½Ρ Π΄Π»Ρ ΡΠΎΠΏΡΡΡΡΠ²ΡΡΡΠΈΡ
ΡΠΎΠ²Π°ΡΠΎΠ², ΠΈ, ΠΎΡΠΎΠ±ΡΠ°Π·ΠΈΠ² ΡΠΏΠΈΡΠΎΠΊ, Π²Ρ ΠΌΠΎΠΆΠ΅ΡΠ΅ ΠΏΠΎΠ»ΡΡΠΈΡΡ ΠΏΠ΅ΡΠ²ΠΎΠ½Π°ΡΠ°Π»ΡΠ½ΡΠΉ Π²Π·Π³Π»ΡΠ΄ Π½Π° ΡΡΡΠ°Π½Ρ, Π² ΠΊΠΎΡΠΎΡΠΎΠΉ ΡΠΎΡΠ³ΡΡΡ ΡΠ΅ΠΊΠΎΠΌΠ΅Π½Π΄ΠΎΠ²Π°Π½Π½ΠΎΠΉ ΠΊΠΎΠΌΠΏΠ°Π½ΠΈΠ΅ΠΉ, ΠΎΠ±ΡΠ΅Π΅ ΠΊΠΎΠ»ΠΈΡΠ΅ΡΡΠ²ΠΎ ΡΡΠ°Π½Π·Π°ΠΊΡΠΈΠΉ, Π΄Π°ΡΡ ΡΡΠ°Π½Π·Π°ΠΊΡΠΈΠΈ ΠΈ Π’ΠΎΡΠ³ΠΎΠ²ΡΠ΅ ΡΠ΅ΠΊΠ²ΠΈΠ·ΠΈΡΡ ΠΏΡΠΎΠ΄ΡΠΊΡΠ°.ΠΡΠ΅Π½ΠΊΠ° Π°ΠΊΡΠΈΠ²Π½ΠΎΠΉ ΡΠ΅Π½Π½ΠΎΡΡΠΈ ΡΠ²Π»ΡΠ΅ΡΡΡ Ρ
ΠΎΡΠΎΡΠΈΠΌ ΡΠΏΡΠ°Π²ΠΎΡΠ½ΡΠΌ ΠΊΡΠΈΡΠ΅ΡΠΈΠ΅ΠΌ Π΄Π»Ρ ΠΎΡΠ±ΠΎΡΠ° Π²ΡΡΠΎΠΊΠΎΠΊΠ°ΡΠ΅ΡΡΠ²Π΅Π½Π½ΡΡ
ΡΠΎΡΠ³ΠΎΠ²ΡΡ
ΠΊΠΎΠΌΠΏΠ°Π½ΠΈΠΉ. Π§Π΅ΠΌ Π²ΡΡΠ΅ ΠΎΡΠ΅Π½ΠΊΠ° Π°ΠΊΡΠΈΠ²Π½ΠΎΠΉ ΡΠ΅Π½Π½ΠΎΡΡΠΈ Π² ΡΠ΅ΠΎΡΠΈΠΈ, ΡΠ΅ΠΌ Π²ΡΡΠ΅ Π΄ΠΎΡΡΠΎΠ²Π΅ΡΠ½ΠΎΡΡΡ ΡΠΎΡΠ³ΠΎΠ²ΠΎΠ³ΠΎ ΠΎΡΡΠ΅ΡΠ° ΠΈ ΡΠ΅ΠΌ Π±ΠΎΠ»Π΅Π΅ Π·Π΄ΠΎΡΠΎΠ²ΠΎΠΉ ΡΠ²Π»ΡΠ΅ΡΡΡ Π΄Π΅ΡΡΠ΅Π»ΡΠ½ΠΎΡΡΡ ΠΊΠΎΠΌΠΏΠ°Π½ΠΈΠΈ.
ΠΡΠ»ΠΈ Π½Π°Π·Π²Π°Π½ΠΈΠ΅ ΠΊΠΎΠΌΠΏΠ°Π½ΠΈΠΈ ΠΎΡΠΌΠ΅ΡΠ΅Π½ΠΎ Π·Π΅Π»Π΅Π½ΡΠΌ ΡΠ΅ΠΊΡΡΠΎΠ²ΡΠΌ ΠΊΠΎΠ½ΡΠ°ΠΊΡΠΎΠΌ, ΡΠΎΡΠ³ΠΎΠ²Π°Ρ ΠΊΠΎΠΌΠΏΠ°Π½ΠΈΡ, ΠΊΠΎΡΠΎΡΠ°Ρ Π·Π°Π±ΠΈΡΠ°Π΅Ρ Π³ΠΈΠ΄ΡΠΎΡΡΠΈΠ»ΠΈΡΠ΅Π»Ρ, ΡΠΎΠ΄Π΅ΡΠΆΠΈΡ ΠΊΠΎΠ½ΡΠ°ΠΊΡΠ½ΡΡ ΠΈΠ½ΡΠΎΡΠΌΠ°ΡΠΈΡ, Π² ΡΠΎΠΌ ΡΠΈΡΠ»Π΅: ΠΊΠΎΠ½ΡΠ°ΠΊΡ, Π°Π΄ΡΠ΅Ρ ΡΠ»Π΅ΠΊΡΡΠΎΠ½Π½ΠΎΠΉ ΠΏΠΎΡΡΡ, ΡΠ΅Π»Π΅ΡΠΎΠ½, ΡΠ°ΠΊΡ, ΠΎΡΠΈΡΠΈΠ°Π»ΡΠ½ΡΠΉ Π²Π΅Π±-Π°Π΄ΡΠ΅Ρ, Π°Π΄ΡΠ΅Ρ ΠΊΠΎΠΌΠΏΠ°Π½ΠΈΠΈ. ΠΡ ΡΠ°ΠΊΠΆΠ΅ ΠΏΡΠ΅Π΄ΠΎΡΡΠ°Π²Π»ΡΠ΅ΠΌ ΠΈΠ½ΡΡΡΡΠΌΠ΅Π½Ρ ΡΠ±ΠΎΡΠ° ΡΠ»Π΅ΠΊΡΡΠΎΠ½Π½ΠΎΠΉ ΠΏΠΎΡΡΡ, ΠΊΠΎΡΠΎΡΡΠΉ ΠΏΠΎΠΌΠΎΠ³Π°Π΅Ρ Π²Π°ΠΌ Π°Π²ΡΠΎΠΌΠ°ΡΠΈΡΠ΅ΡΠΊΠΈ ΡΠΎΠ±ΠΈΡΠ°ΡΡ ΠΈΠΌΠ΅Π½Π°, Π²Π°ΠΊΠ°Π½ΡΠΈΠΈ, ΡΠ»Π΅ΠΊΡΡΠΎΠ½Π½ΡΠ΅ ΠΏΠΈΡΡΠΌΠ° ΠΈ Π»ΠΈΡΠ½ΡΠ΅ ΡΠΎΡΠΈΠ°Π»ΡΠ½ΡΠ΅ ΡΡΡΠ°Π½ΠΈΡΡ ΠΊΠ»ΡΡΠ΅Π²ΡΡ Π»ΡΠ΄Π΅ΠΉ ΠΈΠ· Google, LinkedIn, Facebook ΠΈ Π΄ΡΡΠ³ΠΈΡ ΠΊΠ°Π½Π°Π»ΠΎΠ² ΡΠ΅ΡΠ΅Π· Π½Π°Π·Π²Π°Π½ΠΈΠ΅ Π²Π°ΡΠ΅ΠΉ ΠΊΠΎΠΌΠΏΠ°Π½ΠΈΠΈ.
ΠΠ°ΠΆΠΌΠΈΡΠ΅ ΠΊΠ½ΠΎΠΏΠΊΡ Β«ΠΠΎΠ΄ΡΠΎΠ±Π½Π΅Π΅Β», ΡΡΠΎΠ±Ρ ΠΏΡΠΎΡΠΌΠΎΡΡΠ΅ΡΡ Π²ΡΠ΅ ΠΊΠΎΠΌΠΏΠ°Π½ΠΈΠΈ, ΡΠΎΡΠ³ΡΡΡΠΈΠ΅ Π³ΠΈΠ΄ΡΠΎΡΡΠΈΠ»ΠΈΡΠ΅Π»ΡΠΌΠΈ. ΠΠ° Π½Π΅Π΄Π°Π²Π½ΠΎ ΠΎΡΠΊΡΡΠ²ΡΠ΅ΠΉΡΡ ΡΡΡΠ°Π½ΠΈΡΠ΅ ΠΌΡ ΠΏΡΠ΅Π΄ΠΎΡΡΠ°Π²Π»ΡΠ΅ΠΌ Π΄ΠΎΠΏΠΎΠ»Π½ΠΈΡΠ΅Π»ΡΠ½ΡΠ΅ ΡΡΠ½ΠΊΡΠΈΠΈ, ΠΊΠΎΡΠΎΡΡΠ΅ ΠΏΠΎΠΌΠΎΠ³ΡΡ Π²Π°ΠΌ Π² Π΄Π°Π»ΡΠ½Π΅ΠΉΡΠ΅ΠΌ Π²ΡΠ±ΡΠ°ΡΡ ΡΠ΅Π»Π΅Π²ΡΡ ΠΊΠΎΠΌΠΏΠ°Π½ΠΈΡ, ΠΊΠΎΡΠΎΡΡΡ Π²Ρ ΠΌΠΎΠΆΠ΅ΡΠ΅ ΡΠΈΠ»ΡΡΡΠΎΠ²Π°ΡΡ ΠΏΠΎ ΡΠΎΡΠ³ΠΎΠ²ΠΎΠΉ ΡΡΡΠ°Π½Π΅, ΠΊΠΎΠ»ΠΈΡΠ΅ΡΡΠ²Ρ ΡΡΠ°Π½Π·Π°ΠΊΡΠΈΠΉ, ΡΠΎΡΠ³ΠΎΠ²ΠΎΠΉ Π·ΠΎΠ½Π΅, ΠΏΠΎΡΡΡ, Π΄ΠΈΠ°ΠΏΠ°Π·ΠΎΠ½Ρ ΡΡΠ°Π½Π·Π°ΠΊΡΠΈΠΉ, Π²ΠΊΠ»ΡΡΠ°Ρ ΠΊΠΎΠ½ΡΠ°ΠΊΡΡ, ΠΈ Ρ. Π΄. ΠΈ ΠΎΡΡΠΎΡΡΠΈΡΡΠΉΡΠ΅ Π²ΡΠ΅ΠΌΡ ΡΡΠ°Π½Π·Π°ΠΊΡΠΈΠΈ ΠΈ Π²ΡΠ΅ΠΌΡ ΡΡΠ°Π½Π·Π°ΠΊΡΠΈΠΈ, ΡΡΠΎ Π·Π½Π°ΡΠΈΡΠ΅Π»ΡΠ½ΠΎ ΠΏΠΎΠ²ΡΡΠΈΡ ΡΡΡΠ΅ΠΊΡΠΈΠ²Π½ΠΎΡΡΡ Π·Π°ΠΏΡΠΎΡΠ° ΠΈ ΠΈΡΠΏΠΎΠ»ΡΠ·ΠΎΠ²Π°Π½ΠΈΡ Π΄Π°Π½Π½ΡΡ
.
ΠΠΎ ΠΠΠ Π²ΡΠ΅Π³Π΄Π° ΠΌΠΎΠΆΠ½ΠΎ Π½Π°ΠΉΡΠΈ ΡΠ²ΠΎΡ ΡΠ΅Π»Π΅Π²ΡΡ ΠΊΠΎΠΌΠΏΠ°Π½ΠΈΡ!
Π‘Π²ΡΠ·Π°Π½Π½ΡΠ΅ ΠΏΡΠΎΠ΄ΡΠΊΡΡ
ΠΏΠ½Π΅Π²ΠΌΠ°ΡΠΈΡΠ΅ΡΠΊΠΈΠΉ ΡΡΠΈΠ»ΠΈΡΠ΅Π»Ρ ΡΠΎΡΠΌΠΎΠ·ΠΎΠ²Π²ΠΈΡ
ΡΠ΅Π²ΠΎΠΉ Π³ΠΈΠ΄ΡΠ°Π²Π»ΠΈΡΠ΅ΡΠΊΠΈΠΉ Π½Π°ΡΠΎΡΠ°Π²ΠΈΡΠ³ΠΈΠ΄ΡΠ°Π²Π»ΠΈΡΠ΅ΡΠΊΠΈΠΉ Π½Π°ΡΠΎΡattica Π³ΠΈΠ΄ΡΠ°Π²Π»ΠΈΡΠ΅ΡΠΊΠΈΠΉ ΠΎΠ±ΠΌΠ΅Π½Π°ΡΠ΄ΠΈΠΎ ΡΡΠΈΠ»ΠΈΡΠ΅Π»ΡΠ°Π²ΡΠΎΠΌΠΎΠ±ΠΈΠ»Ρ Π³ΠΈΠ΄ΡΠ°Π²Π»ΠΈΡΠ΅ΡΠΊΠΈΠ΅ Π΄Π΅ΡΠ°Π»ΠΈ ΡΠΎΡΠΌΠΎΠ·Π½ΠΎΠΉ ΡΡΠΈΠ»ΠΈΡΠ΅Π»Ρ ΡΠΎΡΠΌΠΎΠ·Π½ΠΎΠΉ ΡΡΠΈΠ»ΠΈΡΠ΅Π»Ρ Π³ΠΈΠ΄ΡΠΎΡΡΠΈΠ»ΠΈΡΠ΅Π»Ρ Π»Π°ΡΡΠ½Π½Π°Ρ Π³ΠΈΠ΄ΡΠ°Π²Π»ΠΈΡΠ΅ΡΠΊΠ°Ρ ΡΠ°ΡΡΡ Π»Π°ΡΡΠ½Π½ΡΠΉ ΡΠΏΠΎΡΠ½ΡΠΉ Π΄ΠΈΡΠΊ Π΄Π»Ρ Π³ΠΈΠ΄ΡΠ°Π²Π»ΠΈΡΠ΅ΡΠΊΠΎΠ³ΠΎ ΡΠ΅ΡΡΠ΅ΡΠ΅Π½ΡΠ°ΡΠΎΠ³ΠΎ Π½Π°ΡΠΎΡΠ° Π»Π°ΡΡΠ½Π½ΡΠΉ ΠΈΠ·Π½ΠΎΡΠΎΡΡΠΎΠΉΠΊΠΈΠΉ Π΄ΠΈΡΠΊ Π΄Π»Ρ Π³ΠΈΠ΄ΡΠ°Π²Π»ΠΈΡΠ΅ΡΠΊΠΎΠ³ΠΎ ΡΠ΅ΡΡΠ΅ΡΠ΅Π½ΡΠ°ΡΠΎΠ³ΠΎ Π½Π°ΡΠΎΡΠ° ΠΊΡΡΡΠΊΠ° Π³ΠΈΠ΄ΡΠ°Π²Π»ΠΈΡΠ΅ΡΠΊΠΎΠΉ ΠΌΠ°ΡΠΈΠ½Ρ
Π§ΡΠΎ ΡΠ°ΠΊΠΎΠ΅ ΡΡΠΈΠ»ΠΈΡΠ΅Π»Ρ ΡΠΎΡΠΌΠΎΠ·ΠΎΠ²?
Π£ΡΠΈΠ»ΠΈΡΠ΅Π»Ρ ΡΠΎΡΠΌΠΎΠ·ΠΎΠ² — ΡΡΠΎ ΡΡΡΡΠΎΠΉΡΡΠ²ΠΎ, ΡΠΌΠ΅Π½ΡΡΠ°ΡΡΠ΅Π΅ ΡΡΠΈΠ»ΠΈΠ΅, Π½Π΅ΠΎΠ±Ρ
ΠΎΠ΄ΠΈΠΌΠΎΠ΅ Π΄Π»Ρ Π²ΠΊΠ»ΡΡΠ΅Π½ΠΈΡ Π³ΠΈΠ΄ΡΠ°Π²Π»ΠΈΡΠ΅ΡΠΊΠΈΡ
ΡΠΎΡΠΌΠΎΠ·ΠΎΠ².ΠΠΎΠ»ΡΡΠΈΠ½ΡΡΠ²ΠΎ ΡΡΠΈΠ»ΠΈΡΠ΅Π»Π΅ΠΉ ΡΠΎΡΠΌΠΎΠ·ΠΎΠ² ΠΈΡΠΏΠΎΠ»ΡΠ·ΡΡΡ Π΄Π»Ρ ΡΡΠΎΠ³ΠΎ Π²Π°ΠΊΡΡΠΌ Π² ΠΊΠΎΠ»Π»Π΅ΠΊΡΠΎΡΠ΅, Π½ΠΎ Π½Π΅ΠΊΠΎΡΠΎΡΡΠ΅ ΠΈΡΠΏΠΎΠ»ΡΠ·ΡΡΡ Π³ΠΈΠ΄ΡΠ°Π²Π»ΠΈΡΠ΅ΡΠΊΠΎΠ΅ Π΄Π°Π²Π»Π΅Π½ΠΈΠ΅ ΠΈΠ»ΠΈ Π΄ΡΡΠ³ΠΈΠ΅ ΠΌΠ΅ΡΠΎΠ΄Ρ. Π ΡΠΈΠΏΠΈΡΠ½ΠΎΠΉ ΡΠΈΡΡΠ΅ΠΌΠ΅, Π² ΠΊΠΎΡΠΎΡΠΎΠΉ ΠΈΡΠΏΠΎΠ»ΡΠ·ΡΠ΅ΡΡΡ Π²Π°ΠΊΡΡΠΌΠ½ΡΠΉ ΡΡΠΈΠ»ΠΈΡΠ΅Π»Ρ ΡΠΎΡΠΌΠΎΠ·ΠΎΠ², ΠΏΠ΅Π΄Π°Π»Ρ ΡΠΎΡΠΌΠΎΠ·Π° ΠΏΡΠΈΠΊΡΠ΅ΠΏΠ»Π΅Π½Π° ΠΊ ΡΡΠΈΠ»ΠΈΡΠ΅Π»Ρ ΠΏΠΎΡΡΠ΅Π΄ΡΡΠ²ΠΎΠΌ ΠΌΠ΅Ρ
Π°Π½ΠΈΡΠ΅ΡΠΊΠΎΠΉ ΡΠ²ΡΠ·ΠΈ, Π° Π³Π»Π°Π²Π½ΡΠΉ ΡΠΎΡΠΌΠΎΠ·Π½ΠΎΠΉ ΡΠΈΠ»ΠΈΠ½Π΄Ρ ΠΏΡΠΈΠΊΡΠ΅ΠΏΠ»Π΅Π½ Π±ΠΎΠ»ΡΠ°ΠΌΠΈ Π½Π΅ΠΏΠΎΡΡΠ΅Π΄ΡΡΠ²Π΅Π½Π½ΠΎ ΠΊ Π΄ΡΡΠ³ΠΎΠΉ ΡΡΠΎΡΠΎΠ½Π΅ ΠΎΡ Π½Π΅Π³ΠΎ.
ΠΠΎΠ³Π΄Π° ΠΏΠ΅Π΄Π°Π»Ρ ΡΠΎΡΠΌΠΎΠ·Π° Π½Π°ΠΆΠ°ΡΠ°, ΡΠ΅ΡΠ²Π΅Ρ Ρ Π²Π°ΠΊΡΡΠΌΠ½ΡΠΌ ΠΏΡΠΈΠ²ΠΎΠ΄ΠΎΠΌ ΠΏΡΠΈΠ²ΠΎΠ΄ΠΈΡ Π² Π΄Π΅ΠΉΡΡΠ²ΠΈΠ΅ ΠΏΠ»ΡΠ½ΠΆΠ΅Ρ, ΠΊΠΎΡΠΎΡΡΠΉ ΠΏΡΠΈΠ²ΠΎΠ΄ΠΈΡ Π² Π΄Π΅ΠΉΡΡΠ²ΠΈΠ΅ Π³Π»Π°Π²Π½ΡΠΉ ΡΠΈΠ»ΠΈΠ½Π΄Ρ.
Π₯ΠΎΡΡ Π²Π°ΠΊΡΡΠΌΠ½ΡΠ΅ ΡΡΠΈΠ»ΠΈΡΠ΅Π»ΠΈ ΡΠΎΡΠΌΠΎΠ·ΠΎΠ² ΠΏΠΎΡΡΠΈ ΠΏΠΎΠ²ΡΠ΅ΠΌΠ΅ΡΡΠ½Ρ, Π² Π½Π΅ΠΊΠΎΡΠΎΡΡΡ ΡΡΠ°Π½ΡΠΏΠΎΡΡΠ½ΡΡ ΡΡΠ΅Π΄ΡΡΠ²Π°Ρ ΠΈΡΠΏΠΎΠ»ΡΠ·ΡΡΡΡΡ Π³ΠΈΠ΄ΡΠ°Π²Π»ΠΈΡΠ΅ΡΠΊΠΈΠ΅ ΡΡΠΈΠ»ΠΈΡΠ΅Π»ΠΈ ΡΠΎΡΠΌΠΎΠ·ΠΎΠ², ΠΊΠΎΡΠΎΡΡΠ΅ ΡΠ°Π±ΠΎΡΠ°ΡΡ ΠΎΡ Π³ΠΈΠ΄ΡΠ°Π²Π»ΠΈΡΠ΅ΡΠΊΠΎΠ³ΠΎ Π΄Π°Π²Π»Π΅Π½ΠΈΡ Π²ΠΌΠ΅ΡΡΠΎ Π²Π°ΠΊΡΡΠΌΠ°.ΠΡΠΎ Π΄Π°Π²Π»Π΅Π½ΠΈΠ΅ ΠΎΠ±Π΅ΡΠΏΠ΅ΡΠΈΠ²Π°Π΅ΡΡΡ ΠΏΡΠΈΠ²ΠΎΠ΄Π½ΡΠΌ Π½Π°ΡΠΎΡΠΎΠΌ Ρ ΡΠ΅ΠΌΠ΅Π½Π½ΡΠΌ ΠΏΡΠΈΠ²ΠΎΠ΄ΠΎΠΌ ΠΈ ΠΌΠΎΠΆΠ΅Ρ Π±ΡΡΡ ΠΏΠΎΠ΄ΠΊΠ»ΡΡΠ΅Π½ΠΎ ΠΊ ΡΠΈΡΡΠ΅ΠΌΠ΅ ΡΡΠ»Π΅Π²ΠΎΠ³ΠΎ ΡΠΏΡΠ°Π²Π»Π΅Π½ΠΈΡ Ρ Π³ΠΈΠ΄ΡΠΎΡΡΠΈΠ»ΠΈΡΠ΅Π»Π΅ΠΌ. Π Π΄ΡΡΠ³ΠΈΡ ΡΠ»ΡΡΠ°ΡΡ Π² Π°Π²ΡΠΎΠΌΠΎΠ±ΠΈΠ»Π΅ ΠΌΠΎΠΆΠ΅Ρ ΠΈΡΠΏΠΎΠ»ΡΠ·ΠΎΠ²Π°ΡΡΡΡ Π²Π°ΠΊΡΡΠΌΠ½ΡΠΉ ΡΡΠΈΠ»ΠΈΡΠ΅Π»Ρ ΡΠΎΡΠΌΠΎΠ·ΠΎΠ², Π² ΠΊΠΎΡΠΎΡΠΎΠΌ Π²ΠΌΠ΅ΡΡΠΎ Π²Π°ΠΊΡΡΠΌΠ½ΠΎΠ³ΠΎ ΠΊΠΎΠ»Π»Π΅ΠΊΡΠΎΡΠ° ΠΈΡΠΏΠΎΠ»ΡΠ·ΡΠ΅ΡΡΡ Π²Π°ΠΊΡΡΠΌΠ½ΡΠΉ Π½Π°ΡΠΎΡ Ρ ΡΠ΅ΠΌΠ΅Π½Π½ΡΠΌ ΠΏΡΠΈΠ²ΠΎΠ΄ΠΎΠΌ.
ΠΡΡΠΎΡΠΈΡ ΡΡΠΈΠ»ΠΈΡΠ΅Π»Ρ ΡΠΎΡΠΌΠΎΠ·ΠΎΠ²
ΠΠΎ ΠΈΠ·ΠΎΠ±ΡΠ΅ΡΠ΅Π½ΠΈΡ ΡΡΠΈΠ»ΠΈΡΠ΅Π»Ρ ΡΠΎΡΠΌΠΎΠ·ΠΎΠ² Π²ΡΠ΅ ΡΠΎΡΠΌΠΎΠ·Π½ΡΠ΅ ΡΠΈΡΡΠ΅ΠΌΡ Π±ΡΠ»ΠΈ ΡΡΡΠ½ΡΠΌΠΈ. ΠΠΎ ΡΡΡΠΈ, ΡΡΠΎ ΠΎΠ·Π½Π°ΡΠ°Π΅Ρ, ΡΡΠΎ Π² ΡΡΠΈΡ
ΡΡΡΠ½ΡΡ
ΡΠΎΡΠΌΠΎΠ·Π½ΡΡ
ΡΠΈΡΡΠ΅ΠΌΠ°Ρ
Π²ΡΡ ΡΠΎΡΠΌΠΎΠ·Π½Π°Ρ ΠΌΠΎΡΠ½ΠΎΡΡΡ Π³Π΅Π½Π΅ΡΠΈΡΡΠ΅ΡΡΡ ΡΠΈΠ»ΠΎΠΉ, ΠΊΠΎΡΠΎΡΡΡ Π²ΠΎΠ΄ΠΈΡΠ΅Π»Ρ ΠΏΡΠΈΠΊΠ»Π°Π΄ΡΠ²Π°Π΅Ρ ΠΊ ΠΏΠ΅Π΄Π°Π»ΠΈ ΡΠΎΡΠΌΠΎΠ·Π°.ΠΠ° ΠΏΡΠ°ΠΊΡΠΈΠΊΠ΅ ΡΡΡΠ½ΡΠΌΠΈ ΡΠΎΡΠΌΠΎΠ·Π½ΡΠΌΠΈ ΡΠΈΡΡΠ΅ΠΌΠ°ΠΌΠΈ ΡΠ»ΠΎΠΆΠ½ΠΎ ΡΠΏΡΠ°Π²Π»ΡΡΡ ΠΈΠ·-Π·Π° Π±ΠΎΠ»ΡΡΠΎΠ³ΠΎ ΡΡΠΈΠ»ΠΈΡ, ΠΊΠΎΡΠΎΡΠΎΠ΅ ΡΡΠ΅Π±ΡΠ΅ΡΡΡ Π΄Π»Ρ Π½Π°ΠΆΠ°ΡΠΈΡ Π½Π° ΠΏΠ΅Π΄Π°Π»Ρ, ΡΡΠΎ ΡΡΠ»ΠΎΠΆΠ½ΡΠ»ΠΎΡΡ ΡΠ΅ΠΌ ΡΠ°ΠΊΡΠΎΠΌ, ΡΡΠΎ ΡΡΠ΅Π΄Π½ΠΈΠΉ Π»Π΅Π³ΠΊΠΎΠ²ΠΎΠΉ Π°Π²ΡΠΎΠΌΠΎΠ±ΠΈΠ»Ρ ΡΠ°Π½ΡΡΠ΅ Π±ΡΠ» Π½Π°ΠΌΠ½ΠΎΠ³ΠΎ Π±ΠΎΠ»ΡΡΠ΅ ΠΈ ΡΡΠΆΠ΅Π»Π΅Π΅, ΡΠ΅ΠΌ ΡΡΠ΅Π΄Π½ΠΈΠΉ Π°Π²ΡΠΎΠΌΠΎΠ±ΠΈΠ»Ρ, ΠΊΠΎΡΠΎΡΡΠΉ Π½Π°Ρ
ΠΎΠ΄ΠΈΡΡΡ Π½Π° Π΄ΠΎΡΠΎΠ³Π° ΡΠ΅Π³ΠΎΠ΄Π½Ρ.
ΠΠ΅ΡΠ²ΡΠΉ ΡΡΠΈΠ»ΠΈΡΠ΅Π»Ρ ΡΠΎΡΠΌΠΎΠ·ΠΎΠ² Π±ΡΠ» ΠΈΠ·ΠΎΠ±ΡΠ΅ΡΠ΅Π½ Π² 1927 Π³ΠΎΠ΄Ρ Π±Π΅Π»ΡΠ³ΠΈΠΉΡΠΊΠΈΠΌ ΠΈΠ½ΠΆΠ΅Π½Π΅ΡΠΎΠΌ ΠΠ»ΡΠ±Π΅ΡΡΠΎΠΌ ΠΠ΅Π²Π°Π½Π΄ΡΠ΅. ΠΡΠ° ΡΠΈΡΡΠ΅ΠΌΠ° Π±ΡΠ»Π° ΠΏΠΎΡ ΠΎΠΆΠ° Π½Π° Π²Π°ΠΊΡΡΠΌΠ½ΡΠ΅ ΡΡΠΈΠ»ΠΈΡΠ΅Π»ΠΈ ΡΠΎΡΠΌΠΎΠ·ΠΎΠ², ΠΊΠΎΡΠΎΡΡΠ΅ ΠΌΡ ΠΈΡΠΏΠΎΠ»ΡΠ·ΡΠ΅ΠΌ ΡΠ΅Π³ΠΎΠ΄Π½Ρ, Π² ΡΠΎΠΌ, ΡΡΠΎ Π² Π½Π΅ΠΉ ΠΈΡΠΏΠΎΠ»ΡΠ·ΠΎΠ²Π°Π»ΡΡ ΠΊΠΎΠ»Π»Π΅ΠΊΡΠΎΡΠ½ΡΠΉ Π²Π°ΠΊΡΡΠΌ Π΄Π»Ρ ΡΠΌΠ΅Π½ΡΡΠ΅Π½ΠΈΡ ΡΠΈΠ»Ρ, Π½Π΅ΠΎΠ±Ρ ΠΎΠ΄ΠΈΠΌΠΎΠΉ Π΄Π»Ρ Π½Π°ΠΆΠ°ΡΠΈΡ Π½Π° ΠΏΠ΅Π΄Π°Π»Ρ ΡΠΎΡΠΌΠΎΠ·Π°.ΠΡΠ° ΡΠΈΡΡΠ΅ΠΌΠ° ΠΏΡΠΎΠ΄Π°Π²Π°Π»Π°ΡΡ ΠΊΠΎΠΌΠΏΠ°Π½ΠΈΠ΅ΠΉ Robert Bosch ΠΈ Π²ΠΏΠ΅ΡΠ²ΡΠ΅ ΠΏΠΎΡΠ²ΠΈΠ»Π°ΡΡ Π½Π° ΠΌΠΎΠ΄Π΅Π»ΠΈ Pierce-Arrow 1928 ΠΌΠΎΠ΄Π΅Π»ΡΠ½ΠΎΠ³ΠΎ Π³ΠΎΠ΄Π°.
Π₯ΠΎΡΡ Π²Π°ΠΊΡΡΠΌΠ½ΡΠ΅ ΡΡΠΈΠ»ΠΈΡΠ΅Π»ΠΈ ΡΠΎΡΠΌΠΎΠ·ΠΎΠ² ΡΡΠ°Π»ΠΈ Π΄ΠΎΡΡΡΠΏΠ½Ρ Ρ ΡΡΠΎΠ³ΠΎ ΠΌΠΎΠΌΠ΅Π½ΡΠ°, ΠΎΠ½ΠΈ ΡΡΠ°Π»ΠΈ ΡΡΠ°Π½Π΄Π°ΡΡΠ½ΡΠΌ ΠΎΠ±ΠΎΡΡΠ΄ΠΎΠ²Π°Π½ΠΈΠ΅ΠΌ Π½Π°ΠΌΠ½ΠΎΠ³ΠΎ ΠΏΠΎΠ·ΠΆΠ΅. ΠΠ° ΠΏΡΠΎΡΡΠΆΠ΅Π½ΠΈΠΈ Π±ΠΎΠ»ΡΡΠ΅ΠΉ ΡΠ°ΡΡΠΈ 20-Π³ΠΎ Π²Π΅ΠΊΠ° Π²Π°ΠΊΡΡΠΌΠ½ΡΠ΅ ΡΡΠΈΠ»ΠΈΡΠ΅Π»ΠΈ ΡΠΎΡΠΌΠΎΠ·ΠΎΠ² ΠΏΡΠ΅Π΄Π»Π°Π³Π°Π»ΠΈΡΡ Π² ΠΊΠ°ΡΠ΅ΡΡΠ²Π΅ Π΄ΠΎΠΏΠΎΠ»Π½ΠΈΡΠ΅Π»ΡΠ½ΠΎΠ³ΠΎ ΠΎΠ±ΠΎΡΡΠ΄ΠΎΠ²Π°Π½ΠΈΡ Π½Π°ΡΡΠ΄Ρ Ρ Π±ΠΎΠ»Π΅Π΅ Π΄Π΅ΡΠ΅Π²ΡΠΌΠΈ ΡΡΡΠ½ΡΠΌΠΈ ΡΠΎΡΠΌΠΎΠ·Π½ΡΠΌΠΈ ΡΠΈΡΡΠ΅ΠΌΠ°ΠΌΠΈ.
ΠΠΈΠ΄ΡΠ°Π²Π»ΠΈΡΠ΅ΡΠΊΠΈΠ΅ ΡΡΠΈΠ»ΠΈΡΠ΅Π»ΠΈ ΡΠΎΡΠΌΠΎΠ·ΠΎΠ² ΠΏΠΎΡΠ²ΠΈΠ»ΠΈΡΡ ΠΏΠΎΠ·ΠΆΠ΅, Π½Π° ΠΊΠΎΡΠΎΡΡΠ΅ Π²ΠΎ Π²ΡΠΎΡΠΎΠΉ ΠΏΠΎΠ»ΠΎΠ²ΠΈΠ½Π΅ 20 Π²Π΅ΠΊΠ° Π±ΡΠ»ΠΈ Π²ΡΠ΄Π°Π½Ρ ΡΠ°Π·Π»ΠΈΡΠ½ΡΠ΅ ΠΏΠ°ΡΠ΅Π½ΡΡ.Π₯ΠΎΡΡ Π³ΠΈΠ΄ΡΠΎΡΡΠΈΠ»ΠΈΡΠ΅Π»ΠΈ Π½ΠΈΠΊΠΎΠ³Π΄Π° Π½Π΅ ΠΏΡΠΈΠΆΠΈΠ»ΠΈΡΡ, ΠΎΠ½ΠΈ ΠΈΡΠΏΠΎΠ»ΡΠ·ΠΎΠ²Π°Π»ΠΈΡΡ Π² Π½Π΅ΠΊΠΎΡΠΎΡΡΡ
ΡΡΠ°Π½ΡΠΏΠΎΡΡΠ½ΡΡ
ΡΡΠ΅Π΄ΡΡΠ²Π°Ρ
, Π³Π΄Π΅ ΠΏΡΠΎΡΡΡΠ°Π½ΡΡΠ²ΠΎ Π±ΡΠ»ΠΎ Π² Π΄Π΅ΡΠΈΡΠΈΡΠ΅ (Π½Π°ΠΏΡΠΈΠΌΠ΅Ρ, BMW E32) ΠΈΠ»ΠΈ Π²Π°ΠΊΡΡΠΌ Π² ΠΊΠΎΠ»Π»Π΅ΠΊΡΠΎΡΠ΅ Π±ΡΠ» Π½Π΅Π΄ΠΎΡΡΡΠΏΠ΅Π½.
ΠΠ°ΠΊ ΡΠ°Π±ΠΎΡΠ°Π΅Ρ Π²Π°ΠΊΡΡΠΌΠ½ΡΠΉ ΡΡΠΈΠ»ΠΈΡΠ΅Π»Ρ ΡΠΎΡΠΌΠΎΠ·ΠΎΠ²?
Π’ΠΈΠΏΠΈΡΠ½ΡΠΉ Π²Π°ΠΊΡΡΠΌΠ½ΡΠΉ ΡΡΠΈΠ»ΠΈΡΠ΅Π»Ρ ΡΠΎΡΠΌΠΎΠ·ΠΎΠ² ΡΠΎΡΡΠΎΠΈΡ ΠΈΠ· Π±ΠΎΠ»ΡΡΠΎΠΉ ΠΏΠΎΠ»ΠΎΠΉ ΠΊΠ°ΠΌΠ΅ΡΡ, ΠΊΠΎΡΠΎΡΠ°Ρ Π΄Π΅ΠΉΡΡΠ²ΡΠ΅Ρ ΠΊΠ°ΠΊ Π²Π°ΠΊΡΡΠΌΠ½ΡΠΉ ΡΠ΅Π·Π΅ΡΠ²ΡΠ°Ρ ΠΈΠ»ΠΈ ΡΠ΅Π·Π΅ΡΠ²ΡΠ°Ρ. ΠΡΠΎΡ ΠΊΠΎΠΆΡΡ ΠΏΠΎΠ΄ΠΊΠ»ΡΡΠ΅Π½ ΠΊ Π²Π°ΠΊΡΡΠΌΠ½ΠΎΠΌΡ ΠΊΠΎΠ»Π»Π΅ΠΊΡΠΎΡΡ ΡΠ΅ΡΠ΅Π· ΠΎΠ±ΡΠ°ΡΠ½ΡΠΉ ΠΊΠ»Π°ΠΏΠ°Π½ ΠΈ Π²Π°ΠΊΡΡΠΌΠ½ΡΠΉ ΡΠ»Π°Π½Π³. ΠΠΎΠ³Π΄Π° Π΄Π²ΠΈΠ³Π°ΡΠ΅Π»Ρ Π²ΠΊΠ»ΡΡΠ΅Π½, Π²Π½ΡΡΡΠΈ Π²ΠΏΡΡΠΊΠ½ΠΎΠ³ΠΎ ΠΊΠΎΠ»Π»Π΅ΠΊΡΠΎΡΠ° ΡΠΎΠ·Π΄Π°Π΅ΡΡΡ ΡΠ°ΡΡΠΈΡΠ½ΡΠΉ Π²Π°ΠΊΡΡΠΌ, Π²Π΅ΡΡ Π²ΠΎΠ·Π΄ΡΡ Π²ΡΠ°ΡΡΠ²Π°Π΅ΡΡΡ ΠΈΠ· ΠΊΠΎΡΠΏΡΡΠ°, ΡΡΠΎ ΡΠΎΠ·Π΄Π°Π΅Ρ Π²Π½ΡΡΡΠ΅Π½Π½ΠΈΠΉ Π²Π°ΠΊΡΡΠΌ.ΠΠ°ΡΠ΅ΠΌ ΡΡΠΎΡ Π²Π°ΠΊΡΡΠΌ ΠΈΡΠΏΠΎΠ»ΡΠ·ΡΠ΅ΡΡΡ Π΄Π»Ρ ΠΏΠΎΠΌΠΎΡΠΈ ΠΏΡΠΈ ΡΠΎΡΠΌΠΎΠΆΠ΅Π½ΠΈΠΈ.
Π Π²Π°ΠΊΡΡΠΌΠ½ΡΡ ΡΡΠΈΠ»ΠΈΡΠ΅Π»ΡΡ ΡΠΎΡΠΌΠΎΠ·ΠΎΠ² Π²Π°ΠΊΡΡΠΌ ΠΈΡΠΏΠΎΠ»ΡΠ·ΡΠ΅ΡΡΡ Π΄Π»Ρ ΡΠ²Π΅Π»ΠΈΡΠ΅Π½ΠΈΡ ΡΠΎΡΠΌΠΎΠ·Π½ΠΎΠΉ ΠΌΠΎΡΠ½ΠΎΡΡΠΈ.
ΠΠΎΠ³Π΄Π° Π²ΠΎΠ΄ΠΈΡΠ΅Π»Ρ Π½Π°ΠΆΠΈΠΌΠ°Π΅Ρ Π½Π° ΠΏΠ΅Π΄Π°Π»Ρ ΡΠΎΡΠΌΠΎΠ·Π°, ΠΎΠ½ ΠΏΡΠΈΠ²ΠΎΠ΄ΠΈΡ Π² Π΄Π΅ΠΉΡΡΠ²ΠΈΠ΅ Π²Ρ ΠΎΠ΄Π½ΠΎΠΉ Π²Π°Π» Ρ ΠΎΠ΄Π½ΠΎΠΉ ΡΡΠΎΡΠΎΠ½Ρ ΡΡΠΈΠ»ΠΈΡΠ΅Π»Ρ ΡΠΎΡΠΌΠΎΠ·ΠΎΠ². ΠΠ½ ΠΏΠΎΠ΄ΠΊΠ»ΡΡΠ΅Π½ ΠΊ ΡΠ΅ΡΠ²Π΅ΡΡ Ρ Π²Π°ΠΊΡΡΠΌΠ½ΡΠΌ ΠΏΡΠΈΠ²ΠΎΠ΄ΠΎΠΌ, ΠΊΠΎΡΠΎΡΡΠΉ, Π² ΡΠ²ΠΎΡ ΠΎΡΠ΅ΡΠ΅Π΄Ρ, ΠΏΠΎΠ΄ΠΊΠ»ΡΡΠ΅Π½ ΠΊ ΡΡΠΎΠΊΡ Π³Π»Π°Π²Π½ΠΎΠ³ΠΎ ΡΠΈΠ»ΠΈΠ½Π΄ΡΠ°. ΠΡΠ»ΠΈ ΠΏΡΠΈ Π½Π°ΠΆΠ°ΡΠΈΠΈ ΠΏΠ΅Π΄Π°Π»ΠΈ Π²Π½ΡΡΡΠΈ ΠΊΠΎΡΠΏΡΡΠ° ΡΡΠΈΠ»ΠΈΡΠ΅Π»Ρ ΡΠΎΡΠΌΠΎΠ·ΠΎΠ² ΡΠΎΠ·Π΄Π°Π΅ΡΡΡ ΡΠ°Π·ΡΠ΅ΠΆΠ΅Π½ΠΈΠ΅, ΡΠ΅ΡΠ²ΠΎΠΏΡΠΈΠ²ΠΎΠ΄ Ρ ΠΎΡΠ½ΠΎΡΠΈΡΠ΅Π»ΡΠ½ΠΎ Π½Π΅Π±ΠΎΠ»ΡΡΠΈΠΌ ΡΡΠΈΠ»ΠΈΠ΅ΠΌ Π²Π΄Π°Π²Π»ΠΈΠ²Π°Π΅Ρ ΡΠ²ΠΎΠΉ ΡΠΎΠ»ΠΊΠ°ΡΠ΅Π»Ρ Π² Π³Π»Π°Π²Π½ΡΠΉ ΡΠΎΡΠΌΠΎΠ·Π½ΠΎΠΉ ΡΠΈΠ»ΠΈΠ½Π΄Ρ.
Π§ΡΠΎ Π΄Π΅Π»Π°ΡΡ, Π΅ΡΠ»ΠΈ Π² ΠΊΠΎΠ»Π»Π΅ΠΊΡΠΎΡΠ΅ Π½Π΅Ρ Π²Π°ΠΊΡΡΠΌΠ°?
ΠΡΠΈ Π½ΠΎΡΠΌΠ°Π»ΡΠ½ΠΎΠΉ ΡΠ°Π±ΠΎΡΠ΅ Π±Π΅Π·Π½Π°Π΄Π΄ΡΠ²Π½ΠΎΠ³ΠΎ Π±Π΅Π½Π·ΠΈΠ½ΠΎΠ²ΠΎΠ³ΠΎ Π΄Π²ΠΈΠ³Π°ΡΠ΅Π»Ρ Π²Π½ΡΡΡΠ΅Π½Π½Π΅Π³ΠΎ ΡΠ³ΠΎΡΠ°Π½ΠΈΡ Π²ΡΠ΅Π³Π΄Π° Π±ΡΠ΄Π΅Ρ Π²Π°ΠΊΡΡΠΌ Π² ΠΊΠΎΠ»Π»Π΅ΠΊΡΠΎΡΠ΅ Π²ΡΡΠΊΠΈΠΉ ΡΠ°Π·, ΠΊΠΎΠ³Π΄Π° ΡΡΠ΅Π±ΡΡΡΡΡ ΡΠΎΡΠΌΠΎΠ·Π°.
ΠΠ°ΠΊΡΡΠΌ Π² ΠΊΠΎΠ»Π»Π΅ΠΊΡΠΎΡΠ΅ ΡΠ°ΠΌΡΠΉ Π²ΡΡΠΎΠΊΠΈΠΉ, ΠΊΠΎΠ³Π΄Π° Π΄ΡΠΎΡΡΠ΅Π»ΡΠ½Π°Ρ Π·Π°ΡΠ»ΠΎΠ½ΠΊΠ° Π² ΠΊΠΎΡΠΏΡΡΠ΅ Π΄ΡΠΎΡΡΠ΅Π»ΡΠ½ΠΎΠΉ Π·Π°ΡΠ»ΠΎΠ½ΠΊΠΈ ΠΈΠ»ΠΈ ΠΊΠ°ΡΠ±ΡΡΠ°ΡΠΎΡΠ΅ Π·Π°ΠΊΡΡΡΠ°, ΡΡΠΎ ΠΎΠ·Π½Π°ΡΠ°Π΅Ρ, ΡΡΠΎ ΠΌΠ°ΠΊΡΠΈΠΌΠ°Π»ΡΠ½ΡΠΉ ΡΡΠΎΠ²Π΅Π½Ρ Π²Π°ΠΊΡΡΠΌΠ° ΠΏΡΠΈΡΡΡΡΡΠ²ΡΠ΅Ρ, ΠΊΠΎΠ³Π΄Π° Π²Ρ Π½Π΅ Π½Π°ΠΆΠΈΠΌΠ°Π΅ΡΠ΅ Π½Π° ΠΏΠ΅Π΄Π°Π»Ρ Π³Π°Π·Π°. Π₯ΠΎΡΡ Π²Π°ΠΊΡΡΠΌ Π² ΠΊΠΎΠ»Π»Π΅ΠΊΡΠΎΡΠ΅ Π·Π½Π°ΡΠΈΡΠ΅Π»ΡΠ½ΠΎ ΠΏΠ°Π΄Π°Π΅Ρ ΠΏΡΠΈ ΠΏΠΎΠ»Π½ΠΎΡΡΡΡ ΠΎΡΠΊΡΡΡΠΎΠΉ Π΄ΡΠΎΡΡΠ΅Π»ΡΠ½ΠΎΠΉ Π·Π°ΡΠ»ΠΎΠ½ΠΊΠ΅, ΠΎΠ±ΡΡΠ½ΠΎ Π²Π°ΠΌ Π½Π΅ Π½ΡΠΆΠ½ΠΎ Π΄Π΅ΡΠΆΠ°ΡΡ ΡΡΠ°Π½ΡΠΏΠΎΡΡΠ½ΠΎΠ΅ ΡΡΠ΅Π΄ΡΡΠ²ΠΎ Ρ ΠΏΠΎΠ»Π½ΠΎΡΡΡΡ ΠΎΡΠΊΡΡΡΠΎΠΉ Π΄ΡΠΎΡΡΠ΅Π»ΡΠ½ΠΎΠΉ Π·Π°ΡΠ»ΠΎΠ½ΠΊΠΎΠΉ ΠΏΡΠΈ ΡΠΎΡΠΌΠΎΠΆΠ΅Π½ΠΈΠΈ.
Π ΡΡΠ°Π½ΡΠΏΠΎΡΡΠ½ΡΡ ΡΡΠ΅Π΄ΡΡΠ²Π°Ρ , ΠΊΠΎΡΠΎΡΡΠ΅ ΠΈΡΠΏΠΎΠ»ΡΠ·ΡΡΡ Π±Π΅Π½Π·ΠΈΠ½ΠΎΠ²ΡΠ΅ Π΄Π²ΠΈΠ³Π°ΡΠ΅Π»ΠΈ Ρ ΡΡΡΠ±ΠΎΠ½Π°Π΄Π΄ΡΠ²ΠΎΠΌ, ΠΈ ΡΡΠ°Π½ΡΠΏΠΎΡΡΠ½ΡΡ ΡΡΠ΅Π΄ΡΡΠ²Π°Ρ , ΠΊΠΎΡΠΎΡΡΠ΅ ΠΈΡΠΏΠΎΠ»ΡΠ·ΡΡΡ Π΄ΠΈΠ·Π΅Π»ΡΠ½ΡΠ΅ Π΄Π²ΠΈΠ³Π°ΡΠ΅Π»ΠΈ, ΠΎΡΡΡΡΡΡΠ²ΠΈΠ΅ Π²Π°ΠΊΡΡΠΌΠ° Π² ΠΊΠΎΠ»Π»Π΅ΠΊΡΠΎΡΠ΅ ΡΠ²Π»ΡΠ΅ΡΡΡ ΠΏΡΠΎΠ±Π»Π΅ΠΌΠΎΠΉ . Π ΡΡΠΈΡ ΡΠ»ΡΡΠ°ΡΡ ΡΡΡΠ΅ΡΡΠ²ΡΠ΅Ρ Π½Π΅ΡΠΊΠΎΠ»ΡΠΊΠΎ ΡΠΏΠΎΡΠΎΠ±ΠΎΠ² ΡΠΎΠ·Π΄Π°Π½ΠΈΡ Π²Π°ΠΊΡΡΠΌΠ° Π² ΡΡΠΈΠ»ΠΈΡΠ΅Π»Π΅ ΡΠΎΡΠΌΠΎΠ·ΠΎΠ². Π Π±ΠΎΠ»ΡΡΠΈΠ½ΡΡΠ²Π΅ ΡΠ»ΡΡΠ°Π΅Π² Π½Π°ΡΠΎΡ Ρ ΡΠ΅ΠΌΠ΅Π½Π½ΡΠΌ ΠΏΡΠΈΠ²ΠΎΠ΄ΠΎΠΌ Π±ΡΠ΄Π΅Ρ ΠΎΠ±Π΅ΡΠΏΠ΅ΡΠΈΠ²Π°ΡΡ ΠΏΠΎΡΡΠΎΡΠ½Π½ΡΠΉ ΠΈΡΡΠΎΡΠ½ΠΈΠΊ Π²Π°ΠΊΡΡΠΌΠ° Π²ΡΡΠΊΠΈΠΉ ΡΠ°Π·, ΠΊΠΎΠ³Π΄Π° Π΄Π²ΠΈΠ³Π°ΡΠ΅Π»Ρ ΡΠ°Π±ΠΎΡΠ°Π΅Ρ.
Π Π½Π΅ΠΊΠΎΡΠΎΡΡΡ
ΡΠ»ΡΡΠ°ΡΡ
ΡΠ°ΠΊΠΆΠ΅ Π±ΡΠ΄Π΅Ρ ΠΈΡΠΏΠΎΠ»ΡΠ·ΠΎΠ²Π°ΡΡΡΡ Π²Π°ΠΊΡΡΠΌΠ½ΡΠΉ Π±Π°Π»Π»ΠΎΠ½ΡΠΈΠΊ ΠΈΠ»ΠΈ ΡΠ΅Π·Π΅ΡΠ²ΡΠ°Ρ. ΠΠΎ ΡΡΡΠΈ, ΡΡΠΎ ΠΏΡΠΎΡΡΠΎ ΠΏΠΎΠ»ΡΠΉ ΡΠΎΡΡΠ΄, ΠΈΠ· ΠΊΠΎΡΠΎΡΠΎΠ³ΠΎ Π²ΡΠ°ΡΡΠ²Π°Π΅ΡΡΡ Π²Π΅ΡΡ Π²ΠΎΠ·Π΄ΡΡ
Ρ ΠΏΠΎΠΌΠΎΡΡΡ Π½Π°ΡΠΎΡΠ° ΠΈΠ»ΠΈ Π΅ΡΡΠ΅ΡΡΠ²Π΅Π½Π½ΠΎΠ³ΠΎ Π²Π°ΠΊΡΡΠΌΠ° Π² ΠΊΠΎΠ»Π»Π΅ΠΊΡΠΎΡΠ΅, ΡΡΠΎ ΠΏΠΎΠ·Π²ΠΎΠ»ΡΠ΅Ρ Π΅ΠΌΡ Π΄Π΅ΠΉΡΡΠ²ΠΎΠ²Π°ΡΡ Π² ΠΊΠ°ΡΠ΅ΡΡΠ²Π΅ ΡΠ΅Π·Π΅ΡΠ²Π½ΠΎΠ³ΠΎ, ΠΊΠΎΠ³Π΄Π° ΡΡΠ΅Π±ΡΠ΅ΡΡΡ Π΄ΠΎΠΏΠΎΠ»Π½ΠΈΡΠ΅Π»ΡΠ½ΡΠΉ Π²Π°ΠΊΡΡΠΌ.
ΠΠ°ΠΊ ΡΠ°Π±ΠΎΡΠ°Π΅Ρ ΡΡΠΈΠ»ΠΈΡΠ΅Π»Ρ Π³ΠΈΠ΄ΡΠ°Π²Π»ΠΈΡΠ΅ΡΠΊΠΎΠ³ΠΎ ΡΠΎΡΠΌΠΎΠ·Π°?
ΠΠΈΠ΄ΡΠ°Π²Π»ΠΈΡΠ΅ΡΠΊΠΈΠ΅ ΡΡΠΈΠ»ΠΈΡΠ΅Π»ΠΈ ΡΠΎΡΠΌΠΎΠ·ΠΎΠ² ΠΈΡΠΏΠΎΠ»ΡΠ·ΡΡΡ Π³ΠΈΠ΄ΡΠ°Π²Π»ΠΈΡΠ΅ΡΠΊΠΎΠ΅ Π΄Π°Π²Π»Π΅Π½ΠΈΠ΅ Π²ΠΌΠ΅ΡΡΠΎ Π²Π°ΠΊΡΡΠΌΠ° Π΄Π»Ρ ΠΎΠ±Π»Π΅Π³ΡΠ΅Π½ΠΈΡ ΡΠΎΡΠΌΠΎΠΆΠ΅Π½ΠΈΡ. ΠΡΠΎ Π΄Π°Π²Π»Π΅Π½ΠΈΠ΅ ΠΎΠ±ΡΡΠ½ΠΎ ΡΠΎΠ·Π΄Π°Π΅ΡΡΡ Π½Π°ΡΠΎΡΠΎΠΌ Ρ ΡΠ΅ΠΌΠ΅Π½Π½ΡΠΌ ΠΏΡΠΈΠ²ΠΎΠ΄ΠΎΠΌ, ΠΈ ΠΈΠ½ΠΎΠ³Π΄Π° ΠΎΠ½ΠΈ ΠΏΠΎΠ΄ΠΊΠ»ΡΡΠ°ΡΡΡΡ ΠΊ Π΄ΡΡΠ³ΠΎΠΉ Π³ΠΈΠ΄ΡΠ°Π²Π»ΠΈΡΠ΅ΡΠΊΠΎΠΉ ΡΠΈΡΡΠ΅ΠΌΠ΅ (Π½Π°ΠΏΡΠΈΠΌΠ΅Ρ, ΠΊ Π³ΠΈΠ΄ΡΠΎΡΡΠΈΠ»ΠΈΡΠ΅Π»Ρ ΡΡΠ»Π΅Π²ΠΎΠ³ΠΎ ΡΠΏΡΠ°Π²Π»Π΅Π½ΠΈΡ). ΠΡΠΎΡ ΡΠΈΠΏ ΡΡΠΈΠ»ΠΈΡΠ΅Π»Ρ ΡΠΎΡΠΌΠΎΠ·ΠΎΠ² Ρ ΡΡΠΈΠ»ΠΈΡΠ΅Π»Π΅ΠΌ ΠΎΠ±ΡΡΠ½ΠΎ ΠΏΡΠΈΠΊΡΠ΅ΠΏΠ»ΡΠ΅ΡΡΡ ΠΊ Π·Π°Π΄Π½Π΅ΠΉ ΡΠ°ΡΡΠΈ Π³Π»Π°Π²Π½ΠΎΠ³ΠΎ ΡΠΈΠ»ΠΈΠ½Π΄ΡΠ°, ΠΊΠ°ΠΊ ΠΈ Π²Π°ΠΊΡΡΠΌΠ½ΡΠΉ ΡΡΠΈΠ»ΠΈΡΠ΅Π»Ρ. Π½ΠΎ ΠΎΠ½ ΠΈΠΌΠ΅Π΅Ρ Π΄Π²Π΅ Π³ΠΈΠ΄ΡΠ°Π²Π»ΠΈΡΠ΅ΡΠΊΠΈΠ΅ Π»ΠΈΠ½ΠΈΠΈ Π²ΠΌΠ΅ΡΡΠΎ ΠΎΠ΄Π½ΠΎΠΉ Π²Π°ΠΊΡΡΠΌΠ½ΠΎΠΉ Π»ΠΈΠ½ΠΈΠΈ. ΠΠ΄Π½Π° Π³ΠΈΠ΄ΡΠ°Π²Π»ΠΈΡΠ΅ΡΠΊΠ°Ρ Π»ΠΈΠ½ΠΈΡ ΡΠΎΠ΅Π΄ΠΈΠ½Π΅Π½Π° Ρ Π½Π°ΡΠΎΡΠΎΠΌ (Π½Π°ΠΏΠΎΡΠ½Π°Ρ ΡΡΠΎΡΠΎΠ½Π°), Π° Π΄ΡΡΠ³Π°Ρ — Ρ ΡΠ΅Π·Π΅ΡΠ²ΡΠ°ΡΠΎΠΌ Π³ΠΈΠ΄ΡΠ°Π²Π»ΠΈΡΠ΅ΡΠΊΠΎΠΉ ΠΆΠΈΠ΄ΠΊΠΎΡΡΠΈ (Π²ΠΎΠ·Π²ΡΠ°ΡΠ½Π°Ρ ΡΡΠΎΡΠΎΠ½Π°.)
ΠΠΈΠ΄ΡΠ°Π²Π»ΠΈΡΠ΅ΡΠΊΠΈΠ΅ ΡΡΠΈΠ»ΠΈΡΠ΅Π»ΠΈ ΡΠΎΡΠΌΠΎΠ·ΠΎΠ² Π·Π°Π²ΠΈΡΡΡ ΠΎΡ Π³ΠΈΠ΄ΡΠ°Π²Π»ΠΈΡΠ΅ΡΠΊΠΎΠ³ΠΎ Π΄Π°Π²Π»Π΅Π½ΠΈΡ.
ΠΡΠ°ΠΊΡΠΈΡΠ΅ΡΠΊΠΈ ΡΠ°ΠΊ ΠΆΠ΅, ΠΊΠ°ΠΊ ΠΈ Π²Π°ΠΊΡΡΠΌΠ½ΡΠ΅ ΡΡΠΈΠ»ΠΈΡΠ΅Π»ΠΈ, Π³ΠΈΠ΄ΡΠΎΡΡΠΈΠ»ΠΈΡΠ΅Π»ΠΈ ΡΠΎΡΠΌΠΎΠ·ΠΎΠ² ΠΏΠΎΠ»Π°Π³Π°ΡΡΡΡ Π½Π° ΠΏΠ΅ΡΠ΅ΠΏΠ°Π΄ Π΄Π°Π²Π»Π΅Π½ΠΈΡ Π΄Π»Ρ ΠΎΠ±Π΅ΡΠΏΠ΅ΡΠ΅Π½ΠΈΡ ΠΏΠΎΠΌΠΎΡΠΈ ΠΏΡΠΈ ΡΠΎΡΠΌΠΎΠΆΠ΅Π½ΠΈΠΈ. ΠΡΠ½ΠΎΠ²Π½ΠΎΠ΅ ΡΠ°Π·Π»ΠΈΡΠΈΠ΅ Π·Π°ΠΊΠ»ΡΡΠ°Π΅ΡΡΡ Π² ΡΠΎΠΌ, ΡΡΠΎ ΡΠ°Π±ΠΎΡΡ Π²ΡΠΏΠΎΠ»Π½ΡΠ΅Ρ Π³ΠΈΠ΄ΡΠ°Π²Π»ΠΈΡΠ΅ΡΠΊΠΎΠ΅ Π΄Π°Π²Π»Π΅Π½ΠΈΠ΅, Π° Π½Π΅ ΡΠ΅ΡΠ²ΠΎΠΏΡΠΈΠ²ΠΎΠ΄ Ρ Π²Π°ΠΊΡΡΠΌΠ½ΡΠΌ ΠΏΡΠΈΠ²ΠΎΠ΄ΠΎΠΌ.
ΠΠΎΡΠΊΠΎΠ»ΡΠΊΡ Π³ΠΈΠ΄ΡΠ°Π²Π»ΠΈΡΠ΅ΡΠΊΠΎΠ΅ Π΄Π°Π²Π»Π΅Π½ΠΈΠ΅ ΡΠΎΠ·Π΄Π°Π΅ΡΡΡ Π³Π΄Π΅-ΡΠΎ Π΅ΡΠ΅ ΠΈ ΡΠ°ΡΡΠΎ ΠΊΠΎΠΌΠΏΠΎΠ½Π΅Π½ΡΠΎΠΌ, ΠΊΠΎΡΠΎΡΡΠΉ ΡΠΆΠ΅ Π²ΡΠΏΠΎΠ»Π½ΡΠ΅Ρ Π΄ΡΡΠ³ΡΡ ΡΡΠ½ΠΊΡΠΈΡ, Π³ΠΈΠ΄ΡΠΎΡΡΠΈΠ»ΠΈΡΠ΅Π»ΠΈ ΡΠΎΡΠΌΠΎΠ·ΠΎΠ² Π½Π΅ Π·Π°Π½ΠΈΠΌΠ°ΡΡ ΡΡΠΎΠ»ΡΠΊΠΎ ΠΌΠ΅ΡΡΠ°, ΠΊΠ°ΠΊ Π²Π°ΠΊΡΡΠΌΠ½ΡΠ΅ ΡΡΠΈΠ»ΠΈΡΠ΅Π»ΠΈ ΡΠΎΡΠΌΠΎΠ·ΠΎΠ².
ΠΡΠΊΠ°Π· ΡΡΠΈΠ»ΠΈΡΠ΅Π»Ρ ΡΠΎΡΠΌΠΎΠ·ΠΎΠ²
Π₯ΠΎΡΡ ΠΌΠΎΠΆΠ½ΠΎ ΡΠΏΡΠ°Π²Π»ΡΡΡ ΡΡΠ°Π½ΡΠΏΠΎΡΡΠ½ΡΠΌ ΡΡΠ΅Π΄ΡΡΠ²ΠΎΠΌ Ρ ΠΎΡΠΊΠ°Π·Π°Π²ΡΠΈΠΌ ΡΡΠΈΠ»ΠΈΡΠ΅Π»Π΅ΠΌ ΡΠΎΡΠΌΠΎΠ·ΠΎΠ², ΡΡΠΎ Π½Π΅Π±Π΅Π·ΠΎΠΏΠ°ΡΠ½ΠΎ. ΠΡΠΎ ΡΠ²ΡΠ·Π°Π½ΠΎ Ρ ΡΠ΅ΠΌ, ΡΡΠΎ ΠΏΡΠΈ Π²ΡΡ ΠΎΠ΄Π΅ ΠΈΠ· ΡΡΡΠΎΡ ΡΡΠΈΠ»ΠΈΡΠ΅Π»Ρ ΡΠΈΠ»ΠΎΠ²ΠΎΠ³ΠΎ ΡΠΎΡΠΌΠΎΠ·Π° ΠΌΠΎΠΆΠ΅Ρ Π±ΡΡΡ ΡΡΠ΅Π·Π²ΡΡΠ°ΠΉΠ½ΠΎ ΡΡΡΠ΄Π½ΠΎ ΡΡΡΠ΅ΠΊΡΠΈΠ²Π½ΠΎ ΡΠΎΡΠΌΠΎΠ·ΠΈΡΡ. ΠΠ΅Π΄Π°Π»Ρ Π±ΡΠ΄Π΅Ρ Π½Π°ΠΌΠ½ΠΎΠ³ΠΎ ΠΆΠ΅ΡΡΡΠ΅, ΡΠ΅ΠΌ Π²Ρ ΠΏΡΠΈΠ²ΡΠΊΠ»ΠΈ, ΠΈΠ·-Π·Π° ΡΠ΅Π³ΠΎ ΠΊ Π³Π»Π°Π²Π½ΠΎΠΌΡ ΡΠΎΡΠΌΠΎΠ·Π½ΠΎΠΌΡ ΡΠΈΠ»ΠΈΠ½Π΄ΡΡ Π±ΡΠ΄Π΅Ρ Π½Π΅Π²ΠΎΠ·ΠΌΠΎΠΆΠ½ΠΎ ΠΏΡΠΈΠ»ΠΎΠΆΠΈΡΡ ΡΠ°ΠΊΠΎΠ΅ ΠΆΠ΅ ΡΡΠΈΠ»ΠΈΠ΅, ΠΊΠ°ΠΊ ΠΎΠ±ΡΡΠ½ΠΎ.
ΠΠ°ΠΊΡΡΠΌΠ½ΡΠ΅ ΡΡΠΈΠ»ΠΈΡΠ΅Π»ΠΈ ΡΠΎΡΠΌΠΎΠ·ΠΎΠ² Π½Π°Ρ ΠΎΠ΄ΡΡΡΡ ΠΌΠ΅ΠΆΠ΄Ρ ΠΏΠ΅Π΄Π°Π»ΡΡ ΡΠΎΡΠΌΠΎΠ·Π° ΠΈ Π³Π»Π°Π²Π½ΡΠΌ ΡΠΈΠ»ΠΈΠ½Π΄ΡΠΎΠΌ.
ΠΡΠ»ΠΈ Π²Ρ Π·Π°ΠΌΠ΅ΡΠ°Π΅ΡΠ΅ ΠΎΡΠΎΠ±Π΅Π½Π½ΠΎ Π²ΡΡΠΎΠΊΡΡ ΠΆΠ΅ΡΡΠΊΡΡ ΠΏΠ΅Π΄Π°Π»Ρ Π²ΠΎ Π²ΡΠ΅ΠΌΡ Π΄Π²ΠΈΠΆΠ΅Π½ΠΈΡ, Π²ΠΎΠ·ΠΌΠΎΠΆΠ½ΠΎ, Π²Π°Ρ ΡΡΠΈΠ»ΠΈΡΠ΅Π»Ρ ΡΠΎΡΠΌΠΎΠ·ΠΎΠ² Π²ΡΡΠ΅Π» ΠΈΠ· ΡΡΡΠΎΡ. ΠΡ ΡΠ°ΠΊΠΆΠ΅ ΠΌΠΎΠΆΠ΅ΡΠ΅ ΡΡΠΎΠ»ΠΊΠ½ΡΡΡΡΡ Ρ ΡΠ΅ΡΡΠ΅Π·Π½ΠΎΠΉ ΡΡΠ΅ΡΠΊΠΎΠΉ Π²Π°ΠΊΡΡΠΌΠ° Π² Π±ΡΡΡΠ΅ΡΠ΅ ΠΈΠ»ΠΈ ΠΏΠΎΡΠ΅ΡΠ΅ΠΉ Π³ΠΈΠ΄ΡΠ°Π²Π»ΠΈΡΠ΅ΡΠΊΠΎΠΉ ΠΌΠΎΡΠ½ΠΎΡΡΠΈ, ΡΡΠΎ ΡΠ°ΠΊΠΆΠ΅ ΠΏΡΠΈΠ²Π΅Π΄Π΅Ρ ΠΊ Π΄ΠΎΠΏΠΎΠ»Π½ΠΈΡΠ΅Π»ΡΠ½ΡΠΌ ΡΠΈΠΌΠΏΡΠΎΠΌΠ°ΠΌ. Π Π»ΡΠ±ΠΎΠΌ ΡΠ»ΡΡΠ°Π΅ Π²Ρ Π΄ΠΎΠ»ΠΆΠ½Ρ ΡΡΠΈΡΡΠ²Π°ΡΡ ΡΠΎΡ ΡΠ°ΠΊΡ, ΡΡΠΎ Π²Ρ ΠΌΠΎΠΆΠ΅ΡΠ΅ ΡΡΠΎΠ»ΠΊΠ½ΡΡΡΡΡ Ρ ΡΠ°Π΄ΠΈΠΊΠ°Π»ΡΠ½ΡΠΌ ΡΠ²Π΅Π»ΠΈΡΠ΅Π½ΠΈΠ΅ΠΌ ΡΠΎΡΠΌΠΎΠ·Π½ΠΎΠ³ΠΎ ΠΏΡΡΠΈ.
ΠΡΠΏΡΠ°Π²Π»Π΅Π½ΠΈΠ΅ Π½Π΅ΠΈΡΠΏΡΠ°Π²Π½ΠΎΠ³ΠΎ Π²Π°ΠΊΡΡΠΌΠ½ΠΎΠ³ΠΎ ΡΡΠΈΠ»ΠΈΡΠ΅Π»Ρ ΡΠΎΡΠΌΠΎΠ·ΠΎΠ² ΠΎΠ±ΡΡΠ½ΠΎ Π·Π°ΠΊΠ»ΡΡΠ°Π΅ΡΡΡ Π² Π΅Π³ΠΎ Π·Π°ΠΌΠ΅Π½Π΅, Ρ ΠΎΡΡ ΠΈΠ½ΠΎΠ³Π΄Π° ΠΈΡ ΠΌΠΎΠΆΠ½ΠΎ Π²ΠΎΡΡΡΠ°Π½ΠΎΠ²ΠΈΡΡ.ΠΡΠΎΠ±Π»Π΅ΠΌΠ° ΡΠ°ΠΊΠΆΠ΅ ΠΌΠΎΠΆΠ΅Ρ Π·Π°ΠΊΠ»ΡΡΠ°ΡΡΡΡ Π² ΡΡΠ΅ΡΠΊΠ΅ Π²Π°ΠΊΡΡΠΌΠ° ΠΈΠ»ΠΈ Π½Π΅ΠΈΡΠΏΡΠ°Π²Π½ΠΎΠΌ ΠΎΠ±ΡΠ°ΡΠ½ΠΎΠΌ ΠΊΠ»Π°ΠΏΠ°Π½Π΅, ΡΡΠΎ Π½Π°ΠΌΠ½ΠΎΠ³ΠΎ ΠΏΡΠΎΡΠ΅ ΠΈΡΠΏΡΠ°Π²ΠΈΡΡ.
|
| ||||||||||||||||||||||||||||||||||||||||||||||||||||||||||||||||||||||||||||||||||||


