Критерии срабатывания подушек безопасности — Эксперт Никонов Владимир Николаевич — Статьи
Это авторский, с замечаниями из российской практики, перевод статьи «Air Bag Deployment Criteria», опубликованной в 2014 году Kenneth Solomon и Jesse Kendall в журнале «The Forensic Examiner®», официальном рецензируемом научном журнале Американского колледжа Института судебных экспертов, который приобрел популярность и признание в качестве ведущего судебно-экспертного журнала в мире.И так как наши люди в булочную на такси такие журналы не читают, эта статья на «Праворубе» будет полезна как адвокатам по ДТП, так и читающим автоэкспертам. Адвокатам – как информация для допросов в суде нечитающих автоэкспертов с целью разъяснения им их пустых заключений, а читающим автоэкспертам – для того, чтобы не давать заключения на основе шаманского камлания.
Введение
Модули управления подушек безопасности используют сложные алгоритмы для принятия решений о развертывании на основе оценки серьезности аварии, связанной с изменением скорости движения транспортного средства или замедления в течение некоторого времени. Из-за того, что алгоритмы управления являются ноу-хау производителя, их фактические значения порогов скорости, ускорения, или деформации (пути) для развертывания подушки безопасности при столкновении не известны. Значения этих параметров и алгоритмы производители автомобилей не разглашают, ограничиваясь декларативными «сильный удар» или «удар достаточной силы» в руководствах владельцев, а дилеры их просто не знают, при этом разыгрывая перед клиентами спектакли с тестирующими модули управления приборами.Действительно, столь размытые критерии нетехнического характера создают тупиковые ситуации при предъявлении судебных претензий со стороны владельцев автомобилей, у которых подушки безопасности не сработали в ДТП, или сработали произвольно без видимых причин. Это так же создает благоприятную почву для мошеннических инсценировок ДТП, заключающихся в «перекидке» на практически не деформированный автомобиль панелей со сработавшими подушками безопасности.
Однако величины технических параметров, необходимые для развертывания подушки безопасности, могут быть установлены путем исследования результатов лабораторных краш-тестов автомобилей конкретных производителей.
Задачи статьи
1. Получение информации и понимание работы системы управления подушками безопасности и ее компонентов.2. Получение информации и понимание, когда должны или не должны сработать подушки безопасности.
Содержание статьи
Статья содержит введение в системы управления подушками безопасности и процессами их срабатывания, краткую историю датчиков удара. Описаны переменные, используемые в алгоритмах развертывания подушек безопасности, приведены сравнительные примеры с использованием нескольких запатентованных систем управления. Показан способ оценки диапазона скорости, замедления или деформации (пути), являющегося порогом для развертывания подушки безопасности.Процесс развертывания подушек безопасности
Целью подушки безопасности является обеспечение упругой мягкой прокладки между пассажирами и интерьером автомобиля. Для достижения этой цели подушки должны быть полностью наполнены газом в короткий промежуток времени и ранее, чем пассажиры вступят с ними в контакт. Быстрое развертывание подушки потенциально может привести к смертельным травмам людей, если они уже находятся в контакте с подушкой безопасности во время ее раскрытия. Поэтому подушки безопасности должны иметь систему управления, которая может правильно распознавать, что происходит столкновение. При этом распознать достаточно рано, чтобы подушка безопасности успела раскрыться безопасно.Подушка безопасности раскрывается после того, как электрический сигнал на раскрытие послан детонатору от модуля управления подушкой безопасности. Этот сигнал инициирует химическую реакцию, которая быстро надувает газом воздушный мешок из нейлоновой ткани. Газ содержит частицы пыли из материала, используемого для смазки мешка (как правило, тальк и кукурузный крахмал). После полного развертывания подушки газ выходит через небольшие вентиляционные отверстия. Отверстия имеют размеры и расположены так, чтобы уменьшать объем мешка с разной скоростью, в зависимости от типа транспортного средства.
История датчиков удара
Ранние системы раскрытия подушки безопасности использовали для обнаружения удара механические датчики, которые затем были изъяты из употребления на американском рынке около 1994 года. Такие датчики, как, например, «rolamite», содержали металлические ролики, стабилизированные в положении режима ожидания с помощью пружины или магнита.
При ударе за пределами предназначенного порога пружина или магнит не могли больше удерживать металлическую массу на месте. Масса перемещалась и нажимала на контакт, посылая электрический сигнал на модуль управления подушки безопасности. Системы с механическими датчиками, как правило, неточны в интерпретации небольших столкновений. Движения в механических датчиках может быть недостаточно при лобовых столкновениях, из-за чего срабатывание может происходить с задержкой. Современные датчики удара сейчас основаны на микроэлектромеханических системах (MEMS).
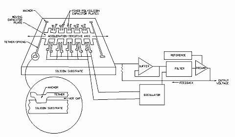
Новые системы распознавания удара
Новые датчики MEMS удара измеряют ускорение акселерометром, который посылает непрерывный поток данных в модуль управления подушки безопасности. Акселерометры, как правило, пьезоэлектрические или переменно емкостные датчики. Наиболее распространенным MEMS акселерометр, который используется сегодня, ADXL-50 производства Analog Devices.
Автору приходилось встречать заключения законченных идио «нечитающих» автоэкспертов, в которых они визуальным осмотром или органолептическим методом устанавливают неисправность датчика удара. Их логика ограничена примитивной цепочкой «был удар – подушки не сработали – значит, не исправен датчик удара». На самом деле процедуры тестирования таких датчиков основаны (на не утвержденных Минюстом, и, значит, на не признаваемых госэкспертами научными) алгоритмах типа Гаусса-Ньютона, требуют наличия специального программного обеспечения и оборудования. Примеры многочисленных тестов можно посмотреть на ютюбе, а при необходимости можно найти на сайте производителя официальный регламент тестирования и калибровки конкретной модели датчика.
https://youtu.be/ycThnu3k_vc
По мере того, как прицеленные к упругим элементам массы движутся относительно корпуса датчика за счет ускорения, специальные пластины, прикрепленные к массам, приближаются к другим неподвижным пластинам. Изменение расстояния между пластинами влияет на емкость датчика, или на способность удерживать электрический заряд. Это изменение емкости легко измеряется, и затем превращается в изменение напряжения. Изменение напряжения напрямую зависит от силы инерции из-за ускорения, а показания интерпретируются модулем управления подушки безопасности как ускорение. Алгоритм модуля управления может определить, является ли развертывание подушки безопасности необходимым, на основе заложенной в него математической модели импульсов ускорения во времени.
Процесс принятия решения
Модуль управления подушки безопасности (ACM) получает непрерывный сигнал от каждого датчика MEMS и записывает данные в течение определенного периода после специфического события. С помощью центрального процессора (CPU) он выполняет алгоритмические вычисления и дает или не дает команду для развертывания подушки безопасности. Алгоритмы определения степени тяжести удара работают путем оценки одного или нескольких кинематических параметров (ускорение, его производных или интегралов), список которых приведен приведены в таблице 1 ниже. Примеры блок-схем алгоритмов принятия решения показаны на следующих рисунках.Таблица 1.
Блок-схема алгоритма, использующего параметры: изменение скорости, путь и плотность энергии.

Блок-схема алгоритма, использующего параметры: замедление и рывок (толчок).

Блок-схема алгоритма, использующего параметры: ускорение и изменение скорости.

Варианты алгоритмов
Системы распознавания удара сильно различаются между патентами. Большинство систем, запатентованных после 1995 года, используют изменение скорости «дельта-V», ускорение, или рывок, как параметры для включения системы пробуждения и для раскрытия подушек безопасности. Последние системы также включают системы анализа наличия пассажиров и анализа расстояния до пассажира. В подходах, использованных в период между 1995 и 2008 годами несколькими изобретателями, различия весьма существенны. Однако команда для срабатывания подушек безопасности зависит от одного или более из набора основных кинематических параметров, описанных выше.
Когда раскрываются подушки безопасности
В соответствии с позицией Национального управления по безопасности движения департамента транспорта США (закреплено в соответствующем стандарте США, которого придерживаются и ряд широко известных иностранных производителей автомобилей), «подушки безопасности, как правило, предназначены для развертывания при фронтальных и почти фронтальных столкновениях, которые сравнимы с ударом в неподвижный жесткий барьер на скорости примерно от 8 до 14 миль в час». Определенные пороговые значения откалиброваны каждым производителем в соответствии с размером транспортного средства и жесткостью его конструкции. Система управления активируется для различения событий, таких как попадание в выбоину или столкновение с другим автомобилем. Это, как правило, имеет место, когда два последовательных импульса ускорения менее (примерно) -1g для небольших транспортных средств или менее (примерно) -2g для больших автомобилей, происходят в течение 10 миллисекунд. После пробуждения принимается решение либо раскрыть подушки безопасности, либо вернуться в нормальное состояние.Из-за статуса «ноу-хау» алгоритмы управления и значения кинематических параметров для развертывания подушки безопасности при столкновении не известны. Однако, используя директиву NHTSA для подушек безопасности, в части их разворачивания при фронтальном ударе в барьер при скорости от 8 до 14 миль/ч, диапазон пороговых значений кинематических параметров может быть оценен с помощью известных значений жесткости транспортных средств и их массы.
Оценка пороговых значений
При столкновении величина деформации С (в дюймах) при заданной скорости удара V (в милях в час) связана с отношением жесткости транспортного средства k (в фунт/дюйм) и его весом w (в фунтах) с помощью следующего уравнения:
Время от начала воздействия до момента достижения максимального импульса при ударе:
Заменяя в первом выражении отношение C/V из второго выражения, получаем:
Жесткость автомобиля k может быть определена из результатов краш-тестов с учетом массы автомобиля m, деформации C, и скорости удара V. Жесткость автомобиля рассчитывается по формуле:
Таблица 2 показывает соответствующий спектр замедлений и деформаций (перемещений) в краш-тестах на фронтальный удар, для автомобилей, на которых имеются подушки безопасности, учитывая расчетное время для максимального импульса удара и для различных автомобилей по жесткости и массе.
Таблица 2
Видно, что нет существенной корреляции между весом автомобиля и его жесткостью. Две машины аналогичного веса могут иметь очень разные значения жесткости, как видно из сравнения 2010 Ford Fusion и 2010 Toyota Prius. Оба транспортных средства имеют примерно одинаковый вес автомобиля, но жесткость переда Toyota Prius значительно больше, чем жесткость Ford Fusion. Так как величина деформации и продолжительность воздействия на Ford Fusion больше, подушке безопасности Ford Fusion нужно будет раскрыться в пределах значения замедления меньших, чем те, которые требуются для Toyota Prius.
Сравнение значений
Условия реальных столкновений часто не совпадают с ударом в жесткий неподвижный барьер, и это надо учитывать при сравнении диапазонов фактических (из краш-тестов) и расчетных значений параметров. Продолжительность воздействия существенно не изменяется со скоростью удара, но в значительной степени зависит от типа столкновения. Подушки безопасности могут не развернуться, если есть жесткий удар, как наезд на столб, где деформируется только одна часть автомобиля. Подушки безопасности иногда не срабатывают, когда воздействие происходит постепенно, в течение длительного периода времени, как, когда автомобиль едет под или над другим объектом. Подушки безопасности могут не развернуться в столкновениях, в которых относительная жесткость столкнувшихся автомобилей сильно отличается. Например, столкновение передней части одного автомобиля и боковой стороны другого автомобиля. Кроме того, столкновения, которые происходят при острых углах, не всегда приводят к развертыванию подушек безопасности, так как значительного замедления в направлении продольных осей автомобилей (в направлении, измеряемом датчиком удара) не происходит.Пример: подушки безопасности не раскрылись
Примером удара, где было значительное изменение скорости, но фронтальные подушки безопасности не сработали, было ДТП с участием Chevrolet Equinox 2007 года со встречным мотоциклом Harley-Davidson. Модуль управления подушки безопасности в Equinox зафиксировал максимальное изменение скорости 9.27 миль в час. Это значение находится в пределах диапазона от 8.0 до 14.0 миль в час, в котором ожидается развертывание подушек безопасности (как в случае фронтального удара в жесткий неподвижный барьер). Однако максимальное замедление было 3.27g. Это замедление было значительно ниже расчетного значения в диапазоне развертывания от 7.5g до 13.2g, как показано в таблице выше. Таким образом, фронтальные подушки безопасности не должны были сработать.Пример: подушки безопасности раскрылись
Примером удара, который не привел к существенному изменению в скорости, но подушки безопасности раскрылись, было ДТП с участием Chevrolet Corvette 2007 года, который снес несколько дорожных знаков, деревьев и дорожных столбиков на очень высокой скорости. Автомобиль ударил первый объект на скорости более чем 60 миль в час, и модуль управления подушек безопасности зафиксировал максимальное изменение скорости 4.96 миль в час, что значительно ниже диапазона от 8.0 до 14.0 миль в час, в котором ожидается развертывание подушек безопасности (как в случае фронтального удара в жесткий неподвижный барьер). К счастью для пассажира и водителя, зафиксированное максимальное замедление во время удара было 11.3g, которое находится выше расчетного порогового диапазона от 6.1g до 10.6g из таблицы выше. В результате подушки безопасности раскрылись и спасли жизнь пассажира и водителя.Заключение
Подушки безопасности должны иметь систему управления, которая может распознавать удары правильно и достаточно рано, и раскрывать подушки безопасности безопасно. Системы развертывания обычно используют электронные датчики, которые постоянно сообщают ускорение автомобиля модулю управления подушками безопасности. Модули используют сложные алгоритмы, чтобы принять решение о раскрытии подушек безопасности на основе одного или более кинематических переменных. Из-за статуса «ноу-хау» алгоритмов развертывания значения скорости, ускорения или деформации, используемые в этих алгоритмах, неизвестны. Вместо этого, диапазоны значений скоростей удара, замедлений или деформаций могут быть рассчитаны на основе данных краш-тестов и затем использованы для экспертной оценки, должны ли были раскрыться подушки безопасности в случае конкретного столкновения.Ссылки на источники
1. Collision Safety Institute. (2011). Bosch Crash Data Retrieval System – Crash Data Retrieval. Data Analyst Course Manual.2. Huang, Mathew. (2002). Vehicle Crash Mechanics. CRC Press.
3. US Department of Transportation National Highway Traffic Safety Administration. (2003). What You Need to Know About Air Bags — DOT HS 809 575.
Об авторах
Джесси Кендалл получил степень бакалавра наук в области гражданского строительства в Университете Вермонта в Берлингтоне, штат Вермонт. Он завершил свою инженерную стажировку в Денвере, штат Колорадо, работая в строительных консалтинговых фирмах, прежде чем стать лицензированным профессиональным инженером в шести штатах. С более чем пятнадцатью лет опыта в гражданском строительстве, Джесси Кендалл сейчас живет и работает в Калифорнии в Института анализа риска и безопасности, специализирующимся в области судебной инженерии и реконструкции обстоятельств ДТП.Доктор Соломон получил степень бакалавра наук, магистра наук и доктора в области машиностроения в Лос-Анджелесе. Доктор Соломон также имеет профессиональные инженерные лицензии. Доктор Соломон проводит исследования в области реконструкции ДТП и биомеханике в течение более 40 лет, имеет более чем 200 научных публикаций в международных изданиях, доклады и презентации. Им и в соавторстве написаны 13 книг. Он работал в качестве старшего научного сотрудника с RAND Corporation, преподавал на факультете в Высшей школе RAND, в Калифорнийском университете, Университете Южной Калифорнии, в Военно-морской аспирантуре, Университете Джорджа Мэйсона и академии шерифов Orange County.
Все стати автора на «Праворубе».
pravorub.ru
Как срабатывают подушки безопасности автомобиля
Здравствуйте, уважаемые гости и читатели блога Автогид.ру. Сегодня в статье мы узнаем, как срабатывают подушки безопасности наших легковых автомобилей. Венцом эволюции систем безопасности автомобиля становиться подушка безопасности. Сотни тысяч аварий и десятки тысяч спасённых жизней являют собой яркий пример эффективности использования подушки безопасности в современных машинах.

Любой водитель, который садится за руль транспортного средства автоматически находиться под угрозой попадания в дорожно-транспортное происшествие. Зачастую причиной ДТП могут быть собственная невнимательность или ошибки других участников дорожного движения. Даже невысокая скорость таит в себе опасность для водителя и его пассажиров. Столкновения машин при скорости в 60 км/час могут привести к летальному исходу. Именно для защиты водителя и пассажиров в случае ДТП были придуманы подушки безопасности.
История появления подушек безопасности для автомобиля

Увеличение количества автомобильного транспорта на дорогах повлекло за собой стремительный рост ДТП. Правила на заре автомобилестроения находились ещё в зачаточном состоянии и контроль со стороны правоохранительных органов был налажен недостаточным образом. Ещё только появлялись первые подразделения дорожной полиции, не имевшие опыта.
В силу недостатков конструкции и значительной массы машин многие ДТП заканчивались смертельным исходом или глубокой инвалидностью участников столкновения. Согласно статистике количество жертв на дорогах увеличивалось с каждым годом в силу возрастания использования автомобильного транспорта.
Первым конструктивным элементов призванным снизить количество жертв ДТП было появление ремня безопасности. Его использование позволило снизить печальную статистику на 30%. До 90-х годов прошлого века в силу особенностей развития технического прогресса не удавалось инженерам автомобильных компаний внедрять новые системы безопасности в машины. Ремень безопасности оставался единственным шансом для водителя и пассажиров минимизировать вредные последствия ДТП.
Появление подушек безопасности в автомобилях стало переломным моментом в деле повышения безопасности участников движения. В конце 90-х годов прошлого века в США на законодательном уровне закрепили обязательную комплектацию машины подушками безопасности. При лобовых столкновениях подушки безопасности снижают риск смерти водителя и пассажиров на 30-40%. Главная задача подушки безопасности минимизировать возможный ущерб для организма человека при столкновении с другим движущимся транспортным средством или недвижимым объектом.
Как срабатывают подушки безопасности автомобиля?

Устройство подушки безопасности выполнено таким образом, чтобы обеспечить её срабатывание при сильном ударе. После столкновения с другим движимым или недвижимым объектом датчики, расположенные в передней части машины передают сигнал пиропатрону, активизирующему срабатывание подушки.
Порядок срабатывания подушки безопасности следующий:

Реакция датчиков кузова на сильный удар.
Непосредственно датчик удара представляет собой стеклянную трубочку с отверстием. Внутри её находиться небольшой по размеру шарик со ртутью. При столкновении автомобиля ртутный шарик приходит в движение и активизирует датчик. Он в свою очередь, посылает электрический импульс к пиропатрону с порохом.
Пиропатрон.
Взрыв пиропатрона приводит в действие натяжители ремней безопасности. Ремень плотно прижимает тело человека к автомобильному сиденью и надёжно фиксирует его на несколько секунд.
Взрыв пороха в пиропатроне активизирует подушки безопасности. Они за очень короткое время наполняются газом, образующимся в результате смешивания азида натрия и нитрата калия. Отвечает за их смешивание система наддува, которая и закачивает практически мгновенно образовавшийся газ в подушки безопасности автомобиля.
Подушка безопасности.
Смешивание двух химических веществ приводит к образованию газообразного азота. В результате реакции происходит мини-взрыв практически мгновенно заполняющий подушки газом. Очень удобная и практически безотказная система.
Именно раскрывающаяся подушка безопасности мгновенно заполняет пространство между водителем и панелью приборов тем самым, исключая их контакт, зачастую приводящий к получению серьёзных травм.
Главная задача подушки безопасности снизить скорость движения пассажира или водителя до нулевой отметки. При этом на все действия должны уходить секунды для того, чтобы действительно обеспечить высокий уровень защиты людей.
Сегодня на дорогах страны становится всё меньше автомобилей, которые не оборудованы подушками безопасности. Невозможно увидеть новый автомобиль, не использующий этот важный элемент активной защиты водителя и пассажиров.
Устройство современной подушки безопасности

Конструкция подушки безопасности современного автомобиля проста и эффективна в использовании. Необходимо помнить, что применять её можно только один раз и потом система требует восстановления и установки новых комплектующих элементов. После срабатывания подушек практически все основные элементы требуют полной замены.
Всего можно выделить 3 составные части подушки безопасности:
Сумка.

Представлена крепкой нейлоновой тканью, которая может выдерживать очень серьёзные кратковременные нагрузки. Она хранится до срабатывания в специальной шине закрытой пластиковой или матерчатой накладкой.
Датчик удара.

Главная задача датчика удара своевременно активизировать подушку безопасности на начальной стадии столкновения. Не каждый удар приводит к срабатыванию подушек безопасности, и датчик обязательно учитывает силу, с которой происходит столкновение.
Дополнительно с датчиками устанавливают акселерометры, определяющие положение автомобиля в режиме реального времени. Система защиты водителя и пассажиров настроена таким образом, чтобы обеспечить срабатывание подушек безопасности за секунды. От этого во много зависит человеческая жизнь.
Система надува.

Служит для оперативного заполнения газом подушки безопасности с целью мгновенного увеличения её объёма. На всё про всё уходят доли секунды.
В принципе случаев, когда происходил отказ работы системы не зафиксировано. Необходимым условием срабатывания подушек безопасности является использование ремня безопасности. Если водитель или пассажир не пристёгнуты ремнями безопасности срабатывания подушек, может и не произойти.
Правила использования подушек безопасности

Мало знать принцип работы подушек безопасности ещё с ними надо правильным образом взаимодействовать для того, чтобы избежать вреда от их срабатывания при ДТП. Риск получения повреждений при активизации подушки безопасности минимален, но он всё равно существует. Зачастую отдельные водители получали тяжёлые травмы именно потому, что не знали правил использования подушек безопасности.
Детское автомобильное кресло.

Многие родители зачастую неправильно устанавливают детское автомобильное кресло на пассажирское сиденье рядом с водителем и тем самым подвергают своего ребёнка серьёзной опасности. Они устанавливают кресло не спинкой вперёд, а наоборот. Лицо ребёнка, оказывается прямо перед открывающейся подушкой безопасности. Делать это категорически запрещено. Выстрелившая подушка безопасности может поломать шейные позвонки неокрепшего молодого организма.
Наклейки.

Использование наклеек в местах срабатывания подушек безопасности недопустимо. Заклеивание отстреливающих элементов салона может привести к нарушению порядка срабатывания подушки безопасности. Эффективность защиты в этом случае значительно уменьшается.
Ремень безопасности.

Игнорирование ремня безопасности в автомобиле зачастую приводит к тому, что подушка не срабатывает и не выстреливает. Тем самым существует серьёзный риск получения увечий или даже гибели.
Регулировка рулевой колонки.
Если рулевая колонка автомобиля имеет возможность регулирования не стоит этим злоупотреблять. Задранный вверх руль может привести к тому, что подушка безопасности сработает неправильно и выстрелит под углом. Это очень часто приводит к получению водителем серьёзных травм.
Заключение
Каждый водитель и пассажир автомобиля обязательно должен помнить, что использование ремней безопасности является залогом срабатывания подушек безопасности. Жизнь и здоровье бесценны и не стоит пренебрегать системами защиты автомобиля.
Это интересно
www.avtogide.ru
Условия срабатывания подушек безопасности
Срабатывание фронтальных подушек безопасности.
Фронтальные подушки надуваются при условиях, приведенных ниже.
– Прямое лобовое столкновение автомобиля с жесткой недеформируемой стенкой при скорости автомобиля выше 22 км/ч.
– Наезд на бордюр, край тротуара или твердый прочный предмет.
– Жесткое приземление после прыжка или падение автомобиля.
– Косой удар в переднюю часть автомобиля, направленный в пределах 60-градусного сектора.
– Попадание в глубокую яму или столкновение со стенкой ямы.
Условия, при которых фронтальные подушки безопасности могут не срабатывать.
В зависимости от силы и направления удара, который испытывает автомобиль, фронтальные подушки могут не раскрыться, например, в следующих случаях.
– Столкновение с деревом или столбом. Несмотря на сильные повреждения кузова в подобных авариях, продольное замедление автомобиля может не превышать заданной величины, при которой должны срабатывать фронтальные подушки безопасности.
– Косой удар передней частью автомобиля. В этом случае продольное замедление, испытываемое автомобилем, может не превысить заданную величину, при которой должны срабатывать фронтальные подушки без-опасности.
– Столкновение с задней частью автомобиля или с задней противоподкатной защитой грузового автомобиля. Продольное замедление, испытываемое автомобилем при подобных столкновениях, может не превысить заданную величину, при которой должны срабатывать фронтальные подушки безопасности.
Условия, при которых фронтальные подушки безопасности не срабатывают.
Фронтальные подушки безопасности, как правило, не раскрываются в следующих случаях.
– Удар автомобиля сзади.
– Боковой удар автомобиля. Однако, при этом могут срабатывать боковая подушка безопасности и надувная шторка.
– Опрокидывание автомобиля. При этом могут сработать боковые подушки и надувные шторки, но не фронтальные подушки безопасности.
Срабатывание боковых подушек безопасности и надувных шторок.
Если сила бокового удара (справа или слева) превысит заданный уровень, то срабатывают боковая подушка безопасности и надувная шторка, расположенные со стороны бокового удара. Однако, фронтальные подушки безопасности при этом, как правило, не срабатывают.
Условия, при которых боковые подушки безопасности и надувные шторки могут не срабатывать.
В зависимости от силы бокового удара, который испытывает автомобиль, боковые подушки безопасности и надувные шторки могут не раскрыться, например, в следующих случаях.
– Косой удар передней частью автомобиля. В этом случае боковое замедление, испытываемое автомобилем, может не превысить заданную величину, при которой должны срабатывать боковые подушки безопасности и надувные шторки.
– Боковое столкновение с деревом или столбом. Несмотря на сильные повреждения кузова в подобных авариях, боковое замедление автомобиля может не превышать заданной величины, при которой должны срабатывать боковые подушки безопасности и надувные шторки.
– Опрокидывание автомобиля. В этом случае боковые перегрузки, испытываемые автомобилем, могут не превысить заданную величину, при которой должны срабатывать боковые подушки безопасности и надувные шторки.
– Боковое столкновение с двухколесным транспортным средством. При подобных столкновениях боковые перегрузки, испытываемые автомобилем, могут не превысить заданную величину, при которой должны срабатывать боковые подушки безопасности и надувные шторки.
Условия, при которых боковые подушки безопасности и надувные шторки не срабатывают.
Боковые подушки безопасности и надувные шторки, как правило, не раскрываются в следующих случаях.
– Удар автомобиля сзади.
– Лобовой удар автомобиля. Однако, в этом случае могут срабатывать фронтальные подушки безопасности.
carmanz.com
Как работает подушка безопасности
Часть 1: Работа подушки безопасности
Подушки безопасности: история создания. Часть 2: История Airbag
Многие годы испытанный, старый-добрый ремень был единственным защитником пассивной безопасности в наших машинах. Проходило много дебатов об эффективности его использования, особенно это касалось детей, но со временем многие страны в мире узаконили обязательное использование ремней безопасности на автомобилях. Статистика показала, использование ремней безопасности спасло тысячи, сотни тысяч жизней в самых серьезных авариях.
Также как и с ремнями концепция подушки безопасности, мягкой подушки в которую можно «приземлиться» телом при аварии, давно витала в воздухе, в прямом и переносном смысле. Первый официально зарегистрированный патент на надувную подушку для самолетов (да, да они пришли к нам с небес) был выдан во время второй мировой войны. И только через десятилетия первые подушки появились на автомобилях, случилось это в 1980-х годах.
С 1998 года большинство новых легковых машин (развитого машиностроения) стали комплектоваться подушками безопасности, как для водителя, так и для переднего пассажира. В 1999 году это правило коснулось автомобилей погабаритнее, джипов и минивэнов. Далее подушки стали появляться и в других местах, в сидениях, дверях и иных частях автомобиля. Сегодня в некоторых машинах число подушек намного больше, чем две, 6 и даже 8 штук стали нормой.
Вызвав похожие споры, также, как и с ремнями безопасности, подушки стали предметом серьезных исследований, тестирований и споров на самом высшем уровне.
Краш-тесты автомобилей
На сегодняшний день статистика уверенно показывает, что риск гибели подобные устройства снижают примерно на 30%.
В этой статье вы узнаете о работе этих устройств, как научно подтверждено его действие, какие у них есть недочеты и пути будущего развития.
Подушка безопасности
Цель подушки безопасности замедлить движение вперед тела человека настолько равномерно, насколько это возможно за доли секунды. Вот три составляющие подушки безопасности, которые помогают достичь этой цели, то есть в необходимый момент сработать:
Сама подушка. Сделанная из тонкого нейлона, сложена в рулевом колесе, приборной панели или сидениях, дверях и других частях автомобиля.
Сенсор. Устройство, которое «говорит» подушке безопасности сработать. Срабатывание происходит при силе удара соответствующей столкновению со стеной на скорости в 16-24 км/ч.. Сигналом для срабатывания пиропатрона подушки служит электрический импульс специального шарикового датчика удара. Сигнал от датчика удара идет на блок управления, который в свою очередь определяет срабатывать системе надувания подушки или нет.
Система надувания подушки соединяет две составляющих, азид натрия (Nan3) с нитратом калия (KNO3), для создания азота. Именно он и надувает подушку.
Ранние попытки приспособить эирбэг для использования в машинах столкнулись с рядом сложностей, одними из которых были невероятно высокая цена и технические проблемы, включавшие хранение и использование сжатого газа.
На ранних этапах исследователям предстояло решить:
Где разместить баллон с сжатым газом
Не улетучится ли газ хранящийся под высоким давлением на всем протяжении срока службы автомобиля
Как сделать так, чтобы подушка раскрывалась почти мгновенно, при этом была надежной при различных температурных режимах работы и при раскрытии не издавала оглушающего звука.
Постепенно все наиболее важные вопросы были решены. Непрактичный газ был заменен на надежный твердотельный элемент- пиропатрон, произошло это в 70-х годах двадцатого века. При аварии «мозги» подушки безопасности инициируют поджог твердотопливного заряда, который сгорает с огромной скоростью и создает за короткое время, 30-50 миллисекунд, необходимое количество газа для наполнение эирбэга. Купол подушки в буквальном смысле взрывается, выходя из своего посадочного места со скоростью до 322 км/ч, быстрее чем моргнёте глазом! Долями секунды позже, газ под действием давления выходит через специальные отверстия (именно этот дым в салоне автомобиля вперемешку с тальком, можно часто наблюдать при аварии).
Виды подушек безопасности
В современности существует большое множество подушек безопасности.
Наиболее распространенным видом являются фронтальные подушки безопасности, как для водителей, так и для передних пассажиров.
Следующим этапом развития стали боковые подушки. Их функцией является защита груди и таза человека от повреждений при боковом ударе.
Так называемые «шторки» или головные подушки безопасности. Защищают голову человека от контакта с твердыми частями автомобиля при боковом ударе.
Подушка безопасности для коленей. Чтобы уменьшить риск возникновения травм коленного сустава (что при фронтальном ударе случается нередко) была разработана подобная подушка безопасности.
Ремень безопасности со встроеной подушкой безопасности. Снижает риск получения травм груди.
Центральная подушка безопасности. Была спроектирована не так давно. В ее задачи входит недопущение столкновения двух сидящих рядом друг с другом людей при боковом ударе или перевороте. Также она позволяет избежать травмы шеи.
Меры безопасности
С самого начала применения эирбэгов специалисты, изучавшие вопрос работы этого средства защиты поняли, что оно может приносить не только пользу, но и вред. Второй вариант возможет при неправильном использовании средств пассивной безопасности автомобиля. Что под этим подразумевается?
1. Минимальное расстояние между подушкой безопасности и сидящим пассажиром должно составлять минимум 25 см, в противном случае при раскрытии человек может получить травмы непосредственно от самого airbag’а.
2. Пассажир обязательно должен быть пристегнут. Так как ремень безопасности уменьшает скорость перемещения тела человека и направляет его в нужном направлении к подушке безопасности.
3. Если airbag может легко травмировать взрослого человека, то с детьми дело обстоит еще сложнее. Первое условие безопасной перевозки ребенка. Он должен перевозится в правильно установленном, соответствующем его возрасту кресле на заднем сидении.
4. Если ребенок должен перевозится на переднем сидении со стороны пассажира, то он должен сидеть в кресле расположенном по направлению движения, а сиденье должно быть отодвинуто максимально назад.
5. Нельзя перевозить младенцев в детском кресле с реверсивным расположением на переднем сидении при включенной фронтальной подушке безопасности.
www.1gai.ru
Как работают подушки безопасности в автомобиле: устройство и принцип работы
Производители автомобилей стараются всеми силами обезопасить своих клиентов, оборудуя транспортные средства различными системами безопасности. Теперь даже бюджетные комплектации включают ABS и ряд прочих мер. Но ранее на протяжении долгого периода времени единственным решением оставался ремень безопасности. Причем это стало обязательным условием при посадке в автомобиль, в некоторых современных моделях даже двигатель нельзя завести, если не пристегнуться.
Позднее добавились подушки безопасности. Это более мягкое решение, которое позволяет сохранить человеку жизнь. В современных автомобилях их количество варьируется от 2 до 7, а то и 8 штук. Но как работает подушка безопасности? Любого пытливого автолюбителя просто не может не заинтересовать такая система безопасности!
Чистой воды механика
Прежде чем начать разбор работы подушек безопасности, стоит освежить в памяти законы механики. Как известно, любой движущий объект обладает импульсом (масса, помноженная на скорость) и под воздействием какой-либо силы он движется. Но стоит только силе прекратить оказывать на него воздействие, объект не остановится тут же, а будет продолжать движение, снижая скорость. Это зовется инерцией. В случае автомобиля движущей силой является двигатель.
Все незакрепленные объекты в машине, включая водителя и пассажиров, при торможении тоже продолжат движение, равное скорости транспортного средства. Для их остановки требуется в течение определенного промежутка времени приложить силу. Ее значение очень велико в случае аварии, поскольку остановка автомобиля происходит резко, тогда как у тел сохраняется инерция, которая не заканчивается мгновенно.
Функциональность мягкой защитной системы
Как и ремни безопасности, подушки служат в качестве мягкой опоры, дабы облегчить последствия от аварии. Их цель остановить движение водителя или пассажиров, причем за максимально возможный короткий промежуток времени, причем как можно равномернее. Знание того, как работают подушки безопасности в автомобиле, позволит лишний раз задуматься о собственной безопасности.
Устройство
Столь важный элемент системы безопасности обладает не таким уж и сложным строением. Его все можно условно поделить на три главные составляющие, которые в совокупности обеспечивают сохранность человека в случае аварии. Главные компоненты представлены:
- сумкой;
- датчиками удара;
- газогенератором (система надува).
Весь комплекс компактно укомплектован и располагается таким образом, что с салона его не увидеть. Каждый из этих компонентов очень важен для слаженной работы всей системы.
Но особой чувствительностью отличается именно сенсор, ведь именно от его решения зависит, когда будет выпущена подушка. Можно считать, что от него зависит судьба всех, кто находится в автомобиле.
Сумка
Это важный аксессуар, собственно, за счет чего она и зовется подушкой. Это тонкая нейлоновая оболочка толщиной 0,4 мм, состоящая из нескольких слоев. Она может выдерживать краткосрочные нагрузки. Причем благодаря сверхпрочному материалу подушка способна воспринимать довольно большую кратковременную силу. Обычно она располагается в специальной шине, которая закрыта пластиковой накладкой либо тканью.
«Улавливатель» удара
Многим владельцам интересно знать, как работают датчики подушек безопасности, но далеко не каждый понимает их предназначение. А между тем, важность этих электронных устройств не стоит недооценивать! Как правило, они располагаются именно в передней части любого автомобиля. Их назначение заключается в том, чтобы система сработала оперативно. Ведь в случае столкновения автомобиля с другим транспортным средством или твердым препятствием важная каждая секунда.
При этом датчики могут быть двух разновидностей:
- Ударные – регистрируют нагрузку на кузов.
- Датчики пассажирского сидения – их наличие позволяет исключить срабатывание в тех случаях, когда в автомобиле нет никого, кроме водителя.
Сенсоры рассчитаны на срабатывание при скорости более 20 км/ч. Тем не менее система еще рассчитана таким образом, что сработает даже тогда, когда транспортное средство просто стоит на месте в случае сильного удара.
Но кроме датчиков, машины могут оснащаться акселерометрами, которые позволяет определить положение автомобиля.
Система надува
По-другому она зовется как газогенератор. Его суть заключается в наполнении оболочки защитного устройства газом. В его состав входит пиропатрон, который, собственно, и запускает механизм. Здесь уже интересен вопрос о том, как работает датчик удара подушек безопасности?
По сути, здесь происходит замыкание контактов устройства при определенных обстоятельствах, что и приводит к срабатыванию исполнительных органов. Они в свою очередь наполняются подушки газом.
Изначально система включала лишь один этот элемент, но в современных «аэрбегах» их уже 2. Первый считается основным и обеспечивает выпуск 80% газа. Второй же — пиропатрон, подключается в случае сильного столкновения, когда человеку нужно более жесткая подушка.
Все эти составляющие должны быть в исправном состоянии, дабы обеспечить безотказное срабатывание системы.
Принцип работы подушек безопасности
На чем же основана работа подушек безопасности? При столкновении автомобиля с каким-либо препятствием в автоматическом режиме срабатывают датчики, которые приводят к оперативному раскрытию нейлоновой оболочки. Это происходит настолько быстро, что ни один человек не способен зафиксировать этот момент.
О том, как работает подушка безопасности в машине, мы уже имеем представление, но что самое интересное – при раскрытии она стремится заполнить все пространство между водителем (пассажиром) и элементами автомобиля во избежание сильного удара о них. Иными словами при ДТП защитная система обеспечивает своего рода изоляцию человека от жесткого соприкосновения с рулем, стойками, панелью и прочим. То есть удар приходится на мягкую подушку, что не сулит тех повреждений, что могли быть в случае столкновения с более твердой поверхностью.
В любом случае можно избежать травм полностью либо избежать тяжелых последствий в отношении организма. Ко всему прочему подушки позволяют исключить внутренние травмы, когда органы соударяются о кости в случае резкого замедления. Между прочим, это одна из причин гибели людей при ДТП. Яркий тому пример – удар мозга о костную ткань черепа.
Важное замечание
Стоит обратить внимание на один важный момент – подушки безопасности срабатывают лишь один раз и при первом ударе. А ведь ДТП может сопровождаться несколькими последовательными столкновениями. Ну и наконец, не следует забывать о том, что все механизмы, по сути своей, одноразовые!
По поводу того, как работает подушка безопасности, можно еще сказать следующее. При повседневных поездках срабатывание защитной системы полностью исключено, поскольку ее работоспособность в полной мере зависит от датчиков. А они настроены не абы как, а с грамотным подходом, учитывающим множество факторов. Иными словами, подушки раскрываются только при определенных обстоятельствах – ДТП. И если проезжая мимо какого-либо препятствия, задеть его зеркалом (пусть даже это собьет его), то подушки все равно не раскроются – существенного повода нет.
Типы подушек
К счастью, в наше время уже практически не встретить автомобилей, которые бы производились без подушек безопасности за самым редким исключением. В зависимости от комплектации их количество варьируется, но как минимум 2 из них точно присутствуют. Обычно их от 2 до 7, в машинах премиум класса их может быть 8, 9, а то и 10.
Пассивная фронтальная безопасность
Это самая распространенная разновидность и такие подушки включены в базовую комплектацию большинства современных автомобилей – для водителя и переднего пассажира. Данная мера позволяет избежать серьезных последствий в случае лобового столкновения.
Как работает подушка безопасности фронтального типа? По сути, принцип срабатывания общий, единственное различие заключается в локализации удара кузова. В данном случае система активируется при лобовом столкновении, включая косой удар в переднюю часть корпуса.
К тому же благодаря таким подушкам замедление человека происходит не так стремительно, следовательно, организм испытывает меньшие нагрузки. В свою очередь это снижает риск получения травм внутренних органов.
Водительская подушка располагается в центральной части руля, в то время как пассажирская – в верхней области передней панели. При этом каждая из них отличается своими размерами, ведь расстояние между водителем и рулевым колесом значительно меньше, нежели дистанция головы пассажира и панели. Локализация подушек обозначена значком или надписью airbag.
Боковые подушки. Особенности
Как работают боковые подушки безопасности у «Мерседеса» или любой другой модели автомобиля? Они могут располагаться как спереди, так и позади салона. Поводом для их активации служит боковой удар в кузов. Такими пневмоподушками обычно оснащаются более дорогие комплектации автомобилей. В этом случае в зону защиты попадают следующие части тела при боковом столкновении:
- плечи;
- грудная клетка;
- живот;
- таз.
Передние пневмоподушки располагаются внутри сидений, а задние интегрированы в боковую обшивку салона. В отличие от фронтальных подушек боковые получили не такое широкое распространение, опять-таки, в силу дороговизны такой комплектации. Тем не менее есть недорогие модели автомобилей, где тоже есть такой вид пассивной безопасности – Lada Vesta, Renault Logan, Datsun On-do.
Такие транспортные средства требуют соблюдение определенных правил перевозки грузов, поскольку следует учитывать, как работают подушки безопасности. Следовательно, недопустимо располагать в карманах дверей сильно выпирающие предметы. При ДТП они будут не только создать помехи в работе защитной системы, но и угрожать самому человеку.
Защитные шторки
По сути, эти элементы тоже можно считать головными подушками безопасности, поскольку и рассчитаны для защиты этой самой важной части тела от боковых ударов, включая разлет осколков стекла. Автомобили, как правило, оснащаются двумя типами шторок:
- лишь для первого ряда;
- для обоих рядов (переднего и заднего).
Их локализация приходится на боковую часть потолка салона, соответственно, над самими окнами. При ударе в бок автомобиля шторки раскрываются таким образом, чтобы полностью закрыть собой боковые стекла. То есть обеспечивается защита от осколков, ударов о стойки и прочих твердых предметов.
Коленные пневмоподушки
Эти элементы призваны защитить колени водителя в случае лобового столкновения. Они актуальны для автомобилей средней ценовой категории, а это C-класс. Среди них это Volkswagen Golf и Suzuki SX4. И такие системы уж точно присутствуют в более дорогом автомобиле Toyota LC200 и ему подобным.
Как работают боковые подушки безопасности, нам теперь понятно, но где находятся коленные элементы? Они обычно спрятаны под рулем и торпедой. Для автомобилей, оснащенных этой подушкой, тоже характерны определенные требования, касательно обеспечения правильной безопасности. То есть водителю необходимо отрегулировать свое сидение – оно должно быть на расстоянии не менее 10 см до нижней части панели.
Сочетание подушек и ремней
Кто-то из автолюбителей считает, что раз уже есть подушки безопасности, то ремни – это уже лишняя мера, и можно обойтись без нее. Однако это мнение человека, у которого скудный запас по части автомобильной безопасности. Умники при этом идут на различные хитрости, дабы обмануть датчик в случае не пристегнутого ремня (если он есть). Достаточно пропустить ремень за спину и спокойно защелкнуть замок.
Вот только делать это крайне нежелательно. Подушки безопасности разрабатывались для совместной работы с ремнями! Стоит только представить, что в случае ДТП спасительная подушка вырывается из своего убежища со скоростью до 200-300 км/ч! А это просто не может уберечь от тяжелых травм. Стоит запомнить – ремни без подушек обеспечат безопасность, чего нельзя сказать о самих подушках в отсутствие ремней!
Некомпетентность водителей
Работает ли подушка безопасности при непристегнутом ремне? Подобным вопросом интересуется каждый, кому просто лень каждый раз пристегиваться, ведь он едет на малой скорости. К сожалению и такие личности встречаются. Но возвращаясь к вопросу, можно утверждать одно – на дорогих моделях они не сработают в случае, когда ремень не пристегнут. В отношении других же автомобилей это не играет роли, и подушка может выстрелить.
Но если разобраться, то исходя из того, что подушка развивает стремительную скорость, то если водитель не пристегнут, ему не избежать тяжелых травм, о чем уже было упомянуто. По этой причине на хороших автомобилях подушки и не срабатывают, если ремень не «подключен».
Но при этом важно учитывать, в каком состоянии находится вся система, и если имеются какие-либо неполадки, то и с пристегнутым ремнем подушки могут не сработать. Главное следить за своим автомобилем и не игнорировать ошибки, которые появляются на приборной панели.
labuda.blog
Подушки безопасности автомобиля. Условия для срабатывания подушек безопасности
Правило вождения автомобиля гласит о безопасности, которая безоговорочно должна соблюдаться. Водитель в момент движения ответственен не только за свою жизнь, жизнь пассажиров, но и также за жизнь пешеходов. Собственно, каждый из перечисленных в той или иной степени является участником движения. А значит, несет ответственность за жизнь ближнего. Одна из систем надежности в автомобиле – это ремень безопасности, который пристегивается к сидению. Вторая техника – подушки безопасности. К сожалению, не все транспортные средства оснащены этой незаменимой техникой.
Итак, подушка безопасности в автомобиле – это система пассивной безопасности в машине, которая используется для смягчения удара в случае автомобильного столкновения. Представляет собой эластичную оболочку, которая наполняется воздухом либо другим газом.
Бытует мнение, что подушка безопасности может сработать в автомобиле в любой момент, когда того особо и не требуется. Например, при неудачном торможении, резком повороте машины и т.д. Однако, если система технически установлена правильно, то подушка реагирует исключительно в «правильный момент», а именно, на экстренную силу удара, скачка, также удара, повлекшего значительное повреждение кузовных частей авто. Если в вашем автомобиле не установлена данная система безопасности, как подушка, сильно не превышайте скорость, старайтесь избегать «острых углов» во время вождения. В качестве примера можно сказать, что лобовое столкновение при 65 км в час приводит к довольно плачевному исходу, если машина без подушки безопасности, в то время, как с ней вероятность тяжёлых и глобальных травм сводится к нулю.
Если говорить более конкретно, что происходит с водителем во время сильного удара или столкновения (в случае, без подушки), то водитель подвержен моментальному сдавливанию передней панелью и рулевой установкой. Сила удара в область грудной клетки такова, что увеличиваются риски травм не совместимых с жизнью: расслабленный во время движения организм не успевает сгруппироваться, «защититься», в травмах задействованы жизненно важные органы.
Система подушек безопасности автомобиля может включать боковые, фронтальные, головные и коленные подушки. Включает в себя также датчики удара и блок управления. Как это работает? В момент удара поступает сигнал на датчик, происходит мгновенная обработка данных о мощности силы, направлении и участка повреждения автомобиля. Информация передается на блок управления системой, и в итоге срабатывают необходимые подушки. Описанное действие происходит за считанные доли секунды, достаточные для спасения жизней.
Условия, при которых срабатывают подушки безопасности
Существуют определенные условия срабатывания подушек безопасности автомобиля. Рассмотрим их:
- Лобовое столкновение с незначительным превышением скоростей;
- Резкое попадание в глубокую яму, скачок, наезд на бордюр или стену;
- Прыжок автомобиля и сильное жесткое приземление на поверхность;
- Падение – перевертыш транспорта;
- Диагональный удар передних частей авто.
Фронтальные подушки при ударе в заднюю часть не сработают тогда, когда силы удара не хватит для столкновения с впереди идущим автомобилем. Инновационные методы монтирования систем безопасности, а также способы их «реагирования на ситуацию» постоянно совершенствуются. Если сначала, когда данный метод безопасности был только придуман, система защищала одного водителя, то на сегодняшний день производят такие разработки, которые учитывают вес каждого пассажира, их месторасположение и присутствие задействованных ремней безопасности.
Видео условия для срабатывания подушки безопасности автомобиля
На информационном сайте для автолюбителей «FORAM» вы сможете найти много полезной информации, касающейся ремонта и обслуживания автомобилей.
foram.ru
Что делать когда сработали подушки безопасности?
Во время автомобильной аварии срабатывают подушки безопасности. После этого их нужно заменить. Прочитав эту статью вы узнаете о том, на что обратить внимание заказывая услугу замены и когда следует восстанавливать подушки безопасности.

Подушки обеспечивают безопасность водителя и пассажиров, поэтому стоит контролировать их состояние. О правильной их работе сообщает специальный индикатор на приборной панели. После запуска двигателя он должен загореться и сразу погаснуть. Если индикатор не выключается, необходимо их проверить.
Восстановление подушек – преимущества и недостатки
Замена подушки обходиться в кругленькую суму, дешевле заказать восстановление подушки безопасности, сводится к замене лишь поврежденных элементов. Восстановление особенно актуально для старых автомобилей, в их случае сложно найти оригинальные комплектующие, а купленные с китайских интернет магазинах могут оказаться пустышкой и не сработать.
Сложность проведения работ
Толчком для запуска подушек является авария. На первом этапе столкновения запускаются датчики (акселерометр, гироскоп и датчик давления) в тормозной системе, благодаря которым система ACU (Airbag Control Unit) решает какое количество подушек задействовать.
Сложность проведения работ зависит от конкретной модели автомобиля.
- В одних случаях подушка скрыта под панелью и при срабатывании повреждает ее. Конечно торпеду можно склеить, но эффект окажется мало эстетичным. Остается покупка новой или восстановление приборной панели. Необходим демонтаж торпеды, что занимает много времени.
- В других случаях подушка находится под крышкой, поэтому после срабатывания не требуется проведения тяжелых работ связанных со снятием торпеды. Нужно всего лишь купить новую и установить.

В чем заключается замена подушки безопасности?
Еще недавно специалисты рекомендовали проводить замену всех подушек безопасности, даже датчиков. Сегодня же принято менять лишь сработавшие подушки.
Замену следует проводить в надежном автомобильном сервисе. Специалист будет в состоянии должным образом выполнить все необходимые действия, т. е.:
- установить подушку;
- проверить состояние датчиков с помощью диагностического компьютера;
- удалить информацию об ударах с модуля управления или даже заменить драйвер.
Выполнение всех этих процедур в гаражных условиях практически невозможно. Стоит помнить также, что в игру входит безопасность пассажиров, поэтому не следует на этом экономить.
О преимуществах использования подушек безопасности вы узнаете просмотрев следующий видеоматериал.
nrc-drive.ru
