Компрессор ЗИЛ-130: характеристики, устройство, ремонт
Компрессор представляет собой универсальное средство, имеющее широкое распространение в разных сферах производства, включая автомобильную отрасль. Простые же люди, чтобы не покупать дорогие модели оборудования, решают самостоятельно собрать такой агрегат. В качестве базы применяют компрессор ЗИЛ-130, производимый до 2010 года.
Характеристики воздушного компрессора автомобиля ЗИЛ-130
Прежде всего следует изучить характеристики компрессора ЗИЛ-130:
- Агрегат имеет 2 цилиндра, диаметр каждого из которых 6 см.
- Производительность устройства 210 л при рабочем объеме всего в 214 см³.
- Скорость вращения составляет 2 тыс. об/мин.
- Параметры внутреннего давления в пневмосистеме равняются 740 кПа.
- Мощность потребления не превышает 21,1 кВт.
Устройство компрессора
Такой двухцилиндровый агрегат имеет устройство поршневого типа. Основной особенностью его функционирования является перекачка воздуха, выполняемая за счет движения поршней. Его конструкция состоит из следующих элементов:
- Сальник.
- Пружины.
- Катетер проводного типа, имеющий каналы.
- Уплотнитель.

Компрессор поршневого типа
Непосредственно поршни выполняются из алюминия, а также имеют специальные пальцы, закрепляемые посредством стопорных колец. Через впускные клапаны происходит закачка воздуха непосредственно в цилиндры компрессора. Там происходит его сжатие поршнями с последующим поступлением в пневмосистему. Далее он выходит из компрессора через специальные нагнетательные клапаны.
Система смазки
В данном агрегате используется система смазки комбинированного типа. Так, сама смазка находится в специальном узле двигателя. Её последующее охлаждение осуществляется посредством применения охлаждающей жидкости.
Ремонт узлов
Отдельно стоит сказать о том, как осуществляется ремонт подобного агрегата при появлении в нем каких-либо поломок. О поломках может свидетельствовать шум либо стук, возникающий в процессе работы компрессора, или же масло, проникающее в наполняемый воздушный баллон:
- Появление трещин либо сколов на самом блоке картера. Для устранения поломки требуется полная замена картера, когда повреждения расположены на стенках. Или заваривают их в ситуации, когда они находятся на фланце крепления, а также имеют незначительные размеры.
- С целью проверки на герметичность самого цилиндра, его следует положить в водяную ванну, после чего под высоким давлением наполнить воздухом. Указывать на наличие повреждений будет появление пузырей. Для устранения такой неполадки выполняется растачивание емкости и её последующее хонингование под нужный размер.
- Когда пришли в негодность шариковые подшипники, проводится их спрессовывание, а также последующая замена на новые.
- В случае, если у шатунной шейки вала наблюдается превышение показателей износа более чем на 0,05 мм, требуется полная замена коленвала.
- С целью ремонта верхней головки шатуна требуется проведение запрессования ремонтной втулки, где заранее делается отверстие. Его диаметр должен составить 14,019 мм.
Допустимый ремонтный размер поршня зависит от цифры, которая выбита на дне изделия. Обычно это +04 либо +08.
Специальный ремкомплект должен быть в каждом мастерской, где планируется использование подобного изделия. Это позволит оперативно восстановить работоспособность устройства.

Схема компрессора
Как самостоятельно сделать компрессор на базе ЗИЛ-130
В зависимости от объема задач, которые планируется выполнять на агрегате, определяется количество переделок ЗИЛовского компрессора. Его перестройка требуется в ситуации, когда планируется длительная эксплуатация при повышенных нагрузках. Для этого потребуются следующие материалы:
- Ресивер.
- Манометр, монтирующийся на ресивер.
- Сама силовая установка.
- Предохранительный клапан.
Когда компрессор создается своими руками, важно корректно выполнить передачу на него крутящего момента. Именно за это будет отвечать клапан и манометр. В процессе сборки следует учитывать следующие особенности:
- Вращающий момент. Если планируется подключение силовой установки к агрегату через шкиф и ремень, потребуется использование более «сильного» двигателя по причине потери подобным образом части мощности. Из-за этого рекомендуется выполнять подключение через редуктор, хотя его цена довольно высокая.
- Двигатель. Этот элемент требуется подбирать так, чтобы параметры его мощности соответствовали потребностям компрессора. Так, для обеспечения требуемого давления скорость вращения должна составлять минимум 2 тыс. об/мин. Это позволит работать агрегату в крейсерском режиме без существенных нагрузок. Для непродолжительного использования достаточно вариантов, выдающих мощность в 1 кВт, а с целью более интенсивной нагрузки следует применять более мощные изделия.
- Ресивер. Создается из металлической емкости средних размеров. Такую конструкцию комплектуют манометром, а также регулятором давления, который устанавливается на выходе. На входе в резервуар устанавливается узел, оборудованный редуктором.
- Система охлаждения. В определенных вариантах компрессоров при работе наблюдается перегрев, из-за чего требуется дополнительное усовершенствование штатной системы охлаждения.
Сам компрессор требуется смонтировать на станину в заранее подготовленное посадочное место. Туда же крепится двигатель, а иные элементы устанавливаются отдельно и подключаются посредством шлангов.
Самостоятельное создание компрессора на базе ЗИЛ-130 позволяет при небольших тратах получить агрегат высокой производительности. Купить нужные элементы можно, используя интернет-каталог (к примеру, Авито), где продаются различные устройства и детали. Каждое из предложений имеет фото и описание состояния и характеристик. При сборе устройства важно учитывать особенности и тонкости создания такой конструкции.
Если вы нашли ошибку, пожалуйста, выделите фрагмент текста и нажмите Ctrl+Enter.
Вконтакте
Google+
traktoramira.ru
Компрессор ЗИЛ-130
Компрессор двигателя ЗИЛ-130Причинами поломки компрессора бывает появление шума и стука, появление масла в конденсате сливаемом в воздушных баллонах. Это признаки изношенных поршневых колец.
Компрессор ЗИЛ-130Рекомендации по ремонту компрессора
Блок-картер. В процессе эксплуатации на картере компрессора могут появиться трещины и сколы. При наличии трещин на стенках Картера его следует заменить. Небольшие трещины на фланце крепления картера к двигателю, захватывающие не более одного отверстия под болт крепления, допускается заваривать или наплавлять.
Проверка размеров цилиндров блока компрессора должна производиться индикатором размером 50…75 мм. Замерять цилиндры следует в двух взаимно перпендикулярных направлениях: вдоль оси коленчатого вала и перпендикулярно к ней, а также в двух поясах верхней и нижней частях цилиндра.
Компрессор ЗИЛ-130При ремонте цилиндры растачивают с последующим хонингованием под один из двух ремонтных размеров. Нецилиндричность отремонтированных цилиндров допускается в пределах не более 0,03 мм.
Герметичность блока цилиндров проверяется сжатым воздухом под давлением 1 МПа (10 кг/см) в водяной ванне. Появление пузырьков воздуха указывает на негерметичность.
Разъемные плоскости блока не должны иметь забоин. Неплоскостность допускается не более 0,04 мм. Щуп толщиной 0,05 мм не должен проходить под лекальной линейкой, установленной на плоскости блока.
Выпрессовка коленчатого валаПоршни.
Подбор поршней по цилиндрам производится с зазором между стенкой цилиндра и поршнем 0,03…0,09 мм. При этом поршень, вставленный в цилиндр вместе со щупом толщиной 0,03 мм, должен перемещаться при нажатии большим пальцем, а со щупом — 0,09 мм должен заклинивать.
Размеры поршнейДля отличия поршней ремонтных размеров на днище поршня выбита цифра +0,4 или +0‚8, по которой определяют ремонтный размер. На поршне номинального размера метка не ставится. Номинальный и ремонтный размеры поршней
Поршень компрессораПоршневые кольца
. Поршневые кольца подбирают по упругости и по зазору в замке. Упругость колец (при сжатии до зазора в замке 0,2…0‚4 мм) Для всех колец должна быть 20…40 Н (2,0…4‚0 кгс). Способ проверки поршневых колец на упругость для компрессора аналогичен проверке поршневых колец на упругость для двигателя.
Размеры поршневых колецДля определения зазора в стыке надо установить поршневое кольцо в цилиндр на расстоянии 10…15 мм от верхней кромки цилиндра и проверить зазор в стыке кольца щупом аналогично проверке для колец двигателя. Зазор в стыке кольца должен быть 0, 2.. .0, 4 мм
При подборе поршневых колец одновременно проверяется их прилегание к стенкам цилиндра. Зазор между стенками цилиндра и кольцом на Юге, располагающейся на 30° от концов стыка, не допускается. Допускается просвет до 0,03мм на суммарной дуге до 90°.
Поршневые кольца подбирают по канавкам поршня, в которых кольца должны свободно перемещаться без заклинивания. Зазор между канавкой и компрессионным кольцом по
высоте должен быть в пределах 0,035…0‚072 мм, а маслосъемным — 0,035…0‚08 мм.
Поршневые пальцы.
Для облегчения подбора пальцев отверстия поршня и поршневые пальцы рассортированы на четыре группы через 0,003 мм и маркируются краской разных цветов.
Нецилиндричность поршневого пальца допускается не более 0, 0015 мм.
Размеры поршневых пальцевКоленчатый вал.
В случае износа шариковые подшипники следует спрессовать и заменить другими.
Шейки коленчатого вала проверяют на износ с помощью микрометра размером 25…50 мм.
При износе шатунных шеек вала более 0,05 мм надо перешлифовать шейки под ремонтный размер или заменить коленчатый вал. Номинальный и ремонтные размеры приведены в табл. 8—2.
При ремонте масляный канал коленчатого вала должен быть прочищен и продут сжатым воздухом.
Шатун.
При большом износе верхней головки шатуна надо развернуть отверстие до диаметра 14,000…14,019 и запрессовать ремонтную втулку.
Размеры шатуновПосадка втулки в отверстие шатуна производится с натягом 0,062…0‚1 15 мм. После запрессовки втулки в ней должно быть просверлено смазочное отверстие. Отверстие втулки под палец подгоняется разверткой по диаметру поршневого пальца так, чтобы в сопряжении пальца со втулкой был обеспечен зазор 0,004…0,010 мм. Подобранный поршневой палец от усилия пальца руки должен плотно входить в отверстие верхней головки шатуна.
ШатунПо диаметру отверстия верхней головки шатуна; шатуны разбивают на пять групп (см. табл.8—5) через 0,003 мм и маркируют нанесением краски. Шатуны с поршневыми пальцами подбираются одной группы. Допускается устанавливать пальцы соседней группы. При ремонте в нижнюю головку шатуна компрессора устанавливают тонкостенные вкладыши, залитые антифрикционным сплавом АМ01-20. Маркировка уменьшенных ремонтных вкладышей на 0,3 мм или 0,6 мм нанесена на стальной поверхности вкладыша. Вкладыши номинальных размеров маркировки не имеют.
Допускается непараллельность осей верхней и нижней головок не более 0,1 мм на длинне 100 мм. В случае необходимости шатун надо править.
При замене шатунов надо проверить их по массе. Разница в массе шатунов для одного комплекта не должна быть более 5 г.
Головка блока цилиндров.
Головка блока цилиндров должна быть проверена на герметичность и коробление. Герметичность воздушной полости проверяется сжатым воздухом под давлением МПа (10 кгс/см).
Разъемная плоскость головки не должна иметь забоин и коробления. Неплоскостность допускается не более 0,05 мм. Щуп толщиной 0,05 мм не должен проходить под лекальной линейкой, установленной на плоскости головки.
Головка блока цилиндровЗадние крышки картера.
Биение торца крышки по месту сопряжения с уплотнителем допускается не более 0,06 мм.
Торец крышки должен плотно прилегать к конусной части уплотнителя задней крышки. При наличии трещин или износа трущихся поверхностей крышки и уплотнителя их следует заменить.
Шкив. При наличии трещин и сколов шкив следует заменить. Перед установкой на компрессор надо проверить балансировку шкива. Балансировать шкив статически. Допустимый дисбаланс шкива компрессора 0,5 Нам (50 г-см).
Сборка узлов компрессора
Сборка узлов компрессора должна производиться в условиях, исключающих попадание грязи и пыли на собираемые детали.
Перед сборкой детали компрессора должны быть тщательно промыты в обезжиривающем растворе и высушены.
Ввертывание штуцеров и пробок компрессора рекомендуется производить с клеем АК-20. Уплотнительные прокладки, кроме прокладки головки блока цилиндров рекомендуется смазывать резиновой смолой … другими герметиками.
Установка подшипников коленчатого вала.
Напрессовать подшипники на коренные шейки вала с помощью оправки модели И 806.04.002 и молотка. Посадка подшипников на шейки вала должна быть выполнена в пределах натяга 0,002…0‚030 мм.
Проверка радиальном зазора шатунных подшипников.
Закрепить коленчатый вал в тиски. Установить шатун на шейку вала и закрепить его болтами с гайками (момент затяжки 16…18 Н-м (1,6…|,8 кгс.м). При этом шатун должен свободно вращаться на шейке вала от руки с одинаковым усилием в любом положении. Зазор между шейкой вала и подшипником шатуна в этом случае должен находиться в пределах 0,026…0,076 мм`.
Сборка поршня с шатуном и кольцами.
При соединении поршня с шатуном надо поршневой палец смазать чистым маслом, применяемым для двигатели.
Посадка поршневого пальца в отверстие поршня производится в соответствии с разбивкой на группы.
После запрессовки в отверстия поршня поршневого пальца с помощью оправки модели И 2306.04.00! установить стопорные кольца.
Установить поршневые кольца на поршень компрессора. Установка колец на поршень компрессора производится так же как на поршень двигателя, с помощью специального приспособления. Верхние компрессионные кольца устанавливаются на поршень внутренней выточкой вверх, нижние (скребковые) — наружной выточкой вниз. Замки колец устанавливают в разные стороны по окружности под углом 1200.
Сборка головки цилиндров.
Закрепить головку в тиски. Ввернуть в гнезда головки седла 7 (рис.8-22) с помощью квадратного ключа, подложив под них прокладки 8. Установить на седла выпускные (нагнетательные) клапаны 5, а на клапаны — пружины 4. Надеть на пробки 3 прокладки 2 и ввернуть пробки в гнезда головки. Затем закрепить их баллонным ключом, вставив в отверстие ключа вороток.
Головка цилиндров компрессораВвернуть в головку угольник отвода жидкости, штуцер отвода сжатого воздуха и заглушку.
Сборка блока-картера.
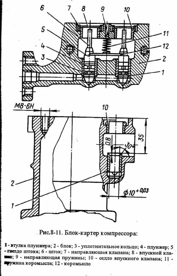
Если втулки | (рис.8-1 1) плунжера выпрессовывались, их следует запрессовать в отверстие блока с натягом 0,045…0,115 мм. При этом необходимо выдерживать размер 35,0 мм от разъема блока до втулки. Запрессовать в отверстие блока седла 10 клапанов натягом 0,02!…0,О75 мм до упора в заплечики отверстий с помощью оправки модели И 806.04.003. Установить направляющие 7 впускных клапанов.
Вставить в отверстия втулок плунжеры 4, предварительно надев на них уплотнительные кольца 3. Вставить в плунжер один шток 6 в сборе с гнездом 5. Установить коромысло одним концом на выступ гнезда штока и, одновременно вставив второй шток, установить другой конец коромысла выступ второго штока. Вставить в отверстие блока направляющую пружины коромысла. Установить пружину коромысла при помощи отвертки.

zil-130-431410.ru
Компрессор на базе ЗИЛ. Стряпаю для гаража — Проекты в работе
В связи с кончиной китайца, задумал сделать компрессор пошустрее и надежнее, посетив местную металлаломку нашел
1. Компрессор ЗИЛ 130-3509009-11 Пневматический компрессор ЗИЛ 130-3509009-11 — поршневой, двухцилиндровый компрессор (базовая модель 130-3509)
вот так выгдядит
2. Мотор Двухскоростной 2.2 Кв 1500об/мин + 2.5 Кв 3000 Об/Мин
3. Балон пропановый 50л.
4. Радиатор в.д. от кондера/холодильника, сталь, внетренний Ф5
5. НШ-10, НШ-25, Маслонасос от ВАЗ-2101, Маслонасос Днепр/Урал.
6. Фильтр от трактора/грузовика для дизтоплива.
Имею соображение собрать по схеме, к компрессору врезаемся в нижнюю точку картера с целью забора, которое забираем при помощи маслонасоса, далее гоним масло в фильтр из фильтра в головку компрессора (заместо тосола), оттуда в радиатор, из радиатора в опу коленвала.
Принимаю конструктивную критику в данной цепочке, а может и ну её в баню в шатуне дырок насверлить и все :unknw:
Далее возникают вопросы:
1. Сколько такой компрессор в разумных пределах выдать может ? Планирую 16-20 Атм
2. Как правильно зацепить мотор чтобы стартовал с первой обмотки и после запуска переходил на вторую ?
3. Где взять реле/давления типа как на китайце но чтобы можно было регулировать запуск и финиш ? или поставить от китайца
4. Если применять во всех соединениях сантехнику (металлопластик) ничего страшного ? (Масло / Воздух)
5. Балон пропана СТРАШНО =@ варить, помыл водичкой всеровно запах мощный, забить и варить или может чемто помыть ещё?
6. Сколько в балоне пропана рабочее давление и сколько он теоритически выдержит?
7. Затрудняюсь с выбором маслонасоса :unknw: подскажите какой из доступных лучше поставить я склонясь к днепру
8. Возможноли какнибудь задействовать разгрузочное устройство для запуска компресоора или и так с 3000 об/мин запускаться с преднакачанными 16атм будет? (Перехода на шкивах небудет 1=1)
9. Выдержит фильтр давление масла/температуру в принципе давления много небудет думаю 1-2 атм(пружинка сброса жиденькая)
www.chipmaker.ru
своими руками, самодельный, ремонт, система смазки, как сделать, устройство, охлаждение, доработка, характеристики, воздушный
Компрессор — универсальное устройство, которое широко применяется не только в автомобильной сфере, но и на производстве. Чтобы сэкономить и не приобретать дорогостоящее оборудование, некоторые мастера пытаются создать самостоятельно компрессор ЗИЛ.

Устройство
Компрессор — двухцилиндровое устройство поршневого типа. Его принцип работы заключается в перекачке воздуха посредством движения поршней. Устройство компрессора состоит из:
- проводного картера с каналами;
- сальника;
- пружины;
- уплотнителя.

Поршни изготовлены из алюминия и оснащены пальцами, которые закреплены стопорными кольцами. Посредством впускных клапанов воздух, находящийся в воздушном фильтре двигателя, проникает в цилиндры компрессора. Он сжимается поршнями и поступает в пневматическую систему. Затем проходит через нагнетательные клапаны, которые расположены в головке цилиндра.
Система охлаждения
Двигатель имеет жидкостную систему охлаждения закрытого типа. Она состоит из: радиатора, термостата, насоса, температурного датчика, компрессора и патрубка. Работает по принципу принудительной циркуляции охлаждения. Если жидкость в системе перегревается, то необходимо открыть пробку радиатора. При ее открытии из горловины выбрасывается струя горячей воды. Поэтому это нужно делать осторожно.

Система смазки
Система смазки — комбинированная. Смазочное вещество поступает из смазочного узла системы мотора и остывает с помощью охлаждающей жидкости.
Характеристики
Подробное описание зиловского компрессора. Технические характеристики:
- производительность — 210 л;
- рабочий объем — 214 см³;
- размер цилиндра — 60 мм в диаметре;
- цилиндр — 2 шт.;
- потребляемая мощность — до 21,1 кВт;
- частота вращения — 2000 об/мин;
- внутреннее давление пневмосистемы — 740 кПа;
- гарантийный срок — 6 месяцев.

Как сделать компрессор своими руками
Устройство своими руками делают базе зиловского компрессора. Если оно предназначено для выполнения небольших задач, то переделка компрессора будет минимальная. Его доработка проводится в том случае, если устройство планируют использовать долго и с большими нагрузками. Из материалов понадобятся:
- двигатель;
- ресивер;
- манометр;
- предохранительный клапан.
При изготовлении самодельного аппарата важно правильно передать на агрегат вращающий момент. За давление отвечают клапан и манометр, которые монтируют на ресивер. Тонкости сборки:
- Вращающий момент. Чтобы компрессор сохранил свою мощность и количество оборотов, некоторые мастера делают прямое подключение. Но такое подключение требует наличие мощного двигателя. Поэтому двигатель с агрегатом соединяют посредством ременной передачи. Если соединение сделать через редуктор, то вращающий момент получится достаточным. В основном при изготовлении компрессора используют ременную передачу, так как качественный редуктор стоит дорого.
- Двигатель. Двигатель подбирают таким образом, чтобы он соответствовал всем параметрам компрессора. Чтобы в устройстве сформировалось максимальное давление, скорость вращения двигателя должна быть более 2000 об/мин. Это позволит компрессору работать в легком режиме. Если аппарат будет использоваться без нагрузок и непродолжительный период, то подойдет агрегат мощностью 1 кВТ. Для более интенсивной работы применяют изделия большой мощности.
- Ресивер. Самодельный компрессор должен быть компактных размеров. Для этого из газового баллона или огнетушителя изготавливают ресивер. Также подойдет любая металлическая емкость. Главное, чтобы готовое устройство имело средние размеры. Конструкция оснащается манометром и регулятором давления. Для этого ее нужно доработать. Возле входа в резервуар монтируют готовый узел с редуктором, который можно приобрести в магазине. После установки клапана обратного давления проводят его настройку.
- Система охлаждения и смазка. У некоторых компрессоров во время работы происходит большой перегрев. Чтобы устранить этот недостаток, их дорабатывают системой охлаждения. Для этого в шатунах проделывают отверстия, а нижнюю крышку оборудуют косой трубкой. На выходе из картера монтируют фильтр. Он должен быть прозрачным. Это позволит наблюдать за уровнем масла. Из огнетушителя создают влагоотделитель.

Компрессор устанавливается на станину. Для этого в каркасе проделывают необходимые посадочные места под устройство. Двигатель жестко закрепляют на станине. Остальные элементы, которые подключаются через шланги, монтируют отдельно.
Неисправности и ремонт
Шум и стук во время работы компрессора, а также масло, которое появляется в воздушном баллоне, свидетельствует о неисправности устройства.
- Со временем на блоке картера образуются трещины и сколы. Картер полностью заменяют, если на его стенках возникли трещины. Трещины заваривают, если они расположены на фланце крепления картера и имеют маленький размер.
- Чтобы проверить герметичность цилиндра, его укладывают в водяную ванну и наполняют сжатым под давлением воздухом. Если появились пузырьки, то он считается не герметичным. Ремонт производят путем растачивания емкости и хонингуют ее под ремонтный размер. Блок в разъемном состоянии должен быть цельным, без забоин. Допускается отклонение до 0,04 мм. Нельзя, чтобы под лекальной линейкой проходил щуп в 0,05 мм.
- Ремонтный размер поршней определяется по цифре, выбитой на дне поршня. Это цифра +04, +0,8.
- Если износились шариковые подшипники, их спрессовывают и заменяют новыми.
- Если шатунные шейки вала имеют износ выше 0,05 мм, то полностью меняют коленчатый вал.
- Чтобы исправить изношенную верхнюю головку шатуна, запрессовывают ремонтную втулку, предварительно сделав отверстие диаметром 14,019 мм.
Если торец крышки и ее задняя часть не прилегают плотно к корпусу, то вовремя трения они вместе с уплотнителем изнашиваются. При появлении трещин их меняют на новые детали.
specmahina.ru
Устройство и принцип действия компрессора ЗиЛ-130, Т-150, К-700
Поршневого типа, двухсекционный воздушный компрессор 130-3509015 (рисунок 1) осуществляет нагнетание воздуха в пневмосистему агрегата (Т-150, ЗиЛ-130, К-700). Устанавливается на двигатель и приводится во вращение от коленвала двигателя посредством клиноременной передачи. Поступление воздуха в цилиндры компрессора происходит через пластинчатые впускные клапана (поз. 22) из воздушного фильтра. Далее воздух сжимается поршнями (поз. 11) и вытесняется в пневмосистему через нагнетательные клапана (поз. 15), которые расположены в головке цилиндров.
Если давление воздуха в пневмосистеме превышает 7,65 кгс/см2, то происходит срабатывание регулятора давления. При этом воздух поступает в разгрузочный канал (поз. 25), поднимая плунжеры (поз. 31) впускных клапанов (поз. 22) и открывая клапаны впускные двух цилиндров. В результате этого происходит свободное перемещение воздуха по цилиндрам и прекращение его подачи в пневматическую систему. При понижении давления воздуха в системе до 6,0 кгс/см2 происходит выпуск воздуха из-под плунжеров регулятором давления в атмосферу. Плунжеры под воздействием пружин опускаются, клапаны впускные возвращаются на свои места, компрессор нагнетает воздух в пневмосистему.
Трущиеся поверхности компрессора Т-150, ЗиЛ-130, К-700 обеспечиваются маслом, поступающим из масляной магистрали по трубке к задней крышке (поз. 18) картера (поз. 1). Если компрессор начинает работать с появлением стуков, которые вызваны увеличенным зазором между шейками коленвала и подшипниками, то необходимо произвести замену вкладышей шатунов.
При работе компрессора может произойти его перегрев, вызванный недостаточной подачей масла, а также засорением воздушных каналов. При недостаточном давлении в системе, которое обеспечивает компрессор, необходимо осуществить проверку состояния трубопроводов, их соединений, а также проверить на герметичность клапаны.

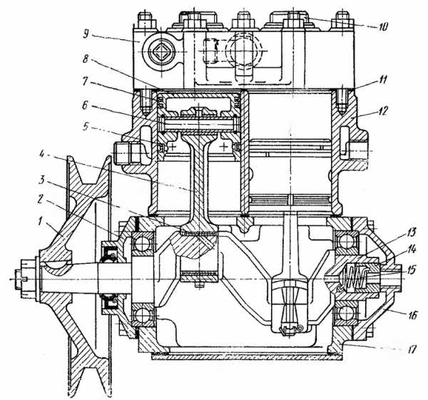
Рис.1 – Компрессор воздушный 130-3509009-11, 5336-3509012-01 (Т-150, ЗиЛ-130, К-700)
1 – картер; 2 – передний подшипник коленчатого вала; 3 – крышка передняя; 4 – манжета; 5 – коленчатый вал; 6 – шкив; 7 – шатун; 8 – маслосъемное кольцо; 9 – поршневой палец; 10 – компрессионные кольца; 11 – поршень; 12 – пробка нагнетательного клапана; 13 – пружина нагнетательного клапана; 14 – головка блока; 15 – нагнетательный клапан; 16 – седло нагнетательного клапана; 17 – задний подшипник коленчатого вала; 18 – крышка задняя; 19 – пружина уплотнителя; 20 – уплотнитель; 21 – гайка кольцевая; 22 – впускной клапан; 23 – седло впускного клапана; 24 – шток впускного клапана; 25 – разгрузочный канал; 26 – пружина впускного клапана; 27 – пружина коромысла; 28 – коромысло плунжеров; 29 – гнездо штока впускного клапана; 30 – кольцо уплотнительное; 31 – плунжер впускного клапана.
Рекомендуемые товары
melagrocom.com
Компрессор на базе железа от ЗиЛ-130 с системой смазки «х3» — Законченные проекты
Используется классический (имхо) вариант набора оборудования и компоновки – 50л пропановый баллон с установленной на него головкой компрессора от ЗиЛ-130, электродвигатель 1.5/2800), клиноременная передача.
С целью организации смазки черпачками, головка компрессора была подвергнута переборке — шатуны просверлены, в нижней крышке установлена «косая» трубка. В процессе сборки появилось стойкое нежелание выкидывать уплотнитель задней крышки компрессора, как это предлагается в http://icark.narod.ru/autotech/compess.html (обозван клапаном), тем более, что вопрос с сапуном был решен по другому. Далее возникла некая идея использовать новое качество просверленных шатунов, а именно то, что в процессе вращения коленвала «дырдочки» в шатунах совпадали с отверстиями маслоподводящих каналов в шатунных шейках коленвала (hint — если убрать шатуны и крутить коленвал, то получим центробежный насос).
Идею нужно было проверить на предмет — будет ли «насос» качать масло при условиях наличия 3 отверстий на каждом шатуне и периодическом погружении (ударе) шатуна о масло в картере. Была собрана и опробована схема (см рис).

«Насос» исправно засосал масло, правда, неспешно (наблюдал через бензофильтр врезанный в магистраль), но (имхо) вполне достаточно для обеспечения смазки компрессора в данных условиях.
Условия проверки: обороты компрессора ~1000 rpm, уровень масла — 10 мм выше плоскости поддона картера, температура масла около 5oС, тип масла — Ravenol VDL 100, масляная магистраль изначально пустая.
Итого имеем «х3» систему смазки с несколькими плюсами против обычных «черпачков»:
— масло циркулирует, его можно фильтровать, а также наблюдать факт циркуляции;
— уровень масла можно снизить (относительно предложенного в http://icark.narod.ru/autotech/compess.html), чтобы уменьшить излишнее разбрызгивание и соответственно повышенное попадания масла в воздушную магистраль;
— квазиштатная сисмема смазки.
Есть и минусы – если после остановки «дырдочки» сопали, то масло стечет в картер (лечится установкой обратного клапана).
Система охлаждения термосифонная.
По ходу жизни, был сделан опрессовщик, с помощью которого был успешно опресован (на 25АТИ) ресивер после проведения с ним сварочных работ. За основу взят опрессовщик от RICCI
Ссылки по теме:
1. http://icark.narod.ru/autotech/compess.html
2. http://skylabs.spb.ru/descrCompressor.html


www.chipmaker.ru
icark.narod.ru
Пробежавшись по Интернет-форумам, я обнаружил множество вопросов,
касающихся самодельного компрессора на базе автомобильных
компрессоров. А практических ответов на них не обнаружил. Поэтому
хочу предложить практическую конструкцию компрессора на базе
«подножных» агрегатов от автомобилей ЗИЛ, МАЗ, КамАЗ и т. д.
Один из экземпляров данной конструкции
зарекомендовал себя с лучшей стороны, проработав в течении 15 лет без
какого-л. ремонта (за это время два раза долил масло). В
зависимости от ёмкости ресивера и мощности двигателя данную конструкцию
можно использовать для покраски а/м, работы пневмоинструмента, накачки
колёс и просто сдувать пыль со станков. Человеку, у которого
руки выросли откуда надо, изготовить подобную конструкцию не вызовет
сложностей, поэтому хочу рассказать лишь общие черты построения и
зависимости мощностей и объёмов в единицах «больше-меньше».
Компрессор от ЗИЛ 130 – 157, МАЗ можно
использовать с минимальными переделками. Компрессор КамАЗ требует
большой доработки, а компрессор ГАЗ, МТЗ – малопроизводителен.
Примерная компоновка и пневматическая схема включения компрессора.
В зависимости от потребностей ресивер можно применить от а/м ЗИЛ, большой – от КамАЗа, в которых уже существуют все необходимые отверстия или использовать пропановый баллон на 50 литров.
Компрессор без нижней крышки через паронитовую прокладку
устанавливается на кусок швеллера шириной 200 – 250 мм, на него же
устанавливается и двигатель на лапах в профрезерованные пазы (для
натяга подходящего ремня). Ремень большого сечения применять не стоит,
он отбирает мощность, особенно у и без того слабенького двигателя если
он работает на одной фазе.
В зависимости от потребностей стоит подобрать
электродвигатель. Если использовать сеть 220 В, то мин.
необходимая мощность трёхфазного двигателя равна 1,5 кВт (1420
об/мин). В этом случае передаточное отношение следует выбрать
1:3. Если двигатель мощней, то передаточное отношение
соответственно уменьшается и увеличивается производительность. В
случае подключения на 220 вольт оптимально использовать двигатель
2,2 кВт. В случае использования 3 фаз (380 В.), мощность двигателя
можно уменьшить .
В моей конструкции применён шкив а/м МАЗ, наружным диаметром 210 мм.
Все другие аналогичные шкивы от авт. компрессоров — примерно такого же
диаметра. Передаточное отношение шкивов влияет на производительность
компрессора и зависит от мощности двигателя. Мой двигатель 1,1 кВт и
передаточное отношение 210:80=2,6. Двигатель работает на пределе
мощности при давлении 8 атмосфер. Максимальная производительность 260
л/мин достигается при 2500об/мин коленвала. Можно конечно
раскрутить и больше, на автомобиле ЗиЛ 130 при максимальной скорости,
обороты компрессора 3200 об/мин.
Компрессор пневматического тормозного привода автомобиля ЗИЛ-130.
Двухцилиндровый компрессор автомобиля ЗИЛ-130 .
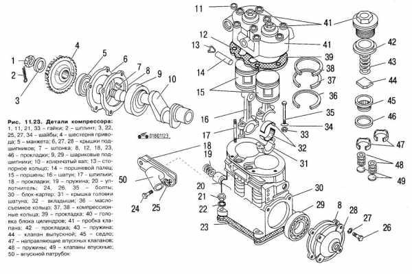
Основные детали компрессора следующие: блок цилиндров, головка блока, картер, передняя и задняя крышки. Коленчатый вал компрессора, вращающийся в шарикоподшипниках , шатунами и поршневыми пальцами соединен с поршнями. На переднем конце коленчатого вала имеется сальник, а на шпонке установлен шкив, кооторый закреплен гайкой. На заднем конце коленчатого вала есть уплотнитель 7, закрытый крышкой . В стенке блока цилиндров сделано отверстие для воздуха, поступающего внутрь цилинндров через впускные пластинчатые клапаны . В головку блока над каждым цилиндром ввернута пробка, в которую помещена пружина нагнетательного клапана , установленного в седле. Нижние головки шатунов разъемные и имеют регулировочные прокладки. Пневматический компрессор поршневой, двухцилиндровый (базовая модель 130-3509). Технические характеристики компрессора:
Номинальный диаметр цилиндра, мм — 60
Ход поршня, мм — 38
Номинальный рабочий объем, см3 — 214
Частота вращения вала, мин-1:
Номинальное — 2000
Производительность, л/мин — номинальная — 210
Потребляемая мощность, кВт — 2,1
1. вход — выход охлаждающей жидкости. 2. сапун — резервуар системы смазки. 3. коленвал. 4 швеллер основание. 5 сливная пробка.
Начнём с доработки самого
компрессора.
Сбоку компрессора на уровне 10 мм ниже центра коленвала следует
просверлить отверстие и нарезать резьбу под пробку для заливки масла
(применял М8Б) в удобном месте, с любой стороны и под пробку в швеллере, служащем поддоном для слива масла.
В крышку заднего подшипника следует ввернуть штуцер с трубкой или маслостойким
шлангом, который соединяется с ёмкостью, расположенной на уровне
головки блока цилиндров. Я использовал бачок для тормозной жидкости
цилиндра сцепления ВАЗ. Он выполняет кроме функций смазки ещё и функцию
сапуна, т. к. некоторая часть воздуха просачивается в картер
компрессора, и если не поставить сапун – масло из него выгонит.
Во время работы излишек масла выдавливается в ёмкость и скапливается в
расширительном бачке, заметны пузырьки выходящего
воздуха. Для установки сапуна следует выкинуть
приёмный клапан масляной магистрали.
1. коленвал. 2. картер. 3. прокладка. 4. крепежные болты. 5. подшипник. 6. пружина. 7. клапан.
Из конструкции клапана видно, что при давлении в магистрали двигателя 2
— 4 кг/см2, давление в канале коленвала мизерно, поскольку площадь
прилегания клапана 3,5 см2, а усилие прижимной пружины незначительно и
основная масса масла вытекает в зазор между крышкой и стаканчиком
клапана. А та доля масла которая попала в канал коленвала выдавливается
в сопряженсилыие коленвал — вкладыш за счет центробежной силы
создаваемой вращением коленвала. То же самое происходит если изменить
конструкцию шатуна. Просверленые и раззенкованые отверстия захватывают
масло из картера, а центробежная сила выдавливают его в сопряжение
вкладыш-коленвал.
Для изменения системы смазки следует просверлить по два
раззенкованных отверстия в указанном месте каждого шатуна в сборе с вкладышами, и по одному
в крышках шатунов, для чего следует разобрать компрессор, сняв головку и
отвернув шатуны.
Данных отверстий вполне достаточно для смазки вкладышей
разбрызгиванием. Во время работы компрессора образуется масляный туман,
которого вполне достаточно для смазки цилиндров. Аналогичная
конструкция смазки применялась на тракторе Фордзон, Сталинец и др., и
на моей конструкции отлично зарекомендовала себя. Никаких стуков
шатунов ещё не слышал.
Разгрузка компрессора ( на шоферском жаргоне — солдатик) остаётся
стандартная, ей можно регулировать необходимое давление, после которого
компрессор будет отключаться. Трубка разгрузочного устройства должна
быть соединена с расходным ресивером. На ресивере следует установить
манометр для контроля давления. И уж что совсем хорошо –
перегрузочный клапан. Все детали лучше использовать
автомобильные. Если компрессор будет использоваться для покраски а/м,
то стоит позаботиться об осушителе воздуха, в качестве которого можно
использовать спиртушку а/м КамАЗ. Они бывают двух видов, на 250мл и 1000мл
Она должна быть расположена в ветви между компрессором и ресивером. В качестве осушителя можно использовать спирт 96%, ТОСОЛ.
Регулятор давления пневматического тормозного привода автомобиля ЗИЛ-130.
Он предназначен для автоматического поддержания необходимого давления
сжатого воздуха в системе.
1 — кожух; 2 — пружина регулятора; 3 — упорный шарик; 4 —
регулировочный колпак; 5 — шток клапанов; 6 — штуцер; 7 — сетчатый
фильтр; 8 — фильтр; 9 — уплотнительное кольцо; 10- корпус регулятора
давления; 11 -пробка фильтра; 12 — пружина клапана; 13 — впускной
клапан; 14 — выпускной клапан; 15 — регулировочные прокладки; 16 —
контргайка регулировочного колпака; А — впускное отверстие; Б —
отверстие, соединяющее внутреннюю полость регулятора с атмосферой; В —
отверстие, ведущее к фильтру.
Колпачок 4 служит для установки давления при котором компрессор
переходит на холостой ход, прокладки 15 служат для установки давления
при котором компрессор снова включается.
Регулятор давления соединяется отверстием В через фильтр 7 с
каналом разгрузки 1. При давлении установленном на регуляторе давления
колпачком 4, воздух попадает через канал 1 в подплунжерное пространство
разгрузочного устройства и сжимая пружину 4 поднимает плунжеры 6. На
плунжерах установлены уплотняющие резиновые кольца 7. Поднимаясь,
плунжеры через свои штоки приподнимают впускные клапана и
прекращают подачу воздуха в рессивер , так как воздух
начинает перекачиваться из одного цилиндра в другой.
Когда давление воздуха в рессивере снизится ниже уровня установленного регулировочными прокладками 15, доступ воздуха в канал В прекращается и подплунжерное просторанство через канал 1 и через канал Б соединяется с атмосферой.
плунжера 6 под действием пружины 4 возвращаются в исходное положение,
впускные клапана отпускаются на седла и компрессор начинает поднимать
давление до уровня установленного колпачком 4 регулятора давления.
Перегрузочный клапан на шоферском жаргоне — пердун.
Устанавливается в рессивер и защищает систему от чрезмерного
повышения давлния в случае неисправности разгрузочного устройства. Его
срабатывание устанавливается на уровне на 1 — 2кг/см больше того на
которое установлено срабатывание разгрузочного устройства.
1 штуцер — гнездо клапана. 2.корпус. 3. шарик. 4. пружина. 5 контргайка. регулировочная резьбовая втулка. 7 нажимной шток.
Проставка для установки датчика.
Если возникнет желание чтобы во время холостого хода компрессора отключался двигатель, можно сделать автоматику включения — отключения. Для этого потребуется проставка между регулятором давления и каналом разгрузки, для установки порогового датчика давления. В качестве которого применяется выключатель стопсигнала (ВК12Б) от автомобилей ГАЗ, УАЗ и т.д. Его номер по каталогу -40П-37210010. Кто чувствует уверенность в работе с металлом может просверлить и нарезать отверстие непосредственно в канале 1 разгрузочного устройства. Если удастся найти датчик давления у которого контакты размыкаются при включении давления, то упростится схема управления.
Спиртушка
крупным планом
См. также
Автоматика работы компрессора
и
Включение трехфазного двигателя в однофазную сеть.
Все опасения по поводу перегрева компрессора – БЕЗОСНОВАТЕЛЬНЫ, поскольку рабочая температура компрессора на автомобиле – 90 гр. С, а компрессор без охлаждения, работающий на постоянных оборотах, по опыту, редко нагревается выше 60 гр. С. Но и температура 120*С для него не критична. Не нужно проводить аналогию с ДВС, там происходят совсем другие процессы. В случае напряженной работы компрессора можно сделать испарительную систему охлаждения. Емкость на 4 — 5 литров соединенную шлангами с входом — выходом жидкости охлаждения в головку и установленную выше уровня головки. В таком случае температура не поднимется выше 100*С.
Кроме того:
Для более мягкой работы компрессора, на его шкив желательно установить маховик (и отбаллансировать его).
Успехов всем кому в чем-то поможет эта страница.
Вопросы задавать здесь.
вверх
icark.narod.ru
