своими руками, самодельный, ремонт, система смазки, как сделать, устройство, охлаждение, доработка, характеристики, воздушный
Автор Petroviches На чтение 4 мин.
Содержание
- Устройство
- Система охлаждения
- Система смазки
- Характеристики
- Как сделать компрессор своими руками
- Неисправности и ремонт
Компрессор — универсальное устройство, которое широко применяется не только в автомобильной сфере, но и на производстве. Чтобы сэкономить и не приобретать дорогостоящее оборудование, некоторые мастера пытаются создать самостоятельно компрессор ЗИЛ.
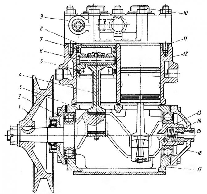
Устройство
Компрессор — двухцилиндровое устройство поршневого типа. Его принцип работы заключается в перекачке воздуха посредством движения поршней. Устройство компрессора состоит из:
- проводного картера с каналами;
- сальника;
- пружины;
- уплотнителя.
Поршни изготовлены из алюминия и оснащены пальцами, которые закреплены стопорными кольцами.
Посредством впускных клапанов воздух, находящийся в воздушном фильтре двигателя, проникает в цилиндры компрессора. Он сжимается поршнями и поступает в пневматическую систему. Затем проходит через нагнетательные клапаны, которые расположены в головке цилиндра.
Система охлаждения
Двигатель имеет жидкостную систему охлаждения закрытого типа. Она состоит из: радиатора, термостата, насоса, температурного датчика, компрессора и патрубка. Работает по принципу принудительной циркуляции охлаждения. Если жидкость в системе перегревается, то необходимо открыть пробку радиатора. При ее открытии из горловины выбрасывается струя горячей воды. Поэтому это нужно делать осторожно.
Система смазки
Система смазки — комбинированная. Смазочное вещество поступает из смазочного узла системы мотора и остывает с помощью охлаждающей жидкости.
Характеристики
Подробное описание зиловского компрессора. Технические характеристики:
- производительность — 210 л;
- рабочий объем — 214 см³;
- размер цилиндра — 60 мм в диаметре;
- цилиндр — 2 шт.
; - потребляемая мощность — до 21,1 кВт;
- частота вращения — 2000 об/мин;
- внутреннее давление пневмосистемы — 740 кПа;
- гарантийный срок — 6 месяцев.
Как сделать компрессор своими руками
Устройство своими руками делают базе зиловского компрессора. Если оно предназначено для выполнения небольших задач, то переделка компрессора будет минимальная. Его доработка проводится в том случае, если устройство планируют использовать долго и с большими нагрузками. Из материалов понадобятся:
- двигатель;
- ресивер;
- манометр;
- предохранительный клапан.
При изготовлении самодельного аппарата важно правильно передать на агрегат вращающий момент. За давление отвечают клапан и манометр, которые монтируют на ресивер. Тонкости сборки:
- Вращающий момент. Чтобы компрессор сохранил свою мощность и количество оборотов, некоторые мастера делают прямое подключение. Но такое подключение требует наличие мощного двигателя.
Поэтому двигатель с агрегатом соединяют посредством ременной передачи. Если соединение сделать через редуктор, то вращающий момент получится достаточным. В основном при изготовлении компрессора используют ременную передачу, так как качественный редуктор стоит дорого. - Двигатель. Двигатель подбирают таким образом, чтобы он соответствовал всем параметрам компрессора. Чтобы в устройстве сформировалось максимальное давление, скорость вращения двигателя должна быть более 2000 об/мин. Это позволит компрессору работать в легком режиме. Если аппарат будет использоваться без нагрузок и непродолжительный период, то подойдет агрегат мощностью 1 кВТ. Для более интенсивной работы применяют изделия большой мощности.
- Ресивер. Самодельный компрессор должен быть компактных размеров. Для этого из газового баллона или огнетушителя изготавливают ресивер. Также подойдет любая металлическая емкость. Главное, чтобы готовое устройство имело средние размеры. Конструкция оснащается манометром и регулятором давления.
Для этого ее нужно доработать. Возле входа в резервуар монтируют готовый узел с редуктором, который можно приобрести в магазине. После установки клапана обратного давления проводят его настройку. - Система охлаждения и смазка. У некоторых компрессоров во время работы происходит большой перегрев. Чтобы устранить этот недостаток, их дорабатывают системой охлаждения. Для этого в шатунах проделывают отверстия, а нижнюю крышку оборудуют косой трубкой. На выходе из картера монтируют фильтр. Он должен быть прозрачным. Это позволит наблюдать за уровнем масла. Из огнетушителя создают влагоотделитель.
Компрессор устанавливается на станину. Для этого в каркасе проделывают необходимые посадочные места под устройство. Двигатель жестко закрепляют на станине. Остальные элементы, которые подключаются через шланги, монтируют отдельно.
Неисправности и ремонт
Шум и стук во время работы компрессора, а также масло, которое появляется в воздушном баллоне, свидетельствует о неисправности устройства.
- Со временем на блоке картера образуются трещины и сколы. Картер полностью заменяют, если на его стенках возникли трещины. Трещины заваривают, если они расположены на фланце крепления картера и имеют маленький размер.
- Чтобы проверить герметичность цилиндра, его укладывают в водяную ванну и наполняют сжатым под давлением воздухом. Если появились пузырьки, то он считается не герметичным. Ремонт производят путем растачивания емкости и хонингуют ее под ремонтный размер. Блок в разъемном состоянии должен быть цельным, без забоин. Допускается отклонение до 0,04 мм. Нельзя, чтобы под лекальной линейкой проходил щуп в 0,05 мм.
- Ремонтный размер поршней определяется по цифре, выбитой на дне поршня. Это цифра +04, +0,8.
- Если износились шариковые подшипники, их спрессовывают и заменяют новыми.
- Если шатунные шейки вала имеют износ выше 0,05 мм, то полностью меняют коленчатый вал.
- Чтобы исправить изношенную верхнюю головку шатуна, запрессовывают ремонтную втулку, предварительно сделав отверстие диаметром 14,019 мм.

Если торец крышки и ее задняя часть не прилегают плотно к корпусу, то вовремя трения они вместе с уплотнителем изнашиваются. При появлении трещин их меняют на новые детали.
Читайте также:
Оцените автора
Специальные компрессоры для грузовых автомобилей КАМАЗ, ЛАЗ, ПАЗ, КРАЗ, МАЗ, ЗИЛ, Урал, Икарус, БелАЗ
Главная\Каталог продукции\Компрессорное оборудование\Специальные компрессоры для грузовых автомобилей КАМАЗ, ЛАЗ, ПАЗ, КРАЗ, МАЗ, ЗИЛ, Урал, Икарус, БелАЗ
Воздушные компрессоры производства «Паневежио Аурида», Литва применяются практически для всех типов грузовых автомобилей, автобусах («КАМАЗ», «ЛАЗ», «ПАЗ», «КРАЗ», «МАЗ», «ЗИЛ»).
Компрессоры представляют собой одноцилиндровых и двухцилиндровых автокомпрессоры, предназначенные для питания сжатым воздухом тормозных систем грузовых автомобилей, автобусов, тракторов.
| № п/п | Наименование | Применяемость |
| 1 | КамАЗ 5320-3509015 | Компрессор КаМАЗ-а/м КамАЗ и др. |
| 2 | КамАЗ 18.3509015 | Компрессор КамАЗ применяемость — а/м КамАЗ и др. |
| 3 | ЗИЛ 130-3509009-11 | Компрессор ЗИЛ Применяемость — а/м ЗИЛ, БелАЗ, Т-150 и др. |
| 4 | Урал 16.3509012 | Компрессор Урал применяемость — а/м МАЗ, УРАЛ и др. |
| 5 | КрАЗ 161.3509012 | Компрессор КрАЗ применяемость — а/м КрАЗ и др. |
| 6 | МАЗ 161.3509012-20 | Пневмокомпрессор МАЗ 161-3509012-20 — применяется для автомобилей МАЗ с двигателем ЯМЗ-236 и его модификациями |
| 7 | МАЗ 18.3509015-10 | Компрессор МАЗ применяемость — а/м МАЗ (двигатель ТМЗ 8481.10) и др.![]() |
| 8 | МАЗ 500-3509015 Б1 | Компрессор МАЗ применяемость — а/м МАЗ, К-701 и др. |
| 9 | КамАЗ 5320-3509015-10 | Компрессор КамАЗ применяемость — а/м КАМАЗ и др. |
| 10 | ПАЗ 22-3509015 | Компрессор ПАЗ применяемость — а/м ПАЗ, ГАЗ и др. |
| 11 | ГАЗ 66-02-4201010-10 | Компрессор ГАЗ применяемость — а/м ГАЗ 66 и др. |
| 12 | БелАЗ 540-3509015 | Компрессор БелАЗ применяемость — а/м БелАЗ, МАЗ и др. |
| 13 | Икарус ИК20.3509015 | Компрессор Икарус применяемость — а/м ИКАРУС (городского типа) и др. |
| 14 | БелАЗ 20-3509015 | Компрессор БелАЗ применяемость — а/м БелАЗ, МАЗ и др. |
| 15 | БелАЗ 13.3509012-20 | Компрессор БелАЗ применяемость — а/м КрАЗ, БелАЗ (двигатель ТМЗ 84241) и др.![]() |
| 16 | ПАЗ 26-3509015 | Компрессор ПАЗ применяемость — а/м ПАЗ и др. |
| 17 | ЗИЛ 130К-3509012 | Компрессор Зил применяемость — не установлена |
| 18 | 157К-3509012 | Применяемость — не установлена |
| 19 | 157КД-3509012 | Применяемость — не установлена |
Компрессор КамАЗ 5320-3509015
| Пневматический компрессор КамАЗ 5320-3509015 — поршневой, двухцилиндровый компрессор одноступенчатого сжатия. Привод компрессора шестеренный от распределительных шестерен. Охлаждение головки от системы охлаждения двигателя, масло подается из смазочной системы. Технические характеристики компрессора КамАЗ 5320-3509015
|
Применяемость пневмокомпрессора:
— Автомобиль КамАЗ 5320, 53212, 5410, 54112, 5511, 55102.
— Базовый двигатель 740,10 и др. модификации
Взаимозаменяемость:
— Взаимозаменяем с пневмокомпрессором 5320-3509015-10
— Взаимозаменяем с пневмокомпрессором 18.3509015 после некоторой доработки (не рекомендуется)
Аналог:
— Аналогичный компрессор 13.3509012-20 с теми же характеристиками и показателями применяется на двигателе «Тутаевского Моторного Завода» «старого образца» (ТМЗ — 84241)
Компрессор КамАЗ 18.3509015
| Компрессор (пневмокомпрессор) КамАЗ 18.3509015 — одноцилиндровый компрессор поршневого типа. Привод компрессора шестеренный от распределительных шестерен. Охлаждение головки от системы охлаждения двигателя, система смазки подается под давлением из смазочной магистрали. Технические характеристики компрессора КамАЗ 18.3509015
|
Применяемость пневмокомпрессора:
— Автомобиль КамАЗ 5320, 53212, 5410, 54112, 5511, 55102 и др.
— Базовый двигатель
7403.10
740.11-240(Евро-1)
740.13-260
740.14-300
740.30-260(Евро-2)
740.51-320
740.50-360
Взаимозаменяемость
— нет
— Аналогичный компрессор 18.3509015-10 с теми же характеристиками и показателями (развернута головка и другая магистраль подвода масла) применяется на двигатель «Тутаевского Моторного Завода» «нового образца» (модель ТМЗ-8481.10) к тракторам К-700, К-744 и другой автомобильной техники.
Компрессор ЗИЛ 130-3509009-11
| Пневматический компрессор ЗИЛ 130-3509009-11 — поршневой, двухцилиндровый компрессор (базовая модель 130-3509). Привод компрессора через шкив (с изделием не поставляется). Охлаждение головки жидкостное от системы охлаждения двигателя, охлаждение блока цилиндров — воздушное. Система смазки компрессора — смешанная. Масло подается из смазочной системы двигателя. ![]() Технические характеристики компрессора ЗИЛ 130-3509009-11:
|
Применяемость пневмокомпрессора:
— Автомобиль ЗИЛ-130, 131 и др.
— Базовый двигатель ЗИЛ-130, 131 и др. модификации
Взаимозаменяемость:
— нет
Аналог:
Аналогичные компрессоры разработанные на базе компрессора 130-3509 с теми же характеристиками и показателями:
— 130К-3509012 — со шкивом Ф 262 мм с регулятором давления
— 161.
3509012 — со шкивом Ф 172 мм, без разгрузочного устройства — 157К-3509012 — со шкивом Ф 224 мм с регулятором давления
— 157КД-3509012 — со шкивом Ф 220 мм с регулятором давления
— 500-3509015 Б1 — со шкивом Ф 172 мм
— 540-3509015 — без шкива
Компрессор Урал 16.3509012
| Пневмокомпрессор Урал 16-3509012 — поршневой, двухцилиндровый компрессор (базовая модель 130-3509). Привод компрессора через шкив (размер Ø172 мм). Охлаждение головки жидкостное от системы охлаждения двигателя, охлаждение блока цилиндров — воздушное. Система смазки компрессора — смешанная. Масло подается из смазочной системы двигателя. Технические характеристики компрессора Урал 16-3509012:
|
Применяемость пневмокомпрессора:
— Автомобиль
МАЗ-5336, 64229, и др.
модификации
Урал-4320, и др. модификации
БелАЗ.
— Базовый двигатель ЯМЗ-236, 238 и др. модификации
Взаимозаменяемость:
— 130-3509009-11(в зависимости от модели двигателя и автомобиля)
— 500-3509015 Б1 (в зависимости от модели двигателя и автомобиля)
— 540-3509015(в зависимости от модели двигателя и автомобиля)
— 161.3509012(в зависимости от модели двигателя и автомобиля)
— 161.3509015-20 (в зависимости от модели двигателя и автомобиля)
Аналог:
Аналогичные компрессоры разработанные на базе компрессора 130-3509 с теми же характеристиками и показателями:
— 161.3509012— со шкивом Ф 172 мм
— 130-3509009-11 — без шкива с разгрузочным устройством
— 500-3509015 Б1 — со шкивом Ф 172 мм
— 540-3509015— без шкива
— 130К-3509012— со шкивом Ф 262 мм с регулятором давления
— 157К-3509012— со шкивом Ф 242 мм с регулятором давления
— 157КД-3509012 — со шкивом Ф 220 мм с регулятором давления
Компрессор КрАЗ 161.
3509012
| Пневмокомпрессор КрАЗ 161-3509012 — двухцилиндровый компрессор поршневого типа (базовая модель 130-3509). Привод компрессора через шкив (размер Ø172 мм). Охлаждение головки жидкостное от системы охлаждения двигателя, охлаждение блока цилиндров — воздушное. Система смазки компрессора — смешанная. Масло подается из смазочной системы двигателя. Технические характеристики компрессора КрАЗ 161.3509012:
|
Применяемость пневмокомпрессора:
— Автомобиль
Краз-255, 256, 6510 и др.
модификации
МАЗ-5336, 64229, и др. модификации
Урал-4320, и др. модификации
БелАЗ.
— Базовый двигатель ЯМЗ-236, 238 и др. модификации
Взаимозаменяемость:
— 130-3509009-11(в зависимости от модели двигателя и автомобиля)
— 500-3509015 Б1 (в зависимости от модели двигателя и автомобиля)
— 540-3509015(в зависимости от модели двигателя и автомобиля)
— 16.3509012(в зависимости от модели двигателя и автомобиля)
— 161.3509012-20 (в зависимости от модели двигателя и автомобиля)
Аналог:
Аналогичные компрессоры разработанные на базе компрессора 130-3509 с теми же характеристиками и показателями:
— 161.3509012— со шкивом Ф 172 мм
— 130-3509009-11 — без шкива с разгрузочным устройством
— 500-3509015 Б1 — со шкивом Ф 172 мм
— 540-3509015— без шкива
— 130К-3509012— со шкивом Ф 262 мм с регулятором давления
— 157К-3509012— со шкивом Ф 242 мм с регулятором давления
— 157КД-3509012 — со шкивом Ф 220 мм с регулятором давления
Компрессор МАЗ 161.
3509012-20
| Пневмокомпрессор МАЗ 161-3509012-20 — поршневой, двухцилиндровый компрессор. Привод компрессора через шкив (размер Ø172 мм). Охлаждение головки жидкостное от системы охлаждения двигателя, охлаждение блока цилиндров — воздушное. Система смазки компрессора — смешанная. Масло подается из смазочной системы двигателя. Технические характеристики компрессора МАЗ 161-3509012-20:
|
Применяемость пневмокомпрессора:
— Автомобиль
Краз-255, 256, 6510 и др.
модификации
МАЗ-5336, 64229, и др. модификации
Урал-4320, и др. модификации
БелАЗ.
— Базовый двигатель
ЯМЗ-236, 238 и др. модификации
Взаимозаменяемость:
— 130-3509009-11(в зависимости от модели двигателя и автомобиля)
— 500-3509015 Б1 (в зависимости от модели двигателя и автомобиля)
— 540-3509015(в зависимости от модели двигателя и автомобиля)
— 16.3509012(в зависимости от модели двигателя и автомобиля)
— 161.3509012 (в зависимости от модели двигателя и автомобиля)
Аналог:
— Нет
Компрессор МАЗ 18.3509015-10
| Пневматический компрессор (пневмокомпрессор) МАЗ 18.3509015-10 — одноцилиндровый компрессор поршневого типа. Привод компрессора шестеренный от распределительных шестерен. Охлаждение головки от системы охлаждения двигателя, система смазки подается под давлением из смазочной магистрали. ![]() Технические характеристики компрессора МАЗ 18.3509015-10:
|
Применяемость пневмокомпрессора:
— Автомобиль
МАЗ и др.
К-700, К-744 и др.
— Базовый двигатель ТМЗ 8481.10 и др.
Взаимозаменяемость
— нет
Аналог:
— Аналогичный компрессор 18.
3509015 с теми же характеристиками и показателями (развернута головка и другая магистраль подвода масла).
Компрессор МАЗ 500-3509015 Б1
| Пневмокомпрессор МАЗ 500-3509015 Б1 — двухцилиндровый компрессор поршневого типа (базовая модель 130-3509). Привод компрессора через шкив (размер Ø172 мм). Охлаждение головки жидкостное от системы охлаждения двигателя, охлаждение блока цилиндров — воздушное. Система смазки компрессора — смешанная. Масло подается из смазочной системы двигателя. Технические характеристики компрессора МАЗ 500-3509015 Б1:
|
Применяемость пневмокомпрессора:
— Автомобиль
К-701 и др.
модификации
Урал-4320, и др. модификации
Краз-255, 256, 6510 и др. модификации
БелАЗ
МАЗ-5336, 64229, и др. модификации
— Базовый двигатель ЯМЗ-236, 238 и др. модификации
Взаимозаменяемость:
— 16.3509012 (в зависимости от модели двигателя и автомобиля)
— 161.3509012 (в зависимости от модели двигателя и автомобиля)
— 161.3509012-20 (в зависимости от модели двигателя и автомобиля)
— 130-3509009-11 (в зависимости от модели двигателя и автомобиля)
— 540-3509015 (в зависимости от модели двигателя и автомобиля)
Аналог:
Аналогичные компрессоры разработанные на базе компрессора 130-3509 с теми же характеристиками и показателями:
— 16.3509012 — со шкивом Ф 172 мм
— 161.3509012 — со шкивом Ф 172 мм
— 130-3509009-11 — без шкива с разгрузочным устройством
— 130К-3509012 — со шкивом Ф 262 мм с регулятором давления
— 157К-3509012 — со шкивом Ф 242 мм с регулятором давления
— 157КД-3509012 — со шкивом Ф 220 мм с регулятором давления
— 540-3509015 — без шкива
Компрессор КамАЗ 5320-3509015-10
Пневмокомпрессор КамАЗ 5320-3509015-10 — двухцилиндровый компрессор поршневого типа, повышенной производительности. Привод компрессора шестеренный от распределительных шестерен. Посадочные размеры и применяемость соответствуют компрессору 5320-3509015 Охлаждение головки от системы охлаждения двигателя, масло подается из смазочной системы. Технические характеристики компрессора КамАЗ 5320-3509015-10:
|
Применяемость пневмокомпрессора:
— Автомобиль КамАЗ 5320, 53212, 5410, 54112, 5511, 55102.
— Базовый двигатель 740,10 и др. модификации
Взаимозаменяемость:
— Взаимозаменяем с пневмокомпрессором 5320-3509015
— Взаимозаменяем с пневмокомпрессором 18.3509015 после некоторой доработки (не рекомендуется)
Аналог:
— нет
Компрессор ПАЗ 22-3509015
| Пневматический компрессор ПАЗ 22-3509015 — одноцилиндровый компрессор поршневого типа. Привод компрессора через шкив (с изделием не поставляется). Охлаждение головки воздушное, охлаждение блока цилиндров — воздушное. Система смазки компрессора — из смазочной системы двигателя. Технические характеристики компрессора ПАЗ 22-3509015:
|
Применяемость пневмокомпрессора:
— Автомобиль
ПАЗ 3205 и др.
ГАЗ
— Базовый двигатель
ПАЗ
ГАЗ
Взаимозаменяемость:
— нет
Аналог:
— 66-02-4201010-10
Компрессор ГАЗ 66-02-4201010-10
Пневмокомпрессор ГАЗ 66-02-4201010-10 — одноцилиндровый компрессор поршневого типа.
Привод компрессора через шкив (с изделием не поставляется).
Охлаждение головки воздушное, охлаждение блока цилиндров — воздушное.
Система смазки компрессора — из смазочной системы двигателя.
Технические характеристики компрессора ГАЗ 66-02-4201010-10:
| Номинальный диаметр цилиндра, мм | 60 |
| Ход поршня, мм | — |
| Номинальный рабочий объем, см3 | 107 |
| Частота вращения вала, мин-1: Номинальное Максимальное | 2000 2500 |
| Производительность, л/мин | 116 |
| Потребляемая мощность, кВт | 1,22 |
| Вес, кг | 10 |
Применяемость пневмокомпрессора:
— Автомобиль ГАЗ 66 и др.
— Базовый двигатель ГАЗ 66 и др.
Взаимозаменяемость:
— нет
Аналог:
— 22-3509015
Компрессор БелАЗ 540-3509015
| Пневматический компрессор БелАЗ 540-3509015 — двухцилиндровый компрессор поршневого типа (базовая модель 130-3509). Привод компрессора через шкив (с изделием не поставляется). Охлаждение головки жидкостное от системы охлаждения двигателя, охлаждение блока цилиндров — воздушное. Система смазки компрессора — смешанная. Масло подается из смазочной системы двигателя. Технические характеристики компрессора БелАЗ 540-3509015:
|
Применяемость пневмокомпрессора:
— Автомобиль
БелАЗ
Урал-4320, и др.
модификации
Краз-255, 256, 6510 и др. модификации
МАЗ-5336, 64229, и др. модификации
— Базовый двигатель ЯМЗ-236, 238 и др. модификации
Взаимозаменяемость:
— 16.3509012 (в зависимости от модели двигателя и автомобиля)
— 161.3509012 (в зависимости от модели двигателя и автомобиля)
— 161.3509012-20 (в зависимости от модели двигателя и автомобиля)
— 130-3509009-11 (в зависимости от модели двигателя и автомобиля)
— 500-3509015 Б1 (в зависимости от модели двигателя и автомобиля)
Аналог:
Аналогичные компрессоры разработанные на базе компрессора 130-3509 с теми же характеристиками и показателями:
— 500-3509015 Б1 — со шкивом Ф 172 мм
— 130.3509009-11 — без шкива
— 16-3509012 — со шкивом Ф 172 мм, без разгрузочного устройства
— 161.
3509012 — со шкивом Ф 172 мм, без разгрузочного устройства
— 130К-3509012 — со шкивом Ф 262 мм с регулятором давления
— 157К-3509012 — со шкивом Ф 224 мм с регулятором давления
— 157КД-3509012 — со шкивом Ф 220 мм с регулятором давления
Компрессор Икарус ИК20.3509015
| Компрессор (пневмокомпрессор) Икарус ИК20.3509015 — одноцилиндровый компрессор поршневого типа. Привод компрессора через шкиф. Охлаждение головки от системы охлаждения двигателя, система смазки подается под давлением из смазочной магистрали. Головка цилиндров вместе с цилиндром может быть повернута относительно оси коленчатого вала на 90o или 180o Технические характеристики компрессора Икарус ИК20.3509015:
|
Применяемость пневмокомпрессора:
— Автомобиль Икарус (автобус городского типа)
— Базовый двигатель не установлен
Взаимозаменяемость
— не установлена
Аналог:
— не установлен
Компрессор БелАЗ 20-3509015
Компрессор (пневмокомпрессор) БелАЗ 20-3509015 — одноцилиндровый компрессор поршневого типа. Привод компрессора через шкиф (с изделием не поставляется). Охлаждение головки от системы охлаждения двигателя, система смазки подается под давлением из смазочной магистрали. Головка цилиндров вместе с цилиндром может быть повернута относительно оси коленчатого вала на 90o или 180o Технические характеристики компрессора БелАЗ 20-3509015:
|
Применяемость пневмокомпрессора:
— Автомобиль
БелАЗ (в зависимости от модели двигателя)
МАЗ (в зависимости от модели двигателя)
— Базовый двигатель ЯМЗ
Взаимозаменяемость
— не установлена
Аналог:
— не установлен
Компрессор БелАЗ 13.
3509012-20
| Пневмокомпрессор БелАЗ 13.3509012-20 — двухцилиндровый компрессор поршневого типа, одноступенчатого сжатия. Привод компрессора шестеренный от распределительных шестерен. Охлаждение головки от системы охлаждения двигателя, масло подается из смазочной системы. Технические характеристики компрессора БелАЗ 13.3509012-20:
|
Применяемость пневмокомпрессора:
— Автомобиль БелАЗ — 7411
— Базовый двигатель ТМЗ — 84241
Взаимозаменяемость:
— нет
Аналог:
— Аналогичный компрессор 5320-3509015 с теми же характеристиками и показателями.
Компрессор ПАЗ 26-3509015
Компрессор (пневмокомпрессор) ПАЗ 26-3509015 — одноцилиндровый компрессор поршневого типа.
Привод компрессора от шкива (размер Ø180 мм).
Охлаждение головки от системы охлаждения двигателя, система смазки подается под давлением из смазочной магистрали.
Головка цилиндров вместе с цилиндром может быть повернута относительно оси коленчатого вала на 90o или 180o
Технические характеристики компрессора ПАЗ 26-3509015:
| Число цилиндров, шт | 1 |
| Номинальный диаметр цилиндра, мм | 92 |
| Ход поршня, мм | 46 |
| Номинальный рабочий объем, см3 | 306 |
| Частота вращения вала, мин-1: Номинальное Максимальное | 2000 3000 |
| Производительность, л/мин | 230 |
| Потребляемая мощность, кВт | 1,9 |
| Вес, кг | 12,3 |
Применяемость пневмокомпрессора:
— Автомобиль
ПАЗ — 32053, 3205-10, 3206 и др.
ГАЗ
— Базовый двигатель
ПАЗ
ГАЗ
Взаимозаменяемость
— Взаимозаменяем с пневмокомпрессором 22-3509015 (в зависимости от модели двигателя и автомобиля)
Аналог:
— нет
Компрессор ЗИЛ 130К-3509012
| Пневмокомпрессор ЗИЛ 130К-3509012 — одноцилиндровый компрессор поршневого типа(базовая модель 130-3509) с регулятором давления. Привод компрессора через шкив (размер Ø262 мм). Охлаждение головки жидкостное от системы охлаждения двигателя, охлаждение блока цилиндров — воздушное. Система смазки компрессора — смешанная. Масло подается из смазочной системы двигателя. Технические характеристики компрессора ЗИЛ 130К-3509012:
|
Применяемость пневмокомпрессора:
— Автомобиль не установлен
— Базовый двигатель не установлен
Взаимозаменяемость:
— не установлена
Аналог:
Аналогичные компрессоры разработанные на базе компрессора 130-3509 с теми же характеристиками и показателями:
— 130-3509009-11 — без шкива
— 16-3509012 — со шкивом Ф 172 мм, без разгрузочного устройства
— 161.
3509012 — со шкивом Ф 172 мм, без разгрузочного устройства
— 157К-3509012 — со шкивом Ф 224 мм с регулятором давления
— 157КД-3509012— со шкивом Ф 220 мм с регулятором давления
— 500-3509015 Б1— со шкивом Ф 172 мм
— 540-3509015 — без шкива
Компрессор 157К-3509012
Пневматический компрессор 157К-3509012 поршневого типа, двухцилиндровый (базовая модель 130-3509) с регулятором давления.
Привод компрессора через шкив (размер Ø224 мм).
Охлаждение головки жидкостное от системы охлаждения двигателя, охлаждение блока цилиндров — воздушное.
Система смазки компрессора — смешанная. Масло подается из смазочной системы двигателя.
Технические характеристики компрессора 157К-3509012:
| Номинальный диаметр цилиндра, мм | 60 |
| Ход поршня, мм | 38 |
| Номинальный рабочий объем, см3 | 214 |
| Частота вращения вала, мин-1: Номинальное Максимальное | 2000 2500 |
| Производительность, л/мин | 201 |
| Потребляемая мощность, кВт | 2,17 |
| Вес, кг | 15 |
Применяемость пневмокомпрессора:
— Автомобиль не установлен
— Базовый двигатель не установлен
Взаимозаменяемость:
— не установлена
Аналог:
Аналогичные компрессоры разработанные на базе компрессора 130-3509 с теми же характеристиками и показателями:
— 130-3509009-11 — без шкива
— 16-3509012 — со шкивом Ф 172 мм, без разгрузочного устройства
— 161.
3509012 — со шкивом Ф 172 мм, без разгрузочного устройства
— 157К-3509012 — со шкивом Ф 224 мм с регулятором давления
— 157КД-3509012— со шкивом Ф 220 мм с регулятором давления
— 500-3509015 Б1— со шкивом Ф 172 мм
— 540-3509015 — без шкива
Компрессор 157КД-3509012
| Пневмокомпрессор 157КД-3509012 поршневого типа, двухцилиндровый (базовая модель 130-3509) с регулятором давления. Привод компрессора через шкив (размер Ø220 мм). Охлаждение головки жидкостное от системы охлаждения двигателя, охлаждение блока цилиндров — воздушное. Система смазки компрессора — смешанная. Масло подается из смазочной системы двигателя. Технические характеристики компрессора 157К-3509012:
|
Применяемость пневмокомпрессора:
— Автомобиль не установлен
— Базовый двигатель не установлен
Взаимозаменяемость:
— не установлена
Аналог:
Аналогичные компрессоры разработанные на базе компрессора 130-3509 с теми же характеристиками и показателями:
— 130-3509009-11 — без шкива
— 16-3509012 — со шкивом Ф 172 мм, без разгрузочного устройства
— 161.
3509012 — со шкивом Ф 172 мм, без разгрузочного устройства
— 157К-3509012 — со шкивом Ф 224 мм с регулятором давления
— 157КД-3509012— со шкивом Ф 220 мм с регулятором давления
— 500-3509015 Б1— со шкивом Ф 172 мм
— 540-3509015 — без шкива
Система смазки компрессора зил 130
Всем привет! Начал переделывать свой компрессор и сразу решил засверлить шатуны. Разобрал и удивился хорошему состоянию поршневой. Вкладыши конечно голодали. В интернете много статей по решению масляного голодание методом сверления шатуна. Решил и я попробовать этот метод. Снял шатуны и просверлил три отверстия диаметром 3 мм. а сверху сделал зенковку сверлом на 10 мм. Потом все это собрал в обратном порядке попутно заменив прокладку под головкой. Посмотрим что даст эта доработка. Ну и впереди сборка нового компрессора и нового ресивера!
Сообщества › Сделай Сам › Блог › Доработка системы смазки компрессора Зил 130
Всем привет! Начал переделывать свой компрессор и сразу решил засверлить шатуны.
Разобрал и удивился хорошему состоянию поршневой. Вкладыши конечно голодали. В интернете много статей по решению масляного голодание методом сверления шатуна. Решил и я попробовать этот метод. Снял шатуны и просверлил три отверстия диаметром 3 мм. а сверху сделал зенковку сверлом на 10 мм. Потом все это собрал в обратном порядке попутно заменив прокладку под головкой. Посмотрим что даст эта доработка. Ну и впереди сборка нового компрессора и нового ресивера!
Устройство
Компрессор — двухцилиндровое устройство поршневого типа. Его принцип работы заключается в перекачке воздуха посредством движения поршней. Устройство компрессора состоит из:
- проводного картера с каналами;
- сальника;
- пружины;
- уплотнителя.
Поршни изготовлены из алюминия и оснащены пальцами, которые закреплены стопорными кольцами. Посредством впускных клапанов воздух, находящийся в воздушном фильтре двигателя, проникает в цилиндры компрессора.
Он сжимается поршнями и поступает в пневматическую систему. Затем проходит через нагнетательные клапаны, которые расположены в головке цилиндра.
Система охлаждения
Двигатель имеет жидкостную систему охлаждения закрытого типа. Она состоит из: радиатора, термостата, насоса, температурного датчика, компрессора и патрубка. Работает по принципу принудительной циркуляции охлаждения. Если жидкость в системе перегревается, то необходимо открыть пробку радиатора. При ее открытии из горловины выбрасывается струя горячей воды. Поэтому это нужно делать осторожно.
Система смазки
Система смазки — комбинированная. Смазочное вещество поступает из смазочного узла системы мотора и остывает с помощью охлаждающей жидкости.
Плунжерный механизм
Плунжерный механизм у данного компрессора используется с подшипниковым рядом. Специалисты говорят о том, что деталь способна выдерживать большие нагрузки при значительных оборотах. Однако важно учитывать, что впускной клапан нуждается в частой чистке.
При этом канал довольно часто засоряется. Для его проверки откручивается картер. Также придется отсоединить крышку. Для настройки плунжера применяется регулировочный винт. При вылете накладки можно установить большой винт. При этом необходимо подобрать соответствующее защитное кольцо. Чтобы решить проблемы со стиранием накладки, применяются специальные средства для герметизации блока. Некоторые специалисты рекомендуют периодически зачищать канальцы.
Характеристики
Подробное описание зиловского компрессора. Технические характеристики:
- производительность — 210 л;
- рабочий объем — 214 см³;
- размер цилиндра — 60 мм в диаметре;
- цилиндр — 2 шт.;
- потребляемая мощность — до 21,1 кВт;
- частота вращения — 2000 об/мин;
- внутреннее давление пневмосистемы — 740 кПа;
- гарантийный срок — 6 месяцев.
Как сделать компрессор своими руками
Устройство своими руками делают базе зиловского компрессора. Если оно предназначено для выполнения небольших задач, то переделка компрессора будет минимальная.
Его доработка проводится в том случае, если устройство планируют использовать долго и с большими нагрузками. Из материалов понадобятся:
- двигатель;
- ресивер;
- манометр;
- предохранительный клапан.
При изготовлении самодельного аппарата важно правильно передать на агрегат вращающий момент. За давление отвечают клапан и манометр, которые монтируют на ресивер. Тонкости сборки:
- Вращающий момент. Чтобы компрессор сохранил свою мощность и количество оборотов, некоторые мастера делают прямое подключение. Но такое подключение требует наличие мощного двигателя. Поэтому двигатель с агрегатом соединяют посредством ременной передачи. Если соединение сделать через редуктор, то вращающий момент получится достаточным. В основном при изготовлении компрессора используют ременную передачу, так как качественный редуктор стоит дорого.
- Двигатель. Двигатель подбирают таким образом, чтобы он соответствовал всем параметрам компрессора. Чтобы в устройстве сформировалось максимальное давление, скорость вращения двигателя должна быть более 2000 об/мин.
Это позволит компрессору работать в легком режиме. Если аппарат будет использоваться без нагрузок и непродолжительный период, то подойдет агрегат мощностью 1 кВТ. Для более интенсивной работы применяют изделия большой мощности. - Ресивер. Самодельный компрессор должен быть компактных размеров. Для этого из газового баллона или огнетушителя изготавливают ресивер. Также подойдет любая металлическая емкость. Главное, чтобы готовое устройство имело средние размеры. Конструкция оснащается манометром и регулятором давления. Для этого ее нужно доработать. Возле входа в резервуар монтируют готовый узел с редуктором, который можно приобрести в магазине. После установки клапана обратного давления проводят его настройку.
- Система охлаждения и смазка. У некоторых компрессоров во время работы происходит большой перегрев. Чтобы устранить этот недостаток, их дорабатывают системой охлаждения. Для этого в шатунах проделывают отверстия, а нижнюю крышку оборудуют косой трубкой. На выходе из картера монтируют фильтр.
Он должен быть прозрачным. Это позволит наблюдать за уровнем масла. Из огнетушителя создают влагоотделитель.
Неисправности и ремонт
Шум и стук во время работы компрессора, а также масло, которое появляется в воздушном баллоне, свидетельствует о неисправности устройства.
- Со временем на блоке картера образуются трещины и сколы. Картер полностью заменяют, если на его стенках возникли трещины. Трещины заваривают, если они расположены на фланце крепления картера и имеют маленький размер.
- Чтобы проверить герметичность цилиндра, его укладывают в водяную ванну и наполняют сжатым под давлением воздухом. Если появились пузырьки, то он считается не герметичным. Ремонт производят путем растачивания емкости и хонингуют ее под ремонтный размер. Блок в разъемном состоянии должен быть цельным, без забоин. Допускается отклонение до 0,04 мм. Нельзя, чтобы под лекальной линейкой проходил щуп в 0,05 мм.
- Ремонтный размер поршней определяется по цифре, выбитой на дне поршня.
Это цифра +04, +0,8. - Если износились шариковые подшипники, их спрессовывают и заменяют новыми.
- Если шатунные шейки вала имеют износ выше 0,05 мм, то полностью меняют коленчатый вал.
- Чтобы исправить изношенную верхнюю головку шатуна, запрессовывают ремонтную втулку, предварительно сделав отверстие диаметром 14,019 мм.
Если торец крышки и ее задняя часть не прилегают плотно к корпусу, то вовремя трения они вместе с уплотнителем изнашиваются. При появлении трещин их меняют на новые детали.
Осмотр седла
Седло на компрессор ЗИЛ-130 устанавливается под нагнетательным механизмом. Чтобы внимательно его осмотреть, надо снять передний шатун. После этого отодвигается непосредственно поршень. Следующим шагом поддевается защитная крышка. Ее пластина фиксируется на четырех винтах, которые можно открутить при помощи ключа. Пробка в данном случае свинчивается против часовой стрелки.
Затем останется только добраться до седла, которое фиксируется на насадке.
В нижней части устройства должен находиться сальник. При этом пластина проверяется отдельно. Также стоит осмотреть верхнюю часть седла. На ней часто собирается копоть. Прочистить корпус можно при помощи бензина. В данном случае важно не повредить коромысло.
Смазка компрессора зил 130 своими руками
Пробежавшись по Интернет-форумам, я обнаружил множество вопросов, касающихся самодельного компрессора на базе автомобильных компрессоров. А практических ответов на них не обнаружил. Поэтому хочу предложить практическую конструкцию компрессора на базе «подножных» агрегатов от автомобилей ЗИЛ, МАЗ, КамАЗ и т. д.
Один из экземпляров данной конструкции зарекомендовал себя с лучшей стороны, проработав в течении 15 лет без какого-л. ремонта (за это время два раза долил масло). В зависимости от ёмкости ресивера и мощности двигателя данную конструкцию можно использовать для покраски а/м, работы пневмоинструмента, накачки колёс и просто сдувать пыль со станков. Человеку, у которого руки выросли откуда надо, изготовить подобную конструкцию не вызовет сложностей, поэтому хочу рассказать лишь общие черты построения и зависимости мощностей и объёмов в единицах «больше-меньше».
Компрессор от ЗИЛ 130 – 157, МАЗ можно использовать с минимальными переделками. Компрессор КамАЗ требует большой доработки, а компрессор ГАЗ, МТЗ – малопроизводителен.
Примерная компоновка и пневматическая схема включения компрессора.
В зависимости от потребностей ресивер можно применить от а/м ЗИЛ, большой – от КамАЗа, в которых уже существуют все необходимые отверстия или использовать пропановый баллон на 50 литров.
Компрессор без нижней крышки через паронитовую прокладку устанавливается на кусок швеллера шириной 200 – 250 мм, на него же устанавливается и двигатель на лапах в профрезерованные пазы (для натяга подходящего ремня). Ремень большого сечения применять не стоит, он отбирает мощность, особенно у и без того слабенького двигателя если он работает на одной фазе. В зависимости от потребностей стоит подобрать электродвигатель. Если использовать сеть 220 В, то мин. необходимая мощность трёхфазного двигателя равна 1,5 кВт (1420 об/мин). В этом случае передаточное отношение следует выбрать 1:3.
Если двигатель мощней, то передаточное отношение соответственно уменьшается и увеличивается производительность. В случае подключения на 220 вольт оптимально использовать двигатель 2,2 кВт. В случае использования 3 фаз (380 В.), мощность двигателя можно уменьшить .
В моей конструкции применён шкив а/м МАЗ, наружным диаметром 210 мм. Все другие аналогичные шкивы от авт. компрессоров — примерно такого же диаметра. Передаточное отношение шкивов влияет на производительность компрессора и зависит от мощности двигателя. Мой двигатель 1,1 кВт и передаточное отношение 210_80=2,6. Двигатель работает на пределе мощности при давлении 8 атмосфер. Максимальная производительность 260 л/мин достигается при 2500об/мин коленвала. Можно конечно раскрутить и больше, на автомобиле ЗиЛ 130 при максимальной скорости, обороты компрессора 3200 об/мин.
Как своими руками сделать покрасочный компрессор на базе ЗИЛ 130
Лучшая основа для создания покрасочного компрессора своими руками – ЗИЛ 130, компрессор которого конструктивно наиболее для этого подходит.
Для проведения покраски кузова применение компрессора важно, так как это улучшает качество и прочность нанесённого слоя, повышает производительность. Кроме того, его можно использовать для накачки шин, подачи воздуха на пневмоинструменты.
Ввиду немалой стоимости компрессора, приобретать прибор для «разовой» покраски своего автомобиля нецелесообразно, да и не каждому по карману. Сделать подобное устройство своими руками способны домашние умельцы.
Замена уплотнителя
Чтобы сделать самостоятельно замену уплотнителя, важно внимательно осмотреть сальник. Как правило, на нем собирается много копоти. Также надо отметить, что уплотнители стираются из-за перегрева колодки. Происходит это из-за забитых канальцев. Чтобы исправить данную ситуацию, рекомендуется открутить защитную крышку компрессора. После этого отвинчиваются кольца. Далее останется только выдвинуть коромысло. Новые накладки устанавливаются на хорошо зачищенную поверхность. На новые запчасти ЗИЛ-130 цены вполне адекватные.
Сделать самостоятельно или купить готовый прибор
Сегодняшний рынок устройств для повышения давления и нагнетания воздуха изобилует разнообразием. Для разных целей выпускаются винтовые, поршневые и другие виды компрессоров. Тем, кто сделал выбор в пользу готового прибора, следует выбрать вид механизма с требуемыми техническими характеристиками и по оптимальной цене.
Из всего многообразия предлагаемой продукции, конечно, лучше выбирать изделия известных брендов. Их главным недостатком является высокая стоимость. Большие денежные траты окупятся только при занятии профессиональным ремонтом автомобилей.
Если приобрести дешёвый прибор неизвестного бренда, надо быть готовым к неприятным неожиданностям. Недорогие изделия часто изготовлены из некачественного материала, двигатель выходит из строя, а гарантийный ремонт длится несколько месяцев.
Агрегат, сделанный своими руками из зиловского (ЗИЛ 130), многие мастера считают более надёжным. По многочисленным отзывам, такой аппарат имеет хорошую производительность, прочность, износостойкость.
К тому же, ремкомплект на зиловский компрессор можно купить в каждом магазине автозапчастей. Изготовленное самостоятельно добротное устройство, долго и исправно работающее, будет радовать своего владельца и станет предметом зависти многих автолюбителей.
После изучения инструкции по изготовлению своими руками прибора из компрессора ЗИЛ 130, можно сделать вывод: покупать кота в мешке или сделать устройство самому.
Нагнетательный механизм
Нагнетательный механизм в устройстве выполнен очень компактных размеров. По заверениям специалистов, устройство может выдерживать большое давление. Таким образом, на компрессор ЗИЛ-130 цена вполне оправдана. Седло в устройстве имеет два выхода. С коромыслом указанная деталь не соприкасается.
С картером нагнетательный механизм соединяется через трубку. Вал у модели используется небольшого диаметра. У его основания имеется два кольца и смазка компрессора ЗИЛ-130. В конце вала устанавливается короткая пробка.
Выпускной клапан у нагнетателя применяется с защитной втулкой. При возникновении проблем с подачей воздуха в первую очередь проверяется выход нагнетателя. Далее откручивается крышка и полностью прочищается клапан. Следующим шагом специалисты рекомендуют проверить пружину, поскольку на нее оказывается большое давление.
Что такое Zip-файл и как работает Zip-файл?
Что такое ZIP-файл?
Сжатие файлов — важная часть цифрового рабочего пространства. Файлы ZIP используют сжатие для отправки большего количества данных с более высокой скоростью, чем когда-либо. Вот почему ZIP-файлы являются таким популярным инструментом для бизнеса во всем мире. Но что такое ZIP-файл?
ZIP — это распространенный формат файлов, который используется для сжатия одного или нескольких файлов в одном месте. Это уменьшает размер файла и упрощает его транспортировку или хранение. Получатель может разархивировать (или извлечь) файл ZIP после транспортировки и использовать файл в исходном формате.
Файлы ZIP работают почти так же, как стандартные папки на вашем компьютере. Они содержат данные и файлы вместе в одном месте. Но в заархивированных файлах содержимое сжимается, что уменьшает объем данных, используемых вашим компьютером. Другой способ описать ZIP-файлы — это архив. Архив содержит все сжатые файлы в одном месте. Таким образом, формат файла ZIP — это один из вариантов использования, если вам нужно уменьшить размер одного файла или группы файлов.
Итак, как идентифицировать файл ZIP-архива? Простой. Всякий раз, когда вы видите расширения .ZIP или .zip в конце имени файла, вы просматриваете ZIP-файл. Значок, представляющий файл, также изменится. Скажем, у вас есть фотография с именем Vacation.jpg. После того, как вы заархивируете эту фотографию, она теперь будет читаться как Vacation.zip и иметь новый значок.
Отличается ли ZIP от 7-ZIP или RAR?
При изучении файлов ZIP вы можете встретить термин «файл 7z» или «7-ZIP». Это формат архивации, который использует более высокую степень сжатия для меньшего количества мегабайт.
Хотя этот меньший размер является положительным моментом, он также требует больше времени для обработки. Это также менее удобно, поскольку для использования вам необходимо загрузить и установить программное приложение. Это также относится к файлам RAR и TAR, а также к сторонним программным приложениям WinRAR, ZIPx и PeaZip.
Как работают файлы ZIP?
Файлы ZIP кодируют информацию в меньшее количество битов, удаляя избыточные данные. Это «сжатие данных без потерь» гарантирует целостность всех исходных данных. Давайте рассмотрим быстрый пример, чтобы объяснить, как это работает.
Представьте себе файл, содержащий следующие предложения:
- Лучшее решение для совместного использования и хранения данных для вашего бизнеса
- Ваше бизнес-решение для лучшего обмена и хранения
Каждое слово в этом файле встречается дважды. Теперь, если каждая буква и пробел в предложении равны одной единице памяти, тогда весь размер файла составит 110 единиц.
Но вы можете создать числовой код, чтобы выразить данные по-другому:
- Лучшее решение для обмена и хранения данных для вашего бизнеса
- 123456789
Или, другими словами, оба предложения теперь будут выглядеть так: 123456789896712345. Это означает, что первоначальный размер файла из 110 единиц уменьшается до 18 единиц, что является огромной экономией. Именно для этого в формате файла ZIP используются алгоритмы сжатия без потерь. Это позволяет более эффективно выражать ту же информацию, удаляя избыточные данные из файла. Это также означает, что отправлять ZIP-файл быстрее.
Когда использовать ZIP-файлы на работе
Существует широкий спектр потенциальных применений ZIP-файлов в бизнес-среде. Возможность отправки большого количества файлов по электронной почте крайне важна. Скажем, вам нужно отправить большой пакет файлов коллеге или клиенту. Если вы попытаетесь отправить их все сразу во вложении электронной почты, вы получите сообщение об ошибке из-за размера файла.
Таким образом, вы можете попробовать отправить каждый файл как отдельные электронные письма. Но это занимает много времени, требует больших усилий и может привести к дублированию файлов. Чтобы отправить все файлы в одном электронном письме, вы можете заархивировать их и прикрепить этот единственный ZIP-файл к своему электронному письму. Затем ваш получатель может разархивировать файл, загрузив и щелкнув.
Вы также должны учитывать возможность экономии памяти. Архивирование файлов может помочь уменьшить объем занимаемого ими места на жестком диске вашего компьютера.
Дополнительную информацию о том, как архивировать файлы, можно найти здесь.
Каковы преимущества и недостатки формата файла ZIP?
Преимущества
Во-первых, сжатые файлы экономят место на диске и повышают производительность вашего компьютера. Это также эффективный способ улучшить передачу файлов по электронной почте. Вы можете отправлять электронные письма быстрее с файлами меньшего размера.
Кроме того, формат файла ZIP зашифрует ваши данные. Это обеспечивает вашу конфиденциальность при отправке файлов через Интернет. Короче говоря, это простой способ максимально повысить эффективность работы с файлами. Это также довольно простой процесс создания ZIP-файла на Mac или ПК. Windows и Mac OS имеют другой метод, но оба они начинаются с правого щелчка. А для получателей просто распаковать файлы. Все, что требуется, это загрузить и щелкнуть мышью независимо от операционной системы компьютера.
Недостатки
Однако существует ряд потенциальных проблем, связанных с ZIP-файлами. К ним относятся ограничения размера файла, ограничения типа файла, проблемы с повреждением и мобильностью.
Одним из многих недостатков, связанных с ZIP-архивами, являются ограничения на сжатие. Некоторые файлы не могут быть сжаты намного больше, чем они уже есть. Это особенно верно для файлов MP3 и файлов JPG. Таким образом, если вы часто работаете с видеофайлами и файлами изображений, формат ZIP не поможет вам сэкономить много места для хранения.
Вам также необходимо подумать об аспекте безопасности заархивированных файлов. Готовые заархивированные файлы зашифрованы, но вы не знаете, что произойдет с вашим файлом, если вы загрузите стороннее приложение. Также стоит помнить, что расширения файлов ZIP также могут быть повреждены. В некоторых случаях поврежденные данные могут повлиять на всю папку ZIP.
Файлы ZIP также трудно использовать, если вы находитесь в пути. Если вы используете телефон или планшет, вам нужно будет использовать файл, сохраненный на вашем телефоне, и стороннее приложение. Это создаст проблемы как с местом для хранения файлов, так и с безопасностью.
Какие есть альтернативы ZIP-файлам?
Облачное хранилище — лучшая альтернатива ZIP-файлам. Облако Dropbox полностью избавляет от необходимости сжатия. Вам не нужно выполнять долгий многоэтапный процесс для хранения или отправки больших файлов. Просто нажмите «Поделиться», чтобы отправить файл или папку в исходном размере, без сжатия.
Вы можете хранить и обмениваться файлами размером до 50 ГБ. Dropbox — это быстрый и надежный способ обмениваться файлами, не используя электронную почту и не занимая место на диске вашего компьютера. И если вам все еще нужно работать со сжатыми файлами, Dropbox тоже может это сделать! Dropbox предлагает предварительный просмотр ZIP и RAR, сжатие после загрузки и редактирование.
Заключительное слово
Короче говоря, ZIP-файл — это способ хранения или передачи данных более эффективным способом. Но это не единственный способ сжатия файлов или экономии места. Теперь, когда у нас есть Dropbox, облако делает хранение файлов и обмен ими быстрее, проще и безопаснее, чем сжатие файлов.
технические характеристики, эксплуатация и ремонт
Для тормозной системы ЗИЛ-130 необходим компрессор. Принцип работы модификации основан на нагнетании воздуха. Это происходит в закрытой пневматической системе. Устройство этой серии устанавливается справа от двигателя. Для того, чтобы подробно разобрать компрессор ЗИЛ-130, технические характеристики нужно учитывать обязательно.
Однако в первую очередь рекомендуется ознакомиться с устройством механизма.
Компрессор ЗИЛ-130: устройство и модель работы
Принцип действия компрессора рассчитан на перекачку воздуха. Это связано с движением поршней. В стандартную модификацию входит проволочный картер, имеющий каналы. В центральной камере системы находится сальник. Для работы нагнетателя используется пружина. Чтобы компрессор не был поврежден избыточным давлением, имеется уплотнение. Приклад также используется в устройстве. Когда он втягивается, воздух поступает в клапан.
Подробные параметры модификации
Компрессор ЗИЛ-130 имеет следующие технические характеристики: рабочий объем — 214 куб.м. сантиметров, мощность составляет 210 литров. Потребляемая мощность представленной модификации не более 2,1 кВт. Предельная скорость составляет 2 тысячи оборотов в минуту. Внутри пневматической системы давление поддерживается на уровне 740 кПа. Стоит компрессор ЗИЛ-130 (рыночная цена) 22 тысячи рублей.
Картер модификация
Картер воздушного компрессора ЗИЛ-130 устанавливается с коромыслом. Непосредственно перед устройством находится специальный вал. Как правило, его промазывают только у основания. Основная проблема картера — износ стоек. Чтобы исправить эту ситуацию, можно отсоединить штекер. Далее необходимо осмотреть приводной вал. Для замены картера полностью снимается крышка. При проблемах с валом отсоединяется только передняя часть коромысла.
Механизм обдува
Разгрузочный механизм в устройстве очень компактный. По словам специалистов, устройство выдерживает большое давление. Таким образом, цена на компрессор ЗИЛ-130 оправдана. Седло в устройстве имеет два выхода. С коромыслом указанная деталь не соприкасается.
С картером нагнетательный механизм соединяется через трубку. Вал модели имеет небольшой диаметр. В его основании два кольца и смазка компрессора ЗИЛ-130. На конце вала установлена короткая заглушка. Выпускной клапан на нагнетателе используется с защитной втулкой.
Если есть проблема с подачей воздуха, в первую очередь проверьте выход нагнетателя. Затем крышка откручивается и клапан полностью прочищается. Следующим шагом специалисты рекомендуют проверить пружину, так как она находится под большим давлением.
Коленчатый вал устройства
Коленчатый вал в этом случае соединен с картером. Выходной канал имеет малый диаметр. Цилиндры на компрессоре ЗИЛ-130 установлены по бокам. Также стоит отметить наличие двух накладок на нижней стороне модификации. Вал фиксируется на хомуте. Дополнительное внимание следует обратить на то, что направляющие данного компрессора установлены с левой стороны. При закрытии вала специалисты рекомендуют осматривать нагнетатель в сборе.
Также проверяется картер, так как он обычно собирает весь мусор из отработанного масла. Для корректной работы системы проверяется давление внутри агрегата. Также необходимо сразу прочистить все каналы из картера. Это можно сделать с помощью обычного шомпола. Седло предварительно смазано.
Если вал деформирован, его необходимо немедленно заменить. На запчасти ЗИЛ-130 цены вполне приемлемые. Кончик детали приваривается вручную.
Плунжерный механизм
В плунжерном механизме этого компрессора используется ряд подшипников. Специалисты утверждают, что деталь способна выдерживать большие нагрузки на значительных оборотах. Однако важно учитывать, что впускной клапан нуждается в частой очистке. В этом случае канал часто забивается. Чтобы это проверить, картер расшатывается. Также необходимо отсоединить крышку. Регулировочный винт используется для регулировки плунжера. При снятии крышки можно установить большой винт. Необходимо выбрать соответствующее защитное кольцо. Для решения проблем со стиранием накладки используются специальные средства для герметизации блока. Некоторые специалисты рекомендуют периодически прочищать канальцы.
Еще автолюбителей могут ждать проблемы с основанием плунжера. Представляет собой обычную пластину, которая закрепляется на резьбе.
При большой встряске связь быстро рвется. В результате пластина начинает болтаться. Чтобы исправить ситуацию, рекомендуется сначала отсоединить крышку. После этого важно сразу прочистить розетку. Винт крутится очень медленно. При этом нужно следить за положением несущего ряда.
Сальник аппарата
Сальник компрессора ЗИЛ-130 установлен с одним уплотнением. Камера небольшого размера. В нижней части модификации есть две направляющие. По бокам камеры есть стойки. Также следует отметить наличие одной опоры в верхней части. Картер компрессора ЗИЛ-130 размещен с правой стороны.
Специалисты утверждают, что сальник не нуждается в частом уходе. Однако следует учитывать, что он может быстро стирать накладки на опоре. Для того, чтобы их осмотреть, снимается только передняя стойка. Далее важно отсоединить блок и фланш-панель. Тогда мастер сможет получить вагонку напрямую. Если на них видны небольшие трещинки, можно попробовать использовать герметик. Однако специалисты при любой деформации деталей рекомендуют сразу их заменить.
Замена уплотнения
Для самостоятельной замены уплотнения важно внимательно осмотреть сальник. Как правило, собирает много сажи. Также следует отметить, что уплотнители стираются из-за перегрева колодки. Это связано с закупоркой канальцев. Чтобы исправить эту ситуацию, рекомендуется открутить защитный кожух компрессора. После этого кольца откручиваются. Затем остается только нажать на качельку. Новые чехлы устанавливаются на хорошо зачищенную поверхность. На новые запчасти ЗИЛ-130 цены вполне адекватные.
Осмотр седла
Седло компрессора ЗИЛ-130 устанавливается под нагнетательный механизм. Чтобы внимательно его осмотреть, нужно снять передний шатун. После этого поршень движется прямо. Следующим шагом является защитная крышка. Его пластина закреплена на четырех винтах, которые можно открутить ключом. Пробка в этом случае завинчивается против часовой стрелки.
Дальше остается только добраться до седла, которое закреплено на насадке. Внизу устройства должен быть сальник.
В этом случае табличка проверяется отдельно. Также стоит осмотреть верхнюю часть седла. Часто собирает сажу. Очистите корпус бензином. При этом важно не повредить коромысло.
Ремонт плунжера
При поломке плунжера ремонт компрессора следует начинать с откручивания переднего картера. Затем открутите защитную крышку. После этого важно снять две пластины, которые зажимаются кольцами. Если они не ослабевают, их можно слегка забить. Следующим шагом является осмотр сальника. Как правило, на нем скапливается большое количество грязи.
Если нагнетатель работает исправно, то внутри агрегата все должно быть чисто. В этом случае клапаны проверяются отдельно. Для отсоединения плунжера рекомендуется использовать большой ключ. Уже одно это проблематично из-за того, что приходится постоянно удерживать поршень. В этом случае целесообразнее обратиться за помощью к другу.
Объяснение WinZip Computing
Сжатие файлов: Объяснение WinZip Computing Если вы когда-либо загружали что-либо из Интернета (что весьма вероятно, учитывая тот факт, что это 2017 год), есть большая вероятность, что вы сталкивались с ZIP-файлами (или каким-либо другим типом сжатия файлов, таким как RAR или 7Z).
Также есть большая вероятность, что вы не совсем уверены, как работает сжатие файлов, что объясняет, почему вы читаете этот пост.
Из сотен различных типов расширений файлов сжатые файлы, такие как ZIP, уникальны. Они не предназначены для изображений, видео, аудио или любого другого типа данных.
Вместо этого они являются результатом сжатия больших файлов во что-то более управляемое. Благодаря сжатию файла данные занимают меньше места, а файлы можно отправлять и получать намного быстрее.
Но подождите, как можно уменьшить размер файла, не испортив данные? Это может показаться невозможным, но как только вы узнаете, что происходит за кулисами, это обретает смысл.
Итак, если вы когда-нибудь задавались вопросом, что делает сжатие файла? тогда вы находитесь в правильном месте. Итак, давайте начнем с некоторых основ.
Что такое сжатие файлов?
Это правда, что ZIP — не единственный тип сжатого файла, но определенно один из самых распространенных.
Мы могли бы продолжать и продолжать о ZIP, ARC, ARJ, RAR, CAB и десятках других, но все они по сути работают одинаково. Итак, чтобы этот пост был ясным и легким для понимания, мы сосредоточимся только на расширении ZIP.
По сути, сжатый файл представляет собой своего рода архив, содержащий один или несколько файлов, размер которых был уменьшен. Поскольку эти файлы меньше, их можно хранить, не занимая много места, или передавать через Интернет на более высоких скоростях. С помощью такой программы, как WinZip, вы можете распаковать файл или файлы обратно в их исходное состояние без какого-либо ухудшения качества.
Нужно скачать WinZip?
Загрузите бесплатную 30-дневную пробную версию прямо сейчас!
Загрузить пробную версию
Все еще не знаете, как на самом деле работает это волшебство? Потерпите меня, пока я буду немного более техническим.
Как работает сжатие файлов?
Здесь все может стать немного сложнее.
По сути, существует два основных типа сжатия файлов? без потерь и с потерями. Сжатие без потерь берет ваши файлы и уменьшает их размер без потери информации. Сжатие с потерями уменьшает размер файла, отсекая фрагменты, которые не являются на 100 % необходимыми для работы. Я знаю, что это довольно сильное упрощение, поэтому давайте разберем их по одному.
Сжатие файлов без потерь
Это может показаться безумием, но это то, как это работает. Чтобы сжатие без потерь работало, файл необходимо уменьшить, ничего не потеряв. Это делается путем удаления избыточности.
Какая избыточность, спросите вы?
Избыточность данных — это условие, созданное в базе данных или среде хранения данных, в котором один и тот же фрагмент данных хранится в нескольких местах.
Благодаря устранению избыточности у вас остается только один экземпляр каждого бита данных.
Сжатие файлов без потерь будет похоже на взятие этого:
AAABBBBBCC
и сжатие его до этого:
A3B5C2
Там та же информация, но она упрощена, чтобы занимать меньше места соответствует количеству повторений предыдущей буквы).
Таким образом, когда вы распаковываете (распаковываете/открываете/распаковываете) файл, он знает, как вернуться к исходной форме. Это в основном используется для текста и электронных таблиц, потому что потеря слов или данных из документа — это не то, чего вы хотите.
Сжатие файлов с потерями
Сжатие с потерями работает в основном так же, но, как вы, вероятно, можете сказать по названию, оно приводит к безвозвратной потере некоторых данных (не так плохо, как кажется).
Это чаще встречается с мультимедийными файлами, такими как видео, аудио и изображения, потому что они не слишком сильно страдают от потери данных. На самом деле, музыка и видео, которые сейчас находятся на вашем компьютере, вероятно, были сжаты, и вы даже не замечаете недостающих битов. Это связано с тем, что удаленные данные находятся за пределами диапазона, который люди могут слышать или видеть.
Однако есть и обратная сторона: если вы сжимаете один и тот же файл снова и снова, используя метод с потерями, вы начнете замечать снижение качества, поскольку данные каждый раз удаляются.![]()
Нужно скачать WinZip?
Загрузите бесплатную 30-дневную пробную версию прямо сейчас!
Загрузить пробную версию
Зачем сжимать файлы?
Если вы часто редактируете мультимедийные файлы, то знаете, насколько важно сжатие файлов при передаче фотографий, музыки и видео. Вы действительно не хотите убить всю свою пропускную способность и тратить тонны ценного дискового пространства. Если вы не из таких людей, то вот почему это так необходимо.
Занимает меньше места
Допустим, у вас есть огромное количество файлов на вашем компьютере, но вы пока не планируете ничего с ними делать (может быть, вы виртуальный накопитель, кто знает). Оставлять их на жестком диске, чтобы они занимали место, — не самый практичный выход.
Вместо этого вы можете заархивировать большое количество файлов в одну архивную папку, что освободит место и упростит организацию.
Храните свою коллекцию старых фильмов о кунг-фу на жестком диске? Сожмите их все в один ZIP-файл и удивитесь, сколько места вы сэкономите.
Более эффективная передача
Если вы когда-либо пытались отправить по электронной почте действительно большой файл, вы знаете, что это может занять много времени. Еще хуже — пытаться отправить по электронной почте сразу несколько документов. В большинстве случаев ваше сообщение не будет выполнено из-за того, что некоторые почтовые клиенты не позволяют передавать файлы, превышающие определенный размер.
Конечно, вы можете отправить несколько писем с небольшими вложениями в каждом, но это отнимает много времени и трудно отслеживать (и вы, вероятно, будете раздражать получателя).
Сжимая документы в один ZIP-файл, он будет занимать меньше места и передаваться намного быстрее. Получателю просто нужно использовать программу, такую как WinZip, для извлечения файлов, и все, что вы им отправили, будет в одной организованной папке.
Можно сэкономить
Жесткие диски стоят дорого — мне не нужно вам об этом говорить. Хранение огромного количества данных, очевидно, занимает много места, так почему бы не получить максимальную отдачу от затраченных средств?
Допустим, у вас есть 200 ГБ данных, которые нужно спрятать на компьютере, но на жестком диске всего 250 ГБ.
Конечно, он подойдет, но тогда у вас останется только 50 ГБ, что в наши дни не так уж и много.
Вы можете пойти и купить более крупный и дорогой жесткий диск, перенести все со старого на новый, и все готово.
ИЛИ
Вы можете сжать свои 200 ГБ данных в ZIP-файл, который занимает всего 100 ГБ. У вас все еще есть все ваши файлы, готовые к использованию, когда они вам понадобятся, но вам не нужно тратить деньги на дополнительное пространство для хранения.
Как сжимать/распаковывать файлы
К этому моменту у вас должно быть достаточно четкое представление о сжатии файлов — как оно работает и почему оно выгодно. Это здорово и все такое, но вы, вероятно, хотите знать, как архивировать и распаковывать файлы самостоятельно, верно?
Ниже приведен краткий курс по процессу сжатия и распаковки файлов. К счастью, если файлы, которые вы пытаетесь сжать, относительно малы, ваша операционная система должна иметь возможность архивировать их без необходимости использования стороннего программного обеспечения.
Простой вариант щелчка правой кнопкой мыши позаботится об этом за вас.
Но что, если вы имеете дело с несколькими гигабайтами данных? Вам понадобится что-то более «умное», чтобы позаботиться о вещах. К счастью для вас, WinZip является ведущим файловым архиватором.
Нужно скачать WinZip?
Загрузите бесплатную 30-дневную пробную версию прямо сейчас!
Загрузить пробную версию
Сжатие больших файлов в WinZip
- Эта часть довольно сложна. Во-первых, вам нужно открыть WinZip (сложно, правда?).
- Затем вам нужно найти и выбрать все файлы, которые вы хотите сжать, на панели Файлы .
- Как только они все будут выбраны, нажмите Добавить в Zip.
- Щелкните Сохранить как.
- Выберите целевое расположение, дайте ему имя и нажмите Сохранить. Вот и все.
Сжатие больших файлов вне WinZip (для этого необходимо установить WinZip)
- Откройте папку, содержащую все файлы, которые вы хотите сжать.

- Выделите каждый, который вы собираетесь заархивировать.
- Щелкните правой кнопкой мыши в выделенной области, и появится подменю WinZip. У вас есть несколько вариантов на выбор здесь. * Добавить в Zip-файл: нажатие этой опции позволяет дать имя Zip-файлу, определить, как он должен быть сжат, и добавить шифрование.
- Теперь ваш Zip-файл создан для хранения или передачи.
* Добавить в [имя файла].zip: Этот вариант намного быстрее, но у вас не так много свободы. По сути, он создаст Zip-файл с именем содержащей его папки, но вы не сможете настроить параметры.
Распаковка (распаковка) ваших файлов
Распаковать файл так же просто, как:
- Перетащите файл или папку из заархивированной папки в новое место.
ИЛИ
- Щелкните правой кнопкой мыши внутри заархивированной папки, выберите Извлечь все , затем следуйте инструкциям.
Вот и все
Итак, это подводит итог основам сжатия файлов.




