Проверим «ручничок»… — журнал За рулем
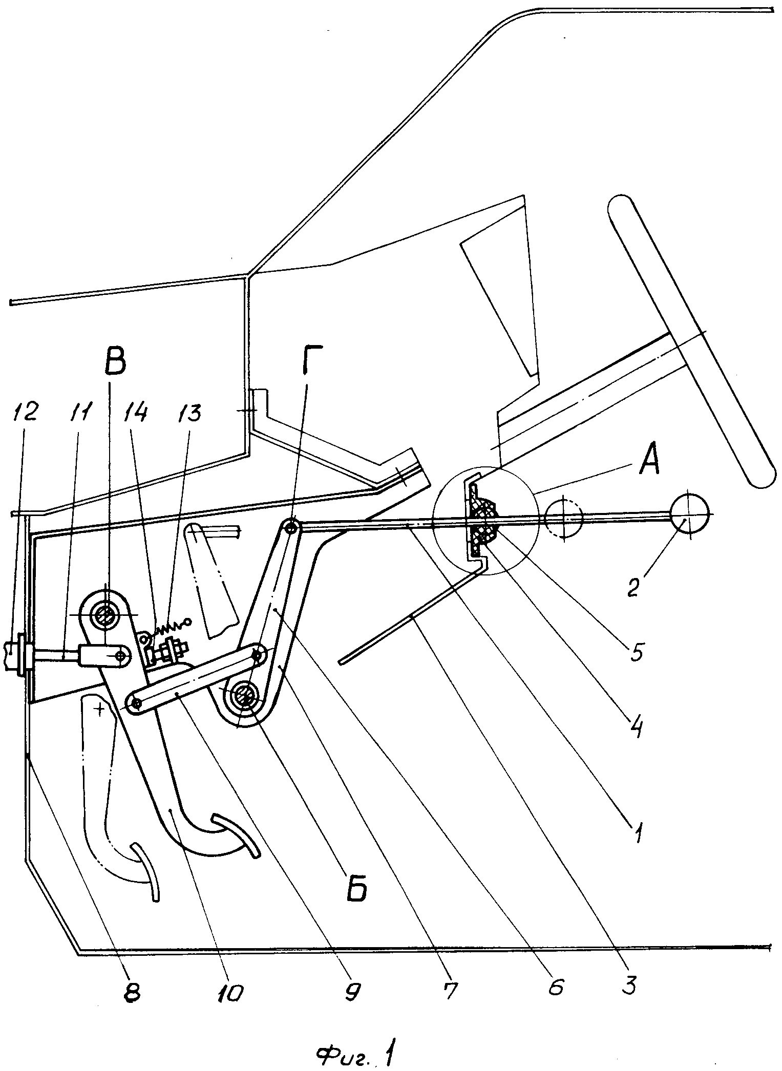
ПРОВЕРИМ «РУЧНИЧОК»…
КЛУБ
Автолюбителей
ПРОВЕРИМ «РУЧНИЧОК»…
Разве не случалось, что эти слова из уст инспектора ГАИ бросали вас в дрожь? И по вполне понятной причине: столь необходимый во многих случаях стояночный тормоз очень часто оказывается неработающим, а установить это инспектору ничего не стоит. Как вернуть «ручник» к жизни? Об этом ведет речь Валентин ГРИГОРЬЕВ.
Как-то один из читателей журнала предлагал подумать над устройством, фиксирующим в нажатом положении педаль рабочей тормозной системы (гидравлической), тогда привычный «ручник» не понадобится! В конце концов, разве нельзя использовать в этом качестве подходящую палку, упруго вставив ее враспор между педалью и сиденьем?
Оказывается, можно… если вы оставляете автомобиль ненадолго — на минуты, но никак не на часы! Дело в том, что при вполне нормальном состоянии деталей гидропривода тормозов (главного цилиндра и рабочих цилиндров, поршней, уплотнительных колец) обеспечить стопроцентную герметичность не удается — жидкость, пусть очень медленно, но просочится через уплотнение, и педаль, если ее оставить надолго нажатой, в конце концов упрется в пол.
Вот почему рабочая тормозная система, действующая на принципах гидростатики, для применения в качестве стояночной не годится. Кстати, опытные автолюбители знают, что порой в неплохо, казалось бы, работающем гидроприводе тормозов утечка жидкости бывает вполне ощутимой: автомобиль нормально тормозит, педаль не «мягкая», воздуха в системе нет, но если нажать на педаль покрепче и держать минуту-другую, жидкость «уходит». Заглянув в бачок, вы в этом легко убеждаетесь: уровень ее понизился, пора добавить…
Стояночный привод тормоза — как правило, простейший, тросовый — действует обычно на задние колеса с барабанными тормозами. А если у автомобиля они дисковые, то механизм тормоза размещается в… ступице диска (этакие ма-аленькие колодочки). Таковы тормоза большинства «мерседесов». Кстати, на некоторых из них стояночный тормоз приводится в действие… ногой, а отключается рукой (подробнее см. ЗР, 1997, № 2).
«Болезни» «ручника» чисто механические: реже связанные с износом (вытяжка троса, обрыв проволочек, осадка оболочки, срыв резьбы на регулировочной тяге), а чаще — с коррозией.
Особенно если машина используется на зимних, обработанных солью улицах и дорогах. Последнее важно запомнить тем, кто редко пользуется «ручником». Отмечалось и такое (в основном на «жигулях»): вечером вам пришлось преодолевать вброд глубокие лужи, а наутро ударил крепкий мороз. В этом случае «ручник» может застыть намертво (внутрь оболочки троса проникла вода) и… порой навсегда! Талая вода обладает повышенной коррозионной активностью. Последствия здесь те же, что и при коррозии большинства автомобильных узлов. Зазоры между тросом и оболочкой минимальные, и если затронута ее внутренняя сторона, то продуктам коррозии (достаточно большого объема) некуда деваться — они намертво защемляют трос, лишая его подвижности. Если вовремя не расшевелить трос и не подать смазку внутрь оболочки, то к весне вам, скорее всего, придется заменять привод новым. Но беда в том, что большинство водителей даже погожими летними днями не любят заглядывать под машину, а что уж тут говорить о зиме.
Иногда «закисают» гайки на регулировочной тяге: при попытке отвернуть их срезают сам резьбовой стержень.
Правда, спасти этот узел несложно, если у вас под рукой паяльная лампа, горелка или промышленный фен. С их помощью можно сильно нагреть схваченные коррозией гайки, и металл, испытывающий большие напряжения от продуктов коррозии, несколько осаживается — после остывания гайки можно отвернуть. Но учтите, что для самого троса сильный нагрев недопустим.
Проверить работоспособность «ручника» более чем просто — при том или ином (оговоренном в инструкции) количестве щелчков храповика тормоз должен удерживать автомобиль на определенном уклоне (каком — об этом несколько ниже). Как правило, на новой машине это получается. А на неновой — не всегда. В чем причины?
Во-первых, в этом все-таки может быть виноват привод троса. Если последний в оболочке перемещается туго, вполне вероятно, что приложенное вами к рычагу усилие расходуется в основном на деформацию троса и оболочки и лишь некоторая его часть передается на колодки. Полностью заблокированный в оболочке трос, о чем шла речь выше, усилий на колодки вообще не передает.
Итак, трос в оболочке должен перемещаться свободно. (Кстати, уплотнение троса на входе в оболочку у «жигулей» весьма примитивно — здесь впору объявить конкурс для «бывалых» на лучшее решение!)
Во-вторых, плохая работа стояночного тормоза — часто следствие банальных причин — износа тормозных колодок и барабанов, замасливания их (в том числе тормозной жидкостью, если рабочие цилиндры недостаточно герметичны). Плачевное состояние задних тормозов нередко остается вне поле зрения автовладельца; передние очень эффективны, а потому общее состояние тормозной системы кажется вполне благополучным. На самом же деле, если вы, заменив трос «ручника» и нормально его отрегулировав, не смогли добиться нужной эффективности торможения задних колес, будьте уверены: там что-то не в порядке.
Какова должна быть эффективность ручного тормоза? По ныне действующим в России нормам он обязан обеспечивать неподвижное состояние снаряженного легкового автомобиля на дороге с уклоном 23%, а грузовых автомобилей и автопоездов в снаряженном состоянии — на уклоне 31%.
На наиболее распространенных у нас автомобилях ВАЗ исправный «ручник» способен удерживать машину на уклоне 30% (или 16,7°) при четырех-пяти щелчках храповика. Для «Москвича-2141» — 25% при пяти-шести щелчках.
Где найти необходимый для проверки уклон? Проще всего — это подъем на эстакаду в любом гаражном кооперативе — здесь очень часто делают уклон пандуса в пределах 30%. Эстакады, встречающиеся возле крупных автомагистралей, обычно тоже имеют близкий к этому уклон въезда.
Здесь, кстати, не вредно помнить, что максимальный угол подъема, преодолеваемый легковым автомобилем с полной нагрузкой на первой передаче без разгона, обычно составляет 30–36% (16,7–19,8°). Найдя где-нибудь на горной тропе интересующий вас подъем, его можно оценить с помощью двигателя или… «ручника».
Иногда можно видеть, как работник ГАИ, не имея возможности проверить ручной тормоз автомобиля, как положено, на уклоне, делает это на горизонтальной площадке. При этом считается, что если машину нельзя сдвинуть вперед или назад, то все в порядке.
Насколько это объективно, судите сами: при 23-процентном уклоне на автомобиль действует скатывающая сила, равная произведению веса автомобиля G на синус угла уклона, то есть G.0,224 (см. рис.). Иными словами, для автомобиля весом 1200 кгс эта сила достигает 269 кгс! Думаем, что и силу 100 кгс способен приложить не каждый инспектор ГАИ, а ведь соответствующий этому случаю «ручник» фактически уже неисправен! В этом легко убедиться, пытаясь с его помощью удержать этот автомобиль даже на небольшом уклоне — скатывающая сила 100 кгс достигается уже на уклоне около 8,4%, то есть при угле меньше 5°.
Кстати, на горизонтальной площадке «ручник» можно проверять с помощью двигателя: заднеприводной машине на I передаче он не должен позволить провернуть ведущие колеса, а на переднеприводной — вызовет их пробуксовку.
Вообще же, при долгой стоянке на уклоне даже на вполне исправный ручной тормоз полагаться не следует: в конце концов, каких только случаев не бывало в подобных ситуациях! Поэтому непременно принимайте дополнительные меры страховки.
Включайте низшую (или заднюю) передачу: даже при самой слабой компрессии в изношенном двигателе машина катастрофически быстро вниз не скатится. Управляемые колеса желательно правильно (в нужную сторону) повернуть, чтобы при ск
Электрический стояночный тормоз — уже не ручной — журнал За рулем
Электрика повсеместно вытесняет механику. Даже трос стояночного тормоза заменили провода.
включение стояночного тормоза (кнопка с восклицательным знаком), функция Auto Hold (кнопка с буквой А).
включение стояночного тормоза (кнопка с восклицательным знаком), функция Auto Hold (кнопка с буквой А).включение стояночного тормоза (кнопка с восклицательным знаком), функция Auto Hold (кнопка с буквой А).
Преимущества электромеханического стояночного тормоза перед обычным очевидны. Вместо громоздкого рычага между передними сиденьями компактная кнопка. Не надо тащить через все днище тросики и тяги — достаточно подключить к общей электрической шине управляющий блок да снабдить тормозные механизмы на задних колесах электромоторами.
Иными словами, такая конструкция упрощает компоновку и сборку, сокращает время и затраты при производстве.
Кроме того, при эксплуатации отпадает необходимость в регулировках — электроника отслеживает зазор между колодками и диском всякий раз, когда срабатывал стояночный тормоз. А если им пользуются редко (например, на автомобилях с автоматами), то система подтягивает ручник через каждые 1000 км.
Алгоритм работы на большинстве автомобилей схож. Водитель нажимает на клавишу, с которой сигнал поступает в блок управления стояночным тормозом.
Колесный механизм стояночного тормоза:
1 — поршень тормозного цилиндра;2 — электромотор;
3 — приводной ремень;
4 — редуктор с качающейся шайбой.
Электромотор через зубчато-ременную передачу связан с редуктором, понижающим в десятки раз скорость вращения выходного вала и позволяющим развить необходимое для работы тормозных механизмов усилие.
Если автомобиль стоит на месте или движется медленнее 7–10 км/ч, включаются электромоторы, приводящие в действие тормозные механизмы.
На более высокой скорости блок ABS включает гидронасос — давление в тормозных контурах повышается. Автомобиль замедляется, а потом встает на ручник.
Редуктор с качающейся шестерней:
1 — ведомая шестерня;2 — выходной вал;
3 — ступица зубчатого шкива;
4 — зубчатый шкив;
5 — находящиеся в зацеплении зубья качающейся и ведомой шестерен.
Одна из главных деталей редуктора — качающаяся шестерня. Она установлена на ступице ведущего шкива под углом и потому качается при вращении. От поворота относительно корпуса редуктора ее удерживают два поводка, скользящих по внутренним стенкам корпуса редуктора. При движении только пара зубьев качающейся шестерни постоянно находится в зацеплении с зубьями ведомой шестерни. Причем у качающейся шестерни на зуб больше, чем у ведомой, поэтому полного зацепления нет. Лишь один зуб качающейся шестерни боковой поверхностью давит на ответную часть ведомой, поворачивая последнюю на небольшой угол. В результате за полный оборот зубчатого шкива ведомая шестерня смещается всего на зуб.
«Затянуть» электромеханический стояночный тормоз водитель может даже при заглушенном двигателе, а вот отпустить — только включив зажигание и нажав педаль тормоза.
Если мотор работает, водитель закрыл дверь и пристегнулся, то ручник отключится автоматически при нажатии на акселератор. При этом датчик продольного крена кузова распознает, стоит ли автомобиль на подъеме, учтет положение педалей сцепления и акселератора и придержит тормоза, чтобы автомобиль не скатился назад.
Поршень с винтовой парой:
1 — поршень тормозного цилиндра;2 — нажимная гайка;
3 — шпиндель.
Винтовая пара преобразует вращение ведомой шестерни в поступательное движение штока. Тот давит на тормозной поршень, подводя колодки к диску. Усилие контролирует блок управления стояночного тормоза по величине потребляемого тока. Как только значение достигнет необходимой величины, электродвигатель отключится. При снятии с ручника мотор вращается в обратную сторону, шток отходит назад, а поршень сдвигается из-за упругости уплотнительной манжеты.
Часто рядом с клавишей электроручника соседствует еще одна — включающая функцию автоматического удержания (Auto Hold). Она существенно облегчает жизнь. Например, толкаясь в пробках на автомобиле с автоматом, не нужно держать ногу на тормозе. Машина остановилась, водитель отпускает педаль, а клапаны блока ABS остаются закрытыми — давление в контурах высокое, колодки сжимают тормозные диски. Если остановка продлится более чем пару минут, ABS передаст вахту стояночному тормозу.
На ручник машина встанет и раньше — если, например, водитель отстегнет ремень безопасности, откроет дверь или выключит зажигание.
Электрический стояночный тормоз: Уже не ручной
Электрика повсеместно вытесняет механику. Даже трос стояночного тормоза заменили провода. Краткую лекцию о том, как устроен и как работает ручник нового поколения, читает Геннадий Емелькин.
Преимущества электромеханического стояночного тормоза перед обычным очевидны. Вместо громоздкого рычага между передними сиденьями компактная кнопка.
Не надо тащить через все днище тросики и тяги — достаточно подключить к общей электрической шине управляющий блок да снабдить тормозные механизмы на задних колесах электромоторами. Иными словами, такая конструкция упрощает компоновку и сборку, сокращает время и затраты при производстве. Кроме того, при эксплуатации отпадает необходимость в регулировках — электроника отслеживает зазор между колодками и диском всякий раз, когда срабатывал стояночный тормоз. А если им пользуются редко (например, на автомобилях с автоматами), то система подтягивает ручник через каждые 1000 км.
Алгоритм работы на большинстве автомобилей схож. Водитель нажимает на клавишу, с которой сигнал поступает в блок управления стояночным тормозом. Если автомобиль стоит на месте или движется медленнее 7–10 км/ч, включаются электромоторы, приводящие в действие тормозные механизмы. На более высокой скорости блок ABS включает гидронасос — давление в тормозных контурах повышается. Автомобиль замедляется, а потом встает на ручник.
«Затянуть» электромеханический стояночный тормоз водитель может даже при заглушенном двигателе, а вот отпустить — только включив зажигание и нажав педаль тормоза. Если мотор работает, водитель закрыл дверь и пристегнулся, то ручник отключится автоматически при нажатии на акселератор. При этом датчик продольного крена кузова распознает, стоит ли автомобиль на подъеме, учтет положение педалей сцепления и акселератора и придержит тормоза, чтобы автомобиль не скатился назад.
Часто рядом с клавишей электроручника соседствует еще одна — включающая функцию автоматического удержания (Auto Hold). Она существенно облегчает жизнь. Например, толкаясь в пробках на автомобиле с автоматом, не нужно держать ногу на тормозе. Машина остановилась, водитель отпускает педаль, а клапаны блока ABS остаются закрытыми — давление в контурах высокое, колодки сжимают тормозные диски. Если остановка продлится более чем пару минут, ABS передаст вахту стояночному тормозу. На ручник машина встанет и раньше — если, например, водитель отстегнет ремень безопасности, откроет дверь или выключит зажигание.
Ручной или стояночный тормоз
Ручной или стояночный тормоз, или как его величают в народе, просто ручник, способен сыграть злую шутку для многих кто обучается вождению при сдаче экзамена в ГИБДД. Вот ученик садится в машину, регулирует сиденье, зеркала, выжимает сцепление, включает первую передачу, правильно обхватывает руками руль, давит на педаль газа…
В общем все делает правильно, а машина все-таки не едет. На этом экзамен данного ученика заканчивается. И виной этому является обычная забывчивость и неопущенный стояночный тормоз. Казалось бы, очень смешная ситуация. Но только не для того, кто завалил экзамен. Согласитесь, отвечать на вопрос друзей, почему не сдал, будет довольно стыдно.
Цель ручника
Однако ручной тормоз необходим не только для получения водительского удостоверения, он действительно нужен.
Следует взять за правило всегда ставить машину на ручник, когда в ней отсутствует водитель, ведь в жизни случается всякое.
Машина может просто съехать с места и угодить в другую машину или столб, может спровоцировать более крупное ДТП. Так что ручник — вещь довольно полезная и в некоторых случаях спасет ваш автомобиль от разного рода неприятностей.
Если вы оставляете свою машину на обочине даже на несколько минут, автоинструкторы всегда советуют пользоваться ручником, так как догнать поехавшую машину будет очень сложно.
Особенно это касается парковок на горках, в этом случае нужно еще и выворачивать колеса так, чтобы при случайном съезде автомобиль уперся в ближайший бордюр.
Посмотрите, что может быть, если забыть поставить на ручник:
Как работает ручной тормоз?
Ручник блокирует задние колеса и не позволяет им вращаться. Однако это не единственная его функция. Но об этом чуть позже.
Для того чтобы включить стояночный тормоз, следует потянуть за рычаг и приподнять его до характерного потрескивания.
Вот и все, задние колеса заблокированы, и вы можете спокойно идти по своим делам, будучи уверенными, что ваша машина никуда не уедет.
Для опускания стояночного тормоза необходимо нажать на кнопку-фиксатор большим пальцем правой руки и опустить рычаг. Случается так, что тормоз слишком сильно затянут, и сил у большого пальца не хватает. В этом случае нужно взяться правой рукой за сам рычаг и, нажимая на кнопку, приподнять его немного вверх. Как только вы опустите рычаг до конца, следует убрать палец с кнопки. Теперь все в порядке, и вы можете начать движение.
Применение ручного тормоза на подъеме
Часто возникает такая неприятная ситуация, когда на мосту, при съезде или выезде с эстакады на подъеме возникает автомобильная пробка.
Новичкам сюда лучше не лезть. Для начала нужно тщательно отработать процесс движения на подъемах в спокойной обстановке, подальше от мостов.
Ведь здесь автомобили продвигаются очень медленно, да и машины стоят вплотную друг к другу.
Без стояночного тормоза просто не обойтись, поэтому важно заранее отработать все действия.
Трогаемся с ручника
Итак, вы остановились на эстакаде, поставили машину на ручной тормоз. Как же тронуться с места так, чтобы не задеть стоящий позади автомобиль?
Начинать движение нужно как обычно, однако при опускании стояночного тормоза рекомендуется проделать следующие манипуляции.
Следует нажать на кнопку-фиксатор, ручник при этом находится в верхнем положении.
Далее нужно нажать на газ немного сильнее, чем обычно (около 2000 об/мин), опустить плавно сцепление на 2/3 и удерживать его в таком положении до старта.
Как только почувствуется, что автомобиль уже может начать движение, необходимо быстро опустить ручник вниз.
Машина должна поехать вперед без отката назад.
Самое главное здесь — правильно определить момент освобождения ручного тормоза.
Признаками этого является уменьшение частоты вращения коленчатого вала, изменение тональности шума двигателя, появление новых вибраций.
Настоятельно советуем учиться этому не в пробках или на трассах, а за городом, где никто вам не помещает, точнее вы никому…
Удачного вам обучения вождению и старта с ручника.
В статье использовано изображение с сайта www.volga-gaz.nnov.ru
Правила использования переднего и заднего тормоза мотоцикла
Торможение – это одна из самых важных вещей, которой нужно научиться, сев за руль мотоцикла. Если новичкам может показаться сложным, например, принцип переключения передач и контрруления, и они могут продолжать отрабатывать их в процессе вождения мотоцикла, то что касается навыков торможения, их нужно изучить в первую очередь, ведь именно правильное применение тормозов является наиболее действенным способом избежать аварии.
Какой именно тормоз нужно задействовать?
Баланс имеет решающее значение для динамики мотоцикла, поэтому для переднего и заднего тормоза мотоцикла предусмотрены отдельные органы управления.
Большинство экспертов сходятся во мнении, что порядка 70% тормозного усилия должно приходиться на переднее колесо и 30% – на заднее колесо, для торможения которыми используется ручной рычаг на правой ручке руля и ножная педаль по правую сторону мотоцикла соответственно. Переднее колесо требует большего усилия, поскольку при замедлении мотоцикла происходит смещение веса в направлении от заднего колеса к переднему, в результате чего увеличивается нагрузка именно на переднее колесо. А когда на заднее колесо приходится меньшая нагрузка, его намного легче заблокировать, что чревато потерей контроля.
Торможение зависит от конкретного мотоцикла
Соотношение тормозного усилия 70:30 может слегка варьироваться в зависимости от типа мотоцикла: в крузерах и чопперах на заднее колесо приходится чуть больше тормозного усилия, что связано со смещенным назад сиденьем, а вот мотоциклы спортивного типа выигрывают от большего усилия на переднее колесо, так как имеют более вертикально расположенную вилку и более короткую колесную базу.
При управлении мотоциклами, предназначенными для бездорожья, передний тормоз на рыхлых поверхностях применяется достаточно редко. В руках опытных мотоциклистов мотарды, или супермото, даже способны замедляться за счет проскальзывания заднего колеса.
Определение усилия торможения
Изучение тонкостей тормозной способности своего мотоцикла – это залог сохранения контроля над ним, поэтому заняться этим лучше всего в безопасном месте.
Попрактикуйтесь в безопасном месте, сначала попробуйте торможение только при помощи рычага переднего тормоза, потом только при помощи педали заднего тормоза, а уже после этого можно комбинировать. Это поможет определить, с каким усилием необходимо нажимать рычаг/педаль тормоза, чтобы остановиться в аварийной ситуации.
Ознакомившись с тормозной системой мотоцикла, вы научитесь лучше ощущать смещение веса. При резком торможении с применением рычага тормоза даже возможно отрывание заднего колеса от земли, а резкое нажатие педали заднего тормоза может спровоцировать занос мотоцикла.
Вы также обнаружите, что для торможения при движении с высокой скоростью понадобится приложить большее усилие. Изучите все эти нюансы и будьте готовы к любым непредвиденным ситуациям на дороге.
Максимальное сцепление шин с дорогой достигается при условии их вертикального положения, поэтому помните об этом, начиная наклонять мотоцикл. Другими словами, 100% сцепление шин с дорогой возможно только при их расположении под углом 90 по отношению к дорожному покрытию. Соответственно, чем меньше этот угол, тем хуже сцепление. И если применение переднего тормоза при вертикальном расположении колеса приведет к торможению, то при условии его наклона можно уйти в занос, хотя приложенное усилие будет аналогичным. Такая потеря сцепления может «подломить» колесо и привести к падению.
Можно прикладывать некоторое тормозное усилие при прохождении поворота, но мотоцикл хуже реагирует на торможение, когда колесо расположено под углом. При прохождении поворота нужно крайне аккуратно применять тормоза, а лучше всего, чтобы торможение пришлось на участок дороги перед вхождением в поворот.
Разные дорожные условия подразумевают разные способы торможения, поэтому будьте осторожны, притормаживая на покрытии с плохим сцеплением. Блокировка переднего колеса может легко стать причиной потери контроля над мотоциклом, хотя и заблокированное заднее колесо приведет не к лучшим последствиям. Вероятность проскальзывания любого из колес зависит от степени сцепления колес с дорогой.
Будьте осторожны на дорогах, покрытых пятнами масла. К таким опасным участкам относятся перекрестки и парковки.
Применяйте задний тормоз на скользких поверхностях, чтобы иметь подстраховку на случай скольжения переднего колеса. При таких условиях требуется быстрая реакция, поэтому всегда будьте настороже и помните, что гораздо легче решить проблему блокировки заднего колеса, чем переднего.
Но эти правила переходят на другой уровень, когда дело доходит до езды по бездорожью, поскольку для торможения предназначенных для бездорожья мотоциклов практически никогда не используют передний тормоз.
Комбинированные тормоза
Многие макси-скутеры, туристические и городские мотоциклы оснащены комбинированной тормозной системой, которая предполагает одновременное применение переднего и заднего тормозов при нажатии одного рычага. Одни системы подразумевают задействование переднего тормоза при нажатии педали, а другие срабатывают в обоих направлениях. Тем не менее цель комбинированного тормоза в любом из случаев одна: избавить мотоциклиста от необходимости выбирать, какой из тормозов применить в каждом конкретном случае. Поскольку комбинированная тормозная система обеспечивает очень короткий тормозной путь, она далеко не всегда пользуется популярностью среди мотолюбителей, ориентированных на высокие динамические характеристики.
Антиблокировочная тормозная система мотоцикла (ABS) предназначена для выявления проскальзывания колес и предотвращения их блокировки при торможении. Система ABS позволяет нажимать ручной или ножной тормоз, не беспокоясь о блокировке колес, но эффективность ABS снижена при условии наклона мотоцикла.
В модельном ряду мотоциклов CFMOTO все новые модели оснащены системой ABS, что существенно повышает безопасность, сокращая тормозной путь и помогая райдеру справиться с эффективным торможением в сложных условиях и критических ситуациях.
Что такое HandBrake и как его использовать для перекодирования видео
Давайте узнаем о HandBrake, бесплатном транскодере видео. В этом видеоуроке мы подробно рассмотрим, как эффективно использовать HandBrake.
Когда дело доходит до перекодирования видео, большинство из нас, вероятно, обращается к Adobe Media Encoder. Однако HandBrake — это бесплатный транскодер с открытым исходным кодом, о существовании которого многие люди могут не знать.
В этом руководстве мы расскажем, как использовать HandBrake и сравнить его с другими приложениями, такими как Adobe Media Encoder.
Что такое ручной тормоз?
HandBrake невероятно эффективен при уменьшении размера видеофайлов. Изображение взято с handbrake.fr. HandBrake — это бесплатный транскодер видео с открытым исходным кодом. Он используется для преобразования видео из множества различных форматов в более часто используемые (например, MP4) и действительно эффективно уменьшает размер файла видео. Его можно скачать с handbrake.fr, он поддерживает Mac, Windows и Linux. Знаменитый логотип HandBrake довольно необычный, с тропическим напитком и ананасом.
Видеоформаты
Хотя HandBrake может перекодировать видео из множества различных форматов, в настоящее время он может выводить видео только в три формата. Эти форматы контейнеров:
- MP4 : Общий формат мультимедиа, обычно для таких кодеков, как H.264 и H.265. (Примечание: HandBrake на самом деле экспортирует файлы MP4 как файлы WAV. Мы более подробно рассмотрим это позже в руководстве.)
- MKV : формат контейнера с открытым исходным кодом, который может содержать неограниченное количество видео и других файлов. медиа треки в одном файле.Также известен как формат Matroska.
- WebM : формат контейнера с открытым исходным кодом, специально разработанный для воспроизведения в веб-браузерах.
x264
Что делает HandBrake настолько мощным, так это то, как он может кодировать файлы MP4 с помощью кодека H.264. Он использует кодировщик с открытым исходным кодом, известный как x264.
Если это звучит немного запутанно, проще говоря, HandBrake может сжимать файлы MP4 лучше, чем большинство других кодировщиков.
Сравнение HandBrake и Adobe Media Encoder
Давайте посмотрим на быстрое сравнение экспорта MP4 между HandBrake и Adobe Media Encoder.У меня есть пример видеоклипа, в котором я говорю на камеру. Исходный клип имеет длину 0:16 и разрешение 1920 × 1080.
Вот экспорт MP4 между HandBrake и Adobe Media Encoder.С помощью Media Encoder я экспортировал MP4 и использовал предустановку Match Source — Medium Bitrate , которая имеет очень низкий целевой битрейт 3 Мбит / с и максимальный битрейт 6 Мбит / с. Экспортированный видеофайл имел размер 6,55 МБ , что довольно мало.
Вы можете экспортировать MP4, используя предустановку Match Source — Medium Bitrate. Затем я экспортировал пример видео через HandBrake, используя предустановку по умолчанию Fast 1080p 30.
Размер экспортированного видео HandBrake составил 3,67 МБ , что почти вдвое меньше, чем экспорт из Media Encoder. И при воспроизведении файлы не показали заметных отличий.
Если вы покадрово посмотритесь на видео HandBrake, то увидите более заметное сжатие. Важным аспектом является то, что сжатие незаметно для зрителей во время обычного воспроизведения.Я даже не заметил этого, пока не увеличил масштаб видеоклипа покадрово.
На первый взгляд разница в сжатии не заметна.Преимущества форматов сжатого видео
Уменьшение размера файла, которое вы получаете с помощью HandBrake, делает его идеальным, если вы размещаете свои собственные видео в Интернете или если у вас много зацикленных фоновых видео на веб-сайте. Это действительно может помочь сократить время загрузки. Видео в социальных сетях — еще одно хорошее применение HandBrake, поскольку эти платформы, как правило, предпочитают видео меньшего размера.
Использование HandBrake
Использовать HandBrake для перекодирования видео довольно просто. После запуска приложения вы можете перетащить видео, которое хотите сжать.
Перетащите видео, которое вы хотите сжать.Оттуда вы можете выбрать одну из опций вкладки для набора различных настроек.
Теперь вы можете набрать различные настройки.Вы также можете выбрать одну из множества различных встроенных предустановок.Предварительная установка по умолчанию называется Fast 1080p 30 и в большинстве случаев служит идеальной отправной точкой.
Есть несколько встроенных предустановок на выбор.Если вы когда-нибудь задумывались, что делает конкретный параметр, просто наведите курсор мыши на параметр и подождите. Обычно появляется пояснительный текст.
Чтобы получить быстрое объяснение, наведите курсор мыши на параметр.
Файлы MP4 Экспорт как M4V
Как упоминалось ранее, HandBrake фактически экспортирует файлы MP4 с расширением M4V.В документации HandBrake указано, что это делает файл совместимым с приложениями на основе QuickTime и QuickTime. HandBrake также заявляет, что файл M4V точно такой же, как и MP4, и вы можете просто изменить расширение файла с .m4v на .mp4, если хотите!
Слишком сильное сжатие видео?
Если ваше видео выглядит слишком сжатым с артефактами, ознакомьтесь с другим учебным пособием в блоге Shutterstock — Советы по уменьшению видимого сжатия видео при загрузке видео.
Изображение на обложке логотипа через HandBrake.
Интересуют треки, которые мы использовали для этого видео?
Повысьте ценность видеопроизводства с помощью этих полезных советов и приемов:
Как уменьшить размер видеофайлов и какое программное обеспечение использовать
Узнайте, почему размеры видеофайлов становятся такими большими, и узнайте, какое программное обеспечение можно использовать для их уменьшения.
Давайте обсудим сжатие, скорость передачи данных и многое другое.
Если вам когда-либо приходилось загружать видео в Интернете, вы знаете, что размеры видеофайлов могут сильно различаться.И во многих случаях не сразу понятно, почему это так. Давайте начнем с изучения того, почему размеры видеофайлов такие большие, а затем мы рассмотрим шаги по уменьшению размера файла (даже с помощью бесплатных приложений!).
Что делает размер видеофайла таким большим?
Итак, допустим, вы только что экспортировали новое видео для YouTube и обнаружили, что экспортированное видео имеет размер 20 ГБ! (Не совсем быстрая загрузка.) Очевидно, что большинство людей не собираются загружать видео размером 20 ГБ, так что же здесь происходит?
Основным фактором, влияющим на размер видеофайла, является скорость его кодирования.Битрейт — это объем данных, которые видео использует в секунду при воспроизведении. Битрейт устанавливается во время процесса экспорта, и, в большинстве случаев, более высокий битрейт приводит к более высокому качеству видео, но стоимость — больший размер файла.
Выбранный вами видеокодек также важен. Кодек — это тип сжатия, применяемый к вашему видео во время экспорта. Некоторые кодеки идеально подходят для редактирования или доработки видео, например Apple ProRes, а другие идеально подходят для загрузки в Интернет, например H.264.
Когда вы планируете загрузить видео в Интернете, вы, вероятно, не хотите, чтобы на загрузку у вас ушел целый день. Таким образом, вы, вероятно, выберете кодек, например H.264, в сочетании со средней или меньшей скоростью передачи данных.
Почему сжатие видео отличается от сжатия изображения?
Если вы когда-либо сжимали изображение JPEG в Photoshop, то знаете, что этот процесс довольно прост. Вы просто перемещаете ползунок Качество на меньшее значение при сохранении изображения.Итак, чем же отличается видео? Короткий ответ: с видео происходит гораздо больше. Это имеет смысл, если подумать обо всем, что связано с видеофайлом: частота кадров, битрейт, кодеки, разрешение, аудио и файловые контейнеры.
Некоторые программы экспорта видео значительно упрощают этот процесс, что отлично подходит для людей, не знакомых со сложностями сжатия видео. Но, как правило, когда дело доходит до видео, существует слишком много факторов для создания универсального слайдера.
Какое решение для небольших видео?
Как упоминалось ранее, лучшим решением для видео меньшего размера является выбор кодека, который идеально подходит для потоковой передачи в Интернете, в сочетании со средней или низкой скоростью передачи данных. Обычно обозначается как Мбит / с для мегабит в секунду.
Если все это немного сбивает с толку, на YouTube есть справочная страница с рекомендуемыми настройками загрузки. Там вы можете найти конкретные характеристики, которые они рекомендуют, например использование H.264 для видеокодека.У них также есть рекомендации по скорости передачи данных. YouTube предлагает битрейт между 35-45 Мбит / с для большинства видео 4K и битрейт между 8-12 Мбит / с для HD-видео 1080p.
На самом деле вы можете получить больше от ваших видеофайлов с более низкой скоростью передачи данных, если вы также измените другие параметры. Примером может служить видео 720p со скоростью 8 Мбит / с по сравнению с видео 1080p HD со скоростью 8 Мбит / с. Оба видео имеют одинаковую скорость передачи данных, но 720p не обязательно должно распределять его в таком большом разрешении.В результате он, скорее всего, будет выглядеть менее сжатым в целом.
Частота кадров также играет важную роль, потому что скорость передачи данных — это, по сути, используемые «данные в секунду». Это нужно учитывать, когда у вас есть видео со скоростью 30 кадров в секунду по сравнению с видео, которое может иметь 60 кадров в секунду. Видео со скоростью 30 кадров в секунду не должно сильно увеличивать битрейт, потому что кадров в секунду меньше!
Инструменты для уменьшения размера видеофайла
Давайте рассмотрим, как сжать видеофайл с помощью двух самых популярных доступных кодировщиков — Adobe Media Encoder и HandBrake.
Adobe Media Encoder включен в подписку Adobe Creative Cloud. Кроме того, HandBrake — это бесплатный видеокодер с открытым исходным кодом.
Как уменьшить размер видеофайла с помощью Adobe Media Encoder
Сначала запустите приложение Media Encoder , затем щелкните значок + , чтобы добавить желаемое видео в очередь.
Запустите приложение Media Encoder , затем щелкните значок + .Затем на вкладке Формат выберите H.264 .
На вкладке Формат выберите H.264 .На вкладке Preset выберите Match Source — High bit-rate или Match Source — Medium bitrate , в зависимости от того, сколько сжатия вам нужно.
На вкладке Preset выберите нужный тип сжатия. Эти предустановки хороши тем, что они автоматически соответствуют всем настройкам исходного видео, таким как разрешение и частота кадров.
Если вы хотите настроить параметры экспорта для чего-то особенного, просто щелкните на имени предустановки, которое выделено синим цветом. Затем Media Encoder откроет настройки Export , в которых вы можете настроить многие другие параметры.
Настройте другие параметры в настройках Экспорт .Затем просто установите имя и расположение выходного файла , затем щелкните зеленый воспроизвести кнопку значок, чтобы запустить кодировщик.
Задайте имя и расположение выходного файла , затем щелкните значок play .Как уменьшить размер видеофайла с помощью HandBrake
Как уже упоминалось, HandBrake — это бесплатный кодировщик видео с открытым исходным кодом, доступный для ПК, Mac и Linux. Кодировщик HandBrake H.264, называемый x264, невероятно эффективен, когда дело доходит до сжатия, и в результате размеры файлов могут быть шокирующе маленькими.
Сначала запустите HandBrake , затем перетащите видеофайл, который вы хотите сжать, в приложение.
Запустите Handbrake , затем перетащите видеофайл, который вы хотите сжать.Оттуда перейдите к предустановкам в правой части приложения. В разделе General выберите предустановку Fast 1080p 30 . Этот пресет — отличная отправная точка.
В разделе Общие выберите предустановку Fast 1080p 30 .Затем перейдите на вкладку Video и внесите необходимые изменения.Я рекомендую установить частоту кадров , как у источника , и проверить Постоянная частота кадров .
Внесите любые изменения на вкладке Видео . Вы можете еще больше оптимизировать видео, установив для предустановки кодировщика более низкую скорость.
Это означает, что кодирование видео займет больше времени, но экспортированное видео будет сжиматься еще более эффективно, что приведет к еще меньшему размеру файла.
Менее Качество , HandBrake рекомендует значение от 20 до 23 для HD-видео, а более низкие значения соответствуют высокому качеству.
Ниже Качество , установите значение где-то между 20 и 23 .Хотя это не обязательно, я рекомендую изменить битрейт Audio с 160 на 320, в настройках вкладки Audio .
На вкладке Аудио измените битрейт аудио с 160 на 320 . Наконец, просто задайте место назначения и имя файла, затем нажмите кнопку Start Encode .
Это оно!
Теперь, когда вы узнали, как уменьшить размер видео с помощью сжатия, ознакомьтесь с нашим руководством Shutterstock с советами по уменьшению видимого сжатия при загрузке видео.
Вот что еще вам нужно знать о размерах изображений и видеофайлов:
Как использовать тормоза и ручной тормоз для экзамена по вождению в Великобритании
В качестве практического теста задайте вопрос «Скажи мне / покажи мне»: —
Покажи мне, как проверить стояночный тормоз (ручной тормоз) на чрезмерный износ.
Что нужно сделать: —
Затяните ножной тормоз, когда он полностью затянут.Продемонстрируйте, что с помощью стояночного тормоза (ручного тормоза) он закрепляется и не находится в конце рабочего хода.
Для практического теста задайте вопрос «Скажи мне / покажи мне»: —
Скажите, как вы могли бы проверить исправность тормозов перед началом поездки.
Что вам нужно сделать: —
Тормоза не должны ощущаться рыхлыми или провисшими. Тормоза следует проверять в начале движения. Автомобиль не должен тянуться в сторону.
Для практического теста задайте вопрос «Скажи мне / покажи мне»: —
Скажите, как вы узнаете, возникла ли проблема с вашей антиблокировочной тормозной системой. неисправность антиблокировочной тормозной системы.
Действия, которые необходимо предпринять при проверке ручного тормоза в автомобиле
Ножной тормоз задействует тормоза всех четырех колес.
Обычно тормозная система современного переднеприводного автомобиля состоит из двух гидравлических систем. Каждый связан с передним и задним колесом. Это гарантирует, что в случае утечки гидравлической жидкости из любой системы по-прежнему будет доступна не менее половины тормозного усилия.
Обратите внимание на любые изменения эффективности торможения.Если тормоза кажутся мягкими или автомобиль тянет в сторону при торможении, обратитесь к квалифицированному механику для проверки.
Чрезмерное использование ножного тормоза, особенно при движении по длинному крутому спуску, обычно приводит к перегреву тормозов, и они могут стать менее эффективными. Это известно как Brake Fade , которая чаще встречается на автомобилях, оснащенных барабанными тормозами, но все же может относиться и к тем, которые оснащены дисковыми тормозами. Чтобы облегчить управление автомобилем и избежать потери тормозов, рекомендуется использовать соответствующую пониженную передачу в соответствии с крутизной уклона.
Ручной или стояночный тормоз используется для удержания автомобиля в неподвижном состоянии после остановки. Он работает только на двух колесах (обычно на заднем) и, в отличие от других тормозов, работает механически.
Обычно вы можете почувствовать необходимость регулировки ручного тормоза, если ход рычага очень велик.
Любые регулировки ручного тормоза должны выполняться квалифицированным механиком.
Назад к списку обслуживания
ПОДЕЛИТЬСЯ СТРАНИЦЕЙ
Руководство «Лучшие настройки» для ручного тормоза 0.9.9 и 0.10
Итак, Handbrake 0.10 уже давно отсутствует (а 0.9.9 — еще дольше), и если вы просмотрели мое предыдущее многостраничное руководство, в котором объяснялись все расширенные настройки в 0.9.6, я У нас есть хорошие новости:
Получить что-то с «лучшими настройками» намного проще в v0.9.9 и v0.10.
(ура!)
«Пресеты x264» теперь находятся в Handbrake, и в 99% случаев это означает, что вам не нужно возиться с «панелью дополнительных параметров x264».
Хотя, если вы хотите / должны по какой-либо причине, старое краткое изложение руководства по настройкам Handbrake (0.9.6) должно помочь объяснить все эти параметры для вас очень подробно (обратите внимание, что в v0.10 вам может потребоваться включить расширенные параметры x264 панель в настройках / предпочтениях ручного тормоза, расположенных в раскрывающемся меню).
Обратите внимание, что, поскольку v0.10 очень похожа на v0.9.9, я просто обновил это руководство , добавив специфические для v0.10 дополнения оранжевого цвета (как это!) .
На этот раз я воспользуюсь изображениями, чтобы упростить и ускорить работу.Мы начнем с более сложной части и продолжим работу в обратном направлении.
Но сначала…
-Быстрое кодирование
-Высокое качество
-Маленький размер файлаВыберите 2.
Решения, которые вы примете во время этих разделов, во многом будут зависеть от того, какие 2 из них вы выберете.
В любом случае, давайте начнем с выделенной области ниже.
Постоянное качество (RF) и средний битрейт (кбит / с)
- Они имеют наибольшее влияние на качество и размер файла.Переместите ползунок постоянного качества RF достаточно далеко вправо (или используйте достаточно высокий средний битрейт), и видео будет большим и будет неотличимо от исходного. Переместив ползунок в крайнее левое положение (или используя достаточно низкий средний битрейт), вы можете получить файлы действительно небольших размеров, но что-то выглядит довольно некрасиво. Большинство людей стремятся к чему-то среднему.
- Вообще говоря, одно видео не даст вам «лучшего» видео, чем другое.
- Я действительно собираюсь упростить остальное ниже (оно не будет на 100% технически точным, но достаточно точным, чтобы дать вам понимание).
Во-первых, быстрое изображение, чтобы дать вам представление о том, что влечет за собой постоянное качество….
(щелкните, чтобы увеличить изображение)
Постоянное качество — Обычно это предпочтительный метод. Это нацелено на определенный уровень качества во всех ваших видео. Преимущество постоянного качества в том, что все ваши видео выглядят одинаково. Обратной стороной является то, что вы не знаете, насколько большим будет каждое видео до конца.
RF — сдвиг вправо (меньшие числа) приводит к лучшему качеству.Сдвиг влево (большее число) приводит к более низкому качеству, но меньшему размеру файла. Если вы никогда раньше не использовали постоянное качество, обычно RF: 20 считается отправной точкой для кодирования DVD (и RF: 22 для BluRay). Большинство людей экспериментируют, чтобы найти значение RF, которое им достаточно хорошо выглядит при размере файла, с которым они могут справиться, и используют это значение RF большую часть времени, немного отклоняясь, когда это необходимо.
Примеры RF — Вот несколько снимков экрана, сделанных при разных настройках RF (один на 20 и один на 30), чтобы дать вам очень приблизительную отправную точку (щелкните, чтобы увеличить):
Для получения дополнительной информации Подробно изучите значения RF, ознакомьтесь с разделом Сравнение настроек x264 «RF» в Handbrake (примеры) для полного описания.
И изображение, чтобы дать вам представление о том, что влечет за собой средний битрейт… (щелкните, чтобы увеличить изображение)
Средний битрейт — Используя это и калькулятор, вы можете стремиться к заданному размеру файла определенная длина видео. Полезно, если вы хотите, чтобы каждый из ваших фильмов, например, был ровно 700 МБ. Преимущество среднего битрейта в том, что вы можете заранее определить размер файла. Обратной стороной является то, что после завершения кодирования вы можете обнаружить, что выбранный вами размер файла недостаточно высок, и ваше видео выглядит как мусор.Или, может быть, размер файла был больше, чем нужно. Раньше настоятельно рекомендовалось двухпроходное кодирование при использовании этой опции, но, как правило, это не так важно, если вам не нужен точный размер файла («турбо» первый проход в порядке, если вы не против потерять небольшую точность в размере ).
кбит / с — Чем выше это значение, тем больше будет файл (и, следовательно, тем выше качество).
Онлайн-калькуляторы битрейта — самый простой способ сделать это.
Взгляд на постоянное качество и средний битрейт с другой точки зрения…:
Давайте представим, что мы кодируем 1-часовой телесериал с DVD с постоянным качеством и определили, что RF: 22 выглядит для нас достаточно хорошо.Вот как это может получиться:
- Эпизод 1: RF22 — 278 МБ (средний битрейт видео 686 кбит / с)
- Эпизод 2: RF22 — 349 МБ (средний битрейт видео 915 кбит / с)
- Эпизод 3: RF22 — 363 МБ (средний битрейт видео 948 кбит / с)
- Эпизод 4: RF22 — 304 МБ (средний битрейт видео 792 кбит / с)
- ОБЩИЙ РАЗМЕР: 1294 МБ
Все эпизоды должны выглядеть согласованно. Ясно, что эпизоды 1 и 4 не нуждались в таком же битрейте, как другие, поэтому в итоге они стали меньше.
А что, если бы мы попробовали вместо этого использовать «средний битрейт», ориентируясь на 323,5 МБ на серию?
- Эпизод 1: 798 кбит / с (средний битрейт видео) — 323,5 МБ
- Эпизод 2: 798 кбит / с (средний битрейт видео) — 323,5 МБ
- Эпизод 3: 798 кбит / с (средний битрейт видео) — 323,5 МБ
- Эпизод 4: 798 кбит / с ( средний битрейт видео) — 323,5 МБ
- ОБЩИЙ РАЗМЕР: 1294 МБ
ОБЩИЙ РАЗМЕР такой же.
Проблема в том, что на этот раз у Episode 1 битрейт больше, чем нужно.Серий 2 и 3, наверное, не хватило. Эпизод 4 приблизился к идеальному количеству для наших стандартов « RF: 22 выглядел хорошо для нас » и, вероятно, выглядит идентично предыдущей версии RF: 22. В любом случае, сейчас мы находимся в ситуации, когда Эпизод 1 выглядит великолепно, но в Эпизодах 2 и 3 все ниже наших стандартов и выглядит заметно хуже.
Это не означает, что средний битрейт * плохой *. Это просто непостоянно, когда дело доходит до визуального качества — оно стабильно только когда дело доходит до размера файла.Поэтому, если вы используете средний битрейт, вам, возможно, придется немного «увеличить» свои числа на тот случай, если некоторым из ваших видео потребуется дополнительный битрейт, чтобы выглядеть нормально. Если бы я кодировал оставшуюся часть сезона через «средний битрейт», я бы, вероятно, кодировал все со скоростью 1000 кбит / с, чтобы быть в безопасности. К сожалению, это означает, что мой общий размер файлов для еще 4 эпизодов, подобных приведенным выше, теперь будет 1622 МБ вместо всего лишь 1294 МБ.
И в тот момент мне было бы лучше использовать постоянное качество с лучшим значением RF.
Краткая версия: Если вам очень не нужно, чтобы ваш файл получился точного размера, используйте постоянное качество.Поиграйте со значениями RF, пока не найдете значения, при которых видео выглядит достаточно хорошо для вас на устройствах, с которых вы воспроизводите, при размерах файлов, которые вы считаете приемлемыми.
—
Предустановка x264
Как упоминалось выше, это имеет различный эффект в зависимости от того, выбрали ли вы постоянное качество или средний битрейт.
Если вы выбрали «Постоянное качество», ваше качество уже «определено». Дальнейшее изменение этого параметра существенно не повлияет на качество (если вы хотите более высокое качество, переместите ползунок RF вправо).Использование 7 самых медленных настроек позволит найти способы уместить это качество при меньшем размере файла. Использование двух самых быстрых настроек приведет к увеличению размера файла.
В любом случае он должен выглядеть примерно так же. Обратите внимание, что третий параметр (очень быстро) ведет себя очень странно с постоянным качеством, и я предлагаю вам избегать его использования. Если вам нужны более подробные сведения о значении RF и CQ, у меня есть отдельная статья, чтобы помочь прояснить все это (с диаграммами) в Handbrake RF + более низкие скорости = безумие.
Если вы выбрали средний битрейт, размер вашего файла уже определен.Изменение этого параметра больше не повлияет на размер файла. При выборе более медленных настроек будет предпринята попытка получить более высокое качество в выбранный вами размер файла. Использование более быстрых настроек приведет к снижению качества.
Подробности: Здесь вступает в игру компромисс времени. Предустановка очень медленная — это самая жесткая предустановка, которую обычно можно получить, и она может занять много времени даже на быстрой машине. Это одна из тех областей, где вам придется поэкспериментировать на своей машине и найти что-нибудь разумное.
Имейте в виду, что по мере замедления вы получаете убывающую отдачу. По сравнению с «очень медленным» режим «плацебо» занимает целую вечность и день. По крайней мере, это обычно добавляет несколько часов, если не дней, в зависимости от вашего источника и компьютера. Хуже того, вы можете даже не заметить визуальной разницы (неспроста это называется «плацебо»). С другой стороны, разница между «сверхбыстрым» и «средним» (пропуск сверхбыстрым, очень быстрым, быстрым и быстрым) может составлять всего несколько минут и часто дает довольно заметную разницу.
Наконец, когда вы стремитесь к качеству, имейте в виду, что дни, затраченные на кодирование, не заменят простого выбора лучшего постоянного качества или более высокого среднего битрейта. Медленные настройки позволят вам получить больше прибыли, но чудес от этого не будет. Конечно, телешоу размером 350 МБ, закодированное при очень медленных настройках, будет выглядеть лучше, чем такое же телешоу 350 МБ, закодированное при быстрых настройках.
Но кодирование одного и того же телешоу на 600 МБ поразит их обоих, даже если это было сделано на очень быстрых настройках.
—
x264 Tune
Как правило, они фокусируются на перемещении «битов» между детализированными и плоскими областями в зависимости от настройки. Честно говоря, вам не нужно действительно понимать, что они делают — другие люди проделали большую работу, чтобы их понять, поэтому их сводят к довольно простым настройкам «один размер подходит всем».
Нет — Это похоже на «старые» предустановки ручного тормоза. В этом нет ничего плохого. Это что-то вроде обстановки средней дороги.
Фильм — Для ТВ / фильмов / фильмов и 3D-анимации (например, фильмов Pixar)
Анимация — Для 2D-анимации (Майки Маус, Симпсоны и т. Д.)
Grain — Для очень зернистых фильмов / шоу . Например, такие фильмы, как 300 или Спасти рядового Райана (сцена на пляже).
Обратите внимание, что это пытается СОХРАНИТЬ зернистость, которая использует лодку битрейта и имеет тенденцию приводить к более высоким размерам файлов при использовании постоянного качества (если вы используете средний битрейт, убедитесь, что вы используете высокий битрейт или общее качество. будет страдать.).
Неподвижное изображение — Для неподвижных изображений (слайд-шоу / изображения).
PSNR / SSIM — Обычно для целей тестирования / сравнения. Они означают «пиковое отношение сигнала к шуму» и «структурное подобие». x264 имеет некоторые улучшения, которые улучшают изображение, как вы его видите (убирая «детали» из тех мест, где вы их все равно не заметили, и помещая эти детали там, где вы бы их заметили). Эти настройки отключают их, чтобы изображение было более «технически» правильным, чтобы компьютер мог сравнить видео с источником, чтобы увидеть, насколько оно точное / идентичное.
Zerolatency — Предназначен для быстрого кодирования с быстрой потоковой передачей.
Краткая версия: Film, Animation, and Grain — это то, что вы, вероятно, захотите использовать большую часть времени (возможно, также «None»). Остальные предназначены для крайних случаев, о которых большинству людей не нужно беспокоиться.
Fast Decode (флажок)
Обычно вы * не * хотите, чтобы этот флажок был отмечен. Несколько исключений:
- Отметьте это, если вы пытаетесь воспроизвести видео на старом компьютере, который не может декодировать h364.
- Установите этот флажок, если воспроизводите видео на старом устройстве, которое не может декодировать h364.
- При желании вы можете проверить это при загрузке на YouTube или другие сайты обмена видео. Это может помочь сайту быстрее его декодировать и разместить ваше видео. Обычно в этом нет необходимости.
Отключает некоторые оптимизации h364 / x264, что упрощает воспроизведение, но за счет файла большего размера (или более низкого качества при использовании среднего битрейта).
Поскольку самые последние компьютеры / устройства имеют встроенную аппаратную поддержку этих оптимизаций, вам обычно не нужно возиться с этим.Если вы обнаружите, что воспроизведение на вашем любимом устройстве прерывистое, попробуйте проверить это.
—
Профиль H.264 и уровень H.264
Здесь все может стать немного сложнее. Более высокие профили и уровни, как правило, обеспечивают лучшее сжатие (а значит, лучшее качество в данном файле). Однако вы будете ограничены поддержкой профилей оборудования, на котором вы планируете воспроизводить видео. Вот порядок вещей:
Базовый -> Основной -> Высокий
1.0 -> 1b -> 1,1 -> 1,2 -> ……. -> 5,1 -> 5,2 (это достаточно легко понять)
В настоящее время профиль High Profile, уровень 4.1 является самым популярным профилем на современных / передовых устройствах.
Такое устройство также будет воспроизводить Baseline / Main и любой уровень между 1.0-4.0 . Отрасль застопорилась на уровне 4.1 на пару лет, вероятно, потому, что сейчас «достаточно хороша», пока h365 не начнет преобладать.
Вот несколько примеров поддержки профиля для популярных устройств:
iPhone 3, iPhone 3GS : базовый профиль, уровень 3.0
iPhone 4, iPad 1, AppleTV 2 : основной профиль, уровень 3.1
AppleTV 3 : высокий профиль, уровень 4.0 (может фактически поддерживать 4.1)
iPhone 4S, iPhone 5, iPad 2, iPad 3, iPad Mini : высокий профиль, уровень 4.1
устройства Blackberry 7 и 7.1 : высокий профиль, уровень 3.1 (они рекомендуют использовать базовый профиль)
Blackberry 10, Blackberry Playbook : высокий профиль, уровень 4.2
WD TV Play & TV Live : High Profile, Level 4.1
Устройства BluRay (например, считывающие с жесткого диска USB) обычно должны поддерживать High / Level 4.
1, но часто бывают несколько разборчивыми и имеют тенденция жаловаться на то, что он «слишком сложен». На самом деле я не стал пытаться определить точную причину, но если вы столкнетесь с этой проблемой, вы можете попробовать ввести bluray-compat = 1 в окне «Дополнительные параметры» (обратите внимание, что размер вашего файла может несколько увеличиться).Если это не сработает, попробуйте основной профиль или более низкий уровень.
Samsung и Nokia не указывают профили в своих спецификациях для телефонов / планшетов. Вероятно, безопасно предположить, что на их устройствах, которые записывают в 1080p, уровень не ниже 4.0.
Roku, Boxee Box, Netgear NeoTV не указывают профили в своих спецификациях для медиа-стримеров. Вероятно, безопасно принять как минимум уровень 3.1 для устройств 720p и уровень 4.1 для 1080p.
… вам придется копаться самостоятельно для устройств других производителей.
Краткая версия: для устройств, которые старше пары поколений, обычно поддерживается Main Profile, Level 3.
0.
Практически все устройства текущего поколения поддерживают High Profile, Level 4.1.
Таким образом, вы, вероятно, не хотите превышать уровень 4.1. Если вы подниметесь выше, ваше видео, вероятно, не будет воспроизводиться или будет воспроизводиться с ошибками на любых текущих смартфонах, планшетах и т. Д. Обратите внимание, что некоторые более медленные компьютеры, не поддерживающие аппаратное воспроизведение, также могут с трудом воспроизводить видео, закодированные в очень высокие уровни.
—
Хватит сложного / трудного. Теперь о более простых вещах.
—
Формат — файл MP4 и файл MKV
Это известно как «контейнер». Не влияет на качество, так что не переживайте по этому поводу.
Файл MP4 — это то, что вы обычно хотите использовать. Он имеет высочайшую совместимость с плеерами и устройствами. По умолчанию проигрыватель Windows Media не воспроизводит MKV. Quicktime, iPhone / iPad / AppleTV и т.
Д. Также не воспроизводят файлы MKV.MP4 — беспроигрышный вариант, и он отлично работает.
Файл MKV — это более гибкий, но менее поддерживаемый контейнер. Технически вы можете втиснуть в него несколько видеопотоков, добавить меню DVD, использовать более широкий набор кодеков и многое другое (заметьте, ничего из этого через Handbrake). Два заметных исключения, когда дело доходит до Handbrake, заключаются в том, что он позволяет использовать видеокодек Theora (VP3) и аудиокодеки FLAC или Vorbis. В v0.10 это также позволит вам использовать кодек Googles VP8.
Краткая версия : Если у вас нет особой причины использовать MKV, используйте MP4. Обратите внимание, что «канадец» оставил комментарий, указывающий на то, что некоторые телевизоры Samsung имеют проблемы с синхронизацией звука при воспроизведении файлов MP4 через USB — если вы столкнетесь с аналогичными проблемами, вы можете вместо этого кодировать с использованием контейнера MKV.
—
Видеокодек — H.264 (x264) против MPEG-4 против MPEG-2 (против H.265 / x265 / HEVC против VP8 в версии 0.10)
H.264 — Вероятно, это * причина * того, что вы используете Handbrake для начала. Это новейший предлагаемый кодек, обеспечивающий высокое качество при небольших размерах файлов и поддерживаемый практически всеми последними устройствами.
MPEG-4 — старый кодек и очень мало причин для его использования. Чтобы дать вам представление, старые устройства / проигрыватели, которые не воспроизводят ничего новее, чем DivX, обычно хорошо работают с MPEG-4. Если у вас действительно старый (или очень дешевый) телефон с очень простыми функциями воспроизведения видео, он может работать и на нем.И если вы надеетесь отредактировать видео позже в программе редактирования 5-летней давности, в которой отсутствует поддержка h364, это дает вам возможность сделать это.
MPEG-2 — Не делайте этого, если у вас нет особой причины для его использования (помимо путешествий во времени в конец 90-х).
Theora — Доступен только при использовании контейнера MKV , он находится где-то между MPEG-4 и H.264 с точки зрения технических характеристик. Не очень популярен среди мейнстрима — пользователи Linux и сообщество с открытым исходным кодом в целом, как правило, лучше всего с ним знакомы.У тех, кто его использует, обычно есть особые причины для этого — если вы никогда о нем не слышали, вероятно, это не то, что вы ищете.
H.265 — Новое в Handbrake v0.10, это позволяет кодировать видео с помощью нового кодировщика H.265 / x265. Как вы могли догадаться, H.265 (также известный как HEVC) является преемником H.264. Но пока не перекодируйте все свои видео в x265! Вот несколько причин, по которым вам может потребоваться немного подождать, прежде чем переключаться с x264 на x265 (по состоянию на начало середины 2015 года) :
- x265 кодирование занимает очень много времени.Я провел ряд тестов с 46-минутным телешоу из BluRay (1440 × 1080) с предустановкой очень медленной.
При использовании x264 время составляло около 2 часов (+/- 30 минут). Кодирование того же эпизода с использованием x265, время варьировалось от 21 до 34 часов. -
x264 — это очень зрелый продукт, за которым стоит много лет разработки. x265, с другой стороны, очень молод, и ему еще есть над чем работать. В зависимости от , какой вы кодируете, кодирование x264 вполне может выглядеть лучше (и иметь меньший размер файла), чем кодирование x265.В конце концов, x265 должен уничтожить любое кодирование x264, но мы еще не совсем здесь … для этого нужно время. -
Практически нет поддержки устройств. VLC v2.2 + пока что является единственным массовым проигрывателем для настольных и мобильных устройств. В iDevices пока нет ничего встроенного (технически FaceTime может использовать H.265 на iPhone 6, но пока не поддерживает воспроизведение). Android только что добавил поддержку API в «Lollipop», но я не встречал устройств с аппаратной поддержкой. Плееры 4K BluRay не появятся раньше конца 2015 года.
Intel / nVidia только начала добавлять поддержку аппаратного декодирования для последних устройств в конце 2014 — начале 2015 года. В принципе, с точки зрения поддержки дела обстоят довольно рано.
Обновление: по состоянию на январь 2018 года x265 стал значительно более зрелым. Последняя версия iOS (11) и macOS (High Sierra) поддерживает HEVC. Последняя версия Windows 10 поддерживает аппаратное декодирование HEVC на поддерживаемом оборудовании. Для тех, кто использует программные проигрыватели, все распространенные проигрыватели с открытым исходным кодом (VLC, MPC и т. Д.) Уже давно имеют действительно прочную поддержку.
Самые большие недостатки в настоящее время следующие:
- Время кодирования. x265 по-прежнему занимает значительно больше времени, чем x264.
- Воспроизведение на устройствах без аппаратного декодирования. Программное декодирование использует значительную часть мощности процессора и значительно быстрее расходует заряд батареи.

… хотя в настоящее время вы можете представить хороший аргумент в пользу использования x265 / HEVC, прежде чем вы начнете кодировать всю свою коллекцию, я настоятельно рекомендую сначала провести несколько тестов, чтобы убедиться, что вы не столкнетесь с проблемами при воспроизведении видео на ваших устройствах .
VP8 — Новое в Handbrake v0.10, это не будет отображаться, если вы не выберете контейнер MKV . Если вы никогда об этом не слышали, я склонен думать о VP8 как о «Google версии H.264». Он обычно уступает x264, за исключением, возможно, нескольких очень специфических обстоятельств. Он предназначен быть свободным от патентов (и когда-то были надежды, что он станет частью стандарта для веб-видео), хотя вокруг всего этого огромный беспорядок, который вы можете найти и прочитать, если вам интересно ( как со стороны патента, так и со стороны веб-браузера).Что касается времени кодирования: видео, которое мне потребовалось 2,5 часа для кодирования в x264, заняло чуть более 6 часов с использованием VP8. Если кто-то действительно использует VP8 на регулярной основе, мне было бы очень интересно услышать в комментариях, для чего вы его используете и почему.
VP9 — преемник VP8. Он имеет аппаратное декодирование на последних чипах Intel и AMD по состоянию на 2018 год (Skylake + и Raven Ridge), он является предпочтительным кодеком для Google Chrome и Mozilla Firefox и преимущественно используется YouTube.Netflix использует его на поддерживаемых устройствах (многие телефоны Android). Его преемником станет AV1, который сейчас находится в разработке.
Краткая версия : x264 для максимальной совместимости и скорости кодирования. x265 при стремлении к минимально возможному размеру файлов и времени / совместимости для вас не проблема. VP9, если вы взаимодействуете с большим количеством вещей с открытым исходным кодом или пытаетесь избежать лицензионных сборов h364 и HEVC.
—
Частота кадров (FPS) и переменная и постоянная частота кадров
То же, что и исходный — вы почти всегда хотите использовать это вместо ручного выбора частоты кадров.Ручной тормоз умный и практически всегда будет делать это правильно. Если вы детализируете или деинтерлейсируете, он также сделает умную вещь и изменит частоту кадров, чтобы быть точным. Установка некорректной частоты кадров вручную часто приводит к тому, что видео выглядит прерывистым / заикающимся. Уменьшение частоты кадров вручную, как правило, также не приводит к уменьшению размера файла настолько, насколько вы ожидаете. Очень мало крайних случаев, когда установка вручную имеет смысл — обычно это не так.
Переменная частота кадров — Идеально большую часть времени (особенно при де-телесининге).Если «истинная» частота кадров колеблется (или меняется после де-телесининга), это сохранит внешний вид изображения так же хорошо и без заиканий, как и оригинал (и, возможно, не допустит кодирования лишних потерянных кадров). И если «истинная» частота кадров не меняется, вы в любом случае получите постоянную частоту кадров.
Постоянная частота кадров — Я бы пошел с этим только в том случае, если мне нужна была определенная частота кадров и я установил ее вручную.
Краткая версия : «То же, что и источник» и «Переменная», если у вас нет веской причины для принуждения к чему-то еще.
—
В окне «Настройки изображения».
(доступ осуществляется с помощью кнопки в правом верхнем углу)
РАЗМЕР — Анаморфный — Если вы не изменяете размер вручную, обычно лучше использовать «Строгий». Я не могу придумать много причин для использования «Свободного», если только вы не изменяете размер разрешения видео («Свободный» делает это довольно легко). «Пользовательский» выходит за рамки этой статьи, но позволяет вам делать небольшие манипуляции, включая изменение соотношения сторон, если у вас есть желание растягивать / растягивать объекты.Не используйте «Нет», если не знаете, что делаете.
РАЗМЕР — Обрезка — Использовать автоматически. Таким образом, он не будет тратить место на сохранение черных полос (при необходимости ваше устройство добавит черные полосы). С другой стороны, если вы хотите, чтобы черные полосы вручную сохранялись как часть видеопотока, не стесняйтесь установить для него значение «Нет» и изменить значения на все 0.
Нажатие кнопки «Предварительный просмотр» обычно является хорошей идеей, если вы пытаетесь настроить здесь.
Если вам нужны более подробные сведения о настройках анаморфизма и обрезки, я собрал видео, в котором подробно рассматриваются все параметры.Оно длинное, но с правой стороны есть «оглавление», поэтому не стесняйтесь переходить к интересующим вас частям: https://www.youtube.com/watch?v=IDJH5p15tNU
Затем, если вы нажмете кнопку «Фильтры»…
ФИЛЬТРЫ — Detelecine — Установка на «По умолчанию» является хорошей идеей. Если ваш источник подвергнут телесину, он будет обнаружен автоматически. Если нет, то не будет. Поставил и забыл.
ФИЛЬТРЫ — Decomb — Установка на «По умолчанию» тоже здесь хорошая идея.Если ваш источник имеет чересстрочную развертку, он автоматически устранит чересстрочную развертку. Если нет, то не будет. Как и выше. Поставил и забыл.
Обычно вы не хотите использовать «Деинтерлейсинг», если декомпозиция не вызывает у вас проблем или если у вас нет одной из тех странных ситуаций, когда вы хотите установить его вручную по какой-либо другой причине.
ФИЛЬТРЫ — Denoise — Обычно отключают. Пара исключений:
- Включите, если у вас есть шум / зернистость в источнике, от которого вы хотите избавиться.
- Включите его, если вы хотите немного уменьшить размер файла (или улучшить общее качество) за счет некоторого смягчения изображения.
- Включите его и используйте ПОЛЬЗОВАТЕЛЬСКОЕ значение, если вы пытаетесь избавиться от «танцующих точек».
ОБНОВЛЕНИЕ: я собрал новую статью о шумоподавлении с видео и изображениями, если вас интересуют настройки шумоподавления.
ФИЛЬТРЫ — Разблокировать — Выкл. Предполагается, что он избавит от блочности, но, по моему опыту, это приводит к тому, что в итоге получается безумное размытие всего, из-за чего видео трудно смотреть.С другой стороны, это в значительной степени уничтожает шум / зерно в процессе.
—
Для Audio Settings , Subtitles и Advanced Settings , на самом деле ничего не изменилось, поэтому вместо того, чтобы переписывать все это, я предлагаю прочитать старую запись для версии 0.9.6, если вам нужно дополнительные подробности по этим опциям.
—
Это подводит итог. Вкратце, я действительно немного обобщил, особенно когда речь идет о части «Постоянное качество против среднего битрейта».Но, надеюсь, это дало вам достаточно понимания того, что вам комфортно пользоваться новой системой.
HandBrake скачать | SourceForge.net
Полное имя
Телефонный номер
Название работы
Промышленность
Компания
Размер компании Размер компании: 1 — 2526 — 99100 — 499500 — 9991,000 — 4,9995,000 — 9,99910,000 — 19,99920,000 или более
Получайте уведомления об обновлениях для этого проекта.Получите информационный бюллетень SourceForge. Получайте информационные бюллетени и уведомления с новостями сайта, специальными предложениями и эксклюзивными скидками на ИТ-продукты и услуги.Да, также присылайте мне специальные предложения о продуктах и услугах, касающихся:
Программное обеспечение для бизнеса Программное обеспечение с открытым исходным кодом Информационные технологии Программирование ОборудованиеВы можете связаться со мной через:
Электронная почта (обязательно) Телефон SMS Я согласен получать эти сообщения от SourceForge.сеть. Я понимаю, что могу отозвать свое согласие в любое время. Пожалуйста, обратитесь к нашим Условиям использования и Политике конфиденциальности или свяжитесь с нами для получения более подробной информации. Я согласен получать эти сообщения от SourceForge.net указанными выше способами. Я понимаю, что могу отозвать свое согласие в любое время. Пожалуйста, обратитесь к нашим Условиям использования и Политике конфиденциальности или свяжитесь с нами для получения более подробной информации. Для этой формы требуетсяJavaScript.
ПодписывайсяКажется, у вас отключен CSS.Пожалуйста, не заполняйте это поле.
Кажется, у вас отключен CSS. Пожалуйста, не заполняйте это поле.
Конвертируйте видео с помощью ручного тормоза | Opensource.com
Недавно, когда мой сын попросил меня преобразовать в цифровой формат некоторые старые DVD с его школьными баскетбольными играми, я сразу понял, что буду использовать Handbrake. Это пакет с открытым исходным кодом, в котором есть все инструменты, необходимые для простого преобразования видео в форматы, которые можно воспроизводить на MacOS, Windows, Linux, iOS, Android и других платформах.
Handbrake имеет открытый исходный код и распространяется по лицензии GPLv2. Его легко установить на MacOS, Windows и Linux, включая Fedora и Ubuntu. В Linux после установки его можно запустить из командной строки с помощью ручного тормоза $ или выбрать в графическом интерфейсе пользователя. (В моем случае это GNOME 3.)
Handbrake проста в использовании. Щелкните Open Source , чтобы выбрать видеоисточник, который вы хотите преобразовать. Для видео моего сына о баскетболе это DVD-привод в моем ноутбуке с Linux.После того, как DVD вставлен в привод, программное обеспечение определяет содержимое диска.
Как вы можете видеть рядом с источником на скриншоте выше, Handbrake распознает его как DVD с видео 720×480 с соотношением сторон 4: 3, записанным со скоростью 29,97 кадров в секунду, с одной звуковой дорожкой. Программа также выполняет предварительный просмотр видео.
Если настройки преобразования по умолчанию приемлемы, просто нажмите кнопку Start Encoding , и (через некоторое время, в зависимости от скорости вашего процессора) содержимое DVD будет преобразовано и сохранено в формате по умолчанию M4V (который может быть изменен).
Если вам не нравится имя файла, его легко изменить.
Handbrake имеет множество вариантов вывода по формату, размеру и расположению. Например, он может создавать видео, оптимизированные для YouTube, Vimeo и других веб-сайтов, а также для устройств, включая iPod, iPad, Apple TV, Amazon Fire TV, Roku, PlayStation и др.
Вы можете изменить размер видеовыхода на вкладке меню Размеры. Другие вкладки позволяют применять фильтры, изменять качество и кодировку видео, добавлять или изменять звуковую дорожку, включать субтитры и изменять главы.Вкладка меню «Теги» позволяет идентифицировать автора, актеров, режиссера, дату выпуска и многое другое в выходном видеофайле.
Если вы хотите настроить Handbrake для вывода на определенную платформу, вы можете использовать прилагаемые предустановки.
Вы также можете использовать параметры меню для создания собственного формата в зависимости от желаемой функциональности.
Handbrake — невероятно мощное программное обеспечение, но это не единственный инструмент для преобразования видео с открытым исходным кодом. У тебя есть еще один любимец? Если да, поделитесь, пожалуйста, в комментариях.
.
Давайте обсудим сжатие, скорость передачи данных и многое другое.
При использовании x264 время составляло около 2 часов (+/- 30 минут). Кодирование того же эпизода с использованием x265, время варьировалось от 21 до 34 часов.
Intel / nVidia только начала добавлять поддержку аппаратного декодирования для последних устройств в конце 2014 — начале 2015 года. В принципе, с точки зрения поддержки дела обстоят довольно рано. 