Ручная гидравлическая рулевая машина | Рулевые машины
Ручная рулевая гидравлическая машина изготавливается ЗАО «НПФ «Рулевые машины» по одобренным РРР и РМРС техническим условиям РГР.364344.001 ТУ.
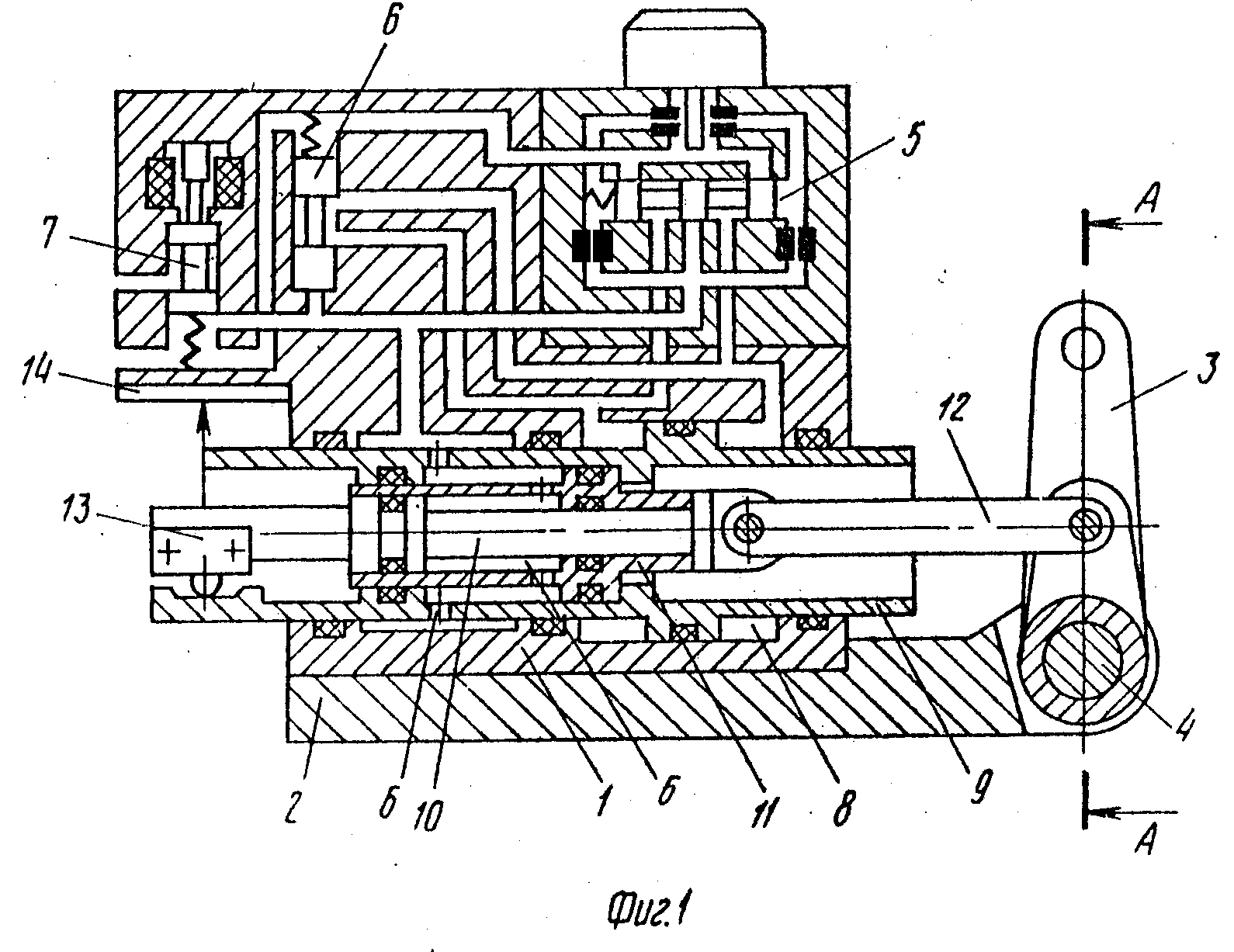
Ручная рулевая гидравлическая машина для одного или двух баллеров предназначена для управления курсом судна.
Управление рулевой машиной производится вращением штурвала соединенного с валом пульта управления. Рабочая жидкость под давлением поступает от насоса через клапанную коробку в рабочие полости гидроцилиндра (гидроцилиндров). Шток гидроцилиндра под давлением рабочей жидкости перемещается, воздействуя на румпель. Датчик угла поворота отслеживает положение пера руля и отображает отклонение на индикаторе.
Ручная рулевая гидравлическая машина выпускается в нескольких исполнениях с крутящим моментом от 0,85 кНм до 4,30 кНм и различными вариантами компоновки. Машина выпускается в компоновке с ручным насосом и насосом с приводом от главного двигателя.
Таблица параметров и исполнений ручных рулевых машин
| Обозначение рулевой машины | Номинальный крутящий момент на баллере руля, кН-м | Номинальное давление в цилиндре, МПа | Давление настройки предохранительных клапанов, МПа | Диаметр отверстия в румпеле, мм |
Пульт управления с ручным насосом |
Пульт управление с насосом-дозатором | Количество цилиндров | Приводной насос | Масса кг, не более |
| РГР.364344.001 | 0.85 | 2.0 | 2.5±0.5 | 40 | 1 | — | 2 | — |
45. 5 |
| -01 | 1.6 | 3.75 | 4.7±0.5 | 50 | 1 | — | 2 | — | 46.0 |
| -02 | 2.3 | 5.5 | 6.9±0.5 | 60 | 1 | — | 2 | — | 46.5 |
| -03 | 3.0 | 7.0 | 8.7±0.5 | 70 | 1 | — | 2 | — | 47.0 |
| -04 |
4. 3 |
10.0 | 12.5±0.5 | 80 | 1 | — | 2 | — | 48.0 |
| -05 | 0.85 | 2.0 | 2.5±0.5 | 40 | — | 1 | 2 | 1 | 45.5 |
| -06 | 1.6 | 3.75 | 4.7±0.5 | 50 | — | 1 | 2 | 1 | 46.0 |
| -07 | 2.3 | 5.5 |
6. 9±0.5 |
60 | — | 1 | 2 | 1 | 46.5 |
| -08 | 3.0 | 7.0 | 8.7±0.5 | 70 | — | 1 | 2 | 1 | 47.0 |
| -09 | 4.3 | 10.0 | 12.0±0.5 | 80 | — | 1 | 2 | 1 | 48.0 |
| -10 | 0.85 | 2.0 | 2.5±0.5 | 40 | 1 | — | 1 | — |
52. 5 |
| -11 | 1.25 | 3.0 | 3.8±0.5 | 50 | 1 | — | 1 | — | 53.0 |
| -12 | 1.9 | 4.5 | 5.6±0.5 | 60 | 1 | — | 1 | — | 53.5 |
| -13 | 3.0 | 7.0 | 8.7±0.5 | 70 | 1 | — | 1 | — | 54.0 |
| -14 |
4. 2 |
10.0 | 12.5±0.5 | 80 | 1 | — | 1 | — | |
| -15 | 0.85 | 2.0 | 2.5±0.5 | 40 | — | 1 | 1 | 1 | 52.5 |
| -16 | 1.25 | 3.0 | 3.8±0.5 | 50 | — | 1 | 1 | 1 | 53.0 |
| -17 | 1.9 | 4.5 |
5. 6±0.5 |
60 | — | 1 | 1 | 1 | 53.5 |
| -18 | 3.0 | 7.0 | 8.7±0.5 | 70 | — | 1 | 1 | 1 | 54.0 |
| -19 | 4.2 | 10.0 | 12.5±0.5 | 80 | — | 1 | 1 | 1 | 55.0 |
Варианты компоновки рулевых машин
Стандартная комплектация ручной гидравлической рулевой машины
1*- ручной гидраблический насос для подачи рабочей жидкости в систему.
2 — гидраблический цилиндр, шарнирно соединенный с румпелем руля суднаю При подаче рабочей жидкости в одну из полостей гидроцилиндра его перемещение приводит к повороту руля. Количество цилиндров и способ соединеня их с румпелем выбирается конструктивно.
З — румпель руля
4 — клапанная коробка включающая в себя гидрозамки, предохранительные и баёпассныё клапана которые необходимы для корректной работы рулевой машины и защиты от самопроиздольного поворота руля под деёствием внешней нагрузки.
5* — пополнительныё бачок с рабочей жидкостьо обеспечибающий неразрывность потока жидкости о системе. Снабжен обратными клапанами не позволяющими жидкости перетекать назад в бак.
*Для простоты компоновки ручной насос может быть установлен внутри пополнительного бачка.
Однако такой вариант требует значительно большего свободного места в корпусе пульта управления
Также все рулевые машины комплектуются датчиками поворота руля. Связанный с датчиком индикатор положения руля устанавливается в корпусе пульта управления.
Комплектация ручной гидравлической рулевой машины с насосом-дозатором в пульте управления
1 — Приводной насосный агрегат, обеспечивающий непрерывную подачу рабочей жидкости в систему. Вал насоса соединен с валом главного двигателя судна.
2- Пульт управленя с насосом-дозатором, осуществляющим управление направлением движения рабочей жидкости в системе. Снабжен клапанами, позволяющими перепускать излишки рабочей жидкости в бак и всасывающий патрубок насоса. При отсутствии движения гидроцилиндра весь расход насоса перепускается в бак.
3 — Гадравлический цилиндр
4 — Румпель руля
5 — Клапанная коробка
6 — Бак с рабочей жидкостью
Рулевые машины и рулевые приводы
Рулевое устройство предназначено для изменения направления движения судна и удержания его на заданном курсе.
В состав рулевого устройства входят: руль — для восприятия давления воды и поворота судна; рулевой привод — для связи с рулевой машиной и передачи вращающего момента на баллер; рулевая машина (двигатель) — для обеспечения работы рулевого привода; телединамическая передача (теледвигатель) — для связи рулевой машины с постом управления судна.
Таким образом, рулевая машина является составной частью рулевого устройства.
Рулевые машины по виду используемой энергии делятся на ручные, паровые, электрические и гидравлические. Часто применяют различные комбинации этих основных типов: пароручные, парогидравлические, ручные гидравлические и электрогидравлические.
Ручные и пароручные рулевые машины устанавливают только на небольших судах. Их обычно комбинируют со штур-тросовой проводкой или валиковой передачей. Конструкция этих машин довольно проста; она включает штурвальную тумбу, внутри которой располагается зубчатая передача (ведущая и ведомая шестерни), тяговый барабан (при шгуртросовой проводке) или звездочки (при цепном штуртросе).
Вся система приводится в движение от штурвального колеса, поворачиваемого вручную рулевым или с помощью простых пароручных рулевых машин.
На рис. 1 показана схема пароручной рулевой машины, управляемой с поста управления. Она состоит из трех валов: рабочего 11, промежуточного 15 и валика 17 серводвигателя. Пусковой золотник 1 соединен рычагом 2 с валиком серводвигателя. На этом валике на скользящей шпонке насажена коническая шестерня 16, находящаяся в зацеплении с конической шестерней 3 валиковой передачи 4, идущей от штурвала 7, расположенного на ходовом мостике. На правом конце валика серводвигателя навинчена шестерня 5, ступица которой лежит в подшипнике 6. На промежуточном валу находится червячное колесо 14, получающее вращение от машины через червячный вал 13, промежуточную шестерню 9 и ручной штурвал 8.
На рабочем валу жестко закреплены штуртросовый барабан 12 и шестерня 10.
Рис. 1. Схема пароручной рулевой машины.
Вращение штурвала через валиковую передачу 4 передается валику серводвигателя.
При вращении валик будет передвигаться вдоль оси, ввинчиваясь в нарезку шестерни 5. Рычагом 2 валик выведет пусковой золотник из среднего положения, и пар поступит в цилиндры паровой машины, которая начнет работать, вращая промежуточный и рабочий валы и тем самым перекладывая руль. Одновременно при работе машины промежуточная шестерня вращает шестерню 5, которая стремится передвинуть валик серводвигателя в обратную сторону.
При остановке штурвала рулевая машина продолжает работать. Поэтому шестерня, вращаясь, передвинет валик серводвигателя и поставит пусковой золотник машины в среднее положение. В результате машина остановится, и перекладка руля прекратится.
Для ручной перекладки руля необходимо ручной штурвал соединить с промежуточным валиком, включить червячную шестерню и разъединить валик сервомотора с валиковой передачей.
РУЛЕВАЯ МАШИНА — это… Что такое РУЛЕВАЯ МАШИНА?
- РУЛЕВАЯ МАШИНА
- РУЛЕВАЯ МАШИНА
-
— см.
Машины рулевые.
Самойлов К. И. Морской словарь. — М.-Л.: Государственное Военно-морское Издательство НКВМФ Союза ССР, 1941
- Рулевая машина
-
механизм вращения баллера руля. Служит для перекладки пера руля на заданный угол.
EdwART. Толковый Военно-морской Словарь, 2010
.
- РУКОЯТЬ
- РУЛЕВАЯ РАМА
Смотреть что такое «РУЛЕВАЯ МАШИНА» в других словарях:
РУЛЕВАЯ МАШИНА — а) в ракетной технике исполнительный орган в системе управления движением ракеты носителя, который в соответствии с командами обеспечивает поворот камер сгорания, отклонение газовых рулей или щитков, отклонение аэродинамических поверхностей и т.
… … Большая политехническая энциклопедияРУЛЕВАЯ МАШИНА — машина, создающая усилие для перекладки руля. Входит в состав рулевого устройства. Для повышения безопасности плавания на судах устанавливают 2 Р. м. осн. и вспомогательную. Осн. должна обеспечивать перекладку руля от 35° одного борта до 35° др.… … Морской энциклопедический справочник
Карт (машина) — В этой статье не хватает ссылок на источники информации. Информация должна быть проверяема, иначе она может быть поставлена под сомнение и удалена. Вы можете … Википедия
Р-17 — Эта статья включает описание термина «Эльбрус»; см. также другие значения. Р 17 индекс ракеты/комплекса: 8К14/9К72 обозначение НАТО: SS 1c «Scud B» … Википедия
РУЛЕВОЕ УПРАВЛЕНИЕ — система механизмов для изменения направления движения безрельсовых колёсных машин. У большинства машин применяется Р. у. автомоб. типа, состоящее из рулевого механизма и рулевого привода (см.
рис.). Рулевые механизмы совр. машин имеют кинематич.… … Большой энциклопедический политехнический словарьСУХОГРУЗНОЕ СУДНО — грузовое судно для перевозки сухих грузов и жидких грузов в таре. С. с. приспосабливают для перевозки грузов (и их перегрузки) в отд. единицах кипах, пачках, тюках, бочках, ящиках (суда для штучных грузов), навалом или насыпью (навалочники). С. с … Большой энциклопедический политехнический словарь
Корабль морское судно — в общем смысле название всякого морского судна больших размеров. Деревянный парусный К. Для ознакомления с названиями, встречающимися в дальнейшем изложении, рассмотрим деревянный парусный К. ХIХ века (фиг. 1). Фиг. 1. Для своего передвижения К.… … Энциклопедический словарь Ф.А. Брокгауза и И.А. Ефрона
Корабль, морское судно — в общем смысле название всякого морского судна больших размеров. Деревянный парусный К. Для ознакомления с названиями, встречающимися в дальнейшем изложении, рассмотрим деревянный парусный К.
XIX века (фиг. 1). Фиг. 1. Для своего передвижения К.… … Энциклопедический словарь Ф.А. Брокгауза и И.А. ЕфронаРМ — или Рм двухбуквенная аббревиатура. Рм. Может означать: Рм Римлянам книга Библии. р.м. рабочее место РМ. Возможные значения: Республики: РМ Республика Македония РМ Республика Молдова РМ Республика Мордовия … Википедия
РМ — реле магнитное Словарь: Словарь сокращений и аббревиатур армии и спецслужб. Сост. А. А. Щелоков. М.: ООО «Издательство АСТ», ЗАО «Издательский дом Гелеос», 2003. 318 с. РМ разволакивающая машина РМ «Рыбинские моторы» организация … Словарь сокращений и аббревиатур
Книги
- Лагос, Сергей Сахнов. Капитан однажды – капитан всегда. Книга, которую следует прочесть не только читателю, жаждущему настоящей жизни, но и товарищам-писателям, чтобы узнать, какова она, подлинная жизнь, что такое… Подробнее Купить за 80 руб электронная книга
- На пароходе, Горький Максим.
Вода реки гладкая, тускло-серебристая, течение ее почти неуловимо, она как бы застыла, принакрытая мглою жаркого дня, и только непрерывное изменение берегов дает понять, как легко и спокойно… Подробнее Купить за 33 руб - На пароходе, Максим Горький. «Вода реки гладкая, тускло-серебристая, течение ее почти неуловимо, она как бы застыла, принакрытая мглою жаркого дня, и только непрерывное изменение берегов дает понять, как легко и спокойно… Подробнее Купить за руб электронная книга
Рулевая машина Р12М
Рулевая машина Р12М завода Гаджиева используется на морских и речных судах и имеет сертификаты РМРС и РРР. Компания Дизельфорс поставляет со склада в Санкт Петербурге и под заказ запчасти, ЗИП для ремонта рулевых машин Р12М, а также с доставкой транспортными компаниями по городам России и по другим судовым запчастям и судовому оборудованию.
Наша компания предлагает к поставке новые оригинальные запчасти на рулевые машины Р01М, Р05М, Р07М, Р11М, Р12М.
Максимально оперативно доставляем качественные запчасти для рулевых машин со склада и без посредников. Имея договор с заводом-изготовителем, гарантируем качество запчастей и доступные цены.
Наши сотрудники работают как с большими заказами, так и рады помочь поставить запасные части на рулевые машины Р01М, Р05М, Р07М, Р11М, Р12М по небольшим заявкам. Очень сжатые сроки поставки, умеренные цены, отсрочка оплаты заказа – такие выгодные условия Вы получаете, сотрудничая с нами.
Рулевая машина Р12М — двухцилиндровая, электрогидравлическая предназначенная для двух баллеров. Рулевая машина поставляется с двумя силовыми установками и одной дополнительной электрической системой управления.
Силовая установка Р12М
Технические характеристики рулевой машины Р12М
| Параметры | Рулевая машина Р12М | |
| Номинальный крутящий момент kNm | 63,0 | 100,0 |
| Номинальное рабочее давление в цилиндрах MPa | 10,0 | 16,0 |
| Максимальное давление жидкости в цилиндрах по настройке предохранительных клапанов, MPa: | 11,0 | 17,5 |
| Рабочий угол перекладки рулей от среднего положения на каждый борт, градус | 35-1 | |
| Время перекладки рулей 35 одного борта до 30 другого борта, не более | 28 | |
Предельный угол поворота каждого румпеля от среднего положения на каждый борт: | 36,5+0,5 38,0 | |
| Масса рулевой машины в состоянии поставки (без запчастей, инструмента и системы управления, kg) | 2100 | |
| Масса рабочей жидкости, заливаемой в гидросистему рулевой машины, kg | 335 | |
| Рабочая жидкость | Гидравлическое масло АУП ГОСТ 38. 01364-84 | |
Комплект поставки рулевой машины Р12М
| Наименование | количество |
| Исполнительный привод рулей | 1 |
| Силовая установка | 2 |
| Аварийная силовая установка (по отдельному заказу) | 1 |
| Система управления | 1 |
Габаритные и монтажно-присоединительные размеры
1 — Блок клапанов, 2 — Корпус, 3 — Тяги, 4 — Ползун, 5 — Плунжер, 6 — Гидроцилиндр, 7 — Румпель.
Страница заявки на запасные части для Рулевой машины Р12М
Электрогидравлическая рулевая машина Р-32
Электрогидравлическая рулевая машина цилиндрового типа Р-32 с приводом на два руля предназначена для установки и эксплуатации на судах различных классов и назначений.
Конструкция рулевой машины обеспечивает работу с современными отечественными и зарубежными системами управления.
Аварийно-предупредительная сигнализация обеспечивает длительную непрерывную работу без местного контроля и обслуживания.
Рулевая машина Р-32 удовлетворяет всем требованиям российских и зарубежных классификационных обществ.
Срок службы рулевой машины не менее 25 лет.
Предприятие выполняет сервисное обслуживание рулевых машин в период эксплуатации и поставляет необходимые запасные части.
Гарантийный срок до 2-х лет с момента ввода в эксплуатацию.
| Основные технические данные | |
|---|---|
| Номинальный крутящий момент на баллере руля, развиваемый рулевой машиной, кН•м | 63 |
| Расчетное номинальное рабочее давление в цилиндрах, МПа | 10 |
| Наибольший рабочий угол поворота руля от среднего положения на каждый борт | ±35º |
| Время перекладки руля с 35° одного борта на 30° другого на полном ходу судна, с | 15 |
| Расстояние между осями баллеров рулей (расстояние между осями баллеров рулей оговаривается при заказе), мм | |
| — I исполнение | 1800…3000 |
| — II исполнение | 4680 |
| Мощность приводного электродвигателя силового агрегата, кВт | 7,5 |
| Частота тока, Гц | 50 |
| Напряжение судовой сети, В | 380 |
| Масса рулевой машины в объеме поставки, т | 1700 |
| Диаметр расточки румпеля под баллер, D, мм | 350 |
| Габаритные размеры, мм: | |
| — длина | 3440 |
| — ширина | 2425 |
| — высота | 911 |
Рулевая машина Р-32 включает в себя два силовых агрегата, каждый из которых обеспечивает спецификационные характеристики рулевых машин.
Система управления осуществляет следующие виды управления: «Автомат», «Следящий», «Простой», «Местный».
По желанию судовладельца рулевая машина может поставляться с аварийным ручным силовым агрегатом.
Рулевая машина может быть укомплектована электрической системой управления с режимом управления «Простой».
Рулевые машины Р01 – Р11М
НАЗНАЧЕНИЕ
Рулевые машины этого типа предназначены для установки на судах всех классов и назначений неограниченного района плавания. Нашли большое применение на рыболовецких судах, а также на сухогрузах.
При применении исполнения 234-292.1002 могут использоваться для двухбаллерных судов.
Примечание
На рисунке изображены рулевые машины Р01М, Р05М, Р07М.
Рулевая машина Р11М комплектуется двумя электроприводными силовыми установками
ТЕХНИЧЕСКИЕ ХАРАКТЕРИСТИКИ
ПАРАМЕТРЫ | модели машин | |||
Р01М | Р05М | Р07М | Р11М | |
Номинальный крутящий момент, kNm: | 6,3 10,0 | 16,0 25,0 | 40,0 | 63,0 100,0 |
Номинальное рабочее давление в цилиндрах, МРа: | 10,0 13,5 | 10,0 13,5 | 10,0 | 10,0 16,0 |
Максимальное давление жидкости в цилиндрах по настройке предохранительных клапанов, МРа: | 11,0 15,0 | 11,0 15,0 | 11,0 | 11,0 17,5 |
Рабочий угол перекладки рулей от среднего положения на каждый борт, градус | 35-1 | |||
Время перекладки рулей от 35 одного борта до 30 другого борта, не более | 28 | |||
Предельный угол поворота каждого румпеля от среднего положения на каждый борт: — до упора на судне; -до упора плунжера в дно цилиндра, не менее градусов | 36,5 + 0,5 38,0 | |||
Масса рулевой машины в состоянии поставки (без запчастей, инструмента и системы управления), kg | 790 | 1070 | 1680 | 3040 |
Масса рабочей жидкости, заливаемой в гидросистему рулевой машины, kg | 126 | 324 | ||
Рабочая жидкость | Турбинное масло Т46 ГОСТ 32-74 | Веретенное масло ГОСТ 1642-75 | ||
ДОПОЛНИТЕЛЬНЫЕ СВЕДЕНИЯ
Рулевые машины могут поставляться для двухбаллерных судов, при котором два силовых агрегата с приводом на два руля синхронно управляются одной системой управления.
Возможна компоновка силового привода с расположением насосных агрегатов вне румпельного помещения.
В дополнение к основным силовым установкам может поставляться дополнительная аварийная установка для РМ Р11М и Р12М или дополнительный пункт управления для РМ Р01М, Р05М, Р07М, который позволяет в случае аварии на основном приводе, управлять рулем судна до прибытия на ремонт в ближайший порт.
Рулевая машина поставляется без системы управления, которая определяется проектом судна и заказывается судостроительным заводом. Система управления определяется проектом судна. Применяются следующие виды систем: «Аист», «Печора», «Пеленг» (Россия), MSC-2 «System-Elektronic» (Германия), «Sperry» (Дания), «Anschuts» (Германия). Возможно применение и других систем управления по желанию заказчика.
КОМПЛЕКТ ПОСТАВКИ РУЛЕВЫХ МАШИН Р01 – Р11М ПО ИСПОЛНЕНИЯМ
Исполнение рулевой машины | Исполнительный привод руля | Силовая установка | Цистерна резервная | Кронштейн для установки монометров | Аварийная силовая установка | Пульт управления | Примечания |
234-292. | 1 | 2 | 2 | 3 | — | — |
|
234-292.1002 | 2 | 2 | 2 | 4 | — | — |
|
234-292.1003 | 1 | 2 | 2 | 4 | 1 | — |
|
234-292.1004 | 1 | 1 | 1 | 2 | 1 | — | Только Р01М, Р05М, Р07М |
234-292.1005 | 1 | 1 | 1 | 2 | 1 | 1 | |
234-292.1007 | 1 | 2 | 2 | 4 | 1 | — | Только Р11М |
234-292. | 1 | 1 | 1 | 2 | 1 | 2 | Только Р01М |
МАТЕРИАЛЫ ОСНОВНЫХ ДЕТАЛЕЙ
Детали | Материалы |
Корпус | Сталь 20 |
Цилиндр | Сталь 20 |
Румпель | Низколегированное стальное литье |
Ползун | Низколегированная сталь |
ГАБАРИТНЫЕ И МОНТАЖНО-ПРИСОЕДИНИТЕЛЬНЫЕ РАЗМЕРЫ
Модели машин | Размеры, мм | ||||||||
d | h | В | L | Н | l1 | l2 | ь1 | d1 | |
Р01М | 80. | 170 | 605 | 1265 | 501 | 65 | 514 | 170 | 17 |
Р05М | 120…180 | 220 | 780 | 1465 | 546 | 95 | 644 | 240 | 25 |
Р07М | 150…200 | 260 | 910 | 1800 | 551 | 140 | 830 | 280 | 32 |
Р11М | 200…250 | 310 | 1095 | 1960 | 591 | 160 | 990 | 340 | 38 |
УСТРОЙСТВО
Основной частью рулевых машин является двухцилиндровый исполнительный привод руля судна,
преобразующий кинематическую энергию рабочей жидкости, нагнетаемой насосом, в механическую
энергию возвратно-поступательного движения плунжера и далее через ползун и шарнирные подшипники во вращательное движение пары румпель-баллер руля.
Движение плунжера происходит под давлением рабочей жидкости, нагнетаемой насосом постоянной производительности через золотник и блок клапанов в один из двух цилиндров исполнительного привода. В состав рулевой машины входят две силовые установки равной мощности, каждая из которых обеспечивает характеристики рулевой машины. Силовые установки соединены с исполнительным приводом через блок клапанов, установленный на каждом цилиндре. В блок входят гидрозамки, обеспечивающие беспрепятственное переключение с одной силовой установки на другую.
Рулевая машина Р12М | АО «Завод им. Гаджиева»
НАЗНАЧЕНИЕ
Данная рулевая машина Р12М — электрогидравлическая, двухцилиндровая предназначена для двух баллеров.
Рулевая машина поставляется с двумя силовыми установками и одной дополнительной электрической системой управления.
ТЕХНИЧЕСКИЕ ХАРАКТЕРИСТИКИ
ПАРАМЕТРЫ | рулевая машина Р12М | |
Номинальный крутящий момент, kNm: | 63,0 | 100,0 |
Номинальное рабочее давление в цилиндрах, МРа: | 10,0 | 16,0 |
Максимальное давление жидкости в цилиндрах по настройке предохранительных клапанов, МРа: | 11,0 | 17,5 |
Рабочий угол перекладки рулей от среднего положения на каждый борт, градус | 35 — 1 | |
Время перекладки рулей от 35 одного борта до 30 другого борта, не более | 28 | |
Предельный угол поворота каждого румпеля от среднего положения на каждый борт. -до упора плунжера в дно цилиндра, не менее градусов | 36,5 + 0,5 38,0 | |
Масса рулевой машины в состоянии поставки (без запчастей, инструмента и системы управления), kg | 2100 | |
Масса рабочей жидкости, заливаемой в гидросистему рулевой машины, kg | 335 | |
Рабочая жидкость | Гидравлическое масло АУП ГОСТ38.01364-84 | |
МАТЕРИАЛЫ ОСНОВНЫХ ДЕТАЛЕЙ
Корпус | Сталь 20 |
Цилиндр | Сталь 20 |
Румпель | Низколегированное стальное литье |
Тяга | Сталь 40 |
Ползун | Низколегированная сталь |
Плунжер |
КОМПЛЕКТ ПОСТАВКИ
Наименование | Количество |
1. | 1 |
2. Силовая установка | 2 |
3. Аварийная силовая установка (по отдельному заказу) | 1 |
4. Система управления | 1 |
Плунжер |
УСТРОЙСТВО
Основной частью рулевых машин является двухцилиндровый исполнительный привод рулей судна, преобразующий кинематическую энергию рабочей жидкости, нагнетаемой насосом, в механическую энергию возвратно-поступательного движения плунжера и далее через ползун и две тяги во вращательное движение двух пар румпель — баллер рулей. Движение плунжера происходит под давлением рабочей жидкости, нагнетаемой насосом постоянной производительности через золотник и блок клапанов в один из двух цилиндров исполнительного привода. В состав рулевой машины входят две силовые установки равной мощности, каждая из которых обеспечивает характеристики рулевой машины. Силовые установки соединены с исполнительным приводом через блок клапанов, установленный на каждом цилиндре. В блок входят гидрозамки обеспечивающие беспрепятственное переключение с одной силовой установки на другую.
Стратегии диагностики рулевого механизма | KnowYourParts
Принципы работы
Нам необходимо понять основы работы системы рулевого управления с гидроусилителем, прежде чем мы сможем разработать методику оценки. На самом базовом уровне насос гидроусилителя рулевого управления может создавать гидравлическое давление до 2000 фунтов на квадратный дюйм. Это гидравлическое давление поступает в вспомогательный цилиндр рулевого управления через клапан регулировки давления рулевого механизма. На современных автомобилях и цилиндр, и клапан являются неотъемлемой частью рулевого механизма.
Большинство систем рулевого управления включают торсионный стержень во входной вал рулевого механизма, который допускает небольшое отклонение вала при приложении крутящего момента к рулевому колесу. Когда торсион соединен с управляющим клапаном рулевого механизма, скорость потока масла в вспомогательный цилиндр рулевого управления с гидроусилителем изменяется в зависимости от величины отклонения торсиона вала рулевого управления.
Некоторые системы также включают реактивный диск на обоих концах ведущей шестерни или червячной передачи.Один из противодействующих дисков сжимается, когда крутящий момент прилагается к рулевому колесу при изменении направления рулевого механизма. Здесь также клапан управления рулевым управлением реагирует на движение рулевой шестерни, помогая регулировать поток масла в вспомогательный цилиндр.
«Системный подход»
При рассмотрении жалобы на гидроусилитель руля важно учитывать всю систему. Если, например, изношен насос рулевого управления, гидравлическая часть системы, вероятно, будет заполнена металлическими частицами.Изношенные шланги рулевого управления также могут пролить материал в поток масла, что может вызвать жалобы на усилитель рулевого управления из-за засорения портов клапана управления рулевым управлением. Закаленные или изношенные шланги также могут потенциально привести к возникновению внутренних повреждений после переустановки. Всегда лучше рекомендовать новые шланги в комплекте с новым насосом рулевого управления с гидроусилителем или рулевой рейкой и проводить тщательную промывку системы при замене любой важной детали.
Тест производительности «Сухой парк»
Испытание на сухую парковку проводится с трансмиссией в «парке» и передними колесами на земле.После запуска двигателя проверьте, нет ли «неровностей» или движения рулевого колеса при запуске двигателя. Встаньте вне машины и покачайте рулевым колесом. Если люфт слишком велик или вы слышите стук, необходимо обратить внимание на систему рулевого управления с гидроусилителем.
Если движение обнаружено, возможно, усилитель рулевого механизма развил неравномерный усилитель рулевого управления в одном или другом направлении. Затем проверьте плавность усилителя мощности. Если ассистент работает неравномерно или рывками, проверьте уровень жидкости в насосе гидроусилителя рулевого управления и проверьте состояние и регулировку приводного ремня.Если уровень жидкости низкий, проверьте, нет ли утечек в насосе, шлангах, рулевом механизме или сальниках рейки. Если ремень изношен или остеклен, его следует заменить.
Заедание опорных подшипников амортизатора или заедание шаровых шарниров может привести к тому, что рулевое управление будет тяжелым и неадекватным. При нескольких поворотах рулевого колеса от упора до упора усилитель должен ощущаться даже из стороны в сторону, а рулевое колесо должно немедленно реагировать на изменение направления. Если ассистент движения справа налево и слева направо не равен, возможно, неисправна система регулирующих клапанов рулевого механизма.Если в рулевом колесе наблюдается чрезмерный люфт, проверьте карданный шарнир рулевого вала, рулевой механизм, опоры рулевого механизма и рулевую тягу на предмет ослабления и износа. Всегда проверяйте универсальный шарнир на предмет износа и ослабления болтов.
Когда рулевой механизм полностью заблокирован, шипение обычно указывает на то, что перепускная линия давления масла ограничивает максимальное давление насоса. Если приводной ремень скрипит при полной блокировке, ремень проскальзывает из-за износа или неправильной регулировки.
Исключением из приведенных выше тестов может быть насос рулевого управления с гидроусилителем, в котором модуль управления трансмиссией (PCM) регулирует давление масла с помощью клапана управления давлением с импульсной модуляцией на насосе рулевого управления.Поскольку система переменного ассистента реагирует на скорость автомобиля и другие условия движения, диагностика зависит от области применения. Всегда проверяйте коды неисправностей, хранящиеся в PCM, и проверяйте меню диагностического прибора на наличие доступных данных и тесты производительности в любой модулированной системе.
Проверки насоса рулевого управления
Всегда начинайте с проверки уровня жидкости рулевого управления с гидроусилителем, поскольку насос рулевого управления является сердцем системы рулевого управления с гидроусилителем. Если уровень низкий, можно предположить, что в системе происходит утечка жидкости.
Далее важно проверить цвет и вязкость жидкости. Нормальный цвет — красный или соломенный. Почерневшая жидкость может указывать на износ шлангов или износ самого насоса рулевого управления с гидроусилителем. Если жидкость кажется очень вязкой, возможно, она загрязнена моторным маслом или другой смазкой. Если жидкость имеет странный запах, возможно, неопытный техник добавил тормозную жидкость в бачок. В любом случае, если жидкость кажется загрязненной, систему необходимо тщательно промыть указанной жидкостью.
Проверьте усилитель рулевого управления еще раз после того, как насос и жидкость нагреются. Если помпа в горячем состоянии оказывает заметно меньше помощи, вероятно, она изношена. Если насос шумит, проверьте жидкость на пенообразование. Если жидкость пенится, она может быть загрязнена, и для исправления этого состояния может потребоваться промывка системы.
Несмотря на то, что это случается редко, внутреннюю утечку внутри цилиндра усилителя рулевого управления нельзя сбрасывать со счетов, если усилитель рулевого управления ухудшается по мере нагрева жидкости. На этом этапе лучше всего порекомендовать испытание насоса рулевого управления под давлением.Конечно, получение доступа к гидравлическим соединениям высокого давления на насосе рулевого управления с гидроусилителем или рулевом механизме может быть затруднено, если не вообще невозможно, на современных двигателях. Поскольку испытания зависят от области применения, важно иметь под рукой спецификации производителя, прежде чем рекомендовать испытание под давлением вашему заказчику.
Осмотр рулевого механизма
Обычные рулевые механизмы чрезвычайно надежны, и большинство отказов связано с протечками вокруг рулевого вала и уплотнений секторного вала.В случаях с большим пробегом рулевой механизм может быть слегка изношен и потребовать регулировки секторного вала для устранения чрезмерного люфта рулевого колеса. При работающем двигателе и помощнике, покачивающем рулевое колесо, наблюдайте за осевым люфтом на рулевом валу. Имейте в виду, что рулевой вал прижимается к своим противодействующим дискам, поэтому вал должен входить или выходить примерно на 1/16 дюйма, когда рулевое колесо медленно раскачивается вправо и влево.
Аналогично следите за движением выходного или секторного вала.Вал сектора будет иметь тенденцию перемещаться вперед и назад, поскольку рулевое колесо медленно раскачивается вправо и влево, если втулки или корпус секторного вала изношены. Кроме того, если секторный вал будет иметь полированное кольцо вокруг вала в точке контакта с уплотнением, это означает избыточный осевой люфт. В большинстве случаев простая регулировка секторного вала вернет шестерню в нормальный режим работы.
Убедитесь, что рулевое управление отцентрировано в «верхней точке» на рулевом механизме, а точки поворота рычага Pitman параллельны раме, а рулевое колесо правильно проиндексировано относительно его вала при регулировке осевого люфта секторного вала в шасси.Регулировочный винт секторного вала следует закручивать, пока не будет снят осевой люфт. Хорошее практическое правило: перед затягиванием стопорной гайки отвинтите регулировочный винт на пол-оборота, чтобы учесть тепловое расширение, если не указано иное. При правильной регулировке с отсоединенным рулевым приводом рулевой механизм должен иметь небольшой люфт по обе стороны от верхней точки рулевого механизма. Шестерня должна легко вращаться через высокую точку, но сама высокая точка не должна давать люфт в рулевом колесе.
Проверка стойки и шестерни
Когда автомобиль находится на подъемнике, возьмитесь за шину в положениях на 9 и 3 часа и раскачивайте колесо внутрь и наружу. Если слышен щелкающий звук, вероятно, изношен конец внутренней рулевой тяги в месте ее соединения с рулевой рейкой. Пока мы смотрим на рулевую рейку, проверьте, нет ли внешней утечки масла в ботинках, а также потрогайте пыльник, чтобы убедиться, что он заполнен маслом. Всегда сжимайте пыльники рулевой рейки, чтобы проверить, заполнены ли они маслом.Порванные ботинки следует немедленно заменить.
Если пыльник заполнен маслом, уплотнения стойки протекают, и стойку следует заменить. Поскольку незакрепленные крепления рулевой рейки вызывают отклонение рулевого управления, важно проверить крепления на предмет износа.
Коробка передач гидроусилителя рулевого управления — запасные части для OEM и вторичного рынка
Без гидроусилителя рулевого управления повернуть машину было бы практически невозможно. Трудно поверить, что раньше в автомобилях не было гидроусилителя рулевого управления, но современные автомобили созданы для максимальной безопасности и эффективности.Система рулевого управления с гидроусилителем является важной частью системы управления вашего автомобиля, но она также является критическим фактором безопасности.
BuyAutoParts.com предлагает запасные части и компоненты для коробки рулевого управления с усилителем качества OEM, все по ценам, которые соответствуют любому бюджету. Более того, наша гарантия лучшей цены распространяется на все коробки передач с усилителем рулевого управления, которые мы продаем. Если вы найдете более выгодную цену в другом месте, просто дайте нам знать, и мы сопоставим ее или превзойдем ее. И, как всегда, все заказы на сумму более 99,00 долларов США имеют право на бесплатную наземную доставку в США.С., в том числе и Ваш ГУР на заказ! Вы не ошибетесь с BuyAutoParts.com. Когда дело доходит до получения подходящего рулевого механизма и любой другой детали автомобиля, мы стремимся обеспечить полное удовлетворение потребностей клиентов!
В BuyAutoParts.com мы также понимаем, что время имеет решающее значение, когда дело доходит до ремонта автомобиля или замены деталей. Вот почему мы прилагаем все усилия, чтобы как можно быстрее получить вам нужный рулевой редуктор с помощью нашей опытной внутренней команды и сети складов по всей стране.
Хотите узнать больше о рулевом редукторе? На сайте Buy Auto Parts мы предлагаем вам множество способов узнать больше о новинках в области автомобильных запчастей, методах ремонта и многом другом через наше онлайн-сообщество. Изучите наш блог, узнайте из наших обучающих видео и статей, присоединитесь к онлайн-обсуждениям с другими любителями автомобилей и грузовиков и многое другое. Купить автозапчасти можно здесь, так как запчасти для вашего автомобиля станут домом не только для замены коробки передач с гидроусилителем рулевого управления, но и для любых нужд вашего автомобиля.
В качестве полезного обзора для начала, рулевой редуктор является важной частью системы рулевого управления автомобиля. Редуктор рулевого управления с гидроусилителем необходим для управления большей нагрузкой с меньшими усилиями. В системах рулевого управления с гидроусилителем коробка передач расположена на нижнем конце рулевого вала. В нем используется жидкость под высоким давлением, чтобы облегчить управление. Коробка передач с усилителем рулевого управления требуется для преобразования вращательного движения рулевого колеса в поступательное. Он состоит из различных компонентов, таких как поворотный клапан, торсион, секторный вал, входной вал, регулировочная гайка секторного вала и силовой поршень.
Коробка передач рулевого управления с гидроусилителем обеспечивает мощность, необходимую для легкого управления автомобилем. Его движение зависит от того, насколько повернуто рулевое колесо и от курса вращения. Если коробка передач рулевого управления с гидроусилителем вашего автомобиля не работает должным образом, вы должны заменить ее как можно скорее. BuyAutoParts.com предлагает широкий ассортимент рулевых редукторов для всех марок и моделей автомобилей.
Признаки неисправности коробки передач с усилителем рулевого управления
Когда ваш рулевой редуктор начинает выходить из строя, вы можете заметить одну или все следующие вещи.Имейте в виду, что выход из строя гидроусилителя рулевого управления — критическая проблема безопасности; Невозможность маневрировать автомобилем по дороге — не просто проблема удобства. Это может стать причиной серьезных несчастных случаев, травм или даже смерти. Вот предупреждающие признаки неисправности гидроусилителя рулевого механизма:
Рулевое колесо не поворачивается. Если при обычном повороте требуется большое усилие, чтобы повернуть колесо, рулевой редуктор может быть полностью изношен. Как можно скорее попросите профессионального механика осмотреть вашу коробку передач.
Утечка жидкости. Жидкость гидроусилителя рулевого управления в коробке передач и вокруг нее — еще один признак потенциальной неисправности. Вам следует немедленно заменить или отремонтировать рулевой редуктор.
Автомобиль «тянет» в сторону при движении. Если ваша машина хочет тянуть вправо или влево, это может быть не выравнивание — ваш рулевой редуктор может быть поврежден. Центровка — частая причина тяги, но рулевой редуктор также может быть основной причиной.
Отскок после ударов. Рулевое управление — это контроль, а не только направление. Когда рулевой механизм не работает, ваш автомобиль может испытывать дополнительные колебания после выбоин, лежачих полицейских и других незначительных дорожных опасностей. Если ваши амортизаторы и стойки в порядке и ваш автомобиль подпрыгивает, проверьте редуктор рулевого управления с гидроусилителем на предмет дефектов.
Подвижное рулевое колесо. Обратите внимание на рулевое колесо при движении на высоких скоростях. Если колесо вибрирует вверх и вниз во время обычного движения или при нажатии на тормоз, это явный признак неисправности коробки передач с усилителем рулевого управления.
Если у вас есть какие-либо вопросы о выборе коробки передач с усилителем рулевого управления или вы не можете найти именно ту коробку передач, которую ищете, позвоните в нашу службу поддержки клиентов по телефону (888) 907-7225. Мы найдем нужную деталь по подходящей цене. Вы также можете посетить нашу страницу контактов, чтобы поговорить с одним из наших профессионалов в области гидроусилителя руля. Благодарим вас за посещение магазина рулевых редукторов BuyAutoParts.com — мы с нетерпением ждем возможности обслужить вас сегодня!
Как купить рулевой редуктор?
Если вы хотите купить рулевой редуктор на BuyAutoParts.com без каких-либо сбоев, воспользуйтесь этим руководством покупателя.
Сколько стоит рулевой редуктор?
В данной статье дается приблизительная оценка стоимости установки рулевого редуктора. Прочтите эту статью и спланируйте свой бюджет.
Почему новый рулевой редуктор спасет вашу жизнь
Каждая автомобильная деталь имеет свое значение. Прочтите этот раздел, чтобы узнать, почему изношенный рулевой механизм может подвергнуть вас и ваш автомобиль опасности.
Как определить типы редукторов?
Вы не знаете, какой тип рулевого редуктора установлен в вашем автомобиле? Посетите эту ссылку, чтобы узнать, какая коробка передач у вашего автомобиля.
Схема рулевого механизма
Не знаете, как центрировать новый рулевой редуктор? В этом разделе подробно описан каждый этап центрирования рулевого механизма.
TRW Truck Steering — Сервисная литература
Ваша конфиденциальность
Когда вы посещаете любой веб-сайт, он может сохранять или извлекать информацию в вашем браузере, в основном в виде файлов cookie.Эта информация может касаться вас, ваших предпочтений, ваше устройство или используется для того, чтобы сайт работал так, как вы ожидаете. Информация не обычно идентифицируют вас напрямую, но это может дать вам более персонализированный опыт работы в Интернете. Вы можете запретить использование некоторых типов файлов cookie. Щелкните другую категорию заголовки, чтобы узнать больше и изменить настройки по умолчанию. Однако вы должны знать, что блокировка некоторых типов файлов cookie может повлиять на вашу работу с сайтом и службами мы можем предложить.
Технические обязательные файлы cookie
Всегда активный
Эти файлы cookie необходимы для работы веб-сайта и не могут быть отключены в наши системы.Обычно они устанавливаются только в ответ на ваши действия, сумма которых на запрос услуг, таких как настройка параметров конфиденциальности, вход в систему или заполнение форм. Вы можете настроить свой браузер так, чтобы он блокировал или предупреждал вас об этих файлах cookie, но некоторые части сайта тогда не будут работать. Эти файлы cookie не хранят никаких личных идентифицируемая информация.
Эти файлы cookie позволяют нам подсчитывать посещения и источники трафика, чтобы мы могли измерять и улучшать производительность нашего сайта.Они помогают нам узнать, какие страницы наиболее и наименее популярны и посмотрите, как посетители перемещаются по сайту. Вся информация, которую собирают эти файлы cookie является агрегированным и, следовательно, анонимным. Если вы не разрешите использование этих файлов cookie, мы не будем знать, когда вы посетили наш сайт, и не сможете отслеживать его работу.
RH Sheppard | Коммерческое рулевое управление
Предложения с усилителем рулевого управления Sheppard ™
Sheppard предлагает полное семейство рулевых механизмов с усилителем для рынка тяжелых коммерческих и специальных автомобилей.Шестерни Sheppard ™ M-Series ™ являются отраслевым стандартом проектирования с 1986 года, при этом используются материалы и компоненты высочайшего качества, изготовленные с очень жесткими допусками и произведенные в США. Корпуса рулевого механизма изготовлены из чугуна с плотным графитом, что обеспечивает долгий срок службы и надежность. Конструкции стоек и секторов полностью отшлифованы для бесперебойной работы без люфта. В шестернях серии M, как и во всех рулевых механизмах Sheppard, используются конические шлицы на выходе сектора и штанге шатуна для беспроблемной работы и безопасности.
Наш рулевой механизм D Series ™
Это семейство продуктов было специально разработано для рулевого механизма с гидроусилителем, обеспечивающего улучшенную управляемость, больше напоминающее автомобиль, центральную жесткость для уменьшения блуждания и низкий уровень шума. Новая конструкция редуктора имеет самое быстрое передаточное отношение рулевого управления на рынке — 16,9: 1, что обеспечивает лучшую в отрасли производительность с меньшим количеством поворотов маховика и меньшей утомляемостью водителя. Конструкция также обеспечивает повышенную долговечность, улучшенные конструкции уплотнений и меньшие затраты на техническое обслуживание; что приводит к снижению затрат на протяжении всего жизненного цикла автомобиля.
Обслуживание рулевого механизма Sheppard и техническая поддержка на местах
Sheppard предоставляет лучший сервис и поддержку для своей продукции. Наша опытная региональная команда на местах обращается к автопаркам и дилерам по всей стране для поддержки продаж, обслуживания и обучения. Прямая техническая поддержка с завода также доступна с 8:00 до 18:00 по восточноевропейскому стандартному времени по горячей линии обслуживания клиентов (1-800-2RH-SHEP).
Философия обслуживанияSheppard направлена на снижение стоимости жизненного цикла. Наши конструкции позволяют легко заменять уплотнения, а не дорогостоящую замену шестерен.Чтобы поддержать эти усилия, мы сделали серию обучающих видеороликов. В видеороликах специалисту по обслуживанию представлены различные инструкции по замене уплотнений. В других видеороликах рассказывается об основных принципах работы редуктора, устранении неисправностей и испытаниях под давлением.
Чтобы получить доступ к видео, нажмите «Служба поддержки», затем «Сервисные и обучающие видео», чтобы просмотреть варианты, затем начните онлайн-обучение.
АНАЛИЗ РУЛЕВОГО ПРИВОДА
Отсутствие научных исследований определено автором как причина неспособности разработать системы рулевого управления в целом для удовлетворения нынешней потребности в улучшении и упрощении управляемости.Он комментирует имеющиеся скудные данные о неисправностях системы рулевого управления и факторах, влияющих на конструкцию, и подчеркивает необходимость определения действующих напряжений в системах рулевого управления, когда транспортное средство движется по дорогам всех типов, чтобы проектировать можно было с большей уверенностью. и достигнута большая безопасность. Определяя комфорт как включающий легкое рулевое управление, удобное положение для сидения, удобное расположение органов управления, с которыми необходимо часто обращаться, и душевное спокойствие относительно точности и надежности рулевого управления, он анализирует причины жесткого рулевого управления, говоря, что система рулевого управления включает каждая часть от рулевого колеса до рулевого механизма и связи с передними колесами, и что сам рулевой механизм является просто редукционным механизмом.
С помощью HA Huebotter он разрабатывает набор автоматических записывающих приборов, которые будут регистрировать не только физическое усилие, необходимое для управления автомобилем, но и одновременно силы и удары, воздействующие на всю систему рулевого управления, так что такие записи будут составляют основу конструкции системы рулевого управления.
Важно, чтобы рулевое управление обеспечивало необходимое механическое преимущество или рычаг, позволяющий водителю управлять ухом, и чтобы это достигалось за счет разумного углового поворота рулевого колеса.К сожалению, эти два фундаментальных требования противоречат друг другу, поскольку увеличение механического преимущества вызывает больший поворот рулевого колеса; Итак, диаграммы представлены, чтобы показать, что окончательное общее механическое преимущество складывается из таких факторов, как отношение винтовой линии, внутреннее отношение и отношение диаметра рулевого колеса к длине рулевого рычага, а также в качестве помощи последующий анализ, позволяющий свести к минимуму существующие неисправности системы рулевого управления.
Рулевые шестерни классифицируются как конические зубчатые и сегментные, червячные, винто-гайки, накидные гайки и кулачковые и рычажные, и все, кроме первого, зависят от спирали для приведения в действие. .Далее следует исследование характеристик спирали, описание включенного испытательного устройства и обсуждаются возможности создания спирали с переменным передаточным числом, которая дает большое механическое преимущество в центральном положении движения с меньшим механическим преимуществом в крайних положениях. Автор говорит, что рулевой механизм должен поглощать все нежелательные дорожные удары и при этом сохранять симпатию к дороге; то есть, это должна быть шестерня, которая позволяет передним колесам двигаться по дороге более или менее естественно, так что обеспечивается некоторый эффект самоуправления.
Затопление в отсеке рулевого механизма — IMCA
Что случилось?
Судно потеряло контроль над своим рулевым устройством из-за утечки через уплотнения вилки Карм, что привело к неконтролируемому затоплению рулевого отделения. В машинное отделение поступила сигнализация высокого уровня трюмного отделения рулевого механизма и была запущена трюмная помпа. Спустя пятнадцать минут откачки сигнал тревоги все еще был активен, и только после этого были проинформированы главный инженер и капитан.Главный инженер прошел в отсек рулевого механизма и обнаружил воду под плитами пола.
Судно столкнулось с сильным волнением и сильно качнулось. Через тридцать минут сработала трюмная сигнализация, трюмная помпа перестала всасывать и ее остановили. На мостике сработала сигнализация об отключении электроэнергии на панели рулевого управления, и судно потеряло управление. Было обнаружено, что отсек рулевого механизма залит водой на 30 см над плитами пола. Трюмная помпа была снова запущена, и оборудование в отсеке рулевого механизма отключилось.
В систему громкой связи поступило сообщение об отказе рулевого механизма; клиент был проинформирован, и была запрошена помощь судна. Главный инженер также обнаружил неисправное состояние поплавковых рычагов трюмной сигнализации (см. Крайнее правое изображение). Для откачки воды из затопленного отсека использовался погружной насос. Также были предприняты шаги по облегчению судна за счет откачки нескольких резервуаров с пресной водой.
Что пошло не так? В чем были причины?
Основной причиной затопления было установлено изношенное состояние буксирного пальца / уплотнения вилки Karm.Из-за непогоды вода поступала на палубу и через негерметичный затвор попадала в рулевой отсек.
Какие уроки были извлечены?
- При срабатывании сигнала тревоги всегда следует предпринимать немедленные действия. Тревоги не следует сбрасывать в обычном порядке. Причина срабатывания сигнализации всегда должна быть исследована и устранена;
- Рулевое отделение не участвовало в каких-либо обходах экипажа — такие отсеки, как рулевой механизм, носовое подруливающее устройство, шахты и т.должны регулярно осматриваться и регистрироваться в протоколе осмотра;
- Не были приняты соответствующие меры предосторожности для тяжелых погодных условий;
- Состояние буксирного пальца и уплотнений вилки Karm не контролировалось и не замечалось.
Какие действия были предприняты?
- Проведена тщательная проверка состояния крышек панелей управления, стартеров и др. В отсеке рулевого механизма;
- Был введен график регулярных и регистрируемых проверок отсеков ниже ватерлинии, о любых недостатках / наблюдениях сообщалось в офис;
Проверена работа датчиков уровня трюма согласно рекомендациям PMS.
Члены могут пожелать рассмотреть следующие инциденты:
Индикаторы безопасности IMCA обобщают ключевые вопросы безопасности и инциденты, позволяя легче усвоить уроки на благо всех. Эффективность системы IMCA Safety Flash зависит от обмена информацией между членами и предотвращения повторных инцидентов. Пожалуйста, подумайте о добавлении [email protected] в ваш внутренний список рассылки предупреждений о безопасности или отправке вручную информации об инцидентах, которые, по вашему мнению, могут иметь значение.Вся информация анонимизируется или дезинфицируется, в зависимости от ситуации.
Условия использования магазинаIMCA (https://www.imca-int.com/legal-notices/terms/) применяются ко всем загрузкам с веб-сайта IMCA, включая этот документ.
IMCA прилагает все усилия для обеспечения точности и надежности данных, содержащихся в публикуемых им документах, но IMCA не несет ответственности за какие-либо указания и / или рекомендации и / или заявления, содержащиеся в данном документе. Информация, содержащаяся в этом документе, не выполняет и не заменяет какие-либо юридические, нормативные или другие обязанности или обязательства отдельных лиц или Участников в отношении их операций.Физические лица и участники несут исключительную ответственность за безопасное, законное и надлежащее ведение своей деятельности.
Запасные коробки рулевого управления | Уплотнения, подшипники, ремонтные комплекты — CARiD.com
Существует два типа систем рулевого управления транспортного средства: реечная шестерня, которая обычно используется на современных легковых, грузовых автомобилях и внедорожниках, и обычная червячная передача с рециркуляционным шариковым рулевым механизмом, которая все еще используется на некоторых грузовиках и внедорожниках, но в основном встречается на старых автомобилях. Обе конструкции преобразуют вращательное движение рулевого колеса в вращательное движение передних колес.В обычном рулевом механизме это достигается с помощью червячной передачи, шариковой гайки, секторной шестерни и вала, размещенных в рулевом механизме, а также рулевой тяги, состоящей из рычага шатуна, натяжного рычага, центрального рычага и рулевых тяг, которые прикреплены к рулевому механизму. поворотные кулаки / шпиндели, на которых установлены колеса.
Вал рулевой колонки прикреплен к червячной передаче. Когда рулевое колесо и, в свою очередь, червячная передача, вращаются, оно воздействует на шариковую гайку, заставляя ее перемещаться вверх или вниз по червячной передаче в зависимости от того, в какую сторону поворачивается колесо.Червячная передача и шариковая гайка не имеют резьбы и не контактируют напрямую. Скорее, обе части имеют механически обработанные канавки, по которым перемещаются шарикоподшипники. Шариковые подшипники уменьшают трение и обеспечивают плавную работу без люфта, что может привести к ослаблению рулевого управления. Шариковые направляющие рециркулируют шарики через шестерню и гайку, обеспечивая равномерный износ и давая название этой системе рулевого управления. Зубья шестерни, врезанные снаружи шариковой гайки, входят в зацепление с зубьями на шестерне сектора и валу. Рычаг шатуна соединяет секторный вал с центральным звеном, которое поддерживается на другом конце рычагом холостого хода.Стяжки прикреплены к каждому концу центрального звена. Когда рулевое колесо поворачивается, рычаг шатуна заставляет центральную тягу и рулевые тяги перемещаться в сторону, тем самым поворачивая передние колеса.
Ручной рулевой механизм был обычным явлением на многих автомобилях в прошлом, но почти все новые автомобили с этой системой имеют гидроусилитель. Насос с приводом от двигателя подает жидкость под давлением в рулевую коробку через гибкий шланг высокого давления, а жидкость возвращается в резервуар насоса рулевого управления с гидроусилителем через возвратный шланг низкого давления.Внутри рулевого механизма находится узел клапана и торсиона, который регулирует давление жидкости с каждой стороны шариковой гайки. Когда автомобиль движется прямо и рулевое колесо находится по центру, давление с обеих сторон шариковой гайки одинаковое. Когда рулевое колесо поворачивается, торсион внутри клапана поворачивается и направляет давление жидкости на одну сторону шаровой гайки, одновременно сбрасывая давление жидкости с другой стороны в резервуар, создавая усилитель мощности. Когда рулевое колесо отпускается, давление снова выравнивается с обеих сторон шариковой гайки.
Утечки и слабое рулевое управление являются наиболее частыми проблемами обычного рулевого механизма. Утечки чаще всего возникают в валах червячной передачи и уплотнениях секторных валов, а также в крышках секторных валов. Если рулевое колесо можно немного повернуть вперед и назад без движения передних колес, это может указывать на изношенный рулевой механизм. Тем не менее, рулевую колонку и рулевую тягу следует проверить на износ и люфт, прежде чем рулевой механизм будет осужден. Проверьте наличие люфта в подшипниках, опорах и муфтах вала рулевой колонки, а также проверьте направляющие втулки и все шариковые шпильки рулевой тяги.Если все остальные компоненты в порядке, и чрезмерный люфт изолирован от рулевого механизма, сначала попробуйте отрегулировать предварительную нагрузку на подшипник червячной передачи и зазор секторного вала в соответствии с инструкциями и спецификациями производителя. Если эти регулировки не решают проблему, коробку передач следует заменить.
Независимо от того, что вам нужно в ремонте или над чем вы работаете, у нас есть запасные узлы рулевого механизма и связанные с ними компоненты, чтобы восстановить безопасную, предсказуемую и простую работу системы рулевого управления.Мы предлагаем узлы рулевого механизма с ручным и гидроусилителем, изготовленные в соответствии со спецификациями исходного оборудования. У нас также есть уплотнения, прокладки, подшипники, клапаны, секторные валы, а также комплекты для ремонта и восстановления, если вы хотите самостоятельно заняться ремонтом или капитальным ремонтом узла рулевого механизма. Кроме того, мы предлагаем кронштейны и крепления рулевого механизма для некоторых автомобилей.

5
3
9±0.5
5
2
6±0.5
01364-84
1000
1008
— до упора на судне;
Исполнительный привод рулей