Какие существуют системы подачи топлива в дизельном ДВС
Категория: Полезная информация.
Как мы знаем, в дизельном ДВС топливо воспламеняется не от внешнего источника (искра зажигания в бензиновом моторе), а в результате сильного сжатия и нагрева. При этом топливно-воздушная смесь подается и распыляется в цилиндрах под высоким давлением. С этой целью в дизелях используются разные типы систем подачи топлива.
Топливная система дизельных ДВС: основные принципы
Сначала воздух подается в цилиндр, затем сжимается, нагреваясь в процессе до экстремальных температур, и лишь к концу такта сжатия в цилиндр подается дизельное топливо. Подается таким образом: впрыскивается в камеру сгонария под высоким давлением (от 100 до 2000 атмосфер) и распыляется. Поэтому, вне зависимости от типа топливной системы дизеля, в ней всегда есть два компонента:
- тот, что создает высокое давление – топливный насос высокого давления (ТНВД)
- и тот, что впрыскивает и разбрызгивает горючее по камере – форсунка.

В зависимости от типа топливной системы дизельного ДВС, отличается конструкция ТНВД и устройство форсунок. Также отличаются схемы управления этими элементами и место их расположения.
Основные типы топливных систем дизеля
Наибольшее распространение получили 4 типа топливных систем дизельных моторов:
- рядный ТНВД
- ТНВД распределительного типа
- насос-форсунки
- система Common Rail
Рядный ТНВД – проверенное десятилетиями решение, которое активно применяется на грузовой и специальной технике с дизельными моторами. В основе этой системы подачи топлива находится работа плунжерной пары. Цилиндр движется в гильзе, создавая давление и сжимая топливо до необходимых показателей. Как только они достигнуты, открывается специальный клапан, подающий топливо на форсунку, которая впрыскивает его в цилиндр. Плунжер в это время движется вниз, открывает канал для впуска горючего в пространство гильзы с помощью топливоподкачивающего насоса, и цикл повторяется.
Работа самого плунжера становится возможна благодаря кулачковому валу, который приводится от мотора. Кулачки «толкают» клапана, а мкфта опережения впрыска, соединяющая ТНВД и двигатель, корректирует работу топливной системы.
Неоспоримые достоинства системы подачи топлива с рядными ТНВД – их ремонтопригодность и доступность обслуживания.
ТНВД распределительного типа конструктивно напоминает рядный топливный насос. Отличие заключается в количестве плунжерных пар. Если в рядном ТНВД одна пара идет на один цилиндр, то в распределительном работы одной плунжерной пары достаточно, чтобы обслуживать два, три, и даже шесть цилиндров. Это достигается через опцию вращения плунжера вокруг оси. Вращаясь, плунжер поочередно открывает выпускные клапана, подавая горючее на форсунки нескольких цилиндров.
Эволюция распределительных ТНВД привела к тому, что появились уже роторные топливные насосы: в них плунжеры помещаются в ротор и в процессе работы движутся навстречу двуг другу, пока ротор вращает их, распределяя тем самым топливо по камере сгорания.
Преимущество системы подачи топлива с распределительным ТНВД – компактность самого устройства. Недостатки – сложность настройки, применение схем электронного управления и корректировки работы.
Система подачи топлива в цилиндр с помощью насос-форсунок вообще исключает необходимость ТНВД как отдельного элемента. В этом случае, форсунка и насосная секция – это один узел в общем корпусе.
В результате достигается легкость регулировки подачи топлива в конкретный цилиндр, а при выходе из строя одной насос-форсунки, остальные продолжают работать, что облегчает ремонт. Конструктивно, насос-форсунки приводят в действие плунжеры распредвал ГРМ в головке блока цилиндров.
Система подачи топлива насос-форсунками распространена не только на грузовых, но и на легковых автомобилях. К недостаткам ее можно отнести высокую стоимость запчастей, а также крайнюю чувствительность к качеству дизельного топлива. Мельчайшие примеси в горючем могут легко вывести из строя насос-форсунку, что отражается на стоимости эксплуатации такого решения в личном автомобиле.
Система Common Rail стала своего рода прорывом в части решения механизма подачи топлива в дизельных ДВС. Эта система позволяет экономить топливо при высоком КПД дизеля, что и сделало ее такой популярной. Common Rail придумали инженеры Bosch еще в 90-х годах. Сегодня большинство дизельного транспорта оснащается именно Коммон Реил.
Главное отличие этой системы – наличие аккумулятора высокого давления в общей магистрали. Туда топливо нагнетается отдельным ТНВД, чтобы затем под постоянным давлением подаваться на форсунки. Именно постоянство давления дает возможность быстро и эффективно впрыскивать горючее в цилиндр. Как результат – производительная, мягкая и комфортная работа дизельного двигателя. Бонусом – упрощение конструкции самого ТНВД в системе Common Rail.
Управляется работа системы отдельным ЭБУ: группа датчиков сообщает контроллеру, сколько и как скоро нужно подать дизельное топливо в цилиндры. С другой стороны, сложность и недостаток Коммон Реил обусловлена как раз умной электроникой и принципом работы системы.
Поэтому владельцам таких решений стоит выбирать качественное топливо и своевременно менять топливные фильтры.
О том, как еще продлить жизнь вашего дизельного двигателя, мы писали здесь.
Если вы в поиске качественных запчастей для своего дизельного двигателя, проверьте наш каталог
ПЕРЕЙТИ В КАТАЛОГ
Топливная система автомобиля, система подачи топлива — устройство, назначение, принцип работы — Autodromo
Топливная система — это одна из важнейших систем автомобиля, которая самым непосредственным образом отвечает за работу машины. Без топливной системы двигатель бы не смог работать, а, следовательно, машина никуда бы не поехала.
Содержание
- Назначение топливной системы
- В целом, топливная система состоит из следующих элементов:
- Работа топливной системы автомобиля
Назначение топливной системы
Топливная система хранит и подает топливо в камеры сгорания так, чтобы процесс сгорания проходил эффективно.
Причем, несмотря на то что почти все топливные системы содержат много общих узлов, они различаются: одни для подачи топлива в двигатель используют инжекторы, другие — карбюраторы. Это, что касается бензиновых двигателей. В дизельных двигателях топливо подается через форсунки.
В целом, топливная система состоит из следующих элементов:
- топливный бак (в нем хранится запас топлива — бензина или дизтоплива)
- топливный насос (забирает топливо из бака и гонит его к двигателю)
- датчик уровня топлива (подает сигнал о необходимости дозаправки)
- топливный фильтр или система фильтров (очищают топливо от механических примесей)
- воздушный фильтр (очищает воздух от пыли и других мелких частиц)
- топливопровод (система трубок и шлангов, по которым топливо подается в двигатель)
- система впрыска (устройство, через которое топливо попадает в камеру сгорания)
Топливный бак, или бензобак, представляет собой металлическую или пластиковую емкость, которая обычно находится под багажником, хотя в некоторых машинах для него нашли довольно интересные места.
Если вы не можете найти бензобак, его местоположение лучше выяснить в инструкции либо у механика.
Внутри бензобака находится маленький поплавок, который плавает на поверхности топлива, посылая сигналы датчику уровня топлива на панели приборов, благодаря чему можно узнать, когда нужна очередная заправка. Невзирая на то что некоторые машины работают на дизельном топливе, сейчас в большинстве случаев используется бензин, поэтому под словом «топливо» мы будем подразумевать именно его, хотя это и не совсем корректно.
Топливный насос подает бензин (или дизтопливо) по топливопроводу, который идет под днищем автомобиля от бака к карбюратору или инжекторам — для бензиновых двигателей. В дизельных двигателях топливо подается в насос высокого давления (ТНВД) и далее в форсунки. В старых машинах с карбюраторами используется механический насос, который работает от двигателя. Двигатели с впрыском топлива используют электрический насос, который может находиться внутри бака либо где-то рядом.
Топливный фильтр делает именно то, о чем говорит его название, — фильтрует топливо, то есть очищает его. На своем пути по бензопроводу к инжекторам или карбюратору топливо проходит через топливный фильтр. Маленькая сетка внутри фильтра задерживает грязь и ржавчину, которая может присутствовать в бензине. На некоторых машинах установлены дополнительные фильтры между баком и насосом. Важно менять фильтры, следуя заводскому графику обслуживания.
Воздухоочиститель очищает воздух перед его смешиванием с бензином. В карбюраторных двигателях воздухоочиститель обычно большой и круглый с торчащей сбоку трубкой для облегчения забора свежего воздуха. На инжекторных двигателях может быть установлен круглый воздухоочиститель, а может быть и прямоугольный.
Чтобы найти прямоугольный воздухоочиститель, следуйте за большим раструбом воздухозаборника, отведенного как можно дальше от двигателя.
Внутри воздухоочистителя находится воздушный фильтр, который задерживает грязь и частицы пыли из забираемого воздуха.
Если вы часто ездите по пыльной или песчаной местности, нужно периодически проверять воздушный фильтр и менять его по мере загрязнения (чаще чем того требует инструкция по эксплуатации).
Работа топливной системы автомобиля
Все рассмотренные элементы работают в следующей последовательности… в момент запуска двигателя, а на некоторых машинах в момент открытия водительской двери, начинает работать топливный насос, создавая необходимое рабочее давление в топливной системе, необходимое для подачи топлива к двигателю.
В момент прохождения топливного фильтра или системы фильтров, по пути к двигателю, топливо очищается от различных механических примесей. Воздух, поступает к камере сгорания или карбюратору через воздушный фильтр, где так же очищается.
В зависимости от конструкции двигателя топливо-воздушная смесь может готовиться как непосредственно внутри камеры сгорания цилиндра двигателя, так и до попадания в цилиндр, например, в карбюраторе. Возможен так же комбинированный способ приготовления топливо-воздушной смеси.
После того, как топливо-воздушная смесь готова и поступила в камеру сгорания, происходит ее воспламенение. Для продолжения работы двигателя требуется постоянная подача все новых порций топлива, за что и отвечает топливная система.
Система подачи топлива в двигатель — ООО «Тренд Инжиниринг»
Топливная система необходима для обеспечения бесперебойного снабжения дизель-генераторной установки (ДГУ) дизельным топливом. Система подачи топлива в двигатель ДГУ монтируется согласно требованиям соответствующих нормативных документов.
Мы производим монтаж системы подачи топлива в двигатель в рамках работ по монтажу ДГУ. Работы выполняются высококвалифицированными специалистами. Наши специалисты имеют большой опыт выполнения данных работ. Благодаря этому обеспечивается правильный монтаж и надежная эксплуатация ДГУ. При этом точно соблюдаются сроки выполнения работ. Работы выполняются с применением современного оборудования. При этом соблюдаются правила техники безопасности.
Специалисты нашей компании имеют необходимые допуски к выполнению данных работ.
Выбор используемого дизельного топлива производится с учетом следующих факторов:
- климатические условия региона, где будет эксплуатироваться ДГУ
- особенности поставки
- условия хранения топлива
Особенности баков для дизельного топлива:
- ДГУ могут быть укомплектованы баком для дизельного топлива. Этот бак встраивается в раму основания.
- В среднем топливный бак обеспечивает 7-8 часов работы установки при полной нагрузке.
- Для увеличения продолжительности работы ДГУ в автономном режиме, устанавливается дополнительный источника топлива.
Тип
системы подачи топлива в двигатель определяется:- необходимым временем автономной работы
- соотношением высоты генератора и наливной цистерны
Особенности расходных баков дизельного топлива:
- С увеличением объема расходных баков дизельного топлива увеличивается время автономии.

- Расходные баки топлива должны быть снабжены датчиками уровня.
Требования, предъявляемые к системе подачи топлива в двигатель:
- Дополнительные топливные баки, имеющие объем более чем 5 м3, устанавливаются в отдельном помещении. Данное помещение должно быть отделено от соседних помещений стенами из огнестойких материалов. Предел огнестойкости этих материалов должен быть не менее 0,75 ч.
- Насосы, предназначенные для перекачки топлива из наружных резервуаров в расходные баки производительностью более 4,0 м3/час должны располагаться в отдельном помещении.
- Необходимо иметь не менее двух насосов перекачки топлива (один рабочий, один резервный). В случае, когда ДГУ имеет мощность до 100 кВт можно использовать резервный насос ручного типа. Производительность насосов для подкачки топлива должна быть больше, чем расход топлива при работе ДГУ с полной нагрузкой.
- Дополнительные топливные баки объемом более 1 м3 должны быть снабжены трубопроводами аварийного слива и перелива в подземный резервуар.
Этот резервуар должен находиться на расстоянии не менее 1 м от «глухой» стены здания и не менее 5 м если в стенах имеются проемы. Подземный резервуар должен иметь емкость не меньше, чем 30 % суммарной емкости всех расходных баков и не меньше чем емкость наибольшего бака. Разрешается производить аварийный слив в подземный резервуар запаса топлива.
- Для ДГУ, предназначенных для резервного питания, запас топлива должен быть рассчитан на 15 суток. Если ДГУ является основным источником питания, то необходимо не менее двух резервуаров для хранения дизельного топлива.
- Способ подачи топлива к двигателю ДГУ определяется особенностями конструкции.
- Подача топлива к двигателю ДГУ из штатного топливного бака, который располагается под основанием ДГУ. В среднем топливный бак обеспечивает 7-8 часов работы ДГУ при полной нагрузке.
2. Подача топлива к двигателю ДГУ из наливной цистерны.
При этом выпускной штуцер цистерны должен находиться на 600 мм выше чем основание, на котором находится генератор. При этом излишек топлива направляется обратно в наливную цистерну.
Длина линии подачи топлива из наливной цистерны к двигателю подбирается с учетом следующих факторов:
- Обеспечение подачи полного, требуемого для работы двигателя ДГУ объема топлива под действием силы тяжести. Сюда входит потребляемый объем топлива плюс возвращаемый объем топлива.
- Согласно правилам техники безопасности в трубопроводе, по которому происходит возврат топлива обратно в наливную цистерну, должны отсутствовать точки разряжения типа сифонных труб, которые могут мешать нормальной циркуляции топлива.
3. Подача топлива к двигателю ДГУ из штатного топливного бака, который применяется как расходный топливный бак. Пополнение его производится автоматически из наливной цистерны.
Данная схема применяется в следующих случаях когда:
- Вследствие ограниченности пространства невозможно производить подачу топлива напрямую от наливной цистерны.

- Пропускная способность топливоперекачивающего насоса должна обеспечивать перекачку полного объема топлива, который требуется для работы двигателя.
- Топливная цистерна располагается на большом расстоянии от ДГУ.
- Объем топливной цистерны намного выше, чем объем встроенного топливного бака.
Масляная система ДГУ
Масляная система обеспечивает подачу масла в картер ДГУ и слив отработанного масла из него.
Монтаж системы проводится согласно требованиям соответствующих нормативных документов.
Требования, предъявляемые к установке масляной системы:
- при наружной установке баков масла в условиях низких температур должен быть предусмотрен подогрев масла до температуры, при которой можно осуществлять его перекачку
- расходные баки масла должны быть снабжены датчиками уровня в соответствии с требованиями соответствующей технической документации
- необходимо производить откачку отработанного масла из системы насосом в специально предназначенную емкость
- в технической документации должны быть указаны требования к качеству масла и установлен минимальный срок его наработки до замены
Применение масляной системы
Система автоматической подкачки масла применяется для дизельных двигателей генераторных установок, в которых в результате расходования масла уровень масла опускается ниже минимальной отметки в картере двигателя в период между сервисными обслуживаниями.
Примеры выполненных работ по монтажу ДГУ можно найти в разделе Референс: https://trenden.ru/reference/
виды, устройство, принцип работы, фото, промывка
Nevada 1976Инжекторная система подачи топлива: виды, устройство, принцип работы, фото, промывка 0 Comment
Содержание статьи
Инжектор – это своеобразная система, которая предназначена для переправки топлива в цилиндры автомобиля. Для этого используются форсунки, которые получают электронный сигнал от блока управления автомобиля. Стоит отметить, что подача топлива осуществляется исключительно точечным методом. Инжекторная система на сегодняшний день считается достаточно распространенной. Подобные конструкции представляют собой значительно более модифицированные версии карбюратора.
Стоит отметить, что первая подобная система была разработана еще в конце 19 века. А вот внедрение в само автомобилестроение произошло только во второй половине 20 века.
Дело в том, что специалисты считали данный механизм слишком сложным и неоправданно дорогим.
На сегодняшний день все современные двигатели, оснащённые инжекторными системами подачи топлива, работающие по точечной поточечной подачи топлива в цилиндры, производится со специальными электронными блоками управления. Альтернативой ему может быть контроллер или система управления двигателем. Но, в любом случае, все эти приборы относятся к компьютерным. Именно они обеспечивают инжекторную систему должной информацией, на основании которой она может работать, корректировать дозу подачи топлива, частоту впрыска и другое.
Когда появился инжектор
Карбюратор, судя по всему, уже смешал отведенное ему количество топлива с воздухом в XX веке и его время стремительно подходит к концу. Несмотря на то что инжекторная система подачи топлива появилась гораздо раньше, чем карбюратор, она только начинает обживаться под капотами автомобилей. Своим происхождением впрыск обязан итальянскому физику и изобретателю Джованни Вентури, который изобрел форсунку с переменным сечением и скромненько назвал ее Труба Вентури.
Использовать ее в автомобилях начали ребята из гаража Леона Левассора. Что-то наподобие современного впрыска они ставили на свои автомобили еще в 1902 году. После этого автомобильные системы питания метались в поисках лучшего устройства, а инжектор нашел себе применение в авиационных двигателях. К концу 40-х годов все военные истребители поголовно пользовались инжекторной системой питания до тех пор, пока военная авиация не перешла на реактивную тягу.
Основные преимущества инжекторной системы
Современные специалисты отмечают сразу несколько преимуществ подобных видов систем подачи топлива. А именно:
- Удалось достигнуть значительного снижения расхода топлива. Это стало возможным благодаря четкому контролю подачи топлива.
- Подобная система способствует повышению мощности. Для сравнения карбюраторные двигатели внутреннего сгорания имеют мощность на среднем на 10% меньше нежели идентичные инжекторные.
- Автоматизированная система впрыска.
Стоит помнить, что в карбюраторных автомобилях функцию регулировки выполняет подсос и регулировочные винты. В данном же случае водителю не придется тратить время, и система все сделаем за него.
Разнообразие инжекторных систем
В современности существует два вида инжекторов. Первый относится к системам моновпрыска. В данном случае одна форсунка осуществляет подачу топлива в коллектор на все цилиндры. Среди автомобилистов подобная система более известна, как электронный карбюратор. Однако, современные производители уже отошли от данной технологии, и встретить подобную систему можно только в старых моделях.
Вторая система подразумевает распределённый впрыск, то есть многоточечный впрыск. В данном случае устанавливается отдельная форсунка во впускном тракте каждого цилиндра и каждая из них осуществляет подачу определённого объёма топлива в камеру сгорания.
По способу распределения впрыска подобные системы делятся на:
- Одновременную. Система встречается очень редко, но всё же имеет место быть.
Ее особенностью является то, что всего за один оборот коленчатого вала абсолютно все форсунки отрабатывают в одно и тоже время. - Попарную параллельную. В данном случае форсунки работают по парам. Другими словами, за один оборот коленчатого вала только одна пара форсунок работает.
- Последовательную. Данный вид распределения впрыска является самым распространенным. Особенностью является то, что за один оборот вала каждая форсунка по разу открывается перед тактом впуска. При этом регулировка происходит отдельно.
Отрицательные характеристики систем
Несмотря на огромный перечень положительных характеристик, данный механизм, как и многие другие, имеет и свою темную сторону. К минусам данной конструкции относятся:
- довольно большая стоимость ремонта;
- высокая стоимость комплектующих;
- маленькая вероятность возможности ремонта;
- большие требования к качеству топлива;
- определить неисправность может только профессионал;
- диагностика стоит достаточно дорого;
- для ремонта нужно иметь специальное оборудование.

Стоит отметить, что инжекторный тип впрыска топлива со временем может приводить к тому, что впускной клапан закоксовывается. Это происходит из-за того, что он просто не омывается топливом, которое, в некотором роде, его очищает.
Устройство системы
Инжекторная система подачи топлива состоит из электронной и механической составляющих. Первая контролирует параметры работы силового агрегата и на их основе подает сигналы для срабатывания исполнительной (механической) части.
К электронной составляющей относится микроконтроллер (электронный блок управления) и большое количество следящих датчиков:
- лямбда-зонд;
- положения коленвала;
- массового расхода воздуха;
- положения дроссельной заслонки;
- детонации;
- температуры ОЖ;
- давления воздуха во впускном коллекторе.
Датчики системы инжектора
На некоторых авто могут иметься еще несколько дополнительных датчиков. У всех у них одна задача – определять параметры работы силового агрегата и передавать их на ЭБУ
Что касается механической части, то в ее состав входят такие элементы:
- бак;
- электрический топливный насос;
- топливные магистрали;
- фильтр;
- регулятор давления;
- топливная рампа;
- форсунки.

Простая инжекторная система подачи топлива
Как все работает
Теперь рассмотрим принцип работы инжекторного двигателя отдельно по каждой составляющей. С электронной частью, в целом, все просто. Датчики собирают информацию о скорости вращения коленчатого вала, воздуха (поступившего в цилиндры, а также остаточной его части в отработанных газах), положения дросселя (связанного с педалью акселератора), температуры ОЖ. Эти данные датчики передают постоянно на электронный блок, благодаря чему и достигается высокая точность дозировки бензина.
Поступающую с датчиков информацию ЭБУ сравнивает с данными, внесенными в картах, и уже на основе этого сравнения и ряда расчетов осуществляет управление исполнительной частью.В электронный блок внесены так называемые карты с оптимальными параметрами работы силовой установки (к примеру, на такие условия нужно подать столько-то бензина, на другие – столько-то).
Первый инжекторный двигатель Toyota 1973 года
Чтобы было понятнее, рассмотрим более подробно алгоритм работы электронного блока, но по упрощенной схеме, поскольку в действительности при расчете используется очень большое количество данных.
В целом, все это направлено на высчитывание временной длины электрического импульса, который подается на форсунки.
Поскольку схема – упрощенная, то предположим, что электронный блок ведет расчеты только по нескольким параметрам, а именно базовой временной длине импульса и двум коэффициентам – температуры ОЖ и уровне кислорода в выхлопных газах. Для получения результата ЭБУ использует формулу, в которой все имеющиеся данные перемножаются.
Для получения базовой длины импульса, микроконтроллер берет два параметра – скорость вращения коленчатого вала и нагрузку, которая может высчитываться по давлению в коллекторе.
К примеру, обороты двигателя составляют 3000, а нагрузка 4. Микроконтроллер берет эти данные и сравнивает с таблицей, внесенной в карту. В данном случае получаем базовую временную длину импульса 12 миллисекунд.
Но для расчетов нужно также учесть коэффициенты, для чего берутся показания с датчиков температуры ОЖ и лямбда-зонда. К примеру, температура составляется 100 град, а уровень кислорода в отработанных газах составляет 3.
ЭБУ берет эти данные и сравнивает с еще несколькими таблицами. Предположим, что температурный коэффициент составляет 0,8, а кислородный – 1,0.
Получив все необходимые данные электронный блок проводит расчет. В нашем случае 12 множиться на 0,8 и на 1,0. В результате получаем, что импульс должен составлять 9,6 миллисекунды.
Описанный алгоритм – очень упрощенный, на деле же при расчетах может учитываться не один десяток параметров и показателей.
Поскольку данные поступают на электронный блок постоянно, то система практически мгновенно реагирует на изменение параметров работы мотора и подстраивается под них, обеспечивая оптимальное смесеобразование.
Стоит отметить, что электронный блок управляет не только подачей топлива, в его задачу входит также регулировка угла зажигания для обеспечения оптимальной работы мотора.
Теперь о механической части. Здесь все очень просто: насос, установленный в баке, закачивает в систему бензин, причем под давлением, чтобы обеспечить принудительную подачу.
Давление должно быть определенным, поэтому в схему включен регулятор.
По магистралям бензин подается на рампу, которая соединяет между собой все форсунки. Подающийся от ЭБУ электрический импульс приводит к открытию форсунок, а поскольку бензин находится под давлением, то он через открывшийся канал просто впрыскивается.
Почему инжектор лучше карбюратора?Помнится, еще относительно недавно автомобили с инжекторной системой подачи топлива вызывали недоверие. Пожалуй, единственное логическое объяснение этому – сложность ее конструкции, из-за чего на первых порах возникали проблемы с ремонтом. В отличие от карбюратора, впрыск топлива в инжекторе не нужно регулировать, поскольку это возложено на электронную систему управления. Помимо этого, машина с инжекторным агрегатом потребляет меньше топлива, а мощность ее мотора значительно выше. Плюс ко всему — значительное снижение вредных соединение в выхлопе авто, ввиду лучшего сгорания топливной смеси, которое возможно благодаря ее правильной и дозированной подаче.
1. Система центральной подачи топлива (моновпрыск), представлен одной форсункой, через которую топливная смесь поступает в коллектор, а с него уже распределяется по всем цилиндрам. Самый простой тип, который сегодня уже практически не применяется.
2. Система распределенной топливоподачи (многоточечный впрыск). Здесь уже через отдельные форсунки осуществляется впрыск топлива в цилиндры, то есть количество форсунок соответствует количеству цилиндров.
Многоточечная система впрыска бывает:
— Одновременного типа, когда все форсунки открываются, и впрыск топлива осуществляется в течение одного полного оборота коленвала. Практически не встречается.
— Попарно-параллельного типа, когда топливовпрыск ведется через парные форсунки, цикл работы которых определяется одним вращением коленвала. Также используется редко, однако, может быть встречаться из-за поломки датчика при последовательном типе топливоподачи.
— С последовательным (фазированным) впрыском топлива, в которой за одно вращение коленвала происходит открытие каждой из форсунок для впрыска топлива.
Наиболее распространенная и совершенная система топливовпрыска, которая позволяет подать рабочую смесь непосредственной в цилиндр, при этом длительность ее подачи и дозировка рассчитываются максимально точно. Стоит отметить, что рабочее давление системы может возрастать до 200 атм.
Однако есть и ряд своих недостатков, к которым можно отнести наличие множества дорогостоящих элементов, причем некоторые из них, абсолютно неремонтопригодны. Также, в инжекторах с системой последовательного топливовпрыска очень часто закоксовываются клапана впуска, из-за того, что они практически не омываются, следовательно, и не очищаются топливной смесью.
Виды систем впрыска бензиновых двигателей
Впрыск может быть:
- центральным (ДВС с карбюраторами, наддроссельный впрыск),
- распределённый или коллекторный (осуществляется отдельной форсункой в каждый цилиндр двигателя),
- непосредственный (осуществляется напрямую в камеры сгорания, отдельными форсунками), встречается в разных вариациях, характерен для современных автомобилей.

Варианты топливных систем бензиновых двигателей (R R. Bosch)
Решения с карбюраторами
Дольше всего человечество знакомо с подачей топлива посредством карбюратора. И не потому, что такие решения лучшие, а потому что они – первые. И множество лет – единственно доступные. Карбюратор был неотъемлемой частью топливной системы на около сотни лет. Нельзя сказать, что сейчас карбюраторы полностью исчезли из жизни, но на легковой и коммерческий транспорт карбюраторы ставить перестали. Их можно увидеть только на средствах механизации, которые применяются для садовых, строительных работ.
Автопром же перестал выпускать машины с карбюраторной системой еще в 90-е годы прошлого века.
Принцип их действия основан на принципе втягивания топлива в поток воздуха, проходящего через карбюратор. Всё это возможно за счет сужения воздушного канала и разрежения воздуха.
Объём воздуха, который проходит через сужение воздушного канала, пропорционален объёму топлива, поступающего через распылитель карбюратора.
Благодаря этому несложно в автоматическом режиме поддерживать требуемое соотношение топлива к воздуху.
Как работает устройство?
- Топливо из бака забирает насос (управляемый механически или электрически – в зависимости от модели).
- ДВС запускается, и поток воздуха, проходящий через сужение воздушного канала карбюратора, создает разрежение.
- В смесительную камеру карбюратора поступает топливо.
- Жиклер (калиброванное отверстие) дозирует топливо.
С точки зрения работы всё достаточно просто. Так почему же карбюраторы уходят в историю?
Здесь достаточно много причин:
- Низкая экономичность, а соответственно, и низкий уровень топливной эффективности.
- Проблемы при переменных режимах работы, обусловленные низкими динамическими качествами.
- Прямая зависимость от положения двигателя.
- Выброс в окружающую среду большого количества вредных веществ (несоответствие нормативам эмиссии газообразных вредных выбросов в атмосферу).

Особенности системы впрыска
Основным преимуществом системы впрыска считают точную дозировку топлива, необходимую для оптимальной работы двигателя в определенный момент и под определенной нагрузкой. Этого позволила добиться только электронная система управления. Старые инжекторные системы имели механическое управление и подавали бензин по средним потребностям мотора. Современный инжектор способен точно вычислить сколько топлива необходимо и в какой момент его нужно подать. Синхронизация системы питания с зажиганием позволяет оперативно менять как угол опережения подачи искры, так и момент подачи бензина, поэтому теоретически, инжекторные системы должны быть эффективнее и экономичнее карбюраторных.
Диагностика инжекторных систем
Действительно, с применением электроники и распределенной системы впрыска моторы стали немного экономичнее, но против физики не попрешь, и без нужного количества бензина камера сгорания просто не выдаст ту энергию, которая необходима.
С усложнением систем впрыска стали появляться новые проблемы, особенно на дешевых машинах, поскольку система впрыска очень требовательна к материалам топливной аппаратуры и особенно, к качеству топлива. Это вообще больной вопрос для всех инжекторов. Количество серы в отечественном бензине не укладывается ни в какие нормы, поэтому даже на недорогих системах впрыска очень часто требуется вмешательство механика.
Неисправности системы впрыска проявляются по-разному, но методы диагностики на современных СТО позволяют довольно точно определить нерабочий элемент. Чаще всего, это страдают от топлива насосы и форсунки. Определить неисправность просто, для этого даже не нужно ехать в сервис:
- тяжелый пуск;
- высокий расход;
- провалы в работе на средних оборотах и отсутствие холостых;
- сбои в переходных режимах.
Все это свидетельствует о недостаточном количестве бензина в камере сгорания. Насосы, как правило, не ремонтируют, по крайней мере, на официальных сервисах, а форсунки приходится мыть и прочищать.
Принцип действия системы непосредственного впрыска
Система непосредственного впрыска в результате работы обеспечивает несколько видов смесеобразования:
- послойное ;
- стехиометрическое гомогенное ;
- гомогенное.
Многообразие в смесеобразовании определяет высокую эффективность использования топлива (экономия, качество образования смеси, ее полное сгорание, увеличение мощности, уменьшение вредных выбросов) на всех режимах работы двигателя.
Послойное смесеобразование используется при работе двигателя на малых и средних оборотах и нагрузках. Стехиометрическое (другое наименование – легковоспламеняемое) гомогенное (другое наименование – однородное) смесеобразование применяется при высоких оборотах двигателя и больших нагрузках. На бедной гомогенной смеси двигатель работает в промежуточных режимах.
При послойном смесеобразовании дроссельная заслонка почти полностью открыта, впускные заслонки закрыты. Воздух поступает в камеры сгорания с большой скоростью, с образованием воздушного вихря.
Впрыск топлива производится в зону свечи зажигания в конце такта сжатия. За непродолжительное время до воспламенения в районе свечи зажигания образуется топливно-воздушная смесь с коэффициентом избытка воздуха от 1,5 до 3. При воспламенении смеси вокруг нее остается достаточно много чистого воздуха, выступающего в роли теплоизолятора.
Рабочий процесс поддерживается движением воздуха в цилиндрах. В зависимости от нагрузочного и скоростного режимов регулируется интенсивность движения воздуха, при этом, обеспечивается создание гомогенной или послойной смеси.
Гомогенное стехиометрическое смесеобразование происходит при открытых впускных заслонках, дроссельная заслонка при этом открывается в соответствии с положением педали газа. Впрыск топлива производится на такте впуска, что способствует образованию однородной смеси. Коэффициент избытка воздуха составляет 1. Смесь воспламеняется и эффективно сгорает во всем объеме камеры сгорания.
Бедная гомогенная смесь образуется при максимально открытой дроссельной заслонке и закрытыми впускными заслонками.
При этом создается интенсивное движение воздуха в цилиндрах. Впрыск топлива производится на такте впуска. Коэффициент избытка воздуха поддерживается системой управления двигателем на уровне 1,5. При необходимости в состав смеси добавляются отработавшие газы из выпускной системы, содержание которых может доходить до 25%.
Промывка инжекторной системы
Есть несколько способов очистки инжекторной системы. Если двигатель находится еще не в критическом состоянии, тогда может помочь промывка при помощи топливных присадок. Они растворяют отложения в насосе, топливопроводе, а главное, в форсунках, и в некоторой степени чистят систему от грязи и шлаков. не всегда это удается и не всегда это безопасно для двигателя, поэтому наиболее эффективным способом прочистки форсунок считают ультразвуковые ванны. Это не механический способ очистки и процесс проходит довольно эффективно.
Инжекторная система подачи топлива продолжает совершенствоваться, полностью вытесняя карбюраторы.
Системы вполне работоспособны, только для того, чтобы избежать лишних проблем с очисткой и регулировками, стоит следить за качеством топлива ровно настолько, насколько это позволяют наши нефтеперерабатывающие комбинаты. Чистого всем бензина, и удачи в дороге!
Обратная связь с датчиками
Одним из основных датчиков, на показаниях которого ЭБУ регулирует время открытия форсунок, является лямбда-зонд, установленный в выпускной системе. Этот датчик определяет остаточное (не сгоревшее) количество воздуха в газах.
Благодаря этому датчику обеспечивается так называемая «обратная связь». Суть ее заключается вот в чем: ЭБУ провел все расчеты и подал импульс на форсунки. Топливо поступило, смешалось с воздухом и сгорело. Образовавшиеся выхлопные газы с не сгоревшими частицами смеси выводится из цилиндров по системе отвода выхлопных газов, в которую установлен лямбда-зонд. На основе его показаний ЭБУ определяет, правильно ли были проведены все расчеты и при надобности вносит корректировки для получения оптимального состава.
То есть, на основе уже проведенного этапа подачи и сгорания топлива микроконтроллер делает расчеты для следующего.
Стоит отметить, что в процессе работы силовой установки существуют определенные режимы, при которых показания кислородного датчика будут некорректными, что может нарушить работу мотора или требуется смесь с определенным составом. При таких режимах ЭБУ игнорирует информацию с лямбда-зонда, а сигналы на подачу бензина он отправляет, исходя из заложенной в карты информации.
На разных режимах обратная связь работает так:
- Запуск мотора. Чтобы двигатель смог завестись, нужна обогащенная горючая смесь с увеличенным процентным содержанием топлива. И электронный блок это обеспечивает, причем для этого он использует заданные данные, и информацию от кислородного датчика он не использует;
- Прогрев. Чтобы инжекторный двигатель быстрее набрал рабочую температуру ЭБУ устанавливает повышенные обороты мотора. При этом он постоянно контролирует его температуру, и по мере прогрева корректирует состав горючей смеси, постепенно ее обедняя до тех пор, пока состав ее не станет оптимальным.
В этом режиме электронный блок продолжает использовать заданные в картах данные, все еще не используя показания лямбда-зонда; - Холостой ход. При этом режиме двигатель уже полностью прогрет, а температура выхлопных газов – высокая, поэтому условия для корректной работы лямбда-зонда соблюдаются. ЭБУ уже начинает использовать показания кислородного датчика, что позволяет установить стехиометрический состав смеси. При таком составе обеспечивается наибольший выход мощности силовой установки;
- Движение с плавным изменением оборотов мотора. Для достижения экономичного расхода топлива при максимальном выходе мощности, нужна смесь со стехиометрическим составом, поэтому при таком режиме ЭБУ регулирует подачу бензина на основе показания лямбда-зонда;
- Резкое увеличение оборотов. Чтобы инжекторный двигатель нормально отреагировал на такое действие, нужна несколько обогащенная смесь. Чтобы ее обеспечить, ЭБУ использует данные карт, а не показания лямбда-зонда;
- Торможение мотором.
Поскольку этот режим не требует выхода мощности от мотора, то достаточно, чтобы смесь просто не давала остановиться силовой установке, а для этого подойдет и обедненная смесь. Для ее проявления показаний лямбда-зонда не нужно, поэтому ЭБУ их не использует.
Как видно, лямбда-зонд хоть и очень важен для работы системы, но информация с него используется далеко не всегда.
Система датчиков инжекторных двигателей
Без этих компонентов работа системы впрыска топлива невозможна. Именно датчики сообщают блоку управления всю информацию, которая необходима для работы исполнительных устройств в нормальном режиме. Неисправности системы питания инжекторного двигателя по большей части вызывают именно датчики, так как они могут неверно производить замеры.
- Датчик расхода воздуха устанавливается после воздушного фильтра, так как в конструкции имеется дорогостоящая платиновая нить, которая при попадании мелких посторонних частиц может засоряться, отчего показания окажутся неверными.
Датчик считает, какое количество воздуха проходит через него. Понятно, что взвесить воздух не представляется возможным, да и объем его измерить проблематично. Суть работы заключается в том, что внутри пластиковой трубки находится платиновая нить. Она нагревается до рабочей температуры (более 600º, именно это значение закладывается в ЭБУ). Поток воздуха охлаждает нить, блок управления фиксирует температуру и, исходя из этого, вычисляет количество воздуха. - Датчик абсолютного давления необходим для более точного снятия показаний о количестве потребляемого двигателем воздуха. Состоит из 2 камер, одна из которых герметична и внутри у неё вакуум. Вторая камера соединена с впускным коллектором. В последнем при впуске разрежение. Между камерами устанавливается диафрагма с пьезоэлементом, который вырабатывает небольшое напряжение во время изменения давления. Это значение напряжения поступает на вход блока управления.
- Датчик положения коленвала располагается рядом со шкивом генератора.
Если присмотреться, то можно увидеть, что на шкиве есть зубья, причём они расположены на одинаковом расстоянии друг от друга. Суммарное число зубьев — 60, оси соседних расположены на расстоянии 6º. Но если присмотреться ещё внимательнее, то можно увидеть, что 2-х не хватает. Этот промежуток необходим, чтобы датчик фиксировал положение коленвала максимально точно. Датчик вырабатывает напряжение, которое тем больше, чем выше частота вращения. - Датчик фаз (распредвала) работает на эффекте Холла. В конструкции есть диск с вырезанным сегментом и катушка. При вращении диска вырабатывается напряжение. Но в момент, когда прорезь находится над чувствительным элементом, напряжение снижается до 0. В этот момент первый цилиндр находится в ВМТ на такте сжатия. Благодаря датчику фаз точно подаётся искра на свечу и открывается своевременно форсунка.
- Датчик детонации расположен на блоке ДВС между 2 и 3 цилиндрами (чётко посередине). Работает на пьезоэффекте — при наличии вибрации происходит генерирование напряжения.
Чем сильнее вибрация, тем выше уровень сигнала. Блок управления при помощи датчика изменяет угол опережения зажигания. - Датчик дроссельной заслонки представляет собой переменный резистор, на который подаётся напряжение 5 В. В зависимости от того, в каком положении находится заслонка, напряжение уменьшается. Иногда случаются поломки — в начальном положении показания датчика прыгают. Стирается резистивный слой, ремонт невозможен, эффективнее установить новый.
- Датчик температуры ОЖ, от него зависит качество воспламенения топливовоздушной смеси. С его помощью не только происходит коррекция угла опережения зажигания, но и включение электровентилятора.
- Лямбда-зонд расположен в системе выпуска отработанных газов. В современных системах, которые удовлетворяют последним экологическим стандартам, можно встретить 2 датчика кислорода. Лямбда-зонд отслеживает количество кислорода в выхлопных газах. У него есть внешняя часть и внутренняя. За счёт напыления из драгметалла можно оценить количество кислорода в выхлопных газах.
Внешняя часть датчика «дышит» чистым воздухом. Показания передаются на блок управления и сравниваются. Эффективные замеры возможны только при достижении высоких температур (свыше 400º), поэтому часто устанавливают подогреватель, чтобы даже в момент начала работы двигателя не наблюдалось перебоев.
Исполнительные механизмы инжекторных систем
По названию видно, что эти устройства выполняют то, что им скажет блок управления. Все сигналы от датчиков анализируются, сравниваются с топливной картой (огромной схемой работы при тех или иных условиях), после чего подаётся команда на исполнительный механизм. Следующие исполнительные механизмы входят в состав инжекторной системы:
- Электрический бензонасос, установленный в баке. Он нагнетает в рампу бензин под давлением около 3,5 Мпа. Вот какое давление в топливной системе должно быть, при нем распыление смеси окажется наиболее качественным. При повышении оборотов коленвала увеличивается расход бензина, нужно его больше нагнетать в рампу, чтобы удерживать давление на уровне.
В нижней части насосов устанавливается фильтр, который нужно менять хотя бы раз в 30000 км пробега. - Электромагнитные форсунки устанавливаются в рампе и предназначены для подачи топливовоздушной смеси в камеры сгорания. Чем дольше открыт клапан форсунки, тем больше смеси поступит в камеру сгорания — именно такой принцип дозирования лежит в основе.
- Дроссельный механизм приводится в движение педалью из салона. Но в последние годы набирает популярность электронная педаль газа. Это означает, что вместо тросика используется потенциометр на педали и небольшой электродвигатель на дроссельной заслонке.
- Регулятор холостого хода предназначен для контроля количества воздуха, поступающего в топливную рампу при полностью закрытой дроссельной заслонке. На карбюраторных моторах аналогичную функцию выполняет «подсос». Несмотря на то, что топливная система отличается, суть работы остаётся той же — подача смеси и её сгорание.
- Модуль зажигания — короб, в котором находится 4 высоковольтные катушки.
Хорошая конструкция, но крайне ненадёжная — высоковольтные провода имеют свойство портиться. Намного эффективнее окажется использование для каждой свечи отдельной катушки, выполненной в виде наконечника.
Работа двигателя с инжекторной системой впрыска
А теперь можно рассмотреть и принцип работы системы питания инжекторного двигателя. При включении зажигания происходит переход в рабочий режим всех механизмов и устройств. Первым делом насос нагнетает бензин в рампу до минимального давления, которого хватит для запуска.
А дальше все ждут, когда провернётся коленвал, и с его датчика пойдёт сигнал на блок управления о положении поршней в цилиндрах. Одновременно с этим датчик фаз выдаёт сигнал о том, какой такт совершается. После анализа данных блок управления даёт команду на форсунки (в зависимости от того, в каком цилиндре происходит впуск).
При вращении коленвала постоянно снимаются данные с датчиков и, исходя из них, происходит открывание нужных электромагнитных форсунок на определённый промежуток времени.
Смесь воспламеняется, отработанные газы выходят через выпускной коллектор. По тому, какое содержание кислорода в них, можно судить о качестве сгорания топлива.
Если содержание кислорода большое, то смесь сгорает не до конца. Блок управления производит корректировку угла опережения зажигания, чтобы добиться наилучших показаний.
Но вот во время прогрева некоторые датчики не влияют на работу системы управления. Это датчики расхода воздуха, детонации и абсолютного давления. При достижении рабочей температуры включаются они в работу. Причина — во время прогрева невозможно соблюсти все условия, в частности, соотношение бензина и воздуха. Уровень СО в выхлопных газах тоже будет зашкаливать, поэтому контроль всех этих параметров не следует производить.
Инжектор, его применение в системе подачи топлива
Инжекторная система подачи топлива — комплекс электронных и механических устройств, обеспечивающих подачи нужного объема топливной смеси непосредственно в коллектор впуска или цилиндр (для систем непосредственного впрыска).
Оглавление
- Что такое инжекторная система
- Виды инжекторных систем и распределение впрыска
- Составные части систем
- Принцип работы инжекторной подачи топлива
- Положительные и отрицательные стороны
- Видео «Инжекторное управление системой впрыска топлива»
Такое исполнение предусмотрено на всех современных авто с бензиновыми двигателями и пользуется спросом из-за большей эффективности. Ниже рассмотрим, что это за система, как она работает и из каких элементов состоит. Отдельно разберем преимущества и недостатки, о которых должны знать автовладельцы.
Что такое инжекторная система
Инжектор— форсунка или распылитель топлива, которое подается в двигатель для дальнейшего воспламенения и обеспечения движения транспортного средства.
Важно
Инжекторная система —это комплекс узлов, отвечающих за весь процесс подготовки и подачи горючего путем впрыска горючего в цилиндр / коллектор.
Машины, которые оборудованы такими устройствами, называются инжекторными.
Первые комплекты такой аппаратуры были разработаны в 1936-м в компании Robert Bosch. Сотрудникам компании удалось добиться непосредственного впрыска горючего в цилиндры. Именно такие двигатели использовались на истребителях и позволяли развивать мощность до 1100 лошадиных сил. Подобную систему использовали на БВМ с 1928 года, но в более упрощенной форме. В СССР технология дошла только к 1942 году и сначала применялась в авиационной сфере.
Сегодня все современные ДВС оснащены форсунками.
Это обусловлено более высокой точностью дозировки и экономичностью. Весь процесс контролируется электронным блоком управления (ЭБУ) или специальным контроллером. Они получают данные от разных узлов и регулируют непосредственную подачу горючего с помощью форсунок.
Виды инжекторных систем и распределение впрыска
Сегодня выделяется два типа инжекторных систем двигателя по типу впрыска.
Кратко рассмотрим их особенности.
Моно, центральный, одноточечный
Отличие конструкции состоит в наличии только одной форсунки, распределяющей топливо одновременно во все цилиндры. Инжектор устанавливается на месте карбюратора (на коллекторе впуска). Система активно применялась в 80-х годах прошлого века и была механической без управления с помощью ЭБУ.
Сегодня система не пользуется спросом из-за низкой экологичности и иных недостатков. В частности, в авто с Euro 3 и выше обязательно применение индивидуальной форсунки для цилиндра. Но одноточечная схема не лишена плюсов. Она отличается простотой исполнения и, соответственно, надежностью. Одной из причин явления является правильное расположение инжекторы в зоне холодного потока. Из минусов — высокое сопротивление воздуху и неточное распределение топлива.
Распределенный, многоточечный
Наиболее распространенный вариант, подразумевающий схему «один цилиндр — одна форсунка».
Инжектор смонтирован в коллекторе впуска возле клапана. В определенный момент он подает определенный объем подготовленного горючего на впускные клапаны.
Условно такой тип впрыска делится на несколько видов:
- Одновременный. Команда от электронного блока управления направляется сразу на все инжекторы, после чего они открываются.
- Парный. Открытие форсунок происходит парами. При этом один инжектор работает перед впускным тактом, а второй — перед выпускным. С учетом того, что за подачу топливной смеси отвечают клапаны, такая особенность не сильно влияет на общий принцип работы. Система работает только в момент пуска ДВС и в случае аварии (к примеру, при поломке ДПРВ).
- Фазированный. Наиболее современный вариант, который применяется почти во всех двигателях. Управление каждой форсунки происходит индивидуально, что положительно сказывается на расходе, повышает эффективность работы и улучшает экологичность.
Распределенная система обеспечивает точность формирования нужного объема топлива по цилиндрам и имеет минимальное сопротивление воздуху.
Из минусов выделяется сложность исполнения и более высокая цена.
В отдельную группу входит непосредственный впрыск, когда горючее подается сразу в цилиндры, а не в коллектор впуска. Аналогичная система работает у дизельных ДВС. В таких двигателях головка блока имеет сложную конструкцию, которая очень дорога в производстве.
Применение этой схемы дает ряд плюсов с позиции мощности, экологичности и экономичности. Минус в том, что двигатель с прямым впрыском работает громче и сильней вибрирует, поэтому производители вынуждены дорабатывать шумоизоляцию и усиливать некоторые элементы.
Составные части систем
Рассматриваемая система состоит из электроники и механики. В функции первой входит контроль характеристик двигателя и подача импульса ко второй части (механической) с последующим исполнением команды.
Конструктивно электронная часть состоит из ЭБУ и множества датчиков инжектора. Они контролируют:
- детонацию;
- температуру антифриза;
- позицию коленчатого вала;
- расход воздуха;
- лямбда-зонд;
- детонацию;
- давление воздуха в коллекторе впуска и т.
д.
В зависимости от марки / модели авто могут устанавливаться и другие датчики. Вне зависимости от типа в их задачу входит определение характеристик мотора и их передача на электронный блок.
К категории механических устройств относится:
- емкость для топлива;
- магистрали, по которым подается горючее;
- насос;
- фильтр;
- инжектор;
- топливная рампа;
- устройство-регулятор давления.
Все упомянутые элементы находятся во взаимодействии и выполняют одну задачу — подвод, формирование и подачу нужно топливной смеси для обеспечения нормальной работы двигателя.
Принцип работы инжекторной подачи топлива
Для лучшего понимания системы нужно знать, как работает инжекторный двигатель. Общий алгоритм такой:
- Упомянутые выше датчики получают сведения о работе системы. К ним приходят данные о скорости коленвала, содержании воздуха в горючем, позиции дросселя, температурных параметрах охлаждающей жидкости и т.
д. - Собранная информация передается в ЭБУ, который анализирует поступившие параметры и сравнивает их с данными в карте.
- Блок управления с учетом проанализированных сведений дает команду к исполнительным (механическим) элементам системы.
- Одним из главных элементов ЭБУ являются карты, в которых внесены оптимальные характеристики работы силового узла. С учетом того, что сведения поступают на блок управления в непрерывном режиме, система мгновенно принимает решения, раздает команды и обеспечивает нормальное образование смеси.Отметим, что контроль подачи топлива — только одна из опций ЭБУ. Также в его функции входит зажигание и решение иных вопросов.
Что касается механической составляющей, здесь принцип работы еще проще. Он имеет следующий вид:
- Топливный насос качает бензин из бака и подает его под определенным давлением.
- Регулятор контролирует параметр давления и регулирует его по мере необходимости.
- Горючее подходит к рампе с инжекторами.

- Форсунки при получении команды от ЭБУ открываются.
- Топливо в нужном объеме впрыскивается к клапанам инжектора, а после поступает к камерам сгорания.
Положительные и отрицательные стороны
Большой опыт применения таких систем позволяет выделить слабые и сильные места.
Преимущества инжекторного двигателя:
- Повышение экономичности даже на первых системах. Так, снижения расхода удалось добиться уже на «Ниве» от Ваз, где расход снизился сразу на 40%. Сегодня потребление топлива в инжекторном двигателе вдвое меньше, чем в карбюраторном.
- Расширенные возможности управления ДВС.
- Улучшение динамических параметров и рост мощности (в среднем на 10-15%).
- Упрощенный и полностью автоматизированный пуск мотора.
- Поддержание оборотов ХХ.
- Возможность обойтись без ручного регулирования системы подачи топлива. Это обусловлено тем, что информацию передают соответствующие датчики (кислорода и позиции коленчатого вала).

- Проведение самостоятельной диагностики, что упрощает ТО автомобиля. По сути, системы с форсунками от Euro 3 и выше не требуют периодического обслуживания.
- Поддержание топливного состава, который максимально приближен к стехиометрическому показателю. Как результат, уменьшается выброс опасных веществ, повышается экологичность. К примеру, у первых поколений объем выброса окиси углерода находился на уровне 20-30 грамм /кВт*ч, а на Евро 5 — 1,5 грамма / кВт*ч.
- Снижение высоты капота, благодаря более удобному расположению рабочих механизмов сбоку мотора, а не над ним.
- Дополнительная защита машины от злоумышленников. Без получения команды от иммобилайзера ЭБУ запрещает подачу горючего к ДВС.
- Отсутствие зависимости от положения авто в пространстве. К примеру, в авто с карбюратором возникали трудности с подачей горючего уже при подъеме на 15-градусный уклон.
- Горючая смесь не накапливается в системе впуска, что исключает воспламенение в случае повреждения системы.

- Нет зависимости от давления в атмосфере, что позволяет эксплуатировать авто даже в горах и не переживать за возможные сбои.
- Автоматизация системы подачи топлива. Выполнение всей работы по подготовке горючего берет на себя ЭБУ. Для сравнения в двигателях на карбюраторах многие настройки автовладельцу приходилось делать самостоятельно.
Несмотря на ряд положительных качеств, нельзя не отметить и недостатки инжекторной системы питания. К основным стоит отнести:
- Повышенные расходы на производство (было актуально до 2005-го).
- Более строгие требования к составу горючего.
- Слабая ремонтопригодность узлов из-за полной автоматизации.
- Подача топлива под высоким давлением, что при аварии может привести к воспламенению. Для защиты применяется контроллер, который при аварии останавливает подачу горючего.
- Необходимость обслуживания на специальном СТО, где имеется диагностическое оборудование. Соответственно, возрастает и стоимость ремонта.
На современном этапе это не так актуально, ведь на сервисах нет дефицита в необходимой аппаратуре и ПО. - Зависимость от АКБ и уровня питания.
- Необходимость периодической очистки форсунок и впускных клапанов.
Заключение
Инжекторная система обеспечивает своевременную подачу заранее подготовленного топлива в двигатель. Благодаря большому количеству датчиков и точному электронному управлению, владельцу автомобиля не нужно проводить дополнительных настроек. Весь процесс проводится автоматически, а в роли «дирижера» выступает ЭБУ.
Процесс эксплуатации упрощается и тем, что система сама проходит диагностику и выдает ошибки в случае любых сбоев в работе. Это позволяет вовремя принять шаги по устранению неисправности или обратиться на СТО. Сама система почти не имеет конкурентов, кроме непосредственного впрыска, но последний пока не получил широкого применения из-за высокой стоимости и повышенных требований к качеству горючего.
Инжекторное управление системой впрыска топлива
youtube.com/embed/lW7UOR68poQ» title=»YouTube video player» frameborder=»0″ allow=»accelerometer; autoplay; clipboard-write; encrypted-media; gyroscope; picture-in-picture» allowfullscreen=»»>Система подачи топлива дизеля
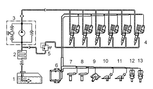
Изобретение относится к двигателестроению, в частности к системам подачи топлива в дизель. Изобретение позволяет упростить конструкцию и технологию изготовления системы подачи топлива, повысить эффективность, стабильность и долговечность ее работы. Система подачи топлива дизеля содержит насос высокого давления, секции которого связаны через нагнетательные клапаны с трубопроводами высокого давления и с форсунками закрытого типа, аккумулятор топлива, фильтры грубой и тонкой очистки топлива, подкачивающую помпу, трубопроводы низкого давления, топливный бак. Аккумулятор топлива включен в систему слива топлива, просочившегося через распылители форсунок при впрыскивании, и разделен на две полости, между которыми размещен дроссель. К одной полости присоединены сливные трубопроводы от форсунок.
Другая полость подключена через невозвратный клапан к топливному баку. Невозвратный клапан отрегулирован на давление открытия не ниже 4-5 МПа. 1 ил.
Изобретение относится к двигателестроению, в частности к системам подачи топлива дизельных двигателей.
Известны системы подачи топлива дизеля, содержащие насос высокого давления, форсунки закрытого типа, трубопроводы высокого давления, фильтры грубой и тонкой очистки топлива, подкачивающую помпу, трубопроводы низкого давления, систему трубопроводов слива топлива от форсунок в топливный бак [1].
Недостатком известной системы подачи топлива является необходимость ограничивать величину разгрузки линии высокого давления между впрыскиваниями для повышения остаточного давления, что необходимо для повышения качества и стабильности подачи топлива, а следовательно, и рабочего процесса дизеля. Однако повышение остаточного давления в линии высокого давления увеличивает вероятность появления подвпрысков на некоторых режимах работы дизеля, что совершенно недопустимо.
В связи с этим в известной системе подачи топлива выбирают компромиссные решения.
Из известных наиболее близкой к заявляемой по технической сущности и достигаемому положительному эффекту является система подачи топлива дизеля, содержащая насос высокого давления, секции которого связаны через запорные нагнетательные клапаны с нагнетательными трубопроводами и с форсунками закрытого типа, аккумулятор топлива и дополнительные каналы с дросселями, размещенные между аккумулятором и нагнетательными трубопроводами, причем аккумулятор топлива выполнен в виде общего для всех секций канала в корпусе насоса, а дополнительные каналы выполнены в виде сверлении в корпусе и седлах нагнетательных клапанов [2].
При подтвержденной высокой эффективности известной системы подачи топлива дизеля ее недостатком является значительное усложнение конструкции топливного насоса, невозможность модернизации штатных систем подачи топлива дизелей без существенных изменений конструкции, повышение неравномерности подачи за счет индивидуальных дросселей для каждой секции насоса.
Изобретение решает задачу упрощения конструкции и технологии изготовления системы подачи топлива, повышения эффективности, стабильности и долговечности ее работы.
Техническая задача решается за счет того, что система подачи топлива дизеля, содержащая насос высокого давления, секции которого связаны через нагнетательные клапаны с трубопроводами высокого давления и с форсунками закрытого типа, аккумулятор топлива, подкачивающую помпу, трубопроводы низкого давления, топливный бак, при этом аккумулятор топлива включен в систему слива топлива, просочившегося через распылители форсунок при впрыскивании и разделен на две полости, между которыми размещен дроссель, причем к одной полости присоединены сливные трубопроводы от форсунок, а другая полость подключена через невозвратный клапан к топливному баку, причем невозвратный клапан отрегулирован на давление открытия не ниже 4-5 МПа. Конструкция невозвратного клапана предусматривает возможность регулирования верхнего предела давления топлива в аккумуляторе.
Техническая сущность заявляемого изобретения поясняется чертежом, где показана схема заявляемой системы подачи топлива дизеля.
Система подачи топлива дизеля содержит насос высокого давления 1, трубопроводы высокого давления 2, форсунки закрытого типа 3, аккумулятор топлива 4, систему слива топлива 5, фильтр грубой очистки топлива 6, фильтр тонкой очистки топлива 7, подкачивающую помпу 8, трубопроводы низкого давления 9, топливный бак 10, сливные трубопроводы форсунок 11, первую полость аккумулятора топлива 12, вторую полость аккумулятора топлива 13, дроссель 14, невозвратный клапан 15, причем дроссель 14 имеет дросселирующее отверстие минимального размера, например, диаметром 0,1-0,15 мм.
Топливный объем аккумулятора включает топливный объем самого аккумулятора 4, топливные объемы сливных трубопроводов форсунок 11 и топливные объемы корпусов форсунок 3, в которых размещены пружины и нажимные штанги.
Топливная полость линии высокого давления включает топливный объем штуцера нагнетательного клапана топливного насоса, топливный объем трубопровода высокого давления, топливный объем топливоподающего канала форсунки и топливный объем подыгольной полости распылителя форсунки.
В связи с повышенным давлением топлива в надыгольных полостях форсунок при работе системы подачи топлива затяжку пружин форсунок, соответственно, уменьшают до оптимального уровня.
Система подачи топлива дизеля работает следующим образом.
В процессе пуска и прогрева дизеля в топливный объем аккумулятора 4, заполненный топливом, находящимся под давлением, по крайней мере, не ниже атмосферного, за счет протечек топлива через зазоры между запорными иглами и внутренними поверхностями отверстий в корпусах распылителей форсунок 3 поступает дополнительное количество топлива, за счет чего в топливном объеме аккумулятора повышается давление.
Скорость нарастания давления зависит от состояния распылителей форсунок, а конкретно, от их гидравлической плотности. Исследования показывают, что повышение давления до 4-5 МПа в топливном объеме аккумулятора происходит за неполное время прогрева дизеля после пуска.
При достижении заданного давления топлива в топливном объеме аккумулятора невозвратный клапан 15 срабатывает и происходит сброс порции топлива через систему слива топлива 5 в топливный бак 10. Невозвратный клапан 15 обладает определенной инертностью и сброс топлива происходит отдельными небольшими порциями, за счет чего во второй полости аккумулятора 13 резко снижается давление. Поэтому аккумулятор топлива 4 разделен на две части, между которыми установлен дроссель 14. Первая полость аккумулятора 12 соединяется сливными трубопроводами 11 с форсунками 3, а вторая полость аккумулятора 13 заканчивается невозвратным клапаном 15. Такая конструкция аккумулятора топлива, благодаря наличию дросселя 14, предотвращает резкие изменения давления топлива в первой полости аккумулятора 12 при периодических открытиях невозвратного клапана 15, а это стабилизирует процесс подачи топлива и работу дизеля.
В топливной полости линии высокого давления после отсечки за счет работы нагнетательного клапана топливного насоса происходит разгрузка до определенного остаточного давления, которое зависит от величины объема разгрузки нагнетательного клапана. Низкие значения остаточного давления способствуют быстрому затуханию колебательных процессов в линии высокого давления после отсечки, а это снижает вероятность появления подвпрысков топлива. В связи с этим снижение остаточного давления после отсечки является необходимым условием для предотвращения подвпрысков. После отсечки за счет разности давлений происходят протечки топлива из топливного объема аккумулятора в топливную полость линии высокого давления через зазор между запорной иглой и внутренней поверхностью в корпусе распылителя форсунки. Эти протечки происходят при небольших перепадах давления, но сравнительно со временем процесса впрыскивания длительное время, в результате чего давление топлива в полости линии высокого давления перед началом следующего процесса впрыскивания повышается почти до давления топлива в аккумуляторе.
Повышение начального давления топлива перед последующим впрыскиванием, как показывают многочисленные исследования, является весьма полезным, так как при этом повышаются качество и стабильность подачи топлива и рабочего процесса дизеля.
Возможны режимы работы системы подачи топлива, при которых протечки топлива через зазор в распылителе в противоположных направлениях будут равны. В этом случае давление топлива в аккумуляторе будет повышенным, но оно не будет достигать давления открытия невозвратного клапана и форсунки будут работать как бессливные, но с тем же несколько ослабленным эффектом.
Наличие невозвратного клапана исключает гидравлическое запирание форсунок независимо от конструкции и состояния нагнетательных клапанов топливного насоса, гидравлической плотности распылителей форсунок и режима работы системы подачи топлива.
Величина топливного объема аккумулятора при сравнительно низких давлениях в нем, при которых сжимаемостью топлива и податливостью конструкции можно пренебречь, выбирается из конструктивных соображений, так как на процессы подачи топлива влияния оказать не может.
Однако при большом топливном объеме аккумулятора время повышения давления топлива в нем после пуска в период прогрева дизеля увеличивается, что следует учитывать.
Нижний предел открытия невозвратного клапана 15 (4-5 МПа) выбран в связи с тем, что при таком давлении в топливной полости линии высокого давления к моменту последующего впрыскивания исчезают газовые пузырьки, состоящие из воздуха и паров топлива.
Таким образом предложенная система подачи топлива дизеля обеспечивает условия предотвращения появления подвпрысков после отсечки и повышение начального давления перед последующим впрыскиванием, что приводит к повышению стабильности и оптимизации процесса впрыскивания. Существенным преимуществом также является то обстоятельство, что система обеспечивает протечки топлива через зазор между запорной иглой и внутренней поверхностью в корпусе распылителя форсунки в двух противоположных направлениях: при впрыскивании — из подыгольной полости распылителя в надыгольную полость, а между впрыскиваниями — из надыгольной полости в подыгольную.
Такие движения топлива очищают указанный зазор от возможных загрязнений механическими примесями и нагаром и практически исключают вероятность зависания игольчатого клапана распылителя по этой причине.
За счет возможности регулирования давления невозвратным клапаном представляется возможность оптимизировать процесс подачи топлива.
Большим преимуществом предложенной системы подачи топлива дизеля следует считать возможность существенного снижения требований к гидроплотности распылителей форсунок при их изготовлении и эксплуатации.
Предложенная система подачи топлива без существенных переделок может быть реализована при модернизации штатных систем подачи топлива дизелей и эффективность ее повышается по мере снижения гидроплотности распылителей форсунок в процессе эксплуатации дизеля.
Источники информации 1. Файнлейб Б.Н. Топливная аппаратура автотракторных дизелей.
Справочник. Л.: Машиностроение, 1990, с. 104.
2. Авт. свид. СССР 842211, кл. F 02 M 55/00, 15.03.79, опубл. БИ 24, 30.06.81 — прототип.
Формула изобретения
Система подачи топлива дизеля, содержащая насос высокого давления, секции которого связаны через нагнетательные клапаны с трубопроводами высокого давления и с форсунками закрытого типа, аккумулятор топлива, фильтры грубой и тонкой очистки топлива, подкачивающую помпу, трубопроводы низкого давления, топливный бак, отличающаяся тем, что аккумулятор топлива включен в систему слива топлива, просочившегося через распылители форсунок при впрыскивании, и разделен на две полости, между которыми размещен дроссель, причем к одной полости присоединены сливные трубопроводы от форсунок, а другая полость подключена через невозвратный клапан к топливному баку, причем невозвратный клапан отрегулирован на давление открытия не ниже 4-5 МПа.
РИСУНКИ
Рисунок 1
Автомобильная система подачи топлива — Knowledge-swami.
com Автомобильная система подачи топливаАвтомобильная система подачи топлива представляет собой ряд компонентов, соединенных для подачи топлива (бензина или дизельного топлива) из топливного бака в топливную форсунку ИЛИ карбюратор.
Автомобильная система подачи топлива состоит из следующих компонентов:
- Топливный бак
- Топливный насос (первичный и вторичный)
- Топливный фильтр
- Топливопроводы (шланг или трубка для подачи и возврата)
- Топливная форсунка
- Карбюратор (устаревшая технология, но все еще используется в двухколесных транспортных средствах)
- Указатель/индикатор уровня топлива
1. Самотечная система подачи топлива
2. Система подачи топлива под давлением
Самотечная система: Самотечная топливная система, используемая в двухколесных и переносных бензиновых (бензин)/ дизель-генератор.
В двухколесном транспортном средстве топливо поступает из бака в карбюратор/топливную форсунку под действием силы тяжести.
Насосная система : В этой системе топливо поступает из топливного бака в топливную форсунку с помощью топливного насоса. Системы давления используются в автомобилях, грузовиках и автобусах. В отличие от гравитационной системы, топливо не может перемещаться из топливного бака в топливную форсунку самотеком, поэтому необходим топливный насос.
См. следующую блок-схему топливной системы.
Требования безопасности в топливной системе:Доступны различные стандарты для проведения испытаний безопасности автомобильной топливной системы.
- В соответствии со стандартами безопасности топливопроводы не должны проходить внутри пассажирского салона.
- Между топливопроводом и выпускным коллектором (включая выхлопную трубу) должно соблюдаться безопасное расстояние
- На этапе проектирования следует принять меры предосторожности при установке топливного бака, чтобы избежать повреждения топливного бака в случае лобового столкновения или столкновение сзади.
В качестве системы безопасности топливные баки установлены между передним и задним колесами, поэтому их можно защитить при лобовом или заднем столкновении. - Топливный бак должен выдерживать внутреннее давление (созданное из-за испарения топлива)
- Предохранительный клапан необходим для предотвращения перелива топлива.
- Топливопроводы должны быть закрыты защитным кожухом, чтобы избежать повреждения, истирания топливопроводов из-за препятствий, таких как камень, лежачих полицейских во время движения.
- Топливопровод должен выдерживать механические, термические нагрузки. Материал топливопровода не должен вступать в реакцию с топливом.
- Топливный бак должен выдерживать механические и термические нагрузки.
- Испытание на огнестойкость, высокотемпературное испытание, испытание на механическую прочность, проводимые для подтверждения безопасности топливной системы. В коммерческих автомобилях используются металлические топливные баки. В легковых автомобилях используются пластиковые топливные баки.
Пластиковые топливные баки изготовлены из полиэтилена высокой плотности (HDPE). Пластиковые топливные баки изготавливаются методом литья под давлением с раздувом любой сложной формы.Пластмассовые топливные баки бесшовные и легкие по сравнению с металлическими топливными баками. Необходимо предусмотреть теплозащитный экран, если выхлопная труба проходит ближе к пластиковому топливному баку.
Крепление топливного бака
Для крепления топливного бака требуется от 2 до 3 стальных полос. Эти стальные полосы дополнительно присоединяются к шасси с помощью винта. Крепежные соединения топливных баков считаются безопасным соединением в автомобилестроении, и эти соединения затягиваются с помощью запрограммированного гайковерта постоянного тока, чтобы избежать ослабления крепления топливного бака или отсутствующего крепежа.
Эффект выброса жидкости внутри топливного бака:Внезапное торможение и поворот автомобиля создают эффект выброса жидкости внутри топливного бака.
Топливный бак со следующими дочерними деталями.
Эффект выброса топлива — это не что иное, как генерация волны внутри закрытого бака. Всплеск жидкости нарушает динамику автомобиля. Чтобы избежать выброса жидкости внутрь топливного бака и сохранить лучшую динамику автомобиля, топливные баки оснащены перегородками/вертикальными панелями. Перегородки внутри топливного бака создают небольшой отсек внутри топливного бака, что помогает в значительной степени устранить эффект помпажа.- Крышка/колпачок: Для заправки топливом и поддержания атмосферного давления внутри топливного бака.
- Датчик уровня топлива: Для определения уровня топлива в баке.
- Отражательные пластины: во избежание эффекта пульсации жидкости.
- Сливная пробка: Для удаления грязи/остатков/примесей из топливного бака.
- Система улавливания паров: Во избежание испарения топлива.
- Топливный фильтр: подача чистого топлива за счет удаления остатков/отложений внутри топлива
Топливопроводы
В автомобильной топливной системе используются гибкие топливопроводы (шланги) и жесткие топливопроводы (трубки). Топливопроводы проложены от топливного бака к моторному отсеку с кожухом, чтобы избежать истирания топливопроводов. В легковом автомобиле/внедорожнике предусмотрен канал для жидкости, поэтому топливопровод проходит в шасси. Эта конструкция позволяет избежать риска повреждения/истирания топливопровода или защемления топливопровода, если автомобиль под кузовом сталкивается с лежачим полицейским. Втулки используются для предотвращения истирания топливных магистралей металлическим корпусом автомобиля.
Типы топливопроводов:1. Трубки из синтетического каучука
2. Усиленный резиновый шланг
3. Пластиковые топливопроводы
Требования безопасности к топливопроводам:5 определяет требования к испытаниям топливопроводов .

- Испытание на устойчивость к воздействию топлива
- Испытание на изменение длины
- Испытание на сжатие в вакууме
- Испытание на разрыв
- Испытание на гибкость при низких температурах.
Подробную информацию о безопасности топливопровода и требованиях к испытаниям см. в разделе 9.0022 Стандарт SAEJ30 .
Топливные фильтры:Основной функцией топливной системы является подача чистого топлива в топливную систему путем удаления из топлива пыли, загрязнений и отложений. Выход из строя топливного фильтра приводит к засорению системы впрыска топлива. Если топливный фильтр забит примесями/грязью, он перестанет работать и не будет подачи топлива к топливному насосу. Плохая работа топливного фильтра приводит к плохой работе двигателя.
Тест на производительность топливных фильтров- Тест на совместимость материала
- Тест сопротивления потока
- Производительность фильтра
- Состояние окружающей среды
.
Типы топливных насосов:
топливный бак к системе впрыска топлива.1. Электрический топливный насос
2. Механический топливный насос
Электрический топливный насос используется в современных автомобилях с электронным управлением. Система механического топливного насоса является устаревшей технологией, но она все еще используется в легком коммерческом транспорте, поскольку стоимость системы механического насоса меньше.
Mechanical Fuel Pump Vs Electrical Fuel PumpMechanical Fuel Pump Electrical Fuel Pump Mechanical fuel system operated by engine camshaft / crankshaft. Механическая топливная система работает только после запуска двигателя. Электрический топливный насос приводится в действие от аккумулятора автомобиля. Он может начать работать до запуска двигателя. 
Механическая топливная система, установленная на двигателе, так как для ее работы требуется механический привод. Электрический топливный насос не установлен на блоке цилиндров, так как для его работы не требуется механическая система. Подача топлива механическим топливным насосом не может контролироваться блоком управления двигателем (ECU). Эффективно регулирует скорость подачи топлива в зависимости от частоты вращения и нагрузки двигателя, поскольку работой электрического топливного насоса можно управлять с помощью блока управления двигателем (ECU) Если механический насос выходит из строя, повышается риск утечки/просачивания топлива в моторный отсек. Это может привести к пожару в моторном отсеке. Нет риска утечки топлива внутри моторного отсека, так как электрический топливный насос не установлен внутри моторного отсека. Менее затратный по сравнению с электрическим топливным насосом. 
По сравнению с механическим топливным насосом стоимость электрического насоса высока. Механическая топливная система может работать до тех пор, пока возможен запуск двигателя. Отказ электрической системы или разрядка аккумуляторной батареи могут привести к выходу из строя электрического насоса. Механический топливный насос может работать в режиме пуска нажатием. Электрический топливный насос не работает при пуске толчком, так как аккумуляторная система не будет генерировать достаточную мощность. Каталожные номера: стандарт SAE J30.
Надеемся, вам понравился этот блог! Следите за обновлениями, мы будем публиковать блог по обслуживанию топливной системы и устранению неисправностей топливной системы. Пожалуйста, следуйте за нами.
Делиться — значит заботиться!
Нравится:
Нравится Загрузка…
Что такое топливная система?
Содержание
- 1 Что такое топливная система?
- 2 Работа топливной системы
- 3 Типы топливных систем
- 3.
1 1) Одноточечный или дроссельный впрыск - 3.2 2) Система многоточечного впрыска
- 3.3 3) Система последовательного впрыска топлива (SPFI)
- 3.4 4) Система прямого впрыска
- 3.
- 4 Компоненты топливной системы
- 0 4) Бак
- 4.0.2 2) Топливный насос
- 4.0.3 3) Топливная форсунка
- 4.0.4 4) Карбюратор
- 4.0.5 5) Топливный фильтр
- 4.0.6 07
7 4.0007 ) Указатель уровня топлива
- 4.0.8 8) Блок отправки показаний указателя уровня топлива
- 4.0.9 9) Контроль паров выбросов
- 4.0.10 10) Регулятор давления топлива
- 5 Признаки неисправности топливной системы
- 6 Преимущества и недостатки системы впрыска топлива
- 6.2 Недостатки системы впрыска топлива
- 7.1 Что такое система впрыска топлива?
- 7.2 Какова функция топливной системы?
- 7.3 Какие существуют типы систем впрыска топлива?
- 7.
4 Что такое двухтопливная система? - 7.5 Каковы части и функции топливной системы?
Топливная система или система впрыска топлива — это механическая система, которая подает в двигатель необходимое количество топлива. Топливная система включает карбюратор, топливные фильтры, топливный насос, топливопроводы и топливный бак . Топливная система должна работать правильно для правильной эксплуатации автомобиля. Таким образом, вы должны очистить систему должным образом. В предыдущей статье мы обсуждали, как использовать очиститель топливной системы. В этой статье в основном объясняется работа топливной системы, ее типы, детали и функции.
Что такое топливная система? Топливная система — это часть автомобиля, которая забирает топливо из топливного бака и подает его в двигатель . Эта система отвечает за подачу топлива в соответствии с требованиями двигателя.
Каждая часть топливной системы должна работать должным образом для достижения желаемой производительности двигателя.
Основной функцией топливной системы является забор топлива из резервуара для хранения и подача его в камеру сгорания двигателя, где оно смешивается с воздухом, испаряется, сгорает и вырабатывает механическую энергию.
Топливная система состоит из форсунки, насоса, фильтра, топливного бака и карбюратора. Правильная работа всех этих частей очень важна для достижения желаемой производительности автомобиля.
Резервуар для хранения топлива используется для хранения топлива, которое может быть газом, дизельным топливом или бензином. Когда двигателю требуется топливо, топливный насос забирает топливо из топливного бака, проходит по топливопроводам и подает его в карбюратор.
Карбюратор забирает воздух из окружающей среды и производит топливовоздушную смесь. По мере образования воздушно-топливной смеси топливо подается в камеру сгорания, где и происходит процесс сгорания.
Система впрыска топлива — это часть автомобиля, отвечающая за правильную подачу топлива в двигатель. Топливная система работает следующим образом:
- В первую очередь топливный насос забирает топливо из топливного бака и пропускает это топливо через топливный фильтр.
- Этот фильтр удаляет мусор из топлива. Предотвращает засорение топливной форсунки, топливопроводов и карбюратора.
- По мере фильтрации топливо направляется в топливную форсунку по топливопроводам. Пластиковый материал или прочный металл используется для строительства топливопроводов. Эти линии находятся под полом автомобиля и находятся в уязвимых местах. Они устанавливаются в местах, которые не могут быть повреждены выхлопными газами двигателя, погодными условиями, дорожными условиями или другими компонентами.
- Работа топливной форсунки зависит от конструкции двигателя. В случае дизельного двигателя топливная форсунка впрыскивает топливо непосредственно в камеру сгорания.
Однако в случае двигателя SI форсунка сначала впрыскивает топливо в карбюратор, который сначала делает воздушно-топливную смесь, а затем направляет эту смесь в камеру сгорания. - Регулятор давления используется для контроля давления топлива в топливной форсунке.
- Когда топливо поступает в карбюратор, карбюратор забирает воздух из окружающей среды, смешивает воздух с топливом и образует воздушно-топливную смесь. Поскольку топливовоздушная смесь составляется в соответствии с требованиями двигателя, она подается в камеру сгорания.
- Камера сгорания сжимает топливно-воздушную смесь, воспламеняет смесь и генерирует механическую энергию.
Смотрите приведенное ниже видео для лучшего понимания:
Читать также: различные типы двигателей
Типы топливных систем.
Топливная система имеет следующие основные типы:
- 66669
- Одноточечная система
- Многоточечная система
- Система SPFI
- Система прямого впрыска
. Следующие основные типы.
Система одноточечного впрыска является одним из самых известных типов систем впрыска топлива. Она также известна как система впрыска в корпус дроссельной заслонки.
В этой системе карбюратор заменяет до двух топливных форсунок в корпусе дроссельной заслонки. Для стартера корпус дроссельной заслонки работает как отправная точка для системы вентиляции двигателя автомобиля, так же как отправная точка для впускного коллектора.
До появления системы многоточечного впрыска системы впрыска через корпус дроссельной заслонки были хорошей альтернативой простым карбюраторам. Они не такие точные, как системы многоточечного впрыска, но обеспечивают превосходную эффективность по сравнению с карбюраторами.
Кроме того, система одноточечного впрыска топлива требует минимального обслуживания и ремонта. Он имеет более легкую конструкцию, чем система многоточечного впрыска. Имеет низкие затраты на техническое обслуживание и ремонт.
Основным недостатком этой системы является то, что она менее эффективна и менее точна, чем многоточечный блок.
Преимущества и недостатки системы одноточечного впрыска| Преимущества | Недостатки |
|---|---|
| Требует минимального технического обслуживания и обслуживания. | менее эффективна, чем система многоточечного впрыска. |
| Эта система обеспечивает более высокую эффективность, чем карбюраторная система. | Менее точный, чем многоточечный блок. |
| Простой дизайн. | |
| Низкие затраты на обслуживание и ремонт. |
Система многоточечного впрыска топлива является наиболее часто используемой системой впрыска.
Он обеспечивает отдельную форсунку для каждого цилиндра. Этот тип системы впрыска топлива устанавливается снаружи каждого воздухозаборника. Поэтому она также известна как система впрыска через порт.
Приближение паров топлива к воздухозаборнику обеспечивает полное всасывание паров топлива в цилиндр и повышает эффективность процесса сгорания.
Система многоточечного впрыска топливаОдним из основных преимуществ системы многоточечного впрыска является то, что она регулирует подачу топлива более эффективно, чем одноточечный впрыск топлива или карбюратор. Кроме того, эта система снижает вероятность укорочения топлива во впускном коллекторе. Эта система является более точной, чем система одноточечного впрыска.
Преимущества и недостатки системы одноточечного впрыска
| Преимущества | Недостатки |
|---|---|
Более точная и эффективная система одноточечного впрыска.![]() | требуется больше обслуживания. |
| Снижает вероятность засорения топлива во впускном коллекторе. | Затраты на техническое обслуживание и ремонт выше, чем у системы одноточечного впрыска топлива |
| Он регулирует подачу топлива более эффективно, чем одноточечный впрыск топлива или карбюратор. | Имеет сложную конструкцию. |
Система SPFI также называется системой синхронизированного впрыска топлива или системой последовательного впрыска топлива.
Основное различие между системой последовательного впрыска и системой многоточечного впрыска заключается в том, что в случае многоточечного впрыска топлива все форсунки впрыскивают топливо одновременно. Это означает, что когда двигатель работает на холостом ходу, топливо обычно остается в отверстии более 148 миллисекунд. Может показаться, что это не так уж и много, но на самом деле этого времени достаточно, чтобы снизить эффективность.
В то время как в случае системы SPFI все форсунки не впрыскивают топливо одновременно, и каждая форсунка впрыскивает топливо в соответствии с требованиями соответствующего цилиндра. Эти форсунки впрыскивают топливо непосредственно перед открытием впускного клапана. Это означает, что топливо не должно оставаться надолго. Таким образом, эта система повышает эффективность и снижает уровень выбросов.
Одним из основных преимуществ системы последовательного впрыска является то, что она более точна, чем система многоточечного впрыска. Это также увеличивает КПД двигателя.
Читайте также: Типы и работа двигателей внутреннего сгорания
4) Система прямого впрыскаЭто один из самых простых и инновационных типов систем впрыска. Эта система впрыскивает топливо непосредственно в камеру сгорания после открытия клапанов.
Системы непосредственного впрыска топлива чаще всего используются в дизельных двигателях, но недавно стали популярны и в бензиновых двигателях.
Например, 1,0-литровый турбированный бензиновый двигатель Hyundai Venue использует систему прямого впрыска, продаваемую как « GDI». ” В этой конфигурации подготовка топлива и синхронизация впрыска лучше, чем в любой другой системе впрыска.
Читать также: Работа системы прямого впрыска
Компоненты топливной системыТопливная система имеет следующие основные детали:
- Топливный бак
- Топливный насос
- Топливный вход
- 0008
- Carburetor
- Топливный фильтр
- Топливные линии
- . где хранится топливо (например, газ, дизельное топливо или бензин). Если топливный бак засорен или протекает, топливо не может правильно поступать в камеру сгорания двигателя. Правильная эксплуатация этого бака играет большую роль в правильной работе автомобиля. Топливный насос используется для подачи топлива из топливного бака в карбюратор или камеру сгорания.
2) Топливный насос Топливный насос забирает топливо из топливного бака и подает его к топливной форсунке по топливопроводам. В случае бензинового двигателя топливная форсунка впрыскивает топливо в карбюратор. Напротив, в дизельном двигателе топливная форсунка впрыскивает топливо непосредственно в камеру сгорания.
Топливный насос бывает двух основных типов:
- Механический топливный насос: Для привода этого насоса используется двигатель. Цепь или ремень используются для соединения двигателя с топливным насосом.
- Электрический топливный насос: Для управления этим насосом используется электрическая система впрыска топлива. Он более надежен, чем механический насос. У него очень низкие проблемы с надежностью.
Читайте также: Работа и типы топливных насосов
3) Топливная форсункаТопливная форсунка используется для впрыска топлива в камеру сгорания каждого корпуса дроссельной заслонки или каждого цилиндра.
Собственно, топливная форсунка представляет собой форсунку с клапаном, создающим распыл топлива и капельки воздуха.Топливная форсунка приводится в действие топливным насосом. Забирает топливо топливным насосом. Процесс впрыска топливной форсунки зависит от типа двигателя.
В дизельном двигателе топливная форсунка впрыскивает топливо непосредственно в камеру сгорания. Напротив, в бензиновом двигателе топливная форсунка сначала впрыскивает топливо в карбюратор, где топливо смешивается с воздухом, а затем карбюратор передает воздушно-топливную смесь в двигатель внутреннего сгорания.
4) КарбюраторКарбюратор чаще всего используется в бензиновых двигателях. Основной функцией этой части топливной системы является приготовление воздушно-топливной смеси.
Когда топливная форсунка впрыскивает топливо в карбюратор, она всасывает воздух из окружающей среды, смешивает его с впрыскиваемым топливом и образует топливно-воздушную смесь.
После надлежащего перемешивания карбюратор подает топливно-воздушную смесь в камеру сгорания двигателя для процесса сгорания.Читайте также: Работа и типы карбюраторов
5) Топливный фильтрТопливный фильтр играет большую роль в правильной работе системы подачи топлива. Из-за жестких допусков топливных форсунок их очень легко повредить мусором, а в автомобилях с впрыском топлива также используются электрические топливные насосы.
Топливный фильтр устанавливается между топливным насосом и топливным баком. Поскольку топливный бак всасывает топливо из топливного бака, топливо сначала проходит через фильтры. Фильтры удаляют твердые частицы топлива, а затем подают отфильтрованное топливо к топливному насосу.
6) ТопливопроводыТопливопроводы соединяют все различные части топливной системы. Эти магистрали подают топливо из топливного бака к топливной форсунке. Гибкие шланги и стальные трубопроводы транспортируют топливо от бака к двигателю.

Не используйте медь или алюминий при ремонте или замене стальных топливопроводов. Вы должны заменить стальные линии стальными. Точно так же при замене гибкого резинового шланга необходимо использовать правильный шланг. При замене аккуратно отсоедините все шланги от выхлопной системы.
7) Указатель уровня топливаУказатель уровня топлива находится на приборной панели вашего автомобиля. Он соединен с топливным баком. Он показывает водителю фактическое количество топлива в баке.
В традиционных автомобилях указатель уровня топлива не мог показывать точное количество топлива в топливном баке. Если вы впервые водите классический автомобиль, найдите время, чтобы понять точность системы. Эта часть топливной системы избавляет от необходимости бежать на заправку, когда в баке заканчивается бензин!
8) Передающий блок указателя уровня топливаВ случае с топливной системой это, вероятно, самая большая проблема.
9) Регуляторы выбросов паров
Передающий блок имеет в лучшем случае несовершенный дизайн. Эта единица наиболее точна между 1/4 и 3/4 газа в баке. Даже если достигнут предел бака (полный или пустой), отображение становится менее точным.Эти регуляторы используются в сочетании с линиями возврата топлива. Эта часть общей системы используется для предотвращения выброса паров бензина в окружающий воздух. Когда это происходит, могут произойти следующие плохие вещи: 9
- вредно для окружающей среды что система должным образом поддерживает надлежащее количество давления. Блок регулятора давления топлива чаще всего используется в автомобилях с впрыском топлива, потому что топливные форсунки создают большее давление, чем карбюраторы. Признаки неисправности топливной системы
Неисправность топливной системы влияет на работу двигателя. Система плохого топлива содержит следующие основные знаки:
- Сложный двигатель, запускающий
- Проблемы с задержкой двигателя
- нерегулярные потери мощности
- Проблемы на холостом ходу двигателей
- Экстрахмовые двигатели
- Непредстанные запахи топлива
- Снижение экономики топлива
- Непредстанные запахи топлива
- A Снижение экономики топлива
- .
Преимущества и недостатки системы впрыска топлива Преимущества системы впрыска топлива - Повышает мощность двигателя и автомобиля.
- Предотвращает повреждение двигателя.
- Система впрыска топлива увеличивает срок службы двигателя.
- Повышает КПД двигателя.
- Обеспечивает лучшую топливную экономичность.
- Система впрыска топлива состоит из множества частей, включая топливный бак, топливный насос, топливопроводы и топливную форсунку. Таким образом, эта система увеличивает вес автомобиля.
- Детали этой системы имеют высокую стоимость.
- Высокие затраты на ремонт и техническое обслуживание.
Что такое система впрыска топлива?
Система впрыска топлива — это деталь автомобиля, которая подает топливо из топливного бака в камеру сгорания двигателя.

Какова функция топливной системы?
Основной функцией топливной системы является хранение топлива в топливном баке и подача топлива в камеру сгорания двигателя, где оно смешивается с воздухом, сжимается, испаряется , и сжигает для получения желаемой механической энергии.
Какие существуют типы систем впрыска топлива?
Система впрыска топлива бывает следующих основных типов:
- Дроссельный впрыск
- Система последовательного впрыска топлива
- Система многоточечного впрыска
- Система прямого впрыска
Что такое двухтопливная система?
Двухтопливная система представляет собой систему домашнего комфорта, которая сочетает в себе электрический тепловой насос и печь, чередуя два источника топлива для максимального комфорта и эффективности.
Каковы части и функции топливной системы?
Топливная система состоит из следующих основных частей и функций:
- Топливный бак: Используется для хранения топлива.

- Топливный насос: Используется для подачи топлива из бака в топливную форсунку.
- Фильтры: Фильтры используются для удаления твердых примесей из топлива.
- Топливная форсунка: Топливная форсунка используется для впрыска топлива в камеру сгорания.
- Регулятор давления: Используется для регулирования и поддержания давления внутри системы.
- Указатель уровня топлива: Показывает количество топлива в топливном баке.
- Топливопроводы: Эти трубопроводы используются для подачи топлива к различным частям топливной системы.
- Различные типы двигателей
- Типы двигателей внутреннего сгорания
- Типы двигателей EC
- Работа и типы гибридных транспортных средств
- Типы и работа бензинового двигателя
- Типы и работа дизельного двигателя
- Типы и работа карбюратора
Системы подачи топлива
Топливный насос является частью блока подачи топлива, расположенного в баке.

Наличие достаточного количества топлива в баке абсолютно необходимо для правильной и надежной работы автомобиля. Тем не менее, даже полный бак топлива бесполезен, если подача топлива из бака в двигатель не полностью надежна. Наши высококачественные системы подачи топлива обеспечивают надежную работу различных марок и моделей автомобилей.
Топливные насосы
Топливный насос является частью блока подачи топлива, расположенного в баке.
Воспользуйтесь услугой онлайн-каталога, чтобы получить более подробную информацию об этом продукте, который может быть установлен в вашем автомобиле (легковом автомобиле).
Блоки подачи топлива
Блок подачи топлива состоит из топливного насоса (иногда с вихревым бачком), фильтра и фланца с соответствующими штуцерами. Кроме того, блок питания может быть оснащен датчиком рычажного типа, а может использоваться с датчиком трубчатого типа.
Воспользуйтесь услугой онлайн-каталога, чтобы получить более подробную информацию об этом продукте, который можно установить в вашем автомобиле (легковом автомобиле).

Датчики рычажного типа
Датчики рычажного типа используются для измерения уровня топлива в соединении с электрическим индикатором. Некоторые датчики заземлены. Датчики без заземления имеют отдельное заземление.
Типы датчиков рычажного типа в ассортименте включают:
- Без предупредительного контакта, изолированный возврат
- Без предупредительного контакта, изолированный возврат (регулируемый)
- Без предупредительного контакта, изолированный обратный (специальный)
Датчики рычажного типа также могут быть оснащены сигнальным контактом для сигнализации о достижении предельного уровня топлива (резерв) и для непрерывного измерения.
Воспользуйтесь услугой онлайн-каталога, чтобы получить более подробную информацию об этом продукте, который может быть установлен в вашем автомобиле (легковом автомобиле).
Датчики трубчатого типа
Датчики трубчатого типа используются для измерения уровня топлива в сочетании с электрическим индикатором.
Некоторые датчики заземлены. Датчики без заземления имеют отдельное заземление.Типы датчиков трубчатого типа в ассортименте:
- Без предупредительного контакта, с общим заземлением или изолированным обратным проводом (ø 54 мм)
- Без предупредительного контакта, с общим заземлением или изолированным обратным проводом (ø 80 мм)
- С сигнальным контактом, общим заземлением или изолированным обратным проводом (ø 54 мм)
- Без предупредительного контакта, с общим заземлением или изолированным обратным проводом (специальный)
Датчики трубчатого типа также могут быть оснащены контактом для предупреждения о достижении предельного уровня топлива (резерв) и для непрерывного измерения.
Воспользуйтесь услугой онлайн-каталога, чтобы получить более подробную информацию об этом продукте, который может быть установлен в вашем автомобиле (легковом автомобиле).
Регуляторы давления топлива
Регуляторы давления топлива поддерживают заданное давление топлива.
Если давление превышено, подпружиненная мембрана позволяет открыть канал обратного потока, позволяя лишнему топливу течь обратно в топливный бак.Воспользуйтесь услугой онлайн-каталога, чтобы получить более подробную информацию об этом продукте, который можно установить в вашем автомобиле (легковом автомобиле).
Топливные насосы с вихревым бачком
В блоке подачи насос устанавливается в вихревой бачок.
Воспользуйтесь услугой онлайн-каталога, чтобы получить более подробную информацию об этом продукте, который может быть установлен в вашем автомобиле (легковом автомобиле).
Топливные форсунки
Точное количество топлива определяется для каждого режима работы двигателя. Инжекторный клапан впрыскивает рассчитанное количество точно дозировано в заданное время перед впускным клапаном цилиндра и, таким образом, обеспечивает чистое и эффективное использование топлива.
6008
Файл cookie — это небольшой файл данных, который хранится на вашем конечном устройстве.
Файлы cookie используются для анализа интереса пользователей к нашим веб-сайтам и помогают сделать их более удобными для пользователей. Как правило, вы также можете получать доступ к нашим веб-сайтам без файлов cookie. Однако, если вы хотите использовать все функциональные возможности наших веб-сайтов наиболее удобным для пользователя способом, вам следует принять файлы cookie, которые позволяют использовать определенные функции или предоставляют удобные функции. Целевое назначение файлов cookie, которые мы используем, показано в следующем списке.Используя наши веб-сайты, вы соглашаетесь на использование тех файлов cookie, которые ваш браузер принимает на основе настроек вашего браузера. Однако вы можете настроить свой браузер таким образом, чтобы он уведомлял вас перед принятием файлов cookie, принимал или отклонял только определенные файлы cookie или отклонял все файлы cookie. Кроме того, вы можете в любое время удалить файлы cookie со своего носителя. Дополнительную информацию можно найти в разделе о защите данных.

В настоящее время активированы следующие файлы cookie:
Необходимый
Статистика
Скрыть детали Показать детали
Технически необходимые файлы cookie
Эти файлы cookie абсолютно необходимы для работы сайта и включают, например, функции, связанные с безопасностью. Используются следующие файлы cookie:
Статистика
Для дальнейшего улучшения нашего предложения и нашего веб-сайта мы собираем анонимные данные для статистики и анализа. Эти файлы cookie используются для анализа поведения пользователей на нашем веб-сайте с помощью решения для веб-аналитики Google Analytics. Они носят имена «_ga», «_gid» или «_gat», которые используются для различения пользователей и ограничения скорости запросов.
Все собранные данные анализируются анонимно.Модель системы подачи топлива в Simscape Fluids — Обмен файлами
Сейчас вы подписаны на эту отправку
- Вы будете видеть обновления в отслеживаемом канале контента
- Вы можете получать электронные письма, в зависимости от ваших предпочтений в общении
версия 1.4.0.1 (47,3 КБ) от Стив Миллер
Система подачи топлива с баками, топливопроводами, насосами, системой управления и кодом MATLAB для автоматизации испытаний.
2,1 тыс. загрузок За все время: 2 124″ data-original-title=»Загрузки» aria-describedby=»popover506129″>
Обновлено 1 сентября 2016 г.
Просмотр истории версий
1.4.0.1 Обновленная лицензия
1.4.0.0 Пример поставляется с Simscape Fluids — добавлен код, указывающий на пример доставки.
1.3.0.0 Исправлена ссылка на вебинар.
1.2.0.0 Добавлены ссылки на видео и вебинары, объясняющие эту модель.
1.1.0.0 Единицы измерения изменены на «об/с».
Посмотреть лицензию
- Обзор
- Функции
- Модели
- Отзывы (3)
- Обсуждения (0)
Этот файл содержит модель простой топливной системы, смоделированной с помощью Simscape и Simscape Fluids. Насосы и клапаны регулируют поток между топливными баками. Падение давления вдоль топливопроводов зависит от высоты на концах трубопровода.
Модель включает в себя набор тестовых сценариев, которые включают в себя различные условия окружающей среды и события отказа для компонентов в системе. Сценарий MATLAB автоматизирует выполнение этих тестов и создает график, показывающий, как система работала в каждом тесте.
Перед началом работы прочтите файл README.txt.
Обзор этой модели смотрите в этом видео (3 мин):
http://www.mathworks.com/videos/modeling-a-fuel-supply-system-74106.htmlЧтобы узнать больше о гидравлическом моделировании с помощью Simscape Fluids, посмотрите этот веб-семинар:
http://www.mathworks.com/videos/hydraulic-simulation-with-simhydraulics-81959.htmlЧтобы найти другие примеры Simscape, выполните поиск сообщений с ключевым словом «физическое моделирование».
http://www.mathworks.com/matlabcentral/fileexchange/?term=%22physical+modeling%22Чтобы узнать больше о продуктах MathWorks Simscape, перейдите по ссылке:
http://www.mathworks.com/physical-modeling/Цитировать как
Стив Миллер (2022).
Модель системы подачи топлива в Simscape Fluids (https://www.mathworks.com/matlabcentral/fileexchange/39521-fuel-supply-system-model-in-simscape-fluids), MATLAB Central File Exchange.
Проверено .Совместимость версий MATLAB
Created with Р2016а
Совместимость с любой версией
Совместимость с платформами
Windows macOS LinuxКатегории
- Физическое моделирование > Simscape жидкости > Библиотека термальных жидкостей >
Метки Добавить теги
топливный контроллер подача топлива топливная система физическое моделирование simhydraulics simscape
Community Treasure Hunt
Найдите сокровища в MATLAB Central и узнайте, как сообщество может вам помочь!
На охоту!
Выберите сеть Сайт
Выберите веб-сайт, чтобы получить переведенный контент, где он доступен, и посмотреть местные события и предложения.
На основе
ваше местоположение, мы рекомендуем вам выбрать: .Вы также можете выбрать веб-сайт из следующего списка:
Европа
Свяжитесь с местным офисом
Что такое топливная система? — Компоненты и работа
от Jignesh Sabhadiya
Что такое топливная система?
Топливная система состоит из топливного бака, насоса, фильтра и форсунок или карбюратора и отвечает за подачу топлива в двигатель по мере необходимости. Каждый компонент должен функционировать должным образом, чтобы обеспечить ожидаемую производительность и надежность автомобиля.
Функция топливной системы заключается в хранении топлива и его доставке в камеру цилиндра, где оно может смешиваться с воздухом, испаряться и сжигаться для производства энергии. Топливо, которое может быть бензиновым или дизельным, хранится в топливном баке.
Топливный насос всасывает топливо из бака по топливопроводам и перекачивает его через топливный фильтр либо в карбюратор, либо в топливную форсунку, а затем в камеру цилиндра для сгорания.Как работает топливная система моего автомобиля?
В идеале, когда указатель уровня топлива в вашем автомобиле опустится до четверти бака, вы поедете на свою любимую заправку и заправите бак. Топливо начинает свой путь в насосе:
- От насоса в баки газ проходит через топливный насос. Насос подает топливо из бензобака в двигатель. Некоторые автомобили оснащены несколькими бензобаками и даже несколькими топливными насосами. Несколько топливных насосов идеально подходят для того, чтобы автомобиль всегда имел доступ к топливу, независимо от местности, по которой он движется. Например, когда автомобиль делает крутой поворот или поднимается по крутому склону, и сила тяжести выталкивает топливо из топливного насоса, это гарантирует, что по крайней мере один из насосов имеет доступ к топливу.

- Насос прокачивает топливо по топливопроводам, которые подают топливо из бака в двигатель для сгорания. Топливопроводы изготовлены из прочного металла и пластика, и, хотя они находятся под полом автомобиля и, казалось бы, в уязвимом месте, они расположены в местах, которые не могут быть повреждены погодными условиями, дорожными условиями или тепловым воздействием. выхлопных газов двигателя или других компонентов.
- Топливный фильтр является следующей остановкой для бензина, прежде чем он попадет в ваш двигатель. Крайне важно, чтобы топливо, поступающее в двигатель, было чистым и не содержало грязи или частиц. Чтобы предотвратить попадание мусора в двигатель, топливный фильтр помогает удалить грязь или мусор. Засоренный или грязный топливный фильтр не может предотвратить попадание вредных частиц в двигатель и причинение всевозможных повреждений. Новые автомобили могут не иметь исправных топливных фильтров, поскольку они расположены в топливном баке. Замена фильтра требует замены всего узла.

- После прохождения топливного фильтра топливо попадает в двигатель и впрыскивается в камеру сгорания для воспламенения с помощью топливных форсунок.
Детали топливной системы автомобиля
Топливная система автомобиля состоит из нескольких различных компонентов, обеспечивающих бесперебойную работу всего этого процесса. Есть топливный насос, топливный бак, топливопроводы, топливный фильтр, топливные форсунки и карбюратор. На самом деле это ничем не отличается от того, что сердце, вены и почки вашего тела работают вместе, чтобы поддерживать ваше движение.
Если хотя бы один из этих компонентов выйдет из строя, это может помешать всему процессу перекачки топлива. Тогда ваш двигатель либо не работал бы вообще, либо работал бы очень медленно. Ниже приведен список компонентов топливной системы автомобиля.
- Топливный насос : Внутри топливного бака находится компонент, называемый топливным насосом. На многих новых автомобилях насос стоит в баке.
Если у вас старый автомобиль, вы можете найти топливный насос в центре двигателя и топливного бака. Он также может быть подключен непосредственно к двигателю. Работа топливного насоса заключается в подаче топлива в двигатель. Вероятно, у вас есть электрический насос, который питается от автомобильного аккумулятора, если насос находится в топливном баке. В противном случае движение двигателя приводит в действие насос, когда он находится снаружи. - Топливный бак : Топливный бак не требует пояснений. Когда вы закачиваете топливо в свой автомобиль, топливо попадает в ваш топливный бак. Здесь ваше топливо хранится перед закачкой в камеру сгорания. Вы также можете найти топливный насос и выхлопную систему внутри.
- Топливный фильтр : Для нормальной и бесперебойной работы двигатель должен заправляться чистым топливом. Топливный фильтр обычно располагается вокруг топливного насоса, до или после него. Когда топливо выкачивается из топливного бака, все содержащиеся в нем мельчайшие частицы и примеси блокируются фильтром до того, как топливо попадет в двигатель.

- Топливные форсунки : Топливные форсунки современных автомобилей контролируются электрическими датчиками и компьютерами. Всякий раз, когда вы нажимаете на газ или сильнее нажимаете на двигатель, небольшой электрический клапан подает сигнал на открытие и пропускает топливо в камеру внутреннего сгорания. Когда запрос завершен, клапан получает сигнал закрыться. Этот клапан в основном является топливной форсункой автомобиля.
- Карбюратор (старые автомобили ): Как известно, двигателю внутреннего сгорания перед воспламенением требуется смесь воздуха и топлива. На старых автомобилях без впрыска топлива карбюратор является компонентом, отвечающим за смешивание топлива и воздуха. После того, как смесь произошла, она направляется в камеру сгорания, где свеча зажигания воспламеняет ее.
- Топливопроводы : В топливной системе есть все типы топливопроводов. Топливопроводы позволяют топливу течь от одного компонента к другому.
Например, они транспортируют топливо из топливного бака в карбюратор.
Различные типы систем впрыска топлива в автомобилях
Вообще говоря, в автомобилях существует 4 различных типа систем впрыска топлива
- Одноточечный впрыск или впрыск через корпус дроссельной заслонки
- Распределенный или многоточечный впрыск топлива
- Последовательный впрыск топлива
- Непосредственный впрыск
1. Одноточечный или дроссельный впрыск
Это самый простой тип системы впрыска топлива. Одноточечная система, также называемая системой впрыска дроссельной заслонки, заменила карбюратор двумя топливными форсунками в корпусе дроссельной заслонки. Для непосвященных корпус дроссельной заслонки выступает в качестве отправной точки дыхательной системы двигателя автомобиля, поскольку он находится в начале впускного коллектора.
Система одноточечного впрыска топлива хорошо зарекомендовала себя как замена рудиментарным карбюраторам до того, как появились системы многоточечного впрыска топлива.
Хотя они были не такими точными, как многоточечные агрегаты, они обеспечивали лучшую эффективность, чем карбюраторы. Кроме того, они даже требовали меньшего обслуживания и были еще проще в обслуживании.2. Распределенный или многоточечный впрыск топлива
В настоящее время распространенным типом системы впрыска топлива является система многоточечного впрыска топлива, которая предлагает отдельную форсунку для каждого цилиндра. Он расположен снаружи каждого впускного отверстия, и именно поэтому иногда его также называют системой впрыска через порт.
Наличие паров топлива рядом с впускным отверстием гарантирует, что они будут полностью всасываться в цилиндр и улучшат сгорание. Самым большим преимуществом системы MPFI является более эффективное регулирование подачи топлива по сравнению с карбюраторами или одноточечным впрыском топлива. Также эта система снижает вероятность конденсации топлива во впускном коллекторе.
3. Последовательный впрыск топлива
Система последовательного впрыска топлива также известна как система последовательного впрыска топлива (SPFI) или даже система синхронизированного впрыска.
Самая большая разница между многоточечным впрыском топлива и последовательным впрыском топлива заключается в том, что в первом случае все форсунки впрыскивают топливо одновременно, а это означает, что топливо часто остается в канале более 150 миллисекунд, когда двигатель работает на холостом ходу.Может показаться, что это не так много времени, но на самом деле его более чем достаточно, чтобы снизить эффективность. В системе последовательного впрыска топлива каждая форсунка распыляет топливо независимо. По сути, они распыляют топливо непосредственно перед открытием впускного клапана, что означает, что топливо не должно долго задерживаться. В результате эффективность повышается, а выбросы снижаются.
4. Непосредственный впрыск
Непосредственный впрыск — это, безусловно, самый совершенный тип системы впрыска топлива. В этой системе топливо впрыскивается непосредственно в камеры сгорания после клапанов. Эта система в основном встречается в дизельных двигателях, но в последнее время она также стала использоваться в основных бензиновых двигателях.

Например, 1,0-литровый турбобензиновый двигатель Hyundai Venue получает непосредственный впрыск и продается как «GDI». система впрыска.
Категории Авто Метки Автозапчасти, Автомобиль, Автомобильные запчасти, Двигателисообщите об объявленииЧто такое система подачи топлива
Комментариев к записи Обслуживание системы подачи топлива нетОпубликовано в Топливные системы Автор Уша КальяниОпубликовано в
Здесь можно получить Обслуживание системы подачи топлива и принцип работы топливной системы. Система подачи топлива, как правило, надежна, и любые возникающие проблемы обычно связаны с насосом, бензиновым фильтром или баком. Однако иногда неисправность кроется в бензопроводе между баком и двигателем.
Трубы могут страдать от основных неисправностей: течи или засорения. Вероятно, первым признаком утечки является запах бензина, доносящийся в салон автомобиля – не откладывайте поиск проблемы, так как пары бензина могут легко воспламениться.

Забитые трубы обычно очевидны – машина глохнет или страдает от нехватки топлива. К счастью, теперь это редкость, потому что установлены топливные фильтры для удаления грязи.
Содержание
Типы трубок
Топливная магистраль обычно включает негибкие металлические трубки с гибкими резиновыми или пластиковыми шлангами, идущими от трубок к баку и топливному насосу, а также от насоса к карбюратору. Гибкость шлангов позволяет перемещаться между этими различными компонентами. На некоторых двигателях негибкие трубы сделаны из армированного пластика, а не из металла.
Осмотр
Неисправность в трубах и шлангах или в их соединениях представляет потенциальную опасность возгорания, поэтому систему необходимо проверять каждый год. Отсоедините аккумулятор в качестве меры предосторожности против любых возможных искр. Поддомкратьте автомобиль и помогите ему встать на подставки. Внимательно осмотрите трубу по всей ее длине. Особенно внимательно осмотрите стыки, проверяя наличие темных пятен, указывающих на утечку.
С помощью гаечного ключа проверьте герметичность каждого соединительного патрубка. Также проверьте каждую стальную трубу на наличие ржавчины — используйте проволочную щетку, чтобы удалить поверхностную ржавчину на трубах. Если труба имеет неправильную ямку внизу, ее необходимо заменить.
Осмотрите также гибкий шланг и соединения. Согните и скрутите их, ища любые трещины. Если труба затвердела из-за старости или стала нежной из-за масляного загрязнения, ее необходимо заменить. В гибких трубах используется несколько типов зажимов; убедитесь, что они затянуты и не проржавели. Проверьте прокладку труб, они не должны проходить слишком близко к нагретым частям двигателя, таким как выхлопная труба или коллектор. Убедитесь, что труба надежно закреплена в зажимах и ни о что не натирает.Если вы обнаружили сильно поврежденную трубу или шланг, их необходимо заменить. Перед началом работы слейте бензин из бака в подходящую емкость и храните его в безопасном месте.
Фильтры
Многие проблемы с топливными трубками вызваны засорением фильтров.
Существуют различные типы фильтров, одним из наиболее распространенных из которых является встроенный пластиковый фильтр. Проверьте топливные трубки, пока не увидите фильтр, который обычно имеет бочкообразную форму. Он часто прозрачен, и вы можете видеть, заблокирован ли он.Обслуживание встроенного топливного фильтра
Прямоточный топливный фильтр
Одноразовый встроенный топливный фильтр обычно устанавливается под капотом в бензопроводах между бензонасосом и карбюратором. Некоторые моды очевидны, так что вы можете видеть, пока они появляются как заблокированные. Если вы сомневаетесь в состоянии фильтра, замените его. Новые купить недорого.
Сначала отсоедините крепления, крепящие фильтр к топливным трубкам. В некоторых конструкциях используются зажимы Jubilee, в то время как в других есть накидные гайки. Удалите очистку, затем установите новую на место. Убедитесь, что стрелка указывает в направлении потока топлива.
Обслуживание стеклянного фильтра
Топливный фильтр другого типа обычно устанавливается в моторном отсеке и включает фильтрующий элемент, установленный внутри стеклянного стакана.
Чаша свисает со стальной опоры, которая закреплена во внутреннем крыле с помощью болтов или винтов. Прежде чем начать, узнайте у своего поставщика, является ли фильтрующий элемент одноразовым или его можно очистить. Если он одноразовый, купите новый.Поместите коробку под бачок для сбора бензина, затем отверните гайку с накаткой под стеклянным бачком. Опустите чашу и вылейте бензин. Если он застрял, аккуратно сотрясите его вместе с ладонью. Снимите очищающий элемент и либо выбросьте его, либо очистите бензином и гладкой кистью. Очистите корпус фильтра и замените фильтр — убедитесь, что рифленая гайка затянута.
Топливные системы
Двигателям внутреннего сгорания для работы требуется топливо, поэтому автомобили оснащены топливной системой, которая обеспечивает подачу в двигатель нужного количества топлива при любых условиях эксплуатации.
Функция топливной системы заключается в хранении и подаче топлива в камеру цилиндра, где оно может смешиваться с воздухом, испаряться и сжигаться для получения энергии.
Топливо, которое может быть бензиновым или дизельным, хранится в топливном баке. Топливный насос всасывает топливо из бака по топливопроводам и подает его через топливный фильтр либо в карбюратор, либо в топливную форсунку, а затем подает в камеру цилиндра для сгорания.Компоненты топливной системы
Основные компоненты топливной системы состоят из топливного бака, насоса, фильтра и форсунки/карбюратора.
Топливный бак: Действует как резервуар для топлива автомобиля. В баке есть электронный «пусковой механизм», который передает статистику о количестве бензина на топливомер.
Топливный насос: Его функция номер один заключается в том, чтобы всасывать топливо из бензобака и закачивать его в двигатель внутреннего сгорания. Существуют виды топливных насосов: механические и электрические, которые используются в двигателях с карбюраторами и электронными форсунками соответственно.
Топливный фильтр: I постоянно устанавливается на обоих концах бензонасосов для удаления примесей из бензина, тем самым обеспечивая наиболее выгодную работу двигателя.

Топливная форсунка: I t представляет собой электронный клапан, который открывается/закрывается в обычное время для подачи в двигатель необходимого количества бензина.
Карбюратор: Его основной причиной является смешивание необходимого количества воздуха и бензина и подача его в двигатель. Карбюратор является предшественником бензинового инжектора.
Принцип работы
Кое-что из этого может показаться немного глупым, так как многие компоненты довольно очевидны для всех нас. По сути, как только вы заполните бак газом, устройство «готово». Когда вы запускаете автомобиль, бензонасос начинает процесс подачи бензина из бензобака через фильтры бензина и выброс бензина к устройству, которое контролирует подачу бензина/воздуха в двигатель (карбюратор или бензиновый инжектор). Пока автомобиль гуляет, к этому моду добавляется безостановочная подача бензина.
Топливная система современных автомобилей представляет собой сложную комбинацию компонентов и электроники.



Этот резервуар должен находиться на расстоянии не менее 1 м от «глухой» стены здания и не менее 5 м если в стенах имеются проемы. Подземный резервуар должен иметь емкость не меньше, чем 30 % суммарной емкости всех расходных баков и не меньше чем емкость наибольшего бака. Разрешается производить аварийный слив в подземный резервуар запаса топлива.
Стоит помнить, что в карбюраторных автомобилях функцию регулировки выполняет подсос и регулировочные винты. В данном же случае водителю не придется тратить время, и система все сделаем за него.
Ее особенностью является то, что всего за один оборот коленчатого вала абсолютно все форсунки отрабатывают в одно и тоже время.



В этом режиме электронный блок продолжает использовать заданные в картах данные, все еще не используя показания лямбда-зонда;
Поскольку этот режим не требует выхода мощности от мотора, то достаточно, чтобы смесь просто не давала остановиться силовой установке, а для этого подойдет и обедненная смесь. Для ее проявления показаний лямбда-зонда не нужно, поэтому ЭБУ их не использует.
Датчик считает, какое количество воздуха проходит через него. Понятно, что взвесить воздух не представляется возможным, да и объем его измерить проблематично. Суть работы заключается в том, что внутри пластиковой трубки находится платиновая нить. Она нагревается до рабочей температуры (более 600º, именно это значение закладывается в ЭБУ). Поток воздуха охлаждает нить, блок управления фиксирует температуру и, исходя из этого, вычисляет количество воздуха.
Если присмотреться, то можно увидеть, что на шкиве есть зубья, причём они расположены на одинаковом расстоянии друг от друга. Суммарное число зубьев — 60, оси соседних расположены на расстоянии 6º. Но если присмотреться ещё внимательнее, то можно увидеть, что 2-х не хватает. Этот промежуток необходим, чтобы датчик фиксировал положение коленвала максимально точно. Датчик вырабатывает напряжение, которое тем больше, чем выше частота вращения.
Чем сильнее вибрация, тем выше уровень сигнала. Блок управления при помощи датчика изменяет угол опережения зажигания.
Внешняя часть датчика «дышит» чистым воздухом. Показания передаются на блок управления и сравниваются. Эффективные замеры возможны только при достижении высоких температур (свыше 400º), поэтому часто устанавливают подогреватель, чтобы даже в момент начала работы двигателя не наблюдалось перебоев.
В нижней части насосов устанавливается фильтр, который нужно менять хотя бы раз в 30000 км пробега.
Хорошая конструкция, но крайне ненадёжная — высоковольтные провода имеют свойство портиться. Намного эффективнее окажется использование для каждой свечи отдельной катушки, выполненной в виде наконечника.
Машины, которые оборудованы такими устройствами, называются инжекторными.
д.
д.


На современном этапе это не так актуально, ведь на сервисах нет дефицита в необходимой аппаратуре и ПО.
В качестве системы безопасности топливные баки установлены между передним и задним колесами, поэтому их можно защитить при лобовом или заднем столкновении.
Пластиковые топливные баки изготовлены из полиэтилена высокой плотности (HDPE). Пластиковые топливные баки изготавливаются методом литья под давлением с раздувом любой сложной формы.
Эффект выброса топлива — это не что иное, как генерация волны внутри закрытого бака. Всплеск жидкости нарушает динамику автомобиля. Чтобы избежать выброса жидкости внутрь топливного бака и сохранить лучшую динамику автомобиля, топливные баки оснащены перегородками/вертикальными панелями. Перегородки внутри топливного бака создают небольшой отсек внутри топливного бака, что помогает в значительной степени устранить эффект помпажа.
топливный бак к системе впрыска топлива.