Свеча зажигания А17ДВ схема, характеристики и применяемость
Свечи зажигания А17ДВ применяются в контактной (батарейной) системе зажигания карбюраторных двигателей «классических» автомобилей ВАЗ: 2101, 2102, 2103, 2104, 2105, 2106, 2107, 2121.
Свеча зажигания А17ДВ
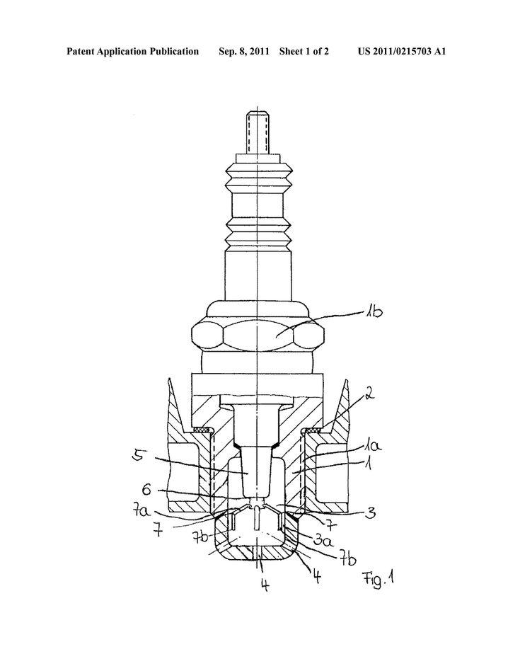
1. Описание свечи зажигания А17ДВ.
Конструкция свечи зажигания А17ДВ не разборная. Стальной корпус имеет резьбовую часть и шестигранник под ключ 21 мм. К корпусу приварен боковой электрод из никель-марганцевой проволоки. Изолятор изготовлен из высококачественного керамического материала — хилумина, обладающего высокой механической и электрической прочностью.
Наружная поверхность изолятора глазурована для улучшения изоляционных свойств и уменьшения отложения влаги, благодаря чему уменьшается возможность поверхностного разряда. Внутри изолятора находится составной центральный электрод, состоящий из собственно электрода изготовленного из жаростойкого хромникелевого сплава и стального стержня.
На верхнюю часть стержня на резьбе навернута контактная втулка для присоединения высоковольтного провода. Нижняя часть стержня и верхняя часть центрального электрода залиты токопроводным стеклогерметиком, не допускающего прорыва газов через отверстие изолятора. На нижней части стержня имеется накатка для лучшего сцепления со стеклогерметиком.
2. Схема свечи зажигания А17ДВ.
Схема устройства свечи зажигания А17ДВ3. Технические характеристики свечи зажигания А17ДВ.
Тип резьбы М14*1,25
Длина резьбы 19 мм
Калильное число 17
Зазор между электродами свечи 0,5 – 0,6 мм
Тепловой конус (юбка) выступает за край корпуса свечи
Помехоподавительный резистор отсутствует
Керамическая масса изолятора хилумин
4. Расшифровка маркировки свечи зажигания А17ДВ.
А – резьба на корпусе свечи М14*1,25
17 – калильное число 17 (среднее между холодными и горячими свечами)
Д — диаметр резьбы 19,0 мм
В – тепловой конус изолятора выступает за торец корпуса свечи зажигания
5.
Применяемость и взаимозаменяемость.Свечи зажигания А17ДВ и их аналоги могут применяться в самой простой контактной системе зажигания автомобилей ВАЗ 2101, 2102, 2103, 2106, 2121 с катушкой зажигания Б-117А (или аналогичной ей). Так же возможно их применение в контактной системе зажигания автомобилей ВАЗ 2104, 2105, 2107 и их модификаций.
Для предотвращения появления радиопомех, возникающих при работе этих свечей зажигания (влияющих на работу автомагнитолы и дополнительного электронного оборудования) А17ДВ можно заменить на свечи с помехоподавительным резистором: А17ДВР, А17ДВРМ и их аналоги.
Использование А17ДВ в бесконтактной системе зажигания не желательно, так как там применяются катушки зажигания, вырабатывающие электрический ток большего напряжения на который эти свечи не рассчитаны.
Примечания и дополнения
— Зарубежные аналоги А17ДВ:
NGK BP6E
WEEN 121-1371
DENSO W20EP
BRISK L15Y
BERU W7D
— Отечественные аналоги:
А17ДВ-10
А17ДВМ
Еще статьи по свечам зажигания
— Чем различаются свечи зажигания для инжекторного и карбюраторного двигателя?
— Свечи зажигания BOSCH на «классику» ВАЗ
— Применяемость свечей зажигания NGK на «классических» автомобилях ВАЗ: 2101-2107
— Различие свечей зажигания для контактной и бесконтактной систем зажигания
— Применяемость свечей зажигания на карбюраторных и инжекторных двигателях автомобилей ВАЗ
— Расшифровка маркировки отечественных свечей зажигания
Подписывайтесь на нас!
Чертеж стенда для очистки свечей зжигания
Стоимость 40 баллов
Список файлов
- Стенд для очистки свечей зажигания
Теги
- Оборудование для ТО и ремонта
Похожие товары
Чертеж съемника крестовин карданного вала чертеж
Состав:
- Вид общий
- Спецификация
- Технологическая карта
Софт:
КОМПАС-3D V16
Описание:
Общий вид сприспособления для разборки крестовин карданного вала
Чертеж съемника крестовин карданного вала чертеж
Чертежи оборудования
Чертеж термоса сварочного
Состав:
- Сборочный чертеж
- Спецификация
Софт:
КОМПАС-3D V16
Описание:
Сборочный чертеж саврочного термоса
Чертеж термоса сварочного
Чертежи оборудования
Чертеж моментоскопа
Состав:
- Вид общий
- Спецификация
Софт:
КОМПАС-3D V16
Описание:
Вид общий моментоскопа
Чертеж моментоскопа
Чертежи оборудования
Чертеж сверлильной головки (2-х шпиндельной)
Состав:
- Сборочный чертеж
- Спецификация
Софт:
КОМПАС-3D V16
Описание:
Сборочный чертеж 2-х шпиндельной сверлильной головки
Чертежи оборудования
Чертеж стенда для диагностики топливных систем
Состав:
- Сборочный чертеж топливного аккумулятора
- Вид общий стенда
- Сборочный чертеж фильтра и насоса
- Схема стенда
- Спецификация
- Пояснительная записка
Софт:
КОМПАС-3D V16
Описание:
Пакет чертежей диагностического стенда
Чертеж стенда для диагностики топливных систем
Чертежи оборудования
Чертеж токарного патрона
Состав:
- Сборочный чертеж
- Спецификация
Софт:
КОМПАС-3D V16
Описание:
Сборочный чертеж патрона токарного
Чертеж токарного патрона
Чертежи оборудования
Чертеж приспособления для проверки гильзы цилиндров
Состав:
- Сборочный чертеж
- Спецификация
Софт:
КОМПАС-3D V16
Описание:
Приспсообление для деффектовки гильзы цилиндров
Чертеж приспособления для проверки гильзы цилиндров
Чертежи оборудования
Чертеж гайковерта
Состав:
- Сборочный чертеж
- Спецификация
Софт:
КОМПАС-3D V16
Описание:
Сборочный чертеж гайковерта
Чертеж гайковерта
Чертеж стенда для очистки свечей зжигания
Состав:
- Вид общий стенда
- Свеча зажигания
- Технологическая карта
- Спецификации
Софт:
КОМПАС-3D V16
Описание:
Общий вид стенда для очистки свечей зажигания
Чертеж стенда для очистки свечей зжигания
Чертежи оборудования
Чертеж приспособления для фрезерования
Состав:
- Сборочный чертеж
- Спецификация
Софт:
КОМПАС-3D V16
Описание:
Сборочный чертеж приспособления для фрезерования зубьев шестерни
Чертеж приспособления для фрезерования
Чертежи оборудования
- Вход
- Регистрация
- Восстановить пароль
Чтобы приобрести чертёж нужно авторизоваться в личном кабинете
Отправляя свои данные Вы соглашаетесь с политикой конфиденциальности
Рисунок зажигания зажигания — Illustrationen und Vektorgrafiken
96Grafiken
- Bilder
- Fotos
- Grafiken
- Vektoren
- Videos
DurchstE
DurchstE
Oder starten Sie eine neuesuche, um noch mehr faszinierende Stock-Bilder und Vektorarbeiten zu entdecken. satz von handgemachten oldtimer motorrad elements — чертежи свечей зажигания — графика, -клипарт, -мультфильмы и -символSatz von handgemachten Oldtimer Motorrad Elements
auto-service-symbol — чертежи свечей зажигания — графика, — клипарт, — мультфильмы и —символыAuto-Service-Symbol
Symbol für Autoservice, Wartungs- und Reparaturlinie
Autoteile Doodle Set
0003 Motorrad- oder autozündkerze, kritzeleien — набор чертежей свечей зажигания, -клипарт, -мультфильмы и -символ символ
Antike Hot Rod Hintergrund
Motorrad zündkerze im vintage-style für t-shirt und andere anwendungen — рисунок свечей зажигания — графика, -clipart, -cartoons und -symbole Motorrad Zündkerze im Vintage-Stil für T-shirt undere.
..
Motorrad Zündkerze im Vintage-Stil für T-Shirt und andere…
mittelalterliche illustration aquarell im mittelalterlichen stil mit kerze, naturkrone und ritterschwert — чертежи свечей зажигания -grafiken, -clipart, -cartoons und -symboleMittelalterliche Illustration Aquarell im mittelalterlichen Stil…
autoservice, kolben, autoheber, automotor, wartung, scheibenbremse, batterysymbole — чертежи свечей зажигания, стоковые графики, -clipart, -мультики и — символAutoservice, Kolben, Autoheber, Automotor, Wartung,…
zündkerze. technische zeichnung auf dem papier blaupause — чертежи свечей зажигания, рисунки, картинки, мультфильмы и символыZündkerze. Technische Zeichnung auf dem Papier Blaupause
aquarell-stil-ikone zündkerze — чертежи свечей зажигания — графика, -клипарты, -мультфильмы и -символыAquarell-Stil-Ikone Zündkerze
zündkerzensymbol in farbzeichnung.
Motorradteile — чертежи свечей зажигания — графика, -клипарт, -мультфильмы и -символСимвол Zündkerzen в Farbzeichnung. Motorradteile
icons geburtstag bild picto set sammlung party geburtstagstorte motiv feier gruppe von lustigen objekten — чертежи свечей зажигания стоковые графики, -клипарты, -мультфильмы и -символыAutoservice, Kolben, Autoheber, Automotor, Wartung,…
авто-эрзацтейль. stilvolle autoteile, vektorsymbole auf weißemhintergrund isoliert. — чертежи свечей зажигания — графика, -клипарт, -мультфильмы и -символAuto-Ersatzteile. Stilvolle Autoteile, Vektorsymbole auf weißem…
fahrzeug-zündkerze. weißes symbol auf blaupausehintergrund — чертежи свечей зажигания, графика, клипарт, мультфильмы и символы Fahrzeug-Zündkerze.
Weißes Symbol auf Blaupause Hintergrund
Zündkerze des Fahrzeugs. Weißes Symbol auf dem Blaupausenhintergrund. Вектор-иллюстрация
иллюстрация от autozündkerzen im gravurstil. элемент дизайна для плаката, карты, баннера, цайтхена. vektor-illustration — чертежи свечей зажигания, графика, клипарт, мультфильмы и символыИллюстрация от Autozündkerzen im Gravurstil. Design-Element fü
античный набор татуировок с горячим стержнем — рисунок свечи зажигания сток-график, -клипарт, -мультфильмы и -символ , -мультики и -символGezeichnete Doodle ausgekleidet Icon Set Auto ich
иллюстрации из автозаклепок в гравюре. элемент дизайна для плаката, карты, баннера, цайтхена. vektor-illustration — чертежи свечей зажигания, графика, клипарт, мультфильмы и символыИллюстрация от Autozündkerzen im Gravurstil. Design-Element fü
satz von hoch Detaillierte Formel Racing Auto-Element — рисунок свечи зажигания Stock-grafiken, -clipart, -cartoons und -symboleSatz von hoch Detaillierte Formel Racing Auto-element
autoservice, kolben, autoheber, automotor, wartung, scheibenbremse, batterysymbole — чертежи свечей зажигания, графика, клипарт, мультфильмы и символы
.. vintage altes motorrad mit getrennten teile — чертежи свечей зажигания — графика, -клипарт, -мультфильмы и -символыVintage altes Motorrad mit getrennten Teile
Vektor des alten Oldtimer-Motorrads mit getrennten Teilen
motorrad-elemente-set — чертежи свечей зажигания — графика, — клипарт, -мультфильмы и -символMotorrad-Elemente-Set
Набор иконок для совместного использования — рисунок свечи зажигания, иллюстрации, мультфильмы и символыНабор иконок для совместного использования
Eine Reihe von Auto- / Mitfahrgelegenheitssymbolen in flacher Farbe.
bauen sie ihre rennmaschine mit getrennten teile — чертежи свечей зажигания, рисунки, картинки и символыbauen sie ihre rennmaschine mit getrennten Teile
symbol-auto-zündkerze. umrisszeichnung. vektor auf weißem hintergrund. — чертежи свечей зажигания — графика, -клипарт, -мультфильмы и -символ Символ-Auto-Zündkerze.
Umrisszeichnung. Vektor auf weißem…
Символ Autozündkerze. Gliederungszeichnung. Vektor auf weißem Hintergrund
illustrationen von autozündkerzen im gravurstil. элемент дизайна для плаката, карты, баннера, цайтхена. vektor-illustration — чертежи свечей зажигания, графика, клипарт, мультфильмы и символыИллюстрация от Autozündkerzen im Gravurstil. Design-Element fü
zündkerze zeichnung — чертежи свечей зажигания -графика, -клипарт, -мультфильмы и -символZündkerze Zeichnung
Symbole der Auto Set Symbole auf Holz Textur — чертежи свечей зажигания, -графика, -мультфильмы и -symboleСимволы Auto Set Symbole auf Holz Textur
Набор символов Autosymbolen auf Holztextur. В EPS-Datei wird jedes Element separat gruppiert. Beschneidungspfade im zusätzlichen jpg-Format enthalten.
satz von teamportarten, motorradfahren und militärischen Emblemen — чертежи свечей зажигания — графика, -клипарт, -мультфильмы и -символ Satz von Teamsportarten, Motorradfahren und militärischen.
..
Set von Mannschaftssportarten, Motorradfahren, Camping und militärischen Emblemen. Графический дизайн для футболки. Isoliert auf weißem Hintergrund
satz von sport motorradrennen elemente — чертеж свечей зажигания, графика, клипарт, мультфильмы и символы штепсельная вилка рисунок сток-графика,-клипарт,-мультфильмы и-символRetro kleine Hecktürmodell Set
Retro kleine Fließheck-Set. isoliert auf weißem Hintergrund. Beschneidungspfade im zusätzlichen jpg-Format enthalten.
Иконки силуэта заправочной станции / eps10 — чертеж свечи зажигания сток-график, -клипарт, -мультфильмы и -символИконки силуэта заправочной станции / EPS10
Automotive Zündkerzen Skizze
Zündkerzenиллюстрация в стиле Doodle в векторном формате. EPS10-Формат данных с прозрачными эффектами.
Набор символов автомобилей gekritzel — рисунок свечей зажигания, графика, клипарт, мультфильмы и символыНабор символов автомобилей Gekritzel
Набор иконок Doodle Autos.
В EPS-Datei wird jedes Element separat gruppiert. Beschneidungspfade im zusätzlichen jpg-Format enthalten
Fahrdienst nahtlose
Autoservice nahtloses Muster. Farbdruck auf schwarzem Hintergrund
autoservice, kolben, autoheber, automotor, wartung, scheibenbremse, batterysymbole — чертежи свечей зажигания, графика, клипарт, мультфильмы и символыAutoservice, Kolben, Autoheber, Automotor, Wartung,…
Autoservice, Kolben, Autolifter, Automotor, Wartung, Scheibenbremse, Batterie, Reifen aufblasen, Mechaniker, Auto, Ölfilter, Autofahrgestell, Karosseriereparatur, Zündkerze, Lenkrad, Getriebe, Öl, Abschleppwagen-Symbole
autowerkstatt illustration — рисунок свечи зажигания сток-график, -клипарт, -мультфильмы и -символAutowerkstatt Illustration
Line Art Car mit Auto-Theme-Symbolen.
Иллюстрация Kfz-Werkstatt.
Auto Service horizontale Banner
funke stecker-automotive icon — рисунок свечи зажигания сток-grafiken, -clipart, -cartoons und -symboleFunke Stecker-Automotive Icon
символ свечи зажигания — рисунок на складе свечи зажигания, -клипарт, -мультфильмы и -символ Cartoons und -symboleAuto-Werkstatt-Ikonen
funke stecker-automotive icon — рисунок свечи зажигания фондовая графика, -клипарт, -мультфильмы и -symboleFunke Stecker-Automotive Icon
Ein dünnes Liniensymbol aus einer Reihe von Automobilsymbolen. Зюндкерзе.
schablone-plate-serif schriftart mit hand gezeichnet, weiche form — чертежи свечей зажигания, -cartoons und -symboleSchablone-plate-serif Schriftart mit hand gezeichnet, weiche Form
bremsscheibe, kolben und zündkerze.
скиз. — чертежи свечей зажигания — графика, -клипарт, -мультфильмы и -символBremsscheibe, Kolben und Zündkerze. Скизз.
Bremsscheibe, Kolben und Zündkerze. Скиззирен. Vektorillustration isoliert auf weißem Hintergrund
technische zeichnung von auto-motor motorkolben und crankshaft verbindung — чертежи свечей зажигания — графика, -клипарт, -мультфильмы и -символTechnische Zeichnung von Auto-Motor Motorkolben und Crankshaft…
Komplizierte mechanische und technische Zeichnung von Pkw-Motor Kolben und Kurbelwelle Konjunktion auf blauem Hintergrund
blueprint-symbol des spark plug — Чертежный запас свечей зажигания, -clipart, — Cartoons und -symboleblueprint-Symbol des spark plug
autoservice, kolben, autoheber, automotor, wartung, scheibenbremse, batterysymbole — чертежи свечей зажигания, графика, -клипарт, -мультфильмы и -символ Autoservice, Kolben, Autoheber, Automotor, Wartung,.
..
Autoservice, Kolben, Autolifter, Automotor, Wartung, Scheibenbremse, Batterie, Reifen aufblasen, Mechaniker, Auto, Ölfilter, Autofahrgestell, Karosseriereparatur, Zündkerze, Lenkrad, Getriebe, Öl , Abschleppwagen-Symbole
fahrdienst nahtlose muster — чертежи свечей зажигания стоковые графики, -клипарты, -мультфильмы и -символыAuto-Werkstatt-Ikonen
zündkerze — чертежи свечей зажигания — графика, —клипарт, —мультфильмы и —символыAutoservice, Kolben, Autoheber, Automotor, Wartung,…
Symbol der Spark Plug — рисунок свечи зажигания свеча зажигания запас векторов с сбором и эмблемой автосервиса — рисунок свечей зажигания сток-графика, -клипарт, -мультфильмы и -символзапас векторрам с сбором и эмблемой автосервиса
запас векторрам с сбором и автосервисом-эмблема. Schwarze Farbe
auto-werkstatt-iconen — чертежи свечей зажигания с изображениями, -клипартами, -мультфильмами и -символамиAuto-Werkstatt-Ikonen
Autowerkstatt.
Автосервис. Heizsitz, Schaltknüppel, Zündkerze, Schraubendreher, Schraubenschlüssel
Auto-design-Elemente
фон 2Spark Plug Print — Etsy.de
Etsy больше не поддерживает старые версии вашего веб-браузера, чтобы обеспечить безопасность пользовательских данных. Пожалуйста, обновите до последней версии.
Воспользуйтесь всеми преимуществами нашего сайта, включив JavaScript.
Найдите что-нибудь памятное, присоединяйтесь к сообществу, делающему добро.
(
148 релевантных результатов,
с рекламой
Продавцы, желающие расширить свой бизнес и привлечь больше заинтересованных покупателей, могут использовать рекламную платформу Etsy для продвижения своих товаров.
