Типы двигателей внутреннего сгорания. V-образный, W-образный, U-образный, X-образный, рядный, оппозитный | AQUAdancing
Двигатель внутреннего сгорания предназначен для преобразования энергии сгорания топлива в механическую работу.
Топливо сгорает в камерах сгорания — в цилиндрах. Чем больше объём камер сгорания — тем больше мощность автомобиля.
Увеличение мощности двигателя путём увеличения совокупного объёма камер сгорания эффективно только увеличением числа цилиндров, а не увеличением объема одного или малого числа цилиндров (так как увеличение в размерах деталей поршневой группы приведет к их хрупкости и низкому КПД).
Пример рядного 4-х цилиндрового двигательПример рядного 4-х цилиндрового двигатель
Для примера — рядный 4-х цилиндровый двигатель может иметь объем как 0,8 литра, так и 2,5 литра, это оптимальный совокупный объём камер сгорания для 4-х цилиндров. Если, при проектировании двигателя, требуется поднять его мощность, а из объёма 2,5 литра уже всё «выжали», то эффективнее будет установить турбонаддув или увеличить число цилиндров, так как простое увеличение камер тех же 4-х цилиндров приведет к низкому КПД и хрупкости поршня.
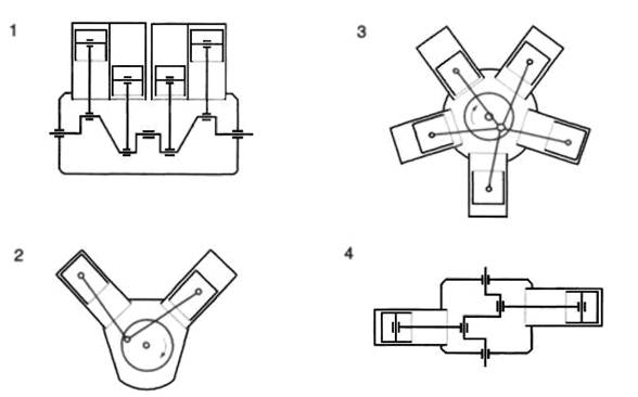
Рядные двигатели внутреннего сгорания
Так вот, количество цилиндров невозможно увеличивать в один ряд, если место для установки двигателя ограничено, поэтому пришлось придумать разные варианты расположения цилиндров, так появились V-образный, W-образный, U-образный, X-образный двигатели.
Рядный двигатель — самый простой в эксплуатации и надежный мотор, обозначается Lx, где L — рядный, x — число цилиндров. На автомобили устанавливаются рядные двигатели до 6 цилиндров, свыше — на трактора, и крупную технику. В авиа и судостроении до 12 цилиндров в ряд.
V-образный двигатель внутреннего сгоранияV-образный двигатель — один из самых распространённых моторов на данное время. Конструкция предполагает расположение цилиндров в виде буквы V, под углом от 10 до 120 градусов. V-образный двигатель решает проблему уменьшения длины двигателя и уравновешивания (уменьшения вибраций).
Конструкция при этом усложняется, появляется два блока цилиндров вместо одного. Обслуживание двигателя становится сложнее и дороже.
Пример V-образного двигателя
V-образные двигатели устанавливаются на мотоциклы, автомобили, самолёты и другую крупную технику.
Оппозитный двигатель
внутреннего сгоранияОппозитный двигатель является разновидностью V-образного, только цилиндры у него развёрнуты на 180 градусов.
Пример оппозитного двигателяПример оппозитного двигателя
Вы наверняка встречали оппозитный двигатель вживую — он устанавливался на советские мотоциклы «Днепр» и «Урал» в двухцилиндровом исполнении.
Оппозитный двухцилиндровый двигатель, установленный на мотоциклОппозитный двухцилиндровый двигатель, установленный на мотоцикл
Оппозитный двигатель является самым уравновешенным и имеет самый низкий центр тяжести, поэтому он получил большое распространение при проектировании легковых автомобилей.
Например в Porsche 911 используется 6-и цилиндровый оппозитный двигатель.
W-образный устроен почти как V-образный, но вместо двух рядов цилиндров имеет три или четыре ряда цилиндров, используется в мотоциклах, автомобилях и авиации.
Конструкция моторов с четырьмя рядами цилиндров значительно снижает габариты двигателя и позволяет устанавливать высокомощные двигатели под капоты легковых машин.
W-образные моторы устанавливались в Audi A8, VW Touareg, Bugatti, Bentley. Это высокомощные двигатели.
U-образный двигатель внутреннего сгоранияU-образный двигатель — эта два рядных двигателя, коленвалы которых связаны цепью или шестернями, устанавливался такой двигатель на Bugatti Type 45, так же применялся в авиа, судостроении.
X-образный двигатель внутреннего сгоранияX-образный двигатель имеет 4 ряда цилиндров, расположенных крестом, как правило, если смотреть в поперечном разрезе.
Такой тип двигателя встречается крайне редко. Несмотря на максимальную уравновешенность и компактность, применение такого двигателя поведет к большим проблемам при эксплуатации и обслуживании.
X-образный двигатель
X-образный двигатель применялся при строительстве военных самолётов, имел 24 цилиндра, а в основе проекта лежал двигатель V-12.
Танковый X-образный двигатель.Танковый X-образный двигатель.
В статье были приведены типы поршневых двигателей внутреннего сгорания. Кроме поршневых, бывают газотурбинные, роторно-поршневые, реактивные, турбореактивные, турбовинтовые двигатели.
Роторный двигатель. «Двигатель Ванкеля»
«Двигатель Ванкеля» по типу относится к роторно-поршневым двигателям внутреннего сгорания, именно поэтому он подробно рассмотрен в другой статье — ССЫЛКА
Спасибо за внимание! Если было интересно — ставьте лайк!
ПОДПИСАТЬСЯ НА ПАБЛИК «AUTOdansing» ВКОНТАКТЕ
Навигация по каналу — кликай по ССЫЛКЕ
Типы двигателей для строительной техники
Эффективность работы строительной техники во многом зависит от мощности, надежности и безопасности установленного в ней двигателя.
Его тип и характеристики выбирают в зависимости от функционального назначения стройтехники, условий ее эксплуатации, требуемых производительности и времени непрерывного функционирования. Современные типы двигателей для строительной техники: ДВС (бензиновые и дизельные), электрические (постоянного и переменного тока), гибридные. Наиболее широко для комплектации строительной техники используются двигатели внутреннего сгорания – дизельные и бензиновые. Основные их преимущества – автономность и широкий диапазон мощностей.
Виды бензиновых двигателей для строительной техники – особенности конструкции
Бензиновые двигатели для вибротрамбовок, виброплит, глубинных вибраторов могут быть двухтактными или четырехтактным:
- двухтактные – используются для установки на легких и маневренных агрегатах;
- четырехтактные – предназначены для более тяжелой и мощной техники.
По способу запуска бензиновые агрегаты бывают с ручным запуском, электрическим стартером, комбинированной системой запуска.
В конструкции современных бензиновых двигателей реализованы различные способы защиты агрегата от выхода из строя:
- система защиты от низкого уровня масла – датчик подает сигнал на отключение при недостаточном количестве масла;
- фильтр двойной очистки – предотвращает попадание в ДВС посторонних механических частиц;
Как выбрать бензиновый двигатель для строительной техники – рекомендации профессионалов
При выборе нового двигателя на строительную технику необходимо учитывать следующие характеристики:
- Основной критерий – мощность. При замене двигателя необходимо приобретать агрегат такой же мощности, как и старый, или немного мощнее, но не более чем на 1-2 л.с. Мотор с меньшей мощностью не сможет обеспечить эффективную работу строительного оборудования. Но покупка слишком мощного мотора ускорит износ или выход из строя узлов и механизмов, конструкция которых не рассчитана на такие интенсивные нагрузки. Редуктор, привод вала и даже силовая рама могут не выдержать.
- Моторесурс. Если двигатель меняется на технике, узлы которой выработали большую часть своего ресурса, то покупать дорогостоящий агрегат с большим моторесурсом не имеет смысла. В этом случае можно обойтись недорогими китайскими моделями.
- Для какой техники предназначен ДВС. Часто моторы покупают для установки на самодельное оборудование. В этом случае не рекомендуется приобретать дорогую модель, поскольку есть вероятность, что и качественный ДВС от известного бренда может не выдержать работу с такой техникой. Отремонтировать недорогой китайский двигатель менее затратно, чем качественный дорогостоящий агрегат.
- Комплектация бензодвигателя. Большую роль в функциональности двигателя играет конструкция его фильтра, очищающего воздух, который попадает в камеру сгорания. При работе в условиях значительной запыленности, отрицательных температур, высокой влажности рекомендуется выбирать модели с воздушным фильтром в масляной ванне.
Обзор популярных брендов бензиновых двигателей для строительной техники
При комплектации строительной техники популярны бензиновые двигатели брендов Honda и Kipor.
Двигатели Хонда выпускаются в нескольких странах на собственных заводах этого концерна и они являются лидерами на рынке моторов для небольшой механизированной техники, в том числе строительной.
Агрегаты серии Honda GX предназначены для комплектации оборудования профессионального применения и приспособлены для эксплуатации в самых сложных условиях, при интенсивных нагрузках. Они просты в эксплуатации, экономичны, долговечны. Модели до GX 390 – одноцилиндровые.
Для таких моторов характерны:
- верхнее расположение клапанов и нижнее размещение распредвала;
- металлический штатный топливный бак;
- вынесенные в общий блок рычаги, управляющие бензиновым краном и воздушной заслонкой;
- возможность комплектации агрегата датчиком, определяющим уровень масла в картере.
Kipor – крупнейшая китайская компания, специализирующаяся на производстве электростанций, генераторов, дизельных и бензиновых двигателей.
Для бензиновых двигателей Kipor характерны:
- компактные габариты;
- надежность;
- стабильная работа в сложных эксплуатационных условиях;
- экономный расход топлива;
- длительный рабочий ресурс.
Все перечисленные выше положительные характеристики сочетаются с бюджетной стоимостью. Двигатель может иметь горизонтальную или вертикальную установку. Агрегаты оснащены системами быстрого старта, автоматического отключения при низком уровне масла, опционно – глушителями для снижения уровня шума при работе.
Модель Kipor KG690 – самый мощный силовой агрегат в этой линейке: двухцилиндровый, с системой воздушного охлаждения. Способен длительно работать без перерыва. Предназначен для установки на мощную строительную технику.
Дизельные двигатели для строительной техники
В мощных моделях строительной техники, предназначенных для эксплуатации при высоких нагрузках в течение длительного времени без перерыва, выбирают дизельные двигатели.
Их преимущества по сравнению с бензиновыми:
- повышенная экономичность в плане расходования топлива;
- более высокий моторесурс;
- длительный беспрерывный период работы;
- более высокий КПД;
- экологичность благодаря эффективному сжиганию топлива, что существенно снижает токсичность выхлопов.
Минусы таких агрегатов по сравнению с бензиновыми аналогами: более высокая стоимость, сложность эксплуатации в зимних условиях, необходимость использования сезонного топлива, большая масса.
Электродвигатели для строительной техники
Для комплектации строительной техники используются следующие разновидности электрических двигателей:
- постоянного тока;
- переменного тока синхронные;
- переменного тока асинхронные.
Для комплектации электроприводной строительной техники чаще всего используются асинхронные электродвигатели, функционирующие на одно- или трехфазном переменном токе.
Их преимущества:
- относительно простая производственная технология;
- бюджетная стоимость;
- хорошие эксплуатационные характеристики.
Асинхронные электродвигатели обеспечивают плавное регулирование скорости вращения вала, но они менее надежны и стоят дороже. В зависимости от назначения выпускают электродвигатели открытого, закрытого (влаго-, пылезащищенного, полностью герметичного) и взрывобезопасного типа.
Типы авиационных двигателей | АВИАЦИЯ, ПОНЯТНАЯ ВСЕМ.
Здравствуйте!
Поршневой двигатель.
Неоднократно в своих рассказах я упоминал авиадвигатели, но ведь при таком разнообразии летательных аппаратов неизбежно и разнообразие двигателей. Поэтому, я думаю, пришла пора этот вопрос рассмотреть поближе.
Типы авиационных двигателей. На самом деле их существует не так уж мало и всю информацию о них в одной статье уместить было бы неправильно. Получилось бы слишком длинно.
Поэтому я подумал: пусть будет цикл статей о типах авиадвигателей. В нем каждому типу будет посвящена одна статья, со всеми необходимыми подробностями. А эта, первая, будет общая, так сказать ознакомительная :-)… Я тут попытался изобразить схемку, надеюсь она вам поможет :-). Итак, начнем…
Авиадвигатели можно подразделять по разному, но мне больше нравится их деление по отношению к атмосферному воздуху. То есть они делятся на такие, которым атмосфера для работы необходима и такие, которым она в принципе не нужна, более того даже снижает их эффективность.
Вторые – это ракетные двигатели, а первые назовем атмосферными (воздушными). Любой из авиадвигателей использует химическую реакцию окисления топлива или, говоря человеческим языком, горения. Для окисления (горения) в воздушных двигателях используется атмосферный окислитель – кислород, а в ракетных он не нужен, потому что запас окислителя (как и топлива) имеется на борту. Более того для создания самого процесса движения воздушный двигатель так или иначе взаимодействует с атмосферой, либо посредством винта, либо воздух становится рабочим телом двигателя.
Жидкостный ракетный двигатель. Правда неавиационный 🙂
Ракетные двигатели делятся на твердотопливные (РДТТ) и жидкостные (ЖРД). В первых и топливо, и окислитель в готовом виде спрессованы в корпусе в специальную шашку. А во втором они подаются определенным образом в жидком виде в камеру сгорания.
Воздушные двигатели делятся на реактивные (их еще называют в соответствии с темой воздушно-реактивными, ВРД) и винтовые. В первых тяга образуется за счет выхода из сопла реактивной струи, а во вторых за счет взаимодействия с воздушной средой вращающегося воздушного винта.
Еще один поршневой двигатель :-). Фирма Siemens.
Винтовые, в свою очередь, могут быть винто-моторными, то есть, попросту говоря, поршневыми (о них мы уже не раз упоминали и еще не раз вспомним :-)) или турбовинтовыми (ТВД). ТВД – это по сути своей ТРД, у которого львиная доля мощности срабатывается на турбине для вращения воздушного винта, который укреплен на валу перед компрессором (через редуктор).
Турбовинтовой двигатель ТВ3-117ВМА-СБМ1.
АН-140. На этом самолете установлены двигатели ТВ3-117ВМА-СБМ1.
Реактивные двигатели – это, в первую очередь турбореактивные (ТРД). О них вы уже знаете из этой статьи. Далее, развитие ТРД – двухконтурный турбореактивный двигатель (ДТРД или ТРДД). Это двигатель в котором помимо основного тракта (контура) добавлен еще один контур, в котором воздух прогоняется передними ступенями компрессора (их еще назвают вентилятором) поверх основного контура прямо в сопло. Эти двигатели славятся большой экономичностью.
Двухконтурный ТРД.
Как простой ТРД, так и двухконтурный могут быть форсированными. Бывает, что необходимо дополнительное увеличение мощности (часто кратковременное). А так как в газах, прошедших турбину, обычно есть еще достаточное количество кислорода, то организуют дополнительный подвод топлива в затурбинное пространство, его поджог, и получается форсажная камера. С ее помощью мощность двигателя можно значительно увеличить (обычно более, чем на треть).
Еще два вида реактивных двигателей – это прямоточный и пульсирующий воздушно-реактивные двигатели (ПВРД и ПуВРД). Это те самые реактивные двигатели, у которых нет турбины, как, впрочем, и компрессора. То есть у них нет вращающегося вала. Это очень специфичные малоприменяемые, однако достаточно интересные двигатели. О них я расскажу в отдельных статьях.
Основные типы авиационных двигателей я перечислил. Однако обязательно надо сказать, что в науке о тепловых машинах существует понятие газотурбинного двигателя (ГТД). И вобщем-то, строго говоря, ТРД – это разновидность ГТД. И первоначально был разработан именно ГТД, как полезный механизм, но не для авиации. В ГТД практически нет выходящей реактивной струи. Вся его мощность превращается турбиной в мощность на валу двигателя, а этот вал вращает нужные человеку агрегаты. В нашем авиационном случае он вращает винт, и чаще всего это несущий винт вертолета.
Такие двигатели так и называются: вертолетные ГТД. Или еще по-другому турбовальные двигатели (от слов турбина, вал). В этом же ключе к ГТД можно отнести и турбовинтовые двигатели(ТВД), так как реактивной тяги у них сохранилась только очень малая часть.
Вертолетный ГТД (турбовальный) Д-136. Устанавливается на вертолеты МИ-26
В заключение скажу, что есть еще, скажем так, экзотические виды двигателей. Это такие, как, например, ракетные двигатели на ядерном или электро-ядерном топливе, турборакетные или ракетно- прямоточные двигатели и т.д. Такие двигатели обычно либо в практической (или даже теоретической) разработке, либо в единичных опытных образцах, будущее которых туманно. Я даже не стал включать их в схему. В дальнейшем, если будет к ним интерес и достаточно информации, я о них напишу.
Вот, пожалуй, и все. С вводной темой «Типы авиационных двигателей» мы покончили. Теперь черед более детальных и обязательно более интересных статей 🙂 о каждом типе в отдельности.
Типы двигателей внутреннего сгорания — Энциклопедия по машиностроению XXL
Поршневые двигатели представляют собой один из типов двигателей внутреннего сгорания. [c.376]В 70—90-х годах XIX в. были созданы различные типы двигателей внутреннего сгорания (газовый двигатель Н. Отто, бензиновый двигатель Г. Даймлера, двигатель высокого сжатия Р. Дизеля, способный работать на тяжелом топливе). В течение одного-двух десятилетий двигатель Р. Дизеля получил массовое распространение в производстве, особенно для тяжелых самоходных машин — тракторов, кранов, экскаваторов, бульдозеров, а также для транспортных машин различного назначения. [c.26]
Паровая турбина должна была выдержать конкуренцию с паровой машиной, высоко развитой в то время в конструктивном отношении, и новым типом двигателя внутреннего сгорания—дизелем (1897 г.). В области тепловых электростанций эта борьба закончилась полной победой паровой турбины, являющейся и сейчас непревзойденным типом двигателя для привода электрического генератора.
[c.17]Наиболее распространенный тип двигателя внутреннего сгорания известен как двигатель Отто. Этот двигатель широко используется в автомобилях и самолетах. Процессы, в которых участвует топливо — [c.148]
Какую энергию преобразуют двигатели внутреннего сгорания в механическое движение Какие типы двигателей внутреннего сгорания применяют в приводах строительных машин На каких видах топлива они работают Что такое рабочий цикл или рабочий процесс двигателя внутреннего сгорания Что такое такт Опишите рабочий цикл четырехтактного карбюраторного двигателя. Чем отличается от него рабочий цикл дизеля Для чего в конструкциях двигателей внутреннего сгорания применяют несколько рабочих цилиндров Каков порядок их работы Каково назначение маховика в конструкции двигателя внутреннего сгорания [c.75]
Чтобы облегчить изучение различных типов двигателей внутреннего сгорания, необходимо прежде всего изучить карбюраторные автотракторные двигатели.
Это поможет лучше закрепить в памяти преемственность конструктивных форм и даст возможность наметить пути общего развития двигателей внутреннего сгорания.
[c.9]
Газовые двигатели малой мощности являются старейшими типами двигателей внутреннего сгорания. Вполне естественно, что на их компоновку [c.390]
Принципиально новым типом двигателя внутреннего сгорания, работающего на жидком легком топливе, является двигатель, построенный в 1879 г. И. С. Костовичем. Двигатель Костовича имел карбюратор и электрическое зажигание и развивал мощность Л =80 л. с. [c.177]
ПРИНЦИП ДЕЙСТВИЯ РАЗЛИЧНЫХ ТИПОВ ДВИГАТЕЛЕЙ ВНУТРЕННЕГО СГОРАНИЯ [c.178]
Трансмиссия автопогрузчиков включает общие для всех моделей агрегаты автомобильного типа двигатель внутреннего сгорания 5 с муфтой сцепления и коробкой перемены передач, коробку заднего хода, карданную передачу, ведущий мост с дифференциалом. Рулевое управление 3 также автомобильного типа обычно снабжается гидроусилителем 7.
[c.4]
В судовых установках применяются разнообразные типы двигателей внутреннего сгорания. Для водного транспорта требуются двигатели от самых малых до очень крупных, развивающих мощность в несколько десятков тысяч лошадиных сил. Водный транспорт (морской и речной) является наиболее широкой областью для применения двигателей различных конструкций, мощностей, чисел оборотов, моторесурсов и габаритов. Поэтому в числе судовых двигателей представлены почти все типы двигателей внутреннего сгорания—дизели, карбюраторные, калоризаторные и даже газовые. [c.10]
Тип двигателя…….. Внутреннего сгорания, одноцилиндровый, двухтактный [c.176]
Область применения Стандартный сплав для изготовления поршней любого типа двигателей внутреннего сгорания Специальные сплавы для изготовления поршней двухтактных двигателей и двигателей с воздушным охлаждением Специальный сплав для изготовления поршней двигателей с воспламенением от сжатия при высокой тепловой напряженности поршня Для изготовления поршней тихоходных двигателей при умеренной напряженности поршня
[c.
69]
В данную товарную позицию включаются моторные транспортные средства различных видов (включая автомобили-амфибии), предназначенные для перевозки людей однако она не включает автомобили товарной позиции 8702. У транспортных средств данной товарной позиции могут быть моторы любого типа (двигатели внутреннего сгорания, электромоторы, газовые турбины [c.42]
Остающийся после такой разгонки остаток тяжелых фракций носит название мазута и либо поступает в дальнейшую переработку для получения смазочных масел, либо непосредственно применяется в качестве топлива в топках печей и котельных установок и для некоторых типов двигателей внутреннего сгорания. [c.429]
Тип двигателя внутреннего сгорания. . ЗИЛ-120 [c.81]
ТИПЫ ДВИГАТЕЛЕЙ ВНУТРЕННЕГО СГОРАНИЯ [c.29]
Двигатели внутреннего сгорания сегодня являются основными загрязнителями воздушного бассейна. В ФРГ, например, автомобильный транспорт, потребляя 12 % общего расхода топлива в стране, дает 50 % общего количества вредных выбросов.
Особенно плохо, что основная масса выхлопных газов от автомобилей выбрасывается в местах с высокой концентрацией людей (городах), причем на уровне роста человека (особенно детей), где газы не рассеиваются на большие расстояния, В выхлопных газах две содержатся твердый углерод (сажа), который является адсорбентом токсичных, в том числе канцерогенных веществ, оксиды азота NOоксид углерода СО и альдегиды, а при работе на этилированном бензине — и крайне токсичные соединения свинца. Содержание указанных соединений в выхлопных газах зависит от типа двигателя, его состояния и регулировки, режима работы, применяемого топлива и др. Например, содержание NOx в отработавших газах дизелей и карбюраторных двигателей практически одинаково (до 2,5 г/м ), в то время как выброс СО в карбюраторных двигателях (до
[c.183]
В целом поршневые двигатели внутреннего сгорания, работающие на различных видах топлив с различными процессами сгорания, имеют достаточные резервы снижения токсичности и расхода топлива, в полной мере отвечают назначению автомобиля и останутся основны.
м типом энергосиловых установок на автомобильном транспорте.
[c.61]
Термодинамический анализ циклов двигателей внутреннего сгорания различных типов позволяет отметить, что степень совершенства этих двигателей возрастает с увеличением степени сжатия рабочего тела. [c.10]
Сплавы типа АК применяют для ковки и штамповки деталей (шатунов быстроходных двигателей, дисков центробежных и аксиальных компрессоров и Др.). Из жаропрочного сплава АК4 изготовляют поршни двигателей внутреннего сгорания и головки цилиндров двигателей воздушного охлаждения. [c.183]
В автомобильных двигателях внутреннего сгорания, где поршневые кольца и стенки цилиндров постоянно корродируют под действием газообразных продуктов сгорания и конденсатов, потери от увеличения потребления бензина и масла сравнимы с потерями от механического износа, а иногда и превышают их. Потенциальные потери этого типа в системах преобразования энергии оцениваются в несколько миллиардов долларов в год [9, 101. [c.18]
Н. Отто, построившим в 1878 г. первый четырехтактный газовый двигатель внутреннего сгорания. КПД этого двигателя достигал 22%, что превосходило значения, полученные при использовании двигателей всех предшествующих типов. [c.109]
На рис. 3.1 изображена схема устройства двигателя внутреннего сгорания, в котором химическая энергия топлива преобразуется в цилиндре в тепловую, затем тепловая энергия превращается в механическую в форме движения поршня это движение преобразуется во вращательное движение коленчатого вала. Энергия вращательного движения посредством передачи того или иного типа сообщается технологической машине. [c.321]
Все варианты можно разделить на два типа к первому (варианты 3—11, 14—22, 25—28, 30) относятся подъемники различного вида, транспортеры, пилы, электрогенераторы и т. п. с приводом от одноцилиндрового двухтактного двигателя внутреннего сгорания с движущей силой / д, приложенной к поршню. Ко второму типу (варианты 1, 2, 12, 13, 23, 24, 29) относятся прессы, поршневые насосы и компрессоры с приводом от электродвигателя с вращающим моментом Л/д. Через обозначена сила нагрузки, приложенная к исполнительному звену машины, поршню насоса, полотну пилы и т. п., через М-а — момент нагрузки. [c.88]
Экстремальными следует считать также условия, при которых в эксплуатации протекают неустановившиеся режимы силового и теплового воздействий, в том числе периодические или случайные импульсные нагрузки и резкие теплосмены, т. е. фактически условия, которые имеют место в реальной эксплуатации большинства стационарных энергетических установок, летательных аппаратов, различного типа турбомашин, корпусов надводных и подводных кораблей, химических установок, трубопроводов, двигателей внутреннего сгорания, подвижного состава железнодорожного транспорта, землеройных машин и т. п. Во многих из этих объектов при-эксплуатации сложно сочетаются самые различные факторы, оказывающие неблагоприятное влияние на прочность и долговечность наиболее ответственных элементов конструкций. [c.743]
Первый признак классификации определяется типом объемной гидромашины, подающей рабочую среду в гидродвигатель. При этом под магистральным гидроприводом понимается гидропривод, в котором рабочая среда подается от гидромагистрали, не входящей в состав привода. В эксплуатационном нефтепромысловом оборудовании такой тип привода обычно не применяется. Наиболее распространенный привод — насосный, от автономного двигателя внутреннего сгорания. [c.7]
Первые три насоса состоят из двух унифицированных узлов насоса типа 207, установленных в одном литом чугунном корпусе и объединенных между собой цапфой (рис. 57). Насосы 323 и 333 также состоят из двух унифицированных узлов насосов типа 309, установленных в одном литом корпусе из высокопрочного алюминиевого сплава. В отличие от насосов 223 насосы 323 и 333 имеют автономное регулирование подачи каждого потока, что позволяет оптимально использовать мощность приводного двигателя внутреннего сгорания. [c.180]
Отсюда следует, что использование наддува применительно к одной и той же заданном мощности двигателя соответственно снижает его удельную конструктивную металлоемкость. График (фиг. 54) иллюстрирует зависимость удельного веса двухтактных двигателей от литровой моихности, являющейся одним из важнейших, решающих критериев при выборе типа двигателя внутреннего сгорания. На графике фиг. 55 приведены сравнительные результаты испытаний двухтактного двигателя без наддува и с газотурбинным налдувом. [c.113]
ДВИГАТЕЛИ ВНУТРЕННЕГО СГОРАНИЯ СУДОВЫЕ. На судах применяются пг.е типы двигателей внутреннего сгорания ироме газовых. [c.162]
Для выбора технических решений по повышению износостойкости и безразбориому восстановлению узлов трения двигателей внутреннего сгорания рассмотрим основные детали, которые выходят из строя по причине изнашивания. Это, прежде всего, износ поршневых колец и гильз цилиндров, шатунных и коренных шеек коленчатых валов, вкладышей, кулачков распределительных валов, толкателей и т.д. Детали поршневой группы в большей части типов двигателей внутреннего сгорания изнашиваются наиболее бьютро, и по их состоянию судят о необходимости ремонта. Наибольший износ наблюдается при движении поршня вблизи верхней мертвой точки. Гильза цилиндра изнашивается в верхней части, максимальному износу подвергаются также верхнее компрессионное кольцо и его канавка. Это вызвано [c.65]
Поршневой двигатель внутреннего сгорания по сравнению с любым другим тепловым двигателем является наиболее экономичным. Малая металлоемкость, надежность, быстрота запуска и относительная долговечность позволили этому типу машины занять ведущее место прежде всего на транспорте. Стационарные двигатели применяются на электростанциях для привода насосных установок, на нефте- и газоперекачивающих и буровых установках, в сельском хозяйстве и т. п. Кроме того, они работают на металлургических заводах, используя в качестве топлива доменный и генераторный газы. Мобильные (передвижные) двигатели устанавливаются на автомобилях, тракторах, самолетах, судах, локомотивах и других передвижных установках, ДВС особенно незаменимы н местах, не охваченшлх сетью районных электро- [c.177]
Литье широко применяют для изготовления фаеонных деталей от мелких до самых крупных типа базовых и корпусных. У многих машин (двигатели внутреннего сгорания, турбины, компрессоры, металлорежущие стаикп и т. д.) масса литых деталей составляет 60 — 80% от массы машины. [c.53]
Алюминиево-железные бронзы типа БрАЖ, имеющие повышенную твердость НВ 70 — 100), прп.меняют для изготовления втулок, работающих Нрй высоких нагрузках п малых скоростях в ус.товиях полужпдкостного и полусу.хогб трения (направляющие втулки всасывающих клапанов двигателей внутреннего сгорания). [c.379]
Тип двигателя определяет закон изменения движущей силы и момента. Они по-разному изменяются в зависимости от скорости рабочего звена. Разные двигатели имеют различные механические характеристики Тд = Тд (со) (рис. 20.1). Данная механическая характеристика соответствует определенному уровню преобразуемой энергии. Например, при увеличении количества сжигаемого топлива двигатель внутреннего сгорания имеет механическую характеристику, расположенную выше, чем приведенная на рис. 20.1, е. Уравнения механических характеристик используют при описании воздействия двигателя на механизм. [c.242]
Одно из основных требовании к приводу указанных типов насосов — работа их в соответствующе. диапазоне скоростей вращения вала (см. табл. 3) и исключение нагружения валов насосов радиальными и осевы.ми нагрузками при передаче крутящего момента от приводного двигателя. Поэтому в подъемных установках привод насосов от двигателей внутреннего сгорания осуществляется через трансмиссии, представляющие собой системы зубчатых передач, и муфты, передающие только крутящий момент. [c.76]
При предметном моделировании исследование ведется на модели, воспроизводящей основные геометрические, физические и функциональные характеристики оригинала. На таких моделях изучают процессы, происходящие в оригинале — объекте исследования. Примером предметного моделирования являются стендовые испытания двигателей внутреннего сгорания, газотурбинных установок, различных типов холодильных установок и т. п. При этих испытаниях исследуются термодинамические циклы установок и их характеристики. Методика исследования циклов некоторых из перечисленных устанорок применительно к задачам учебных лабораторий подробно изложена в [37]. [c.238]
Типы двигателей — презентация онлайн
1. ТИПЫ ДВИГАТЕЛЕЙ
2. ПАРОВЫЕ ДВИГАТЕЛИ
— это тепловойпоршневой двигатель,
в котором
потенциальная
энергия водяного пара,
поступающего из
парового котла,
преобразуется в
механическую работу
возвратнопоступательного
движения поршня
или вращательного
движения вала.
3. История изобретения
В середине XVII века были сделаны первые попытки перехода кмашинному производству, потребовавшие создания двигателей, не
зависящих от местных источников энергии (воды, ветра и пр.).
Первым двигателем, в котором использовалось тепловая энергия
химического топлива стала пароатмосферная машина, изготовленная
по проектам французского физика Дени Папена и английского
механика Томаса Севери. Эта машина была лишена возможности
непосредственно служить механическим приводом, к ней
«прилагалось в комплект» водяное мельничное колесо (посовременному говоря, водяная турбина), которое вращала вода,
выжимаемая паром из котла паровой машины в резервуар
водонапорной башни. Котел то подогревался паром, то охлаждался
водой: машина действовала периодически.
4. Принцип действия парового двигателя
6. Двигатель внутреннего сгорания
— это тепловойдвигатель, в
котором
происходит
преобразование
части химической
энергии
сгорающего
топлива в
механическую
энергию.
7. История изобретения ДВС
Первый двигатель внутреннего сгорания (ДВС) был изобретен французским инженеромЛенуаром в 1860 г. Этот двигатель во многом повторял паровую машину, работал на
светильном газе по двухтактному циклу без сжатия. Мощность такого двигателя
составляла примерно 8 л.с., КПД – около 5%. Этот двигатель Ленуара был очень
громоздким и поэтому не нашел дальнейшего применения.
Через 7 лет немецкий инженер Н. Отто ( 1867 г.) создал 4-х-тактный двигатель с
воспламенением от сжатия. Этот двигатель имел мощность 2 л.с., с числом оборотов 150
об/мин и уже выпускался серийно.
Двигатель мощностью 10 л.с. имел КПД 17% , массу 4600 кг и нашел широкое
применение . Всего таких двигателей было выпущено более 6 тыс.
К 1880 г. мощность двигателя была доведена до 100 л.с.
В 1885 г. в России капитан Балтийского флота И.С.Костович создал двигатель для
воздухоплавания мощностью 80 л.с. с массой 240 кг. Тогда же в Германии Г.Даймлер и
независимо от него К.Бенц создали двигатель небольшой мощность для
самодвижущихся экипажей – автомобилей. С этого года началась эра автомобилей.
В конце 19 в. немецким инженером Дизелем был создан и запатентован двигатель,
который впоследствии стали называть по имени автора двигателем Дизеля. Топливо в
двигателе Дизеля подавалось в цилиндр сжатым воздухом от компрессора и
воспламенялось от сжатия. КПД такого двигателя составляло примерно 30%.
Интересно, что за несколько лет до Дизеля русский инженер Тринклер разработал
двигатель, работающий на сырой нефти по смешанному циклу – по которому работают
все современные дизельные двигатели, однако он не был запатентован, а имя Тринклера
мало кто теперь знает.
8. Принцип работы ДВС
9. 4х-тактный
10. Двутактный
11. Двигатель внешнего сгорания
класс двигателей, гдеисточник тепла или
процесс
сгорания топлива отде
лены от рабочего тела.
12. История изобретения
Двигатели внешнего сгорания были изобретены в 1816году. Они были разработаны с целью создания
двигателей, которые были бы более безопасными и
производительными, чем паровой двигатель.
Значительный рынок для двигателей внешнего сгорания
сформировался во второй половине 19-го века, в
частности, в связи с более мелкими сферами применения,
где их можно было безопасно эксплуатировать без
необходимости в услугах квалифицированных
операторов.
После изобретения двигателя внутреннего сгорания в
конце 19-го века рынок для двигателей внешнего
сгорания исчез. Стоимость производства двигателя
внутреннего сгорания ниже по сравнению со стоимостью
производства двигателя внешнего сгорания.
13. История изобретения
Двигатель Стирлинга был впервыезапатентован шотландским священником Робертом Стирлингом 27
сентября 1816 года. Однако первые элементарные «двигатели горячего
воздуха» были известны ещё в конце XVII века, задолго до Стирлинга.
Достижением Стирлинга является добавление очистителя, который он назвал
«эконом».
В современной научной литературе этот очиститель называется
«регенератор». Он увеличивает производительность двигателя, удерживая
тепло в тёплой части двигателя, в то время как рабочее тело охлаждается. Этот
процесс намного повышает эффективность системы. Чаще всего регенератор
представляет собой камеру, заполненную проволокой,
гранулами, гофрированной фольгой (гофры идут вдоль направления потока
газа). Газ, проходя через наполнитель очистителя в одну сторону, отдаёт (или
приобретает) тепло, а при движении в другую сторону отбирает (отдаёт) его.
В 1843 году Джеймс Стирлинг использовал этот двигатель на заводе, где он в
то время работал инженером. В 1938 году фирма «Филипс» инвестировала в
двигатель Стирлинга мощностью более двухсот лошадиных сил и отдачей
более 30 %. Двигатель Стирлинга имеет много преимуществ и был широко
распространён в эпоху паровых машин.
14. История изобретения
В 1938 году компания Philips возобновилаработу. Двигатели стали служить для приводов
генераторов в неэлектрофицированных районах.
В 1945 году инженеры компании нашли им
обратное применение: если вал раскручивать
электромотором, то охлаждение головки
цилиндров доходит до минус ста девяносто
градусов по Цельсию. Тогда решено было
применять в холодильных установках
усовершенствованный двигатель Стирлинга.
15. Принцип работы
17. Пневматические двигатели
Пневматические двигатели
энергосиловая
машина,
преобразующая
энергию сжатого
воздуха в
механическую работу.
18. История изобретения
В 1988 году Деннис Ли выпустил рекламу, вкоторой говорилось, что он создал эффективный
воздушный двигатель. В 1991 году Гай Негри
изобрел двигатель с двойным источником
питания. Он мог работать на воздухе и
нормальном топливе. Двигатель
совершенствовался на протяжении более 15 лет.
Сторонники утверждают, что двигатели на
воздухе конкурентоспособны по сравнению с
современными двигателями внутреннего
сгорания, а использование пневматического
двигателя делает автомобиль легче.
19. Принцип работы
Мембранный пневмоцилиндр: 1-Диск мембраны; 2-Рабочая камера;3-Корпус; 4-Шток; 5-Пружина
20. Воздушно-реактивный двигатель
Воздушнореактивныйдвигатель
тепловой реактивный
двигатель, в
качестве рабочего
тела которого
используется смесь
забираемого
из атмосферы воздуха
и
продуктов окисления
топливакислородом,
содержащимся в
воздухе
За счёт реакции окисления рабочее тело нагревается и,
расширяясь, истекает из двигателя с большой скоростью,
создавая реактивную тягу.
Воздушно-реактивные двигатели используются, как
правило, для приведения в движение аппаратов,
предназначенных для полётов в атмосфере.
Впервые этот термин в печатной публикации, повидимому, был использован в 1929 г. Б. С. Стечкиным в
журнале «Техника Воздушного Флота», где была
помещена его статья «Теория воздушного реактивного
двигателя.
21. Электродвигатель
Электродвигатель
Принцип работы
электрических двигателей
построен на взаимодействии
магнитных полей. Как
известно, одноименные
заряды отталкиваются, а
разноименные
притягиваются. На основе
этого правила и работают
электроприводы. На статоре
закрепляется магнит, а ротор
с катушкой, на которую
подаётся ток, установлен
внутри магнитного поля.
Катушки поочерёдно меняют
полярность, заставляя вал
раскручиваться. Такая
система является самой
примитивной версией
рассматриваемого устройства
Типы шаговых двигателей — обзор
Существуют многочисленные типы систем управления движения, основанные на коллекторных двигателях постоянного тока, серводвигателях, шаговых двигателях и пр. Рассмотрим управление движением при помощи шаговых двигателей.
Теоретически, шаговый двигатель очень прост. В нем нет щеток или контактных колец. В целом — это синхронный двигатель, в котором магнитное поле статора вращаются с помощью электроники, а в роторе находятся постоянные магниты. Шаговый двигатель превращает управляющие импульсы в механическое вращение ротора. Преимущество шаговых двигателей — низкая стоимость, высокая надежность, высокий крутящий момент в области низких скоростей и простой конструкции, которая функционирует практически в любой окружающей среде. Главные неудобства в использовании шаговых двигателей — эффект резонанса, часто проявляющийся на низких скоростях и падение крутящего момента на высоких скоростях.
Система управления, основанная на использовании шагового двигателя:
Indexer, он же контроллер — микропроцессор, генерирующий импульс «ШАГ» и «НАПРАВЛЕНИЕ», по сигналам, получаемым от пользователя. Обычно существует множество других сложных функций, возлагаемых на микропроцессор.
Driver, он же силовая часть — преобразователь сигналов контроллера в силовые управляющие импульсы, необходимые для вращения ротора. Есть много различных типов драйверов с различными величинами силы тока и формами управляющих импульсов. Не все драйверы являются подходящими, для различных двигателей. Правильный выбор драйвера является очень важным при проектировании системы управления.
Существуют три типа шаговых двигателей:
- с переменным магнитным сопротивлением
- с постоянными магнитами
- гибридные
В двигателях с переменным магнитным сопротивлением не используются постоянные магниты.
Как следствие, у двигателя отсутствует так называемый «detent torque» — стопорный момент. Этот тип конструкции не обеспечивает высокого крутящего момента.
У двигателей с постоянными магнитами величина шага редко бывает менее 7,5°, что связано с конструктивными особенностями его ротора.
Главным достоинством двигателей с постоянными магнитами является их низкая цена, а недостатком — низкие скорости вращения.
В гибридных двигателях многополюсный статор и ротор с постоянными магнитами позволяют, получить значительный крутящий момент (до 300 кгс*см) и малую величину шага (1,8° и менее).
Стопорный момент гибридных шаговых двигателей обычно составляет 10% от величины статического синхронизирующего момента.
По способу питания шаговые двигатели можно разделить на униполярные и биполярные.
Приведенные на рисунке схемы можно использовать как биполярные, так и как униполярные. В случае если отводы от средних точек обмоток соединены между собой внутри двигателя и пользователю доступны только пять выводов, что бывает очень редко, двигатель можно использовать только как униполярный.
Дополнительные рекомендации по выбору шагового двигателя здесь.
Урок по физике на тему «Виды двигателей»
ГОСУДАРСТВЕННОЕ ПРОФЕССИОНАЛЬНОЕ
ОБРАЗОВАТЕЛЬНОЕ УЧРЕЖДЕНИЕ
ТУЛЬСКОЙ ОБЛАСТИ
«АЛЕКСИНСКИЙ МАШИНОСТРОИТЕЛЬНЫЙ ТЕХНИКУМ»
Конспект урока по физике
Тема: «Виды двигателей»
Подготовила преподаватель
математики и физики
Голованова С.С.
Алексин, 2015
Тема: виды двигателей.
Цели и задачи урока.
1. Обобщить знания обучающихся по всем видам двигателей
2. Выявить основные особенности каждого вида двигателя, рассмотреть преимущества и недостатки работы каждого вида двигателя.
3. Развить у обучающихся умение обобщать, выявлять главное, находить общее и отличия в явлениях, сопоставлять факты.
4. Познакомить обучающихся с интересными историческими справками по изучаемому вопросу.
5. Развить у обучающихся усидчивость, трудолюбие.
6. Систематизировать и расширить знания по данному вопросу.
Тип урока: урок-конференция
Оборудование: плакаты с видами различных тепловых двигателей, модель простейшего теплового двигателя, доклады обучающихся по рассматриваемым вопросам, интерактивная доска для демонстрации презентации урока, портреты создателей тепловых двигателей, рассматриваемых на уроке.
Ход урока:
1. Организационный момент. (5 мин.)
2. Короткое вступление учителя по теме «Тепловые двигатели»:
— определение: тепловые двигатели – это устройства, превращающие внутреннюю энергию в механическую. Тепловые двигатели – это устройства, способные совершать работу. Тепловые машины освободили человека от тяжелого физического труда в промышленности и сельском хозяйстве. Они выполняют работу в сотни и тысячи раз больше той, которую мог бы выполнить человек без машин.
— принципиальное устройство и принцип работы: для того, чтобы двигатель совершал работу, необходима разность давлений по обе стороны поршня двигателя или лопастей турбины. Во всех тепловых двигателях эта разность давлений достигается за счет повышения температуры рабочего тела (газа) на сотни и тысячи градусов по сравнению с температурой окружающей среды. Такое повышение температуры происходит при сгорании топлива.
— основные части теплового двигателя: одна из основных частей двигателя – сосуд, наполненный газом, с подвижным поршнем. Рабочим телом у всех тепловых двигателей является газ, который совершает работу при расширении .В двигателях внутреннего сгорания повышение температуры происходит при сгорании топлива внутри самого двигателя (температура нагревателя). По мере совершения работы газ теряет энергию и неизбежно охлаждается до температуры, которая обычно несколько выше температуры окружающей среды (температура холодильника). Холодильником является атмосфера или специальные устройства для охлаждения и конденсации отработанного пара (конденсаторы).
— принципиальная схема теплового двигателя
Нагреватель
(температура T1)
Q1
Работа A’
Рабочее тело двигателя
Q2
Холодильник
(температура T2)
3. Рассмотрим эволюцию тепловых двигателей:
а) паровая машина Ползунова (историческая справка)
Паровая машина
Паровая машина И. И. Ползунова. Первые практически действующие универсальные паровые машины были созданы русским изобретателем Иваном Ивановичем Ползуновым и англичанином Джемсом Уаттом. Схема машины И. И. Ползунова показана на рисунке 1. Рабочий процесс в машине Ползунова совершался следующим образом. Из котла 2, имеющего топку 1, по трубам 3 пар с давлением, немного превышающим атмосферное, поступал поочередно в два цилиндра 5 и 6 с поршнями. Для улучшения уплотнения поршни заливались водой. Посредством тяг 10 и полубалансиров 9 с цепями движение поршней было взаимосвязанным, согласованным. В положении, изображенном на рисунке 1, когда поршень левого цилиндра 5 находится внизу, а поршень правого цилиндра 6 вверху, парораспределительное устройство 4 открывало доступ пару из котла в левый цилиндр 5 и отключало от котла уже заполненный паром правый цилиндр, по трубам 7 из бака 8 в него впрыскивалась вода. В результате интенсивной конденсации пара в правом цилиндре 6 создавалось разрежение. Под действием атмосферного давления поршень правого цилиндра опускался вниз, совершая рабочий ход, а левый цилиндр, заполняемый паром, двигался вверх. По достижении левым цилиндром верхнего положения, а правым — нижнего в левый цилиндр впрыскивалась вода, а в правый подавался пар.
Рис. 1. Схема устройства паровой машины И.И. Ползунова
Затем происходило повторение рабочих процессов, в результате которых полубалансиры совершали возвратно-вращательное движение. Попадавший в цилиндр воздух выпускался через клапаны воздушных труб 11. Отработанная теплая вода, как впрыснутая в цилиндр, так и образовавшаяся в результате конденсации пара, по трубам 12 стекала в бак 13 под топкой, а оттуда вновь поступала в котел. Так частично использовалось тепло отработавшего пара. Постройка машины Ползунова была закончена в августе 1766 г. Она имела высоту 11 м, емкость котла 7 м3, высоту цилиндров 2,8 м, мощность 29 кВт. Движение ее поршней было связано с воздушными воздушными мехами, обеспечивавшими дутьем три медеплавильные печи. В отличие от предшествующих ей машин, работавших рывками и выполнявших только роль водоподъемных насосов, машина Ползунова создавала непрерывное усилие и была первой универсальной машиной, которую можно было применять для приведения в движение любых заводских механизмов. При дальнейшем усовершенствовании паровой машины Д. Уаттом два цилиндра были заменены одним закрытым. Пар поступал попеременно по обе стороны поршня, толкая его то в одну, то в другую сторону. В такой машине двойного действия отработавший пар конденсировался не в цилиндре, а в отделенном от него сосуде — конденсаторе. Постоянство числа оборотов маховика поддерживалось центробежным регулятором. Конструкция первых паровых машин имела основные части всех последующих паровых машин: — нагреватель, в котором освобождалась энергия топлива; 2 — водяной пар как рабочее тело и поршень с цилиндром, преобразующий внутреннюю энергию пара в механическую энергию; 3 — охладитель, необходимый для снижения температуры и давления пара в цилиндре. КПД паровой машины. Первые паровые машины, естественно, имели серьезные конструктивные недостатки. Например, желание сделать котел дешевым и безопасным в работе приводило к необходимости использовать пар низкого давления, а для получения большой мощности это вынуждало делать цилиндры диаметром около 2 м с ходом поршня в 3 м. Соответственно этому приходилось увеличивать и все другие, детали машины. Так, водоподъемная машина Ньюкомена — Коули достигала высоты 4—5-этажного дома. Но главным недостатком первых паровых машин был низкий КПД. Даже у современных паровозов КПД не превышает 9%.
б) поршневой двигатель внутреннего сгорания (Э. Ленуар)
Поршневой двигатель внутреннего сгорания.
Среди способов увеличения КПД тепловых двигателей один оказался особенно плодотворным. Сущность его состояла в устранении части потерь теплоты перенесением места сжигания топлива и нагревания рабочего тела внутрь цилиндра. Отсюда и происхождение названия «двигатель внутреннего сгорания». Естественно, что для двигателей внутреннего сгорания наиболее удобным видом топлива является газообразное или жидкое топливо.
Первый двигатель внутреннего сгорания был создан в 1860 г. французским инженером Этьеном Ленуаром. Этот двигатель не имел трубы, топки и котла, но в основном конструктивно не отличался от паровой машины. Вместо пара в цилиндр при движении поршня засасывалась смесь светильного газа и воздуха. Когда поршень проходил расстояние, равное половине своего хода, закрывался впускной клапан и горючая смесь воспламенялась электрической искрой. Под давлением продуктов сгорания поршень двигался дальше, совершая рабочий ход. В конце рабочего хода открывался выпускной клапан и поршень при обратном ходе выталкивал продукты сгорания из цилиндра.
в) Бо де Роша – четырехтактный двигатель
КПД первого двигателя внутреннего сгорания был 3,3% — меньше, чем у современных ему паровых машин. Однако новые двигатели вскоре были значительно усовершенствованы. В 1862 г. французским инженером Боде Роша было предложено использовать в двигателе внутреннего сгорания четырехтактный цикл: 1) всасывание, 2) сжатие, 3) горение и расширение, 4) выхлоп. Эта идея была использована немецким изобретателем
Н. Отто, построившим в 1878 г. первый четырехтактный газовый двигатель внутреннего сгорания. КПД этого двигателя достигал 22%, что превосходило значения, полученные при использовании двигателей всех предшествующих типов.
г) карбюраторный двигатель
Карбюраторный двигатель.
Развитие нефтяной промышленности в конце XIX в. дало новые виды топлива — керосин и бензин. В бензиновом двигателе для более полного сгорания топлива перед пуском в цилиндр его смешивают с воздухом в специальных смесителях, называемых карбюраторами. Воздушно-бензиновую смесь называют горючей смесью.
Бензин представляет собой смесь нескольких соединений, близких по своим химическим и физическим свойствам. Химические реакции, происходящие при сжигании бензина, можно рассмотреть на таком примере:
Из этого уравнения следует, что теоретически полное сгорание топлива в бензиновом двигателе происходит тогда, когда в воздушно-бензиновой смеси на каждую молекулу бензина приходится 9 молекул кислорода. Оценим, каким же должно быть при этом соотношение масс воздуха и бензина в поступающей в цилиндр горючей смеси. Если в смеси на одну молекулу бензина приходится одна молекула кислорода, то отношение масс бензина и кислорода должно быть равно отношению их молярных масс:
Но На долю кислорода по массе в воздухе приходится лишь 23%, следовательно, в воздушно-бензиновой смеси, в которой на одну молекулу бензина приходится 9 молекул кислорода, должно быть следующее соотношение масс паров бензина и воздуха:
Мы получили, что для полного сгорания в составе смеси на один килограмм бензина должно приходиться не менее пятнадцати килограмм воздуха.
Это означает, что рабочим телом в двигателях внутреннего сгорания фактически является воздух, а не пары бензина. В отличие от паровых машин здесь топливо сжигается для нагревания газа, а не для превращения жидкости в пар. Правда, наряду с нагреванием воздуха происходит и частичное изменение его состава: вместо молекул кислорода появляется несколько большее количество молекул углекислого газа и водяного пара. Азот, составляющий более 3/4 воздуха, испытывает лишь нагревание.
При движении поршня от верхнего положения до нижнего через впускной клапан происходит засасывание горючей смеси в цилиндр (рис. 1). Этот процесс происходит при постоянном давлении. При обратном ходе поршня начинается сжатие горючей смеси. Сжатие происходит быстро, и поэтому процесс близок к адиабатическому. На диаграмме ему соответствует участок АВ (рис. 2).
Рис. 1. Четырехтактный двигатель внутреннего сгорания
Рис. 2. Диаграмма рабочего цикла карбюраторного двигателя внутреннего сгорания
В конце такта сжатия происходит воспламенение горючей смеси электрической искрой. Быстрое сгорание паров бензина сопровождается передачей рабочему телу — воздуху — количества тепла резким возрастанием температуры и давления воздуха и продуктов сгорания. За короткое время горения смеси поршень практически не изменяет своего положения в цилиндре, поэтому процесс нагревания газа в цилиндре можно считать изохорическим и изобразить его на диаграмме участком BC
Под действием высокого давления поршень далее совершает рабочий ход от верхнего положения до нижнего. Этот процесс расширения рабочего тела от объема до объема близок к адиабатическому, ему соответствует на диаграмме адиабата CD
В конце рабочего такта открывается выпускной клапан и рабочее тело соединяется с окружающей атмосферой. Выпуск отработанных газов сопровождается передачей количества тепла окружающему воздуху, играющему роль охладителя.
При длительной работе двигателя описанный цикл повторяется многократно. Но перед началом каждого цикла необходимо освободить цилиндр от продуктов сгорания, не содержащих кислорода, и произвести всасывание горючей смеси. Это осуществляется во время двух подготовительных тактов выхлопа и всасывания.
Для поршневых двигателей внутреннего сгорания важной характеристикой, определяющей полноту сгорания топлива и значительно влияющей на величину КПД, является степень сжатия горючей смеси:
где и — объемы в начале и в конце сжатия. С увеличением степени сжатия возрастает начальная температура горючей смеси в конце такта сжатия, что способствует более полному ее сгоранию. У современных карбюраторных двигателей обычно составляет 8—9. Дальнейшему увеличению степени сжатия препятствует самовоспламенение (детонация) горючей смеси, происходящее еще до того, как поршень достигнет верхней мертвой точки. Это явление оказывает разрушающее действие на двигатель и снижает его мощность и КПД. Достигнуть указанных степеней сжатия без детонации удалось увеличением скорости движения поршня при повышении числа оборотов двигателя до 5—6 тыс. об/мин и применением бензина со специальными антидетонационными присадками.
д) двигатель Дизеля
Двигатель Дизеля.
Для дальнейшего повышения КПД двигателя внутреннего сгорания в 1892 г. немецкий инженер Рудольф Дизель предложил использовать еще большие степени сжатия рабочего тела и расширение при постоянной температуре. Однако при испытаниях опытных образцов двигателей Дизелю пришлось отказаться от второй идеи, заменив процесс расширения при постоянной температуре предлагавшимся ранее процессом расширения при постоянном давлении.
Высокая степень сжатия без детонации достигается в двигателе Дизеля за счет того, что сжатию подвергается не горючая смесь, а только воздух. По окончании процесса сжатия в цилиндр впрыскивается горючее. Для его зажигания не требуется никакого специального устройства, так как при высокой степени адиабатического сжатия воздуха его температура повышается до 600-700 °С. Горючее, впрыскиваемое с помощью топливного насоса через форсунку, воспламеняется при соприкосновении с раскаленным воздухом.
Подача топлива управляется особым регулятором, в результате чего процесс горения протекает не столь кратковременно, как в карбюраторном двигателе, а происходит более длительное время. Поэтому часть процесса расширения, пока осуществляется подача топлива, происходит изобарически, а затем адиабатически. При обратном движении поршня осуществляется выхлоп. Диаграмма цикла в двигателе Дизеля представлена на рисунке 3.
Современные дизели имеют степень сжатия и КПД около 40%. Более высокий коэффициент полезного действия дизельных двигателей обусловлен тем, что вследствие более высокой степени сжатия начальная температура горения смеси (480—630 °С) у них выше, чем у карбюраторных двигателей (330—480 °С). Этим обеспечивается более полное сгорание дизельного топлива.
Рис. 3. Диаграмма рабочего цикла двигателя Дизеля
Другая причина более низкого КПД карбюраторного двигателя заключаемся в маломощном, недостаточно эффективном «точечном» искровом зажигании. Ранее указывалось, что для сгорания 1 кг бензина требуется около 15 кг воздуха. Казалось бы, увеличение количества воздуха в цилиндре, или, как говорят, обеднение смеси, должно улучшить сгорание бензина и повысить экономичность двигателя. Однако при избытке воздуха более чем на 10—15% горение смеси происходит недостаточно быстро, а при избытке воздуха на 20—25% бензиново-воздушная смесь вообще не воспламеняется. Работу двигателя на экономичной обедненной смеси не обеспечивает искровой способ зажигания. Объем, занимаемый искрой, очень мал по сравнению с объемом цилиндра, и за время рабочего хода поршня весь бензин не успевает вступить в соединение с кислородом. Поэтоку бензиновые двигатели обычно работают на обогащенной смеси, в которой из-за недостатка кислорода бензин не можсг сгореть полностью. Это приводит к снижению их КПД.
Дизельные двигатели работают на обедненной смеси. Более полное сгорание топлива в дизельном двигателе приводит к повышению его КПД и уменьшению токсичности выхлопных газов.
е) двигатель Ванкеля
Двигатель Ванкеля.
Патент на роторно-поршневой двигатель внутреннего сгорания немецкий инженер Феликс Ванкель получил в 1929 г., однако первый работоспособный роторный двигатель был построен лишь в 1957 г. В настоящее время серийное производство автомобилей с роторными двигателями осуществляется в ряде стран.
Большой интерес к новому двигателю внутреннего сгорания вполне обоснован. В роторном двигателе возвратно-поступательное движение поршня заменяется непрерывным вращательным движением ротора. Это уменьшает механические нагрузки и обусловливает плавность работы двигателя.
Устройство роторного двигателя представлено на рисунке 4. Трехгранный ротор 1 вращается на подшипнике, установленном между эксцентриковым валом 2 и ротором, внутри рабочей полости 3 сложной формы. Форма рабочей полости такова, что при вращении ротора его грани непрерывно скользят по поверхности рабочей полости. При вращении ротора между ним и поверхностью рабочей полости образуются три камеры сгорания (см. цветную вклейку II). Рабочая смесь всасывается в камеру (1—2—3—4), затем сжимается (5—6), воспламеняется (7), расширяется (8—9) и выпускается (10-11-12-13). Для того чтобы сжатая смесь не выходила в соседнюю камеру, грани ротора герметизированы уплотнителями.
При вращении ротора происходит зацепление его шестерни с неподвижной шестерней на стенке 4. Движение ротора в рабочей полости вызывает вращение эксцентрикового вала. Соотношение числа зубьев шестерен 2/3 приводит к тому, что вал вращается в три раза быстрее ротора.
Главные достоинства «ванкеля» — компактность, использование почти вдвое меньшего количества деталей, чем в поршневом двигателе, хорошая уравновешенность. Масса и размеры роторного двигателя в два-три раза меньше, чем у поршневого двигателя такой же мощности.
Рис. 4. (см. скан) Внешний вид (а) и основные детали (б) двигателя Ванкеля: 1 — ротор; 2 — эксцентриковый вал; 3 — корпус с рабочей полостью; 4 — боковая крышка о неподвижной шестерней
Однако есть у роторного двигателя и серьезные недостатки: повышенный расход топлива (на 20—30% выше, чем в поршневом двигателе), более сложная технология изготовления основных деталей.
ж) паровая турбина, газовая турбина
Паровая турбина.
Попытки сконструировать паровую турбину, способную конкурировать с паровой машиной, до середины XIX в. были безуспешными, так как в механическую энергию вращения турбины удавалось преобразовать лишь незначительную долю кинетической энергии струи пара. Дело в том, что изобретатели не учитывали зависимость КПД турбины от соотношения скорости пара и линейной скорости лопаток турбины.
Выясним, при каком соотношении скорости струи газа и линейной скорости лопатки турбины произойдет наиболее полная передача кинетической энергии струи газа лопатке турбины (рис. 5). При полной передаче кинетической энергии пара лопатке турбины скорость струи относительно Земли должна быть равна нулю, т.е.
В системе отсчета, движущейся со скоростью скорость струи равна: .
Так как в этой системе отсчета лопатка в момент взаимодействия со струей неподвижна, то скорость струи после упругого отражения остается неизменной по модулю, но меняет направление на противоположное:
Переходя вновь в систему отсчета, связанную с Землей, получим скорость струи после отражения:
Так как то
Мы получили, что полная передача кинетической энергии струи турбине будет происходить при условии, когда линейная скорость движения лопаток турбины вдвое меньше скорости струи . Первая паровая турбина, нашедшая практическое применение, была изготовлена шведским инженером Густавом Лавалем в 1889 г. Ее мощность была меньше 4 при частоте вращения 30000 об/мин.
Рис. 5. Передача кинетической энергии струи пара лопатке турбины
Большая скорость истечения газа даже при средних перепадах давлений, составляющая примерно 1200 м/с, требует для эффективной работы турбины придания ее лопаткам линейной скорости около 600 м/с. Следовательно, для достижения высоких значений КПД турбина должна быть быстроходной. Нетрудно подсчитать силу инерции, действующую на лопатку турбины массой 1 кг, расположенную на ободе ротора радиусом 1 м, при скорости лопатки 600 м/с:
Возникает принципиальное противоречие: для экономичной работы турбины требуются сверхзвуковые скорости вращения ротора, но при таких скоростях турбина разрушится силами инерции. Для разрешения этого противоречия приходится конструировать турбины, вращающиеся со скоростью, меньшей оптимальной, но для полного использования кинетической энергии струи пара делать их многоступенчатыми, насаживая на общий вал несколько роторов возрастающего диаметра. Из-за недостаточно большой скорости вращения турбины пар отдает только часть своей кинетической энергии ротору меньшего диаметра. Затем отработавший в первой ступени пар направляется на второй ротор большего диаметра, отдавая его лопаткам часть оставшейся кинетической энергии и т. д. Отработавший пар конденсируется в охладителе-конденсаторе, а теплая вода направляется в котел.
Цикл паротурбинной установки в координатах показан на рисунке 6. В котле рабочее тело получает количество тепла нагревается и расширяется при постоянном давлении (изобара АВ). В турбине пар адиабатически расширяется (адиабата ВС), совершая работу по вращению ротора. В конденсаторе-охладителе, омываемом, например, речной водой, пар отдает воде количество тепла и конденсируется при постоянном давлении. Этому процессу соответствует изобара CD. Теплая вода из конденсатора насосом подается в котел. Этому процессу соответствует изохора DA. Как видно, цикл паротурбинной установки замкнутый. Работа пара за один цикл численно равна площади фигуры ABCD.
Рис. 6. Диаграмма рабочего цикла паротурбинной установки
Современные паровые турбины обладают высоким КПД преобразования кинетической энергии струи пара в механическую энергию, несколько превышающим 90%. Поэтому электрические генераторы практически всех тепловых и атомных электростанций мира, дающие более 80% всей вырабатываемой электроэнергии, приводятся в действие паровыми турбинами.
Так как температура пара, применяемого в современных паротурбинных установках, не превышает 580 °С (температура нагревателя ), а температура пара на выходе из турбины обычно не ниже 30 °С (температура холодильника ), максимальное значение КПД паротурбинной установки как тепловой машины равно:
а реальные значения КПД паротурбинных конденсационных электростанций достигают лишь около 40%.
Мощность современных энергоблоков котел — турбина — генератор достигает кВт. На очереди в 10-й пятилетке сооружение энергоблоков мощностью до кВт.
Паротурбинные двигатели нашли широкое применение на водном транспорте. Однако их применению на сухопутном транспорте и тем более в авиации препятствует необходимость иметь топку и котел для полу ения пара, а также большое количество воды для использования в качестве рабочего тела.
Газовые турбины.
Мысль об устранении топки и котла в тепловой машине с турбиной путем перенесения места сжигания топлива в само рабочее тело давно занимала конструкторов. Но разработка таких турбин внутреннего сгорания, в которых рабочим телом является не пар, а расширяющийся от нагревания воздух, сдерживалась отсутствием материалов, способных работать длительное время при высоких температурах и больших механических нагрузках.
Газотурбинная установка состоит из воздушного компрессора 1, камер сгорания 2 и газовой турбины 3 (рис. 7). Компрессор состоит из ротора, укрепленного на одной оси с турбиной, и неподвижного направляющего аппарата.
При работе турбины ротор компрессора вращается. Лопатки ротора имеют такую форму, что при их вращении давление перед компрессором понижается, а за ним повышается. Воздух засасывается в компрессор, и давление его за первым рядом лопаток ротора повышается. За первым рядом лопаток ротора расположен ряд лопаток неподвижного направляющего аппарата компрессора, с помощью которого изменяется направление движения воздуха и обеспечивается возможность его дальнейшего сжатия с помощью лопаток второй ступени ротора и т. д. Несколько ступеней лопаток компрессора обеспечивают позышенне давления воздуха в 5—7 раз.
Процесс сжатия протекает адиабатически, поэтому температура воздуха значительно повышается, достигая 200 °С и более.
Рис. 7. Устройство газотурбинной установки
Сжатый воздух поступает в камеру сгорания (рис. 8). Одновременно через форсунку в нее впрыскивается под большим давлением жидкое топливо — керосин, мазут.
При горении топлива воздух, служащий рабочим телом, получает некоторое количество тепла и нагревается до температуры 1500-2200 °С. Нагревание воздуха происходит при постоянном давлении, поэтому воздух расширяется и скорость его движения увеличивается.
Движущиеся с большой скоростью воздух и продукты горения направляются в турбину. Переходя от ступени к ступени, они отдают свою кинетическую энергию лопаткам турбины. Часть полученной турбиной энергии расходуется на вращение компрессора, а остальная используется, например, для вращения винта самолета или ротора электрического генератора.
Рис. 8. Камера сгорания
Для предохранения лопаток турбины от разрушающего действия раскаленной и высокоскоростной газовой струи в камеру сгорания нагнетается с помощью компрессора значительно больше воздуха, чем необходимо для полного сжигания топлива. Воздух, входящий в камеру сгорания за зоной горения топлива (рис. 7), снижает температуру газовой струи, направляемой на лопатки турбины. Понижение температуры газа в турбине ведет к снижению КПД, поэтому ученые и конструкторы ведут поиски путей повышения верхнего предела рабочей температуры в газовой турбине. В некоторых современных авиационных газотурбинных двигателях температура газа перед турбиной достигает 1330 °С.
Отработавший воздух вместе с продуктами сгорания при давлении, близком к атмосферному, и температуре более 500 °С со скоростью более 500 м/с обычно выбрасывается в атмосферу либо для повышения КПД направляется в теплообменник, где отдает часть тепла на нагревание воздуха, поступающего в камеру сгорания.
Цикл работы газотурбинной установки на диаграмме представлен на рисунке 40. Процессу сжатия воздуха в компрессоре соответствует адиабата АВ, процессу нагревания и расширения в камере сгорания — изобара ВС. Адиабатический процесс расширения горячего газа в турбине представлен участком CD, процесс охлаждения и уменьшения объема рабочего тела представлен изобарой DA.
КПД газотурбинных установок достигает значений 25—30%. У газотурбинных двигателей нет громоздких паровых котлов, как у паровых машин и паровых турбин, нет поршней и механизмов, преобразующих возвратно-поступательное движение во вращательное, как у паровых машин и двигателей внутреннего сгорания. Поэтому газотурбинный двигатель занимает втрое меньше места, чем дизель той же мощности, а его удельная масса (отношение массы к мощности) в 6 — 9 раз меньше, чем у авиационного поршневого двигателя внутреннего сгорания. Компактность и быстроходность в сочетании с большой мощностью на единицу массы определили первую практически важную область применения газотурбинных двигателей — авиацию.
Самолеты с винтом, насаженным на вал газотурбинного двигателя, появились в 1944 г. Турбовинтовые двигатели имеют такие известные самолеты, как АН-24, ТУ-114, ИЛ-18, АН-22 — «Антей».
Максимальная масса «Антея» на взлете 250 т, грузоподъемность 80 т, или 720 пассажиров,
Рис. 9. Диаграмма рабочего цикла газотурбинной установки
скорость 740 км/ч, мощность каждого из четырех двигателей 11000 кВт.
Газотурбинные двигатели начинают вытеснять паротурбинные на водном транспорте, особенно на кораблях военно-морского флота. Переход от дизельных двигателей на газотурбинные позволил увеличить грузоподъемность судов на подводных крыльях в четыре раза, с 50 до 200 т.
Газотурбинные двигатели мощностью 220-440 кВт устанавливаются на большегрузных автомобилях. Проходит испытание в горнодобывающей промышленности 120-тонный БелАЗ-549В с газотурбинным двигателем.
з) прямоточный воздушно-реактивный двигатель
Турбореактивный двигатель.
Вместо вращения винта самолета, теплохода или ротора электрогенератора газовая турбина может быть использована как реактивный двигатель. Воздух и продукты горения выбрасываются из газовой турбины с большой скоростью. Реактивная сила тяги, возникающая при этом, может быть использована для движения самолета, теплохода или железнодорожного состава.
Основное отличие турбореактивного двигателя от турбовинтового заключается в том, что в нем газовая турбина используется лишь для приведения в действие воздушного компрессора и отнимает у газовой струи, выходящей из камеры сгорания, лишь небольшую часть энергии. В результате газовая струя имеет на выходе из турбины высокую скорость и создает реактивную силу тяги.
Успешное использование турбореактивных двигателей в авиации началось в 40-х годах созданием реактивных истребителей, а первый в нашей стране реактивный пассажирский самолет ТУ-104 вышел на линию Москва — Иркутск в 1956 г.
Турбореактивными двигателями оборудованы известные всему миру самолеты ИЛ-62, ТУ-154 и первый в мире сверхзвуковой пассажирский самолет ТУ-144 (рис. 41). Четыре его двигателя общей мощностью обеспечивают скорость полета полетная масса самолета 180 т.
Мощность и сила тяги турбореактивного двигателя может быть значительно увеличена за счет использования режима форсажа. С этой целью в струю горячего газа, выходящего из турбины, впрыскивается топливо. Так как в струе горячего газа, выходящего из турбины, имеется большое количество кислорода, происходит горение топлива. В результате этого процесса, называемого дожиганием, температура, давление и, следовательно, скорость истечения газовой струи повышаются. За счет такого режима работы сила тяги двигателя кратковременно может быть увеличена на 25-30 % на малых скоростях и до 70% при больших скоростях полета.
Рис. 10. Первый турбореактивный пассажирский сверхзвуковой самолет ТУ-144
Форсажными камерами позади турбины обычно оборудуются реактивные двигатели истребителей (см. цветную вклейку III). Имеются такие камеры и у двигателей самолета ТУ-144.
Прямоточный воздушно-реактивный двигатель.
Самолетный реактивный двигатель может быть устроен и значительно проще, без компрессора и газовой турбины, так как при большой скорости движения самолета надобность в компрессоре отпадает. Повышения давления воздуха перед камерой сгорания можно добиться выбором формы воздухозаборника и камеры сгорания (рис. 11).
Если площадь поперечного сечения воздушного потока у входа двигателя меньше, чем у камеры сгорания, то скорость движения воздуха в камере сгорания меньше, чем у входа, так как за единицу времени через поперечное сечение двигателя должно проходить одно и то же количество воздуха. Согласно закону Бернулли в том участке трубы, где скорость движения газа меньше, давление выше.
Рис. 11. Прямоточный воздушно-реактивный двигатель
Впрыскивание и сжигание горючего повышает температуру и давление воздуха в камере сгорания, и он выходит из камеры сгорания с большой скоростью. Скорость истечения горячего воздуха к продуктов горения повышается еще и за счет уменьшения площади поперечного сечения отверстия на выходе, поэтому скорость газов на выходе из двигателя значительно превышает по абсолютной величине скорость движения самолета относительно воздуха .
Так как скорость воздуха относительно самолета на выходе двигателя равна скорости движения самолета относительно воздуха, то в результате работы реактивного двигателя в системе отсчета, связанной с самолетом, некоторое количество воздуха массой попадает в двигатель со скоростью , а выбрасывается из него со скоростью следовательно, его импульс изменяется на величину . Импульс самолета согласно закону сохранения импульса изменяется на величину, равную по абсолютному значению, но противоположную по направлению. Это изменение импульса самолета вызывается реактивной силой отдачи газовой струи.
Реактивные двигатели рассмотренного типа называются прямоточными воздушно-реактивными двигателями.
При таких серьезных достоинствах, как простота устройства и малые размеры, широкому применению прямоточных воздушно-реактивных двигателей в авиации препятствует необходимость предварительного разгона самолета с помощью двигателей другого типа. Этого недостатка не имеет пульсирующий воздушно-реактивный двигатель.
и) пульсирующий воздушно-реактивный двигатель
Пульсирующий воздушно-реактивный двигатель.
Главное отличие пульсирующего воздушно-реактивного двигателя от прямоточного заключается в применении специальных клапанов в камере сгорания со стороны входа воздуха (рис. 12). Клапаны закрываются, если давление в камере сгорания превышает давление набегающего потока воздуха, и открываются, если давление в камере сгорания становится меньше давления набегающего потока воздуха. Это позволяет работать без предварительного разгона самолета.
При впрыскивании и поджигании порции топлива температура и давление воздуха в камере сгорания резко повышаются, клапаны со стороны воздухозаборника в это время закрыты. Расширение нагретого воздуха и продуктов горения приводит к выбросу струи горячих газов через открытое
Рис. 12. Пульсирующий воздушно-реактивный двигатель
Рис. 13. Реактивный двигатель на твердом топливе
сопло двигателя и созданию реактивной силы. Так как доступа новым порциям воздуха в камеру сгорания в это время нет и подача топлива прекратилась, горение прекращается и давление в камере сгорания резко уменьшается. Это приводит к открыванию клапанов со стороны воздухозаборника и поступлению порции воздуха. В этот момент в камеру впрыскивается горючее. Сжигание новой порции горючего приводит вновь к повышению давления в камере, клапаны на входе закрываются, и происходит выброс порции горячих газов через сопло на выходе, создающий реактивную силу тяги двигателя. Частота пульсаций достигает нескольких тысяч в минуту.
к) ракетный двигатель
Ракетные двигатели.
Реактивные двигатели, не использующих для своей работы окружающую среду, например воздух земной атмосферы, называются ракетными двигателями. Основные части ракетного двигателя — камера сгорания и сопло. В принципе для ракетного двигателя могут быть использованы различные источники энергии, но на практике пока применяются в основном химические ракетные двигатели. Сжигание горючего в камере сгорания химического ракетного двигателя приводит к образованию продуктов горения в газообразном состоянии. Выход струи газа через сопло приводит к возникновению реактивной силы.
Наиболее просто устроены ракетные двигатели, работающие на твердом топливе (РДТТ) (рис. 13). Примером твердого ракетного топлива может служить порох. РДТТ находят применение в военной технике. Ракетные снаряды с РДТТ успешно применялись в годы Великой Отечественной войны на реактивных установках — «катюшах» (рис. 45).
Постоянная готовность РДТТ к работе, простота и надежность позволяют использовать их в баллистических ракетах, которыми вооружены атомные подводные лодки, и в межконтинентальных баллистических ракетах.
Недостатком РДТТ является трудность управления его работой. Значительно удобнее в управлении жидкостные реактивные двигатели (ЖРД). Применение в качестве горючего и окислителя жидких веществ позволяет также получить больший выход энергии на единицу массы топлива и использовать более высокие скорости истечения газовой струи. Если для РДТТ максимальная скорость истечения составляет 2-3 км/с, то у ЖРД она
Рис. 14. Гвардейские минометы «катюши»
может достигать 3-5 км/с. Этими преимуществами ЖРД объясняется широкое их использование в ракетно-космической технике.
Впервые возможность и необходимость использования ЖРД для запуска человека или автоматических устройств в космическое пространство была обоснована Константином Эдуардовичем Циолковским в статье «Исследование мировых пространств реактивными приборами», опубликованной в 1903 г. В этой работе К. Э. Циолковский предложил конструкцию космической ракеты с ЖРД (рис. 15), проанализировал возможности использования различных химических веществ в качестве горючего и окислителей, рассмотрел способы управления полетом ракеты.
Первая советская жидкостная ракета «ГИРД-09» была создана в 1933 г. под руководством Сергея Павловича Королева по проекту М. К. Тихонравова. Двигатель ракеты работал на жидком кислороде и бензине.
Рис. 15. Конструкция жидкостной ракеты по К. Э. Циолковскому
С.П. Королев В.П. Глушко
Дальнейшая успешная разработка ракетно-космической техники, выполненная под руководством академика С. П. Королева, позволила осуществить в нашей стране запуск первого в мире искусственного спутника Земли (4 октября 1957 г.), полет вокруг Земли первого в мире космонавта Ю. А. Гагарина (12 апреля 1961 г.), осуществить запуск межпланетных автоматических станций на Луну, Марс, Венеру. Жидкостные реактивные двигатели для советских космических ракет разработаны под руководством академика Валентина Петровича Глушко.
Мощность первой ступени ракеты-носителя «Восток» с ЖРД РД-107 (рис. 16) достигала 15 млн. кВт! Ракета-носитель «Протон», выводившая в космическое пространство советские ИСЗ «Протон» с массой 12,2 т, имеет мощность около 45 млн. кВт! Двигатели этой, космической ракеты развивают мощность, в 7 раз превосходящую мощность крупнейшей в мире Красноярской гидроэлектростанции! Схема устройства жидкостной ракеты представлена на рисунке 17.
Масштабы современной космической техники можно охарактеризовать параметрами ракетных систем, с помощью которых был произведен запуск космических кораблей «Союз» и «Аполлон» в ходе осуществления совместной советско-американской программы. Трехступенчатая ракета-носитель советского космического корабля «Союз» с жидкостно-ракетными двигателями имеет общую длину 49,3 м, максимальный диаметр по стабилизаторам 10,3 м, стартовую массу 330 т.
Американский космический корабль «Аполлон» выводился на орбиту двухступенчатой ракетой-носителем «Сатурн-1В» общей высотой 68,2 м, с максимальным размахом стабилизирующих поверхностей 12,4 м и массой 587 т.
1
7
6
5
4
3
2
Рис. 16. Ракетный двигатель РД—107
1 — рулевые камеры сгорания и сопла; 2 — основные камеры сгорания; 3 — насос подачи окислителя; 4—насос подачи горючего; 5 — силовая рама; 6 — трубопроводы окислителя; 7 — трубопроводы горючего
Рис. 17. Схема устройства жидкостной ракеты
1 — полезней груз; 2 — окислитель; 3— горючее; 4 — насосы; 5 — камера сгорания; 6 — сопло
Интересно отметить, что в некоторых вариантах американской ракеты-носителя «Сатурн» в качестве горючего и окислителя используются, как и предлагал К. Э. Циолковский, жидкий водород и жидкий кислород.
Мощность, сила тяги и КПД ракетного двигателя. Полезную мощность ракетного двигателя можно определить, считая приближенно, что вся полезная работа его затрачивается на сообщение кинетической энергии струе газов:
где m — масса газов, выброшенных ракетным двигателем за секунд, — масса газов, выброшенных двигателем за 1 с, — скорость истечения газов. Это приближение близко к истине в том случае, если масса ракеты много больше массы газов, выбрасываемых двигателем за 1 с, так как тогда изменение кинетической энергии ракеты много меньше кинетической энергии выброшенных газов. За малый интервал времени в результате выброса струи газов импульс ракеты изменяется на величину
где — масса выброшенных газов. Изменение импульса ракеты можно выразить через силу тяги и время действия силы .
Отсюда
Тогда между силой тяги и мощностью двигателя устанавливается связь:
КПД ракетного двигателя можно определить как отношение его полезной мощности N к мощности выделяемой при сжигании топлива:
где — скорость истечения газов, — теплотворная способность ракетного топлива. Здесь следует обратить особое внимание на последнее понятие. Так как в расчетах мы приняли равными секундный расход горючего и секундный выход газов из сопла ракеты, то, следовательно, мы приняли, что — это секундный расход горючего и необходимого количества окислителя. Следовательно, и теплотворная способность горючего должна определяться как отношение количества тепла к массе горючего и необходимого количества окислителя:
Например, при использовании в качестве ракетного горючего керосина, а в качестве окислителя жидкого кислорода на 1 кг керосина расходуется 2,56 кг кислорода, поэтому теплотворная способность керосина и кислорода как ракетного топлива и окислителя будет в 3,56 раз меньше, чем теплотворная способность керосина, приводимая обычно в справочных таблицах:
Оценим КПД ракетного двигателя, использующего в качестве горючего и окислителя водород и кислород. При образовании 1 кг водяного пара освобождается Дж, скорость истечения продуктов горения 4,2 км/с, поэтому КПД двигателя равен:
Полученный результат показывает, что КПД ракетного двигателя может превышать КПД всех других видов тепловььх машин. Однако не следует забывать, что при больших значениях КПД ракетного двигателя как тепловой машины его применение во многих случаях оказывается экономически нецелесообразным. Хотя он эффективно преобразует внутреннюю энергию горючего в механическую энергию, при малом значении массы выброшенных газов по сравнению с массой ракеты (или другого объекта, разгоняемого ракетным двигателем) большая часть этой механической энергии передается струе истекающих газов, а не ракете.
КПД ракеты, определяемый по кинетической энергии только полезного груза, повышается при увеличении времени работы ракетного двигателя потому, что значительная часть энергии, затраченная, казалось бы, бесполезно на увеличение кинетической энергии горючего и окислителя, передается последующей ступени ракеты при их сжигании.
4. Вечный двигатель
— определение: Это устройство, способное совершать полезную работу без потребления энергии извне и без каких — либо изменений внутри машины.
— невозможность создания на основе первого закона термодинамики. Все попытки построить такую машину окончились неудачей. Невозможность создания «вечного двигателя» является экспериментальным доказательством первого закона термодинамики. Любая машина может совершать работу над внешними телами только за счет получения извне количества теплоты Q или уменьшения своей внутренней энергии U.
5. Значение двигателя в нашей жизни. Непрерывное развитие энергетики, автомобильного и других видов транспорта, возрастание потребления угля, нефти и газа в промышленностии на бытовые нужды увеличивают возможности удовлетворения жмзненных потребностей человека. Однако в настоящее время количество ежегодно сжигаемого в различных тепловых машинах химического топлива настолько велико, что все более сложной проблемой становится охрана окружающей среды от вредного влияния продуктов сгорания. Отрицательное влияние тепловых машин на окружающую среду связано с действием различных факторов. Во – первых, при сжигание топлива используется кислород из атмосферного воздуха , поэтому содержание кислорода в воздухе уменьшается. Во – вторых, сжигание топлива сопровождается выделением в атмосферу углекислого газа. За последние 20 лет содержание углекислого газа в атмосфере Земли увеличилось более чем на 5%. Молекулы оксида углерода способны поглощать инфракрасное излучение. Поэтому увеличение содержания углекислого газа в атмосфере изменяет ее прозрачность. Дальнейшее существенное увеличение концентрации углекислого газа в атмосфере Земли может привести к повышению ее температуры. В – третьих, при сжигании угля и нефти атмосфера загрязняется азотными и серными соединениями, вредными для здоровья человека. Особенно существенно это загрязнение в крупных городах и промышленных центрах.
Типы лодочных двигателей
Размеры лодочного двигателяПри выборе лодочного двигателя для вашего судна учитывайте размер и вес лодки и помните, что в вес входят ваши пассажиры, топливо и снаряжение. Хорошее практическое правило — максимально приближаться к максимальной мощности, на которую рассчитана ваша лодка.
Мощность двигателя лодкиЧто касается бензиновых двигателей (подвесных, кормовых или внутренних), на рынке представлены три различных типа систем подачи топлива.Каждая система подачи топлива уникальна, и каждая система имеет свои преимущества.
Прямой впрыск топлива
- Низкие выбросы
- Превосходная экономия топлива
- Мгновенный пуск под ключ
- Плавный холостой ход
- Пониженная паровая пробка в более теплом климате
- Автоматически подстраивается под высоту, температуру воздуха и воды
- Превосходный отклик дроссельной заслонки и мощность
- Имеются системы самодиагностики
- Герметичная топливная система (помогает исключить окисление топлива)
Электронный впрыск топлива (EFI)
- Равномерное распределение воздуха и топлива
- Превосходный отклик дроссельной заслонки и мощность
- Обычно отличная экономия топлива
- Холодный запуск двигателя
- Наличие систем самодиагностики
- Низкие выбросы (особенно для четырехтактных двигателей)
Карбюраторные топливные системы
- Самая низкая начальная стоимость
- Простой дизайн
- Более высокие выбросы, чем у систем EFI или DFI
- Низкая экономия топлива по сравнению с системой EFI или DFI
Лодочный двигатель — один из важнейших компонентов судна.По этой причине важно понимать, какие доступны различные варианты и какой двигатель лодки подойдет для вашей рыбалки. Два основных фактора, которые следует учитывать, — это вес и мощность вашего двигателя. Это основные доступные типы двигателей.
Дизельные бортовые двигателиДизельные двигатели используют компрессию для работы двигателя. Их конструкция похожа на традиционный газовый двигатель с коленчатыми валами, цилиндрами и поршнями; однако топливные системы дизельного двигателя совершенно другие и более сложные.
Дизельные двигатели модельного ряда по размеру и мощности. Хотя они широко используются в других частях мира, в Соединенных Штатах они обычно встречаются на лодках больше 35 футов. Основная причина, по которой дизельные двигатели не используются на небольших лодках, — это вес. В общем, дизельный двигатель весит больше, чем бензиновый. Однако они используются на более крупных судах из-за их способности создавать крутящий момент.
- Нет угарного газа, о котором нужно беспокоиться в каютах или на задней части лодок
- Отличный крутящий момент
- Длительный срок службы
- Низкие эксплуатационные расходы
- Обычно работают на более низких оборотах, чем традиционные газовые двигатели
- Топливо невзрывоопасное
Эти лодочные двигатели модифицированы для использования в море.Бензиновые бортовые двигатели имеют мощность от 90 до 1000 лошадиных сил на двигатель и используются на различных лодках, от буксируемых спортивных катеров до больших круизных судов.
В конфигурации с бортовым двигателем двигатель расположен на миделе, с приводом, идущим через днище лодки к гребному винту, и отдельным рулем, используемым для рулевого управления. Трансмиссия часто используется для передачи мощности от двигателя к гребному винту. Выхлоп проходит через корму лодки. Бортовые доски являются обычным явлением для буксировочных видов спорта, таких как водные лыжи, вейкбординг, поскольку они позволяют перемещать гребной винт вперед по отношению к задней части лодки, обеспечивая площадку для платформ, помогающих лыжникам входить в лодку и выходить из нее.
- Простая приводная система снижает потребность в обслуживании
- Нет возможности триммировать гребной винт
- Низкие эксплуатационные расходы
- Тихо и непринужденно
Лодочные двигатели
Подвесной двигатель — это переносной автономный агрегат, состоящий из двигателя, коробки передач и гребного винта, который крепится к транцу лодки.
Все большее количество подвесных двигателей имеют четырехтактную конструкцию, но многие из них по-прежнему являются обычными двухтактными двигателями, которые сжигают масло в качестве смазки вместе с топливом.Двухтактные подвесные двигатели новой технологии представляют собой двигатели с непосредственным впрыском топлива и сжигают более чем на 75% чище, чем обычные двухтактные подвесные двигатели.
Управление лодками с подвесными двигателями контролируется румпелем или штурвалом, который поворачивает весь двигатель, чтобы направить тягу гребного винта. Подвесные двигатели имеют большую мощность на фунт веса, чем внутренние двигатели.
Внутренние моторы
Бортовой — это четырехтактный автомобильный двигатель, адаптированный для использования на море.Устанавливается внутри корпуса или перед.
Двигатель вращает карданный вал, который проходит через днище корпуса и прикреплен к гребному винту на другом конце.
Управление большинством внутренних судов (кроме PWC и водометных катеров) управляется рулем за гребным винтом.
Кормовые приводы
Кормовые приводы известны также как внутренние / внешние двигатели (I / Os), потому что они сочетают в себе функции, присущие как внутренним, так и подвесным двигателям.Двигатели с кормовым приводом — это четырехтактные автомобильные двигатели, адаптированные для использования на море и устанавливаемые внутри лодки.
Кормовой приводной двигатель прикреплен через транец к приводному блоку (также называемому выдвижным приводом), который, по сути, является нижним блоком подвесного двигателя. Двигатель вращает карданный вал, прикрепленный к гребному винту на другом конце.
Управление лодками с кормовым приводом управляется выносным приводом, который поворачивается, как подвесной двигатель, для направления тяги гребного винта.Кормовые двигатели имеют более тихие и экономичные двигатели.
Двигатели для реактивных лодок
Реактивные двигательные установки имеют то преимущество, что они не имеют гребного винта, который может быть опасен для людей в воде и морских обитателей.
Обычно это бортовые двигатели, которые забирают воду, протекающую через насос, приводимый в действие крыльчаткой.Затем вода под высоким давлением выпускается через сопло, которое продвигает лодку вперед. Сопло поворачивается для обеспечения рулевого управления лодкой. Большинство гидроциклов используют водометные двигатели.
Когда мощность не подается, судно с водометным двигателем теряет управляемость, потому что это поток воды, который управляет лодкой. Держите руки, ноги и волосы подальше от забора насоса и не работайте на мелководье.
Информация предоставлена www.boat-ed.com и www.DiscoverBoating.com
Узнайте о различных типах корпусов в следующем разделе.
различных типов авиационных двигателей
Авиация, безусловно, прошла долгий путь с тех пор, как братья Райт совершили свой первый короткий перелет в четырех милях к северу от Китти Хок, Северная Каролина. Стремительное развитие области аэронавтики было буквально вызвано замечательными техническими инновациями в авиационных двигателях.
В последние десятилетия самолеты и авиационные двигатели значительно расширились, за счет использования широкого диапазона планеров, механических систем и, конечно же, двигателей.Для непрофессионала этот широкий набор компонентов может быть довольно пугающим. Независимо от того, хотите ли вы работать на самолетах или управлять ими, первым шагом в мире авиации станет обращение в авиационную школу подготовки, такую как Спартанский колледж аэронавтики и технологий.
Спартанский колледж приветствует начинающих механиков, у которых есть ряд устремлений и целей, в рамках программ Aviation Maintenance Technology и Airframe & Powerplant. По мере вашего обучения в Spartan вы будете получать необходимые знания и накапливать навыки, работая с широким спектром оборудования.
В авиационной школе Спартанского колледжа студенты имеют возможность тренироваться на нескольких разных типах самолетов с несколькими разными типами двигателей. Спартанские летные студенты получают ценный и практический опыт на пути к вехам, которые могут включать в себя сертификат частного пилота с одним двигателем или сертификат пилота коммерческого самолета с несколькими двигателями.
Сравнение одномоторных и многодвигательных самолетовКак одномоторные, так и многодвигательные самолеты имеют свои отчетливые и уникальные преимущества и недостатки.Например, однодвигательные самолеты, как правило, дешевле покупать и имеют более низкие эксплуатационные расходы. Однако есть несколько самолетов с одним двигателем, в которых используются высокопроизводительные двигатели, обеспечивающие отличные летные характеристики и более высокие рабочие скорости. Однако с точки зрения характеристик трудно превзойти многомоторный самолет, который обычно позволяет пилотам ускоряться быстрее и достигать в целом более высоких скоростей.
Безусловно, главные преимущества многомоторных самолетов — это повышенная безопасность и душевное спокойствие.Благодаря наличию второго двигателя пилоты часто могут перейти в безопасное место для аварийной посадки, даже если один из двигателей полностью выходит из строя. Кроме того, многомоторные самолеты, как правило, поставляются с несколькими стартер-генераторами и другими резервными компонентами, которые предлагают дополнительные меры безопасности в случае отказа.
Благодаря физике асимметричной тяги многомоторные самолеты с большей вероятностью будут участвовать в инцидентах с потерей управления. Асимметричная тяга особенно проблематична, когда двигатель выходит из строя сразу после взлета, когда самолет летит на малой высоте и развивает большую выходную мощность.К другим потенциальным недостаткам многомоторных самолетов относятся их ограниченная видимость и зачастую сложные топливные системы. И хотя различные резервные компоненты многомоторных самолетов обеспечивают безопасность за счет резервирования, многие современные одномоторные самолеты имеют такие функции, как резервные генераторы переменного тока и авионику со стеклянными панелями, которые обеспечивают исключительную безопасность. Однако в Спартанском колледже начинающие пилоты учатся управлять как многомоторными, так и одномоторными самолетами. Они также узнают, как решать проблемы, когда проблемы возникают в полете.
Типы винтовых двигателейВ течение сорока лет после того первого полета братьев Райт в самолетах использовались исключительно двигатели внутреннего сгорания, которые вращали присоединенные пропеллеры для создания тяги. Примечательно, что большая часть авиации общего назначения и частных самолетов до сих пор оснащается поршневыми двигателями внутреннего сгорания и пропеллерами.
В целом поршневые двигатели самолетов работают так же, как и обычные автомобильные двигатели.Забирая воздух из окружающей среды и смешивая его с топливом, эти двигатели работают за счет сжигания этого топлива с образованием нагретого выхлопного газа, который перемещает поршень, прикрепленный к коленчатому валу. В то время как автомобильная трансмиссия использует коленчатый вал для вращения колес автомобиля, коленчатый вал самолета соединен напрямую с одним или несколькими гребными винтами. Есть некоторые различия между авиационными и автомобильными двигателями. В авиационных двигателях используются различные типы систем зажигания и смазки, а также системы предотвращения образования льда на воздухозаборнике.
Несмотря на то, что поршневые винтовые двигатели бывают самых разных размеров, большинство более крупных самолетов теперь имеют те или иные формы газотурбинных двигателей. Однако меньшие по размеру самолеты могут летать в воздухе с помощью меньших поршневых двигателей внутреннего сгорания.
Сегодня на самолетах используется множество винтов. В программе Spartan Aviation Maintenance Technology вы узнаете назначение и функции пропеллеров, таких как:
- Фиксированный шаг
- Регулируемый с земли гребной винт
- Винты с регулируемым шагом
- Винты с постоянной скоростью
- Пропеллеры с оперением
- Винты с обратным шагом
Как и традиционные поршневые двигатели, газотурбинные двигатели работают за счет сочетания воздуха и топлива для пропульсивного сгорания.Однако газовые турбины газотурбинных двигателей обеспечивают непрерывное сгорание, чтобы приводить в действие компрессор, который повышает давление воздуха до предела, чтобы обеспечить исключительную мощность. Турбинные двигатели, идентифицируемые по пути прохождения воздуха через двигатель и способам движения самолета, относятся к одной из четырех следующих категорий:
- Турбовинтовой — эта форма газотурбинного двигателя подключается непосредственно к зубчатой передаче. система, которая вращает пропеллер почти так же, как и традиционный поршневой двигатель.Коробка передач турбовинтового самолета замедляет вращающийся карданный вал для правильного привода гребного винта.
- Turbojet — Турбореактивный двигатель, впервые разработанный немецкими и британскими учеными в преддверии Второй мировой войны, движется по воздуху за счет мощных газовых потоков, которые он генерирует. Хотя турбореактивный двигатель чрезвычайно мощный, он традиционно требует огромного количества топлива.
- Турбовальный двигатель — Турбовальный авиационный двигатель, наиболее часто используемый для эксплуатации вертолетов, очень похож на турбовинтовой двигатель, за исключением того, что он предназначен для вращения трансмиссии, которая, в свою очередь, связана с системой ротора вертолета.
- Турбореактивный двигатель — Турбореактивный двухконтурный двигатель с массивными вентиляторами для облегчения забора воздуха был спроектирован с учетом лучших характеристик турбовинтового и турбореактивного двигателя. Преимущества этого типа двигателя включают значительную тягу на низких оборотах и относительно тихую работу. По этим причинам, среди прочего, турбовентиляторные двигатели используются в подавляющем большинстве современных коммерческих авиалайнеров. Boeing была первой компанией, которая применила турбовентиляторные двигатели, установив их на свои самолеты 737-300 в начале 1980-х годов.В 2018 году компания Boeing выпустила массивный турбовентиляторный двигатель GE9X для своего самолета 777X. Самый большой газотурбинный двигатель в мире GE9X примерно такой же ширины, как фюзеляж Boeing 737!
В Спартанском колледже студенты авиационных технологий технического обслуживания могут обучаться работе как с пропеллерными, так и с газотурбинными двигателями для обеспечения ряда мощностей. однодвигательные и многодвигательные самолеты.Кроме того, Спартанский колледж аэронавтики и технологий предлагает обучение авиационным компонентам и системам, включая планеры, такелаж, гидравлические системы, системы защиты окружающей среды и системы предупреждения.
Курсанты авиационной авиации Spartan могут получить как одномоторные, так и многомоторные рейтинги. Наш парк самолетов включает одномоторный Piper Archer, Cessna 172 Skyhawk и двухмоторный Piper PA-44 Seminole.
Хотите узнать больше?
Если вы хотите узнать больше о Спартанском колледже и наших предложениях по программе, заполните форму ниже, чтобы запросить информацию, и мы попросим одного из представителей нашей приемной комиссии связаться с вами.
Четыре типа авиационных двигателей и их влияние на полет
Четыре типа авиационных двигателей и их влияние на полетСпособность самолета летать в воздухе зависит от типа используемых авиационных двигателей. Вот как двигатель влияет на пилотаж.
Когда в 2003 году Смитсоновский музей авиации и космонавтики расширился за счет Центра Удвар-Хейзи, историки, доценты и посетители были в восторге от того, что увидели целый раздел, посвященный исключительно различным типам авиационных двигателей.Увеличенное пространство от тесного оригинального здания на торговом центре Вашингтона, округ Колумбия, означало, что гости могли не только увидеть намного больше самолетов, которые имели важное значение для истории авиации, но и взглянуть на то, как они приводились в действие.
Конструкция авиационного двигателя была последним препятствием на пути к первому достижению полета с двигателем. Пионеры авиации изо всех сил пытались найти двигатель, который был бы достаточно мощным, чтобы подняться, а также планер, органы управления и, по крайней мере, одного пилота от земли. Когда Орвиллу и Уилбуру Райтам удалось совершить этот подвиг в 1903 году, дальнейшее развитие часто было вызвано необходимостью войны и военных самолетов.Реактивные двигатели позволили самолетам преодолеть звуковой барьер и проложили путь для современных путешествий. Вот несколько основных типов авиационных двигателей и способов, которыми они влияют на пилотажную жизнь в воздухе.
Первый авиационный двигательПоскольку братья Райт были не только отцами механического полета, но и одними из первых пилотов высшего пилотажа, следует обратить внимание на двигатель, который они решили разместить в своем летательном аппарате Райт 1903 года. Хотя сейчас это трудно представить, часть загадки достижения полета заключалась в том, чтобы решить, каким образом должен быть приведен в действие планер.Большинство современников братьев Райт полагались на пар или сжатый газ. Один из их ближайших конкурентов, Сэмюэл Лэнгли, попробовал бензиновый двигатель. Однако решение использовать двигатель внутреннего сгорания на Райт Флайере было предсказуемым. Это был ответ на загадку; с тех пор та или иная форма этого двигателя использовалась практически в каждой конструкции самолета. Современные самолеты, не имеющие реактивных двигателей, имеют тот же базовый тип, что и конструкция двигателя Райта. Однако сегодня они намного сложнее.
Несмотря на широкомасштабные поиски, братьям Райт не удалось найти двигатель, отвечающий их требованиям. Они искали мощность от 8 до 10 лошадиных сил и вес менее двухсот фунтов. (С точки зрения перспективы, имейте в виду, что большинство базовых потребительских газонокосилок предлагают примерно 6 л.с.) Хотя некоторые производители автомобилей имели возможность производить такие двигатели, они отказывались делать это, если только не массово. Райт был нужен только один.
Хотя братья были опытными инженерами и изобретателями, которым также удалось взломать код управления аэродинамическими силами, они нуждались в помощи, когда дело касалось двигателя.Механик-самоучка и машинист, помогавший Райтам в их велосипедном бизнесе, Чарли Тейлор построил двигатель мощностью 12 л.с. примерно за шесть недель.
К сожалению, оригинальный двигатель был поврежден, когда братья выполняли дальнейшие полеты в декабре 1903 года. Его части были спасены, чтобы построить еще один двигатель для второго самолета в 1904 году. Спецификации конструкции не сохранились, но фрагменты сохранились. Поскольку многие из последующих двигателей Wright Flyer были похожи, историки авиации имеют хорошее представление о том, на что был похож двигатель 1903 года.
Двигатель Тейлора охлаждался водой. Шланг подачи радиатора находился внизу, а два возвратных шланга лежали вверху. Маховик помогал гасить вибрации двигателя, а магнето вырабатывало электричество для системы зажигания двигателя. Четыре камеры сгорания воспламенили смесь топлива и воздуха. Пружины впускных клапанов, пружины выпускных клапанов, воздухозаборник, карбюратор, топливопровод, цепь привода ГРМ, система смазки, распределительные кулачки и распределительные валы обеспечивали мощность, достаточную для подъема Flyer, а законченная сборка аналогична автомобильной.На протяжении всей своей карьеры Райты продолжали совершенствовать и улучшать как двигатель, так и конструкцию планера.
Четырех- и шестицилиндровые поршневые двигателиКонструкторы и инженеры пилотажных самолетов сталкиваются с проблемой обеспечения достаточной мощности самолета, при этом сохраняя его легкость и маневренность. Многие современные пилотажные самолеты оснащены четырех- или шестицилиндровыми двигателями. В металлических цилиндрах происходит сгорание топлива.Внутри цилиндра поршень двигателя движется, открывая и закрывая воздухозаборники, которые регулируют сгорание двигателя.
Шестицилиндровый авиационный двигатель дороже, но обеспечивает большую мощность. Пилоты, которые предпочитают большую мощность, обычно летают на самолетах с шестью цилиндрами. Они действительно весят больше, но вес не сильно влияет на маневренность. Однако шестицилиндровые двигатели обычно стоят дороже. Кроме того, они требуют большего количества топлива, более высоких эксплуатационных расходов и более дорогого обслуживания.Компания Lycoming в Пенсильвании является популярным выбором для пилотов-пилотажников, когда дело доходит до выбора типов авиационных двигателей для использования в самолетах.
Радиальные двигателиНекоторые пилотажные самолеты имеют радиальные двигатели. Они также имеют возвратно-поступательное движение и работают от внутреннего сгорания. Однако цилиндры расположены по кругу. Многие авиадвигатели имели радиальные двигатели, пока популярность газотурбинных двигателей не возросла. Российская компания Vendeneyev производит радиальные двигатели для самолетов Яковлева и Сухого, которые активно используются в пилотажных полетах.
Эти типы авиационных двигателей имеют более защищенную конструкцию, чем прямолинейные двигатели. Повреждение от пуль или осколков может привести к большему повреждению двигателя, который использовали Райт Флайерз; Двигатели с жидкостным охлаждением могут быстро потерять охлаждающую жидкость. Однако радиальный двигатель с воздушным охлаждением более надежен при повреждении. Некоторые пилоты высшего пилотажа предпочитают радиальный двигатель из-за его надежности, универсальности, прочности, простоты обслуживания и более низкой стоимости.
Реактивные двигателиРазвитие реактивного двигателя продвинуло авиацию, а не только высший пилотаж, больше, чем любое другое достижение в этой области.Самолеты сделали возможной огромную сверхзвуковую скорость и навсегда изменили воздушный бой. Двигательная установка на жидком топливе производит огромную тягу. Поразительно контрастируя с мощностью, создаваемой Wright Flyer 1903 года, реактивный «Конкорд» мог пересечь Атлантический океан примерно за три часа.
Что касается высшего пилотажа, то управление вектором тяги реактивных двигателей позволило выполнять маневры, которые в значительной степени невозможны для самолетов с более традиционными двигателями. Это обеспечивает быстрые повороты, резкие маневры и большие углы атаки.Например, турбовентиляторные двигатели Pratt & Whitney F119 на F-22A позволяют пилоту направлять тягу до 24 градусов. Это также позволяет получать впечатляющие изображения на низких скоростях.
[Инфографика] Руководство по различным типам двигателей
Автомобиль может иметь самый красивый хромированный выхлопной патрубок и самые удобные сиденья, но именно двигатель действительно делает автомобиль автомобилем.Хотя сегодня в большинстве автомобилей используются двигатели внутреннего сгорания, конфигурация двигателя внутреннего сгорания может сильно отличаться от автомобиля к автомобилю. Как известно профессионалам, прошедшим курс обучения автомехаников , некоторые двигатели могут развивать потрясающую скорость, другие ценятся за отличную топливную экономичность, а третьи могут быть предпочтительнее из-за их небольшого размера.
Если вы заинтересованы в карьере в автомобильной промышленности , вы, вероятно, задавались вопросом, какие бывают типы двигателей.Любой, кто увлечен автомобилями, обязательно захочет узнать как можно больше о том, что заставляет эти удивительные машины двигаться.
Чтобы узнать больше о различных типах двигателей в автомобилях, ознакомьтесь с инфографикой ниже!
Как работают двигатели внутреннего сгорания
Все автомобили, используемые сегодня на дорогах, кроме электромобилей, используют двигатели внутреннего сгорания
В двигателе внутреннего сгорания топливо воспламеняется, создавая небольшой взрыв
Двигатель преобразует энергию этих взрывов в движение
Знаете ли вы? Первый двигатель внутреннего сгорания, достаточно маленький для транспортировки, пришлось как раз.5 лошадиных сил
Двигатели внутреннего сгорания бывают разных конфигураций, в том числе:
Рядный / прямой двигатель
- Самая простая и распространенная конструкция автомобильного двигателя
- Цилиндры сгруппированы по прямой
- Встречается во многих автомобилях, особенно с двигателем 3,0 л или менее
V Двигатель
- Цилиндры расположены в два ряда в форме буквы V
- Может иметь то же количество цилиндров, что и рядный двигатель
- Занимает меньше места, чем рядный двигатель
- Дорого в производстве
- Обычно используется в автомобилях более высокого класса
Двигатель Ванкеля / Роторный
- Использует треугольный вращающийся ротор вместо поршней
- Может производить много мощности
- Известен своими небольшими размерами и простотой
- Вызывает большие выбросы топлива
- Больше не используется в легковых автомобилях
оппозитный двигатель
- Поршни движутся горизонтально, как боксерские перчатки
- Низкий центр тяжести улучшает общую устойчивость автомобиля
- Популярные в 20-х -е век
- Сегодня их широко используют только Porsche и Subaru
Знаете ли вы? Оппозитный двигатель был изобретен в 1896 году Карлом Бенцем, который также изобрел первый автомобиль в 1885 году
Вт Двигатель
- Разработано Volkswagen для автомобилей высшего класса
- Цилиндры расположены в шахматном порядке в форме буквы W
- Топовая версия, двигатель W16, развивает мощность более 1000 л.с.
Дизельный двигатель
- Использует сжатый воздух, а не искру для воспламенения топлива
- Может производить гораздо большую мощность, чем газовые двигатели
- Редкий для личного автотранспорта в Канаде
- Используется в грузовиках и морских судах
Знаете ли вы? В Северной Америке 95% автомобилей работают на газе, но в некоторых частях Европы половина автомобилей использует дизельное топливо
Источники:
https: // www.britannica.com/technology/internal-combustion-engine
What Is A V Engine? It’s Design, Construction & Advantages
What is an InLine Engine? Its Design & Characteristics
https://driving.ca/auto-news/news/the-10-most-exurities-cars-in-the-world
Engineering Hall of Fame: The Volkswagen “W” Engine and the Bugatti W16
https://www.loc.gov/rr/scitech/mysteries/auto.html
https://www.carthrottle.com/post/engineering-explained-why-the-rotary-engine-had-to-die/
https: // www.Scientificamerican.com/article/why-european-diesel-cars/
Категории: Новости УВД, Техник по обслуживанию автомобилей, Кембридж, Кембридж, Инфографика
Теги: обучение автомеханика, карьера в автомобильной промышленности
Типы генераторов и двигателей и промышленное использование
Что такое дизельный двигатель?Дизельный двигатель — разновидность двигателя внутреннего сгорания; более конкретно, это двигатель с воспламенением от сжатия.Топливо в дизельном двигателе воспламеняется путем внезапного воздействия на него высокой температуры и давления сжатого газа, содержащего кислород (обычно атмосферного воздуха), а не от отдельного источника энергии зажигания (например, свечи зажигания). Этот процесс известен как дизельный цикл по имени Рудольфа Дизеля, который изобрел его в 1892 году. Хотя традиционные генераторы с дизельными двигателями могут не вписываться в наше определение «альтернативных источников энергии», они по-прежнему являются ценным дополнением к удаленным источникам энергии или сети. вверх по системе.
Типы дизельных двигателей Есть два класса дизельных двигателей: двухтактные и четырехтактные. Большинство дизельных двигателей обычно используют четырехтактный цикл, а некоторые более крупные двигатели работают по двухтактному циклу. Обычно ряды цилиндров используются в количестве, кратном двум, хотя можно использовать любое количество цилиндров, если нагрузка на коленчатый вал уравновешивается для предотвращения чрезмерной вибрации.
Генераторные установки вырабатывают одно- или трехфазное питание.Большинству домовладельцев требуется однофазное питание, тогда как для промышленных или коммерческих приложений обычно требуется трехфазное питание. Дизельные двигатели-генераторы рекомендуются из-за их долговечности и более низких эксплуатационных расходов. Современные дизельные двигатели работают бесшумно и, как правило, требуют гораздо меньшего обслуживания, чем газовые агрегаты аналогичного размера (природный газ или пропан).
Дизель-генераторы предназначены для удовлетворения потребностей малого и среднего бизнеса, помимо интенсивного использования в промышленности.Генератор — это революционный продукт, который обеспечивает доступ к чистой и доступной резервной энергии для миллионов предприятий, домов и малых предприятий. В наши дни снижение стоимости резервного питания и упрощение установки генераторов становится нормой.
Предприятия теряют деньги, когда закрываются во время отключения электроэнергии. Учитывая влияние значительной потери доходов, экономия от инвестиций в резервное питание является убедительной. Чтобы проиллюстрировать эту мысль: если розничный бизнес в среднем составляет 1000 долларов в час на кассе, потеря дохода во время длительного простоя будет очень высокой, не говоря уже о стоимости простоя сотрудников в течение этого времени.Однако дизельные генераторы исключают риск отключения электроэнергии. Добавьте к этому преимущества открытости, в то время как конкуренты без резервного питания отключены, и анализ затрат и выгод выглядит еще лучше. Инвестиции в генераторы — это простой способ сохранить доходы, обеспечить безопасность, избежать потерь и защитить прибыль.
Большинство современных генераторов спроектированы для удовлетворения потребностей в аварийном электроснабжении. Эти агрегаты непрерывно контролируют электрический ток и автоматически запускаются при прерывании подачи электроэнергии и отключаются при возврате коммунального обслуживания.В промышленности во время критических процессов генераторы могут по желанию обеспечивать аварийным питанием все жизненно важные и выбранные нагрузки. Это качество приводит к широкому использованию дизельных генераторов в развлекательных, жилых, коммерческих, коммуникационных и промышленных целях. Сегодня большинству современных больниц, пятизвездочных отелей, центров аутсорсинга бизнес-процессов, производственных предприятий, телекоммуникационных организаций, коммерческих зданий, центров обработки данных, аварийных служб, крупных промышленных предприятий и горнодобывающих компаний требуется бесперебойное электроснабжение и резервное дизельное топливо. двигатели-генераторы.
В дороге:Подавляющее большинство современных тяжелых дорожных транспортных средств, таких как грузовики и автобусы, корабли, поезда дальнего следования, крупномасштабные портативные электрогенераторы, а также большинство сельскохозяйственных и горнодобывающих машин имеют дизельные двигатели. Однако в некоторых странах они не так популярны в легковых автомобилях, поскольку они тяжелее, шумнее, имеют рабочие характеристики, которые замедляют ускорение. В целом они также дороже бензиновых автомобилей.Современные дизельные двигатели прошли долгий путь, и теперь, когда в транспортных средствах используются системы прямого впрыска с турбонаддувом, трудно заметить разницу между дизельными и бензиновыми двигателями.
В некоторых странах, где налоговые ставки делают дизельное топливо намного дешевле бензина, очень популярны дизельные автомобили. Новые разработки значительно сократили различия между бензиновыми и дизельными автомобилями в этих областях. Дизельная лаборатория BMW в Австрии считается мировым лидером в разработке автомобильных дизельных двигателей.После долгого периода, когда в модельном ряду было относительно мало дизельных автомобилей, Mercedes Benz вернулся к дизельным автомобилям в 21 веке с упором на высокую производительность.
В сельском хозяйстве тракторы, ирригационные насосы, молотилки и другое оборудование работают преимущественно на дизельном топливе. Строительство — еще один сектор, который сильно зависит от дизельной энергии. Все бетоноукладчики, скребки, катки, траншеекопатели и экскаваторы работают на дизельном топливе.
В воздухе:
Некоторые самолеты использовали дизельные двигатели с конца 1930-х годов.Новые автомобильные дизельные двигатели имеют соотношение мощности и веса, сравнимое с древними конструкциями с искровым зажиганием, и имеют гораздо более высокую топливную экономичность. Использование в них электронного зажигания, впрыска топлива и сложных систем управления двигателем также делает их намного проще в эксплуатации, чем массовые авиационные двигатели с искровым зажиганием. Стоимость дизельного топлива по сравнению с бензином вызвала значительный интерес к малым дизельным самолетам общего назначения, и несколько производителей недавно начали продавать дизельные двигатели для этой цели.
На воде:Высокоскоростные двигатели используются в тракторах, грузовиках, яхтах, автобусах, легковых автомобилях, компрессорах, генераторах и насосах. Самые большие дизельные двигатели используются для питания кораблей и лайнеров в открытом море. Эти огромные двигатели имеют выходную мощность до 90 000 кВт, вращаются со скоростью от 60 до 100 об / мин и имеют высоту 15 метров.
Под землей:Горнодобывающая промышленность и добыча полезных ископаемых во всем мире в значительной степени полагаются на дизельную энергию для использования природных ресурсов, таких как агрегаты, драгоценные металлы, железная руда, нефть, газ и уголь.Экскаваторы и буровые установки с дизельным двигателем выкапывают эти продукты и загружают их в огромные карьерные самосвалы или на конвейерные ленты, которые также работают на том же топливе. В целом на дизельное топливо приходится 72 процента энергии, потребляемой горнодобывающим сектором.
Как на открытых, так и на подземных горных работах используется дизельное оборудование для извлечения материалов и погрузки грузовиков. Самым крупным дизельным оборудованием с резиновыми колесами, используемым в горнодобывающей промышленности, являются огромные внедорожники с двигателями мощностью более 2500 лошадиных сил, способными перевозить более 300 тонн груза.Эти гигантские грузовики, катящиеся по земле, просто зрелище.
В больницахАварийные резервные генераторы необходимы в любом крупном медицинском учреждении. Из-за критического характера работы, которую выполняют эти учреждения, и положения, в котором находятся их пациенты, перебои в подаче электроэнергии просто недопустимы. В течение многих лет как военные, так и государственные больницы полагались на промышленные генераторные установки, которые брали на себя работу всякий раз, когда отключалось электричество, будь то локальный сбой или крупное стихийное бедствие, такое как ураган или наводнение.
За центрами обработки данныхКомпьютеры — это сердце современной индустрии. Когда серверы и системы выходят из строя, связь может быть потеряна, бизнес прекращается, данные теряются, рабочие сидят без дела, и почти все останавливается. По этой причине почти все коммуникационные и телекоммуникационные компании любого профиля обращаются к дизельным генераторам в качестве основного варианта резервного питания. Поскольку надежность их услуг затрагивает очень многих людей, у них действительно нет другого выбора, кроме как иметь надежный вариант резервного питания как для своего бизнеса, так и для клиентов, которых они обслуживают.
СводкаДизель используется в большинстве промышленных секторов, поскольку он обеспечивает большую мощность на единицу топлива, а его более низкая летучесть делает его более безопасным в обращении. Одна действительно захватывающая перспектива замены дизельного топлива бензином — это возможность полностью исключить потребление бензина. Большинство дизельных двигателей можно уговорить сжигать растительное масло вместо дизельного, и все они могут сжигать различные обработанные формы растительного масла без потери срока службы или эффективности.
С Generator Source ваш поиск экономичного и эффективного дизельного двигателя или генератора теперь завершен. Мы предлагаем один из самых больших в мире ассортиментов промышленных дизельных двигателей и генераторов. Чтобы получить дополнительную информацию, просто свяжитесь с нами сегодня!
Различные варианты компоновки двигателей
Возможно, вам было интересно, какой тип двигателя установлен под вашим капотом, вы узнаете об этом сегодня. Что ж, ниже было опубликовано несколько статей о проверке типа двигателя!
Компоновка двигателя
Автомобильные двигатели также различаются по расположению цилиндров, благодаря чему двигатель конкретной конструкции помещается в ограниченном пространстве.Расположение цилиндров двигателя также может определять эффективность работы автомобиля. Эти различные типы компоновки двигателей различаются расположением цилиндров.
Ниже приведены различные типы расположения цилиндров.
Рядный:
Линейная компоновка позволяет устанавливать вокруг двигателя некоторые компоненты, такие как радиатор, аккумулятор, система охлаждения и т. Д., Благодаря портативности двигателя. Эти компоновки двигателей встречаются в основном на небольших семейных автомобилях и хэтчбеках.Линейная компоновка известна, когда цилиндры расположены бок о бок в вертикальном положении перпендикулярно автомобилю.
Подробнее: Детали двигателя внутреннего сгорания
Прямой:
Двигатель с прямым расположением двигателя встречается в основном на мощных автомобилях, таких как BMW и Mercedes. Цилиндры расположены параллельно машине спереди назад. Основным преимуществом такой компоновки является то, что она позволяет разместить больше цилиндров.
Квартира:
В двигателях такого типа цилиндры расположены горизонтально двумя рядами наружу.Эти компоновки двигателей встречаются редко, поскольку они высоко ценятся за низкий центр тяжести в моторном отсеке. Одним из крупнейших производителей двигателей с плоским цилиндром является Porsche, который использует шестицилиндровый двигатель в своем легендарном спортивном автомобиле 911.
В:
Двигатель типа V в основном используется на суперкарах и некоторых автомобилях премиум-класса. Цилиндры установлены под углом 60 ° к бокам двумя рядами наружу. Основание цилиндров соединено с коленчатым валом.V-образная форма видна, если смотреть на двигатель спереди. Хорошая новость заключается в том, что в компоновке двигателя предусмотрено место для большего количества цилиндров.
Подробнее: Общие сведения о системе охлаждения двигателей внутреннего сгорания
Вот и все для этого поста, в котором объясняются различные типы компоновки двигателей. Надеюсь, вам понравилось чтение, если да, поделитесь с другими студентами. Спасибо за чтение, увидимся в следующий раз!
Что такое двигатель? | Какие бывают типы двигателей?
В этой статье мы подробно рассмотрим различные типы двигателей и их применение.Итак, двигатель — это механическая машина, которая преобразует энергию топлива в механическую и производит движение. Это движение используется для управления транспортным средством. В термодинамике эти двигатели обычно называют тепловыми двигателями, которые производят макроскопическое движение тепла. Это сложная машина, которую очень трудно спроектировать. Итак, двигатель — это машина, меняющая мощность в движении. В нем могут использоваться различные виды топлива, такие как природный газ, бензин, дизельное топливо и т. Д.
Это фундаментальная и самая важная часть всех транспортных средств.Машины без двигателя бесполезны. В настоящее время он используется во многих приложениях. Он используется во многих отраслях промышленности для перекачивания воды и в турбинах для выработки электроэнергии. В случае с двигательной установкой он работает как двигатель с воздушным охлаждением, который использует воздух для перемещения топлива, а не для промывки окислителя, как в ракете. В этом случае тепло исходит от топлива, которое, в свою очередь, сжимает поршни.
различных типов двигателей:
Ниже приведены различные типы двигателей.
1) По должности: 1.1) Тепловые или тепловые двигатели:Включает известные типы двигателей. В общем, эти двигатели требуют, чтобы основание обогревателя двигалось. В зависимости от того, как они производят тепло, они будут либо непрерывными (не подключенными), либо не подключенными. Они работают, сжигая масло напрямую или меняя жидкости для создания работы. В результате для большинства тепловых двигателей преобладают химические двигатели.
1.2) Двигатели внутреннего сгорания (I.C):Входит в состав наиболее распространенных типов двигателей. В основном I.C используется в автомобилях. Он используется в грузовиках, газонокосилках, вертолетах и т. Д. Самый большой двигатель I.C. может производить 109 000 лошадиных сил для перемещения корабля, вмещающего 20 тыс. Контейнеров. Электродвигатели получают энергию от сжигания топлива в специальной области системы, называемой камерой сгорания. Камерная процедура вызывает реакцию (окисление) с большим объемом, а не с композитом (масло и окислитель).Следующее — хлеб с маслом I.C. Тепло исходит только от компонентов и энергии накопления отработанного масла, потому что оно не обеспечивает нормальное функционирование организма.
1.3) Двигатели внешнего сгорания:Внешний электродвигатель (двигатель E.C) входит в известные типы двигателей. Они хранят масло отдельно. И они сжигают топливо в комнате и нагревают пиво внутри двигателя с помощью термостата и стены. В некоторых случаях E.C работает аналогично I.C. Но оба требуют тепла от горящей бумаги.
В двигателе E.C используются жидкости, которые подвергаются тепловому расширению или передаче, но имеют те же изменения материала при производстве. Жидкость, которая может использоваться как газ (как в двигателе Стирлинга), как жидкость (в органическом карточном автомате Ренкина). Он может совершать возвратно-поступательные движения (как в двигателе). В двигателях с внутренним зажиганием жидкость в основном состоит из плавления газа и горящей смеси воздуха (с изменением своей химической функции). В конце концов, двигатель выпускает жидкость после того, как она была использована, например, I.С.
1.4) Электродвигатели:Существует три типа электромагнетизма: магнитный, пьезоэлектрический и электростатический. Магниты, как и батарейки, получили наибольшее распространение. Он основан на взаимодействии магнитных полей и электрического тока для создания функции. Он работает по тому же принципу, что и динамо-машина для производства электроэнергии, но с точностью до наоборот. Конечно, вы можете вырабатывать электричество, если запустить генератор вручную.
2) По топливу: 2.1) Бензиновые двигатели:В качестве топлива используется бензин. К ним относятся наиболее известные типы двигателей. В основном они используются в мотоциклах, генераторах и некоторых других транспортных средствах. Он также известен как «двигатель с самовоспламенением (S.I)». Потому что топливо в этих двигателях сгорает за счет внешней искры, испускаемой свечой зажигания. И тогда машина трогается с места.
2.2) Дизельные двигатели:В качестве топлива используется дизельное топливо, так как он известен как дизельный двигатель. Это также известно как воспламенение горения (C.I) двигатель. Потому что топливо в этих двигателях сгорает само из-за высокой температуры воздуха.
3) По ходу: 3.1) Двухтактный двигатель:Завершает силовой цикл с помощью двух ходов поршня (вверх и вниз). И коленчатый вал вращается только один раз за разовое сжигание топлива. Он значительно уменьшает количество движущихся частей по сравнению с четырехтактными двигателями.
3.2) Четырехтактный двигатель:Завершает энергетический цикл за четыре хода поршня.В результате коленчатый вал поворачивается два раза за одноразовое сгорание топлива.
3.3) Шеститактный двигатель:Шеститактный двигатель входит в число наиболее распространенных типов двигателей. Завершает силовой цикл шестицилиндровый поршень. В результате коленчатый вал поворачивается три раза за один раз за время сжигания топлива.
Заявки:1) Используется в автомобилях.
2) Используется в грузовиках.
3) Они также используются в самолетах.
4) Используется в поездах.
5) Используется почти во всех дорожных транспортных средствах, таких как автобусы, мотоциклы, скутеры и т. Д.
6) Применение двигателей на гидроэлектростанциях.
7) Присоединяется к турбине для выработки электроэнергии.
8) Используется почти во всех отраслях для различных целей.
7) Они также используются в небольших машинах, таких как генераторы.
8) Используется с насосом для перекачивания воды.
Заключение:В этой статье мы подробно изучаем различные типы двигателей и их работу.Если вы чувствуете, что чего-то не хватает или что-то не так, сообщите мне. Также, если у вас возникнут вопросы, вы можете поделиться со мной. Я сделаю все возможное, чтобы дать вам правильный ответ.
.
