Инструкция как правильно чистить аэрограф
Вообще говоря, наиболее распространенные модели аэрографов, имеющиеся на рынке, представляют собой приборы независимого двойного действия, в которых обеспечивается раздельное управление потоками воздуха и краски. Вот схема аэрографа независимого двойного действия с выходным отверстием диаметром 0,3 мм и бачком для краски 7 см3 с гравитационной подачей краски.
Аэрограф не претерпел значительных изменений с момента изобретения, хотя его конструкция была модернизирована. Здесь перечисленны основные модели которые распространены:
- Модель 381 «Черная линия» фирмы Ханса (Hansa Model 381 Black line). Аэрограф независимого двойного действия с бачком для краски емкостью 7 см3 и соплом диаметром 0,3мм.
- Модель НР-С фирмы Ивата (Iwata Model HP-C). Аэрограф независимого двойного действия с бачком для краски емкостью 7 см3 и соплом диаметром 0,3мм.
- Модель Аэро-про 103 фирмы Аэро про (Aero-pro 103).
Аэрограф независимого двойного действия с бачком для краски емкостью 7 см3 и соплом диаметром 0,3мм. - Модель GI-83 фирмы Фишер (Fisher Model GI-83). Аэрограф независимого двойного действия с соплом диаметром 0,2мм и сменными бачками для краски с сифонной подачей емкостью 60, 30 и 15 см3.
- Аэрограф JAS 1117 фирмы JAS. Аэрограф двойного независимого действия. Подводка материала верхняя. Cопло 0,25 мм.
Это всего лишь крохи от всего того объема аэрографов, существующих в мире. Но после долгих «терок» на форуме, мы пришли к выводу что если новичек решил брать себе первий аэрограф, то лучше всего чтобы это был аэр модели «Аэро-про», так как они неприхотливы, на них недорогие расходники и вслучае поломки его легко можно отремонтировать.
Детали аэрографа находятся в постоянном контакте с краской и быстро загрязняются. Если их тщательно не промыть после завершения работы, прибор может испортится.
- Прежде всего, нажмите на спусковой рычаг, чтобы он вытолкнул оставшуюся внутри краску.
Эту операцию следует повторять несколько раз — до тех пор, пока из аэрографа не выйдет вся краска; - Залейте несного спирта в бачок для краски;
- Вновь опорожните его через иглу, ослабив стопорную гайку и оттянув иглу назад;
- Снова налейте в бачонок спирт;
- Спирт помешайте кисточкой, что бы остатки краски на стенках бачка растворились;
- Промойте сопло кисточкой, смоченной спиртом;
- Выньте иглу из аэрогрофа;
- Протрите иглу ватой, смоченной спиртом и удалите грязь. Вставьте иглу наместо и закрепите стопорную гайку.
Обычно воды и спирта бывает достаточно, что бы обеспечить нормальную промывку аэрографа. Тем не мение некоторые фирмы выпускают специальные моющие средства. Они действуют так же, как средства для очистки металических поверхностей: промывают и защищают от ржавчины и других повреждений.
Также в довесок хочется привести таблицу «косяков» и как их лечить
1.
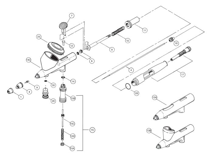
1 Из чего состоит аэрограф:Корпус, ванночка для краски, педаль подачи воздуха/краски, сопло, защита сопла, игла, регуляторы давления/хода иглы, место подачи воздуха.
Бытросъемы, виды и совмещения.
С хема
Принцип механизма Аэрографа. 1. Крышка бачка для краски; 2. Пусковой рычаг; 3. Бачок для краски; 4. Ось пружины; 5. Игла; 6. Ручка и крышка прибора; 7. Регулятор положения иглы; 8. Втулка; 9. Пружина; 10. Клапан подачи воздуха; 11. Пружина клапана; 12. Воздушный шланг; 13. Острие иглы; 14. Крышка сопла.
И более точная.
1. | Диффузор |
2. | Корпус диффузора |
3. | Резиновый уплотнитель |
4. | Сопло |
5. | Резиновый уплотнитель |
6. | Емкость под краску с крышкой |
7. | Рычаг управления |
8. | Рычаг управления иглой |
9. | Прокладка иглы |
10. | Фиксирующая втулка |
11. | Блокирующая втулка |
12. | Направляющая иглы с цанговым зажимом |
13. | Стопорный винт втулки |
14. | Возвратная пружина иглы |
15. | Обойма пружины |
16. | Фиксирующая гайка зажима |
17. | Игла |
18. | Резиновый уплотнитель |
19. | Защитный колпак задний |
20. | Регулятор подачи краски |
21. | Резиновый уплотнитель |
22. | Воздушный клапан в сборе |
23. | Резиновый уплотнитель |
24. | Корпус воздушного клапана |
25. | Резиновый уплотнитель |
26. | Воздушный клапан |
27. | Пружина |
28. | Шайба клапана |
29. | Гайка коннектора |
30. | Резиновый уплотнитель |
31. | Коннектор |
32. | Ключ для смены сопла |
Схема
краскопульта.
Принцип работы инструмента
Принцип действия аэрографа: проходящий под давлением воздух увлекает за собой краску, разрушает её на мельчайшие капли и распыляет их на поверхность. Количество воздуха регулируется при помощи механизма управления – триггера. При нажатии на триггер воздух засасывает краску из ёмкости, распыляет её и в форме конического факела выбрасывает. Аэрографы различаются разными конструкциями узла смешения красочного и воздушного потоков и механизмом управления подачи воздуха и краски.
В работе аэрографа одинарного действия использован тот же самый базовый принцип, что и в так называемом устройстве — «распылитель дыханием». Воздух, выдуваемый изо рта через трубочку, поднимает жидкость из ёмкости и распыляет её вперёд.
При
использовании воздуха с оптимальным
давлением, обеспечивающим тонкое
распыление краски, аэрограф позволяет
наносить очень ровное, гладкое покрытие.
Разновидности аэрографов
Аэрографы одинарного действия
В этих моделях триггер регулирует только воздушный поток. Нажатием на триггер открывают путь для воздуха, который, в зависимости от конструкции аэрографа, смешивается с краской внутри или снаружи корпуса. По этому принципу различают аэрографы внутреннего и наружного смешения.
Аэрографы с наружным смешением самые простые и их чаще всего используют для равномерного окрашивания или лакирования больших поверхностей. У некоторых моделей аэрографов одинарного действия предусмотрен игольчатый клапан. Им настраивается количество подаваемой на распыление краски, но для такой настройки необходимо прерывать работу.
У
аэрографов одинарного действия с
внутренним смешением процесс смешения
воздуха и краски проходит внутри корпуса.
Нажимая на триггер, открываем воздушный
клапан, и воздух с большей или меньшей
силой распыляет краску наружу. Количество
краски регулируется винтом, находящимся
в задней части ручки аэрографа.
Аэрограф внешнего смешения без иглы. Этот аэрограф одинарного действия имеет триггер, который регулирует только подачу потока воздуха.
На этом рисунке изображён механизм роспыления «в разрезе». Он состоит из двух трубочек, расположенных под прямым углом друг к другу, по которым соответственно поступают воздух и краска.
Аэрограф внешнего смешения с неподвижной иглой и подвижным соплом. Этот аэрограф одинарного действия имеет триггер, который регулирует только подачу воздуха, однако подвижное сопло позволяет предворительно устанавливать подачу краски.
Аэрографы двойного действия
В
этих моделях триггер, регулируя степень
открытия воздушного и игольчатого
клапанов подачи краски, позволяет
одновременно управлять воздушным и
красочным потоками, не прерывая работу.
Есть модели с взаимозависимой регулировкой
подачи потоков (чем больше подача
воздуха, тем больше подача краски) и
независимой.
Аэрограф внутреннего смешения двойного независимого действия, с верхней подводной мотерисла. При перемещении триггера аэрографа вниз открывается подача воздуха, а при одновременном оттягивании триггера назад открывается подача краски.
Эксплуатация аэрографа
Сборка/разборка аэрографа.
Хранение аэрографа, меры предосторожности, чистка, техническое обслуживание.
возможные погрешности в работе инструмента, способы настройки и устранения погрешностей в работе инструмента.
разновидности
и технические характеристики разных
моделей и производителей.
требования к расходным материалам (густота краски, совместимость смешиваемых составов)
техники аэрографии: свободная рука, трафареты, скотч.
способы наметки изображения.
Как рисовать некронов быстро и легко (фото уроки)
Как раскрасить некронов? Некроны — это научно-вымышленная раса инопланетян, в которую вы можете играть в настольной игре с миниатюрами во вселенной Games Workshop Warhammer 40,000. Линия миниатюр Necron — это уникальные детализированные скульптуры, которые поставляются в пластиковых наборах. Как и все модели Games Workshop, комплекты Necron поставляются с простыми инструкциями по сборке. И, несмотря на замысловатую сложность моделей, вы можете использовать простые приемы и методы для раскрашивания своих некронов.
В этой статье Эрик Феста, давний друг и коллега, художник-миниатюрист, делится своими фото-уроками того, как он рисует миниатюры некронов (узнайте больше о его невероятных работах @Col.
Festus). Как вы увидите, его невероятно уникальный стиль и подход просты, но очень эффективны. Более того, его метод доступен каждому художнику любого уровня мастерства. По большей части вы увидите, что Эрик в основном использует краски и расходные материалы Citadel, но он также расширил использование других красок и материалов для хобби.
Давайте подогреем аппетит несколькими готовыми раскрашенными некронами
Вы заметите, что стилизованный мотив этих нарисованных некронов соответствует стилю миниатюрной живописи «гримдарк» или «бланчицу» с немного более ярким, уникальным оттенком.
Это один из тестовых образцов Эрика Фесты для определения цветовой схемы для всей армии некронов. Изображение предоставлено: Col_FestusЯркий, но темный. Зеленое свечение лезвия и подсветка объекта (OSL) добавляют невероятного интереса к минималистичному стилю этой модели. Изображение предоставлено: Col_FestusЗолото, металл и интригующий зеленый оттенок некоторых элементов модели объединяются для создания великолепного визуального эффекта.
Изображение предоставлено: Col_FestusПродолжайте читать, чтобы узнать, как Эрик Феста нарисовал эти невероятные модели некронов!
Как покрасить простые базы некронов?
Изображение предоставлено: Col_FestusЭрик Феста использует простой подход для создания баз для своей армии некронов. Это важно, потому что скорость является отличительной чертой метода Эрика. Просто, быстро, эффективно. Если вам интересно, какую кисть Эрик использует большую часть времени для рисования миниатюр, то это почитаемая Winsor & Newton Series 7 (заостренная круглая, размер №1).
Вот 5 простых шагов, как покрасить базу Necron 40k :
1. База с Astrogranite (Техническая краска Citadel)
2. Сухая кисть Rakarth Flesh
3. Драйбраш с Screaming Skull
4. Промыть Agrax Earthshade
5. Обод с черным
Я обнаружил, что для технической краски Citadel можно использовать альтернативные продукты-основы, которые могут быть менее дорогими (но требуют немного больше работы).
Вы также можете увидеть обзор некоторых любимых оттенков Citadel здесь.
Как покрасить доспехи некронов?
Подход к покраске доспехов некронов представляет собой комбинацию простых и легких методов. Как только Эрик Феста наладил этот рабочий процесс, он распространил его по всей армии некронов. Как видите, это придает его армии некронов в целом последовательный «вид».
Завершить Бессмертный Некрон. Изображение предоставлено: Col_FestusЧтобы начать работу по покраске, Эрик предпочитает использовать черную грунтовку (которая является лучшей цветной грунтовкой для быстрой покраски). Подробнее о грунтах для покраски миниатюр здесь. Для некоторых из этих техник использовался аэрограф для нанесения ровных тонких слоев краски на модели. Вы можете узнать больше об аэрографах для рисования миниатюр и ознакомиться с обзорами 10 лучших аэрографов. Эрик использует аэрограф Iwata HP-C для своей миниатюрной живописи.
Вот 4 шага, как покрасить базовую броню Некрона с эффектом сколов:
- Базовый слой представляет собой смесь 1:1 Dryad Bark и черной краски , и использует среду для сколов (например, AK Интерактивная среда для сколов) по всей поверхности и дайте ей высохнуть
- Покройте доспехи базовым слоем Rakarth Flesh (помогает аэрограф)
- Используя воду и жесткую кисть, обработайте углы и края доспеха, чтобы образование «сколов» и «вмятин» на поверхности
- Нанесите коричневую заливку (любой выбор) на углубления в доспехах
Вот 4 шага для стальных аспектов модели (модифицированы из формул, которые Эрик использует для окраски своих миниатюр Sisters of Battle) :
- Начните с серого цвета на элементах модели, которые вы хотите покрасить из стали.
0061- Нанесите промывку на всю модель с NULN Oil
- БОЛЬШОЙ БОЛЬШОЙ БОЛЬШОЙ японский высококачественный аэрограф двойного действия. HP-C — один из самых универсальных аэрографов для рисования миниатюр и моделей. Чтобы узнать больше об этом аэрографе, ознакомьтесь с этой статьей или нажмите на ссылку ниже.
Дополнительные детали аэрографа
Для другого танка при покраске обветренной, сколотой брони некронов, вот 4 других шага покраски:
- Начните с темного цвета, любого, который вы предпочитаете , , а затем слой жидкости для стружки и нанесенной на нее основы Rakarth Flesh
- Реактивируйте жидкость для стружки, используя влажную щетку и протирая щетиной области, чтобы удалить тонкий слой Rakarth Flesh, например, эффект сколов краски
- Заштрихуйте ниши брони на модели маслом Nuln Oil
- Выделите края смесью 1:1 Rakarth Flesh и Corax White
Как покрасить золотые металлические акценты на Warhammer 40?
Изображение предоставлено: Col_FestusВы можете увидеть крошечные струйки теплого золотого металла на некронах по всей этой раскрашенной армии.
Теплый оттенок контрастирует с более холодными тонами модели. Но вы заметите, что золото не перегружает изделие, а только подчеркивает ключевые части модели. Золотом особое внимание уделяется лицу и голове, обрамлению шеи, некоторым аспектам вооружения.Ниже приведены инструкции по окраске металлического золота в цветовой гамме Necron:
- Покройте базовым слоем Vallejo Model Air Steel области, которые вы хотите позолотить
- Промойте поверхность смесью Snakebite в соотношении 1:2. Кожа Contrast to Contrast Medium
- Мелирование масштабом 75 Elven Gold Краска металлик (или используйте аналогичный золотой металлик)
- Высветление смесью Vallejo Steel и Elven Gold Metallic 1:3
Как покрасить зеленые линзы некронов?
Изображение предоставлено: Col_FestusЧтобы придать некронам характерную эстетику злых роботов, вы можете подумать о том, чтобы нарисовать их глаза, визоры и линзы таинственным светящимся видом.
В этой раскраске Necron эти элементы имеют загадочный зеленый цвет.Вот 4 простых шага, чтобы нарисовать эффекты зеленого свечения на глазах и линзах Necron:
- Базовое покрытие линз смесью Moot Green и Corax White 9 в соотношении 1:2.0004
- Нанесите заливку/затенение, смешав 1:10 Warp Lightning Contrast и Contrast Medium
- Выделите линзу , смешав 1:2 Moot Green и Corax White (аналогично шагу # 1)
- Выделите центр линзы чистой краской Corax White
Обратите внимание, что вы можете использовать эти техники с разными цветами для своих моделей.
Как покрасить оружие некронов?
Клинковое оружие некронов привлекает внимание, особенно на моделях штаб-квартиры. Как покрашено это оружие? Эрик использует простой подход, который можно легко и быстро реализовать. Проверьте это!
Вот 4 шага покраски оружия некронов:
- Базовое покрытие оружия Corax White
- Покройте все оружие краской Warp Lighting Contrast 0054 4 4 Нанесите второй слой Warp Lighting (разведение 1:10 на шаге 2), позвольте части пигмента скапливаться в центре каждой панели (см.
изображение ниже)0004
Как нарисовать эффекты светящегося плазменного оружия?
Изображение предоставлено: Col_Festus Изображение предоставлено: Col_FestusСуществует множество способов покрасить миниатюры с эффектом свечения источника освещения объекта (OSL) (вот еще один способ). Метод, показанный ниже для эффекта зеленой плазмы на оружии некронов, является самым простым методом, который я видел, с лучшим внешним видом.
Вот 4 простых шага для создания эффектов светящейся плазмы на оружии некронов:
- Базовое покрытие источника эффекта оружия белым цветом
- Нанесите смесь Warp Lightning to Contrast Medium 1:10 поверх окрашенной области белого цвета
- Нанесите аккуратный слой Warp Lightning Contrast углы светящейся области на оружии
- Выделите центр светящейся области белым цветом (выпуклая кривизна, см. изображение ниже)
Заключение
Надеюсь, вам понравилась эта краткая серия фотографий-руководств, предоставленных Эриком Феста.
Дополнительные уроки и практические примеры его фантастической работы по рисованию Warhammer 40k и других миниатюр, включая ландшафт, можно найти на его странице в Instagram 9.0003 @полковник Фестус . Если у вас есть какие-либо вопросы, вы можете оставить комментарий на его странице или ниже.
Спасибо за внимание!
Вам нравится ваш визит? Присоединяйтесь к Tangible DayБесплатный информационный бюллетень с ежемесячными обновлениями (без спама)
Оставьте комментарий ниже! Подписывайтесь на Twitter, Instagram, и Facebook.
Получите БЕСПЛАТНЫЙ набор фотофонов для миниатюрной фотографии в магазине.Вот так:
Нравится Загрузка…
Гулам-пехота
Гулам-пехота
Пошаговое руководство по рисованию Infinity Haqqislam Гулам-пехота
Похоже, в наши дни у каждого есть аэрограф.
И это кажется важным для качественной или высокоскоростной окраски. Но что, если у вас его нет по какой-либо причине? Или модели просто не подходят для аэрографии?
Это основное внимание данного руководства.
Живопись продвинутого уровня, выполненная без наслоения, без бликов и даже без аэрографа.
Пошаговое руководство с точными приемами, позволяющими упростить этот проект до покраски без аэрографа.
Как обычно почти во всех моих проектах, сначала я трачу некоторое время на разработку цветовой схемы и планирование процесса. Я говорил об этом подходе в LazyPainter Method PDF, и эти Гуламы — хороший пример.
Итак, начнем с цветовой гаммы и разработки процесса, а затем приступим к поэтапному рисованию.
Полк гуламов движется по территории противника во время кампании Кураге Кризис
Разработка цветовой схемы
Моя армия Haqqislam для Infinity началась в 2013 году как проект по скоростному рисованию, когда мне нужно было очень быстро получить свои игровые модели.
Я выбрал студийные цвета (в основном) и создал процесс покраски, который дал мне результат ~45 минут на модель . Вы, наверное, видели его в других статьях на этом сайте:
Классическая схема Haqq хороша и соответствует армейскому происхождению. Философам и гуманитариям, живущим в пыльной пустыне, хорошо подходят землистые тона и нежная зелень.
Но, работая с новыми моделями Haqq в 2017 году (и этим сексуальным набором Red Veil), я хотел отойти от этой атмосферы и создать ощущение научной фантастики и космических наемников.
Концепция персонажа от thomaswievegg
Я часто использую внешние референсы (например, 2D-научную фантастику или фэнтези-арт) для создания своих цветовых схем.
Чаще всего я использую референс как источник вдохновения для цветового сочетания или атмосферы. Но иногда, когда референс идеально совпадает, я копирую цвета почти на 100%.
Последнее было в случае с Гуламами.
Я просматривал идеи и нашел этот невероятный дизайн персонажа от thomaswivegg. Это научная фантастика, он излучает ощущение «космического наемника», у него есть цветовая комбинация, которая в настоящее время не используется ни в одной армии Бесконечности, а также цвета, которые я хотел бы исследовать.
Броневые пластины песочного и цвета слоновой кости по-прежнему отсылали к Хаккисламу, но оранжевый, бирюзовый, красновато-коричневый и сине-серый кардинально изменили общий вид.
Конечно, схема нуждалась в некоторых изменениях, чтобы она выглядела броско на столе, но в основном это означало просто увеличение насыщенности и контрастности тут и там.
Не стесняйтесь заимствовать цветовые схемы из внешних ссылок. Особенно, если вы не художник с многолетним стажем.
Разработка процесса
На этот раз я совершенно нормально проводил больше времени со своими Гуламами.
У меня уже была игровая армия, и я не торопился.
Тем не менее, процесс должен быть достаточно эффективным, чтобы я действительно мог закончить проект и не завязнуть где-то посередине.
Я не стремился к качеству конкурсного уровня, но все же делал что-то более продвинутое, чем просто «настольный стандарт». К чему я обычно стремлюсь в новых проектах. Достаточно быстро для настольной армии, но все же достаточно сладко, чтобы время от времени ставить на полку и пускать слюни.
Давайте посмотрим на окончательный результат, чтобы вы поняли, что я имею в виду:
После некоторого планирования я решил отказаться от аэрографии, используя ее только для зенитного грунта.
Причина в том, что аэрографом здесь многого не добиться. Просто внимательно посмотрите на фото и спросите себя: а где здесь применить аэрографию? И да, ответа нет нигде.
Конечно, вы МОЖЕТЕ использовать аэрограф, если хотите, но это не даст никакого прироста ни в качестве, ни в скорости (при сохранении схемы, конечно).
Поэтому вместо этого я выбрал технику размытия в качестве основы для этапа скоростной окраски и выделение краев для этапа уточнения.
Если вы не знакомы со структурой спидпейнтинга/рафинирования (формула PSR) — обратитесь к методу LazyPainter в формате PDF, в котором подробно рассказывается об этом:
Теперь, когда вы понимаете решения на этапе планирования, давайте поговорим о шаге пошаговый процесс, который я разработал на их основе.
Шаг 1: грунтовка Zenithal
Использовать грунтовку Zenithal по-прежнему удобно, даже если ни одна часть миниатюры не будет использоваться в качестве грунтовки для покраски. Потому что он служит визуальным ориентиром и помогает ясно воспринимать все объемы миниатюры.
Но в данном случае я также использую его как основу для одной области — брюк, поверхность которых идеально подходит для стирки поверх яркого подшерстка.
Итак, этот шаг довольно прост: я наношу зенитальный грунт грунтовками Vallejo (черный и светло-серый).
Этап 2: Брюки
Как я уже сказал, брюки Гуламов — это поверхность, хорошо подходящая для стирки поверх яркого подшерстка. Она неправильная, неровная, со складками и впадинами. Так вот что я с ними сделаю:
(2-4) Стирка
GW Drakenhof Nightshade + GW Druchii Violet + GW Nuln Oil + GW Lahmian Medium
Соотношение 2/1/1/1, 3-4 слоя
(5) Контролируемая стирка
GW Drakenhof Nightshade + GW Nuln Oil
Если вы еще не видели смывку как единственную технику окраски поверхности — вот хороший пример, посмотрите внимательно на это фото. Эти брюки выглядят красиво, и это просто размытие поверх яркого подшерстка. Нет базового покрытия. Нет ярких моментов. Просто, быстро и эффективно.
Шаг 3: Коричневые детали
Следующий шаг — все коричневые детали. И это тоже отличный пример упрощения: только базовое покрытие (кхм, , один толстый слой , заметьте) и смывка.
(2) Basecoat
Dryad Bark
(2) Washing
GW Nuln Oil + GW Agrax Earthshade
в любом случае). Не требует дополнительного внимания, доработки слоями и бликами.
То, что многие люди сделали бы здесь, это классический базовый слой > смывка > мелирование > мелирование, проводя огромное количество времени на поверхности, которую никто даже не заметит.
Я имею в виду, это кожа? Некоторые научно-фантастические ткани? Пластик? Я даже не задаюсь этими вопросами. Налейте туда немного темно-коричневого, и все будет в порядке.
Шаг 4: Оранжевая униформа
В отличие от предыдущего шага, оранжевая униформа ЯВЛЯЕТСЯ центром внимания в моей схеме. Так что это шаг, чтобы потратить некоторое дополнительное время. Этот процесс определенно можно упростить, но я просто хотел получить правильный тон для своего апельсина.
(1) Базовое покрытие
GW Deathclaw Brown + GW Macharius Solar Orange
(2) Подсветка по краю
VMC Sunny Skintone
(3) Контролируемая стирка
GW Agrax Earthshade +
Lining Medium 4) Lining
GW Rhinox Hide
(5) Остекление
GW Carroburg Crimson
Подсветка краев и подкладка являются необязательными этапами, которые при желании можно исключить.
Таким образом, вы можете упростить этот процесс, нанося базовое покрытие > смывку > глазурь, и все будет выглядеть нормально.
Обратите внимание, насколько важна последняя глазурь с малиновым. Он добавляет глубины оранжевому цвету! Без него форма выглядела бы плоской и скучной.
Этап 5: Броня цвета слоновой кости
Яркие пластины брони являются вспомогательным элементом. Они по-прежнему привлекают внимание своей яркостью, но не на уровне насыщенного оранжевого цвета.
Итак, я сосредоточился здесь на создании правильного цветового тона и достаточно хорошо покрасил его, чтобы он не рассинхронизировался с другими поверхностями.
(1) Basecoat
VMC Ivory
(2) Контролируемая промывка
GW Seraphim Sepia + Lahmian Medium
(2) Linting
GW Agrax
(3) Край. Последний шаг — выделение края — совершенно необязателен. Это также прекрасный пример последовательности скоростного рисования и уточнения (из метода PDF).
Посмотрите еще раз на фотографию и сравните состояния (2) и (3). Не крупные планы, а общий вид. Не слишком большая разница, правда? Мы могли бы остановиться на состоянии (2), и все бы выглядело нормально.
Это пример, показывающий разницу между спидпейтингом и усовершенствованной моделью. На рафинированное приятнее смотреть, но только если внимательно и внимательно присматриваться. Когда вы поставите эти модели на игровой стол, будет чрезвычайно сложно определить, подсвечены ли они по краям или нет:
Вы видите здесь эти подсветку по краям? Ага, я тоже.
Шаг 6: Оружие
Следующий шаг может показаться немного более сложным для среднего художника, так что вполне нормально упростить процесс быстрой окраски до оружия. Эти два процесса очень похожи. Этот полагается на более точную подсветку краев, в то время как процесс скоростного рисования требует меньшего контроля кисти.
Но если вы чувствуете себя комфортно с выделением краев, и это не займет много времени с вашим уровнем навыков, вот мой рецепт:
(1) Базовое покрытие
Черный
(2) Хайлайтер
VMC Neutral Grey
(3) Подсветка краев
VMA Бледно-голубой серый
(4) Точки света
Белый
(5-6) Промывка
Масло GW Nuln (оружие) и GW Drakenhof Nightshade (перчатки)
это самый распространенный процесс, который я использую на оружии в эти дни.
Это немного более трудоемко, чем процесс скоростного рисования, но если у вас есть точность, это окупается. Конечно, он рассчитан на 2-3 часа покраски модели, а не на большую армейскую покраску.
Шаг 7: Волосы
Я несколько раз окрашивал волосы разных солдат, но сам процесс был более или менее одинаковым:
(1) базовое покрытие
VMC Cavalry Brown + GW Rhinox Hide
(2) Highlight
VMC Cavalry Brown
(3) Highlight
VMC Cavalry Brown + VMC Flat Flesh
(4) Points of light
GW Pallid Wych Flesh
3004 GdeWych Earth 904 Washing
Этот парень, вероятно, не лучшая иллюстрация процесса (просто там не слишком много волос), но он единственный, кто у нас есть. Возможно, готовая фотография этой дамы поможет вам лучше понять этот шаг:
Как и в предыдущем шаге, этот процесс занимает 2-3 часа на покраску каждой модели.
Если вы рисуете в ускоренном режиме, однозначно упростите его до «базовый слой > высветление > заливка» или даже «грунтовка > заливка».
Шаг 8: Лицо
Рисование лиц (и глаз!) — больная тема для многих людей. Я не пытаюсь решить эту проблему здесь, так как для этого требуется гораздо больше разговоров, фотографий и примеров.
Но мой процесс создания лиц довольно прост и почти всегда одинаков. И это не включает в себя наслоение, блики, смешивание или аэрографию. Разве это не круто?
Помните, я говорил о рисовании лиц без бликов в уроке по стирке? Вот рецепт:
(1) Basecoat
GW Pallid Wych Flesh
(2) Washing
GW Seraphim Sepia + GW Lahmian Medium
(3) Controlled Washing Medium
GW Lagram + A Earthshade GW Earthshade0034 (4) Контролируемая промывка
GW Reikland Earthshade
(5) Контролируемая промывка
GW Druchii Violet
(6) Брови и глаза
Хотите еще больше упростить? Просто сделайте белый подшерсток и следуйте пожеланиям Sepaphim Sepia и Agrax Earthshade.
Вот и все. Подшерсток > мыть > мыть.
Теперь, этап «Брови и глаза», очевидно, является ситуацией «как нарисовать сову». Я понимаю это. И я намеренно не даю вам никакого процесса рисования глаз здесь, потому что это совсем другая тема (и большая). Я постараюсь помочь вам с этим, однажды.
Не хотите пока возиться с глазами? В эпизоде «Русский Сфинкс» есть самый честный совет, который я могу вам дать, и я очень рекомендую его послушать.
Шаг 9: Детали
Осталось только добавить несколько крутых деталей, таких как эмблемы и маленькие источники света. Здесь процесс довольно прост:
Insignia
(1) Basecoat
GW Rhinox Hide, VMA Blue
(2) Контролируемая стирка
GW Coelia Greenshade
Источники света
(3) Basecoat
GW Temple Guard Blue + VMA Blue
(4) Highlight
White
Это может быть не очевидно на фотографиях, но их наколенники плоские (нет разделения) линия посередине — левый и правый наколенники одинаковые).
Так что знаки отличия, которые вы видите, на самом деле очень просто нарисованы от руки.
Я не рекомендую делать это в рисовании на уровне отряда, если вы не умеете рисовать от руки и недостаточно владеете кистью. Но если вы это сделаете — такие мелкие детали добавят вашим моделям характера и уникальности.
Заключительные мысли
После правильного процесса я также переделал пакет поддержки и все пульты по той же схеме.
Кстати, видите эти переделанные моноколесные пульты? Это тест на то, являетесь ли вы давним ветераном Infinity или нет. Этакое пасхальное яйцо. Можете ли вы распознать исходные части для конвертации?
Конечный результат мне нравится намного больше, чем моя предыдущая схема, даже с учетом дополнительного времени, которое я потратил на эти модели.
Еще в 2017 году, когда я их делал, я все еще разбирался во многих техниках скоростного рисования, и эти гуламы заняли у меня около 5 часов на модель , что безумие.

Аэрограф независимого двойного действия с бачком для краски емкостью 7 см3 и соплом диаметром 0,3мм.
Эту операцию следует повторять несколько раз — до тех пор, пока из аэрографа не выйдет вся краска;

0061
Теплый оттенок контрастирует с более холодными тонами модели. Но вы заметите, что золото не перегружает изделие, а только подчеркивает ключевые части модели. Золотом особое внимание уделяется лицу и голове, обрамлению шеи, некоторым аспектам вооружения.
В этой раскраске Necron эти элементы имеют загадочный зеленый цвет.
изображение ниже)0004