Схема дроссельной заслонки ВАЗ 2110
Чистка дроссельной заслонки ВАЗ 2110.
Проблема С Дроссельной Заслонкой (Решено).
Патрубок дроссельный ВАЗ-2110.
Схема электрическая подключения датчика положения дроссельной заслонки.
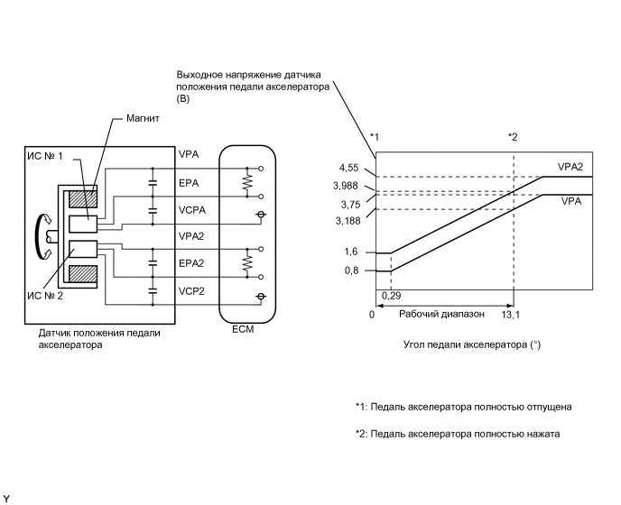
Устройство и электрическая схема датчика показаны на рис. 128.
Принцип работы ДПДЗ. заслонки впускного коллектора.
…работы дроссельной заслонки восстанавливается по текущему.
…которая изменяется, когда ярмо магнита, расположенное в той же… дроссе…
Дроссельная заслонка ВАЗ 2110.
Патрубок дроссельный.
ВАЗ 2113-2115.
Модуль управления дроссельной заслонки.
7.5 Трос привода дроссельной заслонки — снятие и установка Hyundai Matrix.
Кузов ВАЗ 2110 (Лада).
Регулятор холостого хода РХХ применяется в признаки неисправности регулятор.
..
Об устройстве дроссельных заслонок.
Рис.5. Схема электрическая подключения датчика положения дроссельной заслон…
1 — дроссельная заслонка первичной камеры; 2 — рычаг управления дроссельной …
дроссельный патрубок ваз 2110 — ваз 2111 — ваз 2112.
Дроссельный узел.
Патрубок дроссельный ВАЗ-2110 (2007).
8.
Ослабив крестовой отверткой червячный хомут рукава подвода воздуха к кор…
фото, фотография, Схемы.
Двигатель ВАЗ-21083.Карбюратор «Солекс» AUTOFIZIK.RU / авторемонт…
Схема полуавтоматического пускового устройства карбюратора 21083–1107010-31…
Когда дроссельная заслонка.
При закрытой дроссельной заслонке подача воздуха осуществляется через регул…
1 — воздушный фильтр; 2 — датчик массового расхода воздуха; 3 — дроссельный патрубок; 4 — упл.
..
Вариант подключения универсального кнопочного механизма 5TD2115.
Дроссельная заслонка ваз 2110 схема.
Схема блока дроссельных заслонок Озон 2105, 2107
Незаменимым помощником при разборке-сборке карбюратора являются подетальные подробные схемы. Они позволяют безошибочно собрать как карбюратор в целом так и отдельные его механизмы и устройства. Далее представлена общая подетальная схема нижней части (блока дроссельных заслонок) карбюратора 2105, 2107 Озон.
Общая подетальная схема нижней части – блока дроссельных заслонок карбюратора Озон 2105, 2107
Схема блока дроссельных заслонок карбюратора 2105, 2107 ОзонЭлементы блока дроссельных заслонок карбюратора Озон
1. Гайка крепления рычагов на оси дроссельной заслонки 1-й камеры.
2.
Стопорная пластина гайки.
3. Шайба.
4. Рычаг привода дроссельных заслонок.
5. Промежуточная шайба.
6. Рычаг блокировки открытия дроссельной заслонки второй камеры карбюратора.
7. Втулка рычага.
8. Пружинная шайба.
9. Рычаг связи дроссельной заслонки 1-й камеры с приводом пускового устройства.
10. Шайба.
11. Рычаг оси дроссельной заслонки 1-й камеры.
12. Возвратная пружина.
13. Золотник.
14. Гайка крепления рычагов на оси дроссельной заслонки 2-й камеры.
15. Пружинная шайба.
16. Рычаг оси дроссельной заслонки 2-й камеры.
17. Шайба.
18. Пружина промежуточного рычага.
19. Промежуточный рычаг пневмопривода дроссельной заслонки 2-й камеры.
20. Блок дроссельных заслонок (нижняя часть) карбюратора 2105, 2107 Озон.
21. Винт-упор рычага дроссельной заслонки 2-й камеры.
22. Уплотнительная картонная прокладка корпуса винта «количества».
23. Корпус винта регулировки «количества» топливной смеси.
24. Винты крепления корпуса винта «количества».
25. Винт регулировки «количества» топливной смеси на холостом ходу двигателя.
26. Винт регулировки «качества» топливной смеси на холостом ходу двигателя.
27. Винт-упор рычага ускорительного насоса на оси дроссельной заслонки 1-й камеры.
28. Возвратная пружина.
29. Ось дроссельной заслонки 1-й камеры с рычагом ускорительного насоса.
30. Винты крепления дроссельной заслонки 1-й камеры.
31. Дроссельная заслонка 1-й камеры.
32. Винты крепления дроссельной заслонки 2-й камеры карбюратора.
33. Дроссельная заслонка 2-й камеры карбюратора.
34. Ось дроссельной заслонки 2-й камеры карбюратора.
Примечания и дополнения
— Полный перечень статей по устройству, разборке-сборке карбюратора Озон можно посмотреть здесь.
— Представленная выше схема отражает устройство блока дроссельных заслонок карбюратора Озон без системы ЭПХХ. На карбюраторах Озон с системой ЭПХХ иной рычаг привода дроссельных заслонок, имеется микропереключатель, и вместо винта «количества» топливной смеси установлен корпус экономайзера.
Еще статьи по карбюратору 2105, 2107 Озон
— Общая подетальная схема крышки карбюратора Озон
— Общая подетальная схема корпуса карбюратора Озон
— Схемы карбюратора Озон
— Сборка нижней части (блока дроссельных заслонок) карбюратора 2105, 2107 Озон
— Модификации и применяемость карбюраторов Озон
Подписывайтесь на нас!
Автор MechanikОпубликовано Рубрики Схемы, Схемы карбюратора ОзонМетки блок, дроссельных, заслонок, карбюратор, Озон, хема 5 652 views ДатчикTPS – функционирование и поиск и устранение неисправностей
Насколько полезна эта статья для вас?
Совершенно бесполезно
Очень полезно
Расскажите, пожалуйста, что вам не понравилось.
Чтобы получить бесплатный информационный бюллетень HELLA TECH WORLD.
Ваш отзыв**
Капча*
Большое спасибо. Но прежде чем ты уйдешь.
Подпишитесь на нашу бесплатную рассылку новостей HELLA TECH WORLD, чтобы получать последние технические видеоролики, советы по ремонту автомобилей, информацию о курсах обучения, сведения о маркетинговых кампаниях и советы по диагностике.
Благодарим вас за интерес к новостному бюллетеню HELLA TECH WORLD — для автомастерских!
На указанный вами адрес электронной почты будет отправлено уведомление.
Обратите внимание: Ваша подписка будет завершена только после того, как вы подтвердите получение этого электронного письма.
Это делается для того, чтобы никто не мог подписаться на вас по ошибке.
Ваша личная информация хранится и обрабатывается исключительно с целью отправки информационного бюллетеня. Ни при каких обстоятельствах ваши данные не будут переданы третьим лицам.
Дополнительная информация о конфиденциальности.
Благодарим вас за интерес к новостному бюллетеню HELLA TECH WORLD — для автомастерских!
На указанный вами адрес электронной почты будет отправлено уведомление.
Обратите внимание: Ваша подписка будет завершена только после того, как вы подтвердите получение этого электронного письма.
Это делается для того, чтобы никто не мог подписаться на вас по ошибке.
Ваша личная информация хранится и обрабатывается исключительно с целью отправки информационного бюллетеня. Ни при каких обстоятельствах ваши данные не будут переданы третьим лицам.
Дополнительная информация о конфиденциальности.
Вы уже подписаны
Ваш адрес электронной почты ожидает подтверждения
Неверный новый адрес электронной почты.
Неверный адрес электронной почты. Адрес электронной почты отсутствует или имеет неправильный формат.
Проблема со статусом электронной почты
Процесс регистрации не запущен.
Ошибка:
Для получения бесплатного информационного бюллетеня HELLA TECH WORLD.
Благодарим вас за интерес к новостному бюллетеню HELLA TECH WORLD — для автомастерских!
На указанный вами адрес электронной почты будет отправлено уведомление.
Обратите внимание: Ваша подписка будет завершена только после того, как вы подтвердите получение этого электронного письма.
Это делается для того, чтобы никто не мог подписаться на вас по ошибке.
Ваша личная информация хранится и обрабатывается исключительно с целью отправки информационного бюллетеня. Ни при каких обстоятельствах ваши данные не будут переданы третьим лицам.
Дополнительная информация о конфиденциальности.
Благодарим вас за интерес к новостному бюллетеню HELLA TECH WORLD — для автомастерских!
На указанный вами адрес электронной почты будет отправлено уведомление.
Обратите внимание: Ваша подписка будет завершена только после того, как вы подтвердите получение этого электронного письма.
Это делается для того, чтобы никто не мог подписаться на вас по ошибке.
Ваша личная информация хранится и обрабатывается исключительно с целью отправки информационного бюллетеня. Ни при каких обстоятельствах ваши данные не будут переданы третьим лицам.
Дополнительная информация о конфиденциальности.
Вы уже подписаны
Ваш адрес электронной почты ожидает подтверждения
Неверный новый адрес электронной почты. Новый адрес электронной почты недействителен. Подписчик не обновлен
Неверный адрес электронной почты. Адрес электронной почты отсутствует или имеет неправильный формат.
Проблема со статусом электронной почты
Процесс регистрации не запущен.
Ошибка:
Предотвращение кодов привода дроссельной заслонки 48RE коробки передач
Автоматическая коробка передач
В 2005 году компания Dodge начала использовать привод дроссельной заслонки трансмиссии (TTVA) вместо телевизионного кабеля на дизельных грузовиках 48RE 2500 и 3500 Ram. Привод, прикрепленный к корпусу над валом дроссельной заслонки, включает в себя два потенциометра, которые подают входные данные в ECM, а также двигатель постоянного тока, который реагирует на выходной сигнал ECM. В нижней части вала TTVA имеется D-образное отверстие, которое подходит к валу дроссельной заслонки, позволяя приводу механически толкать клапан TV и, в конечном итоге, контролировать давление дроссельной заслонки трансмиссии.
- Объект : предотвращение кодов дроссельной заслонки-актетатора
- Блок : 48RE
- Применение транспортных средств : Dodge Ram 2500 и 3500 Diesel Trucks, 2005 UP
- 61117777777777777777777711111111111111111111t Автор : Jeff Parlee
В 2005 году компания Dodge начала использовать привод дроссельной заслонки (TTVA) трансмиссии вместо телевизионного кабеля на дизельных грузовиках 48RE 2500 и 3500 Ram.
Привод, прикрепленный к корпусу над валом дроссельной заслонки, включает в себя два потенциометра, которые подают входные данные в ECM, а также двигатель постоянного тока, который реагирует на выходной сигнал ECM. В нижней части вала TTVA имеется D-образное отверстие, которое подходит к валу дроссельной заслонки, позволяя приводу механически толкать клапан TV и, в конечном итоге, контролировать давление дроссельной заслонки трансмиссии.
Нет регулировок для TTVA; его необходимо инициализировать при замене или удалении и повторной установке на трансмиссии. Каждый раз, когда зажигание включается, ECM выполняет внутреннюю процедуру калибровки, чтобы найти текущее «нулевое» положение. Для инициализации TTVA зажигание необходимо удерживать в положении «включено» не менее 30 секунд.
Во время процедуры калибровки модуль ECM ищет не менее 48 градусов смещения от минимального до максимального диапазона и устанавливает минимальное значение диапазона. На оба эти параметра может влиять регулировочный болт дроссельного вала на кронштейне крепления пружины регулятора давления.
Расстояние между кронштейном и внутренним краем головки регулировочного болта должно быть 0,905 дюймов. Более короткое расстояние не позволит валу телевизора пройти достаточно далеко, чтобы удовлетворить параметры калибровки, и установит код P1751 и/или P1752.
Здесь легко попасть в беду. Некоторые кронштейны для дроссельных клапанов с тросовым приводом имеют всего 0,820 дюйма между кронштейном и внутренней частью головки регулировочного болта. Использование кронштейна тросового типа в устройстве, оборудованном TTVA, без изменения настройки регулировочного болта может привести к установке тех же кодов.
Список кодов привода дроссельной заслонки коробки передач:
- P1749 — Низкий уровень сигнала в цепи датчика положения дроссельной заслонки
- P1750 — Высокий уровень сигнала в цепи датчика положения дроссельной заслонки коробки передач Рабочие характеристики диапазона клапана
- P1753 — Механическая работа дроссельной заслонки коробки передач
- P1754 — Заедание привода дроссельной заслонки коробки передач
- P1755 — Цепь управления дроссельной заслонкой коробки передач
Особая благодарность Mike Ware из Transware Transmission в Конкорде, Онтарио, за его помощь в исследовании этой статьи.
