ΠΡΠΈΠ½ΡΠΈΠΏ ΡΠ°Π±ΠΎΡΡ Π²Π°ΠΊΡΡΠΌΠ½ΠΎΠ³ΠΎ ΡΡΠΈΠ»ΠΈΡΠ΅Π»Ρ ΡΠΎΡΠΌΠΎΠ·ΠΎΠ²
ΠΡΠ΅Π΄Π½Π°Π·Π½Π°ΡΠ΅Π½ΠΈΠ΅ Π²Π°ΠΊΡΡΠΌΠ½ΠΎΠ³ΠΎ ΡΡΠΈΠ»ΠΈΡΠ΅Π»Ρ ΡΠΎΡΠΌΠΎΠ·ΠΎΠ² (ΠΠ£Π’) β ΡΠΌΠ΅Π½ΡΡΠ°ΡΡ Π΄Π°Π²Π»Π΅Π½ΠΈΠ΅ Π½ΠΎΠ³ΠΈ Π½Π° ΠΏΠ΅Π΄Π°Π»Ρ ΡΠΎΡΠΌΠΎΠ·Π°. ΠΡΠΎΠΌΠ΅ ΡΠΎΠ³ΠΎ, Π²Π°ΠΊΡΡΠΌΠ½ΡΠΉ ΡΡΠΈΠ»ΠΈΡΠ΅Π»Ρ ΡΠ»ΡΡΡΠ°Π΅Ρ ΡΡΡΠ΅ΠΊΡΠΈΠ²Π½ΠΎΡΡΡ ΡΠΎΡΠΌΠΎΠ·Π½ΠΎΠ³ΠΎ ΡΡΡΡΠΎΠΉΡΡΠ²Π° Π² ΡΠ΅ΠΆΠΈΠΌΠ΅ ΡΠΊΡΡΡΠ΅Π½Π½ΠΎΠ³ΠΎ ΡΠΎΡΠΌΠΎΠΆΠ΅Π½ΠΈΡ. ΠΡΠΈΠΌ Π΄ΠΎΡΡΠΈΠ³Π°Π΅ΡΡΡ Π±ΠΎΠ»ΡΡΠ°Ρ Π±Π΅Π·ΠΎΠΏΠ°ΡΠ½ΠΎΡΡΡ Π΄Π»Ρ Π½Π°Ρ ΠΎΠ΄ΡΡΠΈΡ ΡΡ Π² Π°Π²ΡΠΎΠΌΠΎΠ±ΠΈΠ»Π΅ Π»ΡΠ΄Π΅ΠΉ.
ΠΠ΅ΠΏΠΎΠ»Π°Π΄ΠΊΠΈ Ρ ΠΠ£Π’ ΠΌΠΎΠ³ΡΡ ΠΏΠΎΡΡΠ°Π²ΠΈΡΡ ΠΏΠΎΠ΄ ΡΠ³ΡΠΎΠ·Ρ ΠΆΠΈΠ·Π½ΠΈ Π²ΠΎΠ΄ΠΈΡΠ΅Π»Ρ ΠΈ ΠΏΠ°ΡΡΠ°ΠΆΠΈΡΠΎΠ². ΠΠΎΡΡΠΎΠΌΡ, ΠΎΠ±Π½Π°ΡΡΠΆΠΈΠ² ΠΏΡΠΈΠ·Π½Π°ΠΊΠΈ Π½Π΅ΠΈΡΠΏΡΠ°Π²Π½ΠΎΡΡΠΈ Π²Π°ΠΊΡΡΠΌΠ½ΠΎΠ³ΠΎ ΡΡΠΈΠ»ΠΈΡΠ΅Π»Ρ ΡΠΎΡΠΌΠΎΠ·ΠΎΠ², ΡΠ»Π΅Π΄ΡΠ΅Ρ Π»ΠΈΠ±ΠΎ ΡΠ°ΠΌΠΎΡΡΠΎΡΡΠ΅Π»ΡΠ½ΠΎ Π΅Π³ΠΎ ΠΎΡΡΠ΅ΠΌΠΎΠ½ΡΠΈΡΠΎΠ²Π°ΡΡ, Π»ΠΈΠ±ΠΎ ΠΎΠ±ΡΠ°ΡΠΈΡΡΡΡ Π² Π°Π²ΡΠΎΡΠ΅ΡΠ²ΠΈΡ.
Π£ΡΡΡΠΎΠΉΡΡΠ²ΠΎ Π²Π°ΠΊΡΡΠΌΠ½ΠΎΠ³ΠΎ ΡΡΠΈΠ»ΠΈΡΠ΅Π»Ρ ΡΠΎΡΠΌΠΎΠ·ΠΎΠ²
Π£ΡΡΡΠΎΠΉΡΡΠ²ΠΎ Π²Π°ΠΊΡΡΠΌΠ½ΠΎΠ³ΠΎ ΡΡΠΈΠ»ΠΈΡΠ΅Π»Ρ ΡΠΎΡΠΌΠΎΠ·ΠΎΠ² ΠΎΠ³ΡΠ°Π½ΠΈΡΠΈΠ²Π°Π΅ΡΡΡ Π»ΠΈΡΡ Π½Π΅ΡΠΊΠΎΠ»ΡΠΊΠΈΠΌΠΈ ΡΠΎΡΡΠ°Π²Π»ΡΡΡΠΈΠΌΠΈ.
ΠΠ½ ΡΠΎΡΡΠΎΠΈΡ ΠΈΠ· ΡΠ»Π΅Π΄ΡΡΡΠΈΡ ΡΠ»Π΅ΠΌΠ΅Π½ΡΠΎΠ²:
- ΠΊΠΎΡΠΏΡΡΠ°;
- ΡΠ°Π±ΠΎΡΠ΅ΠΉ Π΄ΠΈΠ°ΡΡΠ°Π³ΠΌΡ;
- ΡΠ°Π±ΠΎΡΠ΅Π³ΠΎ ΠΊΠ»Π°ΠΏΠ°Π½Π°;
- ΡΠΎΠ»ΠΊΠ°ΡΠ΅Π»Ρ ΡΠΎΡΠΌΠΎΠ·Π½ΠΎΠΉ ΠΏΠ΅Π΄Π°Π»ΠΈ;
- ΡΡΠΎΠΊΠ° ΡΠΈΠ»ΠΈΠ½Π΄ΡΠ° ΡΠΎΡΠΌΠΎΠ·Π°;
- Π²ΠΎΠ·Π²ΡΠ°ΡΠ½ΠΎΠΉ ΠΏΡΡΠΆΠΈΠ½Ρ.
ΠΠΎΡΠΏΡΡ ΠΠ£Π’ Π³Π΅ΡΠΌΠ΅ΡΠΈΡΠ΅Π½ ΠΈ ΠΈΠΌΠ΅Π΅Ρ ΠΎΠΊΡΡΠ³Π»ΡΡ ΡΠΎΡΠΌΡ. ΠΠ΅ΡΡΠΎ ΡΡΡΠ°Π½ΠΎΠ²ΠΊΠΈ β ΠΌΠΎΡΠΎΡΠ½ΡΠΉ ΠΎΡΡΠ΅ΠΊ Π²ΠΏΠ΅ΡΠ΅Π΄ΠΈ ΡΠΎΡΠΌΠΎΠ·Π½ΠΎΠΉ ΠΏΠ΅Π΄Π°Π»ΠΈ.
Π£ΡΡΠ°Π½ΠΎΠ²ΠΊΠ° Π³Π»Π°Π²Π½ΠΎΠ³ΠΎ ΡΠΎΡΠΌΠΎΠ·Π½ΠΎΠ³ΠΎ Π³ΠΈΠ΄ΡΠΎΡΠΈΠ»ΠΈΠ½Π΄ΡΠ° ΠΏΡΠΎΠΈΡΡ
ΠΎΠ΄ΠΈΡ Π½Π° ΠΊΠΎΡΠΏΡΡΠ΅ ΡΡΠΈΠ»ΠΈΡΠ΅Π»Ρ.
ΠΠΈΠ°ΡΡΠ°Π³ΠΌΠ° ΡΠ²Π»ΡΠ΅ΡΡΡ ΠΎΡΠ½ΠΎΠ²Π½ΠΎΠΉ ΡΠ°Π±ΠΎΡΠ°ΡΡΠ΅ΠΉ ΡΠ°ΡΡΡΡ ΠΠ£Π’. ΠΠ°ΡΠ΅ΡΠΈΠ°Π» Π΄Π»Ρ Π΅Ρ ΠΈΠ·Π³ΠΎΡΠΎΠ²Π»Π΅Π½ΠΈΡ Π΄ΠΎΠ»ΠΆΠ΅Π½ Π±ΡΡΡ ΠΏΡΠΎΡΠ½ΡΠΌ ΠΈ ΡΠ»Π°ΡΡΠΈΡΠ½ΡΠΌ. Π¦Π΅Π½ΡΡ Π΄ΠΈΠ°ΡΡΠ°Π³ΠΌΡ β ΠΌΠ΅ΡΡΠΎ ΡΠ°Π·ΠΌΠ΅ΡΠ΅Π½ΠΈΡ Π±ΡΡΠ΅ΡΠ½ΠΎΠ³ΠΎ ΠΌΠ΅ΡΠ°Π»Π»ΠΈΡΠ΅ΡΠΊΠΎΠ³ΠΎ Β«ΠΏΡΡΠ°ΠΊΠ°Β».
ΠΠ½ ΡΠ»ΡΠΆΠΈΡ Π΄Π»Ρ ΡΠΏΠΎΡΠ° ΡΡΠΎΠΊΠ°, ΠΏΡΠΎΠ΄ΠΎΠ»ΠΆΠ°ΡΡΠ΅Π³ΠΎ ΠΏΠ΅Π΄Π°Π»Ρ ΠΈ ΡΠΈΠ»ΠΈΠ½Π΄Ρ. ΠΠ»Π°Π³ΠΎΠ΄Π°ΡΡ ΡΠΎΠΌΡ, ΡΡΠΎ Π΄ΠΈΠ°ΡΡΠ°Π³ΠΌΠ° Π΄Π΅Π»ΠΈΡ ΠΊΠΎΡΠΏΡΡ Π½Π°ΠΏΠΎΠΏΠΎΠ»Π°ΠΌ, Π² Π½ΡΠΌ ΠΎΠ±ΡΠ°Π·ΡΡΡΡΡ Π²Π°ΠΊΡΡΠΌΠ½Π°Ρ ΠΈ Π°ΡΠΌΠΎΡΡΠ΅ΡΠ½Π°Ρ ΠΊΠ°ΠΌΠ΅ΡΡ. ΠΠ΅ΡΠ²Π°Ρ Π½Π°ΠΏΡΠ°Π²Π»Π΅Π½Π° ΠΊ ΡΠΎΡΠΌΠΎΠ·Π½ΠΎΠΌΡ ΡΠΈΠ»ΠΈΠ½Π΄ΡΡ, Π²ΡΠΎΡΠ°Ρ β ΠΎΠ±ΡΠ°ΡΠ½ΠΎ.
ΠΠΎΠ³Π΄Π° Π΄ΠΈΠ°ΡΡΠ°Π³ΠΌΠ° ΡΡΡΠ°Π½ΠΎΠ²Π»Π΅Π½Π°, ΠΊΠΎΡΠΏΡΡ ΠΏΠΎΠ΄Π²Π΅ΡΠ³Π°Π΅ΡΡΡ Π³Π΅ΡΠΌΠ΅ΡΠΈΠ·ΠΈΡΡΡΡΠ΅ΠΉ Π²Π°Π»ΡΡΠΎΠ²ΠΊΠ΅. Π Π°Π±ΠΎΡΠΈΠΉ ΠΊΠ»Π°ΠΏΠ°Π½, ΡΠ»ΡΠΆΠ°ΡΠΈΠΉ Π΄Π»Ρ ΡΠΎΠ΅Π΄ΠΈΠ½Π΅Π½ΠΈΡ ΠΊΠ°ΠΌΠ΅Ρ, ΠΏΡΠΈΠ²ΠΎΠ΄ΠΈΡΡΡ Π² Π΄Π΅ΠΉΡΡΠ²ΠΈΠ΅ ΠΏΠ΅Π΄Π°Π»ΡΡ ΡΠΎΡΠΌΠΎΠ·Π°. ΠΠ°ΠΊΡΡΠΌΠ½Π°Ρ ΠΊΠ°ΠΌΠ΅ΡΠ° ΠΎΠ±Π»Π°Π΄Π°Π΅Ρ ΡΠ΅Ρ Π½ΠΎΠ»ΠΎΠ³ΠΈΡΠ΅ΡΠΊΠΈΠΌ ΠΎΡΠ²Π΅ΡΡΡΠΈΠ΅ΠΌ Π΄Π»Ρ ΡΠ»Π°Π½Π³Π° ΠΎΡ ΠΈΡΡΠΎΡΠ½ΠΈΠΊΠ°, ΡΠΎΠ·Π΄Π°ΡΡΠ΅Π³ΠΎ ΡΠ°Π·ΡΡΠΆΠ΅Π½ΠΈΠ΅.
Π Π΅ΠΆΠΈΠΌ ΠΎΠΆΠΈΠ΄Π°Π½ΠΈΡ Π²ΠΎΠ·Π½ΠΈΠΊΠ°Π΅Ρ ΠΏΡΠΈ ΠΎΡΠΊΡΡΡΠΈΠΈ ΡΠ°Π±ΠΎΡΠ΅Π³ΠΎ ΠΊΠ»Π°ΠΏΠ°Π½Π°, ΡΡΠΎ Π½Π΅ΠΎΠ±Ρ ΠΎΠ΄ΠΈΠΌΠΎ Π΄Π»Ρ ΠΏΠΎΠ΄Π΄Π΅ΡΠΆΠ°Π½ΠΈΡ Π½ΠΈΠ·ΠΊΠΎΠ³ΠΎ Π΄Π°Π²Π»Π΅Π½ΠΈΡ Π² ΠΎΠ±ΠΎΠΈΡ ΠΊΠ°ΠΌΠ΅ΡΠ°Ρ . Π ΡΡΠΎ ΡΠΎΡΡΠΎΡΠ½ΠΈΠ΅ Π΄ΠΈΠ°ΡΡΠ°Π³ΠΌΠ° Π²ΠΎΠ·Π²ΡΠ°ΡΠ°Π΅ΡΡΡ Ρ ΠΏΠΎΠΌΠΎΡΡΡ Π²ΠΎΠ·Π²ΡΠ°ΡΠ½ΠΎΠΉ ΠΏΡΡΠΆΠΈΠ½Ρ.
ΠΡΠΈΠ½ΡΠΈΠΏ ΡΠ°Π±ΠΎΡΡ Π²Π°ΠΊΡΡΠΌΠ½ΠΎΠ³ΠΎ ΡΡΠΈΠ»ΠΈΡΠ΅Π»Ρ ΡΠΎΡΠΌΠΎΠ·ΠΎΠ²
ΠΠ°ΠΊ ΡΠ°Π±ΠΎΡΠ°Π΅Ρ Π²Π°ΠΊΡΡΠΌΠ½ΡΠΉ ΡΡΠΈΠ»ΠΈΡΠ΅Π»Ρ ΡΠΎΡΠΌΠΎΠ·ΠΎΠ²? ΠΡΠ²Π΅Ρ ΠΎΡΠ΅Π²ΠΈΠ΄Π΅Π½, Π΅ΡΠ»ΠΈ ΠΈΠ·ΡΡΠΈΡΡ Π΅Π³ΠΎ ΡΡΡΡΠΎΠΉΡΡΠ²ΠΎ.
ΠΠ°ΠΆΠ°ΡΠΈΠ΅ΠΌ ΡΠΎΡΠΌΠΎΠ·Π½ΠΎΠΉ ΠΏΠ΅Π΄Π°Π»ΠΈ Π²ΡΠ·ΡΠ²Π°Π΅ΡΡΡ ΠΏΠ΅ΡΠ΅Ρ
ΠΎΠ΄ ΡΠ°Π±ΠΎΡΠ΅Π³ΠΎ ΠΊΠ»Π°ΠΏΠ°Π½Π° Π² ΠΏΠΎΠ»ΠΎΠΆΠ΅Π½ΠΈΠ΅, ΠΏΡΠΈ ΠΊΠΎΡΠΎΡΠΎΠΌ ΡΠ²ΡΠ·Ρ ΠΌΠ΅ΠΆΠ΄Ρ Π΄Π²ΡΠΌΡ ΠΊΠ°ΠΌΠ΅ΡΠ°ΠΌΠΈ ΠΏΠ΅ΡΠ΅ΠΊΡΡΡΠ°.
ΠΠ°Π»ΡΠ½Π΅ΠΉΡΠ΅Π΅ Π½Π°ΠΆΠ°ΡΠΈΠ΅ Π²Π΅Π΄ΡΡ ΠΊ ΠΎΡΠΊΡΡΡΠΈΡ ΡΠΏΠ΅ΡΠΈΠ°Π»ΡΠ½ΠΎΠ³ΠΎ ΠΎΡΠ²Π΅ΡΡΡΠΈΠ΅, ΡΠΎΠ΅Π΄ΠΈΠ½ΡΡΡΠ΅Π΅ ΡΠΎΠ΄Π΅ΡΠΆΠΈΠΌΠΎΠ΅ Π°ΡΠΌΠΎΡΡΠ΅ΡΠ½ΠΎΠΉ ΠΊΠ°ΠΌΠ΅ΡΡ Ρ Π²ΠΎΠ·Π΄ΡΡ ΠΎΠΌ ΡΠ½Π°ΡΡΠΆΠΈ.
ΠΠ°Π²Π»Π΅Π½ΠΈΠ΅ Π²ΠΎΠ·Π΄ΡΡΠ½ΠΎΠ³ΠΎ ΡΡΠΎΠ»Π±Π° Π² Π°ΡΠΌΠΎΡΡΠ΅ΡΠ΅ ΠΠ΅ΠΌΠ»ΠΈ Π½Π°ΠΌΠ½ΠΎΠ³ΠΎ Π²ΡΡΠ΅ ΡΠ°ΠΊΠΎΠ²ΠΎΠ³ΠΎ Π² ΠΊΠ°ΠΌΠ΅ΡΠ΅. ΠΡΠΈΠ½ΡΠΈΠΏ ΡΠ°Π±ΠΎΡΡ Π²Π°ΠΊΡΡΠΌΠ½ΠΎΠ³ΠΎ ΡΡΠΈΠ»ΠΈΡΠ΅Π»Ρ ΡΠΎΡΠΌΠΎΠ·ΠΎΠ² ΠΎΡΠ½ΠΎΠ²Π°Π½ Π½Π° ΡΠ°Π·Π»ΠΈΡΠΈΠΈ Π² Π΄Π°Π²Π»Π΅Π½ΠΈΠΈ, ΠΏΡΠΈΠ²ΠΎΠ΄ΡΡΠ΅ΠΉ ΡΡΠΎΠΊ Π² Π΄Π΅ΠΉΡΡΠ²ΠΈΠ΅. ΠΠ²ΠΈΠΆΠ΅Π½ΠΈΠ΅ ΡΡΠΎΠΊΠ° Π·Π°ΡΡΠ°Π²Π»ΡΠ΅Ρ ΡΠΎΡΠΌΠΎΠ·Π° ΡΠ°Π±ΠΎΡΠ°ΡΡ.
ΠΠΌΠ΅Π½Π½ΠΎ ΡΠ°ΠΊ ΡΠ°Π±ΠΎΡΠ°Π΅Ρ ΠΠ£Π’ Π°Π²ΡΠΎΠΌΠΎΠ±ΠΈΠ»Ρ, Π½Π° ΠΊΠΎΡΠΎΡΠΎΠΌ ΡΡΡΠ°Π½ΠΎΠ²Π»Π΅Π½ Π±Π΅Π½Π·ΠΈΠ½ΠΎΠ²ΡΠΉ Π΄Π²ΠΈΠ³Π°ΡΠ΅Π»Ρ. Π ΠΎΠ»Ρ ΠΈΡΡΠΎΡΠ½ΠΈΠΊΠ° ΡΠ°Π·ΡΡΠΆΠ΅Π½ΠΈΡ Π² Π½ΡΠΌ ΠΎΡΠ²Π΅Π΄Π΅Π½Π° Π²ΡΠΏΡΡΠΊΠ½ΠΎΠΌΡ ΠΊΠΎΠ»Π»Π΅ΠΊΡΠΎΡΡ. ΠΠΈΠ·Π΅Π»ΡΠ½ΡΠΉ Π΄Π²ΠΈΠ³Π°ΡΠ΅Π»Ρ Π²Π½ΡΡΡΠ΅Π½Π½Π΅Π³ΠΎ ΡΠ³ΠΎΡΠ°Π½ΠΈΡ ΡΡΠ΅Π±ΡΠ΅Ρ Π΄Π»Ρ ΡΡΠΈΡ ΡΠ΅Π»Π΅ΠΉ ΡΡΡΠ°Π½ΠΎΠ²ΠΊΠΈ Π²Π°ΠΊΡΡΠΌΠ½ΠΎΠ³ΠΎ Π½Π°ΡΠΎΡΠ°.
ΠΠΎ ΡΠ²ΠΎΠ΅ΠΌΡ ΡΡΡΡΠΎΠΉΡΡΠ²Ρ Π²Π°ΠΊΡΡΠΌΠ½ΡΠ΅ Π½Π°ΡΠΎΡΡ ΠΏΡΠΎΠΈΠ·Π²ΠΎΠ΄ΡΡΠ²Π° ΡΠ°Π·Π»ΠΈΡΠ½ΡΡ
ΠΊΠΎΠΌΠΏΠ°Π½ΠΈΠΉ ΡΠΈΠ»ΡΠ½ΠΎ ΠΎΡΠ»ΠΈΡΠ°ΡΡΡΡ Π΄ΡΡΠ³ ΠΎΡ Π΄ΡΡΠ³Π°. Β«Π€ΠΎΡΠ΄ΠΎΠ²ΡΠΊΠΈΠΉΒ» Π½Π°ΡΠΎΡ ΡΠ²Π»ΡΠ΅ΡΡΡ ΡΠΈΠ»ΠΈΠ½Π΄ΡΠΎΠΌ Ρ ΠΌΠ΅ΠΌΠ±ΡΠ°Π½ΠΎΠΉ Π΄Π»Ρ ΡΠΎΠ·Π΄Π°Π½ΠΈΡ ΡΠ°Π·ΡΡΠΆΠ΅Π½ΠΈΡ. Π£ΡΠΈΠ»ΠΈΡΠ΅Π»ΠΈ ΠΏΡΠΎΠΈΠ·Π²ΠΎΠ΄ΡΡΠ²Π° ΠΊΠΎΠΌΠΏΠ°Π½ΠΈΠΈ Β«Π Π΅Π½ΠΎΒ» ΠΏΡΠ΅Π΄ΡΡΠ°Π²Π»ΡΡΡ ΡΠΎΠ±ΠΎΠΉ Π²ΡΠ°ΡΠ°ΡΡΠΈΠ΅ΡΡ Π»ΠΎΠΏΠ°ΡΠΊΠΈ. ΠΠ΄Π½Π°ΠΊΠΎ ΠΎΡΠ½ΠΎΠ²Π½ΠΎΠ³ΠΎΒ ΠΏΡΠΈΠ½ΡΠΈΠΏΠ° ΡΠ°Π±ΠΎΡΡΒ ΡΡΠΎ Π½Π΅ ΠΌΠ΅Π½ΡΠ΅Ρ.
ΠΡΠΈΠ·Π½Π°ΠΊΠΈ Π½Π΅ΠΈΡΠΏΡΠ°Π²Π½ΠΎΡΡΠΈ Π²Π°ΠΊΡΡΠΌΠ½ΠΎΠ³ΠΎ ΡΡΠΈΠ»ΠΈΡΠ΅Π»Ρ ΡΠΎΡΠΌΠΎΠ·ΠΎΠ²
ΠΠ΅ΡΠ΅ΡΠ΅Π½Ρ ΠΏΠΎΠ»ΠΎΠΌΠΎΠΊ ΠΠ£Π’ Π½Π΅ ΡΠ»ΠΈΡΠΊΠΎΠΌ ΠΎΠ±ΡΠΈΡΠ΅Π½.
ΠΠ΅ΠΏΠΎΠ»Π°Π΄ΠΊΠΈ Π²ΠΎΠ·Π½ΠΈΠΊΠ°ΡΡ, Π² ΠΎΡΠ½ΠΎΠ²Π½ΠΎΠΌ, ΠΈΠ·-Π·Π° ΡΠ»Π΅Π΄ΡΡΡΠΈΡ ΠΏΡΠΈΡΠΈΠ½:
- ΡΠ°Π·Π³Π΅ΡΠΌΠ΅ΡΠΈΠ·ΠΈΡΠΎΠ²Π°Π»ΡΡ ΡΡΡΠ±ΠΎΠΏΡΠΎΠ²ΠΎΠ΄, ΠΎΠ±Π΅ΡΠΏΠ΅ΡΠΈΠ²Π°ΡΡΠΈΠΉ Π΄Π²ΠΈΠΆΠ΅Π½ΠΈΠ΅ Π²ΠΎΠ·Π΄ΡΡ Π° ΠΏΡΠΈ ΡΠ°Π·ΡΡΠΆΠ΅Π½ΠΈΠΈ ΠΈΠ»ΠΈ ΠΌΠ΅ΡΡΠ° Π΅Π³ΠΎ ΡΡΡΠΊΠΎΠ²;
- ΠΏΡΠΎΠΈΠ·ΠΎΡΠ»Π° ΠΏΠΎΠ»ΠΎΠΌΠΊΠ° ΠΎΠ±ΡΠ°ΡΠ½ΠΎΠ³ΠΎ ΠΊΠ»Π°ΠΏΠ°Π½Π°;
- ΡΠ°Π·Π³Π΅ΡΠΌΠ΅ΡΠΈΠ·ΠΈΡΠΎΠ²Π°Π»Π°ΡΡ Ρ ΠΎΡΡ Π±Ρ ΠΎΠ΄Π½Π° ΡΠ°Π±ΠΎΡΠ°Ρ ΠΊΠ°ΠΌΠ΅ΡΠ° Π² ΡΡΠΈΠ»ΠΈΡΠ΅Π»Π΅;
- Π²ΡΡΠ΅Π» ΠΈΠ· ΡΡΡΠΎΡ ΡΡΡΠ°Π½ΠΎΠ²Π»Π΅Π½Π½ΡΠΉ Π½Π° Π½Π΅ΠΊΠΎΡΠΎΡΡΡ Π΄Π²ΠΈΠ³Π°ΡΠ΅Π»ΡΡ Π²Π°ΠΊΡΡΠΌΠ½ΡΠΉ Π½Π°ΡΠΎΡ.
Π ΠΏΠΎΡΠ»Π΅Π΄Π½Π΅ΠΌ ΡΠ»ΡΡΠ°Π΅ ΡΡΠΈΠ»ΠΈΡΠ΅Π»Ρ ΡΠΌΠΎΠΆΠ΅Ρ ΠΏΡΠΎΠ΄ΠΎΠ»ΠΆΠ°ΡΡ ΡΠ°Π±ΠΎΡΡ, ΠΎΠ΄Π½Π°ΠΊΠΎ ΡΡΠΈΠ»ΠΈΠ΅ Π½Π° ΠΏΠ΅Π΄Π°Π»Ρ Π±ΡΠ΄Π΅Ρ ΠΎΡΡΡΠΈΠΌΠΎ Π²ΠΎΠ·ΡΠ°ΡΡΠ°ΡΡ.
Π§ΡΠΎΠ±Ρ ΠΏΠΎΠ½ΡΡΡ, ΡΡΠΎ Π² Π²Π°ΠΊΡΡΠΌΠ½ΠΎΠΌ ΡΡΠΈΠ»ΠΈΡΠ΅Π»Π΅ ΡΠΎΡΠΌΠΎΠ·ΠΎΠ² Β«ΡΡΠΎ-ΡΠΎ Π½Π΅ ΡΠ°ΠΊΒ», Π½Π΅ Π½ΡΠΆΠ½ΠΎ Π±ΡΡΡ ΡΠΏΠ΅ΡΠΈΠ°Π»ΠΈΡΡΠΎΠΌ Π² ΡΡΡΡΠΎΠΉΡΡΠ²Π΅ Π°Π²ΡΠΎΠΌΠΎΠ±ΠΈΠ»Ρ ΠΈΠ»ΠΈ ΠΏΡΠΎΡΠ²Π»ΡΡΡ ΡΡΠ΄Π΅ΡΠ° Π½Π°Π±Π»ΡΠ΄Π°ΡΠ΅Π»ΡΠ½ΠΎΡΡΠΈ. Π’ΡΠ³ΠΎΠΉ Π²ΡΠΆΠΈΠΌ ΠΏΠ΅Π΄Π°Π»ΠΈ, ΡΠΊΡΠ΅ΠΆΠ΅Ρ, Β«ΡΡΠΎΠ΅Π½ΠΈΠ΅Β» Π½Π° Ρ ΠΎΠ»ΠΎΡΡΠΎΠΌ Ρ ΠΎΠ΄Ρ Π³ΠΎΠ²ΠΎΡΠΈΡ ΠΎ ΡΠ²Π½ΡΡ ΠΏΡΠΎΠ±Π»Π΅ΠΌΠ°Ρ .
Π‘ΡΡΠ΅ΡΡΠ²ΡΠ΅Ρ Π΅ΡΡ ΠΎΠ΄ΠΈΠ½ Π²Π΅ΡΠ½ΡΠΉ ΡΠΏΠΎΡΠΎΠ± ΡΠ°ΡΠΏΠΎΠ·Π½Π°ΡΡ Π½Π΅ΠΈΡΠΏΡΠ°Π²Π½ΠΎΡΡΡ ΠΠ£Π’. ΠΠ΅ΡΠΊΠΎΠ»ΡΠΊΠΎ ΡΠ°Π· ΠΊΠ°ΡΠ½ΠΈΡΠ΅ ΡΠΎΡΠΌΠΎΠ·Π½ΡΡ ΠΏΠ΅Π΄Π°Π»Ρ ΠΈ Π·Π°ΡΠΈΠΊΡΠΈΡΡΠΉΡΠ΅ Π΅Ρ ΠΏΠΎΡΡΠ΅Π΄ΠΈ Ρ
ΠΎΠ΄Π°. ΠΡΠ»ΠΈ ΠΎΠ½Π° ΠΏΡΠΎΠ²Π°Π»ΠΈΠ²Π°Π΅ΡΡΡ β ΡΡΠΈΠ»ΠΈΡΠ΅Π»Ρ ΡΠΎΡΠΌΠΎΠ·ΠΎΠ² ΠΈΡΠΏΡΠ°Π²Π΅Π½.
ΠΡΠ»ΠΈ ΠΆΠ΅ ΠΏΠ΅Π΄Π°Π»Ρ Π½Π΅ ΠΈΠ·ΠΌΠ΅Π½ΠΈΠ»Π° ΡΠ²ΠΎΡ ΠΏΠΎΠ»ΠΎΠΆΠ΅Π½ΠΈΠ΅ β ΡΡΠ΅Π±ΡΠ΅ΡΡΡ ΡΠ΅ΠΌΠΎΠ½ΡΠΈΡΠΎΠ²Π°ΡΡ ΠΠ£Π’.
Π ΠΎΠ΄Π½ΠΈΡ ΡΠΈΡΡΠ°ΡΠΈΡΡ Ρ Π½Π°ΠΆΠ°ΡΠΈΠ΅ΠΌ ΠΏΠ΅Π΄Π°Π»ΠΈ Π½Π°Π±Π»ΡΠ΄Π°Π΅ΡΡΡ ΠΏΠ°Π΄Π΅Π½ΠΈΠ΅ ΠΎΠ±ΠΎΡΠΎΡΠΎΠ², ΠΏΡΠΎΠΈΠ·Π²ΠΎΠ΄ΠΈΠΌΡΡ ΡΠΈΠ»ΠΎΠ²ΠΎΠΉ ΡΡΡΠ°Π½ΠΎΠ²ΠΊΠΎΠΉ, Π² Π΄ΡΡΠ³ΠΈΡ β Π°Π±ΡΠΎΠ»ΡΡΠ½ΠΎ Π½Π°ΠΎΠ±ΠΎΡΠΎΡ. ΠΡΠΎ ΡΠΊΠ°Π·ΡΠ²Π°Π΅Ρ Π½Π° ΠΊΠΎΠ½ΠΊΡΠ΅ΡΠ½ΡΡ ΠΏΡΠΈΡΠΈΠ½Ρ Π½Π΅ΠΈΡΠΏΡΠ°Π²Π½ΠΎΡΡΠΈ β ΡΠ°Π·Π³Π΅ΡΠΌΠ΅ΡΠΈΠ·Π°ΡΠΈΡ.
ΠΠ½Π° ΡΠΎΠΏΡΠΎΠ²ΠΎΠΆΠ΄Π°Π΅ΡΡΡ ΠΏΠΎΠ΄ΡΠΎΡΠΎΠΌ Π²ΠΎΠ·Π΄ΡΡ Π° Π²Π½ΡΡΡΡ ΠΊΠΎΠ»Π»Π΅ΠΊΡΠΎΡΠ°, Π²ΡΠ·ΡΠ²Π°ΡΡΠΈΠΌ ΡΠ΅Π·ΠΊΠΎΠ΅ ΠΈΠ·ΠΌΠ΅Π½Π΅Π½ΠΈΠ΅ ΠΏΡΠΎΠΏΠΎΡΡΠΈΠΉ ΠΊΠΎΠΌΠΏΠΎΠ½Π΅Π½ΡΠΎΠ², ΠΈΠ· ΠΊΠΎΡΠΎΡΡΡ ΡΠΎΡΡΠΎΠΈΡ ΡΠΎΠΏΠ»ΠΈΠ²Π½ΠΎ-Π²ΠΎΠ·Π΄ΡΡΠ½Π°Ρ ΡΠΌΠ΅ΡΡ. ΠΡΠΎ ΠΈ ΠΏΡΠΈΠ²ΠΎΠ΄ΠΈΡ ΠΊ ΡΡΠΎΠ»Ρ ΡΡΡΠ΅ΡΡΠ²Π΅Π½Π½ΡΠΌ ΠΈΠ·ΠΌΠ΅Π½Π΅Π½ΠΈΡΠΌ Π² ΡΠ΅ΠΆΠΈΠΌΠ΅ ΡΠ°Π±ΠΎΡΡ Π΄Π²ΠΈΠ³Π°ΡΠ΅Π»Ρ. ΠΡΡ ΠΎΠ΄ΠΈΠ½ ΡΠ²Π½ΡΠΉ ΠΏΡΠΈΠ·Π½Π°ΠΊ ΠΏΠΎΠ΄ΡΠΎΡΠ° β ΡΠΈΠΏΠ΅Π½ΠΈΠ΅, ΡΠΎΠΏΡΠΎΠ²ΠΎΠΆΠ΄Π°ΡΡΠ΅Π΅ Π²ΡΠΆΠΈΠΌ ΠΏΠ΅Π΄Π°Π»ΠΈ.
ΠΠ»ΠΎΡ Π°Ρ ΡΠ°Π±ΠΎΡΠ° Π½Π°ΡΠΎΡΠΎΠ² ΠΎΠ±ΡΡΠ½ΠΎ ΠΎΠΏΡΠ΅Π΄Π΅Π»ΡΠ΅ΡΡΡ Π½Π° ΡΠ»ΡΡ . ΠΠ΅Ρ Π°Π½ΠΈΡΠ΅ΡΠΊΠΈΠΉ Π²Π°ΠΊΡΡΠΌΠ½ΡΠΉ Π½Π°ΡΠΎΡ ΠΌΠΎΠΆΠ΅Ρ ΠΈΠ·Π΄Π°Π²Π°ΡΡ Ρ Π°ΡΠ°ΠΊΡΠ΅ΡΠ½ΡΠΉ ΠΏΠΎΡΡΠΎΡΠ½Π½ΡΠΉ ΡΡΡΠΊ β ΠΏΡΠΈΠ·Π½Π°ΠΊ Π½Π΅ΠΈΡΠΏΡΠ°Π²Π½ΠΎΡΡΠΈ ΠΏΡΠΈΠ²ΠΎΠ΄Π½ΠΎΠ³ΠΎ ΡΡΠΎΠΊΠ°. ΠΠ΅ΠΏΠΎΠ»Π°Π΄ΠΊΠΈ Π² ΡΠ»Π΅ΠΊΡΡΠΈΡΠ΅ΡΠΊΠΎΠΌ Π½Π°ΡΠΎΡΠ΅ ΡΠΎΠΏΡΠΎΠ²ΠΎΠΆΠ΄Π°ΡΡΡΡ Π²ΡΡΠΎΠΊΠΈΠΌ ΡΡΠΎΠ²Π½Π΅ΠΌ ΡΡΠΌΠ° ΠΏΡΠΈ ΡΠ°Π±ΠΎΡΠ΅. Π ΡΡΠΎΠΌ ΡΠ»ΡΡΠ°Π΅ Π²ΠΈΠ½ΠΎΠ²Π°Ρ, ΡΠΊΠΎΡΠ΅Π΅ Π²ΡΠ΅Π³ΠΎ, ΠΏΡΠΈΠ²ΠΎΠ΄Π½ΠΎΠΉ ΡΠ»Π΅ΠΊΡΡΠΎΠ΄Π²ΠΈΠ³Π°ΡΠ΅Π»Ρ.
Π‘ΡΡΠ΅ΡΡΠ²ΡΡΡ ΠΈ Π΄ΡΡΠ³ΠΈΠ΅ ΠΏΡΠΈΠ·Π½Π°ΠΊΠΈ, ΠΏΠΎΠΌΠΎΠ³Π°ΡΡΠΈΠ΅ ΡΠ°ΡΠΏΠΎΠ·Π½Π°ΡΡ ΠΏΡΠΎΠ±Π»Π΅ΠΌΡ Π² Π²Π°ΠΊΡΡΠΌΠ½ΠΎΠΌ ΡΡΠΈΠ»ΠΈΡΠ΅Π»Π΅ ΡΠΎΡΠΌΠΎΠ·ΠΎΠ², Π½Π΅ Π·Π°Π»Π΅Π·Π°Ρ ΠΏΡΠΈ ΡΡΠΎΠΌ ΠΏΠΎΠ΄ ΠΊΠ°ΠΏΠΎΡ Π²Π°ΡΠ΅Π³ΠΎ Π°Π²ΡΠΎΠΌΠΎΠ±ΠΈΠ»Ρ.
ΠΠ°ΠΏΡΠΈΠΌΠ΅Ρ, ΠΏΡΠΈ ΡΠΌΠ΅Π½Π΅ ΡΠ΅ΠΆΠΈΠΌΠ° ΡΠ°Π±ΠΎΡΡ ΡΠΈΠ»ΠΎΠ²ΠΎΠΉ ΡΡΡΠ°Π½ΠΎΠ²ΠΊΠ΅ Π² ΡΠ΅Π·ΡΠ»ΡΡΠ°ΡΠ΅ Π΄Π΅ΠΉΡΡΠ²ΠΈΡ ΡΠΎΡΠΌΠΎΠ·ΠΎΠ², ΠΏΡΠΎΠ²Π΅ΡΠΈΡΡ ΠΠ£Π’ ΠΌΠΎΠΆΠ½ΠΎ, ΠΎΡΡΠΎΠ΅Π΄ΠΈΠ½ΠΈΠ² Π²ΡΠΏΡΡΠΊΠ½ΠΎΠΉ ΠΊΠΎΠ»Π»Π΅ΠΊΡΠΎΡ ΠΎΡ ΡΡΡΠ±ΠΎΠΏΡΠΎΠ²ΠΎΠ΄Π°. ΠΡΠΈ ΡΡΠΎΠΌ Π΄Π»Ρ Π·Π°Π³Π»ΡΡΠ΅Π½ΠΈΡ ΡΡΡΡΠ΅ΡΠ° ΠΈΡΠΏΠΎΠ»ΡΠ·ΡΠ΅ΡΡΡ ΡΠ΅Π·ΠΈΠ½ΠΎΠ²Π°Ρ Π·Π°Π³Π»ΡΡΠΊΠ° ΠΈΠ»ΠΈ ΠΏΠΎΠ΄Ρ ΠΎΠ΄ΡΡΠ°Ρ ΠΏΠΎ Π΄ΠΈΠ°ΠΌΠ΅ΡΡΡ ΡΡΡΠ±ΠΊΠ°, ΠΊΠΎΡΠΎΡΠ°Ρ Π΄ΠΎΠ»ΠΆΠ½Π° Π±ΡΡΡ ΠΏΠ΅ΡΠ΅ΠΆΠ°ΡΠ°.
ΠΠΌΠΏΡΠΎΠ²ΠΈΠ·ΠΈΡΠΎΠ²Π°Π½Π½Π°Ρ Π·Π°Π³Π»ΡΡΠΊΠ° ΠΏΡΠΎΡΠ½ΠΎ ΡΠΈΠΊΡΠΈΡΡΠ΅ΡΡΡ ΠΏΡΠΈ ΠΏΠΎΠΌΠΎΡΠΈ Ρ ΠΎΠΌΡΡΠ°. ΠΠΎΡΠ»Π΅ ΡΡΠΎΠ³ΠΎ Π΄Π²ΠΈΠ³Π°ΡΠ΅Π»Ρ Π½Π΅Π½Π°Π΄ΠΎΠ»Π³ΠΎ Π·Π°ΠΏΡΡΠΊΠ°Π΅ΡΡΡ. ΠΡΠ»ΠΈ Π½Π°ΠΆΠ°ΡΠΈΠ΅ ΠΏΠ΅Π΄Π°Π»ΠΈ Π½Π΅ ΡΠΎΠΏΡΠΎΠ²ΠΎΠΆΠ΄Π°Π΅ΡΡΡ ΡΠΌΠ΅Π½ΠΎΠΉ ΠΎΠ±ΠΎΡΠΎΡΠΎΠ², ΡΡΠΎ Π·Π½Π°ΡΠΈΡ, ΡΡΠΎ ΡΡΠΈΠ»ΠΈΡΠ΅Π»Ρ ΠΏΠΎΠ΄ΡΠ°ΡΡΠ²Π°Π΅Ρ Π²ΠΎΠ·Π΄ΡΡ .
Π Π΅ΠΌΠΎΠ½Ρ Π²Π°ΠΊΡΡΠΌΠ½ΠΎΠ³ΠΎ ΡΡΠΈΠ»ΠΈΡΠ΅Π»Ρ ΡΠΎΡΠΌΠΎΠ·ΠΎΠ²
ΠΡΠ»ΠΈ Π½Π΅ΠΏΠΎΠ»Π°Π΄ΠΊΠΈ ΠΎΠ±Π½Π°ΡΡΠΆΠ΅Π½Ρ, ΡΠ»Π΅Π΄ΡΠ΅Ρ ΠΊΠΎΠ½ΠΊΡΠ΅ΡΠΈΠ·ΠΈΡΠΎΠ²Π°ΡΡ ΠΈΡ ΠΏΡΠΈΡΠΈΠ½Ρ Π² ΠΏΡΠΎΡΠ΅ΡΡΠ΅ ΠΎΡΠΌΠΎΡΡΠ° ΡΡΠΈΠ»ΠΈΡΠ΅Π»Ρ ΠΏΠ΅ΡΠ΅Π΄ ΡΠ΅ΠΌΠΎΠ½ΡΠΎΠΌ. Π£ΡΡΡΠ°Π½Π΅Π½ΠΈΠ΅ ΠΏΡΠΎΠ±Π»Π΅ΠΌ Ρ ΠΠ£Π’ Π²ΠΎΠ·ΠΌΠΎΠΆΠ½ΠΎ Π»ΠΈΡΡ ΠΏΡΠΈ ΠΏΠΎΠ²ΡΠ΅ΠΆΠ΄Π΅Π½ΠΈΠΈ ΡΡΡΠ±ΠΎΠΏΡΠΎΠ²ΠΎΠ΄Π°, Π° ΡΠ°ΠΊΠΆΠ΅ ΠΎΠ±ΡΠ°ΡΠ½ΠΎΠ³ΠΎ ΠΊΠ»Π°ΠΏΠ°Π½Π° ΠΈΠ»ΠΈ Π΅Π³ΠΎ ΡΠΏΠ»ΠΎΡΠ½ΠΈΡΠ΅Π»Ρ.
Π ΠΎΡΡΠ°Π»ΡΠ½ΡΡ
ΡΠ»ΡΡΠ°ΡΡ
Π²Π°ΠΊΡΡΠΌΠ½ΡΠΉ ΡΡΠΈΠ»ΠΈΡΠ΅Π»Ρ ΡΠΎΡΠΌΠΎΠ·ΠΎΠ² Π»ΡΡΡΠ΅ Π·Π°ΠΌΠ΅Π½ΠΈΡΡ. ΠΠΎ ΡΡΠΎΠ±Ρ Π²ΡΡΡΠ½ΠΈΡΡ, ΠΊΠ°ΠΊΠΎΠΉ ΠΈΠΌΠ΅Π½Π½ΠΎ ΡΠ»Π΅ΠΌΠ΅Π½Ρ ΠΠ£Π’ ΠΏΠΎΠ»ΡΡΠΈΠ» ΠΏΠΎΠ²ΡΠ΅ΠΆΠ΄Π΅Π½ΠΈΠ΅, ΡΡΠ΅Π±ΡΠ΅ΡΡΡ ΡΡΠ°ΡΠ΅Π»ΡΠ½Π°Ρ ΠΏΡΠΎΠ²Π΅ΡΠΊΠ° ΠΎΡΠ΄Π΅Π»ΡΠ½ΡΡ
Π΅Π³ΠΎ Π΄Π΅ΡΠ°Π»Π΅ΠΉ,ΠΎΡΠΎΠ±Π΅Π½Π½ΠΎ ΡΡΠΎ ΠΊΠ°ΡΠ°Π΅ΡΡΡ ΡΡΡΠ±ΠΎΠΊ ΠΈ Ρ
ΠΎΠΌΡΡΠΎΠ².
ΠΠ΅ΠΎΠ±Ρ ΠΎΠ΄ΠΈΠΌΠΎ Π²ΡΠΏΠΎΠ»Π½ΠΈΡΡ ΡΠ»Π΅Π΄ΡΡΡΠΈΠ΅ Π΄Π΅ΠΉΡΡΠ²ΠΈΡ:
- ΠΈΡΡΠ»Π΅Π΄ΠΎΠ²Π°ΡΡ Ρ ΠΎΠΌΡΡΡ ΠΈ ΡΡΡΠ±ΠΊΡ Π½Π° Π½Π°Π»ΠΈΡΠΈΠ΅ ΡΡΠ΅ΡΠΈΠ½;
- ΠΎΡΠΌΠΎΡΡΠ΅ΡΡ ΡΠ΅Π·ΠΈΠ½Ρ, ΡΠΏΠ»ΠΎΡΠ½ΡΡΡΡΡ ΠΎΠ±ΡΠ°ΡΠ½ΡΠΉ ΠΊΠ»Π°ΠΏΠ°Π½ ΠΠ£Π’ Π½Π° ΠΏΡΠ΅Π΄ΠΌΠ΅Ρ ΡΠ°ΡΡΠ»ΠΎΠ΅Π½ΠΈΡ.
Π£ΡΡΡΠ°Π½Π΅Π½ΠΈΠ΅ ΡΠ°ΡΡΠ»ΠΎΠ΅Π½ΠΈΠΉ ΠΈ ΡΡΠ΅ΡΠΈΠ½ β Π΄ΠΎΠ²ΠΎΠ»ΡΠ½ΠΎ ΡΠ»ΠΎΠΆΠ½ΡΠΉ ΠΏΡΠΎΡΠ΅ΡΡ. ΠΠΎΡΠ°Π·Π΄ΠΎ Π±ΠΎΠ»Π΅Π΅ ΠΏΡΠΎΡΡΡΠΌ ΡΠ΅ΡΠ΅Π½ΠΈΠ΅ΠΌ ΠΏΡΠΎΠ±Π»Π΅ΠΌΡ ΡΠ²Π»ΡΠ΅ΡΡΡ ΡΠΌΠ΅Π½Π° Ρ ΠΎΠΌΡΡΠΎΠ² ΠΈ ΡΡΡΠ±ΠΎΠΏΡΠΎΠ²ΠΎΠ΄Π°. Π‘ΡΠΎΡΡ ΠΎΠ½ΠΈ Π΄ΡΡΠ΅Π²ΠΎ ΠΈ Π²ΡΠ΅Π³Π΄Π° ΠΈΠΌΠ΅ΡΡΡΡ Π² ΠΏΡΠΎΠ΄Π°ΠΆΠ΅ ΠΎΡΠ΄Π΅Π»ΡΠ½ΠΎ ΠΎΡ Π΄ΡΡΠ³ΠΈΡ Π΄Π΅ΡΠ°Π»Π΅ΠΉ ΡΡΠΈΠ»ΠΈΡΠ΅Π»Ρ.
ΠΡΠ»ΠΈ ΡΠ°ΠΊΠ°Ρ Π·Π°ΠΌΠ΅Π½Π° Π½Π΅ ΠΏΠΎΠΌΠΎΠ³Π°Π΅Ρ β ΠΠ£Π’ ΠΏΡΠΈΠ΄ΡΡΡΡ ΠΌΠ΅Π½ΡΡΡ ΡΠ΅Π»ΠΈΠΊΠΎΠΌ.
Π§ΡΠΎΠ±Ρ ΠΏΠΎΠΌΠ΅Π½ΡΡΡ Π²Π°ΠΊΡΡΠΌΠ½ΡΠΉ ΡΡΠΈΠ»ΠΈΡΠ΅Π»Ρ ΡΠΎΡΠΌΠΎΠ·ΠΎΠ², Π½Π΅ΠΎΠ±Ρ ΠΎΠ΄ΠΈΠΌΡ:
- ΠΎΡΡΠΎΠ΅Π΄ΠΈΠ½Π΅Π½ΠΈΠ΅ ΡΡΠ³ΠΈ ΠΏΡΠΈΠ²ΠΎΠ΄Π° ΡΡΠΈΠ»ΠΈΡΠ΅Π»Ρ ΠΎΡ ΠΏΠ΅Π΄Π°Π»ΠΈ ΡΠΎΡΠΌΠΎΠ·Π°;
- ΡΠ½ΡΡΠΈΠ΅ Π³Π»Π°Π²Π½ΠΎΠ³ΠΎ ΡΠΎΡΠΌΠΎΠ·Π½ΠΎΠ³ΠΎ ΡΠΈΠ»ΠΈΠ½Π΄ΡΠ°, ΡΠ°ΡΠΏΠΎΠ»ΠΎΠΆΠ΅Π½Π½ΠΎΠ³ΠΎ ΠΏΠΎΠ΄ ΠΊΠ°ΠΏΠΎΡΠΎΠΌ Π°Π²ΡΠΎΠΌΠΎΠ±ΠΈΠ»Ρ;
- ΠΎΡΡΠΎΠ΅Π΄ΠΈΠ½Π΅Π½ΠΈΠ΅ Π²Π°ΠΊΡΡΠΌΠ½ΠΎΠ³ΠΎ ΡΠ»Π°Π½Π³Π° ΠΎΡ ΠΎΠ±ΡΠ°ΡΠ½ΠΎΠ³ΠΎ ΠΊΠ»Π°ΠΏΠ°Π½Π°;
- ΡΡΡΠ°Π½ΠΎΠ²ΠΊΠ° Π½ΠΎΠ²ΠΎΠ³ΠΎ Π²Π°ΠΊΡΡΠΌΠ½ΠΎΠ³ΠΎ ΡΡΠΈΠ»ΠΈΡΠ΅Π»Ρ Π² ΠΎΠ±ΡΠ°ΡΠ½ΠΎΠΌ ΠΏΠΎΡΡΠ΄ΠΊΠ΅;
- ΠΏΡΠΎΠ²Π΅ΡΠΊΠ° ΡΠ°Π±ΠΎΡΡ Π½Π°ΠΆΠ°ΡΠΈΠ΅ΠΌ ΠΏΠ΅Π΄Π°Π»ΠΈ ΠΏΡΠΈ Π΄Π²ΠΈΠΆΠ΅Π½ΠΈΠΈ ΠΏΠΎΠ΄ ΡΠΊΠ»ΠΎΠ½.
ΠΡΠΈ Π½Π°Π»ΠΈΡΠΈΠΈ ΡΡΠΌΠΎΠ² Π² ΠΌΠ΅Ρ
Π°Π½ΠΈΡΠ΅ΡΠΊΠΎΠΌ Π²Π°ΠΊΡΡΠΌΠ½ΠΎΠΌ Π½Π°ΡΠΎΡΠ΅ ΠΈΠ½ΠΎΠ³Π΄Π° ΠΏΠΎΠΌΠΎΠ³Π°Π΅Ρ ΠΈΠ·ΠΌΠ΅Π½Π΅Π½ΠΈΠ΅ ΡΠ°ΡΠΏΠΎΠ»ΠΎΠΆΠ΅Π½ΠΈΡ ΡΡΠΎΠΊΠ° β ΠΏΠ΅ΡΠ΅Π²ΠΎΡΠΎΡ Π½Π° 180 Π³ΡΠ°Π΄ΡΡΠΎΠ².
ΠΠ»Π΅ΠΊΡΡΠΈΡΠ΅ΡΠΊΠΈΠΉ Π½Π°ΡΠΎΡ, ΠΊΠ°ΠΊ ΠΏΡΠ°Π²ΠΈΠ»ΠΎ, ΡΠ΅ΠΌΠΎΠ½ΡΡ Π½Π΅ ΠΏΠΎΠ΄Π»Π΅ΠΆΠΈΡ, ΠΈ Π΅ΠΌΡ ΡΡΠ΅Π±ΡΠ΅ΡΡΡ Π·Π°ΠΌΠ΅Π½Π°.
ΠΡΡΠ²ΠΈΡΡ Π½Π΅ΠΏΠΎΠ»Π°Π΄ΠΊΠΈ Π² ΡΠ°Π±ΠΎΡΠ΅ Π²Π°ΠΊΡΡΠΌΠ½ΠΎΠ³ΠΎ ΡΡΠΈΠ»ΠΈΡΠ΅Π»Ρ ΡΠΎΡΠΌΠΎΠ·ΠΎΠ² Π½Π΅ ΡΠ»ΠΈΡΠΊΠΎΠΌ ΡΠ»ΠΎΠΆΠ½ΠΎ Π΄Π°ΠΆΠ΅ Π΄Π»Ρ Π½Π΅ΠΎΠΏΡΡΠ½ΠΎΠ³ΠΎ Π²ΠΎΠ΄ΠΈΡΠ΅Π»Ρ. ΠΡΠ»ΠΈ Ρ Π²Π°Ρ Ρ Π²Π°ΡΠ°Π΅Ρ Π½Π°Π²ΡΠΊΠΎΠ², Π²Ρ ΠΌΠΎΠΆΠ΅ΡΠ΅ ΠΎΡΡΡΠ΅ΡΡΠ²ΠΈΡΡ Π½Π΅ΠΊΠΎΡΠΎΡΡΠ΅ Π²ΠΈΠ΄Ρ ΡΠ΅ΠΌΠΎΠ½ΡΠ° ΡΠΎΠ±ΡΡΠ²Π΅Π½Π½ΡΠΌΠΈ ΡΠΈΠ»Π°ΠΌΠΈ, ΠΎΠ΄Π½Π°ΠΊΠΎ Π² ΡΡΠ΄Π΅ ΡΠ»ΡΡΠ°Π΅Π² ΡΡΠ΅Π±ΡΡΡΡΡ ΡΡΠ»ΡΠ³ΠΈ Π°Π²ΡΠΎΡΠ΅ΡΠ²ΠΈΡΠ°.
Π’Π°ΠΊ ΠΈΠ»ΠΈ ΠΈΠ½Π°ΡΠ΅, ΠΏΡΠ΅Π½Π΅Π±ΡΠ΅Π³Π°ΡΡ ΡΠΎΡΡΠΎΡΠ½ΠΈΠ΅ΠΌ ΠΠ£Π’ Π½Π΅ ΡΠ»Π΅Π΄ΡΠ΅Ρ β ΠΎΡ ΡΡΠΎΠ³ΠΎ ΠΏΠΎΡΠΎΠΉ Π·Π°Π²ΠΈΡΠΈΡ Π²Π°ΡΠ° Π±Π΅Π·ΠΎΠΏΠ°ΡΠ½ΠΎΡΡΡ Π½Π° ΡΡΠ°ΡΡΠ΅.
ΠΠ°ΠΊΡΡΠΌΠ½ΡΠΉ ΡΡΠΈΠ»ΠΈΡΠ΅Π»Ρ ΡΠΎΡΠΌΠΎΠ·ΠΎΠ² ΠΈ Π²ΡΠ΅,ΡΡΠΎ Π½ΡΠΆΠ½ΠΎ ΠΎ Π½Π΅ΠΌ Π·Π½Π°ΡΡ.
Nevada 1976ΠΠ°ΠΊΡΡΠΌΠ½ΡΠΉ ΡΡΠΈΠ»ΠΈΡΠ΅Π»Ρ ΡΠΎΡΠΌΠΎΠ·ΠΎΠ² ΠΈ Π²ΡΠ΅,ΡΡΠΎ Π½ΡΠΆΠ½ΠΎ ΠΎ Π½Π΅ΠΌ Π·Π½Π°ΡΡ. 0 Comment
Π‘ΠΎΠ΄Π΅ΡΠΆΠ°Π½ΠΈΠ΅ ΡΡΠ°ΡΡΠΈ
ΠΠ°ΠΊΡΡΠΌΠ½ΡΠΉ ΡΡΠΈΠ»ΠΈΡΠ΅Π»Ρ ΡΠ²Π»ΡΠ΅ΡΡΡ ΠΎΠ΄Π½ΠΈΠΌ ΠΈΠ· Π½Π΅ΠΎΡΡΠ΅ΠΌΠ»Π΅ΠΌΡΡ
ΡΠ»Π΅ΠΌΠ΅Π½ΡΠΎΠ² ΡΠΎΡΠΌΠΎΠ·Π½ΠΎΠΉ ΡΠΈΡΡΠ΅ΠΌΡ Π°Π²ΡΠΎΠΌΠΎΠ±ΠΈΠ»Ρ. ΠΠ»Π°Π²Π½ΠΎΠ΅ Π΅Π³ΠΎ ΠΏΡΠ΅Π΄Π½Π°Π·Π½Π°ΡΠ΅Π½ΠΈΠ΅ β ΡΠ²Π΅Π»ΠΈΡΠ΅Π½ΠΈΠ΅ ΡΡΠΈΠ»ΠΈΡ, ΠΏΠ΅ΡΠ΅Π΄Π°Π²Π°Π΅ΠΌΠΎΠ³ΠΎ ΠΎΡ ΠΏΠ΅Π΄Π°Π»ΠΈ ΠΊ Π³Π»Π°Π²Π½ΠΎΠΌΡ ΡΠΎΡΠΌΠΎΠ·Π½ΠΎΠΌΡ ΡΠΈΠ»ΠΈΠ½Π΄ΡΡ.
ΠΠ° ΡΡΠ΅Ρ ΡΡΠΎΠ³ΠΎ ΡΠΏΡΠ°Π²Π»Π΅Π½ΠΈΠ΅ Π°Π²ΡΠΎΠΌΠΎΠ±ΠΈΠ»Π΅ΠΌ ΡΡΠ°Π½ΠΎΠ²ΠΈΡΡΡ Π±ΠΎΠ»Π΅Π΅ Π»Π΅Π³ΠΊΠΈΠΌ ΠΈ ΠΊΠΎΠΌΡΠΎΡΡΠ½ΡΠΌ, Π° ΡΠΎΡΠΌΠΎΠΆΠ΅Π½ΠΈΠ΅ ΡΡΡΠ΅ΠΊΡΠΈΠ²Π½ΡΠΌ. Π ΡΡΠ°ΡΡΠ΅ ΡΠ°Π·Π±Π΅ΡΠ΅ΠΌ, ΠΊΠ°ΠΊ ΡΠ°Π±ΠΎΡΠ°Π΅Ρ ΡΡΠΈΠ»ΠΈΡΠ΅Π»Ρ, ΡΠ·Π½Π°Π΅ΠΌ ΠΈΠ· ΠΊΠ°ΠΊΠΈΡ
ΡΠ»Π΅ΠΌΠ΅Π½ΡΠΎΠ² ΠΎΠ½ ΡΠΎΡΡΠΎΠΈΡ, Π° ΡΠ°ΠΊΠΆΠ΅ Π²ΡΡΡΠ½ΠΈΠΌ, ΠΌΠΎΠΆΠ½ΠΎ Π»ΠΈ Π±Π΅Π· Π½Π΅Π³ΠΎ ΠΎΠ±ΠΎΠΉΡΠΈΡΡ.
Π£ΡΡΡΠΎΠΉΡΡΠ²ΠΎ Π²Π°ΠΊΡΡΠΌΠ½ΠΎΠ³ΠΎ ΡΡΠΈΠ»ΠΈΡΠ΅Π»Ρ ΡΠΎΡΠΌΠΎΠ·ΠΎΠ²
ΠΠΎΠ½ΡΡΡΡΠΊΡΠΈΠ²Π½ΠΎ Π²Π°ΠΊΡΡΠΌΠ½ΡΠΉ ΡΡΠΈΠ»ΠΈΡΠ΅Π»Ρ ΠΏΡΠ΅Π΄ΡΡΠ°Π²Π»ΡΠ΅Ρ ΡΠΎΠ±ΠΎΠΉ Π³Π΅ΡΠΌΠ΅ΡΠΈΡΠ½ΡΠΉ ΠΊΠΎΡΠΏΡΡ ΠΎΠΊΡΡΠ³Π»ΠΎΠΉ ΡΠΎΡΠΌΡ. ΠΠ½ ΡΡΡΠ°Π½Π°Π²Π»ΠΈΠ²Π°Π΅ΡΡΡ ΠΏΠ΅ΡΠ΅Π΄ ΡΠΎΡΠΌΠΎΠ·Π½ΠΎΠΉ ΠΏΠ΅Π΄Π°Π»ΡΡ Π² ΠΌΠΎΡΠΎΡΠ½ΠΎΠΌ ΠΎΡΡΠ΅ΠΊΠ΅. ΠΠ° Π΅Π³ΠΎ ΠΊΠΎΡΠΏΡΡΠ΅ ΡΠ°ΡΠΏΠΎΠ»Π°Π³Π°Π΅ΡΡΡ Π³Π»Π°Π²Π½ΡΠΉ ΡΠΎΡΠΌΠΎΠ·Π½ΠΎΠΉ ΡΠΈΠ»ΠΈΠ½Π΄Ρ. Π‘ΡΡΠ΅ΡΡΠ²ΡΠ΅Ρ Π΅ΡΠ΅ ΠΎΠ΄Π½Π° ΡΠ°Π·Π½ΠΎΠ²ΠΈΠ΄Π½ΠΎΡΡΡ ΡΡΡΡΠΎΠΉΡΡΠ²Π° β Π³ΠΈΠ΄ΡΠΎΠ²Π°ΠΊΡΡΠΌΠ½ΡΠΉ ΡΡΠΈΠ»ΠΈΡΠ΅Π»Ρ ΡΠΎΡΠΌΠΎΠ·ΠΎΠ², ΠΊΠΎΡΠΎΡΡΠΉ Π²ΠΊΠ»ΡΡΠ΅Π½ Π² Π³ΠΈΠ΄ΡΠ°Π²Π»ΠΈΡΠ΅ΡΠΊΡΡ ΡΠ°ΡΡΡ ΠΏΡΠΈΠ²ΠΎΠ΄Π°.
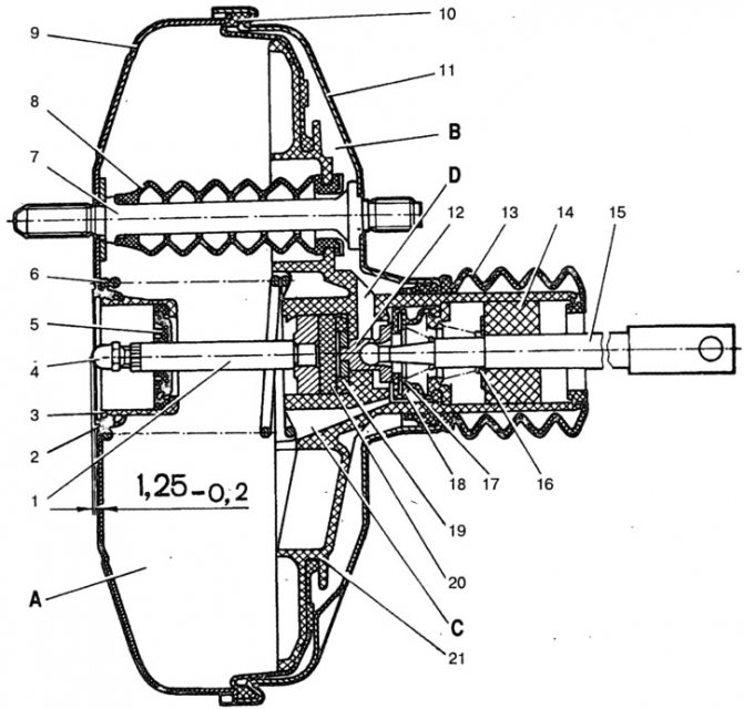
Π‘Ρ Π΅ΠΌΠ°Β Π²Π°ΠΊΡΡΠΌΠ½ΠΎΠ³ΠΎ ΡΡΠΈΠ»ΠΈΡΠ΅Π»Ρ ΡΠΎΡΠΌΠΎΠ·ΠΎΠ²ΠΠ°ΠΊΡΡΠΌΠ½ΡΠΉ ΡΡΠΈΠ»ΠΈΡΠ΅Π»Ρ ΡΠΎΡΠΌΠΎΠ·ΠΎΠ² ΡΠΎΡΡΠΎΠΈΡ ΠΈΠ· ΡΠ»Π΅Π΄ΡΡΡΠΈΡ ΡΠ»Π΅ΠΌΠ΅Π½ΡΠΎΠ²:
- ΠΊΠΎΡΠΏΡΡ
- Π΄ΠΈΠ°ΡΡΠ°Π³ΠΌΠ° (Π½Π° Π΄Π²Π΅ ΠΊΠ°ΠΌΠ΅ΡΡ)
ΡΠ»Π΅Π΄ΡΡΠΈΠΉ ΠΊΠ»Π°ΠΏΠ°Π½- ΡΠΎΠ»ΠΊΠ°ΡΠ΅Π»Ρ ΠΏΠ΅Π΄Π°Π»ΠΈ ΡΠΎΡΠΌΠΎΠ·Π°
- ΡΡΠΎΠΊ ΠΏΠΎΡΡΠ½Ρ Π³ΠΈΠ΄ΡΠΎΡΠΈΠ»ΠΈΠ½Π΄ΡΠ° ΡΠΎΡΠΌΠΎΠ·ΠΎΠ²
- Π²ΠΎΠ·Π²ΡΠ°ΡΠ½Π°Ρ ΠΏΡΡΠΆΠΈΠ½Π°
ΠΠΎΡΠΏΡΡ ΡΡΡΡΠΎΠΉΡΡΠ²Π° ΡΠ°Π·Π΄Π΅Π»Π΅Π½ Π΄ΠΈΠ°ΡΡΠ°Π³ΠΌΠΎΠΉ Π½Π° Π΄Π²Π΅ ΠΊΠ°ΠΌΠ΅ΡΡ: Π²Π°ΠΊΡΡΠΌΠ½ΡΡ ΠΈ Π°ΡΠΌΠΎΡΡΠ΅ΡΠ½ΡΡ. ΠΠ΅ΡΠ²Π°Ρ ΡΠ°ΡΠΏΠΎΠ»ΠΎΠΆΠ΅Π½Π° ΡΠΎ ΡΡΠΎΡΠΎΠ½Ρ Π³Π»Π°Π²Π½ΠΎΠ³ΠΎ ΡΠΎΡΠΌΠΎΠ·Π½ΠΎΠ³ΠΎ ΡΠΈΠ»ΠΈΠ½Π΄ΡΠ°, Π²ΡΠΎΡΠ°Ρ β ΡΠΎ ΡΡΠΎΡΠΎΠ½Ρ ΠΏΠ΅Π΄Π°Π»ΠΈ ΡΠΎΡΠΌΠΎΠ·Π°.
Π§Π΅ΡΠ΅Π· ΠΎΠ±ΡΠ°ΡΠ½ΡΠΉ ΠΊΠ»Π°ΠΏΠ°Π½ ΡΡΠΈΠ»ΠΈΡΠ΅Π»Ρ Π²Π°ΠΊΡΡΠΌΠ½Π°Ρ ΠΊΠ°ΠΌΠ΅ΡΠ° ΡΠΎΠ΅Π΄ΠΈΠ½Π΅Π½Π° Ρ ΠΈΡΡΠΎΡΠ½ΠΈΠΊΠΎΠΌ ΡΠ°Π·ΡΡΠΆΠ΅Π½ΠΈΡ (Π²Π°ΠΊΡΡΠΌΠ°), Π² ΠΊΠ°ΡΠ΅ΡΡΠ²Π΅ ΠΊΠΎΡΠΎΡΠΎΠ³ΠΎ Π½Π° Π°Π²ΡΠΎΠΌΠΎΠ±ΠΈΠ»ΡΡ
Ρ Π±Π΅Π½Π·ΠΈΠ½ΠΎΠ²ΡΠΌ Π΄Π²ΠΈΠ³Π°ΡΠ΅Π»Π΅ΠΌΒ ΠΈΡΠΏΠΎΠ»ΡΠ·ΡΠ΅ΡΡΡ Π²ΠΏΡΡΠΊΠ½ΠΎΠΉ ΠΊΠΎΠ»Π»Π΅ΠΊΡΠΎΡ ΠΏΠ΅ΡΠ΅Π΄ ΠΏΠΎΠ΄Π°ΡΠ΅ΠΉ ΡΠΎΠΏΠ»ΠΈΠ²Π° Π² ΡΠΈΠ»ΠΈΠ½Π΄ΡΡ.
Π Π΄ΠΈΠ·Π΅Π»Π΅ ΠΆΠ΅ ΠΈΡΡΠΎΡΠ½ΠΈΠΊΠΎΠΌ ΡΠ°Π·ΡΡΠΆΠ΅Π½ΠΈΡ ΡΠ»ΡΠΆΠΈΡ ΡΠ»Π΅ΠΊΡΡΠΈΡΠ΅ΡΠΊΠΈΠΉ Π²Π°ΠΊΡΡΠΌΠ½ΡΠΉ Π½Π°ΡΠΎΡ. ΠΠ΄Π΅ΡΡ ΡΠ°Π·ΡΡΠΆΠ΅Π½ΠΈΠ΅ Π²ΠΎ Π²ΠΏΡΡΠΊΠ½ΠΎΠΌ ΠΊΠΎΠ»Π»Π΅ΠΊΡΠΎΡΠ΅ Π½Π΅Π·Π½Π°ΡΠΈΡΠ΅Π»ΡΠ½ΠΎΠ΅, ΠΏΠΎΡΡΠΎΠΌΡ Π½Π°ΡΠΎΡ ΡΠ²Π»ΡΠ΅ΡΡΡ ΠΎΠ±ΡΠ·Π°ΡΠ΅Π»ΡΠ½ΡΠΌ ΡΠ»Π΅ΠΌΠ΅Π½ΡΠΎΠΌ. ΠΠ±ΡΠ°ΡΠ½ΡΠΉ ΠΊΠ»Π°ΠΏΠ°Π½ Π²Π°ΠΊΡΡΠΌΠ½ΠΎΠ³ΠΎ ΡΡΠΈΠ»ΠΈΡΠ΅Π»Ρ ΡΠΎΡΠΌΠΎΠ·ΠΎΠ² ΡΠ°Π·ΡΠ΅Π΄ΠΈΠ½ΡΠ΅Ρ Π΅Π³ΠΎ Ρ ΠΈΡΡΠΎΡΠ½ΠΈΠΊΠΎΠΌ ΡΠ°Π·ΡΡΠΆΠ΅Π½ΠΈΡ ΠΏΡΠΈ ΠΎΡΡΠ°Π½ΠΎΠ²ΠΊΠ΅ Π΄Π²ΠΈΠ³Π°ΡΠ΅Π»Ρ, Π° ΡΠ°ΠΊΠΆΠ΅ Π² ΡΠ»ΡΡΠ°Π΅, ΠΏΡΠΈ ΠΊΠΎΡΠΎΡΠΎΠΌΒ Π²ΡΡΠ΅Π» ΠΈΠ· ΡΡΡΠΎΡ ΡΠ»Π΅ΠΊΡΡΠΎΠ²Π°ΠΊΡΡΠΌΠ½ΡΠΉ Π½Π°ΡΠΎΡ.
ΠΠΈΠ°ΡΡΠ°Π³ΠΌΠ° ΡΠΎΠ΅Π΄ΠΈΠ½Π΅Π½Π° ΡΠΎ ΡΡΠΎΠΊΠΎΠΌ ΠΏΠΎΡΡΠ½Ρ Π³Π»Π°Π²Π½ΠΎΠ³ΠΎ ΡΠΎΡΠΌΠΎΠ·Π½ΠΎΠ³ΠΎ ΡΠΈΠ»ΠΈΠ½Π΄ΡΠ° ΡΠΎ ΡΡΠΎΡΠΎΠ½Ρ Π²Π°ΠΊΡΡΠΌΠ½ΠΎΠΉ ΠΊΠ°ΠΌΠ΅ΡΡ. ΠΠ΅ Π΄Π²ΠΈΠΆΠ΅Π½ΠΈΠ΅ ΠΎΠ±Π΅ΡΠΏΠ΅ΡΠΈΠ²Π°Π΅Ρ ΠΏΠ΅ΡΠ΅ΠΌΠ΅ΡΠ΅Π½ΠΈΠ΅ ΠΏΠΎΡΡΠ½Ρ ΠΈ Π½Π°Π³Π½Π΅ΡΠ°Π½ΠΈΠ΅ ΡΠΎΡΠΌΠΎΠ·Π½ΠΎΠΉ ΠΆΠΈΠ΄ΠΊΠΎΡΡΠΈ ΠΊ ΠΊΠΎΠ»Π΅ΡΠ½ΡΠΌ ΡΠΈΠ»ΠΈΠ½Π΄ΡΠ°ΠΌ.
ΠΡΠΌΠΎΡΡΠ΅ΡΠ½Π°Ρ ΠΊΠ°ΠΌΠ΅ΡΠ° Π² ΠΈΡΡ
ΠΎΠ΄Π½ΠΎΠΌ ΠΏΠΎΠ»ΠΎΠΆΠ΅Π½ΠΈΠΈ ΡΠΎΠ΅Π΄ΠΈΠ½Π΅Π½Π° Ρ Π²Π°ΠΊΡΡΠΌΠ½ΠΎΠΉ ΠΊΠ°ΠΌΠ΅ΡΠΎΠΉ, Π° ΠΏΡΠΈ Π½Π°ΠΆΠ°ΡΠΎΠΉ ΠΏΠ΅Π΄Π°Π»ΠΈ ΡΠΎΡΠΌΠΎΠ·Π° β Ρ Π°ΡΠΌΠΎΡΡΠ΅ΡΠΎΠΉ. Π‘ΠΎΠΎΠ±ΡΠ΅Π½ΠΈΠ΅ Ρ Π°ΡΠΌΠΎΡΡΠ΅ΡΠΎΠΉΒ ΠΎΠ±Π΅ΡΠΏΠ΅ΡΠΈΠ²Π°Π΅Ρ ΡΠ»Π΅Π΄ΡΡΠΈΠΉ ΠΊΠ»Π°ΠΏΠ°Π½, ΠΏΠ΅ΡΠ΅ΠΌΠ΅ΡΠ΅Π½ΠΈΠ΅ ΠΊΠΎΡΠΎΡΠΎΠ³ΠΎ ΠΏΡΠΎΠΈΡΡ
ΠΎΠ΄ΠΈΡ ΠΏΡΠΈ ΠΏΠΎΠΌΠΎΡΠΈ ΡΠΎΠ»ΠΊΠ°ΡΠ΅Π»Ρ.
Π ΠΊΠΎΠ½ΡΡΡΡΠΊΡΠΈΡ Π²Π°ΠΊΡΡΠΌΠ½ΠΈΠΊΠ° Π² ΡΠ΅Π»ΡΡ ΡΠ²Π΅Π»ΠΈΡΠ΅Π½ΠΈΡ ΡΡΡΠ΅ΠΊΡΠΈΠ²Π½ΠΎΡΡΠΈ ΡΠΎΡΠΌΠΎΠΆΠ΅Π½ΠΈΡ Π² ΡΠΊΡΡΡΠ΅Π½Π½ΠΎΠΉ ΡΠΈΡΡΠ°ΡΠΈΠΈ ΠΌΠΎΠΆΠ΅Ρ Π±ΡΡΡ Π²ΠΊΠ»ΡΡΠ΅Π½Π° ΡΠΈΡΡΠ΅ΠΌΠ° ΡΠΊΡΡΡΠ΅Π½Π½ΠΎΠ³ΠΎ ΡΠΎΡΠΌΠΎΠΆΠ΅Π½ΠΈΡ Π² Π²ΠΈΠ΄Π΅ Π΄ΠΎΠΏΠΎΠ»Π½ΠΈΡΠ΅Π»ΡΠ½ΠΎΠ³ΠΎ ΡΠ»Π΅ΠΊΡΡΠΎΠΌΠ°Π³Π½ΠΈΡΠ½ΠΎΠ³ΠΎ ΠΏΡΠΈΠ²ΠΎΠ΄Π° ΡΡΠΎΠΊΠ°.
ΠΠ°ΠΊ ΡΠ°Π±ΠΎΡΠ°Π΅Ρ?
ΠΡΠΈΠ½ΡΠΈΠΏ ΡΠ°Π±ΠΎΡΡ ΠΏΠΎΡΡΡΠΎΠ΅Π½ Π½Π° ΡΠ°Π·Π½ΠΈΡΠ΅ Π΄Π°Π²Π»Π΅Π½ΠΈΠΉ. ΠΠΎΡΠΏΡΡ ΡΡΠΈΠ»ΠΈΡΠ΅Π»Ρ Π²ΠΊΠ»ΡΡΠ°Π΅Ρ Π² ΡΠ΅Π±Ρ Π΄Π²Π° ΠΊΠΎΠ½ΡΡΡΠ°, ΡΠ°Π·Π΄Π΅Π»Π΅Π½Π½ΡΡ ΠΌΠ΅ΠΆΠ΄Ρ ΡΠΎΠ±ΠΎΠΉ ΠΌΠ΅ΠΌΠ±ΡΠ°Π½ΠΎΠΉ. ΠΠ΄Π½ΠΎΠΉ ΡΠ°ΡΡΡΡ ΠΊΠΎΠ½ΡΡΡ ΡΠΎΠ΅Π΄ΠΈΠ½ΡΠ΅ΡΡΡ ΡΠΎ ΡΠ»Π°Π½Π³ΠΎΠΌ (ΠΎΡΠΊΡΠ΄Π° ΠΈΠ΄Π΅Ρ ΡΠ°Π·ΡΡΠΆΠ΅Π½ΠΈΠ΅). ΠΡΠΎΡΠΎΠΉ ΠΊΠΎΠ½Π΅Ρ ΠΏΠΎΠ΄ΠΊΠ»ΡΡΠ°Π΅ΡΡΡ ΠΊ ΡΠ»Π΅Π΄ΡΡΠ΅ΠΌΡ ΠΊΠ»Π°ΠΏΠ°Π½Ρ. ΠΠ½ ΠΊΠΎΠ½ΡΡΠΎΠ»ΠΈΡΡΠ΅Ρ ΡΠΌΠ΅Π½Ρ ΡΠ°Π·ΡΡΠΆΠ΅Π½ΠΈΡ ΠΈ ΡΠ΅Π³ΡΠ»ΠΈΡΡΠ΅Ρ ΠΏΠ°ΡΠ°ΠΌΠ΅ΡΡΡ.Β
ΠΠΎ Π²ΡΠ΅ΠΌΡ Π΄Π²ΠΈΠΆΠ΅Π½ΠΈΡ Π°Π²ΡΠΎΠΌΠΎΠ±ΠΈΠ»Ρ ΠΈΠ»ΠΈ Π½Π° Ρ
ΠΎΠ»ΠΎΡΡΠΎΠΌ Ρ
ΠΎΠ΄Ρ (ΠΊΠΎΠ³Π΄Π° ΠΏΠ΅Π΄Π°Π»Ρ Π½Π΅ Π½Π°ΠΆΠ°ΡΠ°), Π΄ΠΈΠ°ΡΡΠ°Π³ΠΌΠ° Π½Π°Ρ
ΠΎΠ΄ΠΈΡΡΡ Π² Π½Π΅ΠΏΠΎΠ΄Π²ΠΈΠΆΠ½ΠΎΠΌ ΡΠΎΡΡΠΎΡΠ½ΠΈΠΈ. ΠΠ°ΠΊ ΡΠΎΠ»ΡΠΊΠΎ Π²ΠΎΠ΄ΠΈΡΠ΅Π»Ρ Π½Π°ΠΆΠΈΠΌΠ°Π΅Ρ Π½Π° ΡΠΎΡΠΌΠΎΠ·, ΡΠ°Π·ΡΡΠΆΠ΅Π½ΠΈΠ΅ ΠΏΠ΅ΡΠ΅ΠΊΡΡΠ²Π°Π΅ΡΡΡ ΡΠ»Π΅Π΄ΡΡΠΈΠΌ ΠΊΠ»Π°ΠΏΠ°Π½ΠΎΠΌ. ΠΠΈΠ°ΡΡΠ°Π³ΠΌΠ° Π΄Π²ΠΈΠ³Π°Π΅ΡΡΡ Π² ΡΡΠΎΡΠΎΠ½Ρ ΡΠΎΡΠΌΠΎΠ·Π½ΠΎΠ³ΠΎ ΡΠΈΠ»ΠΈΠ½Π΄ΡΠ° ΠΈ ΡΠΎΠ»ΠΊΠ°Π΅Ρ ΡΡΠΎΠΊ. ΠΠΎΡΠ»Π΅Π΄Π½ΠΈΠΉ ΠΈ ΡΠ²Π΅Π»ΠΈΡΠΈΠ²Π°Π΅Ρ Π΄Π°Π½Π½ΠΎΠ΅ ΡΡΠΈΠ»ΠΈΠ΅. ΠΡΠ»ΠΈ Π½Π°Π΄Π°Π²ΠΈΡΡ Π½Π° ΠΏΠ΅Π΄Π°Π»Ρ Π΄ΠΎ ΡΠΏΠΎΡΠ°, ΠΎΡΠ²Π΅ΡΡΡΠΈΠ΅ ΡΠ²Π΅Π»ΠΈΡΠΈΡΡΡ. ΠΡΠΈ Π±ΠΎΠ»ΡΡΠ΅ΠΌ Π°ΡΠΌΠΎΡΡΠ΅ΡΠ½ΠΎΠΌ Π΄Π°Π²Π»Π΅Π½ΠΈΠΈ Π²ΠΎΠ·ΡΠ°ΡΡΠ°Π΅Ρ ΠΈ ΡΠ°Π·ΡΡΠΆΠ΅Π½ΠΈΠ΅. Π ΠΈΡΠΎΠ³Π΅ ΠΎΡΠΊΠ»ΠΈΠΊ Π½Π° ΠΏΠ΅Π΄Π°Π»Ρ ΡΡΠ°Π½ΠΎΠ²ΠΈΡΡΡ Π±ΠΎΠ»Π΅Π΅ ΡΠ΅Π·ΠΊΠΈΠΌ.
ΠΡΠΈ ΠΎΡΠΏΡΡΠΊΠ°Π½ΠΈΠΈ ΠΏΠ΅Π΄Π°Π»ΠΈ Π΄ΠΈΠ°ΡΡΠ°Π³ΠΌΠ° Π²ΠΎΠ·Π²ΡΠ°ΡΠ°Π΅ΡΡΡ Π½Π° ΡΠ²ΠΎΠ΅ ΠΌΠ΅ΡΡΠΎ. Π’ΠΎΡΠΌΠΎΠ·Π½ΡΠ΅ ΠΊΠΎΠ»ΠΎΠ΄ΠΊΠΈ ΡΠ°Π·ΠΆΠΈΠΌΠ°ΡΡΡΡ.Β
ΠΡΠΎΠ²Π΅ΡΠΈΡΡ ΡΠ°ΠΌΠΎΡΡΠΎΡΡΠ΅Π»ΡΠ½ΠΎ ΡΠ°Π±ΠΎΡΡ Π²Π°ΠΊΡΡΠΌΠ½ΠΈΠΊΠ° Π½Π΅ ΡΠΎΡΡΠ°Π²Π»ΡΠ΅Ρ ΠΎΡΠΎΠ±ΠΎΠ³ΠΎ ΡΡΡΠ΄Π°. ΠΡΡΡ Π½Π΅ΡΠΊΠΎΠ»ΡΠΊΠΎ Π΄ΠΎΡΡΠ°ΡΠΎΡΠ½ΠΎ ΠΏΡΠΎΡΡΡΡ ΡΠΏΠΎΡΠΎΠ±ΠΎΠ²:
1. ΠΠ²ΠΈΠ³Π°ΡΠ΅Π»Ρ Π½Π°ΡΠΈΠ½Π°Π΅Ρ Β«ΡΡΠΎΠΈΡΡΒ», Π° ΠΏΠΎΡΠ»Π΅ Π½Π°ΠΆΠ°ΡΠΈΡ ΡΠΎΡΠΌΠΎΠ·ΠΎΠ² ΠΎΠ½ ΡΠ°Π±ΠΎΡΠ°Π΅Ρ ΠΊΠ°ΠΊ ΡΠ°ΡΠΈΠΊΠΈ. ΠΡΡ Π΄Π΅Π»ΠΎ Π² ΡΠΎΠΌ, ΡΡΠΎ ΠΏΡΠΈ ΡΠ°Π·Π³Π΅ΡΠΌΠ΅ΡΠΈΠ·Π°ΡΠΈΠΈ Π²ΠΎΠ·Π΄ΡΡ
Π·Π°ΡΠ°ΡΡΠ²Π°Π΅ΡΡΡ Π²ΠΎ Π²ΠΏΡΡΠΊΠ½ΠΎΠΌ ΠΊΠΎΠ»Π»Π΅ΠΊΡΠΎΡΠ΅. Π ΡΡΠΎ Π²Π΅Π΄ΡΡ ΠΊ ΡΠ΅Π·ΠΊΠΎΠΌΡ ΡΠΌΠ΅ΡΠΈΠ²Π°Π½ΠΈΡ Π²ΠΎΠ·Π΄ΡΡ
Π° ΠΈ ΡΠΎΠΏΠ»ΠΈΠ²Π½ΠΎΠΉ ΡΠΌΠ΅ΡΠΈ, ΠΏΠΎΡΡΡΠΏΠ°ΡΡΠΈΠ΅ Π² ΡΠΈΠ»ΠΈΠ½Π΄ΡΡ Π΄Π²ΠΈΠ³Π°ΡΠ΅Π»Ρ.
2. ΠΡΠΈ Π²ΡΠΊΠ»ΡΡΠ΅Π½Π½ΠΎΠΌ ΠΌΠΎΡΠΎΡΠ΅ ΠΏΡΠΎΠΊΠ°ΡΠ°ΠΉΡΠ΅ (Π½Π°ΠΆΠΌΠΈΡΠ΅) 5-6 ΡΠ°Π· ΠΏΠ΅Π΄Π°Π»Ρ ΡΠΎΡΠΌΠΎΠ·Π°. ΠΠΎΡΠΎΠΌ Π΅ΡΡ ΡΠ°Π· Π½Π°ΠΆΠΌΠΈΡΠ΅ ΠΈ Π½Π° ΡΠ΅ΡΠ΅Π΄ΠΈΠ½Π΅ Ρ
ΠΎΠ΄Π° ΠΎΡΡΠ°Π½ΠΎΠ²ΠΈΡΠ΅. ΠΠ΅ ΠΎΡΠΏΡΡΠΊΠ°Ρ ΠΏΠ΅Π΄Π°Π»Ρ, Π·Π°ΠΏΡΡΡΠΈΡΠ΅ Π΄Π²ΠΈΠ³Π°ΡΠ΅Π»Ρ. ΠΠ΅Π΄Π°Π»Ρ Β«ΠΏΡΠΎΠ²Π°Π»ΠΈΠ»Π°ΡΡΒ» Π΄ΠΎ ΠΏΠΎΠ»ΠΈΠΊΠ° β Π²Π°ΠΊΡΡΠΌΠ½ΡΠΉ ΡΡΠΈΠ»ΠΈΡΠ΅Π»Ρ ΡΠ°Π±ΠΎΡΠ°Π΅Ρ ΠΈΡΠΏΡΠ°Π²Π½ΠΎ. ΠΡΠ»ΠΈ Π½ΠΈΡΠ΅Π³ΠΎ Π½Π΅ ΠΈΠ·ΠΌΠ΅Π½ΠΈΠ»ΠΎΡΡ ΠΏΠΎΡΠ»Π΅ Π·Π°ΠΏΡΡΠΊΠ° ΠΌΠΎΡΠΎΡΠ°, ΡΠΎ ΡΡΠΎΠΈΡ ΠΏΠΎΠ΄ΡΠΌΠ°ΡΡ ΠΎ Π·Π°ΠΌΠ΅Π½Π΅ ΠΈΠ»ΠΈ ΡΠ΅ΠΌΠΎΠ½ΡΠ΅.
3. ΠΡΠΌΠ°ΡΡΠΈΠ²Π°Ρ ΠΏΠΎΠ²Π΅ΡΡ
Π½ΠΎΡΡΡ, Π²Ρ Π·Π°ΠΌΠ΅ΡΠΈΠ»ΠΈ ΠΏΠΎΠ΄ΡΠ΅ΠΊΠΈ, ΠΎΡΡΠ°Π²Π»ΡΠ΅ΠΌΡΠ΅ ΡΠΎΡΠΌΠΎΠ·Π½ΠΎΠΉ ΠΆΠΈΠ΄ΠΊΠΎΡΡΡΡ.
ΠΠ΅ ΡΡΠΎΠΈΡ ΠΏΠΎΡΡΠΎΡΠ½Π½ΠΎ Π±ΡΡΡ ΡΠ²Π΅ΡΠ΅Π½Π½ΡΠΌ Π² ΡΠ°Π±ΠΎΡΠ΅ Π²Π°ΠΊΡΡΠΌΠ½ΠΈΠΊΠ° ΠΈΠ»ΠΈ ΡΠΎΡΠΌΠΎΠ·ΠΎΠ².
ΠΠ½ΠΈ, ΠΊΠ°ΠΊ ΠΈ Π²ΡΡ ΠΌΠ°ΡΠΈΠ½Π°, Ρ
ΠΎΡΡΡ ΠΏΠΎΠ»ΡΡΠ°ΡΡ Π²Π½ΠΈΠΌΠ°Π½ΠΈΡ. Π ΡΠΎΡΠΌΠΎΠ·Π½Π°Ρ ΡΠΈΡΡΠ΅ΠΌΠ° ΠΎΡΠΎΠ±Π΅Π½Π½ΠΎ β ΠΎΠ½Π° Π½ΠΈΠΊΠΎΠ³Π΄Π° Π½Π΅ ΠΏΡΠΎΡΠ°Π΅Ρ ΠΎΡΠΈΠ±ΠΎΠΊ.
P.S. 1. Π ΡΠ΅ΠΌΠΎΠ½ΡΠ΅ ΠΈΠ»ΠΈ Π·Π°ΠΌΠ΅Π½Π΅ Π°Π³ΡΠ΅Π³Π°ΡΠ° ΡΡΠΎΠΈΡ Π·Π°Π΄ΡΠΌΠ°ΡΡΡΡ Π² ΡΠ΅Ρ ΡΠ»ΡΡΠ°ΡΡ , ΠΊΠΎΠ³Π΄Π° ΠΎΠ½ ΠΏΠΎΠ»Π½ΠΎΡΡΡΡ ΠΈΠ»ΠΈ Π΄Π°ΠΆΠ΅ ΡΠ°ΡΡΠΈΡΠ½ΠΎ Π½Π΅ Π²ΡΠΏΠΎΠ»Π½ΡΠ΅Ρ ΡΠ²ΠΎΠΈ ΡΡΠ½ΠΊΡΠΈΠΈ. 2. ΠΠ΅ Π·Π°Π±ΡΠ²Π°ΠΉΡΠ΅ ΡΠ²ΠΎΠ΅Π²ΡΠ΅ΠΌΠ΅Π½Π½ΠΎ ΠΏΡΠΎΠ²Π΅ΡΡΡΡ ΡΠΎΡΠΌΠΎΠ·Π½ΡΡ ΡΠΈΡΡΠ΅ΠΌΡ.
ΠΠ‘ΠΠΠΠΠ«Π ΠΠΠΠ‘ΠΠ ΠΠΠΠΠ‘Π’Π Π£Π‘Π’Π ΠΠΠ‘Π’ΠΠ
ΠΠΈΠ΄ΠΎΠ² ΠΏΠΎΠ»ΠΎΠΌΠΎΠΊ Π²Π°ΠΊΡΡΠΌΠ½ΠΈΠΊΠ° Π½Π΅ ΡΠ°ΠΊ ΡΠΆ ΠΈ ΠΌΠ½ΠΎΠ³ΠΎ, Π° ΠΈΠΌΠ΅Π½Π½ΠΎ:
- ΠΠΎΡΠ΅ΡΡ Π³Π΅ΡΠΌΠ΅ΡΠΈΡΠ½ΠΎΡΡΠΈ ΡΡΡΠ±ΠΎΠΏΡΠΎΠ²ΠΎΠ΄Π°, ΠΏΠΎ ΠΊΠΎΡΠΎΡΠΎΠΌΡ ΠΏΠΎΡΡΡΠΏΠ°Π΅Ρ ΡΠ°Π·ΡΠ΅ΠΆΠ΅Π½ΠΈΠ΅, ΠΈΠ»ΠΈ ΠΌΠ΅ΡΡ Π΅Π³ΠΎ ΡΠΎΠ΅Π΄ΠΈΠ½Π΅Π½ΠΈΡ;
- ΠΡΡ ΠΎΠ΄ ΠΈΠ· ΡΡΡΠΎΡ ΠΎΠ±ΡΠ°ΡΠ½ΠΎΠ³ΠΎ ΠΊΠ»Π°ΠΏΠ°Π½Π°;
- Π Π°Π·Π³Π΅ΡΠΌΠ΅ΡΠΈΠ·Π°ΡΠΈΡ ΡΠ°Π±ΠΎΡΠΈΡ ΠΊΠ°ΠΌΠ΅Ρ ΡΡΠΈΠ»ΠΈΡΠ΅Π»Ρ.
ΠΠ΅ΡΠ²ΡΠ΅ Π΄Π²Π΅ Π½Π΅ΠΈΡΠΏΡΠ°Π²Π½ΠΎΡΡΠΈ β ΠΎΡΠ½ΠΎΠ²Π½ΡΠ΅, ΡΡΠ΅ΡΡΡ ΠΆΠ΅ Π²ΡΡΡΠ΅ΡΠ°Π΅ΡΡΡ ΠΎΡΠ΅Π½Ρ ΡΠ΅Π΄ΠΊΠΎ.
Π’Π°ΠΊΠΆΠ΅ ΡΡΠΎΠΈΡ ΠΎΡΠΌΠ΅ΡΠΈΡΡ, ΡΡΠΎ Π² Π±ΠΎΠ»ΡΡΠΈΠ½ΡΡΠ²Π΅ Π°Π²ΡΠΎ Π²Π°ΠΊΡΡΠΌΠ½ΠΈΠΊ ΡΠ°Π±ΠΎΡΠ°Π΅Ρ ΠΎΡ ΡΠ°Π·ΡΡΠΆΠ΅Π½ΠΈΡ, ΡΠΎΠ·Π΄Π°Π²Π°Π΅ΠΌΠΎΠ³ΠΎ Π²ΠΎ Π²ΠΏΡΡΠΊΠ½ΠΎΠΌ ΠΊΠΎΠ»Π»Π΅ΠΊΡΠΎΡΠ΅ (ΠΈΡ ΡΠΎ ΠΈ ΡΠΎΠ΅Π΄ΠΈΠ½ΡΠ΅Ρ ΠΌΠ΅ΠΆΠ΄Ρ ΡΠΎΠ±ΠΎΠΉ ΡΡΡΠ±ΠΎΠΏΡΠΎΠ²ΠΎΠ΄).
ΠΠΎ Π½Π° Π½Π΅ΠΊΠΎΡΠΎΡΡΡ
ΠΌΠΎΠ΄Π΅Π»ΡΡ
ΡΡΠΈΠ»ΠΈΡΠ΅Π»Ρ Π΄Π»Ρ ΠΏΠΎΠ²ΡΡΠ΅Π½ΠΈΡ ΡΡΡΠ΅ΠΊΡΠΈΠ²Π½ΠΎΡΡΠΈ ΡΠ°Π±ΠΎΡΡ Π΄ΠΎΠΏΠΎΠ»Π½ΠΈΡΠ΅Π»ΡΠ½ΠΎ ΠΊΠΎΠΌΠΏΠ»Π΅ΠΊΡΡΠ΅ΡΡΡ Π²Π°ΠΊΡΡΠΌΠ½ΡΠΌ Π½Π°ΡΠΎΡΠΎΠΌ. ΠΡΠΈΡΠ΅ΠΌ ΡΡΠΎΡ ΡΠ»Π΅ΠΌΠ΅Π½Ρ ΠΌΠΎΠΆΠ΅Ρ Π±ΡΡΡ, ΠΊΠ°ΠΊ ΠΌΠ΅Ρ
Π°Π½ΠΈΡΠ΅ΡΠΊΠΈΠΌ (Ρ ΠΏΡΠΈΠ²ΠΎΠ΄ΠΎΠΌ ΠΎΡ ΡΠ°ΡΠΏΡΠ΅Π΄Π΅Π»ΠΈΡΠ΅Π»ΡΠ½ΠΎΠ³ΠΎ Π²Π°Π»Π°), ΡΠ°ΠΊ ΠΈ ΡΠ»Π΅ΠΊΡΡΠΈΡΠ΅ΡΠΊΠΈΠΌ, ΡΠΎ ΡΠ²ΠΎΠΈΠΌ ΡΠ»Π΅ΠΊΡΡΠΎΠ΄Π²ΠΈΠ³Π°ΡΠ΅Π»Π΅ΠΌ.
ΠΠΎ ΡΡΠΈ Π½Π°ΡΠΎΡΡ ΡΠ²Π»ΡΡΡΡΡ Π»ΠΈΡΡ Π²ΡΠΏΠΎΠΌΠΎΠ³Π°ΡΠ΅Π»ΡΠ½ΡΠΌ ΡΠ»Π΅ΠΌΠ΅Π½ΡΠΎΠΌ, ΠΊΠΎΡΠΎΡΡΠΉ ΠΏΠΎΠ²ΡΡΠ°Π΅Ρ ΡΡΡΠ΅ΠΊΡΠΈΠ²Π½ΠΎΡΡΡ ΡΠ°Π±ΠΎΡΡ ΡΡΠΈΠ»ΠΈΡΠ΅Π»Ρ. ΠΡΠΈ ΡΡΠΎΠΌ ΠΎΡΠ½ΠΎΠ²Π½ΠΎΠ΅ ΡΠ°Π·ΡΠ΅ΠΆΠ΅Π½ΠΈΠ΅ Π²ΡΠ΅ ΡΠ°ΠΊ ΠΆΠ΅ Π±Π΅ΡΠ΅ΡΡΡ ΠΎΡ Π²ΠΏΡΡΠΊΠ½ΠΎΠ³ΠΎ ΠΊΠΎΠ»Π»Π΅ΠΊΡΠΎΡΠ°.
Π Π°Π²ΡΠΎ, ΠΊΠΎΠΌΠΏΠ»Π΅ΠΊΡΡΡΡΠΈΠΌΠΈΡΡ ΡΡΠΈΠΌ ΡΠ·Π»ΠΎΠΌ, Π½Π°ΡΠΎΡ β Π΅ΡΠ΅ ΠΎΠ΄ΠΈΠ½ ΠΊΠΎΠΌΠΏΠΎΠ½Π΅Π½Ρ, ΠΊΠΎΡΠΎΡΡΠΉ ΠΌΠΎΠΆΠ΅Ρ ΠΏΡΠΈΠΉΡΠΈ Π² Π½Π΅Π³ΠΎΠ΄Π½ΠΎΡΡΡ. ΠΡΠΈ ΡΡΠΎΠΌ ΡΡΠΈΠ»ΠΈΡΠ΅Π»Ρ Π±ΡΠ΄Π΅Ρ ΠΏΡΠΎΠ΄ΠΎΠ»ΠΆΠ°ΡΡ ΡΠ°Π±ΠΎΡΠ°ΡΡ, Ρ ΠΎΡΡ Π½Π° Π½Π΅ΠΊΠΎΡΠΎΡΡΡ ΡΠ΅ΠΆΠΈΠΌΠ°Ρ Π΄Π²ΠΈΠΆΠ΅Π½ΠΈΡ ΡΡΠΈΠ»ΠΈΠ΅ Π½Π° ΠΏΠ΅Π΄Π°Π»ΠΈ Π²ΠΎΠ·ΡΠ°ΡΡΠ΅Ρ.
ΠΠ ΠΠΠΠΠΠ ΠΠΠΠΠΠΠΠΠΠΠΠΠ― ΠΠ ΠΠΠΠΠ Π Π ΠΠΠΠ’Π
ΠΠ΅ΠΈΡΠΏΡΠ°Π²Π½ΠΎΡΡΠΈ Π²Π°ΠΊΡΡΠΌΠ½ΠΎΠ³ΠΎ ΡΡΠΈΠ»ΠΈΡΠ΅Π»Ρ ΠΈ ΠΊΠΎΠΌΠΏΠΎΠ½Π΅Π½ΡΠΎΠ², ΠΎΠ±Π΅ΡΠΏΠ΅ΡΠΈΠ²Π°ΡΡΠΈΡ Π΅Π³ΠΎ ΡΠ°Π±ΠΎΡΡ, ΠΎΠ±ΡΠ·Π°ΡΠ΅Π»ΡΠ½ΠΎ ΠΏΡΠΎΡΠ²Π»ΡΡΡΡΡ, ΠΏΡΠΈΡΠ΅ΠΌ Π΄ΠΎΡΡΠ°ΡΠΎΡΠ½ΠΎ ΡΠ²Π½ΠΎ.
ΠΡΠ»ΠΈ Π²Π°ΠΊΠΊΡΠΌΠ½ΠΈΠΊ Π½Π΅ ΡΡΠ½ΠΊΡΠΈΠΎΠ½ΠΈΡΡΠ΅Ρ, ΡΡΠΎ Π±ΡΠ΄Π΅Ρ ΡΠΎΠΏΡΠΎΠ²ΠΎΠΆΠ΄Π°ΡΡΡΡ Β«ΡΡΠ³ΠΎΡΡΡΡΒ» Π²ΡΠΆΠΈΠΌΠ° ΠΏΠ΅Π΄Π°Π»ΠΈ.
ΠΡΠΈ ΠΏΠΎΠ»Π½ΠΎΠΌ ΠΎΡΠΊΠ°Π·Π΅ ΡΡΠΎΠ³ΠΎ ΡΠ»Π΅ΠΌΠ΅Π½ΡΠ° Π½Π°ΠΆΠ°ΡΡ Π½Π° ΡΠΎΡΠΌΠΎΠ·Π½ΡΡ ΠΏΠ΅Π΄Π°Π»Ρ ΠΎΡΠ΅Π½Ρ ΡΠ»ΠΎΠΆΠ½ΠΎ (Π΄Π»Ρ ΡΠ΄ΠΎΡΡΠΎΠ²Π΅ΡΠ΅Π½ΠΈΡ Π² ΡΡΠΎΠΌ Π΄ΠΎΡΡΠ°ΡΠΎΡΠ½ΠΎ ΠΏΡΠΈ Π½Π΅ΡΠ°Π±ΠΎΡΠ°ΡΡΠ΅ΠΌ ΠΌΠΎΡΠΎΡΠ΅ Π½Π°ΠΆΠ°ΡΡ Π½Π° ΠΏΠ΅Π΄Π°Π»Ρ 4-5 ΡΠ°Π·, Π½Π° ΠΏΠΎΡΠ»Π΅Π΄Π½Π΅ΠΌ Π²ΡΠΆΠΈΠΌΠ΅ ΡΠΎΠΏΡΠΎΡΠΈΠ²Π»Π΅Π½ΠΈΠ΅ Π±ΡΠ΄Π΅Ρ ΠΎΡΠ΅Π½Ρ Π±ΠΎΠ»ΡΡΠΈΠΌ).
ΠΠΎΡΠΊΠΎΠ»ΡΠΊΡ ΡΠ°Π·ΡΠ΅ΠΆΠ΅Π½ΠΈΠ΅ Π±Π΅ΡΠ΅ΡΡΡ ΠΎΡ Π²ΠΏΡΡΠΊΠ½ΠΎΠ³ΠΎ ΠΊΠΎΠ»Π»Π΅ΠΊΡΠΎΡΠ°, ΠΏΠΎΡΠ΅ΡΡ Π³Π΅ΡΠΌΠ΅ΡΠΈΡΠ½ΠΎΡΡΠΈ Π²Π°ΠΊΡΡΠΌΠ½ΠΎΠ³ΠΎ ΡΡΠΈΠ»ΠΈΡΠ΅Π»Ρ ΠΌΠΎΠΆΠ΅Ρ ΡΠΎΠΏΡΠΎΠ²ΠΎΠΆΠ΄Π°ΡΡΡΡ ΠΈΠ·ΠΌΠ΅Π½Π΅Π½ΠΈΠ΅ΠΌ ΡΠ°Π±ΠΎΡΡ ΠΌΠΎΡΠΎΡΠ° ΠΏΡΠΈ ΡΠΎΡΠΌΠΎΠΆΠ΅Π½ΠΈΠΈ (Ρ
ΠΎΡΡ ΡΡΠΎΠ³ΠΎ ΠΏΡΠΎΠΈΡΡ
ΠΎΠ΄ΠΈΡΡ Π½Π΅ Π΄ΠΎΠ»ΠΆΠ½ΠΎ).
ΠΡΠΈΡΠ΅ΠΌ Π² ΠΎΠ΄Π½ΠΈΡ ΡΠ»ΡΡΠ°ΡΡ ΠΎΠ±ΠΎΡΠΎΡΡ ΡΠΈΠ»ΠΎΠ²ΠΎΠΉ ΡΡΡΠ°Π½ΠΎΠ²ΠΊΠΈ ΠΏΡΠΈ Π½Π°ΠΆΠ°ΡΠΈΠΈ Π½Π° ΠΏΠ΅Π΄Π°Π»Ρ ΡΠΎΡΠΌΠΎΠ·Π° ΠΌΠΎΠ³ΡΡ ΠΏΠ°Π΄Π°ΡΡ (Π²ΠΏΠ»ΠΎΡΡ Π΄ΠΎ ΠΎΡΡΠ°Π½ΠΎΠ²ΠΊΠΈ Π°Π³ΡΠ΅Π³Π°ΡΠ°), Π² Π΄ΡΡΠ³ΠΈΡ ΠΆΠ΅ β ΠΎΠ±ΠΎΡΠΎΡΡ ΠΏΠΎΠ²ΡΡΠ°ΡΡΡΡ.
ΠΠ΄Π΅ΡΡ Π²ΡΠ΅ ΠΏΡΠΎΡΡΠΎ β Π΅ΡΠ»ΠΈ Π΅ΡΡΡ Π½Π΅ Π³Π΅ΡΠΌΠ΅ΡΠΈΡΠ½ΠΎΡΡΡ Π² Π²Π°ΠΊΡΡΠΌΠ½ΠΈΠΊΠ΅, Π±ΡΠ΄Π΅Ρ ΠΏΡΠΎΠΈΡΡ ΠΎΠ΄ΠΈΡΡ ΠΏΠΎΠ΄ΡΠΎΡ Π²ΠΎΠ·Π΄ΡΡ Π° Π² ΠΊΠΎΠ»Π»Π΅ΠΊΡΠΎΡ, ΠΊΠΎΡΠΎΡΡΠΉ Π²Π»ΠΈΡΠ΅Ρ Π½Π° ΠΏΡΠΎΠΏΠΎΡΡΠΈΠΈ ΡΠΎΠΏΠ»ΠΈΠ²ΠΎΠ²ΠΎΠ·Π΄ΡΡΠ½ΠΎΠΉ ΡΠΌΠ΅ΡΠΈ, ΠΎΡΡΡΠ΄Π° ΠΈ ΠΈΠ·ΠΌΠ΅Π½Π΅Π½ΠΈΠ΅ ΡΠ΅ΠΆΠΈΠΌΠ° ΡΠ°Π±ΠΎΡΡ ΠΌΠΎΡΠΎΡΠ°.
ΠΡΠ΅ ΠΎΠ΄Π½ΠΈΠΌ ΡΠ²Π½ΡΠΌ ΠΏΡΠΈΠ·Π½Π°ΠΊΠΎΠΌ ΡΠ²Π»ΡΠ΅ΡΡΡ ΠΏΠΎΡΠ²Π»Π΅Π½ΠΈΠ΅ ΡΠΈΠΏΠ΅Π½ΠΈΡ ΠΏΡΠΈ Π²ΡΠΆΠΈΠΌΠ΅ ΠΏΠ΅Π΄Π°Π»ΠΈ. ΠΠΎΡΠ²Π»Π΅Π½ΠΈΠ΅ ΡΠ°ΠΊΠΎΠ³ΠΎ Π·Π²ΡΠΊΠ° ΡΠΊΠ°Π·ΡΠ²Π°Π΅Ρ Π½Π° ΠΏΠΎΡΠ²Π»Π΅Π½ΠΈΠ΅ ΠΏΠΎΠ΄ΡΠΎΡΠ° Π²ΠΎΠ·Π΄ΡΡ Π°.
Π§ΡΠΎ ΠΊΠ°ΡΠ°Π΅ΡΡΡ Π²Π°ΠΊΡΡΠΌΠ½ΡΡ Π½Π°ΡΠΎΡΠΎΠ², ΡΠΎ ΠΌΠ΅Ρ Π°Π½ΠΈΡΠ΅ΡΠΊΠΈΠ΅ ΠΌΠΎΠ³ΡΡ ΠΈΠ·Π΄Π°Π²Π°ΡΡ ΡΡΡΠΊΠΈ, ΠΏΡΠΈΡΠ΅ΠΌ ΠΏΠΎΡΡΠΎΡΠ½Π½ΠΎ (Π²ΠΈΠ½ΠΎΠ²Π°Ρ Π² ΡΡΠΎΠΌ ΠΎΠ±ΡΡΠ½ΠΎ ΠΏΡΠΈΠ²ΠΎΠ΄Π½ΠΎΠΉ ΡΡΠΎΠΊ), Π² ΡΠ»Π΅ΠΊΡΡΠΈΡΠ΅ΡΠΊΠΈΡ ΠΆΠ΅ ΠΏΠΎΠ²ΡΡΠ°Π΅ΡΡΡ ΡΡΠΌΠ½ΠΎΡΡΡ ΡΠ°Π±ΠΎΡΡ, ΡΠ°ΠΊΠΆΠ΅ Π²ΠΎΠ·ΠΌΠΎΠΆΠ΅Π½ ΡΠΈΠ»ΡΠ½ΡΠΉ Π½Π°Π³ΡΠ΅Π² ΠΏΡΠΈ ΡΠ°Π±ΠΎΡΠ΅ ΠΌΠΎΡΠΎΡΠ° (Π·Π΄Π΅ΡΡ ΠΎΠ±ΡΡΠ½ΠΎ Π½Π΅ΠΈΡΠΏΡΠ°Π²Π½ΠΎΡΡΡ ΠΊΡΠΎΠ΅ΡΡΡ Π² ΠΏΡΠΈΠ²ΠΎΠ΄Π½ΠΎΠΌ ΡΠ»Π΅ΠΊΡΡΠΎΠ΄Π²ΠΈΠ³Π°ΡΠ΅Π»Π΅).
Π‘Π½ΡΡΠΈΠ΅ ΠΠ£Π’, Π΅ΡΠ»ΠΈ ΡΡΠ΅Π±ΡΠ΅ΡΡΡ ΡΠ΅ΠΌΠΎΠ½Ρ
ΠΠΎΠ³Π΄Π° ΠΏΠΎΡΠ»Π΅ Π΄ΠΈΠ°Π³Π½ΠΎΡΡΠΈΠΊΠΈ Π²Ρ ΠΎΠ±Π½Π°ΡΡΠΆΠΈΠ»ΠΈ, ΡΡΠΎ ΡΡΠΈΠ»ΠΈΡΠ΅Π»Ρ Π½ΡΠΆΠ΅Π½ ΡΠ΅ΠΌΠΎΠ½Ρ, ΠΈ Π²Ρ ΡΠ΅ΡΠΊΠΎ, Π·Π½Π°Π΅ΡΠ΅, Π΅Π³ΠΎ ΡΡΡΠΎΠ΅Π½ΠΈΠ΅, Π° ΡΠ°ΠΊΠΆΠ΅ Π²ΡΡ ΠΌΠ΅Ρ Π°Π½ΠΈΠΊΡ ΡΠ°Π±ΠΎΡΡ Ρ Π½ΠΈΠΌ, ΡΠΎ ΠΌΠΎΠΆΠ½ΠΎ ΠΏΡΠΈΡΡΡΠΏΠ°ΡΡ ΠΊ ΡΠ½ΡΡΠΈΡ ΡΡΡΡΠΎΠΉΡΡΠ²Π°:
- Π‘Π½Π°ΡΠ°Π»Π° Π½ΡΠΆΠ½ΠΎ ΠΎΠ±Π·Π°Π²Π΅ΡΡΠΈΡΡ ΡΠ΅ΠΌΠΊΠΎΠΌΠΏΠ»Π΅ΠΊΡΠΎΠΌ.

- ΠΠ·Π½Π°ΠΊΠΎΠΌΠΈΡΡΡ Ρ ΠΌΠ°Π½ΡΠ°Π»ΠΎΠΌ Π²Π°ΡΠ΅Π³ΠΎ Π°Π²ΡΠΎ, ΡΡΠΎΠ±Ρ ΡΠΎΡΠ½ΠΎ Π·Π½Π°ΡΡ ΠΊΠΎΠ½ΡΡΡΡΠΊΡΠΈΡ ΠΠ£Π’.
- ΠΡΠ»ΠΈ Π² ΠΌΠΎΡΠΎΡΠ½ΠΎΠΌ ΠΎΡΡΠ΅ΠΊΠ΅ ΠΈΠΌΠ΅Π΅ΡΡΡ ΠΎΠ±ΠΈΠ²ΠΊΠ°, ΠΈ ΠΏΠ»Π°ΡΡΠΈΠΊΠΎΠ²Π°Ρ Π½Π°ΠΊΠ»Π°Π΄ΠΊΠ°, ΠΏΡΠ΅Π΄ΠΎΡ ΡΠ°Π½ΡΡΡΠ°Ρ Π²Π°ΠΊΡΡΠΌΠ½ΠΈΠΊ, ΡΠΎ ΡΠ½ΠΈΠΌΠ°Π΅ΠΌ ΠΈΡ .
- ΠΠΎΠ΄ ΡΡΠ»Π΅Π²ΡΠΌ Π²Π°Π»ΠΎΠΌ ΡΠ°Π·ΡΠ΅Π΄ΠΈΠ½ΡΠ΅ΠΌ ΡΡΠ³Ρ ΠΏΡΠΈΠ²ΠΎΠ΄Π° ΡΡΠΈΠ»ΠΈΡΠ΅Π»Ρ ΠΎΡ ΡΠΎΡΠΌΠΎΠ·Π½ΠΎΠΉ ΠΏΠ΅Π΄Π°Π»ΠΈ.
- ΠΠ»ΡΡΠΎΠΌ Π½Π° 17 ΠΎΡΠΊΡΡΡΠΈΠ²Π°Π΅ΠΌ ΡΡΡΡΠΎΠΉΡΡΠ²ΠΎ ΠΎΡ ΡΠΎΡΠΌΠΎΠ·Π½ΠΎΠ³ΠΎ ΡΠΈΠ»ΠΈΠ½Π΄ΡΠ°. ΠΠ°Π»Π΅Π΅, ΠΎΡ ΡΡΡΡΠ΅ΡΠ° ΡΠ±ΠΈΡΠ°Π΅ΠΌ ΡΡΡΠ±ΠΊΡ, ΡΡΠΎΠ±Ρ Π½Π΅ ΠΏΠΎΠ»ΡΡΠΈΠ»ΠΎΡΡ ΠΈΠ·Π³ΠΈΠ±ΠΎΠ² ΡΠ»Π°Π½Π³, ΡΠ»Π΅Π³ΠΊΠ° Π½Π°ΠΊΠ»ΠΎΠ½ΡΠ΅ΠΌ Π²ΠΏΠ΅ΡΠ΅Π΄ ΡΠΎΡΠΌΠΎΠ·Π½ΠΎΠΉ ΡΠΈΠ»ΠΈΠ½Π΄Ρ.
- Π£Π±ΠΈΡΠ°Π΅ΠΌ ΠΏΡΠΎΠ²ΠΎΠ΄ ΡΡΠΎΠΏ-ΡΠΈΠ³Π½Π°Π»Π°, Π° ΠΏΠΎΡΠΎΠΌ ΠΊΠ»ΡΡΠΎΠΌ Π½Π° 13 ΡΠ½ΠΈΠΌΠ°Π΅ΠΌ Π±ΠΎΠ»ΡΡ, ΡΡΠΎΠ±Ρ Π²ΡΡΠ²ΠΎΠ±ΠΎΠ΄ΠΈΡΡ ΠΠ£Π’. ΠΠ»Ρ ΡΡΠΏΠ΅ΡΠ½ΠΎΠ³ΠΎ ΡΠ½ΡΡΠΈΡ, ΠΏΠ°Π»Π΅Ρ ΡΠΎΠ΅Π΄ΠΈΠ½ΡΡΡΠΈΠΉ ΡΡΠΈΠ»ΠΈΡΠ΅Π»Ρ ΠΈ ΠΏΠ΅Π΄Π°Π»Ρ Π²ΡΡΠ°ΡΠΊΠΈΠ²Π°Π΅ΠΌ. ΠΠΎΡΠ»Π΅ ΡΠ΅Π³ΠΎ ΡΡΡΡΠ°Π½ΡΠ΅ΠΌ Π΄Π²Π΅ Π³Π°ΠΉΠΊΠΈ Π½Π° ΠΊΡΠ΅ΠΏΠ»Π΅Π½ΠΈΠΈ ΠΊΡΠΎΠ½ΡΡΠ΅ΠΉΠ½Π°.
- Π’Π΅ΠΏΠ΅ΡΡ ΠΏΡΠΈΡΡΡΠΏΠ°Π΅ΠΌ ΠΊ ΡΠ΅ΠΌΠΎΠ½ΡΡ Π²Π°ΠΊΡΡΠΌΠ½ΠΈΠΊΠ°.
Π‘ΡΠΎΠΈΡ ΠΏΠΎΠ½ΠΈΠΌΠ°ΡΡ, Π΅ΡΠ»ΠΈ Π²Ρ Π½Π΅ΡΠΏΠΎΡΠΎΠ±Π½Ρ ΡΠ°ΠΌΠΎΡΡΠΎΡΡΠ΅Π»ΡΠ½ΠΎ ΠΏΡΠΎΠ²Π΅ΡΡΠΈ ΡΠ΅ΠΌΠΎΠ½Ρ Π»ΡΡΡΠ΅ Π΄ΠΎΠ²Π΅ΡΠΈΡΡ ΡΡΠΎ Π΄Π΅Π»ΠΎ ΠΎΠΏΡΡΠ½ΠΎΠΌΡ ΠΌΠ΅Ρ Π°Π½ΠΈΠΊΡ ΠΈΠ»ΠΈ ΠΏΡΠΎΡΡΠΎ Π·Π°ΠΌΠ΅Π½ΠΈΡΡ, Π½Π° Π½ΠΎΠ²ΠΎΠ΅ ΡΡΡΡΠΎΠΉΡΡΠ²ΠΎ.
ΠΠ½ΡΡΡΡΠΊΡΠΈΡ ΠΏΠΎ Π·Π°ΠΌΠ΅Π½Π΅ Π²Π°ΠΊΡΡΠΌΠ½ΠΎΠ³ΠΎ ΡΡΠΈΠ»ΠΈΡΠ΅Π»Ρ ΡΠΎΡΠΌΠΎΠ·ΠΎΠ²
ΠΡΠΎΡΠ΅ΡΡ Π·Π°ΠΌΠ΅Π½Ρ Π²Π°ΠΊΡΡΠΌΠ½ΠΈΠΊΠ° Π½Π΅ΡΠ»ΠΎΠΆΠ΅Π½. ΠΠ΅ΠΌΠΎΠ½ΡΠ°ΠΆ ΠΏΡΠΎΡ ΠΎΠ΄ΠΈΡ ΡΠ°ΠΊ ΠΆΠ΅ ΠΊΠ°ΠΊ ΠΈ ΠΏΡΠΈ ΡΠ½ΡΡΠΈΠΈ ΡΠΈΡΡΠ΅ΠΌΡ Π½Π° ΡΠ΅ΠΌΠΎΠ½Ρ:
- Π‘Π½Π°ΡΠ°Π»Π° ΠΎΡΡΠΎΠ΅Π΄ΠΈΠ½ΡΠ΅ΠΌ ΡΡΠΎΠΊ ΠΎΡ ΡΠΎΡΠΌΠΎΠ·Π½ΠΎΠΉ ΠΏΠ΅Π΄Π°Π»ΠΈ.
Π’ΠΎ Π΅ΡΡΡ ΡΠ½ΠΈΠΌΠ°Π΅ΠΌ ΡΡΠΎΠΏΠΎΡΠ½ΡΡ ΠΏΠ»Π°ΡΡΠΈΠ½ΠΊΡ ΠΏΠ°Π»ΡΡΠ°, Π·Π°ΡΠ΅ΠΏΠΈΠ² Π΅Π΅ ΡΠ΅ΠΌ-Π½ΠΈΠ±ΡΠ΄Ρ ΠΎΡΡΡΡΠΌ. Π’Π΅ΠΏΠ΅ΡΡ Π΄ΠΎΡΡΠ°Π΅ΠΌ ΠΏΠ°Π»Π΅Ρ ΠΈ ΠΏΠ΅ΡΠ΅Ρ
ΠΎΠ΄ΠΈΠΌ ΠΏΠΎΠ΄ ΠΊΠ°ΠΏΠΎΡ. - ΠΡΡΠΎΠ΅Π΄ΠΈΠ½ΡΠ΅ΠΌ Π²ΡΠ΅ ΠΎΡ ΡΡΠΎΠ²Π½Ρ Π΄Π°ΡΡΠΈΠΊΠ° ΡΠΎΡΠΌΠΎΠ·Π½ΠΎΠΉ ΠΆΠΈΠ΄ΠΊΠΎΡΡΠΈ Π²ΡΠ΅ ΠΏΡΠΎΠ²ΠΎΠ΄Π° ΠΊΠΎΠ»ΠΎΠ΄ΠΊΠΈ.
- Π Π°Π·ΡΠ΅Π΄ΠΈΠ½ΡΠ΅ΠΌ ΡΡΠΈΠ»ΠΈΡΠ΅Π»Ρ ΠΎΡ ΡΠΈΠ»ΠΈΠ½Π΄ΡΠ°.
- ΠΡΠΊΡΡΡΠΈΠ²Π°Π΅ΠΌ Π³Π°ΠΉΠΊΠΈ ΠΊΡΠΎΠ½ΡΡΠ΅ΠΉΠ½Π° ΠΈ ΡΠ½ΠΈΠΌΠ°Π΅ΠΌ ΡΡΠΈΠ»ΠΈΡΠ΅Π»Ρ ΠΏΡΡΠΌΠΎ Ρ Π½ΠΈΠΌ. ΠΡΠ»ΠΈ Π³Π°ΠΉΠΊΠΈ ΡΠ½ΡΡΡ ΡΠ»ΠΎΠΆΠ½ΠΎ, ΠΌΠΎΠΆΠ½ΠΎ ΠΏΡΠΈΠΌΠ΅Π½ΠΈΡΡ ΠΆΠΈΠ΄ΠΊΠΎΡΡΡ WD-40.
- Π Π°Π·ΡΠ΅Π΄ΠΈΠ½ΡΠ΅ΠΌ, ΠΎΡΠΊΡΡΡΠΈΠ²Π°Ρ Π΄Π²Π΅ Π³Π°ΠΉΠΊΠΈ.
- Π’Π΅ΠΏΠ΅ΡΡ ΠΊΡΠ΅ΠΏΠΈΠΌ Π½ΠΎΠ²ΡΠΉ ΡΡΠΈΠ»ΠΈΡΠ΅Π»Ρ ΠΊ ΠΊΡΠΎΠ½ΡΡΠ΅ΠΉΠ½Ρ ΠΈ ΠΏΡΠΎΠΈΠ·Π²ΠΎΠ΄ΠΈΠΌ ΡΠ±ΠΎΡΠΊΡ Π² ΠΎΠ±ΡΠ°ΡΠ½ΠΎΠΌ ΠΏΠΎΡΡΠ΄ΠΊΠ΅.
Π‘Ρ Π΅ΠΌΠ° Π²Π°ΠΊΡΡΠΌΠ½ΠΎΠ³ΠΎ ΡΡΠΈΠ»ΠΈΡΠ΅Π»Ρ ΡΠΎΡΠΌΠΎΠ·ΠΎΠ² ΡΠ°Π·
Π‘ΠΎΠ΄Π΅ΡΠΆΠ°Π½ΠΈΠ΅
- Π Π°Π±ΠΎΡΠ°Ρ ΡΠΎΡΠΌΠΎΠ·Π½Π°Ρ ΡΠΈΡΡΠ΅ΠΌΠ° Π£ΠΠ ΠΡΡ Π°Π½ΠΊΠ°
- Π‘Ρ Π΅ΠΌΠ° ΡΠ°Π±ΠΎΡΠ΅ΠΉ ΡΠΎΡΠΌΠΎΠ·Π½ΠΎΠΉ ΡΠΈΡΡΠ΅ΠΌΡ
- ΠΠΈΠ΄ΡΠΎΠΏΡΠΈΠ²ΠΎΠ΄ ΡΠ°Π±ΠΎΡΠ΅ΠΉ ΡΠΎΡΠΌΠΎΠ·Π½ΠΎΠΉ ΡΠΈΡΡΠ΅ΠΌΡ
- ΠΡΠΈΠ½ΡΠΈΠΏ ΡΠ°Π±ΠΎΡΡ ΡΠΎΡΠΌΠΎΠ·Π½ΠΎΠΉ ΡΠΈΡΡΠ΅ΠΌΡ Π£ΠΠ
- ΠΠΎΡΡΠΎΠΈΠ½ΡΡΠ²Π° ΠΈ Π½Π΅Π΄ΠΎΡΡΠ°ΡΠΊΠΈ Π³ΠΈΠ΄ΡΠ°Π²Π»ΠΈΡΠ΅ΡΠΊΠΎΠ³ΠΎ ΠΏΡΠΈΠ²ΠΎΠ΄Π°
- Π’ΠΎΡΠΌΠΎΠ·Π½Π°Ρ ΠΆΠΈΠ΄ΠΊΠΎΡΡΡ
- Π‘ΡΠΎΡΠ½ΠΎΡΠ½Π°Ρ ΡΠΎΡΠΌΠΎΠ·Π½Π°Ρ ΡΠΈΡΡΠ΅ΠΌΠ° Π°Π²ΡΠΎΠΌΠΎΠ±ΠΈΠ»Π΅ΠΉ Π£ΠΠ
- Π‘Ρ Π΅ΠΌΠ° ΡΡΠΎΡΠ½ΠΎΡΠ½ΠΎΠ³ΠΎ ΠΌΠ΅Ρ Π°Π½ΠΈΠ·ΠΌΠ°
- ΠΡΠΈΠ½ΡΠΈΠΏ ΡΠ°Π±ΠΎΡΡ ΡΡΠΎΡΠ½ΠΎΡΠ½ΠΎΠ³ΠΎ ΠΌΠ΅Ρ Π°Π½ΠΈΠ·ΠΌΠ°
- Π‘Ρ Π΅ΠΌΠ° Π²Π°ΠΊΡΡΠΌΠ½ΠΎΠ³ΠΎ ΡΡΠΈΠ»ΠΈΡΠ΅Π»Ρ ΡΠΎΡΠΌΠΎΠ·ΠΎΠ²:
- ΠΡΠΈΠ½ΡΠΈΠΏ ΡΠ°Π±ΠΎΡΡ ΠΈΡΠΏΠΎΠ»ΡΠ·ΡΠ΅ΠΌΠΎΠ³ΠΎ Π²Π°ΠΊΡΡΠΌΠ½ΠΎΠ³ΠΎ ΡΡΠΈΠ»ΠΈΡΠ΅Π»Ρ ΡΠΎΡΠΌΠΎΠ·ΠΎΠ²
Π’ΠΎΡΠΌΠΎΠ·Π½Π°Ρ ΡΠΈΡΡΠ΅ΠΌΠ° Π£ΠΠ ΠΡΡ
Π°Π½ΠΊΠ° Π²ΠΊΠ»ΡΡΠ°Π΅Ρ Π² ΡΠ΅Π±Ρ ΡΠ°Π±ΠΎΡΡΡ ΡΠΈΡΡΠ΅ΠΌΡ ΠΈ ΡΡΠΎΡΠ½ΠΎΡΠ½ΡΡ ΡΠΈΡΡΠ΅ΠΌΡ.
Π ΡΠ²ΠΎΡ ΠΎΡΠ΅ΡΠ΅Π΄Ρ, ΡΠ°Π±ΠΎΡΠ°Ρ ΡΠΎΡΠΌΠΎΠ·Π½Π°Ρ ΡΠΈΡΡΠ΅ΠΌΠ° Π²ΠΊΠ»ΡΡΠ°Π΅Ρ Π² ΡΠ΅Π±Ρ ΡΠΎΡΠΌΠΎΠ·Π½ΡΠ΅ ΠΌΠ΅Ρ
Π°Π½ΠΈΠ·ΠΌΡ Π±Π°ΡΠ°Π±Π°Π½Π½ΠΎΠ³ΠΎ ΡΠΈΠΏΠ° Π½Π° ΠΊΠ°ΠΆΠ΄ΠΎΠΌ ΠΊΠΎΠ»Π΅ΡΠ΅, Π° ΡΠ°ΠΊΠΆΠ΅ Π³ΠΈΠ΄ΡΠ°Π²Π»ΠΈΡΠ΅ΡΠΊΠΈΠΉ ΠΏΡΠΈΠ²ΠΎΠ΄. Π‘ΡΠΎΡΠ½ΠΎΡΠ½Π°Ρ ΡΠΎΡΠΌΠΎΠ·Π½Π°Ρ ΡΠΈΡΡΠ΅ΠΌΠ° Π½Π° Π£ΠΠ ΠΡΡ
Π°Π½ΠΊΠ΅ ΡΠ°Π±ΠΎΡΠ°Π΅Ρ Π½Π° ΡΡΠ°Π½ΡΠΌΠΈΡΡΠΈΡ ΠΈ ΠΎΡΠ½Π°ΡΠ΅Π½Π° ΠΌΠ΅Ρ
Π°Π½ΠΈΡΠ΅ΡΠΊΠΈΠΌ ΠΏΡΠΈΠ²ΠΎΠ΄ΠΎΠΌ.
Π Π°Π±ΠΎΡΠ°Ρ ΡΠΎΡΠΌΠΎΠ·Π½Π°Ρ ΡΠΈΡΡΠ΅ΠΌΠ° Π£ΠΠ ΠΡΡ Π°Π½ΠΊΠ°
Π‘Ρ Π΅ΠΌΠ° ΡΠ°Π±ΠΎΡΠ΅ΠΉ ΡΠΎΡΠΌΠΎΠ·Π½ΠΎΠΉ ΡΠΈΡΡΠ΅ΠΌΡ
ΠΠ·ΡΠΈΡΡ ΠΊΠ°ΠΊ ΡΡΡΡΠΎΠ΅Π½Π° ΡΠΎΡΠΌΠΎΠ·Π½Π°Ρ ΡΠΈΡΡΠ΅ΠΌΠ° Π£ΠΠ ΠΡΡ Π°Π½ΠΊΠ° ΡΡ Π΅ΠΌΠ° ΠΏΠΎΠ·Π²ΠΎΠ»ΡΠ΅Ρ Π±ΠΎΠ»Π΅Π΅ Π½Π°Π³Π»ΡΠ΄Π½ΠΎ.
Π ΠΈΡ.1 Π‘Ρ
Π΅ΠΌΠ° ΡΠ°Π±ΠΎΡΠ΅ΠΉ ΡΠΎΡΠΌΠΎΠ·Π½ΠΎΠΉ ΡΠΈΡΡΠ΅ΠΌΡ Π£ΠΠ ΠΡΡ
Π°Π½ΠΊΠ°: 1 β Π΄ΠΈΡΠΊ ΡΠΎΡΠΌΠΎΠ·Π°; 2 β ΡΠΊΠΎΠ±Π° ΡΠΎΡΠΌΠΎΠ·Π½ΠΎΠ³ΠΎ ΠΌΠ΅Ρ
Π°Π½ΠΈΠ·ΠΌΠ° ΠΊΠΎΠ»Π΅Ρ ΡΠΏΠ΅ΡΠ΅Π΄ΠΈ; 3 β ΠΊΠΎΠ½ΡΡΡ ΠΏΠ΅ΡΠ΅Π΄Π½Π΅ΠΉ ΡΠ°ΡΡΠΈ; 4 β Π³Π»Π°Π²Π½ΡΠΉ ΡΠΎΡΠΌΠΎΠ·Π½ΠΎΠΉ ΡΠΈΠ»ΠΈΠ½Π΄Ρ; 5 β Π±Π°ΡΠΎΠΊ, ΠΎΡΠ½Π°ΡΠ΅Π½Π½ΡΠΉ Π΄Π°ΡΡΠΈΠΊΠΎΠΌ Π΄Π²ΠΈΠΆΠ΅Π½ΠΈΡ ΡΠΎΡΠΌΠΎΠ·Π½ΠΎΠΉ ΠΆΠΈΠ΄ΠΊΠΎΡΡΠΈ Π΄ΠΎ Π°Π²Π°ΡΠΈΠΉΠ½ΠΎΠ³ΠΎ ΡΡΠΎΠ²Π½Ρ; 6 β ΡΡΠΈΠ»ΠΈΡΠ΅Π»Ρ Ρ Π²Π°ΠΊΡΡΠΌΠΎΠΌ; 7 β ΡΠΎΠ»ΠΊΠ°ΡΠ΅Π»Ρ; 8 β ΠΏΠ΅Π΄Π°Π»Ρ ΡΠΎΡΠΌΠΎΠ·Π°; 9 β Π²ΡΠΊΠ»ΡΡΠ°ΡΠ΅Π»Ρ ΡΠ²Π΅ΡΠ° ΠΏΡΠΈ ΡΠΎΡΠΌΠΎΠΆΠ΅Π½ΠΈΠΈ; 10 β Π·Π°Π΄Π½ΠΈΠ΅ ΡΠΎΡΠΌΠΎΠ·Π½ΡΠ΅ ΠΊΠΎΠ»ΠΎΠ΄ΠΊΠΈ ΠΊΠΎΠ»Π΅Ρ; 11 β Π·Π°Π΄Π½ΠΈΠΉ ΡΠΈΠ»ΠΈΠ½Π΄Ρ ΡΠΎΡΠΌΠΎΠΆΠ΅Π½ΠΈΡ ΠΊΠΎΠ»Π΅Ρ; 12 β ΠΊΠΎΠ½ΡΡΡ Π·Π°Π΄Π½Π΅ΠΉ ΡΠ°ΡΡΠΈ; 13 β ΠΊΠΎΠΆΡΡ
ΠΏΠΎΠ»ΡΠΎΡΠΈ ΠΌΠΎΡΡΠ° ΡΠ·Π°Π΄ΠΈ; 14 β Π½Π°Π³ΡΡΠ·ΠΎΡΠ½Π°Ρ ΠΏΡΡΠΆΠΈΠ½Π°; 15 β ΡΠ΅Π³ΡΠ»ΡΡΠΎΡ Π΄Π°Π²Π»Π΅Π½ΠΈΡ; 16 β ΡΡΠΎΡΡ Π·Π°Π΄Π½Π΅ΠΉ ΡΠ°ΡΡΠΈ; 17 β ΡΡΠ°Π²Π½ΠΈΡΠ΅Π»Ρ; 18 β ΡΠ΅Π½ΡΡΠ°Π»ΡΠ½ΡΠΉ ΡΡΠΎΡ; 19 β ΡΡΡΠ°Π³ ΡΡΠΎΡΠ½ΠΎΡΠ½ΠΎΠ³ΠΎ ΡΠΎΡΠΌΠΎΠ·Π°; 20 β ΡΠΈΠ³Π½Π°Π»ΠΈΠ·Π°ΡΠΎΡ Π΄Π²ΠΈΠΆΠ΅Π½ΠΈΡ ΡΠΎΡΠΌΠΎΠ·Π½ΠΎΠΉ ΠΆΠΈΠ΄ΠΊΠΎΡΡΠΈ Π΄ΠΎ Π°Π²Π°ΡΠΈΠΉΠ½ΠΎΠ³ΠΎ ΡΡΠΎΠ²Π½Ρ; 21 β Π²ΡΠΊΠ»ΡΡΠ°ΡΠ΅Π»Ρ ΡΠΈΠ³Π½Π°Π»ΠΈΠ·Π°ΡΠΎΡΠ° ΡΡΠΎΡΠ½ΠΎΡΠ½ΠΎΠ³ΠΎ ΡΠΎΡΠΌΠΎΠ·Π°; 22 β ΠΏΠ΅ΡΠ΅Π΄Π½ΡΡ ΡΠΎΡΠΌΠΎΠ·Π½Π°Ρ ΠΊΠΎΠ»ΠΎΠ΄ΠΊΠ° ΠΊΠΎΠ»Π΅Ρ.
ΠΠΈΠ΄ΡΠΎΠΏΡΠΈΠ²ΠΎΠ΄ ΡΠ°Π±ΠΎΡΠ΅ΠΉ ΡΠΎΡΠΌΠΎΠ·Π½ΠΎΠΉ ΡΠΈΡΡΠ΅ΠΌΡ
ΠΠΈΠ΄ΡΠΎΠΏΡΠΈΠ²ΠΎΠ΄ ΡΠ°Π±ΠΎΡΠ΅ΠΉ ΡΠΎΡΠΌΠΎΠ·Π½ΠΎΠΉ ΡΠΈΡΡΠ΅ΠΌΡ Π£ΠΠ Ρ 1985 Π³ΠΎΠ΄Π° ΡΡΠ°Π» Π²ΡΠΏΡΡΠΊΠ°ΡΡΡΡ Ρ Π΄Π²ΡΠΌΡ ΠΎΡΠ΄Π΅Π»ΡΠ½ΡΠΌΠΈ Π²Π΅ΡΠ²ΡΠΌΠΈ, ΠΎΠ΄Π½Π° ΠΈΠ· ΠΊΠΎΡΠΎΡΡΡ ΠΏΡΠΎΡΡΠ½ΡΡΠ° ΠΊ ΡΠΎΡΠΌΠΎΠ·Π½ΡΠΌ ΠΌΠ΅Ρ Π°Π½ΠΈΠ·ΠΌΠ°ΠΌ ΠΏΠ΅ΡΠ΅Π΄Π½ΠΈΡ ΠΊΠΎΠ»Π΅Ρ, Π° Π²ΡΠΎΡΠ°Ρ ΡΡΠ½Π΅ΡΡΡ ΠΊ ΡΠΎΡΠΌΠΎΠ·Π½ΡΠΌ ΠΌΠ΅Ρ Π°Π½ΠΈΠ·ΠΌΠ°ΠΌ ΠΊΠΎΠ»Π΅Ρ ΡΠ·Π°Π΄ΠΈ. ΠΠΎΠ½ΡΡΡΡΠΊΡΠΈΡ ΠΏΡΠΈΠ²ΠΎΠ΄Π° Π²ΠΊΠ»ΡΡΠ°Π΅Ρ Π² ΡΠ΅Π±Ρ:
- Π³Π»Π°Π²Π½ΡΠΉ ΡΠΎΡΠΌΠΎΠ·Π½ΠΎΠΉ ΡΠΈΠ»ΠΈΠ½Π΄Ρ;
- ΡΠΎΡΠΌΠΎΠ·Π½Π°Ρ ΠΏΠ΅Π΄Π°Π»Ρ, ΠΊΠΎΡΠΎΡΠ°Ρ ΡΠΎΠ΅Π΄ΠΈΠ½Π΅Π½Π° Ρ ΡΠΈΠ»ΠΈΠ½Π΄ΡΠΎΠΌ ΡΠ΅ΡΠ΅Π· Π΅Π³ΠΎ ΠΏΠΎΡΡΠ΅Π½Ρ;
- ΠΊΠΎΠ»Π΅ΡΠ½ΡΠ΅ ΡΠΈΠ»ΠΈΠ½Π΄ΡΡ ΡΠΎΡΠΌΠΎΠ·Π½ΡΡ ΠΌΠ΅Ρ Π°Π½ΠΈΠ·ΠΌΠΎΠ² ΠΊΠΎΠ»Π΅Ρ, ΠΊΠ°ΠΊ Π² ΠΏΠ΅ΡΠ΅Π΄Π½Π΅ΠΉ, ΡΠ°ΠΊ ΠΈ Π·Π°Π΄Π½Π΅ΠΉ ΡΠ°ΡΡΠΈ Π°Π²ΡΠΎΠΌΠΎΠ±ΠΈΠ»Ρ;
- ΡΡΡΠ±ΠΎΠΏΡΠΎΠ²ΠΎΠ΄Ρ ΠΈ ΡΠ»Π°Π½Π³ΠΈ, ΠΊΠΎΡΠΎΡΡΠ΅ ΠΎΠ±ΡΠ΅Π΄ΠΈΠ½ΡΡΡ Π²ΡΠ΅ ΡΠΈΠ»ΠΈΠ½Π΄ΡΡ;
- ΠΏΠ΅Π΄Π°Π»Ρ ΡΠΏΡΠ°Π²Π»Π΅Π½ΠΈΡ ΠΈ ΡΡΠΈΠ»ΠΈΡΠ΅Π»ΠΈ ΠΏΡΠΈΠ²ΠΎΠ΄Π½ΠΎΠ³ΠΎ ΡΡΠΈΠ»ΠΈΡ.
Π’ΡΡΠ±ΠΎΠΏΡΠΎΠ²ΠΎΠ΄Ρ, Π²Π½ΡΡΡΠ΅Π½Π½ΡΡ ΡΠ°ΡΡΡ Π³Π»Π°Π²Π½ΠΎΠ³ΠΎ ΡΠΈΠ»ΠΈΠ½Π΄ΡΠ°, Π° ΡΠ°ΠΊΠΆΠ΅ Π²ΡΠ΅Ρ ΠΊΠΎΠ»Π΅ΡΠ½ΡΡ ΡΠΈΠ»ΠΈΠ½Π΄ΡΠΎΠ² ΡΠΎΠ΄Π΅ΡΠΆΠ°Ρ ΡΠΎΡΠΌΠΎΠ·Π½ΡΡ ΠΆΠΈΠ΄ΠΊΠΎΡΡΡ.
ΠΡΠΈ ΡΡΡΠ°Π½ΠΎΠ²ΠΊΠ΅ Π½Π° Π£ΠΠ ΡΠ΅Π³ΡΠ»ΡΡΠΎΡΠ° ΡΠΎΡΠΌΠΎΠ·Π½ΡΡ ΡΠΈΠ» ΠΈ ΠΌΠΎΠ΄ΡΠ»ΡΡΠΎΡΠ° Π°Π½ΡΠΈΠ±Π»ΠΎΠΊΠΈΡΠΎΠ²ΠΎΡΠ½ΠΎΠΉ ΡΠΈΡΡΠ΅ΠΌΡ ΠΎΠ½ΠΈ ΡΠ°ΠΊΠΆΠ΅ ΠΏΠΎΠΌΠ΅ΡΠ°ΡΡΡΡ Π² ΠΊΠΎΠ½ΡΡΡΡΠΊΡΠΈΡ Π³ΠΈΠ΄ΡΠΎΠΏΡΠΈΠ²ΠΎΠ΄Π°.
ΠΡΠΈΠ½ΡΠΈΠΏ ΡΠ°Π±ΠΎΡΡ ΡΠΎΡΠΌΠΎΠ·Π½ΠΎΠΉ ΡΠΈΡΡΠ΅ΠΌΡ Π£ΠΠ
ΠΡΠΈ Π½Π°ΠΆΠ°ΡΠΈΠΈ Π½Π° ΠΏΠ΅Π΄Π°Π»Ρ ΡΠΎΡΠΌΠΎΠ·Π½Π°Ρ ΡΠΈΡΡΠ΅ΠΌΠ° ΡΡΠ°Π±Π°ΡΡΠ²Π°Π΅Ρ Π² ΡΠ»Π΅Π΄ΡΡΡΠ΅ΠΉ ΠΏΠΎΡΠ»Π΅Π΄ΠΎΠ²Π°ΡΠ΅Π»ΡΠ½ΠΎΡΡΠΈ:
- ΠΏΠΎΡΡΠ΅Π½Ρ Π³Π»Π°Π²Π½ΠΎΠ³ΠΎ ΡΠΈΠ»ΠΈΠ½Π΄ΡΠ° ΠΏΠ΅ΡΠ΅ΠΌΠ΅ΡΠ°Π΅Ρ ΠΆΠΈΠ΄ΠΊΠΎΡΡΡ Π² ΡΡΡΠ±ΠΎΠΏΡΠΎΠ²ΠΎΠ΄Ρ ΠΈ ΠΊΠΎΠ»Π΅ΡΠ½ΡΠ΅ ΡΠΈΠ»ΠΈΠ½Π΄ΡΡ;
- Π² ΠΊΠΎΠ»Π΅ΡΠ½ΡΡ ΡΠΈΠ»ΠΈΠ½Π΄ΡΠ°Ρ ΡΠΎΡΠΌΠΎΠ·Π½Π°Ρ ΠΆΠΈΠ΄ΠΊΠΎΡΡΡ Π²ΡΠ·ΡΠ²Π°Π΅Ρ ΠΏΠ΅ΡΠ΅Π΄Π²ΠΈΠΆΠ΅Π½ΠΈΠ΅ Π²ΡΠ΅Ρ ΠΏΠΎΡΡΠ½Π΅ΠΉ, Π² ΡΠ΅Π·ΡΠ»ΡΡΠ°ΡΠ΅ ΡΠ΅Π³ΠΎ ΠΊΠΎΠ»ΠΎΠ΄ΠΊΠΈ ΡΠΎΡΠΌΠΎΠ·Π½ΡΡ ΠΌΠ΅Ρ Π°Π½ΠΈΠ·ΠΌΠΎΠ² ΠΏΡΠΈΠ±Π»ΠΈΠΆΠ°ΡΡΡΡ ΠΊ Π±Π°ΡΠ°Π±Π°Π½Π°ΠΌ;
- ΠΊΠΎΠ³Π΄Π° ΡΠ°ΡΡΡΠΎΡΠ½ΠΈΡ ΠΌΠ΅ΠΆΠ΄Ρ ΠΊΠΎΠ»ΠΎΠ΄ΠΊΠ°ΠΌΠΈ ΠΈ Π±Π°ΡΠ°Π±Π°Π½Π°ΠΌΠΈ Π½Π΅ ΠΎΡΡΠ°Π½Π΅ΡΡΡ, Π²ΡΠΏΡΡΠΊ ΠΆΠΈΠ΄ΠΊΠΎΡΡΠΈ ΠΈΠ· Π³Π»Π°Π²Π½ΠΎΠ³ΠΎ ΡΠΎΡΠΌΠΎΠ·Π½ΠΎΠ³ΠΎ ΡΠΈΠ»ΠΈΠ½Π΄ΡΠ° ΠΏΡΠ΅ΠΊΡΠ°ΡΠΈΡΡΡ;
- ΠΏΡΠΈ Π±ΠΎΠ»Π΅Π΅ ΡΠΈΠ»ΡΠ½ΠΎΠΌ Π½Π°ΠΆΠ°ΡΠΈΠΈ Π½Π° ΠΏΠ΅Π΄Π°Π»Ρ, Π² ΠΏΡΠΈΠ²ΠΎΠ΄Π΅ ΠΏΠΎΠ΄Π½ΠΈΠΌΠ°Π΅ΡΡΡ Π΄Π°Π²Π»Π΅Π½ΠΈΠ΅ ΠΆΠΈΠ΄ΠΊΠΎΡΡΠΈ ΠΈ ΡΡΠ°ΡΡΡΠ΅Ρ ΡΠΎΡΠΌΠΎΠΆΠ΅Π½ΠΈΠ΅ Π²ΡΠ΅Ρ
ΠΊΠΎΠ»Π΅Ρ Π² ΠΎΠ΄ΠΈΠ½ ΠΌΠΎΠΌΠ΅Π½Ρ.

ΠΠΎΠ»ΡΡΠ°Ρ ΡΠΈΠ»Π°, ΠΏΡΠΈΠ»ΠΎΠΆΠ΅Π½Π½Π°Ρ ΠΊ ΠΏΠ΅Π΄Π°Π»ΠΈ, ΡΠΏΠΎΡΠΎΠ±ΡΡΠ²ΡΠ΅Ρ Π±ΠΎΠ»ΡΡΠ΅ΠΌΡ Π΄Π°Π²Π»Π΅Π½ΠΈΡ, Π²ΡΡΠ°Π±Π°ΡΡΠ²Π°Π΅ΠΌΠΎΠΌΡ ΠΏΠΎΡΡΠ½Π΅ΠΌ Π³Π»Π°Π²Π½ΠΎΠ³ΠΎ ΡΠΈΠ»ΠΈΠ½Π΄ΡΠ° Π½Π° ΠΆΠΈΠ΄ΠΊΠΎΡΡΡ, Π° ΡΠ°ΠΊΠΆΠ΅ Π²ΠΎΠ·Π΄Π΅ΠΉΡΡΠ²ΠΈΡ Π±ΠΎΠ»ΡΡΠ΅ΠΉ ΡΠΈΠ»Ρ Π·Π° ΡΡΠ΅Ρ Π²ΡΠ΅Ρ ΠΏΠΎΡΡΠ½Π΅ΠΉ ΠΊΠΎΠ»Π΅ΡΠ½ΠΎΠ³ΠΎ ΡΠΈΠ»ΠΈΠ½Π΄ΡΠ° Π½Π° ΠΊΠΎΠ»ΠΎΠ΄ΠΊΡ ΡΠΎΡΠΌΠΎΠ·Π½ΠΎΠ³ΠΎ ΠΌΠ΅Ρ Π°Π½ΠΈΠ·ΠΌΠ°.
ΠΡΠΎ Π³ΠΎΠ²ΠΎΡΠΈΡ ΠΎ ΡΠΎΠΌ, ΡΡΠΎ ΠΎΠ΄Π½ΠΎΠ²ΡΠ΅ΠΌΠ΅Π½Π½ΠΎΠ΅ ΡΡΠ°Π±Π°ΡΡΠ²Π°Π½ΠΈΠ΅ Π²ΡΠ΅Ρ ΡΠΎΡΠΌΠΎΠ·ΠΎΠ² ΠΈ ΡΠ΅Π³ΡΠ»ΡΡΠ½ΠΎΠ΅ ΡΠΎΠΎΡΠ½ΠΎΡΠ΅Π½ΠΈΠ΅ ΠΌΠ΅ΠΆΠ΄Ρ ΡΠΈΠ»ΠΎΠΉ Π½Π° ΡΠΎΡΠΌΠΎΠ·Π½ΠΎΠΉ ΠΏΠ΅Π΄Π°Π»ΠΈ ΠΈ ΠΏΡΠΈΠ²ΠΎΠ΄Π½ΡΠΌΠΈ ΡΠΈΠ»Π°ΠΌΠΈ ΡΠΎΡΠΌΠΎΠ·ΠΎΠ² ΡΠΎΠ·Π΄Π°Π΅ΡΡΡ Π±Π»Π°Π³ΠΎΠ΄Π°ΡΡ ΡΠΈΡΡΠ΅ΠΌΠ΅ ΡΡΠ½ΠΊΡΠΈΠΎΠ½ΠΈΡΠΎΠ²Π°Π½ΠΈΡ Π³ΠΈΠ΄ΡΠΎΠΏΡΠΈΠ²ΠΎΠ΄Π°.
Π§ΠΈΡΠ°ΠΉΡΠ΅ ΡΠ°ΠΊΠΆΠ΅:Β ΠΠΎΡΠ΅ΠΌΡ Π² Π½ΠΈΠ²Π΅ ΠΏΠ°Ρ Π½Π΅Ρ Π±Π΅Π½Π·ΠΈΠ½ΠΎΠΌ Π² ΡΠ°Π»ΠΎΠ½Π΅
ΠΡΠΈ ΠΎΡΠ»Π°Π±Π»Π΅Π½ΠΈΠΈ ΠΏΠ΅Π΄Π°Π»ΠΈ ΡΠΎΡΠΌΠΎΠ·Π° ΠΎΠ½Π° Π·Π° ΡΡΠ΅Ρ ΡΡΠ½ΠΊΡΠΈΠΎΠ½ΠΈΡΠΎΠ²Π°Π½ΠΈΡ Π²ΠΎΠ·Π²ΡΠ°ΡΠ½ΠΎΠΉ ΠΏΡΡΠΆΠΈΠ½Ρ Π²ΠΎΠ·Π²ΡΠ°ΡΠ°Π΅ΡΡΡ Π² ΠΏΠ΅ΡΠ²ΠΎΠ½Π°ΡΠ°Π»ΡΠ½ΠΎΠ΅ ΠΏΠΎΠ»ΠΎΠΆΠ΅Π½ΠΈΠ΅. ΠΡΠΎΠΌΠ΅ ΡΠΎΠ³ΠΎ, Π·Π° ΡΡΠ΅Ρ ΠΏΡΡΠΆΠΈΠ½Ρ ΠΏΠ΅ΡΠ΅ΠΌΠ΅ΡΠ°Π΅ΡΡΡ Π² ΠΏΠ΅ΡΠ²ΠΎΠ½Π°ΡΠ°Π»ΡΠ½ΠΎΠ΅ ΠΏΠΎΠ»ΠΎΠΆΠ΅Π½ΠΈΠ΅ ΠΈ ΠΏΠΎΡΡΠ΅Π½Ρ Π³Π»Π°Π²Π½ΠΎΠ³ΠΎ ΡΠΎΡΠΌΠΎΠ·Π½ΠΎΠ³ΠΎ ΡΠΈΠ»ΠΈΠ½Π΄ΡΠ°. Π ΡΡΡΠΆΠ½ΡΠ΅ ΠΏΡΡΠΆΠΈΠ½Ρ ΠΌΠ΅Ρ Π°Π½ΠΈΠ·ΠΌΠΎΠ² Π² ΡΠ²ΠΎΡ ΠΎΡΠ΅ΡΠ΅Π΄Ρ ΠΏΠ΅ΡΠ΅ΠΌΠ΅ΡΠ°ΡΡ ΠΊΠΎΠ»ΠΎΠ΄ΠΊΠΈ ΠΎΡ Π±Π°ΡΠ°Π±Π°Π½ΠΎΠ². Π’ΠΎΡΠΌΠΎΠ·Π½Π°Ρ ΠΆΠΈΠ΄ΠΊΠΎΡΡΡ ΠΈΠ· ΠΊΠΎΠ»Π΅ΡΠ½ΡΡ ΡΠΈΠ»ΠΈΠ½Π΄ΡΠΎΠ² ΠΏΠΎ ΡΡΡΠ±ΠΎΠΏΡΠΎΠ²ΠΎΠ΄Π°ΠΌ Π²ΡΡΠ°Π»ΠΊΠΈΠ²Π°Π΅ΡΡΡ Π² Π³Π»Π°Π²Π½ΡΠΉ ΡΠΎΡΠΌΠΎΠ·Π½ΠΎΠΉ ΡΠΈΠ»ΠΈΠ½Π΄Ρ.
ΠΠΎΡΡΠΎΠΈΠ½ΡΡΠ²Π° ΠΈ Π½Π΅Π΄ΠΎΡΡΠ°ΡΠΊΠΈ Π³ΠΈΠ΄ΡΠ°Π²Π»ΠΈΡΠ΅ΡΠΊΠΎΠ³ΠΎ ΠΏΡΠΈΠ²ΠΎΠ΄Π°
ΠΡΠ΅ΠΈΠΌΡΡΠ΅ΡΡΠ²Π° Π³ΠΈΠ΄ΡΠ°Π²Π»ΠΈΡΠ΅ΡΠΊΠΎΠ³ΠΎ ΠΏΡΠΈΠ²ΠΎΠ΄Π°:
- Π±ΡΡΡΡΠΎΠ΅ ΡΠ΅Π°Π³ΠΈΡΠΎΠ²Π°Π½ΠΈΠ΅, ΠΎΠ±Π΅ΡΠΏΠ΅ΡΠΈΠ²Π°Π΅ΠΌΠΎΠ΅ Π²Π½ΡΡΠΈΡΠ΅Π»ΡΠ½ΠΎΠΉ ΠΆΠ΅ΡΡΠΊΠΎΡΡΡΡ ΡΡΡΠ±ΠΎΠΏΡΠΎΠ²ΠΎΠ΄ΠΎΠ²;
- Π²ΡΡΠΎΠΊΠΈΠΉ ΠΠΠ, ΠΏΠΎΡΠΊΠΎΠ»ΡΠΊΡ ΡΡΠ°ΡΠ° ΡΠ½Π΅ΡΠ³ΠΈΠΈ ΠΏΡΠΎΠΈΡΡ ΠΎΠ΄ΠΈΡ Π² ΡΠ΅Π·ΡΠ»ΡΡΠ°ΡΠ΅ ΠΏΠ΅ΡΠ΅Π»ΠΈΠ²Π°Π½ΠΈΡ ΠΌΠ°Π»ΠΎΠ²ΡΠ·ΠΊΠΎΠΉ ΠΆΠΈΠ΄ΠΊΠΎΡΡΠΈ ΠΈΠ· ΠΎΠ΄Π½ΠΎΠ³ΠΎ ΡΡΡΡΠΎΠΉΡΡΠ²Π° Π² Π΄ΡΡΠ³ΠΎΠ΅;
- Π½Π΅ ΡΠ»ΠΎΠΆΠ½Π°Ρ ΠΊΠΎΠ½ΡΡΡΡΠΊΡΠΈΡ;
- Π½Π΅Π·Π½Π°ΡΠΈΡΠ΅Π»ΡΠ½Π°Ρ ΠΌΠ°ΡΡΠ° ΠΈ ΡΠ°Π·ΠΌΠ΅ΡΡ, ΠΊΠ°ΠΊ ΡΠ΅Π·ΡΠ»ΡΡΠ°Ρ Π±ΠΎΠ»ΡΡΠΎΠ³ΠΎ ΠΏΡΠΈΠ²ΠΎΠ΄Π½ΠΎΠ³ΠΎ Π΄Π°Π²Π»Π΅Π½ΠΈΡ;
- ΠΊΠΎΠΌΡΠΎΡΡΠ½Π°Ρ ΠΊΠΎΠΌΠΏΠΎΠ½ΠΎΠ²ΠΊΠ° Π°ΠΏΠΏΠ°ΡΠ°ΡΠΎΠ² ΠΏΡΠΈΠ²ΠΎΠ΄Π° ΠΈ ΡΡΡΠ±ΠΎΠΏΡΠΎΠ²ΠΎΠ΄ΠΎΠ²;
- ΡΠ°Π½Ρ Π΄ΠΎΠ±ΠΈΡΡΡΡ Π½Π΅ΠΎΠ±Ρ
ΠΎΠ΄ΠΈΠΌΠΎΠ³ΠΎ ΡΠ°ΡΠΏΡΠ΅Π΄Π΅Π»Π΅Π½ΠΈΡ ΡΠΎΡΠΌΠΎΠ·Π½ΡΡ
ΡΡΠΈΠ»ΠΈΠΉ ΡΡΠ΅Π΄ΠΈ ΠΎΡΠ΅ΠΉ Π°Π²ΡΠΎΠΌΠΎΠ±ΠΈΠ»Ρ, ΠΏΠΎΠ»ΡΡΠ°Π΅ΠΌΡΠΉ Π±Π»Π°Π³ΠΎΠ΄Π°ΡΡ ΡΠ°Π·Π½ΠΈΡΠ΅ ΠΌΠ΅ΠΆΠ΄Ρ Π΄ΠΈΠ°ΠΌΠ΅ΡΡΠ°ΠΌΠΈ ΠΏΠΎΡΡΠ½Π΅ΠΉ ΠΊΠΎΠ»Π΅ΡΠ½ΡΡ
ΡΠΈΠ»ΠΈΠ½Π΄ΡΠΎΠ².

Π‘ΡΠ΅Π΄ΠΈ Π½Π΅Π΄ΠΎΡΡΠ°ΡΠΊΠΎΠ² Π³ΠΈΠ΄ΡΠΎΠΏΡΠΈΠ²ΠΎΠ΄Π° ΠΌΠΎΠΆΠ½ΠΎ Π²ΡΠ΄Π΅Π»ΠΈΡΡ:
- Π½ΡΠΆΠ΄Π°Π΅ΡΡΡ Π² ΡΠΏΠ΅ΡΠΈΠ°Π»ΡΠ½ΠΎΠΉ ΡΠΎΡΠΌΠΎΠ·Π½ΠΎΠΉ ΠΆΠΈΠ΄ΠΊΠΎΡΡΠΈ Ρ Π²ΡΡΠΎΠΊΠΎΠΉ ΡΠ΅ΠΌΠΏΠ΅ΡΠ°ΡΡΡΠΎΠΉ ΠΊΠΈΠΏΠ΅Π½ΠΈΡ ΠΈ Π½ΠΈΠ·ΠΊΠΎΠΉ ΡΠ΅ΠΌΠΏΠ΅ΡΠ°ΡΡΡΠΎΠΉ Π·Π°Π³ΡΡΡΠ΅Π²Π°Π½ΠΈΡ;
- ΡΠ³ΡΠΎΠ·Π° Π½Π΅ΠΏΠΎΠ»Π°Π΄ΠΎΠΊ ΠΏΡΠΈ ΡΠ°Π·Π³Π΅ΡΠΌΠ΅ΡΠΈΠ·Π°ΡΠΈΠΈ Π² ΡΠ΅Π·ΡΠ»ΡΡΠ°ΡΠ΅ ΡΡΠ΅ΡΠΊΠΈ ΠΆΠΈΠ΄ΠΊΠΎΡΡΠΈ ΠΏΡΠΈ ΠΏΠΎΠ²ΡΠ΅ΠΆΠ΄Π΅Π½ΠΈΠΈ, ΠΈΠ»ΠΈ Π½Π΅ΠΈΡΠΏΡΠ°Π²Π½ΠΎΡΡΠ΅ΠΉ ΠΏΡΠΈ Π·Π°ΠΏΠΎΠ»Π½Π΅Π½ΠΈΠΈ ΠΏΡΠΈΠ²ΠΎΠ΄Π° Π²ΠΎΠ·Π΄ΡΡ ΠΎΠΌ;
- ΡΠΈΠ»ΡΠ½ΠΎΠ΅ ΠΏΠΎΠ½ΠΈΠΆΠ΅Π½ΠΈΠ΅ ΠΠΠ ΠΏΡΠΈ ΠΌΠ°Π»ΡΡ ΡΠ΅ΠΌΠΏΠ΅ΡΠ°ΡΡΡΠ°Ρ , ΠΊΠ°ΠΊ ΠΏΡΠ°Π²ΠΈΠ»ΠΎ, Π½ΠΈΠΆΠ΅ ΠΌΠΈΠ½ΡΡ 30 Β°Π‘.
Π’ΠΎΡΠΌΠΎΠ·Π½Π°Ρ ΠΆΠΈΠ΄ΠΊΠΎΡΡΡ
ΠΠ»Ρ ΠΏΡΠΈΠΌΠ΅Π½Π΅Π½ΠΈΡ Π² Π³ΠΈΠ΄ΡΠΎΠΏΡΠΈΠ²ΠΎΠ΄Π°Ρ ΠΏΡΠΎΠ΄Π°ΡΡΡΡ ΡΠΏΠ΅ΡΠΈΠ°Π»ΡΠ½ΡΠ΅ ΡΠΎΡΠΌΠΎΠ·Π½ΡΠ΅ ΠΆΠΈΠ΄ΠΊΠΎΡΡΠΈ. ΠΡ ΠΏΡΠΎΠΈΠ·Π²ΠΎΠ΄ΡΡ Π½Π° ΡΠΏΠΈΡΡΠΎΠ²ΠΎΠΉ, Π³Π»ΠΈΠΊΠΎΠ»Π΅Π²ΠΎΠΉ ΠΈΠ»ΠΈ ΠΌΠ°ΡΠ»ΡΠ½ΠΎΠΉ ΠΎΡΠ½ΠΎΠ²Π°Ρ . Π‘ΠΌΠ΅ΡΠΈΠ²Π°ΡΡ ΠΌΠ΅ΠΆΠ΄Ρ ΡΠΎΠ±ΠΎΠΉ ΠΈΡ Π·Π°ΠΏΡΠ΅ΡΠ΅Π½ΠΎ, ΡΡΠΎ ΠΌΠΎΠΆΠ΅Ρ ΠΏΡΠΈΠ²Π΅ΡΡΠΈ ΠΊ ΡΡ ΡΠ΄ΡΠ΅Π½ΠΈΡ ΠΈΡ ΠΊΠ°ΡΠ΅ΡΡΠ² ΠΈ ΠΏΠΎΡΠ²Π»Π΅Π½ΠΈΡ Ρ Π»ΠΎΠΏΡΠ΅Π². Π’ΠΎΡΠΌΠΎΠ·Π½ΡΠ΅ ΠΆΠΈΠ΄ΠΊΠΎΡΡΠΈ, ΠΈΠ·Π³ΠΎΡΠΎΠ²Π»Π΅Π½Π½ΡΠ΅ ΠΈΠ· Π½Π΅ΡΡΠ΅ΠΏΡΠΎΠ΄ΡΠΊΡΠΎΠ², ΡΠ°Π·ΡΠ΅ΡΠ°Π΅ΡΡΡ ΠΈΡΠΏΠΎΠ»ΡΠ·ΠΎΠ²Π°ΡΡ ΠΈΡΠΊΠ»ΡΡΠΈΡΠ΅Π»ΡΠ½ΠΎ Π² Π³ΠΈΠ΄ΡΠΎΠΏΡΠΈΠ²ΠΎΠ΄Π°Ρ , ΡΠΏΠ»ΠΎΡΠ½Π΅Π½ΠΈΡ ΠΈ ΡΠ»Π°Π½Π³ΠΈ ΠΊΠΎΡΠΎΡΡΡ ΠΈΠ·Π³ΠΎΡΠΎΠ²Π»Π΅Π½Ρ ΠΈΠ· ΠΌΠ°ΡΠ»ΠΎΡΡΠΎΠΉΠΊΠΎΠΉ ΡΠ΅Π·ΠΈΠ½Ρ. ΠΡΠΎ Π΄Π΅Π»Π°Π΅ΡΡΡ Π΄Π»Ρ ΡΠΎΠ³ΠΎ, ΡΡΠΎΠ±Ρ ΠΏΡΠ΅Π΄ΠΎΡΠ²ΡΠ°ΡΠΈΡΡ ΡΠ°Π·ΡΡΡΠ΅Π½ΠΈΠ΅ ΡΠ΅Π·ΠΈΠ½ΠΎΠ²ΡΡ Π΄Π΅ΡΠ°Π»Π΅ΠΉ.
Π‘ΡΠΎΡΠ½ΠΎΡΠ½Π°Ρ ΡΠΎΡΠΌΠΎΠ·Π½Π°Ρ ΡΠΈΡΡΠ΅ΠΌΠ° Π°Π²ΡΠΎΠΌΠΎΠ±ΠΈΠ»Π΅ΠΉ Π£ΠΠ
Π‘Ρ Π΅ΠΌΠ° ΡΡΠΎΡΠ½ΠΎΡΠ½ΠΎΠ³ΠΎ ΠΌΠ΅Ρ Π°Π½ΠΈΠ·ΠΌΠ°
Π ΠΈΡ.
2 Π‘ΡΠΎΡΠ½ΠΎΡΠ½ΡΠΉ ΡΠΎΡΠΌΠΎΠ·Π½Π°Ρ ΡΠΈΡΡΠ΅ΠΌΠ°: Π° β Π²ΠΈΠ΄ Ρ ΡΠΎΡΠΌΠΎΠ·Π½ΡΠΌ Π±Π°ΡΠ°Π±Π°Π½ΠΎΠΌ; Π± β Π²ΠΈΠ΄ Π±Π΅Π· ΡΠΎΡΠΌΠΎΠ·Π½ΠΎΠ³ΠΎ Π±Π°ΡΠ°Π±Π°Π½Π°; 1 β Π²ΠΈΠ»ΠΊΠ° ΡΠ΅Π³ΡΠ»ΠΈΡΠΎΠ²ΠΊΠΈ; 2 β ΠΊΠΎΠ½ΡΡΠ³Π°ΠΉΠΊΠ°; 3 β ΠΏΡΠΈΠ²ΠΎΠ΄Π½Π°Ρ ΡΡΠ³Π°; 4 β ΡΠ°Π·ΠΆΠΈΠΌΠ½ΠΎΠΉ ΡΡΡ
Π°ΡΡ; 5 β Π·Π°Π³Π»ΡΡΠΊΠ°; 6 β ΠΏΡΠΈΠ²ΠΎΠ΄Π½ΠΎΠΉ ΡΡΡΠ°Π³; 7 β Π²ΠΈΠ½Ρ ΡΠ΅Π³ΡΠ»ΠΈΡΠΎΠ²ΠΊΠΈ; 8 β ΠΎΠΏΠΎΡΠ° ΠΊΠΎΠ»ΠΎΠ΄ΠΊΠΈ; 9 β ΡΠΎΠ»ΠΊΠ°ΡΠ΅Π»Ρ ΡΠ°Π·ΠΆΠΈΠΌΠ½ΠΎΠ³ΠΎ Π°Π³ΡΠ΅Π³Π°ΡΠ°; 10 β ΠΊΠΎΡΠΏΡΡ ΡΠ°ΡΠΈΠΊΠΎΠ²; 11 β ΠΊΠΎΡΠΏΡΡ ΡΠ°Π·ΠΆΠΈΠΌΠ½ΠΎΠ³ΠΎ Π°Π³ΡΠ΅Π³Π°ΡΠ°; 12 β Π±Π°ΡΠ°Π±Π°Π½ ΡΠΎΡΠΌΠΎΠ·Π°; 13 β ΠΏΠ΅ΡΠ²Π°Ρ ΠΊΠΎΠ»ΠΎΠ΄ΠΊΠ°; 14 β ΡΡΡΠΆΠ½Π°Ρ ΠΏΡΡΠΆΠΈΠ½Π° ΠΊΠΎΠ»ΠΎΠ΄ΠΎΠΊ; 15 β ΠΊΠΎΠ»ΠΏΠ°ΠΊ; 16 β ΡΠ°ΡΠΈΠΊ ΡΠ°Π·ΠΆΠΈΠΌΠ½ΠΎΠ³ΠΎ Π°Π³ΡΠ΅Π³Π°ΡΠ°; 17 β Π±ΠΎΠ»Ρ; 18 β Π²ΡΠΎΡΠ°Ρ ΠΊΠΎΠ»ΠΎΠ΄ΠΊΠ°; 19 β ΡΠΈΡ ΡΠΎΡΠΌΠΎΠ·Π°; 20 β ΠΊΠΎΡΠΏΡΡ ΠΌΠ΅Ρ
Π°Π½ΠΈΠ·ΠΌΠ° ΡΠ΅Π³ΡΠ»ΠΈΡΠΎΠ²ΠΊΠΈ; 21 β ΡΡΠ΅ΡΠΆΠ΅Π½Ρ; 22 β ΠΏΡΡΠΆΠΈΠ½Π°; 23 β ΡΠ°ΡΠΊΠ° ΠΏΡΡΠΆΠΈΠ½Ρ.
ΠΡΠΈΠ½ΡΠΈΠΏ ΡΠ°Π±ΠΎΡΡ ΡΡΠΎΡΠ½ΠΎΡΠ½ΠΎΠ³ΠΎ ΠΌΠ΅Ρ Π°Π½ΠΈΠ·ΠΌΠ°
Π’ΠΎΡΠΌΠΎΠ·Π½ΠΎΠΉ ΠΌΠ΅Ρ
Π°Π½ΠΈΠ·ΠΌ ΡΡΠΎΡΠ½ΠΎΡΠ½ΠΎΠΉ ΡΠΈΡΡΠ΅ΠΌΡ ΠΎΠ±ΠΎΡΡΠ΄ΠΎΠ²Π°Π½ Π½Π° ΡΠ°Π·Π΄Π°ΡΠΎΡΠ½ΠΎΠΉ ΠΊΠΎΡΠΎΠ±ΠΊΠ΅ ΠΈ ΡΠΎΡΠΌΠΎΠ·ΠΈΡ Π·Π°Π΄Π½ΠΈΠΉ ΠΊΠ°ΡΠ΄Π°Π½Π½ΡΠΉ Π²Π°Π» ΠΡΡ
Π°Π½ΠΊΠΈ. ΠΠ³ΠΎ ΠΊΠΎΠ½ΡΡΡΡΠΊΡΠΈΡ Π²ΠΊΠ»ΡΡΠ°Π΅Ρ ΠΎΠΏΠΎΡΠ½ΡΠΉ Π΄ΠΈΡΠΊ, Ρ ΡΡΡΠ°Π½ΠΎΠ²Π»Π΅Π½Π½ΡΠΌΠΈ Π½Π° Π½Π΅ΠΌ Π΄Π²ΡΠΌΡ ΠΊΠΎΠ»ΠΎΠ΄ΠΊΠ°ΠΌΠΈ, ΡΠΎΠ΅Π΄ΠΈΠ½Π΅Π½Π½ΡΠΌΠΈ ΠΏΡΡΠΆΠΈΠ½Π°ΠΌΠΈ. ΠΠΎΠ»ΠΎΠ΄ΠΊΠΈ Π²ΠΎΠ·Π΄Π΅ΠΉΡΡΠ²ΡΡΡ Π½Π° ΡΠΎΡΠΌΠΎΠ·Π½ΠΎΠΉ Π±Π°ΡΠ°Π±Π°Π½, ΠΊΠΎΡΠΎΡΡΠΉ Π·Π°ΡΠΈΠΊΡΠΈΡΠΎΠ²Π°Π½ Π½Π° ΡΠ΅Π½ΡΡΠΈΡΡΡΡΠ΅ΠΌ ΠΏΠΎΡΡΠΊΠ΅ ΡΠ»Π°Π½ΡΠ° ΠΊΠ°ΡΠ΄Π°Π½Π½ΠΎΠ³ΠΎ Π²Π°Π»Π°. Π Π²Π΅ΡΡ
ΡΡΠΊΠ΅ ΠΎΠΏΠΎΡΠ½ΠΎΠ³ΠΎ Π΄ΠΈΡΠΊΠ° ΠΏΡΠΈΡΠΎΠ΅Π΄ΠΈΠ½Π΅Π½ ΠΊΠΎΡΠΏΡΡ ΡΠ°Π·ΠΆΠΈΠΌΠ½ΠΎΠ³ΠΎ Π°Π³ΡΠ΅Π³Π°ΡΠ° Ρ ΡΠΎΠ»ΠΊΠ°ΡΠ΅Π»ΡΠΌΠΈ, ΠΊΠΎΡΠΎΡΡΠ΅ ΠΏΡΠΈΠΊΡΠ΅ΠΏΠ»Π΅Π½Ρ ΠΊ Π²Π΅ΡΡ
Π½Π΅ΠΉ ΡΠ°ΡΡΠΈ ΠΊΠΎΠ»ΠΎΠ΄ΠΎΠΊ.
ΠΠ½ΡΡΡΠΈ ΡΠΎΠ»ΠΊΠ°ΡΠ΅Π»ΠΈ ΠΎΡΠ½Π°ΡΠ΅Π½Ρ Π²ΡΠ΅ΠΌΠΊΠ°ΠΌΠΈ, Π·Π°ΠΏΠΎΠ»Π½Π΅Π½Π½ΡΠΌΠΈ ΡΠ°ΡΠΈΠΊΠ°ΠΌΠΈ, ΠΊΠΎΡΠΎΡΡΠ΅ Π½Π°Ρ
ΠΎΠ΄ΡΡΡΡ Π² ΡΡΠΎΠΊΠ΅. ΠΠ½ΠΈΠ·Ρ ΠΎΠΏΠΎΡΠ½ΠΎΠ³ΠΎ Π΄ΠΈΡΠΊΠ° ΡΡΡΠ°Π½ΠΎΠ²Π»Π΅Π½ ΠΊΠΎΡΠΏΡΡ ΡΠ΅Π³ΡΠ»ΠΈΡΠΎΠ²ΠΎΡΠ½ΠΎΠ³ΠΎ ΡΠ»Π΅ΠΌΠ΅Π½ΡΠ°. Π ΡΠ³Π»ΡΠ±Π»Π΅Π½ΠΈΡ ΠΊΠΎΡΠΏΡΡΠ° ΠΏΠΎΠΌΠ΅ΡΠ΅Π½Ρ ΠΎΠΏΠΎΡΡ ΠΊΠΎΠ»ΠΎΠ΄ΠΎΠΊ, ΠΊΠΎΡΠΎΡΡΠ΅ ΡΠΏΠΎΡΠΎΠ±Π½Ρ ΠΏΠ΅ΡΠ΅Π΄Π²ΠΈΠ³Π°ΡΡΡΡ Π·Π° ΡΡΠ΅Ρ ΡΠ°Π±ΠΎΡΡ ΡΡΡ
Π°ΡΡ ΠΈ ΡΠ΅Π³ΡΠ»ΠΈΡΠΎΠ²ΠΎΡΠ½ΠΎΠ³ΠΎ Π²ΠΈΠ½ΡΠ°.
Π§ΠΈΡΠ°ΠΉΡΠ΅ ΡΠ°ΠΊΠΆΠ΅:Β Π’ΡΠ½ΠΈΠ½Π³ ΠΊΠ°ΡΠ±ΡΡΠ°ΡΠΎΡΠ° ΠΊ 151 ΡΠ²ΠΎΠΈΠΌΠΈ ΡΡΠΊΠ°ΠΌΠΈ
ΠΡΠΈΠ²ΠΎΠ΄ ΡΠΎΡΠΌΠΎΠ·Π½ΠΎΠ³ΠΎ ΠΌΠ΅Ρ Π°Π½ΠΈΠ·ΠΌΠ° Π²ΠΊΠ»ΡΡΠ°Π΅Ρ Π² ΡΠ΅Π±Ρ ΡΡΡΠ°Π³, ΡΡΡΠ°Π½ΠΎΠ²Π»Π΅Π½Π½ΡΠΉ Π½Π° ΠΎΠΏΠΎΡΠ½ΠΎΠΌ Π΄ΠΈΡΠΊΠ΅ ΠΈ ΠΏΠΎΠ΄ΠΏΠΈΡΠ°ΡΡΠ΅Π³ΠΎ ΡΡΠΎΠΊ ΡΠ°ΡΠΈΠΊΠΎΠ² ΡΠ°Π·ΠΆΠΈΠΌΠ½ΠΎΠ³ΠΎ ΡΠ»Π΅ΠΌΠ΅Π½ΡΠ°. Π‘Π²ΠΎΠ±ΠΎΠ΄Π½ΡΠΉ ΠΊΠΎΠ½Π΅Ρ ΡΡΡΠ°Π³Π° ΠΊΡΠ΅ΠΏΠΈΡΡΡ ΠΊ Π²ΠΈΠ»ΠΊΠ΅, ΠΊΠΎΡΠΎΡΠ°Ρ Π² ΡΠ²ΠΎΡ ΠΎΡΠ΅ΡΠ΅Π΄Ρ ΠΏΡΠΈΡΠΎΠ΅Π΄ΠΈΠ½Π΅Π½Π° ΠΊ ΡΡΠ³Π΅ Ρ ΠΏΠΎΠΌΠΎΡΡΡ ΠΊΠΎΠ½ΡΡΠ³Π°ΠΉΠΊΠΈ. Π’ΡΠ³Π° ΠΏΡΠΈΠ²ΠΎΠ΄Π° ΠΊΡΠ΅ΠΏΠΈΡΡΡ ΠΊ ΡΡΡΠ°Π³Ρ ΡΡΠΎΡΠ½ΠΎΡΠ½ΠΎΠ³ΠΎ ΡΠΎΡΠΌΠΎΠ·Π°, ΠΊΠΎΡΠΎΡΡΠΉ ΡΡΡΠ°Π½ΠΎΠ²Π»Π΅Π½ Π² ΠΊΠ°Π±ΠΈΠ½Π΅ Π°Π²ΡΠΎΠΌΠΎΠ±ΠΈΠ»ΠΈΡΡΠ°.
ΠΡΠΈ Π²ΡΡ ΠΎΠ΄Π΅ ΡΡΠΈΠ»ΠΈΡΠ΅Π»Ρ ΠΈΠ· ΡΡΡΠΎΡ Π½Π° ΠΏΠΎΡΡΠ½ΠΈ Π³Π»Π°Π²Π½ΠΎΠ³ΠΎ ΡΠΈΠ»ΠΈΠ½Π΄ΡΠ° ΠΏΠ΅ΡΠ΅Π΄Π°Π΅ΡΡΡ ΡΠΎΠ»ΡΠΊΠΎ ΡΡΠΈΠ»ΠΈΠ΅ ΠΎΡ Π½ΠΎΠ³ΠΈ Π²ΠΎΠ΄ΠΈΡΠ΅Π»Ρ ΡΠ΅ΡΠ΅Π· ΡΠΎΠ»ΠΊΠ°ΡΠ΅Π»Ρ 33 (ΡΠΌ. ΡΠΈΡ. 1), ΠΊΠ»Π°ΠΏΠ°Π½ ΡΠΏΡΠ°Π²Π»Π΅Π½ΠΈΡ, Π±ΡΡΠ΅Ρ 20 ΠΈ ΡΡΠΎΠΊ 7.
ΠΠΎΠ²ΡΡΠ΅Π½Π½Π°Ρ Π²Π΅Π»ΠΈΡΠΈΠ½Π° ΡΡΠΈΠ»ΠΈΡ Π½Π° ΠΏΠ΅Π΄Π°Π»Ρ ΡΠΊΠ°Π·ΡΠ²Π°Π΅Ρ Π½Π° Π½Π΅ΠΎΠ±Ρ
ΠΎΠ΄ΠΈΠΌΠΎΡΡΡ ΠΎΡΠΌΠΎΡΡΠ° ΠΈ, Π²ΠΎΠ·ΠΌΠΎΠΆΠ½ΠΎ, ΡΠ΅ΠΌΠΎΠ½ΡΠ° ΡΡΠΈΠ»ΠΈΡΠ΅Π»Ρ.
ΠΡΠΈ Π²ΡΡ ΠΎΠ΄Π΅ ΠΈΠ· ΡΡΡΠΎΡ ΡΠΏΠ»ΠΎΡΠ½ΠΈΡΠ΅Π»Π΅ΠΉ, ΠΏΡΡΠΆΠΈΠ½ ΠΈ Π΄ΡΡΠ³ΠΈΡ Π΄Π΅ΡΠ°Π»Π΅ΠΉ ΡΡΠΈΠ»ΠΈΡΠ΅Π»Ρ ΡΠ½ΠΈΠΌΠΈΡΠ΅ Ρ Π°Π²ΡΠΎΠΌΠΎΠ±ΠΈΠ»Ρ, ΠΎΡΡΠΎΠ΅Π΄ΠΈΠ½ΠΈΠ² ΠΏΡΠ΅Π΄Π²Π°ΡΠΈΡΠ΅Π»ΡΠ½ΠΎ ΠΎΡ Π½Π΅Π³ΠΎ Π³Π»Π°Π²Π½ΡΠΉ ΡΠΎΡΠΌΠΎΠ·Π½ΠΎΠΉ ΡΠΈΠ»ΠΈΠ½Π΄Ρ, ΡΠ»Π°Π½Π³, ΠΏΠ΅Π΄Π°Π»Ρ ΠΈ ΡΠ°Π·Π±Π΅ΡΠΈΡΠ΅.
ΠΠ΅ΡΠ΅Π΄ ΡΠ°Π·Π±ΠΎΡΠΊΠΎΠΉ Π½Π°Π½Π΅ΡΠΈΡΠ΅ ΠΌΠ΅ΡΠΊΠΈ Π½Π° ΠΊΠΎΡΠΏΡΡΠ΅ ΠΈ ΠΊΡΡΡΠΊΠ΅, ΡΡΠΎΠ±Ρ ΠΏΡΠΈ ΡΠ±ΠΎΡΠΊΠ΅ ΡΡΡΠ°Π½ΠΎΠ²ΠΈΡΡ ΠΈΡ Π½Π° ΡΠ²ΠΎΠΈ ΠΏΠ΅ΡΠ²ΠΎΠ½Π°ΡΠ°Π»ΡΠ½ΡΠ΅ ΠΌΠ΅ΡΡΠ°.
Π ΠΈΡ. 1. ΠΠ°ΠΊΡΡΠΌΠ½ΡΠΉ ΡΡΠΈΠ»ΠΈΡΠ΅Π»Ρ
Π Π°Π·Π±ΠΈΡΠ°ΠΉΡΠ΅ ΠΈ ΡΠΎΠ±ΠΈΡΠ°ΠΉΡΠ΅ ΡΡΠΈΠ»ΠΈΡΠ΅Π»Ρ Π² ΡΠΏΠ΅ΡΠΈΠ°Π»ΡΠ½ΠΎΠΌ ΠΏΡΠΈΡΠΏΠΎΡΠΎΠ±Π»Π΅Π½ΠΈΠΈ Ρ ΠΏΠΎΠΌΠΎΡΡΡ Π½Π΅Π±ΠΎΠ»ΡΡΠΎΠ³ΠΎ ΠΏΡΠ΅ΡΡΠ°.
Π£ΡΠΈΠ»ΠΈΡΠ΅Π»Ρ ΡΡΡΠ°Π½ΠΎΠ²ΠΈΡΠ΅ ΡΠ΅ΡΡΡΡΠΌΡ Π±ΠΎΠ»ΡΠ°ΠΌΠΈ, Ρ Π½Π°Π΄Π΅ΡΡΠΌΠΈ Π½Π° Π½ΠΈΡ ΡΠ΅Π·ΠΈΠ½ΠΎΠ²ΡΠΌΠΈ Π²ΡΡΠ»ΠΊΠ°ΠΌΠΈ Π΄Π»Ρ ΠΏΡΠ΅Π΄ΠΎΡ ΡΠ°Π½Π΅Π½ΠΈΡ ΡΠ΅Π·ΡΠ±Ρ ΠΎΡ ΠΏΠΎΠ²ΡΠ΅ΠΆΠ΄Π΅Π½ΠΈΡ Π² ΠΎΡΠ²Π΅ΡΡΡΠΈΡ Π½Π΅ΠΏΠΎΠ΄Π²ΠΈΠΆΠ½ΠΎ ΡΡΡΠ°Π½ΠΎΠ²Π»Π΅Π½Π½ΠΎΠΉ ΠΏΠ»ΠΈΡΡ.
ΠΠ° Π΄Π²Π° Π±ΠΎΠ»ΡΠ° ΠΊΡΡΡΠΊΠΈ Π²ΡΠΎΡΠΈΡΠ½ΠΎΠΉ ΠΊΠ°ΠΌΠ΅ΡΡ, ΡΠ°ΠΊΠΆΠ΅ ΠΏΡΠ΅Π΄ΠΎΡ ΡΠ°Π½ΠΈΠ² ΠΏΡΠ΅Π΄Π²Π°ΡΠΈΡΠ΅Π»ΡΠ½ΠΎ ΠΈΡ ΡΠ΅Π·ΡΠ±Ρ, ΡΡΡΠ°Π½ΠΎΠ²ΠΈΡΠ΅ ΡΠΏΠ΅ΡΠΈΠ°Π»ΡΠ½ΡΠΉ ΡΡΡΠ°Π³ Ρ ΠΎΡΠ²Π΅ΡΡΡΠΈΡΠΌΠΈ ΠΏΠΎΠ΄ ΡΡΠΈ Π±ΠΎΠ»ΡΡ ΠΈ, Π½Π°Π΄Π°Π²Π»ΠΈΠ²Π°Ρ Π½Π° Π½Π΅Π³ΠΎ Ρ Π½Π΅Π±ΠΎΠ»ΡΡΠΈΠΌ ΡΡΠΈΠ»ΠΈΠ΅ΠΌ ΠΏΡΠ΅ΡΡΠΎΠΌ, ΠΏΠΎΠ²Π΅ΡΠ½ΠΈΡΠ΅ ΠΊΡΡΡΠΊΡ Π΄ΠΎ ΡΠΎΠ²ΠΌΠ΅ΡΠ΅Π½ΠΈΡ Π²ΡΡΡΡΠΏΠΎΠ² Π½Π° ΠΊΠΎΡΠΏΡΡΠ΅ ΡΡΠΈΠ»ΠΈΡΠ΅Π»Ρ Ρ Π²ΠΏΠ°Π΄ΠΈΠ½Π°ΠΌΠΈ Π½Π° ΠΊΡΡΡΠΊΠ΅.
ΠΡΠΎΡΠΈΠ΅ ΠΎΠΏΠ΅ΡΠ°ΡΠΈΠΈ Π½Π΅ ΡΡΠ΅Π±ΡΡΡ ΡΠΏΠ΅ΡΠΈΠ°Π»ΡΠ½ΡΡ ΠΏΡΠΈΡΠΏΠΎΡΠΎΠ±Π»Π΅Π½ΠΈΠΉ.
ΠΡΠΈ ΡΠ±ΠΎΡΠΊΠ΅ ΡΠ°Π±ΠΎΡΠΈΠ΅ ΠΏΠΎΠ²Π΅ΡΡ
Π½ΠΎΡΡΠΈ ΡΡΠ΅Π½ΠΈΡ Π΄Π΅ΡΠ°Π»Π΅ΠΉ 6,17, 24, 25 ΠΈ ΠΊΠΎΠ½ΡΠ°ΠΊΡΠΈΡΡΡΡΠΈΠ΅ ΠΏΠΎΠ²Π΅ΡΡ
Π½ΠΎΡΡΠΈ ΠΊΡΡΡΠΊΠΈ 1 Ρ Π΄ΠΈΠ°ΡΡΠ°Π³ΠΌΠΎΠΉ 18 ΡΠΌΠ°ΠΆΡΡΠ΅ ΡΠΌΠ°Π·ΠΊΠΎΠΉ Π¦ΠΠΠ’ΠΠβ221.
ΠΠΎΡΠ»Π΅ ΡΠ±ΠΎΡΠΊΠΈ ΡΡΠΈΠ»ΠΈΡΠ΅Π»Ρ ΠΏΡΠΎΠ²Π΅ΡΡΡΠ΅ Π½Π° ΡΠ°Π±ΠΎΡΠΎΡΠΏΠΎΡΠΎΠ±Π½ΠΎΡΡΡ ΠΈ Π³Π΅ΡΠΌΠ΅ΡΠΈΡΠ½ΠΎΡΡΡ.
ΠΠ»Ρ ΡΡΠΎΠ³ΠΎ ΠΏΡΠΈΡΠΎΠ΅Π΄ΠΈΠ½ΠΈΡΠ΅ ΡΠ»Π°Π½Π³ ΠΊ ΠΎΠ±ΡΠ°ΡΠ½ΠΎΠΌΡ ΠΊΠ»Π°ΠΏΠ°Π½Ρ ΠΈ ΠΏΡΠΈ ΡΠ°Π±ΠΎΡΠ°ΡΡΠ΅ΠΌ Π΄Π²ΠΈΠ³Π°ΡΠ΅Π»Π΅ ΠΏΡΠΈΠ»ΠΎΠΆΠΈΡΠ΅ ΡΡΠΈΠ»ΠΈΠ΅ 196β294 Π (20β30 ΠΊΠ³Ρ) ΠΊ ΡΠΎΠ»ΠΊΠ°ΡΠ΅Π»Ρ 33. ΠΡΠΈ ΡΡΠΎΠΌ ΠΊΠΎΡΠΏΡΡ ΠΊΠ»Π°ΠΏΠ°Π½Π° ΡΠΏΡΠ°Π²Π»Π΅Π½ΠΈΡ Π²ΠΌΠ΅ΡΡΠ΅ Ρ ΡΠΎΠ»ΠΊΠ°ΡΠ΅Π»Π΅ΠΌ Π΄ΠΎΠ»ΠΆΠ΅Π½ ΠΏΠ΅ΡΠ΅ΠΌΠ΅ΡΠ°ΡΡΡΡ Π΄ΠΎ ΡΠΏΠΎΡΠ°.
ΠΠΎΡΠ»Π΅ ΡΠ½ΡΡΠΈΡ ΡΡΠΈΠ»ΠΈΡ Ρ ΡΠΎΠ»ΠΊΠ°ΡΠ΅Π»Ρ 33 ΠΊΠΎΡΠΏΡΡ ΠΊΠ»Π°ΠΏΠ°Π½Π° ΡΠΏΡΠ°Π²Π»Π΅Π½ΠΈΡ Π΄ΠΎΠ»ΠΆΠ΅Π½ Π²ΠΎΠ·Π²ΡΠ°ΡΠΈΡΡΡΡ Π² ΠΈΡΡ ΠΎΠ΄Π½ΠΎΠ΅ ΠΏΠΎΠ»ΠΎΠΆΠ΅Π½ΠΈΠ΅.
ΠΠΎ ΠΈΡΡΠ΅ΡΠ΅Π½ΠΈΠΈ 2β3 ΠΌΠΈΠ½ ΠΏΠΎΡΠ»Π΅ ΠΎΡΡΠ°Π½ΠΎΠ²ΠΊΠΈ Π΄Π²ΠΈΠ³Π°ΡΠ΅Π»Ρ ΠΏΡΠΈ Π½Π°ΠΆΠ°ΡΠΈΠΈ Π½Π° ΡΠΎΠ»ΠΊΠ°ΡΠ΅Π»Ρ 33 Π΄ΠΎΠ»ΠΆΠ½ΠΎ ΠΏΡΠΎΡΠ»ΡΡΠΈΠ²Π°ΡΡΡΡ ΡΠΈΠΏΠ΅Π½ΠΈΠ΅ Π²ΠΎΠ·Π΄ΡΡ Π°, ΠΏΠΎΡΡΡΠΏΠ°ΡΡΠ΅Π³ΠΎ Π² ΡΡΠΈΠ»ΠΈΡΠ΅Π»Ρ ΡΠ΅ΡΠ΅Π· ΠΊΠ»Π°ΠΏΠ°Π½ ΡΠΏΡΠ°Π²Π»Π΅Π½ΠΈΡ.
ΠΠ΅ΡΠ΅Π΄ ΡΡΡΠ°Π½ΠΎΠ²ΠΊΠΎΠΉ Π³Π»Π°Π²Π½ΠΎΠ³ΠΎ ΡΠΎΡΠΌΠΎΠ·Π½ΠΎΠ³ΠΎ ΡΠΈΠ»ΠΈΠ½Π΄ΡΠ° Π½Π° ΡΡΠΈΠ»ΠΈΡΠ΅Π»Ρ ΠΎΡΡΠ΅Π³ΡΠ»ΠΈΡΡΠΉΡΠ΅ Π²ΡΠ»Π΅Ρ ΡΡΠΎΠΊΠ° 7 ΠΎΡΠ½ΠΎΡΠΈΡΠ΅Π»ΡΠ½ΠΎ ΠΏΡΠΈΠ²Π°Π»ΠΎΡΠ½ΠΎΠΉ ΠΏΠ»ΠΎΡΠΊΠΎΡΡΠΈ ΠΊΡΡΡΠΊΠΈ 1 Π½Π° Π²Π΅Π»ΠΈΡΠΈΠ½Ρ 7,78 β8 ΠΌΠΌ ΠΈ Π²ΡΠ»Π΅Ρ ΡΠΎΠ»ΠΊΠ°ΡΠ΅Π»Ρ 33 ΠΎΡΠ½ΠΎΡΠΈΡΠ΅Π»ΡΠ½ΠΎ ΠΏΡΠΈΠ²Π°Π»ΠΎΡΠ½ΠΎΠΉ ΠΏΠ»ΠΎΡΠΊΠΎΡΡΠΈ ΠΊΠΎΡΠΏΡΡΠ° 23 Π½Π° Π²Π΅Π»ΠΈΡΠΈΠ½Ρ 134,7β 136,3 ΠΌΠΌ.
Π§ΠΈΡΠ°ΠΉΡΠ΅ ΡΠ°ΠΊΠΆΠ΅:Β Toyota land cruiser 200 ΠΏΡΠ΅Π΄ΠΎΡ ΡΠ°Π½ΠΈΡΠ΅Π»ΠΈ
ΠΠ½ΠΎΠ³ΠΈΠ΅ Π°Π²ΡΠΎΠ»ΡΠ±ΠΈΡΠ΅Π»ΠΈ ΡΡΠ°Π»ΠΊΠΈΠ²Π°ΡΡΡΡ Ρ ΡΠ°ΠΊΠΈΠΌ ΠΏΠΎΠ½ΡΡΠΈΠ΅ΠΌ, ΠΊΠ°ΠΊ Π²Π°ΠΊΡΡΠΌΠ½ΡΠΉ ΡΡΠΈΠ»ΠΈΡΠ΅Π»Ρ ΡΠΎΡΠΌΠΎΠ·ΠΎΠ². ΠΠ΄Π½Π°ΠΊΠΎ Π΄Π°Π»Π΅ΠΊΠΎ Π½Π΅ ΠΊΠ°ΠΆΠ΄ΡΠΉ Π·Π½Π°Π΅Ρ, ΡΡΠΎ ΠΎΠ½ΠΎ ΠΎΠ±ΠΎΠ·Π½Π°ΡΠ°Π΅Ρ.
ΠΡΠ°ΠΊ, ΠΏΠΎΠ΄ Π²Π°ΠΊΡΡΠΌΠ½ΡΠΌ ΡΡΠΈΠ»ΠΈΡΠ΅Π»Π΅ΠΌ ΡΠΎΡΠΌΠΎΠ·ΠΎΠ² ΠΏΠΎΠ΄ΡΠ°Π·ΡΠΌΠ΅Π²Π°ΡΡ ΡΠΏΠ΅ΡΠΈΠ°Π»ΡΠ½ΠΎΠ΅ ΡΡΡΡΠΎΠΉΡΡΠ²ΠΎ ΡΠΎΠ²ΡΠ΅ΠΌΠ΅Π½Π½ΠΎΠ³ΠΎ Π°Π²ΡΠΎΠΌΠΎΠ±ΠΈΠ»Ρ, ΠΏΡΠ΅Π΄Π½Π°Π·Π½Π°ΡΠ΅Π½Π½ΠΎΠ΅ Π΄Π»Ρ Π²ΠΎΠ·ΠΌΠΎΠΆΠ½ΠΎΡΡΠΈ ΡΠ»ΡΡΡΠΈΡΡ ΡΠΊΡΠΏΠ»ΡΠ°ΡΠ°ΡΠΈΠΎΠ½Π½ΡΠ΅ Ρ
Π°ΡΠ°ΠΊΡΠ΅ΡΠΈΡΡΠΈΠΊΠΈ ΠΈΡΠΏΠΎΠ»ΡΠ·ΡΠ΅ΠΌΠΎΠΉ ΡΠΎΡΠΌΠΎΠ·Π½ΠΎΠΉ ΡΠΈΡΡΠ΅ΠΌΡ. ΠΠ½ Π²Π»ΠΈΡΠ΅Ρ Π½Π° ΡΠ²Π΅Π»ΠΈΡΠ΅Π½ΠΈΠ΅ Π΄Π°Π²Π»Π΅Π½ΠΈΡ, ΡΠΎΠ·Π΄Π°Π²Π°Π΅ΠΌΠΎΠ³ΠΎ Π½Π° ΡΠΎΡΠΌΠΎΠ·Π½ΡΠ΅ ΠΊΠΎΠ»ΠΎΠ΄ΠΊΠΈ ΠΏΠΎΡΠ»Π΅ ΠΏΡΠΎΠ²Π΅Π΄Π΅Π½ΠΈΡ Π½Π΅ΠΏΠΎΡΡΠ΅Π΄ΡΡΠ²Π΅Π½Π½ΠΎΠ³ΠΎ Π½Π°ΠΆΠ°ΡΠΈΡ Π½Π° ΠΏΠ΅Π΄Π°Π»Ρ Π³Π°Π·Π°, ΡΡΠΎ ΠΏΡΠ΅Π΄ΠΎΠΏΡΠ΅Π΄Π΅Π»ΡΠ΅Ρ Π±ΠΎΠ»Π΅Π΅ ΠΊΠΎΠΌΡΠΎΡΡΠ½ΡΠ΅ ΡΡΠ»ΠΎΠ²ΠΈΡ ΡΠΏΡΠ°Π²Π»Π΅Π½ΠΈΡ Π°Π²ΡΠΎΠΌΠΎΠ±ΠΈΠ»Π΅ΠΌ ΠΈ ΠΌΠ΅Π½ΡΡΡΡ ΡΡΠΎΠΌΠ»ΡΠ΅ΠΌΠΎΡΡΡ Π·Π° ΡΡΠ»ΡΠΌ Π²ΠΎΠ΄ΠΈΡΠ΅Π»Ρ.
Π‘Ρ Π΅ΠΌΠ° Π²Π°ΠΊΡΡΠΌΠ½ΠΎΠ³ΠΎ ΡΡΠΈΠ»ΠΈΡΠ΅Π»Ρ ΡΠΎΡΠΌΠΎΠ·ΠΎΠ²:
ΠΡΠ»ΠΈ ΡΠ°ΡΡΠΌΠ°ΡΡΠΈΠ²Π°ΡΡ Π±ΠΎΠ»Π΅Π΅ ΠΏΠΎΠ΄ΡΠΎΠ±Π½ΠΎ ΠΊΠ°ΠΆΠ΄ΡΠΉ ΠΈΡΠΏΠΎΠ»ΡΠ·ΡΠ΅ΠΌΡΠΉ Π² ΠΎΡΠ½ΠΎΠ²Π½ΠΎΠΌ ΡΡΡΡΠΎΠΉΡΡΠ²Π΅ ΡΠ»Π΅ΠΌΠ΅Π½Ρ, ΡΠΎ ΡΠ»Π΅Π΄ΡΠ΅Ρ ΠΎΡΠΌΠ΅ΡΠΈΡΡ ΡΠ»Π΅Π΄ΡΡΡΠΈΠ΅ ΠΌΠΎΠΌΠ΅Π½ΡΡ. Π’Π°ΠΊ, ΡΠ°ΠΌ ΠΊΠΎΡΠΏΡΡ ΡΡΠΈΠ»ΠΈΡΠ΅Π»Ρ ΠΏΡΠΈ ΠΏΠΎΠΌΠΎΡΠΈ Π΄ΠΈΠ°ΡΡΠ°Π³ΠΌΡ ΡΠ°Π·Π΄Π΅Π»ΡΠ½ Π½Π° 2 ΠΊΠ°ΠΌΠ΅ΡΡ:
A β Π²Π°ΠΊΡΡΠΌΠ½Π°Ρ ΠΊΠ°ΠΌΠ΅ΡΠ° β ΠΎΠ±ΡΠ°ΡΠ΅Π½Π° ΠΊ ΠΎΡΠ½ΠΎΠ²Π½ΠΎΠΌΡ ΡΠΎΡΠΌΠΎΠ·Π½ΠΎΠΌΡ ΡΠΈΠ»ΠΈΠ½Π΄ΡΡ;
B β Π°ΡΠΌΠΎΡΡΠ΅ΡΠ½Π°Ρ ΠΊΠ°ΠΌΠ΅ΡΠ° β Π½Π°Ρ
ΠΎΠ΄ΠΈΡΡΡ Π² ΠΏΡΠΎΡΠΈΠ²ΠΎΠΏΠΎΠ»ΠΎΠΆΠ½ΠΎΠΌ Π½Π°ΠΏΡΠ°Π²Π»Π΅Π½ΠΈΠΈ.
ΠΡΠΈ ΡΡΠΎΠΌ ΡΠΎΠ΅Π΄ΠΈΠ½Π΅Π½ΠΈΠ΅ Π²Π°ΠΊΡΡΠΌΠ½ΠΎΠΉ ΠΊΠ°ΠΌΠ΅ΡΡ Ρ ΠΈΡΡΠΎΡΠ½ΠΈΠΊΠΎΠΌ ΡΠ°Π·ΡΡΠΆΠ΅Π½ΠΈΡ ΠΎΡΡΡΠ΅ΡΡΠ²Π»ΡΠ΅ΡΡΡ ΡΠ΅ΡΠ΅Π· ΠΎΠ±ΡΠ°ΡΠ½ΡΠΉ ΠΊΠ»Π°ΠΏΠ°Π½. Π‘Π°ΠΌΠΈΠΌ ΠΆΠ΅ ΠΈΡΡΠΎΡΠ½ΠΈΠΊΠΎΠΌ ΡΠ°Π·ΡΡΠΆΠ΅Π½ΠΈΡ Π²ΡΡΡΡΠΏΠ°Π΅Ρ ΠΎΠ±Π»Π°ΡΡΡ, ΡΠ°ΡΠΏΠΎΠ»ΠΎΠΆΠ΅Π½Π½Π°Ρ Π²ΠΎ Π²ΠΏΡΡΠΊΠ½ΠΎΠΌ ΠΊΠΎΠ»Π»Π΅ΠΊΡΠΎΡΠ΅ ΡΠ°ΠΌΠΎΠ³ΠΎ Π΄Π²ΠΈΠ³Π°ΡΠ΅Π»Ρ, ΠΊΠΎΡΠΎΡΠ°Ρ ΠΈΠ΄ΡΡ ΠΏΠΎΡΠ»Π΅ Π΄ΡΠΎΡΡΠ΅Π»ΡΠ½ΠΎΠΉ Π·Π°ΡΠ»ΠΎΠ½ΠΊΠΈ.
Π’Π°ΠΊΠΆΠ΅ Π² ΡΠΎΠ»ΠΈ ΠΈΡΡΠΎΡΠ½ΠΈΠΊΠ° ΡΠ°Π·ΡΡΠΆΠ΅Π½ΠΈΡ Π΄Π»Ρ ΠΏΡΠ΅Π΄ΠΎΡΡΠ°Π²Π»Π΅Π½ΠΈΡ Π±Π΅ΡΠΏΠ΅ΡΠ΅Π±ΠΎΠΉΠ½ΠΎΠΉ ΡΠ°Π±ΠΎΡΡ Π°Π²ΡΠΎΠΌΠΎΠ±ΠΈΠ»Ρ ΠΌΠΎΠΆΠ΅Ρ ΡΠ»ΡΠΆΠΈΡΡ ΡΠ»Π΅ΠΊΡΡΠΎΠ½Π°ΡΠΎΡ Π²Π°ΠΊΡΡΠΌΠ½ΠΎΠ³ΠΎ ΡΠΈΠΏΠ°.
ΠΡΠΌΠΎΡΡΠ΅ΡΠ½Π°Ρ ΠΆΠ΅ ΠΊΠ°ΠΌΠ΅ΡΠ° ΠΏΠΎΡΡΠ΅Π΄ΡΡΠ²ΠΎΠΌ ΡΠ»Π΅Π΄ΡΡΠ΅Π³ΠΎ ΠΊΠ»Π°ΠΏΠ°Π½Π° ΡΠΎΠ΅Π΄ΠΈΠ½ΡΠ΅ΡΡΡ Π² ΠΏΠ΅ΡΠ²ΠΎΠ½Π°ΡΠ°Π»ΡΠ½ΠΎΠΌ ΠΏΠΎΠ»ΠΎΠΆΠ΅Π½ΠΈΠΈ Ρ ΠΊΠ°ΠΌΠ΅ΡΠΎΠΉ Π²Π°ΠΊΡΡΠΌΠ½ΠΎΠ³ΠΎ ΡΠΈΠΏΠ°, Π° Π²ΠΎ Π²ΡΠ΅ΠΌΡ Π²ΠΎΠ·Π΄Π΅ΠΉΡΡΠ²ΠΈΡ Π½Π° ΠΏΠ΅Π΄Π°Π»Ρ ΡΠΎΡΠΌΠΎΠ·Π° β Ρ Π°ΡΠΌΠΎΡΡΠ΅ΡΠΎΠΉ.
Π’ΠΎΠ»ΠΊΠ°ΡΠ΅Π»Ρ ΡΠ°ΠΊΠΆΠ΅ ΡΠ²ΡΠ·Π°Π½ Ρ ΠΏΠ΅Π΄Π°Π»ΡΡ ΡΠΎΡΠΌΠΎΠ·Π°, ΠΎΠ±Π΅ΡΠΏΠ΅ΡΠΈΠ²Π°Ρ Π²ΠΎΠ·ΠΌΠΎΠΆΠ½ΠΎΡΡΡ ΠΏΠ΅ΡΠ΅ΠΌΠ΅ΡΠ°ΡΡΡΡ ΡΠ»Π΅Π΄ΡΡΠ΅ΠΌΡ ΠΊΠ»Π°ΠΏΠ°Π½Ρ. ΠΠΈΠ°ΡΡΠ°Π³ΠΌΠ° Π² ΠΎΠ±Π»Π°ΡΡΠΈ ΡΠ°ΡΠΏΠΎΠ»ΠΎΠΆΠ΅Π½ΠΈΡ Π²Π°ΠΊΡΡΠΌΠ½ΠΎΠΉ ΠΊΠ°ΠΌΠ΅ΡΡ ΡΠΎΠ΅Π΄ΠΈΠ½ΡΠ΅ΡΡΡ ΡΠΎ ΡΡΠΎΠΊΠΎΠΌ Π² ΠΏΠΎΡΡΠ½Π΅Π²ΠΎΠΌ Π³Π»Π°Π²Π½ΠΎΠΌ ΡΠΈΠ»ΠΈΠ½Π΄ΡΠ΅, ΠΊΠΎΡΠΎΡΡΠΉ ΠΎΠ±Π΅ΡΠΏΠ΅ΡΠΈΠ²Π°Π΅Ρ Π΄ΠΈΠ°ΡΡΠ°Π³ΠΌΠ΅ Π½Π΅ ΡΠΎΠ»ΡΠΊΠΎ Π΄Π²ΠΈΠΆΠ΅Π½ΠΈΠ΅, Π½ΠΎ ΠΈ ΡΠΏΠΎΡΠΎΠ±ΡΡΠ²ΡΠ΅Ρ Π½Π°Π³Π½Π΅ΡΠ°Π½ΠΈΡ ΡΠΎΡΠΌΠΎΠ·Π½ΠΎΠΉ ΠΆΠΈΠ΄ΠΊΠΎΡΡΠΈ ΠΏΠΎ Π½Π°ΠΏΡΠ°Π²Π»Π΅Π½ΠΈΡ ΠΊ ΠΊΠΎΠ»ΡΡΠ½ΡΠΌ ΡΠΈΠ»ΠΈΠ½Π΄ΡΠ°ΠΌ.
ΠΠΎΠ·Π²ΡΠ°ΡΠ½Π°Ρ ΠΆΠ΅ ΠΏΡΡΠΆΠΈΠ½Π° ΠΏΠΎΠ·Π²ΠΎΠ»ΡΠ΅Ρ Π²ΠΎΠ·Π²ΡΠ°ΡΠ°ΡΡ Π² ΠΏΠ΅ΡΠ²ΠΎΠ½Π°ΡΠ°Π»ΡΠ½ΠΎΠ΅ ΠΏΠΎΠ»ΠΎΠΆΠ΅Π½ΠΈΠ΅ Π΄ΠΈΠ°ΡΡΠ°Π³ΠΌΡ ΠΏΠΎΡΠ»Π΅ ΡΠΎΠ³ΠΎ, ΠΊΠ°ΠΊ Π±ΡΠ» ΠΎΠΊΠΎΠ½ΡΠ΅Π½ ΠΏΡΠΎΡΠ΅ΡΡ ΡΠΎΡΠΌΠΎΠΆΠ΅Π½ΠΈΡ.
ΠΡΠΈΠ½ΡΠΈΠΏ ΡΠ°Π±ΠΎΡΡ ΠΈΡΠΏΠΎΠ»ΡΠ·ΡΠ΅ΠΌΠΎΠ³ΠΎ Π²Π°ΠΊΡΡΠΌΠ½ΠΎΠ³ΠΎ ΡΡΠΈΠ»ΠΈΡΠ΅Π»Ρ ΡΠΎΡΠΌΠΎΠ·ΠΎΠ²
Π‘Π°ΠΌΠ° ΡΠ°Π±ΠΎΡΠ° Π²Π°ΠΊΡΡΠΌΠ½ΠΎΠ³ΠΎ ΡΠΎΡΠΌΠΎΠ·Π½ΠΎΠ³ΠΎ ΡΡΠΈΠ»ΠΈΡΠ΅Π»Ρ ΠΎΡΠ½ΠΎΠ²Π°Π½Π° Π½Π° ΠΏΡΠ΅Π΄ΠΎΡΡΠ°Π²Π»Π΅Π½ΠΈΠΈ ΡΠ°Π·Π½ΠΎΡΡΠΈ Π΄Π°Π²Π»Π΅Π½ΠΈΠΉ Π² Π΄Π²ΡΡ
ΡΠΈΠΏΠ°Ρ
ΠΊΠ°ΠΌΠ΅Ρ (Π²Π°ΠΊΡΡΠΌΠ½ΠΎΠΉ ΠΈ Π°ΡΠΌΠΎΡΡΠ΅ΡΠ½ΠΎΠΉ). ΠΡΠΈ ΡΡΠΎΠΌ Π² Π½Π°ΡΠ°Π»ΡΠ½ΡΠΉ ΠΏΠ΅ΡΠΈΠΎΠ΄ Π΄Π°Π²Π»Π΅Π½ΠΈΠ΅ Π²ΠΎ Π²ΡΠ΅Ρ
ΠΊΠ°ΠΌΠ΅ΡΠ°Ρ
ΠΎΡΡΠ°ΡΡΡΡ ΠΎΠ΄ΠΈΠ½Π°ΠΊΠΎΠ²ΡΠΌ ΠΈ ΠΏΡΠΈΡΠ°Π²Π½Π΅Π½ΠΎ ΠΊ Π΄Π°Π²Π»Π΅Π½ΠΈΡ, ΠΊΠΎΡΠΎΡΠΎΠ΅ ΠΏΠΎΠ»ΡΡΠ°Π΅ΡΡΡ Π² ΡΠ΅Π·ΡΠ»ΡΡΠ°ΡΠ΅ Π΅Π³ΠΎ ΡΠΎΠ·Π΄Π°Π½ΠΈΡ ΡΠ°ΠΌΠΈΠΌ ΠΈΡΡΠΎΡΠ½ΠΈΠΊΠΎΠΌ ΡΠ°Π·ΡΡΠΆΠ΅Π½ΠΈΡ.
Π ΠΏΠΎΡΠ»Π΅Π΄ΡΡΡΠ΅ΠΌ, ΠΏΠΎΡΠ»Π΅ Π½Π°ΠΆΠ°ΡΠΈΡ Π½Π° ΠΏΠ΅Π΄Π°Π»Ρ ΡΠΎΡΠΌΠΎΠ·Π°, ΠΏΡΠΎΠΈΡΡ ΠΎΠ΄ΠΈΡ ΠΏΠ΅ΡΠ΅Π΄Π°ΡΠ° ΡΡΠΈΠ»ΠΈΡ ΠΏΠΎΡΡΠ΅Π΄ΡΡΠ²ΠΎΠΌ ΠΈΡΠΏΠΎΠ»ΡΠ·ΡΠ΅ΠΌΠΎΠ³ΠΎ ΡΠΎΠ»ΠΊΠ°ΡΠ΅Π»Ρ ΠΊ ΡΠ»Π΅Π΄ΡΡΡΠ΅ΠΌΡ ΠΊΠ»Π°ΠΏΠ°Π½Ρ, ΠΊΠΎΡΠΎΡΡΠΉ ΡΠΆΠ΅ ΠΏΠ΅ΡΠ΅ΠΊΡΡΠ²Π°Π΅Ρ ΠΊΠ°Π½Π°Π» ΠΌΠ΅ΠΆΠ΄Ρ Π²Π°ΠΊΡΡΠΌΠ½ΠΎΠΉ ΠΈ Π°ΡΠΌΠΎΡΡΠ΅ΡΠ½ΠΎΠΉ ΠΊΠ°ΠΌΠ΅ΡΠΎΠΉ. ΠΠ°Π»Π΅Π΅ Π΄Π²ΠΈΠΆΠ΅Π½ΠΈΡ ΠΊΠ»Π°ΠΏΠ°Π½Π° ΠΏΡΠΈΠ²ΠΎΠ΄ΡΡ ΠΊ ΡΠΎΠ΅Π΄ΠΈΠ½Π΅Π½ΠΈΡ Π²Π°ΠΊΡΡΠΌΠ½ΠΎΠΉ ΠΊΠ°ΠΌΠ΅ΡΡ Ρ Π°ΡΠΌΠΎΡΡΠ΅ΡΠ½ΠΎΠΉ, Π² ΡΠ΅Π·ΡΠ»ΡΡΠ°ΡΠ΅ ΡΠ΅Π³ΠΎ Π² ΠΏΠΎΡΠ»Π΅Π΄Π½Π΅ΠΉ ΡΠ½ΠΈΠΆΠ°Π΅ΡΡΡ ΡΠ°Π·ΡΡΠΆΠ΅Π½ΠΈΠ΅. Π‘ΠΎΠ·Π΄Π°Π²Π°Π΅ΠΌΠ°Ρ ΡΠ°Π·Π½ΠΈΡΠ° Π΄Π°Π²Π»Π΅Π½ΠΈΠΉ ΠΈ Π²Π΅Π΄ΡΡ ΠΊ Π²ΠΎΠ·Π΄Π΅ΠΉΡΡΠ²ΠΈΡ Π½Π° Π΄ΠΈΠ°ΡΡΠ°Π³ΠΌΡ ΠΏΠΎΡΡΠ΅Π΄ΡΡΠ²ΠΎΠΌ ΠΏΡΠ΅ΠΎΠ΄ΠΎΠ»Π΅Π½ΠΈΡ ΡΡΠΈΠ»ΠΈΡ, ΡΠΎΠ·Π΄Π°Π²Π°Π΅ΠΌΠΎΠ³ΠΎ ΠΏΡΡΠΆΠΈΠ½ΠΎΠΉ, ΠΈ ΡΠΏΠΎΡΠΎΠ±ΡΡΠ²ΡΠ΅Ρ ΠΏΠ΅ΡΠ΅ΠΌΠ΅ΡΠ΅Π½ΠΈΡ ΡΡΠΎΠΊΠ° ΠΏΠΎΡΡΠ½Ρ Π² Π³Π»Π°Π²Π½ΠΎΠΌ ΡΠΎΡΠΌΠΎΠ·Π½ΠΎΠΌ ΡΠΈΠ»ΠΈΠ½Π΄ΡΠ΅.
ΠΠΎΡΠ»Π΅ ΡΠΎΠ³ΠΎ, ΠΊΠ°ΠΊ ΠΏΡΠΎΡΠ΅ΡΡ ΡΠΎΡΠΌΠΎΠΆΠ΅Π½ΠΈΡ ΠΎΠΊΠΎΠ½ΡΠ΅Π½, ΠΏΡΠΎΠΈΡΡ ΠΎΠ΄ΠΈΡ ΠΎΠ±ΡΠ°ΡΠ½ΠΎΠ΅ ΡΠΎΠ΅Π΄ΠΈΠ½Π΅Π½ΠΈΠ΅ Π°ΡΠΌΠΎΡΡΠ΅ΡΠ½ΠΎΠΉ ΠΈ Π²Π°ΠΊΡΡΠΌΠ½ΠΎΠΉ ΠΊΠ°ΠΌΠ΅Ρ ΠΈ ΠΏΠΎΡΠ»Π΅Π΄ΡΡΡΠ΅Π΅ Π²ΡΡΠ°Π²Π½ΠΈΠ²Π°Π½ΠΈΠ΅ Π² Π½ΠΈΡ Π΄Π°Π²Π»Π΅Π½ΠΈΡ. Π Π΄ΠΈΠ°ΡΡΠ°Π³ΠΌΠ° Π±Π»Π°Π³ΠΎΠ΄Π°ΡΡ Π΄Π΅ΠΉΡΡΠ²ΠΈΡ Π²ΠΎΠ·Π²ΡΠ°ΡΠ½ΠΎΠΉ ΠΏΡΡΠΆΠΈΠ½Ρ Π²ΠΎΠ·Π²ΡΠ°ΡΠ°Π΅ΡΡΡ Π² ΠΈΡΡ ΠΎΠ΄Π½ΠΎΠ΅ ΡΠΎΡΡΠΎΡΠ½ΠΈΠ΅.
Π§ΡΠΎΠ±Ρ ΡΠ·Π½Π°ΡΡ, ΠΏΡΠΎ Π΅Π³ΠΎ ΠΏΠΎΠ»ΠΎΠΌΠΊΡ, ΡΠΈΡΠ°ΠΉΡΠ΅ ΡΡΠ°ΡΡΡ, ΠΊΠ°ΠΊ ΠΏΡΠΎΠ²Π΅ΡΠΈΡΡ Π½Π΅ΠΈΡΠΏΡΠ°Π²Π½ΠΎΡΡΡ Π²Π°ΠΊΡΡΠΌΠ½ΠΎΠ³ΠΎ ΡΡΠΈΠ»ΠΈΡΠ΅Π»Ρ. ΠΡΠ»ΠΈ ΡΡΡΠ΅ΡΡΠ²ΡΡΡ ΠΎΠΏΡΠ΅Π΄Π΅Π»ΡΠ½Π½ΡΠ΅ Π΄Π΅ΡΠ΅ΠΊΡΡ, ΡΠΎ ΡΠ»Π΅Π΄ΡΠ΅Ρ ΠΏΡΠΈΡΡΡΠΏΠΈΡΡ ΠΊ Π·Π°ΠΌΠ΅Π½Π΅ Π²Π°ΠΊΡΡΠΌΠ½ΠΎΠ³ΠΎ ΡΡΠΈΠ»ΠΈΡΠ΅Π»Ρ ΡΠΎΡΠΌΠΎΠ·ΠΎΠ².
ΠΠ°ΠΊ ΠΏΡΠΎΠ²Π΅ΡΠΈΡΡ ΡΡΠΈΠ»ΠΈΡΠ΅Π»Ρ ΡΠΎΡΠΌΠΎΠ·ΠΎΠ²
ΠΡΠ»ΠΈ ΠΏΠ΅Π΄Π°Π»Ρ ΡΠΎΡΠΌΠΎΠ·Π° ΠΊΠ°ΠΆΠ΅ΡΡΡ ΠΆΠ΅ΡΡΠΊΠΎΠΉ ΠΏΡΠΈ ΡΠ°Π±ΠΎΡΠ°ΡΡΠ΅ΠΌ Π΄Π²ΠΈΠ³Π°ΡΠ΅Π»Π΅, ΡΡΠΈΠ»ΠΈΡΠ΅Π»Ρ ΡΠΎΡΠΌΠΎΠ·ΠΎΠ² ΡΠ°Π±ΠΎΡΠ°Π΅Ρ Π½Π΅ΠΏΡΠ°Π²ΠΈΠ»ΡΠ½ΠΎ.
Power Brake Booster Test 1
- ΠΡΠΈ Π²ΡΠΊΠ»ΡΡΠ΅Π½Π½ΠΎΠΌ Π΄Π²ΠΈΠ³Π°ΡΠ΅Π»Π΅ Π½Π°ΠΆΠΌΠΈΡΠ΅ Π½Π° ΠΏΠ΅Π΄Π°Π»Ρ ΡΠΎΡΠΌΠΎΠ·Π°, ΡΡΠΎΠ±Ρ ΡΠ΄Π°Π»ΠΈΡΡ ΠΎΡΡΠ°ΡΠΎΡΠ½ΡΠΉ Π²Π°ΠΊΡΡΠΌ Π² ΡΡΠΈΠ»ΠΈΡΠ΅Π»Π΅.
- Π£Π΄Π΅ΡΠΆΠΈΠ²Π°ΠΉΡΠ΅ Π½Π°ΠΆΠ°ΡΠΎΠΉ ΠΏΠ΅Π΄Π°Π»Ρ ΠΏΡΠΈ Π·Π°ΠΏΡΡΠΊΠ΅ Π΄Π²ΠΈΠ³Π°ΡΠ΅Π»Ρ. ΠΠΎΠ³Π΄Π° Π΄Π²ΠΈΠ³Π°ΡΠ΅Π»Ρ Π·Π°ΠΏΡΡΠΊΠ°Π΅ΡΡΡ, ΠΏΠ΅Π΄Π°Π»Ρ Π΄ΠΎΠ»ΠΆΠ½Π° ΠΎΠΏΡΡΠΊΠ°ΡΡΡΡ ΠΏΡΠΈΠΌΠ΅ΡΠ½ΠΎ Π½Π° 1/4β³, ΡΡΠΎ ΡΠΊΠ°Π·ΡΠ²Π°Π΅Ρ Π½Π° ΡΠΎ, ΡΡΠΎ ΡΡΠΈΠ»ΠΈΡΠ΅Π»Ρ ΡΠ°Π±ΠΎΡΠ°Π΅Ρ ΠΏΡΠ°Π²ΠΈΠ»ΡΠ½ΠΎ.
Power Brake Booster Test 2
- ΠΠ°ΠΏΡΡΡΠΈΡΠ΅ Π΄Π²ΠΈΠ³Π°ΡΠ΅Π»Ρ Π½Π° ΠΏΠ°ΡΡ ΠΌΠΈΠ½ΡΡ.
- ΠΡΠΊΠ»ΡΡΠΈΡΠ΅ Π΄Π²ΠΈΠ³Π°ΡΠ΅Π»Ρ ΠΈ Π½Π΅ΡΠΊΠΎΠ»ΡΠΊΠΎ ΡΠ°Π· ΠΌΠ΅Π΄Π»Π΅Π½Π½ΠΎ Π½Π°ΠΆΠΌΠΈΡΠ΅ Π½Π° ΠΏΠ΅Π΄Π°Π»Ρ. ΠΠ΅ΡΠ²ΡΠΉ Π½Π°ΡΠΎΡ Π΄ΠΎΠ»ΠΆΠ΅Π½ Π±ΡΡΡ Π΄ΠΎΠ²ΠΎΠ»ΡΠ½ΠΎ Π½ΠΈΠ·ΠΊΠΈΠΌ. ΠΡΠΎΡΠΎΠΉ ΠΈ ΡΡΠ΅ΡΠΈΠΉ Π΄ΠΎΠ»ΠΆΠ½Ρ ΡΡΠ°ΡΡ Π½Π΅ΠΌΠ½ΠΎΠ³ΠΎ ΡΠ²Π΅ΡΠΆΠ΅. ΠΡΠΎ ΡΠΊΠ°Π·ΡΠ²Π°Π΅Ρ Π½Π° Π³Π΅ΡΠΌΠ΅ΡΠΈΡΠ½ΡΠΉ ΡΡΠΈΠ»ΠΈΡΠ΅Π»Ρ.
Power Brake Booster Test 3
- ΠΠ°ΠΏΡΡΡΠΈΡΠ΅ Π΄Π²ΠΈΠ³Π°ΡΠ΅Π»Ρ ΠΈ Π½Π°ΠΆΠΌΠΈΡΠ΅ ΠΏΠ΅Π΄Π°Π»Ρ ΡΠΎΡΠΌΠΎΠ·Π°, Π·Π°ΡΠ΅ΠΌ ΠΎΡΡΠ°Π½ΠΎΠ²ΠΈΡΠ΅ Π΄Π²ΠΈΠ³Π°ΡΠ΅Π»Ρ, Π½Π΅ ΠΎΡΠΏΡΡΠΊΠ°Ρ ΠΏΠ΅Π΄Π°Π»Ρ. ΠΡΠ»ΠΈ ΠΏΠ΅Π΄Π°Π»Ρ Π½Π΅ ΠΏΠ°Π΄Π°Π΅Ρ ΠΏΠΎΡΠ»Π΅ Π½Π°ΠΆΠ°ΡΠΈΡ Π½Π° ΠΏΠ΅Π΄Π°Π»Ρ Π² ΡΠ΅ΡΠ΅Π½ΠΈΠ΅ 30 ΡΠ΅ΠΊΡΠ½Π΄, ΡΡΠΈΠ»ΠΈΡΠ΅Π»Ρ Π³Π΅ΡΠΌΠ΅ΡΠΈΡΠ΅Π½.
ΠΡΠΌΠΎΡΡΠΈΡΠ΅ ΠΎΠ±ΡΠ°ΡΠ½ΡΠΉ ΠΊΠ»Π°ΠΏΠ°Π½
- ΠΡΡΠΎΠ΅Π΄ΠΈΠ½ΠΈΡΠ΅ Π²Π°ΠΊΡΡΠΌΠ½ΡΠΉ ΡΠ»Π°Π½Π³ Π² ΠΌΠ΅ΡΡΠ΅ Π΅Π³ΠΎ ΡΠΎΠ΅Π΄ΠΈΠ½Π΅Π½ΠΈΡ Ρ Π²ΠΏΡΡΠΊΠ½ΡΠΌ ΠΊΠΎΠ»Π»Π΅ΠΊΡΠΎΡΠΎΠΌ.
ΠΠ΅ ΠΎΡΡΠΎΠ΅Π΄ΠΈΠ½ΡΠΉΡΠ΅ Π²Π°ΠΊΡΡΠΌΠ½ΡΡ Π»ΠΈΠ½ΠΈΡ ΠΎΡ ΡΡΠΈΠ»ΠΈΡΠ΅Π»Ρ. ΠΠΎΠ·Π΄ΡΡ
Π½Π΅ Π΄ΠΎΠ»ΠΆΠ΅Π½ ΠΏΡΠΎΡ
ΠΎΠ΄ΠΈΡΡ ΠΏΡΠΈ ΠΏΡΠΈΠ»ΠΎΠΆΠ΅Π½ΠΈΠΈ Π΄Π°Π²Π»Π΅Π½ΠΈΡ, Π½ΠΎ Π΄ΠΎΠ»ΠΆΠ΅Π½ ΠΏΡΠΎΡ
ΠΎΠ΄ΠΈΡΡ ΠΏΡΠΈ Π²ΡΠ°ΡΡΠ²Π°Π½ΠΈΠΈ. ΠΡΠ»ΠΈ Π²ΠΎΠ·Π΄ΡΡ
ΡΠ΅ΡΠ΅Ρ Π² ΠΎΠ±ΠΎΠΈΡ
Π½Π°ΠΏΡΠ°Π²Π»Π΅Π½ΠΈΡΡ
ΠΈΠ»ΠΈ Π΅Π³ΠΎ Π½Π΅Ρ, ΠΊΠ»Π°ΠΏΠ°Π½ Π½Π΅ΠΎΠ±Ρ
ΠΎΠ΄ΠΈΠΌΠΎ Π·Π°ΠΌΠ΅Π½ΠΈΡΡ.
ΠΡΠΎΠ²Π΅ΡΠΊΠ° Π²Π°ΠΊΡΡΠΌΠ°
- ΠΡΠΎΠ²Π΅ΡΠΊΠ° ΡΠ°Π±ΠΎΡΠ΅Π³ΠΎ Π²Π°ΠΊΡΡΠΌΠΌΠ΅ΡΡΠΈΡΠ΅ΡΠΊΠΎΠ³ΠΎ Π΄Π°Π²Π»Π΅Π½ΠΈΡ ΠΏΡΠΈ Π½ΠΎΡΠΌΠ°Π»ΡΠ½ΠΎΠΉ ΡΠ°Π±ΠΎΡΠ΅ΠΉ ΡΠ΅ΠΌΠΏΠ΅ΡΠ°ΡΡΡΠ΅ Π΄Π²ΠΈΠ³Π°ΡΠ΅Π»Ρ. ΠΠ°ΠΊΡΡΠΌ Π΄ΠΎΠ»ΠΆΠ΅Π½ Π±ΡΡΡ Π½Π΅ ΠΌΠ΅Π½Π΅Π΅ 18 Π΄ΡΠΉΠΌΠΎΠ². ΠΠ°ΠΊΡΡΠΌ ΠΌΠΎΠΆΠ½ΠΎ ΡΠ²Π΅Π»ΠΈΡΠΈΡΡ ΠΏΡΡΠ΅ΠΌ ΠΏΡΠ°Π²ΠΈΠ»ΡΠ½ΠΎΠΉ Π½Π°ΡΡΡΠΎΠΉΠΊΠΈ Π΄Π²ΠΈΠ³Π°ΡΠ΅Π»Ρ, ΠΏΡΠΎΠ²Π΅ΡΠΊΠΈ Π²Π°ΠΊΡΡΠΌΠ½ΡΡ ΡΡΠ΅ΡΠ΅ΠΊ ΠΈ Π·Π°ΠΊΡΠΏΠΎΡΠΊΠΈ Π²Π°ΠΊΡΡΠΌΠ½ΡΡ Π»ΠΈΠ½ΠΈΠΉ.
ΠΠ°ΠΊ ΡΠ°Π±ΠΎΡΠ°ΡΡ ΡΡΠΈΠ»ΠΈΡΠ΅Π»Ρ ΡΠΎΡΠΌΠΎΠ·ΠΎΠ² ΠΈ Π³Π»Π°Π²Π½ΡΠΉ ΡΠΈΠ»ΠΈΠ½Π΄Ρ
ΠΠΎΡ ΠΊΠ°ΠΊ ΡΠ°Π±ΠΎΡΠ°ΡΡ ΡΡΠΈΠ»ΠΈΡΠ΅Π»Ρ ΡΠΎΡΠΌΠΎΠ·ΠΎΠ² ΠΈ Π³Π»Π°Π²Π½ΡΠΉ ΡΠΈΠ»ΠΈΠ½Π΄Ρ, ΡΡΠΎΠ±Ρ ΠΎΡΡΠ°Π½ΠΎΠ²ΠΈΡΡ Π°Π²ΡΠΎΠΌΠΎΠ±ΠΈΠ»Ρ Π½Π°ΠΆΠ°ΡΠΈΠ΅ΠΌ Π½Π° ΠΏΠ΅Π΄Π°Π»Ρ ΡΠΎΡΠΌΠΎΠ·Π°.
ΠΡΡΠ°Π½ΠΎΠ²ΠΈΡΡ ΡΡΠΆΠ΅Π»ΡΡ ΠΌΠ°ΡΠΈΠ½Ρ Π²Π΅ΡΠΎΠΌ Π±ΠΎΠ»Π΅Π΅ 2000 ΡΡΠ½ΡΠΎΠ² β Π½Π΅ΠΏΡΠΎΡΡΠ°Ρ Π·Π°Π΄Π°ΡΠ°. Π’ΡΠ΅Π±ΡΠ΅ΡΡΡ Π±ΠΎΠ»ΡΡΠΎΠ΅ ΡΡΠΈΠ»ΠΈΠ΅, ΡΡΠΎΠ±Ρ ΠΏΡΠΈΠΆΠ°ΡΡ Π΄ΠΈΡΠΊΠΈ ΠΈ Π±Π°ΡΠ°Π±Π°Π½Ρ Π½Π° ΠΊΠ°ΠΆΠ΄ΠΎΠΌ ΠΊΠΎΠ»Π΅ΡΠ΅, ΡΡΠΎΠ±Ρ Π±ΡΡΡΡΠΎ ΠΎΡΡΠ°Π½ΠΎΠ²ΠΈΡΡ Π°Π²ΡΠΎΠΌΠΎΠ±ΠΈΠ»Ρ.
ΠΠΈΠ΄ΡΠ°Π²Π»ΠΈΠΊΠ° ΡΠΎΡΠΌΠΎΠ·ΠΎΠ² Π΄ΠΎΠ²ΠΎΠ»ΡΠ½ΠΎ ΠΏΡΠΎΡΡΠ°Ρ. ΠΠ΅ΡΠ²ΠΈΡΠ½ΡΠΉ ΠΏΠΎΡΡΠ΅Π½Ρ (ΠΈΠ·Π²Π΅ΡΡΠ½ΡΠΉ ΠΊΠ°ΠΊ Π³Π»Π°Π²Π½ΡΠΉ ΡΠΈΠ»ΠΈΠ½Π΄Ρ) ΠΏΡΠΎΡΠ°Π»ΠΊΠΈΠ²Π°Π΅Ρ ΠΆΠΈΠ΄ΠΊΠΎΡΡΡ Π² Π³ΠΈΠ΄ΡΠ°Π²Π»ΠΈΡΠ΅ΡΠΊΠΈΠ΅ Π»ΠΈΠ½ΠΈΠΈ, ΠΊΠΎΡΠΎΡΡΠ΅ ΠΏΠΎΠ΄Π°ΡΡΡΡ Π½Π° ΠΊΠΎΠ»Π΅ΡΠ°.
ΠΠΎΡΡΠ΅Π½Ρ Π²Π½ΡΡΡΠΈ ΡΡΠΏΠΏΠΎΡΡΠ° (ΠΈΠ»ΠΈ ΠΊΠΎΠ»Π΅ΡΠ½ΡΠΉ ΡΠΈΠ»ΠΈΠ½Π΄Ρ Π²Π½ΡΡΡΠΈ Π±Π°ΡΠ°Π±Π°Π½Π°) Π±ΡΠ΄Π΅Ρ ΡΠ°ΡΡΠΈΡΡΡΡΡΡ Π²ΠΌΠ΅ΡΡΠ΅ Ρ ΠΆΠΈΠ΄ΠΊΠΎΡΡΡΡ, Π·Π°ΡΡΠ°Π²Π»ΡΡ Π΅Π³ΠΎ ΡΠΊΠΎΠ»ΡΠ·ΠΈΡΡ ΠΏΠΎ Π΄ΠΈΡΠΊΡ (ΠΈΠ»ΠΈ Π±Π°ΡΠ°Π±Π°Π½Ρ), Π·Π°ΠΌΠ΅Π΄Π»ΡΡ ΠΊΠΎΠ»Π΅ΡΠΎ.
Π£ΡΠΈΠ»ΠΈΡΠ΅Π»Ρ ΡΠΎΡΠΌΠΎΠ·ΠΎΠ² Π±ΡΠ» ΡΠ°Π·ΡΠ°Π±ΠΎΡΠ°Π½ Π΄Π»Ρ ΡΠ°Π·ΠΌΠ΅ΡΠ΅Π½ΠΈΡ ΠΌΠ΅ΠΆΠ΄Ρ Π³Π»Π°Π²Π½ΡΠΌ ΡΠΈΠ»ΠΈΠ½Π΄ΡΠΎΠΌ ΠΈ ΠΏΠ΅Π΄Π°Π»ΡΡ Π²ΠΎΠ΄ΠΈΡΠ΅Π»Ρ, ΡΡΠΎΠ±Ρ ΠΎΠ±Π»Π΅Π³ΡΠΈΡΡ Π½Π°ΠΆΠ°ΡΠΈΠ΅ Π½Π° ΠΏΠ΅Π΄Π°Π»Ρ. Π₯ΠΎΡΡ Π΄ΠΈΠ°ΠΌΠ΅ΡΡ Π³Π»Π°Π²Π½ΠΎΠ³ΠΎ ΡΠΈΠ»ΠΈΠ½Π΄ΡΠ° ΡΠΆΠ΅ ΠΌΠ΅Π½ΡΡΠ΅, ΡΠ΅ΠΌ Ρ ΠΏΠΎΡΡΠ½Π΅ΠΉ ΡΡΠΏΠΏΠΎΡΡΠ°, ΡΡΠΈΠ»ΠΈΠ΅, Π½Π΅ΠΎΠ±Ρ ΠΎΠ΄ΠΈΠΌΠΎΠ΅ Π΄Π»Ρ Π΅Π³ΠΎ ΡΠΆΠ°ΡΠΈΡ, Π²ΡΠ΅ Π΅ΡΠ΅ Π²Π΅Π»ΠΈΠΊΠΎ.
Π£ΡΠΈΠ»ΠΈΡΠ΅Π»Ρ ΡΠΎΡΠΌΠΎΠ·ΠΎΠ² ΡΠ°Π±ΠΎΡΠ°Π΅Ρ ΠΏΠΎ ΠΏΡΠΈΠ½ΡΠΈΠΏΡ Π²Π°ΠΊΡΡΠΌΠ½ΡΡ Π΄ΠΈΡΡΠ΅ΡΠ΅Π½ΡΠΈΠ°Π»ΠΎΠ², ΠΏΠΎΠΌΠΎΠ³Π°Ρ ΡΠΎΠ»ΠΊΠ°ΡΡ Π³Π»Π°Π²Π½ΡΠΉ ΡΠΈΠ»ΠΈΠ½Π΄Ρ. Π‘ ΠΎΠ΄Π½ΠΎΠΉ ΡΡΠΎΡΠΎΠ½Ρ Π²Π°ΠΊΡΡΠΌ Π²ΡΡΠ°ΡΡΠ²Π°Π΅ΡΡΡ ΠΈΠ· Π²ΠΏΡΡΠΊΠ½ΠΎΠ³ΠΎ ΠΎΡΠ²Π΅ΡΡΡΠΈΡ Π΄Π²ΠΈΠ³Π°ΡΠ΅Π»Ρ. ΠΠ° Ρ ΠΎΠ»ΠΎΡΡΠΎΠΌ Ρ ΠΎΠ΄Ρ ΠΊΠ»Π°ΠΏΠ°Π½ Π² Π΄ΠΈΠ°ΡΡΠ°Π³ΠΌΠ΅ ΠΏΡΠΎΠΏΡΡΠΊΠ°Π΅Ρ Π²Π°ΠΊΡΡΠΌ ΡΠ΅ΡΠ΅Π· Π΄ΠΈΠ°ΡΡΠ°Π³ΠΌΡ, ΡΠ°ΠΊ ΡΡΠΎ Π²Π°ΠΊΡΡΠΌ ΡΡΠ°Π²Π½ΠΎΠ²Π΅ΡΠΈΠ²Π°Π΅ΡΡΡ Ρ ΠΎΠ±Π΅ΠΈΡ ΡΡΠΎΡΠΎΠ½.
ΠΠΎΠ³Π΄Π° Π²Ρ Π½Π°ΠΆΠΈΠΌΠ°Π΅ΡΠ΅ Π½Π° ΡΠΎΡΠΌΠΎΠ·, ΡΡΠΎΡ ΠΊΠ»Π°ΠΏΠ°Π½ ΠΏΠ΅ΡΠ΅ΠΌΠ΅ΡΠ°Π΅ΡΡΡ, ΠΏΠ΅ΡΠ΅ΠΊΡΡΠ²Π°Ρ Π²Π°ΠΊΡΡΠΌΠ½ΡΡ ΡΡΠΎΡΠΎΠ½Ρ, ΠΏΠΎΠ·Π²ΠΎΠ»ΡΡ ΠΎΡΡΠΈΠ»ΡΡΡΠΎΠ²Π°Π½Π½ΠΎΠΌΡ Π°ΡΠΌΠΎΡΡΠ΅ΡΠ½ΠΎΠΌΡ Π²ΠΎΠ·Π΄ΡΡ
Ρ ΠΏΠΎΡΡΡΠΏΠ°ΡΡ Π² ΡΡΠΈΠ»ΠΈΡΠ΅Π»Ρ ΡΠΎ ΡΡΠΎΡΠΎΠ½Ρ ΠΏΠ΅Π΄Π°Π»ΠΈ ΡΠΎΡΠΌΠΎΠ·Π°. ΠΡΠΎ ΡΠΎΠ·Π΄Π°Π΅Ρ ΠΏΠ΅ΡΠ΅ΠΏΠ°Π΄ Π΄Π°Π²Π»Π΅Π½ΠΈΡ ΠΌΠ΅ΠΆΠ΄Ρ Π΄ΠΈΠ°ΡΡΠ°Π³ΠΌΠΎΠΉ, ΡΡΠΎ ΠΏΠΎΠΌΠΎΠ³Π°Π΅Ρ Π·Π°ΡΡΠ°Π²ΠΈΡΡ ΠΏΠΎΡΡΠ΅Π½Ρ Π² Π³Π»Π°Π²Π½ΠΎΠΌ ΡΠΈΠ»ΠΈΠ½Π΄ΡΠ΅ ΡΠΆΠΈΠΌΠ°ΡΡΡΡ.
ΠΠΈΠ³Π°Π½ΡΡΠΊΠ°Ρ Π²ΠΎΠ·Π²ΡΠ°ΡΠ½Π°Ρ ΠΏΡΡΠΆΠΈΠ½Π° Π²ΠΎΠ·Π²ΡΠ°ΡΠ°Π΅Ρ Π΄ΠΈΠ°ΡΡΠ°Π³ΠΌΡ Π² ΠΈΡΡ ΠΎΠ΄Π½ΠΎΠ΅ ΠΏΠΎΠ»ΠΎΠΆΠ΅Π½ΠΈΠ΅ ΠΏΡΠΈ ΠΎΡΠΏΡΡΠΊΠ°Π½ΠΈΠΈ ΠΏΠ΅Π΄Π°Π»ΠΈ ΡΠΎΡΠΌΠΎΠ·Π°.
ΠΠ»Π°Π²Π½ΡΠΉ ΡΠΈΠ»ΠΈΠ½Π΄Ρ ΡΠΎΡΡΠΎΠΈΡ ΠΈΠ· Π΄Π²ΡΡ ΠΏΠΎΡΠ»Π΅Π΄ΠΎΠ²Π°ΡΠ΅Π»ΡΠ½ΠΎ ΡΠΎΠ΅Π΄ΠΈΠ½Π΅Π½Π½ΡΡ Π½Π΅Π±ΠΎΠ»ΡΡΠΈΡ ΠΏΠΎΡΡΠ½Π΅ΠΉ. ΠΠ°ΠΆΠ΄ΡΠΉ ΠΏΠΎΡΡΠ΅Π½Ρ Π½Π°ΠΏΡΠ°Π²Π»ΡΠ΅ΡΡΡ ΠΊ Π΄Π²ΡΠΌ Π΄ΠΈΠ°Π³ΠΎΠ½Π°Π»ΡΠ½ΠΎ ΠΏΡΠΎΡΠΈΠ²ΠΎΠΏΠΎΠ»ΠΎΠΆΠ½ΡΠΌ ΠΊΠΎΠ»Π΅ΡΠ°ΠΌ Π΄Π»Ρ ΡΠ΅Π·Π΅ΡΠ²ΠΈΡΠΎΠ²Π°Π½ΠΈΡ Π½Π° ΡΠ»ΡΡΠ°ΠΉ ΡΡΠ΅ΡΠΊΠΈ ΠΈΠ»ΠΈ Π½Π°ΡΡΡΠ΅Π½ΠΈΡ Π³Π΅ΡΠΌΠ΅ΡΠΈΡΠ½ΠΎΡΡΠΈ ΠΎΠ΄Π½ΠΎΠ³ΠΎ ΠΈΠ· Π½ΠΈΡ . Π Π΅Π·Π΅ΡΠ²Π½Π°Ρ ΡΠΎΡΠΌΠΎΠ·Π½Π°Ρ ΠΆΠΈΠ΄ΠΊΠΎΡΡΡ Π½Π°Ρ ΠΎΠ΄ΠΈΡΡΡ Π² ΡΠ΅Π·Π΅ΡΠ²ΡΠ°ΡΠ΅ Π½Π°Π΄ Π³Π»Π°Π²Π½ΡΠΌ ΡΠΈΠ»ΠΈΠ½Π΄ΡΠΎΠΌ ΠΈ Π²ΡΠ°ΡΡΠ²Π°Π΅ΡΡΡ Π² ΡΠ·Π΅Π» ΠΏΠΎΡΡΠ½Ρ ΠΏΡΠΈ Π½Π°ΠΆΠ°ΡΠΈΠΈ Π½Π° ΠΏΠ΅Π΄Π°Π»Ρ ΡΠΎΡΠΌΠΎΠ·Π°.
ΠΠ΅ΡΠΈΠΎΠ΄ΠΈΡΠ΅ΡΠΊΠ°Ρ ΠΏΡΠΎΠΌΡΠ²ΠΊΠ° ΡΠΎΡΠΌΠΎΠ·ΠΎΠ² Π½Π΅ΠΎΠ±Ρ ΠΎΠ΄ΠΈΠΌΠ°, ΠΏΠΎΡΠΊΠΎΠ»ΡΠΊΡ ΡΠΎΡΠΌΠΎΠ·Π½Π°Ρ ΠΆΠΈΠ΄ΠΊΠΎΡΡΡ Π³ΠΈΠ³ΡΠΎΡΠΊΠΎΠΏΠΈΡΠ½Π°, Π²ΠΏΠΈΡΡΠ²Π°Π΅Ρ Π²Π»Π°Π³Ρ ΠΈ ΡΠΎ Π²ΡΠ΅ΠΌΠ΅Π½Π΅ΠΌ ΡΠ΅ΡΡΠ΅Ρ ΡΠ²ΠΎΡ ΡΡΡΠ΅ΠΊΡΠΈΠ²Π½ΠΎΡΡΡ. ΠΡΠΎΠΌΠ΅ ΡΠΎΠ³ΠΎ, ΡΠΎΡΠΌΠΎΠ·Π½Π°Ρ ΠΆΠΈΠ΄ΠΊΠΎΡΡΡ ΠΈΠ·Π½Π°ΡΠΈΠ²Π°Π΅ΡΡΡ ΠΏΡΠΈ Π½Π°Π³ΡΠ΅Π²Π°Π½ΠΈΠΈ ΠΈ ΠΌΠΎΠΆΠ΅Ρ Π·Π°Π³ΡΡΠ·Π½ΡΡΡΡΡ.
ΠΠΎΡΠ΅ΠΌΡ ΡΡΠ°ΡΡΠ΅ ΡΡΠΈΠ»ΠΈΡΠ΅Π»ΠΈ ΡΠΎΡΠΌΠΎΠ·ΠΎΠ² GM ΡΡΡΠ°Π½Π°Π²Π»ΠΈΠ²Π°ΡΡΡΡ ΠΏΠΎΠ΄ ΡΠ³Π»ΠΎΠΌ Π²Π²Π΅ΡΡ
ΠΠΎΡΠ΅ΠΌΡ ΡΡΠΈΠ»ΠΈΡΠ΅Π»ΠΈ ΡΠΎΡΠΌΠΎΠ·ΠΎΠ² GM ΡΡΡΠ°Π½Π°Π²Π»ΠΈΠ²Π°ΡΡΡΡ ΠΏΠΎΠ΄ ΡΠ³Π»ΠΎΠΌ Π²Π²Π΅ΡΡ ?
ΠΡΠ½ΠΎΠ²Π½Π°Ρ ΠΏΡΠΈΡΠΈΠ½Π° — ΠΏΡΠ°Π²ΠΈΠ»ΡΠ½Π°Ρ Π³Π΅ΠΎΠΌΠ΅ΡΡΠΈΡ ΠΏΠ΅Π΄Π°Π»ΠΈ ΡΠΎΡΠΌΠΎΠ·Π°.
Π ΡΠ²ΠΎΠ΅ Π²ΡΠ΅ΠΌΡ Π±ΠΎΠ»ΡΡΠΈΠ½ΡΡΠ²ΠΎ Π°Π²ΡΠΎΠΌΠΎΠ±ΠΈΠ»Π΅ΠΉ GM ΠΏΡΠ΅Π΄Π»Π°Π³Π°Π»ΠΈΡΡ ΠΊΠ°ΠΊ ΡΠΎ ΡΡΠ°Π½Π΄Π°ΡΡΠ½ΡΠΌΠΈ ΡΡΡΠ½ΡΠΌΠΈ ΡΠΎΡΠΌΠΎΠ·Π°ΠΌΠΈ, ΡΠ°ΠΊ ΠΈ ΠΎΠΏΡΠΈΠΎΠ½Π°Π»ΡΠ½ΠΎ Ρ ΡΠΎΡΠΌΠΎΠ·Π°ΠΌΠΈ Ρ ΡΡΠΈΠ»ΠΈΡΠ΅Π»Π΅ΠΌ.
ΠΠΏΡΠΈΠΌΠ°Π»ΡΠ½ΠΎΠ΅ ΡΠΎΠΎΡΠ½ΠΎΡΠ΅Π½ΠΈΠ΅ ΠΌΠ΅ΠΆΠ΄Ρ ΠΏΠ΅Π΄Π°Π»ΡΡ ΡΡΡΠ½ΠΎΠ³ΠΎ ΡΠΎΡΠΌΠΎΠ·Π° ΠΈ ΡΠΎΠ»ΠΊΠ°ΡΠ΅Π»Π΅ΠΌ Π³Π»Π°Π²Π½ΠΎΠ³ΠΎ ΡΠΈΠ»ΠΈΠ½Π΄ΡΠ° (ΡΠ°ΠΊΠΆΠ΅ ΠΈΠ·Π²Π΅ΡΡΠ½ΠΎΠ΅ ΠΊΠ°ΠΊ Β«ΠΏΡΠ΅ΠΈΠΌΡΡΠ΅ΡΡΠ²ΠΎ ΠΏΠ΅Π΄Π°Π»ΠΈΒ») ΡΠΎΡΡΠ°Π²Π»ΡΠ΅Ρ ΠΎΠΊΠΎΠ»ΠΎ 6:1, ΠΏΠΎ ΡΡΠ°Π²Π½Π΅Π½ΠΈΡ Ρ ΠΏΡΠΈΠΌΠ΅ΡΠ½ΠΎ 4:1 Π΄Π»Ρ ΡΠΎΡΠΌΠΎΠ·ΠΎΠ² Ρ ΡΡΠΈΠ»ΠΈΡΠ΅Π»Π΅ΠΌ, ΠΊΠΎΡΠΎΡΡΠΌ Π½Π΅ ΡΡΠ΅Π±ΡΠ΅ΡΡΡ ΡΠ°ΠΊΠΎΠ΅ Π±ΠΎΠ»ΡΡΠΎΠ΅ ΠΏΡΠ΅ΠΈΠΌΡΡΠ΅ΡΡΠ²ΠΎ ΠΏΠ΅Π΄Π°Π»ΠΈ, ΠΏΠΎΡΠΎΠΌΡ ΡΡΠΎ ΠΎΠ½ΠΈ Β«ΠΏΠΎΠ²ΡΡΠ°ΡΡΒ» ΡΠΈΠ»Ρ, ΡΠΎΠ·Π΄Π°Π²Π°Π΅ΠΌΡΡ ΡΡΠ΅Π΄Π½Π΅ΠΉ ΡΠ΅Π»ΠΎΠ²Π΅ΡΠ΅ΡΠΊΠΎΠΉ Π½ΠΎΠ³ΠΎΠΉ.
GM ΠΈΡΠΏΠΎΠ»ΡΠ·ΠΎΠ²Π°Π»Π° ΠΎΠ±ΡΡΠ½ΡΡ ΠΏΠ΅Π΄Π°Π»Ρ ΡΠΎΡΠΌΠΎΠ·Π° Ρ Π΄Π²ΡΠΌΡ ΠΎΡΠ²Π΅ΡΡΡΠΈΡΠΌΠΈ Π΄Π»Ρ ΡΠΎΠ»ΠΊΠ°ΡΠ΅Π»Ρ, ΡΠ°ΡΠΏΠΎΠ»ΠΎΠΆΠ΅Π½Π½ΡΠΌΠΈ Π½Π° ΡΠ°ΡΡΡΠΎΡΠ½ΠΈΠΈ ΠΎΡ 1 Π΄ΠΎ 1Β½ Π΄ΡΠΉΠΌΠΎΠ² Π΄ΡΡΠ³ ΠΎΡ Π΄ΡΡΠ³Π°; Π²Π΅ΡΡ Π½Π΅Π΅ ΠΎΡΠ²Π΅ΡΡΡΠΈΠ΅ ΠΏΡΠ΅Π΄Π½Π°Π·Π½Π°ΡΠ°Π»ΠΎΡΡ Π΄Π»Ρ ΡΡΡΠ½ΡΡ ΡΠΎΡΠΌΠΎΠ·ΠΎΠ² 6: 1, Π° Π½ΠΈΠΆΠ½Π΅Π΅ ΠΎΡΠ²Π΅ΡΡΡΠΈΠ΅ — Π΄Π»Ρ ΡΠΈΠ»ΠΎΠ²ΠΎΠ³ΠΎ ΡΠΎΡΠΌΠΎΠ·Π° 4: 1.
ΠΠΎΠ³Π΄Π° ΡΠΎΠ»ΠΊΠ°ΡΠ΅Π»Ρ ΡΠΎΡΠΌΠΎΠ·Π° Π±ΡΠ» ΡΡΡΠ°Π½ΠΎΠ²Π»Π΅Π½ Π² Π½ΠΈΠΆΠ½Π΅Π΅ ΠΎΡΠ²Π΅ΡΡΡΠΈΠ΅ Π΄Π»Ρ ΠΈΡΠΏΠΎΠ»ΡΠ·ΠΎΠ²Π°Π½ΠΈΡ Ρ ΡΠΎΡΠΌΠΎΠ·Π°ΠΌΠΈ Ρ ΡΡΠΈΠ»ΠΈΡΠ΅Π»Π΅ΠΌ, Π΄Π»Ρ Π΄ΠΎΡΡΠΈΠΆΠ΅Π½ΠΈΡ Π½Π°Π΄Π»Π΅ΠΆΠ°ΡΠ΅ΠΉ Π΄ΡΠ³ΠΈ Ρ
ΠΎΠ΄Π° ΡΠΎΠ»ΠΊΠ°ΡΠ΅Π»Ρ, ΡΠ΅Π½ΡΡΠ° ΡΠΈΠ»Ρ ΠΈ ΠΏΡΠ°Π²ΠΈΠ»ΡΠ½ΠΎΠ³ΠΎ Π²ΡΡΠ°Π²Π½ΠΈΠ²Π°Π½ΠΈΡ Ρ ΠΎΡΠ΅Π²ΠΎΠΉ Π»ΠΈΠ½ΠΈΠ΅ΠΉ ΠΏΠΎΡΡΠ½Ρ Π² ΡΠ±ΠΎΡΠ΅ ΡΡΠΈΠ»ΠΈΡΠ΅Π»Ρ ΡΠΎΡΠΌΠΎΠ·ΠΎΠ²/Π³Π»Π°Π²Π½ΠΎΠ³ΠΎ ΡΠΈΠ»ΠΈΠ½Π΄ΡΠ° ΡΡΠ΅Π±ΠΎΠ²Π°Π»ΡΡ ΠΌΠΎΠ½ΡΠ°ΠΆΠ½ΡΠΉ ΠΊΡΠΎΠ½ΡΡΠ΅ΠΉΠ½ ΠΏΡΠΎΡΠΈΠ²ΠΎΠΏΠΎΠΆΠ°ΡΠ½ΠΎΠΉ ΠΏΠ΅ΡΠ΅Π³ΠΎΡΠΎΠ΄ΠΊΠΈ ΡΡΠΎ ΠΏΠΎΠ·ΠΈΡΠΈΠΎΠ½ΠΈΡΡΠ΅Ρ ΡΠ±ΠΎΡΠΊΡ ΠΏΠΎΠ΄ Π΄ΠΎΠ²ΠΎΠ»ΡΠ½ΠΎ ΠΎΡΡΡΡΠΌ ΡΠ³Π»ΠΎΠΌ Π²Π²Π΅ΡΡ
.
26402XA00A β ΡΡΠΈΠ»ΠΈΡΠ΅Π»Ρ ΡΠΎΡΠΌΠΎΠ·ΠΎΠ² (Π»Π΅Π²ΡΠΉ)
Subaru ΠΏΠΎΠΆΠ΅ΡΡΠ²ΡΠ΅Ρ 20 Π΄ΠΎΠ»Π»Π°ΡΠΎΠ² Π‘Π¨Π Π² ΠΏΠΎΠ»ΡΠ·Ρ ASPCA* Π·Π° ΠΎΡΠΈΠ³ΠΈΠ½Π°Π»ΡΠ½ΡΠ΅ Π°ΠΊΡΠ΅ΡΡΡΠ°ΡΡ Subaru Π΄Π»Ρ Π΄ΠΎΠΌΠ°ΡΠ½ΠΈΡ ΠΆΠΈΠ²ΠΎΡΠ½ΡΡ , ΠΏΡΠΈΠΎΠ±ΡΠ΅ΡΠ΅Π½Π½ΡΠ΅ Ρ ΡΡΠ°ΡΡΠ²ΡΡΡΠΈΡ ΡΠΎΠ·Π½ΠΈΡΠ½ΡΡ ΠΏΡΠΎΠ΄Π°Π²ΡΠΎΠ² Π² ΡΠ΅ΡΠ΅Π½ΠΈΠ΅ ΠΎΠΊΡΡΠ±ΡΡ.*
Π‘ΠΎΠ²Π΅ΡΡΠΈΡΠ΅ ΠΏΠΎΠΊΡΠΏΠΊΡ ΠΏΡΡΠΌΠΎ ΡΠ΅ΠΉΡΠ°Ρ ΠΈ ΠΏΠΎΠ»ΡΡΠΈΡΠ΅ ΡΠΊΠΈΠ΄ΠΊΡ Π΄ΠΎ 75Β Π΄ΠΎΠ»Π»Π°ΡΠΎΠ² Π‘Π¨Π Π½Π° ΡΠ²ΠΎΠΉ Π·Π°ΠΊΠ°Π·!**
ΠΡΠ±Π΅ΡΠΈΡΠ΅ Π³ΠΎΠ΄:
- 2023
- 2022
- 2021
- 2020
- 2019
- 2018
- 2017
- 2016
- 2015
- 2014
- 2013
- 2012
- 2011
- 2010
- 2009 Π³.
- 2008 Π³.
- 2007 Π³.
- 2006 Π³.
- 2005 Π³.
- 2004 Π³.

- 2003 Π³.
- 2002 Π³.
- 2001 Π³.
- 2000 Π³.
- 1999 Π³.
- 1998 Π³.
- 1997 Π³.
- 1996 Π³.
- 1995 Π³.
- 1994 Π³.
- 1993 Π³.
- 1992 Π³.
- 1991 Π³.
- 1990 Π³.
- 1989 Π³.
- 1988 Π³.
- 1987 Π³.
- 1986 Π³.
- 1985 Π³.
- Π‘Ρ Π΅ΠΌΡ ΠΈ ΠΊΠΎΠΌΠΏΠ»Π΅ΠΊΡΡ
- Π§ΡΠΎ ΡΡΠΎ ΠΏΠΎΠ΄Ρ ΠΎΠ΄ΠΈΡ
- Π’ΠΈΠΏΡ ΠΏΡΠΎΠ΄ΡΠΊΡΠΎΠ²
- Π£ΡΠ»ΡΠ³ΠΈ
Π’ΠΠ ΠΠΠΠΠΠ― Π‘ΠΠ‘Π’ΠΠΠ (ΠΠΠΠΠΠ«Π Π¦ΠΠΠΠΠΠ ). ’06ΠΠ-’07ΠΠ.
ΠΠΎΠ»Π½Π°Ρ Π΄ΠΈΠ°Π³ΡΠ°ΠΌΠΌΠ°
β26402
Π’ΠΠ ΠΠΠΠΠΠ― Π‘ΠΠ‘Π’ΠΠΠ (ΠΠΠΠΠΠ«Π Π¦ΠΠΠΠΠΠ ).
’08MY-.
ΠΠΎΠ»Π½Π°Ρ Π΄ΠΈΠ°Π³ΡΠ°ΠΌΠΌΠ°
β26402
Π£ΡΠΈΠ»ΠΈΡΠ΅Π»Ρ ΡΠΎΡΠΌΠΎΠ·ΠΎΠ²
ΠΠΎΠ»Π½Π°Ρ Π΄ΠΈΠ°Π³ΡΠ°ΠΌΠΌΠ°
Π Π΅ΠΊΠΎΠΌΠ΅Π½Π΄ΡΠ΅ΠΌΠ°Ρ ΠΏΡΠΎΠΈΠ·Π²ΠΎΠ΄ΠΈΡΠ΅Π»Π΅ΠΌ ΡΠΎΠ·Π½ΠΈΡΠ½Π°Ρ ΡΠ΅Π½Π° $ 347,65
ΠΠΎΠ±Π°Π²ΠΈΡΡ Π² ΠΊΠΎΡΠ·ΠΈΠ½Ρ
ΠΡΠ±Π΅ΡΠΈΡΠ΅ ΠΎΠΏΡΠΈΠΈ ΠΏΡΠΎΠ΄ΡΠΊΡΠ°
ΠΠΎΠ»ΠΈΡΠΈΠΊΠ° ΠΈ ΠΈΠ½ΡΠΎΡΠΌΠ°ΡΠΈΡ
ΠΠ°ΡΠ°Π½ΡΠΈΡ ΠΏΡΠΎΠΈΠ·Π²ΠΎΠ΄ΠΈΡΠ΅Π»ΡΠΠ²Π΅Π΄ΠΈΡΠ΅ VIN-ΠΊΠΎΠ΄
ΠΠ²Π΅Π΄ΠΈΡΠ΅ 17-Π·Π½Π°ΡΠ½ΡΠΉ VIN Π·Π΄Π΅ΡΡ
Subaru Legacy Power Brake Booster (Π»Π΅Π²ΡΠΉ) — 26402AJ01A
Subaru ΠΏΠΎΠΆΠ΅ΡΡΠ²ΡΠ΅Ρ 20 Π΄ΠΎΠ»Π»Π°ΡΠΎΠ² Π‘Π¨Π Π² ΠΏΠΎΠ»ΡΠ·Ρ ASPCA* Π·Π° ΠΎΡΠΈΠ³ΠΈΠ½Π°Π»ΡΠ½ΡΠ΅ Π°ΠΊΡΠ΅ΡΡΡΠ°ΡΡ Subaru Π΄Π»Ρ Π΄ΠΎΠΌΠ°ΡΠ½ΠΈΡ ΠΆΠΈΠ²ΠΎΡΠ½ΡΡ , ΠΏΡΠΈΠΎΠ±ΡΠ΅ΡΠ΅Π½Π½ΡΠ΅ Ρ ΡΡΠ°ΡΡΠ²ΡΡΡΠΈΡ ΡΠΎΠ·Π½ΠΈΡΠ½ΡΡ ΠΏΡΠΎΠ΄Π°Π²ΡΠΎΠ² Π² ΡΠ΅ΡΠ΅Π½ΠΈΠ΅ ΠΎΠΊΡΡΠ±ΡΡ.*
Π‘ΠΎΠ²Π΅ΡΡΠΈΡΠ΅ ΠΏΠΎΠΊΡΠΏΠΊΡ ΠΏΡΡΠΌΠΎ ΡΠ΅ΠΉΡΠ°Ρ ΠΈ ΠΏΠΎΠ»ΡΡΠΈΡΠ΅ ΡΠΊΠΈΠ΄ΠΊΡ Π΄ΠΎ 75Β Π΄ΠΎΠ»Π»Π°ΡΠΎΠ² Π‘Π¨Π Π½Π° ΡΠ²ΠΎΠΉ Π·Π°ΠΊΠ°Π·!**
ΠΡΠ±Π΅ΡΠΈΡΠ΅ Π³ΠΎΠ΄:
- 2023
- 2022
- 2021
- 2020
- 2019
- 2018
- 2017
- 2016
- 2015
- 2014
- 2013
- 2012
- 2011
- 2010
- 2009 Π³.

- 2008 Π³.
- 2007 Π³.
- 2006 Π³.
- 2005 Π³.
- 2004 Π³.
- 2003 Π³.
- 2002 Π³.
- 2001 Π³.
- 2000 Π³.
- 1999 Π³.
- 1998 Π³.
- 1997 Π³.
- 1996 Π³.
- 1995 Π³.
- 1994 Π³.
- 1993 Π³.
- 1992 Π³.
- 1991 Π³.
- 1990 Π³.
ΠΡΠΎΡ ΠΏΡΠΎΠ΄ΡΠΊΡ Π±ΡΠ» Π·Π°ΠΌΠ΅Π½Π΅Π½ Π½Π°
Π£ΡΠΈΠ»ΠΈΡΠ΅Π»Ρ ΡΠΎΡΠΌΠΎΠ·Π° (ΡΠ»Π΅Π²Π°)
ΠΠΎΠΌΠ΅Ρ Π΄Π΅ΡΠ°Π»ΠΈ: 26402AJ200
$ 371,90
- Π‘Ρ Π΅ΠΌΡ ΠΈ ΠΊΠΎΠΌΠΏΠ»Π΅ΠΊΡΡ
- Π§ΡΠΎ ΡΡΠΎ ΠΏΠΎΠ΄Ρ ΠΎΠ΄ΠΈΡ
- Π’ΠΈΠΏΡ ΠΏΡΠΎΠ΄ΡΠΊΡΠΎΠ²
- Π£ΡΠ»ΡΠ³ΠΈ
Π’ΠΠ ΠΠΠΠΠΠ― Π‘ΠΠ‘Π’ΠΠΠ (ΠΠΠΠΠΠ«Π Π¦ΠΠΠΠΠΠ ).
