Работа гусеничного движителя
Категория:
Тракторы-2
Публикация:
Работа гусеничного движителя
Читать далее:
Работа гусеничного движителя
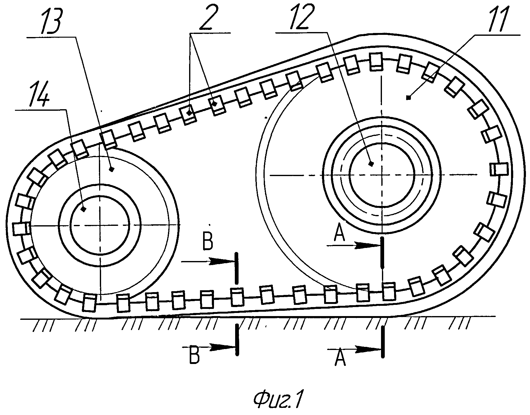
В ходовую часть гусеничного трактора входят остов, гусеничные движители и подвеска. Основные элементы гусеничного движителя: гусеница, состоящая из отдельных шарнирно связанных друг с другом звеньев, ведущая звездочка, направляющее колесо гусеницы с амортизирующим устройством, опорные катки и поддерживающие ролики. Подвеска включает в себя упругие элементы, через которые осуществляется силовая связь гусеничных движителей с остовом.
Гусеничный движитель работает следующим образом. Подведенный от двигателя момент вращает звездочку (рис. 1), которая перематывает гусеничную цепь. Гусеница, находясь в сцеплении с опорной поверхностью, воспринимает усилие реакций опорной поверхности и передает это усилие остову трактора.
В процессе работы гусеничного движителя на опорную ветвь гусеницы действуют нормальные силы, вызываемые в основном весовыми нагрузками, и касательные реакции опорной поверхности Рк.
Рекламные предложения на основе ваших интересов:
Как известно, основными преимуществами гусеничной ходовой части перед колесной являются: сравнительно небольшое удельное давление на почву (0,03…0,07 МПа) и, как следствие этого, меньшая склонность к буксованию и хорошая проходимость; хорошее сцепление ходового аппарата с почвой и возможность развития большей силы тяги по сцеплению; меньшее колесобразование.
Рис. 1. Схема работы гусеничного движителя: 1 — гусеница; 2 — поддерживающие ролики; 3 — ведущая звездочка; 4 — опорные катки; 5 — амортизирующее устройство; 6 — направляющее колесо
Опорную площадь гусеничного трактора и его удельное давление на почву можно определить, воспользовавшись схемой на рисунке 113.
Из этой формулы следует, что снижения удельного давления q можно достигнуть увеличением длины опорной поверхности Lr и ширины b гусеницы. На гусеничных тракторах, предназначенных для работы на слабых грунтах (например, на болотистой местности), увеличение размера Lr достигается снижением расположения ведущих звездочек и направляющих колес. Кроме того, на таких тракторах используют более широкие гусеницы (до 1 м шириной).
Узкие гусеницы применяют на тракторах при междурядной обработке пропашных культур. Естественно, что замена нормальных по ширине гусениц на узкие приводит к повышению удельного давления трактора на почву.
В процессе работы гусеничного трактора удельное давление на почву по длине гусеницы становится неравномерным: в передней части оно снижается, а ближе к ведущим звездочкам повышается. Кроме того, следует иметь в виду, что наибольшее давление на почву гусеницы оказывают непосредственно под опорными катками.
Рекламные предложения:
Читать далее: Техническое обслуживание ходовой части тракторов
Категория: — Тракторы-2
Главная → Справочник → Статьи → Форум
Движитель гусеничный
Изобретение относится к транспортному машиностроению, в частности к движителям гусеничным с бесконечными бесшарнирными резинотросовыми гусеницами и может быть использовано на гусеничных транспортных средствах, тракторах и уборочных машинах, работающих на слабонесущих почвах.
Известна бесшарнирная гусеница транспортного средства по авторскому свидетельству №650876, кл. В62D 55/24, бюллетень №9, 05.03.79, представляющая собой монолитную эластичную армированную ленту, содержащую тяговую металлотросовую основу, состоящую из двух участков, расположенных между крепежными деталями, предназначенными для крепления к металлотросам внутренней поперечной накладки с элементами зацепления и наружной поперечной накладки, тканевые прокладки с двух сторон металлотросов на участках между поперечными накладками, опорную часть гусеницы в виде бесконечной полосы высокопрочной микропористой резины трапецеидального сечения с порами, привулканизированной к обкладочной резине.
По мнению авторов, «наличие воздуха в порах опорной поверхности гусеницы обеспечивает равномерное распределение удельного давления на грунт, улучшает сцепление с грунтом». Все это так для идеальных условий.
К сожалению, работа транспортного средства, трактора или уборочной машины, происходит в сложных условиях с наличием пыли и грязи, которые «забивают» поры высокопрочной микропористой резины, и она становится твердой и жесткой с вытекающими отсюда последствиями: из-под гусеницы выдавливаются грязь, вода, воздух, образуя глубокую колею и продольные валики с каждой стороны гусеницы, разрушая почвенный покров.
Известна также бесшарнирная резиноармированная гусеница уборочной машины по патенту №2403165, МПК В62D 55/253, бюллетень №31, 10.11.2010, содержащая металлические армирующие элементы, выполненные заодно с направляющими опорных катков, стальной корд в виде троса, охватывающий армирующие элементы снаружи, завулканизированные заодно в резине в единую бесконечную ленту, имеющую беговые дорожки и опорную поверхность, выполненную вогнутой в сторону армирующего элемента по эллипсной кривой и образующую в продольном направлении гусеничной ленты симметрично ее оси эллипсоидную полость по всей длине гусеницы.
Скос крайних грунтозацепов к боковым сторонам гусеницы имеет величину угла α°, котангенс которого равен:
где В — ширина гусеницы;
С — ширина поперечного сечения опорной поверхности гусеницы между продольными выступами;
Н — высота беговой дорожки гусеницы от опорной поверхности.
Одним из недостатков этой гусеницы является то, что с увеличением массы транспортного средства, трактора или уборочной машины, работающих на слабонесущих почвах, когда увеличивают ширину «В» гусеницы, при этом величина «С» ширина поперечного сечения опорной поверхности гусеницы между продольными выступами остается неизменной, увеличивается площадь опорной поверхности гусеницы, из-под которой выдавливаются грязь, вода, воздух, образуя продольные валики с каждой стороны гусеницы, разрушая почвенный покров.
Цель изобретения — снизить степень разрушения почвенного покрова и интенсивность выдавливания почвы на края гусеницы движителя, уменьшающие высоту продольных валиков и глубину колеи.
Эта цель достигается тем, что оси опорных цилиндрических катков с обеих сторон каретки наклонены вниз в поперечно-вертикальной плоскости на угол α°, равный углу β° наклона наружной поверхности грунтозацепов в сторону боковых поверхностей бесконечной бесшарнирной резинотросовой гусеницы, при этом проекции торцов внутренних концов грунтозацепов на горизонтальную плоскость не пересекают продольную ось бесконечной бесшарнирной резинотросовой гусеницы и находятся от нее на одинаковом расстоянии, равном половине ширины гребня, а оптимальный угол α° наклона осей опорных цилиндрических катков и угол β° наклона наружной поверхности грунтозацепов в поперечно-вертикальной плоскости равны 10°.
Таким образом, заявляемый движитель гусеничный соответствует критерию «Новизна».
Признаки, отличающие заявляемое техническое решение от прототипа, в других технических решениях данной области техники не выявлены, что позволяет сделать вывод, что заявляемый движитель гусеничный соответствует критерию «существенные отличия».
На фиг.1 изображен предлагаемый движитель гусеничный, вид слева; на фиг.2 — сечение А-А фиг.1; на фиг.3 — вид Е фиг.2; на фиг.4 — вид Ж фиг.2.
Движитель гусеничный (фиг.1) содержит направляющее колесо 1, ведущее колесо 2 с гребневым зацеплением, поддерживающие ролики 3, установленные на раме 4, каретки 5, с закрепленными на ней по обе стороны, с возможностью вращаться, опорными цилиндрическими катками 6 и охватывающую их бесконечную бесшарнирную резинотросовую гусеницу 7 с шевронным расположением грунтозацепов 8 (фиг.2, фиг.3) на наружной стороне и стальным кордом в виде тросов 9 (фиг.4), размещенных под углом друг к другу и вдоль, завулканизированных в резине 10 (фиг.2) в единую бесконечную ленту, имеющую не внутренней стороне посередине гребни 11, размещенные на определенном расстоянии друг от друга по всей длине, по краям которых находятся беговые дорожки 12 (фиг.4).
Оси 13 опорных цилиндрических катков 6 (фиг.2) с обеих сторон каретки 5 наклонены вниз в поперечно-вертикальной плоскости на угол α°, равный углу β° наклона наружной 14 поверхности грунтозацепа 8 в сторону боковых 15 поверхностей бесконечной бесшарнирной резинотросовой гусеницы 7, при этом проекции торцов внутренних концов 16 грунтозацепов 8 (фиг.
3) на горизонтальную плоскость не пересекают продольную ось 17 бесконечной бесшарнирной резинотросовой гусеницы 7 и находятся от нее на одинаковом расстоянии С, равном половине ширины Д гребня 11 (фиг.4), а оптимальный угол α° (фиг.2) наклона осей 13 опорных цилиндрических катков 6 и угол β° наклона наружной 14 поверхности грунтозацепов 8 в поперечно вертикальной плоскости равны 10°.
При движении транспортного средства, трактора или уборочной машины, оснащенной предлагаемым движителем гусеничным (фиг.1), бесконечная бесшарнирная резинотросовая гусеница 7 с шевронным расположением грунтозацепов 8 (фиг.2, фиг.3) на наружной стороне и стальным кордом в виде тросов 9 (фиг.4), размещенных под углом друг к другу и вдоль, завулканизированных в резине 10 (фиг.2) в единую бесконечную ленту, имеющую на внутренней стороне посредине гребни 11, размещенные на определенном расстоянии друг от друга по всей длине, по краям которых находятся беговые дорожки 12 (фиг.4), приводимая ведущим колесом 2 с гребневым зацеплением, охватывает направляющее колесо 1, поддерживающие ролики 3, установленные на раме 4, опорные цилиндрические катки 6, закрепленные, с возможностью вращаться, по обе стороны каретки 5, будут перекатываться по беговым дорожкам 12 бесконечной бесшарнирой резинотросовой гусеницы 7, прижимая ее к почве вместе с грунтозацепами 8 наружной поверхностью 14.
В связи с тем что оси 13 опорных цилиндрических катков 6 с обеих сторон каретки 5 наклонены вниз в поперечно-вертикальной плоскости на угол α°, равный углу β° наклона наружной поверхности 14 грунтозацепов 8 в сторону боковых поверхностей 15 бесконечной бесшарнирной резинотросовой гусеницы 7, последняя, на участке В — расстоянии между осями крайних опорных цилиндрических катков 6, прогнется своей серединой вверх вместе с гребнями 11 (фиг.2), образуя замкнутое пространство, создающее гидростатический затвор, обеспечивающий статическое равновесие на почву в поперечной плоскости, снижающий интенсивность выдавливания почвы на края гусеницы, уменьшающий высоту продольных валиков и глубину колеи.
Прогибу бесконечной бесшарнирной резинотросовой гусеницы 7 способствует и то, что проекции торцов внутренних 16 концов грунтозацепов на горизонтальную плоскость не пересекают продольную симметричную ось 17 (фиг.3) и находятся от нее на одинаковом расстоянии «С», равном половине ширины «Д» гребня 11 (фиг.
4), а оптимальный угол α° (фиг.2) наклона осей 13 опорных цилиндрических катков 6 и угол β° наклона наружной 14 поверхности грунтозацепов 8 в поперечно-вертикальной плоскости равны 10°.
При прохождении бесконечной бесшарнирной резинотросовой гусеницы 7 участка «В» — расстояния между осями крайних опорных цилиндрических катков 6 (фиг.1), она снова примет первоначальное положение.
Наклон осей опорных цилиндрических катков вниз в поперечно-вертикальной плоскости на угол α°, равный углу β° наклона наружной поверхности грунтозацепов в сторону беговых поверхностей бесконечной бесшарнирной резинотросовой гусеницы, позволяет на опорном участке движителя гусеничного образовать под гусеницей замкнутое пространство, создающее гидростатический затвор, обеспечивающий статическое равновесие на почву в поперечной плоскости, снижающий интенсивность выдавливания почвы на края гусеницы, уменьшающий высоту продольных валков и глубину колеи.
В связи с тем что проекции торцов внутренних концов грунтозацепов на горизонтальную плоскость не пересекают продольную симметричную ось бесконечной бесшарнирной резинотросовой гусеницы и находятся от нее на одинаковом расстоянии, равном половине ширины гребня, гусеничная лента может прогибаться под действием опорных цилиндрических катков и грунтозацепов, опирающихся своей наружной поверхностью на почву и вынуждающих гусеничную ленту прижаться к поверхности опорных цилиндрических катков.
С целью уменьшения деформации гусеничной ленты во время прохождения ее между осями последних крайних опорных цилиндрических катков угол α° принят равным 10°.
| — | 0076686 | Аннулирован с 01.07.13 и заменен на L10200900 | Движитель гусеничный L10200700 | 0 | — + В корзину | |
| 1 | 0076758 | Связь L10200007 | 704 | — + В корзину | ||
| 2 | 0076764 | Ремень L10200026 | 321 | — + В корзину | ||
| 3 | 0014757 | Втулка C40200506 | 181 | — + В корзину | ||
| 4 | 0068942 | Гайка М8 DIN 985-8P | 10 | — + В корзину | ||
| 5 | 0068947 | Болт М8х50 DIN 931-88P | 17 | — + В корзину | ||
| 6 | 0081952 | Маятник L10200510 | 6983 | — + В корзину | ||
| 7 | 0076779 | Ось L10200190 | 2636 | — + В корзину | ||
| 8 | 0076765 | Ось L10200027 | 986 | — + В корзину | ||
| 9 | 0076773 | Ось L10200050 | 2016 | — + В корзину | ||
| 10 | 0017132 | Отбойник K10200269 | 378 | — + В корзину | ||
| 11 | 0068940 | Гайка М6 DIN 985-8Р | 6 | — + В корзину | ||
| 12 | 0064040 | Шайба 6 DIN 125-PA | 1 | — + В корзину | ||
| 13 | 0088094 | Наконечники C40200254 (2 шт) | 140 | — + В корзину | ||
| 13 | 0014619 | Наконечник C40200254 | 0 | — + В корзину | ||
| 14 | 0122645 | Рельс направляющий L10201911 | 3158 | — + В корзину | ||
| 15 | 0065506 | Болт М6х20 DIN 933-88P | 4 | — + В корзину | ||
| 15 | 0123824 | Болт М6х20 DIN 933-88Р (10 шт) | 123 | — + В корзину | ||
| 16 | 0076799 | Накладка L10200008 | 3378 | — + В корзину | ||
| 16 | 0014748 | Накладка C40200503 | 2566 | — + В корзину | ||
| 16 | 1000512 | Накладка на рельс Тайга (склиз) C40200503-С | 1448 | — + В корзину | ||
| 17 | 0123791 | Втулка 4 шт. в упаковке | Втулка L30200314 (4 шт.) | 176 | — + В корзину | |
| 17 | 0068801 | Втулка L30200314 | 38 | — + В корзину | ||
| 18 | 0065174 | Болт М6х25 DIN 933-88Р | 0 | — + В корзину | ||
| 19 | 0068945 | Болт М6х40 DIN 933-88P | 8 | — + В корзину | ||
| 20 | 0076798 | Щека L10200004 | 232 | — + В корзину | ||
| 22 | 0068941 | Шайба 10 DIN 127-PB | 0 | — + В корзину | ||
| 23 | 0069214 | Заклепка ЛОГК 0568 | 0 | — + В корзину | ||
| 24 | 0069134 | Болт М8х20 DIN 933-88P | 13 | — + В корзину | ||
| 25 | 0076810 | Кольцо 19 DIN 471-ST-P | 8 | — + В корзину | ||
| 26 | 0015861 | Кольцо В52 Ц9. хр ГОСТ 13943-86 | 0 | — + В корзину | ||
| 27 | 0123783 | Втулки 8 шт в упаковке | Втулка C40200256 (8 шт.) | 143 | — + В корзину | |
| 27 | 0014617 | Втулка C40200256 | 0 | — + В корзину | ||
| 28 | 0018259 | * Маркировка VBF | Подшипник 180205кс17 ГОСТ 8882-75 (6205.2RSD.Р6Q6/С9;С17)* | 199 | — + В корзину | |
| 29 | 0083545 | Каток L30200670 | 0 | — + В корзину | ||
| 29 | 0123978 | Катки черного цвета 2 шт в упаковке. Внешний диаметр 135 мм, внутр. под подшипник 50.6 мм.![]() | Катки C40201701 (2 шт.) | 3578 | — + В корзину | |
| 29 | 0088227 | Катки L30200670 (2 шт.) | 0 | — + В корзину | ||
| 30 | 0017559 | Шайба C40600603 | 20 | — + В корзину | ||
| 31 | 0065160 | Шайба 8 DIN 127-PB | 0 | — + В корзину | ||
| 32 | 0071539 | Болт М12х30 DIN 933-88P | 20 | — + В корзину | ||
| 33 | 0083325 | Винт М12х30 ISO 7380-10P | 0 | — + В корзину | ||
| 34 | 0071466 | Шайба 12 DIN127-PB | 0 | — + В корзину | ||
| 35 | 0074054 | Шайба 12 DIN125-PA | 6 | — + В корзину | ||
| 36 | 0082515 | Винт М10х20 LI-FL10P | 32 | — + В корзину | ||
| 37 | 0081947 | Кронштейн L10200450-01 | 648 | — + В корзину | ||
| 38 | 0076700 | Гайка М10 DIN 985-8P | 20 | — + В корзину | ||
| 39 | 0070516 | Болт М10х45 DIN 933-88P | 0 | — + В корзину | ||
| 39 | 0127059 | Болт M10x45 DIN 933-88P (6 шт. ) | 172 | — + В корзину | ||
| 40 | 0076803 | Кронштейн L10200040-01 | 659 | — + В корзину | ||
| 41 | 0081946 | Кронштейн L10200450 | 648 | — + В корзину | ||
| 42 | 0076801 | Кронштейн L10200040 | 659 | — + В корзину | ||
| 43 | 0068951 | Болт М10х35 DIN 933-88P | 0 | — + В корзину | ||
| 44 | 0068939 | Болт М10х30 DIN 933-88P | 17 | — + В корзину | ||
| 45 | 0017925 | Шайба C40200024 | 76 | — + В корзину | ||
| 46 | 0083543 | Каток L30200650 | 0 | — + В корзину | ||
| 46 | 0088225 | Катки L30200650 (2 шт. ) | 0 | — + В корзину | ||
| 47 | 0068808 | Втулка L30200432 | 182 | — + В корзину | ||
| 48 | 0076760 | Втулка L10200019 | 225 | — + В корзину | ||
| 49 | 0017124 | Шайба K10200261 | 11 | — + В корзину | ||
| 50 | 0066364 | Гайка М10 DIN 934-8Р | 11 | — + В корзину | ||
| 51 | 0127056 | Болт M10x120 DIN 933-88P (2 шт.) | 122 | — + В корзину | ||
| 51 | 0054881 | Болт М10х120 DIN 933-88P | 0 | — + В корзину | ||
| 52 | 0076761 | Втулка L10200021 | 491 | — + В корзину | ||
| 53 | 0123782 | Втулка C40200029 (2 шт. ) | 426 | — + В корзину | ||
| 53 | 0013956 | Втулка C40200029 | 192 | — + В корзину | ||
| 54 | 0065470 | Втулка L30200433 | 550 | — + В корзину | ||
| 55 | 0068963 | Кольцо В35 Ц9.хр ГОСТ 13943-86 | 32 | — + В корзину | ||
| 56 | 0083304 | Направляющая внутренняя L10200320 | 671 | — + В корзину | ||
| 57 | 0076734 | Масленка 1.1 Ц6.хр, ГОСТ 19853-74 | 0 | — + В корзину | ||
| 58 | 0076762 | Ось L10200023 | 1102 | — + В корзину | ||
| 59 | 0076759 | Ось L10200009 | 892 | — + В корзину | ||
| 60 | 0081945 | Кронштейн L10200260 | 3496 | — + В корзину | ||
| 61 | 0068960 | Шайба 8 DIN 125-PA | 1 | — + В корзину | ||
| 62 | 0081951 | Направляющая наружная L10200520 | 966 | — + В корзину | ||
| 63 | 0068804 | Втулка L30200324 | 384 | — + В корзину | ||
| 64 | 0081944 | Втулка L10200149 | 59 | — + В корзину | ||
| 65 | 0071399 | Болт М8х40 DIN 933-88P | 0 | — + В корзину | ||
| 66 | 0083737 | Подушка шарнира 1111-2904047 | 0 | — + В корзину | ||
| 67 | 0084770 | Шайба L10200145-01 | 0 | — + В корзину | ||
| 68 | 0068828 | Втулка L30200544 | 370 | — + В корзину | ||
| 69 | 0083988 | Болт М8х120 DIN 931-88P | 0 | — + В корзину | ||
| 70 | 0068964 | Подшипник 180202к с17 ГОСТ 8882-75 (6202. 2RS.Р6Q6/С9;С17)* | 0 | — + В корзину | ||
| 71 | 0088220 | Катки L30200230 (2 шт.) | 0 | — + В корзину | ||
| 72 | 0123026 | допускаемая замена | Амортизатор SS20.533.10.000 | 5022 | — + В корзину | |
| 73 | 0068829 | Втулка L30200594-01 | 945 | — + В корзину | ||
| 73 | 0123792 | Втулки 4 шт. в упаковке | Втулка L30200594-01 (4 шт.) | 4110 | — + В корзину | |
| 74 | 0068815 | Кольцо L30200506 | 67 | — + В корзину | ||
| 75 | 0068835 | Пружина 23162 | 1635 | — + В корзину | ||
| 77 | 0068824 | Чашка L30200534 | 374 | — + В корзину | ||
| 78 | 0122637 | Рельс направляющий L10201910 | 7381 | — + В корзину | ||
| 79 | 0122640 | Рельс направляющий L10201910-01 | 7381 | — + В корзину |
Движитель гусеничный снегоход Тайга Атака 551 II в сборе (L30200500) (комплект с гусеницей и валом)
Заказы, оформленные через сайт отправляются в этот же день или на следующий.
Все заказы отправляются только после подтверждения по телефону, (менеджер позвонит вам для подтверждения заказа).
Доставка
Для вас доступны несколько способов доставки:
1. Доставка Почтой России. Удобен тем, что доставка осуществляется в любой уголок Российской Федерации. Возможность оплаты товара при получении (наложенный платеж).
2. Доставка СДЭК. Большое количество пунктов выдачи заказа. Курьерская служба.
3. Доставка транспортными компаниями. Мы доставляем ТК КИТ, Энергия, Деловые линии, ПЭК и некоторыми другими. Обычно этот способ подходит для крупногабаритных грузов. Доставка этим вариантом возможна только по ПРЕДОПЛАТЕ.
Оплата
Оплата товаров возможна следующими способами:
1. Оплата при получении на почте. Товар оплачивается в момент получения в вашем отделении почты. (Самый не выгодный способ оплаты. Т.к. почта берет процент за перевод денег нам).
2. Оплата на сайте. Вы можете оплатить заказ прямо на сайте, в момент оформления заказа. После нажатия кнопки «Подтвердить заказ», вы будете перемещены на страницу оплаты.
3. Предоплата на карту сбербанка. Если по камим-то причинам мы не можем отправить вам товар наложенным платежом или вы хотите сэкономить на стоимости товара — это самый выгодный вариант. После согласования деталей с менеджером вы оплачиваете товар и доставку на карту Сбербанка.
4. Частичная предоплата. Для тяжеловесных и дорогостоящих товаров доступен этот вариант оплаты. Вы оплачиваете часть стоимости товара как гарантию его выкупа. Остаток оплачиваете при получении на почте.
5.Товары, которые доставляются ЛЮБЫМИ транспортными компаниями или курьером отправляются только по ПОЛНОЙ предоплате.
5.1.1. ГУСЕНИЧНЫЙ ДВИЖИТЕЛЬ С РЕЗИНОМЕТАЛЛИЧЕСКИМ ШАРНИРОМ (РМШ) ГАЗ-34039
5.
ХОДОВАЯ ЧАСТЬ
Ходовая часть снегоболотохода состоит из гусеничного движителя и под-вески.
5.1. ГУСЕНИЧНЫЙ ДВИЖИТЕЛЬ
Гусеничный движитель состоит из двух ведущих колёс, расположенных в передней части корпуса снегоболотохода, двух гусениц, двенадцати опорных катков и двух задних подвесных направляющих колёс.
5.1.1. ГУСЕНИЧНЫЙ ДВИЖИТЕЛЬ С РЕЗИНОМЕТАЛЛИЧЕСКИМ ШАРНИРОМ (РМШ)
Ведущее колесо гусеничного движителя состоит из ступицы 5 (рис. 5.1), двух дисков 1, приваренных к ступице, и двух зубчатых венцов 3. Венцы кре-пятся к дискам болтами 2 с гайками 4.
Рис. 5.1. Ведущее колесо:
1 – диски; 2 – болт; 3 – зубчатый венец; 4 – гайка; 5 – ступица
Ведущее колесо крепится к ведомому валу бортовой передачи тремя болтами, которые стопорятся отгибной стопорной шайбой. Момент затяжки болтов 200–300 Н·м (20–30 кгс·м). При замене ведущего колеса перед его установкой следует проверить состояние наружного манжетного уплотнения бортовой передачи.
Шлифованная поверхность ступицы ведущего колеса, по которой работает уплотнение, должна быть чистой, без забоин и следов коррозии, иначе возможно повреждение рабочих кромок манжеты. При необходимости её следует зачистить мелкой шкуркой, промыть и смазать тонким слоем смазки Ли-тол-24 (ЦИАТИМ-201).
Первоначальная ширина профиля зуба венца составляет 32 мм по диаметру 535 мм. При износе зубьев до 10–11 мм (с одной стороны) по тому же диаметру рекомендуется менять ведущие колёса местами: с правого борта переставлять на левый, а с левого на правый. При суммарном износе профиля (с обеих сторон) до 20 – 22 мм изношенные венцы или ведущие колеса необходимо заменить на новые. При замене венцов отклонение расположения профиля зубьев одного венца относительно соответствующих зубьев противоположного венца должно быть не более 2 мм. Затяжку гаек 4 производить с усилием 180 – 200 Н·м (18–20 кгс·м).
Каждая гусеница состоит из 92 звеньев 1 (рис. 5.2), соединённых пальцами 2. Правая и левая гусеницы взаимозаменяемы.
При замене палец запрессовывается в проушины так, чтобы сплошная сторона резиновых втулок была обращена к наружной стороне проушин.
Пальцы удерживаются в проушинах за счёт натяга резины.
Гусеницы монтируются на ходовую часть таким образом, чтобы звенья располагались на грунте двумя проушинами вперёд, а тремя назад.
Рис. 5.2. Звено гусеницы и палец:
1 – звено; 2 – палец
Гусеницы рассчитаны на преимущественную эксплуатацию снегоболотохода по мягкому грунту (снежная целина, заболоченная местность, грунтовые дороги и т. п.). Грунтозацепы звеньев создают хорошее сцепление гусениц с грунтом, обеспечивая высокую проходимость по снегу и болотам.
Натяжение гусеницы при эксплуатации ослабевает, поэтому рекомендуется периодически проверять и, при необходимости, подтягивать гусеницы. Движение с чрезмерно ослабленными гусеницами может привести к их спаданию и повреждению при этом резиновой ошиновки направляющих колёс и опорных катков.
При чрезмерном натяжении гусениц возрастают потери мощности, снижаются динамические качества снегоболотохода и возрастает износ зубьев ведущих колёс.
Для регулировки натяжения гусениц балансиры направляющих колёс снабжены механизмом натяжения. Когда ослабление натяжения гусеницы устранить механизмом натяжения не удаётся, следует удалить из каждой гусеницы по одному звену и снова провести их натяжение. Допускается удаление не более одного звена из каждой гусеницы.
Обслуживание гусениц заключается в периодической проверке их состояния и регулировке натяжения. В случае появления трещин на подошве или проушинах звена необходимо заменить его, так как это может привести к аварии.
Приспособление для выпрессовки и запрессовки пальцев с РМШ состоит из фланца 5 (рис. 5.3) и опоры 2, соединённых стяжками 3 с гайками 1. На фланце монтируется стакан 9, в котором на упорном подшипнике 11 установлена винтовая пара – винт 8 и гайка 12, закреплённые двумя гайками 10. Для приведения во вращение на гайке 12 смонтирован вороток 13 с храповым механизмом 4 и отверстием для лома.
На фланце и опоре приспособления имеются конусные выступы «А», которыми они входят в фаски на торцах край-них проушин звена для обеспечения центровки. В комплект приспособления входят две скалки – длинная (195 мм) с контрольной риской и короткая (160 мм), а также чехол для хранения приспособления.
Рис. 5.3. Приспособление для выпрессовки и запрессовки пальцев с РМШ:
А – выступы для центрирования приспособления по траку 1 – гайка; 2 – опора; 3 – стяжка; 4 – храповой механизм; 5 – фланец; 6 – короткая скалка; 7 – длинная скалка; 8 – винт; 9 – стакан; 10 – гайки; 11 – упорный подшипник; 12 – гайка; 13 – вороток
Выпрессовка и запрессовка пальца производится в следующем по-рядке:
ПРЕДУПРЕЖДЕНИЕ
При установке приспособления на гусеницу:
1. Очистить от грязи фаски и торцы крайних проушин трака.
2. Убедиться в том, что конусные выступы «А» опоры 2 и фланца 5 нормально входят в заходные фаски проушин.
При наличии смятия или забоин на проушинах переставить приспособление на звенья с неповреждёнными проушинами.
3. Перед затяжкой гаек 1 во избежание повреждения конусных выступов ещё раз убедиться, что они правильно входят в заходные фаски проушин.
4. Предохранять конусные выступы от повреждений. В случае загиба или забоин кромок исправить их, иначе эксплуатация приспособления с указанны-ми дефектами приведёт к повреждению резины пальцев при их запрессовке.
Для удобства пользования приспособлением работу по выпрессовке и за-прессовке пальца производить на участке нижней ветви гусеницы между вед-щим колесом и первым опорным катком. Перед использованием приспособления необходимо смазать винт 8 и подшипник 11 смазкой Литол-24 или солидол С (солидол Ж).
Для выпрессовки пальца необходимо:
1. Ослабить натяжение гусеницы.
2. Установить фланец 5 со стяжками 3 и опору 2 (см. рис. 5.3) на гусенице, навернуть гайки 1 стяжек и затянуть их до соприкосновения внутренних торцов крайних проушин с наружными торцами внутренних проушин.
3. Вставить в отверстие фланца длинную скалку 7 и навернуть стакан 9 до упора.
4. Завернуть винт 8 усилием руки, обеспечив центровку скалки с винтом и пальцем.
5. Вставить в отверстие воротка 13 лом и качательными движениями вы-прессовать палец на полный ход винта 8, затормозив его при этом воротком.
6. Вывернуть винт, вставить короткую скалку 6 и повторить операции 4 и 5 до полной выпрессовки пальца.
7. Снять приспособление и выбить (если это необходимо) короткую скалку при помощи бородка.
Для запрессовки пальца следует:
1. Ослабить натяжение гусеницы, проверить состояние отверстий проушин соединяемых звеньев. Они должны быть чистыми – коррозия и повреждения внутренних поверхностей проушин, заходных фасок и радиусов не допускаются.
2. Смочить проушины водой или тонким слоем масла МГЕ-10А.
3. Соединить смежные звенья длинной скалкой, контрольной риской внутрь проушин.
4. Установить фланец 5 и опору 2 со стяжками и затянуть гайки 1 стяжек до полного соприкосновения торцев проушин.
ПРЕДУПРЕЖДЕНИЕ
При неплотном соприкосновении торцев указанных проушин возможно повреждение обрезиненной поверхности пальцев, которое контролируется по появлению сорванной резины в зазорах между торцами проушин.
5. Вставить палец с РМШ в заходный конус фланца 5. При этом положение пальца должно соответствовать изображенному на рис. 5.2, то есть палец должен быть гладкой стороной резиновых втулок обращён к наружной поверхности проушин. Забить палец кувалдой на глубину не менее 90 мм.
6. Навернуть на фланец стакан 9 до упора.
7. Вставить и завернуть до упора винт 8, обеспечив его центровку с пальцем.
8. Вставить в отверстие воротка 13 лом и запрессовать палец на полный ход винта.
9. Вывернуть винт 8, вставить короткую скалку 6 и запрессовать палец окончательно.
10. Снять приспособление.
Движитель гусеничный M10200140
Все категории
- Все категории
- Ремни вариатора
- Arctic Cat.
, Inc. - Polaris
- Ski-Doo
- Yamaha
- Lynx
- Стелс
- Русская Механика
- Bombardier
- Kawasaki
- CF Moto
- Suzuki
- Can-Am
- John Deere
- Kymco
- Baltmotors
- Moto-Ski, Ltd.

- Argo
- Linhai
- НПО Сатурн
- Bennche
- Diamo
- HiSun
- Пелец
- Qlink
- Recreatives Inc.
(MAX) - SYM
- Tinger
- Tomcar
- Приводные ремни
- Gates
- Клиновые ремни
- Зубчатые (синхронные) ремни
- Измерительные приборы
- Упругие (гибкие) муфты EuroGrip®
- Полиуретановые ремни
- Шкивы
- Megadyne
- Плоские ремни
- SKF
- Для квадроциклов
- Argo
- Can-Am
- Русская Механика
- Снегоболотоход РМ 800
- TIKSY
- Снегоболотоход РМ 650-2
- Снегоболотоход РМ 650
- Снегоболотоход РМ 800 UTV
- Снегоболотоход РМ 500-2
- Снегоболотоход РМ-500
- Снятые с производства
- Стелс
- Yamaha
- Ski-Doo
- Квадроциклы X5, X6, X8, X10
- Polaris
- Комплекты ЦПГ
- Подшипники
- Игольчатые роликоподшипники
- Конические роликоподшипники
- Четырёхрядные
- Четырёхрядные дюймовые
- Двухрядные
- Дюймовые двухрядные
- Дюймовые однорядные
- Однорядные
- Подшипники NSK
- Подшипники KOYO
- Подшипники NTN
- Подшипники SKF
- Подшипники TBM Bearings, Тайвань
- Подшипники ZWA
- Радиально-упорные шарикоподшипники
- Двухрядные
- Однорядные
- С четырёхточечным контактом
- Радиальные шарикоподшипники
- Сферические роликоподшипники
- Сферические
- Сферические подшипники (дюймовые)
- Сферические роликоподшипники разъёмные
- Тороидальные роликоподшипники CARB
- CARB
- С закрепительной втулкой
- Со стяжной втулкой
- Закрытые
- Цилиндрические роликоподшипники
- Четырёхрядные
- Двухрядные
- Двухрядные бессепараторные
- Однорядные
- Однорядные бессепараторные
- Упорные роликоподшипники
- Двойной упорно конический
- Игольчатые
- Упорные конические роликоподшипники (для конусных дробилок)
- Сферические
- Цилиндрические
- Упорные шарикоподшипники
- Двойные
- Одинарные
- Свечи NGK
- Гидравлика
- Фитинги
- Гидравлические шланги
- Промышленные рукава
- Оборудование для соединения шлангов
- Другие продукты
- Масла, смазки
- Масла
- Антифризы
- Febi
- Фильтры
- Фильтры Filtron
- Смазки
- С/х ремни
- Приводные ремни для комбайнов Полесье
- KBK-800 Полесье FS80-2
- Ремни Diverse
- КЗР-10 Полесье GS10R
- КЗС-10 K Полесье GS10
- КЗС-1218 Полесье GS12
- КЗС-7 Полесье GS07
- Приводные ремни для комбайнов РСМ
- Акрос
- Д-1500Б
- Дон 680
- Нива
- Вектор
- Наши бренды
- Gates
- Koyo
- Megadyne
- NTN
- ZWA
- Каталоги
- Gates
- Гидравлика
- Промышленные ремни
- Megadyne
Гусеничный движитель (Курсовая работа) — TopRef.
ruОбщие сведения о машинах
Гусеничные движители развивались более медленными темпами. Но благодаря тому, что гусеницы имеют большую площадь контакта с грунтом и способны развивать высокую силу тяги, трактора с таким двигателем издавна стали применяться как база тяговых или погрузочных машин для работы на снегу, влажных почвах, в частности, с низкой несущей способностью. Традиционно гусеничные движители обычно используются на территории бывшего Советского Союза, в США, а затем — в Канаде, Новой Зеландии, Австралии и Великобритании. Это были лесохозяйственные тракторы или специальные машины на базе экскаваторов.
Гусеничный
движитель
— движитель самоходных машин, в котором
тяговое усилие создаётся за счёт
перематывания гусеничных лент состоящих
из отдельных звеньев — траков. Гусеничный
движитель обеспечивает повышенную
проходимость. Большая площадь
соприкосновения гусениц с почвой
позволяет обеспечить низкое давление
— 31—122 кН/м² (0,3—1,2 кгс/см²), то есть
меньше давления ноги человека.
Тем самым
гусеничный движитель предохраняется
от глубокого погружения в грунт.
Основная часть гусеничного движителя это гусеничная лента:
Гусеничная
лента
(гусеница)
— замкнутая сплошная лента или цепь из
шарнирно-соединённых звеньев (траков),
применяемая в гусеничном движителе. На
внутренней поверхности гусеницы имеются
впадины или выступы, с которыми
взаимодействуют ведущие колёса машины.
Внешняя поверхность гусеницы снабжена
выступами (грунтозацепами), которые
обеспечивают сцепление с грунтом. Для
увеличения сцепления гусеницы на грунтах
с низкой несущей способностью используются
съёмные шпоры. Гусеницы могут быть
металлическими, резино-металлическими
и резиновыми. Наибольшее распространение
получили металлические гусеницы с
разборными или неразборными звеньями.
Для повышения износостойкости и срока
службы гусеницы их звенья, а также
соединительные элементы (пальцы, втулки)
изготовляют из специальной
высокомарганцовистой стали и подвергают
термической обработке, а также используют
резино-металлические шарниры, шарниры
с игольчатым подшипником и др.
История создания гусеницы
Изобретателем гусеницы в России считается русский крестьянин Фёдор Абрамович Блинов. В 1877 году он изобретает вагон на гусеничном ходу. В нижней части рамы крепились на рессорах две тележки, которые могли поворачиваться в горизонтальной плоскости вместе с осями опорных колёс. Бесконечные рельсы вагона представляли собой замкнутые железные ленты, состоящие из отдельных звеньев. Вагон имел четыре опорных колеса и четыре ведущие звёздочки. В 1878 году купец Канунников, рассчитывая на прибыли от внедрения гусеничного хода, вошёл с ходатайством в Департамент торговли и мануфактур с прошением о выдаче Блинову привилегии, каковая за № 2245 и была получена год спустя. Вводная часть гласила: «Привилегия, выданная из Департамента торговли и мануфактур в 1879 году крестьянину Фёдору Блинову, на особого устройства вагон с бесконечными рельсами для перевозки грузов по шоссейным и просёлочным дорогам…»
В
США изобретателями гусеничного хода
считаются Бэст и Хольт, которые создали
трактор с навешенным на него бульдозерным
оборудованием — он и стал прообразом
современного бульдозера.
Caterpillar —
название компании, основанной этими
изобретателями, в переводе означает
«гусеница».
Во Франции прообраз современного гусеничного движителя впервые был создан в 1713 году д’Эрманом; проект, получивший положительный отзыв французской академии, представлял собой тележку для тяжёлых грузов, перекатывающуюся на бесконечных лентах из деревянных катков, концы которых шарнирно соединены планками. Годом создания гусеничного движителя можно считать 1818-й, когда француз Дюбоше получил привилегию на способ устройства экипажей с подвижными рельсовыми путями.
Помимо
гусеницы как части гусеничного движителя
для автотранспортной техники и задолго
до изобретения гусеничных амфибий
гусеница также применялась в качестве
движителя для водного транспорта. такая
гусеница представляла из себя конвейер
с веслами. Она была изобретена в 1782 году
изобретателем по имени Десбланкс. В США
она была запатентованна в 1839 году
Уильямом Левенуорфом.
Некоторые типы гусеницы
По материалу изготовления:
По типу используемого шарнира:
По типу смазки шарнира:
сухая (или с открытым металлическим шарниром). Достоинствами конструкции является простота и надёжность в эксплуатации. Необходимый ресурс обеспечивается высокими механическими свойствами деталей шарнира.
закрытая. Оригинальное уплотнение в шарнире «звено-втулка» обеспечивает сохранность смазки между трущимися поверхностями пальца и втулки в течение всего срока службы гусеницы.
с жидкой смазкой. Оригинальное уплотнение из армированного полиуретана и резины обеспечивает полную герметичность шарнира, чем достигается наибольший срок службы гусеницы.
с резино-металлическим шарниром.
Между
пальцем шарнира и траком используется
резиновая втулка, изгиб гусеницы в
местах сочленения траков происходит
за счёт смещения слоев резины, благодаря
чему исключается трение сталь по стали
и значительно повышается ресурс пальцев
и траков гусеницы.с игольчато-подшипниковым шарниром. В качестве втулки используется игольчатый подшипник. Ресурс гусеницы возрастает, но значительно усложнена её конструкция.
По типу траков:
Недостатки гусеничного движителя
Быстрый износ трущихся деталей (проушины, пальцы)
Поломки траков при неравномерной нагрузке
Попадания снега и камней между гусеницами и катками
Устройство гусеничного движителя:
Классификация машин данной группы:
С поддерживающими катками, задним ведущим колесом и свободными ленивцами.

Без поддерживающих катков с задним расположением ведущих колёс.
С поддерживающими катками, передними ведущим колесом и несущим ленивцем.
Без поддерживающих катков с передним ведущим колесом.
Анализ конструктивных особенностей и технических характеристик отечественной и зарубежной машин данной группы:
Гусеничные движители отечественных и зарубежных производителей в виду простого принципа работы не имеют существенных отличий в конструкции, различия наблюдаются лишь в изменении формы треков, зубьев ведущих колес и небольших доработках.
Устройство, принцип действия и рабочий процесс машины: в устройство гусеничных движителей входят подвижные детали и элементы:
К подвижным
элементам гусеничных движителей
относятся ведущие звездочки, гусеницы,
опорные и поддерживающие гусеницу
катки, направляющие (натяжные) колеса.
Ведущие звездочки гусеничного шасси предназначены для того, чтобы перематывать гусеничные ленты и, взаимодействуя с ними, создавать тяговые усилия, необходимые для перемещения шасси по ленте, как по рельсу. Тяговое усилие создается в результате того, что при вращении звездочка своими зубьями зацепляется за шарнирные пальцы траков (трубоукладчик Т-3560М) или звеньев цепи (ТГ-201 и ТО-1224Г) гусеничной ленты.
Гусеница служит для преобразования вращательного движения ведущей звездочки в поступательное движение шасси, для сцепления шасси с грунтом и для образования бесконечного рельса, по которому шасси катится на своих опорных катках.
Гусеница
трубоукладчика Т-3560М состоит из траков,
шарнирно соединенных между собой. Шарнир
состоит из пальцев и трех малых и двух
больших проушин траков. Палец имеет
головку со стопорным скосом, который,
соприкасаясь с плоскостью крыла трака,
обеспечивает стопорение пальца от
проворачивания в малых проушинах.
ОТСЛЕЖИВАНИЕ ВИНТА — PDFHALL.COM
H И СОВЕТЫ ДЛЯ ДОМОСТРОИТЕЛЕЙОТСЛЕЖИВАНИЕ ВИНТА ДЖО НОРРИСА
ВАЖНО ПРОВЕРИТЬ правильное отслеживание при установке гребного винта. Винт, который не движется должным образом, вызовет нежелательную вибрацию, которая может привести к чрезмерному износу двигателя, коробки передач и компонентов планера, не говоря уже о неудобной поездке. Каждая лопасть гребного винта должна вращаться по одному и тому же пути или гусенице в пределах 1/16 дюйма.Первым делом необходимо правильно затянуть болты крепления гребного винта в соответствии с рекомендациями производителя гребного винта. Если производитель не указывает конкретных пределов крутящего момента, используйте следующую таблицу в качестве руководства. Обратите внимание, что все эти рекомендации по крутящему моменту даны в фунт-дюймах. Чтобы правильно установить деревянный пропеллер, требуется немного «ощущения», поэтому не следует слепо следовать указаниям по крутящему моменту. Вы не хотите затягивать болты так сильно, чтобы разрушить древесные волокна в ступице.
Равномерно затяните монтажные болты и следите за передней упорной пластиной или переборкой на предмет признаков того, что древесина начинает раздавливаться.Если древесина начинает раздавливаться до достижения рекомендованного крутящего момента, остановитесь! Для металлического гребного винта равномерно затяните болты с рекомендованным крутящим моментом. Не забудьте установить все необходимые опорные пластины спиннера, передние переборки, отбойные пластины и т. Д. После того, как винт установлен и надлежащим образом затянут, вы готовы к проверке гусеницы
. Начните с удаления по одной свече зажигания из каждого цилиндра. Это упростит поворот гребного винта и предотвратит случайный запуск двигателя.Заблокируйте и закрепите самолет, чтобы он не двигался. Затем установите какой-то индикатор, который облегчит измерение траектории лопасти гребного винта. Мы используем магнитный «ретривер», как если бы вы извлекали упавший орех из ограниченного пространства. Этот ретривер вместе с хорошей металлической основой — металлическим ящиком для инструментов, наковальней, стальным блоком или молотком — это все, что вам нужно для создания индикатора гусеницы пропеллера.
Поверните пропеллер так, чтобы одна лопасть была направлена прямо вниз, и поместите индикатор так, чтобы он касался кончика лопасти.Сделайте это таким образом, чтобы вы могли дублировать для каждой лопасти гребного винта. После того, как вы установили индикатор, вращайте пропеллер, пока следующая лопасть не подойдет к индикатору; убедитесь, что это лезвие находится в пределах 1/16 дюйма от индикатора. Если он попадает в индикатор, выполните сброс, используя это лезвие в качестве отправной точки, а затем снова проверьте оставшиеся лезвия. Все лезвия должны находиться в пределах 1/16 дюйма от индикатора. Если гребной винт не движется должным образом, снимите гребной винт, поверните его на 180 градусов и снова установите его.Проблемы могут быть вызваны незначительными дефектами ступицы или монтажного фланца двигателя; повторная установка винта на 180 градусов может
ОГРАНИЧЕНИЯ МОМЕНТА
МОМЕНТ МОМЕНТА МЕТАЛЛА
AN6 — 3 / 8-24
280-300 фунт-дюйм.
200 фунт-дюйм.
AN7 — 7 / 16-20
480-540 фунт-дюйм.
250 фунтов на дюйм.
AN8 — 1 / 2-20
720-780 фунт-дюйм. или 62-65 фунт-футов.
300 фунтов на дюйм.
—
350 фунт-дюймов
9/16
96 Sport Aviation Июль 2010
МОМЕНТ ДРЕВЕСИНЫ
РАЗМЕР БОЛТА
(конус или фланец)
ДОПУСК
± 25 фунт-дюйм.для металла и дерева
© 2010 Cobham plc. Все права защищены.
Магнитная палочка и молоток служат индикатором гусеницы пропеллера.
отменяют эти недостатки. На деревянном гребном винте переустановка и повторная затяжка болтов могут устранить проблемы с отслеживанием. Если нет или если трекинг ухудшится, снимите гребной винт и найдите другие причины. Если между коленчатым валом и гребным винтом установлена перегородка спиннера, проверьте ее в первую очередь. Ваша переборка может быть толще с одной стороны, чем с другой.Это особенно верно для переборок из стекловолокна, но иногда может быть проблемой для алюминиевых.
Закрепите пропеллер тонкой пластиковой пластиной сбоку так, чтобы лопасть была обращена к задней части, или замените перегородку. Если перегородки нет или все в порядке, используйте циферблатный индикатор, чтобы убедиться, что угол поворота кривошипа правильный. Проверяйте гусеницу каждый раз при установке гребного винта. Для деревянных гребных винтов момент крепления следует проверять при каждой сезонной смене погоды. Различные температурные и влажностные условия повлияют на деревянный пропеллер и повлияют на монтажный момент.Если пропеллер разболтается, скоро выйдет из строя ступица!
ФОТО БОННИ КРАТЦ
ФОТО ДЖО НОРРИСА
Они отправятся на край земли в поисках вас. Не делай их. Самое важное, что мы строим, — это доверие.
Мощный и точный, с очень простой установкой.
Cobham Avionics Communications 6400 Wilkinson Drive Prescott, AZ 86301 USA 1-928-708-1550 [адрес электронной почты защищен] www.cobham.com/avionics
Спутники больше не распознают ваш старый ELT, и система Cobham 406 МГц является идеальной замена.
Глобальный охват. В 100 раз больше мощности. И значительно улучшенные данные о местоположении. Помогите им быстрее найти вас. С Кобхэмом. Проверенная производительность.
www.eaa.org 97
Зачем нужно отслеживать «пропеллерные спутники» Сатурна?
Поделиться
Артикул
Вы можете поделиться этой статьей в соответствии с международной лицензией Attribution 4.0.
КОРНЕЛЛ (США) — Исследователи отслеживали, что, вероятно, является десятками маленьких лун, вращающихся внутри внешнего края кольца А Сатурна — самого дальнего из больших и плотных колец планеты — в поисках новых ключей к разгадке того, как планеты образуются и растут вокруг звезды в молодых солнечных системах.
Используя изображения, полученные с помощью миссии НАСА «Кассини», исследователи обнаружили, что орбиты лун немного изменились с течением времени, намекая, что на их траекторию может влиять взаимодействие с окружающим их дисковым материалом.
Результаты опубликованы в недавнем выпуске Astrophysical Journal Letters .
Если взаимодействия диска и Луны ответственны за изменения, система станет уникальным аналогом процессов, которые, как считается, происходят в околозвездных дисках, протопланетных дисках и формировании солнечной системы в далекой вселенной, и параллельны динамике, лежащей в основе создание собственной солнечной системы.
Хотя встроенные луны диаметром от 1 до нескольких километров слишком малы, чтобы их можно было сфотографировать непосредственно камерами «Кассини», их можно отличить по уникальным пропеллероподобным структурам, которые они создают в материале кольца вокруг них.
Ведущий астроном Мэтью Тискарено, научный сотрудник Корнельского университета, и его коллеги ранее наблюдали рои меньших пропеллерных спутников в более близкой части кольца А, теперь известной как пропеллерный пояс, но эти структуры слишком сгруппированы, чтобы их можно было отслеживать по отдельности.
В этом случае более крупные луны вращаются дальше от планеты, на внешней стороне кольца. Самая большая из них, созданная луной по прозвищу Блерио в честь французского летчика, имеет длину несколько тысяч километров, или половину расстояния через континентальную часть Соединенных Штатов.
«Кассини» более 100 раз замечал Блерио, что позволило исследователям подробно нанести на карту его путь.
«Можно ожидать, что любой объект, который просто вращается вокруг Сатурна, сам по себе должен оставаться на постоянной траектории», — говорит Тискарено.«На самом деле мы видим, что орбиты меняются».
Структура в форме пропеллера, созданная невидимой луной, кажется темной на этом изображении неосвещенной стороны колец Сатурна, полученном космическим аппаратом НАСА «Кассини». (Источник: НАСА / Лаборатория реактивного движения)
Наиболее вероятное объяснение, по его словам, состоит в том, что луны на самом деле взаимодействуют с диском: обмениваются угловым моментом с кольцевыми частицами вокруг них либо посредством гравитации, либо посредством прямых столкновений.
Тем не менее, другие объяснения, такие как резонансные взаимодействия с более далекими лунами, не были исключены как причины.
Следующая задача — определить способствующие факторы. Между тем, по словам Тискарено, «большая часть наших планов заключается в отслеживании этих объектов, пока космический корабль находится на орбите».
Миссия «Кассини» — совместный проект НАСА, Европейского космического агентства и Итальянского космического агентства. Лаборатория реактивного движения, подразделение Калифорнийского технологического института, руководит миссией Управления научных миссий НАСА.
Другие новости из Корнелла: www.news.cornell.edu/
Как интегрировать отслеживание конверсий с Thrive
Шаг № 1 — Создайте свой URL постбэка
Шаг № 2 — Добавьте Propeller Ads в качестве источника трафика на Thrive
Шаг № 3 — Получите глобальную публикацию- назад на Thrive
Шаг № 4 — Настройка кампании на Thrive
Шаг № 5 — Настройка кампании на Propeller Ads
Шаг № 1 — Создание URL-адреса постбэка
Войдите в свой Учетная запись рекламодателя PropellerAds, нажмите Отслеживание.
PropellerAds URL обратной передачи создается автоматически.
Шаг № 2 — Добавьте Propeller Ads в качестве источника трафика на Thrive
1) Войдите в свою учетную запись Thrive и выберите вкладку «Источники трафика» .
2) Щелкните «Добавить новый источник трафика» на левой панели навигации.
3) Выберите PropellerAds в раскрывающемся списке, чтобы добавить, и Thrive предварительно заполнит все необходимые настройки для URL-адреса обратной передачи.
Не забудьте изменить «REPLACE» на свои ID из URL обратной передачи, который мы создали на этапе Шаг № 1 и который можно найти на экране Tracking в аккаунте рекламодателя PropellerAds.
Обратите внимание, что вам необходимо ввести свой фактический aid и tid , иначе ваши конверсии не будут отслеживаться правильно!
Шаг № 3 — Получите глобальный пост-бэк на Thrive
Чтобы получать уведомления о конверсиях из партнерской сети, есть 2 шага:
1) Убедитесь, что вы передаете идентификатор клика Thrive, используя {subid} , чтобы URL партнерского предложения в соответствующем параметре.
например http://your-offer.com/?s2={subid}
2) Возьмите глобальный URL обратной связи из раздела отслеживания Thrive:
. вы отправили дополнительный идентификатор Thrive на адрес.
например постбэк, который вы размещаете в сети, может быть отформатирован как:
http://your-thrive-domain.com/path/postback.php?tid=&offerid=&amount=&subid=#s2#
Для получения дополнительной информации, пожалуйста, ознакомьтесь со статьей о настройке отслеживания конверсий с помощью партнерской сети в центре поддержки Thrive.
Шаг №4 — Настройка кампании на Thrive
Щелкните Campaigns и выберите вкладку Create Campaign ниже, чтобы открыть новое меню конфигурации кампании.
Выберите « PropellerAds » в качестве источника трафика и заполните все остальные обязательные поля.
Мастер создания кампании проведет вас через 2 шага по созданию кампании.
Он создаст новую кампанию Thrive с соответствующим целевым URL , чтобы получить ваш трафик для этой кампании соответственно.
Вы также можете проверить интеграцию с трекером в разделе «Отслеживание» вашей учетной записи PropellerAds.
Шаг № 5 — Настройка кампании в Propeller Ads
Войдите в свою учетную запись рекламодателя PropellerAds, нажмите вкладку Campaign , а затем кнопку Create Campaign (или отредактируйте одну из существующих кампаний).
Скопируйте Post-Back Pixel URL со всеми параметрами из Настройки кампании Thrive и вставьте его как Target URL для своей кампании в PropellerAds.
Если у вас возникли проблемы с настройкой отслеживания конверсий S2S — свяжитесь с нами через вкладку «Поддержка» в вашем аккаунте.
Перспектива БПЛА Propeller — внутри беспилотных систем
Рори Сан Мигель (Rory San Miguel) — генеральный директор Propeller, облачного решения для трехмерной визуализации и аналитики, который представил некоторые рекомендации о картировании и аналитике дронов.
Во многих компаниях, по его словам, руководители опросов «- это люди, которые находят технологии, которые могут повысить эффективность, и стараются не стать узким местом с этим новым типом данных, чтобы принимать правильные решения в интересах бизнеса.
«Крупные предприятия ожидают хорошего и простого программного обеспечения, которое смогут использовать люди в полевых условиях». С этой целью он позиционирует Propeller как «по сути готовое решение« все в одном »для получения точных и простых карт с дронов. По сути, одним щелчком мыши в Propeller после того, как вы выполнили опрос с помощью дронов, мы можем сказать вам, сколько вы сделали и сколько вам нужно сделать.”
Парадигма Сан-Мигеля была одобрена Гленном Ловерсоном, руководителем карьеров в карьере Борал-Пеппертри, в Новом Южном Уэльсе, Австралия, на участке, который ежегодно поставляет от двух до четырех миллионов тонн материала в большой район Сиднея. «Я могу лучше планировать как краткосрочную, так и долгосрочную добычу», — сказал Ловерсон на видео. «Это так же просто, как нажать кнопку». Это также «отличное наглядное пособие», объясняющее, что делается на месте.
Расскажите о своей эволюции
За свою шестилетнюю историю компания San Miguel повторила: «Propeller пришлось сменить фокус с ориентации на технологии, от одержимости дронами до клиентоориентированности и одержимости клиентами.
”
Еще в 2014 году он, самопровозглашенный «парень с дронами», и его партнер «программист» «имели очень ориентированный на дронов взгляд на мир». К 2016 году, однако, они «осознали, что наша основная сфера деятельности связана с точностью [при] землеройных работах как деятельностью, которая происходит на рабочих площадках, которые дроны могут помочь эффективно отслеживать.
«Ядро этого направления землеройных работ, — сказал он, — пришло от строительной компании, которая уже использовала дроны с некоторыми трудностями, и они сказали нам:« Не беспокойтесь о ремонте дронов — дроны уже хороши.Мы хотим, чтобы вы упростили данные с дронов ». Это была фраза, которая нашла отклик и с тех пор стала основой стратегии бизнеса.
«Карьеры, свалки и объекты гражданского строительства — они стали вертикалями, за которыми мы гнались, и эти вертикали подходят, потому что они выполняют большие объемы земляных работ, а это действительно дорого. Если вы идете по правильному пути, очевидно, что ваш бизнес лучше настроен на успех ».
Он продолжил. «В некотором смысле то, что мы делаем сегодня, — это количественная оценка землеройных работ.«Создание« действительно простой и быстрой интерпретации прогресса на объекте… »открывает мир карт дронов для решения двух основных вопросов. Один из них: «Сколько я сделал?» — по сути, сколько земли было сдвинуто с места с момента моего последнего полета. Это довольно просто.
«Второй вопрос, на который мы можем ответить в результате« точности »:« Сколько мне нужно сделать? »Мы заставляем клиентов загрузить в свой файл дизайна для сайта — идеальное топографическое состояние — и затем мы сравните, где мы находимся сегодня, с тем, где они должны быть, мы вычисляем разницу, и именно столько им нужно сделать.”
Данные Направления
Сан-Мигель отметила компоненты визуализации данных Propeller. Хотя он может загружать данные из многих систем дронов, компактный DJI Phantom 4 RTK был интегрирован в рабочий процесс с 2018 года, стандартизация, по словам Сан-Мигеля, усиливает простоту, легкость устранения неполадок и экономию на масштабе.
Наземные точки проверки AeroPoints обеспечивают дополнительную точность, о которой часто упоминают, которая на крупных объектах составляет 3 сантиметра. Лицензия на программное обеспечение обеспечивает обработку данных; облачная платформа визуализирует и анализирует данные для локальных команд.
Сегодня Propeller предпочитает фотограмметрию LiDAR. Аргумент Сан-Мигеля в пользу этого выбора: «Propeller уже объявил о поддержке LiDAR, и мы можем получать облака точек с дронов, которые сегодня генерируют облака точек». Но, по его словам, «фотограмметрия — наш главный хлеб с маслом. Камеры действительно зрелые, очень качественные, поэтому мы можем получить отличные данные.
С 2017 года компания Propeller использует свое программное обеспечение через Trimble Business Center под названием Trimble Stratus. «Большое партнерство, которое по сути является дистрибьюторским соглашением», — сказал Сан-Мигель.«Они берут нашу основную платформу, на которой есть обработка и аналитика. Мы переименовываем его в Trimble Stratus.
Мы подключили некоторые важные интеграции Trimble, чтобы вы могли входить в систему со своей учетной записью Trimble, читать и записывать файлы Trimble, и мы поддерживаем калибровку системы Trimble. Эти интеграции подключаются к продукту, и затем мы продаем Trimble Stratus вместе с дилерами Trimble и Trimble по всему миру через их дилеров Sitech. Они в основном ориентированы на строительство, поэтому клиентские базы действительно совпадают.У Trimble нет такого решения, как Propeller; У Propeller нет такого дистрибутива, как у Trimble ».
Яркое будущее
«Со временем Propeller, — сказал Сан-Мигель, — станет комплексным решением для отслеживания, а не решением для картографирования дронов». С этой целью Propeller «добавляет еще один способ отслеживания землеройных работ, дополняющий то, что мы делаем сегодня с дронами. Нам не хватает элемента реального времени, и как только вы говорите в режиме реального времени, вы не можете держать людей в курсе.”
Новый продукт Propeller называется DirtMate.
«Это небольшой, действительно прочный датчик GPS, который находится на крыше всех землеройных машин», — сказал Сан-Мигель. «По мере того, как машина перемещается по площадке, мы, по сути, наносим на карту отметки в реальном времени, а затем производим весь этот анализ. Он не заменяет существующий сегодня бизнес Propeller; он совпадает и дополняет ».
DirtMate работает на полдюжине сайтов. «Нам предстоит проделать огромную работу, чтобы сделать продукт надежным», — признал Сан-Мигель.«Сайты наших первых клиентов будут свидетельствовать о необходимой повышенной надежности, более простом понимании и лучшей гидроизоляции. Но они были очень терпеливы с нами, и мы каждый день отмечаем проблемы ». Широкая доступность намечена на первый квартал 2021 года.
А статус и будущее автономного строительства?
«По моим оценкам, проникновение составляет около 10 процентов; на самом деле это могло быть меньше, — сказал Сан-Мигель. «Это означает, что 10%, может быть, 15%, лучшие .
.. строительные компании сегодня расширяют свои программы использования беспилотных летательных аппаратов, и есть множество других предприятий, которые собираются последовать их примеру, как только люди начнут переходить из компании в компанию. .
«Я думаю, что нужно, чтобы часть этой шумихи действительно улеглась. Если мы сможем вернуться к простой оценке технологии по ее достоинствам, если она подходит, значит, она подходит, и не будем слишком настаивать. Это просто медленное и стабильное развертывание. Это, безусловно, многообещающе ».
И, скажем, через пять лет?
«Мы намного ближе к тому, чтобы на каждом рабочем месте был дрон. Существуют дополнительные технологии и датчики … которые делают информацию более богатой, простой и информативной.
«Мы увидим улучшения в отслеживании и порекомендуем работу, которую необходимо выполнить. Я думаю, мы увидим, как компьютеры коснутся некоторых из самых физических работ, выполняемых людьми, и попробуем применить к этому аналитическую линзу.
Я думаю, что мы увидим немного автоматизации на рабочих местах, в роботизированном оборудовании, но еще предстоит пройти долгий путь.
Тем не менее, «это захватывающее время», — заключил Сан-Мигель. «Я чувствую, что следующие пять лет в строительстве могут быть похожи на последние пять лет в электронной коммерции или пять лет до этого в мобильных финансах….Мне кажется, что мы приближаемся к одной из тех фаз быстрого развития ».
M300 RTK Аварийная посадка с тремя винтами
Когда вы впервые видите его, новый режим аварийной посадки с тремя гребными винтами выглядит одновременно впечатляюще и несколько странно. Этот режим переводит дрон в быстрое вращение, при котором он начинает вращаться от двух до трех раз в секунду. Правильно, весь дрон вращается во время полета, пока не вернется на землю.
И в этом ротации его спасение.Быстрое вращение позволяет двигателям более равномерно распределять тягу под дроном, что позволяет ему сохранять относительную стабильность.
Поскольку рука с нефункционирующим двигателем никогда не бывает надолго в одном месте, дрон не может начать падать на этой руке. Фактически, когда начинается вращение, Matrice 300 RTK чем-то напоминает гироскоп или маховик.
И хотя это выглядит довольно необычно, на самом деле это весьма примечательно: Matrice 300 RTK способен делать то, что исторически было невозможно для квадрокоптера: летать с тремя двигателями.
Звучит потрясающе, правда? Это. Просто посмотри.
«Трехвинтовой режим аварийной посадки»
Если вы какое-то время знакомы с квадрокоптерами, вы узнаете суровую правду: если один из двигателей выйдет из строя, ваш БПЛА упадет с неба. И не с легким трепетом. Ваш дрон падает с такой скоростью, с какой гравитация может тянуть его к земле. Конец этой осени — крушение — будет неприятным.
Этот отдаленный, но вполне реальный риск неудачи является причиной того, что некоторые люди традиционно выбирают гексакоптеры, такие как платформа Matrice 600.
Когда один из его шести двигателей выходит из строя, дрон все еще может быть безопасно доставлен на землю порядочным пилотом. Но не тогда, когда всего четыре мотора. Тогда даже лучший пилот, который только можно себе представить, не сможет спасти его от неизбежного.
«Обычно, если вы теряете тягу одного гребного винта, три оставшихся гребных винта не могут обеспечить дрону достаточную тягу», — объясняет Фреда Пэн из DJI, старший менеджер по продуктам и решениям DJI. «И эти три пропеллера не могут поддерживать стабильный полет дрона.”
Хотя такой риск может быть приемлемым для самодельного устройства или недорогого потребительского квадрокоптера, в мире корпоративных дронов это совсем другая ситуация. С датчиками более высокого класса, такими как серия h30, LiDAR и мощными оптическими зумами, ставки намного выше. Эти дроны — дорогие машины с дорогими дополнениями, такими как технология кинематики в реальном времени (RTK) для большей пространственной точности.
Они также пользуются постоянным спросом на промышленных площадках, где простои недопустимы.
Низкая вероятность неудачи
Конечно, продукты DJI созданы для того, чтобы служить долго. И вероятность неисправности двигательной установки очень мала. Фактически, инженеры DJI подсчитали, что вероятность отказа двигателя или ESC составляет около 0,01 процента. Это довольно низкие шансы.
Но сбои могут случиться, особенно когда дроны работают в суровых условиях, которые определяют многие промышленные рабочие места. В результате DJI решила, что было бы полезно добавить критически важную функцию в свою новую платформу Matrice 300 RTK.Используя программное обеспечение в сочетании с платой управления полетом, Matrice 300 RTK имеет функцию спасения жизни.
Как это работает
На любом дроне полетный контроллер работает постоянно. Одна из его ключевых задач — обеспечение стабильного полета. Для этого он постоянно проверяет бортовые датчики, чтобы убедиться, что дрон выровнен, а также постоянно отслеживает обороты всех двигателей.
В сочетании с электронными регуляторами скорости или ESC он непрерывно ускоряет и замедляет двигатели, чтобы дрон всегда оставался устойчивым в воздухе.Эти системные проверки выполняются несколько сотен раз в секунду, при этом постоянно происходят минутные корректировки.
С Matrice 300 RTK, полетный контроллер и другие специализированные программные алгоритмы теперь делают что-то совершенно новое и беспрецедентное для квадрокоптера DJI: если они чувствуют, что дрон потерял мощность в двигателе или что двигатель вращается достаточно ниже скорости, чтобы вызывают проблемы со стабильностью, контроллер полета берет на себя. Он переводит дрон в аварийный режим выживания, предназначенный для безопасного обрушения машины или позволяющего пилоту вручную направлять Matrice 300 RTK в более безопасное место для приземления.
Служба быстрого реагирования
В некотором смысле вы можете думать об этом программном и аппаратном обеспечении как о службе быстрого реагирования.
Плата управления полетом может обнаружить неисправность двигателя менее чем за 100 миллисекунд. Дополнительный буфер в 100 миллисекунд позволяет избежать ложного обнаружения неисправности перед автоматическим переходом в режим аварийной посадки с тремя винтами. При длительности более 200 миллисекунд угловая скорость дрона будет слишком высокой для управления — серьезное препятствие при аварийной посадке с управляемыми тремя винтами.Усовершенствованные алгоритмы управления полетом M300 RTK практически устранили любые задержки до того, как программное обеспечение возьмет на себя управление дроном, чтобы спасти его жизнь.
Неудивительно, что в результате всей этой вращательной энергии происходит некоторый дрейф. Matrice 300 RTK может дрейфовать примерно на 30 метров, прежде чем упадет на землю. Однако на самом деле он не приземляется во время вращения. Пилот использует специальную команду джойстика, чтобы выключить двигатели, как только Matrice 300 RTK окажется очень близко к земле — и, надеюсь, к более мягкой поверхности, такой как трава.
«Мы продолжаем тестировать и оптимизировать», — говорит Пэн. «Так что инженеры будут продолжать обновлять эту функцию».
Матрица 300 RTK Первый
По словам Фреды Пэна из DJI, эта функция была запланирована для Matrice 300 RTK с самого начала. Несмотря на то, что это определенно инженерная проблема, DJI знала, что это будет функция, которую клиенты будут приветствовать, особенно в корпоративной модели более высокого уровня.
На данный момент эта функция доступна только на Matrice 300 RTK.Пэн говорит, что, возможно, он появится и в других продуктах DJI, но на данный момент основное внимание уделяется Matrice 300 RTK.
DJI подготовил технический документ, в котором более подробно описывается, как работает этот процесс. Вы можете найти это здесь.
Замечательный
Удивительно видеть, как эта функция превратилась из концепции в техническую реальность. Это будет еще более удивительно, когда мы получим несколько сообщений об экономии Matrice 300 RTK на рабочем месте.
Шансы на то, что пристань с тремя винтами когда-либо понадобится большинству пользователей Matrice 300 RTK, невелика.Но в тех редких случаях, когда что-то действительно идет не так, эта автономная функция может все исправить.
Узнайте больше о функциях безопасности, встроенных в M300 RTK.
Воздушные винты Airmaster
Индивидуальные решения
Там, где существующий продукт не подходит, Airmaster может разработать индивидуальные решения, используя широкий спектр компонентов. Каждый компонент может быть выполнен в широком диапазоне конфигураций, чтобы обеспечить максимальную гибкость.
концентраторы
Ступицы пропеллера бывают разных форм и размеров, от 2 до 4 лопастей, а мощность в диапазоне от 80 до 200.
Лезвия
Выбор правильного лопасти имеет решающее значение для окончательной работы винтовой системы.Airmaster сотрудничает с ведущими производителями лезвий со всего мира, чтобы обеспечить использование самых лучших лезвий в каждом конкретном случае.
Читать дальше>Контроллеры
Цифровой регулятор AC200 обеспечивает быстрое и точное управление высотой звука в любых условиях.
Он поставляется в нескольких вариантах, нацеленных на определенные функции, и полностью программируется для использования на самых разных двигателях.
Блесны
Высококачественные алюминиевые вращающиеся конусы доступны в большом разнообразии размеров и отделок, чтобы обеспечить идеальную отделку каждого самолета.
Читать дальше>Расширения
Доступен широкий выбор удлинителей, проставок и адаптеров, чтобы ваш винт идеально подходил к вашему самолету
Читать дальше>Оборудование
Все вспомогательные детали, такие как контактные кольца, электрические ткацкие станки, кронштейны и оборудование, подходят для самых разных двигателей.
Все время добавляются новые детали, спрашивайте.
Тест безопасности веб-сайта | Проверка безопасности на соответствие GDPR и PCI DSS
0 тестов, запущенных
тестов за 24 часа
— тестов
запущенных
— тестов
за 24 часа
Free API
ImmuniWeb Community Edition предоставляет бесплатный API для безопасности веб-сайтов Тестовое задание.Он разделяет количество тестов, выполненных через веб-интерфейс:
| Тип учетной записи | Тестов в день | Ежемесячная подписка |
| Нет учетной записи | 10 | Бесплатная |
| Бесплатная учетная запись 90 | Fre e |
Premium API
ImmuniWeb Community Edition также предоставляет премиальный API для большего количества тестов через API или веб-интерфейс:
Государственные школы, местные органы власти и некоммерческие организации могут запросить бесплатный доступ к премиум API.
Документация API
Спецификации API
| Имя поля | Значение | |
|---|---|---|
| Протокол | HTTP / HTTPS | |
| Тип запроса | URL www.immuniweb.com/websec/api/v1/chsec/[ustamp].html — где «устамп» — произвольная метка времени UNIX (должно быть целым числом). Такая конструкция сделана для предотвращения кеширования на стороне клиента. |
Спецификация данных POST
| Имя поля | Значение | ||||
|---|---|---|---|---|---|
| api_key | секретный токен, который вы отправляете вместе с URL-адресом протестированного | ||||
| dnsr | «вкл.» Означает, что результаты теста будут скрыты, «выкл.» Означает, что результаты теста будут отображаться в статистике. | ||||
| choosen_ip | IP-адрес тестируемого сервера (если тестируемый домен разрешается на несколько адресов).![]() | ||||
| recheck | «false» будет использовать результаты из кеша, если сервер был протестирован в течение последних 24 часов, «true» выполнит новый тест без просмотра кеша. | ||||
| token | значение токена, отправляемого сервером, если тестируемый домен разделен на несколько IP-адресов. |
Пример транзакции с использованием CURL
curl -d «Test_url = twitter.com & choosen_ip = any & dnsr = off & recheck = false» «https://www.immuniweb.com/websec/api/v1/chsec/1451425590.html «
{
" job_id ":" 2a9e1f1bc92dc0c7a4bde930dff488771eea6d36988208d34163c5496227b8dc ",
" status ":" test_started ",
" status_id_id 9071 ",
" status_id_id 9071 ",
" статус_id_id 9071 "9071 = 2a9e1f1bc92dc0c7a4bde930dff488771eea6d36988208d34163c5496227b8dc "" https: // www.Immuniweb.com/websec/api/v1/get_result/1451425590.html " {
" job_id ":" 2a9e1f1bc92dc0c7a4bde930dff488771eea6d36988208d34163c8771eea6d36988208d34163c8771eea6d36988208d34163c549226 статус «Ваш тест продолжается»
}
curl -d "Test_url = twitter.
com & choosen_ip = any & dnsr = off & recheck = false" "https://www.immuniweb.com/websec/api/v1/chsec/1451425590.html "
{
" test_id ":" c84936eef26eeb8aaef5ffc43f38ddb91adfd90ac27fb416bd0b21fe2edb1004 ",
" status ":" test_cached ",
" status_id "9001:"
"сообщение cached id = c84936eef26eeb8aaef5ffc43f38ddb91adfd90ac27fb416bd0b21fe2edb1004 "" https://www.immuniweb.com/websec/api/v1/get_result/1451425590.html " проверено curl.0.0.0 & choosen_ip = any & dnsr = off & recheck = false "" https://www.immuniweb.com/websec/api/v1/chsec/1451425590.html " {
" error ":" Имя домена 0.0.0.0 решено в неверном IP-адресе ",
" error_name ":" invalid_ip_resolved "" error_id ": 16
}
curl -d" api_key = your_api_key "" https://www.immuniweb.com/websec/gen_pdf/test_id/ "> report.pdf
Пример ответа сервера
Набор инструментов командной строки
Простой интерфейс командной строки для использования бесплатных инструментов ImmuniWeb® Community Edition в конвейерах CI / CD и DevOps.
Установить
Загрузите утилиты с GitHub или используйте git:
git clone "https://github.com/immuniweb/iwtools.git" && cd iwtools / iwtools
Установите сторонние библиотеки python:
- termcolor
- colorama
- запросов
Использование
Проверьте свой веб-сайт на соответствие GDPR и PCI DSS, протестируйте безопасность CMS и CSP, проверьте надежность и конфиденциальность веб-сервера:
./iwtools.py websec "https://example.com"
./iwtools.py websec --ip 8.8.8.8 "https://example.com"
./iwtools.py websec --format raw_json " https://example.com "
./iwtools.py websec --api-key ABCDE-12345-FGHIJ-67890 --refresh" https: // example.com "
Проверьте другие параметры командной строки здесь.
ImmuniWeb Community Edition - Тест безопасности веб-сайта
Тест безопасности веб-сайта - это бесплатный онлайн-инструмент для выполнения тестов безопасности и конфиденциальности в Интернете:
- Ненавязчивая проверка соответствия GDPR связанных с безопасностью веб-приложений
- Ненавязчивая проверка на соответствие стандарту PCI DSS, связанная с безопасностью веб-приложений.

- Анализ CMS и ее компонентов на наличие устаревших версий и общеизвестных уязвимостей.
- Анализ методов HTTP, которые могут подвергнуть риску веб-сервер, веб-приложение или посетителей веб-сайта.
- Подробный анализ (синтаксис, достоверность, надежность) заголовков безопасности HTTP:
- Анализ измененных и, следовательно, потенциально вредоносных библиотек JS.
- Анализ ViewState на предмет неправильной конфигурации и слабых мест в системе безопасности.
- Анализ файлов cookie веб-приложений на наличие флагов безопасности.
- Обнаружение присутствия домена в различных черных списках.
- Обнаружение криптоджекинга в JS-коде.
- Обнаружение присутствия WAF.
Ссылки и инструкции
Диапазоны IP-адресов
Диапазоны IP-адресов наших исходящих серверов:
- 192.
175.111.224/27 - 64.15.129.96/27
- 70.38.27.240 / 28
- 72.55.136.144/28
- 72.55.136.192/28
- 79.141.85.24/29
Методология подсчета баллов
- В начале теста выставляется 100 баллов. - Баллы добавляются за хорошую и надежную настройку вашего веб-сайта и веб-сервера - Баллы вычитаются за небезопасную, неполную или ненадежную конфигурацию вашего веб-сайта или веб-сервера - Общее количество баллов за все обнаруженные CMS и компоненты CMS не будут ниже -50 или выше +50 - Суммарные баллы для всех обнаруженных компонентов JS не будут ниже -20 или выше +20 - Общие баллы для всех HT Методы TP и CSP не будут ниже -30 или выше +30 - Общее количество баллов для всех файлов cookie не будет ниже -10 или выше +10 - Ни один веб-сайт не может получить оценку выше "C", если уязвимый найдено программное обеспечение - Ни один веб-сайт не может получить оценку выше "B +", если CMS не обновлена - Ни один веб-сайт не может получить оценку ниже "C", если его компоненты CMS и CMS не имеют известных уязвимостей - Сервер получает "N", если проверяемый порт закрыт или код состояния HTTP не равен 200, 301, 302, 303, 307 или 308
Оценка Оценка A + Оценка больше 100 A Оценка от 90 до 99 A- Оценка от 80 до 89
Оценка
B + Оценка от 70 до 79 B Оценка от 60 до 69 B- Оценка от 50 до 59 35
Марка 9044 9 Оценка C + Оценка от 35 до 49 C Оценка от 20 до 34 F Оценка ниже 20 Безопасность веб-сайта и соответствие требованиям Описание Оценка WAF присутствует +20 WAF отсутствует -5 9040MS CMS не обновлена -15 90 409 CMS не обновлена и уязвима-50 Компонент CMS обновлен +15 Компонент CMS не обновлен -10 Компонент CMS не обновлен -30 Компонент JS обновлен +10 Компонент JS не обновлен -5 Компонент JS не обновлен и уязвим -30 Сервер -30 Сервер -30 Пользовательские методы HTTP -10 Сервер поддерживает HTTP-метод TRACE, TRACK или CONNECT -10 A cooki e не имеет установленного флага HttpOnly -5 Для файла cookie установлен флаг Secure +5 Для файла cookie установлен флаг SameSite на Lax +5 Файл cookie имеет флаг SameSite, установленный на Strict +5 Для файла cookie не установлен флаг SameSite -1 Имя файла cookie имеет префикс __Secure- и его предварительные требования +5 Имя файла cookie имеет префикс «__Host-» и необходимые условия +5 Включен список каталогов веб-сервера -10 Веб-сайт использует ресурсы из стороннего домена ains, которые не могут быть разрешены -30 Обнаружено вредоносное ПО для криптоджекинга -50
Заголовки безопасности HTTP и оценка политики безопасности содержимого
Описание Имя заголовка Через HTTP Через HTTPS Политика разрешений Заголовок присутствует и действителен +15 +15 Политика разрешений Заголовок присутствует и неправильно настроен -10 -10 Expect-CT Заголовок неправильно настроен -20 Access-Control-Allow-Origin Заголовок присутствует и действителен +5 +5 Strict-Transport-Security Заголовок присутствует, действителен и принудительно 0 +25 Strict-Transport-Security Заголовок отсутствует 0 -20 Strict-Transport-Security Заголовок имеет продолжительность менее 6 месяцев 0-10 Strict-Transport-Security Сертификат сервера не является доверенным 0 -1 X-Frame-Options Заголовок присутствует и действителен +15 +15 X-Frame-Options Значение заголовка ALLOWALL -10 904 -10 X-XSS-Protection Заголовок присутствует и действителен +20 +20 X-XSS-Protection Значение заголовка 0 (отключено) -10 -10 X-XSS-Protection Заголовок отсутствует -10 -10 X-Content- Тип-параметры Заголовок присутствует и действителен +15 +15 X-Content-Type-Options Заголовок отсутствует -10 -10 Content-Security- Политика Заголовок присутствует +20 +20 Content-Security-Policy Заголовок отсутствует -20 -20 Content-Security-Policy по умолчанию Заголовок -src установить на 'none' или 'self' +5 +5 Content-Security-Policy Заголовок содержит wildc ard в директиве default-src -10 -10 Content-Security-Policy Заголовок содержит подстановочный знак в любой другой директиве -10 -10 Content-Security-Policy Заголовок имеет директиву frame-ancestors, ограничивающую источники, а заголовок X-Frame-Options не установлен +10 +10 Content-Security-Policy Заголовок имеет директиву frame-ancestors с подстановочным знаком и Заголовок X-Frame-Options не установлен +5 +5 Content-Security-Policy Заголовок имеет установленную директиву frame-ancestors и соответствует значению заголовка X-Frame-Options +5 +5 Content-Security-Policy Заголовок имеет установленную директиву frame-ancestors и несовместим с X-Frame-Options значение заголовка -5 -5 Content-Security-Policy Заголовок включает блокировку XSS, а заголовок X-XSS-Protection не установлен +15 +15 Content-Security -Policy Заголовок включает фильтрацию XSS, а заголовок X-XSS-Protection не установлен +15 90 409 +15 Content-Security-Policy Заголовок имеет набор директив отраженных xss и соответствует значению заголовка X-XSS-Protection +5 +5 Content-Security-Policy Заголовок содержит директиву Reflected XSS, значение которой отличается от заголовка X-XSS-Protection.
набор директив -mixed-content +5 +5 Server Заголовок раскрывает версию программного обеспечения сервера -5 -5 X-Powered-By Заголовок раскрывает версию программного обеспечения сервера -5 -5 X-AspNet-Version Заголовок раскрывает 10 версию программного обеспечения сервера - 904 5 -5
Бесплатный мониторинг безопасности веб-сайтов
ImmuniWeb Community Edition обеспечивает бесплатный мониторинг безопасности веб-сайтов и соблюдение требований с помощью этого теста безопасности веб-сайтов.Вы можете бесплатно добавить до 3 веб-сайтов, которые будут проверяться с помощью теста безопасности веб-сайтов каждые 7 дней. Вы будете уведомлены по электронной почте о новых уязвимостях или неправильных настройках. Вы можете изменить или удалить хосты в любое время.
Отменить Сохранить
{%} else {%} {% if (! Limit_exceeded) {%} {%} else {%} Вы можете отслеживать до {% = max_subscriptions%} веб-сайтов бесплатно.

в упаковке
хр ГОСТ 13943-86
)
)
)
2RS.Р6Q6/С9;С17)*
, Inc.
(MAX)
Между
пальцем шарнира и траком используется
резиновая втулка, изгиб гусеницы в
местах сочленения траков происходит
за счёт смещения слоев резины, благодаря
чему исключается трение сталь по стали
и значительно повышается ресурс пальцев
и траков гусеницы.

com & choosen_ip = any & dnsr = off & recheck = false" "https://www.immuniweb.com/websec/api/v1/chsec/1451425590.html "

175.111.224/27
набор директив -mixed-content