Запрашиваемая страница не найдена!
- Назад
- Каталог товаров
- РАСПРОДАЖА
- Самогоноварение
- Самогонные аппараты
- — LUXSTAHL (Люкссталь)
- — БОГАТЫРЬ
- — БРАЖНЫЕ, РЕКТИФИКАЦИОННЫЕ КОЛОННЫ
- — Вейн (Wein)
- — ГОРЫНЫЧ
- — Добровар
- — Конструктор
- — Финляндия Экстра
- — Феникс
— Добрый Жар- — АЛКОВАР
- — Модернизация аппаратов
- Перегонные кубы
- — Brendimaster «Брендимастер»
- — Добровар
- — Пароводяные котлы ПВК
- — Добрый Жар
- — Сопутствующие товары для перегонных кубов
- Ингредиенты для браги
- — Дрожжи
- — Солод
- — Ферменты
- — Бентонит
- Емкости для брожения
- Измерительные приборы
- — Спиртомеры, виномеры и термометры
- — Цилиндры, кружки мерные
- Облагораживание, очистка
- — Всё для очистки самогона
— Дубовые чипсы и бонификаторы
- Бутыли, бутылки и пробки
- — Бутыли, бутылки
- — Пробки
- Вкусовые концентраты
- — Коньячная серия
- — Фруктово-ягодная серия
- — Серия «Напитки мира»
- — Серия «Водки»
- — Серия «Ликеры»
- — Наборы ароматизаторов
- — Винная серия
- — Красители
- — Концентрированные соки
- Сопутствующие товары
- Наборы для настоек
- Книги о самогоне
- Самогонные аппараты
- Виноделие
- Виноделие
- — Пресса для винограда
- — Дробилки для винограда
- Брожение
- — Дрожжи и Бентонит для вина
- — Емкости для брожения
- Хранение вина
- — Банки и бутылки для вина
- — Укупорочные и сопутствующие товары
- Виноделие
- Пивоварение
- Оборудование для пивоварения
- — Пивоварни
- — Чиллер пивной
- Пивные ингредиенты
- — Хмель пивоваренный
- — Пивные дрожжи
- — Солод для пивоварения
- Оборудование для пивоварения
Устройство фильтра
Гидрозагрузка
Предназначена для загрузки фильтрующих материалов (песок, антрацит, ионообменные смолы и др.
) в фильтр.
УВСР
Верхнее распределительное устройство предназначено для подвода в фильтр и равномерного распределения воды или регенерационного раствора, а также удаления промывочной воды или регенерационного раствора.
Корпус фильтра
Представляет собой стальной вертикальный цилиндрический аппарат с эллиптическими или торосферическими штампованными днищами. Корпус фильтра для очистки воды может иметь фланцевый разъем для удобства и безопасности нанесения антикоррозионного покрытия.
Воздушник
Предназначен для удаления воздуха, обычно находится в верхней части фильтра.
Смотровое окно
Устанавливается для контроля состояния фильтрующей загрузки фильтра
Люк-лаз
Предназначен для осмотра и обслуживания фильтра и внутренних устройств.
Гидровыгрузка
Предназначена для выгрузки фильтрующих материалов (песок, антрацит, ионообменные смолы и др.) из фильтра.
Обвязка
Это система труб, соединительной арматуры и контрольно-измерительного оборудования.
Запорно-регулирующая арматура
Устройства, монтируемые на трубопроводах обвязки или корпусе фильтра, предназначенные для отключения, распределения, регулирования, смешения или сброса потоков сред.
Пробоотборный узел
Точка отбора проб с контрольно измерительной аппаратурой
УНСР
Устройство нижнее дренажно-распределительное предназначено для сбора и отвода из фильтра воды или регенерационного раствора, а также для подвода отмывочной воды или регенерационного раствора.
Фильтрующие элементы (ФЭЛ)
Предназначены для организации равномерной подачи и отвода фильтруемой жидкости (раствора). Исключают вынос фильтрующего материала из фильтра.
Комплект для рециркуляции Faber Устройство фильтрующее для Galileo
Итальянский бренд Faber предлагает инновационную бытовую технику, в которой сочетается высокое качество материалов с современными дизайнерскими решениями.
История производителя
Компания была основана в 1955 году Абрамо Галасси, который решил создать вместе с тремя партнерами фирму по производству кухонной и другой бытовой техники. В 1958 году предприятие выпустило первые воздухоочистители. Фурор произвела вытяжка из оргстекла Plexiglas.
С такого удачного хода стартовало активное развитие компании и укрепление ее позиций на национальном рынке, ее продукцией также заинтересовались на мировом уровне. К 1963 году коллектив Faber насчитывал уже сотню сотрудников.
Через девять лет произошло слияние двух крупных предприятий. FaberPlast – отделение, занимавшееся производством пластика, влилось в компанию Flaminia. Все это время делались шаги к выходу на мировой рынок. И в 70-е бренд уже твердо ассоциировался с качественными вытяжками из Италии.
В 1980-х выделены крупные средства на модернизацию производств с автоматизацией процессов.
Компания открывает подразделения в других странах. Первым был филиал FlaminiaDeutschland в Германии. В 1987-м созданы подразделения в США, Канаде и Великобритании.
В 1990-м в Fabergroup влились испанская компания MepamsaSA и аргентинская IndustriasSparSanLuisSA. Еще одна важная веха в развитии предприятия – подписание соглашения с турецким производителем вытяжек ImalatveTicaret. В 1996 году в состав Fabergroup вошла французская компания RobinSA.
В новом тысячелетии корпорация не останавливается в расширении и развитии. К Fabergroup присоединился FuturumSA – шведский производитель воздухоочистителей. В России же основана компания FaberLuki. В 2005-м Faber вливается в состав международной группы Franke Holding AG.
Именно под брендом Faber выпущена первая вытяжка с электромотором – еще в 1963-м году. Он же применил стеклянный козырек вместо пластикового в 1966-м. В 1986 году фурор произвела декоративная вытяжка Faber Nova. Еще производитель считается новатором, первым установив электронное управление и внедрив автоматизацию и роботизацию в производственные процессы.
Сегодня под ТМ Faber выпускаются вытяжки всех востребованных модификаций – купольные и без купола, наклонные и встраиваемые. Можно подыскать островную, подвесную и угловую модель. Также в ассортименте есть вытяжки в стиле кантри и варочные панели.
Выгодные покупки с удобством
На бытовую технику от Faber предоставляется гарантия сроком 24 месяца. В магазине faber-rus.ru вы можете купить вытяжки и варочные панели с доставкой. По Москве и Подмосковью, также Санкт-Петербургу заказы развозит курьерская служба. В остальные регионы товары отправляем транспортными компаниями.
Фильтрующее устройство гравитационного фильтра для умягчения и очистки питьевой воды
Изобретение предназначено для умягчения и очистки питьевой воды и может быть использовано для улучшения качества очистки питьевой воды в бытовых фильтрах кувшинного типа. Предложено фильтрующее устройство гравитационного фильтра для умягчения и очистки питьевой воды, содержащее систему фиксации фильтрующего устройства в воронке фильтра с отверстиями для входа очищаемой воды и выхода воздуха, фильтрующий элемент, выполненный из пористого блочного материала в виде полого вертикального сосуда с пористым или герметично закрытым дном с расположенными во внутреннем его пространстве слоем ионообменного материала и распределителем потока обрабатываемой воды с элементом фиксации, при этом слой ионообменного материала расположен между внутренней поверхностью фильтрующего элемента и распределителем потока обрабатываемой воды, выполненным в виде вертикального или горизонтального тела с отверстиями меньше размера частиц ионообменного материала.
Пористый блочный материал фильтрующего элемента получен путем сжатия при нагреве смеси порошкообразных компонентов, содержащей частицы активированного угля и полимерного связующего. Система фиксации фильтрующего устройства соединена герметично с фильтрующим элементом. Технический результат: упрощение конструкции, обеспечение повышенного ресурса стабильного умягчения воды с одновременным сохранением высокоэффективной очистки воды. 14 з.п. ф-лы, 11 ил., 1 пр., 1 табл.
Изобретение относится к фильтрующим устройствам гравитационного фильтра для умягчения и очистки питьевой воды и может быть использовано для улучшения качества очистки питьевой воды в бытовых фильтрах кувшинного типа.
В настоящее время широкое распространение среди населения получили бытовые фильтры для очистки питьевой воды, которые являются альтернативой бутилированной питьевой воде. Среди них наибольшей популярностью пользуются гравитационные фильтры, представляющие собой фильтры кувшинного типа, которые отличаются простотой конструкции, низкой ценой и не требуют подключения к напорным системам водоснабжения.
Фильтры кувшинного типа состоят из резервуара, в верхней части которого размещена приемная воронка, в которую заливается очищаемая вода, и фильтрующего устройства (картриджа), герметично подсоединяемого к воронке.
Обычно фильтры кувшинного типа выполняют задачу по очистке питьевой воды от наиболее распространенных токсичных загрязнителей — хлора и его соединений, органических примесей, в частности, хлорорганических соединений, и тяжелых металлов. Некоторые из такого типа фильтров дополнительно умягчают исходную жесткую воду, удаляя из нее катионы кальция и магния, а также их гидрокарбонат-ионы.
Снижение общей жесткости воды крайне важно для потребителей, получающих из источников питьевого водоснабжения воду средней жесткости (2-10 °Ж по ГОСТ 31865-2012 «Вода. Единица жесткости» или 2-10 мг-экв/л) или жесткую воду (> 10 °Ж по ГОСТ 31865-2012 «Вода. Единица жесткости» или более 10 мг-экв/л), так как такая вода способствует развитию ряда заболеваний у человека (образование мочевых камней, отложение солей в суставах и сосудах и др.
), обладает неприятным вкусом, придает неприятный вкус напиткам на ее основе (чай, кофе) и вызывает отложение накипи на нагревательных элементах бытовых приборов.
Снижению жесткости воды фильтрами кувшинного типа способствует наличие в составе фильтрующих устройств таких фильтров гранулированных катионообменных смол, выполняющих функцию обмена содержащихся в них H+ и Na+ катионов на содержащиеся в умягчаемой воде катионы Са++ и Mg++ и их гидрокарбонат-ионы, ответственные за жесткость воды.
Однако большинство известных из уровня техники фильтров кувшинного типа со сменными фильтрующими устройствами (патент DE 000002919901, 1980 год, WO 1998017582, 1998 год, RU 2236279, 2004 год, патент WO 2005118481, 2005 год, WO 2005118104, 2005 год, WO 2005118482, 2005 год, RU 2617775, 2017 год, RU 2252062, 2005 год, RU 2437703, 2011 год, RU 2617775, 2017 год, серийная кассета «БАРЬЕР-Жесткость» АО «BWT-Barrier RUS») не обеспечивают равномерного умягчения воды во время их работы: в начале ресурса работы фильтрующего устройства происходит гиперумягчение воды — снижение концентрации катионов Са++ и Mg++ на 80-100%, что делает воду избыточно мягкой, отрицательно влияющей на здоровье человека и обладающей неудовлетворительным вкусом, а в продолжение отработки ресурса фильтрующего устройства вода умягчается недостаточно — на 10-15%, что, фактически оставляет ее в категории «вода средней жесткости» или «жесткая вода».
Такая неравномерность умягчения воды обусловлена конструкцией фильтрующих устройств, фильтрующие элементы которых представляют собой пластиковый сосуд с размещенной в нем или смеси гранулированных и/или волоконных сорбирующих и материалов, в числе которых содержатся умягчители — катионообменные смолы. Обрабатываемая вода в таких фильтрационных устройствах проходит вертикально вниз через слой уплотненного сорбирующего материала, контактируя с поверхностью гранул катионообменной смолы без возможности проскока, в результате чего происходит почти полное извлечение из воды катионов кальция, магния и их гидрокарбонат-ионов, что приводит в начале ресурса к гиперумягчению. При этом у катионообменной смолы вырабатывается сорбционная емкость по катионам кальция, магния и их гидрокарбонат-ионам, что является причиной недостаточного умягчения воды в процессе дальнейшей работы фильтрующего устройства.
Известны фильтрующие устройства (патент RU 2163829 С1, 10.03.2001; патент RU 2252062 С2, 20.
05.2005), в которых конструкция пластикового сосуда позволяет очищаемой воде проходить через смесь гранулированных и/или волоконных сорбирующих и фильтрующих материалов снизу вверх, разрыхляя слой сорбирующих и волоконных материалов. Такая конструкция создана с целью способствования выхода воздуха из фильтрующего устройства и, тем самым, обеспечения стабильных скоростей фильтрации. Недостатками таких фильтрующих устройств являются их сложная конструкция и то, что они не предназначены для умягчения воды.
Известны фильтрующие устройства с функцией частичного умягчения воды (патент RU 2526377 С1, 20.08.2014, патент RU 2540159 С1, 10.02.2015, патент RU 2538746 С2, 10.01.2015), в которых потоки очищаемой воды в зоне умягчения имеют радиальное и вертикальное (сверху вниз) направление. Это достигается за счет введения в конструкцию фильтрующего устройства дополнительного узла умягчения (второй рабочей зоны), выполненного в виде отдельного корпуса с отверстиями в вертикальной стенке и в крышке, выполняющими функцию распределителя потока обрабатываемой воды.
Дополнительный узел умягчения расположен над основной (первой) рабочей зоной, представляющей собой пластиковый сосуд (основной корпус) со смесью гранулированных и/или волоконных сорбирующих и фильтрующих материалов, предназначенных для очистки воды от загрязнителей, в частности, хлора, хлорорганических соединений и тяжелых металлов. При прохождении через вторую рабочую зону вода, вследствие не полного контакта с поверхностью вещества — умягчителя из-за отсутствия плотного сорбирующего слоя, чему способствует его частичное взрыхление горизонтальными и вертикальными (сверху вниз) потоками воды, частично умягчается и, таким образом, достигается снижение гиперумягчения воды и увеличение ресурса по умягчению.
Однако вышеперечисленные фильтрующие устройства с функцией частичного умягчения воды имеют сложную конструкцию, обусловленную наличием в них сложных в изготовлении полимерных деталей и узлов, и трудоемкую технологию сборки такого фильтрующего устройства. Кроме того, малый объем второй рабочей зоны, предназначенной для умягчения воды, не позволяет разместить в ней достаточное количество умягчителя для обеспечения удовлетворительного для потребителя ресурса умягчения воды (150 — 200 литров).
Поэтому такие фильтрующие устройства до настоящего времени не нашли практического применения.
Из вышеперечисленных фильтрующих устройств с функцией частичного умягчения воды прототипом настоящего изобретения выбрано устройство (патент RU 2526377 С1, 20.08.2014), обеспечивающее снижение гиперумягчения воды и увеличение ресурса умягчения за счет разнонаправленных потоков воды в рабочей зоне умягчения. Фильтрующее устройство — прототип состоит из средства фиксации и фильтрующего элемента, состоящего из двух отдельных рабочих зон, причем в верхней рабочей зоне (зоне умягчения), представляющей собой отдельный корпус с внутренним пространством, заполненным фильтрующим (умягчающим) материалом, имеется распределитель потока обрабатываемой воды в виде отверстий варьируемой формы и размера, находящихся в боковых стенках и в крышке корпуса, а в нижней рабочей зоне, представляющей собой пластиковый корпус, расположенный под корпусом верхней второй рабочей зоны, находятся фильтрующие и сорбирующие вещества, предназначенные для очистки воды.
Фильтрующее устройство-прототип работает следующим образом: очищаемая вода из воронки фильтра через отверстия распределителя потоков корпуса второй рабочей зоны поступает в корпус второй рабочей зоны, где происходит ее частичное умягчения за счет ионного обмена с умягчителем — катионообменной смолой в Н+ или Na+ форме. Далее вода через отверстие в нижней части корпуса второй рабочей зоны поступает в корпус первой рабочей зоны, где происходит ее очистка от токсичных примесей. Умягченная и очищенная вода через нижнее отверстие корпуса первой рабочей зоны поступает в нижнюю зону кувшинного фильтра, предназначенную для хранения очищенной воды.
Для фильтрационного устройства-прототипа характерны те же недостатки, что и для других фильтрующих устройств с функцией частичного умягчения воды, такие как сложность конструкции и технологии изготовления, и недостаточный для потребителя ресурс умягчения воды, связанный с малым объемом рабочей зоны умягчения.
Технической задачей настоящего изобретения является создание фильтрующего устройства гравитационного фильтра для умягчения и очистки питьевой воды с упрощенной конструкцией, обеспечивающего при этом повышенный ресурс стабильного умягчения воды с одновременным сохранением высокоэффективной фильтрующей способности.
Поставленная техническая задача достигается предложенным фильтрующим устройством гравитационного фильтра для умягчения и очистки питьевой воды, содержащим систему фиксации фильтрующего устройства в воронке фильтра с отверстиями для входа очищаемой воды и выхода воздуха, фильтрующий элемент, выполненный из пористого блочного материала в виде полого вертикального сосуда с пористым или герметично закрытым дном с расположенными в его внутреннем пространстве слоем ионообменного материала и распределителем потока обрабатываемой воды с элементом фиксации, при этом слой ионообменного материала расположен между внутренней поверхностью фильтрующего элемента и распределителем потока обрабатываемой воды, выполненным в виде вертикального или горизонтального тела с отверстиями меньше размера частиц ионообменного материала, пористый блочный материал фильтрующего элемента получен путем сжатия при нагреве смеси порошкообразных компонентов, содержащей частицы активированного угля и полимерного связующего, а система фиксации фильтрующего устройства соединена герметично с фильтрующим элементом.
Предложенное фильтрующее устройство включает средство фиксации фильтрующего устройства в воронке фильтра, фильтрующий элемент с расположенными в нем фильтрующим материалом для очистки обрабатываемой воды, материалом, предназначенным для умягчения воды, и распределителем потока обрабатываемой воды с элементом фиксации, причем, материал, предназначенный для умягчения воды размещен между внутренней поверхностью фильтрующего элемента и распределителем потока обрабатываемой воды и представляет собой слой ионообменного материала с сорбционной обменной емкостью 0,5-5 мг-экв/мл с размером частиц 0,1-2,0 мм из класса слабо- или сильнокислотных катионитов в Н+ или Na+ форме и/или неорганических катионообменных материалов из классов природных или синтетических цеолитов, алюмосиликатов, силикагелей и сульфоуглей, и заполняет внутреннее пространство фильтрующего элемента на 20-90% от его объема, а фильтрующий материал фильтрующего элемента, предназначенная для очистки воды, представляет собой корпус фильтрующего элемента, выполненный из пористого блочного материала в виде полого вертикального сосуда с равнотолщинными или разнотолщинными стенками с размером пор, меньшем размера частиц ионообменного материала, толщиной 5-25 мм с сечением в форме круга (полый цилиндр), квадрата, прямоугольника, овала или сложного профиля, или полой обратной пирамиды или полого обратного конуса, или усеченной полой обратной пирамиды, или усеченного обратного конуса, с пористым или герметично закрытым дном, изготовленный методом экструзии или методом горячего прессования со степенью сжатия при формовании 12-25% при температуре на 10-40°С выше температуры размягчения полимерного связующего из смеси из частиц активированного угля с йодным числом не менее 1000 мг/г и полимерного связующего из классов полиолефинов и/или полиэфиров и/или их сополимеров с индексом расплава 2-20 г/10 мин.
по ASTM D 1238 при 190°С и нагрузке 25 Кг и с размером частиц активированного угля и полимерного связующего 0,05-0,5 мм, предпочтительно 0,07-0,15 мм и при соотношении активированный уголь: полимерное связующее (75-95):(5-25) мас.%, а распределитель потока обрабатываемой воды с элементом фиксации расположен во внутреннем пространстве фильтрующего элемента и изготовлен из полимерного материала методом литья под давлением или из пористого блочного материала методами экструзии или горячего прессования со степенью сжатия при формовании 12-25% из смеси мелкодисперсных материалов из активированного угля и полимерного связующего, выбранного из классов полиолефинов и/или полиэфиров и/или их сополимеров и с размером частиц активированного угля и полимерного связующего 0,1-1,5 мм, предпочтительно 0,5-1 мм при соотношении активированный уголь: полимерное связующее (75-95):(5-25) мас.% при температуре на 10-40°С выше температуры размягчения полимерного связующего, или из неорганических мелкодисперсных материалов, например, из класса кремнеземов с размером частиц 0,1-1,5 мм методом компрессионного спекания, в виде одного вертикального или горизонтального тела, или нескольких вертикальных тел высотой, составляющей 1-100% от высоты фильтрующего элемента, с сечением в форме круга (полый цилиндр), квадрата, прямоугольника, овала, или сложного профиля, или полой обратной пирамиды или полого обратного конуса, или усеченной полой обратной пирамиды, или усеченного обратного конуса, с пористым или герметично закрытым дном с отверстиями, расположенными в вертикальных стенках и/или на дне распределителя потока обрабатываемой воды на высоте стенки распределителя, составляющей не более 60% от нижнего уровня дна распределителя потока обрабатываемой воды, и имеющими размер меньше размера частиц ионообменного материала, что обеспечивается или размером отверстий непосредственно в стенках распределителя потока обрабатываемой воды, изготавливаемого метода литья под давлением, экструзии, горячего прессования или компрессионного спекания, или, при выполнении распределителя потока обрабатываемой воды в виде вертикального сосуда с отверстиями в боковой стенке размером 1-5 мм в каждом направлении, за счет фиксации или на его наружной поверхности или внутри пористого материала или в виде сетки, или ткани, или из нетканого полотна, или из открытопористого вспененного полимера, с размером ячеек меньше размера частиц ионообменного материала, а элемент фиксации распределителя потока обрабатываемой воды выполнен или в виде муфты из эластичного материала, герметично прилегающей к верху внешней стенки распределителя потока обрабатываемой воды и к верху внутренней поверхности корпуса фильтрующего элемента, или в виде обечайки из полимерного материала, выполненной литьем под давлением вместе с распределителем потока обрабатываемой воды и герметично зафиксированной к верхней внутренней поверхности корпуса фильтрующего элемента или расплавом полимера, или другим клеящим материалом.
Горизонтальный распределитель потока обрабатываемой воды выполнен из сетки или ткани с отверстиями, меньшими, чем размер частиц ионообменного материала, с элементом фиксации в виде пластиковой обечайки, прикрепленного к внутренней или к торцевой поверхности корпуса фильтрующего элемента. Система фиксации фильтрующего устройства, содержащая отверстие для входа очищаемой воды и выхода воздуха, выполнена в форме, которая позволяет герметично закрепить фильтрующее устройство в корпусе воронки фильтра, и представляет собой или резьбовой узел, подсоединяемый к резьбовому узлу воронки, или обод с элементами плотного прилегания к отверстию воронки, и которое крепится к фильтрующему элементу или путем приклеивания или полимерным расплавом, или любым другим клеящим материалом, или путем механического соединения с внутренней или с наружной, или с внутренней и с наружной вертикальными стенками фильтрующего элемента.
Отличительной особенностью заявляемого изобретения является принципиально новая, более простая по сравнению с прототипом, конструкция фильтрующего устройства, предназначенного для выполнения двух процессов обработки воды — умягчения и очистки.
Простота конструкции позволяет совместить две рабочие зоны (два процесса) в одном корпусе фильтрующего элемента, выполняющего две функции: функцию фильтрующего и сорбирующего материала и функцию корпуса фильтрующего элемента. Кроме того, рабочая зона, предназначенная для процесса умягчения воды, имеет большой объем, что позволяет разместить в ней значительно большее по сравнению с прототипом количество ионообменного материала, обеспечивающее удовлетворительный для потребителя ресурс умягчения воды 150-200 литров, и, что принципиально важно, в совокупности конструкция двух рабочих зон в сочетании с конструкцией распределителя потока обрабатываемой воды обеспечивают разнонаправленные потоки воды в зоне умягчения, приводящие к разрыхлению слоя умягчителя, что практически исключает эффект гиперумягчения на начальных стадиях и создает приемлемое умягчение на последующих стадиях обработки воды при одновременном сохранении высокоэффективной фильтрующей способности.
Сущность изобретения поясняется чертежами, на которых:
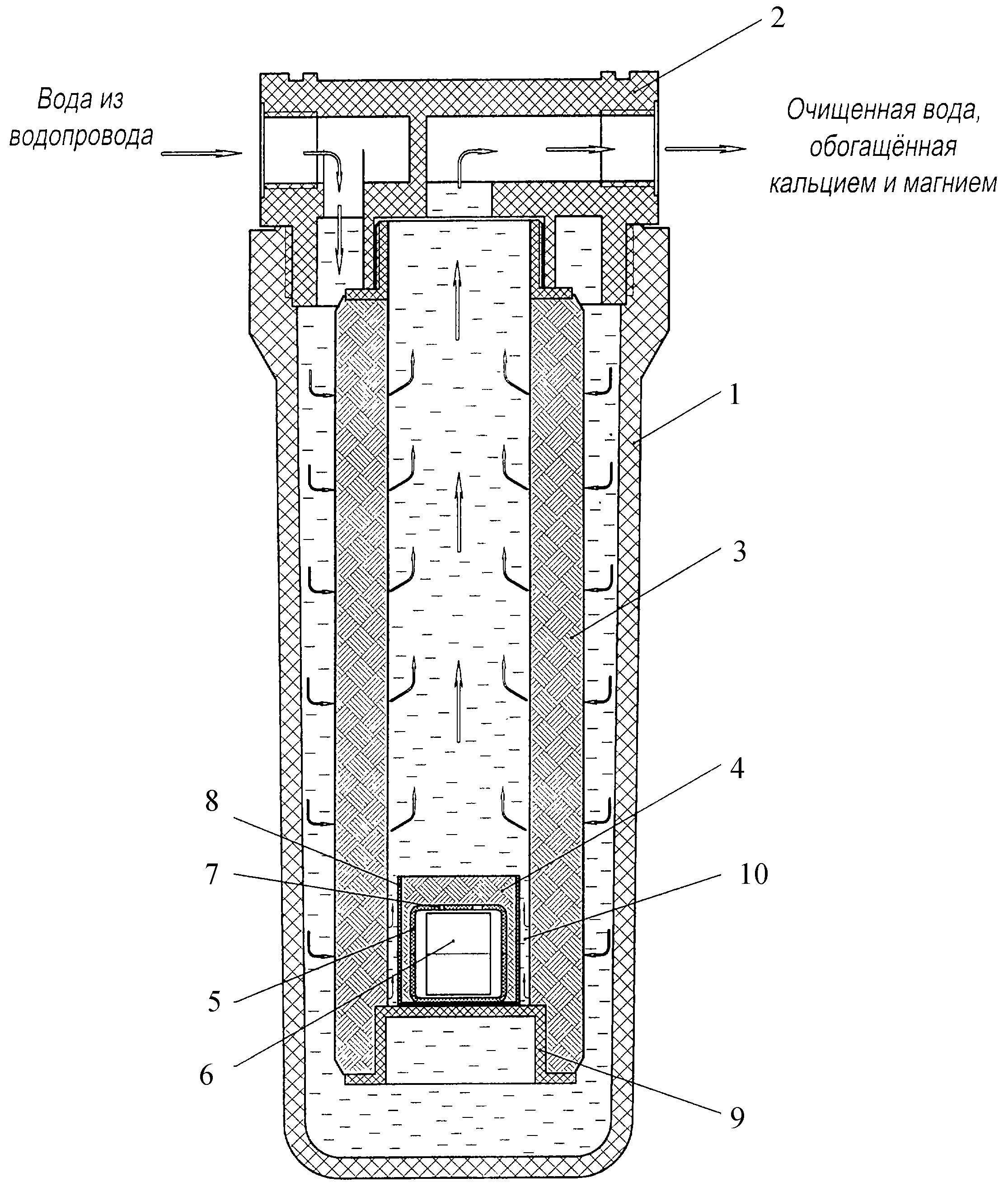
1 — Кувшин
2 — Приемная воронка
3 — Фильтрующее устройство
4 — Фильтрующий элемент, выполненный из пористого блочного материала (зона очистки)
5 — Распределитель потока обрабатываемой воды с фиксирующим элементом
6 — Ионообменный материал (зона умягчения)
7 — Заглушка
8 — Система фиксации фильтрующего устройства (резьбовой узел)
9 — Система фиксации фильтрующего устройства (обод с элементами прилегания к гнезду воронки)
10 — Соединение системы фиксации фильтрующего устройства с фильтрующим элементом
11 — Элемент фиксации распределителя потока обрабатываемой воды
Стрелками показано направление потоков воды при ее прохождении через фильтрующее устройство.
Заглушка (герметически закрытое дно) может быть выполнена из полимера, например, полиэтилена, полипропилена).
Фиг. 1. Изображен общий вид кувшинного фильтра (1) с воронкой (2) и размещенным в нем фильтрующим устройством (3) с фильтрующим элементом в форме полого цилиндра (4) с ионообменным материалом (6) и с герметично закрытым заглушкой (7) дном, с распределителем потока обрабатываемой воды (5) в форме полого цилиндра с элементом фиксации (11).
Фиг. 2. Изображен общий вид кувшинного фильтра (1) с воронкой (2) и размещенным в нем фильтрующим устройством (3) с фильтрующим элементом в форме полого цилиндра (4) с пористым дном, с размещенным в нем ионообменным материалом (6), с распределителем потока обрабатываемой воды (5) в форме полого цилиндра с элементом фиксации (11) с пористым дном.
Фиг. 3. Изображен общий вид кувшинного фильтра (1) с воронкой (2) и размещенным в нем фильтрующим устройством (3) с фильтрующим элементом в форме полого цилиндра (4) с герметично закрытым заглушкой (7) дном, с размещенным в нем ионообменным материалом (6) с распределителем потока обрабатываемой воды (5) в виде сетки с элементом фиксации (11) в форме обечайки.
Фиг. 4. Изображено фильтрующее устройство (3) с фильтрующим элементом в форме полого цилиндра (4) с герметично закрытым заглушкой (7) дном, с размещенным в нем ионообменным материалом, системой фиксации фильтрующего устройства в виде резьбового узла (8) и с распределителем потока обрабатываемой воды (5) в форме полого цилиндра из пористого блочного материала. Пористый блочный материал фильтрующего элемента прикреплен к системе фиксации фильтрующего устройства и к заглушке приклеиванием (10) по торцам фильтрующего элемента, а распределитель потока обрабатываемой воды соединен с фильтрующим элементом с помощью муфты (11) из эластичного материала.
Фиг. 5. Изображено фильтрующее устройство (3) с фильтрующим элементом в форме полого цилиндра (4) с пористым дном, с размещенным в нем ионообменным материалом (6), системой фиксации фильтрующего устройства в виде резьбового узла (8) и с распределителем потока обрабатываемой воды (5) в форме полого цилиндра из пористого блочного материала с отверстиями в дне.
Пористый блочный материал фильтрующего элемента прикреплен к системе фиксации фильтрующего устройства приклеиванием (10) по торцу фильтрующего элемента, а распределитель потока обрабатываемой соединен с фильтрующим элементом с помощью муфты (11) из эластичного материала.
Фиг. 6. Изображено фильтрующее устройство (3) с фильтрующим элементом в форме полого цилиндра (4) с разнотолщинными стенками с герметично закрытым заглушкой (7) дном, с размещенным в нем ионообменным материалом (6), системой фиксации фильтрующего устройства в виде резьбового узла (8) и с распределителем потока обрабатываемой воды (5) в форме полого цилиндра с отверстиями размером (1-5) мм в каждом направлении и с размещенной на его наружной поверхности водопроницаемой сетки с ячейками меньше размера частиц ионообменного материала. Пористый блочный материал фильтрующего элемента прикреплен к системе фиксации фильтрующего устройства и к заглушке приклеиванием (10) по торцам фильтрующего элемента, а распределитель потока обрабатываемой воды соединен с фильтрующим элементом с помощью муфты (11) из эластичного материала.
Фиг. 7. Изображено фильтрующее устройство (3) с фильтрующим элементом в форме полого цилиндра (4) с герметично закрытым заглушкой (7) дном, с размещенным в нем ионообменным материалом (6), системой фиксации фильтрующего устройства в виде резьбового узла (8) и с распределителем потока обрабатываемой воды (5) в форме полого цилиндра с отверстиями размером (1-5) мм в каждом направлении и с размещенным внутри водопроницаемого материала из открытопористого вспененного полимера с ячейками меньше размера частиц ионообменного материала. Пористый блочный материал фильтрующего элемента прикреплен к системе фиксации фильтрующего устройства и к заглушке приклеиванием (10) по торцам фильтрующего элемента, а распределитель потока обрабатываемой воды соединен с фильтрующим элементом с помощью муфты (11) из эластичного материала.
Фиг. 8. Изображено фильтрующее устройство (3) с фильтрующим элементом в форме полого цилиндра (4) с герметично закрытым заглушкой (7) дном, с размещенным в нем ионообменным материалом (6), системой фиксации фильтрующего устройства в виде резьбового узла (8) и с распределителем потока обрабатываемой воды (5) в форме полого усеченного обратного конуса из пористого блочного материала.
Пористый блочный материал фильтрующего элемента прикреплен к системе фиксации фильтрующего устройства и к заглушке приклеиванием (10) по торцам фильтрующего элемента, а распределитель потока соединен с фильтрующим элементом с помощью муфты (11) из эластичного материала.
Фиг. 9. Изображено фильтрующее устройство (3) с фильтрующим элементом в форме полого цилиндра (4) с герметично закрытым заглушкой (7) дном, с размещенным в нем ионообменным материалом (6), системой фиксации фильтрующего устройства в виде резьбового узла (8) и с распределителем потока обрабатываемой воды (5) в форме полого цилиндра с разнотолщинными стенками из пористого блочного материала, полученного методом компрессионного спекания кремнеземного порошка. Пористый блочный материал фильтрующего элемента прикреплен к системе фиксации фильтрующего устройства и к заглушке приклеиванием (10) по торцам фильтрующего элемента, а распределитель потока обрабатываемой воды соединен с фильтрующим элементом с помощью муфты (11) из эластичного материала.
Фиг. 10. Изображено фильтрующее устройство (3) (фиг. 10а — вертикальный разрез, фиг. 10б — разрез по сечению А-А) с фильтрующим элементом в виде полого вертикального сосуда (4) с сечением в форме эллипса с герметично закрытым заглушкой (7) дном, с размещенным в нем ионообменным материалом (6), системой фиксации фильтрующего устройства в виде обода (9) с элементами прилегания к гнезду воронки и с двумя распределителями потока обрабатываемой воды (5) в форме полых цилиндров с отверстиями в вертикальных стенках. Пористый блочный материал фильтрующего элемента прикреплен к системе фиксации фильтрующего устройства и к заглушке приклеиванием (10) по торцам фильтрующего элемента, а распределитель потока обрабатываемой воды соединен с фильтрующим элементом с помощью муфты (11) из эластичного материала.
Фиг. 11. Изображено фильтрующее устройство (3) (вертикальный разрез, разрез по сечению А-А) с фильтрующим элементом в виде полого вертикального сосуда (4) с сечением в форме эллипса с герметично закрытым заглушкой (7) дном, с размещенным в нем ионообменным материалом (6), с системой фиксации фильтрующего устройства в виде обода (9) с элементами прилегания к гнезду воронки и с распределителем потока обрабатываемой воды (5) в форме полого вертикального сосуда с отверстиями в вертикальной стенке.
Пористый блочный материал фильтрующего элемента прикреплен к системе фиксации фильтрующего устройства и к заглушке приклеиванием (10) по торцам фильтрующего элемента, а распределитель потока обрабатываемой воды соединен с фильтрующим элементом с помощью муфты (11) из эластичного материала.
Работа фильтрующего устройства происходит следующим образом: исходная вода из приемной воронки (2) кувшинного фильтра (1) через отверстие в системе фиксации фильтрующего устройства в виде резьбового узла (8) или виде обода (9) с элементами прилегания к гнезду воронки (2) проходит в распределитель потока обрабатываемой воды (5) и через его нижнюю часть с отверстиями для выхода воды поступает в зону умягчения воды с ионообменным материалом (6), который заполняет внутреннее пространство корпуса фильтрующего элемента на 20-90% от его объема. Далее умягченная вода поступает для очистки в зону пористого блочного материала фильтрующего элемента (4) непосредственно примыкающую к зоне умягчения обрабатываемой воды и представляющую собой корпус фильтрующего элемента (4) из пористого блочного материала в виде полого вертикального сосуда с равнотолщинными или разнотолщинными стенками с размером пор, меньшем размера частиц ионообменного материала.
После прохождения через пористый блочный материал фильтрующего элемента (4) умягченная и очищенная вода попадает в нижнюю часть кувшинного фильтра (1), предназначенную для хранения чистой воды.
Для обеспечения высокой скорости фильтрации в сочетании с высокой эффективностью очистки воды и повышенным ресурсом работы фильтрующий элемент фильтрующего устройства выполнен с толщиной стенок 5-25 мм и высотой 20-120 мм. Граничные значения выбранного диапазона толщин стенок обусловлены тем, что при толщине стенки менее 5 мм у фильтрующего элемента недостаточная механическая прочность. Толщина стенок фильтрующего элемента более 25 мм отрицательно влияет на скорость фильтрации из-за значительного гидродинамического сопротивления. Фильтрующий элемент с высотой стенок менее 20 мм не обеспечивает эффективную очистку воды из-за малой поверхности контакта и объема сорбирующего материала; при высоте стенок более 120 мм становится проблематичным размещение такого фильтрующего устройства в фильтре кувшинного типа.
Выбранная форма фильтрующего элемента в виде полого вертикального сосуда либо обеспечивает определенную скорость фильтрации воды фильтрующим элементом, которая пропорциональна площади фильтрации и минимальна для фильтрующего элемента в форме полого цилиндра с герметично закрытым заглушкой дном, и максимальна для фильтрующего элемента с пористым дном и поперечным сечением сложной формы, либо обусловлена технологией его изготовления: фильтровальные элементы в форме полого цилиндра с заглушкой, полого вертикального сосуда с поперечным сечением в виде овала с заглушкой или сложного профиля с заглушкой изготавливают методом экструзии; фильтрующие элементы в форме полого цилиндра с пористым дном, полого вертикального сосуда с поперечным сечением в виде овала или сложного профиля с пористым дном. При этом для обеспечения максимально доступной для сорбции поверхности сорбентов материала фильтрующего элемента процесс изготовления фильтрующего блока проводят при температуре, на 10-40°С выше температуры размягчения полимерного связующего.
При температуре, ниже, чем на 10°С температуры размягчения полимерного связующего не происходит образование прочного блочного материала фильтрующего элемента, а при температуре, выше, чем на 40°С температуры размягчения полимерного связующего происходит блокирование значительной поверхности сорбента в результате затекания полимерного связующего. Диапазон степени сжатия смеси материалов при изготовлении фильтрующего блока методом экструзии или методом горячего прессования 12-25% обусловлен тем, что при степени сжатия менее 12% фильтрующий блок не обладает достаточной механической прочностью и не способен выполнять функцию корпуса, а при степени сжатия более 25% образующиеся мелкие поры в объеме материала фильтрующего блока приводят к высокому гидродинамическому сопротивлению и, соответственно, снижению скорости фильтрации.
Выбор полимерного связующего из класса полиолефинов (например, полиэтилена низкого давления, полиэтилена высокого давления, полипропилена) и полиэфиров (полиэтилентерефталата) или их сополимеров (например, сополимера полиэтилена с винилацетатом) обусловлен, с одной стороны, их химической инертностью и нерастворимостью в воде, с другой стороны, достаточно низкими температурами размягчения, позволяющими интенсифицировать процесс изготовления фильтрующего элемента заявляемого фильтрующего устройства в виде пористого блочного материала.
Форма фильтровального элемента в виде полого цилиндра с разнотолщинными по высоте стенками с герметично закрытым дном обусловлена обеспечением равномерного прохождения очищаемой воды через стенки фильтрующего элемента по всей их высоте, так как при этом по мере увеличения давления столба воды в полости фильтрующего элемента сверху вниз оно будет компенсироваться увеличением сопротивления прохождения воды через стенки из-за симбатного увеличения толщины стенок фильтрующего элемента.
Для обеспечения эффективной очистки воды от хлора, органических соединений и, в частности, от хлорорганических примесей, пористый блочный материал фильтрующего элемента изготавливают с использованием активированных углей с йодным числом более 1000 мг/л, так как такие угли обеспечивают эффективную сорбцию и, следовательно, очистку воды на протяжении значительного ресурса, а все используемые компоненты (сорбент и полимерное связующее) используют в порошкообразной форме с размером частиц 0,05-0,5 мм, предпочтительно 0,07-0,15 мм.
При размере частиц активированного угля и полимерного связующего менее 0,05 мм возрастает гидродинамическое сопротивление пористого блочного материала, что приводит к снижению скорости фильтрации. При размере частиц активированного угля и полимерного связующего более 0,5 мм снижается эффективность очистки воды за счет уменьшения реальной поверхности фильтрации (сорбции) частиц сорбента.
Выбранный диапазон сорбционной емкости ионообменного материала 0,5-5 мг-экв/мл обусловлен тем, что при использовании материалов с обменной емкостью менее 0,5 мг-экв/мл для достижения достаточной эффективности умягчения воды в течение большого ресурса по умягчению их потребовалось бы использовать в количестве, несовместимым с объемом фильтрующего элемента; материалы с обменной емкостью свыше 5 мг-экв/мл являются дорогостоящими и поэтому не могут быть применены в массово выпускаемых фильтрах.
Заполнение внутреннего пространства фильтрующего элемента на 20-90% ионообменным материалом обусловлено тем, что при ее заполнении менее чем на 20%, большая часть потока обрабатываемой воды будет проходить в зону фильтрования без контакта с ионообменным материалом; при заполнении более чем на 90% не обеспечивается режим взрыхления слоя ионообменного материала.
Диапазон размера частиц ионообменного материала 0,1-2,0 мм обусловлен тем, что частицы с размером менее 0,1 мм могут забивать поры блочного пористого материала фильтрующего элемента и, тем самым, блокировать его работу; при размере частиц ионообменного материала более 2 мм снижается поверхность контакта с водой и не происходит эффективное умягчение воды.
Выбранный диапазон высоты распределителя потока обрабатываемой воды, составляющий 1-100% от высоты корпуса фильтрующего элемента, связан с формированием разнонаправленных потоков воды в зоне умягчения: при высоте менее 1% от высоты корпуса такие потоки не образуются. Минимальная высота распределителя потока обрабатываемой воды, составляющая 1% — это минимальная толщина сетки с обечайкой, расположенной на верхнем торце корпуса фильтрующего элемента, и выполняющей функцию распределителя потока обрабатываемой воды.
Выбор размеров частиц активированного угля и полимерного связующего в диапазоне 0,1-1,5 мм и соотношения активированный уголь: полимерное связующее (75-95):(5-25) мас.
%, так же, как и использование материала из класса кремнеземов с размером частиц 0,1-1,5 мм, обусловлено получающимся при формовании пористого корпуса распределителя потока обрабатываемой воды оптимального размера пор: с одной стороны, поры должны быть меньше размера частиц ионообменного материала, с другой стороны, размер пор должен обеспечивать скорость прохождения воды через распределитель потока обрабатываемой воды, большую или равную скорости прохождения воды через стенки фильтрующего элемента. Диапазон температур изготовления пористого блочного материала распределителя потока методами экструзии или горячего прессования, на 10-40°С превышающий температуру размягчения полимерного связующего, обусловлен, тем, что при температуре, ниже, чем на 10°С температуры размягчения полимерного связующего не происходит образование механически прочного блочного материала распределителя потока обрабатываемой воды, а при температуре, выше, чем на 40°С температуры размягчения полимерного связующего происходит блокирование пор в стенках распределителя потока обрабатываемой воды в результате затекания полимерного связующего.
Выбор формы распределителя потока обрабатываемой воды в форме вертикального полого тела с поперечным сечением в виде круга, квадрата, эллипса или любой другой формы, или в форме полой обратной пирамиды или обратного конуса, или в форме полой усеченной обратной пирамиды обусловлен отслеживанием формы корпуса фильтрующего элемента, который также может быть выполнен в форме вертикального полого тела с поперечным сечением в виде круга, квадрата, эллипса или любой другой формы, или в форме полой обратной пирамиды или обратного конуса, или в форме полой усеченной обратной пирамиды, что обеспечивает конгруэнтность потока обрабатываемой воды в зоне умягчения. Расположение отверстий в вертикальных стенках распределителя потока обрабатываемой воды на высоте, составляющей не более 60% от нижнего уровня распределителя потока обрабатываемой воды, обусловлено тем, что при расположении отверстий на высоте более 60% от нижнего уровня распределителя потока обрабатываемой воды не обеспечивается по всей высоте зоны умягчения вертикальная (вертикально вверх) составляющая потоков воды, что не приводит к взрыхлению слоя ионообменного материала, и, как следствие, снижению гиперумягчения.
Выбор размера отверстий в боковой стенке распределителя потока обрабатываемой воды в диапазоне 3-5 мм в случае фиксации на его наружной поверхности или у него внутри пористого материала с размером пор меньше размера частиц ионообменного материала обусловлен тем, что такой диапазон оптимален с точки зрения простоты конструкции и технологии изготовления распределителя потока обрабатываемой воды.
Ниже приведен пример конкретной конструкции фильтрующего устройства, а в таблице представлены результаты его испытаний по эффективности умягчения и эффективности очистки воды.
Приведенный пример дает представление о характеристиках заявляемого фильтрующего устройства, но не являются исчерпывающим.
Пример. Фильтрующее устройство с фильтрующим элементом в форме полого цилиндра с герметично закрытым заглушкой дном, с фиксирующей системой в форме резьбового узла, соединенной с фильтрующим элементом приклеиванием расплавом полиэтилена (фиг. 4). Размеры фильтрующего элемента: высота 70 мм, наружный диаметр 62 мм, толщина стенок 14 мм.
Состав исходной смеси для изготовления фильтрующего элемента: активированный уголь -85 мас.%, полимерное связующее — смесь полиэтилена низкого давления и полиэтилентерефталата (10:90) мас.% с температурой размягчения 115°С — 15 мас.%, размер частиц компонентов смеси 0,08-0,1 мм. Пористый блочный материал корпуса фильтрующего элемента изготовлен методом экструзии со степенью сжатия при формовании 15% при температуре 145°С. Фильтрующий элемент заполнен на 80% от свободного объема (внутренний объем фильтрующего элемента минус объем распределителя потоков) слабокислотным катионообменным материалом в H+форме с размером частиц 0,3-1,0 мм. Распределитель потока обрабатываемой воды выполнен в виде полой трубки высотой 70 мм с внутренним диаметром 8 мм и наружным диаметром 10 мм из полиэтилена высокого давления методом литья под давлением, в боковой стенке которого на высоте 1-50 мм от нижней части трубки расположены отверстия диаметром 0,2 мм. Распределитель потока обрабатываемой воды с помощью муфты из эластичного материала — силикона — герметично соединен с верхом внутренней боковой поверхности фильтрующего элемента.
Испытания по эффективности умягчения и эффективности очистки воды проводили при размещении фильтрующего элемента в воронке кувшинного фильтра. Оценку эффективности умягчения и очистки воды проводили в соответствии с ГОСТ 31952-2012 УСТРОЙСТВА ВОДООЧИСТНЫЕ. Общие требования к эффективности и методы ее определения. Результаты испытаний представлены в таблице.
Как следует из приведенных в таблице результатов ресурсных испытаний по умягчению и очистке воды, заявляемое фильтрующее устройство обеспечивает равномерное умягчение и высокую эффективность очистки воды от наиболее распространенных загрязнителей на протяжении удовлетворительного для потребителей ресурса.
Технический результат: предложено фильтрующее устройство гравитационного фильтра для умягчения и очистки питьевой воды с упрощенной конструкцией, обеспечивающего повышенный ресурс стабильного умягчения воды (не менее 200 литров), при этом эффективность умягчения воды достигает не менее 40% достаточное с потребительской точки зрения с одновременным сохранением высокоэффективной очистки воды по токсичным загрязнителям до 98%.
1. Фильтрующее устройство гравитационного фильтра для умягчения и очистки питьевой воды, содержащее систему фиксации фильтрующего устройства в воронке фильтра с отверстиями для входа очищаемой воды и выхода воздуха, фильтрующий элемент, выполненный из пористого блочного материала в виде полого вертикального сосуда с пористым или герметично закрытым дном с расположенными во внутреннем его пространстве слоем ионообменного материала и распределителем потока обрабатываемой воды с элементом фиксации, при этом слой ионообменного материала расположен между внутренней поверхностью фильтрующего элемента и распределителем потока обрабатываемой воды, выполненным в виде вертикального или горизонтального тела с отверстиями меньше размера частиц ионообменного материала, пористый блочный материал фильтрующего элемента получен путем сжатия при нагреве смеси порошкообразных компонентов, содержащей частицы активированного угля и полимерного связующего, а система фиксации фильтрующего устройства соединена герметично с фильтрующим элементом.
2. Фильтрующее устройство по п. 1, отличающееся тем, что система фиксации фильтрующего устройства выполнена в форме, позволяющей герметично закрепить фильтрующее устройство в корпусе воронки фильтра, и представляет резьбовой узел, подсоединяемый к резьбовому узлу воронки, или обод с элементами плотного прилегания к отверстию воронки, которые крепятся к корпусу фильтрующего элемента путем приклеивания или полимерным расплавом, или любым другим клеящим материалом, или путем механического крепления при контакте с внутренней, или с наружной, или с внутренней и с наружной вертикальными стенками фильтрующего элемента.
3. Фильтрующее устройство по п. 1, отличающееся тем, что внутреннее пространство фильтрующего элемента заполнено на 20-90% ионообменным материалом в виде частиц с размером 0,1-2,0 мм.
4. Фильтрующее устройство по п. 1, отличающееся тем, что в качестве ионообменного материала используют синтетические катионообменные материалы из класса слабо- или сильнокислотных катеонитов с сорбционной обменной емкостью 0,5-5 мг-экв/мл в Н+ или Na+ форме и/или неорганические катионообменные материалы из классов природных или синтетических цеолитов, алюмосиликатов, силикагелей или сульфоуглей.
5. Фильтрующее устройство по п. 1, отличающееся тем, что корпус фильтрующего элемента из пористого блочного материала выполнен в виде полого вертикального сосуда с сечением в форме круга, квадрата, прямоугольника, овала или сложного профиля, или полой обратной пирамиды, или полого обратного конуса, или усеченной полой обратной пирамиды, или усеченного обратного конуса с пористым или герметично закрытым дном, с равнотолщинными или разнотолщинными стенками толщиной 5-25 мм, высотой 20-120 мм и с размером пор в дне и стенках, меньшим размера частиц ионообменного материала.
6. Фильтрующее устройство по п. 1, отличающееся тем, что в качестве пористого блочного материала фильтрующего элемента используют термически обработанную смесь порошкообразных материалов из активированного угля с йодным числом более 1000 мг/г и полимерного связующего с размером частиц активированного угля и полимерного связующего 0,05-0,5 мм, предпочтительно 0,07-0,15 мм, и при соотношении активированный уголь : полимерное связующее (75-95):(5-25) мас.
%.
7. Фильтрующее устройство по п. 1, отличающееся тем, что пористый блочный материал фильтрующего элемента изготовлен или методом экструзии, или методом горячего прессования со степенью сжатия при формовании 12-25% при температуре на 10-40°С выше температуры размягчения полимерного связующего, а в качестве полимерного связующего используют полимеры из классов полиолефинов и/или полиэфиров и/или их сополимеров с индексом расплава 2-20 г/10 мин по ASTM D 1238 при 190°С и нагрузке 25 кгс.
8. Фильтрующее устройство по п. 1, отличающееся тем, что распределитель потока обрабатываемой воды выполнен в виде одного вертикального или горизонтального тела, или в виде нескольких вертикальных тел с поперечным сечением в виде круга, квадрата, эллипса или любой другой формы, или в форме полой обратной пирамиды или обратного конуса, или в форме полой усеченной обратной пирамиды или конуса, и имеет высоту, составляющую 1-100% от высоты фильтрующего элемента, с элементом фиксации к корпусу фильтрующего элемента.
9. Фильтрующее устройство по п. 1, отличающееся тем, что распределитель потока обрабатываемой воды выполнен из полимерного материала методом литья под давлением, или из пористого блочного материала из термически обработанной смеси порошкообразных материалов из активированного угля и полимерного связующего, выбранного из классов полиолефинов и/или полиэфиров и/или их сополимеров, или из неорганических мелкодисперсных материалов методом компрессионного спекания.
10. Фильтрующее устройство по п. 9, отличающееся тем, что при изготовлении распределителя потока обрабатываемой воды из пористого блочного материала используют смесь порошкообразных материалов из активированного угля и полимерного связующего с размером частиц активированного угля и полимерного связующего 0,1-1,5 мм, предпочтительно 0,5-1 мм и при соотношении активированный уголь : полимерное связующее (75-95):(5-25) мас.%, а при изготовлении распределителя потока из неорганических мелкодисперсных материалов в качестве неорганических мелкодисперсных материалов используют материал из класса кремнеземов с размером частиц 0,1-1,5 мм.
11. Фильтрующее устройство по п. 9, отличающееся тем, что пористый блочный материал распределителя потока обрабатываемой воды из смеси порошкообразных материалов из активированного угля и полимерного связующего изготовлен методом экструзии или методом горячего прессования со степенью сжатия при формовании 12-25% при температуре на 10-40°С выше температуры размягчения полимерного связующего.
12. Фильтрующее устройство по п. 1, отличающееся тем, что отверстия в распределителе потока обрабатываемой воды расположены или на его дне и/или в его вертикальных стенках на высоте, составляющей не более 60% высоты стенок распределителя потоков от его нижнего уровня.
13. Фильтрующее устройство по п. 12, отличающееся тем, что отверстия в боковой стенке распределителя потока обрабатываемой воды имеют размер 1-5 мм в каждом направлении, а отверстия с размером меньше размера частиц ионообменного материала обеспечиваются за счет фиксации на его наружной поверхности или внутри него пористого материала в виде сетки, или ткани, или нетканого полотна, или открытопористого вспененного полимера, с размером ячеек меньшим, чем размер частиц ионообменного материала.
14. Фильтрующее устройство по п. 1, отличающееся тем, что элемент фиксации распределителя потока обрабатываемой воды выполнен или в виде муфты из эластичного материала, герметично прилегающей к верху внешней стенки распределителя потока и к верху внутренней поверхности корпуса фильтрующего элемента, или в виде обечайки из полимерного материала, выполненной литьем под давлением вместе с распределителем потока и герметично зафиксированной к верхней внутренней поверхности корпуса фильтрующего элемента расплавом полимера или другим клеящим материалом.
15. Фильтрующее устройство по п. 1, отличающееся тем, что распределитель потока обрабатываемой воды выполнен в виде горизонтального тела из сетки или ткани с отверстиями, меньшими, чем размер частиц ионообменного материала, с элементом фиксации, выполненным в виде пластиковой обечайки, прикрепленным к внутренней или к торцевой поверхности корпуса фильтрующего элемента.
Какие существуют фильтры для очистки воды в домашних условиях
Какие существуют фильтры для очистки воды в домашних условиях
Несмотря на то, что вода, которая течет в нашем водопроводе, является безопасной, многие люди не хотят использовать ее в пищевых целях и применяют различные бытовые фильтры. Давайте попробуем разобраться, что же такое фильтр для воды, и какой фильтр является лучшим?
Фильтр для воды — устройство для очистки воды от механических, нерастворимых частиц, примесей, хлора и его производных, а также от вирусов, бактерий и тяжелых металлов.
Выбирая фильтр для домашнего использования или для дачи, важно обратить внимание на несколько важных критериев, а именно:
• какой в Вашей семье средний расход воды;
• какая степень очистки для Вас необходима;
• сколько свободного места на Вашей кухне;
• каков предполагаемый бюджет покупки.
Бытовые фильтры, используемые для получения питьевой воды, условно можно разделить на три категории — простейшие бытовые фильтры, средней степени очистки и бытовые фильтры высшей степени очистки.
К простым относятся кувшины и насадки. Фильтрующие системы с установкой под мойку обладают средней степенью очистки.
К высокой степени очистки относится очистка обратноосмотическими бытовыми фильтрами.
Фильтр-кувшин.
Для тех, кто не желает тратить значительную сумму на приобретение фильтра, не нуждается в больших объёмах очищенной воды, или не хочет связываться с какой-либо установкой или подключением системы к водопроводу, можно посоветовать использовать фильтр-кувшин. В этих фильтрах заложен накопительный механический принцип очистки воды, после фильтрации вода становится мягкой, без посторонних запахов.
Недостатком такой фильтрации является невысокая скорость очистки и частая замена картриджа. При выборе фильтра-кувшина следует проявлять внимательность, так как рынок изобилует контрафактом. Не покупайте такие фильтры в случайных местах, без упаковки и сопровождающей документации. Сменный картридж должен быть обязательно герметично упакован, иметь сроки годности, а сам кувшин не иметь дефектов и каких-либо запахов. Лучше всего выбирать модели известных брендов.
Пищевой пластик должен иметь соответствующую пиктографическую маркировку
Фильтры в виде насадки на кран
Еще один тип фильтров, который можно отнести к проточной механической системе очистки.
Как понятно из названия, эти устройство просто надеваются на оголовок излива смесителя. Фильтрация воды идет проточным способом, за счет напора в трубах. Это позволяет использовать в таких фильтрах тщательно уплотненную сорбентную засыпку.
Конструкции могут быть разборные или неразборные Основное достоинство подобных фильтров-насадок – это небольшие габариты, хотя бывают и достаточно громоздкие фильтры-насадки, которые могут составлять неудобства при мытье посуды.
Ресурс картриджей обычно выше, чем у фильтров-кувшинов, однако скорость фильтрации невысока. В чайник или кастрюлю вода течет тоненькой струйкой, а если увеличить напор воды, то значительно будет снижена качество фильтрации.
Следует помнить, что фильтр в виде насадки можно использовать только при фильтрации холодной воды. При пропускании через фильтр горячей воды фильтр быстро выходить из строя и снижается качество фильтрации.
Фильтры-насадки настольного типа
Схема подключения подобных фильтров, в принципе, мало отличается от насадок на смеситель.
Главное отличие – сам корпус с фильтрующим модулем расположен на кухонной столешнице в непосредственной близости от мойки, а с изливом смесителя его соединяет гибкая трубка.
Фильтрующие системы с установкой под мойку
Если у вас достаточно места под мойкой, вы потребляете большое количество воды, и не хотите часто менять фильтры то фильтр под мойку будет являться для Вас оптимальным вариантом. В таких фильтрах происходит многоступенчатая механическая очистка воды, которая включает в себя обеззараживание и смягчение.
Некоторые комплексы имеют расширенную функциональность – после первой ступени механической очистки идет ответвление на обычный смеситель на посудомоечную машину или водонагреватель.
Недостатками подобных комплексов можно считать сложность первичного монтажа и сравнительно большую стоимость, хотя немалый ресурс сменных модулей обеспечивает быструю окупаемость фильтрующей установки.
Фильтрующие системы с методом обратного осмоса
Такие фильтры устанавливаются под мойку и является самым эффективным методом очистки воды.
В состав системы входят механические фильтры для предварительной очистки от песка, ржавчины, органических соединений, хлора, аммиака, а так же от большинства вирусов и бактерий.
Так как на выходе вода является практически дистиллированной, то после очистки её обычно подвергают минерализации, для придания ей лучших органолептических свойств.
Существуют системы обратного осмоса различных степеней очистки (к примеру, трёхступенчатые или пятиступенчатые фильтры).
У фильтрующих установок с обратным осмосом высокая производительность – до 100 л воды. Однако, чтобы получить литр очищенной воды, около двух литров будет слито в канализацию. То есть, использовать такую воду в хозяйственных целях весьма нецелесообразно.
Существуют накопительная и проточная системы. В проточных системах фильтрация идет только при открытом водоразборном кранике. При накопительной системе имеется дополнительный резервуар, что достаточно удобно, ведь всегда имеется запас чистой воды.
Недостатком систем обратного осмоса считается высокая цена, большие габариты и необходимость специального подключения к системе водопровода.
Еще одним нюансом является то, что для процесса обратного осмоса требуется минимальное давление порядка 2,8 бар. Далеко не всегда водопроводные системы отвечают этим показателям. Значит, потребуется или установка насоса, повышающего напор в системе, или необходимо будет приобрести комплекс, оснащенный встроенной помпой. То есть, появится необходимость организации еще и электропитания.
Надеюсь, мы помогли Вам определиться с выбором оптимального бытового фильтра.
Пейте чистую воду и будьте здоровы!
НИКИМТ-Атомстрой изготовил фильтрующее устройство для насосов на Ростовской АЭС
ОАО «НИКИМТ-Атомстрой»ОАО «НИКИМТ-Атомстрой» разработало и изготовило фильтрующее устройство, предназначенное для защиты насосов системы аварийного охлаждения трубопроводов первого контура четвертого энергоблока Ростовской АЭС.
Фильтрующее устройство, стоящее из трех модулей, устанавливается на сливных воронках заборных патрубков насосов в баке аварийного запаса борной кислоты (ГА-201) и используются только в случае гипотетического возникновения аварийной ситуации, связанной с разгерметизацией трубопроводов первого контура. При разрыве трубопровода фильтрующие модули, в каждом из которых закреплено 32 фильтрующих элемента, обеспечивают надежную и эффективную очистку охлаждающего раствора от механических примесей и кусков разрушенной теплоизоляции. Для защиты фильтрующих элементов от механических повреждений модуль снабжен специальными ограждениями.
«Одним из ключевых приоритетов атомной отрасли является несомненная надежность и абсолютная безопасность всех технологических процессов и систем, — говорит заместитель генерального директора по производству ОАО «НИКИМТ-Атомстрой» Владимир Попов. — Бак-приямок ГА-201 не используется в условиях нормальной эксплуатации энергоблока и работает лишь в случае возникновения нештатных ситуаций. Фильтры, разработанные нашим предприятием, гарантируют качественную фильтрацию теплоносителя с теплоизоляционными материалами из супертонкого базальтового или стекловолокна и обеспечивают стабильную работу аварийной системы охлаждения».
Фильтрующие устройства, изготовленные для нужд Ростовской АЭС, успешно прошли приемочные испытания и готовятся к отправке на атомную станцию. Общий вес фильтров — более 5 тонн.
ОАО «НИКИМТ-Атомстрой» (входит в контур управления ОАО «Атомэнергопроект») — предприятие Госкорпорации «Росатом», российская инжиниринговая и научно-производственная компания, имеющая компетенции в области автоматизации сварки и контроля. ОАО «НИКИМТ-Атомстрой» входит в число ключевых отраслевых подрядчиков и осуществляет генподрядные работы «под ключ». Продукция и услуги ОАО «НИКИМТ-Атомстрой» поставляются на все действующие и строящиеся энергоблоки страны, на предприятия ядерно-топливного цикла, малой энергетики, нефтегазового комплекса.
Ростовская АЭС является филиалом ОАО «Концерн Росэнергоатом». Атомная станция расположена на берегу Цимлянского водохранилища в 13,5 км от г. Волгодонска. На Ростовской АЭС эксплуатируются два энергоблока с реакторами типа ВВЭР-1000 с установленной мощностью 1000 МВт. Энергоблок №1 введен в промышленную эксплуатацию в 2001 г, энергоблок №2 – в декабре 2010 г. С 2009 г. ведется строительство энергоблоков №№3,4. Генеральным подрядчиком является ОАО «НИАЭП».
Фильтрующие респираторы: устройство, принцип работы, разновидности
Фильтрующие респираторы – это такие средства индивидуальной защиты, которые не допускают попадания в органы дыхания человека вредных веществ из загрязненной атмосферы путем фильтрации вдыхаемого воздуха.
Фильтрующие респираторы имеют очень широкую область применения: в строительстве, промышленности, в производственных процессах, в шахтах, в быту, на химически вредных предприятиях, при работе с ядохимикатами, при покрасочных работах, в медицине и др. Данный вид СИЗОД надежно защищает организм от пыли, в том числе и радиоактивной, туманов, аэрозолей, паров и газов. Стоит отметить, что каждая модель такого респиратора имеет свою определенную направленность на защиту от конкретного вида опасных веществ.
По своему устройству фильтрующие респираторы можно разделить на два типа: со встроенным фильтром – где лицевая часть одновременно является фильтрующим элементом, и со сменным фильтром – где фильтрующий патрон присоединяется к маске.
Также, по назначению выделяют на проотивоаэрозольные, противогазовые и газопылезащитные респираторы.
Фильтрующие респираторы: устройство и принцип работы
Респираторы со встроенным фильтром представляют собой полумаску, состоящую из фильтрующего материала, оснащенную удерживающим оголовьем. Даже самые примитивные модели таких полумасок могут иметь как первый, так второй и третий класс защиты. Помимо лицевой части-фильтра, в конструкцию подобного рода СИЗОД может входить носовой зажим и клапан выдоха. Носовой зажим позволяет более прочно фиксировать маску на лице, а дыхательный клапан способствует комфортной ее эксплуатации за счет отсутствия скопления влаги в подмасочном пространстве.
Респираторы со сменным фильтром имеют немного другую конструкцию. Сама лицевая часть, которая может быть выполнена как в форме полумаски, так и полнолицевой маски, изготавливается из пластичного изолирующего материала, имеет жесткую форму, оснащается клапанной системой, регулируемыми лентами оголовья и креплениями под фильтры. Клапаны вдоха закреплены в боковых отверстиях маски, в них вставляются сменные фильтрующие элементы. В нижнем отверстии лицевой части находится клапан выдоха, закрытый предохранительным экраном.
Если респираторы со встроенными фильтрами являются либо одноразовыми, либо целиком подлежат обработке после каждого использования, то в случае сменных фильтров после их отработки замене подлежат только они, сама же маска может использоваться до истечения срока эксплуатации.
Принцип работы противопыльного фильтрующего респиратора основан на удержании вредных частиц на волокнах фильтрующего материала. Фильтры противогазовых СИЗОД работают на основе адсорбции (поглощении) вредного вещества. Не стоит забывать, что все фильтрующие респираторы пригодны к использованию при содержании в атмосфере не менее 17% чистого кислорода. Если же концентрация вредных примесей слишком велика или не известна, то рекомендуется использовать изолирующие СИЗОД.
Разновидности фильтрующих респираторов
Самые простые модели фильтрующих респираторов — это одноразовые полумаски. Такие респираторы являются одними из самых доступных и простых в эксплуатации. Несмотря на то, что они пригодны лишь к разовому применению, их себестоимость позволяет использовать на предприятиях именно этот тип средства защиты. Одноразовые респираторы надежно защищают от крупно- и среднедисперсной пыли, инфекций и вирусов, передающихся воздушно-капельным путем и широко используются в строительстве, медицине, быту и др.
Схожие по конструкции фильтрующие полумаски многоразового использования нуждаются в обязательной стерилизации после работы, имеют ограниченное число применений и также как и одноразовые ограничиваются несколькими часами эксплуатации.
Временно отсутствует Временно отсутствует31 р.
Временно отсутствует1 035 р.
Все товары >>Фильтрующие респираторы со встроенным фильтром часто относятся к категории противоаэрозольных СИЗОД. Они предназначены для защиты органов дыхания от аэрозолей, не выделяющих токсичных газов и паров, присутствующих в воздухе рабочей зоны производственных помещений (от силикатной, металлургической, горнорудной, угольной, табачной пыли, пыли порошкообразных удобрений и других видов пыли).
Лицевые части таких респираторов могут быть формованные, или складные – которые не требуют расправления при надевании, или же неформованные – которые при использовании необходимо ровно расправить на лице.
Противогазовые фильтрующие респираторы защищают органы дыхания от паров и газов вредных веществ путем их фильтрации специальным поглощающим слоем. Такие модели респираторов не способны фильтровать воздух от пыли или аэрозолей. Существуют и модели, которые имеют комбинированные фильтры, способные защищать от паров и газов, так и от пыли, тумана и аэрозолей. Фильтрующие респираторы с защитой от паров и газов имеют съемные фильтры, а также клапаны вдоха и выдоха. По внешнему виду они заметно отличаются от фильтрующих полумасок – лицевая часть изготавливается из прочного твердого изолирующего материала, система оголовья имеет два или четыре регулируемых ремня, сменные фильтры (которым может быть один или два) крепятся к маске или по бокам, или в центре, если фильтр один.
Снят с производства Снят с производства Снят с производства Все товары >>Купить фильтрующий респиратор
При выборе фильтрующих респираторов следует обращать внимание на несколько аспектов. Самое важное при покупке СИЗОД – это область его применения. Если Вы планируете купить фильтрующий респиратор на конкретное предприятие в качестве средства защиты в рамках обеспечения техники безопасности, то стоит выбирать именно тот аппарат, защита фильтров которого направлена на отсеивание тех опасных веществ, которые могут быть в атмосфере вашей области деятельности.
После определения потенциально опасных выделений, можно изучить конструктивные особенности данных моделей. При защите от бытовой или строительной пыли подойдут и простые модели респираторов. Обратите внимание, что наличие клапана выдоха на фильтрующих полумасках заметно улучшает комфорт их использования.
Для защиты от мелкодисперсной пыли, в том числе радиоактивной, подбираются специальные фильтры, в которых стоит обращать внимание и на класс защиты.
Не всегда стоит покупать более дорогой респиратор, только потому что он имеет больше защитных свойств и высший класс защиты. При защите от определенного вида отравляющих веществ, дополнительные направленности иногда просто могут не пригодиться, а за счет этого само устройство может иметь совершенно другую конструкцию, в частности больший вес, что может вызвать дискомфорт при длительном его использовании. Поэтому выбирать фильтрующий респиратор следует ориентируясь на область его применения.
Микрожидкостное фильтрующее устройство с мембранами из нейлоновой сетки эффективно разделяет клеточные агрегаты и переваренную ткань на отдельные клетки
* Соответствующие авторы
а Департамент биомедицинской инженерии, Калифорнийский университет в Ирвине, 3107 Natural Sciences II, Ирвин, Калифорния 92697, США
Электронная почта: Джед[email protected]
Интернет: http://haun.eng.uci.edu
Тел .: +1949824 1243
б Кафедра химической инженерии и материаловедения, Калифорнийский университет в Ирвине, Ирвин, Калифорния 92697, США
с Департамент медицины, Отделение гематологии / онкологии, Школа медицины, Калифорнийский университет, Ирвин, Ирвин, Калифорния 92697, США
д Департамент молекулярной биологии и биохимии, Школа биологических наук, Калифорнийский университет, Ирвин, Ирвин, Калифорния 92697, США
e Кафедра биологической химии Медицинского факультета Калифорнийского университета, Ирвин, Ирвин, Калифорния, США
f Комплексный онкологический центр семьи Чао, Калифорнийский университет в Ирвине, Ирвин, Калифорния 92697, США
г Центр перспективного проектирования и производства интегрированной микрофлюидики, Калифорнийский университет, Ирвин, Ирвин, Калифорния, США
Портативное фильтрующее устройство для автономной фильтрации
Под редакцией Майка Сантора
Закрепить конец гидравлического шланга заглушкой.Большинство отказов масляных систем (до 80%) связано с загрязнением масла. Подобные отказы являются распространенной проблемой в крупных промышленных приложениях и мобильных машинах, а также в системах, работающих от небольших гидравлических блоков питания. Эффективная автономная фильтрация — постоянная или временная во время заливки и циклических сервисных проверок — значительно улучшает чистоту масла, минимизирует эксплуатационные расходы и продлевает срок службы машины. Продукты ARGO-HYTOS Fluid Management (FMA) предназначены для обслуживания систем с относительно большими масляными баками емкостью от 60 до 5000 л.Но что, если пользователи имеют дело с резервуаром небольшого размера или его монтажное положение затрудняет доступ к более крупным сервисным единицам?
CFP 03 — это портативное фильтрующее устройство для автономной фильтрации, которое действует в первую очередь как сервисное устройство для автономной фильтрации. Этот тип фильтрации очевиден в системах с легким доступом к резервуару, где установка двух независимых шлангов (всасывающий и напорный) не является проблемой. Настоящие проблемы — это небольшие системы, в которых масло заливается через один крошечный доступный порт.А как насчет автономной фильтрации в таких системах? Комплект всасывания-возврата CFP 03 помогает пользователям справиться с этой конкретной конфигурацией.
Проблема чистоты масла касается не только больших устройств. Вопрос в том, как улучшить обслуживание небольших устройств, таких как компактные блоки питания. К сожалению, такие системы часто заполняются неправильно, без использования профессионального оборудования. В результате масло, залитое в резервуар, не соответствует основным требованиям по чистоте.Даже новое масло по классу чистоты хуже, чем рекомендовано производителями гидравлических компонентов. Заполнение системы такими средами приводит к более быстрому износу компонентов и частым сбоям. В случае небольших резервуаров (объемом до нескольких десятков литров) заполнение и автономная фильтрация с помощью стандартных узлов обслуживания зачастую невозможны. Даже относительно небольшой номинальный расход 8 или 16 л / мин может привести к утечке. Более того, большинство компактных силовых агрегатов имеют ограниченные возможности подключения внешних гидравлических шлангов.Обычно в масляном баке имеется только один доступный порт (после снятия вентиляционного фильтра), который слишком мал для параллельной установки всасывающего и возвратного шлангов.
Комплект всасывания-возврата.Без возможности всасывания масла с последующей перекачкой его через отдельный шланг, автономная фильтрация невозможна. Компактный фильтр-блок CFP 03 имеет номинальный расход 3 л / мин для наполнения небольших машин. При таком низком расходе риск проливания или перелива минимален. Даже в случае бака емкостью несколько литров масло можно заправлять контролируемым образом.
Вся конфигурация состоит из алюминиевого корпуса, всасывающей и напорной трубки и комплекта быстрого соединения. Дополнительно он оснащен небольшим вентиляционным фильтром, который обеспечивает воздухообмен между внешней средой и резервуаром внутри. С помощью магнита, прикрепленного к корпусу, установка набора в стальной резервуар выполняется быстро и эффективно.
Автономная фильтрация в небольшой гидравлической силовой установке с CFP, подключенной к резервуару через систему всасывания-возврата.На первом этапе необходимо удалить оригинальный вентиляционный фильтр из бака.Затем всасывающий-возвратный комплект можно поместить в освободившееся отверстие и повернуть на любой желаемый угол. Сила магнита обеспечивает надежное соединение. После подключения всасывающего и давление шланга, вся установка готова к автономной фильтрации.
Этот же набор можно использовать и в силовых агрегатах с пластиковыми баками. Это возможно благодаря дополнительному переходнику из стали. Адаптер, ввинчиваемый в порт воздушного фильтра, является основанием для установки всасывающего-возвратного комплекта.
Компактный размер делает CFP 03 подходящим для использования в установках, где другие агрегаты не работают — в частности, в системах с недоступным масляным баком, где невозможно подключение большего сервисного агрегата.
Argo-Hytos
www.argo-hytos.com
Эффективность фильтрующего устройства в предотвращении эмболических событий во время каротидной ангиопластики и стентирования: анализ ex vivo
Представлено на тринадцатом ежегодном собрании Восточного сосудистого общества, Питтсбург, Пенсильвания, 30 апреля — 2 мая 1999 г.
Abstract
Цель: Хотя чрескожная ангиопластика и стентирование (ЧТАС) бифуркационных поражений сонной артерии осуществимы и подходят для хирургически недоступных поражений, их общая роль и сравнительная ценность остаются невыясненными. Более того, приемлемость каротидного PTAS ограничена его способностью продуцировать эмболический мусор. В этом исследовании использовалась модель ex vivo для оценки эффективности нового фильтрующего устройства для улавливания эмболов во время PTAS каротидных бляшек человека. Методы: Восемь бифуркационных бляшек сонной артерии были получены от пациентов, перенесших каротидную эндартерэктомию по поводу атеросклеротического стеноза высокой степени (> 90%). Средний возраст пациентов составлял 63 года, у шести пациентов наблюдались симптомы заболевания. Каждую бляшку покрывали политетрафторэтиленовым материалом для имитации адвентиции и подсоединяли к контуру перфузии, который обеспечивал непрерывный поток через бляшку. Фильтрующее устройство состояло из расширяемой полимерной мембраны с множеством микропор, которая была прикреплена к дистальному концу 0.014-дюймовая проволока с формованным наконечником. Этот фильтр был заключен в катетер доставки. Под рентгеноскопическим контролем фильтрующая проволока была пропущена через стеноз, а затем катетер доставки был втянут, чтобы открыть фильтр и захватить частицы, выпущенные в дистальную внутреннюю сонную артерию. Затем через фильтрующую проволоку проводили ПТАС с саморасширяющимся стентом. Частицы, высвобожденные во время начального прохождения через фильтр, захваченные в фильтре и те, которые протекали через фильтр или вокруг него (пропущены), собирались и анализировались с помощью световой микроскопии. Результаты: Развертывание фильтра, PTAS и извлечение фильтра были успешно выполнены с каждым поражением. Поскольку фильтр имеет низкий профиль пересечения, он плавно проходит через стенозы и производит лишь случайные мелкие частицы. PTAS улучшил ангиографический стеноз с 96,2% ± 3,7% до 1,3% ± 1,6%. Среднее количество и максимальный размер частиц, которые были выпущены во время начального прохождения через фильтр, пропущены и захвачены фильтрующим устройством, составляли 3,1 и 500 мкм, 2,8 и 360 мкм, 20.1 и 1100 мкм соответственно. Большинство частиц и частиц большого размера были выброшены во время PTAS. Фильтр уловил 88% этих частиц. Заключение: Эти результаты исследования показывают, что это фильтрующее устройство, по крайней мере, в этой модели, не усложняло саму интервенционную процедуру. Кроме того, фильтр может заметно снизить количество эмболических событий во время каротидного PTAS и расширить показания для этой процедуры. (J Vasc Surg 1999; 30: 1034-44.)
Рекомендуемые статьи Цитирующие статьи (0)
Просмотреть аннотациюАвторские права © 1999 Общество сосудистой хирургии и Международное общество сердечно-сосудистой хирургии, Североамериканское отделение.Опубликовано Mosby, Inc. Все права защищены.
Рекомендуемые статьи
Ссылки на статьи
Установка и удаление фильтра нижней полой вены
Во время установки фильтра нижней полой вены (НПВ) фильтрующее устройство помещается в НПВ, большую вену в брюшной полости, которая возвращает кровь из нижней части тела к сердцу. Сгустки крови в венах ног и таза могут иногда попадать в легкие, где они могут вызвать тромбоэмболию или закупорку легочной артерии.Фильтры IVC помогают снизить риск тромбоэмболии легочной артерии, задерживая большие сгустки и предотвращая их попадание в сердце и легкие. Они используются у пациентов, которые не реагируют или не могут получать обычную медицинскую терапию, такую как разжижители крови.
Ваш врач проинструктирует вас, как подготовиться к процедуре. Вам сообщат о любых изменениях в вашем обычном графике приема лекарств и о том, следует ли вам есть или пить перед процедурой. Сообщите своему врачу, если есть вероятность, что вы беременны, и обсудите любые недавние заболевания, состояния здоровья, аллергии и лекарства, которые вы принимаете.Оставьте украшения дома и носите свободную удобную одежду. Вас могут попросить надеть платье. После этого запланируйте, чтобы кто-нибудь отвез вас домой.
Что такое установка и удаление фильтра нижней полой вены?
При установке фильтра в нижнюю полую вену интервенционные радиологи используют визуализацию, чтобы поместить фильтр в нижнюю полую вену (НПВ), большую вену в брюшной полости, по которой кровь из нижней части тела возвращается к сердцу.
Сгустки крови, которые образуются в венах ног или таза, состояние, называемое тромбозом глубоких вен (ТГВ), иногда распадаются, и большие части сгустка могут перемещаться в легкие.Фильтр НПВ — это небольшое металлическое устройство, которое улавливает большие фрагменты сгустка и предотвращает их перемещение по полой вене к сердцу и легким, где они могут вызвать серьезные осложнения, такие как боль, затрудненное дыхание, одышка или даже смерть.
До недавнего времени фильтры IVC были доступны только в виде постоянно имплантированных устройств. Более новые фильтры, называемые необязательно извлекаемыми фильтрами, могут оставаться на месте постоянно или иметь возможность потенциально извлекаться из кровеносного сосуда позже.Это удаление может быть выполнено, когда риск попадания сгустка в легкие миновал. Это должно быть оценено врачом или интервенционным радиологом, который вставил фильтр нижней полой вены через некоторое время после установки, в идеале менее чем через шесть месяцев после установки. Удаление фильтра IVC устраняет любые долгосрочные риски разрушения фильтра или рецидива DVT. Однако это не устраняет причину ТГВ. Ваш лечащий врач определит, нужны ли еще препараты для разжижения крови. Не все извлекаемые фильтры НПВ следует удалять, если сохраняется риск попадания сгустков в легкие и если препараты для разжижения крови по-прежнему непригодны.Эти фильтры можно оставить на месте как постоянные фильтры, но многие фильтры можно снять даже после нескольких лет эксплуатации.
начало страницы
Каковы наиболее распространенные способы использования этой процедуры?
Фильтры нижней полой вены (НПВ) устанавливаются пациентам, у которых в анамнезе или у которых есть риск образования тромбов в ногах, включая пациентов:
- диагностирован тромбоз глубоких вен (ТГВ).
- с тромбоэмболом легочной артерии.
- пострадавших от травм.
- неподвижных.
Фильтры IVC используются, когда пациенты не могут быть успешно вылечены другими методами, включая препараты, разжижающие кровь.
начало страницы
Как мне подготовиться?
Перед процедурой у вас может быть сдан анализ крови, чтобы определить, насколько хорошо работают ваши почки и нормально ли свертывается ваша кровь.
Сообщите своему врачу обо всех принимаемых вами лекарствах, включая травяные добавки. Перечислите любые аллергии, особенно на местный анестетик, общую анестезию или контрастные вещества.Ваш врач может посоветовать вам прекратить прием аспирина, нестероидных противовоспалительных препаратов (НПВП) или антикоагулянтов перед процедурой.
Сообщите своему врачу о недавних заболеваниях или других заболеваниях.
Женщинам следует всегда сообщать своему врачу и рентгенологу, если есть вероятность, что они беременны. Многие визуализационные тесты не проводятся во время беременности, чтобы не подвергать плод воздействию радиации. Если рентгеновский снимок необходим, будут приняты меры, чтобы свести к минимуму радиационное воздействие на ребенка. Дополнительную информацию о беременности и рентгеновских лучах см. На странице «Безопасность».
Скорее всего, вас попросят ничего не есть и не пить после полуночи перед процедурой. Ваш врач скажет вам, какие лекарства вы можете принимать утром.
Вам может быть разрешено пить прозрачные жидкости в день процедуры.
Если вы страдаете диабетом и принимаете инсулин, вам следует получить инструкции по питанию и дозировке инсулина от интервенционного радиолога, так как ваша обычная доза инсулина может быть скорректирована в день процедуры.
Вас могут попросить снять часть или всю одежду и надеть халат во время экзамена. Вас также могут попросить снять украшения, очки и любые металлические предметы или одежду, которые могут мешать получению рентгеновских изображений.
Запланируйте, чтобы кто-нибудь отвез вас домой после процедуры.
начало страницы
Как выглядит оборудование?
В этой процедуре могут использоваться катетер, йодный контраст (рентгеновский краситель), рентгеновское или ультразвуковое оборудование для визуализации и фильтр нижней полой вены (НПВ).
Катетер — это длинная тонкая пластиковая трубка, которая значительно меньше «грифеля карандаша» или примерно 1/8 дюйма в диаметре.
Рентгеновский снимок:
Оборудование, обычно используемое для этого обследования, состоит из рентгенографического стола, одной или двух рентгеновских трубок и телевизионного монитора, который находится в смотровой. Рентгеноскопия, которая преобразует рентгеновские лучи в видеоизображения, используется для наблюдения и управления ходом процедуры. Видео создается рентгеновским аппаратом и детектором, подвешенным над столом, на котором лежит пациент.
УЗИ:
Ультразвуковые сканерысостоят из компьютерной консоли, экрана видеодисплея и присоединенного датчика. Преобразователь — это небольшое портативное устройство, напоминающее микрофон. Некоторые экзамены могут использовать разные преобразователи (с разными возможностями) во время одного экзамена. Преобразователь излучает неслышимые высокочастотные звуковые волны в тело, а затем прислушивается к отраженному эхо. Принципы аналогичны гидролокаторам, используемым на лодках и подводных лодках.
Технолог наносит небольшое количество геля на исследуемый участок и помещает туда датчик. Гель позволяет звуковым волнам перемещаться вперед и назад между датчиком и исследуемой областью. Ультразвуковое изображение сразу же отображается на экране видеодисплея, который выглядит как монитор компьютера. Компьютер создает изображение на основе громкости (амплитуды), высоты тона (частоты) и времени, которое требуется для возврата ультразвукового сигнала к датчику. Также учитывается, через какой тип структуры тела и / или ткани распространяется звук.
Другое оборудование, которое может использоваться во время процедуры, включает в себя внутривенную линию (IV), ультразвуковой аппарат и устройства, которые контролируют ваше сердцебиение и артериальное давление.
начало страницы
Как работает процедура?
Используя управление изображением, катетер вводится через кожу в большую вену на шее или верхней части ноги и продвигается к нижней полой вене в брюшной полости. Контрастный материал будет введен в вену для оценки правильности установки фильтра IVC.Затем фильтр IVC вводится через катетер в вену. Как только он окажется в правильном положении, интервенционный радиолог освободит фильтр, позволяя ему полностью расшириться и прикрепиться к стенкам кровеносного сосуда.
Для удаления фильтра НПВ специальный катетер вводится в крупную вену на шее или паху и продвигается к месту установки фильтра в полой вене. Съемный фильтр IVC имеет небольшой крючок или ручку на одном конце, что позволяет катетеру захватывать фильтр, закрывать его, втягивать в катетер, а затем выводить из тела.
начало страницы
Как проходит процедура?
Минимально инвазивные процедуры под визуальным контролем, такие как установка и удаление фильтра НПВ, чаще всего выполняются специально обученным интервенционным радиологом в кабинете интервенционной радиологии или иногда в операционной.
Эта процедура часто проводится в амбулаторных условиях. Однако некоторым пациентам может потребоваться госпитализация после процедуры. Спросите своего врача, нужно ли вам быть госпитализированным.
Вы окажетесь на спине.
Вы можете быть подключены к мониторам, которые отслеживают вашу частоту сердечных сокращений, артериальное давление, уровень кислорода и пульс.
Медсестра или технолог вставит внутривенную (IV) трубку в вену на руке или руке, чтобы ввести успокаивающее средство. В этой процедуре может использоваться умеренная седация. Не требует дыхательной трубки. Однако некоторым пациентам может потребоваться общая анестезия.
Область вашего тела, в которую будет вводиться катетер, будет стерилизована и покрыта хирургической простыней.
Ваш врач обезболит пораженную область с помощью местного анестетика. Это может ненадолго обжечься или пощекотать кожу, прежде чем область онемеет.
На этом участке кожи делается очень маленький разрез.
Используя визуализацию, катетер (длинная тонкая полая пластиковая трубка) вводится через кожу к месту лечения.
Контрастный материал может быть введен в нижнюю полую вену, чтобы помочь направить катетер и проверить точное размещение фильтра НПВ в кровеносном сосуде.
По окончании процедуры катетер удаляют и прикладывают давление, чтобы остановить кровотечение. Иногда ваш врач может использовать закрывающее устройство, чтобы закрыть небольшое отверстие в артерии. Это позволит вам перемещаться быстрее. На коже не видно швов. Крошечное отверстие в коже закрывается повязкой.
Ваша капельница удалена, прежде чем вы отправитесь домой.
Обычно процедура занимает один час.
начало страницы
Что я испытаю во время и после процедуры?
Устройства для контроля частоты пульса и артериального давления будут прикреплены к вашему телу.
Вы почувствуете легкое ущемление, когда игла вводится в вашу вену для внутривенного введения и когда вводится местный анестетик. Чаще всего ощущения возникают в месте разреза кожи. Это обезболивается с помощью местного анестетика. Вы можете почувствовать давление, когда катетер введен в вену или артерию. Однако серьезного дискомфорта вы не ощутите.
Если процедура проводится с применением седативных средств, внутривенное (в / в) седативное средство позволит вам расслабиться, почувствовать сонливость и комфорт во время процедуры.Вы можете бодрствовать, а можете и не бодрствовать, в зависимости от того, насколько глубоко вы находитесь под действием седативных препаратов.
Вы можете почувствовать легкое давление при введении катетера, но это не вызывает серьезного дискомфорта.
Когда контрастное вещество проходит через ваше тело, вы можете почувствовать тепло. Это быстро пройдет.
Вы останетесь в палате восстановления, пока полностью не проснетесь и не будете готовы вернуться домой.
Если ваш фильтр IVC был введен через вену на шее, вы сможете вернуться к своей обычной деятельности в течение 24 часов.Если фильтр был вставлен через вену в паху, вам следует избегать вождения в течение 24 часов, подъема тяжелых предметов и подъема по лестнице в течение 48 часов. Ваш врач может предоставить дополнительные инструкции после процедуры.
начало страницы
Кто интерпретирует результаты и как их получить?
Интервенционный радиолог может сообщить вам, была ли процедура успешной с технической точки зрения, когда она будет завершена.
Ваш интервенционный радиолог может порекомендовать вам повторный визит.
Это посещение может включать медицинский осмотр, визуализацию и анализы крови. Во время контрольного визита сообщите своему врачу о любых побочных эффектах или изменениях, которые вы заметили.
начало страницы
Каковы преимущества по сравнению с рисками?
Льготы
- Никакого хирургического разреза не требуется — только небольшой разрез на коже, который не требует наложения швов.
- Фильтр очень успешно защищает легкие от серьезной тромбоэмболии легочной артерии (ТЭЛА) у пациентов, которые не прошли традиционную медикаментозную терапию или не могут получить обычную медикаментозную терапию.
Риски
- Любая процедура, при которой проникают кожные покровы, сопряжена с риском инфицирования. Вероятность заражения, требующего лечения антибиотиками, составляет менее одного случая на 1000.
- Существует очень небольшой риск аллергической реакции при введении контрастного вещества.
- Любая процедура, при которой катетер помещается в кровеносный сосуд, сопряжена с определенным риском. Эти риски включают повреждение кровеносного сосуда, синяк или кровотечение в месте прокола, а также инфекцию.Врач примет меры предосторожности, чтобы снизить эти риски.
- Существует вероятность того, что фильтр IVC может застрять в неправильном месте, изменить положение или проникнуть через вену (что редко может привести к повреждению соседнего органа).
- Фильтр IVC или часть фильтра IVC могут вырваться и попасть в сердце или легкие, что приведет к травме или смерти.
- В редких случаях филеры НПВ становятся настолько заполненными сгустками, что блокируют весь кровоток в кровеносных сосудах, вызывая отек ног.
- В некоторых случаях извлекаемые фильтры покрываются рубцами в вене и не могут быть удалены, и в этом случае они остаются навсегда (поскольку они также предназначены для этого).
наверх страницы
Дополнительная информация и ресурсы
Эта страница была просмотрена 18 февраля 2020 г.
Руководство для преподавателя: задача по фильтрации воды
Это задание является частью нашего инструмента «Инженерия в классе» для преподавателей! Щелкните здесь, чтобы узнать больше о научных стандартах нового поколения (NGSS) для инженерии, установить связь с НАСА и узнать о других мероприятиях, соответствующих стандартам.
›Изучите инструмент
Обзор
В этом упражнении ученикам предлагается спроектировать и построить устройство фильтрации воды с использованием общедоступных материалов — следуя тому же процессу проектирования, который использовали инженеры и ученые, которые разработали Система восстановления воды Международной космической станции для НАСА. Чтобы решить эту задачу, учащиеся используют итеративный процесс, поскольку они создают, тестируют и измеряют производительность фильтрационного устройства, анализируют собранные данные и используют эту информацию для работы над улучшенным дизайном фильтрации.
Хотя учащиеся будут работать в группах по два-три человека, им рекомендуется думать о своем классе как о единой проектной команде, работающей сообща и извлекая уроки из усилий всех членов, чтобы создать лучшее устройство для фильтрации воды.
Учащиеся измеряют эффективность своего фильтрационного устройства с помощью тест-полосок pH и тестера проводимости, который собран из легкодоступных материалов и требует около получаса для изготовления. Предоставляются подробные планы и полный список материалов.
Материалы
Цифровые или трехлучевые весы (для взвешивания фильтрующих материалов)
Градуированные цилиндры -250 мл (для измерения имитации сточных вод)
Пустые пластиковые бутылки для воды 0,5 л (2 на команду)
Ножницы (1 пара на команду) )
Бумажные полотенца (для очистки разливов)
Квадраты марли 10 см x 10 см (по 1 на команду, чтобы закрыть горлышко бутылки)
Резинки (по 1 на команду, чтобы прикрепить марлю к бутылке)
Разнообразие материалы для использования в качестве фильтрующих материалов (например,g., ватные шарики, фильтры для кофе, аквариумный гравий, песчаный песок, сырые макароны, цеолит, активированный уголь (промойте уголь водой и просушите на газетах или полотенцах перед использованием))
Бумажные или пластиковые стаканчики (для использования в качестве ложек в сыпучих материалах) фильтрующий материал)
Искусственные сточные воды (Для 1 галлона: смешайте 2 стакана дистиллированного уксуса, несколько капель желтого пищевого красителя, пыль с пола, половину стакана верхнего слоя почвы или песка, горсть волос домашних животных или людей и достаточно воды для заполните галлон.)
Тестеры проводимости (опционально) (Для каждого: цифровой мультиметр, запасные предохранители, батарея 9 В, защелкивающийся разъем батареи, изолента, инструмент для зачистки проводов или нож, соль, вода и чашка для тестирования.) — скачать PDF
Тест-полоскиpH (диапазон 1–12, минимум)
Менеджмент
- Начните сбор пустых подходящих бутылок объемом 0,5 л за недели или месяцы до этого мероприятия, чтобы сэкономить на покупке бутылок.
- Создайте (или попросите учащихся построить) и проверьте тестеры электропроводности (если они используются) перед тем, как приступить к этому занятию.Загрузите план тестера проводимости (PDF)
- Обязательно используйте чистый аквариумный гравий и песчаный песок (не садовый гравий или пляжный песок, так как они могут увеличивать количество загрязняющих веществ в воде).
- Обязательно промойте и тщательно просушите активированный уголь (если используется). Неотмытый уголь сделает воду черной.
- Рассмотрите возможность распределения ролей между членами группы, такими как менеджер по материалам, научный регистратор, технический регистратор и инженер-строитель.
- Примечание: воду, отфильтрованную в этом эксперименте, НЕ СЛЕДУЕТ употреблять людям.
- В этом упражнении может проводиться соревнование студенческих команд. Будьте судьей при качественной оценке фильтрованной воды: поднесите кусок белой бумаги к фильтрованной воде и проверьте, нет ли твердых частиц и цвета. У команды-победителя самая чистая бутылка с водой.
Общие сведения
Естественная система жизнеобеспечения Земли обеспечивает воздух, которым мы дышим, воду, которую мы пьем, и другие условия, поддерживающие жизнь. Иногда ресурсы нашей Земли загрязняются и требуют очистки.
Один из таких проектов по очистке сейчас реализуется около Лаборатории реактивного движения НАСА в Пасадене, Калифорния, в рамках проекта по очистке грунтовых вод, руководствуясь Законом о комплексном реагировании на окружающую среду, компенсациях и ответственности (CERCLA) 1980 года. Руководитель проекта очистки грунтовых вод Стив Слатен сказал: «НАСА несет ответственность за крупномасштабную очистку подземных вод, которая является результатом прошлой практики утилизации отходов, которая восходит к Второй мировой войне, когда армия эксплуатировала JPL и разрабатывала ракеты для военных.Жидкие отходы — все, от туалетов до аналитических лабораторий, химикатов, чистящих растворителей и компонента ракетного топлива, называемого перхлоратом, — теперь находятся в глубоких грунтовых водах. Очень важно решить эту проблему, чтобы наши соседи имели доступ к этому ресурсу ».
Также существует потребность в системах фильтрации воды за пределами Земли, например, для астронавтов на Международной космической станции. Например, Центр космических полетов им. Маршалла НАСА отвечает за проектирование, строительство и испытания важной системы на МКС, которая не только обеспечивает экипажу комфортные условия, но и сводит к минимуму количество миссий по пополнению запасов, необходимых для поддержания МКС и ее состояния. экипаж функционирует.Система, называемая системой экологического контроля и жизнеобеспечения, выполняет несколько ключевых функций:
- Обеспечивает кислород для метаболического потребления.
- Обеспечивает питьевую воду для потребления, приготовления пищи и гигиенических целей.
- Удаляет углекислый газ из воздуха салона.
- Фильтрует микрочастицы и микроорганизмы из воздуха кабины.
- Удаляет летучие органические следы газов из воздуха кабины.
- Контролирует и регулирует парциальное давление азота, кислорода, углекислого газа, метана, водорода и водяного пара в воздухе кабины.
- Поддерживает полное давление в кабине.
- Поддерживает температуру и влажность в салоне.
- Распределяет воздух в кабине между подключенными модулями.
Двумя основными компонентами системы экологического контроля и жизнеобеспечения на МКС являются система рекуперации воды и система генерации кислорода.
Система рекуперации воды
Система рекуперации воды обеспечивает чистую воду за счет регенерации сточных вод (включая воду из мочи членов экипажа, мытья рук и воды для гигиены полости рта), конденсата влажности кабины и отходов внекорабельной деятельности (EVA).Восстановленная вода должна соответствовать строгим стандартам, прежде чем ее можно будет использовать для поддержки работы экипажа, выхода в открытый космос и полезной нагрузки.
Система восстановления воды предназначена для повторного использования мочи и сточных вод членов бригады для повторного использования в качестве чистой воды. Таким образом, система сокращает чистую массу воды и расходных материалов, которые необходимо будет запустить с Земли для поддержки шести членов экипажа, на 2760 кг (6000 фунтов) в год.
Система восстановления воды состоит из блока обработки мочи и блока обработки воды.Для извлечения воды из мочи используется процесс вакуумной дистилляции при низком давлении. Весь процесс происходит во вращающейся дистилляционной установке, которая компенсирует отсутствие силы тяжести и, следовательно, способствует разделению жидкостей и газов в космосе. Вода, полученная из блока обработки мочи, объединяется с другими сточными водами и доставляется в блок обработки воды для обработки. Узел водяного процессора удаляет из воды свободный газ и твердые материалы (волосы, ворс и т. Д.), Прежде чем она пройдет через серию мультифильтрационных слоев для дальнейшей очистки.Любые оставшиеся органические загрязнители и микроорганизмы удаляются с помощью высокотемпературного каталитического реактора. Чистота получаемой воды проверяется датчиками электропроводности (электропроводность воды увеличивается из-за наличия типичных примесей). Неприемлемая вода перерабатывается, и чистая вода отправляется в резервуар для хранения, готовый для использования экипажем.
Система генерации кислорода
Система генерации кислорода производит кислород для дыхательного воздуха для экипажа и лабораторных животных, а также для восполнения потери кислорода в результате экспериментов, разгерметизации шлюзовой камеры, утечки модуля и удаления углекислого газа.Система состоит в основном из узла генерации кислорода и модуля источника питания.
Ядром узла генерации кислорода является батарея элементов, которая электролизует или разрушает воду, поступающую из системы регенерации воды, выделяя кислород и водород в качестве побочных продуктов. Кислород подается в атмосферу кабины, а водород сбрасывается за борт. Модуль источника питания обеспечивает питание, необходимое узлу генерации кислорода для электролиза воды.
Система генерации кислорода предназначена для выработки кислорода с выбираемой скоростью и способна работать как непрерывно, так и циклически.Он будет обеспечивать от 2,3 до 9 кг (от 5 до 20 фунтов) кислорода в день при непрерывной работе и нормальную норму кислорода в 5,4 кг (12 фунтов) в день во время циклической работы.
Система генерации кислорода будет приспособлена к будущему добавлению узла сокращения углекислого газа. После развертывания Узел сокращения выбросов углекислого газа заставит водород, производимый узлом производства кислорода, вступить в реакцию с углекислым газом, удаленным из атмосферы кабины, с образованием воды и метана.Эта вода будет доступна для обработки и повторного использования, что позволит сократить количество воды, пополняемой на космическую станцию с земли.
Процедуры
Фильтровальное устройство, созданное студентом, состоит из двух 0,5-литровых бутылок с водой с отрезанным дном. Бутылки будут штабелироваться таким образом, чтобы сточные воды могли проходить через фильтрующий материал в верхней бутылке и собираться в нижней. Перед учащимися стоит задача определить, какие фильтрующие материалы им следует использовать, чтобы получить чистейшую фильтрованную воду.Четко сообщите ученикам, что устройства для фильтрации воды, которые они собираются изготовить, удалят некоторые загрязнения, но НЕ сделают воду безопасной для питья.
- Студенты должны изучить определение чистой воды, поскольку она предназначена для безопасного потребления человеком.
- Покажите учащимся смоделированные сточные воды и позвольте им использовать технику движения, чтобы обнаружить запах соединения.
- Опишите учащимся доступные фильтрующие материалы и попросите их изучить любые материалы, с которыми они не знакомы (обычно цеолит и активированный уголь, если они используются).
- Обсудите значение pH (кислотность или щелочность раствора), идеального pH питьевой воды и измерьте pH водопроводной воды в вашей школе. Для контраста, предложите учащимся измерить pH других распространенных жидкостей, таких как уксус, содовая и пищевая сода, растворенная в воде.
- Если вы используете тестеры проводимости, обсудите их использование сейчас. Объясните учащимся, что тестер проводимости создает контур через воду, чтобы измерить проводимость воды.Электропроводность — это стандартный метод, используемый для измерения чистоты воды, в частности количества неорганических примесей. Совершенно чистая вода не будет проводить электрический ток. Таким образом, чем меньше ток, протекающий через очищенные сточные воды, тем ниже концентрация неорганических загрязнителей. Вода, полученная и очищенная Системой восстановления воды на МКС, имеет среднюю проводимость около 1 мкмхо / см, большая часть которой является результатом остаточного йода, добавленного в воду для ее биоцидных свойств.
- Обсудите со студентами, как пользоваться тестером проводимости:
- Не позволяйте двум оголенным металлическим концам (провод, идущий от разъема с защелкой аккумулятора и провод мультиметра) соприкасаться. Это может привести к перегреву батареи или неисправности мультиметра.
- Дистанционные провода проходят от дна контейнера, а дистанционные выводы друг от друга влияют на текущие показания.
- Убедитесь, что все ученики согласны с постоянным расстоянием для измерения, e.g. поместите провода на расстоянии 1 см от дна 100 мл стаканов и держите их с противоположных сторон напротив стекла.
- Слегка прополоскайте жидкость в контейнере непосредственно перед снятием показаний, затем сосчитайте до 10 и запишите значение мА.
- Очищайте и сушите провода перед каждым тестом.
- Студенты должны кратко попрактиковаться в использовании тестеров электропроводности в известных растворах (водопроводная вода, физиологический раствор и т. Д.), Чтобы определить возможности устройств и проверить их работоспособность.
Процедура для студентов (студенты должны работать в группах по 2-3 человека):
- Удалите этикетки с двух 0,5-литровых бутылок с водой. Выбросьте одну завинчивающуюся крышку. Надежно прикрепите вторую завинчивающуюся крышку к нижней бутылке.
- Ножницами снимите дно с обеих бутылок.
- Закрепите марлю (сложенную по мере необходимости для удержания фильтрующего материала в бутылке) вокруг горлышка бутылки с открытым верхом с помощью резиновой ленты.
- Вставьте две бутылки в гнездо.
- Заполните верхнюю бутылку с точностью до 1.5 дюймов его верхней части с фильтрующими материалами различных типов и слоев. Задокументируйте количество и последовательность используемых фильтрующих материалов.
- Измерьте и запишите pH и проводимость моделированных сточных вод.
- Медленно вылейте 200 миллилитров искусственной сточной воды через каждое устройство для фильтрации воды, созданное учащимся.
- Измерьте и запишите pH и проводимость отфильтрованной воды.
- Сравните результаты (цвет, запах, pH, проводимость) среди студенческих групп.Обсудите использованные фильтрующие материалы и достигнутые результаты.
- Разрешить каждой группе разработать и построить лучший фильтр на основе данных класса.
Обсуждение
- Какие фильтрующие материалы были наиболее эффективными при фильтрации воды?
- Как бы вы могли улучшить конструкцию фильтра для воды?
Оценка
См. Рубрику «Инженерия». Оценка этой деятельности зависит от имеющихся материалов и используемых методов тестирования.Если фильтрованная вода более чистая, чем имитируемая сточная вода, то созданное студентом фильтрующее устройство было в некоторой степени эффективным. Степень, в которой возможно достижение чистоты, зависит от доступных материалов, поэтому в большинстве классов поощряйте учащихся использовать данные, собранные в ходе анализа воды, чтобы решить, какие фильтры наиболее эффективны.Extensions
Bard IVC Filter — Perdue & Kidd Medical Device Lawyers
Фильтры Bard IVC — это медицинские устройства, помещаемые в нижнюю полую вену сердца с целью улавливания сгустков крови и предотвращения их попадания в сердце или легкие.Недавние исследования показали, что фильтры неэффективны. Фактически было показано, что фильтры удваивают риск тромбоэмболии легочной артерии, того самого состояния, которое они предназначены для предотвращения. В судебных исках как источники проблем упоминаются, в частности, три бренда: фильтр Bard Recovery, фильтр Bard G2 и фильтр Bard G2 Express.
Фильтры Bard IVC — это медицинские устройства, помещаемые в нижнюю полую вену сердца и предназначенные для улавливания сгустков крови и предотвращения их попадания в сердце или легкие.Недавние исследования показали, что фильтры неэффективны. Фактически, исследования показывают, что фильтры вдвое увеличивают риск тромбоэмболии легочной артерии, того самого состояния, которое они созданы для предотвращения. Источниками проблем являются три бренда: фильтр Bard Recovery, фильтр Bard G2 и фильтр Bard G2 Express.
Предупреждения FDA о риске безопасности фильтров Bard IVC:
Примерно 27 ноября 2002 г. компания Bard получила разрешение Управления по санитарному надзору за качеством пищевых продуктов и медикаментов («FDA») на продажу фильтрующего устройства Bard IVC Recovery и / или его компонентов в качестве постоянного фильтра IVC в соответствии с Разделом 510 (k) Поправок к медицинским устройствам. .В уведомлении Bard о намерении выйти на рынок утверждалось, что фильтр Recovery был эквивалентен фильтру Simon Nitinol («SNF»), их «предикатному устройству». 25 июля 2003 г. FDA очистило фильтр Bard IVC Recovery для дополнительного предполагаемого использования дополнительного извлечения.
Фильтр Bard IVC Recovery оказался проблемным для Bard, поскольку он представлял повышенный риск перелома, образования трещин в нижней полой вене, перфорации стенки нижней полой вены (проникновения в другие органы и ткани, такие как аорта и двенадцатиперстная кишка). ) и мигрируют по телу.
Хотя фильтры были разработаны для предотвращения опасной для жизни тромбоэмболии легочной артерии (ТЭЛА) — тромбов в легких — они имеют опасные для жизни побочные эффекты. В отчете, выпущенном в 2010 году, FDA получило более 900 сообщений о побочных эффектах, связанных с фильтрами IVC. Кроме того, нежелательные явления, перечисленные в отчете FDA, включают:
- 70 отверстий фильтра
- 328 миграций устройств
- 56 фильтр трещин
- 146 эмболизация. Компоненты устройства отсоединились.
Bard IVC Filter Fracture
разрушение фильтра барда IVCРиск разрушения фильтра IVC является одним из наиболее серьезных осложнений при использовании Bard IVC Recovery и Bard G2 IVC filter. Врачи имплантируют это устройство в нижнюю полую вену пациента (НПВ), которая является кровеносным сосудом между сердцем и легкими. Разработан в виде проволочной клетки с тонкими проволочными ножками (называемыми «распорками»), которые улавливают сгустки крови, прежде чем они попадут в легкие пациента и вызовут тромбоэмболию легочной артерии. Recovery и G2 — это извлекаемые фильтры нижней полой вены, которые можно снимать после того, как у пациента больше нет риска тромбоэмболии легочной артерии.Другими словами, риск разрушения фильтра увеличивается, чем дольше эти временные устройства остаются в теле пациента.
FDA связывает фильтр Bard Recovery IVC с 40% -ной частотой разрушения после 5,5 лет. Bard отозвала фильтр Bard IVC Recovery в 2005 году. С 2005 года FDA получило более 900 сообщений о неблагоприятных событиях, связанных с серьезными, опасными для жизни побочными эффектами фильтра IVC, что побудило их опубликовать в 2010 году сообщение о безопасности, о котором говорилось выше. Некоторые из этих событий привели к неблагоприятным клиническим исходам у пациентов.Эти типы событий связаны с извлекаемым фильтром, остающимся в организме в течение длительных периодов времени, сверх того времени, когда снизился риск тромбоэмболии легочной артерии (ТЭЛА).
Исследование
Управление по санитарному надзору за качеством пищевых продуктов и медикаментов опасается, что эти извлекаемые фильтры IC, предназначенные для краткосрочной установки, не удаляются, как только снижается риск ПЭ у пациента. Известные долгосрочные риски, связанные с фильтрами НПВ, включают тромбоз глубоких вен нижних конечностей (ТГВ), перелом фильтра, миграцию фильтра, эмболизацию фильтра и перфорацию НПВ.Исследования также отмечают, что около 100 000 пациентов перенесли имплантацию устройства IVC с момента его утверждения. По некоторым оценкам, у 1 из 4 человек, которым имплантировано устройство фильтра IVC, будет поломка. Люди, которые годами использовали устройство IVC, подвергаются большему риску травм.
Затем Бард переработал Bard IVC Recovery и переименовал его в Bard IVC G2, заявив, что у улучшенного устройства меньше шансов сломаться или мигрировать. Однако исследователи связали Bard IVC G2 с частотой переломов 12%, как отмечается в одном исследовании, упомянутом ниже.Когда фильтр IVC ломается, сломанные части устройства могут стать эмболией — они перемещаются в кровотоке. Если они попадают во внутренний орган (например, сердце, легкие, почки или другие части тела), они могут вызвать серьезные внутренние повреждения.
Исследования трещин фильтра IVC
- Одно исследование, опубликованное в феврале 2012 года, показало, что фильтр Bard G2 IVC вызывает частоту поломок фильтра 12%. Исследователи также обнаружили, что врачи удалили сломанные части устройства всего за 53 года.4% случаев. Они предупредили, что риск перелома со временем увеличивается.
- Другое исследование показало, что сломанные стойки фильтра (паучьи ножки устройства) часто невозможно удалить. В исследовании описаны случаи, когда сломанные части врезались в сердце, нижнюю полую вену, легкие или другие кровеносные сосуды.
- Это последующее исследование показало, что 40% фильтров Bard Recovery IVC сломались через 5,5 лет. В отчете описаны случаи, когда осколки попали в легочные артерии, бедренные вены, сердце и почечную вену.Кроме того, рядом с фильтром закладываются другие фрагменты.
- Исследование, опубликованное в 2010 году, предупреждает: «Фильтры Bard Recovery и Bard G2 имеют высокую распространенность переломов и эмболизаций с опасными для жизни последствиями». У многих пациентов фрагменты фильтра попали в сердце, что вызвало опасную для жизни тампонаду сердца, желудочковую тахикардию и внезапную смерть.
- В исследовании, опубликованном в «Журнале анестезиологии» в 2012 году, случай мужчины, перенесшего тампонаду сердца и острый перикардиальный выпот, описан как осложнение небольшого фрагмента проволоки из фильтра НПВ, который так и не был удален спустя много лет.
- В исследовании 2013 года изучались признаки, осложнения и лечение фильтров IVC (некоторые из них были фильтрами Bard IVC) у 952 пациентов в травматологическом центре 1-го уровня. Врачи установили пациентам около 680 извлекаемых фильтров НПВ. У 608 пациентов фильтры не были удалены. Приблизительно у 58 пациентов фильтры были успешно удалены. Из оставшихся 13 пациентов, у которых удаление было неудачным, результаты исследования показали:
- 8 пациентов не смогли удалить фильтры из-за встроенных в них устройств.
- 3 пациента не могли удалить фильтры, потому что фильтры выступали из кровеносного сосуда
- У 2 пациентов не удалось удалить фильтры из-за того, что устройства переместились в ненормальное положение
- У 1 пациента обнаружен сгусток крови внутри фильтра
- Из 13 безуспешных случаев удаления фильтров у 11 пациентов были фильтры более 85 дней.
Переломы фильтра IVC и травмы сердца
Эмболии сердца фильтром Bard IVC были связаны с несколькими опасными для жизни повреждениями сердца, в том числе:
- Тампонада сердца
- Геморрагический выпот в перикард
- Желудочковая тахикардия
- Перфорация сердца
- Внедрение / эрозия в сердце
- Разрыв сердца
- и др.
Сломанные части фильтра Bard IVC могут также попасть в легкие, пробить нижнюю полую вену или попасть в другие части тела и вызвать серьезное повреждение органов.Людям, страдающим этими осложнениями, часто требуется экстренная операция и интенсивная терапия.
Адвокаты по фильтрам IVC
Если у вас или у вашего близкого возникли проблемы с фильтром Bard IVC, у вас может быть случай. Примите меры сегодня и убедитесь, что вы привлекаете к ответственности ответственные стороны. Чтобы запланировать бесплатную первичную консультацию, позвоните по телефону 713-520-2500 или по бесплатному телефону 800-520-1749 или свяжитесь с нами через Интернет.
Perdue & Kidd берет на себя все дела о травмах на основе условного вознаграждения.Прежде всего, мы взимаем гонорары адвокатов только в том случае, если мы гарантируем вам компенсацию. Подпишитесь на нас в Facebook и будьте в курсе всех новостей компании.
Устройства для фильтрации воздуха | Клинфакс
Инструменты для контроля и улучшения качества воздуха в помещении.
Использование устройств фильтрации воздуха (AFD) становится все более распространенным при реставрации и очистке. Их ценность особенно важна при выполнении работ, связанных с высоким содержанием твердых частиц, в том числе на большинстве участков восстановления, а также при строительстве или реконструкции окружающей среды.
При очистке или сушке конструкции с известным загрязнением всегда следует использовать AFD. Использование AFD также рекомендуется в тех случаях, когда известно, что полости стен, поверхности пола или подповерхности содержат большое количество органических остатков, почв, аллергенов или других нежелательных частиц.Правильная фильтрация воздуха еще более важна, когда жильцы здания подвергаются значительному риску воздействия твердых частиц — очень молодые, пожилые, а также те, у кого есть проблемы с дыханием или ослабленная иммунная система.В этих случаях использование AFD абсолютно необходимо для защиты здоровья и безопасности пассажиров.
УЗИ— часто называемые машинами с отрицательным воздушным потоком, воздухоочистителями, блоками HEPA или воздушными фильтрами — работают путем фильтрации в несколько этапов. Обычно эти стадии расположены в порядке от самой грубой до самой тонкой фильтрации. Это помогает увеличить срок службы более тонких (и более дорогих) фильтрующих элементов и поддерживать общую эффективность фильтрации в течение более длительного периода времени. Вот типичные типы фильтров и те, которые рекомендуются для использования с преобразователем частоты.
1. Предварительные фильтры. Разработан для улавливания крупных частиц, заменяемых ежедневно или, по крайней мере, при каждой работе. Часто доступно в два этапа для различного размера частиц.
2. Фильтр с активированным углем. По желанию. Предназначен для поглощения органических паров и устранения нежелательных запахов.
3. Первичный HEPA-фильтр. Высокоэффективная фильтрующая среда для твердых частиц. Разработан для улавливания 99,97% частиц размером до 0,3 мкм.
HEPA: золотой стандарт фильтрации воздуха
HEPA, или «высокоэффективный воздушный фильтр для твердых частиц», является наиболее распространенным рейтингом, используемым для описания эффективности фильтрации воздуха.Рейтинг HEPA показывает, что фильтр удаляет 99,97% твердых частиц размером 0,3 микрона.
Движение воздуха, производимое устройством, выражается в кубических футах в минуту (CFM). Это значение, однако, не отражает потери воздушного потока, вызванные фильтрами, когда они находятся внутри устройства, и фактический CFM может быть значительно ниже. Эффективность также зависит от количества воздуха, проходящего через устройство. Фильтры, испытанные на доставку HEPA при 500 куб. Фут / мин, могут не обеспечивать фильтрацию HEPA при 1000 куб.
При оценке эффективности системы фильтрации воздуха критически важно знать, как работает установка, когда все фильтры установлены на свои места. ВНИМАНИЕ !!!!!!!!!!!!!!!!!!!!!!!!!!!!!!!!!!!!!!!!!!!!!!!!!!!!!!!!!!!!!!!!!!!!!!!!!!!!!!!!!!!!!!!!!!!!!!!!!!!!!!!!!!!!!!!!!!!!!!!!!!!!!!!!!!!!!!!!!!!!!!!!!!!!!!!!!!!!!!!!!!!!!!!!!!!!!!!!!!!!!!!!!!!!!!!!!!!!!!!!!!!!!!!!!!!!!!!!!!!!!!!!!!!!!!!!!!!!!!!!!!!!!!!!!!!!!!!!!!!!!!!!!!!!!!! Попросите вашего производителя предоставить эту информацию или испытайте ваше устройство в независимой лаборатории.
Зачем нужны AFD?
Любая работа, связанная с очисткой от сточных вод, плесени и / или повреждений от пожара, приведет к образованию значительных твердых частиц и неприятных (плохо пахнущих) газов. Эти загрязнения могут быть прямым результатом самого повреждения, а также результатом обработки и очистки поврежденных материалов.Это включает в себя не только повреждение занятого пространства, но и загрязняющие вещества в полостях стен или потолка, которые могут быть нарушены и по незнанию занесены в занимаемое пространство. Эти загрязнения могут оседать на коврах, обивке и мебели. Хуже того, их можно втянуть в систему отопления, вентиляции и кондиционирования воздуха и распределить по всей конструкции.
Правильная установка очистки воздуха поможет обеспечить более безопасные и комфортные условия для людей как во время проекта, так и после его завершения.Для технических специалистов использование очистителя воздуха может быть гораздо более эффективным, удобным и менее дорогостоящим, чем использование респираторов. Использование воздухоочистителей на каждой работе — это как краткосрочные, так и долгосрочные инвестиции в здоровье и продуктивность людей, которые выполняют работу по восстановлению чистой окружающей среды.
Использование установки отрицательного давления воздуха также может помочь ограничить ваши юридические риски после завершения работы. Это особенно актуально при повреждении водой и загрязнении плесенью. Иногда в восстановленной конструкции возникает проблема с качеством воздуха в помещении (IAQ) из-за ранее существовавшего состояния или последующего повреждения, которое выходит за рамки вашей ответственности.Используя AFD на каждой работе, вы можете показать, что делаете дополнительный шаг, чтобы свести к минимуму воздействие опасностей, переносимых воздухом.
Улучшение качества воздуха в помещении также улучшает производительность оборудования и качество вашей работы. Например, очиститель воздуха улавливает грязь, пыль и мусор, которые в противном случае могли бы засорить и потенциально повредить другое оборудование, используемое на рабочем месте, такое как осушители, воздушные двигатели и другое оборудование. Использование воздушной очистки может помочь сохранить ваше оборудование в чистоте и работать с максимальной эффективностью.
Определение количества используемых преобразователей частоты
Количество преобразователей частоты, которые необходимо разместить в данной области, зависит от кубического объема обрабатываемой области и движения воздуха, создаваемого вашим оборудованием. Цель состоит в том, чтобы заменять или фильтровать весь воздух в помещении от четырех до шести раз в час или «воздухообменов в час» (AEH). AEH рассчитывается следующим образом. Предусмотрены как стандартные, так и метрические единицы:
Расчет воздухообмена в час (стандартный)
футов 3 × AEH / 60 = необходимое движение воздуха в кубических футах в минуту
Где:
футов 3 = объем воздуха в обрабатываемой зоне
AEH = Требуемый воздухообмен (используйте значение от 4 до 6, в зависимости от степени загрязнения)
60 = Преобразует объемы воздуха в час в кубические футы в минуту
Расчет воздухообмена в час (метрическая система)
м 3 × AEH / 60 = необходимое движение воздуха в кубических метрах в минуту
Где:
м 3 = объем воздуха в обрабатываемой зоне
AEH = Требуемый воздухообмен (используйте значение от 4 до 6, в зависимости от степени загрязнения)
60 = Преобразует обмены воздуха в час в кубические метры в минуту
Разделите результат на количество движения воздуха (в кубических футах или метрах в минуту), производимое машинами AFD; результатом является количество AFD, которое необходимо разместить в работе.
Правильное размещение
Важно размещать скрубберы равномерно по всей конструкции, чтобы улавливать наибольшее количество твердых частиц. Чтобы максимально увеличить количество твердых частиц, улавливаемых системой фильтрации, лучше установить больше блоков с более низким CFM, чем меньшее количество блоков с более высоким CFM. Если доступен только один большой преобразователь частоты, обязательно разместите его в центре. УЗИ можно также разместить в воздушном потоке системы HVAC конструкции или в воздушном потоке пневмотранспортеров для увеличения их зоны захвата.
Контроль загрязнения
AFD могут быть опасно загрязнены во время проекта восстановления. Несоблюдение правил очистки преобразователя частоты перед транспортировкой в другое место может привести к распространению этого загрязнения. Чтобы избежать перекрестного загрязнения, очень важно удалить все фильтрующие элементы на рабочем месте, очистить устройство внутри и снаружи и установить новые фильтрующие элементы.
Чтобы предотвратить распространение загрязняющих веществ, выполните следующие действия:
1.Надев при необходимости СИЗ, переместите преобразователь частоты на улицу, подключите его и включите. Держите агрегат работающим в течение всего процесса.
2. Снимите первый фильтр и поместите его в пластиковый пакет. Положите в пакет все дополнительные фильтры. Немедленно запечатайте пакет, поместите второй пакет поверх первого и запечатайте его.
3. Выключите установку и установите в нее новые фильтры.
Обеспечение самой чистой окружающей среды
HEPA-фильтрация является важной частью поддержания чистоты в помещении во время реставрации.Правильная система фильтрации HEPA особенно важна в среде, где может присутствовать опасное загрязнение. Чтобы защитить своих технических специалистов и клиентов, а также обеспечить максимально чистую окружающую среду, обязательно используйте AFD, оборудованный HEPA, чтобы установить адекватную фильтрацию на каждом проекте.
