Делаем простой стробоскоп для установки зажигания своими руками
Светодиодный стробоскоп для установки зажигания позволяет быстро и с высокой точностью выставлять оптимальный угол опережения зажигания (УОЗ) в автомобиле. Данный параметр играет важную роль в корректной работе двигателя. Небольшое смещение в момент зажигания приводит к потере мощности, вследствие возросшего расхода топлива и перегрева двигателя.
Несмотря на большой ассортимент промышленно выпускаемых приборов для проверки и установки УОЗ, актуальность создания стробоскопа своими руками не потеряла смысл и в наши дни. Представленная схема самодельного стробоскопа для автомобиля не требует наладки после сборки и изготавливается из доступных деталей.
Содержание
- 1 Принципиальная схема стробоскопа
- 2 Принцип работы
- 3 Печатная плата и детали сборки
- 4 Настройка
- 5 Установка УОЗ стробоскопом
Принципиальная схема стробоскопа
Схема разработана и представлена в девятом издании журнала «Радио» в далеком 2000 году.
Однако, благодаря своей простоте и надежности, остается актуальной и в наши дни.
В принципиальной электрической схеме стробоскопа для авто можно условно выделить 4 части:
- Цепь питания, состоящая из выключателя SA1, диода VD1 и конденсатора С2. VD1 защищает элементы схемы от ошибочной смены полярности. С2 блокирует частотные помехи, предотвращая сбои в работе триггера. Для подачи и отключения питания используется выключатель SA1, для этого подойдет любой компактный выключатель или тумблер.
- Входная цепь, которая состоит из датчика, конденсатора С1 и резисторов R1, R2. Функцию датчика выполняет зажим «крокодил», который закрепляется на высоковольтном проводе первого цилиндра. Элементы С1, R1, R2 представляют собой простейшую дифференцирующую цепь.
- Микросхема триггера, собранная по схеме двух однотипных одновибраторов, которые формируют на выходе импульсы заданной частоты. Частотозадающими элементами являются резисторы R3, R4 и конденсаторы С3, С4.

- Выходной каскад, собранный на транзисторах VT1-VT3 и резисторах R5-R9. Транзисторы усиливают выходной ток триггера, что отражается в виде ярких вспышек светодиодов. R5 задаёт ток базы первого транзистора, а R9 – исключает сбои в работе мощного VT3. R6-R8 ограничивают ток нагрузки, протекающий через светодиоды.
Принцип работы
Схема стробоскопа питается от автомобильного аккумулятора. В момент замыкания выключателя SA1, триггер DD1 переходит в исходное состояние. При этом на инверсных выходах (2, 12) появляется высокий потенциал, а на прямых (1, 13) – низкий потенциал. Конденсаторы С3, С4 заряжены через соответствующие резисторы.
Импульс с датчика, пройдя через дифференцирующую цепь, поступает на тактовый вход первого одновибратора DD1.1, что приводит к его переключению. Начинается перезаряд С3, который через 15 мс заканчивается очередным переключением триггера. Таким образом, одновибратор реагирует на импульсы с датчика, формируя на выходе (1) прямоугольные импульсы.
Длительность выходных импульсов с DD1.1 определяется номиналами R3 и С3.
Второй одновибратор DD1.2 работает аналогично первому, уменьшая длительность импульсов на выходе (13) в 10 раз (примерно до 1,5 мс). Нагрузкой для DD1.2 служит усилительный каскад из транзисторов, которые открываются на время импульса. Импульсный ток через светодиоды ограничен исключительно резисторами R6-R8 и в данном случае достигает величины 0,8 А.
Не стоит пугаться столь большого значения тока. Во-первых, его импульс не превышает 1 мс, со скважностью в рабочем режиме не менее 15. Во-вторых, современные светодиоды обладают гораздо лучшими техническими характеристиками в сравнении с их предшественниками из 2000 года, когда эта схема впервые получила практическое применение. Тогда нужно было поискать светодиоды с силой света в 2000 мкд. Сейчас белый LED (от англ. Light-emitting diode) типа C512A-5 мм от компании Cree с углом рассеивания 25° способен выдать 18000 мкд при постоянном токе в 20 мА. Поэтому использование сверхъярких светодиодов позволит значительно снизить ток нагрузки путём увеличения сопротивления R6-R8.
В-третьих, время пользования стробоскопом обычно не превышает 5-10 минут, что не вызывает перегрев кристаллов излучающих диодов.
Печатная плата и детали сборки
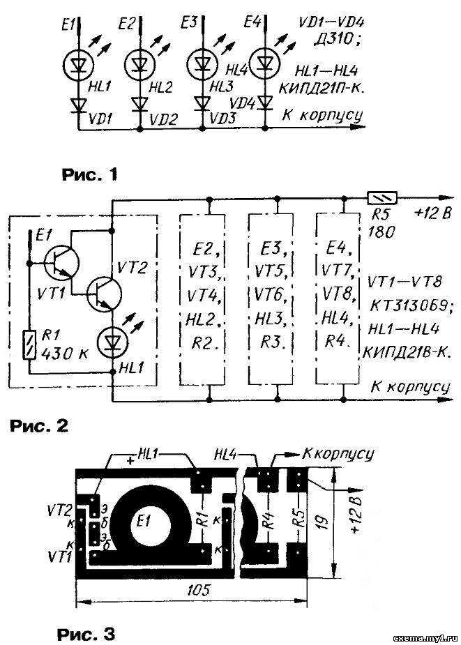
Самодельный стробоскоп для установки зажигания можно собрать как на недорогих отечественных радиоэлементах, так и на более прецизионных импортных элементах. Ниже представлена плата с применением отечественных компонентов для штыревого монтажа.
Плата в файле Sprint Layout 6.0: plata.lay6
Диод VD1 – КД2999В или любой другой с малым падением прямого напряжения. Конденсатор С1 должен быть высоковольтным с емкостью в 47 пФ и напряжением 400 В. Конденсаторы С2-С4 неполярные серии КМ-5, К73-9 на 0,068 мкФ 16 В. Все резисторы, кроме R4, типа МЛТ или планарные с номиналами, указанными на схеме. Подстроечный резистор R4 типа СП-3 или СП-5 на 33 кОм.
Триггер ТМ2 лучше использовать 561 серии, которая отличается высокой помехоустойчивостью и надёжностью. Но можно заменить его микросхемой 176 и 564 серии, учитывая их распиновку.
Транзисторы VT1-VT2 подойдут КТ315 Б, В, Г или КТ3102 с большим коэффициентом усиления. Выходной транзистор – КТ815, КТ817 с любой буквенной приставкой. Светодиоды HL1-HL9 лучше взять сверхъяркие с малым углом рассеивания. Их располагают на отдельной плате по три в ряд. При отсутствии каких-либо деталей схемы их можно заменить более современными аналогами, немного усовершенствовав плату.
Готовую плату управления стробоскопа и плату со светодиодами удобно разместить в корпусе переносного фонарика. При этом необходимо предусмотреть отверстие в корпусе под регулятор R4, а в качестве SA1 можно использовать штатный выключатель.
Настройка
В схеме установлен подстроечный резистор R4, регулировкой которого можно добиться нужного визуального эффекта. Вращая ручку регулятора можно наблюдать, что уменьшение импульса тока ведёт к недостатку освещенности меток, а увеличение – к размытости. Поэтому во время первого запуска стробоскопа необходимо подобрать оптимальную длительность вспышек.
Длина экранированного провода от печатной платы к датчику не должна превышать 0,5 м. В качестве датчика подойдет 0,1 м медного проводника, припаянного к центральной жиле экранированного провода. В момент подключения его наматывают на изоляцию высоковольтного провода первого цилиндра автомобиля, делая 3 витка. Для повышения помехоустойчивости намотку производит максимально близко к свече. Вместо медного проводника можно взять зажим типа «крокодил», который также следует припаять к центральной жиле, а его зубья слегка загнуть внутрь, чтобы не повредить изоляцию.
Установка УОЗ стробоскопом
Прежде чем рассмотреть работу автомобильного стробоскопа, нужно понять суть стробоскопического эффекта. Если движущийся в темноте объект на мгновение осветить вспышкой, то он будет казаться застывшим в месте, где произошла вспышка. Если на вращающееся колесо нанести яркую метку и освещать его яркими вспышками, совпадающими по частоте с частотой вращения колеса, то в момент вспышек можно зрительно фиксировать местоположение метки.
Перед регулировкой момента зажигания автомобиля наносят две метки: подвижную на коленчатом валу (маховике) и стационарную – на корпусе двигателя. Затем присоединяют датчик, подают питание на стробоскоп и включают двигатель в режим холостого хода. Если во время вспышек метки совпадают, то УОЗ выставлен оптимально. В противном случае следует произвести корректировку до полного их совпадения.
Представленный стробоскоп для установки зажигания, собранный своими руками, позволит за несколько минут отладить систему зажигания автомобиля. В результате корректировки вырастет КПД двигателя и увеличится срок его службы.
Стробоскоп своими руками для настройки зажигания
Стробоскопами являются специальные устройства, которые предназначены для того чтобы установить зажигание на двигателе автомобильного средства. Эти приспособления можно купить в специально отведенном магазине, а также сделать самостоятельно из подручных средств.
Стоит заметить, что выгоднее всего сделать стробоскоп для установки зажигания своими руками. Потому как это поможет вам сократить расход денежных средств и создать такое приспособление, которое будет подходить именно вашему автомобилю. Без наличия данного прибора будет сложно отрегулировать должным образом зажигание на двигателе. Однако несмотря на преимущества данного приспособления, далеко не все автолюбителя торопятся в магазины, чтобы его приобрести.
Поиск данных по Вашему запросу:
Схемы, справочники, даташиты:
Прайс-листы, цены:
Дождитесь окончания поиска во всех базах.
По завершению появится ссылка для доступа к найденным материалам.
Содержание:
- Изготавливаем стробоскоп для установки зажигания своими руками
- Cтробоскоп для установки зажигания.
- Как подключить стробоскоп автомобильный
- Стробоскоп своими руками на светодиодах
- Как сделать автомобильный стробоскоп для установки зажигания своими руками?
- Стробоскоп для установки зажигания своими руками
- Самодельный стробоскоп для установки зажигания: очумелые ручки
- Стробоскопы на авто своими руками
- Стробоскоп для установки зажигания: как пользоваться схемой
ПОСМОТРИТЕ ВИДЕО ПО ТЕМЕ: Стробоскоп для мото двигателей, всего три компонента.
Изготавливаем стробоскоп для установки зажигания своими руками
Одна из весьма актуальных для отечественных автомобилистов тем — как в автомобиле грамотно выставить зажигание, применяя стробоскоп.
Согласитесь, что этой методикой в совершенстве владеют лишь немногие опытные водители и механики. Для тех же, кто знаком с ней лишь понаслышке, специалисты рекомендуют детально ознакомиться, как именно функционирует стробоскоп, какие у него ключевые характеристики, как самостоятельно изготовить прибор для такой установки и, наконец, какой практический алгоритм регулировки зажигания с помощью прибора.
Это поможет им не допускать перерасхода топлива, необоснованного перегрева двигателя и прочих нежелательных явлений, негативно влияющих на работу машины и сокращающих срок её эксплуатации. Элементарными навыками обращения со стробоскопом должен владеть каждый уважающий себя водитель, поскольку это устройство выступает его надёжным помощником и союзником в деле экономного использования машины.
Тем более что ничего слишком сложного в этом нет: научиться работать со стробоскопом под силу любому, так как это несложный прибор, приобрести который можно практически чуть ли не в каждом специализированном автомагазине.
Работает он на основе известного со школьных уроков физики стробоскопического эффекта.
Суть этого эффекта проста. Так, при освещении движущегося в темноте предмета с помощью короткой яркой вспышки этот объект покажется неподвижным, застывшим именно в таком ракурсе, в каком он находился в момент вспышки. Дальше в ход должны вступят две особенные метки, которым придется синхронно сработать с стробоскопом. Мотор включают на холостой режим и с помощью стробоскопа высвечивают эти метки во время вспышки, происходящей одновременно с возникновением искры в свече какого-то цилиндра.
При этом следует фиксировать, как метки расположены относительно друг друга. Если они размещены точь-в-точь одна против другой, то это означает оптимальность угла опережения зажигания, т. Как и любой важный автомобильный прибор, стробоскоп имеет систему определённых характеристик, позволяющих ему чётко выполнять его миссию.
Некоторые из них присущи только ему. Скажем, питаться он может двумя равноценными способами: за счёт собственных элементов питания или же бортовой энергосистемы машины.
Отличительным свойством стробоскопа считают и величину минимальной частоты его вспышек — ей следует быть равной частоте вращения коленвала с максимальными оборотами.
Самым распространённым является прибор с частотой 50 Герц. Стоит отметить также, что такой прибор способен эффективно работать лишь незначительное время — примерно 10 минут, что связано со специфической конструкцией ламп, что подчёркивает прилагающаяся к нему инструкция.
Самый просто способ обзавестись стробоскопом и с его помощью нормально отрегулировать авто — приобрести такой прибор в автомагазине. Поэтому многие рачительные автомобилисты выбирают второй, экономный вариант — мастерят стробоскоп для установки зажигания своими руками.
Как показывает практика, такие самодельные устройства, как правило, ничем не уступают промышленным образцам, независимо от того, какой формат смастерен.
В любом случае самоделка из простых и дешёвых материалов обойдётся в несколько раз дешевле, чем покупка прибора. Схемы сборки таких устройств можно без проблем найти в интернете или у тех опытных водителей, которые уже смастерили такой прибор в корпусе от старого фотоаппарата или радиоприёмника самостоятельно и успешно используют его не только для установки зажигания , но и проверки свечей и других контрольных целей.
Таких схем множество, и из них всегда можно выбрать для себя несколько самых простых, не требующих большого объёма работы. Рабочий алгоритм того, как оптимально выставить зажигание купленным стробоскопом или сделанным своими силами прибором, несложен. Настроить зажигание можно следующим поэтапным путем:. Ознакомившись с советами экспертов , теперь вы сможете без труда разобраться с особенностями выставления зажигания с помощью стробоскопа.
Сохранить моё имя, email и адрес сайта в этом браузере для последующих моих комментариев. Понравилась статья? Поделиться с друзьями:. Вам также может быть интересно. Ремонт 0. Автомобиль не любит наплевательского отношения к себе. Особенно его тормозная система, которая основополагает безопасность. При покупке подержанного автомобиля не все будущие автовладельцы досконально проверяют работоспособность каждого из узлов.
Каждому автомобилисту по ходу эксплуатации авто приходится сталкиваться с неприятностями различного характера.
Одна из. Неисправные амортизаторы не только издают неприятный звук на каждой колдобине, но и создают опасность. Добавить комментарий Отменить ответ.
Cтробоскоп для установки зажигания.
Стробоскопы используются на автомобилях для установки системы зажигания двигателя. Такие устройства продаются в любом автомагазине. Процесс изготовления стробоскопа не займет много времени. Стробоскоп значительно облегчает жизнь своему владельцу.
Иметь это приспособление выгодно, поскольку это позволит регулировать зажигание самостоятельно, без обращения в сервисные центры.
Собрал стробоскоп своими руками, поскольку в нем имеется большая динамику угла опережения при прогазовках для настройки натяжки контр грузов.
Как подключить стробоскоп автомобильный
Стробоскоп для установки зажигания, при умелом применении при регулировке зажигания , позволяет очень точно выставить нужный момент вспышки горючей смеси в камерах сгорания двигателя. О важности установки правильного угла опережения зажигания я уже писал ссылка слева и чуть выше , но и здесь следует сказать пару слов. При неправильном угле опережения моменте зажигания и ошибке всего на один-два градуса вперёд — позднее, или назад — раннее , двигатель будет плохо заводиться, не будет развивать полной мощности, будет перегреваться, иметь повышенный расход топлива, да и ресурс мотора заметно снизится. Поэтому очень важно выставить точный момент вспышки, при регулировке зажигания, и именно это и позволяет сделать такой прибор, как стробоскоп.
Можно конечно выставить нужный момент зажигания и другими способами, которые были описаны в других статьях ссылки выше но стробоскоп для установки зажигания позволяет провести эти регулировки гораздо быстрее, точнее и удобнее. Стробоскоп для установки зажигания — принцип работы и применение. Принцип работы этого прибора основан на стрбоскопическом эффекте. Прибор производит яркие вспышки света с большой частотой и когда луч света от прибора направить на какой то вращающийся предмет, то возникает иллюзия оптический обман зрения того, что вращающийся предмет неподвижен. А если быть точным, то предмет кажется неподвижным тогда, когда частота его вращения совпадает с частотой ярких вспышек прибора. При вращении коленвала и соответственно маховика, совпадение одной из меток на картере с меткой на маховике, означает положение поршня 1-го цилиндра в ВМТ, а совпадение со второй меткой на картере, означает момент опережения зажигания чуть ниже от ВМТ.
Стробоскоп своими руками на светодиодах
Зачем нужен стробоскоп автомобилисту? Настоящий любитель всегда ищет способ добиться от двигателя своей ласточки наиболее резвого и точного зажигания.
В классических системах зажигания с трамблерами стробоскоп для установки зажигания, по сути, единственно возможный точный способ увидеть собственными глазами угол опережения зажигания. В общем, вещь крайне полезная, и в среде любителей пользуется спросом и авторитетом. Принцип работы стробоскопа для зажигания основан на специфическом свойстве человеческого зрения суммировать в одну картинку серию мгновенных картинок.
Но проверка и регулировка угла опережения зажигания автомобиля является весьма большой проблемой, которая не всегда доступна даже опытному механику. Стробоскоп своими руками поможет решить эту проблему.
Как сделать автомобильный стробоскоп для установки зажигания своими руками?
Настраиваем зажигание применяя стробоскоп. Если вы правильно отрегулируете зажигание,то двигателю автомобиля создадите все условия для устойчивой работы. При этом не только двигатель станет устойчиво работать,но количество топлива будет расходоваться тоже минимально. Настроить зажигание в автомобиле умеющему автомобилисту нетрудно своими руками.
Что вам понадобится для этой работы? Для настройки двигателя автомобиля используют оптический прибор, который имеет своеобразное название — стробоскоп.
Стробоскоп для установки зажигания своими руками
Автомобильная промышленность не стоит на месте, происходит постоянное совершенствование конструкции транспортных средств. Этот процесс затронул в том числе и световые приборы. На смену традиционным галогеновым лампочкам сначала пришли ксеноновые фары, а затем стали появляться еще более совершенные светодиодные лампы. В настоящее время светодиодные фары устанавливаются в основном на дорогих моделях автомобилей, поэтому у многих автовладельцев возникает желание установить светодиоды самостоятельно. В этой статье будут рассмотрены штрафы за диодные лампочки в фарах, которые могут быть получены в разных ситуациях. Для начала рассмотрим самый простой вариант.
Собрал стробоскоп своими руками, поскольку в нем имеется большая динамику угла опережения при прогазовках для настройки натяжки контр грузов.
Самодельный стробоскоп для установки зажигания: очумелые ручки
Подробнее у меня в Бортжурнале. После очередной возни с машиной, сбился уоз. Пометку на распределителе, как всегда не сделал, — забыл.
Стробоскопы на авто своими руками
ВИДЕО ПО ТЕМЕ: Стробоскоп для настройки зажигания из китая
Отправить комментарий. Стробоскоп для установки зажигания: как пользоваться схемой. Средняя цена фабричного изделия и его недостатки Заводской вариант прибора имеет некоторые недостатки, которые значительно уменьшают полезность такого приобретения. На карбюраторах выставлять зажигание всегда удобнее стробоскопом Во-первых, стоимость фабричных стробоскопов весьма немала. Так цифровая модель Multitronics C2 обойдется покупателю в суму около р. Более функциональный стробоскоп AstroL5 будет стоить уже р.
Если вам нравится делать техобслуживание своего авто самому, то для уменьшения затрат на покупку инструмента вы можете сделать стробоскоп для зажигания своими руками.
Стробоскоп для установки зажигания: как пользоваться схемой
Светодиодный стробоскоп для установки зажигания позволяет быстро и с высокой точностью выставлять оптимальный угол опережения зажигания УОЗ в автомобиле. Данный параметр играет важную роль в корректной работе двигателя. Небольшое смещение в момент зажигания приводит к потере мощности, вследствие возросшего расхода топлива и перегрева двигателя. Несмотря на большой ассортимент промышленно выпускаемых приборов для проверки и установки УОЗ, актуальность создания стробоскопа своими руками не потеряла смысл и в наши дни. Представленная схема самодельного стробоскопа для автомобиля не требует наладки после сборки и изготавливается из доступных деталей. Однако, благодаря своей простоте и надежности, остается актуальной и в наши дни. В принципиальной электрической схеме стробоскопа для авто можно условно выделить 4 части:.
Всем привет. Тему создавть особого смысла я невидел. На форуме людей умеющих держать паяльник в руках единици.
Пособие по изготовлению стробоскопа для установки зажигания (УОЗ) своими руками
С необходимостью регулировки угла зажигания (УЗ) сталкиваются многие современные автолюбители. Порой эта процедура может вызвать определенные трудности у автомобилиста, поэтому на рынке в последнее время появляется множество устройств для выполнения этой задачи. К примеру, можно использовать стробоскоп для проведения процедуры установки зажигания своими руками, о чем мы расскажем ниже.
Содержание
- 1 Характеристика стробоскопа
- 1.1 Принципиальная схема
- 1.2 Принцип работы
- 1.3 Печатная плата и детали сборки
- 2 Особенности настройки устройства
- 3 Установка УОЗ стробоскопом
- 4 Видео «Наглядная инструкция по самостоятельной установке УЗ с помощью стробоскопа»
[ Раскрыть]
[ Скрыть]
Характеристика стробоскопа
Итак, вы решили произвести настройки зажигания на своем авто, но понятия не имеете, как выставлять и производить регулировку УОЗ.
Для того, чтобы выставленный угол не приносил дискомфорта водителю во время езды, можно использовать стробоскоп для зажигания.
Принципиальная схема
Принципиальная схема для разработки стробоскопаНиже представлена схема стробоскопа. Если вы не знаете, как сделать стробоскоп своими силами на светодиодах, можете воспользоваться этой схемой. В конечном итоге получится самый простой стробоскоп, однако сделанный девайс позволит в полной мере произвести регулировку всех необходимых параметров.
В схеме устройства необходимо выделить несколько основных частей:
- Цепь питания, которая состоит из компонентов — SA1, являющегося выключателем, диода VD1, а также конденсатора С2. Сделанная своими руками схема обязательно должна включать в себя диод, предназначенный для защиты остальных компонентов от ошибочной смены полярности. Конденсатор выполняет функцию блокировки импульсных помех, способствуя предотвращению сбоев в работе триггера. Что касается выключателя, то он может быть заменен тумблером, главное, чтобы компонент могу включать и отключать питание.

- Самодельный стробоскоп для установки УЗ должен включать в себя входную цепь, состоящую из контроллера, резисторов R1, R2, а также конденсатора С1. Опцию контроллера в данном случае исполняет зажим типа «крокодила», фиксирующийся на высоковольтном кабеле первого цилиндра. Что касается компонентов С1, R1 и R2, то они образуют простую дифференцирующую цепь.
- Еще один немаловажный компонент используемого стробоскопа — это плата триггера, которая собирается с применением двух одновибраторов, предназначенных для формирования на выходе сигнала заданной частоты. Конденсаторы и резисторы в данном случае являются частотозадающими компонентами.
- Еще одна составляющая — выходной каскад, который собирается на резисторах R5-R9 и транзисторах VT1-VT3. Сами транзисторы предназначены для усиления выходного тока триггера. Резистор R5 позволяет задавать ток базы первого транзистора. А благодаря резистору R9 вероятность сбоев в работе VT3 исключается.
Принцип работы
Итак, в чем заключается принцип работы.
Стробоскоп для установки зажигания своими руками в любом случае питается от батареи АКБ. Когда происходит замыкание выключателя, триггер вступает в работу. В это время на инверсных выводах 2 и 12 в соответствии со схемой образуется высокий потенциал, а на прямых выводах 1 и 13 — низкий. Сами конденсаторы С3 и С4 питаются от резисторов.
Сигнал с контроллера, проходя через дифференцирующую цепь, передается на вход DD1.1, который является одновибратором, что в конечном итоге способствует его переключению. Поле этого начинается переразряд С1, заканчивающийся переключением триггера. В конечном итоге, одновибратор начинает реагировать на сигналы с контроллера, образовывая не первом выводе прямоугольные сигналы.
Что касается второго одновибратора DD1.2, то его принцип работы аналогичный — он позволяет снизить длительность сигнала в десять раз на выходе 13. Данный компонент работает под нагрузкой от усилительного каскада транзисторов, открывающихся на время сигнала.
Что касается тока, проходящего через эти элементы, то он ограничивается с помощью резисторов R6-R8, его показатель должен быть не более 0.8 ампер.
Этот показатель не особо большой, поскольку:
- сам сигнал длится не более одной секунды;
- как правило, эксплуатация данного прибора для выставления угла зажигания длится не более десяти минут, соответственно, за столь короткое время вряд ли случится перегрев кристаллов;
- современные диоды характеризуются более оптимальными техническими особенностями по сравнению с теми, которые использовались в конструкциях стробоскопов десять лет назад.
Соответственно, эксплуатация более ярких диодных элементов даст возможность во многом понизить ток нагрузки в результате повышения показателя сопротивления. Это сопротивление увеличивается на компонентах схемы R6-R8.
Печатная плата и детали сборки
Пример печатной платы для сборки устройстваСобрать свой собственный стробоскоп — не проблема. При небольшом бюджете можно использовать недорогие детали, не при необходимости вы можете создать более современное устройство.![]()
- На приведенной выше плате в качестве диодного элемента VD1 используется КД2999В, можно применять другой, в этом случае важно, чтобы диод был с небольшим падением прямого напряжения.
- Конденсаторные устройства С2-С4 должны быть рассчитаны на 0.068 мкФ, а С1 — это высоковольтный компонент с напряжением 400 вольт.
- ТМ2 — это триггер, характеризующийся хорошей устойчивостью к помехам.
- Транзисторные компоненты VT1 и VT2 должны обладать высоким коэффициентом усиления.
- Диодные детали HL1-HL9 должны обладать наибольшей яркостью, при этом их угол рассеивания должен быть минимальным. Светодиоды необходимо установить на отдельной плате, при этом их должно быть три штуки в одном ряду.
После того, как плата для устройства будет готова, необходимо выбрать место для ее установки. К примеру, это может быть корпус переносного фонаря, но он должен быть оснащен отверстием в корпусе для монтажа регулятора R4. В принципе, можно использовать практически любой корпус, главное, чтобы на него можно было без проблем установить регулятор.
Подробнее о том, как выглядит самодельный стробоскоп для настройки зажигания, сделанный на основе лазерной указки, вы можете узнать из видео (автор видео — Максим Соколов).
Особенности настройки устройства
Чтобы пользоваться девайсом, его необходимо отрегулировать. Стробоскоп для настройки должен быть отстроен должным образом, чтобы выдавать наиболее точные параметры. В первую очередь, производится регулировка подстроечного резистора R4, что позволяет выставить необходимый визуальный эффект. При вращении ручки регулятора вы заметите, что снижение сигнала может привести к недостаточному освещению меток, а если сигнал будет увеличен, то это приведет к размытости. Соответственно, в ходе первой настройки угла опережения зажигания своими руками следует правильно настроить наиболее оптимальную длительность световых вспышек.
Есть еще один момент, который необходимо учитывать — длина кабеля, который проходит от печатной платы к контроллеру, должна быть не более полуметра.
Для контроллера можно использовать 10 см медного проводника, который следует припаять к центральной жиле кабеля. Когда осуществляется подключение, он наматывается на изолированную часть высоковольтника тремя витками.
Чтобы увеличить уровень помехозащищенности, процедура намотки осуществляется как можно ближе к самой свече зажигания. Если меди у вас нет, то можно использовать зажим крокодил — этот компонент припаивается к центральной жиле. При этом зубчики крокодила должны быть немного загнуты, в противном случае это может привести к повреждению изоляции.
Загрузка …
Установка УОЗ стробоскопом
Теперь перейдем к вопросу настройки угла зажигания с применением собственного стробоскопа. Процедура установки угла актуальна как для самодельных, так и для купленных устройств. Но перед тем, как мы рассмотрим процедуру выставления УЗ, рекомендуем ознакомиться с сутью функционирования стробоскопического эффекта (автор видео о принципе работы стробоскопа и настройке зажигания с его помощью своими силами — канал Samodelkin).
Когда объект, который передвигается в темноте, вы осветите светом на долю секунды, вы сможете заметить, что он будто застыл на месте. Именно там, где произошла вспышка. К примеру, если на вращающийся диск вы нанесете метку и будете периодически освещать его с помощью вспышек, в сам момент ее появления можно будет заметить место расположения метки. При этом важно, чтобы вспышки совпадали по своей частоте с частотой вращения диска или вала.
Теперь подробнее о том, как установленный стробоскоп позволит произвести регулировку угла зажигания. Перед тем, как произвести настройку, в моторном отсеке необходимо нанести две метки. Подвижная метка будет располагаться на коленвале, в частности, на маховике. Вторая метка — стационарная — устанавливается на корпусе силового агрегата.
После того, как метки будут выставлены, необходимо осуществить подключение контроллера (датчика).
Когда контроллер подключен, производится подача питания на собранное своими руками устройство. Далее, запускается мотор, он должен функционировать на холостых оборотах. В том случае, если в момент появления световых вспышек метки совпадают, это свидетельствует о том, что угол зажигания выставлен правильно. Если же эти метки не совпадают, то необходимо будет произвести настройку зажигания. Корректировка системы осуществляется до того момента, пока метки полностью не совпадут.
Видео «Наглядная инструкция по самостоятельной установке УЗ с помощью стробоскопа»
Как правильно произвести корректировку угла зажигания автомобиля с применением такого устройства, как стробоскоп, вы можете узнать из видео ниже (автор видео — Владислав Чиков).
Автостробоскоп своими руками Толкающий стробоскоп своими руками. Схема подготовки арматуры на светодиодах
Головна / Google Play Интерес современного водителя автомобиля не связан уважением к машине как к причине переезда.
Богато, что немаловажно, тот эффект и умиление, которое можно произвести на всех участников движения. После повсеместного забора на имитаторы мигалок правоохранителей и служебных машин, как будто и не было моды на стробоскоп на воротах, этот возвышенный сигнал стал набирать силу.
Большинство схем наведения признано не для полной имитации сигналов служебных автомобилей, скорее чисто спортивный интерес. А кому она за что штрафы платит, сама шкурку накручивает, выходит из способностей.
Используйте несколько простых способов организации стробоскопа на автомобиле, соблюдайте все с учетом количества сил и затрат, которые могут быть использованы на протяжении всего срока службы автомобильного стробоскопа. Чаще всего требуется максимально реалистичная мера стробоскопов.На практике переписан образец простых схем световых стробоскопов для автомобилей:
- для простейшей схемы с выбором двух реле 494.3787;
- на основе таймера 555 и схемы к561іє8;
- на микроконтроллере PIC12F675;
- на элементной базе транзисторов 315 серии.

До встречи! Самый безопасный и популярный способ – добиться кричащего эффекта, установив свет фарами автомобиля. Это красиво и стильно.
Выбираем автомобильный стробоскоп своими руками
Сам по простому наводим новую цепь на авто, там будет пара реле поворотников, реле стартера, и пара пилотных резисторов. Такую схему стробоскопа легко подобрать своими руками, при этом не обязательно приобретать специальные знания или быть новичком.
Показана схема переноса подключения на дневную систему зажигания автомобиля. За вышками можно включить дневные ходовые огни или мигающие огни стробоскопа. Преимуществом такого подхода является наличие в схеме электронных компонентов, чувствительных к замене электронных компонентов. Релюшки, внушать временами реванширование электрического фонаря, избавляться от них, желая иметь возможность довести охранников до выгорания.
Чтобы вдохновить цепь, нужно наступить на стробоскоп.
- С другой стороны, корпус реле поворота выделен, и можно внимательно рассмотреть постоянный резистор белого цвета с числовыми поперечными цветными розетками.

- У сменной опоры 20-25 кОм припаян средний электрод одной из основных.
- Сменную опору для замены выносного элемента припаиваем таким образом, чтобы после поворотного складывания можно было обернуть поворотный стержень сменного резистора.
- Выбираем схему, аналогичная процедура проводится с другим реле.
- Выбираем изображение на схеме, и после подачи напряжения жизни поворотом силовых стержней подбираем и синхронизируем частоту мигания стробоскопов на машине.
Если выбрать другую опору 450 кОм, частота миготин будет значительно меньше, но для более точного подбора частоты миготиння можно выбрать несколько разных опор и выйти на нужную частоту.
Побудов схемы на базе микропроцессора
Наиболее «вникшие» в основы микроэлектроники автолюбители обеспокоены тем, что наиболее работоспособной будет схема стробоскопа на базе контроллера. На микроконтроллере PIC12F675 схема способна обеспечить импульс потока до одного ампера с регулируемой троичностью.
Схема стробоскопа для автомобиля легко подобрать своими руками. Как преимущество, чаще всего устанавливается пакет световых элементов, с возможностью изменения частоты стробоскопа на светодиодах. Сам процессор управляет двумя жесткими транзисторами КТ817 и можно увидеть разные комбинации сигналов. Сама система расширена в промышленных схемах сервисных проблесковых маячков, особенно для простых систем стробоскопов на решетке радиатора автомобиля.
Самое главное для подключаемых подобных цепей — высокая чувствительность любых микропроцессоров к перенапряжению или к режиму короткого замыкания. Таким образом, при складывании этой пары обуви по принципу «язычок и паз» обеспечивается хорошее заземление. Кроме того, в роботизированной системе победно стабилизировалась жизнь, для этих целей выигрышна схема на низковольтном стабилитроне.
При подключении цепи стробоскопа к электропроводке автомобиля необходимо переподключение АКБ, запуск и проверка цепи категорически блокируется при наличии напряжения.
Полицейский стробоскоп своими руками на логическом свете
В целях устранения эффекта, аналогичного мерехтиння световых диодов у стробоскопа на служебных моторах силовиков, можно ускорить вариант на логическом часы серии 561 и таймеры 555. Схема на выход в три раза более складная, чем на передних, но для очевидности пари лет в свободный час и в уме пайки можно набрать немного уверенности в себе на другой плате.
По желанию пакеты светодиодов с ярким демпфирующим строем не более 3А, при срабатывании их можно заменить на низковольтные галогенные лампы с ярким демпфирующим светом мощностью до 30 Вт.
Особенности подсказки аналогичной схемы стробоскопа на светодиодах цікава особенности формирования ферросигнала Микросхема на 555 витков выполняет роль провода ферросигнала, который должен быть на входе личника. Не вдаваясь в особенности работы стробоскопа, можно лишь увидеть, что схема зажигания и гашения фар скопирована со стробоскопа полицейской машины.
Импульсы прямоугольной формы подаются на личник и суммируются.
После первого запрограммированного часа потенциал на контактах, которыми вы управляете, меняется с высокого на низкий.
Працює стробоскопа примерно так: кожа из пакета светодиодов скалывалась, давая сутки запрограммированное количество спалах и гася, давала сигнал для передачи на встречный пакет светодиодов и так в циклическом режим.
Важно! Подобно ключам керуючи в схеме стробоскопа, використан КТ819или биполярный KT818, который позволяет керуватить большие струмы в полевых условиях.
На срок службы 555 микросхем максимальное напряжение жизни не может быть увеличено более 18 Вольт, для большего диапазона работы стабилизатор не увеличивает страховку и сохраняет работоспособность схемы при снижении напряжения до 5 В.
Как собрать стробоскоп своими руками из простых запчастей
Самый бюджетный способ получить стробоскоп на светодиодах своими руками — это не покупать кучу запчастей для радиолинии за тысяча шпрот, да попробуй використовувать старый радянский чи китайскими запчастями.
Подобно сигналу використовуемо микро 155 серии, возможен AG1. После подачи жизни микросхема устанавливает положительный потенциал на выходе тока, а в мире зарядки конденсатора потенциал падает и выводит сигнал тока на КТ315. Емкость конденсатора показывает хорошее значение, при 0,1 мкФ она становится примерно 0,01 сек, что достаточно для снятия необходимого оптического эффекта.
На 6 узле 155 мкЗ формируется серия импульсов, связанных с импульсами системы зажигания. В них используются два транзистора КТ 829на электрический ток.
Если схема стробоскопа более 60 Вт, используйте алюминиевые радиаторы для охлаждения транзисторов.
Podbag или дизайнерский световой стробоскоп для автомобилей
Для любителей автономных стробоскопов иногда важнее придать факт самостоятельности самосветящемуся освещению, похожему на полицейское. По этой причине сам пакет лампочек более всего светоизлучающий и светоизлучающий, чтобы его было легко установить на капот автомобиля.
Кроме того, для большей маскировки зверя такой колодки надевается легкий пластиковый чехол. старомодный вид сильный лихтар такси.
Преимущество такого конструктивного решения в том, что насадки стробоскопа легко снимаются и надеваются на крючок. Поверх пластикового капота надевают стробоскоп, чтобы облегчить жизнь таксисту и не выдать почтения к милиционерам на вокзале, или когда машина в пути.
Другой вариант установки — установка пакета светодиодов стробоскопа в районе решетки радиатора автомобиля или в пустой фаре. Цена дорогого и действенного способа, опробовать действующую оптику при переделке автомобилей, а в случае конфликтов с правоохранителями, может стать заменой постановки автомобиля на автостоянку.
Процесс регулирования момента грунтования початка будет значительно упрощен при наличии специальных хозяйственных построек. В основе их работы лежит стробоскопический эффект. Смысл этого физического явления заключается в оскорбительном: как если предмет, который разрушается, появляется в кратковременном легком сне, то это визуальная иллюзия, что вина теряется в том же положении, в каком была застигнута в спать.
Стробоскопы на светодиодах своими руками сделать несложно. Схемы простых пристроек, повторите как можно построить некачественный радиоаматор.
Световой стробоскоп на таймере NE555
Головным компонентом этой схемы стробоскопа является встроенный таймер NE 555.
В качестве светового виппроминувача готова коллекция из шести источников света от китайской зажигалки.
Схема стробоскопа на таймере NE555
Потенциометром Р1 устанавливается час пауз между импульсами, которые подаются на VT1. Открываясь в момент сигнала, половий транзистор зажигает стробоскоп.
Слид враховуватый, що в момент спалаху бренчать, що пропускать через випроминувач, двигать два ампера. Эта комплектация требует використовувать промежуточный резистор с мощностью розжига менее 2Вт. Нет никаких поводов беспокоиться о выходе из строя света. Более короткого часа работы в таких режимах проводникам не хватает.
Взамен показанного на схеме транзистора можно заменить на любой из ближайших аналогов: IRFZ44, IRF3205, КП812Б1 и другие.
Wimogi до диода VD1 — высокий свикодий. 1Н4148 успешно заменяется вариантом КД522. Так что хорошо идти, если вы Диоди Шоттке.
Емкость конденсаторов можно увеличить на порядок. Це не появляется на практике схемы.
Ось выглядит как набор фурнитуры, из тройки перетянутых фонарей.
Стробоскоп на ворота
Небольшое количество деталей позволяет использовать стробоскоп из светодиодов подвесным способом или с помощью специальных монтажных панелей. Даже несмотря на то, что в процессе пайки помилования не допустят, схему следует снова усовершенствовать, без дополнительного налогообложения.
Еще один вариант подбора автомобильного стробоскопа на светодиодах своими руками вдохновлен на базе ШИМ-драйвера TL494. Стоимость микросхемы лежит в границах 10 — 20 рублей за штуку, так что дефицитной ее не назовешь. Конечно, можно взять необходимый компонент из старого блока питания АТХ персонального компьютера.
Схема светодиодного стробоскопа на ШИМ-контроллере TL494
Как и в прямом направлении, MOSFET-транзистор управляет более совершенным способом.
Здесь вы можете быть какого-то типа, который вы можете доказать двум людям:
- Номинальный бренчание — тип 2А;
- внутренняя конструкция — N-типа.
Применить подходящих полевых рабочих: AP15N03GH или IRLZ44NS.
Субстроювальным резистором VR1 задается спаривание робота (тривиальность отколов), а VR2 — его частота. Потенциометр лучше устанавливать линейным паром, так процесс настройки линии намного проще.
Джерелом света, данного по схеме стробоскопа, один напряжённый светодиод. Для подключения светильника 12 вольт в одну линию резистор R6 необходимо убрать, установив сменную перемычку.
Прочие элементы схемы светоизлучающего стробоскопа могут быть любого из присвоенных номиналов.
Друкована оплата добавлю
Возможна минимизация размеров конструкции с помощью SMD компонентов. Деяки радиолюбители-початковцы обладают уникальностью их изготовления, важучи, а установка других деталей слишком трудоемка. Я ни за что! Троки практики помогут вам легко справиться с этими задачами.
За результат я стану чудотворным городом за проявление терпения.
Немного показан пример реализации другой платы светоизлучающего стробоскопа.
Зразок платье ручной работы для стробоскопа
Здесь двусторонний способ разведения. Сверху установлены крупные радиоэлементы: микросхема, клеммники и электрические конденсаторы, внизу резисторы и конденсаторы типоразмера 1206, светодиод типоразмера 0805, MOSFET-транзистор возле корпуса ДПАК. Регулирующие резисторы заменены на субстроювальные. Вся структура была изменена.
Совнішні вгляд плати готов дополнить с обоих ракурсов представлений ниже. Для переноса на фольгированный текстолит дорожки використовувались методом ЛУТ. Травление производилось вибрацией на уровне воды хлорной бухты.
После баджана своими руками, повторить схему стробоскопа на светодиодах, можно ускорить проект для траулера Спринт Лайот, поменяв йогу на потребление на нужды мощности. .
Глядя на статью, схемы стробоскопа напоминают простотой и низким качеством электронных компонентов.
Универсальность материалов в десятки раз дешевле, как купание готового стробоскопа на светодиодах. Кроме того, богато принято быть богатым самодостаточным аксессуаром, а вынос из процесса работы незаменимым и бесценным.
Специалисты карбюраторных автомобилей не мало осведомлены о сложностях процесса регулирования зажигания. Прозвенеть быть робким на слух, это не так уж и просто. Використовуючи строб, це можно зажигалку. Однако доделывать поделку очень дорого, тем, кто делает стробоскоп для розжига своими руками.
Недолики промышленные модели
Промысловые пристройки могут иметь небольшие доли, через какую корыстность применения сумнівнівна.
За початки цена за них целый день. Например, современные цифровые модели обойдутся автомобилисту в 1000 рублей. Более функциональные модели должны быть ближе к 1700. Вставки со стробоскопами стоят ближе к 5500 гривен. Нужно сказать, что автомобильный стробоскоп (своими руками) обойдется автолюбителю в 100-200 рублей.
Часто в фабричных хозяйственных постройках стоит костровая яма с газоразрядной лампой. Лампа может иметь поющий ресурс, и еще через час вам придется ее заменить. И само по себе не менее важно добавить новую фабричную аранжировку.
Почему varto robiti стробоскоп своими руками?
Недолики заводских и технологических пристроев подштовируют автомобилиста до самостоятельной подготовки, которые я добавлю. Кроме того, оборудовать дорогие лампы светодиодами дешевле. Нравится джерело диод или донор пидид отличная лазерная указка или зажигалка.
Другие детали тоже будут стоить копейки. Вам не нужны специальные инструменты из ваших собственных. Бюджет процесса подготовки стробоскопа на складе не более 100 руб.
Как сделать стробоскоп своими руками?
Схемы и варианты подготовки неизвестны. Однако по большей части все проекты по созданию этого гаджета похожи. Давайте зададимся вопросом, что вам нужно забрать.
Нам понадобится простой транзистор КТ315.
Його легко можно узнать в старых Радянских приймачах. Назначение может быть мелочь воскресить, но не то же самое. Тиристор КУ112А легко устанавливается в жилой блок старого телевизора. Там можно найти резисторы небольших размеров. Опробуйте световой стробоскоп своими руками, тогда, очевидно, вам понадобится световой лихтер. Для кого лучше прийти к тому, кто нашел его в Китае. Конечно, надо запастись конденсатором до 16 В, будь то низкочастотный диод, маленькое реле на 12 А, провода, крокодилы, экранированный дротик 0,5 м, а также небольшой кусочек дротика-середнячка .
Выбор аксессуаров
Схема небольшая, и выкладывать можно прямо в том же китайском свете. Так что через отверстие в спине зажигалки я пропущу дротики за живое. На концы проводов лучше припаять крокодилы. У стены стены надо открыть дверь, так как китайцы ее еще не убили. Через это отверстие будет проложен экранирующий провод. С тыльной стороны необходимо заизолировать плетение и припаять все кусочки медной дротики к основной дротике.
Це будет датчиком.
Добавлю схему и принцип работы роботи
После подачи потока через стержни жизни конденсатор быстро зарядится через резистор. При достижении первого порога заряда через резистор подается напряжение на контакт транзистора, что показано. Вот реле. Если реле замыкается, то не нужно создавать пику из тиристора, светодиода и конденсатора. Давайте с помощью дильника по импульсу увидим управляемый тиристор. Затем тиристор поджигался, а конденсатор разряжался на свет. В результате стробоскоп, сделанный своими руками, ярко спит.
Через резистор и тиристор вывод базы транзистора управляется от горячего стержня. Через цепь транзистор закроется, а реле включится. Увеличивается час света света, не сразу открываются осколки соприкосновения. Але, контакт разорвется, и тиристор будет раздражаться. Схема повернется в базовое положение, доки не нуждаются в новом импульсе.
Изменяя емкость конденсатора, можно изменить световой час. Если выбрать конденсатор большей емкости, то световой стробоскоп, сделанный своими руками, будет ярче и светлее.
Насадка на микросхему
Основная часть корявой схемы — микросхема типа DD1. Так называется одиночный вибратор 155АГ1. В этой схеме ВИН пускает меньше отрицательных импульсов. Сигнал включения подается на транзистор КТ315, и он формирует отрицательные импульсы. Резисторы 150 кОм, 1 кОм, 10 кОм, а также стабилитрон КС139 работают как промежуточные между амплитудой входного сигнала от зажигания автомобиля.
Конденсатор 0,1 мФ на раз с опорой 20 кОм для установки необходимо тройственность импульсов, так как они будут формироваться микросхемой. Для такой емкости конденсатора время срабатывания импульсов будет примерно до 2 мс.
Затем с 6-го дня микросхемы импульсы, которые до этого момента будут синхронизированы от зажигания машины, будут положены на базу транзистора КТ 829. Вот ключ. В результате получается целая импульсная струя через светодиод.
Как работает этот стробоскоп для автомобиля? Своими руками нам нужно провести пару дротиков к клемме автомобильного аккумулятора.
Необходимо помнить о равном заряде аккумулятора.
Якщо ви правильно выбери цю простенькую схему, тогда можно сразу петь, как упражняться в приставках. Хотя скорости ясности недостаточно, она регулируется подбором подходящей опоры.
Как и здание для пристройки, можно використововать старую или китайскую зажигалку.
Еще схема стробоскопа
Датский стробоскоп на светодиодах, сделанный своими руками по такому принципу, также может питаться от автомобильного аккумулятора. Диоды позволяют создавать захист в виде неправильной полярности. Подобно крокодилу, большой крокодил топчется здесь. К высоковольтному контакту необходимо присоединить первую свечу зажигания на двигателе. Импульс Дали проходил через резистор и конденсатор и поступал на вход триггера. До этого момента вся запись уже будет отмечена ваншотом.
Перед импульсом одиночный вибратор переключается в исходный режим. Триггер прямого выхода может быть низким. Перевернутый вход, перевернутый — высокий.
Конденсатор, идущий на инверсный вывод, заряжается через резистор.
Высокочастотный импульс запускает одиночный вибратор, который переключает триггер и служит для зарядки конденсатора через резистор. Через 15 мс конденсатор снова зарядится, и триггер перейдет в исходный режим.
В результате одиночный вибратор реагирует на одну и ту же синхронную последовательность прямолинейных импульсов в тривиальности примерно 15 мс. Тривиальность можно отрегулировать дополнительной заменой резистора и конденсатора.
Импульсы другой микросхемы становятся до 15 мс. На весь период включены транзисторы, как электронный переключатель. Давайте потеть через свет, проходящий через бренчание. За этим принципом мы используем стробоскоп для автомобиля (своими руками делаем вина, но это не беда — света добавить обидно однако).
Струм, що пройти на свет, богаче, паспорт ниже. Эль, осколки сонные недовги, то свет не увидит пути. Ясности будет достаточно, чтобы выжить в дневное время суток.
Такой же стробоскоп можно подобрать своими руками в корпусе от очень страдающего кишечного лихтарита.
Как тренироваться с насадкой?
Выбрав для себя одну из схем наведения навесного оборудования, вы сможете просто и легко, а главное, точно отрегулировать зажигание на карбюраторных двигателях, проверить правильность работы роботизированных свечей и катушки, контролировать роботизированные регуляторы кута и випереджэння.
Для того, чтобы максимально правильно установить огонь, звук из-за того, что можно стрелять на пару градусов раньше, чем поршень дойдет до верхней точки. Цей кут называется «кут випередження». Если обороты коленчатого вала увеличиваются, то может увеличиваться. Итак, вся катушка настроена на недружественную скорость, а затем необходимо проверить правильность настройки на всех режимах работы агрегата.
Устанавливаем
Заводим и прогреваем двигатель. Теперь наш стробоскоп питается от светодиодов и датчик подключен.
Теперь необходимо выправить крепление к метке на корпусе ГРМ и узнать метку на маховике. Если момент разрушить, то метки будут унесены далеко одна за другой. Методом оборачивания корпуса ГРМ дойдите до больших меток. Если вы показали положение, зафиксируйте трамблер.
Тогда пришло время забрать упаковку. Оценки растут, в целом ситуация нормальная. Ось так осуществляется установкой зажигания на стробоскоп.
Далее мы объяснили, как сделать стробоскоп на светодиодах своими руками.
Еще более плотный световой стробоскоп, чудесным образом дополняющий танцпол в стиле диско. Стробоскоп возбуждения на трех световых матрицах глубинной мощностью 150 Вт.
Добавлю принцип работы, чтобы давать даже короткие импульсы света (спалаху) через задания на час. Я почему-то сильно угадываю блеск на час допилю, если потемнее, то загорается ярким светом на миллисекунду.
В час дискотеки ты выглядишь особенно завораживающе.
Подробности:
- Матрица света -один .

Схема стробоскопа
Би я не говорил что схема разборная, там проще. Но нет возможности гальванической развязки по напряжению, а значит, невозможно налепить один и тот же элемент схемы на час работы и на час складывания, но это мы особо уважаем.
Визуально схему можно разделить на живой блок 12, генератор импульсов, выпрямитель и линию света.
строб-робот
На микросхеме NE555 подобран генератор коротких импульсов. Изменить час между импульсами можно, обмотав ручку резистора изменения R3.Перед выходом этого генератора ключ подключен к полевому транзистору, который переключает напряжение 220 В на копье живых световых матриц, соединенных параллельно один в один.
Световые матрицы живого постструма, выпрямляемого диодным мостом. Это необходимо для того, чтобы можно было коммутировать пику с помощью транзистора, работающего только при постоянном напряжении.
Стробоскоп складной
Стробоскоп выбирается из кожи в кабель-канал.
Свет прикручен к широкой стороне, без радиаторов. Осцилки светлодиод використовуются здесь при 2-5% их напряжения (импульс робота), тогда потребность в теплоотводах падает. Боковые стенки изготовлены из того же кабель-канала и склеены клеем. Вверху находится переменный резистор для регулировки частоты мерехтиння.
Блоки схемы на корпусе:
Защита
Если свет рабочий темнее и может вредить глазам, то не рекомендуется при них вредить глазам. Особенно небезопасны стробуючие сны, к тому, что в темноте глаз расслабляется, и световой импульс бесследно проникает в глаз.Так что не забываем, что вся схема находится под натяжением сетки, небезопасной для жизни.
Результат робота
К сожалению, работу стробоскопа нельзя передать ни через фото, ни через видео. Так как намотал видеокамеру плохо ловит короткий импульс и в результате легко загорается.Но про себя могу сказать, что стробоскоп вейшов відминний, спит недолго и даже ярче.
Выглядит еще эффектнее, все как след.Стрелобоскоп из диодной ленты. Светодиодный стробоскоп (LED Маяк) на TL494
Светодиодный стробоскоп для установки зажигания позволяет быстро и с высокой точностью установить оптимальный угол опережения зажигания (УАЗ) в автомобиле. Этот параметр играет важную роль в корректной работе двигателя. Небольшой рабочий объем в момент зажигания приводит к потере мощности из-за повышенного расхода топлива и перегрева двигателя.
Несмотря на большой ассортимент промышленно выпускаемых приборов для проверки и установки Женщин, актуальность создания стробоскопа не утратила смысла и сегодня. Представленная схема самодельного стробоскопа для автомобиля не требует настройки после сборки и собирается из подручных деталей.
Концепт Стробеконопы
Схема разработана и представлена в девятом выпуске журнала Радио в далеком 2000 году. Однако в силу своей простоты и надежности остается актуальной и сейчас.
В принципиальной электрической схеме стробоскоп для автомобиля условно можно выделить 4 части:
- Силовая цепь, состоящая из ключа SA1, диода VD1 и конденсатора С2.
VD1 защищает элементы схемы от ошибочной смены полярности. С2 блокирует частотные помехи, предотвращая сбои в работе спускового крючка. Для подачи и отключения питания используется выключатель SA1, для этого подойдет любой малогабаритный выключатель или тумблер. - Входная цепь, состоящая из датчика, конденсатора С1 и резисторов R1, R2. Функцию датчика выполняет зажим «крокодил», который закреплен на высоковольтном проводе первого цилиндра. Элементы С1, R1, R2 представляют собой простейшую дифференцирующую цепь.
- Микросхема триггера собрана по схеме из двух однотипных одноблочных блоков, формирующих на выходе импульсы заданной частоты. Грузовыми элементами являются резисторы R3, R4 и конденсаторы С3, С4.
- Выходной каскад собран на транзисторах VT1-VT3 и резисторах R5-R9. Транзисторы усиливают выходной ток триггера, что отражается в виде ярких вспышек светодиодов. R5 задает базу тока первого транзистора, а R9 — устраняет сбои в работе мощного VT3. R6-R8 ограничивают ток нагрузки, протекающий через светодиоды.

Принцип работы
Схема стробоскопа питается от автомобильного аккумулятора. В момент срабатывания выключателя SA1 триггер DD1 переходит в исходное состояние. При этом на обратных выводах (2, 12) появляется высокий потенциал, а на прямых (1, 13) низкий потенциал. Конденсаторы С3, С4 заряжаются через соответствующие резисторы.
Импульс с датчика, проходя через дифференцирующую цепь, поступает на тактовый вход первого однотрактора DD1.1, что приводит к его переключению. Начинается перезагрузка С3, которая через 15 мс завершается очередным переключением триггера. Таким образом, имитатор реагирует на импульсы с датчика, формируя на выходе (1) прямоугольные импульсы. Длительность выходных импульсов с DD1.1 определяется номиналами R3 и C3.
Второй ПО DD1.2 работает аналогично, уменьшая длительность импульса на выходе (13) в 10 раз (примерно 1,5 мс). Нагрузкой для DD1.2 является усилительный каскад транзисторов, открывающихся в момент импульса. Импульсный ток через светодиоды ограничивается исключительно резисторами R6-R8 и достигает в этом случае значения 0,8 А.
Не бойся такого сильного тока. Во-первых, его импульс не превышает 1 мс, при стандарте в рабочем режиме не менее 15. Во-вторых, современные светодиоды обладают гораздо лучшими техническими характеристиками по сравнению со своими предшественниками из 2000 года, когда эта схема впервые получила практическое применение. Затем нужно было искать светодиоды с мощностью света в 2000 мкс. Сейчас белый светодиод (от англ. Light-Emitting DIODE) типа С512А-5 мм от фирмы с углом рассеяния 25° способен выдать 18000 мкД при постоянном токе В 20 мА. Поэтому использование суперварных светодиодов позволит значительно снизить ток нагрузки за счет увеличения сопротивления R6-R8. В-третьих, время использования стробоскопа обычно не превышает 5-10 минут, что не вызывает перегрева кристаллов излучающих диодов.
Печатная плата и детали сборки
Самодельный стробоскоп для установки зажигания можно собрать как на недорогих отечественных радиоэлементах, так и на более прецизионных импортных элементах.
Ниже представлена плата с применением отечественных комплектующих для штыревого крепления.
Plata в файле Sprint Layout 6.0: Plata.Lay6
Диод VD1 — CD2999B или любой другой с малым падением постоянного напряжения. Конденсатор С1 должен быть высоковольтным емкостью 47 ПФ и напряжением 400 В. Конденсаторы С2-С4 неполярные серии КМ-5, К73-9на 0,068 мкФ 16 В. Все резисторы, кроме R4, типа МНЧ или планарные с номиналами, указанными на схеме. R4 Резистор типа СП-3 или СП-5 на 33 ком.
Триггер ТМ2 лучше использовать 561 серии, которая отличается повышенной помехозащищенностью и надежностью. Но можно заменить на микросхему 176 и 564 серий с учетом их цоколевки. К транзисторам VT1-VT2 подойдут СТ315 б, Б, г или СТ3102 с большим коэффициентом усиления. Выходной транзистор — КТ815, КТ817 с любой буквенной приставкой. HL1-HL9Светодиоды лучше брать сверхсветовые с малым углом рассеивания. Их размещают на отдельной доске по три в ряд. При отсутствии каких-либо деталей схемы их можно заменить более современными аналогами, немного улучшив плату.
Готовая плата управления стробоскопом и плата со светодиодами удобно размещается в переносном корпусе фонаря. В этом случае необходимо предусмотреть отверстие в корпусе под контроллер R4, а в качестве SA1 можно использовать штатный выключатель.
Настройка
На схеме установлен ходовой резистор R4, регулировкой которого можно добиться визуального эффекта. Вращая ручку регулятора можно заметить, что уменьшение импульса тока приводит к отсутствию подсветки метки, а увеличение – к размытию. Поэтому при первом запуске стробоскопа необходимо подобрать оптимальную продолжительность вспышек.
Длина экранированного провода от печатной платы не должна превышать 0,5 м. В качестве датчика подойдет 0,1 м медной жилы, припаянной к центральному жилью экранированного провода. В момент подключения наматывается на изоляцию высоковольтного провода первого цилиндра автомобиля, делая 3 витка. Для повышения помехоустойчивости намотку производят максимально близко к свече. Вместо медной жилы можно взять зажим типа «крокодил», который также следует припаять к центральному жилью, а его зубцы будут слегка загнуты внутрь, чтобы не повредить изоляцию.
Установка стробоскопа Узень
Прежде чем рассматривать работу автомобильного стробоскопа, необходимо понять суть стробоскопического эффекта. Если объект, движущийся в темноте, на мгновение осветить вспышкой, то он как бы застынет в том месте, где произошла вспышка. Если нанести на вращающееся колесо яркую метку и осветить ее яркими вспышками, совпадающими по частоте с частотой вращения колеса, то в момент вспышек можно визуально зафиксировать расположение метки.
Перед регулировкой грани автомобиля наносят две метки: подвижный вал (маховик) и неподвижную — на корпус двигателя. Затем присоедините датчик, подайте питание на стробоскоп и включите двигатель в режим холостого хода. Если при вспышках метки совпадают, то уз экспонируется оптимально. В противном случае следует настроить их на полное совпадение.
Представленный стробоскоп для установки зажигания, собранный своими руками, позволит за считанные минуты отладить систему зажигания автомобиля. В результате регулировка повысит КПД двигателя и увеличится срок службы.
Читать так же
Во многих схемах стробоскопов Для точного определения момента зажигания используют лампы МФК и довольно изощренные схемы их «грубости». Я предложил относительно простую схему стробоскопа, легко настраиваемую и не имеющую дефицитных деталей (см. рисунок).
R1C1R2VD1VD2 — звено, согласующее высоковольтный сигнал с входа устройства на вход микросхемы DA1, что таймер 1006Vi1 включен по одновременной схеме. Импульс появляется на каждом входном импульсе на выходе 3, наличие которого определяется звеном R3C2. Резистором R3 регулируют длительность выходного импульса. На транзисторе VT1 собран усилитель.
В элементе DA1 собран одноместный, т.е. стоящий мультивибратор, ожидающий входных импульсов от высоковольтного провода первого цилиндра. Датчик этих импульсов представляет собой обычную бельевую прищепку, на одну сторону которой намотана проволока диаметром 0,1…0,3 мм.
Количество витков 30-50, данная обмотка надежно фиксируется клеем «момент» или «суперцемент», «глобус» и т.
п. Поверхность обмотки защищается обычной лентой таким образом, чтобы прищепка надежно закрыта или открыта. К одному концу этой обмотки припаивается провод, лучше экранированный. Провода экрана подключаются к «Земле» по основной схеме. Элементы R1 C1 R2 R3 согласовывают сигнал с входного датчика микросхемы. Длительность выходного импульса регулируется звеном R3C2. Транзистор VT1 включает HL1-HL9Светодиоды напрямую. Свечение светодиода должно быть ярко-белым. Светодиоды не имеют определенной марки.
Длительность выходного импульса должна быть в диапазоне 0,5…0,8 мс. Если больше, то светодиоды долго не стоят, а маркировка на маховике или шкиве коленвала будет «размыта». При регулировке оборотов двигателя нужно удерживать в пределах 850…1700 мин-1. Повороты перед регулировкой Лучше маркировать световозвращающей краской.
Детали Желательно использовать как можно меньшие размеры, от этого зависит размер платы. Конденсатор слюдяной С1 или К73-11, К73-17 с рабочим напряжением не менее 500 В.
Светодиоды необходимо предварительно проверить на работоспособность. Их установка на борту должна быть сосредоточена в одном месте, чтобы максимально увеличить поток излучения. Печатная плата зависит от конкретного устройства, к корпусу которого исполнитель хочет «прицепить» стробоскоп. Я поместил стробоскоп в плоский корпус электрического фонаря. Помимо провода датчика, о котором говорилось выше, нужно ввести провода +12 В и «массу».
Собранное устройство нужно проверить, чтобы не вышли из строя светодиоды, которые являются самыми дорогими элементами на плате! Вместо него необходимо включить последовательно подключенный любой светодиод и резистор 1,5 ком. Подсоедините провода, провод датчика присоединен к высоковольтному проводу первого цилиндра.
Провода не должны касаться движущихся частей двигателя! Получите двигатель и наблюдайте за свечением светодиода. Осциллографом контролируют длительность импульсов на выходе 3 DA1, если она лежит в пределах 0,5…0,8 мс, то схема работает, и можно смело подключать светодиоды.
Подключать только при заглушенном двигателе!
Отсоедините вакуумный шланг от распределителя зажигания. Выполните все необходимые подключения. Заведите двигатель, направьте луч стробоскопа на шкив коленчатого вала или маховик. Следите за маркировкой на соответствующих местах согласно техническому описанию конкретного автомобиля. Если метки стоят на своих местах, значит момент установлен правильно. Если нет, вам потребуется регулировка. Увеличьте скорость двигателя, следите за движущимися метками. Это говорит о том, что работает центробежный регулятор момента зажигания. Аккуратно подключите «вакуум», следите за расположением метки. Если есть изменение, работает контроллер вакуумного распределителя.
Э.Л. Метель, Черкассы
Карбюраторным автовладельцам не знакомы сложности процесса регулировки зажигания. Обычно это делается по слухам, что не очень удобно. С помощью стробоскопа этот процесс можно облегчить. Однако промышленные устройства достаточно дороги, поэтому многие изготавливают стробоскоп для розжига своими руками.
Недостатки промышленных моделей
Промышленные устройства часто имеют определенные недостатки, из-за которых полезность устройства весьма сомнительна.
Начнем с того, что цена на них весьма значительна. Например, современные цифровые модели обойдутся автомобилисту в 1000 р. Более функциональные модели уже от 1700. Продвинутые стробоскопы около 5500 р. Нужно сказать, что стробоскоп автомобильный (своими руками сделанный) обойдется автолюбителю в 100-200 рублей.
Часто в заводских устройствах производитель применяет особо дорогую газоразрядную лампу. Лампа имеет определенный ресурс, и через некоторое время ее придется заменить. А это само по себе равносильно приобретению нового заводского устройства.
Зачем стробоскоп делать самому?
Недостатки заводских и технологических устройств подталкивают автолюбителей к самостоятельному изготовлению данного устройства. Кроме того, значительно удешевляется по стоимости оснащение этого оборудования светодиодами вместо дорогой лампы.
В качестве источника диодов или донора подойдет обычная лазерная указка или фонарик.
Остальные детали тоже будут в копейки. Никаких специальных инструментов не будет. Бюджет процесса изготовления стробоскопа составит не более 100 рублей.
Как сделать стробоскоп своими руками?
Схем и вариантов изготовления существует огромное количество. Однако в большинстве своем все проекты по созданию этого гаджета схожи. Посмотрим, что понадобится для сборки.
Нам понадобится простой транзистор КТ315. Его легко найти в старом советском приемнике. Обозначение может немного отличаться, но это не имеет значения. Тиристор КУ112А без проблем можно извлечь из блока питания старого телевизора. Вы также можете найти небольшие резисторы. Так как мы делаем светодиодный стробоскоп своими руками, то, естественно, вам понадобится светодиодный фонарик. Для этого лучше приобрести самый дешевый, из Китая. Кроме того, необходимо запастись конденсатором на 16 В любой низкочастотный диод, маленькое реле на 12 А, провода-крокодилы, экранированные проводом длиной 0,5 м, а также небольшой кусок медного провода.
Собрать устройство
Схема небольшая, и разместить ее можно прямо в том самом китайском фонарике. Итак, через отверстие в фонаре желательно пропустить провода для питания устройства. На концы проводов лучше налить крокодилы. В боковой стенке нужно сделать отверстие, если китайцы его еще не сделали. Через это отверстие будет проложен экранированный провод. На противоположном конце необходимо заизолировать оплетку и припаять тот самый кусок медного провода к основной оплетке провода. Это будет датчик.
Схема устройства и принцип работы
После прохождения тока по силовым проводам конденсатор очень быстро заряжается через резистор. При достижении определенного порога заряда напряжение резистора будет поступать на открывающий контакт транзистора. Реле будет работать здесь. Когда реле замкнуто, оно создаст цепочку из тиристора, светодиода и конденсатора. Тогда через делитель импульс будет попадать на выход управления тиристором. Далее тиристор откроется, а конденсатор разрядится на светодиоды.
В результате стробоскоп, сделанный своими руками, ярко вспыхивает.
Через резистор и тиристор база транзистора подключается к общему проводу. Из-за этого транзистор закроется, и реле выключится. Время свечения светодиодов увеличивается, так как контакт разводится не сразу. Но контакт разорвется, и тиристор обесточится. Схема вернется в исходное положение до тех пор, пока не пойдет новый импульс.
Изменяя емкость конденсатора, можно изменить время свечения. Если выбрать конденсатор большей емкости, то светодиод стробоскоп, своими руками, будет ярче и светиться дольше.
Устройство на микросхеме
Основная часть этой простой схемы — микросхема DD1. Это так называемый атигнер 155Ag1. В этой схеме он запускается только от отрицательных импульсов. Управляющий сигнал будет поступать на транзистор СТ315, он и будет формировать эти отрицательные импульсы. Резисторы 150 к ОМ, 1 к ОМ, 10 к ОМ, а также Стабилитрон КС139 работают как ограничители амплитуды поступающего сигнала от зажигания автомобиля.
Конденсатор 0,1 мкФ вместе с сопротивлением 20 кОм даст нужную длительность импульса, который будет формировать микросхема. При такой емкости конденсатора длительность импульса будет примерно до 2 мс.
Затем с 6 ножки микросхемы импульсов, которые будут синхронизированы с зажиганием машины до этой точки, они будут попадать на базовый вывод транзистора СТ 829. Он здесь как ключ. Результатом является импульсный ток через светодиоды.
Как питается этот стробоскоп для автомобилей? Своими руками нам нужно провести пару проводов к клеммам автомобильного аккумулятора. Необходимо следить за уровнем заряда батареи.
Если вы наверняка соберете эту простенькую схему, то сразу увидите, как работает устройство. Если вдруг яркости не хватает, это регулируется подбором соответствующего сопротивления.
В качестве устройства для устройства можно использовать старый или китайский фонарик.
Еще одна схема стробоскопа
Этот стробоскоп на светодиодах, своими руками сделанный по такому принципу, так же может питаться от автомобильного аккумулятора.
Диоды позволят защититься от неправильной полярности. В качестве застежки здесь используется обыкновенный крокодил. Его нужно присоединить к высоковольтному контакту первой свечи на моторе. Далее импульс будет удерживаться через резисторы и конденсатор и поступать на вход триггера. К тому времени эта запись уже будет включена симулятором.
Импульс, симулятор в обычном режиме. Выход прямого триггера имеет низкий уровень. Вход инверсный, соответственно — высокий. Конденсатор, присоединенный плюсом к инверсному выводу, заряжается через резистор.
Импульс высокого уровня запускает имитатор, который переключает триггер и служит для зарядки конденсатора через резистор. Через 15 мс конденсатор полностью зарядится, и триггер перейдет в нормальный режим.
В результате симилетор будет реагировать на эту синхронную последовательность прямоугольных импульсов длительностью около 15 мс. Продолжительность можно регулировать заменой резистора и конденсатора.
Импульсы второго чипа составляют до 1,5 мс.
На этот период открываются транзисторы, представляющие собой электронный ключ. Затем ток течет через светодиоды. По такому принципу работает стробоскоп для автомобиля (собственно изготовлен он или нет, неважно — светят оба прибора одинаково).
Ток, проходящий через светодиоды, намного больше паспортного. Но, так как вспышки короткие, то и светодиоды не выйдут из строя. Яркости будет достаточно, чтобы пользоваться этим полезным устройством даже днем.
Этот стробоскоп можно собрать в футляр от того же многострадального карманного фонарика.
Как работать с устройством?
Собрав по одной из схем схемы, легко и просто, а главное точно отрегулировать зажигание на карбюраторных двигателях, проверить правильность работы свечей и катушек, проконтролировать работу опережения зажигания регуляторы угла.
Чтобы максимально выставить зажигание, обычно исходят из того, что смесь зажигается на пару градусов до прихода поршня в верхнюю точку. Этот угол называется «Угловой угол».
При росте оборотов коленчатого вала должен увеличиваться и угол. Итак, этот угол устанавливается на холостом ходу, а затем необходимо контролировать правильность установки на всех режимах работы агрегата.
Выставляю зажигание
Запустить и прогреть двигатель. Теперь питаем наш стробоскоп светодиодами и подключаем датчик. Теперь нужно направить прибор на метку на корпусе ГДМ и найти метку на маховике. Если момент нарушен, метки будут достаточно далеко друг от друга. Способ поворота корпуса МРР, достижение меток. Когда вы нашли это положение, зафиксируйте резинку.
Тогда пришло время набрать обороты. Метки разойдутся, но это вполне нормальная ситуация. Вот так выполняется настройка зажигания с помощью стробоскопа.
Итак, мы выяснили, как делается стробоскоп на светодиодах своими руками.
Стробоскоп — это оборудование, способное непрерывно воспроизводить световые импульсы. В настоящее время наиболее распространенным является стробоскоп на светодиодах.
Он нашел свое широкое применение в различных сферах нашей жизни. Например, этот прибор незаменим в строительно-ремонтной отрасли (подсветка домов, зданий и сооружений), в рекламной индустрии, машиностроении, а также при проектировании ресторанно-гостиничных комплексов, кафе, ночных клубов и прочего. .
Благодаря достаточно простой конструкции стробоскоп на светодиодах легко изготовить своими руками. Для этого необходима только принципиальная схема, микроконтроллер, защитное устройство, а также датчики в зависимости от функционального назначения устройства.
Этот автомобильный стробоскоп достаточно мощный и может иметь несколько светодиодов. Для того, чтобы собрать устройство, следует купить таймер на микросхеме NE555 и полевой транзистор. Наиболее подходящими могут быть транзисторы типа ИРФЗ44, ИРФ3205, КП812Б1 и ряд других.
Искомое устройство получается достаточно компактным и мощным. Кроме того, вы можете настроить частоту вспышек светодиодов.
В связи с тем, что на переходе возникает небольшой спад напряжений, лучше всего применить диод Шоттки. Также необходимо создать необходимую герметичность пластикового корпуса, в котором находится доска. В этом случае незаменимым будет синтетический силикон.
Полевой транзистор обычно перегревается при длительной работе, поэтому его следует устанавливать на радиатор. Схема может питать светодиоды, напряжение которых не превышает 12 вольт. В противном случае проводка сгорит.
Достаточно большое количество автолюбителей и профессионалов изготавливают стробоскоп своими руками, так как данная процедура, практически, не требует каких-либо специальных знаний и умений. Чтобы сделать стробоскоп своими руками и при этом соблюсти все требования и предпочтения, необходимо качественно подобрать светодиоды. В настоящее время наибольшей популярностью пользуются светодиодные приборы, так как их срок службы, а также яркость свечения значительно превосходят любые другие виды излучателей.
Карбюраторным автовладельцам не знакомы сложности процесса регулировки зажигания. Обычно это делается по слухам, что не очень удобно. С помощью стробоскопа этот процесс можно облегчить. Однако промышленные устройства достаточно дороги, поэтому многие изготавливают стробоскоп для розжига своими руками.
Недостатки промышленных моделей
Промышленные устройства часто имеют определенные недостатки, из-за которых полезность устройства весьма сомнительна.
Начнем с того, что цена на них весьма значительна. Например, современные цифровые модели обойдутся автомобилисту в 1000 р. Более функциональные модели уже от 1700. Продвинутые стробоскопы около 5500 р. Нужно сказать, что стробоскоп автомобильный (своими руками сделанный) обойдется автолюбителю в 100-200 рублей.
Часто в заводских устройствах производитель применяет особо дорогую газоразрядную лампу. Лампа имеет определенный ресурс, и через некоторое время ее придется заменить. А это само по себе равносильно приобретению нового заводского устройства.
Зачем стробоскоп делать самому?
Недостатки заводских и технологических устройств подталкивают автолюбителей к самостоятельному изготовлению данного устройства. Кроме того, значительно удешевляется по стоимости оснащение этого оборудования светодиодами вместо дорогой лампы. В качестве источника диодов или донора подойдет обычная лазерная указка или фонарик.
Остальные детали тоже будут в копейки. Никаких специальных инструментов не будет. Бюджет процесса изготовления стробоскопа составит не более 100 рублей.
Как сделать стробоскоп своими руками?
Схем и вариантов изготовления существует огромное количество. Однако в большинстве своем все проекты по созданию этого гаджета схожи. Посмотрим, что понадобится для сборки.
Нам понадобится простой транзистор КТ315. Его легко найти в старом советском приемнике. Обозначение может немного отличаться, но это не имеет значения. Тиристор КУ112А без проблем можно извлечь из блока питания старого телевизора.
Вы также можете найти небольшие резисторы. Так как мы делаем светодиодный стробоскоп своими руками, то, естественно, вам понадобится светодиодный фонарик. Для этого лучше приобрести самый дешевый, из Китая. Кроме того, необходимо запастись конденсатором на 16 В любой низкочастотный диод, маленькое реле на 12 А, провода-крокодилы, экранированные проводом длиной 0,5 м, а также небольшой кусок медного провода.
Собрать устройство
Схема небольшая, и разместить ее можно прямо в том самом китайском фонарике. Итак, через отверстие в фонаре желательно пропустить провода для питания устройства. На концы проводов лучше налить крокодилы. В боковой стенке нужно сделать отверстие, если китайцы его еще не сделали. Через это отверстие будет проложен экранированный провод. На противоположном конце необходимо заизолировать оплетку и припаять тот самый кусок медного провода к основной оплетке провода. Это будет датчик.
Схема устройства и принцип работы
После прохождения тока по силовым проводам конденсатор очень быстро заряжается через резистор.
При достижении определенного порога заряда напряжение резистора будет поступать на открывающий контакт транзистора. Реле будет работать здесь. Когда реле замкнуто, оно создаст цепочку из тиристора, светодиода и конденсатора. Тогда через делитель импульс будет попадать на выход управления тиристором. Далее тиристор откроется, а конденсатор разрядится на светодиоды. В результате стробоскоп, сделанный своими руками, ярко вспыхивает.
Через резистор и тиристор база транзистора подключается к общему проводу. Из-за этого транзистор закроется, и реле выключится. Время свечения светодиодов увеличивается, так как контакт разводится не сразу. Но контакт разорвется, и тиристор обесточится. Схема вернется в исходное положение до тех пор, пока не пойдет новый импульс.
Изменяя емкость конденсатора, можно изменить время свечения. Если выбрать конденсатор большей емкости, то светодиод стробоскоп, своими руками, будет ярче и светиться дольше.
Устройство на микросхеме
Основная часть этой простой схемы — микросхема DD1.
Это так называемый атигнер 155Ag1. В этой схеме он запускается только от отрицательных импульсов. Управляющий сигнал будет поступать на транзистор СТ315, он и будет формировать эти отрицательные импульсы. Резисторы 150 к ОМ, 1 к ОМ, 10 к ОМ, а также Стабилитрон КС139 работают как ограничители амплитуды поступающего сигнала от зажигания автомобиля.
Конденсатор 0,1 мкФ вместе с сопротивлением 20 кОм даст нужную длительность импульса, который будет формировать микросхема. При такой емкости конденсатора длительность импульса будет примерно до 2 мс.
Затем с 6 ножки микросхемы импульсов, которые будут синхронизированы с зажиганием машины до этой точки, они будут попадать на базовый вывод транзистора СТ 829. Он здесь как ключ. Результатом является импульсный ток через светодиоды.
Как питается этот стробоскоп для автомобилей? Своими руками нам нужно провести пару проводов к клеммам автомобильного аккумулятора. Необходимо следить за уровнем заряда батареи.
Если вы обязательно соберете эту нехитрую схему, то сразу увидите, как работает устройство.
Если вдруг яркости не хватает, это регулируется подбором соответствующего сопротивления.
В качестве устройства для устройства можно использовать старый или китайский фонарик.
Еще одна схема стробоскопа
Этот стробоскоп на светодиодах, своими руками сделанный по такому принципу, так же может питаться от автомобильного аккумулятора. Диоды позволят защититься от неправильной полярности. В качестве застежки здесь используется обыкновенный крокодил. Его нужно присоединить к высоковольтному контакту первой свечи на моторе. Далее импульс будет удерживаться через резисторы и конденсатор и поступать на вход триггера. К тому времени эта запись уже будет включена симулятором.
Пульс в обычном режиме. Выход прямого триггера имеет низкий уровень. Вход инверсный, соответственно — высокий. Конденсатор, присоединенный плюсом к инверсному выводу, заряжается через резистор.
Импульс высокого уровня запускает имитатор, который переключает триггер и служит для зарядки конденсатора через резистор.
Через 15 мс конденсатор полностью зарядится, и триггер перейдет в нормальный режим.
В результате симулятор отреагирует на это синхронной последовательностью прямоугольных импульсов длительностью около 15 мс. Продолжительность можно регулировать заменой резистора и конденсатора.
Импульсы второго чипа составляют до 1,5 мс. На этот период открываются транзисторы, представляющие собой электронный ключ. Затем ток течет через светодиоды. По такому принципу работает стробоскоп для автомобиля (собственно изготовлен он или нет, неважно — светят оба прибора одинаково).
Ток, проходящий через светодиоды, намного больше паспортного. Но, так как вспышки короткие, то и светодиоды не выйдут из строя. Яркости будет достаточно, чтобы пользоваться этим полезным устройством даже днем.
Этот стробоскоп можно собрать в футляр от того же многострадального карманного фонарика.
Как работать с устройством?
Собрав по одной из схем схемы, легко и просто, а главное точно отрегулировать зажигание на карбюраторных двигателях, проверить правильность работы свечей и катушек, проконтролировать работу опережения зажигания регуляторы угла.
Чтобы максимально выставить зажигание, обычно исходят из того, что смесь зажигается на пару градусов до прихода поршня в верхнюю точку. Этот угол называется «Угловой угол». При росте оборотов коленчатого вала должен увеличиваться и угол. Итак, этот угол устанавливается на холостом ходу, а затем необходимо контролировать правильность установки на всех режимах работы агрегата.
Выставляю зажигание
Запустить и прогреть двигатель. Теперь питаем наш стробоскоп светодиодами и подключаем датчик. Теперь нужно направить прибор на метку на корпусе ГДМ и найти метку на маховике. Если момент нарушен, метки будут достаточно далеко друг от друга. Способ поворота корпуса МРР, достижение меток. Когда вы нашли это положение, зафиксируйте резинку.
Тогда пришло время набрать обороты. Метки разойдутся, но это вполне нормальная ситуация. Вот так выполняется настройка зажигания с помощью стробоскопа.
Итак, мы выяснили, как делается стробоскоп на светодиодах своими руками.
что такое зажигание и как настроить УОЗ
Регулировка зажигания всегда отмечена контактной группой настроек. Ее необходимо проводить в ситуации, когда на автомобиле эксплуатируется либо штатный вариант зажигания, либо транзисторный тип. Если используется система тиристорного типа, правильный размер зазора между контактами не так критичен. Узнаем, как отрегулировать важнейший элемент системы зажигания – трамблер. Ниже также представлен видеообзор.
Два основных способа настройки распределителя
Начнем с первого метода. Перед установкой трамблера на место обязательно нужно установить силовую установку 1-го цилиндра в положение ВМТ. Пальцем затыкается отверстие, куда входит СЗ 1-го цилиндра, и по воспринимаемому давлению выброса сжатого воздуха определяется ВМТ.
ВНИМАНИЕ! Найден совершенно простой способ снизить расход топлива! Не верите мне? Автомеханик с 15-летним стажем тоже не верил, пока не попробовал. И теперь он экономит на бензине 35 000 рублей в год!
Чтобы поставить трамблер в это положение, нужно будет в аварийных ситуациях провернуть коленчатый вал до совпадения метки на шкиве вала с меткой на блоке цилиндров.
Узнать, какая из меток является ВМТ, можно из руководства автомобилиста.
Обязательно снимите крышку с распределителя. После этого поверните бегунок так, чтобы он был направлен на контакт в крышке 1-го цилиндра. Именно в такой экспозиции размещен корпус трамблера в двигателе внутреннего сгорания.
Внимание. Если на распределителе установлена шестеренчатая передача, ее следует провернуть на тридцать градусов против аварийной ситуации и только после этого установить в двигатель.
В процессе установки распределителя в ДВС ползунок следует перемещать по аварийной и против, чтобы распределитель нормально сел. Бывает, что трамблер сидит на месте, а нужного направления ползунок не получает. В этом случае трамблер придется демонтировать, а затем поставить на место с учетом предыдущей ошибки.
Правильная, грамотная регулировка распределителя 1-го цилиндра осуществляется следующим образом:
- Снять основной бронепровод с распределителя, а затем заземлить его на массу.

- Проверните коленчатый вал по метке до ВМТ.
- Подключите мультиметр к распределителю, настроив устройство на 20 В постоянного тока.
- Диагностика зазоров контактной группы, а также состояния поверхности.
Примечание. Придется сначала прокрутить раздачу по аварийке, пока индикатор мультиметра не загорится на отметке 0,45. Затем повернуть трамблер в обратную сторону на 12 В. При этом также может быть слышен щелчок искры на массу.
Это момент истины. В этом положении трамблер считается настроенным, его следует зафиксировать, а крышку заменить. Не забудьте поставить на место и бронепровод.
Второй способ регулировки распределителя осуществляется на автомобилях, заправляемых топливом супер или 93. Этот метод рекомендуется проводить на работающем двигателе внутреннего сгорания.
Итак, раздатка поворачивается при работающем двигателе от аварийных ситуаций. При этом скорость силовой установки моментально увеличится, но если продолжать вращение, то двигатель будет работать нестабильно.
И именно в этот момент, когда двигатель уже не набирает обороты, трамблер нужно медленно провернуть в обратную сторону.
Проверить выполненную работу своими руками можно следующим образом. Резко дросселируйте ДВС — он не должен заглохнуть или остановиться на несколько секунд.
Тонкая настройка: грузы и пружины
После этого начинается установка грузов. Это уже называется тонкой настройкой трамблера. В этом случае производится корректировка УОЗ, за что несут прямую ответственность корректоры — ЦНТР и ВК.
Первый, центробежный регулятор, содержит два груза и две пружины. При вращении распределительного ротора грузики под действием силы УНТР расходятся в стороны. При этом смещается вал с кулачками или заслонка (если система зажигания бесконтактная). Таким образом, контакты срабатывают намного раньше.
В качестве противодействия силе CNTR действуют две пружины, от которых зависит эффективное функционирование всей системы зажигания. Сами пружины разные, и недаром это сделано.
- Первая пружина длиннее, она отвечает за момент срабатывания регулятора натяжения. В то же время эта пружина регулирует прямой угол до 1,2 тыс. об/мин, обеспечивая жесткость.
- Вторая пружина короче, но намного жестче первой. Исправляет точку останова, обеспечивая свободный ход.
Эксперты настаивают на том, чтобы на вторую весну был обеспечен бесплатный проезд. Однако некоторые автолюбители считают, что это приводит к нестабильной работе ДВС на малых скоростях. Регулируется, якобы, натяжением этой пружины.
Что касается ВК или вакуум корректора, то он способствует возникновению опережения только при работе первой камеры. Другими словами, когда речь идет о частичной нагрузке на силовую установку.
Сам по себе этот регулятор опережения не может создавать высокие обороты или под нагрузкой. Это следует понимать. И на ХХ, кстати, тоже.
Ниже видео о работе весов на трамблер
Контакты
Если на автомобиле используется штатный вариант зажигания, то перед настройкой рекомендуется зачистить контакты трамблера напильником.
После такой чистки проводится диагностика состояния контактов — в первую очередь следует убедиться, соприкасаются ли контакты друг с другом всей плоскостью или нет.
Контакты в некоторых случаях нуждаются в подгонке. Коленчатый вал проворачивается до тех пор, пока расстояние между контактами не станет оптимальным. Винт крепления контакта на опорной плите можно снять.
Вводится спейсер, размер которого варьируется в пределах 0,4 мм. Вставляется между контактами. Затем обеспечивается экспозиция, позволяющая зонду двигаться не слишком свободно, но и не слишком туго. Это положение обязательно фиксируется.
Примечание. Размер зазора можно проверить с помощью двух прокладок. Большая прокладка не должна помещаться между электродами, тонкая — двигаться без особого сопротивления.
Коленчатый вал проворачивается специальной шпонкой. Также можно сделать следующее: включить 4-ю скорость, плавно толкнуть машину. В этом случае использовать стартер не получится, так как не получится сформировать правильный виток, но необходимый размер зазора распределителя даст нужное значение УЗСК.
И в этом случае нельзя забывать, что критичен не угол, а сам зазор. По этой причине очень важно провести диагностику регулировки. Значение должно быть в пределах 55/3 градусов.
Простейшая альтернатива – использование электротахометра с опцией измерения. Для того чтобы воспользоваться этим устройством, нужно собрать трамблер, а затем запустить двигатель внутреннего сгорания. Сам электротахометр ставится в положение измерения.
Регулировка зазоров повторяется при возникновении затруднений. Есть еще один способ, правда, он подразумевает обязательное измерение угла. Необходимо будет вытащить основной бронепровод, зацепить его за массу. Некоторые умельцы могут не вытягивать проволоку, выполняя такую работу. Однако в этом случае возрастает риск пробоя катушки.
По поводу индикатора:
- Если проверять зажигание на штатной системе зажигания, то все должно происходить так, как описано в пунктах выше.
- Но в процессе работы на зажигании старого образца индикатор не будет мигать из-за отсутствия ограничителя тока.

Внимание. В таких случаях мультиметр заменяют вольтметром. Показывает либо 12В либо — 0.
Коленвал прокручивается в аварийном режиме, крутится до замыкания контактов. Это более подробно описано выше.
Регулировка различными устройствами
Существует несколько типов обратного клапана, каждый из которых подразумевает свое устройство.
Стробоскоп
Одним из популярных вариантов проверки является стробоскоп. Устройство цепляется за электрическую сеть автомобиля. Шланг вакуум-корректора необходимо снять и заглушить. Двигатель заводится и прогревается до необходимого градуса, при котором будет уверенно держать обороты на ХХ. Затем откручивается стопорный болт корпуса распределителя, и стробоскоп направляется на шкив коленчатого вала.
Распределитель вращается до тех пор, пока риск на шкиве не окажется напротив метки на механизме ГРС. Корпус распределителя фиксируется в этом положении.
Лампочка
Обычная лампочка тоже может стать настроечным устройством. Является стандартным вариантом, инструкцию по выполнению которого можно найти в общедоступной автолитературе. Главное наличие лампочки на 12 вольт и двух проводов. Коленчатый вал проворачивается по мере необходимости, выставляется заданным образом риск колеса коленчатого вала, ползунок устанавливается напротив бронепровода 1-го цилиндра.
Лампочка подключается следующим образом: после включения 4 скорости один из проводов соединяется с проводом идущим от трамблера к катушке. Второй провод объединен с массой автомобиля. Вы также должны не забыть ослабить стопорный болт и снять центральный провод с крышки распределителя.
Искра
Для опытных автолюбителей и для профессионалов ориентиром при регулировке может стать искра. Коленчатый вал устанавливается в правильное положение, основная броневая проволока вытягивается и размещается на расстоянии 5 мм от массы.
Снова откручивается стопорный болт и включается зажигание.
В аварийном режиме корпус клапана поворачивается на 10-20 градусов. После этого трамблер плавно вращается обратно до тех пор, пока не проскакивает искра. Это момент истины — корпус трамблера фиксируется в этом положении.
На слух
Опять же опытным путем. Для некоторых случаев он не подходит, так как дает не совсем точные показания. Однако эта настройка может помочь вам выйти на расчет. Этот вид регулировки осуществляется следующим образом: запускается двигатель внутреннего сгорания, ослабляется стопорный болт. Кузов поворачивают так, чтобы найти положение, при котором скорость силовой установки будет максимальной. Распределитель должен быть зафиксирован на несколько градусов в аварийных ситуациях.
В конце любого из вышеперечисленных методов выполняется окончательная проверка. Его цель — сравнить, диагностировать окончательные результаты. Их проверяют на машине, во время движения. ДВС прогревается, на ровном участке дороги набирает скорость 40-50 км/ч. После включения 4-й скорости педаль акселератора резко вдавливается в пол.
Автомобиль после характерного цока двигателя будет постепенно увеличивать скорость.
Если не слышно звуков, то придется повернуть вентиль против аварийки на одно деление. Эту процедуру необходимо проводить до тех пор, пока не появится этот шум.
Научившись настраивать распределение несколькими способами, вы сможете значительно улучшить свои знания в области ремонта автомобилей.
Посмотрите видео о том, как настроить дистрибьютора, чтобы он работал лучше. Кстати, в видео также описан процесс обновления.
Установка угла опережения зажигания является одной из основных настроек двигателя автомобиля. Неправильно выставленное зажигание (как по ходу, так и по ходу) сразу сказывается на его работе в . Поэтому следует уделить этой процедуре особое внимание, особенно на переднеприводных автомобилях ВАЗ 2108, 2109, 21099.
Признаки неправильного опережения зажигания
Выстрелы в глушитель или карбюратор далеко не полный перечень таких неисправностей.
Следует иметь в виду, что подобные симптомы возникают при неправильном или неисправном карбюраторе, неисправном клапанном механизме и т. д.
Цель установки угла опережения зажигания
Установить необходимый угол опережения зажигания, при котором основные характеристики двигателя автомобиля — мощность, приемистость, обороты холостого хода, расход топлива — будут в норме.
Инструменты для работы
— Стробоскоп (самый простой, без встроенного тахометра, можно купить в магазине за 200-300 руб.). Более продвинутые, со встроенным тахометром, стоят несколько дороже.
— Тахометр (можно использовать встроенный щиток приборов, можно подключить внешний (например, автотестер, мультиметр в режиме тахометра), ориентироваться можно на слух, при наличии опыта).
— Гаечный или рожковый ключ. Либо подходящая трещотка, либо Г-образный ключ. Размер 10.
Подготовительные работы
— Прогреваем двигатель автомобиля до рабочей температуры (85-90 0) .
— Устанавливаем минимальные обороты холостого хода (750-800 об/мин) .
Для этого вращаем винт «количества» топливной смеси на карбюраторе. Минимальную скорость можно установить по тахометру, либо на слух. Если они соответствуют норме, то пропускаем этот пункт.
расположение регулировочного винта «количества» топливной смеси на карбюраторе 2108, 21081, 21083 солекс
— Снимаем со штуцера на корпусе вакуумного опережения зажигания , на трамблере, силикон вакуумная трубка от карбюратора.
— Проверяем, поднеся палец к его отверстию, есть ли в нем вакуум. Его там быть не должно, так как по идее он должен включаться в работу на оборотах свыше 800. Если есть, то немного снижаем обороты холостого хода (вращая винт «количества» топливной смеси на карбюраторе) пока не исчезнет.
— Глушим двигатель.
— Отверстие в силиконовой трубке затыкаем маленьким болтиком, либо просто складываем пополам (завязываем узлом).
— Ключом на 10 откручиваем три гайки крепления корпуса трамблера.
— Ищем лючок на картере коробки передач со шкалой и видимой частью маховика. Обычно закрывается резиновой пробкой. Снимаем заглушку.
расположение смотрового люка в картере сцепления на ваз 2108, 2109, 21099
— Шкалу в люке протираем ветошью, чтобы на ней были хорошо видны установочные риски.
— Шлицевой отверткой поверните маховик за пазы его венца и найдите на нем длинную поперечную установочную метку. Когда он стоит напротив треугольного выреза на шкале в люке, это означает, что угол опережения зажигания равен 0 0, а поршни первого и четвертого цилиндров поднялись в верхнюю мертвую точку. Если он плохо виден из-за промасливания или загрязнения, протираем край маховика через лючок, пока не найдем его. Вы можете выделить метку мелом.
метка установки угла опережения зажигания на маховике и шкала с градусами
— Проверяем не является ли это риском (что если у вас маховик установлен неправильно).
Проверку проводят по следующим меткам — длинная метка на маховике должна быть напротив треугольного выреза на шкале, метка на шкиве распредвала — напротив выступа на задней крышке ремня ГРМ (чтобы их увидеть, снимите пластиковая крышка ремня ГРМ).
— Подключаем стробоскоп. Подключаем по инструкции к вашему стробоскопу, так как модели у них разные и способы их подключения могут отличаться в деталях. В основном подключение стробоскопа выглядит так — красный провод к выводу «К» (+) катушки зажигания, черный к «минусу» аккумулятора, или любой части корпуса, металлическая скоба на высоковольтный провод четвертого цилиндра (ближайший к распределителю).
порядок подключения стробоскопа
Установка угла опережения зажигания (зажигание)
— Заводим двигатель, еще раз убеждаемся по тахометру, что холостые обороты минимальны.
— Направляем мигающий луч стробоскопа в люк со шкалой.
— В свете стробоскопа длинная выделенная метка на маховике должна находиться напротив нужного деления шкалы.
Каждое деление на нем соответствует одному градусу опережения зажигания.
Нижняя часть средней треугольной выемки равна нулю градусов.
Углы для 92-го бензина
На двигателе 2108 момент зажигания (-1 0; +-1 0), 21081 (1 0; +-1 0), 21083 (1 0; +-1 0).
Уголки для 95 бензина
Для двигателя 2108 опережение составит 1 градус — одна риск по шкале до бокового лобового стекла от низа треугольного выреза в его центре, 21081 — 5 градусов (5 делений), 21083 — 4 степени (подразделения). Погрешность в один градус допустима как в сторону уменьшения угла, так и в сторону его увеличения.
— Регулировка угла опережения зажигания осуществляется вращением корпуса распределителя зажигания (распределителя).
При повороте по часовой стрелке (если смотреть со стороны крышки распределителя) угол опережения увеличивается (зажигание становится более ранним), против — угол опережения уменьшается (зажигание становится более поздним).
Ориентироваться по шкале можно с помощью делений и знаков «+» и «-» на корпусе распределителя. Вращая трамблер, перемещаем его относительно выступа на корпусе вспомогательных агрегатов. В сторону минуса — делаем зажигание раньше, в сторону плюса — позже. Одно деление этой шкалы равно 8 0. Поэтому крутим трамблер медленно, осторожно и под небольшим углом.
регулировка угла опережения зажигания с трамблером
— Достигнув нужного угла опережения зажигания, заглушить двигатель, отключить стробоскоп, зафиксировать трамблер.
Проверка правильного опережения зажигания
— При нажатии на педаль газа, на прогретом двигателе, на холостых оборотах «провалов» в работе быть не должно.
— При резком нажатии на педаль газа, при движении со скоростью 45-50 км/ч, на ровном участке дороги, на четвертой передаче должна ощущаться кратковременная детонация (3-5 сек. ). Другими словами, «стучать пальцами». Если его нет — зажигание позднее, если есть и никак не работает — зажигание слишком раннее.
Исправляем ситуацию, слегка вращая трамблер в ту или иную сторону. Потом снова проверяем.
Примечания и дополнения
— Если длинная установочная метка на маховике не стоит на месте напротив шкалы в люке, а постоянно дергается и перемещается, то у вас могут быть проблемы с распределителем (распределителем зажигания), регулятором напряжения в генераторе, катушка зажигания, высоковольтные провода. Возможен и небольшой обрыв проводки.
— Если после этой регулировки машина тупо едет, то поэкспериментируйте с настройкой угла опережения. Чаще всего обычно приходится делать раннее зажигание (увеличивать угол опережения зажигания). В интернете есть описания регулировок с увеличением угла до 10, 12 и даже 25 градусов. В любом случае показателем правильно выставленного момента зажигания будет легкая детонация при нажатии на газ на скорости 45-50 км/ч, хорошая приемистость и отсутствие провалов.
Многие начинающие автолюбители не знают, как выставить зажигание на своем четырехколесном друге.
Для начала, чтобы разобраться в этом вопросе, нужно понять, как работает зажигание и каков принцип его работы.
Насколько важно правильно настроенное зажигание?
Сначала о банальном — именно с помощью зажигания мы можем завести машину. Необходимо создать искру, а точнее полный искровой разряд. Оно, в свою очередь, распределяется на всех, все это должно происходить при определенном ходе двигателя. Если двигатель бензиновый, то для создания заряда используется искра, если дизельный, то зажигание будет происходить не от искры, а в момент максимального сжатия, то есть система зажигания от искры не нужен как бы. В дизельном двигателе поворот ключа зажигания активирует систему сжатия и правильно распыляет горючую смесь в двигатель.
Зажигание в автомобиле может быть реализовано тремя способами: контактным, бесконтактным и с помощью микропроцессора. При контактной системе за накопление энергии в прерывателе-распределителе (распределителе) отвечает, в бесконтактной — транзисторный коммутатор, а в последнем варианте системы зажигания за этот процесс отвечает электронный блок управления.
Затем катушка преобразует напряжение от 12 В до 30 000 В, отсюда и рождается искра, которая в нужный момент подается на свечи. Наиболее точно этот процесс происходит, конечно же, в электронной системе, поэтому регулировка для нее требуется гораздо реже. Как нетрудно догадаться, сбой зажигания будет заключаться в нарушении одного из этих этапов.
Как правильно выставить зажигание — ищем признаки неисправности
После того, как вы получите представление о том, как работает зажигание автомобиля, перейдем к описанию случаев, когда может потребоваться его регулировка. Некорректная работа зажигания будет видна сразу, машина начнет часто глохнуть, особенно в поездке, а не только при запуске двигателя. Хотя на старте у вас периодически будут возникать буквально мистические моменты, когда машина сразу после первого рывка заглохнет и тут же, как ни в чем не бывало, заведется по требованию и благополучно поедет, но через пару километров повторит это» сальто».
Если у вас карбюраторный двигатель, то стоит обратить внимание на сам карбюратор, он тоже может быть не совсем в порядке, и зажигание тут ни при чем.
Он может периодически издавать резкие звуки, похожие на выстрел, их сложно не заметить. Так что прежде чем выставлять зажигание, убедитесь, что проблемы кроются именно в нем. Потому что зажигание лишний раз выставлять не стоит, это не пойдет на пользу машине … Если у вас дизель, то из трубы может активно идти черный дым. Стоит отметить, что данная проблема не является безоговорочным признаком неправильно выставленного зажигания, которое у дизеля совершенно другое.
Слушаем как машина работает
Итак, теперь перейдем к самому главному: как правильно выставить зажигание? В целом это не сложно, нужно просто следовать приведенной инструкции. Установите наружный контакт трамблера на первый цилиндр (для семейства ВАЗ) или на специальную метку (для иномарок). Номер цилиндра или специальную метку, чаще всего, можно легко найти, когда залезешь под капот, или посмотришь в описании к машине, где именно их искать. Также следите за тем, чтобы все метки на шкиве коленчатого вала и цапфе блока цилиндров совпадали.
После этого можно открутить крепления трамблера и снять его, наконец запомнить, где (номер цилиндра) указана его разностная табличка, то есть пометить для себя положение бегунка.
После снятия прерывателя-распределителя ни в коем случае не проворачивать шкив коленвала!
Теперь нам нужно поставить метку на шкиве генератора. Здесь пригодится универсальный ключ, которым мы можем повернуть гайку с храповым механизмом. Если метка далеко, то прокручивая стартер, нам нужно приблизить шкив на максимальное расстояние. Для удобства отметьте мелом метку на шкиве. Берем индикаторную отвертку и идентифицируем. Для этого нужно один щуп индикатора подключить к низковольтному контакту распределителя, а другой щуп подключить к массе. Затем включите зажигание и с помощью ключа плавно поворачивайте трещотку до тех пор, пока не загорится контрольная лампочка.
Теперь стоит проверить угол опережения зажигания, поэтому собираем систему и закрываем крышку трамблера.
Прогрейте автомобиль и наберите скорость до 50 км/ч, включите 4-ю передачу. Затем нажмите на педаль акселератора, после чего должен появиться стук. Будьте осторожны, это примерно от 1 до 3 секунд. Если детонация не происходит, следует увеличить угол опережения зажигания, повернув трамблер против часовой стрелки. А если детонация долгая, то угол надо, наоборот, уменьшать по часовой стрелке. С карбюратором все понятно, а как выставить зажигание на дизеле? Принцип остается прежним, требуется установить поршень (аналог ползунка в системе зажигания дизеля) на первый цилиндр, но при этом придется демонтировать декомпрессионный механизм и некоторые детали близлежащих систем.
Что такое зажигание? В большинстве случаев ответ носит одно предложение — «это своевременная подача через свечу — искры, воспламеняющей топливно-воздушную смесь». Все просто, есть объем цилиндра, в котором сжатая смесь воспламеняется 8-15 раз, тем самым происходит взрыв , газы расширяются и толкают поршень — двигатель работает.
Как вы понимаете процесс воспламенения не мгновенный … То есть смесь сгорает постепенно. Смесь поджигается сверху и постепенно покрывает весь объем. Существует множество факторов, влияющих на работу двигателя, его экономичность и мощность в целом. Например, если смесь не успеет вовремя сгореть, то есть поршень уже ушел вниз, то несгоревшая смесь сначала пойдет в сгорающую там выхлопную систему, а поршень не получит дополнительной энергии. Расход топлива увеличится.
Качели
Хорошим пояснением для понимания, что такое своевременное зажигание, является пример детских качелей. Вы должны представить себе качели, которые уже качаются, действуя как поршень. Можно сказать, что рука толкающего является процессом воспламенения смеси.
Процесс прокатки прост. При достижении критических точек толкатель прикладывает усилие. Если он сделает это вовремя, то качели будут раскачиваться как можно сильнее до тех пор, пока для этого не «хватит» момента.
Если толкатель начнет толкать до критической точки подъема, то сначала он будет тормозить систему (идя на встречу), участник на качелях почувствует резкое торможение, и вся система в целом со временем быстрее разрушится .
Один отобьёт руку, а второй вместе с разорванными петлями маха отлетит в любую сторону. Процесс можно сравнить с детонацией .
Другой случай, когда толкатель прикладывает усилие после прохождения критической точки. Во-первых, он менее эффективен, и система снизит свою мощность до определенного предела … Он менее опасен для всех, но эффективность резко падает.
Особенности
Можно подумать, что самое оптимальное — зажечь смесь именно в верхней мертвой точке. Это неправда, должно быть времени отведено на подготовительный процесс …Тот, кто толкает качели, должен опустить руку и передавать энергию только в нужный момент. Также газы смеси расширяются и начинают выделять энергию только через некоторое время, когда источник пламени дорастет до необходимого состояния. Каждый режим работы имеет свое время начала зажигания, свой угол. Своевременное управление зажиганием в Honda civic мозгом занимается ЭБУ, но чтобы считать от чего надо выставить правильное базовое зажигание или базовый угол опережения зажигания.
Установка угла опережения зажигания УОЗ на Honda Civic
Рабочий угол опережения зажигания в большинстве двигателей D составляет 12 градусов , также рекомендуется не выходить за пределы 10 и 14 градусов (14,12,10 — 3 последовательные метки на шкив). Почему обсуждаемый «объект» называется углом? Полная работа двигателя 4 такта. Наполнение, сжатие, работа, выпуск газа. Поршень вниз, поршень вверх, поршень вниз, поршень вверх. Шатунный механизм поршня соединен с коленчатым валом и шкивом. Таким образом, за 1 оборот коленчатого вала (шкива) поршень поднимается и опускается. Полная работа совершается за 2 оборота коленчатого вала. Шкив круглый, и если его разделить на сектора по 360 градусов, то становится понятно, что за 0 принимается верхняя мертвая точка — метка ВМТ, четвертая отдельная метка идет после первых 3-х точек, обозначающих базовый угол опережения зажигания УОЗ. .
Практика установки зажигания УОЗ Хонда Цивик
Чтобы правильно выставить зажигание, необходимо иметь стробоскоп.
Цена около 20 долларов. По сути, это фонарик, который точно показывает, когда произошло возгорание. Нужен 3х проводной стробоскоп … Один провод идет на + аккумулятор, другой на — аккумулятор. Третий провод обычно прищепкой или «крючком» с датчиком цепляется за первый (правый) высоковольтный провод зажигания. Внимание! Нужен стробоскоп с питанием от аккумулятора и для бензиновых двигателей ни в коем случае не от катушки зажигания. Проверенных моделей для России Джет-сенсор и Орион ST-01 .
Сначала необходимо ослабить ключом 12 болты на распределителе зажигания так, чтобы его можно было вращать в обе стороны, но так, чтобы распределитель не отходил от головки блока цилиндров. Машина должна быть прогрета и обороты холостого хода должны быть выровнены до 750-800 об/мин … Выключить зажигание. Подсоедините + и — стробоскоп к аккумулятору … и «наденьте» зажим датчика на основание высоковольтного провода первого (правого) цилиндра) ближе к свече зажигания.
включить сервисный режим чтения ошибок. Также рекомендуется найти на шкиве коленчатого вала 3 последовательных отметки , очистить их и отметить середину белой краской или канцелярской замазкой с корректором. Включите зажигание и запустите двигатель, загорится Check Engine. Двигатель должен быть максимально разгруженным … Включите нейтралку, выключите кондиционер, музыку, свет.
Если вы все сделали правильно, вы увидите мигание стробоскопа. Наведите его над мишенью на шкив коленчатого вала. Белая метка должна быть хорошо видна под вспышками. Ваша задача — совместить цель и центральную отметку (12 градусов). Вращение распределителя зажигания (при работающем двигателе) соответствует включению коленчатого вала; если метку нужно «сдвинуть» вправо, поверните распределитель зажигания вправо. При установке метки УОЗ затяните болты распределителя зажигания, выключите стробоскоп и выключите проверить сервисный режим двигателя .
Чуть раньше, чуть позже
При повороте распределителя по часовой стрелке (вправо) — базовый угол зажигания уменьшается и опаздывает , зажигание стремится к ВМТ (14-12-10.
.. град.). Это более позднее зажигание , необходимо выставить, если смесь бедная.
При повороте распределителя против часовой стрелки (влево) — базовый угол зажигания уменьшается и опережает , зажигание стремится от ВМТ (10-12-14… град.) Это более раннее зажигание , необходимо установить, если смесь богатая.
Топливо с более высоким октановым числом требует раннего зажигания, поскольку топливо с более высоким октановым числом горит дольше.
Итого:
Крайне необходимо выставлять УОЗ, не слушайте никого, что «УОЗ выставляется сам собой благодаря компьютеру». Да, это отчасти правда. Но компьютер либо вычитает, либо добавляет углы. Со сливом нужно 12 градусов, это стандартный угол для двигателей Хонда Д серии … Со знанием дела угол можно выставить под разное топливо, особенно это помогает при плохом топливе… неправильная установка POP — частая причина плохого запуска, большого расхода топлива и конечно потери мощности.
В редких случаях в качестве катализатора для сокращения срока службы двигателя.
Обязательно выставлять УОЗ после переборки двигателя или при любых работах с распределителем. Выставлять на слух не модно.
Если вы начали тюнинг двигателя и нашли прошивку, которая подходит под вашу спецификацию, обязательно узнайте базовый угол, при котором строилась карта зажигания.
P.S. Опыт с D16Z6
Мой самый адский опыт это конечно моя машина, случайно или специально тестировал на ней механику и электрику. Машина на удивление живучая, чему я рад. В общем, когда устанавливал VTEC ГБЦ D16Z6, то обнаружил, что к ГБЦ идет специальный распределитель зажигания TD-42U. ТД42У отличается от своих собратьев, которые стали универсальными и устанавливались на большинство двигателей, я говорю о ТД-80У, ТД-72У и т.д. Отличие ТД-42У от других в том, что ножки крепления, их 3, расположены не под углом 120 градусов, а имеют несколько несимметричное расположение. Поэтому на ГБЦ D16Z6 подходит только один клапан.
Мой был в очень плохом состоянии, гнилые и оборванные провода, и по своему еще не богатому опыту я решил, что трамблер тот же и надо менять только заднюю пластину.
Почему я решил, что они одинаковые? Судите сами: катушка, коммутатор, бегунок, крышки одинаковые. Возможно ТД-42У, ТД-41У, ТД-40У это один клапан с разными ревизиями и отличием в подножке. Установить другой проблематично и не по феншую. Но это была и моя ошибка.
Очень быстро нашел трамблер ТД-41У от Д15Б7. Вскрыл оба, припаял провода на датчики, установил… А вот УОЗ не ставил. Конечно машина завелась, получил результаты в прошивке. но они не впечатляли, низов вообще не было. И тут я вспомнил свои манипуляции с распределителем. И тут мне открылось, мой УОЗ не 12 и не 14… а в пределах 20-25 градусов. Затянув трамблер до конца, выставил около 16. Дальше трамблер не крутил. В прошивке я просто планомерно добавил недостающие 4 степени, и машина заиграла по-новому.
Проблема осталась физически. Ось распределителя, на которую надевается бегунок, имеет другой угол. Таким образом, эта разница отрицательно сказалась на производительности. Поэтому, если вы собираетесь собирать один из нескольких, будьте осторожны. Выставляй зажигание стробоскопом, экономь на топливе и зимой заводи с первого раза!
Данная статья актуальна для автомобилей Honda выпуска 1992-2000 годов, таких как Civic EJ9, Civic EK3, CIVIC EK2, CIVIC EK4 (частично). Информация будет актуальна для владельцев Honda Integra в кузовах DB6, DC1, с моторами ZC, D15B, D16A.
Полезные советы: Затягивать болты строго по схемам, от середины в сторону и в несколько подходов. Полный список насадок
Сообщество может помочь вам с большинством вопросов.
Зажигание Автомобильные бензиновые двигатели представляют собой искры, образующиеся на электродах свечей зажигания, воспламеняющие смесь в камере сгорания. Эффективность процесса сгорания топлива напрямую зависит от момента зажигания, и работоспособности двигателя в целом, поэтому угол опережения зажигания должен быть установлен в наиболее оптимальное положение для вашего автомобиля.
Момент зажигания регулируется с помощью стробоскопа и набора ключей – инструментов, доступных в любом автомагазине.
Шаги
Часть 1
Как работает система зажигания
Узнайте, требуется ли вашему автомобилю регулировка зажигания. Большинство современных машин оснащены системами электронного управления зажиганием, не имеющими никаких регулировок. Но для эффективной работы старых автомобилей с четырехтактными двигателями требуется периодическая регулировка угла опережения зажигания для обеспечения своевременного искрообразования.
- Если при работающем двигателе появились признаки неисправности в системе зажигания (например, стук пальцев, стук или слишком раннее/позднее зажигание), то автомобиль необходимо отвезти к механику или в зажигание должны быть установлены самостоятельно.
Что такое рабочий цикл двигателя. При четырехтактном двигателе внутреннее сгорание включает впуск, сжатие, ход и выпуск.
Воспламенение происходит на границе такта сжатия и рабочего такта – в этот момент свеча зажигания вырабатывает искру, воспламеняющую топливную смесь. Энергия, выделяемая при сгорании, толкает поршень, который, в свою очередь, вращает коленчатый вал двигателя.
- Свеча зажигания должна искрить в тот момент, когда поршень, двигаясь в такте сжатия, почти достиг положения, называемого «верхней мертвой точкой» (ВМТ). Со временем момент воспламенения свечи зажигания может немного сбиться, уменьшая эффективное время искры. Интервал между воспламенением смеси и достижением ВМТ называется опережением зажигания; его значение определяется по числовой шкале на маховике двигателя.
Разобраться с обозначениями опережения зажигания. Найдите метку шкалы на передней части маховика; его нумерация представляет собой ряд чисел, уменьшающихся до ноль и затем снова увеличивающихся. Как правило, заводские настройки таковы, что при нахождении первого цилиндра в ВМТ видна нулевая метка.
По мере увеличения оборотов двигателя момент зажигания изменяется; полученный диапазон требует периодической проверки и регулировки стробоскопом.
- Цифры на шкале слева от нуля обозначают движение поршня вниз, а справа соответственно вверх. Перемещение маховика вправо делает зажигание раньше, а влево — позже.
Часть 2
Проверка момента зажигания
Подключение стробоскопа. Подключите провода питания стробоскопа к клеммам аккумуляторной батареи и присоедините датчик стробоскопа к высоковольтному проводу свечи зажигания первого цилиндра. Для получения более точных инструкций ознакомьтесь с инструкцией по подключению стробоскопа к вашему устройству.
- Стробоскоп короткими вспышками подсвечивает шкалу на вращающемся маховике, выделяя специфическую метку, соответствующую моменту зажигания, при котором гаснет свеча зажигания. В момент образования искры датчик посылает сигнал на стробоскоп, который включается и подсвечивает появившуюся в данный конкретный момент времени цифру.

- Стробоскоп короткими вспышками подсвечивает шкалу на вращающемся маховике, выделяя специфическую метку, соответствующую моменту зажигания, при котором гаснет свеча зажигания. В момент образования искры датчик посылает сигнал на стробоскоп, который включается и подсвечивает появившуюся в данный конкретный момент времени цифру.
Попросите помощника добавить обороты. Для проверки угла зажигания и наблюдения за процессом вам понадобится помощник, который будет нажимать на педаль газа, пока вы будете рассматривать шкалу при свете стробоскопа. И, конечно же, вы должны сначала надежно припарковать свой автомобиль, а во время работы держать руки подальше от движущихся частей двигателя.
Направьте проблесковый маячок прямо на маховик и найдите номер. Несмотря на то, что маховик вращается, проблесковые вспышки должны четко показывать определенное число. Это угол опережения зажигания в градусах. Также запомните положение этого числа — справа или слева от нуля.
- В процессе увеличения оборотов момент появления искры должен незначительно меняться. Это нормально, потому что зажигание работает не линейно, и по мере увеличения оборотов вводится поправка на угол опережения зажигания.
- Для определения полного угла опережения необходимо раскрутить двигатель не менее чем до 3500 об/мин.
Только в этом случае вы добьетесь того, что к исходному значению момента зажигания будет добавлена поправка.
Не забудьте про вакуумный регулятор опережения зажигания, если он у вас есть. При работающем двигателе вакуумный регулятор корректирует угол опережения зажигания, поэтому перед запуском двигателя его необходимо отключить. Для этого на заглушенном автомобиле сначала ослабьте болт крепления корпуса трамблера, а затем, одновременно проверяя и регулируя угол опережения зажигания, снимите трубку с вакуумного регулятора и заткните ее куском ткани.
- На малых оборотах вакуумный регулятор вносит лишь незначительные поправки в угол опережения зажигания, потому что в таких условиях мембрана внутри регулятора перемещается на небольшое расстояние.
При необходимости отрегулировать угол опережения зажигания. Теперь, когда вы узнали фактическое значение угла опережения зажигания, как узнать, нужна ли регулировка? Каждая конкретная модель автомобиля имеет свой угол опережения зажигания; это зависит от типа двигателя, года выпуска, трансмиссии и многих других параметров.
Чтобы понять, требуется ли дополнительная регулировка угла опережения зажигания, узнайте паспортное значение этого параметра для своего автомобиля и, сравнив это число с полученным значением, при необходимости отрегулируйте.- Если вы не знаете требуемый угол зажигания, то обратитесь за помощью к автослесарю или сотруднику автосалона, чтобы они поискали в своих справочниках значение этого параметра для вашего автомобиля.
Часть 3
Регулировка момента зажигания
Ослабьте болт крепления корпуса распределителя зажигания (распределителя), чтобы он мог свободно вращаться. Для регулировки угла опережения зажигания потребуется повернуть трамблер в ту или иную сторону, в зависимости от того, нужно ли вам более раннее или более позднее зажигание.
- Если бегунок вращается по часовой стрелке, то при повороте корпуса распределителя против часовой стрелки выставляется более раннее зажигание, и наоборот.

- Если бегунок вращается по часовой стрелке, то при повороте корпуса распределителя против часовой стрелки выставляется более раннее зажигание, и наоборот.

Однако, благодаря своей простоте и надежности, остается актуальной и в наши дни.



VD1 защищает элементы схемы от ошибочной смены полярности. С2 блокирует частотные помехи, предотвращая сбои в работе спускового крючка. Для подачи и отключения питания используется выключатель SA1, для этого подойдет любой малогабаритный выключатель или тумблер.



Только в этом случае вы добьетесь того, что к исходному значению момента зажигания будет добавлена поправка.
Чтобы понять, требуется ли дополнительная регулировка угла опережения зажигания, узнайте паспортное значение этого параметра для своего автомобиля и, сравнив это число с полученным значением, при необходимости отрегулируйте.