Строение пламени свечи | Обучонок
Строение пламени свечи
В пламени любого источника света имеется накаленная полоса, тогда как в других частях теплота мало развита и почти даже незаметна. Зажгите для опыта свечу и наблюдайте за фитилем.
Вы увидите коричневую точку l, где свет почти не воспринимаем для глаза, а несколько выше синеватую часть m; так как кислород сюда не проникает, то газы здесь не горят, будучи невоспламеняемыми; это резервуар, питающий часть n, в которой газы подвергаются полному сгоранию; вид этой полосы ярко красный; часть n окружает полоса r, плохо видимая, но самая горячая из всех, тут происходит процесс полного сжигания углерода.
В пламени свечи различить отдельные полосы очень легко. Но для того, чтобы установить разницы температур в этих полосах, необходимо проделать ряд опытов, кстати сказать, совсем безопасных.
Тайна Благодатного огня с позиций науки
4 апреля 2010 года наступит Пасха. Кульминацией главного христианского праздника будет схождение Благодатного огня в храме Гроба Господнего.
Аргументом в пользу того, что Благодатный огонь имеет «природное», а не божественное происхождение, служит тот факт, что похожие феномены все-таки встречаются. Конечно, их ни в коем случае нельзя ставить в один ряд с огнем в Храме Господнем. Однако имеются некоторые общие черты.
Начнем с такого признака, как внезапность, отсутствие видимой причины. Это же свойство характерно для такого явления, как самовозгорание, которое встречается не так уж и редко. Например, «Буфф-сад» в прошлом месяце писал об аномальном пожаре на улице Большой Подгорной, произошедшем минувшей весной.
Это далеко не единичный случай. И не только для Томска. Например, беспричинные пожары не редкость для Москвы. Самое удивительное, что особенно часто это случается на Садовом кольце.
Возьмем другой признак. Благодатного огня — свойство не обжигать, хотя бы первое время. Это уже похоже на так называемую холодную плазму, низкотемпературную ионизированную субстанцию. Похоже, подобная плазма существует не только в физических лабораториях.
Эксперименты с огнем
Первым этапом моей работы я решил измерить температуру пламени одной свечи и пламени связки свечей(20 свечей). Проконсультировавшись с учителем физики, я выяснил, что в школьных условиях этого выполнить невозможно из-за нехватки данного оборудования. После чего стал думать над другими путями решения данной проблемы. Выходом из этой ситуации было решение найти в Интернете информацию с уже измеренной температурой свечи. Оказалось, что пламя свечи состоит из нескольких частей (уровней), каждый уровень имеет свою температуру: [ Приложение 1 ]
) Так как приборов для измерения температуры я не имел, решил воспользоваться уже полученной информацией из Интернета и просто сравнить температуру по цвету пламени. Для того, чтобы передать визуально свои наблюдения я решил сфотографировать их на цифровую камеру.Сравнивались пламя одной парафиновой свечи с пламенем связки из 20-ти таких же парафиновых свечей диаметром 8мм. Съемка велась цифровой камерой с включенными автоматическими функциями. Пламя связки свечей оказалось на самом деле желтым, в то время как пламя одной свечи было белым. Несмотря на это без дополнительного освещения оба пламени выглядели на цифровом снимке белыми и практически сплошными: [Приложение 2]
Для того, чтобы решить данную проблему, я решил проконсультироваться у своего знакомого, который и подсказал выход из данной ситуации.
Хотя включение подсветки не позволило передать реального желтого цвета большого пламени (видимо из-за слабости подсветки), но выявило его интересную особенность: [Приложение 3]
А именно: пламя от связки свеч оказалось как бы пустым внутри.
Та область, которая в пламени одной свечи занимает лишь незначительное пространство непосредственно над фитилем, согласно фотографии составляет основной объем в пламени связки свечей. Отсюда уже можно сделать вывод о структуре и распределении температур этого пламени:
Похоже, я понял, как можно все-таки передать реальный цвет — для этого достаточно подвинуть лампу ближе к камере. И я повторил опыт: [Приложение 4 ]
Вывод:
Таким образом получается, что объединение свечей в связки реально позволяет понизить температуру пламени примерно на 200°C или 15%.
Этот феномен я бы объяснил наличием большого числа фитилей внутри пламени, которое обуславливает интенсивное испарение воска, который в свою очередь вытесняет газы из зоны горения, еще прежде, чем они успевают полностью прогореть.
Заключение
По сути миф «о совершенном нежжении» основывается на предположении, что свойства нематериального огня, который (скажем так) по определения должен не жечь, после его «схождения» и материализации некоторое время остаются с ним.

Но здесь и заключается ошибка, потому что сама по себе материализация огня означает превращение его в высокотемпературную химическую реакцию, что автоматически приводит к потере свойства «нежжения». И возгорание свечей или других светильников говорит уже о том, что процесс материализации завершен.
Выполнив все поставленные мною задачи, я понял, что в действительности пламя свечей (даже на пасху) не обладает свойствами полного нежжения, однако все же искусственно возможно понизить температуру пламени, но желаемого эффекта нежжения добиться невозможно.
Список литературы
- Строение пламени свечи.
- История «Священного огня».
- Разновидности и строения свечей
- Бархоткин В.А. Духовно-нравственное воспитание: теоретический аспект. Самара,2008
- Давыдова И.М. Библейский словарь школьника. РостМирос,2000
- Задушевное слово. Еженедельный журнал для старшего возраста. С-Пб. – М.: Издание товарищества М.О. Вольф, №6, 7, 9, 1907 г.

- Калябин Г.А. Библейская и научная картина мира. Сборник публикаций.-самара:СамГАПС,2005
- Шугаев М божий мир глазами физика. Альянс,2002
Приложение 1
Приложение 2
Приложение 3
Приложение 4
Перейти к содержанию
Исследовательской работы «Удивительное свойство огня»
Урок-практикум «Горение свечи»
Форма проведения урока: исследование с элементами межпредметной интеграции.
Нельзя кого-либо изменить, передавая ему готовый опыт.
Можно лишь создать атмосферу, способствующую развитию человека.
К.Роджерс
Цель урока: посмотреть на пламя свечи и на саму свечу глазами исследователя.
Задачи урока:
— Начать формирование важнейшего метода познания химических явлений – наблюдения и умения описывать его;
— Показать в ходе практической работы существенные отличия физических и химических реакций;
— Актуализировать опорные знания о процессе горения с учетом материала, усвоенного на уроках других учебных дисциплин;
— Проиллюстрировать зависимость реакции горения свечи от условий проведения реакции;
— Начать формирование простейших приемов проведения качественных реакций по обнаружению продуктов горения свечи;
— Развивать познавательную активность,
наблюдательность, расширять кругозор в области
естественнонаучного и художественно-
эстетического познания действительности.
Этапы урока:
I Организационный момент. Вступительное слово учителя.
Свеча? — традиционное приспособление для
освещения, представляющее собой чаще всего
цилиндр из твердого горючего материала (воск,
стеарин, парафин) служащий своего рода
резервуаром твёрдого топлива, подводимого в
расплавленном виде к пламени фитилём. Предки
свечи — светильники; чаши, наполненные
растительным маслом или легкоплавким жиром, с
фитилем или просто щепочкой для подъёма горючего
в зону горения. Некоторые народы использовали в
качестве примитивных светильников фитили,
вставленные в необработанный жир (даже тушку)
животных, птиц или рыб. Первые восковые свечи
появились в Средневековье. Свечи долгое время
были очень дороги. Чтобы осветить большое
помещение, требовались сотни свечей, они чадили,
черня потолки и стены. Свечи прошли огромный путь
с момента их создания.
II Актуализация знаний учащихся.
Инструктаж. Правила по технике безопасности
Беседа:
Зажгите свечу. Вы увидите, как начинает таять
парафин около фитиля, образуя круглую лужицу.
Какой процесс здесь имеет место? Что происходит,
когда горит свеча? Ведь парафин просто плавится.
Но откуда тогда тепло и свет?
— Что происходит, когда горит электрическая лампочка?
Ответы учеников.
Учитель:
Когда парафин просто плавится, нет ни тепла, ни света. Большая часть парафина сгорает, превращаясь в углекислый газ и водяной пар. Из-за этого и появляется тепло и свет. А от тепла часть парафина плавится, ведь он боится горячего. Когда свеча сгорит, парафина останется меньше, чем было вначале. Но когда горит электрическая лампочка, тоже выделяется тепло и свет, а лампочка не становится меньше? Горение лампочки – это не химическое, а физическое явление. Она горит не сама по себе, а превращает в свет и тепло энергию электричества. Как только электричество отключаешь, лампочка гаснет. А свечу стоит лишь зажечь, дальше она горит сама.
А теперь наша задача посмотреть на пламя свечи и на саму свечу глазами исследователя.
III Изучение нового материала.
Опыт “Строение свечи”
| ЧТО ДЕЛАЛИ? | ЧТО НАБЛЮДАЛИ? | ВЫВОДЫ |
| 1. Рассмотрели парафиновую и восковую
свечу. 2. Отделили фитиль. |
Свеча состоит из стержня и фитиля из туго скрученных ниток в центре столбика. | Основу свечи составляет воск или
парафин. Фитиль — это своеобразный капилляр, по
которому расплав свечной массы попадает в зону
горения. Фитили сплетают из хлопчатобумажных
нитей. Восковые свечи должны иметь рыхло
сплетенный фитиль из толстых волокон, для всех
остальных свечей фитили делают из туго
сплетенных нитей. |
Опыт “Изучение физических и химических процессов, происходящих при горении свечи”
| ЧТО ДЕЛАЛИ? | ЧТО НАБЛЮДАЛИ? | ВЫВОДЫ |
| 1.Зажгли свечу. | 1.Горение свечи. Если поднести ладони к пламени чувствуется тепло. | 1.Свеча — источник тепла, т.к. процесс
сгорания газообразного парафина является
экзотермическим.![]() |
| 2.Изучили последовательность процесса горения свечи. Наблюдали фазовые превращения, которые происходят со свечой. | 2. Парафин начинает таять около фитиля и из твердого состояния переходит в жидкое состояние, образуя круглую лужицу. | 2. При горении свечи наблюдаются фазовые превращения парафина (физические явления), осмотическое явление, химические превращения. |
| 3. Вели наблюдение за хлопчатобумажным фитилем, выяснили его роль при горении свечи. | 3. Свеча не горит вдоль всего фитиля. Жидкий парафин смачивает фитиль, обеспечивая его горение. Сам парафин не горит. Хлопчатобумажный фитиль перестает гореть на том уровне, где появляется жидкий парафин. | 3. Роль жидкого парафина – не дать
фитилю сгореть быстро, способствовать его
долгому горению. Жидкий парафин возле огня
испаряется, освобождая углерод, пар которого
поддерживает горение. При достаточном
количестве воздуха возле пламени оно горит ясно.
Растопленный парафин гасит пламя, поэтому свеча
не горит вдоль всего фитиля. |
Опыт “Изучение строения пламени свечи. Обнаружение продуктов горения в пламени. Наблюдение за неоднородностью пламени”
| ЧТО ДЕЛАЛИ? | ЧТО НАБЛЮДАЛИ? | ВЫВОДЫ |
| 1.Зажгли свечу, поставленную в подсвечник. Дали ей хорошо разгореться. | Пламя свечи имеет продолговатую форму.
В разных частях пламени наблюдается разный цвет.![]() В спокойном пламени свечи выделяются 3 зоны. Пламя имеет несколько вытянутый вид; вверху оно ярче, чем внизу, где среднюю его часть занимает фитиль, и некоторые части пламени вследствие неполного сгорания не так ярки, как вверху. |
Явление конвенции, теплового
расширения, закона Архимеда для газов, а также
закон всемирного тяготения с силами тяжести
заставляют приобрести характерную конусовидную
форму пламени. Восходящий ток воздуха придает пламени продолговатую форму: т.к. пламя, которое мы видим, вытягивается под воздействием этого тока воздуха на значительную высоту. |
| 2. Взяли тоненькую длинную щепку, которую держим горизонтально и медленно проводим ее сквозь самую широкую часть пламени, не позволяя ей загореться и сильно задымиться. | На щепке остается след, оставленный
пламенем. Над его внешними краями копоти больше,
над серединой больше. |
Часть пламени, которая непосредственно
прилегает к фитилю, состоит из тяжелого пара
парафина – кажется, что она сине – фиолетового
цвета. Это самая холодная часть пламени. Вторую, самую светлую часть, создают раскаленные пары парафина и частички угля. Это самая горячая зона. Третий, внешний слой содержит больше всего кислорода и светится слабо. Температура его достаточно высока, но несколько ниже температуры светлой части. Он как бы охлаждается окружающим воздухом. |
| 3. Взяли кусок белого плотного картона, держим его горизонтально в руке, быстро опускаем его сверху на пламя горящей свечи. | На верхней стороне картона появляется опалина от пламени. | На картоне образовалась кольцевидная
опалина, т. к. центральная часть пламени является
недостаточно горячей, чтобы обуглить картон.
Пламя имеет разные температурные участки. |
| 4. В пламя свечи внесли стеклянную палочку. | Пламя свечи имеет желтовато оранжевый
цвет и светится. На поверхности стеклянной палочки образуется копоть. |
Светящийся характер пламени обусловлен
степенью расходования кислорода и полнотой
сгорания парафина, конденсацией углерода и
свечением его раскалившихся частиц. Копоть свидетельствует о неполном сгорании парафина и о выделении свободного углерода. |
| 5. Сухую пробирку закрепили в держателе, перевернули вверх дном и держали над пламенем спиртовки. | Стенки пробирки запотели. На стенках пробирки образуются капельки воды. | Вода – продукт сгорания свечи.![]() |
Опыт “Изучение зависимости высоты пламени свечи от длины фитиля”
| ЧТО ДЕЛАЛИ? | ЧТО НАБЛЮДАЛИ? | ВЫВОДЫ |
| 1.Зажгли свечу. | Фитиль свечи загорается, пламя свечи – высокое. | Жидкий парафин смачивает фитиль, обеспечивая его горение. Сам парафин не горит. Роль жидкого парафина – не дать фитилю сгореть быстро, способствовать его долгому горению. Жидкий парафин возле огня испаряется, освобождая углерод, пар которого поддерживает горение. При достаточном количестве воздуха возле пламени оно горит ясно. |
2. Подрезали часть подгоревшего фитиля |
Размеры пламени изменились, оно уменьшилось в размерах. Пламя опускается вниз по фитилю до расплавленного парафина и меркнет. В верхней части оно горит дольше. Часть парафина, более близкая к фитилю, от тепла плавится. | Капли жидкого парафина притягиваются друг к другу слабее, чем к фитилю, и легко втягиваются в мельчайшие щели между нитками. Такое свойство вещества называется капиллярностью. |
Опыт “Доказательство горения свечи в кислороде воздуха”
| ЧТО ДЕЛАЛИ? | ЧТО НАБЛЮДАЛИ? | ВЫВОДЫ |
1. Посреди тарелки поставили горящую
свечку (тоненькую, небольшую, прикрепленную при
помощи пластилина)В тарелку долили подкрашенную воду (чтобы скрыло дно), свечу накрыли граненым стаканом. |
Вода начинает забираться под стакан Свечка постепенно гаснет. |
Свеча горит, пока в стакане есть
кислород. По мере расходования кислорода, свеча
гаснет. За счет вакуума, который там образовался,
вода поднимается вверх. Горение – это сложный физико-химический процесс взаимодействия компонентов горючего вещества с кислородом, протекающий с достаточно большой скоростью, с выделением тепла и света. |
Опыт “Влияние воздуха на горение свечи. Наблюдение за пламенем горящей свечи”
| ЧТО ДЕЛАЛИ? | ЧТО НАБЛЮДАЛИ? | ВЫВОДЫ |
Поднесли зажженную свечу к приоткрытой
двери. 1. Поставили свечку на пол. 2. Осторожно
встали на табуретку возле приоткрытой двери,
держим зажженную свечу в верхней части двери. |
1.Пламя отклоняется в сторону комнаты. 2. Пламя отклоняется в сторону коридора. |
Теплый воздух наверху вытекает из комнаты, тогда как внизу холодный поток направлен внутрь нее. |
| 3.Опрокинули свечку так, чтобы горючее стекало на фитиль. | Свечка погаснет | Пламя не успело нагреть горючее настолько, чтобы оно могло гореть, как это происходит наверху, где горючее поступает в фитиль в небольшом количестве и подвергается полному воздействию пламени. |
Опыт “Изучение дыма погасшей свечи”
| ЧТО ДЕЛАЛИ? | ЧТО НАБЛЮДАЛИ? | ВЫВОДЫ |
1. Аккуратно затушили свечу. |
1.Появляется запах задутой свечки. От фитиля поднимается дымок. | 1.Дым – это твердые частицы. Задувая пламя, мы заставляем остыть газообразный парафин |
| 2.Подожгли ленту дыма | 2. По струе дыма пламя перескакивает на фитиль | 2. Горящая лента дыма доказывает, что мы имеем дело с еще неостывшим парафином. |
Опыт “Качественная реакция по обнаружению продуктов горения свечи”
| ЧТО ДЕЛАЛИ? | ЧТО НАБЛЮДАЛИ? | ВЫВОДЫ |
1.В стакан налили известковую воду.![]() Огарок свечи насадили на проволоку, чтобы его удобнее было опускать в стакан. |
Известковую воду можно приготовить следующим образом: надо взять немного негашеной извести, разболтать ее в воде и процедить сквозь промокательную бумагу. Если раствор получится мутный, необходимо процедить его еще раз, чтобы он был совсем прозрачный. | |
| 2. Зажгли огарок свечи и опустили его
осторожно на дно пустого стакана. Вытащили огарок, зажгли его и снова опустили в банку. |
Огарок некоторое время горит, а затем
гаснет. Огарок сразу же гаснет |
В стакане находится газ без цвета и запаха, который не поддерживает горения и мешает свече гореть. Это — углекислый газ — СО2.. |
3. Добавили в стакан известковой воды.![]() |
Вода в стакане становится мутной. | При горении свечи образуется углекислый газ. Углекислый газ делает известковую воду мутной. |
IV Закрепление изученного материала.
Фронтальный опрос:
— Перечислите последовательность процессов горения свечи.
— Какие фазовые превращения наблюдаются при горении свечи?
— Что является горючим материалом свечи?
— Для чего нужен хлопчатобумажный фитиль?
— Какое явление позволяет поднимать жидкий парафин на некоторую высоту?
— Где самая горячая часть пламени?
— Почему происходит уменьшение длины свечи?
— Почему пламя свечи не гаснет, хотя при горении образуются вещества, не поддерживающие горения?
— Почему свеча гаснет, когда мы на нее дуем?
— Какие условия необходимы для более длительного и качественного горения свечи?
— Как можно погасить свечу? На каких свойствах основаны эти способы?
— Что является качественной реакцией на углекислый газ?
Учитель:
Рассмотрение строения и горения свечи
убедительно иллюстрирует сложность окружающих
нас самых тривиальных бытовых предметов,
свидетельствует о том, насколько неразрывны
такие науки как химия и физика Свеча – настолько
интересный объект изучения, что считать тему
исчерпанной никак нельзя.
В заключение нашего урока хочу вам пожелать, чтобы вы, как и свеча, излучали свет и тепло для окружающих, и чтобы вы были красивыми, яркими, нужными, как пламя свечи, о котором мы с вами сегодня говорили.
V Домашнее задание.
1. Задание для желающих осуществить дома исследовательскую работу:
Возьмите для опыта любую вещь, где есть застежка – молния. Несколько раз откройте и закройте застежку молнии. Запомните свои наблюдения. Натрите парафиновой свечкой застежку молнии, например, на спортивной кофте. (Не забудьте спросить разрешения у мамы, когда будете брать кофту для опыта). Изменилось ли движение застежки молнии?
Ответьте на вопрос: “Зачем иногда натирают застежки молнии свечкой?”
(Вещества, из которых делают столбик свечки (стеарин, парафин), являются хорошей смазкой, которая уменьшает трение между звеньями застежки.)
2. Задание для желающих осуществить дома
исследовательскую работу.
Возьмите 3 свечи разные по составу, сделанные из парафина, воска, стеарина. Свечи можно купить в магазине, а можно сделать самим. (Попросите маму или папу наблюдать с вами за прохождением опыта). Дождитесь сумерек, установите свечки недалеко друг от друга и подожгите их. Заполните таблицу, по мере наблюдения за горящими свечами.
| Задания | Восковая свеча | Парафиновая свеча | Стеариновая свеча |
| Опишите внешний вид свечи | |||
| Опишите пламя свечи | |||
| Время горения свечи | |||
| Наличие запаха при горении свечи |
Использованная литература.
1. Фарадей М.., История свечи, М., Наука, 1980.
Как научиться читать графики на бирже при торговле акциями
Здравствуйте! Очень хотелось научиться понимать и анализировать движение определенных ценных бумаг с помощью графиков.
Чем различаются разные виды графиков между собой? Что такое японские свечи? А линейный график? Актив один и тот же, а графики очень различаются.
Макс Б.
В торговле на бирже графики нужны для того, чтобы отображать основные параметры цен в удобном визуальном формате. Графики часто используют трейдеры, которые заключают много сделок в рамках одного дня: при активной торговле решение о сделке нужно принимать молниеносно, анализировать данные из таблиц попросту неудобно.
Дмитрий Семин
адепт японских свечей
Но и консервативным инвесторам полезно уметь читать графики: с их помощью инвестор может оценить доходность и поведение актива в прошлом.
Разберем графики на примерах.
Возьмем данные из таблицы и представим их на графиках разных видов.
С таблицей все понятно: указаны все важные данные о движении цены. Мы видим, как менялась цена за день: на каком значении торговая сессия началась и на каком закрылась, какого минимального и максимального порога достигла цена за весь день.
Таблицы удобно использовать, когда нужно получить информацию по торгам за конкретный день: в понедельник актив закрылся по цене 55, а в среду — по цене 65. Минус: трудно увидеть тренд — как сильно растет или падает цена актива. Воспринимать направление и изменение цены бумаги по таблице можно, но делать это сложнее, чем по графику.
Линейный график
Такой формат отображения изменений воспринимается глазом проще числовых данных и может визуально показать, что происходило с ценой и как быстро она менялась в течение недели.
По линейному графику удобно отслеживать изменение во времени какого-то одного параметра.
В нашей таблице четыре параметра — конечно, можно показать их все на одном графике кривыми разного цвета, но наглядность от этого пострадает. Удобней, когда на графике изображено изменение какого-то одного или двух параметров.
Свечной график
Свечной график — вид графика с дополнительными данными о движении цены за временной период. Если на линейном графике мы изобразили только цену закрытия, то на свечном графике видны все данные из таблицы: цена открытия и закрытия торгов, максимальное и минимальное значение цены за торговую сессию.
В свечах выделяют два основных вида:
- Растущие — если за время формирования свечи цена выросла.
- Падающие — если за время формирования свечи цена снизилась.
Свечу, в которой цены открытия и закрытия совпадают, иногда выделяют в третий тип — дожи, на нашем графике эта свеча тоже есть — в среду.
Стандартно свечи и бары окрашиваются двумя цветами в зависимости от роста или падения цены за промежуток времени.
Зеленое тело означает рост цены, а красное — падение. Но удобный цвет свечей или баров всегда можно настроить индивидуально.
Барный график
Барный график показывает те же параметры, что и японские свечи. Разница только в отображении.
Японские свечи выглядят проще для восприятия, но барный график по-прежнему популярен у трейдеров на Западе.
Определить движение цены внутри бара можно по его «ушам» — горизонтальным линиям на его теле. Левым ухом обозначают цену открытия, а правым — цену закрытия бара. Если левое ухо выше правого — цена упала и бар будет красным. Если левое ниже — цена выросла, бар будет зеленым.
Строение баров Барный графикЗачем инвестору нужны графики
Анализ прошлого движения цены по графикам можно использовать, чтобы убедиться, что дела у компании в порядке и рынок подтверждал это ранее. Или как дополнительное подтверждение того, что вы не ошиблись в анализе фундаментальных показателей.
Но вряд ли стоит использовать анализ графиков как единственный фактор для принятия решения об инвестиции своих средств. Для комплексного анализа можно обратить внимание на другие показатели инструмента: риски, доходность, практику и нюансы вложений в конкретный тип актива. Почитайте наши подборки об инвестициях, чтобы разобраться глубже:
Если у вас есть вопрос о личных финансах, правах и законах, здоровье или образовании, пишите. На самые интересные вопросы ответят эксперты журнала.
Как выбрать свечи зажигания, или не мучай свой автомобиль — Новости
Ни для кого не секрет, что очень важной деталью автомобиля с бензиновым двигателем являются свечи зажигания. Служат они для воспламенения топливно-воздушной смеси благодаря выбиваемой свечой искре. Давайте подробнее разберёмся, как они работают, какие существуют разновидности, насколько важна их роль при работе двигателя и разрушим некоторые мифы.Подробно строение свечи рассматривать не будем, информации об этом везде полно.
Cкажем лишь о том, что свеча зажигания состоит из металлического корпуса, изолятора и центрального проводника. К корпусу и центральному проводнику прикреплены электроды из различных сплавов (о видах сплавов чуть дальше). Суть работы заключается в том, что между центральным и боковым(и) электродами образуется искра, благодаря которой и происходит возгорание топливной смеси в камере сгорания бензинового двигателя.
Прежде чем разобраться, какие типы свечей бывают, из каких материалов делаются, какие допуски имеют, поговорим о том, насколько важную роль играют свечи зажигания при работе двигателя:
1. Расход топлива. Это далеко не основное и не самое критичное, но для нашего человека экономия чаще всего стоит на первом месте. От слабой или слишком маленькой искры расход топлива может увеличиться в разы.
2. Экология. Неправильная работа зажигания, перерасход топлива способствуют увеличению количества выбросов вредных веществ.
3. Потеря мощности и неровность работы двигателя.
При неправильно работающей системе зажигания двигатель не будет выдавать полную мощность, у вас будут задержки отклика на педаль и ДВС будет периодически «троить» и создавать лишние вибрации.
4. Ресурс двигателя и выхлопной системы. Да да, это один из важнейших пунктов, практически нигде об этом не говориться, но мы должны максимально вас проинформировать, и здесь стоит поподробнее всё рассмотреть. При неправильно подобранной, либо превысившей свой ресурс свече, могут быть пропуски зажигания, будет сгорать не вся горючая смесь и двигатель будет работать не ровно. Как это влияет на ресурс спросите вы?
— При не полностью сгоревшей топливной смеси, она проходит дальше в выхлопную систему, и первое что ей встречается на пути — это катализатор(каталитический нейтрализатор отработавших газов, который называют и катализатором и нейтрализатором, хотя это одно и то же). Он имеет свой ресурс, и ресурс этот зависит напрямую от качества топлива и от того, насколько полностью сгорает топливная смесь (зависит это не только от свечей зажигания, но так же и от правильно работающей топливно-воздушной системы).
Делаем вывод, что если у нас полностью не сгорает смесь — катализатор быстрее засоряется, а как известно, менять его очень и очень дорого. Можно конечно ездить и без него, но это очень негативно отражается на экологии, и может отразиться на расходе топлива в худшую сторону.
— Износ подшипников, движущихся частей и общая усталость металла. И снова не удивляйтесь, неровная работа двигателя очень сильно влияет на ресурс деталей и всего двигателя в целом. Лишние вибрации, которые вы можете и не ощутить благодаря подушкам двигателя, оказывают очень негативное влияние на большинство частей двигателя. От этого уменьшается ресурс подшипников, металл значительно быстрее устаёт, теряет прочность и изнашивается. Кто-то скажет, что это полная чушь и бред, но вспомним моторы от авиатехники, у которых ресурс в разы превышает автомобильные двигатели, в первую очередь за счёт более сбалансированной работы.
Конечно всё это зависит далеко не только от свечей зажигания, но именно за их состоянием проще всего следить и заменить на большинстве автомобилей их можно самостоятельно.
Ведь весь автомобиль — это как раз тот механизм, в котором даже от маленькой неисправности могут проявиться большие проблемы.
Теперь самое время рассказать о том, чем же всё-таки свечи отличаются, каких видов бывают и какие будут лучше именно для Вашего автомобиля.
Одной из важнейших характеристик свечи является её калильное число. Это величина, которая показывает время, по истечении которого, свеча достигнет состояния калильного зажигания (неуправляемый процесс воспламенения рабочей смеси от раскаленных элементов свечи). Говоря простым языком, центральный электрод свечи может нагреться до температуры около 900 градусов, а этого достаточно, чтобы горючая смесь зажигалась и без искры. Чем больше калильное число, тем свеча меньше нагревается. Соответственно с малым калильным числом будет «горячая» свеча, а с большим «холодная». В различных двигателях разная температура работы, в камерах сгорания температура повышается по разному, поэтому для каждого нужны свечи с определённым калильным числом.
Зависит оно от того, насколько изолятор центрального электрода отдалён от корпуса свечи. Чем большая часть изолятора соприкасается с корпусом свечи, тем лучше будет теплоотвод, соответственно на температуру самоочищения, а уж тем более на температуру разрушения свеча выйдет позже. Приблизительно на 60% теплоотведение осуществляется через корпус свечи зажигания и резьбу, чуть меньше 40% отводит уплотнительное кольцо на головке цилиндра, недостающие до 100% доли утекают через средний электрод. Распределение тепла подробнее можно увидеть на картинке ниже.
В обычных гражданских автомобилях двигатели работают на небольших оборотах, не подвергаются сильным нагрузкам, поэтому в них устанавливаются «горячие». В форсированные двигатели, либо двигатели, которые постоянно работают на больших оборотах (например в автоспорте) ставят исключительно «холодные», иначе после нагрева будет происходить неконтролируемое зажигание и двигатель просто потеряет огромный процент мощности, а если произойдёт критичный перегрев, то свеча просто оплавится и замкнёт.
Вы спросите, а почему бы тогда все свечи не сделать холодными? Всё дело в том, что при температуре свыше 400 градусов происходит самоочищение свечи, то есть весь нагар и налёт просто исчезает при такой температуре. Обычные гражданские двигатели редко подвергаются большим нагрузкам на больших оборотах, поэтому если использовать холодные свечи, они просто будут очень быстро загрязняться.
В отечественных свечах обозначение калильных чисел имеет соответствующий вид:
— горячие свечи 8-14;
— средние свечи 17-19;
— холодные свечи 20 и более;
— унифицированные свечи 11-20.
В импортных же нет единой шкалы чисел и следует обратиться к специалисту с этим вопросом, либо посмотреть на упаковке. В конце статьи представлена таблица соответствия самых популярных производителей.
Зазор между электродами. Так называемый зазор свечи (искровой промежуток) — это расстояние между боковым и средним электродами, от этого зависит размер и мощность искры, которая будет между ними образовываться.
Зазор строго регламентируется производителем и для каждого двигателя должен быть определённого размера. Слишком малый зазор даст конечно стабильную и мощную искру, но её размера может оказаться недостаточно для воспламенения горючей смеси, слишком большой зазор же требует большей мощности от источника зажигания и работа может быть не стабильной. Так же из курса физики всем известно, что искра возникает в месте, где расстояние между элементами минимально, и при слишком большом зазоре периодически свеча может начать пробивать в совсем не нужных местах (от катушки к двигателю или от провода на крышку головки цилиндров). Так что ОБЯЗАТЕЛЬНО учитывайте этот пункт, от этого так же зависит и расход топлива и стабильность работы зажигания.
Сопротивление свечи — немаловажный параметр свечи, тоже нужно строго проверять этот параметр. К примеру, свечи для современных двигателей имеют резистор в центральном электроде. Установлен он там для избежания лишних помех и излучений. И если поставить свечу зажигания с сопротивлением на двигатель со старым трамблёрным зажиганием, то он просто будет неровно работать, либо вообще не заведётся, и наоборот, если поставим свечу без сопротивления на двигатель с катушечным зажиганием.
Следующее на что нужно обратить внимание — это материал изготовления электродов.
В обыкновенных классических свечах наконечник центрального электрода изготавливают из железо-никелевых сплавов с добавлением меди и хрома. Иногда на рабочую поверхность напыляют иттрий. Центральный электрод должен обладать хорошей способностью к эмиссии электронов, для облегчения искрообразования. Поскольку напряжённость электрического поля максимальна вблизи краёв электрода, искра проскакивает между острым краем центрального электрода и краем бокового электрода.
Технологии не стоят на месте и в более современных свечах начали применять различные напыления и сплавы для рабочей части электродов, такие как иридий и платина. Самые распространённые это конечно же иридиевые. Сердечник такой свечи значительно тоньше, чем у классической (0,5-0,8мм против 2,4-2,8мм), но сам иридий значительно более прочный, обладает лучшей химической стойкостью и его температура плавления выше. Благодаря всему этому свечи с таким электродом имеют ряд преимуществ перед обычными:
— благодаря более стабильной искре, мощность двигателя возрастает до 5%;
— двигатель легче запускается, особенно при низких температурах;
— снижается расход топлива;
— ресурс такой свечи больше, так как сам наконечник выгорает намного дольше;
— ну и само собой благодаря более низкому расходу топлива, выхлоп содержит меньше вредных веществ.
Конечно же такие свечи стоят дороже обыкновенных (более чем в 2 раза), но это окупает себя достаточно быстро, так как и расход ниже и ресурс больше. Так же из недостатков стоит отметить большую придирчивость к качеству топлива.
Не стоит думать, что можно сейчас пойти и на любой автомобиль поставить иридиевые свечи и сразу же уменьшится расход, увеличится мощность и машина станет заводиться даже в -40 без прогрева. Они подходят не ко всем автомобилям и в большинстве случаев, где должны стоять другие, они сделают скорее всего только хуже, разберёмся почему. Даже рекомендуемый производителем зазор для разных типов свечей будет отличаться, скажем, для тех же иридиевых он заведомо может быть побольше, чем для классических. Но и это не точно, таких рекомендаций не даёт ни один производитель. Так же система зажигания выдаёт определённую мощность для определённого типа свечей, поэтому может возникнуть дисбаланс в работе всей системы. Ещё не рекомендуется ставить иридиевые свечи на автомобили с большим пробегом, они быстро будут изнашиваться.
Многоконтактные свечи. Обычные свечи чаще всего имеют всего лишь 2 электрода, один посередине и боковой, но существуют так же свечи, где боковых электродов сразу несколько (2, 5). Чем же такие свечи лучше, и правда ли, что они дают сразу несколько искр?
Главное заблуждение, в которое вводят продавцы таких свечей — это то, что искр такие свечи дают больше и от этого зажигание работает стабильнее. Это не так, искра может быть только одна, а то что показывают на стендах, где кажется, что образуется аж целый круг свечей — это обман зрения из-за того, что искра гуляет по всем контактам настолько быстро, что человеческий глаз воспринимает одну искру за множество.
И всё же такие свечи имеют ряд значительных преимуществ перед классическими:
— при большем количестве контактов искра действительно будет стабильнее;
— значительно больший срок службы(до 100 000 км).
Благодаря этим преимуществам такие свечи настоятельно рекомендуется устанавливать в двигатели, где доступ к свечам сильно ограничен.
Недостатками же можно назвать высокую цену и невозможность выставить зазор.
Вкратце ещё стоит учесть форму наконечников электродов. Свечи могут иметь на электродах V или U-образную канавки, которые увеличивают размер пламени (двигатель лучше работает на низких оборотах). Встречаются свечи зажигания с выступающим электродом — цель которого улучшить воспламенение в камере сгорания (применяются только для определенных двигателей).
Подведём итоги, какие же всё-таки свечи лучше? Конечно же иридиевые, платиновые, многоконтактные свечи значительно лучше, чем устаревшие обыкновенные, и они уже с завода устанавливаются во все современные автомобили, НО! Самое главное устанавливать именно те свечи, которые предусмотрены производителем! Даже если автомобиль не новый и свечи идут старого образца, они будут лучше для него, чем более современные, так как всё в двигателе и электрике предусмотрено именно под определённый вид свечей зажигания, а установка других — это на удачу, может повезёт, а может и нет.
Конечно многие «специалисты» с автомобильных форумов могут не согласиться, но, думаем, производители автомобилей, которые рекомендуют пользоваться только предусмотренными с завода запчастями, имеют больший авторитет. Исключением являются автомобили, двигатели и электрика которых подверглись глобальному тюнингу, но в такие дебри мы лезть не будем, там всё слишком индивидуально. Есть ещё истории, что «машина не заводилась, я поставил иридиевые свечи и она с пол пинка завелась». Чаще всего такой эффект просто из-за того, что были установлены новые свечи. Можно приводить много примеров и историй по этой части, но всё же остановимся на том, что лучше всех в этом разбираются специалисты из мировых автомобильных концернов.
Как часто менять свечи и как правильно это делать
Какие бывают свечи, какие ставить мы разобрались, теперь попробуем разобраться, как же часто их нужно менять и зачем вообще?Свечи — расходный материал, такой же как фильтра, и какими бы они не были современными, всё равно от времени электроды уменьшаются в размерах, тем самым зазор увеличивается, а керамический изолятор разрушается.
Менять свечи желательно когда этого требует производитель, обычно это от 10 до 60 тысяч км, хотя всё зависит от типа свечей и того, бензин какого октанового числа заправляется в автомобиль. В северных регионах, где суровые зимы, можно менять их чаще, так как холодных запусков больше и свечи быстрее изнашиваются, а так же стоит учитывать качество бензина, которое тоже негативно сказывается на сроке службы.
При установке и демонтаже свечей зажигания важно иметь нужный инструмент. При свободном доступе замена свечей зажигания не представляет собой проблему для водителя автомобиля. Но и при этой работе необходимо учитывать некоторые вещи. Особенно в новых автомобилях важно иметь нужный инструмент. И крайне важно соблюдать силу затяжки, рекомендуемую производителем. Иначе существует риск, что свечи будут повреждены при выкручивании или вкручивании. Обычно двигатели оснащаются алюминиевыми головками цилиндров. Поскольку алюминий сильнее расширяется при нагреве, чем свеча зажигания, свеча зажигания заедает. Поэтому замену свечей зажигания следует выполнять только при полностью охлаждённом двигателе.
Разрушим пожалуй главный миф про свечи зажигания
Часто на уже поездивших свечах на наружной стороне керамического изолятора образуется коричневый ободок. Большинство считает, что свечи потеряли герметичность в этом месте, пропускают газы из камеры сгорания и требуют замены. Это далеко не так, если свеча потеряла герметичность и пропускает в этом месте газы, то образуется не коричневое кольцо, а чёрная копоть. Это же просто коронный налёт, образовавшийся от коронного разряда. Происходит это из-за того, что внутри свечного колодца воздух становится слишком ионизированным и образуется электрический разряд голубого свечения, который притягивает к себе мелкие молекулы моторного масла, которые всё-таки просачиваются через свечу в очень малом количестве. Коронное пятно никак не отражается на работе свечи и двигателя, это официальное заявление производителей.Напоследок стоит сказать про производителей.
Хотим отметить среди всех производителей свечей фирму NGK, которые отлично зарекомендовали себя не только в использовании в гражданских автомобилях, но и в автоспорте.
Надеемся наша статья оказалась максимально полезной для Вас, и теперь вы точно будете менять свечи в нужное время и покупать только правильные, которые требует производитель.
Таблица взаимозаменяемости свечей по калильному числу от разных производителей
| Россия | Beru | Bosch | Brisk | Champion | NGK | Nippon Denso |
|---|---|---|---|---|---|---|
| А11,А11-1,А11-3 | 14-9A | W9A | N19 | L86 | B4H | W14F |
| А11Р | 14R-9A | WR9A | NR19 | RL86 | BR4H | W14FR |
| А14В, А14В-2 | 14-8B | W8B | N17Y | L92Y | BP5H | W16FP |
| А14ВМ | 14-8BU | W8BC | N17YC | L92YC | BP5HS | W16FP-U |
| А14ВР | 14R-7B | WR8B | NR17Y | - | BPR5H | W14FPR |
| А14Д | 14-8C | W8C | L17 | N5 | B5EB | W17E |
| А14ДВ | 14-8D | W8D | L17Y | N11Y | BP5E | W16EX |
| А14ДВР | 14R-8D | WR8D | LR17Y | NR11Y | BPR5E | W16EXR |
| А14ДВРМ | 14R-8DU | WR8DC | LR17YC | RN11YC | BPR5E | W16EXR-U |
| А17В | 14-7B | W7B | N15Y | L87Y | BPR5ES | W20FP |
| А17Д | 14-7C | W7C | L15 | N4 | BP6H | W20EA |
| А17ДВ, А17ДВ-1, А17ДВ-10 | 14-7D | W7D | L15Y | N9Y | B6EM | W20EP |
| А17ДВМ | 14-7DU | W7DC | L15YC | N9YC | BP6E | W20EP-U |
| А17ДВР | 14R-7D | WR7D | LR15Y | RN9Y | BP6ES | W20EXR |
| А17ДВРМ | 14R-7DU | WR7DC | LR15YC | ТRN9YC | BPR6ES | W20EPR-U |
| АУ17ДВРМ | 14FR-7DU | FR7DCU | DR15YC | RC9YC | BCPR6ES | Q20PR-U |
| А20Д, А20Д-1 | 14-6C | W6C | L14 | N3 | B7E | W22ES |
| А23-2 | 14-5A | W5A | N12 | L82 | B8H | W24FS |
| А23В | 14-5B | W5B | N12Y | L82Y | BP8H | W24FP |
| А23ДМ | 14-5CU | W5CC | L82C | N3C | B8ES | W24ES-U |
| А23ДВМ | 14-5DU | W5DC | L12YC | N6YC | BP8ES | W24EP-U |
Свечи накаливания NGK с металлическим штифтом и керамические / Блог АвтоТО — Обслуживание автомобиля
Запись опубликована 18.
11.2010 автором dimalgor.
Исправно действующие и надёжные свечи накаливания играют решающую роль при каждом холодном запуске. Благодаря интенсивной исследовательской и целенаправленной опытно-конструкторской деятельности, компания NGK всегда работает в соответствии с современным уровнем развития техники и является лидером в разработке технологий свеч накаливания.
Свечи накаливания NGK обеспечивают быстрое зажигание и, таким образом, экологически безопасное сгорание, даже при температурах ниже точки замерзания, при этом они создают оптимальные условия зажигания впрыскиваемого топлива посредством тепловой энергии, транспортируемой в камеру сгорания.
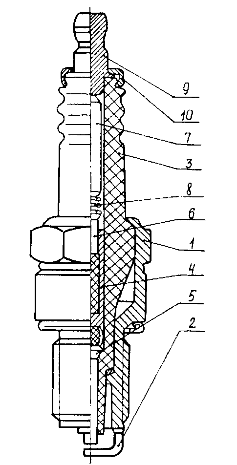
Строение свечи накаливания NGK
В холодное время года дизельные двигатели не всегда легко заводятся. Зачастую только одного нагрева недостаточно для того, чтобы завести двигатель. В камерах сгорания отсутствует необходимое тепло.
Потеря тепла из-за холодного цилиндра и всасываемого воздуха препятствует самовозгоранию.
Без притока тепла дизельный двигатель не достигает необходимой температуры. Штифт накаливания выступает в калильный отсек или в предкамеры, для создания тепла именно там, где оно необходимо.
Как правило, различают свечи накаливания с металлическим штифтом и керамические свечи накаливания. В штифте накаливания свечи с металлическим штифтом нагревательная спираль вырабатывается необходимое тепло. В отличие от этого, керамические свечи накаливания работают без калильной трубки из металла. Вместо этого, их нагревательный элемент покрыт специальной керамикой. Поэтому керамические свечи накаливания, как правило, очень быстро достигают необходимую рабочую температуру. Кроме того, они более компактные, что особенно важно в современных двигателях.
Строение свечи накаливания с металлическим штифтом
Внутренность калильной трубки заполнена сверхплотным, специальным оксидом магния, обладающим хорошими изолирующими свойствами
Саморегулирующаяся свеча накаливания облегчения пуска (штифтовая свеча накаливания SRM) относится к наиболее часто применяемым типам свечей накаливания.
Она состоит из следующих элементов.
Нагревательная спираль
Нагревательная спираль саморегулирующейся свечи накаливания для облегчения пуска изготовлена из металла. При подаче тока на свечу накаливания, она начинает накаливаться и нагревает окружающую среду. Путём использования различного диаметра и длины проволоки при изготовлении нагревательной спирали можно изменять характеристики действия свечи и скорость её накаливания.
Изолирующий наполнитель
Внутренность калильной трубки заполнена сверхплотным, специальным порошком: оксидом магния. Оксид магния электрически изолирован и является отличным проводником тепла. Изолирующий наполнитель выполняет две важные задачи: Он защищает спирали от ударов и вибраций и гарантирует оптимальную передачу выработанного тепла.
Нагревательная трубка
Нагревательная трубка свечи накаливания с металлическим штифтом изготовлена из термостойкого сплава. Так же, как и изолирующий наполнитель, трубка защищает спирали от воздействия процесса сгорания и ударных волн, возникающих при сгорании.
Регулировочная спираль
Регулировочная спираль приварена к токопроводящему центральному электроду и нагревательной спирали. При повышении температуры также повышается сопротивление регулировочной спирали. Таким образом, в зависимости от температуры, спираль снижает прохождение тока к нагревательной спирали.
Центральный электрод
Через центральный электрод напряжение батареи попадает в спирали.
Резьба для ввёртывания
Резьба для ввёртывания высококачественной свечи накаливания всегда накатанная, а не нарезанная. Таким путём предотвращается повреждение отверстия свечи накаливания в головке цилиндра.
Присоединение
В точке присоединения к источнику тока проходит напряжение батареи.
Внутренность калильной трубки заполнена сверхплотным, специальным оксидом магния, обладающим хорошими изолирующими свойствами
Саморегулирующаяся свеча накаливания облегчения пуска (штифтовая свеча накаливания SRM) относится к наиболее часто применяемым типам свечей накаливания.
Она состоит из следующих элементов.
Нагревательная спираль
Нагревательная спираль саморегулирующейся свечи накаливания для облегчения пуска изготовлена из металла. При подаче тока на свечу накаливания, она начинает накаливаться и нагревает окружающую среду.
Путём использования различного диаметра и длины проволоки при изготовлении нагревательной спирали можно изменять характеристики действия свечи и скорость её накаливания.
Изолирующий наполнитель
Внутренность калильной трубки заполнена сверхплотным, специальным порошком: оксидом магния. Оксид магния электрически изолирован и является отличным проводником тепла. Изолирующий наполнитель выполняет две важные задачи: Он защищает спирали от ударов и вибраций и гарантирует оптимальную передачу выработанного тепла.
Нагревательная трубка
Нагревательная трубка свечи накаливания с металлическим штифтом изготовлена из термостойкого сплава. Так же, как и изолирующий наполнитель, трубка защищает спирали от воздействия процесса сгорания и ударных волн, возникающих при сгорании.
Регулировочная спираль
Регулировочная спираль приварена к токопроводящему центральному электроду и нагревательной спирали. При повышении температуры также повышается сопротивление регулировочной спирали.
Таким образом, в зависимости от температуры, спираль снижает прохождение тока к нагревательной спирали.
Центральный электрод
Через центральный электрод напряжение батареи попадает в спирали.
Резьба для ввёртывания
Резьба для ввёртывания высококачественной свечи накаливания всегда накатанная, а не нарезанная. Таким путём предотвращается повреждение отверстия свечи накаливания в головке цилиндра.
Присоединение
В точке присоединения к источнику тока проходит напряжение батареи.
Покомпонентное изображение свечи накаливания с металлическим штифтом
Внутренность свечи накаливания с металлическим штифтом содержит несколько очень мощных и прочных компонентов.
Строение керамической свечи накаливания
Керамические свечи накаливания покрыты силиконовым нитритом, чрезвычайно прочным керамическим материалом
Нагревательная спираль керамической свечи накаливания имеет особо высокую температуру плавления.
Кроме того, она покрыта силиконовым нитритом, чрезвычайно прочным керамическим материалом.
Комбинация нагревательной спирали с керамической оболочкой позволяет достигать высоких температур и имеет очень короткое время разорева, благодаря отличной теплопроводности.
К тому же, керамические свечи накаливания тоньше. Это важно, поскольку в современных двигателях мало места.
Нагревательная спираль
Так же, как и в свече накаливания с металлическим штифтом, в керамической свече накаливания есть нагревательная спираль из металла. Однако, её точка плавления очень высока и это позволяет добиваться более высоких температур накаливания и быстрого нагрева.
Керамическая оболочка
Нагревательная спираль или нагревательный элемент керамической свечи накаливания имеет покрытие из особенно прочного, керамического материала: силиконового нитрита. Этот материал защищает спираль от высокой температуры и вибрации и одновременно является хорошим проводником тепла, поэтому возникающее тепло быстро выделяется в камеру сгорания.
Регулировочная спираль
Металлическая регулировочная спираль, применяемая в саморегулирующихся свечах накаливания, увеличивает своё электрическое сопротивление при повышении температуры. Таким путём сокращается прохождение тока и свеча накаливания защищается от перегрева.
Центральный электрод
Через центральный электрод напряжение батареи попадает в спирали.
Изолятор
Резьба для ввёртывания высококачественной свечи накаливания всегда накатанная, а не нарезанная. Таким путём предотвращается повреждение отверстия свечи накаливания в головке цилиндра.
Болт клеммы
В точке присоединения к источнику тока проходит напряжение батареи.
Покомпонентное изображение керамической свечи накаливания
Комбинация нагревательной спирали с керамической оболочкой позволяет достигать высоких температур и имеет очень короткое время разорева.
Действие свеч накаливания
Главной задачей свеч накаливания является вырабатывание дополнительной энергии для запуска.
Свечи накаливания NGK поставляют необходимую энергию. Перед запуском двигателя на свечу накаливания воздействует напряжение, вследствие чего калильная трубка нагревается до более чем 800 °C. Этот нагрев значительно улучшает способность двигателя к холодному запуску. Кроме того, тепловыделение свечи накаливания оптимизирует процесс сгорания, благодаря чему уменьшается выделение дыма, а также сокращаются другие выбросы.
Расположение в двигателе
Свечи накаливания встраиваются в головку цилиндра. Штифт накаливания выступает в калильный отсек или в предкамеры. Штифт накаливания должен находиться точно на кромке завихрения смеси. Таким путём он производит тепло именно там, где оно необходимо. Однако, штифт не должен слишком далеко выдаваться в камеру сгорания, иначе не гарантируется подготовка топлива и, следовательно, образование возгорающейся смеси топлива и воздуха.
В продолжение темы. Проверка свечей накаливания NGK и типичные поломки.
Пламя: строение и описание. Исследовательская деятельность на уроках химии Тема: «Горение. Строение пламени
Огонь сам по себе является символом жизни, значение его трудно переоценить, так как он с давних времен помогает человеку согреться, видеть в темноте, готовить вкусные блюда, а также защищаться.
История пламени
Огонь сопровождал человека еще с первобытного строя. В пещере горел огонь, утепляя и освещая ее, а отправляясь за добычей, охотники брали с собой горящие головни. На смену им пришли просмоленные факелы — палки. С помощью них освещались темные и холодные замки феодалов, а громадные камины отапливали залы. В античные времена греки использовали масляные лампы — глиняные чайнички с маслом. В 10-11 веках стали создавать восковые и сальные свечи.
В русской избе до многие столетия горела лучина, а когда в середине 19 века из нефти начали добывать керосин, в обиход вошли керосиновые лампы, позже — газовые горелки. Ученые и сейчас занимаются изучением строения пламени, открывая новые его возможности.
Цвет и интенсивность огня
Для получения пламени необходим кислород. Чем больше кислорода, тем лучше процесс горения. Если раздувать жар, то в него попадает свежий воздух, а значит — кислород, и когда тлеющие кусочки дерева или угольки разгораются, возникает пламя.
Пламя бывает разных цветов. Дровяное пламя костра танцует желтым, оранжевым, белым и голубыми цветами. Цвет пламени зависит от двух факторов: от температуры горения и от сжигаемого материала. Для того чтобы увидеть зависимость цвета от температуры, достаточно проследить за накалом электрической плиты. Сразу после включения спирали нагреваются и начинают светиться тусклым красным цветом.
Чем больше они накаляются, тем ярче становятся. И когда спирали достигают наивысшей температуры, они становятся яркого оранжевого цвета. Если бы можно было накалить их еще больше, они бы изменили свой цвет к желтому, белому, и, в конце концов, к голубому. Голубой цвет обозначал бы наивысшую степень нагрева. Подобное происходит и с пламенем.
От чего зависит строение пламени?
Оно мерцает разными цветами, в то время, когда фитиль сгорает, проходя сквозь тающий воск. Огонь требует доступ кислорода. Когда свеча горит, в середину пламени, возле дна, много кислорода не попадает. Поэтому оно выглядит более темным. Но вершина и бока получают много воздуха, поэтому там пламя очень яркое. Оно нагревается более чем 1370 градусов по Цельсию, это делает пламя свечи в основном желтого цвета.
А в камине или в костре на пикнике можно увидеть даже больше цветов. Дровяной огонь горит при температуре ниже, чем свеча. Поэтому он выглядит больше оранжевым, чем желтым. Некоторые частицы углерода в огне очень горячие и придают ему желтизны. Минералы и металлы, такие как кальций, натрий, медь, нагреты до высоких температур, придают огню разнообразные цвета.
Цвет пламени
Химия в строении пламени играет немалую роль, ведь его различные оттенки происходят от разных химических элементов, которые находятся в горящем топливе.
Например, в огне может присутствовать натрий, который входит в состав соли. Когда натрий горит, он излучает яркий желтый свет. Еще в огне может быть кальций — минерал. Например, кальция очень много в молоке. Когда кальций нагревается, он излучает темно-красный свет. А если в огне присутствует такой минерал, как фосфор, он даст зеленоватый цвет. Все эти элементы могут быть как в самом дереве, так и других материалах, попавших в огонь. В конце концов, смешивание всех этих разных цветов в пламени может образовать белый цвет — совсем как радуга цветов, собранных вместе, образует солнечный свет.
Откуда берется огонь?
Схема строения пламени представляет собой газы в горящем состоянии, в которых находятся составные плазмы или твердые дисперсные вещества. В них происходят физические и химические превращения, которым сопутствует свечение, выделение тепла и нагрев.
Языки пламени образовывают процессы, сопровождаемые горением вещества. Если сравнивать с воздухом, газ имеет меньшую плотность, но под действием высокой температуры он поднимается вверх.
Так и получаются долгие или короткие языки пламени. Чаще всего имеет место мягкое перетекание одной формы в другую. Чтобы увидеть такое явление, можно включить горелку обычной газовой плиты.
Огонь, воспламенившийся при этом, не будет равномерным. Зрительно пламя можно разделить на три главные зоны. Простое изучение строения пламени свидетельствует о том, что различные вещества горят с формированием разного типа факела.
При воспламенении газовоздушной смеси сначала формируется короткое пламя, с голубым и фиолетовым оттенком. В нем можно рассмотреть зелено-голубое ядро в форме треугольника.
Зоны пламени
Рассматривая, какое строение имеет пламя, выделяют три зоны: во-первых, предварительную, где начинается нагрев смеси, выходящей из отверстия горелки. После нее идет зона, где совершается процесс горения. Эта область захватывает верх конуса. Когда не хватает притока воздуха, сгорание газа идет частично. При этом образовываются оксид углерода и остатки водорода.
Их горение происходит в третьей зоне, где присутствует хороший доступ кислорода.
Для примера представим строение пламени свечи.
Схема горения включает:
- первую — темную зону;
- вторую — зону свечения;
- третью — прозрачную зону.
Нитка свечи не поддается горению, а только совершается обугливание фитиля.
Строение пламени свечи представляет собой раскаленный поток газа, поднимающийся вверх. Процесс начинается с нагревания, пока не происходит испарение парафина. Зону, прилежащую к нити, именуют первой областью. Она имеет незначительное свечение голубого оттенка из-за избытка количества горючего материала, но малого поступления кислорода. Тут происходит процесс частичного сгорания веществ с образованием чадного газа, который затем окисляется.
Первую зону охватывает светящаяся оболочка. В ней находится достаточный объем кислорода, который способствует окислительной реакции. Именно здесь при интенсивном накаливании частичек оставшегося топлива и угольных частичек наблюдается эффект свечения.
Вторая зона охвачена чуть заметной оболочкой с высокой температурой. В нее проникает много кислорода, что содействует полному сгоранию топливных частичек.
Пламя спиртовки
Для различных химических опытов применяют мелкие резервуары со спиртом. Их именуют спиртовками. Строение пламени подобно свечному, но все же имеет свои особенности. Фитиль просачивается спиртом, чему содействует капиллярное давление. При достижении вершины фитиля происходит испарение спирта. В виде пара он воспламеняется и горит при температуре не больше 900 °C.
Строение пламени спиртовки имеет обычную форму, оно почти бесцветное, со слегка голубоватым оттенком. Его зоны более размытые, чем у свечи. В спиртовой горелке, основа пламени находится над калильной сеткой горелки. Углубление пламени ведет к снижению объема темного конуса, а из отверстия выходит светящаяся зона.
Химические процессы в пламени
Процесс окисления проходит в неприметной зоне, которая расположена вверху и имеет наивысшую температуру.
В ней частички продукта горения поддаются окончательному сгоранию. А излишек кислорода и нехватка топлива ведут к сильному процессу окисления. Этой способностью можно пользоваться при быстром нагревании веществ над горелкой. Для этого вещество окунают в верхушку пламени, где горение совершается значительно быстрее.
Восстановительные реакции происходят в центральной и нижней части пламени. Тут находится достаточный запас горючего и небольшой доступ кислорода, необходимый для процесса горения. При добавлении в эти зоны кислородсодержащих веществ происходит отщепление кислорода.
Как восстановительное пламя рассматривают процесс распада железа двухвалентного сульфата. При проникновении FeSO 4 в середину факела, происходит сначала его нагрев, а потом распад на оксид трехвалентного железа, ангидрид и двуокись серы. В этой реакции происходит восстановление серы.
Температура огня
Для любой области пламени свечки или горелки свойственны свои показатели температуры, зависящие от доступа кислорода.
Температура открытого пламени в зависимости от зоны может меняться от 300 °C до 1600 °C. Примером выступает диффузионное и ламинарное пламя, строение трех его оболочек. Конус пламени в темной области имеет температуру нагрева до 360 °C. Над ним расположена зона свечения. Ее температура нагрева варьируется от 550 до 850 °C, что приводит к расщеплению горючей смеси и процессу ее сгорания.
Наружная область слегка заметна. В ней нагрев пламени достигает 1560 °C, что объясняется свойствами молекул горящего вещества и скоростью поступления окислителей. Здесь процесс горения самый энергичный.
Очищающий огонь
В пламени заключается огромный энергетический потенциал, свечки используются в ритуалах очищения и прощения. А как приятно посидеть возле уютного камина тихими зимними вечерами, собравшись семьей и обсуждая все, что произошло за день.
Огонь, пламя свечи несут громадный заряд позитивной энергии, ведь недаром сидящие у камина ощущают покой, уют и умиротворение в душе.
Химии
Тема: «Горение. Строение пламени».
Учитель
Девиз:
«Познание начинается с удивления»
Аристотель
Сегодня мы познакомимся с одной из многочисленных реакций взаимодействия веществ с кислородом. Объект изучения вы постараетесь определить, прослушав небольшой отрывок поэмы.
« … Огонь
Я смертным дал и вот за что наказан,
Похитил я божественную искру.
Сокрыл в стволе сухого тростника,
И людям стал огонь любезным братом,
Помощником, учителем во всем…»
Как вы думаете, о чем сегодня пойдёт разговор?
(Ответы детей: об огне).
Правильно. Тема нашего урока «Горение. Строение пламени» и проведем его под девизом: «Познание начинается с удивления».
(Учитель зажигает свечу).
Перед нами пример химической реакции – горение парафиновой свечи. Мы исследуем огонь с позиции химии: выясним, какое строение и состав он имеет, как его можно экономно использовать, как бороться, если огонь выходит из-под контроля.
В начале работы проведем эксперимент: у нас есть 2 колбы, одна из которых заполнена кислородом, а другая – углекислым газом. Ваше мнение: будут ли происходить какие-либо изменения с пламенем горящей лучины, помещенной в колбы с этими газами или нет?
(Дети высказывают свои предположения.)
Ваши предположения по-другому можно назвать гипотезами (гипотезой). Как мы можем убедиться, верны они или нет? Правильно. Нужно провести опыт.
Опыт.
Помещаем горящую лучину в колбу, заполненную углекислым газом, а затем тлеющую лучину вносим в колбу с кислородом.
Что наблюдаем?
(Ответы детей: в колбе с кислородом лучина горит, а в колбе с углекислым газом тухнет).
Вывод: кислород поддерживает горение, а углекислый газ – нет.
Огонь таит в себе много загадок. Но перед тем, как шагнуть в таинственный мир горящей свечи, запомним основное правило техники безопасности : предельная внимательность и аккуратность в работе.
(Дети зажигают свечи).
Рассмотрите внимательно пламя свечи, какую форму оно имеет?
(Ответы детей).
Вы догадываетесь: почему?
Во время горения воздух нагревается и поднимается вверх. Эти восходящие потоки и придают пламени своеобразную форму. Физики это явление называют – конвекция.
А что вы можете сказать о строении пламени: однородно ли оно?
(Ответы детей.)
(Вывешивается рисунок пламени.)
Нижнюю – темную зону пламени обозначим цифрой 1.
Средняя – яркоокрашенная зона 2.
Верхняя – светлая зона 3.
Как вы считаете, кроме цвета, чем еще могут различаться зоны пламени?
(Ответы детей: по температуре.)
Сейчас мы постараемся проверить ваше предположение, т. е. вашу гипотезу. Для этого вы зажжете 3 спички: одну в нижней зоне пламени, другую в средней, а третью – в верхней зоне пламени. Засечем время воспламенения спички, считая раз, два, три …
(Дети проводят опыт.)
Своими наблюдениями поделится …
(Ответы детей.)
Какой вывод о температуре в разных зонах пламени можно сделать?
(Ответы детей. Данные вносятся в таблицу.)
Числовые температурные данные дает учитель.
Цвет пламени по зонам | Температура | Состав зоны пламени | ||
газообразный парафин | ||||
красно-оранжевый | частицы углерода (сажа) | |||
углекислый газ |
Чтобы приоткрыть завесу другой тайны, нам нужно подумать, одинаков ли состав разных зон пламени?
Проведем опыт.
1 зона — вносим край разогретой стеклянной трубочки в нижнюю зону пламени. Что наблюдаем?
(Из трубочки идет белый дым.)
Белый дым – парафин. Только в нижней зоне пламени он находится не в твердом виде, а в каком? (…газообразном)
Данные заносим в таблицу.
2 зона. На несколько секунд вносим фарфоровую чашечку в яркую зону пламени. Что наблюдаем?
Дно чашечки покрывается копотью (сажей).
Это очень мелкие частицы углерода. Почему он на нашей чашечке черный, а в пламени – имеет яркую окраску?
(Ответы детей: в пламени частицы раскалены.)
Горение свечи – это взаимодействие парафина (вещества, из которого изготовлена свеча) с кислородом. Какие вещества при этом образуются, мы сможем узнать, если исследуем 3 — светлую зону пламени.
(Проводится опыт по обнаружению воды и углекислого газа в верхней зоне пламени.)
Капельки воды на стакане и потухшая лучина подсказывают нам, что продуктами горения парафина свечи являются углекислый газ и вода.
Составим схему горения парафиновой свечи. (Знак = разделяет вещества, вступающие в реакцию и вещества, образовавшиеся в ходе превращений. О значении знака + постарайтесь догадаться самостоятельно.)
Парафин + кислород = вода + углекислый газ
А сейчас мы проверим, что произойдет с пламенем, если накрыть горящую свечу стаканом.
(Дети накрывают горящую свечу стаканом.)
Что наблюдаем?
Почему горение прекратилось?
(Ответы детей: нет поступления кислорода.)
Демонстрационный опыт : Сравним, есть ли различия в строении пламени свечи и спиртовки.
Составим схему горения спирта
Спирт + кислород = вода + углекислый газ
Учитывая результаты исследований, выполните задания.
Задания.
а) Для обогрева жилых помещений запрещается использовать открытый огонь газовых плит. Почему?
б) Предложите способ тушения загоревшейся на человеке одежды.
Обоснуйте свое предложение.
в) Как нужно отрегулировать высоту пламени газовой плиты на кухне для его рационального использования. Обоснуйте свое предложение.
г) Почему в школьной лаборатории для подогрева реактивов в лабораторной посуде используют спиртовки, а не парафиновые свечи? Обоснуйте свой выбор.
У нашего урока есть девиз. Вспомним его.
«Познание начинается с удивления»
У каждого из вас есть пламя трех цветов: желтого, оранжевого и голубого. Какое пламя вы выберете к нашему уроку? Почему?
Урок хотелось бы закончить словами М. Фарадея:
«…я только могу выразить вам мое пожелание, чтобы вы могли с честью выдержать сравнение со свечой, т. е. могли бы быть светочем для окружающих, и чтобы во всех ваших действиях вы подражали красоте пламени, честно выполняя свой долг перед человечеством».
Горение различных видов топлива обычно сопровождается пламенем. Пламя — это горящие газы или пары. Чтобы изучить строение пламени, воспользуемся свечой. Зажжем ее и присмотримся к внешнему виду пламени. В нем обнаруживаются три части: внутренняя, темная часть, прилегающая к фитилю, вокруг нее светящийся конус и снаружи едва заметная оболочка (рис. 37). Сам фитиль не горит (обгорает лишь загнутый конец его).
Рис. 37. Строение пламени свечи. а — внутренний «темный» конус, б — средний светящийся конус, в — наружная часть пламени
Исследуем состав каждой части пламени. Если во внутреннюю часть пламени ввести конец стеклянной трубки (рис. 38), то по ней будет выходить беловатый дымок, который можно зажечь. Это пары парафина. Итак, внутренний темный конус пламени образован парами парафина.
Внесем на короткое время холодный предмет; например фарфоровую чашечку, в среднюю часть пламени — светящийся конус. Чашечка закоптится, покроется сажей. Значит, в светящемся конусе содержится свободный углерод. Состав внешнего конуса пламени парафина нам известен; это конечные продукты горения парафина — водяной пар и двуокись углерода.
Внесем на короткое время в пламя лучинку, как показано на рисунке 39.
Лучинка обуглится лишь в тех местах, которые оказались во внешнем конусе. Значит, в нем температура пламени наивысшая.
Откуда же берется уголь в средней части пламени? При поднесении зажженной спички к фитилю парафин плавится и начинает испаряться. Пары, поднимающиеся от фитиля, загораются. Вследствие высокой температуры в средней части пламени происходит сухая перегонка парафина — разложение его паров на уголь и горючие газы. Газы сгорают за счет подтекающего к пламени снизу воздуха, а за счет выделяющейся при их горении теплоты частички угля раскаляются добела, они и придают пламени светимость. Увлекаясь во внешнюю часть пламени, эти частички в свою очередь сгорают в двуокись углерода, светимость пламени здесь утрачивается, а температура еще более возрастает.
Если в пламя свечи вдувать при помощи паяльной или стеклянной трубки воздух, пламя становится почти несветящимся и копоть на внесенной в него фарфоровой чашке не оседает. Это объясняется тем, что при обильном притоке воздуха частички угля быстро сгорают и не задерживаются в пламени.
Так же образуется пламя и в топках печей.
- Опишите строение пламени и опыты, с помощью которых можно определить состав его частей. В какой из них температура пламени наивысшая?
- * Если выставить горящую свечу на солнечный свет, то на поставленной за нею бумаге появится темная тень именно от той части пламени свечи, которая ярко светится. Почему?
- Все ли вещества горят с образованием пламени?
- Как сделать пламя некоптящим?
>> Практическая работа № I. Строение пламени
Практическая работа № I
Строение пламени. Простейшие операции в химическом эксперименте
Перед выполнением практической работы внимательно прочитайте правила техники безопасности в химическом кабинете (с. 22) и строго их соблюдайте.
Будьте осторожны, работая с огнем.
Опыт I
Изучение «строения» пламени
Зажгите свечу. Вы увидите, что пламя неоднородное (рис. 19). В нижней, темной, части пламени температура невысокая. Из-за недостатка воздуха горение здесь почти не происходит. Вещество, из которого изготовлена свеча, сначала плавится, а затем превращается в газообразные горючие вещества.
Рис. 19. Строение пламени
В средней части пламени температура выше.
Здесь часть веществ сгорает, а остальные распадаются с образованием горючих газов и частиц сажи. Твердые частицы раскаляются и светятся. Поэтому эта часть пламени самая яркая.
Докажите наличие частиц сажи, поместив в среднюю часть пламени фарфоровые чашку или шпатель. Что наблюдаете?
Верхняя часть пламени имеет самую высокую температуру. В ней все вещества сгорают полностью; при этом образуются углекислый газ и водяной пар.
Опыт 3
Переливание раствора
Осторожно перелейте часть раствора соли из стакана в пробирку до 1/3-1/4 ее объема. После этого перелейте примерно 2 мл раствора из этой пробирки в другую. Обе пробирки поставьте в штатив.
1 Учитель может заменить поваренную соль кальцинированной содой или окрашенным веществом (например, медным купоросом).
Опыт 4
Нагревание жидкости в пробирке, закрепленной в штативе
Пробирку с 2 мл раствора соли закрепите наклонно в лапке штатива ближе к отверстию. Зажгите спиртовку1. Отрегулируйте высоту положения лапки в штативе так, чтобы нижняя часть пробирки находилась в верхней части пламени. Возьмите спиртовку в руку и равномерно прогрейте всю пробирку. Затем поставьте спиртовку под пробирку и нагрейте раствор в ней до кипения. He допускайте выброса жидкости из пробирки!
Отставьте спиртовку, не гася ее, для следующего опыта.
Опыт 5
Нагревание жидкости в пробирке, закрепленной в пробиркодержателе
Закрепите вторую пробирку с раствором соли в пробиркодержателе. Сначала равномерно нагрейте всю пробирку, а потом — ту ее часть, где находится жидкость. Как только раствор закипит, отставьте спиртовку и погасите ее, накрыв колпачком.
He вынимая пробирку из пробиркодержателя, вылейте горячий раствор в стакан и положите пробирку вместе с пробиркодержателем на специальную подставку для охлаждения. He ставьте горячую пробирку в пластмассовый штатив!
14. Из каких частей состоит пламя? Охарактеризуйте их.
15. В каком случае жидкость в колбе закипит быстрее: когда пламя охватывает всю колбу или когда ее дно находится в верхней части пламени? Ответ обоснуйте.
16. Почему при нагревании пробирки нужно сначала всю ее прогреть?
17. В какую сторону следует направлять отверстие пробирки, в которой нагревают жидкость?
18. Почему нельзя ставить горячую пробирку в пластмассовый штатив?
1 Вместо спиртовки можно использовать сухое горючее.
Попель П. П., Крикля Л. С., Хімія: Підруч. для 7 кл. загальноосвіт. навч. закл. — К.: ВЦ «Академія», 2008. — 136 с.: іл.
Содержание урока конспект урока и опорный каркас презентация урока интерактивные технологии акселеративные методы обучения Практика тесты, тестирование онлайн задачи и упражнения домашние задания практикумы и тренинги вопросы для дискуссий в классе Иллюстрации видео- и аудиоматериалы фотографии, картинки графики, таблицы, схемы комиксы, притчи, поговорки, кроссворды, анекдоты, приколы, цитаты Дополнения рефераты шпаргалки фишки для любознательных статьи (МАН) литература основная и дополнительная словарь терминов Совершенствование учебников и уроков исправление ошибок в учебнике замена устаревших знаний новыми Только для учителей календарные планы учебные программы методические рекомендацииФорма проведения урока: исследование с элементами межпредметной интеграции.
Нельзя кого-либо изменить, передавая ему готовый опыт.
Можно лишь создать атмосферу, способствующую развитию человека.
К.Роджерс
Цель урока: посмотреть на пламя свечи и на саму свечу глазами исследователя.
Задачи урока:
Начать формирование важнейшего метода познания химических явлений – наблюдения и умения описывать его;
Показать в ходе практической работы существенные отличия физических и химических реакций;
Актуализировать опорные знания о процессе горения с учетом материала, усвоенного на уроках других учебных дисциплин;
Проиллюстрировать зависимость реакции горения свечи от условий проведения реакции;
Начать формирование простейших приемов проведения качественных реакций по обнаружению продуктов горения свечи;
Развивать познавательную активность, наблюдательность, расширять кругозор в области естественнонаучного и художественно- эстетического познания действительности.
Этапы урока:
I Организационный момент. Вступительное слово учителя.
Свеча? — традиционное приспособление для освещения, представляющее собой чаще всего цилиндр из твердого горючего материала (воск, стеарин, парафин) служащий своего рода резервуаром твёрдого топлива, подводимого в расплавленном виде к пламени фитилём. Предки свечи — светильники; чаши, наполненные растительным маслом или легкоплавким жиром, с фитилем или просто щепочкой для подъёма горючего в зону горения. Некоторые народы использовали в качестве примитивных светильников фитили, вставленные в необработанный жир (даже тушку) животных, птиц или рыб. Первые восковые свечи появились в Средневековье. Свечи долгое время были очень дороги. Чтобы осветить большое помещение, требовались сотни свечей, они чадили, черня потолки и стены. Свечи прошли огромный путь с момента их создания. Люди изменили их предназначение и сегодня у человека есть другие источники света в домах. Но, тем не менее, сегодня свечи символизируют праздник, помогают создать романтическую обстановку в доме, успокаивают человека, и являются неотъемлемой частью декора наших жилищ, принося с собой в дом комфорт и уют. Свечку можно изготовить из свиного или говяжьего жира, масел, пчелиного воска, китового жира, парафина, который получают из нефти. Сегодня легче всего встретить свечи, изготовленные из парафина. С ними мы сегодня и будем проводить опыты.
II Актуализация знаний учащихся.
Инструктаж. Правила по технике безопасности
Беседа:
Зажгите свечу. Вы увидите, как начинает таять парафин около фитиля, образуя круглую лужицу. Какой процесс здесь имеет место? Что происходит, когда горит свеча? Ведь парафин просто плавится. Но откуда тогда тепло и свет?
Что происходит, когда горит электрическая лампочка?
Ответы учеников.
Учитель:
Когда парафин просто плавится, нет ни тепла, ни света. Большая часть парафина сгорает, превращаясь в углекислый газ и водяной пар. Из-за этого и появляется тепло и свет. А от тепла часть парафина плавится, ведь он боится горячего. Когда свеча сгорит, парафина останется меньше, чем было вначале. Но когда горит электрическая лампочка, тоже выделяется тепло и свет, а лампочка не становится меньше? Горение лампочки – это не химическое, а физическое явление. Она горит не сама по себе, а превращает в свет и тепло энергию электричества. Как только электричество отключаешь, лампочка гаснет. А свечу стоит лишь зажечь, дальше она горит сама.
А теперь наша задача посмотреть на пламя свечи и на саму свечу глазами исследователя.
III Изучение нового материала.
Опыт “Строение свечи”
| ЧТО ДЕЛАЛИ? | ЧТО НАБЛЮДАЛИ? | ВЫВОДЫ |
| 1. Рассмотрели парафиновую и восковую
свечу. 2. Отделили фитиль. | Свеча состоит из стержня и фитиля из туго скрученных ниток в центре столбика. | Основу свечи составляет воск или
парафин. Фитиль — это своеобразный капилляр, по
которому расплав свечной массы попадает в зону
горения. Фитили сплетают из хлопчатобумажных нитей. Восковые свечи должны иметь рыхло сплетенный фитиль из толстых волокон, для всех остальных свечей фитили делают из туго сплетенных нитей. Это связано с вязкостью свечной массы в расплавленном состоянии: для вязкого воска нужны широкие капилляры, а легкоподвижные парафин, стеарин и жиры требуют более тонких капилляров, иначе из-за избытка горючего материала свеча станет сильно коптить. |
Опыт “Изучение физических и химических процессов, происходящих при горении свечи”
| ЧТО ДЕЛАЛИ? | ЧТО НАБЛЮДАЛИ? | ВЫВОДЫ |
| 1.Зажгли свечу. | 1.Горение свечи. Если поднести ладони к пламени чувствуется тепло. | 1.Свеча — источник тепла, т.к. процесс сгорания газообразного парафина является экзотермическим. |
| 2.Изучили последовательность процесса горения свечи. Наблюдали фазовые превращения, которые происходят со свечой. | 2. Парафин начинает таять около фитиля и из твердого состояния переходит в жидкое состояние, образуя круглую лужицу. | 2. При горении свечи наблюдаются фазовые превращения парафина (физические явления), осмотическое явление, химические превращения. |
| 3. Вели наблюдение за хлопчатобумажным фитилем, выяснили его роль при горении свечи. | 3. Свеча не горит вдоль всего фитиля. Жидкий парафин смачивает фитиль, обеспечивая его горение. Сам парафин не горит. Хлопчатобумажный фитиль перестает гореть на том уровне, где появляется жидкий парафин. | 3. Роль жидкого парафина – не дать фитилю сгореть быстро, способствовать его долгому горению. Жидкий парафин возле огня испаряется, освобождая углерод, пар которого поддерживает горение. При достаточном количестве воздуха возле пламени оно горит ясно. Растопленный парафин гасит пламя, поэтому свеча не горит вдоль всего фитиля. |
Опыт “Изучение строения пламени свечи. Обнаружение продуктов горения в пламени. Наблюдение за неоднородностью пламени”
| ЧТО ДЕЛАЛИ? | ЧТО НАБЛЮДАЛИ? | ВЫВОДЫ |
| 1.Зажгли свечу, поставленную в подсвечник. Дали ей хорошо разгореться. | Пламя свечи имеет продолговатую форму.
В разных частях пламени наблюдается разный цвет. В спокойном пламени свечи выделяются 3 зоны. Пламя имеет несколько вытянутый вид; вверху оно ярче, чем внизу, где среднюю его часть занимает фитиль, и некоторые части пламени вследствие неполного сгорания не так ярки, как вверху. | Явление конвенции, теплового
расширения, закона Архимеда для газов, а также
закон всемирного тяготения с силами тяжести
заставляют приобрести характерную конусовидную
форму пламени. Восходящий ток воздуха придает пламени продолговатую форму: т.к. пламя, которое мы видим, вытягивается под воздействием этого тока воздуха на значительную высоту. |
| 2. Взяли тоненькую длинную щепку, которую держим горизонтально и медленно проводим ее сквозь самую широкую часть пламени, не позволяя ей загореться и сильно задымиться. | На щепке остается след, оставленный пламенем. Над его внешними краями копоти больше, над серединой больше. | Часть пламени, которая непосредственно
прилегает к фитилю, состоит из тяжелого пара
парафина – кажется, что она сине – фиолетового
цвета. Это самая холодная часть пламени. Вторую, самую светлую часть, создают раскаленные пары парафина и частички угля. Это самая горячая зона. Третий, внешний слой содержит больше всего кислорода и светится слабо. Температура его достаточно высока, но несколько ниже температуры светлой части. Он как бы охлаждается окружающим воздухом. |
| 3. Взяли кусок белого плотного картона, держим его горизонтально в руке, быстро опускаем его сверху на пламя горящей свечи. | На верхней стороне картона появляется опалина от пламени. | На картоне образовалась кольцевидная опалина, т.к. центральная часть пламени является недостаточно горячей, чтобы обуглить картон. Пламя имеет разные температурные участки. |
| 4. В пламя свечи внесли стеклянную палочку. | Пламя свечи имеет желтовато оранжевый
цвет и светится. На поверхности стеклянной палочки образуется копоть. | Светящийся характер пламени обусловлен
степенью расходования кислорода и полнотой
сгорания парафина, конденсацией углерода и
свечением его раскалившихся частиц. Копоть свидетельствует о неполном сгорании парафина и о выделении свободного углерода. |
| 5. Сухую пробирку закрепили в держателе, перевернули вверх дном и держали над пламенем спиртовки. | Стенки пробирки запотели. На стенках пробирки образуются капельки воды. | Вода – продукт сгорания свечи. |
Опыт “Изучение зависимости высоты пламени свечи от длины фитиля”
| ЧТО ДЕЛАЛИ? | ЧТО НАБЛЮДАЛИ? | ВЫВОДЫ |
| 1.Зажгли свечу. | Фитиль свечи загорается, пламя свечи – высокое. | Жидкий парафин смачивает фитиль, обеспечивая его горение. Сам парафин не горит. Роль жидкого парафина – не дать фитилю сгореть быстро, способствовать его долгому горению. Жидкий парафин возле огня испаряется, освобождая углерод, пар которого поддерживает горение. При достаточном количестве воздуха возле пламени оно горит ясно. |
| 2. Подрезали часть подгоревшего фитиля | Размеры пламени изменились, оно уменьшилось в размерах. Пламя опускается вниз по фитилю до расплавленного парафина и меркнет. В верхней части оно горит дольше. Часть парафина, более близкая к фитилю, от тепла плавится. | Капли жидкого парафина притягиваются друг к другу слабее, чем к фитилю, и легко втягиваются в мельчайшие щели между нитками. Такое свойство вещества называется капиллярностью. |
Опыт “Доказательство горения свечи в кислороде воздуха”
| ЧТО ДЕЛАЛИ? | ЧТО НАБЛЮДАЛИ? | ВЫВОДЫ |
| 1. Посреди тарелки поставили горящую
свечку (тоненькую, небольшую, прикрепленную при
помощи пластилина) В тарелку долили подкрашенную воду (чтобы скрыло дно), свечу накрыли граненым стаканом. | Вода начинает забираться под стакан Свечка постепенно гаснет. | Свеча горит, пока в стакане есть
кислород. По мере расходования кислорода, свеча
гаснет. За счет вакуума, который там образовался,
вода поднимается вверх. Горение – это сложный физико-химический процесс взаимодействия компонентов горючего вещества с кислородом, протекающий с достаточно большой скоростью, с выделением тепла и света. |
Опыт “Влияние воздуха на горение свечи. Наблюдение за пламенем горящей свечи”
| ЧТО ДЕЛАЛИ? | ЧТО НАБЛЮДАЛИ? | ВЫВОДЫ |
| Поднесли зажженную свечу к приоткрытой двери. 1. Поставили свечку на пол. 2. Осторожно встали на табуретку возле приоткрытой двери, держим зажженную свечу в верхней части двери. | 1.Пламя отклоняется в сторону комнаты. 2. Пламя отклоняется в сторону коридора. | Теплый воздух наверху вытекает из комнаты, тогда как внизу холодный поток направлен внутрь нее. |
| 3.Опрокинули свечку так, чтобы горючее стекало на фитиль. | Свечка погаснет | Пламя не успело нагреть горючее настолько, чтобы оно могло гореть, как это происходит наверху, где горючее поступает в фитиль в небольшом количестве и подвергается полному воздействию пламени. |
Опыт “Изучение дыма погасшей свечи”
Опыт “Качественная реакция по обнаружению продуктов горения свечи”
| ЧТО ДЕЛАЛИ? | ЧТО НАБЛЮДАЛИ? | ВЫВОДЫ |
| 1.В стакан налили известковую воду. Огарок свечи насадили на проволоку, чтобы его удобнее было опускать в стакан. | Известковую воду можно приготовить следующим образом: надо взять немного негашеной извести, разболтать ее в воде и процедить сквозь промокательную бумагу. Если раствор получится мутный, необходимо процедить его еще раз, чтобы он был совсем прозрачный. | |
| 2. Зажгли огарок свечи и опустили его
осторожно на дно пустого стакана. Вытащили огарок, зажгли его и снова опустили в банку. | Огарок некоторое время горит, а затем
гаснет. Огарок сразу же гаснет | В стакане находится газ без цвета и запаха, который не поддерживает горения и мешает свече гореть. Это — углекислый газ — СО 2. . |
| 3. Добавили в стакан известковой воды. | Вода в стакане становится мутной. | При горении свечи образуется углекислый газ. Углекислый газ делает известковую воду мутной. |
IV Закрепление изученного материала.
Фронтальный опрос:
Перечислите последовательность процессов горения свечи.
Какие фазовые превращения наблюдаются при горении свечи?
Что является горючим материалом свечи?
Для чего нужен хлопчатобумажный фитиль?
Какое явление позволяет поднимать жидкий парафин на некоторую высоту?
Где самая горячая часть пламени?
Почему происходит уменьшение длины свечи?
Почему пламя свечи не гаснет, хотя при горении образуются вещества, не поддерживающие горения?
Почему свеча гаснет, когда мы на нее дуем?
Какие условия необходимы для более длительного и качественного горения свечи?
Как можно погасить свечу? На каких свойствах основаны эти способы?
Что является качественной реакцией на углекислый газ?
Учитель:
Рассмотрение строения и горения свечи убедительно иллюстрирует сложность окружающих нас самых тривиальных бытовых предметов, свидетельствует о том, насколько неразрывны такие науки как химия и физика Свеча – настолько интересный объект изучения, что считать тему исчерпанной никак нельзя.
В заключение нашего урока хочу вам пожелать, чтобы вы, как и свеча, излучали свет и тепло для окружающих, и чтобы вы были красивыми, яркими, нужными, как пламя свечи, о котором мы с вами сегодня говорили.
V Домашнее задание.
1. Задание для желающих осуществить дома исследовательскую работу:
Возьмите для опыта любую вещь, где есть застежка – молния. Несколько раз откройте и закройте застежку молнии. Запомните свои наблюдения. Натрите парафиновой свечкой застежку молнии, например, на спортивной кофте. (Не забудьте спросить разрешения у мамы, когда будете брать кофту для опыта). Изменилось ли движение застежки молнии?
Ответьте на вопрос: “Зачем иногда натирают застежки молнии свечкой?”
(Вещества, из которых делают столбик свечки (стеарин, парафин), являются хорошей смазкой, которая уменьшает трение между звеньями застежки.)
2. Задание для желающих осуществить дома исследовательскую работу.
Возьмите 3 свечи разные по составу, сделанные из парафина, воска, стеарина. Свечи можно купить в магазине, а можно сделать самим. (Попросите маму или папу наблюдать с вами за прохождением опыта). Дождитесь сумерек, установите свечки недалеко друг от друга и подожгите их. Заполните таблицу, по мере наблюдения за горящими свечами.
Использованная литература.
1. Фарадей М.., История свечи, М., Наука, 1980.
Рекомендуем также
Практическая работа. Изучение строения пламени
Материал опубликовалаЦель: ознакомиться со строением пламени; понять, где в пламени «холодная» часть, а где – самая горячая; объяснить появление тени от света пламени.
Оборудование: свеча, тигельные щипцы стеклянная пластинка, стеклянная трубочка, лучинка, спички.
Ход работы.
Что делаю? | Что наблюдаю? | Объяснение наблюдений. |
1. Рассматриваю свечу. | Она состоит из ___. Ее длина___ см. Ее диаметр ___ см. Ее фитиль имеет длину__ см |
|
2. Зажигаю свечу |
|
|
3. Тигельными щипцами держу стеклянную пластинку над пламенем свечи. | Пластинка | Копоть- это мельчайшие частицы угля. Отсюда следует, что раскаленные, светящиеся частицы угля находятся в пламени. |
4. Вношу один конец стеклянной трубки в пламя около фитиля и поджигаю спичкой пары, выходящие из другого отверстия трубки. | Пары | Это пары парафина, из которого сделана свеча. Значит, около фитиля парафин только испаряется, но еще не горит. |
5. «Протыкаю» спичкой пламя свечи в разных зонах (нижней, средней и верхней). Определяю время возгорания спички | Спичка | Значит, самая горячая часть пламени |
Выводы.
- Пламя имеет сложное строение.
- Самая горячая часть пламени — ____________________________________________
- Тень от пламени свечи появляется потому, что_______________________________
Свеча науки — Национальная ассоциация свечей
За красотой и светом пламени свечи скрывается много химии и физики. На самом деле, ученые были очарованы свечами на протяжении сотен лет.
В 1860 году Майкл Фарадей прочитал свою ныне известную серию лекций по химической истории свечи, продемонстрировав десятки научных принципов посредством своих тщательных наблюдений за горящей свечой.
В конце 1990-х НАСА подняло исследования свечей на новый уровень, проводя эксперименты с космическими кораблями, чтобы узнать о поведении пламени свечей в условиях микрогравитации.
Ученые из университетов и исследовательских лабораторий по всему миру продолжают проводить эксперименты со свечами, чтобы больше узнать о пламени, выбросах и горении свечей.
И, конечно же, тысячи учеников каждый год изучают принципы тепла, света и горения в школьных научных проектах с использованием свечей.
Щелкните здесь для получения идей и советов по научным проектам
Как горят свечи
Все парафины в основном представляют собой углеводороды, что означает, что они в основном состоят из атомов водорода (H) и углерода (C).
Когда вы зажигаете свечу, жар пламени плавит воск возле фитиля. Этот жидкий воск затем вытягивается через фитиль за счет капиллярного действия.
Тепло пламени испаряет жидкий воск (превращает его в горячий газ) и начинает расщеплять углеводороды на молекулы водорода и углерода. Эти испаренные молекулы втягиваются в пламя, где они вступают в реакцию с кислородом воздуха с образованием тепла, света, водяного пара (H 2 O) и диоксида углерода (CO 2 ).
Приблизительно одна четверть энергии, создаваемой горением свечи, выделяется, когда тепло излучается от пламени во всех направлениях.
Создается достаточно тепла, чтобы излучать обратно и расплавлять больше парафина, чтобы поддерживать процесс сгорания до тех пор, пока топливо не будет израсходовано или тепло не будет устранено.
Когда вы впервые зажигаете свечу, для стабилизации процесса горения требуется несколько минут. Пламя может сначала мерцать или немного дымиться, но как только процесс стабилизируется, пламя будет гореть чисто и устойчиво в форме тихой капли, выделяя углекислый газ и водяной пар.
Тихо горящее пламя свечи — очень эффективная машина для сжигания. Но если в пламя попадает слишком мало или слишком много воздуха или топлива, оно может мерцать или вспыхивать, и несгоревшие частицы углерода (сажа) ускользнут из пламени прежде, чем они смогут полностью сгореть.
Клочок дыма, который вы иногда видите, когда мерцает свеча, на самом деле вызван несгоревшими частицами сажи, которые вышли из пламени из-за неполного сгорания.
Щелкните здесь для исследования свечей
Цвета пламени свечи
Если вы внимательно посмотрите на пламя свечи, вы увидите синюю область у основания пламени.Выше небольшой темно-оранжево-коричневый участок, а над ним большая желтая область, которую мы ассоциируем с пламенем свечи.
Богатая кислородом синяя зона — это место, где молекулы углеводородов испаряются и начинают распадаться на атомы водорода и углерода. Водород здесь первым отделяется и вступает в реакцию с кислородом с образованием водяного пара. Здесь часть углерода сгорает с образованием углекислого газа.
Темная или оранжево-коричневая область содержит относительно мало кислорода. Именно здесь различные формы углерода продолжают разрушаться, и начинают формироваться небольшие затвердевшие частицы углерода.
По мере того, как они поднимаются, вместе с водяным паром и углекислым газом, образующимися в голубой зоне, они нагреваются примерно до 1000 градусов по Цельсию.
В нижней части желтой зоны увеличивается образование частиц углерода (сажи). Поднимаясь, они продолжают нагреваться, пока не загорятся до накала и не испускают полный спектр видимого света. Поскольку желтая часть спектра является наиболее доминирующей при воспламенении углерода, человеческий глаз воспринимает пламя как желтоватое.Когда частицы сажи окисляются в верхней части желтой области пламени, температура составляет примерно 1200 o C.
Четвертая зона свечи (иногда называемая завесой) — это слабый внешний синий край, который простирается от синей зоны у основания пламени и вверх по сторонам конуса пламени. Он синий, потому что он непосредственно встречается с кислородом воздуха и является самой горячей частью пламени, обычно достигающей 1400 o C (2552 o F).
Почему пламя свечи всегда указывает вверх
Когда горит свеча, пламя нагревает окружающий воздух и начинает подниматься.По мере того, как этот теплый воздух движется вверх, более холодный воздух и кислород устремляются в нижнюю часть пламени, чтобы заменить его.
Когда этот более холодный воздух нагревается, он тоже поднимается вверх и заменяется более холодным воздухом у основания пламени.
Это создает непрерывный цикл восходящего движения воздуха вокруг пламени (конвекционный поток), который придает пламени удлиненную или каплевидную форму.
Поскольку «вверх» и «вниз» зависят от силы тяжести Земли, ученые задались вопросом, как будет выглядеть пламя свечи в космическом пространстве, где сила тяжести минимальна и на самом деле нет ни подъема, ни опускания.
В конце 1990-х ученые НАСА провели несколько экспериментов с космическими кораблями, чтобы увидеть, как пламя свечи ведет себя в условиях микрогравитации. Как вы можете видеть из фотографий НАСА ниже, пламя свечи в условиях микрогравитации имеет сферическую форму, а не вытянутую форму на Земле. Без силы тяжести теплый воздух не может подниматься вверх и создавать конвекционные потоки.
Пламя свечи при нормальной гравитации
Пламя свечи в условиях микрогравитации
Интересное чтение
Химическая история свечей
(серия лекций Майкла Фарадея 1860 г. в Лондоне)
www.bartleby.com
Свечи в условиях микрогравитации
(исследования свечей в рамках космической программы НАСА)
www.microgravity.gov
Candlestick Rocket Ship
(эксперименты НАСА с использованием парафинового воска в качестве ракетного топлива.)
www.science.nasa.gov
Физика и химия, лежащие в основе бесконечного очарования пламени свечи
(Автор Джерл Уокер. Первоначально напечатано в The Amateur Scientist Column, Scientific American, апрель 1978 г.)
www.bashaar.org.il
Как работают свечи — Блог Научного совета Иллинойса
Майкл Фарадей«Я НАЗЫВАЮ, в обмен на честь, которую вы оказываете нам, приходя посмотреть, чем мы занимаемся здесь, — представить вам в ходе этих лекций химическую историю свечи».
— Майкл Фарадей
В 1860 году с этих слов началась серия из шести лекций одного из самых выдающихся физиков мира Майкла Фарадея по науке о свечах.Помимо того, что он был известен как один из самых одаренных ученых в истории, Фарадей также хвалили за его замечательную способность сообщать науку широкой публике. Фарадей жил в то время, когда научное общение не было приоритетом — ученые делали свои открытия в лабораториях, но они не видели цели в просвещении общественности по своим вопросам. Впоследствии, в своей серии лекций «Химическая история свечи», Фарадей поделился знаниями, которые до того момента были понятны в деталях лишь горстке ученых и ученых.Лекции Фарадея были настолько точными с научной точки зрения, а его изложение — настолько ясным, что мы все еще можем извлекать уроки из них более 150 лет спустя.
Фарадей выбрал свечи в качестве своего предмета, потому что он понимал научное богатство, заключенное в них.
«Нет закона, в соответствии с которым управляется какая-либо часть этой вселенной, который не вступал бы в действие и не затрагивался бы в этих явлениях. Нет ничего лучше, нет более открытой двери, через которую вы можете войти в изучение натурфилософии, чем рассмотрение физических явлений свечи.»
— Майкл Фарадей
Функция свечи основана на принципах биологии, химии и физики. Здесь, вдохновляясь Фарадеем, я объясню науку о свечах, от их изготовления до зажигания и окончательного угасания пламени.
Части свечи
Конструкция свечи довольно проста: она сделана из воска и фитиля.
Весь воск для свечей состоит из углеводородов, получаемых из жиров.Углеводороды — идеальные молекулы для свечей, потому что они очень легко разжижаются и хранят много энергии. Европейцы на протяжении всей истории, с древнеримских времен до 19 века, использовали жир (топленый говяжий жир) для изготовления воска для свечей. Древние китайцы использовали китовый жир, а также пчелиный воск (который также богат углеводородами). В Индии для воска варили плоды коричного дерева, а японцы использовали экстракты ореха. В настоящее время большинство производителей свечей используют парафиновый воск, который получают из натуральных масел и минералов на основе углерода.
Фитиль был и всегда был сделан из плетеного хлопка, так как хлопок впитывает жидкости (например, жидкий воск).
Зажигание свечиКогда вы зажигаете фитиль свечи, вы запускаете сложную химическую реакцию, которая будет поддерживать себя, пока свеча цела и пламя горит. Во-первых, тепло пламени расплавляет воск поблизости. Фитиль впитывает жидкий воск, и он поднимается по фитилю к пламени, где он воспламеняется, поддерживая пламя.
Возгорание — это танец. В реакции горения такое топливо, как углеводород, танцует с кислородом, выделяя много тепла и света.
В свече углеводородное топливо поступает из жидкого свечного воска. Когда жидкий воск поднимается вверх по фитилю и встречает тепло пламени, он начинает распадаться на газ, состоящий из атомов углерода и водорода. Когда их связь разорвана, углерод и водород меняют партнеров в танце и связываются с кислородом воздуха. Взаимодействие углерода с кислородом создает углекислый газ, а при взаимодействии воды с кислородом образуется водяной пар.
Некоторое количество тепла от этой реакции уходит от пламени свечи и согревает нас, в то время как остальное плавит следующий слой воска, продолжая химическую реакцию вниз.
Горение метана, простейшего углеводорода. Черный = углерод, белый = водород, красный = кислород. Пламя свечи с измененными цветами, чтобы было легче видеть слои.Части пламени
Если вы внимательно посмотрите на пламя свечи, вы заметите слои разного цвета.В самом низу, возле фитиля, вы найдете синий слой. Это эпицентр горения, где углеводороды парафина впервые встречаются с кислородом и начинают разрушаться. Затем у вас есть темно-коричневый / оранжевый слой, где вы найдете твердый углерод. У этого углерода никогда не было возможности танцевать с кислородом, а это значит, что он никогда не сгорал. Наконец, есть газообразный углерод, который вышел из первых двух слоев и сгорает как раз перед тем, как уйти навсегда. Это дает свече это верхний желтый / белый слой.Внешний слой пламени — единственная часть, которая напрямую контактирует с кислородом, поэтому это самый горячий слой — он имеет температуру 2500 градусов по Фаренгейту, достаточно горячий, чтобы плавить сталь!
Погасить пламяКак я упоминал ранее, для сгорания необходимы три ингредиента: топливо, тепло и кислород. В свече кислород поступает из воздуха, топливо — из воска свечи, а тепло сначала исходит от спички, а в конечном итоге — от самого пламени свечи. Пока в свече есть эти три ингредиента, она будет гореть.
Чтобы потушить пламя свечи, все, что вам нужно сделать, это убрать один из этих трех ингредиентов. Самый простой вариант — дать свече выработать топливо самостоятельно — дайте ей прогореть до основания, чтобы закончился воск. Другой вариант — задуть пламя. Воздух вокруг фитиля охлаждается, дуя на пламя, что отводит тепло. Наконец, вы можете пережечь свечу, лишив ее кислорода. Вы можете сделать это очень легко, если ваша свеча идет в банке — просто закройте банку крышкой, и свеча задует сама собой!
Свеча дымоваяПочему когда вы задуваете свечу, из кончика фитиля начинает подниматься дым? Когда вы задуваете пламя, вы забираете тепло, которое предотвращает превращение жидкого парафина в газ во внешней части пламени, прежде чем он воспламенится.Следовательно, углеводороды застревают в жидкой форме и снова охлаждаются до твердых частиц. Эти частицы просто уносятся в виде дыма.
Иногда свечи оставляют после себя толстый слой темной черной сажи, которая похожа на водяное пятно на стакане для питья. Дым состоит из миллионов микроскопических капель (вместо воды они состоят из углерода). Когда дым падает на прохладную поверхность и «высыхает», остается сажа.
Этюд свечейСвечи использовались в течение тысяч лет, и большую часть тех лет производители и пользователи свечей не знали, как работают свечи.Тем не менее, они были достаточно увлекательными, чтобы привлечь внимание Майкла Фарадея, и даже через 150 лет после этого свечи все еще несут в себе мистическую ауру. Цикл лекций Фарадея о свечах был частью ежегодного цикла лекций, который он начал в 1825 году в Королевском институте в Лондоне, чтобы довести научное образование до широкой публики, особенно молодежи. Цикл лекций под названием «Рождественские лекции королевского института» продолжается и по сей день. Вы можете посмотреть лекции здесь.
Бен Маркус — специалист по связям с общественностью в CG Life и соредактор журнала Science Unsealed.Он получил докторскую степень. по нейробиологии Чикагского университета.
Просмотреть все сообщения
Начало собственного бизнеса по производству свечей: план успеха
ШАГ 1. Развивайте свой «шаг»
Напишите одно предложение, описывающее суть вашего бизнеса («кто») и ценность, которую вы приносите клиентам («что»).Думайте об этом как о презентации в лифте. Пример: «Puppy Love Candles Inc. производит уникальные ароматические свечи с необычными запоминающимися названиями, предназначенные для любителей собак».
ШАГ 2. Определите свой целевой рынок
Первым шагом в создании вашего бренда является определение места вашего бизнеса на более широком рынке свечей. Рассмотрите возможность развития вашей свечной линии вокруг одного из этих трех целевых рынков:
- Массовый рынок: Типичные доступные свечи, которые можно найти во многих розничных магазинах.Для этих свечей часто используются экономичные контейнеры и упаковка, и они имеют традиционные ароматы, такие как сосна и ваниль. Диапазон цен: от 5 до 8 долларов
- Средний рынок: Свечи широкого потребления, которые обычно можно найти в торговых точках, таких как Target, Macy’s, или даже в местных бутиках и сувенирных магазинах. Вы можете рассчитывать на свечи, которые будут иметь более качественную упаковку, уникальные сочетания ароматов (например, зеленый чай и лемонграсс или грейпфрут и мангостин), а также придать большее значение истории и имиджу бренда.Ценовой диапазон: от 9 до 14 долларов
- Высокий уровень или «престиж»: Хорошими примерами являются роскошные магазины с высокими ценами, такие как Nordstrom, Saks Fifth Avenue или даже высококлассные бутики. Свечи на рынке дорогих товаров, как правило, представляют собой продукты престижного уровня, в которых особое внимание уделяется упаковке, аромату и истории, стоящей за брендом. Диапазон цен: от 15 до 22 долларов +
Чтобы определить, на какой рынок ориентироваться, подумайте, кто будет покупать ваши свечи, как они будут покупать ваши свечи и сколько они готовы заплатить.Тогда вы лучше поймете, какие материалы использовать и как создать свою упаковку и бренд.
Важно начинать, имея в виду цель, но быть готовым со временем меняться и адаптироваться. Успешные компании постоянно приспосабливаются к своему рынку.
ШАГ 3. Найдите свою нишу
Теперь вы знаете, где ваши свечи подходят на рынке, поэтому пришло время определить индивидуальную нишу вашего бренда — что делает ваши свечи уникальными и выделяет их среди конкурентов.Вот несколько распространенных способов, которыми, по нашим наблюдениям, производители свечей находят идеальную нишу:
- Уникальные комбинации ароматов
- Специальная упаковка
- Умные или даже дурацкие названия для ваших свечей
- Благотворительная поддержка доброго дела
В В конце концов, ваша цель должна заключаться в том, чтобы продавать свечи настолько самобытные и уникальные, что покупатели не смогут их найти больше нигде.
ШАГ 4. Создайте продуманную торговую марку и идентичность
Решите, как называть свою компанию, и разработайте логотип, цветовую схему и фирменный стиль.Как только вы наткнулись на что-то броское и запоминающееся, дважды проверьте, доступен ли домен для веб-сайта (особенно важен URL-адрес .com), и выполните поиск по товарным знакам. Вам не обязательно сразу регистрировать товарный знак, но вы захотите, чтобы такая возможность была доступна по мере роста вашего бизнеса.
Обдумывая имена, сосредоточьтесь на том, что делает ваш бренд уникальным, чем вы увлечены и что находит отклик у клиентов. Не вдавайтесь в подробности своего брендинга. Вместо этого сосредоточьтесь на личном и искреннем.
свечей | освещение | Britannica
свеча , источник света, который в настоящее время используется в основном для декоративных и церемониальных целей, состоит из воска, жира или подобного медленно горящего материала, обычно в цилиндрической форме, но выполнен во многих причудливых формах, охватывая и пропитывая волокнистый фитиль.
Свечи были одними из самых ранних изобретений древнего мира, о чем свидетельствуют подсвечники из Египта и Крита, датируемые по крайней мере 3000 годом до нашей эры. В средние века в Европе широко использовались сальные свечи: в парижском налоговом списке 1292 года упоминается 71 чандлер, или производитель свечей.
В 19 веке французский химик Мишель-Эжен Шеврёль отделил жирную кислоту от глицерина жира, чтобы получить стеариновую кислоту, из которой можно было сделать превосходные свечи. Новые процессы производства свечей появлялись быстро. Помимо стеарина, были обнаружены два других важных источника: спермацет из полости головы кашалота и парафиновый воск из нефти. Композит парафина и стеариновой кислоты стал основным материалом для свечей.
При использовании тепло от пламени разжижает воск у основания фитиля.Жидкость течет вверх под действием капилляров, а затем испаряется под действием тепла. Пламя — это горение парафина.
Получите подписку Britannica Premium и получите доступ к эксклюзивному контенту. Подпишитесь сейчасМашины для формования свечей, также разработанные в 19 веке, состоят из рядов форм в металлическом резервуаре, который попеременно нагревается и охлаждается. После охлаждения форм свечи выталкиваются поршнями. Катушки капилляра снизу машины продеваются через поршни и проходят через форму для свечи.По мере выброса остывших свечей срезаются фитили.
Стандартная, или международная, свеча — это измерение силы света источника. Первоначально он был определен как свеча из сперматозоида весом в одну шестую фунта, горящую со скоростью 120 зерен в час. Эта интенсивность света была стандартизирована в 1921 году для ламп накаливания, и свечи больше не используются для справки.
Современные свечи выпускаются самых разных цветов, форм и размеров. Иногда в качестве добавок используются пчелиный и лавровый воск, а некоторые свечи ароматизированы.Изготовление свечей стало популярным хобби.
Loro Piana выпускает коллекцию свечей
С момента своего основания в 1924 году компания Loro Piana известна своими изделиями из кашемира и шерсти. Несомненно, роскошный и интригующе сдержанный — дом попадает в класс брендов, где «если вы знаете, вы знаете». Но даже до 1924 года семья Лоро Пиана торговала шерстью в Северной Италии, где в начале 19 века у них был процветающий бизнес.Неудивительно, что теперь, когда дом разрастается свечами, это наследие органично вписывается даже в самые неожиданные места.
Свечи похожи на скульптуры, они художественные, кустарные и незабываемо стильные. Можно сказать, что они похожи на маленькие произведения искусства, каждое из которых отдает дань уважения традиционным методам итальянских мастеров свечей. Они также прославляют текстильное наследие Loro Piana, используя полностью натуральные материалы, смешивая воск с лучшей пряжей и обрезками ткани из своего текстильного производства (в жаккардовых свечах используется кашемировая отделка шарфов) и используют те же красители, которые преображают Loro Piana. предметы одежды, чтобы свечи были неповторимыми.На создание каждой свечи у мастеров уходит 3 дня внимательной работы, а готовый результат больше похож на декор, чем на то, к чему вы в конечном итоге возьмете спичку.
Но когда приходит время зажечь свечу, запахи становятся следующим открытием. Ноты свечей Zibeline, Jacquard и Bouclé основаны на сырье, используемом для их создания. От аромата Zibeline Mongolia, который ощущается теплым с пряностями и кедровым деревом, до аромата сладких цветов Jacquard’s Myanmar, до свежего аромата букле, вдохновленного ландшафтом Новой Зеландии и ее шерстью.
Помимо ароматов и стиля, свечи можно использовать повторно — по истечении 110 часов горения дубовое дно и структура тканей и пряжи сохранятся, что создает хорошую возможность для украшения или хранения безделушек. И разве это не просто время года для свечей?
Ниже представлена дебютная коллекция свечей Loro Piana.
Коллекция свечей Loro Piana доступна для покупок исключительно на LoroPiana.com.
Реклама — продолжить чтение ниже
Новозеландская свеча букле
Новозеландская свеча букле
Новозеландская свеча букле
Сара Адамс Внештатный помощник по моде Сара — внештатный помощник по моде в Town & Country, где она помогает со всеми модными вещами и аксессуарами как для печати, так и для цифровых технологий.Этот контент создается и поддерживается третьей стороной и импортируется на эту страницу, чтобы помочь пользователям указать свои адреса электронной почты. Вы можете найти больше информации об этом и подобном контенте на сайте piano.io.
Реклама — продолжить чтение ниже
Структура и сила свечей форекс
Структура свечей форекс бывает разных форм и размеров, и это определяет степень их силы на графиках рынка форекс.Давайте посмотрим на их интересные размеры ниже.
Структура японских свечей форекс состоит из открытия, максимума, минимума, тела и закрытия .
См. Рисунок ниже; (Синий — покупатели / быки) (красный — продавцы / медведи)
давайте сначала посмотрим на открытие и закрытие.
Открытие и закрытие свечей форекс
Когда цена закрытия выше, чем цена открытия, это бычья свеча, а когда цена закрытия ниже открытия, формируется медвежья свеча.
Бычья свеча открывается ниже тела и закрывается выше тела. С другой стороны, медвежья свеча открывается выше тела и закрывается ниже тела.
Цена открытия — это цена, по которой торгуется первая цена в каждом таймфрейме, а цена закрытия — это цена, по которой торгуется последняя цена.
Корпус подсвечника
Свечи могут выглядеть как полное тело, без максимумов и минимумов, большое тело с максимумом и минимумом, маленькое тело или вообще без тела.
Длинное тело свечей форекс структурыТела свечей представляют участников рынка в зависимости от цвета; как покупатели, так и продавцы на рынке.
Длинные тела показывают давление трейдеров на рынке.
Чем больше реальное тело, тем сильнее давление покупателей или продавцов.
Когда вы видите длинную синюю свечу, быки сильнее медведей и доминируют на рынке. С другой стороны, когда появляется длинная красная свеча, за рынок отвечают продавцы / медведи.
Длинные красные свечи реального тела показывают более сильное давление продавцов на покупателей на рынке.Затем цены закрываются ниже открытия. По мере того, как на рынок выходит все больше продавцов, цена продолжает падать из-за увеличения предложения над спросом, а следовательно, дальнейшего закрытия цены ниже открытия.
Длинные синие свечные структуры тела обозначают, что покупатели отвечают за рынок и затем закрываются выше открытия. Это означает, что на рынке больше покупателей, а значит, и высокий рост цен.
Обычно это происходит, когда на рынке наблюдается сильная волатильность (большие колебания цен).
Маленькое реальное телоПо мере того, как реальное тело становится меньше, война между медведями и быками становится очень жесткой.
Сила покупателей и продавцов примерно одинакова.
Тот, кто становится сильнее, берет на себя ответственность за рынок. Это может привести к изменению рыночной тенденции.
Кроме того, постоянное уменьшение размера реального тела свечи может привести к формированию свечи Доджи. Открытие дожи равно закрытию. Это просто означает, что у него нет реального тела.
Формирование свечей с маленьким телом — сильный признак нерешительности между покупателями и продавцами на рынке.
Ценовая волатильность низкая, и рынок практически не движется в определенном направлении.
Подсвечник тени
Тени находятся ниже открытия и закрытия свечи. Также они бывают разных размеров.
Длинные тени и маленькие тени
Длинные тени
Длинные верхние тени показывают, что высокие цены отклонены на рынке.
Все больше покупателей на рынке толкают цены вверх, а продавцы по некоторым причинам неожиданно приходят на рынок, толкают цены вниз и закрываются около открытия. Это, например, может произойти, когда некоторые трейдеры продают длинные позиции или просто новые продавцы приходят на рынок в тот же период времени.
Для длинных низких теней i t показывает, что низкие цены были отклонены .
Это происходит, когда на рынке доминируют продавцы, и на удивление появляются покупатели с большой силой по любой причине, заставляя цены закрыться около открытия.
На данный момент цены настолько низкие, что продавец не может продавать дальше. Тем временем некоторые покупатели приходят на рынок, чтобы воспользоваться преимуществами покупки по очень низким ценам.
Как и на любом другом нормальном рынке, когда спрос растет, цены растут.
Точно так же, чем больше покупателей выходит на рынок форекс, цена валюты будет расти, толкая цены от своего нижнего минимума к закрытию свечи.
Маленькие / короткие тениКороткие тени свечей показывают небольшие отклонения цены на рынке.
Это означает, что либо покупатели, либо продавцы по-прежнему сильны и, вероятно, какое-то время будут доминировать на рынке.
Если это восходящий тренд / цена движется вверх, это означает, что у покупателей все еще есть более высокие шансы на некоторое время доминировать на рынке. Точно так же, если это нисходящий тренд (падение цены), продавцы по-прежнему сильны и какое-то время будут управлять рынком.
Однако это не означает, что продавцы / покупатели вообще не появятся при восходящем тренде, а покупатели — при нисходящем.
Структура свечей форекс без теней
Некоторые свечи появляются вообще без теней.
Они формируются, когда цена открытия равна максимуму, а закрытие — минимуму для красной / медвежьей свечи. Или, открытие равно минимуму, а закрытие равно минимуму для синей / бычьей свечи.
Когда это происходит, это означает, что либо покупатели, либо продавцы контролируют рынок от первой до последней сделки на протяжении всей сессии.
Они известны как; Марубозу . Мы обсудим больше, когда рассмотрим свечные модели ниже.
Как читать модели свечей Форекс
2. Общая терминология свечей
Некоторых трейдеров, кажется, оттолкнул язык , на котором изображены графики свечей . Но на самом деле это довольно просто: названия паттернов часто говорят вам, какое сообщение им присуще. Первоначально свечные образования были отчасти обозначены в соответствии с военной средой японской феодальной системы того времени.Поэтому вы встретите такие термины, как «пронзительный», «колющий» и «продвижение трех солдат», которые определенно отражают военный состав. Но свечам также были даны и другие, более мистические имена, которые сначала могут показаться необычными, но на самом деле очень описательными, например, «стрекоза» или «утренняя звезда». Стив Нисон в одной из своих книг по этой теме объясняет:
Интересным атрибутом свечных графиков является то, что названия свечных паттернов представляют собой красочный механизм, описывающий эмоциональное состояние рынка в то время, когда эти паттерны формируются. .Услышав выражение «покров из темных облаков», думаете ли вы, что рынок находится в эмоционально здоровом состоянии? Конечно, нет! […] Это медвежья модель, и название ясно передает нездоровое состояние рынка. […] Описательные названия, используемые японцами, не только делают построение свечей интересным, но и позволяют легче запомнить, являются ли модели бычьими или медвежьими . Например, […] «вечерняя звезда» и «утренняя звезда». Не зная, как выглядят эти паттерны или что они означают для рынка, просто слыша их названия, какие вы считаете бычьими, а какие — медвежьими?
Вечерняя звезда (прозвище планеты Венера), которая появляется до наступления темноты, звучит как медвежий сигнал — и это так! Таким образом, утренняя звезда является бычьей, поскольку начало утра (планета Меркурий) появляется незадолго до восхода солнца.
Источник: «Методы построения японских свечей, современное руководство по древним инвестиционным методам Дальнего Востока» Стива Нисона, Prentice Hall Press, Second Edition, 2001.
Из вселенной десятков моделей свечей, было обнаружено, что небольшая группа из них предоставляет больше торговых возможностей, чем может использовать большинство трейдеров. В этом разделе анализируются и изучаются 12 паттернов с целью предложить вам достаточно информации об увлекательном способе чтения ценового действия.Ниже приводится список выбранных свечных паттернов.
2.1. Свеча Marubozu
Хотя эта свеча не является одной из самых упоминаемых, она является хорошей отправной точкой для того, чтобы отличить длинные свечи от коротких. Марубозу — это модель одной свечи , которая имеет очень длинное тело по сравнению с другими свечами. Хотя это считается подтверждением направления рынка, он предлагает войти в движение, когда цена уже сильно изменилась.В результате риск, связанный с этим сигналом, делает марибозу не такой популярной по сравнению с другими свечами.
Сигнализирует о сильной покупке, когда цена закрытия значительно выше открытия, и наоборот, когда свеча является медвежьей.

Это связано с вязкостью
свечной массы в расплавленном состоянии: для
вязкого воска нужны широкие капилляры, а
легкоподвижные парафин, стеарин и жиры требуют
более тонких капилляров, иначе из-за избытка
горючего материала свеча станет сильно коптить.
Жидкий парафин возле огня
испаряется, освобождая углерод, пар которого
поддерживает горение. При достаточном
количестве воздуха возле пламени оно горит ясно.
Растопленный парафин гасит пламя, поэтому свеча
не горит вдоль всего фитиля.
Над его внешними краями копоти больше,
над серединой больше.
к. центральная часть пламени является
недостаточно горячей, чтобы обуглить картон.
Пламя имеет разные температурные участки.
Подрезали часть подгоревшего фитиля
Посреди тарелки поставили горящую
свечку (тоненькую, небольшую, прикрепленную при
помощи пластилина)
1. Поставили свечку на пол. 2. Осторожно
встали на табуретку возле приоткрытой двери,
держим зажженную свечу в верхней части двери.
Аккуратно затушили свечу.
