Устройство контактно транзисторной системы зажигания
Работа контактно транзисторной системы основана на использовании полупроводниковых приборов. Преимущества контактно транзисторной системы по сравнению с батарейной системой зажигания следующие:
- через контакты прерывателя проходит небольшой ток управления транзистора, а не ток (до 8 А) первичной обмотки катушки зажигания (исключается эрозия и износ контактов).
- Возрастает ток высокого напряжения и энергия искрового разряда (это позволяет увеличить зазор между электродами свечи зажигания, приводит к облегчению пуска двигателя, делает двигатель экономичнее).
Для начала давайте разберемся,
Что такое транзисторТранзистор — это трехэлектродный прибор, изменяющий сопротивление от нескольких сот омов (транзистор закрыт) до нескольких долей ома (транзистор открыт).
Имея малое сопротивление во включенном состоянии и очень большое сопротивление в выключенном состоянии, транзистор вполне удовлетворяет требованиям предъявляемым к переключающим элементам.
а – расположение выводов на транзисторном коммутаторе; б – общая схема системы зажигания; 1 – транзисторный коммутатор ТК 102; 2 — резисторы; 3 – блок защиты транзистора; 4 – первичная обмотка; 5 – катушка зажигания; 6 – вторичная обмотка; 7 – свечи зажигания; 8 — крышка; 9 – ротор с электродом; 10 – распределитель зажигания; 11 –подвижный контакт; 12 – неподвижный контакт; 13 – кулачок прерывателя; 14 – добавочные резисторы СЭ 117; 15 – выключатель добавочного резистора; 16 — АКБ; 17 – выключатель зажигания; 18 — стабилитрон; 19 — диод; 20 – импульсный трансформатор; 21 – германиевый транзистор; К, Б, Э – электроды транзистора (коллектор, база, эмиттер).
Контактно транзисторная система ЗИЛ-130 состоит из транзисторного коммутатора1, катушки зажигания 5, свечей зажигания 7, распределителя 10, добавочных резисторов 14, выключателя 15 добавочного резистора, АКБ 16 и выключателя зажигания 17.
Катушка зажигания Б114 – маслонаполненная, выполнена по трансформаторной схеме, т.е. ее первичная и вторичная обмотки не соединены между собой и между ними существует только магнитная связь. Первичная обмотка катушки зажигания имеет два вывода, расположенные на карболитовой крышке. Один вывод обозначен буквой К, другой не имеет обозначения. Один вывод вторичной обмотки присоединен к корпусу, а другой соединен с проводом высокого напряжения, укрепленным в центральном отверстии крышки катушки зажигания. При установке катушки зажигания ее надежно соединяют с массой так, чтобы не было зазоров.
Добавочные резисторы СЭ 107, выполненные в виде двух спиралей, установлены в отдельном кожухе и имеют три вывода: ВК-Б, ВК и К.
Спирали изготовлены из константановой проволоки, сопротивление которой при нагреве не изменяется, и в первичной обмотке катушки зажигания поддерживается постоянное напряжение.
Транзисторный коммутатор ТК 102 состоит из транзистора 21, импульсного трансформатора 20 и блока 3 защиты транзистора. В блок защиты входят резисторы 2, диод 19, стабилитрон 18 и конденсатор.
Все приборы коммутатора размещены в алюминиевом корпусе, имеющем ребра для лучшего отвода теплоты. У транзисторного коммутатора есть четыре вывода, обозначенные М, К, Р, и один без обозначения. Вывод М надежно соединяют с массой автомобиля многожильным неизолированным проводом, вывод К с концом первичной обмотки катушки зажигания, вывод без обозначения – со вторым концом первичной обмотки катушки зажигания, Р с подвижным контактом прерывателя.
Как работает контактно-транзисторная система зажигания?Если выключатель зажигания 17 включен, а контакты прерывателя разомкнуты, то транзистор 21 заперт, так как нет тока в его цепи управления, т.
е. в переходе эмиттер – база. Ток не проходит и между эмиттером и коллектором на массу, так как сопротивление этого перехода очень большое. При замыкании контактов прерывателя в цепи управления транзистора (эмиттер-база) проходит ток, в результате транзистор открывается. Сила тока управления невелика около (0,8 А) и уменьшается до 0,3 А с увеличением частоты вращения кулачка прерывателя. В контактно-транзисторной системе зажигания имеются две цепи низкого напряжения: цепь управления транзистора и цепь рабочего тока.
Цепь управления транзистора: положительный вывод АКБ 16 – выключатель зажигания 17 – выводы ВК-Б и К добавочных резисторов 14 – первичная обмотка 4 катушки зажигания 5 – вывод транзисторного коммутатора 1 – электроды перехода эмиттер – база транзистора 21 – первичная обмотка импульсного трансформатора 20 – вывод Р – контакты 11 и 12 прерывателя – масса – отрицательный вывод АКБ. При прохождении тока управления транзистора через переход эмиттер-база значительно уменьшается сопротивление эмиттер-коллектор, и транзистор открывается, включая цепь рабочего тока (7-8 А).
Положительный вывод АКБ 16 – выключатель зажигания 17 – выводы ВК-Б и К добавочных резисторов 14 – первичная обмотка 4 катушки зажигания 5 – вывод транзисторного коммутатора 1 – электроды перехода эмиттер-коллектор транзистора 21 – вывод М – масса – отрицательный вывод АКБ. При размыкании контактов прерывателя прекращается ток в цепи управления транзистора и значительно возрастает его сопротивление. Транзистор закрывается, выключая цепь рабочего тока низкого напряжения. Магнитный поток изменяющегося поля пересекает витки катушки зажигания, индуктируя во вторичной обмотке ЭДС, в результате чего возникает высокое напряжение (около 30000 В), а в первичной обмотке ЭДС самоиндукции (около 80-100 В).
Цепь высокого напряженияВторичная обмотка 6 катушки зажигания 5 ротор 9 распределителя 10 – свечи зажигания 7 ( в соответствии с порядком работы двигателя) – масса – вторичная обмотка 6 катушки зажигания 5.
Импульсный трансформатор необходим для быстрого запирания транзистора. При размыкании контактов прерывателя во вторичной обмотке импульсного трансформатора индуктируется ЭДС самоиндукции, направление которой противоположно направлению рабочего тока на переходе база-эмиттер. Благодаря этому быстро исчезает магнитное поле и ток в первичной обмотке 4 катушки зажигания 5. Диод 19 и стабилитрон 18 в прямом направлении – мимо первичной обмотки катушки зажигания.
Необходимо помнить, что контакты прерывателя пропускают и прерывают только силу тока управления транзистора 0,3-0,8 А. Если на них попало масло, образовалась масляная пленка или слой окиси, то ток управления транзистора не сможет пройти через контакты. Поэтому контакты прерывателя промывают бензином и следят за тем, чтобы они всегда были чистыми.
Контактно-транзисторная система зажигания.
Контактно-транзисторная система зажигания
Наиболее слабым звеном контактной (батарейной) системы зажигания являются контакты прерывателя.
Ток высокого напряжения, проходя через контакты, приводит к их интенсивному износу, подгоранию, эрозии, в результате чего нарушается регулировка зазора и, как следствие, угол опережения зажигания, продолжительность и мощность искры.
Все это сказывается на надежности, долговечности системы зажигания и трудоемкости ее обслуживания.
Развитие электронной техники привело к созданию мощных полупроводниковых приборов, способных выполнять функции механических ключей, разрывающих электрическую цепь посредством управляющего тока небольшой величины, т. е. электронных реле. Такие реле, выполненные на транзисторах, пришли на смену механическим контактам, а батарейную систему зажигания сменила контактно-транзисторная.
В контактно-транзисторной системе зажигания механические контакты служат лишь для разрыва цепи, в которой протекает небольшой по величине ток, управляющий полупроводниковыми переходами транзистора, а транзистор, выполняя функцию реле, подает ток в первичную обмотку катушки зажигания.
Благодаря этому удалось существенно повысить срок службы контактов и стабильность работы системы.
***
Работа контактно-транзисторной системы зажигания
Контактно-транзисторная система зажигания состоит, в основном, из тех же элементов, что и классическая батарейная, и отличается от неё наличием транзистора, резисторов и отсутствием конденсатора, ранее шунтировавшего контакты прерывателя.
Работает эта система зажигания следующим образом (рис. 1).
Когда контакты прерывателя Пр разомкнуты, транзистор V закрыт, и ток в первичной обмотке катушки зажигания отсутствует.
При замыкании контактов транзистор V открывается и через первичную обмотку катушки зажигания начинает протекать ток, нарастающий от нуля до некоторого значения, определяемого параметрами первичной цепи и временем, в течение которого контакты замкнуты. В сердечнике катушки накапливается электромагнитная энергия.
При размыкании контактов прерывателя транзистор V закрывается, и ток в первичной обмотке w1 катушки зажигания резко уменьшается.![]()
Особенностью такой системы зажигания является то, что в ней контакты прерывателя коммутируют только незначительный ток базы транзистора, в тоже время ток через первичные обмотки катушки зажигания коммутирует транзистор.
При этом вторичное напряжение в катушке зажигания может быть повышено, поскольку увеличение тока разрыва уже не ограничено электроэрозионной стойкостью контактов прерывателя, а зависит только от параметров транзистора.
Однако следует иметь в виду, что преимущества транзисторной системы зажигания могут быть реализованы лишь при применении специальной катушки зажигания, которая должна иметь первичную обмотку с низким омическим сопротивлением, малой индуктивностью и большим коэффициентом трансформации.
***
К недостаткам транзисторных систем зажигания следует отнести большую потребляемую мощность. Это связано с необходимостью увеличения тока разрыва. Кроме того, мощные транзисторы, используемые в таких системах, требуют эффективного охлаждения во время работы, а электронные блоки систем зажигания обязательно должны иметь средства защиты от импульсных помех напряжением более 100 В.
Еще один недостаток транзисторной системы зажигания заключается в ее относительной сложности, обусловленной применением полупроводниковых приборов. Классическая контактная система зажигания состоит всего из нескольких элементов, которые даже специалист невысокой квалификации может легко проверить без специальных измерительных приборов и оборудования.
Состояние контактов прерывателя можно проверить просто визуально.
Замена контактов не вызывает трудности, а зная характерные признаки неисправности катушки зажигания или распределителя можно устранить и проблемы, связанные с их отказом.
Для ремонта же или проверки электронного блока требуется специальное оборудование и персонал соответствующей квалификации.
Тем не менее, очевидные достоинства и простота их реализации предопределили широкое использование индуктивных систем зажигания на автомобильных двигателях.
Последние достижения в области создания транзисторных систем зажигания, т.е. использования высоковольтных транзисторов Дарлингтона, применение принципа нормирования времени накопления энергии, позволили практически устранить такие недостатки индуктивных систем, как большая зависимость вторичного напряжения от шунтирующего сопротивления на изоляторе свечи и от частоты вращения коленчатого вала.
Составной транзистор Дарлингтона был изобретен в 1953 году инженером Сидни Дарлингтоном (Sidney Darlington). Транзистор Дарлингтона является каскадным соединением двух (реже трех или более) биполярных транзисторов, включённых таким образом, что нагрузкой в эмиттерной цепи предыдущего каскада является переход база-эмиттер транзистора последующего каскада (то есть эмиттер предыдущего транзистора соединяется с базой последующего), при этом транзисторы соединяются коллекторами.
Такое соединение позволило улучшить электрические характеристики соединяемых по схеме Дарлингтона транзисторов.
Благодаря перечисленным новшествам, тиристорные системы зажигания с емкостным накопителями потеряли часть преимуществ перед индуктивными системами зажигания, и практически не используются на автомобильных двигателях.
***
Бесконтактная система зажигания
Главная страница
Дистанционное образование
Специальности
Учебные дисциплины
Олимпиады и тесты
Контактно-транзисторная система зажигания | whatisvehicle
1 — свеча зажигания; 2 — провод высокого напряжения; 3 — боковой контакт распределителя; 4 — ротор распределителя; 5 — кулачок; 6 — контакты прерывателя; 7 — коммутатор; 8 — первичная обмотка катушки зажигания; 9 — вторичная обмотка; 10 — центральный провод высокого напряжения; 11 — включатель зажигания; 12 — аккумуляторная батарея; А — прерыватель; Б — база; В — катушка зажигания; К — коллектор; Э – эмиттер.
Контактно-транзисторная система зажигания явилась переходным этапом от контактной к бесконтактным электронным системам. В ней устраняется недостаток контактной системы — подгорание и износ контактов прерывателя, коммутирующих цепь с индуктивностью и значительной силой тока. В контактно-транзисторной системе первичную цепь обмотки возбуждения коммутирует транзистор, управляемый контактами прерывателя. С применением’ контактно-транзисторной системы на автомобиле появился новый блок — электронный коммутатор(7), объединяющий в себе силовой коммутирующий транзистор и элементы схемы его управления и защиты.
Прежде, чем разбирать систему, давайте разберёмся, что такое транзистор.
Транзисторами называют полупроводниковые приборы, предназначенные для усиления, генерирования и преобразования электрических колебаний.
У транзистора три вывода: коллектор, эмиттер и база.
Можно долго читать нудные объяснения научными заумными фразами.
А можно быстро и просто понять, как же оно работает.
Так вот, по пути Коллектор-Эмиттер течёт Коллекторный ток(Ik). По другому пути База-Эмиттер течёт слабый управляющий ток(Iб). И вот при помощи этого тока базы управляется коллекторный ток(его величина).
Причем, коллекторый ток всегда больше тока базы в определенное количество раз. Эта величина называется коэффициент усиления по току, обозначается h31э. У различных типов транзисторов это значение колеблется от единиц до сотен раз.
Если увеличить ток базы, то переход ЭБ откроется сильнее, и между эмиттером и коллектором сможет проскочить больше электронов. А поскольку ток коллектора изначально больше тока базы, то это изменение будет весьма и весьма заметно. Таким образом, произойдет усиление слабого сигнала, поступившего на базу.
Более подробно можно прочитать тут: http://radiokot.ru/start/analog/basics/08/
Теперь, давайте вернёмся к нашей системе зажигания )
1 — аккумуляторная батарея; 2,3 — контакты выключателя зажигания; 4,5 — добавочные резисторы; 6 — коммутатор; 7 — прерыватель
На рисунке представлена схема контактно-транзисторного зажигания с коммутатором ТК 102.
При замыкании контактов прерывателя(7) через них начинает протекать ток базы транзистора VT1, который открывается и включает первичную обмотку катушки зажигания к источнику питания.
При размыкании контактов прерывателя транзистор VT1 закрывается, ток в первичной цепи резко прерывается и на свечах появляется всплеск высокого напряжения, как и в контактной системе.
Характеристики контактно- транзисторной системы аналогичны контактной, за исключением того, что снижения вторичного напряжения на низких частотах, вращения кулачка не происходит. Импульсный трансформатор Т в схеме ускоряет запирание транзистора, цепь VD1, VQ2 защищает транзистор от перенапряжений, а конденсатор С2 — от случайных импульсов напряжения по цепи питания. Конденсатор С1 способствует уменьшению коммутационных потерь, в транзисторе. Добавочный резистор 4 закорачивается при пуске двигателя.
Срок службы контактов прерывателя, в контактно-транзисторной системе больше, чем в контактной, так как базовый ток, коммутируемый ими, невелик. Однако механический износ прерывательного механизма, влияние вибраций на работу контактов в системе не устранены.
Специфические особенности работы транзистора в цепи катушки зажигания предопределяет необходимость полного электрического разделения первичной и вторичной обмоток (в обычной катушке два вывода обмоток соединены), а так же отсутствие конденсатора. Катушка транзисторной системы зажигания имеет большее отношение числа витков вторичной и первичной обмоток. Наиболее распространенной отечественной контактно-транзисторной системой зажигания является ТК-102. К системе зажигания добавляется коммутатор, резистор и заменяется катушка зажигания. Преимуществом этой системы зажигания является возможность увеличения искрового промежутка свечи, стабильность работы двигателя на режимах прогрева, холостого хода и малых нагрузок, улучшение пусковых качеств, особенно при низком напряжении аккумулятора, повышение долговечности контактов прерывателя.
Давайте ещё раз последовательно взглянем на работу системы:
1 — свеча; 2 — ротор; 3 — распределитель; 4 — контакты; 5 — коммутатор; 6,7—обмотки; 8 — выключатель
Работает система следующим образом: при включенном выключателя зажигания(8) после замыкания контактов 4 прерывателя транзистор коммутатора(5) открывается(т.к. пошёл ток базы, который открывает транзистор), и по первичной обмотке(7) катушки зажигания будет протекать ток. В момент размыкания контактов прерывателя транзистор коммутатора запирается(т.к. пропадает ток базы). Ток в первичной цепи резко уменьшается, и во вторичной обмотке(6) катушки зажигания создается ток высокого напряжения. Он подводится к ротору(2) распределителя зажигания(3), который распределяет ток высокого напряжения по свечам зажигания(1) в соответствии с порядком работы двигателя.
Ещё советую глянуть видео:
Рутуб: http://rutube.
ru/tracks/175204.html?v=967bdecc203dd38887c9620e767f244f
Думаю, теперь понятно, как это работает. Теперь, предлагаю перейти к рассмотрению к более современной системе зажигания.
Понравилось это:
Нравится Загрузка…
в чём отличия от классической схемы?
В предыдущей статье подробно рассказано о классической схеме системы зажигания, так называемой контактной. Идеальной её не назовешь, главной болезнью её является подгорание и быстрый износ контактов прерывателя. Она побудила инженеров продолжить разработки новых конструкций и новым шагом стала контактно транзисторная система зажигания.
Проблемы контактных систем и способы их решения
Освежим в памяти принцип работы классической схемы зажигания, чтобы понять, что в ней ненадёжно.![]()
При повороте ключа в замке на катушку зажигания подаётся низкое напряжение сначала от аккумулятора, а потом и от бортовой сети.
Для того чтобы в силу вступили законы физики, и во вторичной обмотке катушки появилось высокое напряжение, достаточное для образования искры, прерыватель разрывает низковольтную цепь.
В это же время распределитель подключает контакты с высоким напряжением, идущие к нужной свече.
На первый взгляд всё просто и ломаться тут особо нечему. Но реальность сложнее – постоянное размыкание и замыкание контактных групп, коммутирующих катушку, приводит к их подгоранию из-за появляющегося в эти моменты импульса тока, а также износу.
Это и является главной проблемой классической схемы. Помимо этого, развитие самих моторов: увеличение их мощности, количества цилиндров и оборотов, сделало её применение очень сложным, а порой и невозможным.
Контактно транзисторная система зажигания. Что придумали инженеры?
Контактно транзисторная система зажигания, о которой мы сегодня говорим, лишена одного из основных недостатков своего предшественника – подгорания контактов прерывателя.
Решена эта проблема была радикально – нет больших токов на контактах, нет обгорания.
Для этого в цепи схемы появился новый узел, так называемый коммутатор, основу которого составляет полупроводниковый транзистор.
Он позволяет управлять большими токами при помощи малых. Для этого транзистор имеет три контакта – база, эмиттер, коллектор. Прикладывая к первым двум небольшой управляющий ток, можно управлять цепью коллектор эмиттер, где значение тока может быть в десятки раз больше.
Данное свойство и позволило избежать подгорания контактов.
Как устроена система с транзистором?
С теоретической частью мы закончили, теперь давайте еще раз пробежимся по чертежам выше и более детально посмотрим на устройство контактно транзисторной системы зажигания.
В принципе, как вы уже поняли, кардинальных отличий от более ранней контактной схемы не очень много. Основными составными частями являются:
От классической схемы отличается только наличием коммутатора.
Данный узел представляет собой блок, внутри которого, помимо силового транзистора находится ещё ряд элементов, защищающих его от бросков обратного тока, и прочие дополнительные детали.
Главное предназначение данного узла – управление током, проходящим через низковольтную обмотку катушки зажигания.
Прерыватель в этом случае управляет током базы транзистора, который в свою очередь подключает и отключает катушку зажигания, где токи гораздо выше и опаснее для механических контактов. В остальном алгоритм работы такой же, как и в простой контактной системе.
Плюсы и минусы
Неужели контактно транзисторная система зажигания отличается от классической схемы только отсутствием подгорающих контактов? И ради этого стоило городить огород с коммутатором?
На самом деле есть у этой системы и другие преимущества, а именно:
- появилась возможность увеличить ток первичной обмотки катушки зажигания, а значит и во вторичной он увеличится, и как следствие, станет больше напряжение на свечах;
- большее напряжение позволит увеличить зазор между контактами свечи, а это сделает её долговечней;
- данная система зажигания позволяет повысить обороты мотора и его мощность;
- работа мотора становиться устойчивее, благодаря улучшенному искрообразованию.

В целом контактно транзисторная система зажигания имеет хороший ресурс, долговечна и довольно надёжна, хотя и она не лишена недостатков.
К примеру, зависимость тока низковольтной обмотки катушки от тока базы транзистора, который, в свою очередь, может меняться в зависимости от состояния контактов прерывателя.
Ну что ж, коллеги-автолюбители, в заключение можно сделать вывод, что схема, ставшая героем этой статьи, является шагом вперёд по сравнению со старыми классическими вариантами, но и она далека от того, чтобы именоваться совершенной.
По большому счёту, контактно транзисторная система зажигания принцип работы которой мы попытались объяснить мало чем отличается от простой контактной. То ли дело бесконтактные технологии зажигания, и о них мы поговорим в следующей статье, не пропустите!
Схема и принцип работы контактно-транзисторной системы зажигания
Рис. 1. Электрические схемы контактно-транзисторной системы зажигания: а — принципиальная; б — с транзисторным коммутатором TK102.
На рис. 1, а показана принципиальная схема контактно-транзисторной системы зажигания. Контакты прерывателя S1 включены в цепь базы (Б) транзистора VT, а первичная обмотка L1 катушки зажигания Т1 — в цепь эмиттера (Э) этого транзистора. Наличие транзистора VT значительно облегчает работу контактов прерывателя, так как через них протекает ток управления транзистором (ток базы Iб), а ток первичной обмотки катушки зажигания I1 — через переход эмиттер — коллектор транзистора.
В цепь первичной обмотки включены добавочный резистор Rд шунтируемый контактами S2 в момент пуска двигателя стартером, выключатель зажигания S3 и аккумуляторная батарея GB.
При включении зажигания и замыкании контактов прерывателя S1 потенциал базы транзистора VT будет отрицательным относительно эмиттера, поэтому транзистор откроется и в первичной цепи появится ток I1. В этом случае сопротивление транзистора (переход эмиттер—коллектор) будет минимальным (0,15 Ом).
При размыкании контактов прерывателя S1 ток базы транзистора Iб прерывается, разность потенциалов базы и эмиттера становится равной нулю, транзистор запирается (значительно повышается сопротивление перехода эмиттер—коллектор), сила тока в первичной обмотке катушки зажигания резко убывает, что обеспечивает индуктирование высокого напряжения во вторичной обмотке L2.
В случае запирания транзистора при прекращении тока базы, т. е. при обрыве цепи базы, снижается устойчивость работы транзистора. Для улучшения процесса запирания транзистора в реальных схемах контактно-транзисторных систем зажигания применяют запирание транзистора, при котором на базу транзистора в момент размыкания контактов прерывателя подается положительный по отношению к эмиттеру потенциал. В этом случае получается наибольшая скорость спада силы первичного тока, что способствует увеличению вторичного напряжения в катушке зажигания.
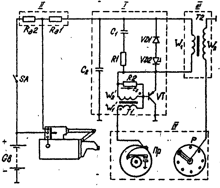
На рис. 1, б приведена электрическая схема контактно-транзисторной системы зажигания с транзисторным коммутатором ТК102, которая предназначена для восьмицилиндровых двигателей.![]()
Схема включает транзисторный коммутатор I (ТК102), катушку зажигания Т1 (Б114), прерыватель S1 и распределитель S4, блок резисторов II (СЭ107), составленный из резисторов Rд1 (0,5 Ом) и Rд2 (0,5 Ом), выключатель добавочного резистора S2. Резистор Rд1 ограничивает максимальную силу тока ток I1 в первичной цепи, а резистор Rд2 выполняет функции добавочного резистора, как в контактной системе зажигания. Катушка зажигания Б114 имеет первичную обмотку L1 из 180 витков провода диаметром 1,25 мм, марки ПЭВ и вторичную L2 из 41 ООО витков провода диаметром 0,06 мм марки ПЭЛ. Сопротивление первичной обмотки 0,38 Ом, вторичной 20 500 Ом. Индуктивность первичной обмотки 3,7 мГн, а вторичной 150—170 Гн. Коэффициент трансформации Кт = w1/w2 = 228. Уменьшение числа витков первичной обмотки и ее индуктивности по сравнению с катушками зажигания контактных систем необходимо для понижения ЭДС самоиндукции в первичной цепи чтобы исключить возможность пробоя силового транзистора коммутатора.
Поэтому катушки зажигания контактных и контактно-транзисторных систем зажигания не взаимозаменяемы.
Транзисторный коммутатор включает мощный германиевый транзистор VT3 типа ГТ701А, стабилитрон VD2 (Д817В), диод VD1 (Д226), импульсный трансформатор Т2, конденсаторы C1 (1 мкФ) и С2 (50 мкФ), резистор R1 (27 Ом).
Все элементы транзисторного коммутатора смонтированы в литом алюминиевом корпусе, имеющем ребристую поверхность для увеличения теплоотдачи. Необходимость интенсивного отвода теплоты вызвана применением германиевого транзистора. Чтобы транзистор не перегревался, температура окружающей среды не должна превышать 65°С, поэтому транзисторный коммутатор ТК102 на автомобиле устанавливается в кабине водителя, а не под капотом двигателя.
Система работает следующим образом. При включении выключателя зажигания S3 после замыкания контактов прерывателя S1 транзистор VT3 открывается, так как потенциал его базы (Б) становится ниже потенциала эмиттера (Э), и по первичной обмотке L1 катушки зажигания будет протекать ток I1.
Сила тока базы Iб равна 0,8—0,3 А (уменьшаясь при увеличении частоты вращения кулачка валика прерывателя), а сила тока в первичной обмотке 7—8 А.
В момент размыкания контактов прерывателя транзистор VT3 запирается. Ток в первичной цепи резко уменьшается, и во вторичной обмотке L2 катушки зажигания создается высокое напряжение, импульсы которого распределяются по свечам зажигания распределителем S4. Трансформатор Т2 обеспечивает активное запирание транзистора VT3. Первичная обмотка L3 этого трансформатора включена последовательно с контактами прерывателя. При размыкании контактов прерывателя во вторичной обмотке L4 индуктируется ЭДС, обеспечивающая активное запирание транзистора VT3 (потенциал его базы в момент запирания становится выше потенциала эмиттера).
Резистор формирует импульс, ускоряющий запирание транзистора. При наличии резистора (27 Ом) время запирания транзистора составляет около 30 мкс, без него 60 мкс.
Для защиты транзистора при возрастании ЭДС самоиндукции, возникающей в первичной обмотке катушки зажигания (например, при отсоединении провода высокого напряжения от свечи или крышки распределителя во время работы двигателя и при проверке системы зажигания на искру), включен кремниевый стабилитрон VD2.
Напряжение стабилизации стабилитрона выбрано таким, что оно вместе с напряжением питания не превышало предельно допустимого напряжения на участке эмиттер—коллектор (свыше 100 В) транзистора VT3.
Диод VD1, включенный встречно стабилитрону, предотвращает шунтирование стабилитроном первичной обмотки.
Конденсатор С2 предназначен для защиты транзистора от случайных перенапряжений в цепи питания схемы (например, при работе без батареи, при неисправности регулятора напряжения, коротком замыкании в обмотках генератора, ухудшении контакта с массой генератора и регулятора). При увеличении скорости запирания транзистора импульсном трансформатором Т2 скорость спада силы тока первичной цепи достаточна для получения необходимого вторичного напряжения, поэтому в контактно-транзисторных системах зажигания конденсатор параллельно контактам прерывателя не включается.
Конденсатор С1 обеспечивает снижение тепловых потерь в транзисторе VT3 в период его переключения.
К преимуществам контактно-транзисторной системы зажигания относятся увеличение в два раза вторичного напряжения, энергии и длительности искрового разряда, повышение срока службы контактов прерывателя, времени наработки свечей между регулировкой зазора в свечах, так как система менее чувствительна к возрастанию искрового промежутка свечи.
Вместе с тем контактно-транзисторная система зажигания не устраняет некоторых недостатков контактных систем: вибраций контактов при большой частоте вращения валика прерывателя, износа подушечки рычажка и граней кулачка прерывателя, что требует систематической проверки и регулировки зазора и угла замкнутого состояния контактов. Последнее особенно неудобно при экранировании распределителя. Поэтому разработаны бесконтактные системы зажигания, где прерывание тока в первичной цепи осуществляется электронным устройством.
Неисправности контактно-транзисторной системы зажигания — Энциклопедия по машиностроению XXL
Неисправности контактно-транзисторной системы зажигания [c.120]Контактная и контактно-транзисторная системы зажигания по таким внешним признакам, как затрудненный пуск и другие различного рода нарушения в работе двигателя, позволяют определить неисправность. Поэтому рассмотрим связь между характерными признаками и неисправностями в системах зажигания (при исправной системе питания двигателя).
[c.129]
Конденсатор С2 предназначен для защиты транзистора от случайных перенапряжений в цепи питания схемы (например, при работе без батареи, при неисправности регулятора напряжения, коротком замыкании в обмотках генератора, ухудшении контакта с массой генератора и регулятора). При увеличении скорости запирания транзистора импульсным трансформатором Т2 скорость спада силы тока первичной цепи достаточна для получения необходимого вторичного напряжения, поэтому в контактно-транзисторных системах зажигания конденсатор параллельно контактам прерывателя не включается. [c.133]
Ослабление пружин центробежного и вакуумного регуляторов устраняют натяжением. Неисправные конденсаторы заменяют новыми (конденсатор отсутствует на прерывателях-распределителях с контактно-транзисторной системой зажигания). Вакуумный регулятор с поврежденной диафрагмой заменяют новым.
[c.
199]
III. Какие неисправности прерывателя могут вызвать перебои в работе двигателя автомобиля с контактно-транзисторной системой зажигания [c.72]
I. Какие элементы контактно-транзисторной системы зажигания могут быть неисправными, если имеются перебои в работе цилиндров двигателя [c.72]
Контактно-транзисторной системе зажигания присущи все недостатки контактной системы зажигания. К характерным следует отнести износ контактов 2 и кулачка 3 прерывателя вибрацию и окисление контактов 2 ослабление упругости пружины 1 подвижного контакта. Неисправности дополнительных резисторов блока R4 катушки зажигания Т1, прерывателя-распределителя выявляют и устраняют так же, как это описано в табл. 6. Основные неисправности транзисторного коммутатора ТК 102 — пробой транзистора VT1, обрыв цепи, выход из строя диода VD1 и стабилитрона VD2, импульсного трансформатора Т2. Выявляют эти неисправности с помощью контрольной лампы, омметра, электрического осциллографа и вольтметра.
[c.74]
Бесконтактные транзисторные системы зажигания экранированы. Поэтому используются другие способы диагностирования транзисторных коммутаторов и их цепей управления, В остальном вся методика отыскания причин неисправностей аналогична методике для контактно-транзисторной системы зажигания, [c.75]
При отсутствии высокого напряжения на центральном проводе проверяют катушку зажигания. Для этого наконечник центрального высоковольтного провода устанавливают на расстоянии 2—3 мм от корпуса двигателя, отсоединяют от распределителя провод низкого напряжения (в контактно-транзисторной системе провод от безымянного вывода транзисторного коммутатора) и касаются иМ корпуса двигателя. При отрыве провода от корпуса в промежутке между наконечником центрального провода и корпусом двигателя должна проскакивать искра. Отсутствие искры указывает на неисправность катушки зажигания, наличие искры — на неисправность цепи низкого напряжения в распределителе. В контактно-транзисторной системе возможен также пробой цепи эмиттер-коллектор транзистора. [c.130]
Система зажигания. На автомобилях применяются батарейные контактные (классические), контактно-и бесконтактно-транзисторные, а также некоторые другие системы зажигания. По статистике на батарейное зажигание приходится порядка 40 % всех отказов и неисправностей по бензиновому двигателю с его системами, которые в 80 % случаях также являются причиной повышения расхода топлива (на 5—6 %) и снижения мощности двигателя. [c.165] В целом работа контактно-транзисторной системы зажигания более устойчива, надежна и долговечна, чем батарейной. Однако и в йей могут возникнуть неисправности, свойственные ее конструкции. Так, наличие пружины обусловливает работы, связанные с ее регулировкой, загрязнение контактов вызывает необ..одимость их чистки, нарушение теплового режима может привести к отказу германиевого транзистора и т. д. [c.196]
Контактно транзисторная система зажигания
Контактно-транзисторная система зажигания!
Схема контактно-транзисторной системы зажигания двигателей ЗИЛ-130, ГАЗ-53А и др.!
Повышение степени сжатия и частоты вращения коленчатого вала двигателя, происходящее в процессе развития конструкций автомобильных двигателей, влечет за собой повышение напряжения системы зажигания.
В процессе эксплуатации напряжение изменяется из-за обгорания электродов свечей и увеличения зазора между ними. С одной стороны, это обстоятельство вызывает дополнительное возрастание напряжения, необходимого для пробоя промежутка между электродами свечей, а с другой — износ прерывателя-распределителя и повышение переходного сопротивления всех контактов первичной цепи и постепенное снижение напряжения системы зажигания.
Для повышения надежности и долговечности работы приборов системы зажигания и устранения недостатков на большинстве многоцилиндровых двигателей устанавливают транзисторные системы зажигания, разновидностью которых и является контактно-транзисторная система зажигания, в которой широкое применение получили полупроводники. Полупроводниковые приборы могут быть использованы в качестве усилителя, включенного между первичной обмоткой катушки зажигания и прерывателем с тем, чтобы уменьшить ток в момент размыкания его контактов и одновременно увеличить ток в первичной обмотке катушки. По этому принципу и выполняются контактно-транзисторные системы зажигания, в которых применяют прерыватель-распределитель обычной конструкции, но между ним и катушкой зажигания включают полупроводниковый усилитель, часто называемый полупроводниковым коммутатором.
Дальнейшим усовершенствованием системы зажигания является замена прерывателя импульсным генератором с полупроводниковым усилителем. Поэтому ток в первичной цепи катушки зажигания получается прерывистым. На таком принципе основаны схемы бесконтактных транзисторных систем зажигания, которые из-за отсутствия контактов имеют более высокую надежность.
При включенном зажигании и разомкнутых контактах прерывателя (рис. 11.7) транзистор закрыт. В момент замыкания контактов прерывателя в цепи управления транзистора будет проходить ток 0,3— 0,8 А (в зависимости от скорости вращения кулачка прерывателя).
Путь тока в цепи управления транзистора показан штриховыми стрелками: « + » аккумуляторной батареи — зажим КЗ тягового реле стартера — зажим AM выключателя зажигания — ротор выключателя — зажим КЗ выключателя — два добавочных резистора, соединенных клеммами ВКБ и ВК — первичная обмотка катушки зажигания — безымянный зажим транзисторного коммутатора — переход эмиттер Э — база (Б) транзистора — первичная обмотка импульсного трансформатора — замкнутый контакт прерывателя — «масса» — « — » батареи.
При прохождении тока управления происходит резкое снижение сопротивления перехода эмиттер — коллектор (Э—К) транзистора, и он открывается, включая цепь рабочего тока низкого напряжения первичной цепи зажигания.
Путь рабочего тока низкого напряжения показан сплошными стрелками: « + » аккумуляторной батареи — зажим КЗ тягового реле стартера — выключатель зажигания — резисторы — первичная обмотка катушки зажигания — безымянный зажим транзисторного коммутатора — переход эмиттер-коллектор (3—К) транзистора 7 — «масса»—«—» аккумуляторной батареи.
Сила тока в этой цепи зависит от напряжения источника, величины сопротивления, индуктивности первичной цепи и времени замкнутого состояния контактов прерывателя.
При размыкании контактов прерывателя ток управления прерывается, что вызывает резкое повышение сопротивления транзистора, он закрывается, выключая цепь рабочего тока первичной цепи зажигания.
Резкое прерывание тока в первичной обмотке катушки зажигания сопровождается резким уменьшением магнитного потока, который пересекает витки вторичной и первичной обмоток, сердечник и кольцевой магнитопровод. При этом во вторичной обмотке индуктируется э.д.с. от 17 до 30 кВ, а в первичней обмотке катушки э.д.с. самоиндукции не превышает 100 В.
Ток высокого напряжения из вторичной обмотки катушки зажигания поступает на распределитель, затем на свечу зажигания, «массу» и возвращается во вторичную обмотку.
Э.д.с. самоиндукции первичной обмотки катушки зажигания вызывает заряд конденсатора, который защищает транзистор от действия э.д.с., а электролитический конденсатор защищает транзистор от импульсных перенапряжений.
Рис. 11.7. Схема контактно-транзисторной системы зажигания двигателей ЗИЛ-130, ГАЗ-53А и др.:
1—транзисторный коммутатор; 2, 5— конденсаторы; 3, 8, 12— резисторы; 4, 6— соответственно диод-стабилитрон Д„ и диод Д; 7— транзистор; 9— импульсный трансформатор; 10— прерыватель; 11 — распределитель; 13— катушка зажигания; 14 — аккумуляторная батарея; 15 — добавочные резисторы; 16 — выключатель зажигания с зажимами AM, КЗ и СТ; 17 — тяговое реле стартера; М, К. Р — зажимы транзисторного коммутатора
Диод Д1 препятствует протеканию тока через диод-стабилитрон Дет в прямом направлении, минуя первичную обмотку катушки зажигания. Кремниевый диод-стабилитрон Дет предназначен для защиты транзистора от пробоя э.д.с. самоиндукции.
С системой зажигания ГАЗ-3307 можно ознакомится вот в этой статье:
Система зажигания ГАЗ-3307.
Если вдруг, Вы что то не нашли, или у Вас просто нет времени на поиски, то я рекомендую ознакомиться со статьями в категорий «Ремонт ГАЗ«. Я уверен Вы найдете ответ на свой вопрос, а если же нет напишите в комментариях интересующий Вас вопрос я обязательно отвечу.
Принцип работы и схемы транзисторной системы зажигания Транзисторная система зажигания — это схема зажигания, которая сокращает использование механических устройств. Целью транзисторной системы зажигания является повышение эффективности работы системы зажигания путем замены движущихся частей, таких как точки прерывания.Основным принципом транзисторных систем зажигания является использование транзисторов в качестве электронных ключей вместо точек прерывания.
Тем из вас, кто уже знаком с системами зажигания транспортных средств, следует знать точку прерывания или платину.
Выключатель — это устройство, используемое для прерывания тока первичной обмотки в катушке зажигания, так что может возникнуть электромагнитная индукция. Эта точка прерывания работает механически за счет использования кулачка, который может растягивать зазор точки прерывания.
Однако использование прерывателей считается менее эффективным, потому что трущиеся компоненты разрушаются, что может повлиять на общую производительность системы зажигания. Кроме того, когда точка прерывателя растягивается, в точке прерывания часто возникает искра, так что мощность индукции катушки зажигания снижается.
Для этого есть регулировка зазора точки прерывателя.
Используя транзисторы, можно решить две проблемы, указанные выше. Таким образом, нам не нужно устанавливать разрыв.
Почему вместо выключателей используются транзисторы?
Как мы уже говорили в начале, транзистор выполняет функцию электронного переключателя. На транзисторе есть три ножки: база, коллектор и эмиттер.
Коллектор на входе, эмиттер на выходе. База как контроллер, если на базе течет электрический ток (низкое напряжение), то ток на входе (коллектор) будет течь на выход (эмиттер).
Однако, когда электрический ток в базе прекращается, коллектор снова отключается эмиттером.
Итак, в заключение, транзистор может использоваться в системе зажигания из-за его характеристик, которые позволяют быстро отключать и соединять линии.
Чтобы контролировать работу транзистора, нам понадобится один дополнительный датчик, катушка захвата. Этот датчик будет посылать низковольтный ток с паузами в зависимости от времени зажигания у основания. Так что производительность транзистора будет соответствовать частоте вращения двигателя.
Как работает катушка?
Подбирающая катушка состоит из трех частей: ротора с кулачком, постоянного магнита и катушки.
Три компонента размещены, как показано, подтверждается, что постоянный магнит излучает магнитное поле, которое ударяет по ротору. В то время как ротор сделан из металла, который может притягиваться магнитами.
Кулачок на роторе служит для сокращения зазора между ротором с постоянным магнитом.
Этот изменяющийся зазор вызывает зигзагообразный ток в измерительной катушке.Когда кулачок параллелен постоянному магниту, есть электрический ток, но когда кулачок смещается, ток исчезает. Это падение напряжения используется в качестве тайминга для отключения первичного тока в катушке зажигания.
Схема транзисторной системы зажигания
- Аккумулятор
- Замок зажигания
- Вход катушки зажигания
- Выход первичной обмотки
- Выход вторичной обмотки
- Транзистор
- Подбирающая катушка
- дистрибьютор
- Свеча зажигания
Порядок работы трансизоризованной системы зажигания
При запуске двигателя коленчатый вал будет вращать приемную катушку, так что приемная катушка генерирует ток низкого напряжения.Это приведет к тому, что база транзистора станет активной, так что коллектор будет подключен к эмиттеру.
В катушке зажигания ток от аккумулятора будет течь по обеим катушкам в катушке зажигания.
Как объяснено выше, считывающая катушка будет генерировать зигзагообразный электрический ток. Затем ток от приемной катушки передается на основание транзистора.
Индукция в катушке зажигания возникает, когда на опорную ногу не подается электрический ток, но она длится мгновение, поэтому в одном цикле 4-цилиндрового двигателя может происходить четырехкратный процесс индукции.
Индукция создает высокое напряжение, которое распределяется по распределителю и распределяется по каждой свече зажигания в соответствии с порядком зажигания.
зажигание: Аккумуляторные системы зажигания | Infoplease
Аккумуляторная система зажигания имеет 6- или 12-вольтовую батарею, заряжаемую двигателем-генератором для подачи электроэнергии, катушку зажигания для повышения напряжения, устройство для прерывания тока от катушки, распределитель для постоянного тока в правильный цилиндр и свеча зажигания, выступающая в каждый цилиндр.Ток идет от батареи через первичную обмотку катушки, через прерыватель и обратно в батарею.
В старых автомобилях прерывание первичного тока создавалось прерывателями,
— переключателем с вольфрамовыми контактами для предотвращения эрозии. Приводной на половину скорости двигателя, кулачок прерывателя, вращающийся объект с лопастной поверхностью (по одному выступу на каждый цилиндр), открывал и закрывал точки. Когда точки прерывания были замкнуты, ток протекал через первичную обмотку катушки зажигания.В электронных системах зажигания, представленных в начале 1960-х годов, устройство прерывания представляет собой реактор, распределитель магнитных импульсов, который вырабатывает синхронизированные электрические сигналы, которые усиливаются для управления током в первичной обмотке катушки зажигания. Такие системы обычно сокращают обслуживание зажигания и повышают эффективность двигателя.
Первичная обмотка состоит из проволоки, намотанной на железный сердечник. Поверх этого распределителя находится вторичная обмотка, состоящая из множества витков более тонкого провода.Ток, протекающий через первичную обмотку, создает магнитное поле. Когда кулачок выключателя размыкает точки выключателя или реактор подает сигнал, цепь разрывается, и ток прекращается. Магнитное поле схлопывается, вызывая во вторичной обмотке гораздо более высокое напряжение, которое подводится к распределителю. Внутри распределителя движущийся палец вращается с половиной оборотов двигателя. При вращении он касается контактов, каждый из которых идет к разному цилиндру. Вращение рассчитано так, что, когда палец касается контакта конкретного цилиндра, во вторичной обмотке катушки зажигания только что индуцировалось высокое напряжение, и поршень почти достиг вершины такта сжатия.Таким образом, на зазор свечи зажигания подается высокое напряжение.
Свеча зажигания состоит из центрального электрода, вставленного в изолирующую керамику. Снаружи находится металлический кожух с резьбой, который ввинчивается в отверстие в верхней части цилиндра. Заземляющий электрод выходит из корпуса над концом центрального электрода. Между двумя электродами имеется небольшой зазор 0,015–040 дюйма (0,038–0,102 см). При напряжении около 8000 вольт искра перескакивает через зазор и воспламеняет бензиново-воздушную смесь. Центробежное опережение заставляет искру загораться раньше на высоких оборотах двигателя; опережение вакуума заставляет его срабатывать раньше при небольших отверстиях дроссельной заслонки выше холостого хода.
Колумбийская электронная энциклопедия, 6-е изд. Авторские права © 2012, Columbia University Press. Все права защищены.
Дополнительные статьи в энциклопедии: Технология: термины и концепции
Транзисторы, обещающие лучшие системы зажигания
За последние полвека самым слабым звеном между аккумулятором вашего автомобиля и его свечами зажигания были распределительные точки, пара крошечных металлических дисков, которые сталкиваются друг с другом несколько тысяч раз в минуту.Автомобильным инженерам, наконец, пришлось обратиться к быстро меняющейся области электроники, чтобы укрепить это звено. В частности, они обратились к транзисторным системам зажигания, которые обещают более длительный срок службы распределительных устройств и свечей зажигания, повышенную мощность, улучшенную экономию топлива и более быстрые запуски в холодную погоду.
Транзисторное зажигание бывает разных размеров, форм и цен. Он доступен как опция, устанавливаемая на заводе, с некоторыми двигателями Chevrolet, Ford, Mercury и Pontiac.Его также может установить механик на Volkswagen, RollsRoyce или что-то среднее между ними. Комплекты для преобразования стандартного зажигания стоят примерно от 25 до 125 долларов.
Стоят ли системы такой цены? Они работают так, как рекламируется? Однозначного ответа нет. Но в целом, чем больше миль проехала машина, тем более ценными могут быть транзисторы.
Чтобы узнать, как крошечный транзистор может повлиять на производительность двигателя, вернитесь на минутку к злодеям в этой части, указывает прерыватель распределителя.Система зажигания предназначена для повышения напряжения с 12 вольт от аккумулятора до примерно 25000 вольт на свечах зажигания.
В традиционной установке ток течет от батареи к катушке, которая представляет собой не что иное, как сердечник из мягкого железа, окруженный двумя наборами обмоток, все они содержатся в металлической банке. Первичные обмотки состоят из 200–300 витков относительно тяжелой проволоки, а вторичные обмотки состоят из тысяч витков очень тонкой проволоки.
Электричество, проходящее через первичные обмотки, создает магнитное поле вокруг катушек с проводом и сердечника.Затем ток течет через точки прерывателя и возвращается к батарее, замыкая первичную цепь.
Выключатели действуют как переключатель для включения и выключения первичного тока. Когда точки разделены, первичная цепь разрывается, и магнитное поле в катушке разрушается. Это вызывает скачок высокого напряжения во вторичных обмотках. Вращающийся переключатель внутри крышки распределителя направляет этот электрический заряд на соответствующую свечу зажигания.
У этой конструкции есть один серьезный недостаток.Сила тока в первичной цепи должна быть ограничена, чтобы предотвратить возгорание и точечную коррозию в точках прерывания. В то время как через систему протекает достаточно тока, чтобы обеспечить горячую, толстую искру при нормальных оборотах двигателя, зажигание может выйти из строя на высокой скорости, что приведет к пропускам зажигания.
По мере увеличения оборотов двигателя точки прерывания замыкаются на более короткий период времени. Магнитное поле не успевает набраться до полной напряженности, поэтому напряжение на свече зажигания снижается. В лучшем случае мощность стандартной системы зажигания на высокой скорости незначительна.
Эту проблему можно довольно просто решить, пропустив больший ток и уменьшив время, необходимое для создания магнитного поля. К сожалению, это решение привело бы к проблемам на другом конце диапазона скоростей.
При запуске двигателя, особенно в холодную погоду, он очень медленно вращается. Пункты закрыты на такой длительный период, что сильный электрический ток может привести к чрезмерному нагреву. Это окисляет точки, создавая на них покрытие, которое увеличивает электрическое сопротивление и снижает напряжение.Слишком часто результатом является либо слабая искра, либо ее полное отсутствие.
Транзисторные системы зажигания позволяют пропускать через катушку более сильный ток, не сжигая точки. Вот как они работают.
Транзистор представляет собой электронный переключатель без движущихся частей.
Он использует очень малый ток, чтобы вызвать гораздо больший заряд. В большинстве транзисторных систем зажигания точки прерывания вставлены в цепь управления, а катушка подключена к цепи питания.
Когда точки закрываются, через цепь управления проходит ток менее одного ампера, включающий силовую цепь и пропускающий через катушку 5-10 ампер или более.
Когда точки открываются, цепь управления разрывается, поэтому цепь питания отключается, и магнитное поле внутри катушки разрушается. Всплеск высокого напряжения индуцируется во вторичных обмотках и направляется на свечи зажигания таким же образом, как и в обычной системе.
Поскольку токи несут лишь долю ампера, вместо 3–4 ампер, протекающих через стандартную систему зажигания, горение и точечная коррозия практически исключаются.Их жизнь увеличена с обычных 10 000 до 15 000 миль в несколько раз. Операторы автопарков сообщили о пробеге 100 000 миль только по одному набору точек.
Двигатель запускается быстрее в холодную погоду, потому что острия больше не горят и не рвутся. Увеличение количества тока, проходящего через катушку, обеспечивает полное нарастание магнитного поля даже на высокой скорости. Свечи зажигания не нужно закрывать или заменять так часто, поскольку высокое напряжение, создаваемое в транзисторной системе, позволяет им зажигать, несмотря на более широкие искровые промежутки, вызванные изношенными электродами.
Заявления об улучшении экономии топлива труднее обосновать. Некоторые автовладельцы сообщают о чудесных скачках расхода бензина. В таких случаях логическое объяснение состоит в том, что до переоборудования в обычном зажигании автомобиля что-то было не так.
Поставщики транзисторных блоков рекомендуют устанавливать новые точки, очищать или заменять заглушки и проверять всю проводку и соединения во время переключения. Если бы такое внимание было уделено стандартному зажиганию автомобиля, результаты были бы столь же впечатляющими.Нет никаких технических причин, по которым транзисторная система даст больше пробега, чем идеально настроенная обычная установка.
Однако в течение длительного периода времени транзисторное зажигание может сэкономить значительное количество топлива, поскольку оно остается на пике эффективности без частых настроек.
Все типы транзисторного зажигания имеют определенные преимущества, но стоят ли они дополнительных затрат?
Среднестатистический владелец автомобиля, который проезжает около 10 000 миль в год, вряд ли может рассчитывать сэкономить достаточно денег на обслуживании и топливе, чтобы заплатить за транзисторную систему зажигания.Однако, если он хочет избежать неудобств, связанных с частыми настройками, но при этом поддерживать работу своего двигателя с максимальной эффективностью, их стоит изучить.
Системы зажигания и электрического запуска
Целей:
- Опишите три основные функции системы зажигания
- Опишите общие компоненты, присутствующие во всех типах систем зажигания
- Назовите две основные электрические цепи, используемые в системе зажигания.
- Назовите различные типы систем зажигания
- Описать, как работают системы электростартера, используемые в двигателях силового оборудования.
===========
ВВЕДЕНИЕ
В разделах 13 и 14 вы изучили основы электричества и зарядки. системы.Вы также узнали об электрических цепях с батарейным питанием, обнаруженных в двигатели энергетического оборудования.
В этом разделе вы узнаете о различных типах систем зажигания. Сначала мы объясним основы работы системы зажигания и определим основные компоненты в системе зажигания. Затем мы рассмотрим различные типы системы зажигания и узнайте о синхронизации системы зажигания.
Наконец, мы обсудим электрические пусковые системы, используемые в силовом оборудовании. двигатели.
Вы помните этапы работы в двухтактном и четырехтактном? двигатель? В каждом цилиндре двигателя поршень при сжатии поднимается вверх. ступень сжатия топливовоздушной смеси в камере сгорания. Незадолго до поршень достигает верхней мертвой точки (ВМТ), в цилиндре загорается свеча зажигания и воспламеняет сжатую топливовоздушную смесь. Воспламенение топливовоздушной смеси заставляет поршень опускаться в цилиндр, создавая силовую ступень. Сила при воспламенении топливовоздушной смеси проворачивается коленчатый вал, который в свою очередь, заставляет поршень двигаться, а двигатель работать.
Одно из требований к эффективному двигателю — правильное количество тепла, доставлен в нужное время. Этому требованию отвечает система зажигания. Система зажигания подает правильно рассчитанные скачки высокого напряжения на искру. вилка (и). Эти скачки напряжения вызывают возгорание внутри цилиндра.
Система зажигания должна создавать искру или ток (РИС. 1) через каждая пара электродов свечи зажигания в нужный момент, под всем двигателем условия эксплуатации.Это может показаться относительно простым, но если учесть количество требуемых зажиганий свечей зажигания и крайние вариации в двигателе В условиях эксплуатации легко понять, почему системы зажигания такие сложные.
Практически все системы зажигания, используемые в двигателях силового оборудования, зажигают искру. заглушку один раз за оборот коленчатого вала. Когда это происходит на четырехтактном двигатель, это известно как потраченная впустую искра, так как цилиндру требуется только одна искра на каждые два оборота коленчатого вала.Эти зажигания свечей зажигания должны также происходят в правильное время и должны генерировать правильное количество тепла. Если система зажигания не выполняет эти функции должным образом, экономия топлива, это отрицательно сказывается на характеристиках двигателя и уровнях выбросов.
РИС. 1 Единственная цель системы зажигания — создать искру, которая
воспламеняет топливовоздушную смесь в камере сгорания двигателя. Honeywell
International Inc.
СИЛОВОЕ ОБОРУДОВАНИЕ СИСТЕМЫ ЗАЖИГАНИЯ ДВИГАТЕЛЕЙ
Единственная цель системы зажигания — создать искру, которая воспламенится. топливовоздушная смесь в камере сгорания.Искра должна быть приурочена к происходят в точной точке относительно положения поршня, когда он достигает ВМТ на такте сжатия двигателя. Разница между различными зажиганиями системы заключается в том, как активируется искра. В некоторых из сегодняшних больших сил двигатели оборудования, системы зажигания используются в унисон с электронным топливом системы впрыска.
Для каждого цилиндра двигателя система зажигания имеет следующие три основные функции:
Он должен генерировать электрическую искру, имеющую достаточно тепла для воспламенения воздушно-топливной смеси. смесь в камере сгорания.
Он должен поддерживать эту искру достаточно долго, чтобы обеспечить возгорание всех воздух и топливо в цилиндре.
РИС. 2 При увеличении частоты вращения двигателя искра должна подаваться раньше.
для полного сгорания топливовоздушной смеси. Это известно как
опережение зажигания.
Он должен давать искру, чтобы горение могло начаться в нужное время во время каждый такт сжатия поршня.
Когда процесс сгорания завершен, создается очень высокое давление против верхней части поршня.Это давление толкает поршень вниз на его рабочий ход, и это сила, придающая двигателю мощность. Для двигателя для производства максимальной мощности, максимального давления от сгорания должен присутствовать, когда поршень находится на 10–23 ° после верхней мертвой точки (ВМТ). Поскольку сгорание топливовоздушной смеси внутри цилиндра занимает короткое время. период времени, обычно измеряемый в тысячных долях секунды (миллисекундах), процесс сгорания должен начаться до того, как поршень совершит рабочий ход.Следовательно, подача искры должна быть рассчитана по времени, чтобы прибыть в какой-то момент. непосредственно перед тем, как поршень достигнет ВМТ.
Сложно определить, за сколько времени до ВМТ должна начаться искра. Это потому, что даже если скорость движения поршня от его сжатия от такта до рабочего хода увеличивается, время, необходимое для сгорания, остается о том же самом. Это означает, что по мере увеличения оборотов двигателя искра должны быть доставлены раньше (РИС. 2). Однако на высоких оборотах, поскольку двигатель должен обеспечивать большую мощность, чтобы выполнять больше работы, высокая нагрузка на коленчатый вал имеет тенденцию замедлять ускорение поршня, и в этом случае искра необходимо соответственно отложить.
Выяснить, когда должна начаться искра, сложнее, потому что скорость горения варьируется в зависимости от определенных факторов.
Более высокое давление сжатия приводит к ускорению сгорания. С более высоким октановым числом бензин менее легко воспламеняется и требует больше времени для горения.
Повышенное испарение и турбулентность сокращают время сгорания. Другой факторы, включая температуру всасываемого воздуха, влажность и барометрическое давление, также влияют на горение.
Из-за всех этих сложностей доставка искры в нужное время это сложная задача.
Как система зажигания производит искру, точно рассчитывает время и продолжает зажигать? искры снова и снова? Давайте разберемся.
Момент зажигания
Время зажигания относится к точному времени возникновения искры. Это указано относится к положению поршня, определенного изготовителем (обычно Поршень № 1 на коленчатом валу в многоцилиндровых двигателях) по отношению к коленчатому валу вращение. Контрольные метки угла опережения зажигания иногда располагаются на двигателе. маховик / ротор коленчатого вала для индикации положения поршня.
Производители двигателей силового оборудования указывают начальную или базовую установку угла опережения зажигания. Некоторые двигатели не требуют такой маркировки, потому что системы зажигания фиксированные. в одном положении и не регулируются.
Когда метки совмещены в ВМТ, поршень находится в ВМТ двигателя. Инсульт. Дополнительные отметки указывают необходимое количество градусов коленвала. вращение до верхней мертвой точки (BTDC) или ATDC. В большинстве двигателей начальное время указывается в точке между ВМТ и 15 ° ВМТ, в зависимости от по заданной производителем спецификации.
Хотя большинство двигателей силового оборудования рассчитаны на работу в относительно малый диапазон оборотов двигателя (например, 500-3600 об / мин), при оптимальных характеристиках двигателя необходимо поддерживать, угол опережения зажигания двигателя должен изменяться по мере того, как условия изменения двигателя.
Эти условия влияют на частоту вращения двигателя и нагрузку на двигатель. Следовательно, все изменения угла опережения зажигания производятся в ответ на эти основные факторы.
РИС.3 Центробежный продвигатель использует набор поворачиваемых грузов и пружин.
соединен с валом, удерживающим прикрепленное к нему спусковое устройство (слева).
Когда частота вращения двигателя увеличивается, грузы перемещаются наружу, сдвигая пластину, где
пусковое устройство смонтировано (справа). Это смещение пластины вызывает
пусковое устройство его сигнал раньше, вызывая опережение зажигания
сроки.
Опережение момента зажигания
Двигатели силового оборудования обычно работают с относительно стабильными оборотами. и поэтому опережение зажигания не требуется.Но в некоторых двигателях скорость меняется на Соответственно необходимо изменить партию и время зажигания. В таких случаях это необходимо для ускорения или замедления зажигания в некоторых двигателях. Используются два метода в двигателях силового оборудования для опережающего зажигания.
Системы зажигания в старых двигателях силового оборудования, требующие установки угла опережения зажигания продвижения оснащены центробежными механизмами продвижения (фиг. 3), которые опережение или замедление момента зажигания в зависимости от оборотов двигателя. Центробежный advance использует набор шарнирных грузов и пружин, соединенных с валом с кулачок (коленвал или распредвал), прикрепленный к нему.Когда частота вращения двигателя увеличивается, грузы перемещаются наружу, сдвигая пластину, в которой находится спусковое устройство установлен. Это смещение пластины приводит к тому, что пусковое устройство принимает его сигнал раньше, вызывая опережение угла опережения зажигания.
Большинство двигателей современного силового оборудования, для которых требуется предварительное использование электронного система опережения для управления зажиганием. Электронные системы продвижения требуют без регулировки, без механических частей и, следовательно, не изнашиваются. В конструкция исключает необходимость обслуживания.Использование электронных систем продвижения несколько датчиков для определения правильного временного сдвига для любого заданного состояние. Они предлагают большее разнообразие вариантов выбора времени для разных двигателей. условий работы вместо двух, как в случае с центробежным передовые системы.
Обороты двигателя и турбулентность
При более высоких оборотах коленчатый вал поворачивается на большее количество градусов за определенный период. времени. Если горение должно быть завершено на определенное количество градусов ATDC, угол опережения зажигания должен наступить раньше — или опередить — за счет использования механического или электрический продвигатель.Подвижный элемент обычно прикреплен к коленчатому валу.
Еще одна проблема, возникающая при высоких оборотах, — это турбулентность (завихрение). топливовоздушной смеси, которая увеличивается с увеличением оборотов. Это вызывает смесь внутри цилиндра, чтобы вращаться быстрее.
Повышенная турбулентность требует, чтобы возгорание произошло немного позже или должно было произойти. слегка отсталый — за счет использования опережения.
Эти два фактора — высокие обороты и повышенная турбулентность — должны быть сбалансированы для оптимального производительность двигателя.Следовательно, хотя угол опережения зажигания должен быть увеличен как частота вращения двигателя увеличивается, необходимо уменьшить величину опережения, чтобы компенсировать для повышенной турбулентности.
Нагрузка двигателя
Нагрузка на двигатель связана с работой, которую он должен выполнять. Например, резка глубокая трава или тяга лишнего веса увеличивает нагрузку на двигатель. При более высоких нагрузках на коленчатом валу больше сопротивление; поэтому поршень имеет труднее переносить их штрихи.
При легких нагрузках и при частично открытой дроссельной заслонке создается высокий вакуум во впускном коллекторе.Количество втягиваемой в коллектор топливовоздушной смеси и баллонов мало.
При сжатии эта тонкая смесь создает меньшее давление сгорания, и сгорание время увеличивается. Чтобы завершить сгорание на желаемые градусы ATDC, зажигание сроки должны быть продвинуты.
При больших нагрузках, когда дроссельная заслонка полностью открыта, большая масса воздуха-топлива смесь всасывается, а вакуум в коллекторе низкий. Сильное сгорание давление и быстрый результат горения.
В таких случаях необходимо замедлить опережение зажигания, чтобы предотвратить завершение горения. прежде, чем коленчатый вал достигнет желаемых градусов ATDC.
Порядок зажигания в многоцилиндровых двигателях
До этого момента мы уделяли основное внимание времени зажигания, поскольку это касается к любому цилиндру. Однако функция системы зажигания выходит за рамки синхронизация искры в одном цилиндре. В многоцилиндровых двигателях он должен выполнять эта задача для каждого цилиндра двигателя в определенной последовательности.
В случае многоцилиндрового четырехтактного двигателя каждый цилиндр двигателя должен выдавать мощность один раз на каждые 720 ° поворота коленчатого вала.Каждый цилиндр должен иметь рабочий ход в удобное для него время. Чтобы это стало возможным, поршни и шатуны расположены точным образом, называемым порядок зажигания двигателя. Порядок стрельбы организован таким образом, чтобы уменьшить раскачивание и дисбаланс. проблемы. Поскольку вероятность этого раскачивания зависит от конструкции и конструкция двигателя, порядок зажигания варьируется от двигателя к двигателю. Производители двигателей упрощают идентификацию цилиндров, пронумеровав каждый цилиндр. Независимо от используемого порядка стрельбы, No.1 цилиндр всегда запускает зажигание, при этом остальные цилиндры следуют в фиксированной последовательности.
Система зажигания должна иметь возможность «контролировать» вращение коленчатый вал и относительное положение каждого поршня, чтобы определить, какой поршень находится на такте сжатия. Он также должен обеспечивать высокое напряжение. в каждый цилиндр в нужное время во время такта сжатия. Как Система зажигания делает эти вещи в зависимости от конструкции системы.
ОСНОВНЫЕ КОМПОНЕНТЫ СИСТЕМЫ ЗАЖИГАНИЯ
РИС.4 Основные компоненты системы зажигания.
РИС. 4 показан упрощенный чертеж базовой системы зажигания. Главный Компоненты системы следующие:
- Источник питания
- Замок зажигания
- Катушка зажигания
Аккумулятор, питающий систему зажигания, также может использоваться для работы других устройств, такие как фары, аксессуары и системы электрического стартера. Напротив, большинство Системы зажигания с питанием от переменного тока обеспечивают питание только для зажигания свечи зажигания.Второй, поскольку аккумулятор может использоваться для запуска системы электростартера, которые содержат аккумуляторные системы, могут быть запущены простым поворотом или нажатием выключатель электрического стартера. Системы зажигания с питанием от переменного тока обычно активируются. путем ручного запуска двигателя с помощью пускового устройства.
Следовательно, двигатели более мощного силового оборудования, например, используемых в тракторах, обычно используют аккумуляторные системы, в то время как двигатели оборудования меньшей мощности, такие как в качестве газонокосилок обычно используют системы с питанием от переменного тока.
Преимущества системы источника питания генератора переменного тока
Система зажигания с питанием от переменного тока имеет определенные преимущества перед аккумулятором, так как источник питания. Во-первых, когда в двигателе силового оборудования используется генератор переменного тока, бортовой аккумулятор не требуется. Аккумуляторы тяжелые и неудобны для работы с навесным оборудованием. например, газонокосилки и ручные воздуходувки. Во-вторых, нет отдельной системы зарядки требуется с генератором переменного тока, тогда как батареи требуют системы зарядки чтобы они работали.
Замок зажигания
Выключатель зажигания позволяет источнику питания обеспечивать электрическую питание системы зажигания. Обычно это клавишный переключатель, который также обеспечивает питание всех компонентов, использующих источник питания, таких как фонари и аксессуары.
Катушка зажигания
Катушка зажигания — это, по сути, трансформатор, состоящий из двух проволочных обмоток, намотанных на железный сердечник (фиг. 5). Первая обмотка называется первичной обмоткой, а вторая обмотка — вторичной. обмотка.
У вторичной обмотки намного больше витков провода, чем у первичной.
В катушке зажигания всегда подключен один конец первичной обмотки катушки. до мощности:
- Свеча зажигания
- Пусковой выключатель
- Выключатель остановки
Все системы зажигания содержат эти компоненты. Разница в том, как компоненты функция. Мы подробно рассмотрим каждый из этих компонентов, начиная с с источником питания.
Источники энергии
В системах зажигания двигателей силового оборудования всего два источника питания. параметры. Этими источниками питания являются аккумулятор [для постоянного тока (DC)] или Генератор переменного тока [для переменного тока (AC)].
В аккумуляторной системе зажигания аккумулятор подключен к катушке зажигания. Устройство пускового переключателя используется для попеременного включения напряжения постоянного тока и выкл для его работы.
Источники питания для генераторов переменного тока встречаются гораздо чаще, чем аккумуляторные системы. двигатели оборудования, и в большинстве случаев они предназначены для работы без аккумулятор.Система зажигания с питанием от переменного тока использует принципы магнетизма для производят напряжение. В разделе 13 мы обсудили магнитную индукцию и генераторы. Помните, что когда проводник перемещается в магнитном поле, напряжение индуцируется в проводнике. Также верно и то, что если поднести магнит проводник, в проводнике индуцируется напряжение. Если этот провод подключен к полной цепи, ток будет течь в цепи.
В системе зажигания переменного тока постоянные магниты установлены в двигателе. маховик / ротор.Когда маховик / ротор вращается, движущиеся магниты вызывают напряжение индуцируется в катушке зажигания.
Мы рассмотрим конструкцию и работу системы с питанием от переменного тока и Подробнее о аккумуляторной батарее чуть позже в этом разделе. А пока просто держи в виду, что источник питания для двигателя силового оборудования или системы зажигания может работать от сети переменного тока или от батареи.
РИС. 5 Базовый трансформатор. Когда на первичную обмотку подается напряжение
обмотки, во вторичной обмотке индуцируется напряжение, которое многократно
больше, чем напряжение в первичной обмотке.
Преимущества системы батарейного питания
Системы зажигания аккумуляторного типа имеют некоторые преимущества перед системами зажигания переменного тока. Во-первых, источник. В зависимости от типа системы зажигания источник питания может быть аккумулятор (обеспечивающий постоянный ток) или маховик / ротор с постоянным магнитом (обеспечение переменного тока). Для подачи напряжения можно использовать любой тип источника питания. к первичной обмотке катушки.
Когда ток проходит через первичную обмотку катушки, возникает магнитное поле. создается вокруг железного сердечника.По мере расширения магнитного поля магнитная силовые линии прорезают провода вторичной обмотки и индуцируют напряжение во вторичной обмотке. Если ток в первичной обмотке переключается выключено, напряжение снова индуцируется во вторичной обмотке магнитным полем. линии потока, которые снова прорезают вторичную обмотку. Направление тока, индуцируемого во вторичной обмотке, меняется на противоположное каждый раз, когда ток в первичном включается и выключается. Это потому, что магнитные линии сила, действующая вокруг железного сердечника, прорезает вторичную обмотку в противоположных направлениях когда магнитное поле расширяется и схлопывается.
Поскольку вторичная обмотка катушки имеет намного больше витков проволоки, чем первичной, напряжение, создаваемое во вторичной обмотке, намного выше, чем исходное напряжение, приложенное к первичной обмотке. В типичном силовом оборудовании система зажигания двигателя, источник питания подает около 12 вольт на первичный обмотка катушки зажигания. С этого 12-вольтового входа катушка зажигания производит 20 000-60 000 вольт или даже больше на вторичной обмотке.
Вторичная обмотка катушки всегда подключена к свече зажигания через провод свечи зажигания.Потому что провод свечи зажигания должен нести высокое напряжение и предотвратить его дуговое замыкание на землю, он надежно изолирован.
Когда магнитное поле в катушке зажигания расширяется или сжимается (катушки предназначены для того или иного), высокое напряжение во вторичной обмотке к свече зажигания и вызывает проскакивание искры через зазор свечи зажигания. В искра воспламеняет топливовоздушную смесь, позволяя двигателю силового оборудования бег.
Важно помнить, что высокое напряжение во вторичной обмотке катушки возникает каждый раз при включении или выключении первичного тока.В системе зажигания с коллапсирующим полем высокое напряжение вторичной обмотки обмотка используется, когда ток в первичной обмотке отключен. В система зажигания с восходящим полем, высокое напряжение от вторичной обмотки используется при включении тока в первичную обмотку. Это означает что все системы зажигания нуждаются в каком-либо устройстве, которое будет продолжать вращать ток от источника питания включен и выключен.
РИС. 6 Детали типичной свечи зажигания.
РИС.7 Вылет свечи зажигания имеет решающее значение, поскольку воздушный зазор свечи должен быть
правильно помещен в камеру сгорания, чтобы произвести нужное количество
нагревать. Если вилка слишком мала, ее электроды находятся в кармане, а
дуга не воспламеняет смесь должным образом. Если вилка слишком длинная,
Открытая резьба заглушки может ударить по поршню или стать настолько горячей, что воспламенится
воздушно-топливная смесь в неподходящий момент.
Свеча зажигания
Свеча зажигания обеспечивает решающий воздушный зазор, через который высокое напряжение от вторичной обмотки вызывает дугу или искру.Основные части свечи зажигания представляют собой стальную оболочку; керамический сердечник или изолятор, который действует как проводник тепла; и пара электродов, один из которых изолирован в сердечнике, а другой — заземлен. на оболочке. Оболочка удерживает керамический сердечник и электроды в газонепроницаемой оболочке. в сборе и имеет резьбу для установки заглушки в двигатель (фиг. 6). Изолятор изготовлен из керамических материалов для обеспечения повышенной прочности. и сила. Оболочка может быть покрыта антикоррозийным материалом или материалы, предотвращающие заедание резьбы на головке блока цилиндров.Самый современных свечей зажигания имеют резистор (обычно около 5000 или 5 кОм) между верхний вывод и центральный электрод. В некоторых свечах зажигания используется полупроводник. материал для обеспечения этого сопротивления. Резистор снижает радиочастоту помехи (RFI), которые могут создавать помехи или повредить радио, компьютеры, и другие электронные аксессуары. Если двигатель оборудован заглушками резистора, то же самое следует установить при замене оригиналов.
Клеммная колодка наверху центрального электрода является точкой соединения для кабель свечи зажигания.Ток течет через центр вилки и дуги. от кончика центрального электрода до заземляющего электрода. Центральный электрод окружен керамическим изолятором и прикреплен к изолятору с помощью медные и стеклянные пломбы. Эти уплотнения предотвращают утечку продуктов сгорания. цилиндра. Ребра на изоляторе увеличивают расстояние между выводами и оболочка, чтобы предотвратить электрическую дугу на внешней стороне изолятора. Стальной кожух свечи зажигания опрессован поверх изоляции, а заземляющий электрод, на нижнем конце корпуса расположен непосредственно под центральным электродом.Между этими двумя электродами есть воздушный зазор.
Свечи зажиганиябывают разных размеров и конструкций для различных двигателей. конструкции.
Вылет свечей зажигания
Одной из важных конструктивных характеристик свечей зажигания является вылет свечи зажигания (РИС. 7). Это относится к длине оболочки от контактной поверхности на седло к нижней части заглушки.
Вылет свечи зажигания имеет решающее значение, поскольку воздушный зазор свечи должен быть правильно размещен. в камере сгорания, чтобы произвести необходимое количество тепла.
Если вилка слишком мала, ее электроды находятся в кармане и возникает дуга. не способен должным образом воспламенить смесь. Если досягаемость слишком велика, Открытая резьба заглушки может ударить по поршню или стать настолько горячей, что воспламенит топливовоздушная смесь в неподходящий момент и вызывает преждевременное возгорание. Preignition, как мы знаете, это термин, используемый для описания ненормального горения, которое вызвано чем-то кроме тепла искры.
РИС. 8 Диапазон нагрева свечи зажигания: горячий или холодный.
РИС. 9 Зазоры свечей зажигания.
Диапазон нагрева
Когда двигатель работает, большая часть тепла свечи зажигания концентрируется. на центральном электроде. Тепло быстро отводится от заземляющего электрода потому что он прикреплен к корпусу, который ввинчивается в головку блока цилиндров.
В двигателях с жидкостным охлаждением охлаждающая жидкость, циркулирующая в головке, поглощает тепло и перемещает его через систему охлаждения. В двигателях с воздушным охлаждением тепло всасывается через ГБЦ.
Тепловой путь в центральном электроде проходит через изолятор в корпус, а затем к головке блока цилиндров. Диапазон нагрева свечи зажигания составляет определяется длиной изолятора до контакта с оболочкой. В холодная свеча зажигания, тепло проходит короткое расстояние изолятор к оболочке. Этот короткий путь для тепла означает, что электрод и изолятор между обжигами поддерживайте небольшой нагрев (рис. 8).
В горячей свече зажигания тепло проходит дальше по изолятору, прежде чем достигнет оболочка.Это обеспечивает более длинный путь нагрева, и вилка сохраняет больше тепла. Свеча зажигания должна сохранять достаточно тепла, чтобы очищаться между зажиганиями, но не настолько, чтобы повредить себя или вызвать преждевременное воспламенение топливовоздушной смеси. смесь в баллоне.
Диапазон нагрева обозначен кодом, нанесенным сбоку свечи зажигания, обычно на фарфоровом изоляторе.
Зазор свечи зажигания
Правильный воздушный зазор свечи зажигания (РИС. 9) необходим для достижения оптимального производительность двигателя и длительный срок службы свечей.Слишком большой разрыв требует более высокого напряжение, чтобы перескочить зазор.
Если требуемое напряжение превышает имеющееся, возникают пропуски зажигания. Пропуски зажигания возникают из-за отсутствия напряжения на вторичной обмотке. катушки, чтобы перепрыгнуть зазор или поддержать искру. В качестве альтернативы, зазор, который слишком узкий требует более низкого напряжения и может привести к грубому холостому ходу и преждевременному сгоранию электроды из-за более высокого тока. Также пропуски зажигания могут возникнуть, если искра клемма разъема ослаблена.
РИС. 10 Свеча зажигания с платиновым наконечником.
РИС. 11 Эта свеча зажигания имеет центральный электрод из иридия малого диаметра.
и заземляющий электрод с канавкой. Денсо Сейлз Калифорния, Инк.
Электроды
Материалы, из которых изготовлены электроды свечи зажигания, определяют долговечность, мощность и эффективность вилки. Конструкция и форма наконечников электродов также важны.
Электроды стандартной свечи зажигания сделаны из меди, в некоторых медно-никелевый сплав.Медь — хороший проводник и обладает сопротивлением. к коррозии.
Платиновые электроды используются для продления срока службы свечи зажигания (РИС. 10). Платина имеет гораздо более высокую температуру плавления, чем медь, и обладает высокой устойчивостью. к коррозии. Хотя платина — чрезвычайно прочный материал, это дорогой драгоценный металл; поэтому платиновые свечи зажигания стоят дороже, чем медные. пробки. Кроме того, платина не такой хороший проводник, как медь. Свечи зажигания доступен только с центральным электродом из платины (так называемой одноплатиновой) и с центральным и заземляющим электродами из платины (называемой двойной платиной).Некоторые платиновые свечи имеют очень маленький центральный электрод в сочетании с заостренным заземляющий электрод предназначен для повышения производительности.
До недавнего времени платина считалась лучшим материалом для изготовления электродов. из-за его долговечности. Однако другой материал с рядом преимуществ иридиевый сплав. Иридий в шесть раз тяжелее, в восемь раз прочнее и имеет температура плавления на 1200 ° выше, чем у платины. Иридий — драгоценный, серебристо-белый металл и один из самых плотных материалов на Земле.Несколько искр свечи используют сплав иридия в качестве основного металла, дополненного родием для повышают стойкость к окислительному износу. Этот иридиевый сплав настолько прочен, что позволяет использовать очень маленький центральный электрод. Типичная медно-никелевая вилка имеет центральный электрод диаметром 2,5 мм, а платиновая пробка имеет диаметр 1,1 мм. Иридиевая пробка может иметь диаметр всего 0,4 мм (фиг.11). Это означает, что требования к напряжению зажигания снижаются.
Иридий также используется в качестве легирующего материала для платины.
Конструкции электродов
Свечи зажигания доступны с различными формами и количеством электродов.
Пытаясь выяснить преимущества каждой конструкции, помните об искре. вызвано движением электронов через воздушный зазор. Электроны всегда будут течь в направлении наименьшего электрического сопротивления.
Форма заземляющего электрода также может быть изменена. Плоский, обычный электрод имеет тенденцию раздавить искру, и общий объем фронта пламени меньше.Конический заземляющий электрод увеличивает расширение фронта пламени и снижает теплоотдачу электрода. Заземляющие электроды во многих силовых установках Свечи зажигания двигателя имеют U-образную канавку на стороне, обращенной к центру. электрод. U-образная канавка позволяет фронту пламени заполнить зазор, образованный U-образная форма. Этот огненный шар развивает более крупный и горячий фронт пламени, ведущий к более полному сгоранию.
РИС. 12 Набор прерывателей.
РИС. 13 Показано действие прерывателей в простой цепи зажигания.Когда точки прерывания замкнуты, ток течет через катушку зажигания.
первичная обмотка.
Когда точки открываются, цепь разрывается, и магнитное поле в катушка схлопывается, что индуцирует напряжение во вторичной обмотке, чтобы запустить свеча зажигания.
Триггерные переключающие устройства
В разных типах систем зажигания используются разные типы переключающих устройств. В силовом оборудовании используются триггерные переключающие устройства двух основных типов. системы зажигания двигателя.В старых системах зажигания используется набор электрических контактов. называемые точки прерывания и конденсатор для переключения. Хотя редко используются сегодня всеми крупными производителями, прерыватели и конденсаторы продолжаются для использования в миллионах старых двигателей энергетического оборудования. Вся современная сила системы двигателя оборудования, однако, используют электронные компоненты для переключения. В любой системе конструкция катушки зажигания и свечи зажигания остаются такими же.
Отбойники и конденсатор
Пункты прерывания — это механические контакты, которые используются для остановки и запуска протекание тока через первичные обмотки катушки зажигания.Точки обычно изготавливаются из вольфрама, очень твердого металла с высоким сопротивлением. согревать. Одна точка прерывателя неподвижна (фиксированная), а другая — подвижная. и изолирован от стационарной точки. Подвижный контакт установлен на подпружиненный рычаг, который удерживает точки вместе. ИНЖИР. 12 показывает упрощенный чертеж комплекта точек прерывания.
Когда две точки прерывателя соприкасаются, цепь зажигания замыкается и первичная обмотка катушки зажигания находится под напряжением.Когда конец подпружиненный подвижная точка прерывателя прижата, его контактный конец отодвигается от неподвижного точка прерывания. Это размыкает цепь, и ток прекращается. Каждый раз точки прерывателя расходятся, свеча зажигания загорается.
Это действие показано на фиг. 13.
Пружина, установленная под подвижной головкой, удерживает подвижную головку прерывателя. против кулачка. Подвижная точка прерывателя перемещается в разомкнутое положение с помощью поворотный кулачок с кулачком.
В большинстве случаев кулачок расположен на коленчатом валу.Мочка на кулачке отодвигает подвижный выключатель от неподвижной точки, и искра заглушки пожаров.
РИС. 14 Типичная система выключателей с батарейным питанием.
РИС. 15 Генератор магнитных импульсов расположен возле коленчатого вала двигателя.
или распредвал в большинстве случаев. Он состоит из двух частей: синхронизирующего диска (также известного
в качестве реактора) и катушки звукоснимателя.
Еще одним важным компонентом системы точек прерывателя является конденсатор (также называется конденсатором).Помните, что каждый раз, когда точки прерывателя касаются, ток протекает через них. Если этим потоком не управлять каким-либо образом, искра или дуга возникнет в точках прерывателя при их расхождении. Если это искрение может произойти, точки прерывателя загорятся, загорятся и не сработают должным образом. Точки также будут поглощать электрическую энергию и уменьшать выводить напряжение катушки зажигания.
По этим причинам конденсатор используется для управления током, когда он течет. через точки прерывания.Конденсатор поглощает ток и накапливает его, как миниатюрный аккумулятор. В цепи зажигания конденсатор подключается поперек или параллельно точкам прерывания. Когда точки прерывания начинают разделяться, конденсатор поглощает ток, создаваемый схлопывающимся магнитным полем. Когда коленчатый вал или распределительный вал проворачивается, синхронизирующий диск движется через магнитную поле. Когда зубцы синхронизирующего диска приближаются к приемной катушке, индуцируется напряжение, и это используется для управления напряжением на первичной стороне зажигания. катушка, так же как размыкание и замыкание точек контакта в точках прерывания система переключения конденсатора.Конкретный воздушный зазор, определяемый производителем требуется для того, чтобы обеспечить получение сигнала соответствующей мощности.
Датчик Холла
Датчик или переключатель на эффекте Холла является наиболее часто используемым положением двигателя. Датчик, используемый в двигателе силового оборудования, в котором используется электронная система зажигания. На это есть несколько причин. В отличие от генератора магнитных импульсов, Датчик Холла выдает точный сигнал напряжения на всех оборотах. гамма двигателя.Кроме того, переключатель на эффекте Холла создает прямоугольную волну. рисунок, который более совместим с цифровыми сигналами, необходимыми для бортовой компьютеры.
Функционально переключатель на эффекте Холла выполняет те же задачи, что и магнитно-импульсный. генератор.
Но метод генерации напряжения переключателем на эффекте Холла довольно уникален. Как нетрудно догадаться, он основан на принципе эффекта Холла. Это поле вокруг первичная обмотка катушки, чтобы она не могла прыгать между точками и зажечь искру.
Система переключения выключателей и конденсатора может использоваться как в сети переменного тока, так и в системы зажигания с батарейным питанием. ИНЖИР. 14 показывает систему точек прерывания. Обратите внимание на расположение точек прерывателя и конденсатора в цепи.
Электронные пусковые устройства
Когда в двигателе силового оборудования используется электронная система зажигания, Датчик используется для контроля положения коленчатого вала и контроля расхода тока на первичную обмотку катушки зажигания.Эти датчики в первую очередь включают генераторы магнитных импульсов и датчики Холла. Электронный выключатель полностью устраняет необходимость в точках прерывания и конденсаторе.
Генератор магнитных импульсов
Генератор магнитных импульсов обычно расположен на коленчатом валу двигателя. или распределительный вал и состоит из двух частей: синхронизирующего диска (также известного как реактор) и считывающую катушку (фиг. 15). Катушка звукоснимателя имеет длину проволока намотана на постоянный магнит.Генератор магнитных импульсов работает на основном электромагнитном принципе, что напряжение может быть индуцировано только тогда, когда проводник движется через магнитные состояния, которые, если току позволено протекает через тонкий проводящий материал, и этот материал подвергается воздействию магнитного поле, в проводнике создается напряжение. По сути, переключатель на эффекте Холла либо включен, либо выключен. Он также использует временный диск, который используется для переключения включение и выключение при прохождении мимо датчика.
Выключатель остановки
После запуска двигателя он будет продолжать работать до тех пор, пока в нем не закончится топливо. или находится под достаточно тяжелым грузом, чтобы вызвать его срыв.Выключатель остановки обеспечивает удобное средство для остановки двигателя.
Различные типы выключателей остановки встречаются в разных типах зажигания. системы. В некоторых двигателях силового оборудования выключатель остановки прерывает поток. электричества на свечу зажигания, облегчая подачу электрического тока путь к земле. Этот тип переключателя состоит из кнопки, которая заземляет зажигание. система (фиг. 4).
В других двигателях выключатель останова предназначен для предотвращения протекания электричества. через первичную обмотку катушки зажигания.Этот тип выключателя остановки соединен последовательно с первичной обмоткой катушки зажигания. Когда ты поверните переключатель в положение «Выкл.», цепь зажигания откроется и двигатель останавливается.
РИС. 16 Магнитосистема высокого напряжения.
РИС. 17 Система зажигания от магнето высокого напряжения. Постоянный магнит — это
установлен у края маховика. Когда маховик вращается, магнит проходит
рядом с катушкой зажигания и индуцирует напряжение в первичной обмотке.
ВИДЫ СИСТЕМ ЗАЖИГАНИЯ
Теперь, когда вы понимаете, как работает основная система зажигания в двигателе силового оборудования работает, давайте подробнее рассмотрим устройство некоторых видов розжига системы. Двумя общими типами являются:
- Система зажигания точки прерывания
- Электронная система зажигания
Существует два типа систем выключателя.
(1) Система зажигания с магнитным прерывателем обычно используется в более старых машинах, где напряжение необходимо только для питания свечи зажигания, а не для системы стартера или огни.(2) Система зажигания с аккумулятором и точками встречается в большинстве автомобилей. старые двигатели силового оборудования с электростартерными системами и фарами.
Электронные системы зажигания того или иного типа встречаются практически в все современные двигатели энергетического оборудования.
Все типы систем зажигания содержат одни и те же основные компоненты. Магнето система и система батареи похожи, за исключением того, что они используют разную мощность источники. Электронный
Системы зажиганияиспользуют электронные компоненты для выполнения функции переключения, но их источником питания может быть батарея или генератор переменного тока.Наконец-то, все системы зажигания имеют переключающее устройство для включения системы зажигания и выключенный.
Системы зажигания магнето
В системах зажигания от магнето в двигателях старого силового оборудования без каких-либо огней или аккумулятор, источник переменного тока может иметь единственную функцию управления зажиганием система. В других моделях, которые включают системы освещения, одна катушка генератора переменного тока может использоваться для розжига, а другой — для освещения. Все системы зажигания от магнето работают без аккумулятора или не зависят от аккумулятора, если он используется для работы других электрических функций.
В системе зажигания от магнето используются постоянные магниты, установленные на двигателе. маховик / ротор.
Магнето классифицируется как один из трех типов:
- Высокое напряжение
- Низкое напряжение
- Передача энергии
Высоковольтная система зажигания от магнето
Высоковольтные системы зажигания от магнето (РИС. 16) не использовались в двигателях силового оборудования в течение нескольких лет, но когда-то они были популярная система зажигания, встречающаяся в двигателях малой мощности.С этой системой зажигания катушка зажигания (первичная и вторичная обмотки магнето) установлена в стационарное положение возле маховика / ротора. Когда маховик / ротор вращается, магниты индуцируют напряжение в первичной обмотке катушки зажигания.
Положение магнитов на маховике / роторе очень важно. Генерировать напряжение в нужное время, магниты в маховике / роторе должны быть правильно выровненным. Это означает, что маховик / ротор должны располагаться точно. в требуемом положении на коленчатом валу.Маховик / ротор удерживается в положение на коленчатом валу с помощью шпонки маховика / ротора, которая вставляется в соответствующие пазы, которые прорезаны в коленчатом валу и маховике / роторе.
Зазор между кромкой маховика / ротора и железным сердечником зажигания Катушка является важной спецификацией в системе зажигания от магнето высокого напряжения. Спецификация производителя двигателя на этот зазор составляет порядка тысячных долей. дюйма или сотых миллиметра. Это одна из спецификаций это необходимо проверять при обслуживании зажигания от магнето высокого напряжения. система.
А теперь подробнее рассмотрим работу высоковольтной магнитосистемы. ИНЖИР. 17 иллюстрирует упрощенный чертеж высоковольтной магнитосистемы. в действии. Вы можете увидеть точки прерывания в центре маховика / ротор. На практике точки прерывания расположены под маховиком / ротором.
Помните, что катушка зажигания в основном представляет собой трансформатор и содержит первичная обмотка и вторичная обмотка. В типичном магнето высокого напряжения катушка зажигания, первичная обмотка содержит около 150 витков достаточно тяжелой медный провод, а вторичная обмотка содержит около 20000 витков очень тонкая медная проволока.Эта разница в обмотках является причиной появления напряжения. умножается, поскольку он индуцируется от первичного к вторичному.
По мере вращения маховика / ротора постоянные магниты, установленные рядом с краем маховик / ротор движутся мимо катушки зажигания. Это движение притягивает сердечник из мягкого железа (якорь катушки) и индуцирует ток в первичной обмотке катушки зажигания. Магнитное поле, создаваемое первичной обмоткой, наводит напряжение во вторичной обмотке. Однако накопление и распад магнитное поле из-за этого действия недостаточно быстрое, чтобы вызвать сильное напряжение достаточно, чтобы зажечь свечу зажигания.
РИС. 16 Магнитосистема высокого напряжения
РИС. 17 Система зажигания от магнето высокого напряжения. Постоянный магнит — это
установлен у края маховика. Когда маховик вращается, магнит проходит
рядом с катушкой зажигания и индуцирует напряжение в первичной обмотке.
Вот тут-то и пригодится конденсатор. Первичная обмотка, как можно как видно на фиг. 17, подключен к точкам прерывания. Когда выключатель точки замкнуты, образуется замкнутая цепь, и ток течет через первичная обмотка для создания магнитного поля.Эксцентричный кулачок в форме яйца который расположен на коленчатом валу, рассчитан на размыкание точек прерывателя только когда магнитное поле в первичной обмотке начинает разрушаться. Это прерывает ток в первичной цепи, вызывая магнитное поле вокруг первичная обмотка быстро разрушится. При этом конденсатор (который также защищает точки прерывания от возгорания) возвращает свой заряд через первичная обмотка, чтобы ускорить схлопывание магнитного поля. Это действие помогает увеличить наведенное во вторичной обмотке напряжение до необходимого высокая прочность.
Высокое напряжение, индуцированное во вторичной обмотке, вызывает протекание тока. через провод свечи зажигания и дугу в зазоре свечи. После высокого напряжение во вторичной обмотке высвобождается в виде искры, маховик / ротор продолжает вращаться, пока магнит снова не окажется у катушки зажигания, и процесс повторяется.
Магнитная система зажигания с низким напряжением. Не часто встречается в двигателях силового оборудования. магнитосистема низкого напряжения аналогична работе системы высокого напряжения магнито-система.
Основное отличие состоит в том, что в системе низкого напряжения используется отдельный розжиг. катушка. Пункты прерывания зажигания от магнита как высокого, так и низкого напряжения системы включены последовательно с первичным контуром. Когда выключатель точки замкнуты в магнитосистеме низкого напряжения, первичный контур завершено (фиг. 18). Когда ротор магнето вращается, переменный ток генерируется в обмотки магнето и протекает через первичную обмотку катушки зажигания. Главная обмотка в катушке зажигания создает магнитное поле в катушке зажигания.
РИС. 18 Система зажигания от магнето низкого напряжения.
РИС. 19 Система зажигания с переносом энергии.
РИС. 20 В системе батарей и точек используются точки прерывания того же типа,
конденсатор и свеча зажигания в качестве системы зажигания магнитного типа, первичная
Разница в том, что это источник электроэнергии.
Система зажигания с передачей энергии
Система зажигания с передачей энергии (РИС. 19) представляет собой другой тип магнето система зажигания в двигателях силового оборудования.Основное различие между система передачи энергии и магнито системы состоит в том, что точки прерывания соединены параллельно с первичной цепью, а не последовательно.
При параллельном соединении точек первичная обмотка в системе зажигания катушка индуцирует напряжение во вторичных обмотках за счет быстрого нарастания магнитного поля вместо быстрого схлопывания поля.
Аккумуляторные системы зажигания
А теперь давайте посмотрим на систему зажигания с батареей и точками.Помните эту батарею Системы зажигания использовались в более старых двигателях уличного силового оборудования. В система зажигания с батареями и точками, батарея используется для обеспечения питания катушка зажигания вместо магнето; однако остальная часть системы аналогична магнитным системам, которые мы обсуждали. Батарейно-балльная система (РИС. 20) используются точки прерывателя, конденсатор и свеча зажигания того же типа. как системы зажигания магнитного типа.
В системе этого типа используется свинцово-кислотная аккумуляторная батарея (см. Раздел 14).Помимо подачи электричества для питания катушки зажигания, аккумулятор также может использоваться для питания фонарей, систем электростартера и др. аксессуары.
В системе зажигания с аккумулятором и точками зажигания используются прерыватели для срабатывания зажигание. Батарея обеспечивает напряжение для питания первичной обмотки. катушки зажигания. Напряжение на катушке зажигания контролируется ключом. выключатель зажигания. При включении зажигания питание от аккумулятора проходит через ключ зажигания к первичной обмотке катушки зажигания.Противоположный конец первичной обмотки подключается к точкам прерывания. и конденсатор.
Выключатели, вторичная обмотка и свеча зажигания работают точно так же, как в магнитосистемах высокого и низкого напряжения. Контакт точки открываются кулачком точки прерывателя в указанное время. Как точки открытое, первичное магнитное поле быстро схлопывается, вызывая высокое напряжение вводиться во вторичные обмотки. Единственная разница между этим система зажигания и система зажигания магнето та DC (от АКБ)
используется для подачи питания на первичную обмотку катушки зажигания в первой, вместо AC.
При выключении зажигания контакты переключателя размыкаются, и перетекание мощности от аккумулятора к первичной обмотке катушки зажигания остановлен. В результате двигатель перестает работать.
Электронные системы бессмысленного зажигания
Системы зажигания с прерывателями и конденсаторами используются уже много лет, но вы можете увидеть эти типы систем зажигания только в старом силовом оборудовании. двигатели. Двигатели нового силового оборудования оснащены электронной системой зажигания.Причина этого в том, что со временем точки механического прерывателя изнашиваются и неудача.
Результат — сначала плохая работа двигателя и, в конечном итоге, полное зажигание. отказ. Электронные системы зажигания долговечны, потому что в них используются постоянные магниты, электронные датчики, диоды, транзисторы и тиристоры вместо механических коммутационные компоненты.
За исключением выключателей и конденсатора, в электронных системах зажигания используются те же основные компоненты, которые мы обсуждали.Вместо точек прерывания и конденсатор, в электронной системе зажигания используется электронное управление зажиганием. модуль (ICM или ECM). Этот модуль является герметичным, не подлежит ремонту и обычно устанавливается на кронштейне на шасси или также может быть частью катушки зажигания. Устройство часто бывает черного цвета, что привело к термину черный ящик. часто используется для этого модуля.
Электронные системы зажигания, кроме ротора и его магнитов, не имеют движущиеся части; поэтому производительность системы не снижается в процессе эксплуатации.ICM устойчивы к влаге, маслу и грязи. Хотя устойчиво к внешней стороне условиях, вода может попасть в модули и вызвать перебои или выход из строя система зажигания. Однако в целом они надежны, не требуют регулировки и имеют длительный срок службы. Электронная система зажигания обеспечивает легкий запуск и плавная, стабильная мощность во время работы мощности оборудование двигатель.
Хотя существует множество вариаций, существует три основных типа электронных конфигурации зажигания, которые мы обсудим:
- Конденсатор разряда зажигания
- Транзисторное зажигание
- Транзисторное зажигание с цифровым управлением
РИС.21 Типичная система зажигания конденсаторного разряда (CDI).
РИС. 22 Конденсатор в блоке CDI хранит диодно-выпрямленный постоянный ток до тех пор, пока
это нужно для зажигания свечи зажигания.
Системы зажигания конденсаторного разряда
Электронная система зажигания, наиболее часто применяемая в двигателях малой энергетической техники. это система CDI. Основные компоненты конденсаторного разряда зажигания (CDI) Система может быть сконфигурирована несколькими способами. Хотя различные системы CDI могут имеют разную компоновку проводов и деталей, все они работают во многом так же.
РИС. 21 показано, как компоненты системы CDI расположены в типичном двигатель силового оборудования. Обратите внимание, что система CDI содержит две катушки (обмотки) которые запускаются магнитами в маховике / роторе или генераторе переменного тока. Чем больше катушка называется зарядной или возбудительной катушкой, а меньшая катушка называется катушка триггера. Катушка триггера контролирует синхронизацию искры зажигания. и по существу заменяет точки прерывания.
РИС. 23 Низковольтный сигнал, индуцированный в триггерной катушке, активирует
электронный переключатель (SCR) в блоке CDI.Это завершает первичный контур,
что позволяет конденсатору разряжаться через первичную обмотку
катушка зажигания.
РИС. 24 Трансформаторное действие катушки зажигания вызывает высокое напряжение
индуцируется во вторичной обмотке катушки зажигания, которая зажигает искру
затыкать.
Когда маховик / ротор вращается мимо катушки возбудителя, переменный ток, создаваемый обмотка возбудителя выпрямляется (переключается на постоянный ток) диодом в блоке CDI. Конденсатор в блоке CDI накапливает эту энергию до тех пор, пока она не понадобится для зажигания. свеча зажигания (РИС.22). Когда магнит маховика / ротора вращается за триггерная катушка, в триггерной катушке присутствует низковольтный сигнал, который активирует электронный переключатель (SCR) в блоке CDI (фиг. 23). SCR действует как источник питания к первичной стороне цепи. Это завершает первичный цепь, чтобы энергия, запасенная конденсатором, проходила через первичный обмотка катушки зажигания. Трансформаторное действие катушки зажигания вызывает высокое напряжение, которое индуцируется во вторичной обмотке катушки зажигания, которая срабатывает. свеча зажигания (РИС.24).
Другой тип системы зажигания CDI, применяемый в двигателях некоторых силовых агрегатов. это тот, который использует постоянный ток от батареи в качестве источника напряжения, с напряжением бустер размещен в блоке CDI вместо генератора переменного тока и возбудителя катушка (РИС.25). Бустер напряжения увеличивает напряжение аккумулятора до 200 вольт. Этот тип системы CDI использует те же компоненты, которые мы только что обсудили. и действует таким же образом.
РИС. 25 Упрощенная система DC CDI.
РИС. 26 Транзисторная система зажигания.
Транзисторные системы зажигания
Не популярны, но все еще используются в двигателях некоторых силовых агрегатов, транзисторные Система зажигания (РИС. 26) работает, управляя потоком электричества. к первичной катушке зажигания. При таком типе системы зажигания транзисторы содержатся внутри ICM и используются для подачи электроэнергии на первичный катушка.
Когда уровень напряжения в первичной обмотке достигает определенного уровня, второй транзистор выключает первый транзистор.Это вызывает магнитное поле вокруг первичной обмотки. катушка схлопывается, что создает высокое напряжение на вторичной катушке.
Затем на свече зажигания разряжается высокое напряжение.
Транзисторные системы зажигания с цифровым управлением
Транзисторная система зажигания с цифровым управлением является разновидностью транзисторных безточечное зажигание (TPI), которое встречается в большинстве двигателей силового оборудования Cегодня. Электронные компоненты системы зажигания с цифровым управлением содержатся в одном блоке, который может быть установлен непосредственно на силовое оборудование двигатель.В этом типе системы транзистор и микрокомпьютер используются для выполнять функцию переключения триггера.
Транзисторная система зажигания с цифровым управлением момент зажигания с помощью микрокомпьютера внутри ICM (фиг. 27). Микрокомпьютер рассчитывает идеальную установку угла опережения зажигания на всех оборотах двигателя.
Микрокомпьютер также имеет отказоустойчивый механизм, который отключает питание катушку зажигания на случай отклонения момента зажигания от нормы.
Эти системы зажигания могут также иметь встроенные ограничители числа оборотов.
Ротор генератора имеет выступы, известные как реакторы, которые вращаются генератор импульсов зажигания, вырабатывающий электронные импульсы. Импульсы отправляются в ICM. Обнаружены обороты двигателя и положение коленчатого вала цилиндра. взаимным расположением выступов, которые расположены на роторе.
РИС. 27 Транзисторная система зажигания с цифровым управлением.
ICM состоит из распределителя питания, приемника сигналов и микрокомпьютера.Распределитель питания распределяет напряжение аккумулятора на ICM при включении зажигания. переключатель повернут в положение включения, а переключатель остановки двигателя находится в положении работы. позиция. Приемник сигнала использует электронный импульс от импульса зажигания. генератор и преобразует импульсный сигнал в цифровой сигнал. Цифровой сигнал отправляется в микрокомпьютер, который имеет блок памяти и арифметический блок. В блоке памяти хранятся заданные характеристики таймингов для разных обороты двигателя и положение коленчатого вала.Затем он определяет, когда включить транзистор включается и выключается для достижения правильного времени зажигания свечи зажигания.
При включении транзистора первичная обмотка катушки зажигания полностью под напряжением. Микрокомпьютер выключает транзистор, когда приходит время для зажигания свечи зажигания. Это коллапсирует магнитное поле и вызывает высокий напряжение во вторичной обмотке катушки зажигания для зажигания свечи зажигания.
Визуально стандартная система TPI и цифровая система TPI выглядят одинаково.Основное визуальное различие между этими двумя популярными системами зажигания заключается в следующем: ротор генератора импульсов зажигания. При использовании со стандартным TPI импульсный Ротор генератора имеет только один реактор для подачи сигнала на генератор импульсов. На цифровая система TPI, есть несколько резисторов для «информирования» микрокомпьютер оборотов двигателя и положения коленчатого вала.
СИСТЕМЫ ЭЛЕКТРИЧЕСКОГО СТАРТЕРА
В системах электрического запуска двигателей силового оборудования используется двигатель постоянного тока. который преобразует электрическую энергию батареи в механическую энергию, которая поворачивает коленчатый вал двигателя достаточно быстро, чтобы запустить двигатель.Поскольку ток, необходимый для системы пуска, очень высок, соленоид стартера (также известный как электромагнитный переключатель) и толстые электрические провода чтобы установить соединение между аккумулятором и стартером. Когда стартер электрическая цепь двигателя замкнута, он включает муфту привода стартера, которая в свою очередь, прямо или косвенно зацепляет коленчатый вал двигателя. Снижение шестерни между стартером и стартерной муфтой используются для увеличения выходной крутящий момент стартера.В электрические цепи запуска, чтобы гарантировать, что двигатель не может быть запущен под определенные обстоятельства, такие как отсутствие на сиденье орудия или наличие нажать на педаль тормоза и / или сцепления (РИС. 28).
РИС. 28 Базовая электрическая пусковая схема.
РИС. 29 Токоведущий провод, помещенный в магнитное поле, вызывает
движение.
РИС. 30 Петля из токоведущего проводника, помещенного в магнитное поле
вызывает вращательное движение.
Принцип работы двигателя постоянного тока
Электростартерный двигатель работает по принципу двигателя постоянного тока. В качестве мы обсуждали в разделах 13 и 14, когда электрический ток протекает через провод, магнитные силовые линии опоясывают провод. Если нынешний — несущий провод помещается между северным и южным полюсами магнита, происходит реакция между магнитным полем, окружающим провод, и магнитным полем. поле между магнитами.
Из ФИГ.29, мы видим, что магнитные силовые линии (токонесущих проволоки и магнита) усиливают друг друга под проволокой, где они проходят в том же направлении и стремятся нейтрализовать друг друга над проводом, где они бегут в противоположных направлениях. Это заставляет проволоку подниматься вверх. Токоведущий провод всегда отодвигается от стороны, имеющей более сильный магнитное поле. Если электрический ток через провод был изменен, просто произойдет обратная реакция, и проволока будет вытолкнута вниз.
Если петля из токоведущего провода проложена между северным и южным полюсами магнита, как показано на фиг. 30, направление тока (и следовательно, направление магнитного поля, окружающего провод) в петле в точке A противоположно направлению тока (и магнитного поля) в другая сторона петли в точке B. Таким образом, сторона A петли перемещается вверх. в то время как сторона B вынуждена опускаться.
Это приводит к тому, что черный контур на рисунке вращается по часовой стрелке. направлении, пока он не встанет перпендикулярно линиям магнитной силы между магнитные полюса.
Если и коричневый, и серый провода на РИС. 30 закреплены так, что они вращаются вместе, провод серого цвета будет в горизонтальном положении, когда провод коричневого цвета — вертикальный. Теперь, если мы пропустим ток через серый провод, как мы сделали для коричневого провода, когда он был в горизонтальном положении, серый провод будет вынужден повернуться в том же направлении (по часовой стрелке).
Продолжает вращательное движение проводов.
Когда серый провод поворачивается в вертикальное положение, коричневый провод возвращается в горизонтальное положение.Однако, чтобы двигатель продолжал вращаться в в том же направлении, ток в коричневом проводе теперь должен быть реверсирован.
Реверс потока тока осуществляется коммутатором и щеткой, как показано на фиг. 31. Аккумулятор подключен к угольным щеткам, которые скользить по сегментам коммутатора. Каждый сегмент коммутатора подключен к один конец проволочной петли. Сегменты коммутатора вращаются вместе с проволочными петлями. По мере поворота сегментов каждая щетка перемещается от одного сегмента коммутатора к следующий.Направление тока, протекающего через каждую проволочную петлю, меняется на противоположное, когда щетки контактируют с противоположными сегментами коммутатора, позволяя петле продолжать вращается, пока на щетки подается ток батареи.
Описанный нами двигатель постоянного тока был значительно упрощен, чтобы проиллюстрировать основные принципы работы двигателя постоянного тока. В реальном двигателе постоянного тока много петель проводов, так называемые обмотки якоря, используются для более плавной работы двигателя постоянного тока и развивать больше мощности. Кроме того, в некоторых стартерах используются электромагниты, а не постоянные магниты, показанные на нашей простой иллюстрации.
РИС. 31 Работа коллектора и щеток в двигателе постоянного тока.
РИС. 32 Электростартер.
Конструкция стартера
РИС. 32 показан вид типичного стартера в разрезе. Двигатель содержит катушки с проволокой, намотанные на сердечник якоря из многослойного железа.
На одном конце якоря расположены медные сегменты коммутатора, которые непосредственно соответствуют количеству витков якоря с проволокой.
Каждый из сегментов коммутатора изолирован от других.Арматура катушки разнесены таким образом, что при любом положении якоря будут катушки возле полюсов полевых магнитов. Это делает крутящий момент как непрерывный и сильный. Вместо этого во многих стартерах используются электромагниты. постоянных магнитов, потому что они могут быть сделаны для обеспечения более сильного магнитного поле.
Щетки изготовлены из карбона, поэтому имеют долгий срок службы. срок службы и минимальный износ коллектора. Пружины используются для удержания кистей плотно прижат к коммутатору (РИС.33). Щетки и коммутатор соединяются обмотки катушки возбуждения с последовательными обмотками якоря. Следовательно, любой Увеличение тока усиливает магнетизм поля и якоря. Двигатели постоянного тока создают высокий пусковой момент, необходимый для стартера.
У щеток указана длина, так как они могут изнашиваться со временем (РИС. 34).
Вал якоря соединен с зубчатым редуктором, который умножает крутящий момент двигателя. Это позволяет стартеру легко переворачивать двигатель. под сжатием.Система редуктора может содержаться в двигателе. картер или встроенный в корпус стартера, в зависимости от двигателя дизайн.
Соленоиды стартера
Стартер может потреблять ток свыше 120 ампер при проворачивании коленчатого вала. двигатель.
Для правильного справиться с этим сильным током. Казалось бы очевидным, что это нецелесообразно для прокладки тяжелых кабелей до ручки и установки большого переключателя для тяжелых условий эксплуатации там.
Таким образом, вместо этого активируется маленькая кнопка или кнопочный переключатель на агрегате. электромагнитный переключатель электромагнитного стартера, как показано на фиг. 35. Электромагнит стартера соединяет аккумулятор со стартером. Вы обычно найдите соленоид, установленный рядом с аккумулятором.
При включении главного выключателя и нажатии кнопки стартера стартер первичная цепь соленоида замкнута. Постоянный ток течет от батареи через электромагнит в соленоиде. Электромагнит толкает плунжер в контакт клеммами выключателя стартера, замыкая цепь между аккумулятором и стартер.
РИС. 33 Торцевая крышка этого стартера была снята, чтобы показать его
щетки, щеточные пружины и коллектор.
РИС. 36 Обгонная муфта стартера.
РИС. 37 Типичная муфта стартера цепного привода.
РИС. 34 Поскольку контактные щетки на стартерах сделаны из угля
и износ со временем, производители имеют спецификации длины для измерения износа.
РИС. 35 Электромагнитный выключатель стартера и соленоид.
Сцепления стартера
Муфта стартера — это механизм, позволяющий запускать стартер. только при работающем стартере для запуска двигателя.
Муфты стартера также известны как обжимные муфты (РИС. 36).
Когда двигатель запускается, повышенная скорость двигателя автоматически отключается. стартер. ИНЖИР. 37 показано стартерное сцепление. Этот конкретный стартер сцепление устанавливается на коленчатый вал и приводится в действие цепью.
Картер муфты стартера прикреплен к коленчатому валу двигателя. Стартер зацепление достигается за счет блокировки шестерен стартера с шестернями картера муфты стартера, и отключение достигается разблокировкой этих части. Подпружиненные ролики в картере сцепления выполняют блокировку и функции разблокировки.
Ролики движутся по аппарели внутри картера сцепления стартера. При расширении ролики плотно прижимают ступицу к картеру сцепления.Когда ролики втянуты, ступица звездочки и картер сцепления больше не блокируются.
Сводка
Система зажигания выполняет три основные функции. Во-первых, он должен генерировать электрический искра, имеющая достаточно тепла для воспламенения топливовоздушной смеси при сгорании камера. Во-вторых, он должен поддерживать эту искру достаточно долго, чтобы обеспечить возгорание. всего воздуха и топлива в цилиндре. Наконец, он должен дать искру цилиндр, чтобы сгорание могло начаться в нужное время при каждом сжатии ход поршня.
Основными компонентами системы зажигания являются источник питания, выключатель зажигания, катушка зажигания, свеча зажигания, пусковой выключатель и выключатель остановки.
Во всех системах зажигания используются первичная и вторичная обмотки. Электрический ток в первичной катушке индуцирует относительно большое напряжение во вторичной обмотке, чтобы создать высокое выходное напряжение на свече зажигания.
Существует два основных типа систем зажигания: прерыватель и электронная. зажигание. Существует четыре типа систем прерывателя: высоковольтный магнето, магнето низкого напряжения, передача энергии и точка батареи.
Существует три основных типа электронных систем зажигания: емкостный разряд, транзисторные системы и транзисторные системы с цифровым управлением.
В системах электрического запуска двигателей силового оборудования используется двигатель постоянного тока. преобразовывать электрическую энергию батареи в механическую энергию, которая поворачивает коленчатый вал двигателя достаточно быстро, чтобы запустить двигатель.
Ток, необходимый для системы запуска, очень высок. Поэтому стартер соленоид и толстые электрические провода используются для соединения между аккумулятор и стартер.
ВИКТОРИНА
1. Боковой электрод свечи зажигания также называется __.
2. Свеча зажигания, которая может легко передавать тепло сгорания от запального конца. к корпусу, а затем к головке блока цилиндров называется заглушкой.
3. Правильная свеча зажигания необходима для достижения оптимальных характеристик двигателя. и долгий срок службы вилки.
4. В обмотке катушки зажигания используется относительно мало витков тяжелой меди. провод по отношению к обмотке.
5. Система зажигания конденсаторного разряда имеет меньше движущихся частей, чем система передачи энергии. система зажигания. (Верно / Неверно)
6. Подключен источник питания в системе зажигания двигателя энергооборудования. непосредственно на вторичную обмотку катушки зажигания. (Верно / Неверно)
7. Электромагнитный переключатель, который используется для включения стартера, находится в известный как __.
8. Электростартеры используются для преобразования электрической энергии аккумулятора. в энергию для поворота коленчатого вала двигателя.
9. В системе зажигания CDI, один из следующих компонентов хранит энергия для зажигания свечи зажигания?
а. Конденсатор c. Зарядная катушка
г. Диод d. SCR
10. Конденсатор в системе зажигания выключателей выполняет функцию до
.а. опережения двигателя на высоких оборотах.
г. индуцировать напряжение в первичной катушке.
г. отсрочить открытие точек.
г. предотвратить электрическую дугу через точки.
11. Длина металлической резьбы на конце свечи зажигания называется
.а. земля. c. изолятор.
г. достигать. d. оболочка.
12. Что из перечисленного является элементом системы зажигания, не требующим регулировки?
а. Контактные выключатели
г. Механический податчик
г. Электронный продвигатель
г. Регулятор напряжения
13. Маховик / ротор и коленчатый вал удерживаются вместе с помощью
а.катушка якоря.
г. Вудрафф ключ.
г. крышка цилиндра.
г. магнето.
14. Какое из следующих утверждений о катушке зажигания в силовом оборудовании? система зажигания двигателя исправна?
а. Катушка будет найдена только в системе зажигания, которая питается от магнето.
г. Железный сердечник катушки называется первичной обмоткой.
г. Вторичная обмотка подключена к проводу свечи зажигания.
г.Вторичная обмотка содержит меньше витков провода, чем первичная обмотка.
15. Система электрического стартера использует для передачи высокого тока от аккумуляторной батареи. к стартеру.
а. конденсатор.
г. магнето.
г. конденсатор.
г. соленоид.
Пред. | След.
Главная Статьи по теме вверх страницы
История автомобилестроения: Электронное зажигание — потеря очков, часть 1
Ранее в этом году Дэниел Стерн написал статью, в которой рассматривал систему зажигания HEI General Motor.Система зажигания GM HEI хорошо известна автолюбителям, но это была далеко не первая попытка американского автопроизводителя создать электронное зажигание. На протяжении 1960-х годов GM, Ford и Chrysler экспериментировали с различными версиями электронного зажигания, или, как их тогда называли, транзисторным (или просто транзисторным) зажиганием. Подобно тому, как транзистор произвел революцию в радио, он сделал то же самое с автомобильным зажиганием. Тем не менее, путь к современному электронному зажиганию был легендарным.В этой серии из трех частей будет рассмотрено эволюция электронных зажиганий, используемых американскими производителями с 1960-х годов до тех пор, пока они не стали отраслевым стандартом в 1970-х.
Типовой распределитель зажигания до точки излома
Прежде чем мы углубимся в подробности электронного зажигания, важно пройтись по основам работы индуктивной системы зажигания с выключателем. Что именно это за глоток? Это просто большое замысловатое название системы зажигания с прерывателем, которая использовалась в большинстве автомобилей до 1970-х годов.Система зажигания с прерывателем состоит из нескольких ключевых компонентов. К ним относятся распределитель, катушка зажигания, резистор (балластный или резисторный провод), провода свечей зажигания и, конечно же, свечи зажигания. Зажигание имеет первичный и вторичный контур. Эти две цепи встречаются внутри катушки зажигания. Катушка, представляющая собой импульсный трансформатор, состоит из первичной и вторичной обмоток. Первичные обмотки содержат от 200 до 300 витков более крупного провода, а вторичные обмотки — от 20 000 до 30 000 витков очень тонкого провода.В центре катушки — железный сердечник.
Катушка зажигания
Так как же все это работает? Когда точки прерывания в распределителе замкнуты, ток от батареи проходит через резистор, который снижает напряжение с 12 вольт примерно до 8 вольт. Эти 8 вольт проходят через первичные обмотки катушки зажигания, затем через замкнутые точки прерывателя и, наконец, на землю, замыкая цепь. Когда точки закрыты, на свече зажигания нет искры.
Важно помнить, что когда электрический ток течет через первичные обмотки катушки, он создает магнитное поле. Таким образом, когда точки прерывателя размыкаются, больше нет прямого соединения для протекания тока на землю. Это приводит к очень быстрому схлопыванию магнитного поля в катушке. Линии магнитного потока пересекаются от первичной обмотки ко вторичной, и это индуцирует гораздо более высокое напряжение (около 25000 вольт) во вторичных обмотках.Наведенный во вторичных обмотках ток высокого напряжения (около 25000 вольт) течет от катушки к распределителю. Затем распределитель направляет ток к правильному проводу свечи зажигания и создает искру зажигания на свече зажигания.
Схема подключения системы зажигания точки прерыванияСледует отметить, что время зарядки катушки до полного насыщения (время выдержки) фиксировано. Однако по мере увеличения оборотов двигателя время между открытием и закрытием точек сокращается. Это означает, что при более высоких оборотах катушка не успевает полностью насытиться.Это приводит к снижению мощности зажигания, поскольку более низкое первичное напряжение создает более низкое вторичное напряжение. Некоторые производители решили эту проблему, используя двойные точки, которые увеличили время выдержки при более высоких оборотах.
По мере увеличения числа оборотов выходное напряжение и продолжительность искры снижаются для зажигания точки прерывателя
Базовая система зажигания точек прерывателя работает неплохо, но имеет ряд серьезных ограничений. Во-первых, ток должен проходить через точки прерывания.Чтобы получить разумный срок службы из набора точек, сила тока должна быть ограничена, как правило, примерно до 3,5-4,0 ампер. Увеличение тока сверх этих уровней приводит к быстрой деградации срока службы точки прерывателя. Это причина, по которой напряжение снижается примерно до 8 вольт балластным резистором или проводом резистора (ток уменьшается вместе с напряжением). Эта пониженная мощность позволяет найти разумный компромисс между сроком службы точки прерывателя и энергией зажигания. Единственное исключение — когда двигатель запускается, резистор отключается при включенном стартере.Это позволяет подавать на катушку полные 12 вольт для максимальной энергии зажигания. Этот короткий период не сильно влияет на износ очков. Во-вторых, каждый раз, когда точки прерывателя размыкаются и замыкаются, возникающая дуга вызывает точечный износ. Кроме того, изнашивается труба на распределителе. Этот износ медленно снижает точность точек с течением времени, отсюда необходимость частой настройки. Наконец, использование высоких оборотов вызывает «дребезг», который может вызвать пропуски зажигания и плохие характеристики зажигания.
Высокопроизводительный 427 хорошо подходит для транзисторного зажигания.
Из-за ограничений и высокой необходимости обслуживания точек зажигания в начале 1960-х годов американские производители автомобилей начали искать решения для зажигания, в которых вместо точек зажигания использовались транзисторы. Использование транзисторов в механизме переключения могло бы быть гораздо более быстрым и эффективным, чем простой механический переключатель точек прерывателя. General Motors и Ford были первыми из большой тройки, кто экспериментировал с транзисторным зажиганием, и у обоих были системы, доступные для модели 1963 года.
Ford предлагал транзисторную систему зажигания для Ford Thunderbird и 427 автомобилей с двигателем для модели 1963 года. Эта система была самой простой формой электронного зажигания, и на самом деле в ней все еще использовался набор точек прерывания. Итак, как именно электронная система с набором баллов действительно предлагает какие-либо улучшения? Что ж, точки остались в замке зажигания в качестве спускового крючка для катушки, однако теперь они по существу использовались как реле.
РелеА позволяет цепи с низким током запускать цепь с более высоким током.Вы можете использовать переключатель в цепи низкого тока и подключить его к цепи высокого тока через реле. Как только этот переключатель замыкается, реле «запускает» цепь высокого тока. Следовательно, реле позволяет переключателю с низким током управлять цепью с большим током, не протекая через нее. Для транзисторного зажигания Форда точки прерывания были похожи на этот слаботочный выключатель.
A Коробка транзисторного усилителя зажигания Ford
В транзисторное зажигание Ford добавлено новое устройство, называемое усилителем.Усилитель — это старое название модуля зажигания, и внутри он содержал сверхбыстрые переключающиеся транзисторы. Усилитель подключается между замком зажигания (источником питания) и катушкой зажигания и подает питание на катушку. Это «главный выключатель», который контролирует, когда катушка находится в состоянии насыщения или схлопывается. В основном он выполняет работу точек при обычном зажигании.
Упрощенная электрическая схема транзисторного зажигания Ford. Транзистор находится внутри блока усилителя, который упрощен для этой схемы.
Принцип работы заключается в том, что точки используются для срабатывания усилителя. Усилитель не знает, когда переключить катушку из насыщения в коллапс. Эта работа остается за точками прерывания и тормозным блоком. Пункты прерывания по-прежнему открываются и закрываются в зависимости от положения ротора распределителя. Когда точки открываются, это запускает усилитель, который с помощью транзисторов размыкает первичную цепь между катушкой и землей. Это вызывает индукцию вторичной цепи, и свеча зажигания загорается.Поскольку точки прерывания больше не подают питание на катушку, Ford снизил напряжение до 3 вольт (что также снижает ток) с помощью резистора. Низкое напряжение значительно снизило износ наконечников, что значительно увеличило срок их службы. Это означает, что точки будут более точными в течение более длительного времени и потребуют меньшей регулировки. Усилитель позволил увеличить напряжение первичной цепи и более быстрое переключение катушки, что увеличило энергию зажигания и производительность на высоких оборотах.
Фактическая проводка была немного сложнее
Несмотря на более низкие требования к техническому обслуживанию и большую общую энергию зажигания, транзисторное зажигание Ford не было популярным вариантом. Он оставался стандартным на 427 до 1967 года, но даже не продержался так долго в списке опций Thunderbird, оставившемся после 1966 года. Я объяснил основы зажигания Ford Transistor выше, но на самом деле это было немного сложнее, так как Ford также включен режим холодного старта. Хотя для человека, участвующего в гонках на Ford 427, это могло быть несколько выгодно, для среднего владельца меньшее обслуживание было, вероятно, единственным большим преимуществом.Однако этот довольно дорогостоящий вариант был намного сложнее, чем обычное зажигание, и когда он действительно ломался, его было гораздо дороже и труднее ремонтировать.
Подразделение Delco-Remy начало разработку новой системы зажигания примерно в 1962 году с целью повышения надежности, увеличения срока службы компонентов и уменьшения потребности в техническом обслуживании. Результатом стало магнитно-импульсное зажигание с транзисторным управлением Delcotronic. Это транзисторное зажигание Delco было очень продвинутым для своего времени и, в отличие от системы Ford, полностью устраняло точки прерывания на распределителе.Вместо блока трения, который открывает и закрывает набор механических точек, эта новая система зажигания использовала генератор магнитных импульсов (магнитный датчик) внутри распределителя для запуска транзисторов в усилителе. Железный сердечник таймера заменяет трущийся блок и имеет такое же количество выступов (или лопастей), которые расположены на одинаковом расстоянии от цилиндров двигателя. Сборка датчика имеет керамический постоянный магнит, неподвижный полюсный наконечник и катушку датчика. Стационарный полюсный наконечник также имеет зубцы, расположенные на одинаковом расстоянии, по одному на каждый цилиндр.
Компоненты системы зажигания на транзисторах Delco-Remy.
По мере того как вал распределителя вращается и зубцы неподвижного полюсного наконечника и сердечника таймера приближаются к центру, выходное напряжение увеличивается с положительной полярностью. Когда зубцы проходят через выравнивание, выходное напряжение резко меняет направление и проходит через ноль, создавая отрицательную полярность. Когда напряжение пересекает нулевую точку, это дает сигнал усилителю отключить первичный ток катушки, который индуцирует вторичную цепь и зажигает свечу зажигания.Этот сигнал напряжения, который создается, на самом деле представляет собой небольшой переменный ток. Твердотельная технология усилителя определяет, когда снова включить первичную цепь. По мере того, как зубцы на сердечнике таймера и полюсном наконечнике отодвигаются все дальше, снова создается положительное напряжение, что означает завершение цикла. Сигнал приемной катушки обеспечивает очень точную точку переключения для точной синхронизации зажигания, которая не зависит от температуры или вибрации.
Это брошюра по дополнительному транзисторному зажиганию.Это было «управление контактом», то есть использовались точки для срабатывания усилителя, как в системе Ford.
В отличие от системы Ford, это зажигание не имело изнашиваемых механических частей. Использование генератора магнитных импульсов для запуска усилителя было большим шагом вперед к современному электронному зажиганию, которое в конечном итоге будет принято в большинстве систем на основе электронных распределителей. Delco-Remy также предлагала это зажигание в качестве комплекта для переоборудования вторичного рынка, но в комплекте использовались точки прерывания для срабатывания блока усилителя, и он работал так же, как и система Ford.Это сделало систему менее затратной и намного более простой в установке, поскольку старый дистрибьютор можно было использовать повторно.
Усилитель Corvette середины 1960-х годов с транзисторным зажиганием.
Транзисторное зажигание Delco было впервые представлено в качестве опции для Pontiac в 1963 году на двигателях 389 и 421. Он был добавлен в список опций для Corvette в 1964 году под кодом опции K66. Он был доступен на других высокопроизводительных Шевроле в течение 1960-х годов, но чаще всего его можно было найти на Корветах.Это было самое распространенное раннее электронное зажигание. Несмотря на сложность и дороговизну системы зажигания, система Delco была отличным средством зажигания для двигателей с высокими оборотами и была обязательной для некоторых двигателей с высокими рабочими характеристиками. Гонщики и энтузиасты высоких характеристик часто использовали или модернизировали это зажигание, потому что оно работало очень хорошо. 1971 год стал последним годом, когда транзисторное зажигание Delco было доступно, последний раз использовался на двигателях Chevrolet LT1 и LS6 с высокими рабочими характеристиками. Тем не менее, он также страдал от такой же низкой рентабельности зажигания Ford, предлагал несколько больших преимуществ для среднего водителя, но при этом был более дорогостоящим, гораздо более сложным по конструкции и гораздо более сложным в ремонте.
Транзисторное зажигание Motorola доступно в парке Dodges
Хотя Chrysler будет первой из большой тройки, внедрившей электронное зажигание в свою линейку автомобилей в 1973 году, до этого ей нечего было предложить. В 1966 году Dodge предлагал систему зажигания Motorola Transistor только для моделей своего парка. Большим преимуществом транзисторного зажигания для операторов автопарков было снижение затрат на техническое обслуживание. Система зажигания Motorola была произведена на вторичном рынке, ее можно было легко установить на другие автомобили.Таким образом, подобно системе Ford и дополнительной системе Delco, система Motorola также использовала точки для запуска блока усилителя и работала таким же образом.
Эти самые ранние версии электронного зажигания преследовали все следующие цели: более высокое вторичное напряжение (свеча зажигания), снижение затрат на техническое обслуживание и улучшение работы на высоких скоростях. Ford и General Motors использовали эти системы зажигания на автомобилях с высокими техническими характеристиками, в частности, на двигателях с высокими оборотами. Именно здесь транзисторное зажигание имело явное преимущество перед типичной установкой точек прерывания, поскольку транзисторы с быстрым переключением обеспечивали большее время насыщения катушки.Dodge, с другой стороны, предлагал транзисторное зажигание только для использования в автопарках, что, очевидно, было попыткой снизить затраты на техническое обслуживание, а не повысить производительность при высоких оборотах.
Транзисторное зажигание имеет значительные выходные преимущества по сравнению с зажиганием в точках прерывания при высоких оборотах. Вот почему широко использовались высокопроизводительные автомобили, такие как Corvette.
Хотя эти электронные системы зажигания предлагали улучшения по сравнению с воспламенением через точки прерывания, имелся ряд существенных недостатков.Стоимость системы зажигания была намного выше, было больше компонентов, для них требовались специальные детали, такие как специальные катушки зажигания, и они были гораздо более сложными. Сложность означала, что для ремонта этих систем требовалось больше навыков и знаний. А если система действительно выходила из строя, то обычно это происходило внезапно, и детали часто были недоступны.
В следующей статье я продолжу рассказывать о некоторых дополнительных ранних электронных системах зажигания и первых основных электронных системах зажигания, используемых Большой тройкой.
Особая благодарность Дэниелу Стерну за предоставление некоторых исследовательских материалов по старинным системам зажигания.
Дополнительная литература:
История автомобилестроения: Электронное зажигание — потеря очков, часть 2
История автомобилестроения: Электронное зажигание — потеря очков, часть 3
В автомобилях Powersports используется ряд очень разных систем зажигания.Здесь мы рассмотрим семь наиболее распространенных OEM-систем и сравним их. Но сначала, чтобы сделать это эффективно, мы должны установить фильтр или датчик. Этот фильтр состоит из двух вещей, которые верны для всех воспламенений, вещей, которые контрастно описывают их сильные и слабые стороны. Эта сетка не является произвольной, она учитывает то, что действительно отличает зажигание. Для вас, M.E.E., я не говорю о миллиджоулях или правилах Ленца, Фарадея, Сеток или Флеминга. Всего два очень простых, но важных отпечатка большого пальца.Первый фильтр — это источник питания системы зажигания. Источник системы зажигания важен, потому что зажигание с питанием от постоянного тока ведет себя так, а системы переменного тока — по-другому. Итак, источник важен. Другой определяющий показатель системы зажигания, не менее важный, заключается в том, зажигает ли зажигание свечу зажигания, поднимая первичную обмотку или сжимая ее. Эти две вещи: (1) источник и (2) восходящее или спадающее поле, как ничто другое, определяют воспламенение. Они более важны, чем выходное напряжение, более важны, чем ярко окрашенные провода свечей толщиной в полдюйма, более важны, чем свечи зажигания космической эры, более важны, чем известные имена, более важны, чем это модное слово «электронные»; важнее любой другой метрики системы зажигания.Эти два показателя определяют, что делает зажигание хорошим, лучшим и лучшим. Следующие ниже сравнения зажигания шести наиболее распространенных оригинальных систем зажигания сделаны с использованием сетки этих двух важнейших проектных характеристик систем зажигания. 1) Магнитное зажигание. Магнитное зажигание обладает определенной харизмой, своего рода безрассудным характером «крутого парня». Подумайте, крысиный, подстриженный, открытый железный Спортстер прыгнул четыре или пять раз потным, двадцатилетним, одетым в жену двойником Сталлоне, прежде чем наконец ожить.Какой бы ни была его репутация, по иронии судьбы, магнето на самом деле является одной из худших систем зажигания на планете. Одна из причин в том, что он работает от переменного тока. Системы зажигания с питанием от переменного тока сразу уступают системам с питанием от постоянного тока. На низких оборотах они очень слабые, и, кроме того, они сверхчувствительны к чистоте точки и точному времени. Причина этих недостатков восходит к первоисточнику. На низких оборотах доступно гораздо меньше напряжения, чем на высоких оборотах. Временная чувствительность Magneto также значительна, и это потому, что его источник переменного тока ритмически проходит через нулевую точку, среднюю точку синусоидальной волны переменного тока.Если момент зажигания немного отклоняется, точки открываются ближе к этой нулевой точке, чем обычно, и в результате значительно снижается напряжение и даже появляется слабая искра или отсутствие искры. Этого достаточно, чтобы сделать магнето не таким уж большим. Но это еще не все. Магнитное зажигание имеет дополнительный недостаток из-за его способа зажигания коллапсирующего поля. То есть его катушка зажигания включается перед событием зажигания, затем выключается, а затем загорается свеча зажигания. Щелчок-щелчок-щелчок. Магнето срабатывает при разрушении катушки. В результате более медленное нарастание напряжения на свече зажигания на несколько миллисекунд означает, что часть собираемой там электроэнергии (почему это называется «подъемом») успевает уйти через нагар, что приводит к снижению напряжения зажигания на свече.Эти две вещи: первый источник переменного тока, приводящий к более низкому пусковому напряжению и суетливому обслуживанию точек, а второй — более сложная для отложений конструкция разрушающегося поля, делает магнето самой низкой производительностью и наименее желательной из всех систем зажигания. Магнето работает так. Переменный ток генерируется магнитом, вращающимся рядом с первичной обмоткой катушки зажигания, насыщая ее. Когда точки открываются, магнитное поле первичной обмотки схлопывается, вызывая вторичную обмотку катушки, и загорается свеча зажигания.И снова свеча срабатывает при разрушении катушки; магнето — это система зажигания коллапсирующего поля. 2) Зажигание с передачей энергии. Возможно, вы никогда не слышали о системе зажигания с передачей энергии, вероятно, потому, что знаете ее под другим, вымышленным именем. Его почти всегда принимают за магнето. Однако передача энергии сильно отличается от магнето и была фактически разработана для ее замены. Конечно, они оба от источника переменного тока, поэтому одинаково маломощны и нетерпимы к грязи и неточному времени. Однако передача энергии имеет преимущество перед магнето, потому что, в отличие от магнето, передача энергии не является системой коллапсирующего поля.Это система растущего поля. Когда магнето работает на коллапс своей первой созданной первичной обмотки, когда точки открываются, источники энергии передаются от отдельной третьей обмотки («генератора») и мгновенно повышают поле в первичной обмотке катушки в момент открытия точек, получая огромное количество энергии. Передача энергии на свечу зажигания. Это настолько быстрее, что у напряжения гораздо меньше времени для сброса, что приводит к меньшим потерям напряжения и более сильной искре. Передача энергии встречается на большинстве старинных внедорожных мотоциклов, скутеров и квадроциклов, хотя производитель редко называет это по имени. В системе зажигания с передачей энергии катушка источника выдает напряжение, которое проходит через цепь заземления, пока точки не разомкнутся. Когда точки открываются, первичная обмотка катушки зажигания мгновенно насыщается, в результате чего возникает вторичная обмотка, и свеча зажигания загорается. Таким образом, система передачи энергии представляет собой систему с нарастающим полем, что само по себе делает ее лучше магнето. Важно отличать магнето от ЕТ. Визуальная подсказка заключается в том, что у магнето всего две обмотки, обе в катушке зажигания.Нет отдельной исходной катушки; первичная обмотка катушки выполняет двойную функцию как источника, так и первичной обмотки. С другой стороны, для передачи энергии используются три обмотки: автономная катушка генератора плюс две обмотки в катушке зажигания. Вы увидите эти различия в их схемах, а также в физических частях. 3) Зажигание разряда конденсатора. Зажигание с конденсаторным разрядом (CDI) является королем систем зажигания и отличается от всех остальных. Две вещи делают его уникальным. Во-первых, CDI запускает свою катушку зажигания от источника гораздо более высокого напряжения, чем любая другая система зажигания.В некоторых примерах на первичную обмотку подается до 400 вольт. Во-вторых, перед отправкой в катушку система сохраняет эту энергию в конденсаторе. Конденсатор очень похож на батарею; они оба являются устройствами хранения напряжения. Но в отличие от батареи, которая постепенно высвобождает свою энергию, конденсатор полностью разряжается. Большая свалка. Этот массивный взрыв в катушке зажигания вызывает взрывной эффект при зажигании. Затем добавьте к этим двум уникальным характеристикам CDI третье, тот факт, что система настроена для функции нарастающего поля, а не для более медленного схлопывания поля, и вы получите превосходную систему зажигания со всеми лучшими технологиями и характеристиками.И он по-прежнему лучший, спустя почти сто лет после его изобретения. Несмотря на то, что он был разработан в 1930-х годах, CDI стал широко известен только после того, как в 1950-х годах с ним начали играть какие-то мозговитые автомобильные хот-роддеры — электронные лампы и все такое. Забавно то, что роддеры обнаружили, что CDI не имеет для них никакого реального преимущества; у них не было никаких проблем, которые мог бы решить CDI. Никакой обедненной топливной смеси, никаких слабых источников зажигания и, самое главное, никаких проблем с засорением свечей. Однако снегоходы этого сказать не могли.Когда ребята из снегоходов открыли это, CDI была находкой, благом. Это практически сделало снегоход жизнеспособной машиной. С такой впечатляющей мощностью свечей зажигания CDI легко преодолела главную головную боль снегохода: двухтактный двигатель, сжигающий масло на свечах зажигания. Эти свечи снегохода с зажиганием от CDI загорелись, несмотря ни на что! Как раз то, что нужно для грубо построенных машин с ручным пуском в мороз вдали от лагеря. Возможно, даже спас несколько жизней! Это наследие CDI и его реальная претензия на славу. Вот как работает CDI. Во-первых, источник переменного или постоянного тока (оба существуют) заполняет конденсатор системы сотнями вольт. Затем таймер (генератор импульсов) сообщает переключателю (модулю зажигания или «коробке CDI») подключить конденсатор к первичной обмотке катушки зажигания, позволяя конденсатору мгновенно затопить катушку зажигания. Это немедленно вызывает вторичную обмотку катушки, и свеча зажигания генерирует смертельную искру. Обратите внимание, что свеча загорается при скоплении на катушке зажигания. Другими словами, CDI — это система растущего поля. Часто ошибочно полагают, что преимуществом CDI является высокое напряжение на свече зажигания. Это ложь, как и многие «общепринятая мудрость». Часто ли CDI имеет высокое напряжение на вилке? да. Но не это заставляет смеяться над загрязненными свечами зажигания. Это сверхбыстрое время нарастания напряжения CDI, которое делает его невосприимчивым к пробкам. Его свеча зажигания воспринимает дуговое напряжение в три раза меньше, чем любая другая система. Однако это тоже может быть проблемой. Самая большая сила CDI — это также и его слабость.Несмотря на то, что он является абсолютным лучшим для внедорожников, как только вы уберете CDI от внедорожника и попытаетесь сделать его зажиганием, подходящим для современного уличного транспортного средства с контролируемыми выбросами, его звездный статус быстро уменьшается. Единственная слабость CDI — продолжительность искры, которая в три раза меньше, чем у других воспламенений. Это не проблема для богатых снегоходов и высокопроизводительных мотокроссов. Но на дорожных двигателях с более чистым сгоранием CDI является помехой. Бедные смеси плохо справляются с короткими искрами.Чтобы преодолеть это, инженеры в конечном итоге нашли способ заставить CDI срабатывать несколько раз, эффективно увеличивая его сверхкороткую продолжительность искры и с помощью этого умного нововведения, делая CDI подходящим для более экономичных уличных велосипедов. Все успешные примеры использования CDI на дорогах — это многопожарная версия. 4) Кеттеринг зажигания. Кеттеринговое зажигание, часто называемое «батареей / точкой», является не чем иным, как монументальным по своей истории, долговечности и универсальности. Чарльз Кеттеринг, основатель Dayton Electrical Laboratories Corp.(Delco) изобрел систему, которая носит его имя в 1908 году. Ага, до гибели Титаника, всего через несколько лет после первой экспериментальной радиопередачи, и в том же году Генри Форд начал производство Model T. Это! Эоны назад! Кеттеринг — это поле с батарейным питанием и разрушающееся поле. Питание от батареи (постоянного тока) делает Кеттеринг лучше, чем систему переменного тока, но схлопывающееся поле не дает ему быть превосходным зажиганием. Он посредственный: лучше, чем магнито и передача энергии, но не так хорошо, как CDI.Однако, поскольку он питается одновременно от батарей и имеет конструкцию с разрушающимся полем, Кеттеринг известен тем, что он любит электроэнергию. При увеличении частоты вращения напряжение на штекере соответственно не увеличивается. Кеттеринг пытается не отставать, и напряжение на катушке зажигания падает до опасно низкого уровня. Следовательно, грязные разъемы проводки или неидеальная батарея могут снизить производительность Kettering. Однако из-за своей простоты и прочности практически все винтажные четырехтактные японские шоссейные велосипеды имеют зажигание Кеттеринга либо в его первоначальной форме точек контакта, либо в его более поздней транзисторной форме. Кеттеринг работает так. Сначала аккумулятор насыщает катушку зажигания. Во-вторых, точки открываются, отключая катушку от питания, в результате чего первичное магнитное поле катушки зажигания разрушается. Этот коллапс взаимно индуцирует вторичную обмотку катушки зажигания, зажигающую свечу зажигания. Кеттеринг зажигает свечу зажигания при разрушении катушки; это коллапсирующая система поля. 5) Транзисторный Кеттеринг. Транзисторный метод Кеттеринга часто называют «электронным» или «индуктивным» зажиганием.Точки были заменены транзистором, который выполнял переключение, и другой новой деталью, электронным триггером или генератором импульсов, который взял на себя синхронизацию. Две части были необходимы, потому что стандартные контактные лица Кеттеринга фактически выполняли две работы. Они переключались и отсчитывали время одновременно. Помимо этого изменения, нет абсолютно никакой разницы между ранним транзисторным Кеттерингом и Кеттерингом со стандартными точками. Таким образом, все характеристики оригинального Кеттеринга присутствуют в более новом транзисторном Кеттеринге: его характер перегрузки по напряжению, его результирующая чувствительность к падению напряжения и его конструкция сжимающегося поля — все те же самые в транзисторном Кеттеринге.Даже стандартная катушка зажигания Кеттеринга склонна к перегреву (из-за того, что она всегда включена) такая же, как и у транзисторной катушки Кеттеринга. Более того, несмотря на рекламу, транзисторный Кеттеринг не дает ни увеличения мощности двигателя, ни лучшего запуска, ничего из этого. Единственное преимущество — техническое обслуживание. То же самое можно сказать и о послепродажных системах Kettering, таких как Dyna S. Транзисторный транзистор Кеттеринга находится внутри своей маленькой коробочки, называемой модулем управления, воспламенителем или искровым блоком.Как и все системы с альтернативными точками, транзисторный блок Кеттеринга представляет собой просто переключатель, который подключает и отключает источник напряжения от (и от) катушки зажигания. Вот как работает транзисторный Кеттеринг. Питание от аккумулятора передается на модуль управления (воспламенитель), транзистор которого включает его на катушку зажигания. Катушка зажигания тогда находится под напряжением, как и в стандартном Kettering. Затем импульсный генератор системы приказывает транзистору модуля управления отключить катушку. Внезапный коллапс первичного поля взаимно индуцирует вторичную катушку, и свеча зажигания загорается.Обратите внимание, что транзисторный Кеттеринг, как и стандартный Кеттеринг, срабатывает, когда поле катушки зажигания падает; Кеттеринг на транзисторах представляет собой коллапсирующую полевую систему. Транзисторная система зажигания Kettering в настоящее время является наиболее широко используемой в мире системой зажигания в серийных уличных транспортных средствах. Но будьте осторожны, не путайте транзисторный Кеттеринг с CDI. Это совершенно разные системы, хотя многие говорят о них так, как будто они были одними и теми же. Среди полудюжины других отличий, Кеттеринг — это система коллапсирующего поля, CDI — система восходящего поля. 6) Транзисторная передача энергии. По мере того как электроника становилась все более распространенной, система передачи энергии потеряла свои позиции, как и стандартная система Кеттеринга. Все это означает, что точки заменяются двумя частями, генератором импульсов и переключателем. Теперь вы можете найти транзисторную передачу энергии на устройствах для силовых видов спорта с меньшим двигателем, таких как грузовые автомобили, скутеры и небольшие внедорожники, все, что раньше имело передачу энергии. Все то же самое между транзисторной передачей энергии и стандартной передачей энергии, за исключением того, что точки заменяются этими двумя твердотельными частями, генератором импульсов и транзистором. 7) Транзисторный магнето. Магнето в конечном итоге тоже перешло на транзистор. Когда-либо существовало не так много машин для силовых видов спорта с магнето, но их было несколько. Вы можете найти транзисторное магнето везде, где было магнето. В основном это стационарные двигатели, такие как портативные генераторы, газонное оборудование и некоторые (особенно ранние модели) транспортные средства для отдыха (поскольку многие из них начали со стационарных двигателей). Как и в случае с транзисторной передачей энергии, между транзисторным магнето и стандартным магнето все то же самое, за исключением того, что точки заменены генератором импульсов и транзистором. Я надеюсь, что это сравнение семи наиболее распространенных типов систем зажигания в PowerSports просветило ваше мышление, дало вам правильную терминологию и дало вам представление об истории в том, что касается продукта PowerSports. |
T. I. Специальность — Корвет, транзисторное зажигание 1964-1971 гг., Дэйв Fiedler
T. I. Специальность — Корвет с транзисторным зажиганием 1964-1971 годов, Дэйв Фидлер 1964–1971
CORVETTE
ЗАЖИГАНИЕ ТРАНЗИСТОРА
Дэйв Фидлер
ИСТОРИЯ И ЭКСПЛУАТАЦИЯ
В 1962 году подразделение Delco-Remy General Motors приступили к разработке системы зажигания, которая преодолела бы ограничения обычная система прерывателя.Общая цель нового Delcotronic Магнитно-импульсная система зажигания с транзисторным управлением (официальное название) должна была обеспечивают долгий срок службы, высокую надежность и не требуют периодического обслуживания в течение всего срока службы автомобиля.
Краткий обзор ограничений К обычным системам прерывания относятся:
- Доступное напряжение для зажигания свечи зажигания не может быть увеличенным из-за ограниченных токоведущих возможностей точек.
- Требуется периодическое обслуживание системы зажигания из-за износ трущихся блоков и точечная эрозия.
- Отказ от баллов дистрибьютора устанавливает практический предел на частоте вращения двигателя, при которой могут поддерживаться удовлетворительные характеристики зажигания.
Delco-Remy успешно спроектировала и производство системы зажигания, которая превосходила обычную систему, и это продолжал превосходить почти два десятилетия. Процитировать автомобильное общество Документ инженеров от 1963 г. (после разработки системы): «Новый Delcotronic. Магнитно-импульсная система зажигания с транзисторным управлением обеспечивает длительное время, не требующее обслуживания. срок службы и высокая надежность, к которым стремятся многие годы.Это достигает этой цели за счет полного исключения компонентов, которые традиционно наиболее подвержены неточность, износ и износ «.
Достижение целей Delco-Remy было достигнуто возможно в значительной степени за счет исключения знакомого набора точек контакта и замены магнитное пусковое устройство. Это твердотельное устройство, состоящее из стационарного магнитного сборка датчика и вращающийся полюсный наконечник обеспечили отличный сигнал для запуска Система транзисторного зажигания (TI).
Чтобы зажечь каждую свечу зажигания, необходимо вызвать высокое напряжение во вторичной обмотке катушки зажигания путем размыкания цепи на первичная обмотка катушки. В обычных системах это достигается путем открытия пункты связи с дистрибьюторами. В системе TI это достигается путем наведения напряжения импульс в приемной катушке распределителя, который передается на импульсный усилитель, где он сигнализирует «запускающему» транзистору о выключении «переключения» транзистор. Это действие прерывает протекание первичного тока зажигания, вызывая высокое напряжение в вторичная цепь зажигания.Импульсный усилитель делает это размыкание цепи в более эффективным способом, что частично объясняет улучшенную производительность системы TI. Кроме того, хотя проблемы износа точки контакта ограничивают первичный ток в обычная система примерно до 4,5 ампер, система TI может работать до 8 ампер, что еще больше повышает производительность системы.
Система зажигания Deltronic (теперь чаще называется транзисторным зажиганием или TI) преодолевает все ранее упомянутые ограничения традиционной системы, потому что TI:
- Повышает напряжение на свече зажигания.
- Будет работать на очень высоких скоростях без потеря качества зажигания.
- По существу не требует обслуживания.
Примером превосходства системы TI может быть видно, если посмотреть на выходное напряжение на свече зажигания в зависимости от скорости автомобиля. На скорости 10 миль в час обычная система вырабатывает 24000 вольт против 25000 у TI. Однако на скорости 100 миль в час обычная система упала до 17000 вольт, а TI — на уровне 24000, что на 40% больше напряжения для воспламенения топливовоздушной смеси в условиях высокой нагрузки.В дополнение к этому, система по-прежнему будет нормально работать на скоростях, превышающих 9000. об / мин.
КОМПОНЕНТЫ
Три основных компонента, составляющих ТИ Система представляет собой распределитель магнитных импульсов, усилитель импульсов зажигания и специальный катушка зажигания. В схеме также используются два провода сопротивления; один как балласт между отрицательный вывод катушки и земля, в то время как другой провод сопротивления обеспечивает напряжение падение для контура «работа двигателя» и обходится при проворачивании коленчатого вала.Другой компоненты системы зажигания — свечи зажигания, провода свечи, крышка распределителя и ротор — те же компоненты, что и в обычной системе.
УСТРАНЕНИЕ НЕПОЛАДОК
Большинство проблем, связанных с системой TI можно проследить до импульсного усилителя. Когда была разработана эта система, германий транзисторы были «последним словом» в электронной технике. Этот тип транзистор имел много ограничений (особенно по сегодняшним меркам) и много усилителей отказы могут быть связаны с этими транзисторами.
Другие проблемы, приводящие к отказу усилителя: вода из-за неисправного уплотнения крышки и скачки высокого напряжения. Влага застряла внутри усилитель вызовет коррозию до такой степени, что приведет к коррозии проводов электрических компонентов и разрушить медные дорожки на печатной плате, что приведет к выходу из строя. Высокое напряжение всплески, вызванные неисправным генератором или регулятором напряжения, приведут к выходу из строя цепи устройство защиты, установленное на печатной плате. Однако усилитель устроен так его можно обслужить.Неисправные компоненты можно определить и заменить, так как цепь плата легко доступна через заднюю крышку.
Как альтернатива ремонту оригинала печатная плата в настоящее время доступна заменяющая печатная плата, которая требует преимущество современных современных технологий. Этот «drop-in» модуль использует кремниевые транзисторы и надежнее оригинала печатная плата.
Помимо импульсного усилителя, существуют другие потенциальные проблемные зоны.Следующим в порядке появления идет магнитный распределитель. сборка пикапа. Проблема здесь либо в выводных проводах, либо в проволочной катушке. расположен внутри сборки. Выводные провода имеют тенденцию выходить из строя из-за повторного изгиб, а иногда это происходит внутри изоляции без каких-либо признаков вне. Проверка сопротивления (от 500 до 700 Ом) должна выявить эту проблему. Если есть проблема с проволочной обмоткой, обычно проявляющаяся как неустойчивый отказ двигателя или помпаж, это возникает из-за перебоев в обмотках и обычно проявляется только тогда, когда двигатель горячий.В этом случае требуется замена узла магнитного датчика.
Последним в списке проблемных мест является зажигание. катушка. Это может дать сбой в двух режимах. Первый — прерывистый или обрыв обмоток. которые составляют сердце катушки. Другой — треснувшая башня, которая позволяет вторичное напряжение должно быть направлено неверно, обычно переходя на одну из клемм первичной обмотки. В В любом случае следует заменить катушку.
РЕЗЮМЕ
Transistor Ignition — уникальный вариант производительности, который работает хорошо, когда он работает.Когда это не так, это может быть очень раздражающий. Как упоминалось ранее, большинство проблем может быть связано с усилителем или приемная катушка распределителя. Если ваш автомобиль изначально был оборудован TI, вероятно, это в ваших интересах с точки зрения оригинальности и производительности, чтобы сохранить TI система.
Печать Версия
Дэйв
Fiedler
Владелец,
Т. Специальность
1631 Pheasant Run
Richmond, Indiana 47374
Телефон: 1 (765) 962-4265
Часы работы:
С 10:00 до 18:00 EST
Электронная почта: info @ tispecialty.com

