Воздушный фильтр в автомобиле
Воздушный фильтр в автомобиле служит для очистки воздуха, поступающего в карбюратор, от пыли. Пыль содержит мельчайшие кристаллы кварца, который, оседая на смазанных поверхностях деталей, вызывает их изнашивание.
Требования, предъявляемые к фильтрам:
• эффективность очистки воздуха от пыли;
• малое гидравлическое сопротивление;
• достаточная пылеемкость:
• надежность;
• удобство в обслуживании;
• технологичность конструкции.
По способу очистки воздуха фильтры делятся на инерционно-масляные и сухие.
Инерционно-масляный фильтр состоит из корпуса с масляной ванной, крышки, воздухозаборника и фильтрующего элемента из синтетического материала. При работе двигателя воздух, проходя через кольцевую щель внутри корпуса и, соприкасаясь с поверхностью масла, резко изменяет направление движения.
Вследствие этого крупные частицы пыли, находящиеся в воздухе, прилипают к поверхности масла. Далее воздух проходит через фильтрующий элемент, очищается от мелких частиц пыли и поступает в карбюратор. Таким образом, воздух проходит двухступенчатую очистку. При засорении фильтр промывают.
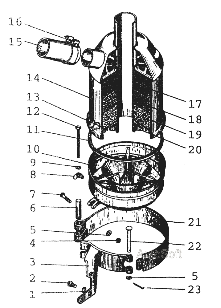
Инерционно-масляные
воздушные фильтры в автомобиле:а — двигателя автомобиля; а — дизеля ; 1,11 переходники; 2 — масляная ванна; 3 — отражатель; 4, 5, 10, 19 и 20 — уплотнительные прокладки; 6— фильтрующий элемент; 7— стяжной винт; 8 — гайка-барашек; 9 — винт с барашком; 12 — крышка; 13 — патрубок отбора воздуха в компрессор; 14 — кольцевая щель; 15 — кольцевое окно; 16 — корпус фильтра; 17— полость; 18 — корпус глушителя системы впуска; 21 — центральная труба.
Воздухоочистители, подробнее Продажа воздушных фильтров Харьков
принцип работы и виды устройства
В современном автомобиле нет ничего лишнего и малозначащего. Даже такой недорогой и простой с виду элемент, как воздушный фильтр, имеет важное значение, так как от него во многом зависит стабильная работа и общий технический ресурс двигателя. Как устроен воздушный фильтр, и почему требования технического регламента о сроках его периодической замены нужно неукоснительно выполнять?
Назначение
Воздушный фильтр предназначен для очистки поступающего в двигатель воздуха от пыли, песчинок и любых других мелких и твердых частиц, поступающих в двигатель.. Атмосферный воздух необходим для приготовления топливной смеси. При сжигании 1 литра бензина расходуется до 13 м² воздуха. Весь этот объём проходит через важнейшие системы двигателя, включая впускные и выпускные коллекторы, систему клапанов и рабочее пространство цилиндров.
Если поступающий в мотор воздух не очищать, резко возрастёт износ трущихся деталей, в результате чего двигатель даже после сравнительно небольшого пробега может полностью выйти из строя. Кроме обладающей абразивными свойствами пыли, «забортный» воздух содержит еще одну вредную для деталей мотора составляющую – водяные пары. Попадая на металл, влага провоцирует образование микроскопических очагов коррозии. Частицы ржавчины являются мощным абразивом, поэтому их присутствие в двигателе недопустимо.
Задача очистки необходимого для работы мотора воздуха от пыли и влаги полностью возложена на воздушный фильтр. Этот узел успешно выполняет и некоторые другие функции: частично гасит шум, создаваемый работающим двигателем, а в карбюраторных системах участвует в поддержании оптимальной температуры подготовленной топливной смеси. В процессе эксплуатации автомобиля воздушный фильтр постепенно засоряется, поэтому его необходимо периодически менять.
Устройство, принцип работы
Воздушным фильтром принято называть весь узел очистки поступающего воздуха в сборе.
Он представляет собой корпус со съемной крышкой, под которой находится определенной формы и конструкции фильтрующий элемент. Место установки воздушного фильтра в подкапотном пространстве зависит от типа двигателя. Так, в карбюраторных бензиновых моторах этот узел имеет округлый вид и устанавливается над карбюратором. В инжекторных системах применяются более производительные фильтры прямоугольной формы.
Чтобы удалить пыль и другие микроскопические твердые частицы из засасываемого в двигатель воздуха, его пропускают через пористый материал воздушного фильтра. Его конструкция выполнена таким образом, чтобы поступающий на вход воздух мог пройти на выход только через фильтрующий элемент. Если установка сменного фильтра выполнена неаккуратно, и винты крышки должным образом не затянуты, воздушный поток сможет беспрепятственно проходить через образовавшиеся щели.
Виды и состав фильтрующих элементов
В процессе эволюции автомобильного транспорта для очистки поступающего в двигатель воздуха применялись следующие различные материалы:
- Хлопчатобумажная ткань.

- Сетки из конского волоса.
- Поролон.
- Мелкий насыпной уголь.
- Бумага и картон.
- Подушки из капроновой лески.
- Емкости с машинным маслом.
На современном этапе многие из них практически не применяются и были заменены на более совершенные пористые композиции бумаги и картона, способные лучше осекать вредные примеси.
В зависимости от времени года и местности, в которой эксплуатируется автомобиль, фильтр должен эффективно справляться со всеми нежелательными составляющими воздушной среды:
- Дорожной пылью и песком.
- Парами и каплями влаги.
- Частицами цемента и строительной пылью.
- Цветочной пыльцой.
- Составляющими городского смога.
- Мелкими насекомыми.
Основой воздушных фильтров для легковых автомобилей являются различной конфигурации элементы, изготовленные из бумаги, картона или микропористых полимерных материалов. Для того, чтобы такие фильтры не промокали и препятствовали проникновению влаги в мотор, их пропитывают смолистыми веществами.
Данный способ обработки позволяет фильтрующему материалу задерживать даже мельчайшие взвеси частиц моторного масла, антифриза и других веществ, которые могут присутствовать в моторном отсеке.
Практика показала, что однослойные и однокомпонентные фильтры быстро засоряются. Для повышения эффективности работы и увеличения срока службы фильтрующих элементов разработаны новые технологии задержки пыли и примесей.
В первую очередь, это «глубинный» способ фильтрации. Он заключается в использовании трех слоев бумаги с порами различного размера. Поверхностный слой задерживает самые крупные частицы, средний – более мелкие, а третий уже завершает очистку, пропуская в двигатель абсолютно чистый воздух, немного подогретый в результате трения о поры бумаги. Заменяемые элементы фильтрации могут изготавливаться в любом размерном и пространственном решении, зависящем от типа двигателя и конструкции корпуса фильтра.
Конструктивные особенности
На конструкцию и геометрию современных воздушных фильтров существенно влияет тип, особенности устройства и функционирования двигателя, а также место установки узла в моторном отсеке и скорость поступающего в него воздушного потока.
В автомобилях устанавливаются фильтры следующих видов:
- Круглый фильтр в виде кольца, применяемый в авто с карбюраторным мотором. Кроме многослойной бумажной начинки, эти изделия обычно оснащаются сетчатым каркасом из алюминия, значительно увеличивающим их механическую прочность. Это необходимо, чтобы защитить фильтр от деформации потоком воздуха. Сверху и снизу фильтрующего кольца приклеены упругие резиновые или полимерные уплотнения.
- Панельный фильтрующий элемент, применяемый в большинстве дизельных ТС и для инжекторных двигателей. Выпускается в каркасном и бескаркасном исполнении. Отличается большей площадью фильтрации воздуха и общей эффективностью. Панельные фильтры занимают меньше места, быстро и точно устанавливаются в корпус. Для защиты от деформаций могут содержать в себе армирующие элементы из металлической сетки или пластика.
- Фильтры цилиндрической формы. Конструктивно напоминают кольцевые элементы, но значительно выше их и меньше в диаметре.
Такое решение позволило сделать изделия более компактными и одновременно увеличить рабочую площадь цилиндрического фильтрующего элемента. Применяются на грузовом автотранспорте и ряде моделей легковых автомобилей с дизельными моторами.
В целях улучшения эксплуатационных характеристик основные фильтрующие элементы могут быть дополнены внешними деталями предварительной очистки. В зависимости от этого фактора различают:
- Изделия с одной степенью фильтрации, выполненные в виде плотной гармошки из специальной бумаги и картона. Такие фильтры быстро засоряются и не защищены от деформации, поэтому на практике применяются редко.
- Модели с двойной фильтрацией, рабочая поверхность которых защищена слоем пористого синтетического материала, выполняющего функцию предварительной очистки воздуха от самых крупных частичек примесей. Фильтры подобной конструкции рекомендованы для внедорожников и грузовых автомобилей, работающих в условиях большого скопления пыли (на стройках, в поле, карьерах и т.
п.). - Системы тройной очистки, отличающиеся наличием циклонного блока. На начальном этапе воздух поступает в первое отделение корпуса, где поток принудительно закручивается. Под действием сил инерции из него выводится большая часть примесей, которая отправляется в накопительный контейнер. Движение воздуха по спирали может быть организовано за счет формы корпуса фильтра, либо при помощи крыльчатки с приводом от одного из шкивов.
В настоящее время многие производители освоили выпуск фильтров с так называемым «нулевым сопротивлением». Эти изделия содержат в себе многослойный элемент, состоящий из пропитанной маслом ткани. Такие фильтры эффективно задерживают примеси и практически не препятствуют интенсивному поступлению воздуха. Их недостатком является необходимость регулярной очистки и обслуживания, поэтому большинство автомобилистов предпочитают применять одноразовые фильтры стандартной конструкции.
Вопросы эксплуатации
Если автомобилист применяет только рекомендованный производителем тип воздушных фильтров и выполняет их замену так часто, как того требуют правила технического регламента, о качестве поступающего в двигатель воздуха можно не переживать.
Исключения составляют случаи, когда автомобили систематически эксплуатируются на стройках, для вывоза сельхозпродукции с полей или добытых карьерным способом ископаемых. При работе в сложных условиях фильтры нужно менять вдвое чаще.
Рекомендованные специалистами сроки замены фильтрующих элементов равны периоду замены масла. Именно в этот момент принято менять как топливный, так и воздушный фильтр. Подобная привязка во времени позволяет не ориентироваться на сервисную книжку, тем более, что далеко не все автомобилисты её и ведут.
Нарушение рекомендованных сроков установки новых фильтрующих элементов чреваты следующими последствиями:
- Повышенным износом трущихся деталей двигателя.
- Проблемами с топливными форсунками.
- Заметным падением мощности.
- Увеличенным расходом топлива.
- Снижением срока эксплуатации двигателя.
- Значительным увеличением расходов на ремонт.
Медлить с заменой воздушного фильтра нельзя.
Это простая операция, для которой не обязательно посещать СТО. Действия по смене фильтрующего элемента выполняются в следующем порядке:
- Открутите фиксирующие винты и аккуратно снимите крышку воздушного фильтра.
- Соблюдая осторожность, чтобы во впускной коллектор не осыпалась скопившаяся грязь и пыль, снимите и отложите в сторону старый фильтрующий элемент.
- Очистите и протрите тканевой салфеткой дно корпуса.
- Выньте из упаковки и аккуратно уложите на место новый фильтр.
- Устанавливая крышку, убедитесь, что она правильно сориентирована. В некоторых моделях моторов возможно два направления установки, которые соответствуют рискам «Зима» или «Лето». Так регулируется подача в фильтр холодного «забортного» или подогретого теплого воздуха с поверхности двигателя.
- Закрутите винты, фиксирующие крышку. Не прилагайте излишних усилий, чтобы не сорвать резьбу.
Внимание: особенно аккуратными при выполнении всех операций по замене фильтрующего элемента должны быть владельцы автомобилей с бензиновым мотором, оснащенным карбюратором.
Этот узел находится непосредственно под фильтром. Специалисты рекомендуют после снятия крышки временно прикрыть карбюратор чистой ветошью. Поскольку в случае попадания в камеру частиц пыли или грязи придется снимать, разбирать и промывать весь узел.
Соблюдая сроки и правила замены воздушного фильтра, можно избежать многих проблем, связанных с необходимостью досрочного и достаточно затратного капитального ремонта двигателя.
Назначение воздушного фильтра для автомобиля, какие бывают и из чего их делают
Как известно, воздух поступающий в двигатель автомобиля для образования воздушно-топливной смеси должен быть предварительно очищен от пыли. Если этого не делать, то частицы пыли попав в двигатель, сыграют роль абразива и ускорят его износ.
Назначение воздушного фильтра автомобиля
Для очистки воздуха применяют воздушные фильтры.
Сегодня, с применением современных фильтрующих материалов и благодаря различным конструкторским решениям удается довести эффективность фильтрации до 99,9%.
Автомобильные воздушные фильтры могут задерживать не только крупные частицы, но и совсем небольшие, размером в несколько микрон.
Работа воздушного фильтра
Кроме высокой степени очистки воздуха немаловажным фактором для воздушного фильтра является его производительность и создаваемое им сопротивление воздушному потоку, ведь для работы двигателя внутреннего сгорания нужно около 10 м3 воздуха на каждый литр сжигаемого им топлива.
Какие бывают фильтры: их устройство
Фильтры могут иметь различную конструкцию, форму, размеры и даже принцип работы.
Наиболее распространенным фильтрующим материалом, применяемым для изготовления воздушных фильтров автомобиля, является специальная фильтровальная бумага, сделанная на основе целлюлозного волокна, пропитанная специальным составом. Такая пропитка нужна для предохранения фильтрующего элемента от негативного воздействия воды, масла и паров топлива.
Устройство фильтра
Во многих современных фильтрующих элементах используются добавки синтетических волокон, которые повышают эффективность фильтрации и поглотительную способность фильтра.
Сегодня все чаще можно встретить фильтры, где применяются полностью синтетические фильтрующие материалы, которые благодаря своей особой структуре могут задерживать в несколько раз больше загрязнений, чем традиционная фильтровальная бумага. Кроме того, такие фильтры, имея высокую эффективностью фильтрации, тем не менее, имеют в несколько раз меньшее сопротивление воздуху, чем фильтровальная бумага.
Фильтр нулевик
Наверное, многие автолюбители слышали о воздушных фильтрах, так называемого «нулевого сопротивления». Что же они из себя представляют?
Фильтр нулевого сопротивления
Один из методов изготовления таких фильтров — многократная пропитка нескольких слоев хлопковой ткани специальным составом. Эти слои помещаются между двумя сетками из алюминиевой проволоки для достижения необходимой конфигурации фильтрующего элемента.
Такой фильтр нулевого сопротивления может пропускать как минимум в два раза больше воздуха, чем традиционные фильтры. Причем, такая производительность и небольшое сопротивление воздушному потоку фильтра достигаются без снижения его фильтрующей способности.
С таким фильтром мотор может, что называется, «дышать полной грудью». Еще одна положительная особенность фильтров нулевого сопротивления — грязь и пыль, задержанные на его фильтрующем элементе, практически не влияют на воздушный поток, проходящий через фильтр. Все эти частицы сами становятся частью фильтрующего элемента, задерживая более крупные частицы. Это свойство позволяет фильтру улавливать значительно большее количество пыли.
Уход за фильтром нулевого сопротивления
Фильтр нулевого сопротивления можно использовать неоднократно. Загрязненный фильтр перед повторным использованием просто чистят и моют.
Чистка и мойка фильтра нулевика
Делают это в таком порядке:
- снимают фильтр, затем используя щетку с мягким ворсом, осторожно очищают поверхность фильтрующего элемента.
- далее наносится специальное средство для чистки таких фильтров, например, Universal Cleaner с обеих сторон фильтрующего элемента.
- составу нужно дать впитаться.
Примерно через 10 минут фильтр моют в емкости с водой, а потом промывают под струей проточной воды. Сушить фильтр не нужно.
Видео: уход за нулевиком.
Обычно чистить фильтр рекомендуют через каждые три месяца, если автомобиль активно эксплуатировался. Перед установкой фильтра нулевого сопротивления его нужно пропитать специальным маслом.
Загрузка…Устройство воздушного фильтра
Любой современный двигатель внутреннего сгорания, устанавливаемый на легковой, грузовой автомобиль или спецтехнику, функционирует за счет сжигания топливной смеси, в которой по объему содержится примерно в 15 раз больше воздуха, чем бензина или солярки. Его забор происходит снаружи, из «забортной» атмосферы, которая практически всегда не отличается особой чистотой. В воздухе содержится множество загрязнений: пыль, частицы асфальта, мельчайшие капельки воды и т.
Виды и конструкции воздушных фильтров
Существуют следующие виды воздушных фильтров для легковых, грузовых автомобилей и спецтехники:
- Инерционные;
- Инерционно-масляные;
- Бумажные.
Две первых разновидности рассматривать не имеет смысла, поскольку в современной технике они практически не используются. Наиболее распространенными являются бумажные фильтры. Как нетрудно догадаться из самого названия, очистка воздуха ими осуществляется фильтрами, изготовленными из специальной бумаги, имеющей пористую структуру. Чаще всего она пропитывается специальными составами, благодаря которым ее свойства сохраняются даже при попадании воды, масла или топлива.
Конструктивно бумажные фильтры бывают трех типов:
- Кольцевые;
- Цилиндрические;
- Панельные.

Кольцевые и панельные воздушные фильтры могут быть как каркасными, так и бескаркасными, а цилиндрические — только каркасными. Следует заметить также, что панельные фильтры используются на легковых автомобилях с инжекторными двигателями, а спецтехника ими практически не оснащается.
Если устройство воздушного фильтра кольцевого типа предполагает наличие каркаса, то он располагается с внутренней стороны и изготавливается из алюминиевой сетки. В самом теле кольца уложен сложенный определенным образом фильтрующий элемент, а для герметизации торцевых частей используется поролон. Он не дает проникать между фильтром и корпусом неочищенному воздуху. В конструкции некоторых кольцевых фильтров для спецтехники, которая эксплуатируется в условиях повышенной загрязненности воздуха, имеются предочистители. Они располагаются перед основным фильтрующим элементом, с внешней стороны фильтра.
Конструкция цилиндрических воздушных фильтров, активно используемых в спецтехнике, практически идентична той, что имеют фильтры кольцевые.
Пожалуй, единственным действительно серьезным отличием является то, что площадь фильтрующего элемента у них существенно больше. Это необходимо для того, чтобы обеспечить большую пропускную способность.
Нужно также заметить, что в некоторых моделях специальной техники японского производства используются воздушные фильтры с фильтрующими элементами, изготовленными из специальных синтетических материалов. В рамках технического обслуживания их нужно менять на точно такие же, оригинальные.
Как часто нужно менять воздушные фильтры
Производители легковых, грузовых автомобилей и специальной техники в документации на них обязательно указывают тот срок, по истечении которого следует производить замену воздушного фильтра. Для транспортных средств он исчисляется в километрах пробега и составляет обычно от 15 000 до 30 000. Что касается специальной техники, работа которой часто происходит в условиях повышенной загрязненности воздуха, то при замене воздушных фильтров лучше всего ориентироваться на степень их загрязненности.
То, как часто нужно менять воздушный фильтр, зависит еще и от такого фактора, как материал изготовления фильтрующего элемента. Если для его производства использована чистая целлюлоза, то такой фильтр стоит дешевле всего, но и выходит из строя достаточно быстро. Присутствие в составе фильтрующего элемента полиэфирных смол увеличивает срок их службы приблизительно в пять раз.
Еще один фактор, от которого зависит периодичность замены воздушных фильтров для автомобилей и специальной техники — это общая площадь фильтрующего элемента. Чем она больше, тем большее количество загрязнений способен задержать фильтр и, следовательно, срок его службы больше.
Важным фактором, который влияет не то, как часто следует менять воздушный фильтр для автомобилей специальной техники, является то, какая именно компания произвела находящийся в нем фильтровальный элемент. Дело в том, что хорошо фильтровать воздух может только тот материал, в котором наиболее оптимально сочетаются значения таких показателей, как пористость, сопротивляемость потоку воздуха, пылеемкость и устойчивость к неблагоприятным воздействиям.
Самыми долговечными являются фильтровальные элементы, выпускаемые известными компаниями.
Как правильно выбрать воздушный фильтр
Необходимо отметить, что воздушные фильтры являются расходными материалами, которые не подлежат очистке и какому-либо восстановлению. Их промывка, продувка и прочие «очищающие» процедуры не приносят никакого результата по той простой причине, что загрязнения остаются не только на поверхности, но и внутри фильтрующего материала.
При выборе воздушного фильтра для двигателя внутреннего сгорания необходимо ориентироваться в первую очередь на рекомендации производителя самого мотора. Кроме того, при одинаковых заявленных технических и эксплуатационных характеристиках следует выбирать продукцию известных производителей, а не ориентироваться на более низкую цену.
Статья подготовлена
техническим специалистом компании «Сфера»
Колесовым Дмитрием.
.
Воздушные фильтры тракторов
Категория:
Автотракторные фильтры
Публикация:
Воздушные фильтры тракторов
Читать далее:
Воздушные фильтры тракторов
Воздушные фильтры тракторов К-701, К-700.
В системе питания двигателя трактора К-701 установлен снаружи капота слева инерционно-центробежный воздушный фильтр сухой со сменными фильтрующими элементами и автоматическим удалением пыли.
Фильтр состоит из корпуса (рис. 64), четырех фильтрующих элементов крышек, воздухозаборной трубы и устройства для автоматического удаления пыли. В нижней части корпуса размещаются циклоны и бункер-пылесборник, соединенный трубопроводом с эжекционным устройством. Над циклонами в корпусе имеется полость для установки кассет фильтрующих элементов, а также воздухоотводящий патрубок.
Рекламные предложения на основе ваших интересов:
Рис. 64. Схема очистки воздуха в воздушном фильтре двигателя трактора К-701 «Кировец»
Фильтрующие элементы составляют вторую ступень очистки воздуха. Каждый фильтрующий элемент (кассета) состоит из кожуха, предохранительной обечайки, крепежных деталей и сменной фильтрующей набивки из высокопористого картона. Крышки фильтра при помощи винтов с маховичком соединяются с корпусом фильтра.
Эжектор установлен в выпускной трубе двигателя, куда подводится патрубок, отводящий пыль из фильтра..
Рис. 65. Схема очистки воздуха в воздушных фильтрах двигателя тракторов К-700 «Кировец»
При этом пыль отделяется от воздуха и спускается в бункер, откуда отсасывается под действием разрежения, создаваемого эжектором выпускной трубы. Очищенный в циклонах воздух поступает во вторую ступень очистки, где, проходя через картонные фильтрующие элементы, окончательно очищается и направляется в цилиндры двигателя.
Наружный воздух через воздухозаборную трубу поступает в два параллельно работающих мультициклона предварительно очищается от частиц пыли. Пыль из бункера мультициклона автоматически удаляется эжектором, размещенным в выпускной трубе двигателя. Последующая качественная очистка воздуха производится в картонных фильтрующих элементах второй ступени фильтра. При этом фильтрую-щий элемент выполняет роль гарантийного элемента, защищая двигатель от пыли в случае повреждения элемента.
Проходя последовательно через фильтрующие элементы, воздух .окончательно освобождается от пыли и очищенным по трубке поступает в турбокомпрессор, который нагнетает его в цилиндры двигателя.
Рис. 66. Схема очистки воздуха в воздушном фильтре двигателя тракторов Т-150, Т-150К
Воздушные фильтры тракторов Т-150, Т-150К, ДТ-751И, Т-4А, Т-125. В системе питания двигателя тракторов Т-150, Т-150К установлен инерционно-центробежный сухой контактный двухступенчатый воздушный фильтр с эжекционным отсосом пыли. Воздушный фильтр состоит из корпуса (рис. 66), крышки, мультициклона, фильтрующего элемента 6 и устройства для автоматического удаления пыли. В нижней части корпуса фильтра размещаются мультициклон и пылесборный бункер 2 с патрубком, который при помощи трубки соединяется с эжектором. Внутри корпуса находится центральная труба, подводящая очищенный воздух в цилиндры двигателя.
Наружный воздух, поступающий через защитную сетку, направляется в циклоны и получает завихрение, Находящаяся в воздухе пыль под действием центробежных сил в циклонах отце тяется и сбрасывается в пылесборный бункер, откуда отсасывается эжектором и выбрасывается с отработавшими газами в атмосферу.
Очищенный воздух в циклонах поступает во вторую ступень очистки. Проходя через фильтрующий элемент, воздух освобождается от мельчайших частиц пыли и через центральную трубу направляется в турбокомпрессор, который нагнетает воздух в цилиндры двигателя под давлением 1,5—1,6кгс/см*.
Воздушные фильтры тракторов ДТ-75М, Т-4А, Т-125. В системе питания двигателей тракторов ДТ-75М, Т-4А, Т-125 до 1974 г. применялись воздушные фильтры инерционно-центробежные контактные двухступенчатые с автоматическим удалением пыли.
После 1974 г. на указанных тракторах устанавливаются воздушные фильтры инерционно-масляного контактного типа четырехступенчатые.
Воздушный фильтр состоит из корпуса (рис. 67), фильтрующих элементов, центробежного сухого очистителя. В корпусе фильтра размещаются масляная ванна, центральная труба и фильтрующие элементы. Фильтрующий элемент состоит из кассеты и набивки из капроновых нитей, а элемент имеет набивку из поропласта и полиуретана. Фильтрующий элемент гарантирует надежную работу воздушного фильтра в случае повреждения элемента.
Рис. 67. Воздушный фильтр двигателя тракторов ДТ-75М, Т-4А, Т-125
Рис. 68. Воздушный фильтр двигателя трактора Т-100М
Рис. 69. Схема очистки воздуха в воздушном фильтре двигателя трактора Т-130
На двигателях тракторов Т-130 установлен воздушный фильтр центробежно-контактного типа со сменными фильтрующими элементами двухступенчатый с автоматическим удалением пыли.
Атмосферный воздух поступает через входные окна в мудь-тициклон, где очищается от грубых частиц пыли, которые скатываются в бункер. Из бункера пыль отсасывается эжектором и удаляется через выпускную трубу. Очищен-ный в мультициклоне воздух по центральной трубе направляется во вторую ступень тонкой очистки. Проходя через бумажные фильтрующие элементы 8, воздух полностью очищается от мельчайшей пыли и направляется в турбокомпрессор для нагнетания в цилиндры двигателя.
Воздушные фильтры тракторов Т-40М, Т-40АМ. Для очистки воздуха, поступающего в цилиндры двигателя тракторов Т-40М, Т-40АМ, применяются воздушные фильтры, имеющие четыре ступени очистки: сухую центробежную, масляно-контактную и очистки в элементах из разных материалов.
Рис. 70. Воздушный фильтр двигателя тракторов Т-40М, Т-40АМ
Наружный воздух, содержащий пыль, проходит через отверстия крышки очистителя и, попадая на лопатки завихрителя, раздробляется, закручивается и движется по спирали вниз. Под действием центробежной силы воздух с пылью отклоняется к стенкам корпуса очистителя. При этом крупные пылинки, имеющие большую, чем воздух, массу, отбрасываются к стенкам и через щели в нижней части корпуса очистителя вместе с частью воздуха выбрасываются наружу. Предварительно очищенный воздух затем по центральной трубе винтообразно движется вниз, и частицы пыли оседают на поверхность трубы. На выходе из трубы воздух, ударяясь о поверхность масла, резко изменяет направление движения. При этом частицы пыли оседают в масло, а воздух, захватывая капельки масла, проходит через фильтрующий элемент и смачивает набивку элемента маслом. При прохождении воздуха через капроновые нити элемента мелкие пылинки задерживаются, а затем смываются маслом, стекающим в поддон фильтра.
Окончательная (четвертая ступень) очистка воздуха осуществляется в фильтрующем элементе из пенополиуретана, где задерживаются частицы пыли размером до 3 мкм. Воздух, проходящий через воздушный фильтр, очищается на 99,5-99,7% от пыли и направляется в цилиндры двигателя. Данные воздушных фильтров двигателей тракторов Т-40М, 1-40АМ следующие.
Корпус фильтра, поддон корпуса и масляная ванна из листовой стали толщиной 1 мм. число отверстий в масляной ванне семь. Диаметр отверстий 5 мм.
Рис. 71. Схема усовершенствованного воздушного фильтра двигателя тракторов Т-40М, Т-40АМ: 1 — корпус; 2 — масляная ванна; 3 и 4 — фильтрующие элементы третьей и четвертой ступеней очистки; 5 — головка корпуса; 6 – центральная труба; 7 — перфорированная сетка; 8 — завихритель; 9 — корпус инерционного очистителя
Продолжительность работы фильтра до разборки при обслуживании 22 ч при запыленности воздуха 0,4 г/м3.
Для двигателей тракторов Т-40М, Т-40АМ разработан более совершенный воздушный фильтр, представленный на рис.
71. Фильтр имеет два элемента в третьей ступени очистки с зазорами между ними, что исключает вынос масла в цилиндры двигателя. Фильтрующий элемент четвертой ступени очистки выполнен из пенополиуретана и снабжен пластинами, пористость которых плавно уменьшается по высоте.
Воздушные фильтры тракторов МТЗ-80, МТЗ-82, МТЗ-50, МТЗ-6Л/М. Воздушные фильтры двигателей тракторов МТЗ-80, МТЗ-82 подобны по конструкции воздушным фильтрам тракторов Т-40М, Т-40АМ.
Воздушный фильтр состоит из сухого очистителя (рис. 72), корпуса и фильтрующего элемента. Корпус фильтра имеет головку и центральную трубу. В нижней части корпуса размещается поддон, заполненный маслом, который крепится к корпусу стяжными винтами. В поддоне установлена масляная ванна, форма которой обеспечивает хорошую циркуляцию масла и исключает унос его в двигатель. В корпусе между пластмассовыми обоймами установлены три фильтрующих элемента из капроновой щетины переменной плотности.
Воздух из окружающей среды поступает снизу на завихритель очистителя и приобретает вращательное движение.
Крупные частицы пыли под действием центробежной силы отбрасываются к поверхности корпуса очистителя и через щели выбрасываются в атмосферу. Затем частично очищенный воздух устремляется в центральную трубу и при выходе из нее, ударяясь о поверхность масла, резко изменяет направление движения., Частиць1 пыли при этом оседают в масло, а поток воздуха движется через фильтрующие элементы, где окончательно освобождается от мельчайших пылинок и поступает в цилиндры двигателя.
Рис. 72. Воздушный фильтр двигателя тракторов МТЗ-80, МТЗ-82
Воздушные фильтры двигателей тракторов МТЗ-50 и ЮМЗ-6Л/М имеют в принципе такое же устройство, как и воздушные фильтры двигателей тракторов МТЗ-80, МТЗ-82.
Рекламные предложения:
Читать далее: Подготовка воздушных фильтров тракторов к весенне-летним полевым работам
Категория: — Автотракторные фильтры
Главная → Справочник → Статьи → Форум
Виды автомобильных воздушных фильтров их конструкция и замена
Одним из компонентов топливной смеси, на которой работает силовая установка, является воздух.
Причем количество воздуха силовым агрегатом используется большое и берется он из окружающей среды. Но этот воздух чистым не назовешь, поскольку в нем постоянно находятся примеси, которые на работе силовой установки положительно не сказываются. Особенно это касается песка, поскольку он обладает сильными абразивными свойствами. И попадая внутрь силового агрегата, он значительно ускоряет его износ .
Разные типы и виды автомобильных воздушных фильтров
Чтобы снизить засоренность поступающего в мотор воздуха на всех без исключения автомобилях, которые использует двигатель внутреннего сгорания в качестве силовой установки, применяются воздушные фильтры.
Виды воздушных фильтров для автомобиля
Видов данных фильтров, применяемых на автотехнике, несколько. Они используют разные способы фильтрования:
Схематичное устройство автомобильного воздушного фильтра
- Инерционные. Фильтры, которые раньше применялись практически на всех видах транспорта, но со временем более совершенные модели вытеснили их.
Такой фильтр состоял из объемного корпуса, в народе получивший прозвище «кастрюля», в который была помещена подушка из капроновой лески. Первичная очистка воздуха производилась именно из-за резкой смены направления движения, когда воздух продолжал движение, а пыль по инерции двигалась к днищу корпуса и там оседала. Вторичная очистка производилась подушкой. Эти фильтры были многоразового использования, их нужно было периодически промывать, и он использовался дальше. Существенным недостатком этого типа было слабое фильтрующее свойство; - Инерционно-масляные. Эти фильтры были несколько лучше инерционных по своим очистным свойствам, но тоже уже считаются устаревшими. Конструктивно они были схожи с инерционными, но имели одно различие. На дно корпуса было налито моторное масло, которое из-за своих свойств могло «улавливать» и удерживать в себе крупные и мелкие загрязняющие частицы. Этот фильтр тоже был многоразового использования, достаточно было проводить промывку его и заменять масло.
На некоторых видах сельхозтехники они применяются и сейчас; - Бумажные. На данный момент эти воздушные фильтры самые распространенные. Очистка воздуха у них производится путем пропускания их через специальную бумагу с пористой структурой. Данная бумага сложена особым способом, что увеличивает его очистную способность. Особенностью бумажных фильтров является возможность очистки по всему своему объему, а не только внешней поверхностью, обеспечивается это пористой структурой и переплетенным положением волокон бумаги. Переплет волокон обеспечивает также и улавливание очень мелких частиц – до 1 микрона. Сама бумага обработана специальной смолой, что обеспечивает целостность и работоспособность его даже после контакта с водой, маслом или топливом. Эти фильтры не обслуживаемые, при их сильном загрязнении они просто заменяются;
- Фильтры с нулевым сопротивлением. В качестве фильтрующего элемента у них используется хлопчатобумажная ткань или же поролон. При изготовлении очистные элементы подвергаются обработке специальными составами.
Все это обеспечивает хорошие фильтрующий эффект, при этом сам фильтр обеспечивает намного меньшее сопротивление потоку воздуха, чем обычные бумажные. Считается, что этот фильтр является обслуживаемым, можно проводить его очистку и промывку для дальнейшего использования, но для этого нужно использовать специальные шампуни, а после промывки совершать пропитку фильтрующего элемента специальным составом. И все же со временем фильтр приходит в негодность и заменяется.
Конструкция бумажного воздушного фильтра
Цилиндрический фильтр — старый и новый
Рассмотрим конструкцию бумажных фильтров, поскольку инерционные и инерционно-масляные практически не используются, а фильтры нулевого сопротивления хоть и пользуются спросом, но в значительно меньшей степени.
Кольцевой автомобильный воздушный фильтр
Производятся бумажные фильтры трех типов – кольцевые, панельные и цилиндрические. При этом первые два типа могут иметь каркасную и бескаркасную конструкцию, цилиндрические же всегда с каркасной конструкцией.
Панельный воздушный фильтр ВАЗ 2112
Воздушный фильтр кольцевого типа имеет круглую форму. Если он имеет каркасную конструкцию, с внутренней стороны установлен каркас из алюминиевой сетки.
На торцевые части этого фильтра с обеих сторон наклеен уплотняющий слой из поролона, который предотвращает попадание неочищенного воздуха между фильтром и корпусом.
Между уплотняющими слоями и располагается фильтрующий элемент – пористая бумага, имеющая укладку в виде «гармошки».
Встречаются кольцевые фильтры, оснащенные предочистителем. Предочиститель – это поролоновая лента, расположенная с внешней стороны, перед основным фильтрующим элементом.
Воздушные фильтры кольцевого типа применяются на всех легковых автомобилях в карбюраторной системой питания.
Цилиндрические фильтры имеют идентичную кольцевым конструкцию, но отличаются по площади фильтрующего элемента, она у них более значительна, для обеспечения большей пропускной способности. Применяются на грузовых автомобилях.
Фильтры панельного типа имеют несколько другую конструкцию: они имеют форму прямоугольника, слой из уплотняющего поролона у них только с одной стороны, а каркас из сетки, если он имеется, расположен под уплотняющим слоем. А под этими двумя элементами конструкции расположен бумажный фильтр, сложенный тоже «гармошкой». Применяются на инжекторных легковых авто.
Периодичность замены воздушного фильтра
Основой для нормальной очистки воздуха от примесей является своевременная замена воздушного фильтра. Считается, что производить замену следует каждые 10-15 тыс. км. Но во многом частота замены зависит от эксплуатационных условий. Чем больше в воздухе имеется примесей, тем чаще он меняется. Даже если авто эксплуатируется редко, и за год 10 тыс. км он не проезжает, фильтр все равно нужно заменять дважды в год, перед летним и зимним сезоном.
Замена воздушного фильтра, будь то кольцевого или панельного типа — операция не такая сложная и сделать ее можно сразу возле автомагазина, что даже лучше, поскольку фильтры имеют разные габаритные параметры, и после извлечения старого можно сразу же подобрать идентичный по размерам.
Замена фильтра кольцевого типа
Сначала разберем, как производится замена воздушного фильтра кольцевого типа на ВАЗ-2108. Он располагается в подкапотном пространстве, установлен его корпус над карбюратором.
Из инструментов понадобится только ключ на 10. Открыв капот, сразу получаем доступ к корпусу, поскольку он расположен вверху, имеет он круглую форму с выходящим из него засасывающим патрубком. Для замены нужно с корпуса снять крышку. Она держится на четырех защелках по окружности, а по центру крышка прижата гайкой на 10. Открутив гайку и высвободив защелки, крышка снимается и появляется возможность снять использованный фильтр. Вот здесь важно правильно подобрать фильтр по размерам, иначе новый либо не станет на место, либо поле установки будет щель между фильтром и крышкой корпуса. Попутно можно оценить состояние карбюратора на загрязненность.
Новый фильтр устанавливается на место, причем без разницы, какой стороной, поскольку уплотняющие слои у него имеются с обеих торцов, крышка одевается на корпус и фиксируется защелками и гайкой.
Воздушный фильтр панельного типа и его замена
Не сложно поменять фильтр и на инжекторном авто. Примером будет ВАЗ-2110. Корпус фильтра у этого авто тоже расположен под капотом. Имеет он вид прямоугольного пластикового ящика с исходящим от него патрубком.
Крышка корпуса фильтра у данного авто зафиксирована четырьмя винтами по углам. У других авто могут быть установлены только защелки. Для предотвращения возможного повреждения проводки, идущей к датчику массового расхода воздуха, фишку с проводкой, идущей к нему, лучше отсоединить.
Открутив винты отверткой, с корпуса снимается крышка, после чего появляется доступ к фильтру. Использованный фильтр извлекается, на его место устанавливается новый. Важно правильно его установить. Уплотняющий слой, имеющийся у панельного фильтра только с одной стороны, должен располагаться сверху.
После чего ставится на место крышка, фиксируется винтами, после чего уже подсоединяется фишка к датчику.
Фильтр нулевого сопротивления и его установка
Что касается фильтра нулевого сопротивления, если принято решение установить его на авто, то операция по его монтажу тоже не сложная. В дальнейшем, когда придется его менять, операции по замене идентичны операциям по установке.
У ВАЗ-2108 данная модель устанавливается на всасывающий патрубок корпуса воздушного фильтра, при этом штатный фильтр извлекается. Монтируется он на насадку на фильтре, которой осуществляется переключение подачи холодного и теплого воздуха. После одевания фильтра на насадку, он фиксируется хомутом. Для замены достаточно ослабить хомут, снять старый и установить новый.
На ВАЗ-2110 для установки фильтра нулевого сопротивления корпус не используется, поэтому он демонтируется с авто, а вот патрубок, идущий от него к коллектору, остается. Именно на этот патрубок и одевается фильтр и фиксируется хомутом.
Устройство воздушного фильтра системы питания топливом двигателя МеМЗ-968Н автомобиля ЗАЗ-968М «Запорожец»
Воздушный фильтр системы питания топливом двигателя МеМЗ-968Н автомобиля ЗАЗ-968М «Запорожец» является инерционно-масляным.
При расходе воздуха 130 м3/ч сопротивление воздушного фильтра составляет 240—280 мм водяного столба. Фильтр состоит из поддона 22 с маслоразделителем, корпуса 24 с фильтрующей набивкой 25, седла 29 клапана, пружины 27 клапана, стакана 26, клапана 30. Резиновое уплотнительное кольцо 28 кладется между поддоном и корпусом. В поддон заливается 175 грамм (0,2 литра) масла для двигателя. Корпус и поддон соединяются двумя пружинными замками 23. Для вентиляции картера двигателя в приемную трубку фильтра вварена трубка, которая соединена с крышкой зубчатых колес механизма газораспределения с помощью шланга 21. В очищенную полость корпуса вварена трубка, которая соединена с трубкой клапана стояночной вентиляции поплавковой камеры карбюратора с помощью шланга. Данная трубка служит для перепуска паров топлива в фильтр из поплавковой камеры карбюратора. При нажатой педали привода дроссельной заслонки клапан закрыт, а при отпущенной — открыт.
Воздушный фильтр системы питания топливом двигателя: 21 — Шланг, с помощью которого отсасываются картерные газы в воздушный фильтр; 22 — Поддон; 23 — Замок; 24 — Воздушного фильтра корпус; 25 — Набивка; 26 — Стакан; 27 — Пружина; 28 — Уплотнительное кольцо; 29 — Седло клапана; 30 — Клапан.
При работе двигателя МеМЗ-968Н поток воздуха засасывается посредством приемной трубы, проходное сечение которого меньше, чем сечение в выходном патрубке, далее проходит винтовой завихритель, затем ударяется о масляную поверхность и устремляется вверх, резко изменив направление.
На малых оборотах двигателя автомобиля ЗАЗ-968М воздух проходит в кольцевую щель между трубой фильтра и стаканом 26 (голубые стрелки). Разрежение в фильтре увеличивается с увеличением частоты вращения. Сжимая пружину 27, клапан 30 приподнимается и воздух проходит по дополнительным отверстиям (красные стрелки). Это дает возможность хорошо очищать воздух при разных режимах работы двигателя МеМЗ-968Н.
Чтобы избежать подсоса загрязненного воздуха, при установке фильтра после очистки нужно смотреть на надежность уплотнения соединительной трубки 20 с горловиной карбюратора.
Если двигатель будет работать с отсоединенными трубками, неочищенный воздух станет засасываться в карбюратор. Это приведет к абразивному износу шатунно-поршневой группы.
Элементы системы питания топливом двигателя: 20 — Труба, которая соединяет с карбюратором воздушный фильтр; 21 — Шланг, с помощью которого отсасываются картерные газы в воздушный фильтр.
Руководство по покупке лучших очистителей воздуха
Есть несколько технологий, которые используют очистители воздуха для борьбы с загрязнением в помещениях. Некоторые работают лучше, чем другие. Некоторые на самом деле могут быть вредны для вашего здоровья.
Механические фильтры: Это тот тип, который мы тестируем. В очистителях воздуха со складчатыми фильтрами используются вентиляторы, которые пропускают воздух через плотную сеть тонких волокон, которые улавливают частицы.
Фильтры с очень мелкой сеткой — это фильтры HEPA, сертифицированные для улавливания 99,97% частиц определенного размера (0.3 микрометра в диаметре — дым и пигменты краски, например). Фильтры HEPA также могут удалять более крупные частицы, включая пыль, пыльцу и некоторые споры плесени, пока они находятся в воздухе. (Обратите внимание, что некоторые фильтры с маркировкой «HEPA-type» или «HEPA-like» не были сертифицированы на соответствие требованиям настоящего HEPA-фильтра, но все же могут адекватно работать в наших тестах.)
Что касается ограничений, механические фильтры не помогают с газами и запахами. И они могут быть дорогими в обслуживании. Механические фильтры необходимо заменять каждые 6–12 месяцев; они могут стоить до 200 долларов за фильтр, но обычно не более 80 долларов.
Фильтры с активированным углем: Вместо того, чтобы улавливать частицы, такие как механические фильтры, в фильтрах-сорбентах используется активированный уголь, который может адсорбировать из воздуха молекулы, вызывающие запах.
Они также могут бороться с некоторыми газами, но не особенно эффективны против формальдегида, аммиака или оксида азота. Поскольку они не борются с частицами, многие очистители воздуха будут иметь как фильтр с активированным углем, так и гофрированный фильтр для улавливания частиц. Однако активированный уголь насыщается быстрее, чем гофрированный фильтр, и требует более частой замены — каждые три месяца, а не каждые шесть-12 месяцев для гофрированных фильтров.И будьте готовы: фильтры с активированным углем стоят до 50 долларов каждый.
CR в настоящее время не тестирует на удаление запаха, но мы провели разовый тест в 2008 году с пятью очистителями воздуха, которые поставлялись с заявками на удаление запаха. Для этого теста мы оценили, насколько хорошо эти машины удаляют запахи от готовки. Результаты: только два устройства смогли это сделать, потому что в них использовались очень большие и толстые угольные фильтры.
Генераторы озона: Эти машины производят озон, молекулу, которая может вступать в реакцию с определенными загрязнителями, изменяя их химический состав.
Это может привести к ухудшению качества воздуха в помещении, и компания CR не рекомендует использовать эти типы очистителей воздуха. Производители генераторов озона часто заявляют, что устройства выделяют безопасный уровень озона, но в прошлом наши тесты показали, что даже при низких настройках некоторые генераторы озона быстро превышали установленный Управлением по санитарному надзору за качеством пищевых продуктов и медикаментов предел в 0,05 частей на миллион для медицинских устройств. Кроме того, исследования, рассмотренные Агентством по охране окружающей среды, показали, что низкие уровни озона — главного ингредиента смога — не эффективно уничтожают загрязняющие вещества в помещениях.Исследования также показывают, что озон связан с ухудшением функции легких и повышенным риском раздражения горла, кашля, боли в груди и воспаления легочной ткани. По данным EPA, озон может также усугубить астму, эмфизему и бронхит.
Электронные очистители воздуха: Электростатические пылеуловители и ионизаторы заряжают частицы в воздухе, поэтому они прилипают к пластинам на машине или к близлежащим поверхностям за счет магнитного притяжения.
CR обычно их не проверяет и не рекомендует, потому что они могут производить озон.
Ультрафиолетовое бактерицидное облучение (UVGI): Некоторые производители заявляют, что их очистители воздуха убивают переносимые по воздуху вирусы, бактерии и споры грибов с помощью ультрафиолетовых ламп. Но некоторые бактерии и споры плесени устойчивы к УФ-излучению. Для работы УФ-свет должен быть достаточно мощным, а воздействие должно длиться достаточно долго — от нескольких минут до часов, а не нескольких секунд, типичных для большинства очистителей воздуха UVGI, — чтобы быть эффективным. CR не тестирует технологию UVGI, хотя некоторые механические очистители воздуха, которые мы тестируем, могут иметь эту функцию.
Фотокаталитическое окисление: PCO использует ультрафиолетовое излучение и фотокатализатор, такой как диоксид титана, для получения гидроксильных радикалов, окисляющих газообразные загрязнители. В зависимости от загрязнителя эта реакция может иногда приводить к образованию вредных побочных продуктов, таких как озон, формальдегид, диоксид азота и монооксид углерода.
CR в настоящее время не тестирует технологию PCO. Было проведено несколько полевых исследований эффективности очистителей воздуха от PCO, но одно лабораторное исследование, проведенное исследователями из Сиракузского университета в Нью-Йорке, показало, что устройства не эффективно удаляют какие-либо летучие органические соединения (ЛОС), обычно присутствующие в воздухе помещений. .
Вариант PCO, известный как PECO, появился недавно от производителя Molekule. Мы протестировали очиститель воздуха, и наши тесты на удаление пыли, дыма и пыльцы показали не лучшие результаты.
Лучшие и худшие очистители воздуха 2021 года
Если у вас аллергия на пыльцу, осень — пик сезона амброзии и повторное появление спор плесени из опавших листьев — может быть как прекрасным временем года, так и неприятным напоминанием о том, что сезонная аллергия может мешать вам развлечься.
Закрытие окон может помочь уберечь некоторые из этих уличных мешалок, но внутренние загрязнители, такие как пыль и плесень, постоянно присутствуют в наших жилых помещениях.
По данным Агентства по охране окружающей среды, без циркуляции свежего воздуха в вашем доме концентрация загрязнения воздуха в помещении может достигать в пять раз больше, чем на открытом воздухе. Хороший очиститель воздуха может уменьшить количество этих загрязняющих веществ и помочь вам дышать легче.
«Лучшие очистители воздуха, которые мы тестировали, способны удалять мелкие частицы из вашего воздуха как на высокой, так и на низкой скорости», — говорит Миша Коллонтай, который наблюдает за испытаниями очистителей воздуха в CR.«Они могут делать это при относительно низком уровне шума, что прекрасно, поскольку они работают круглосуточно».
С другой стороны, Коллонтай отмечает, что худшие очистители воздуха в нашем списке борются с очисткой воздуха как на низких, так и на высоких скоростях, добавляя: «Часто плохая производительность по удалению частиц, таких как дым и пыль, сопровождается большим шумом. что может быть надоедливым в жилом помещении ».
Для тестирования очистителей воздуха мы вводим частицы дыма и пыли в герметичную камеру и измеряем, насколько хорошо каждая модель удаляет частицы от 0.
1 и 1 мкм. (Человеческий волос имеет диаметр 100 микрон.) Мы используем счетчик частиц для измерения изменения концентрации частиц, когда очиститель воздуха работает в течение 15 минут на максимальной скорости, а затем на более низкой. А поскольку они работают днем и ночью, мы измеряем уровень шума в децибелах на каждой скорости и рассчитываем годовые эксплуатационные расходы на замену фильтров и потребление энергии для работы машины 24 часа в сутки.
Три лучшие модели в рейтинге наших очистителей воздуха получили оценку «Отлично» или «Очень хорошо» за уменьшение количества частиц на низкой скорости при минимальном уровне шума.(Все они прошли высокоскоростной тест, как и многие модели.)
Вот три лучших очистителя воздуха, которые мы протестировали, за которыми следуют три худших. Они перечислены в алфавитном порядке.
Как улучшить качество воздуха в помещении
Существует несколько типов очистителей воздуха, в том числе ионизирующие, ультрафиолетовые и фильтрующие.
В CR мы тестируем наиболее распространенные портативные модели на основе фильтров. (Обычно мы не тестируем модели, в которых используется только технология электростатического осаждения или ионизатора, которые производят озон — газ, имеющий свежий запах, но оказывающий раздражающее действие на легкие.)
«Очистители воздуха на основе фильтров — это довольно простые устройства, в которых используется вентилятор, который пропускает воздух через фильтр, улавливающий частицы», — говорит инженер-испытатель CR Дэйв Трезза, руководящий лабораторией очистителей воздуха. Утверждается, что очистители на основе HEPA-фильтров улавливают «до 99,97%» аллергенов и загрязняющих веществ размером примерно 0,3 микрона, что примерно равно размеру мелких частиц пыли и дыма.
Чтобы проверить их, мы направляем дым и мелкую глиняную пыль в герметичную камеру, а затем измеряем, насколько быстро очиститель может очистить воздух ‚или нет.Лучшие модели в наших тестах эффективно удаляют дым и пыль как на высоких, так и на низких скоростях.
Это означает, что они также должны улавливать пыльцу и плесень, которые больше. Но как только споры пыльцы и плесени попадают на пол, их не удастся удалить только с помощью хорошего пылесоса.
Очистители воздуха на основе фильтров не могут улавливать газы, поэтому они не защитят вас от некоторых из наиболее опасных загрязнений воздуха в помещении, включая монооксид углерода, оксиды азота, радон и летучие органические соединения.И если у них нет угольного фильтра, они не избавят ваш дом от запахов, поэтому даже если сигаретный дым был отфильтрован из воздуха, запах останется.
Портативные очистители воздуха не могут даже уменьшить симптомы аллергии или частоту приступов астмы. Но если вы приложили все усилия, чтобы не допустить попадания аллергенов и других загрязнителей в свой дом, очиститель воздуха может помочь уменьшить их количество. И запустить его в спальне ребенка, страдающего астмой, определенно не повредит и даже может быть полезно.Если вы решили, что очиститель воздуха подходит именно вам, ознакомьтесь с нашими полными характеристиками и рекомендациями очистителей воздуха и помните об этих вещах, решая, какой из них купить:
CADR.
Это означает «скорость подачи чистого воздуха» и указывает объем отфильтрованного воздуха, который подает установка. На большинстве упаковок очистителей воздуха отображается три числа CADR, по одному для пыли, дыма и пыльцы. «Чем выше число, тем быстрее устройство фильтрует воздух», — говорит Трезза. «Ищите CADR выше 250. Все, что ниже 100, не очень эффективно.”
Размер номера. Производители заявляют, что их очистители воздуха могут очищать помещения определенного размера, обычно выражаемого в квадратных футах или малых, средних или больших. Но в ходе наших тестов мы обнаружили, что многие модели не могут качественно убрать комнату того размера, который указан на коробке. Чтобы добиться максимальной производительности, выберите одну из моделей, которые мы рекомендуем для больших помещений (от 350 до 650 квадратных футов), даже если вы собираетесь использовать ее в меньшем пространстве. «Мы рекомендуем вам купить большой агрегат и использовать его на более низкой и более тихой скорости», — говорит Трезза.
Energy Star. Модели с этим знакомым синим логотипом на 40 процентов эффективнее моделей других производителей. Это важное соображение для устройства, которое люди обычно используют 24 часа в сутки.
HEPA-фильтры. Многие очистители воздуха оснащены фильтром HEPA, который может улавливать очень мелкие частицы. В некоторых установках также используется предварительный фильтр для улавливания более крупных частиц в воздухе, что позволяет сэкономить деньги за счет продления срока службы HEPA-фильтра. (Важные соображения по стоимости см. В разделе «Стоимость чистого воздуха» ниже.)
Amazon.com: Очиститель воздуха LEVOIT для домашних животных, аллергиков, волос в спальне, HEPA-фильтр h23, очиститель системы фильтрации 24 дБ, Устранители запаха, без озона, удаляет 99,97% пыли, пыльцы дыма, плесени, Core 300, белый: для дома и кухни
*** ОБНОВЛЕНИЕ 5 ***4 июля. Все еще идет хорошо, как в тот день, когда я его купил !! Заменил фильтр .
.. как новый. По-прежнему тихо и абсолютно НУЛЕВЫХ проблем, так как вибрация исчезла сама собой. Я не могу порекомендовать этот очиститель в достаточном количестве для помещений небольшого и среднего размера.Убийца от аллергии! *** ОБНОВЛЕНИЕ 4 ***
1 февраля и все так же тихо, как и раньше. Тот же фильтр. Обычная чистка фильтра предварительной очистки. ПРЕВОСХОДНЫЙ очиститель воздуха. У меня есть похожие очистители Tredy и WSTA. Этот построен с гораздо более высоким качеством. Фильтр сделан очень хорошо. Если бы у него была автоматическая функция … это была бы моя №1 !!!!! ПОЖАЛУЙСТА, сделайте это с помощью функции Auto (для пыли и запаха)
*** ОБНОВЛЕНИЕ 3 ***
Этот очиститель стал одним из моих любимых! Предварительный фильтр из нейлоновой сетки отлично справляется с улавливанием более крупных частиц.Я никогда не понимал, почему производители сделали угольный фильтр фильтром предварительной очистки. Он должен быть отдельным, как этот очиститель. Также имеет смысл сделать угольный фильтр последним, чтобы он не засорялся.
Его работа заключается в устранении запахов и летучих органических соединений. Ни пыли, ни аллергенов. Они действительно продумали это. Также угольный фильтр — это НАСТОЯЩИЕ гранулированные куски древесного угля. Это не тонкий лист. В нем есть какое-то содержание. Я куплю еще несколько на каждую комнату.
*** ОБНОВЛЕНИЕ 2 ***
Я действительно впечатлен фильтрацией на очистителе! Он отлично справляется со своей работой и работает очень тихо в режиме «сна».Я обычно оставляю его на «1», когда сплю с выключенным светом на дисплее (что является приятной особенностью). У меня уже был пылесос, отключивший предварительный фильтр от мелкой пыли, и в очистителе НОЛЬ пыли (признак хорошей герметичности). вокруг фильтра и корпуса устройства). Он работает 24/7 и защищает мою спальню от пыли и аллергенов. Я буду продолжать обновлять со временем.
*** ОБНОВЛЕНИЕ ***
Изменение моего обзора с 2 звезд на 4 звезды. Запах пластика полностью исчез. Ужасная вибрация утихла, и теперь стало очень тихо.
Кроме того, фильтры намного дешевле, чем у других брендов. Я просыпаюсь менее загруженным, и я могу заметить заметную разницу в качестве воздуха. Остальные фильтры я не могу комментировать. Только с использованием «стандартного» очистителя. Это был бы 5-звездочный продукт, если бы не первый плохой опыт. К тому же большинство других обзоров — поддельные. Некоторые даже используют одни и те же изображения с одинаковым фоном и разными именами пользователей (после прочтения я уверен, что они отредактируют изображения).В общем, очиститель достойный. Просто дайте ему несколько дней … не часов.
Первые пару дней было УЖАСНО выделение пластика газом. Запах немного исчез. Он довольно хорошо перемещает воздух, но довольно плохо вибрирует. Дам еще несколько дней до начала процесса возврата.
Amazon.com: Очиститель воздуха LEVOIT для большой домашней комнаты, h23 True HEPA Filter Cleaner с моющимся фильтром для аллергиков и домашних животных, курильщиков, плесени, пыльцы, пыли, без озона, тихие устранители запаха, Vital 100 (белый): все остальное
TL; DR:Купи это.
И купите сменные фильтры.Я ждал, чтобы написать обзор по этим (2), потому что хотел посмотреть, работают ли они и насколько хорошо, или нет.
У меня длинный одноэтажный дом, поэтому я поставил по одному на каждом конце, включил их оба на средний уровень и оставил на 24 часа. Я заметил, что воздух стал более свежим, как на Аляске. Crisper теперь означает более чистый / без запаха.
Но не будучи полностью убежденным, на следующее утро я открыл все окна и выключил машины на два дня.
Вы знаете, у меня никогда не было связи, всегда прочищая горло и чувствуя, как будто у меня есть полный рот пуха / песка, с качеством воздуха … пока я не купил эти очистители воздуха.
Я специально купил эту марку и модель, потому что:
1. Легко чистится,
2. Есть три уровня мощности (низкий, средний, высокий) и настройки таймера на 2, 4 и 8 часов,
3. Самый высокий уровень — похож на машину с белым шумом, которая у меня есть, поэтому она выполняет двойную функцию и делает это хорошо.
4. Светодиодное освещение можно выключить, что полезно при попытке создать темную комнату,
5.Служба поддержки клиентов отзывчива; проверив это, потому что одна крышка фильтра прибыла сломанной.
6. Он меньше по сравнению с некоторыми из тех, что я видел, из-за количества воздуха, которое он может очистить, и того, как быстро он может его очистить.
7. Это большая часть по сравнению с некоторыми другими, которые утверждают, что убирают такое же количество. Я хотел что-то, что не займет много времени, поэтому версии меньшего размера не рассматривались. YMMV
Я тестировал их неоднократно с того дня, как они прибыли, потому что мне нравится, когда мои окна открыты, и они еще не вышли из строя, когда я, наконец, снова закрываю окна и включаю их.В течение часа (короче, но не отслеживаю) я больше не прочищаюсь.
Настоятельно рекомендую, особенно если вы курите, страдаете астмой, аллергией, домашними животными, детьми или по какой-либо другой причине вонючий воздух.
Как выбрать лучшие очистители воздуха в 2021 году по мнению экспертов
По теме
Как работают очистители воздуха?
Очистители воздуха предназначены для удаления загрязнений из воздуха в помещениях, которые могут состоять из мелких частиц в воздухе. «Загрязнение воздуха в помещениях в основном происходит из-за приготовления пищи, автомобильных выхлопов, пыли и пожаров, и может раздражать легкие или вызывать аллергические реакции», — пояснил Кеннет Мендес, президент некоммерческой организации по борьбе с астмой и аллергией Америки.По данным Агентства по охране окружающей среды, воздух внутри наших домов может быть более загрязненным, чем воздух снаружи.
«Мы делаем около 20 000 вдохов в день и проводим 90 процентов времени в помещении», — отметил Мендес. И если вы продолжаете работать из дома, важно снизить воздействие частиц, которые могут вызвать такие симптомы, как аллергия и астма. «Если вы живете в районе с высоким уровнем загрязнения окружающей среды, например в мегаполисе, очень важно следить за качеством воздуха в вашем доме», — добавил он.
Как найти лучший очиститель воздуха для вас
Прежде чем покупать очиститель воздуха, сузьте свои конкретные потребности, посоветовал Нидхи Варгезе, доктор медицины, детский пульмонолог из Техаса. Например, вы ищете очиститель от аллергии или для защиты от газов. Или, может быть, вы часто готовите и хотите, чтобы очиститель отфильтровывал частицы, образующиеся из духовки и плиты.
Варгезе рекомендует искать очиститель с HEPA-фильтром для достижения наилучших результатов. По ее словам, также стоит подумать о фильтре, который прошел независимую оценку Ассоциации производителей бытовой техники (AHAM).Все воздухоочистители, сертифицированные AHAM и имеющие рейтинг подачи чистого воздуха или CADR, были протестированы в независимой лаборатории по одним и тем же параметрам.
«Мы ставим все продукты на равные условия, независимо от технологии, поэтому потребители могут легко сравнивать продукты», — сказала Джилл Нотини, вице-президент по коммуникациям и маркетингу AHAM.
«Мы проверяем на наличие табачного дыма, пыли и пыльцы».
Чем выше рейтинг CADR, тем эффективнее и быстрее воздухоочиститель фильтрует воздух.Notini советует покупателям обращать внимание на рейтинг при совершении покупок. Дэвидсон также призывает покупателей обращать внимание на то, как часто очиститель воздуха требует замены воздушного фильтра и сколько квадратных футов очиститель воздуха может очистить.
Некоторые воздухоочистители используют электростатические заряды и выделяют небольшое количество озона в качестве побочного продукта, — сказал Мендес. Озон очень реактивен и эффективен для удаления запахов и уничтожения плесени. Но он также может «вызывать проблемы со здоровьем при высоких концентрациях», согласно EPA, которое отмечает, что генераторы озона часто выставляются как очистители воздуха.Выбор очистителя воздуха с независимым рейтингом гарантирует, что ваш воздухоочиститель будет производить меньше озона, установленного EPA, в 0,08 частей на миллион. «Используя такое независимое агентство, как наше, вы можете быть уверены, что получаете нужный продукт», — сказал Нотини.
Связанные
Очистители воздуха с наивысшим рейтингом в 2021 году
Имея в виду рекомендации экспертов и любимые читателями бренды, мы собрали очистители воздуха от Blueair, Dyson и других компаний, особенно с учетом их очищающей способности, одобрения AHAM и фильтрации HEPA.
Воздухоочистители с HEPA-фильтрами
Мгновенный большой очиститель воздуха
Мгновенный очиститель воздуха выпускается двух размеров: Малый — с объемом очистки 126 квадратных футов и Большой — с очищающей способностью 388 квадратных футов. Обе модели оснащены системой фильтрации 3-в-1, включая фильтр HEPA-13 и угольный фильтр, а также антимикробное покрытие на фильтрах для предотвращения роста бактерий. Примечательно, что бренд утверждает, что может удалить 99,9% вируса, вызывающего Covid, из очищенного воздуха.Очистители воздуха доступны в цветах «Уголь» и «Жемчуг», они также оснащены датчиками, которые контролируют качество воздуха и работают в круглосуточном режиме.
Dyson Purifier Cool
Один из новейших очистителей воздуха Dyson, Dyson Purifier Cool, разработан для более эффективной очистки воздуха, чем предыдущие модели, и более тихой. Его модернизированная система фильтрации обеспечивает соответствие всей машины стандарту HEPA h23, а не только фильтр — очиститель воздуха может улавливать 99,97% частиц размером до 0.3 мкм. Очиститель воздуха позволяет выбирать из нескольких режимов и имеет датчики, которые анализируют воздух на наличие загрязняющих веществ. Он оснащен Wi-Fi, поэтому вы можете управлять им из приложения Dyson или через Amazon Alexa, Siri и Google Home. Очиститель воздуха доступен в цветах никель / черный и белый / серебристый.
PARTU HEPA Воздухоочиститель
Этот очиститель воздуха — доступный вариант, который идеально подходит для таких помещений, как домашний офис. Он может похвастаться трехступенчатой системой фильтрации, включающей предварительный фильтр, фильтр HEPA и фильтр с активированным углем.
Он также предлагает ночник в семи цветовых вариантах и трех настройках скорости вращения вентилятора. Очиститель воздуха имеет очищающую способность 160 квадратных футов.
Отдельностоящий очиститель воздуха Cuisinart Purxium
В дополнение к HEPA-фильтру очиститель воздуха Cusinart также оснащен моющимися многоразовыми металлическими фильтрами и фильтрами с активированным углем, которые работают вместе, чтобы улавливать 99,9% взвешенных в воздухе частиц размером 0,1 мкм и более. Он предлагает таймер, возможность автоматического отключения и четыре скорости вентилятора.Воздухоочиститель бывает двух размеров: отдельно стоящий, с объемом очистки 1000 квадратных футов, и с рабочей поверхностью, с объемом очистки 500 квадратных футов.
Очиститель воздуха Mila
Очиститель воздуха Mila позволяет регулировать скорость вращения вентилятора в соответствии с желаемым качеством воздуха, а через сопутствующее приложение вы можете узнать, сколько времени потребуется очистителю воздуха, чтобы достичь этого.
Вы также можете просматривать информацию, такую как уровень влажности и качество воздуха внутри и снаружи вашего дома, через приложение.В очиститель воздуха также встроен датчик угарного газа. Несмотря на то, что он поставляется с основным фильтром бренда, вы можете выбрать один из множества специализированных фильтров HEPA, предназначенных для домов с домашними животными, детьми, аллергиками и многими другими. Кроме того, очиститель воздуха определяет присутствие в комнате, делая его тише, когда вы находитесь в комнате, и громче, чтобы обеспечить более глубокую очистку, когда вы уходите. Его очищающая способность составляет 1000 квадратных футов.
Bissell air320 Max Smart WiFi Air Purifier
Очиститель воздуха Bissell оснащен Wi-Fi, что позволяет вам контролировать его через приложение бренда или контролировать качество воздуха, когда вас нет дома.Его трехступенчатая система фильтрации включает предварительный фильтр, фильтр с активированным углем и фильтр HEPA. Очиститель воздуха управляет автоматизированной системой CirQulate, которая отслеживает и предоставляет показания качества воздуха в помещении, и соответствующим образом регулирует соответствующую скорость вентилятора. Очиститель воздуха имеет очищающую способность 308 квадратных футов.
Levoit LV-h232 Очиститель воздуха
Levoit LV-h232 удаляет частицы из воздуха с помощью своей трехступенчатой системы фильтрации, которая включает в себя предварительный фильтр, настоящий HEPA-фильтр и фильтр с активированным углем.Он обеспечивает циркуляцию воздуха в помещении более четырех раз в час и оснащен встроенным интеллектуальным напоминанием о замене фильтра и ночником. Его очищающая способность составляет 129 квадратных футов.
GermGuardian AC4825 Воздухоочиститель
GermGuardian AC4825 — это очиститель воздуха 3-в-1, который включает в себя HEPA-фильтр, угольный фильтр и фильтр PCO, дезинфицирующее средство UV-C и средство для обработки TIO2. Он оснащен тремя настройками скорости и оснащен индикатором замены фильтра. Он одобрен AHAM и имеет очищающую способность 167 квадратных футов.
Очиститель воздуха Honeywell True HEPA
Эта модель предназначена для больших помещений и имеет настоящий HEPA-фильтр. Honeywell утверждает, что этот очиститель фильтрует и обеспечивает циркуляцию воздуха до пяти раз в час. Он относительно доступен по цене, учитывая его размер, и оснащен такими функциями, как установка таймера и индикатор замены фильтра. Он имеет два фильтра: предварительный фильтр для улавливания крупных частиц, таких как шерсть домашних животных и пух, и фильтр HEPA для более мелких частиц. Он одобрен AHAM и имеет очищающую способность 465 квадратных футов.
Austin Air Healthmate Standard Air Purifier
Эта модель имеет четыре уникальных фильтра, каждый из которых удаляет частицы разных типов. Он включает в себя большой предварительный фильтр для пыли и перхоти, средний предварительный фильтр для плесени, угольный фильтр для химикатов и газов и HEPA-фильтр с радиусом 60 квадратных футов для более мелких частиц. Эта модель намного больше и тяжелее других — она весит около 47 фунтов — но включает в себя ролики для облегчения транспортировки. Его очищающая способность составляет 1500 квадратных футов.
Другие известные очистители воздуха, которые стоит рассмотреть
Molekule Air Purifier Pro
Molekule’s Air Purifier Pro очищает воздух с помощью запатентованной технологии фильтрации: фотоэлектрохимического окисления (PECO). Бренд утверждает, что этот очиститель воздуха предлагает в три раза больший воздушный поток, чем другие модели, и что его технология определения частиц в три раза точнее, чем в предыдущих моделях, что дает вам более точную информацию о качестве воздуха. Вы можете использовать тихий режим автоматической защиты устройства в ночное время и управлять очистителем воздуха с помощью приложения Molekule.Ремешок из натуральной кожи позволяет носить его с собой по дому. Этот очиститель воздуха имеет очищающую способность 1000 квадратных футов.
Blueair Pure 411 Auto
Blueair Pure 411 Auto поставляется с фирменной технологией HEPASilent (которая отличается от одобренного настоящего фильтра HEPA). В автоматическом режиме очиститель воздуха регулирует скорость вращения вентилятора в зависимости от условий качества воздуха в реальном времени, которые он контролирует с помощью встроенного датчика. Он оснащен трехступенчатой системой фильтрации, и вы можете настроить цвет своего очистителя воздуха, купив тканевые фильтры предварительной очистки, доступные в пяти цветах.Он одобрен AHAM и имеет площадь очистки 190 квадратных футов.
Сопутствующие
Предотвращают ли очистители воздуха коронавирус? №
Очистители воздуха не предотвращают распространение коронавируса, но CDC заявляет, что портативные блоки фильтрации HEPA, в частности, «эффективны при очистке воздуха в помещениях с целью снижения концентрации переносимых по воздуху твердых частиц, включая вирусные частицы SARS-CoV-2». Раньше Всемирная организация здравоохранения (ВОЗ) и другие группы сопротивлялись признанию распространения Covid по воздуху.Но теперь такие группы согласны с тем, что передача вируса воздушным путем является одним из основных способов распространения Covid, который CDC описывает как «вдыхание воздуха, когда он находится рядом с инфицированным человеком, который выдыхает маленькие капельки и частицы, содержащие вирус».
Ранее Варгезе объяснил, что простая фильтрация переносимых по воздуху частиц не поможет остановить распространение вируса, учитывая небольшой размер частиц коронавируса — по данным CDC, размер частиц Covid составляет около 0,1 микрометра, что меньше, чем 0.Ограничение в 3 микрона для HEPA-фильтров, добавил Варгезе. Однако CDC отмечает, что «вирус обычно не перемещается по воздуху сам по себе» и часто задерживается в более крупных каплях, таких как респираторные капли и другие выдыхаемые частицы, которые имеют размер менее 5 микрон. Таким образом, согласно CDC, «фильтры HEPA эффективны не менее чем на 99,97% при улавливании созданных человеком вирусных частиц, связанных с SARS-CoV-2».
Разница между воздухоочистителями, воздухоочистителями и воздушными фильтрами
Воздухоочистители часто ассоциируются с воздушными фильтрами, но они немного отличаются, сказал Джон МакКеон, доктор медицинских наук и генеральный директор Allergy Standards — организации, которая сертифицирует продукцию как «астму и аллергию». дружелюбный », среди прочего.
- Воздушные фильтры улавливают и собирают грязь и мусор в фильтре и обычно используются в системах отопления и вентиляции. Они могут значительно снизить количество загрязняющих веществ, аллергенов и пыли в вашем доме.
- Воздухоочистители удаляют из воздуха больше твердых частиц, чем средний фильтр, сказал МакКеон. Устройство состоит из вентилятора для всасывания воздуха и фильтра для удаления твердых частиц из этого воздуха. Хотя в состав воздухоочистителей часто входят фильтры, они в целом более надежны в очистке воздуха, чем воздушные фильтры.Тем не менее, большинство компаний будут использовать термины «воздухоочиститель» и «воздухоочиститель» как синонимы.
- Очистители воздуха используют процесс «дезактивации» переносимых по воздуху токсинов, таких как патогены, объяснил МакКеон. Некоторые очистители используют стерилизацию ультрафиолетовым светом для уничтожения плесени и бактерий, в то время как другие используют электростатический фильтр для притягивания частиц к металлическим пластинам. Большинство очистителей воздуха используют комбинацию для улавливания как можно большего количества частиц, газов и бактерий.
Связанные
Что такое HEPA-фильтр?
Вероятно, вы уже видели это обозначение на очистителях воздуха и других продуктах.HEPA означает «воздух с высокой эффективностью твердых частиц». HEPA-фильтры — это физические фильтры, предназначенные для удаления не менее 99,7% твердых частиц размером 0,3 микрона и более. Для справки, микрон, или микрометр , составляет примерно одну двадцать пять тысячных дюйма и обозначается микрометром.
Любой воздухоочиститель с фильтром HEPA был протестирован и одобрен некоммерческим институтом экологических наук и технологий. Это означает, что они настоящие HEPA. Некоторые фильтры помечают себя как «HEPA-типа» или «HEPA-like», но эти фильтры не являются проверенными HEPA, поэтому они могут быть не такими эффективными.Настоящие фильтры HEPA втягивают частицы через вентилятор и улавливают их сеткой волокон. По словам Варгезе, они работают лучше стандартных фильтров и становятся все более популярными.
Molekule и его фильтр PECO
Воздушные фильтры Molekule отличаются от фильтров HEPA. Обычные очистители воздуха HEPA предназначены для улавливания содержащихся в воздухе частиц. В фильтре Molekule используется собственная запатентованная технология фильтрации: фотоэлектрохимическое окисление (PECO). Согласно Molekule, PECO использует свободные радикалы или высокореактивные атомы для разложения загрязняющих веществ на молекулярном уровне.Согласно бренду, фильтры PECO удаляют — или деактивируют, а не фильтруют — обычные газы, бактерии, вирусы и плесень в воздухе.
Molekule работал с исследователями из Национальной лаборатории Лоуренса Беркли (LBNL) над испытанием своей новой технологии фильтрации, которая, по ее утверждению, превосходит популярные фильтры HEPA. В отчете за январь 2020 года LBNL обнаружила, что Molekule Air успешно удаляет летучие органические соединения (ЛОС) и озон, его эффективность варьируется от «высокой» до «очень высокой» — резюмируя, что «воздухоочиститель обладает достаточной производительностью для удаления газообразных загрязнителей в помещениях. на уровнях, которые обычно присутствуют в помещении, без образования вредных побочных продуктов.Джая Рао, генеральный директор компании, сообщил NBC News, что очистители воздуха уже уничтожили — что, как упоминалось выше, Molekule хвастается, отличается от фильтрованных — других вирусов в лабораторных тестах.
Важно отметить, что и Consumer Reports (CR), и Национальный совет по проверке рекламы (NARB) оспорили некоторые утверждения Molekule о фильтрации, в частности о превосходстве его фильтра над фильтрами HEPA. Проще говоря, хотя его очиститель воздуха эффективно очищает воздух от многих загрязняющих веществ, он делает это медленнее, чем другие очистители воздуха.NARB рекомендовал Molekule прекратить рассмотрение или изменить определенные претензии после того, как комиссия рассмотрела поставленные перед ней проблемы, и бренд согласился сделать это. Другими словами, ей пришлось отозвать некоторые обещания, которые она изначально рекламировала клиентам.
Molekule, со своей стороны, оспаривает тесты CR на своем продукте. Бренд сообщил NBC News, что CR использовал тесты HEPA на фильтре, отличном от HEPA, и поэтому сравнение этих результатов не дает полной картины. Хотя HEPA остается своего рода отраслевым стандартом, стоит подумать о технологии Molekule PECO.
Советы по поддержанию хорошего качества воздуха
Помимо покупки очистителя воздуха, есть несколько хороших домашних привычек, которые помогут снизить уровень загрязнения воздуха в вашем помещении. Помимо перечисленных здесь советов, CDC предлагает ряд рекомендаций по улучшению вентиляции в зданиях.
- Если можете, открывайте окна на какое-то время каждый день.
- В противном случае убедитесь, что ваша система отопления или кондиционирования воздуха работает регулярно, чтобы воздух циркулировал по всему дому, — сказал МакКеон.
- Если вы готовите регулярно, используйте вытяжные вентиляторы.
«С акцентом на COVID-19 существующие проблемы со здоровьем легко выпадают из поля зрения», — добавил МакКеон. «Триггеры в помещении никуда не делись, поэтому убедитесь, что вы уменьшаете количество триггеров, где это возможно».
Связанные
Следите за последними новостями из руководств и рекомендаций NBC News по покупкам и загрузите приложение NBC News для полного освещения вспышки коронавируса.
11 лучших очистителей воздуха для поддержания свежести вашего дома
Знаете ли вы, что воздух в помещении может быть более загрязненным, чем воздух на улице? И если в наши дни вы проводите больше времени дома, как и многие из нас, вы можете быть обеспокоены рисками, связанными с такими загрязнителями, как пыль, дым, шерсть домашних животных, органические соединения, аллергены и бактерии. Хорошая вентиляция может помочь, но лучшие очистители воздуха могут иметь огромное значение для качества воздуха в вашем доме.
Очиститель воздуха Shark HE601 оснащен шестью микровентиляторами, которые очищают воздух быстро и бесшумно.
AmazonМожет быть непросто найти очиститель, который работал бы так, как вы хотите, соответствовал вашему образу жизни, соответствовал вашей цене и не выглядел бы как устаревший радиатор. В случае сомнений лучше всего обратиться к проверенным брендам и товарам с отличными отзывами пользователей. Мы оценили следующие очистители воздуха по их эффективности (сколько микробов они, по их утверждениям, всасывают), вместимости (сколько места они могут содержать в чистоте), внешнему виду (эстетично ли это?) И цене.От настольных вентиляторов до ультрасовременных машин — вот наш выбор лучших очистителей воздуха на рынке прямо сейчас.
Лучший очиститель воздуха для большинства людейОчиститель воздуха Molekule
- Плюсы: PECO уничтожает загрязняющих веществ в 1000 раз меньше, чем в тестах HEPA
- Минусы: Дорого
Это один из самых дорогих очистителей воздуха в списке, но для серьезных аллергиков он может оказаться стоящим вложением.В отличие от большинства других очистителей, которые имеют фильтры HEPA, которые собирают частицы из воздуха, Molekule фактически удаляет загрязнители воздуха в помещении, а затем уничтожает их. Для этого используется система двойной фильтрации: во-первых, предварительный фильтр улавливает более крупные загрязнители, такие как перхоть и пыльца; затем нанофильтр очищает воздух с помощью процесса, называемого фотоэлектрохимическим окислением (PECO), который, как утверждается, устраняет переносимые по воздуху загрязнители, которые в 1000 раз меньше, чем те, которые может уничтожить средний очиститель воздуха.
Материалы, использованные для создания Molekule, не просто функциональны; Элегантный и изящный дизайн с кожаным ремешком для руки и алюминиевым корпусом с механической обработкой. Хотя Molekule поддерживает уникальную технологию в своих очистителях воздуха (и указывает на более чем дюжину тестов, демонстрирующих эффективность этой технологии), вы можете заметить, что Molekule больше не делает определенных заявлений, которые появлялись в старых рекламных объявлениях. Компания отменила первые маркетинговые заявления, такие как скорость, с которой она заменяет воздух в комнате, и тот факт, что она может «полностью устранить» аллергены, бактерии, вирусы и плесень.Это результат решения Национального совета по обзору рекламы национальных программ BBB после обращения другой компании по очистке воздуха.
Стоит упомянуть, что у бренда есть более новая модель Air Pro, предназначенная для очень больших пространств до 1000 квадратных футов. Если вы ищете такой же изысканный дизайн для большего пространства, возможно, это модель, в которую стоит инвестировать. Или вы можете выбрать одну из моделей Air Mini, которая очищает до 250 квадратных футов.
Лучший очиститель воздуха от аллергии
Средство для удаления аллергенов Honeywell HPA100 True HEPA
- Плюсы: Таймер автоматического отключения, визуальный индикатор замены фильтра
- Минусы: Визуально непривлекательный, ограничен небольшими комнатами
Этот Honeywell HPA100 может выглядеть не так уж и много — он имеет всю внешнюю привлекательность космического обогревателя, но Honeywell, без сомнения, надеется, что вы больше позаботитесь о том, на что он способен.Эта модель предназначена для помещений среднего размера — около 155 квадратных футов — и оснащена настоящим фильтром HEPA для гарантированного удаления 99,97% взвешенных в воздухе частиц размером до 0,3 микрон. Компания Honeywell утверждает, что ее вентилятор может фильтровать воздух в комнате пять раз в час.
Это один из наиболее настраиваемых очистителей воздуха в этом списке. Панель управления в верхней части устройства позволяет вам установить до четырех различных уровней очистки (которые влияют на скорость вращения вентилятора и общий уровень шума) и имеет функцию таймера автоматического отключения, чтобы он не работал постоянно.На панели также указывается, когда пора сменить фильтр, и у него есть несколько уровней яркости, поэтому вы можете затемнить его ночью или когда вам не нужно его видеть.
Forbes.comWalmart Купоны | 10% скидка в июне 2021 года | ForbesЛучший очиститель воздуха для спальни
Очиститель воздуха Levoit
- Плюсы: Трехступенчатая фильтрация, компактный, недорогой
- Минусы: Нет беспроводных или подключаемых функций, замена фильтра может быть дорогостоящей со временем
Эта компактная модель Levoit, достаточно компактная, чтобы поместиться на вашем столе и предназначенная для фильтрации до 300 квадратных футов, оснащена HEPA-фильтром, который удаляет 99.97% пыли, пыльцы, дыма, запаха, спор плесени и шерсти домашних животных. Это отличный недорогой вариант, в котором отсутствуют такие технологии, как УФ и ионизация, которые чаще встречаются в этом ценовом диапазоне. Вместо этого он оснащен трехступенчатой системой фильтрации, которая включает предварительный фильтр, фильтр HEPA и фильтр с активированным углем. А три настройки вентилятора позволяют контролировать скорость и громкость очистителя.
Хотя этот очиститель воздуха был разработан для использования в спальне (его вентилятор очень тихий, и он оснащен дополнительным мягким синим ночником с двумя настройками яркости), он довольно портативный и при необходимости может перемещаться из комнаты в комнату.С эстетической точки зрения он будет не лишним на вашей прикроватной тумбочке, с белым или черным корпусом и изящным дизайном. И хотя его емкость меньше, и у него не так много функций, как у других очистителей воздуха из этого списка, его трудно превзойти по цене.
Лучший очиститель воздуха для большого пространства
Очиститель воздуха для больших помещений Alen BreatheSmart Classic
- Плюсы: Охватывает огромные 1300 квадратных футов, настраиваемые цветные панели
- Минусы: Большой размер, дорого
Хотите охватить большую площадь в квадратных метрах? Нет проблем с очистителем воздуха для больших помещений Alen BreatheSmart 75i.Этот очиститель воздуха очищает до 1300 квадратных футов два раза в час, не создавая большого шума. Фактически, Ален утверждает, что технология BreatheSmart в два раза тише, чем у его основных конкурентов, даже на скорости Turbo.
Alen BreatheSmart оснащен фильтром HEPA Pure, который сертифицирован для улавливания 99,97% взвешенных в воздухе частиц размером до 0,3 микрон. Это работает в сочетании с интеллектуальным лазерным датчиком устройства, который также обнаруживает частицы в воздухе размером до 0,3 микрона, чтобы эффективно очищать воздух от пыли, пыльцы, аллергенов и перхоти.
Его размеры составляют около 27 дюймов в высоту и 18 дюймов в ширину, с панелью управления наверху, которая включает световой индикатор качества воздуха, который всегда отображает чистоту воздуха в помещении в реальном времени с помощью удобного для чтения дисплея. И вы можете выбрать один из 14 различных цветов и панелей, чтобы найти тот, который подойдет к интерьеру вашего дома.
Лучший компактный очиститель воздуха
Coway Airmega AP-1512HH
- Плюсы: Компактная конструкция, четырехступенчатый процесс фильтрации
- Минусы: Дорого по площади покрытия
Coway Airmega AP-1512HH неизменно получает высокие оценки по всем направлениям.В этом компактном очистителе воздуха используется четырехступенчатый процесс фильтрации, который сочетает в себе предварительный фильтр, дезодорирующий фильтр, настоящий HEPA-фильтр и фильтр Vital Ion, который помогает удалить до 99,7% загрязняющих веществ, включая летучие органические соединения и запахи, из воздух. Во время фильтрации он сообщает о качестве воздуха в режиме реального времени с помощью яркого светодиодного дисплея. А благодаря автоматическому режиму, если он не обнаруживает загрязнения в течение 30 минут, вентилятор автоматически останавливается для экономии энергии.
Из-за своего небольшого размера эта конкретная модель Coway была разработана для покрытия до 361 квадратных футов пространства. Для справки, это размер обычной спальни. Если вы ищете очиститель воздуха для всего дома, Alen BreatheSmart — лучший выбор, но Coway Airmega отлично справляется с небольшими помещениями и с рейтингом децибел от 24,4 дБ до 53,8 дБ делает это очень тихо. .
Самый тихий очиститель воздуха
Очиститель воздуха Shark HE601
- Плюсы: Тихий, шесть микровентиляторов для быстрой очистки воздуха
- Минусы: Большой размер, дороговато
Этот высококлассный и впечатляюще тихий очиститель воздуха от бренда, который предлагает одни из лучших пылесосов на рынке.Этот очиститель воздуха HEPA от Shark оснащен технологией Clean Sense IQ, которая отслеживает качество воздуха и автоматически регулирует мощность и настройки, чтобы воздух оставался чистым. Шесть высокоскоростных микровентиляторов и многофункциональный антиаллергенный фильтр очищают воздух, удаляя 99,97% пыли, перхоти, аллергенов, дыма и запахов.
По мере очистки данные о качестве воздуха отображаются в реальном времени на светодиодной панели управления. Когда воздух чистый, панель управления горит синим. Желтый и красный индикаторы указывают на проблему с качеством воздуха, но в автоматическом режиме аппарат быстро исправит ее.Помимо того, что этот очиститель воздуха является одним из самых бесшумных очистителей воздуха, он также имеет усовершенствованную блокировку запаха и абсорбцию углеродного дыма высокой плотности, которая предотвращает появление запахов приготовления пищи и запахов чистящих средств.
Лучший очиститель воздуха с интеллектуальным охлаждением
Очиститель воздуха Dyson DP04
- Плюсы: Умный дисплей, современный дизайн, отводит вентилятор в холодную погоду
- Минусы: Дорогой
Компания Dyson давно известна как новатор в области домашней уборки, хотя ее продуктовая линейка недавно вышла за рамки пылесосов и стала включать такие технологии, как очистительные вентиляторы.Вентиляторы Dyson Pure Cool Fans бывают нескольких размеров, хотя эта модель со столешницей оснащена системой фильтрации, сертифицированной HEPA, для работы в умеренно большом помещении.
Компания Dyson разработала этот очиститель воздуха с характеристиками, которые отличают его от большинства других моделей в этом ценовом диапазоне. Например, это «умный» очиститель. Небольшой дисплей на самом устройстве сообщает, какие загрязняющие вещества он фактически обнаруживает в режиме реального времени, и он подключается к приложению для смартфона, которое может предоставить много дополнительной информации, например, когда необходимо заменить фильтр и условия окружающей среды как внутри, так и снаружи. вне дома.Вентилятор также можно настроить так, что вы, вероятно, не найдете больше нигде: вы можете не только установить угол вращения, чтобы он мог вращаться, чтобы очищать воздух в любом направлении, но вы можете изменить способ работы вентилятора, обеспечивая охлаждение в теплую погоду, но отводя воздух, чтобы зимой не было прохладно.
Лучший очиститель воздуха для домашних животных
Очиститель воздуха Hathaspace Smart True HEPA 2.0
- Плюсы: Охватывает 1500 квадратных футов, система фильтрации 5-в-1, которая эффективно удаляет пыль и перхоть домашних животных
- Минусы: Большой размер, дорого
Если у вас есть домашние животные, вам понадобится очиститель воздуха Hathaspace Smart True HEPA Air Purifier 2.0. Этот очиститель воздуха большой емкости — он может заменять воздух в комнате площадью 1500 квадратных футов до 24 раз в день — оснащен системой фильтрации 5-в-1, которая устраняет более 99% аллергенов и загрязняющих веществ, таких как домашние животные. перхоть и пыль из туалетного лотка. Он также имеет фильтр с активированным углем, который удаляет дым, запахи и газы, и фильтр с холодным катализатором, который удаляет летучие органические соединения и вредные химические вещества, содержащиеся в чистящих средствах или других предметах домашнего обихода, таких как свечи или плагины.
Имеет моющийся предварительный фильтр, который удерживает шерсть домашних животных от HEPA-фильтра для повышения производительности и увеличения срока службы.И его легко чистить — просто выньте его, смойте, и он снова готов к очистке. Он также имеет напоминание о замене фильтра, которое появляется, чтобы сообщить вам, когда пришло время заказывать новые фильтры, — удобная функция, которая гарантирует, что вы никогда не останетесь без чистого воздуха.
Самый стильный очиститель воздуха
Blueair Синий Чистый 411
- Плюсы: Подходит по цвету к декору комнаты
- Минусы: Нет таймера или автоматического отключения
Если вы ищете шикарное устройство для комнат небольшого размера, эта модель Blueair вполне может стать вашим выбором.Он предназначен для помещений площадью до 160 квадратных футов, и Blueair утверждает, что может фильтровать это пространство пять раз в час.
Этот трехступенчатый очиститель воздуха сочетает в себе механическую фильтрацию с электростатическим фильтром и фильтром с активированным углем для уменьшения запахов. Он поставляется с двумя моющимися фильтрами предварительной очистки, предназначенными для фильтрации частиц, перхоти домашних животных, дыма и многого другого. Тем не менее, имейте в виду, что, хотя Blueair утверждает, что система фильтрует 99% загрязняющих веществ, и ее производительность была независимо проверена AHAM (Ассоциацией производителей бытовой техники), сам фильтр не сертифицирован HEPA, если вы ищете этот особый знак одобрения.
Визуально Blueair позаботилась о том, чтобы этот очиститель не выглядел как обычный прибор. Он имеет интересный дизайн, в котором устройство разделено на два контрастных цвета — цвета, которые вы можете менять в зависимости от установленного вами фильтра. Одна кнопка включает, выключает и меняет скорость вращения вентилятора, но на устройстве нет дисплея или статуса, а также нет способа установить таймер включения / выключения.
Лучший очиститель воздуха от запахов
Austin Air Healthmate
- Плюсы: Активированный уголь для устранения запахов, большой HEPA-фильтр
- Минусы: Уродливый промышленный дизайн, нет удобных функций или элементов управления
Austin Air Healthmate, способный очищать почти 930 квадратных футов, построен как резервуар.Очиститель воздуха имеет цельнометаллическую раму и корпус, закрепленные на четырех усиленных роликах, поэтому вы можете перемещать его по мере необходимости. Он всасывает воздух со всех четырех сторон и оснащен четырьмя последовательными фильтрами, что делает его одним из лучших очистителей воздуха для избавления от запахов.
Он имеет предварительный фильтр для крупных частиц, «средний фильтр для частиц» для мелких и средних аллергенов, таких как плесень, пыльца и пылевые клещи, фильтр с активированным углем для улавливания запахов и HEPA-фильтр медицинского класса, который может удалить загрязнения и химические вещества.Фильтр HEPA имеет особенно долгий срок службы, его нужно менять только раз в пять лет.
Лучший очиститель воздуха от вирусов
Очиститель воздуха Oransi EJ120
- Плюсы: Медицинский HEPA-фильтр, большая зона покрытия
- Минусы: Промышленный дизайн, дорого
Описанный как «Тесла очистителей воздуха», Oransi EJ120 может справиться практически с любой задачей по очистке воздуха, которая стоит перед ним. Этот очиститель воздуха оснащен медицинским фильтром HEPA, который был протестирован на удаление 99.99% взвешенных в воздухе твердых частиц размером 0,3 микрона и 99,8% размером 0,02 микрона. Загрязняющие вещества, попадающие в эту категорию размеров, включают пыль, бактерии, пыльцу, споры плесени, перхоть домашних животных и вирусы. Он также оснащен угольным фильтром, что делает его одним из лучших очистителей воздуха от дыма и удаления запахов.
Эффективный и тихий немецкий двигатель может очищать до 1250 квадратных футов два раза в час, потребляя при этом до 90% меньше энергии, чем другие очистители воздуха в своем классе. Фильтрация также осуществляется полностью механически, поэтому вам не нужно беспокоиться об ионизаторе или чем-либо еще, что может создать озон.
Действительно ли очистители воздуха работают?
Да. В очистителях воздуха используются фильтры для улавливания таких частиц, как пыль, дым, шерсть домашних животных и плесень. Лучшие очистители воздуха настолько эффективны, что могут удалять до 99% загрязняющих веществ и загрязняющих веществ из воздуха в помещении. Однако важно регулярно менять фильтры, иначе очиститель воздуха не будет столь же эффективным.
Очистители воздухабывают разных форм и размеров и даже работают по-разному. Большинство из них имеют так называемый механический фильтр и, как правило, очень эффективны при удалении загрязняющих веществ.Очиститель с фильтром HEPA (высокоэффективный воздушный фильтр) предназначен для удаления не менее 99,97% пыли, пыльцы, плесени и бактерий, а также всех взвешенных в воздухе частиц размером 0,3 микрона и более.
Есть и другие очистители воздуха. Некоторые, например, создают ионное поле, которое испускает отрицательно заряженные ионы. Эти ионы притягивают положительно заряженные ионы в частицах воздуха, из-за чего они выпадают из воздуха. Звучит эффективно, но многие из этих устройств создают озон, что имеет свои проблемы со здоровьем.
Независимо от используемой технологии следите за тем, с какой площадью помещения может справиться очиститель воздуха. Многие модели указывают воздухообмен в час для помещения определенного размера. Или вы можете увидеть, что очистители воздуха ссылаются на их CADR (скорость подачи чистого воздуха), которая измеряет, сколько чистого воздуха они подают в минуту.
Можно ли использовать очиститель воздуха 24/7?
Да, очиститель воздуха работает круглосуточно и без выходных. Поскольку качество воздуха постоянно меняется, очистители воздуха рассчитаны на непрерывное использование.Некоторые очистители воздуха оснащены интеллектуальными технологиями, которые определяют качество воздуха в режиме реального времени и автоматически регулируют настройки, чтобы сэкономить энергию, когда очистка не требуется.
Следует ли мне спать с включенным очистителем воздуха?
Да. Очистители воздуха удаляют пыль, запахи и аллергены, которые могут затруднить ваше дыхание и нарушить ваш сон. Сон с включенным очистителем воздуха поможет очистить воздух во время дремоты и сделает ночной сон более спокойным.
Как часто нужно менять фильтр очистителя воздуха?
Это зависит от качества воздуха.Большинство производителей рекомендуют менять фильтр каждые три-шесть месяцев, но если воздух в помещении действительно загрязнен, вам, возможно, придется менять фильтры чаще.
.

Такое решение позволило сделать изделия более компактными и одновременно увеличить рабочую площадь цилиндрического фильтрующего элемента. Применяются на грузовом автотранспорте и ряде моделей легковых автомобилей с дизельными моторами.
п.).
Примерно через 10 минут фильтр моют в емкости с водой, а потом промывают под струей проточной воды. Сушить фильтр не нужно.
Такой фильтр состоял из объемного корпуса, в народе получивший прозвище «кастрюля», в который была помещена подушка из капроновой лески. Первичная очистка воздуха производилась именно из-за резкой смены направления движения, когда воздух продолжал движение, а пыль по инерции двигалась к днищу корпуса и там оседала. Вторичная очистка производилась подушкой. Эти фильтры были многоразового использования, их нужно было периодически промывать, и он использовался дальше. Существенным недостатком этого типа было слабое фильтрующее свойство;
На некоторых видах сельхозтехники они применяются и сейчас;
Все это обеспечивает хорошие фильтрующий эффект, при этом сам фильтр обеспечивает намного меньшее сопротивление потоку воздуха, чем обычные бумажные. Считается, что этот фильтр является обслуживаемым, можно проводить его очистку и промывку для дальнейшего использования, но для этого нужно использовать специальные шампуни, а после промывки совершать пропитку фильтрующего элемента специальным составом. И все же со временем фильтр приходит в негодность и заменяется.